Приказ Минкультуры РФ от 23.10.2007 N 1295

"Об утверждении Административного регламента исполнения Федеральным архивным агентством государственной услуги по организации исполнения поступивших из-за рубежа запросов российских и иностранных граждан, а также лиц без гражданства, связанных с реализацией их законных прав и свобод"
Редакция от 23.10.2007 — Документ утратил силу, см. «Приказ Минкультуры РФ от 28.12.2009 N 894»

Зарегистрировано в Минюсте РФ 7 декабря 2007 г. N 10649


МИНИСТЕРСТВО КУЛЬТУРЫ И МАССОВЫХ КОММУНИКАЦИЙ РОССИЙСКОЙ ФЕДЕРАЦИИ

ПРИКАЗ
от 23 октября 2007 г. N 1295

ОБ УТВЕРЖДЕНИИ АДМИНИСТРАТИВНОГО РЕГЛАМЕНТА ИСПОЛНЕНИЯ ФЕДЕРАЛЬНЫМ АРХИВНЫМ АГЕНТСТВОМ ГОСУДАРСТВЕННОЙ УСЛУГИ ПО ОРГАНИЗАЦИИ ИСПОЛНЕНИЯ ПОСТУПИВШИХ ИЗ-ЗА РУБЕЖА ЗАПРОСОВ РОССИЙСКИХ И ИНОСТРАННЫХ ГРАЖДАН, А ТАКЖЕ ЛИЦ БЕЗ ГРАЖДАНСТВА, СВЯЗАННЫХ С РЕАЛИЗАЦИЕЙ ИХ ЗАКОННЫХ ПРАВ И СВОБОД

В соответствии с пунктом 7 Порядка разработки и утверждения административных регламентов исполнения государственной функции и административных регламентов предоставления государственных услуг, утвержденного Постановлением Правительства Российской Федерации от 11 ноября 2005 г. N 679 (Собрание законодательства Российской Федерации, 2005, N 47, ст. 4933), приказываю:

1. Утвердить прилагаемый Административный регламент исполнения Федеральным архивным агентством государственной услуги по организации исполнения поступивших из-за рубежа запросов российских и иностранных граждан, а также лиц без гражданства, связанных с реализацией их законных прав и свобод.

2. Направить настоящий Приказ на государственную регистрацию в Министерство юстиции Российской Федерации.

3. Контроль за исполнением настоящего Приказа возложить на статс-секретаря - заместителя Министра П.А. Пожигайло.

Министр
А.С.СОКОЛОВ

УТВЕРЖДЕН
Приказом Министерства культуры
и массовых коммуникаций
Российской Федерации
от 23.10.2007 N 1295

АДМИНИСТРАТИВНЫЙ РЕГЛАМЕНТ
ФЕДЕРАЛЬНОГО АРХИВНОГО АГЕНТСТВА ПО ПРЕДОСТАВЛЕНИЮ ГОСУДАРСТВЕННОЙ УСЛУГИ "ОРГАНИЗАЦИЯ ИСПОЛНЕНИЯ ПОСТУПИВШИХ ИЗ-ЗА РУБЕЖА ЗАПРОСОВ РОССИЙСКИХ И ИНОСТРАННЫХ ГРАЖДАН, А ТАКЖЕ ЛИЦ БЕЗ ГРАЖДАНСТВА, СВЯЗАННЫХ С РЕАЛИЗАЦИЕЙ ИХ ЗАКОННЫХ ПРАВ И СВОБОД"

I. Общие положения

Наименование государственной услуги

1. Административный регламент Федерального архивного агентства по предоставлению государственной услуги по организации исполнения поступивших из-за рубежа запросов российских и иностранных граждан, а также лиц без гражданства, связанных с реализацией их законных прав и свобод (далее - Регламент), определяет сроки и последовательность действий (административных процедур) Федерального архивного агентства (далее - Росархив), а также порядок взаимодействия Росархива с федеральными органами государственной власти, федеральными государственными архивами, уполномоченными органами исполнительной власти субъектов Российской Федерации в области архивного дела, другими органами государственной власти, органами местного самоуправления и организациями (далее - организации), при осуществлении предоставления государственной услуги.

Нормативно-правовое регулирование предоставления государственной услуги

2. Предоставление государственной услуги по организации исполнения поступивших из-за рубежа запросов российских и иностранных граждан, а также лиц без гражданства, связанных с реализацией их законных прав и свобод, осуществляется в соответствии с:

Конституцией Российской Федерации ("Российская газета", 25.12.1993, N 237);

Конвенцией, отменяющей требования легализации иностранных официальных документов; заключена в Гааге 05.10.1961; вступила в силу для России 03.05.1992 (Бюллетень международных договоров, 1993, N 6);

Постановлением Верховного Совета СССР от 17.04.1991 N 2119-1 "О присоединении Союза Советских Социалистических Республик к Гаагской конвенции 1961 года, отменяющей требования легализации иностранных официальных документов" (Ведомости Совета народных депутатов СССР и Верховного Совета СССР, 1991, N 17, ст. 496);

Федеральным законом от 22.10.2004 N 125-ФЗ "Об архивном деле в Российской Федерации" (Собрание законодательства Российской Федерации, 2004, N 43, ст. 4169);

Федеральным законом от 02.05.2006 N 59-ФЗ "О порядке рассмотрения обращений граждан Российской Федерации" (Собрание законодательства Российской Федерации, 2006, N 19, ст. 2060);

Постановлением Совета Министров СССР от 12.11.1990 N 1135 "Об одобрении и внесении в Верховный Совет СССР предложения о присоединении СССР к Гаагской конвенции 1961 года, отменяющей требование легализации иностранных официальных документов" (документ официально опубликован не был);

Положением "О Федеральном архивном агентстве", утвержденным Постановлением Правительства Российской Федерации от 17.06.2004 N 290 (Собрание законодательства Российской Федерации, 2004, N 25, ст. 2572);

Приказом Министерства культуры и массовых коммуникаций Российской Федерации от 18.01.2007 N 19 "Об утверждении правил организации хранения, комплектования, учета и использования документов Архивного фонда Российской Федерации и других архивных документов в государственных и муниципальных архивах, музеях и библиотеках, организациях Российской академии наук" (зарегистрирован в Министерстве юстиции Российской Федерации 06.03.2007, регистрационный N 9059, Бюллетень нормативных актов федеральных органов исполнительной власти, N 20, 14.05.2007);

Приказом Министерства юстиции Российской Федерации от 14.12.2006 N 363 "Об утверждении Административного регламента исполнения Федеральной регистрационной службой государственной функции по проставлению апостиля на официальных документах, подлежащих вывозу за границу" (зарегистрирован в Министерстве юстиции Российской Федерации 29.12.2006, регистрационный N 8718, Бюллетень нормативных актов федеральных органов исполнительной власти, N 11, 12.03.2007);

Приказом Росархива от 09.03.2005 N 17 "Об утверждении Регламента Федерального архивного агентства" (зарегистрирован в Министерстве юстиции Российской Федерации 13.07.2005, регистрационный N 6784, Бюллетень нормативных актов федеральных органов исполнительной власти, N 29, 18.07.2005).

Орган по предоставлению государственной услуги

3. Предоставление государственной услуги по организации исполнения поступивших из-за рубежа запросов российских и иностранных граждан, а также лиц без гражданства, связанных с реализацией их законных прав и свобод, осуществляют Росархив, Министерство иностранных дел Российской Федерации (МИД России).

Непосредственное исполнение поступивших из-за рубежа запросов российских и иностранных граждан, а также лиц без гражданства осуществляют: федеральные органы государственной власти, федеральные государственные архивы, уполномоченные органы исполнительной власти субъектов Российской Федерации в области архивного дела, другие органы государственной власти, органы местного самоуправления и организации при наличии у них соответствующих документов, необходимых для исполнения запросов.

II. Требования к порядку предоставления государственной услуги

Порядок информирования о государственной услуге

4. Государственная услуга по организации исполнения поступивших из-за рубежа запросов предоставляются российским и иностранным гражданам, а также лицам без гражданства, в виде писем Росархива, а также в виде архивных справок, архивных выписок и архивных копий.

5. Местонахождение центрального аппарата Росархива и его почтовый адрес: 103132, г. Москва, ул. Ильинка, 12.

6. Электронный адрес Росархива: rosarhiv@archives.ru.

7. Телефоны структурного подразделения Росархива, предоставляющего государственную услугу: (495) 606-43-05, 606-36-37. Факс 606-55-87.

8. Почтовый адрес МИД России: Консульский департамент, 119200, г. Москва, 1-й Неопалимовский пер., д. 12.

9. Информация о месте нахождения федеральных государственных архивов (приложение N 1), сведения о месте нахождения органов исполнительной власти субъектов Российской Федерации в области архивного дела, их почтовом и электронном адресах, контактных телефонах размещена на официальном сайте Росархива по электронному адресу: www.rusarchives.ru.

10. Информация по процедурам предоставления государственной услуги может предоставляться:

по телефону;

по письменным обращениям;

по электронной почте;

при личном обращении граждан;

на официальном сайте Росархива "Архивы России".

11. По телефону должностные лица Росархива обязаны дать исчерпывающую информацию по вопросам организации исполнения запросов граждан, а также лиц без гражданства, связанных с реализацией их законных прав и свобод.

12. По письменным обращениям ответ направляется в срок, не превышающий 10 дней со дня регистрации обращения, по почте в адрес заявителя, проживающего в государстве - участнике СНГ, или в адрес МИД России - для направления заявителю, проживающему в ином государстве.

13. По электронной почте ответ направляется на электронный адрес заявителя в срок, не превышающий 10 дней со дня поступления обращения.

14. Прием граждан осуществляется Руководителем Росархива, заместителями Руководителя, другими должностными лицами по рабочим дням.

Основание для предоставления государственной услуги

15. Основанием для предоставления государственной услуги является письменный запрос (заявление) в адрес Росархива, МИД России, иных организаций.

16. В запросе (заявлении) указываются: фамилия, имя, отчество (при наличии) заявителя, год и место его рождения, адрес места жительства, гражданство, а также другие сведения, необходимые для исполнения запроса:

о рождении, браке, расторжении брака, установлении отцовства, усыновлении, смерти, сведения о месте и времени регистрации рождения, брака, расторжения брака, смерти, а также фамилии, имена, отчества родителей (для справки о рождении);

об образовании - название и адрес учебного заведения, факультет, даты поступления и окончания учебы;

о стаже работы (службы) - название, ведомственная подчиненность и адрес организации, номер воинской части, время работы (службы), в качестве кого работали (служили);

о пенсии - сведения об организации, которая назначила пенсию, дата назначения пенсии;

иные сведения, позволяющие осуществить поиск документов, необходимых для исполнения запроса.

17. Для истребования сведений, содержащих персональные данные о третьих лицах, дополнительно представляются документы, подтверждающие полномочия заявителя, предусмотренные законодательством Российской Федерации.

Условия и сроки предоставления государственной услуги

18. Запросы, поступившие в государственные органы, органы местного самоуправления, исполняются в течение 30 дней со дня их регистрации. В исключительных случаях руководитель государственного органа или органа местного самоуправления, либо уполномоченное на это лицо вправе продлить срок рассмотрения запроса на 30 дней.

19. Запросы, поступившие в государственные и муниципальные архивы, исполняются в течение 30 дней со дня их регистрации. С разрешения руководства архива этот срок может быть продлен.

20. Запросы, не относящиеся к составу хранящихся в государственных органах, органах местного самоуправления, государственных и муниципальных архивах архивных документов (непрофильные запросы), в течение 7 дней со дня их регистрации направляются по принадлежности в соответствующую организацию, где могут храниться необходимые документы.

21. Российским, иностранным гражданам и лицам без гражданства, проживающим за рубежом, подлинные архивные документы не направляются. Вместо подлинников высылаются архивные справки, архивные выписки или архивные копии истребуемых документов.

22. Запросы, поступившие в Росархив, которые не могут быть исполнены без предоставления дополнительных сведений, в течение 7 дней с момента регистрации возвращаются в МИД России или в организации, их направившие, или гражданам, с сообщением об уточнении и дополнении запроса необходимыми для его исполнения сведениями.

Другие положения, характеризующие требования к предоставлению государственной услуги

23. Поступившие из-за рубежа запросы по истребованию документов социально-правового характера, предусматривающие пенсионное обеспечение граждан, получение ими льгот и компенсаций, исполняются организациями бесплатно.

III. Административные процедуры

Описание последовательности действий при предоставлении государственной услуги

24. Организация предоставления государственной услуги включает в себя следующие административные процедуры Росархива:

регистрация запросов и передача их на исполнение;

анализ тематики поступивших запросов;

направление запросов на исполнение в организации по принадлежности;

проставление апостиля на архивных справках, архивных выписках и архивных копиях;

подготовка ответа заявителю и отправка архивных справок, архивных выписок и архивных копий.

25. Организации, исполняющие запросы, получаемые от Росархива или непосредственно от заявителя, проживающего за рубежом, осуществляют следующие административные процедуры:

регистрация запросов и передача их на исполнение;

поиск архивных документов, необходимых для исполнения запросов;

оформление архивных справок, архивных выписок и архивных копий;

проставление апостиля на архивных справках, архивных выписках и архивных копиях;

подготовка ответа заявителю и отправка архивных справок, архивных выписок и архивных копий.

Регистрация запросов и передача их на исполнение

26. Поступившие в Росархив из МИД России или непосредственно из-за рубежа письменные запросы (заявления) регистрируются в структурном подразделении Росархива, обеспечивающем прием и регистрацию почтовой корреспонденции, и передаются в профильное структурное подразделение в течение 3 дней со дня поступления в установленном порядке.

27. Регистрация запроса является основанием для начала действий по предоставлению государственной услуги.

28. При необходимости некоторые запросы докладываются руководству Росархива, после чего с резолюцией направляются в профильное структурное подразделение.

Анализ тематики поступивших запросов

29. Работники профильного структурного подразделения Росархива осуществляют анализ тематики поступивших запросов с учетом необходимых профессиональных навыков и имеющегося в Росархиве научно-справочного аппарата и информационного материала. При этом определяется:

степень полноты информации, содержащейся в запросе и необходимой для его исполнения;

место нахождения архивных документов, необходимых для исполнения запроса;

место нахождения, адрес конкретной организации, куда следует направить запрос по принадлежности на исполнение.

Направление запросов на исполнение в организации по принадлежности

30. По итогам анализа тематики поступивших запросов в течение 7 дней со дня регистрации Росархив направляет запросы или их копии со своим письмом по принадлежности:

в федеральные органы государственной власти;

в федеральные государственные архивы;

в уполномоченные органы исполнительной власти субъектов Российской Федерации в области архивного дела;

в другие органы и организации, имеющие на хранении документы, необходимые для исполнения запросов.

31. При необходимости федеральные органы государственной власти, федеральные государственные архивы, уполномоченные органы исполнительной власти субъектов Российской Федерации в области архивного дела также могут направлять запросы на исполнение в соответствующие организации, имеющие на хранении документы, необходимые для исполнения запросов.

32. В случае, если запрос требует исполнения несколькими организациями, Росархив направляет в соответствующие организации копии запроса, анкеты, с указанием о направлении ответа в адрес Росархива.

Проставление апостиля на архивных справках, архивных выписках и архивных копиях

33. Архивные справки, архивные выписки и архивные копии, направляемые в государства, подписавшие Гаагскую конвенцию 1961 г., в соответствии с которой не требуется консульская легализация официальных документов, заверяются проставлением и заполнением специального штампа - апостиля. Апостиль не проставляется на документах, предназначенных для направления в государства, с которыми Российская Федерация заключила Договоры о правовой помощи и правовых отношениях по гражданским, семейным и уголовным делам, а также в государства - участники СНГ, подписавшие Соглашение о принципах и формах взаимодействия в области использования архивной информации, или с которыми имеются двусторонние соглашения о сотрудничестве.

34. Росархив проставляет апостиль на архивных справках, архивных выписках и копиях архивных документов, подготовленных федеральными государственными архивами.

35. Уполномоченные органы исполнительной власти субъектов Российской Федерации в области архивного дела проставляют апостиль на архивных справках, архивных выписках и копиях архивных документов, исполненных по документам подведомственным им архивов.

36. На документах, выдаваемых иными организациями, апостиль проставляют вышестоящие по подчиненности органы (если они имеют такое право) или органы Федеральной регистрационной службы в установленном порядке.

Подготовка ответа заявителю и отправка архивных справок, архивных выписок и архивных копий

37. Одновременно с направлением запроса на исполнение в соответствующую организацию Росархив письменно уведомляет об этом Консульский департамент МИД России, кроме запросов, направляемых в федеральные государственные архивы.

38. Архивная справка, архивная выписка и архивная копия, предназначенные для направления в государства - участники СНГ, включая ответы об отсутствии запрашиваемых сведений, высылаются Росархивом, другими организациями по почте простыми письмами непосредственно в адреса заявителей.

39. В случае, если запрос поступил из МИД России, ответы направляются непосредственно в его адрес.

40. Отправка архивных справок, архивных выписок и архивных копий заявителям, проживающим за рубежом, за исключением государств - участников СНГ, осуществляется централизованно через Консульский департамент МИД России.

41. Архивная справка, архивная выписка и архивная копия, предназначенные для направления в государства, не являющиеся участниками СНГ, включая ответы об отсутствии запрашиваемых сведений, вместе с запросами (анкетами, личными заявлениями и т.п.) направляются организациями в МИД России.

42. В случае исполнения запроса несколькими организациями (п. 32) все полученные от организаций архивные справки, архивные выписки и архивные копии либо отрицательные ответы Росархив с сопроводительным письмом направляет в МИД России.

43. Архивные справки, архивные выписки и архивные копии при личном обращении в организацию могут быть выданы заявителю при предъявлении документа, удостоверяющего личность; для третьих лиц - при предъявлении доверенности, оформленной в установленном порядке.

44. Рассмотрение запроса (заявления) считается законченным, если по нему приняты необходимые меры и автор запроса проинформирован о результатах рассмотрения.

45. Организации, исполняющие полученные от Росархива и непосредственно из-за рубежа запросы, осуществляют в установленном порядке регистрацию запросов, передачу их на исполнение, поиск архивных документов, необходимых для исполнения запросов. По результатам организации готовят архивные справки, архивные выписки или архивные копии.

46. Текст в архивной справке дается в хронологической последовательности событий с указанием видов архивных документов и их дат. В архивной справке допускается цитирование архивных документов.

Несовпадение отдельных данных архивных документов со сведениями, изложенными в запросе, не является препятствием для включения их в архивную справку при условии, если совпадение всех остальных сведений не вызывает сомнений в тождественности лица или фактов, о которых говорится в архивных документах. В архивной справке эти данные воспроизводятся так, как они изложены в архивных документах, а расхождения, несовпадения и неточные названия, отсутствие имени, отчества, инициалов или наличие одного из них оговариваются в тексте справки в скобках ("Так в документе", "Так в тексте оригинала").

Сведения о работе, учебе в нескольких организациях, учебных заведениях включаются в одну архивную справку.

В примечаниях по тексту архивной справки оговариваются неразборчиво написанные, исправленные автором, не поддающиеся прочтению вследствие повреждения текста оригинала места ("Так в тексте оригинала", "В тексте неразборчиво").

В тексте архивной справки не допускаются изменения, исправления, комментарии, собственные выводы исполнителя по содержанию архивных документов, на основании которых составлена архивная справка.

После текста архивной справки приводятся архивные шифры и номера листов единиц хранения архивных документов, печатные издания, использовавшиеся для составления архивной справки. В тексте архивной справки допускается проставление архивных шифров и номера листов единиц хранения архивных документов сразу после изложения каждого факта события.

В архивной справке, объем которой превышает один лист, листы должны быть прошиты, пронумерованы и скреплены гербовой печатью.

Архивные справки должны оформляться на бланке организации. Подчистки и помарки в архивных справках не допускаются.

Архивная справка подписывается руководителем организации, заверяется гербовой печатью, на ней проставляется номер и дата составления.

В архивной выписке название архивного документа, его номер и дата воспроизводятся полностью. Извлечениями из текстов архивных документов должны быть исчерпаны все имеющиеся данные по запросу. Начало и конец каждого извлечения, а также пропуски в тексте архивного документа отдельных слов обозначаются многоточием.

В примечаниях к тексту архивной выписки делаются соответствующие оговорки о частях текста оригинала, неразборчиво написанных, исправленных автором, не поддающихся прочтению вследствие повреждения текста и т.д. Отдельные слова и выражения оригинала, вызывающие сомнения в их точности, оговариваются словами "Так в тексте оригинала", "Так в документе". После текста архивной выписки указываются архивный шифр и номера листов единицы хранения архивного документа.

Аутентичность выданных по запросам архивных выписок удостоверяется подписью руководителя организации или уполномоченного должностного лица и гербовой печатью.

На обороте каждого листа архивной копии проставляются архивные шифры и номера листов единиц хранения архивного документа. Все листы архивной копии скрепляются. Архивная копия заверяется гербовой печатью и подписью руководителя организации.

47. При отсутствии документов, необходимых для исполнения запроса, составляется отрицательный ответ на бланке организации. В ответе излагается причина, по которой не представляется возможным выдать истребуемый документ или справку. При необходимости ответ заверяется гербовой печатью.

48. Архивные справки, архивные выписки и архивные копии оформляются на государственном языке Российской Федерации.

49. Проставление апостиля и отправка организациями архивных справок, архивных выписок и архивных копий осуществляется в соответствии с п. п. 33 - 43 Регламента.

Порядок и формы контроля за совершением действий и принятием решений

50. Порядок и формы контроля за совершением действий и принятием решений по рассмотрению обращений (запросов) заявителей определены Регламентом Федерального архивного агентства.

51. Текущий контроль за соблюдением последовательности действий, определенных административными процедурами по предоставлению государственной услуги, и принятием решений осуществляется должностными лицами Росархива, ответственными за организацию работы по предоставлению государственной услуги.

52. Текущий контроль осуществляется путем проведения должностным лицом, ответственным за организацию работы по предоставлению государственной услуги, проверок соблюдения и исполнения работниками положений настоящего Регламента.

53. Росархив осуществляет контроль за предоставлением государственной услуги федеральными государственными архивами.

54. Контроль за полнотой и качеством исполнения государственной услуги включает в себя проведение проверок, выявление и устранение нарушений прав граждан, рассмотрение, принятие решений и подготовку ответов на обращения заявителей, содержащих жалобы на решения, действия (бездействие) должностных лиц Росархива.

55. По результатам проведенных проверок, в случае выявления нарушений прав граждан, к виновным лицам осуществляется применение мер ответственности в порядке, установленном законодательством Российской Федерации.

56. Проверки могут быть плановыми (осуществляться на основании годовых планов работы Росархива) и внеплановыми. Проверка может проводиться по конкретному обращению заявителя.

57. Для проведения проверки полноты и качества исполнения государственной услуги формируется комиссия, в состав которой включаются государственные гражданские служащие Росархива.

58. Результаты деятельности комиссии оформляются в виде справки, в которой отмечаются выявленные недостатки и предложения по их устранению.

Порядок обжалования действия (бездействия) и решений, осуществляемых в ходе предоставления государственной услуги на основании настоящего Регламента

59. Заявитель может обратиться с жалобой на действия (бездействие) и решения, осуществляемые в ходе предоставления государственной услуги на основании настоящего Регламента, устно или письменно.

60. Действия (бездействие) и решения должностных лиц Росархива могут быть обжалованы:

Руководителю Росархива;

в Министерство культуры и массовых коммуникаций Российской Федерации;

в судебном порядке.

61. Действия (бездействие) и решения федеральных государственных архивов могут быть обжалованы:

Руководителю Росархива;

в Министерство культуры и массовых коммуникаций Российской Федерации;

в судебном порядке.

62. Действия (бездействие) и решения иных организаций могут быть обжалованы:

в вышестоящие по подчиненности организации;

в судебном порядке.

63. Заявитель в своей жалобе в обязательном порядке указывает:

фамилию, имя, отчество;

почтовый адрес, по которому должен быть направлен ответ;

изложение сути жалобы;

личную подпись и дату.

В случае необходимости в подтверждение своих доводов заявитель прилагает к письменной жалобе документы и материалы либо их копии.

64. Руководитель Росархива;

обеспечивает объективное, всестороннее и своевременное рассмотрение обращения, в случае необходимости - с участием заявителя, направившего жалобу, или его законного представителя;

вправе запрашивать необходимые для рассмотрения жалобы документы и материалы в других государственных органах, органах местного самоуправления, у иных должностных лиц, за исключением судов, органов дознания и органов предварительного следствия;

по результатам рассмотрения жалобы принимает меры, направленные на восстановление или защиту нарушенных прав, свобод и законных интересов заявителя, дает письменный ответ по существу поставленных в жалобе вопросов.

65. Ответ на жалобу подписывается руководителем Росархива, его заместителями.

66. Ответ на жалобу, поступившую в Росархив, направляется по почтовому адресу, указанному в обращении.

67. Письменная жалоба, поступившая в Росархив, рассматривается в течение 30 дней со дня регистрации жалобы.

В исключительных случаях руководитель Росархива вправе продлить срок рассмотрения жалобы не более чем на 30 дней, уведомив о продлении срока его рассмотрения заявителя, направившего жалобу.

68. Если в письменной жалобе не указаны фамилия инициатора жалобы и почтовый адрес, по которому должен быть направлен ответ, ответ на жалобу не дается.

69. Росархив при получении письменной жалобы, в которой содержатся нецензурные либо оскорбительные выражения, угрозы имуществу, жизни, здоровью должностного лица, а также членов его семьи, вправе оставить обращение без ответа по существу поставленных вопросов и сообщить заявителю, направившему жалобу, о недопустимости злоупотребления правом.

Если текст жалобы не поддается прочтению, ответ на жалобу не дается, о чем сообщается заявителю, направившему жалобу, если его фамилия и почтовый адрес поддаются прочтению.

70. Если в жалобе заявителя содержится вопрос, на который ему многократно давались письменные ответы по существу в связи с ранее направляемыми жалобами, и при этом в жалобе не приводятся новые доводы или обстоятельства, руководитель Росархива, иное уполномоченное на то должностное лицо вправе принять решение о безосновательности очередной жалобы и прекращении переписки с заявителем по данному вопросу при условии, что указанная жалоба и ранее направляемые жалобы направлялись в Росархив. О данном решении уведомляется заявитель, направивший обращение.

СОГЛАСОВАНО
Министерство иностранных дел
Российской Федерации
С.В.ЛАВРОВ

Приложение N 1
к административному регламенту
"Организация исполнения
поступивших из-за рубежа
запросов российских
и иностранных граждан,
а также лиц без гражданства,
связанных с реализацией
их законных прав и свобод"

СВЕДЕНИЯ О МЕСТОНАХОЖДЕНИИ, КОНТАКТНЫХ ТЕЛЕФОНАХ И АДРЕСАХ ФЕДЕРАЛЬНЫХ ГОСУДАРСТВЕННЫХ АРХИВОВ, ПРЕДОСТАВЛЯЮЩИХ ГОСУДАРСТВЕННУЮ УСЛУГУ ПО ИСПОЛНЕНИЮ ПОСТУПИВШИХ ИЗ-ЗА РУБЕЖА ЗАПРОСОВ

1. Государственный архив Российской Федерации

Адрес: ул. Большая Пироговская, д. 17, Москва, 119992

Телефон: (8-495) 245-12-87

Адрес сайта: http://www.garf.ru

Адрес электронной почты: garf@online.ru

2. Российский государственный архив древних актов

Адрес: ул. Большая Пироговская, д. 17, Москва, 119992

Телефон: (8-495) 246-50-91, 245-30-98

Адрес электронной почты: rgada@rusarchives.ru

3. Российский государственный исторический архив

Адрес: Заневский пр., д. 36, Санкт-Петербург, 195112

Телефон: (8-812) 438-55-20, 438-55-94

Адрес электронной почты: rgia@rgia.ru

4. Российский государственный военно-исторический архив

Адрес: ул. 2-я Бауманская, д. 3, Москва, 105005

Телефон: (8-495) 261-20-70, 267-18-66

Адрес электронной почты: rgviarchives@mtu-net.ru

5. Российский государственный архив экономики

Адрес: ул. Большая Пироговская, д. 17, Москва, 119992

Телефон: (8-495) 246-48-56, 245-26-64

Адрес электронной почты: rgae@mail.magelan.ru

6. Российский государственный архив социально-политической истории

Адрес: ул. Большая Дмитровка, д. 15, Москва, 101999

Телефон: (8-495) 629-97-26, 692-90-17

Адрес электронной почты: rchidni1@online.ru

7. Российский государственный архив новейшей истории

Адрес: ул. Ильинка, д. 12, Москва, 103132

Телефон: (8-495) 606-50-06, 606-23-21

Адрес электронной почты: puzanova_la@gov.ru

8. Российский государственный военный архив

Адрес: ул. Адмирала Макарова, д. 29, Москва, 125212

Телефон: (8-495) 159-80-91

Адрес электронной почты: rgvarchive@mtu-net.ru

9. Российский государственный архив Военно-Морского Флота

Адрес: ул. Миллионная, д. 36, Санкт-Петербург, 191186

Телефон: (8-812) 312-11-37

Адрес электронной почты: rgavmf@mail.rcom.ru

10. Российский государственный архив литературы и искусства

Адрес: ул. Выборгская, д. 3, корп. 2, Москва, 125212

Телефон: (8-495) 159-76-85, 159-73-26

Адрес электронной почты: rgali@list.ru

11. Российский государственный архив научно-технической документации

Адрес: ул. Профсоюзная, д. 82, Москва, 117393

Телефон: (8-495) 335-00-95

Адрес сайта: http://www.rgantd.ru

Адрес электронной почты: director@rgantd.ru

12. Филиал российского государственного архива научно-технической документации

Адрес: ул. Мичурина, д. 58, г. Самара, 443096

Телефон: (8-846) 336-17-81, 336-17-85

Адрес сайта: http://www.rgantd.saminfo.ru

Адрес электронной почты: rgantd@saminfo.ru

13. Российский государственный архив кинофотодокументов

Адрес: ул. Речная, д. 1, г. Красногорск, Московская обл., 143000

Телефон: (8-495) 562-14-64

Адрес электронной почты: filmarchives@aha.ru

14. Российский государственный архив фонодокументов

Адрес: ул. 2-я Бауманская, д. 3

Телефон: (8-495) 261-13-00, 267-20-51

Адрес электронной почты: rgafd@rusarchives.ru

15. Российский государственный исторический архив Дальнего Востока

Адрес: ул. Алеутская, д. 10а, г. Владивосток, 690990

Телефон: (8-423-2) 41-21-29

Адрес электронной почты: rgiadv@vladivostok.ru

Приложение N 2
к административному регламенту
"Организация исполнения
поступивших из-за рубежа запросов
российских и иностранных граждан,
а также лиц без гражданства,
связанных с реализацией
их законных прав и свобод"

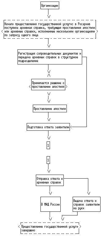
БЛОК-СХЕМЫ ПОСЛЕДОВАТЕЛЬНОСТИ ДЕЙСТВИЙ ПО ПРЕДОСТАВЛЕНИЮ ГОСУДАРСТВЕННОЙ УСЛУГИ ПО ОРГАНИЗАЦИИ ИСПОЛНЕНИЯ ПОСТУПИВШИХ ИЗ-ЗА РУБЕЖА ЗАПРОСОВ РОССИЙСКИХ И ИНОСТРАННЫХ ГРАЖДАН, А ТАКЖЕ ЛИЦ БЕЗ ГРАЖДАНСТВА, СВЯЗАННЫХ С РЕАЛИЗАЦИЕЙ ИХ ЗАКОННЫХ ПРАВ И СВОБОД

Условные обозначения

Блок-схема N 1 последовательности действий Росархива по предоставлению государственной услуги по организации исполнения поступивших из-за рубежа запросов

Блок-схема N 2 последовательности действий Росархива при проставлении апостиля и исполнении запроса несколькими организациями

Блок-схема N 3 последовательности действий организаций по исполнению поступивших из-за рубежа запросов