Приказ Мининформсвязи РФ от 31.01.2008 N 10

"Об утверждении Административного регламента Федерального агентства связи по исполнению государственной функции по организации системы сертификации в области связи, включающей в себя органы по сертификации, испытательные лаборатории (центры) независимо от их организационно-правовых форм и форм собственности"
Редакция от 31.01.2008 — Не действует Перейти в действующую
Показать изменения

Зарегистрировано в Минюсте РФ 27 февраля 2008 г. N 11233


МИНИСТЕРСТВО ИНФОРМАЦИОННЫХ ТЕХНОЛОГИЙ И СВЯЗИ РОССИЙСКОЙ ФЕДЕРАЦИИ

ПРИКАЗ
от 31 января 2008 г. N 10

ОБ УТВЕРЖДЕНИИ АДМИНИСТРАТИВНОГО РЕГЛАМЕНТА ФЕДЕРАЛЬНОГО АГЕНТСТВА СВЯЗИ ПО ИСПОЛНЕНИЮ ГОСУДАРСТВЕННОЙ ФУНКЦИИ ПО ОРГАНИЗАЦИИ СИСТЕМЫ СЕРТИФИКАЦИИ В ОБЛАСТИ СВЯЗИ, ВКЛЮЧАЮЩЕЙ В СЕБЯ ОРГАНЫ ПО СЕРТИФИКАЦИИ, ИСПЫТАТЕЛЬНЫЕ ЛАБОРАТОРИИ (ЦЕНТРЫ) НЕЗАВИСИМО ОТ ИХ ОРГАНИЗАЦИОННО-ПРАВОВЫХ ФОРМ И ФОРМ СОБСТВЕННОСТИ

В соответствии с пунктом 9 Порядка разработки и утверждения административных регламентов исполнения государственной функции и административных регламентов предоставления государственных услуг, утвержденного Постановлением Правительства Российской Федерации от 11 ноября 2005 г. N 679 (Собрание законодательства Российской Федерации, 2005, N 47, ст. 4933), приказываю:

1. Утвердить прилагаемый Административный регламент Федерального агентства связи по исполнению государственной функции по организации системы сертификации в области связи, включающей в себя органы по сертификации, испытательные лаборатории (центры) независимо от их организационно-правовых форм и форм собственности.

2. Направить настоящий Приказ на государственную регистрацию в Министерство юстиции Российской Федерации.

3. Контроль за исполнением настоящего Приказа возложить на заместителя Министра информационных технологий и связи Российской Федерации Б.Д. Антонюка.

Министр
Л.Д.РЕЙМАН

УТВЕРЖДЕН
Приказом Министерства
информационных технологий и связи
Российской Федерации
от 31 января 2008 г. N 10

АДМИНИСТРАТИВНЫЙ РЕГЛАМЕНТ
ФЕДЕРАЛЬНОГО АГЕНТСТВА СВЯЗИ ПО ИСПОЛНЕНИЮ ГОСУДАРСТВЕННОЙ ФУНКЦИИ ПО ОРГАНИЗАЦИИ СИСТЕМЫ СЕРТИФИКАЦИИ В ОБЛАСТИ СВЯЗИ, ВКЛЮЧАЮЩЕЙ В СЕБЯ ОРГАНЫ ПО СЕРТИФИКАЦИИ, ИСПЫТАТЕЛЬНЫЕ ЛАБОРАТОРИИ (ЦЕНТРЫ) НЕЗАВИСИМО ОТ ИХ ОРГАНИЗАЦИОННО-ПРАВОВЫХ ФОРМ И ФОРМ СОБСТВЕННОСТИ

I. Общие положения

1. Административный регламент Федерального агентства связи по исполнению государственной функции по организации системы сертификации в области связи, включающей в себя органы по сертификации, испытательные лаборатории (центры) независимо от их организационно-правовых форм и форм собственности (далее - Регламент), определяет сроки и последовательность действий (административных процедур) Федерального агентства связи (далее - Россвязь), порядок взаимодействия между структурными подразделениями, взаимодействия Россвязи с юридическими лицами и индивидуальными предпринимателями, которые изъявили желание получить признание своей компетентности в области подтверждения соответствия средств связи установленным требованиям, при осуществлении полномочий по исполнению государственной функции по организации системы сертификации в области связи, включающей в себя органы по сертификации, испытательные лаборатории (центры) независимо от их организационно-правовых форм и форм собственности.

2. Исполнение государственной функции по организации системы сертификации в области связи, включающей в себя органы по сертификации, испытательные лаборатории (центры) независимо от их организационно-правовых форм и форм собственности, осуществляется в соответствии с:

Федеральным законом от 27 июля 2004 г. N 79-ФЗ "О государственной гражданской службе Российской Федерации" (Собрание законодательства Российской Федерации, 2004, N 31, ст. 3215; 2006, N 6, ст. 636; 2007, N 10, ст. 1151; N 16, ст. 1828; N 49, ст. 6070);

Федеральным законом от 7 июля 2003 г. N 126-ФЗ "О связи" (Собрание законодательства Российской Федерации, 2003, N 28, ст. 2895; N 52 (часть I), ст. 5038; 2004, N 35, ст. 3607; N 45, ст. 4377; 2005, N 19, ст. 1752; 2006, N 6, ст. 636; N 10, ст. 1069; N 31 (часть I), ст. 3431, 3452; 2007, N 1, ст. 8; N 7, ст. 835);

Постановлением Правительства Российской Федерации от 13 апреля 2005 г. N 214 "Об утверждении Правил организации и проведения работ по обязательному подтверждению соответствия средств связи" (Собрание законодательства Российской Федерации, 2005, N 16, ст. 1463);

Постановлением Правительства Российской Федерации от 29 марта 2005 г. N 165 "Об утверждении Правил аккредитации органов по сертификации, испытательных лабораторий (центров), проводящих сертификационные испытания средств связи" (Собрание законодательства Российской Федерации, 2005, N 14, ст. 1246);

Постановлением Правительства Российской Федерации от 30 июня 2004 г. N 320 "Об утверждении Положения о Федеральном агентстве связи" (Собрание законодательства Российской Федерации, 2004, N 27, ст. 2783; 2005, N 18, ст. 1682; 2007, N 24, ст. 2923; N 32, ст. 4151);

Приказом Министерства информационных технологий и связи Российской Федерации от 24.01.2007 N 10 "О порядке предоставления отчетности органов по сертификации и испытательных лабораторий (центров) в Федеральное агентство связи" (зарегистрирован в Министерстве юстиции Российской Федерации 12 декабря 2007 г., регистрационный N 8933).

3. Результатом исполнения государственной функции является создание системы сертификации в области связи, включающей в себя органы по сертификации, испытательные лаборатории (центры) независимо от их организационно-правовых форм и форм собственности.

4. Аккредитация осуществляется в отношении юридических лиц, индивидуальных предпринимателей, которые изъявили желание получить признание своей компетентности в области подтверждения соответствия средств связи установленным требованиям (далее - аккредитация органов по сертификации и испытательных лабораторий (центров)).

5. Государственная функция по организации системы сертификации в области связи, включающей в себя органы по сертификации, испытательные лаборатории (центры) независимо от их организационно-правовых форм и форм собственности, осуществляется Россвязью за счет средств федерального бюджета, выделенного на содержание Россвязи.

II. Требования к порядку исполнения государственной функции по организации системы сертификации в области связи, включающей в себя органы по сертификации, испытательные лаборатории (центры) независимо от их организационно-правовых форм и форм собственности

6. Порядок информирования о правилах исполнения государственной функции по организации системы сертификации в области связи, включающей в себя органы по сертификации, испытательные лаборатории (центры) независимо от их организационно-правовых форм и форм собственности.

6.1. Место нахождения Россвязи: г. Москва, ул. Тверская, д. 7.

Почтовый адрес для направления заявления на аккредитацию в качестве органа по сертификации или испытательной лаборатории (центра), а также обращений: ул. Тверская, д. 7, Москва, 125375, Федеральное агентство связи.

Электронный адрес для направления обращений: mail@minsvyaz.ru.

Место нахождения экспедиции: Москва, ул. Тверская, д. 7, 3-й подъезд.

Часы работы экспедиции:

понедельник 09.00 - 18.00 (перерыв с 13.00 до 13.45)

вторник 09.00 - 18.00 (перерыв с 13.00 до 13.45)

среда 09.00 - 18.00 (перерыв с 13.00 до 13.45)

четверг 09.00 - 18.00 (перерыв с 13.00 до 13.45)

пятница 09.00 - 16.45 (перерыв с 13.00 до 13.45)

суббота - выходной день

воскресенье - выходной день.

Информация о режиме работы находится на официальном сайте Россвязи информационного портала Министерства информационных технологий и связи Российской Федерации по электронному адресу www.mininform.ru (далее - Сайт).

Часы работы структурного подразделения Россвязи:

понедельник 09.00 - 18.00 (перерыв с 12.00 до 12.45)

вторник 09.00 - 18.00 (перерыв с 12.00 до 12.45)

среда 09.00 - 18.00 (перерыв с 12.00 до 12.45)

четверг 09.00 - 18.00 (перерыв с 12.00 до 12.45)

пятница 09.00 - 16.45 (перерыв с 12.00 до 12.45)

суббота - выходной день

воскресенье - выходной день.

Справочный телефон должностного лица Управления информационного и аналитического обеспечения (далее - Управление): (495) 771-82-19.

6.2. Порядок получения консультаций по процедуре исполнения государственной функции по организации системы сертификации в области связи, включающей в себя органы по сертификации, испытательные лаборатории (центры) независимо от их организационно-правовых форм и форм собственности.

6.2.1. Консультации по процедуре исполнения государственной функции по организации системы сертификации в области связи, включающей в себя органы по сертификации, испытательные лаборатории (центры) независимо от их организационно-правовых форм и форм собственности, предоставляются:

по письменным обращениям;

по телефону.

6.2.2. При консультировании по письменным обращениям ответ на обращение направляется почтой в адрес заявителя в срок, не превышающий 30 дней с даты поступления письменного обращения.

6.2.3. При консультировании по телефону должностные лица Россвязи обязаны в соответствии с поступившим запросом предоставлять информацию:

о принятии решения по процедурам, входящим в систему сертификации в области связи, включающей в себя органы по сертификации, испытательные лаборатории (центры) независимо от их организационно-правовых форм и форм собственности;

о нормативных правовых актах по вопросам аккредитации организаций в качестве органов по сертификации и испытательных лабораторий (центров) (наименование, номер, дата принятия нормативного правового акта);

о перечне необходимых документов для получения аттестата аккредитации;

о месте размещения на Сайте перечня аккредитованных органов по сертификации и испытательных лабораторий (центров).

7. Сроки исполнения государственной функции по организации системы сертификации в области связи, включающей в себя органы по сертификации, испытательные лаборатории (центры) независимо от их организационно-правовых форм и форм собственности.

7.1. Аккредитация проводится в течение 90 дней со дня регистрации заявления на аккредитацию органов по сертификации и испытательных лабораторий (центров).

7.2. Извещение заявителю аккредитации о принятии его заявления к рассмотрению или об отказе в рассмотрении направляется в письменной форме не позднее 10 дней с даты получения заявления на аккредитацию.

7.3. Период проведения проверки заявителя аккредитации по месту осуществления его деятельности не может превышать 21 день.

7.4. Аттестат аккредитации направляется заявителю аккредитации в срок, не превышающий 30 дней со дня поступления обращения о пересылке аттестата аккредитации по почте.

7.5. Время ожидания в очереди для получения аттестата аккредитации не более 30 минут.

7.6. Уведомление об отказе в аккредитации заявителю направляется в течение 10 дней со дня принятия такого решения.

7.7. Перечень аккредитованных органов по сертификации и испытательных лабораторий (центров) публикуется на официальном сайте Россвязи информационного портала Министерства информационных технологий и связи Российской Федерации по электронному адресу www.mininform.ru в электронном виде 1 раз в 10 дней и передается для публикации в официальное издание Министерства информационных технологий и связи Российской Федерации - журнал "СвязьИнформ" 1 раз в 30 дней.

7.8. Проверка устранения органом по сертификации или испытательной лабораторией (центром) выявленных нарушений, повлекших за собой приостановление действия аттестата аккредитации, проводится в течение 30 дней после получения уведомления об устранении выявленных нарушений.

7.9. Решение о возобновлении действия аттестата аккредитации или об отказе в возобновлении действия аттестата аккредитации принимается в течение 15 дней после окончания проверки.

7.9. Решение о возобновлении действия аттестата аккредитации или об отказе в возобновлении действия аттестата аккредитации принимается в течение 15 дней после окончания проверки.

7.10. Сообщение о принятом решении о возобновлении действия аттестата аккредитации или об отказе в возобновлении действия аттестата аккредитации направляется в письменной форме органу по сертификации или испытательной лаборатории (центру) в течение 3 дней после принятия соответствующего решения.

7.11. Уведомление о возобновлении действия аттестата аккредитации направляется в течение 10 дней со дня принятия решения о возобновлении действия аттестата аккредитации.

7.12. Решение о приостановлении действия аттестата аккредитации и направлении заявления о прекращении действия аттестата аккредитации (далее - решение) в суд доводится Россвязью до органа по сертификации или испытательной лаборатории (центра) в письменной форме с мотивированным обоснованием не позднее чем через 3 дня после его принятия.

7.13. Извещение о прекращении действия аттестата аккредитации направляется заявителю в течение 10 дней со дня регистрации заявления.

7.14. В случае соблюдения органом по сертификации или испытательной лабораторией (центром) Постановления Правительства Российской Федерации от 29 марта 2005 г. N 165 "Об утверждении Правил аккредитации органов по сертификации, испытательных лабораторий (центров), проводящих сертификационные испытания средств связи" в период действия аттестата аккредитации и при наличии положительных результатов проверки представленных документов Россвязь переоформляет аттестат аккредитации в течение 30 дней с даты получения соответствующего заявления.

7.15. Решение о переоформлении и выдаче аттестата аккредитации принимается в течение 30 дней с даты получения соответствующего заявления.

7.16. Жалоба на неправомерные решения, действия (бездействие) органов по сертификации или испытательных лабораторий (центров) рассматривается в течение 30 дней со дня ее регистрации.

7.17. Плановая проверка деятельности органов по сертификации и испытательных лабораторий (центров) проводится 1 раз в 2 года.

7.18. Уведомление о предстоящей плановой проверке деятельности направляется не позднее чем за 10 дней до даты его проведения.

7.19. Внеплановая проверка деятельности органов по сертификации и испытательных лабораторий (центров) проводится в течение 90 дней с уведомлением о нем не позднее чем за 10 дней до даты проведения.

7.20. Письменная жалоба на действия (бездействие) и решения, осуществляемые (принятые) в ходе исполнения государственной функции должностным лицом Управления, должна быть рассмотрена в течение 30 дней с даты ее регистрации. Сообщение о принятом решении направляется в течение 5 дней после принятия решения.

8. Основанием для приостановления предоставления государственной функции по организации системы сертификации в области связи, включающей в себя органы по сертификации, испытательные лаборатории (центры) независимо от их организационно-правовых форм и форм собственности, является признание утратившими силу положений нормативных правовых актов Российской Федерации, регулирующих исполнение государственной функции, предусмотренной настоящим Регламентом.

9. Требования к местам исполнения государственной функции по организации системы сертификации в области связи, включающей в себя органы по сертификации, испытательные лаборатории (центры) независимо от их организационно-правовых форм и форм собственности.

9.1. Выдача аттестата аккредитации проводится в помещении структурного подразделения Управления (далее - кабинет).

9.2. В кабинете организовано место для выдачи аттестата аккредитации и визуально оформленная информация о необходимых документах для получения аттестата аккредитации. Информация о необходимых документах для получения аттестата аккредитации размещена также на официальном сайте Россвязи информационного портала Министерства информационных технологий и связи Российской Федерации по электронному адресу www.mininform.ru.

9.3. Для входа в здание Россвязи заявителю выписывается пропуск в установленном порядке.

9.4. С целью обеспечения комфортных условий для реализации прав инвалидов должностное лицо Управления по обращению лично спускается к заявителю в холл здания, в котором оборудовано удобное место для выдачи аттестата аккредитации, и производит выдачу аттестата аккредитации.

Заявитель накануне сообщает о своем приходе с целью получения аттестата аккредитации должностному лицу Управления. По прибытии заявитель может связаться с должностным лицом Управления по внутреннему телефону, который установлен в холле.

9.5. Место ожидания заявителей содержит не менее 3 стульев.

10. Исполнение государственной функции по организации системы сертификации в области связи, включающей в себя органы по сертификации, испытательные лаборатории (центры) независимо от их организационно-правовых форм и форм собственности, является бесплатным для заявителей.

III. Административные процедуры по исполнению государственной функции по организации системы сертификации в области связи, включающей в себя органы по сертификации, испытательные лаборатории (центры) независимо от их организационно-правовых форм и форм собственности

11. Исполнение государственной функции по организации системы сертификации в области связи, включающей в себя органы по сертификации, испытательные лаборатории (центры) независимо от их организационно-правовых форм и форм собственности, включает в себя следующие административные процедуры:

аккредитацию органов по сертификации и испытательных лабораторий (центров);

отказ в аккредитации органов по сертификации и испытательных лабораторий (центров);

ведение перечня органов по сертификации и испытательных лабораторий (центров);

приостановление действия аттестата аккредитации;

прекращение действия аттестата аккредитации;

переоформление аттестата аккредитации;

публикацию в отраслевых печатных изданиях информации об аккредитованных органах по сертификации и испытательных лабораториях (центрах);

осуществление анализа отчетности, предоставляемой органами по сертификации и испытательными лабораториями (центрами);

рассмотрение жалоб заявителей на неправомерные действия органов по сертификации и испытательных лабораторий (центров);

проверку деятельности органов по сертификации и испытательных лабораторий (центров).

12. Аккредитация органов по сертификации и испытательных лабораторий (центров).

12.1. Требования к органам по сертификации и испытательным лабораториям (центрам).

12.1.1. Орган по сертификации и испытательная лаборатория (центр) не должны быть аффилированными лицами и (или) участвовать в договоре простого товарищества, в том числе негласного товарищества, по отношению к продавцам, изготовителям сертифицируемых средств связи, их представителям, а также иным испытательным лабораториям (центрам) или органам по сертификации.

12.1.2. Орган по сертификации и испытательная лаборатория (центр) должны иметь:

а) систему управления качеством выполняемых работ, а также соответствующую документацию, утвержденную руководителем органа по сертификации или испытательной лаборатории (центра);

б) техническую возможность оформления и ведения учета сертификатов соответствия, протоколов испытаний;

в) утвержденные руководителем органа по сертификации или испытательной лаборатории (центра) правила организации делопроизводства, ведения архива по сертификации, испытаниям (с указанием сроков хранения дел), который должен содержать документы, касающиеся выполненных при сертификации, испытаниях работ.

Срок хранения документов, касающихся выполненных при сертификации, испытаниях работ, должен быть не менее 7 лет с даты осуществления сертификации, испытаний;

г) необходимые для осуществления деятельности помещения;

д) не менее 3 специалистов в штатном расписании, имеющих высшее профессиональное образование, подтвержденное документом государственного образца, документально подтвержденный стаж практической работы (не менее 3 лет) по таким видам деятельности, как разработка, производство, испытания (оценка) или обслуживание средств связи, в указанной области аккредитации;

е) официально изданные действующие нормативные правовые акты, устанавливающие требования к средствам связи.

12.1.3. Орган по сертификации дополнительно должен иметь предварительные договоры о проведении сертификационных испытаний с испытательными лабораториями (центрами), область аккредитации которых соответствует области аккредитации органа по сертификации.

12.1.4. Испытательная лаборатория (центр) дополнительно должна иметь:

а) аттестованное испытательное оборудование и поверенные средства измерений, необходимые для проверки соответствующих средств связи установленным требованиям в указанной области аккредитации;

б) методику проведения сертификационных испытаний;

в) предварительные договоры о проведении сертификационных испытаний с органами по сертификации, область аккредитации которых соответствует области аккредитации испытательной лаборатории (центра).

12.1.5. Орган по сертификации не вправе выполнять функции испытательной лаборатории (центра), а испытательная лаборатория (центр) не вправе выполнять функции органа по сертификации.

12.2. Заявление на аккредитацию в качестве органа по сертификации или испытательной лаборатории (центра) (далее - заявление) подается в Россвязь в письменном виде по почте с указанием следующих сведений:

а) наименования (фирменное наименование), организационно-правовой формы юридического лица и его местонахождения - для юридического лица;

б) фамилии, имени, отчества, места жительства, реквизитов документа, удостоверяющего личность гражданина Российской Федерации, - для индивидуального предпринимателя;

в) данных о неаффилированности и неучастии в договорах простого товарищества, в том числе негласного товарищества, по отношению к продавцам сертифицируемых средств связи, изготовителям сертифицируемых средств связи, их представителям, а также иным испытательным лабораториям (центрам) или органам по сертификации.

12.3. К заявлению прикладывается комплект документов, который должен содержать:

а) копию документа, подтверждающего факт внесения записи о юридическом лице в Единый государственный реестр юридических лиц, копии содержащихся в регистрационном деле юридического лица учредительных документов - для юридического лица;

б) копию свидетельства о государственной регистрации физического лица в качестве индивидуального предпринимателя - для индивидуальных предпринимателей;

в) перечень средств связи, а также нормативных правовых актов, устанавливающих обязательные требования к этим средствам связи в предполагаемой области аккредитации;

г) документы, подписанные и заверенные печатью заявителя, подтверждающие соответствие заявителя требованиям, предусмотренным п. 12.1 Регламента.

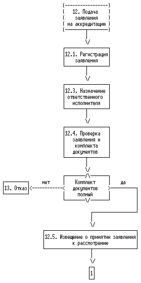
12.4. Для аккредитации заявитель направляет в Россвязь заявление и прикладывает комплект документов, оформленных в установленном порядке (далее - комплект документов).

12.4.1. На основании сведений, содержащихся в заявлении, и приложенного комплекта документов должностное лицо канцелярии Россвязи регистрирует заявление и осуществляет ввод данных о заявителе в систему автоматизированного документооборота (далее - САД).

12.4.2. В САД вносятся следующие данные:

1) наименование, организационно-правовая форма, местонахождение - для юридического лица;

2) фамилия, имя, отчество, место жительства - для индивидуального предпринимателя;

3) почтовый адрес, контактные телефоны (если указаны);

4) номер и дата исходящего документа;

5) краткое содержание заявления;

6) фамилия, имя, отчество лица, подписавшего заявление;

7) присвоенный входящий номер и дата;

8) фамилия руководителя, которому адресовано заявление.

12.4.3. Для рассмотрения заявления назначается исполнитель структурного подразделения Россвязи, Управления, в должностном регламенте которого указаны соответствующие функции.

12.4.4. Исполнитель осуществляет проверку представленного заявления и комплекта документов в соответствии с требованиями пп. 12.2, 12.3 Регламента.

12.4.5. Россвязь извещает заявителя о принятии его заявления к рассмотрению в письменной форме не позднее 10 дней с даты получения заявления.

Образец извещения о принятии заявления к рассмотрению приведен в приложении N 4 к Регламенту.

12.4.6. После рассмотрения заявления и комплекта документов исполнитель подготавливает извещение о принятии заявления к рассмотрению (далее - извещение).

12.4.7. Подготовленное извещение визирует начальник структурного подразделения Управления и заместитель начальника Управления.

12.4.8. Извещение о принятии заявления к рассмотрению подписывает уполномоченное должностное лицо Россвязи.

12.4.9. Отправку подписанного извещения по почте осуществляет должностное лицо канцелярии Россвязи.

12.5. Проверка представленного комплекта документов, а также заявителя по месту осуществления его деятельности на соответствие требованиям, предусмотренным п. 12.1 Регламента, осуществляется в срок, не превышающий 90 дней со дня регистрации заявления.

12.6. Проверка заявителя по месту осуществления его деятельности проводится с привлечением представителей государственных органов, осуществляющих оперативно-розыскную деятельность, при наличии в заявленном перечне средств связи, обеспечивающих выполнение установленных действий при проведении оперативно-розыскных мероприятий на сетях связи.

12.7. Привлечение представителей государственных органов, осуществляющих оперативно-розыскную деятельность, проводится посредством направления оповещающего письма о проведении проверки заявителя по месту осуществления его деятельности (далее - оповещающее письмо).

12.7.1. Для подготовки оповещающего письма назначается исполнитель структурного подразделения Управления, в должностном регламенте которого указаны соответствующие функции.

12.7.2. Подготовленное оповещающее письмо визирует начальник структурного подразделения Управления и заместитель начальника Управления.

12.7.3. Оповещающее письмо подписывает уполномоченное должностное лицо Россвязи.

12.7.4. Отправку оповещающего письма по почте осуществляет должностное лицо канцелярии Россвязи.

12.8. Проверка заявителя по месту осуществления его деятельности проводится на основании приказа Россвязи о создании комиссии по проверке заявителя по месту осуществления его деятельности (далее - Приказ) и в соответствии с программой работы комиссии по проверке заявителя по месту осуществления его деятельности (далее - Программа). Образец Программы приведен в приложении N 1 к Регламенту.

Статус комиссии по проверке заявителя и организация ее деятельности определяются Приказом и Программой.

12.8.1. В Приказе указываются:

а) дата (период) проведения проверки заявителя по месту осуществления его деятельности;

б) состав комиссии в количестве 5 человек;

в) сроки представления на утверждение Программы и акта проверки заявителя по месту осуществления его деятельности руководителю Россвязи;

г) должностное лицо Россвязи, ответственное за исполнение Приказа.

12.8.2. В комиссию могут входить сотрудники Россвязи, а также представители государственных органов, осуществляющих оперативно-розыскную деятельность.

12.8.3. Период проведения проверки заявителя по месту осуществления его деятельности не может превышать 21 день.

12.8.4. Подготовленные проекты Программы и Приказа визирует начальник структурного подразделения Управления, заместитель начальника Управления и начальник Управления.

12.8.5. Приказ подписывает руководитель Россвязи.

12.8.6. Программу подписывает уполномоченное должностное лицо Россвязи, утверждает руководитель Россвязи.

12.8.7. После проведения проверки заявителя по месту осуществления его деятельности должностное лицо Россвязи, ответственное за исполнение Приказа, представляет акт проверки заявителя по месту осуществления его деятельности руководителю Россвязи в срок, установленный в Приказе.

Решение об аккредитации принимает руководитель Россвязи или лицо, исполняющее его обязанности. Решение об аккредитации оформляется в виде резолюции руководителя Россвязи на акте проверки заявителя по месту осуществления его деятельности.

12.8.8. Образец акта проверки деятельности органов по сертификации и испытательных лабораторий (центров) приведен в приложении N 2 к Регламенту.

12.9. После установления соответствия заявителя требованиям, предусмотренным п. 12.1 Регламента, оформляется аттестат аккредитации и выдается заявителю.

12.10. Аттестат аккредитации выдается сроком на 5 лет.

12.11. Аттестат аккредитации выдается заявителю либо уполномоченному представителю заявителя.

12.12. Выдача уполномоченному представителю заявителя аттестата аккредитации производится при предъявлении документа, удостоверяющего личность, и документа, подтверждающего его полномочия на получение аттестата аккредитации, подписанного руководителем юридического лица, если заявителем является юридическое лицо, или индивидуальным предпринимателем, если заявителем является индивидуальный предприниматель.

12.13. Заявитель вправе получить аттестат аккредитации по почте.

12.13.1. В этом случае заявитель направляет письменное обращение о пересылке аттестата аккредитации по почте, подписанное руководителем органа по сертификации или испытательной лаборатории (центра).

12.13.2. На основании информации, содержащейся в обращении о пересылке аттестата аккредитации по почте, должностное лицо канцелярии Россвязи регистрирует это обращение и осуществляет ввод начальных данных о заявителе в САД. Сведения, вводимые в САД, приведены в п. 12.4.2 Регламента.

12.13.3. Для рассмотрения обращения о пересылке аттестата аккредитации назначается исполнитель структурного подразделения Управления, в должностном регламенте которого указаны соответствующие функции.

12.13.4. Аттестат аккредитации направляется заявителю в срок, не превышающий 30 дней со дня поступления обращения о пересылке аттестата аккредитации по почте.

12.13.5. На основании принятого решения о пересылке аттестата аккредитации исполнитель подготавливает сопроводительное письмо к аттестату аккредитации и передает его для визирования начальнику структурного подразделения Управления и заместителю начальника Управления.

12.13.6. Сопроводительное письмо к аттестату аккредитации подписывает уполномоченное должностное лицо Россвязи.

12.13.7. Отправку подписанного сопроводительного письма и аттестата аккредитации по почте осуществляет должностное лицо канцелярии Россвязи.

12.14. В случае изменения местонахождения, места осуществления деятельности органа по сертификации или испытательной лаборатории (центра) в течение 10 дней орган по сертификации или испытательная лаборатория (центр) обязаны направить в Россвязь заказным письмом с уведомлением о вручении сведения о новом месте нахождения или месте осуществления деятельности органа по сертификации или испытательной лаборатории (центра).

13. Отказ в аккредитации органов по сертификации или испытательных лабораторий (центров).

13.1. В случае несоблюдения заявителем требований, установленных в Постановлении Правительства Российской Федерации от 29 марта 2005 г. N 165 "Об утверждении Правил аккредитации органов по сертификации, испытательных лабораторий (центров), проводящих сертификационные испытания средств связи", Россвязью принимается решение об отказе в аккредитации органа по сертификации или испытательной лаборатории (центра).

13.2. После принятия решения об отказе в аккредитации исполнитель подготавливает уведомление об отказе в письменной форме и передает для визирования начальнику структурного подразделения Управления и заместителю начальника Управления.

Уведомление об отказе с указанием мотивированных причин (далее - уведомление об отказе) направляется заявителю в течение 10 дней со дня принятия такого решения.

Образец уведомления об отказе приведен в приложении N 5 к Регламенту.

13.3. Уведомление об отказе подписывает уполномоченное должностное лицо Россвязи.

13.4. Отправку подписанного уведомления об отказе и комплекта документов по почте осуществляет должностное лицо канцелярии Россвязи.

14. Управление Россвязи формирует перечень органов по сертификации и испытательных лабораторий (центров) (далее - Перечень).

14.1. Перечень должен содержать следующую информацию:

1) наименование органа по сертификации или испытательной лаборатории (центра);

2) номер аттестата аккредитации;

3) срок действия;

4) область аккредитации;

5) официальный адрес;

6) номер телефона, адрес электронной почты;

7) фамилию, имя, отчество руководителя.

14.2. Перечень публикуется на официальном сайте Россвязи информационного портала Министерства информационных технологий и связи Российской Федерации по электронному адресу www.mininform.ru в электронном виде 1 раз в 10 дней и в официальном издании Министерства информационных технологий и связи Российской Федерации - журнале "СвязьИнформ".

Перечень передается в издательство журнала "СвязьИнформ" 1 раз в 30 дней.

15. Приостановление действия аттестата аккредитации.

15.1. В случае выявления в ходе проведения проверки деятельности органа по сертификации или испытательной лаборатории (центра) нарушения требований, установленных в Постановлении Правительства Российской Федерации от 29 марта 2005 г. N 165 "Об утверждении Правил аккредитации органов по сертификации, испытательных лабораторий (центров)", Россвязь вправе приостановить действие аттестата аккредитации.

15.2. Россвязь устанавливает срок устранения органом по сертификации и испытательной лабораторией (центром) нарушений, повлекших за собой приостановление действия аттестата аккредитации. Указанный срок не может превышать 6 месяцев.

Срок устранения органом по сертификации и испытательной лабораторией (центром) нарушений должен быть достаточным, чтобы орган по сертификации и испытательная лаборатория (центр) вовремя устранили нарушения. Время устранения органом по сертификации и испытательной лаборатории (центром) определяется объемом самих нарушений.

15.3. Орган по сертификации и испытательная лаборатория (центр) уведомляют в письменной форме Россвязь об устранении выявленных нарушений в установленный срок.

15.4. Россвязь после получения соответствующего уведомления от органа по сертификации или испытательной лаборатории (центра):

а) проводит проверку устранения органом по сертификации или испытательной лабораторией (центром) выявленных нарушений, повлекших за собой приостановление действия аттестата аккредитации, в течение 30 дней после получения уведомления;

б) принимает решение о возобновлении действия аттестата аккредитации или об отказе в возобновлении действия аттестата аккредитации в течение 15 дней после окончания проверки. Причиной отказа в возобновлении действия аттестата аккредитации является неустранение или неполное устранение нарушений, выявленных в ходе проверки деятельности;

в) сообщает о принятом решении в письменной форме органу по сертификации или испытательной лаборатории (центру) в течение 3 дней после принятия соответствующего решения.

15.5. В случае если принято решение о возобновлении действия аттестата, исполнитель подготавливает уведомление о возобновлении действия аттестата аккредитации (далее - уведомление) и передает его для визирования начальнику структурного подразделения Управления и заместителю начальника Управления.

Уведомление направляется в течение 10 дней со дня принятия решения о возобновление действия аттестата. Образец уведомления о возобновлении действия аттестата аккредитации приведен в приложении N 6 к Регламенту.

15.6. Уведомление подписывает уполномоченное должностное лицо Россвязи.

15.7. Отправку подписанного уведомления по почте осуществляет должностное лицо канцелярии Россвязи.

15.8. Срок действия аттестата аккредитации не продлевается на время приостановления его действия.

16. Прекращение действия аттестата аккредитации.

16.1. В случае, если в установленный срок орган по сертификации или испытательная лаборатория (центр) не устранили выявленные нарушения (п. 15.1 Регламента), Россвязь обращается в суд с заявлением о прекращении действия аттестата аккредитации органа по сертификации или испытательной лаборатории (центра).

Действие аттестата аккредитации прекращается в соответствии с решением суда.

16.1.1. По поручению руководителя Россвязи или заместителя руководителя Россвязи подготовку документов для обращения в суд и защиту интересов Россвязи в суде осуществляет юридический отдел Россвязи.

16.1.2. При этом Россвязь приостанавливает (п. 15 Регламента) действие аттестата аккредитации органа по сертификации или испытательной лаборатории (центра) до вступления в силу решения суда.

16.1.3. Решение о приостановлении действия аттестата аккредитации и направлении заявления о прекращении действия аттестата аккредитации (далее - решение) в суд доводится Россвязью до органа по сертификации или испытательной лаборатории (центра) в письменной форме с мотивированным обоснованием не позднее, чем через 3 дня после его принятия.

16.1.4. Исполнитель подготавливает решение в письменной форме и передает для визирования начальнику структурного подразделения Управления и заместителю начальника Управления.

16.1.5. Решение подписывает уполномоченное должностное лицо Россвязи.

16.1.6. Отправку подписанного решения по почте осуществляет должностное лицо канцелярии Россвязи.

16.2. Действие аттестата аккредитации может быть прекращено досрочно по заявлению органа по сертификации или испытательной лаборатории (центра) (далее - заявление).

16.2.1. На основании информации, содержащейся в заявлении, должностное лицо канцелярии Россвязи регистрирует заявление и осуществляет ввод начальных данных о заявителе в САД. Сведения, вводимые в САД, приведены п. 12.4.2 Регламента.

16.2.2. Для рассмотрения заявления назначается исполнитель структурного подразделения Управления, в должностном регламенте которого указаны соответствующие функции.

16.2.3. Исполнитель на основании информации, содержащейся в заявлении, подготавливает извещение о прекращении действия аттестата аккредитации (далее - извещение).

Извещение направляется заявителю в течение 10 дней со дня регистрации заявления.

16.2.4. Исполнитель передает извещение для визирования начальнику структурного подразделения Управления и заместителю начальника Управления.

16.2.5. Извещение подписывает уполномоченное должностное лицо Россвязи.

16.2.6. На основании подписанного извещения исполнитель исключает из Перечня орган по сертификации или испытательную лабораторию (центр), соответственно.

16.2.7. Действие аттестата аккредитации прекращается с момента подписания уполномоченным должностным лицом Россвязи извещения.

16.2.8. Отправку подписанного извещения по почте осуществляет должностное лицо канцелярии Россвязи.

16.3. Действие аттестата аккредитации прекращается в случае непредоставления индивидуальным предпринимателем сведений о перемене фамилии, имени, отчества, места жительства, данных документа, удостоверяющего личность гражданина Российской Федерации, в срок, не превышающий 10 дней с момента внесения соответствующих изменений в Единый государственный реестр индивидуальных предпринимателей.

16.3.1. При выявлении соответствующего нарушения Россвязь прекращает действие аттестата аккредитации.

16.3.2. Исполнитель на основании выявленного нарушения подготавливает извещение в письменной форме и передает для визирования начальнику структурного подразделения Управления и заместителю начальника Управления.

16.3.3. Извещение подписывает уполномоченное должностное лицо Россвязи.

16.3.4. Отправку подписанного извещения по почте осуществляет должностное лицо канцелярии Россвязи.

16.3.5. На основании подписанного извещения исполнитель исключает из Перечня орган по сертификации или испытательную лабораторию (центр), соответственно.

17. Переоформление действия аттестата аккредитации.

17.1. Аттестат аккредитации переоформляется в следующих случаях:

а) по окончании срока действия аттестата аккредитации, при соблюдении органом по сертификации или испытательной лабораторией (центром) Постановления Правительства Российской Федерации от 29 марта 2005 г. N 165 "Об утверждении Правил аккредитации органов по сертификации, испытательных лабораторий (центров), проводящих сертификационные испытания средств связи" в период действия аттестата аккредитации и при наличии положительных результатов проверки представленных документов;

б) при реорганизации юридического лица в форме слияния, присоединения, преобразования;

в) при изменении наименования юридического лица.

17.2. В случае соблюдения органом по сертификации или испытательной лабораторией (центром) Постановления Правительства Российской Федерации от 29 марта 2005 г. N 165 "Об утверждении Правил аккредитации органов по сертификации, испытательных лабораторий (центров), проводящих сертификационные испытания средств связи" в период действия аттестата аккредитации и при наличии положительных результатов проверки представленных документов Россвязь переоформляет аттестат аккредитации в течение 30 дней с даты получения соответствующего заявления.

17.2.1. На основании информации, содержащейся в заявлении и приложенном комплекте документов, должностное лицо канцелярии Россвязи регистрирует заявление и осуществляет ввод начальных данных о заявителе в САД. Сведения, вводимые в САД, приведены п. 12.4.2 Регламента.

17.2.2. Для рассмотрения заявления и комплекта документов назначается исполнитель структурного подразделения Управления, в должностном регламенте которого указаны соответствующие функции.

17.2.3. Исполнитель осуществляет проверку представленного заявления и комплекта документов в соответствии с требованиями пп. 12.2, 12.3 Регламента.

17.2.4. После рассмотрения заявления и комплекта документов исполнитель подготавливает извещение о принятии заявления к рассмотрению (далее - извещение).

Образец извещения о принятии заявления к рассмотрению приведен в приложении N 4 к Регламенту.

17.2.5. Россвязь извещает заявителя в письменной форме не позднее 10 дней с даты получения заявления о принятии его заявления к рассмотрению.

17.2.6. Подготовленное извещение визирует начальник структурного подразделения Управления и заместитель начальника Управления.

17.2.7. Извещение подписывает уполномоченное должностное лицо Россвязи.

17.2.8. Отправку подписанного извещения по почте осуществляет должностное лицо канцелярии Россвязи.

17.2.9. После установления соответствия комплекта представленных документов требованиям, предусмотренным п. 12.1 Регламента, аттестат может быть выдан заявителю.

17.2.10. Выдача переоформленного аттестата аккредитации производится в соответствии с пп. 12.10, 12.11, 12.12, 12.13 Регламента.

17.3. В случае несоблюдения органом по сертификации или испытательной лабораторией (центром) Постановления Правительства Российской Федерации от 29 марта 2005 г. N 165 "Об утверждении Правил аккредитации органов по сертификации, испытательных лабораторий (центров), проводящих сертификационные испытания средств связи" в период действия аттестата аккредитации Россвязь проводит проверку в соответствии с пп. 12.5, 12.6, 12.8 Регламента.

Решение о переоформлении и выдаче аттестата аккредитации принимается в соответствии с пп. 17.2.1, 17.2.2, 17.2.3, 17.2.4, 17.2.5, 17.2.6, 17.2.7, 17.2.8, 17.2.9, 17.2.10 Регламента.

17.4. Аттестат аккредитации переоформляется по заявлению правопреемника в следующих случаях:

а) при реорганизации юридического лица в форме слияния, присоединения, преобразования;

б) при изменении наименования юридического лица.

17.5. К заявлению должен быть приложен комплект документов в соответствии с пп. 12.2, 12.3 Регламента.

Решение о переоформлении и выдаче аттестата аккредитации принимается в соответствии с пп. 17.2.1, 17.2.2, 17.2.3, 17.2.4, 17.2.5, 17.2.6, 17.2.7, 17.2.8, 17.2.9, 17.2.10 Регламента.

17.6. При реорганизации юридического лица в форме разделения или выделения аккредитация правопреемника или правопреемников проводится в порядке, предусмотренном п. 12 Регламента.

17.7. Индивидуальный предприниматель, изменивший фамилию, имя, отчество, место жительства, данные документа, удостоверяющего личность гражданина Российской Федерации, в течение 10 дней с момента внесения соответствующих изменений в Единый государственный реестр индивидуальных предпринимателей обязан подать заявление о переоформлении аттестата аккредитации с приложением документов, подтверждающих указанные в этом заявлении изменения.

17.7.1. Решение о переоформлении и выдаче аттестата аккредитации осуществляется Россвязью в течение 30 дней с даты получения соответствующего заявления в соответствии с пп. 17.2.1, 17.2.2, 17.2.3, 17.2.4, 17.2.5, 17.2.6, 17.2.7, 17.2.8, 17.2.9, 17.2.10 Регламента.

18. В случае, если такое заявление не было подано в установленный срок, действие аттестата аккредитации прекращается (п. 16 Регламента) и индивидуальный предприниматель, изменивший фамилию, имя, отчество, место жительства, данные документа, удостоверяющего личность гражданина Российской Федерации, проходит аккредитацию в порядке, предусмотренном п. 12 Регламента.

19. Осуществление анализа отчетности.

19.1. Органы по сертификации и испытательные лаборатории (центры) ежеквартально, не позднее 10 числа следующего за окончанием квартала месяца, предоставляют отчеты (далее - отчеты):

а) о поступивших заявках на сертификацию;

б) выданных сертификатах соответствия и сроках проведения сертификации;

в) отказах в проведении сертификации и выдаче сертификатов соответствия;

г) сертификатах соответствия, действие которых прекращено;

д) сроках проведения сертификационных испытаний.

19.2. Отчеты предоставляются в бумажном и электронном виде в формате, принятом в реестре сертификатов соответствия Россвязи.

19.3. Органы по сертификации и испытательные лаборатории (центры) направляют отчеты и сопроводительное письмо по почте в Россвязь.

19.3.1. На основании информации, содержащейся в сопроводительном письме и приложенных отчетах, должностное лицо канцелярии Россвязи регистрирует сопроводительное письмо и осуществляет ввод начальных данных о заявителе в САД. Сведения, вводимые в САД, приведены п. 12.4.2 Регламента.

19.3.2. Для рассмотрения сопроводительного письма и приложенных отчетов назначается исполнитель структурного подразделения Управления, в должностном регламенте которого указаны соответствующие функции.

19.3.3. Исполнитель осуществляет анализ представленного сопроводительного письма и приложенных отчетов и докладывает руководству о проделанной работе по выявлению недостоверных сведений.

19.3.4. При выявлении недостоверных сведений в представленных отчетах или непредставлении отчетов Россвязь вправе приостановить действие аттестата аккредитации (п. 15 Регламента).

20. Рассмотрение жалоб на неправомерные решения, действия (бездействие) органов по сертификации или испытательных лабораторий (центров) (далее - жалоба).

20.1. Жалобы на неправомерные решения, действия (бездействие) органов по сертификации или испытательных лабораторий (центров) могут поступить от заявителя, обратившегося в орган по сертификации или испытательную лабораторию (центр) с целью проведения сертификации или испытаний.

20.2. Жалоба направляется в Россвязь в письменной форме, в форме электронного сообщения или в форме устного личного обращения.

20.3. На основании информации, содержащейся в жалобе, должностное лицо канцелярии Россвязи регистрирует жалобу и осуществляет ввод начальных данных о заявителе в САД. Сведения, вводимые в САД, приведены п. 12.4.2 Регламента.

20.4. Для рассмотрения жалобы назначается исполнитель структурного подразделения Управления, в должностном регламенте которого указаны соответствующие функции.

Жалоба рассматривается в течение 30 дней со дня ее регистрации.

20.5. После рассмотрения жалобы исполнитель докладывает руководству о проделанной работе по выявлению неправомерных решений, действий (бездействия) органа по сертификации или испытательной лаборатории (центра).

20.6. В соответствии с принятым решением по выявлению неправомерных решений, действий (бездействия) органа по сертификации или испытательной лаборатории (центра) Россвязь принимает меры в соответствии с п. 21.5 Регламента и действующим законодательством Российской Федерации.

20.7. Заявитель, обратившийся в орган по сертификации или испытательную лабораторию (центр) с целью проведения сертификации или испытаний, вправе подать на соответствующий орган по сертификации или испытательную лабораторию (центр) в установленном порядке в суд.

21. Проверка деятельности органов по сертификации и испытательных лабораторий (центров).

21.1. Проверка деятельности органов по сертификации и испытательных лабораторий (центров) (далее - проверка деятельности) может быть плановой и внеплановой.

21.2. Проверка деятельности осуществляется на основании приказа Россвязи о проведении проверки деятельности (далее - Приказ о проверке деятельности) и в соответствии с программой проверки деятельности (далее - Программа проверки деятельности). Образец Программы проверки деятельности приведен в приложении N 3 к Регламенту.

21.2.1. В Приказе о проверке деятельности указываются:

а) дата (период) проведения проверки деятельности;

б) состав комиссии в количестве 5 человек;

в) сроки представления на утверждение Программы проверки деятельности и акта проверки деятельности органов по сертификации или испытательных лабораторий (центров) руководителю Россвязи;

г) должностное лицо Россвязи, ответственное за исполнение Приказа о проверке деятельности.

21.2.2. В состав комиссии по проверке деятельности входят сотрудники Россвязи.

21.2.3. Подготовленные проекты Программы проверки деятельности и Приказа о проверке деятельности визирует начальник структурного подразделения Управления и начальник Управления.

21.2.4. Приказ о проверке деятельности подписывает руководитель Россвязи.

21.2.5. Программу проверки деятельности подписывает уполномоченное должностное лицо Россвязи, утверждает руководитель Россвязи.

21.2.6. После проведения проверки деятельности органов по сертификации или испытательных лабораторий (центров) должностное лицо Россвязи, ответственное за исполнение Приказа о проверке деятельности, представляет акт проверки деятельности органов по сертификации или испытательных лабораторий (центров) руководителю Россвязи в срок, установленный Приказом о проверке деятельности.

Решение по итогам проверки деятельности принимает руководитель Россвязи.

21.3. Образец акта проверки деятельности органов по сертификации и испытательных лабораторий (центров) приведен в приложении N 2 к Регламенту.

21.4. Плановая проверка проводится 1 раз в 2 года согласно плану, утвержденному руководителем Россвязи.

21.4.1. Россвязь направляет уведомление о предстоящей плановой проверке деятельности не позднее чем за 10 дней до даты ее проведения.

Образец уведомления о предстоящей проверке деятельности приведен в приложении N 7 к Регламенту.

21.4.2. Для направления уведомления о предстоящей плановой проверке деятельности назначается ответственный исполнитель структурного подразделения Управления.

21.4.3. Подготовленное уведомление о предстоящей плановой проверке деятельности визируют начальник структурного подразделения Управления и заместитель начальника Управления.

21.4.4. Уведомление о предстоящей плановой проверке деятельности подписывает уполномоченное должностное лицо Россвязи.

21.4.5. Отправку подписанного уведомления о предстоящей плановой проверке деятельности по почте осуществляет должностное лицо канцелярии Россвязи.

21.5. Внеплановая проверка деятельности может проводиться в следующих случаях:

а) при поступлении жалоб на деятельность органов по сертификации и испытательных лабораторий (центров);

б) при выявлении несоблюдения органами по сертификации и испытательными лабораториями (центрами) требований, установленных п. 12.1 Регламента.

21.5.1. Внеплановая проверка деятельности проводится в течение 90 дней с уведомлением о нем не позднее чем за 10 дней до даты проведения.

Образец уведомления о предстоящей проверке деятельности приведен в приложении N 7 к Регламенту.

21.5.2. Для направления уведомления о предстоящей внеплановой проверке деятельности назначается ответственный исполнитель структурного подразделения Управления.

21.5.3. Подготовленное уведомление о предстоящей внеплановой проверке деятельности визирует начальник структурного подразделения Управления и заместитель начальника Управления.

21.5.4. Уведомление о предстоящей внеплановой проверке деятельности подписывает уполномоченное должностное лицо Россвязи.

21.5.5. Отправку подписанного уведомления о предстоящей внеплановой проверке деятельности по почте осуществляет должностное лицо канцелярии Россвязи.

IV. Порядок и формы контроля за исполнением государственной функции по организации системы сертификации в области связи, включающей в себя органы по сертификации, испытательные лаборатории (центры) независимо от их организационно-правовых форм и форм собственности

22. Контроль за исполнением государственной функции по организации системы сертификации в области связи, включающей в себя органы по сертификации, испытательные лаборатории (центры) независимо от их организационно-правовых форм и форм собственности, осуществляется начальником (лицом, его замещающим) Управления в форме регулярного мониторинга соблюдения и исполнения ответственными исполнителями структурного подразделения Управления положений настоящего Регламента, действующих нормативных правовых актов, определяющих порядок выполнения административных процедур.

23. Текущий контроль начальник (лицо, его замещающее) Управления осуществляет в ходе работы с корреспонденцией.

24. Плановая проверка полноты и качества исполнения государственной функции по организации системы сертификации в области связи, включающей в себя органы по сертификации, испытательные лаборатории (центры) независимо от их организационно-правовых форм и форм собственности, проводится ответственными должностными лицами Управления 1 раз в квартал.

25. Внеплановая проверка полноты и качества исполнения государственной функции по организации системы сертификации в области связи, включающей в себя органы по сертификации, испытательные лаборатории (центры) независимо от их организационно-правовых форм и форм собственности, проводится по поступлению жалоб на неправомерные решения, действия (бездействие) ответственными должностными лицами Управления (далее - жалоба).

26. Жалоба может быть подана гражданами, их объединениями и организациями (далее - заявитель).

26.1. Жалоба направляется в Россвязь в письменной форме, в форме электронного сообщения или в форме устного личного обращения.

26.2. На основании информации, содержащейся в жалобе, должностное лицо канцелярии Россвязи регистрирует жалобу и осуществляет ввод начальных данных о заявителе в САД. Сведения, вводимые в САД, приведены п. 12.4.2 Регламента.

26.3. Жалоба рассматривается в течение 30 дней со дня ее регистрации.

26.4. Сведения о результате рассмотрения жалобы доводятся до заявителя в письменном виде по почте.

27. После выявленных нарушений полноты и качества исполнения государственной функции по организации системы сертификации в области связи, включающей в себя органы по сертификации, испытательные лаборатории (центры) независимо от их организационно-правовых форм и форм собственности, начальник Управления докладывает руководству о проделанной работе по выявлению неправомерных решений, действий (бездействия) ответственного исполнителя Управления.

28. В соответствии с принятым решением по выявлению неправомерных решений, действий (бездействия) принимаются дисциплинарные меры в соответствии с действующим законодательством.

29. По результатам проверок начальник (лицо, его замещающее) Управления дает указания по устранению выявленных нарушений полноты и качества исполнения государственной функции по организации системы сертификации в области связи, включающей в себя органы по сертификации, испытательные лаборатории (центры) независимо от их организационно-правовых форм и форм собственности, и контролирует их исполнение.

V. Порядок обжалования действий (бездействия) должностного лица, а также принимаемого им решения при исполнении государственной функции по организации системы сертификации в области связи, включающей в себя органы по сертификации, испытательные лаборатории (центры) независимо от их организационно-правовых форм и форм собственности

30. Индивидуальные предприниматели и юридические лица могут обратиться с жалобой на действия (бездействие) и решения, осуществляемые (принятые) в ходе исполнения государственной функции должностным лицом Управления на основании Регламента (далее - жалоба), к начальнику Управления. Если индивидуальные предприниматели и юридические лица не удовлетворены решением, принятым в ходе рассмотрения жалобы, то они вправе обратиться письменно в Россвязь по адресу: ул. Тверская, дом 7, г. Москва, 125375, по электронной почте, адрес которой размещен на сайте Россвязи в сети Интернет (www.mininform.ru), или в форме личного устного обращения, а также в суд в порядке, установленном законодательством Российской Федерации.

31. Жалобы на действия (бездействие) и решения, осуществляемые (принятые) в ходе выполнения Регламента Россвязью, рассматриваются Министерством информационных технологий и связи Российской Федерации, расположенным по адресу: ул. Тверская, дом 7, г. Москва, 125375.

32. Жалоба подается на русском языке.

33. В жалобе указываются:

1) фамилия, имя, отчество заявителя;

2) полное наименование юридического лица (в случае обращения организации);

3) контактный почтовый адрес;

4) предмет жалобы;

5) личная подпись заинтересованного лица.

34. Основанием для отказа в рассмотрении жалобы является ее несоответствие п. п. 32, 33 Регламента.

35. Письменная жалоба и жалоба по электронной почте должны быть рассмотрены в течение 30 дней с даты их регистрации.

36. Индивидуальному предпринимателю или юридическому лицу должностным лицом, рассматривавшим жалобу, направляется сообщение о принятом решении в течение 5 дней после принятия решения.

37. Все обращения об обжаловании действий (бездействия) и решений, осуществляемых (принятых) в ходе исполнения государственной функции на основании Регламента, фиксируются в книге учета обращений с указанием:

1) принятых решений;

2) проведенных действий по предоставлению сведений и (или) применению дисциплинарного воздействия к виновному должностному лицу.

38. Обращение считается разрешенным, если рассмотрены все поставленные в нем вопросы, приняты необходимые меры и даны письменные ответы.

Приложение N 1
к Административному регламенту
Федерального агентства связи
по исполнению государственной
функции по организации системы
сертификации в области связи,
включающей в себя органы
по сертификации, испытательные
лаборатории (центры) независимо
от их организационно-правовых
форм и форм собственности

                Образец программы работы комиссии 
  по проверке заявителя по месту осуществления его деятельности 
 
__________________________________________________________________
      (наименование юридического лица или фамилия, инициалы
                 индивидуального предпринимателя)
 
Адрес (место) работы комиссии:
______________________________
______________________________
 
Период работы комиссии:
______________________________
______________________________
 
Состав комиссии:
Председатель
_________________________________________________________________,
                      (Ф.И.О. - должность)
 
Члены комиссии:
_________________________________________________________________,
                      (Ф.И.О. - должность) 
_________________________________________________________________.
 
Цель работы:
_________________________________________________________________.
 
Задачи работы:
_________________________________________________________________.
 
Оценке подлежат:
1. ______________________________________________________________,
2. ______________________________________________________________.
       (срок предоставления акта проверки заявителя по месту 
     осуществления его деятельности должностному лицу Россвязи, 
               ответственному за исполнение Приказа)
 
 
 

Приложение N 2
к Административному регламенту
Федерального агентства связи
по исполнению государственной
функции по организации системы
сертификации в области связи,
включающей в себя органы
по сертификации, испытательные
лаборатории (центры) независимо
от их организационно-правовых
форм и форм собственности

    Образец акта проверки деятельности органов по сертификации
              и испытательных лабораторий (центров)
 
___________________________     __________________________________
  (дата составления акта)         (город, где был составлен акт)
 
_________________________________________________________________:
   (основание проверки деятельности органов по сертификации и 
    испытательных лабораторий (центров) и состав комиссии <*>)
 
Председатель
комиссии:        - ______________________________________________,
 
Члены            - ______________________________________________,
комиссии:        - ______________________________________________,
                 - ______________________________________________,
                 - ______________________________________________.
 
_________________________________________________________________.
   (с какой целью была проведена проверка деятельности органов
      по сертификации и испытательных лабораторий (центров))
 
    При проверке установлено:
    1.   Статус,   организационная   структура,   административная
подчиненность:
_________________________________________________________________.
    2.  Оснащенность  и  состояние  испытательного  оборудования и
средств измерения:
_________________________________________________________________.
    3. Обеспеченность нормативной и методической документацией:
_________________________________________________________________.
    4. Классификация и опыт работы персонала, состояние проводимой
работы по повышению квалификации персонала:
_________________________________________________________________.
    5. Условия размещения персонала, испытательного оборудования и
средств измерения:
_________________________________________________________________.
    6.   Наличие   и   эффективность  системы обеспечения качества
испытаний:
_________________________________________________________________.
    7.  Правильность организации проведения испытаний и оформления
протоколов испытаний:
_________________________________________________________________.
    8. Замечания и рекомендации комиссии:
_________________________________________________________________.
    9. Заключение:
_________________________________________________________________.
 
    Акт подписали:
 
Председатель комиссии          ___________ _______________________
                                (подпись)   (расшифровка подписи)
 
Члены комиссии:                ___________ _______________________
                                (подпись)   (расшифровка подписи)
                               ___________ _______________________
                                (подпись)   (расшифровка подписи)
                               ___________ _______________________
                                (подпись)   (расшифровка подписи)
                               ___________ _______________________
                                (подпись)   (расшифровка подписи)
 
    С актом ознакомлен:
 
Руководитель (уполномоченный
представитель) органа по
сертификации или испытательной ___________ _______________________
лаборатории (центра)            (подпись)   (расшифровка подписи)
 

    <*> Указываются Ф.И.О. и должности уполномоченных лиц.
 
 
 

Приложение N 3
к Административному регламенту
Федерального агентства связи
по исполнению государственной
функции по организации системы
сертификации в области связи,
включающей в себя органы
по сертификации, испытательные
лаборатории (центры) независимо
от их организационно-правовых
форм и форм собственности

            Образец программы проверки деятельности
 
__________________________________________________________________
   (наименование юридического лица или фамилия, инициалы 
            индивидуального  предпринимателя)
 
Адрес (место) работы комиссии:
______________________________
______________________________
 
Период работы комиссии:
______________________________
______________________________
 
Состав комиссии:
Председатель:
_________________________________________________________________,
(Ф.И.О. - должность)
 
Члены комиссии:
_________________________________________________________________,
(Ф.И.О. - должность)
_________________________________________________________________.
 
Цель работы:
_________________________________________________________________.
 
Задачи работы:
_________________________________________________________________.
 
Оценке подлежат:
1. ______________________________________________________________,
2. ______________________________________________________________.
 
_________________________________________________________________.
      (срок предоставления акта проверки заявителя по месту
        осуществления его деятельности должностному лицо
         Россвязи, ответственному за исполнение Приказа)
 
 
 

Приложение N 4
к Административному регламенту
Федерального агентства связи
по исполнению государственной
функции по организации системы
сертификации в области связи,
включающей в себя органы
по сертификации, испытательные
лаборатории (центры) независимо
от их организационно-правовых
форм и форм собственности

      Образец извещения о принятии заявления к рассмотрению
 
    Федеральное   агентство   связи   сообщает,   что заявление на
__________ <*> и прилагаемый комплект документов __________ <**> в
качестве _____________ <***> приняты к рассмотрению.
 
                                        __________________________
                                         (подпись уполномоченного
                                               лица Россвязи)
 

   <*>  Указывается, с какой целью подано заявление (аккредитация,
переоформление   аттестата   аккредитации,   прекращение  действия
аттестата аккредитации).
   <**> Указывается организация, подавшая заявление.
   <***>  В  качестве кого подано заявление (орган по сертификации
или испытательной лаборатории (центра)), в случае аккредитации или
переоформления аттестата аккредитации.
 
 
 

Приложение N 5
к Административному регламенту
Федерального агентства связи
по исполнению государственной
функции по организации системы
сертификации в области связи,
включающей в себя органы
по сертификации, испытательные
лаборатории (центры) независимо
от их организационно-правовых
форм и форм собственности

                 Образец уведомления об отказе
 
    На  основании ________________ <*> Федеральное агентство связи
отказывает  в  аккредитации  (переоформлении)  ___________ <**> по
следующим причинам <***>:
    1. __________________________________________________________.
    2. __________________________________________________________.
 
                                        __________________________
                                         (подпись уполномоченного
                                               лица Россвязи)
 

   <*> Указывается нормативный правовой акт, на основании которого
отказано в аккредитации или переоформлении аттестата аккредитации.
   <**>  Указывается  организация,  подавшая заявление. В качестве
кого  подано  заявление  (орган  по сертификации или испытательной
лаборатории  (центра)),  в  случае аккредитации или переоформления
аттестата аккредитации.
   <***> Перечисляются причины, по которым отказано в аккредитации
или переоформлении аттестата аккредитации.
 
 
 

Приложение N 6
к Административному регламенту
Федерального агентства связи
по исполнению государственной
функции по организации системы
сертификации в области связи,
включающей в себя органы
по сертификации, испытательные
лаборатории (центры) независимо
от их организационно-правовых
форм и форм собственности

           Образец уведомления о возобновлении действия
                       аттестата аккредитации
 
    Федеральное  агентство связи сообщает о возобновлении действия
аттестата аккредитации _______________ <*>.
 
                                   _______________________________
                                    (подпись уполномоченного лица
                                                  Россвязи)
 

   <*>  Указывается  аккредитованная  организация,  дата  и  номер
аттестата аккредитации, действие которого было приостановлено.
 
 
 

Приложение N 7
к Административному регламенту
Федерального агентства связи
по исполнению государственной
функции по организации системы
сертификации в области связи,
включающей в себя органы
по сертификации, испытательные
лаборатории (центры) независимо
от их организационно-правовых
форм и форм собственности

          Образец уведомления о предстоящей проверке деятельности
 
    В   соответствии   с   приказом   Федерального агентства связи
________ <*> уведомляем Вас о проверке деятельности, которая будет
проводиться __________ <**> по месту осуществления деятельности.
 
                                        __________________________
                                         (подпись уполномоченного
                                                 лица Россвязи)
 

   <*>  Указываются  реквизиты и наименование приказа Федерального
агентства  связи, на основании которого будет проводиться проверка
деятельности.
   <**>    Указывается    период    (дата)    проведения  проверки
деятельности.
 
 
 

Приложение N 8
к Административному регламенту
Федерального агентства связи
по исполнению государственной
функции по организации системы
сертификации в области связи,
включающей в себя органы
по сертификации, испытательные
лаборатории (центры) независимо
от их организационно-правовых
форм и форм собственности

УСЛОВНЫЕ ОБОЗНАЧЕНИЯ НА БЛОК-СХЕМАХ ПОСЛЕДОВАТЕЛЬНОСТИ ДЕЙСТВИЙ ПРИ ИСПОЛНЕНИИ ГОСУДАРСТВЕННОЙ ФУНКЦИИ

Приложение N 9
к Административному регламенту
Федерального агентства связи
по исполнению государственной
функции по организации системы
сертификации в области связи,
включающей в себя органы
по сертификации, испытательные
лаборатории (центры) независимо
от их организационно-правовых
форм и форм собственности

БЛОК-СХЕМА
АДМИНИСТРАТИВНОЙ ПРОЦЕДУРЫ ПО АККРЕДИТАЦИИ ОРГАНОВ ПО СЕРТИФИКАЦИИ И ИСПЫТАТЕЛЬНЫХ ЛАБОРАТОРИЙ (ЦЕНТРОВ)

Приложение N 10
к Административному регламенту
Федерального агентства связи
по исполнению государственной
функции по организации системы
сертификации в области связи,
включающей в себя органы
по сертификации, испытательные
лаборатории (центры) независимо
от их организационно-правовых
форм и форм собственности

БЛОК-СХЕМА
АДМИНИСТРАТИВНОЙ ПРОЦЕДУРЫ ПО ПРОВЕРКЕ ДЕЯТЕЛЬНОСТИ ОРГАНОВ ПО СЕРТИФИКАЦИИ И ИСПЫТАТЕЛЬНЫХ ЛАБОРАТОРИЙ (ЦЕНТРОВ)