Приказ Ростехнадзора N 619, МПР РФ N 235 от 10.09.2007

"Об утверждении Административного регламента Федеральной службы по экологическому, технологическому и атомному надзору и Федеральной службы по надзору в сфере природопользования исполнения государственной функции по организации и проведению государственной экологической экспертизы"
Редакция от 10.09.2007 — Документ утратил силу, см. «Приказ Минприроды РФ от 30.10.2008 N 283»

Зарегистрировано в Минюсте РФ 14 марта 2008 г. N 11343


ФЕДЕРАЛЬНАЯ СЛУЖБА ПО ЭКОЛОГИЧЕСКОМУ, ТЕХНОЛОГИЧЕСКОМУ И АТОМНОМУ НАДЗОРУ
N 619

МИНИСТЕРСТВО ПРИРОДНЫХ РЕСУРСОВ РОССИЙСКОЙ ФЕДЕРАЦИИ
N 235

ПРИКАЗ
от 10 сентября 2007 года

ОБ УТВЕРЖДЕНИИ АДМИНИСТРАТИВНОГО РЕГЛАМЕНТА ФЕДЕРАЛЬНОЙ СЛУЖБЫ ПО ЭКОЛОГИЧЕСКОМУ, ТЕХНОЛОГИЧЕСКОМУ И АТОМНОМУ НАДЗОРУ И ФЕДЕРАЛЬНОЙ СЛУЖБЫ ПО НАДЗОРУ В СФЕРЕ ПРИРОДОПОЛЬЗОВАНИЯ ИСПОЛНЕНИЯ ГОСУДАРСТВЕННОЙ ФУНКЦИИ ПО ОРГАНИЗАЦИИ И ПРОВЕДЕНИЮ ГОСУДАРСТВЕННОЙ ЭКОЛОГИЧЕСКОЙ ЭКСПЕРТИЗЫ

В целях совершенствования порядка организации и проведения государственной экологической экспертизы федеральными органами исполнительной власти в области экологической экспертизы и в соответствии с Постановлениями Правительства Российской Федерации от 19 января 2005 г. N 30 "О Типовом Регламенте взаимодействия федеральных органов исполнительной власти" (Собрание законодательства Российской Федерации, 2005, N 4, ст. 305; N 47, ст. 4933), от 28 июля 2005 г. N 452 "О Типовом Регламенте внутренней организации федеральных органов исполнительной власти" (Собрание законодательства Российской Федерации, 2005, N 31, ст. 3233), от 11 ноября 2005 г. N 679 "О порядке разработки и утверждения административных регламентов исполнения государственных функций и административных регламентов предоставления государственных услуг" (Собрание законодательства Российской Федерации, 2005, N 47, ст. 4933) приказываем:

Утвердить прилагаемый Административный регламент Федеральной службы по экологическому, технологическому и атомному надзору и Федеральной службы по надзору в сфере природопользования исполнения государственной функции по организации и проведению государственной экологической экспертизы.

Руководитель Федеральной службы
по экологическому, технологическому
и атомному надзору
К.Б.ПУЛИКОВСКИЙ

Министр природных ресурсов
Российской Федерации
Ю.П.ТРУТНЕВ

УТВЕРЖДЕН
Приказом Федеральной службы
по экологическому,
технологическому и атомному
надзору и Министерства
природных ресурсов
Российской Федерации
от 10 сентября 2007 г. N 619/235

АДМИНИСТРАТИВНЫЙ РЕГЛАМЕНТ
ФЕДЕРАЛЬНОЙ СЛУЖБЫ ПО ЭКОЛОГИЧЕСКОМУ, ТЕХНОЛОГИЧЕСКОМУ И АТОМНОМУ НАДЗОРУ И ФЕДЕРАЛЬНОЙ СЛУЖБЫ ПО НАДЗОРУ В СФЕРЕ ПРИРОДОПОЛЬЗОВАНИЯ ИСПОЛНЕНИЯ ГОСУДАРСТВЕННОЙ ФУНКЦИИ ПО ОРГАНИЗАЦИИ И ПРОВЕДЕНИЮ ГОСУДАРСТВЕННОЙ ЭКОЛОГИЧЕСКОЙ ЭКСПЕРТИЗЫ

I. Общие положения

1. Административный регламент Федеральной службы по экологическому, технологическому и атомному надзору и Федеральной службы по надзору в сфере природопользования исполнения государственной функции по организации и проведению государственной экологической экспертизы (далее - Административный регламент) определяет сроки и последовательность действий (административные процедуры) Федеральной службы по экологическому, технологическому и атомному надзору и Федеральной службы по надзору в сфере природопользования (далее - федеральные органы исполнительной власти в области экологической экспертизы), порядок взаимодействия между их структурными подразделениями и должностными лицами, а также их взаимодействие с другими федеральными органами исполнительной власти и организациями при исполнении государственной функции по организации и проведению государственной экологической экспертизы.

2. Исполнение государственной функции по организации и проведению государственной экологической экспертизы осуществляется в соответствии с:

Федеральным законом от 10 января 2002 г. N 7-ФЗ "Об охране окружающей среды" (Собрание законодательства Российской Федерации, 2002, N 2, ст. 133; 2004, N 35, ст. 3607; 2005, N 1 (ч. I), ст. 25; N 19, ст. 1752; 2006, N 1, ст. 10; N 52 (ч. I), ст. 5498; 2007, N 7, ст. 834; N 27, ст. 3213);

Федеральным законом от 24 апреля 1995 г. N 52-ФЗ "О животном мире" (Собрание законодательства Российской Федерации, 1995, N 17, ст. 1462; 2003, N 46 (ч. I), ст. 4444; 2004, N 45, ст. 4377; 2005, N 1 (ч. I), ст. 25; 2006, N 1, ст. 10; N 52 (ч. I), ст. 5498; 2007, N 1 (ч. I), ст. 21; N 17, ст. 1933);

Федеральным законом от 17 декабря 1998 г. N 191-ФЗ "Об исключительной экономической зоне Российской Федерации" (Собрание законодательства Российской Федерации, 2001, N 33 (ч. I), ст. 3429; 2002, N 12, ст. 1093; 2003, N 17, ст. 1555; N 27 (ч. I), ст. 2700; N 46 (ч. I), ст. 4444; 2005, N 30 (ч. I), ст. 3101; 2006, N 45, ст. 4640);

Федеральным законом от 30 ноября 1995 г. N 187-ФЗ "О континентальном шельфе Российской Федерации" (Собрание законодательства Российской Федерации, 1995, N 49, ст. 4694; 2001, N 33 (ч. I), ст. 3429; 2003, N 17, ст. 1557; N 27 (ч. I), ст. 2700; N 46 (ч. I), ст. 4444; 2004, N 35, ст. 3607; 2005, N 19, ст. 1752; 2006, N 45, ст. 4640);

Федеральным законом от 31 июля 1998 г. N 155-ФЗ "О внутренних морских водах, территориальном море и прилежащей зоне Российской Федерации" (Собрание законодательства Российской Федерации, 1998, N 31, ст. 3833; 2003, N 17, ст. 1556; N 27 (ч. I), ст. 2700; N 46 (ч. I), ст. 4444; 2004, N 35, ст. 3607);

Федеральным законом от 10 июля 2001 г. N 92-ФЗ "О специальных экологических программах реабилитации радиационно загрязненных участков территории" (Собрание законодательства Российской Федерации, 2001, N 29, ст. 2947);

Федеральным законом от 23 ноября 1995 г. N 174-ФЗ "Об экологической экспертизе" (Собрание законодательства Российской Федерации, 1995, N 48, ст. 4556; 1998, N 16, ст. 1800; 2004, N 35, ст. 3607; N 52 (часть I), ст. 5276; 2006, N 1, ст. 10; N 50, ст. 5279; N 52 (ч. I), ст. 5498);

Федеральным законом от 2 мая 2006 г. N 59-ФЗ "О порядке рассмотрения обращений граждан Российской Федерации" (Собрание законодательства Российской Федерации, 2006, N 19, ст. 2060);

Постановлением Правительства Российской Федерации от 11 июня 1996 г. N 698 "Об утверждении Положения о порядке проведения государственной экологической экспертизы" (Собрание законодательства Российской Федерации, 1996, N 40, ст. 4648);

Постановлением Правительства Российской Федерации от 11 июня 1996 г. N 679 "Об оплате труда внештатных экспертов государственной экологической экспертизы" (Собрание законодательства Российской Федерации, 17.06.1996, N 25, ст. 3027);

Постановлением Правительства Российской Федерации от 30 июля 2004 г. N 401 "Об утверждении Положения о Федеральной службе по экологическому, технологическому и атомному надзору" (Собрание законодательства Российской Федерации, 2004, N 32, ст. 3348; 2006, N 5, ст. 544; N 23, ст. 2527; N 52 (ч. III), ст. 5587);

Постановлением Правительства Российской Федерации от 30 июля 2004 г. N 400 "Об утверждении положения о Федеральной службе по надзору в сфере природопользования и внесении изменений в Постановление Правительства Российской Федерации от 22 июля 2004 г. N 370" (Собрание законодательства Российской Федерации, 2004, N 32, ст. 3347; 2006, N 44, ст. 4596; N 52 (ч. III), ст. 5597; 2007, N 22, ст. 2647);

Приказом Государственного комитета Российской Федерации по охране окружающей среды от 22 апреля 1998 г. N 238 "Об утверждении положения о порядке определения стоимости проведения государственной экологической экспертизы документации" (зарегистрировано в Министерстве юстиции Российской Федерации 1 июня 1998 г. N 1533)

и иными нормативными правовыми актами Российской Федерации, а также настоящим Административным регламентом.

3. Федеральная служба по экологическому, технологическому и атомному надзору (далее - Ростехнадзор) и Федеральная служба по надзору в сфере природопользования (далее - Росприроднадзор) организуют и проводят государственную экологическую экспертизу.

II. Требования к порядку взаимодействия с Заказчиком государственной экологической экспертизы при исполнении государственной функции по организации и проведению государственной экологической экспертизы

4. Место нахождения Ростехнадзора: г. Москва, ул. Таганская, д. 34.

Почтовый адрес для направления документов и обращений: 105006, г. Москва, ул. Александра Лукьянова, д. 4, корп. 8.

Место нахождения экспедиции Ростехнадзора: г. Москва, ул. Александра Лукьянова, д. 4, корп. 8.

Часы работы экспедиции Ростехнадзора:

День недели Время работы
Понедельник 10.00 - 18.00
Вторник 10.00 - 18.00
Среда 10.00 - 18.00
Четверг 10.00 - 18.00
Пятница 10.00 - 16.45
Суббота выходной день
Воскресенье выходной день
Электронный адрес для обращений в Ростехнадзор: atomnadzor@gan.ru
Многоканальный телефон справочной службы Ростехнадзора: 912-40-41
Официальный сайт Ростехнадзора: www.gosnadzor.ru

Контактная информация территориальных органов размещена на официальном сайте Ростехнадзора в сети Интернет, а также приведена в Приложении 26 к настоящему Административному регламенту.

График приема посетителей в Управлении (структурном подразделении) центрального аппарата Ростехнадзора, непосредственно исполняющем государственную функцию по организации и проведению государственной экологической экспертизы:

День недели Время приема посетителей
Понедельник 10.00 - 12.00; 15.00 - 17.30
Вторник 10.00 - 12.00; 15.00 - 17.30
Среда 10.00 - 12.00; 15.00 - 17.30
Четверг 10.00 - 12.00; 15.00 - 17.30
Пятница 10.00 - 13.00; 14.00 - 16.00
Суббота Выходной день
Воскресенье Выходной день

5. Место нахождения Росприроднадзора: г. Москва, ул. Б. Грузинская, д. 4/6.

Почтовый адрес для направления документов и обращений:

123995, г. Москва, ул. Б. Грузинская, д. 4/6, Д-242, ГСП-5.

Место нахождения экспедиции Росприроднадзора: г. Москва, ул. Б. Грузинская, д. 4/6.

Часы работы экспедиции Росприроднадзора:

Понедельник 09.30 - 17.30
Вторник 09.30 - 17.30
Среда 09.30 - 17.30
Четверг 09.30 - 17.30
Пятница 09.30 - 16.30
Суббота выходной день
Воскресенье выходной день
Электронный адрес для обращений в Росприроднадзор: expert@mnr.gov.ru
Многоканальный телефон справочной службы Росприроднадзора: 254-48-00
Официальный сайт Росприроднадзора: http://control.mnr.gov.ru

Контактная информация территориальных органов размещена на официальном сайте Росприроднадзора в сети Интернет, а также приведена в Приложении 27 к настоящему Административному регламенту.

График приема посетителей в Управлении (структурном подразделении) центрального аппарата Росприроднадзора, непосредственно исполняющем государственную функцию по организации и проведению государственной экологической экспертизы:

День недели Время приема посетителей  
Понедельник 10.00 - 12.00; 15.00 - 17.30  
Вторник 10.00 - 12.00; 15.00 - 17.30  
Среда 10.00 - 12.00; 15.00 - 17.30  
Четверг 10.00 - 12.00; 15.00 - 17.30  
Пятница 10.00 - 13.00; 14.00 - 16.00  
Суббота Выходной день  
Воскресенье Выходной день  

6. Консультации по вопросам процедуры исполнения государственной функции организации и проведения государственной экологической экспертизы граждане и организации могут получить: по письменным обращениям, по телефону и по электронной почте.

Консультации предоставляются бесплатно.

7. Ответ на письменные обращения граждан или организаций направляется почтой в адрес заявителя в срок, не превышающий 30 дней со дня регистрации письменного обращения.

8. При ответе на телефонные звонки граждан и представителей организаций должностные лица федеральных органов исполнительной власти в области экологической экспертизы (территориальных органов) предоставляют информацию по следующим вопросам:

сведения о нормативных актах, регламентирующих организацию и проведение государственной экологической экспертизы (наименование, номер, дата принятия нормативного правового акта);

перечень необходимых документов и материалов для организации и проведения государственной экологической экспертизы;

информацию о комплектности материалов, представленных на государственную экологическую экспертизу.

Иные вопросы рассматриваются федеральными органами исполнительной власти (их территориальными органами) в области экологической экспертизы только на основании соответствующего письменного обращения.

9. При консультировании по электронной почте ответ на обращение заявителя по вопросам, определенным пунктом 8 настоящего Административного регламента, направляется на электронный адрес заявителя в срок, как правило, не превышающий 2 рабочих дней со дня регистрации обращения.

В иных случаях, ответ на обращение направляется по электронной почте на электронный адрес заявителя в срок, как правило, не превышающий 10 дней со дня регистрации обращения.

10. Информация о процедуре исполнения государственной функции по организации и проведению государственной экологической экспертизы должна быть размещена на Интернет-сайтах, информационных стендах федеральных органов исполнительной власти в области экологической экспертизы (их территориальных органов) и содержать следующие сведения:

график (режим) работы, приемные дни, номера телефонов, адреса Интернет-сайтов и электронной почты экспертных подразделений федеральных органов исполнительной власти в области экологической экспертизы (их территориальных органов), исполняющих государственную функцию по организации и проведению государственной экологической экспертизы;

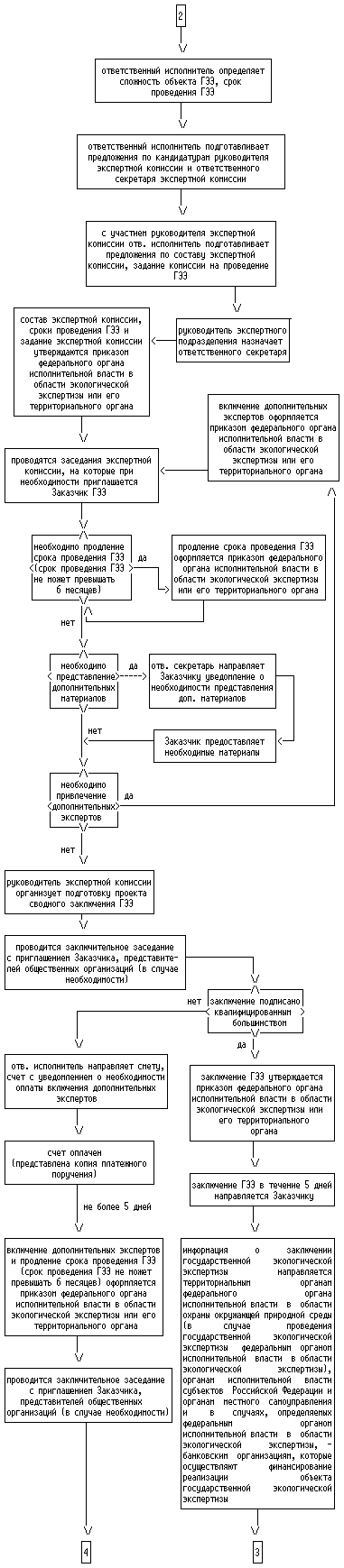
процедура исполнения государственной функции в текстовом виде или в виде блок-схемы (блок-схема организации и проведения государственной экологической экспертизы представлена в Приложении 1);

обязанности заказчиков документации, подлежащей экологической экспертизе;

порядок обжалования решения, действия или бездействия органов, участвующих в исполнении государственной функции, их должностных лиц и работников;

перечень документов и материалов, необходимых для исполнения государственной функции по организации и проведению государственной экологической экспертизы;

последствия отрицательного заключения государственной экологической экспертизы;

образец сопроводительного письма, необходимого для приема материалов на государственную экологическую экспертизу (образец сопроводительного письма приведен в Приложении 2);

порядок определения стоимости проведения государственной экологической экспертизы;

основания для отказа в организации и проведении государственной экологической экспертизы;

специальный расчетный счет для оплаты организации и проведения государственной экологической экспертизы;

извлечения из законодательных и нормативных правовых актов, содержащих нормы, регулирующие деятельность по исполнению государственной функции.

11. Заказчиком организации и проведения государственной экологической экспертизы является физическое либо юридическое лицо, планирующее осуществлять хозяйственную и иную деятельность, способную оказать прямое или косвенное воздействие на окружающую природную среду, а также органы государственной власти Российской Федерации и органы государственной власти субъектов Российской Федерации, представляющие в соответствии с законодательством материалы на государственную экологическую экспертизу.

12. Государственная экологическая экспертиза, в том числе повторная, проводится при условии соответствия формы и содержания представляемых заказчиком материалов требованиям Федерального закона "Об экологической экспертизе", установленному порядку проведения государственной экологической экспертизы и при наличии в составе представляемых материалов:

документации, подлежащей государственной экологической экспертизе, содержащей материалы оценки воздействия на окружающую природную среду хозяйственной и иной деятельности, которая подлежит государственной экологической экспертизе;

положительных заключений и (или) документов согласований органов федерального надзора и контроля и органов местного самоуправления, получаемых в установленном законодательством Российской Федерации порядке;

заключений федеральных органов исполнительной власти по объекту государственной экологической экспертизы в случае его рассмотрения указанными органами и заключений общественной экологической экспертизы в случае ее проведения;

материалов обсуждений объекта государственной экологической экспертизы с гражданами и общественными организациями (объединениями), организованных органами местного самоуправления.

13. Срок проведения государственной экологической экспертизы определяется в зависимости от трудоемкости экспертных работ с учетом объема представленных на экспертизу материалов, природных особенностей территории и экологической ситуации в районе намечаемой деятельности и особенностей воздействия намечаемой деятельности на окружающую среду и составляет:

- для простых объектов государственной экологической экспертизы - до 30 дней;

- для объектов государственной экологической экспертизы средней сложности - до 60 дней;

- для сложных объектов государственной экологической экспертизы - от 60 до 120 дней.

Базовые критерии по сложности объектов государственной экологической экспертизы представлены в Приложении 28 настоящего Административного регламента.

Продолжительность проведения государственной экологической экспертизы не должна превышать 4 месяцев.

14. В процессе проведения государственной экологической экспертизы при необходимости могут быть изменены сроки ее проведения и количество привлекаемых экспертов.

Увеличение сроков проведения государственной экологической экспертизы и изменение состава экспертной комиссии оформляются приказом федерального органа исполнительной власти в области экологической экспертизы (территориального органа).

15. При увеличении срока проведения государственной экологической экспертизы общий срок ее проведения не должен превышать 6 месяцев.

16. Финансирование государственной экологической экспертизы объектов государственной экологической экспертизы, в том числе ее повторное проведение, осуществляется за счет средств Заказчика документации, подлежащей государственной экологической экспертизе, в полном соответствии со сметой расходов на проведение государственной экологической экспертизы, определяемой федеральными органами исполнительной власти в области экологической экспертизы (территориальными органами).

17. Определение стоимости проведения государственной экологической экспертизы осуществляется в соответствии со статьей 28 Федерального закона "Об экологической экспертизе", Постановлением Правительства Российской Федерации от 11 июня 1996 г. N 679 "Об оплате труда внештатных экспертов государственной экологической экспертизы" (Собрание законодательства Российской Федерации, 1996, N 25, ст. 3027), с учетом Положения о порядке определения стоимости проведения государственной экологической экспертизы документации, утвержденного Приказом Государственного комитета Российской Федерации по охране окружающей среды от 22 апреля 1998 г. N 238, зарегистрированным Министерством юстиции Российской Федерации 1 июня 1998 г. N 1533 (Бюллетень нормативных актов федеральных органов исполнительной власти, N 13, 06.07.98), а также иными нормативными правовыми актами Российской Федерации и инструктивно-методическими документами федеральных органов исполнительной власти в области экологической экспертизы, регламентирующими порядок определения стоимости проведения государственной экологической экспертизы.

18. Основаниями для отказа в организации и проведении государственной экологической экспертизы могут являться:

документация не является объектом государственной экологической экспертизы;

отсутствие документа, подтверждающего оплату проведения государственной экологической экспертизы, в течение 30 дней со дня получения Заказчиком уведомления о необходимости оплаты;

непредставление материалов, необходимых для организации и проведения государственной экологической экспертизы в срок, указанный федеральным органом исполнительной власти в области экологической экспертизы (территориальным органом) в письме о некомплекте материалов, представленных на государственную экологическую экспертизу.

III. Административные процедуры Описание последовательности действий при исполнении государственной функции по организации и проведению государственной экологической экспертизы

19. Юридическим фактом, являющимся основанием для исполнения государственной функции по организации и проведению государственной экологической экспертизы, является регистрация письменного обращения (сопроводительного письма) в федеральном органе исполнительной власти в области экологической экспертизы или в его соответствующем территориальном органе, организующем государственную экологическую экспертизу по поручению федерального органа исполнительной власти, с приложением всех необходимых для проведения государственной экологической экспертизы материалов в соответствии с пунктом 12 настоящего Административного регламента.

20. Сопроводительное письмо к материалам, подлежащим государственной экологической экспертизе, регистрируется в подразделении, специализирующемся в области проведения государственной экологической экспертизы (далее - экспертном подразделении), в порядке, установленном для учета объектов государственной экологической экспертизы.

21. Объект государственной экологической экспертизы представляется в экспертное подразделение в 2 экземплярах, другие материалы - в 1 экземпляре.

22. Ответственным за организацию и проведение государственной экологической экспертизы является руководитель экспертного подразделения федерального органа исполнительной власти в области экологической экспертизы (его территориального органа) (далее - ответственное должностное лицо).

22.1. Ответственное должностное лицо определяет ответственного исполнителя и передает ему полученные материалы для организации и проведения государственной экологической экспертизы.

23. К организационным мероприятиям относится:

рассмотрение представленных материалов на предмет их соответствия объектам государственной экологической экспертизы, установленным соответственно статьей 11 Федерального закона "Об экологической экспертизе";

проверка комплектности материалов, представляемых на государственную экологическую экспертизу;

подготовка сметы расходов на проведение государственной экологической экспертизы;

направление заявителям (Заказчикам) извещений о некомплектности материалов, о необходимости оплаты проведения государственной экологической экспертизы, о сроках ее проведения;

подбор экспертов для проведения государственной экологической экспертизы, подготовка проекта приказа об организации и проведении государственной экологической экспертизы.

24. После определения соответствия представленных материалов требованиям ответственный исполнитель в срок не более 7 дней со дня регистрации сопроводительного письма направляет Заказчику уведомление о необходимости оплаты проведения государственной экологической экспертизы в течение 30 дней со дня получения уведомления. К указанному уведомлению прилагается смета и счет на оплату проведения государственной экологической экспертизы (Приложения 4, 5, 6).

25. Смета расходов на проведение государственной экологической экспертизы оформляется структурными подразделениями федеральных органов исполнительной власти в области экологической экспертизы (территориальных органов) в соответствии с их положениями.

26. Смета расходов на проведение государственной экологической экспертизы согласовывается с руководителем экспертного подразделения.

27. При отсутствии оплаты счета на проведение государственной экологической экспертизы в течение 30 дней со дня получения заказчиком документации уведомления о необходимости оплаты государственная экологическая экспертиза представленных материалов не проводится.

28. При обнаружении несоответствия представленных материалов установленным требованиям настоящего Административного регламента ответственный исполнитель в течение 7 дней со дня регистрации сопроводительного письма направляет в адрес Заказчика уведомление о некомплектности материалов, представленных на государственную экологическую экспертизу, с исчерпывающим списком документов, необходимых для проведения государственной экологической экспертизы, а также информацию о сроках представления материалов в полном объеме (Приложение 3).

28.1. При непредставлении в 30-дневный срок запрашиваемых материалов государственная экологическая экспертиза не проводится, Заказчику направляется уведомление о необходимости получения материалов в экспертном подразделении.

28.2. При представлении запрошенных материалов в установленный срок ответственный исполнитель в период, не превышающий семи дней со дня регистрации сопроводительного письма о направлении дополнительных материалов, направляет Заказчику уведомление о необходимости оплаты проведения государственной экологической экспертизы в течение 30 дней со дня получения уведомления. К указанному уведомлению прилагается смета и счет на оплату проведения государственной экологической экспертизы.

29. Начало срока проведения государственной экологической экспертизы устанавливается не позднее чем через 30 дней после получения документа, подтверждающего ее оплату. В течение этого срока экспертное подразделение:

подготавливает предложения по кандидатурам руководителя и ответственного секретаря экспертной комиссии, а также срокам проведения государственной экологической экспертизы;

с участием руководителя экспертной комиссии подготавливает предложения по составу экспертной комиссии и разрабатывает задание на проведение государственной экологической экспертизы (Приложения 7, 8, 11);

подготавливает проект приказа об организации и проведении государственной экологической экспертизы и направляет его руководству федерального органа исполнительной власти в области экологической экспертизы (территориального органа) (Приложения 9, 10).

Процедура проведения государственной экологической экспертизы

30. Ответственный секретарь экспертной комиссии назначается из числа штатных сотрудников экспертного подразделения (обычно это ранее назначенный ответственный исполнитель).

В ряде случаев, при проведении государственной экологической экспертизы сложных объектов, назначают двух ответственных секретарей.

31. Число членов экспертной комиссии помимо руководителя и ответственного секретаря(-ей) должно быть нечетным и не менее либо равное трем человекам;

32. Федеральные органы исполнительной власти в области экологической экспертизы (территориальные органы) образуют экспертные комиссии государственной экологической экспертизы (далее именуется - экспертная комиссия) по каждому конкретному объекту государственной экологической экспертизы (далее именуется - объект экспертизы) как из внештатных экспертов, так и штатных сотрудников федеральных органов исполнительной власти в области экологической экспертизы (их территориальных органов).

33. Состав экспертной комиссии (руководитель, ответственный секретарь и члены экспертной комиссии), сроки и задание на проведение государственной экологической экспертизы утверждаются приказом федерального органа исполнительной власти в области экологической экспертизы (территориального органа) (Приложения 9, 10).

Приказ об организации и проведении государственной экологической экспертизы визируется ответственным исполнителем, представителем юридического подразделения и руководителем экспертного подразделения федерального органа исполнительной власти в области экологической экспертизы (территориального органа).

34. Ответственный секретарь экспертной комиссии в течение десяти рабочих дней с момента издания приказа об организации и проведении государственной экологической экспертизы подготавливает и направляет в подразделение, осуществляющее связь с общественностью, для размещения на официальном сайте федерального органа исполнительной власти в области экологической экспертизы (территориального органа) в сети Интернет уведомление о начале работы экспертной комиссии государственной экологической экспертизы, содержащее информацию о времени и месте проведения организационного заседания экспертной комиссии государственной экологической экспертизы.

35. Ответственный секретарь по телефону либо посредством телефонограммы уведомляет Заказчика государственной экологической экспертизы о дате и месте проведения организационного заседания экспертной комиссии государственной экологической экспертизы. Представители иных заинтересованных сторон (органы государственной власти субъектов Российской Федерации, органы местного самоуправления, общественные организации и другие) уведомляются о дате и месте проведения организационного заседания экспертной комиссии государственной экологической экспертизы при наличии письменного запроса об участии в заседании.

36. В процессе проведения государственной экологической экспертизы экспертная комиссия определяет:

- соответствие намечаемой деятельности требованиям, установленным нормативными правовыми актами Российской Федерации и субъектов Российской Федерации в сфере охраны окружающей среды и природопользования;

- полноту выявления масштабов прогнозируемого воздействия на окружающую среду в результате осуществления намечаемой деятельности и экологическую обоснованность допустимости ее реализации;

- достаточность предусмотренных мер по обеспечению экологической безопасности.

36.1. В процессе проведения государственной экологической экспертизы проводится организационное заседание экспертной комиссии, на котором руководитель экспертной комиссии подписывает задания руководителям групп и членам экспертной комиссии.

36.2. На организационном заседании ответственный секретарь:

информирует участников заседания о начале работы экспертной комиссии, образованной в соответствии с приказом об организации и проведении государственной экологической экспертизы;

подписывает подготовленные в двух экземплярах индивидуальные договора на возмездное оказание работ (услуг) с руководителем экспертной комиссии и всеми членами экспертной комиссии. Один экземпляр договора выдается руководителю и членам экспертной комиссии;

передает членам экспертной комиссии индивидуальные задания, утвержденные руководителем комиссии, и документацию, подлежащую государственной экологической экспертизе.

36.3. В процессе проведения организационного заседания ответственный секретарь согласовывает с руководителем и членами экспертной комиссии проект календарного плана работы экспертной комиссии, в котором определяются сроки (даты):

подготовки вопросов к Заказчику государственной экологической экспертизы;

проведения промежуточных заседаний экспертной комиссии;

подготовки индивидуальных (групповых) экспертных заключений;

подготовки сводного заключения экспертной комиссии (Приложение 17).

36.4. В случае необходимости может быть организован выезд членов экспертной комиссии на место намечаемой хозяйственной деятельности для получения дополнительной информации и проведения выездных заседаний экспертной комиссии. Командирование группы экспертов оформляется приказом.

36.5. Для разъяснения проектных решений на заседания экспертной комиссии могут приглашаться представители Заказчика государственной экологической экспертизы. В этом случае ответственный секретарь заблаговременно направляет письмо/телефонограмму Заказчику о командировании его представителей (Приложение 13).

36.6. Эксперт государственной экологической экспертизы при проведении экспертизы может заявлять федеральному органу исполнительной власти в области экологической экспертизы (территориальному органу) о необходимости представления Заказчиком на государственную экологическую экспертизу дополнительных материалов для всесторонней и объективной оценки объектов государственной экологической экспертизы, в том числе данные специальных экологических исследований, результаты расчетов и анализов, иные материалы, необходимые для подготовки заключения государственной экологической экспертизы.

В данном случае ответственный секретарь готовит письмо в адрес Заказчика с уведомлением о необходимости представления дополнительных материалов (Приложение 18).

36.7. Вопросы экспертной комиссии оформляются в письменном виде за подписью руководителя экспертной комиссии и являются приложением к указанному письму.

36.8. Ответы на вопросы экспертной комиссии и дополнительная документация, поступившая от Заказчика государственной экологической экспертизы и иных заинтересованных сторон, регистрируются в установленном порядке и передаются для использования в работе экспертной комиссии ответственному секретарю.

37. В процессе работы экспертной комиссии:

проводится организационное заседание экспертной комиссии, на котором определяются основные направления работы экспертов и экспертных групп (при их создании), выдаются задания экспертам и утверждается календарный план работы экспертной комиссии;

подготавливаются индивидуальные и групповые (при наличии экспертных групп) экспертные заключения, которые передаются ответственному секретарю экспертной комиссии (Приложения 15, 16);

составляется руководителем и ответственным секретарем экспертной комиссии проект сводного заключения экспертной комиссии на основании индивидуальных и групповых экспертных заключений (Приложение 17);

обсуждается проект заключения экспертной комиссии на заседаниях экспертной комиссии <*>.

<*> Пункт 16 Положения о порядке проведения государственной экологической экспертизы, утвержденного Постановлением Правительства Российской Федерации от 11.06.1996 N 698.

37.1. Заседания экспертной комиссии оформляются протоколами, подписываемыми руководителем и ответственным секретарем экспертной комиссии (Приложения 19, 19а, 19б, 19в, 20).

37.2. На заключительном заседании экспертной комиссии:

обсуждается проект сводного заключения экспертной комиссии государственной экологической экспертизы;

руководитель экспертной комиссии докладывает о результатах работы экспертной комиссии и выводах проекта заключения;

подписывается всеми членами списочного состава экспертной комиссии государственной экологической экспертизы сводное заключение государственной экологической экспертизы в двух экземплярах;

руководитель и члены экспертной комиссии подписывают акты приемки выполненных работ.

37.3. При одобрении проекта сводного заключения экспертной комиссии квалифицированным большинством (не менее двух третей) списочного состава экспертной комиссии проект заключения (отрицательного или положительного) подписывается членами экспертной комиссии в полном составе, после чего оно является заключением, подготовленным экспертной комиссией.

37.4. Заключение экспертной комиссии государственной экологической экспертизы подписывается в двух экземплярах и не может быть изменено без согласия лиц, его подписавших.

38. При несогласии отдельных членов экспертной комиссии с заключением, подготовленным экспертной комиссией, они подписывают заключение с пометкой "особое мнение". Особое мнение оформляется экспертом в виде документа, содержащего обоснование причин несогласия эксперта с выводами заключения и указание конкретных фактов несоответствия представленных на экспертизу материалов экологическим требованиям и нормам (Приложение 21).

39. В случае невозможности по объективным причинам подписания подготовленного экспертной комиссией заключения отдельными членами комиссии (руководителем экспертной комиссии, ответственным секретарем и другими экспертами) данный факт отражается в протоколе заключительного заседания экспертной комиссии и напротив фамилии члена экспертной комиссии ответственным секретарем ставится пометка "подпись невозможна по объективным причинам". Документ, содержащий обоснование объективных причин невозможности подписания отдельными членами комиссии подготовленного экспертной комиссией заключения, подшивается в дело государственной экологической экспертизы по конкретному объекту.

40. Заключение государственной экологической экспертизы по объекту государственной экологической экспертизы, за исключением проектов нормативных правовых актов Российской Федерации, может быть положительным или отрицательным.

40.1. Положительное заключение, подготовленное экспертной комиссией, должно содержать выводы:

о соответствии намечаемой деятельности экологическим требованиям, установленным законодательством Российской Федерации в области охраны окружающей природной среды;

о допустимости намечаемого воздействия на окружающую природную среду;

о возможности реализации объекта экспертизы.

40.2. Отрицательное заключение, подготовленное экспертной комиссией, может содержать выводы двух видов:

а) о необходимости доработки представленных материалов по замечаниям и предложениям, изложенным в заключении, подготовленном экспертной комиссией;

б) о недопустимости реализации объекта экспертизы ввиду необеспеченности соблюдения требований экологической безопасности намечаемой деятельности.

41. Срок действия положительного заключения государственной экологической экспертизы материалов, обосновывающих размещение объекта (обоснования инвестиций строительства объектов и иных видов предпроектной стадии документации), определяется в соответствии со сроком, необходимым для проектирования объекта и представления его проекта на государственную экологическую экспертизу.

42. Срок действия положительных заключений государственной экологической экспертизы на технико-экономические обоснования, проекты строительства, реконструкции, расширения, технического перевооружения, консервации и ликвидации организаций и объектов и иных вновь вводимых в эксплуатацию объектов (предприятий) определяется в соответствии со сроками строительства объекта, представленными в составе проектных материалов, или в соответствии с обоснованным сроком, необходимым для реализации проектных решений и окончания строительства объекта, заявленным Заказчиком, в процессе проведения государственной экологической экспертизы, а также с учетом ограничений, имеющихся в положительных согласованиях и заключениях соответствующих надзорных и контрольных органов.

Срок действия положительного заключения государственной экологической экспертизы устанавливается приказом федерального органа исполнительной власти (территориального органа) в области экологической экспертизы.

43. Заключение государственной экологической экспертизы по проектам нормативно-технических и инструктивно-методических документов в области охраны окружающей среды, утверждаемых органами государственной власти Российской Федерации, должно содержать выводы о соответствии (несоответствии) основных положений указанного проекта нормативно-технического и инструктивно-методического документа в области охраны окружающей среды законодательству Российской Федерации в области охраны окружающей природной среды и требованиям экологической безопасности, а также выводы об экологических и связанных с ними иных последствиях реализации данного объекта экспертизы.

44. Заключение, подготовленное экспертной комиссией, с особыми мнениями экспертов и протокол заключительного заседания экспертной комиссии передаются в экспертное подразделение для подготовки проекта приказа об утверждении этого заключения.

45. Датой оформления заключения экспертной комиссии государственной экологической экспертизы является дата подписания заключения квалификационным составом экспертной комиссии государственной экологической экспертизы.

46. Приказ об утверждении заключения государственной экологической экспертизы должен быть утвержден в срок, установленный приказом об организации и проведении государственной экологической экспертизы. К проекту приказа об утверждении заключения государственной экологической экспертизы может прикладываться справка о соблюдении организационно-правовых требований проведения государственной экологической экспертизы (образец справки о соблюдении организационно-правовых требований проведения государственной экологической экспертизы представлен в Приложении 25).

47. В случае неподписания заключения квалифицированным большинством членов комиссии, а также при наличии особого мнения или подписании заключения со ссылкой на особое мнение экспертами, составляющими более одной трети списочного состава комиссии, руководитель комиссии совместно с руководителем экспертного подразделения докладывают руководству федерального органа исполнительной власти в области экологической экспертизы (территориального органа) о невозможности принятия комиссией в существующем составе решения по заключению государственной экологической экспертизы, необходимости продления срока ее проведения и дополнительном включении экспертов в состав комиссии.

47.1. В случае, если заключение экспертной комиссии не подписано квалифицированным большинством голосов ее списочного состава и после продления срока проведения государственной экологической экспертизы, данная экологическая экспертиза считается завершенной без результата. Все заключения и особые мнения экспертов принимаются к сведению. Создается новая экспертная комиссия из экспертов, не участвовавших в предыдущей экспертизе и отвечающих всем требованиям, предъявляемым к экспертам.

48. Заключение, подготовленное экспертной комиссией, приобретает статус заключения государственной экологической экспертизы со дня его утверждения.

49. Руководство федерального органа исполнительной власти (территориального органа) не должно утверждать заключение экспертной комиссии в случаях:

нарушения процедуры проведения государственной экологической экспертизы;

несоответствия выводов содержанию заключения государственной экологической экспертизы.

50. После утверждения заключения экспертной комиссии государственной экологической экспертизы ответственный секретарь направляет подписанные уполномоченным представителем федерального органа исполнительной власти (территориального органа) в области экологической экспертизы акты приемки выполненных экспертами работ, а также договора на возмездное оказание работ (услуг) руководителем и членами экспертной комиссии, в подразделение, ответственное за финансовую отчетность, для оплаты оказанных работ (услуг).

51. Ответственный секретарь экспертной комиссии направляет Заказчику заключение государственной экологической экспертизы с сопроводительным письмом в течение 5 дней со дня его утверждения (Приложения 22, 23, 24).

52. Для осуществления соответствующих контрольных функций информация о заключении государственной экологической экспертизы направляется территориальным органам федерального органа исполнительной власти в области охраны окружающей природной среды (в случае проведения государственной экологической экспертизы федеральным органом исполнительной власти в области экологической экспертизы), органам исполнительной власти субъектов Российской Федерации и органам местного самоуправления и в случаях, определяемых федеральным органом исполнительной власти в области экологической экспертизы, - банковским организациям, которые осуществляют финансирование реализации объекта государственной экологической экспертизы.

53. В случае наличия письменных запросов представителей общественности, средств массовой информации ответственный исполнитель в срок до 5 дней направляет письма с информацией о результатах проведения государственной экологической экспертизы.

54. В случае отрицательного заключения государственной экологической экспертизы заказчик вправе представить материалы на повторную государственную экологическую экспертизу при условии их доработки с учетом замечаний, изложенных в этом заключении.

55. Положительное заключение государственной экологической экспертизы теряет юридическую силу в случае:

доработки объекта государственной экологической экспертизы по замечаниям проведенной ранее государственной экологической экспертизы;

изменения условий природопользования федеральным органом исполнительной власти в области охраны окружающей природной среды;

реализации объекта государственной экологической экспертизы с отступлениями от документации, получившей положительное заключение государственной экологической экспертизы, и (или) в случае внесения изменений в указанную документацию;

истечения срока действия положительного заключения государственной экологической экспертизы;

внесения изменений в проектную и иную документацию после получения положительного заключения государственной экологической экспертизы.

Правовым последствием отрицательного заключения государственной экологической экспертизы является запрет реализации объекта государственной экологической экспертизы <*>.

<*> Пункт 5 статьи 18 Федерального закона от 23.11.1995 N 174-ФЗ "Об экологической экспертизе".

56. Ответственный секретарь экспертной комиссии в течение десяти рабочих дней с момента издания приказа об утверждении заключения экспертной комиссии государственной экологической экспертизы подготавливает и направляет в подразделение, осуществляющее связь с общественностью, для размещения на официальном сайте федерального органа исполнительной власти (территориального органа) в сети Интернет информацию о результатах проведения государственной экологической экспертизы.

57. Один экземпляр материалов, представленных на государственную экологическую экспертизу, после ее завершения остается в экспертном подразделении, остальные материалы возвращаются заказчику.

58. Повторное проведение государственной экологической экспертизы осуществляется на основании решения суда или арбитражного суда.

59. Повторная государственная экологическая экспертиза проводится экспертной комиссией, как правило, в первоначальном (ранее осуществлявшем экспертизу этого объекта) составе и образуется тем же федеральным органом исполнительной власти (территориальным органом) в области экологической экспертизы.

Порядок обжалования действия (бездействия) и решений, осуществляемых (принятых) в ходе исполнения государственной функции по организации и проведению государственной экологической экспертизы на основании настоящего Административного регламента

60. Заказчик государственной экологической экспертизы имеет право на обжалование действий (бездействия) должностных лиц Ростехнадзора, Росприроднадзора и их территориальных органов при исполнении государственной функции по организации и проведению государственной экологической экспертизы в соответствии с Федеральным законом от 2 мая 2006 г. N 59-ФЗ "О порядке рассмотрения обращений граждан Российской Федерации" в судебном порядке.

61. Заказчик вправе обратиться с жалобой лично или направить ее в письменной форме.

62. Личный прием Заказчика в Ростехнадзоре, Росприроднадзоре и их территориальных органах проводится их руководителями и уполномоченными на то должностными лицами. Содержание устной жалобы заносится в карточку личного приема Заказчика. В случае, если изложенные в устной жалобе факты и обстоятельства являются очевидными и не требуют дополнительной проверки, ответ на жалобу с согласия Заказчика может быть дан устно в ходе личного приема, о чем делается запись в карточке личного приема Заказчика. В остальных случаях дается письменный ответ по существу поставленных в жалобе вопросов.

63. Информация о месте приема, а также об установленных для приема днях и часах размещается на информационных стендах федеральных органов исполнительной власти в области экологической экспертизы (территориальных органов) и на официальном сайте федеральных органов исполнительной власти в области экологической экспертизы (территориальных органов) (при наличии сайта).

64. Письменное обращение (жалоба) на действия (бездействие) должностных лиц Ростехнадзора, Росприроднадзора и их территориальных органов при исполнении государственной функции по организации и проведению государственной экологической экспертизы рассматривается в течение 30 дней со дня регистрации письменного обращения (жалобы).

65. Заказчик в своем письменном обращении (жалобе) в обязательном порядке указывает либо наименование федерального органа исполнительной власти в области экологической экспертизы (территориального органа), в который направляет письменное обращение (жалобу), либо фамилию, имя, отчество соответствующего должностного лица, либо должность соответствующего должностного лица, а также свои фамилию, имя, отчество (последнее - при наличии), почтовый адрес, по которому должен быть направлен ответ или уведомление о переадресовании обращения (жалобы), излагает суть предложения, заявления или жалобы, ставит личную подпись и дату.

Дополнительно в обращении (жалобе) могут быть указаны:

обстоятельства, на основании которых Заказчик считает, что нарушены его права, свободы и законные интересы, созданы препятствия для их реализации;

иные сведения, которые Заказчик считает необходимым сообщить.

В случае необходимости в подтверждение своих доводов Заказчик прилагает к письменному обращению (жалобе) документы и материалы либо их копии.

66. По результатам рассмотрения обращения (жалобы) уполномоченным должностным лицом федерального органа исполнительной власти в области экологической экспертизы (территориального органа) принимается решение об удовлетворении требований Заказчика либо об отказе в удовлетворении обращения (жалобы).

Письменный ответ, содержащий результаты рассмотрения обращения (жалобы), направляется Заказчику.

67. В случае, если в письменном обращении не указаны фамилия Заказчика либо наименование юридического лица, направившего обращение (жалобу), и почтовый адрес, по которому должен быть направлен ответ, ответ на обращение (жалобу) не дается.

Ростехнадзор, Росприроднадзор и их территориальные органы при получении письменного обращения (жалобы), в котором содержатся нецензурные либо оскорбительные выражения, угрозы жизни, здоровью и имуществу должностного лица, а также членов его семьи, вправе оставить обращение (жалобу) без ответа по существу поставленных в нем вопросов и сообщить Заказчику, направившему обращение (жалобу), о недопустимости злоупотребления правом.

В случае, если текст письменного обращения (жалобы) не поддается прочтению, ответ на обращение (жалобу) не дается, о чем сообщается Заказчику, направившему обращение (жалобу), если его фамилия либо наименование юридического лица и почтовый адрес поддаются прочтению.

В случае, если в письменном обращении (жалобе) Заказчика содержится вопрос, на который Заказчику многократно давались письменные ответы по существу в связи с ранее направляемыми обращениями (жалобами), и при этом в обращении не приводятся новые доводы или обстоятельства, руководитель федерального органа исполнительной власти в области экологической экспертизы (его территориального органа), иное уполномоченное на то должностное лицо вправе принять решение о безосновательности очередного обращения (жалобы) и прекращении переписки с Заказчиком по данному вопросу при условии, что указанное обращение (жалоба) и ранее направляемые обращения (жалобы) направлялись в федеральный орган исполнительной власти в области экологической экспертизы, или в один и тот же его территориальный орган, или одному и тому же должностному лицу. О данном решении уведомляется Заказчик, направивший обращение (жалобу).

В случае, если ответ по существу поставленного в обращении (жалобе) вопроса не может быть дан без разглашения сведений, составляющих государственную или иную охраняемую федеральным законом тайну, Заказчику, направившему обращение (жалобу), сообщается о невозможности дать ответ по существу поставленного в нем вопроса в связи с недопустимостью разглашения указанных сведений.

В случае, если причины, по которым ответ по существу поставленных в обращении (жалобе) вопросов не мог быть дан, в последующем были устранены, Заказчик вправе вновь направить обращение (жалобу) в соответствующий федеральный орган исполнительной власти в области экологической экспертизы (его территориальный орган) или соответствующему должностному лицу.

Обращение (жалоба), в котором обжалуется судебное решение, возвращается Заказчику, направившему обращение (жалобу), с разъяснением порядка обжалования данного судебного решения.

68. Схема направления Заказчиком жалоб, связанных с выполнением административных процедур (административных действий), установленных настоящим Административным регламентом:

жалоба на действия (бездействие) должностных лиц территориального органа Ростехнадзора или Росприроднадзора по соответствующему субъекту Российской Федерации - руководителю территориального органа Ростехнадзора или Росприроднадзора по соответствующему субъекту Российской Федерации;

жалоба на действия (бездействие) руководителя территориального органа Ростехнадзора или Росприроднадзора по соответствующему субъекту Российской Федерации - руководителю Межрегионального органа Ростехнадзора по соответствующему федеральному округу или руководителю Главного регионального органа Росприроднадзора по соответствующему федеральному округу соответственно;

жалоба на действия (бездействие) должностных лиц Межрегионального органа Ростехнадзора по соответствующему федеральному округу или Главного регионального органа Росприроднадзора по соответствующему федеральному округу - руководителю Межрегионального органа Ростехнадзора по соответствующему федеральному округу или руководителю Главного регионального органа Росприроднадзора по соответствующему федеральному округу соответственно;

жалоба на действия (бездействие) руководителя Межрегионального органа Ростехнадзора по соответствующему федеральному округу или руководителя Главного регионального органа Росприроднадзора по соответствующему федеральному округу - заместителю руководителя Ростехнадзора или Росприроднадзора соответственно, курирующему (или контролирующему) исполнение данной государственной функции федеральным органом исполнительной власти в области экологической экспертизы (территориальными органами);

жалоба на действия (бездействие) должностных лиц центрального аппарата Ростехнадзора или Росприроднадзора - заместителю руководителя Ростехнадзора или Росприроднадзора соответственно, курирующему (или контролирующему) исполнение данной государственной функции Ростехнадзором или Росприроднадзором.

Приложение 1
к Административному регламенту
Федеральной службы по экологическому,
технологическому и атомному надзору
и Федеральной службы по надзору
в сфере природопользования
исполнения государственной функции
по организации и проведению
государственной экологической
экспертизы

Приложение 2
к Административному регламенту
Федеральной службы по экологическому,
технологическому и атомному надзору
и Федеральной службы по надзору
в сфере природопользования
исполнения государственной функции
по организации и проведению
государственной экологической
экспертизы

Образец сопроводительного письма
 
от __________ N _________   Начальнику (указывается наименование
                            экспертного подразделения федерального
Реквизиты Заказчика         органа исполнительной власти в области
государственной             экологической экспертизы или его
экологической экспертизы.   территориального органа)
 
Направляем   Вам   для   организации  и проведения государственной
экологической экспертизы следующие материалы:
__________________________________________________________________
   (название объекта государственной экологической экспертизы
                     в именительном падеже)
Об   ответственности   за   реализацию  объекта без положительного
заключения государственной экологической экспертизы предупреждены.
К реализации объекта не приступали.
 
    Дополнительная информация:
1) Разработчики материалов по объекту экологической экспертизы:
__________________________________________________________________
2)  Организации,  инвестирующие  денежные  средства  в  реализацию
объекта экологической экспертизы, сумма зарубежных инвестиций:
__________________________________________________________________
3)   Предполагаемые   сроки   реализации   объекта   экологической
экспертизы: ______________________________________________________
 
    Приложение:
    1.    Подробная    опись    документов,    представляемых   на
государственную экологическую экспертизу.
 
Руководитель организации               __________________
 
 
 

Приложение 3
к Административному регламенту
Федеральной службы по экологическому,
технологическому и атомному надзору
и Федеральной службы по надзору
в сфере природопользования
исполнения государственной функции
по организации и проведению
государственной экологической
экспертизы

Образец
 
от _________ N ____________      Название организации-получателя
на N ________ от __________
Письмо-уведомление               Почтовый адрес организации-
о некомплектности материалов     получателя
 
    Управление (указывается наименование экспертного подразделения
федерального  органа исполнительной власти в области экологической
экспертизы или его территориального органа) сообщает.
    В  представленных  на государственную экологическую экспертизу
материалах по объекту
__________________________________________________________________
    (название объекта государственной экологической экспертизы
                      в именительном падеже)
отсутствуют   материалы,   определенные   пунктом   1   статьи  14
Федерального  закона  от  23.11.1995  N  174-ФЗ  "Об экологической
экспертизе":
    1.............................................................
    2.............................................................
    и т.д.
    На   основании   изложенного   и   в  соответствии с пунктом 9
Положения   о   порядке   проведения государственной экологической
экспертизы,  утвержденного Постановлением Правительства Российской
Федерации  от  11.06.1996 N 698, представленные на государственную
экологическую  экспертизу материалы должны быть доукомплектованы в
полном  объеме  в  течение  ...  дней  со дня получения настоящего
уведомления.
    При   непредставлении   в   установленный   срок запрашиваемых
материалов государственная экологическая экспертиза не проводится,
а материалы возвращаются заказчику.
 
Начальник Управления                                       Ф.И.О.
 
 
 

Приложение 4
к Административному регламенту
Федеральной службы по экологическому,
технологическому и атомному надзору
и Федеральной службы по надзору
в сфере природопользования
исполнения государственной функции
по организации и проведению
государственной экологической
экспертизы

Образец
 
от ____________ N _________        Название организации-получателя
на N ____________от__________
Письмо-уведомление о комплектности Почтовый адрес организации-
материалов и необходимости         получателя
оплаты работ по организации
и проведению государственной
экологической экспертизы
 
    Управление (указывается наименование экспертного подразделения
федерального  органа исполнительной власти в области экологической
экспертизы    или    его    территориального   органа) рассмотрело
представленные   на   государственную   экологическую   экспертизу
материалы по объекту _____________________________________________
                          (название объекта государственной 
                    экологической экспертизы в именительном падеже)
и  сообщает о соответствии представленных материалов установленным
требованиям.
    На   основании   изложенного   и   в  соответствии с пунктом 9
Положения   о   порядке   проведения государственной экологической
экспертизы,  утвержденного Постановлением Правительства Российской
Федерации  от  11.06.1996  N  698, сообщаем о необходимости оплаты
проведения государственной экологической экспертизы в соответствии
с прилагаемыми сметой и счетом на ее оплату.
    Начало    срока    проведения    государственной экологической
экспертизы  будет  установлено  в  течение 30 дней после получения
документа,   подтверждающего   оплату   проведения государственной
экологической экспертизы.
    При  отсутствии  документа,  подтверждающего оплату проведения
государственной  экологической экспертизы в течение 30 дней со дня
получения  настоящего  уведомления,  государственная экологическая
экспертиза не проводится, а материалы возвращаются заказчику.
 
Приложение:
1.  Смета  расходов  на  проведение  государственной экологической
экспертизы
2. Счет за проведение государственной экологической экспертизы.
 
Начальник Управления                                       Ф.И.О.
 
 
 

Приложение 5
к Административному регламенту
Федеральной службы по экологическому,
технологическому и атомному надзору
и Федеральной службы по надзору
в сфере природопользования
исполнения государственной функции
по организации и проведению
государственной экологической
экспертизы

Образец

СМЕТА
РАСХОДОВ НА ПРОВЕДЕНИЕ ГОСУДАРСТВЕННОЙ ЭКОЛОГИЧЕСКОЙ ЭКСПЕРТИЗЫ
ПО _______________________________________________________
(наименование представленных на экспертизу
документации или материалов)

Наименование расхода Ед. изм. К-во Цена за ед. (руб.) Сумма, (руб.)
1 2 3 4 5 6
1 Оплата труда внештатных экспертов - всего, в том числе: Чел.      
Руководитель экспертной комиссии -"-      
Руководитель экспертной группы -"-      
Эксперт по отдельным разделам экспертируемых материалов -"-      
Эксперт по отдельным вопросам раздела экспертируемых материалов -"-      
Участие в заседаниях экспертной комиссии внештатных экспертов Чел. х числ. зас.      
2 Начисления на ФОТ внештатных экспертов - всего, в том числе:        
Единый социальный налог, в т.ч.        
- Отчисления в Пенсионный фонд        
- Отчисления в фонд обязательного медицинского страхования        
Отчисления на обязательное социальное страхование от несчастных случаев на производстве и профессиональных заболеваний        
3 Итого основные расходы внештатных экспертов (п. 1 + п. 2)        
4 Накладные расходы, связанные с проведением ГЭЭ        
5 Итого с накладными расходами (п. 3 + п. 4) -"-      
6 Командировочные расходы - -"-      
7 Итого с командировочными расходами (п. 5 + п. 6) -"-      
8 НДС не облагается ст. 146, п. 2, пп. 4 Налогового кодекса Российской Федерации -"-      
9 Всего: (п. 7 + п. 8) -"-      
Составил:           Проверил:            
  Ф.И.О.   Должность   Подпись     Ф.И.О.   Должность   Подпись
  Тел.             Тел.        

Примечание: В случае изменения порядка налогообложения и т.п. данная форма расчета подлежит изменению.

Приложение 6
к Административному регламенту
Федеральной службы по экологическому,
технологическому и атомному надзору
и Федеральной службы по надзору
в сфере природопользования
исполнения государственной функции
по организации и проведению
государственной экологической
экспертизы

Образец

СЧЕТ ЗА ПРОВЕДЕНИЕ ГОСУДАРСТВЕННОЙ ЭКОЛОГИЧЕСКОЙ ЭКСПЕРТИЗЫ

Наименование (указывается наименование федерального органа исполнительной власти в области экологической экспертизы или его территориального органа)
Адрес:
В поле Банк получателя: Наименование Отделения Банка БИК  
ИНН/КПП Р/с  
В поле Получатель УФК МФ Российской Федерации по _______
лицевой счет ________
ИНН __________
   
В поле Назначение платежа указывать:  
Предоплата за проведение госэкоэкспертизы
Пункт Разрешения
Грузоотправитель и адрес: Наименование (указывается наименование федерального органа исполнительной власти в области экологической экспертизы или его территориального органа) К реестру N
Грузополучатель и адрес:   Акцептован Дата получения
         
СЧЕТ N

Заказ Наряд N ______ Дата "__" ___ 200_ года
Плательщик и адрес:   Сумма счета
  по расчетной цене разница объединен. наценка на товар
Банк:        
Р\с:  
кор/с:  
БИК   ИНН  
Заказчик  
на ст. со ст. всего    
Дата отправл. способ отправл. продажная, Р    
квит./накл. N   отметка об оплате Шифр
упаковка число мест Вес
ПРЕДМЕТ СЧЕТА Кол-во Цена (руб.) Сумма (руб.)
Предварительная оплата за проведение государственной экологической экспертизы  
НДС не облагается (ст. 146, п. 2, подпункт 4 Налогового кодекса Российской Федерации)  
Итого к оплате:  
Руководитель
Гл. бухгалтер

Приложение 7
к Административному регламенту
Федеральной службы по экологическому,
технологическому и атомному надзору
и Федеральной службы по надзору
в сфере природопользования
исполнения государственной функции
по организации и проведению
государственной экологической
экспертизы

Образец
 
                              Задание
           руководителю экспертной группы на проведение
             государственной экологической экспертизы
 
Руководителю экспертной группы
__________________________________________________________________
              (Ф.И.О. руководителя экспертной группы)
1)  обеспечить  качественное  проведение  экологической экспертизы
материалов по вопросу
__________________________________________________________________
          (наименование экспертируемого раздела, вопроса)
2) при проведении экологической экспертизы определить:
    соответствие      намечаемой      деятельности    требованиям,
установленным  законодательством  Российской  Федерации  в области
охраны окружающей среды;
    полноту  выявления  масштабов  прогнозируемого  воздействия на
окружающую    среду    в    результате    осуществления намечаемой
деятельности   и   экологическую   обоснованность  допустимости ее
реализации;
    достаточность предусмотренных мер по охране окружающей среды и
обеспечению экологической безопасности.
3)  обеспечить предоставление экспертам необходимой дополнительной
информации;
4) заседания экспертной группы оформить протоколами;
5) в срок до __________________________ подготовить и предоставить
ответственному  секретарю экспертной комиссии групповое экспертное
заключение, подписанное всеми членами экспертной группы.
6) Групповое экспертное заключение должно содержать разделы.
    1. Описательная часть объекта экспертизы;
    2.  Предложения  и  рекомендации  (при положительном групповом
экспертном заключении), замечания, предложения и рекомендации (при
отрицательном групповом экспертном заключении).
    Предложения   и   рекомендации   должны   быть   направлены на
дальнейшее       совершенствование       принятых     технических,
технологических, организационных и иных решений с целью содействия
повышению экологической безопасности объекта экспертизы и снижения
его   негативного   воздействия   на   окружающую   среду и носить
незапретительный характер.
    Замечания  должны  включать  в  себя вопросы, которые подлежат
обязательному   решению   при   доработке   материалов  по объекту
экспертизы.
    3. Выводы:
    при положительном групповом экспертном заключении:
    о  соответствии  намечаемой деятельности нормам и требованиям,
установленным  законодательством  Российской  Федерации  в области
охраны окружающей среды;
    о допустимости намечаемого воздействия на окружающую среду;
    о возможности реализации объекта экспертизы.
    при отрицательном групповом экспертном заключении:
    о несоответствии намечаемой деятельности нормам и требованиям,
установленным  законодательством  Российской  Федерации  в области
охраны окружающей среды;
    о недопустимости намечаемого воздействия на окружающую среду;
    о   недопустимости   реализации   объекта   экспертизы   ввиду
необеспеченности  соблюдения требований экологической безопасности
намечаемой деятельности;
    о   необходимости   доработки   представленных   материалов по
замечаниям, предложениям и рекомендациям, изложенным в заключении.
 
Руководитель экспертной комиссии
    Ф.И.О.
 
 
 

Приложение 8
к Административному регламенту
Федеральной службы по экологическому,
технологическому и атомному надзору
и Федеральной службы по надзору
в сфере природопользования
исполнения государственной функции
по организации и проведению
государственной экологической
экспертизы

Образец
 
                             Задание
 эксперту на проведение государственной экологической экспертизы
 
Эксперту
__________________________________________________________________
                         (Ф.И.О. эксперта)
1)  обеспечить  качественное  проведение  экологической экспертизы
материалов
__________________________________________________________________
          (наименование экспертируемого раздела, вопроса)
2) при проведении экологической экспертизы определить:
    соответствие      намечаемой      деятельности    требованиям,
установленным  законодательством  Российской  Федерации  в области
охраны окружающей среды;
    полноту  выявления  масштабов  прогнозируемого  воздействия на
окружающую    среду    в    результате    осуществления намечаемой
деятельности   и   экологическую   обоснованность  допустимости ее
реализации;
    достаточность предусмотренных мер по охране окружающей среды и
обеспечению экологической безопасности.
3) в срок до __________________________ подготовить и предоставить
ответственному   секретарю   экспертной   комиссии  индивидуальное
экспертное заключение, содержащее разделы:
1. Описательная часть объекта экспертизы;
2.  Предложения  и  рекомендации (при положительном индивидуальном
экспертном заключении), замечания, предложения и рекомендации (при
отрицательном индивидуальном экспертном заключении).
    Предложения   и   рекомендации   должны   быть   направлены на
дальнейшее       совершенствование       принятых     технических,
технологических, организационных и иных решений с целью содействия
повышению экологической безопасности объекта экспертизы и снижения
его   негативного   воздействия   на   окружающую   среду и носить
незапретительный характер.
    Замечания  должны  включать  в  себя вопросы, которые подлежат
обязательному решению до начала реализации объекта экспертизы.
3. Выводы:
    при положительном индивидуальном экспертном заключении:
    о  соответствии  намечаемой деятельности нормам и требованиям,
установленным  законодательством  Российской  Федерации  в области
охраны окружающей среды;
    о допустимости намечаемого воздействия на окружающую среду;
    о возможности реализации объекта экспертизы.
    при отрицательном индивидуальном экспертном заключении:
    о несоответствии намечаемой деятельности нормам и требованиям,
установленным  законодательством  Российской  Федерации  в области
охраны окружающей среды;
    о недопустимости намечаемого воздействия на окружающую среду;
    о   недопустимости   реализации   объекта   экспертизы   ввиду
необеспеченности  соблюдения требований экологической безопасности
намечаемой деятельности;
    о   необходимости   доработки   представленных   материалов по
замечаниям, предложениям и рекомендациям, изложенным в заключении.
 
Руководитель экспертной комиссии                           Ф.И.О.
 
 
 

Приложение 9
к Административному регламенту
Федеральной службы по экологическому,
технологическому и атомному надзору
и Федеральной службы по надзору
в сфере природопользования
исполнения государственной функции
по организации и проведению
государственной экологической
экспертизы

Образец
 
На бланке приказа федерального органа
исполнительной власти в области
экологической экспертизы или его
территориального органа
 
            Об организации и проведении государственной
                экологической экспертизы материалов
__________________________________________________________________
  (наименование объекта государственной экологической экспертизы
                     в именительном падеже)
 
    В  соответствии  с  Федеральным законом от 23 ноября 1995 г. N
174-ФЗ  "Об  экологической  экспертизе" и на основании Положения о
Федеральной  службе по экологическому, технологическому и атомному
надзору,  утвержденного  Постановлением  Правительства  Российской
Федерации от 30 июля 2004 г. N 401, ПРИКАЗЫВАЮ:
    1.   Утвердить   состав   экспертной  комиссии государственной
экологической  экспертизы  (приложение  1) и задание на проведение
государственной экологической экспертизы (приложение 2) материалов
__________________________________________________________________
    (название объекта государственной экологической экспертизы
                      в именительном падеже)
    2.  Установить  срок  проведения государственной экологической
экспертизы _____ дней.
    3.    Управлению    (указывается    наименование   экспертного
подразделения  федерального органа исполнительной власти в области
экологической  экспертизы или его территориального органа) (Ф.И.О.
начальника  Управления)  организовать  проведение  государственной
экологической экспертизы материалов ______________________________
__________________________________________________________________
    (название объекта государственной экологической экспертизы
                      в именительном падеже)
и   представить   в   установленном   порядке   проект  приказа об
утверждении   заключения   экспертной   комиссии   государственной
экологической экспертизы.
    4.  Контроль  за  исполнением  настоящего  приказа оставляю за
собой.
 
    Руководитель                                           Ф.И.О.
 
 
 

Приложение 10
к Административному регламенту
Федеральной службы по экологическому,
технологическому и атомному надзору
и Федеральной службы по надзору
в сфере природопользования
исполнения государственной функции
по организации и проведению
государственной экологической
экспертизы

Образец
 
                               Приложение 1 к Приказу N от ____ г.
 
                             Состав
               экспертной комиссии государственной 
               экологической экспертизы материалов
 
__________________________________________________________________
    (название объекта государственной экологической экспертизы
                      в именительном падеже)
 
Руководитель экспертной комиссии:
 
Ф.И.О.                         - ученая степень, звание, должность
 
Ответственный секретарь:
 
Ф.И.О.                         - должность
 
Эксперты:
 
Ф.И.О.                         - ученая степень, звание, должность
Ф.И.О.                         - ученая степень, звание, должность
Ф.И.О.                         - ученая степень, звание, должность
 
 
 

Приложение 11
к Административному регламенту
Федеральной службы по экологическому,
технологическому и атомному надзору
и Федеральной службы по надзору
в сфере природопользования
исполнения государственной функции
по организации и проведению
государственной экологической
экспертизы

Образец
 
                              Задание
         экспертной комиссии на проведение государственной
                     экологической экспертизы
 
    Руководителю,  ответственному  секретарю  и  членам экспертной
комиссии государственной экологической экспертизы:
1)  в  срок  ___________  с  момента  проведения  организационного
заседания    экспертной    комиссии    представить    в Управление
(указывается  наименование  экспертного подразделения федерального
органа  исполнительной  власти  в области экологической экспертизы
или  его  территориального  органа) заключение экспертной комиссии
государственной экологической экспертизы материалов
__________________________________________________________________
  (наименование объекта государственной экологической экспертизы
                      в именительном падеже)
__________________________________________________________________
 
2) при проведении экологической экспертизы определить:
    соответствие      намечаемой      деятельности    требованиям,
установленным  законодательством  Российской  Федерации  в области
охраны окружающей среды;
    полноту  выявления  масштабов  прогнозируемого  воздействия на
окружающую    среду    в    результате    осуществления намечаемой
деятельности   и   экологическую   обоснованность  допустимости ее
реализации;
    достаточность предусмотренных мер по охране окружающей среды и
обеспечению экологической безопасности.
 
    Руководителю  и  ответственному  секретарю экспертной комиссии
обеспечить  качественное  проведение государственной экологической
экспертизы, в том числе:
    сформировать   экспертные   группы   по  основным направлениям
государственной экологической экспертизы (при необходимости);
    составить  и  утвердить  календарный  план  работы  экспертной
комиссии, задания экспертным группам и экспертам;
    обеспечить предоставление экспертам необходимой дополнительной
информации;
    заседания экспертной комиссии оформить протоколами;
    организовать  выезд  на  место членов экспертной комиссии (при
необходимости);
    подготовить  и  за десять дней до завершения работы экспертной
комиссии  представить в Управление государственного экологического
надзора    проект    сводного    заключения   экспертной комиссии,
составленного  на  основании  групповых  (при  наличии  экспертных
групп)   и   индивидуальных   экспертных  заключений и содержащего
обоснованные выводы о допустимости (недопустимости) воздействия на
окружающую среду рассматриваемой хозяйственной и иной деятельности
и о возможности реализации объекта экспертизы;
    при  необходимости  изменения срока проведения государственной
экологической   экспертизы   и/или   состава   экспертной комиссии
соответствующие  предложения  оформить  протоколом и представить в
Управление государственного экологического надзора.
 
Начальник Управления                                       Ф.И.О.
 
 
 

Приложение 12
к Административному регламенту
Федеральной службы по экологическому,
технологическому и атомному надзору
и Федеральной службы по надзору
в сфере природопользования
исполнения государственной функции
по организации и проведению
государственной экологической
экспертизы

Образец
 
На бланке приказа федерального органа
исполнительной власти в области
экологической экспертизы или его
территориального органа
 
                  О внесении изменений в приказ
         (указывается наименование федерального органа 
    исполнительной власти в области экологической экспертизы 
                или его территориального органа)
               от "__" __________ 200_ г. N _____
           "Об организации и проведении государственной
               экологической экспертизы материалов
__________________________________________________________________
  (наименование объекта государственной экологической экспертизы
                      в именительном падеже)
 
    В    соответствии    с    Положением    о   порядке проведения
государственной     экологической     экспертизы,     утвержденным
Постановлением  Правительства Российской Федерации от 11 июня 1996
г.  N  698,  и  Положением о Федеральной службе по экологическому,
технологическому  и  атомному надзору, утвержденным Постановлением
Правительства  Российской Федерации от 30 июля 2004 г. N 401, и на
основании  протокола заседания экспертной комиссии государственной
экологической экспертизы от "__" ______ N ________
ПРИКАЗЫВАЮ:
    1.  Исключить  из  состава экспертной комиссии государственной
экологической  экспертизы члена экспертной комиссии (руководителя,
ответственного секретаря экспертной комиссии):
__________________________________________________________________
     (Ф.И.О. руководителя, ответственного секретаря или члена
                       экспертной комиссии)
    2.   Ввести   в   состав   экспертной комиссии государственной
экологической  экспертизы члена экспертной комиссии (руководителя,
ответственного секретаря экспертной комиссии):
__________________________________________________________________
     (Ф.И.О. руководителя, ответственного секретаря или члена
                       экспертной комиссии)
    3.  Продлить  срок  проведения  государственной  экологической
экспертизы на ____________________________________________________
    4.  Контроль  за  исполнением  настоящего  приказа оставляю за
собой.
 
    Руководитель                                           Ф.И.О.
 
 
 

Приложение 13
к Административному регламенту
Федеральной службы по экологическому,
технологическому и атомному надзору
и Федеральной службы по надзору
в сфере природопользования
исполнения государственной функции
по организации и проведению
государственной экологической
экспертизы

Образец
 
от _______________ N __________________ 
Название 
организации-получателя
Письмо-уведомление о направлении 
представителя для участия в
организационном заседании экспертной
комиссии государственной экологической
экспертизы
Почтовый адрес 
организации-получателя
 
    Прошу  направить представителя Вашей организации для участия в
организационном   заседании   экспертной  комиссии государственной
экологической экспертизы, которое состоится "__" _________________
200_ г. в _________ по адресу ____________________________________
                                   (указать место проведения)
 
Начальник Управления                                        Ф.И.О.
 
 
 

Приложение 14
к Административному регламенту
Федеральной службы по экологическому,
технологическому и атомному надзору
и Федеральной службы по надзору
в сфере природопользования
исполнения государственной функции
по организации и проведению
государственной экологической
экспертизы

Образец

УТВЕРЖДАЮ
Руководитель экспертной
комиссии
государственной экологической
экспертизы
____________________ (Ф.И.О.)
"__" ________________ 200_ г.

КАЛЕНДАРНЫЙ ПЛАН
РАБОТЫ ЭКСПЕРТНОЙ КОМИССИИ ГОСУДАРСТВЕННОЙ ЭКОЛОГИЧЕСКОЙ ЭКСПЕРТИЗЫ МАТЕРИАЛОВ
____________________________________________________________
(наименование объекта государственной экологической
экспертизы в именительном падеже)

N п/п Мероприятия Дата проведения мероприятия
               
1. Работа экспертной комиссии с материалами по объекту государственной экологической экспертизы с даты проведения организационного заседания экспертной комиссии  
2. Проведение рабочих заседаний экспертной комиссии                
3. Рассмотрение проектов индивидуальных (групповых) экспертных заключений и/или вопросов к заказчику государственной экологической экспертизы, подготовка запроса о необходимости представления дополнительной информации по объекту экологической экспертизы                
4. Проведение выездного заседания экспертной комиссии на место реализации объекта государственной экологической экспертизы                
5. Представление подписанных индивидуальных (групповых) экспертных заключений ответственному секретарю экспертной комиссии                
6. Рассмотрение проекта сводного заключения экспертной комиссии государственной экологической экспертизы перед представлением его в Управление государственного экологического надзора                
7. Подписание членами экспертной комиссии итогового текста заключения                

(*) - за десять рабочих дней до проведения итогового заседания.

Ответственный секретарь экспертной комиссии

__________________________ /Ф.И.О./

Приложение 15
к Административному регламенту
Федеральной службы по экологическому,
технологическому и атомному надзору
и Федеральной службы по надзору
в сфере природопользования
исполнения государственной функции
по организации и проведению
государственной экологической
экспертизы

Образец
 
                      ЭКСПЕРТНОЕ ЗАКЛЮЧЕНИЕ
     члена экспертной комиссии государственной экологической
                      экспертизы материалов
__________________________________________________________________
       (наименование объекта государственной экологической
                экспертизы в именительном падеже)
__________________________________________________________________
                            (Ф.И.О.)
 
"__" ___________ 200_ г.
 
    1.  Опись  рассмотренных  материалов, включая ответы заказчика
государственной    экологической    экспертизы    на    официально
представленные   вопросы   и   аргументированные   предложения  по
экологическим  аспектам реализации объекта экспертизы, поступившие
от заинтересованных сторон:
    1)
    2)
    3)
    и т.д.
 
    2.   Краткое   описание   экспертируемого  раздела (вопроса) в
соответствии с индивидуальным заданием:
    3. Экспертная оценка рассмотренного раздела (вопроса):
    3.1.  Оценка  соответствия  намечаемой  деятельности  нормам и
требованиям,  установленным законодательством Российской Федерации
в области охраны окружающей среды;
    3.2.   Оценка   полноты   выявления  масштабов прогнозируемого
воздействия   на   окружающую   среду   в результате осуществления
намечаемой    деятельности    и    экологической    обоснованности
допустимости ее реализации;
    3.3.   Оценка   достаточности   предусмотренных  мер по охране
окружающей среды и обеспечению экологической безопасности;
    3.4. Иное при необходимости.
 
    4. Замечания по рассмотренному разделу (вопросу):
 
    5.   Предложения   и   рекомендации  по рассмотренному разделу
(вопросу):
 
    6. Выводы:
    при положительном индивидуальном экспертном заключении:
    о  соответствии  намечаемой деятельности нормам и требованиям,
установленным  законодательством  Российской  Федерации  в области
охраны окружающей среды;
    о допустимости намечаемого воздействия на окружающую среду;
    о возможности реализации объекта экспертизы.
    при отрицательном индивидуальном экспертном заключении:
    о несоответствии намечаемой деятельности нормам и требованиям,
установленным  законодательством  Российской  Федерации  в области
охраны окружающей среды;
    о недопустимости намечаемого воздействия на окружающую среду;
    о   недопустимости   реализации   объекта   экспертизы   ввиду
необеспеченности  соблюдения требований экологической безопасности
намечаемой деятельности;
    о   необходимости   доработки   представленных   материалов по
замечаниям, предложениям и рекомендациям, изложенным в заключении.
 
Член экспертной комиссии           ______________________ /Ф.И.О./
 
 
 

Приложение 16
к Административному регламенту
Федеральной службы по экологическому,
технологическому и атомному надзору
и Федеральной службы по надзору
в сфере природопользования
исполнения государственной функции
по организации и проведению
государственной экологической
экспертизы

Образец
 
                      ЭКСПЕРТНОЕ ЗАКЛЮЧЕНИЕ
    группы экспертной комиссии государственной экологической
                      экспертизы материалов
__________________________________________________________________
       (наименование объекта государственной экологической
                экспертизы в именительном падеже)
__________________________________________________________________
                       (название группы)
 
"__" ___________ 200_ г.
 
    1.  Опись  рассмотренных  материалов, включая ответы заказчика
государственной    экологической    экспертизы    на    официально
представленные   вопросы   и   аргументированные   предложения  по
экологическим  аспектам реализации объекта экспертизы, поступившие
от заинтересованных сторон:
    1)
    2)
    3)
    и т.д.
 
    2.   Краткое   описание   экспертируемого  раздела (вопроса) в
соответствии с групповым заданием:
 
    3. Экспертная оценка рассмотренного раздела (вопроса):
    3.1.  Оценка  соответствия  намечаемой  деятельности  нормам и
требованиям,  установленным законодательством Российской Федерации
в области охраны окружающей среды;
    3.2.   Оценка   полноты   выявления  масштабов прогнозируемого
воздействия   на   окружающую   среду   в результате осуществления
намечаемой    деятельности    и    экологической    обоснованности
допустимости ее реализации;
    3.3.   Оценка   достаточности   предусмотренных  мер по охране
окружающей среды и обеспечению экологической безопасности;
    3.4. Иное при необходимости.
 
    4. Замечания по рассмотренному разделу (вопросу):
 
    5.   Предложения   и   рекомендации  по рассмотренному разделу
(вопросу):
 
    6. Выводы:
    при положительном групповом экспертном заключении:
    о  соответствии  намечаемой деятельности нормам и требованиям,
установленным  законодательством  Российской  Федерации  в области
охраны окружающей среды;
    о допустимости намечаемого воздействия на окружающую среду;
    о возможности реализации объекта экспертизы.
    при отрицательном групповом экспертном заключении:
    о несоответствии намечаемой деятельности нормам и требованиям,
установленным  законодательством  Российской  Федерации  в области
охраны окружающей среды;
    о недопустимости намечаемого воздействия на окружающую среду;
    о   недопустимости   реализации   объекта   экспертизы   ввиду
необеспеченности  соблюдения требований экологической безопасности
намечаемой деятельности;
    о   необходимости   доработки   представленных   материалов по
замечаниям, предложениям и рекомендациям, изложенным в заключении.
 
Руководитель экспертной группы       ____________________ /Ф.И.О./
 
Члены экспертной группы              ____________________ /Ф.И.О./
 
 
 

Приложение 17
к Административному регламенту
Федеральной службы по экологическому,
технологическому и атомному надзору
и Федеральной службы по надзору
в сфере природопользования
исполнения государственной функции
по организации и проведению
государственной экологической
экспертизы

Образец
 
   Наименование (указывается наименование федерального органа
    исполнительной власти в области экологической экспертизы
                или его территориального органа)
 
            ГОСУДАРСТВЕННАЯ ЭКОЛОГИЧЕСКАЯ ЭКСПЕРТИЗА
 
                  ЗАКЛЮЧЕНИЕ ЭКСПЕРТНОЙ КОМИССИИ
       ГОСУДАРСТВЕННОЙ ЭКОЛОГИЧЕСКОЙ ЭКСПЕРТИЗЫ МАТЕРИАЛОВ
__________________________________________________________________
       (наименование объекта государственной экологической
                экспертизы в именительном падеже)
 
   г. ______________                    "__" __________ 20__ г.
 
    Экспертная   комиссия,   утвержденная   приказом  (указывается
наименование  федерального  органа исполнительной власти в области
экологической  экспертизы или его территориального органа) от ____
N ____ в составе:
    Руководителя комиссии: - звание, должность, Ф.И.О.
    Ответственного секретаря - должность, Ф.И.О.
    Членов комиссии - звание, должность, Ф.И.О.
рассмотрела ______________________________________________________
                    (полное название объекта экспертизы)
__________________________________________________________________
разработанный(е) _________________________________________________
                      (название организации, год разработки)
1. На рассмотрение представлены: _________________________________
                                  (перечень основных материалов,
__________________________________________________________________
  включая согласования государственных органов контроля, надзора, 
__________________________________________________________________
     справки, заключения общественной экспертизы, протоколы 
__________________________________________________________________
                    общественных слушаний и др.)
 
    1.  Перечень  материалов  и  документации,  представленных  на
государственную экологическую экспертизу.
    2.  Перечень  аргументированных  предложений  по экологическим
аспектам   объекта   экспертизы,   поступивших от заинтересованных
сторон, общественности.
    3.   Перечень   дополнительных   материалов   и  документации,
представленных  экспертной  комиссии государственной экологической
экспертизы .............
    4.  Общие  сведения  об  объекте государственной экологической
экспертизы:  история вопроса (в том числе наличие ранее полученных
заключений государственной экологической экспертизы ...).
    Краткое содержание представленных материалов:
    излагаются основные положения представленной документации (для
предпроектной  и  проектной  документации - местоположение объекта
экспертизы,   его   характеристика,   характеристика   выпускаемой
продукции,   потребность   в   ресурсах,  природная характеристика
территории,    перечень    возможных    ограничений  хозяйственной
деятельности,  предполагаемое  воздействие  на  окружающую  среду,
планируемые  природоохранные мероприятия и их эффективность, ущерб
при реализации намечаемых решений).
    5.  Экспертная  оценка  объекта  государственной экологической
экспертизы по разделам (вопросам) экспертируемых материалов:
    5.1.  Оценка  соответствия  намечаемой  деятельности  нормам и
требованиям,  установленным законодательством Российской Федерации
в области охраны окружающей среды;
    5.2.   Оценка   полноты   выявления  масштабов прогнозируемого
воздействия   на   окружающую   среду   в результате осуществления
намечаемой    деятельности    и    экологической    обоснованности
допустимости   ее   реализации   (покомпонентная оценка материалов
ОВОС);
    5.3.   Оценка   достаточности   предусмотренных  мер по охране
окружающей среды и обеспечению экологической безопасности;
    5.4. Иное при необходимости.
    6. Замечания экспертной комиссии государственной экологической
экспертизы в случае отрицательного заключения.
    7.    Предложения    и    рекомендации    экспертной  комиссии
государственной экологической экспертизы.
    8. Рекомендуемый экспертной комиссией срок действия заключения
государственной экологической экспертизы.
    9. Общая оценка качества представленных материалов.
    10.  Выводы  экспертной комиссии государственной экологической
экспертизы.
    11.  Подписи  руководителя,  ответственного секретаря и членов
экспертной комиссии.
 
 
 

Приложение 18
к Административному регламенту
Федеральной службы по экологическому,
технологическому и атомному надзору
и Федеральной службы по надзору
в сфере природопользования
исполнения государственной функции
по организации и проведению
государственной экологической
экспертизы

Образец
 
от _______________ N __________________ 
Название 
организации-получателя
Письмо-уведомление о необходимости     
представления дополнительной информации
по объекту экологической экспертизы
Почтовый адрес 
организации-получателя
 
    Управление (указывается наименование экспертного подразделения
федерального  органа исполнительной власти в области экологической
экспертизы или его территориального органа) на основании протокола
заседания   экспертной   комиссии   государственной  экологической
экспертизы материалов
__________________________________________________________________
  (наименование объекта государственной экологической экспертизы
                      в именительном падеже)
от  "__" ___________ 200_ г. N ______ и в соответствии с пунктом 7
Положения   о   порядке   проведения государственной экологической
экспертизы,  утвержденного Постановлением Правительства Российской
Федерации  от  11.06.1996  N  698,  сообщает  Вам  о необходимости
представления  до  "__" ________ 200_ г. дополнительной информации
по объекту государственной экологической экспертизы.
    С  целью  недопущения  срыва  срока проведения государственной
экологической экспертизы, установленного приказом Ростехнадзора от
"__"  ________  200_  г. N ______, прошу представить запрашиваемые
материалы не позднее вышеуказанного срока.
    Приложение:  перечень необходимой дополнительной информации по
объекту государственной экологической экспертизы.
 
Начальник Управления                                       Ф.И.О.
 
 
 

Приложение 19
к Административному регламенту
Федеральной службы по экологическому,
технологическому и атомному надзору
и Федеральной службы по надзору
в сфере природопользования
исполнения государственной функции
по организации и проведению
государственной экологической
экспертизы

Образец
 
                             ПРОТОКОЛ
    заседания экспертной комиссии государственной экологической
                       экспертизы материалов
 
__________________________________________________________________
  (наименование объекта государственной экологической экспертизы
                      в именительном падеже)
 
"__" ___________ 200_ г.                               N _________
 
                              Москва
 
                         Фамилия, инициалы
    Председательствовал: -----------------
 
    Присутствовали:
 
    представитель
    наименование     (указывается     наименование     экспертного
    подразделения  федерального  органа  исполнительной  власти  в
    области экологической
    экспертизы или его территориального органа)
                   Фамилия, инициалы
    (наблюдатели): -----------------
 
                               Фамилия, инициалы
    члены экспертной комиссии: -----------------
 
    эксперты, делегированные
    территориальным органом
    наименование  (указывается  наименование  федерального  органа
исполнительной власти в области экологической экспертизы или его
                                        Фамилия, инициалы
территориального органа) (наблюдатели): -----------------
 
    представители заказчика
    государственной экологической
                Фамилия, инициалы
    экспертизы: -----------------
 
    приглашенные представители    Фамилия, инициалы (организация)
    иных заинтересованных сторон: -------------------------------
 
    ПОВЕСТКА ДНЯ:
 
    1.  О  приказе  об  организации  и  проведении государственной
экологической экспертизы.
    Докладчик: представитель (указывается наименование экспертного
подразделения  федерального органа исполнительной власти в области
экологической экспертизы или его территориального органа)
 
    2.   О   порядке   работы  экспертной комиссии государственной
экологической экспертизы.
    Докладчик: руководитель экспертной комиссии
 
    3.  Об  объекте  государственной  экологической экспертизы.
    Докладчики:     представители     заказчика    государственной
экологической экспертизы
 
    4.  Об  объекте  государственной  экологической  экспертизы
    Докладчики: эксперты, делегированные территориальным органом
 
    5. Подписание договоров на возмездное оказание работ (услуг) с
руководителем и каждым членом экспертной комиссии.
 
    6. Разное.
 
                Фамилия, инициалы (организация)
    1. СЛУШАЛИ: ------------------------------
 
                            Фамилия, инициалы (организация, краткая
    2.   ВЫСТУПИЛИ:   -----------------------------------------------------
    запись выступления)
    --------------------
 
    3. РЕШИЛИ:
 
    1. Принять  к  сведению и руководству информацию о приказе  об
       организации   и   проведении  государственной экологической
       экспертизы.
 
    2. Согласиться  с  рассмотренным  проектом календарного  плана
       работы  экспертной  комиссии  государственной экологической
       экспертизы материалов.
 
    3. Принять  к  сведению информацию об объекте  государственной
       экологической экспертизы.
 
    4. Иное.
 
    Руководитель экспертной комиссии       ______________ /Ф.И.О./
 
    Ответственный секретарь
    экспертной комиссии                    ______________ /Ф.И.О./
 
 
 

Приложение 19а
к Административному регламенту
Федеральной службы по экологическому,
технологическому и атомному надзору
и Федеральной службы по надзору
в сфере природопользования
исполнения государственной функции
по организации и проведению
государственной экологической
экспертизы

Образец
 
                             ПРОТОКОЛ
           заседания экспертной комиссии государственной
                экологической экспертизы материалов
 
__________________________________________________________________
 (наименование объекта государственной экологической экспертизы
                     в именительном падеже)
 
"__" _____________ 200_ г.                     N _________________
 
                              Москва
 
                         Фамилия, инициалы
    Председательствовал: -----------------
 
    Присутствовали:
 
    представитель
    наименование     (указывается     наименование     экспертного
подразделения  федерального органа исполнительной власти в области
                                                          Фамилия,
экологической экспертизы или его территориального органа): -------
инициалы
----------
 
                               Фамилия, инициалы
    члены экспертной комиссии: -----------------
 
    эксперты, делегированные
    территориальным органом
    наименование  (указывается  наименование  федерального  органа
    исполнительной  власти  в области экологической экспертизы или
                                                Фамилия, инициалы
    его территориального органа) (наблюдатели): -----------------
 
    представители заказчика
    государственной экологической
                Фамилия, инициалы
    экспертизы: -----------------
 
    приглашенные представители
                                  Фамилия, инициалы (организация)
    иных заинтересованных сторон: -------------------------------
 
    ПОВЕСТКА ДНЯ:
 
    1.   О   ходе   работы   экспертной   комиссии государственной
экологической экспертизы.
    Докладчик: руководитель экспертной комиссии
 
    2.  О результатах проделанной работы и необходимости получения
дополнительной     информации     о     рассматриваемом    объекте
государственной экологической экспертизы.
    Докладчики: члены экспертной комиссии, руководители экспертных
групп
 
    3. Обсуждение возникших вопросов (дискуссия).
    Докладчики:
 
                Фамилия, инициалы (организация)
    1. СЛУШАЛИ: -------------------------------
 
                    Фамилия, инициалы (организация, краткая запись
    2.   ВЫСТУПИЛИ: ----------------------------------------------
выступления)
-----------
 
    3. РЕШИЛИ:
 
    1. Принять  к  сведению  информацию  о  ходе работы экспертной
       комиссии государственной экологической экспертизы.
    2. Направить официальное уведомление заказчику государственной
       экологической   экспертизы   о  необходимости представления
       дополнительных материалов (Приложение: перечень необходимой
       информации   по   объекту   государственной   экологической
       экспертизы)
    3. Пригласить    представителя    заказчика    государственной
       экологической  экспертизы  для разъяснения технологических,
       технических,  организационных  и  иных  решений  по объекту
       экспертизы.
    4. Включить в состав экспертной комиссии дополнительное  число
       специалистов.
    5. Организовать  выезд на место намечаемой реализации  объекта
       государственной экологической экспертизы.
    6. Предложить    наименование     (указывается    наименование
       федерального   органа   исполнительной   власти   в области
       экологической  экспертизы  или его территориального органа)
       продлить   срок   проведения  государственной экологической
       экспертизы в связи с ... (указать причину).
    7. Предложить    наименование    (указывается     наименование
       федерального   органа   исполнительной   власти   в области
       экологической  экспертизы  или его территориального органа)
       внести изменения в состав экспертной комиссии в связи с ...
       (указать причину).
    8. Иное.
 
Руководитель экспертной комиссии         ________________ /Ф.И.О./
 
Ответственный секретарь
экспертной комиссии                      ________________ /Ф.И.О./
 
 
 

Приложение 19б
к Административному регламенту
Федеральной службы по экологическому,
технологическому и атомному надзору
и Федеральной службы по надзору
в сфере природопользования
исполнения государственной функции
по организации и проведению
государственной экологической
экспертизы

Образец
 
                             ПРОТОКОЛ
           заседания экспертной комиссии государственной
                экологической экспертизы материалов
 
__________________________________________________________________
  (наименование объекта государственной экологической экспертизы
                      в именительном падеже)
 
"__" __________ 200_ г.                          N _______________
 
                              Москва
 
                         Фамилия, инициалы
    Председательствовал: -----------------
 
    Присутствовали:
 
    представитель
    наименование     (указывается     наименование     экспертного
подразделения  федерального органа исполнительной власти в области
                                                          Фамилия,
экологической экспертизы или его территориального органа): -------
инициалы 
----------
 
                               Фамилия, инициалы
    члены экспертной комиссии: -----------------
 
    эксперты, делегированные
    территориальным органом
    наименование  (указывается  наименование  федерального  органа
    исполнительной  власти  в области экологической экспертизы или
    его территориального органа) (наблюдатели):
    Фамилия, инициалы
    -----------------
 
    представители заказчика
    государственной экологической
                Фамилия, инициалы
    экспертизы: -----------------
 
    приглашенные представители
                                  Фамилия, инициалы (организация)
    иных заинтересованных сторон: -------------------------------
 
    ПОВЕСТКА ДНЯ:
 
    1.   О   результатах   анализа   и   обобщения  индивидуальных
(групповых) экспертных заключений.
    Докладчик:  руководитель  экспертной  комиссии,  ответственный
секретарь
 
    1.  Перечень  аргументированных  предложений  по экологическим
аспектам   объекта   экспертизы,   поступивших от заинтересованных
сторон, общественности.
    Докладчик:  руководитель  экспертной  комиссии,  ответственный
секретарь
 
    3. Обсуждение возникших вопросов (дискуссия).
    Докладчики:
 
    4. Разное.
 
                Фамилия, инициалы (организация)
    1. СЛУШАЛИ: -------------------------------
 
                    Фамилия, инициалы (организация, краткая запись
    2.   ВЫСТУПИЛИ: ----------------------------------------------
выступления)
------------
 
    3. РЕШИЛИ:
 
    1. Принять  к  сведению  информацию  о  результатах анализа  и
       обобщения индивидуальных (групповых) экспертных заключений.
 
    2. Принять    к    сведению    и    использованию   в   работе
       аргументированные  предложения  по  экологическим  аспектам
       реализации     объекта     экспертизы,     поступившие   от
       заинтересованных сторон, общественности.
 
    3. Представить   проект   сводного   заключения  в  Управление
       (указывается    наименование    экспертного   подразделения
       федерального   органа   исполнительной   власти   в области
       экологической экспертизы или его территориального органа).
 
    4. Иное.
 
    Руководитель экспертной комиссии         ____________ /Ф.И.О./
 
    Ответственный секретарь
    экспертной комиссии                      ____________ /Ф.И.О./
 
 
 

Приложение 19в
к Административному регламенту
Федеральной службы по экологическому,
технологическому и атомному надзору
и Федеральной службы по надзору
в сфере природопользования
исполнения государственной функции
по организации и проведению
государственной экологической
экспертизы

Образец
 
                             ПРОТОКОЛ
           заседания экспертной комиссии государственной
                экологической экспертизы материалов
 
__________________________________________________________________
  (наименование объекта государственной экологической экспертизы
                      в именительном падеже)
 
"__" ___________ 200_ г.                        N ________________
 
                              Москва
 
                         Фамилия, инициалы
    Председательствовал: -----------------
 
    Присутствовали:
 
    представитель
    наименование     (указывается     наименование     экспертного
подразделения  федерального органа исполнительной власти в области
                                                          Фамилия,
экологической экспертизы или его территориального органа): -------
инициалы
---------
 
                               Фамилия, инициалы
    члены экспертной комиссии: -----------------
 
    эксперты, делегированные
    территориальным органом
    наименование  (указывается  наименование  федерального  органа
    исполнительной  власти  в области экологической экспертизы или
    его территориального органа) (наблюдатели):
    Фамилия, инициалы
    -----------------
 
    представители заказчика
    государственной экологической
                Фамилия, инициалы
    экспертизы: -----------------
 
    приглашенные представители
                                  Фамилия, инициалы (организация)
    иных заинтересованных сторон: -------------------------------
 
    ПОВЕСТКА ДНЯ:
 
    1.  О результатах работы экспертной комиссии и выводах проекта
заключения экспертной комиссии.
    Докладчик:  руководитель  экспертной  комиссии,  ответственный
секретарь
 
    2.  Выступления  членов  экспертной  комиссии,  представителей
заказчика   государственной   экологической   экспертизы,  органов
исполнительной  власти  субъектов  Российской  Федерации и органов
местного самоуправления, общественных организаций, территориальных
органов Ростехнадзора.
    Докладчики: по списку
 
    3.  Обсуждение  заключения экспертной комиссии и особых мнений
экспертов,   подписание   заключения   экспертной   комиссии  (без
приглашенных лиц).
 
    4. Заключительное слово руководителя экспертной комиссии.
 
                Фамилия, инициалы (организация)
    1. СЛУШАЛИ: -------------------------------
 
                   Фамилия, инициалы (организация, краткая запись
    2. ВЫСТУПИЛИ: ------------------------------------------------
выступления)
------------
 
    3. РЕШИЛИ:
 
    1. Принять   к   сведению   информацию  о  результатах  работы
       экспертной комиссии и выводах проекта заключения экспертной
       комиссии.
 
    2. Принять  к сведению выступления членов экспертной комиссии,
       представителей   заказчика   государственной  экологической
       экспертизы,   органов   исполнительной   власти   субъектов
       Российской  Федерации  и  органов  местного самоуправления,
       общественных     организаций,     территориальных   органов
       федерального   органа   исполнительной   власти   в области
       экологической экспертизы.
 
    3. Рекомендовать  к утверждению заключение экспертной комиссии
       государственной  экологической  экспертизы  (или предложить
       наименование  (указывается наименование федерального органа
       исполнительной  власти  в  области экологической экспертизы
       или  его  территориального органа) продлить срок проведения
       государственной  экологической  экспертизы  в  связи  с ...
       (указать причину).
 
    4. Иное.
 
    Руководитель экспертной комиссии      _______________ /Ф.И.О./
 
    Ответственный секретарь
    экспертной комиссии                   _______________ /Ф.И.О./
 
 
 

Приложение 20
к Административному регламенту
Федеральной службы по экологическому,
технологическому и атомному надзору
и Федеральной службы по надзору
в сфере природопользования
исполнения государственной функции
по организации и проведению
государственной экологической
экспертизы

Образец
 
                           ЯВОЧНЫЙ ЛИСТ
           заседания экспертной комиссии государственной
                экологической экспертизы материалов
 
__________________________________________________________________
  (наименование объекта государственной экологической экспертизы
                      в именительном падеже)
 
"__" _____________ 200_ г.                    N __________________
 
                              Москва
 
  N 
п/п
        Состав экспертной комиссии        
    Подпись    
 
Руководитель экспертной комиссии: 
 
1. 
Фамилия, инициалы 
 
 
Члены экспертной комиссии: 
 
2. 
Фамилия, инициалы 
 
3. 
Фамилия, инициалы 
 
4. 
Фамилия, инициалы 
 
5. 
Фамилия, инициалы 
 
6. 
Фамилия, инициалы 
 
7. 
Фамилия, инициалы 
 
 
Ответственный секретарь экспертной комиссии:  ___________ /Ф.И.О./
 
 
 

Приложение 21
к Административному регламенту
Федеральной службы по экологическому,
технологическому и атомному надзору
и Федеральной службы по надзору
в сфере природопользования
исполнения государственной функции
по организации и проведению
государственной экологической
экспертизы

Образец
 
                      ОСОБОЕ МНЕНИЕ ЭКСПЕРТА
             члена экспертной комиссии государственной
                экологической экспертизы материалов
 
__________________________________________________________________
  (наименование объекта государственной экологической экспертизы
                      в именительном падеже)
 
"__" ____________ 200_ г.                     N __________________
 
                              Москва
 
    В  свободной  форме,  кратко,  четко  и обоснованно излагается
мнение,  в  котором  указывается,  с  чем  не  согласен эксперт (с
соответствующим  обоснованием  и ссылкой на нормы природоохранного
законодательства).
 
Член экспертной комиссии                   ______________ /Ф.И.О./
 
 
 

Приложение 22
к Административному регламенту
Федеральной службы по экологическому,
технологическому и атомному надзору
и Федеральной службы по надзору
в сфере природопользования
исполнения государственной функции
по организации и проведению
государственной экологической
экспертизы

Образец
 
На бланке приказа федерального органа исполнительной власти
в области экологической экспертизы или его территориального органа
 
   Об утверждении заключения экспертной комиссии государственной
                экологической экспертизы материалов
 
__________________________________________________________________
  (наименование объекта государственной экологической экспертизы
                      в именительном падеже)
 
    В  соответствии  с  Федеральным законом от 23 ноября 1995 г. N
174-ФЗ  "Об  экологической  экспертизе" и на основании Положения о
(указывается   наименование   федерального   органа исполнительной
власти в области экологической экспертизы или его территориального
органа), утвержденного _________ от "__" ________ 200_ г. N _____,
 
ПРИКАЗЫВАЮ:
 
    1.   Утвердить   прилагаемое   заключение  экспертной комиссии
государственной экологической экспертизы материалов
__________________________________________________________________
  (наименование объекта государственной экологической экспертизы
                      в именительном падеже)
подготовленное   экспертной   комиссией   на   основании   приказа
(указывается   наименование   федерального   органа исполнительной
власти в области экологической экспертизы или его территориального
органа) от "__" ________ 200_ г. N ___, устанавливающее __________
_________________________________________________________________.
                            (см. ниже)
 
    2. Установить срок действия прилагаемого заключения - ___ лет.
 
    Руководитель                                            Ф.И.О.
 
Варианты формулировок
 
 в пункте 1 приказа об утверждении заключения экспертной комиссии
             государственной экологической экспертизы
 
1)  При  утверждении положительного заключения экспертной комиссии
государственной экологической экспертизы:
 
    устанавливающее:
    - соответствие    материалов   экологическим    требованиям  и
      возможность реализации намечаемой деятельности
 
1)  При  утверждении отрицательного заключения экспертной комиссии
государственной экологической экспертизы:
 
    устанавливающее:
    - несоответствие    материалов    экологическим   требованиям,
      необходимость   представления   доработанных   по замечаниям
      экспертной    комиссии    материалов    на   государственную
      экологическую экспертизу;
    - недопустимость  реализации  объекта экологической экспертизы
      ввиду  необеспеченности  соблюдения требований экологической
      безопасности намечаемой деятельности.
 
 
 

Приложение 23
к Административному регламенту
Федеральной службы по экологическому,
технологическому и атомному надзору
и Федеральной службы по надзору
в сфере природопользования
исполнения государственной функции
по организации и проведению
государственной экологической
экспертизы

Образец
 
от ____________ N _________        Название организации-получателя
Письмо-уведомление о завершении    Почтовый адрес организации-
государственной экологической      получателя
экспертизы
 
    Управлением      (указывается      наименование    экспертного
    подразделения  федерального  органа  исполнительной  власти  в
    области  экологической  экспертизы  или  его  территориального
    органа) в соответствии с Федеральным законом "Об экологической
    экспертизе" от 23.11.1995 г. N 174-ФЗ организована и проведена
    государственная экологическая экспертиза материалов
__________________________________________________________________
  (наименование объекта государственной экологической экспертизы
                      в именительном падеже)
 
    Приложение: 1)  Приказ  (указывается наименование федерального
органа  исполнительной  власти  в области экологической экспертизы
или   его   территориального   органа)   об утверждении заключения
экспертной комиссии государственной экологической экспертизы.
                2) Материалы по объекту экологической экспертизы.
 
Начальник Управления                                       Ф.И.О.
 
 
 

Приложение 24
к Административному регламенту
Федеральной службы по экологическому,
технологическому и атомному надзору
и Федеральной службы по надзору
в сфере природопользования
исполнения государственной функции
по организации и проведению
государственной экологической
экспертизы

Образец
 
от __________ N _________ 
Название организации-получателя 
Письмо-уведомление о завершении 
государственной экологической
экспертизы с отрицательным
результатом
Почтовый адрес 
организации-получателя

    Управлением   (указывается   наименование  федерального органа
    исполнительной  власти  в области экологической экспертизы или
    его    территориального     органа)    в    соответствии   с  
    Федеральным     законом    "Об    экологической    экспертизе"
    от   23.11.1995   г.   N   174-ФЗ   организована   и проведена
    государственная экологическая экспертиза материалов
__________________________________________________________________
  (наименование объекта государственной экологической экспертизы
                      в именительном падеже)
 
    Приказом   (указывается   наименование   федерального   органа
исполнительной  власти  в области экологической экспертизы или его
территориального   органа)   от   "__"   ________   200_ г. N ____
утверждено    отрицательное    заключение    экспертной   комиссии
государственной экологической экспертизы.
    В   соответствии   со   статьей   30   вышеуказанного   Закона
финансирование  и  кредитование  реализации  объекта экологической
экспертизы    без    положительного    заключения  государственной
экологической  экспертизы  является нарушением законодательства об
экологической экспертизе.
 
Начальник Управления                                       Ф.И.О.
 
 
 

Приложение 25
к Административному регламенту
Федеральной службы по экологическому,
технологическому и атомному надзору
и Федеральной службы по надзору
в сфере природопользования
исполнения государственной функции
по организации и проведению
государственной экологической
экспертизы

Образец
 
                              СПРАВКА
          о соблюдении организационно-правовых требований
      проведения государственной экологической экспертизы по
 
__________________________________________________________________
  (наименование объекта государственной экологической экспертизы)
 
                         Федеральным законом "Об экологической 
    В соответствии с ---------------------------------------------
экспертизе"
------------- материалы
__________________________________________________________________
  (наименование объекта государственной экологической экспертизы)
направленные _____________________________________________________
(заказчик документации) исх. N ____________ от ___________________
поступили  в  _____________  от  ________________)  и направлены в
__________________________________________________________________
             (наименование экспертного подразделения)
государственной экологической экспертизы (вх. N __________________
от __________________).
    В    соответствии    с    Положением    о   порядке проведения
государственной     экологической     экспертизы,     утвержденным
Постановлением  Правительства Российской Федерации от 11 июля 1996
года  N  698,  экспертное  подразделение после проверки материалов
направило  заказчикам  уведомление о некомплектности материалов (N
35  _______  от _________) с просьбой провести доукомплектование в
течение  одного  месяца со дня получения письма, или уведомление о
необходимости  оплаты проведения экспертизы с приложением счета на
оплату  (исх. N 35-_____ от __________, счет N _____ от _________)
при наличии всех необходимых согласований и проверки достаточности
представленных материалов.
 
Заказчиком _______________________________________________________
в течение месяца велось доукомплектование материалов и (или)
был оплачен счет _________________, деньги поступили на счет
                                    внебюджетный счет федерального
                                    органа исполнительной власти
России ____________________.
             (дата)
 
После  поступления  от  заказчика  оплаты за проведение экспертизы
экспертным  подразделением  подготовлен  приказ  об  организации и
проведении государственной экологической экспертизы
_________________________________________________________________,
  (наименование объекта государственной экологической экспертизы)
который  утверждал  состав  экспертной  комиссии  и определял срок
проведения экспертизы (приказ от _________ N _________).
 
    В результате работы экспертной комиссии, которая проводилась в
соответствии  с  Положением  о  порядке проведения государственной
экологической      экспертизы,      утвержденным    Постановлением
Правительства  Российской  Федерации от 11 июля 1996 года N 698, и
Регламентом  проведения  государственной экологической экспертизы,
утвержденным  Приказом Госкомэкологии России от 17.07.97 N 280, на
основании  индивидуальных заключений экспертов, заключений рабочих
групп  (если  таковые  были  организованы) было составлено сводное
заключение    экспертной    комиссии,    подписанное председателем
экспертной комиссии, ответственным секретарем и экспертами. Особых
мнений  нет  (имеются).  Работа  экспертной  комиссии  завершена в
установленный приказом срок _____________.
 
На   основании   подготовленного   заключения  экспертной комиссии
экспертное подразделение подготовило _____________________________
(когда)   проект   приказа   об  утверждении заключения экспертной
комиссии  государственной  экологической экспертизы и направило на
согласование в установленном порядке.
 
При   организации   и   проведении   государственной экологической
экспертизы   были   соблюдены   принципы экологической экспертизы,
указанные   в   статье   3   Федерального закона "Об экологической
                --------------------------------------------------
экспертизе".
-----------------
 
Ответственный секретарь     ___________________ (Ф.И.О.) Подпись
 
    Примечание.   В   каждом   конкретном   случае в справке могут
отражаться  иные дополнительные аспекты, указывающие на соблюдение
организационно-правовых   требований   проведения  государственной
экологической экспертизы.
 
 
 

Приложение 26
к Административному регламенту
Федеральной службы по экологическому,
технологическому и атомному надзору
и Федеральной службы по надзору
в сфере природопользования
исполнения государственной функции
по организации и проведению
государственной экологической
экспертизы

СПИСОК
ТЕРРИТОРИАЛЬНЫХ ОРГАНОВ РОСТЕХНАДЗОРА

Центральный федеральный округ

Наименование Телефоны Адрес
Московское межрегиональное территориальное управление технологического и экологического надзора Федеральной службы по экологическому, технологическому и атомному надзору (495) 254-10-55 123056, г. Москва, ул. Красина, д. 27, строение 1
mostehnadzor@mail.ru
Межрегиональное территориальное управление технологического и экологического надзора Федеральной службы по экологическому, технологическому и атомному надзору по Центральному федеральному округу (495) 928-27-35 103031, г. Москва, ул. Рождественка, д. 5/7
Управление по технологическому и экологическому надзору Федеральной службы по экологическому, технологическому и атомному надзору по Белгородской области (4722) 32-63-64 308001, г. Белгород, ул. Октябрьская, д. 58
Управление по технологическому и экологическому надзору Федеральной службы по экологическому, технологическому и атомному надзору по Брянской области (4832) 64-32-91 241007, г. Брянск, ул. 7-я Линия, д. 1
energi@online.debrynsk.ru
Управление по технологическому и экологическому надзору Федеральной службы по экологическому, технологическому и атомному надзору по Владимирской области (4922) 23-65-15 600009, г. Владимир, ул. Пионерская, д. 92
uvgen@uvgen.elcom.ru
Управление по технологическому и экологическому надзору Федеральной службы по экологическому, технологическому и атомному надзору по Воронежской области (4732) 63-26-12 394038, г. Воронеж, ул. Конструкторов, д. 82
Управление по технологическому и экологическому надзору Федеральной службы по экологическому, технологическому и атомному надзору по Ивановской области (4932) 41-60-99 153002, г. Иваново, ул. Калинина, д. 9/21
igen@com.ivanovo.ru
Управление по технологическому и экологическому надзору Федеральной службы по экологическому, технологическому и атомному надзору по Калужской области (4842) 55-50-80 248630, г. Калуга, ул. Чернышевского, д. 2
tehnadzor@kaluga.ru
Управление по технологическому и экологическому надзору Федеральной службы по экологическому, технологическому и атомному надзору по Костромской области (4942) 39-65-45 156961, г. Кострома, ул. Красноармейская, д. 8
gunadzor@kmtn.ru
Управление по технологическому и экологическому надзору Федеральной службы по экологическому, технологическому и атомному надзору по Курской области (4712) 58-02-71 305040, г. Курск, 4-й Трудовой переулок, д. 7
ggtnkursk@hotbox.ru
Управление по технологическому и экологическому надзору Федеральной службы по экологическому, технологическому и атомному надзору по Липецкой области (4742) 77-35-49 398005, г. Липецк, ул. Невского, д. 3
enadzor@liptugen.elektra.ru
Управление по технологическому и экологическому надзору Федеральной службы по экологическому, технологическому и атомному надзору по Орловской области (4862) 54-24-51 302010, г. Орел, ул. Авиационная, д. 1
contro@orel.ru
Управление по технологическому и экологическому надзору Федеральной службы по экологическому, технологическому и атомному надзору по Рязанской области (4912) 32-07-12 390037, г. Рязань, ул. Зубковой, д. 17, корп. 2
energo@nadzor.ryazan.ru
Управление по технологическому и экологическому надзору Федеральной службы по экологическому, технологическому и атомному надзору по Смоленской области (4812) 55-03-09 214014, г. Смоленск, ул. Чаплина, д. 12
rgti@keytown.com
Управление по технологическому и экологическому надзору Федеральной службы по экологическому, технологическому и атомному надзору по Тамбовской области (4752) 53-21-92 392036, г. Тамбов, ул. Советская, д. 191
gosnadzor@tamb.ru
Управление по технологическому и экологическому надзору Федеральной службы по экологическому, технологическому и атомному надзору по Тверской области (4822) 31-22-88 170021, г. Тверь, ул. Дачная, д. 73
touzpo@online.tver.ru
Управление по технологическому и экологическому надзору Федеральной службы по экологическому, технологическому и атомному надзору по Тульской области (4822) 36-26-35 300041, г. Тула, просп. Ленина, д. 40
Управление по технологическому и экологическому надзору Федеральной службы по экологическому, технологическому и атомному надзору по Ярославской области (4852) 21-77-94 150054, г. Ярославль, просп. Ленина, д. 61-а
gnadzor@yaroslavl.ru

Северо-Западный федеральный округ

Наименование Телефоны Адрес
Межрегиональное территориальное управление технологического и экологического надзора Федеральной службы по экологическому, технологическому и атомному надзору по Северо-Западному федеральному округу (812) 273-55-21 191028, г. Санкт-Петербург, ул. Моховая, д. 3
nw@gosnadzor.spb.ru
(812) 321-64-11 199034, г. Санкт-Петербург, Васильевский остров, 10-я линия, д. 3/30, корп. 1, лит. А
Управление по технологическому и экологическому надзору Федеральной службы по экологическому, технологическому и атомному надзору по Республике Карелия (8142) 78-01-49 185035, Республика Карелия, г. Петрозаводск, ул. Кирова, д. 5
enadz_uprav@onego.ru
Печорское межрегиональное управление по технологическому и экологическому надзору Федеральной службы по экологическому, технологическому и атомному надзору (82151) 7-33-54 169906, Республика Коми, Воркута, ул. Мира, д. 3-5
finansy@vorkuta.com
Управление по технологическому и экологическому надзору Федеральной службы по экологическому, технологическому и атомному надзору по Архангельской области (8182) 65-36-60 163000, г. Архангельск, Троицкий проспект, д. 94
kontrol@softmaster.ru
Управление по технологическому и экологическому надзору Федеральной службы по экологическому, технологическому и атомному надзору по Вологодской области (8172) 72-97-20 160001, г. Вологда, ул. Благовещенская, д. 23
GGTN@vologda.ru
Управление по технологическому и экологическому надзору Федеральной службы по экологическому, технологическому и атомному надзору по Калининградской области (4012) 57-96-00 236010, г. Калининград, просп. Победы, д. 61
Управление по технологическому и экологическому надзору Федеральной службы по экологическому, технологическому и атомному надзору по Мурманской области (8152) 25-46-91 183032, г. Мурманск, Кольский проспект, д. 1
kontrol@softmaster.ru
Управление по технологическому и экологическому надзору Федеральной службы по экологическому, технологическому и атомному надзору по Новгородской области (8162) 73-30-75 173003, г. Великий Новгород, ул. Германа, д. 25
novgen@novgorod.net
Управление по технологическому и экологическому надзору Федеральной службы по экологическому, технологическому и атомному надзору по Псковской области (8112) 72-43-35 180000, г. Псков, ул. Советская, д. 15-а
uugos@00ennadzor.pskoven elektra.ru

Южный федеральный округ

Наименование Телефоны Адрес
Межрегиональное территориальное управление технологического и экологического надзора Федеральной службы по экологическому, технологическому и атомному надзору по Южному федеральному округу (863) 238-52-41 344029, г. Ростов-на-Дону, ул. Селиванова, д. 66
Северо-Кавказское межрегиональное управление по технологическому и экологическому надзору Федеральной службы по экологическому, технологическому и атомному надзору (861) 259-61-15 350020, г. Краснодар, ул. Одесская, д. 42
upr@sko.nadzor.ru
http://sko.nadzor.ru
Управление по технологическому и экологическому надзору Федеральной службы по экологическому, технологическому и атомному надзору по Республике Дагестан (8722) 67-21-47 367002, Республика Дагестан, г. Махачкала, ул. Насрутдинова, д. 19
dgti@dinet.ru
duten@mail.ru
Управление по технологическому и экологическому надзору Федеральной службы по экологическому, технологическому и атомному надзору по Республике Ингушетия (8734) 44-49-23 386230, Республика Ингушетия, г. Карабулак, ул. Рабочая, д. 21-а
Aid2002@rambler.ru
Управление по технологическому и экологическому надзору Федеральной службы по экологическому, технологическому и атомному надзору по Кабардино-Балкарской Республике (8662) 44-24-24 360022, г. Нальчик, просп. Ленина, д. 67
kbuggtn@kbrnet.ru
Управление по технологическому и экологическому надзору Федеральной службы по экологическому, технологическому и атомному надзору по Карачаево-Черкесской Республике (678-22) 5-34-86 369000, г. Черкесск, ул. Первомайская, д. 47
nadzor@mail.svkchr.ru
Управление по технологическому и экологическому надзору Федеральной службы по экологическому, технологическому и атомному надзору по Республике Северная Осетия - Алания (8672) 52-05-97 362021, РСО-Алания, г. Владикавказ, ул. Иристонская, д. 25
sogti@mail.ru
Управление по технологическому и экологическому надзору Федеральной службы по экологическому, технологическому и атомному надзору по Чеченской Республике (8772) 22-26-41 364051, г. Грозный, ул. Исмаилова, д. 5
utenchr@mail.ru
Управление по технологическому и экологическому надзору Федеральной службы по экологическому, технологическому и атомному надзору по Ставропольскому краю (8652) 26-48-57 355012, г. Ставрополь, ул. Мира, д. 313
uten_a35@tzstv.ru
Управление по технологическому и экологическому надзору Федеральной службы по экологическому, технологическому и атомному надзору по Астраханской области (8512) 47-00-94 414022, г. Астрахань, ул. Звездная, д. 47, кор. 5
AstrNadzor@vail.ru
Нижне-Волжское межрегиональное управление по технологическому и экологическому надзору Федеральной службы по экологическому, технологическому и атомному надзору (8442) 94-58-58 400074, г. Волгоград, ул. Огарева, д. 15

Приволжский федеральный округ

Наименование Телефоны Адрес
Межрегиональное территориальное управление технологического и экологического надзора Федеральной службы по экологическому, технологическому и атомному надзору по Приволжскому федеральному округу (8312) 30-72-94 603000, г. Нижний Новгород, Гребешковский откос, д. 7
ggtn-nn@sandy.ru
Управление по технологическому и экологическому надзору Федеральной службы по экологическому, технологическому и атомному надзору по Республике Башкортостан (3472) 79-97-49 450064, г. Уфа, ул. Мира, д. 14
pto@bashnadzor.ru
Управление по технологическому и экологическому надзору Федеральной службы по экологическому, технологическому и атомному надзору по Республике Марий Эл (8362) 72-12-65 424003, г. Йошкар-Ола, ул. Суворова, д. 26-а
nadzor@mari-el.ru
Управление по технологическому и экологическому надзору Федеральной службы по экологическому, технологическому и атомному надзору по Республике Мордовия (8342) 32-80-12 430011, г. Саранск, ул. Полежаева, д. 171
Управление по технологическому и экологическому надзору Федеральной службы по экологическому, технологическому и атомному надзору по Республике Татарстан (8432) 36-55-65 420097, г. Казань, а/я 35, ул. Зинина, д. 4
Управление по технологическому и экологическому надзору Федеральной службы по экологическому, технологическому и атомному надзору по Удмуртской Республике (3412) 44-22-62 426050, г. Ижевск, ул. Дзержинского, д. 55
ugen@udmnet.ru
Управление по технологическому и экологическому надзору Федеральной службы по экологическому, технологическому и атомному надзору по Чувашской Республике (8352) 66-20-02 428034, Чувашская Республика, г. Чебоксары, ул. Чапаева, д. 7-а
chrgti@chtts.ru
Управление по технологическому и экологическому надзору Федеральной службы по экологическому, технологическому и атомному надзору по Кировской области (8352) 35-17-42 610027, г. Киров, ул. Володарского, д. 223
econom@kgen.insysnet.ru
Управление по технологическому и экологическому надзору Федеральной службы по экологическому, технологическому и атомному надзору по Оренбургской области (3532) 77-48-32 460024, г. Оренбург, ул. Аксакова, д. 3-а
Управление по технологическому и экологическому надзору Федеральной службы по экологическому, технологическому и атомному надзору по Пензенской области (8412) 56-27-30 44026, г. Пенза, ул. Лермонтова, д. 3
postmaster@energo.penza.ru
Пермское межрегиональное управление по технологическому и экологическому надзору Федеральной службы по экологическому, технологическому и атомному надзору (3422) 34-03-95 614990, г. Пермь, ГСП-95, ул. Комсомольская, д. 34-б
zuo@pstu.ru
Управление по технологическому и экологическому надзору Федеральной службы по экологическому, технологическому и атомному надзору по Самарской области (846) 997-20-38 443035, г. Самара, ул. Нагорная, д. 136-а
Управление по технологическому и экологическому надзору Федеральной службы по экологическому, технологическому и атомному надзору по Саратовской области (8452) 26-26-61 410012, г. Саратов, ул. Московская, д. 94
nadzor@mail.saratov.ru
Управление по технологическому и экологическому надзору Федеральной службы по экологическому, технологическому и атомному надзору по Ульяновской области (8422) 41-35-05 432980, г. Ульяновск, ул. Матросова, д. 24-а, а/я 5023
chen@ul.elektra.ru

Уральский федеральный округ

Наименование Телефоны Адрес
Межрегиональное территориальное управление технологического и экологического надзора Федеральной службы по экологическому, технологическому и атомному надзору по Уральскому федеральному округу (8343) 251-46-58 620144, г. Екатеринбург, ул. Большая, д. 97
info@rtn-ural.ru
Управление по технологическому и экологическому надзору Федеральной службы по экологическому, технологическому и атомному надзору по Курганской области (3522) 46-48-53 640000, г. Курган, просп. Машиностроителей, д. 20
ggtn@zaural.ru
Управление по технологическому и экологическому надзору Федеральной службы по экологическому, технологическому и атомному надзору по Тюменской области (3452) 49-98-05 625000, г. Тюмень, ул. Ленина, д. 67, а/я 10
uto@ggtn.tmn.ru
Управление по технологическому и экологическому надзору Федеральной службы по экологическому, технологическому и атомному надзору по Челябинской области (3512) 65-74-24 454080, г. Челябинск, просп. Ленина, д. 83
binbux@chel.surnet.ru
Управление по технологическому и экологическому надзору Федеральной службы по экологическому, технологическому и атомному надзору по Ханты-Мансийскому автономному округу - Югре (3462) 43-77-44 628406, Тюменская область, Ханты-Мансийский автономный округ, г. Сургут, ул. Губкина, д. 13-а
rgti@wsnet.ru
Управление по технологическому и экологическому надзору Федеральной службы по экологическому, технологическому и атомному надзору по Ямало-Ненецкому автономному округу (34964) 5-82-00 629810, г. Ноябрьск, ул. Изыскателей, д. 288

Сибирский федеральный округ

Наименование Телефоны Адрес
Межрегиональное территориальное управление технологического и экологического надзора Федеральной службы по экологическому, технологическому и атомному надзору по Сибирскому федеральному округу (3832) 22-26-30 630008, г. Новосибирск-8, ул. Толстого, д. 5
Алтайское межрегиональное управление по технологическому и экологическому надзору Федеральной службы по экологическому, технологическому и атомному надзору (3852) 36-16-32 656037, г. Барнаул, просп. Калинина, д. 65
Управление по технологическому и экологическому надзору Федеральной службы по экологическому, технологическому и атомному надзору по Республике Бурятия (3012) 29-45-50 670034, Республика Бурятия, г. Улан-Удэ, просп. 50 лет Октября, д. 28-а
Управление по технологическому и экологическому надзору Федеральной службы по экологическому, технологическому и атомному надзору по Респ. Хакасия (39022) 7-33-39 655011, Республика Хакасия, г. Абакан, ул. Пирятинская, д. 5-а
Енисейское межрегиональное управление по технологическому и экологическому надзору Федеральной службы по экологическому, технологическому и атомному надзору (3912) 27-53-38 660049, г. Красноярск, просп. Мира, д. 36
Иркутское межрегиональное управление по технологическому и экологическому надзору Федеральной службы по экологическому, технологическому и атомному надзору (3952) 21-86-55 664003, г. Иркутск, ул. Дзержинского, д. 1
Управление по технологическому и экологическому надзору Федеральной службы по экологическому, технологическому и атомному надзору по Кемеровской области (3842) 58-74-06 658099, г. Кемерово, просп. Советский, д. 63
Управление по технологическому и экологическому надзору Федеральной службы по экологическому, технологическому и атомному надзору по Омской области (3812) 24-28-14 644043, г. Омск, ул. Красный Путь, д. 89
Управление по технологическому и экологическому надзору Федеральной службы по экологическому, технологическому и атомному надзору по Томской области (3822) 55-72-88 634041, г. Томск, ул. Усова, д. 28-а
Читинское межрегиональное управление по технологическому и экологическому надзору Федеральной службы по экологическому, технологическому и атомному надзору (3022) 35-49-89 672038, г. Чита, ул. Тимирязева, д. 27-а, а/я 140

Дальневосточный федеральный округ

Наименование Телефоны Адрес
Межрегиональное территориальное управление технологического и экологического надзора Федеральной службы по экологическому, технологическому и атомному надзору по Дальневосточному федеральному округу (4212) 42-03-00 680000, г. Хабаровск, ул. Запарина, д. 76
Управление по технологическому и экологическому надзору Федеральной службы по экологическому, технологическому и атомному надзору по Республика Саха (Якутия) (4112) 42-26-38 677018, Республика Саха (Якутия), г. Якутск, ул. Кирова, д. 13
Управление по технологическому и экологическому надзору Федеральной службы по экологическому, технологическому и атомному надзору по Приморскому краю (4232) 41-20-18 690950, Приморский край, г. Владивосток, ул. Светланская, д. 1
Управление по технологическому и экологическому надзору Федеральной службы по экологическому, технологическому и атомному надзору по Амурской области (4162) 39-76-21 675002, г. Благовещенск, ул. Б. Хмельницкого, д. 8/2
Камчатское межрегиональное управление по технологическому и экологическому надзору Федеральной службы по экологическому, технологическому и атомному надзору (4152) 26-60-46 683031, г. Петропавловск-Камчатский, просп. Маркса, д. 35
Управление по технологическому и экологическому надзору Федеральной службы по экологическому, технологическому и атомному надзору по Магаданской области (413-22) 2-13-69 685000, г. Магадан, ул. Пролетарская, д. 11, к. 425
Управление по технологическому и экологическому надзору Федеральной службы по экологическому, технологическому и атомному надзору по Сахалинской области (4242) 72-15-70 693000, г. Южно-Сахалинск, ул. К. Маркса, д. 32
Управление по технологическому и экологическому надзору Федеральной службы по экологическому, технологическому и атомному надзору по Чукотскому автономному округу (427-22) 2-08-18 689000, г. Анадырь, ул. Отке, д. 34

Приложение 27
к Административному регламенту
Федеральной службы по экологическому,
технологическому и атомному надзору
и Федеральной службы по надзору
в сфере природопользования
исполнения государственной функции
по организации и проведению
государственной экологической
экспертизы

СПИСОК
ТЕРРИТОРИАЛЬНЫХ ОРГАНОВ РОСПРИРОДНАДЗОРА

Центральный федеральный округ
Региональное управление Федеральной службы по надзору в сфере природопользования по Центральному федеральному округу 117105, Россия, г. Москва, Варшавское шоссе, 39а
Тел.(495) 115-99-44, 960-21-28
cdpr@sovintel.ru
Управление Федеральной службы по надзору в сфере природопользования по Брянской области 241050, Россия, Брянская обл., г. Брянск, ул. Калинина, 34
Тел. (4832) 74-32-33
gupr@online.bryansk.ru
Управление Федеральной службы по надзору в сфере природопользования по Белгородской области 308000, Россия, Белгородская обл., г. Белгород, ул. Преображенская, 102
Тел. (4722) 32-00-56
gkbelknr@belnet.ru
Управление Федеральной службы по надзору в сфере природопользования по Владимирской области 600000, Россия, Владимирская обл., г. Владимир, ул. 2-я Никольская, 8
Тел. (4922) 32-46-84
nadzor@vtsnet.ru
Управление Федеральной службы по надзору в сфере природопользования по Воронежской области 394018, Россия, Воронежская обл., г. Воронеж, ул. Ломоносова, 105
Тел. (4732) 53-92-01
nadzor@comch.ru
Управление Федеральной службы по надзору в сфере природопользования по Ивановской области 153025, Россия, Ивановская обл., г. Иваново, ул. Дзержинского, 8
Тел. (4932) 42-02-64, 32-84-57
ivnadzor@tpi.ru
Управление Федеральной службы по надзору в сфере природопользования по Калужской области 248620, Россия, Калужская обл., г. Калуга, пер. Старичков, 2а
Тел. (4842) 56-35-05
kaluga.nadzor@mail.ru
Управление Федеральной службы по надзору в сфере природопользования по Костромской области 156003, Россия, г. Кострома, улица Коммунаров, дом 22
Тел. (4942) 55-36-21
uprprirod@kmtn.ru
Управление Федеральной службы по надзору в сфере природопользования по Курской области 305029, Россия, Курская обл., г. Курск, ул. К. Маркса, 53, офис 605
Тел. (4712) 58-00-92, 56-21-30
priroda@pub.sovtest.ru
Управление Федеральной службы по надзору в сфере природопользования по Липецкой области 398000, Россия, Липецкая обл., г. Липецк, пл. Плеханова, 1
Тел. (0742) 27-65-64
rospriroda@lipetsk.ru
Управление Федеральной службы по надзору в сфере природопользования по Орловской области 302001, Россия, Орловская обл., г. Орел, ул. Комсомольская, 33
Тел. (4862) 43-14-57
upr_orel@rekom.ru
Управление Федеральной службы по надзору в сфере природопользования по Рязанской области 390044, Россия, Рязанская обл., г. Рязань, Московское шоссе, 12
Тел. (4912) 55-87-42
admin@priroda.ryazan.ru
Управление Федеральной службы по надзору в сфере природопользования по Смоленской области 214004, Россия, Смоленская обл., г. Смоленск, ул. Николаева, 12б
Тел. (0812) 38-92-52
eko_buh@sci.smolensk.ru
Управление Федеральной службы по надзору в сфере природопользования по Тамбовской области 392036, Россия, Тамбовская обл., г. Тамбов, ул. Кронштадская, 7а
Тел. (4752) 77-00-20
rosprirodnadzor.tmb@mail.ru
Управление Федеральной службы по надзору в сфере природопользования по Тверской области 170000, Россия, Тверская обл., г. Тверь, Главпочтамт, а/я 339, Волоколамский пр-т, 3
Тел. (4822) 35-58-31
ecotver@tvcom.ru
Управление Федеральной службы по надзору в сфере природопользования по Тульской области 300041, Россия, Тульская обл., г. Тула, проспект Ленина, 38
Тел. (0872) 30-84-89
tulageol@tula.net (временно)
Управление Федеральной службы по надзору в сфере природопользования по Ярославской области 150055, Россия, Ярославская обл., г. Ярославль, ул. Красноборская, 8
Тел. (4852) 35-21-87
goskontrol_jar@mail.ru
Северо-Западный федеральный округ
Управление Федеральной службы по надзору в сфере природопользования по Северо-Западному федеральному округу 199155, Россия, г. Санкт-Петербург, а/я 31, ул. Одоевского, 24, корп. 1
Тел. (812) 351-88-05
dsc@dsc.nw.ru
Управление Федеральной службы по надзору в сфере природопользования по г. Санкт-Петербургу 194021, Россия, г. Санкт-Петербург, Литейный пр., д. 39
Тел. (812) 331-74-84
pochta@rpn-spblo.ru
Управление Федеральной службы по надзору в сфере природопользования по Лениградской области 194021, Россия, г. Санкт-Петербург, Литейный пр., д. 39
тел. (812) 331-74-84
E-mail: mailto:pochta@rpn-spblo.ru
Управление Федеральной службы по надзору в сфере природопользования по Республике Карелия 185035, Россия, Республика Карелия, г. Петрозаводск, ул. Дзержинского, 9
Тел. (8142) 78-47-74
ecolog@karelia.ru
Управление Федеральной службы по надзору в сфере природопользования по Республике Коми 167982, Россия, Республика Коми, г. Сыктывкар, ул. Интернациональная, 152
Тел. (8212) 21-53-06
Komieco@parma.ru
Управление Федеральной службы по надзору в сфере природопользования по Архангельской области 163045, Россия, г. Архангельск, Троицкий пр-т, 135
Тел. (8182) 65-62-79
gupr@ecolog.atnet.ru
Управление Федеральной службы по надзору в сфере природопользования по Вологодской области 160035, Россия, Вологодская обл., г. Вологда, ул. Зосимовская, д. 65
Тел. (8172) 75-31-36
kpr_admin@vologda.ru
Управление Федеральной службы по надзору в сфере природопользования по Калининградской области 236000, Россия, г. Калининград, Офицерская, д. 6
Тел. (0112) 53-82-67
comres@kaliningrad.ru
Управление Федеральной службы по надзору в сфере природопользования по Мурманской области 183042, Россия, Мурманская обл., г. Мурманск, пр-т Кольский, 24а
Тел. (8152) 56-16-19
office@tayga.murmansk.ru
Управление Федеральной службы по надзору в сфере природопользования по Новгородской области 173025, Россия, Новгородская обл., г. Великий Новгород, пр-т Мира, 22/25
Тел. (8162) 61-55-19, 61-83-42
viv@kpr.natm.ru
Управление Федеральной службы по надзору в сфере природопользования по Псковской области 180007, Россия, Псковская обл., г. Псков, ул. Конная, 10
Тел. (8112) 46-39-11
nature@ellink.ru
Управление Федеральной службы по надзору в сфере природопользования по Ненецкому АО 166001, Россия, Ненецкий АО, г. Нарьян-Мар, ул. Рабочая, 39а
Тел. (81853) 4-24-14, 4-15-91
gkuprnao@atnet.ru
Южный федеральный округ
Управление Федеральной службы по надзору в сфере природопользования по Южному федеральному округу 344090, Россия, г. Ростов-на-Дону, пр. Стачки, 200/1, корп. 3
Тел. (8632) 97-50-12
dpryug@aaanet.ru
Управление Федеральной службы по надзору в сфере природопользования по Республике Адыгея 385000, Россия, Республика Адыгея, г. Майкоп, ул. Гагарина, 52
Тел. (87722) 2-12-53
ecology@maykop.ru
Управление Федеральной службы по надзору в сфере природопользования по Республике Дагестан 367027, Россия, Республика Дагестан, г. Махачкала, ул. Буганова, 17б
Тел. (8722) 68-04-88
dagnadzor@icc-mt.net
Управление Федеральной службы по надзору в сфере природопользования по Республике Ингушетия 386202, Россия, Республика Ингушетия, Сунженский р-н, станица Орджоникидзевская, ул. Сейнароева, 122
Тел. (87341) 2-22-75
magasnedra@mail.ru
Управление Федеральной службы по надзору в сфере природопользования по Кабардино-Балкарской Республике 360030, Россия, Кабардино-Балкарская Республика, г. Нальчик, ул. Тарчокова, 18а Тел. (8662) 47-75-80, 47-45-72
priroda@kbsu.ru
nature@kbrnet.ru
Управление Федеральной службы по надзору в сфере природопользования по Республике Калмыкия 358000, Россия, Республика Калмыкия, г. Элиста, ул. Лермонтова, 4
Тел. (84722) 5-34-03
kalmupr@infotecset.ru
Управление Федеральной службы по надзору в сфере природопользования по Карачаево-Черкесской Республике 369000, Россия, Карачаево-Черкесская Республика, г. Черкесск, ул. Гагарина, 17
Тел. (87822) 6-68-43
kpr@mail.svkchr.ru
Управление Федеральной службы по надзору в сфере природопользования по Республике Северная Осетия - Алания 362021, Россия, Республика Северная Осетия - Алания, г. Владикавказ, ул. Иристонская, 25-а
Тел. (8672) 74-95-23
cnr@globalalania.ru
Управление Федеральной службы по надзору в сфере природопользования по Чеченской Республике 366900, Россия, Чеченская Республика, г. Гудермес, ул. Проезжая, 7
Тел. (87152) 2-22-93
Управление Федеральной службы по надзору в сфере природопользования по Краснодарскому краю 350063, Россия, г. Краснодар, ул. Красная, 19
Тел. (861) 268-62-30
alex@krasles.kuban.ru
Управление Федеральной службы по надзору в сфере природопользования по Ставропольскому краю 355006, Россия, Ставропольский край, г. Ставрополь, ул. Голенева, 18
Тел. (8652) 95-64-69
ufsnp@estav.ru
Управление Федеральной службы по надзору в сфере природопользования по Астраханской области 414000, Россия, Астраханская обл., г. Астрахань, ул. Бакинская, 113
Тел. (8512) 22-90-83
environ@astranet.ru
Управление Федеральной службы по надзору в сфере природопользования по Волгоградской области 400001, Россия, г. Волгоград, ул. Профсоюзная, 30
Тел. (8442) 97-08-96
uprnvol@.vlink.ru
vguprfin@vlink.ru
Управление Федеральной службы по надзору в сфере природопользования по Ростовской области 344066, Россия, г. Ростов-на-Дону, ул. Зеленая, 1-а
Тел. (863-2) 67-48-91, 67-92-49
guprrost@aaanet.ru
Приволжский федеральный округ
Управление Федеральной службы по надзору в сфере природопользования по Приволжскому федеральному округу 603086, Россия, Нижегородская обл., г. Нижний Новгород, б-р Мира, 11а
Тел. (8312) 46-54-30
dgk@privol-dgk.nnov.ru
Управление Федеральной службы по надзору в сфере природопользования по Республике Башкортостан 450006, Россия, Республика Башкортостан, г. Уфа, ул. Ленина, 86
Тел. (3472) 22-60-76
mprrb@ufanet.ru
Управление Федеральной службы по надзору в сфере природопользования по Республике Марий Эл 424034, Россия, Республика Марий Эл, г. Йошкар-Ола, Ленинский пр-т, 24а
Тел. (8362) 42-48-79
spring@mari-el.ru
Управление Федеральной службы по надзору в сфере природопользования по Республике Мордовия 430000, Россия, Республика Мордовия, г. Саранск, ул. Коммунистическая, 33 корп. 3, к. 319.
Тел. (8342) 32-78-71
prirodrm@mail.ru
Управление Федеральной службы по надзору в сфере природопользования по Республике Татарстан 420059, Россия, Республика Татарстан, г. Казань, ул. Оренбургский тракт, 20а
Тел. (8432) 77-82-55
tat@priroda.i-set.ru
Управление Федеральной службы по надзору в сфере природопользования по Удмуртской Республике 426051, Россия, Удмуртская Республика, г. Ижевск, ул. М. Горького, 73
Тел.(3412) 51-12-82
kpr_pfo@udmnet.ru
Управление Федеральной службы по надзору в сфере природопользования по Чувашской Республике 428024, Россия, Чувашская Республика, г. Чебоксары, пр-т Мира, 90, корп. 2
Тел. (8352) 56-24-01 (8352) 56-43-14
priroda@cap.ru
gupr@cbx.ru
Управление Федеральной службы по надзору в сфере природопользования по Кировской области 61003, Россия, Кировская обл., г. Киров, ул. Воровского, 78
Тел. (8332) 57-17-15
kirovnadzor@urpn.ru
Управление Федеральной службы по надзору в сфере природопользования по Нижегородской области 603600, Россия, г. Нижний Новгород, ул. Горького, 150
Тел. (831-2) 37-29-54
gupr_pressa@mail.ru
expert_nn@mail.ru
kontrol@dal.nnov.ru
Управление Федеральной службы по надзору в сфере природопользования по Оренбургской области 460040, Россия, Оренбургская обл., г. Оренбург, ул. 10 Линия, дом 2а
Тел. (3532) 70-49-50, 70-81-13
press@mail.esoo.ru
Управление Федеральной службы по надзору в сфере природопользования по Пензенской области 440018, Россия, Пензенская обл., г. Пенза, ул. Пушкина, 167б
Тел. (8412) 48-27-20
priroda@penza.com.ru
Управление Федеральной службы по надзору в сфере природопользования по Пермской области 614016, Россия, Пермская обл., г. Пермь, ул. Камчатовская, 5.
Тел. (3422) 44-62-12
prirodnadzor@perm.ru
Управление Федеральной службы по надзору в сфере природопользования по Самарской области 443010, Россия, Самарская обл., г. Самара, ул. Красноармейская, 21, к. 505ю
Тел. (8462) 32-90-90
smrnedra@mail.samtel.ru
Управление Федеральной службы по надзору в сфере природопользования по Саратовской области 410600, Россия, Саратовская обл., г. Саратов, ул. Московская, 70
Тел. (8452) 27-57-57
Saratovnedra@overta.ru
Управление Федеральной службы по надзору в сфере природопользования по Ульяновской области 432030, Россия, г. Ульяновск, ул. Подлесная, 24
Тел. (8422) 34-35-09
ulexpert@mv.ru
Управление Федеральной службы по надзору в сфере природопользования по 619000, Россия, Коми-Пермяцкий АО, Пермская обл., г. Кудымкар, ул. Советская, 32
Тел. (34260) 4-11-10
kudecol@permonline.ru
Уральский федеральный округ
Управление Федеральной службы по надзору в сфере природопользования по Уральскому федеральному округу 620014, Россия, Свердловская обл., г. Екатеринбург, ул. Вайнера, 55
Тел. (3432) 57-22-81
dgk@r66.ru
control@r66.ru
Управление Федеральной службы по надзору в сфере природопользования по Курганской области 640006, Россия, Курганская обл., г. Курган, ул. Сибирская, 3а
Тел. (3522) 53-22-77
nadzor@zaural.ru
Управление Федеральной службы по надзору в сфере природопользования по Свердловской области 620027, Россия, Свердловская обл., г. Екатеринбург, ул. Мамина-Сибиряка, 36
Тел. (343) 355-25-49
expert@envp.adx.ru
Управление Федеральной службы по надзору в сфере природопользования по Тюменской области 625000, Россия, Тюменская обл., г. Тюмень, ул. Республики, 55
Тел. (3452) 24-25-14
komles@tmn.ru
informnadzor@tmn.ru
Управление Федеральной службы по надзору в сфере природопользования по Челябинской области 454092, Россия, г. Челябинск, ул. Елькина, 75
Тел. (3512) 37-81-83
ecol@chel.surnet.ru
Управление Федеральной службы по надзору в сфере природопользования по Ханты-Мансийскому АО 628012, Россия, Ханты-Мансийский АО, г. Ханты-Мансийск, ул. Студенческая, 2
Тел. (34671) 5-32-00
nadzor@hmao.ru
Управление Федеральной службы по надзору в сфере природопользования по Ямало-Ненецкому АО 629008, Россия, Ямало-Ненецкий АО, г. Салехард, ул. Мира, 40, а/я 38
Тел. (34922) 4-51-30
yamaleco@yamalinfo.ru
Сибирский федеральный округ
Управление Федеральной службы по надзору в сфере природопользования по Сибирскому федеральному округу 630099, Россия, Новосибирская обл., г. Новосибирск, ул. Романова, 28
Тел. (3832) 22-44-10
kontrol@sibdgk.ru
Управление Федеральной службы по надзору в сфере природопользования по Республике Алтай 649000, Россия, Республика Алтай, г. Горно-Алтайск, ул. Чорос-Гуркина, 35, а/я 36
Тел. (388-22) 2-21-72
ecolog@mail.gorny.ru
Управление Федеральной службы по надзору в сфере природопользования по Республике Бурятия 670000, Россия, Республика Бурятия, г. Улан-Удэ, ул. Ленина, 57
Тел. (3012) 21-43-35
prnadzor@burnet.ru
Управление Федеральной службы по надзору в сфере природопользования по Республики Тыва 667010, Россия, Республика Тыва, г. Кызыл, ул. Московская, 2
Тел. (39422) 5-26-69
mprtuva@tuva.ru
Управление Федеральной службы по надзору в сфере природопользования по Республике Хакасия 655012, Россия, Республика Хакасия, г. Абакан, ул. Ленина, 67, а/я 722
Тел. (39022) 4-68-25
xpn@khakasnet.ru
Управление Федеральной службы по надзору в сфере природопользования по Алтайскому краю 656056, Россия, Алтайский край, г. Барнаул, ул. Пролетарская, 61
Тел. (3852) 35-37-76
altkpr@ab.ru
Управление Федеральной службы по надзору в сфере природопользования по Красноярскому краю 660049, Россия, Красноярский край, г. Красноярск, ул. К. Маркса, 62
Тел. (3912) 23-46-49, 23-32-92
UFSN@yarsknadzor.tptus.ru
Управление Федеральной службы по надзору в сфере природопользования по Иркутской области 664003, Россия, Иркутская обл., г. Иркутск, ул. Киевская, 7, а/я 205
Тел. (3952) 33-50-82
kprirkutsk@irk.ru
Управление Федеральной службы по надзору в сфере природопользования по Кемеровской области 650099, Россия, Кемеровская обл., г. Кемерово, ул. Ноградская, 19а
Тел. (3842) 25-93-54
kemkpr@kemnet.ru
Управление Федеральной службы по надзору в сфере природопользования по Новосибирской области 630091, Россия, Новосибирская обл., г. Новосибирск, ул. Каменская, 74
Тел. (3832) 94-31-38
control@gupr.myhost.ru
Управление Федеральной службы по надзору в сфере природопользования по Омской области 644007, Россия, Омская обл., г. Омск-07, ул. Герцена, 50
Тел. (3812) 25-57-01
omskprirodnadzor@ecomsk.xl.ru
Управление Федеральной службы по надзору в сфере природопользования по Томской области 634021, Россия, Томская обл., г. Томск, ул. Шевченко, 17 Тел. (3822) 44-28-75
gek@gupr.tomsk.gov.ru
guprmpr@gupr.tomsk.gov.ru
Управление Федеральной службы по надзору в сфере природопользования по Читинской области 672090, Россия, Читинская обл., г. Чита, ул. Амурская, 91/15
Тел. (3022) 35-46-19
rpn@geo.chita.ru
Управление Федеральной службы по надзору в сфере природопользования по Агинскому Бурятскому автономному округу 687000, Россия, Читинская область, п. Агинское, ул. Ленина, 71-12
Тел. (302-39) 3-49-41
uprabao@aginsk.chita.ru
Управление Федеральной службы по надзору в сфере природопользования по Таймырскому (Долгано-Ненецкому) автономному округу 663300, Россия, Таймырский (ДолганоНенецкий) АО, г. Норильск, Ленинский пр-т, 21 А, а/я 1388
Тел. (3919) 48-18-15
nadzorbuh@norcom.ru
Управление Федеральной службы по надзору в сфере природопользования по Усть-Ордынскому Бурятскому автономному округу 699001, Россия, Иркутская область, п. Усть-Ордынский, ул. Первомайская, 3, а/я 141
Тел. (395-41) 3-14-13
nadzor-uo@irmail.ru
Управление Федеральной службы по надзору в сфере природопользования по Эвенкийскому автономному округу 648000, Россия, Эвенкийский АО, пгт Тура, ул. Красноярская, 20 (юридич.)
660016, Россия, Красноярский край, г. Красноярск, ул. Гладкова, 2-а (почт.)
Тел. (3912) 63-63-17
evnadzor@cnrevenk.krsn.ru
Дальневосточный федеральный округ
Управление Федеральной службы по надзору в сфере природопользования по Дальневосточному федеральному округу 680000, Россия, Хабаровский край, г. Хабаровск, ул. Л. Толстого, 8
Тел. (4212) 32-79-74
dprdv@geolkom.khy.ru
Управление Федеральной службы по надзору в сфере природопользования по Республике Саха 677027, Россия, Республика Саха (Якутия), г. Якутск, ул. Орджоникидзе, 44/1
Тел. (4112) 42-36-06
ykt_upr@sakha.ru
Управление Федеральной службы по надзору в сфере природопользования по Приморскому краю 690000, Россия, Приморский край, г. Владивосток, Океанский пр-т, 31
690000, Россия, Приморский край, г. Владивосток, ул. Некрасовская, 53а
Тел. (4232) 40-78-08
prm@online.vladivostok.ru
Управление Федеральной службы по надзору в сфере природопользования по Хабаровскому краю 680021, Россия, Хабаровский край, г. Хабаровск, ул. Герасимова, 31
Тел. (4212) 34-24-61
golubeva@mail.redcom.ru
Управление Федеральной службы по надзору в сфере природопользования по Амурской области 675000, Россия, Амурская обл., г. Благовещенск, ул. Амурская, 221
Тел. (4162) 52-33-44
nadzor_p@amur.ru
Управление Федеральной службы по надзору в сфере природопользования по Камчатской области и Корякскому автономному округу 683016, Россия, Камчатская обл., г. Петропавловск-Камчатский, ул. Мишенная, 106
Тел. (41522) 3-92-07, 3-96-71
geolog@mail.kamchatka.ru
Управление Федеральной службы по надзору в сфере природопользования по Магаданской области 685000, Россия, Магаданская обл., г. Магадан, ул. Пролетарская, 11
Тел. (41322) 2-20-90
kpr@mfgi.magadan.ru
Управление Федеральной службы по надзору в сфере природопользования по Сахалинской области 693020, Россия, Сахалинская обл., г. Южно-Сахалинск, Коммунистический пр-т, 49
Тел. (4242) 42-24-59
geo@dige.dsc.ru
Управление Федеральной службы по надзору в сфере природопользования по Еврейской автономной области 668220, Россия, Еврейская автон. обл., г. Биробиджан, ул. Дзержинского, 26
Тел. (42622) 4-67-29
birkompr@on-line.jar.ru
Управление Федеральной службы по надзору в сфере природопользования по Чукотскому АО 686710, Россия, Чукотский АО, г. Анадырь, ул. Куркутского, 34
Тел. (42722) 2-48-10
resurs@anadyr.ru
novikov@kpr.chukotka.ru

Приложение 28
к Административному регламенту
Федеральной службы по экологическому,
технологическому и атомному надзору
и Федеральной службы по надзору
в сфере природопользования
исполнения государственной функции
по организации и проведению
государственной экологической
экспертизы

БАЗОВЫЕ КРИТЕРИИ ПО СЛОЖНОСТИ ОБЪЕКТОВ ГОСУДАРСТВЕННОЙ ЭКОЛОГИЧЕСКОЙ ЭКСПЕРТИЗЫ

Определение сложности объектов государственной экологической экспертизы осуществляется на основании нижеуказанных базовых критериев и с учетом трудоемкости экспертных работ, природных особенностей (условий) территории, экологической ситуации в районе намечаемой деятельности и масштаба воздействия намечаемой деятельности на окружающую среду.

Критерии по количеству привлекаемых экспертов:

более 11 человек - сложные объекты государственной экологической экспертизы;

до 11 человек - объекты государственной экологической экспертизы средней сложности;

от 3 человек - простые объекты государственной экологической экспертизы.

Критерии природных особенностей (условий) территории:

геоморфологическое и геолого-литологическое строение территории, наличие опасных геологических процессов и явлений (карст, оползни, суффозионные и просадочные явления и т.д.), природных геохимических аномалий;

гидрогеологические условия территории (основные водоносные горизонты, их распространение и мощность, область питания и разгрузки, запасы, качество вод, оценка естественной защищенности и т.д.);

гидрографическая сеть территории, гидрологическая характеристика и качественная оценка вод поверхностных источников (реки, ручьи, озера, пруды и т.д.);

климатическая характеристика местности;

экологически допустимые объемы безвозвратного изъятия поверхностного стока;

сведения о наличии подтопления территории, провоз развития и оценка ущерба от подтопления;

геологические процессы и оценка опасности возникновения стихийных бедствий и катастроф (землетрясения, наводнения, обвалы, оползни и т.д.).

Критерии экологической ситуации в районе намечаемой деятельности:

современное состояние растительного покрова;

наличие редких, эндемичных и занесенных в Красную книгу видов растений и растительных сообществ;

современное состояние животного мира;

современное состояние водной и наземной фауны (видовой состав, численность, пути миграции, наличие редких, эндемичных и занесенных в Красную книгу видов животных и т.д.);

состояние земель, их функциональное назначение и статус;

природное/измененное состояние ландшафтов;

наличие и состояние особо охраняемых природных территорий и объектов (природные заповедники, заказники, национальные парки, памятники природы и др.);

рекреационные зоны и зоны традиционного природопользования;

водоохранные зоны;

уязвимость природной среды;

имеющийся уровень загрязнения территории;

наличие зоны экологического бедствия/зоны чрезвычайных ситуаций.

Критерии по масштабу воздействия намечаемой деятельности на окружающую среду:

Национальный: охватывает экономические регионы России (например, Центр, Западная Сибирь, Урал и т.д.);

Региональный: охватывает город, регион или территорию субъекта Российской Федерации;

Местный: охватывает территорию микрорайона, села, муниципального образования;

Локальный: охватывает промышленную зону предприятия.