Единообразные предписания, касающиеся сертификации транспортных средств в отношении приспособлений для крепления ремней безопасности. ГОСТ р 41.14-2003 (Правила ЕЭК ООН N 14)

(утв. Постановлением Госстандарта РФ от 08.12.2003 N 351-СТ)
Редакция от 08.12.2003 — Документ не действует

НАЦИОНАЛЬНЫЙ СТАНДАРТ РОССИЙСКОЙ ФЕДЕРАЦИИ

ЕДИНООБРАЗНЫЕ ПРЕДПИСАНИЯ, КАСАЮЩИЕСЯ СЕРТИФИКАЦИИ ТРАНСПОРТНЫХ СРЕДСТВ В ОТНОШЕНИИ ПРИСПОСОБЛЕНИЙ ДЛЯ КРЕПЛЕНИЯ РЕМНЕЙ БЕЗОПАСНОСТИ

Uniform provisions concerning the approval of vehicles with regard to safety-belt anchorages

ГОСТ Р 41.14-2003
(Правила ЕЭК ООН N 14)

ОКП 45 4000
ОКС 43.040.60

Группа Д21
Дата введения 2004-07-01

Предисловие

1 РАЗРАБОТАН Всероссийским научно-исследовательским институтом стандартизации и сертификации в машиностроении (ВНИИНМАШ)

ВНЕСЕН Госстандартом России

2 УТВЕРЖДЕН И ВВЕДЕН В ДЕЙСТВИЕ Постановлением Госстандарта России от 8 декабря 2003 г. N 351-ст

3 Настоящий стандарт идентичен Правилам ЕЭК ООН N 14 "Единообразные предписания, касающиеся официального утверждения транспортных средств в отношении приспособлений для крепления ремней безопасности", включая поправки серии 05

4 ВЗАМЕН ГОСТ Р 41.14-99

ВНЕСЕНА поправка, опубликованная в ИУС N 12, 2007 год

1 Область применения

Настоящий стандарт применяется к приспособлениям для крепления ремней безопасности, предназначенных для взрослых пассажиров, занимающих расположенные в направлении или против направления движения сиденья транспортных средств категорий М и N.

1а Нормативные ссылки

В настоящем стандарте использованы ссылки на следующие стандарты:

ГОСТ Р 41.16-2001 (Правила ЕЭК ООН N 16) Единообразные предписания, касающиеся официального утверждения: I ремней безопасности и удерживающих систем для пассажиров и водителей механических транспортных средств; II транспортных средств, оснащенных ремнями безопасности

ГОСТ Р 41.21-99 (Правила ЕЭК ООН N 21) Единообразные предписания, касающиеся официального утверждения транспортных средств в отношении их внутреннего оборудования

ГОСТ Р 41.41-2001 (Правила ЕЭК ООН N 41) Единообразные предписания, касающиеся официального утверждения мотоциклов в связи с производимым ими шумом

ГОСТ Р 41.80-99 (Правила ЕЭК ООН N 80) Единообразные предписания, касающиеся официального утверждения сидений крупногабаритных пассажирских транспортных средств и официального утверждения этих транспортных средств в отношении прочности сидений и их креплений

ГОСТ Р 41.94-99 (Правила ЕЭК ООН N 94) Единообразные предписания, касающиеся официального утверждения транспортных средств в отношении защиты водителя и пассажиров в случае лобового столкновения

ГОСТ Р 50460-92 Знак соответствия при обязательной сертификации. Форма, размеры и технические требования

ГОСТ Р 52051-2003 Механические транспортные средства и прицепы. Классификация и определения

2 Термины и определения

В настоящем стандарте применяют следующие термины с соответствующими определениями:

2.1 сертификация транспортного средства: Сертификация транспортного средства, оборудованного приспособлениями для крепления ремней безопасности данных типов.

2.2 тип транспортного средства: Механические транспортные средства, не имеющие между собой существенных различий, касающихся, в частности: размеров, формы и материалов тех элементов конструкции кузова транспортного средства или каркаса сиденья, на которых установлены приспособления для крепления ремней и если прочность приспособлений для крепления испытывается в соответствии с динамическим испытанием, характеристик любого элемента удерживающей системы, особенно функции ограничителя нагрузки, которые могут оказать воздействие на усилия, прилагаемые к приспособлениям для крепления ремней безопасности.

2.3 приспособление для крепления ремней: Элементы конструкции кузова транспортного средства или каркаса сиденья или любые другие элементы транспортного средства, к которым крепятся ремни.

2.4 точка эффективного крепления ремня: Точка, используемая для определения обычным способом, как указано в 5.4, угла, который образует каждый элемент привязного ремня безопасности по отношению к пользователю, т.е. та точка, к которой необходимо было бы прикрепить лямку, чтобы обеспечить такое расположение ремня, какое он имеет в рабочем положении и которое может совпадать или не совпадать с точкой фактического крепления ремня в зависимости от конфигурации жестких элементов ремня безопасности в месте его присоединения к приспособлению для крепления.

2.4.1 например, в случае:

2.4.1.1 если ремень безопасности имеет жесткий элемент, который присоединяется к приспособлению для крепления в нижней точке либо жестко, либо с помощью шарнира; точкой эффективного крепления ремня для всех регулируемых положений сиденья является точка, в которой лямка крепится к этому жесткому элементу;

2.4.1.2 если имеется направляющий кронштейн, прикрепленный к кузову транспортного средства или к каркасу сиденья; точкой эффективного крепления ремня считается средняя точка направляющего устройства в том месте, где лямка выходит из него со стороны пользователя;

2.4.1.3 если при отсутствии направляющего устройства для лямки ремень проходит от пользователя непосредственно к втягивающему устройству, прикрепленному к кузову транспортного средства или к каркасу сиденья; точкой эффективного крепления ремня считается пересечение оси катушки, на которую наматывается лямка, с плоскостью, проходящей через центральную линию лямки на катушке;

2.5 пол: Нижняя часть кузова транспортного средства, связывающая его боковые стенки. В этом смысле в понятие "пол" включаются ребра жесткости, штампованные профили и другие возможные силовые элементы, даже если они находятся под полом, например такие, как лонжероны и поперечины.

2.6 сиденье: Конструкция, включая обивку, являющаяся или не являющаяся частью кузова транспортного средства и предназначенная для посадки взрослого человека. В этот термин включаются как отдельное сиденье, так и часть многоместного сиденья, предназначенная для посадки одного человека.

2.6.1 переднее сиденье для пассажира: Любое сиденье, точка H которого находится на вертикальной поперечной плоскости, проходящей через точку R сиденья водителя, или перед ней.

2.7 группа сидений: Сиденья либо нераздельные, либо раздельные, но расположенные рядом (т.е. без промежутка между ними) таким образом, что передние крепления одного сиденья находятся:

- на одном уровне или впереди задних креплений другого сиденья или

- на одном уровне или позади передних креплений этого другого сиденья и предназначены для посадки одного или более взрослых человек.

2.8 многоместное нераздельное сиденье: Конструкция, включающая обивку, предназначенная для посадки двух или более взрослых человек.

2.9 откидное сиденье: Дополнительное сиденье, которое предназначено для нерегулярного использования и, как правило, находится в сложенном состоянии.

2.10 тип сиденья: Категория сидений, не имеющих между собой существенных различий, касающихся:

2.10.1 формы, размеров конструкции сиденья и материалов, из которых оно изготовлено;

2.10.2 типа и размеров системы регулирования и всех систем блокировки;

2.10.3 типа и размеров приспособлений для крепления ремней на сиденье, крепления сиденья и связанных с ними частей конструкции транспортного средства.

2.11 крепление сиденья: Подразумевается система крепления каркаса сиденья к кузову (кабине) транспортного средства, включая соответствующие элементы кузова (кабины) транспортного средства.

2.12 система регулирования: Устройство, при помощи которого сиденье или его части могут устанавливаться в положения, соответствующие пропорциям сидящего человека; в частности, это устройство может обеспечить возможность:

2.12.1 продольного перемещения;

2.12.2 вертикального перемещения;

2.12.3 углового перемещения.

2.13 система перемещения: Приспособление, позволяющее перемещать или поворачивать сиденье или его часть без установки в промежуточное фиксированное положение с целью облегчения доступа к пространству, расположенному за данным сиденьем.

2.14 система блокировки: Приспособление, обеспечивающее удержание сиденья и его частей в любом рабочем положении и имеющее механизмы блокировки спинки по отношению к сиденью и сиденья по отношению к транспортному средству.

2.15 исходная зона: Пространство между двумя вертикальными продольными плоскостями, расположенными на расстоянии 400 мм друг от друга симметрично точке H, которое определяется качением вокруг точки H модели головы из вертикального в горизонтальное положение в соответствии с приложением А к ГОСТ Р 41.21. Эта модель головы устанавливается, как указано в этом приложении, на максимальном расстоянии 840 мм от точки поворота.

2.16 средство ограничения нагрузки на грудную клетку: Любая часть ремня безопасности и/или сиденья, и/или транспортного средства, предназначенная для ограничения усилий удерживания, воздействующих на грудную клетку водителя или пассажиров в случае столкновения.

3 Заявка на сертификацию

3.1 Заявка на сертификацию транспортного средства в отношении приспособлений для крепления ремня безопасности представляется предприятием-изготовителем транспортного средства или его надлежащим образом уполномоченным представителем.

3.2 К каждой заявке должны быть приложены перечисленные ниже документы в трех экземплярах:

3.2.1 чертежи, дающие общий вид конструкции кузова транспортного средства в соответствующем масштабе с указанием мест расположения эффективных точек крепления ремня (в случае необходимости) и подробные чертежи приспособлений для крепления ремней и мест, в которых крепятся эти приспособления;

3.2.2 сведения об использованных материалах, от которых может зависеть прочность приспособлений для крепления ремня;

3.2.3 техническое описание приспособлений для крепления ремня;

3.2.4 если приспособления для крепления ремней крепятся к каркасу сиденья:

3.2.4.1 подробное описание типа транспортного средства в отношении конструкции сидений, их креплений и систем их регулирования и фиксирования;

3.2.4.2 подробные и в соответствующем масштабе чертежи сидений, их креплений к транспортному средству и систем их регулирования и фиксирования;

3.2.5 свидетельство о том, что ремень безопасности или удерживающая система, используемые во время испытания приспособления для крепления, соответствует ГОСТ Р 14.16* в том случае, если изготовитель легкового автомобиля выбирает альтернативное динамическое испытание на прочность.

Официальный источник электронного документа содержит неточность: имеется ввиду ГОСТ Р 41.16.

3.3 Испытательной лаборатории, уполномоченной проводить испытания для сертификации, должны быть представлены, по усмотрению предприятия-изготовителя, либо транспортное средство типа, подлежащего сертификации, либо такие его части, которые эта испытательная лаборатория считает существенными с точки зрения испытаний приспособлений для крепления ремня.

4 Предоставление сертификата соответствия

4.1 Если транспортное средство, представленное на сертификацию, удовлетворяет требованиям настоящего стандарта, то оно считается сертифицированным.

4.2 Каждому сертифицированному типу транспортного средства выдают сертификат соответствия, в котором указывают обозначение стандарта (ГОСТ Р 41.14).

4.3 Сертификат соответствия типа транспортного средства должен включать информацию по образцу, приведенному в приложении А, в соответствии с данными, представленными предприятием, сделавшим заявку на сертификацию.

4.4 На каждом транспортном средстве, соответствующем сертифицированному на соответствие настоящему стандарту, должна быть проставлена на видном и легкодоступном месте, указанном в сертификате соответствия, маркировка, состоящая из:

4.4.1 знака соответствия по ГОСТ Р 50460;

4.4.2 обозначения стандарта.

4.5 Если транспортное средство соответствует типу транспортного средства, сертифицированному на основании другого стандарта, то обозначение, указанное в 4.4.1, не повторяют. В этом случае номера стандартов и сертификатов, а также дополнительные обозначения всех стандартов, на соответствие которым сертифицировано транспортное средство, должны быть расположены вертикальными колонками справа от обозначения, предусмотренного в 4.4.1.

4.6 Знак соответствия должен быть четким и нестираемым.

4.7 Знак соответствия помещают рядом с прикрепляемой предприятием-изготовителем табличкой, на которой приведены характеристики транспортного средства, или наносят на эту табличку.

4.8 Схема маркировки приведена в приложении Б.

5 Технические требования

5.1 Определения (см. приложение В)

5.1.1 Точка H является исходной точкой, определенной в Г.2.3.

5.1.1.1 Точка H' является исходной точкой, которая соответствует точке H и которая определяется для всех нормальных рабочих положений сиденья.

5.1.1.2 Точка R является исходной точкой сиденья, определенной в Г.2.4.

5.1.2 Определение трехмерной системы координат - по приложению Г.

5.1.3 Точки L1 и L2 представляют собой нижние точки эффективного крепления.

5.1.4 Точка C расположена по вертикали от точки R на расстоянии 450 мм. Однако если расстояние S, определенное в 5.1.6, составляет не менее 280 мм и если предприятие-изготовитель использует другую возможную формулу BR=260 мм+0,8S, приведенную в 5.4.3.3, то расстояние по вертикали между C и R должно составлять 500 мм.

5.1.5 Углы альфа1 и альфа2 образованы горизонтальной плоскостью и плоскостями, перпендикулярными к среднему продольному сечению транспортного средства и проходящими через точки H', L1 и L2.

5.1.6 S - расстояние в миллиметрах от верхней точки эффективного крепления ремня до исходной плоскости P, параллельной среднему продольному сечению транспортного средства и определяемой следующим образом.

5.1.6.1 Если сидячее положение точно определяется формой сиденья, то плоскость P представляет собой среднее сечение этого сиденья.

5.1.6.2 При отсутствии точного определения этого положения:

5.1.6.2.1 плоскостью P для сиденья водителя является плоскость, параллельная среднему продольному сечению транспортного средства и проходящая вертикально через центр рулевого колеса в его среднем положении, в случае если оно регулируется;

5.1.6.2.2 плоскостью P для пассажира, расположенного впереди на боковом сидячем месте, является плоскость, симметричная той, которая определена для водителя;

5.1.6.2.3 плоскость P для бокового сидячего места на заднем сиденье устанавливается предприятием-изготовителем при условии соблюдения следующих пределов для расстояния A между средним продольным сечением транспортного средства и плоскостью P:

A>200 мм, если нераздельное сиденье рассчитано только на двух пассажиров;

A>300 мм, если нераздельное сиденье рассчитано более чем на двух пассажиров.

5.2 Общие спецификации

5.2.1 Приспособления для крепления ремней безопасности должны быть спроектированы, сконструированы и расположены таким образом:

5.2.1.1 чтобы они допускали установку соответствующего ремня безопасности. Приспособления для крепления, относящиеся к передним боковым сиденьям, должны обеспечивать возможность использования ремней безопасности, оснащенных втягивающим устройством с направляющим кронштейном с учетом, в частности, прочностных характеристик этих приспособлений для крепления, если только предприятие-изготовитель не поставляет транспортное средство, оснащенное ремнями безопасности других типов со втягивающими устройствами;

5.2.1.2 чтобы они уменьшали до минимума возможность соскальзывания ремня при его правильном использовании;

5.2.1.3 чтобы снизить до минимума опасность повреждения лямки в результате контакта с острыми жесткими частями транспортного средства или каркаса сиденья;

5.2.1.4 чтобы в нормальных условиях использования транспортное средство удовлетворяло требованиям настоящего стандарта.

5.2.2 В отношении приспособлений для крепления, которые занимают различные положения для облегчения посадки в транспортное средство и для удерживания находящихся в нем лиц, требования настоящего стандарта применяются к приспособлениям для крепления при эффективном удерживающем положении.

5.3 Минимальное предусматриваемое число точек крепления ремня

5.3.1 Любое транспортное средство категорий М и N (за исключением транспортных средств категорий M2 и M3, которые предназначены для использования в городских условиях и перевозки стоящих пассажиров) должно быть оборудовано креплениями для ремней безопасности, отвечающими требованиям настоящего стандарта.

5.3.1.1 Крепления системы ремня ранцевого типа, сертифицированной в качестве ремня типа S (с втягивающим(и) устройством(ами) или без него(них) на основании ГОСТ Р 41.16, должны соответствовать требованиям настоящего стандарта, однако на дополнительное(ые) крепление(я), предусмотренное(ые) для пристяжной лямки (комплекта), требования настоящего стандарта, касающиеся прочности и месторасположения, не распространяются.

5.3.2 Минимальное число точек крепления ремня безопасности для каждого места для сидения, расположенного по направлению и против направления движения, должно соответствовать указанному в приложении Е.

5.3.3 Однако для не относящихся к передним боковым местам для сидения транспортных средств категории M1, обозначенных в приложении Е знаком ДИАМЕТР', допускается крепление ремня в двух нижних точках, если между сиденьем и ближайшей боковой стенкой транспортного средства имеется проход, обеспечивающий пассажирам доступ в другие части транспортного средства.

Пространство между сиденьем и боковой стенкой считают проходом, если при всех закрытых дверях расстояние от этой стенки до вертикальной продольной плоскости, проходящей через центральную линию соответствующего сиденья, измеренное относительно точки R, перпендикулярно к среднему продольному сечению транспортного средства, и составляет более 500 мм.

5.3.4 Для передних центральных мест для сидения, указанных в приложении Д и обозначенных знаком *, считают достаточным наличие двух нижних точек крепления, если лобовое стекло находится за пределами исходной зоны, определенной ГОСТ Р 41.21, приложение А; если оно находится в пределах исходной зоны, то необходимы три крепления.

Что касается точек крепления ремней безопасности, то лобовое стекло рассматривают как часть этой исходной зоны в том случае, если оно может войти в статическое соприкосновение с испытательным устройством в соответствии с методикой, изложенной в ГОСТ Р 41.21, приложение А.

5.3.5 Для каждого места для сидения, обозначенного в приложении Д символом =, должны быть предусмотрены три точки крепления. Могут быть предусмотрены две точки крепления, если соблюдается одно из следующих условий:

5.3.5.1 непосредственно впереди расположено сиденье или другие части транспортного средства в соответствии с ГОСТ Р 41.80, 3.5 дополнения А;

5.3.5.2 ни одна из частей транспортного средства не находится в исходной зоне или не может оказаться в исходной зоне во время движения транспортного средства;

5.3.5.3 части транспортного средства, находящиеся в вышеуказанной исходной зоне, отвечают требованиям в отношении поглощения энергии, изложенным в ГОСТ Р 41.80, дополнение 6.

5.3.6 Для всех откидных сидений или мест для сидения, предназначенных исключительно для использования во время стоянки транспортного средства, а также для всех сидений любого транспортного средства, не указанных в 5.3.1-5.3.4, наличие каких-либо креплений для ремней безопасности не требуется. Однако если в транспортном средстве на таких сиденьях имеются крепления для ремней безопасности, то они должны отвечать требованиям настоящего стандарта. В этом случае достаточно наличия двух нижних приспособлений для крепления.

5.3.7 В случае верхнего этажа двухэтажного транспортного средства требования стандарта в отношении центрального переднего места для сидения применяются также для передних боковых мест для сидения.

5.3.8 В случае сидений, которые могут поворачиваться или устанавливаться в других направлениях для использования во время стоянки транспортного средства, требования 5.3.1 применяются только в отношении направлений, предназначенных для обычного использования во время движения транспортного средства по дороге, как это предусмотрено настоящим стандартом. В руководство по эксплуатации должно быть включено соответствующее примечание.

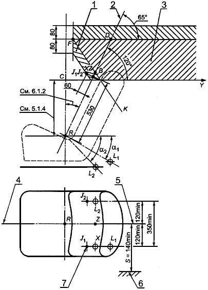
5.4 Расположение приспособлений для крепления ремня (см. рисунок B.1)

5.4.1 Общие положения

5.4.1.1 Все приспособления для крепления одного и того же ремня могут располагаться либо на кузове (кабине) транспортного средства, либо на каркасе сиденья, либо на любой другой части транспортного средства или же распределяться между этими местами.

5.4.1.2 Одно и то же приспособление для крепления может использоваться для прикрепления концов двух смежных ремней безопасности при условии соответствия требованиям испытаний.

5.4.2 Расположение нижних эффективных точек крепления

5.4.2.1 Передние сиденья транспортных средств категории M1

В случае автотранспортных средств категории M1 угол альфа1 (со стороны, противоположной пряжке) должен составлять 30°-80°, а угол альфа2 (со стороны пряжки) - 45°-80°. Оба требования в отношении величины угла должны соблюдаться при всех нормальных положениях перемещения передних сидений. Если, по крайней мере, один из углов альфа1 и альфа2 является постоянным (например, крепление установлено на сиденье) при всех нормальных положениях использования, то этот угол должен быть равен 60°+-10°. В случае сидений, которые регулируются при помощи устройства, определенного в 2.12, и угол спинки которых менее 20° (см. рисунок B.1), угол альфа1 может быть меньше установленного выше минимального значения (30°) при условии, что он будет не менее 20° при любом нормальном положении использования.

5.4.2.2 Задние сиденья транспортных средств категории M1

В случае автотранспортных средств категории M1, для всех задних сидений углы альфа1 и альфа2 должны составлять 30°-80°. В случае регулируемых задних сидений вышеупомянутые величины углов должны соблюдаться при всех нормальных положениях перемещения.

5.4.2.3 Передние сиденья транспортных средств, не относящихся к категории M1

В случае автотранспортных средств, не входящих в категорию M1, углы альфа1 и альфа2 должны составлять 30°-80° при всех нормальных положениях перемещения передних сидений. Если в случае передних сидений транспортных средств с максимальной массой не более 3,5 т, по крайней мере, один из углов альфа1 и альфа2 является постоянным (например, крепление установлено на сиденье) при всех нормальных положениях использования, то его значение должно составлять 60°+-10°.

5.4.2.4 Задние сиденья и специальные передние или задние сиденья транспортных средств, не относящихся к категории M1

Для транспортных средств, не относящихся к категории M1, в случае:

- многоместных нераздельных сидений;

- регулируемых сидений (передних и задних), которые оснащены устройством регулирования, определенным в 2.12, и угол спинки которых составляет менее 20° (рисунок 1), и прочих задних сидений;

- углы альфа1 и альфа2 могут составлять 20°-80° при любом нормальном положении использования. Если в случае передних сидений транспортных средств с максимальной массой не более 3,5 т, по крайней мере, один из углов альфа1 и альфа2 является постоянным (например, крепление установлено на сиденье) при всех нормальных положениях использования, то его значение должно составлять 60°+-10°.

В случае сидений транспортных средств категорий M2 и M3, за исключением передних сидений, углы альфа1 и альфа2 должны составлять 45°-90° для всех обычных положений использования.

5.4.2.5 Расстояние между двумя вертикальными плоскостями, параллельными центральной плоскости симметрии транспортного средства, и каждая из которых проходит через одну из двух нижних точек эффективного крепления (L1 и L2), должно быть не менее 350 мм. В случае наличия любого варианта места для третьего среднего пассажира на заднем ряде сидений транспортных средств категорий M1 и N1 вышеупомянутое расстояние не должно превышать 240 мм, если только центральное заднее сиденье нельзя поменять с каким-либо из других сидений транспортного средства. Среднее продольное сечение сиденья должно проходить между точками L1 и L2 на расстоянии не менее 120 мм от этих точек.

5.4.3 Положение верхних точек эффективного крепления ремня (приложение В)

5.4.3.1 В случае использования направляющего элемента ремня или аналогичного приспособления, которое оказывает влияние на положение верхней точки эффективного крепления ремня, это положение определяется обычным способом по положению крепления, когда центральная продольная линия лямки проходит через точку J1, положение которой последовательно определяется по точке R с помощью трех следующих отрезков:

RZ - отрезок исходной линии туловища длиной 530 мм, измеряемый вверх от точки R;

ZX - отрезок длиной 120 мм, перпендикулярный к средней продольной плоскости транспортного средства и измеряемый от точки Z в направлении крепления;

XJ1 - отрезок длиной 60 мм, перпендикулярный к плоскости, проходящей через отрезки RZ и ZX, и измеряемый от точки X по направлению к передней части.

Точка J2 расположена симметрично точке J1 по отношению к продольной плоскости, вертикально пересекающей определенную в 5.1.2 исходную линию туловища манекена, помещенного на рассматриваемом сиденье.

Если для обеспечения доступа к передним и задним сиденьям используют двустворчатую дверную конструкцию, а верхняя точка крепления находится на стойке В, то конструкция системы не должна препятствовать свободному входу в транспортное средство и выходу из него.

5.4.3.2 Верхняя точка эффективного крепления ремня должна находиться под плоскостью FN, перпендикулярной к средней продольной плоскости сиденья и образующей угол 65° с исходной линией туловища. Для заднего сиденья этот угол может быть уменьшен до 60°. Плоскость FN должна пересекать исходную ось в точке D так, чтобы DR=315 мм+1,8 S. Однако если S<200 мм, то DR=675 мм.

5.4.3.3 Верхняя точка эффективного крепления ремня должна находиться за плоскостью FK, перпендикулярной к средней продольной плоскости сиденья и пересекающей исходную линию туловища под углом 120° в точке B таким образом, что BR=260 мм+S. Если S>280 мм, то предприятие-изготовитель может использовать по своему усмотрению BR=260 мм+0,8 S.

5.4.3.4 S - не менее 140 мм.

5.4.3.5 Верхняя точка эффективного крепления ремня должна располагаться позади вертикальной плоскости, перпендикулярной к среднему продольному сечению транспортного средства и проходящей через точку R, как показано на рисунках приложения В.

5.4.3.6 Верхняя точка эффективного крепления ремня должна располагаться выше горизонтальной плоскости, проходящей через точку C, определенную в 5.1.4.

5.4.3.7 Кроме верхних точек крепления ремня, указанных в 5.4.3.1, могут быть предусмотрены другие точки эффективного крепления ремня, если они отвечают следующим условиям.

5.4.3.7.1 Дополнительные приспособления для крепления должны соответствовать требованиям 5.4.3.1-5.4.3.6.

5.4.3.7.2 Дополнительные приспособления для крепления могут быть использованы без применения инструментов, должны соответствовать 5.4.3.5 и 5.4.3.6 и располагаться в одной из зон, определенных путем перемещения зоны, указанной на рисунке B.1, на 80 мм вверх или вниз в вертикальном направлении.

5.4.3.7.3 Приспособление или приспособления для крепления, предназначенные для привязных ремней безопасности, должны соответствовать 5.4.3.6, если они расположены позади поперечной плоскости, проходящей через исходную линию, и расположены:

5.4.3.7.3.1 в случае только одного приспособления для крепления ремней безопасности в зоне, общей для двухгранных углов, ограниченных вертикалями, которые проходят через точки J1 и J2, определенные в 5.4.3.1, и горизонтальные сечения которых определены на рисунке В.2.

5.4.3.7.3.2 в случае двух приспособлений для крепления ремней безопасности - в одном из соответствующих двухгранных углов, определенных выше, при условии, что ни одно приспособление для крепления ремней безопасности не располагается на расстоянии более 50 мм от точки симметрии, расположенной против другого приспособления для крепления по отношению к определенной в 5.1.6 плоскости P рассматриваемого сиденья.

5.5 Размеры резьбовых отверстий приспособления для крепления

5.5.1 В приспособлении для крепления должно быть предусмотрено отверстие с резьбой 7/16"-20UNF-2B.

5.5.2 Если предприятие-изготовитель оборудовало транспортное средство ремнями безопасности, закрепленными во всех точках, предписанных для данного сиденья, то в этом случае эти точки крепления могут не соответствовать 5.5.1 при условии, что они будут удовлетворять требованиям других пунктов настоящего стандарта. Кроме того, требования 5.5.1 не применяют к дополнительным точкам крепления, которые отвечают требованиям, определенным в 5.4.3.7.3.

5.5.3 Необходимо предусмотреть возможность отсоединения ремня безопасности от приспособления для крепления без его повреждения.

6 Испытания

6.1 Общие положения

6.1.1 При условии фиксации транспортного средства и в соответствии с просьбой предприятия-изготовителя:

6.1.1.1 испытаниям могут подвергаться либо кузов (кабина) транспортного средства, либо полностью оборудованное транспортное средство;

6.1.1.2 испытаниям могут подвергаться лишь приспособления для крепления, относящиеся только к одному сиденью или одной группе сидений, при условии, что:

- данные приспособления для крепления имеют такие же конструктивные характеристики, как и приспособления для крепления, предназначенные для других сидений или группы сидений.

- в случае, когда такие приспособления для крепления устанавливаются полностью или частично на сиденье или группе сидений, конструктивные характеристики данного сиденья или группы сидений аналогичны характеристикам, предусмотренным для других сидений или групп сидений;

6.1.1.3 окна и двери могут быть установлены или не установлены и могут находиться в закрытом или открытом положении;

6.1.1.4 допускается установка любых обычно предусматриваемых элементов, которые увеличивают жесткость конструкции.

6.1.2 Сиденья для водителя или пассажира должны быть смонтированы и установлены в таком положении, которое испытательная лаборатория, уполномоченная проводить испытания, считает наиболее неблагоприятным с точки зрения прочности системы. Положение сидений должно отмечаться в протоколе испытаний. Если можно регулировать угол наклона, то спинка сиденья должна быть зафиксирована в положении согласно указаниям предприятия-изготовителя или, если таких указаний нет, в положении, соответствующем фактическому углу наклона сиденья, по возможности составляющему 25° для транспортных средств категорий M1 и N1 и 15° - для транспортных средств любых других категорий.

6.2 Фиксация транспортного средства

6.2.1 Транспортное средство должно фиксироваться во время испытания таким образом, чтобы в результате фиксации не повышалась прочность приспособлений для крепления или прилегающей к ним зоны и не уменьшалась нормальная деформация кузова.

6.2.2 Фиксирующее устройство считают удовлетворительным, если оно не оказывает никакого воздействия на зону в пределах всей ширины кузова (кабины) и если транспортное средство или его кузов (кабина) фиксируется или закрепляется на расстоянии не менее 500 мм спереди от испытуемого приспособления для крепления и на расстоянии не менее 300 мм сзади от этого приспособления.

6.2.3 Рекомендуется устанавливать кузов (кабину) на опоры, расположенные приблизительно на уровне осей колес или, когда это невозможно, на уровне точек крепления подвески.

Если применяют метод фиксации, отличающийся от установленного в 6.2.1-6.2.3, то его эквивалентность должна быть доказана.

6.3 Общие требования, касающиеся испытаний

6.3.1 Все приспособления для крепления, относящиеся к одной и той же группе сидений, должны испытываться одновременно.

Однако если существует вероятность того, что несимметричная нагрузка сиденья и/или приспособления для крепления может привести к повреждениям, может быть проведено дополнительное испытание с несимметричной нагрузкой.

6.3.2 Тянущее усилие должно действовать в направлении, соответствующем сидячему положению, под углом 10°+-5° выше горизонтали, расположенной в плоскости, параллельной среднему продольному сечению транспортного средства.

6.3.3 Испытательную нагрузку прилагают как можно более кратковременно. Приспособления для крепления должны выдерживать указанную нагрузку, по крайней мере, в течение 0,2 с.

6.3.4 Схемы натяжных устройств, которые должны использоваться для испытаний, описанных в 6.4, представлены в приложении Е.

6.3.5 Приспособления для крепления, относящиеся к сидячим местам, для которых предусмотрены крепления вверху, должны испытываться следующим образом.

6.3.5.1 Передние боковые сидячие места

Приспособления для крепления должны быть подвергнуты испытанию, предписанному в 6.4.1, при котором усилия передаются на них с помощью устройства, воспроизводящего геометрию ремня с креплением в трех точках, оснащенного втягивающим устройством с направляющим кронштейном в верхней точке крепления. Кроме того, когда число приспособлений для крепления превышает указанные в 5.3, эти приспособления должны быть подвергнуты испытанию, установленному в 6.4.5, в ходе которого к ним прилагают усилия с помощью устройства, моделирующего геометрию ремней безопасности, предназначенных для крепления на этих приспособлениях.

6.3.5.1.1 Если в нижней боковой точке, в которой должно быть предусмотрено крепление, отсутствует втягивающее устройство или если втягивающее устройство установлено в верхней точке, то приспособления для крепления внизу должны также подвергаться испытанию, установленному в 6.4.3.

6.3.5.1.2 В упомянутом выше случае испытания, установленные в 6.4.1 и 6.4.3, могут проводиться по требованию предприятия-изготовителя на двух разных конструкциях.

6.3.5.2 Боковые задние и любые центральные сидячие места

Приспособления для крепления должны быть подвергнуты испытанию, установленному в 6.4.2, при котором усилия передаются на них с помощью устройства, воспроизводящего геометрию ремня с креплением в трех точках без втягивающего устройства, а также испытанию, предписанному в 6.4.3, при котором усилия передаются на два нижних приспособления для крепления с помощью устройства, воспроизводящего геометрию поясного ремня. По требованию предприятия-изготовителя эти два испытания могут проводиться на двух разных конструкциях.

6.3.5.3 Если предприятие-изготовитель поставляет транспортное средство с ремнями безопасности, то соответствующие крепления для ремней безопасности по просьбе предприятия-изготовителя могут быть подвергнуты только испытанию, при котором усилия передаются на них с помощью устройства, воспроизводящего геометрию типа ремня безопасности, предназначенного для установки на этих креплениях.

6.3.6 Если для боковых и центральных сидячих мест не предусмотрены приспособления для крепления ремня вверху, то приспособления для крепления внизу должны быть подвергнуты испытанию, установленному в 6.4.3, при котором усилия передаются на них с помощью устройства, воспроизводящего геометрию поясного ремня.

6.3.7 Если в конструкции транспортного средства предусмотрены другие устройства, которые не позволяют прикреплять лямки к приспособлениям для крепления непосредственно, без использования промежуточных роликов или подобных устройств, или которые требуют дополнительных креплений, помимо предусмотренных в 5.3, то ремень или совокупность тросов, роликов и т.п., входящих в комплект ремня, должны прикрепляться к приспособлению для крепления с помощью такого устройства и подвергаться испытаниям, установленным в 6.4.

6.3.8 Допускается использование метода испытаний, который отличается от указанных в 6.3 методов, однако при этом должна быть доказана его эквивалентность.

6.4 Специальные требования, касающиеся испытаний

6.4.1 Испытание приспособлений для крепления трехточечного ремня, оснащенного втягивающим устройством и направляющим кронштейном в верхней точке крепления

6.4.1.1 К приспособлениям для крепления ремня вверху прикрепляют либо специальный направляющий кронштейн для троса или лямки, характеристики которого позволяют передавать усилие от натяжного устройства, либо направляющий кронштейн, поставляемый предприятием-изготовителем.

6.4.1.2 К натяжному устройству (см. рисунок Д.2), связанному с приспособлениями для крепления ремня, прилагают с помощью устройства, воспроизводящего геометрию части лямки ремня, расположенной выше пояса, испытательную нагрузку, равную (1350+-20) даН. Для транспортных средств, не входящих в категории M1 и N1, испытательная нагрузка должна составлять (675+-20) даН, за исключением транспортных средств категории M3 и N3, для которых испытательная нагрузка должна составлять (450+-20) даН.

6.4.1.3 Одновременно растягивающее усилие, равное (1350+-20) даН, прилагают к натяжному устройству (см. рисунок Д.1), связанному с двумя приспособлениями для крепления внизу. Для транспортных средств, не входящих в категории M1 и N1, испытательная нагрузка должна составлять (675+-20) даН, за исключением транспортных средств категории M3 и N3, для которых испытательная нагрузка должна составлять (450+-20) даН.

6.4.2 Испытание приспособлений для крепления трехточечного ремня без втягивающего устройства или со втягивающим устройством в верхней точке крепления

6.4.2.1 Испытательную нагрузку (1350+-20) даН прилагают к натяжному устройству (см. приложение Д, рисунок 2), связанному с верхним и нижним приспособлениями для крепления одного и того же ремня, с использованием втягивающего устройства, установленного в верхней точке крепления, если такое устройство поставляется предприятием-изготовителем. Для транспортных средств, не входящих в категории M1 и N1, испытательная нагрузка должна составлять (675+-20) даН, за исключением транспортных средств категорий M3 и N3, для которых испытательная нагрузка должна составлять (450+-20) даН.

6.4.2.2 Одновременно к натяжному устройству (см. рисунок Д.1), связанному с приспособлениями для крепления внизу, прилагают растягивающее усилие (1350+-20) даН. Для транспортных средств, не входящих в категории M1 и N1, испытательная нагрузка должна составлять (675+-20) даН, за исключением транспортных средств категории M3 и N3, для которых испытательная нагрузка должна составлять (450+-20) даН.

6.4.3 Испытание приспособлений для крепления поясного ремня

К натяжному устройству (см. рисунок Д.1), связанному с двумя приспособлениями для крепления внизу, прилагают испытательную нагрузку (2225+-20) даН. Для транспортных средств, не входящих в категории M1 и N1, испытательная нагрузка должна составлять (1110+-20) даН, за исключением транспортных средств категорий M3 и N3, для которых испытательная нагрузка должна составлять (740+-20) даН.

6.4.4 Испытание приспособлений для крепления, которые либо все расположены на каркасе сиденья, либо распределены между кузовом и каркасом сиденья

6.4.4.1 В зависимости от случая проводят испытания, указанные в 6.4.1-6.4.3, прилагая при этом для каждого сиденья и для каждой группы сидений указанное ниже дополнительное усилие.

6.4.4.2 Нагрузки, указанные в 6.4.1-6.4.3, должны быть дополнены усилием, равным двадцатикратной массе сиденья в сборе. Инерционные нагрузки должны быть приложены к сиденью или к соответствующим местам сиденья, имитируя физическое воздействие массы соответствующего сиденья на месте его крепления. Определение дополнительно прикладываемой нагрузки или нагрузок и распределение нагрузки должны быть установлены производителем и согласованы с испытательной лабораторией.

В случае транспортных средств категорий M2 и N2 это усилие должно в 10 раз превышать массу сиденья в сборе; для транспортных средств категорий M3 и N3 оно должно превышать массу сиденья в сборе в 6,6 раза.

6.4.5 Испытание на конфигурационное растяжение ремня специального типа

6.4.5.1 Испытательную нагрузку (1350+-20) даН прилагают с помощью устройства, моделирующего геометрию верхней лямки или верхних лямок на туловище, к натяжному устройству (см. рисунок Д.2), закрепленному на приспособлениях для крепления ремня безопасности данного типа.

6.4.5.2 Одновременно к натяжному устройству (рисунок Д.3), закрепленному на двух нижних приспособлениях для крепления, прилагают тянущее усилие (1350+-20) даН.

6.4.5.3 Для транспортных средств, не входящих в категории M1 и N1, испытательная нагрузка должна составлять (675+-20) даН, за исключением транспортных средств категорий M3 и N3, для которых испытательная нагрузка должна составлять (450+-20) даН.

6.4.6 Испытания в случае сидений, расположенных против направления движения

6.4.6.1 Точки крепления испытывают с использованием усилий, предписанных соответственно в 6.4.1-6.4.3. В каждом случае испытательная нагрузка должна соответствовать нагрузке, предписанной для транспортных средств категорий M3 и N3.

6.4.6.2 Испытательную нагрузку следует прилагать в направлении вперед по отношению к данному месту для сиденья в соответствии с 6.3.

6.5 В случае группы сидений, описание которых приводится в пункте 1 приложения Д, по выбору изготовителя легкового автомобиля в качестве альтернативы статическому испытанию, указанному в 6.3 и 6.4, может быть проведено динамическое испытание, предусмотренное в приложении Д.

7 Обследование после статических испытаний

7.1 Все приспособления для крепления должны быть способны выдержать испытание, предписанное в 6.3 и 6.4. Остаточную деформацию, включая частичное разрушение или поломку любого приспособления для крепления или прилегающей зоны, не считают неудовлетворительным результатом испытания, если продолжительность приложения требуемого усилия составляет не менее предписанного промежутка времени. В ходе испытания должны соблюдаться требования в отношении минимальных расстояний между нижними точками эффективного крепления ремня, указанных в 5.4.2.5, и 5.4.3.6 для верхних точек эффективного крепления ремня безопасности.

7.1.1 Для транспортных средств категории M1, общая допустимая масса которых не превышает 2,5 т, верхняя точка эффективного крепления ремня, если верхнее приспособление для крепления ремня присоединяется к каркасу сиденья, не должна в ходе испытания смещаться вперед от поперечной плоскости, проходящей через точки R и C данного сиденья (рисунок B.1).

Для транспортных средств, которые не были указаны выше, верхняя точка эффективного крепления ремня безопасности не должна в ходе испытания смещаться вперед от поперечной плоскости, расположенной под наклоном 10° по направлению вперед и проходящей через точку R данного сиденья.

Максимальное смещение верхней точки эффективного крепления ремня безопасности измеряют в ходе испытания.

Если смещение верхней точки эффективного крепления ремня безопасности превышает вышеуказанное ограничение, то предприятие-изготовитель должно продемонстрировать испытательной лаборатории, что никакой опасности для водителя или пассажиров не существует. Например, с тем чтобы продемонстрировать наличие достаточного пространства, обеспечивающего выживание, можно прибегнуть к процедуре испытания в соответствии с ГОСТ Р 41.94 или к испытанию на тележке с соответствующим импульсом замедления.

7.2 На транспортных средствах, на которых используют устройства для перемещения и блокировки, позволяющие лицам, находящимся на всех сиденьях, выйти из транспортного средства, такие устройства должны по-прежнему приводиться в действие вручную после снятия тянущего усилия.

7.3 После испытания регистрируют любое повреждение приспособлений для крепления и конструкций, находящихся под воздействием нагрузки в ходе испытаний.

7.4 В отступление от этих требований верхние точки крепления ремней безопасности, устанавливаемых на одно или несколько сидений транспортных средств категорий M3 и максимальной массой более 3,5 т, которые отвечают требованиям ГОСТ Р 41.80, не обязательно должны удовлетворять требованиям 7.1, касающимся соблюдения положений 5.4.3.6.

8 Изменение типа приспособлений для крепления ремней безопасности транспортного средства и распространение сертификата соответствия

8.1 Любое изменение типа транспортного средства в отношении приспособлений для крепления ремней безопасности доводится до сведения органа по сертификации, который предоставил сертификат соответствия. Такие изменения должны быть подробно описаны в соответствии с приложением А. Орган по сертификации может:

8.1.1 либо прийти к заключению, что транспортное средство с внесенными изменениями будет продолжать соответствовать требованиям настоящего стандарта;

8.1.2 либо потребовать дополнительный протокол испытательной лаборатории, уполномоченной проводить испытания.

9 Соответствие производства

9.1 Каждое транспортное средство с нанесенной на нем маркировкой в соответствии с настоящим стандартом, должно соответствовать сертифицированному транспортному средству в отношении деталей, оказывающих влияние на характеристики приспособлений для крепления ремня.

9.2 Для проверки соответствия, требуемого в 9.1, следует провести достаточное число выборочных контрольных испытаний транспортных средств серийного производства, имеющих сертификат соответствия.

9.3 Как правило, эти проверки ограничиваются измерением размеров. Однако, в случае необходимости, транспортные средства подвергают некоторым из испытаний, описанных в разделе 6, по указанию испытательной лаборатории, уполномоченной проводить испытания.

10 Меры, предпринимаемые при выявлении несоответствия производства

10.1 Сертификат соответствия на приспособления для крепления ремней, представленный на основании настоящего стандарта, может быть аннулирован, если не соблюдается требование, изложенное в 9.1, или если приспособления для крепления не выдержали проверок, предусмотренных в разделе 9.

10.2 Аннулирование сертификата соответствия проводится в соответствии с процедурами, установленными "Порядком проведения сертификации продукции в Российской Федерации".

11 Инструкции по эксплуатации

Предприятия-изготовители автомобилей должны указывать в инструкциях по эксплуатации транспортного средства:

11.1 расположение приспособлений для крепления;

11.2 типы ремней безопасности, для которых предназначены крепления (приложение А, пункт 5).

12 Окончательное прекращение производства

Если владелец сертификата соответствия, предоставленного на основании настоящего стандарта, полностью прекращает производство сертифицированного приспособления для крепления ремней безопасности, он должен информировать об этом орган, предоставивший сертификат соответствия. По получении этого сообщения Орган по сертификации направляет в Государственный реестр копию сертификата соответствия типа, на который внизу крупными буквами делает отметку "ПРОИЗВОДСТВО ПРЕКРАЩЕНО" и проставляет подпись и дату.

ПРИЛОЖЕНИЕ А
(обязательное)

ФОРМА ПРИЛОЖЕНИЯ К СЕРТИФИКАТУ СООТВЕТСТВИЯ ТИПА ТРАНСПОРТНОГО СРЕДСТВА В ОТНОШЕНИИ ПРИСПОСОБЛЕНИЙ КРЕПЛЕНИЯ РЕМНЕЙ БЕЗОПАСНОСТИ НА ОСНОВАНИИ ГОСТ Р 41.14

Бланк сертификата соответствия N _________________

Всего _________________

РОСС _________________

1 Обозначения типов ремней безопасности и втягивающих устройств, которые разрешается крепить к приспособлениям для крепления, предусмотренным на транспортном средстве:

Сиденье Крепление на <*>
кузове (кабине) транспортного средства каркасе сиденья
Передние Правое сиденье крепление внизу внешнее    
    крепление вверху внутреннее    
  Центральное сиденье крепление внизу справа    
    крепление вверху слева    
  Левое сиденье крепление внизу внешнее    
    крепление вверху внутреннее    
Задние Правое сиденье крепление внизу внешнее    
    крепление вверху внутреннее    
  Центральное сиденье крепление внизу справа    
    крепление вверху слева    
  Левое сиденье крепление внизу внешнее    
    крепление вверху внутреннее    

<*> Включить в соответствующие клетки следующие буквы:

А - для ремня с тремя точками крепления;

В - для поясного ремня;

S - для ремней специального типа; в этом случае следует уточнить тип в примечаниях;

Аr, Вr или Sr - для ремней, имеющих втягивающие устройства;

Ае, Be или Se - для ремней с энергопоглощающим устройством;

Are, Bre или Sre - для ремней, имеющих втягивающие устройства и устройства поглощения энергии, по крайней мере, на одном приспособлении для крепления.

2 <*> Описание сидений  
3 <*> Описание систем регулирования, перемещения и блокирования сиденья или его частей  
4 <*> Описание креплений сиденья  
5 Описание ремня безопасности особого типа, требуемое в случае, когда приспособление для крепления устанавливается на каркасе сиденья или оборудовано устройством для поглощения энергии  
6 Дата представления автотранспортного средства на сертификацию  

<*> Только если крепление устанавливается на сиденье или если ремень удерживается сиденьем.

ПРИЛОЖЕНИЕ Б
(обязательное)

МАРКИРОВКА

Б.1 Маркировка включает в себя знак соответствия по ГОСТ Р 50460 с обозначением стандарта, на соответствие которому предоставлен сертификат соответствия.

Схема маркировки представлена на рисунках Б.1 и Б.2.

Рисунок Б.1

Б.2 Маркировка, изображенная на рисунке Б.1, указывает, что данное транспортное средство с проставленным на нем знаком соответствия и обозначением стандарта сертифицировано в отношении приспособлений для крепления ремней безопасности на соответствие требованиям ГОСТ Р 41.14. К моменту сертификации стандарт включал в себя поправки к Правилам ЕЭК ООН N 14 серии 05.

Рисунок Б.2

Маркировка, изображенная на рисунке Б.2, указывает, что данное транспортное средство с проставленным на нем знаком соответствия и обозначением стандарта сертифицировано в отношении приспособлений для крепления ремней безопасности на соответствие требованиям ГОСТ Р 41.14 и в отношении дымности на соответствие требованиям ГОСТ Р 41.24. В момент предоставления сертификата соответствия настоящий стандарт включал поправки к Правилам ЕЭК ООН N 14 серии 05 и ГОСТ Р 41.24 - поправки к Правилам ЕЭК ООН N 24 серии 03.

Ссылка на ГОСТ Р 41.24 приведена в качестве примера.

ПРИЛОЖЕНИЕ В
(обязательное)

РАСПОЛОЖЕНИЯ ТОЧЕК ЭФФЕКТИВНОГО КРЕПЛЕНИЯ

1 - зона, разрешенная для установки дополнительных приспособлений для крепления согласно 5.4.3.7;
2 - исходная линия туловища, соответствующая H приложения Г, пункт 2.5;
3 - разрешенная зона;
4 - исходная линия туловища, соответствующая H приложения Г, пункт 2.5;
5 - среднее продольное сечение сиденья;
6 - эффективная точка крепления ремня; DR=315+1,85; BR=260+S, если нет указаний, противоречащих 5.4.3.2, 5.4.3.3 и 5.4.3.6;
7 - точки крепления ремня для внешних сидений, расположенных с левой стороны

Рисунок B.1 - Зоны расположения точек эффективного крепления ремня (пример фиксирования верхнего крепления на боковой панели кузова)

Рисунок В.2 - Верхние точки эффективного крепления ремня, соответствующие 5.4.3.7.3

ПРИЛОЖЕНИЕ Г
(обязательное)

ПРОЦЕДУРА ОПРЕДЕЛЕНИЯ ТОЧКИ H И ФАКТИЧЕСКОГО УГЛА НАКЛОНА ТУЛОВИЩА СИДЯЩЕГО В АВТОМОБИЛЕ ВОДИТЕЛЯ ИЛИ ПАССАЖИРА

Г.1 Цель

Описываемый в настоящем приложении порядок предназначен для определения положения точки H и фактического угла наклона туловища для одного или нескольких мест для сидения в автомобиле и для проверки соотношения между измеренными параметрами и конструктивными спецификациями, указанными предприятием-изготовителем*.

<*> В отношении любых мест для сидения, за исключением передних сидений, для которых точка H не может определяться посредством применения объемного механизма определения точки H или соответствующих методов, в качестве контрольной точки может применяться по усмотрению органа по сертификации точка R, указанная предприятием-изготовителем.

Г.2 Определения

В настоящем приложении применяют следующие термины с соответствующими определениями:

Г.2.1 контрольные параметры: Одна или несколько из следующих характеристик места для сидения:

Г.2.1.1 точки H и R и их соотношение;

Г.2.1.2 фактический и конструктивный углы наклона туловища и их соотношение.

Г.2.2 объемный механизм определения точки H (механизм 3-D Н): Устройство, применяемое для определения точки H и фактического угла наклона туловища.

Г.2.3 точка H: Центр вращения туловища и бедра механизма 3-D Н, установленного на сиденье автотранспортного средства в соответствии с требованиями раздела 4. Точка H располагается в середине центральной линии устройства, проходящей между визирными метками точки H с обеих сторон механизма 3-D Н. Теоретически точка H соответствует (допуски см. 3.2.2) точке R. После определения точки H в соответствии с порядком, описанным в разделе 4, считают, что эта точка является фиксированной по отношению к подушке сиденья и перемещается вместе с ней при регулировании сиденья.

Г.2.4 точка R, или контрольная точка места для сидения: Условная точка, указываемая предприятием-изготовителем для каждого места для сидения и устанавливаемая относительно трехмерной системы координат.

Г.2.5 линия туловища: Центральная линия штыря механизма 3-D Н, когда штырь находится в крайнем заднем положении.

Г.2.6 фактический угол наклона туловища: Угол, измеряемый между вертикальной линией, проходящей через точку H, и линией туловища посредством кругового сектора механизма 3-D Н. Теоретически фактический угол наклона туловища соответствует конструктивному углу наклона туловища (допуски см. 3.2.2).

Г.2.7 конструктивный угол наклона туловища: Угол, измеряемый между вертикальной линией, проходящей через точку R, и линией туловища в положении, соответствующем конструктивному положению спинки сиденья, указанный предприятием-изготовителем транспортного средства.

Г.2.8 центральная плоскость водителя или пассажира (ЦПВП): Средняя плоскость механизма 3-D Н, расположенного на каждом указанном месте для сидения; она представлена координатой точки H относительно оси Y. На отдельных сиденьях центральная плоскость сиденья совпадает с центральной плоскостью водителя или пассажира. На других сиденьях центральная плоскость водителя или пассажира определяется предприятием-изготовителем.

Г.2.9 трехмерная система координат: Система, описанная в настоящем приложении (см. дополнение 1).

Г.2.10 исходные точки отсчета: Физические точки (отверстия, плоскости, метки и углубления) на кузове (кабине) транспортного средства, указанные предприятием-изготовителем.

Г.2.11 положение для измерения на транспортном средстве: Положение транспортного средства, определенное координатами исходных точек отсчета в трехмерной системе координат.

Г.3 Требования

Г.3.1 Представление данных

Для каждого места для сиденья, контрольные параметры которого используют для проверки соответствия требованиям настоящего стандарта, представляются все или соответствующая выборка следующих данных в том виде, как это указано в настоящем приложении:

Г.3.1.1 координаты точки R относительно трехмерной системы координат;

Г.3.1.2 конструктивный угол наклона туловища;

Г.3.1.3 все указания, необходимые для регулирования сиденья (если сиденье регулируемое) и установки его в положение для измерения, определенное в 4.3.

Г.3.2 Соотношение полученных данных и конструктивных спецификаций

Г.3.2.1 Координаты точки H и величину фактического угла наклона туловища, установленные согласно порядку, указанному в разделе 4, сравнивают соответственно с координатами точки R и величиной конструктивного угла наклона туловища, указанными предприятием-изготовителем.

Г.3.2.2 Относительное положение точек R, H и соотношение между конструктивным углом наклона туловища и фактическим углом наклона туловища считают удовлетворительным для рассматриваемого места для сидения, если точка H, определенная ее координатами, находится в пределах квадрата, горизонтальные и вертикальные стороны которого, равные 50 мм, имеют диагонали, пересекающиеся в точке R, и если фактический угол наклона туловища не отличается от конструктивного угла наклона туловища более чем на 5°.

Г.3.2.3 В случае удовлетворения этих условий точку R и конструктивный угол наклона туловища используют для проверки соответствия требованиям настоящего стандарта.

Г.3.2.4 Если точка H или фактический угол наклона туловища не соответствуют требованиям 3.2.2, то точку H и фактический угол наклона туловища определяют еще два раза (всего три раза). Если результаты двух из этих трех измерений удовлетворяют требованиям, то применяют положения 3.2.3.

Г.3.2.5 Если результаты по меньшей мере двух из трех измерений, определенных в 3.2.4, не удовлетворяют требованиям 3.2.2 или если проверка невозможна в связи с тем, что предприятие-изготовитель транспортного средства не представило данные, касающиеся положения точки R или конструктивного угла наклона туловища, может использоваться центроида трех полученных точек или средние значения трех измерений углов, которые будут считаться приемлемыми во всех случаях, когда в настоящем стандарте упоминается точка R или конструктивный угол наклона туловища.

Г.4 Порядок определения точки H и фактического угла наклона туловища

Г.4.1 Испытуемое транспортное средство должно быть выдержано при температуре (20+-10) °С, по выбору предприятия-изготовителя, для того чтобы температура материала, из которого изготовлены сиденья, достигла комнатной. Если испытуемое сиденье никогда не использовалось, то на него необходимо поместить дважды в течение 1 мин человека или устройство массой от 70 до 80 кг для того, чтобы размять подушку сиденья и спинку. По просьбе предприятия-изготовителя все комплекты сидений сохраняются в ненагруженном состоянии в течение, по крайней мере, 30 мин до установки на них механизма 3-D Н.

Г.4.2 Транспортное средство должно занять положение для измерения, определенное в 2.11.

Г.4.3 Если сиденье является регулируемым, то его устанавливают сначала в крайнее заднее нормальное при управлении или движении положение, предусмотренное предприятием-изготовителем транспортного средства, за счет одного лишь продольного регулирования сиденья, и без его перемещения, предусмотренного для целей иных, чем нормальное управление или движение. В случае наличия других способов регулирования сиденья (вертикальной, угла наклона спинки и т.д.) оно должно затем приводиться в положение, предписанное предприятием-изготовителем транспортного средства. Для подрессоренных сидений жесткая фиксация сиденья в вертикальном положении должна соответствовать нормальному положению при управлении, указанному предприятием-изготовителем.

Г.4.4 Поверхность места для сиденья, с которой соприкасается механизм 3-D Н, покрывают муслиновой хлопчатобумажной тканью достаточного размера и соответствующей текстуры, являющейся гладкой хлопчатобумажной тканью, имеющей 18,9 нитей на 1 см и весящей 0,228 кг/м2, или вязаной или нетканой материей, имеющей аналогичные характеристики. Если испытание проводят на сиденье вне транспортного средства, то пол, на который устанавливают сиденье, должен иметь те же основные характеристики (угол наклона, разницу в высоте крепления сиденья, текстуру поверхности и т.д.), что и пол транспортного средства, в котором будет установлено такое сиденье.

Г.4.5 Поместить основание и спинку механизма 3-D Н таким образом, чтобы центральная плоскость водителя или пассажира (ЦПВП) совпадала с центральной плоскостью механизма. По просьбе предприятия-изготовителя механизм может быть передвинут внутрь относительно ЦПВП, если он находится снаружи и кромка сиденья не позволяет провести его выравнивание.

Г.4.6 Прикрепить ступни и голени к основанию корпуса либо отдельно, либо посредством шарнирного Т-образного звена. Линия, проходящая через визирные метки определения точки H, должна быть параллельной грунту и перпендикулярной к продольной центральной плоскости сиденья.

Г.4.7 Отрегулировать ступни и ноги механизма 3-D Н в следующем порядке:

Г.4.7.1 Сиденья водителя и пассажира на наружном переднем сиденье:

Г.4.7.1.1 ступни и ноги перемешают вперед таким образом, чтобы ступни заняли естественное положение, в случае необходимости между педалями управления. Левую ступню по возможности устанавливают таким образом, чтобы она находилась приблизительно на таком же расстоянии с левой стороны от центральной плоскости механизма 3-D Н, на каком находится правая ступня с правой стороны. С помощью уровня проверки поперечной ориентации устройства его приводят в горизонтальное положение за счет сдвижки в случае необходимости основания корпуса либо за счет перемещения ступней и ног назад. Линия, проходящая через визирные метки точки H, должна быть перпендикулярной продольной к центральной плоскости сиденья;

Г.4.7.1.2 если левая нога не может удержаться параллельно правой ноге, а левая ступня не может быть установлена на элементах конструкции транспортного средства, то необходимо переместить левую ступню таким образом, чтобы установить ее на опору. Горизонтальность определяют визирными метками.

Г.4.7.2 Задние внешние сиденья

Что касается задних или приставных сидений, то ноги необходимо располагать так, как предписывается предприятием-изготовителем. Если при этом ступни опираются на части пола, которые находятся на различных уровнях, то та ступня, которая первая прикоснулась к переднему сиденью, служит в качестве исходной, а другая ступня располагается таким образом, чтобы обеспечить горизонтальное положение устройства, проверяемое с помощью уровня поперечной ориентации основания корпуса.

Г.4.7.3 Другие сиденья

Следует придерживаться общего порядка, указанного в 4.7.1, за исключением порядка установки ступней, который определяется предприятием-изготовителем транспортного средства.

Г.4.8 Разместить грузы на голенях и бедрах и установить механизм 3-D Н в горизонтальное положение.

Г.4.9 Наклонить заднюю часть основания туловища вперед до упора и отодвинуть механизм 3-D Н от спинки сиденья с помощью коленного Т-образного шарнира. Вновь установить механизм на прежнее место на сиденье посредством одного из нижеследующих способов.

Г.4.9.1 Если механизм 3-D Н скользит назад, необходимо поступить следующим образом: дать механизму возможность скользить назад до тех пор, пока не отпадет необходимость в использовании передней ограничительной горизонтальной нагрузки на коленный Т-образный шарнир, т.е. до тех пор, пока задняя часть механизма не будет соприкасаться со спинкой сиденья. В случае необходимости следует изменить положение голени и ступни.

Г.4.9.2 Если механизм 3-D Н не скользит назад, необходимо поступить следующим образом: отодвинуть механизм назад за счет применения горизонтальной направленной назад нагрузки, прилагаемой к коленному Т-образному шарниру, до тех пор, пока задняя часть механизма не войдет в соприкосновение со спинкой сиденья (рисунок Г.2).

Г.4.10 Приложить нагрузку (100+-10) Н к задней части и основанию механизма 3-D Н на пересечении кругового сектора бедра и кожуха коленного Т-образного шарнира. Это усилие должно быть все время направлено вдоль линии, проходящей через вышеуказанное пересечение, к точке, находящейся чуть выше кожуха кронштейна бедра (рисунок Г.2). После этого осторожно вернуть назад спинку механизма до соприкосновения со спинкой сиденья. Последнюю процедуру необходимо проводить с осторожностью, для того чтобы не допустить соскальзывания механизма вперед.

Г.4.11 Разместить грузы на правой и левой частях основания туловища и затем попеременно устанавливать восемь грузов на спине. Горизонтальное положение механизма 3-D Н проверяют с помощью уровня.

Г.4.12 Наклонить спинку механизма 3-D Н вперед, чтобы устранить давление на спинку сиденья. Произвести три полных цикла бокового качания механизма по дуге в 10° (5° в каждую сторону от вертикальной центральной плоскости) для того, чтобы устранить возможные влияния трения между механизмом и сиденьем.

В ходе раскачивания коленный Т-образный шарнир механизма может отклоняться от установленных горизонтального и вертикального направлений. Поэтому во время раскачивания механизма Т-образный шарнир должен удерживаться соответствующей поперечной силой. При удерживании Т-образного шарнира и раскачивании механизма необходимо проявлять осторожность, чтобы не допустить появления непредусмотренных внешних вертикальных или продольных нагрузок.

При этом не следует удерживать ступни механизма или ограничивать их перемещение. Если ступни изменят свое положение, то они должны оставаться на некоторое время в новом положении.

Осторожно вернуть назад спинку механизма до соприкосновения со спинкой сиденья и вывести оба уровня в нулевое положение. В случае перемещения ступней во время раскачивания механизма их следует вновь установить следующим образом:

попеременно приподнимать каждую ступню с пола на минимальную высоту, пока не прекратится ее дополнительное перемещение. При этом необходимо удерживать ступни таким образом, чтобы они могли вращаться; применение каких-либо продольных или поперечных сил исключают. Когда каждую ступню опять устанавливают в свое нижнее положение, пятка должна войти в соприкосновение с соответствующим элементом конструкции;

вывести поперечный уровень в нулевое положение; в случае необходимости приложить поперечную нагрузку к верхней части спинки механизма; нагрузка должна быть достаточной для установки в горизонтальное положение спинки механизма на сиденье.

Г.4.13 Придерживать коленный Т-образный шарнир для того, чтобы не допустить соскальзывания механизма 3-D Н вперед на подушку сиденья, и затем:

- вернуть назад спинку механизма до соприкосновения со спинкой сиденья;

- попеременно прилагать и убирать горизонтальную нагрузку, действующую в заднем направлении и не превышающую 25 Н, к штанге угла наклона спинки на высоте приблизительно центра крепления грузов к спинке, пока по положению кругового сектора бедра не станет ясно, что после устранения действия нагрузки достигнуто устойчивое положение. Необходимо обеспечить, чтобы на механизм не действовали какие-либо внешние силы, направленные вниз или вбок. В случае необходимости повторной ориентации механизма в горизонтальном направлении наклонить спинку механизма вперед, вновь проверить его горизонтальное положение и повторить процедуру, указанную в 4.12.

Г.4.14 Провести все измерения: координаты точки H измеряют относительно трехмерной системы координат; фактический угол наклона туловища определяют по круговому сектору наклона спинки механизма 3-D Н (рисунок Г.1), причем штырь должен находиться в крайнем заднем положении.

Г.4.15 В случае повторной установки механизма 3-D Н сиденье должно быть свободным от любых нагрузок в течение не менее 30 мин до начала установки. Механизм не следует оставлять на сиденье сверх того времени, которое необходимо для проведения данного испытания.

Г.4.16 Если сиденья, находящиеся в одном и том же ряду, могут рассматриваться как одинаковые (многоместное сиденье, идентичные сиденья и т.п.), то следует определять только одну точку H и один фактический угол наклона спинки сиденья для каждого ряда, помещая механизм 3-D Н в месте, которое можно рассматривать как типичное для данного ряда сидений. Этим местом является:

- место водителя в переднем ряду;

- одно из крайних мест в заднем ряду или рядах.

Дополнение 1

ОПИСАНИЕ ОБЪЕМНОГО МЕХАНИЗМА ОПРЕДЕЛЕНИЯ ТОЧКИ Н (МЕХАНИЗМ 3-D Н)

1 Спинка и основание

Спинка и основание изготовлены из арматурного пластика и металла; они моделируют туловище и бедра человека и крепятся друг к другу механически в точке H. На штырь, укрепленный в точке H, устанавливают круговой сектор для измерения фактического угла наклона спинки. Регулируемый шарнир бедра, соединяемый с основанием туловища, определяет центральную линию бедра и служит исходной линией для кругового сектора наклона бедра.

2 Элементы туловища и ног

Элементы, моделирующие ступни и голени, соединяют с основанием туловища с помощью коленного Т-образного шарнира, который является продольным продолжением регулируемого кронштейна бедра. Для измерения угла сгиба колена элементы голени и лодыжки оборудованы круговыми секторами. Элементы, моделирующие ступни, имеют градуировку для определения угла наклона ступни. Ориентация устройства обеспечивается за счет использования двух уровней. Грузы, размещаемые на туловище, устанавливают в соответствующих центрах тяжести для обеспечения давления на подушку сиденья, равного тому, которое оказывается пассажиром-мужчиной весом 76 кг. Все сочленения механизма 3-D Н должны быть проверены для того, чтобы обеспечить их свободное движение и исключить какое-либо заметное трение.

1 - спинка; 2 - кронштейн спинных грузов; 3 - уровень угла наклона спинки; 4 - круговой сектор наклона бедра; 5 - основание; 6 - кронштейн набедренных грузов; 7 - коленный Т-образный шарнир; 8 - штырь; 9 - круговой сектор наклона спинки; 10 - визирные метки точки H; 11 - ось вращения точки H; 12 - поперечный уровень; 13 - кронштейн бедра; 14 - круговой сектор сгиба колена; 15 - круговой сектор сгиба ступни

Рисунок Г.1 - Обозначение элементов механизма 3-D Н

1 - спинные грузы; 2 - седалищные грузы; 3 - набедренные грузы; 4 - ножные грузы; 5 - направление и точка приложения нагрузки

Рисунок Г.2 - Размеры элементов 3-D Н и распределения грузов

Дополнение 2

ТРЕХМЕРНАЯ СИСТЕМА КООРДИНАТ

1 Трехмерная система координат определяется тремя ортогональными плоскостями, установленными предприятием-изготовителем транспортного средства (см. рисунок Г.3).

2 Положение для измерения на транспортном средстве устанавливают за счет помещения данного транспортного средства на опорную поверхность таким образом, чтобы координаты исходных точек отсчета соответствовали величинам, указанным предприятием-изготовителем.

3 Координаты точек R и H устанавливают относительно исходных точек отсчета, определенных предприятием-изготовителем транспортного средства.

1 - опорная поверхность; 2 - исходная плоскость Z (горизонтальная исходная плоскость); 3 - исходная плоскость X (вертикальная поперечная исходная плоскость); 4 - исходная плоскость Y (вертикальная продольная исходная плотность)

Рисунок Г.3 - Трехмерная система координат

Дополнение 3

ИСХОДНЫЕ ДАННЫЕ ПОСАДОЧНЫХ МЕСТ

1 Кодирование исходных данных

Исходные данные перечисляют последовательно по каждому месту для сидения. Места для сидения определяют двузначным кодом. Первый знак представляет собой арабскую цифру и обозначает ряд мест; отсчет мест ведут спереди назад. Вторым знаком является заглавная буква, которая обозначает расположение места для сидения в ряду, обращенном в направлении движения транспортного средства вперед; при этом используют следующие буквы: L - левое; С - центральное; R - правое.

2 Определение положения транспортного средства, установленного для измерения

2.1 Координаты исходных точек отсчета:

Х ____________

Y ____________

Z ____________

3 Перечень исходных данных

3.1 Место для сидения

3.1.1 Координаты точки R:

Х ____________

Y ____________

Z ____________

3.1.2 Конструктивный угол наклона туловища

3.1.3 Данные для регулировки сиденья: <*>

<*> Ненужное вычеркнуть.

горизонтальная  
вертикальная  
угловая  
угол наклона туловища  

Примечание - Перечислить исходные данные для других мест для сидения в 3.2, 3.3 и т.д.

ПРИЛОЖЕНИЕ Д
(обязательное)

НАТЯЖНОЕ УСТРОЙСТВО

1 - пористый материал, покрытый полотном толщиной 25 мм; P - испытательная нагрузка

Рисунок Д.1

1 - пористый материал, покрытый полотном толщиной 25 мм; 2 - лямка, связывающая блок с точками крепления; 3 - блок; P - испытательная нагрузка

Рисунок Д.2

1 - пористый материал, покрытый тканью толщиной 25 мм; P - испытательная нагрузка

Рисунок Д.3

ПРИЛОЖЕНИЕ Е
(обязательное)

МИНИМАЛЬНОЕ ЧИСЛО ТОЧЕК КРЕПЛЕНИЯ И РАСПОЛОЖЕНИЕ НИЖНИХ КРЕПЛЕНИЙ

Категория транспортного средства Место для сидения, расположенное по направлению движения Место для сидения, расположенное против направления движения
Боковое Центральное
передние другие передние другие
M1 3 3 или 2 3 или 2* 2 2
M2 <= 3,5 т 3 3 3 3 2
M3 и M2 > 3,5 т 3 или 2 3 или 2 3 или 2 2
N1, N2, и N3 3 2 3 или 2* 2 2

Примечание - Обозначения, принятые в таблице:

2 - две нижние части крепления, позволяющие установить ремни безопасности типа В, или ремни безопасности типов Вг, Вг3, Вг4 m, или Br4Nm в случае, когда это требуется;

3 - две нижние точки крепления и одна верхняя точка крепления, позволяющие устанавливать ремни безопасности типа А с тремя точками крепления, или ремни безопасности типов Аг, Аг4т или Ar4Nm в случаях, когда это требуется в соответствии с ГОСТ Р 52051.

- относится к 5.3.3 (допускаются две точки крепления, если сиденье расположено с внутренней стороны прохода);

* - относится к 5.3.4 (допускаются две точки крепления, если ветровое стекло находится за пределами исходной зоны);

- относится к 5.3.7 (допускаются две точки крепления, если в исходной зоне не находится никаких элементов);

О - относится к 5.3.10 (специальное положение для верхнего этажа транспортного средства).

Расположение нижних точек крепления. Требования, касающиеся только значения угла

Сиденье транспортного средства Категория M1 Не относящиеся к категории M1
Переднее со стороны пряжки (альфа2) 45°-80° 30°-80°
  с другой стороны, помимо стороны пряжки (альфа1) 30°-80° 30°-80°
  постоянный угол 50°-70° 50°-70°
  многоместное нераздельное сиденье - со стороны пряжки (альфа2) 45°-80° 20°-80°
  многоместное нераздельное сиденье - с другой стороны, помимо стороны пряжки (альфа1) 30°-80° 20°-80°
  регулируемое сиденье, угол спинки которого менее 20° 45°-80° (альфа2)* 20°-80° (альфа1)* 20°-80°
Заднее =/= - 30°-80° 20°-80° Пси
Откидное Никаких креплений для ремней безопасности не требуется. Если крепление установлено, см. предписания (отношении углов для передних и задних сидений

Примечание - Обозначения, принятые в таблице:

=/= - боковое и центральное;

* - если угол непостоянен, см.5.4.2.1;

Пси - 45°-90° в случае сидений, устанавливаемых на транспортных средствах категорий M2 и M3.

ПРИЛОЖЕНИЕ Ж
(обязательное)

ДИНАМИЧЕСКОЕ ИСПЫТАНИЕ В КАЧЕСТВЕ АЛЬТЕРНАТИВЫ СТАТИЧЕСКОМУ ИСПЫТАНИЮ НА ПРОЧНОСТЬ ПРИСПОСОБЛЕНИЙ ДЛЯ КРЕПЛЕНИЯ РЕМНЕЙ БЕЗОПАСНОСТИ

Ж.1 Область применения

В настоящем приложении приводится описание динамического испытания с использованием салазок, которое может проводиться в качестве альтернативы статическому испытанию на прочность приспособлений для крепления ремней безопасности, указанному в 6.3 и 6.4.

Альтернативное испытание может проводиться по просьбе изготовителя легкового автомобиля в случае группы сидений, когда все сидячие места оборудованы ремнями безопасности, которые имеют три точки крепления и для которых предусмотрены функции ограничителя нагрузки на грудную клетку, и когда данная группа сидений дополнительно имеет сидячее место, на котором верхнее крепление ремня безопасности расположено в каркасе сиденья.

Ж.2 Требования

Ж.2.1 Во время динамического испытания, приведенного в разделе 3 настоящего приложения, не должно быть никаких повреждений креплений или окружающей их зоны. Однако допускается запрограммированное повреждение, необходимое для функционирования устройства ограничения нагрузки.

Должны соблюдаться требования в отношении минимальных расстояний между нижними точками эффективного крепления, приведенные в 5.4.2.5 настоящего стандарта, и требования в отношении верхних точек эффективного крепления, приведенные в 5.4.3.6 настоящего стандарта, а также, в соответствующих случаях, дополнительные требования, предусмотренные в 2.1.1 настоящего приложения.

Ж.2.1.1 Для транспортных средств категории M1 общей допустимой массой не более 2,5 т верхнее крепление ремня безопасности, если оно смонтировано в каркасе сиденья, не должно смещаться вперед за пределы поперечной плоскости, проходящей через точки R и C данного сиденья (рисунок B.1).

Для транспортных средств, помимо упомянутых выше, верхняя точка крепления ремня безопасности не должна смещаться за пределы поперечной плоскости, расположенной под углом 10° в направлении вперед и проходящей через точку R сиденья.

Ж.2.2 На транспортных средствах, на которых используются такие устройства, после испытания устройства перемещения и блокировки, позволяющие водителю и пассажирам на всех сиденьях выйти из транспортного средства, должны по-прежнему приводиться вручную после испытания.

Ж.2.3 В руководстве для владельца транспортного средства должны содержаться сведения о том, что в качестве сменных ремней должны использоваться только ремни безопасности, сертифицированные для данного сидячего места в транспортном средстве, и должны быть конкретно указаны те сидячие места, на которых может быть установлен только соответствующий ремень безопасности, оборудованный ограничителем нагрузки.

Ж.3 Условия проведения динамических испытаний

Ж.3.1 Общие условия

К испытанию, описание которого приводится в настоящем приложении, применяются общие условия, предусмотренные в 6.1 настоящего стандарта.

Ж.3.2 Установка и подготовка

Ж.3.2.1 Салазки

Салазки должны быть сконструированы таким образом, чтобы после испытаний на них не было следов остаточной деформации. Они должны быть направлены таким образом, чтобы во время удара отклонение не превышало 5° от вертикальной плоскости и 2° от горизонтальной плоскости.

Ж.3.2.2 Фиксация конструкции транспортного средства

Часть конструкции транспортного средства, которая считается важной с точки зрения жесткости транспортного средства применительно к приспособлениям для крепления сидений и приспособлениям для крепления ремней безопасности, должна быть закреплена на салазках в соответствии с 6.2 настоящего стандарта.

Ж.3.2.3 Удерживающие системы

Ж.3.2.3.1 Удерживающие системы (комплектные сиденья, ремни безопасности в сборе и приспособления для ограничения нагрузки) устанавливаются в конструкцию транспортного средства в соответствии с техническими условиями, предусмотренными для транспортного средства серийного производства.

На испытательных салазках может быть установлено оборудование транспортного средства, находящееся перед испытуемым сиденьем (приборный щиток, сиденье и т.д. в зависимости от испытуемого сиденья). При наличии передней подушки безопасности ее необходимо отключить.

Ж.3.2.3.2 По просьбе изготовителя легкового автомобиля и с согласия испытательной лаборатории, ответственной за испытания, некоторые элементы удерживающих систем помимо комплектных сидений, ремней безопасности в сборе и устройств для ограничения натяжения могут не устанавливаться на испытательных салазках или могут быть заменены элементами эквивалентной или меньшей жесткости, размеры которых соответствуют размерам внутреннего оборудования транспортного средства, при условии, что подвергаемая испытанию конфигурация, по крайней мере, так же неблагоприятна, как и серийная конфигурация, применительно к усилиям, прилагаемым к сиденью и приспособлениям для крепления ремней безопасности.

Ж.3.2.3.3 Сиденья должны быть отрегулированы, как это требуется в 6.1.2 настоящего стандарта, таким образом, чтобы положение для использования, выбранное испытательной лабораторией, ответственной за приведение испытаний, создавало наиболее неблагоприятные условия с точки зрения прочности приспособления для крепления и было совместимо с установкой манекенов в транспортном средстве.

Ж.3.2.4 Манекены

Манекен, размеры и масса которого определены в приложении И, помещается на каждое сиденье и удерживается с помощью имеющегося в транспортном средстве ремня безопасности.

Оснащать манекен измерительной аппаратурой не требуется.

Ж.3.3 Испытание

Ж.3.3.1 Салазки разгоняются таким образом, чтобы во время испытания их скорость достигала 50 км/ч. Замедление салазок должно соответствовать значениям, указанным в приложении И.

Ж.3.3.2 При необходимости дополнительные удерживающие устройства (устройства предварительного натяжения и т.д., за исключением подушек безопасности) приводятся в действие в соответствии с инструкциями изготовителя легкового автомобиля.

Ж.3.3.3 Необходимо проверить, чтобы смещение приспособлений для крепления ремней безопасности не превышало предельных значений, указанных в 2.1 и 2.1.1 настоящего приложения.

ПРИЛОЖЕНИЕ И
(обязательное)

ТЕХНИЧЕСКИЕ ХАРАКТЕРИСТИКИ МАНЕКЕНА

Масса (97,5+-5) кг
Высота сидя в выпрямленном положении 965 мм
Ширина бедер (сидячее положение) 415 мм
Длина окружности бедер (сидячее положение) 1200 мм
Длина окружности талии (сидячее положение) 1080 мм
Толщина грудной клетки 265 мм
Длина окружности грудной клетки 1130 мм
Высота плеч 680 мм
Допуск для всех размеров длины +-5%

Примечание - Схема, поясняющая размеры, приводится на рисунке И.1

Рисунок И.1