Приказ ФСКН РФ от 28.10.2009 N 473

"Об утверждении Административного регламента Федеральной службы Российской Федерации по контролю за оборотом наркотиков по исполнению государственной функции по проведению проверок при осуществлении государственного контроля (надзора) в сфере деятельности, связанной с оборотом прекурсоров наркотических средств и психотропных веществ"
Редакция от 28.10.2009 — Документ утратил силу, см. «Приказ ФСКН РФ от 02.11.2011 N 468»
Показать изменения

Зарегистрировано в Минюсте РФ 2 декабря 2009 г. N 15373


ФЕДЕРАЛЬНАЯ СЛУЖБА РОССИЙСКОЙ ФЕДЕРАЦИИ ПО КОНТРОЛЮ ЗА ОБОРОТОМ НАРКОТИКОВ

ПРИКАЗ
от 28 октября 2009 г. N 473

ОБ УТВЕРЖДЕНИИ АДМИНИСТРАТИВНОГО РЕГЛАМЕНТА ФЕДЕРАЛЬНОЙ СЛУЖБЫ РОССИЙСКОЙ ФЕДЕРАЦИИ ПО КОНТРОЛЮ ЗА ОБОРОТОМ НАРКОТИКОВ ПО ИСПОЛНЕНИЮ ГОСУДАРСТВЕННОЙ ФУНКЦИИ ПО ПРОВЕДЕНИЮ ПРОВЕРОК ПРИ ОСУЩЕСТВЛЕНИИ ГОСУДАРСТВЕННОГО КОНТРОЛЯ (НАДЗОРА) В СФЕРЕ ДЕЯТЕЛЬНОСТИ, СВЯЗАННОЙ С ОБОРОТОМ ПРЕКУРСОРОВ НАРКОТИЧЕСКИХ СРЕДСТВ И ПСИХОТРОПНЫХ ВЕЩЕСТВ

На основании пункта 3 части 2 статьи 4 Федерального закона от 26 декабря 2008 г. N 294-ФЗ "О защите прав юридических лиц и индивидуальных предпринимателей при осуществлении государственного контроля (надзора) и муниципального контроля" (Собрание законодательства Российской Федерации, 2008, N 52 (ч. I), ст. 6249; 2009, N 18 (ч. I), ст. 2140, N 29, ст. 3601) и пункта 9 Порядка разработки и утверждения административных регламентов исполнения государственных функций (предоставления государственных услуг), утвержденного Постановлением Правительства Российской Федерации от 11 ноября 2005 г. N 679 (Собрание законодательства Российской Федерации, 2005, N 47, ст. 4933; 2007, N 50, ст. 6285; 2008, N 18, ст. 2063; 2009, N 41, ст. 4765), приказываю:

1. Утвердить прилагаемый Административный регламент Федеральной службы Российской Федерации по контролю за оборотом наркотиков по исполнению государственной функции по проведению проверок при осуществлении государственного контроля (надзора) в сфере деятельности, связанной с оборотом прекурсоров наркотических средств и психотропных веществ.

2. Признать утратившими силу:

Приказ ФСКН России от 9 июня 2006 г. N 195 "Об утверждении Инструкции об организации работы по проведению органами по контролю за оборотом наркотических средств и психотропных веществ проверок юридических лиц, осуществляющих деятельность, связанную с оборотом наркотических средств, психотропных веществ, их прекурсоров и сильнодействующих веществ, и внесении изменений в Приказ ФСКН России от 8 июля 2005 г. N 216" (зарегистрирован в Министерстве юстиции Российской Федерации 17 июля 2006 г., регистрационный N 8088);

Приказ ФСКН России от 12 декабря 2008 г. N 472 "О внесении изменений в Приказ ФСКН России от 9 июня 2006 г. N 195 "Об утверждении Инструкции об организации работы по проведению органами по контролю за оборотом наркотических средств и психотропных веществ проверок юридических лиц, осуществляющих деятельность, связанную с оборотом наркотических средств, психотропных веществ, их прекурсоров и сильнодействующих веществ, и внесении изменений в Приказ ФСКН России от 8 июля 2005 г. N 216" (зарегистрирован в Министерстве юстиции Российской Федерации 26 декабря 2008 г., регистрационный N 13015).

3. Приказ довести до сотрудников, федеральных государственных гражданских служащих и работников органов по контролю за оборотом наркотических средств и психотропных веществ в части, их касающейся.

4. Контроль за исполнением настоящего Приказа возложить на заместителя директора ФСКН России - руководителя Оперативно-разыскного департамента генерал-лейтенанта полиции Аулова Н.Н.

Директор
В.П.ИВАНОВ

Приложение
к Приказу ФСКН России
от 28.10.2009 N 473

АДМИНИСТРАТИВНЫЙ РЕГЛАМЕНТ
ФЕДЕРАЛЬНОЙ СЛУЖБЫ РОССИЙСКОЙ ФЕДЕРАЦИИ ПО КОНТРОЛЮ ЗА ОБОРОТОМ НАРКОТИКОВ ПО ИСПОЛНЕНИЮ ГОСУДАРСТВЕННОЙ ФУНКЦИИ ПО ПРОВЕДЕНИЮ ПРОВЕРОК ПРИ ОСУЩЕСТВЛЕНИИ ГОСУДАРСТВЕННОГО КОНТРОЛЯ (НАДЗОРА) В СФЕРЕ ДЕЯТЕЛЬНОСТИ, СВЯЗАННОЙ С ОБОРОТОМ ПРЕКУРСОРОВ НАРКОТИЧЕСКИХ СРЕДСТВ И ПСИХОТРОПНЫХ ВЕЩЕСТВ

I. Общие положения

1. Административный регламент Федеральной службы Российской Федерации по контролю за оборотом наркотиков по исполнению государственной функции по проведению проверок при осуществлении государственного контроля (надзора) в сфере деятельности, связанной с оборотом прекурсоров наркотических средств и психотропных веществ (далее - административный регламент), разработан в целях повышения качества исполнения государственной функции по проведению проверок по вопросам, отнесенным к компетенции Федеральной службы Российской Федерации по контролю за оборотом наркотиков, принятию по их результатам мер, предусмотренных законодательством Российской Федерации, и устанавливает сроки и последовательность административных процедур и административных действий ФСКН России и ее территориальных органов (далее - органы наркоконтроля, если не оговорено иное), а также порядок взаимодействия между органами наркоконтроля, их должностными лицами и юридическими лицами при осуществлении государственной функции.

2. Исполнение государственной функции по проведению проверок при осуществлении государственного контроля (надзора) в сфере деятельности, связанной с оборотом прекурсоров наркотических средств и психотропных веществ (далее - государственная функция), осуществляется должностными лицами Федеральной службы Российской Федерации по контролю за оборотом наркотиков и ее территориальных органов (далее - специалисты).

3. Исполнение государственной функции осуществляется в соответствии с:

Уголовно-процессуальным кодексом Российской Федерации (Собрание законодательства Российской Федерации, 2001, N 52 (ч. I), ст. 4921; 2002, N 22, ст. 2027, N 30, ст. 3015, ст. 3020, ст. 3029, N 44, ст. 4298; 2003, N 27 (ч. I), ст. 2700, ст. 2706, (ч. II), ст. 2708, N 28, ст. 2880, N 50, ст. 4847; 2004, N 17, ст. 1585, N 27, ст. 2711, N 49, ст. 4853; 2005, N 1 (ч. I), ст. 13, N 22, ст. 2194, N 23, ст. 2200; 2006, N 3, ст. 277, N 10, ст. 1070, N 23, ст. 2379, N 28, ст. 2975, ст. 2976, N 31 (ч. I), ст. 3452; 2007, N 1 (ч. I), ст. 46, N 16, ст. 1827, N 18, ст. 2118, N 24, ст. 2830, ст. 2833, N 31, ст. 4008, ст. 4011, N 41, ст. 4845, N 49, ст. 6033, N 50, ст. 6235, ст. 6236, ст. 6248; 2008, N 12, ст. 1074, N 19 (поправка), N 24, ст. 2798, N 49, ст. 5724, N 52 (ч. I), ст. 6226, ст. 6235; 2009, N 1, ст. 29, N 11, ст. 1266, ст. 1267, ст. 1268, N 18 (ч. I), ст. 2145, N 26, ст. 3139, N 29, ст. 3613) (далее - УПК России);

Кодексом Российской Федерации об административных правонарушениях (Собрание законодательства Российской Федерации, 2002, N 1 (ч. I), ст. 1, N 18, ст. 1721, N 30, ст. 3029, N 44, ст. 4295, ст. 4298; 2003, N 1, ст. 2, N 27 (ч. I), ст. 2700, (ч. II), ст. 2708, ст. 2717, N 46 (ч. I), ст. 4434, ст. 4440, N 50, ст. 4847, ст. 4855, N 52 (ч. I), ст. 5037; 2004, N 19 (ч. I), ст. 1838, N 30, ст. 3095, N 31, ст. 3229, N 34, ст. 3529, ст. 3533, N 44, ст. 4266; 2005, N 1 (ч. I), ст. 9, ст. 13, ст. 37, ст. 40, ст. 45, N 10, ст. 762, ст. 763, N 13, ст. 1077, ст. 1079, N 17, ст. 1484, N 19, ст. 1752, N 25, ст. 2431, N 27, ст. 2719, ст. 2721, N 30 (ч. I), ст. 3104, (ч. II), ст. 3124, ст. 3131, N 40, ст. 3986, N 50, ст. 5247, N 52 (ч. I), ст. 5574, ст. 5596; 2006, N 1, ст. 4, ст. 10, N 2, ст. 172, ст. 175, N 6, ст. 636, N 10, ст. 1067, N 12, ст. 1234, N 17 (ч. I), ст. 1776, N 18, ст. 1907, N 19, ст. 2066, N 23, ст. 2380, ст. 2385, N 28, ст. 2975, N 30, ст. 3287, N 31 (ч. I), ст. 3420, ст. 3432, ст. 3433, ст. 3438, ст. 3452, N 43, ст. 4412, N 45, ст. 4633, ст. 4634, ст. 4641, N 50, ст. 5279, ст. 5281, N 52 (ч. I), ст. 5498; 2007, N 1 (ч. I), ст. 21, ст. 25, ст. 29, ст. 33, N 7, ст. 840, N 15, ст. 1743, N 16, ст. 1824, ст. 1825, N 17, ст. 1930, N 20, ст. 2367, N 21, ст. 2456, N 26, ст. 3089, N 30, ст. 3755, N 31, ст. 4001, ст. 4007, ст. 4008, ст. 4009, ст. 4015, N 41, ст. 4845, N 43, ст. 5084, N 46, ст. 5553, N 49, ст. 6034, ст. 6065, N 50, ст. 6246; 2008, N 10 (ч. I), ст. 896, N 18, ст. 1941, N 19 (поправка), N 20, ст. 2251, ст. 2259, N 29 (ч. I), ст. 3418, N 30 (ч. I), ст. 3582, ст. 3601, ст. 3604, N 45, ст. 5143, N 49, ст. 5738, ст. 5745, ст. 5748, N 52 (ч. I), ст. 6227, ст. 6235, ст. 6236, ст. 6248; 2009, N 1, ст. 17, N 7, ст. 771, ст. 777, N 19, ст. 2276, N 23, ст. 2759, ст. 2767, ст. 2776, N 26, ст. 3120, ст. 3122, ст. 3131, ст. 3132, N 29, ст. 3597, ст. 3599, ст. 3635, ст. 3642, N 30, ст. 3735, ст. 3739) (далее - КоАП России);

Федеральным законом от 8 января 1998 г. N 3-ФЗ "О наркотических средствах и психотропных веществах" (Собрание законодательства Российской Федерации, 1998, N 2, ст. 219; 2002, N 30, ст. 3033; 2003, N 2, ст. 167, N 27 (ч. I), ст. 2700; 2004, N 49, ст. 4845; 2005, N 19, ст. 1752; 2006, N 43, ст. 4412, N 44, ст. 4535; 2007, N 30, ст. 3748, N 31, ст. 4011; 2008, N 30 (ч. I), ст. 3592, N 48, ст. 5515, N 52 (ч. I), ст. 6233; 2009, N 29, ст. 3588);

Федеральным законом от 24 июля 2007 г. N 209-ФЗ "О развитии малого и среднего предпринимательства в Российской Федерации" (Собрание законодательства Российской Федерации, 2007, N 31, ст. 4006, N 43, ст. 5084; 2008, N 30 (ч. I), ст. 3615, (ч. II), ст. 3616; 2009, N 31, ст. 3923);

Федеральным законом от 26 декабря 2008 г. N 294-ФЗ "О защите прав юридических лиц и индивидуальных предпринимателей при осуществлении государственного контроля (надзора) и муниципального контроля" (Собрание законодательства Российской Федерации, 2008, N 52 (ч. I), ст. 6249; 2009, N 18 (ч. I), ст. 2140, N 29, ст. 3601) (далее - Федеральный закон);

Указом Президента Российской Федерации от 28 июля 2004 г. N 976 "Вопросы Федеральной службы Российской Федерации по контролю за оборотом наркотиков" (Собрание законодательства Российской Федерации, 2004, N 31, ст. 3234; 2005, N 42, ст. 4259; 2006, N 36, ст. 3802; 2007, N 40, ст. 4717; 2008, N 3, ст. 168, N 13, ст. 1253, N 25, ст. 2958, N 37, ст. 4185, ст. 43, ст. 4921; 2009, N 21, ст. 2549, N 32, ст. 4005);

Постановлением Правительства Российской Федерации от 30 июня 1998 г. N 681 "Об утверждении перечня наркотических средств, психотропных веществ и их прекурсоров, подлежащих контролю в Российской Федерации" (Собрание законодательства Российской Федерации, 1998, N 27, ст. 3198; 2004, N 8, ст. 663, N 47, ст. 4666; 2006, N 29, ст. 3253; 2007, N 28, ст. 3439; 2009, N 26, ст. 3183);

Постановлением Правительства Российской Федерации от 4 ноября 2006 г. N 644 "О порядке представления сведений о деятельности, связанной с оборотом наркотических средств и психотропных веществ, и регистрации операций, связанных с оборотом наркотических средств, психотропных веществ и их прекурсоров" (Собрание законодательства Российской Федерации, 2006, N 46, ст. 4795; 2008, N 50, ст. 5946);

Постановлением Правительства Российской Федерации от 18 августа 2007 г. N 527 "О порядке ввоза в Российскую Федерацию и вывоза из Российской Федерации наркотических средств, психотропных веществ и их прекурсоров" (Собрание законодательства Российской Федерации, 2007, N 35, ст. 4310; 2009, N 9, ст. 1101, N 26, ст. 3201);

Приказом Федеральной службы Российской Федерации по контролю за оборотом наркотиков от 7 февраля 2006 г. N 44 "О должностных лицах органов по контролю за оборотом наркотических средств и психотропных веществ, уполномоченных составлять протоколы об административных правонарушениях и применять меры обеспечения производства по делам об административных правонарушениях" (зарегистрирован в Министерстве юстиции Российской Федерации 28 февраля 2006 г., регистрационный N 7547) (далее - Приказ N 44);

Приказом Министерства экономического развития Российской Федерации от 30 апреля 2009 г. N 141 "О реализации положений Федерального закона "О защите прав юридических лиц и индивидуальных предпринимателей при осуществлении государственного контроля (надзора) и муниципального контроля" (зарегистрирован в Министерстве юстиции Российской Федерации 13 мая 2009 г., регистрационный N 13915) (далее - Приказ N 141).

4. В административном регламенте под проверкой понимается совокупность проводимых специалистами с участием привлекаемых в случае необходимости экспертов и экспертных организаций в порядке, установленном Федеральным законом, в отношении юридических лиц, осуществляющих деятельность, связанную с оборотом прекурсоров наркотических средств и психотропных веществ, включенных в Список IV Перечня наркотических средств, психотропных веществ и их прекурсоров, подлежащих контролю в Российской Федерации, утвержденного Постановлением Правительства Российской Федерации от 30 июня 1998 г. N 681 (далее - юридические лица), мероприятий по контролю для оценки соответствия осуществляемой ими деятельности обязательным требованиям, установленным нормативными правовыми актами Российской Федерации.

5. ФСКН России проводит внеплановые проверки юридических лиц и принимает участие в проверках (плановых, внеплановых), проводимых территориальными органами ФСКН России.

6. При проведении проверок специалисты обязаны соблюдать ограничения, установленные статьей 15 Федерального закона, и строго исполнять обязанности, предусмотренные статьей 18 Федерального закона.

7. Финансирование проведения проверок осуществляется за счет соответствующих бюджетных средств, выделенных органам наркоконтроля.

8. При выявлении в результате проведения проверки нарушений юридическим лицом обязательных требований, установленных нормативными правовыми актами Российской Федерации (далее - обязательные требования), должностные лица ФСКН России (территориальных органов ФСКН России) в пределах полномочий, предусмотренных законодательством Российской Федерации, принимают меры, направленные на пресечение выявленных нарушений и (или) устранение последствий таких нарушений, а также меры по привлечению лиц, их допустивших, к ответственности.

9. В случае выявления при проведении проверки нарушений юридическим лицом обязательных требований нормативных правовых актов Российской Федерации, контроль (надзор) за соблюдением которых не входит в компетенцию ФСКН России (территориальных органов ФСКН России), материалы, подтверждающие такие нарушения, направляются в соответствующий контрольно-надзорный орган.

10. Юридическими фактами завершения исполнения государственной функции являются:

составление акта проверки ФСКН России (территориальным органом ФСКН России) юридического лица (далее - акт проверки);

возбуждение дела об административном правонарушении (при наличии оснований, предусмотренных КоАП России);

направление материалов в следственные органы органов наркоконтроля (при наличии оснований, предусмотренных УПК России);

подготовка и направление материалов в соответствующие контрольно-надзорные органы в случае выявления нарушений юридическим лицом обязательных требований нормативных правовых актов Российской Федерации, контроль за соблюдением которых не входит в компетенцию ФСКН России (территориальных органов ФСКН России).

II. Требования к порядку исполнения государственной функции

11. Порядок информирования о правилах исполнения государственной функции.

11.1. Информация о порядке исполнения государственной функции предоставляется:

11.1.1. Посредством размещения в сети Интернет на официальном сайте ФСКН России (сайтах территориальных органов ФСКН России).

Адрес официального Интернет-сайта ФСКН России: www.fskn.gov.ru (далее - сайт ФСКН России). Адреса интернет-сайтов территориальных органов ФСКН России размещены на сайте ФСКН России.

На сайте ФСКН России и интернет-сайтах территориальных органов ФСКН России размещается следующая информация:

ежегодный план проведения плановых проверок (размещается на интернет-сайте соответствующего территориального органа ФСКН России);

текст административного регламента;

перечень законодательных и иных нормативных правовых актов, содержащих нормы, непосредственно регулирующие исполнение государственной функции;

режим работы органа наркоконтроля;

адреса электронной почты органа наркоконтроля;

номера телефонов, по которым осуществляется информирование по вопросам исполнения государственной функции.

11.1.2. По письменным обращениям.

Почтовый адрес для направления обращений: 101990, г. Москва, ул. Маросейка, д. 12, ФСКН России.

Адрес электронной почты ФСКН России для направления обращений: info@gnk.gou.ru.

Почтовые адреса территориальных органов ФСКН России и адреса электронной почты территориальных органов ФСКН России размещаются на сайте ФСКН России.

11.1.3. Посредством телефонной связи.

Телефоны ФСКН России: (8-495) 628-79-91, 621-02-35 (деж.).

Сведения о контактных телефонах территориальных органов ФСКН России размещаются на сайте ФСКН России.

11.2. Местонахождение ФСКН России: г. Москва, ул. Маросейка, д. 12.

Режим работы:

Понедельник - четверг: 09.00 - 17.45.

Пятница: 09.00 - 16.30.

Суббота, воскресенье: выходные дни.

Сведения о местонахождении территориальных органов ФСКН России размещаются на сайте ФСКН России.

12. Порядок получения информации по вопросам исполнения государственной функции, в том числе о ходе исполнения государственной функции.

12.1. При информировании по письменным обращениям ответ на обращение направляется по почте в адрес заявителя в срок, не превышающий 30 дней со дня регистрации такого обращения.

12.2. При информировании по электронной почте ответ на Интернет-обращение может направляться как в письменной форме, так и в форме электронного сообщения в срок, не превышающий 30 дней со дня регистрации обращения.

12.3. При информировании посредством средств телефонной связи должностные лица органов наркоконтроля обязаны предоставить следующую информацию:

сведения о нормативных правовых актах, регламентирующих вопросы исполнения государственной функции;

сведения о порядке исполнения государственной функции;

сведения о сроках исполнения государственной функции;

сведения о местонахождении помещения органа наркоконтроля, предназначенного для приема обращений;

сведения об адресах сайта и электронной почты ФСКН России (территориальных органов ФСКН России);

сведения о ходе исполнения государственной функции.

По иным вопросам информация предоставляется только на основании соответствующего письменного обращения.

13. Сроки исполнения государственной функции.

13.1. Срок исполнения государственной функции (с даты начала проверки до даты составления акта проверки) не может превышать двадцать рабочих дней.

Срок проведения каждой из проверок, предусмотренных статьями 11 и 12 Федерального закона, исчисляемый с даты начала проверки до даты составления акта проверки, не может превышать двадцать рабочих дней.

13.2. Срок проведения каждой из предусмотренных статьями 11 и 12 Федерального закона проверок в отношении юридического лица, которое осуществляет свою деятельность на территориях нескольких субъектов Российской Федерации, устанавливается отдельно по каждому филиалу (представительству) юридического лица.

13.3. В отношении одного юридического лица, отнесенного в соответствии с законодательством Российской Федерации к субъектам малого предпринимательства, общий срок проведения плановой выездной проверки не может превышать пятьдесят часов для малого предприятия и пятнадцать часов для микропредприятия в год.

13.4. В исключительных случаях, связанных с необходимостью проведения сложных и (или) длительных исследований, специальных экспертиз и расследований, на основании мотивированных предложений специалистов, проводящих выездную плановую проверку, срок проведения выездной плановой проверки может быть продлен руководителем органа наркоконтроля, но не более чем на двадцать рабочих дней, а в отношении малых предприятий, микропредприятий - не более чем на пятнадцать часов.

Руководитель юридического лица информируется о продлении срока проверки посредством факсимильной связи или электронной почты не позднее дня, следующего за днем подписания соответствующего распоряжения, с последующим вручением его копии в порядке, предусмотренном пунктом 19.3 административного регламента.

13.5. Акт проверки составляется непосредственно в день завершения проверки.

В случае, предусмотренном частью 5 статьи 16 Федерального закона, акт проверки составляется в срок, не превышающий трех рабочих дней со дня получения соответствующих заключений.

13.6. За исполнение государственной функции плата с юридических лиц не взимается.

III. Административные процедуры

14. Исполнение государственной функции включает в себя следующие административные процедуры:

проведение проверки по вопросам, отнесенным к компетенции ФСКН России (территориальных органов ФСКН России);

принятие по результатам проведенной проверки мер, предусмотренных законодательством Российской Федерации, в случае выявления при проведении проверки нарушений юридическим лицом обязательных требований.

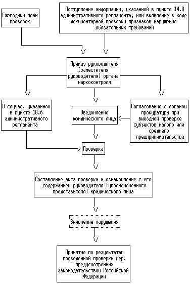
14.1. Блок-схема последовательности административных действий при исполнении государственной функции приводится в приложении к настоящему административному регламенту.

14.2. В отношении юридических лиц специалистами проводятся в установленном Федеральным законом порядке плановые и внеплановые проверки.

14.3. Плановой проверкой является проверка, включенная в план проверок юридических лиц, проводимых территориальным органом ФСКН России, формируемый на соответствующий календарный год и утверждаемый начальником территориального органа ФСКН России (далее - план проверок).

14.4. Плановая проверка в отношении юридического лица проводится не чаще одного раза в три года, за исключением юридических лиц, осуществляющих соответствующие виды деятельности в сфере здравоохранения, сфере образования, в социальной сфере, в отношении которых плановые проверки могут проводиться два и более раза в три года согласно Перечню таких видов деятельности и периодичности их проверок, установленных Правительством Российской Федерации.

14.5. Плановая проверка юридических лиц - членов саморегулируемой организации проводится в отношении не более чем десяти процентов общего числа членов саморегулируемой организации и не менее чем двух членов саморегулируемой организации в соответствии с ежегодным планом проведения плановых проверок, если иное не установлено федеральными законами.

14.6. Период деятельности юридического лица, подлежащий проверке (проверяемый период), не должен превышать трех лет, непосредственно предшествовавших году ее проведения.

14.7. Проверка, не включенная в план проверок, является внеплановой.

14.8. Основанием для проведения внеплановой проверки является:

поступление в органы наркоконтроля обращений и заявлений граждан, юридических лиц, индивидуальных предпринимателей, информации от органов государственной власти, органов местного самоуправления, из средств массовой информации о фактах:

возникновения угрозы причинения вреда жизни, здоровью граждан, вреда животным, растениям, окружающей среде, безопасности государства, а также угрозы чрезвычайных ситуаций природного и техногенного характера;

причинения вреда жизни, здоровью граждан, вреда животным, растениям, окружающей среде, безопасности государства, а также возникновения чрезвычайных ситуаций природного и техногенного характера.

Обращения и заявления, не позволяющие установить обратившееся лицо и (или) не содержащие сведений о фактах, указанных в абзацах третьем и четвертом настоящего пункта, не могут служить основанием для проведения внеплановой проверки.

14.9. Плановые и внеплановые проверки проводятся специалистами:

с выездом по месту нахождения и (или) фактического осуществления деятельности юридического лица (далее - выездные проверки);

без выезда по месту нахождения и (или) фактического осуществления деятельности юридического лица (далее - документарные проверки).

14.10. Выездная проверка проводится в случае, если при документарной проверке:

не представляется возможным удостовериться в полноте и достоверности сведений, содержащихся в имеющихся в распоряжении ФСКН России (территориального органа ФСКН России) документах юридического лица;

не представляется возможным оценить соответствие деятельности юридического лица обязательным требованиям без проведения соответствующих мероприятий по контролю;

установлены признаки нарушения обязательных требований.

14.11. Внеплановая выездная проверка юридических лиц, относящихся в соответствии с законодательством Российской Федерации к субъектам малого и среднего предпринимательства, проводится по основаниям, предусмотренным пунктом 14.8 административного регламента, после предварительного согласования с органом прокуратуры по месту осуществления деятельности таких юридических лиц.

14.12. В случаях, предусмотренных частью 12 статьи 10 Федерального закона, в связи с необходимостью принятия неотложных мер органы наркоконтроля вправе приступить к проведению внеплановой выездной проверки незамедлительно с извещением органов прокуратуры о проведении мероприятий по контролю посредством направления заявления о согласовании органом наркоконтроля с органом прокуратуры проведения внеплановой выездной проверки юридического лица, относящегося к субъектам малого или среднего предпринимательства (далее - заявление о согласовании), с приложением копии распоряжения ФСКН России (территориального органа ФСКН России) о проведении проверки юридического лица (далее - распоряжение о проведении проверки) и документов, которые содержат сведения, послужившие основанием ее проведения, в органы прокуратуры в течение двадцати четырех часов.

15. Административная процедура - проведение проверки по вопросам, отнесенным к компетенции ФСКН России (территориальных органов ФСКН России), включает в себя следующие административные действия:

принятие решения о проведении проверки;

подготовка к проверке;

проведение проверки (выездной, документарной);

составление акта проверки и ознакомление с его содержанием руководителя (уполномоченного представителя) юридического лица.

16. Административное действие - принятие решения о проведении проверки.

16.1. Основанием для принятия решения о проведении проверки является:

установленный планом проверок срок проведения проверки соответствующего юридического лица;

наличие одного или нескольких оснований для проведения внеплановой проверки, предусмотренных пунктом 14.8 административного регламента;

установление в ходе документарной проверки признаков нарушения обязательных требований.

16.2. Основанием для включения проверки в план проверок является истечение трех лет со дня:

1) государственной регистрации юридического лица;

2) окончания проведения последней плановой проверки юридического лица;

3) начала осуществления юридическим лицом предпринимательской деятельности в соответствии с представленным в уполномоченный Правительством Российской Федерации в соответствующей сфере федеральный орган исполнительной власти уведомлением о начале осуществления отдельных видов предпринимательской деятельности в случае выполнения работ или предоставления услуг, требующих представления указанного уведомления.

16.2.1. В случае если юридическое лицо осуществляет свою деятельность на территориях нескольких субъектов Российской Федерации, управление ФСКН России по субъекту Российской Федерации (региональное управление ФСКН России), на территории которого осуществляет свою деятельность филиал (представительство) юридического лица, в срок до 1 сентября года, предшествующего году проведения планируемой проверки юридического лица, направляет в управление ФСКН России по субъекту Российской Федерации (региональное управление ФСКН России), на территории которого зарегистрировано юридическое лицо, предложение о проведении проверки соответствующего филиала (представительства) юридического лица для включения в план проверок последнего с обязательным указанием сроков проведения такой проверки.

16.2.2. Управление ФСКН России по субъекту Российской Федерации (региональное управление ФСКН России), на территории которого зарегистрировано юридическое лицо, после утверждения плана проверок незамедлительно сообщает управлению ФСКН России по субъекту Российской Федерации (региональному управлению ФСКН России), на территории которого осуществляет свою деятельность филиал (представительство) юридического лица, о дате начала проведения проверки такого юридического лица.

16.3. При наличии оснований, предусмотренных пунктом 16.1 административного регламента, специалист, уполномоченный на подготовку проекта распоряжения о проведении проверки:

подготавливает предложения по персональному составу специалистов, а в случае необходимости привлекаемых к проверке экспертов (представителей экспертных организаций) для включения в проект распоряжения о проведении проверки;

определяет цели и задачи проверки;

определяет предмет и вид (выездная, документарная) проверки, даты ее начала и завершения;

составляет перечень обязательных требований, соблюдение которых юридическим лицом является предметом проверки (со ссылкой на положения нормативных правовых актов, их устанавливающих), и необходимых для достижения целей и задач проверки мероприятий по контролю.

16.4. Специалист, уполномоченный на подготовку проекта распоряжения о проведении проверки, подготавливает проект указанного распоряжения в соответствии с типовой формой, утвержденной Приказом N 141, а также пояснительную записку к проекту указанного распоряжения.

В случае проведения внеплановой выездной проверки, предусмотренной пунктом 14.11 административного регламента, специалист, уполномоченный на подготовку проекта распоряжения о проведении проверки, дополнительно подготавливает в соответствии с типовой формой, утвержденной Приказом N 141, проект заявления о согласовании.

16.5. Проект распоряжения о проведении проверки, проект заявления о согласовании в срок не позднее 15 рабочих дней до даты начала проверки представляются на подпись и в течение 3 рабочих дней подписываются:

в ФСКН России - директором ФСКН России или первым заместителем директора ФСКН России;

в территориальном органе ФСКН России - начальником территориального органа ФСКН России.

16.6. Подписанное уполномоченным лицом заявление о согласовании представляется либо направляется заказным почтовым отправлением с уведомлением о вручении или в форме электронного документа, подписанного электронной цифровой подписью, в орган прокуратуры по месту осуществления деятельности субъектов малого или среднего предпринимательства в день подписания распоряжения о проведении проверки.

К заявлению о согласовании прилагается копия распоряжения о проведении внеплановой выездной проверки и документы, которые содержат сведения, послужившие основанием ее проведения.

16.7. Решение о проведении проверки по основаниям, предусмотренным пунктом 14.8 административного регламента, принимается непосредственно после поступления в орган наркоконтроля соответствующей информации.

16.8. Плановая проверка юридического лица, осуществляющего свою деятельность на территориях нескольких субъектов Российской Федерации, проводится на основании распоряжения о проведении проверки управления ФСКН России по субъекту Российской Федерации (регионального управления ФСКН России), на территории которого зарегистрировано юридическое лицо.

16.8.1. Управление ФСКН России по субъекту Российской Федерации (региональное управление ФСКН России), на территории которого осуществляет свою деятельность филиал (представительство) такого юридического лица, за тридцать дней до даты начала проведения плановой проверки юридического лица направляет в управление ФСКН России по субъекту Российской Федерации (региональное управление ФСКН России), на территории которого зарегистрировано юридическое лицо, предложения по персональному составу специалистов, уполномоченных на проведение проверки филиала (представительства) юридического лица, а в случае необходимости привлекаемых к проведению такой проверки экспертов, представителей экспертных организаций (с обязательным указанием их фамилий, имен, отчеств, должностей) для включения в проект распоряжения о проведении проверки.

16.8.2. Предложения по персональному составу специалистов ФСКН России для включения в проект распоряжения о проведении проверки с целью их участия в проверке юридического лица, проводимой территориальным органом ФСКН России, направляются в соответствующий территориальный орган ФСКН России в аналогичные сроки.

17. Изменения в ходе проведения проверки персонального состава специалистов, уполномоченных на проведение проверки, продление срока проведения проверки оформляются распоряжением ФСКН России (территориального органа ФСКН России).

18. Административное действие - подготовка к проверке.

18.1. Основанием для начала подготовки к проверке является подписание уполномоченным должностным лицом ФСКН России (территориального органа ФСКН России) распоряжения о проведении проверки.

18.2. В ходе подготовки к проверке специалист, уполномоченный на ее проведение (далее - уполномоченный специалист) (председатель комиссии), определяет перечень документов, которые необходимо изучить для достижения целей и задач проверки юридического лица (в том числе находящихся в распоряжении ФСКН России (территориального органа ФСКН России)).

18.3. В ходе подготовки к плановой проверке юридического лица, осуществляющего свою деятельность на территориях нескольких субъектов Российской Федерации, управление ФСКН России по субъекту Российской Федерации (региональное управление ФСКН России), на территории которого зарегистрировано юридическое лицо, незамедлительно после подписания распоряжения о проведении проверки направляет в адрес управления ФСКН России по субъекту Российской Федерации (регионального управления ФСКН России), на территории которого осуществляет свою деятельность филиал (представительство) юридического лица, заверенную печатью органа наркоконтроля копию такого распоряжения в двух экземплярах.

18.4. При подготовке к плановой проверке уполномоченный специалист направляет копию распоряжения о проведении проверки в адрес юридического лица (филиала (представительства) юридического лица) заказным почтовым отправлением с уведомлением о вручении либо нарочным или иным доступным способом не позднее чем за три рабочих дня до даты начала проведения проверки.

18.5. Копия распоряжения о проведении органом наркоконтроля внеплановой выездной проверки, за исключением внеплановой выездной проверки, проводимой в случае, предусмотренном пунктом 14.8 административного регламента, направляется в адрес юридического лица (филиала (представительства) юридического лица) аналогичным способом не позднее чем за двадцать четыре часа до начала ее проведения.

18.6. В случае если в результате деятельности юридического лица причинен или причиняется вред жизни, здоровью граждан, вред животным, растениям, окружающей среде, безопасности государства, а также возникли или могут возникнуть чрезвычайные ситуации природного и техногенного характера, предварительное уведомление юридических лиц о начале проведения внеплановой выездной проверки не требуется.

18.7. В случае проведения проверки (плановой, внеплановой выездной) юридического лица - члена саморегулируемой организации копия распоряжения о проведении проверки в аналогичном порядке направляется в адрес указанной организации.

19. Административное действие - проведение выездной проверки.

Основанием для проведения выездной проверки является распоряжение ФСКН России (территориального органа ФСКН России) о ее проведении.

19.1. Выездная проверка проводится одним уполномоченным специалистом или комиссией в составе двух и более уполномоченных специалистов в сроки, установленные пунктами 13.1 или пунктом 13.3 административного регламента соответственно.

19.2. Уполномоченные специалисты по прибытии к месту проведения проверки предъявляют руководителю (уполномоченному представителю) юридического лица служебные удостоверения.

В случае проведения проверки на режимном объекте уполномоченные специалисты должны иметь при себе справки о допуске к сведениям, составляющим государственную тайну, по соответствующей форме, которые также представляются руководителю (уполномоченному представителю) юридического лица.

19.3. Председатель комиссии (уполномоченный специалист) в день прибытия к месту проведения проверки обязан ознакомить руководителя (уполномоченного представителя) юридического лица с распоряжением о проведении проверки, полномочиями специалистов, проводящих проверку, ее целями, задачами и основаниями проведения, видами и объемом мероприятий по контролю, составом экспертов, представителей экспертных организаций, привлекаемых к проведению проверки, со сроками и с условиями ее проведения, а также вручить под подпись заверенную печатью органа наркоконтроля копию указанного распоряжения и дать разъяснения по возникающим в этой связи вопросам.

В случае проведения внеплановой выездной проверки, предусмотренной пунктом 14.11 административного регламента, председатель комиссии (уполномоченный специалист) в день прибытия к месту проведения проверки вручает руководителю (уполномоченному представителю) юридического лица под подпись копию решения о согласовании проведения такой проверки.

По требованию руководителя (уполномоченного представителя) юридического лица председатель комиссии (уполномоченный специалист) обязан его ознакомить с настоящим административным регламентом, а также в целях подтверждения своих полномочий представить информацию об органе наркоконтроля.

19.4. Председатель комиссии (уполномоченный специалист) совместно с руководителем (уполномоченным представителем) юридического лица определяет круг лиц, с которыми будет осуществляться взаимодействие в ходе проверки, уточняет перечень документов, возможность ознакомления с которыми юридическое лицо обязано обеспечить, а также временной режим проверки (с учетом действующего режима работы юридического лица).

19.5. В ходе проверки осуществляются:

визуальный осмотр;

анализ документов и представленной информации;

иные мероприятия по контролю, предусмотренные Федеральным законом.

19.5.1. Визуальный осмотр осуществляется уполномоченными специалистами в присутствии руководителя (уполномоченного представителя) юридического лица.

При выявлении в ходе визуального осмотра фактов нарушений обязательных требований они фиксируются, о чем устно сообщается руководителю (уполномоченному представителю) юридического лица. Впоследствии факты нарушений обязательных требований отражаются в акте проверки.

19.5.2. В случае если выездной проверке не предшествовало проведение документарной проверки, с целью обеспечения возможности осуществления анализа документов в ходе выездной проверки юридического лица уполномоченные специалисты вправе потребовать для ознакомления документы юридического лица по вопросам, связанным с целями, задачами и предметом выездной проверки.

Передача запрашиваемых документов осуществляется по описи.

19.6. В случае отсутствия документов (информации) и (или) возникновения иных обстоятельств, препятствующих их представлению, руководитель юридического лица (уполномоченный представитель) имеет право представить председателю комиссии (уполномоченному специалисту) письменное объяснение причин непредставления документов.

19.7. В случае отказа руководителя юридического лица (уполномоченного представителя) представить необходимые для проведения проверки документы в акте проверки производится соответствующая запись.

20. Административное действие - проведение документарной проверки.

Основанием для проведения документарной проверки является распоряжение ФСКН России (территориального органа ФСКН России) о ее проведении.

20.1. Документарная проверка проводится одним уполномоченным специалистом или комиссией в составе двух и более уполномоченных специалистов в срок, установленный пунктом 13.1 административного регламента.

20.2. В ходе документарной проверки уполномоченным специалистом (комиссией) рассматриваются документы, имеющиеся в распоряжении органа наркоконтроля и позволяющие оценить исполнение юридическим лицом обязательных требований.

20.3. В случае если достоверность сведений, содержащихся в документах, имеющихся в распоряжении органа наркоконтроля, вызывает обоснованные сомнения либо эти сведения не позволяют оценить исполнение юридическим лицом обязательных требований, уполномоченный специалист подготавливает проект мотивированного запроса с требованием представить иные необходимые для рассмотрения в ходе проведения документарной проверки документы (далее - запрос) и передает его на подпись:

в ФСКН России - руководителю соответствующего структурного подразделения ФСКН России (его заместителю в соответствии с распределением служебных обязанностей);

в территориальном органе ФСКН России - начальнику территориального органа ФСКН России (его заместителю в соответствии с распределением служебных обязанностей).

20.4. Подписанный уполномоченным лицом запрос с приложением заверенной печатью органа наркоконтроля копии распоряжения о проведении проверки направляется в адрес юридического лица (филиала (представительства) юридического лица) заказным почтовым отправлением с уведомлением о вручении, а также дублируется посредством факсимильной связи или электронной почты.

20.5. Документы представляются в орган наркоконтроля в течение десяти рабочих дней со дня получения юридическим лицом запроса в виде копий, заверенных подписью руководителя (иного должностного лица) и печатью юридического лица, нарочным по акту приема-передачи или посредством почтовой связи заказным письмом с уведомлением о вручении и описью вложения, а также факсимильной связи, электронной почты (с обязательным последующим направлением заверенных копий документов почтовой связью).

20.6. В случае если в ходе документарной проверки выявлены ошибки и (или) противоречия в представленных юридическим лицом документах либо несоответствие сведений, содержащихся в этих документах, сведениям, содержащимся в имеющихся у органа наркоконтроля документах и (или) полученным в ходе осуществления проверки, юридическому лицу направляется письмо с информацией об этом и требованием представить в течение десяти рабочих дней необходимые пояснения в письменной форме.

20.7. Уполномоченный специалист обязан рассмотреть полученные от юридического лица пояснения по выявленным в ходе документарной проверки ошибкам (противоречиям, несоответствиям) и документы, подтверждающие достоверность ранее представленных документов.

20.8. Если в ходе документарной проверки установлены признаки нарушения обязательных требований, уполномоченный специалист (председатель комиссии) докладывает рапортом на имя лица, подписавшего распоряжение о проведении проверки, мотивированные предложения о целесообразности (нецелесообразности) проведения выездной проверки.

21. Административное действие - составление акта проверки и ознакомление с его содержанием руководителя (уполномоченного представителя) юридического лица.

21.1. Основанием для составления акта проверки является ее завершение в установленный срок, в случае проведения в ходе проверки исследований, специальных расследований, экспертиз - также получение заключений по их результатам.

21.2. В сроки, установленные пунктом 13.5 административного регламента, уполномоченный специалист (председатель комиссии) составляет в соответствии с типовой формой, утвержденной Приказом N 141, акт проверки в двух экземплярах.

21.3. Члены комиссии (уполномоченный специалист) подписывают каждый из экземпляров акта проверки.

21.4. В случае несогласия члена комиссии с содержанием акта проверки он излагает в письменной форме особое мнение, которое прилагается к акту проверки. Наличие особого мнения не является основанием для отказа от подписания акта проверки.

21.5. К акту проверки прилагаются протоколы или заключения проведенных исследований и экспертиз, объяснения руководителя, работников юридического лица, на которых возлагается ответственность за нарушение обязательных требований, и иные связанные с результатами проверки документы или их копии (далее - приложения).

21.6. Результаты проверки, содержащие информацию, составляющую государственную или иную охраняемую законом тайну, оформляются с соблюдением требований, предусмотренных законодательством Российской Федерации.

21.7. Один экземпляр акта проверки с копиями приложений вручается руководителю или уполномоченному представителю юридического лица под расписку об ознакомлении либо об отказе в ознакомлении с актом проверки.

В случае отсутствия руководителя или уполномоченного представителя юридического лица, а также в случае отказа указанных лиц дать расписку об ознакомлении либо об отказе в ознакомлении с актом проверки акт проверки с копиями приложений направляется в адрес юридического лица заказным почтовым отправлением с уведомлением о вручении, которое приобщается к экземпляру акта проверки, хранящемуся в учетном деле юридического лица в ФСКН России (территориальном органе ФСКН России).

21.8. Срок направления акта проверки - один рабочий день с даты его подписания.

21.9. В случае если для проведения внеплановой выездной проверки юридического лица требовалось согласование ее проведения с органом прокуратуры и (или) выявления нарушений при проведении проверки (плановой, внеплановой) юридического лица - члена саморегулируемой организации, копия акта проверки с копиями приложений направляется соответственно в орган прокуратуры, которым принято решение о согласовании проведения проверки, и (или) в адрес саморегулируемой организации в течение пяти рабочих дней со дня составления акта проверки.

21.10. Управление ФСКН России по субъекту Российской Федерации (региональное управление ФСКН России), на территории которого осуществляет свою деятельность филиал (представительство) юридического лица, направляет копию акта проверки филиала (представительства) с копиями приложений в управление ФСКН России по субъекту Российской Федерации (региональное управление ФСКН России), на территории которого зарегистрировано юридическое лицо, в целях приобщения к акту проверки юридического лица и ознакомления с его содержанием руководителя (уполномоченного представителя) юридического лица.

21.11. Непосредственно после завершения проверки уполномоченный специалист (председатель комиссии) производит соответствующие записи в журнале учета проверок юридического лица.

21.12. В срок, не превышающий двух рабочих дней со дня составления акта проверки, уполномоченным специалистом (председателем комиссии) производится запись о проведенной проверке в журнале учета проверок юридических лиц органом наркоконтроля и актов по их результатам, хранящемся в органе наркоконтроля, содержащая сведения о наименовании проверенного юридического лица, дате и номере распоряжения, на основании которого проведена проверка, виде проверки и периоде ее проведения, номере акта проверки и дате его составления, а также выявленных в ходе проверки нарушениях.

21.13. Юридическое лицо в случае несогласия с фактами, выводами, предложениями, изложенными в акте проверки, в течение пятнадцати дней с даты получения акта проверки вправе представить в ФСКН России (территориальный орган ФСКН России) в письменной форме возражения в отношении акта проверки в целом или его отдельных положений. При этом юридическое лицо вправе приложить к таким возражениям документы, подтверждающие их обоснованность, или их заверенные копии либо в согласованный срок передать их нарочным.

22. Принятие по результатам проведенной проверки мер, предусмотренных законодательством Российской Федерации.

22.1. Административная процедура - принятие по результатам проведенной проверки мер, предусмотренных законодательством Российской Федерации, включает в себя следующие административные действия:

возбуждение дела об административном правонарушении (при наличии оснований, предусмотренных КоАП России);

направление материалов в следственные органы органов наркоконтроля (при наличии оснований, предусмотренных УПК России);

подготовка и направление материалов в соответствующие контрольно-надзорные органы в случае выявления нарушений юридическим лицом обязательных требований нормативных правовых актов Российской Федерации, контроль за соблюдением которых не входит в компетенцию ФСКН России (территориальных органов ФСКН России).

23. Административное действие - возбуждение дела об административном правонарушении.

Основанием для возбуждения дела об административном правонарушении является выявление в ходе проверки достаточных данных, указывающих на наличие события административного правонарушения, отнесенного КоАП России к компетенции органов наркоконтроля.

23.1. Дело об административном правонарушении возбуждается в порядке и сроки, предусмотренные КоАП России, должностным лицом органа наркоконтроля, включенным в Перечень должностных лиц органов по контролю за оборотом наркотических средств и психотропных веществ, уполномоченных составлять протоколы об административных правонарушениях и применять меры обеспечения производства по делам об административных правонарушениях, утвержденный Приказом N 44.

24. Административное действие - направление материалов в следственные органы органов наркоконтроля.

Основанием для направления материалов в следственные органы органов наркоконтроля для их рассмотрения и принятия решения о возбуждении уголовного дела в порядке, предусмотренном статьями 144, 145 УПК России, является выявление в ходе проверки достаточных данных, указывающих на признаки преступления.

24.1. Направление таких материалов осуществляется в порядке и с соблюдением требований УПК России.

25. Административное действие - подготовка и направление материалов в соответствующие контрольно-надзорные органы в случае выявления нарушений юридическим лицом обязательных требований нормативных правовых актов Российской Федерации, контроль за соблюдением которых не входит в компетенцию ФСКН России (территориальных органов ФСКН России).

25.1. Основанием для направления материалов в соответствующие контрольно-надзорные органы является выявление в ходе проверки нарушений юридическим лицом обязательных требований нормативных правовых актов Российской Федерации, контроль за соблюдением которых не входит в компетенцию ФСКН России (территориальных органов ФСКН России).

Направление материалов, указывающих на нарушение юридическим лицом обязательных требований нормативных правовых актов Российской Федерации, контроль за соблюдением которых не входит в компетенцию ФСКН России (территориальных органов ФСКН России), в соответствующие контрольно-надзорные органы осуществляется непосредственно после выявления таких нарушений.

IV. Порядок и формы контроля за исполнением государственной функции

26. Контроль за исполнением государственной функции.

26.1. Текущий контроль за исполнением государственной функции, заключающийся в постоянном контроле за исполнением по существу, форме и срокам положений административного регламента, осуществляют должностные лица ФСКН России (территориальных органов ФСКН России).

Перечень должностных лиц, осуществляющих текущий контроль, устанавливается приказом подразделения ФСКН России, уполномоченного на проведение проверок юридических лиц (территориального органа ФСКН России).

26.2. Плановый контроль за полнотой и качеством исполнения государственной функции уполномоченными специалистами осуществляется в ходе проведения комплексных и тематических инспекторских проверок.

Кроме того, контроль за полнотой и качеством исполнения государственной функции территориальными органами ФСКН России осуществляет Федеральная служба Российской Федерации по контролю за оборотом наркотиков в ходе рассмотрения отчетов и справок об осуществлении ими государственной функции.

26.3. Внеплановые проверки проводятся в случае обращения юридического лица с жалобой на действия (бездействие), решения должностных лиц ФСКН России (территориальных органов ФСКН России).

В случае выявления нарушений виновные лица привлекаются к ответственности в порядке, установленном законодательством Российской Федерации и нормативными правовыми актами ФСКН России.

27. Ответственность должностных лиц органов наркоконтроля за действия (бездействие) и решения, осуществляемые и принимаемые в ходе исполнения государственной функции.

27.1. Специалисты, уполномоченные на подготовку проектов распоряжений о проведении проверки, несут персональную ответственность за соблюдение сроков и порядка их подготовки, правильность оформления и своевременность направления в органы прокуратуры заявлений о согласовании.

27.2. Уполномоченные специалисты несут персональную ответственность за своевременность уведомления юридического лица о проведении органом наркоконтроля проверок, соблюдение срока и порядка их проведения, исполнение обязанностей и соблюдение ограничений, предусмотренных при проведении проверок законодательством Российской Федерации, правильность оформления и своевременность составления актов проверок и ознакомления с их содержанием руководителей (уполномоченных представителей) юридических лиц.

27.3. Руководители (начальники), уполномоченные подписывать распоряжения о проведении проверок и запросы, несут персональную ответственность за их обоснованность.

27.4. Персональная ответственность лиц, указанных в пунктах 27.1 - 27.3 административного регламента, закрепляется в их должностных инструкциях (регламентах).

V. Порядок обжалования действий (бездействия) и решений, осуществляемых и принятых в ходе исполнения государственной функции

28. Юридическое лицо имеет право на обжалование действий (бездействия) специалистов, а также решений, осуществленных (принятых) в процессе исполнения государственной функции, в досудебном и судебном порядке.

28.1. При досудебном порядке действия (бездействие) и решения соответствующих должностных лиц ФСКН России, осуществленные (принятые) в процессе исполнения государственной функции, могут быть обжалованы:

руководителю соответствующего подразделения ФСКН России;

заместителям директора ФСКН России;

директору ФСКН России;

в прокуратуру.

Действия (бездействие) и решения должностных лиц территориальных органов ФСКН России, осуществленные (принятые) в процессе исполнения государственной функции, могут быть обжалованы:

начальнику территориального органа ФСКН России;

заместителям директора ФСКН России;

директору ФСКН России;

в прокуратуру.

28.2. Письменное обращение юридического лица, поступившее в ФСКН России (территориальный орган ФСКН России), должно быть зарегистрировано и передано на рассмотрение соответствующим должностным лицам, указанным в пункте 28.1 административного регламента.

Запрещается направлять обращение на рассмотрение должностному лицу, решение или действие (бездействие) которого обжалуется.

28.3. Срок рассмотрения обращения не должен превышать 30 дней со дня его регистрации.

28.4. В тех случаях, когда для рассмотрения обращения необходимо истребование дополнительных материалов и принятие других мер, требующих значительных временных затрат, срок рассмотрения обращения может быть продлен, но не более чем на 30 дней соответствующим должностным лицом, указанным в пункте 28.1 административного регламента, с обязательным уведомлением об этом юридического лица.

28.5. Письменное обращение юридического лица в обязательном порядке должно содержать:

полное наименование юридического лица с указанием его организационно-правовой формы;

почтовый адрес, по которому должны быть направлены ответ или уведомление о переадресации обращения, о продлении срока рассмотрения;

суть (обстоятельства) обжалуемых действий (бездействия), решений, основания, по которым юридическое лицо считает, что нарушены его права и законные интересы, созданы препятствия к их реализации либо незаконно возложена какая-либо обязанность;

подпись руководителя юридического лица, заверенную гербовой печатью юридического лица.

Дополнительно в письменном обращении могут быть указаны:

должность, фамилия, имя и отчество должностного лица, действие (бездействие), решение которого обжалуется;

иные сведения, которые юридическое лицо считает необходимым сообщить.

В случае необходимости в подтверждение своих доводов к письменному обращению прилагаются документы и материалы либо их копии.

28.6. Если в письменном обращении не указаны наименование юридического лица, почтовый адрес, по которому ему должен быть направлен ответ, обращение не рассматривается.

28.7. Если в письменном обращении юридического лица содержатся вопросы, на которые ему ранее давались письменные ответы, и при этом в обращении не приводятся новые доводы или обстоятельства, соответствующее должностное лицо, указанное в пункте 28.1 административного регламента, вправе принять решение об оставлении его без рассмотрения, о чем уведомляется юридическое лицо.

28.8. Если ответ по существу поставленного в обращении вопроса не может быть дан без разглашения сведений, составляющих государственную или иную охраняемую законодательством Российской Федерации тайну, юридическому лицу, направившему обращение, сообщается о невозможности дать ответ по существу поставленного в нем вопроса в связи с недопустимостью разглашения указанных сведений.

28.9. Заявители вправе обжаловать решения, принятые в ходе исполнения государственной функции, действия или бездействие должностных лиц органов наркоконтроля в суд в порядке и сроки, установленные законодательством Российской Федерации.

Приложение
к Административному регламенту
(пункт 14.1), утвержденному
Приказом ФСКН России
от 28.10.2009 N 473

БЛОК-СХЕМА
ПОСЛЕДОВАТЕЛЬНОСТИ АДМИНИСТРАТИВНЫХ ДЕЙСТВИЙ ПО ИСПОЛНЕНИЮ ГОСУДАРСТВЕННОЙ ФУНКЦИИ ПО ПРОВЕДЕНИЮ ПРОВЕРОК ПРИ ОСУЩЕСТВЛЕНИИ ГОСУДАРСТВЕННОГО КОНТРОЛЯ (НАДЗОРА) В СФЕРЕ ДЕЯТЕЛЬНОСТИ, СВЯЗАННОЙ С ОБОРОТОМ ПРЕКУРСОРОВ НАРКОТИЧЕСКИХ СРЕДСТВ И ПСИХОТРОПНЫХ ВЕЩЕСТВ