Положение о порядке раскрытия в официальном представительстве Банка России в сети Интернет информации о лицах, оказывающих существенное (прямое или косвенное) влияние на решения, принимаемые органами управления банков - участников системы обязательного страхования вкладов физических лиц в банках Российской Федерации

(утв. ЦБ РФ 27.10.2009 N 345-П)
Редакция от 27.10.2009 — Документ не действует

Зарегистрировано в Минюсте РФ 11 декабря 2009 г. N 15561


ЦЕНТРАЛЬНЫЙ БАНК РОССИЙСКОЙ ФЕДЕРАЦИИ

ПОЛОЖЕНИЕ
от 27 октября 2009 г. N 345-П

О ПОРЯДКЕ РАСКРЫТИЯ В ОФИЦИАЛЬНОМ ПРЕДСТАВИТЕЛЬСТВЕ БАНКА РОССИИ В СЕТИ ИНТЕРНЕТ ИНФОРМАЦИИ О ЛИЦАХ, ОКАЗЫВАЮЩИХ СУЩЕСТВЕННОЕ (ПРЯМОЕ ИЛИ КОСВЕННОЕ) ВЛИЯНИЕ НА РЕШЕНИЯ, ПРИНИМАЕМЫЕ ОРГАНАМИ УПРАВЛЕНИЯ БАНКОВ - УЧАСТНИКОВ СИСТЕМЫ ОБЯЗАТЕЛЬНОГО СТРАХОВАНИЯ ВКЛАДОВ ФИЗИЧЕСКИХ ЛИЦ В БАНКАХ РОССИЙСКОЙ ФЕДЕРАЦИИ

Настоящее Положение разработано на основании Федерального закона от 10 июля 2002 года N 86-ФЗ "О Центральном банке Российской Федерации (Банке России)" (Собрание законодательства Российской Федерации, 2002, N 28, ст. 2790; 2003, N 2, ст. 157; N 52, ст. 5032; 2004, N 27, ст. 2711; N 31, ст. 3233; 2005, N 25, ст. 2426; N 30, ст. 3101; 2006, N 19, ст. 2061; N 25, ст. 2648; 2007, N 1, ст. 9, ст. 10; N 10, ст. 1151; N 18, ст. 2117; 2008, N 42, ст. 4696, ст. 4699; N 44, ст. 4982; N 52, ст. 6229, ст. 6231; 2009, N 1, ст. 25; N 29, ст. 3629), статьи 44 Федерального закона от 23 декабря 2003 года N 177-ФЗ "О страховании вкладов физических лиц в банках Российской Федерации" (Собрание законодательства Российской Федерации, 2003, N 52, ст. 5029; 2004, N 34, ст. 3521; 2005, N 1, ст. 23; N 43, ст. 4351; 2006, N 31, ст. 3449; 2007, N 12, ст. 1350; 2008, N 42, ст. 4699; N 52, ст. 6225) и устанавливает порядок раскрытия банками - участниками системы обязательного страхования вкладов физических лиц в банках Российской Федерации (далее - банки) неограниченному кругу лиц информации о лицах, оказывающих существенное (прямое или косвенное) влияние на решения, принимаемые органами управления банков, путем ее размещения в официальном представительстве Банка России в сети Интернет.

1. Для размещения в официальном представительстве Банка России в сети Интернет информации о лицах, оказывающих существенное (прямое или косвенное) влияние на решения, принимаемые органами управления банка, банк направляет в территориальное учреждение Банка России, осуществляющее надзор за его деятельностью (далее - территориальное учреждение Банка России), следующие документы:

заявление о размещении в официальном представительстве Банка России в сети Интернет информации о лицах, оказывающих существенное (прямое или косвенное) влияние на решения, принимаемые органами управления банка, составленное по образцу приложения 1 к настоящему Положению (далее - Заявление);

список лиц, оказывающих существенное (прямое или косвенное) влияние на решения, принимаемые органами управления банка, составленный по образцу приложения 2 к настоящему Положению (далее - Список);

схему взаимосвязей банка и лиц, оказывающих существенное (прямое или косвенное) влияние на решения, принимаемые органами управления банка, с указанием третьих лиц, через которых косвенно оказывается существенное влияние (далее - Схема).

Заявление представляется банком на бумажном носителе, Список и Схема - на бумажном носителе и в электронном виде. Пример заполнения Списка приведен в приложении 3 к настоящему Положению. Пример составления Схемы приведен в приложении 4 к настоящему Положению.

Информация, указанная в Схеме, должна в полном объеме соответствовать информации, включенной в Список.

2. В электронном виде Список и Схема направляются банками в территориальные учреждения Банка России в виде файлов в форматах MS Word и TIF, каждый из которых должен включать и Список, и Схему. Названия файлов должны соответствовать следующему шаблону: RByyyy.doc и RByyyy.tif, где yyyy - регистрационный номер банка в соответствии с Книгой государственной регистрации кредитных организаций (указывается в четырехзначном разряде).

3. При наличии замечаний по документам (отсутствие полного комплекта документов, предусмотренных настоящим Положением, несоответствие установленному приложением 2 к настоящему Положению образцу Списка, наличие неполной, излишней информации или информации, противоречащей иным имеющимся у Банка России сведениям) территориальное учреждение Банка России посредством связи, обеспечивающей оперативное поступление информации, информирует банк о наличии оснований для отказа в размещении в официальном представительстве Банка России в сети Интернет информации о лицах, оказывающих существенное (прямое или косвенное) влияние на решения, принимаемые органами управления банка, и предлагает скорректировать представленные документы в течение 3 рабочих дней после даты получения сообщения об имеющихся замечаниях. В случае непредставления банком в установленный срок скорректированных в соответствии с замечаниями документов территориальное учреждение Банка России направляет в банк письмо, содержащее мотивированный отказ в размещении в официальном представительстве Банка России в сети Интернет информации о лицах, оказывающих существенное (прямое или косвенное) влияние на решения, принимаемые органами управления банка.

Территориальное учреждение Банка России не позднее 10 рабочих дней с даты получения документов от банка направляет в электронном виде в Департамент лицензирования деятельности и финансового оздоровления кредитных организаций Банка России заключение о соответствии представленной банком информации требованиям, установленным настоящим Положением (далее - Заключение). Заключение направляется в виде файлов в форматах MS Word и TIF. Названия файлов должны соответствовать следующему шаблону: ZByyyy.doc и ZByyyy.tif, где yyyy - регистрационный номер банка в соответствии с Книгой государственной регистрации кредитных организаций (указывается в четырехзначном разряде). Одновременно с указанным Заключением территориальное учреждение Банка России направляет по электронной почте в Департамент лицензирования деятельности и финансового оздоровления кредитных организаций Банка России представленные банком файлы, содержащие Список и Схему.

4. Департамент лицензирования деятельности и финансового оздоровления кредитных организаций Банка России в течение 7 рабочих дней с даты получения от территориального учреждения Банка России Заключения направляет представленную банком информацию о лицах, оказывающих существенное (прямое или косвенное) влияние на решения, принимаемые органами управления банка, в Департамент внешних и общественных связей Банка России для размещения в официальном представительстве Банка России в сети Интернет.

Департамент внешних и общественных связей Банка России в срок не позднее 7 рабочих дней с даты получения данной информации обеспечивает ее размещение в официальном представительстве Банка России в сети Интернет (при обязательном наличии сноски: "Данная информация опубликована на основании представленной банком информации. Банк России не несет ответственности за достоверность публикуемой информации.").

5. Банк, разместивший информацию о лицах, оказывающих существенное (прямое или косвенное) влияние на решения, принимаемые органами управления банка, в официальном представительстве Банка России в сети Интернет, обязан в течение 10 рабочих дней с даты любого изменения в составе лиц, требующего внесения изменений в Список и Схему, направить в территориальное учреждение Банка России составленное в произвольной форме уведомление об изменениях (на бумажном носителе) и скорректированные с учетом изменений Список и Схему на бумажном носителе и в электронном виде.

6. Банк России размещает в официальном представительстве Банка России в сети Интернет скорректированные с учетом изменений Список и Схему в порядке, установленном пунктами 3 и 4 настоящего Положения.

7. В случае отказа банка от размещения в официальном представительстве Банка России в сети Интернет информации о лицах, оказывающих существенное (прямое или косвенное) влияние на решения, принимаемые органами управления банка, банк направляет в территориальное учреждение Банка России соответствующее уведомление в произвольной форме, подписанное уполномоченным лицом банка.

Территориальное учреждение Банка России в срок не позднее 3 рабочих дней с даты получения уведомления от банка письменно информирует Департамент лицензирования деятельности и финансового оздоровления кредитных организаций Банка России о принятом банком решении.

8. Настоящее Положение подлежит официальному опубликованию в "Вестнике Банка России" и вступает в силу на основании решения Совета директоров Банка России (протокол заседания Совета директоров Банка России от 20 октября 2009 года N 20) с 27 декабря 2009 года.

Председатель Центрального банка
Российской Федерации
С.М.ИГНАТЬЕВ

Приложение 1
к Положению Банка России
от 27 октября 2009 г. N 345-П
"О порядке раскрытия в официальном
представительстве Банка России
в сети Интернет информации
о лицах, оказывающих существенное
(прямое или косвенное) влияние
на решения, принимаемые органами
управления банков - участников
системы обязательного страхования
вкладов физических лиц в банках
Российской Федерации"

ОБРАЗЕЦ

(наименование территориального учреждения Банка России)

ЗАЯВЛЕНИЕ О РАЗМЕЩЕНИИ В ОФИЦИАЛЬНОМ ПРЕДСТАВИТЕЛЬСТВЕ БАНКА РОССИИ В СЕТИ ИНТЕРНЕТ ИНФОРМАЦИИ О ЛИЦАХ, ОКАЗЫВАЮЩИХ СУЩЕСТВЕННОЕ (ПРЯМОЕ ИЛИ КОСВЕННОЕ) ВЛИЯНИЕ НА РЕШЕНИЯ, ПРИНИМАЕМЫЕ ОРГАНАМИ УПРАВЛЕНИЯ БАНКА

(полное фирменное наименование и сокращенное фирменное наименование (при наличии) банка)

просит размещать в официальном представительстве Банка России в сети Интернет информацию о лицах, оказывающих существенное (прямое или косвенное) влияние на решения, принимаемые органами управления банка.

Почтовый адрес банка, контактные телефоны ___________________

       
(должность уполномоченного лица банка)   (подпись)   (Ф.И.О.)

М.П.

Дата

Приложение 2
к Положению Банка России
от 27 октября 2009 г. N 345-П
"О порядке раскрытия в официальном
представительстве Банка России
в сети Интернет информации
о лицах, оказывающих существенное
(прямое или косвенное) влияние
на решения, принимаемые органами
управления банков - участников
системы обязательного страхования
вкладов физических лиц в банках
Российской Федерации"

ОБРАЗЕЦ

СПИСОК ЛИЦ, ОКАЗЫВАЮЩИХ СУЩЕСТВЕННОЕ (ПРЯМОЕ ИЛИ КОСВЕННОЕ) ВЛИЯНИЕ НА РЕШЕНИЯ, ПРИНИМАЕМЫЕ ОРГАНАМИ УПРАВЛЕНИЯ БАНКА <*>

Наименование банка  
Регистрационный номер банка  
Почтовый адрес банка  

Акционеры (участники) банка Лица, оказывающие косвенное (через третьи лица) существенное влияние на решения, принимаемые органами управления банка Взаимосвязи между акционерами (участниками) банка и лицами, оказывающими косвенное (через третьи лица) существенное влияние на решения, принимаемые органами управления банка
N п/п полное и сокращенное фирменное наименование юридического лица / Ф.И.О. физического лица принадлежащие акционеру (участнику) акции (доли) банка (процент голосов к общему количеству голосующих акций (долей) банка)
1 2 3 4 5
       
(должность уполномоченного лица банка)   (подпись)   (Ф.И.О.)

Исполнитель      
  (Ф.И.О.)   (телефон)

Дата

<*> Примечания к заполнению Списка лиц, оказывающих существенное (прямое или косвенное) влияние на решения, принимаемые органами управления банка

1. В строке "Наименование банка" указывается полное фирменное наименование и сокращенное фирменное наименование (при наличии) банка.

2. В строке "Регистрационный номер банка" указывается регистрационный номер, присвоенный банку Банком России и занесенный в Книгу государственной регистрации кредитных организаций.

3. В графах 2 - 3 указывается информация об акционерах (участниках) банка, владеющих более чем 1 процентом голосов к общему количеству голосующих акций (долей) банка.

В случае если акционером (участником) банка является нерезидент, в графе 2 на русском языке указывается:

для юридического лица - его наименование;

для физического лица - фамилия, имя, отчество (при наличии последнего).

4. В графах 4 и 5 раскрываются сведения о структуре собственности юридических лиц, указанных в графе 2.

Графа 4 заполняется только в случае наличия лиц, оказывающих косвенное влияние на решения, принимаемые органами управления банка через лицо, указанное в графе 2. При этом по каждому указанному в графе 2 юридическому лицу - акционеру (участнику) банка указывается информация о лицах, признаваемых конечными собственниками акций (долей, вкладов) данного юридического лица:

по физическим лицам - фамилия, имя, отчество (при наличии последнего), гражданство, место жительства (наименование города, населенный пункт);

по юридическим лицам - полное фирменное наименование и сокращенное фирменное наименование (при наличии), место нахождения (почтовый адрес), основной государственный регистрационный номер, дата государственной регистрации в качестве юридического лица (дата внесения в Единый государственный реестр юридических лиц сведений о юридическом лице - резиденте, зарегистрированном до 1 июля 2002 года).

В графе 5 приводится описание взаимосвязей между указанными в графе 2 акционерами (участниками) банка и лицами, указанными в графе 4 (в том числе приводится описание групп лиц). В графе 5 также приводятся сведения: об акциях, находящихся в публичном обращении; о лицах, являющихся номинальными держателями акций или доверительными управляющими, с указанием лиц, в интересах которых осуществляется номинальное держание, а также в пользу которых заключены договоры доверительного управления (траста, поручения, комиссии, агентских сделок), и принадлежащих последним долях участия в уставном капитале юридических лиц.

5. Если лицом, оказывающим существенное (прямое или косвенное) влияние на решения, принимаемые органами управления банка, является другой банк - участник системы обязательного страхования вкладов физических лиц в банках Российской Федерации, информация о структуре собственности последнего в Список не включается.

Приложение 3
к Положению Банка России
от 27 октября 2009 г. N 345-П
"О порядке раскрытия в официальном
представительстве Банка России
в сети Интернет информации
о лицах, оказывающих существенное
(прямое или косвенное) влияние
на решения, принимаемые органами
управления банков - участников
системы обязательного страхования
вкладов физических лиц в банках
Российской Федерации"

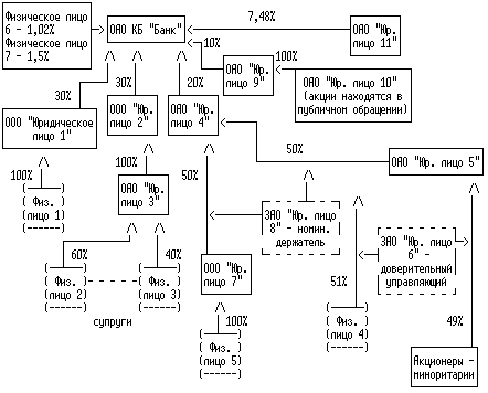
ПРИМЕР ЗАПОЛНЕНИЯ СПИСКА ЛИЦ, ОКАЗЫВАЮЩИХ СУЩЕСТВЕННОЕ (ПРЯМОЕ ИЛИ КОСВЕННОЕ) ВЛИЯНИЕ НА РЕШЕНИЯ, ПРИНИМАЕМЫЕ ОРГАНАМИ УПРАВЛЕНИЯ БАНКА

Наименование банка Открытое акционерное общество коммерческий банк "Банк";
   
ОАО КБ "Банк"  
   
Регистрационный номер банка 0031
   
Почтовый адрес г. Москва, ул. Юридическая, д. 2

Акционеры (участники) банка Лица, оказывающие косвенное (через третьи лица) существенное влияние на решения, принимаемые органами управления банка Взаимосвязи между акционерами (участниками) банка и лицами, оказывающими косвенное (через третьи лица) существенное влияние на решения, принимаемые органами управления банка
N п/п полное и сокращенное фирменное наименование юридического лица / Ф.И.О. физического лица принадлежащие акционеру (участнику) акции (доли) банка (процент голосов к общему количеству голосующих акций (долей) банка)
1 2 3 4 5
1 Общество с ограниченной ответственностью "Юридическое лицо 1" (ООО "Юридическое лицо 1") 30 Физическое лицо 1, гражданство, место жительства (наименование города, населенного пункта) Физическое лицо 1 является единственным участником ООО "Юридическое лицо 1".
2 Общество с ограниченной ответственностью "Юридическое лицо 2" (ООО "Юридическое лицо 2") 30 Физическое лицо 2, гражданство, место жительства (наименование города, населенного пункта) Физическое лицо 3, гражданство, место жительства (наименование города, населенного пункта) Физическому лицу 2 принадлежит 60% голосов к общему количеству голосующих акций ОАО "Юридическое лицо 3". Физическому лицу 3 принадлежит 40% голосов к общему количеству голосующих акций ОАО "Юридическое лицо 3". ОАО "Юридическое лицо 3" является единственным участником ООО "Юридическое лицо 2". Физическое лицо 3 является супругой Физического лица 2.
3 Открытое акционерное общество "Юридическое лицо 4" (ОАО "Юридическое лицо 4") 20 Физическое лицо 4, гражданство, место жительства (наименование города, населенного пункта) Физическое лицо 5, гражданство, место жительства (наименование города, населенного пункта) Физическому лицу 4 принадлежит 51% голосов к общему количеству голосующих акций ОАО "Юридическое лицо 5". 49% голосов к общему количеству голосующих акций ОАО "Юридическое лицо 5" в совокупности принадлежит акционерам, доля каждого из которых составляет менее 1%. ЗАО "Юридическое лицо 6" осуществляет доверительное управление акциями ОАО "Юридическое лицо 5" в пользу Физического лица 4 и миноритарных акционеров. ОАО "Юридическое лицо 5" принадлежит 50% голосов к общему количеству голосующих акций ОАО "Юридическое лицо 4". Физическое лицо 5 является единственным участником ООО "Юридическое лицо 7". ООО "Юридическое лицо 7" принадлежит 50% голосов к общему количеству голосующих акций ОАО "Юридическое лицо 4". ЗАО "Юридическое лицо 8" является номинальным держателем акций ОАО "Юридическое лицо 4" в интересах ОАО "Юридическое лицо 5" и ООО "Юридическое лицо 7".
4 Открытое акционерное общество "Юридическое лицо 9" (ОАО "Юридическое лицо 9") 10 ОАО "Юридическое лицо 10" место нахождения (почтовый адрес), ОГРН - xxxxxxxxxxxxx, внесена запись в ЕГРЮЛ о регистрации юридического лица 03.12.2002 ОАО "Юридическое лицо 10" принадлежит 100% голосов к общему количеству голосующих акций ОАО "Юридическое лицо 9". 100% акций ОАО "Юридическое лицо 10" находятся в публичном обращении.
5 Открытое акционерное общество "Юридическое лицо 11" (ОАО "Юридическое лицо 11") 7,48   ОАО "Юридическое лицо 11" является банком - участником системы обязательного страхования вкладов физических лиц в банках Российской Федерации.
6 Физическое лицо 6 1,02    
7 Физическое лицо 7 1,5    
Председатель Правления      
  (подпись)    
       
Исполнитель     т. 123-45-67

Дата

Приложение 4
к Положению Банка России
от 27 октября 2009 г. N 345-П
"О порядке раскрытия в официальном
представительстве Банка России
в сети Интернет информации
о лицах, оказывающих существенное
(прямое или косвенное) влияние
на решения, принимаемые органами
управления банков - участников
системы обязательного страхования
вкладов физических лиц в банках
Российской Федерации"

ПРИМЕР СОСТАВЛЕНИЯ СХЕМЫ ВЗАИМОСВЯЗЕЙ БАНКА И ЛИЦ, ОКАЗЫВАЮЩИХ СУЩЕСТВЕННОЕ (ПРЯМОЕ ИЛИ КОСВЕННОЕ) ВЛИЯНИЕ НА РЕШЕНИЯ, ПРИНИМАЕМЫЕ ОРГАНАМИ УПРАВЛЕНИЯ БАНКА