Приказ Минэнерго РФ от 28.01.2010 N 28

"Об утверждении нормативов по организации военизированных горноспасательных частей"
Редакция от 28.01.2010 — Документ утратил силу, см. «Приказ Минэнерго РФ от 05.11.2013 N 787»

Зарегистрировано в Минюсте РФ 6 мая 2010 г. N 17142


МИНИСТЕРСТВО ЭНЕРГЕТИКИ РОССИЙСКОЙ ФЕДЕРАЦИИ

ПРИКАЗ
от 28 января 2010 г. N 28

ОБ УТВЕРЖДЕНИИ НОРМАТИВОВ ПО ОРГАНИЗАЦИИ ВОЕНИЗИРОВАННЫХ ГОРНОСПАСАТЕЛЬНЫХ ЧАСТЕЙ

В целях обеспечения аварийно-спасательного обслуживания организаций по добыче (переработке) угля (горючих сланцев) и на основании Постановления Правительства Российской Федерации от 25 июня 1992 г. N 432 "О военизированных горноспасательных частях угольной промышленности Министерства топлива и энергетики Российской Федерации" в редакции Постановления Правительства Российской Федерации от 15 июня 1994 г. N 681 (Собрание законодательства Российской Федерации, 1994, N 8, ст. 873) приказываю:

Утвердить прилагаемые Нормативы по организации военизированных горноспасательных частей.

Министр
С.И.ШМАТКО

УТВЕРЖДЕНЫ
Приказом Минэнерго России
от 28.01.2010 N 28

НОРМАТИВЫ
ПО ОРГАНИЗАЦИИ ВОЕНИЗИРОВАННЫХ ГОРНОСПАСАТЕЛЬНЫХ ЧАСТЕЙ

1. Настоящие Нормативы по организации военизированных горноспасательных частей (далее - Нормативы) разработаны в соответствии с Федеральным законом от 20 июня 1996 г. N 81-ФЗ "О государственном регулировании в области добычи и использования угля, об особенностях социальной защиты работников организаций угольной промышленности" (Собрание законодательства Российской Федерации, 1996, N 26, ст. 3033; 2000, N 33, ст. 3348; 2004, N 35, ст. 3607; 2006, N 25, ст. 2647; 2007, N 31, ст. 4010; 2008, N 30 (ч. II), ст. 3616; 2009, N 1, ст. 17) и Постановлениями Правительства Российской Федерации от 25 июня 1992 г. N 432 "О военизированных горноспасательных частях угольной промышленности Министерства топлива и энергетики Российской Федерации" в редакции Постановления Правительства Российской Федерации от 15 июня 1994 г. N 681 (Собрание законодательства Российской Федерации, 1994, N 8, ст. 873) и от 30 декабря 2004 г. N 883 "Об утверждении Положения о функционировании аварийно-спасательной службы для организаций по добыче (переработке) угля (горючих сланцев)" (Собрание законодательства Российской Федерации, 2005, N 1 (ч. II), ст. 125).

2. Нормативы распространяются на военизированные горноспасательные части (далее - ВГСЧ), осуществляющие горноспасательное обслуживание организаций по добыче (переработке) угля (горючих сланцев), и устанавливают основные требования к структуре, численности и дислокации подразделений ВГСЧ бассейна (области) с учетом показателей опасности возникновения аварий в обслуживаемых организациях и их территориального расположения.

3. Структура ВГСЧ определяется ее руководителем в соответствии с настоящими Нормативами с учетом показателей опасности обслуживаемых объектов и их территориального расположения.

4. Структура ВГСЧ должна обеспечивать централизованное управление горноспасательными подразделениями, их постоянную боевую готовность и выполнение экстренных и неотложных действий по спасению людей и ликвидации аварий, размещение подразделений в месте расположения обслуживаемых объектов (бассейне, области).

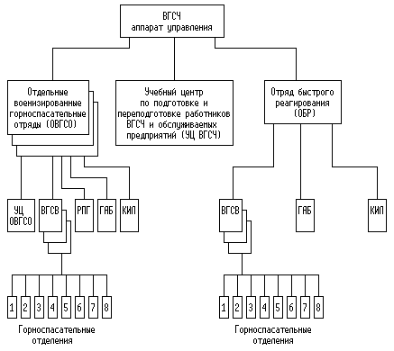
5. Для выполнения своих функций ВГСЧ имеет в своем составе аппарат управления, горноспасательные формирования ВГСЧ бассейна (области) - отдельные военизированные горноспасательные отряды (далее - ОВГСО), располагаемые в районах размещения обслуживаемых объектов.

Для выполнения своих функций в состав ВГСЧ могут входить отряд быстрого реагирования (далее - ОБР), учебный центр по подготовке и переподготовке работников ВГСЧ и организаций (далее - УЦ ВГСЧ) (приложение N 1) и другие подразделения.

6. ОВГСО осуществляет горноспасательное обслуживание организаций на определенной территории угледобывающего региона (бассейна, области).

7. ОБР осуществляет горноспасательное обслуживание организаций в регионе своей дислокации, а также оказывает помощь региональным ОВГСО в ликвидации сложных аварий и катастроф.

8. ОВГСО (ОБР) возглавляет командир отряда, который несет ответственность за постоянную боевую готовность вверенного ему подразделения к горноспасательным работам в обслуживаемых организациях. Командир отряда назначается руководителем ВГСЧ.

9. В состав ОВГСО (ОБР) входят:

оперативные подразделения - военизированные горноспасательные пункты (далее - ВГСП), военизированные горноспасательные взводы (далее - ВГСВ). Их количество определяется в соответствии с настоящими Нормативами, исходя из показателей опасности возникновения аварий и территориального расположения обслуживаемых организаций по добыче и переработке угля;

контрольно-испытательные лаборатории (далее - КИЛ), выполняющие анализы проб шахтного воздуха, испытания материалов и другие виды деятельности;

группы аэрологической безопасности (далее - ГАБ), выполняющие оценки состояния вентиляции шахт и разработку мер, обеспечивающих устойчивость вентиляционных режимов при ликвидации аварий на шахтах.

При необходимости в состав ОВГСО (ОБР) могут входить:

реанимационно-противошоковые группы (далее - РПГ);

взводы по обслуживанию и применению специальной горноспасательной техники (далее - ВСГТ);

отделения респираторщиков-водолазов для ведения подводно-технических и поисково-спасательных водолазных работ;

станции технического обслуживания пожаротушащей техники и горношахтного оборудования (далее - СТО);

учебные центры и взводы для обучения работников ВГСЧ и организаций;

другие специализированные подразделения.

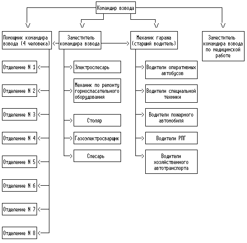
10. Организация выполнения оперативной работы в отряде возлагается на заместителя командира отряда по оперативной работе. В его непосредственном подчинении находятся:

помощники командира отряда, осуществляющие круглосуточную оперативную работу;

другие работники отряда, обеспечивающие постоянную боевую готовность сил и средств отряда к выезду на аварию, организующие и выполняющих работы по спасению людей и ликвидации последствий аварий в обслуживаемых организациях (приложение N 2).

11. Организация выполнения профилактической работы в отряде возлагается на заместителя командира отряда по профилактической работе. В его непосредственном подчинении находятся:

помощники командира отряда, осуществляющие профилактическую работу в каждой обслуживаемой организации;

начальники КИЛ и ГАБ (приложение N 3).

12. Штатную численность работников выполняющих вспомогательные работы по обеспечению функционирования ОВГСО (ОБР) определяет руководитель ВГСЧ.

13. ВГСВ состоит из четырех и более горноспасательных отделений для выполнения основных видов горноспасательных работ на обслуживаемых объектах, а также других работников, обеспечивающих функционирование подразделения (приложение N 4).

ВГСВ возглавляет командир взвода. Для обеспечения круглосуточной готовности к выезду на аварийный объект, организации и ведению горноспасательных работ в штат ВГСВ входят заместитель командира взвода и не менее четырех помощников командира взвода.

14. ВГСВ осуществляет обслуживание не более четырех угледобывающих организаций, соответственно с подземным или открытым способом добычи угля (горючих сланцев). При обслуживании более четырех угледобывающих организаций производится увеличение количества отделений в ВГСВ, с учетом показателей опасности возникновения аварий в обслуживаемых организациях.

ВГСВ обеспечивает, с учетом соблюдения норм рабочего времени и графика работы (службы) личного состава, постоянную боевую готовность к выезду на ликвидацию аварий в организациях с открытым или подземным способом добычи угля, соответственно не менее одного или не менее двух горноспасательных отделений. При этом время дежурства работников, непосредственно связанных с постоянной боевой готовностью к выезду на аварию, находящихся в режиме ожидания на дому, учитывается в размере одной четвертой часа за каждый час дежурства.

15. По согласованию с федеральным органом исполнительной власти, осуществляющим контроль за состоянием и готовностью подразделений ВГСЧ к ликвидации аварий в обслуживаемых организациях, для обслуживания одного, удаленно расположенного, объекта допускается создание ВГСП.

ВГСП обеспечивает, с учетом соблюдения норм рабочего времени и графика работы личного состава, выезд на ликвидацию аварии не менее одного горноспасательного отделения для выполнения горноспасательных работ в первоначальный период, совместно с членами вспомогательных горноспасательных команд обслуживаемой организации.

Для размещения ВГСП обслуживаемая организация предоставляет ему служебные помещения, в которых организуется дежурство личного состава, хранение и проверка приборов защиты органов дыхания, другого табельного оснащения, а также профессиональная тренировка приемам ликвидации аварий.

16. Для ликвидации аварий в подземных условиях, оказания помощи и эвакуации пострадавших горноспасательное отделение должно состоять не менее чем из пяти человек: командира отделения и четырех респираторщиков.

Для ликвидации аварии в условиях открытых горных работ горноспасательное отделение должно состоять не менее чем из трех человек: командира отделения и двух респираторщиков.

17. РПГ служат для оказания экстренной квалифицированной медицинской помощи пострадавшим работникам обслуживаемых организаций непосредственно на рабочем месте, для медицинского обеспечения горноспасательных работ и контроля состояния здоровья работников ВГСЧ.

Руководство деятельностью РПГ осуществляет помощник командира отряда, который непосредственно подчиняется заместителю командира отряда по оперативной работе.

РПГ состоят из медицинских работников (помощников командира взвода), сгруппированных в бригады РПГ из двух человек. Дежурство бригады РПГ выполняется в круглосуточном режиме на специально предназначенном для оказания скорой медицинской помощи автомобиле.

При отсутствии РПГ во взводе должно быть предусмотрено наличие медицинского работника в должности помощника командира взвода.

18. Подразделения ВГСЧ размещаются в зданиях и помещениях, специально оборудованных для несения круглосуточного дежурства, подготовки, тренировки, отдыха работников ВГСЧ, оперативного выезда автотранспорта, ремонта, хранения и содержания горноспасательного оснащения (приложение N 5).

В проектах на строительство организаций по добыче угля (горючих сланцев), находящихся вне зоны обслуживания имеющихся подразделений ВГСЧ, должно предусматриваться наличие специально оборудованных зданий и помещений для размещения подразделений ВГСЧ.

19. Подразделения ВГСЧ, для выполнения своих функций, должны иметь необходимую горноспасательную аппаратуру и оборудование, запас материалов, а также специальный автотранспорт для доставки этого оснащения и работников ВГСЧ на аварийный объект.

20. Личный состав ВГСЧ, непосредственно участвующий в горноспасательных и технических работах продолжительностью более шести часов, обеспечивается помещением для отдыха и питанием за счет средств организаций по месту выполнения горноспасательных работ.

21. Дислокация подразделений ОВГСО (ОБР) определяет расположение и состав, входящих в отряд подразделений (ВГСВ, количество отделений, размещение РПГ, ГАБ, КИЛ и других подразделений), расстояние между взводами и до обслуживаемых объектов организаций, их наименование и краткую характеристику (приложение N 6).

22. Дислокация подразделений ОВГСО (ОБР) утверждается Минэнерго России один раз в три года, по согласованию с территориальными органами Ростехнадзора.

Дислокация подразделений ОВГСО (ОБР) может корректироваться в зависимости от изменения количества обслуживаемых организаций, показателей опасности возникновения аварий и других факторов.

23. Военизированные горноспасательные взводы в зависимости от опасности возникновения аварий в обслуживаемых организациях и для обеспечения своевременного принятия мер по спасению людей и ликвидации аварий должны находиться от этих организаций на расстоянии не далее:

20 км - от шахт, разрабатывающих пласты, опасные по внезапным выбросам метана, угля и породы, и пласты, склонные к горным ударам; от шахт сверхкатегорных по метану, разрабатывающих пласты угля, склонные к самовозгоранию;

40 км - от шахт сверхкатегорных по метану, разрабатывающих пласты угля, не склонные к самовозгоранию; от шахт III, II и I категории по метану, разрабатывающих пласты угля, склонные к самовозгоранию;

60 км - от шахт III, II и I категории по метану, разрабатывающих пласты угля, не склонные к самовозгоранию; от не газовых шахт и организаций по переработке и обогащению угля (горючих сланцев);

300 км - от угольных разрезов и карьеров.

24. Горноспасательное обслуживание строящихся, закрываемых и находящихся на консервации шахт осуществляется в соответствии с проектами на строительство, ликвидацию и консервацию указанных шахт.

25. При выполнении сложных и затяжных горноспасательных работ привлечение необходимого числа отделений и горноспасательной техники из других отрядов ВГСЧ определяется согласно плану взаимодействия подразделений ВГСЧ, утвержденному руководителем ВГСЧ.

26. Подразделения ВГСЧ должны иметь телефонную и радиосвязь с обслуживаемыми организациями, горноспасательным отрядом, а также с другими подразделениями ВГСЧ для оперативного реагирования на аварии и выполнения работ по их ликвидации.

27. Нормативы времени на выезд подразделений ВГСЧ по сигналу "Тревога" для ликвидации аварий в обслуживаемых организациях устанавливается применительно к специфике каждого региона и утверждаются руководителем ВГСЧ.

28. Необходимое количество отделений в одном ВГСВ (ВГСП) для обеспечения круглосуточного дежурства определяется по формуле:

где N - количество отделений во взводе для обеспечения круглосуточного дежурства, ед.;

K - нормативное количество отделений выезжающих из одного взвода на ликвидацию аварии на обслуживаемом объекте, ед.;

A - годовой календарный фонд времени, час;

B - годовой фонд рабочего времени одного отделения, час;

D_о- дополнительное количество отделений, ед. Принимается при увеличении обслуживаемых объектов более четырех и устанавливается от одного отделения и более в зависимости от потенциальной аварийной опасности.

29. Расчет количества отделений в отряде выполняется с учетом фактической аварийности на обслуживаемых шахтах за последние десять лет (количество возникших аварий, длительность и трудоемкость их ликвидации), среднегодовой нагрузки на отделение по объему выполнения аварийных и технических работ, а также удаленности шахт от подразделений соседних отрядов.

30. Количество отделений в отряде (взводе, пункте) определяется по формуле:

где О_ср - среднее значение максимального количества работавших в одну смену отделений на авариях всех видов за десятилетний период по обслуживаемому району;

где О_В - среднее значение максимального количества работавших в одну смену отделений при ликвидации последствий взрыва за десятилетний период;

А_В- среднегодовое количество взрывов метана и угольной пыли за десятилетний период;

О_П- среднее значение максимального количества работавших в одну смену отделений при ликвидации последствий пожара за десятилетний период;

А_П- среднегодовое количество пожаров, рецидивов и загораний, ликвидированных в начальной стадии за десятилетний период;

О_ВВ- среднее значение максимального количества работавших в одну смену отделений при ликвидации последствий внезапных выбросов за десятилетний период;

А_ВВ- среднегодовое количество внезапных выбросов угля и газа за десятилетний период;

О_р- среднее значение максимального количества работавших в одну смену отделений при ликвидации последствий разгазирования за десятилетний период;

А_р- среднегодовое количество случаев разгазирования горных выработок за десятилетний период;

О_о- среднее значение максимального количества работавших в одну смену отделений при ликвидации последствий обрушения за десятилетний период;

А_о- среднегодовое количество обрушений пород, прорывов воды и глинистой пульпы за десятилетний период;

О_д- среднее значение максимального количества работавших в одну смену отделений при ликвидации последствий других аварий за десятилетний период;

А_д- среднегодовое количество других подземных и поверхностных аварий за десятилетний период;

О_т- среднее значение максимального количества работавших в одну смену отделений на технических работах за десятилетний период;

А_т- среднегодовое количество технических работ за десятилетний период.

К_1- коэффициент, учитывающий влияние длительности ликвидации аварии в обслуживаемом районе. Зависит от средней длительности ликвидации одной аварии и принимается равным:

К_1 = 1, если Д не превышает 6 часов;

К_1 = Д если Д от 6 часов до 24 часов;
6

К_1 = 4, если Д превышает 24 часа,

где Д - средняя длительность горноспасательных работ по ликвидации одной аварии (час);

К_2- коэффициент, учитывающий взаимопомощь соседних военизированных горноспасательных отрядов, зависит от времени прибытия отделений из подразделений соседних отрядов и принимается равным:

К_2 = 2 - при времени прибытия отделений из соседних подразделений на наиболее удаленную шахту свыше 24 часов;

К_2 = 1,5 - при времени прибытия отделений из соседних подразделений на наиболее удаленную шахту от 6 до 24 часов с момента возникновения аварии;

К_2 = 1 - при времени прибытия отделений из соседних подразделений на наиболее удаленную шахту в течение первых 6 часов ликвидации аварии.

К_3 - коэффициент, учитывающий график работы в подразделениях отряда.

Его величина определяется отношением общего числа отделений в подразделениях к числу отделений, готовых к выезду на ликвидацию аварии (суммарному среднесуточному числу дежурных и резервных отделений в подразделении).

Если в отряде имеются подразделения с разными графиками, то значение К_3 определяется как средневзвешенное.

К_4 - коэффициент, учитывающий нагрузки на отделение среднегодовых объемов, выполненных аварийных и технических работ, принимается равным:

К_4 = 0,5, если Т_отд меньше 360 чел.-часов;

К_4 = 1, если Т_отд составляет от 360 до 1800 чел.-часов;

К_4 = Т_отд если Т_отд превышает 1800 чел.-часов,
Т_н

где Т_отд - среднегодовая нагрузка на отделение по выполнению аварийных и технических работ, чел.-час;

Т_н = 1800 - нормативная годовая нагрузка на отделение по выполнению аварийных и технических работ в шахтах, чел.-ч/год;

К_5 - коэффициент, учитывающий протяженность горных выработок обслуживаемых шахт. Принимается равным:

К_5 = 0,5 - при суммарной протяженности горных выработок шахт до 60 км;

К_5 = 0,6 - при суммарной протяженности от 60 до 120 км;

К_5 = 0,8 - при суммарной протяженности от 120 до 240 км;

К_5 = 1,0 - при суммарной протяженности более 240 км.

К_6 - коэффициент, учитывающий число горнорабочих, одновременно работающих в подземных условиях. Принимается равным:

К_6 = 1,2 - при общей численности подземных трудящихся в наиболее загруженную смену до 1000 чел.;

К_6 = 1,6 - при общей численности от 1000 до 3000 чел.,

К_6 = Р - при общей численности более 3000 чел.,
1500

где P - общая численность подземных трудящихся в наиболее загруженную смену, чел.

31. Если расчетное количество отделений в отряде (взводе) N превышает фактическое количество отделений в отряде, то принимается решение о формировании дополнительных отделений, в первую очередь - во взводах, обслуживающих организации с наибольшей опасностью возникновения аварий.

32. Штатная численность работников, осуществляющих профилактическую деятельность, определяется в соответствии с объемом выполняемых ими работ, вытекающих из должностных функциональных обязанностей, направленных на решение задач противоаварийной защиты обслуживаемых опасных производственных объектов.

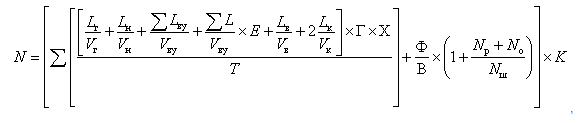
33. Штатная численность работников ОВГСО (ОБР), осуществляющих профилактическую работу в угольных организациях (помощники командира отряда по профилактической работе - ПКОПР), определяется по формуле:

где L_г - суммарная протяженность горизонтальных горных выработок по каждой обслуживаемой организации, м;

L_н- суммарная протяженность наклонных горных выработок по каждой обслуживаемой организации, м;

L_в- суммарная протяженность вертикальных горных выработок по каждой обслуживаемой организации, м;

L_ву- суммарная протяженность линии очистных забоев по каждой обслуживаемой организации, м;

L_к- сумма средних высот башенных копров по каждой обслуживаемой организации, м;

L - суммарная протяженность линии очистных забоев при отработке крутых пластов (включая системы разработки ПГО и ПШО) по обслуживаемым организациям, м;

V_г- средняя скорость передвижения по горизонтальным горным выработкам, м/час;

V_н- средняя скорость передвижения по наклонным горным выработкам, м/час;

V_в- средняя скорость передвижения по вертикальным горным выработкам (вниз), м/час;

V_ву- средняя скорость передвижения по очистным забоям, м/час;

V_к- средняя скорость передвижения по вертикальным горным выработкам (вверх), м/час;

T - рабочее время в подземных условиях, час;

Рабочее время в подземных условиях принимается не более 132 часов в соответствии со статьей 91 Трудового кодекса Российской Федерации, при 30-часовой рабочей неделе;

В - среднее рабочее время за месяц, час;

Среднее рабочее время за месяц составляет 166,1 час, принимается в соответствии со статьей 91 Трудового кодекса Российской Федерации, при 40-часовой рабочей неделе.

N_ш- количество обслуживаемых шахт;

N_р- количество обслуживаемых разрезов;

N_о- количество обслуживаемых обогатительных фабрик;

E - коэффициент, учитывающий обследование лав при отработке крутых пластов (включая системы разработки ПГО и ПШО),

принимается по таблице:

Угол наклона выработки, град. Поправочный коэффициент
13 - 30 1.16
31 - 45 1.30
46 и более 1.54

Х = 1,10, коэффициент, учитывающий время на отдых, согласно "Нормативу времени на отдых для работников, занятых на горных работах в угольной промышленности";

Г - коэффициент, учитывающий производство работ по пластам, опасным или угрожаемым по внезапным выбросам угля и газа, а также горным ударам, категорию обслуживаемых шахт по газу метану.

Величина коэффициента принимается по таблице:

Показатель Шахты (категории по газу метану)
не газовые I, II III категории сверхкатегорийные
Г 1 1.05 1.11 1.176

K - коэффициент запаса численности состава, определяется по формуле:

где А - календарная продолжительность года, дней;

П - продолжительность праздничных дней в году, дней;

Р - продолжительность выходных дней в году, дней;

О - продолжительность отпуска, дней;

N - сумма дополнительных отпусков в году, дней;

Z - коэффициент, учитывающий количество невыходов по прочим уважительным причинам, равен 0,96.

Затраты времени на обследование организаций определяем по формуле:

Ф = (С + R + S) x Д,

где С - количество рабочих дней, отведенных на проведение занятий в учебной шахте (1 день), на командирскую учебу (2 дня), на подготовку информации о проделанной работе за отчетный месяц (1 день), проверка соответствия плана ликвидации аварии, действительному положению ведения горного хозяйства в шахте (1 день), оценка по данным КИЛ эндогенной пожароопасности шахты (1 день). Всего С равно 6 дням;

R - количество дней на посещение разрезов (равно количеству разрезов);

S - количество дней на посещение ОФ (равно количеству ОФ, ОУ и пр.);

Д - продолжительность рабочего дня на поверхности, 8 часов.

34. Штатная численность работников контрольно-измерительной лаборатории (КИЛ) определяется по формуле:

кил  
где N списочная численность КИЛ, человек;
  штат  
m    
сумма M_j суммарные трудозатраты всех видов работ КИЛ, чел. смен;
j=1    

m - количество видов работ, выполняемых КИЛ;

К_список - коэффициент списочного состава численности КИЛ, устанавливается с учетом фактической средней продолжительности трудовых отпусков, больничных по временной нетрудоспособности и других потерь времени, установленных трудовым законодательством;

V_г - объем j(го) вида работ, чел. смен;

Н_j - норма времени выполнения единицы j(го) вида работ, чел. смен;

Т_j - годовой фонд рабочего времени, на поверхности (максимальный) - 252 рабочих дня.

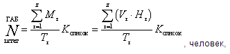
35. Штатная численность работников группы аэрологической безопасности (ГАБ) определяется по формуле:

ГАБ  
где N - списочная численность ГАБ, человек;
  штат  

z    
сумма M_тау - суммарные трудозатраты всех видов работ ГАБ, чел. смен;
j=1    

z - количество видов работ, выполняемых ГАБ;

К_список - коэффициент списочного состава численности ГАБ, устанавливается с учетом фактической средней продолжительности трудовых отпусков, больничных по временной нетрудоспособности и других потерь времени, установленных трудовым законодательством;

V_тау-- объем тау(го) вида работ, чел. смен;

Н_тау- норма времени выполнения единицы Тау(го) вида работ, чел. смен;

Т_тау- годовой фонд рабочего времени, на поверхности - 252 рабочих дня.

Приложение N 1
к Нормативам
по организации военизированных
горноспасательных частей

СТРУКТУРА ВОЕНИЗИРОВАННОЙ ГОРНОСПАСАТЕЛЬНОЙ ЧАСТИ (ВГСЧ)

Приложение N 2
к Нормативам
по организации военизированных
горноспасательных частей

СТРУКТУРА УПРАВЛЕНИЯ ОПЕРАТИВНОЙ РАБОТОЙ ОТДЕЛЬНОГО ВОЕНИЗИРОВАННОГО ГОРНОСПАСАТЕЛЬНОГО ОТРЯДА

Приложение N 3
к Нормативам
по организации военизированных
горноспасательных частей

СТРУКТУРА УПРАВЛЕНИЯ ПРОФИЛАКТИЧЕСКОЙ РАБОТОЙ ОТДЕЛЬНОГО ВОЕНИЗИРОВАННОГО ГОРНОСПАСАТЕЛЬНОГО ОТРЯДА

Приложение N 4
к Нормативам
по организации военизированных
горноспасательных частей

СТРУКТУРА ВОЕНИЗИРОВАННОГО ГОРНОСПАСАТЕЛЬНОГО ВЗВОДА

Приложение N 5
к Нормативам
по организации военизированных
горноспасательных частей

РЕКОМЕНДУЕМЫЙ ПЕРЕЧЕНЬ
СЛУЖЕБНЫХ ПОМЕЩЕНИЙ ВОЕНИЗИРОВАННОГО ГОРНОСПАСАТЕЛЬНОГО ВЗВОДА (ВГСВ)

1. Гараж оперативных автомобилей (по числу автобусов для выезда отделений, автомобилей РПГ, автомобилей и прицепов для перевозки пожарного оборудования, ГИГ, криогенной техники).

2. База неприкосновенного запаса технического оснащения и аварийных материалов согласно "Табелю минимального оснащения подразделений ВГСЧ".

3. Комната оперативного дежурного у телефона и объявления быстрого сбора личного состава дежурных, резервных и свободных смен по сигналу "Тревога".

4. Комната проверки и настройки аппаратов по защите органов дыхания (респираторов) и приборов искусственной вентиляции легких.

5. Помещение для мойки респираторов.

6. Комната переснаряжения и взвешивания регенеративных патронов.

7. Комната кислородных компрессоров для наполнения малолитражных баллонов.

8. Комната хранения транспортных баллонов с кислородом.

9. Учебная шахта.

10. Комплекс тепловой тренировки респираторщиков и командиров.

11. Учебно-тренировочный полигон по отработке тактики применения горноспасательного оснащения.

12. Спортивно-тренажерный зал.

13. Учебный класс для профессиональной подготовки респираторщиков и командиров.

14. Комнаты отдыха дежурных и резервных смен.

15. Мастерская по ремонту горноспасательного оснащения.

16. Кабинеты командира взвода и его помощников.

17. Бытовые помещения согласно действующим санитарным нормам.

Приложение N 6
к Нормативам
по организации военизированных
горноспасательных частей

ДИСЛОКАЦИЯ ПОДРАЗДЕЛЕНИЙ _________ ОВГСО (ОБР)
НА ____ ГГ.

Наименование подразделений, количество отделений, место дислокации (численность по каждому подразделению) Наименование обслуживаемых объектов Краткая характеристика обслуживаемого объекта <*> Аварийная опасность (категорийность по метану, опасность по горным ударам, внезапным выбросам метана, угля и породы, взрывчатости угольной пыли, самовозгоранию угля) и срок эксплуатации обслуживаемых объектов Наличие ВГС (численность, чел.) Расстояние до обслуживаемых объектов, км
1 2 3 4 5 6

<*> В краткой характеристике указывается: годовая добыча предприятия, протяженность горных выработок, численность работников.