Свод правил. Защита от шума. Актуализированная редакция СНиП 23-03-2003. СП 51.13330.2011

(утв. Приказом Минрегиона РФ от 28.12.2010 N 825)
Редакция от 28.12.2010 — Не действует Перейти в действующую
Показать изменения

УТВЕРЖДЕН
Приказом Минрегиона РФ
от 28 декабря 2010 г. N 825

СВОД ПРАВИЛ

ЗАЩИТА ОТ ШУМА
АКТУАЛИЗИРОВАННАЯ РЕДАКЦИЯ СНиП 23-03-2003

Sound protection

СП 51.13330.2011

Предисловие

Цели и принципы стандартизации в Российской Федерации установлены Федеральным законом от 27 декабря 2002 г. N 184-ФЗ "О техническом регулировании", а правила разработки - Постановлением Правительства Российской Федерации от 19 ноября 2008 г. N 858 "О порядке разработки и утверждения сводов правил".

Сведения о своде правил

1. Исполнители - Научно-исследовательский институт строительной физики Российской академии архитектуры и строительных наук (НИИСФ РААСН).

2. Внесен Техническим комитетом по стандартизации ТК 465 "Строительство".

3. Подготовлен к утверждению Департаментом архитектуры, строительства и градостроительной политики.

4. Утвержден Приказом Министерства регионального развития Российской Федерации (Минрегион России) от 28 декабря 2010 г. N 825 и введен в действие с 20 мая 2011 г.

5. Зарегистрирован Федеральным агентством по техническому регулированию и метрологии (Росстандарт). Пересмотр СП 51.13330.2010.

Информация об изменениях к настоящему своду правил публикуется в ежегодно издаваемом информационном указателе "Национальные стандарты", а текст изменений и поправок - в ежемесячно издаваемых информационных указателях "Национальные стандарты". В случае пересмотра (замены) или отмены настоящего свода правил соответствующее уведомление будет опубликовано в ежемесячно издаваемом информационном указателе "Национальные стандарты". Соответствующая информация, уведомление и тексты размещаются также в информационной системе общего пользования - на официальном сайте разработчика (Минрегион России) в сети Интернет.

Введение

В настоящем документе приведены требования, соответствующие целям Федерального закона от 30 декабря 2009 г. N 384-ФЗ "Технический регламент о безопасности зданий и сооружений" и подлежащие обязательному соблюдению с учетом части 1 статьи 46 Федерального закона от 27 декабря 2002 г. N 184-ФЗ "О техническом регулировании".

Настоящий свод правил устанавливает нормы допустимого шума на территориях и в помещениях зданий различного назначения, порядок проведения акустических расчетов по оценке шумового режима на этих территориях и в помещениях зданий, порядок выбора и применения различных методов и средств для снижения расчетных или фактических уровней шума до требований санитарных норм, а также содержит указания по обеспечению в помещениях специального назначения (театральные, киноконцертные, спортивные залы и т.п.) оптимального акустического качества с точки зрения их функционального назначения.

Актуализация выполнена Учреждением Научно-исследовательский институт строительной физики Российской академии архитектуры и строительных наук ("НИИСФ РААСН").

Ответственные исполнители: И.П. Шубин, В.Л. Анджелов, М.А. Пороженко, Л.А. Борисов, В.П. Гусев, Х.А. Щиржецкий, при участии: И.А. Цукерниковой, В.А. Аистова, С.И. Крышова, Н.А. Минаевой (НИИСФ), Н.К. Кирюшиной (НИиПИ Генплана г. Москвы) Н.Н. Мининой (НИиПИ ТРТИ, г. С.-Петербург), А.И. Герасимова (МГСУ, г. Москва).

1. Область применения

Настоящий свод правил устанавливает обязательные требования, которые должны выполняться при проектировании, строительстве и эксплуатации зданий различного назначения, планировке и застройке городских и сельских поселений с целью защиты от шума и обеспечения нормативных параметров акустической среды в производственных, жилых, общественных зданиях, на прилегающих к ним территориях и в рекреационных зонах.

2. Нормативные ссылки

В настоящем своде правил приведены ссылки на следующие нормативные документы:

ГОСТ 12.1.023-80. ССБТ. Шум. Методы установления значений шумовых характеристик стационарных машин

ГОСТ 27296-87. Защита от шума в строительстве. Звукоизоляция ограждающих конструкций. Методы измерения

ГОСТ 30691-2001 (ИСО 4871-96). Шум машин. Заявление и контроль значений шумовых характеристик

ГОСТ 31295.2-2005 (ИСО 9613-2:1996). Шум. Затухание звука при распространении на местности. Часть 2. Общий метод расчета

ГОСТ Р 53187-2008. Акустика. Шумовой мониторинг городских территорий.

Примечание. При пользовании настоящим сводом правил целесообразно проверить действие ссылочных стандартов и классификаторов в информационной системе общего пользования - на официальном сайте национального органа Российской Федерации по стандартизации в сети Интернет или по ежегодно издаваемому информационному указателю "Национальные стандарты", который опубликован по состоянию на 1 января текущего года, и по соответствующим ежемесячно издаваемым информационным указателям, опубликованным в текущем году. Если ссылочный документ заменен (изменен), то при пользовании настоящим сводом правил следует руководствоваться замененным (измененным) документом. Если ссылочный материал отменен без замены, то положение, в котором дана ссылка на него, применяется в части, не затрагивающей эту ссылку.

3. Термины и определения

В настоящем своде правил использованы термины и определения по ГОСТ Р 53187, а также термины с соответствующими определениями, приведенные в Приложении А.

4. Общие положения

4.1. В состав документов территориального планирования субъектов Российской Федерации, муниципальных образований, генеральных планов поселений и городских округов, районов, микрорайонов и кварталов должен в обязательном порядке входить раздел "Защита от шума".

Данный раздел в зависимости от стадии проектирования должен включать в себя:

на стадии схемы территориального планирования, генерального плана городского или сельского поселения - карты шума на территориях, прилегающих к внешним автомобильным дорогам, к участкам внутренней улично-дорожной сети, к железным дорогам, к трассам водного и воздушного транспорта, к промышленным зонам и отдельным промышленным и энергетическим объектам;

на стадии проекта планировки промышленной зоны города и генерального плана группы предприятий - карты шума промышленных предприятий, а также перечень и обоснование архитектурно-планировочных и строительно-акустических мероприятий по снижению воздействия шума на территорию вокруг промышленной зоны или вокруг группы предприятий;

на стадии проекта детальной планировки района, микрорайона, квартала города - карты шума на соответствующей территории; расчеты ожидаемых уровней шума у фасадов жилых и общественных зданий с нормируемыми уровнями шума и на площадках отдыха; перечень и обоснование мероприятий по защите от шума зданий и непосредственно прилегающих к ним территорий.

4.2. При разработке проектной документации объектов капитального строительства и реконструкции зданий вопросы защиты от шума должны быть рассмотрены и документально зафиксированы в следующих разделах:

в разделе "Технологические решения" (для производственных предприятий) при выборе технологического оборудования и схем его размещения в производственных цехах и на территории промышленного предприятия, обеспечивающих максимально возможное снижение шума на рабочих местах. При этом следует отдавать предпочтение при прочих равных условиях малошумному оборудованию, шумовые характеристики которого сертифицированы и заявлены в соответствии с ГОСТ 12.1.023 и ГОСТ 30691;

в разделе "Строительные решения" (для производственных предприятий) на основе акустического расчета ожидаемых уровней шума на рабочих местах должна быть дана оценка соответствия расчетных уровней шума допустимым уровням шума и в случае превышения последних должны быть выбраны и запроектированы строительно-акустические мероприятия по защите от шума;

в разделе "Архитектурно-строительные решения" (для объектов жилищно-гражданского строительства) должны быть выполнены расчеты ожидаемых уровней шума в помещениях с нормируемыми уровнями шума, определена требуемая звукоизоляция воздушного и ударного шума ограждающими конструкциями здания и разработаны их технические решения;

в разделе "Инженерное оборудование" на основе расчета ожидаемых уровней шума, создаваемого инженерным оборудованием здания, должны быть намечены и обоснованы соответствующими расчетами проектные решения по звуко- и виброизоляции инженерного оборудования.

4.3. В общем случае мероприятия по защите от шума должны предусматривать:

а) на рабочих местах промышленных предприятий:

рациональное с акустической точки зрения решение генерального плана промышленного объекта и рациональное объемно-планировочное решение производственных зданий;

применение при строительстве и реконструкции производственных зданий:

ограждающих конструкций зданий с требуемой звукоизоляцией;

звукопоглощающих конструкций (звукопоглощающих облицовок, кулис, штучных поглотителей);

звукоизолирующих кабин наблюдения и дистанционного управления;

звукоизолирующих кожухов на шумных агрегатах;

акустических экранов (выгородок);

глушителей шума в системах вентиляции, кондиционирования воздуха и в аэрогазодинамических установках;

виброизоляции технологического оборудования;

б) в помещениях жилых и общественных зданий:

рациональное объемно-планировочное решение жилого или общественного здания;

применение при строительстве и реконструкции зданий:

ограждающих конструкций, обеспечивающих нормативную звукоизоляцию;

звукопоглощающих облицовок (в помещениях общественных зданий);

глушителей шума в системах принудительной вентиляции и кондиционирования воздуха;

виброизоляции инженерного и санитарно-технического оборудования зданий;

в) на территории жилой застройки:

применение рациональных приемов планировки и застройки городских и сельских поселений, городских округов, жилых районов, микрорайонов и кварталов;

соблюдение санитарно-защитных зон (по фактору шума) промышленных и энергетических предприятий, автомобильных и железных дорог, аэропортов, предприятий транспорта (железнодорожных сортировочных станций, депо, автобусных и троллейбусных парков и т.п.);

строительство шумозащитных зданий;

сооружение придорожных шумозащитных экранов и устройство шумозащитных полос зеленых насаждений;

г) в помещениях, требующих специального акустического благоустройства и создания оптимальных условий для восприятия аудиоинформации (аудитории, зрительные залы театров, кинотеатров, дворцов культуры, спортивные залы, залы ожидания и операционные залы железнодорожных, автомобильных и аэровокзалов):

рациональное объемно-планировочное решение зала (аудитории);

применение:

ограждающих конструкций, обеспечивающих требуемую звукоизоляцию от внутренних и внешних источников шума;

звукопоглощающих материалов и конструкций;

звукоотражающих и звукорассеивающих конструкций;

глушителей шума в системах принудительной вентиляции и кондиционирования воздуха.

4.4. Акустический расчет должен производиться в следующей последовательности:

выявление источников шума и определение их шумовых характеристик;

выбор точек в помещениях и на территориях, для которых необходимо провести расчет (расчетных точек);

определение путей распространения шума от его источника (источников) до расчетных точек и потерь звуковой энергии по каждому из путей (снижение за счет расстояния, экранирования, звукоизоляции ограждающих конструкций, звукопоглощения и др.);

определение ожидаемых уровней шума в расчетных точках;

определение требуемого снижения уровней шума на основе сопоставления ожидаемых уровней шума с допустимыми уровнями шума;

разработка мероприятий по обеспечению требуемого снижения уровней шума;

проверочный расчет достаточности выбранных шумозащитных мероприятий для обеспечения защиты объекта или территории от шума.

4.5. Акустический расчет следует проводить по уровням звуковой мощности L_w, дБ, или уровням звукового давления L_p, дБ, в октавных полосах со среднегеометрическими частотами 63, 125, 250, 500, 1000, 2000, 4000 и 8000 Гц. Допускается также проведение расчетов по корректированному уровню звуковой мощности L_Aw, дБА, или по уровню звука по частотной коррекции "А" L_A, дБА.

Расчет проводят с точностью до десятых долей децибела, окончательный результат округляют до целых значений.

4.6. Акустические расчеты должны выполняться по методикам, изложенным в соответствующих сводах правил.

5. Источники шума и их шумовые характеристики

5.1. Основными источниками шума в зданиях различного назначения являются технологическое и инженерное оборудование.

Шумовыми характеристиками технологического и инженерного оборудования, создающего постоянный шум, являются уровни звуковой мощности L_w, дБ, в восьми октавных полосах частот со среднегеометрическими частотами 63 - 8000 Гц (октавные уровни звуковой мощности), а оборудования, создающего непостоянный шум, - эквивалентные уровни звуковой мощности L_wэкв и максимальные уровни звуковой мощности L_wмакс в восьми октавных полосах частот.

5.2. Шумовые характеристики технологического и инженерного оборудования должны содержаться в его технической документации и прилагаться к разделу проекта "Защита от шума". Следует учитывать зависимость шумовых характеристик от режима работы, выполняемой операции, обрабатываемого материала и т.п. Возможные варианты шумовых характеристик должны быть отражены в технической документации оборудования.

5.3. Основными источниками внешнего шума являются потоки всех видов городского транспорта, проходящего по автомобильным и железнодорожным магистралям, суда при их движении в акваториях, самолеты в зонах воздушного подхода к аэропортам, производственные, коммунальные и энергетические объекты и их отдельные установки, открытые стадионы, внутриквартальные источники шума: транспорт в местах въезда в гаражи, стоянки; вентиляция и системы кондиционирования воздуха этих объектов, центральные тепловые пункты, хозяйственные дворы магазинов, спортивные и игровые площадки, стройплощадки и др.

5.4. Шумовыми характеристиками источников внешнего шума являются:

для транспортных потоков на улицах и дорогах - эквивалентный уровень звука L_Aэкв, дБА, и максимальный уровень звука L_Амакс, дБА, на расстоянии 7,5 м от оси первой полосы движения (для трамваев - на расстоянии 7,5 м от оси ближнего пути);

для железнодорожного транспорта - эквивалентный уровень звука L_Aэкв, дБА, и максимальный уровень звука L_Амакс, дБА, на расстоянии 25 м от оси ближнего к расчетной точке пути;

для водного транспорта - эквивалентный уровень звука L_Аэкв, дБА, и максимальный уровень звука L_Амакс, дБА, на расстоянии 25 м от борта судна;

для воздушного транспорта - эквивалентный уровень звука L_Аэкв, дБА, и максимальный уровень звука L_Амакс, дБА, в расчетной точке;

для промышленных и энергетических предприятий с максимальным линейным размером в плане до 300 м включительно - эквивалентные уровни звуковой мощности L_wэкв и максимальные уровни звуковой мощности L_wмакс в восьми октавных полосах частот со среднегеометрическими частотами 63 - 8000 Гц и фактор направленности излучения в направлении расчетной точки Ф (Ф = 1, если фактор направленности неизвестен). Допускается представлять шумовые характеристики в виде эквивалентных корректированных уровней звуковой мощности L_wАэкв, дБА, и максимальных корректированных уровней звуковой мощности L_wАмакс, дБА;

для промышленных зон, промышленных и энергетических предприятий с максимальным линейным размером в плане более 300 м - эквивалентный уровень звука L_Аэкв.гр, дБА, и максимальный уровень звука L_Амакс.гр, дБА, на границе территории предприятия и селитебной территории в направлении расчетной точки;

состав шумовых характеристик (ШХ) для систем вентиляции, кондиционирования воздуха, холодоснабжения и воздушного отопления (СВКВХВО) приведен в разделе 11.

6. Нормы допустимого шума

6.1. Нормируемыми параметрами постоянного шума в расчетных точках являются уровни звукового давления L_p, дБ, в октавных полосах частот со среднегеометрическими частотами 31,5, 63, 125, 250, 500, 1000, 2000, 4000 и 8000 Гц. Для ориентировочных расчетов допускается использование уровней звука L_A, дБА.

6.2. Нормируемыми параметрами непостоянного (прерывистого, колеблющегося во времени) шума являются эквивалентные уровни звукового давления L_pэкв, дБ, в октавных полосах частот со среднегеометрическими частотами 31,5, 63, 125, 250, 500, 1000, 2000, 4000 и 8000 Гц и максимальные уровни звука L_Амакс, дБ, и эквивалентные L_Аэкв, дБА.

Допускается использовать эквивалентные уровни звука L_Аэкв, дБА, и максимальные уровни звука L_Амакс, дБА. Шум считают в пределах нормы, когда он как по эквивалентному, так и по максимальному уровню не превышает установленные нормативные значения.

6.3. Предельно допустимые и допустимые уровни звукового давления, дБ (эквивалентные уровни звукового давления, дБ), допустимые эквивалентные и максимальные уровни звука на рабочих местах в производственных и вспомогательных зданиях, на площадках промышленных предприятий, в помещениях жилых и общественных зданий и на территориях жилой застройки следует принимать по таблице 1.

Таблица 1

Предельно допустимые и допустимые уровни звукового давления, уровни звука, эквивалентные и максимальные уровни звука проникающего шума в помещениях жилых и общественных зданий и шума на территории жилой застройки

Назначение помещений или территорий Время суток, ч Уровни звукового давления (эквивалентные уровни звукового давления), дБ, в октавных полосах частот со среднегеометрическими частотами, Гц Уровень звука L А (эквивалентный уровень звука L ), Аэкв дБА Максимальный уровень звука L , Амакс дБА
31,5 63 125 250 500 1000 2000 4000 8000
1. Рабочие помещения административноуправленческого персонала производственных предприятий, лабораторий, помещения для измерительных и аналитических работ - 93 79 70 63 58 55 52 50 49 60 75
2. Рабочие помещения диспетчерских служб, кабины наблюдения и дистанционного управления с речевой связью по телефону, участки точной сборки, телефонные и телеграфные станции - 96 83 74 68 63 60 57 55 54 65 80
3. Помещения лабораторий для проведения экспериментальных работ, кабины наблюдения и дистанционного управления без речевой связи по телефону - 103 91 83 77 73 70 68 66 64 75 90
4. Помещения с постоянными рабочими местами производственных предприятий, территории предприятий с постоянными рабочими местами (за исключением работ, перечисленных в поз. 1 - 3) - 107 95 87 82 78 75 73 71 69 80 95
5. Палаты больниц и санаториев 7.00 - 23.00 76 59 48 40 34 30 27 25 23 35 50
23.00 - 7.00 69 51 39 31 24 20 17 14 13 25 40
6. Операционные больниц, кабинеты врачей больниц, поликлиник, санаториев - 76 59 48 40 34 30 27 25 23 35 50
7. Классные помещения, учебные кабинеты, аудитории учебных заведений, конференц-залы, читальные залы библиотек, зрительные залы клубов, залы судебных заседаний, культовые здания, зрительные залы клубов с обычным оборудованием - 79 63 52 45 39 35 32 30 28 40 55
8. Музыкальные классы - 76 59 48 40 34 30 27 25 23 35 50
9. Жилые комнаты квартир 7.00 - 23.00 79 63 52 45 39 35 32 30 28 40 55
23.00 - 7.00 72 55 44 35 29 25 22 20 18 30 45
10. Жилые комнаты общежитий 7.00 - 23.00 83 67 57 49 44 40 37 35 33 45 60
23.00 - 7.00 76 59 48 40 34 30 27 25 23 35 50
11. Номера гостиниц:                        
гостиницы, имеющие по международной классификации пять и четыре звезды 7.00 - 23.00 76 59 48 40 34 30 27 25 23 35 50
23.00 - 7.00 69 51 39 31 24 20 17 14 13 25 40
гостиницы, имеющие по международной классификации три звезды 7.00 - 23.00 79 63 52 45 39 35 32 30 28 40 55
23.00 - 7.00 72 55 44 35 29 25 22 20 18 30 45
гостиницы, имеющие по международной классификации менее трех звезд 7.00 - 23.00 83 67 57 49 44 40 37 35 33 45 60
23.00 - 7.00 76 59 48 40 34 30 27 25 23 35 50
12. Жилые помещения домов отдыха, пансионатов, домов-интернатов для престарелых и инвалидов, спальные помещения детских дошкольных учреждений и школ-интернатов 7.00 - 23.00 79 63 52 45 39 35 32 30 28 40 55
23.00 - 7.00 72 55 44 35 29 25 22 20 18 30 45
13. Помещения офисов, рабочие помещения и кабинеты административных зданий, конструкторских, проектных и научноисследовательских организаций - 86 71 61 54 49 45 42 40 38 50 65
14. Залы кафе, ресторанов - 89 75 66 59 54 50 47 45 43 55 70
15. Фойе театров и концертных залов - 83 67 57 49 44 40 37 35 33 45 <*>
16. Зрительные залы театров и концертных залов - 72 55 44 35 29 25 22 20 18 30 <*>
17. Многоцелевые залы - 76 59 48 40 34 30 27 25 23 35 <*>
18. Кинотеатры с оборудованием "Долби" - 72 55 44 35 29 25 22 20 18 30 45
19. Спортивные залы - 83 67 57 49 44 40 37 35 33 45 <*>
20. Торговые залы магазинов, пассажирские залы вокзалов и аэровокзалов - 93 79 70 63 58 55 52 50 49 60 75
21. Территории, непосредственно прилегающие к зданиям больниц и санаториев 7.00 - 23.00 83 67 57 49 44 40 37 35 33 45 60
23.00 - 7.00 76 59 48 40 34 30 27 25 23 35 50
22. Территории, непосредственно прилегающие к жилым зданиям, домам отдыха, домаминтернатам для престарелых и инвалидов 7.00 - 23.00 90 75 66 59 54 50 47 45 44 55 70
23.00 - 7.00 83 67 57 49 44 40 37 35 33 45 60
23. Территории, непосредственно прилегающие к зданиям поликлиник, школ и других учебных заведений, детских дошкольных учреждений, площадки отдыха микрорайонов и групп жилых домов - 90 75 66 59 54 50 47 45 44 55 70
<*> Максимальные уровни звука в данных помещениях не нормируются.
Примечания. 1. Допустимые уровни шума в помещениях, приведенные в поз. 1, 5 - 13, относятся только к шуму, проникающему из других помещений и извне.
2. Допустимые уровни шума от внешних источников в помещениях, приведенные в поз. 5 - 12, установлены при условии обеспечения нормативного воздухообмена, т.е. при отсутствии принудительной системы вентиляции или кондиционирования воздуха, - должны выполняться при условии открытых форточек или иных устройств, обеспечивающих приток воздуха. При наличии систем принудительной вентиляции или кондиционирования воздуха, обеспечивающих нормативный воздухообмен, допустимые уровни внешнего шума у зданий (15 - 17) могут быть увеличены из расчета обеспечения допустимых уровней в помещениях при закрытых окнах.
3. Допустимые уровни шума от оборудования систем вентиляции, кондиционирования воздуха и воздушного отопления, а также от насосов систем отопления и водоснабжения и холодильных установок встроенных (пристроенных) предприятий торговли и общественного питания следует принимать на 5 дБ (дБА) ниже значений, указанных в таблице 1, за исключением поз. 9 - 12 (для ночного времени суток). При этом поправку на тональность шума не учитывают.

7. Определение уровней звукового давления в расчетных точках

7.1. Расчетные точки в производственных и вспомогательных помещениях промышленных предприятий выбирают на рабочих местах и (или) в зонах постоянного пребывания людей на высоте 1,5 м от пола. В помещении с одним источником шума или с несколькими однотипными источниками одна расчетная точка берется на рабочем месте в зоне прямого звука источника, другая - в зоне отраженного звука на месте постоянного пребывания людей, не связанных непосредственно с работой данного источника.

В помещении с несколькими источниками шума, уровни звуковой мощности которых различаются на 10 дБ и более, расчетные точки выбирают на рабочих местах у источников с максимальными и минимальными уровнями. В помещении с групповым размещением однотипного оборудования расчетные точки выбирают на рабочем месте в центре групп с максимальными и минимальными уровнями.

На территории застройки расчетные точки следует выбирать по ГОСТ Р 53187.

7.2. Исходными данными для акустического расчета являются:

план и разрез помещения с расположением технологического и инженерного оборудования и других источников шума, расчетных точек;

сведения о характеристиках ограждающих конструкций помещения (материал, толщина, плотность и др.);

шумовые характеристики и геометрические размеры источников шума.

7.3. Шумовые характеристики технологического и инженерного оборудования в виде октавных уровней звуковой мощности L_w, корректированных уровней звуковой мощности L_wA, а также эквивалентных L_wАэкв и максимальных L_wАмакс корректированных уровней звуковой мощности для источников непостоянного шума должны указываться заводом-изготовителем в технической документации.

Допускается представлять шумовые характеристики в виде октавных уровней звукового давления L_p или уровней звука на рабочем месте L_pA (на фиксированном расстоянии) при одиночно работающем оборудовании.

За общее время воздействия шума T принимают: в производственных и служебных помещениях - продолжительность 8-часовой рабочей смены; в жилых и других помещениях, а также на территориях, где нормы установлены отдельно для дня и ночи, - продолжительность дня 7.00 - 23.00 и ночи 23.00 - 7.00 ч.

Допускается при измерениях принимать за время воздействия T днем - четырехчасовой период с наибольшими уровнями, ночью - период в один час с наибольшими уровнями.

7.4. Октавные уровни звукового давления, дБ, в расчетных точках в производственных и вспомогательных помещениях промышленных предприятий и общественных зданий определяют с учетом вкладов прямого и отраженного звука, определяемых схемой размещения оборудования и расчетных точек в помещении, а также акустическими характеристиками помещения.

7.5. Для расчетных точек, расположенных на территории, расчет октавных уровней звукового давления следует выполнять по ГОСТ 31295.2. При этом, если источники шума располагаются в помещении, следует определять октавные уровни звуковой мощности шума, прошедшего через наружное ограждение (или несколько ограждений) на территорию.

7.6. Октавные уровни звукового давления суммарного шума при действии нескольких источников шума определяют посредством энергетического суммирования октавных уровней, создаваемых в расчетной точке каждым источником шума.

7.7. При непостоянном прерывистом шуме октавные уровни звукового давления L_j, дБ, в расчетной точке следует определять для каждого отрезка времени литера_g, мин, в течение которого уровень остается постоянным.

Эквивалентные уровни звукового давления, дБ, за общее время воздействия T, мин, следует определять посредством энергетического суммирования октавных уровней звукового давления L_j, рассчитанных для отдельных интервалов времени с учетом длительности литера_ij интервала.

8. Определение требуемого снижения уровней шума

8.1. Требуемое снижение уровней шума дельтаL_тр, дБ, в октавных полосах частот или в уровнях звука, дБА, следует определять для каждой расчетной точки, выбранной в соответствии с 7.1. При расчетах шума от транспортного потока улиц и дорог, железнодорожных и трамвайных линий, водного и воздушного транспорта, а также от промышленных зон и отдельных предприятий требуемое снижение уровней шума определяют в уровнях звука на всех стадиях проектирования.

8.2. При расчетах шума на стадии "Проект" на рабочих местах в производственных и вспомогательных зданиях и на площадках промышленных предприятий, в расчетных точках помещений жилых и общественных зданий требуемое снижение уровней шума допускается определять в уровнях звука.

8.3. Требуемое снижение уровней шума в расчетных точках на стадии рабочего проекта предприятия, объектов жилищного и гражданского строительства определяют в октавных полосах нормируемого диапазона частот. При двухстадийном проектировании - на стадии проекта и рабочего проекта.

8.4. В общем случае требуемое снижение шума для каждого источника шума должно быть таким, чтобы суммарные уровни во всех октавных полосах частот от всех источников шума не превышали допустимых уровней звукового давления.

9. Звукоизоляция ограждающих конструкций зданий

9.1. Нормируемыми параметрами звукоизоляции внутренних ограждающих конструкций жилых и общественных зданий, а также вспомогательных зданий производственных предприятий являются индексы изоляции воздушного шума ограждающими конструкциями R_w, дБ, и индексы приведенного уровня ударного шума (изоляция ударного шума) L_nw, дБ (для перекрытий).

Требуемая звукоизоляция наружных ограждающих конструкций (в том числе окон, витрин и других видов остекления) от транспортного шума определяется расчетным путем исходя из норм шума в защищаемом помещении, дБА, а за величину звукоизоляции принимается величина R_Атран, дБА, представляющая собой изоляцию внешнего шума, производимого потоком городского транспорта, определяемую в соответствии с 9.6.

При других источниках шума (промпредприятия, одиночные источники шума и т.д.) требуемая изоляция воздушного шума определяется расчетным путем исходя из норм шума в защищаемом помещении в диапазоне 63 - 8000 Гц и уровней шума внешнего источника шума в том же диапазоне.

9.2. Нормативные значения индексов изоляции воздушного шума внутренними ограждающими конструкциями R_w и индексов приведенного уровня ударного шума L_nw для жилых, общественных зданий, а также для вспомогательных зданий производственных предприятий приведены в таблице 2. Причем фактическая или расчетная величина индекса звукоизоляции R_w должна быть больше, чем R_wтреб х (R_w меньше или равно R_wтреб, а L_nw - меньше требуемой величины L_nw x (L_nw < = L_nwтреб.

Таблица 2

Требуемые нормативные индексы изоляции воздушного шума ограждающих конструкций и приведенные уровни ударного шума перекрытий при передаче звука сверху вниз

Наименование и расположение ограждающей конструкции R_w, дБ L_nw, дБ <*>
Жилые здания
1. Перекрытия между помещениями квартир и перекрытия, отделяющие помещения квартир от холлов, лестничных клеток и используемых чердачных помещений 52 60
2. Перекрытия между помещениями квартир и расположенными под ними магазинами 55 60
3. Перекрытия между комнатами в квартире в двух уровнях 45 63
4. Перекрытия между жилыми помещениями общежитий 50 60
5. Перекрытия между помещениями квартиры и расположенными под ними ресторанами, кафе, спортивными залами 57 63 <**>
6. Перекрытия между помещениями квартиры и расположенными под ними административными помещениями, офисами 52 63
7. Стены и перегородки между квартирами, между помещениями квартир и офисами; между помещениями квартир и лестничными клетками, холлами, коридорами, вестибюлями 52 -
8. Стены между помещениями квартир и магазинами 55 -
9. Стены и перегородки, отделяющие помещения квартир от ресторанов, кафе, спортивных залов 57 -
10. Перегородки без дверей между комнатами, между кухней и комнатой в квартире 43 -
11. Перегородки между санузлом и комнатой одной квартиры 47 -
12. Стены и перегородки между комнатами общежитий 50 -
13. Входные двери квартир, выходящие на лестничные клетки, в вестибюли и коридоры 32 -
Гостиницы
14. Перекрытия между номерами:    
гостиницы, имеющие по международной классификации пять и четыре звезды 53 55
гостиницы, имеющие по международной классификации три звезды 51 58
гостиницы, имеющие по международной классификации менее трех звезд 50 60
15. Перекрытия, отделяющие номера от помещений общего пользования (вестибюли, холлы, буфеты):    
гостиницы, имеющие по международной классификации пять и четыре звезды 53 55
гостиницы, имеющие по международной классификации три звезды и менее 51 58
16. Перекрытия, отделяющие номера от помещений ресторанов, кафе:    
гостиницы, имеющие по международной классификации пять и четыре звезды 60 58
гостиницы, имеющие по международной классификации три звезды и менее 57 60
17. Стены и перегородки между номерами:    
гостиницы, имеющие по международной классификации пять и четыре звезды 53 -
гостиницы, имеющие по международной классификации три звезды 51 -
гостиницы, имеющие по международной классификации менее трех звезд 50 -
18. Стены и перегородки, отделяющие номера от помещений общего пользования (лестничные клетки, вестибюли, холлы, буфеты):    
гостиницы, имеющие по международной классификации пять и четыре звезды 53 -
гостиницы, имеющие по международной классификации три звезды и менее 51 -
19. Стены и перегородки, отделяющие номера от ресторанов, кафе:    
гостиницы, имеющие по международной классификации пять и четыре звезды 60 -
гостиницы, имеющие по международной классификации три звезды и менее 57 -
Административные здания, офисы
20. Перекрытия между рабочими комнатами, кабинетами, секретариатами и отделяющие эти помещения от помещений общего пользования (вестибюли, холлы) 45 63
21. Стены и перегородки между кабинетами и отделяющие кабинеты от рабочих комнат 45 -
22. Стены и перегородки между офисами различных фирм, между кабинетами различных фирм 48 -
Больницы и санатории
23. Перекрытия между палатами, кабинетами врачей 48 60
24. Перекрытия между операционными и отделяющие операционные от палат и кабинетов 54 60
25. Перекрытия, отделяющие палаты, кабинеты врачей от помещений общего пользования (вестибюли, холлы) 50 63
26. Перекрытия, отделяющие палаты, кабинеты врачей от столовых, кухонь 54 63
27. Стены и перегородки между палатами, кабинетами врачей 48 -
28. Стены и перегородки между операционными и отделяющие операционные от других помещений 54 -
Учебные заведения
29. Перекрытия между классами, кабинетами, аудиториями и отделяющие эти помещения от помещений общего пользования (коридоры, вестибюли, холлы) 47 63
30. Перекрытия между музыкальными классами средних учебных заведений 55 58
31. Перекрытия между музыкальными классами высших учебных заведений 57 55
32. Стены и перегородки между классами, кабинетами и аудиториями и отделяющие эти помещения от помещений общего пользования 48 -
33. Стены и перегородки между музыкальными классами средних учебных заведений и отделяющие эти помещения от помещений общего пользования 55 -
34. Стены и перегородки между музыкальными классами высших учебных заведений 57 -
Детские дошкольные учреждения
35. Перекрытия между групповыми комнатами, спальнями 47 63
36. Перекрытия, отделяющие групповые комнаты, спальни от кухонь 51 63
37. Стены и перегородки между групповыми комнатами, спальнями и между другими детскими комнатами 47 -
38. Стены и перегородки, отделяющие групповые комнаты, спальни от кухонь 52 -
<*> Требования относятся также к передаче ударного шума в защищаемое от шума помещение при ударном воздействии на пол лестничной площадки и лестничный марш в помещении лестничной клетки (в том числе и находящейся на том же этаже).
<**> При использовании в указанных помещениях громкой музыки необходимо выполнение акустического расчета требуемой звукоизоляции.

9.3. Нормативные значения индексов приведенного уровня ударного шума L_nw для жилых, общественных зданий при передаче шума из расположенных снизу помещений приведены в таблице 3. Причем фактическая или расчетная величина индекса приведенного уровня ударного шума L_nw должна быть меньше требуемой величины L_nwтреб.

Таблица 3

Нормативные индексы приведенного уровня ударного шума при передаче звука снизу вверх

Наименование и расположение ограждающей конструкции L_nw, дБ
1. Перекрытия между магазинами и расположенными над ними квартирами 43
2. Перекрытия между продовольственными магазинами, магазинами, работающими круглосуточно, и расположенными над ними квартирами 38
3. Перекрытия между магазинами и расположенными над ними жилыми помещениями общежитий 45
4. Перекрытия между продовольственными магазинами, магазинами, работающими круглосуточно, и расположенными над ними жилыми помещениями общежитий 41
5. Перекрытия между ресторанами, кафе, спортивными залами и расположенными над ними помещениями квартиры 38
6. Перекрытия между административными помещениями, офисами и расположенными над ними помещениями квартиры 45
7. Перекрытия, отделяющие помещения общего пользования (вестибюли, холлы, буфеты) от номеров гостиниц:  
гостиницы, имеющие по международной классификации пять и четыре звезды 43
гостиницы, имеющие по международной классификации три звезды и менее 45
8. Перекрытия, отделяющие помещения ресторанов, кафе от номеров гостиниц:  
гостиницы, имеющие по международной классификации пять и четыре звезды 38
гостиницы, имеющие по международной классификации три звезды и менее 41
9. Перекрытия, отделяющие помещения общего пользования (вестибюли, холлы) от палат, кабинетов врачей 43
10. Перекрытия, отделяющие столовые, кухни от кабинетов врачей 43
11. Перекрытия, отделяющие кухни от групповых комнат, спален 43

9.4. Индекс изоляции воздушного шума R_w, дБ, ограждающей конструкции с известной (рассчитанной или измеренной) частотной характеристикой изоляции воздушного шума определяют путем сопоставления этой частотной характеристики с нормативным спектром, приведенным в таблице 4, позиция 1.

Таблица 4

Значения нормативных спектров изоляции воздушного шума, приведенного уровня ударного шума и эталонного спектра шума транспортного потока

N п.п. Показатель Среднегеометрические частоты третьоктавных полос, Гц
100 125 160 200 250 315 400 500 630 800 1000 1250 1600 2000 2500 3150
1 Изоляция воздушного шума R, дБ 33 36 39 42 45 48 51 52 53 54 55 56 56 56 56 56
2 Приведенный уровень ударного шума L_n, дБ 62 62 62 62 62 62 61 60 59 58 57 54 51 48 45 42
3 Скорректированный уровень звукового давления эталонного спектра L_p , дБ 55 55 56 59 60 61 62 63 64 66 67 66 65 64 62 60

Для определения индекса изоляции воздушного шума R_w необходимо определить сумму неблагоприятных отклонений данной частотной характеристики от нормативного спектра. Неблагоприятными считают отклонения вниз от нормативного спектра.

Если сумма неблагоприятных отклонений максимально приближается к 32 дБ, но не превышает эту величину, величина индекса R_w составляет 52 дБ.

Если сумма неблагоприятных отклонений превышает 32 дБ, нормативный спектр смещается вниз на целое число децибел так, чтобы R_w сумма неблагоприятных отклонений не превышала указанную величину.

Если сумма неблагоприятных отклонений значительно меньше 32 дБ или неблагоприятные отклонения отсутствуют, нормативный спектр смещается вверх на целое число децибел так, чтобы сумма неблагоприятных отклонений от смещенного нормативного спектра максимально приближалась к 32 дБ, но не превышала эту величину.

За величину индекса R_w принимают ординату смещенного вверх или вниз нормативного спектра в третьоктавной полосе со среднегеометрической частотой 500 Гц.

9.5. Индекс приведенного уровня ударного шума L_nw для перекрытия с известной частотной характеристикой приведенного уровня ударного шума определяют путем сопоставления этой частотной характеристики с нормативным спектром, приведенным в таблице 4, позиция 2.

Для вычисления индекса L_nw необходимо определить сумму неблагоприятных отклонений данной частотной характеристики от нормативного спектра. Неблагоприятными считают отклонения вверх от нормативного спектра.

Если сумма неблагоприятных отклонений максимально приближается к 32 дБ, но не превышает эту величину, то величина индекса L_nw составляет 60 дБ.

Если сумма неблагоприятных отклонений превышает 32 дБ, нормативный спектр смещается вверх (на целое число децибел) так, чтобы сумма неблагоприятных отклонений от смещенного нормативного спектра не превышала указанную величину.

Если сумма неблагоприятных отклонений значительно меньше 32 дБ или неблагоприятные отклонения отсутствуют, нормативный спектр смещается вниз (на целое число децибел) так, чтобы сумма неблагоприятных отклонений от смещенного нормативного спектра максимально приближалась к 32 дБ, но не превышала эту величину.

За величину индекса L_nw принимают ординату смещенного вверх или вниз нормативного спектра в третьоктавной полосе со среднегеометрической частотой 500 Гц.

9.6. Величину звукоизоляции окна R_Атран, дБА, определяют на основании частотной характеристики изоляции воздушного шума окном с помощью эталонного спектра шума потока городского транспорта. Уровни эталонного спектра, скорректированные по спектру частотной коррекции "А" для шума с уровнем звука 75 дБА, приведены в таблице 4, позиция 3.

Для определения величины звукоизоляции окна R_Атран по известной частотной характеристике изоляции воздушного шума необходимо в каждой третьоктавной полосе частот из уровня эталонного спектра L_i вычесть величину изоляции воздушного шума R_i данной конструкцией окна. Полученные величины уровней следует сложить энергетически и результат сложения вычесть из уровня эталонного шума, равного 75 дБА.

Требуемую звукоизоляцию R(тр)_Атран следует определять из расчета обеспечения допустимых значений проникающего шума как по эквивалентному, так и по максимальному уровню, т.е. из двух величин R(тр)_Атран принимают большую.

9.7. Расчет звукоизоляции ограждающих конструкций должен проводиться при разработке конструктивных решений ограждений, применении новых строительных материалов и изделий. Окончательная оценка звукоизоляции таких конструкций должна проводиться на основании испытаний по ГОСТ 27296.

9.8. Расчет звукоизоляции ограждающих конструкций должен проводиться на основании СП 23-103 [1].

Рекомендации по проектированию ограждающих конструкций, обеспечивающих нормативную звукоизоляцию

9.9. Элементы ограждений рекомендуется проектировать из материалов с плотной структурой, не имеющей сквозных пор. Ограждения, выполненные из материалов со сквозной пористостью, должны иметь наружные слои из плотного материала, бетона или раствора.

Внутренние стены и перегородки из кирпича, керамических и шлакобетонных блоков рекомендуется проектировать с заполнением швов на всю толщину (без пустошовки) и оштукатуренными с двух сторон безусадочным раствором.

9.10. Ограждающие конструкции необходимо проектировать так, чтобы в процессе строительства и эксплуатации в их стыках не было и не возникло даже минимальных сквозных щелей и трещин. Возникающие в процессе строительства щели и трещины после их расчистки должны устраняться конструктивными мерами и заделкой невысыхающими герметиками и другими материалами на всю глубину.

Междуэтажные перекрытия

9.11. Пол на звукоизоляционном слое (прокладках) не должен иметь жестких связей (звуковых мостиков) с несущей частью перекрытия, стенами и другими конструкциями здания, т.е. должен быть "плавающим". Деревянный пол или плавающее бетонное основание пола (стяжка) должны быть отделены по контуру от стен и других конструкций здания зазорами шириной 1 - 2 см, заполняемыми звукоизоляционным материалом или изделием, например мягкой древесно-волокнистой плитой, погонажными изделиями из вспученного полиэтилена и т.п. Плинтусы или галтели следует крепить только к полу или только к стене. Примыкание конструкции пола на звукоизоляционном слое к стене или перегородке показано на рисунке 1.

1 - несущая часть междуэтажного перекрытия; 2 - бетонное основание пола; 3 - покрытие пола; 4 - прокладка (слой) из звукоизоляционного материала; 5 - гибкий пластмассовый плинтус; 6 - стена; 7 - деревянная галтель; 8 - дощатый пол на лагах

Рисунок 1. Схема конструктивного решения узла примыкания пола на звукоизоляционном слое к стене (перегородке)

При проектировании пола с основанием в виде монолитной плавающей стяжки и прокладок из минераловатных, стекловатных плит или матов следует располагать по звукоизоляционному слою сплошной гидроизоляционный слой (например, пергамин, гидроизол, рубероид и т.п.) с перехлестыванием в стыках не менее 20 см. В стыках звукоизоляционных плит (матов) не должно быть щелей и зазоров.

9.12. В конструкциях перекрытий, не имеющих запаса звукоизоляции, не рекомендуется применять покрытия полов из линолеума на волокнистой подоснове, снижающих изоляцию воздушного шума на 1 дБ по индексу R_w. Допускается применение линолеума со вспененными слоями, которые не влияют на изоляцию воздушного шума и могут обеспечивать необходимую изоляцию ударного шума при соответствующих параметрах вспененных слоев.

9.13. При применении звукоизоляционных прокладок следует их расчетные значения динамического модуля упругости Е_дин, относительного сжатия эпсилон, улучшение изоляции приведенного уровня ударного шума дельтаL_nw принимать по прилагаемым к ним сертификатам.

9.14. Междуэтажные перекрытия с повышенными требованиями к изоляции воздушного шума (R_w = 57 - 62 дБ), разделяющие жилые и встроенные шумные помещения, следует проектировать, как правило, с использованием монолитного железобетона достаточной толщины (например, каркасно-монолитная или монолитная конструкция первого этажа). Достаточность звукоизоляции такой конструкции определяют расчетом.

Внутренние стены и перегородки

9.15. Двойные стены или перегородки обычно проектируются с жесткой связью между элементами по контуру или в отдельных точках. Величина промежутка между элементами конструкций должна быть не менее 0,04 м.

В конструкциях каркасно-обшивных перегородок следует предусматривать точечное крепление листов к каркасу с шагом не менее 0,3 м. Если применяют два слоя листов обшивки с одной стороны каркаса, то они не должны склеиваться между собой. Шаг стоек каркаса и расстояние между его горизонтальными элементами рекомендуется принимать не менее 0,6 м. Заполнение промежутка мягкими звукопоглощающими материалами особенно эффективно для улучшения звукоизоляции каркасно-обшивных перегородок. Кроме того, для повышения их звукоизоляции рекомендуются самостоятельные каркасы для каждой из обшивок, а в необходимых случаях возможно применение двух- или трехслойной обшивки с каждой стороны перегородки.

Величины звукоизоляции принимаются по сертификату на данную конструкцию. Следует иметь в виду, что в натурных условиях каркасно-обшивные перегородки имеют более низкую звукоизоляцию, чем измеренную в лабораторных условиях, из-за косвенной передачи шума, а также, как правило, более качественного монтажа в лабораторных условиях.

Величины уменьшения звукоизоляции следует принимать по таблице 5.

Таблица 5

Величины уменьшения индексов изоляции конструкций при их применении в натурных условиях

R_w, дБ Дельта R_w, дБ
<= 45 0
<= 46 - 50 1
<= 51 - 55 2
<= 56 - 61 3
>= 62 - 65 4

В ряде конструктивных схем здания эта величина может быть уменьшена.

9.16. Для увеличения изоляции воздушного шума стеной или перегородкой, выполненной из железобетона, бетона, кирпича и т.п., в ряде случаев целесообразно использовать дополнительную обшивку на относе.

В качестве материала обшивки могут использоваться: гипсокартонные листы, твердые древесно-волокнистые плиты и подобные листовые материалы, прикрепленные к стене по деревянным рейкам, по линейным или точечным маякам из гипсового раствора. Воздушный промежуток между стеной и обшивкой целесообразно выполнять толщиной не менее 0,05 м и заполнять мягким звукопоглощающим материалом (минераловатными или стекловолокнистыми плитами, матами и т.п.).

Стыки и узлы

9.17. Стыки между внутренними ограждающими конструкциями, а также между ними и другими примыкающими конструкциями должны быть запроектированы таким образом, чтобы в них при строительстве отсутствовали и в процессе эксплуатации здания не возникали сквозные трещины, щели и неплотности, которые резко снижают звукоизоляцию ограждений.

Стыки, в которых в процессе эксплуатации, несмотря на принятые конструктивные меры, возможно взаимное перемещение стыкуемых элементов под воздействием нагрузки, температурные и усадочные деформации, следует конструировать с применением долговечных герметизирующих упругих материалов и изделий, приклеиваемых к стыкуемым поверхностям.

9.18. Стыки между несущими элементами стен и опирающимися на них перекрытиями следует проектировать с заполнением раствором или бетоном. Если в результате нагрузок или других воздействий возможно раскрытие швов, при проектировании должны быть предусмотрены меры, не допускающие образования в стыках сквозных трещин.

Стыки между несущими элементами внутренних стен проектируются, как правило, с заполнением раствором или бетоном. Сопрягаемые поверхности стыкуемых элементов должны образовывать полость (колодец), поперечные размеры которого обеспечивают возможность плотного заполнения ее монтажным бетоном или раствором на всю высоту элемента. Необходимо предусмотреть меры, ограничивающие взаимное перемещение стыкуемых элементов (устройство шпонок, сварка закладных деталей и т.д.). Соединительные детали, выпуски арматуры и т.п. не должны препятствовать заполнению полости стыка бетоном или раствором. Заполнение стыков рекомендуется производить безусадочным (расширяющимся) бетоном или раствором.

При проектировании сборных элементов конструкций необходимо принимать такую конфигурацию и размеры стыкуемых участков, которые обеспечивают размещение, наклейку, фиксацию и требуемое обжатие герметизирующих материалов и изделий, когда их применение предусмотрено.

Элементы ограждающих конструкций, связанные с инженерным оборудованием

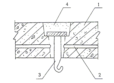
9.19. Пропуск труб водяного отопления, водоснабжения и т.п. через межквартирные стены не допускается.

Трубы водяного отопления, водоснабжения и т.п. должны пропускаться через междуэтажные перекрытия и межкомнатные стены (перегородки) в эластичных гильзах (из пористого полиэтилена и других упругих материалов), допускающих температурные перемещения и деформации труб без образования сквозных щелей (рисунок 2).

1 - стена; 2 - безусадочный бетон или раствор; 3 - прокладка (слой) из звукоизоляционного материала; 4 - бетонное основание пола; 5 - несущая часть перекрытия; 6 - эластичная гильза; 7 - труба стояка отопления

Рисунок 2. Схема конструктивного решения узла пропуска стояка отопления через междуэтажное перекрытие

Полости в панелях внутренних стен, предназначенные для соединения труб замоноличенных стояков отопления, должны быть заделаны безусадочным бетоном или раствором.

9.20. Скрытая электропроводка в межквартирных стенах и перегородках должна располагаться в отдельных для каждой квартиры каналах или штрабах. Полости для установки распаячных коробок и штепсельных розеток должны быть несквозными. Если образование сквозных отверстий обусловлено технологией производства элементов стены, указанные приборы должны устанавливаться в них только с одной стороны. Свободную часть полости заделывают гипсовым или другим безусадочным раствором слоем толщиной не менее 0,04 м.

Не рекомендуется устанавливать распаячные коробки и штепсельные розетки в межквартирных каркасно-обшивных перегородках. В случае необходимости следует использовать штепсельные розетки и выключатели, при установке которых не вырезаются отверстия в листах обшивок.

Вывод провода из перекрытия к потолочному светильнику следует предусматривать в несквозной полости. Если образование сквозного отверстия обусловлено технологией изготовления плиты перекрытия, то отверстие должно состоять из двух частей. Верхняя часть большего диаметра должна быть заделана безусадочным раствором, нижняя - заполнена звукопоглощающим материалом (например, супертонким стекловолокном) и прикрыта со стороны потолка слоем раствора или плотной декоративной крышкой (рисунок 3).

1 - панель перекрытия; 2 - электроканал; 3 - крюк (приварен к круглой стальной пластине); 4 - раствор (заделка нижней части отверстия условно не показана)

Рисунок 3. Схема конструктивного решения выпуска провода из перекрытия к поточному светильнику (перекрытие со сквозным отверстием)

9.21. Конструкция вентиляционных блоков должна обеспечивать целостность стенок (отсутствие в них сквозных каверн, трещин), разделяющих каналы. Горизонтальный стык вентиляционных блоков должен исключать возможность проникновения шума по неплотностям из одного канала в другой.

Вентиляционные отверстия смежных по вертикали квартир должны сообщаться между собой через сборный и попутный каналы не ближе, чем через этаж.

Звукоизоляция ограждающих конструкций кабин наблюдения, дистанционного управления, укрытий, кожухов

9.22. Звукоизолирующие кабины следует применять в промышленных цехах и на территориях, где допустимые уровни превышены, для защиты от шума рабочих и обслуживающего персонала. В звукоизолирующих кабинах следует располагать пульты контроля и управления технологическими процессами и оборудованием, рабочие места мастеров и начальников цехов.

Требуемую звукоизоляцию кабин следует определять исходя из фактических уровней шума в устанавливаемом помещении и норм шума внутри кабины.

9.23. В зависимости от требуемой звукоизоляции кабины могут быть запроектированы из обычных строительных материалов (кирпича, железобетона и т.п.) или иметь сборную конструкцию, собираемую из заранее изготовленных конструкций из стали, алюминия, пластика, фанеры и других листовых материалов, на сборном или сварном каркасе.

Звукоизолированные кабины следует устанавливать на резиновых виброизоляторах для предотвращения передачи вибраций на ограждающие конструкции и каркас кабины.

9.24. Кабина должна быть оборудована системой вентиляции или кондиционирования воздуха с необходимыми глушителями шума. Внутренние поверхности кабины должны быть на 40 - 60% облицованы звукопоглощающими материалами.

Двери кабины должны иметь уплотняющие прокладки в притворе и запорные устройства, обеспечивающие обжатие прокладок.

9.25. Звукоизолирующие ограждения машин и технологического оборудования, звукоизолирующие кожухи, выполненные из тонколистовых материалов (металлов, пластиков, стекла и т.п.), следует применять для снижения уровней шума на рабочих местах, расположенных непосредственно у источника шума, где применение других строительно-акустических мероприятий нецелесообразно. Акустическая эффективность конструкции кожуха оценивается его звукоизоляцией R_к, дБ.

9.26. Применение кожуха на агрегат (машину) целесообразно в тех случаях, когда создаваемый им шум в расчетной точке превышает допустимое значение на 5 дБ и более хотя бы в одной октавной полосе, а шум всего остального технологического оборудования в той же октавной полосе (в той же расчетной точке) на 2 дБ и более ниже допустимого.

Если величина R_тр.к не превышает 10 дБ на средних и высоких частотах, кожух может быть выполнен из эластичных материалов (винила, резины и др.). Элементы кожуха должны крепиться на каркасе.

Если величина R_тр.к превышает 10 дБ на средних и высоких частотах, кожух следует выполнять из листовых конструкционных материалов.

9.27. Кожух из металла следует покрывать вибродемпфирующим материалом (листовым или в виде мастики), при этом толщина покрытия должна быть в 2 - 3 раза больше толщины стенки. С внутренней стороны на кожухе должен помещаться слой звукопоглощающего материала толщиной 40 - 50 мм. Для его защиты от механических воздействий, пыли и других загрязнений следует использовать металлическую сетку со стеклотканью или тонкой пленкой толщиной 20 - 30 мкм.

Кожух не должен иметь непосредственного контакта с агрегатом, трубопроводами. Технологические и вентиляционные отверстия должны быть снабжены глушителями и уплотнителями.

Двери и окна

При проектировании дверей, ворот и окон следует обращать особое внимание на принятие мер по повышению их изоляции от воздушного шума.

Повышение изоляции воздушного шума дверями и воротами может быть достигнуто за счет увеличения поверхностной плотности их полотна, за счет плотной пригонки полотна к коробке, за счет устранения щели между дверью (воротами) и полом при помощи порога с уплотняющими прокладками или фартука из прорезиненной ткани или резины, а также за счет применения уплотняющих прокладок в притворах дверей (ворот). Щели и неплотности между коробкой двери или ворот и ограждением, к которому она примыкает, должны быть плотно заделаны. Необходимо также предусматривать запорные устройства, обеспечивающие плотный прижим двери (ворот) к коробке, замочные скважины должны быть закрыты.

Допускается проектирование двойных дверей (ворот) с тамбуром, стенки которого облицованы звукопоглощающим материалом.

Повышение звукоизоляции окон может быть достигнуто увеличением толщины стекол, увеличением толщины воздушного промежутка между стеклами, уплотнением притворов переплетов, закреплением стекол в переплетах с помощью упругих прокладок, применением запорных устройств, обеспечивающих плотное закрывание окон.

В настоящее время наиболее целесообразным является применение готовых конструкций шумозащитных окон, снабженных вентиляционными элементами с глушителями шума. Подбор шумозащитного окна должен проводится на основе акустического расчета требуемого снижения внешнего шума.

Звукоизоляция окон и дверей принимается по результатам сертификационных испытаний.

10. Звукопоглощающие конструкции, экраны, выгородки

10.1. Звукопоглощающие конструкции (подвесные потолки, плоские облицовки и объемные элементы) следует применять для снижения уровней шума на рабочих местах и в зонах постоянного пребывания людей в производственных и общественных зданиях. Площадь звукопоглощающих облицовок и количество штучных поглотителей определяют расчетом.

10.2. Объемные элементы следует применять, если плоской облицовки недостаточно для получения требуемого снижения шума, а также вместо звукопоглощающего подвесного потолка, когда его устройство невозможно или малоэффективно (большая высота производственного помещения, наличие мостовых кранов, наличие световых и аэрационных фонарей).

10.3. Звукопоглощающие конструкции предназначены для уменьшения интенсивности отраженного звука. Наибольший эффект снижения уровней звукового давления достигается в точках, где звуковое поле полностью определяется плотностью энергии отраженных звуковых волн (отраженное поле). В зонах, где преобладает прямой звук, т.е. вблизи от источников шума (на рабочих местах), эффект снижения уровней звукового давления следует определять расчетом.

10.4. Как обязательное мероприятие по снижению шума и обеспечению оптимальных акустических параметров помещений звукопоглощающие конструкции должны применяться:

в шумных цехах производственных предприятий;

в помещениях общественных зданий (кабинеты, офисы);

в коридорах и холлах школ, больниц, гостиниц, пансионатов и т.д.;

в операционных залах и залах ожидания железнодорожных, аэро- и автовокзалов;

в спортивных залах и плавательных бассейнах;

в звукоизолирующих кабинах, боксах и укрытиях.

10.5. По конструктивным признакам звукопоглощающие конструкции следует подразделять:

на плоские облицовки, состоящие из слоя жестких однородных пористых материалов конечной толщины или из слоя волокнистых материалов в защитных оболочках из ткани или пленки и с перфорированным покрытием из жестких листов;

на объемные звукопоглощающие элементы различных форм, представляющих собой комбинации двух первых элементов.

10.6. Акустической характеристикой плоской звукопоглощающей конструкции следует считать частотную характеристику реверберационного коэффициента звукопоглощения альфа_обл (f), рассчитанную или определенную экспериментальным методом реверберационной камеры.

Величиной, характеризующей звукопоглощающие свойства объемных элементов, следует считать частотную характеристику эквивалентной площади звукопоглощения дельтаА_э, м2, приходящейся на один элемент.

10.7. Звукопоглощающие конструкции применяют во всех остальных случаях, кроме указанных в 10.4, когда требуемое снижение уровня звукового давления дельтаL_тр в расчетных точках превышает 1 дБ не менее чем в трех октавных полосах или превышает 5 дБ хотя бы в одной из октавных полос. При этом необходимое снижение уровня звукового давления может быть обеспечено только применением звукопоглощающих конструкций, если требуемое снижение шума не превышает 5 - 8 дБ.

10.8. Для необходимого снижения уровней звукового давления, превышающих указанные в 10.7 значения, необходимо предусматривать применение дополнительных средств защиты от шума, например акустических экранов или выгородок.

10.9. Акустические экраны, устанавливаемые между источником шума и рабочими местами персонала (не связанного непосредственно с обслуживанием данного источника), следует применять для защиты рабочих мест от прямого звука. Применение экранов достаточно эффективно только в сочетании со звукопоглощающими конструкциями.

10.10. Выгородка, являясь разновидностью акустических экранов, представляет собой экран, окружающий источник шума со всех сторон или отделяющий одну часть помещения от другой и изолирующий определенную зону (шумную или тихую) внутри помещения. Выгородки целесообразно применять для источника (источников) шума, уровни звуковой мощности которого не менее чем на 15 дБ выше, чем у остальных источников шума.

10.11. Звукопоглощающие конструкции следует размещать на потолке и на верхних частях стен. Целесообразно размещать звукопоглощающие конструкции отдельными участками или полосами. На частотах ниже 250 Гц эффективность звукопоглощающей облицовки увеличивается при ее размещении в углах помещения.

Экраны и выгородки

10.12. Акустический экран (выгородка) представляет собой преграду конечных размеров, которая устанавливается между источником шума и частью помещения, защищаемого от шума. Экраны и выгородки следует применять для снижения уровней звукового давления на рабочих местах в зоне действия прямого звука и в промежуточной зоне. Устанавливать экраны следует по возможности ближе к источнику шума.

10.13. Экраны следует изготавливать из твердых листовых материалов или отдельных щитов с обязательной облицовкой звукопоглощающими материалами поверхности, обращенной в сторону источника шума.

10.14. Экраны могут быть в плане плоскими и П-, Г- и О-образной формы (в этом случае их эффективность повышается). Если экран окружает источник шума с трех сторон, он превращается в выгородку, эффективность которой приближается к эффективности бесконечного экрана. Размеры акустического экрана следует выбирать исходя из конкретных условий его применения и требуемой эффективности. По крайней мере размеры экрана должны быть в три раза больше линейных размеров источника шума.

10.15. Эффективность акустического экрана определяют расчетом или методом измерения в условиях заглушенной и реверберационной камер.

10.16. Проектирование акустического экрана должно включать следующие этапы:

идентификацию источника шума, подлежащего акустическому экранированию;

выбор варианта облицовки помещения звукопоглощающими конструкциями;

расчет ожидаемой акустической эффективности экрана;

сравнение полученной расчетной эффективности с требуемым снижением уровней звукового давления;

изменение местоположения, конфигурации, конструкции и размеров экрана (выгородки), варианта акустической обработки помещения (если это необходимо);

повторный акустический расчет, продолжающийся до тех пор, пока не будет найден оптимальный вариант.

11. Системы вентиляции, кондиционирования воздуха, холодоснабжения, воздушного отопления

Источники шума и требования к их шумовым характеристикам

11.1. Источниками шума в системах вентиляции, кондиционирования воздуха и воздушного отопления являются: вентиляторы, вентиляционные установки, кондиционеры (наружные, внутренние блоки), фэнкойлы, регулирующие устройства (дроссель-клапаны, диафрагмы, шиберы), воздухораспределительные устройства (решетки, плафоны, анемостаты), фасонные элементы воздуховодов (крестовины, тройники, отводы, повороты), отопительно-вентиляционные агрегаты и доводчики.

Источниками шума в системах холодоснабжения являются холодильные машины (с конденсаторами и без них), воздушные охладители, сухие градирни, циркуляционные насосы, соединительные трубы.

11.2. Основными шумовыми характеристиками элементов систем вентиляции, кондиционирования воздуха, холодоснабжения, воздушного отопления (СВКВХВО) являются октавные уровни звуковой мощности L_wi, определяемые по 5.1.

Для холодильных машин и охладителей шумовыми характеристиками могут быть также октавные уровни звукового давления L_i, измеренные на опорных расстояниях от их контуров (1, 5, 10 м) в прямом звуковом поле. Дополнительной характеристикой может быть общий уровень звуковой мощности L_w или общий корректированный по шкале А уровень звуковой мощности L_wA. Эти характеристики пригодны для выбора менее шумного оборудования.

11.3. Шумовые характеристики вентиляторов всех систем измеряются в режиме максимального КПД на сторонах всасывания L_wiв, нагнетания L_wiн в измерительной камере или в испытательных трубах и вокруг корпуса L_wiн - в измерительной камере или на открытой площадке.

Уровни звуковой мощности на сторонах всасывания и нагнетания L_wiв, L_wiн, измеренные в испытательных трубах и в измерительной камере, различаются на величину поправки дельтаL_отр, учитывающую влияние присоединения испытательных труб к патрубкам вентилятора (отражения звука от открытых патрубков).

При необходимости шумовые характеристики вентиляторов допускается определять расчетным путем по известным удельным уровням звуковой мощности с учетом режима работы, конструктивным и рабочим параметрам вентиляторов. Используемая методика расчета должна обеспечивать требуемую точность получаемых результатов.

11.4. Шумовые характеристики воздушных охладителей, сухих градирен, конденсаторов могут быть определены как энергетическая сумма уровней звуковой мощности вентиляторов, входящих в состав этих агрегатов и работающих одновременно.

11.5. Шумовые характеристики регулирующих и воздухораспределительных устройств и фасонных элементов L_wiэл измеряются в измерительной камере на режимах, охватывающих весь аэродинамический диапазон использования (эксплуатации) данного устройства или элемента. При этом шум вентилятора, обеспечивающего необходимые расход и давление на устройстве и элементе, должен быть меньше шума испытываемого устройства и элемента на 8 дБ по всему рассматриваемому частотному диапазону.

Шумовые характеристики регулирующих и воздухораспределительных устройств и фасонных элементов допускается определять расчетным путем с учетом режима их работы, конструктивных и рабочих параметров по методике, обеспечивающей требуемую точность расчетных данных.

11.6. Шумовые характеристики должны содержаться в технических паспортах и в каталогах оборудования СВКВХВО. Там же следует указывать метод и стандарт, по которому они были определены.

Общие указания по акустическому расчету

11.7. Расчет ожидаемых уровней шума систем вентиляции, кондиционирования воздуха и воздушного отопления выполняется по октавным уровням звуковой мощности L_wi на сторонах воздухозабора, выхлопа системы в обслуживаемых ими помещениях здания и в помещениях, через которые проходят транзитные воздуховоды, вокруг корпуса вентилятора системы (кондиционера, калорифера, доводчика), в технических помещениях (венткамерах), в смежных с ними помещениях, а также в зданиях и на территориях застройки.

11.8. В расчете ожидаемых уровней шума систем вентиляции, кондиционирования воздуха и воздушного отопления в обслуживаемом помещении учитывается суммарное снижение уровня звуковой мощности в элементах сети воздуховодов дельтаL_wсети по пути распространения шума (на прямых участках воздуховодов, на поворотах, изменениях поперечного сечения, в результате отражения от конца воздуховода), а также шумообразование в элементах сети воздуховодов L_wiэл (дросселирующих устройствах, фасонных и концевых элементах).

11.9. При использовании в расчетах ожидаемых уровней шума, распространяющегося по воздуховодам, шумовых характеристик вентилятора, измеренных на сторонах всасывания и нагнетания в измерительном помещении (в заглушенной, реверберационной камере), следует вносить в них поправку дельтаL_отр, учитывающую влияние присоединения воздуховодов к патрубкам вентилятора.

11.10. Расчет ожидаемых уровней шума, создаваемых элементами систем холодоснабжения (холодильными машинами, воздушными охладителями, сухими градирнями, циркуляционными насосами и др.) выполняется в местах их установки (в технических помещениях, на открытых площадках), в защищаемых от шума помещениях здания с оборудованием и на прилегающей территории застройки по октавным уровням звуковой мощности L_wi или звукового давления L_i, измеренных на опорных расстояниях от их контуров (1, 5, 10 м).

11.11. Расчетные точки при определении требуемого снижения шума оборудования СВКВХВО в помещениях следует выбирать в зонах нахождения человека (на рабочих, спальных и других местах), на территории застройки в 2 м от окон защищаемых от шума помещений, в зонах отдыха и рекреационных зонах.

11.12. Октавные уровни звукового давления L_i, дБ, в расчетных точках, если в помещение поступает шум от нескольких источников, излучающих шум внутрь воздуховодов (вентиляторов, воздухорегулирующих устройств, элементов сети воздуховодов), следует определять для каждого источника в отдельности при проникновении шума в помещение через одно и несколько воздухораспределительных устройств.

11.13. Акустические расчеты систем вентиляции, кондиционирования воздуха, холодоснабжения и воздушного отопления как основы для проектирования шумоглушения выполняются по соответствующему своду правил.

Определение требуемого снижения шума

11.14. При определении требуемого снижения шума для расчетных точек в помещении, защищаемом от шума систем вентиляции, кондиционирования воздуха или воздушного отопления, в общее количество принимаемых в расчет источников шума следует включать:

при расчете требуемого снижения шума вентилятора приточной или вытяжной системы (расчете центрального глушителя) - количество систем, обслуживающих данное помещение (помещение с расчетной точкой);

при расчете требуемого снижения шума, генерируемого воздухораспределительными устройствами одной вентиляционной системы (плафонами, решетками и т.п.), - количество систем вентиляции с механическим побуждением, обслуживающих рассматриваемое помещение; шум вентилятора, воздухорегулирующих и фасонных элементов при этом не учитывается;

при расчете снижения шума, генерируемого фасонными элементами и воздухорегулирующими устройствами рассматриваемого ответвления, - количество фасонных элементов и дросселей, уровни шума которых в данной октавной полосе отличаются один от другого менее чем на 10 дБ, шум вентилятора и решеток при этом не учитывается.

Примечания.

1. В общем количестве принимаемых в расчет источников шума не учитываются дросселирующие и регулирующие устройства, устанавливаемые в магистральных воздуховодах.

2. В общем количестве принимаемых в расчет источников шума не учитываются источники шума, создающие в расчетной точке в рассматриваемой октавной полосе уровни звукового давления меньше, чем допустимые, на 10 дБ при их числе не более 3 и на 15 дБ меньше допустимых при их числе не более 10.

11.15. Для контрольной проверки или иной цели требуемое суммарное снижение октавных уровней звукового давления в помещении при одновременной работе всех источников шума следует определять как разность между суммированными октавными уровнями звукового давления в расчетной точке от всех источников шума и допустимыми уровнями шума в октавных полосах частот.

Основные методы и средства снижения шума и защиты от него

11.16. Для снижения шума вентилятора (вентиляционной установки) следует:

выбирать агрегат с наименьшими удельными октавными уровнями звуковой мощности;

обеспечивать работу вентилятора в режиме максимального КПД;

снижать сопротивление сети и не применять вентилятор, создающий избыточное давление и расход воздуха;

обеспечивать плавный подвод воздуха к входному патрубку вентилятора.

11.17. Для снижения шума приточных или вытяжных систем, распространяющегося от вентиляторов (вентиляционных установок) по воздуховодам, следует предусматривать центральные (непосредственно у вентилятора) и концевые (в воздуховоде перед вводом в обслуживаемое системой помещение) глушители, если рациональным выбором параметров вентустановки, ее соответствующей компоновкой или использованием малошумного вентилятора нельзя добиться уровня звукового давления, не превышающего допустимый уровень для данного помещения, зоны или объекта. В тех случаях, когда требуется глушитель длиной более 3 м, следует его разбивать (делить) на 2 - 3 секции с расстоянием между ними не менее одной-двух длин такой секции.

11.18. Для снижения шума от регулирующих и воздухораспределительных устройств следует:

ограничивать скорость движения воздуха в сетях величиной, обеспечивающей уровни шума, генерируемого регулирующими и воздухораспределительными устройствами, в пределах допустимых значений в обслуживаемых помещениях;

использовать в вентиляционных сетях воздухораспределительные устройства с минимальными значениями коэффициента местного сопротивления.

11.19. В качестве глушителей шума систем вентиляции, кондиционирования воздуха и воздушного отопления следует применять абсорбционные глушители (трубчатые, цилиндрические, пластинчатые, канальные), а при необходимости - камерные глушители и облицованные изнутри звукопоглощающими материалами воздуховоды и их повороты.

11.20. Конструкцию глушителя следует подбирать в зависимости от назначения системы, требуемого снижения уровня шума, размера воздуховода в месте установки глушителя, допустимой скорости воздуха и предельно допустимого гидравлического сопротивления в сети.

Трубчатые глушители (круглые и прямоугольные) эффективны в воздуховодах с поперечными размерами до 450 - 500 мм. Они представляют собой участки воздуховодов (каналов) круглого или прямоугольного сечения со звукопоглощающими стенками (свободное сечение глушителя равно сечению воздуховода). Для сохранения формы канала и предотвращения выдувания звукопоглощающего материала (ЗПМ) потоком служит достаточно прозрачное для звука покрытие. Это могут быть различные стеклоткани, пленки и перфорированный металлический лист или сетка.

Для увеличения затухания звука в воздуховодах с большими поперечными размерами прибегают к равномерному распределению ЗПМ по их сечению. Этот принцип использован в пластинчатых глушителях. По характеру спектра эффективности они мало отличаются от трубчатых глушителей. Толщина пластин и расстояние между ними, как правило, не меняются по сечению канала. С увеличением толщины и расстояния между пластинами область максимального затухания смещается в сторону более низких частот. Количество, высота пластин и каналов для воздуха определяются из условия равенства как минимум свободного сечения глушителя и сечения воздуховода, в котором глушитель установлен. Это условие обеспечивает минимальное гидравлическое сопротивление, создаваемое глушителем, соответственно и минимальное шумообразование в нем. Дополнительное снижение гидравлического сопротивления добиваются путем установки на пластины на входе в глушитель и выходе из него обтекателей.

В прямоугольных воздуховодах с поперечными размерами до 800 x 500 мм пригодны канальные глушители. Это, по сути, пластинчатые глушители с одной пластиной толщиной, равной половине, как правило, меньшего размера поперечного сечения прямоугольного воздуховода.

Акустическая эффективность абсорбционных глушителей зависит от частоты (она невысокая в диапазоне низких частот до 200 Гц и максимальная в диапазоне 500 - 2500 Гц), а также от длины активной части, периметра проходного сечения, толщины слоя и коэффициента звукопоглощения ЗПМ. Экспериментально установлено, что эффективность таких глушителей длиной в 1 м в указанном низкочастотном диапазоне не превышает 10 - 15 дБ, а в высокочастотном достигает 33 - 38 дБ. При этом эффективность одного глушителя длиной, например, 3 м не равна сумме эффективностей трех глушителей по 1 м, установленных на расстоянии 1 - 2 м друг от друга.

Значительное снижение уровня шума может быть достигнуто за счет установки несоосных камерных глушителей с внутренней звукопоглощающей облицовкой. Одним из основных препятствий для широкого применения является создаваемое ими высокое гидравлическое сопротивление в сети. Камерные глушители без внутренней облицовки менее эффективны, однако им следует отдавать предпочтение по сравнению с другими глушителями при установке в вытяжных системах, обслуживающих помещения для приготовления пищи (по причине отсутствия в них ЗПМ и возможности его загрязнения и потери акустических качеств).

Эффективность глушителей следует определять опытным путем на специальных стендах и приводить в их паспортах или каталогах. Эффективность облицованных изнутри звукопоглощающими материалами воздуховодов и поворотов определяется в натурных условиях. Создаваемое глушителями в сети гидравлическое сопротивление может быть определено путем измерения или расчета на заданных скоростях потока воздуха.

11.21. Для предотвращения проникновения повышенного шума от оборудования СВКВХВО в другие помещения здания следует:

не располагать рядом с техническими помещениями с оборудованием (венткамерами, насосными) помещения, требующие повышенной защиты от шума;

виброизолировать агрегаты с помощью пружинных, резиновых или комбинированных виброизоляторов (задача изготовителей);

осуществлять акустическую обработку технических помещений (помещений с оборудованием) - облицовку стен и потолков слоем ЗПМ (при необходимости дополнительного снижения шума в помещении на 4 - 7 дБ);

применять в технических помещениях полы на упругом основании (плавающие полы) или вибродемпфирующие основания под элементы систем (вентиляторы, кондиционеры, холодильные машины, воздушные охладители, насосы и др.);

применять ограждающие конструкции технических помещений с оборудованием, обеспечивающие требуемую изоляцию воздушного шума, определяемую расчетом;

устанавливать гибкие вставки между вентиляторами и воздуховодами.

11.22. Полы на упругом основании (плавающие полы) следует выполнять по всей площади технического помещения; конструктивные параметры (толщина плиты пола, упругого основания) и выбор материала упругого основания пола зависят от количества, состава и массы оборудования, величины требуемой виброизоляции и определяются специалистами.

11.23. Воздуховоды систем вентиляции, кондиционирования воздуха и воздушного отопления в пределах технических помещений в жилых зданиях следует устанавливать на стойках, опирающихся на плавающий пол. В исключительных случаях воздуховоды могут подвешиваться к потолку, но при условии использования специальных эффективных виброизолирующих устройств и вибродемпфирующих прокладок в типовых подвесах.

В местах прохода через ограждения технических помещений воздуховоды должны быть виброизолированы по периметру (в отсутствие между вентиляторами и воздуховодами гибких вставок).

11.24. Холодильные машины, циркуляционные насосы систем холодоснабжения следует размещать на подземных технических этажах зданий и устанавливать на индивидуальных фундаментах и виброоснованиях, конструкции которых разрабатываются в зависимости от их типоразмеров. Трубы к ним должны присоединяться посредством гибких вставок, отвечающих требованиям по прочности. В местах крепления к строительным конструкциям здания и прохода труб через ограждения технических помещений они должны быть виброизолированы. Указанное оборудование может быть установлено на кровлях, открытых площадках зданий при условии существования под ними технических этажей (помещений) и наличия надежной виброизоляции, исключающей возникновение повышенного структурного шума в защищаемых от него помещениях на верхних этажах.

11.25. Наиболее пригодным способом защиты помещений и территорий от шума холодильных машин, воздушных охладителей, сухих градирен, устанавливаемых на кровлях, открытых площадках зданий из-за их конструктивных особенностей, является экранирование - установка акустических экранов (акустически жестких преград со звукопоглощающими облицовками со стороны источника звука) и выгородок из них. Размеры экранов определяются расчетом.

11.26. Наружные блоки местных систем кондиционирования воздуха (сплит-систем) могут быть установлены на фасадах и на кровле любого по назначению здания (жилого, общественного и др.), если предусмотрены меры по устранению передачи от них вибрации на строительные конструкции (причины возникновения структурного шума в помещениях) и защите от шума окружающей среды (помещений данного здания и прилегающей территории застройки).

Примечание. Необходимость осуществления того или иного строительно-акустического мероприятия, применения метода или средства шумоглушения СВКВХВО определяется квалифицированным акустическим расчетом.

12. Территории городских и сельских поселений

12.1. Планировку и застройку территорий городских и сельских поселений следует осуществлять с учетом обеспечения допустимых уровней шума в помещениях жилых и общественных зданий и на территории с нормируемыми уровнями шума.

12.2. Защита от транспортного шума жилых, общественных зданий и территорий с нормируемыми уровнями шума должна осуществляться с помощью:

применения рациональных планировочных приемов, предусматривающих зонирование территорий городских и сельских поселений; рациональную трассировку улично-дорожной сети; размещение специальных шумозащитных зданий вдоль транспортных магистралей; применение различных композиционных приемов группировки шумозащитных и обычных зданий;

организационных мероприятий, направленных на ограничение движения грузового транспорта через жилые районы и на снижение скорости движения транспортных средств при проезде через жилые, рекреационные и лечебные территории;

конструктивных мер, предусматривающих строительство придорожных экранов, установку шумозащитных окон в зданиях, расположенных в зоне неблагоприятного шумового воздействия.

12.3. Выбор мероприятий по обеспечению нормативных уровней шума на рассматриваемой территории и в помещениях расположенных на ней жилых и общественных зданий следует проводить на основе результатов акустических расчетов или данных натурных измерений.

12.4. Исходными данными для акустических расчетов являются:

схемы размещения объектов капитального строительства с указанием автомобильных, железнодорожных магистралей, водных путей, а также зон ограничения застройки из условий авиационного шума. В конкретных случаях какой-либо вид транспорта и соответственно трассы его движения могут отсутствовать.

На схеме должны быть также показаны все существующие и проектируемые здания с указанием их этажности;

сведения о параметрах движения и состава потоков автомобильного, железнодорожного и водного транспорта, а также данные об интенсивности пролетов самолетов над данной территорией и о типах пролетающих самолетов.

Указанные данные предоставляются по отдельности для дневного и ночного времени суток и по состоянию на текущий период и прогноз. При невозможности получения прогнозных данных для транспортных потоков соответствующие расчеты не проводятся;

сведения о расположении на рассматриваемой территории трансформаторных подстанций, тепловых пунктов и других коммунальных объектов и о шумовых характеристиках установленного в них оборудования;

схемы размещения промышленных зон или при необходимости отдельных промышленных предприятий и объектов энергетического хозяйства, а также данные о шумовых характеристиках источников шума на указанных объектах.

12.5. Расчеты ожидаемых уровней шума проводятся для расчетных точек, которые выбираются в зависимости от защищаемого от шума объекта и с учетом следующих указаний:

расчетные точки на площадках отдыха микрорайонов и групп жилых домов, на площадках детских дошкольных учреждений, на участках школ, больниц и санаториев следует выбирать на ближайшей к источнику шума границе площадок на высоте 1,5 м от поверхности земли. Если площадка частично находится в зоне звуковой тени от здания, сооружения или какого-либо другого экранирующего объекта, а частично в зоне действия прямого звука, то расчетная точка должна находиться вне зоны звуковой тени;

расчетные точки на территории, непосредственно прилегающей к жилым домам и другим зданиям, в которых уровни проникающего шума нормируются разделом 6 настоящих норм, следует выбирать на расстоянии 2 м от фасадов зданий, обращенных в сторону источника внешнего шума, и на высоте 1,5 м над поверхностью земли для одно- и двухэтажных зданий или на высоте 4 м для трехэтажных и более высоких зданий.

12.6. При выполнении акустических расчетов следует руководствоваться рекомендациями ГОСТ 31295.2.

12.7. Дополнительным средством оценки шумового режима территории, позволяющим рационально выбирать шумозащитные мероприятия, являются оперативные карты шума территории или города в целом с нанесенными на них изолиниями равными уровнями звука. С помощью оперативной карты шума можно определить зоны сверхнормативного шума (зоны акустического дискомфорта), оценить их площадь, количество жилых зданий и численность людей на территории этих зон, наметить шумозащитные мероприятия, рассчитать их требуемый объем и стоимость.

Разработка оперативной карты шума должна проводиться согласно соответствующему ГОСТ Р 53187.

12.8. На стадии разработки схемы территориального развития и генерального плана населенного пункта с целью снижения воздействия шума на территорию следует применять следующие меры:

функциональное зонирование территории с отделением рекреационных зон от промышленных, коммунально-складских зон и основных транспортных коммуникаций;

трассировка магистральных дорог скоростного и грузового движения в обход жилых районов и зон отдыха; совмещение трассировки в транспортных коридорах скоростных автомобильных и железных дорог в обход городов и других населенных пунктов, а также лечебно-курортных и рекреационных зон;

дифференциация улично-дорожной сети по составу транспортных потоков с выделением основного объема грузового движения на специализированные магистрали;

концентрация основных транспортных потоков на небольшом числе магистральных улиц с высокой пропускной способностью, проходящих по возможности вне жилой застройки (по границам промышленных и коммунально-складских зон, в полосах отвода железных дорог);

укрупнение межмагистральных территорий для отделения основных массивов застройки от транспортных магистралей;

создание системы парковки автомобилей на границе жилых районов и групп жилых домов;

использование шумозащитных свойств рельефа местности при трассировке магистральных улиц и дорог;

шумозащитное зонирование окрестностей аэропортов.

12.9. На стадии разработки проекта планировки жилого района, микрорайона, квартала для защиты от шума следует принимать следующие меры:

при размещении жилой застройки вдоль магистральной автомобильной или железной дороги на расстоянии, не обеспечивающем необходимое снижение шума, использование шумозащитных экранов в виде естественных или искусственных элементов рельефа местности (откосов выемок, насыпей), в виде искусственных сооружений (вертикальные или наклонные стенки, галереи и т.п.), а также применение экранов комбинированного типа (например, насыпь + стенка). Следует учитывать, что подобные экраны дают достаточный эффект только при малоэтажной застройке (не более трех этажей);

для жилых районов, микрорайонов, кварталов в городской застройке наиболее эффективным является размещение в первом эшелоне застройки магистральных улиц шумозащитных зданий в качестве экранов, защищающих от транспортного шума внутриквартальное пространство.

12.10. В качестве зданий-экранов могут использоваться здания нежилого назначения: торговые центры, гаражи, предприятия коммунально-бытового обслуживания. Наиболее эффективны многоэтажные шумозащитные жилые и административные здания. При этом технологическое оборудование зданий обслуживающего назначения, размещаемых между источниками шума и защищаемыми объектами, должно обеспечиваться средствами шумоглушения и звукоизоляции и не создавать повышенные уровни шума на территории и в помещениях, защищаемых от шума.

12.11. Шумозащитные жилые здания представляют собой:

здания со специальной архитектурно-планировочной и объемно-пространственной структурой, предусматривающей ориентацию в сторону источника шума (магистрали) подсобных помещений квартир (кухни, ванные комнаты, санузлы) и внеквартирных коммуникаций (лестнично-лифтовые узлы, коридоры), а также не более одной комнаты, ориентированной в сторону источника шума, в квартирах с тремя и более жилыми комнатами;

здания, в которых на фасаде, обращенном в сторону магистрали, установлены шумозащитные окна, снабженные специальными вентиляционными устройствами с глушителями шума и обеспечивающие требуемую защиту от шума;

здания комбинированного типа с одновременным применением специального архитектурно-планировочного решения и шумозащитных окон на фасаде, ориентированном на магистраль.

12.12. Для обеспечения максимального эффекта экранирования шумозащитные здания должны быть достаточно высокими и протяженными и располагаться на минимально возможном расстоянии от магистральных улиц и железных дорог с учетом градостроительных норм и звукоизоляционных характеристик наружных ограждающих конструкций.

12.13. Во внутриквартальном пространстве в зонах, близких к поперечным осям зданий первого эшелона застройки, следует располагать здания детских дошкольных учреждений, школ, поликлиник, площадки отдыха.

В зонах, расположенных напротив разрывов в зданиях первого эшелона застройки, следует располагать предприятия торговли, общественного питания, учреждения коммунально-бытового обслуживания, связи и т.п.

12.14. В условиях сложившейся, а нередко и проектируемой застройки в большинстве случаев наиболее целесообразно сооружение шумозащитных акустических экранов в виде вертикальных или наклонных стенок различной конструкции, являющихся наиболее технологичными для практического применения.

12.15. В пригородных зонах, там, где позволяют местные условия, предпочтительно применять в качестве экранов земляные валы, насыпи, выемки, являющиеся более дешевым видом экранов по сравнению с экранами-стенками. Откосы валов, насыпей или выемок должны иметь уклон 1:2 или 1:1,5 и быть укреплены с помощью облицовки их бетонными или каменными плитами или дерном. В теле валов допускается располагать авторемонтные предприятия, гаражи, коллекторы и другие коммуникационные сооружения с ненормируемым уровнем шума.

12.16. В случае недостаточной эффективности акустического экрана в виде земляного вала, насыпи, выемки наверху земляного вала, насыпи или бровки выемки следует устанавливать дополнительный экран-стенку, что увеличит общую эффективность такого комбинированного акустического экрана.

12.17. Шумозащитные экраны в виде вертикальной стенки должны устанавливаться на минимальном расстоянии от источника шума, но с учетом нормативных требований к проектированию и эксплуатации транспортных магистралей. Размеры экрана, его конструкция и материал определяются на основе акустических расчетов, учета характера прилегающей территории, особенностей застройки и удобства эксплуатации экрана.

12.18. Акустические экраны должны опираться на самостоятельные фундаменты. Все их конструктивные элементы должны быть механически прочными и рассчитанными на воздействие снеговых, ветровых и сейсмических нагрузок.

12.19. Конструкции отдельных элементов акустических экранов должны обеспечивать их плотное примыкание друг к другу без щелей и отверстий. Нижние акустические панели экранов должны устанавливаться вплотную (без просветов) к фундаменту или к поверхности территории.

12.20. Эффективность акустического экрана может быть увеличена (до 3 дБА) при обработке поверхности экрана, обращенной к источнику шума, материалами с высоким звукопоглощением или установкой на верхнем ребре экрана специальных конструктивных элементов, служащих для увеличения рассеивания и поглощения дифрагирующей звуковой волны. Звукопоглощающие материалы, используемые для облицовки экрана, должны обладать стабильными физико-механическими и акустическими характеристиками, быть био- и влагостойкими, не выделять вредные вещества в концентрациях, превышающих предельно допустимые значения.

12.21. Учитывая, что часть звуковой энергии может проникать за экран непосредственно через сам экран, следует выбирать при конструировании экрана такие материалы, чтобы индекс изоляции воздушного шума конструкции экрана был бы не менее 25 дБ.

12.22. Высоту акустических экранов наиболее целесообразно выбирать в пределах 3 - 6 м в зависимости от высоты защищаемых от шума зданий и их расположения относительно магистрали. В необходимых случаях допускается применение экранов большей высоты, необходимость и возможность их сооружения должны быть подтверждены соответствующими акустическими и прочностными расчетами. Длина экранов может составлять сотни метров и даже несколько километров.

13. Акустика помещений

13.1. Процесс акустического проектирования зальных помещений должен включать:

выбор габаритов и формы помещения при соблюдении общих требований к объемно-планировочному решению залов;

проверку достоверности глобальной оценки акустики зала по статистической теории;

расчет частотной характеристики времени реверберации зала для выявления соответствия его объемному оптимуму (рисунок 4) и проведение необходимой коррекции проекта в части конструкций ограждений;

графический анализ чертежей зала с необходимой коррекцией проекта в части формы и очертаний его ограждений;

разработку мероприятий по улучшению диффузности звукового поля в зале;

расчет локальных акустических критериев методом компьютерного акустического моделирования для установления их соответствия зонам оптимумов с дополнительной, в случае необходимости, коррекцией проекта;

оценку шумового режима зала с разработкой необходимых мероприятий по его улучшению;

оценку электроакустического режима зала с разработкой необходимых мероприятий, проводимую методом компьютерного моделирования после разработки архитектурно-акустического решения помещения.

1 - залы для ораторий и органной музыки; 2 - залы для симфонической музыки, залы оперных театров; 3 - залы для камерной музыки, залы музыкально-драматических театров; 4 - залы многоцелевого назначения, залы драматических театров; 5 - лекционные залы, заседаний, концертные залы современной эстрадной музыки, пассажирские залы, залы ожиданий, спортивные залы

Рисунок 4. Рекомендуемое время реверберации на средних частотах (500 - 1000 Гц) для залов различного назначения в зависимости от их объема

Примечания.

1. В специализированных музыкальных залах, предназначенных преимущественно только для органной музыки, а также в культовых помещениях с органами допускается принимать значения времени реверберации выше значений кривой 1 при обосновании этого на основании акустических расчетов.

2. В крытых спортивных залах объемом более 50000 м3 независимо от их объема время реверберации на средних частотах (500 - 1000 Гц) не должно превосходить 2 с.

3. В концертных залах современной эстрадной музыки, предназначенных для эксплуатации исключительно со звукоусилением, форма частотной характеристики времени реверберации должна быть близкой к горизонтальной (без подъема в области низких частот).

4. Требования к времени реверберации кинотеатров и видеозалов следует принимать согласно ОСТ 19-238-01 [2].

13.2. В каждом зале должны быть выдержаны основные требования к его объемно-планировочному решению, дифференцированные в зависимости от конкретного назначения зала следующим образом.

Удельный воздушный объем на одно зрительское место должен составлять, м3:

в залах драматических театров, аудиториях  
и в конференц-залах .......................................... 4 - 5;
в залах музыкально-драматических театров (оперетта) .......... 5 - 7;
в залах театров оперы и балета ............................... 6 - 8;
концертные залы камерной музыки .............................. 6 - 8;
концертные залы симфонической музыки ......................... 8 - 10;
залы для хоровых и органных концертов ........................ 10 - 12;
многоцелевые залы ............................................ 4 - 6;
концертные залы современной эстрадной музыки (киноконцертные залы) ........................................ 4 - 6.
Максимальная длина залов L_под должна составлять, м:  
в залах драматических театров, аудиториях и конференц-залах .. 24 - 25;
в театрах оперетты ........................................... 28 - 29;
в театрах оперы и балета ..................................... 30 - 32;
в концертных залах камерной музыки ........................... 20 - 22;
в концертных залах симфонической музыки, хоровых и органных концертов ......................................... 42 - 46;
в многоцелевых залах, не имеющих сценической коробки ......... 27 - 28;
в многоцелевых залах со сценической коробкой (от задней стены до занавеса) ................................ 24 - 26;
в концертных залах современной эстрадной музыки .............. 48 - 50.

Возможные отклонения от приведенных выше значений удельного акустического объема и максимальной длины залов должны быть обоснованы на основании акустических расчетов.

Для получения достаточной диффузности звукового поля следует правильно выбрать форму и пропорцию зала.

Основные размеры и пропорции зала должны выбираться из следующих условий:

L <= L_доп; В = S_п/L; H = V/S_п; 1 < L/B < 2; 1 < B/H < 2,

где L - длина зала по его центральной оси, м;

L_доп - предельно допустимая длина зала, м;

B и H - соответственно средние ширина и высота зала, м;

V - общий воздушный объем зала, м3;

S_п- площадь пола зала, м2.

Окончательный выбор размеров и пропорций залов может корректироваться на основании результатов акустического расчета.

13.3. Для проверки допустимости применения в расчетах характеристик исследуемого зала методов статистической акустики в нормируемом диапазоне частот 125 - 4000 Гц следует рассчитать критическую частоту, Гц, выше которой наблюдается достаточное количество собственных мод (частот) воздушного объема. Если расчет показал, что f_кр < = 125 Гц, то время реверберации, с, в зале следует определить в шести октавных полосах частот со среднегеометрическими частотами 125, 250, 500, 1000, 2000 и 4000 Гц.

Оптимальные значения времени реверберации в области средних частот 500 - 1000 Гц для залов различного назначения в зависимости от их объема приведены на рисунке 4. Допустимое отклонение от приведенных величин +/- 10%. Кроме того, в октавных полосах частот 125 - 250 Гц допускается превышение времени реверберации, но не более чем на 20%; а в диапазоне частот 2000 - 4000 Гц допускается спад, но не более чем на 10%. В любом случае как точность определения Т_опт по рисунку 4, так и погрешность расчетов времени реверберации не должна превышать +/- 0,05 с.

Если время реверберации зала, по крайней мере в одной из частотных полос T_fi, отличается от Т_опт, то следует внести некоторые изменения в конструктивные решения, с тем чтобы приблизить T_fi к Т_опт.

При f_кр >125 Гц результат, полученный для октавной полосы 125 Гц, следует считать ориентировочным.

13.4. Целью графического анализа чертежей зала является проверка равномерности поступления в зоны зрительских мест первых отражений от стен и потолка с допустимыми запаздываниями дельтаt: 20 - 25 мс для речи и 30 - 35 мс - для музыки. Все построения проводятся по законам лучевой (геометрической) оптики.

Перед началом анализа структуры звуковых отражений каждая из исследуемых отражающих поверхностей при заданных положениях источника и приемника звука должна пройти проверку на допустимость применения ее для построения звуковых отражений. Допустимость применения геометрических отражений зависит от длины звуковой волны, размеров отражающей поверхности и ее расположения по отношению к источнику звука и точке приема. Применение геометрических отражений можно считать допустимым, если наименьшая сторона отражателя не менее чем 1,5 - 2,0 м.

Первые геометрические отражения должны поддерживать прямой звук начиная с радиуса действия прямого звука. Радиус действия прямого звука r_пр составляет для речи 8 - 9 м, для музыки - 10 - 12 м. На зрительских местах в пределах r_пр усиление прямого звука с помощью отражений не требуется. Начиная с r_пр интенсивные первые отражения должны перекрывать всю зону зрительских мест. Если поверхности стен или потолка состоят из отдельных секций, следует конфигурацию членений выполнять так, чтобы отражения от соседних элементов перекрывали друг друга, не оставляя "мертвых зон", лишенных отраженного звука.

В залах с относительно большой высотой и шириной наибольшая опасность прихода первых отражений с недопустимым запаздыванием возникает в первых рядах зрительских мест. Для исправления этого явления следует применять специальные звукоотражающие конструкции на потолке и стенах в припортальной зоне.

13.5. После завершения графического анализа чертежей и создания в зале оптимальной структуры ранних отражений не занятые для этой цели поверхности должны быть использованы для формирования диффузного звукового поля путем их эффективного расчленения различной формы звукорассеивающими элементами для создания рассеянного, ненаправленного отражения звука. Это достигается расчленением поверхностей балконами, пилястрами, нишами и тому подобными неровностями.

Гладкие большие поверхности ограждающих конструкций залов не способствуют достижению хорошей диффузности звукового поля. Особенно нежелательны гладкие, параллельные друг другу плоскости, вызывающие эффект "порхающего эха", получающегося в результате многократного отражения звука между ними. Расчленение таких стен ослабляет этот эффект и увеличивает диффузность звукового поля. Причем хорошо рассеиваются звуковые волны, длина которых близка к размерам детали. Рассеивающий эффект увеличивается, если шаг членений нерегулярен, т.е. расстояния между смежными членениями неодинаковы по всей расчлененной поверхности.

13.6. После завершения акустического проектирования формы и конструкций интерьера зала следует провести контрольные расчеты регламентированных международными стандартами локальных акустических критериев для речи (объективные параметры разборчивости речи) и музыки (индекс прозрачности, степень пространственного впечатления, индекс громкости), которые могут быть рассчитаны только методами компьютерного акустического моделирования. Моделирование производится известными методами прослеживания лучей (в их разных модификациях) или мнимых источников по одной из современных компьютерных программ. Минимальный набор рассчитываемых акустических критериев должен включать для оценки разборчивости речи - STI (или RASTI), для оценки прозрачности звучания - C_80, для оценки пространственного впечатления - LF, для оценки громкости - G. Если показания хотя бы одного из критериев будут отличаться от зон оптимумов, то следует провести дополнительную коррекцию проекта зала.

13.7. Если задняя стена зала примыкает к потолку под углом 90°, может возникнуть так называемое театральное эхо - отражение звука от потолка и стены в направлении к источнику звука, приходящее с большим запаздыванием. Для устранения такого эха следует выполнить часть потолка наклонным в сторону задней стены.

13.8. Наличие больших вогнутых поверхностей ограждающих конструкций залов (купол, свод, вогнутая в плане задняя стена) создает опасность концентрации отражений, при котором звук фокусируется в одной части зала, создавая сильное эхо, другие же части зала не получают отражений.

На рисунке 5 приведены три варианта проектного решения купола. Вариант а иллюстрирует крайне неудачное решение, радиус кривизны купола примерно равен высоте зала, звук фокусируется в центре зала. Вариант б - радиус кривизны составляет половину высоты зала, отражения проходят через точку фокуса и далее распределяются по площади пола. Вариант в - радиус кривизны составляет примерно две высоты зала. Звук отражается от купола в виде пучка параллельных лучей.

r ~= h

а)

r ~= 1/2h

б)

r ~= 2h

в)

Рисунок 5. Варианты решения зала с куполом

Если форму купола изменить невозможно (например, здание цирка), для исключения фокусирования звука следует применить членение поверхности купола или использовать облицовку купола звукопоглощающими материалами, применение которых должно быть согласовано с расчетами по оптимизации времени реверберации зала.

13.9. Для обеспечения нормативного шумового режима в зрительных залах следует:

при архитектурно-планировочном решении здания не располагать в смежных с залом помещениях источники интенсивного шума (венткамеры, насосные и т.п.);

применять ограждающие конструкции зала с требуемой звукоизоляцией, обращая особое внимание на элементы с относительно небольшой звукоизоляцией (окна, двери);

принимать меры по снижению шума систем вентиляции и кондиционирования воздуха до допустимых величин (глушители, ограничение скорости воздуха на воздухораспределительных устройствах).

13.10. Разработка электроакустической части проекта зала проводится методом компьютерного моделирования (по специальной программе) и базируется на параметрах, полученных ранее при расчете естественной акустики зала.

Приложение А
(обязательное)

ОСНОВНЫЕ ТЕРМИНЫ И ОПРЕДЕЛЕНИЯ

В настоящем своде правил применены следующие термины с соответствующими определениями:

проникающий шум: шум, возникающий вне пространства с расчетными точками и проникающий в него через ограждающие конструкции зданий, системы вентиляции, кондиционирования воздуха, водоснабжения и отопления;

постоянный шум: шум, уровень звука которого изменяется за время оценки не более чем на 5 дБА при измерениях на временной характеристике "медленно" шумомера по ГОСТ 17187;

непостоянный шум: шум, уровень звука которого изменяется за время оценки более чем на 5 дБА при измерениях на временной характеристике "медленно" шумомера по ГОСТ 17187;

октавный уровень звукового давления, дБ: уровень звукового давления в октавной полосе частот;

уровень звука, дБА: энергетическая сумма октавных уровней звукового давления в нормируемом диапазоне частот, откорректированных по частотной характеристике А шумомера по ГОСТ 17187;

эквивалентный (по энергии) уровень звука, дБА: уровень звука постоянного шума, который имеет то же самое среднеквадратическое звуковое давление, что и исследуемый непостоянный шум в течение определенного интервала времени;

максимальный уровень звука, дБА: уровень звука непостоянного шума, соответствующий максимальному показанию измерительного, прямопоказывающего прибора (шумомера) при визуальном отсчете, или уровень звука, превышаемый в течение 1% длительности измерительного интервала при регистрации шума автоматическим оценивающим устройством (статистическим анализатором);

изоляция воздушного шума (звукоизоляция) R, дБ: способность ограждающей конструкции уменьшать проходящий через нее звук. В общем виде представляет собой десятикратный десятичный логарифм отношения падающей на ограждение звуковой энергии к энергии, прошедшей через ограждение;

изоляция ударного шума перекрытием: величина, характеризующая снижение ударного шума перекрытием;

приведенный уровень ударного шума под перекрытием L_n, дБ: величина, характеризующая изоляцию ударного шума перекрытием, представляющая собой уровень звукового давления в помещении под перекрытием при работе на перекрытии стандартной ударной машины и условно приведенная к величине эквивалентной площади звукопоглощения в помещении, равной А_о = 10 м2;

частотная характеристика изоляции воздушного шума: величина изоляции воздушного шума R, дБ, в третьоктавных полосах частот в диапазоне 100 - 3150 Гц (в графической или табличной форме);

частотная характеристика приведенного уровня ударного шума под перекрытием: величина приведенных уровней ударного шума под перекрытием L_n, дБ, в третьоктавных полосах частот в диапазоне 100 - 3150 Гц (в графической или табличной форме);

индекс изоляции воздушного шума R_w, дБ: величина, служащая для оценки одним числом изоляции воздушного шума ограждающей конструкцией. Определяется путем сопоставления частотной характеристики изоляции воздушного шума со специальным нормативным спектром;

индекс приведенного уровня ударного шума L_nw, дБ: величина, служащая для оценки одним числом изоляции ударного шума перекрытием. Определяется путем сопоставления частотной характеристики приведенного уровня ударного шума под перекрытием со специальным нормативным спектром;

звукоизоляция окна R_Атран, дБА: величина, служащая для оценки одним числом изоляции внешнего шума, создаваемого городским транспортом, при передаче его внутрь помещения через окно;

звуковая мощность, Вт: количество энергии, излучаемой источником шума в единицу времени;

уровень звуковой мощности, дБ: десятикратный десятичный логарифм отношения звуковой мощности к опорной звуковой мощности (W_o = 10^(-12) Вт);

коэффициент звукопоглощения альфа: отношение величины неотраженной от поверхности звуковой энергии к величине падающей энергии;

эквивалентная площадь звукопоглощения (поверхности или предмета), м2: площадь поверхности, полностью поглощающей звук (с коэффициентом звукопоглощения альфа = 1), которая поглощает такое же количество звуковой энергии, как и данная поверхность или предмет;

средний коэффициент звукопоглощения альфа_ср: отношение суммарной эквивалентной площади звукопоглощения в помещении А_сум (включая поглощение всех поверхностей, оборудования и людей) к суммарной площади всех поверхностей помещения;

здания, в которых на фасаде, обращенном в сторону внешнего источника шума, установлены шумозащитные окна, снабженные специальными вентиляционными устройствами с глушителями шума;

здания комбинированного типа, в которых для борьбы с шумом используются одновременно вышеописанные приемы;

шумозащитные окна: окна со специальными вентиляционными устройствами, обеспечивающие повышенную звукоизоляцию при одновременном обеспечении нормативного воздухообмена в помещении;

шумозащитные экраны: сооружения в виде вертикальных или наклонных стенок различной конструкции, земляных насыпей, выемок, галерей и т.п., установленные вдоль автомобильных и железных дорог с целью снижения шума;

реверберация: явление постепенного спада звуковой энергии в помещении после прекращения работы источника звука;

время реверберации T, с: время, за которое уровень звукового давления в помещении после выключения источника звука спадает на 60 дБ.

БИБЛИОГРАФИЯ

[1] СП 23-103-2003. Проектирование звукоизоляции ограждающих конструкций жилых и общественных зданий

[2] ОСТ 19-238-01. Кинотеатры и видеозалы.