Единая система конструкторской документации. Эксплуатационные документы. ГОСТ 2.601-2006

(утв. Приказом Ростехрегулирования от 22.06.2006 N 118-СТ)
Редакция от 22.06.2006 — Документ не действует
Показать изменения

МЕЖГОСУДАРСТВЕННЫЙ СТАНДАРТ

ЕДИНАЯ СИСТЕМА КОНСТРУКТОРСКОЙ ДОКУМЕНТАЦИИ

ЭКСПЛУАТАЦИОННЫЕ ДОКУМЕНТЫ

Unified system for design documentation.
Еxploitative documents

ГОСТ 2.601-2006

Дата введения - 2006-09-01

Предисловие

Цели, основные принципы и основной порядок проведения работ по межгосударственной стандартизации установлены ГОСТ 1.0-92 "Межгосударственная система стандартизации. Основные положения" и ГОСТ 1.2-97 "Межгосударственная система стандартизации. Стандарты межгосударственные, правила и рекомендации по межгосударственной стандартизации. Порядок разработки, принятия, применения, обновления, отмены".

Сведения о стандарте

1. РАЗРАБОТАН Федеральным государственным унитарным предприятием Всероссийским научно-исследовательским институтом стандартизации и сертификации в машиностроении (ВНИИНМАШ), Автономной некоммерческой организацией Научно-исследовательским центром CALS-технологий "Прикладная логистика" (АНО НИЦ CALS-технологий "Прикладная логистика").

2. ВНЕСЕН Федеральным агентством по техническому регулированию и метрологии.

3 ПРИНЯТ Межгосударственным советом по стандартизации, метрологии и сертификации (протокол N 23 от 28 февраля 2006 г.).

За принятие проголосовали:

Краткое наименование страны Код страны Сокращенное наименование национального органа
по МК (ИСО 3166) 004-97 по МК (ИСО 3166) 004-97 по стандартизации
Азербайджан AZ Азстандарт
Армения AM Минторгэкономразвития
Беларусь BY Госстандарт Республики Беларусь
Казахстан KZ Госстандарт Республики Казахстан
Кыргызстан KG Кыргызстандарт
Молдова MD Молдова-Стандарт
Российская Федерация RU Федеральное агентство по техническому регулированию и метрологии
Таджикистан TJ Таджикстандарт
Туркменистан TM Главгосслужба "Туркменстандартлары"
Узбекистан UZ Узстандарт
Украина UA Госпотребстандарт Украины

4. Приказом Федерального агентства по техническому регулированию и метрологии от 22 июня 2006 г. N 118-ст межгосударственный стандарт ГОСТ 2.601-2006 введен в действие в качестве национального стандарта Российской Федерации с 1 cентября 2006 г.

5. ВЗАМЕН ГОСТ 2.601-95.

Информация о введении в действие (прекращении действия) настоящего стандарта публикуется в указателе "Национальные стандарты".

Информация об изменениях к настоящему стандарту публикуется в указателе (каталоге) "Национальные стандарты", а текст изменений - в информационных указателях "Национальные стандарты". В случае пересмотра или отмены настоящего стандарта соответствующая информация будет опубликована в информационном указателе "Национальные стандарты".

1. Область применения

Настоящий стандарт устанавливает виды, комплектность и общие требования к выполнению эксплуатационных документов (далее - ЭД).

На основе настоящего стандарта допускается, при необходимости, разрабатывать стандарты, устанавливающие виды, комплектность и общие требования к выполнению ЭД на изделия конкретных видов техники с учетом их специфики.

2. Нормативные ссылки

В настоящем стандарте использованы ссылки на следующие межгосударственные стандарты:

ГОСТ 2.051-2006 Единая система конструкторской документации. Электронные документы. Общие положения

ГОСТ 2.102-68 Единая система конструкторской документации. Виды и комплектность конструкторских документов

ГОСТ 2.104-2006 Единая система конструкторской документации. Основные надписи

ГОСТ 2.105-95 Единая система конструкторской документации.Общие требования к текстовым документам

ГОСТ 2.201-80 Единая система конструкторской документации. Обозначения изделий и конструкторских документов

ГОСТ 2.301-68 Единая система конструкторской документации. Форматы

ГОСТ 2.304-81 Единая система конструкторской документации. Шрифты чертежные

ГОСТ 2.503-90 Единая система конструкторской документации. Правила внесения изменений

ГОСТ 2.605-68 Единая система конструкторской документации. Плакаты учебно-технические. Общие технические требования

ГОСТ 2.608-78 Единая система конструкторской документации. Порядок записи сведений о драгоценных материалах в эксплуатационных документах

ГОСТ 2.610-2006 Единая система конструкторской документации. Правила выполнения эксплуатационных документов

ГОСТ 2.701-84 Единая система конструкторской документации. Схемы. Виды и типы. Общие требования к выполнению

ГОСТ 5773-90 Издания книжные и журнальные. Форматы

ГОСТ 1639-93 Лом и отходы цветных металлов и сплавов. Общие технические условия

ГОСТ 18322-78 Система технического обслуживания и ремонта техники. Термины и определения

ГОСТ 22240-76 Обложки и крышки переплетные. Типы

Примечание - При пользовании настоящим стандартом целесообразно проверить действие ссылочных стандартов по указателю "Национальные стандарты", составленному по состоянию на 1 января текущего года, и по соответствующим информационным указателям, опубликованным в текущем году. Если ссылочный стандарт заменен (изменен), то при пользовании настоящим стандартом следует руководствоваться замененным (измененным) стандартом. Если ссылочный стандарт отменен без замены, то положение, в котором дана ссылка на него, применяется в части, не затрагивающей эту ссылку.

3. Термины, определения и сокращения

3.1. Термины и определения

В настоящем стандарте применены следующие термины с соответствующими определениями:

3.1.1. эксплуатационный документ: Конструкторский документ, который в отдельности или в совокупности с другими документами определяет правила эксплуатации изделия и (или) отражает сведения, удостоверяющие гарантированные изготовителем значения основных параметров и характеристик (свойств) изделия, гарантии и сведения по его эксплуатации в течение установленного срока службы.

3.1.2. эксплуатация изделия: Cтадия жизненного цикла изделия с момента принятия его потребителем от предприятия-изготовителя или ремонтного предприятия до отправки в ремонт или списания <*>.

<*> Здесь и далее знаком "*" отмечены пункты, к которым даны комментарии в приложении Е.

3.1.3. техническое состояние изделия: Совокупность подверженных изменению свойств изделия, в определенный момент времени характеризуемая степенью соответствия фактических значений показателей и/или качественных признаков, установленных в эксплуатационных и/или нормативных документах.

3.1.4. сведения о процессе эксплуатации: Длительность и условия работы, проведение технического обслуживания, ремонта и другие данные.

3.1.5.

информационный объект: Совокупность данных, обладающая атрибутами (свойствами) и методами, позволяющими определенным образом обрабатывать данные.
[ГОСТ 2.053-2006, статья 3.1.5]

Примечание - В эксплуатационных документах информационный объект представляет собой смысловую и/или структурную единицу технической информации.

3.1.6. интерактивное электронное техническое руководство: Обобщенное название для взаимосвязанной совокупности эксплуатационных документов, выполненных в форме интерактивного электронного документа по ГОСТ 2.051 и, как правило, содержащихся в одной общей базе данных эксплуатационной документации.

3.1.7. перечень действующих документов: Перечень электронных эксплуатационных документов, получаемых из общей базы данных эксплуатационной документации *.

3.1.8. обозначение иллюстрации: Идентификатор иллюстрации в общей базе данных и/или поставляемой базе данных эксплуатационной документации.

3.1.9. стиль: Перечень связанных с информационным объектом правил, регламентирующих отображение данных на устройстве вывода (шрифта, размера, цвета и т. д.).

3.1.10. электронная система отображения: Комплекс программно-технических средств для воспроизведения данных, содержащихся в интерактивном электронном документе.

3.1.11. модуль данных: Совокупность взаимосвязанных технических сведений по эксплуатации изделия, относящихся к определенной тематике и не допускающих дальнейшего их дробления на составные части.

3.1.12. код модуля данных: Стандартизованный структурированный адрес, который используется для включения модулей данных в общей БД эксплуатационной документации изделия, поиска и получения доступа к ним.

3.1.13 общая база данных эксплуатационной документации: Автоматизированная система хранения и управления модулями данных, входящими в состав эксплуатационной документации на изделие, позволяющая по запросу получить в электронной или бумажной форме конкретный эксплуатационный документ. *

3.2 Сокращения

В настоящем стандарте применены следующие сокращения:

АС-автоматизированная система;

БД - база данных;

ДЭ - электронный конструкторский документ;

ЗИП - запасные части, инструменты и принадлежности;

ИО - информационный объект;

ИЭД - интерактивный электронный документ;

КД - конструкторская документация;

МД - модуль данных;

НД - нормативный документ;

ОИЛ - обозначение иллюстрации;

ОМД - обозначение модуля данных;

ПЗК - портативный защищенный компьютер;

ОБДЭ - общая база данных эксплуатационной документации;

СНК - система нумерации и кодирования;

СЕ - сборочная единица;

СЧ - составная часть;

ЭВМ - электронно-вычислительная машина;

ЭД - эксплуатационные документы;

ЭСО - электронная система отображения;

ЭЦП - электронная цифровая подпись.

4. Общие требования

4.1. ЭД предназначены для эксплуатации изделий, ознакомления с их конструкцией, изучения правил эксплуатации (использования по назначению, технического обслуживания, текущего ремонта, хранения и транспортирования), отражения сведений, удостоверяющих гарантированные изготовителем значения основных параметров и характеристик (свойств) изделия, гарантий и сведений по его эксплуатации за весь период (длительность и условия работы, техническое обслуживание, ремонт и другие данные), а также сведений по его утилизации.

4.2. Сведения об изделии, помещаемые в ЭД, должны быть достаточными для обеспечения правильной и безопасной эксплуатации изделий в течение установленного срока службы. При необходимости в ЭД приводят указания о требуемом уровне подготовки обслуживающего персонала.

4.3. ЭД, поставляемые с изделием, должны полностью ему соответствовать.

4.4. При разработке ЭД следует использовать термины и определения в области обслуживания и ремонта в соответствии с ГОСТ 18322.

4.5. ЭД разрабатывают на основе:

- рабочей конструкторской документации по ГОСТ 2.102;

- опыта эксплуатации аналогичных изделий;

- анализа эксплуатационной технологичности изделий и их составных частей;

- результатов исследования надежности изделий данного типа и аналогичных изделий;

- результатов научно-исследовательских работ, направленных на повышение качества эксплуатации изделий (при наличии).

4.6. Изложение текста ЭД и титульный лист выполняют в соответствии с требованиями настоящего стандарта и ГОСТ 2.105.

Схемы в ЭД выполняют в соответствии с требованиями ГОСТ 2.701.

4.7. Правила выполнения ЭД - по ГОСТ 2.610.

4.8. ЭД могут быть выполнены в бумажной и/или электронной форме. Документы одного вида и наименования, независимо от формы выполнения, являются равноправными и взаимозаменяемыми.

4.9. Виды, комплектность и форму выполнения ЭД устанавливает разработчик, если это не оговорено в техническом задании. Для ЭД на изделия, разработанные по заказу Министерства обороны, это решение должно быть согласовано с заказчиком (представительством заказчика).

4.10. ЭД в электронной форме могут быть выполнены в виде ИЭД по ГОСТ 2.051. Как правило, такие ЭД выполняют при необходимости предоставления в интерактивном режиме эксплуатирующему персоналу:

- указаний, необходимых для правильной и безопасной эксплуатации изделия;

- сведений о конструкции, принципе действия, характеристиках (свойствах) изделия и его составных частей;

- сведений, относящихся к использованию изделия по назначению, оценке его технического состояния;

- сведений, относящихся к техническому обслуживанию, текущему ремонту, хранению, транспортированию и утилизации изделия.

4.11. При выполнении ЭД в виде ИЭД и передачи их заказчику (потребителю) следует, при необходимости, в состав поставки включать программно-технические средства, обеспечивающие визуализацию содержащейся в ЭД информации и интерактивное взаимодействие с пользователем.

4.12. ЭД, выполненные в виде ИЭД, в зависимости от механизма обработки содержательной части и программно-аппаратного обеспечения, применяемого для визуализации документации, подразделяют на следующие типы:

- структурированные, представляющие собой структурированную совокупность ИО с возможностями навигации по содержанию документа и поиска нужной информации;

- модульные, предусматривающие основанное на применении базы данных хранение всех технических сведений, структурированных в БД и оформленных в виде МД, из которой по запросу пользователя можно сформировать требуемые ЭД для их просмотра на экране средствами ЭСО;

- интегрированные, предусматривающие хранение в БД всех технических сведений в виде МД, при этом для формирования и визуализации средствами ЭСО требуемых ЭД или их структурных элементов используют принципы экспертных систем, а также интеграцию с программными средствами, не входящими в ИЭД; *

- Интернет-ориентированные, предназначенные для размещения в глобальной сети Интернет и, как правило, представляющие собой набор сформированных ЭД или БД, содержащую совокупность МД и позволяющую формировать требуемые ЭД. Как правило, Интернет-ориентированные ЭД представляют в форматах, определяемых [1] или [2].

4.13. В ЭД, поставляемой с изделием, должна содержаться следующая информация:

- наименование страны-изготовителя и предприятия-изготовителя;

- наименование и обозначение стандарта или технических условий;

- основное назначение, сведения об основных технических данных и потребительских свойствах изделия;

- правила и условия эффективного и безопасного использования, хранения, транспортирования и утилизации изделия;

- ресурс, срок службы и сведения о необходимых действиях потребителя по его истечении, а также информация о возможных последствиях при невыполнении указанных действий (сведения о необходимых действиях по истечении указанных ресурсов, сроков службы, а также возможных последствиях при невыполнении этих действий приводят, если изделие по истечении указанных ресурса и сроков может представлять опасность для жизни, здоровья потребителя (пользователя), причинять вред его имуществу или окружающей среде либо оно становится непригодным для использования по назначению. Перечень таких изделий составляют в установленном порядке);

- гарантии изготовителя (поставщика) (в установленном законодательством порядке);

- сведения о сертификации (при наличии);

- сведения о приемке;

- юридический адрес изготовителя (поставщика) и (или) продавца;

- сведения о цене и условиях приобретения изделия (приводит, при необходимости, изготовитель (поставщик)либо продавец).Для изделий, разрабатываемых и (или) поставляемых по заказам Министерства обороны, эти сведения и условия не приводят.

5. Виды и комплектность эксплуатационных документов

5.1. Виды эксплуатационных документов

5.1.1. К эксплуатационным документам относят текстовые, графические и мультимедийные конструкторские документы, которые в отдельности или в совокупности дают возможность ознакомления с изделием и определяют правила его эксплуатации.

5.1.2. ЭД подразделяют на виды, указанные в таблице 1.

Таблица1

ВИДЫ ЭКСПЛУАТАЦИОННЫХ ДОКУМЕНТОВ

Вид документа Определение
Руководство по эксплуатации Документ, содержащий сведения о конструкции, принципе действия, характеристиках (свойствах) изделия, его составных частях и указания, необходимые для правильной и безопасной эксплуатации изделия (использования по назначению, технического обслуживания, текущего ремонта, хранения и транспортирования) и оценок его технического состояния при определении необходимости отправки его в ремонт, а также сведения по утилизации изделия и его составных частей
Инструкция по монтажу, пуску, регулированию и обкатке изделия Документ, содержащий сведения, необходимые для монтажа, наладки, пуска, регулирования, обкатки и сдачи изделия и его составных частей в эксплуатацию на месте его применения
Формуляр Документ, содержащий сведения, удостоверяющие гарантии изготовителя, значения основных параметров и характеристик (свойств) изделия, сведения, отражающие техническое состояние данного изделия, сведения о сертификации и утилизации изделия, а также сведения, которые вносят в период его эксплуатации (длительность и условия работы, техническое обслуживание, ремонт и другие данные)
Паспорт Документ, содержащий сведения, удостоверяющие гарантии изготовителя, значения основных параметров и характеристик (свойств) изделия, а также сведения о сертификации и утилизации изделия
Этикетка Документ, содержащий гарантии изготовителя, значения основных пара­метров и характеристик (свойств) изделия, сведения о сертификации изделия
Каталог деталей и сборочных единиц Документ, содержащий перечень деталей и сборочных единиц изделия с иллюстрациями и сведения об их количестве, расположении в изделии, взаимозаменяемости, конструктивных особенностях, материалах и др.
Нормы расхода запасных частей Документ, содержащий номенклатуру запасных частей изделия и их количество, расходуемое на нормируемое количество изделий за период их эксплуатации
Нормы расхода материалов Документ, содержащий номенклатуру материалов и их количество, расходуемое на нормированное количество изделий за период их эксплуатации
Ведомость комплекта запасных частей, инструмента и принадлежностей Документ, содержащий номенклатуру, назначение, количество и места укладки запасных частей, инструментов, принадлежностей и материалов, расходуемых за срок службы изделия
Учебно-технические плакаты Документы, содержащие сведения о конструкции изделия, принципах действия, приемах использования, техническом обслуживании, областях технических знаний с необходимыми иллюстрациями
Инструкции эксплуатационные специальные Документы, содержащие специальные требования, относящиеся к ис­пользованию по назначению, техническому обслуживанию, текущему ремонту, хранению, транспортированию и утилизации, оформленные в виде самостоятельных частей ЭД или в виде приложений к ним
Ведомость эксплуатационных документов Документ, устанавливающий комплект эксплуатационных документов и места укладки документов, поставляемых с изделием или отдельно от него

5.2. Комплектность эксплуатационных документов

5.2.1. Номенклатуру ЭД, необходимую для обеспечения эксплуатации изделия, устанавливают в соответствии с таблицей 2.

Таблица 2

НОМЕНКЛАТУРА ЭКСПЛУАТАЦИОННЫХ ДОКУМЕНТОВ

Код документа Наименование документа Степень обязательности разработки документа Дополнительные указания
РЭ 1. Руководство по эксплуатации О -
ИМ 2. Инструкция по монтажу, пуску, регулированию и обкатке изделия О ИМ составляют на монтаж, пуск, регулирование и обкатку изделия на месте его применения и в случае, если эти требования нецелесообразно или невозможно изложить в РЭ
ФО 3. Формуляр Документ составляют на изделия, в период эксплуатации которых необходимо вносить сведения о значениях основных параметров и характеристиках (свойствах) изделия, отражающих техническое состояние данного изделия и/или данные о процессе эксплуатации (длительности и условиях работы, данные о проведении технического обслуживания, ремонта и другие данные)
ПС 4. Паспорт ПС составляют на изделия, для которых объем необходимых для эксплуатации данных и основных показателей незначителен и в период эксплуатации которого нет необходимости вносить сведения о значениях и/или подтверждении этих показателей
ЭТ 5. Этикетка ЭТ составляют на изделия, для которых данные, необходимые для эксплуатации, не превышают пяти-шести основных показателей, когда для подтверждения этих показателей нет необходимости составлять ФО (ПС) и технически их невозможно и/или нецелесообразно маркировать на изделии
КДС 6. Каталог деталей и сборочных единиц О КДС составляют на изделия, для которых в течение времени эксплуатации предусмотрены неоднократный ремонт и замены составных частей
НЗЧ 7. Нормы расхода запасных частей О Под НЗЧ на период эксплуатации одного изделия понимают среднее ожидаемое за этот период количество замен составных частей из-за отказов и выработки ресурса
НМ 8. Нормы расхода материалов О Под НМ на период эксплуатации понимают среднее ожидаемое за этот период количество мате­риалов
ЗИ 9. Ведомость ЗИП О ЗИ составляют на изделия, с которыми совместно поставляют прилагаемые к ним комплекты ЗИП, а также наборы ЗИП, поставляемые отдельно от изделия, для эксплуатации которых предназначается ЗИП (например, ЗИП одиночный, групповой, ремонтный и др.). Если количество наименований изделий и материалов незначительно, то ЗИ допускается не разрабатывать, а их номенклатуру перечислять в формуляре или паспорте
УП 10. Учебно-технические плакаты О УП разрабатывают по ГОСТ 2.605
ИС… 11. Инструкции эксплуатационные специальные О Документы составляют на изделия, для которых в течение времени эксплуатации следует выполнять специальные требования, относящиеся к использованию по назначению, техническому обслуживанию, текущему ремонту, хранению, транспортированию и утилизации
ВЭ 12 Ведомость эксплуатационных документов ВЭ составляют на изделия, в комплект эксплуатационных документов которых входят два и более самостоятельных эксплуатационных документов
Условные обозначения:
- документ обязательный;
О - необходимость разработки документа устанавливает разработчик. Для изделий, разрабатываемых по заказу Министерства обороны, номенклатуру ЭД согласовывают с ним.
Примечание - В зависимости от назначения изделия, условий эксплуатации и объема помещаемых сведений в обязательном порядке составляют либо ФО, либо ПС, либо ЭТ, либо включают один из этих документов в объединенный ЭД.

5.2.2. В ЭД на изделие включают в необходимых объемах сведения об изделии в целом и составных частях, установленных на изделии к моменту поставки его заказчику (потребителю).

ЭД на составные части изделия допускается включать в состав ЭД на изделие по согласованию с заказчиком (при наличии), при этом в ЭД на изделие не повторяют содержание документов на его составные части.

Описание и правила эксплуатации составных частей, в том числе покупных изделий, должны быть, как правило,включены в соответствующие ЭД на изделие в качестве их самостоятельных разделов, подразделов и пунктов.

5.2.3. В ЭД дают ссылки только на документы, включенные в ведомость эксплуатационных документов для данного изделия.

При указании сведений об изделии и (или) материале, изготовленных по стандартам или техническим условиям, в ЭД указывают обозначение соответствующих стандартов или технических условий.

5.2.4. В зависимости от особенностей изделия, объема сведений по нему и условий эксплуатации допускается:

- разделять документ на части в соответствии с ГОСТ 2.105;

- разрабатывать объединенные ЭД (допускается выпускать на изделие один ЭД).

Объединенному ЭД присваивают наименование и код вышестоящего документа, приведенного в таблице 2.

Степень деления ЭД на части, разделы, подразделы и пункты определяет разработчик изделия в зависимости от объема помещаемых в ЭД сведений.

Допускается отдельные части, разделы и подразделы ЭД объединять или исключать, а также вводить новые.

5.2.5. На конструктивно простейшие изделия, объем сведений по которым незначителен, ЭД допускается не составлять, а необходимые сведения размещать (маркировать) на самом изделии или

на фирменной табличке, прикрепляемой к нему.

5.2.6. Специальные требования, относящиеся к использованию по назначению, техническому обслуживанию, текущему ремонту, хранению, транспортированию и утилизации, для удобства использования допускается оформлять в виде самостоятельных частей ЭД, приложений к ним или специальных инструкций. В качестве самостоятельных частей и приложений к документам, указанным в таблице 2, как правило, выполняют:

- памятки по обращению с изделием;

- специальные формуляры (например, формуляр шумности, по аварийно-спасательному обеспечению);

- ведомости (например, ведомости размещения ЗИП, имущества);

- нормировочные документы (например, нормы времени, трудоемкости выполнения отдельных работ);

- сервисные книжки по обслуживанию изделия, гарантийные талоны;

- спецификации комплектов специального назначения.

В качестве специальных инструкций, как правило, выполняют:

- инструкции для отдельных специалистов обслуживающего персонала;

- инструкции по мерам безопасности;

- инструкции по проверке специальных контрольно-измерительных приборов и оборудования;

- инструкции по проведению специальных работ, проверок и испытаний изделий на промежуточных пунктах (базах, складах);

- инструкции по утилизации, инструкции по переводу изделия в категорию утилизируемых;

- инструкции по защите информации и др.

Для изделий, разрабатываемых по заказу Министерства обороны, номенклатура, структура и содержание приложений и специальных инструкций должны быть согласованы с заказчиком (представительством заказчика). Эти документы следует включать в ВЭ.

5.2.7. В качестве ЭД или в составе их для изделий единичного производства допускается использовать конструкторские документы, предусмотренные ГОСТ 2.102, перечень которых согласовывают с заказчиком. Эти документы включают в ВЭ.

6. Общие требования к изложению текста эксплуатационных документов

6.1. В тексте документа при изложении указаний о проведении работ применяют глаголы в повелительном наклонении, например, "Открыть люк…", "Нажать кнопку…" и т. п.

6.2. Описание порядка выполнения каких-либо работ дается в логической последовательности их выполнения.

Перечень работ допускается оформлять в виде таблицы.

6.3. Если информация относится только к изделиям определенных серий или заводских номеров, то перед изложением этой информации после слова "ВНИМАНИЕ" приводят указание о распространении ее на соответствующие номера изделий (серии).

6.4. Общее построение ЭД следует выполнять в соответствии с требованиями ГОСТ 2.105. Для изделий с многоступенчатой системой деления на составные части рекомендуется ЭД оформлять с применением блочного принципа построения документов (см. приложение В). В этом случае ЭД делят на структурные элементы, как правило, в соответствии с конструктивным делением изделия на составные части *.

Для структурных элементов ЭД устанавливают систему нумерации и кодирования, которую, как правило, устанавливают в нормативных документах на конкретные виды (группы) изделий с учетом их сложности и конструктивных особенностей.

6.5. При разработке документов особое внимание должно быть обращено на изложение требований к соблюдению мер безопасности при эксплуатации и ремонте изделий. Текст с предупреждениями и требованиями мер предосторожности должен всегда выделяться и со всей очевидностью показывать пользователю, что речь идет о предостережении или предупреждении. Рекомендуется использовать соответствующий графический символ или другой четко заметный знак.

В тексте этим требованиям должны предшествовать предупреждающие слова "ПРЕДОСТЕРЕЖЕНИЕ", "ВНИМАНИЕ", "ЗАПРЕЩАЕТСЯ".

Предупреждающие слова общего характера, распространяющиеся на весь документ, допускается выполнять предшествующими основному тексту документа. Например, если при выполнении каких-либо работ технического обслуживания присутствует одна и таже опасность, рекомендуется в тексте руководства (инструкции) поместить эти слова один раз в начале.

Слово "ПРЕДОСТЕРЕЖЕНИЕ" используют, когда нужно идентифицировать явную опасность для человека, выполняющего те или иные действия, или риск повреждения изделия.

Слово "ВНИМАНИЕ" используют, когда нужно привлечь внимание персонала к способам и приемам, которые следует точно выполнять во избежание ошибок при эксплуатации и ремонте изделия или в случае, когда требуется повышенная осторожность в обращении с изделием или материалами.

Слово "ЗАПРЕЩАЕТСЯ" используют, когда нарушение установленных ограничений или несоблюдение требований, касающихся использования материалов, способов и приемов обращения с изделием, может привести к нарушению мер безопасности.

Предупреждающие слова общего характера, распространяющиеся на весь документ, допускается выполнять предшествующими основному тексту документа. Например, если при выполнении каких-либо работ технического обслуживания присутствует одна и таже опасность, рекомендуется в тексте руководства (инструкции) поместить "ПРЕДОСТЕРЕЖЕНИЕ" один раз в начале.

Слова "ПРЕДОСТЕРЕЖЕНИЕ", "ВНИМАНИЕ" и "ЗАПРЕЩАЕТСЯ" и следующий за ними текст с предостережением следует печатать прописными буквами. Допускается предупреждающие слова и текст с предостережением выделять цветом, а также совместно с предупреждающими словами использовать пиктограммы.

При группировании предупреждений первым должен стоять текст, касающийся безопасности персонала.

Примеры:

1. ПРЕДОСТЕРЕЖЕНИЕ: РАСТВОР ЧРЕЗВЫЧАЙНО ОПАСЕН!

2. ВНИМАНИЕ: ПОСЛЕ СЛИВА МАСЛА РУЛЯМИ НЕ РАБОТАТЬ!

3. ЗАПРЕЩАЕТСЯ МЫТЬ ДВИГАТЕЛЬ БЕНЗИНОМ.

Все необходимые пояснения к тексту (таблицам) помещают или перед, или под абзацами, к которым они относятся. Пояснения начинают со слова "Примечание" (пояснение к таблице разрешается давать в виде сноски).

Примеры пояснения, предшествующего тексту:

1. Примечание - Пункты 5-8 выполнять, если установлены внешние баки.

2. Примечание - Если гарпунная пушка имеет механизм качания прицела, то перед выверкой уровня вертлюга необходимо совместить риски на хомутике механизма качания.

Пример пояснения, следующего под текстом:

Примечание - Подробное описание работы клапана см. в АБВГ.ХХХХХХ.014РЭ.

Для изделий, требующих особой осторожности при обращении с ними, на обложке формуляра (паспорта) должна быть нанесена предупреждающая надпись, например, "ВНИМАНИЕ! ОСОБАЯ ОСТОРОЖНОСТЬ", а в тексте формуляра (паспорта) даны необходимые пояснения.

6.6. Все надписи (обозначения) и условные знаки, располагаемые на изделии и на фирменных табличках к изделию, должны быть приведены и описаны в документации.

6.7. Все встречающиеся в тексте примеры надписей на пультах, приборных досках и фирменных табличках, трафаретные наименования переключателей и их положений: команды, режимы работы, сигналы и т. п. должны быть выполнены в ЭД прописными буквами и заключены в кавычки.

6.8. При издании ЭД на иностранном языке текст выполняют с учетом требований международных стандартов на техническую документацию.

Для изделий, поставляемых на экспорт, ЭД комплектуют без листов утверждения.

6.9. При поставке изделий на экспорт непосредственно из эксплуатирующих организаций ЭД оформляют согласно настоящему стандарту и дополнительным указаниям потребителя для этих организаций.

6.10. Для обеспечения наглядности, облегчения восприятия содержания излагаемого текста и его пояснения применяют различные табличные формы и графические иллюстрации.

6.11. Иллюстрации следует подготавливать в векторном (штриховом) виде. Допускается при согласии заказчика использовать тоновые иллюстрации (фотографии) при условии, что они удовлетворяют требованиям по ясной визуализации деталей.

6.12. В качестве иллюстраций следует использовать следующие типы векторных изображений:

- аксонометрические изображения. Наиболее наглядный трехмерный вид представления деталей, агрегатов, узлов (см. рисунок Б.1, приложение Б);

- перспективные изображения. Обычно используют только для очень больших агрегатов. Перспективные изображения также допускается использовать для схем размещения;

- ортогональные изображения. Используют в случае, если этот тип иллюстрации дает наглядное представление. В тех случаях, когда детали или порядок разборки могут быть однозначно идентифицированы с помощью вида сверху, такое представление также может быть использовано в качестве иллюстрации. Эта форма рекомендуется для монтажных и электрических схем и т. д.;

- диаграммы/схемы. Эти типы представления используют для пояснения работы систем (например, гидравлической) или схем (например, электрической и т. д.);

- графики. Эти типы представления предназначены для показа отношений между различными параметрами;

- чертежи.

6.13. Во всех иллюстрациях следует соблюдать однообразие графического исполнения,оформления и принятых условных обозначений. Общие требования к выполнению элементов иллюстраций приведены в приложении А.

6.14. При выполнении иллюстраций соблюдают следующие общие правила:

- иллюстрации должны быть расположены как можно ближе к соответствующим частям текста, а количество иллюстраций должно быть достаточным для правильного понимания текста;

- иллюстрации должны быть представлены в виде и масштабе, наиболее благоприятном для восприятия, а, в случае необходимости, для наглядности должны быть использованы схема размещения и/или указатели направления;

- иллюстрации должны быть достаточно наглядными и простыми и иметь только необходимую информацию, непосредственно относящуюся к тексту. Следует избегать дублирования иллюстраций;

- следует избегать включения в иллюстрации несущественных деталей, таких как невидимые полости или детали, обозначаемые пунктирными линиями, лишние элементы, которые не поясняются в тексте. Точное представление подробностей, типа резьбы на винтах или вид головки болта могут быть опущены;

- расстояние между двумя линиями должно быть не меньше суммарной толщины этих линий;

- цветные иллюстрации должны обеспечивать возможность их вывода на устройства ЭВМ в монохромном режиме с приемлемым качеством. Как альтернатива цвету допускается использовать штриховку или оттенение (заливку серым цветом).Если использование цвета имеет семантическое значение, то в инструкциях и других руководствах для оператора иллюстрации должны иметь соответствующий цвет;

- для облегчения чтения и возможности использования перекрестных ссылок следует использовать портретную ориентацию расположения иллюстраций. Допускается при необходимости использовать фальцованные иллюстрации или иллюстрации, выполненные в альбомной ориентации.

6.15. В пространственных схемах различных систем и плоских блок-схемах для большей ясности и наглядности все входящие в них приборы, аппараты и механизмы следует, по возможности, изображать в виде натурных изображений.

6.16. Графики следует выполнять с использованием координатной сетки, соответствующей масштабности шкал (равномерных или логарифмических). Графики, показывающие принципиальную картину изменения одной величины при изменении другой, допускается выполнять без координатной сетки.

Оси координат вычерчивают сплошными линиями без стрелок на конце. Стрелки на концах координатных линий показывают на графиках, показывающих характер функционального изменения величины и обычно неимеющих координатной сетки и масштабных делений на координатных осях.Толщина линий координатной сетки должна быть вдвое меньше толщины координатных осей, а толщина линий кривых в два раза толще линий координатных осей.

6.17. Общие для всех иллюстраций требования и символы (стрелки, направления видов, толщины размерных и выносных линий, шрифты и размеры шрифтов иллюстраций и т. д.), как правило, устанавливает разработчик, если иное не указано в техническом задании. Пример установления требований к выполнению иллюстраций приведен в приложении В. *

6.18. При изготовлении типографским способом или подготовке ЭД в бумажной форме иллюстрации следует размещать на полной странице, полстраницы, горизонтальной фальцованной странице. Размеры областей воспроизведения иллюстраций приведены в таблице 3.

Таблица 3

ПРЕДЕЛЬНЫЕ РАЗМЕРЫ ИЛЛЮСТРАЦИЙ

Размер иллюстрации Область воспроизведения иллюстрации для издания на формате
A4 A5 A3
Полная страница 170 х222 мм 117 х 155 мм 360 х222 мм
Полстраницы 170 х 102 мм 117 х 60 мм -
Фальцованная страница 360 х 222 мм 246 х 155 мм -
Примечание - Область воспроизведения иллюстрации рекомендуется помечать по углам ломаными линиями с длиной стороны 5-8 мм (например, см. иллюстрации в приложении А).

6.19. При расположении иллюстрации на листе увеличенного формата фальцовка листа должна обеспечивать видимость номера страницы, как это показано на рисунке 1. Незаполненная страница (обратная сторона листа) должна быть обозначена на предыдущей странице в виде дроби (с. 3/4).

6.20. Для установления связи иллюстраций с текстом иллюстрации следует присваивать номер и название. Для иллюстрации на нескольких листах на каждом листе номер и название рисунка следует повторить. Номер и название рисунка должны быть расположены в центре страницы под иллюстрацией вне области воспроизведения.

Рисунок 1 - Оформление листов увеличенного формата (правила фальцовки)

При выполнении ЭД в виде ИЭД иллюстрации следует также присваивать обозначение.Обозначение иллюстрации должно быть расположено в правом нижнем углу области воспроизведения иллюстрации вне самого изображения. Правила присвоения обозначений приведены в приложении Д.

6.21. Если графическая иллюстрация выполнена на нескольких листах, то на каждом листе должен быть приведен ее номер с указанием общего числа листов, на которых размещена иллюстрация, и порядковый номер каждого листа.

Например:

1. Рисунок 20 (лист 1 из 4).

2. Рисунок 20 (лист 2 из 4) ит. д.

6.22. Схему размещения, как правило, располагают в левом верхнем углу иллюстрации. Схема размещения показывает расположение сборочной единицы относительно изделия в целом или его составной части и является наиболее предпочтительным видом для иллюстрации. Объект, на который обращается внимание на схеме размещения, должен быть выделен контуром, зачернением или цветом. Схемы размещения не используют в случаях, когда расположение иллюстрируемого изделия или его составной части совершенно ясно.

6.23. Ссылочные иллюстрации сборочных единиц или их составных частей, которые не входят в изображаемую сборочную единицу, но которые показывают ее взаимосвязи, должны быть изображены тонкими линиями без номеров элементов и контуров. По возможности, ссылочные иллюстрации не должны детализироваться.

6.24. При расположении иллюстраций в ЭД в бумажной форме при двусторонней печати соблюдают следующие правила:

- если текст, относящийся к иллюстрации, находится на нечетной странице, то иллюстрацию располагают на четной странице, на обороте предыдущего листа.Если текст находится на четной странице, то иллюстрацию располагают на следующей за ней странице документа. Иллюстрации могут быть расположены на нескольких листах.

Допускается размещать иллюстрации на листах увеличенного формата:

- иллюстрации, описание которых содержится на нескольких листах, располагают на листах увеличенного формата в конце текста, к которому они относятся, и помещают на той части листа, которая выступает за поле формата документа;

- графические иллюстрации типа номограмм, графиков рекомендуется выполнять в цветном изображении, обеспечивающем максимальный контраст между линиями координатной сетки и кривыми зависимостей. Цветные иллюстрации размещают, как правило, на отдельных листах.

6.25. Если в одной сборочной единице используются несколько одинаковых деталей, то на иллюстрации, как правило, показывают только одну деталь. При необходимости на иллюстрации допускается указывать номер чертежа, на основе которого выполнена данная иллюстрация.

7. Порядок записи сведений о драгоценных материалах и цветных металлах

7.1. Порядок записи сведений о драгоценных материалах и цветных металлах выполняют в соответствии с ГОСТ 2.608 для драгоценных материалов и ГОСТ 1639 - для цветных металлов.

7.2. В ФО, ПС, РЭ и ЭТ указывают суммарную (расчетную) массу цветных металлов и их сплавов (в дальнейшем - цветных металлов), а также сведения о местах расположения составных частей изделия, которые содержат цветные металлы. Наименование цветных металлов и последовательность их записи - по ГОСТ 1639.

Примечания.

1. При расчете массы не учитывают цветные металлы, входящие в состав покрытий, припоев и черных металлов.

2. Массу цветных металлов изделия указывают с учетом массы цветных металлов, применяемых в покупных изделиях.

7.3. При необходимости в РЭ, ФО и ПС могут быть даны иллюстрации приемов разборки изделий для изъятия составных частей изделия, содержащих цветные металлы.

7.4. Допускается сведения о цветных металлах помещать в приложении к ФО, ПС и РЭ.

8. Правила комплектования и оформления

8.1. Общие требования к комплектованию и оформлению

8.1.1. Комплектование ЭД осуществляют изготовители документации. В состав одной единицы комплектации можно включать документ целиком или несколько структурных элементов документа.

8.1.2. Документы, входящие в комплект ЭД, могут быть выполнены как:

- странично-ориентированные документы (могут быть выполнены и в бумажной, и в электронной форме);

- интерактивные электронные документы (как правило, только в электронной форме).

8.1.3. Странично-ориентированные ЭД выполняют, как правило, с основной надписью по ГОСТ 2.104. Допускается выполнять подлинники ЭД без основной надписи, дополнительных граф и рамок. В этом случае:

- обозначение ЭД и номер страницы указывают на каждом листе в нижнем правом углу. При подготовке ЭД в электронной форме наименование файла документа (части документа) указывают в нижнем левом углу;

- подписи лиц, предусмотренные в основной надписи по ГОСТ 2.104, указывают на титульном листе, а для ЭД, выполненных в электронной форме, - по ГОСТ 2.051;

- данные об изменениях указывают в листе регистрации изменений (рекомендуемая форма листа регистрации изменений по ГОСТ 2.503);

- при необходимости, логотип организации-разработчика изделия указывают в верхнем левом углу страницы. Допускается логотип организации-разработчика изделия указывать в центре верхней части страницы.

8.1.4. Для изделий с многоступенчатой системой деления на составные части при оформлении ЭД с применением блочного принципа построения документов допускается выполнять подлинники ЭД без основной надписи, дополнительных граф и рамок. В этом случае страница состоит из следующих полей (зон):

- информационной зоны, где отображается техническая информация;

- верхней части страницы (верхнего колонтитула). Выполняют состоящим из одной или двух строк;

- нижней части страницы (нижнего колонтитула). Выполняют состоящим из двух или трех строк;

Пример выполнения верхней и нижней частей страницы - в приложении Д.

8.1.5.При двухсторонней печати надписи выполняют в зеркальном отображении относительно указанного расположения для односторонней печати.

8.2. Правила комплектования и оформления эксплуатационных документов в бумажной форме

8.2.1. ЭД выполняют, как правило, на листах формата А4 по ГОСТ 2.301. Допускается для ЭД применять другие форматы по ГОСТ 2.301. При отсутствии требований заказчика (потребителя) к оформлению ЭД правила устанавливает изготовитель изделия, на которое разрабатывают ЭД. Для изделий, разрабатываемых по заказу Министерства обороны, это решение должно быть согласовано с заказчиком (представительством заказчика).

8.2.2. Общие требования к оформлению в бумажной форме содержательной части ЭД на печатном листе - согласно настоящему стандарту и ГОСТ 2.105.

8.2.3. Требования к представлению в бумажной форме в информационной зоне печатного листа содержательной части странично-ориентированных ИЭД устанавливает разработчик, если это не оговорено в техническом задании. Для ИЭД на изделия, разработанные по заказу Министерства обороны, это решение должно быть согласовано с заказчиком (представительством заказчика).

8.2.4. При односторонней печати надписи выполняют в соответствии с 8.1.2.

При двухсторонней печати надписи выполняют в зеркальном отображении относительно указанного расположения для односторонней печати. При использовании блочного принципа построения документации оформление ЭД выполняют в соответствии с приложением В.

8.2.5. Применяемый типографский способ печати ЭД должен обеспечивать достаточную четкость изображения, контрастность текстового и графического материалов, равномерную по всей странице плотность оттиска, необходимые для качественного переноса содержания на другие носители информации или для многократного снятия с нее копий.

8.2.6. Форматы ЭД для издания их типографским способом выбирают по ГОСТ 5773 [для формуляров рекомендуется формат 70 х 108/16 (170 х 260 мм)]. Документы свыше 64 страниц рекомендуется брошюровать в твердых переплетах (N 5, N 6, N 7) по ГОСТ 22240, обклеенных водомаслонепроницаемым материалом с легкоразъемными соединениями (замками), клапанами и завязками (зажимами).

При отсутствии требований заказчика (потребителя) к формату, марке бумаги, переплету и т. п. их устанавливает изготовитель изделия, на которое разрабатывают ЭД.

8.2.7. Все ЭД на изделия, поставляемые заказчику, брошюруют в прочные папки, обклеенные водонепроницаемым материалом, с легкоразъемными креплениями (замками). Ширина корешка папки должна обеспечивать возможность наклейки прозрачного кармана для помещения в нем ярлыка с обозначением документа и номером раздела (разделов).

8.2.8. Количество листов, помещаемых в одну папку, определяют из необходимости обеспечения удобства работы, но не более 500 листов.

8.2.9. При большом количестве иллюстраций и схем их допускается брошюровать в отдельные папки (альбомы) и оформлять в виде приложения к документу.

8.2.10. Устройство механизма легкоразъемного соединения для крепления листов в папке должно исключать возможность его самопроизвольного раскрытия и выпадения листов при работе с документами.

8.2.11. При наличии в одной папке нескольких структурных элементов документа каждый из них изготовитель документации обозначает цветным шмуцтитулом. Выступающий язычок шмуцтитула, на который наносят номер структурного элемента (раздела, темы), должен быть жестким и с синтетическим покрытием. Для удобства прочтения шмуцтитулы располагают уступом.

8.2.12. В каждой папке с документом помещают:

- титульный лист документа, раздела (при его наличии);

- перечень основных структурных элементов документа (разделов) документа, количество и номера папок (если документ скомплектован в несколько папок);

- лист с содержанием папки;

- лист регистрации изменений;

- лист регистрации временных изменений (при их наличии);

- лист с перечнем принятых сокращений и условных знаков;

- введение (при необходимости).

8.3. Правила комплектования и оформления эксплуатационных документов в электронной форме

8.3.1. ЭСО должна обеспечивать унифицированный для всех содержащихся в ЭД данных способ взаимодействия с пользователем и технику представления информации. Общие требования к ЭСО - по ГОСТ 2.610 *.

8.3.2. Общие требования к визуальному представлению ЭД - согласно настоящему стандарту, ГОСТ 2.105 и ГОСТ 2.610.

8.3.3. Требования к визуальному представлению мультимедийной информации в ИЭД устанавливает разработчик, если это не оговорено в техническом задании.Для ИЭД на изделия, разработанные по заказу Министерства обороны, это решение должно быть согласовано с заказчиком (представительством заказчика).

8.3.4. При доступе пользователя к ОБДЭ ЭСО должна обеспечивать по запросу просмотр (при наличии у пользователя соответствующих прав):

- перечня ЭД, который может быть получен из ОБДЭ;

- титульных листов документов;

- перечня основных структурных элементов документа (при их наличии);

- содержания (оглавления) документа;

- листа регистрации изменений;

- листа регистрации временных изменений (при их наличии);

- перечня принятых сокращений и условных знаков.

8.3.5. Допускаются следующие варианты комплектования и передачи ЭД конечному пользователю:

а) комплектование и передача данных на электронном носителе без управляющей системы (просмотр ЭД осуществляется стандартными средствами операционной системы);

б) комплектование и передача данных на электронном носителе вместе с управляющей системой (просмотр ЭД осуществляется непосредственно с электронного носителя);

в) комплектование и передача устанавливаемых на компьютерную систему конечного пользователя данных и управляющей системы (просмотр ЭД осуществляется на компьютерной системе конечного пользователя после установки с электронного носителя);

г) передача устанавливаемой на компьютерную систему конечного пользователя управляющей системы и обеспечение удаленного доступа к данным, скомплектованным разработчиком (просмотр ЭД осуществляется на компьютерной системе конечного пользователя по электронной сети передачи информации после установки управляющей системы);

д) передача ПЗК с установленными управляющей системой, ЭСО и ОБДЭ, содержащей информацию, обеспечивающую получение комплекта ЭД согласно контракту. В этом случае просмотр ЭД осуществляется непосредственно на ПЗК; *

е) обеспечение доступа к ОБДЭ через глобальную информационную сеть. В этом случае на Интернет-сайте размещаются ОБДЭ (или ЭД определенного вида, например РЭ, ЭИ, КДС, ФО), а просмотр ЭД осуществляется стандартными средствами операционной системы или специализированной ЭСО. На сайте следует также размещать руководство пользователя. Для доступа к информации на Интернет- сайте разработчик заключает с заказчиком контракт на пользование ЭД через Интернет.

Доступ через Интернет в зависимости от условий контракта может быть:

- однократным или многократным;

- к указанным видам ЭД (РЭ, ЭИ, КДС, ФО и др.) или всей ЭД, доступной из ОБДЭ.

Заказчику передается электронный адрес сайта в сети Интернет и средства обеспечения санкционированного доступа *.

Приложение А
(рекомендуемое)

ОБЩИЕ ТРЕБОВАНИЯ К ЭЛЕМЕНТАМ ИЛЛЮСТРАЦИЙ

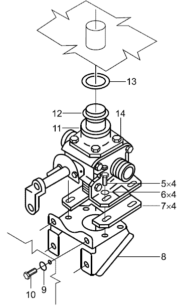
А.1. Все элементы иллюстрации, которые требуют идентификации, обозначают текстом, символьными и (или) цифровыми обозначениями. Если идентификация элементов осуществляется символьными (или цифровыми) обозначениями, то их следует пояснить на иллюстрации, в соответствующем тексте к этой иллюстрации или в перечне на отдельном листе.

Перечень следует размещать непосредственно после иллюстрации.В этом случае иллюстрация должна размещаться на левосторонней странице, а перечень на правосторонней. В случае, когда может потребоваться перевод текста документа на иностранный язык, рекомендуется применять цифровые обозначения.

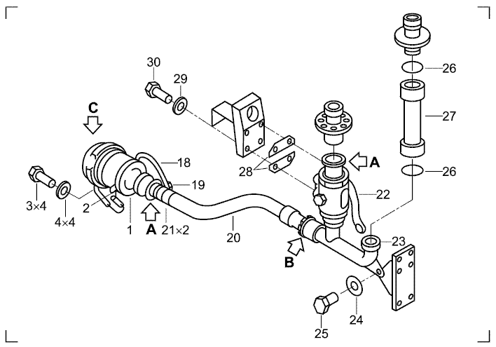
А.2. Одинаковые детали обозначаются одним и тем же номером. Если требуется указать количество одинаковых деталей (например, крепеж), используется знак "х" (см. рисунок А.1).

Рисунок А.1 - Пример указания количества одинаковых деталей

А.3. Выносные линии должны удовлетворять следующим требованиям:

- быть минимальной длины;

- быть прямыми, без изломов. При необходимости допускается выполнять выносную линию с полкой;

- заканчиваться перед номером позиции;

- внутри детали заканчиваться точкой на конце;

- иметь стрелку на конце только в исключительных случаях для внесения ясности (например, в графиках);

- не быть параллельными линиям штриховки, если они проходят по штрихованному полю;

- не пересекаться между собой и с другими линиями иллюстрации;

- места, где выносная линия проходит по штрихованному полю,фотографии, другой линии рисунка, должны быть выполнены на фоне белого цвета. Толщина участка фона с обеих сторон выносной линии должна быть не меньше толщины выносной линии.

А.4. В каталоге деталей и сборочных единиц количество указаний на однотипные элементы на иллюстрации должно соответствовать количеству, указанному в тексте для данного элемента. Для этого следует применять следующие способы выполнения иллюстраций:

- выполнять изображение и раздельные ссылки на различные места расположения элемента (рисунок Б.2, элемент 26);

- использовать несколько выносных линий - от одного номера элемента могут быть направлены несколько выносных линий (см. рисунок А.2, элемент 28);

- использовать несколько идентичных ключевых символов (букв), если подробная иллюстрация относится к более чем одному месту расположения (см. рисунок А.2, элемент A);

- использовать значок "х" после номера элемента и следующего за ним соответствующего количества (см. рисунок А.2, элемент 4). Это допустимо только в том случае, когда все места расположения однотипных элементов не могут быть изображены или когда из практических и экономических соображений желательно удалить дополнительные выносные линии. Например, когда места расположения легко идентифицируются, но использование дополнительной информации, такой как повторяющиеся номера элементов, подробные изображения и т. д., сделают иллюстрацию неоправданно трудной для понимания.

Рисунок А.2 - Пример нумерации деталей и выносных линий в каталоге

А.5. Осевые и проекционные линии следует использовать в иллюстрациях для указания порядка сборки деталей и составных частей. Линия проекции должна проходить хотя бы через одно отверстие или характерную точку детали или сборочной единицы. Кроме того, осевые и проекционные линии не должны пересекаться с другими линиями иллюстрации. Осевая линия должна представлять воображаемую линию, проходящую через центр элемента/сборочной единицы.

А.6. Если должны быть показаны укрупненные виды, детали и сечения, их располагают на иллюстрации в алфавитном порядке. Предпочтительнее начинать с верхнего правого угла иллюстрации (например, Вид А/Деталь А/Сечение А-А), размещая их, если возможно, по часовой стрелке. Линии сечений и стрелки сечения должны соответствовать виду. Для указания скрытых элементов, не видимых на основных видах, используются ломаные линии.

А.7. Если электрические или электронные компоненты требуют идентификации с помощью специальных обозначений, эти обозначения должны быть или включены в подрисуночные надписи и/или в соответствующий текст. Для иллюстраций, выполненных в ортогональных проекциях (например, печатная плата) допускается использовать номера элементов, расположенные внутри границ компонента или соединенные с компонентом выносными линиями (см. рисунок А.3) *.

Рисунок А.3 - Пример идентификации электрических и электронных компонентов

А.8. Для симметричных элементов показываются только детали, расположенные слева, сверху и спереди. Номер элемента, который не виден на рисунке, помещается в скобках над или под номером изображенного элемента, а выносная линия должна быть направлена к номеру изображенного элемента.

Исключения из этого правила допускаются в случае, когда симметричные детали отличаются друг от друга или когда для оценки необходимо изобразить другую деталь (например, правую). В иллюстрацию могут быть включены соответствующие ссылки на отдельные детали симметричного элемента, такие как "Только левый".

А.9. В тех случаях, когда визуально одинаковые компоненты появляются в разных местах одного и того же рисунка, допустимо изображать их только один раз. Их расположение и номера элементов могут быть указаны с помощью множественной индексации или таблиц внутри иллюстрации.

А.10. В случае использования нескольких идентичных крепежных деталей в детали или сборочной единице их размещение должно быть идентифицировано в соответствии с описанными правилами нумерации. Если последовательность установки (снятия) крепежных деталей не понятна из иллюстрации, но необходима для понимания, должен быть представлен пример последовательного монтажа (демонтажа). Если идентичные крепежные детали размещены в нескольких местах и имеют различную ориентацию, то иллюстрации должны содержать пояснения для правильной ориентации каждого элемента оборудования.

Приложение Б
(справочное)

ПРИМЕР УКАЗАНИЯ ТРЕБОВАНИЙ ДЛЯ ВЫПОЛНЕНИЯ ИЛЛЮСТРАЦИЙ

Толщины линий

Шрифт

Текстовая часть

Гарнитура Sanserif (Arial, Pragmatica) от 8 до 10 пт

(высота строчных букв от 2,0 до 2,7 мм)

Регистр в зависимости от назначения - верхний или нижний

Нумерация позиций

Гарнитура Sanserif (Arial, Pragmatica) 10 пт (высота от 2,0 до 2,7 мм)

Рисунок Б.1 - Пример указания требований для выполнения иллюстраций

Приложение В
(рекомендуемое)

ОФОРМЛЕНИЕ ЭКСПЛУАТАЦИОННОЙ ДОКУМЕНТАЦИИ НА ИЗДЕЛИЯ С МНОГОСТУПЕНЧАТОЙ СИСТЕМОЙ ДЕЛЕНИЯ НА СОСТАВНЫЕ ЧАСТИ

В.1. Система нумерации

В.1.1. Для ЭД на изделия с многоступенчатой системой деления на составные части устанавливают систему нумерации и кодирования структурных элементов ЭД. Как правило, для обозначения структурных элементов ЭД применяют арабские цифры по ГОСТ 2.304:

- разделам присваивают номера от 000 до 999 (под номером 000 помещают общую информацию об изделии в целом, а в остальных разделах - сведения о составных частях изделия);

- подразделам - номера 00, 10, 20, 30 и т. д. (номером 00 обозначают общую часть, содержащую сведения общего характера, излагаемые в подразделе);

- пунктам - номера 01, 02, 03 и т. д.

В.1.2. Система нумерации разделов, подразделов и пунктов представляет собой разбивку знаков, входящих в номер, на три элемента: число - точка, число - точка, число. Например, последовательность цифр 010.20.04 расшифровывают следующим образом:

010 20 04
Раздел Подраздел Пункт

При описании информации, относящейся ко всему разделу, используют первый элемент системы нумерации - номер раздела с последующими 00.00 (010.00.00). При описании подраздела, входящего в рассматриваемый раздел, используют два первых элемента нумерации - номера раздела и подраздела с последующими 00 (010.20.00).

Допускается алфавитно-цифровое обозначение структурных элементов ЭД. Например, последовательность цифр В1.20.04 расшифровывают следующим образом:

В1 20 04
Раздел Подраздел Пункт

В этом случае применяют только арабские цифры и буквы латинского алфавита по ГОСТ 2.304, исключая буквы I и O.

Если алфавитно-цифровое обозначение должно содержать более 99 идентификаторов, диапазон обозначения необходимо расширить от А1 до А9, от В1 до В9 и так далее до Z1-Z9.

При описании пунктов подразделов используют все три элемента нумерации.

В.1.3. При наличии в разделе документа более десяти подразделов подразделы нумеруют путем изменения второго знака номера подраздела от 1 до 9 ( 11, 12,...,21, 22,..., 31 и т. д.).

В.1.4. Для придания определенной гибкости системе нумерации из общего количества номеров выделяют необходимое количество номеров для резервных разделов и подразделов документа.

В.1.5. Номера разделов и подразделов, а также их наименования при необходимости устанавливают в НД на конкретные виды (группы) изделий с учетом их сложности и конструктивных особенностей.

Пример разделения текста на разделы, которым предшествует введение, представлен в таблице В.1:

Таблица В.1

Номер раздела Наименование раздела Номер раздела Наименование раздела
000 Изделие в целом 033 Освещение и световая сигнализация
001-020 Резервные разделы 034 Резервный раздел
021 Система кондиционирования воздуха 035 Кислородное оборудование, защитное снаряжение
023 Связное оборудование 036 Пневматическая система
024 Система электроснабжения 037 Вакуумное оборудование
025 Бытовое и аварийное оборудование 038 Система водоснабжения и удаления отбросов
026 Противопожарное оборудование 039-050 Резервные разделы
027 Резервный раздел 051 Силовая конструкция изделия
028 Топливная система 052-070 Резервные разделы
029 Гидравлическая система 071 Силовая установка
030 Резервный раздел 072 Двигатель
031 Сигнализация и т. д.
032 Ходовая часть

Пример разделения разделов на подразделы представлен в таблице В.2:

Таблица В.2

Раздел Подраздел Наименование Содержание и пояснение
024 Система электроснабжения Электрические устройства и блоки, которые генерируют, регулируют и подводят переменный и (или) постоянный ток к потребителю. Включает установленные на изделии централизованные системы электроснабжения постоянным и переменным током, генераторы, преобразователи, аккумуляторные батареи и т. д. (вплоть до распределительных шин). Включает также электрические устройства общего назначения, такие как выключатели, электрические соединители и т. д.
00 Общая часть  
10 Привод генераторов Устройства, включающие генераторы с необходимой скоростью. Включают систему смазки привода, соединительные устройства, систему регулирования, сигнализации и измерения и т. д.
20 Система электроснабжения переменным током Часть системы, предназначенная для генерирования электроэнергии переменного тока. Включает генераторы, преобразователи, управляющие блоки, коммутирующую и защитную аппаратуру, измерительную систему, сигнализацию, а также электропроводку до главных шин и систему встроенного контроля
30 Система электроснабжения постоянным током Часть системы, предназначенная для генерирования электроэнергии постоянного тока. Включает генераторы, аккумуляторные батареи, преобразователи, управляющие и регулирующие блоки, измерительную систему, коммутирующую и защитную аппаратуру, сигнализацию, а также электропроводку до главных шин

В.1.6. Сведения, излагаемые в разделе, подразделе и, при необходимости, в пункте делят на типовые темы, перечень и содержание которых в этом случае должны соответствовать перечню и содержанию разделов разрабатываемого ЭД согласно ГОСТ 2.610. Темам номера не присваивают. В заголовках к тексту указывают только наименование тем.

Использование всего количества тем необязательно.

В.1.7. Каждой теме, помещаемой в документ, отводят определенные номера, которые должны быть типовыми для всех изделий конкретного вида (группы), при этом часть номеров может быть выделена как резервная.

Указанные номера используют для:

а) задания интервала страниц при подготовке документации со страничной организацией (как правило, с присвоением теме определенного диапазона страниц).

Пример выделения интервала страниц для тем приведен в таблице В.3:

Таблица В.3

Тема Диапазон страниц Тема Диапазон страниц
Описание и работа изделия 001-100 Осмотр и проверка 601-700
Текущий ремонт 101-200 Очистка и окраска 701-800
Обслуживание 201-400 Консервация 801-900
Сборка и разборка 401-500 Резерв 901-999
Регулирование и испытание 501-600    

б) задания кода вида информации (информационного кода МД см. приложение Г) при подготовке документации с модульной организацией (как правило, в электронной форме с использованием ОБДЭ);

Пример задания кода вида информации приведен в таблице В.4.

Таблица В.4

Тема Код вида информации
Описание и работа изделия 000
Использование изделия по назначению 100
Техническое обслуживание 200
Текущий ремонт 300
Поиск и устранение последствий отказов и повреждений 400
Монтаж, демонтаж и разборка оборудования 500
Очистка и окраска, ремонт повреждений на месте эксплуатации 600
Применение вспомогательных технических устройств 700
Хранение, консервация и расконсервация 800
Прочее 900

В.1.8. Для каждой темы при необходимости разработчик может вводить подтемы, уточняющие состав излагаемых сведений.

Пример деления тем на подтемы представлен в таблице В.5.

Таблица В.5

Тема Подтема Содержание
000 Описание и работа изделия
  001 Титульная страница
  002 до 004 РЕЗЕРВ
  005 Перечень сокращений
  006 Перечень терминов
  007 Перечень обозначений
010 Общие данные
  011 Назначение
012 Общие предупреждения и предостережения. Сведения по технике безопасности
 
  030 до 039 Технические данные
  040 Описание устройства и принципа действия
  041 Описание устройства
  042 Описание принципа действия
  043 до 049 РЕЗЕРВ
 
300 Техническое обслуживание
  310 Визуальный осмотр
311 Визуальный осмотр без применения инструментальных средств
 
335 по 339 РЕЗЕРВ
и т. д.

В.1.9. Состав тем и подтем, их наименования и типовые номера (коды) при необходимости устанавливают в НД на конкретные виды (группы) изделий с учетом их сложности и конструктивных особенностей.

При выполнении ЭД на вновь разрабатываемое изделие, состав тем и подтем, их наименования и типовые номера (коды) допускается устанавливать в техническом задании.

В.1.10. Нумерацию страниц выполняют сквозной в пределах каждого структурного элемента документации. Для документов ФО, ПС, ЗТ, норм расхода и ведомостей нумерацию страниц выполняют сквозной в пределах всего документа.

В.1.11. Таблицы и иллюстрации нумеруют последовательно в пределах каждого структурного элемента документации, например таблица 1.1, 1.2, рисунок 1.1, 1.2 и т. д.

При ссылках на таблицы и иллюстрации, помещаемые в данном структурном элементе документации, указывают их собственные номера, например "см. таблицу 101".

При ссылках на таблицы и иллюстрации других структурных элементов документации, указывают соответственно их номера и собственные номера рисунков, например "см. 010.20.04, рисунок 201".

Допускается при выполнении ЭД в форме ИЭД ссылаться на таблицы (иллюстрации) по их обозначению (см. приложение Г), например "см. рисунок ICN-AE-A-000404-G-S3627-00191A-01-1".

В.1.12. Для быстрого нахождения в конечном изделии СЧ, требующей технического обслуживания, рекомендуется разбивать изделие на зоны. Система идентификации зон должна быть простой, логично организованной и пригодной для использования в системах обработки данных.

В.1.13. Зону, как правило, идентифицируют с помощью номера, состоящего из трех числовых разрядов. Первый разряд используют для указания основного конструктивного элемента изделия. Второй разряд идентифицирует зоны и их расположение по отношению к осевой линии (если она есть). Нечетные цифры применяют для левой стороны изделия, если смотреть вперед, четные цифры - для правой стороны. Зонам, которые расположены на осевой линии, допускается назначать как нечетные, так и четные цифры. Третий разряд используют при необходимости для дальнейшей детализации.

В.1.14. Основные элементы конструкции изделия, такие как входные двери, люки, поверхности управления и т.д., должны иметь индивидуальные номера зон. Везде, где только возможно, границы зон должны быть привязаны к фактически существующим границам элементов конструкции.

В.1.15. На схемах и в таблицах зон должны быть ясно указаны границы зон и номера элементов конструкции. Должно быть представлено физическое описание границ зон.

Не следует разбивать на зоны основные элементы конструкции, которые сами по себе являются отдельными зонами, например двери кабины, грузовые и багажные двери.

Границы зон должны включать связанные между собой элементы конструкции, такие как окантовки проемов дверей. В этом случае окантовка двери не должна быть поделена между зонами.

Приложение Г
(рекомендуемое)

ПРАВИЛА ПРИСВОЕНИЯ ОБОЗНАЧЕНИЯ МОДУЛЕЙ ДАННЫХ И ИЛЛЮСТРАЦИЙ

Г.1. Общие положения

Г.1.1. ОМД состоит из структурированного набора элементов (см. рисунок Г.1), каждый из которых представляется одним или несколькими алфавитно-цифровыми символами. Элементы ОМД определяются областью применения кодируемого структурного элемента документации.

Элемент 1 - элемент 2 - элемент 3 - ,. . ., - элемент n

Рисунок Г.1 - Общая структура ОМД

Г.1.2. Для записи обозначений элементов ОМД с целью использования в среде вычислительной техники применяют только арабские цифры и буквы латинского алфавита по ГОСТ 2.304, кроме I и O.

Г.1.3. В качестве разделителя наборов элементов обозначения используют дефис.

Г.2. Структура и правила присвоения обозначения модулей данных

Г.2.1. Для формирования ОМД используют следующие элементы:

- код изделия;

- отличительный код СЧ изделия;

- обозначение структурного элемента в соответствии с СНК;

- код демонтажа;

- вариант кода демонтажа;

- информационный код;

- вариант информационного кода;

- код места расположения элемента.

Г.2.1.1. Код изделия содержит эксплуатационное обозначение изделия (или нескольких однотипных изделий), к которому относится МД (например, ракетный комплекс, корабль (судно), самолет, автомобиль, двигатель и т. п.). Применяемость МД к конкретному типу и модели изделия, включая предназначенное для них вспомогательное и обучающее оборудование, идентифицируется двумя буквенными, цифровыми или алфавитно-цифровыми символами. Для предотвращения дублирования идентификационные коды назначают, как правило, централизованно и выдают организации в необходимом количестве на ожидаемое количество моделей изделия. При этом следует предусматривать количество резервируемых идентификационных кодов для возможных моделей или исполнений.

Г.2.1.2. Отличительный код СЧ изделия назначается в рамках проекта в случае применения СЧ, отличающихся друг от друга составом сборочных единиц, но с одним и тем же функциональным назначением. Код по СНК идентифицирует только функцию СЧ. В некоторых изделиях эта функция может обеспечиваться альтернативной версией СЧ или другой СЧ, не влияя на тип, модель или исполнение конечного изделия. Первой из установленных СЧ присваивается код А, а следующему СЧ на изделии той же модели - код В и т. д.

Г.2.1.3. Обозначение по системе нумерации и кодирования присваивают согласно приложению В.

Г.2.1.4. Код демонтажа состоит из двух символов: первый - буквенно-цифровой, второй - цифровой. Код демонтажа определяет условия демонтажа сборочной единицы, к которой относится приводимая информация по техническому обслуживанию.Если код демонтажа должен содержать более 99 идентификаторов, то диапазон кода расширяют от А1 до А9, от В1 до В9 и так далее до Z1-Z9, исключая буквы I и O латинского алфавита.Основой системы присвоения кодов является порядок последовательности разборки (см. Г.3.7).

Код демонтажа используют также для последовательной нумерации модулей данных.

Г.2.1.5. Вариант кода демонтажа - один буквенный символ, исключая буквы I и O латинского алфавита, который указывает на альтернативные СЧ изделия, отличающиеся по своей конструкции, но не настолько, чтобы изменить отличительный код конечного изделия.

Г.2.1.6. Информационный код состоит из трех цифровых символов. Информационный код используют для идентификации типа информации, содержащейся в модуле данных. В приложении Г приведен пример первичных кодов. Дальнейшую разбивку кодов по типам информации, как правило, устанавливают в НД на конкретные виды (группы) изделий с учетом их сложности и конструктивных особенностей.

Подробную разбивку информационного кода применяют только в том случае, если для полной ясности необходима более развернутая и подробная информация.Если необходимости в подробной разбивке нет, то не следует прибегать к излишней детализации, а необходимую информацию следует размещать под кодом более высокого уровня.

Г.2.1.7. Вариант информационного кода представляют одним буквенным символом, который служит для указания возможных вариантов. Исходный первоначальный вид информации всегда получает код A, последующим вариантам присваиваются коды B, C и так далее, исключая буквы I и О латинского алфавита.

Г.2.1.8. Код расположения элемента представляют одним буквенным символом, который указывает место (А, В,С), где должны выполняться работы по техническому обслуживанию, или назначение МД, к которому относится приведенная информация (Т):

А - информация относится к изделиям, установленным на основном изделии (без демонтажа);

В - информация относится к основным сборочным единицам (деталям), снятым с изделия. В случае с двигателем символ "В" может относиться к идентификационному коду основного изделия или двигателя;

С - информация относится к изделиям, размещенным на стендах, независимо от того, снято ли изделие с основного изделия, с двигателя или с какой-либо основной сборочной единицы;

D - информация относится ко всем трем местам размещения А, В и С. Никакие другие комбинации недопустимы;

Т - информация относится к модулям данных, связанным только с обучением (в т. ч. регулировочные, испытательные и др. стенды).

Примечание - Допускается использовать символ Z как общий код места расположения элемента.

Г.3. Структура и правила присвоения обозначения иллюстраций

Г.3.1. ОИЛ присваивается каждому листу иллюстрации.

Г.3.2. ОИЛ состоит из 10 элементов и строится следующим образом:

Рисунок Г.2 - Структура обозначения иллюстрации

Г.3.3. Для формирования ОИЛ используют следующие элементы:

- префикс;

- код изделия;

- отличительный код СЧ изделия;

- обозначение структурного элемента в соответствии с СНК;

- порядковый номер иллюстрации;

- код варианта иллюстрации;

- номер выпуска иллюстрации;

- уровень конфиденциальности.

Г.3.3.1. Префикс - идентифицирует ИО как иллюстрацию.

Г.3.3.2. Код изделия идентифицирует изделие, к которому относится иллюстрация. Правила присвоения аналогичны правилам присвоения соответствующего элемента обозначения МД.

Г.3.3.3. Отличительный код СЧ изделия назначается в случае применения СЧ, отличающихся друг от друга составом сборочных единиц, но с одним и тем же функциональным назначением. Правила присвоения аналогичны правилам присвоения соответствующего элемента обозначения МД.

Г.3.3.4. Обозначение по системе нумерации и кодирования присваивают согласно приложению В.

Г.3.3.5. Порядковый номер иллюстрации для каждого кода изделия (конечного изделия) начинается с 00001.

Г.3.3.6. Код варианта иллюстрации - это буквенный символ, который идентифицирует варианты основной (исходной) иллюстрации. Код варианта А идентифицирует основную иллюстрацию, код варианта В - первый вариант и т.д. Вариант является дополненной, измененной в масштабе, обрезанной, повернутой, отраженной и/или снабженной примечаниями основной иллюстрацией.

Г.3.3.7. Номер выпуска иллюстрации начинается с 01 для каждой основной иллюстрации или варианта и увеличивается каждый раз при изменении иллюстрации.

Г.3.3.8. Уровень конфиденциальности иллюстрации идентифицируется одной цифрой. Для обозначения уровней конфиденциальности применяют ту же градацию, что и для модулей данных. Если изменяют уровень конфиденциальности иллюстрации, ей должен быть присвоен новый номер выпуска.

Г.3.3.9. Зарезервированные в структуре ОИЛ элементы обозначения устанавливают в НД на конкретные виды (группы) изделий с учетом их сложности и конструктивных особенностей*.

Г.3.4. ОИЛ должно быть расположено в нижнем правом углу области воспроизведения иллюстрации.

Г.3.5. В ОБДЭ обозначение иллюстрации является уникальным идентификатором листа иллюстрации и используется для установления связи иллюстрации с рисунком одного или нескольких модулей данных. ОИЛ содержит полную информацию о листе иллюстрации, включая статус его обновления, и не зависит от статуса модуля данных или документа, в которых этот лист используется в виде рисунка.

Г.3.6. Лист иллюстрации может принадлежать различным рисункам с различными названиями и номерами.

Г.3.7. Порядок разборки основан на последовательной нумерации сборочных единиц и деталей, полученных в процессе разборки изделия, с учетом последующих операций технического обслуживания. Пронумерованные сборочные единицы и детали последовательно размещают в своих модулях данных. Поскольку номер объекта разборки 00 зарезервирован для единицы изделия, то нумеруемым СЧ присваивают номера объектов разборки 01, 02 и т. д.

Порядок нумерации не должен обязательно совпадать с пооперационным порядком выполнения задачи технического обслуживания.

Г.3.8. СЧ следует нумеровать, если:

1) существует необходимость выполнения последующего технического обслуживания СЧ;

2) СЧ выполняют с многоступенчатой системой деления на составные части;

3) объем информации по техническому обслуживанию достаточен для создания отдельного модуля данных;

4) необходимо включение информации о техническом обслуживании детали в модуль данных СЧ, в которую входит деталь. То же относится к сборочным единицам, входящим в другую сборочную единицу. Это применимо и к тем СЧ, которые хотя и подлежат техническому обслуживанию, но в соответствии с требованиями перечислений 1)-3) не получили своего номера.

Пример - Ниже приведен процесс разборки СЧ на СЕ и детали. При разборке СЧ (объект разборки 00) получают следующие СЕ и детали:

- три СЕ, на которых будут выполняться дальнейшие операции;

- шесть СЕ и деталей, которые не требуют дальнейших работ.

В этом случае все три СЧ, подлежащие дальнейшему обслуживанию, следует пронумеровать в соответствии с правилами, приведенными в перечислениях 1)-4). Им будут присвоены номера 01, 02, 03, и для каждого из них будет создан свой модуль данных, в обозначении которого будет иметься номер объекта разборки 01, 02 или 03.Входе работ указанные объекты разборки будут разобраны на СЕ и детали, над которыми операции технического обслуживания не проводят, поэтому МД для них не создают.

Рисунок Г.3 - Применение порядка разборки для нумерации СЧ

Приложение Д
(рекомендуемое)

ПРИМЕРЫ ОФОРМЛЕНИЯ ЭКСПЛУАТАЦИОННЫХ ДОКУМЕНТОВ

Д.1. Общие требования к представлению в бумажной форме в информационной зоне печатного листа содержательной части ИЭД 1-го, 2-го, 3-го видов - согласно настоящему стандарту и ГОСТ 2.105.

Д.2. ИЭД 4-го вида, как правило, в бумажной форме не представляют. Допускается представлять в бумажном виде по требованию заказчика фрагменты ИЭД 4-го вида, не содержащие аудио- и видеоинформации, при этом требования к оформлению получаемого ЭД аналогичны требованиям для ИЭД первых трех видов.

Д.3. Верхний колонтитул состоит из следующих элементов: двух текстовых строк, обозначения документа, уровня конфиденциальности и логотипа предприятия (необязательно). Каждая из строк может содержать:

- наименование МД;

- наименование раздела;

- обозначение документа;

- наименование изделия;

- незаполненную строку;

- текст (определяет разработчик).

Оформление элементов верхнего колонтитула приведено на рисунке Д.1.

             
  Логотип организации            
    Первая строка верхнего колонтитула   Уровень конфиденциальности  
             
    Вторая строка верхнего колонтитула     Обозначение документа  
             
               
               

Рисунок Д.1 - Оформление элементов верхнего колонтитула

Д.4. При выполнении элементов верхнего колонтитула следует соблюдать следующие правила:

- элемент "Обозначение документа" формируют как совокупность обозначения изделия по ГОСТ 2.201 и кода вида документа, например АБВГ.ХХХХХХ.ХХХРЭ. Допускается применять ранее принятую систему обозначений документов;

- элемент "Уровень конфиденциальности" указывают в верхнем правом углу колонтитула;

- элемент "Логотип организации" указывают в центре левой части колонтитула.

Допускается указывать элемент "Логотип организации" в центре колонтитула, тогда элементы "Первая строка верхнего колонтитула" и "Вторая строка верхнего колонтитула" указывают в левой части колонтитула.

Д.5. Нижний колонтитул состоит из следующих элементов: одной строки, сведений о применяемости данного МД, обозначения МД, номера версии МД, номера страницы и даты.

               
               
    Применяемость         Обозначение МД  
                 
    Первая строка нижнего колонтитула       Версия МД  
                 
          Дата   N страницы  
                 

Рисунок Д.2 - Оформление элементов нижнего колонтитула

Д.6. При выполнении элементов нижнего колонтитула следует выполнять следующие правила:

Д.6.1. Элемент "Первая строка нижнего колонтитула" может содержать:

- наименование МД;

- наименование раздела;

- обозначение документа;

- наименование изделия;

- незаполненную строку;

- текст (определяет разработчик).

Содержание строки должно быть согласовано с содержанием строк верхнего колонтитула.

Д.6.2. Элемент "Применяемость" должен содержать указания о применяемости данного МД для различных исполнений изделий такого же обозначения.

Д.6.3. Элементы "Обозначение МД" и "Версия МД" должны содержать соответственно обозначение и номер версии МД.

Д.6.4. Элемент "Номер страницы" должен содержать номер страницы. Страницы нумеруют в пределах каждого МД.

Д.6.5. Элемент "Дата" должен содержать дату вывода на печать в формате год-месяц-число. Допускается использовать формат число-месяц-год.

Приложение Е
(справочное)

КОММЕНТАРИИ К ПУНКТАМ СТАНДАРТА

3.2. Эксплуатация, как правило, является совокупностью этапов ввода в эксплуатацию, приведения в установленную степень готовности к использованию по назначению, поддержания в установленной степени готовности к использованию, непосредственному использованию изделия по назначению, хранения и транспортирования.

3.7. Определяет состав комплекта ЭД на изделие. По назначению - аналог ведомости эксплуатационных документов в бумажной форме.

3.13. Как правило, выполняют согласно [2].

4.12. Эксплуатационная документация на изделие, представленная в виде ИЭД приведенных типов, является ИЭД некоторой функциональности. Как правило, выделяются четыре вида:

- индексированные ИЭД представляют собой набор изображений страниц (в т. ч., полученных сканированием страниц бумажной документации). Страницы индексированы в соответствии с содержанием, перечнем иллюстраций, таблиц и т. п. Индексация должна позволять отобразить необходимое растровое представление раздела документации сразу после его выбора в содержании ИЭД. Этот вид ИЭД сохраняет ориентированность страниц и может быть выведен на печать без предварительной обработки;

- линейно-структурированные ИЭД структурированы в соответствии с требованиями систем вывода на печать, составными элементами которых являются главы, параграфы, секции, страницы и т. п. Оглавление документа содержит ссылки на соответствующие разделы технического руководства. Документ может также содержать перекрестные ссылки, таблицы, иллюстрации, ссылки на аудио- и видеоданные. Как правило, ИЭД этого вида позволяют производить поиск данных в документах, которые могут содержать как растровую, так и векторную графику, сноски и заметки. Данный вид ИЭД может быть просмотрен на экране и выведен на печатающие устройства ЭВМ без предварительной обработки;

- иерархически-структурированные ИЭД - в них технические данные организованы как информационные объекты внутри хранилища информации, имеющего иерархическую структуру. Особенностью этого вида ИЭД является невозможность просмотра и получения бумажной копии документации без предварительной обработки, так как данные в ИЭД этого вида организованы иерархически;

- интегрированные - сочетают в себе функциональность ИЭД предыдущих видов с возможностью прямого интерфейсного взаимодействия с электронными программными модулями диагностики изделий, что позволяет оператору выполнять задачи более быстро и эффективно. ИЭД этого вида позволяют производить анализ состояния изделия в конкретной ситуации, в т. ч. проводить операции по поиску отказов и неисправностей в изделии, определению причин сбоев, подбору запасных частей и т. п.

6.4. ЭД делят на структурные элементы, как правило, в соответствии с конструктивным делением изделия на составные части.

6.17. Общие для всех иллюстраций требования и символы (стрелки, направления видов, толщины размерных и выносных линий, шрифты и размеры шрифтов иллюстраций и т. д.), как правило, устанавливает разработчик, если иное не указано в техническом задании. Пример оформления требований приведен в приложении Б.

8.1. Общие требования - согласно ГОСТ 2.105, оформляют согласно настоящему стандарту и дополнительным указаниям потребителя для этих организаций.

8.3.1. В т. ч. ЭД, выполненные в виде ИЭД.

8.3.5, перечисление д) Как правило, выполняют на базе компьютера типа ноутбук (notebook), включаемого в состав средств обслуживания изделия.

8.3.5, перечисление е) Для хранения и передачи ЭД через глобальную электронную сеть передачи информации, как правило, следует выполнять ЭД в Интернет-ориентированных форматах, например [1].

А.7, приложение А. Специальные обозначения не следует включать в саму иллюстрацию.

Г.3.3.9, приложение Г. Как правило, при разработке документации несколькими организациями в резервном поле указывают код организации-разработчика. В этом случае порядковый номер иллюстрации следует начинать с 00001 для каждой организации-разработчика.

БИБЛИОГРАФИЯ

[1] ИСО 8879-86 Обработка информации. Текстовые и офисные системы. Стандартный обобщенный язык разметки (SGML).

[2] AECMA 1000D. Международная спецификация требований к техническим руководствам, выполняемым с использованием общей базы данных.