Система проектной документации для строительства. Основные требования к проектной и рабочей документации. ГОСТ р 21.1101-2013

(утв. Приказом Росстандарта от 11.06.2013 N 156-СТ)
Редакция от 11.06.2013 — Документ не действует

Утвержден и введен в действие
Приказом Федерального
агентства по техническому
регулированию и метрологии
от 11 июня 2013 г. N 156-ст

НАЦИОНАЛЬНЫЙ СТАНДАРТ РОССИЙСКОЙ ФЕДЕРАЦИИ

СИСТЕМА ПРОЕКТНОЙ ДОКУМЕНТАЦИИ ДЛЯ СТРОИТЕЛЬСТВА

ОСНОВНЫЕ ТРЕБОВАНИЯ К ПРОЕКТНОЙ И РАБОЧЕЙ ДОКУМЕНТАЦИИ

System of design documents for construction.
Main requirements for design and working documents

ГОСТ Р 21.1101-2013

Группа Ж01

ОКС 01.100.30

Дата введения
1 января 2014 года

Предисловие

Цели и принципы стандартизации в Российской Федерации установлены Федеральным законом от 27 декабря 2002 г. N 184-ФЗ "О техническом регулировании", а правила применения национальных стандартов Российской Федерации - ГОСТ Р 1.0-2004 "Стандартизация в Российской Федерации. Основные положения".

Сведения о стандарте

1. Разработан Открытым акционерным обществом "Центр методологии нормирования и стандартизации в строительстве" (ОАО "ЦНС").

2. Внесен Техническим комитетом ТК 465 "Строительство".

3. Утвержден и введен в действие Приказом Федерального агентства по техническому регулированию и метрологии от 11 июня 2013 г. N 156-ст с 01.01.2014.

4. В настоящем стандарте реализованы нормы Градостроительного кодекса Российской Федерации от 29.12.2004 N 190-ФЗ [1].

5. Взамен ГОСТ Р 21.1101-2009.

Информация о введении в действие (прекращении действия) настоящего стандарта публикуется в ежемесячно издаваемом информационном указателе "Национальные стандарты".

Информация об изменениях к настоящему стандарту публикуется в ежегодно издаваемом информационном указателе "Национальные стандарты", а текст изменений и поправок - в ежемесячно издаваемом информационном указателе "Национальные стандарты". В случае пересмотра (замены) или отмены настоящего стандарта соответствующая информация будет опубликована в ежемесячно издаваемом информационном указателе "Национальные стандарты". Соответствующая информация, уведомление и тексты размещаются также в информационной системе общего пользования - на официальном сайте Федерального агентства по техническому регулированию и метрологии в сети Интернет.

1. Область применения

Настоящий стандарт устанавливает основные требования к проектной и рабочей документации для строительства объектов различного назначения.

Примечание. В настоящем стандарте понятие "строительство" включает в себя новое строительство, реконструкцию, техническое перевооружение и капитальный ремонт объектов капитального строительства.

Общие правила выполнения и комплектования графической и текстовой документации, установленные в 4.1 и в разделах 5 и 8, и правила внесения изменений, установленные в разделе 7, распространяются также на отчетную техническую документацию по результатам инженерных изысканий для строительства.

2. Нормативные ссылки

В настоящем стандарте использованы нормативные ссылки на следующие стандарты:

ГОСТ Р 6.30-2003. Унифицированные системы документации. Унифицированная система организационно-распорядительной документации. Требования к оформлению документов

ГОСТ Р 21.1001-2009. Система проектной документации для строительства. Общие положения

ГОСТ Р 21.1002-2008. Система проектной документации для строительства. Нормоконтроль проектной и рабочей документации

ГОСТ Р 21.1003-2009. Система проектной документации для строительства. Учет и хранение проектной документации

ГОСТ Р 21.1703-2000. Система проектной документации для строительства. Правила выполнения рабочей документации проводных средств связи

ГОСТ 2.004-88. Единая система конструкторской документации. Общие требования к выполнению конструкторских и технологических документов на печатающих и графических устройствах вывода ЭВМ

ГОСТ 2.051-2006. Единая система конструкторской документации. Электронные документы. Общие положения

ГОСТ 2.052-2006. Единая система конструкторской документации. Электронная модель изделия. Общие положения

ГОСТ 2.101-68. Единая система конструкторской документации. Виды изделий

ГОСТ 2.102-68. Единая система конструкторской документации. Виды и комплектность конструкторских документов

ГОСТ 2.105-95. Единая система конструкторской документации. Общие требования к текстовым документам

ГОСТ 2.106-96. Единая система конструкторской документации. Текстовые документы

ГОСТ 2.109-73. Единая система конструкторской документации. Основные требования к чертежам

ГОСТ 2.113-75. Единая система конструкторской документации. Групповые и базовые конструкторские документы

ГОСТ 2.114-95. Единая система конструкторской документации. Технические условия

ГОСТ 2.301-68. Единая система конструкторской документации. Форматы

ГОСТ 2.302-68. Единая система конструкторской документации. Масштабы

ГОСТ 2.303-68. Единая система конструкторской документации. Линии

ГОСТ 2.304-81. Единая система конструкторской документации. Шрифты чертежные

ГОСТ 2.305-2008. Единая система конструкторской документации. Изображения - виды, разрезы, сечения

ГОСТ 2.306-68. Единая система конструкторской документации. Обозначения графические материалов и правила их нанесения на чертежах

ГОСТ 2.307-2011. Единая система конструкторской документации. Нанесение размеров и предельных отклонений

ГОСТ 2.308-2011. Единая система конструкторской документации. Указания допусков формы и расположения поверхностей

ГОСТ 2.309-73. Единая система конструкторской документации. Обозначения шероховатости поверхностей

ГОСТ 2.310-68. Единая система конструкторской документации. Нанесение на чертежах обозначений покрытий, термической и других видов обработки

ГОСТ 2.311-68. Единая система конструкторской документации. Изображение резьбы

ГОСТ 2.312-72. Единая система конструкторской документации. Условные изображения и обозначения швов сварных соединений

ГОСТ 2.313-82. Единая система конструкторской документации. Условные изображения и обозначения неразъемных соединений

ГОСТ 2.314-68. Единая система конструкторской документации. Указания на чертежах о маркировании и клеймении изделий

ГОСТ 2.315-68. Единая система конструкторской документации. Изображения упрощенные и условные крепежных деталей

ГОСТ 2.316-2008. Единая система конструкторской документации. Правила нанесения надписей, технических требований и таблиц на графических документах. Общие положения

ГОСТ 2.317-2011. Единая система конструкторской документации. Аксонометрические проекции

ГОСТ 2.501-88. Единая система конструкторской документации. Правила учета и хранения

ГОСТ 2.511-2011. Единая система конструкторской документации. Правила передачи электронных конструкторских документов. Общие положения

ГОСТ 2.512-2011. Единая система конструкторской документации. Правила выполнения пакета данных для передачи электронных конструкторских документов. Общие положения

ГОСТ 21.110-95. Система проектной документации для строительства. Правила выполнения спецификации оборудования, изделий и материалов

ГОСТ 21.113-88. Система проектной документации для строительства. Обозначения характеристик точности

ГОСТ 21.114-95. Система проектной документации для строительства. Правила выполнения эскизных чертежей общих видов нетиповых изделий

ГОСТ 21.302-96. Система проектной документации для строительства. Условные графические обозначения в документации по инженерно-геологическим изысканиям

ГОСТ 21.408-93. Система проектной документации для строительства. Правила выполнения рабочей документации автоматизации технологических процессов

ГОСТ 21.501-2011. Система проектной документации для строительства. Правила выполнения рабочей документации архитектурных и конструктивных решений

ГОСТ 21.709-2011. Система проектной документации для строительства. Правила выполнения рабочей документации линейных сооружений гидромелиоративных систем.

Примечание. При пользовании настоящим стандартом целесообразно проверить действие ссылочных стандартов в информационной системе общего пользования - на официальном сайте Федерального агентства по техническому регулированию и метрологии в сети Интернет или по ежегодно издаваемому информационному указателю "Национальные стандарты", который опубликован по состоянию на 1 января текущего года, и по соответствующим ежемесячно издаваемым информационным указателям, опубликованным в текущем году. Если ссылочный стандарт заменен (изменен), то при пользовании настоящим стандартом следует руководствоваться заменяющим (измененным) стандартом. Если ссылочный стандарт отменен без замены, то положение, в котором дана ссылка на него, применяется в части, не затрагивающей эту ссылку.

3. Термины, определения и сокращения

3.1. Термины и определения

В настоящем стандарте применены термины по [1], ГОСТ Р 21.1001, ГОСТ Р 21.1002, ГОСТ Р 21.1003, а также следующие термины с соответствующими определениями:

3.1.1. Основная надпись: совокупность сведений о проектном документе, содержащихся в графах таблицы установленной формы, помещаемой на листах проектной и рабочей документации.

3.1.2. Основной комплект рабочих чертежей: графический документ, содержащий необходимую и достаточную информацию в виде чертежей и схем, предназначенный для производства строительных и монтажных работ определенного вида (марки).

3.1.3. Полный комплект рабочей документации: совокупность основных комплектов рабочих чертежей, необходимых для строительства здания или сооружения, дополненных прилагаемыми и ссылочными документами.

3.1.4. Марка: буквенный или буквенно-цифровой индекс, входящий в обозначение рабочей документации и определяющий ее отношение к определенному виду строительно-монтажных работ или обозначающий основные отличительные особенности строительных конструкций и их элементов.

3.1.5.

Спецификация оборудования, изделий и материалов: текстовый проектный документ, определяющий состав оборудования, изделий и материалов, предназначенный для комплектования, подготовки и осуществления строительства.
[ГОСТ 21.110-95, раздел 3]
3.1.6.
Эскизный чертеж общего вида нетипового изделия: документ, определяющий исходную конструкцию нетипового изделия, содержащий упрощенное изображение, основные параметры и технические требования к изделию в объеме исходных данных (задания), необходимых для разработки конструкторской документации.
[ГОСТ 21.114-95, статья 3.1]

3.1.7. Нетиповое изделие: изделие (конструкция, устройство, монтажный блок) технологических систем, внутренних и наружных систем и сетей инженерно-технического обеспечения зданий и сооружений, впервые разработанное и изготовленное, как правило, на месте монтажа (в заготовительной мастерской монтажной организации).

3.1.8.

Строительная конструкция: часть здания или сооружения, выполняющая определенные несущие, ограждающие и (или) эстетические функции.
[ГОСТ 21.501-2011, статья 3.3]

3.1.9.

Строительное изделие: изделие, предназначенное для применения в качестве элемента зданий, сооружений и строительных конструкций.
[ГОСТ 21.501-2011, статья 3.4]

3.1.10.

Элемент строительной конструкции: составная часть сборной или монолитной конструкции.
[ГОСТ 21.501-2011, статья 3.5]

3.1.11.

Строительный материал: материал, в том числе штучный, предназначенный для изготовления строительных изделий и возведения строительных конструкций зданий и сооружений.
[ГОСТ 21.501-2011, статья 3.6]

3.1.12. Оборудование: технологическое оборудование (машины, аппараты, механизмы, грузоподъемные и другие технические средства, обеспечивающие соответствующий технологический процесс), а также инженерное оборудование зданий и сооружений, обеспечивающее безопасные и благоприятные условия для жизнедеятельности людей.

3.1.13.

Координационная ось: одна из координационных линий, определяющих членение здания или сооружения на модульные шаги и высоты этажей.
[ГОСТ 28984-2011, статья 3.12]

3.1.14. План: вид сверху или горизонтальный разрез здания или сооружения.

3.1.15. Фасад: ортогональная проекция наружной стены здания или сооружения на вертикальную плоскость.

Примечание. Различают фасады: главный, боковой, дворовый и др.

3.1.16.

Реквизит документа: элемент оформления документа, содержащий о нем сведения.
Примечание. Как правило, реквизит состоит из атрибутов (составной реквизит).
[ГОСТ 2.104-2006, статья 3.1.1]

3.1.17.

Атрибут документа: идентифицированная (именованная) характеристика части реквизита.
[ГОСТ 2.104-2006, статья 3.1.2]

3.1.18.

Оформление документа: проставление необходимых реквизитов и атрибутов, установленных правилами документирования.
[ГОСТ 2.104-2006, статья 3.1.3]

3.1.19.

Подпись: реквизит документа, представляющий собой собственноручную подпись полномочного должностного лица.
Примечание. Для электронных документов используется аналог собственноручной подписи - электронная цифровая подпись.
[ГОСТ 2.104-2006, статья 3.1.4]

3.1.20. Обозначение: реквизит документа, представляющий собой его идентификационный (различительный) индекс.

Примечание. Каждому документу присваивают обозначение, которое записывают в установленных местах (в основных надписях, на титульных листах и т.п.).

3.2. Сокращения

В настоящем стандарте использованы следующие сокращения:

ДЭ - документ электронный;

ЕСКД - Единая система конструкторской документации;

САПР - система (системы) автоматизированного проектирования;

СПДС - Система проектной документации для строительства;

СЭД - система (системы) электронного документооборота.

4. Общие требования к составу и комплектованию проектной и рабочей документации

4.1. Проектная документация

4.1.1. Состав проектной документации объектов капитального строительства и требования к ее содержанию установлены законодательством [1], утвержденным Правительством Российской Федерации Положением [2] и нормативно-правовыми актами федеральных органов исполнительной власти.

Проектную документацию комплектуют, как правило, по отдельным разделам и подразделам, установленным Положением [2]. Наименования и шифры разделов проектной документации приведены в таблицах А.1 и А.2 (Приложение А).

В бумажной форме проектную документацию комплектуют в тома в соответствии с 4.1.4, 4.1.5 и разделом 8.

При большом объеме (в бумажной форме) раздела или подраздела, а также, при необходимости, в других случаях (например, при привлечении субподрядчиков) допускается разделять его на части, а части, в случае необходимости, на книги. Каждую часть и книгу комплектуют отдельно. Всем частям и книгам дают наименования, отражающие содержание частей или книг. Подразделам, частям и книгам присваивают порядковые номера арабскими цифрами в пределах, соответственно, раздела, подраздела или части.

4.1.2. Каждому разделу, подразделу, части и, при необходимости, книге, скомплектованным в том, а также каждому текстовому и графическому документу, включенному в том, присваивают самостоятельное обозначение, которое указывают на обложке, титульном листе и/или в основной надписи, а также в колонтитулах текстовых документов, выполняемых без основных надписей.

4.1.3. В состав обозначения раздела включают базовое обозначение, устанавливаемое по действующей в проектной организации системе, и через дефис <*> - шифр раздела проектной документации. В базовое обозначение включают, например, номер договора (контракта) и/или код объекта строительства (цифровой, буквенный или буквенно-цифровой). В базовое обозначение допускается включать другие коды, используемые в САПР и СЭД.

<*> В обозначении допускается использовать другие разделительные знаки, например точку, наклонную черту и т.п.

Если раздел делят на части, то обозначение части составляют из обозначения раздела, к которому добавляют номер части.

Примеры

1. 2345-ПЗ - Раздел 1. Пояснительная записка.

2. 2345-ПЗУ1 - Раздел 2. Схема планировочной организации земельного участка. Часть 1. Общие сведения.

3. 2345-ПЗУ2 - Раздел 2. Схема планировочной организации земельного участка. Часть 2. Решения по внутреннему железнодорожному транспорту.

Если часть делят на книги, то обозначение книги составляют из обозначения части, к которому через точку добавляют номер книги.

Обозначение подраздела составляют из обозначения раздела, к которому добавляют номер подраздела.

Если подраздел делят на части, то обозначение части составляют из обозначения подраздела, к которому добавляют через точку номер части. Если часть делят на книги, то обозначение книги (если оно необходимо) составляют из обозначения части, к которому через точку добавляют номер книги.

Примеры

1. 2345-ИОС-4.1.1 - Раздел 5. Сведения об инженерном оборудовании, о сетях инженерно-технического обеспечения, перечень инженерно-технических мероприятий, содержание технологических решений. Подраздел 4. Отопление, вентиляция и кондиционирование воздуха, тепловые сети. Часть 1. Отопление, вентиляция и кондиционирование воздуха. Книга 1. Основные решения.

2. 2345-ИОС-4.1.2 - Раздел 5. Сведения об инженерном оборудовании, о сетях инженерно-технического обеспечения, перечень инженерно-технических мероприятий, содержание технологических решений. Подраздел 4. Отопление, вентиляция и кондиционирование воздуха, тепловые сети. Часть 1. Отопление, вентиляция и кондиционирование воздуха. Книга 2. Системы автоматизации отопления, вентиляции и кондиционирования воздуха.

3. 2345-ИОС-4.2 - Раздел 5. Сведения об инженерном оборудовании, о сетях инженерно-технического обеспечения, перечень инженерно-технических мероприятий, содержание технологических решений. Подраздел 4. Отопление, вентиляция и кондиционирование воздуха, тепловые сети. Часть 2. Тепловые сети.

На основании положений 4.1.1 - 4.1.3, 4.2.3 - 4.2.7 могут быть разработаны стандарты организаций по обозначению текстовых и графических документов, входящих в состав проектной и рабочей документации, учитывающие особенности обозначения в зависимости от объема документации, условий документооборота и используемых САПР и СЭД.

4.1.4. Текстовые и графические материалы, включаемые в том, в общем случае комплектуют в следующем порядке:

- обложка;

- титульный лист;

- содержание тома;

- ведомость "Состав проектной документации";

Примечание. Допускается не включать ведомость "Состав проектной документации" в состав каждого тома, а комплектовать ее отдельным томом.

- текстовая часть;

- графическая часть (чертежи и схемы).

Правила оформления обложки, титульного листа, содержания тома и ведомости "Состав проектной документации" приведены в разделе 8.

4.1.5. Количество листов, включаемых в том, определяют из необходимости обеспечения удобства работы, как правило, не более 300 листов формата А4 по ГОСТ 2.301 или эквивалентного количества листов других форматов.

4.1.6. Общие требования к выполнению графической документации приведены в разделе 5.

4.1.7. Текстовые документы, содержащие, в основном, сплошной текст (в том числе текстовые части разделов и подразделов проектной документации), выполняют по ГОСТ 2.105 с учетом 5.1, 5.2 настоящего стандарта.

4.1.8. Разрешается выполнять текстовые документы, указанные в 4.1.7, без основных надписей, дополнительных граф к ним и рамок. В этом случае:

- на первом листе приводят список исполнителей, в котором указывают должности, инициалы и фамилии лиц, принимавших участие в разработке, контроле и согласовании текстового документа, и предусматривают места для подписей и дат подписания. На втором и, при необходимости, на последующих листах помещают содержание (оглавление), включающее в себя номера (обозначения) и наименования разделов, подразделов и приложений текстового документа с указанием номеров листов (страниц);

- в верхней части (верхнем колонтитуле) каждого листа указывают обозначение документа: в левом углу (при односторонней печати) или правом углу четных страниц и левом углу нечетных страниц (при двухсторонней печати);

- в нижней части (нижнем колонтитуле) каждого листа указывают логотип и наименование организации, подготовившей документ, наименование документа, номер листа (страницы) документа (в нижнем правом углу - при односторонней печати или в левом углу четных страниц и правом углу нечетных страниц - при двухсторонней печати), а также, при необходимости, номер версии документа, идентификатор (имя) файла и другие сведения. Допускается логотип и наименование организации приводить в верхнем колонтитуле;

- данные об изменениях указывают в соответствии с 7.3.

4.1.9. Расчеты конструктивных и технологических решений, являющиеся обязательным элементом подготовки проектной документации, в состав проектной документации не включают. Их оформляют в соответствии с требованиями к текстовым документам и хранят в архиве проектной организации. Расчеты представляют заказчику или органам экспертизы по их требованию.

4.2. Рабочая документация

4.2.1. В состав рабочей документации, передаваемой заказчику, включают:

- рабочие чертежи, объединенные в основные комплекты рабочих чертежей по маркам. Марки основных комплектов рабочих чертежей приведены в таблице Б.1 (Приложение Б);

- прилагаемые документы, разработанные в дополнение к рабочим чертежам основного комплекта.

4.2.2. В состав основных комплектов рабочих чертежей включают общие данные по рабочим чертежам, чертежи и схемы, предусмотренные соответствующими стандартами СПДС.

4.2.3. Основной комплект рабочих чертежей любой марки может быть разделен на несколько основных комплектов той же марки (с добавлением к ней порядкового номера) в соответствии с процессом организации строительных и монтажных работ.

Пример - АР1; АР2; КЖ1; КЖ2.

4.2.4. Каждому основному комплекту рабочих чертежей присваивают обозначение, в состав которого включают базовое обозначение, устанавливаемое по действующей в организации системе, и через дефис - марку основного комплекта.

Пример - 2345-12-АР,

где 2345-12 - базовое обозначение. В базовое обозначение включают, например, номер договора (контракта) или/и код объекта строительства (см. 4.1.3), а также номер здания или сооружения по генеральному плану <*>;

АР - марка основного комплекта рабочих чертежей.

<*> Для рабочих чертежей линейных сооружений, генерального плана, наружных коммуникаций эту часть базового обозначения исключают или заменяют нулями.

4.2.5. Допускается оформление основного комплекта рабочих чертежей отдельными документами с присвоением им обозначения, состоящего из базового обозначения, марки основного комплекта и добавлением через точку порядкового номера документа арабскими цифрами.

Пример - 2345-12-ЭО.1; 2345-12-ЭО.2,

где 2345-12 - базовое обозначение;

ЭО - марка основного комплекта рабочих чертежей;

1, 2 - порядковые номера документов основного комплекта рабочих чертежей.

Первым документом при таком оформлении основного комплекта рабочих чертежей должны быть общие данные по рабочим чертежам.

4.2.6. К прилагаемым документам относят:

- рабочую документацию на строительные изделия;

- эскизные чертежи общих видов нетиповых изделий, выполняемые в соответствии с ГОСТ 21.114;

- спецификацию оборудования, изделий и материалов, выполняемую в соответствии с ГОСТ 21.110;

- опросные листы и габаритные чертежи, выполняемые в соответствии с данными изготовителей (поставщиков) оборудования;

- локальную смету;

- другие документы, предусмотренные соответствующими стандартами СПДС.

Конкретный состав прилагаемых документов и необходимость их выполнения устанавливаются соответствующими стандартами СПДС и заданием на проектирование.

Прилагаемые документы проектная организация передает заказчику одновременно с основным комплектом рабочих чертежей в количестве, установленном для рабочих чертежей.

4.2.7. Каждому прилагаемому документу присваивают обозначение основного комплекта с добавлением через точку шифра прилагаемого документа. Шифры прилагаемых документов приведены в таблице В.1 (Приложение В).

Пример - 2345-12-ЭО.С,

где 2345-12-ЭО - обозначение основного комплекта рабочих чертежей;

С - шифр спецификации оборудования, изделий и материалов.

При наличии нескольких прилагаемых документов одного вида к их обозначению добавляют порядковый номер или, через дефис, марку изделия (для чертежей изделий).

Пример - 2345-12-ВК.Н1; 2345-12-ВК.Н2, 2345-12-КЖ.И-Б1, 2345-12-КЖ.И-Б2

4.2.8. В рабочих чертежах допускается применять типовые строительные конструкции, изделия и узлы путем ссылок на документы, содержащие рабочие чертежи этих конструкций и изделий. К ссылочным документам относят:

- стандарты, в состав которых включены чертежи, предназначенные для изготовления изделий;

- чертежи типовых конструкций, изделий и узлов <*>.

<*> При необходимости чертежи типовых конструкций, изделий и узлов записывают в разделе "Прилагаемые документы" (как правило, без изменения обозначения) и передают заказчику в соответствии с 4.2.6.

Ссылочные документы в состав рабочей документации, передаваемой заказчику, не входят. Проектная организация при необходимости передает их заказчику по отдельному договору.

4.2.9. Форму, правила выполнения и обозначения документа, в котором приводится состав всей рабочей документации, выполненной в соответствии с договором, устанавливают в стандартах организации.

4.3. Общие данные по рабочим чертежам

4.3.1. На первых листах каждого основного комплекта рабочих чертежей приводят общие данные по рабочим чертежам, в которые включают:

- ведомость рабочих чертежей основного комплекта, выполняемую по форме 1;

- ведомость ссылочных и прилагаемых документов, выполняемую по форме 2;

- ведомость основных комплектов рабочих чертежей, выполняемую по форме 2;

- ведомость спецификаций (при наличии в основном комплекте нескольких схем расположения), выполняемую по форме 1;

- условные обозначения, не установленные национальными стандартами, и значения которых не указаны на других листах основного комплекта рабочих чертежей;

- общие указания;

- другие данные, предусмотренные соответствующими стандартами СПДС.

Формы 1 и 2 с указаниями по их заполнению приведены в Приложении Г.

4.3.2. Ведомость рабочих чертежей основного комплекта содержит последовательный перечень листов основного комплекта.

При оформлении основного комплекта рабочих чертежей отдельными документами (см. 4.2.5) вместо ведомости рабочих чертежей основного комплекта в состав общих данных включают ведомость документов основного комплекта по форме 2, а в каждом из последующих документов основного комплекта приводят ссылки на общие данные по рабочим чертежам.

4.3.3. Ведомость ссылочных и прилагаемых документов составляют по разделам:

- ссылочные документы;

- прилагаемые документы.

В разделе "Ссылочные документы" указывают документы согласно 4.2.8. При этом в соответствующих графах ведомости указывают обозначение и наименование серии и номер выпуска чертежей типовых конструкций, изделий и узлов или обозначение и наименование стандарта.

В разделе "Прилагаемые документы" указывают документы согласно 4.2.6.

4.3.4. Ведомость основных комплектов рабочих чертежей приводят на листах общих данных одного из основных комплектов рабочих чертежей здания или сооружения (по усмотрению лица, ответственного за разработку рабочей документации). Ведомость содержит последовательный перечень основных комплектов рабочих чертежей, входящих в состав полного комплекта рабочей документации по зданию или сооружению.

При наличии нескольких основных комплектов рабочих чертежей одной марки (см. 4.2.3) составляют ведомость комплектов этой марки по форме 2 (Приложение Г), которую приводят, как правило, в общих данных каждого из этих комплектов.

4.3.5. В общих указаниях приводят:

- сведения о документах, на основании которых принято решение о разработке рабочей документации (например, задание на проектирование, утвержденная проектная документация);

- запись о соответствии рабочей документации заданию на проектирование, выданным техническим условиям, требованиям действующих технических регламентов, стандартов, сводов правил, других документов, содержащих установленные требования;

- перечень технических регламентов и нормативных документов, содержащих требования к техническим решениям и дальнейшему производству работ, ссылки на которые даны в рабочих чертежах;

- абсолютную отметку, принятую в рабочих чертежах здания или сооружения условно за нулевую (как правило, приводят на чертежах архитектурных и конструктивных решений);

- запись о результатах проверки на патентоспособность и патентную чистоту впервые применяемых в проектной документации технологических процессов, оборудования, конструкций, изделий и материалов, а также номера патентов и заявок, по которым приняты решения о выдаче патентов на используемые в рабочей документации изобретения (при необходимости);

- перечень видов работ, которые оказывают влияние на безопасность здания или сооружения и для которых необходимо составлять акты освидетельствования скрытых работ, ответственных конструкций и участков сетей инженерно-технического обеспечения;

- сведения о том, кому принадлежит данная интеллектуальная собственность (при необходимости);

- эксплуатационные требования, предъявляемые к проектируемому зданию или сооружению (при необходимости);

- другие необходимые указания.

В общих указаниях не следует повторять технические требования, помещенные на других листах основного комплекта рабочих чертежей, и давать описание принятых в рабочих чертежах технических решений.

Пункты общих указаний должны иметь сквозную нумерацию. Каждый пункт общих указаний записывают с новой строки.

5. Общие правила выполнения документации

5.1. Общие положения

5.1.1. При выполнении проектной и рабочей документации, а также отчетной технической документации по инженерным изысканиям для строительства следует руководствоваться положениями стандартов СПДС и ЕСКД.

Перечень стандартов ЕСКД, подлежащих учету при выполнении графической и текстовой документации для строительства, приведен в таблице Д.1 (Приложение Д).

5.1.2. Документацию, как правило, выполняют автоматизированным способом на бумажном носителе (в бумажной форме) и/или в виде ДЭ.

Документы одного вида и наименования, независимо от способа выполнения, являются равноправными и взаимозаменяемыми. Взаимное соответствие между документами в электронной и бумажной формах обеспечивает разработчик.

Общие требования к электронным документам - по ГОСТ 2.051.

5.1.3. В графических документах изображения и условные обозначения выполняют линиями по ГОСТ 2.303. Допускается применение линий других типов, наименования, начертание, толщина и основные назначения которых устанавливаются в соответствующих стандартах СПДС.

5.1.4. В графических документах условные обозначения следует выполнять в основном черным цветом. Некоторые условные обозначения или их отдельные элементы допускается выполнять другими цветами. Указания о цвете условных обозначений приводятся в соответствующих стандартах СПДС. Если цвета условных обозначений, применяемых на чертежах и схемах, не установлены в стандартах, их назначение указывают на чертежах.

В подлинниках, предназначенных для изготовления черно-белых копий, цветные условные обозначения и их элементы следует выполнять черным цветом.

5.1.5. При выполнении графических документов применяют шрифты по ГОСТ 2.304, а также другие шрифты, используемые средствами вычислительной техники, при обеспечении условий доступности этих шрифтов пользователям документов.

При выполнении текстовых документов рекомендуется использовать гарнитуру шрифта Arial или Times New Roman.

5.1.6. Чертежи выполняют в оптимальных масштабах по ГОСТ 2.302 с учетом их сложности и насыщенности информацией.

Масштабы изображений на чертежах не указывают, за исключением чертежей изделий и других случаев, предусмотренных в соответствующих стандартах СПДС. В этих случаях масштабы указывают в круглых скобках непосредственно после наименований изображений в соответствии с ГОСТ 2.316 (пункт 4.19).

5.1.7. Чертежи на бумажном носителе и электронные чертежи (2D) могут быть выполнены на основе электронной модели (3D) здания или сооружения (ГОСТ 2.052).

5.1.8. Содержательная и реквизитная части ДЭ должны соответствовать требованиям стандартов СПДС и ЕСКД.

5.1.9. Структура и состав реквизитов ДЭ должны обеспечивать его обращение в рамках программных средств (отображение, внесение изменений, печать, учет и хранение в базах данных, а также передачу в другие автоматизированные системы) с соблюдением при этом нормативных требований по оформлению документов.

5.1.10. На рассмотрение, согласование, экспертизу и утверждение представляют копии документов проектной и рабочей документации, скомплектованные, как указано в 4.1 и 4.2.

5.1.11. Форма представления документов проектной и рабочей документации (бумажная или электронная), если она не указана в задании на проектирование, определяется разработчиком по согласованию с заказчиком. Допускается включать в состав проектной и рабочей документации документы в различных формах представления.

5.1.12. Правила передачи документации на электронных носителях, в том числе номенклатуру и формы необходимых учетных и отчетных документов, устанавливают в стандартах организации, разработанных на основе ГОСТ 2.051, ГОСТ 2.511 и ГОСТ 2.512.

5.1.13. Перечень сокращений слов, допускаемых в графических документах, составлен в дополнение к ГОСТ 2.316 и приведен в таблице Е.1 (Приложение Е).

5.2. Основные надписи

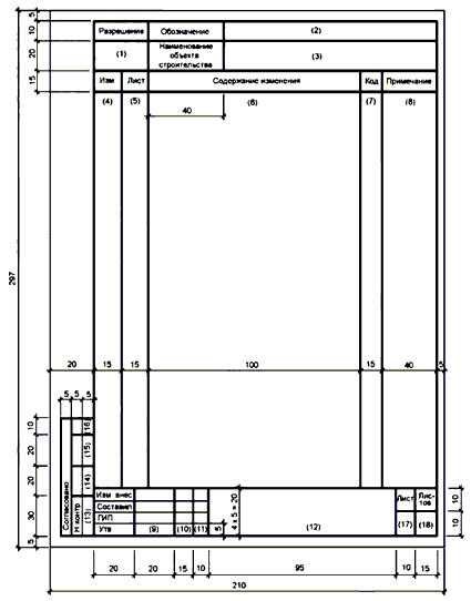
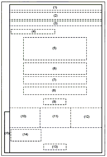
5.2.1. Каждый лист графического и текстового документа, как правило, оформляют основной надписью и дополнительными графами к ней. Формы основных надписей и указания по их заполнению приведены в Приложении Ж.

Примечание. Основными надписями не оформляют текстовые документы, выполняемые в соответствии с 4.1.8, сметы и т.п.

Основную надпись располагают в правом нижнем углу листа.

На листах формата А4 по ГОСТ 2.301 основную надпись располагают вдоль короткой стороны листа. Для текстовых документов в табличной форме допускается, при необходимости, располагать основную надпись вдоль длинной стороны листа.

5.2.2. Содержание, расположение и размеры граф основной надписи, дополнительных граф к ней, а также размеры рамок должны соответствовать:

- на листах основных комплектов рабочих чертежей и листах графической части проектной документации - форме 3;

- на первом листе чертежей строительных изделий - форме 4;

- на первых или заглавных <*> листах текстовых документов и первых листах эскизных чертежей общих видов нетиповых изделий, оформляемых в виде выпуска, - форме 5;

- на последующих листах чертежей строительных изделий, текстовых документов и эскизных чертежей общих видов - форме 6.

<*> Для текстовых документов, выполняемых с титульным листом и оформляемых основными надписями, заглавным является следующий лист после титульного листа.

Допускается первый лист чертежа строительного изделия оформлять основной надписью по форме 5.

5.2.3. Если некоторые текстовые документы (например, спецификацию оборудования, изделий и материалов) выпускают без титульного листа, то в этом случае первый лист документа оформляют основной надписью по форме 3, последующие - по форме 6.

При оформлении основного комплекта рабочих чертежей отдельными документами документы, содержащие сплошной текст и/или в виде таблиц (например, общие данные, кабельный журнал и т.п.), оформляют как текстовые документы. В этом случае первый лист документа оформляют основной надписью по форме 3, последующие - по форме 6.

5.2.4. В отчетной технической документации по результатам инженерных изысканий применяют основную надпись:

- на листах графических документов, используемых в проектировании в качестве основы, - по форме 3;

- на первых листах других графических и текстовых документов - по форме 5, на последующих листах - по форме 6.

5.2.5. Основную надпись, дополнительные графы к ней и рамки выполняют сплошными толстыми основными и сплошными тонкими линиями по ГОСТ 2.303.

5.2.6. Таблицу изменений в основной надписи (графы 14 - 19) при необходимости допускается продолжать вверх или влево от основной надписи. При расположении таблицы изменений слева от основной надписи наименования граф, 14 - 19 повторяют.

5.2.7. Расположение основной надписи и дополнительных граф к ней, а также размеры рамок на листах приведены на рисунках И.1 и И.2 (Приложение И).

5.2.8. Расположение и размеры дополнительных граф для идентификации ДЭ проектная организация устанавливает самостоятельно.

5.2.9. Допускается дополнительно идентифицировать проектные документы с применением штрих-кода.

При этом в качестве реквизитов штрих-кода следует использовать обозначение документа, номер версии и обозначение формата документа. Дополнительно могут быть использованы код страны, код организации-разработчика и другие реквизиты.

Штрих-код рекомендуется размещать в правом нижнем углу листа над основной надписью.

5.3. Координационные оси

5.3.1. На изображениях здания или сооружения указывают координационные оси его несущих конструкций, предназначенные для определения взаимного расположения элементов здания или сооружения и привязки здания или сооружения к строительной геодезической сетке или разбивочному базису.

5.3.2. Каждому отдельному зданию или сооружению присваивают самостоятельную систему обозначений координационных осей.

Координационные оси наносят на изображения здания, сооружения тонкими штрихпунктирными линиями с длинными штрихами, обозначают в кружках диаметром 6 - 12 мм арабскими цифрами и прописными буквами русского алфавита (за исключением букв: Е, З, Й, О, Х, Ц, Ч, Щ, Ъ, Ы, Ь) или, при необходимости, буквами латинского алфавита (за исключением букв I и O).

Пропуски в цифровых и буквенных (кроме указанных) обозначениях координационных осей не допускаются.

Цифрами обозначают координационные оси по стороне здания и сооружения с большим количеством осей. Если для обозначения координационных осей не хватает букв алфавита, последующие оси обозначают двумя буквами.

Пример - АА, ББ, ВВ.

5.3.3. Последовательность обозначений координационных осей принимают по плану, как показано на рисунке 1 а: цифровые оси - слева направо, буквенные оси - снизу вверх или как показано на рисунках 1 б и 1 в.

Рисунок 1

5.3.4. Обозначение координационных осей, как правило, наносят по левой и нижней сторонам плана здания и сооружения.

При несовпадении координационных осей противоположных сторон плана в местах расхождения дополнительно наносят обозначения указанных осей по верхней и/или правой сторонам.

5.3.5. Для отдельных элементов, расположенных между координационными осями основных несущих конструкций, наносят дополнительные оси, которым присваивают обозначение в виде дроби, в числителе которой указывают обозначение предшествующей координационной оси, а в знаменателе - дополнительный порядковый номер в пределах участка между смежными координационными осями в соответствии с рисунком 1 г.

Допускается координационным осям фахверковых колонн присваивать цифровые и буквенные обозначения в продолжение обозначений осей основных колонн без дополнительного номера.

5.3.6. На изображении повторяющегося элемента, привязанного к нескольким координационным осям, координационные оси обозначают в соответствии с рисунком:

2 а - при их количестве не более 3;

2 б - при их количестве более 3;

2 в - при всех буквенных и цифровых координационных осях.

При необходимости ориентацию координационной оси, к которой привязан элемент, по отношению к соседней оси указывают в соответствии с рисунком 2 г.

Рисунок 2

5.3.7. На планах жилых зданий, скомпонованных из блок-секций, крайним координационным осям блок-секций присваивают обозначения согласно 5.3.1 - 5.3.3, которые указывают в соответствии с рисунком 3 а.

Рисунок 3

Координационным осям блок-секций, в том числе крайним, присваивают самостоятельные обозначения согласно 5.3.1 - 5.3.3 с добавлением индекса "с" (см. рисунок 3 б). При необходимости на плане блок-секции указывают обозначения координационных осей здания, скомпонованного из блок-секций.

5.3.8. Трехмерную (3D) электронную модель здания или сооружения выполняют в единой планово-высотной системе координат.

Координатную систему трехмерной модели здания или сооружения изображают тремя взаимно перпендикулярными линиями с началом координат, расположенным в точке пересечении осей 1 и А на нулевой отметке этого здания или сооружения в соответствии с рисунком 4.

Рисунок 4

При этом для прямоугольного в плане здания (см. рисунок 1 а) за положительное направление принимают: оси X - в сторону увеличения цифровых обозначений координационных осей, оси Y - в сторону увеличения буквенных обозначений координационных осей, оси Z - вертикально вверх от условной нулевой отметки здания.

5.4. Нанесение размеров, уклонов, отметок и надписей

5.4.1. Линейные размеры на чертежах указывают без обозначения единиц длины:

- в метрах с точностью до двух знаков после запятой - на чертежах наружных сетей и коммуникаций, генерального плана и транспорта, за исключением случаев, оговоренных в соответствующих стандартах СПДС;

- в миллиметрах - на всех остальных видах чертежей.

5.4.2. Размерную линию на ее пересечении с выносными линиями, линиями контура или осевыми линиями ограничивают засечками длиной 2 - 4 мм, наносимыми с наклоном вправо под углом 45° к размерной линии, при этом размерные линии продолжают за крайние выносные линии (или соответственно за контурные или осевые) на 0 - 3 мм.

При нанесении размера диаметра или радиуса внутри окружности, а также углового размера размерную линию ограничивают стрелками. Стрелки применяют также при нанесении размеров радиусов и внутренних скруглений.

При нанесении размеров на аксонометрических схемах технологических трубопроводов и инженерных систем размерные линии допускается ограничивать стрелками.

5.4.3. Отметки уровней (высоты, глубины) элементов конструкций, оборудования, трубопроводов, воздуховодов и др. от уровня отсчета (условной "нулевой" отметки) указывают в метрах без обозначения единицы длины с тремя десятичными знаками, отделенными от целого числа запятой, за исключением случаев, оговоренных в соответствующих стандартах СПДС.

Отметки уровней на фасадах, разрезах и сечениях помещают на выносных линиях (или на линиях контура) и обозначают знаком "", выполненным сплошными тонкими линиями с длиной штрихов 2 - 4 мм под углом 45° к выносной линии или линии контура, в соответствии с рисунком 5; на планах - в прямоугольнике в соответствии с рисунком 6, за исключением случаев, оговоренных в соответствующих стандартах СПДС.

Рисунок 5

Рисунок 6

"Нулевую" отметку, принимаемую, как правило, для поверхности какого-либо элемента конструкций здания или сооружения, расположенного вблизи планировочной поверхности земли, указывают без знака; относительные отметки выше нулевой указывают со знаком "+", ниже нулевой - со знаком "-".

Примечание. В качестве нулевой отметки для зданий принимают, как правило, уровень чистого пола первого этажа.

5.4.4. На планах направление уклона плоскостей указывают стрелкой, над которой при необходимости проставляют числовое значение уклона в процентах в соответствии с рисунком 7 а или в виде отношения единицы высоты плоскости к соответствующей горизонтальной проекции (например, 1:7).

Рисунок 7

Допускается числовое значение уклона указывать в промилле или в виде десятичной дроби с точностью до третьего знака.

На разрезах, сечениях и схемах перед размерным числом, определяющим числовое значение уклона, наносят знак "", острый угол которого должен быть направлен в сторону уклона (кроме крутизны откосов насыпей и выемок). Обозначение уклона наносят непосредственно над линией контура или на полке линии-выноски в соответствии с рисунком 7 б.

5.4.5. Номера позиций или марки элементов наносят на полках линий-выносок, проводимых от изображений элементов конструкций зданий или сооружений, рядом с изображением - без линии-выноски или в пределах контуров изображенных элементов в соответствии с рисунком 8.

Рисунок 8

Линию-выноску, как правило, заканчивают точкой. Если линия-выноска отводится от линии, обозначающей поверхность, то ее заканчивают стрелкой. При мелкомасштабном изображении линии-выноски заканчивают без стрелки и точки.

5.4.6. Выносные надписи к многослойным конструкциям выполняют в соответствии с рисунком 9.

Примечание. Цифрами условно обозначена последовательность расположения слоев конструкций и надписей на полках линий-выносок.

Рисунок 9

5.4.7. Размер шрифта для обозначения координационных осей, позиций (марок), наименований и обозначений изображений должен быть в 1,5 - 2 раза больше размера цифр размерных чисел, применяемых в том же графическом документе.

5.5. Изображения (разрезы, сечения, виды, выносные элементы)

5.5.1. Изображения на чертежах выполняют в соответствии с ГОСТ 2.305 с учетом требований настоящего стандарта и других стандартов СПДС.

5.5.2. Разрезы здания или сооружения обозначают арабскими цифрами последовательно в пределах графического документа. Сечения обозначают аналогичным образом.

Примечание. В чертежах проектной и рабочей документации разрезом называют, как правило, вертикальный разрез здания или сооружения, т.е. разрез, выполненный секущей плоскостью, перпендикулярной к горизонтальной плоскости проекций.

Допускается самостоятельная нумерация для разрезов и сечений отдельных участков здания, сооружения или установок, все чертежи которых размещены на одном листе или группе листов и если на этих чертежах отсутствуют ссылки на разрезы и сечения, расположенные на других листах графического документа.

Допускается обозначать разрезы прописными буквами русского алфавита, а сечения - прописными или строчными буквами русского алфавита (за исключением букв, указанных в 5.3.2).

Положение секущей плоскости указывают на чертеже линией сечения (разомкнутой линией по ГОСТ 2.303). При сложном разрезе штрихи проводят также у мест пересечения секущих плоскостей между собой. На начальном и конечном штрихах следует ставить стрелки, указывающие направление взгляда; стрелки должны наноситься на расстоянии 2 - 3 мм от конца штриха (рисунок 10).

Рисунок 10

Направление взгляда для разреза по плану здания и сооружения принимают, как правило, снизу вверх и справа налево.

5.5.3. Если отдельные части вида (фасада), плана, разреза требуют более детального изображения, то дополнительно выполняют местные виды и выносные элементы - узлы и фрагменты.

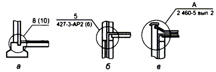
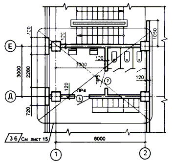
5.5.4. На изображении (плане, фасаде или разрезе), откуда выносят узел, соответствующее место отмечают замкнутой сплошной тонкой линией (окружностью, овалом или прямоугольником со скругленными углами) с нанесением на полке линии-выноски обозначения узла арабской цифрой в соответствии с рисунками 11 а, 11 б или прописной буквой русского алфавита в соответствии с рисунком 11 в.

Рисунок 11

При необходимости ссылки на узел, помещенный в другом графическом документе (например, основном комплекте рабочих чертежей), или на рабочие чертежи типового строительного узла указывают обозначение и номер листа соответствующего документа в соответствии с рисунком 11 б или серию рабочих чертежей типовых узлов и номер выпуска в соответствии с рисунком 11 в.

При необходимости ссылку на узел в сечении выполняют в соответствии с рисунком 12.

Рисунок 12

Над изображением узла указывают в кружке его обозначение в соответствии с рисунком 13 а, если узел изображен на том же листе, откуда он вынесен, или 13 б, если он вынесен на другом листе.

Рисунок 13

Узлу, являющемуся полным зеркальным отражением другого (основного) исполнения, присваивают то же обозначение, что и основному исполнению, с добавлением индекса "н".

5.5.5. Местные виды обозначают прописными буквами русского алфавита, которые наносят рядом со стрелкой, указывающей направление взгляда. Эти же обозначения наносят над изображениями видов.

5.5.6. Для каждого вида изображений (разрезов и сечений, узлов, фрагментов) применяют самостоятельный порядок нумерации или буквенных обозначений.

5.5.7. На изображении (плане, фасаде или разрезе), откуда выносят фрагмент, соответствующее место отмечают, как правило, фигурной скобкой в соответствии с рисунком 14.

Рисунок 14

Наименование и порядковый номер фрагмента наносят под фигурной скобкой или на полке линии-выноски, а также над соответствующим фрагментом.

5.5.8. Изображения до оси симметрии симметричных планов и фасадов зданий и сооружений, схем расположения элементов конструкций, планов расположения технологического, энергетического, санитарно-технического и другого оборудования не допускаются.

5.5.9. Если изображение разреза, сечения, узла, вида или фрагмента помещено на другом листе, то после обозначения изображения указывают в скобках номер этого листа в соответствии с рисунками 10, 11 а, 12 и 14.

5.5.10. Изображения допускается поворачивать. При этом в наименованиях изображений на чертежах не приводят условное графическое обозначение "повернуто" по ГОСТ 2.305, если положение изображения определено однозначно, т.е. ориентировано координационными осями и/или высотными отметками.

5.5.11. Если изображение (например, план) не помещается на листе принятого формата, то его делят на несколько участков, размещая их на отдельных листах.

В этом случае на каждом листе, где показан участок изображения, приводят схему целого изображения с необходимыми координационными осями и условным обозначением (штриховкой) показанного на данном листе участка изображения в соответствии с рисунком 15.

Примечание. Если чертежи участков изображения помещены в разных основных комплектах рабочих чертежей, то над номером листа указывают полное обозначение соответствующего основного комплекта.

Рисунок 15

5.5.12. Если планы этажей многоэтажного здания имеют небольшие отличия друг от друга, то полностью выполняют план одного из этажей, для других этажей выполняют только те части плана, которые необходимы для показа отличия от плана, изображенного полностью.

Под наименованием частично изображенного плана приводят запись: "Остальное см. план (наименование полностью изображенного плана)".

5.5.13. В наименованиях планов здания или сооружения указывают слово "План" и отметку чистого пола или номер этажа, или обозначение соответствующей секущей плоскости <*>.

<*> При выполнении двух и более планов на разных уровнях в пределах этажа.

Примеры

1. План на отм. 0,000

2. План 2 этажа

3. План 3-3

При выполнении части плана в наименовании указывают оси, ограничивающие эту часть плана.

Пример - План на отм. 0,000 между осями 21-30 и А-Д

Допускается в наименовании плана этажа указывать назначение помещений, расположенных на этаже.

5.5.14. В наименованиях разрезов здания (сооружения) указывают слово "Разрез" и обозначение соответствующей секущей плоскости по 5.5.2.

Пример - Разрез 1-1

Примечание. В наименованиях разрезов изделий слово "Разрез" не указывают.

Наименованиями сечений являются цифровые или буквенные обозначения секущих плоскостей.

Пример - 5-5, Б-Б, а-а

5.5.15. В наименованиях фасадов здания или сооружения указывают слово "Фасад" и обозначения крайних осей, между которыми расположен фасад.

Пример - Фасад 1-12, Фасад 1-1, Фасад А-Г

Допускается в наименовании фасада указывать его расположение, например, "главный", "дворовый" и т.п.

5.5.16. Наименования изображений на чертежах не подчеркивают.

6. Правила выполнения спецификаций на чертежах

6.1. К схемам расположения элементов сборной конструкции, монолитной железобетонной конструкции, к чертежам расположения технологического оборудования и/или трубопроводов, установок (блоков) технологического, санитарно-технического и другого оборудования, а также к другим чертежам составляют спецификации по форме 7 (Приложение К).

При выполнении чертежей групповым методом составляют групповые спецификации по форме 8 (Приложение К).

6.2. Спецификацию помещают, как правило, на листе чертежей, где изображены схемы, планы расположения оборудования и трубопроводов, планы установок. Допускается выполнять спецификацию на отдельных листах в качестве последующих листов чертежей.

6.3. В электронных моделях, при необходимости, спецификации и другие таблицы на чертежах допускается выполнять в рабочем пространстве электронной модели с учетом положений ГОСТ 2.052. В этом случае их рекомендуется выполнять на отдельном информационном уровне.

6.4. Спецификации строительных изделий составляют по ГОСТ 21.501.

7. Правила внесения изменений

7.1. Общие положения

7.1.1. На основании положений раздела 7 настоящего стандарта могут быть разработаны стандарты организаций, учитывающие особенности внесения изменений в проектные документы в зависимости от объема документации, условий документооборота и используемых САПР и СЭД.

7.1.2. Изменением документа, ранее переданного заказчику, является любое исправление, исключение или добавление в него каких-либо данных без изменения обозначения этого документа.

Обозначение документа допускается изменять только в случае, когда разным документам ошибочно присвоены одинаковые обозначения или в обозначении документа допущена ошибка.

Внесение изменений в расчеты не допускается.

7.1.3. Если изменение документа неприемлемо, то должен быть выпущен новый документ с новым обозначением.

7.1.4. Любое изменение в документе, вызывающее какие-либо изменения в других документах, должно одновременно сопровождаться внесением соответствующих изменений во все взаимосвязанные документы.

7.1.5. Изменения вносят в подлинник документа.

7.1.6. Информацию о факте изменения документа указывают:

- в бумажных документах - в основной надписи этих документов и/или в таблицах регистрации изменений;

- в ДЭ - в реквизитной части этих документов;

- в графе "Примечание" документов и ведомостей, предназначенных для учета документов.

7.2. Разрешение на внесение изменений

7.2.1. Изменение документа (в том числе его аннулирование) выполняют, как правило, на основании разрешения на внесение изменений (далее - разрешение). Разрешение выполняют на бумажном носителе по формам 9 и 9а (Приложение Л) или как ДЭ.

Разрешение регистрируют в соответствии с ГОСТ Р 21.1003.

7.2.2. Разрешение утверждает руководитель организации - разработчика документа или другое уполномоченное им должностное лицо.

Разрешение является основанием для получения подлинников документов и внесения в них изменений.

7.2.3. Подлинники разрешений на бумажном носителе хранят в архиве организации.

7.2.4. Изменения в каждый документ (например, основной комплект рабочих чертежей, спецификацию оборудования, изделий и материалов) вносят на основании отдельного разрешения.

Допускается составлять одно общее разрешение на изменения, вносимые одновременно в несколько документов, если изменения взаимосвязаны или одинаковы для всех изменяемых документов.

Изменения в документы основного комплекта рабочих чертежей, оформленного отдельными документами (см. 4.2.5), а также в документы тома проектной документации вносят на основании одного общего разрешения.

7.2.5. При внесении изменений в ДЭ разрешение допускается не оформлять, если в САПР и СЭД ведутся учет и хранение версий документа и обеспечивается контроль доступа, исключающий возможность несанкционированного внесения изменений.

7.3. Внесение изменений

7.3.1. Изменения обозначают порядковыми номерами (1, 2, 3 и т.д.). Один порядковый номер изменения присваивают всем изменениям, которые вносят в документ по одному разрешению. Его указывают для всего документа, независимо от того, на скольких листах он выполнен.

7.3.2. При внесении изменений в подлинник ДЭ любое изменение индексируется как новая версия этого документа.

7.3.3. Изменения в бумажные подлинники документов вносят:

- зачеркиванием;

- подчисткой (смывкой);

- закрашиванием белым цветом;

- введением новых данных;

- заменой листов или всего документа;

- введением новых дополнительных листов и/или документов;

- исключением отдельных листов документа.

При этом учитывают физическое состояние подлинника.

7.3.4. Изменения в документы вносят автоматизированным и рукописным способами.

7.3.5. Рукописным способом изменения вносят в бумажные подлинники документов в соответствии с 7.3.9 - 7.3.16.

После внесения изменений подлинники должны быть пригодны для изготовления копий документации надлежащего качества способами репрографии.

7.3.6. Внесение изменений в ДЭ производят путем выпуска новой версии документа с внесенными изменениями.

7.3.7. При внесении изменений автоматизированным способом изготовляют новый подлинник с учетом вносимых изменений и сохраняют его прежнее обозначение.

Новый подлинник изготовляют также, если для рукописного внесения изменений недостаточно места или возможно нарушение четкости изображения при исправлении.

Если заменяют или добавляют один или несколько листов подлинника, то на них сохраняют инвентарный номер, присвоенный подлиннику.

При замене всех листов подлинника ему присваивают новый инвентарный номер.

7.3.8. Изменения в сметную документацию осуществляют автоматизированным способом с заменой всего документа.

7.3.9. Изменяемые размеры, слова, знаки, надписи и т.п. зачеркивают сплошными тонкими линиями и рядом проставляют новые данные.

7.3.10. При изменении изображения (части изображения) его обводят сплошной тонкой линией, образующей замкнутый контур, и крестообразно перечеркивают сплошными тонкими линиями в соответствии с рисунком 16.

Рисунок 16

Новое изображение измененного участка выполняют на свободном поле листа или на другом листе без поворотов.

7.3.11. Изменяемым и дополнительным участкам изображения присваивают обозначение, состоящее из порядкового номера очередного изменения документа и через точку порядкового номера изменяемого (дополнительного) участка изображения в пределах данного листа. При этом новому изображению измененного участка присваивают обозначение изменения замененного изображения.

Если новое изображение измененного участка размещают на другом листе, то присвоенное ему обозначение изменения сохраняют и в таблице изменений этого листа не учитывают.

7.3.12. Около каждого изменения, в том числе около места, исправленного подчисткой (смывкой) или закрашиванием белым цветом, за пределами изображения или текста наносят в параллелограмме обозначение изменения (см. рисунок 16) и от этого параллелограмма проводят сплошную тонкую линию к измененному участку.

Допускается от параллелограмма с обозначением изменения линию к измененному участку не проводить.

При внесении изменений в текстовые документы (в текстовую часть документов) линии от параллелограмма с обозначением изменения не проводят.

7.3.13. Близко расположенные друг от друга измененные размеры, слова, знаки, надписи и т.п. обводят сплошной тонкой линией, образующей замкнутый контур, без перечеркивания в соответствии с рисунком 17.

Рисунок 17

7.3.14. Если новое изображение измененного участка помещают на другом листе, то у замененного изображения указывают также номер листа, на котором находится новое изображение (см. рисунок 16).

7.3.15. Над новым изображением измененного участка помещают в параллелограмме обозначение изменения замененного изображения, а при параллелограмме указывают "Взамен перечеркнутого".

Если новое изображение измененного участка помещают на другом листе, то при параллелограмме указывают: "Взамен перечеркнутого на листе (номер листа, на котором находится замененное изображение)" в соответствии с рисунком 18.

Рисунок 18

7.3.16. Если новое изображение измененного участка помещают около замененного, то их соединяют линиями-выносками с обозначением изменения в соответствии с рисунком 19.

Рисунок 19

Над дополнительным изображением помещают в параллелограмме обозначение изменения, а при параллелограмме указывают "Дополнение" в соответствии с рисунком 20.

Рисунок 20

7.3.17. При добавлении нового листа текстового документа допускается присваивать ему номер предыдущего листа с добавлением очередной строчной буквы русского алфавита или через точку арабской цифры, например 3а или 3.1.

В текстовых документах, содержащих в основном сплошной текст, допускается при добавлении нового пункта присваивать ему номер предыдущего пункта с добавлением очередной строчной буквы русского алфавита, а при исключении пункта - сохранять номера последующих пунктов.

7.3.18. При изменении общего количества листов документа на его первом листе в основной надписи вносят соответствующие исправления в графу "Листов".

7.3.19. Данные об изменениях, внесенных в подлинник, указывают в таблице изменений, помещенной в основной надписи (при ее наличии), а при недостатке места - в дополнительной таблице к ней (см. 5.2.6).

В новой (измененной) версии ДЭ в таблице изменений указывают данные только о последнем изменении.

7.3.20. При внесении изменений в документы таблицу изменений заполняют на листах (листе):

- первом (заглавном) нового подлинника, изготовленном в целом взамен старого;

- измененных;

- выпущенных вместо замененных;

- добавленных вновь.

7.3.21. В таблице изменений указывают:

а) в графе "Изм." - порядковый номер изменения документа. При замене подлинника новым очередной порядковый номер проставляют, исходя из последнего номера изменения, указанного в замененном подлиннике;

б) в графе "Кол. уч." - количество изменяемых участков изображения на данном листе в пределах очередного изменения;

в) в графе "Лист":

1) на листах, выпущенных вместо замененных, - "Зам.";

2) на листах, добавленных вновь, - "Нов.";

3) при замене всех листов подлинника при ручном внесении изменений на первом (заглавном) листе - "Все" (при этом таблицу изменений на других листах этого подлинника не заполняют), автоматизированным способом - "Зам." на всех листах.

В остальных случаях в графе "Лист" ставят прочерк;

г) в графе "N док." - обозначение разрешения;

д) в графе "Подп." - подпись лица, ответственного за правильность внесения изменения. При замене всех листов подлинника автоматизированным способом подпись проставляют только на первом (заглавном) листе. Подпись нормоконтролера проставляют на поле для подшивки листа (кроме листов, выпущенных вместо замененных и новых);

е) в графе "Дата" - дату внесения изменения.

7.3.22. Регистрацию изменений в текстовых документах рекомендуется производить в таблице регистрации изменений по форме 10 (Приложение М), которую размещают на отдельном последнем листе документа при внесении первого и последующих изменений.

7.3.23. При замене листов документов, оформленных основными надписями по формам 3 - 5, листы, выпущенные вместо замененных, подписывают в графах 10 - 13 основных надписей в соответствии с порядком, предусмотренным для вновь разработанных листов.

7.3.24. При аннулировании или замене листов документа на всех аннулированных и замененных листах подлинника проставляют штамп "Аннулирован (заменен)" по форме, приведенной в ГОСТ Р 21.1003 (приложение Г), который заполняют согласно указаниям, приведенным там же.

7.4. Особенности внесения изменений в проектную документацию

7.4.1. Внесение изменений в проектную документацию производят согласно 7.1 - 7.3 с учетом положений 7.4.2 - 7.4.8.

7.4.2. Изменения в проектную документацию, ранее переданную заказчику, как правило, вносят автоматизированным способом и осуществляют:

- заменой, добавлением или исключением отдельных листов тома;

- заменой (перевыпуском) тома - при его полной переработке;

- выпуском дополнительных томов.

7.4.3. При полной переработке раздела или подраздела проектной документации в начале его текстовой части рекомендуется приводить сведения о внесенных изменениях: основание для внесения изменений, краткое описание внесенных изменений.

7.4.4. Если изменения вносят на основании отрицательного заключения экспертизы проектной документации, то в раздел "Пояснительная записка" в качестве приложения включают справку с описанием изменений, внесенных в проектную документацию. Справка должна быть подписана лицом, ответственным за подготовку проектной документации, - главным инженером проекта.

7.4.5. Регистрацию изменений (версий) тома в целом производят в таблице регистрации изменений по форме 11 (Приложение М), которую размещают при внесении изменений на его титульном листе и обложке. Допускается приводить таблицу только на обложке.

В таблице регистрации изменений не учитывают исправления, внесенные в ведомость "Состав проектной документации" в связи с изменениями в других томах проектной документации.

7.4.6. Сведения об изменениях листов графических документов указывают в графе "Примечание" содержания тома:

а) для замененных листов при внесении первого изменения - "Изм. 1 (Зам.)", последующих изменений - дополнительно очередные номера изменений, отделяя их от предыдущих точкой с запятой.

Пример - Изм. 1 (Зам.);

б) для исключенных (аннулированных) листов при номере изменения - "(Аннул.)".

Пример - Изм. 1 (Аннул.);

в) для дополнительных листов при номере изменения - "(Нов.)".

Пример - Изм. 1 (Нов.).

7.4.7. При выполнении дополнительных томов проектной документации вносят исправления в ведомость "Состав проектной документации".

Сведения об изменениях ведомости "Состав проектной документации" в содержании тома не приводят.

7.4.8. Изменения в утвержденную проектную документацию, связанные с изменением параметров объекта строительства, влияющих на его конструктивную надежность и безопасность, и необходимостью переутверждения проектной документации, вносят по решению заказчика на основе нового задания на проектирование или дополнения к ранее утвержденному заданию на проектирование.

7.5. Особенности внесения изменений в рабочую документацию

7.5.1. Внесение изменений в рабочую документацию производят согласно 7.1 - 7.3 с учетом положений 7.5.2 - 7.5.9.

7.5.2. При внесении изменений в листы основного комплекта рабочих чертежей в ведомости рабочих чертежей этого комплекта в графе "Примечание" указывают:

- для замененных, аннулированных и дополнительных листов - сведения в соответствии с перечислениями а) - в) 7.4.6;

- для измененных листов (рукописным способом) при внесении первого изменения - "Изм. 1", последующих изменений - дополнительно очередные номера изменений, отделяя их от предыдущих точкой с запятой.

Пример - Изм. 1; 2; 3.

В случае замены листов общих данных в ведомости рабочих чертежей этого комплекта допускается приводить сведения только о последнем изменении листов основного комплекта.

7.5.3. Если в основной комплект рабочих чертежей включают дополнительные листы, то им присваивают очередные порядковые номера и записывают в продолжение ведомости рабочих чертежей соответствующего основного комплекта.

При недостатке места в ведомости рабочих чертежей для записи дополнительных листов продолжение ведомости переносят на первый из дополнительных листов. При этом в конце ведомости рабочих чертежей, помещенной в "Общих данных", делают запись: "Продолжение ведомости см. на листе (номер листа)", а над ведомостью на дополнительном листе помещают заголовок: "Ведомость рабочих чертежей основного комплекта (Продолжение)".

При изменении наименований листов вносят соответствующие исправления в графу "Наименование".

При внесении изменений рукописным способом номера и наименования аннулированных листов в ведомости рабочих чертежей зачеркивают, автоматизированным способом - графу "Наименование" для аннулированных листов не заполняют.

7.5.4. При внесении изменений в документы основного комплекта, оформленного отдельными документами, вносят соответствующие исправления в ведомость документов основного комплекта рабочих чертежей.

7.5.5. При выполнении дополнительных и аннулировании ранее выполненных прилагаемых документов вносят исправления в раздел "Прилагаемые документы" ведомости ссылочных и прилагаемых документов соответствующего основного комплекта рабочих чертежей.

При замене в рабочих чертежах ссылочных документов (см. 4.2.8) вносят исправления в соответствующий раздел ведомости ссылочных и прилагаемых документов.

7.5.6. При выполнении дополнительных и аннулировании ранее выполненных основных комплектов рабочих чертежей вносят исправления в ведомость основных комплектов рабочих чертежей.

7.5.7. В таблицах изменений на листах общих данных исправления, внесенные в ведомости общих данных в связи с внесением изменений в листы основного комплекта и прилагаемые документы, не учитывают как участки изменений в соответствии с 7.3.11.

7.5.8. Регистрацию изменений в документах рабочей документации, оформленных титульными листами, производят также в таблице регистрации изменений по форме 11 (Приложение М), которую размещают на титульном листе при внесении изменений.

7.5.9. Копии листов (измененных, дополнительных и выпущенных вместо замененных листов) рабочей документации на бумажном носителе направляют организациям, которым ранее были направлены копии документов, одновременно с копиями общих данных соответствующего основного комплекта рабочих чертежей, уточненных в соответствии с 7.5.2 - 7.5.6.

В электронном виде организациям направляют новые версии документов с внесенными изменениями (см. 7.3.6).

8. Правила оформления сброшюрованной документации

8.1. Копии текстовых и графических материалов проектной документации и отчетной технической документации по инженерным изысканиям брошюруют в тома, сложенными на формат А4 ГОСТ 2.301.

Примечание. Под брошюровкой понимается размещение материалов проектной документации на бумажном носителе в переплетах или в твердых папках с легкоразъемными креплениями (замками).

8.2. Копии документов рабочей документации комплектуют в папки полистно, сложенными на формат А4, как правило, отдельно по основным комплектам рабочих чертежей.

Допускается брошюровать копии рабочих документов в тома в соответствии с 8.1 или в альбомы, сложенными на формат А3.

Количество листов, включаемых в папку или альбом, должно соответствовать 4.1.5.

8.3. Каждый документ, том или альбом, предназначенный для брошюровки, а также папку со сложенными в нее документами оформляют обложкой по форме 12 (Приложение Н). Обложку не нумеруют и не включают в общее количество листов.

8.4. Первым листом сброшюрованного документа, а также тома, состоящего из нескольких документов, альбома или папки с рабочей документацией, является титульный лист.

Титульный лист выполняют по форме 13 (Приложение П). Примеры выполнения титульных листов приведены на рисунках Р.1 и Р.2 (Приложение Р).

В томе проектной документации, состоящем из нескольких самостоятельных документов, включая текстовую часть, титульный лист к текстовой части, как правило, не выполняют.

8.5. Все листы сброшюрованного тома (альбома) рекомендуется нумеровать сквозной нумерацией листов, начиная с титульного листа. При этом титульный лист не нумеруют. Номер листа указывают в правом верхнем углу рабочего поля листа (см. Приложение И).

Кроме того, текстовые и графические документы, включенные в том (альбом) и имеющие самостоятельное обозначение, должны иметь порядковую нумерацию листов в пределах документа с одним обозначением в основной надписи или в колонтитуле (в соответствии с 4.1.8).

8.6. При комплектовании нескольких документов в виде тома, альбома, а также в папку после титульного листа приводят содержание тома (альбома, папки), которое является перечнем документов, входящих в том (альбом, папку). Содержание выполняют по форме 2 (Приложение Г) на листах формата А4.

Документы в содержании записывают в последовательности их комплектования в том, альбом или папку. Графические документы проектной и отчетной технической документации по инженерным изысканиям записывают полистно. Обложку и титульный лист в содержание не записывают.

В графах содержания указывают:

- в графе "Обозначение" - обозначение документа;

- в графе "Наименование" - наименование документа в полном соответствии с наименованием, указанным в основной надписи или на титульном листе;

- в графе "Примечание" - сведения об изменениях, вносимых в записанные документы, а также номер листа тома по сквозной нумерации листов тома в соответствии с 8.5, с которого начинается документ.

Если сквозную нумерацию не выполняют, то в графе "Примечание" приводят общее количество листов каждого документа. В конце содержания приводят общее количество листов, включенных в том (альбом, папку).

Первый лист содержания тома (альбома, папки) оформляют основной надписью по форме 5 (Приложение Ж), последующие - по форме 6 (Приложение Ж). Содержанию присваивают обозначение, состоящее из обозначения тома (альбома, папки) и через дефис шифра "С".

Пример - 2345-ПЗУ2-С; 2345-11-КЖ.И-С; 2345-11-ОВ.ОЛ-С; 2345-11-ТХ.Н-С

В графе 5 основной надписи указывают "Содержание тома" или, соответственно, "Содержание альбома" и "Содержание папки" и далее - номер соответствующего тома, альбома или папки (при наличии).

8.7. Титульные листы томов проектной документации оформляют подписями:

- руководителя или главного инженера организации;

- лица, ответственного за подготовку проектной документации, например, главного инженера (архитектора) проекта.

Титульные листы рабочих документов оформляют подписью лица, ответственного за подготовку рабочей документации, - главного инженера (архитектора) проекта.

Титульный лист технического отчета по результатам инженерных изысканий оформляют подписью руководителя организации или его заместителя и, при необходимости, других должностных лиц.

Титульные листы копий документации, передаваемой заказчику, заверяют оттиском печати организации, подготовившей эту документацию.

8.8. Состав проектной документации, а также состав отчетной технической документации по результатам инженерных изысканий приводят в ведомости, выполняемой по форме 14 (Приложение С) на листах формата А4.

В ведомости приводят последовательный перечень томов проектной или отчетной технической документации по инженерным изысканиям.

Первый лист ведомости оформляют основной надписью по форме 5 (Приложение Ж), последующие - по форме 6 (Приложение Ж).

Составу проектной документации присваивают обозначение, состоящее из базового обозначения проектной документации и через дефис шифра "СП".

Пример - 2345-СП.

При брошюровании ведомости в отдельный том ее оформляют обложкой и титульным листом в соответствии с 8.3 и 8.4. Номер тома на обложке и титульном листе не указывают.

Составу отчетной технической документации по результатам инженерных изысканий присваивают обозначение, состоящее из базового обозначения документации и через дефис шифра "СД".

Пример - 2344-СД.

Приложение А
(рекомендуемое)

ШИФРЫ РАЗДЕЛОВ ПРОЕКТНОЙ ДОКУМЕНТАЦИИ

А.1. Шифры разделов проектной документации на объекты капитального строительства производственного и непроизводственного назначения приведены в таблице А.1.

Таблица А.1

Номер раздела Наименование раздела проектной документации Шифр раздела
1 Пояснительная записка ПЗ
2 Схема планировочной организации земельного участка ПЗУ
3 Архитектурные решения АР
4 Конструктивные и объемно-планировочные решения КР
5 Сведения об инженерном оборудовании, о сетях инженерно-технического обеспечения, перечень инженерно-технических мероприятий, содержание технологических решений ИОС
6 Проект организации строительства ПОС
7 Проект организации работ по сносу или демонтажу объектов капитального строительства ПОД
8 Перечень мероприятий по охране окружающей среды ООС
9 Мероприятия по обеспечению пожарной безопасности ПБ
10 Мероприятия по обеспечению доступа инвалидов ОДИ
10.1 Требования к обеспечению безопасной эксплуатации объекта капитального строительства ТБЭ
11 Смета на строительство объектов капитального строительства СМ
11.1 Мероприятия по обеспечению соблюдения требований энергетической эффективности и требований оснащенности зданий, строений и сооружений приборами учета используемых энергетических ресурсов ЭЭ
12 Иная документация в случаях, предусмотренных федеральными законами, в том числе:
Перечень мероприятий по гражданской обороне, мероприятий по предупреждению чрезвычайных ситуаций природного и техногенного характера, мероприятий по противодействию терроризму ГОЧС
Декларация промышленной безопасности опасных производственных объектов ДПБ
Декларация безопасности гидротехнических сооружений ДБГ
Иная документация, установленная законодательными актами Российской Федерации -
Примечание. Допускается номера разделов 10.1 и 11.1 приводить в виде 10(1), 11(1) или 10-1, 11-1.

А.2. Шифры разделов проектной документации на линейные объекты приведены в таблице А.2.

Таблица А.2

Номер раздела Наименование раздела проектной документации Шифр раздела
1 Пояснительная записка ПЗ
2 Проект полосы отвода ППО
3 Технологические и конструктивные решения линейного объекта. Искусственные сооружения ТКР
4 Здания, строения и сооружения, входящие в инфраструктуру линейно объекта <*> ИЛО
5 Проект организации строительства ПОС
6 Проект организации работ по сносу (демонтажу) линейного объекта ПОД
7 Мероприятия по охране окружающей среды ООС
8 Мероприятия по обеспечению пожарной безопасности ПБ
9 Смета на строительство СМ
10 Иная документация в случаях, предусмотренных федеральными законами, в том числе:
Перечень мероприятий по гражданской обороне, мероприятий по предупреждению чрезвычайных ситуаций природного и техногенного характера, мероприятий по противодействию терроризму ГОЧС
Декларация промышленной безопасности опасных производственных объектов ДПБ
Декларация безопасности гидротехнических сооружений ДБГ
<*> Проектную документацию зданий, строений и сооружений разрабатывают в соответствии с составом документации по таблице А.1.

Примечание. При необходимости шифры разделов проектной документации допускается обозначать буквами латинского алфавита в соответствии с правилами, установленными в стандартах организаций.

Приложение Б
(рекомендуемое)

МАРКИ ОСНОВНЫХ КОМПЛЕКТОВ РАБОЧИХ ЧЕРТЕЖЕЙ

Таблица Б.1

Наименование основного комплекта рабочих чертежей Марка Примечание
Генеральный план и сооружения транспорта ГТ При объединении рабочих чертежей генерального плана и сооружений транспорта
Генеральный план ГП -
Автомобильные дороги АД -
Железнодорожные пути ПЖ -
Сооружения транспорта ТР При объединении рабочих чертежей автомобильных, железных и других дорог
Архитектурно-строительные решения АС При объединении рабочих чертежей архитектурных и конструктивных решений (кроме КМ)
Архитектурные решения АР -
Интерьеры АИ Рабочие чертежи могут быть объединены с основным комплектом марки АР или АС
Конструкции железобетонные КЖ -
Конструкции металлические КМ -
Конструкции металлические деталировочные КМД -
Конструкции деревянные КД -
Гидротехнические решения ГР -
Антикоррозионная защита конструкций зданий, сооружений АЗ -
Электроснабжение ЭС -
Наружное электроосвещение ЭН -
Силовое электрооборудование ЭМ -
Электрическое освещение (внутреннее) ЭО -
Наружные сети водоснабжения НВ -
Наружные сети канализации НК -
Наружные сети водоснабжения и канализации НВК При объединении рабочих чертежей наружных сетей водоснабжения и канализации
Внутренние системы водоснабжения и канализации ВК -
Пожаротушение ПТ -
Отопление, вентиляция и кондиционирование ОВ -
Воздухоснабжение ВС -
Пылеудаление ПУ -
Холодоснабжение ХС -
Тепломеханические решения ТМ Котельных, ТЭЦ и т.п.
Тепломеханические решения тепловых сетей ТС -
Проводные средства связи <*> - Наименования основных комплектов и обозначения марок принимают по приложению А ГОСТ Р 21.1703
Радиосвязь, радиовещание и телевидение РТ -
Пожарная сигнализация ПС -
Охранная и охранно-пожарная сигнализация ОС -
Наружные газопроводы ГСН -
Газоснабжение (внутренние устройства) ГСВ -
Технология производства ТХ -
Технологические коммуникации ТК При объединении рабочих чертежей всех технологических коммуникаций
Антикоррозионная защита технологических аппаратов, газоходов и трубопроводов АЗО -
Тепловая изоляция оборудования и трубопроводов ТИ -
Автоматизация комплексная АК При объединении рабочих чертежей автоматизации различных технологических процессов и инженерных систем
Автоматизация <*> - Наименования основных комплектов и обозначения марок принимают по приложению А ГОСТ 21.408
Гидромелиоративные линейные сооружения <*> - Наименования основных комплектов и обозначения марок принимают по приложению А ГОСТ 21.709
<*> Приведены общие наименования объектов.
Примечания
1. При необходимости могут быть назначены дополнительные марки основных комплектов рабочих чертежей. При этом в марку рекомендуется включать не более трех прописных букв русского алфавита, соответствующих, как правило, начальным буквам наименования основного комплекта рабочих чертежей.
2. При необходимости марки основных комплектов рабочих чертежей допускается обозначать буквами латинского алфавита или цифровыми кодами в соответствии с правилами, установленными в стандартах организаций.

Примечания

1. При необходимости могут быть назначены дополнительные марки основных комплектов рабочих чертежей. При этом в марку рекомендуется включать не более трех прописных букв русского алфавита, соответствующих, как правило, начальным буквам наименования основного комплекта рабочих чертежей.

2. При необходимости марки основных комплектов рабочих чертежей допускается обозначать буквами латинского алфавита или цифровыми кодами в соответствии с правилами, установленными в стандартах организаций.

Приложение В
(рекомендуемое)

ШИФРЫ ПРИЛАГАЕМЫХ ДОКУМЕНТОВ

Таблица В.1

Наименование прилагаемого документа Шифр
Спецификация оборудования, изделий и материалов С
Эскизный чертеж общего вида нетипового изделия Н
Рабочий чертеж строительного изделия И
Опросный лист, габаритный чертеж ОЛ
Локальная смета ЛС
Расчеты <*> РР
<*> Расчеты, как правило, в состав рабочей документации не включают, если иное не определено в договоре (контракте) и задании на проектирование.
Примечания
1. Шифры других видов прилагаемых документов приводятся в соответствующих стандартах СПДС или стандартах организаций.
2. Допускается, при необходимости, шифры прилагаемых документов обозначать буквами латинского алфавита в соответствии с правилами, установленными в стандартах организаций.

Примечания

1. Шифры других видов прилагаемых документов приводятся в соответствующих стандартах СПДС или стандартах организаций.

2. Допускается, при необходимости, шифры прилагаемых документов обозначать буквами латинского алфавита в соответствии с правилами, установленными в стандартах организаций.

Приложение Г
(обязательное)

ВЕДОМОСТИ ОБЩИХ ДАННЫХ ПО РАБОЧИМ ЧЕРТЕЖАМ

Форма 1

Ведомость рабочих чертежей основного комплекта.
Ведомость спецификаций

Г.1. В ведомости рабочих чертежей основного комплекта указывают:

- в графе "Лист" - порядковый номер листа основного комплекта рабочих чертежей;

- в графе "Наименование" - наименование изображений, помещенных на листе, в соответствии с наименованиями, приведенными в основной надписи листа;

- в графе "Примечание" - дополнительные сведения, например об изменениях, вносимых в рабочие чертежи основного комплекта.

Г.2. В ведомости спецификаций указывают:

- в графе "Лист" - номер листа основного комплекта рабочих чертежей, на котором помещена спецификация;

- в графе "Наименование" - наименование спецификации в точном соответствии с ее наименованием, указанным на чертеже;

- в графе "Примечание" - дополнительные сведения, в том числе об изменениях, вносимых в спецификации.

Форма 2

Ведомость основных комплектов рабочих чертежей.
Ведомость ссылочных и прилагаемых документов.
Ведомость документов основного комплекта рабочих чертежей

Г.3. В ведомости основных комплектов рабочих чертежей указывают:

- в графе "Обозначение" - обозначение основного комплекта рабочих чертежей и, при необходимости, наименование или различительный индекс организации, выпустившей документ;

- в графе "Наименование" - наименование основного комплекта рабочих чертежей;

- в графе "Примечание" - дополнительные сведения, в том числе об изменениях в составе основных комплектов рабочих чертежей.

Г.4. В ведомости ссылочных и прилагаемых документов указывают:

- в графе "Обозначение" - обозначение документа и, при необходимости, наименование или различительный индекс организации, выпустившей документ;

- в графе "Наименование" - наименование документа в точном соответствии с наименованием, указанным на титульном листе или в основной надписи;

- в графе "Примечание" - дополнительные сведения, в том числе о внесенных изменениях в записанные документы, входящие в состав рабочей документации. Для документов в электронной форме указывают, при необходимости, идентификатор файла (файлов).

Г.5. В ведомости документов основного комплекта рабочих чертежей указывают:

- в графе "Обозначение" - обозначение документа;

- в графе "Наименование" - наименование документа в соответствии с наименованием, указанным в основной надписи. Для графических документов, состоящих из нескольких листов, приводят также наименования изображений, помещенных на каждом листе, в соответствии с наименованиями, приведенными в основной надписи листа;

- в графе "Примечание" - дополнительные сведения, в том числе о внесенных изменениях в записанные документы, и, при необходимости, общее количество листов документа. Для документов в электронной форме указывают, при необходимости, идентификатор файла (файлов).

Г.6. Размеры граф ведомостей, при необходимости, могут быть изменены по усмотрению разработчика.

Г.7. Допускается при необходимости включать в ведомости дополнительные графы (колонки), например "Кол. листов" и т.п.

Г.8. При заполнении ведомостей автоматизированным способом горизонтальные линии, разграничивающие строки, допускается не проводить. При этом необходимо соблюдать интервал не менее одного разряда печати между текстами соседних строк.

Приложение Д
(обязательное)

ПЕРЕЧЕНЬ СТАНДАРТОВ ЕСКД, ПОДЛЕЖАЩИХ УЧЕТУ ПРИ ВЫПОЛНЕНИИ ГРАФИЧЕСКОЙ И ТЕКСТОВОЙ ДОКУМЕНТАЦИИ ДЛЯ СТРОИТЕЛЬСТВА

Таблица Д.1

Обозначение и наименование стандарта Условия применения стандарта
ГОСТ 2.004-88. Единая система конструкторской документации. Общие требования к выполнению конструкторских и технологических документов на печатающих и графических устройствах вывода ЭВМ -
ГОСТ 2.051-2006. Единая система конструкторской документации. Электронные документы. Общие положения -
ГОСТ 2.052-2006. Единая система конструкторской документации. Электронная модель изделия. Общие положения -
ГОСТ 2.101-68. Единая система конструкторской документации. Виды изделий -
ГОСТ 2.102-68. Единая система конструкторской документации. Виды и комплектность конструкторских документов С учетом положений ГОСТ 21.501, относящихся к выполнению чертежей строительных изделий
ГОСТ 2.105-95. Единая система конструкторской документации. Общие требования к текстовым документам С учетом положений разделов 4, 5 и 8 настоящего стандарта
ГОСТ 2.109-73. Единая система конструкторской документации. Основные требования к чертежам С учетом положений ГОСТ 21.501.
Ссылки на ГОСТ 2.106, а также 1.1.11, 1.1.12, 1.3 ГОСТ 2.109 не учитывают
ГОСТ 2.113-75. Единая система конструкторской документации. Групповые и базовые конструкторские документы С учетом положений ГОСТ 21.501
ГОСТ 2.114-95. Единая система конструкторской документации. Технические условия С учетом положений 5.2.1, 5.2.2, 5.2.5 - 5.2.7 и раздела 8 настоящего стандарта.
Положения 3.7.1 и 3.8 ГОСТ 2.114 не учитывают
ГОСТ 2.301-68. Единая система конструкторской документации. Форматы С учетом требований соответствующих стандартов СПДС
ГОСТ 2.302-68. Единая система конструкторской документации. Масштабы С учетом положений 5.1.6 настоящего стандарта
ГОСТ 2.303-68. Единая система конструкторской документации. Линии С учетом положений 5.1.3 настоящего стандарта
ГОСТ 2.304-81. Единая система конструкторской документации. Шрифты чертежные С учетом положений 5.1.5 настоящего стандарта
ГОСТ 2.305-2008. Единая система конструкторской документации. Изображения - виды, разрезы, сечения С учетом положений 5.5 настоящего стандарта
ГОСТ 2.306-68. Единая система конструкторской документации. Обозначения графические материалов и правила их нанесения на чертежах С учетом положений ГОСТ 21.302, таблицы 4 и 5
ГОСТ 2.307-2011. Единая система конструкторской документации. Нанесение размеров и предельных отклонений С учетом положений 5.4.1 - 5.4.4 настоящего стандарта
ГОСТ 2.308-2011. Единая система конструкторской документации. Указание на чертежах допусков формы и расположения поверхностей С учетом положений ГОСТ 21.113
ГОСТ 2.309-73. Единая система конструкторской документации. Обозначение шероховатости поверхностей -
ГОСТ 2.310-68. Единая система конструкторской документации. Нанесение на чертежах обозначений покрытий, термической и других видов обработки -
ГОСТ 2.311-68. Единая система конструкторской документации. Изображение резьбы -
ГОСТ 2.312-72. Единая система конструкторской документации. Условные изображения и обозначения швов сварных соединений -
ГОСТ 2.313-82. Единая система конструкторской документации. Условные изображения и обозначения неразъемных соединений -
ГОСТ 2.314-68. Единая система конструкторской документации. Указания на чертежах о маркировке и клеймении изделий -
ГОСТ 2.315-68. Единая система конструкторской документации. Изображения упрощенные и условные крепежных деталей -
ГОСТ 2.316-2008. Единая система конструкторской документации. Правила нанесения надписей, технических требований и таблиц на графических документах. Общие положения С учетом положений 5.4.5 - 5.4.7 настоящего стандарта
ГОСТ 2.317-2011. ЕСКД. Аксонометрические проекции -
ГОСТ 2.501-88. ЕСКД. Правила учета и хранения В части формы инвентарной книги, абонентской карточки и указаний по складыванию чертежей
ГОСТ 2.511-2011. Единая система конструкторской документации. Правила передачи электронных конструкторских документов. Общие положения -
ГОСТ 2.512-2011. Единая система конструкторской документации. Правила выполнения пакета данных для передачи электронных конструкторских документов. Общие положения -
Примечание. Условия применения стандартов ЕСКД классификационной группы 7 определены стандартами СПДС, в которых приведены ссылки на эти стандарты.

Приложение Е
(рекомендуемое)

ПЕРЕЧЕНЬ ДОПУСКАЕМЫХ СОКРАЩЕНИЙ СЛОВ, ПРИМЕНЯЕМЫХ В ГРАФИЧЕСКИХ ДОКУМЕНТАХ (ДОПОЛНЕНИЕ К ГОСТ 2.316)

Таблица Е.1

Полное наименование Сокращение
Автомобильная дорога а.д.
Альбом Альб. (ц)
Аннулирован Аннул.
Антисейсмический шов а.с.ш. (и)
Архитектор Арх. (о)
Асфальтобетон асф. бет.
Бетон, бетонный бет.
Вентиляционная камера венткамера
Вместимость Вмест. (ц, т)
Выпуск Вып. (ц)
Главный инженер Гл. инж. (о)
Главный инженер (архитектор) проекта ГИП (ГАП) (о)
Главный специалист Гл. спец. (о)
Группа гр. (т, о)
Деформационный шов д. ш. (и)
Диаметр диам.
Директор Дир. (о)
Документ док. (т, о)
Допускаемый допуск.
Железная дорога ж. д.
Железнодорожный ж.-д.
Железобетон, железобетонный ж. б.
Заведующий Зав. (о)
Изоляция, изоляционный изол.
Институт Ин-т (о)
Конструкция констр.
Коэффициент коэф.
Коэффициент полезного действия КПД
Лестница, лестничный лестн.
Мастерская (в проектных организациях) Маст. (о)
Материалы мат-лы (т)
Монтажный монт.
Нормативная нагрузка норм. нагр.
Оборудование оборуд.
Общий общ.
Отметка отм. (ц)
Раздел разд. (ц)
Размер разм. (ц)
Расчетная нагрузка расч. нагр.
Санитарно-технический сан. техн.
Санитарный узел сан. узел.
Сборный сб.
Сектор сек. (ц)
Скважина скв. (ц)
Снеговой снег.
Температурный шов т. ш. (и)
Технологический технол.
Техник Техн. (о)
Типовой тип.
Труба тр.
Уровень головки рельса ур. г. р. (и)
Уровень грунтовых (подземных) вод УГВ (и)
Уровень земли ур. з. (и)
Уровень чистого пола УЧП (и)
Участок уч. (и, ц)
Фундаментный фунд.
Цемент, цементный цем.
Цементобетон цем. бет.
Часть ч. (ц)
Шаг ш. (ц, т)
Штукатурка штукат.
Щебень, щебеночный щеб.
Электрический эл.
Элемент эл-т (и, т)
Этаж эт. (ц)
Примечания
1. Сокращения, отмеченные в знаком (о), применяют только в основной надписи; (т) - в таблицах, (ц) - с цифрами или шифрами; (и) - на графических изображениях.
2. Сокращения слов, указанные в данной таблице и ГОСТ 2.316, допускается использовать в текстовых документах, содержащих текст, разбитый на графы.

Приложение Ж
(обязательное)

ОСНОВНЫЕ НАДПИСИ И ДОПОЛНИТЕЛЬНЫЕ ГРАФЫ К НИМ

Форма 3

Для листов основных комплектов рабочих чертежей, графических документов проектной документации и графических документов по инженерным изысканиям

Примечание. Для графических документов по инженерным изысканиям запись "Н. контр." ("Нормоконтроль") в основной надписи допускается не выполнять.

Форма 4

Для чертежей строительных изделий (первый лист)

Форма 5

Для эскизных чертежей общих видов нетиповых изделий, всех видов текстовых документов (первый или заглавный лист)

Примечание. Основную надпись по форме 5 допускается использовать для графических документов по инженерным изысканиям, не используемых в проектировании в качестве графической основы.

Форма 6

Для чертежей строительных изделий, эскизных чертежей общих видов нетиповых изделий и всех видов текстовых документов (последующие листы)

Примечание. Основную надпись по форме 6 допускается использовать для последующих листов графических документов по инженерным изысканиям, не используемых в проектировании в качестве графической основы.

В графах основной надписи и дополнительных графах к ней (номера граф указаны в скобках) приводят:

- в графе 1 - обозначение документа, в том числе текстового или графического документа раздела, подраздела проектной документации, основного комплекта рабочих чертежей, чертежа изделия и т.п.;

- в графе 2 - наименование предприятия и, при необходимости, его части (комплекса), жилищно-гражданского комплекса или другого объекта строительства, в состав которого входит здание (сооружение), или наименование микрорайона;

- в графе 3 - наименование здания (сооружения) и, при необходимости, вид строительства (реконструкция, техническое перевооружение, капитальный ремонт);

- в графе 4 - наименование изображений, помещенных на данном листе, в соответствии с их наименованием на чертеже. Если на листе помещено одно изображение, допускается его наименование приводить только в графе 4.

Наименования спецификаций и других таблиц, а также текстовых указаний, относящихся к изображениям, в графе 4 не указывают (кроме случаев, когда спецификации или таблицы выполнены на отдельных листах).

На листе (листах) общих данных по рабочим чертежам в графе 4 записывают "Общие данные".

В случае, предусмотренном в 5.2.3, в графе 4 приводят наименование документа или нетипового изделия;

- в графе 5 - наименование изделия и/или наименование документа;

- в графе 6 - условное обозначение вида документации: П - для проектной документации, Р - для рабочей документации.

Для других видов документации графу не заполняют или приводят условные обозначения, установленные в стандартах организации;

- в графе 7 - порядковый номер листа документа. На документах, состоящих из одного листа, графу не заполняют;

- в графе 8 - общее количество листов документа. Графу заполняют только на первом листе;

- в графе 9 - наименование или различительный индекс организации, разработавшей документ;

- в графе 10 - характер работы, выполняемой лицом, подписывающим документ в соответствии с формами 3 - 5. В свободных строках по усмотрению проектной организации приводят должности специалистов и руководителей, ответственных за разработку и проверку документа. В строке под записью "Разработал" вместо должности допускается приводить запись "Проверил".

Подписи лица, разработавшего данный документ, и нормоконтролера являются обязательными.

В нижней строке приводится должность лица, утвердившего документ, например главного инженера (архитектора) проекта, начальника отдела или другого ответственного за данный документ (лист) должностного лица.

Подписи лица, ответственного за подготовку проектной или рабочей документации (главного инженера (архитектора) проекта), являются обязательными на листах общих данных по рабочим чертежам, наиболее значимых листах графической части проектной документации и рабочих чертежей;

- в графах 11 - 13 - фамилии и подписи лиц, указанных в графе 10, и дату подписания.

Подписи других должностных лиц и согласующие подписи размещают на поле для подшивки листа;

- в графах 14 - 19 - сведения об изменениях, которые заполняют в соответствии с 7.3.21;

- в графе 20 - инвентарный номер подлинника;

- в графе 21 - подпись лица, принявшего подлинник на хранение, и дату приемки;

- в графе 22 - инвентарный номер подлинника документа, взамен которого выпущен новый подлинник;

- в графе 23 - обозначение материала детали (графу заполняют только на чертежах деталей);

- в графе 24 - массу изделия, изображенного на чертеже, в килограммах без указания единицы массы. Массу изделия в других единицах массы приводят с указанием единицы массы.

Пример - 2,4 т;

- в графе 25 - масштаб (проставляют в соответствии с ГОСТ 2.302);

- в графе 26 - обозначение формата листа по ГОСТ 2.301. Для электронного документа указывают формат листа, на котором изображение будет соответствовать установленному масштабу;

- в графе 27 - краткое наименование организации-заказчика.

Примечания

1. В графах 13, 19, 21 при указании календарной даты на бумажном носителе год указывают двумя последними цифрами, например 06.02.12.

2. Графу 27, указанную штриховой линией, вводят при необходимости.

3. Графы "Согласовано" (10 - 13), расположенные на поле для подшивки, допускается приводить только на тех листах, где это необходимо. При необходимости их повторяют.

4. Допускается, при необходимости, изменять расположение и размеры дополнительных граф, размещаемых на поле для подшивки, в соответствии с ГОСТ 2.004.

Приложение И
(обязательное)

РАСПОЛОЖЕНИЕ ОСНОВНОЙ НАДПИСИ, ДОПОЛНИТЕЛЬНЫХ ГРАФ К НЕЙ И РАЗМЕРЫ РАМОК НА ЛИСТАХ

Примечания

1. В скобках указан допускаемый размер нижней рамки.

2. Графу, указанную штриховой линией, вводят при необходимости.

Рисунок И.1. Расположение основной надписи, дополнительных граф и размеры рамок

Рисунок И.2. Допускаемое расположение основной надписи на листе формата А4

Приложение К
(обязательное)

СПЕЦИФИКАЦИИ

Форма 7

Спецификация

Форма 8

Групповая спецификация

К.1. В спецификациях указывают:

- в графе "Поз." - позиции (марки) элементов конструкций, установок;

- в графе "Обозначение" - обозначение основных документов на записываемые в спецификацию элементы конструкций, оборудование, изделия или стандартов (технических условий) на них;

- в графе "Наименование" - наименование элементов конструкций, оборудования, изделий, материалов и их обозначения (марки), а также, при необходимости, технические характеристики оборудования и изделий. Допускается на группу одноименных элементов указывать наименование один раз и подчеркивать его.

В спецификацию записывают материалы, непосредственно входящие в специфицируемую конструкцию, изделие и т.п.

В спецификации, выполненной в электронном виде, горизонтальную черту, входящую в обозначение материалов (проката, труб и т.п.), допускается заменять на косую черту (/);

- в графе "Кол." формы 7 - количество элементов.

В графе "Кол." формы 8 - вместо многоточия записывают "по схеме", "на этаж" и т.п., а ниже - порядковые номера схем расположения или этажей;

- в графе "Масса ед., кг" - массу в килограммах. Допускается приводить массу в тоннах, но с указанием единицы массы;

- в графе "Примечание" - дополнительные сведения, например, единицу массы.

К.2. Размеры граф спецификации по усмотрению разработчика, при необходимости, могут быть изменены.

К.3. При заполнении спецификаций автоматизированным способом линии, разграничивающие горизонтальные строки, допускается не проводить.

Приложение Л
(рекомендуемое)

РАЗРЕШЕНИЕ НА ВНЕСЕНИЕ ИЗМЕНЕНИЙ

Форма 9

Разрешение на внесение изменений (первый лист)

Форма 9а

Разрешение на внесение изменений (последующие листы)

Л.1. В графах разрешения указывают:

- в графе 1 - обозначение разрешения, состоящее из порядкового номера разрешения по книге регистрации разрешений по ГОСТ Р 21.1003 и через разделительный знак (дефис, наклонную черту и т.п.) - двух последних цифр года.

Пример - 15-12; 15/12;

- в графе 2 - обозначение документа, в который вносят изменение;

- в графе 3 - наименование объекта строительства;

- в графе 4 - очередной порядковый номер, присваиваемый изменениям, которые вносят в документ по одному разрешению. Его указывают для всего документа независимо от того, на скольких листах он выполнен. Порядковые номера изменений обозначают арабскими цифрами;

- в графе 5 - номера листов документа, в которые вносят изменения;

- в графе 6 - содержание изменения в виде текстового описания и/или графического изображения;

- в графе 7 - код причины изменения в соответствии с таблицей Л.1.

Таблица Л.1

Код причины изменения Причины изменения
1 Введение усовершенствований
2 Изменение стандартов и норм
3 Дополнительные требования заказчика
4 Устранение ошибок
5 Другие причины

Допускается код причины изменения не указывать. В этом случае графу прочеркивают;

- в графе 8 - дополнительные сведения;

- в графах 9 - 11 - фамилии лиц, подписывающих разрешение, их подписи и даты подписания;

- в графе 12 - наименование проектной организации и подразделения (отдела), составившего разрешение;

- в графах 13 - 16 - наименование соответствующих подразделений или организаций, должности и фамилии лиц, с которыми в установленном порядке согласовывают разрешение, их подписи и даты подписания, а также подпись нормоконтролера;

- в графе 17 - порядковый номер листа разрешения. Если разрешение состоит из одного листа, графу не заполняют;

- в графе 18 - общее количество листов разрешения.

Л.2. Допускается для последующих листов разрешения использовать форму 9.

Примечания

1. Допускается дополнять форму графами для идентификации разрешения в электронном виде. Расположение и размеры граф проектная организация устанавливает самостоятельно.

2. В графах 11, 16 при указании календарной даты на бумажном носителе год указывают двумя последними цифрами.

Приложение М
(рекомендуемое)

ТАБЛИЦЫ РЕГИСТРАЦИИ ИЗМЕНЕНИЙ

Форма 10

Таблица регистрации изменений (текстовый документ)

Таблица регистрации изменений
Изм. Номера листов (страниц) Всего листов (страниц) в док. Номер док. Подп. Дата
измененных замененных новых аннулированных

М.1. Размеры граф таблицы по форме 10 устанавливает разработчик документа.

М.2. В графах таблицы регистрации изменений указывают:

- в графе "Изм." - порядковый номер изменений документа;

- в графах "Номера листов (страниц) измененных, замененных, новых, аннулированных" - номера листов (страниц), соответственно измененных, замененных, добавленных и аннулированных по данному разрешению.

При замене всех листов подлинника (при очередном порядковом номере изменения документа) в графе "замененных" указывают "Все". В остальных графах ставят прочерк;

- в графе "Всего листов (страниц) в док." - количество листов (страниц) в текстовом документе после внесения изменений;

- в графе "Номер док." - обозначение разрешения;

- в графе "Подп." - подпись лица, ответственного за правильность внесения изменения;

- в графе "Дата" - дату внесения изменения.

М.3. При замене всех листов подлинника в таблице регистрации изменений по форме 10 не воспроизводят номера изменений и другие данные, относящееся ко всем ранее внесенным в документ изменениям.

Форма 11

Таблица регистрации изменений (титульный лист и обложка)

М.4. В графах таблицы регистрации изменений по форме 11 указывают:

- в графе "Изм." - порядковый номер изменения документа или тома;

- в графе "N док." - обозначение разрешения на внесение изменений в соответствии с указаниями в Приложении Л;

- в графе "Подп." - подпись лица, ответственного за правильность внесения изменения;

- в графе "Дата" - дату внесения изменения.

М.5. При необходимости количество строк может быть увеличено.

М.6. При замене документа или тома в таблице регистрации изменений по форме 11 не воспроизводят номера изменений и другие данные, относящиеся ко всем ранее внесенным изменениям.

Приложение Н
(рекомендуемое)

ОБЛОЖКА

Форма 12

Н.1. На обложке приводят следующие реквизиты:

- поле 1 - сокращенное, а при его отсутствии - полное наименование вышестоящей организации (при ее наличии); указывают, как правило, для государственных организаций;

- поле 2 - логотип (не обязательно), полное наименование организации, подготовившей документ;

- поле 3 - номер и дату выдачи свидетельства о допуске на соответствующие виды работ (по подготовке проектной документации или проведению изысканий), которые оказывают влияние на безопасность объекта капитального строительства;

- поле 4 - краткое наименование организации-заказчика (при необходимости). Наименование указывают в виде: "Заказчик - наименование организации-заказчика";

- поле 5 - наименование объекта капитального строительства и, при необходимости, вид строительства.

Наименование объекта строительства на титульном листе должно соответствовать сведениям, приводимым в графах 2 и 3 основной надписи (см. Приложение Ж);

- поле 6 - вид документации (при необходимости);

- поле 7 - наименование документа;

- поле 8 - обозначение документа;

- поле 9 - номер тома по ведомости "Состав проектной документации" или "Состав отчетной документации по результатам инженерных изысканий" (при наличии);

- поле 10 - год выпуска документа;

- поле 11 - для размещения таблицы регистрации изменений по форме 11 Приложения М (при необходимости).

Н.2. Размеры полей 1 - 11 устанавливают произвольно; линии полей, указанные в форме, не наносят; номера и наименования полей не указывают.

Н.3. Допускается приводить на обложке дополнительные реквизиты и атрибуты в соответствии с требованиями, установленными в стандартах организации.

Н.4. Размеры обложки принимают в зависимости от формата тома, папки или альбома, к которым она выполняется.

Приложение П
(рекомендуемое)

ТИТУЛЬНЫЙ ЛИСТ

Форма 13

П.1. На титульном листе приводят следующие реквизиты:

- поле 1 - сокращенное, а при его отсутствии - полное наименование вышестоящей организации (при ее наличии); указывают, как правило, для государственных организаций;

- поле 2 - логотип (не обязательно), полное наименование организации, подготовившей документ;

- поле 3 - номер и дату выдачи свидетельства о допуске на соответствующие виды работ (по подготовке проектной документации или проведению изысканий), которые оказывают влияние на безопасность объекта капитального строительства;

- поле 4 - краткое наименование организации-заказчика (при необходимости). Наименование указывают в виде: "Заказчик - наименование организации-заказчика";

- поле 5 - наименование объекта капитального строительства и, при необходимости, вид строительства.

Наименование объекта строительства на титульном листе должно соответствовать сведениям, приводимым в графах 2 и 3 основной надписи (см. Приложение Ж);

- поле 6 - вид документации (при необходимости);

- поле 7 - наименование документа;

- поле 8 - обозначение документа;

- поле 9 - номер тома по ведомости "Состав проектной документации" или "Состав отчетной документации по инженерным изысканиям" (при наличии);

- поле 10 - должности лиц, ответственных за разработку документа;

- поле 11 - подписи лиц, указанных на поле 8, выполняемые согласно ГОСТ Р 6.30. На этом поле также проставляют заверяющий оттиск печати организации, подготовившей документ;

- поле 12 - инициалы и фамилии лиц, указанных на поле 8;

- поле 13 - год выпуска документа;

- поле 14 - для размещения таблицы регистрации изменений по форме 11 Приложения М (при необходимости);

- поле 15 - для дополнительных граф основной надписи в соответствии с Приложением Ж. Допускается сведения, содержащиеся в этих графах, приводить в другой форме в соответствии с требованиями, установленными в стандартах организации.

П.2. Размеры полей 1 - 14 устанавливают произвольно; линии этих полей, указанные в форме, не наносят, номера и наименования полей не указывают.

П.3. Допускается оформлять титульный лист без рамок.

П.4. Допускается приводить на титульном листе дополнительные реквизиты и атрибуты в соответствии с требованиями, установленными в стандартах организации.

П.5. Размеры титульного листа принимают в зависимости от формата тома, папки или альбома, к которым он выполняется.

Приложение Р
(справочное)

ПРИМЕРЫ ВЫПОЛНЕНИЯ ТИТУЛЬНЫХ ЛИСТОВ <*>

<*> Приведенные примеры являются условными.

Рисунок Р.1. Пример выполнения титульного листа тома проектной документации

Рисунок Р.2. Пример выполнения титульного листа тома (папки) рабочей документации

Приложение С
(рекомендуемое)

СОСТАВ ПРОЕКТНОЙ ДОКУМЕНТАЦИИ. СОСТАВ ОТЧЕТНОЙ ДОКУМЕНТАЦИИ ПО РЕЗУЛЬТАТАМ ИНЖЕНЕРНЫХ ИЗЫСКАНИЙ

Форма 14

С.1. В ведомости указывают:

- в графе "Номер тома" - порядковый номер тома или номер тома, включающий в себя номер раздела и, при наличии, номер подраздела, части, книги (см. 4.1.1, 4.1.3), разделенные точками.

Пример - 1, 2.1, 2.2, 5.5.1, 5.5.2;

- в графе "Обозначение" - обозначение документа (тома), указанное на его титульном листе, и, при необходимости, наименование или различительный индекс организации, выпустившей документ;

- в графе "Наименование" - наименование документа (тома) в точном соответствии с наименованием, указанным на его титульным листе;

- в графе "Примечание" - дополнительные сведения, в том числе о внесенных изменениях.

С.2. Размеры граф ведомости по усмотрению разработчика, при необходимости, могут быть изменены.

С.3. При заполнении ведомости автоматизированным способом горизонтальные линии, разграничивающие строки, допускается не проводить.

БИБЛИОГРАФИЯ

[1] Градостроительный кодекс Российской Федерации от 29 декабря 2004 г. N 190-ФЗ

[2] Положение о составе разделов проектной документации и требованиях к их содержанию (утверждено Постановлением Правительства Российской Федерации от 16 февраля 2008 г. N 87).

Открытое акционерное общество
"Центр методологии нормирования
и стандартизации в строительстве"
(ОАО "ЦНС")

Генеральный директор
А.И.ТАРАДА

Исполнители:
Начальник отдела стандартизации
проектной документации ОАО "ЦНС"
Н.В.ТЕРЕНТЬЕВА

Начальник отдела стандартизации
и нормоконтроля ООО "Балтморпроект"
Н.И.СОРОКИН