Приказ ФНС РФ от 28.12.2011 N ММВ-7-3/985@

"Об утверждении формы налоговой декларации по налогу на игорный бизнес, Порядка ее заполнения, а также формата представления налоговой декларации по налогу на игорный бизнес в электронном виде"
Редакция от 17.04.2017 — Документ утратил силу, см. «Приказ ФНС РФ от 05.07.2021 N ЕД-7-3/634@»
Показать изменения

Зарегистрировано в Минюсте РФ 6 февраля 2012 г. N 23148


ФЕДЕРАЛЬНАЯ НАЛОГОВАЯ СЛУЖБА

ПРИКАЗ
от 28 декабря 2011 г. N ММВ-7-3/985@

ОБ УТВЕРЖДЕНИИ ФОРМЫ НАЛОГОВОЙ ДЕКЛАРАЦИИ ПО НАЛОГУ НА ИГОРНЫЙ БИЗНЕС, ПОРЯДКА ЕЕ ЗАПОЛНЕНИЯ, А ТАКЖЕ ФОРМАТА ПРЕДСТАВЛЕНИЯ НАЛОГОВОЙ ДЕКЛАРАЦИИ ПО НАЛОГУ НА ИГОРНЫЙ БИЗНЕС В ЭЛЕКТРОННОМ ВИДЕ

(в ред. Приказов ФНС РФ от 14.11.2013 N ММВ-7-3/501@, от 17.04.2017 N ММВ-7-3/315@)

В соответствии со статьей 80 Налогового кодекса Российской Федерации (Собрание законодательства Российской Федерации, 1998, N 31, ст. 3824; 1999, N 28, ст. 3487; 2001, N 53, ст. 5016; 2003, N 23, ст. 2174; 2004, N 27, ст. 2711; 2006, N 31, ст. 3436; 2007, N 1, ст. 28, ст. 31; 2010, N 31, ст. 4198; N 48, ст. 6247) в целях реализации положений главы 29 "Налог на игорный бизнес" части второй Налогового кодекса Российской Федерации (Собрание законодательства Российской Федерации, 2000, N 32, ст. 3340; 2001, N 49, ст. 4554; 2002, N 52, ст. 5138; 2004, N 27, ст. 2711, 2713; N 31, ст. 3231; 2006, N 31, ст. 3436; 2007, N 1, ст. 31; 2010, N 31, ст. 4198; 2011, N 47, ст. 6609) приказываю:

Утвердить:

форму налоговой декларации по налогу на игорный бизнес согласно приложению N 1 к настоящему приказу;

формат представления налоговой декларации по налогу на игорный бизнес в электронном виде согласно приложению N 2 к настоящему приказу;

порядок заполнения налоговой декларации по налогу на игорный бизнес согласно приложению N 3 к настоящему приказу.

Руководитель
Федеральной налоговой службы
М.В.МИШУСТИН

Приложение N 1
к приказу ФНС России
от 28.12.2011 N ММВ-7-3/985@

(в ред. Приказов ФНС РФ от 14.11.2013 N ММВ-7-3/501@, от 17.04.2017 N ММВ-7-3/315@)

  Штрихкод                                                              
      ИНН                                                      
                                                               
    0210 7011     КПП                     Стр. 0 0 1                        
                                                                                   
          Форма по КНД 1152011    
                                                                                   
            Налоговая декларация                                      
                      по налогу на игорный бизнес                                              
                                               
                                                                                   
    Номер корректировки                         Налоговый период (код)     Отчетный год                            
                                                                   
    Представляется в налоговый орган (код)
               
      по месту учета (код)                              
                                                                                   
                                                                                   
                               
                                                                                   
                                                                                   
                                                                                   
                                                                                   
                                                                                   
                                                                 
                                                                                   
  (налогоплательщик)  
                                                                                   
            Код вида экономической деятельности
по классификатору ОКВЭД
    .     .                                    
                                                        .     .                    
                                                                                   
                                                                                   
  Форма
реорганизации
      ИНН/КПП                     /                              
  (ликвидация) (код)       реорганизованной организации                                                    
                                                                                   
  Номер контактного телефона                                                              
                                                                                   
      На         страницах   с приложением подтверждающих документов или их копий на       листах                
                                                                                   
                                                                             
    Достоверность и полноту сведений, указанных в настоящей декларации, подтверждаю:     Заполняется работником налогового органа    
           
      1 - налогоплательщик,           Сведения о представлении декларации    
    2 - представитель налогоплательщика           Данная декларация представлена (код)                
                           
                                                         
                                            на       страницах                    
                                                             
                                              с приложением подтверждающих       листах    
                                              документов или их копий на                  
    (фамилия, имя, отчество <*> полностью)                                      
                                                                                 
                                    Дата представления декларации                              
                                                .     .                  
                     
                                            Зарегистрирована за N                              
                                             
                                                                                   
                                                                                   
                                                                                   
                                              Фамилия, И.О. <*>     Подпись    
                                                                                   
                 
                                                                     
                                                                     
                                                                     
  (наименование организации - представителя налогоплательщика)                            
                                                                     
  Подпись   Дата     .     .                                            
      МП (при наличии печати)                                                  
  Наименование документа, подтверждающего полномочия представителя                          
                                                                                   
                                                                                   
                                                                                   
                                                                                   
                                                                                   
  __________________________                                                                      
  <*> Отчество при наличии.
                                 
                                                                     
                                                                                   
  Штрихкод                                                              
      ИНН                                                      
                                                               
    0210 7028     КПП                     Стр.                              
                                                                                   
                                                                                   
    Раздел 1. Сумма налога, подлежащая уплате в бюджет      
                                                                                   
                                                                                   
          Показатели       Код строки         Значения показателей      
          1       2         3      
                                                                                   
    Код бюджетной классификации                 010                                                          
                                                                                   
                                                                                   
    Код ОКТМО                 020                                                          
                                                                                   
                                                                                   
    Сумма налога подлежащая уплате в бюджет (руб.)                 030                                                          
                                                                                   
                                                                                   
            Достоверность и полноту сведений, указанных на данной странице, подтверждаю:          
                                                                                   
                                (подпись)                   (дата)                
                                                                 
                                                                                   
  Штрихкод                                                            
      ИНН                                                    
                                                             
    0210 7035     КПП                     Стр.                            
                                                                                 
    Раздел 2. Расчет налога на игорный бизнес    
                                                                                 
    Показатели Код строки   Игровые столы, всего   Игровые автоматы   Процессинговые центры тотализаторов   Процессинговые центры букмекерских контор   Пункты приема ставок тотализаторов   Пункты приема ставок букмекерских контор    
                                                                                 
    Количество объектов, подлежащих   020                                                                
    налогообложению (единиц), всего                                                                        
                                                                                 
    в том числе:                                                                        
                                                                                 
    по ставке налога, установленной в   030                                                                
    соответствии с пунктом 1 статьи 369 Налогового кодекса Российской Федерации (далее - Кодекс)                                                                        
                                                                                 
    по 1/2 ставки налога,   040                                                                
    установленной в соответствии с пунктами 3 и 4 статьи 370 Кодекса                                                                        
                                                                                 
    по ставке налога, установленной в   050                                                                
    соответствии с пунктом 1 статьи 369 Кодекса с учетом абзаца 2 пункта 1 статьи 370 Кодекса                                                                        
                                                                                 
    по 1/2 ставки налога,   060                                                                
    установленной в соответствии с пунктами 3 и 4 статьи 370 Кодекса с учетом абзаца 2 пункта 1 статьи 370 Кодекса                                                                        
    Сумма исчисленного налога на игорный бизнес    
                                                                                 
    Объекты налогообложения       Код строки       Ставка налога (руб.)       Сумма исчисленного налога на игорный бизнес (руб.)    
                                                                                 
    1       2       3       4    
                                                                                 
    Игровые столы, всего       070                                                
                                                                                 
                                                                                 
    Игровые автоматы       080                                                
                                                                                 
                                                                                 
    Процессинговые центры тотализаторов       090                                                
                                                                                 
                                                                                 
    Процессинговые центры букмекерских контор       100                                                
                                                                                 
                                                                                 
    Пункты приема ставок тотализаторов       110                                                
                                                                                 
                                                                                 
    Пункты приема ставок букмекерских контор       120                                                
                                                                             
                                                                                 
  Штрихкод                                                              
      ИНН                                                      
                                                               
    0210 7042     КПП                     Стр.                              
                                                                                   
                                                                                   
    Раздел 2.1. Расчет налога на игорный бизнес по игровым столам <*>
   
                                                                                   
    Показатели             Код строки         Значение показателей      
                                                                                   
    1             2         3      
                                                                                   
    Количество имеющихся игровых полей на игровом столе             010                                          
                                                                               
                                                                                   
    Размер ставки налога на игорный бизнес в месяц, установленный законом субъекта             020                                          
    Российской Федерации в соответствии с пунктом 1 статьи 369 Кодекса (руб.)                                                                
                                                                           
                                                                               
    Размер ставки налога на игорный бизнес в месяц, установленный в соответствии             030                                          
    с пунктом 1 статьи 369 Кодекса с учетом абзаца 2 пункта 1 статьи 370 Кодекса (стр. 020 x стр. 010)                                                                
                                                                               
                                                                                   
    Количество игровых столов, имеющих количество полей, указанное в стр. 010,             040                                          
    подлежащих налогообложению (единиц), всего                                                                
                                                                     
    в том числе:                                                                
                                                                               
                                                                                   
    по ставке налога, установленной в соответствии с пунктом 1 статьи 369 Кодекса             050                                          
                                                                                   
                                                                                   
    по 1/2 ставки налога, установленной в соответствии с пунктами 3 и 4 статьи 370 Кодекса             060                                          
                                                                     
                                                                                   
    по ставке налога, установленной в соответствии с пунктом 1 статьи 369             070                                          
    Кодекса с учетом абзаца 2 пункта 1 статьи 370 Кодекса                                                                
                                                                                   
                                                                                   
    по 1/2 ставки налога, установленной в соответствии с пунктами 3 и 4 статьи 370 Кодекса             080                                          
    с учетом абзаца 2 пункта 1 статьи 370 Кодекса                                                                
                                                                                   
                                                                                   
    Сумма исчисленного налога на игорный бизнес (руб.)             090                                          
                                                                                   
                                                                                   
    <*> При наличии игровых столов с различным количеством игровых полей раздел 2.1 заполняется столько раз, сколько имеется вариантов количества игровых полей на игровых столах. При этом данные по количеству игровых столов, имеющих одинаковое количество игровых полей, и сумме исчисленного налога на игорный бизнес по данным игровым столам отражаются в разделе 2.1 на одной странице.    
                                                                                   
                                                                                   
  Штрихкод                                                              
      ИНН                                                      
                                                               
    0210 7059     КПП                     Стр.                              
                                                                                   
    Раздел 3. Изменение количества объектов налогообложения налогом на игорный бизнес за налоговый период    
                                                                                   
    Показатели   Код строки   Игровые столы, всего   Игровые автоматы   Процессинговые центры тотализаторов   Процессинговые центры букмекерских контор   Пункты приема ставок тотализаторов   Пункты приема ставок букмекерских контор      
                                                                                   
    1   2   3   4   5   6   7   8      
                                                                                   
    Количество объектов налогообложения, зарегистрированных в налоговом органе единиц):                                                                      
                                                                               
                                                                                   
    на начало налогового периода   010                                                                  
                                                                                   
    установлено до 15 числа   020                                                                  
                                                                                   
    выбыло после 15 числа   030                                                                  
                                                                                   
    установлено после 15 числа   040                                                                  
                                                                                   
    выбыло до 15 числа   050                                                                  
                                                                                   
    на конец налогового периода   060                                                                  
                                                                                   
                                                                                   
  Штрихкод                                                              
      ИНН                                                      
                                                               
    0210 7066     КПП                     Стр.                              
                                                                                   
                                                                                   
    Раздел 3.1. Изменение количества игровых столов за налоговый период <*>    
                                                                                   
    Показатели             Код строки         Значение показателей      
                                                                                   
    1             2         3      
                                                                                   
    Количество имеющихся игровых полей на игровом столе             010                                          
                                                                               
                                                                                   
    Количество игровых столов, зарегистрированных в налоговом органе (единиц):                                                                
                                                                     
    на начало налогового периода             020                                          
                                                                               
    установлено до 15 числа             030                                          
                                                                                   
    выбыло после 15 числа             040                                          
                                                                                   
    установлено после 15 числа             050                                          
                                                                                   
    выбыло до 15 числа             060                                          
                                                                                   
    на конец налогового периода             070                                          
                                                                     
                                                                                   
    <*> При наличии игровых столов с различным количеством игровых полей раздел 3.1 заполняется столько раз, сколько имеется вариантов количества игровых полей на игровых столах. При этом данные по количеству игровых столов, имеющих одинаковое количество игровых полей, отражаются в разделе 3.1 на одной странице.    
                                                                                   
                                                                                   

Приложение N 2
к приказу ФНС России
от 28.12.2011 N ММВ-7-3/985@

ФОРМАТ ПРЕДСТАВЛЕНИЯ НАЛОГОВОЙ ДЕКЛАРАЦИИ ПО НАЛОГУ НА ИГОРНЫЙ БИЗНЕС В ЭЛЕКТРОННОМ ВИДЕ

(в ред. Приказа ФНС РФ от 14.11.2013 N ММВ-7-3/501@)

I. ОБЩИЕ СВЕДЕНИЯ

1. Настоящий формат описывает требования к XML файлам (далее - файлам обмена) передачи в электронном виде сведений с данными налоговой декларации по налогу на игорный бизнес в налоговые органы в соответствии с Налоговым кодексом Российской Федерации (далее - Кодекс).

2. Номер версии настоящего формата 5.02, часть XXI. (в ред. Приказа ФНС РФ от 14.11.2013 N ММВ-7-3/501@)

II. ОПИСАНИЕ ФАЙЛА ОБМЕНА

3. Имя файла обмена должно иметь следующий вид:

R_T_A_K_O_GGGGMMDD_N, где:

R_T - префикс, принимающий значение NO_IGBISND;

A_K - идентификатор получателя информации, где:

A - идентификатор получателя, которому направляется файл обмена, K - идентификатор конечного получателя, для которого предназначена информация из данного файла обмена <*>; идентификаторы A и K имеют вид для налоговых органов - четырехразрядный код (код налогового органа в соответствии с классификатором "Система обозначений налоговых органов" (СОНО);

<*> Передача файла от отправителя к конечному получателю (K) может осуществляться в несколько этапов через другие налоговые органы, осуществляющие передачу файла на промежуточных этапах, которые обозначаются идентификатором A. В случае передачи файла от отправителя к конечному получателю при отсутствии налоговых органов, осуществляющих передачу на промежуточных этапах, значения идентификаторов A и K совпадают. Для файлов, представляемых налогоплательщиками в налоговый орган, идентификатор конечного получателя в имени файла K должен совпадать со значением атрибута "Код налогового органа" (КодНО) в представляемом файле обмена.

O - идентификатор отправителя информации, имеет вид:

для организаций - девятнадцатиразрядный код (идентификационный номер налогоплательщика (далее - ИНН) и код причины постановки на учет (далее - КПП) организации (обособленного подразделения);

для физических лиц - двенадцатиразрядный код (ИНН физического лица, при наличии. При отсутствии ИНН - последовательность из двенадцати нулей).

GGGG - год формирования передаваемого файла, MM - месяц, DD - день;

N - идентификационный номер файла. (Длина - от 1 до 36 знаков. Идентификационный номер файла должен обеспечивать уникальность файла.)

Расширение имени файла - xml. Расширение имени файла может указываться как строчными, так и прописными буквами.

Параметры первой строки файла обмена

Первая строка XML файла должна иметь следующий вид:

<?xml version ="1.0" encoding ="windows-1251"?>

Имя файла, содержащего схему файла обмена

Имя файла, содержащего XSD схему файла обмена, должно иметь следующий вид: (в ред. Приказа ФНС РФ от 14.11.2013 N ММВ-7-3/501@)

NO_IGBISND_1_021_00_05_02_xx, где xx - номер версии схемы. (в ред. Приказа ФНС РФ от 14.11.2013 N ММВ-7-3/501@)

Расширение имени файла - xsd.

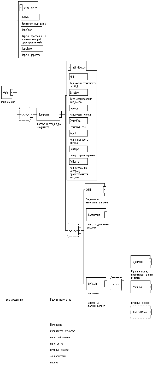
4. Логическая модель файла обмена представлена в виде диаграммы структуры файла обмена на рисунке 1 настоящего Формата. Элементами логической модели файла обмена являются элементы и атрибуты XML файла. Перечень структурных элементов логической модели файла обмена и сведения о них приведены в таблицах 4.1 - 4.18 настоящего Формата.

Для каждого структурного элемента логической модели файла обмена приводятся следующие сведения.

Наименование элемента. Приводится полное наименование элемента <*>.

<*> В строке таблицы могут быть описаны несколько элементов, наименования которых разделены символом "|". Такая форма записи применяется в случае возможного присутствия в файле обмена только одного элемента из описанных в этой строке.

Сокращенное наименование (код) элемента. Приводится сокращенное наименование элемента. Синтаксис сокращенного наименования должен удовлетворять спецификации XML.

Признак типа элемента. Может принимать следующие значения: "С" - сложный элемент логической модели (содержит вложенные элементы), "П" - простой элемент логической модели, реализованный в виде элемента XML файла, "А" - простой элемент логической модели, реализованный в виде атрибута элемента XML файла. Простой элемент логической модели не содержит вложенные элементы.

Формат элемента. Формат элемента представляется следующими условными обозначениями:

T - символьная строка; N - числовое значение (целое или дробное).

Формат символьной строки указывается в виде T(n-k) или T(=k), где:

n - минимальное количество знаков, k - максимальное количество знаков, символ "-" - разделитель, символ "=" означает фиксированное количество знаков в строке. В случае, если минимальное количество знаков равно 0, формат имеет вид T(0-k). В случае, если максимальное количество знаков не ограничено, формат имеет вид T(n-).

Формат числового значения указывается в виде N(m.k.), где:

m - максимальное количество знаков в числе, включая знак (для отрицательного числа), целую и дробную часть числа без разделяющей десятичной точки, k - максимальное число знаков дробной части числа. Если число знаков дробной части числа равно 0 (т.е. число целое), то формат числового значения имеет вид N(m).

Для простых элементов, являющихся базовыми в XML (определенными в http://www.w3.org/TR/xmlschema-0), например, элемент с типом "date", поле "Формат элемента" не заполняется. Для таких элементов в поле "Дополнительная информация" указывается тип базового элемента.

Признак обязательности элемента определяет обязательность присутствия элемента (совокупности наименования элемента и его значения) в файле обмена. Признак обязательности элемента может принимать следующие значения: "О" - наличие элемента в файле обмена обязательно; "Н" - присутствие элемента в файле обмена необязательно, т.е. элемент может отсутствовать. Если элемент принимает ограниченный перечень значений (по классификатору, кодовому словарю и т.п.), то признак обязательности элемента дополняется символом "К". Например: "ОК". В случае, если количество реализаций элемента может быть более одной, то признак обязательности элемента дополняется символом "М". Например: "НМ, ОКМ".

К вышеперечисленным признакам обязательности элемента может добавляться значение "У" в случае описания в XSD схеме условий, предъявляемых к элементу в файле обмена, описанных в графе "Дополнительная информация". Например: "НУ", "ОКУ".

Дополнительная информация. Для сложных элементов указывается ссылка на таблицу, в которой описывается состав данного элемента. Для элементов, принимающих ограниченный перечень значений из классификатора (кодового словаря и т.п.), указывается соответствующее наименование классификатора (кодового словаря и т.п.) или приводится перечень возможных значений. Для классификатора (кодового словаря и т.п.) может указываться ссылка на его местонахождение. Для элементов, использующих пользовательский тип данных, указывается наименование типового элемента.

XSD схема файла обмена в электронном виде приводится отдельным файлом и размещается на сайте Федеральной налоговой службы.

Рисунок 1. Диаграмма структуры файла обмена

Таблица 4.1

Файл обмена (Файл)

Наименование элемента Сокращенное наименование (код) элемента Признак типа элемента Формат элемента Признак обязательности элемента Дополнительная информация
Идентификатор файла ИдФайл А T(1-100) О Содержит (повторяет) имя сформированного файла (без расширения)
Версия программы, с помощью которой сформирован файл ВерсПрог А T(1-40) О  
Версия формата ВерсФорм А T(1-5) О Принимает значение: 5.02
(в ред. Приказа ФНС РФ от 14.11.2013 N ММВ-7-3/501@)
Состав и структура документа Документ С   О Состав элемента представлен в табл. 4.2

Таблица 4.2

Состав и структура документа (Документ)

Наименование элемента Сокращенное наименование (код) элемента Признак типа элемента Формат элемента Признак обязательности элемента Дополнительная информация
Код формы отчетности по КНД КНД А T(=7) ОК Типовой элемент <КНДТип>. Принимает значение: 1152011
Дата формирования документа ДатаДок А T(=10) О Типовой элемент <ДатаТип>. Дата в формате ДД.ММ.ГГГГ
Налоговый период Период А T(=2) ОК Принимает значение: 01 - январь |
          02 - февраль |
          03 - март |
          04 - апрель |
          05 - май |
          06 - июнь |
          07 - июль |
          08 - август |
          09 - сентябрь |
          10 - октябрь |
          11 - ноябрь |
          12 - декабрь |
          50 - последний налоговый период при реорганизации (ликвидации) организации |
          71 - за январь при реорганизации (ликвидации) организации |
          72 - за февраль при реорганизации (ликвидации) организации |
          73 - за март при реорганизации (ликвидации) организации |
          74 - за апрель при реорганизации (ликвидации) организации |
          75 - за май при реорганизации (ликвидации) организации |
          76 - за июнь при реорганизации (ликвидации) организации |
          77 - за июль при реорганизации (ликвидации) организации |
          78 - за август при реорганизации (ликвидации) организации |
          79 - за сентябрь при реорганизации (ликвидации) организации |
          80 - за октябрь при реорганизации (ликвидации) организации |
          81 - за ноябрь при реорганизации (ликвидации) организации |
          82 - за декабрь при реорганизации (ликвидации) организации
Отчетный год ОтчетГод А   О Типовой элемент <xs:gYear>. Год в формате ГГГГ
Код налогового органа КодНО А T(=4) ОК Типовой элемент <СОНОТип>. Значение выбирается в соответствии с классификатором "Система обозначений налоговых органов"
Номер корректировки НомКорр А T(1-3) О Принимает значение: 0 - первичный документ, 1 - 999 - номер корректировки для корректирующего документа
Код места, по которому представляется документ ПоМесту А T(=3) ОК Принимает значение: 213 - по месту учета в качестве крупнейшего налогоплательщика |
          214 - по месту нахождения российской организации, не являющейся крупнейшим налогоплательщиком |
          215 - по месту нахождения правопреемника, не являющегося крупнейшим налогоплательщиком |
          216 - по месту учета правопреемника, являющегося крупнейшим налогоплательщиком |
          220 - по месту нахождения обособленного подразделения российской организации |
          331 - по месту осуществления деятельности иностранной организации через отделение иностранной организации
Сведения о налогоплательщике СвНП С   О Состав элемента представлен в табл. 4.3
Лицо, подписавшее документ Подписант С   О Состав элемента представлен в табл. 4.6
Налоговая декларация по налогу на игорный бизнес ИгБизНД С   О Состав элемента представлен в табл. 4.8

Таблица 4.3

Сведения о налогоплательщике (СвНП)

Наименование элемента Сокращенное наименование (код) элемента Признак типа элемента Формат элемента Признак обязательности элемента Дополнительная информация
Код вида экономической деятельности по классификатору ОКВЭД ОКВЭД А T(1-8) ОК Типовой элемент <ОКВЭДТип>. Принимает значение в соответствии с Общероссийским классификатором видов экономической деятельности
Номер контактного телефона Тлф А T(1-20) Н  
Налогоплательщик - организация НПЮЛ С   О Состав элемента представлен в табл. 4.4

Таблица 4.4

Налогоплательщик - организация (НПЮЛ)

Наименование элемента Сокращенное наименование (код) элемента Признак типа элемента Формат элемента Признак обязательности элемента Дополнительная информация
Наименование организации НаимОрг А T(1-1000) О  
ИНН организации ИННЮЛ А T(=10) О Типовой элемент <ИННЮЛТип>
КПП КПП А T(=9) О Типовой элемент <КППТип>
Сведения о реорганизованной (ликвидированной) организации СвРеоргЮЛ С   Н Состав элемента представлен в табл. 4.5

Таблица 4.5

Сведения о реорганизованной (ликвидированной) организации (СвРеоргЮЛ)

Наименование элемента Сокращенное наименование (код) элемента Признак типа элемента Формат элемента Признак обязательности элемента Дополнительная информация
Код формы реорганизации (ликвидация) ФормРеорг А T(=1) ОК Принимает значение:
        0 - ликвидация |
          1 - преобразование |
          2 - слияние |
          3 - разделение |
          5 - присоединение |
          6 - разделение с одновременным присоединением
ИНН организации ИННЮЛ А T(=10) НУ Типовой элемент <ИННЮЛТип>. Элемент обязателен при <ФормРеорг> = 1 | 2 | 3 | 5 | 6
КПП КПП А T(=9) НУ Типовой элемент <КППТип>. Элемент обязателен при <ФормРеорг> = 1 | 2 | 3 | 5 | 6

Таблица 4.6

Лицо, подписавшее документ (Подписант)

Наименование элемента Сокращенное наименование (код) элемента Признак типа элемента Формат элемента Признак обязательности элемента Дополнительная информация
Признак лица, подписавшего документ ПрПодп А T(=1) ОК Принимает значение: 1 - налогоплательщик | 2 - представитель налогоплательщика
Фамилия, имя, отчество ФИО С   О Типовой элемент <ФИОТип>. Состав элемента представлен в табл. 4.18
Сведения о представителе налогоплательщика СвПред С   НУ Состав элемента представлен в табл. 4.7. Обязательно для <ПрПодп> = 2

Таблица 4.7

Сведения о представителе налогоплательщика (СвПред)

Наименование элемента Сокращенное наименование (код) элемента Признак типа элемента Формат элемента Признак обязательности элемента Дополнительная информация
Наименование документа, подтверждающего полномочия представителя НаимДок А T(1-120) О  
Наименование организации - представителя налогоплательщика НаимОрг А T(1-1000) Н  

Таблица 4.8

Налоговая декларация по налогу на игорный бизнес (ИгБизНД)

Наименование элемента Сокращенное наименование (код) элемента Признак типа элемента Формат элемента Признак обязательности элемента Дополнительная информация
Сумма налога, подлежащая уплате в бюджет СумНалПУ С   О Состав элемента представлен в табл. 4.9
Расчет налога на игорный бизнес РасчНал С   О Состав элемента представлен в табл. 4.10
Изменение количества объектов налогообложения налогом на игорный бизнес за налоговый период ИзмКолОбПер С   Н Состав элемента представлен в табл. 4.13

Таблица 4.9

Сумма налога, подлежащая уплате в бюджет (СумНалПУ)

Наименование элемента Сокращенное наименование (код) элемента Признак типа элемента Формат элемента Признак обязательности элемента Дополнительная информация
Код бюджетной классификации КБК А T(=20) ОК Типовой элемент <КБКТип>. Принимает значение в соответствии с классификатором кодов классификации доходов бюджетов Российской Федерации
Код по ОКТМО ОКТМО А T(=8)| ОК Типовой элемент <ОКТМОТип>.
      T(=11)   Принимает значение в
  соответствии с
Общероссийским
классификатором территорий
муниципальных образований
(в ред. Приказа ФНС РФ от 14.11.2013 N ММВ-7-3/501@)
Сумма налога, подлежащая уплате в бюджет НалПУ А N(15) О  

Таблица 4.10

Расчет налога на игорный бизнес (РасчНал)

Наименование элемента Сокращенное наименование (код) элемента Признак типа элемента Формат элемента Признак обязательности элемента Дополнительная информация
Расчет налога на игорный бизнес по игровым столам, всего РасчНалСтВс С   Н Состав элемента представлен в табл. 4.11
Расчет налога на игорный бизнес по игровым автоматам РасчНалАвт С   Н Типовой элемент <РасчНалТип>. Состав элемента представлен в табл. 4.16
Расчет налога на игорный бизнес по процессинговым центрам тотализаторов РасчНалПЦТот С   Н Типовой элемент <РасчНалТип>. Состав элемента представлен в табл. 4.16
Расчет налога на игорный бизнес по процессинговым центрам букмекерских контор РасчНалПЦБук С   Н Типовой элемент <РасчНалТип>. Состав элемента представлен в табл. 4.16
Расчет налога на игорный бизнес по пунктам приема ставок тотализаторов РасчНалПрТот С   Н Типовой элемент <РасчНалТип>. Состав элемента представлен в табл. 4.16
Расчет налога на игорный бизнес по пунктам приема ставок букмекерских контор РасчНалПрБук С   Н Типовой элемент <РасчНалТип>. Состав элемента представлен в табл. 4.16

Таблица 4.11

Расчет налога на игорный бизнес по игровым столам, всего (РасчНалСтВс)

Наименование элемента Сокращенное наименование (код) элемента Признак типа элемента Формат элемента Признак обязательности элемента Дополнительная информация
Количество объектов, подлежащих налогообложению (единиц), всего КолОбВсего А N(4) О  
Количество объектов, подлежащих налогообложению по ставке налога, установленной в соответствии с пунктом 1 статьи 369 Кодекса КолОб_369.1 А N(4) Н  
Количество объектов, подлежащих налогообложению по 1/2 ставки налога, установленной в соответствии с пунктами 3 и 4 статьи 370 Кодекса КолОб_370.34 А N(4) Н  
Количество объектов, подлежащих налогообложению по ставке налога, установленной в соответствии с пунктом 1 статьи 369 Кодекса с учетом абзаца 2 пункта 1 статьи 370 Кодекса КолОбУч_370.1.2 А N(4) Н  
Количество объектов, подлежащих налогообложению по 1/2 ставки налога, установленной в соответствии с пунктами 3 и 4 статьи 370 Кодекса с учетом абзаца 2 пункта 1 статьи 370 Кодекса КолОбУч_370.34 А N(4) Н  
Сумма исчисленного налога на игорный бизнес по игровым столам, всего НалИсчисл А N(10) О  
Расчет налога на игорный бизнес по игровым столам РасчНалСт С   ОМ Состав элемента представлен в табл. 4.12

Таблица 4.12

Расчет налога на игорный бизнес по игровым столам (РасчНалСт)

Наименование элемента Сокращенное наименование (код) элемента Признак типа элемента Формат элемента Признак обязательности элемента Дополнительная информация
Количество имеющихся игровых полей на игровом столе КолПолей А N(2) О  
Размер ставки налога на игорный бизнес в месяц, установленный законом субъекта Российской Федерации в соответствии с пунктом 1 статьи 369 Кодекса СтавНал_369.1 А N(6) Н  
Размер ставки налога на игорный бизнес в месяц, установленный в соответствии с пунктом 1 статьи 369 Кодекса с учетом абзаца 2 пункта 1 статьи 370 Кодекса СтавНалУч_370.1.2 А N(7) Н  
Количество игровых столов, имеющих указанное количество полей, подлежащих налогообложению (единиц), всего КолПолВсего А N(4) О  
Количество игровых столов, имеющих указанное количество полей, подлежащих налогообложению по ставке налога, установленной в соответствии с пунктом 1 статьи 369 Кодекса КолПол_369.1 А N(4) Н  
Количество игровых столов, имеющих указанное количество полей, подлежащих налогообложению по 1/2 ставки налога, установленной в соответствии с пунктами 3 и 4 статьи 370 Кодекса КолПол_370.34 А N(4) Н  
Количество игровых столов, имеющих указанное количество полей, подлежащих налогообложению по ставке налога, установленной в соответствии с пунктом 1 статьи 369 Кодекса с учетом абзаца 2 пункта 1 статьи 370 Кодекса КолПолУч_370.1.2 А N(4) Н  
Количество игровых столов, имеющих указанное количество полей, подлежащих налогообложению по 1/2 ставки налога, установленной в соответствии с пунктами 3 и 4 статьи 370 Кодекса с учетом абзаца 2 пункта 1 статьи 370 Кодекса КолПолУч_370.34 А N(4) Н  
Сумма исчисленного налога на игорный бизнес (по игровым столам, имеющим указанное количество полей) НалИсчисл А N(10) О  

Таблица 4.13

Изменение количества объектов налогообложения налогом на игорный бизнес за налоговый период (ИзмКолОбПер)

Наименование элемента Сокращенное наименование (код) элемента Признак типа элемента Формат элемента Признак обязательности элемента Дополнительная информация
Изменение количества объектов налогообложения налогом на игорный бизнес за налоговый период - игровые столы, всего ИзмКолСтВс С   Н Состав элемента представлен в табл. 4.14
Изменение количества объектов налогообложения налогом на игорный бизнес за налоговый период - игровые автоматы ИзмКолАвт С   Н Типовой элемент <ИзмКолОбТип>. Состав элемента представлен в табл. 4.17
Изменение количества объектов налогообложения налогом на игорный бизнес за налоговый период - процессинговые центры тотализаторов ИзмКолПЦТот С   Н Типовой элемент <ИзмКолОбТип>. Состав элемента представлен в табл. 4.17
Изменение количества объектов налогообложения налогом на игорный бизнес за налоговый период - процессинговые центры букмекерских контор ИзмКолПЦБук С   Н Типовой элемент <ИзмКолОбТип>. Состав элемента представлен в табл. 4.17
Изменение количества объектов налогообложения налогом на игорный бизнес за налоговый период - пункты приема ставок тотализаторов ИзмКолПрТот С   Н Типовой элемент <ИзмКолОбТип>. Состав элемента представлен в табл. 4.17
Изменение количества объектов налогообложения налогом на игорный бизнес за налоговый период - пункты приема ставок букмекерских контор ИзмКолПрБук С   Н Типовой элемент <ИзмКолОбТип>. Состав элемента представлен в табл. 4.17

Таблица 4.14

Изменение количества объектов налогообложения налогом на игорный бизнес за налоговый период - игровые столы, всего (ИзмКолСтВс)

Наименование элемента Сокращенное наименование (код) элемента Признак типа элемента Формат элемента Признак обязательности элемента Дополнительная информация
Количество объектов налогообложения, зарегистрированных в налоговом органе (единиц) - на начало налогового периода КолОбНачПер А N(4) О  
Количество объектов налогообложения, зарегистрированных в налоговом органе (единиц) - установлено до 15 числа КолОбУстДо15 А N(4) Н  
Количество объектов налогообложения, зарегистрированных в налоговом органе (единиц) - выбыло после 15 числа КолОбВыбПос15 А N(4) Н  
Количество объектов налогообложения, зарегистрированных в налоговом органе (единиц) - установлено после 15 числа КолОбУстПос15 А N(4) Н  
Количество объектов налогообложения, зарегистрированных в налоговом органе (единиц) - выбыло до 15 числа КолОбВыбДо15 А N(4) Н  
Количество объектов налогообложения, зарегистрированных в налоговом органе (единиц) - на конец налогового периода КолОбКонПер А N(4) О  
Изменение количества игровых столов за налоговый период ИзмКолСт С   ОМ Состав элемента представлен в табл. 4.15

Таблица 4.15

Изменение количества игровых столов за налоговый период (ИзмКолСт)

Наименование элемента Сокращенное наименование (код) элемента Признак типа элемента Формат элемента Признак обязательности элемента Дополнительная информация
Количество имеющихся игровых полей на игровом столе КолПолей А N(2) О  
Количество игровых столов, зарегистрированных в налоговом органе (единиц) - на начало налогового периода КолСтНачПер А N(4) О  
Количество игровых столов, зарегистрированных в налоговом органе (единиц) - установлено до 15 числа КолСтУстДо15 А N(4) Н  
Количество игровых столов, зарегистрированных в налоговом органе (единиц) - выбыло после 15 числа КолСтВыбПос15 А N(4) Н  
Количество игровых столов, зарегистрированных в налоговом органе (единиц) - установлено после 15 числа КолСтУстПос15 А N(4) Н  
Количество игровых столов, зарегистрированных в налоговом органе (единиц) - выбыло до 15 числа КолСтВыбДо15 А N(4) Н  
Количество игровых столов, зарегистрированных в налоговом органе (единиц) - на конец налогового периода КолСтКонПер А N(4) О  

Таблица 4.16

Расчет налога на игорный бизнес (РасчНалТип)

Наименование элемента Сокращенное наименование (код) элемента Признак типа элемента Формат элемента Признак обязательности элемента Дополнительная информация
Ставка налога СтавНал А N(6) О  
Количество объектов, подлежащих налогообложению (единиц), всего КолОбВсего А N(4) О  
Количество объектов, подлежащих налогообложению по ставке налога, установленной в соответствии с пунктом 1 статьи 369 Кодекса КолОб_369.1 А N(4) Н  
Количество объектов, подлежащих налогообложению по 1/2 ставки налога, установленной в соответствии с пунктами 3 и 4 статьи 370 Кодекса КолОб_370.34 А N(4) Н  
Сумма исчисленного налога на игорный бизнес, всего НалИсчисл А N(10) О  

Таблица 4.17

Изменение количества объектов налогообложения налогом на игорный бизнес за налоговый период (ИзмКолОбТип)

Наименование элемента Сокращенное наименование (код) элемента Признак типа элемента Формат элемента Признак обязательности элемента Дополнительная информация
Количество объектов налогообложения, зарегистрированных в налоговом органе (единиц) - на начало налогового периода КолОбНачПер А N(4) О  
Количество объектов налогообложения, зарегистрированных в налоговом органе (единиц) - установлено до 15 числа КолОбУстДо15 А N(4) Н  
Количество объектов налогообложения, зарегистрированных в налоговом органе (единиц) - выбыло после 15 числа КолОбВыбПос15 А N(4) Н  
Количество объектов налогообложения, зарегистрированных в налоговом органе (единиц) - установлено после 15 числа КолОбУстПос15 А N(4) Н  
Количество объектов налогообложения, зарегистрированных в налоговом органе (единиц) - выбыло до 15 числа КолОбВыбДо15 А N(4) Н  
Количество объектов налогообложения, зарегистрированных в налоговом органе (единиц) - на конец налогового периода КолОбКонПер А N(4) О  

Таблица 4.18

Фамилия, Имя, Отчество (ФИОТип)

Наименование элемента Сокращенное наименование (код) элемента Признак типа элемента Формат элемента Признак обязательности элемента Дополнительная информация
Фамилия Фамилия А T(1-60) О  
Имя Имя А T(1-60) О  
Отчество Отчество А T(1-60) Н  

Приложение N 3
к приказу ФНС России
от 28.12.2011 N ММВ-7-3/985@

ПОРЯДОК ЗАПОЛНЕНИЯ НАЛОГОВОЙ ДЕКЛАРАЦИИ ПО НАЛОГУ НА ИГОРНЫЙ БИЗНЕС

(в ред. Приказов ФНС РФ от 14.11.2013 N ММВ-7-3/501@, от 17.04.2017 N ММВ-7-3/315@)

I. Состав налоговой декларации по налогу на игорный бизнес

1.1. Налоговая декларация по налогу на игорный бизнес (далее - декларация) заполняется налогоплательщиками - организациями, осуществляющими предпринимательскую деятельность в сфере игорного бизнеса.

1.2. Декларация состоит из:

Титульного листа;

Раздела 1 "Сумма налога, подлежащая уплате в бюджет";

Раздела 2 "Расчет налога на игорный бизнес";

Раздела 2.1 "Расчет налога на игорный бизнес по игровым столам";

Раздела 3 "Изменение количества объектов налогообложения налогом на игорный бизнес за налоговый период";

Раздела 3.1 "Изменение количества игровых столов за налоговый период".

II. Общие требования к порядку заполнения и представления декларации

2.1. Все значения стоимостных показателей декларации указываются в полных рублях. Значения показателей менее 50 копеек отбрасываются, а 50 копеек и более округляются до полного рубля.

2.2. Страницы декларации имеют сквозную нумерацию, начиная с Титульного листа. Порядковый номер страницы записывается в определенном для нумерации поле слева направо, начиная с первого (левого) знакоместа.

Показатель номера страницы (поле "Стр."), имеющий три знакоместа, записывается следующим образом:

например: для первой страницы - "001"; для десятой страницы - "010".

2.3. При заполнении декларации должны использоваться чернила черного, фиолетового или синего цвета.

Не допускается исправление ошибок с помощью корректирующего или иного аналогичного средства.

Не допускается двусторонняя печать декларации на бумажном носителе и скрепление листов декларации, приводящее к порче бумажного носителя.

2.4. Каждому показателю декларации в утвержденной машиноориентированной форме соответствует одно поле, состоящее из определенного количества знакомест. В каждом поле указывается только один показатель.

Исключение составляет показатель, значением которого является дата. Для указания даты используются по порядку три поля: день (поле из двух знакомест), месяц (поле из двух знакомест) и год (поле из четырех знакомест), разделенные знаком "точка".

Заполнение полей декларации значениями текстовых, числовых, кодовых показателей осуществляется слева направо, начиная с первого (левого) знакоместа.

При заполнении полей декларации с использованием программного обеспечения значения числовых показателей выравниваются по правому (последнему) знакоместу.

Заполнение текстовых полей декларации осуществляется заглавными печатными символами.

В случае отсутствия какого-либо показателя во всех знакоместах соответствующего поля проставляется прочерк. Прочерк представляет собой прямую линию, проведенную посередине знакомест по всей длине поля.

Если для указания какого-либо показателя не требуется заполнения всех знакомест соответствующего поля, в незаполненных знакоместах в правой части поля проставляется прочерк. Например: при указании десятизначного ИНН организации "5024002119" в поле "ИНН" из двенадцати знакомест показатель заполняется следующим образом: "5024002119--".

При представлении декларации, подготовленной с использованием программного обеспечения, при распечатке на принтере допускается отсутствие обрамления знакомест и прочерков для незаполненных знакомест. Расположение и размеры значений показателей не должны изменяться. Печать знаков должна выполняться шрифтом Courier New высотой 16 - 18 пунктов.

2.5. Декларация за истекший налоговый период (календарный месяц) представляется налогоплательщиком в налоговый орган по месту регистрации объектов налогообложения налогом на игорный бизнес не позднее 20-го числа месяца, следующего за истекшим налоговым периодом (пункта 2 статьи 370 Налогового кодекса Российской Федерации (далее - Кодекс)). Декларация заполняется с учетом изменения количества объектов налогообложения за истекший налоговый период.

2.6. Налогоплательщики, в соответствии со статьей 83 Кодекса отнесенные к категории крупнейших, представляют декларации в налоговый орган по месту учета в качестве крупнейших налогоплательщиков.

2.7. Срок представления декларации, приходящийся на выходной (нерабочий) или праздничный день, переносится на первый рабочий день после выходного или праздничного дня.

2.8. Декларация может быть представлена налогоплательщиком в налоговый орган лично или через его представителя, направлена в виде почтового отправления с описью вложения или передана в электронном виде по телекоммуникационным каналам связи в соответствии со статьей 80 Кодекса.

Возможно представление декларации на бумажном носителе с приложением съемного носителя, содержащего данные в электронном виде установленного формата, или на бумажном носителе с использованием двумерного штрих-кода.

В электронном виде по телекоммуникационным каналам связи декларация представляется по установленным форматам с электронной цифровой подписью в соответствии с Порядком представления налоговой декларации в электронном виде по телекоммуникационным каналам связи, утвержденным приказом Министерства Российской Федерации по налогам и сборам от 2 апреля 2002 г. N БГ-3-32/169 "Об утверждении Порядка представления налоговой декларации в электронном виде по телекоммуникационным каналам связи" (зарегистрирован Министерством юстиции Российской Федерации 16 мая 2002 г., регистрационный номер 3437; "Российская газета", 2002, N 89).

При отправке декларации по почте днем ее представления считается дата отправки почтового отправления с описью вложения. При передаче декларации по телекоммуникационным каналам связи днем ее представления считается дата ее отправки.

При получении декларации по телекоммуникационным каналам связи налоговый орган обязан передать налогоплательщику квитанцию о ее приеме в электронном виде.

2.9. При заполнении декларации в верхней части каждой страницы указываются идентификационный номер налогоплательщика (далее - ИНН) и код причины постановки на учет (далее - КПП) организации в соответствии с пунктом 3.2 настоящего Порядка.

2.10. При представлении декларации организацией-правопреемником в декларации за последний налоговый период, а также в уточненных декларациях за реорганизованную организацию (в форме присоединения к другому юридическому лицу, слияния нескольких юридических лиц, разделения юридического лица, преобразования одного юридического лица в другое) в Титульном листе по реквизиту "по месту учета" указывается код "215" или "216" (Приложение N 3 к настоящему Порядку), а в верхней его части указываются ИНН и КПП организации-правопреемника. В реквизите "налогоплательщик" указывается наименование реорганизованной организации.

В реквизите "ИНН/КПП реорганизованной организации" указываются ИНН и КПП, которые были присвоены организации до реорганизации налоговым органом по месту ее нахождения (по месту постановки на учет в качестве налогоплательщика налога на игорный бизнес).

В Разделе 1 декларации указывается код Общероссийского классификатора территорий муниципальных образований ОК 033-2013 (далее - код ОКТМО) того муниципального образования, на территории которого находилась (состояла на учете в качестве налогоплательщика налога на игорный бизнес) реорганизованная организация. (в ред. Приказа ФНС РФ от 14.11.2013 N ММВ-7-3/501@)

Коды форм реорганизации и код ликвидации организации приведены в Приложении N 2 к настоящему Порядку.

III. Порядок заполнения Титульного листа декларации

3.1. Титульный лист декларации заполняется налогоплательщиком, за исключением раздела "Заполняется работником налогового органа".

3.2. При заполнении Титульного листа необходимо указать:

1) ИНН, а также КПП, который присвоен организации тем налоговым органом, в который представляется декларация (особенности указания ИНН и КПП по реорганизованным организациям предусмотрены в пункте 2.10 настоящего Порядка).

Для российской организации указываются:

ИНН и КПП по месту нахождения организации - согласно Свидетельству о постановке на учет в налоговом органе юридического лица, образованного в соответствии с законодательством Российской Федерации, по месту нахождения на территории Российской Федерации по форме N 12-1-7, утвержденной приказом Министерства Российской Федерации по налогам и сборам от 27 ноября 1998 г. N ГБ-3-12/309 "Об утверждении Порядка и условий присвоения, применения, а также изменения идентификационного номера налогоплательщика и форм документов, используемых при учете в налоговом органе юридических и физических лиц" (зарегистрирован Министерством юстиции Российской Федерации 22 декабря 1998 г., регистрационный номер 1664; "Бюллетень нормативных актов федеральных органов исполнительной власти", 1999, N 1) (далее - приказ МНС России от 27 ноября 1998 г. N ГБ-3-12/309) <*>, или Свидетельству о постановке на учет юридического лица в налоговом органе по месту нахождения на территории Российской Федерации по форме N 09-1-2, утвержденной приказом Министерства Российской Федерации по налогам и сборам от 3 марта 2004 г. N БГ-3-09/178 "Об утверждении Порядка и условий присвоения, применения, а также изменения идентификационного номера налогоплательщика и форм документов, используемых при постановке на учет, снятии с учета юридических и физических лиц" (зарегистрирован Министерством юстиции Российской Федерации 24 марта 2004 г., регистрационный номер 5685; "Российская газета", 2004, N 64), с изменениями, внесенными приказом Министерства финансов Российской Федерации от 5 ноября 2009 г. N 114н (зарегистрирован Министерством юстиции Российской Федерации 28 января 2010 г., регистрационный номер 16121; "Российская газета", 2010, N 27) (далее - приказ МНС России от 3 марта 2004 г. N БГ-3-09/178), или согласно Свидетельству о постановке на учет российской организации в налоговом органе по месту нахождения на территории Российской Федерации по форме N 1-1-Учет, утвержденной приказом Федеральной налоговой службы от 1 декабря 2006 г. N САЭ-3-09/826@ "Об утверждении форм документов, используемых при постановке на учет и снятии с учета российских организаций и физических лиц" (зарегистрирован Министерством юстиции Российской Федерации 27 декабря 2006 г., регистрационный номер 8683; "Российская газета", 2007, N 4), с изменениями, внесенными приказами Федеральной налоговой службы от 16 июля 2008 г. N ММ-3-6/314@ (зарегистрирован Министерством юстиции Российской Федерации 31 июля 2008 г., регистрационный номер 12064; "Российская газета", 2008, N 168) и от 15 февраля 2010 г. N ММ-7-6/54@ (зарегистрирован Министерством юстиции Российской Федерации 23 марта 2010 г., регистрационный номер 16695; "Российская газета", 2010, N 66) (далее - приказ ФНС России от 1 декабря 2006 г. N САЭ-3-09/826@) <**>, или согласно Свидетельству о постановке на учет российской организации в налоговом органе по месту ее нахождения по форме N 1-1-Учет, утвержденной приказом Федеральной налоговой службы от 11 августа 2011 г. N ЯК-7-6/488@ "Об утверждении форм и форматов документов, используемых при постановке на учет и снятии с учета российских организаций и физических лиц, в том числе индивидуальных предпринимателей, в налоговых органах, а также порядка заполнения форм документов и порядка направления налоговым органом организации или физическому лицу, в том числе индивидуальному предпринимателю, свидетельства о постановке на учет в налоговом органе и (или) уведомления о постановке на учет в налоговом органе (уведомления о снятии с учета в налоговом органе) в электронном виде по телекоммуникационным каналам связи" (зарегистрирован Министерством юстиции Российской Федерации 14 сентября 2011 г., регистрационный номер 21794; "Российская газета", 2011, N 213) (далее - приказ ФНС России от 11 августа 2011 г. N ЯК-7-6/488@);

<*> Приказ МНС России от 27 ноября 1998 г. N ГБ-3-12/309 утратил силу в соответствии с пунктом 4 приказа МНС России от 3 марта 2004 г. N БГ-3-09/178.

<**> Приказ ФНС России от 1 декабря 2006 г. N САЭ-3-09/826@ утратил силу в соответствии с пунктом 4 приказа ФНС России от 11 августа 2011 г. N ЯК-7-6/488@.

КПП по месту постановки на учет в качестве налогоплательщика налога на игорный бизнес - согласно Уведомлению о постановке на учет в налоговом органе юридического лица по форме N 09-1-3, утвержденной приказом МНС России от 3 марта 2004 г. N БГ-3-09/178, или согласно Уведомлению о постановке на учет российской организации в налоговом органе на территории Российской Федерации по форме N 1-3-Учет, утвержденной приказом ФНС России от 1 декабря 2006 г. N САЭ-3-09/826@ или приказом ФНС России от 11 августа 2011 г. N ЯК-7-6/488@.

Для иностранной организации ИНН и КПП по месту нахождения отделения иностранной организации, осуществляющей деятельность на территории Российской Федерации, указываются на основании Свидетельства о постановке на учет в налоговом органе по форме N 2401ИМД и (или) Информационного письма об учете в налоговом органе отделения иностранной организации по форме N 2201И, утвержденных приказом Министерства Российской Федерации по налогам и сборам от 7 апреля 2000 г. N АП-3-06/124 "Об утверждении Положения об особенностях учета в налоговых органах иностранных организаций" (зарегистрирован Министерством юстиции Российской Федерации 2 июня 2000 г., регистрационный номер 2258; "Бюллетень нормативных актов федеральных органов исполнительной власти", 2000, N 25), с изменениями, внесенными приказом Министерства финансов Российской Федерации от 30 сентября 2010 г. N 117н (зарегистрирован Министерством юстиции Российской Федерации 11 ноября 2010 г., регистрационный номер 18935; "Российская газета", 2010, N 265) (далее - приказ МНС России от 7 апреля 2000 г. N АП-3-06/124).

В связи с утратой силы формы N 2401ИМД, следует руководствоваться принятой взамен формой N 11СВ-Учет.

ИНН и КПП крупнейшими налогоплательщиками указываются на основании Уведомления о постановке на учет в налоговом органе юридического лица в качестве крупнейшего налогоплательщика по форме N 9-КНУ, утвержденной приказом Федеральной налоговой службы от 26 апреля 2005 г. N САЭ-3-09/178@ "Об утверждении формы N 9-КНУ "Уведомление о постановке на учет в налоговом органе юридического лица в качестве крупнейшего налогоплательщика" (зарегистрирован Министерством юстиции Российской Федерации 25 мая 2005 г., регистрационный N 6638; "Бюллетень нормативных актов федеральных органов исполнительной власти", 2005, N 23).

ИНН и КПП по реквизиту "ИНН/КПП реорганизованной организации" указываются с учетом положений пункта 2.10 настоящего Порядка;

2) номер корректировки.

При представлении в налоговый орган первичной декларации по реквизиту "номер корректировки" проставляется "0--", при представлении уточненной декларации - указывается номер корректировки (например, "1--", "2--" и т.д.).

При обнаружении налогоплательщиком в поданной им в налоговый орган декларации факта неотражения или неполноты отражения сведений, а также ошибок, приводящих к занижению суммы налога, подлежащей уплате, налогоплательщик обязан внести необходимые изменения в декларацию и представить в налоговый орган уточненную декларацию в порядке, установленном статьей 81 Кодекса.

При обнаружении налогоплательщиком в поданной им в налоговый орган декларации недостоверных сведений, а также ошибок, не приводящих к занижению суммы налога, подлежащей уплате, налогоплательщик вправе внести необходимые изменения в декларацию и представить в налоговый орган уточненную декларацию в порядке, установленном статьей 81 Кодекса. При этом уточненная декларация, представленная после истечения установленного срока подачи декларации, не считается представленной с нарушением срока.

Уточненная декларация представляется в налоговый орган по форме, действовавшей в налоговый период, за который вносятся соответствующие изменения. При перерасчете налоговой базы и суммы налога на игорный бизнес не учитываются результаты налоговых проверок, проведенных налоговым органом за тот налоговый период, по которому производится перерасчет налоговой базы и суммы налога.

В случае невозможности определения периода совершения ошибок (искажений) перерасчет налоговой базы и суммы налога на игорный бизнес производится за налоговый период, в котором выявлены ошибки (искажения);

3) налоговый период, за который представляется декларация.

Коды, определяющие налоговый период, приведены в Приложении N 1 к настоящему Порядку;

4) отчетный год, за который представляется декларация;

5) код налогового органа, в который представляется декларация согласно документам о постановке на учет в налоговом органе, приведенным в пункте 3.2 настоящего Порядка;

6) код места представления декларации по месту учета налогоплательщика в соответствии с приказом Министерства финансов Российской Федерации от 8 апреля 2005 г. N 55н "О порядке постановки на учет налогоплательщиков налога на игорный бизнес" (зарегистрирован Министерством юстиции Российской Федерации 26 апреля 2005 г., регистрационный номер 6554; "Бюллетень нормативных актов федеральных органов исполнительной власти", 2005, N 20) согласно Приложению N 3 к настоящему Порядку;

7) полное наименование организации в соответствии с ее учредительными документами (при наличии в наименовании латинской транскрипции таковая указывается);

8) код вида экономической деятельности налогоплательщика согласно Общероссийскому классификатору видов экономической деятельности ОК029-2001 (ОКВЭД);

9) код реорганизации (ликвидации) в соответствии с Приложением N 2 к настоящему Порядку;

10) ИНН/КПП реорганизованной организации в соответствии с пунктом 2.10 настоящего Порядка;

11) номер контактного телефона налогоплательщика;

12) количество страниц, на которых составлена декларация;

13) количество листов подтверждающих документов или их копий, включая документы или их копии, подтверждающие полномочия представителя налогоплательщика (в случае представления декларации представителем налогоплательщика), приложенных к декларации.

3.3. В разделе Титульного листа "Достоверность и полноту сведений, указанных в настоящей декларации, подтверждаю" указывается:

1) в случае подтверждения достоверности и полноты сведений в декларации руководителем организации-налогоплательщика - "1"; в случае подтверждения достоверности и полноты сведений представителем налогоплательщика - "2";

2) при представлении декларации налогоплательщиком в поле "фамилия, имя, отчество" - построчно полностью фамилия, имя, отчество <*> руководителя организации. Проставляется личная подпись руководителя организации, заверяемая печатью организации (при наличии печати), и дата подписания; (в ред. Приказа ФНС РФ от 17.04.2017 N ММВ-7-3/315@)

3) при представлении декларации представителем налогоплательщика - физическим лицом в поле "фамилия, имя, отчество" - построчно полностью фамилия, имя, отчество <*> представителя налогоплательщика. Проставляется личная подпись представителя налогоплательщика, дата подписания;

4) при представлении декларации представителем налогоплательщика - юридическим лицом в поле "фамилия, имя, отчество" - построчно полностью фамилия, имя, отчество <*> физического лица, уполномоченного в соответствии с документом, подтверждающим полномочия представителя налогоплательщика - юридического лица, подтверждать достоверность и полноту сведений, указанных в декларации.

В поле - "наименование организации - представителя налогоплательщика" указывается наименование юридического лица - представителя налогоплательщика. Проставляется подпись лица, сведения о котором указаны по строке "фамилия, имя, отчество", заверяемая печатью юридического лица - представителя налогоплательщика (при наличии печати), и дата подписания; (в ред. Приказа ФНС РФ от 17.04.2017 N ММВ-7-3/315@)

5) по строке "Наименование документа, подтверждающего полномочия представителя" указывается вид документа, подтверждающего полномочия представителя налогоплательщика.

3.4. Раздел "Заполняется работником налогового органа" содержит сведения о представлении декларации:

1) способ представления (указывается код согласно Приложению N 4 к настоящему Порядку);

2) количество страниц декларации;

3) количество листов подтверждающих документов или их копий, приложенных к декларации;

4) дату представления декларации;

5) номер, под которым зарегистрирована декларация;

6) фамилию и инициалы имени и отчества <*> работника налогового органа, принявшего декларацию;

<*> Отчество при наличии.

7) подпись работника налогового органа, принявшего декларацию.

IV. Порядок заполнения Раздела 1 декларации "Сумма налога, подлежащая уплате в бюджет"

4.1. В разделе 1 указывается:

1) по строке 010 - код бюджетной классификации Российской Федерации в соответствии с нормативными правовыми актами о бюджетной классификации, по которому подлежит уплате сумма налога на игорный бизнес;

2) по строке 020 - код ОКТМО муниципального образования, межселенной территории, населенного пункта, входящего в состав муниципального образования по месту постановки на учет налогоплательщика налога на игорный бизнес. (в ред. Приказа ФНС РФ от 14.11.2013 N ММВ-7-3/501@)

При заполнении показателя "Код по ОКТМО", под который отводится одиннадцать знакомест, свободные знакоместа справа от значения кода в случае, если код ОКТМО имеет восемь знаков, не подлежат заполнению дополнительными символами (заполняются прочерками). Например, для восьмизначного кода ОКТМО 12445698 в поле "Код ОКТМО" указывается одиннадцатизначное значение "12445698---". (в ред. Приказа ФНС РФ от 14.11.2013 N ММВ-7-3/501@)

3) по строке 030 - сумма налога на игорный бизнес, подлежащая уплате в бюджет, определяемая как сумма значений по строкам 070, 080, 090, 100, 110 и 120 раздела 2 декларации за соответствующий налоговый период.

4.2. Сведения, указанные в разделе 1 декларации в строке "Достоверность и полноту сведений, указанных на данной странице, подтверждаю", подтверждаются подписью лица из числа лиц, указанных в пункте 3.3 настоящего Порядка, и проставляется дата подписания данного раздела.

V. Порядок заполнения раздела 2 декларации "Расчет налога на игорный бизнес"

В разделе 2 указывается:

1) по строке 020 - общее количество соответствующих объектов игорного бизнеса, подлежащих налогообложению.

Значение по строке 020 (графы 4 - 8) рассчитывается как сумма значений по строкам 010, 020 и 040 раздела 3 декларации, т.е. стр. 020 раздела 2 = стр. 010 раздела 3 + стр. 020 раздела 3 + стр. 040 раздела 3.

Значение по строке 020 графы 3 определяется как сумма значений по строке 040 всех заполненных разделов 2.1 декларации;

2) по строке 030 - количество объектов игорного бизнеса, подлежащих налогообложению по ставке налога, установленной в соответствии с пунктом 1 статьи 369 Кодекса.

При этом значение по строке 030 (графы 4 - 8) рассчитывается как разность значений по строке 020 раздела 2 и строкам 040 и 050 раздела 3 декларации по соответствующим графам, т.е. стр. 030 раздела 2 = стр. 020 раздела 2 - (стр. 040 раздела 3 + стр. 050 раздела 3).

Значение по строке 030 графы 3 определяется как сумма значений по строке 050 всех заполненных разделов 2.1 декларации;

3) по строке 040 - количество объектов игорного бизнеса, подлежащих налогообложению по 1/2 ставки налога, установленной в соответствии с пунктами 3 и 4 статьи 370 Кодекса.

При этом значение по строке 040 (графы 4 - 8) рассчитывается как сумма значений по строкам 040 и 050 раздела 3 декларации.

Значение по строке 040 графы 3 определяется как сумма значений по строкам 060 всех заполненных разделов 2.1 декларации;

4) по строке 050 графы 3 - количество игровых столов, подлежащих налогообложению по ставке налога, установленной в соответствии с пунктом 1 статьи 369 Кодекса с учетом абзаца 2 пункта 1 статьи 370 Кодекса.

Значение по строке 050 определяется как сумма значений по строке 070 всех заполненных разделов 2.1 декларации;

5) по строке 060 графы 3 - количество игровых столов, подлежащих налогообложению по 1/2 ставки налога, установленной в соответствии с пунктами 3 и 4 статьи 370 Кодекса с учетом абзаца 2 пункта 1 статьи 370 Кодекса.

Значение по строке 060 определяется как сумма значений по строке 080 всех заполненных разделов 2.1 декларации;

6) по строкам 080 - 120 графы 3 - размер ставки налога на игорный бизнес по соответствующим объектам налогообложения в месяц, установленный законом субъекта Российской Федерации в соответствии с пунктом 1 статьи 369 Кодекса.

В случае, если ставки налога не установлены законом субъекта Российской Федерации, то они указываются в размерах, установленных пунктом 2 статьи 369 Кодекса;

7) по строкам 070 - 120 графы 4 - сумма исчисленного налога на игорный бизнес по соответствующим объектам налогообложения, которая определяется:

по строке 070 - как сумма значений по строке 090 всех заполненных разделов 2.1 декларации;

по строке 080: как стр. 080 гр. 3 x стр. 030 гр. 4 + 1/2 стр. 080 гр. 3 x стр. 040 гр. 4;

по строке 090: как стр. 090 гр. 3 x стр. 030 гр. 5 + 1/2 стр. 090 гр. 3 x стр. 040 гр. 5;

по строке 100: как стр. 100 гр. 3 x стр. 030 гр. 6 + 1/2 стр. 100 гр. 3 x стр. 040 гр. 6;

по строке 110: как стр. 110 гр. 3 x стр. 030 гр. 7 + 1/2 стр. 110 гр. 3 x стр. 040 гр. 7;

по строке 120: как стр. 120 гр. 3 x стр. 030 гр. 8 + 1/2 стр. 120 гр. 3 x стр. 040 гр. 8.

VI. Порядок заполнения раздела 2.1 декларации "Расчет налога на игорный бизнес по игровым столам"

6.1. В разделе 2.1 указывается:

1) по строке 010 - количество имеющихся игровых полей на игровом столе;

2) по строке 020 - размер ставки налога на игорный бизнес в месяц по игровым столам, установленный законом субъекта Российской Федерации в соответствии с пунктом 1 статьи 369 Кодекса.

В случае, если ставка налога не установлена законом субъекта Российской Федерации, ставка налога указывается за один игровой стол в размере, установленном пунктом 2 статьи 369 Кодекса;

3) по строке 030 - размер ставки налога на игорный бизнес по игровым столам в месяц, установленный в соответствии с пунктом 1 статьи 369 Кодекса с учетом абзаца 2 пункта 1 статьи 370 Кодекса.

Значение по строке 030 определяется как произведение значений по строке 020 графы 3 и строки 010 графы 3, т.е. стр. 030 = стр. 020 гр. 3 x стр. 010 гр. 3;

4) по строке 040 - количество игровых столов, имеющих количество полей, указанное в строке 010 графы 3, подлежащих налогообложению.

Значение по строке 040 определяется как сумма значений по строкам 020, 030 и 050 раздела 3.1 декларации по игровым столам, имеющим количество игровых полей, указанное в строке 010 разделов 2.1 и 3.1 декларации, т.е. стр. 040 раздела 2.1 = стр. 020 раздела 3.1 + стр. 030 раздела 3.1 + стр. 050 раздела 3.1;

5) по строке 050 - количество игровых столов, подлежащих налогообложению по ставке налога, установленной в соответствии с пунктом 1 статьи 369 Кодекса. Строка 050 заполняется в отношении игровых столов, имеющих одно игровое поле.

Значение по строке 050 определяется как разность значений по строке 040 раздела 2.1 декларации и строк 050 и 060 раздела 3.1 декларации, т.е. строка 050 раздела 2.1 = стр. 040 раздела 2.1 - (стр. 050 раздела 3.1 + стр. 060 раздела 3.1);

6) по строке 060 - количество игровых столов, подлежащих налогообложению по 1/2 ставки налога, установленной в соответствии с пунктами 3 и 4 статьи 370 Кодекса. Строка 060 заполняется в отношении игровых столов, имеющих одно игровое поле.

Значение по строке 060 определяется как сумма значений по строкам 050 и 060 раздела 3.1 декларации, т.е. строка 060 раздела 2.1 = стр. 050 раздела 3.1 + стр. 060 раздела 3.1;

7) по строке 070 - количество игровых столов, подлежащих налогообложению по ставке налога, установленной в соответствии с пунктом 1 статьи 369 Кодекса с учетом абзаца 2 пункта 1 статьи 370 Кодекса. Строка 070 заполняется в отношении игровых столов, имеющих более одного игрового поля (количество игровых полей указано в строке 010).

Значение по строке 070 определяется как разность значений по строкам 040 раздела 2.1 декларации и строк 050 и 060 раздела 3.1 декларации, т.е. стр. 070 раздела 2.1 = стр. 040 раздела 2.1 - (стр. 050 раздела 3.1 + стр. 060 раздела 3.1);

8) по строке 080 - количество игровых столов, подлежащих налогообложению по 1/2 ставки налога, установленной в соответствии с пунктами 3 и 4 статьи 370 Кодекса с учетом абзаца 2 пункта 1 статьи 370 Кодекса. Строка 080 заполняется в отношении игровых столов, имеющих более одного игрового поля (количество игровых полей указано в строке 010).

Значение по строке 080 определяется как сумма значений по строкам 050 и 060 раздела 3.1 декларации, т.е. строка 080 раздела 2.1 = стр. 050 раздела 3.1 + стр. 060 раздела 3.1;

9) по строке 090 - сумма исчисленного налога на игорный бизнес по игровым столам.

Значение по строке 090 определяется:

- в отношении игровых столов, имеющих одно игровое поле, как (стр. 050 x стр. 020) + (стр. 060 x 1/2 стр. 020);

- в отношении игровых столов, имеющих более одного игрового поля, как (стр. 070 x стр. 030) + (стр. 080 x 1/2 стр. 030).

6.2. При наличии игровых столов с различным количеством игровых полей раздел 2.1 заполняется столько раз, сколько имеется вариантов количества игровых полей на игровых столах. При этом данные по количеству игровых столов, имеющих одинаковое количество игровых полей, и сумме исчисленного налога на игорный бизнес по данным игровым столам указываются в разделе 2.1 на одной странице.

VII. Порядок заполнения раздела 3 декларации "Изменение количества объектов налогообложения налогом на игорный бизнес за налоговый период"

7.1. В разделе 3 указывается:

1) по строке 010 - количество соответствующих объектов налогообложения, зарегистрированных в налоговом органе на начало налогового периода;

2) по строке 020 - количество соответствующих объектов налогообложения, дополнительно зарегистрированных до 15 числа текущего налогового периода в налоговом органе на основании заявлений налогоплательщиков о регистрации объекта (объектов) налогообложения налогом на игорный бизнес;

3) по строке 030 - количество соответствующих объектов налогообложения, снятых с регистрации после 15 числа текущего налогового периода в налоговом органе на основании заявлений налогоплательщиков о регистрации изменений (уменьшений) количества объектов налогообложения налогом на игорный бизнес;

4) по строке 040 - количество соответствующих объектов налогообложения, дополнительно зарегистрированных после 15 числа текущего налогового периода в налоговом органе на основании заявлений налогоплательщиков о регистрации объекта (объектов) налогообложения налогом на игорный бизнес;

5) по строке 050 - количество соответствующих объектов налогообложения, снятых с регистрации до 15 числа (включительно) текущего налогового периода в налоговом органе на основании заявлений налогоплательщиков о регистрации изменений (уменьшений) количества объектов налогообложения налогом на игорный бизнес;

6) по строке 060 - количество соответствующих объектов налогообложения, зарегистрированных в налоговом органе на конец налогового периода. Значение по строке 060 определяется как: стр. 010 + стр. 020 - стр. 030 + стр. 040 - стр. 050 по соответствующим объектам налогообложения.

7.2. При заполнении данных по графе 3 следует иметь в виду, что эти данные являются суммами соответствующих показателей по игровым столам с различным количеством игровых полей, указанных в разделе 3.1 декларации "Изменение количества игровых столов за налоговый период".

VIII. Порядок заполнения раздела 3.1 декларации "Изменение количества игровых столов за налоговый период"

8.1. В разделе 3.1 указывается:

1) по строке 010 - количество имеющихся игровых полей на игровом столе;

2) по строке 020 - количество игровых столов, зарегистрированных в налоговом органе на начало налогового периода;

3) по строке 030 - количество игровых столов, дополнительно зарегистрированных до 15 числа текущего налогового периода в налоговом органе на основании заявлений налогоплательщиков о регистрации объекта (объектов) налогообложения налогом на игорный бизнес;

4) по строке 040 - количество игровых столов, снятых с регистрации после 15 числа текущего налогового периода в налоговом органе на основании заявлений налогоплательщиков о регистрации изменений (уменьшений) количества объектов налогообложения налогом на игорный бизнес;

5) по строке 050 - количество игровых столов, дополнительно зарегистрированных после 15 числа текущего налогового периода в налоговом органе на основании заявлений налогоплательщиков о регистрации объекта (объектов) налогообложения налогом на игорный бизнес;

6) по строке 060 - количество игровых столов, снятых с регистрации до 15 числа (включительно) текущего налогового периода в налоговом органе на основании заявлений налогоплательщиков о регистрации изменений (уменьшений) количества объектов налогообложения налогом на игорный бизнес;

7) по строке 070 - количество игровых столов, зарегистрированных в налоговом органе на конец налогового периода. Значение по строке 070 определяется как стр. 020 + стр. 030 - стр. 040 + стр. 050 - стр. 060.

8.2. При заполнении данных по разделу 3.1 следует иметь в виду, что при наличии игровых столов с различным количеством игровых полей раздел 3.1 заполняется столько раз, сколько имеется вариантов количества игровых полей на игровых столах. При этом данные по количеству игровых столов, имеющих одинаковое количество игровых полей, отражаются в разделе 3.1 на одной странице.

Приложение N 1
к Порядку заполнения
налоговой декларации по налогу
на игорный бизнес, утвержденному
приказом ФНС России
от 28.12.2011 N ММВ-7-3/985@

КОДЫ, ОПРЕДЕЛЯЮЩИЕ НАЛОГОВЫЙ ПЕРИОД

Код Наименование
01 январь
02 февраль
03 март
04 апрель
05 май
06 июнь
07 июль
08 август
09 сентябрь
10 октябрь
11 ноябрь
12 декабрь
50 последний налоговый период при реорганизации (ликвидации) организации
71 за январь при реорганизации (ликвидации) организации
72 за февраль при реорганизации (ликвидации) организации
73 за март при реорганизации (ликвидации) организации
74 за апрель при реорганизации (ликвидации) организации
75 за май при реорганизации (ликвидации) организации
76 за июнь при реорганизации (ликвидации) организации
77 за июль при реорганизации (ликвидации) организации
78 за август при реорганизации (ликвидации) организации
79 за сентябрь при реорганизации (ликвидации) организации
80 за октябрь при реорганизации (ликвидации) организации
81 за ноябрь при реорганизации (ликвидации) организации
82 за декабрь при реорганизации (ликвидации) организации

Приложение N 2
к Порядку заполнения
налоговой декларации по налогу
на игорный бизнес, утвержденному
приказом ФНС России
от 28.12.2011 N ММВ-7-3/985@

КОДЫ ФОРМ РЕОРГАНИЗАЦИИ И КОД ЛИКВИДАЦИИ ОРГАНИЗАЦИИ

Код Наименование
1 Преобразование
2 Слияние
3 Разделение
5 Присоединение
6 Разделение с одновременным присоединением
0 Ликвидация

Приложение N 3
к Порядку заполнения
налоговой декларации по налогу
на игорный бизнес, утвержденному
приказом ФНС России
от 28.12.2011 N ММВ-7-3/985@

КОДЫ МЕСТА ПРЕДСТАВЛЕНИЯ НАЛОГОВОЙ ДЕКЛАРАЦИИ ПО НАЛОГУ НА ИГОРНЫЙ БИЗНЕС В НАЛОГОВЫЙ ОРГАН

Код Наименование
213 По месту учета в качестве крупнейшего налогоплательщика
214 По месту нахождения российской организации, не являющейся крупнейшим налогоплательщиком
215 По месту нахождения правопреемника, не являющегося крупнейшим налогоплательщиком
216 По месту учета правопреемника, являющегося крупнейшим налогоплательщиком
220 По месту нахождения обособленного подразделения российской организации
331 По месту осуществления деятельности иностранной организации через отделение иностранной организации

Приложение N 4
к Порядку заполнения
налоговой декларации по налогу
на игорный бизнес, утвержденному
приказом ФНС России
от 28.12.2011 N ММВ-7-3/985@

КОДЫ, ОПРЕДЕЛЯЮЩИЕ СПОСОБ ПРЕДСТАВЛЕНИЯ НАЛОГОВОЙ ДЕКЛАРАЦИИ ПО НАЛОГУ НА ИГОРНЫЙ БИЗНЕС В НАЛОГОВЫЙ ОРГАН

Код Наименование
01 На бумажном носителе (по почте)
02 На бумажном носителе (лично)
03 На бумажном носителе с дублированием на съемном носителе (лично)
04 По телекоммуникационным каналам связи с ЭЦП
05 Другое
08 На бумажном носителе с дублированием на съемном носителе (по почте)
09 На бумажном носителе с использованием штрих-кода (лично)
10 На бумажном носителе с использованием штрих-кода (по почте)