Атмосфера. Нормы и методы определения дымности отработавших газов дизелей, тракторов и самоходных сельскохозяйственных машин. ГОСТ 17.2.2.02-98

(утв. Постановлением Госстандарта РФ от 15.12.98 N 445)
Редакция от 15.12.1998 — Действует с 01.07.1999

МЕЖГОСУДАРСТВЕННЫЙ СТАНДАРТ

АТМОСФЕРА
НОРМЫ И МЕТОДЫ ОПРЕДЕЛЕНИЯ ДЫМНОСТИ ОТРАБОТАВШИХ ГАЗОВ ДИЗЕЛЕЙ, ТРАКТОРОВ И САМОХОДНЫХ СЕЛЬСКОХОЗЯЙСТВЕННЫХ МАШИН

Nature protection. Atmosphere. Rates and testing methods of exhaust smoke from diesel engines, tractors and agricultural machines

ГОСТ 17.2.2.02-98

МКС 65.060

ОКП 47 0000

Дата введения 1999-07-01

Предисловие

1 РАЗРАБОТАН Российской Федерацией

ВНЕСЕН Госстандартом России

2 ПРИНЯТ Межгосударственным Советом по стандартизации, метрологии и сертификации (протокол N 13-98 от 28 мая 1998 г.)

За принятие проголосовали:

Наименование государства Наименование национального органа по стандартизации
Азербайджанская Республика Азгосстандарт
Республика Беларусь Госстандарт Беларуси
Грузия Грузстандарт
Республика Казахстан Госстандарт Республики Казахстан
Киргизская Республика Киргизстандарт
Республика Молдова Молдовастандарт
Российская Федерация Госстандарт России
Республика Таджикистан Таджикгосстандарт
Туркменистан Главная государственная инспекция Туркменистана
Республика Узбекистан Узгосстандарт

3 Стандарт соответствует международным стандартам: ИСО 789-4-86 "Сельскохозяйственные тракторы. Методы испытаний. Часть 4. Измерение дымности выпуска" и "Директиве ЕЭС от 28.06.77 о мерах по снижению загрязняющих выбросов дизелями сельскохозяйственных и лесных тракторов (77/537/ЕЭС)"

4 Постановлением Государственного комитета Российской Федерации по стандартизации и метрологии от 15 декабря 1998 г. N 445 межгосударственный стандарт ГОСТ 17.2.2.02-98 введен в действие непосредственно в качестве государственного стандарта Российской Федерации с 1 июля 1999 г.

5 ВЗАМЕН ГОСТ 17.2.2.02-86

1. ОБЛАСТЬ ПРИМЕНЕНИЯ

Настоящий стандарт распространяется на: вновь изготовленные и капитально отремонтированные на ремонтных предприятиях дизели тракторов и самоходных сельскохозяйственных машин (далее - дизели); сельскохозяйственные, промышленные, лесопромышленные и лесохозяйственные дизельные тракторы, в том числе используемые в качестве базы для строительно-дорожных машин и машин, применяемых в коммунальном и лесном хозяйстве, а также тракторные самоходные дизельные шасси (далее - тракторы); самоходные сельскохозяйственные дизельные машины (далее - машины); находящиеся в эксплуатации тракторы и машины, предназначенные для работы или работающие в условиях неограниченного и ограниченного воздухообмена, - и устанавливает нормы и методы определения дымности отработавших газов (далее - дымность).

Стандарт не распространяется на малогабаритные тракторы, другие мобильные средства малой механизации сельскохозяйственных работ и дизели к ним.

2. НОРМАТИВНЫЕ ССЫЛКИ

В настоящем стандарте использованы ссылки на следующие стандарты:

ГОСТ 7057-81 Тракторы сельскохозяйственные. Методы испытаний

ГОСТ 7601-78 Физическая оптика. Термины, буквенные обозначения и определения основных величин

ГОСТ 18509-88 Дизели тракторные и комбайновые. Методы стендовых испытаний

ГОСТ 23734-79 Тракторы промышленные. Методы испытаний

3. ОПРЕДЕЛЕНИЯ

В настоящем стандарте применяют следующие термины с соответствующими определениями:

3.1 Дымность - показатель, характеризующий степень поглощения светового потока, просвечивающего имеющий определенную длину столб отработавших газов.

3.2 Муфта сцепления - фрикционный элемент трансмиссии, осуществляющий отсоединение трансмиссии от дизеля и плавное их соединение.

3.3 Установившийся режим - режим работы дизеля, на котором значение крутящего момента не изменяется более чем на 1%, частоты вращения - более чем на 10 об/мин, а температуры охлаждающей жидкости (у дизелей жидкостного охлаждения) и моторного масла - более чем на 2 °С относительно средних значений.

3.4 Режим свободного ускорения - увеличение частоты вращения коленчатого вала дизеля от минимальной устойчивой до максимальной холостого хода.

3.5 Места с неограниченным воздухообменом- поля, луга, сады, огороды, леса (в том числе лесополосы), территории населенных пунктов (независимо от числа жителей) и т.п.

3.6 Места с ограниченным воздухообменом - закрытые или полузакрытые места, например, помещения для содержания животных и птиц, теплицы, внутрицеховые и складские помещения, котлованы и т.п.

3.7 Коэффициент ослабления светового потока- выраженное в процентах ослабление потока света, вызванное его поглощением и рассеиванием отработавшими газами, проходящими через дымомер.

Нулевое ослабление соответствует наполнению мерного объема дымомера чистым воздухом, 100%-е ослабление - абсолютно светонепроницаемой средой.

3.8 Натуральный показатель ослабления - по ГОСТ 7601.

3.9 Эффективная база дымомера - длина столба эталонного газа, эквивалентного по ослаблению светового потока столбу отработавших газов, заполняющих рабочую трубу дымомера в условиях измерения.

4. ОБОЗНАЧЕНИЯ И СОКРАЩЕНИЯ

D_в - внутренний диаметр выпускного трубопровода стенда или выпускной трубы трактора и машины или удлинительного патрубка (на прямолинейном участке в месте отбора проб), мм.

В_окр - атмосферное давление, кПа.

Т_окр - температура окружающего воздуха, К.

Q_в - условный объемный расход воздуха через цилиндры дизеля, дм3/с.

i- число цилиндров дизеля.

V_h - рабочий объем цилиндра, дм3.

n- частота вращения коленчатого вала дизеля, об/мин.

тау - тактность дизеля.

K- натуральный показатель ослабления светового потока по основной шкале дымомера, м(-1).

N- коэффициент ослабления светового потока по вспомогательной шкале дымомера с эффективной базой, равной 0,43 м, %.

L- эффективная база дымомера, м.

N_L -коэффициент ослабления светового потока по вспомогательной шкале дымомера с эффективной базой, равной L, %.

ВОМ - вал отбора мощности.

5. НОРМЫ ДЫМНОСТИ

5.1 Значения дымности на установившихся режимах вновь изготовленных и капитально отремонтированных на ремонтных заводах дизелей, тракторов и машин не должны быть более норм, приведенных в таблице 1.

Таблица 1

Условный расход воздуха, дм3/с Дымность, м(-1) (%), не более, при воздухообмене
неограниченном ограниченном
42 и менее 2,260 (62,2) 1,760 (53,1)
45 2,190 (61,0) 1,690 (51,6)
50 2,080 (59,1) 1,580 (49,3)
55 1,985 (57,4) 1,485 (47,2)
60 1,900 (55,8) 1,400 (45,2)
65 1,840 (54,7) 1,340 (43,8)
70 1,775 (53,4) 1,275 (42,2)
75 1,720 (52,3) 1,220 (40,8)
80 1,665 (51,1) 1,165 (39,4)
85 1,620 (50,2) 1,120 (38,2)
90 1,575 (49,2) 1,075 (37,0)
95 1,535 (48,3) 1,035 (35,9)
100 1,495 (47,4) 0,995 (34,8)
105 1,465 (46,7) 0,965 (33,8)
110 1,425 (45,8) 0,925 (32,8)
115 1,395 (45,1) 0,895 (31,9)
120 1,370 (44,5) 0,870 (31,2)
125 1,345 (43,9) 0,845 (30,5)
130 1,320 (43,3) 0,820 (29,7)
135 1,300 (42,8) 0,800 (29,1)
140 1,270 (42,1) 0,770 (28,2)
145 1,250 (41,6) 0,750 (27,6)
150 1,225 (40,9) 0,725 (26,8)
155 1,205 (40,4) 0,705 (26,2)
160 1,190 (40,1) 0,690 (25,7)
165 1,170 (39,5) 0,670 (25,0)
170 1,155 (39,1) 0,655 (24,5)
175 1,140 (38,7) 0,640 (24,1)
180 1,125 (38,4) 0,625 (23,6)
185 1,110 (38,0) 0,610 (23,1)
190 1,095 (37,6) 0,595 (22,6)
195 1,080 (37,1) 0,580 (22,1)
200 и более 1,065 (36,7) 0,565 (21,6)

Примечание - Промежуточные значения, приведенные в таблицах 1-4, определяют линейным интерполированием.

5.2 Значения дымности на режиме свободного ускорения вновь изготовленных и капитально отремонтированных на ремонтных заводах дизелей, тракторов и машин, имеющих наработку не менее 55 моточасов, не должны быть более норм, приведенных в таблице 2, если дизели, тракторы и машины предназначены для работы в местах с неограниченным воздухообменом, и в таблице 3, если дизели, тракторы и машины предназначены для работы в местах с ограниченным воздухообменом.

Таблица 2

Условный расход воздуха, дм3/с Дымность, м(-1) (%), не более
дизелей, а также тракторов и машин, имеющих муфту сцепления тракторов и машин, не имеющих муфты сцепления
без турбонаддува с турбонаддувом без турбонаддува с турбонаддувом
42 и менее 2,260 (62,2) 2,760 (69,5) 2,560 (66,7) 3,060 (73,1)
45 2,190 (61,0) 2,690 (68,5) 2,490 (65,7) 2,990 (72,4)
50 2,080 (59,1) 2,580 (67,0) 2,380 (63,3) 2,880 (71,0)
55 1,985 (57,4) 2,485 (65,6) 2,285 (62,6) 2,785 (69,8)
60 1,900 (55,8) 2,400 (64,4) 2,200 (61,1) 2,700 (68,9)
65 1,840 (54,7) 2,340 (63,4) 2,140 (60,2) 2,640 (67,9)
70 1,775 (53,4) 2,275 (62,4) 2,075 (59,0) 2,575 (67,0)
75 1,720 (52,3) 2,220 (61,5) 2,020 (58,0) 2,520 (66,2)
80 1,665 (51,1) 2,165 (60,6) 1,965 (57,0) 2,465 (64,4)
85 1,620 (50,2) 2,120 (59,8) 1,920 (56,2) 2,420 (64,6)
90 1,575 (49,2) 2,075 (59,0) 1,875 (55,3) 2,375 (63,9)
95 1,535 (48,3) 2,035 (58,3) 1,835 (54,5) 2,335 (63,4)
100 1,495 (47,4) 1,995 (57,6) 1,795 (53,8) 2,295 (62,7)
105 1,465 (46,7) 1,965 (57,0) 1,765 (53,2) 2,265 (62,3)
110 1,425 (45,8) 1,925 (56,3) 1,725 (52,3) 2,225 (61,6)
115 1,395 (45,1) 1,895 (55,8) 1,695 (51,8) 2,195 (61,1)
120 1,370 (44,5) 1,870 (55,3) 1,670 (51,2) 2,170 (60,7)
125 1,345 (43,9) 1,845 (54,8) 1,645 (50,7) 2,145 (60,2)
130 1,320 (43,3) 1,820 (54,3) 1,620 (50,1) 2,120 (59,8)
135 1,300 (42,8) 1,800 (53,8) 1,600 (49,7) 2,100 (59,5)
140 1,270 (42,1) 1,770 (53,3) 1,570 (49,1) 2,070 (58,9)
145 1,250 (41,6) 1,750 (52,9) 1,550 (48,6) 2,050 (58,6)
150 1,225 (40,9) 1,725 (52,4) 1,525 (48,1) 2,025 (58,1)
155 1,205 (40,4) 1,705 (52,0) 1,505 (47,6) 2,005 (57,8)
160 1,190 (40,1) 1,690 (51,6) 1,490 (47,3) 1,990 (57,5)
165 1,170 (39,5) 1,670 (51,2) 1,470 (46,9) 1,970 (57,1)
170 1,155 (39,1) 1,655 (50,9) 1,455 (46,5) 1,955 (56,9)
175 1,140 (38,7) 1,640 (50,6) 1,440 (46,2) 1,940 (56,6)
180 1,125 (38,4) 1,625 (50,3) 1,425 (45,8) 1,925 (56,3)
185 1,110 (38,0) 1,610 (50,0) 1,410 (45,5) 1,910 (56,0)
190 1,095 (37,6) 1,595 (49,6) 1,395 (45,1) 1,895 (55,7)
195 1,080 (37,1) 1,580 (49,3) 1,380 (44,8) 1,880 (55,4)
200 и более 1,065 (36,7) 1,565 (49,0) 1,365 (44,4) 1,865 (55,2)

Таблица 3

Условный расход воздуха, дм3/c Дымность, м(-1) (%), не более
дизелей, а также тракторов и машин, имеющих муфту сцепления тракторов и машин, не имеющих муфты сцепления
без турбонаддува с турбонаддувом без турбонаддува с турбонаддувом
42 и менее 1,760 (53,1) 2,260 (62,2) 2,060 (58,8) 2,560 (66,7)
45 1,690 (51,6) 2,190 (61,0) 1,990 (56,9) 2,490 (65,7)
50 1,580 (49,3) 2,080 (59,1) 1,880 (55,4) 2,380 (63,3)
55 1,485 (47,2) 1,985 (57,4) 1,785 (53,6) 2,285 (62,6)
60 1,400 (45,2) 1,900 (55,8) 1,700 (51,8) 2,200 (61,1)
65 1,340 (43,8) 1,840 (54,7) 1,640 (50,6) 2,140 (60,2)
70 1,275 (42,2) 1,775 (53,4) 1,575 (49,2) 2,075 (59,0)
75 1,220 (40,8) 1,720 (52,3) 1,520 (48,0) 2,020 (58,0)
80 1,165 (39,4) 1,665 (51,1) 1,465 (46,7) 1,965 (57,0)
85 1,120 (38,2) 1,620 (50,2) 1,420 (45,7) 1,920 (56,2)
90 1,075 (37,0) 1,575 (49,2) 1,375 (44,6) 1,875 (55,3)
95 1,035 (35,9) 1,535 (48,3) 1,335 (43,6) 1,835 (54,5)
100 0,995 (34,8) 1,495 (47,4) 1,295 (42,8) 1,795 (53,8)
105 0,965 (34,0) 1,465 (46,7) 1,265 (42,0) 1,765 (53,2)
110 0,925 (32,8) 1,425 (45,8) 1,225 (40,9) 1,725 (52,3)
115 0,895 (31,9) 1,395 (45,1) 1,195 (40,2) 1,695 (51,8)
120 0,870 (31,2) 1,370 (44,5) 1,170 (39,5) 1,670 (51,2)
125 0,845 (30,5) 1,345 (43,9) 1,145 (38,9) 1,645 (50,7)
130 0,820 (29,7) 1,320 (43,3) 1,120 (38,2) 1,620 (50,1)
135 0,800 (29,1) 1,300 (42,8) 1,100 (37,7) 1,600 (49,7)
140 0,770 (28,2) 1,270 (42,1) 1,070 (36,8) 1,570 (49,1)
145 0,750 (27,6) 1,250 (41,6) 1,050 (36,3) 1,550 (48,6)
150 0,725 (26,8) 1,225 (40,9) 1,025 (35,6) 1,525 (48,1)
155 0,705 (26,2) 1,205 (40,4) 1,005 (35,1) 1,505 (47,6)
160 0,690 (25,7) 1,190 (40,1) 0,990 (34,7) 1,490 (47,3)
165 0,670 (25,0) 1,170 (39,5) 0,970 (34,1) 1,470 (46,9)
170 0,655 (24,5) 1,155 (39,1) 0,955 (33,6) 1,455 (46,5)
175 0,640 (24,1) 1,140 (38,7) 0,940 (33,2) 1,440 (46,2)
180 0,625 (23,6) 1,125 (38,4) 0,925 (32,8) 1,425 (45,8)
185 0,610 (23,1) 1,110 (38,0) 0,910 (32,4) 1,410 (45,5)
190 0,595 (22,6) 1,095 (37,6) 0,895 (31,9) 1,395 (45,1)
195 0,580 (22,1) 1,080 (37,1) 0,880 (31,5) 1,380 (44,8)
200 и более 0,565 (21,6) 1,065 (36,7) 0,865 (31,1) 1,365 (44,4)

5.3 Значения дымности на режиме свободного ускорения вновь изготовленных и капитально отремонтированных на ремонтных заводах дизелей, тракторов и машин, имеющих наработку менее 10 моточасов, не должны быть более норм, приведенных в таблице 4, если дизели, тракторы и машины предназначены для работы в местах с неограниченным воздухообменом, и в таблице 2, если тракторы и машины предназначены для работы в местах с ограниченным воздухообменом.

Таблица 4

Условный расход воздуха, дм3/с Дымность, м(-1) (%), не более
тракторов и машин, имеющих муфту сцепления тракторов и машин, не имеющих муфты сцепления
без турбонаддува с турбонаддувом без турбонаддува с турбонаддувом
42 и менее 2,760 (69,5) 3,260 (75,4) 3,060 (73,1) 3,560 (78,4)
45 2,690 (68,5) 3,190 (74,6) 2,990 (72,4) 3,490 (77,7)
50 2,580 (67,0) 3,080 (73,4) 2,880 (71,0) 3,380 (76,6)
55 2,485 (65,6) 2,985 (72,3) 2,785 (69,8) 3,285 (75,6)
60 2,400 (64,4) 2,900 (71,3) 2,700 (68,9) 3,200 (74,7)
65 2,340 (63,4) 2,840 (70,5) 2,640 (67,9) 3,140 (74,1)
70 2,275 (62,4) 2,775 (69,6) 2,575 (67,0) 3,075 (73,3)
75 2,220 (61,5) 2,720 (69,0) 2,520 (66,2) 3,020 (72,7)
80 2,165 (60,6) 2,665 (68,2) 2,465 (65,4) 2,965 (72,1)
85 2,120 (59,8) 2,620 (67,6) 2,420 (64,6) 2,920 (71,5)
90 2,075 (59,0) 2,575 (67,0) 2,375 (63,9) 2,875 (71,0)
95 2,035 (58,3) 2,535 (66,4) 2,335 (63,4) 2,835 (70,4)
100 1,995 (57,6) 2,495 (65,8) 2,295 (62,7) 2,795 (69,9)
105 1,965 (57,0) 2,465 (65,4) 2,265 (62,3) 2,765 (69,5)
110 1,925 (56,3) 2,425 (64,8) 2,225 (61,6) 2,725 (69,0)
115 1,895 (55,8) 2,395 (64,3) 2,195 (61,1) 2,695 (68,6)
120 1,870 (55,3) 2,370 (63,9) 2,170 (60,7) 2,670 (68,2)
125 1,845 (54,8) 2,345 (63,5) 2,145 (60,2) 2,645 (67,9)
130 1,820 (54,3) 2,320 (63,1) 2,120 (59,8) 2,620 (67,5)
135 1,800 (53,9) 2,300 (62,8) 2,100 (59,5) 2,600 (67,2)
140 1,770 (53,3) 2,270 (62,3) 2,070 (58,9) 2,570 (66,9)
145 1,750 (52,9) 2,250 (62,0) 2,050 (58,6) 2,550 (66,6)
150 1,725 (52,4) 2,225 (61,6) 2,025 (58,1) 2,525 (66,4)
155 1,705 (52,0) 2,205 (61,3) 2,005 (57,8) 2,505 (66,2)
160 1,690 (51,6) 2,190 (61,0) 1,990 (57,5) 2,490 (65,7)
165 1,670 (51,2) 2,170 (60,7) 1,970 (57,1) 2,470 (65,4)
170 1,655 (50,9) 2,155 (60,4) 1,955 (56,9) 2,455 (65,1)
175 1,640 (50,6) 2,140 (60,2) 1,940 (56,6) 2,440 (64,9)
180 1,625 (50,3) 2,125 (59,9) 1,925 (56,3) 2,425 (64,8)
185 1,610 (50,0) 2,110 (59,6) 1,910 (56,0) 2,410 (64,6)
190 1,595 (49,6) 2,095 (59,4) 1,895 (55,7) 2,395 (64,3)
195 1,580 (49,3) 2,080 (59,1) 1,880 (55,4) 2,380 (64,1)
200 и более 1,565 (49,0) 2,065 (58,9) 1,865 (55,2) 2,365 (63,8)

5.4 Значения дымности на режиме свободного ускорения находящихся в эксплуатации тракторов и машин не должны быть более норм, приведенных в таблице 4, если тракторы и машины работают в местах с неограниченным воздухообменом, и в таблице 2, если тракторы и машины работают в местах с ограниченным воздухообменом.

5.5 Нормы дымности дизелей, тракторов и машин конкретных марок устанавливают в зависимости от условного расхода воздуха.

6. СРЕДСТВА ИСПЫТАНИЙ

6.1 Для измерения дымности следует использовать дымомеры, работающие по методу просвечивания столба отработавших газов заданной длины. Основные технические требования к дымомерам - по приложению А.

Можно применять дымомеры, отличающиеся по техническим требованиям от дымомеров по приложению А, при условии получения одинаковых с дымомером по приложению А результатов измерений.

6.2 Отбор проб отработавших газов из выпускного трубопровода испытательного стенда, из выпускной трубы трактора или машины или из удлинительного патрубка осуществляют с помощью устройства, основные технические требования к которому приведены в приложении Б.

Отношение площади сечения пробоотборного зонда к площади сечения выпускного трубопровода, выпускной трубы или удлинительного патрубка в месте установки пробоотборного зонда должно составлять не менее 0,05.

6.3 Испытательные стенды, оборудованные нагружающими устройствами, в том числе стенды с беговыми барабанами или с бесконечной лентой, средства, условия и места измерений частоты вращения коленчатого вала, хвостовика ВОМ или ведущих колес, расхода топлива, температуры моторного масла, дизельного топлива и окружающего воздуха, атмосферного давления и других параметров - по ГОСТ 18509, ГОСТ 7057 и ГОСТ 23734.

7. ПОРЯДОК ПОДГОТОВКИ К ИСПЫТАНИЯМ И УСЛОВИЯ ИХ ПРОВЕДЕНИЯ

7.1 Установка и закрепление дизеля, трактора или машины на испытательном стенде, оборудованном нагружающим устройством, или на площадке, соединение маховика, хвостовика ВОМ, осей ведущих колес или шкива ременной передачи с нагружающим устройством, условия питания топливом - по ГОСТ 18509, ГОСТ 7057, ГОСТ 23734, а также по техническим условиям, эксплуатационной и ремонтной документации на тракторы и машины конкретных марок.

7.2 Пробоотборные зонды должны быть расположены на прямолинейном участке выпускного трубопровода испытательного стенда, выпускной трубы трактора или машины или удлинительного патрубка на расстоянии не менее 6D_в от входного и не менее 3D_в от выходного (по потоку газов) сечения выпускного трубопровода, выпускной трубы или удлинительного патрубка. Прямолинейный участок должен быть расположен на расстоянии не более 5 м от выходного сечения выпускного коллектора дизеля.

7.3 Установка пробоотборного зонда и, при необходимости, удлинительного патрубка не должна приводить к увеличению давления на выходе из выпускного коллектора дизеля без турбонаддува или за турбиной турбокомпрессора дизеля с турбонаддувом более чем на 650 кПа на режиме эксплуатационной мощности.

7.4 Утечка отработавших газов через неплотности устройства для отбора проб отработавших газов, выпускной системы дизеля и трактора или машины, а также выпускного трубопровода испытательного стенда и удлинительного патрубка, а также подсосы воздуха не допускаются.

7.5 Пробоотборные зонды устанавливают в каждом выпускном трубопроводе испытательного стенда или в каждой выпускной трубе или каждом удлинительном патрубке, если трактор, машина или дизель имеют несколько выпускных коллекторов и (или) выпускных труб.

Если дизель оборудован противосажевым фильтром (фильтрами) и (или) нейтрализатором (нейтрализаторами) каталитического или термического типа, пробоотборные зонды устанавливают за этими устройствами.

7.6 Место установки дымомера относительно пробоотборного зонда - по технической документации на дымомеры конкретных марок.

7.7 При определении дымности применяют дизельное топливо, а также моторное и трансмиссионное масла, марки которых указаны в технической документации на испытуемые дизель, трактор или машину.

По требованию заказчика используют стандартное дизельное топливо по ГОСТ 18509.

Топливо и масла должны соответствовать требованиям стандартов и (или) технических условий на эти топливо и масла.

7.8 Атмосферное давление и температура окружающего воздуха во время испытаний дизелей, тракторов и машин должны находиться в пределах, удовлетворяющих условию (1) или приложению В.

. (1)

7.9 Дизель, трактор или машина непосредственно перед измерением дымности должны быть прогреты таким образом, чтобы значения температуры масла и (или) охлаждающей жидкости дизеля, а при испытаниях трактора или машины и масла в агрегатах трансмиссии находились в пределах, рекомендуемых предприятиями-изготовителями дизеля, трактора или машины.

7.10 Дымность на установившихся режимах и на режиме свободного ускорения определяют при стендовых испытаниях дизелей, при испытаниях тракторов через ВОМ, если ВОМ рассчитан на передачу полной мощности, и при испытаниях тракторов и машин через оси ведущих колес или на стендах с беговыми барабанами или с бесконечной лентой.

Дымность следует определять в течение одного дня.

7.11 Дымность только на режиме свободного ускорения определяют в эксплуатации, а также при испытаниях тракторов и машин, если их конструкция не позволяет определить дымность на установившихся режимах.

7.12 Дымность дизелей, имеющих отключаемый наддув или перепускной клапан системы наддува, а также тракторов и машин с такими дизелями измеряют при включенном и выключенном агрегате наддува или перепускном клапане.

Дымность измеряют в каждом выпускном трубопроводе испытательного стенда, в каждой выпускной трубе трактора или машины или в каждом удлинительном патрубке, если дизель имеет несколько выпускных коллекторов и (или) выпускных труб.

7.13 Перед началом и после окончания испытаний проверяют нулевое положение показывающего устройства дымомера. Если после окончания испытаний отклонение от нулевого положения будет более 0,05 м(-1), испытания следует повторить.

8. ПОРЯДОК ПРОВЕДЕНИЯ ИСПЫТАНИЙ

8.1 Правила определения дымности на установившихся режимах

8.1.1 Дымность определяют при положении органов управления регулятором частоты вращения коленчатого вала дизеля, соответствующем полной подаче топлива, на следующих скоростных режимах дизеля:

а) номинальная частота вращения коленчатого вала;

б) частота вращения коленчатого вала, соответствующая режиму максимального крутящего момента дизеля;

в) четыре частоты вращения коленчатого вала через равные интервалы в диапазоне частоты вращения по 8.1.1, перечисление а), и 8.1.1, перечисление б).

8.1.2 Перед началом измерения дымности дизель должен проработать на заданном режиме не менее 10 мин, причем в течение последних 5 мин измеряемые крутящий момент и частота вращения коленчатого вала не должны отличаться от заданных более чем на 1% и 10 об/мин соответственно.

8.1.3 Дымность на каждом режиме измеряют не менее трех раз, при этом разность результатов между максимальным и минимальным значениями не должна превышать 0,2 м(-1), а измеренные значения не должны представлять убывающую или возрастающую последовательность. Промежуток времени между двумя последовательными измерениями не должен превышать 1 мин.

8.2 Правила определения дымности на режиме свободного ускорения

8.2.1 Во время измерения дымности дизель должен быть отсоединен от нагружающего устройства;

муфта сцепления тракторов, имеющих ее, должна быть выключена;

у тракторов, не имеющих муфты сцепления:

- при гидромеханической и электромеханической трансмиссии рычаг переключения передач или избиратель скорости устанавливают в нейтральное положение;

- при гидравлической трансмиссии гидротрансформатор не должен быть заблокирован;

- при электрической трансмиссии отключают напряжение на обмотках возбуждения силового генератора.

8.2.2 При работе дизеля на минимальной устойчивой частоте вращения холостого хода перемещают орган управления регулятором частоты вращения коленчатого вала в течение не более 0,5 с в положение, соответствующее максимальной подаче топлива. Такое положение органа управления сохраняют в течение 5-10 с. Затем орган управления регулятором частоты вращения перемещают в исходное положение; в исходное положение должны возвратиться частота вращения коленчатого вала и индикатор дымомера.

По шкале дымомера фиксируют максимальное значение дымности.

8.2.3 Испытания по 8.2.2 повторяют не менее восьми раз, пока разность между максимальным и минимальным значениями дымности четырех последних измерений не станет равной или менее 0,25 м(-1); при этом четыре последних измеренных значения дымности не составляют убывающую или возрастающую последовательность.

9. ПРАВИЛА ОБРАБОТКИ РЕЗУЛЬТАТОВ ИСПЫТАНИЙ

9.1 Условный расход воздуха на каждом установившемся режиме рассчитывают по формуле

. (2)

Условный расход воздуха на режиме свободного ускорения рассчитывают по формуле (2) при условии, что частота вращения коленчатого вала дизеля равна номинальной.

9.2 Значение дымности на каждом установившемся режиме рассчитывают как среднее арифметическое результатов всех измерений на этом режиме.

9.3 Значение дымности при свободном ускорении рассчитывают как среднее арифметическое результатов четырех последних измерений.

9.4 Значение дымности на каждом из установившихся режимов и на режиме свободного ускорения должно быть не более норм по разделу 5.

9.5 При испытаниях на топливе различных марок из числа указанных в технических условиях и (или) эксплуатационной документации на дизели, тракторы и машины конкретных марок дымность оценивают по результатам испытаний на топливе той марки, при использовании которой дымность оказалась наибольшей.

9.6 Значение дымности дизелей, имеющих отключаемый наддув, перепускной клапан системы наддува, несколько выпускных коллекторов и (или) выпускных труб, а также тракторов и машин с такими дизелями оценивают по наибольшим средним арифметическим значениям дымности на каждом установившемся скоростном режиме и на режиме свободного ускорения.

9.7 Если значение дымности на режиме свободного ускорения трактора или машины, имеющих наработку от 10 до 55 моточасов, оказалось выше норм по разделу 5, испытания следует повторить после того, как наработка достигнет 55 моточасов.

10. ПРАВИЛА ОФОРМЛЕНИЯ РЕЗУЛЬТАТОВ ИСПЫТАНИЙ

10.1 Результаты испытаний оформляют протоколом. Форма протокола - по приложению Г.

11. ДОПУСТИМЫЕ ПОГРЕШНОСТИ ИЗМЕРЕНИЙ

11.1 Предел основной абсолютной погрешности дымомеров должен составлять не более 0,05 м(-1) (2,1%) при дымности, равной 1,7 м(-1) (51,9%).

11.2 Пределы основной абсолютной погрешности других измерительных приборов - по ГОСТ 18509, ГОСТ 7057 и ГОСТ 23734.

11.3 Погрешность при расчетах должна быть не более 0,2%.

ПРИЛОЖЕНИЕ А
(обязательное)

ОСНОВНЫЕ ТЕХНИЧЕСКИЕ ТРЕБОВАНИЯ К ДЫМОМЕРАМ

А.1 Дымомер должен работать по методу просвечивания столба отработавших газов определенной длины. Стандартная эффективная база дымомера равна 0,43 м.

А.2 Источник света - лампа накаливания с цветовой температурой от 2800 до 3250 К.

А.3 Фотоэлемент, служащий приемником светового луча, - со спектральной чувствительностью, аналогичной кривой чувствительности глаза. Максимум чувствительности - в диапазоне 550-570 нм; при этом менее 4% этой максимальной чувствительности может находиться в зонах ниже 430 и свыше 680 нм.

А.4 Индикатор дымомера должен иметь две измерительные шкалы: основную, градуированную в единицах натурального показателя ослабления светового потока от 0 до бесконечности, и вспомогательную линейную, имеющую 100 делений с диапазоном 0-100%.

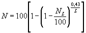
Зависимость между основной и вспомогательной шкалами определяют по формуле

. (А.1)

Перевод натуральных показателей ослабления светового потока по основной шкале дымомера, эффективная база которого составляет 0,43 м, в коэффициенты ослабления светового потока по вспомогательной шкале - по таблице А.1.

Таблица A.1

Натуральный показатель ослабления светового потока по основной шкале, м(-1) Коэффициент ослабления светового потока по вспомогательной шкале, %
0,50 19,3
0,55 21,1
0,60 22,7
0,65 24,4
0,70 26,0
0,75 27,6
0,80 29,1
0,85 30,6
0,90 32,1
0,95 33,5
1,00 34,9
1,05 36,3
1,10 37,7
1 ,15 39,0
1 ,20 40,3
1,25 41,6
1,30 42,8
1,35 44,0
1,40 45,2
1,45 46,4
1,50 47,5
1,55 48,6
1,60 49,7
1,65 50,8
1,70 51,9
1,75 52,9
1,80 53,9
1,85 54,9
1,90 55,8
1,95 56,8
2,00 57,7
2,05 58,6
2,10 59,5
2,15 60,3
2,20 61,2
2,25 62,0
2,30 62,8
2,35 63,6
2,40 64,4
2,45 65,1
2,50 65,9
2,55 66,6
2,60 67,3
2,65 68,0
2,70 68,7
2,75 69,3
2,80 70,0
2,85 70,6
2,90 71,3
2,95 71,9
3,00 72,5
3,05 73,1
3,10 73,6
3,15 74,2
3,20 74,7
3,25 75,3
3,30 75,8
3,35 76,3
3,40 76,8
3,45 77,3
3,50 77,8
3,55 78,3
3,60 78,7
3,65 79,2
3,70 79,6
3,75 80,1
3,80 80,5
3,85 80,9
3,90 81,3
3,95 81,7
4,00 82,1
4,05 82,5
Примечание - Промежуточные значения коэффициента ослабления светового потока по вспомогательной шкале дымомера определяют линейным интерполированием.

А.5 Если эффективная база дымомера, используемого при испытаниях, не равна стандартной, показания, снятые по линейной шкале, должны быть приведены к показаниям линейной шкалы дымомера со стандартной эффективной базой по формуле

. (А.2)

А.6 Дымомер должен быть отрегулирован таким образом, чтобы индикатор регистрировал дымность, равную нулю, если световой поток проходит через дымовую камеру, наполненную чистым воздухом.

А.7 Давление отработавших газов в дымовой камере не должно отличаться от атмосферного давления более чем на 735 Па.

А.8 Значение температуры отработавших газов в дымовой камере должно находиться в пределах между 70 °С и максимально допустимым значением, указанным предприятием-изготовителем дымомера.

При максимально допустимой температуре газа в дымовой камере показания дымомера не должны изменяться более чем на 0,1 м(-1) в сравнении с показаниями при 70 °С (дымовая камера должна быть заполнена газом, коэффициент поглощения которого равен 1,7 м(-1)).

А.9 Дымомер должен быть оснащен приборами для измерения давления и температуры отработавших газов в дымовой камере.

А.10 Калибровку дымомера проводят с помощью эталонного дыма или эталонных фильтров. Правила калибровки - по технической документации на дымомер конкретной марки.

ПРИЛОЖЕНИЕ Б
(обязательное)

ОСНОВНЫЕ ТЕХНИЧЕСКИЕ ТРЕБОВАНИЯ К УСТРОЙСТВУ ДЛЯ ОТБОРА ПРОБ ОТРАБОТАВШИХ ГАЗОВ

Б.1 Устройство для отбора проб отработавших газов состоит из пробоотборного зонда, регулирующей заслонки, теплообменника с ресивером, газоподводящей трубы с краном.

Б.2 Пробоотборный зонд - трубка из нержавеющей стали - должен быть расположен в прямолинейном участке выпускного трубопровода испытательного стенда, выпускной трубы трактора или машины или удлинительного патрубка на расстоянии 6D_в от входного и не менее 3D_в от его выходного сечения таким образом, чтобы входное отверстие зонда располагалось по оси выпускного трубопровода, выпускной трубы или удлинительного патрубка и было обращено навстречу потоку отработавших газов. Прямолинейный участок должен быть расположен на расстоянии не более 3 м от выходного сечения выпускного трубопровода, выпускной трубы или удлинительного патрубка.

Б.3 Для уменьшения колебаний давления в потоке отработавших газов допускается устанавливать в пробоотборной магистрали по возможности ближе к зонду ресивер объемом 5-10 дм3. Ресивер выполняют в виде устройства "труба в трубе", меньшую из которых, имеющую в середине кольцевой разрез длиной 5 ее диаметров, соосно соединяют с газоподводящей трубой дымомера.

Допускается размещать на расстоянии не менее 3D_в за пробоотборным зондом регулирующую заслонку или другое устройство для повышения давления. При этом система отвода отработавших газов испытательного стенда, выпускная труба и удлинительный патрубок не должны создавать давление в выпускном коллекторе дизеля без турбонаддува или за турбиной турбокомпрессора дизеля с турбонаддувом, значение которого отличается более чем на 650 Па от верхнего предельного значения на режиме максимальной мощности, указанной предприятием-изготовителем трактора, машины или дизеля.

Б.4 Пробоотборный зонд вводят в выпускной трубопровод испытательного стенда через отверстие в стенке трубопровода, а в выпускную трубу трактора или машины - через ее выходное отверстие, если выпускной трубопровод испытательного стенда отсутствует.

Если длина прямолинейного участка выпускной трубы менее 9D_в, пробоотборный зонд устанавливают в середине этого участка.

Может быть применен удлинительный патрубок, герметически соединенный с выпускной трубой. Длина прямолинейного участка удлинительного патрубка должна быть не менее 9 D_в.

Б.5 При наличии в системе выпуска трактора или машины нейтрализатора (нейтрализаторов) отработавших газов (за исключением жидкостного нейтрализатора) пробоотборный зонд устанавливают с соблюдением требований, изложенных в Б.2, Б.3 и Б.4, за нейтрализатором (нейтрализаторами).

Б.6 Газоподводящая труба, соединяющая пробоотборный зонд с теплообменником с ресивером (если они имеются) и дымомером, должна быть расположена с подъемом в сторону дымомера. Газоподводящая труба должна быть герметичной, без резких изгибов и шероховатостей, способствующих накоплению сажи.

В газоподводящей трубе могут быть установлены регулирующая заслонка и водоотделитель.

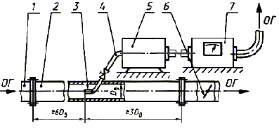
Схемы установки дымомера и устройства для отбора проб приведены на рисунках Б.1 и Б.2.

1 - выпускной коллектор (труба) дизеля; 2 - выпускной трубопровод стенда; 3 - пробоотборный зонд; 4 - газоподводящая труба с краном; 5 - теплообменник с ресивером; 6 - регулирующая заслонка; 7 - дымомер; ОГ - отработавшие газы

Рисунок Б.1

1 - выпускная труба машины (дизеля); 2 - пробоотборный зонд; 3 - зажим; 4 - газоподводящая труба с краном; 5, 7 - газоподводящие трубы; 6 - теплообменник с ресивером; 8 - дымомер; ОГ - отработавшие газы

Рисунок Б.2

ПРИЛОЖЕНИЕ В
(справочное)

НОМОГРАММА УСЛОВИЙ ОПРЕДЕЛЕНИЯ ДЫМНОСТИ

Рисунок B.1

Примечание - Дымность определяют, если точка, соответствующая измеренным во время испытаний значениям атмосферного давления и температуры окружающего воздуха, находится внутри поля или на его границах.

ПРИЛОЖЕНИЕ Г
(обязательное)

              ФОРМА ПРОТОКОЛА ИСПЫТАНИЙ 
 
   1 Марка  дизеля,  трактора  или  машины, их заводские  номера и
наработка
__________________________________________________________________
 
   2 Завод - изготовитель трактора или машины и его адрес 
__________________________________________________________________
 
   3 Завод - изготовитель дизеля и его адрес 
__________________________________________________________________
 
   4 Марка дизельного топлива, на котором проводили испытания 
__________________________________________________________________
 
   5 Дымность дизеля, трактора или  машины, м(-1) или %, - нормы и
значения, полученные во время испытаний:
 
   на установившихся режимах:
 
Частота вращения 
коленчатого вала
дизеля или
хвостовика ВОМ
или осей
ведущих колес,
об/мин
Условный 
расход
воздуха,
дм3/с
  Норма 
дымности,
м(-1) или %
Результат определения 
дымности, м(-1) или %
1 
 

 
 
2 
 

 
 
3 
 

 
 
4 
 

 
 
5 
 

 
 
6 
 

 
 
 
   на режиме свободного ускорения:
 
   Норма дымности                          ______________ м или % 
 
   Результат определения дымности          ______________ м или % 
 
   6 Тип, марка дымомера и его изготовитель 
__________________________________________________________________

   7 Решение о соответствии  или  несоответствии  дизеля, трактора
или машины требованиям настоящего стандарта 
 
   Ответственный за испытания
 
__________________________________________________________________
             (должность, фамилия, имя, отчество) 
 
________________________________________
             Подпись                                  Место печати