Колесные транспортные средства . Требования к безопасности в эксплуатации и методы проверки. ГОСТ 33997-2016

(утв. Приказом Росстандарта от 18.07.2017 N 708-СТ)
Редакция от 18.07.2017 — Не действует Перейти в действующую
Показать изменения

МЕЖГОСУДАРСТВЕННЫЙ СТАНДАРТ

КОЛЕСНЫЕ ТРАНСПОРТНЫЕ СРЕДСТВА

ТРЕБОВАНИЯ К БЕЗОПАСНОСТИ В ЭКСПЛУАТАЦИИ И МЕТОДЫ ПРОВЕРКИ

Motor vehicles and their trailers.
Safety requirements for roadworthiness and methods of inspection

ГОСТ 33997-2016

Дата введения - 2018-02-01

Предисловие

Цели, основные принципы и основной порядок проведения работ по межгосударственной стандартизации установлены в ГОСТ 1.0-2015 "Межгосударственная система стандартизации. Основные положения" и ГОСТ 1.2-2015 "Межгосударственная система стандартизации. Стандарты межгосударственные, правила и рекомендации по межгосударственной стандартизации. Правила разработки, принятия, обновления и отмены".

Сведения о стандарте

1 РАЗРАБОТАН Малым инновационным предприятием "Международная автомобильно-дорожная экспертиза и консалтинг" (ООО "МИП "МАДИЭКСПЕРТИЗА")

2 ВНЕСЕН Межгосударственным техническим комитетом по стандартизации МТК 278 "Безопасность дорожного движения"

3 ПРИНЯТ Межгосударственным советом по стандартизации, метрологии и сертификации (протокол от 22 ноября 2016 г. N 93-П).

За принятие проголосовали:

Краткое наименование страны по МК (ИСО 3166) 004-97Код страны по МК (ИСО 3166) 004-97Сокращенное наименование национального органа по стандартизации
АрменияAMМинэкономики Республики Армения
БеларусьBYГосстандарт Республики Беларусь
ГрузияGEГрузстандарт
КиргизияKGКыргызстандарт
РоссияRUРосстандарт
ТаджикистанTJТаджикстандарт
УзбекистанUZУзстандарт
УкраинаUAМинэкономразвития Украины

4 Приказом Федерального агентства по техническому регулированию и метрологии от 18 июля 2017 г. N 708-ст межгосударственный стандарт ГОСТ 33997-2016 введен в действие в качестве национального стандарта Российской Федерации с 1 февраля 2018 г.

5 ВВЕДЕН ВПЕРВЫЕ

Информация об изменениях к настоящему стандарту публикуется в ежегодном информационном указателе "Национальные стандарты", а текст изменений и поправок - в ежемесячном информационном указателе "Национальные стандарты". В случае пересмотра (замены) или отмены настоящего стандарта соответствующее уведомление будет опубликовано в ежемесячном информационном указателе "Национальные стандарты". Соответствующая информация, уведомление и тексты размещаются также в информационной системе общего пользования - на официальном сайте Федерального агентства по техническому регулированию и метрологии в сети Интернет (www.gost.ru).

В Российской Федерации настоящий стандарт не может быть полностью или частично воспроизведен, тиражирован и распространен в качестве официального издания без разрешения Федерального агентства по техническому регулированию и метрологии.

Введение

Настоящий стандарт разработан в соответствии с программой по разработке (внесению изменений, пересмотру) межгосударственных стандартов, в результате применения которых на добровольной основе обеспечивается соблюдение требований к безопасности колесных транспортных средств, а также межгосударственных стандартов, содержащих правила и методы исследований (испытаний) и измерений, необходимые для применения и исполнения таких требований.

Проверка соблюдения требований к безопасности колесных транспортных средств при эксплуатации проводится в отношении каждого транспортного средства, зарегистрированного в установленном порядке в государстве - члене ЕАСС, в формах технического осмотра, контроля при приемке и выпуске транспортных средств из ремонта и технического обслуживания или при выпуске их на линию, а также государственного контроля (надзора) за безопасностью дорожного движения.

Порядок проведения проверки выполнения требований к безопасности КТС в эксплуатации, в том числе при техническом осмотре и государственном контроле (надзоре) за безопасностью дорожного движения, определяется национальным законодательством государств - членов ЕАСС.

К находящимся в эксплуатации КТС не применяются требования по наличию подлежащих проверке компонентов, которые не были предусмотрены изготовителем на КТС при их выпуске в обращение.

1 Область применения

Настоящий стандарт распространяется на колесные транспортные средства категорий L, M, N и O, эксплуатируемые на автомобильных дорогах (далее - КТС).

Действие настоящего стандарта не распространяется на КТС:

1) максимальная скорость которых, предусмотренная их конструкцией, не более 25 км/ч;

2) предназначенные исключительно для участия в спортивных соревнованиях;

3) внедорожные КТС.

Безопасность КТС, в конструкцию которых при эксплуатации внесены изменения, влияющие на безопасность дорожного движения, проверяют согласно процедурам, утвержденным в установленном порядке государствами - членами ЕАСС.

Государства - члены ЕАСС могут принять решение о нераспространении на своей территории положений стандарта на КТС, поставляемые по государственному оборонному заказу.

Стандарт устанавливает:

- требования к безопасности КТС в эксплуатации;

- методы проверки безопасности КТС в эксплуатации.

Стандарт предназначен для применения в технологических процессах:

- технического осмотра;

- контроля безопасности КТС в эксплуатации, выполняемого в установленном порядке специально уполномоченными органами;

- технического обслуживания, ремонта, проверки и регулировки КТС на эксплуатирующих и автосервисных предприятиях;

- на предприятиях, осуществляющих капитальный ремонт КТС.

Классификация КТС по категориям приведена в [1].

Требования стандарта направлены на обеспечение безопасности дорожного движения, жизни и здоровья людей, сохранности их имущества и охраны окружающей среды.

2 Термины и определения

В настоящем стандарте применены следующие термины с соответствующими определениями:

2.1 автоматическое (аварийное) торможение: Торможение прицепа, выполняемое тормозной системой без управляющего воздействия водителя при разрыве тормозных магистралей тормозного привода.

2.2 антиблокировочная тормозная система (АБС): Тормозная система КТС с автоматическим регулированием в процессе торможения степени проскальзывания колес в направлении их вращения.

2.3 безопасность КТС: Состояние, характеризуемое совокупностью параметров конструкции и технического состояния КТС, обеспечивающих недопустимость или минимизацию риска причинения вреда жизни или здоровью граждан, имуществу физических и юридических лиц, государственному или муниципальному имуществу, окружающей среде.

2.4 блокирование колеса: Прекращение качения колеса при его перемещении по опорной поверхности или на роликах стенда при продолжении их вращения.

2.5 внесение изменений в конструкцию КТС: Исключение предусмотренных или установка не предусмотренных конструкцией КТС составных частей и предметов оборудования, выполненные после выпуска КТС в обращение и влияющие на безопасность дорожного движения.

2.6 внешние световые приборы: Устройства для освещения дороги, государственного регистрационного знака, а также устройства световой сигнализации.

2.7 внешний шум КТС: Совокупность звуков, производимых механизмами, системами и узлами КТС при их функционировании и представляющих собой волновое механическое движение частиц (акустические колебания) воздушной среды с большим числом частот различных амплитуд.

2.8 вредные вещества: Содержащиеся в воздухе примеси, оказывающие неблагоприятное воздействие на здоровье человека, - оксид углерода, диоксид азота, оксид азота, углеводороды алифатические предельные, формальдегид и дисперсные частицы.

2.9 время срабатывания тормозной системы: Интервал времени от начала торможения до момента, в который замедление КТС принимает установившееся значение при проверках в дорожных условиях, либо до момента, в который тормозная сила при проверках на стендах принимает максимальное значение или происходит блокировка колеса КТС на роликах стенда.

2.10 вспомогательная тормозная система: Износостойкая (бесконтактная) тормозная система, предназначенная для уменьшения энергонагруженности тормозных механизмов рабочей тормозной системы транспортного средства.

2.11 встроенная (бортовая) система диагностирования двигателя: Совокупность входящих в конструкцию КТС устройств, обеспечивающих своевременное информирование водителя и накопление данных о неисправностях в системах управления двигателем и нейтрализации отработавших газов.

2.12 двигатель с принудительным зажиганием: Двигатель внутреннего сгорания, в котором воспламенение инициируется электрической искрой.

2.13 диагностический индикатор: Световой индикатор на панели приборов КТС, информирующий водителя о появлении неисправностей в системах управления двигателем и нейтрализации отработавших газов.

2.14 двухтопливное КТС: КТС, предназначенное для эксплуатации как на бензине, так и на сжиженном нефтяном газе, компримированном природном газе или сжиженном природном газе.

2.15 дымность отработавших газов в режиме свободного ускорения , : Выброс загрязняющих веществ с видимыми отработавшими газами двигателей с воспламенением от сжатия, характеризующийся максимальным значением коэффициента поглощения света (см. приложение Д), измеренным в режиме свободного ускорения.

2.16 дымомер: Прибор, предназначенный для непрерывного измерения коэффициентов k поглощения и ослабления N света, выполненный в соответствии с требованиями приложения 5 к [2].

2.17 запасная (аварийная) тормозная система: Тормозная система, предназначенная для снижения скорости КТС при выходе из строя рабочей тормозной системы.

2.18 изготовитель: Лицо, осуществляющее изготовление КТС (шасси) или его компонентов с намерением выпуска их в обращение для реализации либо собственного пользования.

2.19 источник света: Один или более элементов для генерирования электромагнитного излучения в оптической области спектра либо крайний элемент световода, которые могут использоваться в сборе с одной или более прозрачными оболочками и цоколем для механического крепежа и электрического подсоединения.

2.20 класс источника света: Характеристика физического принципа излучения света: лампа накаливания (класс 0); лампа накаливания с наполнением колбы галогеносодержащими газами (класс H), газоразрядная лампа (класс D), светоизлучающий диод (класс LED).

2.21 колесные транспортные средства (КТС): Транспортные средства категорий L, M, N и O, снабженные колесным движителем, предназначенные для эксплуатации на автомобильных дорогах общего пользования, а также шасси.

2.22 колесное КТС, находящееся в эксплуатации: КТС, прошедшее государственную регистрацию в установленном порядке.

2.23 комплектное КТС: КТС, пригодное для эксплуатации в соответствии с его назначением.

2.24 компоненты КТС: Составные части конструкции КТС, поставляемые на сборочное производство КТС и (или) в качестве сменных (запасных) частей для КТС, находящихся в эксплуатации.

2.25 контурная (световозвращающая) маркировка: Серия светоотражающих полос, предназначенная для нанесения таким образом, чтобы они указывали очертания КТС сбоку и сзади.

2.26 корректор света фар: Устройство для регулирования вручную с места водителя или в автоматическом режиме угла наклона светового пучка фары ближнего и (или) дальнего света в зависимости от загрузки КТС, и (или) профиля дороги, и (или) условий видимости.

2.27 коэффициент избытка воздуха (): Безразмерная величина, представляющая собой отношение массы воздуха, поступившей в цилиндр двигателя, к массе воздуха, теоретически необходимой для полного сгорания поданного в цилиндр топлива, рассчитываемая по результатам измерений состава отработавших газов.

2.28 коэффициент поглощения света k, : Значение дымности, измеренное по основной шкале дымомера с диапазоном от 0 до .

2.29 коэффициент ослабления света N, %: Значение дымности, измеренное дымомером по вспомогательной линейной шкале с диапазоном от 0 до 100%.

2.30 масса КТС в снаряженном состоянии: Установленная изготовителем в эксплуатационной документации масса комплектного КТС с водителем без нагрузки и с наличием не менее 90% штатного запаса топлива.

2.31 минимальная частота вращения , : Частота вращения коленчатого вала двигателя в режиме холостого хода при отсутствии воздействия на орган управления подачей топлива, установленная изготовителем КТС.

2.32 нейтральное положение рулевого колеса (управляемых колес): Положение рулевого колеса (управляемых колес), соответствующее прямолинейному движению КТС при отсутствии возмущающих воздействий.

2.33 обзорность: Свойство конструкции КТС, характеризующее объективную возможность и условия восприятия водителем визуальной информации, необходимой для безопасного и эффективного управления КТС.

2.34 оптическая ось прибора для проверки и регулировки фар: Линия, проходящая через центр объектива прибора и точку пересечения осей V и H на экране, встроенном в прибор для проверки и регулировки фар.

2.35 оптический центр (центр отсчета): Обозначение на рассеивателе фары точки пересечения его наружной поверхности с осью отсчета светового прибора.

2.36 органолептическая проверка: Проверка, выполняемая с помощью органов чувств квалифицированного специалиста, без использования средств измерений.

2.37 ось отсчета: Линия пересечения плоскостей, проходящих через оптический центр светового прибора параллельно продольной центральной плоскости КТС и опорной поверхности.

2.38 передаточное число рулевого управления: Отношение угла поворота рулевого колеса к среднему углу поворота управляемых колес.

2.39 повышенная частота вращения коленчатого вала двигателя : Частота вращения коленчатого вала бензиновых и газовых двигателей в режиме холостого хода, установленная в пределах 2500...2800 .

2.40 подтекание: Появление жидкости на поверхности и в соединениях деталей герметичных систем КТС, воспринимаемое на ощупь.

2.41 подушка безопасности: Мешок из эластичного материала, наполняемый газом при срабатывании пиротехнического газогенератора.

2.42 порог проскальзывания колеса на роликовых стендах: Значение несоответствия окружной скорости колеса КТС окружной скорости вращения рабочей поверхности роликов стенда, при котором стенд в автоматическом режиме фиксирует тормозную силу и затем отключает привод блока роликов.

2.43 прибор для проверки тормозных систем в дорожных условиях: Устанавливаемое на КТС средство измерения усилия воздействия на орган управления тормозной системы, замедления КТС при торможении от момента включения тормозной системы до остановки КТС и расчета по полученным результатам начальной скорости торможения, тормозного пути, установившегося замедления и времени срабатывания тормозной системы при контролируемом усилии на органе управления.

2.44 пробоотборная система: Устройство для подачи отработавших газов из выпускной трубы КТС в измерительную камеру дымомера, изготовленное в соответствии с приложением к [2].

2.45 проверка безопасности КТС в эксплуатации: Технологическая процедура оценки соответствия безопасности КТС установленным требованиям, предъявляемым при эксплуатации, выполняемая установленными методами измерений, технического диагностирования и органолептическими методами.

2.46 продольная центральная (средняя) плоскость КТС: Плоскость, перпендикулярная плоскости опорной поверхности и проходящая через середину колеи КТС.

2.47 прозрачная часть переднего и боковых окон: Часть стекла переднего и боковых окон, свободная от непрозрачных элементов конструкции, имеющая светопропускание не менее 70%.

2.48 проскальзывание колеса на роликовых стендах: Несоответствие окружной скорости колеса КТС окружной скорости вращения рабочей поверхности роликов стенда.

2.49 работоспособность: Состояние, при котором КТС или его компоненты могут выполнять свои функции в соответствии с эксплуатационной документацией.

2.50 рабочая температура охлаждающей жидкости или моторного масла: Температура охлаждающей жидкости или моторного масла, рекомендованная изготовителем для работающего двигателя.

2.51 рабочая тормозная система: Тормозная система, предназначенная для снижения скорости и (или) остановки КТС.

2.52 разрешенная максимальная масса: Ограничение максимальной массы КТС, установленное нормативными правовыми актами в зависимости от конструктивных особенностей КТС.

2.53 рассеиватель: Наиболее удаленный элемент светового прибора, который пропускает свет через освещающую поверхность.

2.54 режим работы внешних световых приборов: Совокупность характеристик функционирования внешних световых приборов КТС, отражающих алгоритмы и условия их ручного или автоматического включения-выключения, регулирования интенсивности излучения, его прерывистость или непрерывность.

2.55 режим функционирования КТС при проверке: Совокупность показателей функционирования проверяемого компонента КТС, единообразно поддерживаемых при выполнении проверки технического состояния этого компонента для обеспечения сопоставимости получаемых оценок.

2.56 результат определения дымности в режиме свободного ускорения: Среднеарифметическое значение четырех последних измерений дымности отработавших газов дизеля.

2.57 рулевой привод: Система тяг и рычагов, осуществляющая связь управляемых колес КТС с рулевым механизмом.

2.58 свободное ускорение: Увеличение частоты вращения коленчатого вала двигателя КТС от минимальной до максимальной без внешней нагрузки, выполняемое при равномерном перемещении органа управления подачей топлива из исходного положения до упора за 0,5...1,0 с.

2.59 система выпуска или глушитель: Комплект элементов, снижающих шум двигателя и выпуска его отработавших газов.

2.60 система нейтрализации отработавших газов: Совокупность компонентов, обеспечивающих снижение выбросов загрязняющих веществ с отработавшими газами при работе двигателя.

2.61 система омывания: Система, состоящая из устройства для хранения жидкости и подачи ее на наружную поверхность стекла, а также органов управления для ее приведения в действие и остановки устройства.

2.62 система очистки: Система, состоящая из устройства для очистки наружной поверхности стекла, а также дополнительных приспособлений и органов управления для приведения в действие и остановки устройства.

2.63 стенд для проверки тормозов: Роликовый стенд силового или инерционного типа для определения эффективности торможения и устойчивости КТС при торможении на роликах, где тормозные силы колес создаются в контакте с роликами за счет подвода энергии от привода стенда, а для инерционных стендов - еще и от инерции дополнительных вращающихся элементов стенда.

2.64 стояночная тормозная система: Тормозная система, предназначенная для удержания КТС неподвижным.

2.65 световой модуль: Светоизлучающая часть устройства освещения и световой сигнализации КТС, состоящая из оптических, механических и электрических элементов, предназначенная для формирования или усиления светового пучка от источника света.

2.66 суммарный люфт в рулевом управлении: Угол поворота рулевого колеса от положения, соответствующего началу поворота управляемых колес в одну сторону, до положения, соответствующего началу их поворота в противоположную сторону от положения, соответствующего прямолинейному движению КТС.

2.67 технически допустимая максимальная масса: Установленная изготовителем максимальная масса КТС со снаряжением, пассажирами и грузом, обусловленная его конструкцией и заданными характеристиками.

2.68 техническое состояние: Совокупность подверженных изменению в процессе эксплуатации свойств и установленных нормативными документами параметров КТС, определяющая возможность его применения по назначению.

2.69 торможение: Процесс создания и изменения искусственного сопротивления движению КТС.

2.70 тормозная сила: Реакция опорной поверхности на колесо КТС, вызывающая замедление колеса и (или) КТС.

2.71 тормозная система: Совокупность частей КТС, предназначенных для его торможения при воздействии на орган управления тормозной системы.

2.72 тормозной привод: Совокупность частей тормозных систем, предназначенных для управляемой передачи энергии от ее источника к тормозным механизмам с целью осуществления торможения.

2.73 тормозной путь: Расстояние, пройденное КТС от начала до конца торможения.

2.74 транспортное средство: Устройство на колесном ходу категорий L, M, N, O, предназначенное для перевозки людей, грузов или оборудования, установленного на нем.

2.75 угол регулировки светового пучка фар ближнего света или противотуманных фар КТС: Угол между наклонной плоскостью, содержащей плоскую верхнюю (левую) границу светового пучка фары ближнего света или противотуманной фары, и горизонтальной плоскостью, проходящей через оптический центр фары.

2.76 удельная тормозная сила: Отношение суммы тормозных сил на колесах КТС к произведению массы КТС в момент измерения тормозных сил на ускорение свободного падения.

2.77 управляемые колеса: Колеса, приводимые в действие рулевым управлением КТС.

2.78 уровень шума, дБА: Характеристика внешнего шума выпускной системы двигателя, измеренного по установленной методике на расстоянии (0,5 ± 0,05) м от среза выпускной трубы двигателя КТС.

2.79 условия выполнения проверки безопасности КТС в эксплуатации: Характеристики среды, места размещения и положения КТС при проверке (в производственном помещении, на рабочем посту, осмотровой канаве, эстакаде или подъемнике, в коридоре движения и др.), обязательности использования технологического оборудования, средств измерений и технического диагностирования.

2.80 установившееся замедление: Среднее значение замедления за время торможения от момента окончания периода нарастания замедления до начала его спада в конце торможения.

2.81 устойчивость транспортного средства при торможении: Способность КТС двигаться при торможениях в пределах установленного коридора движения.

2.82 фары типов DR, DC, DCR: Фары с газоразрядными источниками света класса D дальнего DR-света и ближнего DC-света и двухрежимные (ближнего и дальнего) DCR-света.

2.83 фары типов HR, HC, HCR: Фары с галогенными источниками света класса H дальнего HR-света и ближнего HC-света и двухрежимные (ближнего и дальнего) HCR-света.

2.84 фары типов R, C, CR: Фары с источниками света в виде ламп накаливания класса 0 дальнего R-света и ближнего C-света и двухрежимные (ближнего и дальнего) CR-света.

2.85 фары типов B и типа F3: Фары противотуманные, отличающиеся фотометрическими характеристиками и маркировкой, нанесенной на фару.

2.86 холодный тормозной механизм: Тормозной механизм, температура которого, измеренная на поверхности трения тормозного барабана или тормозного диска, составляет менее 100 °C.

2.87 целевая частота вращения коленчатого вала двигателя , : Частота вращения коленчатого вала двигателя, равная:

- 75% от частоты вращения, соответствующей максимальной мощности, для двигателей с частотой вращения коленчатого вала, соответствующей максимальной мощности, не выше 5000 ;

- 3750 для двигателей с частотой вращения коленчатого вала, соответствующей максимальной мощности, 5000 и выше, но менее 7500 ;

- 50% частоты вращения коленчатого вала, соответствующей максимальной мощности, для двигателей с частотой вращения коленчатого вала, соответствующей максимальной мощности, 7500 и выше;

- 95% максимально возможной при неподвижном КТС частоты вращения коленчатого вала двигателя, который не развивает указанных значений частоты вращения коленчатого вала.

2.88 шумомер: Прибор для проверки шума, снабженный микрофоном, устройством обработки сигналов и устройством отображения, соответствующий установленным требованиям.

2.89 экологический класс: Классификационный код, характеризующий КТС в зависимости от уровня выбросов вредных загрязняющих веществ, наличия и возможностей бортовой системы диагностирования.

2.90 элемент системы выпуска: Один из компонентов системы выпуска (выпускной коллектор, выпускной трубопровод и патрубки, выпускная труба, собственно система снижения шума).

2.91 эксплуатация: Стадия жизненного цикла КТС, на которой осуществляется его использование по назначению, с момента его государственной регистрации до утилизации.

2.92 эффективная база дымомера L, м: Длина траектории лучей света при их прохождении через отработавший газ, заполнивший рабочую трубу дымомера в условиях измерения, определяемая по приложению 5 к [2] и указываемая на дымомере.

2.93 эффективность торможения: Свойство, характеризующее способность тормозной системы создавать необходимое искусственное сопротивление движению в продольном направлении КТС.

3 Обозначения и сокращения

В настоящем стандарте применены следующие обозначения и сокращения:

АБС - антиблокировочная тормозная система;

КТС - колесное транспортное средство;

СИД - светоизлучающий диод;

СУГ - сжиженный углеводородный газ;

СНГ - сжиженный нефтяной газ;

КПГ - компримированный природный газ;

СПГ - сжиженный природный газ;

CO - оксид углерода;

CH - углеводороды CnHm;

CO2 - диоксид углерода;

O2 - кислород;

- минимальная частота вращения коленчатого вала двигателя;

- повышенная частота вращения коленчатого вала двигателя;

- коэффициент избытка воздуха;

дБА - децибел акустический.

4 Требования к безопасности КТС в эксплуатации

4.1 Требования к тормозным системам

4.1.1 Действие рабочей и запасной тормозных систем при торможении должно быть адекватным воздействию на орган управления тормозной системы.

4.1.2 Рабочую тормозную систему проверяют по параметрам эффективности торможения и устойчивости транспортного средства при торможении. Запасную, стояночную и вспомогательную тормозные системы проверяют только по эффективности торможения, оцениваемой наибольшими величинами тормозных сил. Применение оценочных параметров тормозных систем на роликовых стендах и в дорожных условиях согласно таблицам 4.1 и 4.2.

4.1.3 Рабочая тормозная система КТС должна обеспечивать выполнение нормативов эффективности торможения на стендах согласно таблице 4.3 либо в дорожных условиях согласно таблице 4.4. Начальная скорость торможения при проверках в дорожных условиях - 40 км/ч. Масса КТС при проверках не должна превышать технически допустимой максимальной массы.

4.1.4 При проверках на стендах допускается относительная разность тормозных сил колес оси (в процентах от наибольшего значения) для осей КТС с дисковыми колесными тормозными механизмами не более 20% и для осей с барабанными колесными тормозными механизмами не более 25%.

Таблица 4.1

Использование показателей эффективности торможения и устойчивости транспортного средства при торможении при проверках на роликовых стендах

Наименование показателяТормозная система
рабочаязапаснаястояночная
без АБС или с АБС с порогом отключения выше скорости стендас АБС с порогом отключения ниже скорости стенда
эффективность торможенияустойчивость КТС при торможенииэффективность торможенияустойчивость КТС при торможении
Удельная тормозная сила <*>+---++
Относительная разность тормозных сил колес оси-+----
Автоматическое отключение стенда вследствие проскальзывания колес по роликам или блокирование колес оси на роликах <**>+---++

Примечание - Знак "+" означает, что показатель следует использовать, знак "-" - показатель не следует использовать.

<*> Для тягача и прицепа или полуприцепа показатель рассчитывают раздельно.

<**> Используют только вместо показателя удельной тормозной силы.

4.1.5. В дорожных условиях при торможении рабочей тормозной системой с начальной скоростью торможения 40 км/ч КТС категорий M2, M3, N2, N3, O3, O4 не должно ни одной своей частью выходить из нормативного коридора движения шириной 3 м, а КТС категорий M1, N1, O1 - шириной 2,6 м.

4.1.6 Запасная тормозная система, снабженная независимым от других тормозных систем органом управления, должна обеспечивать соответствие показателей эффективности торможения КТС на стенде нормативам таблицы 4.3 либо в дорожных условиях - таблице 4.4 при начальной скорости торможения 40 км/ч.

Таблица 4.2

Использование показателей эффективности торможения и устойчивости КТС при торможении при проверках в дорожных условиях

Наименование показателяТормозная система
рабочаязапаснаястояночнаявспомогательная
с АБСбез АБС
эффективность торможенияустойчивость КТС при торможенииэффективность торможенияустойчивость КТС при торможении
Тормозной путь+-+-+--
Установившееся замедление+ <*>-+ <*>-++ <**>+
Время срабатывания тормозной системы <*>+-+-+--
Коридор движения-+-+---
Прямолинейность траектории при торможении---+---
Уклон поверхности, на которой КТС удерживается неподвижно-----+-

Примечание - Знак "+" означает, что показатель следует использовать, знак "-" - показатель не следует использовать.

<*> Используются совместно только вместо показателя "тормозной путь".

<**> Разрешается только для КТС, в эксплуатационной документации которых изготовитель допускает применение стояночной тормозной системы при движении КТС.

4.1.7 Рабочая тормозная система прицепов с пневматическим тормозным приводом в режиме аварийного (автоматического) торможения должна быть работоспособна.

4.1.8 Стояночная тормозная система должна обеспечивать:

а) для КТС технически допустимой максимальной массы:

- или значение удельной тормозной силы не менее 0,16;

- или удержание КТС неподвижным на уклоне (16 ± 1)%;

Таблица 4.3

Нормативы эффективности торможения КТС при проверках на роликовых стендах

Категория КТСУсилие на органе управления , H, не болееУдельная тормозная сила , не менее для тормозной системы:
рабочейзапасной
M1490 или 980 <*>0,50-
M2, M3686 или 980 <*> (589) <**>0,500,25
N1686 или 980 <*>0,45-
N2, N3686 или 980 <*> (589) <**>0,450,22
O1, O2 (прицепы с инерционным тормозом)4900,50-
O2, O3, O4 (прицепы, исключая оборудованные инерционным тормозом)6860,45-
O2, O3, O4 (прицепы с центральной осью и полуприцепы, исключая оборудованные инерционным тормозом)6860,41-
L1350 (200 <**>)0,42-
L2350 (200 <**>)0,40-
L3350 (200 <**>)0,50-
L4350 (200 <**>)0,460,25
L5, L7500 (400 <**>)0,440,25
L6500 (400 <**>)0,400,25
L, задний колесный тормоз-0,25-

<*> Для осей КТС, в тормозном приводе которых установлен регулятор тормозных сил.

<**> Для ручного органа управления тормозной системы.

б) для частично загруженных КТС, масса которых определена, если не проводилась проверка КТС технически допустимой максимальной массы:

- значение удельной тормозной силы не менее расчетной, равной меньшему из двух значений: 0,15 отношения технически допустимой максимальной массы к фактической массе КТС при проверке, или 0,6 отношения части фактической массы КТС при проверке, приходящейся на ось (оси), на которые воздействует стояночная тормозная система, к фактической массе КТС при проверке;

в) для КТС в снаряженном состоянии в том случае, если не проводилась проверка КТС технически допустимой максимальной массы:

Таблица 4.4

Нормативы эффективности торможения КТС при проверках в дорожных условиях

Категория КТСУсилие на органе управления, H, не болееТормозной путь , м, не болееУстановившееся замедление , м/с2, не менееВремя срабатывания тормозной системы , с, не более
рабочей тормозной системызапасной тормозной системырабочей тормозной системызапасной тормозной системы
M149016,6-4,9-0,6
M1 <*>49019,8-3,9-0,6
M2, M3686 (589 <**>)18,630,64,92,40,8
N1686 (589 <**>)16,6-4,9-0,6
N2, N3686 (589 <**>)20,034,04,42,20,8
L1 <***>350
-----
200
21,8
------
26,9
-3,4
----
2,7
--
L2 <***>350
-----
200
26,9
-----
26,9
-2,7
----
2,7
--
L3 <***>350
-----
200
25,0
-----
36,2
-4,4
----
2,9
--
L4 <***>350
-----
200
29,4
-----
29,4
-3,6
----
3,6
--
L4 <***>500
-----
400
-41,2-2,5-
L5, L6, L7500 (400 <**>)22,641,25,02,5-

<*> Для КТС с прицепом без тормозной системы.

<**> Для КТС с ручным органом управления запасной тормозной системы.

<***> Для КТС категорий L1 - L4 в числителе - усилие на ножном органе управления, тормозной путь и установившееся замедление при торможении передним тормозом; в знаменателе - усилие на ручном органе управления, тормозной путь и установившееся замедление при торможении задним тормозом.

- или значение удельной тормозной силы не менее расчетной, равной меньшему из двух значений: 0,15 отношения технически допустимой максимальной массы к массе КТС при проверке, или 0,6 отношения массы КТС в снаряженном состоянии, приходящейся на ось (оси), на которые воздействует стояночная тормозная система, к массе КТС в снаряженном состоянии;

- или неподвижное состояние на поверхности с уклоном (23 ± 1)% для КТС категорий M и (31 ± 1)% для категорий N 1 - N 3;

- или установившееся замедление не менее 2,2 м/с2 при торможении в дорожных условиях с начальной скоростью 20 км/ч КТС категорий M2 и M3, оборудованных стояночной тормозной системой с приводом на пружинные камеры, раздельным с приводом запасной тормозной системы, у которых не менее 0,37 массы КТС в снаряженном состоянии приходится на ось(и), оборудованную(ые) стояночной тормозной системой, или не менее 2,9 м/с2 - для КТС категорий N, у которого не менее 0,49 массы КТС в снаряженном состоянии приходится на ось(и), оборудованную(ые) стояночной тормозной системой с указанным приводом.

4.1.9 Стопорный механизм (или функция фиксации) органа управления стояночной тормозной системой должен быть работоспособен.

4.1.10 Усилие, прикладываемое к органу управления стояночной тормозной системой для приведения ее в действие, не должно превышать:

а) в случае ручного органа управления:

- 392 H - для КТС категории M1;

- 589 H - для КТС остальных категорий;

б) в случае ножного органа управления:

- 490 H - для КТС категории M1;

- 688 H - для КТС остальных категорий.

4.1.11 Вспомогательная тормозная система, за исключением моторного замедлителя, при торможениях в дорожных условиях с начальной скоростью от 25 до 35 км/ч должна обеспечивать установившееся замедление не менее 0,5 м/с2 для КТС технически допустимой максимальной массы и 0,8 м/с2 - для КТС в снаряженном состоянии с учетом массы водителя (кроме КТС категорий L). Для КТС категорий L технически допустимой максимальной массы и в снаряженном состоянии с учетом массы водителя при торможениях в дорожных условиях с начальной скоростью от 36 до 44 км/ч установившееся замедление должно быть не менее 2,5 м/с2.

4.1.12 Не допускаются:

а) утечки сжатого воздуха из тормозных камер;

б) нарушения герметичности трубопроводов или соединений в гидравлическом тормозном приводе и подтекания тормозной жидкости;

в) коррозия трубопроводов или деталей тормозного привода, грозящая потерей герметичности или разрушением;

г) перегибы, видимые перетирания и другие механические повреждения тормозных трубопроводов;

д) трещины или остаточная деформация деталей тормозного привода;

е) набухание под давлением, наличие трещин и видимых мест перетирания тормозных шлангов;

ж) нарушение целостности и демонтаж регулятора тормозных сил, предусмотренного эксплуатационной документацией КТС.

4.1.13 Средства сигнализации и контроля тормозных систем, манометры пневматического и пневмогидравлического тормозного привода должны быть работоспособны.

4.1.14 Гибкие тормозные шланги, передающие давление сжатого воздуха или тормозной жидкости колесным тормозным механизмам, должны соединяться друг с другом без дополнительных переходных элементов. Расположение и длина гибких тормозных шлангов должны обеспечивать герметичность соединений с учетом максимальных деформаций упругих элементов подвески и углов поворота колес КТС.

4.1.15 Расположение и длина соединительных шлангов пневматического тормозного привода автопоездов должны исключать их повреждения при взаимных перемещениях тягача и прицепа (полуприцепа).

4.1.16 Требования к АБС (при наличии):

4.1.16.1 Видимые повреждения, ненадежное крепление и отсоединение элементов АБС не допускаются.

4.1.16.2 АБС должна быть комплектна и работоспособна: световой индикатор мониторинга рабочего состояния АБС должен находиться в рабочем состоянии, включаться после включения зажигания и отключаться не позже, чем при достижении КТС скорости 10 км/ч.

4.1.17 На КТС с пневматическим тормозным приводом глушители шума истечения сжатого воздуха из тормозного привода должны быть герметичны, закреплены и работоспособны.

4.2 Требования к рулевому управлению

4.2.1 Изменение усилия при повороте рулевого колеса должно быть плавным во всем диапазоне угла его поворота.

4.2.2 Неработоспособность усилителя рулевого управления, предусмотренного изготовителем в эксплуатационной документации КТС, не допускается. Запрещен демонтаж усилителя рулевого управления, предусмотренного изготовителем в эксплуатационной документации КТС.

4.2.3 Самопроизвольный поворот рулевого колеса с усилителем рулевого управления от нейтрального положения при работающем двигателе при отсутствии управляющих воздействий водителя не допускается.

4.2.4 Суммарный люфт в рулевом управлении не должен превышать предельных значений, установленных изготовителем в эксплуатационной документации КТС, а при отсутствии указанных данных - следующих предельных значений:

- КТС категорий M1 и N1, а также КТС категорий L6 и L7 с автомобильной компоновкой - 10°;

- КТС категорий M2 и M3 - 20°;

- КТС категорий N2 и N3 - 25°.

4.2.5 Повреждения и отсутствие деталей крепления рулевой колонки и картера рулевого механизма не допускаются. Резьбовые соединения должны быть затянуты и зафиксированы способом, предусмотренным изготовителем КТС. Не предусмотренные эксплуатационной документацией изготовителя КТС перемещения и люфты в соединениях рычагов поворотных цапф и шарнирах рулевых тяг не допускаются. Устройство фиксации положения рулевой колонки с регулируемым положением рулевого колеса должно быть работоспособно.

4.2.6 Применение в рулевом механизме и рулевом приводе деталей со следами остаточной деформации, трещинами и другими дефектами не допускается.

4.2.7 Подтекание рабочей жидкости в гидросистеме усилителя рулевого управления не допускается.

4.3 Требования к устройствам освещения и световой сигнализации

4.3.1 Количество, расположение, назначение, режим работы и цвет огней внешних устройств освещения и световой сигнализации на КТС должны соответствовать указанным изготовителем в эксплуатационной документации КТС, при этом световой пучок фар ближнего света должен соответствовать условиям правостороннего движения.

4.3.2 Класс источника света, установленного в устройствах освещения и световой сигнализации, должен соответствовать указанному изготовителем в эксплуатационной документации для заводской комплектации КТС либо, в случае внесения изменений в конструкцию КТС, указанному в документации на световые приборы, установленные вместо предусмотренных конструкцией КТС.

4.3.3 Изменение цвета огней, режима работы, мест расположения, назначения, замена, установка дополнительных и демонтаж предусмотренных изготовителем в эксплуатационной документации внешних световых приборов и класса установленных в них источников света допускается только в соответствии с процедурами оценки соответствия при внесении изменений в конструкцию КТС в эксплуатации, принятыми государствами - членами Таможенного союза. При этом в качестве дополнительно устанавливаемых на КТС факультативных световых приборов допускается применять только приборы, указанные в таблице 4.5.

Таблица 4.5

Требования к дополнительным факультативным световым приборам

Наименование внешних световых приборовКоличество приборов на транспортном средствеЦвет излученияДополнительные требования
Фара-прожектор или прожектор-искатель1БелыйДопускается наличие, если они предусмотрены конструкцией КТС
Фары дальнего света2БелыйРазрешены для категории N3. При наличии четырех фар дальнего света дополнительные две фары могут использоваться только в дневное время для подачи кратковременных предупреждающих световых сигналов
Фонари заднего хода2БелыйРазрешены на КТС длиной более 6 м, кроме КТС категории M1. Должны располагаться симметрично оси КТС
Задние габаритные огни2КрасныйРазрешены для категорий M2, M3, N2, N3, O3 и O4. Устанавливаются симметрично оси КТС, как можно ближе к габаритной ширине КТС и выше обязательных габаритных огней не менее чем на 600 мм
Сигналы торможения1 центральный, когда его установка не является обязательной, 2 боковых при отсутствии центральногоКрасныйДолжны быть направлены непосредственно назад. Должны располагаться не менее чем на 600 мм выше обязательных сигналов торможения
Сигналы аварийного торможения<*>Автожелтый или красныйДолжна быть обеспечена частота мигания (4 ± 1) Гц
Сигнал аварийной остановки <*><*>Автожелтый или красныйДолжны быть обеспечены частота мигания (4 ± 1) Гц и автоматическое включение независимо от других огней
Сигнал предупреждения о возможности наезда сзади<*>АвтожелтыйДолжны быть обеспечены частота мигания (4 ± 1) Гц и автоматическое включение независимо от других огней
Указатели поворота боковые (повторители)Любое числоАвтожелтыйДолжна обеспечиваться синхронная работа с остальными указателями поворота.
Указатели поворота задниеПо 2АвтожелтыйРазрешены на КТС категорий M2, M3, N2, N3, O2, O3, O4. Должны располагаться не менее чем на 600 мм выше обязательных указателей поворота
Огни маневрирования1 или 2 (с каждой стороны)БелыйРазрешены на КТС категорий M и N
Огонь подсветки поворота2БелыйРазрешен на КТС категорий M и N. Запрещен для категорий O
Внешний фонарь освещения подножки2БелыйРазрешен на КТС категорий M и N, а также дополнительные фонари для подножек и (или) дверных ручек
Внешняя подсветкаЛюбое числоБелыйРазрешена на КТС категорий M и N. Может включаться на стоящем КТС с выключенным двигателем при открытии дверей водителя, пассажирских или багажных отсеков. Должна отличаться от других огней КТС
Задние светоотражающие устройстваЛюбое число, если они не снижают эффективности обязательных устройствКрасныйНе должны иметь треугольную форму для категорий M и N. Должны иметь треугольную форму для категорий O. Удаление внешней границы видимой поверхности от внешней границы КТС должно быть не более 400 мм
Боковые светоотражающие устройстваЛюбое число, если они не снижают эффективности обязательных устройствАвтожелтыйВнешняя граница видимой поверхности должна быть не ниже 250 мм и не выше 900 мм от опорной поверхности (1500 мм, если расстояние 900 мм невозможно выдержать из-за особенностей конструкции)

<*> Сигналы представляют собой все одновременно мигающие указатели поворота и сигналы торможения.

4.3.4 На КТС, снятых с производства, допускается замена внешних световых приборов на используемые на КТС других типов.

4.3.5 Внешние световые приборы КТС должны быть работоспособны.

4.3.6 Включение и выключение передних и задних габаритных фонарей, контурных огней, если таковые имеются, боковых габаритных фонарей, если таковые имеются, и фонаря заднего государственного регистрационного знака должны осуществляться общим органом управления. Данное требование не применяется при использовании передних и задних габаритных фонарей, а также боковых габаритных фонарей в качестве стояночных огней.

4.3.7 Фары дальнего и ближнего света и передние противотуманные фары могут быть включены только в том случае, если включены также передние и задние габаритные огни, контурные огни, если таковые имеются, боковые габаритные фонари, если таковые имеются, и фонарь заднего регистрационного знака, за исключением включения фар дальнего и ближнего света для подачи предупредительных сигналов путем периодического кратковременного включения фар дальнего света, периодического кратковременного включения фар ближнего света или кратковременного попеременного включения фар дальнего и ближнего света.

4.3.8 Контрольные световые сигналы включения для фар дальнего света, передних противотуманных фар, указателей поворота, передних и задних габаритных огней, задних противотуманных фонарей должны быть работоспособны. Сигналом включения передних и задних габаритных огней может служить, в частности, включение освещения комбинации приборов.

4.3.9 Допускается одновременное либо попарное включение фар дальнего света. При переключении дальнего света на ближний все фары дальнего света должны выключаться одновременно.

4.3.10 Автоматический корректор угла наклона фар и устройства фароочистки, предусмотренные изготовителем в эксплуатационной документации КТС либо, в случае внесения изменений в конструкцию КТС, в документации на световые приборы, установленные вместо предусмотренных изготовителем, должны быть работоспособны.

4.3.11 Свет красного цвета ни одного из световых приборов не должен излучаться в направлении вперед, а свет белого цвета, за исключением света фонаря заднего хода, не должен излучаться в направлении назад. Данное требование не распространяется на устройства внутреннего освещения КТС.

4.3.12 Ни один огонь не должен быть мигающим, за исключением огней указателей поворота, аварийной сигнализации, аварийного сигнала торможения и боковых габаритных огней автожелтого цвета, применяемых совместно с указателями поворота.

4.3.13 Отсутствие, разрушения рассеивателей внешних световых приборов и установка не предусмотренных конструкцией светового прибора оптических элементов (в том числе бесцветных или окрашенных наружных оптических деталей и пленок) не допускаются, за исключением оптических элементов, корректирующих форму светового пучка фар ближнего света в целях приведения его в соответствие с действующими требованиями. В последнем случае применяются процедуры оценки соответствия при внесении изменений в конструкцию КТС в эксплуатации, принятые государствами - членами Таможенного союза.

4.3.14 Повреждения и отслоения светоотражающей маркировки не допускаются.

4.3.15 Не допускается использование в фарах сменных источников света, не имеющих знака официального утверждения либо не соответствующих установленному изготовителем в эксплуатационной документации классу источника света, цоколем, мощностью, цветовой температурой, а также переходников с цоколя источника света одного класса на другой при установке источника света в световой модуль. Допускается применять сменные источники света класса D (газоразрядные лампы) с обозначениями:

"DxR" (где x - цифра от 1 до 8) в фарах со световым модулем без линзы;

"DxS" (где x - цифра от 1 до 8) в фарах со световым модулем с линзой.

4.3.16 Угол наклона плоскости (рисунки 4.1 и 4.2), содержащей левую (от КТС) часть верхней светотеневой границы пучка, именуемый углом регулировки ближнего света фар типов C, HC, DC, CR, HCR, DCR и фар с источником света на светоизлучающих диодах (СИД), должен быть в пределах ± 0,2% в вертикальном направлении от нормативного значения угла регулировки, указанного в эксплуатационной документации и (или) обозначенного на КТС. При отсутствии на КТС и в эксплуатационной документации данных о нормативе угла регулировки, фары типов C, HC, DC, CR, HCR, DCR и фар с источником света СИД должны быть отрегулированы в соответствии с нормативами угла регулировки ближнего света фар, заданными в зависимости от высоты H установки оптического центра фары над плоскостью рабочей площадки, показанными на рисунках 4.1, 4.2 и в таблице 4.6.

4.3.17 Угловое отклонение в горизонтальном направлении точки пересечения левого горизонтального и правого наклонного участков следа светотеневой границы на экране светового пучка фар типов C, HC, DC, CR, HCR, DCR и фар с источником света СИД от вертикальной плоскости, проходящей через ось отсчета, должно быть не более ± 0,2%.

4.3.18 Сила света каждой из фар в режиме "ближний свет", измеренная при условии отсутствия загрязнения рассеивателя в вертикальной плоскости, проходящей через ось отсчета, должна быть не более 750 кд в направлении 34' вверх от положения левой части светотеневой границы и не менее 1600 кд в направлении 52' вниз от положения левой части светотеневой границы.

Проверку силы света фар в режиме "ближний свет" проводят после регулировки ближнего света по 4.3.16. При несоответствии силы ближнего света нормативу проводят повторную регулировку в пределах ± 0,1% в вертикальном направлении от номинального значения угла по таблице 4.6 и повторное измерение силы света.

4.3.19 Фары типов R, HR, DR и фары с источником света СИД должны быть отрегулированы так, чтобы центр светового пучка лежал на оси отсчета фары. После регулировки сумма сил света всех одновременно включенных фар типов R, HR, DR и фар с источником света СИД в режиме "дальний свет", измеренных по оси отсчета фары при отсутствии загрязнения рассеивателя, не должна превышать 300000 кд.

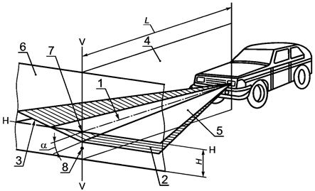
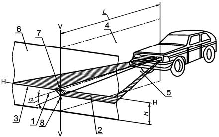
1 - ось отсчета; 2 - горизонтальная (левая) часть светотеневой границы; 3 - наклонная (правая) часть светотеневой границы; 4 - вертикальная плоскость, содержащая ось отсчета; 5 - плоскость, параллельная плоскости рабочей площадки; 6 - плоскость экрана; - угол наклона светового пучка к горизонтальной плоскости; L - расстояние от оптического центра фары до экрана; 7 - положение контрольной точки для измерения силы света в режиме "ближний свет" в направлении линии, расположенной под углом 34' выше горизонтальной части светотеневой границы пучка ближнего света в одной вертикальной плоскости с осью отсчета; 8 - положение контрольной точки для измерения силы света в режиме "ближний свет" на линии, расположенной под углом 52' ниже горизонтальной части светотеневой границы светового пучка ближнего света в одной вертикальной плоскости с оптической осью прибора; H - расстояние от проекции оптического центра фары до плоскости рабочей площадки

Рисунок 4.1 - Схема расположения КТС на посту проверки света фар, форма светотеневой границы с наклонным правым участком для режима "ближний свет" и размещение контрольных точек на экране

Рисунок 4.2 - Схема расположения КТС на посту проверки света фар, форма светотеневой границы с ломаным правым участком для режима "ближний свет" и размещение контрольных точек на экране

Таблица 4.6

Нормативы угла регулировки пучков ближнего света фар в зависимости от высоты установки фар над опорной поверхностью

Высота оптического центра фары над плоскостью рабочей площадки H, ммУгол регулировки ближнего света,
Угловых минутПроцентов
До 600341,00
От 600 до 700451,30
От 700 до 800521,50
От 800 до 900601,76
От 900 до 1000692,00
От 1000 до 1200752,20
От 1200 до 15001002,90

4.3.20 Противотуманные фары должны быть отрегулированы в соответствии с указаниями изготовителя КТС в эксплуатационной документации или, если они недоступны или отсутствуют, светотеневая граница должна находиться ниже линии H в соответствии с таблицей 4.7.

4.3.21 Фонари заднего хода должны включаться при включении передачи заднего хода и работать в постоянном режиме.

Таблица 4.7

Нормативы угла регулировки пучков света противотуманных фар в зависимости от высоты установки фар над опорной поверхностью

Тип фарыВысота оптического центра фары над плоскостью рабочей площадки H, ммУгол регулировки света противотуманной фары,
Угловых минут%
B-До 52До 1,5
F3Не более 800От 34 до 85От 1,0 до 2,5
F3Св. 800От 52 до 104От 1,5 до 3,0

4.3.22 Указатели поворота должны работать в мигающем режиме с частотой следования проблесков (1,5 ± 0,5) Гц (90 ± 30) проблесков в минуту. Аварийная сигнализация должна обеспечивать синхронное включение всех указателей поворота в проблесковом режиме.

4.3.23 Все указатели поворота, расположенные на одной и той же стороне КТС, должны включаться и выключаться одним и тем же устройством и работать синхронно.

4.3.24 Сигналы торможения (основные и дополнительные) должны излучать свет в постоянном режиме и включаться при воздействии на органы управления рабочей или аварийной тормозных систем.

4.3.25 Задние противотуманные фонари должны излучать свет в постоянном режиме. Задние противотуманные фонари могут оставаться включенными до тех пор, пока не выключены габаритные фонари. Задние противотуманные фонари не должны включаться при воздействии на педаль рабочей тормозной системы.

4.3.26 Стояночные огни, расположенные с одной стороны КТС, должны включаться независимо от любых других огней, а также независимо от положения выключателя зажигания.

4.3.27 Габаритные и контурные огни должны работать в постоянном режиме, за исключением боковых габаритных огней автожелтого цвета, применяемых совместно с указателями поворота.

4.3.28 Дневные ходовые огни, если таковые установлены, должны включаться автоматически, когда выключатель зажигания находится в таком положении, которое не исключает возможность работы двигателя, однако они могут оставаться выключенными при нахождении рычага автоматической коробки передач в положении "Стоянка", или при приведенной в действие стояночной тормозной системе, или до начала движения КТС после каждого запуска двигателя вручную. Дневные ходовые огни должны выключаться автоматически при включении фар, в том числе передних противотуманных фар, за исключением тех случаев, когда мигание фар применяется для подачи кратковременных предупреждающих световых сигналов.

4.3.29 Фонарь освещения заднего государственного регистрационного знака должен включаться одновременно с габаритными огнями и работать в постоянном режиме.

4.4 Требования к обеспечению обзорности

4.4.1 КТС должно быть укомплектовано стеклами, предусмотренными изготовителем.

4.4.2 Ограничение обзорности с места водителя дополнительными предметами или покрытиями (за исключением зеркал заднего вида, деталей стеклоочистителей, наружных и нанесенных или встроенных в стекла радиоантенн, нагревательных элементов размораживания и осушения ветрового стекла) не допускается.

4.4.3 Светопропускание ветрового стекла и стекол, через которые обеспечивается передняя обзорность для водителя, должно составлять не менее 70%, а для задних стекол может быть ниже 70% при наличии на КТС двух наружных зеркал заднего вида, удовлетворяющих требованиям 4.4.11. В верхней части ветрового стекла допускается светозащитная полоса, выполненная в массе стекла либо в виде прозрачной цветной пленки: на КТС категорий M1, M2 и N1, а также L6 и L7 (с кузовом закрытого типа) - шириной не более 140 мм, а на КТС категорий M3, N2 и N3 - шириной, не превышающей минимального расстояния между верхним краем ветрового стекла и верхней границей зоны его очистки стеклоочистителем. Светопропускание светозащитной полосы не измеряют.

4.4.4 Ветровые стекла всех типов не должны искажать правильное восприятие белого, желтого, красного, зеленого и голубого цветов.

4.4.5 Не разрешается применять стекла, на которых нанесено покрытие, создающее зеркальный эффект.

4.4.6 На боковых и задних окнах КТС категории M3 класса III допускается наличие занавесок.

4.4.7 Наличие трещин ветровых стекол КТС в зоне очистки стеклоочистителем половины стекла, расположенной со стороны водителя, не допускается.

4.4.8 Стеклоочистители и стеклоомыватели должны быть работоспособны. Демонтаж предусмотренных изготовителем в эксплуатационной документации КТС стеклоочистителей и стеклоомывателей не допускается.

4.4.9 Стеклоомыватели должны обеспечивать подачу жидкости в зоны очистки стекла.

4.4.10 КТС должно быть укомплектовано противосолнечными козырьками.

4.4.11 КТС должно быть укомплектовано зеркалами заднего вида согласно таблице 4.8.

4.4.12 КТС с числом колес менее четырех и кузовом, частично или полностью закрывающим водителя, должны быть оборудованы:

Таблица 4.8

Требования к наличию зеркал заднего вида на транспортных средствах

Категория КТСХарактеристика зеркалаКласс зеркалаЧисло и расположение зеркал на КТСНаличие зеркала
LI - L5Наружное основноеLОдно слеваОбязательно
Одно справаДопускается.
При максимальной конструктивной скорости более 50 км/ч - обязательно
M1, N1, L5, L6, L7 (с закрытой кабиной)ВнутреннееIОдно внутриОбязательно только при наличии обзора через него
M1, N1Наружное основноеIII (или II)Одно слеваОбязательно
Одно справаОбязательно при недостаточном обзоре через внутреннее зеркало, в остальных случаях - допускается
Наружное широкоугольноеIVОдно справа, одно слеваДопускается
M1, N1Наружное бокового обзораV <*>Одно справа, одно слеваДопускается
Наружное переднего обзораVI <*>Одно спередиДопускается
M2, M3Наружное основноеIIОдно справа, одно слеваОбязательно
ВнутреннееIОдно внутриДопускается
Наружное широкоугольноеIVОдно справа, одно слеваДопускается
Наружное бокового обзораV <*>Одно справа, одно слеваДопускается
Наружное переднего обзораVI <*>Одно спередиДопускается
N2 (не более 7,5 тонны)Наружное основноеIIОдно справа, одно слеваОбязательно
ВнутреннееIОдно внутриДопускается
Наружное широкоугольноеIVОдно справа, одно слеваДопускается
Наружное бокового обзораV <*>Одно справа, одно слеваДопускается
Наружное переднего обзораVI <*>Одно спередиДопускается
N2 (св. 7,5 тонны)Наружное основноеIIОдно справа, одно слеваОбязательно
N3Наружное широкоугольноеIVОдно справаОбязательно
Наружное бокового обзораV <*>Одно справаОбязательно
Наружное переднего обзораVI <*>Одно спередиОбязательно для КТС с передним расположением органов управления <**>
ВнутреннееIОдно внутриДопускается
Наружное бокового обзораV <*>Одно слеваДопускается

Примечание -

Классы зеркал заднего вида:

L - основные внешние зеркала заднего вида небольшого размера плоские или сферические, предназначенные для КТС категорий L, не имеющих кузова частично или полностью закрытого типа;

I - внутренние зеркала заднего вида плоские или сферические;

II - основные внешние зеркала заднего вида большого размера сферические;

III - основные внешние зеркала заднего вида небольшого размера плоские или сферические (допускается меньший радиус кривизны, чем для зеркал класса II);

IV - широкоугольные внешние зеркала заднего вида сферические;

V - внешние зеркала бокового обзора сферические;

VI - зеркала переднего обзора сферические;

VII - внешние зеркала заднего вида плоские или сферические, предназначенные для КТС категорий L с кузовом частично или полностью закрытого типа.

<*> Зеркало должно располагаться на высоте не менее 2 м от уровня опорной поверхности. Зеркало не должно устанавливаться на КТС, кабина которых располагается на такой высоте, что данное предписание не может быть выполнено.

<**> Под "передним расположением органов управления" понимается компоновка, в которой более половины длины двигателя находится за наиболее удаленной передней точкой основания ветрового стекла, а ступица рулевого колеса - в передней четверти длины КТС.

- либо внутренним зеркалом заднего вида класса I и внешним зеркалом заднего вида класса III или класса VII, которые устанавливаются на КТС со стороны водителя;

- либо двумя внешними зеркалами заднего вида класса III или класса VII - по одному с каждой стороны КТС.

4.4.13 Зеркала заднего вида должны быть закреплены так, чтобы исключались их произвольные смещения при движении КТС. Явные видимые повреждения зеркал заднего вида не допускаются.

4.5 Требования к шинам и колесам

4.5.1 КТС должны быть укомплектованы шинами согласно эксплуатационной документации изготовителя КТС.

4.5.2 Каждая установленная на КТС шина должна:

- соответствовать по размерности рекомендациям эксплуатационной документации КТС и размерности колеса, на котором она смонтирована;

- соответствовать или превышать по категории скорости, указанной в нанесенной на шину маркировке, максимальную конструктивную скорость КТС согласно таблице 4.9;

Таблица 4.9

Обозначения категории скорости шин в маркировке и соответствующие им максимально допускаемые скорости КТС

Обозначение категории скоростиМаксимально допускаемая скорость, км/ч
F80
G90
J100
K110
L120
M130
N140
P150
Q160
R170
S180
T190
U200
H210
V240
w270
Y300

- по фактической максимальной массе, приходящейся на шину, не превышать значения, соответствующего индексу несущей способности, указанного в нанесенной на шину маркировке согласно таблице 4.10.

Таблица 4.10

Обозначения индексов несущей способности шин и соответствующие им значения массы, приходящейся на шину

Индекс несущей способности шиныМаксимально допускаемая масса, приходящаяся на шину, кгИндекс несущей способности шиныМаксимально допускаемая масса, приходящаяся на шину, кг
045101825
146,2102850
247,5103875
348,7104900
450105925
551,5106950
653107975
754,51081000
8561091030
9581101060
10601111090
1161,51121120
12631131150
13651141180
14671151215
15691161250
16711171285
17731181320
18751191360
1977,51201400
20801211450
2182,51221500
22851231550
2387,51241600
24901251650
2592,51261700
26951271750
2797,51281800
281001291850
291031301900
301061311950
311091322000
321121332060
331151342120
341181352180
351211362240
361251372300
371281382360
381321392430
391361402500
401401412575
411451422650
421501432725
431551442800
441601452900
451651463000
461701473075
471751483150
481801493250
491851503350
501901513450
511951523550
522001533650
532061543750
542121553875
552181564000
562241574125
572301584250
582361594375
592431604500
602501614625
612571624750
622651634875
632721645000
642801655150
652901665300
663001675450
673071685600
683151695800
693251706000
703351716150
713451726300
723551736500
733651746700
743751756900
753871767100
764001777300
774121787500
784251797750
794371808000
804501818250
814621828500
824751838750
834871849000
845001859250
855151869500
865301879750
8754518810000
8856018910300
8958019010600
9060019110900
9161519211200
9263019311500
9365019411800
9467019512150
9569019612500
9671019712850
9773019813200
9875019913600
9977520014000
100800  

Примечание - Для скоростей выше 210 км/ч показатель максимальной массы, приходящейся на шину, должен соответствовать требованиям [3].

4.5.3 Сдвоенные колеса должны быть установлены таким образом, чтобы вентильные отверстия в дисках были совмещены для обеспечения возможности измерения давления воздуха и подкачивания шин.

4.5.4 Шины с шипами противоскольжения в случае их применения должны быть установлены на все колеса КТС.

4.5.5 Зимние шины в случае их применения должны быть установлены на все колеса КТС.

4.5.6 Шина считается непригодной к эксплуатации при:

а) появлении одного индикатора износа (выступа по дну канавки беговой дорожки, предназначенного для визуального определения степени износа, который соответствует минимально допустимой глубине рисунка протектора шин);

б) остаточной глубине рисунка протектора шин (при отсутствии индикаторов износа) не более:

- для КТС категорий L - 0,8 мм;

- для КТС категорий N2, N3, O3, O4 - 1,0 мм;

- для КТС категорий M1, N1, O1, O2 - 1,6 мм;

- для КТС категорий M2, M3 - 2,0 мм;

в) остаточной глубине рисунка протектора зимних шин, предназначенных для эксплуатации на обледеневшем или заснеженном дорожном покрытии, маркированных знаком в виде горной вершины с тремя пиками и снежинки внутри нее (рисунок 4.3), а также маркированных знаками "M+S", "M&S", "M-S", "M.S.", "M/S" (при отсутствии индикаторов износа), во время эксплуатации на указанном покрытии - не более 4,0 мм;

г) замене золотников заглушками, пробками и другими приспособлениями;

Рисунок 4.3 - Маркировка, наносимая на зимнюю шину

д) наличии местных повреждений шин (пробои, сквозные и несквозные порезы и прочие), которые обнажают корд, а также расслоений в каркасе, брекере, борте (вздутия), местном отслоении протектора, боковины и герметизирующего слоя.

4.5.7 Не допускаются:

а) отсутствие хотя бы одного болта или гайки крепления дисков и ободьев колес;

б) наличие трещин на дисках и ободьях колес, следов их устранения сваркой;

в) видимые нарушения формы и размеров крепежных отверстий в дисках колес;

г) установка на одну ось КТС шин разной размерности, конструкции (радиальной, диагональной, камерной, бескамерной), с разными категориями скорости, индексами несущей способности, рисунками протектора, зимних и не зимних, новых и восстановленных, новых и с углубленным рисунком протектора.

Примечание - Требования г) пункта 4.5.7 не применяют к запасной шине, временно установленной на КТС.

4.5.8 Применение шин, восстановленных наложением нового протектора, не допускается на передней оси КТС.

На других осях КТС допускается применение шин, восстановленных в соответствии со следующими требованиями:

а) повторное восстановление шин с ранее уже восстанавливавшимся протектором не допускается;

б) восстановление протектора шин, возраст которых превышает семь лет, не допускается.

в) в маркировке восстановленной шины должно присутствовать указание "Retread";

г) на шине с восстановленным протектором помимо маркировки должен быть четко проставлен международный знак официального утверждения, состоящий из круга, в котором указана буква "E", за которой следует отличительный номер страны, предоставившей официальное утверждение по [4] или [5], и номера официального утверждения;

д) в маркировке шин с восстановленным протектором не допускается указание категории скорости и индекса несущей способности более высоких, чем до восстановления.

4.5.9 На задней оси КТС категории M, средней оси КТС категории M3, средних и задней осях КТС категории N, на всех осях КТС категории O допускается применение шин с отремонтированными местными повреждениями, а в случае шин, имеющих маркировку "Regroovable", также с рисунком протектора, углубленным методом нарезки в соответствии с документацией изготовителя шины.

4.6 Требования к сцепным устройствам

4.6.1 Замок седельно-сцепного устройства седельных тягачей должен после сцепки закрываться автоматически. Ручная и автоматическая блокировки седельно-сцепного устройства должны предотвращать самопроизвольное расцепление тягача и полуприцепа. Деформации, разрывы, трещины и другие видимые повреждения сцепного шкворня, гнезда шкворня, опорной плиты, тягового крюка, шара тягово-сцепного устройства, трещины, разрушения, в том числе местные, или отсутствие деталей сцепных устройств и их крепления не допускаются.

4.6.2 Одноосные прицепы (за исключением роспусков) и прицепы, не оборудованные рабочей тормозной системой, должны быть оборудованы предохранительными приспособлениями (цепями, тросами), которые должны быть работоспособны. Длина предохранительных цепей (тросов) должна предотвращать контакт сцепной петли дышла с дорожной поверхностью и при этом обеспечивать управление прицепом в случае обрыва (поломки) тягово-сцепного устройства.

4.6.3 Прицепы (за исключением одноосных и роспусков) должны быть оборудованы устройством, поддерживающим сцепную петлю дышла в положении, облегчающем сцепку и расцепку с тягачом.

4.6.4 Деформации сцепной петли или дышла прицепа, грубо нарушающие положение их относительно продольной центральной плоскости симметрии прицепа, разрывы, трещины и другие видимые повреждения сцепной петли или дышла прицепа, не допускаются.

4.6.5 Ослабление болтовых соединений и фиксации крепления дышла к прицепу, сцепной петли к дышлу, шкворня и гаек реактивных штанг не допускается.

Гайка оси дышла должна быть завернута до отказа и зашплинтована.

Гайка крепления сцепной петли дышла должна быть завернута до отказа и зафиксирована замковой шайбой и гайкой.

Стопорные шайбы шкворня должны фиксировать завернутую до отказа гайку.

4.6.6 Продольный люфт в беззазорных тягово-сцепных устройствах с тяговой вилкой для сцепленного с прицепом тягача не допускается.

4.6.7 Тягово-сцепные устройства легковых автомобилей должны обеспечивать беззазорную сцепку. Самопроизвольная расцепка не допускается.

4.6.8 Размерные характеристики сцепных устройств должны соответствовать следующим требованиям:

4.6.8.1 Диаметр сцепного шкворня сцепных устройств полуприцепов технически допустимой максимальной массой до 40 т должен быть в пределах от номинального, равного 50,9 мм, до предельно допустимого, составляющего 48,3 мм, а наибольший внутренний диаметр рабочих поверхностей захватов сцепного устройства - от 50,8 мм до 55 мм соответственно.

4.6.8.2 Диаметр сцепного шкворня сцепных устройств с клиновым замком полуприцепов с технически допустимой максимальной массой до 55 т должен быть в пределах от номинального, равного 50 мм, до предельно допустимого, составляющего 49 мм, а полуприцепов с технически допустимой максимальной массой более 55 т - в пределах от номинального, равного 89,1 мм, до предельно допустимого, составляющего 86,6 мм.

4.6.8.3 Диаметр зева тягового крюка тягово-сцепной системы "крюк-петля" тягача, измеренный в продольной плоскости, должен быть в пределах от минимального, составляющего 48,0 мм, до предельно допустимого, равного 53,0 мм, а наименьший диаметр сечения прутка сцепной петли - 43,9 мм, до 36 мм соответственно.

4.6.8.4 Диаметр шкворня типоразмера 40 мм беззазорных тягово-сцепных устройств с тяговой вилкой тягача должен быть в пределах от номинального, составляющего 40 мм, до минимально допустимого, равного 36,2 мм, а диаметр шкворня типоразмера 50 мм в пределах от номинального, составляющего 50 мм, до минимально допустимого, равного 47,2 мм. Диаметр сменной вставки типоразмера 40 мм дышла прицепа должен быть в пределах от номинального, составляющего 40 мм, до предельно допустимого, равного 41,6 мм, а сменной вставки типоразмера 50 мм - в пределах от номинального, составляющего 50 мм, до предельно допустимого, равного 51,6 мм.

4.6.8.5 Диаметр шара тягово-сцепного устройства легковых автомобилей должен быть в пределах от номинального, равного 50,0 мм, до минимально допустимого, составляющего 49,6 мм.

4.7 Требования к удерживающим системам пассивной безопасности

4.7.1 Места для сидения в КТС, конструкция которых предусматривает наличие ремней безопасности, должны быть ими оборудованы в соответствии с требованиями нормативных правовых актов, действовавших на момент выпуска КТС в обращение.

Требования первого абзаца данного пункта не распространяются на КТС категорий M2 и M3, оборудуемые ремнями безопасности только при использовании на междугородных перевозках пассажиров.

Не допускается демонтаж ремней безопасности, предусмотренных конструкцией КТС, или приведение их в состояние, при котором невозможно их использование по назначению.

4.7.2 Не допускаются следующие дефекты установленных на КТС ремней безопасности:

а) надрыв на лямке, видимый невооруженным глазом;

б) замок не фиксирует "язык" лямки или не выбрасывает его после нажатия на кнопку замыкающего устройства;

в) лямка не вытягивается или не втягивается во втягивающее устройство (катушку);

г) при резком вытягивании лямки ремня с аварийным запирающимся втягивающим устройством не обеспечивается прекращение (блокирование) ее вытягивания из втягивающего устройства (катушки).

4.7.3 Установка подушек безопасности, не предусмотренных изготовителем в эксплуатационной документации КТС, не допускается.

4.7.4 Демонтаж подголовников, предусмотренных изготовителем в эксплуатационной документации КТС, не допускается.

4.8 Требования к задним и боковым защитным устройствам

4.8.1 Демонтаж или изменение места размещения на КТС предусмотренных изготовителем заднего и боковых защитных устройств не допускается.

4.9 Требования к двигателю и его системам

4.9.1 Содержание оксида углерода (CO) в отработавших газах КТС с бензиновыми и газовыми двигателями в режиме холостого хода на минимальной и повышенной частотах вращения коленчатого вала двигателя должно быть не выше значений, указанных в эксплуатационной документации изготовителя КТС, а при отсутствии этих данных - не выше значений, приведенных в таблице 4.11.

Таблица 4.11

Предельно допустимые значения содержания оксида углерода (CO) в отработавших газах КТС с бензиновыми и газовыми двигателями

Категория и комплектация КТС системой нейтрализации отработавших газовЧастота вращения коленчатого вала двигателяCO, объемная доля, процентов
M и N, экологических классов 0, 1, изготовленные до 31.12.1986Минимальная4,5
M и N, экологических классов 0, 1, 2, изготовленные с 01.01.1987 по 31.12.2006Минимальная3,5
Повышенная2,0
M и N, экологических классов 2, 3, 4, изготовленные до 01.01.2013Минимальная0,5
Повышенная0,3
M и N, экологического класса 4 и выше, изготовленные с 01.01.2013Минимальная0,3
Повышенная0,2
LМинимальная4,5

Повышенная частота вращения коленчатого вала двигателя в пределах 2500...2800 .

4.9.2 Значение коэффициента избытка воздуха при повышенной частоте вращения коленчатого вала бензиновых и работающих на сжиженном нефтяном газе (СНГ) двигателей КТС категорий M1, N1 экологического класса 3 и выше и КТС категорий M2, M3, N2, N3 экологического класса 3 и выше с бензиновыми двигателями должно быть в пределах, установленных при оценке соответствия типа КТС перед его выпуском в обращение, а при отсутствии таких данных значение коэффициента должно быть в пределах от 0,97 до 1,03.

Коэффициент избытка воздуха КТС категорий M1 и N1 экологического класса 3 и выше, работающих на компримированном (КПГ) и сжиженном (СПГ) природном газе должен быть в пределах значений, установленных изготовителем, а при их отсутствии, в том числе для КТС, переоборудованных в эксплуатации для работы на СУГ, определение не проводится.

Для КТС категорий M2, M3, N2, N3 экологического класса 3 и выше с газовыми двигателями должно быть в пределах значений, установленных изготовителем, а при их отсутствии, в том числе для КТС, переоборудованных в эксплуатации для работы на СУГ, определение не проводится.

4.9.3 Дымность отработавших газов КТС с дизелями в режиме свободного ускорения не должна превышать значения, указанного в документах, удостоверяющих соответствие КТС требованиям [2], либо значений, указанных на знаке официального утверждения, нанесенном на двигатель или на КТС, либо приведенных изготовителем в эксплуатационной документации. При отсутствии указанных сведений дымность отработавших газов не должна превышать следующих значений:

а) для двигателей экологического класса 3 и ниже:

- 2,5 для двигателей без наддува;

- 3,0 для двигателей с наддувом;

б) для двигателей экологического класса 4 и выше - 1,5 .

4.9.4 Отсутствие и видимые повреждения элементов контроля и управления двигателем и системы снижения выбросов (электронный блок управления двигателем, кислородный датчик, каталитический нейтрализатор, система вентиляции картера двигателя, система рециркуляции отработавших газов, система улавливания паров топлива и другие) не допускаются.

4.9.5 На КТС, оснащенных диагностическим индикатором двигателя или бортовой системой диагностирования, эти индикатор и система должны быть работоспособны, а их показания должны соответствовать работоспособному состоянию двигателя и системы нейтрализации отработавших газов (не должно быть сохраненных кодов неисправностей двигателя и системы нейтрализации отработавших газов).

4.9.6 Системы питания и выпуска КТС должны быть комплектны и герметичны. Подтекания и каплепадение топлива в системе питания не допускаются. Подсос воздуха и (или) утечка отработавших газов, минуя систему выпуска, не допускаются. Системы улавливания паров топлива, рециркуляции отработавших газов и вентиляции картера, предусмотренные изготовителем в эксплуатационной документации КТС, должны быть комплектны и герметичны.

4.9.7 Запорные устройства топливных баков и устройства перекрытия топлива должны быть работоспособны. Крышки топливных баков должны фиксироваться в закрытом положении, повреждения уплотняющих элементов крышек не допускаются. Отсутствие, повреждение или ослабление деталей крепления элементов системы питания не допускаются.

4.9.8 Система питания газобаллонных КТС должна соответствовать следующим требованиям:

а) на каждый газовый баллон должен иметься паспорт, оформленный его изготовителем;

б) на каждом газовом баллоне, установленном на КТС, должны быть четко нанесены нестираемым образом, по меньшей мере, данные о его серийном номере;

в) газобаллонное оборудование на КТС подвергается периодическим испытаниям в специально уполномоченных организациях с периодичностью, совпадающей с периодичностью освидетельствования баллонов, установленной изготовителем баллонов и указанной в паспорте на баллон (баллоны). По результатам периодических испытаний специально уполномоченные организации оформляют документ, подтверждающий проведение периодических испытаний газобаллонного оборудования, установленного на КТС;

г) внесение изменений в конструкцию и комплектность установленного газобаллонного оборудования при эксплуатации не допускается. Изменения, вносимые при ремонте газобаллонного оборудования (замена редуктора или баллона), оформляются специально уполномоченными организациями документ, подтверждающий соответствие газобаллонного оборудования требованиям безопасности;

д) не допускается:

- использование газовых баллонов с истекшим сроком их периодического освидетельствования;

- нарушения крепления компонентов газобаллонного оборудования;

- утечки газа из компонентов газобаллонного оборудования и в местах их соединений.

4.9.9 Уровень шума выпуска отработавших газов неподвижного КТС, измеренный на расстоянии (0,5 ± 0,05) м от среза выпускной трубы под углом 45° ± 15° к оси потока газа при работе двигателя на холостом ходу в режимах целевой частоты вращения коленчатого вала и в режиме замедления его вращения от целевой частоты до минимальной частоты холостого хода, не должен превышать более чем на 5 дБА значений, установленных изготовителем КТС, а при отсутствии этих данных - значений, указанных в таблице 4.12.

Проверка КТС, двигатель внутреннего сгорания которых не может функционировать при неподвижном КТС, не проводится.

Таблица 4.12

Предельные уровни шума выпуска двигателей транспортных средств

Категория транспортного средстваУровень звука, дБА
M1, N1, L96
M2, N298
M3, N3100

4.9.10 Не допускается внесение изменений в конструкцию системы выпуска отработавших газов двигателя при эксплуатации.

4.9.11 При наличии в системе впуска воздушного фильтра и/или глушителя шума впуска, необходимых для соблюдения требований по шуму, демонтирование фильтра и/или глушителя шума не допускается.

4.10 Требования к прочим элементам конструкции

4.10.1 Показания сигнализаторов бортовых (встроенных) средств контроля и диагностирования на КТС, оснащенных такими средствами, должны соответствовать работоспособному состоянию КТС. Бортовые средства контроля и диагностирования должны быть комплектны и сохранны, их видимые повреждения не допускаются.

4.10.2 Замки дверей кузова или кабины, запоры бортов грузовой платформы, запоры горловин цистерн, механизмы регулировки и фиксирующие устройства сидений водителя и пассажиров, устройство обогрева и обдува ветрового стекла, предусмотренное изготовителем КТС противоугонное устройство должны быть работоспособны.

4.10.3 Замки боковых навесных дверей КТС должны фиксироваться в двух положениях запирания: промежуточном и окончательном, если это предусмотрено изготовителем КТС в эксплуатационной документации.

4.10.4 Демонтаж и неработоспособность звукового сигнального прибора на КТС не допускаются. Звуковой сигнальный прибор должен при приведении в действие органа его управления издавать непрерывный и монотонный звук, акустический спектр которого не должен претерпевать значительных изменений.

4.10.5 Демонтаж и неработоспособность средств измерения скорости (спидометров), а также установленных на КТС средств контроля за соблюдением водителями режимов движения, труда и отдыха не допускаются.

4.10.6 Ослабление затяжки болтовых соединений и разрушения деталей подвески и карданной передачи КТС не допускаются.

4.10.7 Давление на контрольном выводе регулятора уровня пола КТС с пневматической подвеской, изготовленных после 1 января 1997 г., должно соответствовать указанному изготовителем в эксплуатационной документации.

4.10.8 Деформации вследствие повреждений или изменения конструкции передних и задних бамперов КТС категорий M и N, при которых радиус кривизны выступающих наружу частей бампера (за исключением деталей, изготовленных из неметаллических эластичных материалов) менее 5 мм, не допускаются.

4.10.9 Видимые разрушения, короткие замыкания и следы пробоя изоляции электрических проводов не допускаются.

4.10.10 Запасное колесо, аккумуляторные батареи, сиденья должны быть надежно закреплены в местах, предусмотренных изготовителем в эксплуатационной документации КТС.

4.10.11 На КТС, оборудованных механизмами продольной регулировки положения подушки и угла наклона спинки сиденья или механизмом перемещения сиденья водителя (для посадки и высадки), указанные механизмы должны быть работоспособны. После прекращения регулирования или пользования эти механизмы должны автоматически блокироваться.

4.10.12 Держатель запасного колеса должен быть работоспособен.

4.10.13 Демонтирование опорного устройства полуприцепов не допускается. Фиксаторы транспортного положения опор должны быть работоспособны.

4.10.14 Каплепадение масел и рабочих жидкостей из двигателя, коробки передач, бортовых редукторов, ведущего моста, сцепления, аккумуляторной батареи, систем охлаждения и кондиционирования воздуха и дополнительно устанавливаемых на КТС гидравлических аппаратов не допускается.

4.10.15 Ослабление крепления амортизаторов вследствие отсутствия, повреждения или сквозной коррозии деталей их крепления не допускается.

4.10.16 Трещины и разрушения щек кронштейнов подвески, а также стоек либо каркасов бортов и приспособлений для крепления грузов не допускаются.

4.10.17 Отсутствие предусмотренных изготовителем в эксплуатационной документации КТС элементов системы защиты от разбрызгивания из-под колес не допускается.

4.10.18 Запрещено неправомерное оборудование КТС специальными звуковыми и световыми сигнальными приборами, нанесение окраски по цветографическим схемам, установленным для КТС оперативных служб.

4.10.19 В отношении КТС категории L не допускаются:

а) неработоспособность или отсутствие предусмотренного изготовителем в эксплуатационной документации рулевого демпфера мотоцикла;

б) отсутствие предусмотренных изготовителем в эксплуатационной документации КТС подножек или рукояток для пассажиров на седле;

в) отсутствие предусмотренных изготовителем в эксплуатационной документации КТС дуг безопасности или приведение их в состояние, при котором невозможно их использование по назначению;

г) наличие люфта в соединениях рамы мотоцикла с рамой бокового прицепа.

4.10.20 Устройства вызова экстренных оперативных служб и средства спутниковой навигации на КТС, оборудованных такими устройствами, должны быть работоспособны.

4.11 Требования к комплектности транспортных средств

4.11.1 КТС категорий L5, L6, L7, M и N должны быть укомплектованы знаком аварийной остановки, выполненным по [6].

4.11.2 КТС категорий L5, L6, L7, M и N должны быть укомплектованы аптечкой первой помощи (автомобильной), а КТС категории M3 классов II и III - тремя аптечками первой помощи (автомобильными). Указанные аптечки комплектуются пригодными для использования изделиями медицинского назначения и прочими средствами. Произвольное изменение комплектации аптечки или применение изделий медицинского назначения и прочих средств с поврежденной маркировкой и просроченным периодом использования не допускаются.

4.11.3 КТС категорий M3, N2, N3 должны быть укомплектованы не менее чем двумя противооткатными упорами, соответствующими диаметру колес КТС.

4.11.4 Независимо от наличия автоматической системы пожаротушения, КТС категории M1 должны быть оснащены не менее чем одним огнетушителем емкостью не менее 1 л, а КТС категорий M2, M3 и N - не менее чем одним огнетушителем емкостью не менее 2 л. Огнетушитель размещается в легкодоступном месте. У КТС категорий M2 и M3 огнетушитель размещается поблизости от рабочего места водителя. На двухэтажных КТС дополнительный огнетушитель должен размещаться на верхнем этаже. Использование огнетушителей без пломб и с истекшими сроками годности не допускается.

4.11.5 Огнетушители и аптечки первой помощи (автомобильные) на КТС, оборудованных приспособлениями для их крепления, закрепляются согласно эксплуатационной документации КТС.

4.11.6 КТС категорий M, N и O, максимальная конструктивная скорость которых не превышает 40 км/ч, комплектуются опознавательным знаком тихоходного КТС, выполненным по [7].

4.11.7 КТС категории N2 разрешенной максимальной массой более 7,5 т и категории N3, кроме тягачей, буксирующих полуприцепы, комплектуют опознавательными знаками транспортных средств большой грузоподъемности, а КТС категорий O1, O2, O3 длиной более 8 м (включая сцепное устройство) и все КТС категории O4 комплектуют задними опознавательными знаками транспортных средств большой длины, которые выполняют по [8].

4.11.8 На КТС категорий M2 и M3, использующие в качестве топлива сжиженный нефтяной газ (СНГ) или компримированный природный газ (КПГ), наносят опознавательные знаки в виде ромба зеленого цвета с каймой белого цвета. В середине знака располагаются буквы: "СНГ" или "КПГ" (рисунок 4.4). Горизонтальная диагональ ромба 110...150 мм, вертикальная диагональ ромба 80...110 мм, ширина каймы 4 - 6 мм, высота букв не менее 25 мм, ширина букв не менее 4 мм. Опознавательные знаки размещают спереди и сзади, а также по правому борту КТС снаружи дверей.

Рисунок 4.4 - Образец опознавательного знака КТС категорий M2 и M3, использующих в качестве топлива сжиженный нефтяной газ (СНГ) или компримированный природный газ (КПГ)

4.12 Требования к обеспечению возможности идентификации транспортных средств

4.12.1 Идентификационный номер, нанесенный на КТС, должен соответствовать указанному в регистрационных документах на это КТС.

4.12.2 Государственные регистрационные знаки на КТС должны устанавливаться только на местах, предусмотренных его конструкцией, по оси симметрии КТС или слева от нее по направлению движения, перпендикулярно к продольной плоскости симметрии КТС ± 3° и перпендикулярно к опорной плоскости ± 5°.

Если конструкция КТС не позволяет установить государственный регистрационный знак перпендикулярно к опорной плоскости, то при высоте верхнего края регистрационного знака над опорной поверхностью не более 1200 мм допускается увеличение отклонения регистрационного знака от вертикальной плоскости до 30°, если поверхность знака обращена вверх, и 15°, если эта поверхность обращена вниз.

4.12.3 Для крепления государственных регистрационных знаков должны применяться болты или винты с головками цвета поля знака или светлые гальванические покрытия.

Также допускается крепление государственных регистрационных знаков с помощью рамок. Болты, винты, рамки не должны загораживать размещенные на государственном регистрационном знаке буквы, цифры, окантовку, иные надписи.

4.12.4 Не допускается закрывать государственный регистрационный знак органическим стеклом или другими материалами.

4.12.5 Наличие дополнительных отверстий на государственном регистрационном знаке не допускается. В случае несовпадения координат посадочных отверстий государственного регистрационного знака с координатами посадочных отверстий КТС, должны быть предусмотрены переходные конструктивные элементы, исключающие загораживание регистрационного знака элементами конструкции КТС. При этом государственные регистрационные знаки не должны уменьшать углы переднего и заднего свесов КТС, закрывать внешние световые приборы или выступать за боковой габарит КТС.

4.12.6 При внесении изменений в конструкцию КТС при эксплуатации, требующих оформления в регистрационных документах КТС, такое оформление должно быть выполнено.

4.13 Дополнительные требования к транспортным средствам категорий M2 и M3

4.13.1 Аварийный выключатель дверей и сигнал требования остановки, аварийные выходы и устройства приведения их в действие, приборы внутреннего освещения салона, привод управления дверями и сигнализация их работы должны быть работоспособны.

4.13.2 Аварийные выходы должны быть обозначены и снабжены табличками по правилам их использования.

4.13.3 Детали приведения в действие аварийных выходов (рукоятки, скобы, ручки и др.) должны быть четко обозначены с указанием их предназначения для использования в аварийной ситуации.

4.13.4 Не допускается оборудование салона дополнительными элементами конструкции или создание иных препятствий, ограничивающих свободный доступ к аварийным выходам.

4.13.5 Поручни должны быть закреплены в местах, предусмотренных конструкцией КТС.

4.13.6 Сквозная коррозия или разрушение пола салона не допускаются.

4.13.7 Установка дополнительных мест для сидения пассажиров, не предусмотренных эксплуатационной документацией изготовителя КТС, не допускается.

4.13.8 Спереди и сзади автобуса для перевозки детей должны быть установлены опознавательные знаки "Перевозка детей" в соответствии с Правилами дорожного движения.

4.13.9 На наружных боковых сторонах кузова, а также спереди и сзади по оси симметрии автобуса для перевозки детей должны быть нанесены контрастные надписи "ДЕТИ" прямыми прописными буквами высотой не менее 25 см и толщиной не менее 1/10 ее высоты. Надписи выполняют на языке страны эксплуатации.

Наличие других обозначений или надписей вблизи указанных надписей (на расстоянии менее 1/2 их высоты) не допускается.

4.13.10 Кузов автобуса для перевозки детей должен быть окрашен в желтый цвет.

4.14 Дополнительные требования к специальным транспортным средствам оперативных служб

4.14.1 Оборудование КТС оперативных служб специальными световыми и (или) звуковыми сигнальными приборами, нанесение окраски по специальным цветографическим схемам должно соответствовать установленным требованиям и без соответствующего разрешения не допускается. Нанесенная окраска по специальным цветографическим схемам должна быть сохранна и читаема.

4.14.2 На наружных поверхностях КТС оперативных служб надписи и рисунки рекламного содержания не допускаются.

4.14.3 Специальные световые и (или) звуковые сигнальные приборы должны быть работоспособны.

4.15 Дополнительные требования к специализированным транспортным средствам

4.15.1 Ослабление крепления специального оборудования, затяжки болтовых соединений, трещины, повреждения деталей крепления, лонжеронов, платформы или цистерны, разрывы и трещины сварных швов не допускаются.

4.15.2 Тросы для принудительного закрывания боковых бортов платформы самосвала, в лебедках и грузоподъемных устройствах специализированного КТС, в системах управления поворотом тележек полуприцепов; крепежные тросы, цепи и канаты с закрепленными на них крюками должны быть работоспособны. Наличие в тросах оборванных прядей и проволок не допускается. Трещины и повреждения звеньев цепей не допускаются.

4.15.3 Блокировочная система поворотного устройства полуприцепа-фермовоза, оборудованного тросовым поворотным устройством ходовой тележки, должна быть работоспособна.

4.15.4 Потеки и каплепадение из дополнительной топливной системы в составе специального оборудования автобитумовозов, автобетоносмесителей и других специализированных КТС, оборудованных такой системой, не допускаются.

4.15.5 Потеки и потери раствора через неплотности шиберных затворов рабочего сосуда или соединений гидросмесительного устройства и бункера не допускаются.

4.15.6 Отсутствие или неработоспособность механических фиксаторов транспортного (закрытого) положения платформы самосвальных КТС, за исключением самосвалов с задней разгрузкой, изготовленных до 1 января 1996 г., не допускается.

4.15.7 Отсутствие или неработоспособность приспособлений (крюков, скоб и др.) крепления тента в рабочем положении над платформой самосвалов для перевозки сыпучих грузов и уплотняющего устройства для исключения зазоров в стыках бортов и пола платформы не допускаются.

4.15.8 Элементы конструкции технологического оборудования, выступающие при движении за габаритную ширину КТС более чем на 0,4 м слева и (или) справа от внешнего края габаритных огней, или выступающие за габаритную длину КТС более чем на 1,0 м спереди и (или) сзади, должны быть окрашены полосами.

4.16 Дополнительные требования к специальным транспортным средствам для коммунального хозяйства и содержания дорог

4.16.1 Элементы конструкции технологического оборудования, выступающие при движении за габаритную ширину КТС более чем на 0,4 м слева и (или) справа от внешнего края габаритных огней, или выступающие за габаритную длину КТС более чем на 1,0 м спереди и (или) сзади, должны быть окрашены полосами.

Цвет окраски полос - чередующиеся красные и белые (желтые) полосы одинаковой ширины от 30 до 100 мм, угол их наклона 45° ± 5° наружу и вниз.

4.16.2 КТС, предназначенные для выполнения уборочных работ на дорогах, должны быть оборудованы специальными световыми сигналами (проблесковыми маячками) желтого или оранжевого цвета.

Количество и расположение проблесковых маячков должны обеспечивать их видимость на угол 360° в горизонтальной плоскости, проходящей через центр источника излучения света.

4.16.3 Элементы технологического оборудования, выступающие при движении КТС за габаритную ширину более чем на 0,4 м слева и (или) справа от внешнего края габаритных огней, или выступающие за габаритную длину КТС более чем на 1,0 м спереди и (или) сзади, должны быть обозначены световозвращателями класса IA или габаритными фонарями с освещающей поверхностью, направленной вперед и назад, или световозвращающей маркировкой.

4.16.4 На автогудронаторах должен быть читаем предупреждающий знак с надписью "ОСТОРОЖНО! ГОРЯЧИЙ БИТУМ!" на языке страны эксплуатации.

4.16.5 Самоходные колесные машины, передвигающиеся по дорогам общего пользования со скоростью 20 км/ч и более и имеющие ширину более 2,55 м, а также машины, предназначенные для выполнения работ на проезжей части автодорог, должны быть оборудованы специальными световыми сигналами (проблесковыми маячками) желтого или оранжевого цвета.

Количество и расположение проблесковых маячков должны обеспечивать их видимость на угол 360° в горизонтальной плоскости, проходящей через центр источника излучения света.

4.17 Дополнительные требования к транспортным средствам для перевозки грузов с использованием прицепа-роспуска

4.17.1 Повреждения или неработоспособность лебедок, зажимов и других механизмов крепления груза на КТС не допускаются.

4.17.2 Провисание тросов крестовой сцепки лесовозного прицепа-роспуска более 100 мм не допускается, если иное значение не оговорено изготовителем КТС в эксплуатационной документации.

4.17.3 Нарушение крепления и фиксации транспортного положения дышла прицепа-роспуска от смещения и поворота при размещении прицепа-роспуска на тягаче не допускается.

4.17.4 Наращивание стоек коника, нарушения крепления стоек коника, крестовой сцепки, цепей и троса стоек коника не допускаются.

4.18 Дополнительные требования к автоэвакуаторам

4.18.1 Разрушение проушин для дополнительной увязки канатами (тросами) перевозимых автомобилей и машин не допускается.

4.18.2 Опорные устройства и фиксаторы крепления опор в транспортном положении должны быть работоспособны.

4.18.3 Разрушение предохранительного бортика и упоров для фиксации перевозимых автомобилей на платформе автоэвакуатора не допускается.

4.19 Дополнительные требования к транспортным средствам с грузоподъемными устройствами

4.19.1 Приспособления (фиксаторы) для удержания в транспортном положении колес тары-оборудования на полу платформы внутри кузова специализированного КТС должны быть работоспособны.

4.19.2 Размещенные на КТС световые приборы и сигнальная окраска для обозначения выступающих за габарит по длине базового КТС частей подъемника (передняя и задняя части стрелы, люлька и др.) в соответствии с установленными требованиями и Правилами дорожного движения должны быть сохранны и работоспособны.

4.20 Дополнительные требования к транспортным средствам для перевозки опасных грузов

4.20.1 По всему периметру цистерны на автоцистернах и прицепах (полуприцепах)-цистернах, на КТС для перевозки съемных цистерн и транспортных средствах-батареях должны быть установлены боковые или задние защитные устройства.

Заднее защитное устройство не требуется на КТС с цистерной-самосвалом с разгрузкой через заднюю стенку, предназначенных для перевозки порошкообразных или гранулированных грузов при условии выполнения функции защиты корпуса цистерны задней арматурой корпуса.

4.20.2 Расстояние между задней стенкой цистерны и задней частью защитного устройства (от крайней задней точки стенки цистерны или от выступающей арматуры, соприкасающейся с перевозимым грузом) должно быть не менее 100 мм.

4.20.3 Установка на КТС для перевозки опасных грузов дополнительных топливных баков, не предусмотренных изготовителем КТС, запрещается.

4.20.4 Применение в кабине водителя топливных обогревательных приборов (в том числе работающих на газообразном топливе) и их размещение в грузовых отделениях КТС запрещаются.

4.20.5 В качестве тента допускается применение прочного к разрыву, непромокаемого и трудновоспламеняющегося материала. Тент должен быть натянут, перекрывать борта кузова со всех сторон не менее чем на 200 мм и удерживаться фиксирующими приспособлениями.

4.20.6 Прицепы для перевозки опасных грузов должны быть оборудованы рабочей тормозной системой с функцией автоматического торможения.

4.20.7 КТС должны комплектоваться переносными огнетушителями количеством и емкостью не менее следующих значений:

а) КТС технически допустимой максимальной массой более 7,5 т - не менее чем одним огнетушителем емкостью не менее 12 кг или двумя огнетушителями емкостью каждого не менее 6 кг;

б) КТС технически допустимой максимальной массой от 3,5 т до 7,5 т - не менее чем одним огнетушителем минимальной совокупной емкостью 8 кг или двумя огнетушителями, из которых один емкостью не менее 6 кг;

в) КТС технически допустимой максимальной массой менее 3,5 т - одним или более огнетушителями общей емкостью не менее 4 кг;

г) КТС для перевозки ограниченного количества опасных грузов в упаковках - одним огнетушителем емкостью не менее 2 кг, пригодным для тушения пожара в двигателе или кабине КТС;

д) автоцистерны для перевозки и заправки нефтепродуктов - не менее чем двумя огнетушителями емкостью не менее 6 кг каждый, один из которых размещен на прицепе-цистерне (полуприцепе-цистерне);

е) при наличии на КТС системы автоматического пожаротушения двигателя допускается применение переносного огнетушителя, не приспособленного для тушения пожара в двигателе.

4.20.8 КТС для перевозки опасных грузов комплектуется:

а) не менее чем двумя противооткатными упорами на каждое КТС (звено автопоезда), размеры которых соответствуют диаметру колес;

б) двумя знаками аварийной остановки;

в) средствами нейтрализации перевозимых опасных грузов;

г) набором ручного инструмента для аварийного ремонта КТС;

д) двумя фонарями автономного питания с мигающими или постоянными огнями оранжевого цвета;

е) лопатой и запасом песка для тушения пожара;

ж) одеждой яркого цвета для каждого члена экипажа;

и) карманными фонарями для каждого члена экипажа;

В электронном документе нумерация пунктов соответствует официальному источнику.

л) в соответствии с предписаниями аварийной карточки и условий на перевозку - средствами нейтрализации перевозимого опасного груза, индивидуальной защиты членов экипажа и персонала, сопровождающего груз;

В электронном документе нумерация пунктов соответствует официальному источнику.

м) специальными средствами для обеспечения безопасности, указанными в аварийной карточке.

4.20.9 Электрические цепи на КТС для перевозки опасных грузов (кроме цепей аккумуляторная батарея - система холодного пуска и остановки двигателя; аккумуляторная батарея - генератор; генератор - блок плавких предохранителей или выключателей; аккумуляторная батарея - стартер двигателя; аккумуляторная батарея - корпус системы включения износостойкой тормозной системы; аккумуляторная батарея - электрический механизм для подъема оси балансира тележки) должны быть защищены плавкими предохранителями промышленного изготовления или автоматическими выключателями.

4.20.10 КТС должны быть оборудованы элементами защиты от случайного срабатывания, а также обозначением выключателя для отсоединения аккумуляторной батареи от электрооборудования КТС.

4.20.11 Номинальное напряжение в сети электроснабжения КТС не должно превышать 24 В.

4.20.12 Сопротивление заземляющего устройства вместе с контуром заземления должно быть не более 100 Ом.

4.20.13 Кузова КТС, автоцистерны, прицепы и полуприцепы-цистерны, постоянно занятые на перевозках опасных грузов, должны быть окрашены в установленные для этих грузов опознавательные цвета и снабжены соответствующими надписями согласно действующим требованиям.

4.20.14 Не допускается:

а) использование для перевозки опасных грузов КТС с более чем одним прицепом или полуприцепом в его составе;

б) комплектование КТС огнетушителями, огнетушащие составы которых выделяют токсичные газы;

в) разрушение панелей и досок кузова, щели и проломы в закрытых и крытых тентом кузовах;

г) нагрев при работе, нарушение крепления и демонтаж элементов защиты на КТС для перевозки легковоспламеняющихся и взрывчатых веществ и изделий;

д) изменение предусмотренного конструкцией КТС места выведения выпускной трубы с глушителем;

е) демонтаж съемного искрогасителя с выпускной трубы;

ж) изменение размещения топливного бака, сокращающее его удаление от аккумуляторной батареи, двигателя, электрических проводов или выпускной трубы с глушителем;

и) демонтаж защитной непроницаемой перегородки между топливным баком и аккумуляторной батареей;

В электронном документе нумерация пунктов соответствует официальному источнику.

к) изменение размещения топливного бака и других узлов системы питания, создающее возможность попадания топлива не на землю, а на перевозимый груз, детали электрооборудования или системы выпуска двигателя;

л) демонтаж защитного кожуха под днищем и с боков топливного бака;

м) демонтаж или ослабление крепления защитного экрана между цистерной или грузом и расположенными за задней стенкой кабины агрегатами, нагревающимися при эксплуатации (двигатель, трансмиссия, тормоз-замедлитель);

н) установка на КТС деревянных деталей без огнестойкой пропитки и установка элементов внутренней обшивки кузова без такой пропитки или из материалов, вызывающих искры;

о) демонтаж или неработоспособность замков дверей и тентов на бортовых кузовах;

п) демонтаж, неработоспособность, изменение места размещения или ограничение видимости специального светового сигнального прибора с излучением желтого (оранжевого) цвета на крыше или над крышей КТС;

р) демонтаж или неработоспособность выключателя для отсоединения аккумуляторной батареи от электрооборудования КТС, а также его прямого или дистанционного приводов из кабины водителя и снаружи КТС;

с) вынесение аккумуляторных батарей, расположенных вне подкапотного пространства двигателя, из вентилируемого отсека с изолирующими внутренними стенками;

т) применение ламп накаливания с винтовыми цоколями;

у) применение электрических разъемов между автомобилем-тягачом и прицепом (полуприцепом), не снабженных защитой от случайных разъединений;

ф) замена на КТС аппаратов электрооборудования в пыленепроницаемом и взрывобезопасном исполнении на аппараты в незащищенном исполнении;

х) замена аппаратов электрооборудования во взрывозащищенном исполнении в отсеке технологического оборудования и в его пульте управления на оборудование в менее защищенном исполнении;

ц) прокладка электропроводки вне металлической оболочки, наружной электропроводки внутри кузова или с нарушением мер изоляции электрооборудования от технологического оборудования;

ч) нагрев электрических проводов, нарушение их изоляции, крепления, повреждение или удаление деталей защиты;

ш) демонтаж оградительных сеток и решеток вокруг ламп накаливания внутри кузова КТС или прокладка наружных электропроводок внутри кузова;

щ) нарушение электропроводности соединенной с шасси (сосудом, рамой) заземляющей цепочки, обеспечивающей при ненагруженном КТС соприкосновение с землей проводника (металлической цепи) длиной не менее 200 мм, и заземляющего троса со штырем-струбциной на конце для заглубления в землю или подсоединения к заземляющему контуру;

э) демонтаж или неработоспособность элементов защиты трубопроводов и вспомогательного оборудования, установленного в верхней части резервуара, от повреждений при опрокидываниях автоцистерны;

В электронном документе нумерация пунктов соответствует официальному источнику.

ю) демонтаж или повреждения кронштейнов для крепления таблиц системы информации об опасности, расположенных спереди (на бампере) и сзади КТС.

4.21 Дополнительные требования к транспортным средствам-цистернам

4.21.1 Запорное устройство загрузочного люка цистерны должно фиксироваться в закрытом и открытом положениях.

4.21.2 Не допускаются:

а) повреждения крышек загрузочных люков, их запоров и деталей уплотнения;

б) отсутствие заземляющих устройств на цистернах для перевозки пищевых жидкостей;

в) течи в соединениях трубопроводов и арматуры, потеки через уплотнения насосов, вентилей, задвижек, прокладки резьбовых соединений, заглушек и торцевых уплотнений, потеки и потери перевозимых жидкостей (материалов) через неплотности соединений цистерны и рукавов.

4.22 Дополнительные требования к транспортным средствам - цистернам для перевозки и заправки нефтепродуктов

4.22.1 Для обеспечения электробезопасности при эксплуатации все узлы специального оборудования цистерны должны быть заземлены.

4.22.2 Сопротивление электрической цепи, образуемой электропроводящим покрытием между переходником и замком рукава, должно быть не более 1 Ом. На цистернах, снабженных антистатическими рукавами, сопротивление указанной цепи должно быть не более указанного в эксплуатационной документации. Сопротивление отдельных участков цепи должно быть не более 10 Ом.

4.22.3 Сопротивление каждого из звеньев электрических цепей "рама шасси - штырь", "цистерна - рама шасси", "рама шасси - контакты вилки провода заземления" не должно превышать 10 Ом.

4.22.4 Штуцеры резинотканевых рукавов должны быть соединены между собой припаянной металлической перемычкой, обеспечивающей замкнутость электрической цепи.

4.22.5 Цистерна должна быть снабжена табличкой с предупреждающей надписью на языке страны эксплуатации: "При наполнении (опорожнении) топливом автоцистерна должна быть заземлена".

4.22.6 Надпись "Огнеопасно" на боковых сторонах и заднем днище сосуда должна быть читаема. Надписи выполняют на языке страны эксплуатации.

4.22.7 На цистерне должны размещаться выполненные на языке страны эксплуатации два знака "Опасность" и знак "Ограничение скорости", мигающий фонарь красного цвета или знак аварийной остановки, кошма, емкость для песка массой не менее 25 кг.

4.22.8 Автоцистерна должна быть оборудована проблесковым маячком оранжевого цвета.

4.22.9 Не допускается:

а) демонтаж или неработоспособное состояние зажимов для подключения заземляющего провода, тросов и других элементов защиты автоцистерны от статического электричества, предусмотренных изготовителем КТС;

б) нарушения электропроводности электрической цепи до болта заземления, образуемой металлическим и электропроводным неметаллическим оборудованием, в том числе трубопроводами цистерны;

в) удаление или разрушение защитной оболочки электропроводки, соприкасающейся или находящейся в зоне цистерны и отсека с технологическим оборудованием;

г) демонтаж или разрушения элементов защиты мест подсоединения и контактов электрических проводов;

д) отсутствие в раздаточных рукавах заглушек для предотвращения вытекания топлива.

4.23 Дополнительные требования к транспортным средствам - цистернам для перевозки и заправки сжиженных углеводородных газов

4.23.1 На обеих сторонах сосуда от шва переднего днища до шва заднего днища должны быть нанесены отличительные полосы красного цвета шириной 200 мм вниз от продольной оси сосуда.

4.23.2 Надпись "Огнеопасно" на заднем днище сосуда и надпись черного цвета "Пропан - огнеопасно" над отличительными полосами должны быть читаемы. Надписи выполняют на языке страны эксплуатации.

4.23.3 Наружная поверхность сосуда должна быть окрашена эмалью серебристого цвета.

4.23.4 Не допускается:

а) отсутствие заглушек на штуцерах при транспортировании и хранении газа;

б) отсутствие или неработоспособное состояние защитных кожухов, обеспечивающих возможность пломбирования запорной арматуры.

4.24 Дополнительные требования к транспортным средствам - фургонам

4.24.1 Не допускаются:

а) самопроизвольное открывание дверей после отпирания замка фургона КТС, установленного на горизонтальной площадке;

б) нарушения работоспособности механизмов фиксирования дверей, рампы, дверей-трапов в открытом и закрытом (транспортном) положениях;

в) отсутствие или повреждения устройств (упоров, ремней, крюков для подвешивания туш, съемных или откидных перегородок и др.) для предотвращения смещения груза при транспортировке;

г) демонтаж или повреждения съемных и стационарных перегородок кузова, в том числе снабженных кольцами для привязки животных, а также устройств их фиксации в транспортном положении;

д) нарушения работоспособности люков или механизмов закрывания люков в крыше фургона.

4.25 Дополнительные требования к транспортным средствам - фургонам, оборудованным местами для перевозки людей

4.25.1 Не допускаются:

а) демонтаж или разрушение перегородок между отсеками для пассажиров и груза;

б) изменение мест расположения и повреждение сидений или их креплений в отсеке для пассажиров;

в) отсутствие или неработоспособность звуковой сигнализации открытых дверей или связи отсека для пассажиров с кабиной КТС;

г) затрудненность открывания двери отсека для пассажиров.

4.26 Дополнительные требования к транспортным средствам для перевозки пищевых продуктов

4.26.1 Не допускаются:

а) демонтаж, разрушение или неработоспособное состояние элементов защиты от загрязнения раздаточных рукавов, вентиляционных патрубков, оборудования цистерны (насоса, контрольных приборов, средств управления), а также загрязнение мест присоединения трубопроводов для перекачки продукта;

б) разрушение теплоизоляции крышек и горловин люков изотермических цистерн с теплоизоляционным покрытием.

4.27 Дополнительные требования к троллейбусам

4.27.1 Натяжные пружины токоприемника должны быть отрегулированы так, чтобы усилие нажатия токоприемника на высоте 5,8 м подвески контактного провода было в пределах (120...140) H.

4.27.2 Разница в длине штанг токоприемника не должна превышать 100 мм.

4.27.3 Сила тока утечки не должна превышать 3 мА.

4.27.4 Не допускаются следующие неисправности:

а) дефекты токоприемников, вызывающие сход токоприемных головок с контактных проводов;

б) трещины, погнутости и сквозные прожоги штанг;

в) заедание в шарнирах токоприемников при перемещении штанг в горизонтальной или вертикальной плоскостях;

г) неисправность головок токоприемников;

д) неработоспособность приспособлений, предохраняющих от падения головки токоприемника при срыве со штанги при наличии этих приспособлений в конструкции троллейбуса;

е) неисправность или нарушение регулировки системы ограничения подъема и опускания штанг;

ж) дефекты токоприемников, колец и изоляторов;

к) повреждение или отсутствие на крыше дорожки из электроизоляционного материала;

В электронном документе нумерация пунктов соответствует официальному источнику.

л) установка нестандартных контактных вставок;

м) неисправность штангоуловителей при их наличии в конструкции троллейбуса;

н) нарушения функционирования тяговых двигателей, вспомогательных электрических машин, пускорегулирующей и защитной аппаратуры, вспомогательных цепей, аккумуляторной батареи;

п) отсутствие пломбирования ограничительных аппаратов защиты;

В электронном документе нумерация пунктов соответствует официальному источнику.

р) неработоспособность контрольно-измерительных приборов электрического оборудования;

с) заедание пусковой педали.

5 Методы проверки безопасности транспортных средств в эксплуатации

5.1 Методы проверки тормозных систем

5.1.1 Применимость методов проверки тормозных систем

5.1.1.1 Эффективность торможения и устойчивость КТС при торможении рабочей тормозной системой и эффективность торможения запасной тормозной системой проверяют на роликовых стендах силового или инерционного типа либо в дорожных условиях инерционным методом с использованием прибора для проверки тормозных систем в дорожных условиях или прибора для регистрации тормозной диаграммы.

Стояночную тормозную систему проверяют тремя методами: по скатыванию с уклона нормативной величины, на роликовых стендах для проверки тормозов и инерционным методом в дорожных условиях (только КТС, для которых такая проверка допускается изготовителем в эксплуатационной документации).

Вспомогательную тормозную систему проверяют только в дорожных условиях инерционным методом в установленном интервале скорости движения КТС.

5.1.1.2 Допускается проверять показатели эффективности торможения и устойчивости КТС при торможении методами и способами, эквивалентными установленным настоящим стандартом, если они регламентированы нормативными документами. На заводах - изготовителях КТС допускается проверять эффективность торможения и устойчивость при торможении вновь изготовленных КТС иными методами, регламентируемыми документацией изготовителя.

5.1.1.3 Работоспособность в режиме аварийного (автоматического) торможения рабочей тормозной системы прицепов (полуприцепов) категорий O3 и O4 с пневматическим тормозным приводом проверяют на неподвижном КТС путем отсоединения соединительной головки питающей магистрали и органолептического отслеживания перемещения штоков тормозных камер прицепа (полуприцепа).

5.1.1.4 Работоспособность инерционного тормоза прицепов категорий O1, O2 проверяют на роликовом стенде для проверки тормозов. Прицеп последовательно устанавливают колесами каждой оси на ролики стенда, отсоединяют тягу инерционно-механического привода от устройства управления, подключают в сцепке между автомобилем и прицепом нагружатель сцепной головки согласно инструкции по эксплуатации нагружателя. Включают роликовый стенд, нагружателем прикладывают нормативное усилие к головке сцепного устройства одноосных прицепов (не более 0,1, а для остальных прицепов - не более 0,067 веса полностью груженого прицепа, соответствующего его технически допустимой максимальной массе). Выполняют измерения тормозных сил колес на роликовом стенде и расчет достигнутой удельной тормозной силы прицепа и относительной разности тормозных сил колес оси по приложению А.

5.1.1.5 КТС, оборудованные АБС, которая автоматически отключается при скорости движения меньшей, чем окружная скорость рабочей поверхности роликов стенда, проверяют только в дорожных условиях инерционным методом.

5.1.1.6 КТС, оборудованные коробкой передач с автоматическим (роботизированным) переключением, буксировка которых на нейтральной передаче запрещена изготовителем, а также снабженные самоблокирующимся неотключаемым дифференциалом или жесткой межосевой связью, проверяют только в дорожных условиях либо на специально предназначенных для этого стендах.

5.1.1.7 КТС, у которых наименьшее расстояние между внутренними боковыми поверхностями шин, расположенных по разным его бортам хотя бы одной оси, менее 0,9 м или наибольшее расстояние между наружными боковыми поверхностями шин, расположенных по разным его бортам хотя бы одной оси, более 2,6 м, а также у которых дорожный просвет менее 100 мм, проверяют только в дорожных условиях или на специально предназначенных для этого роликовых стендах.

5.1.1.8 Тормозные системы прицепов (полуприцепов) снаряженной массы проверяют в составе автопоезда только на роликовых стендах, а прицепов (полуприцепов) технически допустимой максимальной массы в составе автопоезда - на роликовых стендах и инерционным методом в дорожных условиях.

5.1.1.9 Относительная погрешность измерения не должна превышать при определении, %:

- тормозного пути± 5
- тормозной силы (для стендов, изготовленных после 01.01.2008)± 3
- тормозной силы (для стендов, изготовленных до 01.01.2008)± 7
- усилия на органе управления± 7
- установившегося замедления± 4
- давления воздуха в пневматическом или пневмогидравлическом тормозном приводе± 5
- усилия вталкивания сцепного устройства прицепов, оборудованных инерционным тормозом± 5
- массы транспортного средства± 3
Абсолютная погрешность измерения не должна превышать при определении: 
- продольного уклона площадки для выполнения торможений± 1
- начальной скорости торможения, км/ч± 1
- времени срабатывания тормозной системы, с± 0,1
- времени запаздывания тормозной системы, с± 0,1
- времени нарастания замедления, с± 0,1.

Примечание - Погрешность расчетного определения начальной скорости по результатам измерения замедления КТС при торможении - не более ± 2 км/ч.

5.1.1.10 Для стендов, изготовленных после 01.01.2018 г., порог проскальзывания, при достижении которого в процессе торможения автоматически фиксируется значение тормозной силы, должен устанавливаться на уровне 30%. Для пользователей стендов это значение порога проскальзывания должно быть неизменяемым.

5.1.1.11 Система управления стенда и регистрации результатов измерения тормозных сил должна допускать выполнение двух торможений колес каждой оси КТС. В первом из торможений обе тормозные силы регистрируют одновременно в момент достижения порога проскальзывания опережающим колесом. По полученным значениям тормозных сил рассчитывают относительную разность тормозных сил колес оси и удельную тормозную силу. Второе торможение выполняют только при необходимости, для уточнения удельной тормозной силы при сравнительно небольшом ее несоответствии нормативу и, одновременно, удовлетворительной, но уже близкой к нормативу относительной разности тормозных сил колес одной или нескольких осей КТС. Во втором торможении тормозные силы фиксируют в моменты достижения порога проскальзывания каждым из колес оси порознь. По полученным значениям тормозных сил рассчитывают только уточненное значение удельной тормозной силы КТС, по которому оценивают эффективность торможения.

5.1.1.12 При проведении проверок тормозных систем на роликовых стендах и в дорожных условиях должны соблюдаться предписания по безопасности труда национальных нормативных документов и руководства (инструкции) по эксплуатации роликового стенда.

5.1.2 Условия проведения проверки тормозных систем

5.1.2.1 КТС проверяют при "холодных" тормозных механизмах.

5.1.2.2 Шины проверяемого на стенде КТС должны быть чистыми, а давление в них при проверке в дорожных условиях на стенде должно соответствовать установленному изготовителем КТС в эксплуатационной документации. Не рекомендуется выполнять проверки на стендах АТС, колеса которых снабжены шипами противоскольжения.

5.1.2.3 Давление проверяют в полностью остывших шинах с использованием манометров, соответствующих требованиям межгосударственных стандартов.

5.1.2.4 КТС категорий M1, N1, L6, L7 проверяют на стендах при наличии водителя на сиденье.

5.1.2.5 Масса КТС при проверках не должна превышать технически допустимой максимальной массы.

5.1.2.6 Общая масса технических средств, устанавливаемых на КТС для проведения проверок в дорожных условиях, не должна превышать 25 кг.

5.1.2.7 Снижение коэффициента сцепления рабочих поверхностей роликов стенда с колесами КТС вследствие износа и загрязнения рабочих поверхностей роликов, фиксируемого при сухих чистых протекторах шин, до уровня менее 0,65 при проверке КТС категорий M1, O1 или менее 0,6 при проверке КТС категорий M2, M3, N1, N2, N3, O2, O3, O4 не допускается. Проверку коэффициента сцепления рабочих поверхностей роликов выполняют при эксплуатации стенда посредством расчета и накопления за установленный период (например, за неделю) для каждого блока роликов результатов расчета по каждому из колес КТС значений "колесной" удельной тормозной силы проверяемых КТС за этот период по методике А3 приложения А. Из накопленных значений посредством еженедельного отбора наибольших из числа зафиксированных значений "колесной" удельной тормозной силы для левых и правых колес КТС определяют наибольшее за неделю значение. Кроме того, признаки недопустимого износа рабочих поверхностей роликов тормозного стенда и методы их выявления дополнительно устанавливают изготовители стенда в инструкциях по эксплуатации.

5.1.2.8 Для облегчения установки КТС на стенд без видимого перекоса пол рабочего поста с установленным стендом предварительно размечают линиями, параллельными продольной оси стенда.

5.1.2.9 Проверки в дорожных условиях проводят на прямой ровной горизонтальной сухой чистой дороге с цементно- или асфальтобетонным покрытием, свободной от участников дорожного движения. Проверки на уклоне выполняют на очищенной от льда и снега твердой нескользкой опорной поверхности.

5.1.2.10 Дорожную поверхность перед выполнением проверки устойчивости КТС при торможении в дорожных условиях размечают параллельными линиями для визуального обозначения оси и границ нормативной ширины коридора движения.

5.1.3 Режимы функционирования КТС при проведении проверки тормозных систем

5.1.3.1 При измерении тормозной силы на стенде направление вращения колеса должно соответствовать движению КТС вперед.

5.1.3.2 Управляющие воздействия на рулевое управление КТС в процессе проверки рабочей тормозной системы в дорожных условиях не допускаются. Если такое воздействие было произведено, то результаты проверки не учитывают.

5.1.3.3 Торможение рабочей и запасной тормозными системами на стендах осуществляют в режиме служебного плавного полного торможения путем однократного воздействия на орган управления продолжительностью не менее 1...2 с.

5.1.3.4 Торможение рабочей и запасной тормозными системами в дорожных условиях осуществляют в режиме экстренного полного торможения путем однократного воздействия на орган управления. Время полного приведения в действие органа управления тормозной системой не более 0,2 с.

5.1.3.5 КТС, оборудованные приводным(и) электродвигателем(ями), в том числе соединенными с колесами, проверяют с подсоединенным(ми) двигателем(ями).

5.1.3.6 Проверки на стендах и в дорожных условиях проводят при работающем и отсоединенном (кроме проверки вспомогательной тормозной системы) от трансмиссии двигателе, а также отключенных приводах дополнительных ведущих мостов и разблокированных трансмиссионных дифференциалах (при наличии указанных агрегатов в конструкции КТС).

5.1.3.7 Начальная скорость торможения при проверках инерционным методом эффективности торможения и устойчивости КТС при торможении рабочей тормозной системой в дорожных условиях - 40 ± 4 км/ч. При отклонении начальной скорости торможения в указанных пределах от установленного значения 40 км/ч пересчитывают нормативы тормозного пути по методике приложения Б.

5.1.3.8 Начальная скорость торможения на стендах должна быть не менее:

- для легковых автомобилей - 4 км/ч;

- для грузовых автомобилей и автобусов - 2 км/ч.

5.1.4 Алгоритм проверки рабочей и запасной тормозных систем

5.1.4.1 Перед проверкой инерционным методом в дорожных условиях предварительно устанавливают на орган управления проверяемой тормозной системы датчик начала торможения и усилия воздействия. При выполнении проверки на стендах указанный датчик применяют при необходимости отработки навыка выполнения на стенде служебных плавных торможений с темпом по 5.1.3.3 и при выполнении повторных торможений при недостигнутом нормативе эффективности торможения либо устойчивости при торможении.

5.1.4.2 Для проверки на стендах последовательно устанавливают КТС колесами каждой из осей на ролики стенда без видимого перекоса относительно продольной оси стенда, придерживаясь нанесенных на пол параллельных линий разметки.

5.1.4.3 Отключают от трансмиссии двигатель, дополнительные ведущие мосты и разблокируют трансмиссионные дифференциалы, запускают двигатель и устанавливают минимальную устойчивую частоту вращения коленчатого вала.

5.1.4.4 Для стендов, изготовленных после 01.01.2018 г., вертикальную нагрузку на колеса оси измеряют и фиксируют в момент регистрации тормозных сил. Общую для КТС вертикальную реакцию рассчитывают суммированием вертикальных нагрузок на колеса всех осей согласно приложению А.

Для стендов, изготовленных до 01.01.2018 г., общую для КТС вертикальную реакцию допускается рассчитывать суммированием статических нагрузок на неподвижные колеса. Для КТС в снаряженном состоянии допускается также до 01.01.2019 г. использование справочных данных о снаряженной массе КТС и вычисление суммарной вертикальной реакции (веса КТС) в статике по приложению А.

5.1.4.5 Автоматически или по сигналу с пульта включают вращение роликов, воздействуют на орган управления рабочей тормозной системы с темпом по 5.1.3.3 и регистрируют в автоматическом режиме усилие воздействия на орган управления, вертикальную реакцию опорной поверхности на колеса проверяемой оси КТС и тормозные силы колес оси в момент достижения порога проскальзывания колеса (для стендов со следящим роликом), или после выдержки (не более 2 с) установленного изготовителем стенда запаздывания от начала торможения (для стендов без следящего ролика) с последующим автоматическим отключением привода роликов, после чего отключают привод роликов.

По завершении торможения включают вращение роликов и воздействуют на орган управления запасной тормозной системой (при его наличии) и цикл измерений повторяют.

При условии оснащения стояночной тормозной системой колес проверяемой оси, после завершения торможения и регистрации тормозных сил, обеспечиваемых запасной тормозной системой, подсоединяют датчик усилия воздействия на орган управления стояночной тормозной системы, исключая стояночные тормозные системы с пневмоприводом либо с электрическим приводом, воздействуют на орган управления стояночной тормозной системы и измеряют обеспечиваемые ею тормозные силы.

5.1.4.6 КТС устанавливают на ролики стенда каждой из следующих осей и всю последовательность 5.1.4.4, 5.1.4.5 операций проверки повторяют.

5.1.4.7 По зафиксированным значениям тормозных сил и нагрузки на колеса КТС рассчитывают показатели суммарной вертикальной реакции опорной поверхности на колеса КТС или вес КТС в статике по справочным данным (до 01.01.2018 г.), удельной тормозной силы для каждой из тормозных систем и относительной разности тормозных сил колес каждой оси для рабочей тормозной системы по приложению А.

5.1.4.8 Для автопоездов при проверках на стендах определяют и сравнивают с нормативами значения удельной тормозной силы отдельно для тягача и прицепа (полуприцепа), оборудованного тормозной системой.

5.1.4.9 КТС считают выдержавшим проверку эффективности торможения рабочей тормозной системой на стенде, если рассчитанный показатель удельной тормозной силы соответствует нормативу или, вне зависимости от достигнутой величины удельной тормозной силы, произошло блокирование всех колес КТС на роликах стенда, не оборудованного следящим роликом, или автоматическое отключение стенда, оборудованного следящим роликом, вследствие проскальзывания любого из колес оси по роликам, а для осей КТС, в тормозном приводе которых установлен регулятор тормозных сил, при усилии на органе управления не более 980 H.

5.1.4.10 Перед выполнением проверки эффективности торможения и устойчивости КТС при торможении инерционным методом в дорожных условиях КТС размещают по оси предварительно обозначенного на дорожной поверхности коридора движения в его начале.

5.1.4.11 Перед проверкой инерционным методом предварительно размещают на КТС, ориентируют, закрепляют и включают прибор для проверки тормозных систем в дорожных условиях в соответствии с инструкцией изготовителя прибора.

5.1.4.12 КТС разгоняют до нормативной скорости движения 40 ± 4 км/ч по оси коридора движения и выполняют торможение по 5.1.3.4, фиксируя с помощью прибора начало торможения, усилие воздействия на орган управления тормозной системы и изменение замедления КТС от начала торможения до остановки по приложению В. По полученным данным вычисляют начальную скорость.

При получении рассчитанной начальной скорости торможения, выходящей за пределы нормативного диапазона (40 ± 4 км/ч), оценочные показатели не рассчитывают, а торможение повторяют с необходимой коррекцией начальной скорости торможения. При получении рассчитанной начальной скорости торможения в пределах нормативного диапазона допустимых значений (40 ± 4 км/ч) вычисляют оценочные показатели тормозного пути и установившегося замедления КТС, либо установившегося замедления и времени срабатывания тормозной системы по приложению А.3.

По полученной величине начальной скорости торможения рассчитывают откорректированный для этой скорости норматив тормозного пути по методике приложения Б. С откорректированным для конкретного выполненного торможения расчетным нормативом тормозного пути сравнивают полученный фактический показатель тормозного пути.

По окончании торможения одновременно отображают результаты сравнения и полученные показатели усилия воздействия на орган управления тормозной системы, начальной скорости торможения, тормозного пути или установившегося замедления КТС и времени срабатывания тормозной системы.

5.1.4.13 Проверку в дорожных условиях эффективности торможения запасной тормозной системой, снабженной независимым органом управления, проводят инерционным методом, как и рабочей тормозной системы, по 5.1.4.10 - 5.1.4.12 с соблюдением условий 5.1.1.9, 5.1.2.1 - 5.1.2.3, 5.1.2.5, 5.1.2.6, 5.1.2.9.

5.1.4.14 Устойчивость КТС при торможении в дорожных условиях проверяют путем выполнения торможений в пределах нормативного коридора движения, предварительно обозначенного разметкой на дорожном покрытии. КТС перед торможением должно двигаться прямолинейно с установленной начальной скоростью по оси коридора. Выход КТС какой-либо его частью за пределы нормативного коридора движения устанавливают визуально по положению проекции КТС на опорную поверхность или по прибору для проверки тормозных систем в дорожных условиях. Прибор при торможении КТС фиксирует изменения поперечного ускорения КТС от начала торможения до остановки и по ним автоматически вычисляет величину смещения КТС в поперечном направлении. При превышении полученной величиной поперечного смещения КТС половины разности ширины нормативного коридора движения и максимальной ширины КТС фиксируют несоответствие устойчивости КТС при торможении установленным требованиям.

5.1.4.15 КТС считают выдержавшими проверку эффективности торможения и устойчивости тормозной системой в дорожных условиях, если при торможении с начальной нормативной скорости движения по 5.1.3.7 с соблюдением условий 5.1.2.1 - 5.1.2.3, 5.1.2.5, 5.1.2.6, 5.1.2.9, 5.1.2.10, 5.1.3.2, 5.1.3.4 - 5.1.3.7 обеспечено выполнение расчетного норматива тормозного пути или нормативов установившегося замедления и времени срабатывания тормозной системы и движение при торможении в пределах коридора движения установленной ширины, а для КТС, оборудованных АБС, - прямолинейность траектории движения при торможении.

5.1.5 Выполнение проверки стояночной тормозной системы

5.1.5.1 Стояночную тормозную систему проверяют по скатыванию с уклона нормативной величины или на стендах только на КТС снаряженной массы или максимальной разрешенной массы, причем на КТС категорий O2 - O4 проверяют только на стендах.

5.1.5.2 По скатыванию с уклона стояночную тормозную систему проверяют посредством предварительной установки динамометра на органе управления проверяемой системы, размещения КТС на уклоне нормативной величины, затормаживания КТС рабочей тормозной системой, а затем - стояночной тормозной системой с одновременным измерением динамометром усилия, приложенного к органу управления стояночной тормозной системы, и последующего отключения рабочей тормозной системы. Стояночную тормозную систему оценивают возможностью удержания КТС в неподвижном состоянии на уклоне в течение не менее 1 мин.

5.1.5.3 Перед выполнением проверки на стендах стояночной тормозной системы КТС снаряженной массы предварительно рассчитывают и выбирают меньшее из двух значений норматива удельной тормозной силы для стояночной тормозной системы:

- 0,15 отношения технически допустимой максимальной массы к массе КТС при проверке;

- 0,6 отношения снаряженной массы, приходящейся на ось (оси), на которые воздействует стояночная тормозная система, к снаряженной массе.

5.1.5.4 Стояночную тормозную систему на стенде проверяют путем размещения КТС на роликах стенда колесами оси, на которую воздействует стояночная тормозная система, включения привода роликов и поочередного приведения во вращение колес проверяемой оси КТС в одном направлении или в противоположных направлениях и выполнения торможения стояночной тормозной системой. Колеса, не опирающиеся при проверке на ролики стенда, должны быть зафиксированы не менее чем двумя противооткатными упорами, исключающими выкатывание КТС со стенда. К органу управления стояночной тормозной системы прикладывают контролируемое по динамометру нормативное усилие.

5.1.5.5 По результатам проверки вычисляют удельную тормозную силу по методике приложения А и сравнивают полученное значение с расчетным нормативом.

5.1.5.6 КТС считают выдержавшим проверку эффективности торможения стояночной тормозной системой, если колеса проверяемой оси блокируются на роликах стенда, не оборудованного системой автоматического отключения, или происходит автоматическое отключение стенда, оборудованного системой автоматического отключения, вследствие проскальзывания любого из колес оси по роликам при нормативном усилии на органе управления, или если удельная тормозная сила не менее рассчитанного нормативного значения.

5.1.5.7 Проверку в дорожных условиях эффективности торможения стояночной тормозной системой с приводом от пружинных камер проводят инерционным методом по 5.1.4.11, 5.1.4.12 с соблюдением условий 5.1.1.9, 5.1.2.1 - 5.1.2.3, 5.1.2.5, 5.1.2.6, 5.1.2.9, 5.1.3.6.

5.1.6 Выполнение проверки вспомогательной тормозной системы

5.1.6.1 Перед проверкой предварительно устанавливают на КТС и включают прибор для проверки тормозных систем в дорожных условиях в соответствии с предписаниями инструкции по эксплуатации прибора.

5.1.6.2 КТС для выполнения проверки разгоняют до скорости не менее предписанной. Вспомогательную тормозную систему приводят в действие и измеряют установленным предварительно прибором установившееся замедление КТС при торможении в установленном диапазоне скоростей. При проверке в коробке передач КТС включают передачу, исключающую превышение максимальной допустимой частоты вращения коленчатого вала двигателя.

5.1.6.3 КТС считают выдержавшим проверку эффективности торможения вспомогательной тормозной системой, если измеренное установившееся замедление не ниже нормативного.

5.1.7 Проверка узлов и деталей тормозных систем

5.1.7.1 Отсутствие утечек сжатого воздуха из колесных тормозных камер проверяют при выключенном двигателе и нормативном давлении в пневматическом (пневмогидравлическом) тормозном приводе на слух или с помощью электронного детектора утечек сжатого воздуха.

5.1.7.2 Целостность регулятора тормозных сил проверяют органолептически, в том числе по наличию и сохранности пружинной связи регулятора с подрессоренной частью КТС.

5.1.7.3 На неподвижном КТС визуально проверяют отсутствие:

- подтеканий тормозной жидкости, нарушений герметичности трубопроводов или соединений в гидравлическом тормозном приводе;

- повреждений, перегибов, видимых мест перетирания тормозных трубопроводов;

- коррозии, грозящей потерей герметичности или разрушением, видимых мест перетирания тормозных трубопроводов;

- трещин или остаточной деформации деталей тормозного привода;

- нарушений целостности регулятора тормозных сил и признаков его демонтажа;

- трещин, видимых мест перетирания и набухания шлангов под давлением;

- нарушений комплектности и крепления, видимых повреждений и отсоединения элементов АБС.

5.1.7.4 Работоспособность средств сигнализации и контроля тормозных систем, манометров пневматического и пневмогидравлического тормозного привода, стопорного механизма или функции фиксации органа управления стояночной тормозной системы проверяют на неподвижном КТС при работающем двигателе посредством визуального наблюдения за рабочим функционированием проверяемых узлов при пуске двигателя и выполнении последовательных торможений на неподвижном КТС.

5.1.7.5 Расположение, длину, сохранность соединений тормозных шлангов, передающих давление сжатого воздуха или тормозной жидкости, проверяют органолептически на неподвижном КТС.

5.1.7.6 Адекватность действия рабочей и запасной тормозных систем воздействию на орган управления проверяемой тормозной системы проверяют на стендах или в дорожных условиях в процессе проведения проверок эффективности торможения и устойчивости КТС при торможении по 5.1.4 без выполнения дополнительных торможений, посредством наблюдения за характером изменения тормозных сил или замедления КТС при воздействиях на орган управления тормозной системы.

5.1.7.7 АБС (при наличии на КТС) проверяют в дорожных условиях посредством предварительного разгона КТС до нормативной скорости 40 км/ч в пределах коридора движения нормативной ширины, выполнения экстренного торможения и наблюдения прямолинейности движения и следов торможения колес, а также визуального контроля функционирования сигнализаторов АБС на всех режимах ее работы.

5.1.7.8 Функционирование сигнализаторов АБС должно соответствовать ее работоспособному состоянию: при включении зажигания должен на приборной панели включиться на 1...2 с сигнализатор, после чего он должен выключиться и оставаться в выключенном состоянии при любых режимах работы КТС.

5.1.7.9 Герметичность крепления и работоспособность глушителей шума истечения сжатого воздуха из тормозного привода проверяют органолептически, в том числе и посредством доведения давления в приводе до установленного изготовителем нормативного значения при работающем двигателе на неподвижном КТС.

5.2 Методы проверки рулевого управления

5.2.1 Плавность изменения усилия при повороте рулевого колеса проверяют на неподвижных КТС посредством поочередного поворота рулевого колеса на максимальный угол в каждую сторону КТС, оборудованные усилителем рулевого управления, проверяют при работающем двигателе. Колеса при проверке должны находиться на опорной поверхности, а давление в шинах соответствовать установленному изготовителем в эксплуатационной документации. Работоспособность усилителя рулевого управления проверяют на неподвижном КТС сопоставлением усилий, необходимых для вращения рулевого колеса при работающем и выключенном двигателе. Признаки демонтажа усилителя рулевого управления выявляют осмотром и сопоставлением конструкции рулевого управления на КТС с описанием в эксплуатационной документации.

5.2.2 Самопроизвольный поворот рулевого колеса на неподвижном КТС с усилителем рулевого управления выявляют посредством наблюдения за положением рулевого колеса после его установки в положение, примерно соответствующее прямолинейному движению КТС, и пуска двигателя.

5.2.3 Суммарный люфт в рулевом управлении проверяют на неподвижном КТС без вывешивания колес с использованием прибора для определения суммарного люфта в рулевом управлении, одновременно фиксирующего угол поворота рулевого колеса и начало поворота управляемых колес. За начало поворота управляемого колеса принимают угол его поворота на 0,06° ± 0,01°, измеряемый от положения прямолинейного движения. Угол поворота управляемого колеса измеряют на удалении не менее 150 мм от центра обода колеса.

5.2.3.1 Управляемые колеса должны быть предварительно приведены в положение, примерно соответствующее прямолинейному движению, а двигатель КТС, оборудованного усилителем рулевого управления, должен работать.

5.2.3.2 Рулевое колесо поворачивают, по меньшей мере до положения, соответствующего началу поворота управляемых колес КТС в одну сторону, а затем - в другую сторону по меньшей мере до положения, соответствующего началу поворота управляемых колес в противоположную сторону от положения, соответствующего прямолинейному движению в соответствии с инструкцией по эксплуатации изготовителя прибора, и измеряют угол между указанными крайними положениями рулевого колеса, который является суммарным люфтом в рулевом управлении. Начало поворота управляемых колес фиксируют по каждому из них раздельно или только по одному управляемому колесу, дальнему от рулевой колонки.

5.2.3.3 Допускается максимальная погрешность измерений суммарного люфта не более 0,5° по ободу рулевого колеса, включающая в себя погрешность измерения угла поворота рулевого колеса, погрешности от влияния передаточного числа рулевого управления КТС и от определения начала поворота управляемого колеса, с использованием допущения линейной зависимости угла поворота управляемого колеса от угла поворота рулевого колеса. КТС считают выдержавшим проверку, если суммарный люфт не превышает нормативного значения.

5.2.3.4 Люфт в соединениях рычагов поворотных цапф и шарнирах рулевых тяг проверяют органолептически на неподвижном КТС при неработающем двигателе посредством поворота рулевого колеса от нейтрального положения на 40°...60° в каждую сторону и приложением непосредственно к деталям рулевого привода знакопеременной силы. Для визуальной оценки состояния шарнирных соединений используют стенды для проверки рулевого привода (люфт-детекторы).

5.2.3.5 Повреждения и отсутствие деталей крепления рулевой колонки и картера рулевого механизма проверяют органолептически на неподвижном КТС.

5.2.3.6 Затяжку, сохранность и соответствие способа фиксации резьбовых соединений предусмотренному изготовителем КТС проверяют визуально с использованием эксплуатационной документации изготовителя и путем простукивания резьбовых соединений.

5.2.3.7 Работоспособность устройства фиксации положения рулевой колонки проверяют посредством приведения его в действие и последующего качания рулевой колонки при ее зафиксированном положении путем приложения знакопеременных усилий к рулевому колесу в плоскости рулевого колеса перпендикулярно к колонке.

5.2.3.8 Наличие в рулевом механизме и рулевом приводе деталей со следами остаточной деформации, с трещинами и другими дефектами выявляют визуально.

5.2.3.9 Подтекания рабочей жидкости в гидросистеме усилителя рулевого управления выявляют визуально и на ощупь.

5.3 Методы проверки внешних световых приборов

5.3.1 Проверка наличия, комплектности и работоспособности внешних световых приборов

5.3.1.1 Соответствие назначения, количества, места расположения, режима работы (включая прерывистость излучения), цвета излучения внешних световых приборов на КТС указанному изготовителем в эксплуатационной документации, а также наличие не предусмотренных конструкцией светового прибора оптических элементов (в том числе бесцветных или окрашенных оптических деталей и пленок) проверяют визуально при включении-выключении световых приборов и сопоставлением с содержанием эксплуатационной документации. При этом проверяют соответствие светового пучка фар ближнего света условиям правостороннего движения.

5.3.1.2 Класс источника света, установленного в устройствах освещения и световой сигнализации, проверяют визуально по характеру нарастания интенсивности излучения при включении источника, соответствию цвета и светораспределения в световом пучке свойственным для источника, указанного изготовителем в эксплуатационной документации либо, в случае внесения изменений в конструкцию КТС, указанным в документации на световые приборы, установленные вместо предусмотренных эксплуатационной документацией.

5.3.1.3 Работоспособность внешних световых приборов, устройств фароочистки и контрольных световых сигналов включения фар дальнего света, передних противотуманных фар, указателей поворота, передних и задних габаритных огней, задних противотуманных фонарей (например, путем одновременного автоматического включения с передними и задними габаритными огнями освещения комбинации приборов) проверяют визуально при их включении-выключении. Отсутствие и разрушения рассеивателей внешних световых приборов, повреждения и отслоения светоотражающей маркировки выявляют визуально.

5.3.1.4 Возможность одновременного либо попарного включения фар дальнего света и одновременного выключения всех фар дальнего света при переключении дальнего света на ближний проверяют визуально при включении-выключении световых приборов.

5.3.1.5 Работоспособность автоматического корректора фар на КТС категории M1 и N1 проверяют наблюдением за степенью изменений положения светотеневой границы пятна света фар при трехкратном раскачивании подрессоренной части КТС путем попеременного приложения усилий к задней и передней оконечностям кузова в вертикальной плоскости. На КТС остальных категорий автоматический корректор проверяют по изменениям в вертикальной плоскости положения границы пятна света фар при заезде колесами передней оси на ролики стенда для проверки тормозных систем.

5.3.2 Проверка фар ближнего, противотуманного и дальнего света

5.3.2.1 Свет фар проверяют на КТС, размещенном на посту, оборудованном горизонтальной ровной рабочей площадкой с уклонами не более ± 0,1% и прибором для проверки света фар, установленном на ориентирующем приспособлении, обеспечивающем взаимное расположение КТС и прибора с погрешностью не более ± 0,2%.

5.3.2.2 Размещение КТС на рабочей площадке должно обеспечивать оси отсчета фары параллельность плоскости рабочей площадки с погрешностью не более ± 0,1%.

5.3.2.3 Размещение прибора на рабочей площадке должно обеспечивать параллельность оптической оси объектива прибора плоскости рабочей площадки с погрешностью не более ± 0,1% и продольной центральной плоскости КТС или перпендикулярность к оси задних колес с погрешностью не более ± 0,2% и прохождение оптической оси через оптический центр рассеивателя фары. Расстояние от центра рассеивателя фары до плоскости объектива прибора должно быть (350 ± 50) мм, если изготовителем прибора в инструкции по эксплуатации не установлено иное значение.

5.3.2.4 Свет фар проверяют по прибору визуально на незагруженном КТС и соответствующем положении корректора фар.

5.3.2.5 Рассеиватели фар при проверке должны быть снаружи чистыми и сухими, давление воздуха в шинах должно соответствовать установленному изготовителем КТС в эксплуатационной документации.

5.3.2.6 В фокальной плоскости объектива прибора устанавливают подвижный экран с разметкой, обеспечивающей возможности проверки фар и регулировки положения разметки по высоте.

5.3.2.7 Положение левой части светотеневой границы в режиме "ближний свет" определяют визуально относительно разметки подвижного экрана, встроенного в прибор.

5.3.2.8 Силу света фар измеряют с погрешностью не более 7% при помощи датчика, встроенного в подвижный экран прибора и откоррегированного под среднюю кривую спектральной чувствительности глаза человека. Чувствительность датчика должна соответствовать интервалам допускаемых значений силы света.

5.3.2.9 Свет фар проверяют в следующей последовательности.

КТС в снаряженном состоянии по 5.3.2.4 устанавливают на пост, оборудованный рабочей площадкой по 5.3.2.1 - 5.3.2.3.

Ориентирующее приспособление с размещенным на нем прибором для проверки света фар устанавливают по 5.3.2.3 против проверяемой фары КТС.

Прибор для проверки света фар ориентируют так, чтобы оптическая ось объектива прибора проходила через оптический центр рассеивателя фары, а расстояние от центра рассеивателя фары до плоскости объектива прибора было (350 ± 50) мм.

Регулировкой положения в приборе подвижного экрана с разметкой выставляют нормативный угол регулировки ближнего и противотуманного света или отсутствие этого угла для дальнего света для соответствующей высоты оптического центра проверяемой фары над опорной поверхностью.

При выключенном двигателе КТС последовательно включают ближний, противотуманный (при наличии) или дальний свет и визуально для каждого из них проверяют попадание верхней светотеневой границы пятна света на разметку экрана или ее смещение в вертикальном и горизонтальном направлениях, а для дальнего света - симметричность светового пятна относительно осей разметки. При необходимости выполняют регулировку света фары согласно предписаниям изготовителя КТС в эксплуатационной документации и с помощью прибора измеряют силу ближнего и дальнего света фар в установленных для каждого из них направлениях.

5.3.2.10 Силу ближнего света фар проверяют после регулировки (выполняемой при необходимости) положения светового пучка по 5.3.2.9. При несоответствии силы ближнего света нормативу проводят повторную регулировку по прибору в пределах ± 0,1% в вертикальном направлении от номинального значения угла регулировки и повторное измерение силы света.

5.3.2.11 Суммарную силу дальнего света фар определяют измерением и суммированием сил света каждой из фар.

5.3.3 Проверка указателей поворота и аварийной сигнализации

5.3.3.1 Частоту следования проблесков проверяют не менее чем по 10 проблескам с помощью прибора для проверки и регулировки фар или универсального измерителя времени с отсчетом от 1 до 60 с и ценой деления не более 1 с.

5.3.3.2 Сигналы торможения проверяют путем воздействия на органы управления рабочей и аварийной тормозных систем и наблюдения за работоспособностью сигналов.

5.3.3.3 Задние противотуманные фонари проверяют визуально при переключении режимов работы световых приборов, а также при воздействии на педаль рабочей тормозной системы.

5.3.3.4 Стояночные огни проверяют визуально при переключении режимов работы в разных положениях выключателя зажигания.

5.3.3.5 Габаритные, контурные и дневные ходовые огни проверяют визуально при их включении-выключении и включении фар.

5.3.3.6 Фонарь освещения заднего государственного регистрационного знака проверяют визуально при включении передачи "задний ход".

5.4 Методы проверки обзорности

5.4.1 Обзорность КТС, целостность ветрового стекла, оснащенность КТС противосолнечными козырьками и зеркалами заднего вида проверяют визуально, а ширину светозащитной полосы измеряют линейкой.

5.4.2 Светопропускание стекол КТС измеряют прибором для проверки светопропускания стекол с автоматической компенсацией внешней засветки стекла. Излучатель и фотоприемник размещают напротив друг друга через проверяемый участок стекла, через которое обеспечивается обзорность водителю. Включают прибор, включают режим калибровки и проверяют готовность прибора к измерениям, включают рабочий режим, измеряют и сравнивают светопропускание с нормативом. Ширину полосы прозрачной цветной пленки измеряют линейкой и результат сравнивают с нормативом.

5.4.3 Восприятие цветов через окрашенное в массе или тонированное ветровое стекло проверяют наблюдением с места водителя через ветровое стекло шаблонов размером не менее 200 x 290 мм белого, желтого, красного, зеленого и голубого цветов с расстояния (1,0 ± 0,1) м от стекла.

5.4.4 Работоспособность стеклоочистителей и стеклоомывателей проверяют визуально в процессе их рабочего функционирования на поверхности стекла, смоченной специальной омывающей жидкостью или водой при минимально устойчивой частоте вращения коленчатого вала на холостом ходу двигателя КТС. При проверке стеклоочистителей с электрическим приводом включают фары дальнего света. Работоспособность стеклоомывателей проверяют в режиме максимальной интенсивности работы.

5.4.5 Крепление зеркал проверяют органолептически путем приложения ненормируемых усилий.

5.5 Методы проверки шин и колес

5.5.1 Комплектование КТС шинами проверяют визуально по соответствию маркировки шин предписаниям изготовителя КТС в эксплуатационной документации и в табличках на КТС.

5.5.2 Установку шин на оси КТС, в том числе зимних шин и шин с шипами противоскольжения, расположение вентильных отверстий на шинах сдвоенных колес, наличие золотников, гаек крепления колес, трещин дисков и ободьев колес проверяют визуально.

5.5.3 Остаточную глубину рисунка протекторов шин проверяют визуально по наличию контакта поверхности индикаторов износа с опорной поверхностью или специальными шаблонами, либо измеряют штангенциркулем или линейкой.

5.5.3.1 Высоту рисунка при равномерном износе протектора шин измеряют на участке, ограниченном прямоугольником, ширина которого равна половине ширины беговой дорожки протектора, а длина равна 1/6 длины окружности шины посередине беговой дорожки протектора, а при неравномерном износе - на нескольких участках с разным износом.

5.5.3.2 Высоту рисунка измеряют в местах наибольшего износа протектора, но не на участках расположения полумостиков и ступенек у основания рисунка протектора.

5.5.3.3 Предельный износ шин, снабженных индикаторами износа, фиксируют при равномерном износе рисунка протектора по появлению одного индикатора, а при неравномерном износе - по появлению двух индикаторов в каждом из двух сечений колеса.

5.5.3.4 Высоту рисунка протектора шин, имеющих сплошное ребро по центру беговой дорожки, измеряют по краям этого ребра.

5.5.3.5 Высоту рисунка протектора шин повышенной проходимости измеряют между грунтозацепами по центру или в местах, наименее удаленных от центра беговой дорожки, но не по уступам у основания грунтозацепов и не по полумостикам.

5.6 Методы проверки сцепных устройств

5.6.1 Сцепные устройства проверяют путем осмотра, приведения в действие и наблюдения за функционированием при выполнении расцепки и сцепки. Зазоры и люфты в соединениях выявляют путем приложения ненормируемых усилий к дышлу прицепа.

5.6.2 Внутренние и внешние диаметры изнашивающихся деталей сцепных устройств проверяют посредством расцепления тягача и прицепа (полуприцепа) и визуального контроля диаметров специальными шаблонами или путем измерения штангенциркулем.

5.7 Методы проверки средств пассивной безопасности

5.7.1 Оборудование КТС ремнями безопасности проверяют визуально по соответствию требованиям нормативных правовых актов, действовавших на момент выпуска КТС в обращение.

5.7.2 Ремни безопасности проверяют путем осмотра, приведения в действие замков ремней и наблюдения за функционированием составных частей.

5.7.3 Оборудование КТС подушками безопасности и подголовниками проверяют визуально по соответствию эксплуатационной документации изготовителя КТС и требованиям нормативных правовых актов, действовавших на момент выпуска КТС в обращение.

5.7.4 Наличие и размещение на КТС задних и боковых защитных устройств проверяют визуально.

5.8 Методы проверки двигателей с принудительным зажиганием

5.8.1 В эксплуатационных документах КТС изготовители указывают штатную комплектацию КТС оборудованием для снижения выбросов загрязняющих веществ; предельно допустимое содержание CO и диапазон допустимых значений коэффициента избытка воздуха; минимальную частоту вращения коленчатого вала двигателя при выполнении проверок; экологический класс КТС.

5.8.2 При отсутствии данных изготовителя о минимальной частоте вращения коленчатого вала двигателя, ее значение не должно превышать:

- 1100 - для КТС категорий M1 и N1;

- 900 - для КТС остальных категорий M и N.

Значение повышенной частоты вращения коленчатого вала двигателя КТС категорий M и N при проверке должно быть в пределах 2500...2800 .

5.8.3 Для измерений применяют газоанализаторы, соответствующие требованиям приложения Г, а также штатные на КТС или внешние тахометры и измерители температуры масла.

5.8.4 Выполнение измерений содержания CO и коэффициента избытка воздуха 1 в отработавших газах допускается при следующих атмосферных условиях:

- температура окружающего воздуха - от минус 7 °C до плюс 35 °C;

- атмосферное давление - не ниже 92,0 кПа (690 мм рт. ст.).

5.8.5 Перед измерениями выполняют следующие операции.

5.8.5.1 Проверяют техническое состояние систем КТС и двигателя органолептическими методами согласно таблице 5.1.

Таблица 5.1

Требования к КТС, предъявляемые перед проверкой отработавших газов бензиновых и газовых двигателей

Система КТСТребования к техническому состоянию
Система выпуска отработавших газовКомплектность (отсутствие элементов системы выпуска не допускается).
Герметичность (отсутствие механических пробоев и сквозной коррозии; при работе двигателя на холостом ходу в соединениях и элементах системы выпуска отработавших газов не должно быть утечек)
Система нейтрализации отработавших газов и другое оборудование для снижения вредных выбросовКомплектность (отсутствие или несоответствие эксплуатационным документам элементов системы нейтрализации, системы улавливания паров топлива, рециркуляции отработавших газов, экономайзера принудительного холостого хода, а также перепуск отработавших газов, минуя нейтрализатор, не допускаются)
Система вентиляции картераКомплектность (отсутствие элементов системы вентиляции картера не допускается).
Герметичность (в соединениях и элементах системы вентиляции картера утечки картерных газов в атмосферу не допускаются)
Система управления двигателемФункционирование диагностического индикатора встроенной (бортовой) системы диагностирования двигателя соответствует исправной работе двигателя и его систем (диагностический индикатор при работе двигателя выключен)
Система питанияГерметичность (подтекание бензина и утечки газа <*> не допускаются)

<*> Герметичность газовой системы питания проверяют на открытой площадке течеискателем.

При несоответствии КТС указанным требованиям состав отработавших газов не проверяют, а КТС признают несоответствующим требованиям к двигателю.

5.8.5.2 На КТС категорий M и N, оснащенных системой нейтрализации отработавших газов и встроенной системой диагностирования двигателя, по показаниям диагностического индикатора на приборной панели проверяют работоспособность двигателя и системы нейтрализации:

- при включении зажигания перед пуском двигателя диагностический индикатор должен быть включен или включиться на короткий промежуток времени;

- после пуска двигателя диагностический индикатор должен выключиться.

При отсутствии сигнала диагностического индикатора после включения зажигания и в случае включенного состояния диагностического индикатора при работе двигателя дальнейшую процедуру проверки прекращают, а КТС признают несоответствующим требованиям к двигателю.

5.8.5.3 Двигатель КТС прогревают до рабочей температуры моторного масла или охлаждающей жидкости, установленной изготовителем, а при отсутствии таких данных - до температуры не ниже 60 °C. При проверке КТС с уже заведомо прогретым двигателем допускается не проводить измерения температуры.

5.8.5.4 После прогрева двигателя проводят следующие операции:

- устанавливают рычаг коробки передач с ручным или полуавтоматическим переключением в нейтральное положение. Избиратель передач для КТС с автоматической коробкой передач устанавливают в положение "Нейтраль" или "Паркинг";

- затормаживают КТС стояночным тормозом и заглушают двигатель;

- устанавливают противооткатные упоры под ведущие колеса;

- на КТС, не оборудованные штатным тахометром, подключают датчики внешнего тахометра, а при необходимости - и измерителя температуры масла;

- вводят пробоотборный зонд в выпускную трубу КТС на глубину не менее 300 мм от наиболее заглубленной точки среза трубы. При невозможности введения пробоотборного зонда на требуемую глубину допускается использование дополнительных насадок, обеспечивающих герметичность соединения с выпускной трубой. При проведении измерений в закрытом помещении обязательно используют принудительный отвод отработавших газов от выпускной трубы с ответвлением для пробоотборного зонда;

- полностью открывают воздушную заслонку карбюратора (при наличии);

- проверяют и устанавливают нулевые показания газоанализатора с учетом инструкции изготовителя газоанализатора.

5.8.6 Измерения на КТС, не оснащенных системой нейтрализации отработавших газов, проводят в следующем порядке:

- запускают двигатель, увеличивают частоту вращения коленчатого вала двигателя до и выдерживают ее не менее 15 с;

- отпускают педаль управления дроссельной заслонкой, устанавливая и не ранее, чем через 30 с, измеряют содержание CO;

- устанавливают и не ранее чем через 30 с измеряют содержание CO;

- полученные результаты сравнивают с нормативами.

5.8.7 Измерения на КТС, оснащенных системой нейтрализации отработавших газов, выполняют в следующем порядке:

- запускают двигатель, увеличивают частоту вращения коленчатого вала двигателя до , выдерживают этот режим в течение 2...3 мин при температуре окружающего воздуха не ниже 0 °C или 4...5 мин при температуре окружающего воздуха ниже 0 °C.

После стабилизации показаний фиксируют содержание СО и значение для КТС 3-го экологического класса и выше;

- устанавливают и не ранее чем через 30 с, но не позднее чем через 60 с измеряют содержание CO;

- полученные результаты сравнивают с нормативами.

5.8.8 На КТС с раздельными выпускными системами измерения выполняют для каждой из них, а за результат принимают наибольшее значение.

5.8.9 На двухтопливном КТС измерения проводят как на газовом топливе, так и на бензине.

5.8.10 Для бензиновых двигателей гибридных КТС измерения проводят в соответствии с 5.8.6 или 5.8.7 в сервисном режиме, предусмотренном изготовителем. При отсутствии сервисного режима двигатель и систему нейтрализации проверяют по показаниям диагностического индикатора на приборной панели по 5.8.5.2.

5.8.11 Для двигателей с принудительным зажиганием двух- и трехколесных мотоциклов массой без нагрузки менее 400 кг, у которых конструктивная скорость более 50 км/ч и/или рабочий объем двигателя более 50 см3, содержание оксида углерода (CO) в отработавших газах измеряют в режиме холостого хода двигателя.

5.8.12 Для мотоциклов, оснащенных коробкой передач с ручным или полуавтоматическим управлением, измерение проводят при нейтральном положении рычага переключения передач и при включенном сцеплении.

5.8.13 Для мотоциклов с автоматической трансмиссией измерение проводят при стояночном либо нейтральном положении селектора.

5.8.14 Выпускные трубы мотоциклов должны быть оборудованы воздухонепроницаемым удлинителем достаточной длины для введения пробоотборника на глубину не менее 600 мм без нарушения нормальной работы двигателя и без подсоса воздуха.

5.8.15 Для газобаллонных КТС проверяют наличие документа, подтверждающего проведение периодических испытаний газового оборудования, установленного на КТС, а в случае изменений, вносимых при его ремонте (замена редуктора или баллона) - наличие документа, подтверждающего соответствие газового оборудования требованиям безопасности.

5.8.16 Соответствие газовых баллонов установленным требованиям проверяют визуально. Герметичность газовой системы питания проверяют с использованием специального прибора - индикатора-течеискателя.

5.8.17 При проверках отработавших газов в помещениях для проведения измерений состава должны соблюдаться предписания по безопасности труда национальных нормативных документов. Перед въездом в помещение газобаллонного КТС течеискателем проверяют герметичность газовой системы питания, наличие обозначений (СНГ, КПГ, СПГ) на КТС и нестираемых данных на газовых баллонах, а при необходимости принимают дополнительные меры для исключения самопроизвольного перемещения КТС.

5.9 Методы проверки двигателей с воспламенением от сжатия

5.9.1 Дымность отработавших газов дизеля КТС категорий M, N и допускается проверять при температуре окружающего воздуха от 0 °C до 35 °C и атмосферном давлении от 92 до 105 кПа.

5.9.2 Для проверки дымности используют соответствующие установленным требованиям дымомеры с эффективной базой L, равной 0,43 м линейной шкалой, отградуированной от 0 до 100% ослабления света. Соотношение основного и вспомогательного показателей дымности k в N приведено в приложении Д.

5.9.3 Перед измерениями дымности проверяют комплектность и сохранность системы выпуска, включая систему очистки отработавших газов от загрязняющих веществ. При выявлении повреждений или некомплектности системы выпуска дымность отработавших газов не проверяют, а КТС признают не соответствующим установленным требованиям к дизелю.

5.9.4 Перед измерениями двигатель КТС прогревают до установленной изготовителем рабочей температуры моторного масла или охлаждающей жидкости, а при отсутствии таких данных - до температуры не ниже 60 °C. При проверке КТС с уже заведомо прогретым двигателем измерения температуры не проводят.

5.9.5 Температуру масла в поддоне картера двигателя измеряют (при необходимости) термометром с диапазоном 0...100 °C и погрешностью не более ± 2,5 °C.

5.9.6 Для подвода отработавших газов от выпускной трубы КТС к измерительной камере дымомера используют пробоотборный зонд, предотвращающий утечки и подсос воздуха.

5.9.7 Перед измерением дымности на неподвижном КТС выполняют следующие операции:

- устанавливают датчик температуры масла или охлаждающей жидкости;

- двигатель запускают и прогревают, используя нагрузочные режимы или многократное повторение циклов свободного ускорения, причем продолжительность работы прогретого двигателя на холостом ходу до начала измерений не должна превышать 5 мин;

- заглушают двигатель;

- затормаживают КТС стояночной тормозной системой;

- устанавливают противооткатные упоры под колеса ведущих мостов;

- устанавливают зонд для отбора отработавших газов из выпускной трубы в дымомер;

- запускают двигатель;

- устанавливают рычаг переключения передач (для КТС с автоматической коробкой передач - селектор) в нейтральное положение и включают сцепление.

5.9.8 Дымность измеряют в шести последовательных циклах свободного ускорения коленчатого вала двигателя:

- при работе двигателя в режиме холостого хода на равномерно перемещают педаль подачи топлива за 0,5...1,0 с до упора. Держат педаль в этом положении 2...3 с. Отпускают педаль и через 8... 10 с приступают к выполнению следующего цикла;

- циклы свободного ускорения повторяют не менее шести раз;

- фиксируют максимальные показания дымомера в каждом из последних четырех i-х циклов свободного ускорения;

- измеренные значения дымности считают достоверными, если четыре последовательных значения не образуют убывающей зависимости и располагаются в зоне шириной 0,25 ;

5.9.9 По четырем последним измерениям дымности рассчитывают среднеарифметическое значение дымности , которое принимают за результат измерений и сравнивают полученное значение с нормативным. Схематический вид графиков изменения частоты вращения (n) и дымности (k) в процессе одного цикла свободного ускорения приведен в приложении Е.

5.9.10 Дымность КТС с раздельными выпускными системами измеряют для каждой выпускной трубы. За результат измерения принимают большее из среднеарифметических значений дымности , полученное для одной из выпускных труб.

5.9.11 При проверках дымности отработавших газов КТС в помещениях соблюдают предписания по безопасности труда национальных нормативных документов, а для КТС с автоматической коробкой передач учитывают кроме того требования изготовителя по обеспечению свободного вращения ведущих колес.

5.10 Проверка шума выпуска отработавших газов КТС

5.10.1 Уровень шума выпуска отработавших газов двигателя КТС категорий M, N, L измеряют при работе на холостом ходу двигателя неподвижного КТС с помощью шумомера, соответствующего требованиям приложения Ж.

5.10.2 Уровень шума проверяют в закрытых производственных помещениях. Удовлетворительный результат проверки в закрытом помещении указывает, что на открытой площадке проверяемое КТС тем более будет соответствовать нормативным требованиям. При неудовлетворительном результате проверки в помещении допускается его уточнение путем повторного выполнения той же процедуры проверки на открытой площадке.

5.10.3 Пост проверки шума выпуска отработавших газов двигателя КТС в закрытом помещении должен обеспечивать возможность размещения КТС, при котором микрофон окажется на удалении от шумоотражающих объектов (стен, выступов, шкафов, других КТС) не менее 1,5 м во всех направлениях. По соображениям безопасности труда шум выпуска отработавших газов двигателя КТС в производственных помещениях допускается проверять только при открытых въездных (выездных) воротах.

5.10.4 Площадка должна обеспечивать возможность размещения КТС, при котором расстояния от микрофона до ближайших крупных шумоотражающих объектов (строений и других КТС) будет не менее 3 м. Для проверки КТС категорий L используют прямоугольную площадку, размеры которой обеспечивают расстояние от внешнего края КТС (без учета руля) до препятствий не менее 3 м.

5.10.5 Площадка должна иметь твердое покрытие, наличие снежного покрова (исключая лед) на площадке не допускается.

5.10.6 Перед измерениями осматривают на подъемнике или осмотровой канаве компоненты КТС, влияющие на уровень шума выпуска. При выявлении неполной комплектации систем впуска и выпуска или вызывающих подсос воздуха повреждений и дефектов системы впуска, либо вызывающих утечку отработавших газов и/или подсос воздуха повреждений системы выпуска, а также отсутствия или неполной комплектации дополнительных устройств снижения шума (капсул, экранов) проверку шума выпуска отработавших газов не выполняют, а КТС признают не соответствующим установленным требованиям по шуму.

5.10.7 Перед измерениями холодный двигатель прогревают до минимальной рабочей температуры, рекомендованной изготовителем в эксплуатационной документации КТС. При отсутствии этих данных температуру охлаждающей жидкости (моторного масла) двигателя доводят до плюс 60 °C. Температуру охлаждающей жидкости (моторного масла) на КТС с заведомо прогретым двигателем допускается не измерять.

5.10.8 Проверку шума выпуска отработавших газов КТС выполняют в следующей последовательности.

5.10.8.1 КТС размещают на рабочем посту или площадке по 5.10.3 или 5.10.4.

5.10.8.2 Заглушают двигатель.

5.10.8.3 Затормаживают КТС стояночной тормозной системой.

5.10.8.4 Подкладывают противооткатные упоры под колеса ведущих мостов.

5.10.8.5 На КТС, не оборудованных штатным тахометром, открывают капот и подсоединяют датчик (или разъем) внешнего тахометра в соответствии с инструкцией по эксплуатации тахометра, который размещают в поле зрения проверяющего.

5.10.8.6 Устанавливают микрофон согласно позиции 7 на рисунке К.1 приложения К для КТС категорий M и N или согласно рисунку К.2 приложения К для КТС категорий L:

а) устанавливают микрофон над поверхностью площадки на высоте расположения выпускной трубы глушителя, но не ниже 0,2 м (позиция 7 на рисунке К.1 приложения К);

б) микрофон размещают на расстоянии (0,5 ± 0,05) м от среза выпускной трубы (позиции 1 - 5 на рисунке К.1 приложения К);

в) главная ось микрофона должна быть параллельна поверхности площадки с отклонением не более ± 15° и составлять угол 45° ± 15° с вертикальной плоскостью, содержащей ось потока отработавших газов, выходящих из выпускной трубы глушителя (позиции 1 - 5 на рисунке К.1 приложения К);

г) для КТС с двумя или более выпускными трубами, расстояние между которыми не более 0,3 м, микрофон устанавливают у выпускной трубы, расположенной ближе к боковой стороне КТС или в более высокой точке над поверхностью площадки (позиция 2 на рисунке К.1 приложения К);

д) для КТС с двумя или более выпускными трубами, расстояние между которыми более 0,3 м, микрофон устанавливают у каждой выпускной трубы (позиция 3 на рисунке К.1 приложения К);

е) для КТС с вертикальным расположением выпускной трубы микрофон устанавливают на высоте среза выпускной трубы на расстоянии (0,5 ± 0,05) м от ближайшей стороны КТС. Ось микрофона направляют вертикально, мембрану ориентируют вверх (позиция 6 на рисунке К.1 приложения К);

ж) для двухколесных КТС категорий L микрофон устанавливают на уровне высоты среза выпускной трубы или на высоте не менее 0,2 м над опорной поверхностью. Микрофон ориентируют на срез выпускной трубы на удалении (0,5 ± 0,05) м от него. Ось максимальной чувствительности микрофона ориентируют параллельно опорной поверхности под углом 45° ± 15° к вертикальной плоскости, проходящей через срез выпускной трубы в направлении выброса отработавших газов;

и) если КТС категории L оборудовано несколькими выпускными трубами, расстояние между продольными осями которых не более 0,3 м, то микрофон ориентируют на срез выпускной трубы, расположенный более высоко над опорной поверхностью. Если расстояние между осями выпускных труб более 0,3 м, то измерения проводят для каждой выпускной трубы и учитывают максимальное значение.

В электронном документе нумерация пунктов соответствует официальному источнику.

5.10.8.7 Подготавливают шумомер к работе в соответствии с инструкцией по эксплуатации шумомера.

5.10.8.8 Устанавливают рычаг переключения передач (для КТС с автоматической коробкой передач - избиратель передач) в нейтральное положение.

На КТС категорий L переключатель скоростей устанавливают в нейтральное положение. Если передача не может быть отключена, обеспечивают возможность вращения ведущего колеса без нагрузки, например, путем вывешивания.

5.10.8.9 С помощью шумомера измеряют фон шумовых помех (окружающий шум). При этом включают режим эквивалентного (среднего по времени) уровня звука, продолжительность измерения не менее 30 с. Микрофон шумомера ориентируют перед срезом выпускной трубы, как и при измерении звукового давления отработавших газов двигателя. В случае превышения фоном шумовых помех нормативного ограничения проверку уровня шума КТС не выполняют до устранения источника шумовых помех, после чего повторяют измерение шумового фона.

5.10.8.10 Запускают двигатель КТС и проверяют по показаниям тахометра КТС возможность поддержания минимальной и целевой частот вращения коленчатого вала двигателя в пределах, установленных изготовителем в эксплуатационной документации.

5.10.8.11 При работе двигателя КТС в режиме холостого хода с минимальной частотой вращения педалью управления подачей топлива устанавливают целевую частоту вращения с отклонением не более ± 100 , контролируя частоту по тахометру.

При отсутствии штатного тахометра на КТС используют внешний стробоскопический тахометр или тахометр сдатчиком импульсов в высоковольтном проводе системы зажигания либо датчиком импульсов деформации трубопровода высокого давления системы питания дизеля. Для измерения частоты вращения открывают капот двигателя КТС, наносят метку на деталь, вращающуюся с частотой коленчатого вала двигателя, или подсоединяют датчик тахометра к свече зажигания или трубопроводу высокого давления дизеля. По показаниям тахометра считывают частоту вращения в соответствии с указаниями изготовителя тахометра в инструкции по эксплуатации.

Режим целевой частоты вращения коленчатого вала двигателя выдерживают в течение 5...7 с.

Для двухколесных КТС категорий L используют одно из двух значений целевой частоты:

- 75% частоты вращения, соответствующей максимальной мощности двигателя, для КТС с частотой вращения коленчатого вала, соответствующей максимальной мощности, не выше 5000 ;

- 50% частоты вращения, соответствующей максимальной мощности двигателя, для КТС с частотой вращения коленчатого вала, соответствующей максимальной мощности, более 5000 .

5.10.8.12 Педалью управления подачей топлива ступенчато устанавливают минимальную частоту вращения и в течение всего периода снижения частоты вращения вала двигателя до установления минимальной частоты вращения измеряют шумомером уровень шума выпуска отработавших газов двигателя КТС.

5.10.9 Результатом измерения считают максимальное показание шумомера, зафиксированное в период выдержки целевой частоты вращения и ее сброса до установления минимальной частоты вращения. Результат измерения признают, если он превышает фон шумовых помех не менее чем на 10 дБА. Дробные показания округляют до ближайшего целого числа: если цифра после запятой от 0 до 4, то округляют в сторону уменьшения, а если от 5 до 9 - в сторону увеличения. Результат сравнивают с установленным изготовителем в эксплуатационной документации, а при его отсутствии - с предельно допустимым значением по 4.9.9.

5.11 Методы проверки прочих элементов конструкции

5.11.1 Показания и сохранность сигнализаторов бортовых (встроенных) средств контроля и диагностирования проверяют визуально в соответствии с руководством по эксплуатации КТС. Индикаторы бортовых (встроенных) средств контроля и диагностирования, расположенные на приборной панели КТС, при включении зажигания перед пуском двигателя должны сразу указывать на работоспособность контролируемого компонента КТС, или включаться на 1...2 с и после пуска двигателя выключаться и больше не включаться ни на каких режимах движения КТС.

5.11.2 Замки, запоры, механизмы регулировки и фиксаторы сидений, устройства обогрева и обдува, противоугонные устройства, держатели запасного колеса, фиксаторы транспортного положения опор полуприцепа проверяют осмотром, приведением в действие и наблюдением функционирования.

5.11.3 Работоспособность звукового сигнального прибора проверяют однократным включением на 6...7 с и контролем на слух громкости, тональности и акустического спектра сигнала.

5.11.4 Наличие и работоспособность средства измерения скорости (спидометра) проверяют визуально по правильности направления изменения и субъективно оцениваемому правдоподобию показаний спидометра в разных диапазонах скорости движения КТС в дорожных условиях, или на роликовом стенде для проверки спидометров, или на стенде для проверки тягово-мощностных качеств КТС. Работоспособность технических средств контроля соблюдения водителями режимов движения, труда и отдыха проверяют в соответствии с инструкцией изготовителя.

5.11.5 Затяжку болтовых соединений подвески и карданной передачи проверяют визуально и простукиванием соединений, а при необходимости - с использованием динамометрического ключа.

5.11.6 Давление на контрольном выводе регулятора уровня пола с КТС с пневматической подвеской, изготовленных после 1 января 1997 г., измеряют манометром или электронным измерителем с датчиком давления сжатого воздуха.

5.11.7 Деформации передних и задних бамперов КТС категорий M и N выявляют визуально, а радиус кривизны выступающих наружу частей бампера (за исключением деталей, изготовленных из неметаллических эластичных материалов) оценивают с помощью калибр-шаблона.

5.11.8 Состояние изоляции электрических проводов проверяют органолептически.

5.11.9 Крепление запасного колеса, аккумуляторных батарей, сидений, амортизаторов проверяют визуально и путем приложения ненормируемых усилий к частям КТС.

5.11.10 Отсутствие каплепадения и подтекания рабочих жидкостей, состояние кронштейнов подвески, стоек либо каркасов бортов и приспособлений для крепления грузов, наличие элементов системы защиты от разбрызгивания из-под колес, оборудование КТС специальными звуковыми и световыми сигнальными приборами, нанесение окраски по цветографическим схемам, установленным для КТС оперативных служб, проверяют визуально.

5.11.11 Наличие и работоспособность предусмотренных изготовителем в эксплуатационной документации КТС категории L рулевого демпфера, подножек или рукояток для пассажиров на седле и дуг безопасности проверяют визуально, приведением в действие и наблюдением их функционирования.

5.11.12 Наличие люфта в соединениях рамы мотоцикла с рамой бокового прицепа проверяют приложением знакопеременных ненормируемых нагрузок и простукиванием резьбовых соединений.

5.11.13 Работоспособность устройств вызова экстренных оперативных служб и спутниковой навигации проверяют в соответствии с инструкцией по эксплуатации этих устройств и (или) эксплуатационной документацией изготовителя КТС.

5.11.14 Запрещается установка на КТС категорий M1 и N1 конструкций, выступающих вперед относительно линии бампера по внешнему контуру проекции КТС на плоскость опорной поверхности, изготовленных из стали или материалов с аналогичными прочностными характеристиками. Требование не распространяется на конструкции, предусмотренные штатной комплектацией КТС и (или) прошедшие оценку соответствия в установленном порядке, а также на металлические решетки массой менее 0,5 кг, предназначенные для защиты только фар, и на государственный регистрационный знак и элементы его крепления.

5.12 Методы проверки комплектности и возможности идентификации колесного транспортного средства

5.12.1 Комплектность КТС проверяют визуально.

5.12.2 Возможности идентификации КТС проверяют визуально, с предъявлением регистрационных документов на КТС, а для КТС с внесенными при эксплуатации изменениями в конструкцию, требующими оформления, еще и документа, подтверждающего соответствие КТС требованиям безопасности.

5.13 Методы дополнительной проверки транспортных средств категорий M2 и M3

5.13.1 Наличие и работоспособность аварийного выключателя и привода управления дверями, сигнализации их работы, сигнала требования остановки, деталей приведения в действие аварийных выходов (рукояток, скоб, ручек и др.), приборов внутреннего освещения салона проверяют осмотром, приведением в действие и наблюдением срабатывания.

5.13.2 Крепление поручней проверяют приложением к ним ненормируемых усилий.

5.13.3 Наличие препятствий, ограничивающих свободный доступ к аварийным выходам, сквозной коррозии и разрушений пола салона или дополнительных мест для сидения пассажиров, не предусмотренных конструкцией КТС, проверяют визуально с использованием эксплуатационной документации изготовителя КТС.

5.13.4 Наличие, размеры и цвет надписей на табличках, опознавательных знаках "Перевозка детей" на языке страны эксплуатации и цвет окраски кузова автобусов для перевозки детей проверяют визуально и с использованием линейки.

5.14 Методы дополнительной проверки специальных транспортных средств

5.14.1 Специальные КТС оперативных служб проверяют путем осмотра, приведения в действие и наблюдения за функционированием составных частей.

5.14.2 Выступание при движении специальных КТС для коммунального хозяйства и содержания дорог и обозначение окраской элементов конструкции технологического оборудования за пределы габаритной ширины КТС проверяют визуально с использованием линейки и транспортира для измерений.

5.14.3 Наличие и работоспособность специальных световых сигналов, световозвращателей, габаритных фонарей с освещающей поверхностью, направленной вперед и назад, или световозвращающей маркировки на специальных КТС для коммунального хозяйства и содержания дорог и предупреждающего знака "ОСТОРОЖНО! ГОРЯЧИЙ БИТУМ!" на языке страны эксплуатации на автогудронаторах проверяют визуально.

5.15 Методы дополнительной проверки специализированных транспортных средств

5.15.1 Крепления специального оборудования, затяжку болтовых соединений, наличие трещин, повреждений деталей крепления, лонжеронов, платформы или цистерны, разрывов и трещин сварных швов; состояние тросов для принудительного закрывания бортов платформы самосвала, лебедок и грузоподъемных устройств, систем управления поворотом тележек полуприцепов, крепежных тросов, цепей и канатов с закрепленными на них крюками проверяют путем осмотра, приведения в действие и наблюдения за функционированием.

5.15.2 Потеки и каплепадение из дополнительной топливной системы специального оборудования автобитумовозов, автобетоносмесителей и других специализированных КТС, оборудованных такой системой, проверяют осмотром, в том числе и при рабочем функционировании этой системы.

5.15.3 Потеки и потери раствора через неплотности шиберных затворов рабочего сосуда или соединений гидросмесительного устройства и бункера проверяют осмотром.

5.15.4 Наличие и работоспособность блокировочной системы поворотного устройства полуприцепа-фермовоза, оборудованного тросовым поворотным устройством ходовой тележки, механических фиксаторов транспортного (закрытого) положения платформы самосвальных КТС, приспособлений (крюков, скоб и др.) для крепления тента в рабочем положении над платформой самосвалов для перевозки сыпучих грузов и уплотняющего устройства проверяют визуально путем осмотра, приведения в действие и наблюдения за функционированием.

5.15.5 Выступание при движении и обозначение окраской элементов технологического оборудования за пределы габаритной ширины КТС проверяют визуально с использованием линейки.

5.15.6 На КТС для перевозки грузов с использованием прицепа-роспуска повреждения или неработоспособность лебедок, зажимов и других механизмов крепления груза, крепления и фиксации транспортного положения дышла прицепа-роспуска от смещения и поворота при размещении прицепа-роспуска на тягаче, крепления стоек коника, крестовой сцепки, цепей и троса стоек коника, наличие наращиваний стоек коника, провисания тросов крестовой сцепки лесовозного прицепа-роспуска выявляют путем осмотра и приведения в действие.

5.15.7 На автоэвакуаторах разрушения проушин для дополнительной увязки канатами (тросами) перевозимых автомобилей и машин, предохранительного бортика и упоров для фиксации перевозимых автомобилей на платформе и действие опорных устройств и фиксаторов крепления опор в транспортном положении проверяют осмотром и приведением в действие.

5.15.8 На КТС с грузоподъемными устройствами приспособления (фиксаторы) для удержания в транспортном положении колес тары-оборудования на полу платформы внутри кузова проверяют осмотром и приведением в действие.

5.15.9 На КТС с грузоподъемными устройствами выступание по длине КТС частей подъемника (передняя и задняя части стрелы, люлька и др.) и снабжение таких частей световыми приборами и сигнальной окраской проверяют визуально и с использованием линейки.

5.15.10 На транспортных средствах-фургонах нарушения работоспособности механизмов фиксирования дверей, рампы, дверей-трапов в открытом и закрытом (транспортном) положениях и нарушения работоспособности люков и механизмов закрывания люков в крыше фургона выявляют осмотром и приведением в действие. Самопроизвольное открывание дверей выявляют визуально путем установки КТС на ровной горизонтальной площадке и отпирания замков фургона. Отсутствие или повреждения устройств (упоров, ремней, крюков для подвешивания туш, съемных или откидных перегородок и др.) для предотвращения смещения груза при транспортировке и демонтаж или повреждения съемных и стационарных перегородок кузова, в том числе снабженных кольцами для привязки животных, а также устройств их фиксации в транспортном положении выявляют визуально.

5.15.11 На транспортных средствах-фургонах с местами для перевозки людей демонтаж и разрушение перегородок между отсеками для пассажиров и груза, изменение мест расположения и повреждение сидений или их креплений в отсеке для пассажиров выявляют визуально. Отсутствие и неработоспособность звуковой сигнализации открытых дверей или связи отсека для пассажиров с кабиной КТС и затрудненность открывания двери отсека для пассажиров проверяют органолептически и путем приведения в действие.

5.15.12 На транспортных средствах-цистернах повреждения крышек загрузочных люков, их запоров, деталей уплотнения и нарушения фиксирования запорного устройства загрузочного люка в закрытом и открытом положениях выявляют осмотром и приведением их в действие.

5.15.13 Отсутствие заземляющих устройств на цистернах для перевозки пищевых жидкостей, течи в соединениях трубопроводов и арматуры, потеки через уплотнения насосов, вентилей, задвижек, прокладки резьбовых соединений, заглушек и торцевых уплотнений, потеки и потери перевозимых жидкостей (материалов) через неплотности соединений цистерны и рукавов выявляют визуально.

5.15.14 На транспортных средствах для перевозки пищевых продуктов демонтаж, разрушение или неработоспособность элементов защиты от загрязнения раздаточных рукавов, вентиляционных патрубков, оборудования цистерны (насоса, контрольных приборов, средств управления), загрязнение мест присоединения трубопроводов для перекачки продукта, разрушение теплоизоляции крышек и горловин люков изотермических цистерн с теплоизоляционным покрытием выявляют осмотром и приведением в действие проверяемых составных частей.

5.16 Методы дополнительной проверки транспортных средств для перевозки опасных грузов

5.16.1 Наличие на КТС для перевозки опасных грузов боковых и задних защитных устройств, дополнительных топливных баков, топливных обогревательных приборов в кабине водителя и комплектование КТС огнетушителями надлежащего объема и с надлежащим наполнителем, противооткатными упорами, знаками аварийной остановки, средствами нейтрализации перевозимых опасных грузов, набором ручного инструмента, фонарями автономного питания, лопатой и запасом песка для тушения пожара, средствами индивидуальной защиты и одеждой яркого цвета с карманными фонарями для каждого члена экипажа и персонала, сопровождающего груз, а также специальными средствами обеспечения безопасности, указанными в аварийной карточке, проверяют визуально. Натяжку, размещение и материал тента проверяют осмотром и приведением в действие составных частей и измерениями линейкой.

5.16.2 Изменение предусмотренного изготовителем КТС места выведения выпускной трубы с глушителем; размещение топливного бака по отношению к аккумуляторной батарее или создающее возможность попадания топлива на перевозимый груз, детали электрооборудования или системы выпуска; демонтаж съемного искрогасителя с выпускной трубы, защитной непроницаемой перегородки между топливным баком и аккумуляторной батареей, защитного кожуха под днищем и с боков топливного бака, оградительных сеток и решеток вокруг ламп накаливания внутри кузова КТС выявляют осмотром и сопоставлением сданными руководства (инструкции) изготовителя по эксплуатации КТС.

5.16.3 Демонтаж или ослабление крепления защитного экрана между цистерной или грузом и расположенными за задней стенкой кабины и нагревающимися при эксплуатации агрегатами; демонтаж или неработоспособность замков дверей и тентов на бортовых кузовах, выключателя и его приводов для отсоединения аккумуляторной батареи, элементов защиты трубопроводов и вспомогательного оборудования в верхней части резервуара от повреждений при опрокидывании автоцистерны, кронштейнов для крепления таблиц системы информации об опасности, а также демонтаж, неработоспособность, изменение места размещения или ограничение видимости специального светового сигнального прибора на крыше или над крышей КТС выявляют органолептически и сопоставлением сданными руководства изготовителя по эксплуатации КТС.

5.16.4 Прокладку электропроводки вне металлической оболочки, наружных электропроводок внутри кузова или с нарушением мер изоляции электрооборудования от контакта с технологическим оборудованием, замену аппаратов электрооборудования в пыленепроницаемом и взрывобезопасном исполнении на оборудование в менее защищенном исполнении, прокладку, установку деревянных деталей и элементов внутренней обшивки без огнестойкой пропитки или из материалов, вызывающих искры; вынесение аккумуляторных батарей из вентилируемого отсека с изолирующими внутренними стенками вне подкапотного пространства двигателя; применение ламп накаливания с винтовыми цоколями или электрических разъемов между автомобилем-тягачом и прицепом (полуприцепом) без защиты от случайных разъединений выявляют осмотром.

5.16.5 Расстояние между задней стенкой цистерны и задней частью защитного устройства (от крайней задней точки стенки цистерны или от выступающей арматуры, соприкасающейся с перевозимым грузом) измеряют линейкой, а напряжение в бортовой сети КТС и сопротивление заземляющей цепи, соединенной с шасси (сосудом, рамой) - мультиметром на неподвижном ненагруженном КТС.

5.16.6 Состав автопоезда и цвет окраски кузова, крепление и следы демонтажа элементов защиты, состояние изоляции электрических проводов, защиту электрических цепей плавкими предохранителями промышленного изготовления или автоматическими выключателями, наличие защиты от случайного срабатывания и обозначения выключателя для отсоединения аккумуляторной батареи и состояние панелей и досок кузова, отсутствие щелей и проломов в закрытых и крытых тентом кузовах проверяют осмотром.

5.16.7 Нагрев при работе элементов защиты, электрических проводов и аппаратов выявляют органолептически при их рабочем функционировании на холостом ходу и при выполнении пробного заезда.

5.16.8 Наличие на прицепе для перевозки опасных грузов рабочей тормозной системы с функцией автоматического торможения проверяют по 5.1.1.3.

5.17 Методы дополнительной проверки транспортных средств - цистерн для перевозки и заправки нефтепродуктов и сжиженных углеводородных газов

5.17.1 Наличие на цистерне заземления, маячка оранжевого цвета, соединения штуцеров резинотканевых рукавов припаянной металлической перемычкой, заглушек в раздаточных рукавах для предотвращения вытекания топлива, таблички с предупреждающей надписью: "При наполнении (опорожнении) топливом автоцистерна должна быть заземлена" и надписи "Огнеопасно" на языке страны эксплуатации на боковых сторонах и заднем днище сосуда, двух знаков "Опасность", знака "Ограничение скорости", мигающего фонаря красного цвета или знака аварийной остановки, кошмы, емкости для песка массой не менее 25 кг проверяют визуально.

5.17.2 Сопротивление каждого из звеньев электрических цепей от сосуда до болта заземления "рама шасси - штырь", "цистерна - рама шасси", "рама шасси - контакты вилки провода заземления", трубопроводов цистерны и цепи, образуемой электропроводящим покрытием между переходником и замком рукава, а также отдельных участков этой цепи измеряют мультиметром на неподвижном незагруженном КТС.

5.17.3 Демонтаж или неработоспособность зажимов для подключения заземляющего провода, тросов и других элементов защиты автоцистерны от статического электричества, предусмотренных изготовителем КТС, элементов защиты мест подсоединения и контактов электрических проводов, защитной оболочки электропроводки, соприкасающейся или находящейся в зоне цистерны и отсека с технологическим оборудованием, выявляют органолептически и сопоставлением сданными руководства (инструкции) изготовителя по эксплуатации КТС.

5.17.4 Наличие на транспортных средствах - цистернах для перевозки и заправки сжиженных углеводородных газов заглушек на штуцерах, применяемых при транспортировании и хранении газа, окраски сосуда эмалью серебристого цвета, отличительных полос красного цвета на обеих сторонах сосуда, читаемых надписей "Огнеопасно" на заднем днище сосуда и надписи черного цвета "Пропан - огнеопасно" на языке страны эксплуатации над отличительными полосами проверяют визуально, а наличие и работоспособность защитных кожухов и возможность пломбирования запорной арматуры на время транспортирования и хранения газа в автоцистернах проверяют органолептически.

5.18 Методы дополнительной проверки троллейбусов

5.18.1 Усилие нажатия токоприемника, обеспечиваемого натяжными пружинами штанг, измеряют динамометром с погрешностью не более 4% измеряемого значения в положении касания токоприемником контактного провода. Длину штанг токоприемника измеряют в нерабочем положении рулеткой с погрешностью не более 7%.

5.18.2 Силу тока утечки измеряют с соблюдением правил безопасности работ и предписаний руководства по эксплуатации троллейбуса.

5.18.2.1 Силу тока утечки измеряют прибором с погрешностью не более ± 3% на неподвижном чистом сухом троллейбусе измерительным зафиксирован стояночной тормозной системой и противооткатными упорами с обоих сторон колеса.

5.18.2.2 Измерительный прибор должен быть подключен между зачищенной или никелированной частью кузова троллейбуса и шиной заземления.

5.18.3 Повреждения или отсутствие на крыше троллейбуса дорожки из электроизоляционного материала, повреждения токоприемников, колец и изоляторов, головок токоприемников и приспособлений, предохраняющих от падения головки токоприемника при срыве со штанги; трещины, погнутости и сквозные прожоги на штангах, наличие нестандартных контактных вставок или отсутствие пломбирования ограничительных аппаратов защиты выявляют визуально.

5.18.4 Заедания в шарнирах токоприемников при перемещении штанг в горизонтальной или вертикальной плоскостях, нарушения действия или регулировки системы ограничения подъема и опускания штанг, штангоуловителей, нарушение работы тяговых двигателей, вспомогательных электрических машин, пускорегулирующей и защитной аппаратуры, вспомогательных цепей, аккумуляторной батареи, неработоспособность контрольно-измерительных приборов и заедания пусковой педали выявляют путем приведения в действие и наблюдения за функционированием.

Приложение А
(обязательно)

МЕТОДИКА
РАСЧЕТА ПОКАЗАТЕЛЕЙ ЭФФЕКТИВНОСТИ ТОРМОЖЕНИЯ И УСТОЙЧИВОСТИ КТС ПРИ ТОРМОЖЕНИИ

А.1 Удельную тормозную силу рассчитывают для рабочей, запасной и стояночной тормозных систем по результатам измерения тормозных сил Рт на колесах КТС раздельно для автомобиля-тягача (седельного тягача) и прицепа (полуприцепа), H:

,

где - тормозная сила i-го колеса, H;

- вертикальная реакция опорной поверхности на i-е колесо КТС в момент регистрации i-й тормозной силы для стендов, оборудованных весоизмерительными средствами, или зарегистрированная при неподвижных колесах для стендов, не оборудованных весоизмерительными средствами;

N - число осей КТС.

Допускается вычислять суммарную вертикальную реакцию , H, опорной поверхности на колеса КТС в снаряженном состоянии (вес КТС в статике) по справочным данным о массе снаряженного КТС:

,

где g - ускорение свободного падения, g = 9,8 м/с2.

А.2 Относительную разность F, %, тормозных сил колес оси рассчитывают для каждой оси КТС по результатам измерения тормозных сил на колесах в момент достижения порога проскальзывания опережающим колесом оси:

,

где - тормозная сила правого колеса проверяемой оси, H;

- тормозная сила левого колеса проверяемой оси, H;

- наибольшая из указанных тормозных сил, H.

А.3 Допускается вычисление тормозного пути (в метрах) для начальной скорости торможения по результатам определения установившегося замедления КТС при торможении, времени запаздывания t и времени нарастания замедления (см. приложение Б) по формуле

,

где - начальная скорость торможения КТС, км/ч;

t - время запаздывания замедления, с;

- время нарастания замедления, с;

- установившееся замедление, м/с2.

Приложение Б
(обязательно)

МЕТОДИКА
ПЕРЕСЧЕТА НОРМАТИВОВ ТОРМОЗНОГО ПУТИ КТС В ЗАВИСИМОСТИ ОТ НАЧАЛЬНОЙ СКОРОСТИ ТОРМОЖЕНИЯ

Б.1 Нормативы тормозного пути , м для начальной скорости , отличной от нормативной ( = 40 км/ч), при условии 36 44 км/ч рассчитывают по формуле

,

где - начальная скорость торможения КТС, км/ч;

- установившееся замедление, м/с2;

A - коэффициент времени срабатывания тормозной системы.

Б.2 При пересчетах нормативов тормозного пути используют значения коэффициента A и установившегося замедления таблицы Б.1

Таблица Б.1

КТС (тягач в составе автопоезда)Данные для расчета норматива тормозного пути КТС снаряженной массы
ВидКатегорияA, м/с2
Пассажирские и грузопассажирские автомобилиM10,15,8
M2, M30,15,0
Грузовые автомобилиN1, N2, N30,155,0
Грузовые автомобили с прицепом (полуприцепом)N1, N2, N30,185,0

Приложение В
(обязательное)

МЕТОДИКА
АВТОМАТИЧЕСКОЙ ОЦЕНКИ НАЧАЛЬНОЙ СКОРОСТИ ТОРМОЖЕНИЯ, ТОРМОЗНОГО ПУТИ, УСТАНОВИВШЕГОСЯ ЗАМЕДЛЕНИЯ И ВРЕМЕНИ СРАБАТЫВАНИЯ ТОРМОЗНОЙ СИСТЕМЫ ПРИ ПРОВЕРКЕ В ДОРОЖНЫХ УСЛОВИЯХ ИНЕРЦИОННЫМ МЕТОДОМ

В.1 Схематический график замедления КТС (тормозная диаграмма) при торможении в дорожных условиях

1 - начало торможения; 2 - окончание измерения замедления выбега КТС; 3 - начало нарастания замедления; 4 - начало фазы торможения с установившемся замедлением; 5 - начало растормаживания; 6 - остановка КТС

В.2 Алгоритм вычисления показателей эффективности торможения КТС в дорожных условиях

1. Регистрация момента 1 начала торможения.

2. Регистрация дискретных значений замедления КТС с интервалом не более 0,1 с.

3. Вычисление среднего значения замедления выбега в течение фиксированного периода 1 - 2 измерения, , .

4. Определение наибольшей амплитуды разброса зафиксированных значений замедления в период 1 - 2 выбега КТС:

.

5. Идентификация начала нарастания замедления в момент двукратного превышения дискретным значением замедления величины наибольшей амплитуды разброса значений замедления, зафиксированных в период 1 - 2:

.

6. Регистрация времени запаздывания замедления КТС.

7. Идентификация начала 4 фазы торможения с установившимся замедлением при условии ограниченной продолжительности нарастания замедления:

.

8. Регистрация времени нарастания замедления , где n = 1, 2, ..., N.

9. Идентификация остановки КТС при торможении по условию:

.

10. Регистрация времени торможения с установившимся торможением:, где m = 1, 2, ..., M.

11. Вычисление установившегося замедления J КТС:

.

12. Вычисление начальной скорости торможения КТС:

.

13. Вычисление тормозного пути КТС:

.

14. Вычисление времени срабатывания тормозной системы:

.

Приложение Г
(обязательное)

МЕТРОЛОГИЧЕСКИЕ И ТЕХНИЧЕСКИЕ ХАРАКТЕРИСТИКИ ГАЗОАНАЛИЗАТОРОВ, ТАХОМЕТРОВ И ИЗМЕРИТЕЛЕЙ ТЕМПЕРАТУРЫ

Г.1 Требования к газоанализаторам

Г.1.1 Для проверки отработавших газов КТС экологических классов 4 и выше с принудительным зажиганием, изготовленных после 01.01.2013 г., применяют четырехканальные газоанализаторы, обеспечивающие измерение содержания оксида углерода (CO), углеводородов (CH), диоксида углерода (CO2) и кислорода (O2) и соответствующие по метрологическим характеристикам приборам класса 00; 0.

Для проверки отработавших газов КТС экологических классов 2, 3, 4 с принудительным зажиганием применяют четырехканальные газоанализаторы, обеспечивающие измерение содержания CO, CH, CO2 и O2 и соответствующие по метрологическим характеристикам приборам классов 00; 0; I.

Для проверки отработавших газов КТС, не оснащенных системами нейтрализации, допускается променять газоанализаторы, обеспечивающие измерение содержания CO и соответствующие по метрологическим характеристикам приборам классов I; II.

Г.1.2 Для измерения содержания CO, CH, и CO2 в отработавших газах применяют газоанализаторы непрерывного действия, реализующие методы инфракрасной спектроскопии, а для измерения содержания O2 - электрохимический датчик.

Г.1.3 Газоанализаторы должны быть укомплектованы пробоотборным зондом с устройством фиксации положения в выпускной трубе КТС на глубине не менее 300 мм, обеспечивающим подачу пробы в газоанализатор без изменения ее состава.

Г.1.4 Минимальные диапазоны измерений газоанализаторов указаны в таблице Г.1.

Таблица Г.1

Класс прибораДиапазон измерений, объемная доля
CO, %CO2, %O2, %CH,
00; 0; I0 - 50 - 160 - 210 - 2000
II0 - 7---

Г.1.5 Пределы допускаемой абсолютной или относительной погрешности измерения объемной доли компонентов для газоанализаторов разных классов указаны в таблице Г.2.

Таблица Г.2

КлассПогрешностьПределы допускаемой погрешности
COCO2O2CH
00Абсолютная± 0,02%± 0,3%± 0,1%± 4
Относительная± 5%± 5%± 5%± 5%
0Абсолютная± 0,03%± 0,5%± 0,1%± 10
Относительная± 5%± 5%± 5%± 5%
IАбсолютная± 0,06%± 0,5%± 0,1%± 12
Относительная± 5%± 5%± 5%± 5%
IIАбсолютная± 0,2%---
Относительная± 6%---

Г.1.6 Газоанализаторы должны обеспечивать измерения с погрешностями не более указанных в таблице Г.2 при условиях:

- температура окружающего воздуха от 5 °C до 40 °C;

- относительная влажность не более 85% без конденсации;

- атмосферное давление от 86 до 106 кПа;

- напряжение питания - от минус 15% до плюс 10%;

- частота тока ± 2% от номинальной частоты;

- напряжение питания аккумулятора от КТС:

аккумуляторы 12 В - от 9 до 16 В,

аккумуляторы 24 В - от 16 до 32 В.

Г.1.7 Четырехканальные газоанализаторы должны автоматически рассчитывать коэффициент избытка воздуха по формуле

, (Г.1)

где [CO2], [CO], [O2] - объемная доля диоксида, оксида углерода и кислорода соответственно, %;

CH - объемная доля углеводородов в пересчете на гексан, ;

- отношение числа атомов водорода к числу атомов углерода (для СНГ равно 2,53; для КПГ и СПГ - 4,0; для бензина - 1,73);

- отношение числа атомов кислорода к числу атомов углерода (для СНГ КПГ и СПГ равно нулю, для бензина - 0,02);

К1 - уточняемый изготовителем прибора поправочный коэффициент для пересчета углеводородов, измеренных инфракрасным методом, на гексан К1 = 6 х , если сумма углеводородов выражена в объемных долях () гексана.

Г.1.8 Время установления показаний, не должно превышать 30 с для каналов измерения CO, CO2, CH и 60 с - для канала измерения O2.

Г.1.9 Газоанализаторы должны быть градуированы по многокомпонентным смесям, содержащим не менее трех компонентов с указанными ниже диапазонами объемных долей:

CO - от 0,3% до 5%;

CO2 - от 4% до 16%;

CH - от 100 до 2000 млн-1;

O2 - от 0,5% до 20,9%.

Газ-разбавитель - азот или воздух (для смесей, не содержащих кислород). Число многокомпонентных смесей, применяемых для градуировки газоанализаторов, устанавливается инструкциями по их эксплуатации.

Отношение погрешности, измерения содержания компонента в поверочной газовой смеси к пределу основной погрешности газоанализатора должно быть не более 1/2.

Г.2 Требования к тахометрам

Диапазоны измерения частоты вращения коленчатого вала двигателя тахометрами должны быть не менее: от 0 до 1200 и от 0 до 6000 с погрешностью не более ± 2,5% от верхнего предела измерений.

Г.3 Требования к измерителям температуры масла

Температура масла должна измеряться в диапазоне от 20 °C до 100 °C с погрешностью не более ± 2,5 °C.

Приложение Д
(справочное)

ПЕРЕСЧЕТ ЗНАЧЕНИЙ КОЭФФИЦИЕНТОВ K И N (ДЛЯ ДЫМОМЕРА С ЭФФЕКТИВНОЙ БАЗОЙ L, РАВНОЙ 0,43 М)

k, 0,00,10,20,30,40,50,550,60,65
N, %0,048111520212324
k, 0,70,750,80,850,90,951,01,051,1
N, %262829313234353638
k, 1,151,21,251,31,351,41,451,51,55
N, %394042434445464749
k, 1,61,651,71,751,81,851,91,952,0
N, %505152535455565758
k, 2,052,12,152,22,252,32,352,42,45
N, %5959,5606162636464,465
k, 2,52,552,62,652,72,752,82,852,9
N, %666767,3686969,3707171,3
k, 3,03,053,13,153,23,253,33,353,4
N, %72,57373,6727575,37676,377
k, 3,453,53,553,63,653,73,753,83,85
N, %77,37878,37979,28080,180,581
k, 3,93,954,04,054,14,154,24,25
N, %81,381,78282,58383,383,784100

Примечание - Пересчет значений N в k проводят по формуле
где k - коэффициент поглощения света, ; 
L - эффективная база дымометра, м; 
N - коэффициент ослабления света, %. 

Приложение Е
(справочное)

ХАРАКТЕРНЫЕ ФОРМЫ ГРАФИКОВ ЗАВИСИМОСТИ ЧАСТОТЫ ВРАЩЕНИЯ (N) И ДЫМНОСТИ (K) ОТ ВРЕМЕНИ (T) ЗА ЕДИНИЧНЫЙ ЦИКЛ СВОБОДНОГО УСКОРЕНИЯ

а - начало 1-го цикла свободного ускорения; б - окончание 1-го и начало 2-го цикла свободного ускорения; 1 - частота вращения коленчатого вала двигателя (n); 2 - дымность отработавших газов двигателя (k); - минимальная частота вращения; - наибольшая частота вращения, достигаемая при свободном ускорении; - продолжительность цикла свободного ускорения (12...15 с); - время свободного ускорения от до (1...2 с); - время, в течение которого педаль остается нажатой до упора с момента начала цикла свободного ускорения (2...3 с); - время работы на (8...10 с) холостого хода двигателя; - максимальное значение дымности в режиме свободного ускорения

Приложение Ж
(обязательное)

ПРИБОРЫ, ИСПОЛЬЗУЕМЫЕ ДЛЯ ИЗМЕРЕНИЯ УРОВНЯ ШУМА

Для измерения уровня шума выпускной системы КТС в эксплуатации используют следующие приборы:

- шумомер интегрирующий усредняющий первого (второго) класса по [9], обеспечивающий измерение среднего по времени корректированного по A уровня звука. Обслуживание и подготовку к работе шумомера проводят в соответствии с инструкцией по его эксплуатации, а измерения внешнего шума КТС выполняют при включенной частотной коррекции A и включении постоянной времени усреднения "F" (LAF), а при измерении фона шумовых помех включают "LAT" (Эквивалентный уровень);

- тахометр для измерения частоты вращения коленчатого вала двигателя в диапазоне от 0 до 6000 с приведенной погрешностью измерений не более ± 2,5% от наибольшего значения. Допускается использование штатного прибора КТС, измеряющего частоту вращения коленчатого вала двигателя;

- рулетка для измерения линейных размеров в диапазоне 1...1000 мм с абсолютной погрешностью ± 1 мм;

- секундомер с отсчетом 1...60 с абсолютной погрешностью измерения ± 0,1 с;

- угломер с абсолютной погрешностью измерения ± 2°.

Приложение К
(обязательное)

СХЕМЫ УСТАНОВКИ МИКРОФОНА ДЛЯ ИЗМЕРЕНИЯ УРОВНЯ ШУМА КТС

К.1 Схемы установки микрофона для измерения уровня шума выпуска отработавших газов КТС категорий M и N при различном расположении выпускных труб:

1 - 5 - установка микрофона относительно выпускной трубы в горизонтальной плоскости;

6 - установка микрофона относительно вертикально расположенной выпускной трубы;

7 - установка микрофона относительно выпускной трубы в вертикальной плоскости

Размеры в метрах

Рисунок К.1 - Расположение микрофона для измерения шума выпуска отработавших газов КТС категорий M и N

К.2 Расположение микрофона для измерения шума выпуска отработавших газов двухколесных КТС категорий L.

Размеры в метрах

Рисунок К.2 - Расположение микрофона для измерения шума выпуска отработавших газов КТС категорий L

БИБЛИОГРАФИЯ

[1](СР.3)Сводная резолюция о конструкции транспортных средств (СР.3), принятая Комитетом по внутреннему транспорту Европейской экономической комиссии ООН [документ TRANS/WP.29/78/Rev.1 от 11.08.97, приложение 7]
[2]Правила N 24 ЕЭК ООНЕдинообразные предписания, касающиеся: I. официального утверждения двигателей с воспламенением от сжатия в отношении выброса видимых загрязняющих веществ; II. официального утверждения автотранспортных средств в отношении установки на них двигателей с воспламенением от сжатия, официально утвержденных по типу конструкции; III. официального утверждения автотранспортных средств с двигателем с воспламенением от сжатия в отношении выброса видимых загрязняющих веществ
[3]Правила N 30 ЕЭК ООНЕдинообразные предписания, касающиеся официального утверждения шин для автомобилей и их прицепов
[4]Правила N 108 ЕЭК ООНЕдинообразные предписания, касающиеся официального утверждения
[5]Правила N 109 ЕЭК ООНЕдинообразные предписания, касающиеся официального утверждения
[6]Правила N 27 ЕЭК ООНЕдинообразные предписания, касающиеся официального утверждения предупреждающих треугольников
[7]Правила N 69 ЕЭК ООНЕдинообразные предписания, касающиеся официального утверждения задних опознавательных знаков для тихоходных (по своей конструкции) транспортных средств и их прицепов
[8]Правила N 70 ЕЭК ООНЕдинообразные предписания, касающиеся официального утверждения задних опознавательных знаков для транспортных средств большой длины и грузоподъемности
[9]Стандарт МЭК 61672-1:2002 (IEC 61672-1:2002)Электроакустика. Шумомеры. Часть 1. Технические требования (Electroacoustics - Sound level meters - Part 1: Specifications)