Система стандартов безопасности труда. Средства индивидуальной защиты органов дыхания. Маски. Общие технические условия. ГОСТ 12.4.293-2015

(утв. Приказом Росстандарта от 24.06.2015 N 791-СТ)
Редакция от 24.06.2015 — Действует с 01.06.2016

МЕЖГОСУДАРСТВЕННЫЙ СТАНДАРТ

СИСТЕМА СТАНДАРТОВ БЕЗОПАСНОСТИ ТРУДА

СРЕДСТВА ИНДИВИДУАЛЬНОЙ ЗАЩИТЫ ОРГАНОВ ДЫХАНИЯ

МАСКИ

ОБЩИЕ ТЕХНИЧЕСКИЕ УСЛОВИЯ

Occupational safety standards system. Respiratory system protective devices. Masks. General specifications

ГОСТ 12.4.293-2015
(EN 136:1998)

Дата введения
1 июня 2016 года

Предисловие

Цели, основные принципы и основной порядок проведения работ по межгосударственной стандартизации установлены ГОСТ 1.0-92 "Межгосударственная система стандартизации. Основные положения" и ГОСТ 1.2-2009 "Межгосударственная система стандартизации. Стандарты межгосударственные, правила и рекомендации по межгосударственной стандартизации. Правила разработки, принятия, применения, обновления и отмены"

Сведения о стандарте

1 ПОДГОТОВЛЕН Открытым акционерным обществом "Всероссийский научно-исследовательский институт сертификации" (ОАО "ВНИИС") на основе собственного аутентичного перевода на русский язык стандарта, указанного в пункте 5

2 ВНЕСЕН Федеральным агентством по техническому регулированию и метрологии

3 ПРИНЯТ Межгосударственным советом по стандартизации, метрологии и сертификации (протокол от 18 июня 2015 г. N 47)

За принятие проголосовали:

Краткое наименование страны по МК (ИСО 3166) 004-97 Код страны по МК (ИСО 3166) 004-97 Сокращенное наименование национального органа по стандартизации
Армения AM Минэкономики Республики Армения
Беларусь BY Госстандарт Республики Беларусь
Казахстан KZ Госстандарт Республики Казахстан
Киргизия KG Кыргызстандарт
Россия RU Росстандарт
Узбекистан UZ Узстандарт
Украина UA Минэкономразвития Украины

4 Приказом Федерального агентства по техническому регулированию и метрологии от 24 июня 2015 г. N 791-ст межгосударственный стандарт ГОСТ 12.4.293-2015 (EN 136:1998) введен в действие в качестве национального стандарта Российской Федерации с 1 июня 2016 г.

5 Настоящий стандарт модифицирован по отношению к EN 136:1998 Respiratory protective devices - Full face masks - Requirements, testing, marking (Средства индивидуальной защиты. Маски. Требования, испытания, маркировка).

При этом дополнительные слова (фразы, показатели, ссылки), включенные в текст стандарта для учета потребностей национальной экономики указанных выше государств и особенностей межгосударственной стандартизации, выделены курсивом

6 ВВЕДЕН ВПЕРВЫЕ

7 Настоящий стандарт подготовлен на основе применения ГОСТ Р 12.14.189-99

Приказом Федерального агентства по техническому регулированию и метрологии от 24 июня 2015 г. N 791-ст ГОСТ Р 12.14.189-99 отменяется с 1 июня 2016 г.

Информация об изменениях к настоящему стандарту публикуется в ежегодном информационном указателе "Национальные стандарты", а текст изменений и поправок - в ежемесячном информационном указателе "Национальные стандарты". В случае пересмотра (замены) или отмены настоящего стандарта соответствующее уведомление будет опубликовано в ежемесячном информационном указателе "Национальные стандарты". Соответствующая информация, уведомление и тексты размещаются также в информационной системе общего пользования - на официальном сайте Федерального агентства по техническому регулированию и метрологии в сети Интернет

1. Область применения

Настоящий стандарт распространяется на маски, предназначенные для использования в качестве лицевой части в средствах индивидуальной защиты органов дыхания (далее - СИЗОД), и устанавливает общие технические условия.

Стандарт не распространяется на маски, используемые в следующих специальных видах СИЗОД:

- пожарных;

- военных;

- медицинских;

- для подводных работ;

- авиационных.

2. Термины и определения

В настоящем стандарте применены следующие термины с соответствующими определениями:

2.1 маска: Лицевая часть, обеспечивающая подачу очищенного воздуха или дыхательной смеси в органы дыхания и закрывающая лицо:

2.1.1 маска категории 1: Маска облегченной конструкции, не предназначенная для использования в качестве лицевой части фильтрующих СИЗОД, применяющихся в тяжелых условиях труда, а также в составе изолирующих СИЗОД.

2.1.2 маска категории 2: Маска общего назначения, предназначенная для использования в качестве лицевой части для фильтрующих и изолирующих СИЗОД, но не для применения в аварийных условиях.

2.1.3 маска категории 3: Маска специального назначения, предназначенная для применения в качестве лицевой части в аварийных условиях.

3. Общие технические требования

3.1. Материалы

3.1.1 Материалы масок должны сохранять свои свойства в процессе хранения и эксплуатации в течение срока годности.

3.1.2 Материалы масок должны сохранять свои свойства при использовании чистящих и дезинфицирующих средств, рекомендуемых изготовителем.

3.1.3 Кромки деталей маски, которые могут соприкасаться с пользователем, не должны иметь острых краев и заусенцев.

3.1.4 Испытания проводят в соответствии с требованиями 6.3 и 6.19.

3.2. Устойчивость к кондиционированию

3.2.1 До и после кондиционирования в соответствии с 6.4 и последующего выдерживания до достижения комнатной температуры маска не должна иметь повреждений, при этом соединительные элементы должны соответствовать требованиям [1], [2] или приложению Б при проверке соответствующим калибром.

3.2.2 Сразу после кондиционирования в соответствии с перечислением б) 6.4 соединительные элементы масок категории 3 должны соответствовать требованиям [1], [2] или приложению Б при проверке соответствующим калибром.

3.2.3 До и после кондиционирования маски должны соответствовать требованиям 3.11.

3.2.4 Испытания проводят в соответствии с требованиями 6.3 - 6.5, 6.14 и 6.17.

3.3. Устойчивость к воспламенению

До и после испытаний на устойчивость к воспламенению маска должна отвечать требованиям 3.11.

3.3.1 Маски категории 1

Элементы маски, подвергаемые воздействию пламени, не должны воспламеняться и гореть в течение 5 с после извлечения из пламени.

Испытания проводят в соответствии с требованиями 6.3 и 6.6.1.1.

3.3.2 Маски категории 2 и 3

Элементы маски, подвергаемые воздействию пламени, не должны воспламеняться и гореть в течение 5 с после извлечения из пламени.

Испытания проводят в соответствии с требованиями 6.3 и 6.6.1.2.

3.4. Устойчивость к тепловому излучению

3.4.1 Маски категории 3 должны быть устойчивы к тепловому излучению. Устойчивость к тепловому излучению может быть установлена одним из двух следующих методов:

а) маску считают устойчивой к тепловому излучению, если она остается герметичной после 20 мин испытаний, даже если она имеет видимые повреждения;

б) маску считают устойчивой к тепловому излучению, если видимые повреждения возникают по прошествии не менее 4 мин от начала испытаний. При появлении видимых изменений испытания проводят в течение еще 1 мин. После испытаний маска должна оставаться герметичной.

Испытания проводят в соответствии с требованиями 6.7.

3.4.2 До и после испытания на устойчивость к тепловому излучению маска должна отвечать требованию 3.12.

3.5. Заменяемые элементы

Данное требование распространяется только на маски категории 3.

За исключением элементов, встроенных в корпус маски, следующие элементы (при наличии) должны быть заменяемыми: подмасочник, ремни крепления и/или оголовье, смотровые стекла или смотровой экран, соединительные элементы узлы, клапаны вдоха и выдоха, переговорная мембрана, стеклоочиститель.

Испытания проводят в соответствии с требованиями 6.3.

3.6. Ремни крепления и/или оголовье

3.6.1 Ремни крепления и/или оголовье должны быть сконструированы таким образом, чтобы маску можно было легко снимать и надевать.

Испытания проводят в соответствии с требованиями 6.3 и 6.19.

3.6.2 Ремни крепления и/или оголовье должны регулироваться (или саморегулироваться) и обеспечивать надежную и комфортную фиксацию лицевой части в нужном положении.

Испытания проводят в соответствии с требованиями 6.3 и 6.19.

3.6.3 Прочность

3.6.3.1 Для масок категории 1 каждый ремень крепления и/или оголовья должен выдерживать силу растяжения 100 Н, приложенную в направлении растяжения в течение 10 с.

Застежки и соединительные элементы (при наличии) должны выдерживать то же растяжение.

Испытания проводят в соответствии с требованиями 6.3 и 6.9.1.

3.6.3.2 Для масок категорий 2 и 3 каждый ремень крепления и/или оголовья должен выдерживать силу растяжения 150 Н, приложенную в направлении растяжения в течение 10 с.

Застежки и соединительные элементы (при наличии) должны выдерживать то же растяжение.

Испытания проводят в соответствии с требованиями 6.3 и 6.9.1.

3.6.4 На любом из ремней крепления и/или оголовья не должно быть остаточной линейной деформации более 5% после испытания на растяжение усилием 50 Н в течение 10 с.

Испытания проводят в соответствии с требованиями 6.3 и 6.9.2.

3.6.5 Для масок категории 3 ремни крепления и/или оголовье должны легко регулироваться (или саморегулироваться).

Испытания проводят в соответствии с требованиями 6.3 и 6.19.

3.7. Соединительные элементы

3.7.1 Соединения между маской и СИЗОД в целом могут быть осуществлены либо с помощью постоянных соединительных элементов, соединений специального типа, или посредством резьбового соединения.

3.7.2 Если конструкция лицевой части содержит более одного соединительного элемента, то конструкция маски и СИЗОД в целом должна быть такой, чтобы использование различных типов СИЗОД или их комбинаций не снижало защитных свойств.

3.7.3 Все имеющиеся съемные элементы должны легко соединяться и надежно закрепляться без применения специальных инструментов, если это отдельно не оговорено в указаниях по эксплуатации. Все виды уплотнения должны оставаться на своих местах при замене съемных элементов.

3.7.4 Должно быть обеспечено правильное и надежное соединение между лицевой частью и СИЗОД в целом.

3.7.5 Испытания проводят в соответствии с требованиями 6.3, 6.17, 6.19.

3.7.6 Маски категории 1

Маски категории 1 не должны иметь резьбовых соединений, описанных в [1], [2] и приложении Б. Испытания проводят в соответствии с требованиями 6.3.

3.7.7 Маски категорий 2 и 3

3.7.7.1 Маски категорий 2 и 3 должны иметь не более одного резьбового соединения, описанного в [1], [2] и приложении Б.

3.7.7.2 Если используют другой соединительный элемент, то должна быть исключена возможность его присоединения к резьбовым соединениям, описанным в [1], [2] и приложении Б.

3.7.7.3 Испытания проводят в соответствии с требованиями 6.3.

3.7.8 Прочность соединения

3.7.8.1 До и после этого испытания маска должна соответствовать требованию 3.12.

3.7.8.2 Для масок категории 1 соединение между лицевой частью и соединительным элементом должно быть прочным и должно выдерживать силу растяжения 250 Н, направленную перпендикулярно к плоскости соединительного узла.

Испытания проводят в соответствии с требованиями 6.10 и 6.14.

3.7.8.3 Для масок категорий 2 и 3 соединение между лицевой частью и соединительным узлом должно быть прочным и должно выдерживать силу растяжения 500 Н, направленную перпендикулярно к плоскости соединительного узла.

Испытания проводят в соответствии с требованиями 6.10 и 6.14.

3.8. Переговорная мембрана

3.8.1 В тех случаях, когда маска включает в себя переговорную мембрану, она должна быть защищена от механических повреждений.

Испытания проводят в соответствии с требованиями 6.3.

3.8.2 Переговорная мембрана должна выдерживать разницу давлений 8 кПа (статическое давление) при положительном давлении снаружи (окружающая атмосфера).

Испытания проводят в соответствии с требованиями 6.3 и 6.11.1.

3.8.3 Узел переговорной мембраны должен выдерживать силу растяжения 150 Н, направленную перпендикулярно к плоскости переговорной мембраны и прилагаемую в течение 10 с.

Испытание повторяют девять раз с интервалом в 10 с.

Испытания проводят в соответствии с требованиями 6.3 и 6.11.2.

3.8.4 После испытания на устойчивость к тепловому излучению в соответствии с требованиями 6.7 и выдерживания до достижения комнатной температуры маски категории 3 должны соответствовать требованиям 3.7.1 и 3.7.2.

Испытания проводят в соответствии с требованиями 6.3 и 6.11.1, 6.11.2.

3.9. Смотровые стекла/смотровой экран

3.9.1 Смотровые стекла или смотровой экран должны быть соединены с корпусом маски таким образом, чтобы соединение было надежным и газонепроницаемым.

Испытания проводят в соответствии с требованиями 6.3 и 6.17.

3.9.2 Смотровые стекла или смотровой экран не должны искажать зрительное восприятие.

Испытания проводят в соответствии с требованиями 6.19.

3.9.3 Изготовитель предоставляет средства по снижению запотевания смотровых стекол или смотрового экрана с тем, чтобы зрительное восприятие не искажалось в рабочих условиях. При использовании химических соединений против запотевания, в соответствии с указаниями по эксплуатации, они не должны оказывать раздражающего или иного вредного воздействия на здоровье пользователя.

Испытания проводят в соответствии с требованиями 6.3 и 6.19.

3.9.4 После испытаний на механическую прочность смотровые стекла или смотровой экран не должны иметь повреждений, делающих применение маски неэффективным и вызывающим опасность травмирования пользователя. Эффективность проверяют при определении герметичности маски до и после испытания. Маска должна отвечать требованию 3.12 как до, так и после испытаний на механическую прочность смотровых стекол или смотрового экрана.

Испытания проводят в соответствии с требованиями 6.3, 6.12 и 6.14.

3.10. Клапаны вдоха и выдоха

3.10.1 Общие положения

3.10.1.1 Конструкция клапанов должна обеспечивать простоту в обращении и обслуживании, а также их правильную замену, если это предусмотрено указаниями по эксплуатации.

3.10.1.2 Конструкция клапанов должна исключать функционирование клапанов выдоха в цикле вдоха или клапанов вдоха в цикле выдоха.

3.10.1.3 Допускается замена клапанов на клапаны иной конструкции, а также их составных частей, если это оговорено в указаниях по эксплуатации. При этом указания по эксплуатации должны содержать подробные инструкции по замене клапанов или их составных частей.

3.10.1.4 Допускается замена клапанов выдоха в сборе и клапанов вдоха в сборе на идентичные, если это оговорено в указаниях по эксплуатации.

3.10.1.5 Составные части клапанов вдоха и выдоха должны быть четко описаны в информации изготовителя и маркированы. В указаниях по эксплуатации должен быть описан способ проверки правильности сборки (визуальная проверка, проверка пользователем, испытание персоналом по техническому обслуживанию - по обстоятельствам).

3.10.1.6 Испытания проводят в соответствии с требованиями 6.3.

3.10.2 Клапаны вдоха

3.10.2.1 Клапаны вдоха должны правильно функционировать во всех положениях маски и отвечать требованиям 3.14.

3.10.2.2 Маска с резьбовым соединением по [2] не должна иметь клапана вдоха.

3.10.2.3 Маска с резьбовым соединением по [1] должна иметь клапан вдоха.

3.10.2.4 Маска, предназначенная для использования с фильтрами, должна быть оснащена клапаном вдоха, если фильтр не имеет клапана вдоха.

3.10.2.5 Испытания проводят в соответствии с требованиями 6.3.

3.10.3 Клапаны выдоха

3.10.3.1 Клапаны выдоха должны правильно функционировать во всех положениях маски и отвечать требованиям 3.14.

Испытания проводят в соответствии с требованиями 6.3 и 6.16.

3.10.3.2 Маска с резьбовым соединением по [2] не должна иметь клапана выдоха.

Испытания проводят в соответствии с требованиями 6.3.

3.10.3.3 Маска, оснащенная резьбовым соединением по [1] или в соответствии с приложением Б, и маска категории 1 должны иметь по крайней мере один клапан выдоха или другое устройство для удаления выдыхаемого и/или избыточного воздуха.

Испытания проводят в соответствии с требованиями 6.3.

3.10.3.4 Клапан выдоха должен быть защищен от попадания грязи и механических повреждений корпусом или, при необходимости, любым другим устройством для того, чтобы маска соответствовала требованиям 3.15.

Испытания проводят в соответствии с требованиями 6.3, 6.17.

3.10.3.5 Клапаны выдоха должны продолжать правильно функционировать и удовлетворять требованиям 3.14 после:

а) прохождения через клапан выдоха постоянного потока воздуха расходом 300 дм3/мин;

б) создания в подмасочном пространстве отрицательного (статического) давления 8 кПа.

Время испытаний - 30 с для каждого испытания.

Испытания проводят в соответствии с требованиями 6.3 и 6.13.1.

3.11. Устойчивость к растяжению

3.11.1 Маски категории 1

3.11.1.1 До и после испытаний маска должна отвечать требованиям 3.12.

3.11.1.2 Корпус клапана выдоха, присоединенный к корпусу маски, должен выдерживать силу растяжения 50 Н, направленную перпендикулярно к плоскости корпуса клапана и прикладываемую в течение 10 с. Испытания проводят девять раз с интервалами в 10 с.

3.11.1.3 Испытания проводят в соответствии с требованиями 6.3 и 6.13.2.

3.11.2 Маски категории 2 и 3

3.11.2.1 До и после испытаний маска должна отвечать требованиям 3.12.

3.11.2.2 Корпус клапана выдоха, присоединенный к корпусу маски, должен выдерживать силу растяжения 150 Н, направленную перпендикулярно к плоскости корпуса клапана и прикладываемую в течение 10 с. Испытания повторяют девять раз с интервалами в 10 с.

3.11.2.3 Испытания проводят в соответствии с требованиями 6.3 и 6.13.2.

3.12. Герметичность

При испытании разрежением в 1 кПа изменение давления под маской в течение 1 мин не должно превышать 100 Па.

Испытания проводят в соответствии с требованиями 6.14.

3.13. Содержание диоксида углерода во вдыхаемом воздухе

Содержание диоксида углерода во вдыхаемом воздухе при применении маски не должно превышать в среднем 1,0% по объему.

Испытания проводят в соответствии с требованиями 6.15.

3.14. Начальное сопротивление воздушному потоку

3.14.1 Маска в соответствии с категорией, включая любой тип соединения (кроме используемых в изолирующих СИЗОД открытого типа с избыточным давлением), должна удовлетворять требованиям 3.14.3 и 3.14.4.

3.14.2 Если маска имеет специальное соединение, предназначенное только для изолирующих СИЗОД открытого типа с избыточным давлением, то ее сопротивление постоянному воздушному потоку определяют не отдельно, а только в составе СИЗОД, в соответствии с требованиями стандарта на данное СИЗОД.

3.14.3 Маски с соединениями типов, не указанных в 3.14.4 и 3.14.5, должны удовлетворять требованиям таблицы 1.

Таблица 1

Сопротивление на вдохе, Па Сопротивление на выдохе, Па
при 30 дм3/мин постоянного воздушного потока при 95 дм3/мин постоянного воздушного потока при 160 дм3/мин постоянного воздушного потока или 50 дм3/мин синусоидального потока [25 цикл/мин (2,0 дм3/ход)] при 160 дм3/мин постоянного воздушного потока или 50 дм3/мин синусоидального потока [25 цикл/мин (2,0 дм3/ход)]
<= 50 <= 150 <= 250 <= 300

Испытания проводят в соответствии с требованиями 6.16.1, 6.16.2, 6.16.3.

3.14.4 Маски категорий 2 и 3 без клапанов с резьбовым соединением по [2] должны удовлетворять требованиям, приведенным в таблице 2.

Таблица 2

Сопротивление на вдохе, Па Сопротивление на выдохе, Па
при 160 дм3/мин постоянного воздушного потока или 50 дм3/мин синусоидального потока [25 циклов/мин (2,0 дм3/ход)] при 160 дм3/мин постоянного воздушного потока или 50 дм3/мин синусоидального потока [25 циклов/мин (2,0 дм3/ход)]
<= 60 <= 60

Испытания проводят в соответствии с требованиями 6.16.1, 6.16.3.

3.14.5 Маски категорий 2 и 3 с резьбовым соединением в соответствии с приложением Б, предназначенные для использования с изолирующими СИЗОД, должны удовлетворять требованиям таблицы 3.

Таблица 3

Сопротивление на вдохе, Па Сопротивление на выдохе, Па
при 100 дм3/мин синусоидального потока [40 циклов/мин (2,5 дм3/ход)] при 10 дм3/мин постоянного воздушного потока при 50 дм3/мин синусоидального воздушного потока [25 циклов/мин (2,0 дм3/ход)] при 100 дм3/мин синусоидального воздушного потока [40 циклов/мин (2,5 дм3/ход)]
<= 350 <= 450 <= 700 <= 1000

Испытания проводят в соответствии с требованиями 6.16.1, 6.16.4.

3.15. Коэффициент подсоса под маску

Коэффициент подсоса тест-вещества под маску, включающий коэффициент подсоса по полосе обтюрации, через клапан (клапаны) выдоха и другие конструктивные элементы маски, не должен превышать в среднем для любого из упражнений и любого испытателя 0,05%.

Испытания проводят в соответствии с требованиями 6.17.

3.16. Площадь поля зрения

3.16.1 Маска со смотровым экраном должна обеспечивать площадь поля зрения не менее 70% по отношению к площади поля зрения без маски, а перекрытое поле зрения должно составлять не менее 80% от перекрытого поля зрения без маски.

3.16.2 Маска со смотровыми стеклами должна обеспечивать площадь поля зрения не менее 70% относительно площади поля зрения без маски, а перекрытое поле зрения должно составлять не менее 20% от перекрытого поля зрения без маски.

3.16.3 Испытания проводят в соответствии с требованиями 6.18.

3.17. Эксплуатационные свойства

3.17.1 Эксплуатационные свойства маски определяют после прохождения всех испытаний, за исключением устойчивости к воспламенению и подсоса под маску.

3.17.2 Эксплуатационные свойства маски определяют в условиях моделирования трудовой деятельности в соответствии с методикой испытаний, указанной в 6.19.

3.17.3 Сведения об испытаниях эксплуатационных свойств масок, проведенных в соответствии с требованиями 6.19, отражают в протоколе испытательной лаборатории. В случае получения отрицательного заключения хотя бы по одному из пунктов требований 6.19, заявитель имеет право обратиться в другую аккредитованную испытательную лабораторию для повторных испытаний.

4. Требования безопасности

4.1 Для изготовления масок применяют материалы, отвечающие санитарным нормам для использования в контакте с кожей и вдыхаемым воздухом, действующим на территории государств, принявших настоящий стандарт.

4.2 Для масок категорий 2 и 3, предназначенных для использования в условиях возможного возникновения пожароопасных и взрывоопасных ситуаций, не допускается применение чистого алюминия, магния и титана или сплавов, содержащих эти материалы в пропорциях, которые в процессе эксплуатации могут привести к возникновению искры. Информация об этом должна содержаться в нормативном документе (НД) на изделие и указаниях по эксплуатации масок.

5. Правила приемки

Правила приемки устанавливают в НД на изделия конкретных видов.

Количество и виды показателей, необходимых для определения при приемо-сдаточных испытаниях, устанавливают в НД на изделие конкретного вида.

6. Методы испытаний

6.1. Общие положения

Если не оговорено применение специальных измерительных приборов и методов, то используют обычные приборы и методы.

Маски, предназначенные для использования в средствах с положительным давлением под лицевой частью, испытывают в составе полностью укомплектованного СИЗОД, предоставляемого заявителем.

Перечень показателей, проверяемых при испытаниях масок, представлен в таблице 4.

Таблица 4

Перечень показателей, проверяемых при испытаниях масок

Перечень показателей Категория Номер пункта требований Количество образцов <1> Предварительная подготовка образцов Номер пункта методов испытаний
Визуальный осмотр 1, 2, 3 3.1 - 3.10 Все - 6.3
Материалы 2, 3 3.1 Все ПП 6.3
Устойчивость к кондиционированию 1, 2, 3 3.2 2 ПП 6.3 - 6.5, 6.14, 6.17
Устойчивость к воспламенению 1, 2, 3 3.3 3 1-ПП, 2-ПК 6.3, 6.6, 6.14, 6.17
Устойчивость к тепловому излучению 3 3.4 5 ПП 6.7, 6.14
Чистка и дезинфекция 1, 2, 3 3.1.2 2 (в случае определения коэффициента подсоса) - В соответствии с информацией изготовителя 6.8
Кромки деталей 1, 2, 3 3.1.3 Все ПП 6.3
Заменяемые элементы 1, 2, 3 3.5 Все ПП 6.3
3 3.5.1 2 ПП 6.17, 6.19
Ремни крепления и/или оголовье 1, 2, 3 3.6.1 2 ПК 6.3, 6.19
1, 2, 3 3.6.2 2 ПК 6.3, 6.19
1 3.6.3.1 3 ПП 6.3, 6.9.1
2, 3 3.6.3.2 3 ПП 6.3, 6.9.1
1, 2, 3 3.6.4 3 ПП 6.3, 6.9.2
3 3.6.5 2 ПК 6.3, 6.19
Соединительные элементы 1, 2, 3 3.7.1 - 3.7.5 2 ПП 6.3, 6.17
6.19
1 3.7.6 2 ПП 6.3
2, 3 3.7.7 2 ПП 6.3
1 3.7.8.2 3 ПП 6.10, 6.14
2, 3 3.7.8.3 3 ПП 6.10, 6.14
Переговорная мембрана 1, 2, 3 3.8.1 3 ПП 6.3
1, 2, 3 3.8.2 3 ПП 6.3, 6.11
3 3.8.3 3 ПП 6.3, 6.7, 6.11
3 3.8.4 3 ПК 6.3, 6.11.1, 6.11.2
Смотровые стекла/смотровой экран 1, 2, 3 3.9.1 2 ПП 6.3
1, 2, 3 3.9.2 2 ПК 6.19
1, 2, 3 3.9.3 2 ПК 6.3, 6.19
1, 2, 3 3.9.4 5 ПП 6.3, 6.12, 6.14
Клапаны вдоха и выдоха 1, 2, 3 3.10.1 3 ПП 6.3
1, 2, 3 3.10.2 3 ПП 6.3
1, 2, 3 3.10.3 3 ПП 6.3, 6.13.1, 6.16.1, 6.17
1 3.11.1 3 ПП 6.3, 6.13.2
2, 3 3.11.2 3 ПП 6.3, 6.13.2, 6.14
Герметичность 1, 2, 3 3.12 Все Согласно требованию 6.14
Содержание диоксида углерода во вдыхаемом воздухе 1, 2, 3 3.13 1 ПП 6.15
Начальное сопротивление воздушному потоку 1, 2, 3 3.14.3 3 ПП 6.16.1, 6.16.2, 6.16.3
2, 3 3.14.4 3 ПП 6.16.1, 6.16.3
2, 3 3.14.5 3 ПП 6.16.1, 6.16.4
Коэффициент подсоса под маску 1, 2, 3 3.15 2 1-ПП, 1-ПК 6.17
Площадь поля зрения 1, 2, 3 3.16 1 ПП 6.18
Эксплуатационные свойства 1, 2, 3 3.17 2 ПП 6.19
Маркировка 1, 2, 3 7 Все ПП 6.3
Указания по эксплуатации 1, 2, 3 9 1 - 6.3

<1> Большинство образов используются более чем в с одном испытании.

Сокращения: ПП - состояние после поставки; ПК - после кондиционирования в соответствии с 6.4.

6.2. Номинальные значения и допустимые отклонения

Все значения величин, приведенные в настоящем стандарте, являются номинальными. Допускается отклонение +/- 5% от указанного значения температуры, не оговоренного в стандарте как максимальное или минимальное. При этом температура окружающей среды при испытаниях должна составлять (24 +/- 8) °C.

Исключение составляют испытания на механическую прочность, которые допускается проводить при температуре (20 +/- 10) °C. Все другие значения температур должны задавать с точностью +/- 1 °C, а относительная влажность - составлять (50 +/- 30)%.

6.3. Визуальный осмотр

Визуальный осмотр проводят до и во время проведения испытаний. При визуальном осмотре также проверяют маркировку и наличие соответствующих указаний по эксплуатации.

6.4. Предварительная подготовка образцов (кондиционирование)

При предварительной подготовке (кондиционировании) испытаниям подлежат два образца после поставки. Каждая из масок должна пройти следующий цикл кондиционирования:

а) нагревание до (70 +/- 3) °C в сухой атмосфере в течение 72 ч;

б) нагревание до (70 +/- 3) °C при относительной влажности от 95 до 100% в течение 72 ч;

в) охлаждение "до минус (30 +/- 3) °C" в течение 24 ч.

После каждой процедуры цикла образцы выдерживают до достижения комнатной температуры.

6.5. Устойчивость к кондиционированию

После кондиционирования в соответствии с 6.4 резьбовые соединения проверяют при комнатной температуре на соответствие требованиям [1], [2] или приложению Б при использовании соответствующего калибра.

Для масок категории 3 данное испытание проводят в течение 30 с после окончания каждого этапа цикла кондиционирования.

6.6. Устойчивость к воспламенению

6.6.1 Сущность метода

Надетая на металлическую голову-манекен маска проходит через пламя, параметры которого установлены в зависимости от категории маски, с последующей регистрацией воздействия пламени на маску.

6.6.1.1 Маски категории 1

6.6.1.1.1 Подготовка образцов к испытаниям

Испытывают три образца: один в состоянии после поставки и два, подвергнутые кондиционированию в соответствии с 6.4 после выдерживания до достижения температуры окружающей среды.

6.6.1.1.2 Оборудование

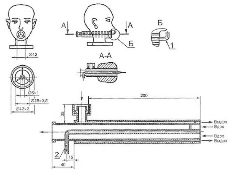
Во время испытаний маску надевают на металлическую голову-манекен, приводимую в движение двигателем таким образом, чтобы маска описывала в горизонтальной плоскости круг (см. рисунок 1).

1 - баллон с пропаном; 2 - клапан; 3 - редуктор давления; 4 - манометр; 5 - блокиратор обратного зажигания; 6 - горелка; 7 - двигатель привода вращения с устройством регулирования скорости

Рисунок 1 - Схема установки для испытания на устойчивость к воспламенению масок категории 1

Система подачи газа состоит из баллона с пропаном, оснащенного запорным вентилем, редуктора давления, манометра и блокиратора обратного зажигания.

Газовая горелка должна регулироваться по высоте. Для испытаний пригодна горелка типа "TEKLU" или горелка, соответствующая требованиям [3]. Для измерения температуры используют термопару диаметром 1,5 мм с минеральной изоляцией.

6.6.1.1.3 Подготовка и проведение испытаний

При проведении испытаний маску надевают на металлическую голову-манекен, приводимую в движение двигателем таким образом, чтобы маска описывала горизонтальный круг с линейной скоростью (60 +/- 5) мм/с. Голова-манекен должна проходить над пропановой горелкой, положение которой можно регулировать. Расстояние между верхом горелки и нижней частью маски, проходящей непосредственно над пламенем, устанавливают равным (20 +/- 2) мм.

Горелку поджигают и, при закрытом вентиляционном отверстии горелки, с помощью регулирующего вентиля горелки устанавливают высоту пламени (40 +/- 4) мм, считая от верха горелки. Температура пламени на высоте (20 +/- 2) мм над верхом горелки должна составлять (800 +/- 50) °C.

Маска, надетая на голову-манекен, должна пройти через пламя с линейной скоростью (60 +/- 5) мм/с. Испытание повторяют для того, чтобы оценить все материалы наружной стороны лицевой части. Любой элемент маски должен пройти через пламя только один раз.

В протоколе испытаний фиксируют, продолжают ли гореть более 5 с маска или ее элементы после прохождения их через пламя.

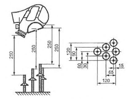
6.6.1.2 Маски категорий 2 и 3

6.6.1.2.1 Подготовка образцов к испытаниям

Испытывают три образца: один в состоянии после поставки и два, подвергнутые кондиционированию в соответствии с 6.4 после выдерживания до достижения температуры окружающей среды. Маску испытывают на устойчивость к воспламенению за короткий период времени с помощью испытательной установки, изображенной на рисунках 2 и 3.

Рисунок 2 - Схема установки, состоящей из шести пропановых горелок

1 - баллон с пропаном; 2 - редуктор давления с высокочувствительным манометром; 3 - блокиратор обратного зажигания; 4 - соединительные шланги (все одинаковой длины), ведущие к пропановым горелкам; 5 - пропановая горелка

Рисунок 3 - Схема установки для испытаний на устойчивость к воспламенению масок категорий 2 и 3

6.6.1.2.2 Оборудование

Основными частями испытательного оборудования являются: баллон с редуктором давления, высокочувствительным манометром и блокиратором обратного зажигания, шесть пропановых горелок, регулируемых по высоте, и голова-манекен, установленная с возможностью поворота в вертикальном и горизонтальном направлениях.

6.6.1.2.3 Подготовка к испытаниям

Расстояние между маской и верхом горелок должно составлять 250 мм.

Следует полностью открыть регулирующие подачу пропана вентили на каждой из шести горелок при закрытых вентиляционных отверстиях.

Устанавливают расход на основной линии подачи пропана при помощи редуктора давления на баллоне таким, чтобы общий расход пропана, поступающего к горелкам, был равен (21 +/- 0,5) дм3/мин.

Для измерения температуры пламени используют термопару с минеральной изоляцией диаметром 1,5 мм. Температуру измеряют на высоте 250 мм в центре пламени над верхом каждой из горелок. Все горелки должны давать температуру пламени (950 +/- 50) °C. Перед измерением температуры пламени положение горелок регулируют по высоте.

Для того, чтобы получить нужную температуру, может потребоваться регулировать подачу воздуха на каждой горелке, а также установить защитный экран, изолирующий испытательное оборудование от воздействия воздушных потоков.

6.6.1.2.4 Проведение испытаний

Маску надевают на металлическую голову-манекен, при этом свободные концы головных ремней располагают между головой-манекеном и ремнями. Маску подвергают воздействию пламени в течение 5 с. В тех случаях, когда такие элементы, как клапан(ы), переговорная мембрана и т.п., располагаются на других частях корпуса маски, испытание повторяют с использованием других образцов маски, ориентированных в соответствующем положении.

Для оценки герметичности маски до и после испытания на устойчивость к воспламенению рекомендуется определять герметичность маски, не снимая ее с головы-манекена установки для испытания на устойчивость к воспламенению.

6.7. Устойчивость к тепловому излучению

6.7.1 Сущность метода

Маску подвергают воздействию теплового излучения с заданным значением потока тепловой энергии кВт/м2 и регистрируют последствия этого воздействия.

6.7.2 Подготовка образцов к испытаниям

Испытывают пять образцов в состоянии после поставки.

6.7.3 Оборудование

Оборудование состоит из головы-манекена, дыхательной машины и источника теплового излучения. Для определения величины потока тепловой энергии применяют калориметр либо иной прибор, регистрирующий мощность потока тепловой энергии. Испытательная установка показана на рисунке 4.

1 - металлическая голова-манекен; 2 - маска; 3 - соединительный элемент оборудования; 4 - соединительный элемент для подключения дыхательной машины; 5 - источник теплового излучения; 6 - рефлектор

Рисунок 4 - Установка для испытаний на устойчивость к тепловому излучению

Источник теплового излучения, схематично изображенный на рисунке 4, создает поток тепловой энергии 8,0-0,2 кВт/м2 на расстоянии примерно 175 мм, измеренном по центральной линии. Допускается использовать другие подобные источники теплового излучения.

6.7.4 Условия испытаний

Поток энергии - энергия кВт/м2 на расстоянии 175 мм.

Дыхательная машина - 20 циклов/мин (1,5 дм3/ход).

6.7.5 Подготовка и проведение испытаний

После проверки герметичности (6.14) маску закрепляют герметично без деформации на металлической голове-манекене и подсоединяют к дыхательной машине.

При регулировании головы-манекена маску располагают таким образом, чтобы центр смотрового стекла находился на центральной линии источника теплового излучения на расстоянии приблизительно 175 мм. Маску располагают вертикально относительно теплового потока.

После этого голову-манекен с маской заменяют калориметром. Калориметр размещают на расстоянии приблизительно 175 мм от источника теплового излучения в том месте, где в процессе экспозиции на центральной линии будет находиться наружная поверхность стекол лицевой части.

Источник теплового излучения регулируют таким образом, чтобы создавался поток энергии кВт/м2 на расстоянии 175 мм. При необходимости электрическое питание стабилизируют. Между калориметром и источником теплового излучения размещают изолирующий разделитель.

После этого калориметр заменяют головой-манекеном с лицевой частью. Смотровое стекло маски должно занять место калориметра. Испытания проводят в вышеуказанных условиях.

Затем включают дыхательную машину. Через 3 мин разделитель удаляют. Время удаления разделителя считают временем начала испытания.

Маску испытывают или:

а) в течение 20 мин,

б) пока не появятся видимые повреждения или другие изменения, которые может заметить испытатель. После этого маску испытывают в течение еще 1 мин.

6.7.6 Оценка на устойчивость к герметичности

До и после испытаний герметичность должна отвечать требованиям 3.12.

Для сравнения герметичности маски до и после испытания на воздействие теплового излучения рекомендуется после испытания оставить маску на голове-манекене.

Испытания проводят в соответствии с требованиями 6.17 и 6.19.

6.8. Чистка и дезинфекция

Чистку и дезинфекцию проводят согласно информации изготовителя в соответствии с требованиями 3.13. После испытания образцы должны удовлетворять требованиям 6.17 и 6.19.

6.9. Испытания ремней крепления и/или оголовья

6.9.1 Испытывают три образца в состоянии после поставки.

Маску плотно закрепляют на голове-манекене. Силу 100 Н (для масок категории 1) и 150 Н (для масок категорий 2 и 3) прикладывают к свободному концу ремней крепления и/или оголовья в течение 10 с.

Остаточную линейную деформацию измеряют спустя 4 ч после испытания на растяжение.

6.10. Испытания соединительного элемента

6.10.1 Подготовка образцов к испытаниям

Испытывают три образца в состоянии после поставки.

6.10.2 Подготовка и проведение испытаний

Маску надевают на голову-манекен, которую регулируют таким образом, чтобы нагрузка прикладывалась перпендикулярно к плоскости соединения. В дополнение на корпус маски надевают систему сдерживающих ремней или лент вокруг соединения таким образом, чтобы нагрузка прикладывалась, по возможности, непосредственно к узлу соединения в корпусе маски и сдерживающее усилие не прикладывалось полностью к оголовью (см. рисунок 5).

Время испытания - 10 с.

Рисунок 5 - Устройство для испытания соединительного элемента

6.11. Переговорная мембрана

6.11.1 Испытывают три образца в состоянии после поставки.

Маску надевают на голову-манекен (см. рисунок 6). При этом в течение 30 с в подмасочном пространстве создается отрицательное (статическое) давление 8 кПа. После испытания переговорная мембрана должна сохранять работоспособность.

6.11.2 Испытывают три образца в состоянии после поставки.

Испытания проводят по 6.10.2.

6.12. Смотровые стекла/смотровой экран

Испытывают пять образцов в состоянии после поставки.

При испытании на механическую прочность маску в сборе надевают на голову-манекен таким образом, чтобы стальной шар диаметром 22 мм и массой 43,8 г падал вертикально с высоты 1,3 м в центр смотрового стекла/смотрового экрана.

До и после испытаний на механическую прочность проводят определение герметичности маски в соответствии с требованиями 6.14.

6.13. Клапаны вдоха и выдоха

Испытывают три образца в состоянии после поставки.

Маску надевают на голову-манекен (см. рисунок 6). При этом в течение 30 с в подмасочном пространстве создается отрицательное (статическое) давление 8 кПа. После испытания клапаны вдоха и выдоха должны сохранять работоспособность.

6.14. Герметичность

6.14.1 Сущность метода

Сущность метода состоит в измерении падения давления в подмасочном пространстве. До проведения испытаний маску разбирают на составные части и затем собирают.

6.14.2 Подготовка образцов к испытанию

Все образцы испытывают на герметичность в соответствии с таблицей 4.

6.14.3 Проведение испытания

Испытание проводят с использованием головы-манекена при разрежении в 1 кПа, создаваемом в подмасочном пространстве. При проведении этого испытания клапан вдоха должен быть закрыт, а диск клапана выдоха увлажнен.

Давление измеряют с помощью манометра с ценой деления не более 10 Па.

6.15. Содержание диоксида углерода во вдыхаемом воздухе

6.15.1 Подготовка образцов к испытаниям

Испытывают один образец в состоянии после поставки три раза.

6.15.2 Оборудование

Установка состоит из дыхательной машины с электромагнитными клапанами, управляемыми дыхательной машиной, соединителя, расходомера CO2, анализатора CO2. Установка не должна содержать "дополнительного вентилятора", используемого в испытаниях, т.е. не должно быть потока воздуха в направлении лицевой части со скоростью 0,5 м/мин.

Примечание - Измеренный уровень диоксида углерода дает, скорее, оценку "мертвого пространства" маски, нежели реальное измерение уровня содержания диоксида углерода во вдыхаемом воздухе.

6.15.3 Подготовка и проведение испытаний

Образец маски, подсоединенный к данной установке, включается в дыхательный цикл, обеспечиваемый дыхательной машиной.

Маску надежно, герметично и без деформации надевают на голову-манекен. В случае необходимости, лицевая часть может быть прикреплена к голове-манекену с помощью поливинилхлоридной ленты или другого уплотнителя (см. рисунок 6).

1 - адаптер для измерения сопротивления воздушному потоку; 2 - измерение CO2 на (вдохе)

Рисунок 6 - Шеффилдская голова-манекен для испытания по определению содержания диоксида углерода во вдыхаемом воздухе и сопротивления постоянному воздушному потоку

При изменении содержания диоксида углерода не следует использовать адаптер для измерения сопротивления воздушному потоку (см. рисунок 6).

Как показано на рисунке 7, концентрические трубки должны заканчиваться на уровне губ манекена, а трубка для отбора проб должна находиться на конце концентрических трубок.

1 - дыхательная машина; 2 - вспомогательное "легкое"; 3 - односторонний клапан; 4 - расходомер; 5 - компенсатор; 6 - анализатор диоксида углерода; 7 - электромагнитный клапан; 8 - голова-манекен; 9 - трубка отбора проб для вдыхаемого воздуха (см. рисунок 6); 10 - абсорбер диоксида углерода

Рисунок 7 - Схема установки для испытания по определению содержания диоксида углерода во вдыхаемом воздухе

Воздух подается от дыхательной машины, отрегулированной на 25 циклов/мин и 2,0 дм3/ход. При этом содержание диоксида углерода в выдыхаемом воздухе должно составлять 5 об. %. При увеличении содержания CO2 при работе установки помещают абсорбер CO2 между электромагнитным клапаном и дыхательной машиной в цикл вдоха.

Схема установки по определению содержания диоксида углерода во вдыхаемом воздухе представлена на рисунке 7.

CO2 подают в дыхательную машину через контрольный клапан, расходомер, компенсационный резервуар и два односторонних клапана.

Непосредственно перед электромагнитным клапаном проводят постоянный отбор небольшого количества выдыхаемого воздуха через линию отбора проб, который потом вновь возвращается в выдыхаемый воздух через анализатор CO2.

Для измерения содержания CO2 во вдыхаемом воздухе 5% объема пробы, взятой на фазе вдоха дыхательной машины, отбирают в определенном месте с помощью вспомогательного "легкого" и затем подают в анализатор CO2. Общий объем "мертвого пространства" воздушной линии (за исключением дыхательной машины) испытательной установки не должен превышать 2 дм3.

Необходимо проводить постоянное измерение и регистрацию содержания диоксида углерода во вдыхаемом воздухе.

Уровень содержания диоксида углерода в окружающей атмосфере определяют на уровне кончика носа головы манекена на расстоянии 1 м от лица. Уровень содержания диоксида углерода в окружающей атмосфере измеряют после стабилизации содержания диоксида углерода во вдыхаемом воздухе. Другим способом определения уровня содержания диоксида углерода в окружающей атмосфере является проведение измерений в трубке для отбора проб при отключенной подаче диоксида углерода.

Испытания проводят до установления постоянного содержания диоксида углерода во вдыхаемом воздухе.

Из измеренного значения вычитают уровень содержания диоксида углерода в окружающей атмосфере. При уровне содержания диоксида углерода в окружающей атмосфере, не превышающем 0,1%, результаты считают действительными.

Образец трижды закрепляют на голове манекена с каждым последующим измерением содержания диоксида углерода. На основании усреднения полученных результатов трех испытаний определяют содержание диоксида углерода во вдыхаемом воздухе.

Лицевые части без клапанов вдоха испытывают в составе СИЗОД. Исключение составляют лицевые части, предназначенные для применения с дыхательными аппаратами с замкнутым контуром. Это позволяет проводить испытания масок с клапанами или без клапанов вдоха и/или выдоха. При необходимости, изготовитель, исходя из конструкции, вправе оговаривать в качестве особого условия проведения испытаний маски только в составе СИЗОД.

6.16. Начальное сопротивление воздушному потоку

6.16.1 Подготовка образцов к испытаниям

Испытывают три образца в состоянии после поставки.

6.16.2 Общие положения

Маску плотно надевают на голову-манекен. Сопротивление на выдохе измеряют у ротового отверстия головы-манекена с использованием адаптера для измерения сопротивления воздушному потоку (см. рисунок 6).

Испытания по определению сопротивления дыханию проводят последовательно при пяти определенных ориентациях маски, надежно (но без деформации) закрепленной на голове-манекене:

- направленной прямо вперед;

- направленной вертикально вверх;

- направленной вертикально вниз;

- лежащей на левой стороне;

- лежащей на правой стороне.

6.16.3 Подготовка и проведение испытаний масок с резьбовым соединением, отличным от соединения соответствующего приложению Б

Начальное сопротивление воздушному потоку определяют с использованием дыхательной машины с установленным режимом работы 25 циклов/мин и 2,0 дм3/ход или постоянного воздушного потока 160 дм3/мин.

Испытание сопротивления воздушному потоку на вдохе проводят при постоянном воздушном потоке 30 и 95 дм3/мин.

6.16.4 Подготовка и проведение испытаний масок с резьбовым соединением в соответствии с приложением Б

Начальное сопротивление воздушному потоку определяют с использованием дыхательной машины с установленным режимом работы 25 циклов/мин и 2,0 дм3/ход или 40 циклов/мин и 25 дм3/ход.

Испытание сопротивления воздушному потоку на выдохе проводят при постоянном воздушном потоке 10 дм3/мин.

6.16.5 Корректировка

Сопротивление воздушному потоку приводят к нормальным условиям: температура 20 °C и давление 1 атм.

6.17. Коэффициент подсоса под маску

6.17.1 Сущность метода

Сущность метода определения коэффициента подсоса под маску заключается в определении отношения содержания тест-вещества в подмасочном пространстве маски, надетой на испытателя, к содержанию тест-вещества в атмосфере камеры.

Для определения коэффициента подсоса под маску может быть использован как метод с гексафторидом серы, так и аэрозолем хлорида натрия.

6.17.2 Подготовка образцов к испытаниям

Испытанию подлежат два образца: один - в состоянии после поставки и один - после кондиционирования (6.4).

6.17.3 Испытатели

К испытаниям привлекают практически здоровых людей без бороды и бакенбардов, знакомых с данным или подобным оборудованием, ознакомленных также с характером испытаний и условиями их проведения, в количестве десяти человек.

Испытатели не должны в течение 24 ч перед испытанием выполнять тяжелую физическую работу и принимать алкоголь. Перед испытаниями участников подвергают медицинскому осмотру, измеряют температуру тела, частоту пульса, частоту дыхания, артериальное давление, массу, после чего врач принимает решение о допуске того или иного испытателя к проведению испытаний.

Не следует привлекать к испытаниям людей, для которых невозможно добиться удовлетворительного прилегания маски.

Протокол испытаний должен содержать описание четырех основных параметров лиц испытателей в миллиметрах (для информации), показанных на рисунке 8.

Рисунок 8 - Параметры лица

При наличии нескольких размеров лицевых частей испытатели должны подобрать себе наиболее подходящий размер.

6.17.4 Оборудование для испытаний

Атмосфера в камере

Воздух, содержащий тест-вещество, должен преимущественно поступать в верхнюю часть камеры через распределитель потока и направляться вниз к голове испытателя со скоростью потока от 0,1 до 0,2 м/с. Скорость потока измеряют вблизи головы испытателя. Проверяют равномерность распределения содержания тест-вещества внутри эффективного рабочего объема.

Конструкция камеры должна предусматривать возможность поступления к испытателю во время испытания воздуха, не содержащего тест-вещества.

Тредбан

Тредбан, расположенный внутри испытательной камеры, должен обеспечивать движение по нему испытателя со скоростью 6 км/км.

В электронном документе текст соответствует официальному источнику.

Моделирование фильтров

Если маску предстоит использовать с фильтром, имеющим резьбы по [1], необходимо устройство (см. рисунок 9), имитирующее сопротивление фильтров, разрешенных для использования с масками такого типа. Это имитирующее устройство соединяют с источником подачи чистого воздуха посредством сверхлегкого гибкого шланга.

Если в маске применено специальное соединение, то источник подачи чистого воздуха присоединяют к фильтру максимальной массы и/или сопротивления воздушному потоку, сконструированному для использования с лицевой частью, как указано изготовителем в указании по эксплуатации. Важно, чтобы крепление шланга для подачи чистого воздуха к маске не нарушало плотности прилегания лицевой части к лицу испытателя и не требовало удаления каких-либо уплотнительных прокладок, встроенных в маску. При необходимости для шланга создают опору.

Рисунок 9 - Имитатор фильтра для фильтров/масок на резьбовом соединении

Параметры имитатора фильтра: масса 500 г, равномерно распределенная по длине, составляющей 96 мм; сопротивление воздушному потоку 1 кПа при расходе постоянного потока воздуха 95 дм3/мин.

Размер 7,6 мм может быть отрегулирован (если необходимо) для достижения надлежащего падения давления при соответствующем расходе потока.

6.17.5 Методика проведения испытаний

Испытатели должны быть ознакомлены с указаниями по эксплуатации и, в случае наличия масок разных размеров, подобрать себе наиболее подходящие. При необходимости испытателю оказывают помощь в правильном надевании маски в соответствии с указаниями по эксплуатации.

Следует проинформировать испытателей о том, что они, при желании, могут подгонять маску во время испытания. При этом следует повторить ту часть испытания, которая имеет отношение к проведенной подгонке.

До окончания испытаний исполнителям не следует сообщать никаких результатов.

После надевания маски каждого испытателя спрашивают о том, насколько плотно прилегает маска. Если ответ удовлетворительный, то начинают испытание, если отрицательный, то испытателя заменяют другим.

Порядок проведения испытаний

Порядок проведения испытания должен быть следующим:

а) убедиться в том, что доступ воздуха, содержащего тест-вещество, в камеру перекрыт;

б) поместить испытателя в камеру. Подсоединить пробоотборник к лицевой части. Попросить испытателя двигаться со скоростью 6 км/ч в течение 2 мин. Измерить содержание тест-вещества в подмасочном пространстве для определения фонового уровня;

в) получить воспроизводимые показания;

г) включить подачу воздуха, содержащего тест-вещество, в испытательную камеру;

д) испытатель должен продолжать ходьбу в течение следующих 2 мин или до достижения заданных параметров содержания тест-вещества в испытательной камере;

е) во время испытаний испытатель должен:

1) выполнять ходьбу в течение 2 мин без поворотов головы и разговоров,

2) поворачивать голову из стороны в сторону (приблизительно 15 раз) в течение 2 мин, подразумевая осмотр стенки камеры,

3) поднимать и опускать голову (приблизительно 15 раз) в течение 2 мин, имитируя осмотр пола и потолка,

4) произносить вслух алфавит или предусмотренный текст, имитируя общение со своим коллегой в течение 2 мин,

5) выполнять ходьбу в течение 2 мин без поворотов головы и разговоров;

ж) при этом регистрируют:

1) содержание тест-вещества под колпаком камеры,

2) содержание тест-вещества в подмасочном пространстве после каждого действия испытателя;

и) отключить подачу воздуха, содержащего тест-вещество, в испытательную камеру;

к) после очищения колпака трубопровода камеры от тест-вещества вывести из нее испытателя;

л) повторить испытание с привлечением другого испытателя и другого образца маски.

После каждого испытания маску очищают, дезинфицируют и высушивают до того, как она будет использована во втором испытании на подсос под маску.

Испытательное оборудование

Вышеописанная методика применима для масок, предназначенных для использования в фильтрующих СИЗОД. Она также применима для масок с соединениями, отвечающими [1], предназначенных для использования с изолирующими СИЗОД. Для масок с соединениями, отличающимися от тех, которые отвечают требованиям [1], устанавливают и используют для испытания полное оборудование.

6.17.6 Метод с использованием гексафторида серы SF6

6.17.6.1 Сущность метода

Сущность метода состоит в определении отношения содержания гексафторида серы в подмасочном пространстве маски, надетой на испытателя, к содержанию гексафторида серы в испытательной камере.

6.17.6.2 Оборудование для испытаний

Схема испытательной установки приведена на рисунке 10.

1 - тредбан; 2 - колпак/камера; 3 - распределитель потока; 4 - подвеска; 5 - шланг для подачи тест-вещества; 6 - смеситель SF6 с воздухом; 7 - расходомер воздуха, снабженный контрольным устройством; 8 - расходомер SF6, снабженный контрольным устройством; 9 - пробоотборник для отбора пробы тест-вещества; 10 - прибор для измерения содержания тест-вещества; 11 - трубка для отбора проб для определения содержания тест-вещества; 12 - прибор для измерения содержания тест-вещества во вдыхаемом воздухе; 13 - регистрирующее устройство; 14 - имитатор фильтра; 15 - воздух для дыхания, не содержащий тест-вещества

Рисунок 10 - Схема испытательной установки для определения коэффициента подсоса под маску с использованием гексафторида серы

6.17.6.3 Тест-вещество

В качестве тест-вещества используют SF6. Испытатель в маске стоит таким образом, чтобы его голова находилась в атмосфере смеси тест-вещества с воздухом.

Чувствительность детектора должна быть такой, чтобы обеспечить определение коэффициента подсоса под маску от 0,01% до 20% в зависимости от содержания гексафторида серы.

Примечание - Рекомендуется создавать содержание гексафторида серы в камере от 0,1% до 1,0% по объему.

6.17.6.4 Измерение содержания

В ходе испытаний проводят постоянный контроль за концентрацией SF6 в атмосфере камеры с использованием анализатора (например, основанного на измерении теплопроводности или ИК-спектрометрии).

Недопустимо помещать пробоотборник атмосферы в камере за клапаном выхода.

Концентрацию SF6 в подмасочном пространстве измеряют с помощью детектора электронного захвата (ДЭЗ) или ИК-спектрометра как можно ближе ко рту испытателя (приблизительно на расстоянии 5 мм в центре лицевой части).

При испытаниях регистрируют температуру и влажность окружающей среды.

6.17.6.5 Отбор проб

При проведении испытаний в лицевой части или смотровом стекле/смотровом экране и подмасочнике (если он плотно прилегает) проделывают отверстия. Тонкую максимально короткую трубку, проходящую внутрь лицевой части, герметично соединяют с анализатором.

Скорость отбора проб должна быть постоянной в пределах от 0,3 до 1,5 дм3/мин.

Следует применять пробоотборник со многими отверстиями. Такой пробоотборник представлен на рисунке 11.

Рисунок 11 - Пробоотборник

6.17.6.6 Обработка результатов

Коэффициент подсоса под маску K, %, рассчитывают по результатам измерений за последние 100 с каждого упражнения, чтобы не смешивать результаты последовательных упражнений:

, (1)

где

- содержание тест-вещества в камере, мг/м3;

- усредненное содержание в подмасочном пространстве, мг/м3.

При измерении C2 используют интегрирующий самописец.

6.17.7 Метод с использованием аэрозоля хлорида натрия

6.17.7.1 Сущность метода

Сущность метода состоит в определении отношения содержания аэрозоля хлорида натрия в подмасочном пространстве маски, надетой на испытателя, к содержанию аэрозоля хлорида натрия в испытательной камере.

6.17.7.2 Оборудование для испытаний

Установка представлена на рисунке 12.

1 - генератор аэрозоля; 2 - насос; 3 - клапан переключения; 4 - фильтр; 5 - испытательная камера; 6 - отбор пробы из испытательной камеры; 7 - отбор пробы из подмасочного пространства маски; 8 - манометр; 9 - фотометр; 10 - имитатор фильтра/чистый воздух; 11 - тредбан; 12 - трубопровод и распределитель потока; 13 - дополнительная подача воздуха; 14 - система разделения фаз вдоха-выдоха при отборе проб

Рисунок 12 - Установка для определения коэффициента подсоса под маску

Генератор аэрозоля

Аэрозоль NaCl генерируется из 2%-го раствора NaCl (х.ч.) в дистиллированной воде при использовании распылителя Коллисона, представленного на рисунке 13.

1 - стеклянный сосуд с навинчивающейся крышкой; 2 - сопло; 3 - волокнистая прокладка (наружный диаметр - 4,5 мм, внутренний диаметр - 2 мм, толщина прокладки - 0,8 мм); 4 - втулка; 5 - стержень: 6 - резиновая прокладка; 7 - головка втулки; 8 - резиновая прокладка (наружный диаметр - 25 мм, внутренний диаметр - 10 мм, толщина - 1,5 мм, уплотнитель для герметизации); 9 - гайка; 10 - завинчивающаяся крышка

Рисунок 13 - Распылитель

Сопла генератора не должны быть направлены к выходным отверстиям резервуара.

При этом требуется расход воздуха 100 дм3/мин под давлением 7·105 Па. Распылитель и его корпус помещают в воздуховод, через который поддерживается прохождение постоянного потока воздуха. Для получения сухого аэрозоля хлорида натрия, при необходимости, нагревают воздух или используют другой способ его осушения.

Тест-аэрозоль

Среднее содержание NaCl в испытательной камере должно составлять (8 +/- 4) мг/м3. Допускается отклонение среднего содержания NaCl по всему эффективному рабочему объему испытательной камеры, не превышающее 10%. Распределение частиц по размеру должно быть от 0,02 до 2 мкм (аэродинамический диаметр) при среднемассовом диаметре 0,6 мкм.

Пламенный фотометр

Для измерения содержания аэрозоля NaCl в подмасочном пространстве применяют пламенный фотометр со следующими основными характеристиками:

а) фотометр должен быть предназначен непосредственно для анализа частиц аэрозоля NaCl с диапазоном измерения содержания NaCl от 15 мг/м3 до 5 н/г3;

б) расход постоянного потока в пробе, отбираемой из камеры на фотометр, не должен превышать 15 дм3/мин;

в) время отклика фотометра без системы отбора проб не должно превышать 500 мс;

г) необходимо снизить чувствительность фотометра по отношению к другим химическим элементам, в частности, к углероду, содержание которого меняется в процессе дыхательного цикла. Это достигается обеспечением ширины полосы пропускания интерференционного фильтра не более чем 3 нм и при наличии всех необходимых фильтров для других побочных полос.

Допускается применение других пламенных фотометров, обеспечивающих требуемую чувствительность, а также проведение испытаний в условиях, указанных в 6.17.

Устройство для отбора проб

Применяют систему, подающую пробу в фотометр только на фазе вдоха. Во время выдоха в фотометр подают чистый воздух. Основные элементы такой системы следующие:

а) электрический клапан со временем отклика порядка 100 мс. Клапан должен иметь минимально возможное "мертвое пространство" и возможность прохождения прямого неограниченного потока в открытом положении;

б) датчик давления, который способен фиксировать минимальные изменения давления приблизительно 5 Па и который подключен к пробоотборнику, вставленному в маску. Датчик должен иметь контролируемый порог чувствительности и сигнализировать о его прохождении в том или обратном направлении. Датчик должен надежно работать при ускорении, вызываемом движениями головы испытателя;

в) систему раздела фаз вдоха-выдоха, приводящую в действие клапан в ответ на сигнал, получаемый от датчика давления;

г) таймер для регистрации пропорциональности общего дыхательного цикла, во время которого происходит отбор проб.

Схема такой системы отбора проб представлена на рисунке 12.

Пробоотборник

Для подготовки к испытаниям проделывают отверстие в корпусе маски или в смотровом стекле/смотровом экране и подмасочнике, если таковой имеется. В отверстие вводят тонкую трубку, которая герметично подсоединяется к анализатору. Длина трубки должна быть настолько короткой, насколько это возможно. Скорость отбора проб должна быть постоянной в интервале от 0,3 до 1,5 дм3/мин.

Используют пробоотборник со множеством отверстий, представленный на рисунке 11.

Насос для отбора проб

Если в состав фотометра не входит насос, то используют насос непрерывного действия для отбора проб воздуха из-под маски во время испытания.

Допускается применение некоторых типов насосов с возвратно-поступательным ходом поршня. Насос должен быть таким, чтобы были сведены к минимуму потери аэрозоля внутри насоса, а также изменения в расходе, вызванные изменениями давления в зоне отбора проб.

Насос настраивают таким образом, чтобы происходил постоянный забор пробы из пробоотборника со скоростью 1 дм3/мин. В фотометрах некоторых типов возникает необходимость разбавления пробы чистым воздухом.

Отбор проб из испытательной камеры

Концентрацию аэрозоля в испытательной камере контролируют во время испытания с помощью отдельной системы отбора проб для предотвращения загрязнения линии отбора проб из-под маски. Для этой цели желательно использовать отдельный пламенный фотометр.

При отсутствии второго фотометра для определения содержания NaCl в испытательной камере допускается использовать тот же фотометр, что и для определения содержания NaCl в подмасочном пространстве маски. При этом необходимо дождаться сброса предыдущих показаний фотометра.

Пробоотборник для регистрации давления

Второй пробоотборник прикрепляют вблизи первого и подсоединяют к датчику давления.

6.17.7.3 Обработка результатов

Коэффициент подсоса под маску K, %, рассчитывают по результатам измерений за последние 100 с каждого упражнения. Для того, чтобы не смешивать результаты последовательных упражнений по формуле

, (2)

где - суммарная продолжительность фаз вдоха за 100 с измерений, с;

- суммарная продолжительность фаз выдоха за 100 с измерений, с.

При измерении может быть использован интегратор.

6.18. Площадь поля зрения

6.18.1 Сущность метода

Сущность метода состоит в измерении ограничения площади поля зрения, создаваемого маской, надетой на голову манекена.

6.18.2 Подготовка образцов к испытаниям

Испытывают один образец после поставки.

6.18.3 Подготовка и проведение испытаний

Маску надевают на голову-манекен (см. рисунок 14). При этом, в первую очередь, в "чашечку" лицевой части помещают подбородок, после чего лицевая часть плотно надевается на голову-манекен. Ремни крепления пропускают поверх головы-манекена и регулируют в целях обеспечения максимального поля зрения. Ремни крепления на голове уплотняют в целях поддержания симметрии лицевой части на голове-манекене, для чего используют тальк в целях сведения к минимуму трения между головой манекена и ремнями крепления. Ремни крепления затягивают до натяжения усилием 50 Н.

<a> Перенести площадь поля зрения на диаграмму.

Рисунок 14 - Апертометр

Измерения поля зрения и перекрытого поля зрения проводят для трех отдельных надеваний маски на голову-манекен.

Для оценки используют диаграмму, представленную на рисунке 15.

Значения показателей без маски.

Площади, охваченные круглыми линиями на диаграмме, пропорциональны соответствующим площадям, отмеченным на сферической оболочке апертометра.

Полусферическая поверхность, представленная внутри круга 90°, равная 126,9 см2.

Площадь поля зрения внутри круга 90°, равная 100,0 см2.

Площадь поля зрения за пределами круга 90°, равная 12,0 см2.

Площадь поля зрения в целом, равная 112,0 см2 (100%).

Площадь перекрытого поля зрения, равная 39,0 см2 (100%).

Показатели, определяемые по диаграмме при испытаниях маски.

Форма стекол ____________ Модель маски ___________

(размеры) ___________

При измерении площади поля зрения, как она наблюдается апертометром, должна быть перенесена на диаграмму.

Планиметрируется и отмечается, см2, только площадь поля зрения и площадь перекрытого поля зрения.

Измеренная планиметром площадь поля зрения (в целом) _______ см2.

Измеренная планиметром площадь перекрытого поля зрения _______ см2.

Площадь поля зрения _______%.

Площадь перекрытого поля зрения _______%.

Рисунок 15 - Диаграмма апертометра

Для измерения допускается использовать как планиметрический, так и гравиметрический методы.

Среднее значение трех результатов записывают в качестве общего поля зрения и площади перекрытого поля зрения.

Примечание - Следует обратить внимание на то, чтобы край цилиндра апертометра располагался точно по линии накаливания электрических лампочек головы-манекена.

6.19. Определение эксплуатационных свойств

6.19.1 Общие положения

Испытывают два образца после кондиционирования (6.4).

Все испытания проводят два испытателя при температуре окружающей среды с регистрацией влажности и температуры при испытаниях.

Для проведения испытаний привлекают лиц, имеющих опыт эксплуатации данной или подобной маски.

При испытаниях маски испытатель дает субъективную оценку ее работы. После испытаний в протокол следует занести замечания испытателя:

а) комфортность ремней крепления и/или оголовья;

б) надежность креплений и соединений;

в) доступность средств управления (если таковые имеются);

г) четкость изображения через смотровые стекла/смотровой экран маски (отсутствие искажений, запотевания);

д) передача речи;

е) любой другой комментарий, который дает испытатель при опросе.

6.19.2 Испытания при ходьбе

Испытатели надевают обычную рабочую одежду и маску. Испытатели должны идти со скоростью 6 км/ч по тредбану в течение 10 мин.

6.19.3 Испытания, моделирующие трудовую деятельность

Продолжительность испытаний - 20 мин.

Должны быть выполнены следующие действия:

а) ходьба в течение 5 мин в помещении, высота которого составляет (1,3 +/- 0,2) м;

б) передвижение ползком в течение 5 мин в помещении, высота которого составляет (0,70 +/- 0,05) м;

в) заполнение небольшой емкости (приблизительный объем 8 дм3, см. рисунок 16) резиновой стружкой или другим подобным материалом из контейнера высотой 1,5 м, имеющего в основании отверстие, из которого насыпается содержимое, и открытым верхом для высыпания содержимого из заполненной емкости.

Рисунок 16 - Емкость и контейнер с резиновыми стружками

Заполняя емкость стружкой, испытатель должен наклоняться или, по желанию, становиться на колени. Затем он должен поднять емкость и высыпать ее содержимое обратно в контейнер. Данную операцию повторяют 19 раз в течение 10 мин.

Примечание - Последовательность проведенных действий определяет испытательная лаборатория.

7. Маркировка

Маркировка на масках, отвечающих требованиям настоящего стандарта, должна быть четко различимой и стойкой и содержать следующие сведения:

- фирменное наименование, торговую марку или другое обозначение изготовителя;

- идентификация типа СИЗОД на всех частях одной модели;

- номер и дата утверждения настоящего стандарта;

- категория вслед за буквами "CL", которые следуют непосредственно за номером стандарта, например ГОСТ 12.4.. CL 3;

- в тех случаях, когда надежность работы отдельных элементов может зависеть от срока их использования, маркировка должна содержать дату (по крайней мере год) их изготовления;

- для тех элементов, которые не могут быть надежно маркированы, например ремни, ленты, головные ремни, соответствующая информация должна быть отражена в указаниях по эксплуатации;

- элементы, предназначенные для замены обученным пользователем, или дополнительные элементы со значительным сроком годности должны быть четко маркированы.

8. Транспортирование и хранение

Правила транспортирования и хранения устанавливают в нормативных документах конкретных видов изделий.

9. Указания по эксплуатации

9.1 Каждая маска должна быть снабжена указаниями по эксплуатации.

9.2 Указания по эксплуатации должен(ны) быть составлен(ы) на официальном(ых) языке(ах) страны назначения.

9.3 Указания по эксплуатации должны содержать следующие сведения:

- область применения (ограничения);

- категория маски;

- метод проверки перед использованием;

- метод проверки плотности прилегания;

- способы чистки и дезинфекции;

- правила использования;

- правила ухода (по возможности, следует привести в отдельной инструкции);

- условия хранения;

- требования по утилизации.

9.4 Указания по эксплуатации должны быть точными и понятными. При необходимости они могут содержать иллюстрации, нумерацию отдельных частей и маркировку. Дополнительная маркировка, используемая для обозначения ограничений или специальных требований, должна иметь пояснение.

9.5 Указания по эксплуатации должны содержать сведения о возможных осложнениях, возникающих в процессе эксплуатации маски пользователем, например:

- нарушение плотности прилегания маски;

- влияние наличия на лице пользователя бороды, усов и др.;

- влияние состава воздуха, содержащего загрязняющие вещества, дефицита кислорода, обогащенной кислородом атмосферы;

- ограничения по применению во взрывоопасной атмосфере;

- недопустимость использования масок категории 1 в изолирующих СИЗОД;

- сведения о необходимости другой защиты помимо защиты органов дыхания, например: защита в процессе воздействия на переговорную мембрану определенных проникающих загрязняющих трансурановых веществ высокого специфического действия, защиты от отлетающих с высокой скоростью частиц смотровыми стеклами/смотровым экраном, защита от химических веществ; использование в комбинации с другими средствами индивидуальной защиты.

Приложение А
(рекомендуемое)

МАРКИРОВКА СОСТАВНЫХ ЭЛЕМЕНТОВ И СБОРОЧНЫХ УЗЛОВ

Рекомендуется маркировать следующие составные элементы и сборочные узлы для их идентификации.

Таблица А.1

Составной элемент или сборочный узел Маркировка элемента Дата изготовления
Лепесток клапана вдоха <1> - -
Лепесток клапана выдоха <1> - +
Соединительный элемент (если есть) + -
Корпус маски + +
Ремни крепления/оголовье <1> + +
Смотровые стекла/смотровой экран <1> + -
Оправа стекла <1> + -
Подмасочник + +
Блок обратного клапана <1> - -
Узел переговорной мембраны <1> + +

<1> Детали, информация о маркировке которых должна быть включена в руководство по эксплуатации.

Примечание - Знак "+" означает, что маркировка необходима; знак "-" - в маркировке нет необходимости.

Составные элементы сборочных узлов не требуют маркировки, если сборочный блок может быть легко идентифицирован. Такие составные части, не предлагаемые изготовителем в качестве запасных частей, не следует маркировать. Вместе с тем, соответствующая информация должна быть включена в указания по эксплуатации.

Приложение Б
(обязательное)

РЕЗЬБОВОЕ СОЕДИНЕНИЕ М45x3

1 Размеры резьбового соединения М45x3 представлены на рисунках Б.1 - Б.5.

Конкретные детали соединения могут не соответствовать деталям, представленным на рисунках Б.1 - Б.5.

2 Резьбовые соединения с внешней резьбой (код PA) на оборудовании должны быть выполнены, как показано на рисунках Б.1 и Б.2. Системы с одним каналом для подачи воздуха (см. рисунок Б.1) имеют код PAA. Системы с двумя каналами для подачи воздуха (см. рисунок Б.2) имеют код PAB.

3 Резьбовые соединения с внутренней резьбой (код PI) для лицевых частей должны быть выполнены, как показано на рисунках Б.3 и Б.4. Системы с одним каналом для подачи воздуха (см. рисунок Б.3) имеют код PIA, системы с двумя каналами для подачи воздуха (см. рисунок Б.4) - код PIB.

4 Размеры прокладки представлены на рисунке Б.5. Материал прокладки: эластомер. Деталь может быть расположена слева по выбору производителя.

Рисунок Б.1 - Резьбовые соединения с внешней резьбой для систем с одним каналом подачи воздуха PAA

Рисунок Б.2 - Резьбовые соединения с внешней резьбой и двумя трубопроводами

Рисунок Б.3 - Резьбовое соединение с внутренней резьбой для систем с одним каналом подачи воздуха PIA

Рисунок Б.4 - Резьбовое соединение с внутренней резьбой для систем с двумя каналами подачи воздуха PIB

Рисунок Б.5

БИБЛИОГРАФИЯ

[1] ЕН 148-1 Respiratory protective devices - Threads for facepieces - Part 1: Standard thread connection (Средства индивидуальной защиты органов дыхания. Соединительные узлы для лицевых частей. Стандартное резьбовое соединение)
[2] ЕН 148-2 Respiratory protective devices - Threads for facepieces - Part 2: Center thread connection (Средства индивидуальной защиты органов дыхания. Резьба для лицевых частей. Центральное резьбовое соединение)
[3] EN ISO 6941 Textile fabrics - Burning behaviour - Measurements of flame spread properties of vertically oriented specimens (Изделия текстильные. Характеристики горения. Определение способности к распространению пламени вертикально расположенных образцов)