Теплоаккумулирующие источники тепла на твердом топливе. Общие требования и методы испытаний. ГОСТ р 58395-2019

(утв. Приказом Росстандарта от 27.03.2019 N 114-СТ)
Редакция от 27.03.2019 — Действует с 01.06.2019

НАЦИОНАЛЬНЫЙ СТАНДАРТ РОССИЙСКОЙ ФЕДЕРАЦИИ

ТЕПЛОАККУМУЛИРУЮЩИЕ ИСТОЧНИКИ ТЕПЛА НА ТВЕРДОМ ТОПЛИВЕ

ОБЩИЕ ТРЕБОВАНИЯ И МЕТОДЫ ИСПЫТАНИЙ

Slow heat release appliances fired by solid fuel. General requirements and test methods

ГОСТ Р 58395-2019

Дата введения
1 июня 2019 года

Предисловие

1 Подготовлен Некоммерческим партнерством "Альянс. Печных дел мастера" на основе собственного перевода на русский язык немецкоязычной версии стандарта, указанного в пункте 4

2 Внесен Техническим комитетом по стандартизации ТК 274 "Пожарная безопасность"

3 Утвержден и введен в действие Приказом Федерального агентства по техническому регулированию и метрологии от 27 марта 2019 г. N 114-ст

4 Настоящий стандарт идентичен национальному немецкому стандарту ДИН ЕН 15250:2007 "Теплоаккумулирующие источники тепла на твердом топливе. Общие требования и методы испытаний" (DIN EN 15250:2007 " feste Brennstoffe - Anforderungen und ; Deutsche Fassung", IDT).

При применении настоящего стандарта рекомендуется использовать вместо ссылочных международных и европейского стандартов соответствующие им национальные и межгосударственные стандарты, сведения о которых приведены в дополнительном приложении ДА

5 Введен впервые

1 Область применения

1.1 Настоящий стандарт устанавливает требования к проектированию, изготовлению, конструкции, безопасности и производительности (КПД и эмиссии вредных веществ), инструкции по использованию и маркировке источников тепла на твердом топливе для отопления помещений, а также требования к соответствующим методам испытаний и типам топлива для проведения типовых испытаний.

1.2 Настоящий стандарт распространяется на теплоаккумулирующие источники тепла с загрузкой топлива вручную, которые способны отдавать тепло в течение определенного времени после окончания процесса горения топлива.

1.3 Настоящий стандарт устанавливает минимальное время, за которое температура внешней поверхности источника тепла достигает максимального значения, а также время, за которое температура внешней поверхности источника тепла снижается до 50 % от максимального значения. Данные источники тепла обогревают те помещения, в которых они установлены.

Настоящий стандарт может быть применен только для таких конструкций теплоаккумулирующих источников тепла, которые поставляются либо полностью собранными, либо собираются непосредственно на месте из заданных производителем сборных компонентов в соответствии с инструкцией производителя. На конструкции полностью ручной сборки настоящий стандарт не распространяется.

В соответствии с инструкцией по эксплуатации производителя в данных источниках тепла может сжигаться либо твердое минеральное топливо, торфяные брикеты, поленья, древесные брикеты, либо несколько из этих типов топлива. Древесные пеллеты, загружаемые вручную, могут размещаться внутри топочной камеры либо на соответствующей решетке, установленной на полу, либо подаваться в специальное устройство, которое пользователь устанавливает в существующую топку.

2 Нормативные ссылки

В настоящем стандарте использованы нормативные ссылки на следующие стандарты [для датированных ссылок применяют только указанное издание ссылочного стандарта, для недатированных ссылок - последнее издание ссылочного стандарта (включая все изменения и поправки к нему)]:

EN 50165:1997, Electrical equipment for non-electric appliances for household and similar purposes - Safety requirements (Электрооборудование для неэлектрических приборов бытового и аналогичного назначений. Требования безопасности)

ISO 334:1992, Solid mineral fuels - Determination of total sulfur - Eschka method (Топливо твердое минеральное. Определение содержания общей серы. Метод Эшка)

ISO 351:1996, Solid mineral fuels - Determination of total sulfur - High temperature combustion method (Топливо твердое минеральное. Определение содержания общей серы. Метод сжигания при высокой температуре)

ISO 501:2003, Coal - Determination of the crucible swelling number (Уголь. Определение индекса вспучивания в тигле)

ISO 562:1998, Hard coal and coke - Determination of volatile matter (Уголь каменный и кокс. Определение содержания летучих веществ)

ISO 609:1996, Solid mineral fuels - Determination of carbon and hydrogen - High temperature combustion method (Топливо твердое минеральное. Определение содержания углерода и водорода. Метод сжигания при высокой температуре)

ISO 687:2004, Coke - Determination of moisture in the analysis sample (Кокс. Определение содержания влаги в образце для анализа)

ISO 1171:1997, Solid mineral fuels - Determination of ash content (Топливо твердое минеральное. Определение содержания золы)

ISO 1928:1995, Solid mineral fuels - Determination of gross calorific value by the bomb calorimetric method, and calculation of net calorific value (Топливо твердое минеральное. Определение высшей теплотворной способности методом калориметрической бомбы и вычисление низшей теплотворной способности)

ISO 2859 (All parts), Sampling procedures for inspection by attributes (Процедуры выборочного контроля по альтернативному признаку)

ISO 11722:1999, Hard coal - Determination of moisture in the general analysis test sample by drying in nitrogen (Топлива твердые минеральные. Антрацит - определение содержания влаги в образце для общего анализа путем высушивания в азоте)

3 Термины и определения

В настоящем стандарте применены следующие термины с соответствующими определениями:

3.1 вентиляционная решетка (Luftgitter): Строительный элемент во входных и выходных отверстиях для распределения конвекционных воздушных потоков.

3.2 устройство регулирования подачи воздуха (Luftregelung): Устройство механической или автоматической настройки регулирования подачи воздуха, необходимого для процесса горения топлива.

3.3 семейство источников тепла (): Группа источников тепла с одинаковыми конструктивными признаками и/или характеристиками мощности, для которых допустимо ограничиться испытанием только выбранных источников тепла в соответствии с требованиями настоящего стандарта.

3.4 содержание золы в топливе (Aschegehalt des Brennstoffes): Твердая составная часть топлива, остающаяся после его полного сжигания.

3.5 зольник (Aschekasten): Съемный контейнер для сбора твердых остатков продуктов сгорания топлива.

3.6 зольный отсек (Ascheraum): Замкнутое пространство для сбора твердых остатков продуктов сгорания топлива или установки зольника.

3.7 потери через колосниковую решетку и провал топлива (Verlust durch Rost- und ): Потери в виде горючих компонентов твердых остатков продуктов сгорания топлива.

3.8 раскаленные угли (жар) (Grundglut): Масса раскаленного топлива, которое обеспечивает воспламенение топлива, подаваемого в топку для проведения испытаний.

Примечание - Может задаваться производителем.

3.9 закладка (количество топлива) (): Часть задаваемого производителем количества топлива, предназначенного для испытаний и через определенные промежутки времени закладываемого в печь в течение времени проведения испытаний мощности печи.

3.10 решетка на полу топки (Feuerraumboden-Rost): Часть пола топки источника тепла, на которой располагается топливо и через которую твердые остатки продуктов сгорания топлива падают в зольник или зольный отсек. Через нее может подаваться воздух для горения топлива и/или могут протекать дымовые газы.

3.11 колосник (): Прутья, обрамленные или необрамленные рамой, на которых происходит сгорание топлива.

3.12 загрузочная дверца (): Дверца, закрывающая проем топки, предназначенный для закладки топлива.

3.13 воздух для горения топлива (Verbrennungsluft): Воздух, подаваемый в топку, который полностью или частично служит для сжигания топлива.

3.14 газообразные продукты сгорания топлива (Verbrennungsgase): Газообразные соединения, образующиеся при сжигании топлива внутри источника тепла.

3.15 удаление золы (Entaschung): Процесс очистки поверхности, на которую в топке укладывается топливо, и удаление твердых остатков продуктов сгорания топлива в сборный контейнер.

3.16 устройство для удаления золы (Entaschungseinrichtung): Механизм для перемещения или сотрясения (шуровки) твердых остатков продуктов сгорания топлива с целью их удаления с поверхности, на которую в топке укладывается топливо.

Примечание - Такие устройства могут также использоваться в некоторых типах источников тепла для изменения положения колосниковой решетки.

3.17 устройство подачи дополнительного воздуха (Nebenluft-Einrichtung): Устройство для подачи воздуха под поверхность, на которой уложено топливо, с целью регулирования тяги.

3.18 коэффициент полезного действия; КПД (Wirkungsgrad): Отношение общей тепловой мощности к общему подведенному количеству тепла во время проведения испытаний, выраженное в процентах.

3.19 топка; камера сгорания (Feuerraum; Brennraum): Часть источника тепла, в которой происходит сжигание топлива.

3.20 отверстие топки (): Отверстие в топке, через которое в источник тепла может загружаться топливо.

3.21 топочная дверца (): Дверца, через которую можно наблюдать огонь и через которую осуществляется пополнение топки топливом.

3.22 устройство для разогрева печи (Anheizeinrichtung): Устройство, которое в открытом положении делает возможным прямой отвод газообразных продуктов сгорания топлива.

Примечание - Может также применяться для оказания помощи при розжиге или для исключения скопления сажи в дымовой трубе.

3.23 дросселирующее устройство (Drosseleinrichtung): Устройство, при помощи которого изменяется сопротивление газового тракта.

3.24 необходимая тяга (notwendiger ): Разница между статическим давлением воздуха в помещении, где установлен источник тепла, и статическим давлением дымовых газов в точке измерения.

3.25 дымовые газы (Abgase): Газообразные соединения на выходе из штуцера дымовых газов источника тепла и на входе в соединительный элемент дымовой трубы.

3.26 соединительный элемент (патрубок) (): Канал, по которому дымовые газы движутся от источника тепла в дымовую трубу.

3.27 массовый поток дымовых газов (Abgasmassenstrom): Масса дымовых газов, отводимых от источника тепла в единицу времени.

3.28 температура дымовых газов (Abgastemperatur): Температура дымовых газов в заданной точке испытательного участка.

3.29 штуцер дымовых газов (Abgasstutzen): Интегрированный составной элемент источника тепла для подключения соединительного элемента, через который продукты сгорания топлива отводятся в дымовую трубу.

3.30 канал продуктов сгорания (Heizgaszug): Часть источника тепла, через которую продукты сгорания движутся от топки к штуцеру дымовых газов.

3.31 вертикальная каминная решетка/вертикальная каминная плита (Stehrost/Stehplatte): Решетка или плита, закрепленная в передней части топочного отверстия, препятствующая выпадению топлива из топки и/или изменяющая вместимость топки.

3.32 интегрированный резервуар для предварительной загрузки топлива (отсек для хранения топлива) (integrierter (Brennstofflagerfach): Ограниченный отсек как часть источника тепла, который не связан напрямую с топкой. В этот отсек топливо предварительно укладывается, а затем при эксплуатации источника тепла используется в топке.

3.33 тепловая нагрузка (): Величина энергии, отдаваемой топливом в источнике тепла.

3.34 инструменты обслуживания (Bedienungswerkzeug): Устройства источника тепла для обслуживания подвижных, регулируемых или горячих элементов.

3.35 первичный воздух (): Поток воздуха для горения, протекающий через поверхность, на которой уложено топливо.

3.36 рекомендуемое топливо (empfohlener Brennstoff): Топливо обычного коммерческого качества, которое указано в инструкции производителя и при сжигании которого достигается мощность, соответствующая требованиям настоящего стандарта.

3.37 остатки продуктов сгорания (): Зола, включая несгоревшие частицы топлива, которые собираются в зольнике.

3.38 теплоаккумулирующие источники тепла (): Источники тепла с возможностью аккумуляции тепла, которые благодаря массе и размерам отдают тепло в окружающее пространство после прекращения процесса горения топлива в течение времени, заданного производителем.

3.39 твердое топливо (fester Brennstoff): Натуральное твердое, минеральное топливо или топливо, из них изготавливаемое, такое как поленья, древесные брикеты, торфяные брикеты.

3.40 твердое минеральное топливо (fester mineralischer Brennstoff): Каменный уголь, бурый уголь, кокс и другие типы топлива, изготавливаемые из них.

3.41 тепловая мощность помещения (): Количество тепла, подаваемое в помещение путем конвекции или излучения.

3.42 топливо для испытания (): Топливо обычного коммерческого качества, характерное для своего типа и используемое для испытания источника тепла.

3.43 количество топлива для испытания (): Задаваемое производителем количество топлива для проведения испытания полного сгорания топлива.

Примечание - Количество топлива для испытаний может указываться производителем в инструкции по эксплуатации дополнительно как количество топлива в одной закладке.

3.44 общая тепловая мощность (): Общее количество полезно используемого тепла, задаваемое производителем и освобождающееся при использовании определенного типа топлива для испытаний источника тепла, определяемое по тепловой нагрузке без учета потерь с дымовыми газами и несгоревшим углеродом топлива.

3.45 рабочие поверхности (): Все внешние поверхности источника тепла для переноса тепла в окружающее пространство.

Примечание - Все внешние поверхности источника тепла длительного горения, включая соединительные элементы, классифицируются в соответствии с требованиями настоящего стандарта как рабочие поверхности, так как они предназначены для переноса тепла в то помещение, в котором установлены.

4 Материалы, проектирование и конструирование

4.1 Документация по изготовлению

Производитель должен указать тип источника тепла, который он отправляет на испытания. Данный источник тепла должен быть проверен на соответствие требованиям настоящего стандарта. Порядок проведения испытаний изложен в приложении А.

Показатели и свойства для принятия решения о принадлежности к группе или области приборов должны быть представлены при первичном типовом испытании (9.2.1) или при последующем типовом испытании, если в прибор должны вноситься изменения (9.2.2), которые необходимо принять во внимание и записать. Копия параметров и свойств, которые необходимо учесть при принятии решения, обязательно включается в производственные сопроводительные документы каждого прибора.

Для идентификации источника тепла производителем должны быть предоставлены в распоряжение проверяющей инстанции все возможные сопроводительные документы и/или выполненные в масштабе чертежи источника тепла, из которых понятна его форма и конструкция. Документация и/или чертежи должны как минимум содержать следующие данные:

- спецификацию материалов, использованных в конструкции источника тепла;

- количество топлива и, если применимо, количество и вес закладки топлива;

- время достижения максимальной температуры внешней поверхности, снижения температуры до 50 % от максимального значения и снижения температуры до 25 % от максимального значения на основании различных температур внешней поверхности в зависимости от температуры окружающего воздуха;

- общее количество тепла, аккумулированного в источнике тепла, во время фазы горения топлива.

Для источников тепла, которые поставляются в виде компонентов для последующего монтажа на месте, производитель должен представить детальные данные в своей инструкции по сборке источника тепла с точным указанием и обозначением газоплотного соединительного элемента между источником тепла и дымовой трубой. В соответствии с этими данными строится и испытывается источник тепла при проведении типового испытания.

4.2 Конструкция

4.2.1 Общие указания по конструкции

Форма и размеры строительных компонентов и оборудования, порядок проектирования и изготовления и, в случае строительства непосредственно на месте установки, сборка и монтаж должны гарантировать, что источник тепла при эксплуатации после соответствующих испытаний и под соответствующими механическими, химическими и термическими нагрузками надежно и безопасно работает. При этом в режиме обычной эксплуатации никакие продукты сгорания в опасной для человека концентрации не могут попасть в помещение, в котором установлен источник тепла. Угли не должны выпадать наружу.

Допускается использовать только негорючие материалы, за исключением следующих элементов конструкций:

- принадлежности вне источника тепла;

- строительные компоненты оборудования контроля и безопасности;

- ручки элементов обслуживания;

- электрооборудование.

Ни одна из частей источника тепла не должна содержать никаких опасных материалов.

Если в источнике тепла сжигаются твердые минеральные типы топлива, то он должен иметь колосниковую решетку и ящик для золы.

Строительные компоненты, которые подлежат регулярной или периодической замене, должны быть установлены или обозначены таким образом, чтобы их можно было правильно смонтировать впоследствии.

Примечания

1 Требования к ограничению температуры внешней поверхности отсутствуют для источников тепла, в которых общее количество тепла, отдаваемое внешней поверхностью, включает также рабочие поверхности и штуцер дымовых газов для подключения к соединительному патрубку.

2 Все эксплуатационные элементы источника тепла, включая загрузку топлива и выгрузку остатков процесса горения, должны быть простыми, надежными и эффективными.

4.2.2 Очистка поверхностей нагрева

Поверхности нагрева со стороны продуктов сгорания должны быть доступны для осмотра и контроля, а также очистки щетками, скребками и химическими средствами. Это достигается посредством достаточного количества ревизионных отверстий.

4.2.3 Штуцер дымовых газов

Порядок подключения, делающий возможным выполнение газоплотного соединения, должен подробно описываться в инструкции по установке.

При горизонтальном подключении штуцер дымовых газов должен надежно входить внутрь соединительного элемента или охватывать его снаружи минимум на 40 мм.

При вертикальном подключении достаточно минимум 25 мм или штуцер устанавливают так, чтобы получилось газоплотное соединение между дымовой трубой, соединительным элементом и источником тепла.

4.2.4 Канал продуктов сгорания

Каналы продуктов сгорания должны иметь минимальную ширину от 30 см, допускается сократить ширину на 15 мм для источников тепла, в которых не сжигаются битуминозные угли. Необходимо предусмотреть ревизионные отверстия для чистки каналов продуктов сгорания. Данные каналы могут подвергаться очистке с использованием обычных инструментов или щеток, в противном случае производитель должен совместно с источником тепла поставлять инструмент или щетки.

4.2.5 Зольник и удаление золы

Должна быть предусмотрена возможность удаления из топки остатков продуктов сгорания топлива. Если источник тепла имеет зольник, он должен вмещать остатки продуктов сгорания топлива как минимум от двух закладок при номинальной мощности, чтобы при этом оставалось достаточное расстояние, обеспечивающее свободный подвод первичного воздуха на горение через колосниковую решетку или горящий слой топлива. Зольник внутри источника тепла должен быть расположен таким образом, чтобы поток первичного воздуха свободно попадал в топку и входное отверстие для воздуха ничего не загораживало.

Примечания

1 Зольник должен быть сконструирован и изготовлен таким образом, чтобы:

a) эффективно собирать остатки продуктов сгорания топлива, которые проваливаются из топки вниз через колосниковую решетку;

b) его можно было в горячем состоянии легко и безопасно вытащить и опорожнить при помощи предназначенных для этого инструментов и без чрезмерных потерь остатков продуктов сгорания.

2 Зольник может иметь конфигурацию ковша.

4.2.6 Решетка на полу топки

Если горизонтальная колосниковая решетка или контейнер для пеллет могут заменяться, то они должны быть так сконструированы и соответственно маркированы, чтобы был обеспечен правильный монтаж. Если предусмотрено какое-либо устройство для удаления золы (выдвижная решетка), то это устройство должно эффективно удалять золу с поверхности укладки топлива.

Примечания

1 Предпочтительно удаление золы должно осуществляться при закрытой дверце зольника. Процесс удаления золы должен происходить без лишних усилий.

2 Если дверца зольника должна в процессе удаления золы открываться, то конструкция источника тепла должна быть такой, чтобы как можно меньше золы или топлива выпадало из источника тепла.

4.2.7 Подвод воздуха на горение

4.2.7.1 Устройство регулирования подачи первичного воздуха

Источник тепла должен быть оснащен ручным или термостатическим устройством регулирования подачи первичного воздуха. Параметры настройки должны быть четко обозначены и хорошо видны пользователю, чтобы использование устройств регулирования было понятным.

Конструкция устройства должна быть такой, чтобы во время эксплуатации источника тепла не происходило перемещения или закрывания регуляторов подачи воздуха ни из-за сопротивления потока продуктов сгорания, ни из-за несгоревшего топлива.

Должно быть понятно обозначено положение устройства регулирования подачи первичного воздуха, соответствующее холодному состоянию источника тепла, а процесс регулирования описан в инструкции.

Термостат должен иметь регулировку по температурной шкале и настраиваться либо по температуре воды, либо по температуре внешней поверхности источника тепла.

4.2.7.2 Устройство регулирования подачи вторичного воздуха

Если предусмотрено регулирование подачи вторичного воздуха, то отверстие подачи воздуха должно быть расположено таким образом, чтобы при полном заполнении топки топливом по рекомендациям производителя не был ограничен подвод воздуха.

4.2.8 Устройства регулирования потока дымовых газов

При использовании дросселирующих устройств в газовом тракте они не должны полностью перекрывать путь движения дымовых газов. Дросселирующее устройство должно быть простым в обслуживании и иметь отверстие в виде вырезанного круга или сектора в лопасти площадью не менее 20 см2 или занимать не менее 3 % площади поперечного сечения лопасти.

Регулирование дросселирующего устройства должно быть понятно пользователю.

Если предусмотрен поворотный клапан, то требование к минимальному поперечному сечению не действует. При этом устройство для очистки клапана должно быть легко доступным.

4.2.9 Топочные и загрузочные дверцы

Если источник тепла оснащен топочной/загрузочной дверцей, то отверстие должно быть достаточно большим для того, чтобы источник тепла можно было заполнить рекомендованным производителем стандартным топливом. Топочные дверцы и загрузочные топочные дверцы должны быть сконструированы таким образом, чтобы избежать их случайного открывания и облегчить закрывание.

4.2.10 Устройства розжига

Устройства розжига должны легко регулироваться. Положения "открыто" и "закрыто" должны устанавливаться вручную и быть легко узнаваемыми.

4.2.11 Вертикальная решетка или плита

Вертикальная решетка или плита должны быть сконструированы таким образом, чтобы удерживать в топке топливо или золу, в нормальном режиме эксплуатации можно было избежать выпадения золы или углей из прибора обогрева помещения, в особенности при загрузке топлива или удалении золы.

Если источник тепла снабжен съемной вертикальной решеткой или плитой, они должны иметь такую конструкцию, которая не позволит ни их неправильную установку, ни случайное удаление.

Если источники тепла работают на твердом топливе и торфяных брикетах или использование такого топлива рекомендуется, то источник тепла должен иметь колосниковую решетку в топке и ящик для золы.

5 Требования безопасности

Образцы должны иметь ровную поверхность, т.е. максимальный прогиб на длине 200 мм не должен превышать 4 мм. Они должны быть чистыми и без дефектов, которые могут повлиять на точность измерения шероховатости. До проведения измерений образцы необходимо обезжирить. Образцы для измерений следует выбирать на удалении не менее 40 мм от края исследуемой поверхности.

5.1 Температура в контейнерах хранения топлива/в отсеке для хранения топлива

При проведении испытаний по А.4.6 и А.4.7 температура в контейнерах для хранения топлива/отсеках для хранения топлива не должна превышать температуру окружающего воздуха более чем на 65 K.

5.2 Повышение температуры элементов обслуживания

Если работа элементов обслуживания не требует помощи инструментов, температура внешней поверхности тех частей источника тепла, к которым прикасается пользователь, не должна превышать указанных ниже значений над температурой помещения:

- 35 K для металла;

- 45 K для фарфора, эмали или похожих материалов;

- 60 K для полимеров, резины или дерева;

измеренных по условиям испытаний, изложенных в А.4.6.

Если значения температуры будут превышены, то производитель должен указать в инструкции по обслуживанию необходимость использования инструментов обслуживания. Данные инструменты должны поставляться вместе с источником тепла.

Примечание - Соответствующие защитные перчатки рассматриваются как инструмент.

5.3 Температуры на поверхности примыкающих конструкций из горючих материалов

Согласно условиям проведения испытаний А.4.6 и А.4.7 при монтаже источника тепла в соответствии с инструкцией производителя температура на внешней поверхности испытательного угла или другого примыкающего строительного компонента (например, перекрытия из горючих строительных материалов) не должна превышать температуры воздуха в помещении более чем на 65 K. Если разница температур выше 65 K, то производитель должен предоставить необходимые данные по теплоизоляции стен и/или пола или задать требуемые безопасные расстояния.

5.4 Электробезопасность

Источник тепла должен соответствовать требованиям по электробезопасности ЕН 50165, если электрооборудование с питанием от электросети является его частью.

6 Технические характеристики

6.1 Температура дымовых газов

При испытании по А.4.6 должна быть измерена температура дымовых газов, рассчитано среднее значение и записано в инструкции по установке.

6.2 Эмиссия оксида углерода

При эксплуатационном испытании интенсивности (скорости) горения по А.4.6 среднее содержание оксида углерода в сухих дымовых газах в пересчете на 13 % кислорода в дымовых газах должно быть меньше или равно величине, задаваемой производителем. Допускаемое превышение не более 0,3 %.

В некоторых странах действуют национальные законы, которые устанавливают предельные значения максимальной концентрации диоксида углерода при номинальной мощности и/или при слабой нагрузке для случая, когда во время эксплуатационного испытания интенсивности горения по А.4.6 измеренная величина оксида углерода относится к источникам тепла, продающимся в соответствующей стране.

6.3 Коэффициент полезного действия (КПД)

При эксплуатационном испытании интенсивности горения по А.4.6 общий измеренный коэффициент полезного действия, определяемый как среднее значение минимум двух испытаний, может быть больше или равен значению, заданному производителем, и не менее 70 %.

В некоторых странах действуют национальные законы, которые устанавливают предельные значения минимального коэффициента полезного действия при номинальной мощности и/или при низкой нагрузке для того, чтобы источники тепла, продающиеся в соответствующей стране, соответствовали минимальному коэффициенту полезного действия, который определяется во время проведения эксплуатационного испытания интенсивности горения.

6.4 Требуемая тяга

При определении интенсивности горения во время проведения эксплуатационных испытаний по А.4.6 требуемая статическая тяга должна поддерживаться на уровне (12 2) Па. Если тяга на основании заданной производителем интенсивности горения должна быть больше, то производитель должен это отразить в инструкции по установке. Во время испытания на температурную безопасность по А.4.7 источник тепла должен испытываться при статическом давлении на 3 Па выше, чем при испытании на интенсивность (скорость) горения, а колебания требуемой тяги должны находиться в пределах Па.

6.5 Продолжительность горения

Производитель задает загрузку массы топлива и интервал(ы), а также и/или количество и вес дополнительных частичных закладок топлива, которые должны использоваться при проведении эксплуатационного испытания интенсивности горения по А.4.6. Каждая дополнительная или частичная закладка должна быть не меньше 20 % от общей массы.

Загрузка испытательного топлива не должна даже частично загораживать тракт продуктов сгорания.

6.6 Мощность аккумуляции тепла

Период времени, за который температура внешней поверхности снижается до 50 % от максимального значения, рассчитанного по различным значениям температуры внешней поверхности по отношению к температуре окружающего воздуха во время эксплуатационного испытания интенсивности горения по А.4.6, не должен быть менее 4 ч.

Производитель должен задать общее количество энергии, которое аккумулируется источником тепла при проведении эксплуатационных испытаний по А.4.6 при сжигании заданного топлива. Это должно быть подтверждено во время проведения эксплуатационных испытаний интенсивности горения по А.4.6, проводимых в соответствии с инструкциями изготовителя.

7 Инструкции для источника тепла

7.1 Общие положения

Инструкции по установке, эксплуатации, обслуживанию и, при необходимости, по сборке источника тепла на месте установки должны поставляться вместе с источником тепла и быть написаны на языке страны предполагаемого места назначения. Они должны соответствовать требованиям настоящего стандарта.

7.2 Инструкции по установке

Инструкции по установке должны содержать следующие минимальные данные:

- слова "необходимо соблюдать все национальные или локальные правила и общие предписания и правила использования";

- номер модели и тип источника тепла;

- требуемые безопасные расстояния до горючих строительных материалов и другие рекомендации по мерам пожарной безопасности касательно горючих строительных материалов (если требуется);

- требования по подводу воздуха на горение, при необходимости требования к вентиляции, а также требования по эксплуатации совместно с другими источниками тепла.

Примечание - Вытяжки, которые эксплуатируются одновременно в одном помещении или в одном пространстве с источником тепла, могут стать причиной проблем;

- информация о необходимости размещения решеток для подачи воздуха таким образом, чтобы исключалась возможность их блокировки;

- вес источника тепла (в кг);

- минимальная требуемая тяга для проведения эксплуатационного испытания интенсивности горения (в Па);

- массовый расход дымовых газов обоих эксплуатационных испытаний интенсивности горения в случае эксплуатации с открытой и закрытой топкой (в г/с);

- информация о возможности подключения источника тепла к коллективной дымовой трубе;

- средняя температура дымовых газов, измеренная сразу за штуцером дымовых газов при проведении эксплуатационных испытаний интенсивности горения (в °С);

- указание по установке источника тепла только на основание с достаточной несущей способностью. При недостаточной несущей способности должны применяться соответствующие меры для достижения необходимого результата (например, плита для распределения нагрузки);

- информация о сборке источника тепла при его поставке в виде строительных компонентов/строительных узлов, если это необходимо;

- необходимые меры по очистке источника тепла, соединительного элемента и дымовой трубы;

- указание по установке запорных устройств, если необходимо;

- информация об установке средств регулирования температуры и их настройке в холодном состоянии;

- время для достижения значения средней максимальной температуры внешней поверхности, снижения температуры до 50 % и 25 % от максимального значения на основе разных температур внешней поверхности по отношению к температуре окружающего воздуха;

- общее количество энергии, которое аккумулируется при сжигании топлива в источнике тепла;

- для теплоаккумулирующих источников тепла с вертикальным подключением дымовой трубы должен быть указан тип соединения с источником тепла, тип соединительного элемента и дымовой трубы для достижения газоплотного соединения;

- информация об установке решеток циркуляционного воздуха, в особенности в отношении температур стен, полов, потолков и других строительных компонентов, окружающих источник тепла;

- информация об уплотнении компонентов конструкции, чтобы исключить утечки.

7.3 Инструкции по обслуживанию

К каждому прибору должна прилагаться инструкция на языке той страны, в которой источник тепла должен эксплуатироваться. В ней должны быть указаны все важнейшие сведения по эксплуатации прибора.

Инструкция по эксплуатации должна содержать как минимум следующие данные:

- необходимые национальные и региональные требования к эксплуатации источников тепла и топливу (допустимое топливо) при использовании источника тепла в соответствующей стране;

- перечень рекомендованного топлива. Тип и сорт топлива должен соответствовать требованиям настоящего стандарта;

- руководство по закладке топлива и удалению золы, сведения о максимальной высоте закладки топлива в топку и длительности горения при номинальной тепловой мощности для рекомендованного топлива;

- описание правильной и безопасной эксплуатации источника тепла и процесса розжига;

- указание о том, чтобы источник тепла не использовался в качестве мусоросжигательной печи, чтобы не сжигалось неподходящее или недопустимое топливо, включая также указание не использовать никаких жидких типов топлива;

- указание на необходимость правильного обслуживания элементов регулирования и обслуживания;

- требования к вентиляции при одновременной эксплуатации с другими источниками тепла, если это применимо;

- указание по безопасной эксплуатации источника тепла при плохих погодных условиях или нарушениях тяги;

- указание о необходимости регулярной проверки источника тепла специалистом;

- предупреждение о том, что топка и крышка зольника должны быть всегда закрыты во избежание выхода горячих дымовых газов. Исключение составляют периоды розжига, закладки топлива и удаления золы;

- указание о необходимости регулярной очистки источника тепла, соединительного элемента, а также дымовой трубы;

- указание о необходимости подачи достаточного количества воздуха на горение и на вентиляцию, а также о том, что входные отверстия подачи воздуха на горение недопустимо закрывать;

- описание обнаружения ошибки и метода безопасного вывода источника тепла из эксплуатации и отключения в случае неисправности, например, при перегрузке, прекращении подачи воды;

- предупреждение о том, что части источника тепла, особенно внешние части, могут быть горячими во время эксплуатации и рекомендации по соблюдению осторожности;

- защитные противопожарные меры от горючих строительных конструкций;

- предупреждение о недопустимости внесения изменений в источник тепла;

- указание на использование заменяемых элементов, разрешенных производителем;

- указание на необходимые меры при возгорании сажи в дымовой трубе;

- указание по возможности подключения источника тепла к коллективной дымовой трубе;

- особые инструкции для аккумулирующих источников тепла.

8 Обозначение

Каждый источник тепла, окончательно установленный на своем месте, должен иметь соответствующее долговечное и читаемое обозначение, расположенное в доступном месте, со следующим минимумом данных:

- наименование производителя или товарный знак;

- номер или обозначение модели;

- номер настоящего стандарта;

- указание: прочтите и следуйте инструкции по эксплуатации;

- минимальные расстояния до горючих строительных компонентов, если это применимо, (в мм);

- указание о возможности подключения к коллективной дымовой трубе;

- указание: использовать только разрешенное топливо;

- период времени, за который среднее значение температуры внешней поверхности достигает максимального значения, период времени, за который эта величина уменьшается на 50 %, а затем на 25 % по отношению к температуре помещения;

- общее количество энергии, которое сохраняется в источнике тепла во время периода горения топлива;

- количество закладываемого топлива;

- продолжительность горения или номер и количество частичных закладок, если необходимо;

- указание по установке решетки циркуляционного воздуха, если таковая имеется;

- измеренная концентрация СО при объемном содержании кислорода в воздухе 13 % и среднем КПД, определенных в соответствии с 6.2 и 6.3.

При использовании наклеиваемой этикетки, она должна быть долговечной и устойчивой к истиранию. При нормальной эксплуатации она не должна менять цвет настолько, чтобы нельзя было прочесть надпись. Этикетка не должна быть уничтожена вследствие влажности или повышения температуры (не должна отклеиваться).

Если среди требуемых обозначений по приложению ДА.1 перечисляются некоторые или все из указанных на этикетке данных, то нет необходимости их повторять. Требования этого раздела в отношении этих пунктов выполнены. Если приведены не все данные, которые должны быть указаны по требованиям приложения ДА.1, они должны быть указаны в обозначении.

9 Испытание по подтверждению соответствия

9.1 Общие положения

Соответствие источника тепла требованиям настоящего стандарта, также как и заданным значениям, подтверждают путем:

- первичного испытания;

- заводского контроля качества со стороны производителя, включая испытание продукции.

Источники тепла, подлежащие испытаниям, делят на группы, исходя из предположения, что один или несколько выбранных признаков из таблиц 1 и 2 являются общими для всех источников тепла этой группы.

9.2 Типовое испытание

9.2.1 Первичное испытание

Первичное испытание проводят с целью подтверждения соответствия требованиям настоящего стандарта. Если источник тепла уже находится в производстве, то образец для проведения испытаний выбирают произвольно, в ходе репрезентативной выборки. Данный образец должен быть типичным представителем выпускаемой продукции, что письменно подтверждает производитель.

В случае, если речь идет о каком-либо прототипе, то испытуемый источник тепла является моделью, типичным представителем для планируемого производства в будущем, и производитель письменно это подтверждает в соответствующем описании. Если источник тепла выпускается серийно, то проводят испытания показателей и конструкции серийно выпускаемого источника тепла, чтобы подтвердить, что серийное производство соответствует проверенному прототипу. Если размеры образца серийного производства отличаются от прототипа более чем на 5 % по ширине и глубине или на + 10 % по высоте топки и/или камеры сгорания, или по другим размерам, которые являются критическими в отношении безопасности или производительности (в частности, с учетом свойств, упомянутых в таблицах 1 и 2), или на + 5 % по ширине канала продуктов сгорания, то образцы серийного производства подвергают последующему типовому испытанию в соответствии с 9.2.2.

Серийно выпускаемый источник тепла также подвергают последующему типовому испытанию по 9.2.2, если происходят изменения в используемых материалах, которые ведут к ухудшению технических характеристик источника тепла, особенно в отношении безопасности и/или выполнения требований таблицы 2. Последующее испытание проводят, если в ходе производственного цикла или в начале нового производства имеет место изменение размеров или материалов конструкции. Чтобы это установить, размеры и конструкция выпускаемой продукции в текущем производстве должны проверяться на соответствие проверенному образцу в течение непрерывного периода производства, но не более 3 лет.

Выполненные ранее испытания на соответствие настоящему стандарту (одинаковый продукт, те же характеристики, те же методы испытаний, процедура отбора проб, система подтверждения соответствия и т.д.) принимают во внимание для того, чтобы зафиксировать соответствие типа источника тепла.

Для группы или серии источников тепла допускают проверку только выборочного источника тепла данной группы или серии, а для прочих только выборочную проверку конструктивных или тепловых характеристик, если можно четко определить, что источники тепла принадлежат к одной группе или серии. Для первичного испытания выбирают достаточное количество источников тепла из группы или серии, чтобы группа или серия были надлежащим образом представлены. Отобранные источники тепла подвергают полной проверке, чтобы всесторонне проверить соответствие конструктивных и тепловых характеристик требованиям настоящего стандарта. Для прочих источников тепла группы или серии, которые не подвергают полной проверке, допустимо проверять только выборочные конструктивные и/или тепловые характеристики, чтобы точно установить, что они полностью соответствуют требованиям настоящего стандарта и/или прошедшим испытание источникам тепла группы или серии.

Учитывая номинальную тепловую мощность источников тепла, принадлежащих к одной группе продуктов, проверяют источники тепла с наибольшей и наименьшей номинальной тепловой мощностью, а также дополнительно проверяют достаточное количество источников тепла, у которых соотношение номинальной тепловой мощности не превышает 1,6:1.

В дальнейшем при принятии решения о принадлежности источников тепла к той или иной группе или серии обращают внимание на конструктивные и технические характеристики каждого источника тепла, учитывая при этом характеристики, приведенные в таблицах 1 и 2. Если в группе источников тепла с одинаковыми топками и одинаковой тепловой мощностью есть источники тепла с разными коллекторами продуктов сгорания или разной внешней отделкой, отличающейся размерами и материалом (например, в местах, где внешняя поверхность располагается ближе к горючим поверхностям, или там, где используется материал с более высокой теплопроводностью), то в такой группе для проверки отбирают источники тепла, как минимум, с худшими с точки зрения безопасности температурами внешней поверхности и примыкающие к горючим строительным элементам.

Если производитель предусматривает подтверждение соответствия требованиям настоящего стандарта группы источников тепла, работающих на различных типах топлива, то проводят выбор испытаний, которые должны подтвердить соответствие группы требованиям безопасности (см. раздел 5) и производительности (см. раздел 6) для этих типов топлива, а также свойствам, перечисленным в таблицах 1 и 2.

Должны быть указаны характеристики и свойства, которые рассматривают при принятии решения о принадлежности источника тепла к группе или серии, а копию включают в документацию по изготовлению для каждой группы или серии источников тепла (см. 4.1).

9.2.2 Последующее испытание

Если в конструкции источника тепла либо в материалах, либо в поставщиках строительных компонентов, либо в процессе производства происходят изменения, вследствие которых существенно меняются одна или несколько характеристик производительности, приведенных в таблицах 1 или 2, то типовое испытание для соответствующей характеристики/соответствующих характеристик повторяют.

При проведении последующего испытания проверяют только выбранные конструктивные характеристики или показатели производительности, чтобы гарантировать, что они соответствуют требованиям настоящего стандарта и/или полностью проверенным источникам тепла определенной группы или серии.

Для группы или серии источников тепла проверяют только отобранные источники тепла этой группы или серии. Обычно проверяют только выбранные конструктивные характеристики и показатель производительности, если четко определено, что источники тепла принадлежат к одной группе или серии.

При принятии решения о том, какие конструктивные характеристики или показатели производительности или какие источники тепла (в случае одной группы или серии источников тепла) должны быть проверены, принимают во внимание показатели из таблицы 2, а также перечень характеристик из таблицы 1.

При принятии решения принимают во внимание проведенные ранее испытания на соответствие требованиям настоящего стандарта.

Должны быть указаны характеристики и свойства, которые рассматривают при принятии решения о проверке конструктивных характеристик и/или показателей производительности или выборе источника тепла, подлежащего проверке (в случае группы или серии источников тепла), а копию включают в документацию по изготовлению для каждой группы или серии источников тепла (см. 4.1).

Таблица 1

Характеристики, учитываемые при принятии решения о принадлежности источника тепла к определенной группе

А - Конструкция, материалы и т.д. D - Воздух для горения топлива
Внешняя конструкция, размеры, вес и т.д.
Система для воздушного отопления/излучения
Зольник
Материал
Процесс монтажа, сварочные работы и т.д.
Особые условия
Эскизы/чертежи
Размеры топки
Расположение поворотов продуктов сгорания
Огнеупорные материалы/теплоизоляция
Вертикальная каминная решетка/вертикальная каминная плита
Температурные условия
Расположение топочной дверцы, стеклянные элементы/поверхности
Решетка на полу топки, система удаления золы
Особые условия
Поперечное сечение воздуховодов (первичного/вторичного)
Длина воздуховодов (первичного/вторичного)
Количество поворотов (первичного/вторичного)
Подача воздуха в топку (первичного/вторичного)
Предварительный подогрев воздуха
Система регулирования воздушных потоков
Размеры
Защита от передачи тепла
Теплоизоляция
Особые условия
С - Каналы продуктов сгорания
Площадь поперечного сечения
Длина продуктов сгорания
Штуцер дымовых газов
Потери давления
Теплопередача
Теплоизоляция
Особые условия

Таблица 2

Показатели эффективности, учитываемые при принятии решения о принадлежности источника тепла к определенной группе

Показатель эффективности Подраздел, пункт настоящего стандарта
Пожарная безопасность 4.2.1, 4.2.2, 4.2.3, 4.2.4, 4.2.5, 4.2.6, 4.2.8, 4.2.9, 4.2.11, 5.1, 5.2, 5.3
Эмиссия продуктов сгорания 4.2.1, 4.2.3, 4.2.7, 4.2.8, 4.2.10, 4.2.11, 5.1, 6.1, 6.2
Температура внешней поверхности 4.2.1, 5.1, 5.2, 5.3
Электробезопасность 5.4
Возможность очистки 4.2.2, 4.2.4, 4.2.5, 4.2.6
Температура дымовых газов 6.1
Механическая прочность (для установки дымоотводов/дымовых труб) 4.2.1, 4.2.3
Тепловая мощность/энергетический КПД 6.3, 6.4, 6.5, 6.6
Мощность аккумуляции тепла 6.6

9.3 Заводской контроль качества

9.3.1 Общая информация

Производитель разрабатывает, документально оформляет и поддерживает систему непрерывного контроля качества продукции на производстве, а также зоны ответственности, которые гарантируют, что продукция, поставляемая на рынок, полностью соответствует указанным характеристикам. Система производственного контроля включает: процедуры испытаний и/или оценки, регулярные проверки использования результатов для контроля работ или других связанных с ними материалов и компонентов, технического оборудования, процесса производства и продукции. Продукт должен соответствовать требованиям 9.3.2-9.3.8.

Примечание - Для соблюдения требований, указанных в настоящем стандарте, непрерывная система производственного контроля должна функционировать в соответствии с ЕН ИСО 9001 или с другим эквивалентным документом.

Производитель в рамках заводской системы управления производством выполняет проверки контроля соответствия продукции. Отбор проб, проверка или оценка производятся по ИСО 2859. Данные экспертиз, испытаний или оценок, которые демонстрируют необходимость действий, фиксируют, как и сами предпринятые меры. Обнаруженные несоответствия контрольных значений или параметров записывают.

9.3.2 Материалы и строительные компоненты

Спецификации всех материалов и строительных компонентов должны быть пригодными для предусмотренных целей использования и оформлены в виде соответствующих документов, также как и системы экспертизы и испытания по обеспечению соответствия этих материалов и строительных компонентов.

9.3.3 Контроль оборудования, измерительных и испытательных приборов

Все приборы для взвешивания, измерения и проведения испытаний, используемые для подтверждения соответствия продукции, калибруют в соответствии с установленным порядком и критериями в заданные периоды времени и регулярно проверяют.

9.3.4 Контроль процесса производства

Производитель определяет и планирует процессы производства, которые напрямую влияют на характеристики продукции, и гарантирует, что эти процессы происходят в контролируемых условиях. Если полный контроль требуемых характеристик продукции не представляется возможным при проведении только последующего испытания и испытаний выпускаемых продуктов, то производственные процессы должны осуществляться специально обученным обслуживающим персоналом.

9.3.5 Контроль, испытания и оценка продукта

9.3.5.1 Общие положения

Производитель документально устанавливает соответствующий каждому типу продукции процесс промежуточного и конечного контроля и поддерживает его, чтобы гарантировать, что указанные значения соблюдаются для всех производственных характеристик.

В систему производственного контроля должны быть включены, как минимум, следующие характеристики продукции, критерии и контрольные мероприятия.

9.3.5.2 Строительные материалы

a) Тип - состав/спецификации

b) Толщина

c) Размеры

d) Структура поверхности

Тип и свойства строительного материала принимаются по декларации поставщика при условии, что поставщик имеет надлежащую систему заводского производственного контроля по обеспечению соответствия размеров, консистенции и точности строительного материала и его свойств.

9.3.5.3 Изоляционные материалы

a) Тип - спецификация изоляционного материала

b) Плотность - теплопроводность

Тип и свойства изоляционного материала принимаются по декларации поставщика при условии, что поставщик имеет надлежащую систему заводского производственного контроля по обеспечению соответствия размеров, консистенции и точности типа изоляционного материала и его свойств.

9.3.5.4 Уплотнители и уплотнительные материалы

a) Тип - включая обозначение или состав, если не предусмотрен сертификат соответствия

b) Размеры

Тип и свойства уплотнительного материала принимаются по декларации поставщика при условии, что поставщик имеет надлежащую систему заводского производственного контроля по обеспечению соответствия размеров, консистенции и точности типа уплотнительного материала и его свойств.

9.3.5.5 Контроль процесса производства

9.3.5.5.1 Конструкция и размеры

Соответствие следующих конструкций и размеров критически допустимым значениям проверяется в процессе производства и/или по окончании:

а) патрубок дымовых газов;

b) дымовые каналы;

c) ящик для сбора золы;

d) решетка на полу топки;

e) регулировка воздуха - термостат, ручная регулировка, размеры отверстия, подводящего воздух, и т.д.;

f) регулирование дымовых газов (дроссельное устройство);

g) топочные дверцы/дверцы для закладки топлива;

h) устройство розжига;

j) колосники;

В электронном документе нумерация пунктов соответствует официальному источнику.

k) строительный тип топки;

l) конвекционная система.

9.3.5.5.2 Прочие меры контроля

В процессе производства выполняются следующие меры контроля:

- монтаж подвижных деталей/соединительных элементов.

9.3.6 Неподтвержденные продукты

Производитель документально устанавливает процедуры процесса производства и следует им, чтобы гарантировать, что определенный продукт, не соответствующий установленным требованиям, будет четко обозначен, отобран и его поступление в продажу исключено. Эта процедура должна предусматривать составление соответствующих документов и уведомление надлежащих органов. Отремонтированные и/или переработанные продукты производства должны вновь проверяться в соответствии с планом расследования, контроля и оценки.

9.3.7 Корректирующие и профилактические мероприятия

Производитель документально устанавливает порядок проведения корректирующих и профилактических мероприятий и поддерживает его. Производитель при проведении корректирующих и профилактических мероприятий записывает и документально оформляет результаты изменений.

9.3.8 Оформление, складирование, упаковка, предохранение от порчи, отгрузка

Для обеспечения соответствия продукции установленным требованиям производитель документально устанавливает и оформляет процессы обработки, складирования, упаковки, сохранности и поставки конечного продукта после окончательной проверки и поддерживает их.

Приложение А
(обязательное)

ПРОВЕДЕНИЕ ИСПЫТАНИЙ

А.1 Окружающее пространство при проведении испытаний

А.1.1 Температура воздуха в помещении

Температура окружающего воздуха испытательной лаборатории должна измеряться в одной из точек, расположенных на окружности круга радиусом (1,2 0,1) м, начиная со стороны источника тепла на высоте (0,50 0,01) м от основания источника тепла и вне влияния прямого излучения.

Для измерения температуры помещения необходимо использовать термоэлемент или любое другое средство измерения температуры, которое должно быть защищено от излучения открытой цилиндрической гильзой диаметром 40 мм и длиной 150 мм из полированного алюминия или другого материала с эквивалентным коэффициентом отражения. Термоэлемент или другое средство измерения температуры должны соответствовать требованиям точности измерений, приведенным в А.3.

А.1.2 Скорость потока в поперечном сечении

Скорость потока в поперечном сечении вблизи испытуемого источника тепла и в окружающей его среде должна быть измерена в установленных в А.1.1 местах и не должна превышать 0,5 м/с.

А.1.3 Внешние тепловые источники

Испытуемую конструкцию необходимо защитить от прямого воздействия других источников тепла, например, соседних конструкций для испытаний и солнечного света.

А.2 Строительство образца для испытаний

А.2.1 Общие положения

Конструкция для проведения испытаний должна состоять из источника тепла, который строится согласно инструкции по монтажу производителя в испытательном углу в соответствии с А.2.2.

Теплоаккумулирующие источники тепла, как правило, очень тяжелые, и поэтому их во время проведения испытаний не следует устанавливать на весовую платформу. Состав топлива для проведения испытаний в соответствии с данными производителя определяется отдельно на весовой платформе, а затем после доставки к источнику тепла с допустимыми погрешностями, изложенными в А.3.

Источники тепла должны быть установлены таким образом, чтобы от их стен до стен испытательного угла было выдержано минимальное расстояние до горючих строительных конструкций, заданное производителем.

Должны быть использованы измерительные участки, выполненные по А.2.3, с возможностью определения температуры дымовых газов по А.2.3.2, состава дымовых газов по А.2.3.3 и приложенной тяги по А.2.3.4.

Источники тепла должны быть соединены с измерительным участком методом, описанным в инструкции по установке.

Дымовые газы должны отсасываться в верхней части измерительного участка, при этом должна быть предусмотрена возможность такой установки, при которой согласно соответствующим методам испытаний на испытательном участке поддерживается постоянная тяга (например, с использованием дымососа).

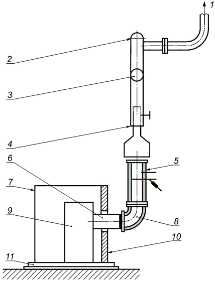
Примечание - Примеры типичной установки приведены на рисунках А.1 и А.2.

А.2.2 Испытательный угол

Испытательный угол должен состоять из пола, одной боковой и одной задней стенок, которые примыкают друг к другу под прямым углом. Если у источника тепла должна измеряться также температура перекрытия, испытательный угол должен соответствовать данным производителя, приведенным в инструкции по монтажу.

Примечание - Примеры общей компоновки и конструкции испытательного угла приведены на рисунках А.3 и А.4.

Пол и стены испытательного угла должны быть выполнены в соответствии с рисунком А.5 или должны иметь конструкцию со схожими термическими показателями. Размеры испытательного угла должны быть больше боковой и задней стенок, как минимум, на 150 мм и превышать верхнюю поверхность источника тепла не менее чем на 300 мм.

Испытательный угол для источников тепла с горизонтальным подключением должен иметь отверстие в задней стенке для соединительного элемента. Размер отверстия должен быть таким, чтобы расстояние от соединительного элемента составляло (150 5) мм.

Во время испытаний определяют максимальные температуры поверхностей пола, стен и/или перекрытия испытательного угла. Измерения должны проводиться калиброванными средствами измерений с допустимыми погрешностями, изложенными в А.3. Положение точек измерения должно соответствовать рисунку А.6. Должно быть предусмотрено достаточное количество точек измерения в самых горячих местах или над ними с установленными калиброванными для этих целей термоэлементами, чтобы гарантированно измерялась наиболее высокая температура внешней поверхности. Термоэлементы должны быть надежно закреплены, как это показано на рисунке А.7, чтобы обеспечить соединение именно с внешней поверхностью.

Примечание - Допустимо использовать другие, схожие с термоэлементами, средства измерений, если это гарантирует, что возникающие высокие температуры внешней поверхности испытательного угла и пола будут измерены и записаны, а используемые средства измерений откалиброваны с учетом допустимых погрешностей, изложенных в А.3.

Если самая высокая температура измеряется на границе испытательного угла, то боковые стены, пол и/или потолок должны удлиняться наружу, как минимум, на 150 мм от точки с наиболее высокой температурой.

А.2.3 Измерительный участок

А.2.3.1 Общие требования

Общая конструкция и отдельные конструктивные особенности измерительного участка показаны на рисунке А.8.

Измерительный участок для измерения температуры и состава дымовых газов, а также для измерения используемой тяги описан в А.2.3.2 и А.2.3.4.

Измерительный участок должен быть полностью обернут минеральным волокном толщиной 40 мм или похожим материалом, чтобы при теплопроводности 0,04 Вт/м·К достигалась средняя температура поверхности не более 20 °С. Размеры измерительного участка должны соответствовать размерам, приведенным на рисунках А.9 и А.10, а внутренний диаметр должен подходить диаметру штуцера дымовых газов источника тепла.

А.2.3.2 Измерение температуры дымовых газов

Температуру дымовых газов измеряют измерительным датчиком, например, термоэлементом, расположенным на выходе из пирометрической отсасывающей трубки, как это изображено на рисунке А.8. Закрытый конец трубки должен касаться противоположной стенки измерительного участка, а открытый конец должен быть соединен с насосом дымовых газов. Термоэлемент должен быть защищен трубой. Между измерительным участком и пирометрической отсасывающей трубкой и между измерительным датчиком и выходом пирометра должно быть выполнено газоплотное соединение.

Измерительная трубка отсасывающего пирометра должна иметь три отверстия для отбора проб диаметром (2,5 0,5) мм, одно из которых выводится посередине измерительного участка, а два других к каждой из сторон трубы с отступом в четверть диаметра трубы от стенки трубы. Внешний конец измерительной головки должен быть установлен, как это представлено на рисунке А.8.

Внутренний диаметр отсасывающего пирометра должен составлять (5 1) мм, а количество протекающих дымовых газов должно быть таким, чтобы достигалась скорость от 20 до 25 м/с.

Примечание - Высокая скорость дымовых газов, необходимая для заданного диапазона расхода, может быть ограничена посредством байпаса для газоанализатора.

А.2.3.3 Отбор проб дымовых газов

Для отбора проб дымового газа должен использоваться всасывающий пирометр, открытый конец которого соединяется с системой анализа состава дымовых газов, допустимые погрешности которой изложены в А.3. В линии отбора проб должны быть предусмотрены возможности охлаждения, очистки и сушки проб дымовых газов.

Материалы линии отбора проб и подключения зондов должны выдерживать ожидаемые температуры и не должны вступать в реакцию с дымовыми газами или допускать диффузию дымовых газов. Ни в местах подключения зонда для отбора проб, ни в линии отбора проб не должно быть утечек.

А.2.3.4 Измерение статического давления

Трубку с внутренним диаметром 6 мм размещают в измерительном участке, как показано на рисунке А.8. Конец трубки герметизируют вровень с внутренней стенкой измерительного участка.

А.2.4 Соединение источника тепла с измерительным участком

Штуцер дымовых газов источника тепла должен соединяться с измерительным участком неизолированным соединительным элементом и изолированным промежуточным элементом согласно А.2.3. Соединительный элемент должен быть выполнен из неокрашенной мягкой стали толщиной (1,5 0,5) мм. Его длина должна составлять (330 10) мм, а его диаметр соответствовать диаметру штуцера источника тепла.

Если соединительный элемент длиннее чем (330 10) мм, а присоединение прибора к измерительному участку требуется по инструкции производителя, то допускается не изолировать только 330 мм его длины. Все последующие длины должны быть изолированы согласно А.2.3.1.

Промежуточный элемент между измерительным участком и штуцером дымовых газов должен иметь одинаковый диаметр с измерительным участком, на нем должна быть предусмотрена одинаковая с ним теплоизоляция (см. А.2.3.1).

Для источников тепла со штуцерами дымовых газов некруглой формы или штуцерами, отличающимися по форме от измерительного участка, соединительный элемент должен быть выполнен как адаптер, который выравнивает требуемые изменения формы или диаметра штуцера дымовых газов, для того чтобы он соответствовал измерительному участку.

Промежуточный элемент для источников тепла с горизонтальным выпуском должен иметь радиус кривизны (225 5) мм, а для источников тепла с вертикальным штуцером дымовых газов должен иметь длину (350 10) мм.

Примечание - Некоторые общие схемы представлены на рисунках А.1, А.2, А.9 и А.10.

А.2.5 Измерение температур внешней поверхности теплоаккумулирующих источников тепла

А.2.5.1 Общие положения

Измеряют разницу температур между каждой из внешних поверхностей источника тепла и температурой окружающего воздуха. Для того чтобы точно измерить среднюю температуру внешней поверхности, необходимо выбрать достаточное количество точек измерения температуры на каждой из внешних поверхностей, из которых в итоге будет получено достоверное значение.

Если конструкция приборов в отношении каналов продуктов сгорания и любых других конструктивных элементов, а также в отношении фронтальной стороны, задней стороны и боковых стен симметрична, то допустимо измерять температуру только одной из боковых стен и половины других внешних поверхностей. Конструктивные требования по выбору специфических пунктов измерения приведены в А.2.5.2.

Если конструкция несимметрична или имеет значительные отличия, то измеряют температуру всех отдельных внешних поверхностей и используют больше точек измерения, как описано в А.2.5.2.

Средняя температура внешней поверхности должна задаваться в качестве взвешенной средней температуры внешней поверхности. Расчет основывается на значениях различных точек измерения и поверхностей, на которых они размещены, как описано в А.6.2.7.

Средняя разница температур внешней поверхности и окружающего воздуха позволяет оценить количество тепла, отдаваемого прибором в течение времени. Согласно настоящему стандарту измеряется только средняя кривая разницы температур внешней поверхности и указывается время достижения максимального значения, время снижения температуры до 50 % от максимального и время снижения на 25 % от максимального значения.

Примечание - В приложении С приведен метод расчета.

А.2.5.2 Выбор точек измерения

Если источник тепла симметричен, внешние поверхности его задней, передней, верхней и боковых стен делятся вертикальной линией на две равные идентичные поверхности.

Измеряют среднюю разницу температур внешних поверхностей половины задней, передней и верхней стен и одной из боковых стен. Каждую из стен делят далее на небольшие участки размером не более 0,3 х 0,3 м, на каждом таком участке устанавливают, как минимум, одну точку измерения. Измерение температуры проводят на симметричных средних точках поверхности, на которой установлен источник тепла.

Примечание - Может возникнуть необходимость проведения предварительной проверки температуры, чтобы определить, являются ли температурные профили внешних поверхностей симметричными.

Разницу температур внешней поверхности дверцы измеряют, как минимум, в двух точках. Поверхность дверцы делят вертикальной и горизонтальной линиями на четыре одинаковых участка. Определяют одну точку измерения в центре нижнего левого участка, а другую - в центре верхнего правого участка.

Если источник тепла несимметричен по геометрии каналов продуктов сгорания или внешних поверхностей, то внешние поверхности такого прибора разделяют на небольшие участки размером не более 0,3 х 0,3 м. На каждом таком участке устанавливают не менее одной точки измерения. Измерение температуры проводят в симметричных точках поверхности. Среднюю температуру внешней поверхности рассчитывают на основании показаний разницы температур в точках измерения, как это описано в А.6.2.7. Типичный пример размещения точки измерения представлен на рисунке А.11.

А.2.5.3 Установка термоэлементов на внешней поверхности источника тепла

Термоэлементы устанавливают таким образом, чтобы измеренные температуры внешней поверхности соответствовали допустимым погрешностям, приведенным в таблице А.1. Используют либо поверхностные термоэлементы с поверхностью, имеющей хорошие характеристики сцепления, либо, как альтернатива, для надежного сцепления используют специальный клей или лак для ногтей, чтобы обеспечить хороший контакт между термоэлементом и внешней поверхностью прибора.

Примечание - Примеры других используемых инструментов измерения температуры могут быть приведены в приложении, но ответственность за их использование ложится на испытательную лабораторию, которая должна обеспечить требуемую надежность.

А.3 Средства измерений

Выбирают такие средства измерений, чтобы для каждого измеряемого параметра выполнялись требования к надежности измерений согласно таблице А.1. Максимальный измеряемый параметр должен находиться в области измерений используемого средства измерений.

Таблица А.1

Погрешности

Измерение Допустимая погрешность
Анализ газа:  
СО 6 % диапазона измерения
2 % диапазона измерения
2 % диапазона измерения
Температура:  
дымовые газы 5 K
помещение 1,5 K
внешняя поверхность 2 K
примыкающие поверхности 2 K
Поток в поперечном сечении 0,1 м/с
Тяга 2 Па
Масса:  
топливо для испытаний 20 г
потери топлива при провале через решетку и перемешивании 5 г
Загрузка топлива 7,5 кг 5 г
  > 7,5 кг 10 г

А.4 Проведение испытаний

А.4.1 Строительство источника тепла

Источник тепла строят в испытательном углу в соответствии с А.2.1, принимая во внимание инструкцию производителя по установке. Источники тепла подключают к измерительному участку в соответствии с инструкцией производителя по установке.

Если источник тепла поставляется в виде нескольких строительных компонентов или групп материалов, то его сборку осуществляют в соответствии с указаниями производителя по установке.

Для источников тепла с горизонтальным штуцером дымовых газов промежуточный участок выводят через стену испытательного угла. Отверстие вокруг промежуточного элемента заполняют изоляционным материалом (см. рисунок А.4).

При проведении испытания номинальной тепловой мощности прибора удаляют интегрированный ограничитель тяги между плоскостью горения и штуцером дымовых газов, а само отверстие плотно закрывают подходящей по размеру пластиной или ограничителем, чтобы исключить проникновение воздуха через отверстие ограничителя тяги.

Термоэлементы, измеряющие разность температур внешней поверхности, устанавливают на внешней поверхности источника тепла, как указано в А.2.5.

А.4.2 Задание типа и количества топлива для проведения испытаний

При проведении испытания интенсивности горения каждая закладка дров должна быть такой, как рекомендовано производителем прибора в инструкции по обслуживанию. Испытание проводят на заданном производителем количестве топлива, а если производитель в своей инструкции по обслуживанию указывает возможность последующей частичной загрузки топлива, то это также допустимо. Согласно 6.5 недопустимо, чтобы частичная загрузка составляла менее 20 % от общей загрузки.

А.4.3 Загрузка топлива и удаление золы из топки

Топливо для испытания выбирают и подготавливают согласно приложению В.

Если в качестве топлива для испытаний используют твердое минеральное топливо, за исключением дров и торфа, то его укладывают на плоскость горения топки таким образом, чтобы топливо не было искусственно уплотнено.

Если в качестве топлива для испытаний используют дрова или торф, то заполнение топки топливом выполняют в соответствии с инструкцией производителя по обслуживанию прибора, принимая во внимание рекомендации в отношении размеров поленьев и брикетов и их расположения в топке.

Если в качестве топлива для испытаний используют твердое минеральное топливо, за исключением поленьев, то процесс удаления золы проводят тщательно и в полном соответствии с инструкцией производителя по обслуживанию. Для источников тепла со съемной колосниковой решеткой и перемешиванием топлива обращают внимание на падающее через отверстия решетки топливо. В таких источниках тепла удаление золы происходит через дверцу зольника или крышку зольника, поэтому удаление золы осуществляют лишь после того, как угли перестают светиться.

А.4.4 Потери тепла с дымовыми газами

А.4.4.1 Общие положения

Потери тепла с дымовыми газами рассчитывают исходя из данных по составу и температуре дымовых газов по А.6. Состав и температуру дымовых газов и температуру помещения измеряют по А.4.4.2 и А.4.4.3.

А.4.4.2 Состав дымовых газов

Концентрацию продуктов горения ( или и СО) измеряют калиброванными приборами, которые удовлетворяют требованиям надежности измерений, приведенным в А.3, либо непрерывно, либо с интервалом не более 1 мин. Среднее значение концентрации продуктов в сухих дымовых газах определяют по А.6.

А.4.4.3 Температура дымовых газов и температура помещения

Температуру дымовых газов и температуру помещения измеряют калиброванными приборами, которые удовлетворяют требованиям надежности измерений, приведенным в А.3.

Температуру дымовых газов и температуру помещения измеряют и регистрируют калиброванными приборами либо непрерывно, либо с интервалом не более 1 мин.

По окончании испытания среднюю температуру помещения и среднюю температуру дымовых газов рассчитывают по А.6 и записывают.

А.4.5 Потери тепла за счет провала топлива через решетку и при перемешивании

Для источников тепла с решеткой в качестве пола топки в случае, если топливом для испытаний не являются дрова, остатки золы и топлива, которые провалились через решетку или упали вниз при перемешивании, откладывают в сторону и дают остыть. Массу остатков определяют в килограммах с точностью до 2 г и записывают. Остывшие остатки подвергают анализу, в результате которого и определяют величину горючих веществ в процентах от провала топлива через решетку и при перемешивании. Потери тепла в остатке рассчитывают по уравнению, приведенному в А.6.2.1.4.

В случае, если топливом для испытаний являются дрова, содержание углерода в остатках не определяют, а потерю тепла с остатками топлива указывают как снижение коэффициента полезного действия на 0,5 %.

А.4.6 Эксплуатационные испытания интенсивности горения

А.4.6.1 Общие положения

Испытание стартует в холодном состоянии без предварительного периода. Розжиг и испытание выполняют, как указано в А.4.6.2.

За требуемой тягой наблюдают на протяжении всего испытания и регулируют, при необходимости, величину приложенного давления дымовых газов, чтобы тяга установилась на уровне 2 Па над измеренным нормальным показателем давления дымовых газов, как описано в 6.4.

А.4.6.2 Периоды проведения испытания

Испытание проводят при закладке топлива, задаваемой производителем. Осуществляют также частичную загрузку, если это оговорено производителем. Частичная загрузка составляет не менее 20 % закладки топлива.

Испытание стартует в холодном состоянии без подготовительного периода. Розжиг осуществляют либо по инструкции производителя, либо при помощи 500 г или 10 % от закладки топлива по данным производителя в зависимости от того, какая величина больше. Розжиг осуществляют при открытом нижнем подводе воздуха.

Устанавливают требуемую тягу, чтобы создать соответствующее статическое давление в измерительном участке. Температуру и состав дымовых газов с момента розжига измеряют и записывают в соответствии с А.4.4. В источниках тепла с водяными контурами измеряют и записывают температуры подающей и обратной линии, а также расход воды в соответствии с А.2.5. Температуру внешней поверхности от каждого термоэлемента на внешних поверхностях источника тепла измеряют и записывают непрерывно или через равномерные интервалы времени не более 1 мин.

Температуру пола и стен испытательного угла измеряют и записывают либо непрерывно, либо с равномерными интервалами не более 1 мин, чтобы гарантировать, что достигнутые максимальные значения температуры записаны.

Измеряют и записывают температуры внешних поверхностей ручек обслуживания, которые должны эксплуатироваться без использования инструментов, а также температуры в резервуаре для хранения топлива, интегрированном в конструкцию источника тепла, если таковой предусмотрен. Температуру измеряют с такими интервалами, чтобы гарантировать точную запись значения достигнутой максимальной температуры.

Когда произошло воспламенение топлива, средства регулирования подачи воздуха на горение, если они предусмотрены конструкцией, устанавливают таким образом, чтобы достигалась тепловая мощность, заданная производителем источника тепла.

Каждую последующую частичную загрузку топлива в топку осуществляют через определенное время, задаваемое производителем, которое, однако, не должно превышать 3 ч, до достижения общей закладки топлива по данным производителя.

При определении КПД и измерении эмиссии вредных веществ период сгорания топлива заканчивается после полной загрузки топлива, когда содержание либо достигает 4 %, либо понижается до 25 % от пикового значения, в зависимости от того, какое из значений будет наименьшим.

Продолжительность периода сгорания топлива регистрируют в минутах.

Измерение разницы температур внешних поверхностей прибора продолжают до достижения 25 % от средней максимальной разницы температур. Когда эта точка достигнута, испытательный период закончен. Запись продолжительности испытательного периода регистрируют в минутах.

Температуры пола и боковых стен испытательного угла, температуры внешних поверхностей ручек обслуживания и температуру в резервуаре для хранения топлива измеряют непрерывно и записывают до достижения максимальной температуры. Измерение разницы температур на всех внешних поверхностях источника тепла продолжают до тех пор, пока эта разница не достигнет 25 % от среднего максимального значения температуры внешней поверхности. Когда эта точка достигнута, испытание окончено. Запись времени в течение испытательного периода осуществляют в минутах.

А.4.7 Испытание на пожарную безопасность

А.4.7.1 Общие положения

Данное испытание должно проводиться с источником тепла в случае сжигания дров, а также дров вместе с другим твердым минеральным топливом. Все устройства регулирования, за исключением устройства для розжига, должны быть установлены таким образом, чтобы достигалась наивысшая тепловая мощность.

В качестве топлива для испытаний должны быть выбраны колотые поленья в соответствии с таблицей В.1.

Испытание должно проводиться с закрытой топочной дверцей.

А.4.7.2 Порядок розжига и проведения испытания

Испытание начинают в холодном состоянии или сразу же после испытания номинальной тепловой мощности. При запуске в холодном состоянии источник тепла загружают достаточным количеством топлива, которое позволяет осуществить воспламенение топлива в соответствии с данными производителя. Если топливо воспламеняется легко, прибор эксплуатируют при номинальной производительности с той массой топлива, которая задана производителем в инструкции по обслуживанию. Это может быть как однократная загрузка топлива, так и несколько частичных закладок, если это указано в инструкции по обслуживанию. Период розжига закончен, когда вся масса топлива загружена в топку и величина эмиссии достигла либо 4 %, либо составила 25 % от пикового значения, в зависимости от того, какая из этих величин наименьшая.

Испытание начинают, когда в топку загружено количество топлива для испытаний, указанное производителем в инструкции по обслуживанию. Это может быть одна загрузка, либо несколько частичных загрузок, если это указано в инструкции по обслуживанию.

После испытания номинальной тепловой мощности проводят испытание на пожарную безопасность сразу же после окончания периода сгорания топлива с учетом коэффициента полезного действия и измерения эмиссии вредных выбросов, когда величина эмиссии достигнет либо 4 %, либо 25 % от достигнутого в предыдущем испытании пикового значения, в зависимости от того, какая из этих величин будет наименьшей.

Испытание на пожарную безопасность начинают с закладки того количества топлива для испытаний, которое указано производителем в инструкции по обслуживанию. Количество топлива может быть увеличено во время одной из отдельных загрузок или путем нескольких частичных загрузок, если это указано в инструкции по обслуживанию.

Устанавливают статическое давление дымового газа в трубе, чтобы тяга достигала Па, как описано в 6.4. Подачу воздуха на горение устанавливают на максимальное эксплуатационное значение, а подачу вторичного воздуха на нормальное положение для дров.

Осуществляют контроль тяги с интервалом около 15 мин во время проведения всего испытания. При необходимости давление дымовых газов регулируют, чтобы поддерживать значение тяги на Па от требуемого значения для проведения испытания.

Следующие величины измеряют либо непрерывно, либо с равными интервалами не более 1 мин:

- температуру пола и боковых стен испытательного угла;

- температуру в резервуаре для топлива.

Когда огонь погаснет, все устройства подвода воздуха на горение закрывают. Испытание закончено, когда достигнута максимальная температура.

А.5 Результаты испытаний

Для каждого использованного типа топлива для испытаний результаты выполненных измерений, указанных в приложении В, должны быть записаны.

Следующие средние значения из, как минимум, двух действительных результатов испытаний рассчитывают и записывают:

- общий коэффициент полезного действия, %;

- среднее значение эмиссии СО при 13 % ;

- среднее значение температуры дымовых газов, °С;

- общее количество отданного тепла, кДж.

Записывают результаты отдельных измерений, использованных в обоих расчетах, а также тягу дымовых газов для каждого испытания.

Записывают в соответствии с А.4.6.2 продолжительность испытания от начала до достижения средней максимальной температуры внешней поверхности, до достижения 50 % и 25 % от средней максимальной температуры внешней поверхности за вычетом температуры помещения.

Примечание - В приложении С приведен метод расчета кривой теплоотдачи в зависимости от времени.

В соответствии с А.4.6.2 записывают максимальную температуру на каждой ручке обслуживания источника тепла, которая приводится в действие без дополнительного инструмента, возникающую при проведении испытания интенсивности горения. Записывают максимальные температуры стен и пола испытательного угла, а кроме того, регистрируют максимальную температуру резервуара для топлива, если он предусмотрен конструкцией.

Записывают соответствующие материалы, конструкции и строительные требования, указанные в разделе 4. Отмечают соответствие инструкции изготовителя источника тепла требованиям раздела 7, а также информацию о том, удовлетворяет ли обозначение и этикетка источника тепла требованиям раздела 8.

Примечание - Кроме того, устанавливают соответствие актуальных измеренных значений размеров и толщины данным сертификатов и других документов, подтверждающих качество материалов.

А.6 Порядок расчетов

А.6.1 Используемые обозначения величин в уравнениях и единицы измерения

Обозначения величин в уравнениях и единицы измерения, используемые для расчета, приведены в таблице А.2.

Таблица А.2

Условные обозначения и единицы измерения

Обозначение Описание Единица измерения
В Масса топлива для испытания (которое сжигается) кг
b Потери горючих компонентов топлива при провале через решетку или при шуровке по отношению к массе остатка (массовая доля) %
С Содержание углерода в топливе для испытания (которое сжигается) (массовая доля) %
СО Содержание окиси углерода в сухих дымовых газах (объемная доля) %
Содержание диоксида углерода в сухих дымовых газах (объемная доля) %
Удельная теплоемкость воды кДж/(Км3)
Содержание углерода, теряемого при провале через решетку или при шуровке, по отношению к общему количеству сжигаемого топлива для испытаний (массовая доля) %
Удельная теплоемкость сухих дымовых газов в зависимости от температуры и состава при нормальных условиях кДж/(Км3)
Удельная теплоемкость воды в зависимости от температуры при нормальных условиях кДж/(Км3)
F Масса сожженного топлива при 10-часовом испытании, принимая во внимание содержание золы в топливе, но без учета горючих компонентов, провалившихся через решетку кг
H Содержание влаги в топливе для испытания (которое сжигается) (массовая доля) %
Низшая теплота сгорания топлива для испытания (которое сжигается) кДж/кг
Массовый поток дымовых газов г/с
  КПД %
Р Тепловая мощность кДж
Потери тепла с дымовыми газами на единицу массы топлива для испытания кДж/кг
Химические потери тепла с дымовыми газами на единицу массы топлива для испытания кДж/кг
Потери тепла с провалом горючих компонентов топлива через колосниковую решетку и при перемешивании на единицу массы топлива для испытаний (которое сжигается) кДж/кг
Потери тепла с температурой дымовых газов по отношению к теплотворной способности топлива для испытаний (которое сжигается) %
Потери тепла с латентным теплом дымовых газов по отношению к теплотворной способности топлива для испытаний (которое сжигается) %
Потери тепла при провале горючих компонентов топлива через решетку или при шуровке по отношению к единице массы топлива для испытаний (которое сжигается) %
R Провал через решетку или при перемешивании по отношению к массе сожженного топлива (массовая доля) %
Минимальная продолжительность горения или продолжительность горения, заданная производителем ч
Температура дымовых газов °С
Температура помещения °С
Объем СО при нормальных условиях дм3
W Содержание воды в топливе для испытаний (массовая доля) %
А Стехиометрическое количество кислорода, необходимое для топлива моль /моль топлива
с Содержание углерода в топливе (которое сжигается) кг/кг
h Содержание водорода в топливе (которое сжигается) кг/кг
m Мольное содержание водорода -
n Мольное содержание кислорода -
о Содержание кислорода в топливе (которое сжигается) кг/кг
p Мольное содержание серы -
s Содержание серы в топливе (которое сжигается) кг/кг

А.6.2 Уравнения

А.6.2.1 Потери и коэффициент полезного действия

А.6.2.1.1 Общие положения

Потери определяют по средним значениям температуры дымовых газов и температуры помещения, составу дымовых газов и горючим компонентам топлива в остатке, провалившемся через решетку и при перемешивании.

Коэффициент полезного действия вследствие этих потерь определяют по уравнению

. (А.1)

Если топливом для испытаний являются колотые дрова и потери тепла с несгоревшими остатками топлива достигают 0,5 % в соответствии с А.4.5, то значение для уравнений (А.3) и (А.5) определяют по следующему уравнению

. (А.2)

А.6.2.1.2 Потери тепла с дымовыми газами

; (А.3)

. (А.4)

А.6.2.1.3 Химические потери тепла с дымовыми газами

; (А.5)

. (А.6)

А.6.2.1.4 Потери тепла при провале топлива через решетку и при перемешивании

; (А.7)

. (А.8)

А.6.2.2 Общая тепловая мощность

Тепловую мощность рассчитывают по массе топлива, использованного за 1 ч, теплотворной способности топлива для испытаний и коэффициенту полезного действия по следующему уравнению

. (А.9)

А.6.2.3 Массовый поток дымовых газов

Массовый поток дымовых газов определяют приблизительно по содержанию СО и в дымовых газах и удельным характеристикам топлива по уравнению

. (А.10)

А.6.2.4 Объем СО

Средние значения составных компонентов дымовых газов, например, кислорода (), диоксида углерода () и оксида углерода (СО), в течение испытаний в некоторых случаях рассчитывают как допустимое приближение значений, полученных при помощи измерительных приборов.

При таком расчете средние значения составных компонентов дымовых газов не учитывают возможные колебания в массовом расходе в течение испытательного периода, так как расход дымовых газов принимается постоянным, и погрешности в расчете являются незначительными.

Содержание СО рассчитывают следующим образом:

a) среднее значение оксида углерода () рассчитывают как среднее значение всех данных СО измерительного прибора в течение испытаний;

b) среднее содержание СО пересчитывают, основываясь на постоянном содержании кислорода в дымовых газах, по следующим уравнениям:

; (А.11)

. (А.12)

Согласно требованиям настоящего стандарта нормативное содержание кислорода () в дымовых газах составляет 13 %. Значение рассчитывают по А.6.2.8.

Примечание - Если СО измеряют на базе единиц объема (часть объема в % или ррm), а концентрация СО задается в единицах массы (), среднее значение пересчитывают следующим образом:

a) если СО измеряют в ррm:

; (А.13)

b) если СО измеряется в процентах (%):

, (А.14)

где - это плотность оксида углерода при нормальных условиях .

А.6.2.5 Удельная теплоемкость продуктов сгорания

А.6.2.5.1 Удельная теплоемкость сухих дымовых газов при нормальных условиях ()

Удельную теплоемкость сухих дымовых газов при нормальных условиях рассчитывают по следующему уравнению

. (A.15)

A.6.2.5.2 Удельная теплоемкость водяных паров ()

Удельную теплоемкость водяных паров в дымовых газах рассчитывают по следующему уравнению

.

А.6.2.6 Объем СО (испытание на безопасность) при нормальных условиях ()

Объем СО при нормальных условиях, который измеряют в течение 10-часового испытания при естественной тяге, рассчитывают по следующему уравнению

. (А.16)

А.6.2.7 Расчет средней разницы температур внешней поверхности для теплоаккумулирующих источников тепла

Во-первых, измеряют среднюю разницу температур каждой внешней поверхности источника тепла (фронтальной, верхней и т.д.). Для каждой такой внешней поверхности рассчитывают среднее значение по результатам измерений в каждой точке, в которой был установлен термоэлемент, в течение периода измерений и умножают его на соответствующую площадь, на которой располагалась точка измерения. Типичный расчет приведен в примере 1.

Пример 1

Внешняя поверхность верхней плоскости имеет четыре точки измерения. Две точки измерения имеют площадь 0,3 x 0,3 м, то есть 0,09 м2. Средние значения разницы температур были определены в течение испытания как 60 K и 55 K. Две другие точки измерения имеют площадь 0,25 х 0,25 м, то есть 0,0625 м2, а средние значения разницы температур согласно испытанию составляют 50 K и 55 K. Среднее значение разницы температур внешней поверхности рассчитывают по следующему уравнению

. (А.17)

Примечание - Если действительные точки измерения внешней поверхности имеют одинаковые по площади области, то средняя разница температур внешней поверхности должна быть рассчитана как среднее арифметическое отдельных значений разницы температур каждой отдельной точки.

Во-вторых, рассчитывают среднюю разницу температур источника тепла по средним расчетным значениям каждой отдельной внешней поверхности из примера 1, умножают их на соответствующую площадь отдельной внешней поверхности источника тепла, например, фронтальной, верхней и т.д. Типичный расчет приведен в примере 2.

Пример 2

В таблице А.3 в колонке 2 приведены некоторые средние расчетные значения разницы температур внешних поверхностей из примера 1, а соответствующие им площади внешних поверхностей - в колонке 3. Значения в колонке 4 - общий показатель, который рассчитывают, умножив значения из колонок 2 и 3 для каждой площади внешней поверхности прибора. Суммарное значение делят на общую площадь.

Таблица А.3

Пример расчета средней разницы температур внешней поверхности

Среднее расчетное значение разницы температур, K Площадь поверхности, м2 Общий показатель
Верхняя 65 0,75 48,75
Передняя 70 1,50 105,00
Задняя 60 1,50 90,00
Боковые 55 2,00 110,00
Общая   5,75 353,75
Среднее значение для источника тепла 61,5

А.6.2.8 Расчет СO2mах

Значение , используемое в уравнении (А.12), рассчитывают по следующему уравнению

. (A.18)

Значения A и р, используемые в уравнении (А.18), рассчитывают следующим образом

, (А.19)

, (А.20)

где

, (А.21)

. (А.22)

Примечание - Для проведения данных расчетов необходим подробный анализ топлива, должны быть известны данные о содержании углерода, водорода, серы и кислорода в сухих дымовых газах без золы.

А.7 Отчет об испытании

Отчет об испытании должен содержать результаты испытаний, всю дополнительную информацию и, как минимум, следующие сведения об объеме проведенных испытаний:

a) название и адрес изготовителя источника тепла;

b) название, серийный номер и описание источника тепла;

c) данные о выполнении или невыполнении требований к материалам, расчету и конструкции в соответствии с разделом 4, данные о том, подтверждается ли действительными измеренными значениями соответствие размеров, толщин, диаметров и т.д., приведенным в соответствующих сертификатах;

d) данные о выполнении или невыполнении требований по пожарной безопасности согласно разделу 5 и требований к мощности согласно разделу 6, информация о том, подтверждаются ли показатели пожарной безопасности результатами испытаний по А.5;

e) данные о соответствии инструкций по установке и обслуживанию требованиям раздела 7;

f) копия данных, приведенных на этикетке прибора, и данные о том, соответствует ли информация на этикетке прибора требованиям раздела 8;

g) название и адрес испытательной лаборатории;

h) протокол испытаний с номером документа;

j) дата выдачи отчета об испытании;

В электронном документе нумерация пунктов соответствует официальному источнику.

k) подпись и хорошо читаемое имя ответственного за содержание отчета;

l) анализ и свойства топлива для испытаний, которое использовалось при проведении испытания.

1 - выход в атмосферу; 2 - вентилятор; 3 - установленное дросселирующее устройство; 4 - установленная часть трубы; 5 - измерительный участок, 6 - стена испытательного угла; 7 - адаптер дымовых газов (прямой); 8 - соединительный элемент; 9 - источник тепла; 10 - стена испытательного угла; 11 - основание для проведения испытаний

Рисунок А.1 - Пример установки на испытательном стенде источника тепла с вертикальным патрубком отвода дымовых газов

1 - выход в атмосферу; 2 - вентилятор; 3 - установленное дросселирующее устройство; 4 - установленная часть трубы; 5 - измерительный участок; 6 - соединительный элемент; 7 - стена испытательного угла; 8 - адаптер дымовых газов (отвод); 9 - источник тепла; 10 - стена испытательного угла; 11 - основание для проведения испытаний

Рисунок А.2 - Пример установки на испытательном стенде источника тепла с горизонтальным патрубком отвода дымовых газов

1 - боковая стена; 2 - задняя стена; 3 - основание; 4 - ось соединительного элемента; 5 - заполнитель

Рисунок А.3 - Вид спереди испытательного угла с основными конструкциями боковых стен и основания

1 - вид спереди; 2 - вид сверху; 3 - соединительный элемент; 4 - расстояние (150 5) мм вокруг соединительного элемента заполняется изоляционным материалом

Рисунок А.4 - Элемент заполнения для задней стены испытательного угла

Размеры в миллиметрах

Допуск: 1 мм

1 - клей; 2 - покрытие черной краской; 3 - фанерный щит; 4 - деревянная балка; 5 - изоляция (волокно или плиты) с теплопроводностью 0,04 Вт/(м·К); 6 - Пример 1; 7 - Пример 2

Рисунок А.5 - Разрез конструкции испытательного угла

Размеры в миллиметрах

Допуск: 1 мм

Рисунок А.6 - Вид пола и стен испытательного угла с расположением точек измерения

Размеры в мм

1 - стена испытательного угла

Рисунок А.7 - Детализация расположения термоэлементов на одной из стен испытательного угла

1 - место измерения тяги; 2 - измерительный участок; 3 - теплоизоляция; 4 - место измерения состава и температуры дымовых газов; 5 - место установки измерительного датчика; 6 - место отбора проб дымовых газов; 7 - фланец

Рисунок А.8 - Конструкция и общее расположение элементов измерительного участка

Размеры в мм

Допустимые отклонения в размерах 1 мм,
если не указано иное

Размеры измерительного участка

Диаметр патрубка для отвода дымовых газов, d D
180 150 750
180 < 250 200 1000
> 250 300 1500

Рисунок А.9 - Детали и размеры измерительного участка при вертикальном подключении

Размеры в мм

Допустимые отклонения в размерах 1 мм,
если не указано иное

Размеры измерительного участка

Диаметр патрубка для отвода дымовых газов, d D
180 150 750
180 < 250 200 1000
> 250 300 1500

Рисунок А.10 - Детали и размеры измерительного участка при горизонтальном подключении источника тепла к дымовой трубе

Размеры в мм

1 - передняя стенка источника тепла; 2 - дверца; 3 - точка измерения

Рисунок А.11 - Пример размещения точек измерения на внешней поверхности теплоаккумулирующего источника тепла

Приложение В
(обязательное)

ТОПЛИВО ДЛЯ ИСПЫТАНИЯ И РЕКОМЕНДУЕМОЕ ТОПЛИВО

В.1 Общие положения

При проведении испытания источника тепла на соответствие его тепловых показателей требованиям настоящего стандарта должно быть выбрано соответствующее топливо для испытания. Все стандартные типы имеющегося в продаже топлива для испытания, их технические характеристики представлены в таблице В.1.

Выбор, подготовка и анализ топлива для испытания должны быть сделаны в соответствии с процедурами, описанными в В.2.

Согласно 7.3 производитель источника тепла в инструкции по обслуживанию указывает тип и сорт имеющегося в продаже топлива, которое он рекомендует для использования.

В таблице В.2 представлен перечень типового коммерческого топлива для каждого типа топлива для испытания, а также подробное описание его технических характеристик. Испытания на пригодность рекомендуемого топлива описаны в В.3.

В.2 Топливо для испытания

В.2.1 Выбор топлива для испытания

Исходя из типов топлива, имеющегося в продаже, и рекомендаций производителя источника тепла, изложенных в инструкции по обслуживанию, испытательная лаборатория должна выбрать из таблицы В.1 соответствующее топливо(а). Определение размеров зерен отдельных компонентов топлива для испытания должно быть осуществлено в соответствии с указаниями производителя источника тепла, изложенными в инструкции по обслуживанию.

В.2.2 Хранение, подготовка и анализ

Каждая партия топлива для испытания должна храниться под навесом. Перед использованием твердого минерального топлива каждую партию просеивают, чтобы гарантировать, что часть топлива с размерами больше или меньше предписанного не превышает 5 % от общей массы топлива.

Отбор и анализ проб производят в соответствии с порядком испытаний и по ИСО 334, ИСО 351, ИСО 501, ИСО 562, ИСО 609, ИСО 687, ИСО 1171, ИСО 1928. Каждая партия топлива для испытания должна отвечать требованиям, приведенным в таблицах В.1 и В.2.

Если измеренная влажность топлива превышает значение, заданное в таблице В.1, то топливо для испытания высушивают на воздухе до тех пор, пока влажность не будет соответствовать данным таблицы.

Испытательная лаборатория устанавливает, соответствуют ли свойства используемого топлива для испытания приведенным в таблице В.2 характеристикам топлива.

Примечание - Анализ может также гарантироваться сертификатом поставщика.

Анализ и спецификация использованного топлива (или использованных топлив) для испытаний должны быть включены в отчет об испытаниях источника тепла.

В.3 Испытания рекомендуемого топлива

В.3.1 Основные положения проведения испытаний

Испытание рекомендуемого топлива для испытания должно проводиться на стандартном источнике тепла, заранее проверенном и выбранном испытательной лабораторией в качестве представителя класса или типа источников тепла. Выбранный источник тепла в соответствии с А.4 должен подходить по классу и типу тому источнику тепла, который на рекомендуемом топливе будет проверяться. Он должен быть установлен в соответствии с порядком проведения испытаний и измерений, изложенным в А.1, А.3 и А.4 настоящего стандарта.

Объем проводимых испытаний зависит от того, соответствует ли топливо характеристикам, приведенным в таблице В.2, и будет ли оно считаться правильным топливом для испытания на основании характеристик, приведенных в таблице В.1. Процесс выбора проводимых испытаний представлен на рисунке В.1, а порядок и критерии оценки испытаний описаны в В.3.2.

Рисунок В.1 - Схема процесса выбора топлива, рекомендуемого для испытаний

В.3.2 Порядок испытаний и критерии оценки

Если один из рекомендуемых, имеющихся в продаже типов топлива представлен в таблице В.1 топливом для испытания, и результаты анализа лежат в пределах, указанных в таблице В.2, он должен быть проверен в соответствии с методом проведения испытания на выгорание топлива по А.4.6 настоящего стандарта, чтобы проверить подходит ли он для источников тепла данного класса или типа. Для проведения ограниченных испытаний и оценки соответствия критериям действуют следующие условия:

1) испытания интенсивности горения по А.4.6:

- общая тепловая мощность составляет минимум 95 % от указанной производителем источника тепла, что подтверждается испытанием на топливе для испытания;

- общий КПД не ниже минимального КПД класса, указанного производителем для топлива для испытания в соответствии с 6.3;

- продолжительность испытания не должна быть менее 95 % от указанной в 6.6;

- эмиссия СО не превышает значения, указанного производителем для топлива для испытания в 6.2;

- требования к температурам для определения безопасных расстояний до горючих материалов должны быть достаточными для достижения условий, изложенных в 5.3.

Если новое коммерческое топливо, имеющееся в продаже, не соответствует ни одному из типов топлива для испытания, представленных в таблице В.1, или его состав и анализы находятся вне области таблицы В.2, или его природа и свойства таковы, что его рабочие характеристики не могут быть определены посредством информации или анализа, то такое топливо должно быть полностью проверено. Топливо проверяют на стандартном источнике тепла (или стандартных источниках тепла), ранее прошедшем(их) типовое испытание, выбранном(ых) в качестве типового образца класса и/или типа источников тепла. Топливо сжигают, чтобы показать, что требования пожарной безопасности, изложенные в 5.1-5.4, и требования к техническим характеристикам, изложенные в 6.1-6.6, выполняются.

Примечание - Рекомендации, подходит ли топливо для испытания производительности конкретного источника тепла или нет, должны быть даны производителем источника тепла, производителем топлива или независимым испытательным центром.

Таблица В.1

Типы топлива для испытания и их технические характеристики

Типы топлива Антрацит Кокс Низкотемпературный кокс Брикеты для закрытых источников тепла Брикеты для открытых источников тепла Битумный уголь Брикеты - бурый уголь Брикеты - торф Колотые дрова
Обозначение типа топлива для испытания А В С D Е F G Н Бук, береза, граб
Содержание влаги (на рабочую массу топлива) < 5 % < 5 % < 5 % < 5 % < 5 % (8 2,5) % (18,5 2) % (11 2) % (16 4) %
Содержание золы (на рабочую массу топлива) (5 2) % (7 2) % (7 2) % (8 3) % (5 2) % (6 2) % < 6 % < 4 % < 1 %
Летучие вещества (сухие, без золы) < 14 % < 2 % (8 2) % < 13 % < 18 % > 30 % < 55 % (68 3) % (84 4) %
Содержание водорода (на рабочую массу топлива) (4 1) % < 0,5 % < 3 % < 4 % < 4 % (4 1) % < 4 % (5,2 0,7) % (5 1) %
Содержание углерода (на рабочую массу топлива) (82 5) % (90 5) % (78 3) % (82 5) % (80 5) % (72 5) % 50 %-55 % (48,5 4,5) % (40 5) %
Содержание серы (на рабочую массу топлива) < 1 % < 1,4 % < 2 % < 1,8 % < 1,8 % 2 % 1 % < 0,3 % < 0,1 %
Удельная теплота сгорания (на рабочую массу топлива) > 28 980 кДж/кг > 26 630 кДж/кг > 28 500 кДж/кг > 29 690 кДж/кг > 29 690 кДж/кг > 26 500 кДж/кг 21 000 кДж/кг > 17 000 кДж/кг Huw = (Huwf x (100 - w) - 2,44w)/100
Размеры, длина Коммерческие размеры по инструкции производителя *
Спекаемость           По инструкции производителя      
* Допустимое содержание кусков большего и меньшего размеров в топливе для испытания не более 5 %.

Примечание - Отдельные страны применяют национальные определения типа и состава топлива (например, по содержанию серы).

Таблица В.2

Типы коммерческого топлива и их технические характеристики

Типы топлива Антрацит Кокс Низкотемпературный кокс Брикеты для открытых источников тепла Брикеты для закрытых источников тепла Битумный уголь Брикеты - бурый уголь Брикеты - торф Колотые дрова Брикеты из необработанной древесины
Содержание влаги (на рабочую массу топлива) 3 %-6 % 1 %-16 % 1 %-16 % < 14 % < 14 % 3 %-12 % 15 %-22 % 9 %-14 % 12 %-25 % < 12 %
Содержание золы (на рабочую массу топлива) 3 %-14 % 4 %-15 % 4 %-10 % 4 %-12 % 3 %-8 % 2 %-8 % 1 %-12 % < 6 % < 1,5 % < 1,5 %
Летучие вещества (сухие, без золы) 3 %-14 % < 2,0 % 6 %-12 % 5 %-17 % 10 %-18 % 20 %-45 % 51 %-62 % 63 %-73 % 80 %-88 % 80 %-88 %
Содержание водорода (на рабочую массу топлива) 2 %-5 % < 0,5 % < 3 % 2 % до 4 % 2 % до 4 % 4 % до 5 % 3 % до 4 % 4,5 %-5,8 % 4 %-7 % 5,0 %-6,5 %
Содержание углерода (на рабочую массу топлива) 80 %-90 % 75 %-95 % 75 %-85 % 70 %-90 % 65 %-85 % 50 %-80 % 50 %-55 % 44 %-53 % 35 %-45 % 40 %-50 %
Содержание серы (на рабочую массу топлива) < 1,8 % < 1,8 % < 1,8 % < 1,8 % < 1,8 % 0,8 %-2,1 % 0,2 %-3,5 % < 0,3 < 0,1 % < 0,1 %
Удельная теплота сгорания (на рабочую массу топлива) 29 310-33 000 кДж/кг 25 100-29 000 кДж/кг 26 000-30 000 кДж/кг 27 000-32 300 кДж/кг 26 000-32 000 кДж/кг 22 500-31 000 кДж/кг 18 000-21 000 кДж/кг 16 800-19 300 кДж/кг 17 000-20 000 кДж/кг 17 500-19 500 кДж/кг
Размеры, длина (3-80) мм (9,5-90) мм (10-80) мм (20-140) мм (20-140) мм (75-130) мм (50-100) мм или (155-182) мм Брикеты, куски    
Спекаемость           0-9        
Длина                 (0,2-1,0) м  
Обозначение нормативного испытательного типа топлива А В С D Е F G Н Бук, береза или кора дуба Бук, береза или кора дуба
Примечание - Отдельные страны применяют национальные определения типа и состава топлива.

Приложение С
(справочное)

РАСЧЕТ КРИВОЙ ЗАВИСИМОСТИ ОТДАЧИ ТЕПЛА ОТ ВРЕМЕНИ

Тепловую мощность Q (Вт) внешней поверхности А рассчитывают приблизительно по уравнению (С.1), исходя из предположения, что общее количество отданного тепла передается излучением и конвекцией,

, (С.1)

где q - общее количество отданного тепла в течение времени t, Вт/м2;

k - размерный коэффициент;

А - общая площадь внешней поверхности, м2;

- постоянная Стефана-Больцмана;

F - коэффициент внешней поверхности;

- средняя температура внешней поверхности за время t, °С;

- температура помещения, °С;

С и n - постоянные тепловой конвекции.

Для турбулентных потоков значение постоянной тепловой конвекции n принимают на практике равным 1,36. Коэффициент внешней поверхности F зависит от излучающей способности материала внешней поверхности теплоаккумулирующего источника тепла, а также от стен помещения и может быть принят приблизительно 0,8. Значение постоянной тепловой конвекции .

При использовании уравнения (С.1) с коэффициентом кА количество энергии, отданной в помещение, равно энергии, полученной при сжигании топлива, а размерный коэффициент, включая общее количество тепла, отданного внешней поверхностью А, определяется следующим уравнением

, (C.2)

где E - энергия от одной сгоревшей закладки дров, ;

- КПД прибора;

m - масса сожженной закладки дров;

- низшая теплота сгорания дров.

, (С.3)

где - среднее арифметическое от q за время измерения . Уравнение (С.1) дает приблизительную оценку части количества отданного тепла Q в зависимости от времени t по кА из уравнения (С.2) после оценки результатов измерений;

R - корректирующий фактор остаточной энергии в теплоаккумулирующем источнике тепла в конце измерения, когда измерения заканчиваются, перед тем как температура достигает значения .

Остаточная энергия теплоаккумулирующего источника тепла может оцениваться по закону охлаждения Ньютона.

Согласно данному закону разность температур с течением времени уменьшается в геометрической прогрессии. Оставшуюся область, равную остаточной энергии, можно рассчитать. Тепловой поток и должен быть рассчитан по уравнению (С.1) дважды, при и :

. (С.4)

Рисунок С.1 иллюстрирует процесс проведения испытания.

X - время, мин; Y - q, Вт/м2

Рисунок С.1 - Остаточная энергия в теплоаккумулирующем источнике тепла

Примечание - Измерение средней разницы температур внешней поверхности, представленное кривой на рисунке С.1, было закончено через период времени .

Пример расчета:

Типовые показатели теплоаккумулирующего источника тепла: высота теплоаккумулирующего источника тепла - 1,5 м, 1/2 (+)=30°С, для турбулентного потока n1,36, С1,2 Вт/м2· и F0,8, кривая теплоотдачи представлена на рисунке С.2.

На рисунке С.2 показано, что измерение температур внешней поверхности проводится до тех пор, пока средняя разность температур внешних поверхностей не достигнет 0 K.

В случае, если измерение средней разности температур заканчивается до достижения 0 K, остаточная энергия рассчитывается по уравнению (С.4).

X - время, мин; Y - расчетная теплоотдача, Вт

Рисунок С.2 - Расчетная теплоотдача

Например, для промежутка времени =2003 мин (рисунок С.1) количество отданного тепла будет равно =309,3 Вт, а для промежутка времени =1510 мин будет равно 590,8 Вт.

Согласно уравнению (С.4)

R=(20031510).60309, 3/ln(590,8/309,3) Вт=14,14 мДж

Затем рассчитывают размерный коэффициент k. После этого по уравнению (С.1) рассчитывают кривую теплоотдачи. Этот порядок расчета предполагает, что

- форма кривой теплоотдачи строится в зависимости от результатов уравнения (С.1);

- общее количество отданной энергии равно общему количеству выделившейся энергии, умноженной на коэффициент полезного действия.

Параметры уравнения (С.1) могут меняться. Эти изменения приводят к незначительным изменениям формы кривой теплоотдачи. Тем не менее общее количество отдаваемого тепла не изменится.

Приложение D
(справочное)

ИНФОРМАЦИЯ НА ЭТИКЕТКЕ ИСТОЧНИКА ТЕПЛА

Производитель или его уполномоченный представитель отвечают за нанесение на теплоаккумулирующий источник тепла этикетки с необходимой информацией:

- название или торговый знак и зарегистрированный адрес производителя;

- номер сертификата соответствия или свидетельства заводского производственного контроля продукции (если применимо);

- ГОСТ Р 58395-2019;

- описание изделия: номер модели, материал, размеры и предусмотренная цель использования;

- существенные характеристики, которые должны быть представлены следующим образом:

- достигнутые показатели и в соответствующих случаях ступени или классы (включая невыполненные требования, если необходимо) для подтверждения всех существенных характеристик;

- "мощность не определена" для тех свойств, для которых это применимо;

- в качестве альтернативы стандартное обозначение, которое представляет некоторые или все существенные характеристики (если обозначение представляет только некоторые характеристики, его следует дополнить показателями других характеристик, как указано выше).

Особо должна быть указана следующая информация о рекомендованном топливе (или типах топлива):

- тип рекомендованного топлива;

- расстояние до горючих материалов;

- эмиссия СО в продуктах сгорания (экспериментальные результаты < 0,3 %);

- максимальная тяга, если применимо;

- температура дымовых газов;

- мощность аккумуляции тепла;

- энергоэффективность (экспериментальные данные 70 %).

Опция "мощность не определена" не может быть использована, если характеристика зависит от порогового значения. Эта опция может применяться, когда характеристика по отношению к конкретной цели использования не подлежит никаким нормативным требованиям в стране назначения.

На рисунке D.1 показаны данные, указываемые на этикетке, табличке к прибору, упаковке и/или в коммерческих деловых бумагах.

Рисунок D.1 - Данные на этикетке

Приложение ДА
(справочное)

СВЕДЕНИЯ О СООТВЕТСТВИИ ССЫЛОЧНЫХ МЕЖДУНАРОДНЫХ И ЕВРОПЕЙСКОГО СТАНДАРТОВ НАЦИОНАЛЬНЫМ И МЕЖГОСУДАРСТВЕННЫМ СТАНДАРТАМ

Таблица ДА.1

Обозначение ссылочного международного, европейского стандарта Степень соответствия Обозначение и наименование соответствующего национального, межгосударственного стандарта
EN 50165:1997 IDT ГОСТ МЭК 60335-1-2008 "Бытовые и аналогичные электрические приборы. Безопасность. Часть 1. Общие требования"
ISO 334:1992 MOD ГОСТ 8606-93 (ИСО 334-92) "Топливо твердое минеральное. Определение общей серы. Метод Эшка" <1>
ISO 351:1996 MOD ГОСТ 2059-95 (ИСО 351-96) "Топливо твердое минеральное. Метод определения общей серы сжиганием при высокой температуре"
ISO 501:2003 - <*>
ISO 562:1998 MOD ГОСТ 6382-2001 (ИСО 562-98, ИСО 5071-1-97) "Топливо твердое минеральное. Методы определения выхода летучих веществ" <2>
ISO 609:1996 MOD ГОСТ 2408.4-98 (ИСО 609-96) "Топливо твердое минеральное. Метод определения углерода и водорода сжиганием при высокой температуре"
ISO 687:2004 - <*>
ISO 1171:1997 MOD ГОСТ 11022-95 (ИСО 1171-97) "Топливо твердое минеральное. Методы определения зольности" <3>
ISO 1928:1995 - <*>
ISO 2859 (All parts) IDT ГОСТ Р ИСО 2859 (Все части) "Статистические методы. Процедуры выборочного контроля по альтернативному признаку"
ISO 11722:1999 MOD ГОСТ Р 52917-2008 (ИСО 11722:1999; ИСО 5068-2:2007) "Топливо твердое минеральное. Методы определения влаги в аналитической пробе" <4>
<*> Соответствующий национальный, межгосударственный стандарт отсутствует. До его принятия рекомендуется использовать перевод на русский язык данного международного стандарта.

Примечание - В настоящей таблице использованы следующие условные обозначения степени соответствия стандартов:
- IDT - идентичные стандарты;
- MOD - модифицированные стандарты.

<1> Действует ГОСТ 8606-2015 (ISO 334:2013) "Топливо твердое минеральное. Определение общей серы. Метод Эшка", модифицированный по отношению к ISO 334:2013.

<2> Действует в Российской Федерации ГОСТ Р 55660-2013 "Топливо твердое минеральное. Определение выхода летучих веществ", модифицированный по отношению к ISO 562:2010, ISO 5071-1:2013.

<3> Действует в Российской Федерации ГОСТ Р 55661-2013 (ISO 1171:2010) "Топливо твердое минеральное. Определение зольности", модифицированный по отношению к ISO 1171:2010.

<4> Действует ГОСТ 33503-2015 (ISO 11722:2013, ISO 5068-2:2007) "Топливо твердое минеральное. Методы определения влаги в аналитической пробе", модифицированный по отношению к ISO 11722:2013, ISO 5068-2:2007.

БИБЛИОГРАФИЯ

EN ISO 9001:2000 <1> Quality management systems - Requirements

(EH ИСО 9001:2000 Системы менеджмента качества. Требования)

<1> Заменен. Действует EN ISO 9001:2015