Здания и сооружения. Методы измерения яркости. ГОСТ 26824-2018

(утв. Приказом Росстандарта от 12.04.2019 N 133-СТ)
Редакция от 12.04.2019 — Действует с 01.09.2019

МЕЖГОСУДАРСТВЕННЫЙ СТАНДАРТ

ЗДАНИЯ И СООРУЖЕНИЯ

МЕТОДЫ ИЗМЕРЕНИЯ ЯРКОСТИ

Buildings and structures. Methods for measuring the luminance

ГОСТ 26824-2018

Дата введения
1 сентября 2019 года

Предисловие

Цели, основные принципы и основной порядок проведения работ по межгосударственной стандартизации установлены в ГОСТ 1.0-2015 "Межгосударственная система стандартизации. Основные положения" и ГОСТ 1.2-2015 "Межгосударственная система стандартизации. Стандарты межгосударственные, правила и рекомендации по межгосударственной стандартизации. Правила разработки, принятия, обновления и отмены"

Сведения о стандарте

1 РАЗРАБОТАН Федеральным государственным бюджетным учреждением "Научно-исследовательский институт строительной физики Российской академии архитектуры и строительных наук" (НИИСФ РААСН), Обществом с ограниченной ответственностью "ЦЕРЕРА-ЭКСПЕРТ" (ООО "ЦЕРЕРА-ЭКСПЕРТ")

2 ВНЕСЕН Техническим комитетом по стандартизации ТК 465 "Строительство"

3 ПРИНЯТ Межгосударственным советом по стандартизации, метрологии и сертификации (протокол от 20 декабря 2018 г. N 114-П)

За принятие проголосовали:

Краткое наименование страны по МК (ИСО 3166) 004-97 Код страны по МК (ИСО 3166) 004-97 Сокращенное наименование национального органа по стандартизации
Армения AM Минэкономики Республики Армения
Беларусь BY Госстандарт Республики Беларусь
Киргизия KG Кыргызстандарт
Россия RU Росстандарт
Туркмения TM Главгосслужба "Туркменстандартлары"

4 Приказом Федерального агентства по техническому регулированию и метрологии от 12 апреля 2019 г. N 133-ст межгосударственный стандарт ГОСТ 26824-2018 введен в действие в качестве национального стандарта Российской Федерации с 1 сентября 2019 г.

5 В настоящем стандарте учтены основные нормативные положения следующих европейских стандартов:

- EN 12464-1:2011 "Свет и освещение. Освещение рабочих мест. Часть 1. Рабочие места в комнате" ("Light and lighting - Lighting of work places - Part 1: Indoor work places", NEQ);

- EN 12464-2:2014 "Свет и освещение. Освещение рабочих мест. Часть 2. Наружные рабочие места" ("Light and lighting - Lighting of work places - Part 2: Outdoor work places", NEQ);

- EN 13201-3:2015 "Освещение уличное. Часть 3. Расчет рабочих характеристик" ("Road lighting - Part 3: Calculation of performance", NEQ);

- EN 13201-4:2015 "Освещение уличное. Часть 4. Методы измерения освещенности" ("Road lighting - Part 4: Methods of measuring lighting performance", NEQ)

6 ВЗАМЕН ГОСТ 26824-2010

Информация об изменениях к настоящему стандарту публикуется в ежегодном (по состоянию на 1 января текущего года) указателе "Национальные стандарты", а текст изменений и поправок - в ежемесячном информационном указателе "Национальные стандарты". В случае пересмотра (замены) или отмены настоящего стандарта соответствующее уведомление будет опубликовано в ежемесячном информационном указателе "Национальные стандарты". Соответствующая информация, уведомление и тексты размещаются также в информационной системе общего пользования - на официальном сайте Федерального агентства по техническому регулированию и метрологии в сети Интернет (www.gost.ru)

1 Область применения

Настоящий стандарт устанавливает методы измерения яркости рабочих поверхностей в зданиях и сооружениях, дорожных покрытий улиц, дорог и площадей, автодорожных тоннелей, фасадов зданий и сооружений, рекламных установок.

2 Нормативные ссылки

В настоящем стандарте использованы нормативные ссылки на следующие межгосударственные стандарты:

ГОСТ 8.023-2014 Государственная система обеспечения единства измерений. Государственная поверочная схема для средств измерений световых величин непрерывного и импульсного излучений

ГОСТ 8.332-2013 Государственная система обеспечения единства измерений. Световые измерения. Значения относительной спектральной световой эффективности монохроматического излучения для дневного зрения. Общие положения

ГОСТ 8711-93 (МЭК 51-2-84) Приборы аналоговые показывающие электроизмерительные прямого действия и вспомогательные части к ним. Часть 2. Особые требования к амперметрам и вольтметрам

ГОСТ 24940-2016 Здания и сооружения. Методы измерения освещенности

Примечание - При пользовании настоящим стандартом целесообразно проверить действие ссылочных стандартов в информационной системе общего пользования - на официальном сайте Федерального агентства по техническому регулированию и метрологии в сети Интернет или по ежегодному информационному указателю "Национальные стандарты", который опубликован по состоянию на 1 января текущего года, и по выпускам ежемесячного информационного указателя "Национальные стандарты" за текущий год. Если ссылочный стандарт заменен (изменен), то при пользовании настоящим стандартом следует руководствоваться заменяющим (измененным) стандартом. Если ссылочный стандарт отменен без замены, то положение, в котором дана ссылка на него, применяется в части, не затрагивающей эту ссылку.

3 Термины и определения

В настоящем стандарте применены следующие термины с соответствующими определениями:

3.1 диффузное отражение: Отражение, при котором направленное отражение заметно не проявляется и отраженный свет рассеивается.

3.2 контрольный участок: Часть площади испытуемого объекта освещения (рабочего места, дороги, улицы, площади, тоннеля и т.п.), установленной формы с заданными размерами, предназначенная для проведения измерений.

3.3 мобильный способ измерения: Способ измерения яркости, при котором яркомер устанавливают на транспортное средство, а показания или яркостные изображения регистрируют в заданные моменты времени при его движении.

Примечание - Мобильный способ измерения является предпочтительным, так как позволяет не перекрывать движение транспорта на контрольном участке тоннеля при проведении измерений.

3.4 направленное отражение: Отражение без элементов рассеяния, подчиняющееся законам отражения, справедливым для зеркала.

3.5 направленно-рассеянное отражение: Отражение, при котором свет отражается неравномерно в разных направлениях, обычно с преобладанием одного, соответствующего направленному отражению.

3.6 освещенность E, лк: Отношение светового потока dФ, падающего на элемент поверхности, содержащий рассматриваемую точку, к площади dА этого элемента:

.

3.7 относительная спектральная световая эффективность монохроматического излучения с длиной волны (): Отношение двух потоков излучения с длинами волн и , вызывающих в точно определенных фотометрических условиях зрительные ощущения одинаковой силы.

Примечание - Длину волны выбирают так, чтобы максимальное значение этого отношения равнялось единице.

3.8 относительная спектральная чувствительность: Отношение спектральной чувствительности приемника при данной длине волны излучения к максимальному значению спектральной чувствительности или спектральной чувствительности при некоторой другой длине волны.

3.9 ПЗС-матрица: Специализированная аналоговая интегральная микросхема, состоящая из светочувствительных фотодиодов, выполненная на основе кремния, использующая технологию приборов с зарядовой связью (ПЗС).

3.10 полевая диафрагма: Диафрагма оптического прибора, ограничивающая на изображении объекта измерения площадку, яркость которой измеряется.

3.11 светлота: Уровень зрительного ощущения, производимого яркостью в зависимости от условий наблюдения.

3.12 средняя яркость дорожного покрытия , кд/м2: Яркость сухого дорожного покрытия в направлении глаза наблюдателя, находящегося в стандартных условиях наблюдения на оси полосы движения транспорта, средневзвешенная по площади проезжей части заданного участка.

3.13 средняя яркость дорожного покрытия в переходной зоне тоннеля , кд/м2: Средняя по площади проезжей части яркость сухого дорожного покрытия в направлении глаза наблюдателя, находящегося на оси полосы движения транспорта в переходной зоне тоннеля.

3.14 средняя яркость пороговой зоны тоннеля , кд/м2: Средняя яркость дорожного покрытия в первой половине пороговой зоны тоннеля.

3.15 стационарный способ измерения: Способ измерения яркости, при котором яркомер в момент регистрации показаний или яркостных изображений неподвижен.

3.16 тест-образец: Фрагмент покрытия проезжей части дороги установленных размеров и светоотражающих свойств, используемый в качестве заменителя реального покрытия данного типа при измерении яркости дорожного покрытия.

Примечание - Тест-образец изготовляют в лабораторно-заводских условиях или вырубают из реального дорожного покрытия.

3.17 транспортная зона тоннеля: Часть строительного комплекса автодорожного тоннеля, содержащая непосредственно проезжую часть, заключенную между въездным и выездным порталами.

3.18 яркость L, кд/м2: Отношение светового потока , переносимого элементарным пучком лучей, проходящим через заданную точку и распространяющимся в телесном угле , содержащем заданное направление, к произведению площади проходящего через заданную точку сечения этого пучка dA, косинуса угла между нормалью к этому сечению и направлением пучка лучей и телесного угла :

.

3.19 яркость адаптации в подъездной зоне тоннеля , кд/м2: Средняя яркость в коническом поле зрения, стягиваемом углом 20°, с вершиной в месте расположения глаза подъезжающего к тоннелю водителя и осью, направленной на центр въездного портала тоннеля.

Примечание - Яркость адаптации определяют применительно к водителю, расположенному на расстоянии безопасного торможения (РБТ) от въездного портала тоннеля в середине соответствующей проезжей части дороги.

4 Средства измерений

4.1 Для измерения яркости используют следующие средства измерений: яркомеры с измерительными преобразователями излучения, имеющими предел допускаемой погрешности средств измерений не более 10% с учетом погрешности спектральной коррекции, определяемой как отклонение относительной спектральной чувствительности измерительного преобразователя излучения от относительной спектральной световой эффективности монохроматического излучения для дневного зрения V() по ГОСТ 8.332, а также погрешности калибровки абсолютной чувствительности и погрешности, вызванной нелинейностью световой характеристики.

4.2 При прямых измерениях яркости дорожного покрытия с расстояния 60 м и более яркомер должен иметь поле измерения не более двух угловых минут в вертикальной плоскости и 20 угловых минут в горизонтальной плоскости.

Если измерения проводят с более близкого расстояния, поле измерения (угловая апертура) яркомера не должна превосходить 30 угловых минут в вертикальной и горизонтальной плоскостях, а измеряемый размер участка должен быть не более 0,5 м в ширину и 2,05 м в длину.

4.3 Абсолютная чувствительность яркомера должна быть определена с помощью образцовых светоизмерительных ламп по ГОСТ 8.023 или с использованием эталонного яркомера.

4.4 Нелинейность световой характеристики яркомера в диапазоне измерений должна быть определена методом сложения света.

4.5 Средства измерений освещенности - люксметры должны соответствовать требованиям ГОСТ 24940.

4.6 Яркомеры и люксметры должны быть поверены и иметь свидетельства о государственной поверке средств измерений. Государственная поверка яркомеров и люксметров осуществляется органами стандартизации и метрологии.

4.7 Для измерения напряжения в сети следует применять вольтметры класса точности не ниже 1,5 по ГОСТ 8711.

4.8 Перечень рекомендуемых средств измерений приведен в приложении А.

5 Методы измерений яркости

5.1 Прямой метод измерения яркости

5.1.1 Прямой метод измерения яркости основан на использовании специальных яркомеров с отчетом показаний непосредственно в единицах яркости. Показания яркомеров усредняются в пределах угла зрения, определяемого фокусным расстоянием объектива и размером используемой на фотоприемнике диафрагмы. Угол зрения яркомера в радианах или градусах указывают в паспорте средства измерений.

5.1.2 Яркомер должен соответствовать требованиям к спектральной коррекции чувствительности в соответствии с относительной спектральной световой эффективностью монохроматического излучения для дневного зрения V(), которая обеспечивается за счет использования корригирующих фильтров.

5.1.3 Диапазон линейности световой характеристики яркомера определяет динамический диапазон прибора, то есть наименьшее и наибольшее значения яркости, которые могут быть измерены яркомером с указанной в паспорте погрешностью. Наименьшее значение яркости, измеряемое яркомером, не может иметь нулевое значение, так как определяется порогом чувствительности. Порог чувствительности высокочувствительных яркомеров составляет кд/м2. Наибольшее значение яркости, измеряемое яркомером, определяется тепловой нагрузкой элементов фотоприемника и составляет кд/м2.

5.1.4 Среднюю яркость рабочей поверхности , кд/м2, рассчитывают усреднением яркости отдельных элементов поверхности по формуле

, (1)

где - яркость i-й элементарной площадки рабочей поверхности, кд/м2;

i - порядковый номер элементарной площадки рабочей поверхности;

n - число элементарных площадок рабочей поверхности.

5.1.5 Прямой метод измерения яркости дорожного покрытия

Измерения проводят стационарным способом. На дорожной поверхности выбранного контрольного участка дороги размечают и маркируют точки измерений в соответствии с разметкой точек расчетного поля, как показано в приложении Б. Перед измерением маркировку, попадающую в поле измерения яркомера, удаляют.

Измерения проводят яркомером по схеме с фиксированным или перемещаемым положением яркомера.

Для проведения измерений по схеме с фиксированным положением яркомера [рисунок 1а)] используют яркомер, угловая апертура которого составляет не более двух угловых минут в вертикальной плоскости и 20 угловых минут в горизонтальной плоскости. Яркомер устанавливают в положение, соответствующее положению наблюдателя, и, нацеливаясь поочередно на каждую точку контрольного поля, проводят отсчет показаний.

Схему с перемещаемым положением яркомера [рисунок 1 б)] применяют при использовании яркомеров с угловой апертурой в вертикальной плоскости не более 30 угловых минут. Яркомер устанавливают поочередно перед каждой точкой контрольного участка по ходу движения транспорта, на высоте и удалении отданной точки измерения, при которых оптическая ось яркомера направлена в указанную точку под углом 1° к плоскости дороги и лежит в вертикальной плоскости, параллельной оси дороги. Размеры измеряемого участка покрытия дороги, выделяемого апертурным полем яркомера, не должны превышать 2,5 м в продольном направлении и 0,5 м в поперечном направлении. Для облегчения нацеливания используют лазерную указку, жестко закрепленную на яркомере.

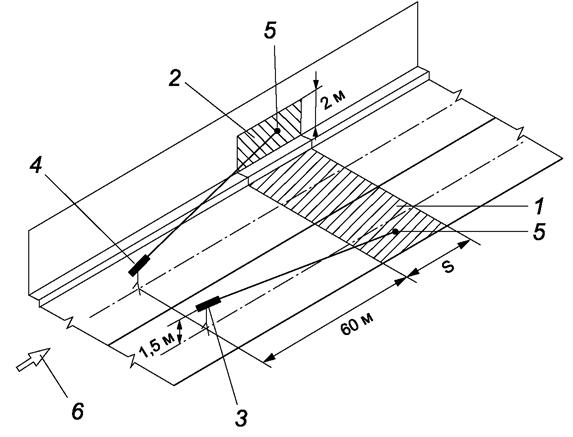
1 - ОП; 2 - контрольный участок; 3 - точка измерения; 4 - оптическая ось; 5 - яркомер

Рисунок 1 - Расположение контрольного участка при измерении средней яркости дорожного покрытия

В случае ограничения времени проведения измерений допускается уменьшение числа точек измерений за счет увеличения шага сетки. Минимальное и максимальное значения яркости допускается измерять соответственно в наименее и наиболее ярких зонах контрольного участка, определяемых визуально.

5.1.6 Прямой метод измерения яркости рекламной установки

Для измерения яркости рекламной установки прямым методом следует использовать яркомеры с угловой апертурой в вертикальной и горизонтальной плоскостях не более 30 угловых минут.

5.2 Метод измерения яркости по изображению

5.2.1 При измерении яркости по изображению используют яркомеры на основе ПЗС-матриц с компьютерной обработкой результатов измерений. Метод позволяет получать детальное распределение яркости по полю зрения. В паспорте такого яркомера дополнительно к углу зрения указывают число элементов разложения ПЗС-матрицы. Использование яркомеров на ПЗС-матрицах позволяет улучшить детальность изображения в 100 - 1000 раз и обеспечить измерения яркости отдельных элементов поверхности исследуемого объекта.

5.2.2 Для обеспечения наиболее высоких требований к спектральной коррекции используют яркомеры на ПЗС-матрицах, являющиеся одновременно спектрорадиометрами.

5.3 Косвенный метод измерения яркости

5.3.1 Косвенным методом измерения яркости поверхности является метод измерения освещенности отдельных ее элементарных площадок с последующим усреднением и пересчетом по формуле

, (2)

где - освещенность i-й элементарной площадки поверхности, лк;

K - коэффициент пересчета.

Коэффициент пересчета K для рабочих поверхностей, имеющих диффузное отражение, определяется отношением

, (3)

где - коэффициент отражения рабочей поверхности (приложение В).

Косвенный метод измерения яркости используют для измерения яркости дорожного покрытия и фасадов зданий.

5.3.2 Коэффициент пересчета K для поверхностей, имеющих направленно-рассеянное отражение (например, поверхность дорожного покрытия), зависит от пространственного расположения световых приборов относительно поверхностей. С учетом вероятного направления линии зрения водителей автотранспорта K для поверхности проезжей части улиц определяют по методике, изложенной в приложении Г.

5.4 Метод измерения яркости дорожного покрытия по тест-образцу

5.4.1 Измерения яркости дорожного покрытия по тест-образцу проводят мобильным или стационарным способом. Стационарный способ используют при отсутствии транспортного средства.

Измерительное устройство, содержащее цифровой яркомер и тест-образец, жестко закрепляют на общем основании. При мобильном способе в качестве такого основания используют специальную консоль, прикрепляемую к транспортному средству на прицепе.

Плоскость отражающей поверхности тест-образца должна быть параллельна плоскости дорожной поверхности. Яркомер устанавливают в положение, при котором его оптическая ось направлена в центр тест-образца под углом 1° к плоскости его отражающей поверхности. Высоту расположения яркомера над поверхностью тест-образца и его удаление от центра тест-образца определяют с учетом угловой апертуры яркомера и размеров поверхности тест-образца. При использовании яркомера измеряемое поле должно полностью вписываться в границы поверхности тест-образца.

5.4.2 При мобильном способе запись показаний яркомера проводят на электронный носитель с использованием компьютера в моменты проезда тест-образца над каждой точкой измерения контрольного участка.

5.4.3 При стационарном способе измерения проводят по схеме с перемещаемым яркомером. Измерительное устройство устанавливают на поверхность дороги, располагая центр тест-образца поочередно над каждой точкой измерения контрольного участка. Продольную ось устройства ориентируют вдоль направления движения транспорта.

6 Условия выполнения измерений

6.1 При выполнении измерений необходимо соблюдать следующие условия:

- объектив яркомера должен быть экранирован от попадания в него постороннего света;

- на поверхность, средняя яркость которой измеряется, не должна падать тень от яркомера и человека, проводящего измерения; если рабочее место затеняется в процессе работы самим рабочим или выступающими частями оборудования, то яркость следует измерять в этих реальных условиях;

- размеры поля зрения яркомера не должны превышать размеров исследуемого объекта;

- в начале и конце измерений следует проводить контроль напряжения по показаниям электроизмерительных приборов, установленных в распределительных щитах электрических сетей освещения.

- при измерениях яркости от искусственного освещения отношение освещенности от естественного освещения к освещенности, создаваемой искусственным освещением, не должно превышать 0,1.

6.2 Дорожное покрытие контрольного участка должно быть сухим, без пятен, лужи т.п., что может изменить коэффициент яркости дорожного покрытия.

6.3 Яркость (освещенность) дорожных покрытий следует измерять при перекрытом движении автомобильного транспорта по согласованию с территориальным подразделением органов безопасности движения.

6.4 Перед измерением яркости следует провести замену всех перегоревших ламп и чистку светильников контролируемой осветительной установки.

Яркость допускается также измерять без предварительной подготовки осветительной установки, что должно быть зафиксировано при оформлении результатов.

7 Подготовка к измерениям и проведение измерений

7.1 Измерение яркости рабочих поверхностей

Перед измерением яркости рабочих поверхностей выбирают и наносят на план помещения (или исполнительный чертеж осветительной установки) контрольные точки - центры элементарных площадок, яркость которых измеряют с указанием размещения оборудования и светильников.

Объектив яркомера устанавливают на уровне глаз работающего так, чтобы оптическая ось совпадала с линией зрения.

7.2 Измерение средней яркости дорожных покрытий

Перед измерением средней яркости дорожных покрытий на плане улицы, дороги, площади выбирают контрольный участок и место размещения яркомера в соответствии с рисунком Б.1 приложения Б.

Для объектов со стандартной геометрией контрольный участок представляет собой часть прямолинейного горизонтального полотна дороги, ширина которого равна ширине всей проезжей части (при проезде в одну сторону), а длина - шагу S между осветительными приборами, расположенными по одной стороне дороги, или по центру при установке осветительных приборов на подвесе. При определении яркости для шахматной схемы расположения осветительных приборов длина контрольного участка S определяется проекцией на продольную ось дороги расстояния между двумя соседними осветительными приборами, расположенными на противоположных сторонах проезжей части.

Контрольные точки для измерения средней яркости улиц, дорог и площадей должны быть расположены равномерно на участке дорожного покрытия, ограниченном шагом светильников, на расстоянии d = S/N, где S - шаг между осветительными приборами. При шаге между осветительными приборами S 30 м N = 10, при шаге между осветительными приборами S > 30 м d 3 м, как показано на рисунке Б.2 приложения Б.

Расстояние от яркомера до ближней границы контрольного участка должно быть 60 м. Расстояние до дальней границы контрольного участка выбирают в соответствии с рисунком Б.2 приложения Б.

7.3 Прямой метод измерения средней яркости дорожного покрытия

При прямом методе измерения средней яркости дорожного покрытия яркомер располагают на средних линиях полосы (полос) по направлению движения транспорта, при этом центр объектива яркомера должен быть на высоте 1,5 м от поверхности дорожного покрытия.

7.4 Косвенный метод измерения средней яркости дорожного покрытия

Перед измерением средней яркости дорожного покрытия косвенным методом посредством измерения освещенности на контрольном участке наносят элементарные площадки в соответствии с рисунком Б.3 приложения Б. Число элементарных площадок n рассчитывают по формуле

, (4)

где d - длина контрольного участка, м;

- длина элементарной площадки, м;

b - ширина проезжей части улицы, м;

- ширина элементарной площадки, м.

7.5 Измерение яркости дорожного покрытия и стен в тоннелях

7.5.1 Измерение яркости дорожного покрытия тоннелей и прилегающих стен проводят для участков с пологим распределением яркости , , (первая половина пороговой зоны, внутренняя и въездная зоны - рисунок Д.1 приложения Д). При ступенчатом распределении яркости в переходной зоне целесообразно провести измерение для каждой ступени. Контрольный участок во внутренней зоне должен отстоять от конца переходной и начала выездной зон достаточно, чтобы исключить их влияние на измерение.

Для указанных выше зон, за исключением внутренней зоны, расположение точек измерения на дорожном полотне и стене выбирают в соответствии с рисунками В.2 и В.3 приложения В. Продольное расстояние между точками измерения выбирают из диапазона 4 - 5 м. Рекомендуется, чтобы оно было кратным продольному шагу между осветительными приборами.

Официальный источник электронного документа содержит неточность: имеются в виду рисунки Д.2 и Д.3 приложения Д.

7.5.2 Для проведения измерений в зонах, указанных в 7.5.1, выбирают контрольные участки проезжей части и стен. Контрольные участки стен выбирают по обеим сторонам выбранного контрольного участка проезжей части.

7.5.3 Контрольный участок проезжей части выбирают на прямолинейном в плане горизонтальном или с небольшим, но постоянным уклоном участке тоннеля, с дорожным покрытием, отвечающим требованиям 6.2. Отклонения от указанных требований отражают в протоколе измерений.

7.5.4 Контрольный участок в измеряемой яркостной зоне по возможности должен отстоять от примыкающих к ней других яркостных зон настолько, чтобы исключить влияние осветительных приборов (ОП), располагаемых в этих зонах, на результаты измерений.

7.5.5 Длину контрольного участка проезжей части и стен, кратную продольному шагу ОП, выбирают в диапазоне 15 - 25 м.

Примечание - При размещении ОП сплошной линией длину контрольного участка не связывают с шагом ОП.

Поперечный размер контрольного участка проезжей части должен соответствовать всей ее ширине, включая не отделенные перегородкой или колоннами полосы встречного движения. Поперечный размер контрольного участка стен ограничивают высотой 2 м от уровня пешеходного прохода (банкетки), а при его отсутствии - от уровня проезжей части.

7.5.6 Яркомер устанавливают по оси полосы движения, на высоте 1,5 м над уровнем дорожного покрытия, на расстоянии 60 м перед ближней по ходу движения транспорта границей контрольного участка, как показано на рисунке В.4 приложения В, направляя поочередно на каждую точку контрольного поля, проводят отсчет показаний яркомера.

Официальный источник электронного документа содержит неточность: имеется в виду рисунок Д.4 приложения Д.

Далее яркомер перемещают на осевую линию следующей полосы, и аналогичные измерения проводят для шести точек этой полосы и т.д.

7.5.7 При измерении яркости стен яркомер устанавливают в указанной выше позиции для полосы движения, примыкающей к этой стене. Здесь измерение проводят, как показано на рисунке Д.4 приложения Д. Нормируемые значения должны быть выполнены для каждой полосы и обеих стен.

7.5.8 Для внутренней зоны выбор расположения яркомера и точек измерения определяется общими правилами дорожного освещения.

7.6 Измерение яркости поля адаптации

7.6.1 Измерение яркости поля адаптации проводят при приемо-сдаточных испытаниях для получения фактического значения средней яркости поля адаптации при подъезде к тоннелю.

7.6.2 Измерение яркости проводят для наихудших условий переадаптации зрительного аппарата водителя перед въездом в тоннель.

Примечание - Такие условия характеризует очень высокая яркость поля зрения водителя при приближении автомобиля к въездному порталу тоннеля, возникающая, как правило, летом в яркий солнечный день

7.6.3 Для измерения используют фотоэлектрический яркомер с угловой апертурой 20° (по диаметру) или цифровой яркомер с последующим выделением на изображении поля адаптации, соответствующего 20°.

При измерении яркомер располагают в подъездной зоне тоннеля на РБТ перед въездным порталом, на оси центральной или соседней полосы движения, на высоте 1,5 м над уровнем дорожного покрытия, а оптическую ось яркомера нацеливают на центр рамки въездного портала, как показано на рисунке 2.

Примечание - Поле адаптации, видимое с РБТ, обозначено на рисунке пунктирной окружностью, центр которой, обозначенный знаком "+" белого цвета, совпадает с центром рамки въездного портала.

Рисунок 2 - Вид на въездной портал с расстояния безопасного торможения

При использовании цифрового яркомера измерения выполняют мобильным способом.

Если дорога имеет искривление, не позволяющее видеть въездной портал с РБТ, измерение L20 проводят с расстояния, при котором въездной портал впервые виден полностью.

7.6.4 Для измерения допускается использовать люксметр, фотометрическая головка которого имеет специальную насадку, ограничивающую падающий на приемную поверхность головки свет направлениями, составляющими с нормалью к приемной поверхности углы не более 10°. Фотометрическую головку располагают на РБТ от въездного портала, ориентируя ось насадки на центр рамки въездного портала. Фактическое значение средней яркости поля адаптации , кд/м2, определяют по формуле

, (5)

где E - измеренное люксметром значение освещенности, лк.

7.7 Измерение яркости рекламных установок

7.7.1 Яркость рекламных установок измеряют прямым методом либо методом измерения яркости по изображению.

7.7.2 Измерения яркости рекламных установок проводят из точек, расположенных на линии пересечения вертикальной плоскости, перпендикулярной к плоскости экрана рекламной установки и проходящей через его центр, с горизонтальной плоскостью, расположенной на уровне 1,5 м от дорожного покрытия.

Расстояние от экрана рекламной установки до точки измерения следует выбирать так, чтобы диафрагма яркомера позволила проводить измерения яркости в контрольных точках.

7.7.3 Для проведения измерений средней яркости рекламной установки применяют сетку контрольных точек, при которой контрольные точки размещают в узлах прямоугольной решетки в пределах светящегося (освещаемого) экрана. Ориентировочные размеры ячейки решетки каждой стороны экрана p, м, определяют по формуле

, (6)

где d - размер светящегося (освещаемого) экрана по одной из сторон.

Примеры расположения контрольных точек при измерении яркости типовых экранов билбордов, супербордов, суперсайтов и медиафасадов приведены на рисунках Е.1 - Е.3 приложения Е.

7.7.4 Измерения яркости рекламных установок с цифровым и электронным носителем на соответствие действующим нормам и настоящему стандарту проводят при белом фоне экрана.

8 Обработка и оформление результатов измерений

8.1 Среднюю яркость рабочей поверхности или дорожного покрытия, рекламного экрана или фасада здания определяют как среднее арифметическое результатов измерений яркости элементарных площадок [по формулам (1) и (2)].

8.2 При наличии отклонения напряжения в сети от номинального измеренную яркость L, кд/м2, приведенную к номинальному напряжению сети , пересчитывают на номинальное напряжение по формуле

, (7)

где - измеренная яркость при напряжении сети , кд/м2;

K - коэффициент, равный 0 - для осветительных приборов со светодиодами, 1 - для осветительных приборов с люминесцентными лампами и электронными пускорегулирующими аппаратами, светодиодов, 2 - для осветительных приборов с люминесцентными лампами и электромагнитными пускорегулирующими аппаратами, 3 - для осветительных приборов с металлогалогенными лампами и натриевыми лампами низкого давления, 4 - для осветительных приборов ламп накаливания;

- номинальное напряжение сети, В;

- среднее значение напряжения, равное ( + )/2 (где и - значения напряжения сети в начале и конце измерений, В).

8.3 Освещенность, приведенную к номинальному напряжению сети, определяют по ГОСТ 24940.

8.4 Результаты измерений яркости оформляют по форме, приведенной в соответствии с приложением Ж.

8.5 Порядок оформления результатов измерений освещенности - по ГОСТ 24940.

Приложение А
(справочное)

ПЕРЕЧЕНЬ РЕКОМЕНДУЕМЫХ СРЕДСТВ ИЗМЕРЕНИЙ

А.1 Прямой (основной) метод измерения

Яркомер типа LS-100 Konica Minolta Sensing Inc (Япония).

Яркомер типа LS-110 Konica Minolta Sensing Inc (Япония).

Яркомер типа L1000/L1009 фирмы LightMessTechnik GmbH (Германия).

Многоканальный радиометр "Аргус" (Российская Федерация).

Яркомер типа ТКА-ЯР (Российская Федерация).

Яркомер типа Аргус 02 (Российская Федерация).

Люксметр-яркомер типа ТКА модель 04/3 (Российская Федерация).

Люксметр-яркомер Аргус 12 (Российская Федерация).

Яркомер LMK 98-3 фирмы TechnoTeam (Германия) - для проведения измерений с движущегося автотранспортного средства.

Люксметр-яркомер-пульсметр "Эколайт" (модель 01) (Российская Федерация).

Люксметр-яркомер-пульсметр "Эколайт" (модель 02) (Российская Федерация).

Люксметр-яркомер-пульсметр "еЛайт01" (Российская Федерация).

Люксметр-яркомер-пульсметр "еЛайт02" (Российская Федерация).

А.2 Косвенный (вспомогательный) метод измерения

Люксметр типа ТКА-Люкс (Российская Федерация).

Люксметр типа ТКА-ПКМ модель 02 (Российская Федерация).

Люксметр типа ТКА-ПКМ модель 08 (Российская Федерация).

Люксметр типа ТКА-ПКМ модель 31 (Российская Федерация).

Люксметр типа Аргус 01 (Российская Федерация).

Люксметр-пульсметр типа Аргус 07 (Российская Федерация).

Люксметр типа TESTO 0500 (Германия).

Люксметр-яркомер-пульсметр "Эколайт" (модель 01) (Российская Федерация).

Люксметр-яркомер-пульсметр "Эколайт" (модель 02) (Российская Федерация).

Люксметр-яркомер-пульсметр "еЛайт01" (Российская Федерация).

Люксметр-яркомер-пульсметр "еЛайт02" (Российская Федерация).

А.3 Средства измерений, указанные в А.1 и А.2, приведены исключительно в справочных целях. Данный перечень не является исчерпывающим и/или обязательным. Допускается применение иных средств измерений с характеристиками не ниже указанных, отвечающих требованиям настоящего стандарта.

Приложение Б
(справочное)

РАСПОЛОЖЕНИЕ КОНТРОЛЬНЫХ УЧАСТКОВ И ТОЧЕК ПРИ ПРОВЕДЕНИИ ИЗМЕРЕНИЙ ЯРКОСТИ ДОРОЖНОГО ПОКРЫТИЯ

1 - шестиполосная дорога с центральной разделительной полосой при двойном центральным расположении светильников; 2 - шестиполосная дорога с центральной разделительной полосой при одностороннем однорядном расположении светильников; 3 - трехполосная дорога при одностороннем однорядном расположении светильников; 4 - трехполосная дорога при двухстороннем прямоугольном расположении светильников; 5 - трехполосная дорога при двухстороннем шахматном расположении светильников; 6 - двухполосная дорога при одностороннем однорядном расположении светильников; 7 - двухполосная дорога при двухстороннем прямоугольном расположении светильников; 8 - двухполосная дорога при двухстороннем шахматном расположении светильников; 9 - расположение наблюдателя; 10 - расположение контрольного участка

Рисунок Б.1 - Расположение контрольного участка при измерении средней яркости дорожного покрытия

1 - край дороги; 2 - последний светильник на контрольном участке; 3 - контрольный участок; 4 - центральная линия дороги; 5 - первый светильник на контрольном участке; 6 - направление измерений; 7 - расстояние от контрольного участка до измерительного прибора; x - точки измерения яркости (освещенности); - ширина полосы движения; d - расстояние между точками измерения в поперечном направлении; D - расстояние между точками измерения в продольном направлении; S - расстояние между светильниками; N - число точек измерения

Рисунок Б.2 - Расположение контрольных точек на контрольном участке при измерении средней яркости улиц прямым методом

d - длина контрольного участка; - длина элементарной площадки; b - ширина проезжей части; - ширина элементарной площадки; - элементарная площадка; H - высота установки светильника; - угол, ориентирующий направление силы света

Рисунок Б.3 - Расположение контрольных точек на участке при измерении средней яркости дорожного покрытия косвенным методом

Приложение В
(справочное)

МЕТОДИКА ОПРЕДЕЛЕНИЯ КОЭФФИЦИЕНТА ОТРАЖЕНИЯ РАБОЧЕЙ ПОВЕРХНОСТИ

Коэффициент отражения диффузно отражающих рабочих поверхностей определяют с помощью специально изготовленных шкал (см. рисунок В.1), содержащих набор образцов эталонов колеров <*>, применяемых на территории государства, принявшего настоящий стандарт, одного цветового тона, но различной чистоты цвета с известными коэффициентами отражения.

<*> В Российской Федерации применяют эталоны колеров по изданию: Крауклис В.В. Альбом колеров. - М.: Стройиздат, 1985.

1 - площадь, через которую видна рабочая поверхность; 2 - образец эталона колера

Рисунок В.1 - Схема шкалы набора образцов

Визуальным сравнением определяют одинаковый по цвету и светлоте с рабочей поверхностью образец на шкале. Его коэффициент отражения принимают за коэффициент отражения данной рабочей поверхности.

Приложение Г
(обязательное)

МЕТОДИКА РАСЧЕТА КОЭФФИЦИЕНТА ПЕРЕСЧЕТА K

Коэффициент K устанавливает связь между уровнем средней горизонтальной освещенности , кд/м2, и средней яркостью дорожного покрытия по формуле

. (Г.1)

Среднюю яркость дорожного покрытия и среднюю горизонтальную освещенность определяют для схем расположения элементарных площадок, изображенных на чертеже, с учетом совокупного действия светильников по формулам:

, (Г.2)

, (Г.3)

где - яркость дорожного покрытия i-й элементарной площадки от совокупного действия светильников осветительной установки, кд/м2;

- горизонтальная освещенность i-й элементарной площадки от совокупного действия светильников осветительной установки, лк;

n - число элементарных площадок на контрольном участке.

Яркость (горизонтальную освещенность) i-й элементарной площадки рассчитывают по формулам:

, (Г.4)

, (Г.5)

где - яркость i-й элементарной площадки, создаваемая j-м светильником, кд/м2;

- горизонтальная освещенность i-й элементарной площадки, создаваемая j-м светильником, лк;

N - число светильников, одновременно формирующих яркость (горизонтальную освещенность) i-й элементарной площадки.

Яркость (горизонтальную освещенность) i-й элементарной площадки, создаваемую j-м светильником, рассчитывают по формулам:

, (Г.6)

, (Г.7)

где - коэффициент яркости дорожного покрытия i-й элементарной площадки относительно j-го светильника [значения приведены в таблицах Г.1, Г.2, Г.3];

- сила света j-го светильника по направлению к i-й элементарной площадке, кд;

- угол, ориентирующий направление силы света от j-го светильника к i-й элементарной площадке, град;

H - высота установки светильников, м.

Таблица Г.1

Коэффициенты яркости мелкозернистого асфальтобетонного покрытия

b/H Коэффициент яркости мелкозернистого асфальтобетонного (гладкого) покрытия при угле падения
85° 84° 83° 82° 80° 78° 76° 74° 72° 70° 65° 60° 55° 50° 45° 40° 30° 20° 10°
0 22,40 20,40 18,20 16,40 13,00 8,40 5,00 3,30 2,19 1,77 1,20 0,83 0,57 0,38 0,26 0,22 0,18 0,14 0,10 0,10
0,25 18,80 16,60 13,60 12,00 9,00 6,17 3,16 2,11 1,75 1,46 0,96 0,64 0,44 0,29 0,21 0,18 0,13 0,11 0,11 -
0,50 14,60 11,60 9,50 7,00 4,50 2,98 1,98 1,47 1,25 1,04 0,64 0,40 0,27 0,20 0,16 0,14 0,11 - - -
0,75 11,00 8,00 5,30 4,00 2,55 1,80 1,25 0,98 0,83 0,68 0,42 0,27 0,19 0,15 0,12 0,11 - - - -
1,00 6,90 4,50 3,60 2,56 1,62 1,20 0,88 0,77 0,6 0,46 0,29 0,20 0,15 0,12 0,11 - - - - -
1,25 4,506 3,40 2,60 1,50 1,13 0,85 0,70 0,56 0,46 0,36 0,23 0,16 0,12 0,11 - - - - - -
1,50 3,5 2,55 1,90 1,34 0,93 0,75 0,55 0,45 0,36 0,31 0,19 0,14 -         - - -
1,75 2,80 1,95 1,45 1,10 0,80 0,62 0,45 0,36 0,31 0,26 0,16 - - - - - - - - -
2,00 2,25 1,53 1,15 0,92 0,68 0,53 0,40 0,32 0,26 0,22 0,13 - - - - - - - - -
2,25 1,80 1,25 0,97 0,80 0,62 0,45 0,35 0,26 0,22 0,19 - - - - - - - - - -
2,50 1,50 1,05 0,90 0,72 0,57 0,40 0,32 0,24 0,19 0,16 - - - - - - - - - -
2,75 1,25 0,95 0,80 0,65 0,50 0,37 0,28 0,20 0,16 - - - - - - - - - - -
3,00 1,10 0,90 0,75 0,62 0,44 0,32 0,24 0,18 - - - - - - - - - - - -
4,00 0,80 0,60 0,45 0,37 0,30 0,22 - - - - - - - - - - - - - -
5,00 0,60 0,50 0,35 0,32 0,23 0,16 - - - - - - - - - - - - - -

Таблица Г.2

Коэффициенты яркости шероховатого асфальтобетонного покрытия

b/H Коэффициент яркости шероховатого асфальтобетонного покрытия при угле падения
85° 84° 83° 82° 80° 78° 76° 74° 72° 70° 65° 60° 55° 50° 45° 40° 30° 20° 10°
0 7,00 6,40 5,70 4,90 3,60 2,34 1,80 1,52 1,34 1,18 0,90 0,71 0,56 0,44 0,36 0,32 0,24 0,18 0,14 0,10
0,25 6,20 5,04 4,10 3,40 1,94 1,50 1,22 1,02 0,85 0,73 0,51 0,39 0,32 0,27 0,21 0,20 0,17 0,13 - -
0,50 4,60 3,6 2,70 1,90 1,40 1,10 0,90 0,74 0,60 0,51 0,38 0,28 0,24 0,23 0,20 0,18 0,13 - - -
0,75 3,50 2,20 1,70 1,48 1,12 0,87 0,67 0,54 0,44 0,38 0,28 0,23 0,22 0,20 0,18 0,14 - - - -
1,00 2,20 1,64 1,48 1,21 0,90 0,65 0,50 0,40 0,33 0,28 0,23 0,22 0,20 0,17 - - - - - -
1,25 1,70 1,42 1,19 0,99 0,72 0,50 0,39 0,32 0,28 0,25 0,20 0,19 0,20 - - - - - - -
1,50 1,51 1,20 1,00 0,84 0,59 0,41 0,35 0,27 0,24 0,23 0,16 0,17 0,16 - - - - - - -
2,00 1,12 0,80 0,73 0,58 0,39 0,31 0,25 0,24 0,23 0,22 - - - - - - - - - -
2,50 0,96 0,72 0,53 0,42 0,31 0,29 0,24 0,22 0,20 0,17 - - - - - - - - - -
3,00 0,78 0,54 0,39 0,32 0,27 0,24 0,22 0,19 0,17 - - - - - - - - - - -
4,00 0,48 0,34 0,29 0,27 0,24 0,20 - - - - - - - - - - - - - -
5,00 0,36 0,28 0,27 0,24 0,19 0,17 - - - - - - - - - - - - - -

Таблица Г.3

Коэффициенты яркости осветленного асфальтобетонного покрытия

85° 80° 75° 65° 45° 30° 15°
Содержание дорсила 33%
90° 9,20 2,50 1,65 0,77 0,29 0,20 0,16 0,11
80° 0,88 0,80 0,70 0,55 0,29 0,20 0,16 0,11
70° 0,43 0,40 0,35 0,33 0,26 0,16 0,14 0,11
60° 0,30 0,27 0,24 0,22 0,20 0,16 0,14 0,11
50° 0,28 0,24 0,22 0,20 0,18 0,15 0,13 0,11
40° 0,28 0,24 0,22 0,20 0,18 0,15 0,13 0,11
30° 0,29 0,24 0,22 0,20 0,18 0,16 0,14 0,11
20° 0,30 0,24 0,22 0,20 0,18 0,16 0,14 0,11
10° 0,32 0,24 0,22 0,20 0,19 0,16 0,14 0,13
0,36 0,24 0,23 0,22 0,20 0,16 0,14 0,13
Содержание дорсила 38%
90° 12,80 5,30 2,64 1,10 0,37 0,25 0,22 0,18
80° 1,46 1,25 1,10 0,75 0,36 0,24 0,21 0,18
70° 0,60 0,54 0,52 0,46 0,32 0,24 0,20 0,17
60° 0,43 0,40 0,38 0,35 0,26 0,21 0,19 0,17
50° 0,38 0,35 0,31 0,28 0,22 0,19 0,18 0,16
40° 0,36 0,32 0,28 0,24 0,20 0,18 0,17 0,15
30° 0,35 0,31 0,26 0,22 0,18 0,17 0,16 0,14
20° 0,35 0,30 0,25 0,21 0,18 0,16 0,15 0,14
10° 0,36 0,31 0,26 0,21 0,19 0,17 0,16 0,16
0,40 0,33 0,29 0,24 0,21 0,18 0,17 0,17
Содержание дорсила 43%
90° 13,40 6,50 4,50 1,70 0,50 0,30 0,20 0,17
80° 1,40 1,17 1,02 0,77 0,41 0,27 0,20 0,17
70° 0,63 0,59 0,55 0,49 0,35 0,26 0,20 0,17
60° 0,48 0,44 0,42 0,39 0,30 0,24 0,20 0,17
50° 0,38 0,36 0,34 0,32 0,27 0,24 0,20 0,17
40° 0,36 0,33 0,32 0,30 0,26 0,23 0,19 0,17
30° 0,35 0,33 0,32 0,30 0,26 0,23 0,19 0,17
20° 0,35 0,33 0,32 0,30 0,26 0,23 0,19 0,17
10° 0,35 0,33 0,32 0,30 0,26 0,23 0,19 0,17
0,35 0,33 0,32 0,30 0,26 0,23 0,19 0,17

Приложение Д
(справочное)

РАСПОЛОЖЕНИЕ КОНТРОЛЬНЫХ УЧАСТКОВ И ТОЧЕК ИЗМЕРЕНИЯ В ЯРКОСТНЫХ ЗОНАХ ТОННЕЛЯ

Рисунок Д.1 - Яркостные зоны тоннеля

1 - точки измерения; 2 - осветительные приборы (ОП); S - длина контрольного участка (дорожного покрытия или стены); - ширина полосы движения; D - шаг ОП; n - число ОП в ряду на контрольном участке (показано для n = 3); h - размер контрольного участка стены по высоте

Рисунок Д.2 - Расположение точек измерения яркости на проезжей части (дорожном полотне) в тоннелях

Рисунок Д.3 - Расположение контрольных точек на стене тоннеля

1 - контрольный участок дорожного покрытия; 2 - контрольный участок стены; 3 - положение яркомера при измерении яркости дорожного покрытия; 4 - положение яркомера при измерении яркости стены; 5 - точки измерения; 6 - направление движения

Рисунок Д.4 - Положение яркомера при измерении яркости дорожного покрытия и стен тоннеля

Приложение Е
(справочное)

РАСПОЛОЖЕНИЕ КОНТРОЛЬНЫХ ТОЧЕК ПРИ ИЗМЕРЕНИИ ЯРКОСТИ РЕКЛАМЫ

Размеры в метрах

Рисунок Е.1 - Пример расположения контрольных точек на рекламном экране размерами 3 x 6 м при измерении средней яркости

Размеры в метрах

Рисунок Е.2 - Пример расположения контрольных точек на рекламном экране размерами 5 x 15 м при измерении средней яркости

Размеры в метрах

Рисунок Е.3 - Пример расположения контрольных точек на рекламном экране размерами 30 x 30 м при измерении средней яркости

Приложение Ж
(справочное)

ОФОРМЛЕНИЕ РЕЗУЛЬТАТОВ ИЗМЕРЕНИЙ

Результаты измерений яркости рабочей поверхности

Наименование (номер) помещения                        
Тип и номер измерительного прибора                        
Напряжение сети =       , =                  
    в начале измерений   в конце измерений            
Наименование действующего нормативного документа                      
                           
Состояние осветительной установки                        

Номера контрольных точек Место измерения, высота от пола, наименование рабочей поверхности Плоскость измерения (вертикальная, горизонтальная, наклонная) Яркость, кд/м2
Измеренная Приведенная к Нормируемая
1 2 3 4 5 6
         
Заключение  

Результаты измерений средней яркости дорожных покрытий

Наименование улицы (дороги, площади)                        
Ширина проезжей части         м                
Тип светильников                          
Число светильников на опоре                        
Расположение светильников: высота       м, шаг       м        
Тип и номер измерительного прибора                        
Напряжение сети =       , =                  
    в начале измерений   в конце измерений            
Наименование действующего нормативного документа                      
                           
Состояние осветительной установки                        

Яркость, кд/м2
Измеренная Приведенная к Нормируемая
1 2 3
   

Заключение  

Приложение к протоколу:

Эскиз плана улицы (дороги, площади) с обозначением расположения осветительных опор (с указанием их номера), контрольного участка, яркость которого измерялась.

Результаты измерений средней яркости фасадов зданий и сооружений или рекламных установок

Наименование улицы, дороги, площади, на которой расположен освещаемый объект                
                           
Тип и число световых приборов                        
Высота установки световых приборов                        
Тип и номер измерительного прибора                        
Наименование действующего нормативного документа                      
                           
Состояние осветительной установки                        

N n , град Яркость, кд/м2
Измеренная Нормируемая
1 2 3 4 5
       

Заключение  

N - номер места расположения яркомера;

n - номер участка поверхности освещаемого объекта, яркость которого измерялась;

- угол между линией визирования и горизонтальной плоскостью, град.

Приложение к протоколу:

Эскиз плана улицы, дороги, площади с обозначением расположения освещаемого объекта, зон вероятного нахождения наблюдателей, мест расположения яркомера, направлений линий визирования.

Эскизы вертикальных разрезов пространства улицы, дороги, площади по линиям визирования яркомера.