Конструкции строительные. Испытания на огнестойкость. Альтернативные и дополнительные методы. ГОСТ р ЕН 1363-2-2014

(утв. Приказом Росстандарта от 06.10.2014 N 1275-СТ)
Редакция от 06.10.2014 — Действует с 01.06.2015

Данный документ приведен с учетом Поправки,опубликованной в ИУС "Национальные стандарты", N 10, 2015.


НАЦИОНАЛЬНЫЙ СТАНДАРТ РОССИЙСКОЙ ФЕДЕРАЦИИ

КОНСТРУКЦИИ СТРОИТЕЛЬНЫЕ

ИСПЫТАНИЯ НА ОГНЕСТОЙКОСТЬ

АЛЬТЕРНАТИВНЫЕ И ДОПОЛНИТЕЛЬНЫЕ МЕТОДЫ

Fire resistance tests - Part 2: Alternative and additional procedures (IDT)

ГОСТ Р ЕН 1363-2-2014

Дата введения
1 июня 2015 года

Предисловие

1. Подготовлен Обществом с ограниченной ответственностью "Научный Инновационный Центр Строительства и Пожарной Безопасности "М" (ООО "НИЦ СиПБ" "М") на основе собственного аутентичного перевода на русский язык европейского регионального стандарта, указанного в пункте 4.

2. Внесен Техническим комитетом по стандартизации ТК 274 "Пожарная безопасность".

3. Утвержден и введен в действие Приказом Федерального агентства по техническому регулированию и метрологии от 6 октября 2014 г. N 1275-ст.

4. Настоящий стандарт идентичен европейскому региональному стандарту EN 1363-2:1999 "Испытания на огнестойкость. Часть 2. Альтернативные и дополнительные процедуры" (EN 1363-2:1999 "Fire resistance tests - Part 2: Alternative and additional procedures").

Наименование настоящего стандарта изменено относительно наименования указанного европейского регионального стандарта для приведения в соответствие с ГОСТ Р 1.5-2012 (пункт 3.5).

При применении настоящего стандарта рекомендуется использовать вместо ссылочных европейских региональных стандартов соответствующие им национальные стандарты Российской Федерации, сведения о которых приведены в дополнительном Приложении ДА.

5. Введен впервые.

Правила применения настоящего стандарта установлены в ГОСТ Р 1.0-2012 (раздел 8). Информация об изменениях к настоящему стандарту публикуется в ежегодном (по состоянию на 1 января текущего года) информационном указателе "Национальные стандарты", а официальный текст изменений и поправок - в ежемесячном информационном указателе "Национальные стандарты". В случае пересмотра (замены) или отмены настоящего стандарта соответствующее уведомление будет опубликовано в ближайшем выпуске информационного указателя "Национальные стандарты". Соответствующая информация, уведомление и тексты размещаются также в информационной системе общего пользования - на официальном сайте Федерального агентства по техническому регулированию и метрологии в сети Интернет (gost.ru).

1. Область применения

1.1. Настоящий стандарт устанавливает требования к альтернативным температурным режимам, учитывающим реальные условия пожара, и дополнительные методы испытания огнестойкости.

1.2. Настоящий стандарт устанавливает требования к методам испытаний строительных конструкций, подвергнувшихся огневому воздействию, на удар, а также к способам измерения теплового потока (далее - теплового излучения) и содержит пояснения, в каких случаях целесообразно проводить данные испытания (измерения).

1.3. Стандарт применяют совместно с EN 1363-1.

2. Нормативные ссылки

В настоящем стандарте использованы нормативные ссылки на следующие стандарты:

EN 1363-1 Испытания на огнестойкость. Часть 1. Общие требования (EN 1363-1, Fire resistance tests - Part 1: General requirements)

EN 1364-1 Элементы зданий, не несущие нагрузки. Испытания на огнестойкость. Часть 1. Перегородки (EN 1364-1, Fire resistance tests for non-loadbearing elements - Part 1: Walls)

EN 1365-1 Элементы зданий, несущие нагрузку. Испытания на огнестойкость. Часть 1. Перегородки (EN 1365-1, Fire resistance tests for loadbearing elements - Part 1: Walls)

ЕН ИСО 13943 Пожарная безопасность. Словарь (EN ISO 13943, Fire safety - Vocabulary).

Примечание. Для недатированных ссылок применяют последнее издание ссылочного стандарта (включая все его изменения).

Примечание. При пользовании настоящим стандартом целесообразно проверить действие ссылочных стандартов в информационной системе общего пользования - на официальном сайте Федерального агентства по техническому регулированию и метрологии в сети Интернет или по ежегодному информационному указателю "Национальные стандарты", который опубликован по состоянию на 1 января текущего года, и по выпускам ежемесячного информационного указателя "Национальные стандарты" за текущий год. Если заменен ссылочный стандарт, на который дана недатированная ссылка, то рекомендуется использовать действующую версию этого стандарта с учетом всех внесенных в данную версию изменений. Если заменен ссылочный стандарт, на который дана датированная ссылка, то рекомендуется использовать версию этого стандарта с указанным выше годом утверждения (принятия). Если после утверждения настоящего стандарта в ссылочный стандарт, на который дана датированная ссылка, внесено изменение, затрагивающее положение, на которое дана ссылка, то это положение рекомендуется применять без учета данного изменения. Если ссылочный стандарт отменен без замены, то положение, в котором дана ссылка на него, рекомендуется применять в части, не затрагивающей эту ссылку.

3. Термины и определения

В настоящем стандарте применены термины и определения согласно ЕН 1363-1 и ЕН ИСО 13943, а также следующий термин с соответствующим определением:

3.1. Тепловой поток: количество тепловой энергии на единицу площади, падающей на мишень измерительного прибора. Он включает в себя тепло, передаваемое посредством конвекции, а также радиации.

4. Углеводородный температурный режим

4.1. Общие положения

Настоящий стандарт содержит детальные сведения о трех альтернативных температурных режимах, учитывающих реальные условия пожара, а именно: углеводородного температурного режима, наружного температурного режима и медленно развивающегося (тлеющего) температурного режима.

При отсутствии необходимости в проведении огневых испытаний согласно альтернативным температурным режимам применяют стандартный температурный режим согласно ЕН 1363-1.

Предел огнестойкости строительной конструкции определяют при огневом воздействии, осуществляемом в соответствии с требованиями ЕН 1363-1, по установленной зависимости "температура-время" (стандартный температурный режим).

На практике возможно проявление сценариев пожара, при которых происходят значительные отклонения от стандартных условий согласно ЕН 1363-1, например в нефтехимической промышленности и на морских нефтяных платформах, где существует угроза возникновения интенсивных пожаров, которые характеризуются высокой температурой и скоростью распространения. Для таких условий при проведении огневых испытаний следует использовать углеводородный температурный режим.

4.2. График зависимости "температура-время"

Представленный на рисунке 1 график зависимости "температура-время" (кривая 2), выраженный следующим уравнением, представляет "углеводородную кривую":

, (1)

где t - время, прошедшее с момента начала испытания, мин;

T - требуемая средняя температура в испытательной печи, °C.

1 - стандартный температурный режим; 2 - углеводородный температурный режим; 3 - наружный температурный режим; 4 - медленно развивающийся (тлеющий) температурный режим

Рисунок 1. Графики зависимости "температура-время"

4.3. Допустимые процентные отклонения

Допустимое процентное отклонение средней, измеренной печными термопарами, температуры от значений температуры T, вычисленной по формуле (1), определяют следующим образом:

a) 15% в диапазоне 5 мин < t 10 мин;
b) (15 - 0,5(t - 10))% в диапазоне 10 мин < t 30 мин;
c) (5 - 0,083(t - 30))% в диапазоне 30 мин < t 60 мин;
d) 2,5% в диапазоне t > 60 мин.

Допустимое процентное отклонение определяют по формуле:

.

За среднюю измеренную температуру в печи принимают среднее арифметическое значение показаний печных термопар в момент времени t.

Все участки измеряют одинаковым способом, а именно путем суммирования участков с промежутком не более 1 мин, причем суммирование начинается с момента времени t = 0.

После первых 10 мин испытания зарегистрированная любой печной термопарой температура не должна отклоняться от температуры по формуле (1) более чем на 100 °C.

Для опытных образцов конструкций, обладающих высоким классом пожарной опасности, отклонение более чем на 100 °C от температуры по формуле (1) допустимо лишь на промежуток времени, не превышающий 10 мин, при условии, что такого рода отклонение объясняется внезапным воспламенением значительного количества горючих материалов, которое повышает общую температуру в камере сгорания.

5. Наружный температурный режим

5.1. Общие положения

Предел огнестойкости строительной конструкции определяют при огневом воздействии, осуществляемом в соответствии с требованиями ЕН 1363-1 по установленной зависимости "температура-время" (стандартный температурный режим).

Требования к пожарно-техническим характеристикам некоторых строительных конструкций в определенных случаях могут быть более низкими по сравнению с требованиями к элементам, используемым в качестве противопожарных преград внутри здания. Например, наружные стены зданий, которые могут быть подвержены воздействию внешнего пожара, распространяющегося от соседнего здания или из окон зданий. При этом возникает необходимость исключить возможность распространения пожара в другие помещения здания за счет утраты огнестойкости наружных стен при внешнем огневом воздействии. С учетом особенностей внешнего пожара для оценки пределов огнестойкости наружных строительных конструкций используется наружный температурный режим.

5.2. График зависимости "температура-время"

Представленный на рисунке 1 график "температура-время" (кривая 3), выраженный следующим уравнением, представляет собой "кривую наружного температурного режима":

, (2)

где t - время, прошедшее с момента начала испытания, мин;

T - требуемая средняя температура в испытательной печи, °C.

5.3. Допустимые процентные отклонения

Допустимое процентное отклонение средней, измеренной печными термопарами, температуры от значений температуры T, вычисленной по формуле (2), определяют следующим образом:

a) 15% в диапазоне 5 мин < t 10 мин;
b) (15 - 0,5(t - 10))% в диапазоне 10 мин < t 30 мин;
c) (5 - 0,083(t - 30))% в диапазоне 30 мин < t 60 мин;
d) 2,5% в диапазоне t > 60 мин.

Допустимое процентное отклонение определяют по формуле:

За среднюю измеренную температуру в печи принимают среднее арифметическое значение показаний печных термопар в момент времени t.

Все участки измеряют одинаковым способом, а именно путем суммирования участков с промежутком не более 1 мин, причем суммирование начинается с момента времени t = 0.

После первых 10 мин испытания зарегистрированная любой печной термопарой температура не должна отклоняться от температуры по формуле (1) более чем на 100 °C.

Для опытных образцов конструкций, обладающих высоким классом пожарной опасности, отклонение более чем на 100 °C от температуры по формуле (2) допустимо лишь на промежуток времени, не превышающий 10 мин, при условии, что такого рода отклонение объясняется внезапным воспламенением значительного количества горючих материалов, которое повышает общую температуру в камере сгорания.

6. Медленно развивающийся (тлеющий) температурный режим

6.1. Общая информация

Предел огнестойкости строительной конструкции определяют при огневом воздействии, осуществляемом в соответствии с требованиями ЕН 1363-1, по установленной зависимости "температура-время" (стандартный температурный режим).

Огнестойкость некоторых элементов, определенная при испытаниях согласно стандартному температурному режиму, может быть значительно меньше по сравнению с огнестойкостью, определенной в условиях медленно развивающегося температурного режима, учитывающего начальную стадию развития пожара. Примером может быть пожарная нагрузка из материалов, способных поддерживать тлеющий режим горения. Для таких случаев необходимо использовать условия медленно развивающегося (тлеющего) температурного режима.

6.2. График зависимости "температура-время"

Представленный на рисунке 1 график зависимости "температура-время" (кривая 4), выраженный следующим уравнением, представляет собой "кривую тлеющего температурного режима":

при 0 < t <= 21

; (3)

при t > 21

, (4)

где t - время, прошедшее с момента начала испытания, мин;

T - требуемая средняя температура в испытательной печи, °C.

6.3. Допустимые процентные отклонения

Допустимое процентное отклонение средней, измеренной печными термопарами, температуры от значений температуры T, вычисленной по формулам (3) и (4), определяют следующим образом:

a) 15% в диапазоне 5 мин < t 10 мин;
b) (15 - 0,5(t - 10))% в диапазоне 10 мин < t 30 мин;
c) (5 - 0,083(t - 30))% в диапазоне 30 мин < t 60 мин;
d) 2,5% в диапазоне t > 60 мин.

Допустимое процентное отклонение определяют по формуле

За среднюю измеренную температуру в печи принимают среднее арифметическое значение показаний печных термопар в момент времени t.

Все участки измеряют одинаковым способом, а именно путем суммирования участков с промежутком не более 1 мин, причем суммирование начинается с момента времени t = 0.

После первых 10 мин испытания зарегистрированная любой печной термопарой температура не должна отклоняться от температуры по формуле (1) более чем на 100 °C.

Для опытных образцов конструкций, обладающих высоким классом пожарной опасности, отклонение более чем на 100 °C от температуры по формулам (3) и (4) допустимо лишь на промежуток времени, не превышающий 10 мин, при условии, что такого рода отклонение объясняется внезапным воспламенением значительного количества горючих материалов, которое повышает общую температуру в камере сгорания.

6.4. Оценка состояния строительных конструкций

Оценку состояния строительных конструкций проводят методом сравнения поведения образцов конструкций, испытанных по тлеющему температурному режиму, с теми, которые были испытаны согласно стандартному температурному режиму. Для каждого температурного режима и условий испытаний опытные образцы строительных конструкций должны быть одинаковыми. Описание образцов, необходимых для проведения испытаний, приведено в соответствующих методиках испытаний.

6.5. Критерии наступления предельных состояний

При оценке времени наступления предельных состояний строительной конструкции по огнестойкости при температурном режиме медленно развивающегося пожара время наступления предела огнестойкости должно равняться пределу огнестойкости по стандартному температурному режиму по ЕН 1363-1 плюс 20 мин. Если предел огнестойкости конструкции не соответствует данному требованию, необходимо нормировать конструкцию по более низкому пределу огнестойкости.

7. Испытание на удар

7.1. Общие положения

Огнестойкость определенных типов конструкций, выполняющих функции ограждающих конструкций, может быть нарушена за счет механического воздействия, возникающего из-за повреждения при возгорании других строительных деталей и объектов, несущих нагрузку. Далее описан способ, с помощью которого может быть определено сопротивление удару в качестве базового значения. При необходимости данный способ может быть применен для несущих и ненесущих конструкций с различными пределами огнестойкости.

7.2. Оборудование

В дополнение к испытательному оборудованию согласно ЕН 1363-1 и, при необходимости, ЕН 1364-1, а также ЕН 1365-1 необходимо устройство, которое закреплено на неподвижном крепежном устройстве (раме), сконструированное таким образом, чтобы возможные деформации испытательного образца его не ограничивали.

Энергия при ударе вырабатывается за счет колебательного движения ударного тела - мешка конической формы, наполненного свинцовой дробью (рисунок 2).

1 - стальной трос диаметром 10 мм; 2 - стальной трос диаметром 5 мм; 3 - мешок, наполненный свинцовой дробью; 4 - стальной трос диаметром 6 мм

Рисунок 2. Ударное тело

Ударное тело состоит из пустого двухслойного мешка размерами 650 x 1200 мм. Тело наполнено мешками, которые содержат по 10 кг свинцовой дроби размером от 2 до 3 мм, и закрыто с помощью стальных тросов.

Наполненный мешок заключен в проволочную сеть, площадь поверхности которой составляет 1200 x 1200 мм, размер отверстий 50 x 50 мм, диаметр троса 5 мм. Общая масса ударного тела составляет 200 кг.

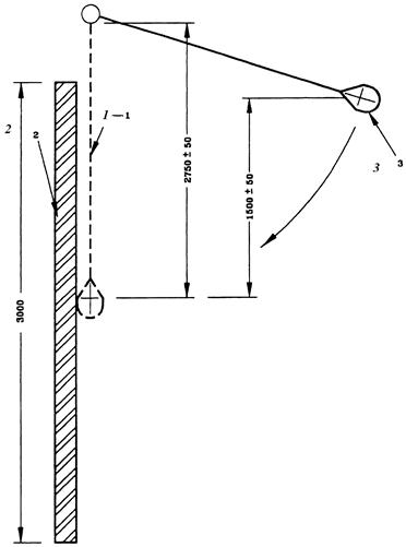
Ударное тело висит на стальном тросе, который закреплен на определенном месте испытательного прибора и расположен таким образом, что ударное тело в спокойном состоянии только касается строительной конструкции в заданной точке удара (рисунок 3). Длина маятника от точки крепления до средней точки мешка составляет (2750 50) мм. Заданная точка удара должна находиться в геометрическом центре конструкции рядом с центром ударного тела.

1 - стальной трос диаметром 10 мм; 2 - образец для испытаний; 3 - ударное тело (см. рисунок 2)

Рисунок 3. Устройство для испытания на удар

7.3. Воздействие ударного тела

С помощью соответствующего подъемного устройства ударное тело устанавливают в исходное положение. Стальной бандаж, состоящий из двух стальных тросов диаметром 6 мм, плотно обвязывают вокруг мешка посредине. На нем предусмотрено кольцо для закрепления к подъемному устройству.

Высота падения 1,5 м представляет собой установленную разницу высот до четко обозначенной горизонтальной линии, идущей от средней точки мешка (рисунок 3), с допустимым отклонением +/- 50 мм, что соответствует энергии удара 3000 Н/м.

7.4. Проведение испытания

Образец для испытаний подвергают удару три раза в течение 5 мин после окончания огневых испытаний по оценке пределов огнестойкости. При проведении испытания на удар несущих стен два первых испытания должны быть выполнены с использованием нормативной нагрузки на испытательные образцы. Третье испытание ударом проводят после удаления нагрузки.

В каждом случае наблюдения и измерения критериев должны быть проведены в течение 2 мин после третьей ударной нагрузки. Огневое воздействие должно сохраняться до окончания проведения наблюдений.

7.5. Отчет об испытаниях

В отчете об испытаниях должно быть указано, что испытание было проведено в соответствии с настоящим стандартом. Отчет должен содержать данные по результатам испытания на удар с описанием точки приложения удара и последующими измерениями и наблюдениями за повреждениями и деформацией.

8. Измерение тепловых потоков

8.1. Общая информация

Настоящий раздел описывает метод измерения теплового излучения при проведении испытаний на огнестойкость согласно ЕН 1363-1. Повреждения, вызванные тепловым излучением, оценивают при проведении испытания измерением лучистого теплового потока, исходящего от необогреваемой поверхности испытуемого образца во время огневого испытания.

Теплопередача от необогреваемой поверхности за счет конвекции считается незначительной, поэтому предусматривается измерение лучистых тепловых потоков в плоскости, параллельной плоскости испытуемого образца на расстоянии в 1,0 м от необогреваемой поверхности.

При испытаниях фиксируют среднее значение, измеряемое напротив геометрического центра испытуемого образца, и максимальное значение, которое может быть выше среднего значения или соответствовать ему, если образец для испытания является равномерным излучателем.

Для определения максимального значения должно быть разработано специальное руководство.

Не требуется измерение лучистого теплового потока, исходящего от необогреваемой поверхности испытуемого образца, температура которой составляет менее 300 °C. При данной температуре тепловым излучением можно пренебречь, т.к. в этом случае плотность лучистого теплового потока составляет не более 6 кВт/м2 при коэффициенте излучения (степени черноты), равном 1,0.

8.2. Оборудование

В дополнение к испытательному оборудованию согласно ЕН 1363-1 необходимы средства измерений для измерения излучения, обладающие следующими характеристиками (таблица 1).

Таблица 1

Область назначения Измерительная поверхность прибора (не должна быть закрыта и должна быть подвержена как конвекции, так и излучению)
Диапазон измерения От 0 кВт/м2 до 50 кВт/м2
Точность 5%
Временная константа (период времени до достижения 64% измеряемой величины) < 10 с
Угол обзора (180 5)°

8.3. Проведение испытания

8.3.1. Расположение

8.3.1.1. Общие положения

Приборы для измерения теплового излучения должны быть расположены на расстоянии 1 м от необогреваемой поверхности испытуемого образца.

На момент начала проведения испытания измерительная (тепловоспринимающая) поверхность прибора должна быть расположена параллельно плоскости необогреваемой поверхности испытуемого образца (отклонение от параллельности не более 5%).

В пределах области измерения теплового излучения от необогреваемой поверхности испытуемого образца не допускается нахождение других нагретых поверхностей со значительным уровнем теплового излучения, за исключением поверхностей испытуемого образца.

Прибор для измерения теплового излучения не должен быть закрыт (экранирован) от лучистых тепловых потоков, исходящих от любых нагретых участков поверхностей испытуемого образца.

8.3.1.2. Специальные точки замеров

Измерения проводят в следующих точках:

a) напротив геометрической центральной точки испытуемого образца согласно среднему уровню излучения;

b) в точке, где ожидается максимальное тепловое излучение. Месторасположение данной точки определяется логически или может быть рассчитано согласно геометрическим данным опытного образца. Если части испытуемого образца расположены симметрично по отношению к его центральной точке и он представляет собой равномерный излучатель тепла, то измерение проводят согласно перечислению a). Если испытуемый образец состоит из частей с различной теплоизоляцией и/или теплоотдачей, то достоверно предсказать расположение точки максимальной интенсивности излучения достаточно сложно и в таких случаях необходимо использовать следующие положения:

1) Следует определить все точки, в которых температура предположительно будет превышать 300 °C, и которые имеют площадь, превышающую 0,1 м2. Излучение определяется напротив условной центральной точки каждого такого участка.

2) Две или более идентичные и граничащие друг с другом части необогреваемой поверхности с одинаковой высотой и шириной, расположенные друг от друга на расстоянии менее 0,1 м, могут быть рассмотрены в качестве единой поверхности излучения.

3) Если поверхность или часть поверхности испытуемого образца, температура которой предположительно будет оставаться ниже 300 °C, составляет менее 10% соответствующей площади общей поверхности или части общей поверхности, то данная поверхность или часть поверхности может быть рассмотрена в качестве одной поверхности излучения. Например, таким образом можно учитывать такие неравномерности, как рамы в светопрозрачных конструкциях.

8.3.2. Измерение

Измерения, проведенные в каждой точке согласно 8.3.1, следует регистрировать в ходе испытания через промежутки времени не более 1 мин.

8.4. Протокол испытаний

Для каждой выбранной точки измерения необходимо указать время, при котором измеренное излучение достигает значения 5, 15, 20 и 25 кВт/м2. Необходимо указать, относятся измерения к среднему либо к максимальному уровню теплового излучения.

Приложение ДА
(справочное)

СВЕДЕНИЯ О СООТВЕТСТВИИ ССЫЛОЧНЫХ ЕВРОПЕЙСКИХ РЕГИОНАЛЬНЫХ СТАНДАРТОВ ССЫЛОЧНЫМ НАЦИОНАЛЬНЫМ СТАНДАРТАМ РОССИЙСКОЙ ФЕДЕРАЦИИ

Таблица ДА.1

Обозначение ссылочного европейского регионального стандарта Степень соответствия Обозначение и наименование соответствующего национального стандарта
ЕН 1363-1:2012 - <*>
ЕН 1364-1:1999 - <*>
ЕН 1365-1:2012 - <*>
ЕН ИСО 13943:2008 - <*>

<*> Соответствующий национальный стандарт отсутствует. До его утверждения рекомендуется использовать перевод на русский язык данного международного стандарта. Перевод данного международного стандарта находится в Федеральном информационном фонде технических регламентов и стандартов.