Конструкции строительные. Метод испытания на пожарную опасность. ГОСТ 30403-2012

(утв. Приказом Росстандарта от 27.12.2012 N 2021-СТ)
Редакция от 27.12.2012 — Действует с 01.01.2014

МЕЖГОСУДАРСТВЕННЫЙ СТАНДАРТ

КОНСТРУКЦИИ СТРОИТЕЛЬНЫЕ

МЕТОД ИСПЫТАНИЯ НА ПОЖАРНУЮ ОПАСНОСТЬ

BUILDING STRUCTURES. FIRE HAZARD TEST METHOD

ГОСТ 30403-2012

Дата введения
1 января 2014 года

Предисловие

Цели, основные принципы и основной порядок проведения работ по межгосударственной стандартизации в области строительства установлены ГОСТ 1.0-92 "Межгосударственная система стандартизации. Основные положения" и ГОСТ 1.2-2009 "Межгосударственная система стандартизации. Стандарты межгосударственные, правила и рекомендации по межгосударственной стандартизации. Правила разработки, принятия, применения, обновления и отмены".

Сведения о стандарте

1. Разработан Центральным научно-исследовательским институтом строительных конструкций имени В.А. Кучеренко (ЦНИИСК им. В.А. Кучеренко) - институтом ОАО "НИЦ "Строительство" совместно с Федеральным бюджетным государственным учреждением "Всероссийский ордена "Знак Почета" научно-исследовательский институт противопожарной обороны" (ФБГУ "ВНИИПО" МЧС России).

2. Внесен Техническим комитетом по стандартизации ТК 465 "Строительство".

3. Принят Межгосударственной научно-технической комиссией по стандартизации, техническому нормированию и оценке соответствия в строительстве МНТКС (Протокол от 4 июня 2012 г. N 40).

За принятие проголосовали:

Краткое наименование страны по МК (ИСО 3166) 004-97 Код страны по МК (ИСО 3166) 004-97 Сокращенное наименование органа государственного управления строительством
Армения AM Министерство градостроительства
Азербайджан AZ Государственный комитет градостроительства и архитектуры
Казахстан KZ Агентство по делам строительства и жилищно-коммунального хозяйства
Киргизия KG Госстрой
Россия RU Министерство регионального развития
Таджикистан TJ Агентство по строительству и архитектуре при Правительстве
Узбекистан UZ Госархитектстрой
Молдова MD Министерство строительства и регионального развития

4. Приказом Федерального агентства по техническому регулированию и метрологии от 27 декабря 2012 г. N 2021-ст межгосударственный стандарт ГОСТ 30403-2012 введен в действие непосредственно в качестве национального стандарта Российской Федерации с 1 января 2014 г.

5. Взамен ГОСТ 30403-96.

Информация об изменениях к настоящему стандарту публикуется в ежегодном информационном указателе "Национальные стандарты", а текст изменений и поправок - в ежемесячном информационном указателе "Национальные стандарты". В случае пересмотра (замены) или отмены настоящего стандарта соответствующее уведомление будет опубликовано в ежемесячном информационном указателе "Национальные стандарты". Соответствующая информация, уведомление и тексты размещаются также в информационной системе общего пользования - на официальном сайте Федерального агентства по техническому регулированию и метрологии в сети Интернет.

1. Область применения

Настоящий стандарт устанавливает метод испытания строительных конструкций без проемов на пожарную опасность.

Настоящий стандарт распространяется на элементы зданий - колонны, ригели, фермы, балки, арки, рамы и связи, марши и площадки лестничных клеток и лестниц, наружные и внутренние стены, перегородки, перекрытия, покрытия, стены лестничных клеток, противопожарные преграды.

Настоящий стандарт допускается применять для сравнительной оценки пожарной опасности подвесных потолков, воздуховодов и трубопроводов.

Настоящий стандарт не распространяется на конструкции заполнения проемов, на покрытия полов и фальшполы, кровли, наружные стены с выполненными на их внешней поверхности системами внешней теплоизоляции, облицовкой и отделкой, а также на защитно-декоративные системы, предназначенные для применения на двух и более видах стен.

2. Нормативные ссылки

В настоящем стандарте использованы ссылки на следующие межгосударственные стандарты:

ГОСТ 12.1.044-89. Система стандартов безопасности труда. Пожаровзрывоопасность веществ и материалов. Номенклатура показателей и методы их определения

ГОСТ 6616-94. Преобразователи термоэлектрические. Общие технические условия

ГОСТ 30244-94. Материалы строительные. Методы испытания на горючесть

ГОСТ 30247.0-94. Конструкции строительные. Методы испытаний на огнестойкость. Общие требования

ГОСТ 30402-96. Материалы строительные. Метод испытания на воспламеняемость

ГОСТ 31251-2008. Стены наружные с внешней стороны. Метод испытаний на пожарную опасность.

Примечание. При пользовании настоящим стандартом целесообразно проверить действие ссылочных стандартов в информационной системе общего пользования - на официальном сайте Федерального агентства по техническому регулированию и метрологии в сети Интернет или по ежегодному информационному указателю "Национальные стандарты", который опубликован по состоянию на 1 января текущего года, и по выпускам ежемесячного информационного указателя "Национальные стандарты" за текущий год. Если ссылочный стандарт заменен (изменен), то при пользовании настоящим стандартом следует руководствоваться заменяющим (измененным) стандартом. Если ссылочный стандарт отменен без замены, то положение, в котором дана ссылка на него, применяется в части, не затрагивающей эту ссылку.

3. Термины и определения

В настоящем стандарте применяют следующие термины с соответствующими определениями:

3.1. Зона огневого воздействия на образец: часть образца, расположенная в огневой камере.

3.2. Класс пожарной опасности конструкции: классификационная характеристика пожарной опасности конструкции, определяемая по результатам стандартных испытаний.

3.3. Контрольная зона образца: часть образца, расположенная в тепловой камере.

3.4. Огневая камера: часть испытательной печи, в которой при калибровке создается стандартный температурный режим, соответствующий требованиям ГОСТ 30247.0-94.

3.5. Приведенная толщина металла: отношение площади поперечного сечения металлического элемента к той части его периметра, которая подвергается нагреву.

3.6. Тепловая камера: часть испытательной печи, в которой при калибровке создается специальный температурный режим в соответствии с настоящим стандартом.

4. Основные положения

4.1. Сущность метода заключается в определении показателей пожарной опасности конструкции при ее испытании в условиях теплового воздействия, установленных настоящим стандартом, в течение времени, определяемого требованиями к этой конструкции по огнестойкости.

4.2. При установлении класса пожарной опасности конструкции следует учитывать:

- наличие теплового эффекта от горения или термического разложения составляющих конструкцию материалов;

- наличие пламенного горения газов или расплавов, выделяющихся из конструкции в результате термического разложения составляющих ее материалов;

- размеры повреждения конструкции и составляющих ее материалов, возникшего при испытании конструкции, вследствие их горения или термического разложения;

- характеристики пожарной опасности составляющих конструкцию материалов, поврежденных при испытании.

4.3. В качестве характеристик пожарной опасности материалов принимают их горючесть, воспламеняемость и дымообразующую способность. Горючесть материала устанавливают по ГОСТ 30244-94, воспламеняемость - по ГОСТ 30402-96, дымообразующую способность - по ГОСТ 12.1.044, а при необходимости рекомендуется контролировать путем их идентификационного анализа и калориметрического анализа по действующим нормативным документам.

5. Оборудование для испытаний

5.1. Для испытаний используется следующее оборудование:

- двухкамерная испытательная установка, обеспечивающая возможность регулирования:

а) площади сечения проема (зазора) между обогреваемой поверхностью образца и торцом перекрытия (перегородки), разделяющего огневую и тепловую камеры,

б) газообмена огневой камеры для поддержания в ней температурного режима по ГОСТ 30247.0-94,

в) проемов для выхода газов из тепловой камеры;

- система подачи и сжигания топлива в огневой камере;

- приспособления для установки образца, обеспечивающие соблюдение условий его крепления;

- система измерения и регистрации параметров, включая оборудование для проведения кино-, фото- или видеосъемок;

- термоэлектрические преобразователи (далее - термопары) должны соответствовать ГОСТ 6616.

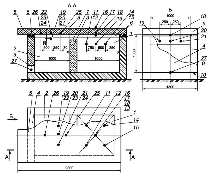
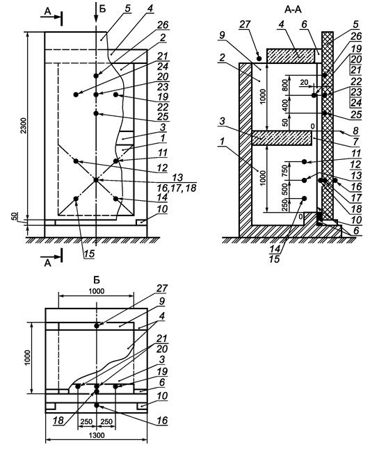
5.2. Схемы установок для испытания вертикальных и горизонтальных конструкций, а также размещения на них образцов конструкций и измерительных приборов приведены на рисунках 1 и 2 (указаны справочные размеры).

5.3. Технические требования к системе подачи и сжигания топлива, системам измерения и регистрации параметров - по ГОСТ 30247.0-94.

1 - огневая камера; 2 - тепловая камера; 3 - перегородка, разделяющая огневую и тепловую камеры; 4 - ограждение тепловой камеры; 5 - образец; 6 - уплотнение; 7 - проем между обогреваемой поверхностью образца и торцом перегородки 3; 8 - граница тепловой камеры и контрольной зоны образца; 9 - проем для выходов газа; 10 - прокладка; 11 - 27 - термопары для измерения температуры конструкции и газовой среды в огневой и тепловой камерах

Рисунок 1. Схема печи для испытаний вертикальных конструкций и установки на ней образца конструкции

1 - огневая камера; 2 - тепловая камера; 3 - перегородка, разделяющая огневую и тепловую камеры; 4 - ограждение тепловой камеры; 5 - образец; 6 - уплотнение; 7 - проем между обогреваемой поверхностью образца и торцом перегородки 3; 8 - граница тепловой камеры и контрольной зоны образца; 9 - проем для выходов газа; 10 - прокладка; 11 - 27 - термопары для измерения температуры конструкции и газовой среды в огневой и тепловой камерах

Рисунок 2. Схема печи для испытаний горизонтальных конструкций и установки на ней образца конструкции

5.4. При испытании образцов конструкций с огнезащитными вспучивающимися покрытиями термопары 11 - 15, установленные в соответствии с рисунками 1 и 2, следует экранировать от контактного теплообмена с поверхностью вспучивающегося покрытия образца.

6. Образцы конструкций для испытаний

6.1. Образцы конструкций для испытаний, включая стыки и их заполнение, должны быть изготовлены в соответствии с технической документацией на изготовление и применение конструкций. Образцы не должны иметь проемов, а также декоративной отделки или облицовки.

6.2. Для испытаний на пожарную опасность стержневых, в том числе слоистых, конструкций (колонн, балок, ферм, арок, рам, связей, воздуховодов и трубопроводов) допускается изготавливать плоские образцы, в которых расположение слоев и их толщина должны быть такими же, как и в стержневых конструкциях (для металлических элементов - по приведенной толщине).

6.3. Длина образцов должна быть не менее 2,4 м, ширина - не менее 1,3 м, толщина - по технической документации.

6.4. Материалы и детали образцов, подлежащих испытанию, в том числе стыковые соединения ограждающих конструкций, должны соответствовать технической документации на их изготовление и применение.

6.5. Влажность образца - по ГОСТ 30247.0-94.

6.6. Для испытания конструкции одного типа должны быть, как правило, изготовлены два одинаковых образца. Допускается изготавливать один образец при соблюдении условия, указанного в 10.2.

К образцам должны быть приложены комплект технической документации на испытуемую конструкцию, документация, по которой изготовлены образцы, а также официальные протоколы испытаний материалов, из которых выполнена конструкция, на пожарную опасность.

При отсутствии вышеуказанных протоколов испытаний и при необходимости использования показателей пожарной опасности материалов для классификации конструкции по пожарной опасности должны представляться образцы материалов, из которых изготовлена конструкция, для испытаний на горючесть, воспламеняемость и дымообразующую способность по 4.2 и 4.3 с соответствующей документацией.

В случае необходимости по требованию испытательной лаборатории в процессе изготовления образцов для испытаний следует проводить отбор проб материалов, в том числе негорючих, из которых изготовляют образцы, для проведения идентификационного и калориметрического контроля в соответствии с нормативными документами <*>. Рекомендуемая форма протоколов по ГОСТ 31251. Отбор проб проводится совместно представителями испытательной лаборатории и заказчика.

<*> В Российской Федерации действует ГОСТ Р 53296-2009.

6.7. При передаче заказчиком образцов конструкций испытательной лаборатории обеими сторонами составляется акт о соответствии образца требованиям технической документации на испытываемую конструкцию, а в случае необходимости - акт отбора проб материалов для проведения идентификационного и калориметрического контроля.

7. Калибровка установки

7.1. Калибровка установки проводится с целью регламентации теплового воздействия на образец в процессе испытания.

7.2. Калибровочные образцы должны соответствовать требованиям ГОСТ 30247.0-94.

7.3. В огневой камере печи создается и контролируется стандартный температурный режим в соответствии с ГОСТ 30247.0-94.

При этом среднее отклонение температуры от стандартного режима при калибровке не должно превышать следующих значений, %:

±7,5 - в течение 10 мин от начала испытания;

±5 - после 10 мин от начала испытания.

7.4. В контрольных точках тепловой камеры (термопары 19 - 21 на рисунках 1 и 2) должен быть создан температурный режим, характеризуемый следующей зависимостью:

, (1)

где - температура, соответствующая времени t, °C;

- температура в печи до начала теплового воздействия (принимаемая равной температуре окружающей среды), °C;

t - время от начала калибровки, мин.

При этом отклонение средней температуры, измеренной термопарами 19 - 21 по зависимости (1), не должно превышать следующих значений, %:

15 - в течение 10 мин от начала калибровки;

10 - после 10 мин от начала калибровки.

7.5. Выполнение условий теплового воздействия на образец, указанных в 7.3 и 7.4, достигают путем изменения расхода топлива и размеров проема для выхода газов из тепловой камеры (позиция 9 на рисунках 1 и 2).

Рекомендуемая площадь сечения проема (зазора) между обогреваемой поверхностью калибровочного образца и торцом перекрытия (перегородки), разделяющего огневую и тепловую камеры печи, - 0,05 м2.

7.6. В процессе калибровки регистрируют:

- температуру в огневой камере - по ГОСТ 30247.0-94;

- температуру в тепловой камере - по показаниям термопар 19 - 21 (см. рисунки 1, 2);

- положение задвижек, регулирующих размеры проемов по 5.1;

- расход топлива и размеры проемов для газообмена печи;

- температуру окружающей среды.

7.7. Калибровку печи проводят:

- после 10 испытаний;

- при изменении конструкции или футеровки печи;

- при изменениях в системе подачи и сжигания топлива;

- при замене типа топлива;

- при температуре окружающей среды во время испытания образца, отличающейся более чем на 10 °C от температуры среды при проведении предшествующей калибровки.

7.8. Время калибровки - 45 мин.

8. Подготовка к проведению испытаний

8.1. Подготовка к проведению испытаний включает в себя проверку и отладку системы подачи и сжигания топлива, приборов и приспособлений; проведение калибровочных испытаний по 7.7, подготовку образцов конструкций к испытанию, установку термопар в печи и на образце.

8.2. Образцы на печи располагают таким образом, чтобы стыки плит или панелей находились в огневой камере с продолжением их в тепловую камеру, а торцы образца были свободны (см. позиции 3 и 10 на рисунках 1 и 2).

8.3. Термопары в огневой и тепловой камерах установки и на образце размещают следующим образом:

8.3.1. В огневой камере установки термопары следует размещать в соответствии с ГОСТ 30247.0-94.

8.3.2. В тепловой камере установки термопары следует устанавливать на расстоянии 20 мм от обогреваемой поверхности образца и на расстоянии 400 мм от границы тепловой камеры при испытании вертикальных конструкций и 250 мм - при испытании горизонтальных конструкций в трех точках (термопары 19 - 21 на рисунках 1 и 2).

8.3.3. Рекомендуется также устанавливать термопары:

а) по осям проемов для выхода газов из тепловой камеры печи (см. термопару 27 на рисунках 1 и 2);

б) на образце и по его сечениям в зоне огневого воздействия - в геометрическом центре обогреваемой поверхности образца (см. термопары 16 - 18 на рисунках 1 и 2); в контрольной зоне - на расстоянии 400 мм от границы контрольной зоны при испытании вертикальных конструкций и 250 мм - при испытании горизонтальных конструкций (см. термопары 22 - 24 на рисунках 1 и 2);

в) на образце и по его сечениям в зоне огневого воздействия - в геометрическом центре обогреваемой поверхности образца (см. термопары 16 - 18 на рисунках 1 и 2); в контрольной зоне - на расстоянии 400 мм от границы контрольной зоны при испытании вертикальных конструкций и 250 мм - при испытании горизонтальных конструкций (см. термопары 22 - 24 на рисунках 1 и 2);

г) в стыковом соединении на расстоянии 800 мм от границы контрольной зоны при испытании вертикальных конструкций и 500 мм - при испытании горизонтальных конструкций (см. термопару 26 на рисунках 1 и 2);

д) в многослойных конструкциях - по плоскостям раздела слоев материалов (см. термопары 17, 22 - 25 на рисунках 1 и 2).

Расстояние от термопар, устанавливаемых по перечислениям в) и д), до торца или стыка образца должно быть не менее 1/2 его толщины.

9. Проведение испытаний

9.1. Испытание образцов проводят при температуре окружающего воздуха от 10°C до 40°C, скорости его движения не более 0,5 м/с и относительной влажности (60 ± 15)%, измеренных на расстоянии от 1 до 1,5 м от поверхности образца.

9.2. Испытания образцов конструкций проводят при расходе топлива, площади зазора и размерах проемов для газообмена печи, зафиксированных при калибровке.

9.3. Образцы конструкций испытывают в ненагруженном состоянии.

9.4. Образцы внутренних стен и перегородок несимметричного сечения следует испытывать при воздействии огня с каждой стороны либо со стороны с заведомо большей пожарной опасностью.

Образцы покрытий и перекрытий, подвесных потолков, лестничных маршей и площадок испытывают при воздействии огня с нижней стороны.

Конструкции, имеющие в проектном положении уклон менее 30°, следует испытывать в вертикальном положении, остальные - в горизонтальном.

9.5. Продолжительность огневого воздействия на образцы конструкций должна соответствовать минимальному требуемому пределу огнестойкости испытываемой конструкции, но не превышать 45 мин.

При испытании конструкций, к которым не предъявляются требования по огнестойкости, а также наружных стен при воздействии огня со стороны внешней поверхности, продолжительность огневого воздействия следует принимать равной 15 мин.

9.6. После окончания времени теплового воздействия систему подачи и сжигания топлива отключают и образец оставляют на печи для остывания до температуры окружающей среды.

Испытательная лаборатория имеет право прекращать испытания и снимать образец с печи в случаях, когда зарегистрированные параметры позволяют однозначно оценить результаты испытания, или без согласования с представителем заказчика - когда горение образца создает угрозу возникновения неконтролируемой ситуации.

9.7. В процессе испытания следует регистрировать следующие параметры, по которым определяется класс пожарной опасности конструкции:

- температуру в огневой и тепловой камерах для определения наличия теплового эффекта;

- способность к воспламенению газов, выделяющихся при термическом разложении материалов образца;

- образование горящего расплава.

9.8. Температуру в огневой камере следует регистрировать по показаниям термопар, установленных в соответствии с 8.3.1.

9.9. Температуру в тепловой камере следует регистрировать по показаниям термопар, установленных в соответствии с 8.3.2.

9.10. Способность к воспламенению газов, выделяющихся при термическом разложении материалов образца, проверяют посредством поднесения горящего факела к местам выхода этих газов на необогреваемые поверхности образца не реже чем через каждые 5 мин испытания и через каждую минуту - при появлении вспышек газа; длина намотки факела должна быть не менее 150 мм, а диаметр - не менее 40 мм. Факел должен иметь держатель, обеспечивающий его безопасное использование.

9.11. Образование горящего расплава контролируют визуально по наличию горящих капель, вытекающих из торцов образца или стекающих по поверхности образца в пределах контрольной зоны.

9.12. Кроме параметров, указанных в 9.7, в процессе испытания регистрируют время появления и характер развития в образце трещин, отверстий, отслоений, раскрытия стыков, появления дыма, пламени, изменения цвета и состояния поверхностей, а также другие особенности реакции образца конструкции на тепловое воздействие.

Эти явления регистрируют визуально или с помощью фото-, видео- и киносъемки, а также с помощью термопар, установленных в соответствии с 8.3.3.

9.13. После остывания образца проводят его обследование с целью определения и регистрации размеров повреждения в контрольной зоне.

При измерении размеров повреждения слоистых конструкций необходимо путем вскрытия обследовать все слои конструкции.

9.14. Размер повреждения образца измеряется в миллиметрах в плоскости конструкции от границы контрольной зоны, перпендикулярно к ней до наиболее удаленной точки повреждения образца в контрольной зоне. Рекомендуется определять глубину и площадь обугливания горючих материалов в пределах огневой камеры с занесением этих данных в протокол испытания.

9.15. Повреждением считается обугливание, оплавление и выгорание материалов, из которых изготовлена конструкция, на глубину более 2 мм.

Не учитывают повреждение:

- длиной менее 50 мм - для конструкций, испытываемых в вертикальном положении, и менее 30 мм - для конструкций, испытываемых в горизонтальном положении;

- материала заполнения стыка в пределах контрольной зоны, если это повреждение не превышает 800 мм при испытании вертикальных конструкций и 500 мм - при испытании горизонтальных конструкций и если оно не влечет за собой повреждения других элементов образца;

- слоев пароизоляции толщиной не более 2 мм;

- в виде оплавления материалов при отсутствии видимых следов горения (обугливания);

- наличия пламенного горения газов, горящего расплава и теплового эффекта по 10.1.

9.16. Техника безопасности при проведении испытании - по ГОСТ 30247.0-94.

10. Оценка результатов испытания

10.1. Пожарную опасность конструкции характеризуют:

- наличием теплового эффекта (но не его значением) от горения материалов образца, который выражается в превышении температуры в тепловой камере по сравнению с верхней допустимой границей температурного режима, установленного в 7.4;

- наличием пламенного горения газов, выделяющихся при термическом разложении материалов образца, продолжительностью более 5 с;

- наличием горящего расплава при продолжительности его горения более 5 с;

- размером повреждения образца в контрольной зоне с учетом условий 9.15.

10.2. Размер повреждения конструкции определяют как среднеарифметическое значение по результатам испытания двух одинаковых образцов.

Допускается определять размер повреждения по результатам испытания одного образца, если этот размер отличается от допускаемого, приведенного в таблице 1, более чем на 15%.

В случае различия результатов испытаний двух одинаковых образцов более чем на 15% проводят третье испытание, при этом размер повреждения определяют как среднеарифметическое значение по результатам испытаний двух образцов, имеющих наибольшие размеры повреждения.

Наличие теплового эффекта или горения учитывается, если их проявление было зафиксировано при испытании хотя бы одного образца.

10.3. Конструкции подразделяют на классы по пожарной опасности в соответствии с таблицей 1 по наименее благоприятному показателю.

Таблица 1

Класс пожарной опасности конструкции в зависимости от наличия, значений и параметров пожарной опасности

Класс пожарной опасности конструкции Значение параметра пожарной опасности, установленное при испытаниях образцов конструкций Допускаемые характеристики пожарной опасности поврежденного материала*
Допускаемый размер повреждения образца конструкций в контрольной зоне, мм Наличие Группа
вертикальных горизонтальных теплового эффекта горения горючести воспламеняемости дымообразующей способности
К0 0 0 Отсутствует Отсутствует Отсутствует Отсутствует Отсутствует
К1 <= 400 <= 250 Не регламентируется Отсутствует Не выше Г2* Не выше В2* Не выше Д2*
К2 > 400 <= 800 > 250 <= 500 Не регламентируется Отсутствует Не выше Г3* Не выше В3* Не выше Д2*
К3 Не регламентируется
Примечание. Знак "*" обозначает, что при отсутствии теплового эффекта характеристика не регламентируется.

10.4. Условное обозначение класса пожарной опасности конструкции включает букву К и цифры. Цифра, заключенная в скобки, обозначает продолжительность теплового воздействия при испытании образца в минутах.

Одна и та же конструкция может принадлежать к различным классам пожарной опасности в зависимости от времени теплового воздействия, например:

К0(15) - конструкция класса К0 при времени теплового воздействия 15 мин;

К1(30) - конструкция класса К1 при времени теплового воздействия 30 мин;

К2(45) - конструкция класса К2 при времени теплового воздействия 45 мин;

К1(30)/К3(45) - конструкция класса К1 при времени теплового воздействия 30 мин и класса К3 при времени теплового воздействия 45 мин.

10.5. Без испытаний конструкций допускается устанавливать классы их пожарной опасности: К0 - для конструкций, выполненных только из материалов группы горючести НГ, К3 - для конструкций, выполненных только из материалов группы горючести Г4. Для остальных конструкций классы пожарной опасности могут быть установлены только в результате огневых испытаний.

11. Протокол испытания

Протокол испытания должен содержать:

- наименование организации, проводящей испытание;

- наименование заказчика;

- наименование конструкции, сведения об изготовлении образцов, товарный знак и маркировку конструкции, данные о технической документации на изготовление конструкции и образцов;

- дату и условия испытания;

- наименование нормативного документа, в соответствии с которым проведено испытание;

- эскизы и описание испытанных образцов, данные о контрольных измерениях состояния образцов, эксплуатационных свойствах материалов и перечень отклонений, допущенных при изготовлении образца, от технической документации на конструкцию;

- время теплового воздействия на образцы;

- для несимметричных вертикальных ограждающих конструкций - указание сторон, подвергнутых тепловому воздействию;

- запись контролируемых параметров и результаты их обработки;

- фактические размеры повреждения образцов;

- видео- или фотоматериалы;

- данные о группах горючести, воспламеняемости и дымообразующей способности материалов, из которых выполнена конструкция, если они необходимы для установления класса пожарной опасности конструкции;

- сведения о наличии теплового эффекта и горения;

- результаты оценки испытания;

- заключение о классе пожарной опасности конструкции;

- срок действия протокола;

- приложения к протоколу с результатами идентификационных и калориметрических испытаний материалов (рекомендуется).