Двери металлические противопожарные. Общие технические требования и методы испытаний. ГОСТ р 57327-2016

(утв. Приказом Росстандарта от 06.12.2016 N 1959-СТ)
Редакция от 06.12.2016 — Действует с 01.07.2017

НАЦИОНАЛЬНЫЙ СТАНДАРТ РОССИЙСКОЙ ФЕДЕРАЦИИ

ДВЕРИ МЕТАЛЛИЧЕСКИЕ ПРОТИВОПОЖАРНЫЕ

ОБЩИЕ ТЕХНИЧЕСКИЕ ТРЕБОВАНИЯ И МЕТОДЫ ИСПЫТАНИЙ

Metal fire doors.
General technical requirements and test methods

ГОСТ Р 57327-2016

Дата введения
1 июля 2017 года

Предисловие

1 РАЗРАБОТАН Союзом предприятий обеспечения пожарной безопасности "Пульс" и Федеральным государственным бюджетным учреждением "Всероссийский ордена "Знак почета" научно-исследовательский институт противопожарной обороны МЧС России" (ФГБУ ВНИИПО МЧС России) при участии ТК 274 "Пожарная безопасность"

2 ВНЕСЕН Техническим комитетом по стандартизации ТК 391 "Средства физической защиты и материалы для их изготовления"

3 УТВЕРЖДЕН И ВВЕДЕН В ДЕЙСТВИЕ Приказом Федерального агентства по техническому регулированию и метрологии от 6 декабря 2016 г. N 1959-ст

4 ВВЕДЕН ВПЕРВЫЕ

Правила применения настоящего стандарта установлены в статье 26 Федерального закона от 29 июня 2015 г. N 162-ФЗ "О стандартизации в Российской Федерации". Информация об изменениях к настоящему стандарту публикуется в ежегодном (по состоянию на 1 января текущего года) информационном указателе "Национальные стандарты", а официальный текст изменений и поправок - в ежемесячном информационном указателе "Национальные стандарты". В случае пересмотра (замены) или отмены настоящего стандарта соответствующее уведомление будет опубликовано в ближайшем выпуске ежемесячного информационного указателя "Национальные стандарты". Соответствующая информация, уведомление и тексты размещаются также в информационной системе общего пользования - на официальном сайте Федерального агентства по техническому регулированию и метрологии в сети Интернет (www.gost.ru)

Введение

Настоящий стандарт разработан в соответствии со статьей 4 Федерального закона от 22 июля 2008 г. N 123-ФЗ "Технический регламент о требованиях пожарной безопасности" (далее - 123-ФЗ) и конкретизирует основные технические требования пожарной безопасности, устанавливаемые в статье 88 данного закона к противопожарным дверям, отнесенным законом (123-ФЗ, статья 37) к заполнению проемов в противопожарных преградах.

Разработка стандарта обусловлена необходимостью совершенствования нормативной базы на пожарно-техническую продукцию. Действующие национальные стандарты в данной области, ГОСТ Р 53303-2009 "Конструкции строительные. Противопожарные двери и ворота. Метод испытаний на дымогазопроницаемость" и ГОСТ Р 53307-2009 "Конструкции строительные. Противопожарные двери и ворота. Метод испытаний на огнестойкость" регламентируют методы определения и конечные критерии оценки готового изделия по результатам испытаний на огнестойкость: предельные состояния по огнестойкости и дымогазопроницаемости. В настоящее время нет стандартов с номенклатурой требований, реализация которых при проектировании, производстве и эксплуатации противопожарных дверей направлена на обеспечение выполнения ими своих прямых функций.

При выборе объекта стандартизации "двери противопожарные стальные глухие и со светопропускающими элементами до 25% площади дверного проема" в основу положен принцип классификационного деления противопожарных дверей с учетом площади светопропускающих элементов согласно 123-ФЗ (статья 88) и материала, из которого они изготавливаются.

Устанавливаемая в стандарте номенклатура требований может быть использована как источник справочной информации в процессе дальнейшего совершенствования нормативной базы в области пожарной безопасности при разработке национальных стандартов на противопожарные люки, ворота, двери со светопропускающими элементами более 25% площади дверного проема.

1. Область применения

Настоящий стандарт распространяется на стальные противопожарные однопольные и двупольные распашные двери глухие и со светопропускающими элементами (далее - с остеклением) до 25% площади дверного проема в свету (далее - двери), устанавливаемые в качестве заполнения проемов в противопожарных преградах.

Стандарт устанавливает классификацию дверей, технические требования и методы испытаний, требования к комплектующим и материалам, общие требования к приемке, указания по монтажу и эксплуатации.

Стандарт не распространяется на двери специального назначения в части дополнительных требований к взрыво- и пулестойкости, воздействию агрессивных сред и т.п.

Стандарт следует применять совместно с ГОСТ 31173.

2. Нормативные ссылки

В настоящем стандарте использованы нормативные ссылки на следующие документы:

ГОСТ 2.601-2013 Единая система конструкторской документации. Эксплуатационные документы

ГОСТ 2.610-2006 Единая система конструкторской документации. Правила выполнения эксплуатационных документов

ГОСТ 8.423-81 Государственная система обеспечения единства измерений. Секундомеры механические. Методы и средства поверки

ГОСТ 166-89 (ИСО 3599-76) Штангенциркули. Технические условия

ГОСТ 1050-2013 Металлопродукция из нелегированных конструкционных качественных и специальных сталей. Общие технические условия

ГОСТ 5089-2011 Замки, защелки, механизмы цилиндровые. Технические условия

ГОСТ 5632-2014 Легированные нержавеющие стали и сплавы коррозионно-стойкие, жаростойкие и жаропрочные. Марки

ГОСТ 7502-98 Рулетки измерительные металлические. Технические условия

ГОСТ 13837-79 Динамометры общего назначения. Технические условия

ГОСТ 14192-96 Маркировка грузов

ГОСТ 15150-69 Машины, приборы и другие технические изделия. Исполнения для различных климатических районов. Категории, условия эксплуатации, хранения и транспортирования в части воздействия климатических факторов внешней среды

ГОСТ 16523-97 Прокат тонколистовой из углеродистой стали качественной и обыкновенного качества общего назначения. Технические условия

ГОСТ 19904-90 Прокат листовой холоднокатаный. Сортамент

ГОСТ 21150-87 Смазка Литол-24. Технические условия

ГОСТ 30247.0-94 (ИСО 834-75) Конструкции строительные. Методы испытаний на огнестойкость. Общие требования

ГОСТ 30826-2014 Стекло многослойное. Технические условия

ГОСТ 31173-2003 Блоки дверные стальные. Технические условия

ГОСТ 31471-2011 Устройства экстренного открывания дверей эвакуационных и аварийных выходов. Технические условия

ГОСТ 32539-2013 Стекло и изделия из него. Термины и определения

ГОСТ Р 52582-2006 Замки для защитных конструкций. Технические требования и методы испытаний на устойчивость к криминальному отмыканию и взлому

ГОСТ Р 53303-2009 Конструкции строительные. Противопожарные двери и ворота. Метод испытаний на дымогазопроницаемость

ГОСТ Р 53307-2009 Конструкции строительные. Противопожарные двери и ворота. Метод испытаний на огнестойкость

ГОСТ Р 56177-2014 Устройства закрывания дверей (доводчики). Технические условия

СП 59.13330.2012 Доступность зданий и сооружений для маломобильных групп населения

Примечание - При пользовании настоящим стандартом целесообразно проверить действие ссылочных стандартов (документов) в информационной системе общего пользования - на официальном сайте Федерального агентства по техническому регулированию и метрологии в сети Интернет или по ежегодному информационному указателю "Национальные стандарты", который опубликован по состоянию на 1 января текущего года, и по выпускам ежемесячного информационного указателя "Национальные стандарты" за текущий год. Если заменен ссылочный стандарт (документ), на который дана недатированная ссылка, то рекомендуется использовать действующую версию этого стандарта (документа) с учетом всех внесенных в данную версию изменений. Если заменен ссылочный стандарт (документ), на который дана датированная ссылка, то рекомендуется использовать версию этого стандарта (документа) с указанным выше годом утверждения (принятия). Если после утверждения настоящего стандарта в ссылочный стандарт (документ), на который дана датированная ссылка, внесено изменение, затрагивающее положение, на которое дана ссылка, то это положение рекомендуется применять без учета данного изменения. Если ссылочный стандарт (документ) отменен без замены, то положение, в котором дана ссылка на него, рекомендуется применять в части, не затрагивающей эту ссылку.

3. Термины и определения

В настоящем стандарте применены следующие термины с соответствующими определениями:

3.1 противопожарная преграда: Строительная конструкция с нормированным пределом огнестойкости и классом конструктивной пожарной опасности конструкции, объемный элемент здания или иное инженерное решение, предназначенные для предотвращения распространения пожара из одной части здания, сооружения, строения в другую или между зданиями, сооружениями, строениями.

3.2 противопожарная дверь: Конструкция, состоящая из подвижных и неподвижных элементов, оборудованная запирающими механизмами и устройствами самозакрывания, укомплектованная элементами крепления к ограждающей конструкции, служащая заполнением проемов в противопожарных преградах и препятствующая распространению пожара и продуктов горения в примыкающие помещения в течение нормированного времени.

3.3 полотно: Подвижная составная часть двери.

3.4 коробка: Неподвижная составная часть двери, предназначенная для навешивания полотна (полотен), устанавливаемая в проеме противопожарной преграды.

3.5 коробка замкнутого типа: Коробка, ограниченная по четырем сторонам стальными профилями.

3.6 коробка П-образного типа: Коробка, ограниченная по трем сторонам стальными профилями.

3.7 порог: Нижняя часть коробки замкнутого типа.

3.8 притвор: Место примыкания полотна(ен) к профилям коробки.

3.9 порог без притвора: Нижняя часть коробки замкнутого типа, выполненная из профиля, конструкция которого не предусматривает примыкания к нему полотна, обеспечивая наличие зазора, в том числе сквозного, между нижним торцом полотна(ен) и наружной поверхностью профиля.

3.10 порог с притвором: Нижняя часть коробки замкнутого типа, выполненная из профиля, конструкция которого обеспечивает примыкание к нему полотна по всей его ширине.

3.11 приставной порог: Конструкционный элемент, устанавливаемый на порог без притвора или на поверхность чистого пола с целью обеспечения примыкания к нему полотна по всей его ширине.

3.12 выдвижной порог: Конструкционный элемент, устанавливаемый на (в) полотно двери и обеспечивающий ликвидацию зазора между нижним торцом полотна(ен) и порогом без притвора или между нижним торцом полотна(ен) и поверхностью чистого пола в дверях без порога при закрывании полотна(ен).

3.13 фрамуга: Часть заполнения проема со светопропускающими элементами или глухая, имеющая общую коробку с конструкцией двери, или выполненная в виде самостоятельной сборочной единицы, соединяемой с коробкой двери.

3.14

дымогазонепроницаемость: Способность конструкции двери ограничивать в заданных пределах фильтрацию продуктов горения при пожаре через неплотности перекрываемого (защищаемого) проема.
[ГОСТ Р 53303-2009, статья 3.2]

3.15

двери дымогазонепроницаемые: Противопожарные двери с нормированным сопротивлением дымогазопроницанию.
[ГОСТ Р 53303-2009, статья 3.1]

3.16 предел огнестойкости конструкции: Время от начала огневого воздействия при стандартном температурном режиме до наступления одного из нормированных признаков предельных состояний.

3.17

маломобильные группы населения; МГН: Люди, испытывающие затруднения при самостоятельном передвижении, получении услуги, необходимой информации или при ориентировании в пространстве. К маломобильным группам населения здесь отнесены: инвалиды, люди с временным нарушением здоровья, беременные женщины, люди преклонного возраста, люди с детскими колясками и т.п.
[СП 59.13330.2012, пункт Б.18, приложение Б]

3.18

огнестойкое стекло: Изделие из стекла, способное в течение определенного периода времени выдерживать воздействие тепловых и механических нагрузок, возникающих во время пожара, препятствуя распространению огня и продуктов горения.
[ГОСТ 32539-2013, пункт 88]

4. Классификация и условное обозначение

4.1 В зависимости от конструкционного исполнения двери подразделяют:

- на глухие;

- с остеклением;

- на левого и правого открывания;

- на однопольные и двупольные;

- на двупольные - равнопольные и с полотнами разной ширины;

- с фрамугой;

- с замкнутой коробкой с порогом с притвором;

- с замкнутой коробкой с порогом без притвора;

- с замкнутой коробкой с порогами без притвора и приставным;

- с замкнутой коробкой и порогом без притвора и выдвижным порогом;

- с П-образной коробкой без порога;

- с П-образной коробкой и приставным порогом;

- с П-образной коробкой и выдвижным порогом;

- с одним контуром уплотнения в притворе;

- с двумя и более контурами уплотнения в притворе.

Примеры конструкционного исполнения дверей приведены в приложении А.

4.2 В зависимости от огнестойкости и дымогазонепроницаемости двери подразделяют на типы согласно таблице 1 [1].

Таблица 1

Наименование продукции (заполнения проемов) Тип заполнения проемов в противопожарных преградах Предел огнестойкости, мин
Двери (за исключением дверей с остеклением более 25% и дымогазонепроницаемых) 1 EI 60
2 EI 30
3 EI 15
Двери дымогазонепроницаемые (за исключением дверей с остеклением более 25%) 1 EIS 60
2 EIS 30
3 EIS 15

Параметры E, I, S, приведенные в таблице 1, обозначают предельные состояния двери по огнестойкости и дымогазонепроницаемости:

E - потеря целостности в результате образования в конструкциях сквозных трещин или отверстий, через которые на необогреваемую поверхность проникают продукты горения или пламя;

I - потеря теплоизолирующей способности вследствие повышения температуры на необогреваемой поверхности конструкции до предельных для данной конструкции значений;

S - потеря дымогазонепроницаемости вследствие уменьшения сопротивления дымогазопроницанию ниже минимально допустимого значения.

4.3 Обозначение предела огнестойкости двери состоит из условных обозначений, нормируемых для данной конструкции двери предельных состояний и цифры, соответствующей времени достижения одного из этих состояний (первого по времени) в минутах.

Пример

E 60 - предел огнестойкости 60 мин по потере несущей способности;

EI 30 - предел огнестойкости по потере целостности и теплоизолирующей способности независимо от того, какое из двух предельных состояний наступило ранее.

4.4 Если для двери нормируют (или устанавливают) различные пределы огнестойкости по различным предельным состояниям, обозначение предела огнестойкости состоит из двух или трех частей, разделенных между собой наклонной чертой.

Пример

E 60/I 30/S 15 - предел огнестойкости по достижении последовательно следующих предельных состояний: потере дымогазонепроницаемости - 15 мин, теплоизолирующей способности - 30 мин, целостности - 60 мин.

Примечание - Цифровые показатели в обозначении пределов огнестойкости конструкций, полученные по результатам испытаний, отличающиеся от установленных в таблице 1, следует выбирать из чисел ряда: 15, 45, 90, 120, 150, 180, 240, 360 по ГОСТ 30247.0.

Пример условного обозначения

Дверь ДПС 01 2100-950 правая EI30 ГОСТ ... (ТУ ...) - дверь противопожарная стальная глухая однопольная, высотой 2100 мм, шириной 950 мм, правая, предел огнестойкости 30 мин по потере целостности и теплоизолирующей способности, (ТУ ...). В двери с остеклением взамен "ДПС" указывают "ДПСО".

4.5 Структура условного обозначения изделий:

X X X X X X X        
                            Наименование изделия:
ДПС - дверь противопожарная стальная глухая
ДПСО - дверь противопожарная стальная остекленная
     
                                   
                            Вариант конструктивного исполнения:
01 - однопольная
02 - двупольная
     
                                   
                            Размер коробки по высоте, мм      
                                   
                            Размер коробки по ширине, мм      
                                   
                            Направление открывания:
пр. - правая, л. - левая
     
                                   
                            Предел огнестойкости и дымогазонепроницаемости
(EIS-15, 30, 60 и т.п.)
     
                                   
                            Обозначение технических условий (ТУ)      

Примечания

1 Дополнительную информацию о двери, например, варианты ее исполнений, предусмотренные конструкторской документацией, или любую другую информацию допускается вносить до или после условного обозначения.

2 При экспортно-импортных поставках допускается использовать другую структуру условного обозначения, согласованную с заказчиком и установленную в соответствующем заказ-наряде или контракте на изготовление (поставку).

5. Технические требования

5.1 Двери следует изготавливать в соответствии с требованиями настоящего стандарта, ГОСТ 31173 и конструкторской документации, утвержденной в установленном порядке.

5.2 Пределы огнестойкости и дымогазонепроницаемости следует устанавливать в ТУ на двери конкретного типа.

5.3 Двери следует изготавливать в климатическом исполнении по ГОСТ 15150 с учетом условий их эксплуатации.

5.4 Число циклов открывания и закрывания, которое должны выдерживать двери в процессе эксплуатации в течение срока службы, установленного в ТУ на двери конкретного типа, должно быть не менее 200 000 по ГОСТ 31173.

5.5 Двери должны быть оборудованы устройствами для самозакрывания (доводчиками, пружинными петлями и т.п.), а для двупольных дверей, оба полотна которых активно используются в процессе эксплуатации, дополнительно устройством координации последовательного закрывания полотен.

5.6 Время закрывания двери, оборудованной устройством самозакрывания и открытой на 90°, не должно превышать 5 с в соответствии с требованиями, установленными в ГОСТ Р 56177.

5.7 Устройства самозакрывания, устанавливаемые на дверях на путях перемещения маломобильных групп населения, должны обеспечивать время задержки начала закрывания не менее 5 с в соответствии с СП 59.13330.

5.8 Усилие открывания дверного полотна не должно превышать 100 Н, за исключением дверей, устанавливаемых на путях перемещения маломобильных групп населения. Усилие открывания для таких дверей должно составлять не более 50 Н в соответствии с СП 59.13330.

5.9 Величина сквозного зазора между нижним торцом полотна (полотен) и уровнем чистого пола помещения дверей без порога или между нижним торцом полотна(тен) и порогом без притвора должна быть установлена в ТУ и эксплуатационной документации на дверь конкретного типа на основании результатов испытаний на огнестойкость.

5.10 Коробка дымогазонепроницаемых дверей должна быть замкнутого типа с порогом с притвором.

5.11 Двери на путях движения маломобильных групп населения с параметрами E и I не должны иметь порогов.

При необходимости установки на путях движения маломобильных групп населения дверей в дымогазонепроницаемом исполнении (параметры EIS) их конструкцией должно быть предусмотрено наличие порогов с притвором, высота которых не должна превышать 14 мм, либо установка на (в) дверном полотне(ах) выдвижного порога встраиваемого или накладного типа, обеспечивающих перекрытие зазора по 5.9.

5.12 Коробки дверей следует изготавливать из стальных профилей замкнутого или разомкнутого типов, получаемых в результате гибки или профилирования.

Конструкционное исполнение коробок должно обеспечивать целостность и теплоизолирующую способность двери в течение времени, соответствующего ее пределу огнестойкости, установленному в ТУ на дверь конкретного типа. Пороги могут быть как неотъемлемой частью дверной коробки, так и отдельным конструкционным элементом.

Рекомендуемые варианты конструкционного исполнения дверных порогов приведены на рисунках А4, А5 (приложение А).

Рекомендуемые варианты конструкционного исполнения дверных коробок приведены в приложении Б.

5.13 Полотна дверей следует изготавливать коробчатого сечения из стальных листов толщиной не менее 0,8 мм.

Примечание - Жесткость полотна может обеспечиваться за счет вертикальных гибов, горизонтальных или вертикальных ребер жесткости, которые не должны образовывать тепловой мост между наружным и внутренним листами обшивки полотна, или использования технологии последовательного склеивания слоев теплоизоляционных материалов между собой и листами обшивки полотна.

Рекомендуемые варианты конструкционного исполнения дверных полотен приведены в приложении В.

5.14 Зазоры на лицевых поверхностях конструкций в местах соединения деталей коробки не должны быть более 0,5 мм. Допускается увеличение зазора до 1 мм с последующей герметизацией стыка негорючими герметиками.

5.15 Уплотнение в притворах

5.15.1 В качестве уплотняющих прокладок следует применять прокладки из эластичных полимерных материалов. Прокладки должны размещаться по всему периметру притвора, за исключением случаев конструкционного исполнения дверей без порога. Зазоры в стыках прокладок не допускаются. При закрытом положении полотна прокладки должны быть прижаты к нему без зазора.

5.15.2 Для предотвращения распространения продуктов горения и открытого пламени следует использовать терморасширяющиеся прокладки. Установку прокладок следует проводить в соответствии с инструкцией изготовителя. Места размещения прокладок устанавливают согласно конструкторской документации. Зазоры в стыках прокладок не допускаются, за исключением мест размещения ответных и лицевых замковых планок, пассивных ригелей, шпингалетов и петель.

Примечание - Уплотняющие и терморасширяющиеся прокладки следует устанавливать после полного высыхания лакокрасочного покрытия коробок и полотен двери.

5.16 Требования к комплектующим

5.16.1 Замки, запорные планки, шпингалеты и петли, используемые в конструкции двери, должны обеспечивать ее фиксацию в закрытом положении в течение времени, соответствующего пределу огнестойкости, установленному в ТУ на двери конкретного типа.

5.16.2 Замки, устанавливаемые в полотнах дверей, следует использовать как цилиндрового, так и сувальдного типов не ниже класса II по ГОСТ 5089 или U2 по ГОСТ Р 52582.

Замки, устанавливаемые в полотнах газодымонепроницаемых дверей, должны быть цилиндрового типа.

Конструкционное исполнение дверных полотен в зоне размещения замков, а также применяемые с замками сопутствующие конструкционные элементы должны обеспечивать теплоизоляцию замков и сопротивляемость прямому проникновению открытого пламени и горючих газов на необогреваемую сторону двери при пожаре, в том числе через ключевое отверстие, в течение времени, соответствующего пределу огнестойкости двери конкретного типа, указанному в ТУ на двери конкретного типа.

5.16.3 Закрывание полотен с замками по 5.16.1, 5.16.2 должно осуществляться дохлопом без использования ручки.

5.16.4 В двери, прошедшей испытания на огнестойкость, допускается использовать замки, соответствующие требованиям 5.16.1 - 5.16.3 и входящие в один модельный ряд с замком в испытанной конструкции.

5.16.5 Использование на двери приборов навесного исполнения (переговорных устройств, устройств считывания, камер видеонаблюдения и т.п.) допускается без проведения испытаний указанной продукции на огнестойкость в составе двери.

5.16.6 В двупольных дверях, режим работы которых предусматривает одновременное открывание обоих полотен, следует предусматривать систему замков и сопутствующих им конструкционных элементов, обеспечивающих координацию их последовательного закрывания.

5.16.7 Конструкция используемых в дверях нажимных ручек должна обеспечивать безопасное и беспрепятственное перемещение людей через дверной проем. Например, следует использовать ручки, оконечности которых закруглены по направлению к дверному полотну.

Ручки из полимерных материалов должны иметь стальной стержень по всей рабочей длине ручки.

5.16.8 Устройства экстренного открывания (устройства "антипаника"), используемые для оборудования дверей, должны соответствовать требованиям ГОСТ 31471.

5.16.9 В конструкции дверей должна быть предусмотрена установка пассивных ригелей (штырей). Допускается иное конструктивное решение, обеспечивающее уменьшение деформации дверного полотна при пожаре.

5.17 Требования к материалам

5.17.1 Марка листовой стали и проката для изготовления полотен и коробок дверей должна быть не ниже 08пс по ГОСТ 16523. При этом качество листового проката должно соответствовать требованиям ГОСТ 19904, сортового проката - ГОСТ 1050, высоколегированной стали - ГОСТ 5632.

5.17.2 Детали и узлы, используемые в конструкции дверей, а также защелки замков и деталей, отвечающие за их функционирование, не должны изготавливаться из легкоплавких материалов.

5.17.3 Заполнение дверных полотен должно осуществляться негорючими теплоизоляционными материалами. Теплоизоляционные материалы, изготовленные в виде плит или матов, следует укладывать в полотна без сквозных щелей и пустот с перекрытием стыков не менее чем на 30 мм. Конструкционное исполнение полотен должно обеспечивать предотвращение проседания уложенных в них теплоизоляционных материалов в период срока службы двери, установленного в ТУ на двери конкретного типа.

5.17.4 Остекление, используемое в противопожарной двери, должно быть огнестойким.

В соответствии с п. 52, ст. 147 Федерального закона N 123-ФЗ замена огнестойкого стекла одного производителя на равнозначное ему по огнестойкости стекло другого производителя в конструкции ранее сертифицированной противопожарной двери допустима по согласованию с органом по сертификации, выдавшим сертификат на исходную конструкцию.

Рекомендуемые варианты конструктивного исполнения узлов остекления приведены в приложении Г.

5.18 Эксплуатационные документы на двери должны быть выполнены в соответствии с ГОСТ 2.601 и ГОСТ 2.610.

5.19 Срок службы двери - не менее 10 лет при соблюдении правил монтажа и эксплуатации, установленных в настоящем стандарте и ТУ на двери конкретного типа.

5.20 Комплектность поставки дверей должна быть установлена в ТУ на двери конкретного типа и/или заказ-наряде (договоре) на изготовление (поставку).

5.21 Маркировка

5.21.1 Маркировка двери должна содержать:

- наименование и (или) условное обозначение;

- обозначение нормативного документа, в соответствии с которым производится выпуск изделий (технические условия);

- дату изготовления (месяц и год);

- товарный знак предприятия-изготовителя;

- наименование страны, предприятия-изготовителя, юридический адрес изготовителя;

- знак обращения на рынке;

- маркировку остекления по ГОСТ 30826.

5.21.2 Место и способ нанесения маркировки следует указывать в конструкторской документации на дверь конкретного типа.

5.21.3 Маркировка транспортной тары - по ГОСТ 14192.

5.21.4 В каждое грузовое место должен быть вложен упаковочный лист, в котором следует указать:

- наименование и условное обозначение дверей;

- наименование и количество изделий в упаковке;

- дату упаковки;

- штамп и подпись упаковщика.

6. Правила приемки

6.1 Для проверки соответствия дверей требованиям настоящего стандарта и конструкторской документации следует проводить приемо-сдаточные, периодические и типовые испытания. Номенклатура параметров (показателей), проверяемых в процессе приемо-сдаточных и периодических испытаний, приведена в таблице 2.

6.2 При приемо-сдаточных испытаниях двери принимают партиями. Партия должна состоять из дверей одной модели, изготовленных по одному технологическому процессу.

Таблица 2

Наименование параметра (показателя) Раздел, пункт стандарта Необходимость проведения испытаний
Технические требования Методы испытаний и контроля приемо-сдаточных периодических
Соответствие КД, комплектность 5.1, 5.20 7.1 - +
Огнестойкость (EI) Дымогазопроницаемость (S) 5.2 7.2 - +
Климатическое исполнение 5.3 7.3 - +
Безотказность 5.4 7.4 - +
Время закрывания и задержки закрывания 5.6, 5.7 7.5 - +
Усилие открывания 5.8 7.6 - +
Величина сквозного зазора 5.9 7.7 - +
Конструкционное исполнение коробок и полотен 5.10, 5.11, 5.12, 5.13 7.8 - +
Зазоры на лицевых поверхностях коробки 5.14 7.9 + +
Наличие и правильность установки уплотняющих и терморасширяющихся прокладок, маркировки 5.15.1, 5.15.2, 5.21 7.10 + +
Плотность прилегания уплотняющих прокладок 5.15.1 7.11 - +
Требования к комплектующим 5.16.1 - 5.16.3, 5.16.6, 5.16.8 7.12 + +
Правильность укладки теплоизоляционных материалов 5.17.3 7.13 + +
Соответствие марок и качество материалов 5.17.1 - 5.17.4 7.14 + +
Срок службы 5.19 7.15 - +

Для проведения испытаний следует отобрать 3% партии дверей, но не менее трех образцов, методом случайной выборки. В случае, если в партии менее трех дверей, проверке подвергают каждую.

В случае отрицательного результата испытаний хотя бы по одному показателю хотя бы на одном образце проводят повторную проверку дверей на удвоенном числе образцов по параметру, имевшему отрицательный результат. При повторном обнаружении несоответствия параметра установленному значению хотя бы на одном образце всю партию дверей подвергают сплошной проверке (разбраковке). При положительном результате сплошного контроля возвращаются к установленному выше порядку приемо-сдаточных испытаний.

6.3 Периодическим испытаниям следует подвергать двери не менее одного раза в два года из числа изделий, прошедших приемо-сдаточные испытания, на соответствие требованиям всех пунктов настоящего стандарта и/или ТУ на двери конкретного типа, за исключением 5.2.

Периодичность проверки значений показателей по параметрам надежности следует проводить не реже одного раза в два года.

При постановке дверей на производство испытания следует проводить на соответствие всем требованиям настоящего стандарта и/или ТУ на двери конкретного типа.

6.4 При внесении изменений в конструкцию дверей, материалы или технологию их изготовления проводят типовые испытания, объем которых следует устанавливать в зависимости от содержания изменений.

7. Методы испытаний и контроля

7.1 Конструкционное исполнение и комплектность дверей следует проверять путем сличения с конструкторской документацией на двери конкретного типа (вида), утвержденной в установленном порядке.

7.2 Определение показателей по огнестойкости и дымогазопроницаемости (см. 5.2) дверей следует определять соответственно по ГОСТ 53303 и ГОСТ 53307.

Официальный источник электронного документа содержит неточность: имеются в виду ГОСТ Р 53303 и ГОСТ Р 53307.

7.3 Соответствие дверей климатическому исполнению по ГОСТ 15150 (см. 5.3) следует определять по методикам, установленным в ТУ на двери конкретного типа (вида).

7.4 Число циклов открывания и закрывания (см. 5.4) следует определять по методикам, установленным в ТУ на двери конкретного типа (вида).

7.5 Контроль времени закрывания (см. 5.6) и задержки закрывания (см. 5.7) следует проводить путем измерения интервала времени секундомером по ГОСТ 8.423 при угле открывания дверного полотна на 90°.

7.6 Контроль усилия открывания (см. 5.8) следует проводить по ГОСТ 13837 путем измерения динамометром усилия, приложенного к середине дверной ручки при открывании двери с зафиксированным в открытом положении устройством запирания. За усилие открывания принимают максимальное показание динамометра при перемещении свободной кромки полотна в интервале от 0 до 100 мм.

7.7 Величину сквозного зазора между нижним торцом полотна (полотен) и уровнем чистого пола помещения дверей без порога или между нижним торцом полотна (полотен) и порогом без притвора (см. 5.9) следует проверять штангенциркулем ШЦ - II - 0-250-01 по ГОСТ 166.

7.8 Конструкционное исполнение коробок и полотен (см. 5.10 - 5.13) следует проверять сличением с конструкторской документацией на двери конкретного типа (вида). Толщину металла следует определять штангенциркулем ШЦ - II - 0-125-0,1 по ГОСТ 166.

7.9 Величину зазоров на лицевых поверхностях конструкций (см. 5.14) следует проверять контрольным инструментом (шаблон, щуп) предприятия-изготовителя по методике, утвержденной в установленном порядке.

7.10 Наличие и правильность установки уплотняющих и терморасширяющихся прокладок, а также правильность маркировки (см. 5.15.1, 5.15.2, 5.21) следует проверять визуально сличением с конструкторской документацией.

7.11 Плотность прилегания уплотняющих прокладок при закрытых полотнах (см. 5.15.1) следует определять по наличию непрерывного следа, оставленного красящим веществом (например, цветным мелом), предварительно нанесенным на поверхность прокладок и легко удаляемым после проведения контроля.

7.12 Соответствие комплектующих установленным в настоящем стандарте требованиям (см. 5.16.1, 5.16.2, 5.16.3, 5.16.6 - 5.16.9) следует проверять на основе анализа конструкторской документации на двери, сопроводительной документации предприятий - изготовителей комплектующих, а также на отсутствие видимых повреждений.

Функционирование дверных петель, запирающих устройств, дверных ручек следует проверять десятикратным открыванием-закрыванием дверных полотен. В ходе каждого цикла следует проводить отпирание и запирание замков. Открывание и закрывание полотен, а также функционирование фурнитуры должны происходить плавно без рывков и заеданий. В случае обнаружения отклонений в работе любого комплектующего проводят его наладку и повторную проверку.

7.13 Правильность укладки теплоизолирующих материалов в виде матов и плит (см. 5.17.3) следует проверять рулеткой по ГОСТ 7502.

7.14 Соответствие марок и качество материалов (см. 5.17.1 - 5.17.4), а также отсутствие видимых повреждений следует проверять при входном контроле по сопроводительной документации предприятий-изготовителей.

7.15 Срок службы (см. 5.19) следует определять путем обработки статистических данных, полученных из условий эксплуатации [2].

8. Общие требования к монтажу дверей

8.1 Требования к монтажу дверей устанавливают в эксплуатационных документах на двери. Дополнительные требования к монтажу могут быть установлены в проектной документации на объекты строительства с учетом принятых в проекте вариантов исполнения узлов примыкания дверей к стенам проемов, рассчитанных на заданные климатические и другие нагрузки.

8.2 Монтаж дверей должен осуществляться специализированными строительными организациями или специально обученными бригадами предприятия-изготовителя. Окончание монтажных работ должно подтверждаться актом сдачи-приемки, а также передачей заказчику исполнительной документации, перечень которой приведен в приложении Д.

8.3 Двери следует устанавливать в подготовленные дверные проемы, выполненные с припусками (монтажными зазорами) по ширине и высоте относительно установочных размеров коробки, согласно требованиям, установленным в ГОСТ 31173 (пункт Е.6, приложение Е).

Заделка монтажных зазоров должна быть проведена цементно-песчаным раствором или негорючим волокнистым теплоизоляционным материалом, смоченным цементно-песчаным раствором, или противопожарной монтажной пеной, прошедшей испытания на огнестойкость совместно с дверью.

Примечание - При использовании противопожарной пены необходимо строго следовать данным, указанным в технической документации на пену в части допустимых размеров монтажных зазоров для заделки пеной (ширина, глубина) и в инструкции ее изготовителя. При заполнении пеной монтажных зазоров после ее окончательного расширения пену следует обрезать по контуру на глубину не менее 5 мм и оштукатурить. Эксплуатация дверей, при монтаже которых зазоры были заделаны только пеной без заделки раствором, не допускается.

9. Указания по эксплуатации

9.1 При эксплуатации следует проводить общий контроль двери не реже одного раза в квартал, устраняя выявленные дефекты и неисправности, обращая при этом особое внимание на:

- работоспособность фурнитуры;

- величину зазоров между полотном и коробкой, установленных в конструкторской и эксплуатационной документации изготовителя;

- состояние уплотняющих и терморасширяющихся прокладок.

9.2 В ходе эксплуатации дверей их поверхность следует подвергать периодической очистке путем протирания ветошью, смоченной в воде или моющем растворе. Подвижные соединения по мере необходимости следует смазывать пластичной смазкой по ГОСТ 21150.

Не допускается попадание воды или моющего раствора между стеклом и рамкой остекления, на терморасширяющиеся прокладки, а также в подвижные соединения. При использовании дверей на объектах, где периодическая обработка поверхности коробок и полотен специальными составами является обязательной, конструкция деталей и узлов должна обеспечивать их защиту от коррозии и нарушения противопожарных свойств изделия.

9.3 В ходе эксплуатации дверей с остеклением во избежание помутнения следует избегать прямого воздействия на них ультрафиолетового излучения (солнечные лучи, дуга электросварки и т.п.), за исключением случаев, когда изготовитель пожаростойкого остекления гарантирует его невосприимчивость к воздействиям такого рода.

9.4 На дверях с остеклением, устанавливаемых в пористый бетон или стены (перегородки) из гипсокартонных или гипсоволокнистых плит, рекомендуется установка устройств самозакрывания с верхним расположением.

Приложение А
(справочное)

ПРИМЕРЫ КОНСТРУКЦИОННОГО ИСПОЛНЕНИЯ ДВЕРЕЙ

1 - сплошная; 2 - со светопропускающими элементами; 3 - с фрамугой

Рисунок А.1 - Однопольные двери

1 - сплошная; 2 - неравнопольная; 3 - с фрамугой

Рисунок А.2 - Двупольные двери

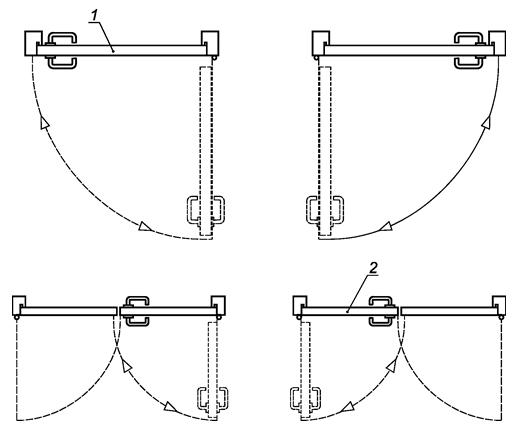
1 - однопольная дверь правого открывания; 2 - двупольная дверь левого открывания

Рисунок А.3 - Примеры направления открывания дверей

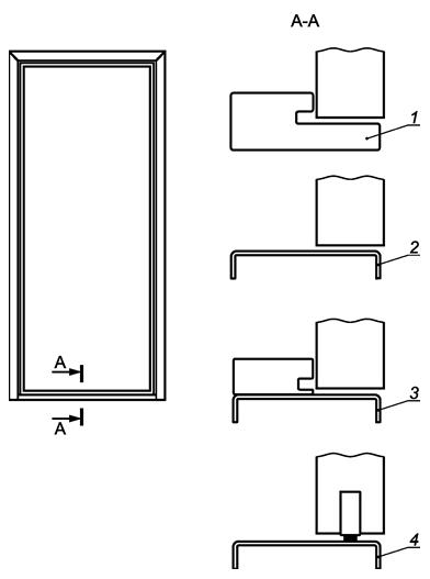
1 - с порогом с притвором; 2 - с порогом без притвора; 3 - с порогами без притвора и приставным; 4 - с порогом без притвора и выдвижным порогом

Рисунок А.4 - Примеры конструкционного исполнения дверей с замкнутой коробкой

1 - без порога; 2 - с приставным порогом; 3 - с выдвижным порогом встроенного типа; 4 - с выдвижным порогом накладного типа

Рисунок А.5 - Примеры конструкционного исполнения дверей с "П"-образной (незамкнутой) коробкой

Приложение Б
(справочное)

ПРИМЕРЫ КОНСТРУКЦИОННОГО ИСПОЛНЕНИЯ ДВЕРНЫХ КОРОБОК

1 - теплоизоляционная прокладка

Рисунок Б.1 - Примеры конструкционного исполнения дверных коробок

Приложение В
(справочное)

ПРИМЕРЫ КОНСТРУКЦИОННОГО ИСПОЛНЕНИЯ ДВЕРНЫХ ПОЛОТЕН

1 - скоба из стальной полосы; 2, 7 - угольники; 3 - швеллер; 4 - профиль прямоугольного сечения; 5 - гнутый профиль на контактной сварке; 6 - листы обшивки с гибом; 8 - теплоизоляционная прокладка; 9 - клеевой слой

Рисунок В.1 - Примеры конструкционного исполнения дверных полотен

Приложение Г
(справочное)

ПРИМЕРЫ КОНСТРУКЦИОННОГО ИСПОЛНЕНИЯ УЗЛОВ ОСТЕКЛЕНИЯ

1 - стеклодержатель; 2 - уплотнитель; 3, 4 - негорючие теплоизоляционные материалы; 5 - терморасширяющиеся прокладки; 6 - остекление

Рисунок Г.1 - Примеры конструкционного исполнения узлов остекления

Приложение Д
(рекомендуемое)

ПЕРЕЧЕНЬ ИСПОЛНИТЕЛЬНОЙ ДОКУМЕНТАЦИИ

1 Свидетельство о регистрации юридического лица - производителя работ (копия)

2 Лицензия МЧС или допуск СРО на монтаж противопожарных конструкций (копия)

3 Спецификация установленных изделий с указанием номеров изделий и соответствующих им проемов на поэтажных планах

4 Сертификаты соответствия нормам пожарной безопасности на изделия (заверенные в установленном порядке)

5 Паспорта на изделия

6 Перечень производителей и/или поставщиков фурнитуры и комплектующих для замены установленных в изделиях при их неисправности

7 Чертежи монтажных узлов

8 Гарантийное обязательство на монтаж

Примечание - Исполнительная документация подлежит хранению у застройщика или заказчика до проведения итоговой проверки органом государственного строительного надзора. На время проведения итоговой проверки исполнительная документация передается застройщиком или заказчиком в орган государственного строительного надзора. После выдачи органом государственного строительного надзора заключения о соответствии построенного, реконструированного, отремонтированного объекта капитального строительства требованиям технических регламентов (норм и правил), иных нормативных правовых актов и проектной документации исполнительная документация передается застройщику или заказчику на постоянное хранение.

БИБЛИОГРАФИЯ

[1] Федеральный закон от 22 июля 2008 г. N 123-ФЗ "Технический регламент о требованиях пожарной безопасности"
[2] РД 50-690-89 Методические указания. Надежность в технике. Методы оценки показателей надежности по экспериментальным данным