Конструкции строительные. Расширенное применение результатов испытаний на огнестойкость светопрозрачных ограждающих ненесущих конструкций. ГОСТ р 55988-2014 (ЕН 15254-4:2008)

(утв. Приказом Росстандарта от 31.03.2014 N N 275-СТ)
Редакция от 31.03.2014 — Действует с 01.10.2014

НАЦИОНАЛЬНЫЙ СТАНДАРТ РОССИЙСКОЙ ФЕДЕРАЦИИ

КОНСТРУКЦИИ СТРОИТЕЛЬНЫЕ

РАСШИРЕННОЕ ПРИМЕНЕНИЕ РЕЗУЛЬТАТОВ ИСПЫТАНИЙ НА ОГНЕСТОЙКОСТЬ СВЕТОПРОЗРАЧНЫХ ОГРАЖДАЮЩИХ НЕНЕСУЩИХ КОНСТРУКЦИЙ

BUILDING STRUCTURES. EXTENDED APPLICATION OF RESULTS FROM FIRE RESISTANCE TESTS FOR GLAZED NON-LOADBEARING CURTAIN WALLING STRUCTURES EN 15254-4:2008+A1:201 EXTENDED APPLICATION OF RESULTS FROM FIRE RESISTANCE TESTS - NON-LOADBEARING WALLS - PART 4: GLAZED CONSTRUCTIONS (MOD)

ГОСТ Р 55988-2014 (ЕН 15254-4:2008)

Дата введения
1 октября 2014 года

Предисловие

1. Подготовлен Обществом с ограниченной ответственностью "Научный инновационный центр строительства и пожарной безопасности "М" (ООО "НИЦ СиПБ" "М") на основе собственного аутентичного перевода на русский язык европейского регионального стандарта, указанного в пункте 4.

2. Внесен Техническим комитетом по стандартизации ТК 274 "Пожарная безопасность".

3. Утвержден и введен в действие Приказом Федерального агентства по техническому регулированию и метрологии от 31 марта 2014 г. N 275-ст.

4. Настоящий стандарт является модифицированным по отношению к европейскому региональному стандарту EN 15254-4:2008+А1:2011 "Расширенное применение результатов испытаний на огнестойкость. Ненесущие стены. Часть 4. Остекленные конструкции" (EN 15254-4:2008+A1:2011 "Extended application of results from fire resistance tests - Non-loadbearing walls - Part 4: Glazed constructions") путем изменения его структуры для приведения в соответствие с правилами, установленными в ГОСТ 1.5 (подразделы 4.2 и 4.3).

Сравнение структуры настоящего стандарта со структурой указанного европейского регионального стандарта приведено в дополнительном Приложении ДА.

При этом в него не включены подразделы 3.1, 3.5 - 3.11, 5.3, 6.2 - 6.5, 7.4, 8.1, 8.3, пункты 4.2.1, 4.2.2, приложения A и B, рисунок 1, таблицы 1 - 4, библиография примененного европейского регионального стандарта, которые нецелесообразно (преждевременно) применять в российской национальной стандартизации в связи с отличиями в нормировании показателей по критическим состояниям светопрозрачных ограждающих конструкций.

Указанные структурные элементы примененного европейского регионального стандарта, не включенные в основную часть настоящего стандарта, приведены в дополнительном приложении ДБ (не приводится).

Наименование настоящего стандарта изменено относительно наименования указанного европейского регионального стандарта в соответствии с ГОСТ Р 1.5 (пункт 3.5).

Изменения содержания отдельных структурных элементов выделены курсивом.

5. Введен впервые.

Правила применения настоящего стандарта установлены в ГОСТ Р 1.0-2012 (раздел 8). Информация об изменениях к настоящему стандарту публикуется в ежегодном (по состоянию на 1 января текущего года) информационном указателе "Национальные стандарты", а официальный текст изменений и поправок - в ежемесячном информационном указателе "Национальные стандарты". В случае пересмотра (замены) или отмены настоящего стандарта соответствующее уведомление будет опубликовано в ближайшем выпуске ежемесячного информационного указателя "Национальные стандарты". Соответствующая информация, уведомление и тексты размещаются также в информационной системе общего пользования - на официальном сайте Федерального агентства по техническому регулированию и метрологии в сети Интернет (gost.ru).

Введение

Цель настоящего стандарта - перенос результатов испытаний на огнестойкость ненесущих навесных стен и других типов аналогичных конструкций по определенным правилам, то есть расширенное применение результатов испытаний.

Объектом стандартизации разрабатываемого стандарта является процедура определения классификационных параметров согласно ст. 35 Федерального закона от 22 июля 2008 г. N 123-ФЗ "Технический регламент о требованиях пожарной безопасности", которые, в свою очередь, определяются непосредственно испытаниями или на основании расчетных методов, в том числе для огнестойких остекленных конструкций, испытанных в соответствии с нормативно-технической документацией, устанавливающей правила испытаний на огнестойкость светопрозрачных ограждающих конструкций и заполнения проемов.

Настоящий стандарт соответствует требованиям Федерального закона от 22 июля 2008 г. N 123-ФЗ "Технический регламент о требованиях пожарной безопасности" и учитывает требования к конструкциям стен наружных ненесущих (таблица 21 Федерального закона).

1. Область применения

1.1. Настоящий стандарт устанавливает процедуру распространения результатов испытаний на огнестойкость конструкций при изменении их параметров (геометрических размеров), замене элементов, используемых материалов, способов крепления с использованием метода расширенной оценки огнестойкости.

1.2. Стандарт распространяется на вертикальные ненесущие светопрозрачные ограждающие конструкции, в том числе:

- наружные ненесущие (навесные) стены;

- внутренние перегородки;

- противопожарные (неоткрывающиеся) окна, прошедшие испытания и классифицированные согласно нормативно-технической документации, устанавливающей правила испытаний на огнестойкость светопрозрачных ограждающих конструкций и заполнения проемов.

1.3. Стандарт не распространяется на следующие конструкции:

- двери, ворота, люки;

- горизонтальные конструкции.

2. Нормативные ссылки

В настоящем стандарте использованы ссылки на следующие стандарты:

ГОСТ Р 53307-2009 Конструкции строительные. Противопожарные двери и ворота. Метод испытаний на огнестойкость

ГОСТ 16483.1-84 Древесина. Метод определения плотности

Примечание. При пользовании настоящим стандартом целесообразно проверить действие ссылочных стандартов в информационной системе общего пользования - на официальном сайте Федерального агентства по техническому регулированию и метрологии в сети Интернет или по ежегодному информационному указателю "Национальные стандарты", который опубликован по состоянию на 1 января текущего года, и по выпускам ежемесячного информационного указателя "Национальные стандарты" за текущий год. Если заменен ссылочный стандарт, на который дана недатированная ссылка, то рекомендуется использовать действующую версию этого стандарта с учетом всех внесенных в данную версию изменений. Если заменен ссылочный стандарт, на который дана датированная ссылка, то рекомендуется использовать версию этого стандарта с указанным выше годом утверждения (принятия). Если после утверждения настоящего стандарта в ссылочный стандарт, на который дана датированная ссылка, внесено изменение, затрагивающее положение, на которое дана ссылка, то это положение рекомендуется применять без учета данного изменения. Если ссылочный стандарт отменен без замены, то положение, в котором дана ссылка на него, рекомендуется применять в части, не затрагивающей эту ссылку.

3. Термины и определения

В настоящем стандарте применены термины согласно нормативно-технической документации, устанавливающей правила испытаний на огнестойкость светопрозрачных ограждающих конструкций и заполнения проемов, а также следующие термины с соответствующими определениями:

3.1. Система остекления: светопропускающий элемент, материалы и элементы конструкции, служащие для его крепления, используемые для монтажа светопропускающего элемента в систему рамы (стекло, уплотнительные прокладки, штапики и их крепеж, установочные планки, герметизирующие прокладки, герметизирующий состав).

3.2. Материалы для крепления светопропускающего элемента: все материалы, используемые для вставки светопропускающего элемента в раму (уплотнительные прокладки, штапики и их крепеж, установочные планки, герметизирующие прокладки, герметизирующий состав).

3.3. Система рамы: профиль рамы и крепления к опорной конструкции.

3.4. Опорная конструкция: конструкция, являющаяся основой для крепления и воспринимающая нагрузку от огнестойкой ограждающей светопрозрачной конструкции.
Примечание. Данный термин отсутствует в ЕН 15254-4:2008+А1:2011, поэтому применен в настоящем стандарте.

4. Сущность метода

4.1. Общие положения

Светопрозрачные строительные конструкции являются единой взаимосвязанной системой, составляющие элементы которой (светопропускающие элементы, элементы их крепления, рама, крепление рамы и т.п.) совместно функционируют для обеспечения требуемого предела огнестойкости.

Метод расширенной оценки представляет собой определение огнестойкости светопрозрачных ограждающих конструкций при внесении в них отдельных изменений (или сочетаний изменений) на основании анализа их конструктивного исполнения и результатов испытаний по нормативно-технической документации, устанавливающей правила испытаний на огнестойкость светопрозрачных ограждающих конструкций и заполнения проемов.

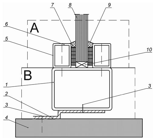
В настоящем стандарте светопрозрачные ограждающие конструкции разделяются на две основные составные части: система остекления и система рамы (рисунок 1).

A - система остекления; B - система рамы, состоящая из следующих элементов: 1 - рама; 2 - металлическая планка, привинченная или прикрепленная болтом к стене и раме; 3 - винт и фиксатор; 4 - стена; 5 - штапик, привинченный или прижимной; 6 - крепление штапика; 7 - прокладка для крепления светопропускающего элемента; 8 - светопропускающий элемент; 9 - уплотнитель или уплотнительная прокладка; 10 - установочная планка

Рисунок 1. Система остекления и система рамы

Метод должен применяться только на основании результатов испытаний, проведенных в аккредитованных испытательных лабораториях.

4.2. Использование результатов испытаний

Для расширенной оценки огнестойкости должны использоваться результаты испытаний светопрозрачных конструкций по нормативно-технической документации, устанавливающей правила испытаний на огнестойкость светопрозрачных ограждающих конструкций и заполнения проемов, наряду с анализом конструктивных особенностей рассматриваемых конструкций (сторона, подверженная огневому воздействию; огнестойкость конструкции; использованные материалы и т.п.).

Когда невозможно провести анализ на основе существующих данных, необходимо провести дополнительные испытания конструкции по нормативно-технической документации, устанавливающей правила испытаний на огнестойкость светопрозрачных ограждающих конструкций и заполнения проемов, с изменениями, оказывающими наибольшее влияние на огнестойкость.

5. Общие правила

5.1. Классификация показателей огнестойкости

При использовании метода расширенного применения не допускаются увеличение во времени классификации конструкции (например, с 30 до 45 мин) и изменение классификации показателей огнестойкости (например, с E до EI и т.п.).

5.2. Сочетание вносимых изменений в конструкцию

Каждое изменение конструкции является субъектом отдельной оценки. В рамках данного метода допустимо образовывать сочетания изменений, если это подтверждено результатами испытаний.

6. Конкретные изменения в системе остекления

6.1. Замена светопропускающих элементов

Допускается замена светопропускающих элементов конструкций, если вновь устанавливаемый светопрозрачный элемент был испытан в составе аналогичной конструкции, имеющей предел огнестойкости не ниже, чем у рассматриваемой конструкции, при соблюдении следующих условий:

- габаритные размеры вновь устанавливаемого светопропускающего элемента не превышают соответствующих размеров заменяемого элемента;

- ориентация (например, соотношение длины и ширины) вновь устанавливаемого светопропускающего элемента аналогична заменяемому элементу;

- способ крепления и используемые уплотнения вновь устанавливаемого светопропускающего элемента аналогичны заменяемому элементу;

- системы рам конструкций, в которых испытывались светопропускающие элементы, идентичны.

Если вновь устанавливаемый светопропускающий элемент симметричный, то для определения возможности его установки в рассматриваемую конструкцию достаточно иметь результаты испытаний при тепловом воздействии со стороны установки штапиков.

Для асимметричных светопропускающих элементов следует основываться на результатах испытаний, при которых был получен наименьший предел огнестойкости.

Светопропускающий элемент, имеющий покрытие на одной из поверхностей, считается асимметричным, и, следовательно, к нему применимы вышеуказанные требования.

Замену светопропускающих элементов рекомендуется проводить с учетом допустимых условий эксплуатации (наружные, внутренние).

6.2. Замена деревянных штапиков для крепления светопропускающих элементов

Если штапики при испытаниях были зафиксированы гвоздями, то в качестве альтернативы допускается их крепление самонарезающими винтами аналогичной длины с аналогичным шагом. Обратная замена не допускается без подтверждения результатами испытаний.

Высота штапика может быть увеличена, если имеются экспериментальные данные, которые показывают, что увеличение скрытой штапиком кромки светопропускающего элемента не приводит к уменьшению огнестойкости. Допускается увеличение ширины штапиков. Уменьшение высоты и ширины штапиков не допускается.

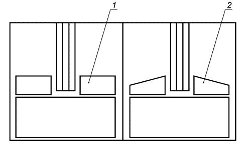
Для огнестойких светопрозрачных конструкций, классифицированных по потере целостности (E) и потере теплоизолирующей способности (I и W), допускается замена профиля штапиков с наклонного или скошенного на прямоугольные штапики той же высоты без испытаний (рисунок 2).

1 - прямоугольный штапик; 2 - скошенный/наклонный штапик

Рисунок 2. Прямоугольный и скошенный/наклонный штапики

Все остальные варианты замены штапиков допускаются только на основании результатов испытаний.

6.3. Замена металлических штапиков для крепления светопропускающих элементов

Не допускается заменять тип материала, используемого в штапиках для крепления стекла. Изменения в форме штапика, а также уменьшение его ширины допускаются только по результатам испытаний.

Штапики на зажимах можно заменять на привинченные или приклепанные штапики, но не наоборот.

Ширину штапика можно увеличивать без дополнительных испытаний (рисунок 3).

1 - светопропускающий элемент; 2 - крепление штапика (винты, гвозди и т.д.); 3 - крепление увеличенного по ширине штапика (винты, гвозди и т.д.); 4 - штапик; 5 - увеличенный по ширине штапик; 6 - перекрытие светопропускающего элемента; 7 - высота штапика; 8 - ширина штапика; 9 - толщина сечения рамы

Рисунок 3. Изменение глубины штапика/сечения рамы

Высоту штапика можно увеличить, если высота скрытой штапиком кромки светопропускающего элемента не меняется, или на основании результатов испытаний.

Примечание. Правила 6.2 и 6.3 распространяются на деревянные и стальные штапики. На штапики из других материалов (в том числе различные виды пластмасс, керамики, алюминиевые сплавы и т.п.) данные правила не распространяются.

6.4. Замена материалов для крепления светопропускающих элементов

За исключением штапиков, допускается заменять один материал для крепления светопропускающего элемента (например, материал уплотнительной прокладки) на другой, но только на основании результатов испытаний, проведенных для подобной системы остекления.

6.5. Покрытие поверхности штапиков

Допускается неокрашенные штапики заменять на аналогичные с любым лакокрасочным покрытием без испытаний.

Возможность применения других декоративных покрытий (пленки и т.п.) поверхности штапиков должна быть подтверждена результатами испытаний.

Любые отделочные покрытия штапиков в составе светопрозрачных огнестойких конструкций могут крепиться только с помощью метода или методов крепления, пригодность которых доказана результатами испытаний.

7. Изменения в системе рамы

7.1. Асимметричные системы рамы

Для оценки возможности замены асимметричных систем рам следует использовать результаты испытаний с огневым воздействием с каждой стороны конструкции. В случае, когда конструкция имеет различные пределы огнестойкости в зависимости от стороны огневого воздействия, допускается использовать данные испытаний со стороны воздействия огня, при которой получен наименьший предел огнестойкости.

7.2. Замена рам

7.2.1. Общие положения

Не допускается замена типа материала, используемого для конструкции рамы (например, сталь на дерево или алюминий на сталь).

При оценке возможности замены вариантов сопряжения рам следует использовать результаты испытаний тех вариантов сопряжений, которые прошли испытания в составе огнестойких светопрозрачных конструкций. На рисунке 4 приведены примеры возможных вариантов сопряжений.

Тип A: четыре светопропускающих элемента, сходящихся вместе в одной точке.

Тип B: три светопропускающих элемента, сходящихся вместе в одной точке, включая вертикальный светопропускающий элемент в полную высоту.

Тип C: три светопропускающих элемента, сходящихся вместе в одной точке, включая горизонтальный светопропускающий элемент в полную ширину.

Тип D: два светопропускающих элемента рядом, оба вертикальные в полную длину (средник, импост) или горизонтальные в полную ширину (поперечина).

Тип E: угловое соединение.

Рисунок 4. Варианты возможных сопряжений

Не допускается изменение размеров скрытой рамой кромки светопропускающего элемента.

Не допускается изменение способов крепления и типа опорной конструкции (жесткая, полужесткая или гибкая по ГОСТ Р 53307) без испытаний по нормативно-технической документации, устанавливающей правила испытаний на огнестойкость светопрозрачных ограждающих конструкций и заполнения проемов.

7.2.2. Деревянные рамы

В дополнение к общим правилам, приведенным в 7.2.1, для деревянных рам допускаются замена типа древесины рамы на более плотную (согласно ГОСТ 16483.1), а также увеличение толщины рамы.

7.2.3. Металлические рамы

В дополнение к общим правилам, указанным в 7.2.1, для стальных и алюминиевых рам допускается замена стальных рам на стальные или алюминиевых на алюминиевые при условии, что используют следующие правила:

- материал рамы на замену имеет ту же марку, что и в испытанном образце (коэффициент теплового расширения, теплопроводность, температура плавления, предел прочности);

- рама на замену должна иметь те же показатели по результатам испытаний согласно нормативно-технической документации, устанавливающей правила испытаний на огнестойкость светопрозрачных ограждающих конструкций и заполнения проемов, что и заменяемая рама (температура на необогреваемой поверхности рамы, величина деформации, в том числе прогиба при одинаковых размерах).

7.3. Покрытие поверхности рамы

Допускается неокрашенные рамы заменять на аналогичные с любым лакокрасочным покрытием без испытаний.

Возможность применения других декоративных покрытий (пленки и т.п.) поверхности рам должна быть подтверждена результатами испытаний.

Любые отделочные покрытия рам в составе светопрозрачных огнестойких конструкций допускается крепить только с помощью метода или методов крепления, пригодность которых доказана результатами испытаний.

8. Изменения в огнестойкой остекленной конструкции

8.1. Увеличение размеров для огнестойких светопрозрачных конструкций

Согласно нормативно-технической документации, устанавливающей правила испытаний на огнестойкость светопрозрачных ограждающих конструкций и заполнения проемов.

8.2. Смена угла установки

Результаты испытаний огнестойких светопрозрачных конструкций, испытанных в вертикальном положении, допускается распространять на аналогичные конструкции, имеющие угол наклона от вертикали не более 30° (согласно нормативно-технической документации, устанавливающей правила испытаний на огнестойкость светопрозрачных ограждающих конструкций и заполнения проемов).

Приложение ДА
(справочное)

СОПОСТАВЛЕНИЕ СТРУКТУРЫ НАСТОЯЩЕГО СТАНДАРТА СО СТРУКТУРОЙ ПРИМЕНЕННОГО В НЕМ ЕВРОПЕЙСКОГО РЕГИОНАЛЬНОГО СТАНДАРТА

Таблица ДА.1

Структура настоящего стандарта Структура европейского стандарта ЕН 15254:2008+А1:2011
Разделы Подразделы Разделы Подразделы Пункты
3 3.1 3 3.2 -
3.2 3.3 -
3.3 3.4 -
4 4.2 4 4.2 4.2.1
4.2.2
6 6.2 6 6.6 -
6.3 6.7 -
6.4 6.8 -
6.5 6.9 -
8 8.2 8 8.4 -
Рисунок 4 Рисунок 2
Рисунок 1 Рисунок B.1
Рисунок 2 Рисунок B.2
Рисунок 3 Рисунок B.3
Примечание. Сопоставление структуры стандартов приведено, начиная с раздела 3, т.к. предыдущие разделы стандартов, а также разделы 5 и 7 и иные структурные элементы (за исключением ссылок на нормативные документы) идентичны.