Установки пожаротушения автоматические. Огнетушащие вещества. Часть 3. Газовые огнетушащие вещества. Методы испытаний. ГОСТ р 53280.3-2009

(утв. Приказом Росстандарта от 18.02.2009 N 53-СТ)
Редакция от 18.02.2009 — Действует с 01.05.2009

НАЦИОНАЛЬНЫЙ СТАНДАРТ РОССИЙСКОЙ ФЕДЕРАЦИИ

УСТАНОВКИ ПОЖАРОТУШЕНИЯ АВТОМАТИЧЕСКИЕ

ОГНЕТУШАЩИЕ ВЕЩЕСТВА

ЧАСТЬ 3. ГАЗОВЫЕ ОГНЕТУШАЩИЕ ВЕЩЕСТВА

МЕТОДЫ ИСПЫТАНИЙ

Automatic fire extinguishing systems. Fire extinguishing media.
Part 3. Gaseous extinguishing media. Test methods

ГОСТ Р 53280.3-2009

Дата введения
1 мая 2009 года

Предисловие

Цели и принципы стандартизации в Российской Федерации установлены Федеральным законом от 27 декабря 2002 г. N 184-ФЗ "О техническом регулировании", а правила применения национальных стандартов Российской Федерации - ГОСТ Р 1.0-2004 "Стандартизация в Российской Федерации. Основные положения".

Сведения о стандарте

1. РАЗРАБОТАН Федеральным государственным учреждением "Всероссийский ордена "Знак Почета" научно-исследовательский институт противопожарной обороны" (ВНИИПО) МЧС России.

2. ВНЕСЕН Техническим комитетом по стандартизации ТК 274 "Пожарная безопасность".

3. УТВЕРЖДЕН И ВВЕДЕН В ДЕЙСТВИЕ Приказом Федерального агентства по техническому регулированию и метрологии от 18 февраля 2009 г. N 53-ст.

4. ВВЕДЕН ВПЕРВЫЕ

Информация об изменениях к настоящему стандарту публикуется в ежегодно издаваемом информационном указателе "Национальные стандарты", а текст изменений и поправок - в ежемесячно издаваемых информационных указателях "Национальные стандарты". В случае пересмотра (замены) или отмены настоящего стандарта соответствующее уведомление будет опубликовано в ежемесячно издаваемом информационном указателе "Национальные стандарты". Соответствующая информация, уведомление и тексты размещаются также в информационной системе общего пользования - на официальном сайте Федерального агентства по техническому регулированию и метрологии в сети Интернет.

1. Область применения

Настоящий стандарт распространяется на газовые огнетушащие вещества (ГОТВ), которые предназначены для применения в автоматических установках пожаротушения для ликвидации горения и представляют собой индивидуальные химические соединения или их смеси (составы), которые при тушении пламени находятся в газообразном или парообразном состоянии.

Настоящий стандарт устанавливает методы определения минимальной огнетушащей концентрации (МОК).

Азот, аргон и диоксид углерода не подвергаются испытаниям по настоящему стандарту при условии, если технические характеристики азота соответствуют ГОСТ 9293, аргона - ГОСТ 10157, - ГОСТ 8050 для высшего и первого сорта.

2. Нормативные ссылки

В настоящем стандарте использованы нормативные ссылки на следующие стандарты:

ГОСТ 25828-83 Гептан нормальный эталонный. Технические условия

ГОСТ 5632-72 Стали высоколегированные и сплавы коррозионно-стойкие, жаростойкие и жаропрочные. Марки

ГОСТ 8050-85 Двуокись углерода газообразная и жидкая. Технические условия

ГОСТ 9293-74 Азот газообразный и жидкий. Технические условия

ГОСТ 10157-79 Аргон газообразный и жидкий. Технические условия

ГОСТ 15150-69 Машины, приборы и другие технические изделия. Исполнения для различных климатических районов. Категории, условия эксплуатации, хранения и транспортирования в части воздействия климатических факторов внешней среды

ГОСТ Р 51043-2002 Установки водяного и пенного пожаротушения автоматические. Общие технические требования. Методы испытаний

ГОСТ Р 51105-97 Топлива для двигателей внутреннего сгорания. Неэтилированный бензин. Технические условия

Примечание - При пользовании настоящим стандартом целесообразно проверить действие ссылочных стандартов и классификаторов в информационной системе общего пользования - на официальном сайте национального органа Российской Федерации по стандартизации в сети Интернет или по ежегодно издаваемому информационному указателю "Национальные стандарты", который опубликован по состоянию на 1 января текущего года, и по соответствующим ежемесячно издаваемым информационным указателям, опубликованным в текущем году. Если ссылочный документ заменен (изменен), то при пользовании настоящим стандартом следует руководствоваться замененным (измененным) документом. Если ссылочный документ отменен без замены, то положение, в котором дана ссылка на него, применяется в масти, не затрагивающей эту ссылку.

3. Термины и определения

В настоящем стандарте применяются следующие термины с соответствующими определениями:

3.1. автоматическая установка газового пожаротушения: Совокупность стационарных технических средств для тушения очагов пожара за счет автоматического выпуска газового огнетушащего вещества.

3.2. газовое огнетушащее вещество: Индивидуальное химическое соединение или смесь соединений, которые при тушении пламени находятся в газообразном или парообразном состоянии и обладают физико-химическими свойствами, позволяющими создать условия для прекращения горения.

3.3. минимальная огнетушащая концентрация. Наименьшая объемная концентрация огнетушащего вещества в воздухе, которая обеспечивает тушение диффузионного пламени вещества объемным способом в условиях опыта.

4. Порядок представления ГОТВ на испытания

4.1. ГОТВ представляют на испытания с комплектом следующих документов:

техническая документация изготовителя на ГОТВ:

документ о качестве ГОТВ;

копия санитарно-эпидемиологического заключения о соответствии ГОТВ установленным правилам и нормативам.

4.2. Техническая документация изготовителя на ГОТВ должна содержать следующие данные:

а) наименование продукта, химическую формулу, а также максимальное и минимальное содержание основного (или основных) компонента (компонентов) ГОТВ, содержание остальных компонентов:

б) температуру кипения и парциальное давление паров при нормальных условиях;

в) озоноразрушающий потенциал;

г) предельно допустимую концентрацию (ПДК) компонента (компонентов) в воздухе рабочей зоны;

д) минимальную объемную огнетушащую концентрацию при тушении н-гептана;

е) срок службы в составе установки пожаротушения (срок службы ГОТВ в составе установки пожаротушения должен составлять не менее 10 лет). Проверку указанного срока службы проводят сбором и анализом статистических данных и в соответствии с [1];

ж) газ-вытеснитель (при необходимости):

з) массовую долю воды;

и) плотность жидкой и паровой (или газовой) фазы при 20 °С.

4.3. Документ о качестве (паспорт, свидетельство и т.п.) должен содержать сведения:

наименование предприятия-изготовителя или его товарный знак;

номер партии;

наименование продукта и его количество;

типовые значения показателей по 4.2 а) - ж);

типовые и фактические значения показателей по 4.2 з), и).

4.4. Транспортная тара для ГОТВ. имеющих давление насыщенных паров при 25 °С выше 101,3 кПа, кроме предусмотренных изготовителем надписей и знаков должна быть маркирована надписями, содержащими значение давления в таре и меры безопасности при транспортировке и хранении.

4.5. Для испытаний по 6.3 ГОТВ, которые при нормальных условиях находятся в жидком состоянии, изготовитель поставляет насадок, а также чертеж насадка.

5. Порядок проведения испытаний

5.1. Значение МОК определяют методом "чашечной горелки" по 6.2 при тушении н-гептана. Результат испытаний считается удовлетворительным, если полученное в опыте среднее значение не превышает величины, заявленной изготовителем.

При получении неудовлетворительных результатов проводят проверку минимальной объемной огнетушащей концентрации в огневой камере при тушении модельных очагов объемным способом по 6.3. Результаты испытаний в камере по 6.3 распространяются на весь объем испытуемой продукции.

6. Методы испытаний

6.1. Испытания проводят при нормальных климатических условиях по ГОСТ 15150, если не оговорены особые условия.

6.2. Определение минимальной огнетушащей концентрации ГОТВ методом "чашечной горелки". Метод предусматривает определение минимального соотношения ГОТВ, находящегося в газообразном или парообразном состоянии, и воздуха, при котором достигается тушение модельного очага, установленного в потоке смеси воздуха с ГОТВ.

6.2.1. Оборудование и средства измерений

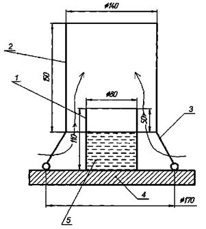
Испытание по определению МОК методом "чашечной горелки" проводят на установке, принципиальная схема которой приведена на рисунке 1.

1 - реакционная труба; 2 - чашечная горелка; 3 - стеклянный бой; 4 - основание; 5 - расширительная емкость; 6 - подъемный столик; 7 - колпак; 8 - трехходовой вентиль; 9 - газовый расходомер; 10 - воздушный расходомер; 11 - воздуходувка

Рисунок 1. Принципиальная схема установки для определения минимальной огнетушащей концентрации методом "чашечной горелки"

Установка состоит из:

реакционной трубы, представляющей собой стеклянный цилиндр из термостойкого стекла с внутренним диаметром (85 ± 5) мм и длиной (365 ± 5) мм, с колпаком для предотвращения влияния внешних условий в виде усеченного конуса с диаметром верхнего отверстия в пределах от 15 мм до 30 мм;

модельного очага - "чашечной горелки" из негорючего, термостойкого материала с внутренним диаметром (21,5 ± 1,0) мм, верхний срез которой расположен на (305 ± 2) мм ниже верхнего среза трубы;

расширительной емкости для горючей жидкости с внутренним диаметром не менее 45 мм и вместимостью не менее 150 мл;

основания для трубы с газовым вводом в реакционную трубу, устроенным так, чтобы газовый поток проходил через слой стеклянного боя (кусочков трубок, обломков химической посуды с максимальными размерами не более 10 мм) толщиной от 20 мм до 40 мм;

воздуходувки с производительностью, регулируемой в пределах от 1,0 м3/ч до 2,6 м3/ч.

При проведении испытаний применяют следующие средства измерений:

расходомер газовый с пределом измерения от 0,01 м3/ч до 0,063 м3/ч по испытываемому газу и классом точности 2,5, имеющий тарировочную зависимость расхода испытуемого газа от показаний;

расходомер газовый с пределом измерения от 0,5 м3/ч до 2,5 м3/ч по воздуху и классом точности не ниже 2.5;

секундомер с пределом измерения не менее 15 мин и ценой деления не более 0,2 с.

При проведении испытаний используют н-гептан по ГОСТ 25828.

6.2.2. Подготовка к проведению испытания

Подключают к установке воздуходувку и сосуд с испытуемым ГОТВ. При необходимости создают условия для перевода ГОТВ в парообразное состояние перед смешением с воздухом. В расширительную емкость заливают горючую жидкость до половины и изменением ее высоты регулируют уровень жидкости в горелке примерно на 1 мм ниже ее среза (после каждого тушения необходимо удалять с поверхности горелки 10 см3 горючей жидкости, восстанавливая первоначальный уровень). Устанавливают трехходовой вентиль в положение подачи ГОТВ в атмосферу.

6.2.3. Проведение испытания

Условия проведения испытания: температура окружающей среды от 19 °С до 22 °С, давление от 84 кПа до 106,7 кПа, относительная влажность воздуха от 40 % до 80 %.

Испытание проводят в вытяжном шкафу при включенной вентиляции.

Включают подачу воздуха и регулируют его расход через расходомер в пределах от 0,31 л/с до 0,67 л/с. Установленный расход поддерживают в течение испытания. Поджигают горючую жидкость в горелке. Регулируют высоту пламени в пределах от 40 мм до 80 мм, изменяя расположение расширительной емкости по высоте.

Включают подачу ГОТВ в трубу с помощью трехходового вентиля и постепенно увеличивают его расход. В момент тушения пламени прекращают регулировку расхода ГОТВ, фиксируют показания расходомера и переключают подачу ГОТВ в атмосферу.

Повторяют процедуру испытания, подавая в трубу испытываемое ГОТВ с ранее найденным расходом. Фиксируют время тушения.

Повторяя процедуру испытания и изменяя расход ГОТВ, находят его минимальное значение , при котором достигается время тушения (10 ± 2) с. Уменьшение найденного значения расхода на одно деление шкалы расходомера должно приводить к отсутствию тушения.

6.2.4. Обработка результатов

Минимальную объемную огнетушащую концентрацию ГОТВ , % об., вычисляют по формуле

,

где:

- минимальный объемный расход ГОТВ, при котором достигается указанное в 6.3.3 время тушения, л/с:

- расход воздуха через расходомер, л/с.

За результат определения минимальной объемной огнетушащей концентрации принимают среднеарифметическое пяти определений для .

Сходимость результатов не должна превышать 5 %.

6.3. Определение минимальной объемной огнетушащей концентрации в огневой камере при тушении модельных очагов объемным способом.

Метод предусматривает тушение модельных очагов в огневой камере при подаче ГОТВ в количестве, которое создает в объеме камеры минимальную огнетушащую концентрацию, заявленную изготовителем.

6.3.1. Оборудование и средства измерений

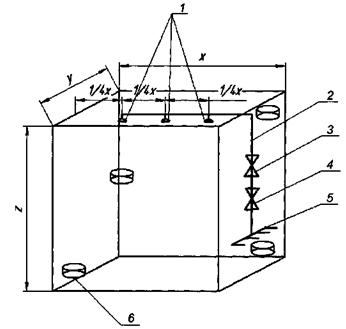
Огневая камера представляет собой помещение из негорючих материалов с параметром негерметичности не более 0,001 , объемом от 30 м3 до 150 м3, высотой z не более 6 м, с отношением длины х к ширине у в пределах от 1:1 до 1:1,3 и длины х к высоте z в пределах от 1:0,5 до 1:1,2. Огневая камера оборудована трубопроводом для подачи ГОТВ и газовыми насадками согласно схеме, приведенной на рисунке 2.

1 - насадки; 2 - трубопровод; 3 - запорный клапан; 4 - регулирующий клапан; 5 - коллектор; 6 - горелка

Рисунок 2. Схема расположения газовой арматуры и горелок в огневой камере

В качестве модельных очагов используются цилиндрические горелки (4 шт.) из нержавеющей стали или стали по ГОСТ 5632 любой марки толщиной стенки (5 ± 1) мм с внутренним диаметром (80 ± 5) мм и высотой (110 ± 2) мм, которые имеют защитные экраны. Схема горелки приведена на рис. 3.

1 - горелка; 2 - защитный кожух; 3 - соединительные стержни; 4 - полка; 5 - горючая жидкость (стрелками показано направление движения воздуха)

Рисунок 3. Схема горелки

На потолке камеры установлены трубопровод с газовыми насадками, которые должны соответствовать требованиям изготовителей ГОТВ, или дренчерные оросители по ГОСТ Р 51043. Количество насадков - от одного до трех. Для ГОТВ, которые при нормальных условиях находятся в жидком состоянии, применяются насадки изготовителей ГОТВ.

Горючая жидкость в горелках - н-гептан по ГОСТ 25828 или бензин Регуляр-92 по ГОСТ Р 51105.

Средства измерений:

секундомер с пределом измерения не менее 15 мин и ценой деления не более 0,2 с;

весы с пределом измерений не более 150 кг и ценой деления не более 0,05 кг.

6.3.2. Подготовка к проведению испытания

6.3.2.1. Вычисляют количество ГОТВ , кг, для подачи в огневую камеру по формулам:

для ГОТВ - сжиженных газов

; (2)

для ГОТВ - сжатых газов

. (3)

где:

- объем огневой камеры, м3;

- плотность паровой (или газовой) фазы при 20°С ГОТВ, кг/м3;

- минимальная объемная огнетушащая концентрация, заявленная изготовителем, % об.

6.3.2.2. Подготавливают баллон с испытуемым ГОТВ и подключают его к трубопроводу подачи ГОТВ в камеру.

Проходные сечения трубопровода и насадков должны быть выбраны так, чтобы время выпуска испытываемого ГОТВ составляло от 8 с до 10 с для ГОТВ - сжиженных газов и от 50 с до 60 с для ГОТВ - сжатых газов.

При необходимости регулировки расхода ГОТВ на трубопроводе устанавливают вентиль. Фиксируют положение вентиля, которое обеспечивает необходимый расход, и не изменяют его до окончания испытаний. Подачу ГОТВ в трубопровод и ее прекращение в процессе испытаний производят с помощью запорной арматуры.

Допускается осуществлять подачу ГОТВ из модуля газового пожаротушения. При этом параметры заправки должны соответствовать технической документации (ТД) на модуль для данного ГОТВ, вместимость модуля должна обеспечивать максимальный коэффициент заполнения ГОТВ, а давление наддува соответствовать минимальному значению.

6.3.2.3. Баллоны с ГОТВ следует выдержать при (20 ± 5) °С в течение 16 ч перед проведением испытания.

6.3.3 Проведение испытания

Условия проведения испытания: температура окружающей среды от 15 °С до 25 °С, давление от 84 кПа до 106.7 кПа, относительная влажность воздуха от 40 % до 80 %.

Две горелки размещают в углах огневой камеры относительно пола на уровне 10 % и по одной горелке на уровнях 50 % и 90 % от высоты камеры так. чтобы струи ГОТВ из насадков не оказывали на них прямого воздействия. Каждая горелка должна быть размещена на расстоянии (50 ± 5) мм от стены камеры.

Заливают в горелки горючую жидкость так, чтобы ее уровень был на (50 ± 3) мм ниже верхнего среза горелки. Поджигают горючее и дают выдержку (30 ± 3) с, обеспечивая доступ воздуха в камеру.

По истечении времени свободного горения прекращают доступ воздуха, герметизируют камеру до степени, указанной в условиях проведения испытаний, и начинают подачу испытываемого ГОТВ.

Регистрируют факт тушения визуально или с помощью доступных технических средств (термопары и т.п.). Фиксируют время подачи ГОТВ и время тушения горелок.

Определяют количество израсходованного на тушение ГОТВ, например, по уменьшению его массы.

Проводят еще два определения.

6.3.4. Оценка результатов определений

Результат каждого определения считают положительным, если пламя во всех горелках гаснет в течение 60 с после окончания подачи ГОТВ. Повторные загорания не должны возникать в течение 10 мин.

Результат испытаний считают положительным, если в двух определениях из трех определений получены положительные результаты.

При положительном результате в первых двух определениях третье определение не проводят.

7. Оформление результатов испытаний

7.1. Результаты испытаний на соответствие требованиям настоящего стандарта оформляются в виде протоколов.

7.2. Протоколы испытаний должны содержать сведения о ГОТВ, дате его изготовления и изготовителе. дате и месте проведения испытаний, методе испытаний, а также результаты испытаний.

БИБЛИОГРАФИЯ

[1] РД 50-690-89 Надежность в технике. Методы оценки показателей надежности по экспериментальным данным. Методические указания.