Дороги автомобильные общего пользования. Элементы обустройства. Технические требования. Правила применения. ГОСТ 33151-2014

(утв. Приказом Росстандарта от 23.07.2015 N 959-СТ)
Редакция от 23.07.2015 — Действует с 01.12.2015

МЕЖГОСУДАРСТВЕННЫЙ СТАНДАРТ

ДОРОГИ АВТОМОБИЛЬНЫЕ ОБЩЕГО ПОЛЬЗОВАНИЯ

ЭЛЕМЕНТЫ ОБУСТРОЙСТВА

ТЕХНИЧЕСКИЕ ТРЕБОВАНИЯ. ПРАВИЛА ПРИМЕНЕНИЯ

Automobile roads of general use. Road facilities. Technical requirements. Rules of application

ГОСТ 33151-2014

Дата введения
1 декабря 2015 года
с правом досрочного применения

Предисловие

Цели, основные принципы и порядок проведения работ по межгосударственной стандартизации установлены ГОСТ 1.0-92 "Межгосударственная система стандартизации. Основные положения" и ГОСТ 1.2-2009 "Межгосударственная система стандартизации. Стандарты межгосударственные, правила и рекомендации по межгосударственной стандартизации. Правила разработки, принятия, применения, обновления и отмены"

Сведения о стандарте

1 РАЗРАБОТАН Федеральным государственным унитарным предприятием "Российский дорожный научно-исследовательский институт" (ФГУП "РОСДОРНИИ") Министерства транспорта Российской Федерации, Межгосударственным техническим комитетом по стандартизации МТК 418 "Дорожное хозяйство"

2 ВНЕСЕН Федеральным агентством по техническому регулированию и метрологии (Росстандарт)

3 ПРИНЯТ Межгосударственным советом по стандартизации, метрологии и сертификации (протокол от 5 декабря 2014 г. N 46)

За принятие проголосовали:

Краткое наименование страны по МК (ИСО 3166) 004-97 Код страны по МК (ИСО 3166) 004-97 Сокращенное наименование национального органа по стандартизации
Азербайджан AZ Азстандарт
Армения AM Минэкономики Республики Армения
Беларусь BY Госстандарт Республики Беларусь
Казахстан KZ Госстандарт Республики Казахстан
Киргизия KG Кыргызстандарт
Россия RU Росстандарт
Таджикистан TJ Таджикстандарт
Узбекистан UZ Узстандарт

4 Приказом Федерального агентства по техническому регулированию и метрологии от 23 июля 2015 г. N 959-ст межгосударственный стандарт ГОСТ 33151-2014 введен в действие в качестве национального стандарта Российской Федерации с 1 декабря 2015 г.

5 ВВЕДЕН ВПЕРВЫЕ

Информация об изменениях к настоящему стандарту публикуется в ежегодном информационном указателе "Национальные стандарты", а текст изменений и поправок - в ежемесячном информационном указателе "Национальные стандарты". В случае пересмотра (замены) или отмены настоящего стандарта соответствующее уведомление будет опубликовано в ежемесячном информационном указателе "Национальные стандарты". Соответствующая информация, уведомление и тексты размещаются также в информационной системе общего пользования - на официальном сайте Федерального агентства по техническому регулированию и метрологии в сети Интернет

1. Область применения

Настоящий стандарт распространяется на элементы обустройства автомобильных дорог общего пользования (далее - дорог), устанавливает технические требования к ним и правила применения.

2. Нормативные ссылки

В настоящем стандарте использованы нормативные ссылки на следующие межгосударственные стандарты:

ГОСТ 14254-96 (МЭК 529-89) Степени защиты, обеспечиваемые оболочками (Код IP)

ГОСТ 32758-2014 Дороги автомобильные общего пользования. Временные технические средства организации дорожного движения. Технические требования и правила применения

ГОСТ 32759-2014 Дороги автомобильные общего пользования. Дорожные тумбы. Технические требования

ГОСТ 32838-2014 Дороги автомобильные общего пользования. Экраны противоослепляющие. Технические требования

ГОСТ 32843-2014 Дороги автомобильные общего пользования. Столбики сигнальные дорожные. Технические требования

ГОСТ 32846-2014 Дороги автомобильные общего пользования. Элементы обустройства. Классификация

ГОСТ 32865-2014 Дороги автомобильные общего пользования. Знаки переменной информации. Технические требования

ГОСТ 32866-2014 Дороги автомобильные общего пользования. Световозвращатели дорожные. Технические требования

ГОСТ 32944-2014 Дороги автомобильные общего пользования. Пешеходные переходы. Классификация. Общие требования

ГОСТ 32945-2014 Дороги автомобильные общего пользования. Знаки дорожные. Технические требования

ГОСТ 32947-2014 Дороги автомобильные общего пользования. Опоры стационарного электрического освещения. Технические требования

ГОСТ 32948-2014 Дороги автомобильные общего пользования. Опоры дорожных знаков. Технические требования

ГОСТ 32953-2014 Дороги автомобильные общего пользования. Разметка дорожная. Технические требования

ГОСТ 32957-2014 Дороги автомобильные общего пользования. Экраны акустические. Технические требования

ГОСТ 32961-2014 Дороги автомобильные общего пользования. Камни натуральные и искусственные бортовые. Технические требования

ГОСТ 32964-2014 Дороги автомобильные общего пользования. Искусственные неровности сборные. Технические требования. Методы контроля

ГОСТ 32965-2014 Дороги автомобильные общего пользования. Методы учета интенсивности движения транспортного потока

ГОСТ 33025-2014 Дороги автомобильные общего пользования. Полосы шумовые. Технические условия

ГОСТ 33062-2014 Дороги автомобильные общего пользования. Требования к размещению объектов дорожного и придорожного сервиса

ГОСТ 33128-2014 Дороги автомобильные общего пользования. Ограждения дорожные. Технические требования

ГОСТ 33144-2014 Дороги автомобильные общего пользования. Дорожные зеркала. Технические требования

ГОСТ 33150-2014 Дороги автомобильные общего пользования. Проектирование пешеходных и велосипедных дорожек. Общие требования

ГОСТ 33176-2014 Дороги автомобильные общего пользования. Горизонтальная освещенность от искусственного освещения. Технические требования

ГОСТ 33385-2015 Дороги автомобильные общего пользования. Дорожные светофоры. Технические требования

Примечание - При пользовании настоящим стандартом целесообразно проверить действие ссылочных стандартов в информационной системе общего пользования - на официальном сайте Федерального агентства по техническому регулированию и метрологии в сети Интернет или по ежегодному информационному указателю "Национальные стандарты", который опубликован по состоянию на 1 января текущего года, и по выпускам ежемесячного информационного указателя "Национальные стандарты" за текущий год. Если ссылочный стандарт заменен (изменен), то при пользовании настоящим стандартом следует руководствоваться заменяющим (измененным) стандартом. Если ссылочный стандарт отменен без замены, то положение, в котором дана ссылка на него, применяется в части, не затрагивающей эту ссылку.

3. Термины и определения

В настоящем стандарте применены термины по ГОСТ 32846 и ГОСТ 32944.

4. Технические средства и устройства, предназначенные для организации и обеспечения безопасности дорожного движения

4.1 Технические средства для информирования, зрительного ориентирования участников дорожного движения и регулирования движения

4.1.1 Дорожные знаки, знаки переменной информации, опоры дорожных знаков, разметка, светофоры и дорожные ограждения по техническим требованиям должны соответствовать:

- ГОСТ 32865;

- ГОСТ 32945;

- ГОСТ 32948;

- ГОСТ 32953;

- ГОСТ 33128;

- ГОСТ 33385.

4.1.2 Изображения знаков, формы разметки, типы светофоров должны соответствовать национальным нормам в государствах - участниках Соглашения.

4.1.3 Дорожные знаки, знаки переменной информации, разметка, светофоры и дорожные ограждения применяют в соответствии с национальными стандартами государств - участников Соглашения.

4.1.4 В случаях, не оговоренных 4.2 - 4.4, 4.6, технические средства и устройства применяют в соответствии с национальными стандартами или иными нормами государств - участников Соглашения.

4.2 Направляющие устройства

4.2.1 Островки направляющие

4.2.1.1 Направляющие островки устраивают на проезжей части для разделения транспортных потоков и выделяют:

- конструктивно бортовым камнем по ГОСТ 32961 (далее - приподнятыми);

- соответствующей горизонтальной разметкой в одном уровне с проезжей частью.

4.2.1.2 Направляющие островки устраивают:

- при суммарной интенсивности движения транспортных средств по пересекающимся или примыкающим дорогам не менее 1000 ед./сут, когда число поворачивающих транспортных средств составляет не менее 10% от суммарного потока;

- на примыканиях и пересечениях в одном уровне со сложной планировкой;

- на примыканиях и пересечениях в одном уровне и съездах с транспортных развязок, имеющих свободные площади;

- перед въездами на кольцевые пересечения;

- на пересечениях дорог без разделительной полосы с дорогами с разделительной полосой;

- перед островками безопасности;

- перед началом разделительных полос.

4.2.1.3 Направляющие островки площадью более 10 м2 рекомендуется устраивать приподнятыми.

Высота приподнятых островков должна быть не более (0,2 +/- 0,01) м.

4.2.1.4 Приподнятые направляющие островки обустраивают соответствующими дорожными знаками, обозначающими препятствие и направление объезда препятствия, а на бортовой камень наносят соответствующую вертикальную дорожную разметку.

4.2.1.5 Для отклонения транспортных потоков сплошную линию разметки границы направляющего островка устраивают с отгоном 1:10 при скорости движения не более 40 км/ч, 1:20 при скорости движения свыше 40 до 60 км/ч и 1:50 - при скорости более 60 км/ч.

4.2.2 Островки безопасности

4.2.2.1 Островки безопасности устраивают для размещения пешеходов на наземных пешеходных переходах через многополосные дороги при интенсивности движения транспортных средств не менее 400 ед./ч на одну полосу проезжей части, при этом расстояние между краем проезжей части и границей островка должно быть не менее 7,5 м. Островки выделяют по 4.2.1.1.

4.2.2.2 Приподнятые островки рекомендуется устраивать на наземных пешеходных переходах со светофорным регулированием при ширине проезжей части более 21,0 м, либо при числе полос движения в обоих направлениях более пяти.

В остальных случаях устраивают островки в одном уровне с проезжей частью.

На дорогах с конструктивно выделенной разделительной полосой шириной более 2,5 м островки безопасности не устраивают. При этом пешеходный переход в пределах разделительной полосы должен иметь покрытие усовершенствованного типа или плитку.

4.2.2.3 Длина островка безопасности должна быть не менее ширины пешеходного перехода.

Ширина приподнятого островка должна быть не менее 2,0 м, выделенного разметкой - быть не менее 1,2 м.

Высота пешеходной части приподнятого островка должна быть не более 0,08 м.

4.2.2.4 На дорогах без разделительной полосы островки безопасности на наземных пешеходных переходах устраивают за счет увеличения ширины проезжей части в зоне перехода.

Допускается для размещения островка безопасности уменьшать ширину полос движения на дорогах до 3,25 м.

Для отклонения транспортных потоков перед островком безопасности применяют сплошную линию разметки с отгоном от оси дороги 1:20 при скорости движения не более 60 км/ч, 1:50 - при скорости более 60 км/ч.

4.2.2.5 На пешеходной части островка безопасности не должны располагаться опоры дорожных знаков, светофоров и т.п.

Островки, расположенные на разделительной полосе, должны иметь покрытие усовершенствованного типа или плитку.

4.2.2.6 Островки безопасности рекомендуется оборудовать ограждающими элементами (рефюжами) для защиты пешеходов.

Высота защитных элементов (рефюжей) перед островками должна быть от 0,05 до 0,10 м вне населенных пунктов и от 0,15 до 0,20 м в населенных пунктах.

4.2.2.7 Приподнятые островки безопасности обустраивают соответствующими дорожными знаками, обозначающими препятствие и указывающими направление объезда препятствия, а на бортовой камень наносят соответствующую вертикальную дорожную разметку.

Защитные элементы (рефюжи) приподнятого островка должны быть обозначены соответствующей вертикальной дорожной разметкой и малыми тумбами класса Т2 или Т3 по ГОСТ 32759 диаметром не более 0,75 м с искусственным освещением совместно со знаками, указывающими направление объезда.

Дорожные ограждения, установленные на разделительной полосе перед островком безопасности, при необходимости отклоняют в поперечном направлении от оси разделительной полосы не менее чем на 0,75 м. При этом длина участка отклонения ограждений должна быть не менее 40 м. В этом случае приподнятые над проезжей частью островки безопасности не устраивают.

4.2.2.8 Допускается в качестве островка безопасности использовать направляющий островок.

4.2.3 Световозвращатели дорожные

4.2.3.1 Дорожные световозвращатели должны соответствовать ГОСТ 32866.

4.2.3.2 На магистральных и скоростных дорогах применяют световозвращатели с любым типом световозвращающих элементов.

На остальных дорогах применяют световозвращатели со световозвращающим элементом типа R1, изготовленным из световозвращающего материала III класса по ГОСТ 32945, типа R2 и R3.

4.2.3.3 Световозвращатели устанавливают таким образом, чтобы на дорогах без разделительной полосы водитель справа по ходу движения видел красный световозвращающий элемент, а слева - белый или желтый рисунок 1 а).

а) дорога без разделительной полосы

б) дорога с разделительной полосой

Рисунок 1 - Ориентация световозвращателей по цвету световозвращающего элемента

На дорогах с разделительной полосой световозвращатели справа и слева от проезжей части одного направления движения должны быть красного цвета [рисунок 1 б)].

4.2.3.4 Световозвращатели типов КД1 и КД2 устанавливают на сигнальных столбиках по ГОСТ 32843.

4.2.3.5 На участках дорог без искусственного освещения световозвращатели типов КД1 и КД2 допускается применять на опорах дорожных знаков и препятствиях, находящихся в пределах проезжей части или обочин дорог, а также на расстоянии менее 0,5 м от них (деревья диаметром стволов 0,1 м и более, опоры путепроводов и т.п.).

Световозвращатели устанавливают на высоте, равной высоте их размещения на сигнальных столбиках.

4.2.3.6 На сборные искусственные неровности по ГОСТ 32964 допускается устанавливать световозвращатели типа КД1 со световозвращающими элементами типа R1 желтого цвета в начале и конце неровности поперек проезжей части.

Расстояние между световозвращателями должно быть не больше ширины световозвращателя.

4.2.3.7 Световозвращатели типа КД3 рекомендуется применять на дорогах, не имеющих стационарного электрического освещения с линиями разметки:

- для разделения транспортных потоков противоположных направлений;

- края проезжей части;

- полосы разгона и торможения;

- места запрещения остановки или стоянки;

- нерегулируемых пешеходных переходов;

- островков безопасности.

Цвет световозвращающего элемента световозвращателей типа КД3, применяемых с линиями разметки должен быть:

- желтого цвета в местах запрещения остановки или стоянки;

- белого цвета на полосах разгона и торможения, допускается использовать элементы зеленого цвета.

4.2.3.8 При разделении транспортных потоков противоположных направлений световозвращатели типа КД3 рекомендуется размещать по оси линии разметки на участках дорог с разрешенной скоростью движения не более 60 км/ч через каждые (12 +/- 0,1) м, более 60 км/ч - через каждые (16,0 +/- 0,1) м.

Рядом с линией разметки, обозначающей правый край проезжей части на расстоянии (0,10 +/- 0,01) м от внешнего края линии или на бортовом камне по его верху их рекомендуется размещать с теми же интервалами, что и по оси проезжей части;

- на бортовом камне по его верху.

4.2.3.9 При разделении транспортных потоков противоположных направлений используют световозвращатель типа КД3:

- двухсторонний со световозвращающим элементом белого или желтого цвета по оси линии разметки (рисунок 2);

Рисунок 2 - Схема размещения световозвращателей типа КД3 на дорогах с одной и двойной сплошной осевыми линиями разметки

- односторонний со световозвращающим элементом белого или желтого цвета, который размещают на расстоянии (0,10 +/- 0,01) м от внутреннего края линии разметки, обозначающей границу разделительной полосы, с интервалами по 4.2.3.8 (рисунок 3).

Рисунок 3 - Схема размещения световозвращателей типа КД3 на дорогах с разделительной полосой, выделенной сплошными линиями разметки

4.2.3.10 В пределах кривой в плане и на подходах к ней световозвращатели типа КД3 рекомендуется размещать с шагом по таблице 1 (рисунок 4).

Таблица 1

Расстояние между световозвращателями типа КД3 на кривой в плане

Радиус кривой в плане R, м Расстояние между КД3 в пределах кривой, м Расстояние между КД3 на подходах к кривой, м
на внутренней стороне кривой на осевой линии разметки на внешней стороне кривой
<= 20 2 2 4 7 10 15
30 2 2 6 7 10 15
40 2 4 7 10 15 20
50 2 5 7 10 15 25
100 2 7 7 15 25 35
200 4 7 7 15 25 35
500 5 7 7 15 25 35
>= 600 7 7 7 15 25 35

Рисунок 4 - Схема установки световозвращателей типа КД3 на кривой в плане

4.2.3.11 Световозвращатели типа КД3 рекомендуется применять с разметкой пешеходного перехода:

- двухсторонние на дорогах без конструктивно выделенной разделительной полосы;

- односторонние со световозвращающим элементом, расположенным навстречу приближающимся транспортным средствам, на дорогах с конструктивно выделенной разделительной полосой.

Световозвращатели со световозвращающими элементами белого цвета устанавливают в начале и в конце каждой линии разметки пешеходного перехода по ее оси, желтого - между линиями разметки (рисунок 5).

Рисунок 5 - Схема размещения световозвращателей типа КД3 на дорогах без конструктивно выделенной разделительной полосы

4.2.3.12 Световозвращатели типа КД3 могут устанавливаться с шагом от 0,5 до 1,0 м по границе островка безопасности, выделенного линиями разметки, на приподнятом - по верху бортового камня.

4.2.3.13 Световозвращатели типа КД4 рекомендуется применять с горизонтальной дорожной разметкой на перекрестках со сложной планировкой для выделения участков проезжей части, на которые запрещен въезд транспортных средств (островки безопасности, направляющие островки, конструктивно не выделенные на проезжей части). Расстояния между световозвращателями должно быть не более 2,0 м.

Световозвращатели устанавливают с внутренней стороны островка рядом с границей линии разметки.

4.2.3.14 Световозвращатели типа КД5 рекомендуется применять на:

- барьерных ограждениях с балкой(ами) волнистого профиля в углублении в средней части поперечного профиля балки (при наличии нескольких рядов балок - в углублении средней части поперечного профиля нижней балки) или над верхней гранью верхней балки;

- барьерных ограждениях с балкой неволнистого профиля - на верхней грани верхней балки или над опорой;

- на парапетных ограждениях - на верхней плоскости ограждений.

4.2.3.15 Световозвращатели типа КД5 рекомендуется устанавливать по всей длине ограждения с интервалом от 4,0 до 5,0 м (в т.ч. на участках отгона и понижения).

4.2.3.16 Световозвращатели типа КД6 рекомендуется применять на дорожных ограждениях без противоослепляющих экранов, установленных на дорогах без стационарного электрического освещения. При этом световозвращатели типа КД5 допускается не устанавливать.

4.2.3.17 Световозвращатели типа КД6 крепят к стойкам (балкам) или консолям (амортизаторам) ограждения на всем его протяжении, включая начальные и концевые участки таким образом, чтобы нижний край световозвращателя возвышался над верхним краем балки ограждения на (0,1 +/- 0,01) м, при этом световозвращатель не должен выступать за внешние границы балки, а элементы его крепления должны располагаться с ее внутренней стороны.

4.2.3.18 Расстояние между световозвращателями КД6 рекомендуется выбирать по таблице 2.

Таблица 2

Расстояния между световозвращателями

Разрешенная скорость движения на дороге, км/ч Расстояние между световозвращателями, м
При наличии световозвращателя КД5 При отсутствии световозвращателя КД5
До 60 30 8
До 90 40
Более 90 50

4.2.4 Столбики сигнальные дорожные

4.2.4.1 Дорожные сигнальные столбики (далее - столбики) должны соответствовать ГОСТ 32843.

4.2.4.2 Столбики типа С3 применяют на всех дорогах, типа С2 - на всех дорогах, кроме магистральных и скоростных, типа С1 - на дорогах с интенсивностью движения менее 2000 ед./сут.

4.2.4.3 Столбики группы О устанавливают на обочинах дорог без стационарного электрического освещения при условиях, не требующих установки удерживающих ограждений на участках:

- в пределах кривых в продольном профиле и на подходах к ним (по три столбика на подходе с каждой стороны дороги) при высоте насыпи не менее 2,0 м, интенсивности движения не менее 2000 ед./сут - на расстояниях и , указанных в таблице 3 (рисунок 6), и на расстоянии , равном (50,0 +/- 1,0) м;

Таблица 3

Расстояние между столбиками на кривой в продольном профиле

Радиус кривой в продольном профиле R, не более, м Расстояние между столбиками, м
в пределах кривой на подходах к кривой
500 12 20
1000 17 27
2000 25 40
3000 30 47
4000 35 50
5000 40
6000 45
8000 и более 50

Рисунок 6 - Установка столбиков на обочине на кривой в продольном профиле

- в пределах кривых в плане и на подходах к ним (по три столбика на подходе с каждой стороны дороги) при высоте насыпи не менее 1,0 м, на расстояниях , , и по таблице 4 (рисунок 4) и на расстоянии , равном (50,0 +/- 1,0) м. Допускается не устанавливать сигнальные столбики при углах поворота до 3°;

Таблица 4

Расстояние между столбиками на кривой в плане

Радиус кривой в плане R, не более, м Расстояние между столбиками, м
на внутренней стороне кривой на внешней стороне кривой на подходах к кривой
До 50 включ. 10 5 15
51 - 100 20 10 25
101 - 200 30 15 30
201 - 300 50 25 50
301 и более - 50 -

- на магистральных и скоростных дорогах - на всем их протяжении с шагом от 50,0 до 100,0 м, который на протяжении одной дороги должен быть постоянным;

- на прямолинейных участках дорог при высоте насыпи не менее 2 м и интенсивности движения не менее 2000 ед./сут - с шагом от 50,0 до 100,0 м, который на протяжении всего участка должен быть постоянным;

- на кривых сопряжений пересечений и примыканий дорог в одном уровне (кроме сезонных съездов) - с шагом (3,0 +/- 0,1) м и более, но не менее трех столбиков на каждое сопряжение;

- на железнодорожных переездах - с обеих сторон переезда по 10 столбиков с каждой стороны дороги через каждые (1,5 +/- 0,1) м. При этом ближайший к крайнему рельсу столбик устанавливают на расстоянии от него 2,5 м;

- у водопропускных труб - по одному или более столбику с каждой стороны дороги;

- на дорогах, кромка проезжей части которых расположена на расстоянии до 15,0 м от болот и водотоков глубиной более 1,0 м, при паводке, действующем на протяжении 15 сут и более с 10%-ной вероятностью превышения - с шагом (20,0 +/- 0,1) м.

На обочине столбики устанавливают на расстоянии (0,35 +/- 0,01) м от бровки земляного полотна при ширине обочины 1,5 м и более.

Скос его верхней части и наклон полосы вертикальной разметки должны быть направлены в сторону проезжей части.

4.2.4.4 Столбики группы П допускается устанавливать:

а) на многополосных дорогах:

- для разделения транспортных потоков противоположных направлений на дорогах с четырьмя полосами для движения в обоих направлениях по оси проезжей части при отсутствии удерживающих ограждений;

- для обозначения направляющих островков на развязках и кольцевых пересечениях в местах съездов и въездов;

- перед массивными препятствиями (например, опоры мостовых сооружений, тоннелей и др.);

- перед началом ограждений, разделяющих транспортные потоки противоположных направлений.

б) на двухполосных дорогах по оси проезжей части:

- на участках дорог с радиусом кривых в плане менее нормативного;

- на участках дорог с необеспеченной видимостью встречного автомобиля;

- перед железнодорожными переездами.

4.2.4.5 Столбики по оси проезжей части устанавливают с шагом от 2,0 до 3,0 м совместно с горизонтальной разметкой для разделения транспортных потоков противоположных направлений:

- высотой от 0,75 до 1,5 м на участках дорог без разделительной полосы [рисунок 7 а), б)];

Рисунок 7 - Размещение столбиков на дороге без разделительной полосы в сочетании с разметкой для разделения транспортных потоков противоположных направлений

- высотой от 0,48 до 1,5 м на участках дорог с разделительной полосой, конструктивно не выделенной [рисунок 8 а), б)].

а) высотой от 0,75 до 1,5 м

б) высотой от 0,48 до 0,75 м

Рисунок 8 - Примеры размещения столбиков на дороге с разделительной полосой выделенной разметкой

При установке столбиков на разделительной полосе, выделенной разметкой, расстояние от столбика до разметки должно быть от 0,2 до 0,3 м (рисунок 8 б)).

4.2.4.6 По границе направляющих островков, выделенных разметкой для обозначения островков в местах слияния и разделения транспортных потоков одного направления, столбики устанавливают с шагом от 1,0 до 1,5 м (рисунок 9).

Рисунок 9 - Установка столбиков на направляющих островках

4.2.4.7 При установке столбиков на участках дорог с кривой в плане столбики устанавливают с шагом от 1,5 до 2,0 м по оси линии разметки (рисунок 10).

Рисунок 10 - Размещение столбиков на кривой в плане двухполосной дороги

4.2.4.8 Перед железнодорожным переездом столбики устанавливают при интенсивности движения:

- менее 3000 ед./сут высотой от 0,48 до 1,5 м с обеих сторон переезда совместно с линиями разметки для разделения транспортных потоков противоположных направлений (рисунок 11);

- более 3000 ед./сут высотой от 0,48 до 0,75 м с делиниаторами по ГОСТ 32758 высотой от 0,15 до 0,25 м.

Рисунок 11 - Размещение столбиков на подходе к железнодорожному переезду

Столбики устанавливают с переменным шагом от 1,0 до 1,5 м на расстоянии 20,0 м непосредственно перед переездом, от 2,0 до 3,0 м - на остальном протяжении.

4.2.4.9 Допускается устанавливать столбики с использованием специальных разделителей (делиниаторов).

При установке столбиков с делиниаторами на дорогах с двумя полосами для движения в обоих направлениях по оси проезжей части, допускается осевую линию разметки не наносить.

Столбики с делиниаторами не применяют на участках дорог с односкатным поперечным профилем проезжей части.

4.2.5 Тумба дорожная

4.2.5.1 Дорожные тумбы (далее - тумбы) должны соответствовать ГОСТ 32759.

4.2.5.2 Тумбы рекомендуется устанавливать в начале дорожных ограждений, разделяющих транспортные потоки, перед торцевыми частями подпорных стенок, опорами мостовых сооружений, размещенных на проезжей части, а также на ограждающих элементах (рефюжах) островков безопасности. На участках дорог без стационарного электрического освещения устанавливают тумбы со световозвращающими элементами.

4.2.5.3 Тумбы класса Т1 устанавливают перед дорожными ограждениями на разделительной полосе, класса Т2 и Т3 - перед опорами мостовых сооружений.

4.2.5.4 Тумбы с искусственным (внутренним) освещением применяют на дорогах со стационарным электрическим освещением.

4.2.5.5 Тумбы малые устанавливают перед препятствиями высотой до 1,0 м включительно, тумбы большие - перед препятствиями высотой более 1,0 м.

4.3 Устройства воздействия на транспортные средства

4.3.1 Неровность искусственная сборная

4.3.1.1 Искусственные неровности сборные (далее - ИНС) должны соответствовать требованиям ГОСТ 32964.

4.3.1.2 ИНС рекомендуется устраивать по результатам анализа причин аварийности:

- перед наземными нерегулируемыми пешеходными переходами у детских и юношеских учебно-воспитательных учреждений;

- в начале опасного участка перед детскими и юношескими учреждениями, детскими площадками, местами массового отдыха, стадионами, вокзалами, магазинами и другими объектами массовой концентрации пешеходов;

- перед опасными участками дорог, на которых введено ограничение максимальной скорости движения до 40 км/ч и менее;

- перед нерегулируемыми пересечениями и примыканиями дорог в одном уровне с необеспеченной видимостью транспортных средств, приближающихся по пересекаемой дороге, на расстоянии от 30,0 до 50,0 м до дорожного знака, запрещающего движение без остановки;

- на протяжении участка дороги, проходящей вдоль территорий у детских и юношеских учебно-воспитательных учреждений (школ, оздоровительных лагерей и т.п.).

4.3.1.3 ИНС не устраивают:

- на остановочных площадках маршрутных транспортных средств и в пределах их границ на основных и дополнительных полосах движения;

- на переходно-скоростных полосах;

- на мостах, путепроводах, эстакадах и под ними;

- на дорогах с расчетными скоростями движения 120 км/ч и более;

- на подходах к пересечениям (перекресткам) дорог с расчетными скоростями движения 80 км/ч и более со стороны главных направлений;

- на участках дорог с продольными уклонами более 40;

- над смотровыми колодцами подземных коммуникаций;

- ближе 10 м от границ пересечений (перекрестков) со стороны второстепенных направлений.

4.3.1.4 Расстояние между ИНС не должно превышать значений, указанных в таблице 5, а их общее число на участке дороги не должно быть более пяти.

Таблица 5

Расстояние между искусственными неровностями

Максимальная скорость движения, км/ч Расстояние между осями ИНС, м
20 от 35 до 60
30 от 60 до 80
40 от 80 до 125
Примечание - На участках дорог, проходящих вдоль территорий детских и юношеских учебно-воспитательных учреждений (школ, оздоровительных лагерей и т.п.), ИНС рекомендуется устраивать через каждые 50,0 м.

4.3.1.5 Участки дорог с ИНС обустраивают дорожными знаками и обозначают дорожной разметкой по национальным стандартам государств - участников Соглашения.

4.3.2 Полосы шумовые

4.3.2.1 Шумовые полосы по техническим требованиям и их устройству должны соответствовать ГОСТ 33025.

4.3.2.2 Шумовые продольные полосы допускается устраивать по оси дороги и на краевых полосах обочин на участках двухполосных дорог с горизонтальной кривой в плане малого радиуса и на прямолинейных горизонтальных участках дорог длиной 1000 м и более.

4.3.2.3 Не допускается устраивать продольные шумовые полосы:

- на мостах, путепроводах и на подходах к ним;

- в местах сужения проезжей части;

- на участках двухполосных дорог, где обгон разрешен;

- на пересечениях и примыканиях и на расстоянии менее 10,0 м от границы перекрестка;

- на участках дорог с ограничением по уровню шума.

4.3.2.4 Поперечные шумовые полосы допускается устраивать:

- перед нерегулируемыми пешеходными переходами;

- перед железнодорожными переездами без шлагбаума;

- перед нерегулируемыми пересечениями и примыканиями в одном уровне с ограниченной видимостью.

Не допускается устраивать поперечные шумовые полосы на участках дорог с ограничением по уровню шума.

4.3.2.5 Величину требуемого снижения скорости на участке дороги определяют как разницу между значениями фактической скорости (скорость 85%-ной обеспеченности) и вводимого максимального ее ограничения.

4.3.2.6 В местах устройства поперечных шумовых полос устанавливают дорожные знаки в соответствии с национальными стандартами государств - участников Соглашения.

4.3.3 Съезд аварийный

4.3.3.1 Аварийный съезд устраивают для вывода из транспортного потока автомобиля, потерявшего управление из-за отказа тормозов на крутом спуске, и гашения скорости его движения.

Аварийные съезды устраивают на дорогах в горной или пересеченной местности на затяжных спусках с уклонами более перед кривыми малых радиусов, расположенных в конце спуска, а также на прямых участках спуска через каждые (900 +/- 100) м.

4.3.3.2 Аварийный съезд должен состоять из следующих элементов:

- полосы для аварийной остановки транспортного средства (далее - полосы), устроенной на подъем с уклоном не менее и продолжающейся по направлению дороги перед опасным поворотом или отклоняющейся от нее под острым углом;

- площадки для разворота в конце полосы.

4.3.3.3 Полоса должна иметь длину от 200,0 до 300,0 м, площадка - размеры не менее 15,0 x 15,0 м, песчаный вал в конце площадки - высоту не менее 1,0 м.

4.3.3.4 На аварийном съезде устраивают покрытие толщиной от 0,05 до 0,15 м из слоя песка, одноразмерного гравия или керамзита фракциями от 0,006 до 0,010 м. При этом, наименьшую толщину покрытия устраивают на начальном участке полосы, а наибольшую - на конечном до площадки для разворота.

4.3.3.5 На аварийном съезде должен быть обеспечен водоотвод.

В зимний период покрытие полосы должно поддерживаться в разрыхленном состоянии (не смерзшимся).

4.3.3.6 На участках дорог, оборудованных аварийным съездом, устанавливают дорожные знаки в соответствии с национальными стандартами государств - участников Соглашения.

4.4 Защитные устройства

4.4.1 Заграждение дорожное

4.4.1.1 Заграждение дорожное (далее - ЗД) устраивают для предотвращения въезда транспортных средств на железнодорожный переезд при запрещающем сигнале светофора на регулируемых железнодорожных переездах со шлагбаумом и дежурным. ЗД размещают между шлагбаумом и железнодорожным полотном.

4.4.1.2 ЗД должны соответствовать технической документации организации-изготовителя и состоять из:

- фундамента для установки каркаса и крышки ЗД;

- автоматически поднимающейся крышки (крышек) прямоугольной формы на шарнирных опорах и светоотражающими элементами с обратной стороны;

- датчиков контроля занятости крышки (далее - КЗК);

- электропривода в закрытом корпусе для передач и крутящего момента для поднятия (опускания) крышки;

- противовеса для фиксации крышки ЗД в закрытом или открытом положении с защитной решеткой;

- щитка управления и индикации;

- соединительных кабелей, муфт.

4.4.1.3 ЗД должны соответствовать следующим требованиям:

- ширина перекрываемой проезжей части дороги от 3,0 до 10,0 м;

- время подъема крышки ЗД не более 5 с;

- угол подъема крышки не более 30°;

- время обнаружения транспортного средства не более 0,5 с;

- высота подъема переднего бруса крышки ЗД от уровня покрытия проезжей части от 0,4 до 0,5 м;

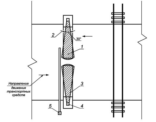
- ширина диаграммы направленности <1> излучения КЗК не более 30° (рисунок 12).

<1> Ширина диаграммы направленности - это угол между двумя направлениями диаграммы направленности антенны, на границах которого напряженность поля падает до определенного значения.

1 - диаграмма направленности; 2 - ширина диаграммы направленности; 3 - крышка ЗД; 4 - КЗК; 5 - шлагбаум

Рисунок 12 - Диаграмма направленности излучения КЗК

4.4.2 Экран акустический

4.4.2.1 Акустические экраны (далее - экраны) по техническим требованиям и их размещению должны соответствовать ГОСТ 32957.

Экраны применяют для обеспечения допустимых уровней шума на территориях вдоль дорог и в расположенных на них жилых и общественных зданий.

4.4.2.2 Экраны для снижения транспортного шума применяют при превышении уровня звука над допустимыми значениями не более чем на 20 дБА.

Тип экрана выбирают на основе результатов акустических расчетов или данных натурных измерений.

4.4.2.3 Тип экрана, его размеры, конструкцию и материал для изготовления определяют на основе акустических расчетов и/или натурных измерений, учета характера прилегающей территории, особенностей застройки и удобства эксплуатации экрана.

4.4.2.4 Вертикальные звукоотражающие экраны для защиты жилых и общественных зданий рекомендуется применять в следующих случаях:

- жилые и общественные здания, расположенные на противоположной от защищаемой застройки территории, находятся на расстоянии 500 м и более от предполагаемого места установки экрана;

- жилые и общественные здания, расположенные на противоположной от защищаемой застройки территории, находится ниже уровня проезжей части дороги.

В остальных случаях для защиты жилых и общественных зданий рекомендуется применять звукопоглощающие или комбинированные экраны.

4.4.2.5 В случаях, если необходимо воспрепятствовать повышению уровня звука в зоне звуковой тени от многократного отражения шума, применяют как вертикальные звукопоглощающие экраны, так и наклонные звукоотражающие экраны либо комбинированные.

4.4.3 Экран противоослепляющий

4.4.3.1 Противоослепляющие экраны по техническим требованиям и правилам их применения должны соответствовать ГОСТ 32838.

4.4.3.2 Типоразмер противоослепляющего экрана принимают по минимальной высоте экрана, при которой обеспечивается эффективная защита водителей транспортных средств от ослепления и рассчитанной в соответствии с ГОСТ 32838.

4.5 Средства организации движения пешеходов и велосипедистов

4.5.1 Дорожки велосипедные и пешеходные, переходы пешеходные должны соответствовать требованиям:

- ГОСТ 33150;

- ГОСТ 32944.

4.5.2 Тротуары должны соответствовать национальным нормам государств - участников Соглашения.

4.5.3 Технические требования и правила применения средств организации движения пешеходов и велосипедистов, не оговоренные в стандартах по 4.5.1, должны соответствовать национальным стандартам или иным нормам государств - участников Соглашения.

4.6 Средства улучшения условий видимости

4.6.1 Зеркало дорожное

4.6.1.1 Дорожные зеркала должны соответствовать ГОСТ 33144.

4.6.1.2 Типоразмер зеркала выбирают в зависимости от геометрических параметров элементов дороги, планировки пересечений и примыканий для обеспечения видимости приближающегося транспортного средства и пешехода.

4.6.1.3 Зеркала рекомендуется применять при необеспеченной видимости:

- на перекрестках, где движение без остановки запрещено и на выездах;

- приближающегося поезда на пересечениях с железнодорожными подъездными путями к предприятиям, складам и другим объектам;

- на серпантинах дорог в горной местности и других дорогах на участках горизонтальных кривых малого радиуса в плане;

- в местах пересечения дорог пешеходами у детских учреждений и объектов массового притяжения, а также на других участках дорог при необходимости.

4.6.1.4 Место установки зеркала и угол поворота корпуса зеркала с отражателем по отношению к наблюдателю выбирают с учетом местных условий для обеспечения видимости скрытого от наблюдателя участка дороги.

Корпус зеркала с отражателем поворачивают в направлении участка дороги, на котором необходимо обеспечить видимость приближающегося транспортного средства таким образом, чтобы этот участок находился в пределах угла обзора зеркала.

4.6.1.5 Зеркало устанавливают возможно ближе к месту, где водитель должен уступить дорогу приближающемуся транспортному средству, а пешеход - увидеть его перед выходом на проезжую часть.

4.6.1.6 Зеркала устанавливают на обочине у бровки земляного полотна или на тротуаре.

В стесненных условиях ближайший край зеркала должен находиться на расстоянии не менее 1,0 м от кромки проезжей части дороги вне населенных пунктов, и не менее 0,5 м - в населенных пунктах.

4.6.1.7 Корпус зеркала с отражателем крепят на стойке таким образом, чтобы центр отражателя находился на высоте 2,7 м от кромки проезжей части.

4.6.2 Стационарное электрическое освещение

4.6.2.1 Стационарное электрическое освещение (далее - искусственное освещение) устраивают:

- на участках дорог в населенных пунктах;

- на пересечениях магистральных дорог между собой и с железными дорогами;

- на мостах, путепроводах, эстакадах длиной более 100 м на вновь строящихся дорогах и на существующих дорогах при наличии возможности подключения к электрическим распределительным сетям;

- в тоннелях и на подходах к ним;

- на кольцевых пересечениях в одном уровне;

- на железнодорожных переездах в одном уровне;

- на пешеходных переходах по ГОСТ 32944;

- на подъездах к сооружениям и объектам дорожного и придорожного сервиса;

- на постах взимания платы за проезд на платных дорогах, где предусмотрена остановка транспортных средств;

- у постов транспортного и весогабаритного контроля, пограничной, таможенной, санитарно-эпидемиологической, ветеринарной и дорожно-патрульной службы.

Рекомендуется устраивать искусственное освещение:

- на пересечениях многополосных дорог с дорогами с интенсивностью более 1000 ед./сут в одном и разных уровнях, а также на всех съездах и въездах пересечений в разных уровнях, включая переходно-скоростные полосы;

- на остановочных пунктах маршрутных транспортных средств (с питанием от распределительных сетей или автономных источников);

- на магистральных и скоростных дорогах с интенсивностью движения 20 тыс. авт./сут и более;

- на мостах, путепроводах, эстакадах длиной менее 100 м;

- под путепроводами, если длина проезда под ними превышает 30 м;

- на подходах к железнодорожным переездам на расстоянии не менее 250 м.

4.6.2.2 Непрерывное освещение рекомендуется устраивать на участках дорог:

- между населенными пунктами, расположенными на расстоянии менее 500 м друг от друга;

- между отдельными освещенными объектами, расположенными на расстоянии менее 250 м друг от друга.

4.6.2.3 Освещение покрытия проезжей части дорог должно соответствовать требованиям ГОСТ 33176.

Опоры стационарного электрического освещения должны соответствовать требованиям ГОСТ 32947.

4.7 Снегозащитные устройства и насаждения, противогололедные устройства

Устройства и насаждения снегозащитные, оборудование для борьбы с зимней скользкостью по техническим требованиям и местам их размещения должны соответствовать национальным нормам государств - участников Соглашения.

5. Здания и сооружения обслуживания движения (объекты дорожного и придорожного сервиса)

В случаях, не оговоренных настоящим разделом, здания и сооружения обслуживания движения (объекты дорожного и придорожного сервиса) размещают в соответствии с национальными стандартами или иными нормами государств - участников Соглашения.

5.1 Объекты обслуживания участников дорожного движения

5.1.1 Объекты дорожного и придорожного сервиса

Автостоянки, здания и сооружения для отдыха водителей и пассажиров, комплексы придорожного сервиса многофункциональные, парковки, обзорные площадки, площадки отдыха, остановочные пункты маршрутных транспортных средств, пункты питания, устройства аварийно-вызывной связи должны соответствовать и размещаться по ГОСТ 33062.

5.1.2 Площадка для аварийной остановки автомобилей

5.1.2.1 Площадку для аварийной остановки автомобилей (далее - площадка) устраивают для аварийной остановки транспортного средства из-за его технической неисправности или опасности, создаваемой перевозимым грузом, состоянием водителя, пассажира или появлением препятствия на дороге.

5.1.2.2 Площадки допускается устраивать на мостовых сооружениях и на участках дорог, где остановка и стоянка запрещены.

Площадки и их размещение должны соответствовать требованиям к площадкам для кратковременной остановки транспортных средств по ГОСТ 33062.

5.1.2.3 Площадки устраивают в автомобильных тоннелях длиной 900,0 м и более. Размеры площадок и их покрытие должны соответствовать требованиям ГОСТ 33062.

Расстояние между площадками должно составлять не менее 600,0 м для каждого из направлений движения. Площадки в тоннеле с двусторонним движением устраивают напротив друг друга при разделении встречных транспортных потоков дорожной разметкой.

Допускается устраивать площадки при длине автомобильных тоннелей от 500,0 м, до 900,0 м и интенсивности движения грузовых автомобилей более 4000 ед./сут.

5.1.2.4 Площадки в тоннелях оборудуют устройством аварийно-вызывной связи и огнетушителями и обозначают соответствующими дорожными знаками. Площадки в других местах оборудуют устройством аварийно-вызывной связи и огнетушителями при необходимости.

Площадки в тоннелях, устроенные вдоль проезжей части отделяют от нее разметкой, запрещающей остановку транспортных средств.

5.1.3 Площадка для стоянки и остановки транспортных средств

5.1.3.1 Площадки для остановки и стоянки транспортных средств рекомендуется устраивать у пунктов питания, торговли, культурных и спортивных сооружений, источников питьевой воды и у других объектов массового притяжения за пределами земляного полотна.

5.1.3.2 Вместимость площадок рекомендуется определять по таблице 6.

Таблица 6

Норма расчета площадок для стоянки транспортных средств

Здания и сооружения Расчетная единица Число машиномест на расчетную единицу
Торговые центры, универмаги, магазины с площадью торговых залов 100 м2 торговой площади  
до 1000,0 м2   2 - 4
более 1000,0 м2   5 - 7
Рынки 50 торговых мест 10 - 17
Рестораны и кафе 100 мест 8 - 12
Кинотеатры, музеи, выставки 100 мест или единовременных посетителей 14 - 20
Спортивные здания и сооружения с трибунами вместимостью более 500 зрителей 100 мест 4 - 10
Станции технического обслуживания, моечные пункты Пост 1 - 2
Мотели, кемпинги 100 спальных мест 25 - 50

5.2 Объекты контроля за движением

5.2.1 Автоматическая дорожная метеостанция

5.2.1.1 Автоматические дорожные метеостанции применяют для краткосрочного прогнозирования неблагоприятных погодных условий, а также получение информации о таких условиях.

5.2.1.2 Комплект датчиков для автоматической дорожной метеостанции (далее - АДМС) определяется ландшафтными и климатическими особенностями места ее размещения, а также перечнем контролируемых метеорологических параметров.

5.2.1.3 Для комплектации АДМС используют следующие датчики:

- температуры и влажности воздуха;

- направления и скорости ветра;

- вида и интенсивности осадков;

- температуры поверхности покрытия проезжей части.

5.2.1.4 При необходимости комплектация АДМС может быть дополнена датчиками:

- температуры под поверхностью покрытия проезжей части (на глубине от 0,04 до 0,07 м);

- состояния дорожного покрытия (наличие отложений, вид отложений, концентрация противогололедных материалов);

- атмосферного давления;

- солнечного излучения;

- высоты снежного покрова;

- метеорологической дальности видимости и другими датчиками, поддерживаемыми АДМС.

5.2.1.5 Верхняя плоскость датчика состояния поверхности дорожного покрытия, устанавливаемого в верхний слой дорожного полотна, должна совпадать с поверхностью дорожного покрытия.

5.2.2 Пункт весового и габаритного контроля

5.2.2.1 Пункт весового и габаритного контроля (далее - ПВГК) устраивают на участках дорог при интенсивности движения грузовых транспортных средств общей массой 12 т и более от 100 авт./сут для проведения на них контроля веса и габаритов грузовых транспортных.

5.2.2.2 ПВГК классифицируются по видам:

- стационарные;

- передвижные;

- автоматизированные.

5.2.2.3 Стационарные ПВГК размещают в пределах полосы отвода таким образом, чтобы обеспечивать возможность контроля весовых и (или) габаритных параметров транспортных средств в обоих направлениях движения.

5.2.2.4 Участки дорог перед стационарными ПВГК должны быть оборудованы техническими средствами организации дорожного движения в соответствии с проектом (схемой) организации дорожного движения на данном участке дороги.

5.2.2.5 Стационарный ПВГК должен состоять из следующих элементов:

- дополнительной и переходно-скоростной полос;

- стационарного весового оборудования для взвешивания транспортных средств при скорости движения не менее 20 км/ч (динамические весы);

- измерительных приборов для контроля габаритов транспортных средств для статического обмера;

- системы видеоконтроля;

- площадки для взвешивания и замера габаритов транспортных средств;

- временной стоянки транспортных средств;

- специализированной стоянки для хранения задержанного транспортного средства до устранения причин задержания;

- стационарного электрического освещения;

- помещения для работы персонала в круглосуточном режиме и оснащенного автоматизированной системой сбора, анализа, накопления, хранения и передачи информации в специализированные центры;

- терминала для приема электронных платежей.

Размеры стоянок должны обеспечивать парковку на ней не менее трех грузовых автомобилей с прицепом.

5.2.2.6 Весовое оборудование должно обеспечивать взвешивание одиночной оси автомобиля с нагрузкой не менее 20 т в диапазоне температур от минус 60 °C до плюс 60 °C.

5.2.2.7 Весовое оборудование для контрольного взвешивания транспортных средств в статическом режиме должны иметь погрешность взвешивания не более 2%.

5.2.2.8 Передвижные ПВГК размещаются на площадках, расположенных в полосе отвода и (или) придорожных полосах дорог.

5.2.2.9 Передвижной ПВГК должен состоять из следующих элементов:

- переносного весового оборудования, соответствующего требованиям 5.2.2.6 и 5.2.2.7;

- измерительных приборов для контроля габаритов транспортных средств;

- автоматизированных систем сбора, анализа, накопления, хранения и передачи информации в специализированные центры.

5.2.2.10 Размещение передвижных ПВГК осуществляется только в светлое время суток. Размещение в темное время суток допускается при наличии на участке дороги искусственного освещения.

5.2.2.11 Пункты размещают на расстоянии не менее 500 м от жилой застройки.

5.2.2.12 Передвижной ПВГК рекомендуется размещать на площадках, которые имеют:

- переходно-скоростные полосы;

- стационарное электрическое освещение при проведении контроля в темное время суток;

- асфальтобетонное или цементобетонное покрытие.

Площадка должна быть шириной не менее 7,0 м с уклоном, соответствующим паспорту средств измерения.

5.2.2.13 Стационарные ПВГК обустраиваются соответствующими техническими средствами организации дорожного движения по национальным стандартам государств Содружества, передвижные - временными техническими средствами организации дорожного движения по ГОСТ 32758.

5.2.3 Пункт контроля международных автомобильных перевозок

5.2.3.1 Пункты контроля международных автомобильных перевозок (далее - ПКМАП) устраивают для осуществления государственного контроля за соблюдением порядка осуществления международных автомобильных перевозок грузовыми транспортными средствами или автобусами в пунктах пропуска через границы государств - участников Соглашения.

ПКМАП допускается устраивать на других участках дорог при необходимости проведения на них транспортного контроля.

5.2.3.2 ПКМАП классифицируются по видам:

- стационарные;

- передвижные.

5.2.3.3 Стационарные ПКМАП, расположенные в зоне пункта пропуска через государственную границу, размещают в капитальных зданиях и сооружениях и оснащают оборудованием и техническими средствами для осуществления контроля:

- инструментального с использованием весового оборудования по 5.2.2.6 и 5.2.2.7, измерительных приборов для контроля габаритов транспортных средств, газоанализаторов, дымомеров, люфтомеров и др.;

- документального с использованием приборов для определения подлинности документов, дешифраторов тахограмм или приборов для контроля режима труда и отдыха водителей и др. и телекоммуникационным оборудованием для сбора, передачи и хранения данных.

5.2.3.4 Передвижные ПКМАП оборудуют на автомобилях с цветографической маркировкой по национальный нормам государств - участников Соглашения и оснащают оборудованием для проведения транспортного контроля.

5.2.3.5 В пунктах пропуска через границу государств - участников Соглашения допускается:

- передвижные ПКМАП оборудовать шлагбаумами;

- использовать оборудование по 5.2.3.3 переносное, которое должно быть установлено на горизонтальной площадке с твердым покрытием при интенсивности движения грузовых автотранспортных средств менее 3 тыс. единиц в год.

5.2.4 Пункт взимания платы за проезд

5.2.4.1 Пункты взимания платы за проезд (далее - ПВП) размещают на въезде на платный участок дороги (дорогу) или выезде с него.

5.2.4.2 Определение типа и количества ПВП, мест их размещения, а также входящих в их состав зданий, сооружений и специального оборудования осуществляется на основе обоснования инвестиций в создание платной дороги, а также с учетом требований настоящего стандарта.

На автомагистралях и скоростных дорогах могут применяться системы взимания электронных платежей проезда транспортных средств, оборудованных транспондерами (электронными средствами регистрации проезда), позволяющими совершать оплату проезда автоматически, без остановки на ПВП. При этом для таких транспортных средств выделяют специальные полосы движения, на которых устанавливают соответствующее ограничение максимальной скорости движения.

5.2.4.3 ПВП не следует размещать в тоннелях, на участках дорог в выемках глубиной более 6,0 м, понижениях рельефа и на других участках, где могут скапливаться отработанные газы, на насыпях высотой более 6,0 м, а также ближе 300,0 м от съездов, перекрестков, развязок.

Расстояние видимости при подходе к ПВП должно составлять не менее 300 м.

5.2.4.4 Перед ПВП (за исключением ПВП, расположенных на обособленных пролетных строениях искусственных дорожных сооружений для одного направления движения) должна быть предусмотрена возможность разворота транспортных средств для движения в обратном направлении.

5.2.4.5 Продольный уклон полос движения у кабин сбора платы за проезд ПВП, а также въездные и выездные площадки к нему должны иметь продольный уклон проезжей части не более .

Въездные и выездные площадки должны иметь длину не менее 150,0 м.

5.2.4.6 ПВП, а также въездные и выездные площадки должны быть обустроены соответствующей дорожной разметкой и дорожными знаками.

5.2.4.7 Ширина полосы для транзитного движения транспорта должна быть не менее 3,75 м, ширину полосы для пропуска негабаритного транспорта - не менее 6,0 м для каждого направления движения.

5.2.4.8 Непосредственно перед ПВП в створе каждой полосы движения размещаются светофоры типа Т.8 по ГОСТ 33385, а также табло дополнительной информации с указанием номера полосы, времени ее работы, типа транспортного средства, разрешенного или запрещенного к движению по полосе.

5.2.4.9 Системы взимания электронных платежей устанавливают на П-образных опорах, либо ими обустраивают отдельные пропускные пункты ПВП.

5.2.4.10 На расстояниях 1000 м и 500 м от въезда на ПВП устанавливают информационные табло, на которых рекомендуется указывать схемы проезда по платной дороге и альтернативному маршруту, их протяженность, стоимость проезда по платной дороге и по тарифному участку.

Перед ПВП участников дорожного движения информируют о способах оплаты за проезд с помощью информационных табло.

5.2.5 Счетчик учета интенсивности движения автоматизированный

5.2.5.1 Счетчики учета интенсивности движения (далее - счетчики) применяют для круглосуточного учета интенсивности и состава движения транспортных средств в течение года.

5.2.5.2 Счетчики рекомендуется устанавливать на участках дорог вне населенных пунктов, на подходах к крупным городам, административным центрам, грузо- и пассажирообразующим комплексам, в зонах пересечений и примыканий, а также на участках, запрещающих обгоны, остановки и другие маневры транспортных средств.

Счетчики не размещают на участках дорог в зоне объектов дорожного и придорожного сервиса, остановочных пунктов общественного пассажирского транспорта, площадок отдыха, пешеходных переходов, светофорных объектов и т.д.

5.2.5.3 Счетчики устанавливают над полосой движения на высоте не менее 6,0 м или сбоку от проезжей части на столбе, мачте освещения. Магнитно-индуктивные детекторы (петлевые) счетчиков закладывают в пропиленную в верхнем слое дорожного покрытия канавку на глубину от 0,02 до 0,04 м, которую после укладки заделывают.

5.2.5.4 Счетчики должны обеспечивать:

- подсчет общего количества транспортных средств;

- подсчет количества транспортных средств по полосам;

- распознавание типов транспортных средств по ГОСТ 32965;

- измерение скорости движения транспортных средств.

5.2.5.5 Вероятность безотказной работы счетчиков должна быть не менее 0,95, гарантийный срок службы - не менее 5 лет.

5.3 Объекты обслуживания транспортных средств, грузовых и пассажирских перевозок

Правила размещения автовокзалов, автостанций, пунктов мойки, станций автозаправочных, станций технического обслуживания должны соответствовать требованиям ГОСТ 33062.