Установка лифтов для пожарных в зданиях и сооружениях. Требования пожарной безопасности. ГОСТ р 53296-2009

(утв. Приказом Ростехрегулирования от 18.02.2009 N 72-СТ)
Редакция от 18.02.2009 — Действует с 01.01.2010

НАЦИОНАЛЬНЫЙ СТАНДАРТ РОССИЙСКОЙ ФЕДЕРАЦИИ

УСТАНОВКА ЛИФТОВ ДЛЯ ПОЖАРНЫХ В ЗДАНИЯХ И СООРУЖЕНИЯХ. ТРЕБОВАНИЯ ПОЖАРНОЙ БЕЗОПАСНОСТИ

FIRE FIGHTING LIFTS PLACING. REQUIREMENTS OF FIRE SAFETY

ГОСТ Р 53296-2009

Дата введения
1 января 2010 года
с правом досрочного применения

Предисловие

Цели и принципы стандартизации в Российской Федерации установлены Федеральным законом от 27 декабря 2002 г. N 184-ФЗ "О техническом регулировании", а правила применения национальных стандартов Российской Федерации - ГОСТ Р 1.0-2004 "Стандартизация в Российской Федерации. Основные положения".

Сведения о стандарте

1. Разработан ФГУ ВНИИПО МЧС России, МОС ОТИС.

2. Внесен Техническим комитетом по стандартизации ТК 274 "Пожарная безопасность".

3. Утвержден и введен в действие Приказом Федерального агентства по техническому регулированию и метрологии от 18 февраля 2009 г. N 72-ст.

4. Введен впервые.

Информация об изменениях к настоящему стандарту публикуется в ежегодно издаваемом информационном указателе "Национальные стандарты", а текст изменений и поправок - в ежемесячно издаваемых информационных указателях "Национальные стандарты". В случае пересмотра (замены) или отмены настоящего стандарта соответствующее уведомление будет опубликовано в ежемесячно издаваемом информационном указателе "Национальные стандарты". Соответствующая информация, уведомление и тексты размещаются также в информационной системе общего пользования - на официальном сайте Федерального агентства по техническому регулированию и метрологии в сети Интернет.

1. Область применения

1.1. Настоящий стандарт устанавливает требования пожарной безопасности к пассажирским лифтам, имеющим режим работы "перевозка пожарных подразделений".

1.2. Оборудование зданий и сооружений лифтами для пожарных должно производиться в соответствии с требованиями настоящего стандарта, а также государственных стандартов, норм и правил, действующих на территории Российской Федерации.

1.3. Требования настоящего стандарта обязательны для предприятий, организаций, объединений и юридических лиц независимо от форм собственности и принадлежности на всей территории Российской Федерации, а также для граждан.

2. Нормативные ссылки

В настоящем стандарте использованы нормативные ссылки на следующие стандарты:

ГОСТ Р 51032-97. Материалы строительные. Метод испытания на распространение пламени.

ГОСТ Р МЭК 60332-3-22-2005. Испытание электрических и оптических кабелей в условиях воздействия пламени. Часть 3-22. Распространение пламени по вертикальным пучкам проводов или кабелей. Категория А.

ГОСТ 12.1.044-89. ССБТ. Пожаровзрывоопасность веществ и материалов. Номенклатура показателей и методы их определения.

ГОСТ 22011-95. Лифты пассажирские и грузовые. Технические условия.

ГОСТ 28911-91. Лифты и малые грузовые лифты. Устройства управления, сигнализации и дополнительные приспособления.

ГОСТ 30247.0-94. Конструкции строительные. Методы испытаний на огнестойкость. Общие требования.

ГОСТ 30247.1-94. Конструкции строительные. Методы испытаний на огнестойкость. Несущие и ограждающие конструкции.

ГОСТ 30247.3-2002. Конструкции строительные. Методы испытаний на огнестойкость. Двери шахт лифтов.

ГОСТ 30244-94. Материалы строительные. Методы испытаний на горючесть.

ГОСТ 30402-96. Материалы строительные. Метод испытания на воспламеняемость.

ГОСТ Р 52382-2005 (ЕН 81-72:2003). Лифты пассажирские. Лифты для пожарных.

ГОСТ Р 53299-2009. Воздуховоды. Метод испытаний на огнестойкость.

ГОСТ Р 53300-2009. Противодымная защита зданий и сооружений. Методы приемосдаточных и периодических испытаний.

ГОСТ Р 53301-2009. Клапаны противопожарные вентиляционных систем. Методы испытаний на огнестойкость.

ГОСТ Р 53303-2009. Конструкции строительные. Противопожарные двери и ворота. Метод испытаний на дымогазопроницаемость.

Примечание. При пользовании настоящим стандартом целесообразно проверить действие ссылочных стандартов и классификаторов в информационной системе общего пользования - на официальном сайте Федерального агентства по техническому регулированию и метрологии в сети Интернет или по ежегодно издаваемому информационному указателю "Национальные стандарты", который опубликован по состоянию на 1 января текущего года, и по соответствующим ежемесячно издаваемым информационным указателям, опубликованным в текущем году. Если ссылочный документ заменен (изменен), то при пользовании настоящим стандартом следует руководствоваться замененным (измененным) документом. Если ссылочный документ отменен без замены, то положение, в котором дана ссылка на него, применяется в части, не затрагивающей эту ссылку.

3. Термины и определения

В настоящем стандарте применяются следующие термины с соответствующими определениями:

3.1. Лифт для транспортирования пожарных подразделений: лифт, оснащенный системами управления, защиты и связи, обеспечивающими перемещение пожарных подразделений на этажи зданий (сооружений) при пожаре.

3.2. Основной посадочный этаж: этаж главного входа в здание (сооружение).

3.3. Режим "пожарная опасность": установленная последовательность действий системы управления лифтом, предусматривающая при возникновении пожара в здании (сооружении) принудительное движение кабины лифта на основной посадочный этаж с исключением команд управления из кабины и зарегистрированных попутных вызовов.

3.4. Режим "перевозка пожарных подразделений": установленная последовательность действий системы управления лифтом для транспортирования пожарных подразделений, обеспечивающая его работу с выполнением команд управления, подаваемых пожарными только из кабины лифта.

4. Функциональное назначение, основные параметры и размеры

4.1. Лифты для транспортирования пожарных подразделений (далее - лифты для пожарных) являются составной частью комплекса инженерного оборудования зданий и сооружений различного назначения, а также одним из видов пожарно-технических средств, обеспечивающих перемещение пожарных подразделений на этажи зданий (сооружений) различного назначения для выполнения работ по спасанию людей, обнаружению и тушению пожара.

4.2. Основные параметры и размеры лифтов для пожарных должны соответствовать требованиям ГОСТ Р 52382.

5. Конструктивное исполнение

5.1. Требования к конструкциям лифтов для пожарных

5.1.1. Конструкции лифтов для пожарных должны соответствовать требованиям настоящего стандарта, [4], ГОСТ 28911 и ГОСТ Р 52382.

5.1.2. На каждый наземный этаж здания (сооружения) должен быть обеспечен доступ пожарных подразделений, как минимум, одним лифтом для пожарных. Остановка лифтов для пожарных в подвальных и цокольных этажах должна обеспечиваться в оговоренных случаях. Размещение лифтов для пожарных должно быть предусмотрено на путях движения пожарных подразделений, которые должны иметь возможность доступа во все помещения на этажах.

5.1.3. В период нормального функционирования лифт для пожарных должен находиться в эксплуатации в качестве пассажирского либо служебно-хозяйственного лифта.

Лифты для пожарных могут устанавливаться в самостоятельном лифтовом холле или в общем лифтовом холле с другими пассажирскими лифтами и объединяться с ними системами автоматического группового управления.

5.1.4. В непосредственной близости от лифта для пожарных, как правило, должен предусматриваться выход на эвакуационную лестничную клетку.

5.1.5. Каждый этаж здания должен обслуживаться не менее чем одним лифтом для пожарных. Один и тот же лифт для пожарных, как правило, не должен иметь остановок в надземных и подземных частях зданий (сооружений). Допускается, чтобы лифт имел остановки в надземной и двух уровнях подземной части здания (сооружения), включая цокольный этаж. При трех и большем количестве уровней (этажей) подземной части следует применять отдельный лифт для пожарных, имеющий остановки на этих уровнях и основном посадочном этаже.

5.1.6. Двери кабин и шахт лифтов для пожарных должны быть автоматическими горизонтально-раздвижными центрального или бокового открывания, включая телескопическое исполнение и должны сохранять работоспособность при избыточном давлении в шахте, создаваемом приточной противодымной вентиляцией. Величина избыточного давления должна быть в пределах от 20 до 70 Па.

5.1.7. Двери шахт лифтов для пожарных должны быть противопожарными с пределами огнестойкости не менее 60 мин (EI 60 по [1] и ГОСТ 30247.3). В случае размещения лифта для пожарных в общей шахте с другими пассажирскими лифтами двери шахт всех лифтов в этой общей шахте (см. Приложение А, рис. А.3) должны быть противопожарными с пределами огнестойкости не менее 60 мин (EI 60 по [1] и ГОСТ 30247.3).

5.1.8. В крыше кабины лифта для пожарных должен быть предусмотрен люк в соответствии с ГОСТ Р 52382.

5.1.9. Ограждающие конструкции (стены, пол, потолок и двери) купе кабины лифтов для пожарных следует изготавливать из негорючих материалов или материалов группы горючести Г1 по ГОСТ 30244.

Пожарно-технические характеристики материалов для отделки (облицовки) поверхностей конструкций стен и потолков, покрытий пола купе кабин лифтов для пожарных должны соответствовать требованиям ГОСТ Р 52382.

5.1.10. В кабине лифта для пожарных должно быть установлено сигнальное устройство о перегрузке.

5.2. Требования к строительным конструкциям и оборудованию систем противопожарной защиты

5.2.1. Лифт для пожарных должен размещаться в выгороженной шахте. Ограждающие конструкции шахт должны иметь предел огнестойкости не менее 120 мин (REI 120 по [1] и ГОСТ 30247.1). В ограждающих конструкциях шахт допускается выполнять проемы и отверстия для установки дверей, оборудования лифта, а также для систем вентиляции.

5.2.2. Перед дверьми шахт лифтов для пожарных должны быть предусмотрены лифтовые холлы (тамбуры), как показано на рис. А.1 - А.4, приведенных в Приложении А, с размерами, указанными в соответствующих нормативных документах.

При установке лифтов для пожарных в группе с другими пассажирскими лифтами, лифтовой холл на основном посадочном этаже допускается не выгораживать.

5.2.3. В случае установки лифта для пожарных в выгороженной шахте с общим лифтовым холлом с другими лифтами (см. Приложение А, рис. А.2, А.4) ограждающие конструкции шахт этих лифтов должны иметь пределы огнестойкости не менее указанных в соответствующих нормативных документах, а двери шахт - 30 мин (Е 30 по [1], ГОСТ 30247.3, EI 30 по [1], ГОСТ 30247.3, в зданиях повышенной этажности).

5.2.4. Ограждающие конструкции лифтовых холлов (тамбуров) должны быть выполнены из противопожарных перегородок 1-го типа с противопожарными дверями 2-го типа по [1] в дымогазонепроницаемом исполнении. Удельное сопротивление дымогазопроницанию дверей не должно быть менее 1,96 х куб. м/кг.

5.2.5. Ограждающие конструкции и двери машинных помещений лифтов для пожарных, вне зависимости от типа привода лифтов должны быть противопожарными, с пределами огнестойкости не менее 120 мин и 60 мин соответственно (REI 120 и EI 60 по [1] и ГОСТ 30247.1, ГОСТ 30247.2).

Удельное сопротивление дымогазопроницанию дверей не должно быть менее 1,96 х куб. м/кг.

Каналы для прокладки гидроприводов должны иметь пределы огнестойкости не менее 60 мин (REI 60 по [2] и ГОСТ 30247.1).

5.2.6. Шахты лифтов для пожарных, а также их лифтовые холлы (тамбуры) в подземных и цокольных этажах зданий (сооружений) должны быть оснащены автономными системами приточной противодымной вентиляции для создания избыточного давления при пожаре по [3]. Количество подаваемого воздуха следует определять расчетом при скорости истечения не менее 1,3 м/с через одну открытую дверь лифтового холла или тамбура, для шахты - с учетом одной открытой двери на этаже пожара.

Для подачи воздуха в лифтовые холлы или тамбуры допускается применение систем, обслуживающих лифтовые шахты, при устройстве в проемах их ограждающих конструкций нормально закрытых противопожарных клапанов, пределы огнестойкости которых не меньше пределов огнестойкости ограждающих конструкций шахт.

5.2.7. В лифтовых холлах или тамбурах лифтов для пожарных должны быть установлены пожарные извещатели системы пожарной сигнализации зданий (сооружений). При применении систем пожарной сигнализации адресно-аналогового типа допускается установка этого пожарного извещателя в каждом лифтовом холле. При срабатывании хотя бы одного из двух извещателей приемно-контрольный прибор должен автоматически подать команду на перевод лифта в режим работы "пожарная опасность" в соответствии с 6.3 и на создание избыточного давления в шахте лифта (шахтах лифтов) согласно 5.1.6.

5.2.8. При оборудовании зданий (сооружений) водяными установками пожаротушения размещение оросителей перед лифтами для пожарных и в холлах (тамбурах) этих лифтов не допускается.

5.2.9. Проникновение воды, используемой для тушения пожара, в шахты и машинные помещения лифтов для пожарных следует предотвращать посредством необходимых строительных мероприятий и в соответствии с ГОСТ Р 52382.

6. Системы управления, сигнализации, связи и электроснабжения

6.1. Система управления лифтом для пожарных должна отвечать требованиям настоящего раздела, [4], ГОСТ Р 52382 и ГОСТ 28911.

6.2. Система управления должна:

объединять групповым управлением лифты для пожарных между собой, а также с другими пассажирскими лифтами в соответствии с [4];

обеспечивать возможность подключения к системе диспетчеризации и (или) центральному пульту управления системы противопожарной защиты (ЦПУ СПЗ).

6.3. Система управления лифтом для пожарных должна обеспечивать выполнение режимов:

"пожарная опасность";

"перевозка пожарных подразделений".

6.4. В режиме "пожарная опасность" должен выполняться алгоритм согласно ГОСТ Р 52382.

6.5. Перевод лифта в режим "перевозка пожарных подразделений" может быть произведен только после выполнения режима "пожарная опасность".

6.6. Режим "перевозка пожарных подразделений" должен осуществляться по ГОСТ Р 52382.

6.7. В режиме работы лифта "перевозка пожарных подразделений" должна быть обеспечена прямая переговорная связь между диспетчерским пунктом или ЦПУ СПЗ, если такие имеются, и кабиной лифта, а также с основным посадочным этажом.

6.8. Энергоснабжение лифтов для пожарных должно производиться, как для электроприемников I категории согласно 1.2.17 и 1.2.18 [5]. При этом в общественных зданиях высотой более 50 м от уровня подъезда пожарных машин до низа оконных проемов верхнего этажа (не считая верхних технических этажей) энергоснабжение лифтов для пожарных производится как для особой группы электроприемников I категории.

7. Методы контроля

7.1. Конструкции, оборудование и материалы, применяемые в лифтах для пожарных, подлежат испытаниям на огнестойкость и пожарную опасность.

Перечень конструкций, оборудования и материалов лифтов для пожарных, для которых необходимо проведение испытаний, включает в себя:

противопожарные двери шахт;

противопожарные дымогазонепроницаемые двери лифтовых холлов (тамбуров) и машинных помещений;

воздуховоды приточной противодымной вентиляции;

противопожарные клапаны приточной противодымной вентиляции;

силовые и слаботочные электрокабели систем электропитания и связи пожарных лифтов;

материалы кабин.

7.2. Противопожарные двери шахт лифтов для пожарных подлежат испытаниям на огнестойкость согласно требованиям ГОСТ 30247.3.

7.3. Противопожарные дымогазонепроницаемые двери лифтовых холлов (тамбуров) и машинных помещений лифтов для пожарных подлежат испытаниям на огнестойкость согласно требованиям ГОСТ 30247.2, ГОСТ Р 53303.

7.4. Воздуховоды приточной противодымной вентиляции подлежат испытаниям на огнестойкость согласно требованиям ГОСТ Р 53299.

7.5. Противопожарные клапаны приточной противодымной вентиляции подлежат испытаниям на огнестойкость согласно требованиям ГОСТ Р 53303.

7.6. Электрокабели систем электропитания и связи лифтов для пожарных, подводимые к машинным помещениям, подлежат испытаниям на пожарную опасность согласно требованиям стандарта ГОСТ Р МЭК 60332-3-22-2005.

7.7. Материалы кабин лифтов для пожарных подлежат испытаниям на пожарную опасность согласно требованиям ГОСТ 30244, ГОСТ 12.1.044, ГОСТ 30402.

7.8. Лифты для пожарных должны подвергаться техническому освидетельствованию согласно требованиям раздела 11 [4].

При проведении полного и периодического технических освидетельствований должна проверяться работоспособность лифта в режимах "пожарная опасность" и "перевозка пожарных подразделений".

7.9. Системы приточной противодымной вентиляции лифтов для пожарных подлежат приемосдаточным и периодическим испытаниям согласно требованиям ГОСТ Р 53300.

Приложение А
(рекомендуемое)

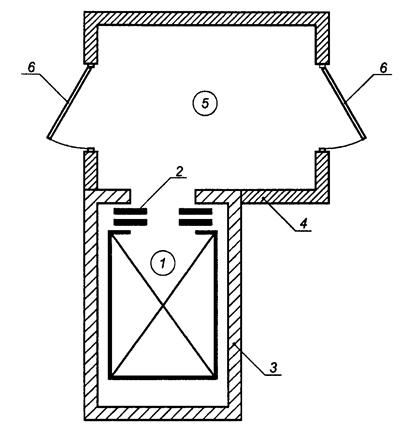
1 - лифт для пожарных; 2 - противопожарная дверь шахты лифта для пожарных с пределом огнестойкости EI 60; 3 - ограждающие конструкции шахты с пределом огнестойкости REI 120; 4 - противопожарные перегородки 1-го типа, ограждающие лифтовый холл (тамбур); 5 - лифтовый холл (тамбур); 6 - противопожарные двери 2-го типа лифтового холла (тамбура) в дымогазонепроницаемом исполнении

Рис. А.1. Схема размещения одиночного лифта для пожарных

1 - лифт для пожарных; 2 - пассажирские лифты; 3 - противопожарная дверь шахты лифта для пожарных с пределом огнестойкости EI 60; 4 - противопожарные двери шахты пассажирских лифтов с пределом огнестойкости по 5.2.3 настоящего стандарта; 5 - ограждающие конструкции шахты лифта для пожарных с пределом огнестойкости REI 120; 6 - ограждающие конструкции шахты пассажирских лифтов с пределами огнестойкости, установленными соответствующими нормативными документами; 7 - противопожарные перегородки 1-го типа, ограждающие лифтовый холл; 8 - лифтовый холл (тамбур); 9 - противопожарные двери 2-го типа лифтового холла в дымогазонепроницаемом исполнении

Рис. А.2. Схема размещения лифта для пожарных в обособленной (выгороженной) шахте с общим лифтовым холлом с другими пассажирскими лифтами

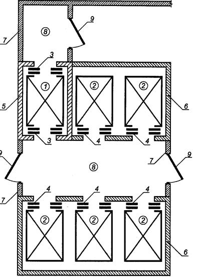
1 - лифт для пожарных; 2 - пассажирские лифты; 3 - противопожарная дверь шахты лифта для пожарных с пределом огнестойкости EI 60; 4 - противопожарные двери шахты пассажирских лифтов с пределом огнестойкости EI 60; 5 - ограждающие конструкции общей шахты с пределом огнестойкости REI 120; 6 - противопожарные перегородки 1-го типа, ограждающие лифтовый холл (тамбур); 7 - противопожарные двери 2-го типа лифтового холла (тамбура) в дымогазонепроницаемом исполнении; 8 - лифтовый холл (тамбур)

Рис. А.3. Схема размещения лифта для пожарных в общей шахте с другими пассажирскими лифтами

1 - лифт для пожарных; 2 - пассажирские лифты; 3 - противопожарная дверь шахты лифта для пожарных с пределом огнестойкости EI 60; 4 - противопожарные двери шахты пассажирских лифтов с пределом огнестойкости по 5.2.3 настоящего стандарта; 5 - ограждающие конструкции шахты лифта для пожарных с пределом огнестойкости REI 120; 6 - ограждающие конструкции шахт пассажирских лифтов с пределами огнестойкости, установленными соответствующими нормативными документами; 7 - противопожарные перегородки 1-го типа, ограждающие лифтовые холлы; 8 - лифтовые холлы (тамбуры); 9 - противопожарные двери 2-го типа лифтовых холлов в дымогазонепроницаемом исполнении

Рис. А.4. Схема размещения лифта для пожарных с проходной кабиной в обособленной (выгороженной) шахте с общим лифтовым холлом с другими пассажирскими лифтами

БИБЛИОГРАФИЯ

[1] СНиП 21-01-97* Пожарная безопасность зданий и сооружений

[2] СНиП 31-01-2003 Здания жилые многоквартирные

[3] Проект СП Отопление, вентиляция и кондиционирование. Противопожарные требования

[4] ПБ 10-558-03 Правила устройства и безопасной эксплуатации лифтов

[5] ПУЭ Правила устройства электроустановок