Лифты. Устройства управления, сигнализации и дополнительные приспособления. ГОСТ 28911-2015 (ISO 4190-5:2006)

(утв. Приказом Росстандарта от 02.06.2016 N 487-СТ)
Редакция от 02.06.2016 — Документ не действует

МЕЖГОСУДАРСТВЕННЫЙ СТАНДАРТ

ЛИФТЫ

УСТРОЙСТВА УПРАВЛЕНИЯ, СИГНАЛИЗАЦИИ И ДОПОЛНИТЕЛЬНЫЕ ПРИСПОСОБЛЕНИЯ

Lifts. Control devices, signals and additional fittings

(ISO 4190-5:2006, Lift (Elevator) installation - Part 5: Control devices, signals and additional fittings, MOD)

ГОСТ 28911-2015
(ISO 4190-5:2006)

Дата введения
1 января 2017 года

Предисловие

Цели, основные принципы и основной порядок проведения работ по межгосударственной стандартизации установлены в ГОСТ 1.0-92 "Межгосударственная система стандартизации. Основные положения" и ГОСТ 1.2-2009 "Межгосударственная система стандартизации. Стандарты межгосударственные, правила и рекомендации по межгосударственной стандартизации. Правила разработки, принятия, применения, обновления и отмены"

Сведения о стандарте

1 ПОДГОТОВЛЕН Некоммерческим партнерством "Российское лифтовое объединение", Открытым акционерным обществом "Щербинский лифтостроительный завод" (ОАО "ЩЛЗ") на основе собственного перевода на русский язык англоязычной версии стандарта, указанного в пункте 5

2 ВНЕСЕН Федеральным агентством по техническому регулированию и метрологии (Росстандарт)

3 ПРИНЯТ Межгосударственным советом по стандартизации, метрологии и сертификации (протокол от 12 ноября 2015 г. N 82-П)

За принятие проголосовали:

Краткое наименование страны по МК (ИСО 3166) 004-97 Код страны по МК (ИСО 3166) 004-97 Сокращенное наименование национального органа по стандартизации
Грузия GE Грузстандарт
Киргизия KG Кыргызстандарт
Молдова MD Молдова-Стандарт
Россия RU Росстандарт
Таджикистан TJ Таджикстандарт

4 Приказом Федерального агентства по техническому регулированию и метрологии от 2 июня 2016 г. N 487-ст межгосударственный стандарт ГОСТ 28911-2015 (ИСО 4190-5:2006) введен в действие в качестве национального стандарта Российской Федерации с 1 января 2017 г.

5 Настоящий стандарт является модифицированным по отношению к международному стандарту ISO 4190-5:2006 "Лифтовая установка. Часть 5. Устройства управления, сигнализации и дополнительное оборудование" ("Lift (Elevator) installation - Part 5: Control devices, signals and additional fittings", MOD).

Дополнительные положения и требования, включенные в текст настоящего стандарта для учета потребностей национальной экономики указанных выше государств и/или особенностей межгосударственной стандартизации, выделены курсивом. Стандарт дополнен приложением ДА.

Наименование настоящего стандарта изменено относительно наименования международного стандарта для приведения в соответствие с ГОСТ 1.5-2001

6 Настоящий стандарт разработан на основе применения ГОСТ Р 53388-2009 (ИСО 4190-5:2006) <*>

<*> Приказом Федерального агентства по техническому регулированию и метрологии от 2 июня 2016 г. N 487-ст ГОСТ Р 53388-2009 (ИСО 4190-5:2006) отменен с 1 января 2017 г.

7 Настоящий стандарт может быть применен на добровольной основе для соблюдения требований технического регламента Таможенного союза "Безопасность лифтов" (ТР ТС 011/2011)

8 ВЗАМЕН ГОСТ 28911-98

Информация об изменениях к настоящему стандарту публикуется в ежегодном информационном указателе "Национальные стандарты", а текст изменений и поправок - в ежемесячном информационном указателе "Национальные стандарты". В случае пересмотра (замены) или отмены настоящего стандарта соответствующее уведомление будет опубликовано в ежемесячном информационном указателе "Национальные стандарты". Соответствующая информация, уведомление и тексты размещаются также в информационной системе общего пользования - на официальном сайте Федерального агентства по техническому регулированию и метрологии в сети Интернет

1. Область применения

Настоящий стандарт устанавливает требования к устройствам управления, кнопкам и сигнальным устройствам лифтов, учитывающим вид систем управления и условия использования.

Требования стандарта распространяются на устройства управления, сигнализации и поручень, которыми оборудуют новые лифты по ГОСТ 5746 и ГОСТ 8823 <*>.

<*> В Российской Федерации действует ГОСТ Р 53771-2010 (ИСО 4190-2:2001) "Лифты грузовые. Основные параметры и размеры".

Стандарт может быть использован в качестве базы при модернизации находящихся в эксплуатации лифтов.

Стандарт не устанавливает требований на:

- лифты, имеющие внутреннее, наружное, простое смешанное управление;

- специальные устройства управления и сигнальные устройства для больничных лифтов, лифтов для пожарных, лифтов, предназначенных для перевозки инвалидов и других маломобильных групп населения, устройства управления голосом и экраны управления касанием;

- любые устройства для повышения провозной способности лифтов с автоматическими дверями (регулирование временных задержек, кнопки закрывания дверей, оптические средства контроля дверного проема и т.д.);

- дополнительные устройства, которые изготовитель может ввести для улучшения обслуживания пассажиров групповыми лифтовыми установками (например, такие сигналы, как "следующая кабина", "не стойте в дверном проеме").

Настоящий стандарт может быть использован в качестве руководства при разработке и введении дополнительных сигналов.

2. Нормативные ссылки

В настоящем стандарте использованы нормативные ссылки на следующие межгосударственные стандарты:

ГОСТ 5746-2015 Лифты пассажирские. Основные параметры и размеры

(ISO 4190-1:2010 Лифтовая установка. Часть 1. Лифты классов I, II, III и IV, MOD)

ГОСТ 8823-85 <*> Лифты электрические грузовые. Основные параметры и размеры

Примечание - При пользовании настоящим стандартом целесообразно проверить действие ссылочных стандартов в информационной системе общего пользования - на официальном сайте Федерального агентства по техническому регулированию и метрологии в сети Интернет или по ежегодному информационному указателю "Национальные стандарты", который опубликован по состоянию на 1 января текущего года, и по выпускам ежемесячного информационного указателя "Национальные стандарты" за текущий год. Если ссылочный стандарт заменен (изменен), то при пользовании настоящим стандартом следует руководствоваться заменяющим (измененным) стандартом. Если ссылочный стандарт отменен без замены, то положение, в котором дана ссылка на него, применяется в части, не затрагивающей эту ссылку.

3. Термины и определения

В настоящем стандарте применены следующие термины с соответствующими определениями:

3.1 вызов: Команда в систему управления, подаваемая с этажной площадки для направления кабины лифта на данную этажную площадку.

3.2 приказ: Команда в систему управления, подаваемая из кабины.

3.3 пост управления: Устройство, предназначенное для подачи команды управления в систему электропривода и автоматики лифта.

3.4 устройство вызова персонала: Устройство, предназначенное для обеспечения вызова пассажиром (пользователем лифта) обслуживающего персонала.

3.5 внутреннее управление: Вид управления, при котором команда управления на пуск лифта подается только из его кабины.

3.6 наружное управление: Вид управления, при котором команда управления на пуск лифта подается только с погрузочных площадок.

3.7 смешанное управление: Вид управления, при котором команда на пуск или остановку лифта подается как из кабины, так и с этажных площадок.

3.8 режим "пожарная опасность": Режим, обеспечивающий прибытие кабины на назначенный посадочный этаж при поступлении в систему управления лифтом сигнала о возникновении пожара в здании, с исключением действия ранее поданных и выполняемых системой управления лифтом команд управления из кабины и с посадочных площадок.

3.9 одиночный режим работы лифтов: Работа лифта в соответствии с заданным алгоритмом работы.

3.10 групповой режим работы лифтов: Обеспечение работы нескольких лифтов, имеющих общие посадочные площадки, двери шахт, расположенные в пределах прямой видимости и управляемые от одного вызывного поста управления в соответствии с определенным, заданным алгоритмом работы.

3.11 кнопка: Кнопочный элемент, устанавливаемый в пост управления для подачи команды управления в систему электропривода и автоматики лифта.

3.12 простое смешанное управление: Управление, применяемое на одиночных лифтах, имеющих одну кнопку вызова лифта на этажной площадке и выполняющих одновременно одну из команд: вызов с этажа или приказ из кабины.

4. Устройства управления и сигнализации

4.1. Виды систем управления

4.1.1 Одностороннее смешанное собирательное управление при движении вниз

Вызов на этажных площадках регистрируется нажатием кнопок вызова, размещенных на каждом этаже. Если кабина свободна (стоит на каком-либо этаже и не имеет зарегистрированных приказов в кабине или вызов с этажей) или движется вниз, она будет направлена на наивысший вызов или ближайший вызов по направлению движения и затем на полученные этажные вызовы по ходу движения кабины на основной посадочный этаж. Команды управления, поданные из кабины лифта (приказы), регистрируются и выполняются в логической последовательности по направлению движения. При этом вызывной пост управления лифтом оснащается одной кнопкой.

Эта система управления применяется, когда пассажиропоток между верхними этажами незначителен: пассажиры используют лифт для перемещения с основного посадочного этажа на требуемый этаж и с определенного этажа на основной посадочный этаж (при этом имеется не более одного этажа ниже основного посадочного этажа).

Система предусматривает установку на каждом этаже одной кнопки вызова и может применяться при одиночной или групповой системе управления лифтами.

При наличии более одного этажа ниже основного посадочного этажа применяется сочетание системы одностороннего собирательного управления при движении вниз и одностороннего собирательного управления при движении вверх для обслуживания этажей ниже посадочного.

4.1.2 Двустороннее смешанное собирательное управление

Система смешанного двухстороннего собирательного управления предусматривает наличие в вызывном посту управления лифтом двух кнопок управления (вверх и вниз), устанавливаемых на каждом промежуточном этаже, и по одной кнопке для вызова кабины для поездки пассажира вниз, а другая - для поездки вверх на крайних верхнем и нижнем этажах.

Вызовы с этажей и приказы из кабины регистрируются и выполняются в логической последовательности по направлению движения кабины. Направление движения не изменяется до тех пор, пока не будет выполнен последний приказ (вызов), не требующий изменения направления движения. Такая система управления применяется при наличии междуэтажного пассажиропотока вверх и вниз. При этом лифт может работать как в одиночном, так и в групповом режимах управления.

4.1.3 Управление на этаж назначения

Описание управления на этаж назначения приведено в приложении A.

4.1.4 Групповая система управления лифтами

Групповая система управления лифтами предусматривает наличие общей системы выполнения вызовов с этажных площадок от одного кнопочного элемента по заданному алгоритму.

Групповая система управления лифтами может оснащаться односторонним собирательным управлением при движении вниз, двусторонним собирательным управлением или управлением на этаж назначения.

Управление на этаж назначения, в котором используют наборные аппараты управления, описано в приложении A.

4.1.5 Сканирующая система регистрации приказов в кабине

Сканирующая система регистрации приказов в кабине применяется в тех случаях, когда по каким-либо особым требованиям невозможно использование обычных систем управления.

Выбор этажа назначения осуществляется кратким или продолжительным нажатием одной или двух специальных кнопок (сканирующие кнопки вверх и вниз):

- сканирующая кнопка вверх предназначена для выбора этажа назначения выше этажа, на котором находится кабина;

- сканирующая кнопка вниз предназначена для выбора этажа назначения ниже этажа, на котором находится кабина.

Когда воздействие на сканирующую кнопку вверх или вниз прекращается более чем на 2 с, регистрируется в качестве приказа последний выбранный этаж назначения.

Сканирующие кнопки вверх и вниз располагаются в непосредственной близости или непосредственно над кнопками вызова персонала.

4.1.6 Система управления лифтом в режиме "Пожарная опасность"

4.1.6.1 Перевод лифта в режим "Пожарная опасность" должен производиться в автоматическом режиме после срабатывания автоматической системы пожарной сигнализации здания (сооружения), поступления сигнала в систему управления лифтами, с последующей отправкой кабины на основной посадочный этаж. В случае обнаружения системой автоматической пожарной сигнализации опасных факторов пожара на основном посадочном этаже допустима подача команды на перемещение кабины лифта на другой (альтернативный) назначенный этаж. Данная возможность должна быть оговорена при заказе лифта.

4.1.6.2 Аппараты и устройства лифта, расположенные на этажных площадках и дверях шахты (фотоэлементы, сенсорные кнопки и т.п.), на работу которых могут оказать воздействие дым и повышенная температура, не должны препятствовать переходу лифта в режим "Пожарная опасность".

4.1.6.3 При включении режима "Пожарная опасность" все устройства безопасности должны быть в рабочем состоянии, за исключением устройства контроля дверного проема, а также контроля несанкционированного проникновения в шахту.

4.1.6.4 В кабине лифта при поступлении команды на включение режима "Пожарная опасность" должен быть предусмотрен звуковой сигнал о включении режима и необходимости устранить возможные препятствия закрытию дверей. Сигнал должен быть настроен на уровень звука 35 - 65 дБ. Звуковой сигнал выключается при закрытии дверей кабины и шахты в режиме "Пожарная опасность".

4.1.6.5 Во время нахождения лифта в режимах "Ревизия", "Управление из машинного помещения", а также при срабатывании электрических контактов устройств безопасности при возникновении пожара в здании подаваемый звуковой сигнал по 4.1.6.4 указывает обслуживающему персоналу на необходимость, если это возможно, перевести лифт в режим "Нормальная работа". Это позволит выполнить команду на включение режима "Пожарная опасность". Звуковой сигнал может быть прекращен после включения лифта в режим "Пожарная опасность".

4.1.6.6 После поступления команды по 4.1.6.1 система управления лифтом автоматически переходит в режим "Пожарная опасность". В режиме "Пожарная опасность" алгоритм работы лифта обеспечивает следующее:

a) все вновь поступающие приказы в кабине лифта и вызовы с этажных площадок не регистрируются и не принимаются для исполнения;

b) все ранее зарегистрированные приказы и вызовы аннулируются;

c) находящийся на любом этаже лифт должен закрыть двери и без промежуточных остановок следовать на основной посадочный (назначенный) этаж;

d) лифт, движущийся в направлении от основного посадочного (назначенного) этажа, должен остановиться на ближайшем этаже без открывания дверей, изменить направление движения и следовать на основной посадочный (назначенный) этаж;

e) лифт, движущийся в направлении основного посадочного (назначенного) этажа, должен продолжать свое движение без промежуточных остановок на основной посадочный (назначенный) этаж;

f) по прибытии лифта на основной посадочный (назначенный) этаж двери кабины и шахты автоматически открываются и остаются в открытом положении;

g) переход лифта в режим "Пожарная опасность" должен быть независим от выхода из строя других пассажирских лифтов, связанных общим групповым управлением;

h) двухсторонняя громкоговорящая переговорная связь должна оставаться в рабочем состоянии.

4.1.6.7 Команда на перевод лифта в режим "Пожарная опасность" для лифтов, работающих в групповом режиме, подается отдельно в систему управления каждого лифта системой охранно-пожарной сигнализации здания.

4.1.6.8 На основном посадочном этаже в лифтовых холлах пассажирских лифтов может размещаться сигнальная информация, например, в виде табло размером не менее 100 x 100 мм, приведенного в приложении C. Табло должно включаться при включении режима "Пожарная опасность".

4.2. Устройства управления

4.2.1 Устройства управления на этажах

4.2.1.1 Одностороннее смешанное собирательное управление при движении вниз

Пост управления на каждом этаже оснащается одной кнопкой вызова (маркировка не требуется).

Если лифт обслуживает этажи, расположенные над и более одного под основным посадочным этажом, пост управления на основном посадочном этаже оснащается двумя кнопками вызова, маркированными символами и (см. таблицу B.1, пункт 6, приложение B).

4.2.1.2 Двустороннее смешанное собирательное управление

При смешанном двустороннем собирательном управлении на каждом промежуточном этаже вызывной пост управления оснащается двумя кнопочными элементами (кнопками), один из которых маркируется символом , а другой - символом (см. таблицу B, пункт 6, приложение B).

На крайних верхнем и нижнем этажах пост управления оснащается одной кнопкой вызова, которая на верхнем этаже маркируется символом , а на нижнем этаже - символом .

4.2.1.3 Устройства управления для групповой лифтовой установки

Каждый этаж оборудуется постом управления с одной или двумя кнопками. Минимальное количество постов управления принимается:

- один для каждого из лифтов, расположенных друг против друга на общей этажной площадке;

- один на группу расположенных в ряд четырех лифтов (не более).

4.2.1.4 Кнопки (требования не распространяются на наборные аппараты управления в соответствии с приложением A).

К кнопкам постов управления на этажных площадках предъявляются следующие требования:

a) для регистрации вызова сила воздействия на кнопку должна быть не более 5 Н, а рекомендуемый рабочий диапазон силы воздействия на кнопку - от 2,5 до 5,0 Н;

b) размеры рабочей поверхности кнопок:

- рекомендуемая площадь рабочей поверхности кнопок должна быть не менее 490 мм2. Допускается минимальная площадь рабочей поверхности кнопок 280 мм2.

При размещении на посту управления двух кнопок вертикальное расстояние между их рабочими поверхностями должно быть не менее 10 мм. Кнопки должны быть расположены одна над другой: кнопка с маркировкой должна быть верхней;

c) регистрация вызова должна подтверждаться визуальным сигналом. Допускается подтверждение регистрации вызова визуальным и звуковым сигналами, регулируемыми в пределах 35 - 80 дБА.

Допускается использование механического способа подтверждения регистрации вызова ("залипающая кнопка");

d) рекомендуемое расстояние от уровня пола этажной площадки до центра рабочей поверхности любой кнопки должно быть в пределах 900 - 1100 мм;

e) рабочая часть кнопок должна визуально отличаться от внешней поверхности поста управления;

f) внешняя поверхность поста управления должна контрастировать с поверхностью места его установки;

g) при наличии маркировки размер любого символа должен быть не менее 15 мм.

Символы размещаются:

- на рабочей поверхности кнопок, или

- слева от рабочей поверхности кнопок на расстоянии от 10 до 15 мм, или

- симметрично относительно вертикальной оси поста.

4.2.2 Устройства управления в кабине

4.2.2.1 Пост управления (требование не распространяется на наборные аппараты управления по приложению A)

Посты управления оборудуются следующими кнопками:

- одна кнопка на каждый обслуживаемый этаж (с маркировкой -2, -1, 0, 1, 2 и т.д.);

- одна кнопка вызова персонала желтого цвета с символом в форме колокольчика, или одна кнопка с символом в форме колокольчика желтого цвета или с ореолом желтого цвета (см. таблицу B.1, пункт 1, приложение B), или кнопка вызова с символом в форме телефонной трубки (см. таблицу B, пункт 4, приложение B);

- одна кнопка открывания автоматических дверей с символом (см. таблицу B, пункт 2, приложение B);

- одна кнопка "стоп" (если необходимо по требованиям безопасности) красного цвета с надписью "стоп" (см. таблицу B, пункт 9, приложение B) или с ореолом красного цвета с надписью "стоп";

- одна кнопка закрывания автоматических дверей (если предусмотрена конструкцией) с символом (см. таблицу B, пункт 3, приложение B).

Посты управления допускается оборудовать следующими кнопками:

- одна кнопка отмены приказов с надписью "отмена";

- выключатель (например, тумблер) или кнопка включения вентилятора (при его наличии).

4.2.2.2 Кнопки (требования не распространяются на наборные аппараты управления по приложению A)

К кнопкам поста управления в кабине предъявляются следующие требования:

a) требования, изложенные в 4.2.1.4, перечисления a), b), c) и e);

b) расстояние от уровня пола кабины до центра рабочей поверхности кнопок вызова персонала и открывания дверей должно быть не менее 900 мм;

c) нижняя кнопка приказа на этаж назначения должна располагаться над кнопками вызова персонала и открывания дверей. Расстояние по вертикали от кнопок вызова персонала и открывания дверей до кнопок приказов должно быть не менее 20 мм;

d) размер любого символа должен быть не менее 15 мм.

Символы размещаются:

- на рабочей поверхности кнопок или

- слева от рабочей поверхности кнопок на расстоянии от 10 до 15 мм при расположении кнопок более чем в два вертикальных ряда и один горизонтальный ряд;

- слева и справа от рабочей поверхности кнопок на расстоянии от 10 до 15 мм при расположении кнопок в два вертикальных ряда;

- симметрично относительно центральных осей рабочей поверхности кнопок на расстоянии от 10 до 15 мм при расположении кнопок в один ряд;

e) кнопка приказа на основной посадочный этаж должна идентифицироваться следующим образом:

- иметь рельефное изображение звезды на рабочей поверхности кнопки или рядом с кнопкой на расстоянии от 10 до 15 мм от нее (см. таблицу B.1, пункт 8, приложение B) или

- быть зеленого цвета, или с ореолом зеленого цвета выше всех остальных кнопок приказов на (5 +/- 10) мм и иметь маркировку основного посадочного этажа;

f) порядок расположения кнопок приказов должен быть:

- слева направо для одиночного горизонтального ряда;

- снизу вверх для одиночного вертикального ряда;

- слева направо и снизу вверх для многорядного размещения кнопок.

4.2.2.3 Размещение поста управления в кабине

4.2.2.3.1 Пассажирский лифт номинальной грузоподъемностью менее 450 кг.

Пост управления размещается:

a) на боковой стенке кабины при оборудовании кабины дверью центрального открывания;

b) на боковой стенке кабины на стороне закрывания двери при оборудовании кабины дверью бокового открывания.

4.2.2.3.2 Пассажирские лифты с номинальной грузоподъемностью не менее 450 кг.

Пост управления размещается:

a) на боковой стенке кабины при оборудовании кабины дверью центрального открывания;

b) на боковой стенке кабины на стороне направления закрывания двери при оборудовании кабины дверью бокового открывания;

c) на передней стенке кабины.

4.2.2.3.3 Лифты с кабиной, имеющей две двери (например, проходная кабина)

Требования, изложенные в 4.2.2.3.1 и 4.2.2.3.2, распространяются на обе двери.

4.2.2.3.4 Дополнительный пост управления в кабине.

В кабине может быть установлен дополнительный пост управления, отвечающий требованиям 4.2.2.2, перечисления a), b), e) и f).

4.3. Сигнальные устройства

4.3.1 Сигнальные устройства на этажных площадках

4.3.1.1 Управление на этаж назначения

Требования к сигнальным устройствам на этажных площадках для систем управления на этаж назначения приведены в приложении A.

4.3.1.2 Виды сигнальных устройств

Две освещенные стрелки для лифтов с двухсторонним собирательным управлением и одна освещенная стрелка для лифтов с односторонним собирательным управлением, дающие информацию о направлении движения прибывающей на этаж кабины, размещаются над или около дверей.

На крайних этажах предусматривают по одной стрелке направления движения кабины.

При наличии неавтоматических шахтных дверей должна быть обеспечена визуальная информация для ожидающих на этаже пассажиров, что кабина прибыла на этаж или подходит к этажу.

Допускается дополнять визуальную информацию звуковым сигналом.

4.3.1.3 Требования к сигнальным устройствам

4.3.1.3.1 Звуковые сигналы

Уровень звука звуковых сигналов должен быть в пределах 35 - 80 дБА и с регулировкой уровня звука с учетом условий окружающей среды. Средства регулировки должны быть недоступными для пользователей.

4.3.1.3.2 Звуковые сигналы о направлении движения кабины вверх или вниз для двусторонней собирательной системы управления должны быть различны:

- для направления движения вверх сигнал звучит один раз;

- для направления движения вниз сигнал звучит два раза.

4.3.1.3.3 При использовании на этажных площадках сигнальных стрелок о направлении движения кабины они должны размещаться на высоте от 1,80 до 2,5 м от уровня пола этажной площадки с рекомендуемым углом обзора 140° +/- 10°.

Минимальная высота стрелок - 20 мм.

4.3.2 Сигнальные устройства в кабине

4.3.2.1 Виды сигнальных устройств

В кабине могут быть предусмотрены визуальные (освещаемые) или визуальные и звуковые сигналы о местоположении кабины.

4.3.2.2 Требование к сигнальным устройствам

4.3.2.2.1 Визуальный сигнал о местоположении кабины размещается над постом управления в кабине или над дверью кабины. Расстояние от центра сигнального устройства, расположенного над постом управления, до пола кабины должно быть в пределах 1,6 - 2,0 м.

Высота номеров этажей на указателе местоположения кабины должна быть не менее 13 мм, рекомендуемая высота - от 30 до 60 мм.

Цвет визуального сигнала должен контрастировать с окружающими элементами.

4.3.2.2.2 При остановке кабины речевой информатор (при наличии) должен сообщать номер этажа. Уровень звука речевого информатора должен быть регулируемым в пределах 35 - 80 дБА.

4.3.2.2.3 Кабина лифта оборудуется одним устройством вызова персонала (системой двусторонней громкоговорящей связи).

4.3.3 Дополнительные сигнальные устройства

На этажных площадках может быть предусмотрен сигнал "лифт не работает" с минимальным диаметром 25 мм (см. таблицу B.1, пункт 5, приложение B).

В кабине может быть предусмотрен светящийся сигнал "лифт перегружен" (см. таблицу B, пункт 7, приложение B).

5. Поручень

Кабину рекомендуется оборудовать, по крайней мере, одним поручнем, установленным горизонтально, предпочтительно на той же стороне, где расположен пост управления. Размер части поручня, предназначенной для рук пользователя:

- должен иметь в периметре от 100 до 160 мм;

- должен иметь минимальный размер 25 мм;

- должен иметь максимальный размер 55 мм и

- не должен иметь острых кромок.

Поручень устанавливают на высоте от 800 до 950 мм от уровня пола кабины.

Расстояние между стеной кабины и предназначенной для рук пользователя частью поручня должно быть не менее 35 мм.

Приложение A
(справочное)

СПЕЦИАЛЬНЫЕ СИСТЕМЫ УПРАВЛЕНИЯ

A.1 Общие положения

При установке лифта в зданиях, где пользователи могут быть обучены правилам пользования специальными системами (например, в зданиях для офисов), могут применяться специальные системы:

a) наборные аппараты управления;

b) системы управления на этаж назначения.

В этом приложении приводятся требования только к вышеприведенным системам, которые заменяют или дополняют требования, приведенные в 4.2.1.4, 4.2.2.1, 4.2.2.2 и 4.3.1.

A.2 Наборные аппараты управления

Формирование команды о направлении кабины на этаж, имеющий двухзначный номер, может выполняться при помощи различных алгоритмов. При этом пользователь должен получить информацию о том, что приказ зарегистрирован.

A.2.1 Общие требования

Ниже приведены требования, заменяющие требования 4.2.1.4:

a) размещение кнопок с номерами должно быть таким же, как и на телефонных аппаратах (см. рисунок A.1);

b) для регистрации приказа сила воздействия на кнопку должна быть не более 5 Н, а рекомендуемый рабочий диапазон силы воздействия на кнопку - от 2,5 до 5,0 Н;

c) размеры рабочей поверхности кнопок:

- рекомендуемая площадь рабочей поверхности кнопок должна быть не менее 490 мм2. Допускается минимальная площадь рабочей поверхности кнопок 280 мм2;

- рекомендуемый минимальный размер рабочей поверхности кнопок должен быть достаточным для размещения на ней вписанной окружности диаметром 20 мм.

Расстояние по вертикали и горизонтали между рабочими поверхностями кнопок должно быть не менее 10 мм.

Для наборных аппаратов с наклонной передней панелью расстояние между кнопками может быть не менее 5,0 мм;

d) пользователь должен получать звуковой сигнал при каждом нажатии на кнопку.

Подтверждение регистрации команды должно обеспечиваться визуально и звуковым сигналом;

e) рекомендуемое расстояние от уровня пола до центра любой кнопки - в пределах 900 - 1100 мм;

f) рабочая часть кнопки должна легко идентифицироваться визуально;

g) верхняя панель наборного аппарата должна контрастировать с соседними элементами;

h) рекомендуемая высота цифр/символов на кнопках - не менее 15 мм. Допускается высота цифр/символов не менее 13 мм.

Цифры/символы должны контрастировать с рабочей поверхностью кнопок;

i) на рабочей поверхности кнопки с цифрой 5 должна быть точка диаметром 3+0,5 мм, выступающая над рабочей поверхностью кнопки на 0,6 - 0,9 мм;

j) любые дополнительные символы следует выполнять рельефно с высотой рельефа не менее 0,8 мм, и они должны контрастировать с соседними элементами;

k) цифры и символы следует наносить на рабочую поверхность кнопок;

l) кнопка основного посадочного этажа, расположенная слева в нижнем ряду кнопок, должна быть зеленого цвета, быть выше других кнопок на (5 +/- 1) мм и маркирована рельефной звездой (см. таблицу B, пункт 8, приложение B).

1 - точка; 2 - зеленая кнопка с рельефной маркировкой в виде звезды (кнопка основного посадочного этажа); 3 - рельефный символ минус: используется при подаче команды управления на этажи, расположенные ниже основного посадочного этажа

Рисунок A.1 - Наборный аппарат управления

A.2.2 Наборные аппараты поста управления в кабине

Требования данного раздела заменяют требования 4.2.2.2.

A.2.2.1 При использовании наборной системы управления в кабине пост управления должен быть оборудован:

- наборным аппаратом управления;

- одной кнопкой вызова персонала желтого цвета с маркировкой в виде колокольчика, или одной кнопкой вызова персонала с маркировкой в виде желтого колокольчика (см. таблицу B.1, пункт 1, приложение B), или кнопкой вызова с маркировкой в виде телефонной трубки (см. таблицу B.1, пункт 4, приложение B);

- одной кнопкой открывания автоматических дверей с маркировкой символом (см. таблицу B.1, пункт 2, приложение B);

- одной кнопкой "Стоп" (в тех случаях, когда имеется требование для обеспечения безопасности) красного цвета с маркировкой словом "Стоп";

- одной кнопкой закрывания автоматических дверей (в тех случаях, когда требуется) с маркировкой символом (см. таблицу B.1, пункт 3, приложение B).

Посты управления допускается оборудовать следующими кнопками:

- одна кнопка отмены приказов с надписью "отмена";

- выключатель (например, тумблер) или кнопка включения вентилятора кабины (при наличии).

A.2.2.2 Наборный аппарат управления в кабине должен отвечать следующим требованиям:

a) A.2.1, перечисления a), b), c), d), e), f), g), i), j), k), l) и m);

b) центр рабочей поверхности кнопки вызова персонала и кнопки открывания дверей должен быть на расстоянии не менее 900 мм от уровня пола кабины. Это требование распространяется и на кнопку закрывания дверей;

c) кнопка основного посадочного этажа зеленого цвета должна быть на (5 +/- 1) мм выше других кнопок с маркировкой рельефным символом в виде звезды (см. таблицу B.1, пункт 8, приложение B).

A.2.2.3 Наборный аппарат управления, кнопка вызова персонала и кнопка открывания дверей, как правило, должны размещаться на боковой стене кабины.

A.3 Система управления на этаж назначения

A.3.1 Общая характеристика

Система управления на этаж назначения характеризуется следующим:

- на этажной площадке пользователь с помощью аппарата управления подает команду - номер этажа назначения;

- сигнальные устройства на этаже и в кабине указывают, на каком этаже остановится кабина.

A.3.2 Устройство управления на этажной площадке

Устройство управления для регистрации этажа назначения должно соответствовать требованиям 4.2.1.4 и 4.2.2.2, перечисления g) и h).

При использовании наборной системы управления она должна соответствовать A.2.1.

Размещение аппарата для регистрации этажа назначения должно обеспечивать легкий доступ к нему пользователей.

Минимальное количество аппаратов для регистрации этажа назначения должно быть:

- один - для каждого из лифтов, расположенных друг против друга на общей этажной площадке;

- один и на группу расположенных в ряд четырех лифтов (не более) при размещении аппарата управления в середине ряда.

A.3.3 Сигнальные устройства на этажной площадке

A.3.3.1 Сигнальные устройства около аппарата регистрации команды на этаж назначения

Выбор пользователем номера этажа назначения должен быть подтвержден визуальным или звуковым сигналом.

Это сигнальное устройство должно располагаться вблизи устройства управления для регистрации этажа назначения. Высота идентифицированного номера этажа должна быть в пределах 30 - 60 мм, цвет номера должен контрастировать с окружающими элементами.

Звуковой сигнал может информировать о кабине, которая будет выполнять зарегистрированную команду, и направлении движения кабины.

Уровень звука в зависимости от условий окружающей среды устанавливают в пределах 35 - 80 дБА. Уровень звука должен быть регулируемым.

A.3.3.2 На каждой этажной площадке визуальная или звуковая информация должна быть на каждом лифте, входящем в групповую установку, надо указывать номер назначенного лифта и направление его движения:

- визуальная информация должна быть размещена на высоте от 1,8 до 2,5 м от уровня пола этажной площадки с рекомендуемым углом обзора 140° +/- 10°. Высота информации должна быть не менее 40 мм;

- звуковые сигналы должны быть в пределах 35 - 80 дБА. Уровень звука должен быть регулируемым с учетом условий окружающей среды. Средства регулировки должны быть недоступны для пользователей.

Звуковой сигнал должен иметь такие же характеристики, как и на наборном устройстве управления или в кнопках приказов (при их наличии).

Дополнительная визуальная информация на аппаратах управления, идентифицирующая назначенный лифт и номер этажа, размещается на вертикальных элементах обрамления шахтных дверей с обеих сторон дверного проема.

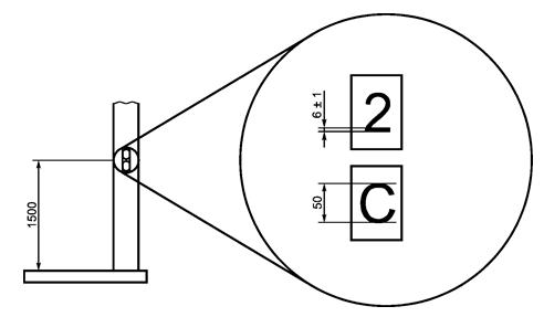
Эта информация должна располагаться на высоте 1500 мм от уровня пола этажной площадки до центра символов.

Верхняя часть сигнального устройства должна содержать информацию о номере этажа с символом в виде звезды для основного посадочного этажа, нижняя часть устройства должна содержать информацию, идентифицирующую номер (обозначение) лифта.

Вышеуказанные цифры (символы) должны быть высотой 50 мм с выступающей рельефной маркировкой высотой (6 +/- 1) мм и шириной (1 +/- 0,5) мм и контрастировать с окружающими элементами (см. рисунок A.2).

Примечание - Визуальная идентификация этажа может быть применена на лифтах также в соответствии с 4.3.1.

Рисунок A.2 - Размеры символов

A.3.4 Сигнальные устройства и устройства управления в кабине

В кабине должно быть предусмотрено следующее:

a) сигнальное устройство, сообщающее о местоположении кабины (звуковое и визуальное):

- освещаемый визуальный сигнал должен быть размещен над постом управления кабины. Расстояние от центра визуального сигнала до пола кабины должно быть в пределах 1,6 - 1,8 м;

- высота номера этажа должна быть не менее 13 мм, рекомендуемая высота - в диапазоне 30 - 60 мм. Цвет номера индикатора должен контрастировать с окружающими элементами;

- при остановке кабины речевой информатор должен объявлять номер этажа остановки. Уровень звука должен быть в пределах 35 - 80 дБА с регулировкой, учитывающей условия окружающей среды;

b) одна кнопка вызова персонала желтого цвета или с ореолом желтого цвета с символом в виде колокольчика, или одна кнопка с символом в виде желтого колокольчика (см. таблицу B.1, пункт 1, приложение B), или кнопка вызова, маркированная символом в виде телефонной трубки (см. таблицу B.1, пункт 4, приложение B);

c) одна кнопка открывания автоматических дверей, маркированная символом (см. таблицу B.1, пункт 2, приложение B);

d) в кабине должна быть предусмотрена индикация номеров этажей назначения для этой кабины. По прибытии кабины на этаж номер этого этажа удаляется.

Символ в виде пятиконечной звезды (см. таблицу B.1, пункт 8, приложение B) может быть использован для идентификации основного посадочного этажа.

В необходимых случаях может быть использовано специальное устройство для включения речевой информации.

Приложение B
(обязательное)

СИМВОЛЫ

В таблице B.1 приведены примеры. Символы не требуется воспроизводить точно.

Таблица B.1

Символы

Сигнал Описание Символ
1 Кнопка вызова персонала Символ в виде колокольчика [1]
2 Кнопка открывания дверей Стилизованные стрелки <*>
3 Кнопка закрывания дверей Стилизованные стрелки <*>
4 Телефон Стилизованное изображение телефонной трубки
5 Знак запрещения использования лифта (лифт не работает) Красный диск с белой полоской
6 Сигнал направления движения Стилизованные стрелки <*>
7 Сигнал о перегрузке Стилизованная шкала весов
8 Звезда Стилизованное изображение звезды
9 Стоп Красный диск с надписью "стоп" черного цвета или с ореолом красного цвета с надписью "стоп"
<*> Могут быть использованы также нестилизованные стрелки или стрелки в соответствии с [2].

Приложение C
(рекомендуемое)

ТАБЛО "ВХОД ЗАПРЕЩЕН"

Рисунок C.1

Исполнение табло:

- поле табло - красного цвета;

- запрещающая часть - белого цвета.

Приложение ДА
(справочное)

СОПОСТАВЛЕНИЕ СТРУКТУРЫ НАСТОЯЩЕГО СТАНДАРТА СО СТРУКТУРОЙ ПРИМЕНЕННОГО В НЕМ МЕЖДУНАРОДНОГО СТАНДАРТА ISO 4190-5:2006

Таблица ДА.1

Структура настоящего стандарта Структура международного стандарта ISO 4190-5:2006
1 Область применения 1 Область применения
2 Нормативные ссылки 2 Нормативные ссылки
3 Термины и определения -
4 Устройства управления и сигнализации 3 Устройства управления и сигнализации
4.1 Виды систем управления
4.2 Устройства управления
4.3 Сигнальные устройства
5 Поручень 4 Поручень
Приложение A (справочное) Специальные системы управления Приложение A (справочное) Специальные системы
Приложение B (обязательное) Символы Приложение B (справочное) Особые требования
Приложение C (рекомендуемое) Табло "Вход запрещен" Приложение C (обязательное) Символы
Приложение ДА (справочное) Сопоставление структуры настоящего стандарта со структурой примененного в нем международного стандарта ИСО 4190-5:2006 -
Библиография Библиография

БИБЛИОГРАФИЯ

[1] ИСО 7000:2014 Графические символы, наносимые на оборудование
ISO 7000:2014 Graphical symbols for use on equipment. Index and synopsis
[2] ИСО 7001:2007 Информационные символы для общественных мест
ISO 7001:2007 Public information symbols