Тракторы малогабаритные. Общие требования безопасности. ГОСТ 12.2.140-2004

(утв. Приказом Росстандарта от 25.01.2005 N 2-СТ)
Редакция от 25.01.2005 — Действует с 01.01.2006

МЕЖГОСУДАРСТВЕННЫЙ СТАНДАРТ

ТРАКТОРЫ МАЛОГАБАРИТНЫЕ

ОБЩИЕ ТРЕБОВАНИЯ БЕЗОПАСНОСТИ

Small tractors. General safety requirements

ГОСТ 12.2.140-2004

Дата введения
1 января 2006 года

Предисловие

Межгосударственный совет по стандартизации, метрологии и сертификации (МГС) представляет собой региональное объединение национальных органов по стандартизации государств, входящих в Содружество Независимых Государств. В дальнейшем возможно вступление в МГС национальных органов по стандартизации других государств.

Цели, основные принципы и основной порядок проведения работ по межгосударственной стандартизации установлены ГОСТ 1.0-92 "Межгосударственная система стандартизации. Основные положения" и ГОСТ 1.2-97 "Межгосударственная система стандартизации. Стандарты межгосударственные, правила и рекомендации по межгосударственной стандартизации. Порядок разработки, принятия, применения, обновления и отмены"

ГОСТ 1.0-92 отменен. Взамен него с 01.07.2016 введен в действие ГОСТ 1.0-2015.

Сведения о стандарте

1 ПОДГОТОВЛЕН Техническим комитетом по стандартизации ТК 275 "Тракторы"

2 ВНЕСЕН Госстандартом России

3 ПРИНЯТ Межгосударственным советом по стандартизации, метрологии и сертификации (протокол N 25 от 26 мая 2004 г.)

За принятие проголосовали:

Наименование государства Наименование национального органа по стандартизации
Азербайджанская Республика Азгосстандарт
Республика Армения Армгосстандарт
Республика Беларусь Госстандарт Республики Беларусь
Грузия Грузстандарт
Республика Казахстан Госстандарт Республики Казахстан
Кыргызская Республика Кыргызстандарт
Республика Молдова Молдовастандарт
Российская Федерация Госстандарт России
Республика Таджикистан Таджикстандарт
Туркменистан Главгосслужба "Туркменстандартлары"
Республика Узбекистан Узгосстандарт
Украина Госстандарт Украины

4 Настоящий стандарт разработан с учетом требований международного стандарта ИСО 5395:1990 "Газонокосилки моторные, парковые тракторы, парковые и садовые тракторы, косилки неиндивидуального пользования, парковые и садовые тракторы с косильными приспособлениями. Определения, требования техники безопасности" (в части требований безопасности малогабаритных тракторов)

5 Приказом Федерального агентства по техническому регулированию и метрологии от 25 января 2005 г. N 2-ст межгосударственный стандарт ГОСТ 12.2.140-2004 введен в действие непосредственно в качестве национального стандарта Российской Федерации с 1 января 2006 г.

6 ВЗАМЕН ГОСТ 12.2.140-97/ГОСТ Р 50863-96

Информация о введении в действие (прекращении действия) настоящего стандарта публикуется в указателе "Национальные стандарты".

Информация об изменениях к настоящему стандарту публикуется в указателе "Национальные стандарты", а текст изменений - в информационных указателях "Национальные стандарты". В случае пересмотра или отмены настоящего стандарта соответствующая информация будет опубликована в информационном указателе "Национальные стандарты"

1 Область применения

Настоящий стандарт распространяется на двухосные колесные и гусеничные малогабаритные тракторы (далее - тракторы), одноосные малогабаритные тракторы (далее - мотоблоки), имеющие основные параметры по ГОСТ 28523 (в том числе максимальную скорость и номинальную мощность двигателя) и агрегатируемые с навесными, прицепными и стационарными сельскохозяйственными машинами.

Стандарт устанавливает общие требования, обеспечивающие безопасность труда оператора при использовании тракторов и мотоблоков по назначению, техническом обслуживании, при транспортировании и монтаже.

Стандарт не распространяется на мотоблоки с приводом рабочих органов от электродвигателя (электромотора) с питанием от внешней электросети.

2 Нормативные ссылки

В настоящем стандарте использованы нормативные ссылки на следующие стандарты:

ГОСТ 12.1.003-83 Система стандартов безопасности труда. Шум. Общие требования безопасности

ГОСТ 12.1.003-83 отменен. Взамен него с 01.11.2015 введен в действие ГОСТ 12.1.003-2014.

ГОСТ 12.1.012-90 Система стандартов безопасности труда. Вибрационная безопасность. Общие требования

ГОСТ 12.1.012-90 отменен. Взамен него с 01.07.2008 введен в действие ГОСТ 12.1.012-2004.

ГОСТ 12.2.042-91 Система стандартов безопасности труда. Машины и технологическое оборудование для животноводства и кормопроизводства. Общие требования безопасности

ГОСТ 12.2.120-88 (ИСО 3411-82, ИСО 3449-80, ИСО 3457-79, ИСО 3471-80, ИСО 3789-1-81, ИСО 3789-2-82, ИСО 4252-83, ИСО 4253-77, ИСО 5353-78, ИСО 5700-84, ИСО 6011-78, ИСО 6405-82, ИСО 6682-86, ИСО 6683-81) Система стандартов безопасности труда. Кабины и рабочие места операторов тракторов, самоходных строительно-дорожных машин, одноосных тягачей, карьерных самосвалов и самоходных сельскохозяйственных машин. Общие требования безопасности

ГОСТ 12.4.026-76 <*> Система стандартов безопасности труда. Цвета сигнальные и знаки безопасности

<*> В Российской Федерации действует ГОСТ Р 12.4.026-2001.

ГОСТ Р 12.4.026-2001 отменен. Взамен него с 01.03.2017 введен в действие ГОСТ 12.4.026-2015.

ГОСТ 9200-76 (ИСО 1185-75, ИСО 1724-80, ИСО 3711-80, ИСО 3732-82, ИСО 4091-78) Соединения семиконтактные разъемные для автомобилей и тракторов

ГОСТ 12971-67 Таблички прямоугольные для машин и приборов. Размеры

ГОСТ 14192-96 Маркировка грузов

ГОСТ 20062-96 Сиденье тракторное. Общие технические условия

ГОСТ 21753-76 Система "человек-машина". Рычаги управления. Общие эргономические требования

ГОСТ 26336-84 (ИСО 3767-1-82, ИСО 3767-2-82, ИСО 3767-3-88) Тракторы и сельскохозяйственные машины, механизированное газонное и садовое оборудование. Система символов для обозначения органов управления и средств отображения информации. Символы

ГОСТ 26828-86 Изделия машиностроения и приборостроения. Маркировка

ГОСТ 26879-88 Тракторы сельскохозяйственные. Ремни безопасности. Технические требования и методы испытаний

ГОСТ 27258-87 (ИСО 6682-86) Машины землеройные. Зоны комфорта и досягаемости органов управления

ГОСТ 28523-90 Мобильные средства малой механизации сельскохозяйственных работ. Тракторы малогабаритные. Типы и основные параметры

Примечание - При пользовании настоящим стандартом целесообразно проверить действие ссылочных стандартов по указателю "Национальные стандарты", составленному по состоянию на 1 января текущего года, и по соответствующим информационным указателям, опубликованным в текущем году. Если ссылочный документ заменен (изменен), то при пользовании настоящим стандартом следует руководствоваться замененным (измененным) стандартом. Если ссылочный документ отменен без замены, то положение, в котором дана ссылка на него, применяется в части, не затрагивающей эту ссылку.

3 Определения, обозначения и сокращения

3.1 В настоящем стандарте применены следующие термины с соответствующими определениями

3.1.1 малогабаритный трактор: Сельскохозяйственный трактор для выполнения работ в растениеводстве на мелкоконтурных участках, делянках, террасах, садах, фермах, в парковом и коммунальном хозяйствах.

3.1.2 мотоблок: Одноосный малогабаритный трактор, у которого тяговое усилие создается за счет сцепления ведущих колес с землей и который предназначен для привода сменных навесных и прицепных машин и орудий и одноосных полуприцепов.

3.1.3 рабочий орган: Часть сельскохозяйственной машины, находящаяся в контакте с почвой для ее обработки.

3.1.4 ручной запуск: Запуск двигателя в работу физическим усилием оператора, приложенным к пусковому устройству.

3.2 В настоящем стандарте применены следующие обозначения и сокращения:

КТС - контрольная точка сиденья;

- тормозной путь трактора, м;

- скорость трактора в момент начала торможения, км/ч.

4 Общие требования безопасности тракторов и мотоблоков

4.1 Углы поперечной статической устойчивости при колее по ГОСТ 28523 должны быть не менее:

20° - у тракторов;

15° - у мотоблоков.

4.2 Нагрузка на управляемые колеса тракторов должна быть не менее 0,2 его эксплуатационной массы при всех видах навесных сельскохозяйственных машин, орудий и другого оборудования.

4.3 Тракторы по требованию потребителя могут быть оборудованы зеркалом заднего вида с регулированием его положения.

4.4 Уровень звука внешнего шума, производимого трактором или мотоблоком, не должен превышать 85 дБА.

4.5 Трактор должен иметь звуковой сигнал; уровень звука сигнала должен быть не менее чем на 8 дБА выше уровня внешнего шума, издаваемого трактором при номинальных оборотах двигателя и измеряемого на расстоянии 1 м от внешней поверхности трактора.

4.6 На тракторе должно быть место для установки заднего государственного регистрационного знака транспортных средств и световые приборы для освещения последнего.

4.7 Тракторы должны быть снабжены устройствами для крепления первичных средств пожаротушения (огнетушитель, штыковая лопата). Должны быть обеспечены свободный доступ к этим средствам и снятие их без применения инструмента.

Первичные средства пожаротушения должны быть окрашены в сигнальные цвета по ГОСТ 12.4.026.

4.8 Конструкция тракторов, мотоблоков должна исключать возможность самопроизвольного включения и выключения трансмиссии и привода рабочих органов.

4.9 В системе электрооборудования тракторов и мотоблоков должно применяться напряжение из ряда 6, 12, 24 В.

В цепи низкого напряжения системы зажигания карбюраторных двигателей должен быть установлен выключатель (замок зажигания).

4.10 В цепях однопроводной системы, питаемых от аккумуляторной батареи (исключая цепь заземленного магнето), должны быть установлены предохранители от перегрузки (короткого замыкания). В двухпроводной системе предохранители могут быть установлены как в плюсовом, так и в минусовом проводе.

Предохранители должны быть установлены как можно ближе к выводам аккумуляторной батареи, стартера, генератора.

Плюсовые клеммы электропроводов в местах возможного замыкания их на массу случайными токопроводящими предметами должны быть защищены изолирующими материалами. Клеммы на выводах стартера, аккумулятора и генератора также должны быть защищены.

4.11 Должна быть обеспечена защита оператора от случайного контакта с частями цепи, находящимися под высоким напряжением. Отсоединение проводов высокого напряжения от контактов свечей должно осуществляться без применения инструмента.

4.12 Электропроводка должна собираться в жгуты. Жгуты по возможности должны группироваться и крепиться к неподвижным частям. Должны быть исключены контакты с элементами топливной аппаратуры (трубопроводами, карбюратором, топливным баком), выхлопной системой, подвижными частями, острыми кромками. Жгуты должны быть защищены от повреждения и трения.

4.13 Отсек для установки аккумуляторной батареи должен иметь вентиляционные и дренажные отверстия.

4.14 Электростартерный пуск двигателя должен приводиться в действие с рабочего места оператора. При этом необходимо иметь устройство, блокирующее запуск двигателя при включенных передаче и приводе рабочего органа мотоблока.

Допускается иметь дублирующую ручную систему пуска двигателя (шнур и т.п.).

4.15 Тракторы и мотоблоки должны иметь устройство для остановки двигателя, которое должно быть доступно оператору с места пуска двигателя и управляться рукой.

4.16 В системе пуска двигателя по заказу потребителя может устанавливаться замок зажигания с извлекаемым ключом, исключающий запуск посторонними лицами.

4.17 Расположение заправочных горловин должно исключать попадание топлива при заправке на части, способные его воспламенить.

4.18 В топливной системе должны быть исключены утечки (подтекания) топлива.

4.19 Выпускная система двигателя должна обеспечивать гашение искр в отработавших газах.

Струя отработавших газов должна быть направлена в сторону от оператора.

4.20 Тормозные системы должны обеспечивать:

- остановку и удержание трактора или мотоблока в агрегате с одноосным прицепом, имеющего тормозное устройство, на преодолеваемом им уклоне, величина угла которого установлена техническими условиями на трактор/мотоблок конкретной модели;

- тормозной путь трактора или мотоблока в соединении с одноосным прицепом и сиденьем оператора , м, вычисляют для "холодных" тормозов по формуле

,

где - скорость трактора/мотоблока, км/ч.

4.21 Части механических передач (шестерни, звездочки, шкивы, ролики, цепи, вентиляторы, ремни) и детали с возвратным движением, а также части и детали, имеющие температуру выше 70 °С (кроме выхлопной трубы и глушителя), должны быть ограждены либо установлены таким образом, чтобы исключить соприкосновение с ними оператора.

Защитные кожухи и ограждения должны сниматься только при помощи инструмента.

4.22 Колесные тракторы должны быть оборудованы защитными крыльями. Допускается использование элементов конструкции в качестве защитных крыльев.

4.23 Навесные системы тракторов должны иметь механические устройства для их фиксации в транспортном положении.

4.24 Тракторы и мотоблоки должны иметь устройства или места строповки при подъеме, а тракторы - также места для установки домкратов. Место строповки должно обозначаться знаком N 9 "Место строповки" по ГОСТ 14192, а место для установки домкрата - кругом диаметром не менее 40 мм. Цвета обозначений должны быть контрастными по отношению к основному цвету тракторов/мотоблоков.

5 Требования к рабочему месту оператора

5.1 Тракторы должны быть оборудованы защитными кабинами или устройствами (дуги или каркасы), которые при опрокидывании трактора сохраняли бы свободное пространство (зону) для оператора.

Размеры зоны ограничения деформации и ее расположение относительно КТС - по приложению А.

По заказу потребителя рабочее место оператора может оборудоваться тентом для защиты от атмосферных осадков и солнечных лучей.

5.2 Рабочее место оператора трактора должно быть оборудовано сиденьем со спинкой. Высота спинки сиденья - по ГОСТ 20062.

Размеры и регулирование сиденья - по техническим условиям на трактор конкретной модели. Сиденье должно быть оснащено ремнем безопасности по ГОСТ 26879.

5.3 Параметры вибрации на сиденье оператора трактора - по ГОСТ 12.1.012.

Допускаются другие уровни вибрации на сиденьи при ограничении времени непрерывной работы (приложение Б).

5.4 Параметры вибрации (локальной) на органах управления - по ГОСТ 12.1.012.

Допускаются другие уровни вибрации на органах управления при ограничении времени непрерывной работы (приложение В).

5.5 Уровень шума на рабочем месте оператора - по ГОСТ 12.1.003.

Допускаются другие уровни шума на рабочем месте оператора при ограничении времени непрерывной работы (приложение Г).

5.6 За допустимое время безопасной непрерывной работы трактора и мотоблока принимают наименьшее из приведенных в 5.3-5.5.

Указанное время вносят в технические условия и инструкцию по эксплуатации.

5.7 Тракторы и мотоблоки, уровень шума которых на рабочем месте оператора превышает установленный ГОСТ 12.1.003 или допустимые уровни шума при ограничении времени непрерывной работы, должны быть оснащены индивидуальными средствами защиты органов слуха. Это требование должно быть указано в технических условиях.

5.8 На тракторе должно быть предусмотрено место для размещения аптечки первой медицинской помощи.

6 Требования к доступу на рабочее место оператора трактора

6.1 Тракторы должны быть оборудованы подножками и поручнями, обеспечивающими беспрепятственный проход оператора к рабочему месту. Допускается использовать в качестве подножек и поручней конструктивные элементы трактора.

6.2 Расстояние по высоте от плоскости опорной поверхности подножки должно быть не более:

400 мм - до поверхности земли (в технически обоснованных случаях допускается до 550 мм);

200 мм - до поверхности конструктивного элемента трактора, служащего опорой для ног оператора в рабочем положении.

6.3 Ширина опорной поверхности подножки - не менее 150 мм.

6.4 Элементы конструкции тракторов не должны препятствовать установке ноги на подножку на глубину не менее 150 мм.

6.5 Ширина (диаметр) охватывающей части поручня должна(ен) быть 18-38 мм, длина - не менее 150 мм. Расстояние между поручнем и любым другим конструктивным элементом трактора - не менее 60 мм.

7 Требования к органам управления трактором

7.1 Центры рукояток и педалей органов управления трактором и рабочим оборудованием (во всех рабочих положениях) должны быть расположены в зоне досягаемости по ГОСТ 27258. Взаимное расположение сиденья, педалей муфты сцепления и тормоза, а также рулевого колеса должно соответствовать ГОСТ 12.2.120. Допускается вспомогательные и дублирующие органы управления располагать в местах, доступных с рабочего места оператора.

7.2 На тракторах расстояние от рукояток органов управления (во всех положениях) до элементов рабочего места и между рукоятками должно быть не менее 50 мм при приведении в движение органа управления трактора кистью руки и не менее 25 мм - при приведении в движение пальцами.

7.3 Размеры рукояток рычагов и других ручных органов управления - по ГОСТ 21753.

7.4 Люфт рулевого колеса трактора должен быть не более 25°.

7.5 Расстояние от наружной поверхности рулевого колеса в зоне перемещения кистей рук до других элементов рабочего места оператора трактора должно быть не менее 80 мм.

7.6 Опорные площадки основных педалей управления трактором и рабочим оборудованием должны иметь длину и ширину не менее 60 мм. Размеры вспомогательных и дублирующих педалей - по техническим условиям на трактор конкретной модели.

7.7 Расстояние между кромками площадок рядом расположенных не блокируемых педалей трактора должно быть 50-100 мм, блокируемых педалей тормозов - 5-20 мм.

Угол разворота опорных площадок педалей, приводимых в действие стопой ноги, от продольной вертикальной плоскости симметрии сиденья не должен превышать 15°.

7.8 Элементы органов управления, с которыми соприкасаются руки оператора, следует изготавливать из материалов с низкой теплопроводностью (не более 0,25 Вт/(м·К), или они должны иметь покрытия из этого материала толщиной не менее 0,5 мм.

7.9 Силы сопротивления перемещению органов управления - по ГОСТ 12.2.120.

Допускается увеличение усилия на рукоятках руля трактора до 200 Н при заглублении рабочих органов.

7.10 Типовые способы приведения в действие основных органов управления трактором даны в приложении Д.

7.11 Для обозначения функционального назначения органов управления, контрольно-измерительных приборов и индикаторных устройств следует применять символику по ГОСТ 26336. Допускается применять дополнительные символы, расшифровка которых, за исключением очевидных, должна быть дана в инструкции по эксплуатации.

8 Требования к обзорности и освещенности тракторов

8.1 Конструкция тракторов должна обеспечивать видимость с рабочего места оператора в рабочем положении "сидя" следующих объектов наблюдения:

- визиров (элементы конструкции тракторов) и ориентиров движения (например, борозда, след колеса или гусеницы, рядки растений, линия маркера);

- рабочих органов, требующих визуального контроля при выполнении технологического процесса;

- элементов конструкции тракторов, служащих для навески и сцепки с агрегатируемыми машинами и орудиями;

- габаритных точек (элементов) трактора, в том числе маркера.

8.2 Тракторы должны иметь устройства (фары), освещающие поверхность обрабатываемого поля и дороги общего пользования. Эти устройства должны включаться независимо друг от друга.

Тракторы, предназначенные для движения по дорогам общего пользования, должны иметь также световые приборы и сигнальные средства.

8.3 Количество и расположение устройств освещения и световой сигнализации - по техническим условиям на трактор конкретной модели.

8.4 Тракторы должны иметь семиконтактный разъем по ГОСТ 9200.

9 Требования безопасности мотоблоков

9.1 Мотоблоки должны удовлетворять следующим требованиям:

- поперечная устойчивость - 4.1;

- уровень звука внешнего шума - 4.4;

- уровень звука звукового сигнала - 4.5;

- невозможность самопроизвольного включения и выключения трансмиссии и привода рабочих органов - 4.8;

- системы электрооборудования - 4.9-4.16;

- расположение заправочных горловин - 4.17;

- топливная система - 4.18;

- выпускная система - 4.19;

- тормозная система - 4.20;

- защита от механической опасности - 4.21;

- устройства и места строповки и их обозначения - 4.24.

9.2 Движущиеся части (приводные шестерни, цепи, звездочки, ремни, фрикционные передачи, шкивы, вентиляторы, приводы вентиляторов и др.) в местах расположения и там, где они могут создать опасность для оператора во время пуска мотоблока и управления им, должны быть ограждены щитками или другими подобными защитными приспособлениями (далее - защитные устройства).

9.3 Защитные устройства должны быть постоянно присоединены к мотоблоку, а сниматься или открываться должны только с применением инструментов. Исключение составляет открытие защитных устройств для удаления почвы и доступа к частям двигателя.

9.4 Мотоблок должен иметь откидную опору для придания ему устойчивого положения без удержания его руками.

10 Требования к рабочему месту оператора мотоблока и к расположению органов управления

10.1 Рабочее место оператора, стоящего на земле, должно находиться в зоне, границы которой определены вытянутой вперед рукой оператора, имеющего антропометрические размеры, приведенные на рисунке 1.

1 - зона оператора, границы которой определены вытянутой рукой оператора среднего роста при его нормальном (прямом) положении, стоящего двумя ногами на земле
Примечание - В зоне оператора должны располагаться все часто используемые органы управления мотоблоком.
Рисунок 1 - Рабочая зона оператора мотоблока

10.2 Зона размещения рабочих органов управления - по ГОСТ 12.2.042. При расположении органов управления следует учитывать возможность поворота и наклона корпуса оператора до 15°.

10.3 Должны обеспечиваться устойчивое положение оператора, свобода его движений, контроль им за происходящими процессами.

10.4 При указанном на рисунке 1 положении оператора должно определяться положение рукояток руля мотоблока, исходя из возможности получения наибольшего и достаточного усилия удержания и управления мотоблоком.

10.5 Рукоятки руля мотоблока должны иметь регулировку для установки их в положение, соответствующее росту оператора.

10.6 На каждой рукоятке управления мотоблоком допускается размещать не более двух органов управления.

10.7 Аварийные органы управления двигателем и мотоблоком должны быть совмещены с рукоятками удержания мотоблока (руля) в рабочем положении.

10.8 Устойчивость и маневренность мотоблока должны обеспечиваться независимо от заполнения топливного бака, навески рабочих органов и других устройств.

10.9 Максимальная рабочая скорость мотоблока, управляемого идущим оператором, не должна превышать 4 км/ч.

10.10 Между мотоблоком, управляемым идущим оператором, и ногами оператора должна быть зона свободного пространства размерами не менее: перед ним длиной 600 мм, высотой 800 мм, шириной 600 мм.

10.11 Конструкция мотоблока, управляемого идущим оператором, должна обеспечивать видимость с рабочего места: габаритных точек мотоблока; ориентиров движения; приборов и рабочих органов; требующих визуального контроля элементов конструкций, служащих для навески и сцепки с агрегатируемыми машинами.

10.12 Мотоблок может иметь поворачивающийся руль (рулевую колонку) с устройством, фиксирующим его в требуемом положении.

10.13 На мотоблоках, предназначенных для реверсивного движения и имеющих рабочие органы перед мотоблоком, при повороте руля на 180° назад должны обеспечиваться зона свободного пространства по 10.11 и выполнение всех требований по пуску, остановке двигателя, рабочего органа, установленных в разделе 11.

10.14 Регулировки мотоблока и рабочего оборудования (навесные орудия) следует производить при выключенном двигателе и устойчивом положении мотоблока.

11 Условия безопасного пуска двигателя и работы мотоблока

11.1 Пуск двигателя мотоблока может осуществляться стартером с питанием от аккумулятора или стартером с ручным приводом. Допускается дублирование обоих видов пуска.

11.2 Пуск двигателя электростартером должен осуществляться с рабочего места оператора.

Пуск двигателя стартером с ручным приводом должен осуществляться оператором, находящимся за пределами опасной зоны.

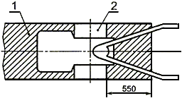
11.3 Опасная зона - продольная полоса, определенная шириной рабочего органа и ограниченная по направлению назад расстоянием 550 мм от наружного кожуха рабочего органа (рисунок 2).

1 - опасная зона; 2 - кожух рабочего органа
Рисунок 2 - Опасная зона при запуске мотоблока

11.4 Мотоблок, имеющий двигатель с ручным пуском, должен удерживаться от сдвига прижатием его к опорной плоскости ногой или рукой.

Усилие на рукоятке (шнуре) не должно превышать 60 Н.

11.5 Мотоблок должен иметь устройство, блокирующее пуск двигателя при включенной передаче.

11.6 Мотоблок должен быть снабжен устройством для остановки двигателя. Повторное включение должно осуществляться выполнением обычной процедуры пуска.

Кроме того, двигатель мотоблока должен иметь устройство экстренной остановки. Аварийные органы управления двигателем и рабочими органами должны быть совмещены с рукоятками удержания мотоблока в рабочем положении.

11.7 Увеличение оборотов двигателя и повышение скорости движения мотоблока должно осуществляться перемещением рычага управления оборотами двигателя вперед от оператора или вверх, а уменьшение оборотов и снижение скорости - перемещением рычага назад к оператору или вниз.

11.8 Для защиты двигателя от пуска посторонними лицами по заказу потребителя может устанавливаться замок зажигания с вынимаемым ключом.

11.9 На органах управления или рядом с ними должны размещаться таблички с обозначением функционального назначения и направления перемещения органов управления. Символика обозначений - по ГОСТ 26336.

11.10 Типовые способы приведения в действие основных органов управления мотоблоком приведены в приложении Е.

11.11 В инструкции по эксплуатации должно быть дано подробное описание процессов управления всеми органами управления мотоблоком.

12 Маркировка

12.1 На тракторе и мотоблоке должна быть установлена фирменная табличка.

На табличке указывают наименование и товарный знак предприятия-изготовителя, модель изделия, его порядковый номер, дату выпуска.

Таблички выполняют по ГОСТ 26828 и ГОСТ 12971.

12.2 Таблички с предупреждающей информацией должны располагаться на местах, указывающих на источник возможной опасности, и хорошо видны.

13 Эксплуатационные документы

Изготовитель вместе с трактором и мотоблоком должен представлять инструкцию по эксплуатации и техническому обслуживанию, а с мотоблоком - дополнительно инструкцию по технике безопасности.

Приложение А
(обязательное)

ЗОНЫ СВОБОДНОГО ПРОСТРАНСТВА

Рисунок А.1 - Зона свободного пространства при деформации дуги безопасности, установленной впереди центра рулевого колеса

Рисунок А.2 - Зона свободного пространства при деформации кабины, каркаса и других защитных устройств

Приложение Б
(обязательное)

ДОПУСТИМЫЕ УРОВНИ ВИБРАЦИИ В ВЕРТИКАЛЬНОМ НАПРАВЛЕНИИ НА СИДЕНЬЕ ОПЕРАТОРА ТРАКТОРА В ЗАВИСИМОСТИ ОТ ПРОДОЛЖИТЕЛЬНОСТИ НЕПРЕРЫВНОЙ РАБОТЫ

Допустимые уровни вибрации в вертикальном направлении на сиденье оператора трактора в зависимости от времени непрерывной работы согласно ГОСТ 12.1.012 рассчитаны по формуле Б.1 и приведены в таблице Б.1.

, (Б.1)

где - допустимый уровень вибрации на сиденье оператора для длительности воздействия 480 мин (8 ч).

Таблица Б.1

Длительность воздействия вибрации t 8 ч 6 ч 4 ч 3 ч 2 ч 1,5 ч 1 ч 45 мин 30 мин
Уровни виброускорения в вертикальном направлении , дБ 115,0 116,5 118,0 119,5 121,0 122,5 124,0 125,5 127,0
Виброускорение a, м/с 0,56 0,67 0,79 0,95 1,10 1,35 1,60 1,90 2,20

Приложение В
(обязательное)

ДОПУСТИМЫЕ УРОВНИ ВИБРАЦИИ НА ОРГАНАХ УПРАВЛЕНИЯ (ЛОКАЛЬНАЯ ВИБРАЦИЯ) В ЗАВИСИМОСТИ ОТ ПРОДОЛЖИТЕЛЬНОСТИ НЕПРЕРЫВНОЙ РАБОТЫ

Уровни вибрации на органах управления (локальная вибрация) в зависимости от времени непрерывной работы согласно ГОСТ 12.1.012 рассчитаны по формуле B.1 и приведены в таблице В.1.

, (В.1)

где - допустимый уровень локальной вибрации для длительности воздействия 480 мин (8 ч).

Таблица В.1

Длительность воздействия вибрации t 8 ч 6 ч 4 ч 3 ч 2 ч 1,5 ч 1 ч 45 мин 30 мин
Среднее квадратическое значение виброскорости v, м·· 2,0 2,3 2,8 3,2 4,0 4,6 5,6 6,4 8,0
Уровень виброскорости , дБ 112,0 113,5 115,0 116,5 118,0 119,5 121,0 122,5 124,0

Приложение Г
(обязательное)

ДОПУСТИМЫЕ УРОВНИ ШУМА НА РАБОЧЕМ МЕСТЕ ОПЕРАТОРА В ЗАВИСИМОСТИ ОТ ПРОДОЛЖИТЕЛЬНОСТИ НЕПРЕРЫВНОЙ РАБОТЫ

Допустимые уровни шума на рабочем месте оператора в зависимости от времени непрерывной работы согласно ГОСТ 12.1.003 рассчитаны по формуле Г.1 и приведены в таблице Г.1.

, (Г.1)

где - уровень звука, дБА;

- текущее значение среднего квадратического звукового давления с учетом коррекции шумомера, Па;

Т - длительность рабочей смены, 8 ч;

- время, в течение которого человек подвергается воздействию шума, ч;

- исходное значение звукового давления, Па (в воздухе 2·10 Па).

Таблица Г.1

Длительность воздействия шума 8 ч 6 ч 4 ч 3 ч 2 ч 1,5 ч 1 ч 45 мин 30 мин
Уровни звука , дБА 80,0 81,5 83,0 84,5 86,0 87,5 89,0 90,5 92,0

Приложение Д
(рекомендуемое)

ТИПОВЫЕ СПОСОБЫ ПРИВЕДЕНИЯ В ДЕЙСТВИЕ ОСНОВНЫХ ОРГАНОВ УПРАВЛЕНИЯ ТРАКТОРОМ

Таблица Д.1

Наименование органа управления Управляющее воздействие оператора Направление перемещения
Рычаг подачи топлива Поворот рычага предпочтительно правой рукой Вперед или вверх (увеличение подачи); назад или вниз (уменьшение подачи)
Педаль подачи топлива Нажатие на педаль стопой или носком стопы правой ноги Перемещение нажатием вперед и(или) вниз для увеличения числа оборотов двигателя
Рулевое колесо Вращение двумя руками Вращение рулевого колеса по часовой стрелке для поворота машины вправо, против часовой стрелки - влево
Рычаги поворота (правый и левый) для тракторов с гусеничным движителем Приведение в действие правой и(или) левой руками Перемещение правого рычага назад для поворота машины вправо, левого рычага назад - влево
Педали тормозов для тракторов с колесным движителем Приведение в действие правой ногой То же
Педали тормозов для тракторов с гусеничным движителем Приведение в действие правой и(или) левой ногами Перемещение нажатием вперед и(или) вниз при торможении
Рычаг или педаль стояночного тормоза Приведение в действие правой или левой рукой Перемещение тянущим движением при торможении либо нажатием ногой и фиксацией педали, либо правой стопой для педали
Педаль муфты сцепления Приведение в действие левой ногой Перемещение нажатием вперед и(или) вниз для выключения муфты
Рычаг реверса Приведение в действие правой или левой рукой Перемещение вперед для переднего хода
Рычаг изменения скорости движения при бесступенчатой коробке передач Приведение в действие предпочтительно правой рукой Перемещение вверх и(или) вперед для увеличения скорости переднего хода
Перемещение назад и(или) вниз для увеличения скорости заднего хода
Рычаг переключения передач Приведение в действие правой или левой рукой Направление перемещения относительно нейтрального положения, обозначить мнемосхемой
Рычаги управления гидросистемой навесного оборудования Приведение в действие предпочтительно правой рукой Перемещение вверх и(или) назад для подъема, вниз и(или) вперед для опускания навесного оборудования

Приложение Е
(рекомендуемое)

ТИПОВЫЕ СПОСОБЫ ПРИВЕДЕНИЯ В ДЕЙСТВИЕ ОСНОВНЫХ ОРГАНОВ УПРАВЛЕНИЯ МОТОБЛОКОМ

Таблица Е.1

Наименование функции и органа управления Расположение Способ воздействия
Пуск двигателя    
Включатель стартера (запуск двигателя от аккумулятора) Расположен так, что его можно включать только с рабочего места оператора Рукой
Запуск ручной Механизм вращения коленчатого вала на корпусе двигателя Рукой с помощью раскручивания вала двигателя шнуром
Изменение скорости    
Ручной рычаг управления подачей топлива На руле управления мотоблоком Перемещение рычага вперед или вверх (увеличение скорости), назад или вниз (уменьшение скорости)
Остановка    
Замок зажигания Впереди, легкодоступное оператору с рабочего места Замок зажигания должен иметь вынимаемый ключ, чтобы исключить запуск стартера посторонними лицами
Размыкатель цепи зажигания То же Перемещение выключателя в положение "Стоп" (выключено). Включатель должен оставаться в положении "Стоп" при снятии руки
Тяговое усилие - движение (управление движением)    
Рычаг сцепления На руле управления направлением движения мотоблока Перемещение рычага в сторону оператора