Палатки. Требования пожарной безопасности. Методы испытаний на воспламеняемость. ГОСТ р 59567-2021

(утв. Приказом Росстандарта от 15.06.2021 N 557-СТ)
Редакция от 15.06.2021 — Действует с 01.11.2021

НАЦИОНАЛЬНЫЙ СТАНДАРТ РОССИЙСКОЙ ФЕДЕРАЦИИ

ПАЛАТКИ

ТРЕБОВАНИЯ ПОЖАРНОЙ БЕЗОПАСНОСТИ

МЕТОДЫ ИСПЫТАНИЙ НА ВОСПЛАМЕНЯЕМОСТЬ

Tents. Fire safety requirements. Flammability test methods

ГОСТ Р 59567-2021

Дата введения
1 ноября 2021 года

Предисловие

1 РАЗРАБОТАН Федеральным государственным бюджетным учреждением "Всероссийский ордена "Знак Почета" научно-исследовательский институт противопожарной обороны" МЧС России (ФГБУ ВНИИПО МЧС России)

2 ВНЕСЕН Техническим комитетом по стандартизации ТК 274 "Пожарная безопасность"

3 УТВЕРЖДЕН И ВВЕДЕН В ДЕЙСТВИЕ Приказом Федерального агентства по техническому регулированию и метрологии от 15 июня 2021 г. N 557-ст

4 ВВЕДЕН ВПЕРВЫЕ

Правила применения настоящего стандарта установлены в статье 26 Федерального закона от 29 июня 2015 г. N 162-ФЗ "О стандартизации в Российской Федерации". Информация об изменениях к настоящему стандарту публикуется в ежегодном (но состоянию на 1 января текущего года) информационном указателе "Национальные стандарты", а официальный текст изменений и поправок - в ежемесячном информационном указателе "Национальные стандарты". В случае пересмотра (замены) или отмены настоящего стандарта соответствующее уведомление будет опубликовано в ближайшем выпуске ежемесячного информационного указателя "Национальные стандарты". Соответствующая информация, уведомление и тексты размещаются также в информационной системе общего пользования - на официальном сайте Федерального агентства по техническому регулированию и метрологии в сети Интернет (www.gosi.ru).

1 Область применения

1.1 Настоящий стандарт устанавливает методы определения воспламеняемости от малокалорийных источников зажигания (газовая горелка, эквивалентная пламени спички, таблетка из технического уротропина) текстильных и полимерных материалов для палаток, а также требования пожарной безопасности к указанным материалам.

1.2 Настоящий стандарт распространяется на палатки для детских лагерей палаточного типа.

2 Нормативные ссылки

В настоящем стандарте использованы нормативные ссылки на следующие стандарты:

ГОСТ 12.1.005 Система стандартов безопасности труда. Общие санитарно-гигиенические требования к воздуху рабочей зоны

ГОСТ 12.1.019 Система стандартов безопасности труда. Электробезопасность. Общие требования и номенклатура видов защиты

ГОСТ 12.1.044 Система стандартов безопасности труда. Пожаровзрывоопасность веществ и материалов. Номенклатура показателей и методы их определения

ГОСТ 166 (ИСО 3599-76) Штангенциркули. Технические условия

ГОСТ 427-75 Линейки измерительные металлические. Технические условия

ГОСТ 1381-733 Уротропин технический. Технические условия

ГОСТ 18124-2012 Листы хризотилцементные плоские. Технические условия

Примечание - При пользовании настоящим стандартом целесообразно проверить действие ссылочных стандартов в информационной системе общего пользования - на официальном сайте Федерального агентства по техническому регулированию и метрологии в сети Интернет или по ежегодному информационному указателю "Национальные стандарты", который опубликован по состоянию на 1 января текущего года, и по выпускам ежемесячного информационного указателя "Национальные стандарты" за текущий год. Если заменен ссылочный стандарт, на который дана недатированная ссылка, то рекомендуется использовать действующую версию этого стандарта с учетом всех внесенных в данную версию изменений. Если заменен ссылочный стандарт, на который дана датированная ссылка, то рекомендуется использовать версию этого стандарта с указанным выше годом утверждения (принятия). Если после утверждения настоящего стандарта в ссылочный стандарт, на который дана датированная ссылка, внесено изменение, затрагивающее положение, на которое дана ссылка, то это положение рекомендуется применять без учета данного изменения. Если ссылочный стандарт отменен без замены, то положение, в котором дана ссылка на него, рекомендуется применять в части, не затрагивающей эту ссылку.

3 Термины и определения

В настоящем стандарте применены следующие термины с соответствующими определениями:

3.1 воспламеняемость: Способность материала к пламенному горению под воздействием источника зажигания.

3.2 время остаточного горения: Время, в течение которого продолжается пламенное горение материала после удаления источника зажигания.

3.3 время остаточного тления: Время, в течение которого продолжается тление материала после прекращения пламенного горения или удаления источника зажигания.

3.4 огнезащитные составы и вещества; ОЗСВ: Составы, вещества (смесь веществ), обладающие требуемой огнезащитной эффективностью и специально предназначенные для огнезащитной обработки различных текстильных материалов и изделий из них.

3.5 объект огнезащиты: Текстильные и полимерные материалы, подвергаемые обработке ОЗСВ в целях снижения их пожарной опасности.

3.6 огнезащитная обработка: Нанесение огнезащитного состава на поверхность и (или) введение его в объем объекта огнезащиты.

3.7 максимальная длина поврежденной части образца: Максимальное расстояние от центра образца напольного текстильного покрытия до края поврежденного участка.

3.8 устойчивость к воспламенению: Способность текстильных и полимерных материалов для палаток препятствовать воспламенению, не поддерживать пламенное горение, не прогорать и не являться источником вторичного воспламенения в результате образования горящего расплава при воздействии стандартных источников зажигания в условиях испытаний.

3.9 наружный тент палатки: Навес для защиты от солнца и атмосферных осадков, как правило, состоит из тканого, синтетического или комбинированного полотнища, натянутого на каркас.

3.10 внутренний тент палатки: Съемное изделие внутри наружного тента палатки, состоящее из тканого, синтетического или комбинированного полотнища, предназначенное для создания более комфортных условий пребывания людей, в том числе обеспечивающее воздухопроницаемость и дополнительную защиту от солнца или от атмосферных осадков.

4 Критерии оценки возможности отнесения текстильных и полимерных материалов для палаток к устойчивым к воспламенению

4.1 Критериями устойчивости к воспламенению текстильных и полимерных материалов наружных тентов палаток являются:

- время остаточного пламенного горения образцов, испытанных при зажигании с поверхности:

- возможность прогорания образца до одной из его кромок при зажигании с поверхности;

- возможность воспламенения хлопчатобумажной ваты под любым из испытанных образцов.

4.2 Критериями устойчивости к воспламенению текстильных и полимерных материалов внутренних тентов палаток и их основных элементов (в частности, противомоскитных сеток) являются:

- время остаточного пламенного горения образцов, испытанных при зажигании с поверхности или кромки;

- возможность прогорания образца до одной из его кромок при зажигании с поверхности или кромки;

- возможность воспламенения хлопчатобумажной ваты под любым из испытанных образцов.

4.3 Критериями устойчивости к воспламенению материалов пола (покрытий пола) палаток являются:

- время остаточного горения (тления);

- максимальная длина поврежденной части образца.

5 Требования пожарной безопасности к текстильным и полимерным материалам для палаток

5.1 Требования пожарной безопасности к текстильным и полимерным материалам для палаток устанавливают для исключения применения в них материалов, не относящихся к устойчивым к воспламенению от малокалорийных источников зажигания и чрезвычайно опасных по токсичности продуктов горения.

5.2 Текстильные и полимерные материалы наружных тентов для палаток относятся к устойчивым к воспламенению при выполнении следующих условий:

- отсутствует прогорание до кромок;

- отсутствует воспламенение хлопчатобумажной ваты;

- время остаточного пламенного горения составляет не более 5 с у любого из образцов, испытанных при поверхностном зажигании.

5.3 Текстильные и полимерные материалы внутренних тентов палаток относятся к устойчивым к воспламенению при выполнении следующих условий:

- отсутствует прогорание до кромок;

- отсутствует воспламенение хлопчатобумажной ваты;

- время остаточного пламенного горения составляет не более 5 с у любого из образцов, испытанных при зажигании с поверхности или кромки.

5.4 Материалы пола (покрытия пола) палаток относятся к устойчивым к воспламенению при выполнении следующих условий:

- время остаточного горения (тления) составляет не более 20 с;

- максимальная длина поврежденной части образца не превышает 30 мм.

5.5 Текстильные и полимерные материалы для палаток должны относиться к устойчивым к воспламенению в соответствии с 5.2 - 5.4.

5.6 Текстильные и полимерные материалы для палаток не должны относиться к чрезвычайно опасным по токсичности продуктов горения материалов по ГОСТ 12.1.044.

6 Методы определения воспламеняемости текстильных и полимерных материалов для палаток

Испытаниям подвергают материалы наружных и внутренних тентов, пола (покрытия пола) палаток для оценки устойчивости к воспламенению от малокалорийных источников зажигания.

6.1 Определение воспламеняемости текстильных и полимерных материалов наружных и внутренних тентов для палаток

6.1.1 Аппаратура, средства измерения и материалы

6.1.1.1 Для испытаний должен применяться прибор для определения воспламеняемости текстильных и полимерных материалов в соответствии с рисунком 1.

6.1.1.2 Держатель-рамка изготовлен из металла сечением 10*2 мм на котором установлены шпильки для крепления образца. Все детали изготовлены из нержавеющей стали.

6.1.1.3 Держатель горелки может перемещаться по металлическому основанию в горизонтальном направлении к образцу и от него. Держатель горелки обеспечивает возможность установления горелки в одном из трех положений; горизонтально, вертикально и под углом 60° к горизонтали.

6.1.1.4 Горелка, представленная на рисунке 2, с помощью которой осуществляется зажигание образца. работает на сжиженном газе пропанбутан.

6.1.1.5 При проведении испытаний прибор помещают в камеру размером 700*325*750 мм, изготовленную из листового негорючего материала толщиной от 0.5 до 1,0 мм включительно. Крыша камеры имеет тридцать два симметричных отверстия диаметром (13 1 1) мм. Каждая из вертикальных стенок камеры в нижней части также должна иметь вентиляционные отверстия общей площадью не менее 32 см2, расположенные симметрично. Одна из стенок камеры размером 700*750 мм сделана в виде закрывающейся стеклянной двери. В камере предусмотрены отверстия для трубки, подводящей газ к горелке, и рукоятки для перемещения горелки. Пол камеры выполнен из негорючего изоляционного материала.

6.1.1.6 Средством измерений служит секундомер с погрешностью измерения 1 с.

6.1.1.7 Для испытаний также необходим сушильный шкаф с температурой нагрева не менее 80 °C.

6.1.2 Подготовка к испытаниям

6.1.2.1 Для испытаний изготовляют восемь образцов материала размером 220*170 мм; для тканей - восемь в направлении основы (по длине) и восемь - в направлении утка (по ширине). Если материал имеет различные поверхности, то образцы испытывают с двух сторон.

1 - держатель - рамка образца; 2 - основание; 3 - вертикальные стойки; 4 - держатель горелки; 5 - горелка

Рисунок 1 - Прибор для определения воспламеняемости текстильных и полимерных материалов для палаток

6.1.2.2 Перед испытаниями образцы кондиционируют при температуре (205) °С и относительной влажности (657) % в течение 24 ч. Каждый образец после его удаления из атмосферы, где он кондиционировался, должен быть испытан в течение 3 мин или помещен в герметичный контейнер до испытаний.

6.1.2.3 Текстильные материалы с огнезащитной обработкой должны быть подвергнуты ускоренному гидролизу и испытаны до гидролиза и после него. Ускоренный гидролиз проводится следующим образом: образец материала полностью погружается в емкость, содержащую водопроводную воду, при комнатной температуре на 72 ч со сменой воды через каждые 24 ч. Емкость должна быть такой, чтобы отношение массы образцов к массе воды составляло 1:20. Сушку образцов проводят отжимом между слоями фильтровальной бумаги и последующим высушиванием при температуре 70 °С в течение 6 ч. Затем образцы кондиционируют согласно 6.1.2.2. По требованию заказчика некоторые виды текстильных материалов следует подвергать химчистке.

6.1.2.4 Перед началом испытаний на основание прибора под образцом укладывают слой хлопчатобумажной ваты толщиной 10 мм. Вату кондиционируют вместе с образцами.

6.1.2.5 Перед испытаниями газовую горелку прогревают в течение 2 мин. Высоту пламени регулируют вентилем и в вертикальном положении горелки она должна составлять (402) мм.

а - общий вид горелки: 1 - дроссельная трубка. 2 - тазовое сопло. 3 - трубка горелки. 4 - стабилизатор пламени. 5 - выемка.
б - газовое сопло горелки, в - стабилизатор пламени горелки: А - трубка газовой горелки;
1 - зона смешения тазов. 2 - зона диффузии. 3 - выпуск газа. 4 - воздушная камера

Рисунок 2 - Горелка для зажигания образца

6.1.3 Проведение испытаний

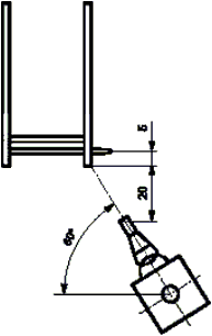
6.1.3.1 Образец текстильного или полимерного материала закрепляют на рамке таким образом, чтобы нижняя кромка образца выходила за нижнюю шпильку на 5 мм.

6.1.3.2 Горелку устанавливают в горизонтальном положении на 40 мм выше нижней кромки образца и придвигают к образцу на расстояние, равное 17 мм (рисунок 3). Время воздействия пламени на образец должно составлять 5 с.

Рисунок 3 - Испытания с поверхности

При отсутствии устойчивого горения проводят испытание на новом образце, не изменяя положения горелки. Время воздействия пламени увеличивается до 10 с.

В случае отсутствия устойчивого горения образца необходимо изменить положение горелки: установить горелку под углом 60° к горизонтали и расположить ее в соответствии с рисунком 4 таким образом, чтобы пламя касалось нижней кромки образца. Время воздействия пламени на новый образец должно составлять 5 с.

Рисунок 4 - Испытания с кромки

При отсутствии устойчивого горения время воздействия пламени увеличивается до 10 с.

При отсутствии устойчивого горения образцы должны быть испытаны при условиях, дающих наибольшую длину обугливающегося участка.

Испытания проводят на пяти образцах материала, а для тканей - на пяти образцах в направлении основы (по длине) и на пяти образцах в направлении утка (по ширине), используя те же условия зажигания, при которых были получены устойчивое горение или наибольшая длина обуглившегося участка при проведении опытов в указанной выше последовательности.

6.1.4 Оценка результатов испытаний

6.1.4.1 При проведении испытаний регистрируют: время остаточного горения, наличие воспламенения или тления хлопчатобумажной ваты от падающих частей или горящих капель испытуемого образца, прогорание до кромки.

6.1.4.2 Если из пяти образцов материала, а для тканей - из пяти, вырезанных в направлении основы (по длине) или утка (по ширине), одному или более из требований 5.3 не удовлетворяет хотя бы один, то проводят повторное испытание на пяти образцах. Если и повторно подтверждены полученные результаты, то материал считается неустойчивым к воспламенению.

6.1.4.3 Результаты испытаний оформляют протоколами по форме, приведенной в приложении А.

6.1.5 Требования безопасности

6.1.5.1 Установка определения воспламеняемости текстильных материалов для палаток должна быть оборудована вытяжной вентиляцией. Рабочее место оператора должно соответствовать санитарно-гигиеническим требованиям по ГОСТ 12.1.005.

6.2 Метод определения устойчивости к воспламенению материалов пола (покрытий пола), палаток

6.2.1 Аппаратура, средства измерения и материалы

6.2.1.1 Для определения воспламеняемости материалов пола (покрытий пола) используют установку "Таблетка", общий вид которой приведен на рисунке 5.

1 - испытательная камера; 2 - смотровое окно; 3 - выдвижное основание; 4 - металлическая пластина.
S - месторасположения источника воспламенения

Рисунок 5 - Установка "Таблетка"

Установка "Таблетка" состоит из испытательной камеры 1. имеющей внутренние размеры (300*300*300) мм изготовленной из негорючего листового материала (например, хризотилцементных (асбестоцементных) листов по ГОСТ 18124) плотностью не менее 2000 кг/м3, толщиной 10 мм. с герметично заделанными швами. Камера сверху открыта, в передней стенке имеется застекленное смотровое окно 2 размером 250*190 мм внизу - плоское выдвижное основание 3, на которое устанавливается металлическая пластина 4 размером (230*230) мм. толщиной 6 мм и внутренним отверстием диаметром 205 мм и расположенным источником воспламенения 5.

6.2.1.2 Технические характеристики установки "Таблетка" указаны в таблице 1.

Таблица 1

Технические характеристики установки "Таблетка"

Наименование Значение
Габаритные размеры установки, мм:  
длина 320 12
ширина 320 12
высота 345 1 2
Внутренние размеры испытательной камеры, мм:  
длина 300 1 2
ширина 30012
высота 300 1 2
Пластина для нагрузки образцов, мм:  
длина 23011
ширина 23011
толщина 610,1
диаметр отверстия 20510.5
Масса установки, кг 18,110.2

6.2.1.3 Источником воспламеняемости является таблетка из технического уротропина марки С по ГОСТ 1381 плоской формы, диаметром (610.2) мм и массой (15015) мг.

Примечание - Для уменьшения склонности к растрескиванию таблеток при горении их следует хранить в эксикаторе.

Эксикатор(ы) для хранения таблеток и образцов материалов

В качестве поглотителя влаги рекомендуется использовать силикагель.

Средства измерений, необходимые при работе для определения воспламеняемости на установке "Таблетка", приведены в таблице 2.

6.2.1.4 Для измерения времени горения применяют секундомер с пределом измерения (0 - 60) мин и погрешностью измерения 1.8 с.

6.2.1.5 Для испытаний необходим сушильный шкаф с температурой нагрева не менее 80 °C,

6.2.1.6 Используют также лабораторный вытяжной шкаф емкостью не менее 2 м3 с остекленной передней стенкой (крышкой), скорость движения воздуха в котором должна быть не более 1.5 м/с.

Таблица 2

Средства измерений и их характеристики

Наименование средства намерений Предел измерений Погрешность измерения Назначение
Секундомер 0 - 60 мин 11.8 с Измерение времени горения (тления)
Штангенциркуль 0 - 150 мм 10.1 мм Измерение линейных размеров
Линейка металлическая 0 - 500 мм 11 мм Измерение линейных размеров
Измеритель влажности 10 % - 95 % 18.0 % Измерение влажности
Термометр от 10 °С до * 40 °С 10.5 °С Измерение температуры
Весы 0,02 - 310 г 10.005 г Измерение массы
Термоанемометр 0,2 - 20.0 м/с 10,1 м/с Измерение скорости воздушного потока

Примечание - Допускается применение других средств измерений утвержденного типа при условии выполнения требований к погрешности измерений, не хуже приведенных в таблице 2.

6.2.2 Подготовка к испытаниям

6.2.2.1 Для испытаний изготавливают восемь образцов следующих размеров, мм: (2303) - длина. (2303) - ширина.

6.2.2.2 Перед испытаниями образцы кондиционируют при температуре (205) °С и относительной влажности (657) % в течение 24 ч. Каждый образец после его удаления из атмосферы, где он кондиционировался, должен быть испытан в течение 3 мин или помещен в герметичный контейнер до испытаний.

6.2.3 Проведение испытаний

6.2.3.1 Испытания проводят в помещении при температуре от 10 °C до 30 °С включительно и относительной влажности воздуха от 20 % до 65 % включительно.

6.2.3.2 Установку "Таблетка" помещают в вытяжной шкаф.

6.2.3.3 Образец материала пола (напольного покрытия) после кондиционирования помещают в центре дна испытательной камеры в горизонтальном положении лицевой поверхностью вверх.

6.2.3.4 На образец накладывают металлическую пластину, выравнивая ее края по кромке образца.

6.2.3.5 Таблетку уротропина помещают плоской стороной на образец по центру отверстия пластины и поджигают, слегка касаясь горящей спичкой поверхности таблетки, но не касаясь поверхности образца.

6.2.3.6 После воспламенения таблетки включают секундомер и закрывают вытяжной шкаф до окончания испытания.

6.2.3.7 По окончании испытания каждого образца в вытяжном шкафу включают вытяжную вентиляцию для удаления продуктов горения.

В случае растрескивания таблетки и/или изменения ее положения от центра отверстия пластины во время горения результаты испытаний считают недействительными.

6.2.3.8 При проведении испытаний регистрируют: время горения таблетки, время самостоятельного горения (тления) образца, время достижения пламенем края образца (металлической пластины).

6.2.3.9 После проведения испытания определяют наличие сквозного прогорания образца (на просвет). максимальную длину поврежденной части образца металлической линейкой по ГОСТ 427 или штангенциркулем по ГОСТ 166.

6.2.3.10 Испытание считают законченным, если выполнено хотя бы одно из следующих условий: прекращение горения таблетки и отсутствие самостоятельного горения или тления образца, или достижение пламенем края образца (металлической пластины), вне зависимости, догорела таблетка или нет.

6.2.3.11 После окончания испытания каждого образца выдвигают основание камеры, поднимают металлическую пластину, убирают образец, очищают дно камеры от остатков продуктов горения и выключают вентиляцию в вытяжном шкафу.

6.2.3.12 Для каждого последующего образца повторяют операции по 6.2.3.3 - 6.2.3.9.

6.2.4 Оценка результатов

6.2.4.1 Результатом испытания для каждого образца считают значения, полученные согласно 6.2.3.8 и 6.2.3.9.

6.2.4.2 Оценку результатов испытаний для каждого образца проводят по следующим показателям:

- время самостоятельного горения (тления) образца;

- максимальная длина поврежденной части образца.

6.2.4.3 За конечный результат времени самостоятельного горения (тления) образца и длины поврежденной части образца принимают максимальные значения восьми испытаний.

6.2.4.4 Если из восьми образцов требованиям 5.4 не удовлетворяет хотя бы один, то проводят повторные испытания еще на восьми образцах. Если и повторно подтверждены полученные результаты, то материал пола (покрытия пола) также считается неустойчивым к воспламенению.

6.2.4.5 Результаты испытаний образцов оформляют протоколом по форме, приведенной в приложении Б.

6.2.5 Требования безопасности

Помещение, в котором проводят испытания, должно быть оборудовано приточно-вытяжной вентиляцией. Рабочее место оператора должно удовлетворять требованиям электробезопасности по ГОСТ 12.1.019 и санитарно-гигиеническим требованиям по ГОСТ 12.1.005.

Приложение А
(рекомендуемое)

Форма протокола испытаний

НАИМЕНОВАНИЕ ЛАБОРАТОРИИ

Протокол испытаний N ___

ОПРЕДЕЛЕНИЕ ВОСПЛАМЕНЯЕМОСТИ ТЕКСТИЛЬНЫХ И ПОЛИМЕРНЫХ МАТЕРИАЛОВ НАРУЖНЫХ И ВНУТРЕННИХ ТЕНТОВ ПАЛАТОК

Дата:     Наименование и характеристика материала  
Приборы     Поверхностная плотность  

Нормативный документ

Экспериментальные данные

Примечание  
Заключение  
Исполнителен:  
Регистрируемые параметры Испытания
Вдоль основы Вдоль утка
N испытания Результирующие параметры N испытания Результирующие параметры
1 2 3 4 5 6 7 1 2 3 4 5 6 7
Время зажигания с поверхности, с                                
Время зажигания с кромки, с                                
Время остаточного горения, с                                
Прогорание до кромки                                
Воспламенение хлопчатобумажной ваты                                

Приложение Б
(рекомендуемое)

Форма протокола испытаний

НАИМЕНОВАНИЕ ЛАБОРАТОРИИ

Протокол испытаний N _____

ОПРЕДЕЛЕНИЕ ВОСПЛАМЕНЯЕМОСТИ МАТЕРИАЛОВ ПОЛА (ПОКРЫТИЙ ПОЛА) ПАЛАТОК

Дата:     Наименование материала  
Характеристика материала:     Условия в помещении:  
температура, °С        
относительная влажность, %        

Результаты испытаний

Примечание  
Заключение  
Исполнителен:  
Регистрируемые параметры Номер образца Максимальное значение
Время воздействия источника воспламенения (таблетки), с                 -
Время самостоятельного горения (тления) образца, с                  
Время достижения пламенем края образца (пластины), с                 -
Максимальная длина поврежденной части образца, мм