Маркировка грузов. ГОСТ 14192-96

(утв. Постановлением Госстандарта РФ от 18.06.97 N 219)
Редакция от 03.08.2012 — Действует с 01.01.2013
Показать изменения

МЕЖГОСУДАРСТВЕННЫЙ СТАНДАРТ

МАРКИРОВКА ГРУЗОВ

Marking of cargoes

ГОСТ 14192-96

(в ред. Изменений N 1, утв. Постановлением Госстандарта России от 14.09.2000 N 223-ст, N 2, утв. Приказом Ростехрегулирования от 14.08.2007 N 203-ст, N 3, утв. Приказом Росстандарта от 03.08.2012 N 214-ст)

Дата введения
1 января 1998 года

Предисловие

1. Разработан Научно-исследовательским экспериментально-конструкторским институтом тары и упаковки (НИЭКИТУ), Межгосударственным техническим комитетом по стандартизации МТК 223 "Упаковка".

Внесен Госстандартом России.

2. Принят Межгосударственным советом по стандартизации, метрологии и сертификации (Протокол N 10 от 4 октября 1996 г.).

За принятие проголосовали:

Наименование государства Наименование национального органа по стандартизации
Азербайджанская Республика Азгосстандарт
Республика Армения Армгосстандарт
Республика Беларусь Госстандарт Республики Беларусь
Республика Казахстан Госстандарт Республики Казахстан
Кыргызская Республика Кыргызстандарт
Республика Молдова Молдовастандарт
Российская Федерация Госстандарт России
Республика Таджикистан Таджикгосстандарт
Туркменистан Главгосинспекция "Туркменстандартлары"
Республика Узбекистан Узгосстандарт
Украина Госстандарт Украины

Изменение N 1 принято Межгосударственным советом по стандартизации, метрологии и сертификации (Протокол N 17-2000 от 22 июня 2000 г.).

Рег. МГС N 3566.

За принятие проголосовали:

Наименование государства Наименование национального органа по стандартизации
Республика Армения Армгосстандарт
Республика Беларусь Госстандарт Республики Беларусь
Республика Казахстан Госстандарт Республики Казахстан
Кыргызская Республика Кыргызстандарт
Республика Молдова Молдовастандарт
Российская Федерация Госстандарт России
Республика Таджикистан Таджикгосстандарт

3. Постановлением Государственного комитета Российской Федерации по стандартизации, метрологии и сертификации от 18 июня 1997 г. N 219 межгосударственный стандарт ГОСТ 14192-96 введен в действие непосредственно в качестве государственного стандарта Российской Федерации с 1 января 1998 г.

4. Взамен ГОСТ 14192-77.

5. Издание (декабрь 2000 г.) с Изменением N 1, принятым в июне 2000 г. (ИУС 11-2000).

1. Область применения

Настоящий стандарт устанавливает общие правила маркировки грузов, в том числе поставляемых на экспорт, и предназначен для разработки нормативных документов на конкретные виды продукции.

Маркировка опасных грузов должна соответствовать требованиям ГОСТ 19433, предупредительная маркировка химической продукции должна соответствовать требованиям ГОСТ 31340, а также правилам маркировки опасных грузов, действующим на конкретном виде транспорта, и (или) типовым правилам ООН по перевозке опасных грузов. (в ред. Изменения N 3, утв. Приказом Росстандарта от 03.08.2012 N 214-ст)

Стандарт не распространяется на маркировку, содержащую данные об упакованной продукции, требования к которой должны устанавливаться в нормативных документах на конкретные виды продукции, а также не распространяется на маркировку грузов, отправляемых специализированными транспортными средствами, почтовыми посылками насыпью или навалом и насыпью в транспортных средствах. (в ред. Изменения N 1, утв. Постановлением Госстандарта РФ от 14.09.2000 N 223-ст)

2. Нормативные ссылки (в ред. Изменения N 1, утв. Постановлением Госстандарта РФ от 14.09.2000 N 223-ст)

В настоящем стандарте использованы ссылки на следующие стандарты:

ГОСТ 9481-76. Ящики из гофрированного картона для химических нитей. Технические условия

ГОСТ ИСО/МЭК 16390-2005 Автоматическая идентификация. Кодирование штриховое. Спецификации символики Interleaved 2 of 5 (2 из 5 чередующийся) (в ред. Изменения N 2, утв. Приказом Ростехрегулирования от 14.08.2007 N 203-ст)

ГОСТ 19433-88. Грузы опасные. Классификация и маркировка

ГОСТ 26319-84. Грузы опасные. Упаковка

ГОСТ 26319-84 отменен. Взамен него с 01.02.2021 введен в действие ГОСТ 26319-2020.

ГОСТ 30742-2001 (ИСО/МЭК 16388-99) Автоматическая идентификация. Кодирование штриховое. Спецификация символики Code 39 (Код 39) (в ред. Изменения N 2, утв. Приказом Ростехрегулирования от 14.08.2007 N 203-ст)

ГОСТ 30743-2001 (ИСО/МЭК 15417-2000) Автоматическая идентификация. Кодирование штриховое. Спецификация символики Code 128 (Код 128) (в ред. Изменения N 2, утв. Приказом Ростехрегулирования от 14.08.2007 N 203-ст)

ГОСТ ИСО/МЭК 15459-1-2008 Автоматическая идентификация. Идентификаторы уникальные международные. Часть 1. Уникальные идентификаторы транспортируемых единиц (в ред. Изменения N 2, утв. Приказом Ростехрегулирования от 14.08.2007 N 203-ст)

ГОСТ ИСО/МЭК 15459-2-2008 Автоматическая идентификация. Идентификаторы уникальные международные. Часть 2. Порядок регистрации (в ред. Изменения N 2, утв. Приказом Ростехрегулирования от 14.08.2007 N 203-ст)

ГОСТ 31016-2003 (ИСО/МЭК 15438:2001) Автоматическая идентификация. Кодирование штриховое. Спецификации символики РDF417 (ПДФ417) (в ред. Изменения N 2, утв. Приказом Ростехрегулирования от 14.08.2007 N 203-ст)

ГОСТ 31340-2007 Предупредительная маркировка химической продукции. Общие требования (в ред. Изменения N 3, утв. Приказом Росстандарта от 03.08.2012 N 214-ст)

3. Содержание маркировки

3.1. Транспортная маркировка должна содержать манипуляционные знаки, основные, дополнительные и информационные надписи.

3.2. Манипуляционные знаки - изображения, указывающие на способы обращения с грузом.

3.3. Основные надписи должны содержать:

- полное или условное зарегистрированное в установленном порядке наименование грузополучателя;

- наименование пункта назначения с указанием, при необходимости, станции или порта перегрузки. Если пунктом назначения является железнодорожная станция (порт), должно быть указано полное наименование станции (порта) и сокращенное наименование дороги (пароходства) назначения;

- количество грузовых мест в партии и порядковый номер места внутри партии указывают дробью: в числителе - порядковый номер места в партии, в знаменателе - количество мест в партии.

Количество грузовых мест и порядковый номер места следует указывать при перевозке следующих грузов:

- разнородных или разносортных грузов в однотипной таре (например, разные сорта хлопка в кипах);

- однородных грузов в разнотипной таре;

- однородных грузов, когда недопустимо смешение сортов в партии;

- комплектов оборудования;

- грузов в одном вагоне мелкими отправками. (в ред. Изменения N 1, утв. Постановлением Госстандарта РФ от 14.09.2000 N 223-ст)

3.4. Дополнительные надписи должны содержать:

- полное или условное зарегистрированное в установленном порядке наименование грузоотправителя;

- наименование пункта отправления с указанием железнодорожной станции отправления и сокращенное наименование дороги отправления;

- надписи транспортных организаций (содержание надписей и порядок нанесения устанавливаются правилами транспортных министерств).

3.5. Информационные надписи должны содержать:

- массы брутто и нетто грузового места в килограммах. Допускается вместо массы нетто указывать количество изделий в штуках, а также не наносить массу брутто и нетто или количество изделий в штуках, если они указаны в маркировке, характеризующей упакованную продукцию;

- габаритные размеры грузового места в сантиметрах (длина, ширина и высота или диаметр и высота).

Габаритные размеры не указывают, если ни один из габаритных размеров не превышает 1 м при транспортировании груза на открытом подвижном составе, 1,2 м - в крытом и 0,7 м при транспортировании воздушным транспортом.

3.6. При перевозке грузов транспортными пакетами на каждом из них должны быть нанесены основные, дополнительные и информационные надписи. При этом вместо порядкового номера места и количества грузовых мест в партии наносят:

в числителе - общее количество пакетов в партии;

в знаменателе - количество грузовых мест в пакете, в скобках порядковый номер пакета, например: (2).

Основные, дополнительные и информационные надписи (кроме массы брутто и нетто) не наносят на отдельные грузовые места, из которых сформирован пакет.

На пакетах, сформированных из грузов, перевозимых без упаковки, необходимость нанесения общего количества пакетов в партии, количества грузовых мест в пакете и порядкового номера пакета устанавливают в нормативных документах на конкретные виды продукции. (в ред. Изменения N 1, утв. Постановлением Госстандарта РФ от 14.09.2000 N 223-ст)

3.7. По согласованию между торговыми партнерами и транспортными организациями на упаковку (транспортный пакет), груз может быть нанесена дополнительная маркировка с использованием машиночитаемых носителей данных (символов линейного штрихового кода, двумерных символов, а также радиочастотных меток). (в ред. Изменения N 2, утв. Приказом Ростехрегулирования от 14.08.2007 N 203-ст)

Примечание. Указанная маркировка предназначена для автоматизации управленческих операций, связанных с процессами отгрузки, транспортирования и приемки грузов. Информация на машиночитаемом носителе данных служит ключом для доступа к соответствующей базе данных, содержащей детальную информацию о транспортируемой единице, включая информацию, передаваемую путем электронного обмена данными. (в ред. Изменения N 2, утв. Приказом Ростехрегулирования от 14.08.2007 N 203-ст)

Каждой транспортируемой единице рекомендуется присваивать уникальный идентификатор транспортируемых единиц по ГОСТ ИСО/МЭК 15459-1. Порядок присвоения идентификатора должен соответствовать ГОСТ ИСО/МЭК 15459-2. (в ред. Изменений N 2, утв. Приказом Ростехрегулирования от 14.08.2007 N 203-ст, N 3, утв. Приказом Росстандарта от 03.08.2012 N 214-ст)

3.7.1. Общие требования к оформлению ярлыка (этикетки) для отправки, транспортирования и приемки грузов с линейными символами штрихового кода и двумерными символами устанавливают в национальной технической документации <*>. (в ред. Изменения N 2, утв. Приказом Ростехрегулирования от 14.08.2007 N 203-ст)

<*> В Российской Федерации действует ГОСТ Р 51294.10-2002. (в ред. Изменения N 2, утв. Приказом Ростехрегулирования от 14.08.2007 N 203-ст)

4. Манипуляционные знаки

4.1. Изображение, наименование и назначение манипуляционных знаков должны соответствовать указанным в таблице 1.

Таблица 1

Номер и наименование знака Изображение знака Назначение знака
1. Хрупкое.
Осторожно

Пример расположения

Хрупкость груза.
Осторожное обращение с грузом
2. Беречь от солнечных лучей Груз следует защищать от солнечных лучей
3. Беречь от влаги Необходимость защиты груза от воздействия влаги
4. Беречь от излучения Любой из видов излучения может влиять на свойства груза или изменять их (например непроявленные пленки)
5. Пределы температуры Диапазон температур, при которых следует хранить груз или манипулировать им
Примеры расположения ... °С


а)
(в ред. Изменения N 3, утв. Приказом Росстандарта от 03.08.2012 N 214-ст)
6. Скоропортящийся груз Груз при транспортировании и хранении не может находиться под влиянием высокой или низкой температуры, и для защиты груза требуются соответствующие мероприятия (искусственное охлаждение или нагревание, проветривание и др.).
Знак наносят на грузы, которые транспортируют в соответствии с правилами перевозки скоропортящихся грузов, установленными транспортными министерствами
7. Герметичная упаковка При транспортировании, перегрузке и хранении открывать упаковку запрещается
8. Крюками не брать Запрещение применения крюков при поднятии груза
9. Место строповки
Пример расположения

Указывает место расположения канатов или цепей для подъема груза
10. Здесь поднимать тележкой запрещается Указывает места, где нельзя применять тележку при подъеме груза
11. Верх Указывает правильное вертикальное положение груза
Пример расположения
12. Центр тяжести
Пример расположения

Место центра тяжести груза.
Примечание. Пример расположения знака указывает место центра тяжести груза.
Знак наносят, если центр тяжести не совпадает с геометрическим центром тяжести
13. Тропическая упаковка Знак наносят на груз, когда повреждения упаковки при погрузочно-разгрузочных работах, транспортировании или хранении могут привести к порче груза вследствие неблагоприятного воздействия тропического климата.
Обозначения:
Т - знак тропической упаковки;
00-00 - месяц и год упаковывания
14. Штабелировать запрещается Не допускается штабелировать груз.
На груз с этим знаком при транспортировании и хранении не допускается класть другие грузы
15. Поднимать непосредственно за груз Подъем осуществляется только непосредственно за груз, т.е. поднимать груз за упаковку запрещается
16. Открывать здесь Упаковку открывают только в указанном месте
17. Защищать от радиоактивных источников Проникание излучения может снизить или уничтожить ценность груза
18. Не кантовать Транспортную упаковку нельзя кантовать
(в ред. Изменения N 3, утв. Приказом Росстандарта от 03.08.2012 N 214-ст)
19. Предел штабелирования по массе Указывает максимальную нагрузку при штабелировании, допущенную для размещения на транспортной упаковке
(в ред. Изменения N 3, утв. Приказом Росстандарта от 03.08.2012 N 214-ст)
20. Зажимать здесь Указывает места, где следует брать груз зажимами
21. Не зажимать Упаковка не должна зажиматься по указанным сторонам груза
22. Предел по количеству ярусов в штабеле Максимальное количество одинаковых грузов, которые можно штабелировать один на другой, где n - предельное количество
23. Вилочные погрузчики не использовать Запрещено применение вилочных погрузчиков

(в ред. Изменения N 1, утв. Постановлением Госстандарта РФ от 14.09.2000 N 223-ст)

4.2. Допускается применять предупредительные надписи, если невозможно выразить манипуляционными знаками способ обращения с грузом.

4.3. В рекомендуемое обозначение манипуляционного знака входит номер (номера) знака или наименование знака по таблице 1 и обозначение настоящего стандарта.

Пример: 2 ГОСТ 14192-96; "Беречь от солнечных лучей" ГОСТ 14192-96. (в ред. Изменения N 1, утв. Постановлением Госстандарта РФ от 14.09.2000 N 223-ст)

5. Место и способ нанесения транспортной маркировки

5.1. Порядок расположения транспортной маркировки приведен в Приложении А. (в ред. Изменения N 1, утв. Постановлением Госстандарта РФ от 14.09.2000 N 223-ст)

Транспортная маркировка (основные, дополнительные, информационные надписи и манипуляционные знаки) должна быть нанесена на бумажные, картонные, фанерные, металлические и другие ярлыки или непосредственно на тару. (в ред. Изменения N 1, утв. Постановлением Госстандарта РФ от 14.09.2000 N 223-ст)

5.2. При транспортировании грузов на открытом подвижном составе, в смешанном железнодорожно-водном сообщении или водным транспортом, а также мелкими отправками, при хранении груза более одного года маркировка должна быть нанесена непосредственно на тару или ярлыки, которые должны быть прочно прикреплены и защищены или изготовлены из материалов, обеспечивающих сохранность маркировки. (в ред. Изменения N 1, утв. Постановлением Госстандарта РФ от 14.09.2000 N 223-ст)

5.3. Основные, дополнительные и информационные надписи располагают: (в ред. Изменения N 1, утв. Постановлением Госстандарта РФ от 14.09.2000 N 223-ст)

- на ящиках - на одной из боковых сторон. Для решетчатых ящиков и ящиков, имеющих наружные планки, должна быть обеспечена возможность размещения маркировки (прикрепление планок, закрытие просветов между дощечками и др.). При транспортировании на открытом железнодорожном подвижном составе мелкими отправками грузов, на которые нанесен знак, имеющий значение "Верх", транспортная маркировка (кроме наименования грузоотправителя и пункта отправления) должна быть нанесена дополнительно на верхней стороне (крышке) упаковки; (в ред. Изменения N 1, утв. Постановлением Госстандарта РФ от 14.09.2000 N 223-ст)

- на бочках и барабанах - на одном из днищ. Допускается наносить маркировку на корпусе; (в ред. Изменения N 1, утв. Постановлением Госстандарта РФ от 14.09.2000 N 223-ст)

- на мешках - в верхней части у шва; (в ред. Изменения N 1, утв. Постановлением Госстандарта РФ от 14.09.2000 N 223-ст)

- на тюках - на одной из боковых поверхностей; (в ред. Изменения N 1, утв. Постановлением Госстандарта РФ от 14.09.2000 N 223-ст)

- на кипах - на торцовой поверхности. Допускается наносить маркировку на боковую поверхность; (в ред. Изменения N 1, утв. Постановлением Госстандарта РФ от 14.09.2000 N 223-ст)

- на других видах тары и грузах, не упакованных в транспортную тару, - в наиболее удобных, хорошо просматриваемых местах. (в ред. Изменения N 1, утв. Постановлением Госстандарта РФ от 14.09.2000 N 223-ст)

При нанесении маркировки непосредственно на тару (5.2), если размеры и конструкция тары не позволяют разместить необходимую маркировку на боковой стенке, допускается располагать маркировку на боковой, торцовой стенках и (или) на крышке. (в ред. Изменения N 1, утв. Постановлением Госстандарта РФ от 14.09.2000 N 223-ст)

Примеры расположения маркировки приведены в Приложении Б. (в ред. Изменения N 1, утв. Постановлением Госстандарта России от 14.09.2000 N 223-ст)

5.4. Допускается на неупакованные изделия наносить маркировку непосредственно на изделие.

5.5. Манипуляционные знаки (предупредительные надписи) наносят на каждое грузовое место в левом верхнем углу на двух соседних стенках тары (см. Приложения Б и Д).

На бочках и барабанах знаки располагают на одном из днищ или на корпусах; на мешках - на одной из сторон.

5.5.1. Знак N 9 наносят непосредственно на тару с двух противоположных сторон. Допускается на неупакованные грузы наносить знак N 9 на ярлыки или непосредственно на груз.

5.5.2. Знак N 12 наносят на соседние боковую и торцовую поверхности упаковки на месте проекции фактического центра тяжести груза на эти поверхности.

На грузы, транспортируемые на открытом подвижном составе, знак N 12 дополнительно наносят на верхней и нижней сторонах упаковки. (Измененная редакция, Изм. N 1).

5.6. На пакеты, сформированные без поддонов или на четырехзаходных поддонах, маркировку наносят на соседние боковую и торцовую поверхности.

На пакеты, сформированные на двухзаходных поддонах, маркировку наносят на двух захватных сторонах.

5.7. Маркировку наносят типографским, литографским, электролитическим способами, окраской по трафарету, штемпелеванием, штампованием, выжиганием, продавливанием, печатанием на машинке, маркировочными машинами.

Допускается на ярлыках четко и разборчиво наносить наименование грузополучателя и пункта назначения, а также на ярлыках и непосредственно на таре - количество грузовых мест и порядковый номер места в партии от руки при условии обеспечения сохранности надписей до получателя.

5.8. Ярлыки прикрепляют к упаковке (грузу) клеем, болтами, шурупами, проволокой, шпагатом и другими материалами, обеспечивающими сохранность груза и маркировки.

5.9. Краска, применяемая для маркировки, не должна быть липкой и стираемой, при необходимости краска должна быть водостойкой, светостойкой, солестойкой и стойкой к воздействию тропического климата, высоких и низких температур.

5.10. Манипуляционные знаки, надписи, экологические знаки должны быть черного цвета. Если цвет поверхности тары (упаковки) такой, что черный цвет не виден, целесообразно применять светлый фон, предпочтительно белый. (в ред. Изменения N 2, утв. Приказом Ростехрегулирования от 14.08.2007 N 203-ст)

Не рекомендуется при маркировании использовать цвета, которые совпадают с цветами маркировки опасных грузов. (в ред. Изменения N 2, утв. Приказом Ростехрегулирования от 14.08.2007 N 203-ст)

Не рекомендуется применять красный, оранжевый и желтый цвета, кроме случаев, если их применение предусмотрено национальными нормативными или техническими документами. (в ред. Изменения N 2, утв. Приказом Ростехрегулирования от 14.08.2007 N 203-ст)

Знак N 1 допускается выполнять красного цвета на светлом фоне при транспортировании груза по железной дороге.

Знак N 6 выполняют голубым цветом на светлом фоне.

Знак N 13 выполняют красным цветом.

Допускается на знаке N 3 не указывать символ дождевых капель. Допускается наносить манипуляционные знаки с просветами.

5.11. Необходимость нанесения манипуляционных знаков должна быть установлена в стандартах или других нормативных документах на продукцию.

5.12. Транспортная маркировка (основные, дополнительные и информационные надписи и манипуляционные знаки) должна быть нанесена на каждое грузовое место.

Допускается наносить основные, дополнительные и информационные надписи (кроме масс брутто и нетто) не на всех грузовых местах, но не менее чем на четырех, при перевозке однородных грузов в прямом железнодорожном сообщении повагонными отправками.

Допускается не наносить основные, дополнительные и информационные надписи (кроме масс брутто и нетто) при перевозке грузов автомобильным транспортом и в универсальных контейнерах, кроме автомобилей и контейнеров, загружаемых мелкими отправками. (в ред. Изменения N 1, утв. Постановлением Госстандарта РФ от 14.09.2000 N 223-ст)

6. Размеры маркировочных ярлыков, манипуляционных знаков и надписей

6.1. Площадь маркировочного ярлыка должна быть достаточной для нанесения основных, дополнительных и информационных надписей. Рекомендуемое соотношение сторон 2:3. (в ред. Изменения N 2, утв. Приказом Ростехрегулирования от 14.08.2007 N 203-ст)

6.2. Пункт исключен. (в ред. Изменения N 3, утв. Приказом Росстандарта от 03.08.2012 N 214-ст)

6.3. Допускается увеличивать размеры ярлыка при совмещении на одном ярлыке нескольких манипуляционных знаков или надписей транспортной маркировки и манипуляционных знаков.

6.4. На ярлыках, изготовленных типографским способом, знак должен быть на расстоянии не менее 5 мм от края ярлыка.

6.5. Рекомендуемые размеры ярлыков манипуляционных знаков и их деталей, наносимых на ярлыки, непосредственно на тару или изделие, приведены в Приложении В. (в ред. Изменения N 3, утв. Приказом Росстандарта от 03.08.2012 N 214-ст)

6.6. Рекомендуемые высоты шрифта для нанесения маркировочных надписей: 3, 6, 8, 10, 15, 30, 50 и 100 мм.

Шрифты высотой 3 и 6 мм не допускается применять при нанесении надписей непосредственно на тару.

6.7. Рекомендуемая высота шрифта для основных надписей, а также надписей транспортных организаций, наносимых непосредственно на тару:

30 мм - при длине или ширине грузового места до 0,5 м включ.;

50 мм - при длине или ширине грузового места свыше 0,5 до 1,5 м включ.;

100 мм - при длине или ширине грузового места свыше 1,5 м.

6.8. Рекомендуемая высота шрифта для дополнительных и информационных надписей, наносимых непосредственно на тару:

10 мм - при длине или ширине грузового места до 0,5 м включ.;

15 мм - при длине или ширине грузового места свыше 0,5 до 1,5 м включ.;

30 мм - при длине или ширине грузового места свыше 1,5 м.

6.9. При невозможности размещения транспортной маркировки непосредственно на упаковке допускается уменьшать высоту надписей и размеры знака на 1 - 2 градации.

6.10. Шрифт для нанесения маркировки указан в Приложении Г. (в ред. Изменения N 1, утв. Постановлением Госстандарта РФ от 14.09.2000 N 223-ст)

7. Дополнительные требования к маркировке грузов, поставляемых на экспорт

7.1. Транспортная маркировка грузов, поставляемых на экспорт, должна соответствовать указанной в 7.2 - 7.4 с дополнениями или изменениями, установленными в заказе-наряде внешнеторгового объединения. (в ред. Изменения N 1, утв. Постановлением Госстандарта РФ от 14.09.2000 N 223-ст)

7.2. Основные надписи:

- номер контракта и (или) номер заказа иностранного покупателя;

- номер заказа-наряда;

- номер грузового места - указывается дробью: в числителе - порядковый номер места в партии, в знаменателе - количество мест в партии;

- полное наименование или условное обозначение иностранного грузополучателя;

- наименование пункта назначения с указанием станции или порта перегрузки;

- страна назначения груза <*>;

- станция и дорога назначения груза <*>;

- товарные знаки и марки грузоотправителя <*>.

<*> Необходимость нанесения этих надписей предусматривается в заказе-наряде или других нормативных актах внешнеторгового объединения.

7.3. Дополнительные надписи:

- наименование экспортирующей организации - полное или условное;

- пункт отправления груза;

- станция и дорога отправления.

7.4. Информационные надписи:

- габаритные размеры грузового места в сантиметрах;

- массы нетто и брутто в килограммах;

- объем грузового места в кубических метрах;

- надписи "Экспорт", "Страна-изготовитель и (или) поставщик". Не указывают габаритные размеры и объем грузового места при длине, ширине или диаметре до 1 м.

7.4.1. По согласованию с торговыми партнерами и транспортными организациями на каждое грузовое место (упаковку, груз) может быть нанесена машиночитаемая маркировка в соответствии с требованиями ГОСТ ИСО/МЭК 15459-1. (в ред. Изменений N 2, утв. Приказом Ростехрегулирования от 14.08.2007 N 203-ст, N 3, утв. Приказом Росстандарта от 03.08.2012 N 214-ст)

7.4.2. Если машиночитаемая маркировка содержит символы линейного штрихового кода, то при разработке нормативного документа, устанавливающего требования к указанной маркировке, следует учитывать требования ГОСТ 30742, ГОСТ 30743, ГОСТ 31016 и ГОСТ ИСО/МЭК 16390. (в ред. Изменения N 2, утв. Приказом Ростехрегулирования от 14.08.2007 N 203-ст)

7.5. При транспортировании грузов на открытом подвижном составе, в смешанном железнодорожно-водном сообщении или водным транспортом, а также при мелких отправках грузов маркировку наносят непосредственно на упаковку (тару), изделие или ярлыки, которые должны быть прочно прикреплены и защищены или изготовлены из материалов, обеспечивающих сохранность надписей при транспортировании и хранении. (в ред. Изменения N 1, утв. Постановлением Госстандарта РФ от 14.09.2000 N 223-ст)

7.6. Транспортную маркировку наносят на каждое грузовое место.

При транспортировании грузов в прямом железнодорожном сообщении повагонными отправками основные и дополнительные надписи наносят не на каждое грузовое место, но не менее чем на десять мест.

При транспортировании грузов автомобильным транспортом и в универсальных контейнерах, кроме автомобилей и контейнеров, загружаемых мелкими отправками, основные и дополнительные надписи не наносят.

7.7. При транспортировании водным транспортом грузов массой свыше 1000 кг дополнительно наносят массу брутто груза в верхнем правом углу на всех четырех сторонах ящика на расстоянии не более 10 см от верхней кромки.

7.8. Знаки N 1 и 11 наносят в левом верхнем углу с четырех сторон.

7.9. Знак N 12 наносят на шесть сторон упаковки на месте проекции фактического центра тяжести груза.

Если форма и размеры упаковки не позволяют нанести знак N 12 на шесть сторон упаковки, допускается наносить знак на меньшее количество сторон, но не менее двух.

7.10. Транспортную маркировку наносят на государственном языке страны - изготовителя продукции и иностранном, указанном в заказе-наряде внешнеторгового объединения (см. пример в Приложении Д). При длине или ширине тары до 1 м допускается маркировку наносить на одной из сторон на языке, указанном в заказе-наряде. (в ред. Изменения N 3, утв. Приказом Росстандарта от 03.08.2012 N 214-ст)

7.11. На ящиках или другой таре, имеющей форму параллелепипеда, маркировку наносят на торцовую и боковую стенки.

На грузовых местах, имеющих форму цилиндра, маркировку наносят на основаниях.

Если размеры и конструкция тары не позволяют разместить необходимую маркировку на боковой и торцовой стенках, то маркировку располагают на торцовой и боковой стенках и на крышке.

8. Маркировка, характеризующая транспортную тару

8.1. Маркировку транспортной тары наносят непосредственно на тару или на ярлыки и этикетки с указанием: (в ред. Изменения N 3, утв. Приказом Росстандарта от 03.08.2012 N 214-ст)

наименования и назначения тары; (в ред. Изменения N 3, утв. Приказом Росстандарта от 03.08.2012 N 214-ст)

наименования страны-изготовителя; (в ред. Изменения N 3, утв. Приказом Росстандарта от 03.08.2012 N 214-ст)

наименования предприятия-изготовителя и его юридического адреса; (в ред. Изменения N 3, утв. Приказом Росстандарта от 03.08.2012 N 214-ст)

товарного знака (при наличии); (в ред. Изменения N 3, утв. Приказом Росстандарта от 03.08.2012 N 214-ст)

номера или обозначения тары по нормативному документу; (в ред. Изменения N 3, утв. Приказом Росстандарта от 03.08.2012 N 214-ст)

даты изготовления; (в ред. Изменения N 3, утв. Приказом Росстандарта от 03.08.2012 N 214-ст)

штрихового кода (при наличии); (в ред. Изменения N 3, утв. Приказом Росстандарта от 03.08.2012 N 214-ст)

экологического знака или информации о необходимости утилизации тары после ее использования. (в ред. Изменения N 3, утв. Приказом Росстандарта от 03.08.2012 N 214-ст)

Допускается по согласованию с потребителем наносить на тару сокращенную маркировку, содержащую: (в ред. Изменения N 3, утв. Приказом Росстандарта от 03.08.2012 N 214-ст)

наименование страны-изготовителя; (в ред. Изменения N 3, утв. Приказом Росстандарта от 03.08.2012 N 214-ст)

товарный знак и (или) наименование предприятия-изготовителя; (в ред. Изменения N 3, утв. Приказом Росстандарта от 03.08.2012 N 214-ст)

обозначение нормативного документа. (в ред. Изменения N 3, утв. Приказом Росстандарта от 03.08.2012 N 214-ст)

8.2. Маркировку, характеризующую тару, кроме мешков, наносит на тару ее изготовитель. Маркировку, характеризующую мешки, указывают на кипах или пачках, в которые упакованы мешки.

Допускается наносить маркировку, характеризующую тару, на ярлыки.

8.3. Маркировку, характеризующую тару, наносят:

- на ящики - в левом верхнем углу торцовой стенки, свободной от маркировки, характеризующей груз;

- на ящиках с обечайкой - на боковой стенке ящика;

- на бочках и барабанах - на одном из днищ, свободном от маркировки, характеризующей груз; допускается наносить маркировку на корпусе;

- на баллонах - на дне.

Место нанесения на канистрах, флягах и других видах транспортной тары устанавливают в нормативных документах на эти виды тары.

8.4. Способы нанесения маркировки тары:

- деревянной - окраской по трафарету, штемпелеванием, выжиганием;

- картонной - типографским способом, штемпелеванием;

- металлической - окраской по трафарету, выдавливанием;

- пластмассовой - маркировка выполняется на пресс-форме.

Маркировка, характеризующая тару, может наноситься специальными маркировочными машинами.

8.5. Высоту шрифта для нанесения маркировки, характеризующей тару, выбирают по 6.6. (в ред. Изменения N 1, утв. Постановлением Госстандарта РФ от 14.09.2000 N 223-ст)

8.6. На транспортную тару, предназначенную для упаковывания, транспортирования и хранения опасных грузов, должна быть нанесена маркировка по ГОСТ 26319. (в ред. Изменения N 1, утв. Постановлением Госстандарта РФ от 14.09.2000 N 223-ст)

8.7. На тару и упаковку, которые после использования могут быть подвергнуты вторичной переработке, наносят маркировку с применением знака - "лента Мебиуса" в соответствии с требованиями международных или национальных нормативных документов <*>. (в ред. Изменения N 3, утв. Приказом Росстандарта от 03.08.2012 N 214-ст)

<*> В Российской Федерации действует ГОСТ Р ИСО 14021-2000.

Если тара изготовлена из упаковочных материалов с применением вторичного сырья, то внутри знака или под знаком указывают процентное содержание вторичного сырья (см. Приложение Е). (в ред. Изменения N 3, утв. Приказом Росстандарта от 03.08.2012 N 214-ст)

Знак "лента Мебиуса" или другие знаки, указывающие на возможность утилизации или вторичной переработки упаковочных материалов, могут содержать информацию об идентификации этих материалов в виде числового обозначения или буквенной аббревиатуры, в соответствии с международными или национальными нормативными документами (см. Приложение И). (в ред. Изменения N 3, утв. Приказом Росстандарта от 03.08.2012 N 214-ст)

Абзац. - Исключен. (в ред. Изменения N 3, утв. Приказом Росстандарта от 03.08.2012 N 214-ст)

8.8. Допускается наносить на тару другую экологическую маркировку с применением знаков, соответствующих требованиям международных и национальных нормативных документов. Примеры приведены в Приложении Ж. (в ред. Изменения N 3, утв. Приказом Росстандарта от 03.08.2012 N 214-ст)

Приложение А
(обязательное)

ПОРЯДОК РАСПОЛОЖЕНИЯ ТРАНСПОРТНОЙ МАРКИРОВКИ

(в ред. Изменения N 1, утв. Постановлением Госстандарта РФ от 14.09.2000 N 223-ст)

1 - манипуляционные знаки (предупредительные надписи); 2 - допускаемые предупредительные надписи (см. 4.2); 3 - количество мест в партии, порядковый номер внутри партии; 4 - наименование грузополучателя и пункта назначения; 5 - наименование пункта перегрузки; 6 - надписи транспортных организаций; 7 - объем грузового места <*>; 8 - габаритные размеры грузового места; 9 - масса брутто; 10 - масса нетто; 11 - страна-изготовитель и (или) поставщик; 12 - наименование пункта отправления; 13 - наименование грузоотправителя

<*> Для грузов, предназначенных для экспорта.

- обязательные надписи;

- допускаемые надписи

Приложение Б
(справочное)

РАСПОЛОЖЕНИЕ МАРКИРОВОЧНЫХ ЯРЛЫКОВ

Рисунок Б.1

Рисунок Б.2

Расположение маркировки на транспортном пакете

Рисунок Б.3

Приложение В
(рекомендуемое)

РАЗМЕРЫ ЯРЛЫКОВ МАНИПУЛЯЦИОННЫХ ЗНАКОВ И ИХ ДЕТАЛЕЙ

(в ред. Изменений N 1, утв. Постановлением Госстандарта РФ от 14.09.2000 N 223-ст, N 3, утв. Приказом Росстандарта от 03.08.2012 N 214-ст)

Рекомендуемые размеры ярлыков для нанесения манипуляционных знаков приведены в таблице В.0. (в ред. Изменения N 3, утв. Приказом Росстандарта от 03.08.2012 N 214-ст)

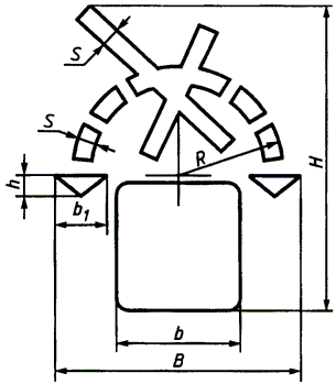
Хрупкое. Осторожно

Рисунок В.1

Беречь от солнечных лучей

Рисунок В.2

Таблица В.0

(в ред. Изменения N 3, утв. Приказом Росстандарта от 03.08.2012 N 214-ст)

В миллиметрах

Размер ярлыка
(пред. откл. + 10 мм)
Размер грузового места (груза)
Длина или ширина Высота
52 х 74 До 1000 включ. До 200 включ.
74 х 105 Св. 1000 до 1500 включ. Св. 200
105 х 148 Св. 1500 -
148 х 210 - -
Примечание. Ярлыки размерами 37 х 52 мм, 26 х 37 мм рекомендуется применять в случае, если размеры грузового места не позволяют применять размеры ярлыков, указанные в таблице, при этом размеры манипуляционных знаков выбирают произвольно при соблюдении изображения знака.

Размеры знаков и их деталей, приведенные в таблицах В.1 - В.23 и на рисунках В.1 - В.23, установлены с учетом размеров ярлыков, указанных в таблице В.0. (в ред. Изменения N 3, утв. Приказом Росстандарта от 03.08.2012 N 214-ст)

Таблица В.1
 
В миллиметрах

Размеры знака и его деталей
B b H h r S
24 10 64 38 12 3
36 15 95 54 18 5
52 20 138 80 26 7
76 25 200 115 38 10

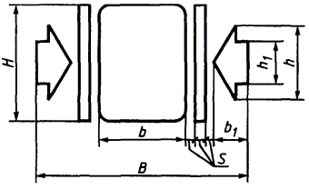
Таблица В.2

В миллиметрах

Размеры знака и его деталей
B H h h1 h2 b b1 d S b2
40 56 42 16 11 16 16 8 2 8
60 80 60 20 15 20 20 12 3 10
92 115 85 28 21 28 28 16 4 14
135 165 120 40 30 40 40 24 6 20

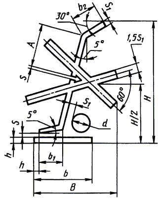
Беречь от влаги

Рисунок В.3

Ограничение температуры

Рисунок В.4

Таблица В.3
 
В миллиметрах

Размеры знака и его деталей
B H h1 h2 h3 R r S
33 64 32 42 44 21 4 2
50 95 40 50 53 28 6 3
80 138 58 73 77 45 9 4
113 200 84 110 115 66 13 5

Таблица В.4
 
В миллиметрах

Размеры знака и его деталей
C H C1 b b1 b2 b3 b4 b5 b6 S
10 64 2,0 18 3,0 24 10 2,0 4,0 8,0 2,0
14 95 3,0 27 4,0 34 14 2,0 6,0 10,0 3,0
20 136 4,0 38 6,0 48 20 3,0 8,0 14,0 4,0

Беречь от излучения

Рисунок В.5

Таблица В.5
 
В миллиметрах

Размеры знака и его деталей
B H h h1 S
31 64 15 8 3
43 95 21 11 4
59 138 29 15 5
82 200 40 21 7

Скоропортящийся груз

Рисунок В.6

Таблица В.6
 
В миллиметрах

Размеры знака и его деталей
B b b1 H h a
42 18 3 64 19 3
64 28 4 95 29 4
95 42 5 138 43 5
138 63 8 200 64 6

Герметичная упаковка

Рисунок В.7

Таблица В.7
 
В миллиметрах

Размеры знака и его деталей
D b b1 h S S1
42 10 2 12 3 1,0
64 20 2 28 4 1,5
94 28 3 40 5 2,0
138 38 4 54 8 2,0

Крюками не брать

Рисунок В.8

Таблица В.8
 
В миллиметрах

Размеры знака и его деталей
B H A r r1 S
40 64 16 6 5 3
59 95 26 8 9 4
88 138 40 13 14 6
138 200 56 20 18 10

Место строповки

Рисунок В.9

Здесь поднимать тележкой запрещается

Рисунок В.10

Таблица В.9
 
В миллиметрах

Размеры знака и его деталей
H A A1 D R b b1 b2 R1 B
60 12 12 21 3,0 2,0 2,0 3,0 4,0 18
95 18 16 30 4,0 2,0 3,0 4,0 6,0 26
125 26 24 44 6,0 2,0 5,0 6,0 9,0 36
200 38 36 62 9,0 3,0 7,0 8,0 13,0 50

Таблица В.10
 
В миллиметрах

Размеры знака и его деталей Длина или ширина груза
B b b1 b2 H h d S S1 A
74 60 21 17 125 5 8 2 6 31 До 1000,0
105 84 28 24 175 7 16 3 7 43 Св. 1000,0

Верх

Рисунок В.11

Таблица В.11
 
В миллиметрах

Размеры знака и его деталей
B b H h h1 h2 S
38 19 64 13 7 4 5
56 27 95 19 9 5 7
80 38 138 28 12 6 10
112 55 200 40 17 7 15

Центр тяжести

Рисунок В.12

Таблица В.12
 
В миллиметрах

Размеры знака и его деталей
B D d S
42 20 12 4
64 28 16 6
94 36 20 8
138 54 30 12

Тропическая упаковка

Рисунок В.13

Таблица В.13
 
В миллиметрах

Размеры знака и его деталей
D D1 S b b1 h
42 38 2 9 3 9
64 56 3 13 4 13
94 82 4 23 5 23
138 122 6 33 8 33

Штабелировать запрещается

Рисунок В. 14

Таблица В.14
 
В миллиметрах

Размеры знака и его деталей
B b H S S1
42 30 64 2 4
64 43 95 3 6
95 63 138 4 8
138 92 200 6 10

Поднимать непосредственно за груз

Рисунок В. 15

Таблица В.15
 
В миллиметрах

Размеры знака и его деталей
H B h h1 h2 h3 b b1 b2 a a1 a2 a3 S S1 c c1
33 60 25 21 17 4 42 8 13 10 3 9 7 2 1 5 1
51 92 39 33 26 6 64 12 20 15 5 14 11 3 11 8 2
77 134 57 48 39 9 94 18 29 22 7 20 16 5 2 11 3
112 198 88 73 56 14 138 25 42 33 12 30 24 6 2 17 4

Открывать здесь

Рисунок В.16

Таблица В.16
 
В миллиметрах

Размеры знака и его деталей
H B h
64 42 14
95 64 21
138 95 30
200 138 43

Защищать от радиоактивных источников

Рисунок В.17

Не катить

Рисунок В.18

Таблица В.17
 
В миллиметрах

Размеры знака и его деталей
B H h D b b1 d S
42 64 49 21 14 14 8 3
64 95 75 33 20 21 10 5
95 138 108 47 35 30 15 7
138 200 155 69 50 44 22 10

Таблица В.18
 
В миллиметрах

Размеры знака и его деталей
B b b1 H h S R
42 20 10 64 5 3 18
64 30 15 85 10 5 27
95 40 20 125 15 8 40
138 70 30 170 20 10 60

Штабелирование ограничено

Рисунок В.19

Зажимать здесь

Рисунок В.20

Таблица В.19
 
В миллиметрах

Размеры знака и его деталей
B b b1 b2 H h h1 S
32 24 12 6 64 10 10 4
47 40 20 10 95 18 15 5
68 52 26 13 138 26 20 8
100 80 40 20 200 40 30 10

Таблица В.20
 
В миллиметрах

Размеры знака и его деталей
B b b1 H h h1 S
64 32 10 42 25 14 2
95 39 16 57 35 20 4
140 60 22 95 50 25 6
200 90 31 138 70 40 8

Не зажимать

Рисунок В.21

Предел по количеству ярусов в штабеле

Рисунок В.22

Таблица В.21
 
В миллиметрах

Размеры знака и его деталей
B b b1 H h h1 S S1
64 26 10 42 25 14 3 4
95 39 16 64 35 20 4 5
138 50 23 95 50 25 7 9
200 68 33 138 70 40 11 11

Таблица В.22
 
В миллиметрах

Размеры знака и его деталей
B b H S S1
35 19 64 2 4
50 28 96 3 5
60 36 138 6 9
100 55 200 10 11

Вилочные погрузчики не использовать

Рисунок В.23

Таблица В.23
 
В миллиметрах

Размеры знака и его деталей
B b b1 b2 H h S S1 d d1 C
100 15 15 45 75 40 7 4 15 20 4
130 20 20 60 100 50 10 5 20 30 5

Приложение Г
(рекомендуемое)

РЕКОМЕНДУЕМЫЕ ОЧЕРТАНИЯ ШРИФТА ДЛЯ НАНЕСЕНИЯ МАРКИРОВКИ

Рисунок Г.1

Рисунок Г.2

Рисунок Г.3

Приложение Д
(справочное)

ПРИМЕРЫ РАСПОЛОЖЕНИЯ МАРКИРОВКИ НА ГРУЗАХ, ПОСТАВЛЯЕМЫХ НА ЭКСПОРТ

<*> Товарный знак объединения и место его расположения на таре или ярлыке.

Приложение Е
(рекомендуемое)

ПРИМЕРЫ ИЗОБРАЖЕНИЯ ЗНАКА "ЛЕНТА МЕБИУСА"

(в ред. Изменения N 3, утв. Приказом Росстандарта от 03.08.2012 N 214-ст)

Рисунок Е.1. Примеры изображения знака "лента Мебиуса" в заявлении о возможности вторичной переработки тарных и упаковочных материалов

Рисунок Е.2. Примеры изображения знака "лента Мебиуса" в информации о содержании вторичного сырья, использованного при изготовлении упаковочного материала

Приложение Ж
(рекомендуемое)

ЭКОЛОГИЧЕСКИЕ ЗНАКИ

(в ред. Изменения N 2, утв. Приказом Росстандарта от 14.08.2007 N 203-ст)

Наименование знака Изображение знака Назначение знака
1. Подлежит утилизации (подлежит вторичной переработке) Идентифицирует тару и упаковочные материалы, подвергающиеся утилизации (вторичной переработке)
2. То же То же
3. Беречь от загрязнений окружающую среду Указывает на необходимость защиты окружающей среды - не сорить, поддерживать чистоту и сдавать использованную тару для переработки

Приложение И
(справочное)

(в ред. Изменения N 3, утв. Приказом Росстандарта от 03.08.2012 N 214-ст)

Для идентификации упаковочных материалов применяют следующие числовые обозначения:

полимеры 1 - 19;

бумага и картон 20 - 39;

металл 40 - 49;

древесина и древесные материалы 50 - 59;

текстильные материалы 60 - 69;

стекло 70 - 79;

комбинированные материалы 80 - 98.

При идентификации упаковочных материалов применяют нумерации и (или) аббревиатуры, принятые международными и национальными нормативными документами.