Площадки и лестницы для строительно-монтажных работ. Общие технические условия. ГОСТ р 58758-2019

(утв. Приказом Росстандарта от 12.12.2019 N 1388-СТ)
Редакция от 12.12.2019 — Действует с 01.09.2020

Данный документ приведен с учетом Поправки, введенной в действие с 10.09.2020.


НАЦИОНАЛЬНЫЙ СТАНДАРТ РОССИЙСКОЙ ФЕДЕРАЦИИ

ПЛОЩАДКИ И ЛЕСТНИЦЫ ДЛЯ СТРОИТЕЛЬНО-МОНТАЖНЫХ РАБОТ

ОБЩИЕ ТЕХНИЧЕСКИЕ УСЛОВИЯ

Platforms and ladders for civil engineering works. General specifications

ГОСТ Р 58758-2019

Дата введения
1 сентября 2020 года

Предисловие

1 РАЗРАБОТАН Федеральным государственным бюджетным общеобразовательным учреждением высшего образования "Национальный исследовательский Московский государственный строительный университет" (НИУ МГСУ)

2 ВНЕСЕН Техническим комитетом по стандартизации ТК 465 "Строительство"

3 УТВЕРЖДЕН И ВВЕДЕН В ДЕЙСТВИЕ Приказом Федерального агентства по техническому регулированию и метрологии от 12 декабря 2019 г. N 1388-ст

4 ВВЕДЕН ВПЕРВЫЕ

Правила применения настоящего стандарта установлены в статье 26 Федерального закона от 29 июня 2015 г. N 162-ФЗ "О стандартизации в Российской Федерации". Информация об изменениях к настоящему стандарту публикуется в ежегодном (по состоянию на 1 января текущего года) информационном указателе "Национальные стандарты", а официальный текст изменений и поправок - в ежемесячном информационном указателе "Национальные стандарты". В случае пересмотра (замены) или отмены настоящего стандарта соответствующее уведомление будет опубликовано в ближайшем выпуске ежемесячного информационного указателя "Национальные стандарты". Соответствующая информация, уведомление и тексты размещаются также в информационной системе общего пользования - на официальном сайте Федерального агентства по техническому регулированию и метрологии в сети Интернет (www.gost.ru)

1 Область применения

Настоящий стандарт распространяется на металлические площадки и лестницы (далее - площадки и лестницы), применяемые в процессе производства строительно-монтажных работ при возведении и реконструкции зданий и сооружений для размещения одного-двух работников непосредственно в зоне производства работ.

2 Нормативные ссылки

В настоящем стандарте использованы нормативные ссылки на следующие стандарты:

ГОСТ 2.601-2013 Единая система конструкторской документации. Эксплуатационные документы

ГОСТ 2.601-2013 отменен. Взамен него с 01.02.2020 введен в действие ГОСТ Р 2.601-2019.

ГОСТ 2.610 Единая система конструкторской документации (ЕСКД). Правила выполнения эксплуатационных документов

ГОСТ 8.423 Государственная система обеспечения единства измерений. Секундомеры механические. Методы и средства поверки

ГОСТ 15.309 Система разработки и постановки продукции на производство. Испытания и приемка выпускаемой продукции. Основные положения

ГОСТ 166 (ИСО 3599-76) Штангенциркули. Технические условия

ГОСТ 427 Линейки измерительные металлические. Технические условия

ГОСТ 577 Индикаторы часового типа с ценой деления 0,01 мм. Технические условия

ГОСТ 7502 Рулетки измерительные металлические. Технические условия

ГОСТ 14192 Маркировка грузов

ГОСТ 15150-69 Машины, приборы и другие технические изделия. Исполнения для различных климатических районов. Категории, условия эксплуатации, хранения и транспортирования в части воздействия климатических факторов внешней среды

ГОСТ 16504 Система государственных испытаний продукции. Испытания и контроль качества продукции. Основные термины и определения

ГОСТ 23120-2016 Лестницы маршевые, площадки и ограждения стальные. Технические условия

ГОСТ 30630.2.5 Методы испытаний на стойкость к климатическим внешним воздействующим факторам машин, приборов и других технических изделий. Испытания на воздействие соляного тумана

ГОСТ Р 15.301 Система разработки и постановки продукции на производство. Продукция производственно-технического назначения. Порядок разработки и постановки продукции на производство

ГОСТ Р 58752 Средства подмащивания. Общие технические условия

ГОСТ 23407 Ограждения инвентарные строительных площадок и участков производства строительно-монтажных работ. Технические условия

ГОСТ 23407-78 отменен. Взамен него с 01.01.2021 введен в действие ГОСТ Р 58967-2020.

ГОСТ Р ЕН 353-1 Система стандартов безопасности труда. Средства индивидуальной защиты от падения с высоты. Средства защиты от падения с высоты ползункового типа на жесткой анкерной линии. Часть 1. Общие технические требования. Методы испытаний

ГОСТ Р ЕН 353-2 Система стандартов безопасности труда. Средства индивидуальной защиты от падения с высоты ползункового типа на гибкой анкерной линии. Часть 2. Общие технические требования. Методы испытаний

ГОСТ Р ЕН 360 Система стандартов безопасности труда. Средства индивидуальной защиты от падения с высоты. Средства защиты втягивающего типа. Общие технические требования. Методы испытаний

ГОСТ Р ЕН 363 Система стандартов безопасности труда. Средства индивидуальной защиты от падения с высоты. Страховочные системы. Общие технические требования

ГОСТ Р ИСО 14122-2-2010 Безопасность машин. Средства доступа к машинам стационарные. Часть 2. Рабочие площадки и проходы

ГОСТ Р ИСО 14122-3 Безопасность машин. Средства доступа к машинам стационарные. Часть 3. Лестницы и перила

ГОСТ Р ИСО 14122-4 Безопасность машин. Средства доступа к машинам стационарные. Часть 4. Лестницы вертикальные

Примечание - При пользовании настоящим стандартом целесообразно проверить действие ссылочных стандартов в информационной системе общего пользования - на официальном сайте Федерального агентства по техническому регулированию и метрологии в сети Интернет или по ежегодному информационному указателю "Национальные стандарты", который опубликован по состоянию на 1 января текущего года, и по выпускам ежемесячного информационного указателя "Национальные стандарты" за текущий год. Если заменен ссылочный стандарт, на который дана недатированная ссылка, то рекомендуется использовать действующую версию этого стандарта с учетом всех внесенных в данную версию изменений. Если заменен ссылочный стандарт, на который дана датированная ссылка, то рекомендуется использовать версию этого стандарта с указанным выше годом утверждения (принятия). Если после утверждения настоящего стандарта в ссылочный стандарт, на который дана датированная ссылка, внесено изменение, затрагивающее положение, на которое дана ссылка, то это положение рекомендуется применять без учета данного изменения. Если ссылочный стандарт отменен без замены, то положение, в котором дана ссылка на него, рекомендуется применять в части, не затрагивающей эту ссылку.

3 Термины и определения

В настоящем стандарте применены термины по ГОСТ Р 58752, ГОСТ Р ИСО 14122-3, ГОСТ Р ИСО 14122-4, ГОСТ 23407, а также следующие термины с соответствующими определениями:

3.1 вертикальная лестница: Временное средство доступа с углом наклона от 75° до 90°, горизонтальные элементы которого являются ступенями или перекладинами (см. рисунок 1).

Рисунок 1 - Лестница с углом наклона от 75° до 90°

3.2 защитное ограждение: Устройства для защиты от случайного падения или случайного доступа в опасную зону, которыми могут быть оборудованы площадки, лестницы (см. рисунок 2).

1 - поручень; 2 - ограждение для коленей; 3 - бортовой элемент; 4 - стойка; 5 - уровень настила пола

Рисунок 2 - Пример типовых элементов конструкции защитных ограждений с горизонтальным элементом для коленей

3.3 квалификационные испытания: Контрольные испытания установочной серии или первой промышленной партии, проводимые с целью оценки готовности предприятия к выпуску продукции данного типа в заданном объеме.

3.4 козырек: Конструкция, назначением которой является защита людей от падающих предметов с высоты.

3.5

контрольные испытания: Испытания, проводимые для контроля качества объекта.
[ГОСТ 16504-81, статья 36]

3.6 навесная лестница: Вертикальная лестница, навешиваемая на конструкции, служащая для доступа рабочих в зону выполнения работ на высоте.

3.7 настил пола: Совокупность элементов, образующих пол площадки, находящихся в прямом контакте с обувью.

3.8

паспорт: Документ, содержащий сведения, удостоверяющие гарантии изготовителя, значения основных параметров и характеристик (свойств) изделия, а также сведения о сертификации и утилизации изделия.
[ГОСТ 2.601-2013, таблица 1]

3.9 перекладина лестницы: Горизонтальный элемент между тетивами, глубина которого d <= 80 мм.

3.10

периодические испытания: Контрольные испытания выпускаемой продукции, проводимые в объемах и в сроки, установленные нормативно-технической документацией, с целью контроля стабильности качества продукции и возможности продолжения ее выпуска.
[ГОСТ 16504-81, статья 48]

3.11 площадка: Горизонтальная поверхность с защитным ограждением, закрепленная на конструкции, применяемая в процессе строительно-монтажных работ при возведении и реконструкции зданий и сооружений, а также в процессе других этапов работ, для размещения одного-двух работников непосредственно в зоне производства работ.

3.12 поверхность, противодействующая скольжению: Поверхность настила пола, предназначенная для улучшения сцепления с обувью.

3.13 поручень: Горизонтальный или наклонный стержень, за который держатся рукой при подъеме или спуске по лестнице, а также при нахождении на площадке для поддержания равновесия.

3.14

приемо-сдаточные испытания: Контрольные испытания продукции при приемочном контроле.
[ГОСТ 16504-81, статья 47]

3.15

приемочные испытания: Контрольные испытания опытных образцов, опытных партий продукции или изделий единичного производства, проводимые соответственно с целью решения вопроса о целесообразности постановки этой продукции на производство и (или) использования по назначению.
[ГОСТ 16504-81, статья 44]

3.16

программа испытаний: Организационно-методический документ, обязательный к выполнению, устанавливающий объект и цели испытаний, виды, последовательность и объем проводимых экспериментов, порядок, условия, место и сроки проведения испытаний, обеспечение и отчетность по ним, а также ответственность за обеспечение и проведение испытаний.
[ГОСТ 16504-81, статья 13]

3.17

сертификационные испытания: Контрольные испытания продукции, проводимые с целью установления соответствия характеристик ее свойств национальным и (или) международным нормативно-техническим документам.
[ГОСТ 16504-81, статья 52]

3.18 стойка: Вертикальный или наклонный компонент защитных ограждений, к которому крепятся бортовой элемент, ограждение для коленей и верхний поручень.

3.19 ступень лестницы: Горизонтальный элемент между тетивами, глубина которого d >= 80 мм.

3.20 тетива: Боковой каркасный элемент, к которому крепят ступени или перекладины лестницы.

3.21

типовые испытания: Контрольные испытания выпускаемой продукции, проводимые с целью оценки эффективности и целесообразности вносимых изменений в конструкцию, рецептуру или технологический процесс.

3.22

эксплуатационный документ: Конструкторский документ, который в отдельности или в совокупности с другими документами определяет правила эксплуатации изделия и/или отражает сведения, удостоверяющие гарантированные изготовителем значения основных параметров и характеристик (свойств) изделия, гарантии и сведения по его эксплуатации в течение установленного срока службы.
[ГОСТ 2.601-2013, статья 3.1.1]

4 Технические требования

4.1 Классификация металлических лестниц и площадок

4.1.1 Классификация площадок и лестниц представлена в таблице 1.

Таблица 1

Классификация изделий

Обозначение типа Наименование типа Основной материал конструкции
ПЛС Площадки, навешиваемые на лестницы Сталь
ПЛА Алюминиевый сплав
ПКС Площадки, навешиваемые на строительные конструкции Сталь
ПКА Алюминиевый сплав
ЛНС Лестницы навесные Сталь
ЛНА Алюминиевый сплав
ЛПВС Лестницы приставные вертикальные <*> Сталь
ЛПВА Алюминиевый сплав
ЛПНС Лестницы приставные наклонные <*> Сталь
ЛПНА   Алюминиевый сплав
<*> Данный тип лестниц не распространяется на телескопические, выдвижные лестницы.

4.1.2 Структура условного обозначения металлических площадок и лестниц:

4.1.3 Примеры условного обозначения

Пример условного обозначения площадок, навешиваемых на лестницы, из алюминиевых сплавов с нормативным значением нагрузки 2 кН/м2 и размерами рабочего настила 0,6 x 0,6 м:

ПЛА 2 - 0,6 x 0,6 - ГОСТ Р 58758-2019

Пример условного обозначения лестниц приставных наклонных стальных высотой 8,0 м с площадкой, имеющей размеры рабочего настила 1,5 x 0,6 м и нормативное значение нагрузки 3 кН/м2:

ЛПНС 3 - 1,5 x 0,6 x 8,0 - ГОСТ Р 58758-2019

4.2 Общие положения

4.2.1 Площадки и лестницы должны соответствовать требованиям настоящего стандарта, ГОСТ 24258 и технической документации на изделие.

4.2.2 Площадки и лестницы должны быть изготовлены в климатических исполнениях У и ХЛ по ГОСТ 15150-69 (пункты 2.1, 3.2).

4.2.3 Используемые материалы по своей природе или в результате дополнительной обработки должны быть устойчивы к коррозии, вызываемой окружающей средой. При испытании на коррозионную устойчивость все металлические компоненты изделия не должны проявлять признаков коррозии. Наличие белого налета является допустимым.

4.2.4 В конструкции изделий не допускается применять металлы, взаимодействие которых приводит к контактной коррозии.

4.2.5 Любые элементы площадок и лестниц, в контакте с которыми находится рабочий, должны быть спроектированы так, чтобы не наносить ему вред и не быть препятствием при его перемещениях (острые углы, сварные швы с заусенцами, необработанные кромки и т.д.).

4.2.6 Элементы конструкции изделия должны располагаться таким образом, чтобы вода не могла скапливаться, например, в местах соединений.

4.2.7 Ступени (перекладины) лестниц и настил пола площадки должны иметь хорошее сопротивление скольжению, исключающее опасность поскользнуться.

Примечание - В настоящее время стандарт, определяющий методы определения уровней противодействия скольжению, отсутствует. Допускается использовать в качестве справочных материалов методы, указанные в приложении А ГОСТ Р ИСО 14122-2-2010.

4.3 Площадки, навешиваемые на лестницы и на конструкции

4.3.1 Ширина пола площадки должна быть не менее 0,6 м, а диаметр круглого пола - не менее 0,7 м.

Площадка должна оставаться в горизонтальном положении с допуском отклонения +/- 5° во время нормальных условий эксплуатации под воздействием расчетной нагрузки, возникающей в процессе эксплуатации в нормальном режиме.

4.3.2 При вероятности падения предметов с высоты или в случае расположения одной площадки над другой площадка, находящаяся ниже, обязательно должна иметь козырек для защиты людей от падающих предметов с высоты.

4.3.2.1 Конструкция козырька площадки должна выдерживать без остаточных деформаций статическую нагрузку не менее (0,5 +/- 0,01) кН в наиболее неблагоприятной зоне воздействия размерами (100 +/- 10) x (100 +/- 10) мм.

4.3.2.2 Конструкция козырька площадки должна выдерживать динамическую нагрузку от падения шара массой 1 кг с высоты 2 м в наиболее неблагоприятной зоне.

4.3.2.3 Поверхность козырька со стороны работников должна располагаться на расстоянии не менее чем 2,2 м от поверхности настила пола и быть сплошной.

4.3.3 При наличии люков в настиле пола рабочей площадки они должны быть надежно закреплены и не должны открываться вниз или вбок.

4.3.4 Настил пола площадки, непосредственно контактирующий с обувью работника, должен быть спроектирован и изготовлен таким образом, чтобы:

- любая жидкость удалялась самотеком; в случае, когда это невозможно выполнить, скольжение и другие опасности, связанные с этим фактором, необходимо предотвращать или минимизировать другими подходящими способами, при этом необходимо чтобы данная информация была обязательно отражена в эксплуатационной документации;

- грязь, снег, лед и т.д. также не могли накапливаться. Следовательно, целесообразно предусматривать проницаемые полы, такие как решетки или планки. Возможные варианты настилов пола площадок приведены в ГОСТ 23120-2016 (пункт 5.3, рисунок 5, "Тип 2. Решетчатые");

- размеры всех отверстий в полу должны быть такими, чтобы через отверстия не проходил шар диаметром 20-0,5 мм.

Примечание - В ситуациях, когда оценка рисков показывает, что негативные последствия, вызываемые падением предметов или материалов на пол и проникновение сквозь него, более значительны, чем опасности поскользнуться или упасть, настил пола площадки может не иметь никаких отверстий. Оценка рисков производится эксплуатирующей организацией.

4.3.5 Минимальная рабочая нагрузка должна составлять не менее 2 кН/м2, но не менее 1,5 кН, равномерно распределенных по всей поверхности пола площадки от каждого работника.

4.3.6 Конструкция пола площадки должна выдерживать без остаточных деформаций статическую нагрузку не менее 1,5 кН в наиболее неблагоприятной зоне воздействия размерами (100 +/- 10) x (100 +/- 10) мм, прогиб настила пола при этом не должен превышать 1/200 расстояния между опорами.

4.3.7 Площадка в рабочем положении должна выдерживать без разрушения статическую нагрузку не менее 2 кН от каждого из находящихся на рабочей площадке работников (согласно максимально допустимому количеству людей на рабочей площадке) в течение (180 +/- 3) с.

4.3.8 Высота защитных ограждений площадки должна быть не менее 1100 мм.

4.3.9 Защитные ограждения должны включать в себя по крайней мере одно промежуточное ограждение для коленей или другой аналогичный элемент. Расстояние в свету между поручнями и ограждением для коленей, а также между ограждением для коленей и бортовым элементом должно быть не более 500 мм.

4.3.10 Если вместо ограждения для коленей (см. рисунок 2) используют вертикальные стержни, горизонтальное расстояние в свету между этими стержнями должно быть не более 180 мм.

4.3.11 Бортовой элемент с минимальным размером бортика 100 мм следует устанавливать на расстоянии не более 10 мм от уровня пола и края площадки (см. рисунок 3).

1 - бортовой элемент

Рисунок 3 - Пример горизонтальных защитных ограждений

4.3.12 Расстояние между осями стоек ограждения должно обеспечивать несущую способность в соответствии с 4.3.14 и 4.3.15 настоящего стандарта.

4.3.13 Использование цепей или канатов вместо жестких поручней защитных перил не допускается.

4.3.14 Конструкция защитных ограждений должна выдерживать приложенную в горизонтальном направлении нагрузку не менее 0,4 кН от каждого из находящихся на рабочей площадке людей (согласно максимально допустимому количеству людей на рабочей площадке), приложенную с интервалом 0,5 м.

4.3.15 Конструкция защитных ограждений должна выдерживать приложенную в вертикальном направлении нагрузку не менее 1,0 кН от каждого из находящихся на рабочей площадке работников (согласно максимально допустимому количеству людей на рабочей площадке), приложенную с интервалом 0,5 м.

4.4 Навесные лестницы

4.4.1 Расстояние между ступенями лестницы должно быть одинаковым и составлять от 225 до 300 мм, а расстояние от первой ступени до уровня пола (перекрытия и т.п.) - не более 400 мм.

4.4.2 Расстояние между тетивами лестниц должно быть не менее 450 мм.

4.4.3 Многоугольные ступени, перекладины и ступени П-образного профиля должны быть расположены так, чтобы рабочая поверхность каждой ступени была горизонтальной. При изготовлении ступени (перекладины) круглого сечения диаметр должен быть не менее 20 мм.

4.4.4 Поверхность ступеней, перекладин должна препятствовать скольжению. Особые меры по предотвращению скольжения следует принимать, если из-за окружающих условий возрастает опасность скольжения (лед, масло и т.п.). Данные рекомендации обязательно должны быть отражены в инструкции по эксплуатации.

4.4.5 Нижняя часть защитного ограждения, например нижняя дуга, должна находиться на высоте от 2,5 до 3,0 м над площадкой для входа. На площадке для схода (если предусмотрен такой вариант эксплуатации) защитное ограждение должно быть продлено до высоты верхних поручней зоны схода.

4.4.6 Размер в свету внутри дуги защитного ограждения должен быть от 650 до 800 мм (см. рисунок 4). Это требование касается ограждения как круглой, так и любой другой формы. Расстояние от ступени (перекладины) до защитного ограждения должно быть от 650 до 800 мм.

4.4.7 Просвет внутри ограждения в зоне схода, измеряемый вдоль продольной оси лестничных ступеней между внутренними поверхностями ограждения, должен быть от 500 до 700 мм (см. рисунок 4).

1 - тетива лестницы; 2 - ступень (перекладина) лестницы; 3 - продольная полоса ограждения; 4 - дуга ограждения

Рисунок 4 - Навесная лестница с защитным ограждением (вид сверху)

4.4.8 Расстояние между двумя дугами ограждения не должно превышать 1500 мм, между двумя продольными полосами ограждения - 300 мм. Дуги ограждения должны располагаться под прямым углом к продольным полосам. Продольные полосы защитного ограждения должны крепиться к внутренней поверхности дуги и быть расположены на равном расстоянии друг от друга.

4.4.9 Расположение элементов ограждения следует конструировать так, чтобы свободные пространства между продольными полосами и дугами в любом случае не превышали 0,45 м2.

4.4.10 Ограждение должно выдерживать вертикальную статическую нагрузку не менее 1,0 кН в течение (60 +/- 1) с. Допустимое смещение, измеренное в точке приложения нагрузки, не должно превышать 10 мм.

4.4.11 Ограждение должно выдерживать горизонтальную статическую нагрузку не менее 0,5 кН в течение (60 +/- 1) с. Допустимый прогиб, измеренный в точке приложения нагрузки, не должен превышать 10 мм.

4.4.12 Остаточная деформация середины ступеньки (перекладины) лестницы после воздействия на нее статической нагрузки не менее 2 кН в течение (180 +/- 1) с не должна превышать 2% ширины лестницы в свету.

4.4.13 Навесная лестница в целом в рабочем положении должна выдерживать без разрушения минимальную статическую нагрузку не менее 3,5 кН в течение (180 +/- 1) с.

4.4.14 Навесные лестницы длиной более 3 м должны иметь дуговое ограждение или быть оборудованы средствами индивидуальной защиты от падения с высоты (СИЗ). При использовании дуговых ограждений высота одного лестничного марша должна быть не более 7,0 м.

4.4.15 В качестве СИЗ допускается применение жестких анкерных линий, соответствующих ГОСТ Р ЕН 353-1, гибких анкерных линий, соответствующих ГОСТ Р ЕН 353-2, СИЗ втягивающего типа, соответствующих ГОСТ Р ЕН 360. В каждом из перечисленных случаев должна выполняться совместимость всех компонентов СИЗ в соответствии с инструкциями предприятия-изготовителя и ГОСТ Р ЕН 363.

4.5 Приставные вертикальные и наклонные лестницы

4.5.1 Геометрические параметры должны соответствовать 4.4.1, 4.4.2.

Лестницы должны иметь конструктивные решения, обеспечивающие устойчивость от боковых нагрузок (расширение тетив в нижней части, траверса, откидные опоры и т.д.).

4.5.2 Опорные концы приставных вертикальных и наклонных лестниц должны быть снабжены устройством, предотвращающим возможность сдвига и опрокидывания при работе. На нижних концах приставных лестниц должны быть оковки с острыми наконечниками для установки на грунте, а при использовании лестниц на гладких поверхностях (паркете, металле, плитке, бетоне) на них должны быть надеты башмаки из резины или другого нескользящего материала.

Примечание - Допускается верхние концы лестниц, приставляемых к конструкциям, снабжать специальными захватами, предотвращающими падение лестницы от действия ветра и случайных толчков.

4.5.3 Поверхность ступеней должна препятствовать скольжению и соответствовать 4.4.4.

4.5.4 Ступень (перекладина) лестницы должна соответствовать 4.4.12.

4.5.5 Остаточная деформация тетив горизонтально установленной лестницы после воздействия посредине ее длины статической нагрузки не менее 1,5 кН не должна превышать 0,1% расстояния опор, на которых лежит проверяемая лестница.

4.5.6 Остаточная деформация тетив лестницы, установленной на ребро после воздействия посредине длины нижней тетивы статической нагрузки не менее 1,0 кН, не должна превышать 0,5% от длины между опорами, на которых размещалась проверяемая лестница.

4.5.7 Ступень (перекладина) лестницы должна выдерживать циклический крутящий момент не менее 50 Нм в соответствии с 6.15.3.

4.5.8 Лестница в целом в рабочем положении должна выдерживать статическую нагрузку без деформаций не менее 3,0 кН.

4.5.9 Приставные лестницы высотой более 5 м, устанавливаемые под углом более 75° к горизонту, должны иметь, начиная с высоты 2,5 м от ее нижнего конца, дуговое ограждение в соответствии с 4.4.6 - 4.4.11 настоящего стандарта или должны быть оборудованы во время эксплуатации СИЗ в соответствии с 4.4.15, а устанавливаемые под углом до 75° к горизонту - защитное ограждение с обеих сторон с высотой по вертикали от 0,9 до 1,1 м, начиная с высоты 2 м.

4.6 Комплектность

В обязательный минимальный комплект поставки должны входить:

- все предусмотренные предприятием-изготовителем и настоящим стандартом составные компоненты изделий;

- крепежные элементы в количестве, необходимом для монтажа (по согласованию с заказчиком), если он необходим для данного вида конструкции;

- паспорт изделия со штампом службы технического контроля предприятия-изготовителя о приемке;

- руководство по установке изделия;

- руководство по эксплуатации в соответствии с ГОСТ 2.601;

- документ, подтверждающий соответствие показателей изделия требованиям настоящего стандарта.

По согласованию с заказчиком допускается создание объединенного эксплуатационного документа по ГОСТ 2.601.

4.7 Требования к маркировке

4.7.1 Маркировка должна быть хорошо видна и размещена так, чтобы она оставалась разборчивой до окончания срока службы изделия.

4.7.2 Маркировка, наносимая на изделие, должна содержать:

- наименование нормативного документа, устанавливающего требования к данному виду изделия;

- индивидуальный серийный номер, год и месяц производства изделия;

- условное обозначение изделия в соответствии с настоящим стандартом;

- идентификацию изготовителя или поставщика, товарный знак предприятия-изготовителя;

- транспортную маркировку, соответствующую ГОСТ 14192;

- несмываемую маркировку для изделий, оборудованных или предполагающих использование СИЗ, со следующей информацией:

1) тип используемой системы от падения с высоты и год ее выпуска;

2) указание: "Использование средств индивидуальной защиты обязательно".

4.7.3 Пиктограммы, рисунки (поясняющие порядок работы с лестницей) обязательно должны быть размещены непосредственно на самой лестнице.

4.7.4 На всех лестницах должно быть предусмотрено место на тетивах для указания: инвентарного номера, принадлежности к цеху (участку и т.п.).

4.8 Проверка выполнения технических требований

Проверку выполнения технических требований, приведенных в настоящем стандарте, следует осуществлять путем испытаний по методикам, описанным в данном разделе.

5 Правила приемки

5.1 Изделия должны подвергаться приемо-сдаточным, приемочным, квалификационным, периодическим, типовым и сертификационным испытаниям.

5.2 Периодические и приемо-сдаточные испытания проводят в соответствии с ГОСТ 15.309.

Для проведения приемо-сдаточных испытаний отбирают от партии не менее трех изделий.

5.3 Приемочные и квалификационные испытания проводят в соответствии с ГОСТ Р 15.301.

5.4 Типовые испытания проводят в случае внесения изменений в конструкцию, материалы или технологию изготовления изделий. Типовые испытания проводят по специально разработанной программе.

5.5 Номера пунктов, в которых изложены технические требования и методы испытаний, приведены и таблице 2.

Таблица 2

Соотношение технических требований и методов испытаний

Наименование испытания Пункт технических требований Пункт методов испытаний
Проверка линейных размеров 4.3.1, 4.3.2.3, 4.3.4, 4.3.8 - 4.3.12, 4.4.1 - 4.4.3, 4.4.5 - 4.4.9, 4.5.1 6.2
Испытание козырька площадки на статическую прочность 4.3.2.1 6.3
Испытание козырька площадки на динамическую прочность 4.3.2.2 6.4
Испытание пола площадки на статическую прочность 4.3.6 6.5
Испытание площадки на статическую прочность 4.3.7 6.6
Испытание защитного ограждения площадки на прочность при воздействии горизонтальной статической нагрузки 4.3.14 6.7
Испытание защитного ограждения площадки на прочность при воздействии вертикальной статической нагрузки 4.3.15 6.8
Испытание ограждения навесной лестницы на прочность при воздействии вертикальной статической нагрузки 4.4.10 6.9
Испытание ограждения навесной лестницы на прочность при воздействии горизонтальной статической нагрузки 4.4.11 6.10
Испытание ступени (перекладины) навесной лестницы на статическую прочность 4.4.12 6.11
Испытание навесной лестницы на статическую прочность 4.4.13 6.12
Испытание горизонтально установленной лестницы на статическую прочность 4.5.5 6.13
Испытание приставной лестницы, установленной на ребро, на статическую прочность 4.5.6 6.14
Испытание ступени (перекладины) приставной лестницы на кручение 4.5.7 6.15
Испытание лестницы в целом в рабочем положении на статическую прочность 4.5.8 6.16
Испытания на коррозионную стойкость 4.2.3 6.17

5.6 Все испытания должны проводиться в нормальных климатических условиях. Перед испытаниями образцы выдерживают в нормальных климатических условиях в течение 24 ч, если не оговорено иное требование.

За нормальные значения климатических факторов внешней среды при испытаниях изделий (нормальные климатические условия испытаний) принимают следующие:
- температура - плюс 25 +/- 10 °C;
- относительная влажность воздуха - 45 - 80%;
- атмосферное давление 84,0 - 106,7 кПа (630 - 800 мм рт. ст.), -
если в стандартах на отдельные группы изделий не приняты другие пределы, обусловленные спецификой изделий.
Если невозможно обеспечить нормальные климатические условия испытаний, допускается проводить испытания в климатических условиях УХЛ4 или О4 с пересчетом к нормальным климатическим условиям испытаний. Методика пересчета должна быть установлена в стандартах, технических условиях или другой нормативно-технической документации на изделия и (или) программах испытаний.
[ГОСТ 15150-69, пункт 3.15]

5.7 Выбор образцов проводят методом случайного отбора.

5.8 При проведении испытаний допускается использовать другие средства измерений, по точности не уступающие указанным.

5.9 При проведении испытаний допускается использовать другое испытательное оборудование со схожими техническими характеристиками, позволяющими обеспечивать выполнение испытаний по методикам, описанным в настоящем стандарте.

5.10 В случае если при проверке отобранных образцов хотя бы один образец не выдержит испытаний, проводят повторную проверку удвоенного количества образцов.

5.11 В случае если при повторной проверке хотя бы один образец не выдержит испытаний, партию бракуют.

6 Методы испытаний

6.1 Общие требования к проведению испытаний

6.1.1 Осмотр изделий и проведение измерений остаточных деформаций по результатам испытания должны осуществляться не ранее чем через 60 с после снятия нагрузки.

6.1.2 Неблагоприятная зона воздействия определяется конструктивной схемой изделия. Чаще всего за самую неблагоприятную зону воздействия следует принимать середину пролета, приопорные зоны, край консольного вылета и т.д.

6.2 Проверка линейных размеров

6.2.1 Проверке подвергают все образцы изделия, представленные на испытания.

6.2.2 Для проверки линейных размеров применяют следующие средства измерений:

- Рулетка измерительная металлическая по ГОСТ 7502;

- Линейка измерительная металлическая по ГОСТ 427;

- Штангенциркуль по ГОСТ 166;

- Шар диаметром 20-0,5 мм.

6.2.3 Измеряемые параметры площадок и лестниц, средства измерений и их погрешности представлены в таблице 3.

Таблица 3

Средства измерений и погрешность измерения

Измеряемый параметр Средство измерений Погрешность измерения
Ширина/диаметр пола площадки Рулетка +/- 5 мм
Расстояние в свету между козырьком и настилом пола Рулетка +/- 5 мм
Размеры всех отверстий в полу и зазоры между полом и ограждающим бортом защитных ограждений площадок Шар диаметром 20-0,5 мм 0,5 мм
Высота защитных ограждений площадки Рулетка +/- 5 мм
Расстояние в свету между поручнями и ограждением для коленей, а также между ограждением для коленей и опорой для ног Рулетка +/- 5 мм
Расстояние в свету между вертикальными стержнями защитного ограждения площадки Линейка +/- 5 мм
Размер бортика ограждения площадок Линейка +/- 5 мм
Расстояние между осями стоек Рулетка +/- 5 мм
Расстояние между ступенями, перекладинами лестницы Линейка +/- 5 мм
Расстояние от первой ступени, перекладины до уровня пола (перекрытия и т.п.) Линейка +/- 5 мм
Расстояние между тетивами лестниц (на трех произвольно выбранных ступенях) Линейка +/- 5 мм
Диаметр ступени (перекладины) круглого сечения Штангенциркуль +/- 1 мм
Высота нижней части защитного ограждения лестниц над площадкой для входа Рулетка +/- 5 мм
Размер в свету внутри дуги защитного ограждения лестниц Рулетка +/- 5 мм
Расстояние от ступени, перекладины до защитного ограждения лестниц Рулетка +/- 5 мм
Просвет внутри ограждения в зоне схода, измеряемый вдоль поперечной оси лестничных ступеней (перекладин) между внутренними поверхностями ограждения Рулетка +/- 5 мм
Расстояние между двумя дугами ограждения лестниц Рулетка +/- 5 мм
Расстояние между двумя продольными полосами ограждения лестниц Рулетка +/- 5 мм
Ширина приставной лестницы вверху и внизу Рулетка +/- 5 мм

6.2.4 Изделие считают выдержавшим проверку, если его линейные размеры соответствуют технической документации на изделие и требованиям 4.3.1, 4.3.2.3, 4.3.4, 4.3.8 - 4.3.12, 4.4.1 - 4.4.3, 4.4.5 - 4.4.9, 4.5.1 настоящего стандарта.

6.3 Испытание козырька площадки на статическую прочность

6.3.1 Испытанию подвергают один образец площадки с козырьком.

6.3.2 Испытательную нагрузку прикладывают вертикально вниз в наиболее неблагоприятной зоне воздействия (например, в середине пролета козырька площадки).

6.3.3 В качестве средств измерений применяют:

- секундомер по ГОСТ 8.423;

- индикатор часового типа по ГОСТ 577.

6.3.4 Испытания проводят следующим образом:

- площадку с козырьком устанавливают в рабочее положение;

- укладывают подкладку - стальную пластину размерами 100 x 100 мм, толщиной (10 +/- 2) мм в контрольной точке, прикладывают предварительную нагрузку (0,50 +/- 0,05) кН в течение (60 +/- 1) с;

- после снятия предварительной нагрузки устанавливают индикатор в контрольной точке. Шкалу индикатора следует устанавливать на нуль;

- прикладывают испытательную нагрузку не менее 1,0 кН в течение (60 +/- 1) с;

- после снятия испытательной нагрузки записывают значение индикатора и вычисляют значение остаточной деформации.

6.3.5 Изделие считают выдержавшим испытание, если после испытания отсутствуют остаточные деформации и нарушения целостности конструкции.

6.4 Испытание козырька площадки на динамическую прочность

6.4.1 Испытанию подвергают один образец площадки с козырьком.

6.4.2 В качестве испытательного оборудования используют стальной шар массой 1+0,05 кг, диаметром 62+1 мм.

6.4.3 Испытания проводят следующим образом:

- площадку с козырьком устанавливают в рабочее положение;

- стальной шар сбрасывают в наиболее неблагоприятных точках козырька ограждения с высоты (2000 +/- 5) мм, измеряемой от контрольной точки удара по козырьку ограждения до нижней поверхности стального шара в исходном положении (пример неблагоприятной точки козырька - середина пролета козырька площадки).

6.4.4 Изделие считают выдержавшим испытание, если после испытания козырек ограждения удержал стальной шар.

6.5 Испытание пола площадки на статическую прочность

6.5.1 Испытанию подвергают один образец площадки.

6.5.2 Испытательную нагрузку прикладывают вертикально вниз в наиболее неблагоприятной зоне воздействия.

6.5.3 В качестве средств измерений применяют:

- секундомер по ГОСТ 8.423;

- индикатор часового типа по ГОСТ 577.

6.5.4 Испытания проводят следующим образом:

- площадку устанавливают в рабочее положение.

Укладывают подкладку - стальную пластину размерами 100 x 100 мм, толщиной (10 +/- 2) мм в контрольной точке, прикладывают предварительную нагрузку (0,50 +/- 0,05) кН в течение (60 +/- 1) с;

- после снятия предварительной нагрузки устанавливают индикатор в контрольной точке. Шкалу индикатора следует устанавливать на нуль;

- прикладывают испытательную нагрузку не менее 1,5 кН в течение (60 +/- 1) с;

- после снятия испытательной нагрузки записывают значение индикатора и вычисляют значение остаточной деформации.

6.5.5 Изделие считают выдержавшим испытание, если после испытания отсутствуют остаточные деформации и нарушения целостности конструкции.

6.6 Испытание площадки на статическую прочность

6.6.1 Испытанию подвергают один образец площадки.

6.6.2 В качестве средства измерений применяют:

- секундомер по ГОСТ 8.423.

6.6.3 Испытания проводят следующим образом:

- площадку устанавливают в рабочее положение;

- прикладывают испытательную нагрузку не менее 2,0 кН от каждого из находящихся на рабочей площадке людей (согласно максимально допустимому количеству людей на рабочей площадке), равномерно распределенную на поверхности пола площадки, в течение (180 +/- 3) с.

6.6.4 Изделие считают выдержавшим испытание, если после испытания отсутствуют нарушения целостности конструкции.

6.7 Испытание защитного ограждения площадки на прочность при воздействии горизонтальной статической нагрузки

6.7.1 Испытанию подвергают один образец площадки.

6.7.2 Нагрузки прикладывают горизонтально, перпендикулярно поручню ограждения площадки, в наружную сторону с интервалом 0,5 м от каждого из находящихся на рабочей площадке работников (согласно максимально допустимому количеству людей на рабочей площадке).

6.7.3 В качестве средств измерений применяют:

- секундомер по ГОСТ 8.423;

- индикаторы часового типа по ГОСТ 577.

6.7.4 Испытания проводят следующим образом:

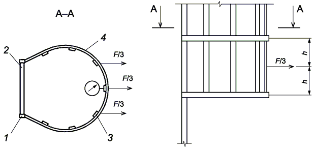
- площадку закрепляют так, чтобы поверхность пола находилась неподвижно в горизонтальном положении. Схемы испытаний и расположения индикаторов показаны на рисунке 5;

- укладывают подкладку - стальную пластину (или скобу) с амортизирующим резиновым слоем длиной (100 +/- 2) мм, толщиной (10 +/- 2) мм в контрольной точке; ширина подкладки на (25 +/- 2) мм больше ширины поручня;

- прикладывают предварительную нагрузку (0,20 +/- 0,01) кН к поручню в течение (60 +/- 1) с;

- после снятия предварительной нагрузки устанавливают индикатор в контрольной точке. Шкалу индикатора следует устанавливать на нуль;

- испытательную нагрузку не менее 0,4 кН прикладывают в течение (60 +/- 1) с;

- после снятия испытательной нагрузки записывают значение индикатора и вычисляют значение остаточной деформации.

6.7.5 Изделие считают выдержавшим испытание, если после испытания отсутствуют остаточные деформации и нарушения целостности конструкции.

1 - стойка защитного ограждения; 2 - поручень защитного ограждения; 3 - бортовой элемент

Рисунок 5 - Схема испытания защитного ограждения площадки на прочность при воздействии горизонтальной статической нагрузки

6.8 Испытание защитного ограждения площадки на прочность при воздействии вертикальной статической нагрузки

6.8.1 Испытанию подвергают один образец площадки.

6.8.2 Нагрузки прикладывают вертикально вниз к поручню ограждения площадки, с интервалом 0,5 м от каждого из находящихся на рабочей площадке работников (согласно максимально допустимому количеству людей на рабочей площадке).

6.8.3 В качестве средств измерений применяют:

- секундомер по ГОСТ 8.423;

- индикаторы часового типа по ГОСТ 577.

6.8.4 Испытания проводят следующим образом:

- площадку закрепляют так, чтобы поверхность пола находилась неподвижно в горизонтальном положении. Схемы испытаний и расположения индикаторов показаны на рисунке 6;

- укладывают подкладку - стальную пластину (или скобу) с амортизирующим резиновым слоем длиной (100 +/- 2) мм, толщиной (10 +/- 2) мм в контрольной точке; ширина подкладки на (25 +/- 2) мм больше ширины поручня;

- прикладывают предварительную нагрузку (0,20 +/- 0,01) кН к поручню в течение (60 +/- 1) с;

- после снятия предварительной нагрузки устанавливают индикатор в контрольной точке. Шкалу индикатора следует устанавливать на нуль;

- испытательную нагрузку не менее 1,0 кН прикладывают в течение (60 +/- 1) с;

- после снятия испытательной нагрузки записывают значение индикатора и вычисляют значение остаточной деформации.

1 - стойка защитного ограждения; 2 - поручень защитного ограждения; 3 - бортовой элемент

Рисунок 6 - Схема испытания защитного ограждения площадки на прочность при воздействии вертикальной статической нагрузки

6.8.5 Изделие считают выдержавшим испытание, если после испытания отсутствуют остаточные деформации и нарушения целостности конструкции.

6.9 Испытание ограждения навесной лестницы на прочность при воздействии вертикальной статической нагрузки

6.9.1 Испытанию подвергают один образец навесной лестницы с дуговым ограждением.

6.9.2 В качестве средств измерений применяют:

- секундомер по ГОСТ 8.423;

- индикаторы часового типа по ГОСТ 577.

6.9.3 Испытания проводят следующим образом:

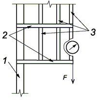
- навесную лестницу устанавливают в рабочее положение. Схема испытания показана на рисунке 7;

- прикладывают предварительную нагрузку (0,20 +/- 0,01) кН в течение (60 +/- 1) с;

- после снятия предварительной нагрузки устанавливают индикатор в контрольной точке. Шкалу индикатора следует устанавливать на нуль;

- прикладывают испытательную нагрузку не менее 1,0 кН в течение (60 +/- 1) с;

- после снятия испытательной нагрузки записывают значение индикатора и вычисляют значение остаточной деформации.

1 - тетива лестницы; 2 - дуга ограждения; 3 - продольная полоса ограждения

Рисунок 7 - Схема испытания ограждения навесной лестницы на прочность при воздействии вертикальной статической нагрузки

6.9.4 Изделие считают выдержавшим испытание, если отсутствуют остаточные деформации и нарушения целостности конструкций.

6.10 Испытание ограждения навесной лестницы на прочность при воздействии горизонтальной статической нагрузки

6.10.1 Испытанию подвергают один образец навесной лестницы с дуговым ограждением.

6.10.2 Испытательную нагрузку прикладывают на одном уровне к трем крайним продольным полосам защитного ограждения.

6.10.3 В качестве средств измерений применяют:

- секундомер по ГОСТ 8.423;

- индикатор часового типа по ГОСТ 577.

6.10.4 Испытания проводят следующим образом:

- навесную лестницу устанавливают в рабочее положение. Лестницу закрепляют от горизонтального смещения на уровне приложения испытательной нагрузки. Схема испытания показана на рисунке 8;

- прикладывают предварительную нагрузку (0,20 +/- 0,01) кН в течение (60 +/- 1) с;

- после снятия предварительной нагрузки устанавливают индикатор в контрольной точке. Шкалу индикатора следует устанавливать на нуль;

- прикладывают испытательную нагрузку не менее 0,5 кН в течение (60 +/- 1) с;

- после снятия испытательной нагрузки записывают значение индикатора и вычисляют значение остаточной деформации.

1 - тетива лестницы; 2 - ступень (перекладина) лестницы; 3 - продольная полоса ограждения; 4 - дуга ограждения

Рисунок 8 - Схема испытания ограждения навесной лестницы на прочность при воздействии горизонтальной статической нагрузки

6.10.5 Изделие считают выдержавшим испытание, если отсутствуют остаточные деформации и нарушения целостности конструкции.

6.11 Испытание ступени навесной лестницы на статическую прочность

6.11.1 Испытанию подвергают один образец навесной лестницы. Испытаниям подлежит каждая пятая ступень (перекладина) лестницы, но не менее трех.

6.11.2 В качестве средств измерений применяют:

- секундомер по ГОСТ 8.423;

- линейку измерительную металлическую по ГОСТ 427;

- штангенциркуль по ГОСТ 166.

6.11.3 Испытания проводят следующим образом:

- навесную лестницу устанавливают в рабочее положение;

- на ступень (перекладину) сверху накладывают шаблон - стержень с отклонением от прямолинейности не более 0,1 мм (длина стержня должна равняться ширине в свету испытуемой лестницы);

- проводят измерение суммарной толщины ступени (перекладины) с шаблоном с применением штангенциркуля, с погрешностью не более +/- 0,2 мм;

- на середину длины ступени (перекладины) устанавливают подкладку - стальную пластину (или скобу) с амортизирующим резиновым слоем длиной (100 +/- 2) мм, толщиной (10 +/- 2) мм; ширина подкладки на (25 +/- 2) мм больше диаметра ступени (перекладины). Подкладка должна соприкасаться со ступенью или перекладиной резиновой поверхностью;

- испытательную нагрузку не менее 2,0 кН прикладывают вертикально вниз через подкладку (скобу) в течение (180 +/- 1) с;

- после снятия нагрузки на испытуемую ступень (перекладину) сверху накладывают шаблон и измеряют их суммарную толщину в месте приложения нагрузки.

6.11.4 Изделие считают выдержавшим испытание, если остаточная деформация, равная разнице измерений, проведенных по 6.10.3 и 6.10.4, не превысила 0,02 ширины в свету испытуемой ступени (перекладины).

6.12 Испытание навесной лестницы на статическую прочность

6.12.1 Испытанию подвергают один образец навесной лестницы.

6.12.2 В качестве средства измерений применяют:

- секундомер по ГОСТ 8.423.

6.12.3 Испытания проводят следующим образом:

- навесную лестницу устанавливают в рабочее положение;

- на две нижние ступени (перекладины) лестницы устанавливают подкладки (скобы) (см. п. 6.11.3) вплотную к тетивам, резиновой поверхностью к ступеньке;

- испытательную нагрузку не менее 3,5 кН одновременно прикладывают через подкладки (скобы) к двум нижним ступеням (перекладинам) в течение (180 +/- 1) с.

6.12.4 Изделие считают выдержавшим испытание, если после испытания отсутствуют нарушения целостности конструкции.

6.13 Испытание горизонтально установленной лестницы на статическую прочность

6.13.1 Испытанию подвергают один образец лестницы.

6.13.2 В качестве средств измерений применяют:

- секундомер по ГОСТ 8.423;

- рулетку измерительную металлическую по ГОСТ 7502;

- индикатор часового типа по ГОСТ 577.

6.13.3 Испытания проводят следующим образом:

- лестницу устанавливают горизонтально на опоры, обеспечивающие установку лестницы в горизонтальной плоскости, с цилиндрической поверхностью радиусом не менее 15 мм, находящейся в контакте с испытуемым изделием;

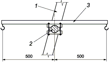
- на обе тетивы посредине длины лестницы укладывают подкладку - стальную пластину длиной не менее ширины лестницы, шириной (100 +/- 2) мм и толщиной (10 +/- 2) мм. Схема испытания показана на рисунке 9;

- прикладывают предварительную нагрузку (0,50 +/- 0,05) кН в течение (60 +/- 1) с;

- после снятия предварительной нагрузки устанавливают индикатор в контрольной точке. Шкалу индикатора следует устанавливать на нуль;

- прикладывают испытательную нагрузку не менее 1,5 кН в течение (60 +/- 1) с;

- после снятия испытательной нагрузки записывают значение индикатора и вычисляют значение остаточной деформации.

1 - лестница; 2 - опора

Рисунок 9 - Схема испытания горизонтально установленной приставной лестницы на статическую прочность

6.13.4 Изделие считают выдержавшим испытание, если после испытания остаточная деформация тетив лестницы не превышает 0,1% длины L (см. рисунок 9), т.е. длины между опорами, на которых размещалась испытуемая лестница.

6.14 Испытание лестницы приставной, установленной на ребро, на статическую прочность

6.14.1 Испытанию подвергают один образец приставной лестницы.

6.14.2 В качестве средств измерений применяют:

- секундомер по ГОСТ 8.423;

- рулетку измерительную металлическую по ГОСТ 7502;

- индикатор часового типа по ГОСТ 577.

6.14.3 Испытания проводят следующим образом:

- лестницу устанавливают ребром на опоры (см. рисунок 10). На нижнюю тетиву посредине длины лестницы укладывают подкладку - стальную пластину длиной (100 +/- 2) мм, шириной не менее ширины тетивы лестницы и толщиной (10 +/- 2) мм. Схема испытания показана на рисунке 10;

- устанавливают индикатор в контрольной точке. Шкалу индикатора следует устанавливать на нуль;

- прикладывают предварительную нагрузку (0,50 +/- 0,05) кН в течение (60 +/- 1) с;

- после снятия предварительной нагрузки устанавливают индикатор в контрольной точке. Шкалу индикатора следует устанавливать на нуль;

- прикладывают испытательную нагрузку не менее 1,0 кН в течение (60 +/- 1) с;

- после снятия испытательной нагрузки записывают значение индикатора и вычисляют значение остаточной деформации.

1 - лестница; 2 - опора

Рисунок 10 - Схема испытания горизонтально установленной лестницы на статическую прочность

6.14.4 Изделие считают выдержавшим испытание, если после испытания остаточная деформация тетив лестницы не превышает 0,5% длины L, т.е. длины между опорами, на которых размещалась испытуемая лестница.

6.15 Испытание ступени приставной лестницы на кручение

6.15.1 Испытанию подвергают один образец приставной лестницы.

Испытаниям подлежит каждая пятая ступень (перекладина) лестницы, но не менее трех.

6.15.2 В качестве средств измерений применяют:

- секундомер по ГОСТ 8.423;

- линейку измерительную металлическую по ГОСТ 427.

6.15.3 Испытания проводят следующим образом:

- лестницу устанавливают в рабочее положение;

- на середину длины ступени (перекладины) закрепляют двуплечий рычаг длиной (1000 +/- 5) мм с крюками на концах. Посредине рычага - зажим для крепления рычага на ступени (перекладины). Ширина зажима (90 +/- 5) мм. Схема испытания показана на рисунке 11;

- положение ступеней (перекладин) относительно тетив отмечают рисками;

- проводят 20 циклов поочередного нагружения концов рычага нагрузкой не менее 0,1 кН. Циклом считают нагружение одного конца рычага в течение (30 +/- 1) с.

1 - тетива лестницы; 2 - ступень (перекладина) лестницы; 3 - двуплечий рычаг

Рисунок 11 - Двуплечий рычаг для испытания ступени приставной лестницы на кручение

6.15.4 Изделие считают выдержавшим испытание, если в процессе нагружений не произошло смещения ступени (перекладины) относительно тетив.

6.16 Испытание лестницы в целом в рабочем положении на статическую прочность

6.16.1 Испытанию подвергают один образец лестницы.

6.16.2 В качестве средства измерений применяют:

- секундомер по ГОСТ 5072.

6.16.3 Испытания проводят следующим образом:

- лестницу устанавливают в рабочее положение;

- на две верхние ступени (перекладины) лестницы устанавливают подкладки (скобы) в соответствии с 6.11.3 вплотную к тетивам, резиновой поверхностью к ступени (перекладине);

- испытательную нагрузку не менее 3,0 кН одновременно прикладывают через подкладки (скобы) к двум верхним ступеням (перекладинам) в течение (180 +/- 1) с.

6.16.4 Изделие считают выдержавшим испытание, если после испытания отсутствуют остаточные деформации и нарушения целостности конструкции.

6.17 Испытания на коррозионную стойкость

Подвергают испытательный образец воздействию распыленной солевой жидкости в соответствии с ГОСТ 30630.2.5 в течение 48 ч. Признаки коррозии основного металла недопустимы. Наличие белого налета является допустимым.

Примечание - Испытательный образец может представлять из себя часть изделия с основными применяемыми на нем видами покрытия. Не закрытые защитным покрытием поверхности изделия, образовавшиеся во время подготовки испытательного образца, должны быть закрыты от воздействия соляного тумана.

7 Упаковка

7.1 Упаковка должна обеспечивать сохранность изделий при перевозках и складском хранении.

7.2 Масса, структура и габаритные размеры упаковки должны обеспечивать сохранность изделия и его комплектующих частей при транспортировании и обеспечивать возможность механизированной погрузки и выгрузки. Транспортную упаковку следует маркировать по ГОСТ 14192.

8 Транспортирование и хранение

8.1 Условия транспортирования и хранения изделий должны соответствовать условиям их эксплуатации, установленным в технической документации предприятия-изготовителя на изделие.

8.2 Транспортирование изделий и их компонентов может осуществляться всеми видами транспорта на любое расстояние в соответствии с правилами перевозки грузов, действующими на конкретном виде транспорта.

8.3 При транспортировании и хранении изделий и их компонентов должны быть обеспечены условия, предохраняющие их от механических повреждений, атмосферных осадков, от воздействия влаги и агрессивных сред.

8.4 Места монтажных соединений должны быть защищены от загрязнения, а винтовые и шарнирные соединения покрыты консервирующей смазкой. Для соединений с антикоррозионной обработкой консервирующая смазка необязательна.

8.5 Допускается по согласованию с заказчиком транспортирование изделия без упаковки.

8.6 Условия хранения устройств должны соответствовать требованиям, указанным в технической документации предприятия-изготовителя на изделие.

9 Указания по эксплуатации

9.1 Изделия должны эксплуатироваться в соответствии с требованиями эксплуатационной документации на конкретные типы конструкций площадок и лестниц.

9.2 Контроль за состоянием изделий должно осуществлять лицо из числа инженерно-технических работников, которое назначается распоряжением по организации. Периодический осмотр должен проводиться раз в 3 мес. При осмотре изделий следует убедиться в отсутствии деформации узлов, трещин в металле, заусенцев, острых краев, нарушений крепления ступенек (перекладин) к тетивам, нарушений креплений защитных ограждений.

10 Гарантии изготовителя

10.1 Изготовитель должен гарантировать сохранение показателей основных параметров элементов изделия требованиям настоящего стандарта в течение не менее одного года со дня начала эксплуатации при условии выполнения указаний, приведенных в эксплуатационной документации и инструкции по установке, а также требований к транспортированию и хранению по ГОСТ 15150.

10.2 Изготовитель должен сопровождать каждое изделие паспортом или иным эксплуатационным документом, соответствующим ГОСТ 2.601.