Устройства комплектные низковольтные распределения и управления. Часть 1. Общие требования. ГОСТ IEC 61439-1-2013

(утв. Приказом Росстандарта от 22.11.2013 N 1678-СТ)
Редакция от 22.11.2013 — Действует с 01.01.2016

Текст данного документа приведен с учетом Поправок ИУС N 7 - 2019, ИУС N 12 - 2020.


МЕЖГОСУДАРСТВЕННЫЙ СТАНДАРТ

УСТРОЙСТВА КОМПЛЕКТНЫЕ НИЗКОВОЛЬТНЫЕ РАСПРЕДЕЛЕНИЯ И УПРАВЛЕНИЯ

ЧАСТЬ 1

ОБЩИЕ ТРЕБОВАНИЯ

Low-voltage switchgear and controlgear assemblies. Part 1. General requirements (IEC 61439-1:2011, IDT)

ГОСТ IEC 61439-1-2013

Дата введения
1 января 2016 года

Предисловие

Цели, основные принципы и порядок проведения работ по межгосударственной стандартизации установлены ГОСТ 1.0-92 "Межгосударственная система стандартизации. Основные положения" и ГОСТ 1.2-2009 "Межгосударственная система стандартизации. Стандарты межгосударственные, правила и рекомендации по межгосударственной стандартизации. Правила разработки, принятия, применения, обновления и отмены".

ГОСТ 1.0-92 отменен. Взамен него с 01.07.2016 введен в действие ГОСТ 1.0-2015.

Сведения о стандарте

1 ПОДГОТОВЛЕН Автономной некоммерческой организацией "Научно-технический центр "Энергия" (АНО "НТЦ "Энергия")

2 ВНЕСЕН Федеральным агентством по техническому регулированию и метрологии (Росстандарт)

3 ПРИНЯТ Межгосударственным советом по стандартизации, метрологии и сертификации (протокол от 14 ноября 2013 г. N 44)

За принятие проголосовали:

Краткое наименование страны по МК (ИСО 3166) 004-97 Код страны по МК (ИСО 3166) 004-97 Сокращенное наименование национального органа по стандартизации
Казахстан KZ Госстандарт Республики Казахстан
Киргизия KG Кыргызстандарт
Россия RU Росстандарт
Узбекистан UZ Узстандарт

4 Приказом Федерального агентства по техническому регулированию и метрологии от 22 ноября 2013 г. N 1678-ст межгосударственный стандарт ГОСТ IEC 61439-1-2013 введен в действие в качестве национального стандарта Российской Федерации с 1 января 2016 г.

5 Настоящий стандарт идентичен международному стандарту IEC 61439-1:2011, издание 2.0 Low-voltage switchgear and controlgear assemblies - Part 1: General rules (Аппаратура коммутационная и механизмы управления низковольтные комплектные. Часть 1. Общие правила).

Наименование настоящего стандарта изменено относительно наименования международного стандарта для приведения в соответствие с ГОСТ 1.5-2001 (подраздел 3.6).

Степень соответствия - идентичный (IDT).

Перевод с английского языка (en).

Официальный экземпляр международного стандарта находится в Федеральном информационном фонде технических регламентов и стандартов.

Сведения о соответствии межгосударственных стандартов ссылочным международным стандартам приведены в дополнительном приложении ДА.

Информация об изменениях к настоящему стандарту публикуется в ежегодном информационном указателе "Национальные стандарты", а текст изменений и порядок - в ежемесячном информационном указателе "Национальные стандарты". В случае пересмотра (замены) или отмены настоящего стандарта соответствующее уведомление будет опубликовано в ежемесячном информационном указателе "Национальные стандарты". Соответствующая информация, уведомление и тексты размещаются также в информационной системе общего пользования - на официальном сайте Федерального агентства по техническому регулированию и метрологии в сети Интернет.

Введение

Настоящий стандарт является основополагающим в разрабатываемой серии стандартов ГОСТ IEC 61439 на базе международных стандартов серии IEC 61439 и заменяет серию стандартов IEC 60439.

Новая реструктурированная серия международных стандартов на низковольтные комплектные устройства IEC 61439 представлена следующими частями:

IEC 61439-1. Общие требования;

IEC 61439-2. Силовые комплектные устройства распределения и управления;

IEC 61439-3. Распределительные щиты (взамен IEC 60439-3);

IEC 61439-4. Комплектные устройства для строительных площадок (взамен IEC 60439-4);

IEC 61439-5. Комплектные устройства для силового распределения (взамен IEC 60439-5);

IEC 61439-6. Системы сборных шин (шинопровод) (взамен IEC 60439-2);

IEC/TR 61439-0. Руководство по определению комплектности.

Данный перечень не исчерпывающий, по мере необходимости могут разрабатываться дополнительные части.

Целью настоящего стандарта является гармонизация всех правил и требований общего характера, применимых к низковольтным комплектным устройствам распределения и управления (далее - НКУ), для получения унифицированных требований и проверок для НКУ и исключения необходимости обращения к другим стандартам. Все эти требования группы стандартов на НКУ, квалифицируемые как общие, собраны в настоящем базовом стандарте и объединены со специфическими требованиями, представляющими широкий интерес и применение, например превышение температуры, электроизоляционные свойства и т.д.

По общему правилу применения конкретного стандарта на НКУ в нем при ссылке на какой-либо раздел или пункт настоящего стандарта указывается его обозначение, сопровождаемое словами и номером соответствующей части текста, например, "IEC 61439-1 (подпункт 9.1.3)".

В конкретном стандарте на НКУ могут не содержаться общие требования, если они не применяются, и напротив в нем могут содержаться дополнительные требования, если общее требование неадекватно в конкретном случае, но от него нельзя отступить без существенного и подробного технического обоснования, приведенного в конкретном стандарте.

Если в настоящем стандарте имеется перекрестная ссылка на другой пункт конкретного стандарта, то она принимается, где это возможно.

Требования настоящего стандарта, являющиеся предметом согласования между изготовителем НКУ и потребителем, приведены в приложении C. Данный перечень упрощает предоставление информации по основным условиям и дополнительным техническим условиям потребителя, касающимся разработки конструкции, применению и эксплуатации НКУ.

1. Область применения

Примечание 1 - В настоящем стандарте сокращение "НКУ" применяют для обозначения низковольтных комплектных устройств распределения и управления.

Настоящий стандарт формулирует определения и устанавливает условия эксплуатации, требования к конструкции, технические характеристики, а также требования к проверке низковольтных комплектных устройств распределения и управления.

Настоящий стандарт не может применяться обособленно для характеристики НКУ, либо для целей подтверждения соответствия НКУ; он должен применяться совместно со стандартом из серии IEC 61439 на конкретное НКУ.

Настоящий стандарт применяется только в том случае, если этого требует конкретный стандарт на комплектные устройства и распространяется на следующие НКУ:

- НКУ на номинальное напряжение не свыше 1000 В переменного и 1500 В постоянного тока;

- стационарные и передвижные НКУ, защищенного и незащищенного исполнения;

- НКУ, предназначенные для применения в связи с генерированием, передачей, распределением и преобразованием электрической энергии, а также для управления оборудованием, потребляющим электроэнергию;

- НКУ, предназначенные для применения в специальных условиях эксплуатации, например на судах, рельсовом транспорте при условии, что соответствующие специальные требования выполняются.

Примечание 2 - Дополнительные требования к НКУ, применяемым на судах, приведены в IEC 60092-302 [1];

- НКУ, предназначенные для управления электрооборудованием станков и оборудования при условии, что соответствующие специальные требования выполняются.

Примечание 3 - Дополнительные требования к НКУ, составляющим часть оборудования, приведены в серии стандартов IEC 60204 [2].

Настоящий стандарт распространяется на все НКУ сконструированные, изготовленные и испытанные как единичные изделия, так и полностью стандартизованные и изготовленные массово.

Изготовление и/или сборка может производиться не обязательно первоначальным изготовителем (см. 3.10.1).

Настоящий стандарт не распространяется на отдельные устройства и комплектующие элементы, имеющие собственные оболочки, такие как пускатели, выключатели-предохранители, электронное оборудование и т.д., требования к которым устанавливаются соответствующими конкретными стандартами.

2. Нормативные ссылки

Для применения настоящего стандарта необходимы следующие ссылочные документы. Для датированных ссылок применяют только указанное издание ссылочного стандарта. Для недатированных ссылок применяют последнее издание ссылочного стандарта (включая все его изменения).

IEC 60068-2-2:2007 Environmental testing - Part 2-2: Tests - Test B: Dry heat (Испытания на воздействие внешних факторов. Часть 2. Испытания. Испытание B: Сухое тепло)

IEC 60068-2-11:1981 Environmental testing - Part 2: Tests. Test Ka: Salt mist (Испытания на воздействие внешних факторов. Часть 2. Испытания. Испытание Ka: Соляной туман)

IEC 60068-2-30:2005 Environmental testing - Part 2-30: Tests - Test Db: Damp heat, cyclic (12h + 12h cycle) (Воздействующие факторы окружающей среды. Часть 2-30. Испытания. Испытание Db. Влажное тепло циклическое. Цикл (12 + 12) ч)

IEC 60073:2002 Basic and safety principles for man-machine interface, marking and identification - Coding principles for indicators and actuators (Основные принципы и принципы безопасности интерфейсов пользователя; маркировка и идентификация. Принципы кодирования индикаторов и кнопок управления)

IEC 60085:2007 Electrical insulation - Thermal evaluation and designation (Электрическая изоляция. Термостойкость и обозначение)

IEC 60216 (все части) Electrical insulating materials - Properties of thermal endurance (Материалы электроизоляционные. Характеристики теплостойкости)

IEC 60227-3:1993 Polyvinyl chloride insulated cables of rated voltages up to and including 450/750 V - Part 3: Non sheathed cables for fixed wiring (Кабели с ПВХ изоляцией на номинальные напряжения до 450/750 В включительно. Часть 3. Кабели без оболочки для стационарной прокладки)

IEC 60245-3:1994 Rubber insulated cables - Rated voltages up to and including 450/750 V - Part 3: Heat resistant silicone insulated cables (Кабели с резиновой изоляцией на номинальные напряжения до 450/750 В включительно. Часть 3. Кабели с нагревостойкой кремнийорганической изоляцией)

IEC 60245-4:1994 Rubber insulated cables - Rated voltages up to and including 450/750 V - Part 4: Cords and flexible cables (Кабели с резиновой изоляцией на номинальные напряжения до 450/750 В включительно. Часть 4. Гибкие кабели и шнуры)

IEC 60364 (все части) Low-voltage electrical installations (Низковольтные электрические установки зданий)

IEC 60364-4-41:2005 Low-voltage electrical installations - Part 4-41: Protection for safety - Protection against electric shock (Низковольтные электрические установки зданий. Часть 4-41. Требования по обеспечению безопасности. Защита от поражения электрическим током)

IEC 60364-4-44:2007 Electrical installations of buildings - Part 4-44: Protection for safety - Protection against voltage disturbances and electromagnetic disturbances (Низковольтные электрические установки зданий. Часть 4-41. Требования по обеспечению безопасности. Защита от перенапряжений и электромагнитных помех)

IEC 60364-5-52:2009 Low-voltage electrical installations - Part 5-52: Selection and erection of electrical equipment - Wiring systems (Низковольтные электрические установки зданий. Часть 5-52. Выбор и монтаж электрооборудования. Системы электропроводки)

IEC 60364-5-53:2001 Electrical installations of buildings - Part 5-53: Selection and erection of electrical equipment - Isolation, switching and control (Низковольтные электрические установки зданий. Часть 5-53. Выбор и монтаж электрооборудования. Разъединение, коммутация и управление)

IEC 60364-5-54:2011 Low-voltage electrical installations - Part 5-54: Selection and erection of electrical equipment - Earthing arrangements and protective conductors (Низковольтные электрические установки зданий. Часть 5-54. Выбор и монтаж электрооборудования. Установка заземления, защитных проводников)

IEC 60439 (все части) Low-voltage switchgear and controlgear assemblies (Низковольтные комплектные устройства распределения и управления)

IEC 60445:2010 Basic and safety principles for man-machine interface, marking and identification - Identification of equipment terminals, conductor terminations and conductors (Основные принципы и принципы безопасности человеко-машинного интерфейса, маркировка и идентификация. Идентификация выводов электрооборудования, проводников и концов проводников)

IEC 60447:2004 Basic and safety principles for man-machine interface, marking and identification - Actuating principles (Основные принципы и принципы безопасности человеко-машинного интерфейса, маркировка и идентификация. Принципы приведения в действие)

IEC 60529:2001 Degrees of protection provided by enclosures (IP Code) (Степени защиты, обеспечиваемые корпусами (Код IP))

IEC 60664-1:2007 Insulation coordination for equipment within low-voltage systems - Part 1: Principles, requirements and tests (Координация изоляции электрооборудования низковольтных систем. Часть 1. Общие принципы, требования и методы испытаний)

IEC 60695-2-10:2000 Fire Hazard testing - Part 2-10: Glowing/hot-wire based test methods - Glow-wire apparatus and common test procedure (Испытания на пожароопасность. Часть 2-10. Методы испытания раскаленной/нагретой проволокой. Испытательная установка и общая методика)

IEC 60695-2-11:2000 Fire hazard testing - Part 2-11: Glowing/hot-wire based test methods - Glow-wire flammability test method for end-products (Испытания на пожароопасность. Часть 2-11. Методы испытаний раскаленной/горячей проволокой. Метод испытания конечной продукции на воспламеняемость под действием раскаленной проволоки)

IEC 60695-11-5:2004 Fire hazard testing - Part 11-5: Test flames - Needle-flame test method - Apparatus, confirmatory test arrangement and guidance (Испытания на пожароопасность. Часть 11-5. Испытание пламенем. Метод испытания игольчатым пламенем. Оборудование, установка для подтверждающей проверки и руководство для испытания)

IEC 60865-1:1993 Short-circuit currents - Calculation of effects - Part 1: Definitions and calculation methods (Токи короткого замыкания. Расчет эффектов. Часть 1. Определения и методы расчетов)

IEC 60890:1987 A method of temperature-rise assessment by extrapolation for partially type-tested assemblies (PTTA) of low-voltage switchgear and controlgear (Узлы низковольтной аппаратуры и механизмов управления, частично подвергшиеся типовым испытаниям. Методы оценки повышения температуры с помощью экстраполяции)

IEC 60947-1:2007 Low-voltage switchgear and controlgear - Part 1: General rules (Аппаратура коммутационная и механизмы управления низковольтные комплектные. Часть 1. Общие правила)

IEC 61000-4-2:2008 Electromagnetic compatibility (EMC) - Part 4-2: Testing and measurement techniques - Electrostatic discharge immunity test (Электромагнитная совместимость. Часть 4-2. Методики испытаний и измерений. Испытание на невосприимчивость к электростатическому разряду)

IEC 61000-4-3:2006 Electromagnetic compatibility (EMC) - Part 4-3: Testing and measurement techniques - Radiated, radio-frequency, electromagnetic field immunity test (Электромагнитная совместимость. Часть 4-3. Методики испытаний и измерений. Испытание на устойчивость к воздействию электромагнитного поля с излучением на радиочастотах)

IEC 61000-4-4:2004 Electromagnetic compatibility (EMC) - Part 4-4: Testing and measurement techniques - Electrical fast transient/burst immunity test (Электромагнитная совместимость. Часть 4-4. Методы испытаний и измерений. Испытание на невосприимчивость к быстрым переходным процессам и всплескам)

IEC 61000-4-5:2005 Electromagnetic compatibility (EMC) - Part 4-5: Testing and measurement techniques - Surge immunity test (Электромагнитная совместимость. Часть 4: Методики испытаний и измерений. Раздел 5: Испытание на невосприимчивость к выбросу напряжения)

IEC 61000-4-6:2008 Electromagnetic compatibility (EMC) - Part 4-6: Testing and measurement techniques - Immunity to conducted disturbances, induced by radio-frequency fields (Электромагнитная совместимость (EMC). Часть 4-6. Методики испытаний и измерений. Защищенность от помех, наведенных радиочастотными полями)

IEC 61000-4-8:2009 Electromagnetic compatibility (EMC) - Part 4-8: Testing and measurement techniques - Power frequency magnetic field immunity test (Электромагнитная совместимость. Часть 4-8: Методики испытаний и измерений. Испытание на помехоустойчивость в условиях магнитного поля промышленной частоты)

IEC 61000-4-11:2004 Electromagnetic compatibility (EMC) - Part 4-11: Testing and measurement techniques - Voltage dips, short interruptions and voltage variations immunity tests (Электромагнитная совместимость. Часть 4-11. Методики испытаний и измерений. Кратковременные понижения напряжения, короткие отключения)

IEC 61000-4-13:2002 Electromagnetic compatibility (EMC) - Part 4-13: Testing and measurement techniques - Harmonics and interharmonics including mains signalling at a.c. power port, low frequency immunity tests (Электромагнитная совместимость. Часть 4-13. Методики испытаний и измерений. Испытания низкочастотной помехозащитности от воздействия гармоник и промежуточных гармоник, включая сетевые сигналы, передаваемые в сеть переменного тока)

IEC 61000-6-4:2006 Electromagnetic compatibility (EMC) - Part 6: Generic standards - Emission standard for industrial environments (Электромагнитная совместимость. Часть 6-4. Общие стандарты. Стандарт на излучение для окружающей среды промышленных предприятий)

IEC 61082-1:2006 Oficial en - de documentos utilizados en electrotecnia. Parte 1: Reglas (Подготовка документации в электротехнологии. Часть 1. Правила)

IEC 61180 (все части) High-voltage test techniques for low voltage equipment - Part 1: Definitions, test and procedure requirements (Техника испытаний высоким напряжением низковольтного оборудования. Часть 1. Определения, требования к испытаниям и методам испытаний)

IEC/TS 61201:2007 Use of conventional touch voltage limits - Application guide (Пределы условного напряжения прикосновения. Руководство)

IEC 61439 (все части) Low-voltage switchgear and controlgear assemblies (Низковольтные комплектные устройства распределения и управления)

IEC 81346-1 Industrial systems, installations and equipment and industrial products - Structuring principles and reference designations - Part 1: Basic rules (Промышленные системы; монтаж и оборудование промышленных производств. Принципы построения и назначения. Часть 1. Основные правила)

IEC 81346-2 Industrial systems, installations and equipment and industrial products - Structuring principles and reference designations - Part 2: Classification of objects and codes for classes (Промышленные системы; монтаж и оборудование промышленных производств. Принципы построения и назначения. Часть 2. Классификация объектов и кодирование классов)

IEC 62208 Empty enclosures for low-voltage switchgear and controlgear assemblies - General requirements (Пустые оболочки для низковольтных комплектных устройств распределения и управления. Общие требования)

IEC 62262:2002 Degrees of protection provided by enclosures for electrical equipment against external mechanical impacts (IK code) (Степени защиты от внешних механических ударов, обеспечиваемые оболочками для электрооборудования (код IK))

CISPR 11:2009 Industrial, scientific and medical (ISM) radio-frequency equipment - Electromagnetic disturbance characteristics - Limits and methods of measurement (Промышленные, научные, медицинские и бытовые (ПНМБ) высокочастотные устройства. Нормы и методы измерений)

CISPR 22 Information technology equipment - Radio disturbance characteristics - Limits and methods of measurement (Оборудование информационных технологий. Характеристики радиочастотных помех. Нормы и методы измерений)

ISO 178:2001 Plastics - Determination of flexural properties (Пластмассы. Определение прочности на изгиб)

ISO 179 (все части) Plastics. Determination of charpy impact properties. Part 2. Instrumented impact test (Пластмассы. Определение ударной вязкости по Шарпи)

ISO 2409:2007 Paints and varnishes; cross-cut test (Краски и лаки. Испытание методом решетчатого надреза)

ISO 4628-3:2003 Paints and varnishes; Evaluation of degradation of paint coatings; Designation of intensity, quantity and size of common types of defect; Part 3: Designation of degree of rusting (Лаки и краски. Оценка деградации покрытий. Обозначение числа и размеров дефектов и интенсивности единообразных внешних изменений. Часть 3. Оценка степени ржавления)

ISO 4892-2:2006 Plastics. Methods of exposure to laboratory light sources. Part 2. Xenon-arc sources (Пластмассы. Методы экспонирования под лабораторными источниками света. Часть 2. Лампы с ксеноновой дугой)

3. Термины и их определения

В настоящем стандарте применяют следующие термины с соответствующими определениями:

3.1 Общие термины и определения

3.1.1 низковольтное устройство распределения и управления (НКУ) (low-voltage switchgear and controlgear assembly (ASSEMBLY): Низковольтные коммутационные аппараты и устройства управления, измерения, сигнализации, защиты, регулирования, собранные совместно, со всеми внутренними электрическими и механическими соединениями и конструктивными элементами.

3.1.2 система НКУ (ASSEMBLY system): Полный комплект механических и электрических компонентов (оболочки, шины, функциональные блоки и т.д.), указанных изготовителем комплектного оборудования, из которых в соответствии с инструкциями изготовителя собирают НКУ.

3.1.3 главная цепь НКУ (main circuit (of an ASSEMBLY)): Совокупность токоведущих частей комплекта, входящих в цепь, предназначенную для передачи электроэнергии.

[IEC 60050-441] [3]

3.1.4 вспомогательная цепь НКУ (auxiliary circuit) (of an ASSEMBLY): Совокупность токоведущих частей комплекта, входящих в цепь (кроме главной цепи), предназначенную для управления, измерения, сигнализации, регулирования и обработки данных и т.д.

Примечание - Вспомогательные цепи комплекта включают цепи управления и вспомогательные цепи коммутационных устройств.

[IEC 60050-441] [3].

3.1.5 шина (busbar): Проводник с низким сопротивлением, к которому можно подсоединить несколько отдельных электрических цепей.

Примечание - Термин "шина" не предполагает геометрическую форму, габариты или размеры проводника.

3.1.6 сборная шина (main busbar): Шина, к которой могут быть присоединены одна или несколько распределительных шин и/или блоков ввода или вывода.

3.1.7 распределительная шина (distribution busbar): Шина, входящая в состав одной секции НКУ, соединенная со сборной шиной и питающая устройство вывода.

Примечание - Проводники, соединяющие функциональный блок и шину, не являются частью распределительных шин.

3.1.8 функциональный блок (functional unit): Часть НКУ, содержащая электрические и механические элементы, включая коммутационные устройства, и обеспечивающая выполнение одной функции.

Примечание - Проводники, соединенные с функциональным блоком, но являющиеся внешними по отношению к его отсеку или к оболочке защищенного пространства (например кабели вспомогательных цепей, соединенные с общим отсеком), не являются частью функционального блока.

3.1.9 блок ввода (incoming unit): Функциональный блок, обеспечивающий подачу электрической энергии к НКУ.

3.1.10 блок вывода (outgoing unit): Функциональный блок, обеспечивающий питание одной или нескольких выходных цепей.

3.1.11 устройство защиты от короткого замыкания (УЗКЗ) (short-circuit protective device (SCPD)): Устройство, предназначенное для защиты цепи или частей цепи от токов короткого замыкания путем ее отключения.

[2.2.21 IEC 60947-1]

3.2 Конструкции НКУ

3.2.1 стационарная часть (fixed part): Часть НКУ, состоящая из комплектующих элементов, собранных и электрически соединенных на общем основании, не предназначенная для перемещения из одного места в другое.

3.2.2 выдвижная отделяемая часть (removable part): Часть НКУ, состоящая из комплектующих элементов, собранных и электрически соединенных на общем основании, которая может быть отделена от него и установлена на место даже тогда, когда электрическая цепь, к которой она присоединена, находится под напряжением.

3.2.3 присоединенное положение (connected position): Положение выдвижной отделяемой части НКУ, при котором она полностью соединена с ним для выполнения заданной ей функции.

3.2.4 отделенное положение (removed position): Положение выдвижной отделяемой части НКУ, когда она находится вне НКУ, механически и электрически отсоединена от него.

3.2.5 блокировка введения (insertion interlock): Устройство, предотвращающее установку выдвижной отделяемой или выдвижной неотделяемой части в положение, для этой части не предназначенное.

3.2.6 стационарное соединение (fixed connection): Соединение или разъединение функциональных блоков, которое может быть выполнено с помощью специального инструмента.

3.2.7 секция (section): Часть НКУ между двумя последовательными вертикальными перегородками.

3.2.8 подсекция (sub-section): Часть НКУ между двумя последовательными горизонтальными или вертикальными перегородками внутри одной секции.

3.2.9 отсек (compartment): Секция или подсекция, защищенная ограждением, за исключением отверстий, необходимых для соединений, контроля или вентиляции.

3.2.10 транспортная секция (transport unit): НКУ или его часть, пригодная для транспортирования без разборки.

3.2.11 заслонка (shutter): Часть НКУ, которая может перемещаться из положения, при котором она позволяет контактам выдвижной отделяемой части или выдвижной неотделяемой части сомкнуться с неподвижными контактами, в положение, при котором она становится частью оболочки или перегородки, ограждающей неподвижные контакты.

[IEC 60050-441] [3]

3.3 Конструктивные исполнения НКУ

3.3.1 открытое НКУ (open-type ASSEMBLY): НКУ, на монтажной раме которого установлена электрическая аппаратура, при этом части электрической аппаратуры, находящиеся под напряжением, доступны для прикосновения.

3.3.2 НКУ, защищенное с передней стороны (dead-front ASSEMBLY): Открытое НКУ, закрытое с передней стороны, при этом части, находящиеся под напряжением, доступны для прикосновения с других сторон.

3.3.3 защищенное НКУ (enclosed ASSEMBLY): НКУ, конструкция которого обеспечивает требуемую степень защиты со всех сторон от прикосновения к частям, находящимся под напряжением (за исключением монтажной поверхности).

3.3.4 шкафное НКУ (cubicle-type ASSEMBLY): Защищенное НКУ, предназначенное для установки на полу, которое может состоять из нескольких секций, подсекций или отсеков.

3.3.5 многошкафное НКУ (multi-cubicle-type ASSEMBLY): Несколько механически соединенных шкафных НКУ.

3.3.6 пультовое НКУ (desk-type ASSEMBLY): Защищенное НКУ с горизонтальной или наклонной панелью управления либо имеющее обе панели, на которых размещена аппаратура управления, измерения, сигнализации и т.д.

3.3.7 ящичное НКУ (box-type ASSEMBLY): Защищенное НКУ, предназначенное для установки на вертикальной плоскости.

3.3.8 многоящичное НКУ (multi-box-type ASSEMBLY): Защищенное НКУ, состоящее из нескольких механически соединенных ящичных НКУ, установленных на общей монтажной раме или без нее, при этом электрические соединения аппаратуры, находящейся в соседних ящиках, обеспечивается через отверстия в смежных стенках.

3.3.9 НКУ, устанавливаемое на поверхности стены (wall-mounted surface type ASSEMBLY): НКУ, предназначенное для установки на поверхности стены.

3.3.10 НКУ, устанавливаемое в нишу в стене (wall-mounted recessed type ASSEMBLY): НКУ, предназначенное для установки в нишу в стене, при этом оболочка НКУ не опирается на верхнюю часть стены.

3.4 Элементы конструкции НКУ

3.4.1 несущая конструкция (supporting structure): Часть конструкции НКУ, предназначенная для установки комплектующих элементов НКУ и оболочки.

3.4.2 монтажная конструкция (mounting structure): Конструкция, предназначенная в качестве опоры для установки на нее НКУ и не являющаяся частью НКУ.

3.4.3 монтажная панель (mounting plate): Панель, предназначенная для размещения комплектующих элементов, устанавливаемая в НКУ.

3.4.4 монтажная рама (mounting frame): Рама, предназначенная для размещения комплектующих элементов, устанавливаемая в НКУ.

3.4.5 оболочка (enclosure): Корпус, обеспечивающий тип и степень защиты оборудования, соответствующие ее назначению.

[IEC 60050-195] [4]

3.4.6 кожух (крышка) (cover): Внешняя часть оболочки НКУ.

3.4.7 дверь (door): Навесная или сдвигаемая крышка.

3.4.8 съемная крышка (removable cover): Элемент внешней оболочки, предназначенный для закрывания проема в ней, снимаемый для выполнения определенных операций и технического обслуживания.

3.4.9 накладка (cover plate): Часть НКУ, применяемая для закрывания проема во внешней оболочке и предназначенная для крепления винтами или аналогичными средствами.

Примечание 1 - Обычно накладку не снимают после ввода оборудования в эксплуатацию.

Примечание 2 - Накладка может быть снабжена кабельными вводами.

3.4.10 перегородка (partition): Часть оболочки секции, отделяющая ее от других секций.

3.4.11 ограждение (barrier): Часть, обеспечивающая защиту от прямого контакта в любом обычном направлении.

[IEC 60050-195] [4]

3.4.12 препятствие (obstacle): Часть, предотвращающая случайный прямой контакт, но не препятствующая намеренному прямому контакту.

Примечание - Препятствия предназначены для предотвращения ненамеренного контакта с частями, находящимися под напряжением, но не предназначены для воспрепятствования намеренному контакту путем введения в заблуждение с помощью препятствия. Препятствия предназначены для защиты квалифицированного и обученного персонала, но не для защиты неквалифицированного персонала.

[IEC 60050-195] [4]

3.4.13 экран вывода (terminal shield): Часть, закрывающая выводы и обеспечивающая определенную степень защиты от доступа к частям, находящимся под напряжением, со стороны людей или предметов.

3.4.14 кабельный ввод (cable entry): Элемент конструкции, снабженный отверстиями, обеспечивающими ввод кабелей в НКУ.

3.4.15 закрытое защищенное пространство (enclosed protected space): Часть НКУ, предназначенная для размещения электрических комплектующих элементов, обеспечивающая определенную защиту от внешних воздействий и от контакта с токоведущими частями.

3.5 Условия установки НКУ

3.5.1 НКУ для внутренней установки (ASSEMBLY for indoor installation): НКУ, предназначенное для применения в местах, где выполняются условия нормальной эксплуатации внутри помещений согласно 7.1.

3.5.2 НКУ для наружной установки (ASSEMBLY for outdoor installation): НКУ, предназначенное для применения в местах, где выполняются условия нормальной эксплуатации вне помещений согласно 7.1.

3.5.3 стационарное НКУ (stationary ASSEMBLY): НКУ, предназначенное для закрепления на месте установки и эксплуатации, например на полу или на стене.

3.5.4 передвижное НКУ (movable ASSEMBLY): НКУ, которое может быть перемещено с места на место в процессе эксплуатации.

3.6 Характеристики изоляции

3.6.1 изоляционный промежуток (clearance): Расстояние между двумя токопроводящими частями вдоль нити, натянутой по кратчайшему пути между ними.

[IEC 60050-441] [3]

3.6.2 расстояние утечки (creepage distance): Кратчайшее расстояние между двумя токопроводящими частями по поверхности твердого изоляционного материала.

Примечание - Стык между двумя элементами из изоляционного материала считают частью поверхности.

[IEC 60050-151] [5]

3.6.3 перенапряжение (overvoltage): Любое напряжение, пиковое значение которого превышает соответствующее пиковое значение максимального установившегося напряжения при нормальных рабочих условиях.

[3.7 IEC 60664-1]

3.6.4 временное перенапряжение (temporary overvoltage): Перенапряжение промышленной частоты сравнительно большой длительности (в течение нескольких секунд).

[3.7.1 IEC 60664-1]

3.6.5 переходное перенапряжение (transient overvoltage): Кратковременное перенапряжение длительностью от нескольких миллисекунд и менее, колебательное или неколебательное, обычно затухающее.

[IEC 60050-604] [6]

3.6.6 выдерживаемое напряжение промышленной частоты (power-frequency withstand voltage): Действующее значение синусоидального напряжения промышленной частоты, не вызывающее пробоя в указанных условиях испытания.

[2.5.56 IEC 60947-1]

Примечание - Выдерживаемое напряжение промышленной частоты эквивалентно кратковременному перенапряжению по определению IEC 60664-1.

3.6.7 импульсное выдерживаемое напряжение (impulse withstand voltage): Наибольшее пиковое значение импульсного напряжения определенной формы и полярности, не вызывающее пробоя изоляции в указанных условиях.

[3.8.1 IEC 60664-1]

3.6.8 загрязнение (pollution): Любое присутствие твердых, жидких или газообразных инородных веществ, которые могут уменьшить электрическую прочность или поверхностное удельное сопротивление изоляции.

[3.11 IEC 60664-1]

3.6.9 степень загрязнения (окружающей среды) (pollution degree (of environmental conditions)): Условное число, основанное на количестве проводящей или гигроскопической пыли, ионизированных газов или солей, а также на относительной влажности и частоте появления ее значений, обусловливающих гигроскопическую адсорбцию или конденсацию влаги, ведущую к снижению электрической прочности изоляции и/или поверхностного удельного сопротивления.

Примечание 1 - Степень загрязнения, которой подвергаются изоляционные материалы аппаратов и компонентов, может отличаться от степени загрязнения макросреды, в которой расположены аппараты и компоненты, вследствие защиты, обеспечиваемой оболочкой, или внутреннего обогрева для предотвращения адсорбции или конденсации влаги.

Примечание 2 - В настоящем стандарте рассматривают степень загрязнения микросреды.

[2.5.58 IEC 60947-1]

3.6.10 микросреда (изоляционного промежутка или расстояния утечки) [micro-environment (of a crearance or creepage distance)]: Непосредственная среда вокруг изоляции, влияющая на расстояния утечки.

Примечание - Эффективность изоляции определяет микросреда изоляционного промежутка или расстояния утечки, а не макросреда, окружающая НКУ или его компоненты. Микросреда может быть лучше или хуже, чем среда, окружающая НКУ или его компоненты. Микросреда включает в себя все факторы, влияющие на изоляцию, такие как климатические или электромагнитные условия, образование загрязнения и т.п.

[2.5.59 IEC 60947-1]

3.6.11 категория перенапряжения (в цепи или электрической системе) (overvoltage category (of a circuit or within an electrical system)): Условное число, основанное на ограничении (или регулировании) значения ожидаемого переходного перенапряжения, возникающего в цепи (или в электрической системе с различными паспортными напряжениями), зависящее от способов воздействия на перенапряжение.

Примечание - В электрической системе переход от одной категории перенапряжения к другой, более низкой, достигается средствами, удовлетворяющими граничным требованиям переходных процессов, например с помощью устройств для защиты от перенапряжения или последовательно-параллельного включения в цепь полного сопротивления, способных рассеять, поглотить или отвести энергию появляющегося импульсного тока с целью снижения значения перенапряжения переходного процесса до значения желательной меньшей категории перенапряжения.

[2.5.60 IEC 60947-1]

3.6.12 разрядник; устройство для защиты от импульсных перенапряжений (УЗИП) (surge arrester; surge protective device (SPD)): Устройство, предназначенное для защиты электрической аппаратуры от больших переходных перенапряжений и ограничения длительности, а зачастую и амплитуды последующего тока.

[2.2.22 IEC 60947-1]

3.6.13 координация изоляции (insulation coordination): Соотношение изоляционных свойств электрического оборудования с ожидаемыми перенапряжениями и характеристиками устройств для защиты от перенапряжений с одной стороны, и с предполагаемой микросредой со способами защиты от загрязнения - с другой.

[2.5.61 IEC 60947-1]

3.6.14 неоднородное поле (inhomogeneous (non-uniform) field): Электрическое поле, которое не имеет практически постоянного градиента напряжения между электродами.

[2.5.63 IEC 60947-1]

3.6.15 образование путей утечки (трекинг) (tracking): Последовательное образование токопроводящих путей на поверхности твердого изоляционного материала в результате комбинированного воздействия электрической нагрузки и электролитического загрязнения этой поверхности.

[2.5.64 IEC 60947-1]

3.6.16 показатель относительной стойкости против токов утечки (сравнительный индекс трекингостойкости) (СИТ) [comparative tracking index (CTI)]: Числовое значение максимального напряжения в вольтах, при котором материал выдерживает 50 капель испытательного раствора без образования путей утечки.

Примечание - Значение каждого испытательного напряжения и СИТ должны делиться на 25.

[2.5.65 IEC 60947-1]

3.6.17 пробой (disruptive discharge): Явление, связанное с повреждением изоляции под действием электрического напряжения, при котором пробой полностью перекрывает испытуемый участок изоляции, уменьшая напряжение между электродами до нуля.

Примечание 1 - Пробой в твердой изоляции вызывает постоянную потерю электрической прочности изоляции, в жидкой или газообразной изоляции потеря может быть временной.

Примечание 2 - Термин "sparkover" (пробой) применяют, когда пробой происходит в жидком или газообразном диэлектрике.

Примечание 3 - Термин "flashover" (пробой) применяют, когда пробой происходит на поверхности диэлектрика в жидкой или газообразной среде.

Примечание 4 - Термин "puncture" (пробой) применяют, когда пробой происходит в твердом диэлектрике.

3.7 Меры защиты от поражения электрическим током

3.7.1 токоведущая часть (live part): Проводник или токопроводящая часть электрического оборудования, которая при нормальной эксплуатации находится под напряжением, включая нулевой проводник, но исключая PEN-проводник.

Примечание - Данный термин необязательно предполагает опасность поражения электрическим током.

[IEC 60050-195] [4]

3.7.2 опасная токоведущая часть (hazardous live part): Токоведущая часть, которая при определенных условиях может представлять опасность поражения электрическим током.

[IEC 60050-195] [4]

3.7.3 открытая токопроводящая часть (exposed conductive part): Токопроводящая часть НКУ, доступная для прикосновения, которая обычно не находится под напряжением, но может оказаться опасной токоведущей частью в случае повреждения.

[IEC 60050-826] [7]

3.7.4 нулевой защитный проводник PE (protective conductor PE): Проводник, предусмотренный в целях безопасности, например для защиты от поражения электрическим током.

Примечание - Нулевой защитный проводник может быть электрически соединен со следующими частями:

- открытыми проводящими частями;

- сторонними проводящими частями;

- главным заземляющим зажимом;

- заземлителем;

- заземленной точкой источника питания или искусственной нейтралью.

[IEC 60050-826] [7]

3.7.5 нулевой рабочий проводник N (neutral conductor N): Проводник, соединенный с нейтральной точкой сети, который может быть использован для передачи электрической энергии.

[IEC 60050-195] [4]

3.7.6 PEN-проводник (PEN conductor): Заземленный проводник, сочетающий функции нулевого защитного и нулевого рабочего проводника.

[IEC 60050-195] [4]

3.7.7 ток повреждения (fault current): Ток, возникающий в результате пробоя, перекрытия изоляции или неправильного соединения в электрической цепи.

3.7.8 основная защита (basic protection): Защита от поражения электрическим током в безаварийных условиях.

Примечание - Основная защита предназначена для предотвращения контакта с токоведущими частями и обычно соответствует защите от прямого прикосновения к токоведущим частям.

[IEC 60050-195] [4].

3.7.9 основная изоляция (basic insulation): Защита опасных токоведущих частей, которая обеспечивает основную защиту.

Примечание - Данное понятие не относится к изоляции, применяемой исключительно в функциональных целях.

[IEC 60050-195] [4]

3.7.10 защита от повреждения (fault protection): Защита от поражения электрическим током в условиях первичного повреждения (например, при пробое основной изоляции).

Примечание - Защита от повреждения обычно соответствует защите от косвенного прикосновения к токоведущим частям, в основном, это касается пробоя основной изоляции.

[IEC 60050-195] [4]

3.7.11 сверхнизкое напряжение (СНН) (extra-low voltage (ELV)): Любое напряжение, не превышающее соответствующий предел, указанный в IEC 61201.

3.7.12 квалифицированный персонал (skilled person): Лицо, которое в силу имеющихся образования и опыта в состоянии осознать опасность и избежать поражения от ударов, заключенных в электроэнергии.

[IEC 60050-826] [7]

3.7.13 обученный персонал (instructed person): Лицо, соответственно уведомленное или контролируемое квалифицированным персоналом по поводу риска и избежания опасности от ударов со стороны электроэнергии.

[IEC 60050-826] [7]

3.7.14 неквалифицированный персонал (ordinary person): Лицо, не относящееся ни к квалифицированному, ни к обученному персоналу.

[IEC 60050-826] [7]

3.7.15 уполномоченный персонал (authorized person): Квалифицированный или обученный персонал, который наделен правом выполнять определенную работу.

3.8 Характеристики

3.8.1 паспортное значение (nominal value): Количественная величина, используемая для обозначения и идентификации детали, устройства, оборудования или системы.

Примечание - Паспортное значение обычно является целым числом.

[IEC 60050-151] [5]

3.8.2 предельное значение (limiting value): Наибольшее или наименьшее допустимое значение характеристики, указанное в технических условиях на деталь, устройство, оборудование или систему.

[IEC 60050-151] [5]

3.8.3 номинальное значение (rated value): Количественное значение, установленное для определенного рабочего состояния детали, устройства, оборудования или системы.

[IEC 60050-151] [5]

3.8.4 номинальный параметр (rating): Система номинальных значений и рабочих условий.

[IEC 60050-151] [5]

3.8.5 паспортное напряжение (электрической системы) (nominal voltage (of an electrical system)): Приблизительное значение напряжения, определяющее или обозначающее электрическую систему.

[IEC 60050-601] [8]

3.8.6 ток короткого замыкания () (short-circuit current): Сверхток, появляющийся в результате короткого замыкания, вызываемого повреждением или неправильным соединением в электрической цепи.

[IEC 60050-441] [3]

3.8.7 ожидаемый ток короткого замыкания () (prospective short-circuit current): Ток, протекающий в цепи, когда питающие проводники этой цепи замкнуты проводником с пренебрежимо малым сопротивлением, расположенным как можно ближе к вводным выводам НКУ (см. 10.11.5.4).

3.8.8 ток обрыва (cut-off current; let-through current): Максимальное мгновенное значение тока, достигнутое во время операции отключения коммутационного аппарата или предохранителя.

Примечание - Это понятие имеет существенное значение, когда коммутационный аппарат или предохранитель работает таким образом, что пик ожидаемого тока цепи не достигается.

[IEC 60050-441] [3]

3.8.9 номинальные параметры напряжения

3.8.9.1 номинальное напряжение () (rated voltage): Наибольшее паспортное значение напряжения электрической системы переменного (действующее) или постоянного тока, указанное изготовителем НКУ, для подсоединения к которому рассчитаны главные цепи НКУ.

Примечание 1 - В многофазной цепи это межфазное напряжение.

Примечание 2 - Это не относится к переходным напряжениям.

Примечание 3 - Значение напряжения питания может превышать номинальное напряжение в силу допустимых отклонений системы.

3.8.9.2 номинальное рабочее напряжение () (в цепи НКУ) (rated operation voltage () (of a circuit of an ASSEMBLY)): Значение напряжения, указанное изготовителем НКУ, которое вместе с номинальным током определяет назначение НКУ.

Примечание - Для многофазной цепи это межфазное напряжение.

3.8.9.3 номинальное напряжение изоляции () (rated insulation voltage): Действующее значение выдерживаемого напряжения, указанное изготовителем НКУ для оборудования или его части, характеризующее заданную способность изоляции к длительной эксплуатации.

Примечание 1 - Для многофазной цепи это межфазное напряжение.

Примечание 2 - Номинальное напряжение изоляции необязательно равно номинальному рабочему напряжению оборудования, которое в первую очередь связано с его функциональной характеристикой.

[3.9.1 IEC 60664-1, модифицирован]

3.8.9.4 номинальное импульсное выдерживаемое напряжение () (rated impulse withstand voltage): Значение импульсного выдерживаемого напряжения, указанное изготовителем НКУ, характеризующее заданную устойчивость изоляции к переходным перенапряжениям.

[3.9.2 IEC 60664-1, модифицирован]

3.8.10 номинальные параметры тока

3.8.10.1 номинальный ток () (rated current): Значение тока, указанное изготовителем НКУ, который может быть проведен через НКУ без превышения температуры отдельных частей НКУ выше заданных пределов в заданных условиях эксплуатации.

Примечание - Номинальный ток НКУ () см. 5.3.1 и номинальный ток цепи () см. 5.3.2.

3.8.10.2 номинальный ударный ток () (rated peak withstand current): Значение пика тока короткого замыкания, указанное изготовителем НКУ, который НКУ может выдержать в заданных условиях.

3.8.10.3 номинальный кратковременно допустимый ток () (rated short-time withstand current): Действующее значение кратковременного тока, указанное изготовителем НКУ, который НКУ способен выдерживать в заданных условиях, выраженное в единицах тока и времени.

3.8.10.4 номинальный условный ток короткого замыкания () (rated conditional short-circuit current): Значение ожидаемого тока короткого замыкания, указанное изготовителем НКУ, который способна выдержать цепь, защищаемая устройством для защиты от короткого замыкания (УЗКЗ), в течение времени срабатывания УЗКЗ в заданных условиях.

Примечание - Устройство для защиты от короткого замыкания может составлять неотъемлемую часть НКУ и может быть самостоятельным устройством.

3.8.11 номинальный коэффициент одновременности (НКО) (rated diversity factor (RDF)): Величина одновременной длительной нагрузки выходных цепей НКУ, с учетом теплового взаимодействия, приходящаяся на единицу номинального тока, указанного для НКУ изготовителем.

3.8.12 номинальная частота () (rated frequency): Значение частоты, указанное изготовителем, на которое рассчитано НКУ и которое соответствует условиям его работы.

Примечание - Цепь может быть рассчитана на определенное число или диапазон номинальных частот как переменного, так и постоянного тока.

3.8.13 электромагнитная совместимость (ЭМС) (electromagnetic combatibility (EMC))

Примечание - Термины и определения, относящиеся к ЭМС, см. J.3.8.13.1 - J.3.8.13.5 (приложение J).

3.9 Проверка

3.9.1 проверка конструкции (design verification): Проверка, проводимая на образце НКУ или его части для подтверждения соответствия конструкции требованиям конкретного стандарта на НКУ.

Примечание - Проверка конструкции может включать один или несколько методов, см. 3.9.1.1 - 3.9.1.3.

3.9.1.1 проверочное испытание (verification test): Испытание, проводимое на образце НКУ или его части для подтверждения соответствия конструкции требованиям конкретного стандарта на НКУ.

Примечание - Проверочные испытания являются типовыми испытаниями.

3.9.1.2 проверочное сравнение (verification comparison): Структурное сравнение предлагаемой конструкции НКУ или ее частей с контрольной конструкцией, проверенной испытанием.

3.9.1.3 проверочная оценка (verification assessment): Проверка точности соблюдения правил и расчетов при проектировании на примере образца конструкции НКУ или его частей для подтверждения ее соответствия требованиям конкретного стандарта на НКУ.

3.9.2 контрольная проверка (routine verification): Проверка каждого НКУ, производимая в процессе и/или по окончании изготовления для подтверждения его соответствия требованиям конкретного стандарта на НКУ.

3.10 Изготовитель/потребитель

3.10.1 разработчик НКУ (original manufacturer): Организация, которая выполнила разработку конструкции и необходимую проверку на соответствие НКУ требованиям конкретного стандарта.

3.10.2 сборщик НКУ (ASSEMBLY manufacturer): Организация, ответственная за сборку НКУ.

Примечание - Разработчик и сборщик НКУ могут быть разными организациями.

3.10.3 потребитель (user): Сторона, которая заказывает, приобретает, применяет и/или эксплуатирует НКУ, или кто-то, действующий в ее интересах.

4. Символы и условные сокращения

Ниже приводится алфавитный перечень терминов, символов и условных сокращений (аббревиатур) с указанием пункта стандарта, где они впервые приведены:

Символ/аббревиатура Термин Пункт
Номинальная частота 3.8.12
Номинальное импульсное выдерживаемое напряжение 3.8.9.4
Номинальное напряжение 3.8.9.1
Номинальное напряжение изоляции 3.8.9.3
Номинальное рабочее напряжение 3.8.9.2
НКО Номинальный коэффициент одновременности 3.8.11
Номинальный кратковременно допустимый ток 3.8.10.3
Номинальный ударный ток 3.8.10.2
Номинальный ток в цепи 5.3.2
Номинальный ток НКУ 5.3.1
Номинальный условный ток короткого замыкания 3.8.10.4
PE Нулевой защитный проводник 3.7.4
N Нулевой рабочий проводник 3.7.5
Ожидаемый ток короткого замыкания 3.8.7
PEN PEN-проводник 3.7.6
СНН Сверхнизкое напряжение 3.7.11
СИТ Сравнительный индекс трекингостойкости 3.6.17
Ток короткого замыкания 3.8.6
УЗИП Устройство для защиты от импульсных перенапряжений 3.6.12
УЗКЗ Устройство для защиты от коротких замыканий 3.1.11
ЭМС Электромагнитная совместимость 3.8.13

5. Общие характеристики НКУ

5.1 Общие положения

Характеристики НКУ, указанные изготовителем на основе критериев, определенных в 5.2 - 5.6, должны гарантировать совместимость с параметрами цепей, с которыми соединяют НКУ, и условиями его установки.

5.2 Номинальные параметры напряжения

5.2.1 Номинальное напряжение (Un) (НКУ)

Номинальное напряжение должно быть равно по меньшей мере паспортному напряжению электрической системы.

5.2.2 Номинальное рабочее напряжение (Ue) (в цепи НКУ)

Номинальное рабочее напряжение в любой цепи должно быть не менее паспортного напряжения электрической системы, в которую включена цепь.

Изготовитель НКУ должен указать подходящее номинальное рабочее напряжение в цепи НКУ, если оно отличается от номинального напряжения НКУ.

5.2.3 Номинальное напряжение изоляции (Ui) (в цепи НКУ)

Номинальное напряжение изоляции в цепи НКУ - это значение напряжения, с которым соотносятся напряжения для испытания электрической прочности изоляции и расстояния утечки.

Значение номинального напряжения изоляции в цепи НКУ должно быть равно или превышать значения, установленные для и , в этой же самой цепи.

Примечание - Для однофазных цепей в системе IT (см. IEC 60364-5-52) номинальное напряжение изоляции должно быть не менее межфазного напряжения источника питания.

5.2.4 Номинальное импульсное выдерживаемое напряжение (Uimp) (в цепи НКУ)

Номинальное импульсное выдерживаемое напряжение должно быть равным или большим, чем установленные значения переходных перенапряжений, случающихся системе (системах), для присоединения к которым предназначена цепь.

Примечание - Предпочтительные значения номинального импульсного выдерживаемого напряжения приведены в таблице G.1 (приложение G).

5.3 Номинальные параметры тока

5.3.1 Номинальный ток НКУ (InA)

Номинальным током НКУ является меньшее значение, чем:

- сумма номинальных токов входящих цепей в НКУ, включенных параллельно;

- общий ток, который сборная шина способна распределить в конкретном НКУ.

Данный ток должен протекать без превышения температуры отдельных частей за пределы, установленные в 9.2.

Примечание 1 - Номинальный ток входной цепи может быть меньше номинального тока входного устройства (согласно соответствующему стандарту на устройство), установленному в НКУ.

Примечание 2 - В данном контексте сборная шина может быть одинарной шиной или сочетанием одинарных шин, нормально соединенных при эксплуатации посредством шинного соединителя.

Примечание 3 - Номинальный ток НКУ - это максимальный допустимый ток нагрузки, который может распределить НКУ и который не может быть превышен при дальнейшем подключении дополнительных выходных устройств.

5.3.2 Номинальный ток цепи (Inc)

Номинальный ток цепи - это значение тока, который может проводить цепь при своей нагрузке в нормальных условиях эксплуатации. Данный ток должен проходить без превышения температуры отдельных частей НКУ за пределы, установленные в 9.2.

Примечание 1 - Номинальный ток цепи может быть меньше номинальных токов устройств (согласно соответствующему стандарту на устройства), включенных в цепь.

Примечание 2 - Ввиду разнообразия факторов, определяющих номинальные токи, их стандартные значения установить невозможно.

5.3.3 Номинальный ударный ток (Ipk)

Номинальный ударный ток должен быть равен или превышать значения, указанные для пикового значения ожидаемого тока короткого замыкания () систем электропитания, для подключения к которым предназначены цепи НКУ (см. также 9.3.3).

5.3.4 Номинальный кратковременно допустимый ток (Icw) (цепи НКУ)

Номинальный кратковременно допустимый ток должен быть равен или превышать ожидаемое действующее значение тока короткого замыкания в каждой точке подключения к источнику питания (см. также 3.8.10.3).

В одном НКУ могут быть установлены разные значения для разных периодов времени (например, 0,2; 1,0; 3,0 с).

Для переменного тока значение тока является действующим значением переменной составляющей.

5.3.5 Номинальный условный ток короткого замыкания НКУ (Icc)

Номинальный условный ток короткого замыкания должен быть равен или превышать действующее значение ожидаемого тока короткого замыкания (), который могут выдержать цепи НКУ в течение времени срабатывания УЗКЗ, защищающего НКУ.

Отключающую способность и характеристику токоограничения ( и ) УЗКЗ указывает изготовитель НКУ по данным, предоставляемым изготовителем УЗКЗ.

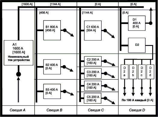
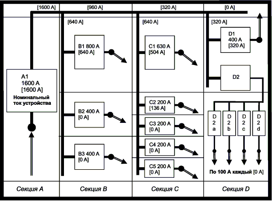
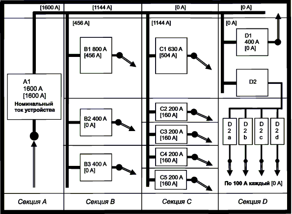
5.4 Номинальный коэффициент одновременности (НКО)

Номинальный коэффициент одновременности есть величина одновременной длительной нагрузки выходных цепей НКУ, с учетом теплового взаимодействия, приходящаяся на единицу номинального тока, указанного для НКУ изготовителем.

Номинальный коэффициент одновременности может быть указан для:

- групп цепей;

- НКУ в целом.

Произведение номинального коэффициента одновременности и номинального тока цепей должно быть равно или превышать ожидаемую нагрузку выходных цепей. Ожидаемая нагрузка выходных цепей определяется конкретным стандартом на НКУ.

Примечание 1 - Суммарной нагрузкой выходных цепей может быть установившийся длительный ток или тепловой эквивалент меняющегося тока (см. приложение E).

Номинальный коэффициент одновременности применим к НКУ, функционирующих при номинальном токе ().

Примечание 2 - Номинальный коэффициент одновременности предполагает, что несколько функциональных блоков на практике не имеют полную одновременную нагрузку, а нагружаются периодически.

Подробную информацию см. в приложении E.

Примечание 3 - В Норвегии защита проводников от перегрузки основана не только на применении НКО нижестоящих цепей.

5.5 Номинальная частота (fn)

Номинальная частота цепи - это значение частоты, на которую рассчитана цепь и которая соответствует условиям ее работы. Если цепи НКУ рассчитаны на несколько разных частот, тогда должна быть указана номинальная частота для каждой цепи.

Примечание - Пределы частот для комплектующих элементов должны быть установлены в конкретных стандартах на комплектующие. Если не установлено иное изготовителем НКУ, предельными значениями частоты являются 98% и 102% номинального значения.

5.6 Прочие характеристики

Должны быть указаны следующие характеристики:

a) дополнительные требования к особым условиям эксплуатации функциональных блоков (например, тип координации, характеристики перегрузки);

b) степень загрязнения (см. 3.6.9);

c) типы системы заземления, на которую рассчитано НКУ;

d) для внутренней и/или наружной установки (см. 3.5.1 и 3.5.2);

e) стационарное или передвижное (см. 3.5.3 и 3.5.4);

f) степень защиты;

g) назначение для применения квалифицированным или неквалифицированным персоналом (см. 3.7.12 и 3.7.14);

h) классификация согласно электромагнитной совместимости (ЭМС) (см. приложение J);

i) особые условия эксплуатации, при наличии (см. 7.2);

j) конструктивные исполнения НКУ (см. 3.3);

k) защита от механического удара, если имеется (см. 8.2.1);

l) тип конструкции - стационарные или выдвижные отделяемые части (см. 8.5.1 и 8.5.2);

m) тип устройства (устройств) защиты от короткого замыкания (см. 9.3.2);

n) меры защиты от поражения электрическим током;

o) габаритные размеры (включая выступы, например рукоятки, крышки, двери), при необходимости;

p) вес, если требуется.

6. Сведения, предоставляемые изготовителем

6.1 Маркировка

Изготовитель НКУ должен предусмотреть на каждом НКУ одну или несколько табличек со стойкой к внешним воздействиям маркировкой, которые после установки и в процессе эксплуатации НКУ должны быть расположены на видном месте. Соответствие проверяют испытанием по 10.2.7 и внешним осмотром.

На паспортной табличке должна быть приведена информация об НКУ, указанная в перечислениях a) - d):

a) наименование изготовителя или его товарный знак (см. 3.10.2);

b) обозначение типа, идентификационный или другой знак, позволяющий получить необходимую информацию от изготовителя;

c) обозначение даты изготовления;

d) обозначение настоящего стандарта.

Примечание - На паспортной табличке может быть приведено обозначение конкретного стандарта на НКУ, если требуется дополнительная информация.

6.2 Документация

6.2.1 Информация, касающаяся НКУ

В сопроводительной технической документации изготовителя НКУ должны быть отражены общие характеристики НКУ в соответствии с разделом 5.

6.2.2 Инструкции по монтажу, эксплуатации и техническому обслуживанию

Изготовитель НКУ в своей документации или каталожной информации, при необходимости, должен указать условия монтажа, эксплуатации и технического обслуживания НКУ и оборудования, содержащегося в нем.

Если необходимо, в инструкциях должны быть указаны специальные условия правильного транспортирования, монтажа, эксплуатации и функционирования НКУ. При этом, указание веса представляет особую важность в связи с транспортированием и эксплуатацией НКУ.

Правильное размещение и порядок монтажа подъемных средств, а также размер резьбы арматуры для грузоподъемных работ при их применении должны быть указаны в инструкции по монтажу и эксплуатации изготовителя НКУ.

Если необходимо, должны быть указаны предпринимаемые меры, касающиеся ЭМС, при монтаже, эксплуатации и техническом обслуживании НКУ (см. приложение J).

Если НКУ, предназначенное для применения в окружающей среде A, необходимо использовать в окружающей среде B, в инструкцию по эксплуатации должно быть включено следующее предостережение:

ВНИМАНИЕ

Данное изделие рассчитано на применение в условиях окружающей среды A. Применение данного изделия в окружающей среде B может вызвать нежелательные электромагнитные помехи, в этом случае потребитель должен обеспечить соответствующую защиту другого оборудования.

При необходимости в документации могут быть указаны рекомендуемый объем и частота технического обслуживания.

Если принципиальная электрическая схема не очевидна по физическому размещению установленного оборудования, то должна быть представлена соответствующая информация в виде схем соединений или таблиц.

6.3 Идентификация устройств и/или комплектующих элементов

Должна существовать возможность идентификации отдельных цепей и их защитных устройств внутри НКУ. Идентификационные этикетки должны быть читаемы, долговечны и применимы для физической окружающей среды. Все используемые обозначения должны соответствовать IEC 61346-1 и IEC 61346-2 и быть идентичными применяемым на схемах соединений, которые должны соответствовать IEC 61082-1.

7. Условия эксплуатации

7.1 Нормальные условия эксплуатации

НКУ, соответствующие требованиям настоящего стандарта, должны эксплуатироваться в нормальных условиях, указанных ниже.

Примечание - Если применены комплектующие элементы, например реле или электронное оборудование, которые не предназначены для эксплуатации в этих условиях, то должны быть приняты меры, обеспечивающие их надежную работу.

7.1.1 Температура окружающей среды

7.1.1.1 Температура окружающей среды при внутренней установке

Температура окружающей среды должна быть не более 40 °C, а средняя температура за 24 ч - не более 35 °C.

Минимальное значение температуры окружающей среды - минус 5 °C.

7.1.1.2 Температура окружающей среды при наружной установке

Температура окружающей среды должна быть не более 40 °C, а средняя температура за 24 ч - не более 35 °C.

Минимальное значение температуры окружающей среды - минус 25 °C.

7.1.2 Условия влажности

7.1.2.1 Условия влажности при установке внутри помещений

Относительная влажность воздуха не должна превышать 50% при максимальной температуре 40 °C. При более низких температурах допускается более высокая относительная влажность, например 90% при 20 °C.

Следует учитывать возможность появления конденсата при изменении температурных условий эксплуатации установки.

7.1.2.2 Условия влажности при установке вне помещений

Относительная влажность периодически может достигать 100% при максимальной температуре 25 °C.

7.1.3 Степень загрязнения

Степень загрязнения по 3.6.9 относится к условиям окружающей среды, для работы в которой предназначено НКУ.

Для коммутационных устройств и комплектующих элементов, размещенных внутри оболочки, устанавливают степень загрязнения среды в оболочке.

Для выбора значений изоляционных промежутков и расстояний утечки установлены четыре степени загрязнения микросреды.

Степень загрязнения 1:

Загрязнение отсутствует или имеется только сухое непроводящее загрязнение. Загрязнение незначительное.

Степень загрязнения 2:

Имеется только непроводящее загрязнение. Однако в ряде случаев можно ожидать появления временной проводимости, вызванной конденсацией.

Степень загрязнения 3:

Имеется проводящее загрязнение или сухое непроводящее загрязнение, которое может стать проводящим вследствие конденсации.

Степень загрязнения 4:

Загрязнение, имеющее устойчивую проводимость, вызванное, например, проводящей пылью, дождем или снегом.

Согласно настоящему стандарту степень загрязнения 4 не применяют к микросреде внутри НКУ.

Если не установлено иное, НКУ для промышленного применения обычно предназначены для эксплуатации при степени загрязнения окружающей среды 3. Однако в зависимости от особенностей эксплуатации или микросреды может быть установлена другая степень загрязнения окружающей среды.

Примечание - Степень загрязнения микросреды, в которой находится аппаратура НКУ, можно уменьшить путем ее установки в оболочку.

7.1.4 Высота над уровнем моря

Высота установки над уровнем моря не должна превышать 2000 м.

Примечание - Для оборудования, применяемого на высоте свыше 2000 м, необходимо учитывать снижение электрической прочности изоляции, коммутационной способности устройств и охлаждающего действия воздуха.

7.2 Особые условия эксплуатации

При эксплуатации НКУ в нижеуказанных особых условиях следует выполнять требования, установленные по соглашению между изготовителем и потребителем. Потребитель должен уведомить изготовителя НКУ о наличии особых условий эксплуатации.

К особым условиям эксплуатации относят, например:

a) значения температуры окружающей среды, относительной влажности воздуха и/или высоты над уровнем моря, отличающиеся от указанных в 7.1;

b) места установки, в которых температура окружающей среды и/или атмосферное давление могут изменяться так быстро, что внутри НКУ будет происходить образование конденсата в значительном количестве;

c) сильное загрязнение воздуха пылью; наличие в воздухе дыма, коррозийных или радиоактивных частиц, испарений или соли;

d) воздействие сильных электрических или магнитных полей;

e) воздействие экстремальных климатических условий;

f) образование плесени или воздействие микроорганизмов;

g) установку в пожаро- или взрывоопасных местах;

h) воздействие сильной вибрации или ударов; сейсмоопасность;

i) способ установки, приводящий к снижению допустимых токовых нагрузок или отключающей способности устройств, например встраивание в машину или нишу в стене;

j) воздействие наведенных или излучаемых помех, кроме электромагнитных, и электромагнитных помех, кроме указанных в 9.4;

k) повышенные перенапряжения или периодические колебания напряжения;

l) значительный уровень гармоник в сети напряжения питания или токе нагрузки.

7.3 Условия транспортирования, хранения и монтажа

Если условия транспортирования, хранения и монтажа, например, температура окружающего воздуха и относительная влажность, отличаются от указанных в 7.1, то эти условия должны быть оговорены в специальном соглашении между изготовителем и потребителем.

8. Требования к конструктивному исполнению

8.1 Прочность материалов и частей

8.1.1 Общие положения

НКУ должны изготавливаться из материалов, способных выдерживать механические, электрические и тепловые нагрузки, также нагрузки воздействующих факторов окружающей среды, которые обычно имеют место в указанных условиях эксплуатации.

Внешняя форма оболочки НКУ может быть разной в зависимости от назначения и применения. Несколько примеров приведено в 3.3. Оболочки могут быть изготовлены из различных материалов, например из изоляционных металлических или комбинации материалов.

8.1.2 Защита от коррозии

Защита от коррозии должна обеспечиваться применением соответствующих материалов или нанесением защитных покрытий на незащищенную поверхность. При этом должны учитываться нормальные условия предполагаемой эксплуатации и технического обслуживания (см. 7.1). Соответствие данному требованию проверяют испытанием по 10.2.2.

8.1.3 Свойства изоляционных материалов

8.1.3.1 Тепловая стабильность

Тепловую стабильность оболочек или их частей, выполненных из изоляционных материалов, проверяют согласно 10.2.3.1.

8.1.3.2 Устойчивость изоляционных материалов к аномальному нагреву и огню

8.1.3.2.1 Общие положения

Части из изоляционных материалов, которые могут подвергаться тепловым нагрузкам в результате электромагнитных процессов, повреждение которых может вызвать снижение безопасности использования НКУ, не должны повреждаться под действием нормального (рабочего) нагрева, а также подвергаться воздействию аномального нагрева и огня.

8.1.3.2.2 Теплостойкость изоляционных материалов

Разработчик НКУ должен выбрать изоляционный материал либо по соответствию температурному коэффициенту изоляции (определяемому по методу IEC 60216), либо по соответствию IEC 60085.

8.1.3.2.3 Устойчивость изоляционных материалов к аномальному нагреву и огню вследствие внутренних электромагнитных процессов

Части из изоляционных материалов, удерживающие токопроводящие части, и части, подвергаемые тепловым нагрузкам в результате внутренних электромагнитных процессов, повреждение которых может снизить безопасность применения НКУ, не должны повреждаться аномальным нагревом и огнем; их соответствие проверяют испытанием раскаленной проволокой согласно 10.2.3.3. Для данного испытания защитный проводник (PE) не считают токопроводящей частью.

В электронном документе текст соответствует официальному источнику.

Для небольших частей размерами не более 14 x 14 мм можно провести альтернативное испытание (например, испытание игольчатым пламенем по IEC 60695-11-5). Это же испытание допускается проводить и по другим причинам, например, когда металлическая составляющая части НКУ слишком велика по сравнению с составляющей из изоляционного материала.

8.1.4 Устойчивость к ультрафиолетовому излучению

Устойчивость к ультрафиолетовому излучению оболочек или их частей, выполненных из изоляционных материалов, предназначенных для наружной установки, проверяют в соответствии с 10.2.4.

8.1.5 Механическая прочность

Все оболочки и перегородки, включая замки и навесы для дверей должны обладать механической прочностью, достаточной для того, чтобы выдерживать механические нагрузки, которым они подвергаются при нормальной эксплуатации, а также в условиях короткого замыкания (см. также 10.13).

Механическое действие выдвижных отделяемых частей, включая блокировку введения, проверяют испытанием по 10.13.

8.1.6 Грузоподъемная арматура

При необходимости НКУ снабжают соответствующей арматурой для подъема.

Соответствие проверяют испытанием по 10.2.5.

8.2 Степени защиты, обеспечиваемые оболочками НКУ

8.2.1 Защита от механического удара

Степень защиты от механического удара, обеспечиваемая оболочкой НКУ, при необходимости должна устанавливаться конкретными стандартами на НКУ и проверяться на соответствие IEC 62262. (см. 10.2.6).

8.2.2 Защита от контакта с токоведущими частями, от попадания твердых посторонних предметов и от проникновения воды

Степень защиты, обеспечиваемую оболочкой НКУ, от контакта с токоведущими частями, от попадания твердых посторонних предметов и от проникновения воды обозначают кодом IP согласно IEC 60529 и проверяют в соответствии с 10.3.

Примечание 1 - В США, Канаде и Мексике обозначения "тип" оболочки применяют для указания "степени защиты", обеспечиваемой для НКУ. Для применения в США тип оболочки обозначают в соответствии с NEMA 250. Для применения в Канаде тип оболочки обозначают в соответствии со стандартом C22.2 N 94.1 и 94.2 CSA (Канадской ассоциации стандартов). Для применения в Мексике тип оболочки обозначают в соответствии с NMX-J-235/1-ANCE и NMX-J-235/2-ANCE.

Степень защиты НКУ в оболочке после установки в соответствии с инструкцией изготовителя должна быть не ниже, чем IP 2X. Степень защиты, обеспечиваемой с передней стороны НКУ, защищенного с передней стороны, должна быть не ниже, чем IP XXB.

Для стационарных НКУ, не подвергаемых опрокидыванию при нормальной эксплуатации, защиту IP 2X не применяют.

Для НКУ наружной установки, не имеющего дополнительной защиты, вторая характеристическая цифра должна быть не менее 3.

Примечание 2 - Для наружной установки дополнительной защитой может служить кровля и т.п.

Если не указано иное, степень защиты, указанная изготовителем НКУ, относится к собранному НКУ, установленному в соответствии с инструкциями изготовителя НКУ, например, к изоляции открытой монтажной поверхности НКУ и т.д.

Если НКУ не везде имеет одинаковую степень защиты IP, тогда изготовитель НКУ должен указать степень защиты IP для отдельных частей.

Разные степени защиты IP не должны ухудшать предназначенную эксплуатацию НКУ.

Примечание 3 - Примеры разных степеней защиты:

- рабочая поверхность I-Р20, другие части - IP00;

- вентиляционные отверстия в основании - IPXXD, другие части - IP43;

Коды IP не присваиваются, если не была проведена соответствующая проверка по 10.3.

НКУ в оболочке для наружной и внутренней установки, предназначенные для эксплуатации в местах с высокой относительной влажностью и резко меняющейся температурой воздуха, должны быть оснащены соответствующими элементами (вентиляция и/или внутренний подогрев, дренажные отверстия и т.д.) для защиты от конденсации влаги внутри НКУ. Однако, наряду с этим должна быть обеспечена требуемая степень защиты.

8.2.3 Степень защиты выдвижных отделяемых частей

Степень защиты, указанная для НКУ, обычно соответствует состоянию при коммутационном (рабочем) положении выдвижных отделяемых частей (см. 3.2.3).

Если после снятия выдвижной отделяемой части заданная степень защиты не поддерживается, например, закрыванием двери, потребуется заключение соглашения между изготовителем и потребителем о мерах, которые следует предпринять для обеспечения соответствующей защиты. Таким соглашением может служить информация, предоставляемая изготовителем.

Если для обеспечения соответствующей защиты токоведущих частей применяют ограждающие панели, они должны быть закреплены во избежание случайного снятия.

8.3 Воздушные зазоры и расстояния утечки

8.3.1 Общие положения

Требования, предъявляемые к воздушным зазорам и расстояниям утечки, основаны на положениях IEC 60664-1 и предназначены для обеспечения координации изоляции внутри НКУ.

Воздушные зазоры и расстояния утечки для оборудования, входящего в состав НКУ, должны отвечать требованиям, предъявляемым соответствующими стандартами на изделия.

При встраивании оборудования в НКУ следует соблюдать воздушные зазоры и расстояния утечки с учетом условий эксплуатации.

При измерении воздушных зазоров и расстояний утечки между отдельными цепями исходят из максимальных параметров напряжения (номинального импульсного выдерживаемого напряжения для воздушных зазоров и номинального напряжения изоляции для расстояний утечки).

Воздушные зазоры и расстояния утечки соблюдают между фазами, между фазой и нейтралью (за исключением, когда проводник напрямую соединен с землей), между фазой и землей и между нейтралью и землей.

Воздушные зазоры и расстояния утечки для оголенных токоведущих проводников и выводов (например, шины, соединения между оборудованием и кабельными наконечниками) должны быть эквивалентны указанным для оборудования, с которым они непосредственно соединены.

Короткие замыкания не должны длительно уменьшать воздушные зазоры и расстояния утечки между шинами и/или соединениями ниже значений, указанных для НКУ. Деформация частей оболочки или внутренних перегородок, ограждений или препятствий в результате короткого замыкания не должна приводить к длительному уменьшению воздушных зазоров и расстояний утечки ниже значений, указанных в 8.3.2 и 8.3.3 (см. также 10.11.5.5).

8.3.2 Воздушные зазоры

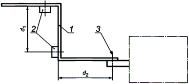
Значения воздушных зазоров должны быть достаточными для соответствия заданному номинальному импульсному выдерживаемому напряжению () в цепи. Воздушные зазоры должны соответствовать указанным в таблице 1, если не проводятся испытание на проверку соблюдения требований к конструкции и контрольное испытание на импульсное выдерживаемое напряжение согласно 10.9.3 и 11.3 соответственно.

Способ проверки воздушных зазоров измерением приведен в приложении F.

Примечание - В США и Мексике принято указывать минимальные электрические зазоры. В США в этом случае применяют национальный стандарт NFPA 70 [9] (раздел 408.56), в Мексике - стандарт NOM-001-SEDE [10]. В настоящем стандарте рекомендуют выбирать значения воздушных зазоров по таблице L.1 (приложение L). Для Канады минимальные воздушные зазоры указаны в стандартах по безопасности.

8.3.3 Расстояния утечки

Разработчик должен выбрать номинальные напряжения изоляции () для цепей НКУ, по которым следует определить расстояния утечки. Для любой взятой цепи номинальное напряжение изоляции не должно быть менее номинального рабочего напряжения ().

В любом случае расстояния утечки не должны быть менее связанных с ними минимальных воздушных зазоров.

Расстояния утечки должны соответствовать степени загрязнения, как указано в 7.1.3, и группе материала при номинальном напряжении изоляции, представленных в таблице 2.

Метод определения расстояний утечки измерением приведен в приложении F.

Примечание 1 - Для неорганических изоляционных материалов, например стекло или керамика, которые не образуют токопроводящих мостиков по поверхности, расстояния утечки не должны быть более связанных с ними воздушных зазоров. Тем не менее, следует учитывать риск пробоя.

Примечание 2 - В США и Мексике принято указывать минимальные расстояния утечки. В США в этом случае применяют национальный стандарт NFPA 70 [9], (раздел 408.56), в Мексике - стандарт NOM-001-SEDE [10]. В настоящем стандарте рекомендуют выбирать значения расстояний утечки по таблице L.1 приложения L. Для Канады минимальные расстояния утечки указаны в стандартах по безопасности.

При наличии ребер с минимальной высотой 2 мм расстояние утечки может снижаться, однако независимо от числа ребер оно должно составлять не менее 0,8 значения по таблице 2 и не менее соответствующего минимального воздушного зазора. Минимальное основание ребра определяется требованиями к механической конструкции (см. раздел F.2).

8.4 Защита от поражения электрическим током

8.4.1 Общие положения

Расположение аппаратуры и цепей в НКУ должно быть таким, чтобы упростить их функционирование и техническое обслуживание и в то же время гарантировать необходимую степень безопасности.

Нижеприведенные требования предназначены для гарантии соблюдения требуемых защитных мер при размещении НКУ в электрической системе, отвечающей требованиям стандартов IEC 60364.

Примечание - Общепринятые меры защиты приведены в IEC 61140 [11] и IEC 60364-4-41.

Меры защиты, имеющие значение для НКУ, приведены в 8.4.2 - 8.4.6.

8.4.2 Основная защита

8.4.2.1 Общие положения

Основная защита предназначена для исключения прямого прикосновения к опасным токоведущим частям.

Основная защита может быть обеспечена либо конструкцией самого НКУ, либо принятием дополнительных мер защиты при установке НКУ в соответствии с указаниями его изготовителя.

Примером дополнительных мер защиты является установка открытого НКУ без дополнительной защиты в месте доступа только для уполномоченного персонала.

Если основная защита может быть обеспечена конструкцией НКУ, могут быть выбраны одна или несколько мер защиты, предусмотренных в 8.4.2.2 и 8.4.2.3. Выбор мер защиты может быть определен изготовителем НКУ, если не указан в соответствующем стандарте на НКУ.

8.4.2.2 Основная изоляция, обеспечиваемая изоляционным материалом

Опасные токоведущие части должны быть полностью покрыты изоляцией, которая может быть снята только ее разрушением или с помощью инструмента.

Изоляция должна быть выполнена из соответствующих материалов, способных выдерживать механические, электрические и тепловые нагрузки, которые могут иметь место при эксплуатации.

Примечание - Примерами могут служить электрические детали и кабели, покрытые изоляцией.

Покрытие лаками и эмалями не считают основной изоляцией.

8.4.2.3 Ограждения и оболочки

Токоведущие части в воздухе быть защищены оболочками или ограждениями, обеспечивающими степень защиты не менее IP XXB.

Верхние горизонтальные доступные для прикосновения поверхности оболочек высотой 1,6 м и более должны иметь степень защиты IP XXD.

Ограждения и оболочки должны быть надежно закреплены на местах их установки и обладать достаточной стабильностью и надежностью для обеспечения требуемой степени защиты и отделения токоведущих частей в нормальных условиях эксплуатации с учетом воздействующих факторов внешней среды. Расстояния между ограждениями и оболочками и токоведущими частями, которые они защищают, должны быть не менее значений, установленных для зазоров и расстояний утечки согласно 8.3.

Если в процессе эксплуатации необходимо снимать ограждения, оболочки или их элементы, то это должно быть обеспечено путем выполнения одного из следующих требований:

a) снятие, открывание или выдвижение должно выполняться с помощью специального ключа или инструмента;

b) после отключения подачи питания к частям, находящимся под напряжением, которые защищены ограждениями или оболочками, восстановление подачи питания должно быть возможно только после замены или установки ограждений или оболочек. В системах TN-C PEN-проводник и в системах TN-S и TNC-S нулевой проводник не должны отключаться (см. IEC 60364-5-53:2001, пункт 536.1.2)).

Пример - При блокировке двери с разъединителем ее можно открыть только в случае, если разъединитель будет отключен, и пока дверь открыта, разъединитель не может быть включен без применения специального инструмента.

Примечание - В Норвегии нулевой проводник должен быть изолированным или отключаемым;

c) при применении внутреннего ограждения, обеспечивающего степень защиты IP XXB для токоведущих частей, находящихся под напряжением, от случайного прикосновения к ним, такая защита может быть снята только при применении специального ключа или инструмента.

8.4.3 Защита от повреждения

8.4.3.1 Условия электроустановки

НКУ должно содержать меры защиты и быть пригодным для электроустановок, рассчитанных в соответствии с IEC 60364-4-41. Меры защиты, применяемые в специальных электроустановках (например, на железнодорожном и водном транспорте) должны подлежать соглашению между изготовителем НКУ и потребителем.

Если в электрической сети используют систему заземления TT, в НКУ должна быть предпринята одна из следующих мер:

a) двойная или усиленная изоляция входных соединений или

b) защита с помощью устройства дифференциального тока (УДТ) на входной цепи.

Такие меры подлежат согласованию между изготовителем и потребителем.

8.4.3.2 Требования к защитному проводнику, способствующему автоматическому отключению источника питания

8.4.3.2.1 Общие положения

Для упрощения автоматического отключения источника питания каждое НКУ должно иметь защитный проводник для:

a) защиты от последствий повреждения (например, пробой основной изоляции) внутри НКУ;

b) защиты от последствий повреждения (например, пробой основной изоляции) во внешних цепях, питаемых через НКУ.

Для этого должны выполняться требования, приведенные ниже.

Требования по идентификации защитного проводника (PE, PEN) приведены в 8.6.6.

8.4.3.2.2 Требования к непрерывности цепей заземления, обеспечивающих защиту от последствий повреждений внутри НКУ

Все открытые проводящие части НКУ, соединенные друг с другом, должны быть соединены с защитным проводником источника питания либо через проводник заземления - с системой заземления.

Такие соединения токоведущих частей могут выполняться посредством металлических резьбовых соединений либо с помощью сварки или других проводящих соединений, а также с помощью отдельного защитного проводника.

Примечание - Соединение с защитным заземлением металлических частей НКУ, в частности сальников, при изготовлении которых применяют покрытия, устойчивые к абразивному износу (например порошковые, полимерные), потребует снятие или нарушение покрытия.

Способ проверки непрерывности цепи заземления между открытыми токопроводящими частями НКУ и цепью защиты приведен в 10.5.2.

Для обеспечения непрерывности таких соединений должны выполняться нижеприведенные условия:

a) При снятии какой-то части НКУ, например, для очередного технического обслуживания, защитные цепи (непрерывность заземления) оставшихся частей НКУ не должны разрываться.

Средства крепления, применяемые для сборки различных металлических частей НКУ, считают достаточно надежными для обеспечения непрерывности цепей защиты при условии гарантии постоянной хорошей проводимости.

В качестве защитных проводников не допускается использовать гибкие металлорукава, если они не предназначены специально для этих целей.

b) Для дверей, заглушек и других подобных деталей обычные металлические резьбовые и шарнирные соединения считают достаточными для обеспечения непрерывности цепей, если они не оснащены электрической аппаратурой, для функционирования которой требуется превышение пределов БСНН.

Если заглушки, двери, крышки и т.д., закреплены в аппаратуре на напряжение, превышающее пределы безопасного сверхнизкого напряжения, тогда должны быть приняты соответствующие меры для обеспечения непрерывности цепей заземления. Рекомендуется присоединять эти части к защитному проводнику (PE) с поперечным сечением, указанным в таблице 3 и зависящим от суммы номинальных рабочих токов Ie аппаратуры, соединенной с указанными частями, или, если номинальный рабочих ток установленной аппаратуры меньше или равен 16 А, эквивалентные специально применяемые для этой цели электрические соединения (например, скользящий контакт, петли, защищенные от коррозии) также считают соответствующими требованиям защиты.

Открытые проводящие части устройства, которые не могут быть соединены с цепью защиты с помощью средств крепления устройства, должны быть соединены с цепью защиты НКУ проводником с сечением, выбранным по таблице 3.

Некоторые открытые проводящие части НКУ не требуется соединять с цепями защиты, если они:

- недоступны для прикосновения на большой поверхности или исключена возможность их захвата рукой;

- имеют небольшие размеры (приблизительно 50 x 50 мм) или расположены таким образом, что любой их контакт с частями, находящимися под напряжением, исключен.

Это относится к винтам, заклепкам, паспортным табличкам, а также к электромагнитам контакторов или реле, магнитным сердечникам трансформаторов, некоторым деталям расцепителей и других подобных элементов независимо от их размеров.

Если выдвижные отделяемые части имеют металлические опорные поверхности, то эти поверхности считают достаточными для обеспечения непрерывности цепей защиты при условии, что давление, приложенное к ним, является достаточным.

8.4.3.2.3 Требования к защитным проводникам, обеспечивающим защиту от последствий повреждений внешних цепей, питаемых через НКУ

Защитный проводник в НКУ должен быть рассчитан так, чтобы выдерживать максимальные тепловые и динамические нагрузки, возникающие в результате повреждений во внешних цепях, питаемых через НКУ, на месте его установки.

Проводящие конструкционные части могут служить в качестве защитного проводника или его части.

Проверку на устойчивость к токам короткого замыкания проводят в соответствии с 10.5.3, за исключением случаев, когда она не требуется согласно 10.11.2.

Как правило, за исключением случаев, упомянутых ниже, цепи защиты внутри НКУ не должны содержать разъединительные устройства (выключатель, разъединитель и т.д.).

Единственными устройствами, которые могут находиться в цепи защитных проводников, являются соединительные перемычки, которые снимают с помощью инструмента и доступ к которым возможен только для обслуживающего квалифицированного персонала (эти перемычки могут быть необходимы в некоторых видах испытаний).

Если цепь защиты может быть разомкнута с помощью соединителей или штепсельных соединителей, то она должна размыкаться только после размыкания токоведущих проводников, а восстановление цепи защиты должно происходить до соединения токоведущих проводников.

В случае если НКУ содержит конструкционные части, каркасы, оболочки и т.д., выполненные из проводящего материала, защитный проводник, если имеется, не требует изоляции от этих частей. Проводники, подключенные к устройствам обнаружения повреждений, чувствительным к напряжению, в том числе проводники, соединяющие их с отдельным заземляющим электродом, должны быть изолированы, если имеется указание их изготовителя. Это требование также может относиться к заземлению нейтрали трансформатора.

Сечения защитных проводников (PE, PEN) в НКУ, к которому должны присоединяться внешние проводники, не должны быть меньше значения, рассчитанного по формуле, приведенной в приложении B, по максимальному току повреждения, который может возникнуть, и его длительности с учетом действия защитных токоограничивающих устройств (УЗКЗ), защищающих соответствующие токоведущие проводники. Проверку устойчивости к токам короткого замыкания проводят по 10.5.3.

PEN-проводники должны соответствовать следующим дополнительным требованиям:

- минимальное сечение проводника из меди должно быть 10 мм2, из алюминия - 16 мм2;

- сечение PEN-проводника должно быть не менее, чем нулевого проводника (см. 8.6.1);

- PEN-проводники, расположенные внутри НКУ, должны быть неизолированными;

- конструкционные части НКУ не должны использоваться в качестве PEN-проводников, но монтажные рейки, выполненные из меди или алюминия, допускается использовать в качестве PEN-проводников.

Требования к зажимам для внешних защитных проводников см. в 8.8.

8.4.3.3 Изоляционное разгораживание цепей

Изоляционное разгораживание отдельных электрических цепей предназначено, чтобы исключить электрический удар через контакт с открытыми проводящими частями, которые могут стать токоведущими при повреждении основной изоляции цепи.

Этот тип защиты изложен в приложении K.

8.4.4 Защита полной изоляцией

Примечание - Согласно IEC 60364-4-41 (пункт 412.2.1.1) "полная изоляция" соответствует оборудованию класса II.

Для основной защиты и защиты от повреждения путем обеспечения полной изоляции необходимо выполнить следующие требования:

a) Аппаратура должна быть полностью заключена в оболочку из изоляционного материала, которая эквивалентна усиленной или двойной изоляции. На оболочке должен быть знак , видимый с внешней стороны.

b) Проводящие части не должны проходить сквозь оболочку, чтобы при ее повреждении не создалась возможность выхода опасного напряжения. Это означает, например, что такие металлические части, как вал рукоятки, которые по конструктивным соображениям должны проходить сквозь оболочку, должны быть изолированы с внутренней или внешней стороны оболочки от токоведущих частей. Эта изоляция должна выдерживать максимальное номинальное напряжение изоляции и максимальное номинальное импульсное выдерживаемое напряжение всех цепей НКУ.

Если ручной привод изготовлен из металла (независимо от того, покрыт он изоляционным материалом или нет), он должен иметь изоляцию, выдерживающую максимальное номинальное напряжение изоляции и максимальное номинальное импульсное выдерживаемое напряжение всех цепей НКУ.

Если ручной привод изготовлен в основном из изоляционного материала, любые его металлические части, которые при повреждении изоляции могут стать доступными для прикосновения, также должны быть изолированы от токоведущих частей, при этом изоляция должна выдерживать максимальное номинальное напряжение изоляции и максимальное номинальное импульсное выдерживаемое напряжение всех цепей НКУ.

c) Оболочка НКУ, готового к эксплуатации и подсоединенного к источнику питания, должна закрывать все токоведущие части, открытые проводящие части и части, относящиеся к цепи защиты, таким образом, чтобы к ним нельзя было прикоснуться. Оболочка должна обеспечивать степень защиты не менее IP 2XC (см. IEC 60529).

Если защитные проводники проходят к электрооборудованию, подсоединенному со стороны нагрузки НКУ, они должны проходить через НКУ с изолированными открытыми проводящими частями, то для присоединения внешних защитных проводников должны быть предусмотрены необходимые зажимы, имеющие соответствующую маркировку.

Внутри оболочки защитные проводники и зажимы для них должны быть изолированы от токоведущих и открытых проводящих частей так же, как и токоведущие части.

d) Открытые проводящие части внутри НКУ не должны быть соединены с цепью защиты, т.е. на них не должны распространяться меры защиты путем применения цепи защиты. Это относится также и к встроенным комплектующим элементам, даже если они имеют зажимы для защитного проводника.

e) Если двери или крышки оболочек могут открываться без помощи ключа или инструмента, должны быть предусмотрены ограждения из изоляционного материала, которые обеспечивают защиту от случайного прикосновения не только к доступным токоведущим частям, но также и к открытым проводящим частям, доступ к которым возможен только после открывания крышки. При этом должно быть невозможно снятие ограждения без помощи инструмента.

8.4.5 Снятие статического электрического заряда

Если НКУ содержит оборудование, которое может сохранять опасные электрические заряды после отключения от источника питания (например, конденсаторы), должна быть предусмотрена установка предупредительной таблички.

Небольшие конденсаторы, как, например применяемые для гашения дуги, для задержки срабатывания реле и т.д., не считают опасными.

Примечание - Случайный контакт не считают опасным, если напряжение, обусловленное статическим зарядом, падает ниже 60 В постоянного тока менее чем через 5 с после отключения от источника питания.

8.4.6 Условия эксплуатации и обслуживания

8.4.6.1 Эксплуатация устройств и замена комплектующих элементов неквалифицированным персоналом

Должна обеспечиваться защита от любого контакта при оперировании устройствами или замене комплектующих элементов.

Минимальный уровень защиты должен быть IP XXC. Для замены отдельных ламп или плавких вставок предохранителей допускаются отверстия размером больше, чем установлено степенью защиты IP XXC.

8.4.6.2 Возможность доступа при эксплуатации НКУ квалифицированным персоналом

8.4.6.2.1 Общие положения

Для доступа при эксплуатации НКУ квалифицированным персоналом должны соблюдаться требования, изложенные в 8.4.6.2.2 - 8.4.6.2.4, подлежащие согласованию между изготовителем и потребителем. Эти требования дополняют требования к основной защите в соответствии с 8.4.2.

Если двери или крышки НКУ могут быть открыты квалифицированным персоналом получения доступа к токоведущим частям оборудования, находящегося под напряжением, путем снятия блокировки, блокировка должна автоматически восстанавливаться при закрывании двери или установке крышки.

8.4.6.2.2 Возможность доступа для проверки и осмотра

НКУ должно быть сконструировано таким образом, чтобы отдельные операции по согласованию между изготовителем и потребителем можно было выполнять в процессе эксплуатации НКУ и под напряжением.

К таким операциям относятся:

a) визуальная проверка:

- коммутационных устройств и другой аппаратуры;

- уставок и индикаторов реле и расцепителей;

- соединений и маркировки проводов;

b) регулировка и калибровка реле и расцепителей и электронных приборов;

c) замена плавких вставок предохранителей;

d) замена индикаторных ламп;

e) операции по обнаружению повреждений, например, измерение напряжения и тока с помощью специальных приборов.

8.4.6.2.3 Возможность доступа для технического обслуживания

По согласованию между изготовителем и потребителем должна быть обеспечена возможность проведения текущего обслуживания отсоединенной от НКУ функциональной группы блоков или функционального блока при сохранении под напряжением соседних блоков или групп. Выбор способов проведения текущего технического обслуживания зависит от таких факторов, как условия эксплуатации НКУ, частота его профилактических осмотров, компетентность обслуживающего персонала, а также местные правила электроустановок. Такими способами являются:

- обеспечение достаточного промежутка между данным функциональным блоком/группой блоков и соседними функциональными блоками/группами блоков. Рекомендуется, чтобы снимаемые для текущего ремонта части НКУ, по возможности, были оснащены креплениями;

- использование ограждений или препятствий для защиты от прямого прикосновения к оборудованию в соседних функциональных блоках/группах блоков;

- применение защитных экранов для зажимов;

- использование отсеков для каждого функционального блока/группы блоков;

- применение дополнительных средств защиты, предоставляемых или рекомендуемых изготовителем НКУ.

8.4.6.2.4 Возможность расширения функциональных возможностей НКУ, находящихся под напряжением

По согласованию между изготовителем и потребителем может быть выполнено расширение будущих функциональных возможностей НКУ введением дополнительных блоков/групп блоков при нахождении остальной части НКУ под напряжением согласно требованиям 8.4.6.2.3. Данные требования также применимы к вводу и присоединению дополнительных отходящих кабелей при нахождении существующих кабелей под напряжением.

Присоединять дополнительные шины и дополнительные блоки к питающим цепям без снятия напряжения не рекомендуется.

8.4.6.2.5 Защита путем создания препятствий

Препятствия должны защищать от:

- случайного прикосновения корпуса к токоведущим частям;

- случайного контакта с токоведущими частями оборудования, находящегося под напряжением, при нормальной эксплуатации.

Препятствия могут быть сняты без применения ключа или инструмента, однако они должны быть закреплены так, чтобы исключить их случайное снятие. Расстояние между проводящим препятствием и защищаемыми им токоведущими частями должно быть не менее значений, указанных в 8.3 для воздушных зазоров и расстояний утечки.

Если проводящее препятствие отделено от опасных токоведущих частей только основной изоляцией, оно представляет собой открытую проводящую часть и требует применения мер защиты от повреждения.

8.5 Встраивание в НКУ коммутационных устройств и комплектующих элементов

8.5.1 Стационарные части

В стационарных частях (см. 3.2.1) присоединение или отсоединение главных цепей (см. 3.1.3) допускается только при обесточенном НКУ. Как правило, снятие и установку стационарных частей проводят с применением инструмента.

Отсоединение стационарной части может потребовать отсоединения всего НКУ или его части.

Чтобы предотвратить несанкционированное оперирование, коммутационное устройство может быть снабжено устройством блокировки в одном или нескольких положениях.

Примечание - Если при определенных условиях допускается работа с цепями, находящимися под напряжением, то при этом должны соблюдаться соответствующие меры безопасности.

8.5.2 Выдвижные отделяемые части

Конструкция выдвижных отделяемых частей НКУ должна позволять безопасное подсоединение и отсоединение электрической аппаратуры от главной цепи, когда эта цепь находится под напряжением. Выдвижные отделяемые части могут быть снабжены блокировкой введения (см. 3.2.5).

Воздушные зазоры и расстояния утечки (см. 8.3) должны соблюдаться при переводе части из одного положения в другое.

Выдвижная отделяемая часть должна быть снабжена устройством, гарантирующим ее отделение и введение только после отключения главной цепи от нагрузки.

Для исключения несанкционированных действий выдвижные отделяемые части и соответствующие им положения НКУ могут быть снабжены блокирующим устройством для фиксации их в том или ином положении (положениях).

8.5.3 Выбор коммутационных устройств и комплектующих элементов

Коммутационные устройства и комплектующие элементы, встраиваемые в НКУ, должны соответствовать требованиям действующих стандартов.

Коммутационные устройства и комплектующие элементы должны соответствовать назначению конкретного НКУ с точки зрения внешнего исполнения (например, открытое или закрытое), а также соответствия номинальным напряжениям, номинальным токам, номинальной частоте, сроку службы, включающей и отключающей способностям, устойчивости к токам короткого замыкания и т.д.

Номинальное напряжение изоляции и номинальное импульсное выдерживаемое напряжение устройств, включенных в цепь, должны быть равны или превышать значения, установленные для данной цепи. В некоторых случаях может потребоваться защита от импульсных перенапряжений, например для оборудования, соответствующего категории перенапряжения II (см. 3.6.11).

Коммутационные устройства и комплектующие элементы, не обладающие устойчивостью к токам короткого замыкания и/или отключающей способностью, достаточными, чтобы выдерживать максимальные нагрузки, возникающие в месте установки НКУ, должны быть защищены с помощью токоограничивающих устройств защиты, например плавких предохранителей или автоматических выключателей. При выборе токоограничивающих устройств защиты для встроенных коммутационных аппаратов следует принимать во внимание максимальные допустимые значения, указанные изготовителем аппаратов, обеспечивая при этом координацию (см. 9.3.4).

Координация коммутационных устройств и комплектующих элементов, например координация пускателей двигателей с устройствами для защиты от коротких замыканий, должна соответствовать требованиям действующих нормативных документов на них.

Примечание - Руководство см. IEC/TR 61912-1 [12] и IEC/TR 61912-2 [13].

8.5.4 Установка коммутационных устройств и комплектующих элементов

Коммутационные устройства и комплектующие элементы должны устанавливаться и подсоединяться к НКУ в соответствии с инструкциями их изготовителей таким образом, чтобы их функционирование не ухудшалось из-за влияния возникающих при нормальной работе таких факторов, как тепло, электрические дуги, вибрации, электромагнитные поля. Для НКУ с электронными комплектующими элементами это может быть обеспечено путем разделения или экранирования вспомогательных цепей от силовых.

Для установки плавких предохранителей их изготовитель должен указать тип и номинальные характеристики используемых плавких вставок.

8.5.5 Доступ

Устройства, требующие регулировки и возврата в исходное положение, оперируемые внутри НКУ, должны быть легко доступны.

Функциональные блоки, устанавливаемые на одной конструкции (монтажной плите или раме) и их зажимы для внешних проводников должны быть расположены так, чтобы обеспечивался удобный доступ для их монтажа, прокладки проводов, технического обслуживания и замены.

Если не установлено иное соглашением между изготовителем НКУ и потребителем, для НКУ, устанавливаемых на полу, должны выполняться следующие требования, касающиеся доступа:

- зажимы, в том числе зажимы для защитных проводников, должны быть расположены не ниже 0,2 м от основания НКУ и таким образом, чтобы к ним было легко присоединять кабели;

- приборы, за показаниями которых должен следить оператор, должны быть расположены в зоне от 0,2 м до 2,0 м от основания НКУ;

- органы управления, например рукоятки, кнопки и т.д., должны быть расположены на такой высоте, чтобы ими было удобно пользоваться, при этом их осевая линия должна проходить в зоне от 0,2 м до 2,0 м от основания НКУ; устройства, которыми оперируют не часто, например, реже одного раза в месяц, могут быть установлены на высоте до 2,2 м;

- органы управления устройствами аварийного отключения (см. IEC 60364-5-53 (пункт 536.4.2)) должны быть доступны на высоте от 0,8 м до 1,6 м от основания НКУ.

Примечание - В некоторых странах национальными нормами могут вводиться дополнительные ограничения по минимальной и максимальной высоте.

8.5.6 Ограждения

Конструкция ограждений для коммутационных устройств с ручным управлением должна защищать оператора от опасности возникновения дуг при коммутациях.

Для уменьшения опасности, возникающей при замене плавких вставок предохранителей, необходимо применять междуфазные ограждения, если только конструкция и расположение предохранителей не делает это лишним.

8.5.7 Обозначение направлений оперирования и коммутационных положений

Положения оперирования комплектующими элементами и устройствами должны четко идентифицироваться. Если обозначение направления оперирования не отвечает требованиям IEC 60447, тогда оно должно четко идентифицироваться.

8.5.8 Индикаторные лампы и кнопки

Если иное не установлено действующим стандартом на изделие, цвета индикаторных ламп и кнопок должны соответствовать требованиям IEC 60073.

8.6 Внутренние электрические цепи и соединения

8.6.1 Главные цепи

Шины (оголенные или изолированные) должны быть расположены так, чтобы исключалась возможность возникновения внутреннего короткого замыкания. Они должны быть рассчитаны с учетом устойчивости к короткому замыканию (см. 9.3), чтобы выдерживать, по крайней мере, воздействие коротких замыканий, ограниченных защитными устройствами на стороне подвода питания к шинам.

В пределах одной секции проводники (включая распределительные шины) между сборными шинами и стороной питания функциональных блоков, а также комплектующие элементы этих блоков могут быть рассчитаны, исходя из уменьшенных воздействий коротких замыканий на стороне нагрузки с учетом установленных в каждом блоке устройств для защиты от коротких замыканий при условии, что эти проводники расположены таким образом, что при нормальных условиях эксплуатации внутренние короткие замыкания между фазами и/или между фазами и землей маловероятны (см. 8.6.4).

Если иное не установлено соглашением между изготовителем и потребителем, минимальное сечение нейтрали в трехфазной цепи с нейтралью должно составлять:

- для цепей с сечением фазных проводников до 16 мм2 включительно - 100% сечения фазных проводников соответствующих фаз;

- для цепей с сечением фазных проводников свыше 16 мм2 - 50% сечения фазных проводников соответствующих фаз, но не менее 16 мм2.

Предполагается, что токи нейтрали составляют не более 50% фазных токов.

Примечание - В некоторых назначениях, которые приводят в высоким значениям гармоник нулевой последовательности (например гармоникам третьего порядка), могут быть необходимы большие сечения нулевого проводника, так как такие гармоники в фазах добавляются в нулевой проводник, что ведет к увеличению токовой нагрузки на более высоких частотах. Это должно быть предметом специального соглашения между изготовителем и потребителем.

Сечения PEN-проводников указаны в 8.4.3.2.3.

8.6.2 Вспомогательные цепи

Конструкция вспомогательных цепей должна учитывать тип системы заземления питающей сети, чтобы при замыкании на землю или замыкании между токоведущими частями и открытыми проводящими частями не создавалась опасность для эксплуатирующего персонала.

Как правило, вспомогательные цепи должны быть защищены от воздействия коротких замыканий. Однако устройство для защиты от короткого замыкания нельзя применять в случае, если его срабатывание может иметь опасные последствия. В этом случае проводники вспомогательных цепей должны быть расположены таким образом, чтобы в нормальных условиях работы исключалась возможность возникновения короткого замыкания в соответствии с пунктом 8.6.4.

8.6.3 Неизолированные и изолированные проводники

Соединения токопроводящих частей не должны значительно меняться при повышениях температуры, старении изоляционных материалов и вибрации, допускаемых при нормальной эксплуатации. Следует учитывать влияние на токопроводящие соединения теплового расширения, электролитических взаимодействий разнородных металлов, а также устойчивость материалов к воздействующим температурам.

Соединения между токопроводящими частями должны выполняться с помощью средств, обеспечивающих требуемое контактное нажатие.

Если проверку превышения температуры проводят испытаниями (см. 10.10.2), то выбор типов и сечений проводников, применяемых внутри НКУ, проводит изготовитель НКУ. Если проверку превышения температуры проводят в соответствии с требованиями 10.10.3, минимальные сечения проводников выбирают в соответствии с IEC 60364-5-52. Примеры применения данного стандарта к условиям, создавшимся внутри НКУ, приведены в таблицах приложения H. При выборе проводников, кроме токопроводящей способности, руководствуются:

- механическими нагрузками, которым может подвергаться НКУ;

- применяемым способом прокладки и крепления проводников;

- типом изоляции;

- типом присоединяемых комплектующих элементов (например аппаратура распределения и управления, отвечающая требованиям IEC серии 60947; электронные устройства или оборудование).

Для изолированных жестких или гибких проводников:

- они должны быть рассчитаны так, чтобы выдерживать номинальное напряжение изоляции (см. 5.3.2) соответствующей цепи;

- на проводниках, соединяющих два расположенных рядом устройства, не должно быть промежуточных соединений, например скруток или паяных соединений;

- проводники, имеющие только основную изоляцию, не должны соприкасаться с оголенными токоведущими частями с различными потенциалами;

- следует избегать соприкосновения проводников с острыми кромками;

- питание аппаратуры и измерительных приборов, установленных на съемных крышках оболочек или дверей, должно быть подведено таким образом, чтобы предупредить возможность механического повреждения проводников в результате перемещения крышек или дверей;

- соединение проводников с аппаратурой с применением пайки допускается только в тех случаях, если такой вид соединения предусмотрен в нормативной документации на НКУ;

- в условиях сильной вибрации соединение проводников с аппаратурой с применением пайки кабельных наконечников или лужения концов многожильных проводников не допускается, за исключением вышеупомянутого случая. В местах, подвергающихся сильной вибрации в условиях эксплуатации, например, на экскаваторах, кранах, судах, подъемном оборудовании и локомотивах, особое внимание следует уделять дополнительному закреплению проводников вблизи места пайки;

- как правило, к одному контактному зажиму должен быть присоединен только один проводник; присоединение двух и более проводников допускается только в том случае, если конструкция контактных зажимов допускает такое присоединение.

Размеры твердой изоляции между отдельными цепями определяют, исходя из цепи с наибольшим номинальным напряжением изоляции.

8.6.4 Выбор и прокладка незащищенных токоведущих проводников с целью снижения вероятности коротких замыканий

Токоведущие проводники внутри НКУ, не защищенные устройствами для защиты от коротких замыканий (см. 8.6.1 и 8.6.2), следует выбирать и прокладывать через все НКУ таким образом, чтобы снизить вероятность внутренних коротких замыканий между фазами или между фазой и землей. Примеры типов проводников и требования к их прокладке приведены в таблице 4. Общая длина неизолированных токоведущих проводников, выбранных и проложенных в соответствии с таблицей 4, должна быть не более 3 м между сборной шиной и каждым УЗКЗ.

8.6.5 Обозначения проводников главной и вспомогательной цепей

За исключением случаев, упомянутых в 8.6.6, способ и содержание обозначений проводников, например размещением, цветом или символами на зажимах, к которым они подсоединены, или на концах собственно проводников является обязанностью изготовителя НКУ и должно соответствовать обозначениям на принципиальных схемах и рисунках. Если приемлемо, применяют обозначения согласно IEC 60445.

8.6.6 Обозначение нулевого защитного проводника (PE, PEN) и нулевого рабочего проводника (N) главной цепи

Нулевой защитный проводник должен легко различаться по размещению и/или маркировке или цвету. Если применена цветовая маркировка, он должен быть зеленого и желтого цветов (двухцветный), что должно строго соблюдаться. Если нулевой защитный проводник является изолированным одножильным кабелем, то данная цветовая маркировка применяется по всей его длине.

Нулевые рабочие проводники главной цепи должны легко различаться по размещению и/или маркировке или цвету (по IEC 60446 - голубого цвета).

Примечание - В некоторых странах (например, США, Австралия, ЮАР) для нулевого проводника приняты другие цвета.

8.7 Охлаждение

Конструкцией НКУ может быть предусмотрено естественное и/или искусственное охлаждение (например, принудительная вентиляция, внутреннее кондиционирование воздуха, теплообмен и т.п.). При необходимости обеспечения особых условий охлаждения НКУ в месте его установки изготовитель обязан предоставить необходимую информацию (например, касающуюся величин зазоров в отношении частей, которые могут препятствовать рассеянию тепла или сами выделять тепло).

8.8 Зажимы для внешних проводников

Изготовитель НКУ должен указать возможность присоединения к зажимам медных или алюминиевых проводников или тех и других. Конструкция зажимов должна быть такова, присоединять к ним внешние проводники с помощью винтов, соединителей и т.д., обеспечивающих необходимое контактное нажатие в соответствии с номинальным током и устойчивостью к короткому замыканию аппаратуры и цепи.

В отсутствие специального соглашения между изготовителем и потребителем зажимы должны быть пригодными для присоединения медных проводников наименьшего и наибольшего поперечных сечений в соответствии с номинальным током (см. приложение A).

При необходимости присоединения алюминиевых проводников их тип, размер и способ крепления должны быть согласованы между изготовителем и потребителем.

Если к зажимам необходимо присоединить внешние проводники для электронных цепей с низким уровнем токов и напряжений (менее 1 А и менее 50 В переменного и 120 В постоянного тока), таблица A.1 не действует.

Необходимое пространство в зажиме должно допускать присоединение внешних проводников из указанного материала, а в случае многожильных кабелей - места для разделения подготовки для подсоединения к зажиму.

Примечание 1 - В США и Мексике требования к минимальному радиусу гиба провода для подсоединения к зажиму определяются Национальными Электрическими Кодами. В США применяют NFPA 70 [9] (раздел 312), в Мексике - NOM-001-SEDE [10], в Канаде Канадский Электрический Код, ч. 2, стандарт C22.2 N 012.

Проводники не должны подвергаться нагрузкам, которые могут снизить их срок службы.

Если иное не установлено соглашением между изготовителем и потребителем, в трехфазной цепи с заземленной нейтралью зажимы для нулевого рабочего проводника должны допускать присоединение медных проводников с минимальным сечением, равным:

- половине сечения фазного проводника, но не менее 16 мм2, при сечении фазного проводника свыше 16 мм2;

- сечению фазного проводника - при сечении фазного проводника 16 мм2 и менее.

Примечание 2 - Для проводников с жилами из иных материалов, сечения которых следует выбирать с учетом их эквивалентной проводимости, допускается применять зажимы больших размеров.

Примечание 3 - В некоторых назначениях, которые приводят в высоким значениям гармоник нулевой последовательности (например гармоникам третьего порядка), могут быть необходимы большие сечения нулевого проводника, так как такие гармоники в фазах добавляются в нулевой проводник, что ведет к увеличению токовой нагрузки на более высоких частотах. Это должно быть предметом специального соглашения между изготовителем и потребителем.

Примечание 4 - Согласно IEC 60204-1 [14] требуется минимальное сечение проводника и не допускается присоединение PEN-проводника в электрооборудовании оборудования и станков.

Если для присоединения входящих и отходящих нулевых рабочих, нулевых защитных или PEN-проводников используют зажимы, то они должны быть расположены в непосредственной близости от соответствующих зажимов фазных проводников.

Отверстия в кабельных вводах, заглушках и аналогичных элементах должны быть выполнены так, чтобы при правильной прокладке кабелей обеспечивались установленные меры защиты от прикосновения к токоведущим частям и не нарушалась степень защиты оболочки. Это достигается путем правильного выбора устройств ввода и их применением в соответствии с указаниями изготовителя.

Зажимы для внешних защитных проводников должны иметь маркировку согласно IEC 60445. В качестве примера приведен графический символ по IEC 60417 (пункт 5019) [15]. Этот символ не требуется, если внешний проводник соединяют с внутренним защитным проводником, имеющим четкую зелено-желтую окраску.

Зажимы для подсоединения внешних защитных проводников (PE, PEN) и металлических оболочек присоединяемых кабелей (стальной трубопровод, свинцовая оболочка и т.д.), если это необходимо, должны быть неизолированными и, если нет других указаний, пригодными для подсоединения медных проводников. Для защитного проводника каждой цепи должен быть предусмотрен отдельный зажим соответствующих размеров.

В отсутствие соглашения между изготовителем и потребителем зажимы для защитных проводников должны допускать подсоединение медных проводников с сечением в зависимости от сечения соответствующих фазных проводников согласно таблице 5.

При применении оболочек и проводников из алюминия или его сплавов необходимо учитывать опасность образования электролитической коррозии. Соединительные устройства, обеспечивающие непрерывность электрической цепи между открытыми проводящими частями и внешними защитными проводниками, не должны быть предназначены для выполнения другой функции.

Примечание 5 - Особые меры защиты могут потребоваться для металлических частей НКУ, например сальников, при изготовлении которых применяют покрытие, устойчивое к абразивному износу (например порошковое полимерное).

Если нет других указаний, обозначение зажимов должно соответствовать IEC 60445.

9. Требования к работоспособности

9.1 Электроизоляционные свойства

9.1.1 Общие положения

Каждая цепь НКУ должна быть способна выдерживать:

- временные перенапряжения;

- переходные перенапряжения.

Способность НКУ выдерживать временные перенапряжения, а также целостность твердой изоляции проверяют устойчивостью к напряжению промышленной частоты; а способность выдерживать переходные перенапряжения - устойчивостью к импульсному напряжению.

9.1.2 Выдерживаемое напряжение промышленной частоты

Цепи НКУ должны быть способны выдерживать соответствующие напряжения промышленной частоты, приведенные в таблицах 8 и 9 (см. 10.9.2.1). Номинальное напряжение изоляции любой цепи НКУ должно быть равно или выше максимального рабочего напряжения.

9.1.3 Импульсное выдерживаемое напряжение

9.1.3.1 Импульсные выдерживаемые напряжения главных цепей

Изоляционные промежутки от токоведущих частей до наружных токопроводящих частей и между токоведущими частями разных потенциалов должны быть способны выдерживать испытательные напряжения согласно таблице 10 в соответствии с номинальным импульсным выдерживаемым напряжением.

Номинальное импульсное выдерживаемое напряжение при данном номинальном рабочем напряжении должно быть не меньше паспортного напряжения системы питания цепи (см. приложение G) в точке размещения НКУ и соответствующей категории перенапряжения.

9.1.3.2 Импульсные выдерживаемые напряжения вспомогательных цепей

a) Вспомогательные цепи, соединенные с главной цепью и функционирующие при номинальном рабочем напряжении без участия устройств для понижения перенапряжений должны соответствовать требованиям 9.1.3.1.

b) Вспомогательные цепи, не соединенные с главной цепью, могут иметь способность выдерживать перенапряжение, отличающуюся от способности главной цепи. Изоляционные промежутки таких цепей (при переменном или постоянном токе) должны быть способны выдерживать соответствующее импульсное выдерживаемое напряжение согласно приложению G.

9.1.4 Защита устройств для защиты от импульсных перенапряжений

В условиях перенапряжения требуется подсоединение устройств для защиты от импульсных перенапряжений (УЗИП) к главной цепи; такие УЗИП должны быть защищены от неконтролируемых условий коротких замыканий, указанных изготовителем УЗИП.

9.2 Предельные значения превышения температуры

НКУ и его цепи должны быть способны пропускать номинальные токи в заданных условиях (см. 5.3.1 - 5.3.3) с учетом параметров комплектующих элементов, их расположения и назначения, без превышения пределов, указанных в таблице 6 при проверке по 10.10. Пределы превышения температуры по таблице 6 относятся к средней температуре окружающего воздуха до 35 °C.

Превышением температуры элемента или части является разница между температурой этого элемента или части, измеренной согласно 10.10.2.3.3, и температурой окружающего воздуха снаружи НКУ. Если же средняя температура окружающего воздуха свыше 35 °C, тогда пределы превышения температуры устанавливают согласно этим особым условиям эксплуатации, так чтобы сумма температур окружающего воздуха и индивидуального предела превышения температуры оставалась неизменной. Если средняя температура окружающего воздуха ниже 35 °C, то такая же адаптация пределов превышения температуры допускается по соглашению между изготовителем и потребителем.

Превышения температуры не должны вызывать повреждения токоведущих и соседних с ними частей НКУ. В частности, для изоляционных материалов разработчик НКУ должен указать на соответствие температурному индексу изоляции (согласно методике IEC 60216) либо на соответствие IEC 60085.

Примечание 1 - Если пределы превышения температуры изменены в соответствии с изменением температуры окружающего воздуха, тогда соответственно должен измениться номинальный ток всех шин, функциональных блоков и т.д. В таком случае разработчик должен определить меры для обеспечения соответствия пределам превышения температуры. Для температур окружающей среды до 50 °C это выполняется путем расчета, приняв, что повышение температуры любого комплектующего элемента или устройства пропорционально потере энергии, накопленной в этом элементе. Существуют устройства, в которых потери энергии, в основном, пропорциональны , другие же имеют фиксированные потери.

Примечание 2 - В США для определения пределов превышения температуры пользуются NFPA 70 [9] (раздел 110.14C), в Мексике - NOM-001-SEDE [10]. В настоящем стандарте для применения в США используют приложение M, таблица M.1. В Канаде пределы превышения температуры предписаны Канадским электрическим кодом, ч. 2 стандартов по безопасности.

9.3 Защита от коротких замыканий и устойчивость к токам короткого замыкания

9.3.1 Общие положения

Конструкция НКУ должна быть способна выдерживать тепловые и электродинамические нагрузки, возникающие при токах короткого замыкания, не превышающих установленные номинальные значения.

Примечание 1 - Нагрузки, возникающие вследствие короткого замыкания, могут быть уменьшены путем применения токоограничивающих устройств (индуктивных сопротивлений, токоограничивающих плавких предохранителей или других токоограничивающих коммутационных устройств).

НКУ должны быть защищены от токов короткого замыкания, например, путем применения автоматических выключателей, плавких предохранителей или комбинацией с плавкими предохранителями, которые могут быть частью НКУ или располагаться за его пределами.

Примечание 2 - Если НКУ предназначены для использования в системах IT (см. IEC 60364-5-52), то УЗКЗ должно иметь достаточную отключающую способность при возникновении межфазного напряжения для отключения двухфазного замыкания на землю.

Примечание 3 - Если иное не установлено в инструкции изготовителя НКУ по применению и техническому обслуживанию, то НКУ, подвергшиеся короткому замыканию, могут оказаться непригодными для дальнейшей эксплуатации без осмотра и/или технического обслуживания квалифицированным персоналом.

9.3.2 Сведения, касающиеся устойчивости НКУ к токам короткого замыкания

Для НКУ с устройством для защиты от короткого замыкания (УЗКЗ), входящим в состав блока ввода, изготовитель должен указать максимальное допустимое значение тока короткого замыкания на зажимах блока ввода НКУ. Это значение не должно превышать соответствующих номинальных значений (по 5.3.3 - 5.3.5). Коэффициент мощности и пиковые значения должны соответствовать указанным в 9.3.3.

Если в качестве устройства для защиты от короткого замыкания используется автоматический выключатель, имеющий расцепитель с выдержкой времени, изготовитель НКУ должен указать максимальную выдержку времени и значение тока уставки, соответствующие указанному ожидаемому току короткого замыкания.

Для НКУ, в блок ввода которых не входит устройство для защиты от короткого замыкания, изготовитель должен указать устойчивость к токам короткого замыкания с помощью следующих (одного или нескольких) параметров:

a) номинального кратковременно допустимого тока () вместе с временем (см. 5.3.4), в течение которого цепь может выдержать этот ток без повреждения, и номинальный ударный ток () (см. 5.3.3);

b) номинального условного тока короткого замыкания () (см. 5.3.5).

Для периодов времени, не превышающих 3 с, соотношение между номинальным кратковременно допустимым током и указанным временем определяют по формуле =const при условии, что пиковое значение не превышает значения номинального ударного тока.

Изготовитель НКУ должен указать характеристики УЗКЗ, необходимых для защиты НКУ.

Для НКУ с несколькими блоками ввода, одновременная работа которых маловероятна, устойчивость к токам короткого замыкания может быть указана для каждого из вводных блоков в соответствии с вышесказанным.

Для НКУ с несколькими одновременно работающими блоками ввода, а также для НКУ с одним блоком ввода и одним или несколькими блоками вывода для машин большой мощности, которые могут повлиять на ток короткого замыкания, должны быть согласованы с потребителем значения ожидаемого тока короткого замыкания в каждом блоке ввода, в каждом блоке вывода и на шинах.

9.3.3 Соотношение между пиковым током и током короткого замыкания

Для определения электродинамических нагрузок значение пикового тока получают умножением действующего значения тока короткого замыкания на коэффициент n. Значения коэффициента n и соответствующего коэффициента мощности приведены в таблице 7.

9.3.4 Координация защитных устройств

Действие устройств для защиты от токов короткого замыкания, применяемых внутри НКУ, должно быть согласовано с действием защитных устройств вне НКУ соглашением между изготовителем НКУ и потребителем. Сведения, приводимые в информационных материалах изготовителя, могут использоваться в качестве такого соглашения.

Если по условиям эксплуатации необходимо обеспечить максимальную непрерывность цепи питания, то уставки или устройства для защиты от короткого замыкания, встроенные в НКУ, должны быть выбраны так, чтобы короткое замыкание, произошедшее в любой отходящей цепи, могло быть отключено с помощью коммутационного устройства, установленного в поврежденной цепи, без какого-либо воздействия на другие отходящие цепи, что обеспечивает селективность защитной системы.

Если УЗКЗ подсоединено последовательно и предназначено для одновременного срабатывания с целью достижения требуемой предельной коммутационной способности (например, резервная защита), то изготовитель НКУ должен проинформировать потребителя (например, с помощью предупреждающей таблички внутри НКУ или указанием в инструкции по эксплуатации, см. 6.2) о том, что замена любого устройства защиты устройством защиты другого типа и с другими параметрами не допустима, так как в противном случае коммутационная способность всей комбинации может быть поставлена под угрозу.

9.4 Электромагнитная совместимость (ЭМС)

Требования к ЭМС см. приложение J (пункт J.9.4).

10. Проверка конструкции

10.1 Общие положения

Проверка конструкции призвана установить соответствие конструкции НКУ или системы НКУ требованиям, предъявляемым данной серией стандартов.

Если испытания НКУ были проведены на соответствие требованиям серии стандартов IEC 60439 до опубликования соответствующего стандарта серии IEC 61439, и результаты этих испытаний отвечают требованиям соответствующей части IEC 61439, тогда повторная проверка этих требований не проводится.

Повторные проверки соответствия стандартам на коммутационные устройства или комплектующие элементы, встраиваемые в НКУ, которые были отобраны в соответствии с 8.5.3 и установлены согласно инструкциям их изготовителей, не проводятся. Испытания отдельных устройств на соответствие конкретным стандартам на изделия не являются альтернативой проверки конструкции в настоящем стандарте на НКУ.

Если в проверяемой конструкции НКУ проведены изменения, тогда по разделу 10 проверяют, не повлияли ли данные изменения на работоспособность НКУ. Новые проверки проводят в случае, если очевиден отрицательный эффект.

Имеется несколько методов:

- проверочное испытание;

- проверочное сравнение с испытанной контрольной конструкцией;

- проверочная оценка, т.е. подтверждение правильности расчетов и соблюдения норм проектирования, включая достаточный резерв надежности.

См. приложение D.

Если для проведения одной и той же проверки можно применить несколько методов, все они считаются эквивалентными, и выбор подходящего метода принадлежит разработчику.

Испытания проводят на типовом новом образце НКУ в чистом состоянии.

На работоспособность НКУ могут повлиять проверочные испытания (например, испытание на короткое замыкание). Эти испытания не следует проводить на НКУ, предназначенном для эксплуатации.

НКУ, проверенное на соответствие настоящему стандарту разработчиком (см. 3.10.1) и изготовленное или собранное сторонней организацией, не нуждается в повторной проверке, если полностью были соблюдены все требования и инструкции, предусмотренные разработчиком.

Если изготовитель НКУ вносит свои изменения, не вошедшие в проверку разработчика, тогда изготовитель НКУ выступает разработчиком по отношению к данным изменениям.

Проверка конструкции включает следующее:

a) Конструкция:

10.2 Прочность материалов и частей;

10.3 Степень защиты оболочек;

10.4 Воздушные зазоры и расстояния утечки;

10.5 Защита от поражения электрическим током и непрерывность защитных цепей;

10.6 Включение коммутационных устройств и комплектующих элементов;

10.7 Внутренние электрические цепи и соединения;

10.8 Зажимы для внешних проводников.

b) Работоспособность:

10.9 Электроизоляционные свойства;

10.10 Превышение температуры;

10.11 Устойчивость к токам короткого замыкания;

10.12 Электромагнитная совместимость;

10.13 Работоспособность механических частей.

Контрольные конструкции, число НКУ или его частей, подлежащих проверке, выбор метода проверки и порядок проведения проверки устанавливает разработчик.

Используемую информацию, расчеты и анализ, проводимые при проверке НКУ следует включать в протокол испытаний.

10.2 Прочность материалов и частей НКУ

10.2.1 Общие положения

Механические, электрические и тепловые свойства конструкционных материалов и частей НКУ должны быть установлены проверкой конструкции и характеристик работоспособности.

Если применяют пустые оболочки, соответствующие IEC 62208, которые не претерпели изменений, ухудшающих их характеристики, то испытаний по 10.2 не требуется.

10.2.2 Коррозиестойкость

10.2.2.1 Методика испытания

Проверке подлежит коррозиестойкость типовых образцов стальных металлических оболочек, а также внутренних и внешних стальных металлических конструкционных частей НКУ.

Испытание проводят на:

- оболочке или типовом образце оболочки с установленными типовыми внутренними деталями и закрытыми дверьми как при нормальной эксплуатации или

- отдельно на типовых частях оболочки и внутренних частях.

Испытанию подлежат также навесы, замки и крепежные средства, если они предварительно не подвергались такому испытанию, и их коррозиестойкость не изменилась при их применении.

Если оболочка подлежит названному испытанию, ее монтируют как при нормальной эксплуатации согласно инструкциям разработчика.

Испытуемые образцы должны быть новыми и в чистом состоянии; их подвергают испытанию жесткости A или B согласно 10.2.2.2 или 10.2.2.3 соответственно.

Примечание - Испытание соляным туманом обеспечивает атмосферные условия, усиливающие коррозию, однако это не означает, что НКУ пригодно для использования в общей соляной атмосфере.

10.2.2.2 Испытание жесткости A

Данное испытание применимо к:

- металлическим оболочкам для внутренней установки;

- внешним металлическим частям НКУ для внутренней установки;

- внутренним металлическим частям НКУ для внутренней и наружной установки, от которых зависит механическое оперирование.

Испытание состоит из:

6 циклов по 24 ч каждый воздействия влажным теплом согласно IEC 60068-2-30 - испытание Db при температуре (403) °C и относительной влажности 95% и 2 циклов по 24 ч каждый воздействия соляным туманом согласно IEC 60068-2-11 - испытание Ka: соляной туман при температуре (352) °C.

10.2.2.3 Испытание жесткости B

Данное испытание применимо к:

- металлическим оболочкам для наружной установки;

- внешним металлическим частям НКУ для внутренней установки.

Испытание состоит из двух аналогичных 12-дневных периодов.

Каждый 12-дневный период состоит из:

5 циклов по 24 ч каждый воздействия влажным теплом согласно IEC 60068-2-30 - испытание Db при температуре (403) °C и относительной влажности 95%, и

7 циклов по 24 ч каждый воздействия соляным туманом согласно IEC 60068-2-11 - испытание Ka: соляной туман при температуре (352) °C.

10.2.2.4 Результаты испытаний

После испытания оболочку или типовые образцы промывают в проточной воде под краном в течение 5 мин, ополаскивают в дистиллированной или деминерализованной воде, затем встряхивают или помещают под струю воздуха для снятия водяных капель. Затем испытуемый образец выдерживают при нормальных условиях эксплуатации в течение 2 ч.

Соответствие проверяют внешним осмотром для определения того, что:

- отсутствуют свидетельства окисления металла, образование трещин и другие повреждения поверхности вне соответствия допускаемым ИСО 4628-3 для степени ржавления Ri1. При этом, допускаются повреждения поверхности защитного покрытия. В случаях сомнения, связанных с лаками и красками, соответствие образцов проверяют по ИСО 4628-3 (образец Ri1);

- механическая целостность не нарушена;

- сальники не повреждены;

- двери, навесы, замки и средства крепления работают без приложения чрезмерного усилия.

10.2.3 Свойства изоляционных материалов

10.2.3.1 Проверка термостойкости оболочек

Термостойкость оболочек, выполненных из изоляционного материала, проверяют испытанием сухим теплом. Испытание проводят по IEC 60068-2-2: Испытание Bb при температуре 70 °C с естественной циркуляцией воздуха в течение 168 ч и восстановлением в течение 96 ч.

Части, имеющие декоративное назначение и не имеющие технического значения, в данном испытании во внимание не принимают.

Оболочку, смонтированную как при нормальной эксплуатации, подвергают испытанию в камере тепла, атмосфера которой имеет состав и давление окружающего воздуха и оборудована естественной вентиляцией. Если размеры оболочки слишком велики по сравнению с размерами камеры тепла, испытание могут проводить на типовом образце оболочки.

Рекомендуется использование камеры с электронагревом.

Естественная вентиляция может быть обеспечена за счет отверстий в стенках камеры.

Оболочка или ее образец не должен иметь трещин, видимых обычным или скорректированным зрением без дополнительного увеличения, а материал не должен стать липким или жирным, что проверяют так:

Указательным пальцем, обернутым куском сухой грубой ткани, давят на образец с усилием 5 Н.

Примечание - Усилие 5 Н можно получить так: оболочку или образец помещают на одну чашу весов, на другую чашу помещают груз, масса которого равна массе образца плюс 500 г. Затем давлением пальца, обернутого куском сухой грубой ткани, восстанавливают равновесие чаш весов.

Никаких следов ткани не должно остаться на образце и материале оболочки, а образец не должен прилипнуть к ткани.

10.2.3.2 Проверка устойчивости изоляционных материалов к аномальному нагреву и огню вследствие внутренних электрических процессов

Принципы испытания раскаленной проволокой согласно IEC 60695-2-10 и подробности его описания приведены в IEC 60695-2-11. Испытание проводят для проверки пригодности материалов на:

a) частях НКУ, или

b) образцах, взятых из этих частей.

Испытание проводят на материале с минимальной толщиной, применяемой для частей, указанных выше в перечислении a) или b).

Если такой же материал имеет типовые поперечные сечения, что и детали, уже проверенные на соответствие требованиям 8.1.3.2.3, тогда испытание не повторяют. То же относится ко всем частям, которые были предварительно испытаны по их собственным техническим условиям.

Описание испытания приведено в разделе 4 IEC 60695-2-11:2000. Применяемая установка описана в разделе 5 IEC 60695-2-11:2000.

Температура конца раскаленной проволоки должна быть следующей:

- 960 °C - для частей, удерживающих на месте токоведущие части;

- 850 °C - для оболочек, предназначенных для установки в нишах стен;

- 650 °C - для всех прочих частей, в том числе частей, удерживающих защитные проводники.

В качестве альтернативы данному испытанию разработчик должен предусмотреть информацию о пригодности материалов, полученную от поставщика изоляционных материалов, для установления соответствия требованиям 8.1.3.2.3.

10.2.4 Устойчивость к ультрафиолетовому (УФ) излучению

Данное испытание проводят только для оболочек и внешних частей НКУ, предназначенных для наружной установки, которые выполнены из синтетических материалов или металлов с покрытиями из синтетических материалов.

Типовые образцы таких частей подвергают следующему испытанию.

Проводят испытание УФ согласно ИСО 4892-2 (метод A): В цикле 1 испытательный период длится 500 ч. Оболочки, выполненные из изоляционных материалов, проверяют на соответствие тому, что прочность на изгиб (согласно ИСО 178) и ударная вязкость по Шарпи (согласно ИСО 179) изоляционных материалов в результате испытания составляет не менее 70% минимального значения.

Испытание проводят на шести испытательных образцах стандартного размера по ICO 178 и шести испытательных образцах стандартного размера по ИСО 179. Испытательные образцы должны быть сделаны в таких же условиях, в которых изготовлена испытуемая оболочка.

При испытании, проводимом согласно ИСО 178, поверхность образца, подвергнутую УФ, поворачивают вниз лицом, и давление подают с внутренней стороны поверхности.

При испытании образца согласно ИСО 179 для материалов, прочность на изгиб при ударе которых не могла быть определена до облучения УФ ввиду отсутствия разрывов, поэтому допускается не более, чем трем испытательным образцам иметь повреждения.

Для соответствия оболочек, выполненных из металла с покрытием из синтетического материала, сцепление на поверхности синтетического материала (согласно ИСО 2409) должно иметь минимальное значение по категории 3.

Образцы не должны иметь трещин или повреждений, видимым нормальным или скорректированным зрением без дополнительного увеличения.

Данное испытание не проводят, если разработчик может предоставить соответствующую информацию от поставщика материалов, подтверждающую то, что материалы одинаковой или меньшей толщины соответствуют данному требованию.

10.2.5 Способность к подъему

Соответствие НКУ, снабженного арматурой для подъема, проверяют в ходе следующего испытания.

Максимальное число секций, разрешенных разработчиком для совместного подъема, оснащают комплектующими элементами и/или снабжают грузом для получения 1,25-кратной максимальной подъемной массы. Двери закрывают и поднимают специальными подъемными устройствами, способом, указанным изготовителем.

Из неподвижного положения НКУ поднимают равномерно без рывков в вертикальной плоскости на высоту 1 м и опускают таким же способом в неподвижное положение. Это испытание повторяют еще два раза, после чего НКУ поднимают и оставляют в подвешенном неподвижном состоянии на 30 мин.

В процессе испытания НКУ поднимают равномерно без рывков из неподвижного положения на высоту 1 м и перемещают в горизонтальной плоскости на (100,5) м, затем опускают в неподвижное положение. Такую последовательность действий выполняют трижды с одинаковой скоростью, при этом длительность одной последовательности составляет 1 мин.

После испытания с установленным испытательным грузом НКУ не должно иметь трещин или искривлений, видимых нормальным или скорректированным зрением без дополнительного увеличения, которые могли бы вызвать ухудшение его характеристик.

10.2.6 Механический удар

Испытания на механический удар, требующиеся для НКУ специального назначения, проводят согласно IEC 62262.

10.2.7 Маркировка

Маркировка, выполненная формованием, прессованием, гравированием или каким-либо другим аналогичным способом, не подлежит следующему испытанию.

Испытание проводят натиранием маркировки вручную в течение 15 с кусочком ткани, смоченным водой, а затем еще 15 с - кусочком ткани, смоченным бензином.

Примечание - Бензин - это раствор гексана с содержанием ароматических веществ максимально 0,1% от объема, с каурибутаноловым числом 29, начальной точкой кипения 65 °C, конечной точкой кипения 69 °C и плотностью приблизительно 0,68 г/см3.

После испытания маркировка должна остаться видимой нормальным или скорректированным зрением без дополнительного увеличения.

10.3 Степень защиты НКУ

Степень защиты, обеспечиваемую в соответствии с 8.2.2, 8.2.3 и 8.4.2.3 проверяют согласно IEC 60529; испытание можно провести на НКУ типового оснащения, в состоянии, указанном разработчиком. Для пустых оболочек, соответствующих IEC 62208, проводят проверочную оценку для подтверждения того, что произведенные внешние изменения не повлияли на ухудшение степени защиты.

В таком случае дальнейшие испытания не проводят.

Испытания IP проводят:

- со всеми установленными и закрытыми крышками и дверями как для нормальной эксплуатации;

- в обесточенном состоянии, если иное не установлено разработчиком.

НКУ со степенью защиты IP 5X испытывают по категории 2 в соответствии с 13.4 IEC 60529.

НКУ со степенью защиты IP 6X испытывают по категории 1 в соответствии с 13.4 IEC 60529.

Испытательное устройство для IP X3 и IP X4, так же, как тип основания при испытании оболочки IP X4, должны быть указаны в протоколе испытаний.

Испытание IP X1 могут проводить при вращении водяного контейнера вместо вращения НКУ.

Попадание воды является допустимым при испытании IP X1 - IP X6 при очевидности пути ее попадания и в пределах ее контактирования исключительно с оболочкой в местах, где она не оказывает влияния на безопасность.

Результат испытания IP 5X очевидно отрицателен, если количество пыли, осевшей на оборудовании, размещаемом внутри оболочки, является видимым.

10.4 Воздушные зазоры и расстояния утечки

Значения воздушных зазоров и расстояний утечки проверяют на соответствие требованиям 8.3.

Воздушные зазоры и расстояния утечки измеряют согласно приложению F.

10.5 Защита от поражения электрическим током и непрерывность защитных цепей

10.5.1 Эффективность защитных цепей

Эффективность защитных цепей проверяют для следующих функций:

a) защита от последствий повреждения внутри НКУ (внутренние повреждения) согласно 10.5.2;

b) защита от последствий повреждения во внешних цепях, питаемых через НКУ (внешние повреждения) согласно 10.5.3.

10.5.2 Эффективность непрерывности цепи заземления между открытыми токопроводящими частями НКУ и защитной цепью

Проверке подлежит, действительно ли различные открытые проводящие части НКУ эффективно подсоединены к зажиму для подводящего внешнего защитного проводника, а сопротивление цепи не превышает 0,1 Ом.

Проверку проводят с использованием прибора для измерения сопротивления, способного отвести ток не менее 10 А (переменный или постоянный). Ток проходит между каждой открытой проводящей частью и зажимом для внешнего защитного проводника. Сопротивление не должно превышать 0,1 Ом.

Примечание - Рекомендуется ограничить по времени данное испытание во избежание повреждения слаботочного оборудования.

10.5.3 Устойчивость к короткому замыканию защитной цепи

10.5.3.1 Общие положения

Проверке подлежит номинальная устойчивость к короткому замыканию.

Проверку можно провести сравнением с контрольной конструкцией или испытанием, как указано в 10.5.3.3 - 10.5.3.5.

Разработчик должен указать контрольную конструкцию для использования в 10.5.3.3 и 10.5.3.4.

10.5.3.2 Защитные цепи, не подлежащие проверке на устойчивость к короткому замыканию

Если предусмотрен отдельный защитный проводник согласно 8.4.3.2.3, испытание на устойчивость к короткому замыканию не требуется при выполнении одного из условий 10.11.2.

10.5.3.3 Проверка сравнением с контрольной конструкцией - с применением контрольного перечня

Проверку проводят сравнением проверяемого НКУ с уже испытанной конструкцией по пунктам 1 - 6 и 8 - 10 контрольного перечня, приведенного в таблице 13, на отсутствие расхождений.

10.5.3.4 Проверка сравнением с контрольной конструкцией - с применением расчета

Проверку сравнением с контрольной конструкцией, основанную на расчетах, проводят в соответствии с 10.11.4.

Для такой же токоведущей способности того количества тока повреждения, который протекает через наружные токопроводящие части, конструкция, число и размещение частей, которые обеспечивают контакт между защитным проводником и наружными токопроводящими частями, должны быть такими же, что и в испытанной контрольной конструкции.

10.5.3.5 Проверка испытанием

По 10.11.5.6.

10.6 Установка коммутационных устройств и комплектующих элементов

10.6.1 Общие положения

Соответствие требованиям к конструкции по 8.5, касающееся установки коммутационных устройств и комплектующих элементов, должно быть установлено внешним осмотром, производимым разработчиком.

10.6.2 Электромагнитная совместимость (ЭМС)

Соответствие требованиям к работоспособности по J.9.4 для электромагнитной совместимости устанавливают внешним осмотром или, если необходимо, испытанием (см. J.10.12).

10.7 Внутренние электрические цепи и соединения

Соответствие требованиям к конструкции по 8.6 для внутренних электрических цепей и соединений устанавливают внешним осмотром, производимым разработчиком.

10.8 Зажимы для внешних проводников

Соответствие требованиям по 8.8 к конструкции зажимов для внешних проводников устанавливают внешним осмотром, производимым разработчиком.

10.9 Электроизоляционные свойства

10.9.1 Общие положения

Для данного испытания все электрооборудование НКУ должно быть подключено, за исключением аппаратуры, которая согласно соответствующим техническим условиям рассчитана на более низкое напряжение; должна быть отключена аппаратура, имеющая собственные токовые потери (например, обмотки, измерительные приборы, устройства для защиты от импульсных перенапряжений), в которых подача испытательного напряжения может вызвать прохождение тока. Эта аппаратура должна быть отключена на одном из зажимов, а в том случае, когда они не рассчитаны на то, чтобы выдерживать полное испытательное напряжение, они должны быть отсоединены от всех зажимов.

Допуски на испытательное напряжение и выбор испытательного оборудования см. IEC 61180.

10.9.2 Выдерживаемое напряжение промышленной частоты

10.9.2.1 Главные, вспомогательные цепи и цепи управления

Главные, вспомогательные цепи и цепи управления, которые соединены с главной цепью, подвергают испытательному напряжению согласно таблице 8.

Вспомогательные цепи и цепи управления (постоянного или переменного тока), которые не соединены с главной цепью, подвергают испытательному напряжению согласно таблице 9.

10.9.2.2 Испытательное напряжение

Испытательное напряжение должно быть в основном синусоидальной формы и иметь частоту от 45 до 65 Гц.

Высоковольтный трансформатор, применяемый при испытании, должен иметь такую конструкцию, чтобы, когда его выводные зажимы замкнуты накоротко, после того, как выходное напряжение отрегулировано на соответствующее испытательное значение, выходной ток был не менее 200 мА.

Максимальное реле тока не должно срабатывать при выходном токе менее 100 мА.

Значения испытательного напряжения должны быть согласно указанным в таблице 8 или 9, что приемлемо, с допустимым допуском 3%.

10.9.2.3 Подача испытательного напряжения

Напряжение промышленной частоты в момент подачи не должно превышать 50% полного значения испытательного напряжения. Затем его постепенно повышают до полного значения и удерживают так в течение (5 + 2) с в следующем порядке:

a) между всеми токоведущими частями главной цепи, соединенными вместе (включая вспомогательные цепи и цепи управления, подсоединенные к главной цепи), и открытыми токопроводящими частями, при этом главные контакты всех коммутационных устройств находятся в замкнутом положении или замкнуты перемычкой с низким сопротивлением;

b) между каждой токоведущей частью одного потенциала главной цепи и остальными токоведущими частями другого потенциала и открытыми токопроводящими частями, соединенными вместе, при этом главные контакты всех коммутационных устройств находятся в замкнутом положении или замкнуты перемычкой с низким сопротивлением;

c) между каждой цепью управления и вспомогательной цепью, нормально не соединенных с главной, и

- главной цепью;

- остальными цепями;

- открытыми токопроводящими частями.

10.9.2.4 Критерии соответствия

Во время испытания максимальное реле тока не должно срабатывать и не должно быть пробоев (см. 3.6.17).

10.9.3 Импульсное выдерживаемое напряжение

10.9.3.1 Общие положения

Проверку проводят испытанием или оценкой.

Вместо испытания импульсным выдерживаемым напряжением разработчик, на свое усмотрение, может провести эквивалентное испытание напряжением переменного или постоянного тока в соответствии с 10.9.3.3 или 10.9.3.4.

10.9.3.2 Испытание импульсным выдерживаемым напряжением

Импульсный генератор должен быть отрегулирован на требуемое импульсное напряжение при соединении с НКУ.

Значение испытательного напряжения должно соответствовать указанному в 9.1.3. Допуск на подаваемое пиковое напряжение составляет 3%.

Вспомогательные цепи, не соединенные с главной, должны быть соединены с землей. Импульс напряжения формой волны 1,2/50 мкс прикладывают в цепям НКУ пять раз для каждой полярности с минимальным интервалом 1 с в следующем порядке:

a) между всеми токоведущими частями разных потенциалов главной цепи, соединенными вместе (включая вспомогательные цепи и цепи управления, подсоединенные к главной цепи), и открытыми токопроводящими частями, при этом главные контакты всех коммутационных устройств находятся в замкнутом положении или замкнуты перемычкой с низким сопротивлением;

b) между каждой токоведущей частью одного потенциала главной цепи и остальными токоведущими частями другого потенциала и открытыми токопроводящими частями, соединенными вместе, при этом главные контакты всех коммутационных устройств находятся в замкнутом положении или замкнуты перемычкой с низким сопротивлением;

c) между каждой цепью управления и вспомогательной цепью, нормально не соединенных с главной, и

- главной цепью;

- остальными цепями;

- открытыми токопроводящими частями.

Для положительного результата во время испытания не должно происходить случайных пробоев.

10.9.3.3 Альтернативное испытание напряжением промышленной частоты

Испытательное напряжение должно быть в основном синусоидальной формы и иметь частоту от 45 до 65 Гц.

Высоковольтный трансформатор, применяемый при испытании, должен иметь такую конструкцию, чтобы, когда его выводные зажимы замкнуты накоротко, после того, как выходное напряжение отрегулировано на соответствующее испытательное значение, выходной ток был не менее 200 мА.

Максимальное реле тока не должно срабатывать при выходном токе менее 100 мА.

Значения испытательного напряжения должны быть согласно указанным в 9.1.3 и таблице 10, что приемлемо, с допуском 3%.

Напряжение промышленной частоты прикладывают один раз при полном значении в течение времени, достаточном для достижения полной величины, но не менее 15 мс. Напряжение подают к НКУ в порядке, указанном выше в перечислениях a), b) и c) 10.9.3.2.

Для положительного результата во время испытания не должно происходить пробоев и срабатывания максимального реле тока.

10.9.3.4 Альтернативное испытание напряжением постоянного тока

Испытательное напряжение должно иметь незначительную пульсацию.

Высоковольтный источник, применяемый при испытании, должен иметь такую конструкцию, чтобы, когда его выводные зажимы замкнуты накоротко, после того, как выходное напряжение отрегулировано на соответствующее испытательное значение, выходной ток был не менее 200 мА.

Максимальное реле тока не должно срабатывать при выходном токе менее 100 мА.

Значения испытательного напряжения должны быть согласно указанным в 9.1.3 и таблице 10, что приемлемо, с допуском 3%.

Напряжение постоянного тока подают один раз при полном значении в течение времени, достаточном для достижения полной величины, но не менее 15 мс и не более 100 мс.

Напряжение подают к НКУ в порядке, указанном выше в перечислениях a) и b) 10.9.3.2.

Для положительного результата во время испытания не должно происходить пробоев и срабатывания максимального реле тока.

10.9.3.5 Проверка оценкой

Значения воздушных зазоров проверяют измерением или проверкой измерений на конструкторских чертежах с применением методов измерения, указанных в приложении F.

Воздушные зазоры должны составлять не менее 1,5 значений, указанных в таблице 1.

Примечание - Коэффициент 1,5 применяют к значениям по таблице 1, чтобы не проводить испытание импульсным выдерживаемым напряжением для проверки конструкции. Это коэффициент безопасности, который учитывает допуски при изготовлении.

Воздушные зазоры проверяют оценкой информации изготовителей устройств о том, что все установленные в НКУ устройства соответствуют указанному импульсному выдерживаемому напряжению ().

10.9.4 Испытание оболочек, выполненных из изоляционного материала

Для НКУ с оболочками из изоляционного материала должны быть проведены дополнительные испытания электроизоляционных свойств с приложением испытательного напряжения переменного тока между металлической фольгой на наружной поверхности оболочки, проложенной над отверстиями и стыками, и взаимно соединенными токоведущими и открытыми проводящими частями внутри НКУ, расположенными вблизи отверстий и стыков. Для этого дополнительного испытания напряжение должно составлять 1,5 значений, указанных в таблице 8.

10.9.5 Внешние приводные рукоятки из изоляционного материала

Для внешних приводных рукояток, выполненных из изоляционного материала или покрытых изоляционным материалом электроизоляционные испытания проводят с напряжением, равным 1,5 испытательного напряжения по таблице 8, его прикладывают между токоведущими частями и металлической фольгой, оборачивающей все поверхности рукоятки. При испытании открытые токопроводящие части не заземляют и не подсоединяют к другим цепям.

10.10 Проверка превышения температуры

10.10.1 Общие положения

Необходимо проверить, что пределы превышения температуры, указанные в 9.2 для различных частей НКУ или системы НКУ, не превышены.

Проверку проводят одним или несколькими из указанных методов (в качестве руководства см. приложение O):

a) испытанием (10.10.2);

b) применением производных параметров (от испытанной конструкции) для аналогичных вариантов (10.10.3);

c) расчетом для единичного отсека НКУ на ток не свыше 630 А по 10.10.4.2 или для НКУ на ток не свыше 1600 А по 10.10.4.3.

В НКУ, рассчитанных на частоты свыше 60 Гц, обязательно требуется проверка превышения температуры испытанием (10.10.2) или применением производных параметров от аналогичной конструкции, испытанной на требуемой частоте (10.10.3).

Токопроводящую способность проверяемых цепей определяют номинальным током (см. 5.3.2) и НКО (см. 5.4).

10.10.2 Проверка испытанием

10.10.2.1 Общие положения

Проверка испытанием состоит в следующем:

a) Если система НКУ, подлежащая проверке, имеет несколько вариантов, следует отобрать согласно 10.10.2.2 наиболее сложные комплектации системы НКУ.

b) Выбранные варианты НКУ проверяют одним из следующих методов (см. приложение O):

1) проверка отдельных функциональных блоков, сборных и распределительных шин и НКУ в целом согласно 10.10.2.3.5;

2) проверка отдельных функциональных блоков по отдельности и собранного НКУ, включая сборные и распределительные шины, согласно 10.10.2.3.6;

3) проверка отдельных функциональных блоков, сборных и распределительных шин по отдельности, а также собранного НКУ согласно 10.10.2.3.7.

c) Если испытанное НКУ представляет собой наиболее сложный вариант из системы НКУ, то по результатам испытаний могут быть установлены параметры аналогичных вариантов без дальнейших испытаний. Правила установления производных параметров приведены в 10.10.3.

10.10.2.2 Выбор типового размещения

10.10.2.2.1 Общие положения

Испытание проводят на одном или нескольких типовых размещениях с одной или несколькими типовыми комбинациями нагрузок, подобранных с точки зрения определения с достаточной точностью максимально возможного превышения температуры.

Выбор типовых размещений для испытания приведен в 10.10.2.2.2 и 10.10.2.2.3 и является обязанностью разработчика.

При выборе для испытания разработчик должен учесть все комбинации, производные от размещений, испытанных согласно 10.10.3.

10.10.2.2.2 Шины

Система шинопровода состоит из одного или нескольких проводников прямоугольного сечения, отличающихся только по одному или нескольким значениям следующих величин:

- высоте профиля;

- толщине;

- числу слоев на один проводник,

но имеющего, одно и тоже:

- размещение шин;

- пространство между шинами;

- одинаковую оболочку;

- и отсек для шин (при наличии).

Как минимум, для испытания выбирают шины наибольшего сечения в качестве типового размещения. Меньшие размеры сечения шин или параметры других материалов см. 10.10.3.3.

10.10.2.2.3 Функциональные блоки

a) Выбор сопоставимых групп функциональных блоков

Функциональные блоки, предназначенные для применения с разными номинальными токами, могут рассматриваться как имеющие одинаковые тепловые характеристики и образующие сопоставимые группы, если они отвечают следующим условиям:

1) одна и та же функция и базовая электрическая схема главной цепи (например, блок ввода, реверсивный пускатель, кабельный фидер);

2) устройства одного и того же типоразмера, принадлежащие к одной и той же серии;

3) монтажная конструкция одного и того типа;

4) одинаковое взаимное расположение устройств;

5) один и тот же тип и расположение проводников;

6) сечение проводников главной цепи внутри функционального блока должно быть не меньше, чем для устройства с наименьшим номинальным током, включенного в эту цепь. Выбор кабелей должен проводиться в соответствии с условиями испытаний или согласно IEC 60364-5-52. Примеры применения данного к условиям внутри НКУ приведены в таблицах приложения H. Сечения шин должны выбираться в соответствии с условиями испытаний или по приложению N.

b) Выбор критического варианта из каждой сопоставимой группы в качестве образца для испытания

В качестве критических должны испытываться варианты отсека и оболочки с наиболее сложными условиями (по отношению к форме, размерам, конструкции ограждений и вентиляции оболочки).

Для каждого варианта функционального блока устанавливают максимально возможный номинальный ток. Для функционального блока с одним устройством это номинальный ток этого устройства. Для функциональных блоков с несколькими устройствами это номинальный ток устройства с наименьшим номинальным током. Если комбинация устройств предназначена для применения при пониженном токе (например, комбинация пускателей), тогда должен применяться этот пониженный ток.

В каждом функциональном блоке рассчитывают потери мощности для каждого устройства при максимально возможном токе на базе данных, предоставленных изготовителями этих устройств, а также потери мощности в соответствующих проводниках.

Для функциональных блоков с токами до 630 А включительно критическим блоком в каждой группе является функциональный блок с наибольшими общими потерями мощности.

Для функциональных блоков с токами свыше 630 А критическим блоком в каждой группе является функциональный блок с наибольшим номинальным током. Это является гарантией того, что будут учтены дополнительные тепловые эффекты, связанные с вихревыми токами и поверхностным вытеснением тока.

Критический функциональный блок должен испытываться:

- в наименьшем отсеке (если имеется), предусмотренном для этого функционального блока;

- при наихудшем варианте внутреннего разделения (если имеется), что касается размера вентиляционных отверстий;

- в оболочке с наибольшими установочными потерями мощности на объем;

- при наихудшем варианте вентиляции оболочки, с точки зрения ее вида (естественная или принудительная) и размера вентиляционных отверстий.

Если функциональный блок может быть расположен в разных направлениях (вертикально или горизонтально), для испытания выбирают наихудшее направление его расположения.

Примечание - На усмотрение разработчика может быть проведено дополнительное испытание для менее критических расположений и вариантов функциональных блоков.

10.10.2.3 Методы испытаний

10.10.2.3.1 Общие положения

В подпунктах 10.10.2.3.5 - 10.10.2.3.7 приведены три метода испытаний, которые различаются по необходимому числу испытаний и диапазону применения результатов. Необходимые пояснения приведены в приложении O.

Испытание на превышение температуры отдельных цепей проводят с тем видом тока и при той частоте, для которых они рассчитаны. Для получения нужного тока может быть использовано любое подходящее значение испытательного напряжения. Катушки реле, контакторов, расцепителей и т.д. должны питаться номинальным рабочим напряжением.

НКУ должно быть смонтировано как для нормальной эксплуатации с установленными на место крышками, включая нижнюю.

Если НКУ содержит предохранители, для испытания они должны быть оснащены плавкими вставками, указанными изготовителем. Потери мощности в плавких вставках при испытании должны быть указаны в протоколе испытаний. Потери мощности в плавких вставках можно определить измерением либо другим способом, указанным изготовителем плавких вставок.

Размеры и расположение внешних проводников, используемых при испытании, должны быть указаны в протоколе испытаний.

Испытание проводят в течение времени, достаточного для повышения температуры до постоянного значения. На практике это условие считается выполненным, если изменение температуры во всех точках измерения, включая температуру окружающего воздуха, составляет не более 1 °C/ч.

Для проведения ускоренных испытаний, если аппаратура это позволяет, ток может быть увеличен в первой части испытания, после чего его снижают до установленного испытательного значения.

Если во время испытания происходит возбуждение электромагнита в цепи управления, то температуру измеряют по достижении теплового равновесия, как в главной цепи, так и в цепи управления электромагнита.

Среднее значение действующих входных испытательных токов должно быть от минус 0% до плюс 3% предусмотренного значения. В каждой фазе предусмотренное значение должно иметь допуск 5%.

Допускаются испытания отдельной секции НКУ.

При проведении испытания внешние поверхности, к которым могут подсоединяться дополнительные секции, должны иметь термоизоляцию покрытием во избежание чрезмерного охлаждения.

При испытании отдельных функциональных блоков в пределах одной секции соседние функциональные блоки могут быть заменены резисторами в качестве нагревателей, если номинал каждого не превышает 630 А, а температура их нагрева не измеряется.

Для НКУ, имеющих возможность для встраивания в дополнительных цепей управления или устройств, нагревательные резисторы имитируют рассеяние мощности этих дополнительных устройств.

10.10.2.3.2 Испытательные проводники

При отсутствии подробной информации о внешних проводниках и условиях эксплуатации сечения внешних испытательных проводников выбирают с учетом номинального тока каждой цепи.

a) При значениях номинального тока до 400 А включительно:

1) для соединений следует использовать одножильные медные кабели или изолированные провода, поперечные сечения которых соответствуют приведенным в таблице 11;

2) по возможности проводники должны располагаться открыто;

3) минимальная длина каждого временного соединения между зажимами должна составлять:

- 1 м для проводов сечением до 35 мм2 включительно;

- 2 м для проводов сечением свыше 35 мм2.

b) При значениях номинального тока свыше 400 А, но не более 800 А:

1) в качестве проводников следует использовать одножильные медные кабели с сечениями, приведенными в таблице 12, или эквивалентные медные шины, выбираемые по таблице 12 в соответствии с указаниями разработчика;

2) кабели или медные шины должны быть расположены на расстоянии друг от друга, приблизительно равном расстоянию между зажимами. Параллельные кабели, присоединяемые к одному зажиму, должны быть сгруппированы так, чтобы расстояние между ними было около 10 мм. Параллельные медные шины, присоединяемые к одному зажиму, должны быть расположены друг от друга на расстоянии, равном их толщине. Если размеры, указанные для шин, обеспечить невозможно, допускается использовать другие шины с такими же сечениями (10%), а также такие же или меньшие поверхности охлаждения. Пространство между кабелями или медными шинами не должно быть заполнено;

3) для одно- или многофазных испытаний минимальная длина любого временного соединения до источника напряжения должна быть не менее 2 м. Минимальная длина при соединении "звездой" может быть уменьшена до 1,2 м по согласованию с разработчиком.

c) При значениях номинального тока свыше 800 А, но не более 4000 А:

1) в качестве проводников следует использовать медные шины с сечениями, указанными в таблице 12, за исключением случая, когда в НКУ соединение допускается исключительно с помощью кабелей. В этом случае разработчик должен указать размеры и расположение кабелей;

2) медные шины должны быть расположены на расстоянии друг от друга, приблизительно равном расстоянию между зажимами. Параллельные медные шины, присоединяемые к одному зажиму, должны быть расположены друг от друга на расстоянии, равном их толщине. Если размеры, указанные для шин, обеспечить невозможно, допускается использовать другие шины с такими же сечениями (10%), а также такие же или меньшие поверхности охлаждения. Пространство между медными шинами не должно быть заполнено;

3) для одно- и многофазных испытаний минимальная длина любого временного соединения до источника напряжения должна быть 3 м, но она может быть уменьшена до 2 м при условии, что превышение температуры соединения у источника напряжения на 5 °C меньше, чем превышение температуры в середине длины соединения. Минимальная длина при соединении "звездой" должна быть 2 м.

d) При значениях номинального тока свыше 4000 А:

Условия испытаний, такие как вид питания, число фаз и частота (если необходимо), сечения испытательных проводников определяет разработчик. Они должны быть отражены в протоколе испытаний.

10.10.2.3.3 Измерение температуры

Для измерения температуры используют термометры и термопары. Температуру обмоток, как правило, измеряют методом изменения сопротивления.

Термометры и термопары должны быть защищены от потоков воздуха и теплового излучения.

Температуру измеряют в тех точках, где возможен обзор предельного превышения температуры (см. 9.2). Особого внимания заслуживают соединения проводников и зажимы главных цепей. Для измерения температуры воздуха внутри НКУ в соответствующих местах должно быть размещено несколько измерительных устройств.

10.10.2.3.4 Температура окружающего воздуха

Температуру окружающего воздуха измеряют с помощью не менее двух термометров или термопар, которые устанавливают на расстоянии около 1 м от НКУ вокруг него через равные промежутки на высоте, равной приблизительно 1/2 высоты НКУ.

Термометры и термопары должны быть защищены от потоков воздуха и теплового излучения.

Температура окружающего воздуха во время испытания должна находиться в пределах от 10 °C до 40 °C.

10.10.2.3.5 Проверка всего НКУ

Входные и выходные цепи НКУ должны быть нагружены их номинальными токами (см. 5.3.2), так чтобы в результате номинальный коэффициент одновременности был равен 1 (см. 5.4 и приложение O).

Если номинальный ток входной цепи или системы распределительных шин (СРШ) меньше суммы номинальных токов всех выходных цепей, тогда все выходные цепи должны быть объединены в группы, соответствующие номинальному току входной цепи или СРШ. Группы, по указанию разработчика, должны быть сформированы таким образом, чтобы достигалось максимально возможное превышение температуры. Должно быть образовано достаточное количество групп и проведено достаточно испытаний, чтобы объединить все возможные варианты функциональных блоков по возможности в одной группе.

Если цепи с полной нагрузкой не в состоянии точно распределить весь входной ток, оставшийся ток должен быть распределен через любую другую подходящую цепь. Это испытание следует повторять до тех пор, пока все типы выходных цепей не будут проверены при их номинальных токах.

Изменение в расположении функциональных блоков внутри испытанного НКУ или секции НКУ может потребовать проведение дополнительных испытаний, так как тепловое влияние соседних блоков может значительно отличаться.

Примечание - Пункт 10.10.2.3.6 предусматривает способ испытания НКУ с коэффициентом одновременности менее 1 и меньшее число испытаний, чем предусмотрено в 10.10.2.3.7.

10.10.2.3.6 Проверка каждого функционального блока отдельно и НКУ в целом

Номинальные токи цепей согласно 5.3.2 и номинальный коэффициент одновременности согласно 5.4 проверяют в два этапа.

Номинальный ток каждого критического варианта функционального блока проверяют отдельно в соответствии с перечислением c) 10.10.2.3.7.

НКУ проверяют путем нагрузки входной цепи номинальным током и всех функциональных блоков вывода совместно их номинальным током, умноженным на коэффициент одновременности.

Если номинальный ток входной цепи или системы распределительных шин (СРШ) меньше суммы испытательных токов всех выходных цепей (т.е. номинальных токов, умноженных на НКО), тогда все выходные цепи должны быть объединены в группы, соответствующие номинальному току входной цепи или СРШ. Группы должны быть сформированы таким образом, чтобы достигалось максимально возможное превышение температуры. Должно быть образовано достаточное количество групп и проведено достаточно испытаний, чтобы объединить все возможные варианты функциональных блоков по возможности в одной группе.

Если цепи с полной нагрузкой не в состоянии точно распределить весь входной ток, оставшийся ток должен быть распределен через любую другую подходящую цепь. Это испытание следует повторять до тех пор, пока все типы выходных цепей не будут проверены при их номинальных токах.

Изменение в расположении функциональных блоков внутри испытанного НКУ или секции НКУ может потребовать проведение дополнительных испытаний, так как тепловое влияние соседних блоков может значительно отличаться.

10.10.2.3.7 Проверка каждого функционального блока и сборной и распределительных шин отдельно, а также всего НКУ

НКУ следует проверять путем отдельной проверки стандартных элементов, указанных ниже в перечислениях a) - c), выбранных в соответствии с 10.10.2.2.2 и 10.10.2.2.3, и проверки всего НКУ согласно перечислению d) в наиболее неблагоприятных условиях, приведенных ниже:

a) Сборные шины испытывают отдельно. Их монтируют в оболочку НКУ, как при нормальной эксплуатации с установленными на место всеми элементами оболочки и ограждениями, отделяющими сборные шины от других отсеков. Если сборная шина имеет стыки, они тоже подлежат испытанию. Испытание проводят при номинальном токе. Испытательный ток пропускают по всей длине шин. Если позволяет конструкция НКУ, чтобы уменьшить влияние внешних испытательных проводников на превышение температуры, на время испытания минимальная длина сборной шины внутри оболочки должна быть 2 м и иметь минимально один стык.

b) Распределительные шины испытывают отдельно от блоков вывода. Их монтируют в оболочку НКУ, как при нормальной эксплуатации с установленными на место всеми элементами оболочки и ограждениями, отделяющими сборные шины от других отсеков. Распределительные шины должны быть соединены со сборной шиной. Ни каких других проводников, например, для соединений с функциональными блоками, у распределительных шин быть не должно. Чтобы создать наиболее сложные условия, испытание следует проводить при номинальном токе, а испытательный ток пропускать по всей длине распределительной шины. Если сборная шина рассчитана на более высокий номинальный ток, она должна быть подпитана дополнительным током, так чтобы проводить свой номинальный ток до соединения с распределительной шиной.

c) Функциональные блоки испытывают отдельно. Функциональный блок монтируют в оболочку как при нормальной эксплуатации с установленными на место всеми элементами оболочки и внутренними ограждениями. При возможности монтажа в разных местах, выбирают самое неблагоприятное. Его соединяют со сборной или распределительной шиной, как при нормальной эксплуатации. Если сборная шина и/или распределительная шина (если имеется) рассчитаны на более высокий номинальный ток, они должны быть подпитаны дополнительными токами, с тем чтобы проводить свои номинальные токи до соответствующих точек соединения. Для функционального блока испытание проводят при номинальном токе.

d) Все НКУ проверяют испытанием на превышение температуры при самом неблагоприятном расположении, возможном при эксплуатации, и согласно указаниям разработчика. Для данного испытания входную цепь нагружают ее номинальным током, а каждый функциональный блок вывода - его номинальным током, умноженным на номинальный коэффициент одновременности. Если номинальный ток входной цепи или СРШ меньше суммы испытательных токов всех выходных цепей (т.е. номинальных токов, умноженных на НКО), тогда все выходные цепи должны быть объединены в группы, соответствующие номинальному току входной цепи или СРШ. Группы должны быть сформированы таким образом, чтобы достигалось максимально возможное превышение температуры. Должно быть образовано достаточное количество групп и проведено достаточно испытаний, чтобы объединить все возможные варианты функциональных блоков по возможности в одной группе.

10.10.2.3.8 Результаты испытания

В конце испытания превышение температуры не должно быть выше значений, приведенных в таблице 6. Аппаратура должна функционировать нормально в пределах напряжения, установленного для нее при температуре внутри НКУ.

10.10.3 Производные параметры для аналогичных вариантов

10.10.3.1 Общие положения

В следующих пунктах показано, как номинальные токи вариантов могут быть проверены с помощью производных от аналогичных конструкций, проверенных испытанием.

Испытания на превышение температуры в цепях, проводимые на частоте 50 Гц, действительны для частоты 60 Гц для номинальных токов до 800 А включительно. При отсутствии испытаний при частоте 60 Гц для токов свыше 800 А номинальный ток при частоте 60 Гц должен быть снижен до 95% номинального тока при частоте 50 Гц. И напротив, если максимальное превышение температуры при частоте 50 Гц не превышает 90% допустимого значения, тогда понижение для частоты 60 Гц не требуется. Испытания, проводимые на отдельной частоте, применимы для одного и того же номинального тока, но для более низких частот, в том числе для постоянного тока.

10.10.3.2 НКУ

Для НКУ, проверяемых с помощью производных от аналогичных испытанных конструкций, должно выполняться следующее:

a) функциональные блоки должны относиться к той же группе, что и функциональный блок, выбранный для испытания (см. 10.10.2.2.3);

b) конструкция того же типа, что использован для испытания;

c) те же или увеличенные габаритные размеры, что использованы для испытания;

d) те же или усиленные условия охлаждения, что использованы для испытания (принудительная или естественная вентиляция; те же или увеличенные вентиляционные отверстия);

e) то же или уменьшенное внутреннее разделение, что использовано при испытании (если имеется);

f) те же или сниженные потери энергии в одной и той же секции, что использованы при испытании.

Проверяемое НКУ может содержать все или только часть электрических цепей уже проверенного НКУ. Допускаются альтернативные расположения функциональных блоков в НКУ или секции, а также тепловое влияние соседних блоков не в более высоких пределах по сравнению с уже испытанным вариантом.

Тепловые испытания, проводимые на 3-фазных 3-проводных НКУ, считают действительными также для 3-фазных 4-проводных и однофазных 2- или 3-проводных НКУ при условии, что нулевой рабочий проводник имеет то же или большее сечение, что и фазные проводники, расположенные так же.

10.10.3.3 Шины

Параметры, установленные для алюминиевых шин, действительны для медных шин того же сечения и конфигурации. Однако, параметры, установленные для медных шин, не заменяют параметры для алюминиевых шин.

Параметры вариантов, выбранных для испытания не в соответствии с 10.10.2.2.2, определяют путем умножения их поперечного сечения на ток шины большего сечения такой же конструкции, что была испытана.

Если шина меньшего поперечного сечения, чем та, от которой она является производной и которая была испытана, отвечает условиям 10.10.2.2.2, тогда параметр промежуточного варианта может быть установлен методом интерполяции.

10.10.3.4 Функциональные блоки

После того, как были подвергнуты испытанию на проверку пределов превышения температуры критические варианты групп сопоставимых функциональных блоков (см. перечисление a) 10.10.2.2.3), фактические номинальные токи всех остальных функциональных блоков в группе рассчитывают по результатам этих испытаний.

Для каждого испытанного функционального блока может быть рассчитан понижающий коэффициент (номинальный ток, полученный при испытании, деленный на максимально допустимый ток для данного функционального блока (см. перечисление b) 10.10.2.2.3).

Номинальный ток в диапазоне каждого неиспытанного функционального блока будет максимально допустимым током функционального блока, умноженным на понижающий коэффициент, установленный для испытанных вариантов в данном диапазоне.

10.10.3.5 Замена устройств в функциональных блоках

Устройство может быть заменено аналогичным устройством из другой серии, чем то, которое прошло проверку, при условии, что потери мощности и превышение температуры на зажимах устройства при испытаниях на соответствие требованиям конкретного стандарта были такими же или ниже. Кроме того, физическое расположение внутри функционального блока и номинальный ток функционального блока должны сохраниться.

Примечание - Кроме требований к превышению температуры, учитывают и другие требования, в том числе требования к короткому замыканию (см. таблицу 13).

10.10.4 Проверка расчетом

10.10.4.1 Общие положения

Существует два метода расчета. Оба определяют приблизительное значение превышения температуры внутри оболочки, вызванное потерями мощности всех цепей, и сравнивают эту температуру с предельными для установленного оборудования. Методы отличаются способом определения взаимозависимости между потерей мощности и превышением температуры воздуха внутри оболочки.

Поскольку фактические локальные температуры проводящих частей данными методами не могут быть рассчитаны, необходимо установить некоторые пределы и ограничения по безопасности.

10.10.4.2 Односекционное НКУ с номинальным током не более 630 А

Проверку превышения температуры односекционного НКУ с полным питанием не более 630 А и номинальной частотой до 60 Гц включительно можно провести с помощью расчета при выполнении следующих условий:

a) данные по потерям мощности для всех встроенных комплектующих элементов предоставлены изготовителем комплектующих элементов;

b) имеется приблизительно равномерное распределение потерь мощности внутри оболочки;

c) номинальный ток цепей проверяемого НКУ (см. 10.10.1) не должен превышать 80% номинального условного теплового тока без оболочки () (при наличии) или номинального тока () коммутационных устройств и электрических комплектующих элементов, включенных в цепь. Устройства для защиты цепи должны быть выбраны для обеспечения адекватной защиты выходных цепей, например, устройства для тепловой защиты двигателя при расчетной температуре внутри НКУ;

Примечание 1 - Не существует общей характеристики для коммутационных устройств и электрических комплектующих элементов, которая бы определяла значение тока, применяемого здесь. Для проверки пределов превышения температуры применяют значение тока, который характеризует максимальный длительный рабочий ток, который может быть пропущен без превышения температуры. Например, для контакторов это номинальный рабочий ток категории АС1, а для автоматических выключателей это номинальный ток .

d) расположение механических частей и встроенного оборудования не препятствует циркуляции воздуха;

e) проводники, проводящие ток свыше 200 А, и соседние с ними конструкционные части расположены так, что вихревые токи и потери гистерезиса минимальны;

f) все проводники должны иметь минимальное сечение, соответствующее 125% допустимого номинального тока соответствующей цепи. Выбор кабелей проводят по IEC 60364-5-52.

Примеры применения настоящего стандарта к условиям внутри НКУ приведены в приложении H. Поперечное сечение шин должно быть по условиям испытаний или как указано в приложении N. Если изготовитель устройства указывает проводник с большим поперечным сечением, его следует применять;

g) превышение температуры, зависящее от потери мощности внутри оболочки для других способов установки (например, утопленная установка, наружная установка):

- указывает изготовитель оболочки;

- определяют в соответствии с 10.10.4.2.2;

- определяют по работоспособности и критериям установки, полученным от изготовителя вентиляционного оборудования, если в систему включено активное охлаждение (например, принудительная вентиляция, внутреннее кондиционирование воздуха, теплообмен и т.п.).

Эффективные потери мощности всех цепей, включая взаимные соединения проводников, вычисляют по номинальному току цепей. Общие потери мощности НКУ вычисляют сложением потерь мощности всех цепей, также учитывая, что общий ток нагрузки ограничен номинальным током НКУ. Потери мощности в проводниках определяют расчетом (см. приложение H).

Примечание 2 - В некоторых устройствах потери мощности, в основном, пропорциональны , в других - потери, в основном, постоянны.

Примечание 3 - Пример: Односекционное НКУ с номинальным током 100 А (ограниченным распределительными шинами), оснащено 20 выходными цепями. Предполагаемый ток нагрузки каждой цепи - 8 А. Общие эффективные потери мощности рассчитывают для 12 выходных цепей с нагрузкой каждой по 8 А.

Тогда превышение температуры внутри НКУ определяют по общим потерям мощности с использованием данных, упомянутых в перечислении g).

10.10.4.2.2 Определение способности оболочки к потерям мощности путем испытания

В электронном документе нумерация разделов соответствует официальному источнику.

Потери мощности имитируют с помощью резисторов в качестве нагревательных элементов, которые производят тепло, эквивалентное предусмотренной способности оболочки к потерям мощности. Резисторы, используемые в качестве нагревательных элементов, равномерно распределяют на высоте оболочки и устанавливают в определенных местах внутри нее.

Сечение проводов этих резисторов не должно таким, чтобы уводить значимое количество тепла из оболочки.

Испытание следует проводить в соответствии с 10.10.2.3.1 - 10.10.2.3.4, и превышение температуры воздуха измеряют вверху оболочки. Температура оболочек не должна превышать значений, приведенных в таблице 6.

10.10.4.2.3 Результаты испытаний

НКУ проверяют, чтобы температура воздуха, рассчитанная по потерям мощности, не превышала допустимую рабочую температуру воздуха, установленную изготовителями устройств. Это означает для коммутационных устройств или электрических комплектующих элементов в главных цепях, что длительная нагрузка не превышает допустимой нагрузки при расчетной температуре воздуха и составляет не более 80% значения номинального тока (см. перечисление c) 10.10.4.2.1).

В электронном документе текст соответствует официальному источнику.

10.10.4.3 НКУ с номинальным током не более 1600 А

10.10.4.3.1 Метод проверки

Проверку превышения температуры одно- или многосекционного НКУ с полным током нагрузки не более 1600 А и номинальными частотами до 60 Гц включительно можно выполнить методом расчета согласно IEC 60890 при выполнении следующих условий:

a) данные по потерям мощности для всех встроенных комплектующих элементов предоставлены изготовителем комплектующих элементов;

b) имеется приблизительно равномерное распределение потерь мощности внутри оболочки;

c) номинальный ток цепей проверяемого НКУ (см. 10.10.1) не должен превышать 80% номинального условного теплового тока без оболочки (Ith) (при наличии) или номинального тока (In) коммутационных устройств и электрических комплектующих элементов, включенных в цепь. Устройства для защиты цепи должны быть выбраны для обеспечения адекватной защиты выходных цепей, например, устройства для тепловой защиты двигателя при расчетной температуре внутри НКУ;

Примечание 1 - Не существует общей характеристики для коммутационных устройств и электрических комплектующих элементов, которая бы определяла значение тока, применяемого здесь. Для проверки пределов превышения температуры применяют значение тока, который характеризует максимальный длительный рабочий ток, который может быть пропущен без превышения температуры. Например, для контакторов это номинальный рабочий ток Ie категории АС1, а для автоматических выключателей это номинальный ток In.

d) расположение механических частей и встроенного оборудования не препятствует циркуляции воздуха;

e) проводники, проводящие ток свыше 200 А, и соседние с ними конструкционные части расположены так, что вихревые токи и потери гистерезиса минимальны;

f) все проводники должны иметь минимальное сечение, соответствующее 125% допустимого номинального тока соответствующей цепи. Выбор кабелей проводят по IEC 60364-5-52.

Примеры применения настоящего стандарта к условиям внутри НКУ приведены в приложении H. Поперечное сечение шин должно быть по условиям испытаний или как указано в приложении N. Если изготовитель устройства указывает проводник с большим поперечным сечением, его следует применять;

g) для оболочек с естественной вентиляцией сечение выводных вентиляционных отверстий составляет не менее 1,1 сечения вводных вентиляционных отверстий;

h) в НКУ или секции не должно быть более трех горизонтальных перегородок;

i) для оболочек с отсеками и естественной вентиляцией сечение вентиляционных отверстий в каждой горизонтальной перегородке составляет не менее 50% горизонтального сечения отсека.

Эффективные потери мощности всех цепей, включая взаимные соединения проводников, вычисляют по номинальному току цепей. Общие потери мощности НКУ вычисляют сложением потерь мощности всех цепей, также учитывая, что общий ток нагрузки ограничен номинальным током НКУ. Потери мощности в проводниках определяют расчетом (см. приложение H).

Примечание 2 - В некоторых устройствах потери мощности, в основном, пропорциональны I2, в других - потери, в основном, постоянны.

Примечание 3 - Пример: Односекционное НКУ с номинальным током 100 А (ограниченным распределительными шинами), оснащено 20 выходными цепями. Предполагаемый ток нагрузки каждой цепи - 8 А. Общие эффективные потери мощности рассчитывают для 12 выходных цепей с нагрузкой каждой по 8 А.

Тогда превышение температуры внутри НКУ определяют по общим потерям мощности по методу IEC 60890.

10.10.4.3.2 Результаты испытаний

НКУ проверяют, чтобы расчетная температура на высоте монтажа любого устройства не превышала допустимой температуры окружающего воздуха, установленной изготовителем устройства.

Это означает для коммутационных устройств или электрических комплектующих элементов в главных цепях, что длительная нагрузка не превышает допустимой нагрузки при расчетной локальной температуре воздуха и составляет не более 80% значения номинального тока (см. 10.10.4.3.1, перечисление c)).

10.11 Устойчивость к токам короткого замыкания

10.11.1 Общие положения

Установленные параметры токов короткого замыкания следует проверить, (исключения см. 10.11.2).

Проверку можно выполнить сравнением с контрольной конструкцией (10.11.3 и 10.11.4) или испытанием (10.11.5). Для проверки выполняют следующее:

a) Если проверяемая система НКУ имеет несколько вариантов, выбирают наиболее неблагоприятные расположения НКУ, принимая во внимание положения 10.11.3;

b) Выбранные для испытания варианты НКУ проверяют по 10.11.5;

c) Если испытуемые НКУ представляют наиболее неблагоприятные варианты из линейки диапазона продукции системы НКУ, тогда результаты испытания можно использовать для установления параметров аналогичных вариантов без дальнейших испытаний. Порядок получения производных параметров приведен в 10.11.3 и 10.11.4.

10.11.2 Цепи НКУ, которые не участвуют в проверке на устойчивость к токам короткого замыкания

Проверка устойчивости к токам короткого замыкания не требуется для:

a) НКУ, имеющих номинальный кратковременно допустимый ток (см. 5.3.4) или номинальный условный ток короткого замыкания (см. 5.3.5), не превышающий 10 кА (действ.).

b) НКУ или цепей НКУ, защищенных токоограничивающими устройствами, имеющими ток ограничения, не превышающий 17 кА при максимальном допустимом ожидаемом токе короткого замыкания на зажимах входной цепи НКУ.

c) Вспомогательных цепей НКУ, предназначенных для подсоединения к трансформаторам, номинальная мощность которых не превышает 10 кВА для номинального напряжения вторичной обмотки не менее 110 В или 1,6 кВА для номинального напряжения вторичной обмотки менее 110 В и импеданс короткого замыкания составляет не менее 4%.

Все остальные цепи подлежат проверке.

10.11.3 Проверка сравнением с контрольной конструкцией - применение контрольного перечня

Проверка сравнением с контрольной конструкцией предполагает сравнение проверяемого НКУ с уже испытанной конструкцией по перечню, приведенному в таблице 13.

Если какие-либо элементы, идентифицируемые по перечню, не соответствуют требованиям перечня и помечены "нет", тогда применяют следующий способ проверки (см. 10.11.4 и 10.11.5).

10.11.4 Проверка сравнением с контрольной конструкцией - применение расчета

Оценку номинального кратковременно допустимого тока НКУ и его цепей с помощью расчета выполняют сравнением оцениваемого НКУ с НКУ, уже проверенного испытанием.

Оценку проверкой главных цепей НКУ проводят по приложению P. Кроме того, каждая цепь НКУ подлежит оценке на соответствие требованиям пунктов 6, 8, 9 и 10 таблицы 13.

Использованные данные, выполненные расчеты и сделанное сравнение записывают.

Если результат оценки по приложению P отрицательный или один или несколько из вышеперечисленных пунктов не выполняются, тогда НКУ и его цепи проверяют испытанием по 10.11.5.

10.11.5 Проверка испытанием

10.11.5.1 Подготовка к испытанию

НКУ или его части, необходимые для проведения испытания, монтируют как при нормальной эксплуатации. Достаточно испытать только один функциональный блок, если остальные функциональные блоки аналогичной конструкции. Также достаточно испытать одну конфигурацию шин, если остальные конфигурации аналогичной конструкции. В таблице 13 приведены пояснения по пунктам, не требующим дополнительных испытаний.

10.11.5.2 Общие требования к проведению испытания

Если испытательная цепь содержит плавкие предохранители, плавкие вставки то следует использовать плавкие вставки, рассчитанные на максимальный ток обрыва и, при необходимости, того типа, который указан разработчиком.

Питающие проводники и замыкающие перемычки, используемые при испытании НКУ, должны обладать достаточной прочностью, чтобы выдерживать короткие замыкания, и быть расположены так, чтобы не создавать дополнительных нагрузок на НКУ.

Если не предусмотрены другие требования, испытательную цепь присоединяют к входным зажимам НКУ. Трехфазные НКУ присоединяют к трехфазным цепям.

Все части оборудования НКУ, включая оболочку, присоединяемые при эксплуатации к защитному проводнику, присоединяют следующим образом:

a) НКУ, предназначенные для использования в трехфазных четырехпроводных системах (см. также IEC 60038 [16]) с заземленной нулевой точкой при соединении "звездой" и имеющие соответствующую маркировку, - к нейтрали источника питания или к индуктивной искусственной нейтрали, допускающей протекание ожидаемого тока повреждения не менее 1500 А;

b) НКУ, предназначенные для использования как в трехфазных трехпроводных системах, так и в трехфазных четырехпроводных системах, и имеющие соответствующую маркировку, - к фазе, которая с наименьшей вероятностью может быть закорочена на землю.

Для всех НКУ, кроме указанных в 8.4.4, в испытательную цепь согласно перечислениям a) и b) должен быть включен плавкий элемент из медной проволоки диаметром 0,8 мм и длиной не менее 50 мм или эквивалентный плавкий элемент для обнаружения тока повреждения. Ожидаемый ток повреждения в цепи плавкого элемента должен быть равен 1500 А 10%, за исключением случаев, указанных ниже в примечаниях 2 и 3. При необходимости используют активное сопротивление для ограничения тока до этого значения.

Примечание 1 - Медная проволока диаметром 0,8 мм должна расплавиться при токе 1500 А приблизительно в течение первой половины периода при частоте от 45 до 67 Гц (или в течение 0,01 с при постоянном токе).

Примечание 2 - Ожидаемый ток повреждения может быть менее 1500 А при испытании небольшого оборудования в соответствии с требованиями нормативного документа на соответствующее изделие. В этом случае используют медную проволоку меньшего диаметра (см. пункт 4 примечания) со временем плавления, указанным в пункте 1 примечания.

Примечание 3 - Если источник питания имеет искусственную нейтраль, то по согласованию с изготовителем может быть установлено меньшее значение ожидаемого тока повреждения. В этом случае используют медную проволоку меньшего диаметра (см. пункт 4 примечания) со временем плавления, указанным в пункте 1 примечания.

Примечание 4 - Соотношения между ожидаемыми токами плавления в цепи плавкого элемента и диаметрами должны соответствовать указанным в таблице 14.

10.11.5.3 Испытание главной цепи

10.11.5.3.1 Общие положения

Цепи испытывают при наибольших термических и электродинамических нагрузках, которые могут возникнуть при воздействии токов короткого замыкания до номинальных значений при одном или нескольких из следующих условий, установленных разработчиком.

a) НКУ, не содержащих УЗКЗ в блоке ввода, испытывают номинальным ударным током короткого замыкания и номинальным кратковременно допустимым током в течение установленного периода времени (см. 5.3 и 9.3.2, перечисление a)).

b) НКУ с устройством для защиты от короткого замыкания, подключенным к вводной цепи НКУ испытывают ожидаемым током короткого замыкания со стороны питания УЗКЗ в течение периода времени, ограниченного срабатыванием УЗКЗ.

c) НКУ с вышестоящим УЗКЗ испытывают сквозным током, допускаемым вышестоящим УЗКЗ, как установлено разработчиком.

Если входные и выходные цепи содержат УЗКЗ, понижающее пик и/или длительность тока повреждения, тогда при испытании цепи позволяют УЗКЗ сработать и отключить ток повреждения (см. 5.3.5 номинальный условный ток короткого замыкания ). Если УЗКЗ содержит регулируемый расцепитель короткого замыкания, тогда его уставку регулируют на максимальное допустимое значение (см. 9.3.2, второй абзац).

Цепь каждого типа подвергают испытанию на устойчивость к короткому замыканию в соответствии с 10.11.5.3.2 - 10.11.5.3.5.

10.11.5.3.2 Выходные цепи

Выводные зажимы выходных цепей оснащают болтовым замыкающим соединением. Если в качестве защитного устройства в выходной цепи использован автоматический выключатель, то в испытуемую цепь параллельно с индуктивным реактором, служащим для установления тока короткого замыкания, может быть включено шунтирующее сопротивление согласно перечислению b) 8.3.4.1.2 IEC 60947-1.

Автоматический выключатель, рассчитанный на номинальный ток до 630 А включительно, включают в испытательную цепь с помощью кабеля длиной 0,75 м сечением, соответствующим номинальному току (см. таблицы 11 и 12). На усмотрение разработчика длина кабеля может быть менее 0,75 м.

Коммутационное устройство должно быть замкнуто и находиться в замкнутом положении, соответствующем условиям нормальной эксплуатации. Испытательное напряжение подают один раз в течение:

a) времени, достаточного для срабатывания УЗКЗ в блоке вывода и его отключения; в любом случае продолжительность приложения испытательного напряжения должна быть не менее 10 периодов переменного тока промышленной частоты; или

b) в тех случаях, когда выходная цепь не содержит УЗКЗ, по параметрам, установленным для шин разработчиком. При испытании выходной цепи может также произойти срабатывание УЗКЗ в блоке ввода.

10.11.5.3.3 Входная цепь и сборные шины

НКУ, содержащее сборные шины подвергают испытанию на проверку устойчивости к короткому замыканию сборных шин, включая все соединения, и входной цепи. Точка, в которой создают короткое замыкание, должна находиться на расстоянии (2 0,40) м от ближайшей точки подвода питания. При проверке номинального кратковременно допустимого тока (см. 5.3.4) и номинального ударного тока (см. 5.3.3) это расстояние может быть увеличено при проведении испытания при более низком напряжении при условии, что испытательный ток равен номинальному значению тока короткого замыкания (см. 10.11.5.4, перечисление b)). Если длина испытуемых шин менее 1,6 м, а конструкция НКУ не предназначена для их удлинения, тогда испытанию подвергают всю длину шины и короткое замыкание создают на концах этих шин. Если сборные шины состоят из различных секций (различными сечениями, расстоянием между проводниками, типом и числом опор на метр), то каждую секцию испытывают отдельно. Одновременное испытание проводят в том числе, если выполняются указанные выше условия.

10.11.5.3.4 Соединения со стороны подвода питания блоков вывода

Если НКУ содержит проводники для соединения, включая распределительные шины, если имеются, сборной шины с функциональными блоками вывода со стороны питания, не соответствующие требованиям 8.6.4, дополнительному испытанию подлежит одна цепь каждого типа.

Короткое замыкание создают с помощью болтового соединения проводников, соединяющих сборные шины с одним из блоков вывода как можно ближе к зажимам блока. Значение и длительность тока короткого замыкания должно быть таким же, как для сборных шин.

10.11.5.3.5 Нейтральная шина

При наличии нейтральной шины в цепи ее подвергают однократному испытанию на устойчивость к токам короткого замыкания по отношению к ближайшей фазной шине, содержащей, по крайней мере, одно соединение. При соединении нейтральной шины с фазной следует выполнять требования, указанные в 10.11.5.3.3.

Если иное не установлено соглашением между изготовителем и потребителем, то испытательный ток в нейтральной шине должен быть равен 60% фазного испытательного тока при трехфазном испытании.

Испытания не требуются при испытательном токе, равном 60% фазного тока, если нейтральная шина:

a) имеет такую же форму и сечение, что и фазная;

b) проложена так же, как фазная с расстояниями между точками опоры вдоль всей длины не более чем в фазной;

c) удалена на расстояние от ближайшей фазной не менее расстояния между фазами;

d) удалена на расстояние от заземленной металлоконструкции не менее расстояния между фазами.

10.11.5.4 Значение и длительность тока короткого замыкания

Электродинамическую и термическую стойкость к воздействию любого из номинальных выдерживаемых токов короткого замыкания следует проверять ожидаемым током короткого замыкания со стороны питания применяемого защитного устройства, если оно имеется, равным по значению указанным номинальному кратковременно допустимому току, номинальному ударному току короткого замыкания или номинальному условному току короткого замыкания. Для проверки всех номинальных выдерживаемых токов короткого замыкания (см. 5.3.3 - 5.3.5) значение ожидаемого тока короткого замыкания при испытательном напряжении, равном 1,05 номинального рабочего напряжения, определяют по осциллограмме калибровки, полученной при подводящих проводниках НКУ, замкнутых накоротко соединением с незначительным полным сопротивлением, размещенным в точке присоединения источника питания НКУ. На осциллограмме должно быть видно постоянное протекание тока, так что его измеряют во время срабатывания защитного устройства, встроенного в цепь НКУ, или в течение указанного промежутка времени (см. 9.3.2, перечисление a)).

Значение испытательного тока при калибровке контура устанавливают равным средней величине действующих значений переменного тока всех фаз. Если испытание проводят при максимальном рабочем напряжении, значения токов в каждой фазе должно быть равно номинальному току короткого замыкания более чем на плюс 5% и 0%, а коэффициент мощности в каждой фазе - от плюс 0,00 до минус 0,05.

Все испытания проводят при номинальной частоте оборудования 25% и коэффициенте мощности, соответствующем току короткого замыкания согласно таблице 7.

a) При испытании НКУ номинальным условным током короткого замыкания с устройством для защиты от короткого замыкания, подключенным к вводной цепи (или другой цепи), испытательное напряжение подают в течение времени, достаточного для того, чтобы защитное устройство успело отключить ток короткого замыкания, по крайней мере, в течение не менее 10 периодов переменного тока промышленной частоты. Испытание должно проводиться при 1,05 номинального рабочего напряжения с ожидаемыми токами короткого замыкания на стороне подвода питания заданного защитного устройства, равными номинальному условному току короткого замыкания. Проведение этого испытания при пониженном напряжении не допускается.

Примечание - В Южной Африке согласно Национальному электрическому коду SANS 10142-1 [16], пункт 6.8, напряжение питания должно быть равно 1,1 паспортного напряжения при номинальном рабочем напряжении до 500 В включительно.

b) Для испытания номинальным кратковременно допустимым током и номинальным ударным током короткого замыкания электродинамическую и термическую стойкость проверяют ожидаемым током короткого замыкания, равным по значению указанным номинальному кратковременно допустимому току и номинальному ударному току короткого замыкания. Ток подают в течение указанного времени, во время которого действующее значение переменной составляющей остается постоянным.

При затруднениях или невозможности проведения испытаний кратковременно допустимыми и ударными токами при максимальном рабочем напряжении испытания согласно 10.11.5.3.3 - 10.11.5.3.5 допускается проводить при любом возможном более низком напряжении по согласованию с разработчиком, при этом фактический испытательный ток в этом случае должен быть равен номинальному кратковременно допустимому или ударному току. Это должно быть зафиксировано в протоколе испытаний. Однако, если во время испытания произойдет хотя бы кратковременное размыкание контактов защитного устройства (если оно имеется), должно быть проведено повторное испытание при максимальном рабочем напряжении.

Продолжительность испытания при необходимости может быть другой в соответствии с возможностями испытательного оборудования. При этом испытательный ток без согласия изготовителя вычисляют по формуле =const при условии, что ударное значение тока не превышает номинальный ударный ток и что действующее значение кратковременно допустимого тока будет не ниже номинального значения, по крайней мере, в одной фазе в течение не менее 0,01 с после включения тока.

Испытания ударным и кратковременно допустимым токами могут проводиться раздельно. В этом случае время, в течение которого проводят испытания ударным током короткого замыкания, должно быть таким, чтобы значение не превышало определенного при испытаниях кратковременно допустимым током, но было не менее трех периодов.

Если требуемый испытательный ток в каждой фазе не достигается, то по согласованию с изготовителем допускается изменить верхнюю поправку на испытательный ток в сторону увеличения.

10.11.5.5 Результаты испытаний

После испытания деформация шин и проводников допустима при условии сохранения значений воздушных зазоров и расстояний утечки, указанных в 8.3. В случае сомнения воздушные зазоры и расстояния утечки должны быть измерены (см. 10.4).

Характеристики изоляции должны остаться такими, чтобы механические и электроизоляционные свойства оборудования отвечали требованиям соответствующего стандарта на НКУ. Изоляторы шин и несущие изолирующие части проводников не должны разделиться на части. Не должно появиться трещин на обратной стороне несущих частей, так же как трещин, включая поверхностные трещины, по всей длине или ширине несущих частей. При появлении сомнений в сохранении электроизоляционных свойств НКУ проводят дополнительное испытание согласно 10.9.2 током промышленной частоты при двукратном , но не менее 1000 В.

Не должно наблюдаться ослабления деталей, используемых для соединения проводников, а проводники не должны быть отсоединены от выводных зажимов.

Любую деформацию шин или металлоконструкций НКУ, нарушающую нормальное применение, следует рассматривать как повреждение.

Любую деформацию шин или металлоконструкций НКУ, нарушающую нормальную установку выдвижных отделяемых и выдвижных неотделяемых частей, следует рассматривать как повреждение.

Деформация оболочки или внутренних перегородок, ограждений и препятствий допустима в той степени, при которой не происходит ухудшения степени защиты и размеры зазоров не уменьшаются ниже значений, указанных в 8.3. Дополнительно после испытаний по 10.11.5.3 и испытаний со встроенным устройством для защиты от коротких замыканий испытанное оборудование должно быть способно выдержать испытания по 10.9.2 на стойкость к токам короткого замыкания при значении напряжения для состояния "после испытания", предписанного соответствующим стандартом на защитные устройства при подаче:

a) между всеми токоведущими частями и открытыми проводящими частями НКУ; и

b) между каждым полюсом и всеми остальными полюсами, соединенными с открытыми проводящими частями НКУ.

Испытания, указанные в перечислениях a) и b), проводят после замены плавких вставок и с замкнутыми коммутационными устройствами.

Разрушение плавкого элемента (см. 10.11.5.2), если оно имеется, не указывает на ток повреждения.

При появлении сомнений следует убедиться, что аппаратура, входящая в НКУ, соответствует требованиям технических условий на эту аппаратуру.

10.11.5.6 Проверка эффективности цепи защиты

10.11.5.6.1 Общие положения

Данное испытание не распространяется на цепи, соответствующие 10.11.2.

Однофазный испытательный источник питания соединяют с входным зажимом одной фазы и входным зажимом защитного проводника. Если НКУ оснащено отдельным защитным проводником, то используют ближайший фазный провод. Испытанию подвергают каждый тип блоков вывода с помощью болтового соединения между соответствующим выходным фазовым зажимом блока и зажимом соответствующего отходящего защитного проводника.

Каждый испытуемый блок вывода должен быть снабжен защитным устройством. Если в блок вывода могут быть встроены альтернативные защитные устройства, используют устройство, которое пропускает максимальное значение ударного тока и .

Для этого испытания металлоконструкция НКУ должна быть изолирована от земли. Испытательное напряжение должно быть равно 1,05 номинального рабочего однофазного напряжения. В отсутствие соглашения между разработчиком и потребителем значение испытательного тока в защитном проводнике должно быть не менее 60% фазного тока при проведении испытания НКУ трехфазным выдерживаемым током короткого замыкания.

Примечание - В Южной Африке согласно Национальному электрическому коду SANS 10142-1 [16], пункт 6.8, напряжение питания должно быть равно 1,1 паспортного напряжения при номинальном рабочем напряжении до 500 В включительно.

Все другие условия данного испытания должны быть аналогичны требованиям 10.11.5.2 - 10.11.5.4.

10.11.5.6.2 Результаты испытания

В процессе испытания не должна нарушаться непрерывность электрической цепи и должна быть подтверждена прочность цепи защиты при коротких замыканиях независимо от того, является эта цепь защитным проводником или частью металлоконструкции.

Это требование подтверждают визуальным осмотром, а также путем измерений под током, приблизительно равным номинальному току соответствующего блока вывода. Деформация оболочки или внутренних перегородок, ограждений и препятствий допустима в той степени, при которой не происходит ухудшения степени защиты и размеры зазоров не уменьшаются ниже значений, указанных в 8.3.

Примечание 1 - Если в качестве защитного проводника используют металлоконструкцию, то допускается искрение и местный нагрев в местах соединений при условии, что они не ухудшают непрерывность электрической цепи и не происходит загорание соседних элементов.

Примечание 2 - Проверку выполнения этого условия проводят путем сравнения значений сопротивления, измеренного до и после испытаний между зажимом для входящего защитного проводника и зажимом для соответствующего отходящего защитного проводника.

10.12 Электромагнитная совместимость (ЭМС)

Испытания на ЭМС см. J.10.12.

10.13 Работоспособность механических частей

Данную проверку не проводят для комплектующих устройств НКУ, (например, выдвижной автоматический выключатель), которые уже были подвергнуты типовым испытаниям согласно соответствующим стандартам на устройства, если их механические характеристики не ухудшились при их монтаже.

Части НКУ, подвергаемые типовым испытаниям после установки в НКУ, должны быть проверены на соответствие требованиям к механическому срабатыванию. Число рабочих циклов срабатывания - 200.

Одновременно с этим следует проверять действие механической блокировки, связанной с этими перемещениями. Считают, что НКУ выдержало испытание, если рабочие характеристики аппаратуры, блокировочных и других подобных устройств и степень защиты не ухудшились, а также, если усилие, необходимое для выполнения этих действий, осталось практически таким же, как до испытания.

11. Приемо-сдаточные испытания

11.1 Общие положения

Контрольную проверку проводят для обнаружения дефектов в материалах и при изготовлении и для установления правильности функционирования изготовленного НКУ. Ее проводят для каждого НКУ. Изготовитель решает, проводить ли проверку в процессе и/или после изготовления. Если необходимо, контрольная проверка должна подтвердить удовлетворительность проверки конструкции.

Контрольную проверку не требуется проводить для устройств и самостоятельных комплектующих элементов, встроенных в НКУ, если они выбраны в соответствии с 8.5.3 и установлены согласно инструкциям изготовителя устройства.

Проверка включает следующие категории:

a) Конструкция (см. 11.2 - 11.8):

1) степень защиты, обеспечиваемая оболочкой;

2) воздушные зазоры и расстояния утечки;

3) защита от поражения электрическим током и непрерывность защитных цепей;

4) установка встроенных комплектующих элементов;

5) внутренние электрические цепи и соединения;

6) зажимы для внешних проводников;

7) работоспособность механических частей;

b) Работоспособность (см. 11.9 и 11.10):

1) электроизоляционные свойства;

2) электрические схемы, работоспособность в процессе эксплуатации и функционирование.

11.2 Степени защиты, обеспечиваемые оболочками

Для подтверждения того, что предписанные меры достигли установленной степени защиты, необходим визуальный осмотр.

11.3 Воздушные зазоры и расстояния утечки

Если воздушные зазоры:

- менее значений, приведенных в таблице 1, проводят испытание на выдерживаемое импульсное напряжение в соответствии с 10.9.3;

- при визуальном осмотре не выявлено превышение значений, приведенных в таблице 1 (см. 10.9.3.5), проверку проводят физическим измерением или испытанием импульсное выдерживаемым напряжением в соответствии с 10.9.3.

Предписанные меры в отношении расстояний утечки (см. 8.3.3) подвергают визуальному осмотру. Если при визуальном осмотре не выявлено несоответствий, проверку проводят физическим измерением.

11.4 Защита от поражения электрическим током и непрерывность цепей защиты

Предписанные меры защиты в отношении основной защиты и защиты от повреждения (см. 8.4.2 и 8.4.3) подвергают визуальному осмотру.

Цепи защиты проверяют визуальным осмотром для проверки соответствия мер, предписанных в 8.4.3.

Резьбовые и болтовые соединения должны быть проверены на наличие соответствующего механического контакта. Допускается выборочная проверка.

11.5 Установка встроенных комплектующих элементов

Установку и идентификацию встроенных комплектующих элементов выполняют в соответствии с инструкциями изготовителя НКУ.

11.6 Внутренние электрические цепи и соединения

Внутренние электрические цепи и соединения, особенно винтовые и болтовые, должны проверяться на наличие соответствующего механического контакта на основе выборочной проверки.

Проводники проверяют в соответствии с инструкциями изготовителя НКУ.

11.7 Зажимы для внешних проводников

Число, тип и обозначение зажимов проверяют в соответствии с инструкциями изготовителя НКУ.

11.8 Работоспособность механических частей

Должна быть проверена эффективность механического срабатывания органов управления, блокировки, замков и т.д., в том числе тех, которые связаны с выдвижными отделяемыми частями.

11.9 Электроизоляционные свойства

Проверяют испытанием на выдерживаемое напряжение промышленной частоты на всех цепях в соответствии с 10.9.1 и 10.9.2, но в течение 1 с.

Испытание не проводят на вспомогательных цепях:

- которые защищены устройством для защиты от короткого замыкания с номинальным током не свыше 16 А;

- если испытание на проверку их функционирования было проведено предварительно при номинальном рабочем напряжении, для которого предназначены вспомогательные цепи.

В качестве альтернативной для НКУ с защитой входной цепи с номинальным током до 250 А проверку сопротивления изоляции можно провести измерением с помощью измерительного устройства на напряжение не менее 500 В постоянного тока.

В этом случае НКУ считают выдержавшим испытание, если сопротивление изоляции между цепями и открытыми проводящими частями будет не менее 1000 Ом/В на цепь, отнесенное к номинальному напряжению этих цепей относительно земли.

11.10 Электрические схемы, работоспособность в процессе эксплуатации и функционирование

Требуется проверка обеспечения информации и маркировок по разделу 6.

В зависимости от сложности НКУ может потребоваться проверка проводников и испытание НКУ на работоспособность. Методы и виды испытаний должны соответствовать сложности конструктивного исполнения: содержит ли НКУ сложные блокирующие устройства, устройства управления последовательностью операций и т.д.

Примечание - В некоторых случаях может потребоваться выполнение или повторение этих испытаний на месте установки перед пуском НКУ в эксплуатацию.

Таблица 1

Минимальные значения изоляционных промежутков в воздухе <a> (8.3.2)

Номинальное импульсное выдерживаемое напряжение , кВ Минимальный воздушный зазор, мм
2,5 1,5
4,0 3,0
6,0 5,5
8,0 8,0
12,0 14,0
<a> Соответствуют условиям неоднородного поля и степени загрязнения 3.

Таблица 2

Минимальные расстояния утечки (8.3.3)

Номинальное напряжение изоляции , В <b> Минимальное расстояние утечки, мм
Степень загрязнения
1 2 3
Группа материалов <c> Группа материалов <c> Группа материалов <c>
Все группы материалов I II IIIa и IIIb I II IIIa IIIb
32 1,5 1,5 1,5 1,5 1,5 1,5 1,5 1,5
40 1,5 1,5 1,5 1,5 1,5 1,6 1,8 1,8
50 1,5 1,5 1,5 1,5 1,5 1,7 1,9 1,9
63 1,5 1,5 1,5 1,5 1,6 1,8 2,0 2,0
80 1,5 1,5 1,5 1,5 1,7 1,9 2,1 2,1
100 1,5 1,5 1,5 1,5 1,8 2,0 2,2 2,2
125 1,5 1,5 1,5 1,5 1,9 2,1 2,4 2,4
160 1,5 1,5 1,5 1,6 2,0 2,2 2,5 2,5
200 1,5 1,5 1,5 2,0 2,5 2,8 3,2 3,2
250 1,5 1,5 1,8 2,5 3,2 3,6 4,0 4,0
320 1,5 1,6 2,2 3,2 4,0 4,5 5,0 5,0
400 1,5 2,0 2,8 4,0 5,0 5,6 6,3 6,3
500 1,5 2,5 3,6 5,0 6,3 7,1 8,0 8,0
630 1,8 3,2 4,5 6,3 8,0 9,0 10,0 10,0
800 2,4 4,0 5,6 8,0 10,0 11,0 12,5 <a>
1000 3,2 5,0 7,1 10,0 12,5 14,0 16,0
1250 4,2 6,3 9,0 12,5 16,0 18,0 20,0
1600 5,6 8,0 11,0 16,0 20,0 22,0 25,0
Примечание 1 - Значения СИТ получены в соответствии с IEC 60112:2003 [18], метод A для применяемых изоляционных материалов.
Примечание 2 - Значения взяты из IEC 60664-1 с сохранением минимального значения 1,5 мм.
<a> Изоляцию группы материалов IIIa не рекомендуется применять при степени загрязнения 3 свыше 630 В.
<b> В виде исключения для номинальных напряжений изоляции 127, 208, 415, 440, 660/690 и 830 В можно использовать расстояния утечки, соответствующие более низким значениям напряжений 125, 200, 400, 630 и 800 В.
<c> Классификация групп материалов в соответствии с диапазоном значений сравнительного индекса трекингостойкости (СИТ) (см. 3.6.16):
Группа материалов I - 600 СИТ
Группа материалов II - 400 СИТ < 600
Группа материалов IIIa - 175 СИТ < 400
Группа материалов IIIb - 100 СИТ < 175

Таблица 3

Поперечные сечения медных защитных проводников (8.4.3.2.2)

Номинальный рабочий ток , А Минимальное сечение защитного проводника, мм2
20 S <a>
20<25 2,5
25<32 4,0
32<63 6,0
63< 10,0
<a> S - поперечное сечение фазного проводника, мм2.

Таблица 4

Выбор проводников и требования к их прокладке (8.6.4)

Тип проводника Требование
Неизолированные проводники или одножильные проводники с основной изоляцией по IEC 60227-3 Необходимо избегать взаимных контактов или контактов с проводящими частями, например путем применения прокладок
Одножильные проводники с основной изоляцией и максимальной допустимой рабочей температурой проводника свыше 90 °C, например кабели по IEC 60245-3 или кабели с теплостойкой ПВХ изоляцией по IEC 60227-3 При отсутствии внешнего давления допускаются взаимные контакты или контакты с проводящими частями. Следует избегать контактов с острыми краями.
При нагрузке рабочая температура проводников не должна превышать 80% максимально допустимой рабочей температуры
Проводники с основной изоляцией, например кабели по IEC 60227-3, имеющие дополнительную изоляцию, например индивидуальное покрытие обсадочным рукавом или индивидуальный желоб в пластмассовом коробе Дополнительные требования не устанавливают
Кабели, изолированные материалом, имеющим высокую механическую прочность, например, изоляция ETFE (этилентетрафлюороэтилен) или кабели с двойной изоляцией с защитной наружной оболочкой на напряжение до 3 кВ, например кабели по IEC 60502 [19]
Одно- или многожильные кабели в оболочке, например кабели по IEC 60245-4 или IEC 60227-4 [20]

Таблица 5

Минимальная способность зажима присоединять медные защитные проводники (PE, PEN) (8.8)

Сечение фазного проводника S, мм2 Минимальное сечение соответствующего защитного проводника (PE, PEN) <a>, мм2
S16 S
16<S35 16
35<S400 S/2
400<S800 200
800<S S/4
<a> Значительные гармоники в нагрузке могут влиять на ток нейтрали (см. 8.6.1).

Таблица 6

Предельные значения превышения температуры (9.2)

Составные элементы, комплектующие части НКУ Предельные значения превышения температуры
Встроенные комплектующие элементы <1> В соответствии с требованиями к отдельным комплектующим элементам, установленным в стандарте или в инструкции <6> изготовителя комплектующих элементов с учетом температуры внутри НКУ
Зажимы для внешних изолированных проводников 70 °C <2>
Шины и проводники Ограничено <6>:
- механической прочностью проводящего материала <7>;
- возможным воздействием на находящуюся рядом аппаратуру;
- предельной допустимой температурой для изоляционных материалов, находящихся в контакте с проводником;
- воздействием температуры проводника на части, к которым он присоединен;
- свойствами и обработкой поверхности контактного материала (для втычных контактов)
Органы ручного управления:  
- из металла 15 °C <3>
- из изоляционного материала 25 °C <3>
Доступные внешние оболочки и элементы оболочек:  
- металлические поверхности 30 °C <4>
- изолирующие поверхности 40 °C <4>
Отдельно расположенные устройства разъемного типа (вилка-розетка) Должно соответствовать предельной температуре элементов оборудования, частью которого они являются <5>
Примечание 1 - Это температура, выше которой происходит снижение прочности меди. Для других материалов могут устанавливать другие предельные значения превышения температуры.
Примечание 2 - Пределы превышения температуры, приведенные в настоящей таблице, относятся к условиям эксплуатации при средней температуре окружающего воздуха до 35 °C (см. 7.1). Допускается при проверке использовать другую температуру окружающего воздуха (см. 10.10.2.3.4).

<1> Термин "встроенные комплектующие элементы" означает:
- обычную аппаратуру распределения и управления;
- электронные блоки (например, выпрямительный мост, печатная схема);
- части оборудования (например, регулятор, стабилизированный источник питания, операционный усилитель).
<2> Температура 70 °C является предельной условно согласно испытанию по 10.10 НКУ, эксплуатируемое или испытанное в условиях эксплуатации, может иметь соединения, тип, характер и расположение которых не будут соответствовать условиям проведения испытаний, а полученное значение превышение температуры зажимов может быть иным. Если зажимы встроенного комплектующего элемента также являются зажимами для внешних проводников, тогда выбирают нижний предел температуры. Предельное превышение температуры - это меньшее значение максимального превышения температуры, указанного изготовителем комплектующего элемента, и 70 К. В отсутствие указаний изготовителя это предел, установленный для встроенного комплектующего элемента стандартов на продукцию, но не свыше 70 К.
<3> Для органов ручного управления, расположенных внутри НКУ, доступ к которым возможен только после открывания НКУ, например рукоятки для выдвижения блоков, которыми редко пользуются, допускается устанавливать более высокое значение превышение температуры на 25 °C выше установленной.
<4> Если нет других указаний относительно оболочки и ее элементов, к которым обеспечен открытый доступ, но к которым нет необходимости прикасаться во время нормальной эксплуатации НКУ, то допускается устанавливать предельные значения превышения температуры на 10 °C выше установленного значения. Наружные поверхности и части на высоте 2 м от основания НКУ считают недоступными.
<5> Данное положение позволяет проявлять определенную гибкость в отношении выбора оборудования (например, электронных устройств), у которого предельные значения превышения температуры отличаются от предельных значений, как правило, устанавливаемых для аппаратуры распределения и управления.
<6> Предельные значения превышения температуры для проверки по 10.10 устанавливает изготовитель НКУ, но необходимо учитывать дополнительные точки измерений и предельные значения, установленные изготовителем комплектующих элементов.
<7> Если предположить, что для перечисленных ниже критериев это допустимо, максимальное превышение температуры для неизолированных медных шин и проводников не должно быть свыше 105 °C.

Таблица 7

Значения коэффициента n <a> (9.3.3)

Действующее значение тока короткого замыкания, кА n
До 5 включ. 0,70 1,5
Свыше 5 до 10 включительно 0,50 1,7
" 10 " 20 " 0,30 2,0
" 20 " 50 " 0,25 2,1
" 50 0,20 2,2
<a> Приведенные в таблице значения коэффициента n, соответствуют большинству случаев применения НКУ. В специальных местах, например, вблизи трансформаторов или генераторов, коэффициент мощности может иметь более низкие значения; таким образом, предельным значением может стать максимальное пиковое значение ожидаемого тока, а не действующее значение тока короткого замыкания.

Таблица 8

Выдерживаемое напряжение промышленной частоты для главной цепи (10.9.2)

Номинальное напряжение изоляции (межфазное, переменный или постоянный ток), В Напряжение для испытания электроизоляционных свойств (переменный ток, действующее значение), В Напряжение <b> для испытания электроизоляционных свойств (постоянный ток)
До 60 включ. 1000 1415
Свыше 60 до 300 " 1500 2120
" 300 " 690 " 1890 2670
" 690 " 800 " 2000 2830
" 800 " 1000 " 2200 3110
" 1000 " 1500 <a> " - 3820
<a> Только постоянного тока.
<b> Испытательные напряжения по IEC 60664-1, пункт 6.1.3.4.1, пятый абзац.

Таблица 9

Выдерживаемое напряжение промышленной частоты для вспомогательных цепей и цепей управления (10.9.2)

В вольтах

Номинальное напряжение изоляции , (межфазное) Напряжение для испытания электроизоляционных свойств (переменный ток, действующее значение)
До 12 включ. 250
Свыше 12 " 60 " 500
" 60 См. таблицу 8

Таблица 10

Импульсные выдерживаемые напряжения (10.9.3)

Импульсное выдерживаемое напряжение , кВ Испытательные напряжения, соответствующие высоте над уровнем моря (в метрах)
(переменный ток - пиковое значение и постоянный ток), кВ Переменный ток, действующее значение, кВ
0 200 500 1000 2000 0 200 500 1000 2000
2,5 2,95 2,8 2,8 2,7 2,5 2,1 2,0 2,0 1,9 1,8
4,0 4,80 4,8 4,7 4,4 4,0 3,4 3,4 3,3 3,1 2,8
6,0 7,30 7,2 7,0 6,7 6,0 5,1 5,1 5,0 4,7 4,2
8,0 9,80 9,6 9,3 9,0 8,0 6,9 6,8 6,6 6,4 5,7
12,0 14,80 14,5 14,0 13,3 12,0 10,5 10,3 9,9 9,4 8,5

Таблица 11

Сечения испытательных медных проводников в соответствии с номинальными токами до 400 А включительно

Диапазон номинальных токов <a>, А Сечение проводников <a>, <b>
мм2 AWG/MCM
Свыше 0 до 8 вкл. 1,0 18
" 8 " 12 " 1,5 16
" 12 " 15 " 2,5 14
" 15 " 20 " 2,5 12
" 20 " 25 " 4,0 10
" 25 " 32 " 6,0 10
" 32 " 50 " 10,0 8
" 50 " 65 " 16,0 6
" 65 " 85 " 25,0 4
" 85 " 100 " 35,0 3
" 100 " 115 " 35,0 2
" 115 " 130 " 50,0 1
" 130 " 150 " 50,0 0
" 150 " 175 " 70,0 00
" 175 " 200 " 95,0 000
" 200 " 225 " 95,0 0000
" 225 " 250 " 120,0 250
" 250 " 275 " 150,0 300
" 275 " 300 " 185,0 350
" 300 " 350 " 185,0 400
" 350 " 400 " 240,0 500
<a> Значение номинального тока может быть больше первого и меньше или равно второму значению, указанным в первой графе таблицы.
<b> Для удобства испытания могут использоваться проводники меньшего поперечного сечения, чем указано для соответствующего номинального тока.
<c> Может быть использован любой из двух проводников, указанных для соответствующего диапазона номинального тока.

В электронном документе текст соответствует официальному источнику.

Таблица 12

Сечения испытательных медных проводников в соответствии с номинальными токами от 400 до 4000 А (10.10.2.3.2)

Диапазон номинальных токов <a>, А Испытательные проводники
Кабель Медная шина <b>
Число Сечение, мм2 Число Сечение (W x D), мм
От 400 до 500 включ. 2 150 2 30 x 5
" 500 " 630 " 2 185 2 40 x 5
" 630 " 800 " 2 240 2 50 x 5
" 800 " 1000 " - - 2 60 x 5
" 1000 " 1250 " - - 2 80 x 5
" 1250 " 1600 " - - 2 100 x 5
" 1600 " 2000 " - - 3 100 x 5
" 2000 " 2500 " - - 4 100 x 5
" 2500 " 3150 " - - 3 100 x 10
" 3150 " 4000 " - - 4 100 x 10
<a> Значение номинального тока может быть больше первого и меньше или равно второму значению.
<b> Предполагается, что шины расположены вертикально (на ребро). Горизонтальное расположение шин применяют только, если это определено изготовителем. Шины могут быть окрашены.

Таблица 13

Проверка на устойчивость к короткому замыканию сравнением с контрольной конструкцией по контрольному перечню (10.5.3.3, 10.11.3 и 10.11.4)

N Оцениваемое требование Да Нет
1 Меньше или равны выдерживаемые токи короткого замыкания каждой цепи проверяемого НКУ по сравнению с контрольной конструкцией    
2 Больше или равны сечения шин и соединений каждой цепи проверяемого НКУ по сравнению с контрольной конструкцией    
3 Больше или равны расстояния между шинами и соединениями каждой цепи по сравнению с контрольной конструкцией    
4 Одного и того же типа, формы и материала несущие части шин и одинаковые или меньшие расстояния по всей длине шины каждой цепи проверяемого НКУ по сравнению с контрольной конструкцией.
Одинакова ли конструкция и механическая прочность монтажных опор для шин
   
5 Одинаковые ли материалы и свойства материалов проводников каждой цепи проверяемого НКУ по сравнению с контрольной конструкцией    
6 Эквивалентны ли устройства для защиты от короткого замыкания каждой цепи проверяемого НКУ, т.е. одного и того же производителя и серии <1>, с одинаковыми или лучшими токоограничивающими характеристиками (, ), основанными на данных изготовителя устройств, и одинакового расположения устройствам контрольной конструкции    
7 Меньше или равна длина незащищенных токоведущих проводников по 8.6.4 каждой незащищенной цепи проверяемого НКУ по сравнению с контрольной конструкцией    
8 Если проверяемое НКУ имеет оболочку, содержала ли оболочку контрольная конструкции при испытании    
9 Соответствует ли оболочка проверяемого НКУ по конструкции, типу и размерам оболочке контрольной конструкции    
10 Соответствуют ли отсеки каждой цепи проверяемого НКУ по механической конструкции и размерам отсекам контрольной конструкции    
В случае положительного результата (т.е. "Да") по всем требованиям, дополнительной проверки не требуется.
В случае отрицательного результата (т.е. "Нет") хотя бы по одному из требований, требуется дополнительная проверка (см. 10.11.4 и 10.11.5).
<1> Устройства для защиты от коротких замыканий одного и того же производителя, но разных серий можно считать эквивалентными, если изготовитель устройств устанавливает в проверяемой серии те же самые или лучшие характеристики работоспособности, т.е. по отключающей способности, токоограничению (, ) и критическим зазорам.

Таблица 14

Соотношение между ожидаемым током плавления и диаметром медной проволоки плавкого элемента

Диаметр медной проволоки, мм Ожидаемый ток плавления в цепи плавкого элемента, А
0,1 50
0,2 150
0,3 300
0,4 500
0,5 800
0,8 1500

Приложение A
(обязательное)

НАИБОЛЬШИЕ И НАИМЕНЬШИЕ СЕЧЕНИЯ МЕДНЫХ ПРОВОДНИКОВ, ПРИМЕНЯЕМЫХ ДЛЯ ПРИСОЕДИНЕНИЯ К ЗАЖИМАМ ДЛЯ ВНЕШНИХ ПРОВОДНИКОВ (СМ. 8.8)

Для присоединения одного медного кабеля к одному зажиму используют проводники с сечениями, указанными в таблице A.1.

Таблица A.1

Сечения медных проводников, применяемых для присоединения к зажимам для внешних проводников

Номинальный ток, А Сечение жесткого (одножильного или многожильного) проводника, мм2 Сечение гибкого проводника, мм2
Наименьшее Наибольшее Наименьшее Наибольшее
6 0,75 1,50 0,50 1,50
8; 10; 13 1,00 2,50 0,75 2,50
16 1,50 4,00 1,00 4,00
20 6,00
25 2,50 1,50
32 10,00 6,00
40 4,00 16,00 2,50 10,00
63 6,00 25,00 6,00 16,00
80 10,00 35,00 10,00 25,00
100 16,00 50,00 16,00 35,00
125 25,00 70,00 25,00 50,00
160 35,00 95,00 35,00 70,00
200 50,00 120,00 50,00 95,00
250 70,00 150,00 70,00 120,00
315 95,00 240,00 95,00 185,00
Примечания
1 Если внешние проводники подсоединяют непосредственно к встроенной аппаратуре, то их сечения должны соответствовать указанным в соответствующих технических условиях.
2 Использование проводников, не соответствующих указанным в таблице A.1, должно быть согласовано между изготовителем и потребителем.

Приложение B
(обязательное)

МЕТОД РАСЧЕТА СЕЧЕНИЯ ЗАЩИТНЫХ ПРОВОДНИКОВ С УЧЕТОМ ТЕРМИЧЕСКИХ НАГРУЗОК, СОЗДАВАЕМЫХ КРАТКОВРЕМЕННЫМИ ТОКАМИ

Расчет сечения защитных проводников, выдерживающих термические нагрузки, создаваемые токами длительностью от 0,2 до 5 с, проводят по формуле:

,

где - сечение защитного проводника, мм2;

I - действующее значение переменного тока короткого замыкания, который может протекать через защитное устройство при малом внутреннем сопротивлении, А;

t - время срабатывания разъединяющего устройства, с.

Примечание - Следует учитывать влияние ограничения тока сопротивлением цепи и ограничивающую способность защитных устройств (интеграл Джоуля);

k - коэффициент, зависящий от материала защитного проводника, изоляции и других элементов, а также от начальной и конечной температур, значения которых должны соответствовать приведенным в таблице B.1.

Таблица B.1

Значения k для изолированных защитных проводников, не входящих в кабель, или неизолированных защитных проводников, находящихся в контакте с оболочкой кабеля

Параметр Материал изоляции защитных проводников или оболочек кабеля
ПВХ Облученный (сшитый) полиэтилен, этиленпропиленовый каучук, неизолированные проводники Бутил-каучук
Конечная температура, °C 160 250 220
Коэффициент k для проводников:      
- медного 143 176 166
- алюминиевого 95 116 110
- стального 52 64 60
Примечание - Начальную температуру проводника принимают равной 30 °C.

Более подробную информацию см. IEC 60364-5-54.

Приложение C
(рекомендуемое)

ОБРАЗЕЦ ИНФОРМАЦИИ ПОТРЕБИТЕЛЯ

Настоящее приложение предназначено для использования в качестве образца для определения вопросов для изготовителя НКУ, предлагаемых потребителем.

Настоящее приложение служит основой для использования в конкретных стандартах на НКУ.

Таблица C.1

Образец информации потребителя

Характеристики Подраздел, пункт, подпункт Конфигурация по умолчанию <b> Варианты, приведенные в стандарте Требование потребителя <a>
Электрическая система        
Система заземления 5.6, 8.4.3.1, 8.4.3.2.3, 8.6.2, 10.5, 11.4 Стандарт изготовителя для гармонизации локальных требований TT/TN-C/TN-C-S/IT, TN-S  
Паспортное напряжение (В) 3.8.9.1, 5.2.1, 8.5.3 Локальное по условиям установки Макс.
1000 В a.c.
1500 В d.c.
 
Переходные перенапряжения 5.2.4, 8.5.3, 9.1, прил. G Определяет электрическая система Категория перенапряжения; I/II/III/IV  
Временные перенапряжения 9.1 Паспортная система напряжения + 1200 В Нет  
Номинальная частота (Гц) 3.8.12, 5.5, 8.5.3, 10.10.2.3, 10.11.5.4 По локальным условиям установки d.c/50/60 Гц  
Требования к дополнительному испытанию по месту установки: схемы соединений, работоспособность при эксплуатации и функционирование 11.10 Стандарт изготовителя согласно назначению Нет  
Устойчивость к токам короткого замыкания        
Ожидаемый ток короткого замыкания на зажимах питания (кА) 3.8.7 Определяет электрическая система Нет  
Ожидаемый ток короткого замыкания в нейтрали 10.11.5.3.5 Мах. 60% фазных значений Нет  
Ожидаемый ток короткого замыкания в цепи защиты 10.11.5.6 Мах. 60% фазных значений Нет  
Требование к УЗКЗ в функциональном блоке ввода 9.3.2 По локальным условиям установки Да/нет  
Координация устройств для защиты от короткого замыкания (УЗКЗ), в том числе внешних УЗКЗ 9.3.4 По локальным условиям установки Нет  
Информация по нагрузкам, с вероятностью способствующим короткому замыканию 9.3.2 Нагрузки, способствующие короткому замыканию, запрещены Нет  
Защита людей от поражения электрическим током согласно IEC 60364-4-41        
Вид защиты от поражения электрическим током - Основная защита (защита при прямом контакте) 8.4.2 Основная защита По местным правилам электроустановки  
Вид защиты от поражения электрическим током - Защита от повреждения (защита при непрямом контакте) 8.4.3 По локальным условиям установки Автоматическое отключение питания/электроразгораживание/полная изоляция  
Окружающая среда установки        
Тип размещения 3.5, 8.1.4, 8.2 Стандарт изготовителя согласно назначению Внутреннее/наружное  
Защита от попадания твердых инородных предметов и проникновения воды 8.2.2, 8.2.3 Внутреннее (в оболочке): IP 2X. Наружное: не менее IP 23 IP 00, IP 2X - IP 6X  
Внешний механический удар (IK) 8.2.1, 10.2.6 Нет Нет  
Устойчивость к УФ излучению (только для НКУ наружной установки, если не установлено иное) 10.2.4 Внутреннее: не применяется. Наружное: умеренный климат Нет  
Коррозиестойкость 10.2.2 Нормальное внутреннее/наружное размещение Нет  
Температура окружающего воздуха - нижний предел 7.1.1 Внутри: минус 5 °C снаружи: минус 25 °C Нет  
Температура окружающего воздуха - верхний предел 7.1.1 40 °C Нет  
Температура окружающего воздуха - максимальная среднесуточная 7.1.1, 9.2 35 °C Нет  
Максимальная относительная влажность 7.1.2 Внутри: 50% при 40 °C; снаружи: 100% при 25 °C Нет  
Степень загрязнения (окружающей среды установки) 7.1.3 Производственная:3 1, 2, 3, 4  
Высота над уровнем моря 7.1.4 2000 м Нет  
Окружающая среда по ЭМС (A или B) 9.4, 10.12, прилож. J A/B A/B  
Особые условия эксплуатации (например вибрация, повышенная конденсация, сильное загрязнение, коррозионная среда, сильные электромагнитные поля, плесень, мелкие животные, взрывоопасность, сильная вибрация и удары, землетрясения) 7.2, 8.5.4, 9.3.3, таблица 7 Особые условия эксплуатации отсутствуют Нет  
Способ установки        
Тип 3.3, 5.6 Стандарт изготовителя Разные, например напольной/настенной установки  
Стационарный/мобильный 3.5 Стационарный Стационарный/мобильный  
Максимальные габаритные размеры и масса 5.6, 6.2.1 Стандарт изготовителя согласно назначению Нет  
Тип внешних проводников 8.8 Стандарт изготовителя Кабель/система шинопровода  
Направление внешних проводников 8.8 Стандарт изготовителя Нет  
Материал внешних проводников 8.8 Медь Медь/алюминий  
Внешние фазные проводники; их сечения и оконечности 8.8 По стандарту Нет  
Сечения и оконечности внешних проводников PE, N, PEN 8.8 По стандарту Нет  
Требования к обозначению специальных зажимов 8.8 Стандарт изготовителя Нет  
Хранение и транспортирование        
Максимальные размеры и вес транспортировочной единицы 6.2.2, 10.2.5 Стандарт изготовителя Нет  
Способ транспортирования (например подъемник, кран) 6.2.2, 8.1.6 Стандарт изготовителя Нет  
Условия окружающей среды, отличающиеся от условий эксплуатации 7.3 По условиям эксплуатации Нет  
Упаковка 6.2.2 Стандарт изготовителя Нет  
Расположение органов управления        
Доступ к устройствам ручного управления 8.4, 8.5.5   Квалифицированный персонал/обычные потребители  
Размещение устройств ручного управления 8.5.5 Легкодоступны Нет  
Защитное разделение цепей 8.4.2, 8.4.3.3, 8.4.6.2 Стандарт изготовителя Отдельные группы/все  
Техническое обслуживание и расширение функциональных возможностей        
Требования к доступу при эксплуатации неквалифицированным персоналом; требование к эксплуатации устройств или замене комплектующих элементов при эксплуатации НКУ под напряжением 8.4.6.1 Основная защита Нет  
Требования к доступу для осмотра и аналогичных операций 8.4.6.2.2 Требования к доступу отсутствуют Нет  
Требования к доступу для технического обслуживания квалифицированным персоналом 8.4.6.2.3 Требования к доступу отсутствуют Нет  
Требования к доступу для расширения функциональных возможностей НКУ квалифицированным персоналом 8.4.6.2.4 Требования к доступу отсутствуют Нет  
Способ присоединения функциональных блоков 8.5.1, 8.5.2 Стандарт изготовителя Нет  
Защита от прямого контакта с опасными токоведущими внутренними частями во время технического обслуживания или ремонта (например, функциональных блоков, сборных шин, распределительных шин) 8.4 Требования к защите во время технического обслуживания или ремонта отсутствуют Нет  
Токопроводящая способность        
Номинальный ток НКУ (А) 3.8.9.1, 5.3, 8.4.3.2.3, 8.5.3, 8.8, 10.10.2, 10.10.3, 10.11.5, прилож. E Стандарт изготовителя согласно назначению Нет  
Номинальный ток цепей (А) 5.3.2 Стандарт изготовителя согласно назначению Нет  
Номинальный коэффициент одновременности 5.4, 10.10.2.3, прилож. E По стандарту НКО для групп цепей/НКО для всего НКУ  
Соотношение сечений нулевого проводника и фазных проводников: для фазных проводников до 16 мм2 включительно 8.6.1 100% Нет  
Соотношение сечений нулевого проводника и фазных проводников: для фазных проводников свыше 16 мм2 8.6.1 50% (min 16 мм2) Нет  
<a> Для исключительно сложных условий потребитель может установить более жесткие требования, чем те, что указаны в настоящем стандарте.
<b> В некоторых случаях информация, предоставленная изготовителем НКУ, может служить соглашением.

Приложение D
(рекомендуемое)

ПРОВЕРКА КОНСТРУКЦИИ

Таблица D.1

Перечень выполняемых проверок конструкции

N Проверяемая характеристика Подраздел, пункт, подпункт Подраздел, пункт, подпункт
Испытанием Сравнением с контрольной конструкцией Оценкой
1 Прочность материалов и частей: 10.2      
  Коррозиестойкость 10.2.2 Да Нет Нет
  Свойства изоляционных материалов: 10.2.3      
  Теплостойкость 10.2.3.1 Да Нет Нет
  Устойчивость к аномальному нагреву и огню вследствие внутренних электроэффектов 10.2.3.2 Да Нет Да
  Устойчивость к УФ излучению 10.2.4 Да Нет Да
  Способность к подъему 10.2.5 Да Нет Нет
  Механический удар 10.2.6 Да Нет Нет
  Маркировка 10.2.7 Да Нет Нет
2 Степень защиты оболочек 10.3 Да Нет Да
3 Воздушные зазоры 10.4 Да Нет Нет
4 Расстояния утечки 10.4 Да Нет Нет
5 Защита от поражения электрическим током и непрерывность защитных цепей: 10.5      
  Эффективная непрерывность между открытыми проводящими частями НКУ и защитной цепью 10.5.2 Да Нет Нет
  Устойчивость к короткому замыканию защитной цепи 10.5.3 Да Да Нет
6 Установка коммутационных устройств и комплектующих элементов 10.6 Нет Нет Да
7 Внутренние электрические цепи и соединения 10.7 Нет Нет Да
8 Зажимы для внешних проводников 10.8 Нет Нет Да
9 Электроизоляционные свойства: 10.9      
  Выдерживаемое напряжение промышленной частоты 10.9.2 Да Нет Нет
  Импульсное выдерживаемое напряжение 10.9.3 Да Нет Да
10 Пределы превышения температуры 10.10 Да Да Да
11 Устойчивость к короткому замыканию 10.11 Да Да Нет
12 Электромагнитная совместимость (ЭМС) 10.12 Да Нет Да
13 Работоспособность механических частей 10.13 Да Нет Нет

Приложение E
(рекомендуемое)

НОМИНАЛЬНЫЙ КОЭФФИЦИЕНТ ОДНОВРЕМЕННОСТИ

E.1 Общие положения

Каждая отдельная цепь внутри НКУ способна проводить свой номинальный ток в длительном режиме согласно 5.3.2, однако на проводящую способность любой цепи могут влиять соседние цепи. Результатом теплового обмена является получение либо отдача тепла цепями, расположенными рядом. Температура охлаждающего воздуха, необходимого для цепи, в результате влияния соседних цепей может быть выше температуры окружающей среды.

На практике не все цепи внутри НКУ нормально проводят номинальный ток длительно и одновременно. В типичном назначении нагрузки сильно отличаются по типу и характеру. Некоторые цепи рассчитаны на пусковой ток и повторно-кратковременные или кратковременные нагрузки. Некоторые цепи могут иметь тяжелые нагрузки, другие - легкие или коммутируемые, поэтому иметь НКУ, в котором все цепи функционировали бы при номинальном токе постоянно, не имеет смысла, поскольку неэффективно с точки зрения использования материалов и ресурсов. В настоящем стандарте установлены практические требования к НКУ через оценку номинального коэффициента одновременности согласно 3.8.11.

Установлением номинального коэффициента одновременности изготовитель НКУ определяет "средние условия нагрузки", на которую рассчитано НКУ. Коэффициент одновременности определяет приходящуюся на единицу номинального тока величину одновременной и длительной нагрузки всех выходных цепей или групп выходных цепей НКУ. В НКУ, где общий номинальный ток выходных цепей, функционирующих с применением номинального коэффициента одновременности, превышает мощность входной цепи, коэффициент одновременности применяют для любой комбинации выходных цепей, распределяющих или подводящих ток.

E.2 Номинальный коэффициент одновременности НКУ

Номинальный коэффициент одновременности НКУ определен в 5.4. Для типичного НКУ, показанного на рисунке E.1, примеры множества расположений нагрузок для коэффициента одновременности 0,8 приведены в таблице E.1 и показаны на рисунках E.2 - E.5.

В функциональных блоках показаны номинальные токи () <1>

<1> Номинальный ток функциональных блоков (цепей) НКУ не должен превышать номинальный ток устройства.

Рисунок E.1 - Пример типичного НКУ

Таблица E.1

Примеры нагрузки для НКУ с номинальным коэффициентом одновременности 0,8

Функциональный блок A1 B1 B2 B3 C1 C2 C3
Ток (А)
Функциональный блок - номинальный ток () <2> (см. рисунок E.1) 1600 800 400 630 200
Нагрузка функционального блока для НКУ с НКО 0,8 Пример 1 (рисунок E.2) 640 320 0 160
Пример 2 (рисунок E.3) 0 504 136 <1> 0
Пример 3 (рисунок E.4) 456 <1> 160
Пример 4 (рисунок E.5) 0

Окончание таблицы E.1

Функциональный блок C4 C5 D1 D2a D2b D2c D2d
Ток (А)
Функциональный блок - номинальный ток () <2> (см. рисунок E.1) 200 400 100
Нагрузка функционального блока для НКУ с НКО 0,8 Пример 1 (рисунок E.2) 0
Пример 2 (рисунок E.3) 0 320 0
Пример 3 (рисунок E.4) 160 0
Пример 4 (рисунок E.5) 136 <1> 0 320 80
<1> Сбалансированный ток нагрузки входной цепи относительно ее номинального тока.
<2> Номинальный ток функционального блока (цепи) НКУ может быть меньше номинального тока устройства.

Фактическая нагрузка указана цифрами в скобках, например [640 А].
Нагрузка секции шины указана цифрами в скобках, например [320 А].

Рисунок E.2 - Пример 1: Таблица E.1 - Нагрузка функционального блока для НКУ с номинальным коэффициентом одновременности 0,8

Фактическая нагрузка указана цифрами в скобках, например [640 А].
Нагрузка секции шины указана цифрами в скобках, например [320 А].

Рисунок E.3 - Пример 2: Таблица E.1 - Нагрузка функционального блока для НКУ с номинальным коэффициентом одновременности 0,8

Фактическая нагрузка указана цифрами в скобках, например [640 А].
Нагрузка секции шины указана цифрами в скобках, например [320 А].

Рисунок E.4 - Пример 3: Таблица E.1 - Нагрузка функционального блока для НКУ с номинальным коэффициентом одновременности 0,8

Фактическая нагрузка указана цифрами в скобках, например [640 А].
Нагрузка секции шины указана цифрами в скобках, например [320 А].

Рисунок E.5 - Пример 4: Таблица E.1 - Нагрузка функционального блока для НКУ с номинальным коэффициентом одновременности 0,8

E.3 Номинальный коэффициент одновременности группы выходных цепей

Кроме номинального коэффициента одновременности для всего НКУ изготовитель НКУ может установить другой коэффициент одновременности для группы соответствующих цепей в НКУ. Номинальный коэффициент одновременности для группы выходных цепей установлен в 5.4.

В таблицах E.2 и E.3 приведены примеры коэффициента одновременности 0,9 для секции и распределительной подсекции в типичном НКУ, показанном на рисунке E.1.

Таблица E.2

Пример нагрузки группы цепей (Секция B - Рисунок E.1) с номинальным коэффициентом одновременности 0,9

Функциональный блок Распределительная шина - Секция B B1 B2 B3
Ток (А)
Функциональный блок - Номинальный ток () 1440 <1> 800 400
Нагрузка - Группа цепей с НКО 0,9 1440 720 360
<1> Минимальный номинальный ток питания присоединенного функционального блока с НКО 0,9.

Таблица E.3

Пример нагрузки группы цепей (распределительная подсекция - Рисунок E.1) с номинальным коэффициентом одновременности 0,9

Функциональный блок D2 D2a D2b D2c D2d
Ток (А)
Функциональный блок - Номинальный ток () 360 <1> 100
Нагрузка - Группа цепей с НКО 0,9 360 90
<1> Минимальный номинальный ток питания присоединенного функционального блока с НКО 0,9.

E.4 Номинальный коэффициент одновременности и повторно-кратковременный режим

Рассеиваемое тепло от цепей встроенных комплектующих элементов с потерями Джоуля пропорционально фактическому действующему значению тока. Эквивалентное действующее значение тока (), представляющего тепловой эффект фактического тока в повторно-кратковременном режиме, может быть рассчитано по формуле, приведенной ниже (рисунок E.6), что позволяет определить тепловой эквивалент фактического тока (действ.) () в повторно-кратковременном режиме и отсюда допустимый вариант нагрузки для данного НКУ (рисунки E.7, E.8). Необходимо проявлять осторожность с периодом прохождения тока свыше 30 мин, так как слаботочные устройства уже смогут достигнуть теплового равновесия.

Рисунок E.6 - Пример среднего расчета теплового эффекта

,

где - время пуска при токе ;

- время прохождения тока ;

- время без тока (при =0);

- время цикла.

Повторно-кратковременная нагрузка с временем пуска 0,5 с

Рисунок E.7 - Графический пример соотношения между эквивалентным НКО и параметрами при повторно-кратковременном режиме =0,5 с, =7x для разного времени цикла

Повторно-кратковременная нагрузка

Рисунок E.8 - Графический пример соотношения между эквивалентным НКО и параметрами при повторно-кратковременном режиме = (без пускового сверхтока)

Приложение F
(рекомендуемое)

ИЗМЕРЕНИЕ РАССТОЯНИЙ УТЕЧКИ И ВОЗДУШНЫХ ЗАЗОРОВ <1>

<1> Приложение F основано на положениях IEC 60664-1.

Примечание - Настоящее приложение основано на требованиях IEC 60664-1.

F.1 Основные принципы

Ширина желобков, указанная в примерах 1 - 11, применима для всех примеров в зависимости от степени загрязнения.

Таблица F.1

Минимальная ширина желобков

Степень загрязнения Минимальная ширина желобков X, мм
1 0,25
2 1,00
3 1,50
4 2,50

Если размер соответствующего воздушного зазора меньше 3 мм, минимальную ширину желобка можно уменьшить до 1/3 этого зазора.

Методы измерения расстояний утечки и воздушных зазоров приведены в примерах 1 - 11. В них не делают различия между зазорами и желобками или типами изоляции.

Кроме того:

- предполагают, что каждый угол перекрывается изолирующей вставкой шириной X мм, находящейся в самом неблагоприятном положении (см. пример 3);

- если расстояние между верхними кромками желобка равно X мм или более, расстояние утечки измеряют по контуру желобка (см. пример 2);

- измерение расстояния утечки и размеров воздушных зазоров, измеренных между частями, подвижными относительно друг друга, проводят тогда, когда эти части занимают самое неблагоприятное положение.

F.2 Использование ребер

Ребра препятствуют загрязнению и увеличивают скорость высыхания изоляции, и снижают вероятность появления токов утечки. Поэтому расстояние утечки можно сократить до 0,8 требуемой величины, если минимальная высота ребра 2 мм (см. рисунок F.1).

H - минимальная высота ребра 2 мм; B - минимальная ширина основания, соответствующая требованиям к механической прочности

Рисунок F.1a) - Измерение ребер: примеры

Условие: рассматриваемое расстояние утечки проходит через желобок с параллельными или сходящимися боковыми стенками любой глубины при ширине менее X мм.

Правило: расстояние утечки и размер воздушного зазора измеряют по прямой линии поверх желобка, как показано на схеме.

Рисунок F.1b) - Пример 1

Условие: рассматриваемое расстояние утечки проходит через желобок с параллельными боковыми стенками любой глубины шириной X мм или более.

Правило: размер воздушного зазора определяют по прямой. Расстояние утечки проходит по контуру желобка.

Рисунок F.1c) - Пример 2

Условие: рассматриваемое расстояние утечки проходит через клиновидный желобок шириной более X мм.

Правило: размер воздушного зазора определяют по прямой линии. Расстояние утечки проходит по контуру желобка, но замыкает накоротко его дно по вставке шириной X мм.

Рисунок F.1d) - Пример 3

Условие: рассматриваемое расстояние утечки охватывает ребро.

Правило: размер воздушного зазора равен кратчайшему расстоянию над вершиной ребра. Расстояние утечки проходит по контуру ребра.

Рисунок F.1e) - Пример 4

Условие: в рассматриваемое расстояние утечки входит нескрепленный стык с желобками шириной менее X мм по обе стороны от него.

Правило: размер воздушного зазора и расстояние утечки определяют по прямой.

Рисунок F.1f) - Пример 5

Условие: в рассматриваемое расстояние утечки входит нескрепленный стык с желобками шириной X мм или более по обе стороны от него.

Правило: размер воздушного зазора определяют по прямой линии. Расстояние утечки проходит по контуру желобков.

Рисунок F.1g) - Пример 6

Условие: в рассматриваемое расстояние утечки входит нескрепленный стык с желобком шириной менее X мм с одной стороны или X мм и более с другой стороны.

Правило: размер воздушного зазора и расстояние утечки соответствуют приведенным на схеме.

Рисунок F.1h) - Пример 7

Условие: расстояние утечки поперек нескрепленного стыка меньше, чем поверх барьера.

Правило: размер воздушного зазора равен кратчайшему расстоянию в воздухе поверх барьера.

Рисунок F.1i) - Пример 8

Условие: размер зазора между головкой винта и стенкой паза достаточно большой, чтобы принимать его во внимание.

Правило: размер воздушного зазора и расстояние утечки соответствуют приведенным на схеме.

Рисунок F.1j) - Пример 9

Условие: размер зазора между головкой винта и стенкой паза не достаточно большой, чтобы принимать его во внимание.

Правило: расстояние утечки измеряют от винта до стенки, если оно равно X мм.

Рисунок F.1k) - Пример 10

Размер воздушного зазора равен d+D; Расстояние утечки равно d+D; C' - свободно движущаяся часть.

Рисунок F.1l) - Пример 11

Примечание - Условные обозначения для примеров 1 - 11.

Воздушные зазоры; Расстояние утечки

Приложение G
(обязательное)

СООТВЕТСТВИЕ МЕЖДУ ПАСПОРТНЫМ НАПРЯЖЕНИЕМ СИСТЕМЫ ПИТАНИЯ И НОМИНАЛЬНЫМ ИМПУЛЬСНЫМ ВЫДЕРЖИВАЕМЫМ НАПРЯЖЕНИЕМ ОБОРУДОВАНИЯ <2>

<2> Настоящее приложение основано на IEC 60947-1 (приложение H).

В настоящем приложении приведена информация, необходимая для выбора оборудования, предназначенного для использования в электрической цепи (сети) или части этой цепи.

Примеры соответствия между номинальным напряжением системы питания и номинальным импульсным выдерживаемым напряжением оборудования приведены в таблице G.1.

Значения номинального импульсного выдерживаемого напряжения, указанные в таблице G.1, определены по IEC 60664-1, 4.3.3. Дополнительную информацию по критериям выбора соответствующей категории перенапряжения, а также по защите от перенапряжений (если требуется) см. IEC 60364-4-44, раздел 443.

Следует учитывать, что управление перенапряжениями относительно значений, указанных в таблице G.1, можно осуществлять подбором условий в системе питания, например подходящего полного сопротивления или напряжения питания кабеля.

Таблица G.1

Соответствие между паспортным напряжением системы питания и номинальным импульсным выдерживаемым напряжением оборудования

Максимальное номинальное рабочее напряжение относительно "земли" (действующее значение) переменного или постоянного тока, В Паспортное напряжение системы питания (меньше или равно номинальному напряжению изоляции оборудования), В
Действующее значение переменного тока Действующее значение переменного или постоянного тока
Схемы соединения нагрузки
50 - - 12,5; 24; 25; 30; 42; 48 -
100 66/115 66 60 -
150 120/208 115, 120 110, 120 220 - 110,
127/220 127 240 - 120
300 220/380, 230/400
240/415, 260/440
277/480
220, 230
240, 260
277
220 440 - 220
600 347/600, 380/660
400/690, 415/720
480/830
347, 380, 400
415, 440, 480
500, 577, 600
480 960 - 480
1000 - 660
690, 720
830, 1000
1000 -

Продолжение таблицы G.1

Максимальное номинальное рабочее напряжение относительно "земли" (действующее значение) переменного или постоянного тока, В Предпочтительные значения номинального импульсного выдерживаемого напряжения, кВ (1,2/50 мкс), на высоте 2000 м
Категория перенапряжения
IV III II I
Начало системы (ввод потребителя) Распределительные цепи Нагрузка (бытовой электроприбор, оборудование) Уровень специальной защиты
50 1,5 0,8 0,5 0,33
100 2,5 1,5 0,8 0,50
150 4,0 2,5 1,5 0,80
300 6,0 4,0 2,5 1,50
600 8,0 6,0 4,0 2,50
1000 12,0 8,0 6,0 4,00

Приложение H
(рекомендуемое)

РАБОЧИЙ ТОК И ПОТЕРИ МОЩНОСТИ В МЕДНЫХ ПРОВОДНИКАХ

В следующих таблицах приведены значения для выбора рабочих токов и потерь мощности в проводниках для идеальных условий внутри НКУ. Формула расчета позволяет получить по данным значениям значения для других условий.

Таблица H.1

Рабочий ток и потери мощности в одножильных медных кабелях с допустимой рабочей температурой проводника 70 °C (при температуре окружающего воздуха внутри НКУ 55 °C)

Основные характеристики проводника
Одножильные кабели в кабельном желобе с горизонтальной прокладкой по стене. 6 кабелей (2 трехфазных цепи) с длительной нагрузкой Одножильные кабели со свободной прокладкой в воздухе или в перфорированном лотке. 6 кабелей (2 трехфазных цепи) с длительной нагрузкой Одножильные кабели с горизонтальной прокладкой в воздухе
Сечение, мм2 Сопротивление при 20 °C <a>, мОм/м Макс. рабочий ток <b>, А Потери мощности на проводник , Вт/м Макс. рабочий ток <c>, А Потери мощности на проводник , Вт/м Макс. рабочий ток <d>, А Потери мощности на проводник , Вт/м
1,5 12,1000 8 0,8 9 1,3 15 3,2
2,5 7,4100 10 0,9 13 1,5 21 3,7
4,0 4,6100 14 1,0 18 1,7 28 4,2
6,0 3,0800 18 1,1 23 2,0 36 4,7
10,0 1,8300 24 1,3 32 2,3 50 5,4
16,0 1,1500 33 1,5 44 2,7 67 6,2
25,0 0,7270 43 1,6 59 3,0 89 6,9
35,0 0,5240 54 1,8 74 3,4 110 7,7
50,0 0,3870 65 2,0 90 3,7 134 8,3
70,0 0,2680 83 2,2 116 4,3 171 9,4
95,0 0,1930 101 2,4 142 4,7 208 10,0
120,0 0,1530 117 2,5 165 5,0 242 10,7
150,0 0,1240 - - 191 5,4 278 11,5
185,0 0,0991 - - 220 5,7 318 12,0
240,0 0,0754 - - 260 6,1 375 12,7
<a> Значения по IEC 60228 [17], таблица 2 (скрученные многожильные проводники).
<b> Проводящая способность для одной трехфазной цепи по IEC 60364-5-52, таблица B.52-4, графа 4 (способ установки: пункт 6 таблицы B.52-3), = 0,8 (пункт 1 таблицы B.52-17, две цепи).
<c> Проводящая способность для одной трехфазной цепи по IEC 60364-5-52, таблица B.52-10, графа 5 (способ установки: пункт F таблицы B.52-1). Значения сечений менее 25 мм2, рассчитанные согласно IEC 60364-5-52, приложение D = 0,88 (пункт 4 таблицы B.52-17, две цепи).
<d> Проводящая способность для одной трехфазной цепи по IEC 60364-5-52, таблица B.52-10, графа 7 (способ установки: пункт G таблицы B.52-1). Значения сечений менее 25 мм2, рассчитанные согласно IEC 60364-5-52, приложение D = 1.

,

,

где - понижающий коэффициент для температуры воздуха внутри оболочки вокруг проводников (IEC 60364-5-52, таблица A.52-14);

= 0,61 для проводников с рабочей температурой 70 °C и температурой среды 55 °C;

для других температур воздуха - см. таблицу H.2;

- понижающий коэффициент для групп из более, чем одной цепи (IEC 60364-5-52, таблица B.52-17);

- температурный коэффициент сопротивления, ;

- температура проводника.

Таблица H.2

Понижающий коэффициент для кабелей с допустимой рабочей температурой проводника 70 °C (по IEC 60364-5-52, таблица B.52-14)

Температура воздуха внутри оболочки вокруг проводников, °C Понижающий коэффициент
20 1,12
25 1,06
30 1,00
35 0,94
40 0,87
45 0,79
50 0,71
55 0,61
60 0,50

Примечание - Если рабочий ток с применением понижающего коэффициента рассчитывают для других температур воздуха, то и потери мощности можно рассчитать по формуле, приведенной выше.

Приложение I
(свободное)

Приложение J
(обязательное)

ЭЛЕКТРОМАГНИТНАЯ СОВМЕСТИМОСТЬ (ЭМС)

J.1 Общие положения

Нумерация пунктов приложения соответствует нумерации пунктов основной части настоящего стандарта.

J.2 Термины и определения

В настоящем приложении используют следующие термины и определения (см. рисунок J.1):

Рисунок J.1 - Примеры каналов (портов)

J.3.8.13.1 канал (порт) (port): Отдельный интерфейс определенной аппаратуры с внешней электромагнитной средой.

В электронном документе нумерация пунктов соответствует официальному источнику.

J.3.8.13.2 канал оболочки (enclosure port): Физические границы аппаратуры, через которые может проходить излучение электромагнитных полей или с которыми могут сталкиваться электромагнитные поля.

J.3.8.13.3 функциональный канал заземления (functional earth port): Канал, не являющийся сигнальным, каналом управления или силовым, предназначенный для соединения с землей, но не с целью обеспечения электробезопасности.

J.3.8.13.4 сигнальный канал (signal port): Канал, в котором проводник или кабель, который предназначен для передачи сигналов, подсоединяют к аппаратуре.

Примечание - Примерами являются аналоговые входы, выходы и линии управления; информационные шины, коммуникационные сети, сети управления.

J.3.8.13.5 силовой канал (power port): Канал, в котором проводник или кабель, через который подается электропитание, необходимое для функционирования аппаратуры, подсоединяется к аппаратуре.

J.9.4 Требования к работоспособности

В электронном документе нумерация разделов соответствует официальному источнику.

J.9.4.1 Общие положения

Для большинства назначений НКУ, подпадающих под действие настоящего стандарта, рассматривают два вида условий окружающей среды:

a) Условия окружающей среды группы A;

b) Условия окружающей среды группы B.

Условия окружающей среды группы A: относят к силовой сети, питаемой трансформатором высокого или среднего напряжения, предназначенной для подачи питания к установке, снабжающей электроэнергией производственные или аналогичные предприятия и предназначенной для работы на промышленном производстве или вблизи него, как указано выше. Настоящий стандарт распространяется на аппаратуру, работающую на батареях и предназначенную для применения на промышленном объекте.

Охватываемые среды являются промышленными, размещаемыми как внутри помещений, так и снаружи.

Промышленные объекты, кроме того, характеризуются наличием следующих одного или нескольких признаков:

- аппаратура промышленного, научного или медицинского назначения (по CISPR 11);

- тяжелые индуктивные или емкостные нагрузки с частыми коммутациями;

- высокие токи с электромагнитными полями.

Примечание 1 - Условия окружающей среды группы A подпадают под действие стандартов по ЭМС IEC 61000-6-2 [21] и IEC 61000-6-4.

Условия окружающей среды группы B: относят к низковольтным общественным сетям или аппаратуре, предназначенным для подсоединения к источнику питания постоянного тока, связывающему аппаратуру с низковольтной социальной сетью. К ним также относят аппаратуру, работающую на батареях или снабжаемую питанием от не социальной, но и не промышленной низковольтной силовой распределительной системы, если эта аппаратура, предназначена для применения в местах, характеризуемых ниже.

Такие среды являются жилыми, коммерческими и освещения промышленных зданий, как внутри, так и вне помещений. Их представляет следующий перечень (хотя и неполный):

- жилая собственность (дома, квартиры);

- предприятия розничной торговли (магазины, супермаркеты);

- деловые предприятия (офисы, банки);

- сфера общественных развлечений (кинотеатры, бары, танцевальные залы); уличные объекты (заправочные станции, парковки, развлекательные и спортивные центры);

- освещение промышленных зданий (цеха, лаборатории, сервисные центры).

Места, характеризуемые прямым питанием от общественных низковольтных сетей, считают жилыми, коммерческими или освещения промышленных зданий.

Примечание 2 - Условия окружающей среды группы B подпадают под действие стандартов по ЭМС IEC 61000-6-1 [22] и IEC 61000-6-3 [23].

Для какой группы A или B условий окружающей среды предназначено НКУ устанавливает изготовитель.

J.9.4.2 Требования к испытаниям

НКУ, как правило, изготавливают или собирают на унифицированной основе с установкой комбинаций тех или иных устройств и комплектующих элементов.

Испытания изготовленного НКУ на устойчивость к электромагнитным помехам, а также на помехоэмиссию не проводят, если соблюдены следующие условия:

a) встроенные аппараты и комплектующие элементы соответствуют требованиям к ЭМС для указанной группы условий окружающей среды (см. J.9.4.1), как того требует соответствующий стандарт на изделие или основополагающий стандарт по ЭМС;

b) внутренний монтаж и прокладка проводников соответствуют инструкции изготовителя по установке аппаратов и комплектующих элементов (размещение относительно взаимного влияния, прокладки кабелей, экранирования, заземления и т.д.).

В остальных случаях требования к ЭМС проверяют испытаниями как по J.10.12.

J.9.4.3 Испытания на устойчивость к электромагнитным помехам

J.9.4.3.1 НКУ, не содержащие электронные цепи

НКУ, не содержащие электронные цепи, в нормальных условиях эксплуатации не чувствительны к электромагнитным помехам, поэтому их не подвергают испытаниям.

J.9.4.3.2 НКУ, содержащие электронные цепи

Электронное оборудование в составе НКУ должно соответствовать требованиям соответствующего стандарта на изделие или основополагающего стандарта по ЭМС на устойчивость к электромагнитным помехам и должно быть пригодно для применения в группе условий окружающей среды, указанной изготовителем.

Во всех других случаях требования по ЭМС проверяют испытаниями по J.10.12.

Оборудование, в котором используются электронные цепи, все элементы которых пассивны (например, диоды, резисторы, варисторы, конденсаторы, подавители импульсов, индукторы), не требует проверки.

Испытания проводят в соответствии с условиями окружающей среды группы A или B, приведенными в таблицах J.3 и/или J.4, если изготовитель электронных компонентов не устанавливает иные условия испытаний.

В электронном документе текст соответствует официальному источнику.

Критерии работоспособности устанавливает изготовитель НКУ на основе критериев работоспособности, содержащихся в соответствующих стандартах на изделия, а также на основе информации, полученной от изготовителей устройств и комплектующих элементов.

J.9.4.4 Испытания на помехоэмиссию

J.9.4.4.1 НКУ, не содержащие электронные цепи

В НКУ, не содержащих электронные цепи, электромагнитные помехи могут генерироваться только оборудованием во время редких коммутационных операций. Длительность таких электромагнитных помех составляет порядка нескольких миллисекунд. Частоту, уровень и последствия таких помех считают частью нормальной электромагнитной среды низковольтных электроустановок.

Поэтому НКУ, не содержащие электронные цепи, испытаниям не подвергают.

J.9.4.4.2 НКУ содержащие электронные цепи

Электронное оборудование в составе НКУ должно соответствовать требованиям соответствующего стандарта на изделие или основополагающего стандарта по ЭМС на помехоэмиссию и должно быть пригодно для применения в группе условий окружающей среды, указанной изготовителем.

НКУ, содержащие электронные цепи (такие как силовые коммутируемые источники тока, цепи, содержащие микропроцессоры и высокочастотные часы), могут генерировать длительные электромагнитные помехи.

Такие помехи не должны превышать пределов, установленных в конкретном стандарте на изделие или требований IEC 61000-6-4 для условий окружающей среды группы A и/или IEC 61000-6-3 [23] для условий окружающей среды группы B. Испытания проводят в соответствии с указаниями конкретного стандарта на изделие, если имеется, в противном случае - согласно J.10.12.

J.10.12 Испытания на ЭМС

В электронном документе нумерация разделов соответствует официальному источнику.

Функциональные блоки НКУ, не несоответствующие требованиям J.9.4.2, перечисления a) и b) подвергают следующим испытаниям.

Испытания на помехоэмиссию и на устойчивость к электромагнитным помехам проводят по соответствующему стандарту на ЭМС (см. таблицы J.1 - J.4), однако при необходимости изготовитель должен указать дополнительные способы проверки критериев их работоспособности в составе НКУ (например, использование времени задержки).

В электронном документе текст соответствует официальному источнику.

J.10.12.1 Испытание на устойчивость к электромагнитным помехам

J.10.12.1.1 НКУ, не содержащие электронные цепи

НКУ, не содержащие электронные цепи, испытаниям не подвергают (см. J.9.4.3.1).

J.10.12.1.2 НКУ, содержащие электронные цепи

Испытания проводят в соответствии с условиями окружающей среды группы A или B, со значениями, приведенными в таблицах J.1 и/или J.2, за исключением, если требуется другой испытательный уровень согласно конкретному стандарту или если изготовитель электронных компонентов устанавливает иные условия испытаний.

Критерии работоспособности устанавливает изготовитель НКУ на основе критериев работоспособности по таблице J.3.

J.10.12.2 Испытания на помехоэмиссию

J.10.12.2.1 НКУ, не содержащие электронные цепи

НКУ, не содержащие электронные цепи, испытаниям не подвергают (см. J.9.4.4.1).

J.10.12.2.2 НКУ, содержащие электронные цепи

Метод испытаний должен установить изготовитель НКУ (см. J.9.4.4.2).

Пределы помехоэмиссии для условий окружающей среды группы A приведены в IEC 61000-6-4, таблица 1.

Пределы помехоэмиссии для условий окружающей среды группы B приведены в IEC 61000-6-3 [23], таблица 1.

Если НКУ содержит телекоммуникационные каналы, действуют требования к помехоэмиссии по CISPR 22 согласно каналу и выбранной группе условий окружающей среды.

Таблица J.1

Испытания на устойчивость к воздействию электромагнитных помех для условий окружающей среды группы A (см. J.10.12.1)

Наименование испытания Уровень жесткости при испытании Критерии соответствия <c>
Электростатические разряды по IEC 61000-4-2 8 кВ/при воздушном разряде или 4 кВ/при контактном разряде B
Излучаемые радиочастотные электромагнитные поля (80 МГц - 1 ГГц и 1,4 ГГц - 2 ГГц) по IEC 61000-4-3 10 В/м на канал оболочки A
Импульсные наносекундные помехи по IEC 61000-4-4 2 кВ на силовых выводах;
1 кВ на сигнальных выводах, в том числе, вспомогательных цепей и функционального заземления
B
Импульсы напряжения/тока формой волн 1,2/50 и 8/20 мкс по IEC 61000-4-5 <a> 2 кВ (между фазой и землей) на силовых выводах;
1 кВ (между фазами) на силовых выводах;
1 кВ (между фазой и землей) на сигнальных выводах
B
Кондуктивные помехи, наведенные радиочастотными полями 150 кГц - 80 МГц по IEC 61000-4-6 10 В на силовых выводах, сигнальных выводах и функционального заземления A
Электромагнитные поля промышленной частоты по IEC 61000-4-8 30 А/м <b> на канале оболочки A
Изменение напряжения электропитания в зависимости от периодов провалов и прерываний напряжения по IEC 61000-4-11 <d> Снижают до 30% при длительности провала и прерывания 0,5 периода. B
Снижение до 60% при длительности провала и прерывания 5 и 50 периодов. C
Снижение свыше 95% при длительности провала и прерывания 250 периодов C
Гармоники в сети электропитания по IEC 61000-4-13 Требования не установлены -
<a> Не применяют для выводов на номинальное напряжение 24 В постоянного тока и менее.
<b> Только для аппаратуры, содержащей устройства, чувствительные к электромагнитным полям.
<c> Критерии работоспособности, не зависящие от условий окружающей среды, приведены в таблице J.3.
<d> Только для силовых сетевых вводных выводов.

Таблица J.2

Испытания на устойчивость к воздействию электромагнитных помех для условий окружающей среды группы B (см. J.10.12.1)

Наименование испытания Уровень жесткости при испытании Критерии соответствия <c>
Электростатические разряды по IEC 61000-4-2 8 кВ/воздушный разряд или 4 кВ/контактный разряд B
Излучаемые радиочастотные электромагнитные поля (80 МГц - 1 ГГц и 1,4 - 2 ГГц) по IEC 61000-4-3 3 В/м на канал оболочки A
Импульсные наносекундные помехи по IEC 61000-4-4 1 кВ на силовых выводах;
0,5 кВ на сигнальных выводах, в т.ч. вспомогательных цепей и функциональной изоляции
B
Импульсы напряжения/тока форм волны 1,2/50 и 8/20 мкс по IEC 61000-4-5 <a> 0,5 кВ (между фазой и землей) на сигнальных и силовых выводах, за исключением входных выводов сетевого питания, где:
1 кВ (между фазой и землей);
0,5 кВ (между фазами)
B
Кондуктивные помехи, наведенные радиочастотными полями 150 кГц - 80 МГц по IEC 61000-4-6 3 В на силовых, сигнальных выводах и функционального заземления A
Электромагнитные поля промышленной частоты по IEC 61000-4-8 3 А/м <b> на канал оболочки A
Изменение напряжения электропитания в зависимости от периодов провалов и прерываний напряжения по IEC 61000-4-11 <d> Снижают до 30% при длительности провала и прерывания 0,5 периода. B
Снижают до 60% при длительности провала и прерывания 5 и 50 периодов. C
Снижают свыше 95% при длительности провала и прерывания 250 периодов C
Гармоники в сети электропитания по IEC 61000-4-13 Требования не устанавливают -
<a> Не применяют для выводов на номинальное напряжение 24 В постоянного тока и менее.
<b> Только для аппаратуры, содержащей устройства, чувствительные к электромагнитным полям.
<c> Критерии работоспособности, не зависящие от условий окружающей среды, приведены в таблице J.3.
<d> Только для сетевых вводных выводов.

Таблица J.3

Критерии соответствия при наличии электромагнитных помех

Функция Критерий соответствия (критерий работоспособности при испытаниях)
A B C
Работоспособность НКУ Отсутствие заметных изменений рабочих характеристик
Нормальное функционирование
Временное ухудшение характеристик или потеря работоспособности, которая восстанавливается самостоятельно Временное ухудшение характеристик или потеря работоспособности с необходимостью вмешательства оператора или переустановки системы <1>
Функционирование силовых цепей и цепей управления Нормальное функционирование Временное ухудшение характеристик или потеря работоспособности, которая самовосстанавливается <1> Временная деградация или потеря работоспособности, когда требуется вмешательство оператора или переустановка системы <1>
Работа дисплеев и панелей управления Отсутствие изменений информации на дисплее
Легкие флуктуации светодиодов или легкое дрожание изображения
Временные видимые изменения или потеря информации
Непредусмотренное свечение светодиодов
Отключение или постоянное погасание дисплея
Искажение информации и/или переход в незапланированный режим
Самостоятельное восстановление не происходит
Обработка и считывание информации Связь, свободная от помех, и обмен данными с внешними источниками Временные помехи с указанием ошибок связи с внутренними и внешними источниками информации Неправильная обработка информации
Потеря данных и/или информации
Ошибки связи
Самостоятельное восстановление не происходит
<1> Особые требования должны быть указаны в нормативной документации на конкретное устройство.

Приложение K
(обязательное)

ЗАЩИТА ИЗОЛЯЦИОННЫМ РАЗГОРАЖИВАНИЕМ

K.1 Общие положения

Электрическое изоляционное разгораживание (разделение) является защитной мерой, при которой:

- основная защита (защита от прямого прикосновения) обеспечивается основной изоляцией между опасными токоведущими частями и открытыми проводящими частями разделенной цепи, и

- защита от повреждения (защита от косвенного прикосновения) обеспечивается:

- простым отделением разделенной цепи от других цепей и от земли;

- незаземленным защитным равнопотенциальным соединением, связывающим открытые части оборудования разделенной цепи, в котором более одного элемента оборудования соединено с разделенной цепью.

Намеренное соединение открытых проводящих частей с защитным проводником или проводником заземления недопустимо.

K.2 Электрическое изоляционное разгораживание

K.2.1 Общие положения

Защита электрическим изоляционным разгораживанием обеспечивается соответствием всем требованиям K.2.1 - K.2.4.

K.2.2 Источник питания

Цепь должна питаться от источника, который обеспечивает разделение, например:

- разделительный трансформатор или

- источник тока, обеспечивающий степень безопасности, эквивалентную вышеуказанному разделительному трансформатору, например генератор двигателя с обмотками, обеспечивающими эквивалентную изоляцию.

Примечание - Способность выдерживать особо высокое испытательное напряжение признают средством гарантировать необходимую степень изоляции.

Передвижные источники питания, подсоединенные к системе питания, выбирают в соответствии с разделом K.3 (оборудование класса II или эквивалентная изоляция).

Стационарные источники питания должны быть либо

- выбраны согласно разделу K.3, либо

- такими, в которых разделены вводные и выводные зажимы и отделены от оболочки изоляцией, отвечающей условиям раздела K.3; если такой источник питает несколько элементов оборудования, открытые проводящие части этого оборудования не должны быть соединены с металлической оболочкой источника питания.

K.2.3 Выбор и установка источника питания

K.2.3.1 Напряжение

Напряжение электрической изоляционной разгороженной цепи не должно быть более 500 В.

K.2.3.2 Установка

K.2.3.2.1 Токоведущие части изоляционной разгороженной цепи не должны быть соединены ни с одной точкой другой цепи или землей.

Чтобы избежать опасности замыкания на землю, специальное внимание должно быть уделено изоляции таких частей от земли, особенно гибких кабелей и шнуров.

Расположения должны обеспечивать изоляционное разгораживание не меньшее, чем между вводными и выводными зажимами разделительного трансформатора.

Примечание - Особенно электрическое изоляционное разгораживание необходимо между токоведущими частями такого электрооборудования, как реле, контакторы, вспомогательные выключатели, и любой частью другой цепи.

K.2.3.2.2 Любая часть гибкого кабеля или шнура, подверженная механическому повреждению, должна быть видима на протяжении всей ее длины.

K.2.3.2.3 Для изоляционных разгороженных цепей необходимо применение отдельной проводной системы. Если применение проводников одной и той же проводной системы для изоляционно разгороженных цепей и других цепей неизбежно, тогда должны использоваться многопроводные кабели без металлического покрытия или изолированные кабели в изолирующем трубопроводе, проложенные в желобе, при условии, что их номинальное напряжение не меньше наибольшего вероятно возникающего напряжения, и что каждая цепь защищена от сверхтока.

K.2.4 Питание одного элемента аппаратуры

Если питание получает один элемент аппаратуры, открытые проводящие части изоляционной разгороженной цепи не должны быть соединены ни с защитным проводником, ни с открытыми проводящими частями других цепей.

Примечание - Если открытые проводящие части изоляционной разгороженной цепи могут прийти в соприкосновение, с открытыми проводящими частями других цепей, то в этом случае защита от поражения электрическим током уже всецело не зависит от защиты электрическим разделением, а от защитных мер, которым подвергаются открытые проводящие части.

K.2.5 Питание нескольких элементов аппаратуры

Если имеются предостережения по защите изоляционной разгороженной цепи от повреждения и пробоя изоляции, источник питания, соответствующий K.2.2, может питать более одного элемента аппаратуры при условии, если выполняются следующие требования:

a) открытые проводящие части изоляционной разгороженной цепи должны быть соединены вместе изолированным незаземленным равнопотенциальным соединением проводниками. Эти проводники не должны быть соединены ни с защитными проводниками, ни с открытыми проводящими частями других цепей, ни с посторонними проводящими частями.

Примечание - Если открытые проводящие части изоляционной разгороженной цепи могут прийти в соприкосновение, с открытыми проводящими частями других цепей, то в этом случае защита от поражения электрическим током уже всецело не зависит от защиты электрическим разделением, а от защитных мер, которым подвергаются открытые проводящие части;

b) все штепсельные розетки должны быть снабжены защитными контактами, которые должны быть соединены с равнопотенциальной системой связи, предусмотренной согласно перечислению a);

c) все гибкие кабели питания должны иметь в своем составе защитный проводник для использования в качестве равнопотенциального проводника связи.

Должно быть гарантировано, что в случае двух повреждений двух открытых проводящих частей, питаемых проводниками с разной полярностью, защитное устройство должно отключить питание в течение времени, соответствующем таблице K.1.

Таблица K.1

Максимальное время отключения в системах TN

<a>, В Время отключения, с
120 0,8
230 0,4
277 0,4
400 0,2
более 400 0,1
<a> Значения по IEC 60038 [16].

Для напряжений, находящихся в диапазоне допусков, установленных в IEC 60038 [16], применяют время отключения, соответствующее паспортному напряжению системы.

Для промежуточных значений напряжений берут следующее более высокое значение.

K.3 Оборудование класса II или эквивалентная изоляция

Защиту обеспечивают электрооборудованием следующих типов:

- электрооборудованием, имеющим двойную или усиленную изоляцию (оборудование класса II);

- НКУ, имеющим полную изоляцию (см. 8.4.3.3).

Это оборудование маркируется символом .

Примечание - Данная мера предназначена для того, чтобы предупредить появление опасного напряжения на доступных частях электрооборудования при пробое основной изоляции.

Приложение L
(рекомендуемое)

ЗНАЧЕНИЯ ИЗОЛЯЦИОННЫХ ПРОМЕЖУТКОВ И РАССТОЯНИЙ УТЕЧКИ, ПРИМЕНЯЕМЫХ В СЕВЕРОАМЕРИКАНСКОМ РЕГИОНЕ

Таблица L.1

Минимальные изоляционные промежутки в воздухе

Номинальное рабочее напряжение, В Минимальный воздушный зазор, мм
между фазами между фазой и землей
(150) <1> 125 и менее 12,7 12,7
(151) <1> 126 - 250 19,1
251 - 600 25,4
<1> Значения в скобках - для Мексики.

Таблица L.2

Минимальные изоляционные промежутки в воздухе

Номинальное рабочее напряжение, В Минимальный воздушный зазор, мм
между фазами между фазой и землей
(150) <1> 125 и менее 19,1 12,7
(151) <1> 126 - 250 31,8
251 - 600 50,8 25,4
<1> Значения в скобках - для Мексики.

Примечание - Это далеко не полный список нормативов, действующих на североамериканском рынке.

Приложение M
(рекомендуемое)

ПРЕДЕЛЫ ПРЕВЫШЕНИЯ ТЕМПЕРАТУРЫ, ПРИНЯТЫЕ В СЕВЕРНОЙ АМЕРИКЕ

Ограничения по превышению температуры, принятые в Северной Америке, основаны на допустимых превышениях для присоединяемых устройств (кабельные соединители, кабели, автоматические выключатели и т.д.). Их следует принять во внимание для обеспечения работоспособности и безопасности всей электрической системы. Данные требования регулируются Национальным электрическим кодом, NFPA 70 [9], раздел 110, 14-C "Температурные ограничения". Этот документ опубликован Национальной противопожарной ассоциацией, Квинси, Массачусетс, США. В Мексике данные требования регулируются NOM-001-SEDE [10].

Таблица M.1

Пределы превышения температуры, принятые в США

Части НКУ Превышение температуры, К
Сплошные шины 50
Пластинчатые шины 65
Зажимы, за исключением нижеуказанных 50
Зажимы для устройств, маркированных для применения с проводниками рассчитанными на 90 °C, при 75 °C 60
Зажимы для устройств, рассчитанных на 110 А и менее, маркированных для применения с проводниками рассчитанными на 75 °C 65

Приложение N
(обязательное)

РАБОЧИЙ ТОК И ПОТЕРИ МОЩНОСТИ В НЕИЗОЛИРОВАННЫХ МЕДНЫХ ШИНАХ

В следующих таблицах приведены значения для выбора рабочих токов и потерь мощности в проводниках для идеальных условий внутри НКУ (см. 10.10.2.2.3, 10.10.4.2.1 и 10.10.4.3.1). Данное приложение не распространяется на проводники, проверенные испытанием.

В электронном документе текст соответствует официальному источнику.

Формула расчета позволяет получить по данным значениям значения для других условий.

Таблица N.1

Рабочий ток и потери мощности в неизолированных медных шинах прямоугольного сечения, проложенных горизонтально и установленных на ребро, при частоте от 50 до 60 Гц (температура воздуха внутри НКУ 55 °C, рабочая температура проводника 70 °C)

Высота x толщина шин, мм Сечение шин, мм2 Одна шина на фазу
Две шины на фазу (расстояние между шинами равно толщине шин)
Рабочий ток, А Потери мощности на фазный проводник , Вт/м Рабочий ток, А Потери мощности на фазный проводник , Вт/м
12 x 2 23,5 1,00 70 4,5 1,01 118 6,4
15 x 2 29,5 1,00 83 5,0 1,01 138 7,0
15 x 3 44,5 1,01 105 5,4 1,02 183 8,3
20 x 2 39,5 1,01 105 6,1 1,01 172 8,1
20 x 3 59,5 1,01 133 6,4 1,02 226 9,4
20 x 5 99,1 1,02 178 7,0 1,04 325 11,9
20 x 10 199,0 1,03 278 8,5 1,07 536 16,6
25 x 5 124,0 1,02 213 8,0 1,05 381 13,2
30 x 5 149,0 1,03 246 9,0 1,06 437 14,5
30 x 10 299,0 1,05 372 10,4 1,11 689 18,9
40 x 5 199,0 1,03 313 10,9 1,07 543 17,0
40 x 10 399,0 1,07 465 12,4 1,15 839 21,7
50 x 5 249,0 1,04 379 12,9 1,09 646 19,6
50 x 10 499,0 1,08 554 14,2 1,18 982 24,4
60 x 5 299,0 1,05 447 15,0 1,10 748 22,0
60 x 10 599,0 1,10 640 16,1 1,21 1118 27,1
80 x 5 399,0 1,07 575 19,0 1,13 943 27,0
80 x 10 799,0 1,13 806 19,7 1,27 1372 32,0
100 x 5 499,0 1,10 702 23,3 1,17 1125 31,8
100 x 10 999,0 1,17 969 23,5 1,33 1612 37,1
120 x 10 1200,0 1,21 1131 27,6 1,41 1859 43,5

где - потери мощности на метр;

I - рабочий ток;

- коэффициент сдвига фаз;

k - проводимость меди,

A - сечение шины;

- температурный коэффициент сопротивления, =0,0004 ;

- температура проводника.

Рабочие токи можно рассчитать для других температур окружающего воздуха внутри НКУ и/или для рабочей температуры проводника 90 °C, умножив значения по таблице N.1 на соответствующий коэффициент по таблице N.2. И тогда потери мощности можно вычислить по формуле, приведенной выше.

Таблица N.2

Коэффициент для других температур воздуха внутри НКУ и/или для другой рабочей температуры проводника

Температура воздуха внутри оболочки вокруг проводников, °C Коэффициент
Температура проводника 70 °C Температура проводника 90 °C
20 2,08 2,49
25 1,94 2,37
30 1,82 2,26
35 1,69 2,14
40 1,54 2,03
45 1,35 1,91
50 1,18 1,77
55 1,00 1,62
60 0,77 1,48

Следует учесть, что в зависимости от конструкции НКУ могут создаваться разные температуры воздуха и шин, особенно при высоких рабочих токах.

Проверку фактического превышения температуры в таких условиях проводят испытанием. Потери мощности можно рассчитать таким же способом, как в таблице N.2.

Примечание - В таблице не учтены потери, которые могут возникать за счет дополнительных вихревых токов при больших токах.

Приложение O
(рекомендуемое)

РУКОВОДСТВО ПО ПРОВЕРКЕ ПРЕВЫШЕНИЯ ТЕМПЕРАТУРЫ

O.1 Общие положения

Все НКУ при эксплуатации генерируют тепло. Исходя из особенности НКУ, происходит рассеивание тепла внутри и в прилежащем пространстве вокруг НКУ. При работе с полной нагрузкой происходит повышение вырабатываемого тепла, поэтому необходимо установление теплового равновесия и стабилизации температуры при ее превышении сверх температуры воздушной среды, окружающей НКУ.

Целью проверки превышения температуры является ее стабилизация, при значениях, которые могли бы привести к:

a) значительному повреждению или износу НКУ, или

b) превышению передачи тепла внешним проводникам с возможным последующим ухудшением эксплуатационных свойств как самих проводников, так и оборудования, к которому они подсоединены, или

c) поражению людей или животных в непосредственной близости к НКУ в нормальных рабочих условиях.

O.2 Пределы превышения температуры

Изготовитель несет ответственность за правильный выбор метода проверки превышения температуры (см. рисунок O.1).

При определении пределов превышения температуры в настоящем стандарте исходят из того, что в месте размещения НКУ среднесуточная и максимальная температуры окружающей среды не превышают 35 °C и 40 °C соответственно.

В настоящем стандарте также исходят из того, что все выходные цепи НКУ не могут быть нагружены их номинальными токами одновременно. Такое признание практической ситуации учитывается номинальным коэффициентом одновременности (НКО). При нагрузке входной цепи, не превышающей ее номинальный ток, разновременность пропорциональна пропускной способности выходных цепей в любой комбинации длительно и одновременно проводить номинальные токи без превышения температуры НКУ. НКО (т.е. нагрузку) обычно устанавливают для НКУ в целом, однако изготовитель может устанавливать его для групп цепей, например для цепей в секции.

Проверкой превышения температуры подтверждают два следующих критерия:

a) при подключении в НКУ цепь каждого типа способна проводить свой номинальный ток. Это учитывают при выборе способа ее подключения и защиты внутри НКУ, исключая тепловые эффекты, возникающие от соседних цепей в результате проведения тока;

b) не произойдет превышения сверх пределов температуры НКУ в целом, если входную цепь нагружают номинальным током, и при максимальном токе входной цепи любую комбинацию выходных цепей можно подвергнуть одновременной и длительной нагрузке номинальными токами, умноженными на НКО для НКУ.

Пределы превышения температуры НКУ устанавливает изготовитель, в основном, на основе рабочих температур в соответствии с эксплуатационными свойствами материалов, применяемых в НКУ. Настоящий стандарт определяет пределы превышения температур в интерфейсах, т.е. средствах связи НКУ с окружающими и контактирующими объектами (например, кабельные зажимы, приводные рукоятки) (см. таблицу 6).

В пределах действия настоящего стандарта проверку превышения температуры проводят испытанием, расчетом или по нормам проектирования. Допускается использовать один или комбинацию методов проверки, установленных в настоящем стандарте, для проверки характеристики превышения температуры НКУ. Изготовитель выбирает наиболее удобный метод для НКУ или его части в соответствии с объемом, конструкцией, вариантами, параметрами тока и габаритами НКУ.

В типичных назначениях на основе стандартной конструкции наиболее вероятно использование не одного метода для учета разных элементов конструкции НКУ.

O.3 Испытание

O.3.1 Общие положения

Чтобы избежать проведения ненужных испытаний, стандарт предоставляет руководство по выбору групп сопоставимых функциональных блоков. Приводит описание порядка выбора критического варианта из группы для испытания. Затем применяют нормы проектирования к установленным параметрам для других цепей, которые имеют аналогичные тепловые параметры с испытуемым критическим вариантом.

В настоящем стандарте предлагают три варианта проверки испытанием.

O.3.2 Метод a) - Проверка всего НКУ (10.10.2.3.5)

Если несколько или все цепи НКУ нагружены одновременно, то одна и та же цепь способна проводить только свой номинальный ток, умноженный на НКО (см. 5.4), из-за теплового воздействия других цепей. Поэтому для проверки номинальных токов всех цепей для каждого типа цепи необходимо отдельное испытание. Для проверки НКО проводят одно дополнительное испытание с одновременной нагрузкой всех цепей [см. методы b) и c)].

Чтобы не проводить много испытаний применяют 10.2.3.5, в котором приведен метод проверки с проведением только одного испытания с одновременной нагрузкой всех цепей. Поскольку в одном испытании нельзя отдельно проверить номинальные токи и НКО цепи, НКО принимают равным 1. В этом случае токи нагрузки равны номинальным токам.

В электронном документе текст соответствует официальному источнику.

Таков быстрый и консервативный подход к получению результата для отдельного размещения НКУ. Он обеспечивает проверку параметров выходных цепей и НКУ в одном испытании. Входную цепь и шины нагружают их номинальным током, а так как входной ток необходимо распределить по многим выходным цепям в группе, их нагружают их индивидуальными номинальными токами, когда они подключены к НКУ. Для большинства установок это нереальная ситуация, поскольку выходные цепи нормально не нагружены равномерно. Если испытанная группа функциональных блоков не содержит по одной выходной цепи каждого типа, входящего в НКУ, тогда дальнейшие испытания проводят по определению разных групп выходных цепей до тех пор, пока не установят по одной каждого типа, уже испытанных.

При такой проверке потребуется минимальное число испытаний на определение превышения температуры, однако для испытания потребуется наиболее неблагоприятное размещение, а результат не может быть применим для линейки НКУ.

O.3.3 Метод b) - Проверка каждого функционального блока отдельно и НКУ в целом (10.10.2.3.6)

При таком испытательном размещении каждый критический вариант выходной цепи испытывают отдельно на соответствие ее номинальному току, а затем НКУ в целом испытывают с входной цепью, нагруженной номинальным током, а выходные цепи как необходимые для распределения входного тока, нагруженные их номинальным током, умноженным на НКО. Испытанная группа должна содержать одну выходную цепь каждого критического варианта, включенную в НКУ. Если это не применимо, тогда испытывают дополнительные группы до тех пор, пока не будут определены все критические варианты выходной цепи.

Такой испытательный режим учитывает неравномерность нагрузки выходных цепей, что отвечает реальности большинства назначений. Однако результат метода a) применим только к испытанию НКУ отдельного варианта.

O.3.4 Метод c) - Проверка каждого функционального блока и сборной и распределительных шин отдельно, а также НКУ в целом (10.10.2.3.7)

Данный метод испытания предоставляет возможности для проверки модульных систем на превышение температуры без необходимости испытания каждой возможной комбинации цепей. Испытания на превышение температуры проводят отдельно для установления номинального параметра:

a) функциональных блоков;

b) сборных шин;

c) распределительных шин;

d) НКУ в целом.

Для проверки работоспособности НКУ в целом эти испытания затем дополняются испытанием на типовом НКУ, в котором входная цепь нагружена ее номинальным током, а выходные цепи нагружены их номинальными токами, умноженными на НКО.

Так как данный подход требует проведения большего количества испытаний, чем методы a) и b), его преимущество состоит в том, что модульную систему проверяют реже, чем НКУ особого размещения.

O.4 Расчет

O.4.1 Общие положения

В настоящем стандарте приведены два метода проверки характеристики превышения температуры с помощью расчета.

O.4.2 Односекционное НКУ с номинальным током не свыше 630 А

Очень простой способ проверки превышения температуры - убедиться, что общие потери мощности комплектующих элементов и проводников внутри НКУ не превышают способность оболочки рассеивать тепло. Однако, область такого подхода очень ограничена, поскольку, чтобы избежать проблем с точками, где превышения температуры может быть выше допустимых значений, следует снизить до 80% номинальные параметры всех комплектующих элементов по сравнению с их номинальными токовыми параметрами без оболочки.

O.4.3 НКУ с номинальными токами не свыше 1600 А

Проверку превышения температуры проводят расчетом в соответствии с IEC 60890 с дополнительными ограничениями. Область данного подхода ограничена и 1600 А, комплектующие элементы имеют пониженные до 80% и ниже параметры по сравнению с их параметрами без оболочки, а горизонтальные отсеки должны иметь не менее 50% открытого пространства.

O.5 Нормы проектирования

Настоящий стандарт допускает в определенных обстоятельствах использовать производные параметры от параметров аналогичных вариантов, уже прошедших испытания. Например, если номинальный ток двухслойной шины установлен при испытании, допускается устанавливать параметр, равный 50% уже испытанного для однослойной шины одинаковой ширины и толщины с уже испытанной при условии, что все остальные свойства совпадают.

Кроме того, номинальные токи всех цепей в группе сопоставимых функциональных блоков (все устройства должны быть одного и того же типоразмера и принадлежать к одной и той же серии) могут быть производными по одному испытанию на превышение температуры на критическом варианте в группе. В качестве примера может служить испытание выходного автоматического выключателя с номиналом 250 А и установление для него такого же номинала в НКУ. Тогда, имея выключатель такого же типоразмера, отвечающий другим особым условиям, проверяют путем расчета номинал автоматического выключателя на 160 А в такой же оболочке.

И наконец, с точки зрения превышения температуры, существуют очень точные нормы проектирования, которые позволяют производить замену устройства аналогичным устройством другой серии и даже другого производителя без испытаний. В этом случае, кроме того, что физические параметры должны быть те же самые, потери мощности и превышение температуры на зажимах заменяющего устройства, испытанного по своему собственному стандарту, должны быть не выше, чем у заменяемого.

Примечание - При замене устройств все другие критерии работоспособности, в частности устойчивость к короткому замыканию, должны быть учтены и должны соответствовать настоящему стандарту до проведения проверки НКУ.

Рисунок O.1 - Структурная схема методов проверки превышения температуры

Приложение P
(обязательное)

ПРОВЕРКА УСТОЙЧИВОСТИ К КОРОТКОМУ ЗАМЫКАНИЮ КОНСТРУКЦИЙ ШИН СРАВНЕНИЕМ МЕТОДОМ РАСЧЕТА С ИСПЫТАННОЙ КОНТРОЛЬНОЙ КОНСТРУКЦИЕЙ

P.1 Общие положения

В данном приложении описан метод оценки устойчивости к короткому замыканию конструкций шин НКУ сравнением оцениваемого НКУ с НКУ, проверенным испытанием (см. 10.11.5).

P.2 Термины и определения

В настоящем приложении использованы следующие термины и определения.

P.2.1 испытанная конструкция шин (ИК) (tested busbar structure (TS)): Конструкция, размещение и оснащение которой приведено в конструкторской документации, перечнях деталей, описаниях протоколов испытаний (рисунок P.1).

1 - шины; 2 - опоры; 3 - соединения шин; 4 - выводы подсоединения аппаратов; a, b, ... - размеры элементов конструкции

Рисунок P.1 - Испытанная конструкция шин (ИК)

P.2.2 не испытанная конструкция шин (НИК) (поп tested busbar structure (NTS)): Конструкция, для которой требуется проверка на устойчивость к короткому замыканию (рисунок P.2).

1 - шины; 2 - опоры; 3 - соединения шин; 4 - выводы подсоединения аппаратов; a, b, ... - размеры элементов конструкции

Рисунок P.2 - Неиспытанная конструкция шин (НИК)

P.3 Метод проверки

Устойчивость к короткому замыканию производной конструкции, т.е. НИК, проверяют по испытанной конструкции (ИК) согласно IEC 60865-1 применением метода расчета к обеим конструкциям. Считают, что НИК обладает устойчивостью к короткому замыканию, если расчеты показывают, что НИК не должна выдерживать более высокие механические и тепловые нагрузки, чем испытанная конструкция.

P.4 Условия для применения

P.4.1 Общие положения

Необходимые изменения параметров, например, воздушных зазоров, материала, поперечного сечения и конфигурации шин, при расчетах согласно IEC 60865-1 возможны только при соблюдении следующих условий.

P.4.2 Ударный ток

Короткое замыкание может меняться только в сторону уменьшения значений.

P.4.3 Теплостойкость

Теплостойкость НИК проверяют расчетами по IEC 60865-1. Расчетное превышение температуры НИК не должно быть выше, чем для ИК.

P.4.4 Опоры шин

Изменение материала или формы опор, взятых из НКУ, проверенного испытанием, не допустимо. Могут использоваться другие опоры, но они должны быть предварительно испытаны на требуемую механическую прочность.

P.4.5 Присоединение шин, оборудования

Тип присоединений шин и оборудования предварительно проверяют испытанием.

P.4.6 Угловые конфигурации шин

Действие IEC 60865-1 распространяется только на шины прямой конфигурации. Угловые конфигурации шин могут рассматриваться как разновидность прямых конфигураций, если по углам предусмотрены опоры (см. рисунок P.3).

1 - шины; 2 - опоры; 3 - выводы подсоединения аппаратов; , - размеры элементов конструкции

Рисунок P.3 - Угловая конфигурация шин с опорами по углам

P.4.7 Специальные расчеты для колебания проводников

Для расчетов в соответствии с IEC 60865-1 на испытанной конструкции (ИК) используют значения следующих показателей: , и , при этом:

где - соотношение динамического и статического напряжения основного провода;

- соотношение динамического и статического напряжения не основного провода;

- соотношение динамического и статического давления на опору.

Для НИК ==1,0.

определяют расчетным путем по IEC 60865-1, но если < 1,0, его заменяют на = 1,0.

Приложение ДА
(справочное)

СВЕДЕНИЯ О СООТВЕТСТВИИ МЕЖГОСУДАРСТВЕННЫХ СТАНДАРТОВ ССЫЛОЧНЫМ МЕЖДУНАРОДНЫМ СТАНДАРТАМ

Таблица ДА.1

Обозначение и наименование ссылочного международного стандарта Степень соответствия Обозначение и наименование соответствующего межгосударственного стандарта
IEC 60068-2-2:2007 Испытания на воздействие внешних факторов. Часть 2. Испытания. Испытание B: Сухое тепло NEQ ГОСТ 28200-89 (МЭК 68-2-2-74) Основные методы испытаний на воздействие внешних факторов. Часть 2. Испытания. Испытание B: Сухое тепло
IEC 60068-2-11:1981 Испытания на воздействие внешних факторов. Часть 2. Испытания. Испытание Ka: Соляной туман NEQ ГОСТ 28207-89 (МЭК 68-2-11-81) Основные методы испытаний на воздействие внешних факторов. Часть 2. Испытания. Испытание Ka: Соляной туман
IEC 60068-2-30:2005 Испытания на воздействие внешних факторов. Часть 2. Испытания. Испытание Db и руководство: Влажное тепло, циклическое (12 + 12 - часовой цикл) NEQ ГОСТ 28216-89 (МЭК 68-2-30-87) Основные методы испытаний на воздействие внешних факторов. Часть 2. Испытания. Испытание Db и руководство: Влажное тепло, циклическое (12 + 12-часовой цикл)
IEC 60073:2002 Основополагающие принципы и принципы безопасности для интерфейса человек-машина, маркировка и идентификация. Принципы кодирования для индикаторов и пускателей - <*>
IEC 60085:2007 Электрическая изоляция. Классификация по термическим свойствам - <*>
IEC 60216 Материалы электроизоляционные. Характеристики теплостойкости (все части) - <*>
IEC 60227-3:1993 Кабели с ПВХ изоляцией на номинальные напряжения до 450/750 В включительно. Часть 3. Кабели без оболочки для стационарной прокладки - <*>
IEC 60245-3:1994 Кабели с резиновой изоляцией на номинальные напряжения до 450/750 В включительно. Часть 3. Кабели с нагревостойкой кремнийорганической изоляцией - <*>
IEC 60245-4:1994 Кабели с резиновой изоляцией на номинальные напряжения до 450/750 В включительно. Часть 4. Гибкие кабели и шнуры - <*>
IEC 60364 Электрические низковольтные установки зданий (все части) MOD ГОСТ 30331.1-95 (МЭК 364-1-72, МЭК 364-2-70) <1> Электроустановки зданий. Основные положения
<1> На территории Российской Федерации действует ГОСТ 30331.1-2013 (IEC 60364-1:2005) "Электроустановки низковольтные. Часть 1. Основные положения, оценка общих характеристик, термины и определения".
IEC 60364-4-41:2005 Электрические установки зданий. Часть 4-41. Защита для обеспечения безопасности. Защита от электрического удара MOD ГОСТ 30331.3-95 (МЭК 364-4-41-92) <1> Электроустановки зданий. Часть 4. Требования по обеспечению безопасности. Защита от поражения электрическим током
<1> На территории Российской Федерации действует ГОСТ Р 50571.3-94 (МЭК 364-4-41-92).
IEC 60364-4-44:2007 Электрические установки низкого напряжения. Часть 4-44. Защита для обеспечения безопасности. Защита от резких отклонений напряжения и электромагнитных возмущений - <*>
IEC 60364-5-52:2009 Электрические установки зданий. Часть 5-52. Выбор и установка электрооборудования. Системы проводки - <*>
IEC 60364-5-53:2001 Электрические установки зданий. Часть 5-53. Выбор и установка электрооборудования. Изоляция, коммутационная аппаратура и механизмы управления - <*>
IEC 60364-5-54:2011 Низковольтные электрические установки зданий. Часть 5-54. Выбор и монтаж электрооборудования. Установка заземления, защитных проводников MOD ГОСТ 30331.10-2001 (МЭК 364-5-54-80) <2> Электроустановки зданий. Часть 5. Выбор и монтаж электрооборудования. Глава 54. Заземляющие устройства и защитные проводники
<2> На территории Российской Федерации действует ГОСТ Р 50571.5.54-2013/МЭК 60364-5-54:2011 "Электроустановки низковольтные. Часть 5-54. Выбор и монтаж электрооборудования. Заземляющие устройства, защитные проводники и защитные проводники уравнивания потенциалов".
IEC 60439 (все части) Низковольтные комплектные устройства распределения и управления    
IEC 60445:2010 Интерфейс человек-машина, маркировка, идентификация. Основные принципы и принципы безопасности. Идентификация выводов, концов проводов и проводников электрооборудования   <*>
IEC 60447:2004 Интерфейс человек-машина. Основные принципы безопасности, маркировка и идентификация. Принципы включения   <*>
IEC 60529:2001 Степени защиты, обеспечиваемые корпусами (Код IP) IDT ГОСТ 14254-96 (МЭК 529-89) Степени защиты, обеспечиваемые оболочками (код IP)
IEC 60664-1:2007 Координация изоляции для оборудования в низковольтных системах. Часть 1. Принципы, требования и испытания   <*>
IEC 60695-2-10:2000 Испытание на пожарную опасность. Часть 2-10. Методы испытания с применением накаленной/нагретой проволоки. Аппаратура и общие положения методики испытания накаленной проволокой NEQ ГОСТ 27483-87 (МЭК 695-2-1-80) Испытания на пожароопасность. Методы испытаний. Испытания нагретой проволокой
IEC 60695-2-11:2000 Испытания на пожароопасность. Часть 2-11. Методы испытаний раскаленной/горячей проволокой. Метод испытания конечной продукции на воспламеняемость под действием раскаленной проволоки NEQ ГОСТ 27483-87 (МЭК 695-2-1-80) Испытания на пожароопасность. Методы испытаний. Испытания нагретой проволокой
IEC 60695-11-5:2004 Испытание на пожарную опасность. Часть 11-5. Испытательные пламенем. Метод испытания игольчатым пламенем. Аппаратура, поверочное устройство и руководство NEQ ГОСТ 27484-87 (МЭК 695-2-2-80) Испытания на пожароопасность. Методы испытаний. Испытания горелкой с игольчатым пламенем
IEC 60865-1:1993 Токи короткого замыкания. Расчет эффектов. Часть 1. Определения и методы расчетов   -
IEC 60890:1987 Узлы низковольтной аппаратуры и механизмов управления, частично подвергшиеся типовым испытаниям. Методы оценки повышения температуры с помощью экстраполяции   <*>
IEC 60947-1:2007 Аппаратура распределения и управления низковольтная. Часть 1. Общие положения MOD ГОСТ 30011.1-2012 (IEC 60947-1:2004) Аппаратура распределения и управления низковольтная. Часть 1. Общие положения
IEC 61000-4-2:2008 Электромагнитная совместимость. Часть 4-2. Методики испытаний и измерений. Испытание на невосприимчивость к электростатическому разряду MOD ГОСТ 30804.4.2-2013 (IEC 61000-4-2:2008) Совместимость технических средств электромагнитная. Устойчивость к электростатическим разрядам. Требования и методы испытаний
IEC 61000-4-3:2006 Электромагнитная совместимость. Часть 4-3. Методики испытаний и измерений. Испытание на устойчивость к воздействию электромагнитного поля с излучением на радиочастотах MOD ГОСТ 30804.4.3-2013 (IEC 61000-4-3:2006) Совместимость технических средств электромагнитная. Устойчивость к радиочастотному электромагнитному полю. Требования и методы испытаний
IEC 61000-4-4:2004 Электромагнитная совместимость. Часть 4-4. Методы испытаний и измерений. Испытание на невосприимчивость к быстрым переходным процессам и всплескам MOD ГОСТ 30804.4.4-2002 (IEC 61000-4-4:2004) Совместимость технических средств электромагнитная. Устойчивость к наносекундным импульсным помехам. Требования и методы испытаний
IEC 61000-4-5:2005 Электромагнитная совместимость. Часть 4: Методики испытаний и измерений. Раздел 5: Испытание на невосприимчивость к выбросу напряжения MOD ГОСТ 30804.4.5-2002 (IEC 61000-4-5:2005) <1> Совместимость технических средств электромагнитная. Устойчивость к микросекундным импульсным помехам большой энергии. Требования и методы испытаний
<1> На территории Российской Федерации действует ГОСТ Р 51317.4.5-99 (МЭК 61000-4-5:95).
IEC 61000-4-6:2008 Электромагнитная совместимость. Часть 4-6. Методики испытаний и измерений. Защищенность от помех по цепи питания, наведенных радиочастотными полями MOD ГОСТ 30804.4.6-2002 (IEC 61000-4-6:96) <1> Совместимость технических средств электромагнитная. Устойчивость к кондуктивным помехам, наведенным радиочастотными электромагнитными полями. Требования и методы испытаний
<1> На территории Российской Федерации действует ГОСТ Р 51317.4.6-99 (МЭК 61000-4-6:96).
IEC 61000-4-8:2009 Электромагнитная совместимость. Часть 4-8: Методики испытаний и измерений. Испытание на помехоустойчивость в условиях магнитного поля промышленной частоты - <*>
IEC 61000-4-11:2004 Электромагнитная совместимость. Часть 4-11. Методики испытаний и измерений. Кратковременные понижения напряжения, короткие отключения MOD ГОСТ 30804.4.11-2013 (IEC 61000-4-11:2004) Совместимость технических средств электромагнитная. Устойчивость к динамическим изменениям напряжения электропитания. Требования и методы испытаний
IEC 61000-4-13:2002 Электромагнитная совместимость. Часть 4-13. Методики испытаний и измерений. Испытания низкочастотной помехозащитности от воздействия гармоник и промежуточных гармоник, включая сетевые сигналы, передаваемые в сеть переменного тока - <*>
IEC 61000-6-4:2006 Электромагнитная совместимость. Часть 6-4. Общие стандарты. Стандарт на излучение для окружающей среды промышленных предприятий MOD ГОСТ 30804.6.4-2013 (IEC 61000-6-4:2006) Совместимость технических средств электромагнитная. Помехоэмиссия от технических средств, применяемых в промышленных зонах. Нормы и методы испытаний
IEC 61082-1:2006 Документы, используемые в электротехнике. Подготовка. Часть 1. Правила - <*>
IEC 61180 Техника испытаний высоким напряжением низковольтного оборудования (все части) - <*>
IEC/TS 61201:2007 Использование обычных пределов напряжения прикосновения. Руководство по применению - <*>
IEC 61439 (все части) Низковольтные комплектные устройства распределения и управления - <*>
IEC 62208 Корпуса пустотелые для комплектной низковольтной коммутационной аппаратуры и механизмов управления. Общие требования - <*>
IEC 62262:2002 Электрооборудование. Степени защиты, обеспечиваемой оболочками от наружного механического удара (код IK) - <*>
IEC 81346-1 Промышленные системы, промышленные установки и оборудование, промышленная продукция. Принципы назначения и стандартные ссылки. Часть 1. Основные положения - <*>
IEC 81346-2 Промышленные системы, промышленные установки и оборудование, промышленная продукция. Принципы назначения и стандартные ссылки. Часть 2. Классификация объектов и коды классов - <*>
ISO 178:2001 Пластмассы. Метод испытания на статический изгиб NEQ ГОСТ 4648-71 Пластмассы. Метод испытания на статический изгиб
ISO 179 (все части) Пластмассы. Определение ударной прочности по Шарпи   <*>
ISO 2409:2007 Краски и лаки. Испытание методом решетчатого надреза   <*>
ISO 4628-3:2003 Краски и лаки. Оценка степени разрушения покрытий. Обозначение количества и размера дефектов и интенсивности однородных изменений внешнего вида. Часть 3. Оценка степени ржавления   <*>
ISO 4892-2:2006 Пластмассы. Методы экспонирования под лабораторными источниками света. Часть 2. Лампы с ксеноновой дугой   <*>
CISPR 11:2009 Совместимость технических средств электромагнитная. Радиопомехи индустриальные от промышленных, научных, медицинских и бытовых (ПНМБ) высокочастотных устройств. Нормы и методы испытаний MOD ГОСТ 30805.11-2002 (CISPR 11:1997) <1> Совместимость технических средств электромагнитная. Радиопомехи индустриальные от промышленных, научных, медицинских и бытовых (ПНМБ) высокочастотных устройств. Нормы и методы испытаний
<1> На территории Российской Федерации действует ГОСТ Р 51318.11-2006 (СИСПР 11:2004).
CISPR 22:2006 Совместимость технических средств электромагнитная. Радиопомехи индустриальные от оборудования информационных технологий. Нормы и методы испытаний MOD ГОСТ 30805.22-2013 (CISPR 22:2006) Совместимость технических средств электромагнитная. Радиопомехи индустриальные от оборудования информационных технологий. Нормы и методы испытаний
<*> Соответствующий межгосударственный стандарт отсутствует. До его принятия рекомендуется использовать перевод на русский язык данного международного стандарта или гармонизированный с ним национальный (государственный) стандарт, на территории которой применяется настоящий стандарт. Информацию о наличии перевода данного межгосударственного стандарта в национальном фонде стандартов или в ином месте, а также о действии на территории страны соответствующего национального (государственного) стандарта может быть приведена в национальных информационных данных, дополняющих настоящий стандарт.

Примечание - В настоящем приложении использованы следующие условные обозначения степени соответствия стандартов:
- IDT - идентичные стандарты;
- MOD - модифицированные стандарты;
- NEQ - неэквивалентные стандарты.

БИБЛИОГРАФИЯ

[1] IEC 60092-302:1997 Electrical installations in ships - Part 302: Low-voltage switchgear and controlgear assemblies
(Электроустановки на морском транспорте. Часть 302. Низковольтные комплектные устройства распределения и управления)
[2] IEC 60204 Safety of machinery - Electrical equipment of machines
(Безопасность оборудования. Электрооборудование машин и оборудования)
[3] IEC 60050-441:1984 International Electrotechnical Vocabulary - Chapter 441: Switchgear, controlgear and fuses
(Международный электротехнический словарь. Раздел 441. Аппаратура распределения и управления, предохранители)
[4] IEC 60050-195:1998 International Electrotechnical Vocabulary - Part 195: Earthing and protection against electric shock
(Международный электротехнический словарь. Часть 195. Заземление и защита от поражения электрическим током)
[5] IEC 60050-151:2001 International Electrotechnical Vocabulary - Part 151: Electrical and magnetic devices
(Международный электротехнический словарь. Часть 151. Электрические и электромагнитные устройства)
[6] IEC 60050-604:1987 International Electrotechnical Vocabulary - Chapter 604: Generation, transmission and distribution of electricity - Operation
(Международный электротехнический словарь. Раздел 604. Выработка, передача и распределение электроэнергии - Управление)
[7] IEC 60050-826:2004 International Electrotechnical Vocabulary - Part 826: Electrical installations
(Международный электротехнический словарь. Часть 826. Электроустановки)
[8] IEC 60050-601:1985 International Electrotechnical Vocabulary - Chapter 601: Electrical installations
(Международный электротехнический словарь. Раздел 601. Выработка, передача и распределение электроэнергии - Основные положения)
[9] NFPA 70 National Electric Code
[10] NOM-001-SEDE Documento completo de la Norma Oficial Mexicana de Instalaciones (). 001 SEDE 2012 y Vinculada a la NOM 001 SEDE 2005, con leyes, reglamentos, PECs y NOMs
[11] IEC 61140:2001 Protection against electric shock - Common aspects for installation and equipment
(Защита от поражения электрическим током. Общие аспекты электроустановок и электрооборудования)
[12] IEC/TR 61912-1:2007 Low-voltage switchgear and controlgear - Overcurrent protective devises - Part 1: Application of short ratings
(Низковольтная коммутационная аппаратура и аппаратура управления. Устройства защиты от сверхтоков. Часть 1. Применение характеристик короткого замыкания)
[13] IEC/TR 61912-2:2009 Low-voltage switchgear and controlgear - Overcurrent protective devises - Part 2: Selectivity under overcurrent condition
(Низковольтная коммутационная и защитная аппаратура. Устройства защиты от сверхтоков. Часть 2. Селективность в условиях сверхтоков)
[14] EC 60204-1 Safety of machinery - Electrical equipment of machines - Part 1: General requirements
(Безопасность оборудования. Электрооборудование машин и оборудования. Часть 1. Основные требования)
[15] IEC 60417-SN:2002 Graphical symbols for use on equipment
(Графические символы, применяемые для оборудования)
[16] SANS 10142-1 National Electric Code
[17] IEC 60228:2004 Conductors of insulated cables
(Проводники изолированных кабелей)
[18] IEC 60112:2003 Method for the determination of the proof and the comparative tracking indices of solid insulating materials
(Метод определения сравнительного и контрольного индексов трекингостойкости твердых изоляционных материалов)
[19] IEC 60502-1:2004 Power cables with extruded insulation and their accessories for rated voltages from 1 kV (Um = 1,2 kV) up to 30 kV (Um = 36 kV) - Part 1: Cables for rated voltages of 1 kV (Um = 1,2 kV) and 3 kV (Um = 3,6 kV)
(Силовые кабели с экструдированной сплошной изоляцией и их электроустановочные устройства на номинальные напряжения от 1 кВ (Um = 1,2 кВ) до 30 кВ (Um = 36 кВ). Часть 1. Кабели на номинальные напряжения 1 кВ (Um = 1,2 кВ) и 3 кВ (Um = 3,6 кВ))
[20] IEC 60227-4:1992 Polyvinyl chloride insulated cables of rated voltages up to and including 450/750 V - Part 4: Sheathed cables for fixed wiring
(Кабели с поливинилхлоридной изоляцией на номинальное напряжение до 450/750 В включительно. Часть 4. Кабели в оболочке для стационарной прокладки
[21] EC 61000-6-2 Electromagnetic compatibility (EMC) - Part 6-2: Generic standards - Immunity for industrial environments
(Электромагнитная совместимость (ЭМС). Часть 6-2. Основной стандарт. Устойчивость к электромагнитным помехам технических средств, применяемых в промышленных зонах)
[22] IEC 61000-6-1 Electromagnetic compatibility (EMC) - Part 6-1: Generic standards - Immunity for residential, commercial and light-industrial environments
(Электромагнитная совместимость (ЭМС). Часть 6-2. Основной стандарт. Устойчивость к электромагнитным помехам технических средств, применяемых в общественных, коммерческих и вспомогательных промышленных зонах)
[23] IEC 61000-6-3 Electromagnetic compatibility (EMC) - Part 6-1: Generic standards - Emission standard for residential, commercial and light-industrial environments
(Электромагнитная совместимость (ЭМС). Часть 6-3. Основной стандарт. Стандартные помехи технических средств, применяемых в общественных, коммерческих и вспомогательных промышленных зонах)