Щитки распределительные для жилых зданий. Общие технические условия. ГОСТ 32395-2020

(утв. Приказом Росстандарта от 20.10.2020 N 873-СТ)
Редакция от 20.10.2020 — Действует с 01.03.2021

Данный документ приведен с учетом Поправки, опубликованной в "ИУС", N 1, 2023.


МЕЖГОСУДАРСТВЕННЫЙ СТАНДАРТ

ЩИТКИ РАСПРЕДЕЛИТЕЛЬНЫЕ ДЛЯ ЖИЛЫХ ЗДАНИЙ

ОБЩИЕ ТЕХНИЧЕСКИЕ УСЛОВИЯ

Distribution boards for dwelling-houses.
General specifications

ГОСТ 32395-2020

Дата введения
1 марта 2021 года

Предисловие

Цели, основные принципы и общие правила проведения работ по межгосударственной стандартизации установлены ГОСТ 1.0 "Межгосударственная система стандартизации. Основные положения" и ГОСТ 1.2 "Межгосударственная система стандартизации. Стандарты межгосударственные, правила и рекомендации по межгосударственной стандартизации. Правила разработки, принятия, обновления и отмены"

Сведения о стандарте

1 РАЗРАБОТАН Акционерным обществом "Диэлектрические кабельные системы" (АО "ДКС")

2 ВНЕСЕН Федеральным агентством по техническому регулированию и метрологии

3 ПРИНЯТ Межгосударственным советом по стандартизации, метрологии и сертификации (протокол от 30 сентября 2020 г. N 133-П)

За принятие проголосовали:

Краткое наименование страны по МК (ИСО 3166) 004-97 Код страны по МК (ИСО 3166) 004-97 Сокращенное наименование национального органа по стандартизации
Беларусь BY Госстандарт Республики Беларусь
Киргизия KG Кыргызстандарт
Россия RU Росстандарт
Туркмения TM Главгосслужба "Туркменстандартлары"
Узбекистан UZ Узстандарт

4 Приказом Федерального агентства по техническому регулированию и метрологии от 20 октября 2020 г. N 873-ст межгосударственный стандарт ГОСТ 32395-2020 введен в действие в качестве национального стандарта Российской Федерации с 1 марта 2021 г.

5 ВЗАМЕН ГОСТ 32395-2013

Информация о введении в действие (прекращении действия) настоящего стандарта и изменений к нему на территории указанных выше государств публикуется в указателях национальных стандартов, издаваемых в этих государствах, а также в сети Интернет на сайтах соответствующих национальных органов по стандартизации.

В случае пересмотра, изменения или отмены настоящего стандарта соответствующая информация будет опубликована на официальном интернет-сайте Межгосударственного совета по стандартизации, метрологии и сертификации в каталоге "Межгосударственные стандарты"

Введение

Настоящий стандарт разработан с целью нормативного обеспечения при проектировании и производстве щитков, отвечающих современным требованиям электрификации квартир жилых зданий различной комфортности, а также требованиям серии стандартов ГОСТ IEC 61439 "Устройства комплектные низковольтные распределения и управления".

Стандарт содержит требования к щиткам, применяемым как в жилых зданиях массового строительства, так и в зданиях, строящихся по нетиповым проектам, а также в коттеджах, сельских жилых домах, дачных домиках и других небольших строениях.

В настоящем стандарте содержатся требования, касающиеся обеспечения возможности применения щитков в электроустановках вновь строящихся жилых зданий и действующего жилого фонда с системами заземления TN-S, TN-C-S и TN-C в соответствии с ГОСТ 30331.1.

Стандартом предусматривается применение в щитках автоматических выключателей, управляемых дифференциальным током, со встроенной защитой от сверхтока (АВДТ) по ГОСТ IEC 61009-1 и ГОСТ IEC 62423, автоматических выключателей, управляемых дифференциальным током, без встроенной защиты от сверхтока (ВДТ) по ГОСТ IEC 61008-1, устройств защиты бытового и аналогичного назначения при дуговом пробое (УЗДП) по ГОСТ IEC 62606, устройств защиты от импульсных перенапряжений (УЗИП) ГОСТ IEC 61643-11, а также применение приборов и аппаратов для дистанционного съема данных и/или дистанционного контроля, и/или дистанционного (автоматического) управления режимом электропотребления. Настоящим стандартом введена соответствующая классификация щитков по наличию или отсутствию таких приборов и аппаратов.

В настоящем стандарте учтены требования, установленные к распределительным устройствам, используемым в местах, к которым возможен доступ неквалифицированному персоналу. Предусмотрены два способа защиты от поражения электрическим током, определяемые классами I и II по ГОСТ 12.2.007.0.

Стандарт не устанавливает требований к проверке щитков на воздействие тока короткого замыкания, поскольку номинальный кратковременно допустимый ток или номинальный условный ток короткого замыкания, не превышает 10 кА.

Настоящий стандарт содержит методику определения рабочих токов вводных и защитных коммутационных аппаратов, исходя из допустимых норм нагрева аппаратов и других элементов щитков, установленных в ГОСТ IEC 61439-1.

Методика использует значения коэффициентов одновременности по ГОСТ IEC 61439-3.

В стандарте содержатся требования к щиткам, имеющим встроенные отсеки для слаботочных устройств, а также предусматривающих возможность поставки потребителю отдельно оболочек квартирных щитков для последующего их заполнения аппаратурой согласно инструкции изготовителя.

В стандарт включено приложение Е с рекомендациями по выбору и подключению устройств защиты от импульсных перенапряжений УЗИП.

1 Область применения

1.1 Настоящий стандарт распространяется на распределительные щитки, применяемые в жилых зданиях для поквартирного и внутриквартирного распределения электроэнергии и учета ее потребления, а также для защиты распределительных и групповых линий цепей при перегрузках и коротких замыканиях, а также от дугового пробоя (искрения).

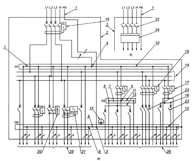
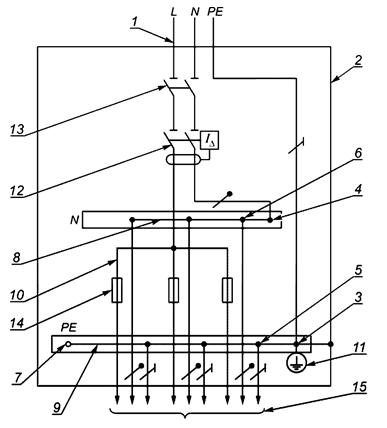
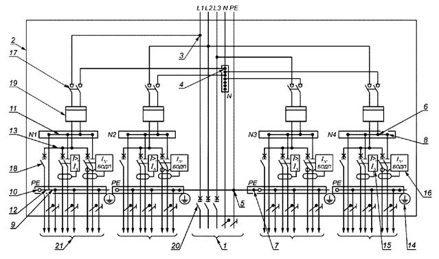
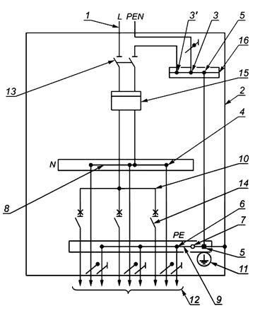
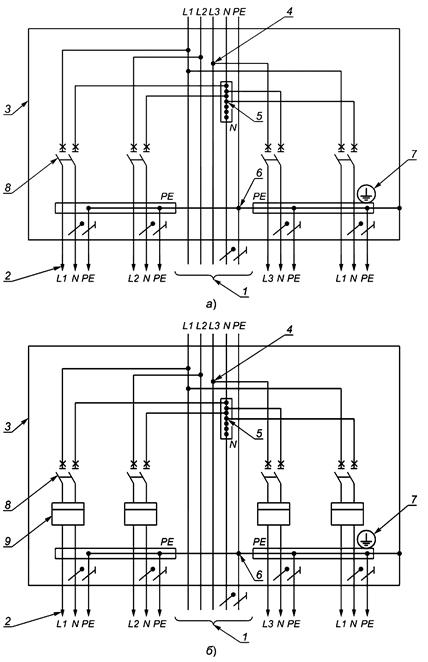
1.2 Стандарт устанавливает требования к щиткам, присоединяемым к цепям напряжением 230 и 400/230 В трехфазного переменного тока частотой 50 - 60 Гц в электроустановках с системами заземления TN-S, TN-C-S, TN-C по ГОСТ 30331.1 (схемы щитков приведены в приложении А).

1.3 Стандарт устанавливает требования к щиткам, применяемым в многоквартирных жилых зданиях массового строительства (далее - здания массового строительства), в многоквартирных жилых зданиях, строящихся по индивидуальным проектам (далее - индивидуальные здания), а также в коттеджах, индивидуальных сельских домах и садовых домиках (далее - одноквартирные жилые дома).

1.4 Виды климатических исполнений щитков - У3, УХЛ3, УХЛ4, УХЛ4.1, УХЛ4.2 по ГОСТ 15150 и ГОСТ 15543.1.

1.5 Щитки могут устанавливаться в местах, доступных при эксплуатации неквалифицированному персоналу для выполнения только коммутационных операций.

1.6 Стандарт может быть использован в сочетании с техническими условиями на щитки для подтверждения соответствия.

1.7 Стандарт применяют в комплексе с ГОСТ IEC 61439-3.

2 Нормативные ссылки

В настоящем стандарте использованы нормативные ссылки на следующие межгосударственные стандарты:

ГОСТ 2.601 <1> Единая система конструкторской документации. Эксплуатационные документы

<1> В Российской Федерации действует ГОСТ Р 2.601-2019 "Единая система конструкторской документации. Эксплуатационные документы".

ГОСТ 9.032 Единая система защиты от коррозии и старения. Покрытия лакокрасочные. Группы, технические требования и обозначения

ГОСТ 9.302 Единая система защиты от коррозии и старения. Покрытия металлические и неметаллические неорганические. Методы контроля

ГОСТ 9.303 Единая система защиты от коррозии и старения. Покрытия металлические и неметаллические неорганические. Общие требования к выбору

ГОСТ 9.401 Единая система защиты от коррозии и старения. Покрытия лакокрасочные. Общие требования и методы ускоренных испытаний на стойкость к воздействию климатических факторов

ГОСТ 9.410 Единая система защиты от коррозии и старения. Покрытия порошковые полимерные. Типовые технологические процессы

ГОСТ 12.2.007.0 Система стандартов безопасности труда. Изделия электротехнические. Общие требования безопасности

ГОСТ 12.4.026 Система стандартов безопасности труда. Цвета сигнальные, знаки безопасности и разметка сигнальная. Назначение и правила применения. Общие технические требования и характеристики. Методы испытаний

ГОСТ 10434 Соединения контактные электрические. Классификация. Общие технические требования

ГОСТ 14192 Маркировка грузов

ГОСТ 14254 Степени защиты, обеспечиваемые оболочками (Код IP)

ГОСТ 15140 Материалы лакокрасочные. Методы определения адгезии

ГОСТ 15150 Машины, приборы и другие технические изделия. Исполнения для различных климатических районов. Категории, условия эксплуатации, хранения и транспортирования в части воздействия климатических факторов внешней среды

ГОСТ 15543.1 Изделия электротехнические. Общие требования в части стойкости к климатическим внешним воздействующим факторам

ГОСТ 16962.1 (IEC 68-2-1-74) Изделия электротехнические. Методы испытаний на устойчивость к климатическим внешним воздействующим факторам

ГОСТ 16962.2 Изделия электротехнические. Методы испытаний на стойкость к механическим внешним воздействующим факторам

ГОСТ 17516.1 Изделия электротехнические. Общие требования в части стойкости к механическим внешним воздействующим факторам

ГОСТ 18620 Изделия электротехнические. Маркировка

ГОСТ 20967 <1> Катанка из алюминиевого сплава. Технические условия

<1> В Российской Федерации действуют ГОСТ Р 58019-2017 "Катанка из алюминиевых сплавов марок 8176 и 8030. Технические условия", СП 256.1325800.2016 "Электроустановки жилых и общественных зданий. Правила проектирования и монтажа".

ГОСТ 21130 Изделия электротехнические. Зажимы заземляющие и знаки заземления. Конструкция и размеры

ГОСТ 21991 (IEC 447-74) Оборудование электротехническое. Аппараты электрические. Направление движения органов управления

ГОСТ 23216 Изделия электротехнические. Хранение, транспортирование, временная противокоррозионная защита, упаковка. Общие требования и методы испытаний

ГОСТ 27483 (IEC 695-2-1-80) Испытания на пожароопасность. Методы испытаний. Испытания нагретой проволокой

ГОСТ 27924 (IEC 695-2-3-84) Испытания на пожароопасность. Методы испытаний. Испытания на плохой контакт при помощи накальных элементов

ГОСТ 30331.1 Электроустановка зданий. Часть 1. Основные положения, оценка общих характеристик, термины и определения

ГОСТ IEC 60364-5-53 <2> Электроустановки низковольтные. Часть 5-53. Выбор и монтаж электрооборудования. Отделение, коммутация и управление

<2> В Российской Федерации действует ГОСТ Р 50571.5.53-2013/МЭК 60364-5-53:2002 "Электроустановки низковольтные. Часть 5-53. Выбор и монтаж электрооборудования. Отделение, коммутация и управление".

ГОСТ IEC 61009-1 Выключатели автоматические, управляемые дифференциальным током, бытового и аналогичного назначения с встроенной защитой от сверхтоков. Часть 1. Общие требования и методы испытаний

ГОСТ IEC 61008-1 Выключатели автоматические, управляемые дифференциальным током, бытового и аналогичного назначения без встроенной защиты от сверхтоков. Часть 1. Общие требования и методы испытаний

ГОСТ IEC 60695-2-11 Испытания на пожароопасность. Часть 2-11. Основные методы испытаний раскаленной проволокой. Испытание раскаленной проволокой на воспламеняемость конечной продукции

ГОСТ IEC 60715 Аппаратура распределения и управления низковольтная. Установка и крепление на направляющих электрических аппаратов в устройствах распределения и управления

ГОСТ IEC 60900 Работа под напряжением. Ручные инструменты для работ под напряжением до 1000 В переменного и 1500 В постоянного тока. Общие требования и методы испытаний

ГОСТ IEC 61439-1 Устройства комплектные низковольтные распределения и управления. Часть 1. Общие требования

ГОСТ IEC 61439-3 Устройства комплектные низковольтные распределения и управления. Часть 3. Распределительные щиты, предназначенные для управления неквалифицированными лицами

ГОСТ IEC 61643-11 Устройства защиты от перенапряжений низковольтные. Часть 11. Устройства защиты от перенапряжений, подсоединенные к низковольтным системам распределения электроэнергии. Требования и методы испытаний

ГОСТ IEC 61643-12 <1> Устройства защиты от перенапряжений низковольтные. Принципы выбора и применения

<1> В Российской Федерации действует ГОСТ Р МЭК 61643-12-2011 "Устройства защиты от импульсных перенапряжений в низковольтных силовых распределительных системах. Принципы выбора и применения".

ГОСТ IEC 62423 Автоматические выключатели, управляемые дифференциальным током, типа F и типа B со встроенной и без встроенной защиты от сверхтоков бытового и аналогичного назначения

ГОСТ IEC 62606 Устройства защиты бытового и аналогичного назначения при дуговом пробое. Общие требования

Примечание - При пользовании настоящим стандартом целесообразно проверить действие ссылочных стандартов и классификаторов на официальном интернет-сайте Межгосударственного совета по стандартизации, метрологии и сертификации (www.easc.by) или по указателям национальных стандартов, издаваемым в государствах, указанных в предисловии, или на официальных сайтах соответствующих национальных органов по стандартизации. Если на документ дана недатированная ссылка, то следует использовать документ, действующий на текущий момент, с учетом всех внесенных в него изменений. Если заменен ссылочный документ, на который дана датированная ссылка, то следует использовать указанную версию этого документа. Если после принятия настоящего стандарта в ссылочный документ, на который дана датированная ссылка, внесено изменение, затрагивающее положение, на которое дана ссылка, то это положение применяется без учета данного изменения. Если ссылочный документ отменен без замены, то положение, в котором дана ссылка на него, применяется в части, не затрагивающей эту ссылку.

3 Термины и определения

В настоящем стандарте применены следующие термины с соответствующими определениями:

3.1 квартирный групповой щиток: Щиток, устанавливаемый в квартире и предназначенный для присоединения групповых цепей, причем счетчик электроэнергии располагается на этажном учетно-распределительном щитке (3.4).

3.2 квартирный учетно-групповой щиток: Щиток, устанавливаемый в квартире и предназначенный для присоединения групповых цепей и учета электроэнергии.

3.3 этажный распределительный щиток: Щиток, устанавливаемый на этаже (лестничных клетках, этажных коридорах) и предназначенный для присоединения квартирных учетно-групповых щитков (3.2).

3.4 этажный учетно-распределительный щиток: Щиток, устанавливаемый на этаже и предназначенный для присоединения квартирных групповых щитков (3.1) и поквартирного учета электроэнергии.

3.5 этажный учетно-распределительно-групповой щиток: Щиток, устанавливаемый на этаже и предназначенный для присоединения групповых сетей квартир и поквартирного учета электроэнергии.

3.6 этажный совмещенный щиток: Щиток по 3.3, 3.4 или 3.5, имеющий слаботочный отсек (для размещения устройств телефонной, радиотрансляционной, телевизионной и других слаботочных сетей).

3.7 питающая сеть (цепь): Сеть (цепь) от распределительного устройства подстанции или ответвления от воздушных линий электропередачи до вводного устройства, вводно-распределительного устройства, главного распределительного щита.

3.8 распределительная сеть (цепь): Сеть (цепь) от вводного устройства, вводно-распределительного устройства, главного распределительного щита до распределительных пунктов и щитков.

3.9 групповая сеть (цепь): Сеть (цепь) от щитков, распределительных пунктов и главного распределительного щита до светильников, штепсельных розеток и других электроприемников.

3.10

нулевой защитный проводник, PE: Проводник, предусмотренный в целях безопасности, например для защиты от поражения электрическим током.
[ГОСТ IEC 61439-1, пункт 3.7.4]

3.11

нулевой рабочий проводник, N: Проводник, соединенный с нейтральной точкой сети, который может быть использован для передачи электрической энергии.
[ГОСТ IEC 61439-1, пункт 3.7.5]

3.12

совмещенный нулевой рабочий и защитный проводник, PEN-проводник: Заземленный проводник, сочетающий функции нулевого защитного и нулевого рабочего проводника.
[ГОСТ IEC 61439-1, пункт 3.7.6]

3.13 корпус: Основной элемент конструкции щитка, с которым соединены другие элементы конструкции, включая оболочку.

Примечание - Оболочка может выполнять функции корпуса.

3.14

оболочка: Часть, обеспечивающая защиту оборудования от некоторых внешних воздействий и защиту по всем направлениям от прямых контактов.
[ГОСТ 14254, пункт 3.1]

3.15 оперативная панель: Панель, на которую выведены органы управления аппаратов.

3.16 номинальный ток аппарата: Интервал рабочих токов, указанный изготовителем с учетом номинального рабочего напряжения, номинальной частоты, номинального режима, категории применения и типа защитной оболочки (при наличии).

3.17 номинальный рабочий ток аппарата: Ток, указанный изготовителем с учетом номинального рабочего напряжения, номинальной частоты, номинального режима, категории применения и типа защитной оболочки (при наличии).

3.18 номинальный ток щитка: Максимальное значение тока, указанное изготовителем, который может быть распределен щитком без превышения температуры его отдельных частей выше заданных пределов (см. приложение Б) в заданных условиях эксплуатации.

3.19

устройство для защиты от импульсных перенапряжений; УЗИП [Surge Protective Device (SPD)]: Устройство, предназначенное для ограничения переходных перенапряжений и отвода импульсных токов.
[ГОСТ IEC 61643-11, пункт 3.1.1]

3.20

испытания класса I: Испытания, проводимые с максимальным импульсным током Iimp, при импульсе тока 8/20 и импульсе напряжения 1,2/50.
[ГОСТ IEC 61643-11, пункт 3.1.34.1]

3.21

испытания класса II: Испытания, проводимые с номинальным разрядным током In и импульсным напряжением 1,2/50.
[ГОСТ IEC 61643-11, пункт 3.1.34.2]

4 Классификация

Щитки классифицируют по признакам, приведенным в таблице 1.

Таблица 1

Виды щитков по признакам классификации

Признак классификации щитков Виды щитков
Квартирные Этажные
групповые учетно-групповые распределительные учетно-распределительные учетно-распределительно-групповые
1 По исполнению, относящемуся к виду установки:          
- настенное; + + + + +
- встраиваемое в нишу + + + + +
2 По наличию слаботочного отсека:          
- с отсеком; + + +
- без отсека + + +
3 По способу защиты от поражения электрическим током по ГОСТ 12.2.007.0:          
- класс I; + + + + +
- класс II + + + + +
4 По наличию аппарата на вводе щитка:          
- с аппаратом; + +
- без аппарата + <2> + <3>
5 По числу фаз ввода в щиток:          
- однофазный при <1> <= 12 кВт; + +
- трехфазный при > 12 кВт или при наличии трехфазных электроприемников + +
6 По числу фаз распределительных цепей:          
- однофазные; - - + +
- трехфазные - - + +
7 По числу фаз групповых цепей:          
- однофазные при <= 12 кВт; + + +
- однофазные и трехфазные при > 12 кВт или при наличии трехфазных электроприемников + +
8 По наличию аппарата для защиты и отключения питающей цепи (стояка):          
- с аппаратом (или предусмотренным местом для последующей его установки потребителем); + + +
- без аппарата + + +
9 По наличию приборов и аппаратов для дистанционного съема данных и/или дистанционного контроля и/или дистанционного (автоматического) управления режимом электропотребления:          
- с приборами; <4> + <4> + +
- без приборов + + + + +
10 По наличию устройств для защиты от импульсных перенапряжений (УЗИП):          
- с приборами; <5> <5> <5> <5> <5>
- без приборов + + + + +
<1> - расчетная мощность на вводе квартиры.
<2> При присоединении щитка к этажному учетно-распределительному щитку.
<3> При присоединении щитка к этажному распределительному щитку.
<4> По требованию потребителя.
<5> Согласно разработанному проектному решению с учетом анализа рисков.

Примечание - Знаки в таблице обозначают: "+", "-" - наличие или отсутствие исполнения щитка с соответствующим классификационным знаком; РИС - щитки по данному признаку не классифицируют.

5 Основные параметры

5.1 Основные параметры щитков должны соответствовать указанным в таблице 2 и приводиться в технических условиях на щитки конкретных типов.

Таблица 2

Основные параметры щитков

Наименование параметра Значение для щитков
Квартирных Этажных
групповых учетно-групповых распределительных учетно-распределительных учетно-распределительно-групповых
1 Номинальное напряжение на вводах щитков, В:          
а) зданий массового строительства; 230 230 400/230 400/230 400/230 <2>
б) индивидуальных зданий и одноквартирных жилых домов:          
- при <1> <= 12 кВт, 230 230 400/230 400/230 -
- при > 12 кВт или при наличии трехфазных токоприемников 400/230 400/230 400/230 400/230 -
2 Номинальные токи однофазных вводных аппаратов (включая автоматические выключатели, управляемые дифференциальным током) и УЗДП, А:    
- квартир <3>; - 25; 32; 40; 50; 63
- щитков 25; 32; 40; 50; 63 -
3 Номинальные токи трехфазных вводных коммутационных аппаратов (включая автоматические выключатели, управляемые дифференциальным током), А:    
- квартир; - 25; 32; 40; 50; 63
- щитков 25; 32; 40; 50; 63 -
4 Номинальные отключающие дифференциальные токи однофазных вводных автоматических выключателей, управляемых дифференциальным током, мА:    
- квартир; - 30; 100; 300
- щитков 30; 100; 300 -
5 Номинальные отключающие дифференциальные токи трехфазных вводных автоматических выключателей, управляемых дифференциальным током, мА:    
- квартир; - 100; 300
- щитков 100; 300 -
6 Номинальные токи однофазных защитных коммутационных аппаратов линий групповых цепей, А:        
- автоматических выключателей; 6; 10; 16; 25; 32; 40 - - 10; 16; 25; 32; 40
- предохранителей 6; 10 - - -
7 Номинальные токи трехфазных автоматических выключателей для защиты линии групповых цепей, А 10; 16; 25; 32; 40 -
8 Номинальные отключающие дифференциальные токи автоматических выключателей, управляемых дифференциальным током классов A, AC, B, F линий групповых цепей (одно- и трехфазных), мА 10; 30 - - 10; 30
9 Номинальные токи УЗДП линий групповых цепей (однофазных), А 6; 10; 16 6; 10; 16 6; 10; 16 6; 10; 16
9.1 Число квартир, присоединяемых к щитку 1 1 2; 3; 4; 5; 6 2; 3; 4; 5; 6 2; 3; 4; 5; 6
10 Минимальное число защитных коммутационных аппаратов линий групповых цепей в щитках зданий массового строительства:          
а) с электроплитами; 4 4 - - 4 на квартиру
б) без электроплит 3 3 - - 3 на квартиру
11 Число защитных коммутационных аппаратов линий групповых цепей в щитках индивидуальных зданий и одноквартирных жилых домов 6; 12; 18; 24; 30 <4> - - -
12 Номинальные рабочие токи вводных аппаратов квартир и вводных коммутационных аппаратов квартирных щитков, а также защитных аппаратов групповых цепей См. 5.3
13 Номинальные токи автоматических выключателей для защиты питающих цепей (стояков), А - - 100; 160; 250
14 Класс испытаний УЗИП для установки на вводе щитка:    
а) зданий массового строительства; II II
б) индивидуальных зданий и одноквартирных жилых домов I I
<1> - расчетная мощность на вводе квартиры.
<2> Напряжение групповых цепей 230 В.
<3> Вводной коммутационный аппарат квартиры - аппарат, установленный в этажном щитке, от которого запитываются либо защитные аппараты групповых цепей квартиры, расположенные в том же щитке, либо защитные коммутационные аппараты квартирного щитка. В первом случае вводной коммутационный аппарат размещен в учетно-распределительном групповом щитке, во втором - распределительном или учетно-распределительном.
<4> Указанные количества защитных коммутационных аппаратов линий групповых цепей определяют типоразмеры квартирных щитков. Фактическое их заполнение аппаратами согласно заказу в пределах номинального рабочего тока вводного аппарата квартиры (см. также 5.2).

5.2 По согласованию с потребителем изготовитель может поставлять отдельно оболочки квартирных щитков, рассчитанные на последующую установку в них потребителем защитных коммутационных аппаратов и приборов по 6.6.3 тех типов, с которыми они были испытаны.

Оболочки щитков должны сопровождаться подробной инструкцией по их заполнению, составленной на основе данных по испытанию щитков в аналогичных оболочках в объеме требований настоящего стандарта.

5.3 Значения номинальных рабочих токов вводных коммутационных аппаратов квартирных щитков и вводных коммутационных аппаратов квартир в этажных щитках, а также защитных коммутационных аппаратов линий групповых цепей должны устанавливаться в технических условиях на щитки конкретных типов в соответствии с приложением Б, при верхнем значении рабочей температуры окружающего воздуха, соответствующем климатическому исполнению по 1.4, если иные предельные значения температуры окружающего воздуха не указаны в технических условиях.

5.4 Основные размеры и масса щитков (наибольшие для каждого типоразмера) должны указываться в технических условиях на щитки конкретных типов.

5.5 Обозначение типов щитков рекомендуется формировать в соответствии с приложением В.

6 Общие технические требования

6.1 Общие требования

6.1.1 Щитки должны соответствовать требованиям настоящего стандарта, техническим условиям на щитки конкретных типов и рабочим чертежам, утвержденным в установленном порядке.

Щитки, предназначенные для экспорта, должны соответствовать также требованиям контракта.

6.1.2 По способу защиты от поражения электрическим током щитки следует изготавливать классов I и II по ГОСТ 12.2.007.0.

6.1.3 Предельно допустимые уровни напряженности электромагнитных полей частотой 50 Гц, создаваемых щитками распределительными при различных режимах их функционирования (прием и распределение электроэнергии, оперативные переключения, повреждения в схеме первичных соединений), не должны превышать на наружных сторонах оболочки щитков, устанавливаемых внутри жилых зданий:

- 0,5 кВ/м для напряженности электрического поля (E);

- 4 А/м - для напряженности магнитного поля (H) или 5 мкТл - магнитной индукции.

6.2 Конструкция

6.2.1 Щитки должны изготавливаться из материалов, обладающих стойкостью к механическим, электрическим и тепловым воздействиям, возникающим в процессе эксплуатации.

6.2.2 Конструктивные элементы щитков класса I следует изготавливать из металла с возможным сочетанием его с другими материалами.

Примечание - Щитки, в которых установлены или могут в последующем быть установлены УЗИП, должны изготавливаться из металла в сочетании с материалами, не поддерживающими горение для обеспечения пожаробезопасности.

6.2.3 Изоляционные оболочки щитков класса II, устанавливаемых на/в стенах из негорючих материалов (НГ), а также из материалов, относящихся к группе горючести Г1 (слабогорючие), Г2 (умеренно горючие) и группе воспламеняемости В1, должны обладать стойкостью к воспламенению по ГОСТ IEC 61439-3 при воздействии на них нагретой до температуры (650 +/- 10) °C проволокой.

Для более пожароопасных условий применения щитков класса II (например, в деревянных домах, части изоляционных оболочек, встраиваемые в ниши или примыкающие к стенам в закрепленном положении щитка) изоляционные оболочки должны обладать стойкостью к воспламенению при воздействии на них нагретой до температуры (850 +/- 10) °C проволокой.

6.2.4 Изоляционные детали щитков классов I и II, на которых крепят токоведущие части, должны обладать стойкостью к воспламенению при воздействии на них нагретой до температуры (960 +/- 15) °C проволокой.

Примечание - Если изоляционные оболочки используют для установки токоведущих частей на их внутренних поверхностях, то стойкость оболочки к воспламенению в этих местах должна соответствовать указанной в 6.2.4.

6.2.5 Теплостойкость оболочек щитков класса II, а также изоляционных деталей, на которых крепят токоведущие части щитков, должна соответствовать ГОСТ IEC 61439-3.

6.2.6 Оболочки щитков класса I должны обладать стойкостью к коррозии.

6.2.7 Оболочки щитков должны обладать стойкостью к механическим ударам энергией 0,7 Дж.

6.2.8 Съемные части оболочек щитков должны демонтироваться только с применением инструмента.

Механическая прочность винтовых средств крепления съемных частей оболочек должна соответствовать ГОСТ IEC 61439-3.

6.2.9 Оболочки квартирных и этажных щитков настенного исполнения следует выполнять шкафного или ящичного типа.

6.2.10 Щитки настенного исполнения и встраиваемые в ниши должны иметь соответствующие конструктивные элементы для их крепления.

6.2.11 В этажных щитках настенного исполнения места ввода проводников должны иметь исполнения применительно к соответствующему виду конструкции сети, выполняемой кабелем, проводами в трубах или коробах, токопроводом и т.д.

6.2.12 Квартирные и этажные щитки, встраиваемые в ниши, должны иметь обрамления, закрывающие края ниш.

6.2.13 Встраиваемые части квартирных и этажных щитков, предназначенных для зданий массового строительства, должны соответствовать размерам ниш, приведенным в приложении Г.

Размеры ниш для щитков индивидуальных зданий и одноквартирных жилых домов определяются потребителями.

Встраиваемая часть этажных щитков должна обеспечивать проход проводников питающей цепи (стояка) и присоединение их к щиткам.

6.2.14 В щитках должна предусматриваться возможность для размещения вводимых в них внешних проводников и удобного их присоединения к аппаратам и зажимам.

6.2.15 В квартирных и этажных щитках должны быть дверцы, открывающиеся без заеданий на угол, обеспечивающий удобный доступ к аппаратам при монтаже и обслуживании щитков, но не менее 95°.

Квартирные щитки с автоматическими выключателями, по согласованию между потребителем и изготовителем, допускается изготавливать без дверец.

6.2.16 За дверцей щитка должна располагаться оперативная панель с выведенными на нее органами управления коммутационных аппаратов, которая в сочетании с другими конструктивными элементами щитка должна исключать доступ к его токоведущим частям.

6.2.17 Дверцы этажных щитков, а также дверцы квартирных щитков с предохранителями должны запираться на ключ. Дверцы квартирных щитков с автоматическими выключателями по заказу потребителя могут быть запирающимися на ключ или без него. Необходимое количество ключей для замка устанавливается в технических условиях на щитки конкретных типов. В этажных учетно-распределительно-групповых щитках в дверцах, запираемых на ключ, по требованию потребителя могут быть выполнены люки с закрывающимися дверцами (на ключ или без ключа) для доступа только к органам управления вводных коммутационных аппаратов каждой квартиры.

6.2.18 В квартирных щитках, не имеющих дверец, оперативная панель должна удовлетворять требованиям 6.2.7.

6.2.19 Дверцы, запираемые без ключа по 6.2.15 и 6.2.17, должны быть снабжены запорными устройствами, исключающими их самопроизвольное открывание.

6.2.20 В этажных совмещенных щитках слаботочный отсек должен быть отделен от силовой части щитка сплошными металлическими перегородками для обеспечения экранирования слаботочных устройств и противопожарной их защиты.

Толщина перегородок должна устанавливаться в конструкторской документации и технических условиях на щитки конкретных типов.

6.2.21 Слаботочный отсек должен иметь отдельную дверцу, запираемую на ключ с собственным секретом.

По согласованию потребителя с изготовителем в слаботочном отсеке могут предусматриваться несколько отделений для слаботочных устройств каждого вида с дверцами, запираемыми своими ключами.

6.2.22 В этажных и квартирных щитках со счетчиками электроэнергии, для исключения доступа к цепям учета (от ввода в щиток до ввода в счетчики), должны предусматриваться конструктивные элементы с возможностью их опломбирования в одном и, при необходимости, в нескольких местах.

Этим элементом может быть оперативная панель по 6.2.16 в случае отсутствия под ней не подлежащих пломбировке других аппаратов защиты на отходящие линии.

В этажных щитках дополнительно должна предусматриваться возможность опломбирования дверец.

6.2.23 В этажных щитках со счетчиками электрической энергии в дверцах из непрозрачного материала должны предусматриваться окна из прозрачного ударопрочного материала для снятия показаний счетчиков.

В квартирных щитках такие окна в дверцах из непрозрачного материала могут выполняться по согласованию потребителя с изготовителем.

6.2.24 Конструкция щитков должна обеспечивать без их демонтажа возможность замены аппаратов и счетчиков.

6.2.25 В квартирных щитках должна быть выполнена маркировка защитных коммутационных аппаратов линий групповых цепей порядковыми номерами.

В этажных учетно-распределительно-групповых щитках такая маркировка аппаратов должна быть выполнена поквартирно.

В щитках всех видов у аппаратов должны быть предусмотрены места для записи назначения аппаратов. Эти записи могут приводиться в таблицах, размещаемых на внутренних сторонах дверец щитков.

6.2.26 В щитках, в которых аппараты устанавливает потребитель, используя оболочки в соответствии с 5.2, маркировка аппаратов производится, как указано в 6.2.25, средствами, поставляемыми изготовителями оболочек щитков (самоклеящиеся номера, бланки таблиц и т.п.).

6.3 Контактные зажимы

6.3.1 В щитках должны быть предусмотрены контактные зажимы, приведенные в таблице 3.

Таблица 3

Применяемые виды зажимов в зависимости от вида щитков

Вид зажимов Вид щитков
Квартирные Этажные Номера рисунков, схем приложения А
групповые учетно-групповые распределительные учетно-распределительные учетно-распределительно-групповые
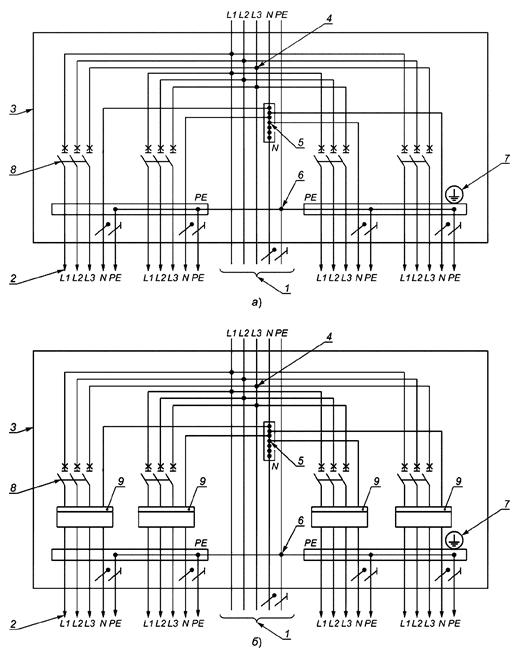
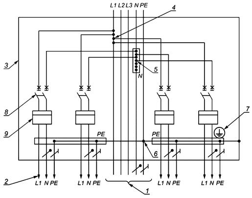
1 Зажимы для проводников питающей цепи (фазных, нулевых рабочих N и защитных PE проводников) - - + + + А.7 - А.9
2 Зажимы для проводников распределительной цепи <1>:           А.1 - А.6, А.9
а) нулевого рабочего N; + + + + +  
б) нулевого защитного PE + + + + +  
3 Зажимы для проводников линий групповых цепей:           А.1 - А.6, А.9
а) нулевых рабочих N; + + - - +  
б) нулевых защитных PE + + - - +  
4 Зажимы для проводников уравнивания потенциалов + + - - + А.1 - А.6, А.9
<1> В квартирных щитках к этим зажимам могут присоединяться проводники наружной питающей сети.

В квартирных учетно-групповых щитках одноквартирных жилых домов, которые могут присоединяться к питающим цепям (сетям) с системой заземления TN-C, должен предусматриваться, кроме указанных в таблице 3, пункт 2, дополнительно зажим для разделения PEN-проводника ввода на PE и N проводники (см. рисунки А.3 и А.6 приложения А).

6.3.2 Зажимы (таблица 3, пункт 1) должны быть рассчитаны на присоединение медных или алюминиевых одно- и многопроволочных проводников питающей цепи без их разрезания.

Диапазон сечений фазных проводников питающей цепи от 10 до 70 мм2, нулевых рабочих проводников N и нулевых защитных проводников PE от 10 до 35 мм2.

По согласованию потребителя с изготовителем верхние значения сечений могут быть увеличены.

Эти же зажимы должны обеспечивать независимое присоединение к ним медных проводников ответвлений сечением от 2,5 до 16 мм2.

Конструкции выводов аппаратов защиты групповых цепей и зажимы для присоединения нулевых рабочих проводников N и нулевых защитных проводников PE групповых цепей должны обеспечивать присоединение медных и/или однопроволочных проводников из алюминиевых сплавов по ГОСТ 20967 <1> сечением 1,5; 2,5; 4,0; 6,0 мм2.

<1> В Российской Федерации действуют ГОСТ Р 58019-2017 "Катанка из алюминиевых сплавов марок 8176 и 8030. Технические условия", СП 256.1325800.2016 "Электроустановки жилых и общественных зданий. Правила проектирования и монтажа".

6.3.3 Зажимы для проводников ввода квартиры (таблица 3, пункт 2) должны обеспечивать присоединение проводников сечением от 2,5 до 16 мм2.

6.3.4 Зажимы для проводников уравнивания потенциалов (таблица 3, пункт 4) должны обеспечивать присоединение проводников сечением 10 мм2.

6.3.5 Зажимы для проводников линий групповых цепей (таблица 3, пункт 3) должны быть рассчитаны на присоединение проводников сечением от 1,5 до 6 мм2.

6.3.6 Для каждого нулевого рабочего проводника N и нулевого защитного проводника PE должен быть отдельный зажим.

6.3.7 В этажных и квартирных щитках класса I зажимы для нулевых рабочих проводников N должны быть изолированы от токопроводящей оболочки так же, как зажимы для фазных проводников, а зажимы для нулевых защитных проводников PE - электрически соединены с ней.

6.3.8 Для соединения зажимов проводников распределительной цепи (таблица 3, пункт 2) с соответствующими зажимами проводников линий групповых цепей (таблица 3, пункт 3), а также с зажимом проводника уравнения потенциалов (таблица 3, пункт 4) должны предусматриваться (отдельно для зажимов каждой квартиры) соединительные элементы, минимальное сечение которых должно быть эквивалентно сечению 16 мм2 медного проводника.

6.3.9 Зажимы для нулевых и защитных проводников (таблица 3, пункт 3) должны быть пронумерованы в той же последовательности, как и соответствующие защитные коммутационные аппараты линий групповых цепей по 6.2.25.

6.3.10 Зажимы нулевых защитных проводников PE или PEN-проводников (таблица 3, пункты 1 и 2) должны обозначаться знаком заземления. Размеры знака и способ его выполнения - по ГОСТ 21130.

6.3.11 Зажимы (таблица 3, пункт 1) должны иметь средства стабилизации контактного давления по ГОСТ 10434.

6.4 Защита от поражения электрическим током

6.4.1 Степень защиты по ГОСТ 14254 от прикосновения к токоведущим частям в местах, доступных прикосновению, и от попадания посторонних твердых тел при закрытой дверце должна быть не ниже IP31 в щитках класса I и IP31Д в щитках класса II.

Степень защиты, обеспечиваемая оперативной панелью при открытой дверце щитка и/или люка этажного щитка и в местах ввода и вывода проводников при настенном исполнении щитков, должна быть не ниже IP2XC.

В квартирных щитках с резьбовыми предохранителями и/или с розетками степень защиты частей этих изделий, выступающих за пределы оперативной панели, должна быть не ниже P2X.

В технических условиях должна устанавливаться степень защиты для встраиваемой части щитков, устанавливаемых в нишу.

Примечания

1 Степени защиты указаны в установленном рабочем положении щитков с аппаратами, приборами и присоединенными проводниками внешних цепей.

2 Требования, касающиеся обеспечения доступа для обслуживания щитков квалифицированным персоналом, - по ГОСТ IEC 61439-3.

6.4.2 Все доступные прикосновению открытые проводящие части щитков класса I, которые могут оказаться под напряжением, должны иметь надежную электрическую связь между собой и с зажимом вводного нулевого защитного проводника PE.

Значение электрического сопротивления между зажимом защитного проводника PE и каждой доступной прикосновению токопроводящей частью щитка не должно превышать 0,05 Ом.

6.4.3 Органы управления аппаратов должны иметь четко фиксированные положения "включено" - "отключено" в соответствии с имеющимися на аппаратах обозначениями, причем направления их движения в установленном в щитке положении должны удовлетворять ГОСТ 21991.

6.4.4 Если после установки аппаратов в щиток отсутствует возможность определить их коммутационное положение, то на оперативной панели у аппаратов должны быть нанесены дублирующие обозначения положений их органов управления.

6.4.5 На фасадной части оболочки щитков должен быть нанесен предупреждающий знак "Осторожно! Электрическое напряжение" по ГОСТ 12.4.026.

6.4.6 На паспортной таблице щитков класса II должен быть нанесен знак , обозначающий защиту от поражения электрическим током при помощи двойной или усиленной изоляции.

6.5 Защитные покрытия

6.5.1 Металлические детали корпуса щитков должны иметь защитные лакокрасочные, порошковые полимерные и/или металлические покрытия.

6.5.2 Лакокрасочные покрытия должны соответствовать ГОСТ 9.401, порошковые полимерные покрытия - ГОСТ 9.410.

6.5.3 Лакокрасочные и порошковые полимерные покрытия наружных поверхностей щитков должны соответствовать IV классу, внутренних поверхностей - VI классу по ГОСТ 9.032.

6.5.4 Металлические покрытия должны соответствовать требованиям ГОСТ 9.303.

6.5.5 Конкретные виды защитных покрытий, их толщина, балл адгезии, а также средства их контроля должны указываться в технических условиях на щитки конкретных типов.

6.6 Комплектующая аппаратура

6.6.1 Комплектующие аппараты и приборы должны выбираться в соответствии с параметрами щитков, приведенными в таблице 2.

6.6.2 Аппараты и приборы должны удовлетворять требованиям соответствующих нормативных документов, по которым они выпускаются.

Примечание - Это требование может относиться также к зажимам по 6.3.1, если они поставляются как комплектующие части.

6.6.3 Рекомендуемые виды аппаратов - согласно таблице 4. Возможные их сочетания в щитках приведены на схемах (приложение А).

Таблица 4

Виды аппаратов в зависимости от видов щитков

Вид аппаратов Вид щитков
Квартирные Этажные
групповые учетно-групповые распределительные учетно-распределительные учетно-распределительно-групповые
1 Вводные коммутационные аппараты щитков и квартир:          
а) однофазные:          
- выключатели неавтоматические одно- или двухполюсные, + + - - + <1>
- выключатели автоматические одно- или двухполюсные, - + + <1> + <1> -
- выключатели автоматические, управляемые дифференциальным током двухполюсные; + + - - + <1>
б) трехфазные:          
- выключатели неавтоматические трех- или четырехполюсные, + + - - -
- выключатели автоматические трех- или четырехполюсные, - + + <1> + <1> -
- выключатели автоматические, управляемые дифференциальным током, трех- или четырехполюсные - + + <1> + <1> -
2 Аппараты групповых цепей:          
а) однофазные:          
- выключатели автоматические однополюсные, + + - - +
- предохранители резьбовые, + + - - -
- выключатели автоматические, управляемые дифференциальным током классов A, AC, B, F, двухполюсные, + + - - +
- УЗДП, двухполюсные (2P) или с некоммутируемой нейтралью (1P + N); + + - - +
6) трехфазные:          
- выключатели автоматические трехполюсные; + + - - +
- выключатели автоматические, управляемые дифференциальным током трехполюсные + + - - -
<1> Аппараты, относящиеся к вводам квартир.

Примечания
1 При необходимости в щитках могут устанавливаться аппараты управления, приборы сигнализации и контроля.
2 Виды вводных коммутационных аппаратов, а также количество в них полюсов - по согласованию потребителя с изготовителем.
3 Рекомендуется в качестве вводных коммутационных аппаратов квартир или аппаратов групповых розеточных цепей применять аппараты со встроенной защитой от повышения напряжения.
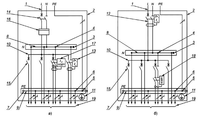
4 Для защиты от импульсных перенапряжений на вводе в щитки могут устанавливаться УЗИП учетом анализа рисков. Критерии выбора и целесообразности указаны в приложении Е.

6.6.4 Для комплектации щитков следует применять преимущественно защитные коммутационные аппараты и приборы, имеющие единый размерный модуль и крепление которых предусмотрено на рейках по ГОСТ IEC 60715.

6.6.5 АВДТ по 6.6.3 должны иметь расцепители перегрузки (тепловые) и расцепители токов короткого замыкания (электромагнитные типов B, C). Номинальная отключающая способность аппаратов - не менее 4500 А при напряжении по таблице 2.

Примечания

1 Допускается применять ВДТ, по ГОСТ IEC 61008-1 без встроенной защиты от сверхтока при наличии в цепи защитного коммутационного аппарата от сверхтока, скоординированного по стойкости к токам короткого замыкания с автоматическим выключателем ВДТ.

2 Допускается в одноквартирных жилых домах, кроме коттеджей, применять защитные коммутационные аппараты с отключающей способностью менее указанной в 6.6.5, но не ниже 1500 А, если ожидаемый ток короткого замыкания в месте установки выключателей не превышает этого значения, что должно быть обосновано потребителем расчетными данными.

3 На вводе щитков, устанавливаемых в деревянных домах, следует применять АВДТ.

6.6.6 В этажных щитках должны применяться вводные коммутационные аппараты квартир, в которых предусмотрена возможность запирания и опломбирования их органов управления в положении "выключено".

6.6.7 Резьбовые предохранители следует применять только в квартирных щитках, имеющих дверцу.

6.6.8 Номинальные токи аппаратов - согласно таблице 2.

6.6.9 Выключатели по 6.6.3 следует применять с органами управления из изоляционного материала.

6.6.10 В щитках с учетом электроэнергии должны применяться счетчики активной электроэнергии класса точности не ниже 1,0 непосредственного включения, максимальный ток которых должен быть не менее номинального тока вводного коммутационного аппарата квартиры.

Высота от пола до клеммной крышки счетчика учета электроэнергии должна быть в пределах 1,3 - 1,7 м.

Рекомендуется применение многотарифных электросчетчиков.

6.6.11 Аппараты, приборы, зажимы должны быть надежно закреплены в щитках. Крепежные элементы должны иметь средства для предотвращения ослабления крепления.

6.6.12 Для защиты от импульсных перенапряжений на вводе могут устанавливаться устройства защиты УЗИП, выбор устройств и подключение устройств защиты от импульсных перенапряжений осуществляется на основе приложения Е.

6.6.13 Устройства защиты от импульсных перенапряжений (УЗИП) должны соответствовать требованиям ГОСТ IEC 61643-11.

Согласно IEC 61643-12 при расстоянии от УЗИП до защищаемого оборудования более 10 м по кабелю, в кабельной линии (после срабатывания УЗИП) под влиянием ее индуктивных и емкостных характеристик могут возникать колебательные процессы. Амплитуда напряжения при данных колебаниях на выводах защищаемого оборудования, может превысить Up, обеспечиваемый УЗИП, более чем в два раза. Уменьшение расстояния до 5 метров гарантирует выполнение координации УЗИП класса I; II со стойкостью изоляции защищаемого оборудования и отсутствие в данной линии колебательного процесса с неприемлемыми амплитудными значениями.

6.7 Внутренние цепи

6.7.1 Для внутренних цепей щитков должны применяться медные изолированные проводники.

6.7.2 Сечения проводников внутренних цепей должны выбираться с учетом номинальных токов аппаратов и схем их соединений. Сечение отдельных элементов цепей следует определять по 6.7.2.1, 6.7.2.2.

6.7.2.1 Сечения соединительных элементов входных выводов защитных коммутационных аппаратов групповых цепей (приложение А) должны выбираться по суммарному току защитных коммутационных аппаратов, соединенных соответствующим элементом, умноженному на коэффициент одновременности, выбираемый по таблице Б.1 (приложение Б).

В суммарное значение тока не входит номинальный ток аппарата, к которому присоединяют питающий проводник, а сам аппарат не входит в число соединенных аппаратов, по которому выбирают коэффициент одновременности.

6.7.2.2 Сечение питающего проводника, присоединенного к соединительному элементу, определяют по суммарному току всех присоединенных к нему аппаратов. Это же количество аппаратов используют при выборе коэффициента одновременности по приложению Б, на который должно быть умножено значение суммарного тока.

6.7.3 Провода внутренних цепей щитка должны иметь изоляцию на напряжение 660 В переменного тока.

6.7.4 Прокладка изолированных проводов в щитке должна быть выполнена таким образом, чтобы они не касались голых токоведущих частей, острых кромок корпуса щитка. Радиусы изгиба проводов должны быть не менее шестикратного их наружного диаметра. Провода не должны иметь промежуточных скруток, паяных и других соединений.

6.7.5 Фазные проводники должны различаться маркировкой или цветом. Маркировку следует наносить на концах проводников. Цвета фазных изолированных проводников - по [1] <1>.

6.7.6 Нулевой защитный проводник PE и нулевой рабочий проводник N должны различаться цветом. Цвета этих проводников представлены в [1] <1>.

<1> В Российской Федерации действует ГОСТ Р 50462-2009 (IEC 60446:2007) "Базовые принципы и принципы безопасности для интерфейса "человек-машина", выполнение и идентификация. Идентификация проводников посредством цветов и буквенно-цифровых обозначений".

6.7.7 Аппараты, приборы, внутренние цепи должны располагаться в щитке таким образом, чтобы к ним обеспечивался удобный доступ при обслуживании и замене.

6.7.8 Минимальная площадь поперечного сечения заземляющих проводов для устройств защиты от перенапряжений, монтируемых на входе или рядом с входом электроустановки, должна составлять не менее 4 мм2 по меди.

6.7.9 Проводник, соединяющий УЗИП с проводниками под напряжением, должен выдерживать предполагаемый ожидаемый ток короткого замыкания и иметь площадь поперечного сечения не менее:

- 2,5 мм2 для УЗИП класса испытаний II по меди;

- 6 мм2 для УЗИП класса испытаний I по меди.

6.8 Электрические характеристики

6.8.1 При номинальных рабочих токах вводных и защитных коммутационных аппаратов щитков по 5.3 превышение температуры их частей над верхним значением рабочей температуры окружающего воздуха для щитков соответствующего климатического исполнения не должно быть более значений, при которых могли бы быть превышены допустимые температуры нагрева, приведенные в таблице 5.

Таблица 5

Допустимые значения превышения температуры

Часть щитка Допустимое превышение температуры над температурой окружающего воздуха 25 °C <1> Допустимая температура нагрева, °C
1 Контактные соединения выводов аппаратов, контактных зажимов с внутренними и внешними проводниками 70 95
2 Проводники с поливинилхлоридной изоляцией 45 70
3 Органы ручного управления из изоляционного материала 25 50
4 Доступные части оболочки:    
- металлические; 30 55
- из изоляционного материала 40 65
<1> Верхнее рабочее значение температуры окружающей среды для щитков климатического исполнения УХЛ4.1.

Примечания
1 При верхнем рабочем значении температуры окружающего воздуха, отличном от 25 °C, допустимые превышения температуры должны быть соответственно изменены в пределах указанных допустимых температур нагрева.
2 Допустимая температура нагрева есть сумма верхнего значения рабочей температуры окружающего воздуха и соответствующего значения превышения температуры, обусловленное прохождением номинального рабочего тока.
3 Допустимая температура проводников с изоляцией, отличной от указанной в таблице 5, устанавливается в технических условиях на щитки конкретных типов.

6.8.2 Воздушные зазоры и длины путей утечки в щитках должны быть не менее 12 мм. Воздушные зазоры и длины путей утечки, установленные нормативными документами на встраиваемые аппараты, не должны уменьшаться после их установки и присоединения внутренних и внешних проводников.

6.8.3 Изоляция внутренних цепей щитков в холодном состоянии при нормальных условиях испытаний по ГОСТ 15150 должна выдерживать в течение 1 мин испытательное напряжение 2500 В частотой 50 Гц между токоведущими частями разных фаз и 2000 В между токоведущими и проводящими частями.

Примечание - При испытаниях повышенным напряжением изоляции между цепями L-N, L-PE, N-PE необходимо отключать устройства УЗИП и счетчики электрической энергии в данных цепях.

6.8.4 Электрическое сопротивление изоляции щитков в холодном состоянии должно быть не менее 10 МОм.

6.8.5 Оболочки щитков класса II в холодном состоянии при нормальных условиях испытаний по ГОСТ 15150 должны выдерживать в течение 1 мин испытательное напряжение 2500 В частотой 50 Гц между токоведущими частями разных фаз и 2000 В между токоведущими и проводящими частями.

6.9 Маркировка

6.9.1 Каждый щиток должен иметь паспортную табличку со стойкой маркировкой, расположенную в удобном для чтения месте.

6.9.2 Размеры маркировочных знаков и способ их нанесения устанавливаются в технических условиях на щитки конкретных типов.

6.9.3 В паспортной табличке должны быть приведены следующие данные:

1) наименование изготовителя или его товарный знак;

2) знак обращения на рынке;

3) обозначение типа;

4) номинальное напряжение;

5) номинальное напряжение изоляции;

6) номинальный рабочий ток вводных коммутационных аппаратов квартирных щитков или вводных коммутационных аппаратов квартир этажных щитков;

7) параметры и характеристики источника питания - по ГОСТ 18620;

8) степень защиты;

9) знак для щитков класса II;

10) обозначение технических условий;

11) год изготовления;

12) другие технические данные по усмотрению изготовителя.

6.10 Основные сведения о щитках, приводимые в эксплуатационных документах

6.10.1 Эксплуатационным документом по ГОСТ 2.601 <1> для щитков следует считать Руководство по эксплуатации, если иное не предусматривается в технических условиях на щитки конкретных типов.

<1> В Российской Федерации действует ГОСТ Р 2.601-2019 "Единая система конструкторской документации. Эксплуатационные документы".

6.10.2 Изготовитель должен приводить в эксплуатационных документах следующие основные сведения о щитках:

1) наименование изготовителя;

2) сведения о подтверждении соответствия;

3) область применения щитков и условия эксплуатации;

4) климатическое исполнение щитков;

5) тип щитка;

6) номинальное напряжение;

7) номинальная частота;

8) номинальные токи вводных коммутационных аппаратов квартирных щитков и вводных коммутационных аппаратов квартир этажных щитков;

9) номинальные токи защитных коммутационных аппаратов групповых цепей;

10) номинальные рабочие токи аппаратов (перечисления 8 и 9), исходя из условий допустимого нагрева;

11) отключающая способность автоматических выключателей и отключающая способность предохранителей (по данным изготовителей);

12) номинальные отключающие дифференциальные токи устройств защитного отключения;

13) номинальный и максимальный ток счетчика (счетчиков);

14) номинальный ток защитного коммутационного аппарата стояка;

15) класс установленного устройства защиты от импульсных перенапряжений (при наличии установленных УЗИП);

16) степень защиты по ГОСТ 14254;

17) класс по ГОСТ 12.2.007.0;

18) сечение проводников питающей цепи (стояка), присоединяемых к зажимам этажных щитков;

19) электрическая схема щитка;

20) вид системы заземления по 1.2;

21) указания по монтажу;

22) указание мер безопасности при эксплуатации;

23) габаритные и установочные размеры, а также размеры ниш для утапливаемой части щитков;

24) масса;

25) условия транспортирования и хранения;

26) обозначение нормативного документа, по которому выпускают щитки.

6.11 Требования надежности

6.11.1 Показатели надежности щитков и методов их контроля устанавливаются в технических условиях на щитки конкретных типов по согласованию между изготовителем и потребителем.

6.11.2 Установленный срок службы щитков - 25 лет, с возможной заменой отдельных комплектующих частей щитка.

6.12 Комплектность

Комплектность щитков должна устанавливаться в технических условиях на щитки конкретных типов.

6.13 Консервация и упаковка

6.13.1 Консервация и упаковка щитков должны соответствовать ГОСТ 23216.

6.13.2 Части щитков, подлежащие консервации, и способы ее выполнения устанавливаются в технических условиях на щитки конкретных типов.

6.13.3 Упаковка щитков должна исключать их повреждение при транспортировании и хранении.

6.13.4 Если в щитках установлены счетчики электрической энергии, то способ упаковки щитков и условия их транспортирования должны исключать повреждения счетчиков. Конкретные требования к упаковке, транспортированию и хранению должны быть установлены в технических условиях на щитки со счетчиками конкретных типов.

По согласованию потребителя с изготовителем щитки могут поставляться без счетчиков, но при этом на месте их установки должна быть бирка с типом и характеристикой счетчика, крепежные элементы, а также подведены проводники соответствующего сечения.

6.13.5 Внутренняя упаковка щитков по ГОСТ 23216 устанавливается в технических условиях на щитки конкретных типов.

6.13.6 Виды транспортной тары и ее размеры устанавливаются в технических условиях на щитки конкретных типов.

6.13.7 Эксплуатационная документация и копия документа о подтверждении соответствия должны помещаться в влагонепроницаемый пакет и вкладываться в упаковку щитка. Допускается по согласованию изготовителя с потребителем направлять один экземпляр копии документа о подтверждении соответствия на партию щитков, отправляемой в один адрес.

6.13.8 Транспортная маркировка - по ГОСТ 14192.

6.13.9 Консервация и упаковка щитков, поставляемых на экспорт, должны соответствовать требованиям контракта.

7 Требования безопасности

7.1 Щитки в отношении защиты от поражения электрическим током должны отвечать требованиям 6.4.

7.2 Пожарная безопасность щитков должна обеспечиваться мерами, предусмотренными 6.2.3, 6.2.4, 6.6.3, 6.6.5, 6.8.1, 6.8.4, 6.8.5 настоящего стандарта и ГОСТ 12.2.007.0.

8 Условия эксплуатации и устойчивость к воздействию внешних факторов

8.1 Температура окружающего воздуха - в соответствии с климатическим исполнением по 1.4.

8.2 Высота над уровнем моря - не более 2000 м.

8.3 Тип атмосферы - по ГОСТ 15150.

8.4 Щитки должны быть устойчивы к воздействию нормальных и предельных значений климатических факторов по ГОСТ 15543.1 и ГОСТ 15150, соответствующих климатическому исполнению по 8.1, и к условиям транспортирования и хранения по 11.1.

8.5 Щитки должны быть устойчивы к воздействию механических факторов внешней среды М1 по ГОСТ 17516.1.

8.6 Конкретные значения внешних воздействующих факторов по 8.4, 8.5 должны приводиться в технических условиях на щитки конкретных типов.

9 Правила приемки

9.1 Общие положения

Щитки должны подвергаться изготовителем приемо-сдаточным, квалификационным, периодическим и типовым испытаниям.

9.2 Приемо-сдаточные испытания

9.2.1 Приемо-сдаточным испытаниям должен подвергаться каждый щиток предъявляемой партии.

Программа проверок и испытаний - в соответствии с таблицей 6.

Таблица 6

Программа и виды приемо-сдаточных испытаний

Вид проверок и испытаний Подраздел, пункт
технических требований методов испытаний
1 Проверка функционирования дверец и их запорных устройств 6.2.15, 6.2.17 - 6.2.19, 6.2.21 10.8
2 Проверка маркировки аппаратов 6.2.25 10.9
3 Проверка наличия в составе оболочек средств для маркировки аппаратов 6.2.26 10.10
4 Проверка маркировки зажимов для нулевых и защитных проводников 6.3.9 10.12
5 Проверка обозначения знаком заземления зажимов защитных проводников 6.3.10 10.13
6 Проверка электрического сопротивления между зажимом защитного проводника и проводящими частями 6.4.2 10.15
7 Проверка функционирования органов управления аппаратов 6.4.3 10.16
8 Проверка наличия на оперативной панели щитка дублирующих обозначений положений органов управления аппаратов (если они требуются) 6.4.4 10.17
9 Проверка наличия предупреждающего знака напряжения 6.4.5 10.17
10 Проверка наличия маркировки щитков класса защиты II 6.4.6 10.17
11 Проверка лакокрасочных и порошковых полимерных покрытий 6.5.2, 6.5.3 10.18
12 Проверка металлических покрытий 6.5.4 10.19
13 Проверка комплектующей аппаратуры 6.6.6 - 6.6.10 10.20
14 Проверка крепления аппаратов, приборов, контактных зажимов 6.6.11 10.21
15 Проверка проводников по материалу, сечению, напряжению изоляции 6.7.1 - 6.7.3 10.22
16 Проверка правильности прокладки проводов в щитке 6.7.4 10.23
17 Проверка маркировки проводников внутренних цепей 6.7.5, 6.7.6 10.24
18 Измерение сопротивления изоляции 6.8.4 10.28
19 Проверка маркировки щитков 6.9.1, 6.9.3 10.29
20 Проверка заполнения эксплуатационного документа 6.10.1, 6.10.2 10.30
21 Проверка комплектности 6.12 10.35
22 Проверка консервации и упаковки 6.13 10.36

Проверку лакокрасочных и порошковых полимерных покрытий по 6.5.2 и 6.5.3, металлических покрытий по 6.5.4 следует проводить выборочно.

Объем контроля устанавливается в технических условиях на щитки конкретных типов.

9.2.2 Для проверки внешнего вида щитков, правильности прокладки в них проводников внутренних цепей и их цветовой маркировки, а также для выполнения других проверочных операций следует использовать контрольные образцы, утвержденные в установленном порядке.

9.2.3 По согласованию потребителя с изготовителем объем приемо-сдаточных испытаний может быть расширен и установлен в технических условиях на щитки конкретных типов.

9.2.4 Щитки, не выдержавшие испытаний и проверок, подвергают повторным испытаниям после устранения недостатков. Допускается повторные испытания проводить по пунктам несоответствия щитков. Результаты повторных испытаний являются окончательными.

9.3 Квалификационные испытания

9.3.1 Квалификационным испытаниям подвергают щитки из первой промышленной партии, прошедшие приемо-сдаточные испытания. Объем квалификационных испытаний - в соответствии с таблицей 7.

Таблица 7

Программа и виды квалификационных испытаний

Наименование проверок и испытаний Вид испытаний Подраздел, пункт
квалификационные периодические технических требований методов испытаний
1 Проверка основных размеров, массы + - 5.5 10.1
2 Проверка соответствия требованиям конструкции щитков + - 6.2.2, 6.2.9 - 6.2.14, 6.2.16 - 6.2.20, 6.2.22 - 6.2.24, 6.7.7 10.2
3 Проверка соответствия требованиям конструкции контактных зажимов + - 6.3.2 - 6.3.8, 6.3.11 10.11
4 Испытание на пожароопасность + - 6.2.3, 6.2.4 10.3
5 Испытание на теплостойкость + - 6.2.5 10.4
6 Испытание на стойкость к коррозии + - 6.2.6 10.5
7 Испытание на стойкость к механическим ударам + + 6.2.7 10.6
8 Испытание на механическую прочность резьбовых средств крепления съемных деталей оболочек + - 6.2.8 10.7
9 Проверка степени защиты + + 6.4.1 10.14
10 Испытание на превышение температуры + + 6.8.1 10.25
11 Измерение воздушных зазоров и длин путей утечки + + 6.8.2 10.26
12 Испытание электрической прочности изоляции + + 6.8.3, 6.8.5 10.27
13 Испытания на надежность + - 6.11 10.31
14 Испытание на воздействие климатических факторов + - 8.4 10.32
15 Испытание на воздействие механических факторов + - 8.5 10.33

9.3.2 Типопредставители щитков каждого вида, которые должны подвергаться квалификационным испытаниям, устанавливаются в технических условиях на щитки конкретных типов с учетом возможности распространения полученных результатов испытаний на щитки остальных типоразмеров и соответствующего вида, выпускаемые тем же изготовителем, что и испытуемые щитки.

9.3.3 Квалификационным испытаниям (за исключением испытаний на пожароопасность по 6.2.3, 6.2.4, теплостойкость по 6.2.5 и коррозионную стойкость по 6.2.6) должны подвергаться два образца каждого типопредставителя.

9.3.4 Образцы по 9.3.3 испытывают на соответствие требованиям, приведенным в таблице 7, причем один из них проверяют согласно пунктам 1, 2, 3, 8, 12, 10, 7, 9, второй - согласно пунктам 11, 6, 14, 15.

9.3.5 Испытания каждой группы по 9.3.4 проводят в приведенной последовательности перечисления пунктов испытаний.

9.3.6 Для проведения испытаний на пожароопасность и теплостойкость (таблица 7, пункты 4 и 5) должно быть отобрано для испытаний каждого вида по три образца изоляционных оболочек (щитков класса II) и изоляционных оснований, на которых крепятся контактные зажимы (в щитках классов I и II).

Порядок проведения испытаний на пожароопасность - по ГОСТ IEC 60695-2-11 и/или ГОСТ 27924 (если требуется по 10.3), на теплостойкость - по ГОСТ IEC 61439-1.

9.3.7 Для испытаний на коррозионную стойкость (таблица 7, пункт 6) отбирают три оболочки щитков класса I.

Порядок проведения испытаний - по ГОСТ IEC 61439-3. Допускается проводить испытания на отдельных частях оболочек.

9.3.8 Если испытанные по 9.3.4, 9.3.6, 9.3.7 образцы не соответствуют хотя бы одному пункту технических требований, то должны быть проведены повторные испытания на удвоенном числе образцов по пунктам несоответствия. Результаты повторных испытаний являются окончательными.

9.3.9 Число образцов и объемы испытаний на надежность (таблица 7, пункт 13) - в соответствии с техническими условиями на щитки конкретных типов.

9.4 Периодические испытания

9.4.1 Периодическим испытаниям должны подвергаться щитки, прошедшие приемо-сдаточные испытания.

9.4.2 Правила выбора типопредставителей щитков и проведения их испытаний - по 9.3.2.

9.4.3 Для проведения испытаний отбирают три образца щитков каждого типопредставителя согласно техническим условиям на щитки конкретных типов.

9.4.4 Испытаниям подвергают сначала один образец щитка в объеме, приведенном в таблице 7.

Испытания проводят в следующей последовательности пунктов таблицы: 11, 12, 10, 7, 9.

9.4.5 Если при испытании одного образца щитка получены положительные результаты, то два других образца не испытывают.

При неудовлетворительных результатах испытаний проводят повторные испытания на двух образцах по пунктам несоответствия.

Результаты этих испытаний являются окончательными.

9.4.6 Периодические испытания должны проводиться в объеме, приведенном в таблице 7, не реже одного раза в три года.

9.4.7 Результаты периодических испытаний могут использоваться для целей подтверждения соответствия.

9.5 Типовые испытания

9.5.1 Типовые испытания щитков проводят для оценки эффективности и целесообразности вносимых изменений в конструкцию или технологический процесс.

9.5.2 Типовые испытания следует проводить по программе, включающей полный или частичный объем квалификационных испытаний в соответствии с таблицей 7. В зависимости от характера изменений в программу могут быть включены испытания, не предусмотренные этой таблицей.

9.5.3 Выбор типопредставителей щитков, их число и правила проведения испытаний устанавливаются в программе типовых испытаний.

10 Методы испытаний

10.1 Проверку размеров и массы щитков по 5.4 следует проводить измерениями с помощью средств, которые должны быть предусмотрены в технических условиях на щитки конкретных типов.

10.2 Проверку конструкции щитков на соответствие требованиям 6.2.2, 6.2.9 - 6.2.14, 6.2.16, 6.2.20, 6.2.22 - 6.2.24, 6.7.7 следует проводить сверкой с чертежами, техническими условиями и контрольными образцами.

10.3 Испытания на пожароопасность изоляционных оболочек 6.2.3 и изоляционных оснований 6.2.4, на которых крепят контактные зажимы, следует проводить в соответствии с ГОСТ 27483 с применением нагретой проволоки.

Подготовка образцов к испытаниям - по ГОСТ 27483.

Температура нагрева образцов - по 6.2.3 и 6.2.4.

Испытание изоляционного основания зажимов должно проводиться в щитке или вне его. При этом изоляционное основание должно находиться в рабочем положении.

Нагретая проволока в виде петли должна приводиться в соприкосновение с каждой испытуемой частью один раз в любом месте.

Испытания проводят при нормальных климатических условиях по ГОСТ 15150. Критерии оценки результатов испытаний - по ГОСТ 27483.

Если в состав щитков входят контактные зажимы на номинальные токи до 63 А, конструкция которых соответствует ГОСТ 27924, то испытания изоляционных оснований с установленными на них такими зажимами могут проводиться по этому стандарту на плохой контакт при помощи накальных элементов.

Подготовка образцов к испытаниям, их проведение, а также критерии оценки результатов испытаний - по ГОСТ 27924.

Примечания

1 Допускается не проводить испытания, если указанные элементы щитков выпускаются изготовителями по нормативной документации, в которой предусмотрены испытания на пожароопасность.

2 Не подвергают испытаниям изоляционные элементы щитков из негорючих материалов (керамика, фарфор и т.п.).

10.4 Испытание на теплостойкость оболочек щитков класса II и изоляционных оснований по 6.2.5 должно проводиться согласно ГОСТ IEC 61439-1.

Оценка результатов - по ГОСТ IEC 61439-1. Кроме того, после этого испытания не должно быть деформаций оболочки, которые могли бы повлиять на снижение, обеспечиваемое ею, степени защиты.

10.5 Проверка оболочек щитков класса I на коррозионную стойкость по 6.2.6 должна проводиться согласно ГОСТ IEC 61439-1.

Оценка результатов проверки - по ГОСТ IEC 61439-1.

10.6 Испытаниям на стойкость к механическим ударам по 6.2.7 должны подвергаться как оболочки щитков настенной установки (удары наносят по фасадной и боковым сторонам), так и оболочки щитков, встраиваемых в ниши (удары наносят только по фасадной стороне).

При нанесении ударов по фасадной стороне дверцы щитков должны быть закрыты.

В квартирных щитках, не имеющих дверец, удары наносят по оперативной панели. Места нанесения ударов указывают в технических условиях на щитки конкретных типов.

Число ударов, методика их выполнения и оценка результатов испытаний - по ГОСТ IEC 61439-1.

Удары не наносятся по прозрачному материалу, закрывающему окна для снятия показаний счетчиков.

Допускаются отдельные трещины, не ухудшающие обзор шкал счетчиков.

10.7 Проверка механической прочности винтовых средств крепления по 6.2.8 должна проводиться согласно ГОСТ IEC 61439-3. Результаты проверки считают удовлетворительными, если при испытании отсутствовали повреждения, перечисленные в указанном стандарте.

10.8 Проверку функционирования дверец щитков и их запорных устройств и/или замков по 6.2.15, 6.2.17, 6.2.19 - 6.2.21 проводят трехкратным опробованием в работе.

10.9 Проверку маркировки аппаратов по 6.2.25 проводят сличением ее с документацией.

10.10 Проверку по 6.2.26 проводят визуально, при этом проверяют наличие инструкции по заполнению оболочек щитков аппаратами и их маркировки, а также наличие средств для ее выполнения.

10.11 Проверку конструктивного выполнения зажимов по 6.3.2 - 6.3.8, 6.3.11 проводят сверкой с чертежами и/или контрольными образцами.

Проверку возможности присоединения к зажимам проводников выполняют пробным монтажом. Для чего к соответствующему зажиму должны быть присоединены проводники наибольшего и наименьшего сечений и проверена степень их закрепления в зажиме.

Методика проверки устанавливается в технических условиях на щитки конкретных типов в зависимости от конструкции зажимов.

Проверку размеров (сечений) соединительных элементов зажимов следует проводить мерительным инструментом. Вид и точность инструмента должны быть указаны в технических условиях на щитки конкретных типов.

10.12 Проверку маркировки зажимов для нулевых рабочих и нулевых защитных проводников по 6.3.9 проводят визуально.

10.13 Проверку обозначения знаком заземления зажимов защитных проводников по 6.3.10 проводят визуально. Знак заземления должен быть четким и располагаться в непосредственной близости от зажима или на самом зажиме.

10.14 Проверка степени защиты по 6.4.1 должна проводиться по ГОСТ 14254 в эксплуатационном положении щитков.

Оценка результатов проверки - по ГОСТ 14254.

10.15 Проверку электрического сопротивления по 6.4.2 между зажимом защитного проводника ввода и каждой токопроводящей частью следует выполнять омметром с соответствующим пределом измерения. Сопротивление считают соответствующим норме, если оно не превышает 0,1 Ом.

10.16 Проверку правильности функционирования органов управления аппаратов по 6.4.3 проводят трехкратным включением и отключением аппаратов, при этом сопоставляется направление движения органов управления с заданным в технических условиях на щитки конкретных типов и ГОСТ 21991.

10.17 Проверку наличия на оперативных панелях щитков дублирующих обозначений положений органов управления аппаратов по 6.4.4 (если они предусмотрены), предупреждающего знака напряжения по 6.4.5, а также знака на щитках класса II по 6.4.6 проводят визуально.

10.18 Проверку лакокрасочных и порошковых полимерных покрытий по 6.5.2 и 6.5.3 (внешний вид, толщина покрытия) следует проводить согласно ГОСТ 9.032 и ГОСТ 9.410 соответственно. Прочность сцепления покрытий - по ГОСТ 15140.

10.19 Проверку металлических покрытий по 6.5.4 следует проводить согласно ГОСТ 9.302.

10.20 Проверку комплектующей аппаратуры и приборов по 6.6.6 - 6.6.10 проводят сверкой ее с заказом и технической документацией.

10.21 Проверку крепления аппаратуры по 6.6.11 выполняют соответствующим инструментом (ключом, отверткой).

Безвинтовое крепление аппаратов проверяют попыткой принудительного снятия их рукой с фиксирующих опорных элементов.

10.22 Проверку проводников по материалу, сечению, напряжению изоляции по 6.7.1 - 6.7.3 выполняют сверкой с технической документацией на щитки и сопроводительной документацией на проводники.

10.23 Проверку правильности прокладки проводников по 6.7.4 проводят визуально сопоставлением с контрольными образцами.

10.24 Проверку маркировки проводников внутренних цепей по 6.7.5, 6.7.6 проводят сверкой ее с документацией и/или по контрольным образцам. При этом проверяют также правильность присоединения проводников к аппаратам и зажимам.

10.25 Испытание щитков на превышение температуры

10.25.1 Испытание щитков на превышение температуры по 6.8.1 должно проводиться в их эксплуатационном положении при номинальных климатических условиях согласно ГОСТ 15150.

10.25.2 Значения номинальных рабочих токов вводных и защитных коммутационных аппаратов, а также количество защитных коммутационных аппаратов групповых цепей (в квартирных и этажных учетно-распределительно-групповых щитках), которое должно быть задействовано при испытании, - согласно техническим условиям на щитки конкретных типов <1>.

<1> Номинальные рабочие токи согласно 5.3 должны устанавливаться по методике, приведенной в приложении Б.

10.25.3 Для проведения испытаний квартирных и этажных учетно-распределительно-групповых щитков полюсы их вводных коммутационных аппаратов, а также защитных коммутационных аппаратов групповых цепей следует включать в однофазные испытательные цепи на соответствующие номинальные рабочие токи. В эти же цепи должны быть включены соответствующие зажимы фазных и нулевых рабочих проводников.

В однофазные испытательные цепи следует включать регулировочные устройства для установления и поддержания в процессе испытаний нормируемые значения токов.

При испытании щитков квартирных трехфазным током защитные коммутационные аппараты групповых цепей на соответствующие номинальные рабочие токи включаются в трехфазные регулируемые цепи, каждая из которых соединяется в искусственную звезду.

В каждой фазе этих цепей следует установить (и поддерживать в процессе испытаний) испытательный ток, равный номинальному рабочему току защитного коммутационного аппарата, с погрешностью, не превышающей +/- 5%, при этом значение испытательного тока в каждой фазе вводного коммутационного аппарата не должно иметь отклонение более чем на 2% номинального рабочего тока вводного коммутационного аппарата.

Для проверки соединительных элементов зажимов нулевых рабочих проводников их следует включать в отдельную испытательную цепь. Испытательный ток должен быть равен 50% номинального тока щитка.

10.25.4 При испытании щитков все нагрузочные цепи по 10.25.3 должны включаться одновременно и находиться под соответствующим рабочим током до установившегося теплового режима. Тепловой режим считают установившимся, если температура частей щитка по 6.8.1 не изменяется более чем на 1 °C в течение 1 ч.

10.25.5 При испытании этажных распределительных и учетно-распределительных щитков их аппараты должны быть нагружены номинальным рабочим током квартир, установленном в технических условиях на щитки конкретных типов. В эти цепи должны включаться зажимы фазных и нулевых рабочих проводников питающей цепи. Счетчики в испытательные цепи допускается не включать.

10.25.6 Испытательные цепи должны выполняться медными проводниками, сечение которых следует выбирать по номинальным токам аппаратов, задействованных при испытании по ГОСТ IEC 61439-3.

Длины проводников временных соединений должны быть не менее 1 м. Проводники испытательных цепей должны быть тщательно зачищены и надежно соединены с зажимами нулевых рабочих проводников и выводами аппаратов.

10.25.7 При проведении испытания температура должна измеряться на элементах щитка в соответствии с 6.8.1 (таблица 5). Места установки термопар должны указываться в технических условиях на щитки конкретных типов и в протоколах испытаний.

Контроль температуры частей щитка при установившемся тепловом режиме, а также температуры окружающего воздуха - по ГОСТ IEC 61439-1.

10.25.8 Щитки считают выдержавшими испытания, если превышение температуры их частей над установленным верхним значением температуры окружающего воздуха не превышает допустимых значений по 6.8.1.

Сопротивление изоляции токоведущих частей, измеренное в конце испытаний, не должно быть ниже 6 МОм.

10.26 Проверку расстояний утечки и воздушных зазоров по 6.8.2 следует выполнять по ГОСТ IEC 61439-1.

10.27 Испытание электрической прочности изоляции щитков по 6.8.3 и изолирующих оболочек по 6.8.5 следует проводить согласно ГОСТ IEC 61439-1.

Испытания щитков проводят с отключенными счетчиками и другими приборами (см. примечание 1 к таблице 4).

Оценка результатов испытаний - по ГОСТ IEC 61439-1.

10.28 Измерение сопротивления изоляции по 6.8.4 должно проводиться между токоведущими частями различных фаз, между фазами и нулевым рабочим проводником, а также между ними и корпусом щитка. Измерения должны проводиться мегомметром постоянного тока на напряжение не менее 1000 В. Измерения проводят с отключенными счетчиками и другими приборами (см. примечание 1 к таблице 4).

Оценка результатов - по 6.8.4.

10.29 Проверку маркировки щитков по 6.9.1, 6.9.3 проводят сверкой с технической документацией. Содержание маркировки должно соответствовать щитку конкретного типа.

10.30 Контроль эксплуатационного документа по 6.10.1 должен проводиться на соответствие ГОСТ 2.601 и полноту его заполнения по 6.10.2.

10.31 Испытания на надежность по 6.11 проводят в соответствии с техническими условиями на щитки конкретных типов.

10.32 Испытание на воздействие климатических факторов внешней среды по 8.4 должно проводиться согласно ГОСТ 16962.1.

После климатических испытаний сопротивление изоляции щитков должно быть не менее 1 МОм.

10.33 Испытания на воздействие механических факторов внешней среды по 8.5 должны выполняться согласно ГОСТ 16962.2.

10.34 Виды методов испытаний по 10.32 и 10.33 устанавливаются в технических условиях на щитки конкретных типов.

10.35 Проверку комплектности по 6.12 проводят на соответствие требованиям технических условий на щитки конкретных типов.

10.36 Проверку консервации и упаковки щитков по 6.13 проводят визуально.

11 Транспортирование и хранение

11.1 Условия транспортирования щитков в части воздействия климатических факторов внешней среды аналогичны условиям хранения 5 по ГОСТ 15150, в части воздействия механических факторов при транспортировании - C по ГОСТ 23216 и 6.13.4 настоящего стандарта.

11.2 Условия хранения щитков в части воздействия климатических факторов внешней среды - 2 по ГОСТ 15150 на допустимый срок сохраняемости до ввода в эксплуатацию не более двух лет.

11.3 Транспортирование и хранение щитков, поставляемых на экспорт, должны соответствовать требованиям контракта.

12 Указания по эксплуатации

12.1 Монтаж и эксплуатацию щитков следует проводить в соответствии с Руководством по эксплуатации изготовителя.

12.2 При эксплуатации щитков должен использоваться ручной инструмент по ГОСТ IEC 60900.

13 Гарантии изготовителя

13.1 Изготовитель гарантирует соответствие щитков требованиям настоящего стандарта при соблюдении потребителем условий транспортирования, хранения, монтажа и эксплуатации.

13.2 Гарантийный срок эксплуатации - два года со дня ввода щитков в эксплуатацию.

Приложение А
(справочное)

ПРИМЕРНЫЕ СХЕМЫ КВАРТИРНЫХ И ЭТАЖНЫХ ЩИТКОВ

Примечание - Приведенные схемы являются иллюстрацией положений стандарта и не могут без предварительного анализа реальных требований потребителей использоваться при разработке щитков.

1 - распределительная цепь; 2 - проводящая оболочка щитка; 3, 5 - зажимы для проводников распределительной цепи (нулевых рабочих N и нулевых защитных PE); 4, 6 - зажимы для нулевых рабочих N и защитных PE проводников групповых цепей; 7 - зажим для проводника уравнивания потенциалов; 8 - соединительные элементы нулевых рабочих проводников N (позиций 3 и 4); 9 - соединительный элемент зажимов нулевых защитных проводника (позиций 5 и 6), а также зажима проводника уравнивания потенциалов (позиция 7); 10 - соединительный элемент входных выводов защитных коммутационных аппаратов групповых цепей; 11 - знак заземления у зажима (позиция 5); 12, 13 - АВДТ; 14 - выключатель; 15 - автоматические выключатели; 16 - счетчик; 17, 18 - УЗДП; 19 - линии групповых цепей; L - фазный проводник; I - ток; - ток утечки; БОДП - блок обнаружения дугового пробоя

Примечание 1 - В линии групповых цепей, отходящих к потребителям (позиция 19), необходимо включать УЗО и УЗДП.

Примечание 2 - Для установки УЗИП следует руководствоваться сведениями, содержащимися в приложении Е настоящего стандарта.

Рисунок А.1 - Схемы квартирных щитков (группового и учетно-группового), присоединенных к распределительным цепям, отходящим от: а) этажного учетно-распределительного щитка; б) этажного распределительного щитка

1 - питающая цепь; 2 - проводящая оболочка щитка; 3 - зажим для подключения совмещенного защитного заземляющего и нейтрального проводника (PEN), питающей сети; 3', 4 - зажимы для нулевого рабочего проводника; 5 - зажим проводника, соединяющего зажимы вводного совмещенного защитного заземляющего и нейтрального проводника (PEN), с зажимами защитных проводников (PE); 4, 6 - зажимы для нулевых рабочих и защитных проводников групповых цепей; 7 - зажим для проводника уравнивания потенциалов; 8 - соединительные элементы нулевых рабочих проводников (позиция 4); 9 - соединительный элемент зажимов нулевых защитных проводников (позиция 6); 10 - соединительный элемент входных выводов защитных коммутационных аппаратов групповых цепей; 11 - знак заземления у зажима (позиция 5); 12 - линии групповых цепей; 13 - выключатель; 14 - автоматический выключатель; 15 - счетчик; L - фазный проводник

Примечание 1 - В линии групповых цепей, отходящих к потребителям (позиция 12), следует включать УЗО и УЗДП.

Примечание 2 - Для установки УЗИП следует руководствоваться сведениями, содержащимися в приложении Е настоящего стандарта.

Рисунок А.2 - Схема квартирного учетно-группового щитка (использованного в действующем жилом фонде с двухпроводными линиями к светильникам и розеткам и трехпроводной к электрической плите), присоединенного к однофазной двухпроводной распределительной цепи, отходящей от этажного щитка

1 - питающая цепь; 2 - проводящая оболочка щитка; 3 - зажим для подключения совмещенного защитного заземляющего и нейтрального проводника (PEN), питающей сети; 3', 4 - зажимы для нулевого рабочего проводника N; 5, 6 - зажимы нулевого защитного PE и нулевого рабочего N проводников групповой цепи; 7 - зажим для проводника уравнивания потенциалов; 8 - соединительный элемент зажимов нулевых рабочих проводников N (позиции 4 и 6); 9 - соединительный элемент зажимов нулевых защитных проводников PE (позиция 5), а также зажима проводника уравнивания потенциалов (позиция 7); 10, 11 - соединительные элементы входных выводов защитных коммутационных аппаратов групповых цепей; 12 - знак заземления у зажима (позиция 3); 13 - АВДТ; 14 - ВДТ; 15 - выключатель; 16 - счетчик; 17 - автоматические выключатели; 18, 19 - УЗДП; 20 - линии групповых цепей; L - фазный проводник; N 1, N 2 - нулевые рабочие проводники; I - ток; - ток утечки; БОДП - блок обнаружения дугового пробоя; 21 - зажим проводника, соединяющего зажимы вводного совмещенного защитного заземляющего и нейтрального проводника (PEN), с зажимами защитных проводников (PE); 22 - соединительный элемент зажимов для организации перехода с системы заземления TN-C на TN-C-S

Примечание 1 - В линии групповых цепей, отходящих к потребителям (позиция 20), следует включать УЗО и УЗДП.

Примечание 2 - Для установки УЗИП следует руководствоваться сведениями, содержащимися в приложении Е настоящего стандарта.

Рисунок А.3 - Схема квартирного учетно-группового щитка (для сельского жилого дома), присоединенного к наружной однофазной двухпроводной питающей сети

1 - питающая цепь; 2 - проводящая оболочка щитка; 3 - зажим для нулевого защитного проводника PE питающей сети; 4 - зажим для нулевого рабочего проводника N; 5, 6 - зажимы нулевого защитного PE и нулевого рабочего N проводников групповой цепи; 7 - зажим для проводника уравнивания потенциалов; 8 - соединительный элемент зажимов нулевых рабочих проводников N (позиции 4 и 6); 9 - соединительный элемент зажимов нулевых защитных проводников PE (позиции 3 и 5), а также зажима проводника уравнивания потенциалов (позиция 7); 10 - соединительные элементы входных выводов защитных коммутационных аппаратов групповых цепей; 11 - знак заземления у зажима (позиция 3); 12 - ВДТ; 13 - выключатель; 14 - предохранители; 15 - линии групповых цепей; L - фазный проводник; - ток утечки

Примечание 1 - В линии групповых цепей, отходящих к потребителям (позиция 15), следует включать УЗО и УЗДП.

Примечание 2 - Для установки УЗИП следует руководствоваться сведениями, содержащимися в приложении Е настоящего стандарта.

Рисунок А.4 - Схема квартирного группового щитка (для хозяйственного блока), присоединенного к квартирному учетно-групповому щитку жилого дома

1 - распределительная цепь; 2 - проводящая оболочка щитка; 3, 4 - зажимы для проводников распределительной цепи (нулевого защитного PE и нулевого рабочего N); 5 - зажим для нулевого рабочего проводника N 2, от устройства защитного отключения; 6, 8 - зажимы для нулевых защитных PE и нулевых рабочих (N 1 и N 2) проводников групповых цепей; 7, 9 - зажим для проводника уравнивания потенциалов; 10, 11 - соединительные элементы зажимов нулевых рабочих проводников N [распределительных (позиция 4) и групповых цепей (позиции 5, 8)]; 12 - соединительный элемент зажимов нулевых защитных проводников PE [распределительных (позиция 3) и групповых цепей (позиция 6), а также зажима проводника уравнивания потенциалов (позиция 9)]; 13 - знак заземления у зажима (позиция 3); 14, 15, 16 - соединительные элементы для соединения входных выводов защитных коммутационных аппаратов групповых цепей; 17, 18 - ВДТ; 19 - АВДТ; 20, 21 - УЗДП; 22 - выключатель; 23 - автоматические выключатели; 24 - счетчик; 25, 26 - линии групповых цепей; L1, L2, L3 - фазные проводники; I - ток; - ток утечки; БОДП - блок обнаружения дугового пробоя

Примечание 1 - В линии групповых цепей, отходящих к потребителям (позиции 25, 26), необходимо включать УЗО и УЗДП.

Примечание 2 - Для установки УЗИП следует руководствоваться сведениями, содержащимися в приложении Е настоящего стандарта.

Рисунок А.5 - Схемы квартирных щитков (группового и учетно-группового) индивидуальных многоэтажных зданий, присоединенных к трехфазным пятипроводным распределительным цепям, отходящим от:
а) этажного учетно-распределительного щитка;
б) этажного распределительного щитка

1 - питающая цепь; 2 - проводящая оболочка щитка; 3 - зажим для подключения совмещенного защитного заземляющего и нейтрального проводника (PEN), питающей сети; 3', 4 - зажимы для нулевого рабочего проводника N; 5 - зажим для нулевого рабочего проводника N 2 от устройства защитного отключения (УЗО); 6, 8 - зажимы для нулевых защитных проводников PE и нулевых рабочих проводников (N 1 и N 2) групповых цепей; 7, 9 - зажим для проводника уравнивания потенциалов; 10 - соединительный элемент зажимов нулевых рабочих проводников N 1 [питающей сети (позиция 4) и групповых цепей (позиция 7)]; 11 - соединительный элемент зажимов нулевых рабочих проводников N (позиции 5 и 8); 12 - соединительный элемент зажимов нулевых защитных проводников PE групповых цепей (позиция 6), а также зажима проводника уравнивания потенциалов (позиция 9); 13, 14 - соединительные элементы входных выводов защитных коммутационных аппаратов групповых цепей; 15 - знак заземления у зажима (позиция 3); 16, 17 - ВДТ; 18 - АВДТ; 19, 20 - УЗДП; 21, 22, 23 - автоматические выключатели; 24 - счетчик; 25, 26 - линии групповых цепей; L1, L2, L3 - фазные проводники; I - ток; - ток утечки; БОДП - блок обнаружения дугового пробоя; 27 - зажим проводника соединяющего зажимы вводного совмещенного защитного заземляющего и нейтрального проводника (PEN), с зажимами защитных проводников (PE); 28 - соединительный элемент зажимов для организации перехода с системы заземления TN-C на TN-C-S

Примечание 1 - В линии групповых цепей, отходящих к потребителям (позиции 25, 26), необходимо включать УЗО и УЗДП.

Примечание 2 - Для установки УЗИП следует руководствоваться сведениями, содержащимися в приложении Е настоящего стандарта.

Рисунок А.6 - Схема квартирного учетно-группового щитка (для коттеджа), присоединенного к наружной трехфазной четырехпроводной питающей сети

1 - питающая цепь; 2 - распределительная цепь; 3 - проводящая оболочка щитка; 4, 5, 6 - зажимы для проводников питающей цепи (фазных, нулевых защитных PE, нулевых рабочих N) и проводников распределительных цепей; 7 - знак заземления у зажимов (позиция 6); 8 - автоматический выключатель; 9 - счетчик; L1, L2, L3 - фазные проводники

Примечание 1 - В цепях (L, N), отходящих к потребителям, следует включать УЗО и УЗДП.

Примечание 2 - Для установки УЗИП следует руководствоваться сведениями, содержащимися в приложении Е настоящего стандарта.

Рисунок А.7 - Схемы этажных щитков на четыре квартиры зданий массового строительства, присоединенных к трехфазной пятипроводной питающей цепи (стояку):
а) распределительного, б) учетно-распределительного

1 - питающая цепь; 2 - распределительная цепь; 3 - проводящая оболочка щитка; 4, 5, 6 - зажимы для проводников питающей цепи (фазных, нулевых, защитных PE, нулевых рабочих N) и проводников распределительных цепей; 7 - знак заземления у зажимов (позиция 6); 8 - автоматический выключатель; 9 - счетчик; L1, L2, L3 - фазные проводники

Примечание 1 - В цепях (L, N), отходящих к потребителям, следует включать УЗО и УЗДП.

Примечание 2 - Для установки УЗИП следует руководствоваться сведениями, содержащимися в приложении Е настоящего стандарта.

Рисунок А.7.1 - Схема этажного учетно-распределительного щитка на четыре квартиры для зданий массового строительства с поочередным присоединением всех отходящих распределительных цепей к одной из фаз на каждом этаже

1 - питающая цепь; 2 - распределительная цепь; 3 - проводящая оболочка щитка; 4, 5, 6 - зажимы для проводников питающей цепи (фазных, нулевого защитного PE и нулевого рабочего N) и проводников распределительных цепей; 7 - знак заземления у зажима (позиция 6); 8 - автоматические выключатели; 9 - счетчик; L1, L2, L3 - фазные проводники

Примечание 1 - В цепях (L, N), отходящих к потребителям, следует включать УЗО и УЗДП.

Примечание 2 - Для установки УЗИП следует руководствоваться сведениями, содержащимися в приложении Е настоящего стандарта.

Рисунок А.8 - Схема этажных щитков на четыре квартиры индивидуальных многоэтажных зданий, присоединенных к трехфазной пятипроводной питающей цепи (стояку):
а) распределительного; б) учетно-распределительного

1 - питающая цепь; 2 - проводящая оболочка щитка; 3, 4, 5 - зажимы для проводников питающей цепи и проводников распределительной цепи <1>; 6, 7 - зажимы проводников N и PE вводов в квартиры; 8, 9 - зажимы для нулевых рабочих N и нулевых защитных PE проводников групповых цепей; 10 - зажим для проводника уравнивания потенциалов; 11 - соединительный элемент зажимов нулевых рабочих проводников N [распределительной (позиция 6) и групповых цепей (позиция 8)]; 12 - соединительный элемент зажимов нулевых защитных проводников PE [распределительной (позиция 7) и групповых цепей (позиция 9), а также зажима проводника уравнивания потенциалов (позиция 10)]; 13 - соединительный элемент входных выводов защитных коммутационных аппаратов групповых цепей; 14 - знак заземления у зажимов (позиции 5, 7); 15 - АВДТ; 16 - УЗДП; 17 - выключатель-разъединитель; 18 - автоматические выключатели; 19 - счетчик; 20 - автоматический выключатель питающей цепи (стояка); 21 - линии групповых цепей; L1, L2, L3 - фазные проводники; I - ток; - ток утечки; N 1, N 2, N 3, N 4 - нулевые рабочие проводники; БОДП - блок обнаружения дугового пробоя

Примечание 1 - В линии групповых цепей, отходящих к потребителям (позиция 21), необходимо включать УЗО и УЗДП.

Примечание 2 - Для установки УЗИП следует руководствоваться сведениями, содержащимися в приложении Е настоящего стандарта.

<1> В данном виде щитка распределительная цепь является его внутренней цепью.

Рисунок А.9 - Схема этажного учетно-распределительно-группового щитка на четыре квартиры зданий массового строительства, присоединенного к трехфазной пятипроводной питающей цепи (стояку)

Приложение Б
(рекомендуемое)

ОПРЕДЕЛЕНИЕ НОМИНАЛЬНЫХ РАБОЧИХ ТОКОВ ВВОДНЫХ И ЗАЩИТНЫХ КОММУТАЦИОННЫХ АППАРАТОВ ЩИТКОВ

Б.1 Номинальными рабочими токами вводных коммутационных аппаратов квартирных щитков, вводных коммутационных аппаратов квартир и защитных коммутационных аппаратов групповых цепей с номинальными токами, установленными изготовителями при соответствующей контрольной температуре (как правило 30 °C), являются наибольшие значения токов, протекающих через эти аппараты (в соответствии с Б.8) при установившейся температуре внутри щитка, при которых значения превышения температур аппаратов и других элементов внутренних цепей не более приведенных в 6.8.1.

Примечание - Определение вводного коммутационного аппарата квартиры - по таблице 2, сноска 3.

Б.2 Определение номинальных рабочих токов по Б.1 следует выполнять на стадии разработки щитков каждого вида в соответствии с разделом 5.

Б.3 Испытания на превышение температуры по Б.8, Б.13 должны проводиться в рабочих положениях щитков.

Б.4 Номинальные рабочие токи однофазных вводных коммутационных аппаратов квартирных щитков и вводных коммутационных аппаратов квартир этажных щитков зданий массового строительства должны определяться исходя из расчетной мощности 11 кВт на квартиру с электроплитами и 7 кВт на квартиру с газовыми плитами, если иные меньшие значения не заданы потребителем.

Б.5 Номинальные рабочие токи трехфазных вводных коммутационных аппаратов квартирных щитков, а также аппаратов этажных распределительных щитков индивидуальных зданий следует определять по расчетной мощности квартир, задаваемой потребителем.

Б.6 По полученным значениям номинальных рабочих токов вводных коммутационных аппаратов должны быть установлены их номинальные токи в соответствии с таблицей 2, при этом принимают равные или ближайшие большие значения номинальных токов аппаратов. Выбранные аппараты на соответствующие номинальные токи должны быть проверены на нагрев по Б.8.

Б.7 Номинальные токи защитных коммутационных аппаратов групповых цепей и их число следует принимать по нормам проектирования электроустановок жилых зданий или по заказу потребителей, при этом номинальные рабочие токи этих аппаратов определяют по Б.8.

Б.8 Для проверки вводного коммутационного аппарата щитка конкретного типа на соответствие превышения температур по 6.8.1 и определения по этому критерию номинальных рабочих токов защитных коммутационных аппаратов групповых цепей через вводной коммутационный аппарат пропускают его номинальный рабочий ток (определенный по Б.4 или Б.5), который должен быть распределен между минимально возможным количеством аппаратов с наибольшими номинальными токами таким образом, чтобы через каждый из них протекал его номинальный ток, умноженный на коэффициент одновременности согласно ГОСТ IEC 61439-3, выбираемый для начальной стадии испытаний по таблице 1 настоящего стандарта в зависимости от количества задействованных для испытаний защитных коммутационных аппаратов, приходящихся на одну фазу вводного коммутационного аппарата.

Если номинальный рабочий ток вводного коммутационного аппарата не может быть достигнут нагрузкой определенного количества защитных коммутационных аппаратов по Б.8, то один защитный коммутационный аппарат из числа задействованных при испытании может нагружаться меньшим током.

Б.9 Если в ходе испытаний превышение температур частей щитка окажется больше или меньше допустимых значений по 6.8.1, то регулировкой тока в нагрузочных цепях необходимо достичь превышения температур не более установленных значений и не ниже этих значений более чем на 10%, но при этом значения токов не должны быть менее расчетных значений токов наиболее мощных электроприемников (см. приложение Д).

Б.10 Если при испытании по Б.8 и Б.9 получены требуемые данные, относящиеся к превышению температуры защитных коммутационных аппаратов и других элементов групповых цепей, то следует определить отношения полученных значений рабочих токов аппаратов к соответствующим значениям их номинальных токов, при этом усредненное значение этих отношений следует умножить на номинальные токи аппаратов, не подвергшихся испытаниям, для установления их рабочих токов.

Б.11 Значения рабочих токов, при которых нагрев щитков по 6.8.1 не превышает допустимых значений, должны быть зафиксированы в протоколах испытаний как номинальные рабочие токи для последующего введения их в технические условия.

Б.12 В технических условиях для щитка каждого типа, содержащего защитные коммутационные аппараты групповых цепей, должны указываться аппараты, включаемые в испытательную цепь, и номинальные рабочие токи, которыми они должны нагружаться при последующих периодических испытаниях на нагрев.

Б.13 Этажные распределительные и учетно-распределительные щитки с однофазными аппаратами для зданий массового строительства и с трехфазными аппаратами для индивидуальных зданий должны проверяться на нагрев номинальными рабочими токами вводных коммутационных аппаратов, определенных по Б.4 и Б.5.

Б.14 Методика испытания щитков на превышение температуры - в соответствии с 10.25.1 - 10.25.8.

Б.15 По результатам проведенных испытаний для потребителя устанавливаются также рекомендации по комплектации оболочек квартирных щитков аппаратами (по 5.2).

Эти рекомендации должны предотвратить чрезмерный нагрев аппаратов.

Рекомендации приводятся в инструкции изготовителя оболочек и должны содержать следующие указания применительно к соответствующему типоразмеру оболочки:

а) номинальный ток вводного коммутационного аппарата и его номинальный рабочий ток во встроенном положении в щиток;

б) номинальные токи и номинальные рабочие токи защитных коммутационных аппаратов групповых цепей, которые могут быть установлены в оболочку. Значения номинальных токов аппаратов принимают по таблице 2;

в) максимальное количество аппаратов, которое может быть установлено в оболочку исходя из ее размеров;

г) суммарный ток установленных в оболочку защитных коммутационных аппаратов, который не должен превышать номинального рабочего тока вводного коммутационного аппарата, а наибольшая нагрузка любого из защитных коммутационных аппаратов групповых цепей не должна превосходить его номинального рабочего тока;

д) предпочтительный вид защитных коммутационных аппаратов по конструктивному исполнению, а также по электрическим потерям, которые не должны превышать потери в аппаратах, с которыми испытывались щитки;

е) климатическое исполнение оболочки;

ж) верхнее значение температуры окружающей среды.

Приложение В
(рекомендуемое)

ОБОЗНАЧЕНИЕ ТИПОВ ЩИТКОВ

Обозначение типов щитков каждого вида в соответствии с таблицей 2 рекомендуется формировать с использованием классификационных признаков и параметров, установленных в стандарте, по следующей структуре:

   
   
Группировка 1, указывающая на классификационные
признаки щитка
 
   
Группировка 2, содержащая информацию о количестве
и видах аппаратов и приборов и номинальных
рабочих токов вводных коммутационных аппаратов
квартир
 
   
Вид климатического исполнения щитка  
 
 

Рекомендуемая структура группировки 1

   
Количество фаз на вводе
в квартиру <1>
 
   
Обозначение типа  
Вид установки:
Н - настенное;
У(В) - встраиваемое в нишу
 
Условный номер разработки
серии щитков
 
Класс по способу защиты
от поражения электрическим
током (I или II) <1>
 
 
 
 

<1> В обозначениях щитков конкретных типов число фаз для однофазных щитков и класс I могут не указываться.

Рекомендуемая структура группировки 2

 
Количество присоединяемых квартир (1, 2, 3, 4, 5, 6)
Номинальный рабочий ток вводного аппарата квартиры, А
А - автоматический выключатель;
В - выключатель-разъединитель;
Д (...) - устройство защитного отключения
со встроенной защитой от сверхтока.
В скобках указывают значение номинального
отключающего дифференциального тока.
Нет индекса - без аппарата
Наличие устройства защиты от импульсных перенапряжений,
указываемое индексом "УЗП"
Наличие счетчика в квартирных или этажных щитках,
указываемое индексом "Сч"
Количество однофазных групп,
защищаемых автоматическими
выключателями (предохранителями) и/или
УЗО/АВДТ
Количество трехфазных групп,
защищаемых автоматическими
выключателями и УЗО/АВДТ
Наличие приборов управления,
контроля, сигнализации (буква "Ф")

<1> В обозначении типа приводят только те параметры, которые установлены в технических условиях на щитки конкретных типов.

Конструкции выводов аппаратов защиты групповых цепей и зажимы для присоединения нулевых рабочих проводников N и нулевых защитных проводников PE групповых цепей должны обеспечивать присоединение медных и/или однопроволочных проводников из алюминиевых сплавов и иметь соответствующую маркировку контактов Cu для подсоединения только медных проводников, Al только для алюминиевых, Cu/Al для комбинированных проводников.

Пример условного обозначения типа однофазного учетно-группового квартирного щитка, настенного исполнения, условного номера разработки 2, класса I, с автоматическим выключателем на номинальный рабочий ток 40 А, со счетчиками, семью однофазными группами, климатического исполнения УЗ:

ЩКН2 - 40А/Сч/7УЗ

Пример обозначения типа трехфазного учетно-группового квартирного щитка, встраиваемого в нишу, класса II, с АВДТ на номинальный рабочий ток 50 А и номинальный отключающий дифференциальный ток 300 мА, со счетчиком, установленным на вводе устройством защиты от импульсных перенапряжений, с 12 однофазными и четырьмя трехфазными группами, с приборами управления и сигнализации, климатического исполнения УХЛ4.1:

3ЩКУП - 50Д(300)/Сч/УЗП/12 + 4 - ФУХЛ4.1

Пример обозначения типа этажного учетно-распределительного щитка, встраиваемого в нишу, условного номера разработки 2, класса I, на три квартиры с однофазными автоматическими выключателями на номинальный рабочий ток 40 А, со счетчиками, климатического исполнения УХЛ4.1:

ЩЭУ2 - 3 x 40А/Сч/УХЛ4.1

Пример обозначения типа этажного распределительного щитка, встраиваемого в нишу, условного номера разработки 4, класса I, на две квартиры, с трехфазными автоматическими выключателями на номинальный рабочий ток 50 А, климатического исполнения УХЛ4:

3ЩЭУ4 - 2 x 50АУХЛ4

Пример обозначения типа этажного учетно-распределительно-группового щитка, встраиваемого в нишу класса I, на четыре квартиры, с вводными выключателями на номинальный рабочий ток 31,5 А, со счетчиками, с четырьмя однофазными группами, климатического исполнения УХЛ4:

ЩЭУГ - 4 x 31,5/Сч/4УХЛ4

Приложение Г
(рекомендуемое)

НИШИ ДЛЯ ЩИТКОВ ЗДАНИЙ МАССОВОГО СТРОИТЕЛЬСТВА

Рисунок Г.1 - Ниши для щитков зданий массового строительства

Таблица Г.1

Размеры ниш для щитков зданий массового строительства

Вид щитков Размеры, мм
H L B
Квартирные 500 280 300
Этажные 300 280 130
600 450 140
950 500 140
950 900 140
1200 1200 200

Примечание 1 - Допускаются иные размеры ниш по согласованию изготовителя щитков с потребителем.

Примечание 2 - Расстояние от точки крепления счетчика до двери щитка не менее 140 мм.

Приложение Д
(справочное)

ПРИМЕРНЫЙ ПЕРЕЧЕНЬ БЫТОВЫХ ЭЛЕКТРИЧЕСКИХ ПРИЕМНИКОВ, ИСПОЛЬЗУЕМЫХ В КВАРТИРАХ ТИПОВЫХ И НЕТИПОВЫХ ЗДАНИЙ

Таблица Д.1

Примерный перечень бытовых электрических приемников, используемых в квартирах типовых и нетиповых зданий (по 1.3)

Наименование электроприемников Установленная мощность электроприемников, кВт, для
зданий массового строительства зданий индивидуальных
1 Стиральные машины:    
- без подогрева воды; 0,60 -
- с подогревом воды 2,00 - 2,50 2,00 - 2,50
2 Джакузи - 2,00 - 2,50
3 Электрическая сауна - 12,00
4 Бойлер трехфазный - 12,00
5 Электроподогрев пола - 0,80 - 1,40
6 Солярий - 0,80 - 1,80
7 Стационарная электрическая плита 8,50 - 10,50 <1> 8,50 - 10,50
8 Надплитный фильтр 0,25 0,25
9 Печь гриль 0,65 - 1,35 0,65 - 1,35
10 СВЧ печь 0,90 - 1,30 0,90 - 1,30
11 Посудомоечная машина с электроподогревом - 2,25 - 2,50
12 Морозильники, холодильники 0,14 - 0,30 0,14 - 0,30
13 Электромясорубка 1,10 1,10
14 Электрочайник 1,85 - 2,00 1,85 - 2,00
15 Электрокофеварка 0,65 - 1,00 0,65 - 1,00
16 Соковыжималка 0,20 - 0,30 0,20 - 0,30
17 Тостер 0,65 - 1,05 0,65 - 1,05
18 Миксер 0,25 - 0,40 0,25 - 0,40
19 Электромассажер - 2,20 - 2,50
20 Электрофен 0,40 - 1,60 0,40 - 1,60
21 Электроутюг 0,90 - 1,70 0,90 - 1,70
22 Электропылесос 0,65 - 1,40 0,65 - 1,40
23 Вентиляторы 1,00 - 2,00 1,00 - 2,00
24 Телевизоры 0,12 - 0,14 0,12 - 0,14
25 Радиоаппаратура 0,07 - 0,10 0,07 - 0,10
26 Осветительные приборы 0,50 - 1,20 0,50 - 1,20
<1> Расчетные мощности соответственно 7 и 8,3 кВт.

Приложение Е
(справочное)

КРИТЕРИИ ВЫБОРА УСТРОЙСТВ ЗАЩИТЫ ОТ ИМПУЛЬСНЫХ ПЕРЕНАПРЯЖЕНИЙ (УЗИП)

В настоящем приложении не учитываются устройства защиты от перенапряжений, которые могут являться компонентами и входить в состав электроприборов, подключаемых к электроустановке. Наличие таких компонентов и устройств может влиять на функционирование основного устройства защиты от перенапряжений электроустановки и может потребовать дополнительной координации.

Е.1 Для выбора УЗИП требуется определить тип перенапряжений и токов (классификация в соответствии с требованиями, устанавливаемыми в национальных стандартах государств, упомянутых в предисловии как проголосовавших за принятие межгосударственного стандарта <1>.

Е.2 Расчет значений перенапряжений в зависимости от их типа в соответствии с требованиями, устанавливаемыми в национальных стандартах государств, упомянутых в предисловии как проголосовавших за принятие межгосударственного стандарта <1>:

а) расчет отдельного грозового тока;

б) временные перенапряжения, возникающие в низковольтной системе вследствие короткого замыкания между высоковольтной системой и землей.

Е.3 Правила и принципы координации устройств защиты от перенапряжений в зависимости от типа и места установки в соответствии с требованиями, устанавливаемыми в национальных стандартах государств, упомянутых в предисловии как проголосовавших за принятие межгосударственного стандарта <1>.

Е.4 При монтаже устройств защиты от перенапряжений <1> в электроустановке необходимо обеспечивать их согласование. Производители устройств защиты от перенапряжений должны предоставлять в прилагаемой к ним документации, в достаточном объеме информацию о способах обеспечения согласования между устройствами защиты от перенапряжений.

Е.5 Выбор вида защиты в зависимости от типа электроустановки в соответствии с требованиями, устанавливаемыми в национальных стандартах государств, упомянутых в предисловии как проголосовавших за принятие межгосударственного стандарта <1>.

Е.6 Рекомендации, а также схемы по установке и подключению устройств защиты от импульсных перенапряжений в зависимости от системы заземления в соответствии с требованиями, устанавливаемыми в национальных стандартах государств, упомянутых в предисловии как проголосовавших за принятие межгосударственного стандарта <1>.

<1> В Российской Федерации действует ГОСТ Р МЭК 61643-12-2011 "Устройства защиты от импульсных перенапряжений низковольтные. Часть 12. Устройства защиты от импульсных перенапряжений в низковольтных силовых распределительных системах. Принципы выбора и применения".

Е.7 Целесообразность установки устройства защиты от импульсных перенапряжений определяется организацией, осуществляющей проектирование электроснабжения, на основе анализа рисков возникновения перенапряжений, стоимости защиты по сравнению с возможным ущербом, связанным с последствиями перенапряжений в незащищенном объекте.

БИБЛИОГРАФИЯ

[1] IEC 60446:2007, Basic and safety principles for man-machine interface, marking and identification - Identification of conductors by colours or alphanumerics (Система взаимодействия "человек-машина". Основные принципы и принципы обеспечения безопасности, маркировка и идентификация. Цветовая и цифровая идентификация проводов)