Масла моторные для дизельных двигателей. Технические условия. ГОСТ 12337-2020

(утв. Приказом Росстандарта от 22.10.2020 N 901-СТ)
Редакция от 22.10.2020 — Действует с 01.07.2021

МЕЖГОСУДАРСТВЕННЫЙ СТАНДАРТ

МАСЛА МОТОРНЫЕ ДЛЯ ДИЗЕЛЬНЫХ ДВИГАТЕЛЕЙ

ТЕХНИЧЕСКИЕ УСЛОВИЯ

Motor oils for diesel engines. Specifications

ГОСТ 12337-2020

Дата введения
1 июля 2021 года

Предисловие

Цели, основные принципы и общие правила проведения работ по межгосударственной стандартизации установлены ГОСТ 1.0 "Межгосударственная система стандартизации. Основные положения" и ГОСТ 1.2 "Межгосударственная система стандартизации. Стандарты межгосударственные, правила и рекомендации по межгосударственной стандартизации. Правила разработки, принятия, обновления и отмены"

Сведения о стандарте

1 РАЗРАБОТАН Федеральным государственным унитарным предприятием "Российский научно-технический центр информации по стандартизации, метрологии и оценке соответствия" (ФГУП "СТАНДАРТИНФОРМ"), Межгосударственным техническим комитетом по стандартизации МТК 031 "Нефтяные топлива и смазочные материалы"

2 ВНЕСЕН Федеральным агентством по техническому регулированию и метрологии

3 ПРИНЯТ Межгосударственным советом по стандартизации, метрологии и сертификации (протокол от 30 сентября 2020 г. N 133-П)

За принятие проголосовали:

Краткое наименование страны по МК (ИСО 3166) 004-97 Код страны по МК (ИСО 3166) 004-97 Сокращенное наименование национального органа по стандартизации
Беларусь BY Госстандарт Республики Беларусь
Киргизия KG Кыргызстандарт
Россия RU Росстандарт
Таджикистан TJ Таджикстандарт
Узбекистан UZ Узстандарт
Украина UA Минэкономразвития Украины

4 Приказом Федерального агентства по техническому регулированию и метрологии от 22 октября 2020 г. N 901-ст межгосударственный стандарт ГОСТ 12337-2020 введен в действие в качестве национального стандарта Российской Федерации с 1 июля 2021 г.

5 ВЗАМЕН ГОСТ 12337-84

Информация о введении в действие (прекращении действия) настоящего стандарта и изменений к нему на территории указанных выше государств публикуется в указателях национальных стандартов, издаваемых в этих государствах, а также в сети Интернет на сайтах соответствующих национальных органов по стандартизации.

В случае пересмотра, изменения или отмены настоящего стандарта соответствующая информация будет опубликована на официальном интернет-сайте Межгосударственного совета по стандартизации, метрологии и сертификации в каталоге "Межгосударственные стандарты"

1 Область применения

Настоящий стандарт распространяется на моторные масла, предназначенные для судовых, тепловозных и других дизельных двигателей (далее - масла).

2 Нормативные ссылки

В настоящем стандарте использованы нормативные ссылки на следующие межгосударственные стандарты:

ГОСТ 8.579 Государственная система обеспечения единства измерений. Требования к количеству фасованных товаров при их производстве, фасовании, продаже и импорте

ГОСТ 12.1.005 Система стандартов безопасности труда. Общие санитарно-гигиенические требования к воздуху рабочей зоны

ГОСТ 12.1.007 Система стандартов безопасности труда. Вредные вещества. Классификация и общие требования безопасности

ГОСТ 12.1.018 Система стандартов безопасности труда. Пожаровзрывобезопасность статического электричества. Общие требования

ГОСТ 12.1.044 Система стандартов безопасности труда. Пожаровзрывоопасность веществ и материалов. Номенклатура показателей и методы их определения

ГОСТ 12.4.010 Система стандартов безопасности труда. Средства индивидуальной защиты. Рукавицы специальные. Технические условия

ГОСТ 12.4.011 Система стандартов безопасности труда. Средства защиты работающих. Общие требования и классификация

ГОСТ 12.4.021 Система стандартов безопасности труда. Системы вентиляционные. Общие требования

ГОСТ 12.4.034 Система стандартов безопасности труда. Средства индивидуальной защиты органов дыхания. Классификация и маркировка

ГОСТ 12.4.068 <1> Система стандартов безопасности труда. Средства индивидуальной защиты дерматологические. Классификация и общие требования

<1> Утратил силу в Российской Федерации. В Российской Федерации действует ГОСТ Р 12.4.301-2018 "Система стандартов безопасности труда. Средства индивидуальной защиты дерматологические. Общие технические условия".

ГОСТ 12.4.103 Система стандартов безопасности труда. Одежда специальная защитная, средства индивидуальной защиты ног и рук. Классификация

ГОСТ 12.4.252 Система стандартов безопасности труда. Средства индивидуальной защиты рук. Перчатки. Общие технические требования. Методы испытаний

ГОСТ 12.4.310 Система стандартов безопасности труда. Одежда специальная для защиты работающих от воздействия нефти, нефтепродуктов. Технические требования

ГОСТ 17.2.3.02 <1> Охрана природы. Атмосфера. Правила установления допустимых выбросов загрязняющих веществ промышленными предприятиями

<1> Утратил силу в Российской Федерации. В Российской Федерации действует ГОСТ Р 58577-2019 "Правила установления нормативов допустимых выбросов загрязняющих веществ проектируемыми и действующими хозяйствующими субъектами и методы определения этих нормативов".

ГОСТ 33 Нефть и нефтепродукты. Прозрачные и непрозрачные жидкости. Определение кинематической и динамической вязкости

ГОСТ 1510 Нефть и нефтепродукты. Маркировка, упаковка, транспортирование и хранение

ГОСТ 1770 (ИСО 1042-83, ИСО 4788-80) Посуда мерная лабораторная стеклянная. Цилиндры, мензурки, колбы, пробирки. Общие технические условия

ГОСТ 2477 Нефть и нефтепродукты. Метод определения содержания воды

ГОСТ 2517 Нефть и нефтепродукты. Методы отбора проб

ГОСТ 2517-85 отменен. Взамен него с 01.03.2014 введен в действие ГОСТ 2517-2012.

ГОСТ 3900 Нефть и нефтепродукты. Методы определения плотности

ГОСТ 4333 (ISO 2592:2000) Нефтепродукты. Методы определения температур вспышки и воспламенения в открытом тигле

ГОСТ 5009 Шкурка шлифовальная тканевая. Технические условия

ГОСТ 5726 Масла моторные. Метод определения моющих свойств

ГОСТ 6370 Нефть, нефтепродукты и присадки. Метод определения механических примесей

ГОСТ 6456 Шкурка шлифовальная бумажная. Технические условия

ГОСТ 6709 Вода дистиллированная. Технические условия

ГОСТ 6709-72 отменен. Взамен него с 01.07.2021 введен в действие ГОСТ Р 58144-2018.

ГОСТ 9490 Материалы смазочные жидкие и пластичные. Метод определения трибологических характеристик на четырехшариковой машине

ГОСТ 9827 Присадки и масла с присадками. Метод определения фосфора

ГОСТ 11063 Масла моторные с присадками. Метод определения стабильности по индукционному периоду осадкообразования

ГОСТ 11362 (ИСО 6619-88) Нефтепродукты и смазочные материалы. Число нейтрализации. Метод потенциометрического титрования

ГОСТ ISO 12185 Нефть и нефтепродукты. Определение плотности с использованием плотномера с осциллирующей U-образной трубкой <2>

ГОСТ 12275 Масла смазочные и присадки. Метод определения степени чистоты

ГОСТ 12417 (ИСО 3987-80) Нефтепродукты. Метод определения сульфатной золы

ГОСТ 13538 Присадки и масла с присадками. Метод определения содержания бария, кальция и цинка комплексонометрическим титрованием

ГОСТ 13950 Бочки стальные сварные и закатные с гофрами на корпусе. Технические условия

ГОСТ 17479.1 Масла моторные. Классификация и обозначение

ГОСТ 20284 Нефтепродукты. Метод определения цвета на колориметре ЦНТ

ГОСТ 20287 Нефтепродукты. Методы определения температур текучести и застывания

ГОСТ 20502 Масла и присадки к ним. Методы определения коррозионности

ГОСТ 25336 Посуда и оборудование лабораторные стеклянные. Типы, основные параметры и размеры

ГОСТ 25371 Нефтепродукты. Расчет индекса вязкости по кинематической вязкости

ГОСТ 30766 Банки металлические для химической продукции. Общие технические условия

ГОСТ 31340 Предупредительная маркировка химической продукции. Общие требования

ГОСТ 31389 Масла смазочные и присадки. Методы определения бария, кальция, фосфора, серы, цинка рентгенофлуоресцентной спектроскопией с волновой дисперсией <2>

ГОСТ 31391 Нефтепродукты. Прозрачные и непрозрачные жидкости. Метод определения кинематической вязкости и расчет динамической вязкости <2>

<2> Не действует в Российской Федерации.

ГОСТ 32327 Нефтепродукты. Определение кислотного числа потенциометрическим титрованием

ГОСТ 32500 Нефтепродукты. Вычисление индекса вязкости по кинематической вязкости при температурах 40 °C и 100 °C

ГОСТ 33756 Упаковка потребительская полимерная. Общие технические условия

Примечание - При пользовании настоящим стандартом целесообразно проверить действие ссылочных стандартов и классификаторов на официальном интернет-сайте Межгосударственного совета по стандартизации, метрологии и сертификации (www.easc.by) или по указателям национальных стандартов, издаваемых в государствах, указанных в предисловии, или на официальных сайтах соответствующих национальных органов по стандартизации. Если на документ дана недатированная ссылка, то следует использовать документ, действующий на текущий момент, с учетом всех внесенных в него изменений. Если заменен ссылочный документ, на который дана датированная ссылка, то следует использовать указанную версию этого документа. Если после принятия настоящего стандарта в ссылочный документ, на который дана датированная ссылка, внесено изменение, затрагивающее положение, на которое дана ссылка, то это положение принимается без учета данного изменения. Если ссылочный документ отменен без замены, то положение, в котором дана ссылка на него, применяется в части, не затрагивающей эту ссылку.

3 Марки масел

Марки масел по настоящему стандарту и их обозначение по ГОСТ 17479.1 приведены в таблице 1.

Таблица 1

Марки и обозначения масел

Марка масла Обозначение масла по ГОСТ 17479.1
М-10Г2ЦС М-10Г2(цс)
М-14Г2ЦС М-14Г2(цс)
М-16Г2ЦС М-16Г2(цс)
М-10ДЦЛ20 М-10-Д(цл20)
М-14ДЦЛ20 М-14-Д(цл20)
М-14ДЦЛ30 М-14-Д(цл30)
М-10В2С М-10-В2(с)
М-14В2 М-14-В2
М-14Г2 М-14-Г2
М-14Д2 М-14-Д2
М-20Г2 М-20-Г2
М-16Е30 М-16-Е(30)
М-20В2Ф М-20-В2(ф)
М-20Е70 М-20-Е(70)
М-16ДР М-16-Д(р)

4 Технические требования

4.1 Масла должны изготовляться в соответствии с требованиями настоящего стандарта по утвержденной технологии или технологическому регламенту из сырья и с композициями присадок, применявшихся при изготовлении образцов масел, прошедших испытания с положительными результатами и допущенных к применению в установленном порядке.

4.2 Физико-химические показатели масел должны соответствовать требованиям, приведенным в таблице 2.

Таблица 2

Физико-химические показатели масел

Наименование показателя Значение для масла марки Метод испытания
М-10В2С М-14В2 М-20В2Ф М-20Е70 М-16ДР М-14Г2 М-14Д2 М-20Г2 М-10Г2ЦС М-14Г2ЦС М-16Г2ЦС М-10ДЦЛ20 М-14ДЦЛ20 М-14ДЦЛ30 М-16Е30
1 Вязкость кинематическая при температуре 100 °C, мм2/с 11,00 - 12,00 13,50 - 14,50 19,00 - 22,00 20,00 - 23,00 15,50 - 16,50 13,50 - 14,50 13,50 - 15,00 Не менее 20,00 10,00 - 11,00 13,50 - 15,00 15,50 - 17,00 10,00 - 11,00 13,50 - 15,00 13,50 - 15,00 15,00 - 17,00 По ГОСТ 33 или ГОСТ 31391, или [1]
2 Индекс вязкости, не менее 85 85 90 90 90 90 90 85 92 92 92 92 92 92 90 По ГОСТ 25371 или ГОСТ 32500
3 Щелочное число, мг KOH/1 г масла, не менее 4,0 4,8 2,8 70 10 7,0 12,0 9,0 9,0 9,0 9,0 18 18 27 30 По ГОСТ 11362
4 Массовая доля сульфатной золы, %, не более 1,00 1,20 0,65 10,50 1,85 1,30 1,60 1,90 1,50 1,50 1,50 3,00 3,00 4,60 5,00 По ГОСТ 12417
5 Содержание механических примесей, % масс., не более 0,01 0,02 0,01 0,03 0,02 0,01 0,02 0,02 0,01 0,01 0,01 0,03 0,03 0,03 0,03 По ГОСТ 6370 и 8.2 настоящего стандарта
6 Содержание воды, % масс., не более Следы По ГОСТ 2477
7 Температура вспышки в открытом тигле, °C, не ниже 210 210 230 200 225 220 230 235 210 215 220 215 220 210 205 По ГОСТ 4333 или [2]
8 Температура застывания, °C, не выше -15 -12 -15 -12 -10 -12 -15 -15 -10 -10 -10 -10 -10 -10 -12 По ГОСТ 20287, метод Б
9 Коррозионность на пластинках из свинца, г/м2, не более Отсутствие 10 Отсутствие По ГОСТ 20502, метод А, вариант 2
10 Стабильность по индукционному периоду осадкообразования (ИПО) в течение:
40 ч
Выдерживает - - - - - - - - - - - - - - По ГОСТ 11063
50 ч - Выдерживает
11 Степень чистоты, мг/100 г масла, не более - 600 400 - 300 600 300 400 600 600 600 600 600 Не нормируется. Определение обязательно - По ГОСТ 12275 и 8.3 настоящего стандарта
12 Вымываемость присадок водой, %, не более:                               По 8.4 настоящего стандарта
снижение щелочного числа - - - 15 12 - - - 10 10 10 15 15 15 -
снижение зольности - - - 10 12 - 2,0 - 10 10 10 18 18 18 -
13 Эмульгируемость с водой, см3, не более - - - 0,3 0,3 - - - 0,3 0,5 0,5 1,0 1,0 1,0 - По 8.5 настоящего стандарта
14 Трибологические характеристики при температуре (20 +/- 5) °C:                           Не нормируется. Определение обязательно   По ГОСТ 9490
индекс задира Из, Н (кгс), не менее - 363 (37) 353 (36) 392 (40) 392 (40) 333 (34) 421 (43) 363 (37) 333 (34) 333 (34) 333 (34) 333 (34) 333 (34) 392 (40)
критическая нагрузка Рк, Н (кгс), не менее - 784 (80) 823 (84) 980 (100) - 823 (84) 823 (84) 823 (84) 823 (84) 823 (84) 823 (84) 823 (84) 823 (84) 872 (89)
показатель износа Dи при постоянной нагрузке 196 Н, мм, не более - 0,4 0,32 0,3 0,45 0,45 0,4 0,35 0,4 0,4 0,4 0,5 0,5 0,3
15 Цвет на колориметре ЦНТ с разбавлением 15:85, единицы ЦНТ, не более 3,5 4,0 3,5 - 4,0 4,0 4,0 6,5 4,0 4,0 4,0 4,5 5,0 - По ГОСТ 20284
16 Плотность при температуре 20 °C, г/см3, не более 0,900 0,910 0,905 - 0,910 0,905 0,910 0,907 0,910 0,910 0,910 0,910 0,910 0,910 - По ГОСТ 3900 или [3], или [4]
17 Массовая доля активных элементов, %, не менее:                                
кальция 0,19 0,15 0,08 2,8 0,4 0,23 0,4 0,36 0,280 0,280 0,280 0,650 0,650 1,0 1,35 По ГОСТ 13538, ГОСТ 31389 или [5], или [6]
цинка 0,05 0,045 - - 0,09 0,045 0,08 0,05 0,045 0,045 0,045 0,045 0,045 0,045 -
бария - 0,13 0,07 - - - - - - - - - - - -
фосфора 0,05 0,040 0,03 - 0,08 0,040 Не более 0,12 0,05 0,040 0,040 0,040 0,040 0,040 0,040 - По ГОСТ 9827 ГОСТ 31389 или [5] или [6]
18 Коксуемость, балл, не более - - - 3 - - - - - - - - - - 3 По 8.6 настоящего стандарта
19 Моющие свойства по ПЗВ, балл, не более 1,5 - - - - - 0,5 - 1,0 - - - - - - - - По ГОСТ 5726
Примечания
1 В механических примесях не допускаются песок и другие абразивные вещества.
2 Для масла марки М-14В2, вырабатываемого с присадками, или пакетами присадок, не содержащими барий, массовая доля кальция - не менее 0,23%, массовая доля бария не нормируется.

4.3 Маркировка

4.3.1 Маркировка - по ГОСТ 1510.

4.3.2 Маркировка должна содержать:

- наименование и местонахождение (юридический адрес, включая страну) изготовителя, его товарный знак (при наличии);

- наименование, обозначение марки и назначение продукции;

- обозначение настоящего стандарта;

- объем или массу масла в упаковочной единице (для потребительской упаковки);

- массу нетто и массу брутто упаковочной единицы (для транспортной упаковки);

- срок и условия хранения;

- дату изготовления;

- номер партии;

- штриховой идентификационный код (при необходимости).

Для масел, являющихся потребительским товаром, дополнительно приводят "указания по применению", "меры предосторожности".

Маркировка групповой упаковки должна соответствовать установленным выше требованиям с дополнительным указанием количества упаковочных единиц.

Маркировка должна быть четкой и разборчивой, выполнена способом, обеспечивающим ее сохранность к упакованной продукции и воздействиям внешней среды.

На каждую единицу упаковки наносят единый знак обращения продукции на рынке Евразийского экономического союза <1>.

<1> Действует на территории государств - членов Евразийского экономического союза.

Предупредительная маркировка - по ГОСТ 31340.

4.4 Упаковка

Упаковка - по ГОСТ 1510.

Допускается использовать металлические бочки по ГОСТ 13950, металлические банки по ГОСТ 30766, полимерные канистры, банки или бутылки по ГОСТ 33756, а также упаковку другого типа, обеспечивающую сохранность масел при хранении и транспортировании.

Пределы допускаемых отрицательных отклонений содержимого упаковочных единиц - по ГОСТ 8.579.

5 Требования безопасности

5.1 Масла являются малоопасными продуктами, по степени воздействия на организм относятся к 4-му классу опасности в соответствии с ГОСТ 12.1.007.

5.2 В соответствии с ГОСТ 12.1.005 и [7] предельно допустимая концентрация паров углеводородов масел в воздухе рабочей зоны - 900/300 мг/м3, предельно допустимая концентрация масляного тумана в воздухе - 5 мг/м3.

Содержание углеводородов в воздухе рабочей зоны определяется газохроматографическим или другим метрологически аттестованным методом.

5.3 В соответствии с ГОСТ 12.1.044 масла представляют собой горючую вязкую жидкость с температурой самовоспламенения не ниже 340 °C.

5.4 Масла не образуют токсичных соединений в воздушной среде и сточных водах в присутствии других веществ.

5.5 При разливе масел в производственном помещении их необходимо собрать в отдельную тару, место разлива промыть мыльным раствором или моющими средствами, затем промыть горячей водой и протереть сухой ветошью. При разливе масел на открытой площадке место разлива засыпают песком. Собранный после разлива масла песок удаляют в специально отведенные места с последующим обезвреживанием.

5.6 При загорании масел применяют следующие средства пожаротушения: распыленную воду, пену, огнетушащие порошки; при объемном тушении: углекислый газ, состав СЖБ (состав жидкостной бромэтиловый), состав "3,5" (огнегасительный состав "3,5" представляет собой жидкую смесь, состоящую из 70% масс. бромистого этила и 30% масс. углекислоты) и перегретый пар.

5.7 В помещениях для хранения и работы с маслами запрещается обращение с огнем.

Емкости для хранения и транспортирования масел должны быть защищены от статического электричества в соответствии с ГОСТ 12.1.018.

При работе с маслами не допускается использовать инструменты, дающие при ударе искру.

5.8 Помещения, в которых проводят работы с маслами, должны быть снабжены обменной приточно-вытяжной вентиляцией с механическим побуждением, отвечающей требованиям ГОСТ 12.4.021.

В местах возможного выделения химических веществ в воздух рабочей зоны должны быть оборудованы местные вытяжные устройства.

В помещениях для хранения масел не допускается хранить кислоты, баллоны с кислородом и другие окислители.

5.9 При работе с маслами применяют средства индивидуальной защиты по ГОСТ 12.4.011, ГОСТ 12.4.103, ГОСТ 12.4.310.

В местах с концентрацией паров масел, превышающей ПДК, применяют противогазы марки БКФ, шланговые противогазы марки ПШ-1 или аналогичные в соответствии с ГОСТ 12.4.034.

5.10 При попадании масел на открытые участки тела необходимо их удалить и обильно промыть кожу водой с мылом или моющим средством; при попадании на слизистую оболочку глаз - обильно промыть глаза теплой водой.

Для защиты кожи рук применяют защитные рукавицы по ГОСТ 12.4.010, перчатки по ГОСТ 12.4.252, мази и пасты по ГОСТ 12.4.068.

5.11 Работающие с маслами должны проходить предварительные (при приеме на работу) и периодические медицинские осмотры.

6 Охрана окружающей среды

6.1 Основным средством охраны окружающей среды от вредных воздействий масел является использование герметичного оборудования в технологических процессах и операциях, связанных с производством, транспортированием и хранением масел, а также строгое соблюдение технологического режима.

6.2 При производстве, хранении и применении масел должны быть предусмотрены меры, исключающие попадание масел в системы бытовой и ливневой канализации, а также в открытые водоемы и почву.

6.3 Для охраны атмосферного воздуха от загрязнения выбросами вредных веществ должен быть предусмотрен контроль за содержанием выбросов в соответствии с ГОСТ 17.2.3.02.

7 Правила приемки

7.1 Масла принимают партиями. Партией считают любое количество продукта, изготовленного в ходе непрерывного технологического процесса по утвержденной технологии или технологическому регламенту, однородного по компонентному составу и показателям качества, сопровождаемого одним документом о качестве (паспортом качества) на основании результатов испытаний объединенной пробы, содержащим:

- наименование, обозначение марки и назначение продукции;

- наименование изготовителя, его товарный знак (при наличии), местонахождение (с указанием страны), информацию для связи с ним;

- нормативные значения показателей безопасности продукции в соответствии с [8] <1> и значения показателей продукции по настоящему стандарту, фактические результаты испытаний;

- обозначение настоящего стандарта;

- сроки и условия хранения;

- дата изготовления (месяц, год);

- номер партии;

- номер паспорта;

- подпись лица, оформившего паспорт;

- единый знак обращения продукции на рынке Евразийского экономического союза <1>.

<1> Действует на территории государств - членов Евразийского экономического союза.

7.2 Для проверки соответствия масла требованиям настоящего стандарта проводят приемо-сдаточные и периодические испытания.

7.3 Приемо-сдаточные испытания проводят по показателям таблицы 2 кроме показателей 10, 11, 14, 17 и 18.

При получении неудовлетворительных результатов приемо-сдаточных испытаний хотя бы по одному из показателей по нему проводят повторные испытания вновь отобранной пробы, взятой из той же партии.

Результаты повторных испытаний распространяются на всю партию.

7.4 Периодические испытания проводят по следующим показателям таблицы 2:

- по показателям 10 и 11 - один раз в месяц;

- по показателям 14 и 18 - один раз в три месяца;

- по показателю 17 - один раз в десять дней.

При получении неудовлетворительных результатов периодических испытаний изготовитель переводит испытания по данному показателю в категорию приемо-сдаточных до получения положительных результатов не менее чем на трех партиях подряд.

7.5 При поставке моторных масел по государственному заказу испытания партии проводят по всем показателям, указанным в таблице 2.

8 Методы испытаний

8.1 Отбор проб - по ГОСТ 2517. Объем объединенной пробы масла каждой марки - не менее 3,0 дм3.

8.2 При определении содержания механических примесей допускается промывать фильтры горячей дистиллированной водой.

8.3 При определении степени чистоты допускается одноразовая промывка осадка на фильтре 10 см3 бензина.

8.4 Определение вымываемости присадок

8.4.1 Аппаратура и реактивы

Цилиндры 1-100 по ГОСТ 1770.

Колбы Кн-2-250-34 ТС и Кн-2-25-18 ТС по ГОСТ 25336.

Баня водяная с регулируемым подогревом.

Мешалка механическая с регулируемой частотой вращения.

Центрифуга лабораторная типа ЦЛС-3 или другого типа, имеющая фактор разделения 3000.

Кюветы пластмассовые или стаканчики центрифуги вместимостью 100 см3.

Пипетки 2-1-20.

Штатив для установки кювет.

Вода дистиллированная по ГОСТ 6709.

8.4.2 Проведение испытания

Пробу масла тщательно перемешивают. В коническую колбу помещают 50 см3 испытуемого масла и 50 см3 дистиллированной воды, устанавливают ее на водяную баню и перемешивают с частотой вращения (1000 +/- 50) мин-1 при температуре (60 +/- 5) °C в течение 2 ч.

Полученную эмульсию заливают в пластмассовые кюветы и центрифугируют при факторе разделения 3000 в течение 1 ч. Если после 1 ч центрифугирования масло будет обводнено (капля масла не будет прозрачной), продолжают центрифугирование до получения масла, не содержащего влаги (капля масла должна быть прозрачной).

После центрифугирования из верхнего слоя масла каждой кюветы пипеткой осторожно отбирают пробу масла в колбу вместимостью 25 см3, следя за тем, чтобы в пробу не попала вода из нижних слоев. Отобранное масло перемешивают. Определяют массовую долю сульфатной золы по ГОСТ 12417 и щелочное число по ГОСТ 11362 полученной пробы масла.

8.4.3 Обработка результатов

Вымываемость определяют по снижению щелочного числа и массовой доли сульфатной золы по формулам:

, (1)

где - щелочное число исходного масла до испытания, мг KOH/1 г масла;

- щелочное число центрифугированного масла, мг KOH/1 г масла.

, (2)

где - массовая доля сульфатной золы исходного масла, %;

- массовая доля сульфатной золы центрифугированного масла, %.

За результат испытания принимают среднеарифметическое значение результатов двух определений.

8.4.4 Показатели прецизионности

8.4.4.1 Повторяемость

Два результата определений, полученные одним исполнителем, признают достоверными (с 95%-ной доверительной вероятностью), если расхождение между ними для показателя "снижение щелочного числа" не превышают 2%, для показателя "снижение массовой доли сульфатной золы" - 4%.

8.4.4.2 Воспроизводимость

Два результата испытаний, полученные в двух разных лабораториях, признаются достоверными (с 95%-ной доверительной вероятностью), если расхождение между ними для показателя "снижение щелочного числа" не превышают 5%, для показателя "снижение массовой доли сульфатной золы" - 6%.

8.5 Определение эмульгируемости

8.5.1 Аппаратура, реактивы

Цилиндр 2-25 по ГОСТ 1770.

Баня водяная.

Вода дистиллированная по ГОСТ 6709.

8.5.2 Проведение испытания

Пробу масла тщательно перемешивают, затем 5 см3 масла и 5 см3 дистиллированной воды наливают в цилиндр и тщательно встряхивают вручную при комнатной температуре в течение 5 мин.

Цилиндр с образовавшейся эмульсией полностью погружают в баню с кипящей водой и выдерживают в течение 1 ч. Затем удаляют цилиндр из бани и охлаждают 30 мин при комнатной температуре.

Охлажденную эмульсию подвергают повторной обработке в таких же условиях, только продолжительность выдерживания в водяной бане - 30 мин.

После повторной обработки эмульсию охлаждают при комнатной температуре в течение 30 мин.

Визуально определяют в охлажденной эмульсии наличие слоев масла, воды и неразделенной эмульсии.

При наличии неразделенного эмульсионного слоя регистрируют его объем в кубических сантиметрах.

8.6 Определение коксуемости

Метод позволяет оценить склонность масел с присадками к образованию углеродистых отложений на горячих металлических поверхностях. Сущность метода заключается в периодическом разбрызгивании масла (каждую минуту в течение 15 с) на наклонную алюминиевую пластинку, нагретую до температуры 315 °C, и оценке образующихся на пластинке углеродистых отложений в баллах.

8.6.1 Аппаратура и материалы

Установка для определения коксуемости (см. приложение А).

Плита для полировки алюминиевых пластинок.

Шкурка шлифовальная:

- тип 1 с зернистостью 6 по ГОСТ 5009;

- тип 2 с зернистостью 8 по ГОСТ 6456.

Фетр.

Паста ГОИ.

Тахометр СК типа 751.

Бензин С3-80/120 (марки БР-1 "Галоша") для промывки резервуаров прибора и алюминиевых пластинок.

Колбы Кн-1-250-45/40 ТС по ГОСТ 25336.

Промывалка вместимостью 250 см3.

Допускается применять другие средства измерения с метрологическими характеристиками и оборудование с техническими характеристиками не хуже вышеприведенных, а также реактивы и вспомогательные материалы по качеству не ниже указанных.

8.6.2 Подготовка к испытанию

8.6.2.1 Две алюминиевые пластинки с одной стороны предварительно полируют шлифовальной шкуркой на плите для полировки пластинок, а затем окончательно полируют пастой ГОИ, нанесенной на фетр, промывают бензином и протирают досуха.

8.6.2.2 Промывают бензином резервуары установки и сушат.

Помещают испытуемое масло в резервуары до такого уровня, чтобы поверхность масла касалась конца шпинделя с иголками и закрывала конец трубки (объем залитого масла должен быть от 270 до 300 см3).

8.6.2.3 В окошко крышек резервуаров устанавливают вниз до упора подготовленные алюминиевые пластины полированной стороной.

В отверстия алюминиевых пластинок вводят термопары (не допускается касание проводов пластинки).

Устанавливают нагревательные плитки на алюминиевые пластинки и закрепляют винтами держателей.

8.6.2.4 Наливают в колбы по 130 - 140 см3 испытуемого масла, закрывают их пробками с вставленными в них резиновыми трубками, на которые надеты винтовые зажимы (хомуты). Переворачивают колбы и укрепляют на кожухе установки. Свободные концы резиновых трубок надевают на трубки, подающие масло в резервуар, и открывают винтовые зажимы на трубках.

8.6.3 Проведение испытания

8.6.3.1 Включают нагревательные плитки и через 10 - 15 мин устанавливают рабочий ток в потенциометрах.

При температуре алюминиевых пластинок 315 °C включают электромотор, вращающий шпиндели, устанавливают частоту вращения шпинделей (1000 +/- 50) мин-1 и отмечают время начала испытания; частоту вращения шпинделей при испытании контролируют дважды.

8.6.3.2 Через 24 ч выключают нагревательные плитки и мотор, закрывают винтовые зажимы на трубках и охлаждают прибор в течение 1 ч.

Отпустив винты держателей, снимают нагревательные плитки, удаляют термопары из отверстий алюминиевых пластинок, а затем погружают пластинки в ванну с бензином на 10 - 15 мин.

Промывают алюминиевые пластинки чистым бензином и сушат на воздухе.

8.6.4 Обработка результатов

Оценивают углеродистые отложения на алюминиевых пластинках в баллах по шкале, приведенной в таблице 3.

Таблица 3

Шкала для оценки углеродистых отложений на алюминиевых пластинках

Оценка, балл Характеристика углеродистых отложений на алюминиевой пластинке
0 Отложения отсутствуют
1 Желтый лак с коричневыми потеками; допускается участок, покрытый черным лаком или коксом не выше 1,5 см от нижнего края пластинки
2 Темно-коричневый лак с черными потеками; допускается участок, покрытый черным коксом или коксом не выше 2 см от нижнего края пластинки
3 Темно-коричневый или черный лак; 30% площади пластинки покрыто коксом
4 Темно-коричневый и черный лак; более 50% площади пластинки покрыто коксом
Примечание - Если отложения точно не соответствуют установленной шкале, допускается оценка с уточнением до 0,5 балла.

8.7 Допускается применять другие средства измерения с метрологическими характеристиками и оборудование с техническими характеристиками не хуже вышеприведенных, а также реактивы и вспомогательные материалы по качеству не ниже указанных.

8.8 При разногласиях в оценке качества масел следует использовать метод испытаний, указанный в таблице 1 первым.

9 Транспортирование и хранение

9.1 Транспортирование и хранение масел - по ГОСТ 1510.

10 Гарантии изготовителя

10.1 Изготовитель гарантирует соответствие масел требованиям настоящего стандарта при соблюдении условий транспортирования и хранения.

10.2 Срок хранения масла - 5 лет с даты изготовления.

10.3 По истечении срока хранения решение о применении масел принимают по результатам испытания на соответствие требованиям настоящего стандарта.

Приложение А
(справочное)

ОПИСАНИЕ УСТАНОВКИ ДЛЯ ОПРЕДЕЛЕНИЯ КОКСУЕМОСТИ МАСЕЛ

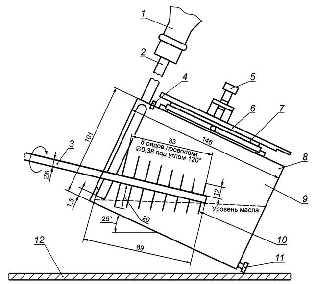
Схема установки для определения коксуемости масел приведена на рисунке А.1.

1 - сосуд с резервуаром для масла; 2 - резиновые трубки; 3 - шпиндели; 4 - вентиляционное отверстие; 5 - винт струбцины; 6 - нагревательные плитки; 7 - алюминиевые пластинки; 8 - верхние съемные крышки; 9 - два резервуара; 10 - иголки на шпиндели; 11 - сливные пробки; 12 - общее основание

Рисунок А.1 - Установка для определения коксуемости масел

Установка должна состоять из двух резервуаров, смонтированных на общем основании.

Продольные оси резервуаров должны быть параллельны. Оба резервуара должны иметь наклон вперед по отношению к горизонтально установленному основанию под углом 25°. В резервуары через их задние стенки вводят шпиндели с иголками, которые через зубчатую фрикционную передачу вращаются от одного электромотора (на рисунке А.1 не показан). Частоту вращения электромотора регулируют лабораторным автотрансформатором.

Через верхние съемные крышки резервуаров помещают внутрь резиновые трубки, соединенные с сосудами, в которых находится резерв свежего масла, поступающего в резервуары по мере снижения уровня масла в них. В крышках должны быть окошки, в которые устанавливают алюминиевые пластинки, и вентиляционное отверстие.

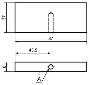
Размеры алюминиевых пластинок приведены на рисунке А.2. Алюминиевые пластинки должны быть прижаты к краям окошек нагревательными плитками, плотное прилегание нагревательных плиток к пластинкам и пластинок к краям окошек обеспечивает винт струбцины.

A - отверстие для ввода термопары

Рисунок А.2 - Размеры алюминиевых пластинок

Отработанное масло удаляют из резервуаров через сливные пробки, расположенные на дне резервуаров.

Температуру пластинок контролируют термопарами, вводимыми в отверстие A (см. рисунок А.2), и регулируют потенциометрами. Включение и выключение электромотора осуществляет реле времени.

Установка должна быть закрыта общим кожухом, охватывающим резервуары с трех сторон (передняя сторона должна быть открыта), и находится под вытяжной вентиляцией. В верхней стенке кожуха должно быть отверстие для выхода паров масла.

БИБЛИОГРАФИЯ

[1] СТБ ИСО 3104-2003 Нефтепродукты. Прозрачные и непрозрачные жидкости. Определение кинематической вязкости и расчет динамической вязкости
[2] СТБ 1651-2006 Нефтепродукты. Определение температур вспышки и воспламенения в приборе с открытым тиглем по методу Кливленда
[3] АСТМ Д4052-18а Стандартный метод определения плотности, относительной плотности и плотности в градусах API жидкостей цифровым плотномером
(ASTM D4052-18a) (Standard test method for density, relative density, and API gravity of liquids by digital density meter)
[4] СТБ ИСО 12185-2007 Нефть и нефтепродукты. Определение плотности с использованием плотномера с осциллирующей U-образной трубкой
[5] АСТМ Д4927-15 Стандартные методы элементного анализа бария, кальция, фосфора, серы и цинка в смазочных материалах и присадках рентгенофлуоресцентной спектроскопией с волновой дисперсией
(ASTM D4927-15) (Standard test methods for elemental analysis of lubricant and additive components - barium, calcium, phosphorus, sulfur, and zinc by wavelength-dispersive x-ray fluorescence spectroscopy)
[6] СТБ 1735-2016 Масла смазочные и присадки. Методы определения бария, кальция, фосфора, серы, цинка рентгенофлуоресцентной спектроскопией с волновой дисперсией
[7] Гигиенические нормативы ГН 2.2.5.1313-18 Предельно допустимые концентрации вредных веществ в воздухе рабочей зоны
Официальный источник электронного документа содержит неточность: имеются в виду Гигиенические нормативы ГН 2.2.5.3532-18.
ГН 2.2.5.3532-18 отменены. Взамен него с 01.03.2021 введен в действие СанПиН 1.2.3685-21.
[8] Технический регламент Таможенного союза ТР ТС 030/2012 О требованиях к смазочным материалам, маслам и специальным жидкостям, принят Решением Совета Евразийской экономической комиссии от 20 июля 2012 г. N 59