Решение Коллегии Евразийской экономической комиссии от 25.10.2022 N 150

"О внесении изменений в фармакопею Евразийского экономического союза"
Редакция от 25.10.2022 — Действует с 01.04.2023

КОЛЛЕГИЯ ЕВРАЗИЙСКОЙ ЭКОНОМИЧЕСКОЙ КОМИССИИ

РЕШЕНИЕ
от 25 октября 2022 г. N 150

О ВНЕСЕНИИ ИЗМЕНЕНИЙ В ФАРМАКОПЕЮ ЕВРАЗИЙСКОГО ЭКОНОМИЧЕСКОГО СОЮЗА

В соответствии со статьями 30 и 56 Договора о Евразийском экономическом союзе от 29 мая 2014 года, пунктом 14 Протокола о применении санитарных, ветеринарно-санитарных и карантинных фитосанитарных мер (приложение N 12 к Договору о Евразийском экономическом союзе от 29 мая 2014 года), пунктом 3 статьи 5 Соглашения о единых принципах и правилах обращения лекарственных средств в рамках Евразийского экономического союза от 23 декабря 2014 года и Концепцией гармонизации фармакопей государств - членов Евразийского экономического союза, утвержденной Решением Коллегии Евразийской экономической комиссии от 22 сентября 2015 г. N 119, Коллегия Евразийской экономической комиссии решила:

1. Внести в Фармакопею Евразийского экономического союза, утвержденную Решением Коллегии Евразийской экономической комиссии от 11 августа 2020 г. N 100, изменения согласно приложению.

2. Ввести в действие с 1 апреля 2023 г. общие фармакопейные статьи, предусмотренные пунктом 10 изменений (приложение к настоящему Решению).

3. Настоящее Решение вступает в силу по истечении 180 календарных дней с даты его официального опубликования.

Председатель Коллегии
Евразийской экономической комиссии
М. МЯСНИКОВИЧ

Приложение
к Решению Коллегии Евразийской
экономической комиссии
от 25 октября 2022 г. N 150

ИЗМЕНЕНИЯ, ВНОСИМЫЕ В ФАРМАКОПЕЮ ЕВРАЗИЙСКОГО ЭКОНОМИЧЕСКОГО СОЮЗА

1. В абзаце четвертом общей фармакопейной статьи 2.1.2.25. слова "статья 2.2.2.36." заменить словами "статья 2.1.2.36.".

2. В общей фармакопейной статье 2.1.4.16. цифры "(600 +/- 5025) °C" заменить на "(600 +/- 25) °C".

3. В общей фармакопейной статье 2.1.6.6. слова "перечисленных в табл. 2.6.6.6.-1" заменить словами "перечисленных в табл. 2.1.6.6.-1".

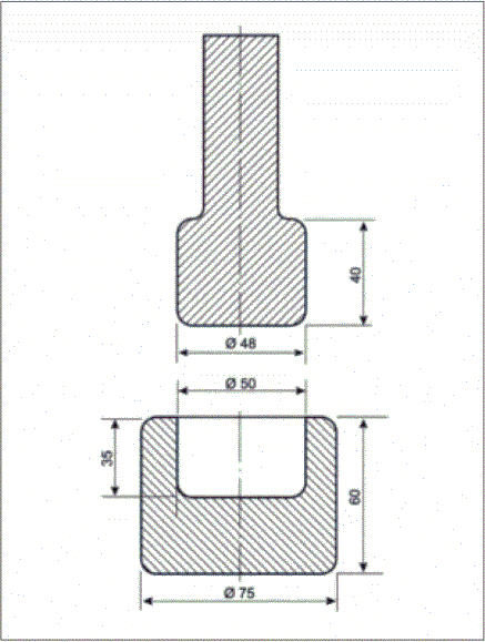
4. В общей фармакопейной статье 2.1.9.3. рисунок 2.1.9.3.-2 заменить следующим рисунком:

Рисунок 2.1.9.3.-2. - Прибор 2, перемешивающий элемент - лопасть. Размеры в миллиметрах.

5. В нумерации раздела 2.2. "Реактивы, стандартные растворы, буферные растворы" цифры "2.2." заменить на "2.2.1.".

6. В общей фармакопейной статье 2.2.1.1. код "202010001-2019" заменить на "202010001-2022".

7. В общей фармакопейной статье 2.2.1.2. код "202010002-2019" заменить на "202010002-2022".

8. Общую фармакопейную статью 2.3.1.2. с кодом "203010002-2019" заменить на общую фармакопейную статью 2.3.1.2. с кодом "203010002-2022", указанную в пункте 10 настоящих изменений.

9. В общей фармакопейной статье 2.3.5.0. в рисунке 2.3.5.0.-1 слова "Субстанции для фармацевтического применения (2034)" заменить цифрами "2.3.18.0.".

10. Дополнить общими фармакопейными статьями следующего содержания:

2. ОБЩИЕ ФАРМАКОПЕЙНЫЕ СТАТЬИ

2.1. МЕТОДЫ АНАЛИЗА

2.1.2. ФИЗИЧЕСКИЕ И ФИЗИКО-ХИМИЧЕСКИЕ МЕТОДЫ АНАЛИЗА

201020044-2022

2.1.2.44. Температура каплепадения

Температура каплепадения представляет собой температуру, при которой в условиях, приведенных ниже, первая капля расплавленного испытуемого образца падает из чашки.

Определение температуры каплепадения проводят для образцов, не растирающихся в порошок и плавящихся ниже температуры кипения воды, таких, как жиры, воск, парафин, вазелин, смолы.

При отсутствии других указаний в частной фармакопейной статье и (или) нормативном документе по качеству применяют метод 1. Замена метода 1 на метод 2 должна быть подтверждена данными по валидации.

МЕТОД 1

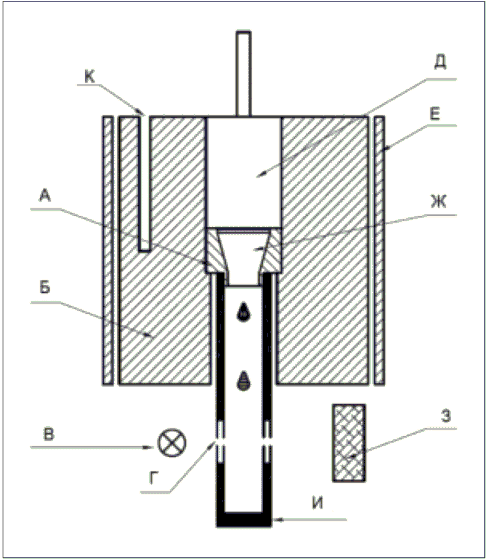
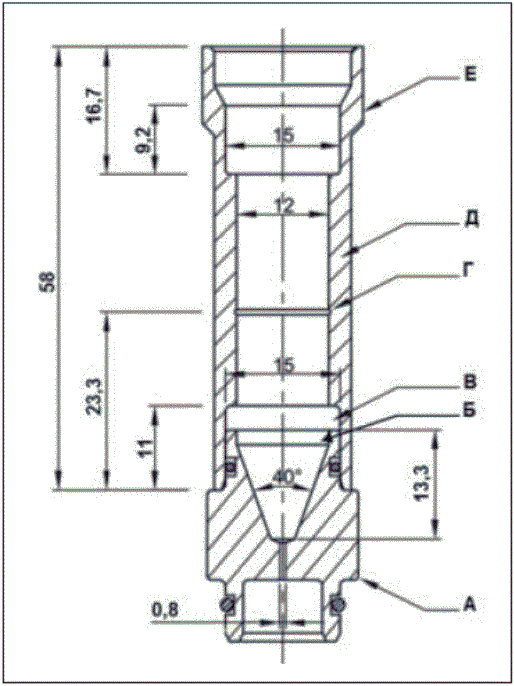
Прибор. Для проведения испытания используют прибор, представленный на рисунке 2.1.2.44.-1. Прибор состоит из двух металлических гильз (А и Б), соединенных одна с другой посредством резьбы. Гильза А прикреплена к ртутному термометру. В нижней части гильзы Б с помощью двух уплотнителей Д свободно закреплена металлическая чашка Е. Точное положение чашки определяется фиксаторами Г длиной 2 мм, используемыми также для центровки термометра. Отверстие В в стенке гильзы Б предназначено для выравнивания давления. Отводящая поверхность чашки должна быть плоской, а края выходного отверстия - под прямым углом к поверхности. Нижняя часть ртутного термометра имеет форму и размер, как показано на рисунке 2.1.2.44.-1; пределы измерения термометра от 0 °C до 110 °C, расстояние на шкале в 1 мм соответствует разности температур в 1 °C. Шарик термометра имеет диаметр (3,5 +/- 0,2) мм и высоту (6,0 +/- 0,3) мм.

Рисунок 2.1.2.44.-1. - Прибор для определения температуры каплепадения. Размеры в миллиметрах. А - верхняя металлическая гильза; Б - нижняя металлическая гильза; В - отверстие для уравновешивания давления; Г - фиксаторы; Д - уплотнители; Е - металлическая чашка

Прибор устанавливают по оси пробирки длиной около 200 мм и наружным диаметром около 40 мм.

Прибор прикрепляют к пробирке с помощью пробки, в которую вставлен термометр и которая имеет боковую прорезь. Отверстие чашки должно находиться на расстоянии около 15 мм от дна пробирки. Все устройство погружают в стакан вместимостью около 1 л, заполненный водой. Дно пробирки должно находиться на расстоянии около 25 мм от дна стакана. Уровень воды должен достигать верхней части гильзы А. Для равномерного распределения температуры в стакане используют мешалку.

Методика. Испытуемый образец подготавливают в соответствии с указаниями частной фармакопейной статьи и (или) нормативного документа по качеству. Заполняют чашку до краев испытуемым образцом. Избыток образца удаляют с обеих сторон шпателем. После того, как гильзы А и Б соединены, проталкивают чашку внутрь на ее место в гильзе Б до упора. Удаляют шпателем образец, выдавленный термометром. Прибор помещают в водяную баню, как описано выше. Водяную баню нагревают до температуры примерно на 10 °C ниже предполагаемой температуры каплепадения и устанавливают скорость нагрева около 1 °C/мин. Отмечают температуру падения первой капли. Проводят не менее трех определений, каждый раз с новым образцом. Разность между показаниями не должна превышать 3 °C. За температуру каплепадения принимают среднее значение трех измерений.

МЕТОД 2 - АВТОМАТИЧЕСКИЙ МЕТОД

Прибор. Для проведения испытания используют прибор, представленный на рисунке 2.1.2.44.-2, который состоит из сборного картриджа, включающего держатель, в котором свободно фиксируется чашка с испытуемым образцом, и приемника с горизонтальным просветом, который фиксируется под чашкой. Данный картридж вставляют в блок нагревания. Блок представляет собой металлический цилиндр с цилиндрической щелью вдоль его вертикальной оси, внутри которой помещают сборный картридж. Кроме того, имеется другая, более узкая цилиндрическая вертикальная щель, в которую устанавливают температурный датчик на уровне чашки для проб. Снаружи нагревательного блока располагается электрический нагревательный элемент. Под нагревательный блок устанавливают лампу таким образом, чтобы поток света проходил через просвет в приемник на установленный напротив фотодатчик. Блок нагревания с помощью нагревательного элемента способен поддерживать точно установленную температуру, а также нагреваться медленно с постоянной определенной скоростью после начального изотермического периода.

Рисунок 2.1.2.44.-2. - Пример прибора автоматического определения температуры каплепадения. А - держатель чашки; Б - блок нагревания; В - источник света; Г - щель; Д - сборный картридж; Е - нагревательный элемент; Ж - чашка с испытуемым образцом; 3 - фотодатчик; И - приемник; К - температурный датчик

Методика. Испытуемый образец подготавливают согласно указаниям частной фармакопейной статьи и (или) нормативного документа по качеству и проводят испытание как указано ниже или в соответствии с инструкциями производителя. Избыток образца удаляют с обеих сторон чашки шпателем. Чашку помещают в держатель и присоединяют рукав. Сборный картридж помещают в блок нагревания. На приборе выставляют первоначальные изотермические условия и скорость постепенного нагревания в соответствии с указаниями частной фармакопейной статьи и (или) нормативного документа по качеству. Включают программу температурного режима. Когда первая капля расплавленного образца упадет через щель на дно чашки, тем самым прерывая поток света, сигнал фотодатчика приведет к автоматической регистрации температуры блока нагревания.

Калибровка прибора. Прибор используют в соответствии с инструкциями производителя. В зависимости от использования прибора и испытуемых образцов, регулярно проводят предписанную калибровку и проверку эксплуатационных характеристик системы. Обычно используют сертифицированные стандартные образцы бензойной кислоты и бензофенона. Допускается применение других веществ при условии, что они не проявляют полиморфизм. Калибровку проводят в соответствии с инструкциями производителя или следующим образом. Для каждого из двух сертифицированных стандартных образцов готовят по три чашки и размещают их на чистой поверхности. В каждую чашку помещают небольшое количество сертифицированного стандартного образца и уплотняют стержнем (диаметр около 4,5 мм). Проверяют, чтобы отверстие было полностью заполнено. Наполняют чашку примерно наполовину и уплотняют образцы с помощью стержня (диаметр около 9 мм). Чашку наполняют и уплотняют, при необходимости добавляя образец, пока чашка не будет полностью заполнена.

Температурная программа для бензойной кислоты: начальная температура - 118,0 °C; скорость нагрева - 0,2 °C/мин; конечная температура - 126,0 °C. После установки чашки выдерживают в течение 30 с при температуре 118 °C до начала нагревания.

Температурная программа для бензофенона: начальная температура - 44,0 °C; скорость нагрева - 0,2 °C/мин; конечная температура - 56,0 °C. После установки чашки выдерживают в течение 30 с при температуре 44 °C до начала нагревания.

Проверяют три отдельных результата. Результаты испытания считают достоверными, если полученные значения находятся в пределах +/- 0,3 °C от среднего значения.

Исправленное среднее значение температуры () рассчитывают по формуле:

,

где: - средняя температура каплепадения по трем измерениям, в градусах Цельсия;

F - поправка на разницу температур образца и места измерения температуры в нагревательном блоке (ее значение изменяется в зависимости от конструкции прибора автоматического определения температуры каплепадения и представляется производителем).

Принимая в расчет температуру каплепадения () сертифицированного стандартного образца, точность температурной шкалы считается удовлетворительной, если не превышает 0,3 °C.

201020045-2022

2.1.2.45. Спектрометрия ядерного магнитного резонанса

Спектрометрия ядерного магнитного резонанса (ЯМР) - аналитический метод, позволяющий исследовать химическую структуру органических молекул по интерпретации их спектров ЯМР по магнитным моментам изотопов , , , , . Спектры ЯМР могут быть использованы для качественных и количественных анализов.

В соответствующих экспериментальных условиях интегрированная интенсивность сигналов ЯМР прямо пропорциональна числу спинов ядер молекулярной группы, ответственной за сигнал. Эти интегралы могут использоваться для количественного анализа.

ОБЩИЕ ПРИНЦИПЫ

При помещении группировки ядер с угловым моментом и магнитным моментом в статическое магнитное поле () ядра занимают по отношению к оси магнитного поля определенные ориентации, разрешенные в квантовой механике. Эти уровни энергетически различны. Колебательное высокочастотное магнитное поле (), перпендикулярное магнитному полю , вызывает переходы между этими уровнями с полным поглощением энергии. Согласно условию резонанса , (где - гиромагнитное отношение, - ларморова частота), магнитное поле или частота поля могут изменяться для получения спектра (метод непрерывной волны (МНВ)). В настоящее время излучение получают при помощи радиочастотного импульса (метод Фурье преобразования). Когерентное излучение, испускаемое при возвращении в исходное состояние, регистрируют в виде затухающей кривой, называемой спадом свободной индукции (ССИ). Последующее Фурье-преобразование дает спектр в области частоты, предоставляя информацию о молекулярной структуре. Дополнительные радиочастотные области применяются во время регистрации сигнала ССИ подавления скалярных взаимодействий (прямая связь) между ядрами (так называемое "распаривание"). Для качественного и количественного анализа жидких или твердых образцов можно применить одно- и многомерные методы.

Важную информацию о структуре вещества получают из следующих спектроскопических параметров, приведенных в таблице 2.1.2.45.-1.

Таблица 2.1.2.45.-1.

Резонансная частота Определяется вид ядер
Количество резонансных сигналов (синглеты, мультиплеты) Количество отдельных химических групп ядер
Химический сдвиг (ppm) Определяется химическая природа и окружение структурных групп
Интенсивность резонансных сигналов Относительное количество резонансных ядер в отдельной химической группе
Мультиплетность сопряженной структуры Количество ядер, скалярно связанных с наблюдаемым ядром
Константа спин-спинового взаимодействия (Гц) Количество взаимодействующих ядер и геометрия связей

Корреляции различных спектральных параметров (например, химический сдвиг и константа спин-спинового взаимодействия, или химические сдвиги различных ядер в пределах одной молекулярной системы) могут быть получены гомо- и гетероядерными двумерными и более многомерными методами. Информацию о времени релаксации и , о ядерных эффектах Оверхаузера и кинетике процессов, зависящих от времени, также можно получить с помощью соответствующих экспериментов.

ПРИБОР

ЯМР-спектрометр с высокой разрешающей способностью состоит из следующих частей:

- магнит для создания постоянного магнитного поля;

- термостатируемый датчик с держателем образца, предназначенный для подачи высокочастотного импульса и определения излучения, испускаемого образцом;

- электронное устройство для создания мощных высокочастотных импульсов, регистрации и преобразования сигнала ССИ в цифровую форму; это устройство также поддерживает стабильность электроники прибора;

- устройства сбора и обработки данных (компьютер);

также включает:

- проточную кювету для проведения жидкостной хроматографии ЯМР или проточно-инъекционного анализа;

- систему для создания импульсного градиента магнитного поля ЯМР.

Сильное магнитное поле генерируется катушкой сверхпроводимости в сосуде Дьюара, заполненного жидким гелием. Датчик, как правило, содержит образец в пробирке с внешним диаметром 5 мм или в проточной кювете, и соединен радиочастотными кабелями с электронным блоком, настроенным на частоту и изотопов X-ядер. Необходимыми являются дополнительные устройства для настройки и регулировки электронных контуров; кроме того, часто используют термостатирование образцов.

Следует подтвердить надлежащее функционирование ЯМР-спектрометра. Для этого используют соответствующие испытания, включающие, как правило, измерение ширины спектральной линии на полувысоте определенных пиков при определенных условиях, отношение сигнал/шум (S/N) для стандартных смесей, интенсивность импульса (измеренная как 90° ширины импульса), и воспроизводимость импульса. Все изготовители приборов предоставляют спецификации и протоколы измерения указанных параметров для определенных комбинаций прибор/датчик, и необходимо проводить проверку соответствия этим спецификациям.

ЯМР С ФУРЬЕ-ПРЕОБРАЗОВАНИЕМ (ЯМР-ФП)

Как правило, в современных спектрометрах используется принцип Фурье-преобразования: после возбуждения образца высокочастотным импульсом соответствующей частоты (v), амплитуды () и продолжительности () и последующей короткой паузы () (время восстановления чувствительности приемника), усиленный аналоговый сигнал ССИ регистрируют в течение определенного времени () и переводят в цифровую форму аналогово-цифровым преобразователем (АЦП), результаты сохраняют в памяти спектрометра. Выходной сигнал усиливается перед оцифровкой для максимального повышения чувствительности, не перегружая АЦП. При наблюдении за X-ядрами стандартный эксперимент включает, при необходимости, широкополосное распаривание (возбуждение) всех протонов. Для увеличения отношения сигнал/шум, многократные сигналы ССИ могут быть когерентно накоплены и суммированы. При Фурье-преобразовании данных этого временного интервала получают спектр области частот.

ПАРАМЕТРЫ

Следующие параметры влияют на результат эксперимента Фурье-преобразования, и должны контролироваться.

Ширина импульса (). Импульс возбуждения направлен вдоль оси x так называемой рамки вращения, его продолжительность (или "ширина") определяет угол переворота и, таким образом, интенсивность резонансного сигнала:

, (1)

где: - продолжительность ("ширина") импульса;

- угол поворота рамки вращения;

- гиромагнитное отношение.

, (2)

где: M - наблюдаемая намагниченность;

- общая намагниченность;

- угол поворота рамки вращения.

Наблюдаемая намагниченность максимальна при =90°. Продолжительность импульса должна быть короткой, чтобы гарантировать, что все сигналы возбуждения в спектральной ширине имеют одинаковую интенсивность. Намагниченность затухает вследствие процессов релаксации.

Длительность паузы (). Пауза - время между окончанием подачи импульса и началом сбора данных, необходимое по техническим причинам, поскольку ее длительность может влиять на интенсивность сигнала и фазу пика. Быстро затухающие сигналы (дающие начало широким спектральным линиям) уменьшаются в интенсивности больше, чем медленно затухающие сигналы (которые дают начало узким спектральным линиям).

Время сбора данных (). Время сбора данных связано со спектральной шириной (то есть всей наблюдаемой областью) и количеством точек цифрового разрешения, собранных во время обнаружения сигнала.

, (3)

где: SW - спектральная ширина;

DP - количество точек цифрового разрешения.

Максимальная интенсивность сигнала и отношение сигнала к шуму будут достигнуты, если время сбора данных приблизительно равняется , где - полная ширина на полувысоте, но для минимизации искажения сигнала эта величина должна быть более .

Время повторения (). Спин-решеточная релаксация влияет на время, требуемое для спиновой системы, чтобы прийти в равновесие после импульса. Релаксация может быть уменьшена при помощи специальных реактивов. В количественном анализе используемое время повторения должно устанавливаться относительно спин-решеточной релаксации и угла поворота рамки вращения, во избежание эффектов насыщения.

Усиление приемника. Аналоговый сигнал, детектируемый датчиком, усиливают до оцифровки и хранения. Усиление сигнала должно быть отрегулировано либо автоматически, либо вручную, чтобы сигнал не перегружал АЦП, что может вызывать в свою очередь искажение сигнала, и позволит оцифровывать случайный шум, произведенный при исследовании (то есть быть отличным от нуля).

ОПТИМИЗАЦИЯ ПАРАМЕТРОВ СБОРА И ОБРАБОТКИ ДАННЫХ ПРИ КОЛИЧЕСТВЕННОМ АНАЛИЗЕ

Помимо параметров сбора данных, интенсивность сигнала зависит еще от нескольких параметров. После сбора достаточного количества циклов сканирования, сводный сигнал ССИ преобразовывается с помощью Фурье-преобразования. Для достоверного количественного определения должны быть оптимизированы следующие параметры.

Цифровое разрешение. Цифровое разрешение - частотное разделение между измеренными точками. Обработанный сигнал должен иметь не менее 5 измеренных точек выше полувысоты интегрируемых сигналов. Для улучшения цифрового разрешения перед преобразованием к концу экспериментальной ССИ могут быть прибавлены дополнительные точки нулевой интенсивности ("нулевое заполнение").

Отношение сигнал/шум. Это отношение между интенсивностью (высотой пика) определенного сигнала в ЯМР-спектре и случайных колебаний, которые обычно измеряются в области спектра, который не содержит сигналов от анализируемого вещества. Низкое значение отношения сигнал/шум ограничивает точность интегрирования пика и количественных определений. При отношении сигнал/шум равным или более 150:1 стандартное относительное отклонение при интегрировании пика может быть менее 1%. В программном обеспечении современных спектрометров имеются алгоритмы по определению отношения сигнал/шум соответствующих пиков. При анализе разбавленных растворов получить достаточно высокое отношение сигнал/шум довольно трудно, особенно при детектировании ядер, отличных от . Способы увеличения отношения сигнал/шум включают в себя:

- увеличение количества суммируемых измерений (n), поскольку отношение сигнал/шум увеличивается с увеличением ;

- использование экспоненциального умножения сигнала ССИ перед Фурье-преобразованием: экспоненциальный коэффициент умножения должен быть в зоне полной пиковой ширины на полувысоте;

- использование спектрометров с более высоким постоянным магнитным полем (), так как отношение сигнал/шум пропорционально ;

- использование цифрового фильтра для уменьшения шума;

- использование датчиков, которые максимизируют фактор заполнения;

- использование криодатчиков, снижающих тепловые помехи.

Область интегрирования. Интенсивность ЯМР-сигналов получают интегрированием квази-аналогового сигнала или с помощью ступенчатого графика, или более точным интегрированием отдельных линий и цифровым представлением данных. При исследовании жидких образцов получают ЯМР-сигналы в виде линий лоренцевой формы. При отсутствии других указаний в частной фармакопейной статье и (или) нормативном документе по качеству или когда происходит перекрывание пика, для испытуемого пика и пика сравнения должен использоваться одинаковый диапазон интегрирования, выраженный в виде кратного числа полной ширине на полувысоте пика.

Динамический диапазон. Динамический диапазон аналогово-цифрового преобразователя (АЦП) определяет минимальную линию интенсивности, которую можно наблюдать или количественно определить, при интегрировании двух сигналов с той же самой шириной спектральной линии. 16-битовый АЦП позволяет идентифицировать сигнал интенсивностью 0,003% относительно сильного сигнала, полностью заполняющего динамический диапазон АЦП.

ЯМР СПЕКТРОСКОПИЯ ОБРАЗЦОВ В РАСТВОРАХ

Большинство ЯМР исследований проводят на разбавленных растворах (приблизительно 1%) испытуемого образца в соответствующем растворителе, к которому может быть прибавлен в известной концентрации подходящий стандарт для калибровки химического сдвига.

Растворители. Растворитель должен растворять испытуемый образец без дальнейшего взаимодействия, если иное не указано в частной фармакопейной статье и (или) нормативном документе по качеству. Для минимизации интенсивных сигналов растворителей используют полностью дейтерированные растворители (дейтерия оксид P, дейтерированный хлороформ P, дейтерированный диметилсульфоксид P, дейтерированный ацетон P, дейтерированный метанол P и т.д.). Атомы растворителя дают сигналы, которые легко идентифицируются по их химическому сдвигу, и могут использоваться для калибровки оси химического сдвига (вторичный стандарт).

Сравнение. Спектральная характеристика, наиболее зависящая от химического окружения атома в молекуле, называется химическим сдвигом, обозначается буквой и измеряется в миллионных долях (ppm). Химический сдвиг резонансной частоты для ЯМР активного ядра X измеряется в миллионных долях (ppm), как разность между резонансной частотой этого ядра и резонансной частотой внутреннего стандарта сдвига, выраженная в герцах, деленная на основную рабочую частоту спектрометра, в мегагерцах, при данном постоянном магнитном поле:

, (4)

где: - химический сдвиг резонансной частоты для ЯМР активного ядра X, в ppm;

- резонансная частота активного ядра X, в герцах;

- резонансная частота внутреннего стандарта сдвига, в герцах;

- основная рабочая частота спектрометра, в мегагерцах.

Условно принято, что точный химический сдвиг устанавливается по резонансной частоте тетраметилсилана P (ТМС), и обозначается как . Установив шкалу сдвигов относительно ТМС можно вычислить точную частоту любого другого X резонанса, и откалибровать масштаб его химического сдвига. Частоту (вторичного) стандартного образца при рассчитывают по частоте ТМС и табличному значению отношения частоты, определенной для изотопа, к частоте в ТМС:

, (5)

где: - частота (вторичного) стандартного образца при ;

- частота тетраметилсилана;

- табличное значение отношения частоты, определенной для изотопа, к частоте в тетраметилсилане.

Стандартные образцы при и соответствующие значения приведены в таблице 2.1.2.45.-2.

Таблица 2.1.2.45.-2.

Ядра Вода <1> Другие растворители
DSS <2> 1,00000000 ТМС 1,00000000
DSS <2> 0,25144953 ТМС 0,25145020
NH3 0,10132912 CH3NO2 0,10136767
CF3COOH не указан CCl3F 0,94094011
H3PO4 (85%) 0,40480742 (CH3O)3PO 0,40480864

<1> Химический сдвиг зависит от значения pH.

<2> DSS - натрия 2,2-диметил-2-силапентан-5-сульфонат.

На практике химические сдвиги X сравнивают, непосредственно используя соответствующий стандарт. В и ЯМР главным образом используется внутренний стандарт, который при исследовании непосредственно прибавляют к испытуемому образцу. В , и ЯМР часто используется внешний стандарт, когда образец и стандарт находятся в отдельных коаксиальных цилиндрических пробирках.

Стабилизация. Для предотвращения смещения спектра во времени выполняют процедуру стабилизации (дейтериевая стабилизация). Для этого, если иное не указано в частной фармакопейной статье и (или) нормативном документе по качеству, используют сигнал 2H (дейтерия), вызываемый дейтерированными растворителями.

КАЧЕСТВЕННЫЙ АНАЛИЗ

Качественные ЯМР спектры используются как испытания на подлинность, при котором или спектр испытуемого образца сравниваются со спектром стандартного образца или, реже, с опубликованным стандартным спектром. Спектры стандартных и испытуемых образцов должны быть получены с использованием тех же самых методик и условий проведения испытания. Пики в этих 2 спектрах или характеристичных областях спектров должны совпадать по положению, интенсивности и мульти-плетности. В соответствующих случаях может быть проведено математическое сопоставление, например, вычисление коэффициента корреляции. При отсутствии стандартного образца используют рабочий стандартный образец, идентичность которого была подтверждена альтернативными методами, или путем подтверждения того, что ЯМР спектр полностью совпадает с заявленной структурой материала.

КОЛИЧЕСТВЕННЫЙ АНАЛИЗ

Интенсивность сигнала в испытании ЯМР как правило представляет собой интегрированную площадь под кривой измеренного сигнала. Высота сигнала может быть мерой интенсивности только при одинаковом значении полной ширины на полувысоте и одинаковой мульти-плетности двух сигналов. В условиях практически полной релаксации между регистрируемыми сигналами интенсивность сигнала является истинной мерой количества ядер, ответственных за соответствующий сигнал:

, (6)

где: - интенсивность сигнала;

- количество ядер, ответственных за сигнал;

- константа, включающая фундаментальные постоянные, свойства образца и параметры приемника; может не учитываться в случаях, когда интенсивности сигналов сопоставимы и можно получить прямую зависимость между количеством ядер в двух сравниваемых структурных группах A и B:

, (7)

где: - количества ядер, принадлежащих различным структурным группам одной молекулы.

Количества ядер, принадлежащих различным структурным группам одной молекулы, представляют собой небольшие целые числа. Измеренные значения округляют до целых чисел. Однако правильное функционирование блока сбора и обработки данных легко проверяется путем сравнения точной интенсивности в пределах спектра любого подходящего органического соединения известной структуры.

Помимо того, что интенсивность сигналов, полученных от каждого компонента в смеси, связана друг с другом небольшими целыми числами, относительные молярные количества этих компонентов могут быть измерены сравнением нормализованных интенсивностей резонансов различных компонентов. Молярное отношение двух компонентов смеси вычисляют с помощью следующего уравнения:

. (8)

Результаты определения являются достоверными только в случаях, когда структуры молекул, для которых определены и , известны (или, по крайней мере, известны значения N для контролируемых групп). Определения проводят, используя метод внутреннего стандарта или метод нормализации пиков.

Метод внутреннего стандарта. Массу образца A можно определить, если к раствору в качестве стандарта интенсивности прибавляют известную массу вещества B с известным его процентным содержанием. Уравнение (8) может быть преобразовано в уравнение (9):

, (9)

где: - молекулярные массы;

- масса образца A;

- известная масса образца B;

- чистота образца B, выраженная в процентах.

Стандарт интенсивности должен быть тщательно выбран; он должен быть полностью растворим в растворителе, используемом для образца, должен производить лишь небольшое количество сигналов, и у "контролируемой группы" должен быть сигнал в пустой спектральной области. Для этих целей рекомендуется выбирать соединение с высокой чистотой и с относительно высокой молекулярной массой.

Метод внутренней нормализации. Относительное содержание компонентов в смеси, степень замещения в структурно-измененном полимере или количество примеси можно определить путем сравнения относительных интенсивностей полученных резонансов.

Методика должна быть валидирована в отношении отсутствия наложения соответствующих сигналов. Когда в образце присутствуют вещества с не четко установленной структурой или молекулярной массой (например, эмульгатор), прибавление известного количества этого материала в пробирку для ЯМР позволяет построить калибровочную кривую.

МЕТОД

Подготовка образца. Испытуемый образец растворяют в растворителе, к которому может быть прибавлен соответствующий стандартный образец для калибровки химического сдвига, как указано в частной фармакопейной статье. Для количественного анализа растворы не должны содержать нерастворенных частиц. При некоторых количественных определениях может потребоваться прибавление внутреннего стандарта для сравнения интегрированных резонансов испытуемого и стандартного образцов. Соответствующие стандартные образцы и их концентрации указаны в частных фармакопейных статьях. В других количественных определениях результат получают путем сравнения относительной интенсивности двух или всех резонансов, полученных при исследовании образца. После помещения образца в пробирку и укупорки, образец вводят в магнит ЯМР установки, устанавливают параметры испытания и проводят измерения. Основные параметры испытания приводятся в частных фармакопейных статьях.

Процедура измерения. Уравновешивают образец в датчике и регулируют прибор для получения наиболее оптимальных условий резонанса и максимального отношения сигнал/шум путем подбора настройки датчика для данного объема образца для обеспечения максимальной однородности магнитного поля во всем объеме испытуемого образца (процедура "шиммирования"). Параметры настройки записывают или сохраняют в компьютере. Условия испытания могут включать выполнение многократных последовательных циклов "импульс - сбор данных - пауза", и отдельные ССИ сигналы суммируются в памяти компьютера, с усреднением уровня шума. Когда соответствующий уровень отношения сигнал/шум достигнут, ССИ сохраняют и спектр области частот получают путем Фурье-преобразования суммированных ССИ сигналов.

ЯМР СПЕКТРОМЕТРИЯ ОБРАЗЦОВ В ТВЕРДОМ СОСТОЯНИИ

Анализ образцов в твердом состоянии может быть выполнен с помощью специально оборудованных ЯМР спектрометров. Определенные технические процедуры обеспечивают выделение отдельных линий для определенных положений атомов, а также позволяют использовать ЯМР для оценки неорганических материалов.

Одна из таких процедур - быстрое вращение (4 - 30 кГц) порошкообразного образца в роторе (внешний диаметр около 4 мм) находящегося под углом 54,7° ("магический угол") к оси магнитного поля . Этот способ называется вращением под магическим углом. Второй эффективный способ - силовое распаривание, и третий способ - перенос поляризации от легковозбудимых ядер к менее поляризуемым ядрам, то есть кросс-поляризация. Комбинация таких процедур позволяет получить спектры с высоким разрешением, содержащие большое количество информации о химических и структурных характеристиках твердых стекловидных тел, веществ в аморфном состоянии, кристаллов керамической, полимерной или минеральной природы.

При использовании ЯМР спектрометрии для оценки образца в твердом состоянии, полное описание процедуры приводят в частной фармакопейной статье.

201020046-2022

2.1.2.46. Термический анализ

Данная общая фармакопейная статья распространяется на группу методов термического анализа (МТА), при помощи которых определяется зависимость различных физических свойств веществ от температуры. Обычно в большинстве используемых методов определяют изменение энергии или массы испытуемого образца.

Эти методы имеют различные применения:

- определение фазовых изменений;

- определение изменений в химическом составе;

- определение чистоты.

К МТА относят термогравиметрию (ТГ), термометрическое титрование (ТТ), дифференциальный термический анализ (ДТА), дифференциальную сканирующую калориметрию (ДСК), дериватографию (ДГ), термомикроскопию (ТМ).

МТА, как правило, не требуют больших количеств веществ, непродолжительны по времени испытания. В случае применения МТА, в частных фармакопейных статьях и (или) нормативных документах по качеству следует указывать параметры, необходимые для корректного выполнения методики, например: скорость и температуру нагревания, инертный газ и скорость его потока.

ТЕРМОГРАВИМЕТРИЯ

Термогравиметрия (ТГ) или термогравиметрический анализ (ТГА) представляет собой метод, при помощи которого регистрируют изменение массы испытуемого образца от программированного изменения температуры.

Прибор. Основными составляющими частями прибора являются: устройство для нагревания или охлаждения образца в соответствии с заданной температурной программой, камера для образца с контролируемой средой, электронные весы и устройства для регистрации.

Проверка температурной шкалы. Поверку температурного датчика, находящегося близко к образцу или контактирующего с ним, проводят, используя температуру фазового перехода второго рода (точка Кюри) ферромагнитного вещества (например, никеля). В случае прибора, позволяющего одновременно проводить ТГ/ТГА и ДТА или ДСК, могут быть использованы те же сертифицированные (аттестованные) стандартные образцы, что и для ДТА и ДСК, например, индий, олово и (или) цинк.

Калибровка электронных весов. Необходимое количество подходящего сертифицированного (аттестованного) стандартного вещества (например, СО ФЕАЭС кальция оксалата моногидрата) помещают в держатель и регистрируют его массу. Устанавливают скорость нагревания соответственно инструкции изготовителя (например, 5 °C/мин) и начинают повышение температуры. Термогравиметрическую кривую регистрируют в виде графика: величины температуры или времени указывают по оси абсцисс по возрастанию значений слева направо; показания массы - по оси ординат по возрастанию значений снизу вверх. При температуре около 250 °C повышение температуры останавливают. На графике измеряют расстояние между начальным и конечным плато масса-температура или плато масса-время, что соответствует изменению массы образца. Полученную величину потери в массе аттестованного стандартного вещества сопоставляют с величиной, указанной на маркировке.

Методика. Для испытуемого образца проводят ту же процедуру в условиях, указанных в частной фармакопейной статье и (или) нормативном документе по качеству. Потерю в массе испытуемого образца определяют, измеряя расстояние между начальным и конечным плато на гравиметрической кривой, и выражают в процентах (м/м).

При регулярном использовании прибора периодически проводят калибровку и проверку температурной шкалы. В противном случае эти операции проводят перед каждым использованием.

Так как условия проведения испытания являются критичными, для каждого измерения отмечают следующие параметры: давление или скорость потока; состав газа, масса образца, скорость нагревания, диапазон температуры и предварительная обработка образца, включая любой изотермический период.

ДИФФЕРЕНЦИАЛЬНАЯ СКАНИРУЮЩАЯ КАЛОРИМЕТРИЯ

ДСК является методом, который используется для демонстрации энергетических явлений, происходящих при нагревании (или охлаждении) вещества (или смеси веществ) и для определения изменений в энтальпии и удельной теплоемкости, а также температур, при которых эти изменения происходят.

Данный метод используют для установления различий в количестве теплоты (относительно температуры), выделенной или поглощенной испытуемым образцом и с ячейкой сравнения в зависимости от температуры. Существует 2 типа приборов для ДСК: приборы, использующие компенсацию энергии для удерживания нулевой разницы температуры между испытуемым образцом и ячейкой сравнения; приборы, поддерживающие постоянную скорость нагревания и определяющие температурный дифференциал как разность в тепловом потоке между испытуемым образцом и ячейкой сравнения.

Прибор. Для ДСК с компенсацией энергии используют прибор, состоящий из печи, имеющей держатель образцов с испытуемой ячейкой и ячейкой сравнения. Прибор для ДСК с тепловым потоком состоит из печи, содержащей единственную ячейку с держателем образца для испытуемого тигля и тигля сравнения.

К прибору присоединяют: устройство для программирования температуры, температурный детектор (детекторы) и регистрирующую систему, подсоединенную к компьютеру. Измерения проводятся в контролируемой среде.

Калибровка прибора. Прибор калибруют на предмет изменения температуры и энтальпии с использованием сертифицированных (аттестованных) стандартных образцов.

Калибровка температуры. Калибровка температуры может быть проведена с использованием сертифицированных (аттестованных) стандартных образцов, имеющих характеристическое теплофизическое свойство, такое как температура плавления чистых металлов или органических веществ или температура фазового перехода кристаллических неорганических солей или оксидов. Обычно для калибровки используют значения температуры плавления индия, олова и (или) цинка.

Калибровка количества теплоты. Для точной оценки изменения количества теплоты (изменение энтальпии) испытуемого образца, вызванного определенным физическим изменением, происходящим при изменении температуры, необходимо проводить калибровку прибора с использованием подходящих сертифицированных (аттестованных) стандартных образцов. По аналогии с калибровкой температуры калибровка количества теплоты может быть выполнена с использованием сертифицированных (аттестованных) стандартных образцов с известными установленными значениями изменения энтальпии, вызванного физическими изменениями, такими как плавление чистых металлов и (или) органических веществ или фазовый переход кристаллических неорганических солей. Обычно для калибровки используют значения теплоты плавления индия, олова и (или) цинка.

Проведение испытания. В подходящий тигель взвешивают испытуемый образец в количестве, указанном в частной фармакопейной статье и (или) нормативном документе по качеству, и помещают в держатель образца. Пустой тигель помещают в держатель для тигля сравнения. Устанавливают температуру начала и конца испытания и скорость нагрева, указанные в частной фармакопейной статье и (или) нормативном документе по качеству.

Начинают испытание и регистрируют кривую ДСК с указанием величины температуры или времени по оси абсцисс (по возрастанию значений слева направо) и изменения энергии по оси ординат (уточняют, процесс эндотермический или экзотермический).

Температура, при которой происходит явление (начальная температура), соответствует точке пересечения (A) продолжения базовой линии и касательной к точке наибольшего наклона (точке перегиба) кривой (см. рисунок 2.1.2.46.-1). Конечная температура теплового явления соответствует пику на кривой.

Рисунок 2.1.2.46.-1. - Термограмма

Значение энтальпии пропорционально значению площади под кривой, ограниченной базовой линией; коэффициент пропорциональности находят путем измерения теплоты плавления известного вещества (например, индия) при тех же условиях проведения испытания.

Каждая термограмма сопровождается следующими данными: условия испытания, запись последней калибровки, масса испытуемого образца, идентификация (включая тепловые изменения) образца, емкость (контейнер), среда (состав, скорость потока, давление), направление и скорость температурных изменений, чувствительность прибора и регистрирующего устройства.

ОБЛАСТЬ ПРИМЕНЕНИЯ

Фазовые изменения. Определение температуры, изменения теплоемкости и энтальпии при фазовых изменениях, происходящих с веществом в зависимости от температуры. В таблице 2.1.2.46.-1 приведены возможные наблюдаемые переходы.

Таблица 2.1.2.46.-1.

Переход твердое вещество - твердое вещество: аллотропия-полиморфизм десольватация
аморфность - кристалличность
Переход твердое вещество - жидкость: плавление
стекло - переход
Переход твердое вещество - газ: сублимация
Переход жидкость - твердое вещество: замерзание перекристаллизация
стекло - переход
Переход жидкость - газ: испарение

Изменения химического состава. Измеряя теплоту и температуру реакции при данных условиях, определяют, например, кинетику разложения или десольватацию.

Использование для построения диаграмм фазового равновесия. Построение диаграмм фазового равновесия для твердых смесей. Создание фазовой диаграммы может быть важным этапом при предварительной разработке и оптимизации процесса лиофилизации.

Определение чистоты. Измерение теплоты плавления и температуры плавления с помощью ДСК делает возможным определение содержания примесей в веществе по одной диаграмме, с использованием нескольких миллиграмм образца, и без необходимости проведения повторных точных измерений истинной температуры.

Теоретически, плавление полностью чистого кристаллического вещества при постоянном давлении характеризуется теплотой плавления в бесконечно узком диапазоне, соответствующем температуре плавления. Расширение этого диапазона является чувствительным индикатором присутствия примесей. Таким образом, при испытании образцов одного и того же вещества с содержанием примесей, отличающимся на несколько десятых процента, получают визуально отличающиеся друг от друга термические диаграммы (см. рисунок 2.1.2.46.-2).

Рисунок 2.1.2.46.-2. - Термограмма вещества в зависимости от чистоты

Определение молярной чистоты с помощью ДСК основано на использовании математического приближения интегральной формы уравнения Вант-Гоффа применительно к концентрациям (не к активностям) в бинарной системе . Для небольших содержаний примесей () и для значений температуры, близких к температуре плавления, уравнение может быть представлено, как приведено ниже, где температура образца и молярная доля примеси являются переменными:

, (1)

где: T - температура образца, в кельвинах

- температура плавления химически чистого вещества, в кельвинах;

R - газовая постоянная для идеальных газов, в джоуль · кельвин-1 · моль-1;

- молярная теплота плавления вещества, в джоуль · моль-1

- молярная доля примеси, то есть число молекул примеси, разделенное на общее число молекул в жидкой фазе (или в расплавленной фазе) при температуре T (выраженной в кельвинах).

Таким образом, определение чистоты с помощью ДСК ограничено обнаружением примесей, образующих эвтектические смеси с основным веществом и присутствующих в испытуемом образце с молярной долей менее 2%.

Данный метод не применяют для:

- аморфных веществ;

- сольватов или полиморфных соединений, которые нестабильны в пределах, используемых при испытании температур;

- примесей, образующих твердые растворы с основным веществом;

- примесей, которые нерастворимы в жидкой фазе или в расплаве основного вещества.

Во время нагревания испытуемого образца примеси полностью плавятся при температуре эвтектической смеси. Выше этой температуры твердая фаза содержит только чистое вещество. Так как температура постепенно увеличивается от температуры эвтектической смеси до температуры плавления чистого вещества, молярная доля примеси в жидкой фазе постоянно падает по причине увеличения количества расплавленного чистого вещества. Для всех температур выше эвтектической точки:

, (2)

где: F - расплавленная доля анализируемого образца;

- молярная доля примеси в анализируемом образце.

Если образец расплавлен полностью, то F = 1 и =.

При объединении уравнений (1) и (2) получается следующее выражение:

.

Значение теплоты плавления получают путем интегрирования пика плавления.

Температура плавления чистого вещества экстраполируется из графика зависимости 1/F от температуры, выраженной в кельвинах. Наклон графика, при необходимости полученного после линеаризации, соответствующий , позволяет определить значение молярной доли примеси в анализируемом образце.

Молярная доля примеси в анализируемом образце, умноженная на 100, дает молярную долю всех эвтектических примесей в процентах.

201020047-2022

2.1.2.47. Потенциометрическое определение концентрации ионов с использованием ионоселективных электродов

Теоретически электродный потенциал (E) ионоселективного электрода находится в линейной зависимости от логарифма активности данного иона, что выражается уравнением Нернста:

,

где: - стандартный электродный потенциал используемого электрода;

R - универсальная газовая постоянная;

T - абсолютная температура;

F - число Фарадея;

- величина заряда иона с обозначением его знака;

- активность иона.

При постоянной ионной силе выполняется уравнение:

,

где: - молярная концентрация иона;

f - коэффициент активности ();

.

Если: и , где b - наклон калибровочной кривой электрода (наклон электродной функции), в таком случае выполняется уравнение:

,

и для .

Потенциометрическое определение концентрации ионов проводят путем измерения разницы потенциалов между двумя подходящими электродами, погруженными в испытуемый раствор; индикаторный электрод является селективным по отношению к определяемому иону, другой является электродом сравнения.

Прибор. Используют вольтметр, позволяющий выполнять измерения с точностью 0,1 мВ, с входным сопротивлением в 100 раз превышающим сопротивление используемых электродов.

В качестве ионоселективных электродов используют преимущественно электроды с кристаллической или некристаллической мембраной или с твердой основой (например, стеклянные электроды), или электроды с заряженными (положительно или отрицательно) или с незаряженными подвижными носителями, или сенсибилизированные электроды (ферментные электроды, газ-индикаторные электроды). Электродом сравнения обычно является хлорсеребряный электрод с подходящими соединяющими инертными жидкостями, исключающими их перемешивание.

Методика. Измерения проводят при постоянной температуре с точностью +/- 0,5 °C, учитывая изменение наклона электродной функции электрода в зависимости от температуры (см. таблицу 2.1.2.47.-1).

Таблица 2.1.2.47.-1

Значения k при различных температурах

Температура, °C k
20 0,0582
25 0,0592
30 0,0602

Ионную силу и, если необходимо, pH испытуемого раствора корректируют буферными растворами, указанными в частной фармакопейной статье и (или) нормативном документе по качеству; для уравновешивания электрод погружают в испытуемый раствор, который медленно перемешивают с постоянной скоростью, и регистрируют установившееся показание прибора.

Если электродная система используется часто, то регулярно проверяют воспроизводимость и стабильность сигнала, линейность калибровочной кривой или расчетного алгоритма в пределах концентраций испытуемого раствора, если нет, то проводят проверку перед каждой серией измерений.

Показания прибора считают линейными, если наклон калибровочной кривой приблизительно равен отношению:

.

МЕТОД 1 (МЕТОД КАЛИБРОВОЧНОЙ КРИВОЙ)

Последовательно измеряют не менее трех раз потенциалы не менее трех растворов сравнения в диапазоне ожидаемой концентрации испытуемого раствора. Рассчитывают уравнение калибровочной кривой или строят график зависимости среднего значения потенциала от соответствующего ему значения концентрации определяемого иона, выраженного как или .

Испытуемый раствор готовят в соответствии с указаниями частной фармакопейной статьи и (или) нормативного документа по качеству; три раза измеряют потенциал и рассчитывают концентрацию определяемого иона по среднему значению потенциала, используя калибровочную кривую.

МЕТОД 2 (МЕТОД МНОГОКРАТНЫХ СТАНДАРТНЫХ ДОБАВОК)

Испытуемый раствор готовят в соответствии с указаниями частной фармакопейной статьи и (или) нормативного документа по качеству. Измеряют при установившемся равновесии потенциал в объеме этого раствора с неизвестной концентрацией определяемого иона. К известному объему испытуемого раствора не менее трех раз последовательно прибавляют объем раствора сравнения, незначительный в сравнении с объемом испытуемого раствора (не более 0,01 от объема испытуемого раствора), с известной концентрацией, значения которой находятся в пределах линейной части калибровочной кривой. После каждого прибавления измеряют потенциал и рассчитывают разность потенциалов между измеряемым потенциалом и потенциалом при установившемся равновесии. Величина разности потенциалов связана с концентрацией определяемого иона уравнением:

или

,

где: - объем испытуемого раствора;

- концентрация определяемого иона в испытуемом растворе;

- объем прибавляемого раствора сравнения;

- концентрация определяемого иона в растворе сравнения;

b - наклон электродной функции, установленный экспериментально при постоянной температуре путем измерения разности потенциалов, полученной при измерении двух растворов сравнения, концентрации которых отличаются в 10 раз и находятся в пределах линейной части калибровочной кривой.

Строят график зависимости (ось ординат) от объема прибавляемого раствора сравнения (ось абсцисс) и экстраполируют полученную линию до пересечения с осью абсцисс. В точке пересечения концентрацию определяемого иона в испытуемом растворе рассчитывают по формуле:

.

МЕТОД 3 (МЕТОД ОДНОКРАТНОЙ СТАНДАРТНОЙ ДОБАВКИ)

К известному объему испытуемого раствора, приготовленного в соответствии с указаниями частной фармакопейной статьи и (или) нормативного документа по качеству, прибавляют объем раствора сравнения известной концентрации определяемого иона, находящейся в линейной части калибровочной кривой. Параллельно в тех же условиях готовят контрольный раствор. Потенциалы испытуемого раствора и контрольного раствора измеряют не менее трех раз до прибавления и после прибавления раствора сравнения. Рассчитывают концентрацию определяемого иона, используя уравнение и учитывая контрольный раствор:

,

где: - объем испытуемого раствора или контрольного раствора;

- концентрация определяемого иона в испытуемом растворе;

- объем прибавляемого раствора сравнения;

- концентрация определяемого иона в растворе сравнения;

- среднее значение разницы потенциалов, измеренных до и после прибавления объема ;

b - наклон электродной функции, установленный экспериментально при постоянной температуре путем измерения разности потенциалов, полученный из двух растворов сравнения, концентрации которых отличаются в 10 раз и находятся в пределах линейной части калибровочной кривой.

201020048-2022

2.1.2.48. Рентгенофлуоресцентная спектрометрия

Метод рентгенофлуоресцентной спектрометрии основан на измерении рентгеновского излучения, испускаемого атомами при их облучении внешним источником излучения, и используется для определения содержания химических элементов с атомными номерами от 4 до 92.

Измерение рентгеновского излучения проводят с помощью волнодисперсионных или энергодисперсионных рентгенофлуоресцентных спектрометров, различающихся способом детектирования.

В волнодисперсионных рентгенофлуоресцентных спектрометрах рентгеновское излучение, испускаемое образцом, направляется на кристалл, где происходит его преломление на угол, зависящий от энергии излучения. Интенсивность преломленного рентгеновского излучения последовательно измеряется детектором.

В энергодисперсионных рентгенофлуоресцентных спектрометрах рентгеновское излучение образца направляется на твердотельный детектор, генерирующий электрические импульсы с амплитудой, пропорциональной энергии каждого детектируемого фотона рентгеновского излучения. Спектрометры такого типа позволяют получить спектр исследуемого образца, содержащий полную информацию о его составе.

Интенсивность флуоресценции элемента зависит от его концентрации в образце, а также от поглощения матрицей возбуждающего и испускаемого излучения. Если концентрация следовых количеств определяемого элемента входит в область линейности калибровочного графика, интенсивность измеренной при определенной длине волны флуоресценции элемента, находящегося в матрице определенного состава, прямо пропорциональна концентрации данного элемента и обратно пропорциональна массовому коэффициенту ослабления (поглощения) матрицы при этой длине волны, который может быть обусловлен присутствием и концентрацией других элементов в образце, составом матрицы образца и размером частиц материала.

Методика. Настройку и использование прибора проводят в соответствии с инструкциями производителя. Жидкие образцы измеряют непосредственно; твердые образцы могут быть измерены непосредственно, после предварительного прессования в таблетки (гранулы), иногда после смешивания с подходящим связывающим материалом либо сплавления. Необходимо, чтобы образец имел достаточную толщину для того, чтобы возможные небольшие отклонения в толщине не влияли на измеряемое рентгеновское излучение. Для повышения чувствительности при количественном определении легких элементов измерения могут проводиться в вакууме, в среде азота или гелия. Для калибровки прибора, проверки пригодности системы и контроля работоспособности используют подходящие сертифицированные стандартные образцы, при этом при анализе лекарственных средств предпочтительно использовать стандартные образцы с высоким содержанием углерода.

Проверка пригодности системы. Перед проведением испытания для подтверждения правильности работы системы проверяют ее пригодность. Проверка считается пройденной, если полученные результаты не отличаются от действительного значения более чем на 5% в случае количественного определения содержания компонентов лекарственных средств или вспомогательных веществ, и более чем на 20% в случае количественного определения содержания примесей элемента. Сравнение с результатами, полученными альтернативным методом, например, с помощью атомно-абсорбционной спектрометрии, также может быть использовано для проверки пригодности системы, при этом в случае количественного определения критерий приемлемости может быть принят равным 10%.

Контроль работоспособности прибора. Для обеспечения достоверности результатов измерений необходимо гарантировать стабильную работу прибора в течение продолжительного периода времени. Выбор процедур, критериев приемлемости и временных интервалов для этого должен отталкиваться от типа используемого оборудования и его предполагаемого использования. Например, контроль можно осуществлять путем оценки x-оси (угол или энергия) и y-оси (интенсивность), а также разрешающей способности детектора (с требованиями, что значения разрешающей способности не должны отклоняться от значения, определенного при калибровке оборудования, более чем на 20% для количественного определения компонентов и более чем на 25% для подлинности и количественного определения примесей элементов).

Валидационные требования. В случае методик определения примесей руководствуются требованиями к валидации, представленными в общей фармакопейной статье 2.1.4.23. Определение примесей элементов. В остальных случаях пользуются общей фармакопейной статьей 2.3.14.0. Валидация аналитических методик.

Если при проведении испытания требуется проведение пробоподготовки, то введение добавок в испытуемый образец осуществляют до начала ее первой стадии.

201020049-2022

2.1.2.49. Молекулярно-массовое распределение декстранов

Определение проводят методом эксклюзионной хроматографии (2.1.2.29).

Испытуемый раствор. 0,200 г испытуемого образца растворяют в подвижной фазе и доводят тем же растворителем до объема 10 мл.

Маркерный раствор. 5 мг глюкозы P и 2 мг СО ФЕАЭС декстрана растворяют в 1 мл подвижной фазы.

Калибровочные растворы. Навеску каждого из указанных стандартных образцов: 15 мг СО ФЕАЭС декстрана 4 для калибровки, 15 мг СО ФЕАЭС декстрана 10 для калибровки, 20 мг СО ФЕАЭС декстрана 40 для калибровки, 20 мг СО ФЕАЭС декстрана 70 для калибровки и 20 мг СО ФЕАЭС декстрана 250 для калибровки по отдельности растворяют в 1 мл подвижной фазы.

Раствор для проверки пригодности хроматографической системы. 20 мг СО ФЕАЭС декстрана 40 для проверки пригодности хроматографической системы (для анализа субстанции декстрана 40) или 20 мг СО ФЕАЭС декстрана 60/70 для проверки пригодности хроматографической системы (для анализа субстанций декстрана 60 и декстрана 70) растворяют в 1 мл подвижной фазы.

При отсутствии других указаний в частной фармакопейной статье допускается использовать следующие условия хроматографирования:

- колонка длиной 0,3 м и внутренним диаметром 10 мм, заполненная агарозой поперечно-сшитой для хроматографии P, или серия колонок длиной 0,3 м и внутренним диаметром 10 мм каждая, заполненных полиэфирным гидроксилированным гелем для хроматографии P;

- подвижная фаза: раствор 7 г натрия сульфата безводного P и 1 г хлорбутанола P в 1 л воды P;

- скорость подвижной фазы: от 0,5 мл/мин до 1 мл/мин, поддерживаемая постоянно с точностью +/- 1% в час;

- детектор: дифференциальный рефрактометрический;

- петлевой дозатор: объем от 100 мкл до 200 мкл;

- температура системы: поддерживают постоянной с точностью +/- 0,1 °C.

КАЛИБРОВКА ХРОМАТОГРАФИЧЕСКОЙ СИСТЕМЫ

Хроматографируют несколько раз выбранный объем маркерного раствора. На хроматограмме должны присутствовать 2 пика: первый пик соответствует СО ФЕАЭС декстрана , второй пик - глюкозе P. Исходя из объема элюирования декстрана , рассчитывают объем эксклюзии ; полный объем рассчитывают по пику, соответствующему глюкозе.

Хроматографируют определенный объем каждого из калибровочных растворов. Для каждой полученной хроматограммы проводят базовую линию. Каждую хроматограмму делят вертикальными равноудаленными линиями на p секций (количеством не менее 60), что соответствует равным объемам элюирования. Для каждой секции i, соответствующей объему элюирования , измеряют высоту () от базовой линии до линии хроматограммы и рассчитывают коэффициент распределения () по формуле:

, (1)

где: - объем эксклюзии, определенный по пику, соответствующему СО ФЕАЭС декстрана на хроматограмме маркерного раствора;

- полный объем колонки, определенный по пику, соответствующему глюкозе на хроматограмме маркерного раствора;

- объем элюирования для секции i, полученный для хроматограммы каждого из калибровочный растворов.

Калибровку проводят, используя один из следующих методов.

Калибровка путем построения калибровочного графика. По уравнению (1) для каждого из декстранов для калибровки рассчитывают коэффициент распределения , соответствующий максимальной высоте линии хроматограммы. На полулогарифмической бумаге строят зависимость значений (ось абсцисс) от молекулярной массы для максимальной высоты линии хроматограммы () каждого из декстранов для калибровки и глюкозы (ось ординат). Через все полученные точки проводят первую калибровочную линию, экстраполируя ее из точки, полученной для СО ФЕАЭС декстрана 250 для калибровки, до более низких значений K, полученных для тех же стандартных растворов (см. рисунок 2.1.2.49.-1).

Рисунок 2.1.2.49.-1. - Пример калибровочного графика. Пунктиром обозначена часть калибровочного графика, полученная экстраполированием. Горизонтальными линиями в нижней части рисунка указаны ширина и положения хроматографических линий, полученных для каждого декстрана для калибровки

Используя полученный первый калибровочный график, находят для всех значений для всех хроматограмм соответствующие значения молекулярных масс , получая таким образом графическую зависимость для расчета молекулярно-массового распределения. Для каждого декстрана для калибровки рассчитывают среднюю молекулярную массу по уравнению (3), приведенному ниже. Калибровочный график может быть использован для расчетов, если рассчитанные значения для каждого из декстранов для калибровки не отличаются от указанных в сопроводительной документации значений больше чем на 5% и среднее отклонение для всех декстранов не превышает +/- 3%. Если данные условия не выполняются, калибровочный график смещают вдоль оси ординат и повторяют вышеописанные операции, пока рассчитанные и указанные в сопроводительной документации значения будут отличаться не более чем на 5%.

Калибровка при помощи расчетного метода. При помощи уравнений (2) и (3), приведенных ниже, и подходящего метода (возможно использование итеративного метода, такого как модифицированного Хартли метода Гаусса-Ньютона; также возможно построение кривой при помощи компьютерных программ, которые используют принцип нелинейного регрессионного анализа) рассчитывают значения коэффициентов , , , и , которые должны составлять для глюкозы 180 +/- 2, а для декстранов для калибровки могут отличаться не более чем на 5% от соответствующих значений, указанных в сопроводительной документации.

, (2)

, (3)

где: p - число секций, на которые поделена хроматограмма;

- высота хроматографической линии над базовой линией в i-той секции;

- молекулярная масса для секции i.

ПРИГОДНОСТЬ ХРОМАТОГРАФИЧЕСКОЙ СИСТЕМЫ

Хроматографируют подходящий объем соответствующего раствора для проверки пригодности хроматографической системы.

Средняя молекулярная масса СО ФЕАЭС декстрана для проверки пригодности хроматографической системы. Рассчитывают значение , как указано в разделе "Калибровка хроматографической системы", используя калибровочный график или значения коэффициентов , , , и . Результаты анализа считаются достоверными, если полученное значение находится в пределах:

- от 41 000 до 47 000 (для СО ФЕАЭС декстрана 40 для проверки пригодности хроматографической системы);

- от 67 000 до 75 000 (для СО ФЕАЭС декстрана 60/70 для проверки пригодности хроматографической системы).

Средняя молекулярная масса 10% высокомолекулярной фракции декстрана. Значение для 10% высокомолекулярной фракции декстрана, которая элюируется в секциях от 1 до n включительно, рассчитывают по формуле:

, (4)

где n определяется неравенствами:

, (5)

, (6)

где: p - количество секций, на которые разделена хроматограмма;

- высота хроматографической линии над базовой линией для секции i;

- молекулярная масса для секции i.

Результаты анализа считаются достоверными, если полученное значение для 10% высокомолекулярной фракции декстрана находится в пределах:

- от 110 000 до 130 000 (для СО ФЕАЭС декстрана 40 для проверки пригодности хроматографической системы);

- от 190 000 до 230 000 (для СО ФЕАЭС декстрана 60/70 для проверки пригодности хроматографической системы).

Средняя молекулярная масса 10% низкомолекулярной фракции декстрана. Значение для 10% низкомолекулярной фракции декстрана, которая элюируется в секции и после секции хроматограмм m, рассчитывают по формуле:

, (7)

где m определяется неравенствами:

, (8)

, (9)

где: p - количество секций, на которые разделена хроматограмма;

- высота хроматографической линии над базовой линией для секции i;

- молекулярная масса для секции i.

Результаты анализа считаются достоверными, если полученное значение для 10% низкомолекулярной фракции декстрана находится в пределах:

- от 6000 до 8500 (для СО ФЕАЭС декстрана 40 для проверки пригодности хроматографической системы);

- от 7000 до 11 000 (для СО ФЕАЭС декстрана 60/70 для проверки пригодности хроматографической системы).

МОЛЕКУЛЯРНО-МАССОВОЕ РАСПРЕДЕЛЕНИЕ ИСПЫТУЕМОГО ДЕКСТРАНА

Хроматографируют выбранный объем испытуемого раствора и рассчитывают: значение для молекулярно-массового распределения декстрана, значение для 10% высокомолекулярной фракции декстрана и значение для 10% низкомолекулярной фракции декстрана рассчитывают, как описано в разделе "Пригодность хроматографической системы".

201020050-2022

2.1.2.50. Круговой дихроизм

При прохождении плоскополяризованного света через оптически активное вещество вблизи его полос поглощения происходит аномальное изменение угла вращения плоскости поляризованного света, что приводит к круговому дихроизму.

Круговым дихроизмом называют разность поглощений, присущую оптически активным веществам в пределах полосы поглощения для света с левой и правой круговой поляризацией.

Из линейно поляризованного световой луч становится при выходе из раствора оптически активного вещества эллиптически поляризованным, причем эллиптичность проходит через максимум в области полосы поглощения (эффект Коттона).

Поглощение кругового дихроизма определяется прямым измерением поглощения света с левой и правой круговой поляризацией:

,

где: - поглощение света с левой круговой поляризацией;

- поглощение света с правой круговой поляризацией.

Круговой дихроизм рассчитывают по формуле:

,

где: - молярный круговой дихроизм или молярный дифференциальный дихроичный коэффициент поглощения, ;

- молярный коэффициент поглощения (2.1.2.24) для света с левой круговой поляризацией;

- молярный коэффициент поглощения для света с правой круговой поляризацией;

c - молярная концентрация вещества в испытуемом растворе, ;

l - длина оптического пути, см.

Для характеристики кругового дихроизма могут быть также использованы следующие величины:

Коэффициент диссимметрии:

,

где: - молярный коэффициент поглощения (2.1.2.24).

Молярная эллиптичность:

Молярной эллиптичностью называют величину угла в градусах для 1 M раствора оптически активного вещества при длине оптического пути 1 м. Молярная эллиптичность может быть рассчитана по показаниям приборов (дихрографов), непосредственно измеряющих величину эллиптичности в градусах, по формуле:

,

где: - молярная эллиптичность, ;

- значение эллиптичности, показываемое прибором;

M - молярная масса испытуемого вещества;

c - массовая концентрация вещества в испытуемом растворе, ;

l - длина оптического пути, см.

Молярная эллиптичность также связана с молярным круговым дихроизмом следующим уравнением:

.

Молярная эллиптичность часто используется при анализе белков и нуклеиновых кислот. В этом случае молярную концентрацию раствора рассчитывают с учетом средней относительной молекулярной массы элементарного звена белка или нуклеиновой кислоты, найденной по формуле:

,

где: - относительная молекулярная масса белка или нуклеиновой кислоты;

N - число элементарных звеньев белка или нуклеиновой кислоты.

Средняя относительная молекулярная масса элементарного звена составляет для белков от 100 до 120 (в среднем 115), для нуклеиновых кислот (в виде натриевой соли) - около 330.

Прибор. Источником света (S) является ксеноновая лампа (рисунок 2.1.2.50.-1); свет проходит через двойной монохроматор (M), снабженный кварцевыми призмами (P1, P2).

Рисунок 2.1.2.50.-1. - Оптическая схема дихрографа

Линейный луч из первого монохроматора расщепляется на 2 компонента, поляризуемые под правым углом вторым монохроматором. Дополнительный луч устраняется выходной щелью монохроматора.

Поляризованный и монохроматический свет проходит через двоякопреломляющий модулятор (Cr); в результате образуется переменный свет с круговой поляризацией.

Затем луч проходит через исследуемый образец (C) и попадает на фотоумножитель (P.M.), за которым следует усилитель, производящий 2 электрических сигнала: один - постоянного тока , а другой - переменного тока с частотой модуляции , характерной для исследуемого образца. Фаза является показателем кругового дихроизма. Отношение пропорционально дифференциальной оптической плотности А, которая создается сигналом. Дихрограф обычно позволяет проводить измерения в диапазоне длин волн от 170 нм до 800 нм.

КАЛИБРОВКА ПРИБОРА

Точность шкалы оптической плотности. 10,0 мг изоандростерона P растворяют в диоксане P и доводят тем же растворителем до объема 10,0 мл. Снимают спектр кругового дихроизма раствора в диапазоне от 280 нм до 360 нм. Величина , измеренная в максимуме при 304 нм, равна +3,3.

Допускается использование раствора (1S)-(+)-10-камфорсульфоновой кислоты P.

Линейность модуляции. 10,0 мг (1S)-(+)-10-камфорсульфоновой кислоты P растворяют в воде P и доводят тем же растворителем до объема 10,0 мл. Определяют точную концентрацию камфорсульфоновой кислоты в растворе методом спектрофотометрии в ультрафиолетовой области (2.1.2.24), используя значение удельного показателя поглощения при 285 нм, равное 1,49.

Снимают спектр кругового дихроизма раствора в диапазоне от 185 нм до 340 нм. Величина , измеренная в максимуме при 290,5 нм, составляет от +2,2 до +2,5, а измеренная в максимуме при 192,5 нм - от -4,3 до -5.

Допускается использование аммония (1S)-(+)-10-камфорсульфоната P или его оптического изомера аммония (1R)-(-)-10-камфор-сульфоната P.

201020051-2022

2.1.2.51. Масс-спектрометрия

Масс-спектрометрия основана на прямом измерении отношения массы к числу элементарных положительных или отрицательных зарядов ионов (m/z), полученных из анализируемого образца, находящихся в газовой фазе. Данное отношение выражается в атомных единицах массы (1 а.е.м. = одной двенадцатой массы нуклида 12C) или в дальтонах (1 Да = массе атома водорода).

Ионы, образовавшиеся в ионизаторе прибора, ускоряются и перед попаданием в детектор разделяются с помощью масс-анализатора. Все эти действия происходят в камере, в которой насосная система поддерживает вакуум от до Па.

Результирующий масс-спектр является графиком зависимости относительного количества различных ионов от отношения m/z. Сигнал, отвечающий иону, представлен несколькими пиками, соответствующими статистическому распределению различных изотопов этого иона. Такая диаграмма называется изотопным профилем, а пик (по крайней мере, для небольших молекул), представляющий наиболее распространенные изотопы для каждого атома, - моноизотопным пиком.

Масс-спектрометрический анализ дает важную качественную (определение молекулярных масс; информация, касающаяся структуры определяемых фрагментов) и количественную (с использованием внешнего или внутреннего стандартов) информацию с пределом обнаружения от пикомоля до фемтомоля.

ВВОД ОБРАЗЦА

Первой стадией анализа является ввод образца в прибор без значительного нарушения вакуума. В широко распространенном методе, называемом прямым вводом жидкости, образец помещается на конце цилиндрического штока (в кварцевом тигле, на проволоке или на металлической поверхности). Этот шток через вакуумный шлюз, в котором поддерживается первичный промежуточный вакуум между атмосферным давлением и вторичным вакуумом прибора, вводится в спектрометр.

Другие системы ввода позволяют проанализировать компоненты смеси, которые разделяются с помощью соответствующего прибора, соединенного с масс-спектрометром.

Газовая хроматография/масс-спектрометрия. При использовании подходящих колонок (капиллярных или полукапиллярных) возможно непосредственное введение конца колонки в ионизатор прибора без применения сепаратора.

Жидкостная хроматография/масс-спектрометрия. Такая комбинация особенно полезна для анализа полярных соединений, которые являются недостаточно летучими либо слишком термолабильными для того, чтобы их можно было проанализировать методом газовой хроматографии в сочетании с масс-спектрометрией. Данный метод осложняется трудностью получения ионов в газовой фазе из жидкой фазы, что требует применения специальных интерфейсов, таких, как:

- прямой ввод жидкости: подвижная фаза распыляется, и растворитель испаряется перед ионизатором прибора;

- интерфейс с пучком частиц: подвижная фаза, скорость которой может достигать 0,6 мл/мин, распыляется в десольватационной камере, в результате в ионизатор прибора попадают лишь определяемые вещества в нейтральной форме; данный способ может быть использован для соединений с относительно низкой полярностью и молекулярными массами менее 1000 Да;

- интерфейс с движущейся лентой: подвижная фаза, скорость которой может достигать 1 мл/мин, наносится на поверхность движущейся ленты; после выпаривания растворителя, анализируемый образец переносится к ионизатору прибора, где подвергается ионизации; данный способ мало эффективен для сильно полярных или термолабильных соединений.

Другие виды интерфейсов (электрораспыление, термораспыление, химическая ионизация при атмосферном давлении) могут рассматриваться как самостоятельные методы ионизации и описаны в разделе, посвященном способам ионизации.

Сверхкритическая флюидная хроматография/масс-спектрометрия. Подвижная фаза, обычно состоящая из находящегося в сверхкритическом состоянии углерода диоксида, переходит в газообразное состояние после прохождения через нагретую заслонку, находящуюся между колонкой и ионизатором.

Капиллярный электрофорез/масс-спектрометрия. Элюент вводится в ионизатор, в некоторых случаях после добавления дополнительного растворителя, для достижения скорости потока порядка нескольких миллилитров в минуту. Ограничениями данного метода являются малые количества вводимого образца и необходимость использования летучих буферных растворов.

СПОСОБЫ ИОНИЗАЦИИ

Электронный удар. Образец, находящийся в газообразном состоянии, ионизируется потоком электронов, энергия которых (обычно 70 эВ) больше энергии ионизации образца. При этом кроме молекулярного иона M+ образуются осколочные ионы, характерные для данной молекулярной структуры. Главным ограничением данного способа является необходимость испарения образца, что делает невозможным его применение для полярных, термолабильных или высокомолекулярных соединений. Ионизация электронным ударом может быть использована в газовой хроматографии, соединенной с масс-спектрометрией, а в некоторых случаях и в жидкостной хроматографии.

Химическая ионизация. Этот тип ионизации предполагает использование газа-реактива, такого, как метан, аммиак, азота монооксид, азота диоксид или кислород. Спектр характеризуется ионами или типов или ионами-аддуктами, образованными из образца и используемого газа. Осколочные ионы образуются реже, чем при ионизации электронным ударом. Для термолабильных веществ используется разновидность данного метода ионизации, при которой образец, находящийся на проволоке, очень быстро испаряется вследствие эффекта Джоуля-Томсона (десорбционная химическая ионизация).

Бомбардировка быстрыми атомами (FAB) или ионизация бомбардировкой быстрыми ионами (жидкостная масс-спектрометрия вторичных ионов - LSIMS). Образец, растворенный в вязкой матрице (например, в глицерине), наносится на металлическую поверхность и ионизируется потоком нейтральных атомов, например, аргона, ксенона или обладающими большой кинетической энергией ионами цезия. Образуются ионы или типов либо ионы-аддукты, сформированные матрицей или образцом. Данный тип ионизации подходит для полярных, термолабильных соединений, имеющих молекулярную массу до 10 000 Да. При прибавлении к подвижной фазе от 1% до 2% глицерина он может быть использован для жидкостной хроматографии, однако скорость подвижной фазы должна быть очень низкой (несколько микролитров в минуту). При нанесении тонкого слоя матрицы на поверхность хроматографических пластинок такой способ ионизации допускается использовать и в тонкослойной хроматографии.

Полевая десорбция или полевая ионизация. Образец испаряется около вольфрамовой проволоки, покрытой микроиглами (полевая ионизация) или помещается на эту проволоку (полевая десорбция). Сильное электрическое поле (напряжение около 10 кВ), возникающее между проволокой и противоэлектродом, ионизирует образец. При данных способах ионизации образуются преимущественно молекулярные ионы и ионы. Эти способы используются для малополярных и (или) термолабильных соединений.

Матрично-активированная лазерная десорбция/ионизация (MALDI). Образец, смешанный с подходящей матрицей и помещенный на металлическую подложку, ионизируется импульсным лазерным излучением с длиной волны от УФ- до ИК-диапазона (продолжительность импульсов может составлять от пикосекунды до нескольких наносекунд). Данный способ ионизации играет важную роль при анализе соединений с молекулярной массой более 100 000 Да, но ограничен использованием времяпролетного анализатора (см. ниже).

Электрораспылительная ионизация. Данный способ ионизации проводится при атмосферном давлении. Образец, находящийся в растворе, вводится в источник через капилляр, конец которого имеет потенциал порядка 5 кВ. Для облегчения распыления может использоваться газ. Испарение молекул растворителя из образующихся микрокапель приводит к образованию в газовой фазе однозарядных или многозарядных ионов. Скорости подвижной фазы при данном виде ионизации могут изменяться от нескольких микролитров в минуту до 1 мл/мин. Такая ионизация подходит для полярных соединений, а также для исследования биомолекул с молекулярными массами до 100 000 Да. Она может сочетаться с жидкостной хроматографией или капиллярным электрофорезом.

Химическая ионизация при атмосферном давлении (APCI). Ионизация проводится при атмосферном давлении под действием электрода, имеющего потенциал несколько киловольт и помещенного на пути подвижной фазы, которая распыляется как вследствие тепловых эффектов, так и благодаря использованию потока азота. Образующиеся ионы являются однозарядными и относятся к типу в случае положительного заряда и к типу в случае отрицательного. Возможность использования высоких скоростей подвижной фазы (до 2 мл/мин) делает этот способ ионизации идеальным для сочетания с жидкостной хроматографией.

Термораспылительная ионизация. Образец, находящийся в подвижной фазе, состоящей из воды и органических модификаторов и содержащей летучий электролит (обычно ацетат аммония) вводится в распыленной форме после прохождения через металлический капилляр, температура которого контролируется. Допускаются скорости подвижной фазы порядка 1 - 2 мл/мин. Ионы электролита ионизируют анализируемое соединение. Такой процесс ионизации может быть заменен или усилен электрическим разрядом напряжением около 800 В, особенно при использовании только органического растворителя. Данный способ ионизации может быть использован в методе жидкостной хроматографии с масс-спектрометрией.

АНАЛИЗАТОРЫ

Различия в работе анализаторов зависят, главным образом, от двух параметров:

- диапазона, в котором могут быть измерены отношения m/z (массовый диапазон);

- разрешающей способности, характеризующееся возможностью разделить два иона одинаковой интенсивности с отношениями m/z, отличающимися на M и перекрывающиеся при определенном процентном превышении базовой линии; например, разрешающая способность (M/M), равная 1000 с 10% превышением базовой линии, позволяет провести разделение отношений m/z 1000 и 1001 с интенсивностями, на 10% превышающими базовую линию. В некоторых случаях (времяпролетные анализаторы, квадрупольные анализаторы, ионные ловушки) разрешающая способность может быть определена как отношение между молекулярной массой и шириной пика на половине высоты (50% превышение базовой линии).

Магнитные и электростатические анализаторы. Ионы, образовавшиеся в ионизаторе, ускоряются потенциалом V и сосредотачиваются, в зависимости от устройства прибора, между магнитным (магнитное поле B) или электростатическим анализаторами (электростатическое поле E). В соответствии с законом Лапласа они перемещаются по траектории с радиусом r:

.

Для накопления и измерения различных ионов, образовавшихся в ионизаторе, могут быть использованы два типа сканирования: изменение B при постоянной величине V или изменение V при постоянной величине B. За магнитным анализатором обычно следует электрический сектор, который действует как фильтр кинетической энергии и позволяет заметно увеличить разрешающую способность прибора. Максимальная разрешающая способность такого прибора (двойной сектор) изменяется от 10 000 до 150 000 и в большинстве случаев позволяет достаточно точно оценить величину отношений m/z для определения элементного состава соответствующих ионов. Для однозарядных ионов массовый диапазон составляет от 2000 Да до 15 000 Да. Некоторые ионы могут разрушаться спонтанно (метастабильные переходы) или при столкновении с газом (диссоциация, активированная столкновением (CAD)) в областях между ионизатором и детектором, где отсутствует поле. Исследование этих процессов разрушения очень полезно для определения структуры и характеристики определенного соединения, входящего в состав смеси, и делает возможным использование тандемной масс-спектрометрии. В зависимости от места, в котором протекают процессы разрушения, известно много методик его проведения:

- режим дочернего иона (определение состава ионов, образовавшихся при разрушении определенного родительского иона): B/E = константа, MIKES (Mass-analysed Ion Kinetic Energy Spectroscopy);

- режим родительского иона (определение всех ионов, образовавшихся при разрушении иона с определенным отношением m/z): = константа;

- режим нейтральных частиц (определение всех ионов, которые теряют идентичные фрагменты): = константа, где - базовый потенциал электрического сектора.

Квадрупольные анализаторы. Анализатор состоит из четырех параллельных металлических стержней, имеющих цилиндрическое или гиперболическое поперечное сечение. Они расположены симметрично по отношению к траектории движения ионов; пары противоположных стержней присоединены к электрическому источнику. Потенциалы двух пар стержней противоположны. Они состоят из постоянного и изменяющегося компонентов. Ионы, образовавшиеся в ионизаторе, пропускаются и разделяются вследствие изменения потенциалов, приложенных к стержням, причем отношение постоянного потенциала к переменному должно оставаться неизменным. Квадрупольные анализаторы обычно имеют массовый диапазон от 1 а.е.м. до 2000 а.е.м., хотя в некоторых случаях он может достигать 4000 а.е.м. Несмотря на то, что такие анализаторы имеют меньшее разрешение, чем магнитные, они позволяют получать моноизотопный профиль однозарядных ионов во всем массовом диапазоне. Для получения спектров можно использовать три квадруполя, соединенных друг с другом, , , ( служит ионизационной камерой и в действительности не является анализатором; чаще всего в качестве ионизирующего газа применяют аргон).

Наиболее часто используемыми режимами сканирования являются:

- режим дочернего иона: выбирает m/z ион, фрагменты которого, полученные при ионизации в квадруполе , анализируются квадруполем ;

- режим родительского иона: пропускает ионы только с определенным соотношением m/z, в то время как сканирует определенный массовый диапазон. Детектируются только ионы, при разрушении которых образуется ион, отбираемый квадруполем ;

- режим нейтральных частиц: и сканируют определенный массовый диапазон, но в интервале, соответствующем фрагментам, которые теряет определенное вещество или группа веществ.

Для получения спектров возможно сочетание квадрупольных анализаторов с магнитными или электростатическими. Такие приборы называют гибридными масс-спектрометрами.

Ионные ловушки. Данные анализаторы имеют такой же принцип работы, что и квадрупольные, но в них используются трехмерные электрические поля. Анализаторы такого типа позволяют получать спектры ионов нескольких генераций ().

Циклотронно-резонансные масс-анализаторы. Ионы, образовавшиеся в ячейке и подвергнутые действию интенсивного магнитного поля, движутся по круговым траекториям с частотами, которые могут быть непосредственно связаны с величинами отношений m/z для этих ионов при помощи Фурье преобразования. Данное явление называется ионно-циклотронным резонансом. Анализаторы такого типа состоят из сверхпроводящих магнитов и обладают очень высокой разрешающей способностью (до 1 000 000 и выше), а также позволяют получать спектры. Их недостатком является необходимость использования очень глубокого вакуума (порядка Па).

Времяпролетные анализаторы. Ионы, образовавшиеся в ионизаторе, ускоряются потенциалом величиной от 10 кВ до 20 кВ. Они проходят через анализатор, состоящий из бесполевой трубы длиной от 25 см до 1,5 м, обычно называемой пролетной трубой. Время (t), за которое ион достигает детектора, пропорционально квадратному корню из отношения m/z. Теоретически массовый диапазон для такого анализатора бесконечен. Практически он определяется методом ионизации или десорбции. Времяпролетные анализаторы используются, главным образом, для высокомолекулярных соединений (вплоть до нескольких сотен тысяч дальтон). Данный анализатор обладает очень высокой чувствительностью (достаточно несколько пикомолей вещества). Точность измерений и разрешающая способность таких приборов могут быть значительно улучшены при использовании электростатического зеркала (рефлектрона).

ПОЛУЧЕНИЕ СИГНАЛА

Существует три возможных режима получения сигнала.

Режим полного спектра. Записывается полный сигнал, полученный для выбранного массового диапазона. Спектр представляет собой зависимость относительной интенсивности различных ионов от величины m/z. Получаемые результаты являются главным образом качественными. Для более быстрой идентификации возможно использование библиотек спектров сравнения.

Фрагментометрический режим (селективное сканирование ионов). Получаемый сигнал ограничен одним (сканирование одного иона, single-ion monitoring (SIM)) или несколькими (множественное ионное сканирование, multiple-ion monitoring (MIM)) ионами, характерными для анализируемого вещества. В этом режиме предел обнаружения значительно ниже. При использовании внутреннего или внешнего стандартов (например, дейтерированные стандарты) могут быть проведены количественные или полуколичественные измерения. При использовании времяпролетных анализаторов такие измерения невозможны.

Двойной фрагментометрический масс-спектрометрический режим (множественный мониторинг реакций, multiple reaction monitoring (MRM)). Включает специфическую мономолекулярную или бимолекулярную реакцию разрушения выбранного иона-предшественника, характерного для анализируемого вещества. Селективность и высокая специфичность данного режима получения сигнала обеспечивают превосходную чувствительность и делают его наиболее подходящим для количественных определений с использованием подходящих внутренних стандартов (например, дейтерированных). Данный вид анализа может быть проведен только при использовании приборов, снабженных тремя соединенными квадруполями, ионными ловушками или циклотронно-резонансными анализаторами.

КАЛИБРОВКА

Калибровка позволяет установить соответствие между величиной m/z и детектируемым сигналом. Как правило, она проводится с использованием вещества сравнения. Калибровка может быть внешней (данные находятся в отдельном файле) или внутренней (вещество (вещества) сравнения смешивается с исследуемым веществом и результаты вносятся в файл с данными анализа). Число ионов или точек, необходимое для надежной калибровки, зависит от типа анализатора и требуемой точности измерений, например, в случае магнитного анализатора, где отношение m/z экспоненциально изменяется при изменении величины магнитного поля, необходимо брать настолько много точек, насколько это возможно.

ОБНАРУЖЕНИЕ СИГНАЛА И ОБРАБОТКА ДАННЫХ

Ионы, разделенные анализатором, преобразуются в электрические сигналы такими детектирующими системами, как фотоумножитель или электронный умножитель. Затем данные сигналы усиливаются и превращаются в цифровые сигналы, которые используются при обработке данных и позволяют проводить различные операции: калибровку, получение спектров, автоматические количественные расчеты, архивирование данных, создание или использование библиотек масс-спектров. Различные физические параметры, требуемые для работы прибора, в целом контролируются компьютером.

201020052-2022

2.1.2.52. Сверхкритическая флюидная хроматография

Сверхкритическая флюидная хроматография (СФХ) - это метод хроматографического разделения, в котором подвижной фазой является жидкость (флюид), находящаяся в сверхкритическом или субкритическом состоянии. В этом состоянии свойства вещества являются промежуточными между свойствами газа и жидкости. Неподвижная фаза, содержащаяся в колонке, состоит либо из тонко измельченных твердых частиц, таких как силикагель или пористый графит, химически модифицированной неподвижной фазы, используемой в жидкостной хроматографии, либо, в случае капиллярных колонок, поперечно-сшитой жидкой пленки, равномерно нанесенной на стенки колонки.

СФХ основана на механизмах адсорбции или распределения по массе.

С точки зрения применения флюида в качестве подвижной фазы в хроматографии важны его плотность, коэффициенты диффузии и вязкость:

- коэффициенты диффузии в сверхкритических фазах примерно на порядок больше коэффициентов диффузии в жидкостях, но примерно на порядок меньше, чем в газах;

- вязкость сверхкритических флюидов примерно на порядок меньше, чем жидкостей, но примерно на порядок больше, чем газов;

- растворяющая способность веществ в состоянии сверхкритического флюида больше, чем у газов;

- плотность основных флюидов, используемых в хроматографии, примерно на 2 - 3 порядка больше плотности газов и в несколько раз меньше плотности соответствующих жидкостей.

Применительно к сверхкритической флюидной хроматографии это означает что:

- достигаются меньшие времена анализа по сравнению с высокоэффективной жидкостной хроматографией (ВЭЖХ);

- оптимальное значение линейной скорости потока выше, чем в ВЭЖХ;

- падение давления на колонке значительно меньше, чем в ВЭЖХ, что дает возможность использования колонок большей длины;

- хроматографическая эффективность в сверхкритической флюидной хроматографии выше, чем в ВЭЖХ (хотя и ниже, чем в газовой хроматографии);

- возможно проведение разделения при более низких температурах, чем это принято в газовой хроматографии без существенной потери эффективности;

- возможно проведение разделения соединений с большей молекулярной массой, чем это допускается в газовой хроматографии.

ПРИБОР

Прибор обычно состоит из охлаждаемой насосной системы, устройства для ввода проб (инжектора), хроматографической колонки, помещенной в термостат, детектора, автоматического регулятора давления и регистрирующего устройства сбора данных.

Насосная система

Насосная система необходима для поддержания постоянной скорости подвижной фазы. Колебания давления должны быть сведены к минимуму, например, путем пропускания сжатого растворителя через устройство, подавляющее пульсацию. Трубы и соединения способны выдерживать давление, создаваемое насосной системой.

Точная доставка подвижной фазы при постоянных или изменяющихся по определенной программе условиях осуществляется системами, контролируемыми микропроцессором. В случае градиентного элюирования могут быть использованы насосные системы, доставляющие растворитель(и) из нескольких резервуаров. Смешивание растворителей может быть достигнуто как со стороны насоса(ов), имеющего низкое давление, так и со стороны насоса(ов), имеющего(их) высокое давление.

Устройство для ввода проб (инжекторы)

Ввод пробы осуществляется непосредственно в колонку с помощью специального крана-дозатора.

Неподвижные фазы

Неподвижные фазы находятся в колонках, описанных в разделах общих фармакопейных статей 2.1.2.28. Высокоэффективная жидкостная хроматография (набивные колонки) и 2.1.2.27. Газовая хроматография (капиллярные колонки). Максимальный внутренний диаметр () капиллярной колонки составляет 100 мкм.

Подвижные фазы

Обычно в качестве подвижной фазы используют углерода диоксид, который может содержать полярный модификатор, например, метанол, 2-пропанол или ацетонитрил. Состав, давление (плотность), температура и скорость потока подвижной фазы, указанные в частной фармакопейной статье или нормативном документе по качеству, могут быть либо постоянными в течение всего хроматографического процесса (изократическое, изотермическое элюирование, элюирование при постоянной плотности), либо изменяться по определенной программе (градиентное элюирование модификатора, давление (плотность), температура или скорость потока).

В качестве других подвижных фаз допускается использование азота (I) оксида, аммиака, метанола, н-бутана, диэтилового эфира, дифтордихлорметана.

Детекторы

Наиболее часто используются спектрофотометрические детекторы, работающие в ультрафиолетовой и видимой областях (UV/Vis), масс-спектрометрический детектор и пламенно-ионизационные детекторы. Допускается использование детекторов по светорассеянию, ИК-спектрофотометров, детекторов по теплопроводности или других специальных детекторов.

МЕТОДИКА

Испытуемый(ые) раствор(ы) и раствор(ы) сравнения готовят в соответствии с указаниями в частной фармакопейной статье и (или) нормативном документе по качеству.

Критерии оценки пригодности хроматографической системы описаны в общей фармакопейной статье 2.1.2.36. Хроматографические методы разделения. Пределы, в которых могут корректироваться параметры хроматографической системы для соответствия требованиям пригодности системы, также приведены в указанной общей фармакопейной статье.

201020053-2022

2.1.2.53. Рамановская спектрометрия

Рамановская спектрометрия (неупругое рассеяние света или спектрометрия комбинационного рассеяния - процесс рассеяния света, при котором испытуемый образец облучается интенсивным монохроматическим светом (обычно излучение лазера) и для света, рассеиваемого образцом, определяется сдвиг частоты.

Рамановская спектрометрия является дополнительным методом по отношению к ИК-спектрометрии в том смысле, что оба этих метода основаны на молекулярных колебаниях частиц испытуемого вещества. Однако рамановская и ИК-спектрометрия отличаются по относительной чувствительности для различных функциональных групп. Рамановская спектрометрия особенно чувствительна к неполярным связям (например, одинарные или кратные связи C-C), тогда как вода, для которой характерно сильное поглощение в ИК-области, обладает слабым рамановским рассеянием и поэтому хорошо подходит на роль растворителя в рамановской спектрометрии.

Прибор. Спектрометры для получения рамановских спектров обычно состоят из следующих компонентов:

- источник монохроматического света, чаще всего лазер с длиной волны в ультрафиолетовой, видимой или ближней инфракрасной области;

- подходящая оптика (линзы, зеркала, оптико-волоконные устройства), которые направляют возбуждающее излучение на образец и собирают свет, рассеиваемый образцом;

- оптическое устройство (монохроматор или фильтр), которое пропускает сдвинутое по частоте рамановское рассеяние и препятствует попаданию на детектор интенсивного света, частота которого равна частоте возбуждающего света (рэлеевское рассеяние);

- диспергирующее устройство (дифракционная решетка или призма), соединенное со щелью, регулирующей длину волны, и детектором (обычно фотоумножитель);

или:

- диспергирующее устройство (дифракционная решетка или призма), соединенное с многоканальным детектором (обычно прибор с зарядовой связью (ПЗС, CCD));

или:

- интерферометр с детектором, регистрирующий интенсивность рассеянного света во времени (например, компьютер и соответствующее программное обеспечение), и устройство обработки данных, которое с помощью Фурье-преобразования переводит данные в диапазон частот или волновых чисел.

ПОДГОТОВКА ОБРАЗЦА

Рамановские спектры могут быть получены для твердых веществ, жидкостей и газов, причем как помещенных в стеклянные контейнеры или трубки, как правило, без предварительной подготовки образца или растворения, так и напрямую.

Основным ограничением рамановской спектрометрии является флуоресценция примесей, которая мешает детектору улавливать значительно более слабый рамановский сигнал. Флуоресценции можно избежать при использовании в качестве возбуждающего света лазерного излучения с большой длиной волны, например, находящейся в ближней инфракрасной области. Интенсивность некоторых рамановских линий может быть усилена несколькими способами, например, путем использования резонансной рамановской спектрометрии (RR) или поверхностно-усиленной рамановской спектрометрии (SERS).

Из-за узости светового потока падающего лазерного излучения для получения спектра необходимо всего лишь несколько микролитров образца. Тем не менее следует учитывать неоднородность образца, если только его объем не увеличен, например, путем вращения.

ИДЕНТИФИКАЦИЯ И КОЛИЧЕСТВЕННОЕ ОПРЕДЕЛЕНИЕ С ИСПОЛЬЗОВАНИЕМ СТАНДАРТНЫХ ОБРАЗЦОВ

Испытуемый образец и стандартный образец подвергают одинаковой обработке и затем при одинаковых условиях получают их спектры. Максимумы в спектре испытуемого образца должны совпадать по расположению и интенсивности с соответствующими максимумами в спектре стандартного образца Фармакопеи Евразийского экономического союза (СО ФЕАЭС). Если спектры, полученные для твердых веществ, имеют различия в положениях максимумов, испытуемый образец и стандартный образец подвергают одинаковой обработке для того, чтобы они выкристаллизовались или образовались в одинаковой форме, либо поступают так, как описано в частной фармакопейной статье, и затем снимают спектры.

Поскольку закон Бера-Ламберта для рамановской спектроскопии не выполняется, интенсивность рамановского излучения прямо пропорциональна концентрации рассеивающих частиц. Как и в случае других спектроскопических методов, количественное определение может быть проведено с использованием известных количеств или концентраций стандартных образцов. Вследствие небольшого пространственного разрешения метода следует обращать внимание на качество испытуемых образцов и стандартных образцов - например, необходимо быть уверенным в том, что они находятся в одном и том же физическом состоянии либо использовать внутренний стандарт для жидких образцов.

ИДЕНТИФИКАЦИЯ И КОЛИЧЕСТВЕННОЕ ОПРЕДЕЛЕНИЕ С ИСПОЛЬЗОВАНИЕМ СПЕКТРАЛЬНЫХ БИБЛИОТЕК И СТАТИСТИЧЕСКИХ МЕТОДОВ ДЛЯ КЛАССИФИКАЦИИ И КАЛИБРОВКИ

Контроль за работой прибора. При использовании прибора следуют инструкциям производителя; регулярно, в зависимости от применения прибора и испытуемых образцов, проводят предписанные калибровки и испытания работы системы. При использовании рамановской спектрометрии для количественных определений либо при создании спектральных библиотек сравнения для (хемометрической) классификации или калибровки необходимо обращать особое внимание на то, чтобы были сделаны все поправки к измерениям либо предприняты меры для контроля за изменяемостью величин волновых чисел и интенсивности сигнала прибора.

Проверка шкалы волновых чисел. Шкалу волновых чисел рамановских сдвигов (обычно выражаемую в обратных сантиметрах) проверяют с помощью подходящих стандартов, которые имеют характерные максимумы при исследуемых величинах волновых чисел (например, органическое вещество, неоновая лампа или линии Ar+ плазмы из аргон-ионного лазера).

Калибровка прибора должна соответствовать типу образца, т.е. для твердых испытуемых образцов следует использовать твердые стандартные образцы, а для жидких - жидкие. Выбирают подходящее вещество (например, полистирол, парацетамол, циклогексан), для которого установлены точные значения сдвигов волновых чисел.

Таблица 2.1.2.53.-1

Сдвиги волновых чисел (и допустимые отклонения) для полистирола, парацетамола и циклогексана

Сдвиги волновых чисел, Допустимые отклонения
Настольный прибор, Портативный прибор,
Полистирол <1> 620,9 +/-1,5 +/-2,5
  1001,4 +/-1,5 +/-2,0
  1031,8 +/-1,5 +/-2,0
  1602,3 +/-1,5 +/-3,0
  3054,3 +/-3,0 Не применимо <4>
Парацетамол <2> 797,2 +/-1,5 +/-2,5
  857,9 +/-1,5 +/-2,0
  1168,5 +/-1,5 +/-2,0
  1236,8 +/-1,5 +/-2,0
  1323,9 +/-1,5 +/-2,5
  1648,4 +/-1,5 +/-3,0
  2931,1 +/-2,0 Не применимо <4>
Циклогексан <3> 801,3 +/-1,5 +/-2,5
  1028,3 +/-1,0 +/-2,0
  1266,4 +/-1,0 +/-2,0
  1444,4 +/-1,0 +/-2,5
  2852,9 +/-2,0 +/-3,0

<1> Используют полистирольную пленку (например, толщиной 76 мкм), гранулы или стержень.

<2> СО ФЕАЭС парацетамола для квалификации оборудования, представляющий собой моноклинальную форму I.

<3> Циклогексан P.

<4> Не применимо в связи с выходом за пределы диапазона детектора.

Проверка шкалы интенсивностей. На абсолютную и относительную интенсивность рамановских полос могут оказывать влияние следующие факторы:

- поляризация падающего света;

- поляризация собирающей оптики;

- интенсивность падающего света;

- различия в отклике прибора;

- различия в фокусе и геометрии образца;

- различия в насыпной плотности для твердых образцов;

- показатель преломления n или изменение n (n) между образцом и окружающей средой;

- размер частиц и распределение частиц по размерам;

- сечение рассеяния;

- сечение поглощения.

Подходящие критерии приемлемости могут изменяться в зависимости от применения, но в большинстве случаев допустимы колебания (изо дня в день) в относительных интенсивностях полос +/- 10%.

Создание спектральных библиотек сравнения. Снимают спектры подходящего числа полностью исследованных (например, так, как описано в частной фармакопейной статье) веществ, имеющих отличия в производителе, серии, кристаллической модификации, размерах частиц и т.д., типичные для анализируемого материала. Набор спектров дает информацию, определяющую границы подобия или количественного определения, которые могут быть использованы для того, чтобы, например, идентифицировать вещество или проконтролировать его количество, образовавшееся в процессе производства. Количество веществ в базе данных зависит от особенностей ее применения. Подходящее математическое преобразование спектра рассеяния может облегчить качественное сравнение спектров (например, коррекция базовой линии, нормализация минимума-максимума, нормализация вектора, производные).

Селективность базы данных, которая позволяет уверенно идентифицировать конкретное вещество или отличить его от других материалов базы данных, устанавливается во время валидации. Для уверенности в пригодности базы данных эта селективность должна регулярно проверяться; в особенности это необходимо делать после любых значительных изменений, произошедших с веществом (например, изменения поставщика или производственного процесса), либо при настройке прибора для рамановской спектрометрии (например, при проверке шкалы волновых чисел или повторяемости отклика спектрометра)

Полученная таким образом спектральная библиотека пригодна только для данного прибора либо аналогичного при условии подтверждения достоверности работы библиотеки после переноса.

Методика. Подготовку и исследование образца проводят таким же образом, как и при создании базы данных. Для облегчения сравнения спектров и количественных расчетов могут быть использованы подходящие математические преобразования рамановских спектров.

Сравнение или преобразования спектров, количественный прогноз свойств веществ, находящихся в испытуемом образце, могут проводиться с использованием подходящих методов хемометрики, статистической классификации и калибровки.

201020054-2022

2.1.2.54. Методы вискозиметрии с падающим и катящимся шариками

Определение динамической вязкости ньютоновских жидкостей проводят, используя вискозиметр с падающим шариком или катящимся шариком, при температуре (20,0 +/- 0,1) °C, при отсутствии в частной фармакопейной статье других указаний температур. Измеряют время падения или движения шарика в испытуемой жидкости от одной отметки или датчика вискозиметра до другой.

ВИСКОЗИМЕТР С ПАДАЮЩИМ ШАРИКОМ

Оборудование. Вискозиметр с падающим шариком состоит из стеклянной трубки, заключенной в кожух, который позволяет контролировать температуру; 6 шариков различной плотности и диаметра, изготовленных из стекла, железно-никелевого сплава или стали. Трубку фиксируют таким образом, чтобы отклонение от вертикальной оси составляло (10 +/- 1)°. На трубке имеются две метки, определяющие расстояние падения шарика. К промышленным вискозиметрам прилагаются таблицы со значениями постоянных, плотности шариков и данные по пригодности различных шариков для использования в предполагаемом диапазоне вязкости.

Методика. Чистую, сухую трубку вискозиметра, предварительно выдержанную при температуре (20,0 +/- 0,1) °C, заполняют испытуемой жидкостью, избегая образования пузырьков. Подбирают в трубку шарик для получения времени падения не менее 30 с с учетом предполагаемого диапазона вязкости. Закрывают трубку и термостатируют раствор при температуре (20,0 +/- 0,1) °C в течение не менее 15 мин. Вначале пропускают шарик между двумя метками без измерения времени падения, во второй раз измеряют время падения шарика с верхней до нижней метки секундомером с точностью до 1/5 секунды. Испытание повторяют не менее 3 раз для получения не менее 4 значений времени падения шарика. Результат считается достоверным, если время последовательных 2 падений не отличаются более, чем на 1,5%.

Используя среднее значение времени падения шарика рассчитывают динамическую вязкость (, мПа·с) по формуле:

,

где: k - постоянная вискозиметра, в мм2/с2;

- плотность используемого шарика, г/см3;

- плотность испытуемой жидкости, в г/см3, полученная умножением относительной плотности () на 0,9982;

t - среднее время падения шарика между крайними метками, с.

АВТОМАТИЧЕСКИЙ ВИСКОЗИМЕТР С КАТЯЩИМСЯ ШАРИКОМ

Оборудование. Автоматический вискозиметр с катящимся шариком состоит из нескольких капилляров из стекла или других подходящих материалов с разными диаметрами, помещенных в термостатически контролируемый блок, позволяющий проводить точный контроль температуры; шариков из нержавеющей стали (необязательно имеющих покрытие) или других подходящих материалов; мотора-редуктора, который определяет местоположение капилляра под углом наклона от (10,0 +/- 0,2)° до (80,0 +/- 0,2)° от вертикальной оси. Прибор имеет не менее 2 датчиков для измерения времени движения шарика на заданном расстоянии. К промышленным вискозиметрам прилагаются таблицы со значениями их постоянных, плотности шариков и данные по пригодности различных капилляров для использования в предполагаемом диапазоне вязкости. Контроль температуры, контроль угла наклона, определение времени движения, повторы движений и расчет среднего значения и относительного стандартного отклонения выполняются программным обеспечением прибора.

Методика. Настраивают программное обеспечение таким образом, чтобы в результате проведения измерений получить 4 значения времени движения (2 цикла вперед/назад) и относительное стандартное отклонение не более 0,5%. Выбирают капилляр, шарик и угол наклона, подходящие для предполагаемого диапазона вязкости испытуемой жидкости, таким образом, чтобы время движения составляло не менее 20 секунд при перемещении на расстояние 100 мм или было пропорционально времени перемещения на другие расстояния. При отсутствии подключения вискозиметра к цифровому денситометру значение плотности испытуемой жидкости должно быть указано в программном обеспечении прибора. Чистый, сухой капилляр вискозиметра заполняют испытуемой жидкостью, избегая образования пузырьков. Начинают измерение незамедлительно после заполнения капилляра. Прибор автоматически рассчитывает динамическую вязкость (, мПа/с) и кинематическую вязкость (v, мм2/с).

201020055-2022

2.1.2.55. МАСС-СПЕКТРОМЕТРИЯ С ИНДУКТИВНО-СВЯЗАННОЙ ПЛАЗМОЙ

Масс-спектрометрия с использованием индуктивно-связанной плазмы (МС-ИСП, ICP-MS - inductively coupled plasma-mass spectrometry) представляет собой метод, использующий индуктивно-связанную плазму (ИСП) в качестве ионизирующего источника. Основные принципы ИСП описаны в общей фармакопейной статье 2.1.2.41. Атомно-эмиссионная спектрометрия с индуктивно-связанной плазмой (АЭС-ИСП).

В МС-ИСП используется способность ИСП генерировать заряженные ионы элементов, входящих в состав образца. Полученные ионы направляют в масс-спектрометр, который разделяет их в соответствии с отношением масса/заряд (m/z). Большинство масс-спектрометров имеют квадрупольные или магнитные анализаторы. Ионы переносятся из плазмы в ионную оптику через два конуса (конусы пробоотборника и сепаратора, образующие область интерфейса). Ионная оптика состоит из электростатических линз, которые переносят ионы из пространства с атмосферным давлением к масс-фильтру с давлением Па или менее, поддерживаемым с помощью турбомолекулярного насоса. После фильтрации ионы с выбранным соотношением масса/заряд направляются на детектор (канальный электроумножитель, чашка Фарадея, диноды), где поток ионов конвертируется в электрические сигналы. Количественно элементы определяют по числу ионов, появляющихся и генерирующих электрические импульсы в единицу времени.

Система ввода образца и способы обработки данных аналогичны используемым в АЭС-ИСП.

ПРИБОР

Главными составляющими частями прибора являются:

- система ввода образца, состоящая из перистальтического насоса, подающего раствор с постоянной скоростью в распылитель;

- радиочастотный (РЧ) генератор;

- плазменная горелка;

- область интерфейса, включающая в себя конусы для переноса ионов в ионную оптику;

- масс-спектрометр;

- детектор;

- блок сбора данных.

ИНТЕРФЕРЕНЦИЯ

Наибольшей проблемой является массовая интерференция. Например, изобарические разновидности значительно перекрывают массовый сигнал искомых ионов, особенно в центральной части диапазона масс (например, 40 - 80 а.е.м.). Комбинация атомных ионов приводит к полиатомной или молекулярной интерференциям (то есть 40Ar16O с 56Fe или 40Ar40Ar с 80Se). Матрица, в случае с некоторыми определяемыми элементами, также может вызывать интерференцию. Некоторые образцы оказывают влияние на образование капель или на температуру ионизации в плазме. Эти явления могут приводить к подавлению аналитического сигнала определяемого элемента, оказывая влияние на достоверность результата. Обойти физическую интерференцию можно, используя метод внутреннего стандарта или метод стандартных добавок. Выбор элемента, используемого в качестве внутреннего стандарта, зависит от исследуемого элемента: например, в качестве внутренних стандартов могут быть использованы 59Co и 115In.

Основной характеристикой приборов МС-ИСП является разрешение, то есть эффективность разделения двух близких масс. С этой точки зрения приборы с квадрупольными анализаторами уступают приборам с магнитными анализаторами.

МЕТОД

ПРОБОПОДГОТОВКА И ВВОД ОБРАЗЦА

Пробоподготовка обычно включает в себя стадию разложения матрицы с помощью подходящего метода, например, в микроволновой печи. Кроме того, необходимо обеспечить попадание концентрации определяемого элемента разведением или концентрированием в рабочий диапазон прибора и получение раствора испытуемого образца, способного воспроизводимо распыляться.

Некоторые распылительные системы устойчивы к действию высоких концентраций кислот, но использование серной и фосфорной кислот может оказывать влияние на базовую линию ИСП-спектров. Более предпочтительным является использование азотной и хлороводородной кислот. Фтористоводородную кислоту можно использовать при наличии устойчивых к ней (например, из перфторалкоксиполимера) систем ввода образца и горелок. При выборе метода ввода образца учитывают требования по чувствительности, стабильности, скорости, размеру образца, устойчивости к коррозии и устойчивости к закупорке. В большинстве случаев подходит использование распылителя с поперечным потоком вместе с распылительной камерой и горелкой. Перистальтический насос подает испытуемый раствор и раствор сравнения со скоростью 20 - 1000 мкл/мин.

В случае использования органических растворителей необходимо обеспечить разделение кислорода и органических слоев.

ВЫБОР УСЛОВИЙ ПРОВЕДЕНИЯ АНАЛИЗА

При выборе условий проведения анализа следуют рекомендациям производителя прибора. Анализ водных растворов и органических растворителей обычно происходит при различных условиях. Надлежащим образом должны быть выбраны следующие аналитические параметры:

- подбор конусов (материал пробоотборника и сепаратора);

- скорости потоков газа-носителя (внешняя, промежуточная и внутренняя трубки горелки);

- мощность радиочастотного излучения;

- скорость насоса;

- должен быть осуществлен выбор одного или более изотопов измеряемого элемента (масса).

ВЫБОР ИЗОТОПОВ

Выбор изотопов осуществляют по нескольким критериям. Для получения максимальной чувствительности выбирают наиболее распространенный изотоп данного элемента. Кроме того, следует выбирать изотоп с минимальной интерференцией, вызываемой другими видами изотопов, присутствующими в матрице и в газе-носителе. В программном обеспечении производителей приборов МС-ИСП обычно присутствует информация об изобарической интерференции и интерференции, вызываемой полиатомными ионами, например, гидридными, оксидными, хлоридными и т.д.

КОНТРОЛЬ РАБОТОСПОСОБНОСТИ ПРИБОРА

Пригодность системы

Настройка прибора позволяет проверять и регулировать измерение перед введением образца. Точность определения масс прибором МС-ИСП проверяют с помощью раствора для настройки, содержащего несколько изотопов, охватывающих весь диапазон, например, 9Be, 59Co, 89Y, 115In, 140Ce и 209Bi.

Записывают чувствительность и кратковременную и долговременную стабильность. Параметры прибора (состояние плазмы, параметры ионных линз и квадруполей) настраивают на получение максимально возможного числа обнаружений ионов.

Для подтверждения наблюдения приемлемого отклика в широком диапазоне масс разрешение и ось масс настраивают с использованием раствора, содержащего Li, Y и Tl.

Для уменьшения интерференции необходимо оценить эффективность разложения плазмой некоторых оксидов. Хорошими индикаторами являются отношения Ce/CeO и (или) Ba/BaO, требуемый уровень при этом должен составлять менее 3%.

Подавление образования двухзарядных ионов осуществляют с использованием Ba и Ce. Отношение сигнала двухзарядных ионов к определяемому элементу должно быть менее 2%.

Долговременную стабильность проверяют, измеряя стандарт в начале и в конце испытания образца, при этом проверяется влияние отложения солей в конусах на уменьшение сигнала во время испытания.

ВАЛИДАЦИЯ МЕТОДИКИ

Методику, приведенную в частной фармакопейной статье или нормативном документе по качеству, верифицируют через определенное время для получения удовлетворительных результатов.

ЛИНЕЙНОСТЬ

Готовят и анализируют не менее четырех растворов сравнения, концентрация которых находится в пределах диапазона калибровки, и контрольный раствор. Проводят не менее пяти измерений.

Используя все полученные данные, рассчитывают линейное уравнение графика методом наименьших квадратов. Строят кривую регрессии, отмечая средние значения, измеренные значения и доверительный интервал калибровочного графика. Методика является пригодной при условии соблюдения следующих требований:

- коэффициент корреляции должен быть не менее 0,99;

- на калибровочном графике погрешности каждого калибровочного уровня должны быть распределены случайным образом.

Рассчитывают среднее значение и относительное стандартное отклонение для наименьшего и наибольшего калибровочного уровня.

В случае если отношение рассчитанного стандартного отклонения наименьшего и наибольшего калибровочного уровня менее 0,5 или более 2,0, то более точная оценка калибровочного графика может быть получена с использованием взвешенной линейной регрессии. Линейная и квадратичная весовая функции применяются к полученным данным для нахождения наиболее подходящей для использования весовой функции. Если средние значения при сравнении с калибровочным графиком проявляют отклонение от линейности, используют двухмерную линейную регрессию.

ПРАВИЛЬНОСТЬ

Предпочтительно верифицировать правильность с использованием сертифицированных стандартных образцов. Если это невозможно, проверяют открываемость.

Открываемость. В случае методик количественного определения открываемость должна быть от 90% до 110%. Для других определений, например для определения следовых количеств элемента, открываемость должна быть от 80% до 120% от теоретического значения. Открываемость может быть определена с использованием подходящего раствора сравнения (матричного раствора), содержащего известное количество определяемого элемента (средняя концентрация калибровочного графика).

ПОВТОРЯЕМОСТЬ

Повторяемость должна быть не более 3% для количественного определения и не более 5% для испытания на содержание примесей.

ПРЕДЕЛ КОЛИЧЕСТВЕННОГО ОПРЕДЕЛЕНИЯ

Удостоверяются, что предел количественного определения (например, определенный с использованием приближения ) ниже измеряемого значения.

201020056-2022

2.1.2.56. Анализ гликанов в гликопротеинах

1. ВВЕДЕНИЕ

Анализ гликанов - комплекс испытаний для исследования олигосахаридных цепей (гликанов) гликопротеинов. Он может включать в себя:

- анализ цельного гликопротеина;

- разделение и обнаружение гликоформ белка;

- анализ гликопептидов, полученных после ферментативной обработки гликопротеина;

- анализ отщепленных гликанов, полученных после химической или ферментативной обработки гликопротеина.

Анализ моносахаридов может служить дополнением к информации, полученной при анализе гликанов.

Гликозилирование может играть важную роль в проявлении лекарственным средством биологического происхождения его функциональных, фармакокинетических, фармакодинамических и иммуногенных свойств, а также его устойчивости. Гликозилирование, в отличие от транскрипции, является процессом ферментативной модификации, не имеющим матричного управления, результатом чего является гетерогенность гликанов. На гетерогенность также влияет процесс получения. Поэтому анализ гликанов гликопротеинов является важным испытанием для идентификации изменений в схеме гликозилирования гликопротеинов и (или) для наблюдения за стабильностью схемы гликозилирования при производстве.

Анализ гликанов может быть сравнительным методом, потому что полученная информация, при сравнении с аналогично анализируемым стандартным образцом, подтверждает соответствие испытуемого образца.

В данной общей фармакопейной статье представлены подходы, используемые для анализа гликанов, входящих в состав гликопротеинов и требования к использованию и валидации методов.

Анализ гликанов не является единым общим методом, а включает в себя применение определенных процедур и получение специфических профилей гликанов для каждого гликопротеина. Особые процедуры указываются в соответствующих частных фармакопейных статьях или нормативном документе по качеству.

1.1. ГЛИКОЗИЛИРОВАНИЕ БЕЛКОВ

Существует 3 вида ферментативного гликозилирования белков:

- N-гликозилирование: присоединение олигосахаридов через атом азота терминальной амидной группы аспарагина;

- O-гликозилирование: присоединение олигосахаридов через гидроксильные группы серина, треонина и (или) гидроксипролина;

- C-гликозилирование: присоединение -маннопиранозы к C2-углероду индольного цикла триптофана.

Присоединение без участия ферментов, также известное как гликирование, может происходить при инкубировании белков с восстанавливающими сахарами.

1.2. ГЕТЕРОГЕННОСТЬ ГЛИКОЗИЛИРОВАНИЯ БЕЛКОВ

При производстве гликопротеинов может проявляться различная степень гетерогенности гликанов. Неоднородность может появиться в результате изменчивости:

- по степени занятости (полная, частичная, свободная);

- по типу (N- или O-опосредованное);

- по структуре олигосахарида (протяженность, разветвленность, тип соединения).

Неоднородность гликозилирования приводит к наличию набора гликоформ у каждого отдельного гликопротеина. Эти разновидности возникают из-за того, что процесс гликозилирования, в отличие от транскрипционных или трансляционных процессов биосинтеза, не имеет матричного управления и представляет собой процесс посттрансляционного изменения молекулы.

Структура гликозилирования в выбранной части зависит от многих факторов, включая присутствие ферментов гликозилтрансфераз и экзогликозидаз (зависящее от специализации клетки и (или) от степени ее развития), обнаруживаемых в аппарате Гольджи и в эндоплазматической ретикулярной сети клетки.

Процесс гликозилирования зависит также от структуры белка, процесса получения, экспрессии системы "хозяин-векторная ДНК" и от режима культивирования клеток.

2. МЕТОДЫ АНАЛИЗА ГЛИКАНОВ

Гетерогенность в гликозилировании может быть оценена четырьмя отдельными и взаимодополняющими методами:

- анализ интактного гликопротеина;

- анализ гликопептидов;

- анализ отщепленных гликанов;

- анализ моносахаридов.

В настоящей статье представлены методы и общие требования, применяемые для анализа гликанов в гликопротеинах, содержащих N- и O-связанные гликаны.

Анализ гликанов обычно представляет собой многоступенчатый процесс. Существует большое количество методик анализа гликанов, обусловленное разнообразием и сложностью гликановых структур, числом доступных методик и систем детектирования, а также широким выбором подходов, в зависимости от уровня необходимой информации.

На рисунке 2.1.2.56.-1 представлена схема аналитических методик анализа гликанов, которая может быть использована для выбранного подхода (подходов). Вследствие разнообразия и сложности структуры и происхождения гликанов, доступны различные вариации одних и тех же методик и условий.

Рисунок 2.1.2.56.-1. - Общая схема методик анализа гликанов. Условные обозначения: КЭ - капиллярный электрофорез; АОХ - анионообменная хроматография при высоких значениях pH с импульсным амперометрическим детектированием; ИЭФ - изоэлектрическое фокусирование; ЖХ - жидкостная хроматография; МС - масс-спектрометрия; ПГХ-хроматография с использованием пористого графитированного углерода; ДСН-ПААГ электрофорез - электрофорез с натрия додецилсульфатом в полиакриламидном геле.

Выделение и очистка. Выделение и очистка могут быть необходимы для анализа фармацевтических субстанций или для анализа лекарственных форм, содержащих мешающие вспомогательные вещества, и описываются в частных фармакопейных статьях или нормативном документе по качеству.

2.1. АНАЛИЗ ИНТАКТНЫХ ГЛИКОПРОТЕИНОВ

Анализ интактного гликопротеина предоставляет информацию о гликозилировании гликопротеина в целом.

В том случае, если молекула крупная и имеет многочисленные положения гликозилирования, этот подход дает ограниченное количество информации.

Могут использоваться такие методы, как капиллярный электрофорез (2.1.2.37) и масс-спектрометрия (2.1.2.51). Методы, с основу которых положены свойства, связанные с размером молекулы, такие как эксклюзионная хроматография (2.1.2.29) и электрофорез с натрия додецилсульфатом в полиакриламидном геле (2.1.2.30), могут предоставлять информацию о состоянии гликозилирования белка. Если степень сиалирования значительно влияет на биологическую активность гликопротеина, то для ее мониторинга могут быть использованы ионообменная хроматография (2.1.2.36), изоэлектрическое фокусирование (2.1.2.38) или капиллярный электрофорез (2.1.2.37). Должна быть выбрана методика, обеспечивающая достоверную корреляцию между степенью сиалирования и биологической активностью продукта.

2.2. АНАЛИЗ ГЛИКОПЕПТИДОВ

Анализ гликопептидов обеспечивает получение информации о свойствах гликозилирования, характерных для данного участка молекулы, степени занятости и о структуре олигосахаридов. Он включает протеолитическое расщепление гликопротеинов. Подходы к расщеплению белкового остова в зависимости от местоположения представлены в общей фармакопейной статье 2.1.2.39. Пептидное картирование.

После протеолиза гликопротеина могут быть выбраны следующие подходы.

Прямой анализ методом масс-спектрометрии (2.1.2.51). Необходимо тщательно следить, чтобы сигнал гликопептида не подавлялся присутствием других пептидов, так как гликопептиды составляют малую долю в общей смеси пептидов и интенсивность сигнала у них меньше, чем у негликозилированных пептидов.

Разделение, предшествующее анализу методом масс-спектрометрии. Эта дополнительная стадия помогает преодолеть проблемы, упомянутые выше. Методы обогащения и фракционирования могут сочетаться с прямым анализом как параллельно, так и последовательно. Такие методы разделения как жидкостная хроматография (2.1.2.28) и капиллярный электрофорез (2.1.2.37) также пригодны. Эти методы могут быть совмещены с методом масс-спектрометрии, позволяя получать результаты в режиме реального времени (on-line).

Дегликозилирование гликопептидов. Сравнение пептидных карт, полученных после протеолитического расщепления интактного гликопротеина и дегликозилированного до или после протеолитического расщепления, дает возможность идентифицировать различные молекулы. Пептидная масса предоставляет информацию о гликозилированных участках и с помощью подсчета разницы масс между интактным и дегликозилированным гликопептидом можно получить информацию о составе и гетерогенности присоединенных гликанов. Способы дегликозилирования белкового остова представлены в разделе 2.3.1 данной общей фармакопейной статьи. Стадия разделения может быть проведена до или после дегликозилирования.

2.3. АНАЛИЗ ОТЩЕПЛЕННЫХ ГЛИКАНОВ

Проведение анализа отщепленных гликанов позволяет получать информацию о многообразных семействах гликанов, связанных с белком (профилирование по характеру ветвления: двойное, тройное или более высокого порядка). На этой стадии определяют также степень сиалирования. В зависимости от выбранного метода, для детектирования гликанов может быть необходима предварительная дериватизация/мечение.

Анализ отщепленных гликанов обычно включает в себя отщепление и выделение гликанов из реакционной смеси, сопровождающиеся с последующим маркированием и (или) дериватизацией гликанов (где это необходимо), после чего гликаны профилируют в соответствии со специфическими свойствами (фракционирование или разделение).

2.3.1. Отщепление гликанов

Выбор метода отщепления гликанов зависит от природы гликопротеина. Выбор реактива, применяемого для отщепления, зависит от выбора типа отщепления и от объема той информации, которая должна быть получена в результате испытания: может применяться ферментативное или химическое отщепление. В таблице 2.1.2.56.-1 представлен неполный перечень реактивов ферментативного отщепления и их субстратная специфичность.

Таблица 2.1.2.56.-1

Перечень реактивов ферментативного отщепления и их субстратная специфичность

Реактивы Специфичность
Отщепление N-связанных гликанов
Пептид-N 4-(N-ацетил--глюкозаминил)аспарагинамидаза (КФ <*> 3.5.1.52) Гидролиз N 4-(ацетил--D-глюкозаминил)аспарагиновых остатков, в которых остаток глюкозамина может быть далее гликозилирован, с получением (замещенного) N-ацетил--D-глюкозаминиламина и пептида, содержащего остаток аспартата
- Пептид-N-гликозидаза F (PNGase F) Отщепляет цепь у N-связанного гликана, но не отщепляет цепь N-связанного гликана, в которой присутствует ядро фукозы, связанное по положению (1-3)
- Пептид-N-гликозидаза A (PNGase A) Отщепляет цепь у N-связанного гликана, в которой присутствует ядро фукозы, связанное по положению (1-3)
Маннозил-гликопротеинэндо--N-ацетилглюкозаминидаза (КФ <*> 3.2.1.96) Эндогидролизует блок N, N'-диацетилхитобиозил в гликопептидах и (или) гликопротеинах с высоким содержанием маннозы, содержащих [Man(GlcNAc)2]Asn
- Эндо--N-ацетилглюкозаминидаза F (эндо F) Отщепление гибридных и комплексных олигосахаридов с высоким содержанием маннозы
- Эндо--N-ацетилглюкозаминидаза H (эндо H) Отщепление гибридных олигосахаридов с высоким содержанием маннозы
Отщепление O-связанных гликанов
Гликопептид -N-ацетилгалактозаминидаза (КФ <*> 3.2.1.97) <**> Гидролизует терминальные участки
D-галактозил-N-ацетил--D-галактозамина

<*> Код фермента в соответствии с классификацией Международного союза по биохимии и молекулярной биологии (IUBMB).

<**> Данный фермент используется редко из-за своей высокой специфичности к субстрату.

Обычно эффективность расщепления зависит от доступности гликанов в гликопротеине. Следовательно, для увеличения доступности мест гликозилирования белок может быть денатурирован, за исключением случаев, когда необходимо профилировать гликаны по их положению в структуре молекулы (на поверхности или погружены в структуру молекулы протеина).

Для отщепления гликанов могут быть использованы химические реактивы, например, для отщепления по типу -элиминирования используют гидразин или борогидриды щелочных металлов.

2.3.2. Анализ гликанов

Анализ отщепленных гликанов или их профилирование могут быть осуществлены с помощью методов хроматографии, электрофореза, масс-спектрометрии или комбинирования этих методов. Выбор метода производят в зависимости от природы гликанов и объема необходимой информации.

Анализ гликанов предоставляет информацию о различных видах гликанов, присутствующих в белке (с высоким содержанием маннозы, комплексных, гибридных). Информация об относительных количествах разветвленных структур может быть получена с помощью анализа десиалированных гликанов.

Если необходимо разделение в качестве обязательной стадии, то в качестве промежуточных методов используют методы жидкостной хроматографии (2.1.2.28) и капиллярного электрофореза (2.1.2.37). Жидкостная хроматография (2.1.2.28) может применяться как препаративная, со сбором отдельных фракций (обычно требуется мечение), или может быть совмещена непосредственно с масс-спектрометрией (2.1.2.51).

2.3.2.1. Анализ немеченых гликанов

Анализ нативных немеченых гликанов может осуществляться методами анионообменной хроматографии при высоких значениях pH с импульсным амперометрическим детектированием, хроматографии с использованием пористого графитированного углерода, или масс-спектрометрии (2.1.2.51).

Метод анионообменной хроматографии при высоких значениях pH с импульсным амперометрическим детектированием имеет высокую чувствительность, а также позволяет разделять изомеры, отличающиеся по месту связывания. Факторы отклика различных сигналов у олигосахаридов различной структуры неодинаковы. Абсолютное количественное определение гликана затруднительно, кроме случаев, когда доступна информация о библиотеке стандартных образцов олигосахаридов. Количественное определение возможно в сравнении с хорошо исследованным стандартным образцом испытуемого вещества или путем соотнесения площади пика каждого гликана с общей площадью пиков всех гликанов на профиле.

Хроматография с использованием пористого графитированного углерода может применяться для разделения гликанов в естественном состоянии, поскольку используемые при этом колонки по своей высокой селективности сравнимы с обычно используемыми обращенно-фазными колонками (неполярными). Сочетанное применение методов хроматографии с использованием пористого графитированного углерода и масс-спектрометрии с ионизацией электрораспылением может использоваться для прямого анализа гликана.

2.3.2.2. Анализ маркированных гликанов

Маркирование гликанов

Тип производимого химического изменения (дериватизации) зависит от метода, используемого для детектирования гликанов: УФ или флуоресцентный.

Дериватизация с флуоресцентными метками - наиболее используемый метод для маркирования гликанов по восстанавливающему концу молекулы путем восстановительного аминирования. Одна метка может быть присоединена к каждому одинарному моно- и олигосахариду, позволяя определить молярное количество. В таблице 2.1.2.56.-2 приведен неполный список обычно используемых флуоресцентных маркеров и подходящих аналитических методов.

Таблица 2.1.2.56.-2

Примеры флуоресцентных меток и подходящих аналитических методов

Название Аббревиатура Аналитические методы
2-Аминобензойная кислота 2-AA Жидкостная хроматография (2.1.2.28), масс-спектрометрия (2.1.2.51)
2-Аминобензамид 2-AB Жидкостная хроматография (2.1.2.28), масс-спектрометрия (2.1.2.51)
2-Аминопиридин 2-AP Жидкостная хроматография (2.1.2.28), масс-спектрометрия (2.1.2.51)
2-Амино-9(10H)-акридинон AMAC Гель-электрофорез (2.1.2.30)
Тринатрия 8-аминопирин-1,3,6-трисульфонат APTS Капиллярный электрофорез (2.1.2.37)

Для детектирования с использованием только масс-спектрометрии (2.1.2.51) также может использоваться предельное метилирование гликанов. Оно основано на метилировании олигосахаридов.

Анализ маркированных гликанов

Маркированные гликаны могут быть проанализированы с помощью таких аналитических методов, как жидкостная хроматография (2.1.2.28), капиллярный электрофорез (2.1.2.37) и масс-спектрометрия (2.1.2.51).

В соответствии со свойствами разделяющихся гликанов, они могут быть профилированы и определены количественно с использованием подходящего маркера с помощью нескольких систем жидкостной хроматографии (2.1.2.28): обращенно-фазная (разделение по гидрофобности), нормально-фазная (разделение по размеру), и анионообменная (разделение по заряду) жидкостная хроматография.

2.4. АНАЛИЗ МОНОСАХАРИДОВ

Анализ моносахаридов дает информацию о моносахаридной структуре гликопротеина. Анализ может быть выполнен как колориметрическими, так и разделительными методами.

2.4.1. Колориметрические методы

Колориметрические методы, основанные на химическом окрашивании, дают информацию о количестве специфических классов сахаров, таких как сиаловые кислоты, нейтральные сахара и гексозамины.

2.4.2. Методы разделения

Методы разделения позволяют получать количественные данные об общем составе моносахаридов. Перед использованием методов требуется предварительный кислотный гидролиз олигосахаридных цепей интактных гликопротеинов или отщепленных гликанов. Для отщепления сиаловых кислот применяется умеренный кислотный гидролиз или ферментативная обработка. Стадия гидролиза - это значимый источник вариабельности, и она требует продукт-специфичной валидации.

Методы разделения и количественного определения моносахаридов включают:

- использование анионообменной хроматографии при высоких значениях pH с импульсным амперометрическим детектированием и хроматографии с использованием пористого графитированного углерода с масс-спектрометрическим детектированием, что позволяет определять мольные количества моносахаридов в естественном состоянии (сиаловые кислоты, нейтральные сахара и альдиты);

- флуорофорное мечение моносахаридов с последующим использованием методов разделения, таких как обращенно-фазная или ионообменная хроматография или капиллярный электрофорез.

3. ОЦЕНКА И АНАЛИЗ РЕЗУЛЬТАТОВ

Исследование и оценка результатов, полученных в ходе анализа гликанов, производится с 3 различными целями:

- подтверждение подлинности индивидуальных структур или групп структур;

- подтверждение соответствия испытуемого образца при качественном анализе;

- подтверждение соответствия испытуемого образца при количественном анализе.

Особые соображения касательно стандартных образцов и методов проведения каждой стадии анализа приведены в разделах 4 и 5 соответственно.

3.1. ПОДТВЕРЖДЕНИЕ ПОДЛИННОСТИ ИНДИВИДУАЛЬНЫХ СТРУКТУР ИЛИ ГРУПП СТРУКТУР

Аналитической мишенью метода анализа гликанов может быть отдельный моносахарид (например, сиаловая кислота, фукоза), определенная олигосахаридная структура (например, тетра-сиалиловый, тетра-антеннальный гликан) или группа структур, имеющая общую аналитическую особенность (например, тетра-сиалиловые гликаны, три-антеннальные гликаны, гликопротеиновые изоформы с одинаковым зарядом). Подтверждение подлинности аналитической мишени - это важнейший шаг при анализе и оценке результатов, который может быть достигнут абсолютно путем подтверждения молекулярной структуры, или сравнительно - путем сравнения с соответствующим стандартным образцом.

3.1.1. Абсолютное подтверждение подлинности

Абсолютное подтверждение подлинности гликановых структур выполняется обычно во время разработки лекарственного средства, и оно не обязательно является целью рутинного анализа. Подлинность аналитической мишени устанавливают с помощью известного молекулярного свойства молекулы. Такая абсолютная идентификация индивидуальных структур требует многоступенчатых подходов, включающих в себя ферментативные и химические реакции, разделительные методики и on-line или off-line методы детектирования, и обычно использует в качестве основополагающего принципа для подтверждения структуры отношение заряда к массе молекулярного иона, которое определяется подходящим масс-спектрометрическим методом.

3.1.2. Сравнительное определение подлинности

При рутинном применении аналитического метода подлинность аналитической мишени может быть подтверждена путем сравнения со стандартными образцами процесса или пригодности системы. Они могут быть получены из известных хорошо изученных гликопротеинов, которые могут принадлежать тому же классу, что и испытуемый образец (например, фетуин для N-связанных гликопротеинов), или могут быть произведены из хорошо изученной серии испытуемого продукта, которая была определена как стандартный образец. Следующие утверждения применяются к сравнительному определению структурной подлинности:

- в случае подтвержденной высокой воспроизводимости времени удерживания, для корректной интерпретации может быть использовано абсолютное время удерживания;

- в качестве альтернативы, в начале и в конце испытания может быть введен гликановый маркер для проверки любых отклонений времени удерживания; на основе этих эталонных хроматограмм могут быть интерпретированы гликаны испытуемых образцов;

- в случаях, когда стандартный образец для определения всех пиков гликанов в испытуемом образце отсутствует, для контролирования и мечения неизвестных пиков гликанов может использоваться абсолютное или нормализованное время удерживания.

3.2. ПОДТВЕРЖДЕНИЕ СООТВЕТСТВИЯ ИСПЫТУЕМОГО ОБРАЗЦА ТРЕБОВАНИЯМ КАЧЕСТВА

На этом этапе определения, аналитические результаты, полученные для испытуемого образца, оцениваются на предмет соответствия спецификации. Обычно это достигается путем сравнения с данными, полученными при параллельном испытании соответствующего стандартного образца. При оценке данных необходимо:

- для проверки пригодности системы установить, что аналитический результат, полученный при использовании стандартного образца, соизмерим с ожидаемым результатом; например, при профилировании гликанов это будет достигнуто путем сравнения профиля стандартного образца с представленным профилем образца, полученным при создании этого стандартного образца и с помощью подтверждения всех критериев пригодности системы;

- доказать сходство профилей стандартного образца и испытуемого образца, используя любые специфические критерии пригодности, указанные в частной фармакопейной статье или нормативном документе по качеству.

3.3. ПОДТВЕРЖДЕНИЕ СООТВЕТСТВИЯ ИСПЫТУЕМОГО ОБРАЗЦА ТРЕБОВАНИЯМ КОЛИЧЕСТВЕННОГО АНАЛИЗА

3.3.1. Количественное определение содержания анализируемого вещества и представление результатов

В некоторых случаях, например, при определении сиаловой кислоты или других моносахаридов, данные предоставляют в виде молярного соотношения сиаловой кислоты к гликопротеину. Данные рассчитывают с учетом стандартного образца сиаловой кислоты и валидированного метода определения белка. Может быть использован как метод внутреннего стандарта, так и метод внешнего стандарта (2.1.2.36).

3.3.2. Способы количественного выражения профиля разделения

Профили или схемы распределения могут быть представлены в численной форме многими способами, включая методику нормализации; процент содержания каждой аналитической мишени, например, части гликана, рассчитывают путем определения отклика части гликана как процентную составляющую общего отклика всех частей, не учитывая отклики растворителей, других добавленных реактивов и сигналов ниже неучитываемого предела. Кроме того, могут использоваться такие численные выражения, как Z число, которые специфичны методу и продукту, и описаны в частных фармакопейных статьях.

4. СТАНДАРТНЫЕ ОБРАЗЦЫ

Стандартные образцы для анализа гликанов используют в двух целях: проверка пригодности системы и подтверждение соответствия испытуемого образца специфицированным требованиям.

Стандартными образцами, использующимися для проверки пригодности системы, могут быть:

- стандартный образец испытуемого вещества;

- олигосахаридная цепь, отщепленная от полностью изученного стандартного образца испытуемого вещества;

- хорошо изученные олигосахаридные цепи, отщепленные от гликопротеинов (например, фетуин, IgG);

- производные гликанов (меченые гликаны), для которых подтверждена подлинность и чистота (количественное содержание).

Стандартный образец, используемый для получения заключения о соответствии испытуемого гликопротеина, представляет собой препарат из испытуемых веществ. Методики анализа гликанов, описанные в частных фармакопейных статьях, предписывают использование стандартного образца для испытуемого вещества, для которого валидирована методика анализа.

5. ЭТАПЫ РАЗРАБОТКИ МЕТОДИК И ИХ ВАЛИДАЦИЯ

В данном разделе представлены способы оценки исполнения метода в целом, при его разработке. Степень разработки метода и аналитическая валидация выбирается на основе их пригодности для определенного продукта. В зависимости от выбранного метода, для анализа гликанов необходимы определенные действия, например как:

- выделение и очистка (или деминерализация) гликопротеина;

- ферментативная (или химическая) обработка гликопротеина с целью избирательного отщепления от "опорного" белка только N- или только O-связанных гликанов;

- выделение и очистка отщепленных гликанов;

- контроль отщепленной сиаловой кислоты и моносахаридных остатков;

- хромофорное мечение отщепленных гликанов;

- разделение гликанов, нативных или флуоресцентно-меченных;

- идентификация и количественное определение гликанов (например, вычисление Z числа);

- определение положений связывания на основании относительных количеств гликозилированных и негликозилированных пептидов.

Выделение и очистка белков. Для удаления мешающих веществ (например, вспомогательные вещества, соли) могут понадобиться выделение и очистка гликопротеинов из матрицы, что при необходимости, описывают в частной фармакопейной статье. Методики очистки должны быть валидированы на предмет воспроизводимости, чтобы гарантировать постоянство количественной открываемости белка.

Отщепление и выделение олигосахаридов. Подход, выбранный для отщепления гликанов, зависит от анализируемых белков и основан на типе гликозилирования, т.е. N- или O-связанное гликозилирование. Применение не указанных в фармакопее методов отщепления гликанов возможно только после оптимизации этих методов с целью подтверждения количественного профилирования всех гликановых частей молекулы. Оптимизированы должны быть все факторы, которые обладают существенным влиянием на эффективность отщепления, например: относительная концентрация фермент/белок, температура, течение реакции во времени, денатурирование белка до начала отщепления.

Следует отметить, что ферментативная/химическая реакция не должна изменять строение гликана, например, не должна разрушать остатки сиаловой кислоты. Там, где присутствует более одного положения гликозилирования, при ферментативной обработке должны пропорционально отщепляться все фрагменты олигосахаридов, присоединенные к белку, независимо от их структуры и своего конкретного места в белке. Должна быть подтверждена открываемость всех гликановых составляющих из реакционной смеси.

Дериватизация отщепленных гликанов. Дериватизацию обычно выполняют в соответствии с методиками, не описанными в фармакопее. По этой причине повторная дериватизация всех гликановых групп должна верифицироваться, что может быть достигнуть при оптимизации условий реакций, таких как количество реактивов дериватизации, температура и время реакции. Реакция дериватизации не должна изменять строение гликана, например не должна разрушать остаток сиаловой кислоты.

Разделение, идентификация и проверка пригодности системы. Методы, применяемые для анализа гликанов, должны быть способны детектировать и разделять различные гликановые части молекулы, обеспечивая надежную идентификацию и количественный анализ гликанов.

Критерии приемлемости для проверки пригодности системы, а также расщепления, открываемости и анализа гликанов, зависят от критических параметров испытания, которые влияют на конечный результат.

Сравнение гликановых профилей испытуемого образца и стандартного образца, полученных в одинаковых условиях, является параметром для оценки правильности выполнения аналитической методики. Для дальнейшего подтверждения полученных результатов, анализы могут быть повторно проведены с помощью независимого метода. Использование стандартного образца (например, стандартный образец испытуемого вещества, маркер гликана для проверки пригодности системы) является необходимым для установления параметров пригодности системы и валидации аналитической методики.

Воспроизводимость результатов количественного определения (например, расчет Z числа) гликана должна быть подтверждена.

Определение положений связывания, на основании относительных количеств гликозилированных и негликозилированных пептидов. В том случае, если степень гликозилирования оценивается путем сравнения содержания гликозилированных и негликозилированных пептидов после ферментативного расщепления, должна быть доказана воспроизводимость отщепления для обеих форм пептида.

6. СХЕМА ПРИНЯТИЯ РЕШЕНИЙ ПРИ АНАЛИЗЕ ГЛИКАНОВ

Эта система принятия решений приводится для информации и не является обязательной частью фармакопеи.

Выбор методик, используемых для анализа гликанов, производится в соответствии с тем объемом данных, который необходим для подтверждения качества гликопротеина и происходит на стадии разработки продукта.

Схема выбора методики для проведения анализа гликанов представлена на рисунке 2.1.2.56.-2.

Рисунок 2.1.2.56.-2. - Схема выбора методики для проведения анализа гликанов

201020057-2022

2.1.2.57. Вольтаметрическое титрование

Конечная точка титрования при вольтаметрическом титровании представляет собой величину изменения напряжения, измеренного между двумя электродами (одним индикаторным электродом и одним электродом сравнения, или двумя индикаторными электродами), погруженными в испытуемый раствор при поддержании постоянного тока, как функцию количества прибавленного титранта.

Прибор. Прибор состоит из регулируемого источника тока и вольтметра; система детектирования обычно включает индикаторный электрод (например, платиновый электрод, электрод с вращающимися дисками или угольный электрод) и второй электрод (например, платиновый электрод, электрод с вращающимися дисками или угольный электрод).

Методика. Настраивают ток на индикаторном электроде, как указано в частной фармакопейной статье или нормативном документе по качеству, и строят график зависимости начального напряжения и значений, полученных при титровании, от количества прибавленного титранта. Прибавляют титрант не менее чем тремя последовательными количествами, равными в сумме около 80% от теоретического значения объема титранта, соответствующего предполагаемой точке эквивалентности. Данные трех значений напряжения должны находиться на одной прямой. Продолжают титрование после достижения предполагаемой точки эквивалентности не менее чем тремя последовательными порциями. Полученные значения напряжения должны находиться на другой прямой. Точка пересечения двух прямых будет соответствовать конечной точке титрования.

При использовании системы вольтаметрического титрования с двумя индикаторными электродами записывают кривую титрования, по которой устанавливают конечную точку титрования.

201020058-2022

2.1.2.58. Автоматический элементный анализ

Метод автоматического элементного анализа основан на высокотемпературном (от 1100 °C до 1800 °C) окислительном разложении исследуемых веществ с последующим хроматографическим определением компонентов образовавшейся газовой смеси.

Для определения содержания элементов C, H, N и S в субстанциях для фармацевтического применения проводят высокотемпературное окислительное разложение в потоке гелия, либо его смеси с кислородом в присутствии катализатора окисления. Последующее восстановление, как правило, протекает в присутствии катализатора и определение образующихся продуктов: углерода в виде CO2, водорода в виде H2O, азота в виде N 2, серы в виде SO2, кислорода в виде CO, соответствующих определяемым элементам, проводят методом газовой хроматографии.

Метод автоматического элементного анализа может быть использован для установления эмпирических формул вещества, в состав молекул которого входят: углерод (C), водород (H), азот (N), сера (S), а в ряде случаев и кислород (O) на основании данных элементного анализа на любой из этих элементов. Метод используется на этапе фармацевтической разработки с целью идентификации активной фармацевтической субстанции по молекулярной формуле вещества.

Метод автоматического элементного анализа может быть применен и для определения массовой доли углерода, водорода, азота, серы и кислорода в испытуемых образцах.

В качестве катализатора окисления обычно используют меди (II) оксид (CuO) с добавкой ванадия (V) оксида (V2O5) или посеребренного кобальта (II, III) оксида (Co3O4). В качестве катализатора восстановления используют электролитическую медь.

Для поглощения углерода и серы диоксидов (CO2 и SO2) используют ловушки со смесью натрия гидроксида и кальция гидроксида, воды - ловушки с магния перхлоратом или освобождаются от воды в соединительных трубках. Метод применим для анализа образцов как в твердом, так и жидком состоянии.

ОБОРУДОВАНИЕ

Определение проводят на приборе - элементном анализаторе, основными составными частями которого являются:

- электронные микровесы или ультрамикровесы;

- узел (блок) ввода пробы - автодозатор капсулированных (запечатанных в контейнеры из оловянной фольги) проб анализируемых образцов;

- окислительный и восстановительный реакторы, помещенные в электропечь;

- ловушки (поглотители);

- хроматографическая колонка;

- детектор по теплопроводности или пламенно-фотометрический, или изотопный масс-спектрометр;

- система для обработки данных и управления прибором.

МЕТОДИКА

При анализе испытуемых образцов твердом или жидком состоянии используют дозаторы для твердых или жидких проб.

В качестве стандартных образцов используют подходящие стандартные образцы для микроанализа с установленным содержанием элементов, например: ацетанилид, цистеин, метионин.

Точные навески стандартного образца для микроанализа или активной фармацевтической субстанции, взятые в соответствии с рекомендациями производителя прибора, помещают в предварительно взвешенные пустые оловянные контейнеры. Запечатывают контейнеры с помощью специального устройства, взвешивают капсулированные образцы и помещают в кассету автодозатора. При увеличении количества катализаторов окисления и восстановления навеска может быть увеличена в 5 - 10 раз, при этом точность взвешивания может составлять 0,01 мг.

Проводят контрольный опыт, для чего с помощью автодозатора в реактор помещают 3 пустых оловянных контейнера, регистрируют содержание определяемого элемента для каждого из них.

Затем последовательно сжигают по 3 - 4 навески капсулированных образцов (стандартного и испытуемого).

По полученным значениям площадей пиков стандартных образцов с учетом значения контрольного опыта автоматически строится калибровочный график и рассчитывается поправочный коэффициент K к площади пика определяемого элемента по формуле:

,

где: y - содержание определяемого элемента в стандартном образце для микроанализа, в процентах;

- площадь пика на хроматограмме стандартного образца для микроанализа;

- площадь пика на хроматограмме контрольного образца;

- навеска стандартного образца для микроанализа, в миллиграммах.

Содержание определяемого элемента в испытуемом образце в процентах () автоматически рассчитывается по формуле:

,

где: S - площадь пика на хроматограмме испытуемого образца;

a - навеска испытуемого образца, в миллиграммах.

Соотношения: углерод/азот (C/N), углерод/водород (C/H), углерод/сера (C/S), углерод/кислород (C/O) рассчитываются автоматически.

Навеску испытуемого образца, по возможности, выбирают такой, чтобы количество определяемого элемента, образовавшееся в результате сжигания его навески, было близко к количеству, образующемуся при сжигании навески стандартного образца для микроанализа.

2.1.3. ИДЕНТИФИКАЦИЯ

201030003-2022

2.1.3.3. Идентификация фенотиазинов методом тонкослойной хроматографии

Определение проводят методом тонкослойной хроматографии (2.1.2.26).

Испытуемый раствор. 20 мг испытуемого образца растворяют в хлороформе P и доводят объем раствора тем же растворителем до 10 мл.

Раствор сравнения. 20 мг соответствующего СО ФЕАЭС растворяют в хлороформе P и доводят объем раствора тем же растворителем до 10 мл.

Условия хроматографирования:

- ТСХ пластинка: покрытая слоем кизельгура G P;

- подготовка ТСХ пластинки: пластинку пропитывают в закрытой камере смесью, содержащей 10% (об/об) феноксиэтанола P в растворе 50 г/л макрогола 300 P в ацетоне P, погружая ее нижний край в пропитывающую смесь примерно на 5 мм; когда фронт растворителей пройдет 17 см от нижнего края пластинки, ее вынимают из камеры и тотчас используют для хроматографии; хроматографирование проводят в том же направлении, что и пропитывание;

- подвижная фаза: смесь петролейного эфира P - диэтиламина P (50:1, об/об), насыщенная феноксиэтанолом P (т.е. от 3 мл до 4 мл феноксиэтанола P прибавляют к вышеуказанной смеси растворителей, взбалтывают до образования устойчивой мути, декантируют и используют верхний слой, который может быть мутным);

- объем наносимой пробы: 2 мкл;

- пробег фронта подвижной фазы: 15 см; хроматографирование проводят в темном месте;

- детектирование А: пластинку вынимают из камеры, помещают в ультрафиолетовый свет с длиной волны 365 нм и через несколько минут просматривают и оценивают хроматограммы.

Требование А: на хроматограмме испытуемого раствора должно обнаруживаться пятно на уровне пятна на хроматограмме раствора сравнения, соответствующее ему по размеру и флуоресценции.

- детектирование Б: пластинку опрыскивают 10% (об/об) раствором кислоты серной P в этаноле (96%) P.

Требование Б: на хроматограмме испытуемого раствора должно обнаруживаться пятно на уровне пятна на хроматограмме раствора сравнения, соответствующее ему по окраске и ее стабильности не менее 20 мин.

201030004-2022

2.1.3.4. Идентификация пептидов методом спектрометрии ядерного магнитного резонанса

Настоящая общая фармакопейная статья распространяется на метод спектрометрии ядерного магнитного резонанса (ЯМР) для идентификации пептидов.

Подтверждение подлинности пептидов методом ЯМР проводят в соответствии с общей фармакопейной статьей 2.1.2.45. Спектрометрия ядерного магнитного резонанса.

Общие принципы. Установление подлинности пептида осуществляют путем сравнения одномерных спектров испытуемого образца (как правило, 1H и 13C) со спектрами фармакопейного стандартного образца или со спектрами, приведенными в частной фармакопейной статье и (или) в нормативном документе по качеству При отсутствии фармакопейного стандартного образца можно использовать стандартный образец, идентичность которого подтверждают самостоятельной структурной интерпретацией одномерных спектров (применимо к олигопептидам до 20 аминокислотных остатков при естественном содержании изотопов 13C). Структурная интерпретация осуществляется с использованием двумерных методов корреляционной спектроскопии - COSY (Correlation Spectroscopy), TOCSY (Total Correlation Spectroscopy), HSQC (Heteronuclear Single-Quantum Correlation Spectroscopy), HMBC (Heteronuclear Multiple-Bond Correlation Spectroscopy). В основе данных методов лежит общий подход переноса намагниченности от одного спина ядра к другому посредством спин-спинового взаимодействия, химического обмена или кросс-релаксации.

Гомоядерная корреляционная спектроскопия (COSY) в различных модификациях используется для идентификации ядер атомов (чаще всего 1H), разделенных двумя или тремя химическими связями и участвующих в спин-спиновом взаимодействии друг с другом. Полная корреляционная спектроскопия (TOCSY) позволяет регистрировать наличие спин-спинового взаимодействия между однотипными ядрами атомов, которые связаны между собой непрерывной цепочкой взаимодействий. Гетероядерная одноквантовая корреляционная спектроскопия HSQC определяет корреляции между атомными ядрами двух разных типов, которые разделены одной связью (как правило, между протонами и ядрами углерода в определенном углеводородном фрагменте). Гетероядерная многосвязная корреляционная спектроскопия HMBC определяет корреляции между протонами и ядрами X (как правило, 13C), разделенными двумя или тремя связями (в редких случаях большим числом связей).

Прибор. Если не предписано иное, используют импульсный ЯМР спектрометр с рабочей частотой не менее 300 МГц.

Методика. При необходимости испытуемый образец подвергают предварительной лиофилизации. Испытуемый образец или его лиофилизат растворяют в дейтерированном растворителе, к которому может быть добавлен соответствующий эталон для калибровки химического сдвига (общая фармакопейная статья 2.1.2.45. Спектрометрия ядерного магнитного резонанса). В качестве дейтерированного растворителя, как правило, используют дейтерированную воду или буферный раствор в дейтерированной воде. Состав буферного раствора, его pH, концентрация пептида приводят в частной фармакопейной статье и (или) в нормативном документе по качеству.

После помещения в магнит образец термостатируют не менее 5 мин. Регистрацию спектров испытуемого и стандартного образцов проводят в идентичных условиях (одинаковые растворитель, концентрация, температура, параметры эксперимента - ширина спектра, время задержки между импульсными последовательностями, число накоплений сигнала спада свободной индукции, количество точек для Фурье-преобразования), которые приводят в частной фармакопейной статье и (или) в нормативном документе по качеству. Ширина спектра должна охватывать полный спектр пептида с пустой спектральной областью с обеих сторон. Обычно подходящей является ширина спектра 12 ppm или 16 ppm.

Регистрацию спектра при температуре, существенно отличающейся от комнатной, проводят в режиме температурной стабилизации. В противном случае проводят оценку влияния эффекта температурных изменений на внешний вид спектра.

Проверка идентичности

При установлении подлинности олигопептидов путем сравнения спектра испытуемого образца со спектром стандартного образца или с опубликованным стандартным спектром пики в 2 спектрах должны совпадать по положению, интегральной интенсивности и мультиплетности (общая фармакопейная статья 2.1.2.45. Спектрометрия ядерного магнитного резонанса). Характеристические сигналы, уникальные для каждой аминокислоты, должны быть охарактеризованы определенными химическими сдвигами с соответствующими доверительными интервалами, приведенными в частной фармакопейной статье.

При установлении подлинности полипептидов используют одномерные спектры 1H целиком, как "отпечатки пальца" объекта, без детализации значений химических сдвигов и мультиплетности отдельных сигналов. Рекомендуется проводить сравнение нормированных интегральных интенсивностей характеристичных областей спектров 1H испытуемого и стандартного образцов, содержащих сигналы определенных аминокислотных функциональных групп. Например, сигналы протонов метильных групп алифатических остатков находятся в интервале 0,9 - 1,5 ppm, области сигналов остальных протонов алифатических боковых цепей - 1,5 - 3,5 ppm, протонов -CH - 3,5 - 4,5 ppm, ароматических протонов, протонов пептидных групп - 6,7 - 9,0 ppm. Характеристическая область протона имидазола в гистидине 8,0 - 9,2 ppm, NH-индольного протона триптофана 9,0 - 11,0 ppm. Области спектра, содержащие сигналы остаточных органических растворителей, не учитывают при проведении нормированного интегрирования. Доверительные интервалы нормированных интегральных интенсивностей характеристичных областей спектров 1H приводят в частной фармакопейной статье.

Установление подлинности олигопептидов при отсутствии стандартных образцов включает в себя идентификацию аминокислот и определение аминокислотной последовательности в пептидной цепи. Идентификацию аминокислот проводят в 3 этапа:

I. Соотнесение сигналов спектров 1H и 13C к конкретным углеводородным фрагментам (метильным, метиленовым, метиновым, ароматическим группам) на основе данных спектра 1H - 13C HSQC;

II. Определение соседних углеводородных фрагментов, связанных ковалентной связью, и составление последовательности из углеводородных фрагментов на основе данных 1H - 1H COSY и при необходимости 1H - 1H TOCSY;

III. Объединение в молекулу углеводородных фрагментов (алифатических и ароматических) и амидных групп на основе данных спектра 1H - 13C HMBC.

Аминокислотную последовательность в олигопептиде устанавливают на основе данных спектра 1H - 13C HMBC по наличию кросс-пиков между сигналами -CH групп и C=O групп соседних аминокислот.

2.1.4. ИСПЫТАНИЯ НА ПРЕДЕЛЬНОЕ СОДЕРЖАНИЕ ПРИМЕСЕЙ

201040023-2022

2.1.4.23. Определение примесей элементов

В данной общей фармакопейной статье описывается общий подход к определению примесей элементов в субстанциях для фармацевтического применения или лекарственных препаратах. Ввиду существенного различия химической структуры веществ и пределов содержания элемента(ов), указанных в спецификациях качества и (или) нормативных документах по качеству, описание всех подходящих методик пробоподготовки и способов измерения представляется нецелесообразным. В связи с этим для указанной цели может использоваться любой метод, соответствующий требованиям данной общей фармакопейной статьи.

Результаты анализа принимаются лишь в случае, если пригодность системы подтверждена с помощью подходящего испытания. Перед применением методики аналитик должен обеспечить ее пригодность для используемых образцов и приборов. Это достигается путем применения процедуры валидации к методикам, не описанным в частной фармакопейной статье, или путем проверки пригодности системы для методик, описанных в частной фармакопейной статье. Схемы принятия решения для выбора методик пробоподготовки и способов измерения представлены на рисунках 2.1.4.23.-1 и 2.1.4.23.-2.

Рисунок 2.1.4.23.-1. - Схема принятия решения для выбора методики пробоподготовки при определении примесей элементов

Рисунок 2.1.4.23.-2. - Схема принятия решения для выбора способа измерения при определении примесей элементов

МЕТОДИКИ

Поскольку стандартная методика не предоставляется для каждого элемента, матрицы и концентрации, выбор методики (включая пробоподготовку), способа детектирования и параметров прибора, должен проводиться самим аналитиком согласно схемам, изображенным на рисунках 2.1.4.23.-1 и 2.1.4.23.-2.

Для определения методики пробоподготовки используют схему на рисунке 2.1.4.23.-1, а для определения методики измерения - схему на рисунке 2.1.4.23.-2. Методика пробоподготовки должна обеспечивать получение количества образца, достаточного для определения каждого элемента в соответствии с пределами, указанными в частной или общей фармакопейных статьях.

Для определения примесей элементов могут применяться все подходящие методики пробоподготовки и способы измерения (например,

2.1.2.21. Атомно-эмиссионная спектрометрия (АЭС),

2.1.2.22. Атомно-абсорбционная спектрометрия (ААС),

2.1.2.48. Рентгенофлуоресцентная спектрометрия (РФС),

2.1.2.41. Атомно-эмиссионная спектрометрия с индуктивно-связанной плазмой (АЭС-ИСП),

2.1.2.55. Масс-спектрометрия с индуктивно-связанной плазмой (МС-ИСП),

2.1.4.2. Мышьяк,

2.1.4.8. Тяжелые металлы,

2.1.4.9. Железо,

2.1.4.10. Свинец в сахарах,

2.1.4.15. Никель в полиолах,

2.1.8.22. Определение никеля в гидрогенизированных растительных маслах),

если перед использованием методики верифицированы путем проверки пригодности системы или проведения валидации в соответствии с данной общей фармакопейной статьей.

Если методика пробоподготовки и (или) способ измерения не описаны в частной фармакопейной статье, должна быть разработана и валидирована подходящая методика пробоподготовки и (или) способ измерения (рисунки 2.1.4.23.-1 и 2.1.4.23.-2).

ПРОБОПОДГОТОВКА

Пробоподготовка является критической стадией элементного анализа. Многие способы, не использующие прямое измерение, в значительной степени зависят от переноса пробы.

При использовании системы атомизации большинство общепринятых средств, с помощью которых проба вводится в систему атомизации, сводится к распылению растворов. В этом случае твердые образцы должны растворяться для введения в систему атомизации. Образцы могут растворяться в любом подходящем растворителе. Особенно рекомендуется для растворения применение воды или разбавленной азотной кислоты ввиду минимальных мешающих факторов в сравнении с другими растворителями. Для растворения образцов могут использоваться хлороводородная кислота, фтороводородная кислота, хлорная кислота, серная кислота и водорода пероксид различных концентраций. Вязкость серной кислоты выше, чем у других кислот, что должно учитываться ввиду ее повсеместного влияния на текучесть раствора.

Выбор растворителей также включает, но не ограничивается применением разбавленных оснований, неразбавленных или разбавленных органических растворителей, смесей кислот или оснований и смесей органических растворителей. Используемые кислоты, основания и водорода пероксид должны быть высокой чистоты, особенно при применении метода МС-ИСП. Для приготовления водных растворов применяют воду дистиллированную деионизированную P. Растворители для разведения (разбавители), если их используют в анализе, должны проверяться на отсутствие мешающих факторов. Поскольку не всегда возможно получение органических растворителей, не содержащих примесей элементов, должны применяться органические растворители наиболее высокой чистоты в отношении таких загрязнителей. При использовании методов особенно с ИСП, в которых образцы вводят в плазму путем распыления растворов, важно учитывать возможное влияние матрицы и мешающих факторов, исходящих от растворителя. При анализе методами АЭС-ИСП и МС-ИСП в случаях, когда правильность и прецизионность не достаточны, должен использоваться подходящий внутренний стандарт и (или) стандартная матрица, соответствующая образцам. В любом случае при подборе подходящего внутреннего стандарта следует учитывать определяемый элемент(ы), его энергию ионизации, длины волн или массу, а также природу матрицы образца.

Если установлено, что образец не растворяется ни в каком подходящем растворителе, могут применяться разнообразные способы высокотемпературного разложения и озоления. К ним относятся разложение на плитке, озоление и микроволновое разложение с использованием открытых и закрытых сосудов.

Решение относительно используемых способов разложения зависит от природы испытуемого образца и определяемого элемента(ов), а также диапазона определяемых концентраций элементов. При анализе летучих веществ, содержащих определяемый элемент(ы), не рекомендуется использование открытых сосудов для разложения. Пригодность способа разложения как в открытом, так и закрытом сосудах следует подтвердить в опытах по определению величины открываемости для проверки отсутствия в допустимых пределах потерь летучих веществ, содержащих определяемый элемент(ы), при пробоподготовке. Методику разложения считают пригодной, если полученный раствор является прозрачным.

Важно учитывать выбор типа, материала конструкции, предварительную обработку и очистку аналитического лабораторного оборудования, используемого в элементном анализе. Материал должен быть инертным и, в зависимости от конкретного применения, устойчивым к щелочам, кислотам и (или) органическим растворителям. Некоторые анализы, особенно в случае ультраследовых количеств, должны проводиться с осторожностью для предотвращения адсорбции примесей элементов на поверхности сосуда. Загрязнение растворов образца примесями элементов и ионами, извлекаемыми из материала сосуда, также может приводить к неправильным результатам.

Допускается применение мерной стеклянной посуды, не отвечающей требованиям класса А соответствующего международного стандарта Международной организации по стандартизации, если валидация методики, предусматривающей использование такой посуды, или испытание на пригодность системы экспериментально подтверждают пригодность методики для предполагаемой цели.

ПРЕДОСТЕРЕЖЕНИЕ. При использовании реакционных сосудов высокого давления и микроволнового лабораторного оборудования необходимо соблюдать требования инструкции по технике безопасности и эксплуатации производителя.

ИЗМЕРЕНИЕ

Методика. Выбор способов измерения зависит, в основном, от матрицы образца, характеристик и пределов содержания определяемого(ых) элемента(ов), указанных в спецификации качества и (или) нормативном документе по качеству Анализ проводят в соответствии с инструкциями производителя прибора в отношении программы и длины волны.

Пригодность системы. Для обеспечения приемлемости пробоподготовки и системы измерения испытание на пригодность системы должно проводиться в день выполнения анализа.

Критерии приемлемости для приготовления испытуемого раствора: полученный раствор должен быть прозрачным.

Критерии приемлемости для системы измерения: измеренная концентрация стандартного раствора элемента в диапазоне концентраций на используемой калибровочной кривой не должна отличаться от фактической концентрации более чем на 20%.

Расчет. Для расчета содержания используют значение, полученное для контрольного образца и учитывающее загрязнение используемых реактивов. После завершения анализа концентрацию данного элемента в образце вычисляют с помощью программного обеспечения прибора по концентрации элемента в испытуемом растворе. При отсутствии программного обеспечения или указаний для расчета в общей фармакопейной статье на соответствующий метод испытания концентрация данного элемента в образце может рассчитываться по концентрации элемента в растворе по следующему выражению:

,

где: C - концентрация элемента в анализируемом образце в микрограммах на грамм;

A - концентрация элемента в растворе, определенная по показаниям прибора, в микрограммах на миллилитр;

m - масса образца, используемого для приготовления исходного раствора, в граммах;

- объем исходного раствора в миллилитрах;

- общий объем раствора, приготовленного разведением исходного раствора, в миллилитрах;

- объем исходного раствора, используемого для разведения, в миллилитрах.

ВАЛИДАЦИОННЫЕ ТРЕБОВАНИЯ

Некоторые валидационные требования, представленные ниже, могут отличаться от указанных в общих фармакопейных статьях (например, 2.1.2.21 (АЭС), 2.1.2.22 (ААС), 2.1.2.41 (АЭС-ИСП), 2.1.2.55 (МС-ИСП)).

Перед применением выбранной методики аналитик должен обеспечить пригодность методики пробоподготовки и способа измерения для элемента(ов), матрицы образца и используемого прибора. Это достигается путем проведения процедуры валидации перед первым применением и испытания на пригодность системы в день выполнения анализа.

Валидация испытания на предельное содержание примесей элементов должна включать определение специфичности и предела обнаружения.

Следующий ниже раздел определяет характеристики пригодности методики количественного определения. Экспериментально необходимо подтвердить, что такая методика соответствует валидационным требованиям, требованиям приемлемости испытания на пригодность системы с использованием образца, в который добавлен подходящий стандартный образец. Стандартный образец должен быть добавлен в испытуемые образцы до проведения любой из стадий пробоподготовки. Например, если испытуемый образец подвергается процедуре разложения, введение добавок должно быть выполнено в начале этой процедуры.

СПЕЦИФИЧНОСТЬ

Специфичность представляет собой способность аналитической методики (пробоподготовка и измерение) обеспечивать достоверное определение элемента(ов) в присутствии предполагаемых компонентов (например, газа-носителя, примесей, матрицы).

Критерии приемлемости: методика должна быть способна однозначно оценивать примеси элементов в присутствии предполагаемых компонентов, в том числе других примесей элементов, компонентов матрицы и других источников мешающих факторов; специфичность подтверждают соответствием требованию для правильности определения элемента(ов).

ДИАПАЗОН ПРИМЕНЕНИЯ

Критерии приемлемости: диапазон определяемых концентраций подтверждают соответствием требованию для величины открываемости.

ПРАВИЛЬНОСТЬ

Правильность подтверждают с помощью сертифицированного стандартного образца или путем выполнения испытания на открываемость. Допускается использование стандартных растворов для испытаний на предельное содержание элементов (2.2.1.2).

Открываемость может определяться на испытуемом образце субстанции, в который добавляют известное количество стандартного образца элемента (три значения концентрации в диапазоне от 50% до 150% от предела, указанного в спецификации, даже если истинная концентрация стандартного образца достигает указанного значения), в трех повторных опытах.

Критерии приемлемости: открываемость должна составлять от 70% до 150% для среднего из трех определений каждой концентрации.

ПОВТОРЯЕМОСТЬ

Испытуемые образцы. Готовят шесть отдельных образцов субстанции, в которые добавляют подходящий стандартный образец в указанной концентрации или в трех концентрациях для трех повторных опытов.

Критерии приемлемости: относительное стандартное отклонение в обоих случаях должно быть не более 20%.

ПРОМЕЖУТОЧНАЯ ПРЕЦИЗИОННОСТЬ

Должно быть установлено влияние случайных факторов (внутрилабораторное варьирование) на аналитическую прецизионность методики. Испытания для установления промежуточной прецизионности включают повторение анализа в разные дни, или на разных приборах, или разными аналитиками. Для подтверждения промежуточной прецизионности требуется только одно из трех испытаний.

Критерии приемлемости: относительное стандартное отклонение должно быть не более 25%.

ПРЕДЕЛ КОЛИЧЕСТВЕННОГО ОПРЕДЕЛЕНИЯ

Используют результаты определения правильности. Определяют наименьшую концентрацию, соответствующую критериям приемлемости.

Критерии приемлемости: предел количественного определения должен быть ниже предела, указанного в спецификации.

ПРЕДЕЛ ОБНАРУЖЕНИЯ
(только для испытаний на предельное содержание примесей)

Определяют наименьшую концентрацию, для которой аналитический сигнал четко отличается от аналитического сигнала контрольного раствора.

Критерии приемлемости: предел обнаружения должен быть не более 0,5 концентрации, соответствующей пределу, указанному в спецификации.

201040024-2022

2.1.4.24. Определение этиленоксида и диоксана

Испытание предназначено для определения содержания остаточных количеств этиленоксида и диоксана в субстанциях, растворимых в воде или диметилацетамиде. Для субстанций, нерастворимых или недостаточно растворимых в этих растворителях, приготовление раствора образца и условия определения методом парофазной газовой хроматографии указывают в частной фармакопейной статье.

Определение проводят методом парофазной газовой хроматографии (2.1.2.27).

A. Для образцов, растворимых или смешивающихся с водой, может быть использована следующая методика.

Испытуемый раствор. 1,00 г (m1) испытуемого образца взвешивают во флаконе вместимостью 10 мл (в зависимости от условий проведения испытания могут применяться флаконы другого объема) и прибавляют 1,0 мл воды P. Флакон закрывают, содержимое перемешивают до получения однородного раствора и выдерживают при температуре 70 °C в течение 45 мин.

Раствор сравнения (а). 1,00 г (m0) испытуемого раствора взвешивают в таком же флаконе вместимостью 10 мл, прибавляют 0,50 мл раствора диоксана P2 и 0,50 мл раствора этиленоксида P3. Флакон закрывают, содержимое перемешивают до получения однородного раствора и выдерживают при температуре 70 °C в течение 45 мин.

Раствор сравнения (б). 0,50 мл раствора этиленоксида P3 помещают во флакон вместимостью 10 мл, прибавляют 0,1 мл свежеприготовленного раствора 10 мг/л ацетальдегида P и 0,10 мл раствора диоксана P1. Флакон закрывают, содержимое перемешивают до получения однородного раствора и выдерживают при температуре 70 °C в течение 45 мин.

B. Для образцов, растворимых или смешивающихся с диметилацетамидом, может быть использована следующая методика.

Испытуемый раствор. 1,00 г (m1) испытуемого образца помещают во флакон вместимостью 10 мл (в зависимости от условий проведения испытания могут применяться флаконы другого объема), прибавляют 0,20 мл воды P и 1,0 мл диметилацетамида P. Флакон закрывают, содержимое перемешивают до получения однородного раствора и выдерживают при температуре 90 °C в течение 45 мин.

Раствор сравнения (а). 1.00 г (m0) испытуемого раствора помещают в такой же флакон вместимостью 10 мл, прибавляют 0,10 мл раствора диоксана P1, 0,10 мл раствора этиленоксида P2 и 1,0 мл диметилацетамида P. Флакон закрывают, содержимое перемешивают до получения однородного раствора и выдерживают при температуре 90 °C в течение 45 мин.

Раствор сравнения (б). 0,10 мл раствора этиленоксида P2 помещают во флакон вместимостью 10 мл, прибавляют 0,1 мл свежеприготовленного раствора 10 мг/л ацетальдегида P и 0,10 мл раствора диоксана P1. Флакон закрывают, содержимое перемешивают до получения однородного раствора и выдерживают при температуре 70 °C в течение 45 мин.

Условия хроматографирования:

- колонка: из стекла или термостойкого кварца длиной 30 м и внутренним диаметром 0,32 мм, покрытая слоем полидиметилсилоксана P толщиной 1,0 мкм;

- газ-носитель: гелий для хроматографии P или азот для хроматографии P;

- скорость потока: около 20 см/с;

- деление потока: 1:20;

- детектор: пламенно-ионизационный;

- вводимый объем пробы: подходящий объем, например, по 1,0 мл испытуемого раствора и растворов сравнения (а) и (б).

Статические условия ввода паровой фазы:

- температура уравновешивания: 70 °C (90 °C для растворов в диметилацетамиде);

- время уравновешивания: 45 мин;

- температура линии передачи: 75 °C (150 °C для растворов в диметилацетамиде);

- газ-носитель: гелий для хроматографии P;

- время увеличения давления: 1 мин;

- время ввода пробы: 12 с;

- температура:

Элемент Время (мин) Температура (°C)
Колонка 0 - 5 50
  5 - 31 50 180
  31 - 32,5 180 230
  32,5 - 37,5 230
Блок для ввода проб   150
Детектор   250

Хроматографируют подходящий объем, например, по 1,0 мл газовой фазы испытуемого раствора и растворов сравнения (а) и (б), получая по три хроматограммы для каждой пробы.

Пригодность системы (раствор сравнения (б)):

- разрешение: не менее 2,0 между пиками ацетальдегида и этиленоксида;

- отношение сигнал/шум: не менее 5 для пиков этиленоксида и диоксана;

- относительное стандартное отклонение: не более 15% для трех значений площади пика этиленоксида;

- относительное стандартное отклонение: не более 15% для трех значений площади пика диоксана.

Проверка точности (испытуемый раствор и раствор сравнения (а)):

- рассчитывают разность площадей пиков этиленоксида и диоксана на хроматограмме испытуемого раствора и на хроматограмме раствора сравнения (а).

Пригодность хроматографической системы

Хроматографическая система считается пригодной, если выполняются следующие условия:

- относительное стандартное отклонение: не более 15%, рассчитанное для 3 полученных значений площади пика этиленоксида;

- относительное стандартное отклонение: не более 15%, рассчитанное для 3 полученных значений площади пика диоксана.

Если точные навески испытуемого образца, взятые для приготовления испытуемого раствора и раствора сравнения (а), отличались от 1,00 г более чем на 0,5%, необходимо внести соответствующие поправки.

Содержание этиленоксида в частях на миллион (ppm) рассчитывают по формуле:

,

где: - площадь пика этиленоксида на хроматограмме испытуемого раствора;

- площадь пика этиленоксида на хроматограмме раствора сравнения (а);

- масса навески испытуемого образца для приготовления испытуемого раствора в граммах;

- масса навески испытуемого образца для приготовления раствора сравнения (а) в граммах;

C - количество этиленоксида, прибавленное к раствору сравнения (а), в микрограммах.

Содержание диоксана в частях на миллион (ppm) рассчитывают по формуле:

,

где: - площадь пика диоксана на хроматограмме испытуемого раствора;

- площадь пика диоксана на хроматограмме раствора сравнения (а);

- масса навески субстанции для приготовления испытуемого раствора, в граммах;

- масса навески субстанции для приготовления раствора сравнения (а), в граммах;

C - количество диоксана, прибавленного к раствору сравнения (а), в микрограммах.

201040025-2022

2.1.4.25. Определение этиленгликоля и диэтиленгликоля

Настоящая общая фармакопейная статья распространяется на определение примесей этиленгликоля и диэтиленгликоля, которые могут содержаться в этоксилированных субстанциях для фармацевтического применения при технологическом процессе производства. Испытание применяют для количественного определения примесей этиленгликоля и диэтиленгликоля, особенно в случае использования следующих поверхностно-активных веществ: макроголглицерола рицинолеата, макроголглицерола гидроксистеарата, макрогол 15 гидроксистеарата, ноноксинола 9 и макрогола цетостеарилового эфира.

Определение проводят методом газовой хроматографии (2.1.2.27).

Раствор внутреннего стандарта. 30,0 мг 1,2-пентандиола P растворяют в ацетоне P и доводят объем раствора тем же растворителем до 30,0 мл. 1,0 мл полученного раствора доводят ацетоном P до 20,0 мл.

Испытуемый раствор. 0,500 г испытуемого образца растворяют в растворе внутреннего стандарта и доводят объем раствора тем же растворителем до 10,0 мл.

Раствор сравнения (а). 30,0 мг этиленгликоля P смешивают с ацетоном P и доводят объем раствора тем же растворителем до 100,0 мл. 1,0 мл полученного раствора доводят раствором внутреннего стандарта до 10,0 мл.

Раствор сравнения (б). Готовят раствор диэтиленгликоля P с концентрацией, соответствующей указанному пределу и используя те же растворители, что и при приготовлении раствора сравнения (а).

Условия хроматографирования:

- колонка: из термостойкого кварца длиной 30 м и внутренним диаметром 0,53 мм, покрытая слоем макрогола 20 000 P толщиной 1 мкм;

- газ-носитель: гелий для хроматографии P;

- скорость газа-носителя: 10 мл/мин;

- деление потока: 1:3;

- режим изменения температуры:

Время (мин) Температура (°C)
Колонка 0 - 40 80 200
  40 - 45 200 230
  45 - 65 230
Блок для ввода проб   250
Детектор   250

- детектор: пламенно-ионизационный;

- объем вводимый пробы: по 2 мкл испытуемого раствора и растворов сравнения (а) и (б).

Относительное удерживание (время удерживание 1,2-пентандиола около 19 мин): для этиленгликоля - около 0,7; для диэтиленгликоля - около 1,3.

201040026-2022

2.1.4.26. Углерода диоксид в газах медицинских

Газы поглощают свет при определенных характерных длинах волн. Это свойство широко используется для проведения высокоселективного измерения их концентраций.

Концентрацию углерода диоксида в газах медицинских определяют с помощью спектроскопических устройств с инфракрасными датчиками (инфракрасный анализатор), использующих метод недисперсионного поглощения газами инфракрасного излучения.

Описание и принцип измерения. Основными компонентами инфракрасного анализатора являются: источник инфракрасного излучения, оптическое устройство, измерительные камеры (ячейки) и инфракрасный детектор. Камеры предназначены для испытуемого образца и образца сравнения, в некоторых приборах вместо камеры сравнения используется электронная система. Оптическое устройство состоит из одного или нескольких избирательных по длине волны оптических фильтров, через которые проходит инфракрасное излучение. В данном случае используют оптические фильтры для углерода диоксида. Инфракрасный луч направляется через камеры к детектору.

Если в камере с испытуемым образцом присутствует углерода диоксид, то происходит поглощение на определенных длинах волн инфракрасной области спектра, соответствующих углероду диоксиду, приводящее к изменению сигнала детектора в соответствии с законом Бугера-Ламберта-Бера. Путем сравнения данного сигнала с сигналом образца сравнения находят величину, зависящую от концентрации углерода диоксида. Выходной сигнал линеаризуют таким образом, чтобы получить концентрацию углерода диоксида. Для предотвращения попадания на датчики твердых частиц, приводящих к явлению светорассеяния, прибор снабжается подходящим фильтром.

Требования к техническим характеристикам. При использовании для определения предельных содержаний инфракрасный анализатор должен соответствовать следующим требованиям:

- предел обнаружения: (обычно определяемый по отношению сигнал/шум более 2) не более 20% от максимально допустимой концентрации;

- повторяемость: относительное стандартное отклонение для максимально допустимой концентрации не более 10%, определенное на 6 повторных определениях;

- линейность: не более 10% от максимально допустимой концентрации.

Требования к техническим характеристикам должны выполняться и в присутствии примесей других газов в испытуемом образце.

201040027-2022

2.1.4.27. Углерода монооксид в газах медицинских

Определение концентрации углерода монооксида в газах медицинских осуществляют титриметрическим методом после окисления углерода монооксида (Метод 1) и с помощью инфракрасного анализатора (Метод 2).

МЕТОД 1

Прибор. Прибор (рисунок 2.1.4.27.-1) состоит из следующих частей, соединенных последовательно:

- U-образная трубка (), содержащая безводный силикагель P, импрегнированный хрома (VI) оксидом P;

- промывочная емкость (), содержащая 100 мл раствора 400 г/л калия гидроксида P;

- U-образная трубка (), содержащая шарики калия гидроксида P;

- U-образная трубка (), содержащая фосфора (V) оксид P, распределенный на предварительно гранулированную плавленую пемзу;

- U-образная трубка (), содержащая 30 г йода (V) оксида перекристаллизованного P в гранулах, предварительно высушенного при температуре 200 °C и поддерживаемого при температуре 120 °C (T) во время испытания. Йода (V) оксид упакован в трубке в односантиметровые столбики, разделенные односантиметровыми столбиками стекловаты для достижения эффективной длины 5 см;

- реакционная пробирка (), содержащая 2,0 мл раствора калия йодида P и 0,15 мл раствора крахмала P.

Рисунок 2.1.4.27.-1. - Прибор для определения углерода монооксида. Размеры указаны в миллиметрах

Методика. 5,0 л аргона P пропускают через аппарат и при необходимости обесцвечивают голубой цвет йодного раствора, прибавляя минимально необходимое количество свежеприготовленного 0,002 M раствора натрия тиосульфата. Газ продолжают пропускать до тех пор, пока после прохождения 5,0 л аргона P для обесцвечивания йодного раствора будет требоваться не более 0,045 мл 0,002 M раствора натрия тиосульфата. Испытуемый газ из баллона пропускают через прибор, учитывая указанные в частной фармакопейной статье или нормативном документе по качеству объем и скорость потока. Остатки выделившегося йода переносят в реакционную пробирку, пропуская через прибор 1,0 л аргона P. Выделившийся йод титруют 0,002 M раствором натрия тиосульфата. Проводят контрольный опыт, используя одинаковый объем аргона P. Разница между объемами 0,002 M раствора натрия тиосульфата, израсходованными при титрованиях, не должна превышать указанное в частной фармакопейной статье или нормативном документе по качеству значение.

МЕТОД 2

Газы поглощают свет при определенных характерных длинах волн. Это свойство широко используется для проведения высокоселективного измерения их концентраций.

Концентрацию углерода монооксида в газах медицинских определяют с помощью спектроскопических устройств с инфракрасными датчиками (инфракрасный анализатор), использующих метод недисперсионного поглощения газами инфракрасного излучения.

Описание и принцип измерения. Основными компонентами инфракрасного анализатора являются: источник инфракрасного излучения, оптическое устройство, измерительные камеры (ячейки) и инфракрасный детектор. Камеры предназначены для испытуемого образца и образца сравнения, в некоторых приборах вместо камеры сравнения используется электронная система. Оптическое устройство состоит из одного или нескольких избирательных по длине волны оптических фильтров, через которые проходит инфракрасное излучение. В данном случае используют оптические фильтры для углерода монооксида. Инфракрасный луч направляется через камеры к детектору.

Если в камере с испытуемым образцом присутствует углерода монооксид, происходит поглощение на определенных длинах волн инфракрасной области спектра, соответствующих углерода монооксиду, приводящее к изменению сигнала детектора в соответствии с законом Бугера-Ламберта-Бера. Путем сравнения данного сигнала с сигналом образца сравнения находят величину, зависящую от концентрации углерода монооксида. Выходной сигнал линеаризуют таким образом, чтобы получить концентрацию углерода монооксида. Для предотвращения попадания на датчики твердых частиц, приводящих к явлению светорассеяния, прибор снабжается подходящим фильтром.

Требования к техническим характеристикам. При использовании для определения предельных содержаний инфракрасный анализатор должен соответствовать следующим требованиям:

- предел обнаружения: (обычно определяемый по отношению сигнал/шум более 2) не более 20% от максимально допустимой концентрации;

- повторяемость: относительное стандартное отклонение для максимально допустимой концентрации не более 10%, определенное на 6 повторных определениях;

- линейность: не более 10% от максимально допустимой концентрации.

Требования к техническим характеристикам должны выполняться и в присутствии примесей других газов в испытуемом образце.

201040028-2022

2.1.4.28. Азота (I) оксид в газах медицинских

Газы поглощают свет при определенных характерных длинах волн. Это свойство широко используется для проведения высокоселективного измерения их концентраций.

Описание и принцип измерения. Концентрацию азота (I) оксида в газах медицинских определяют с помощью инфракрасного анализатора.

Основными компонентами инфракрасного анализатора являются: источник инфракрасного излучения, оптическое устройство, измерительная камера (ячейка) и детектор. Необходимое для определения азота (I) оксида оптическое устройство может быть расположено до или после камеры для испытуемого образца и состоит из одного или нескольких оптических фильтров, через которые проходит широкополосное инфракрасное излучение. Излучение пропускают через камеру, предназначенную для испытуемого образца. В зависимости от конструкции прибора излучение также может быть направлено через камеру для образца сравнения, либо вместо этого может использоваться электронная система.

Если в камере с испытуемым образцом присутствует азота (I) оксид, то происходит поглощение на определенных длинах волн инфракрасной области спектра, соответствующих азота (I) оксиду, приводящее к изменению сигнала детектора в соответствии с законом Бугера-Ламберта-Бера. Путем сравнения данного сигнала с сигналом образца сравнения находят величину, зависящую от концентрации азота (I) оксида. Выходной сигнал линеаризуют таким образом, чтобы получить концентрацию азота (I) оксида. Для предотвращения попадания на датчики твердых частиц, приводящих к явлению светорассеяния, прибор снабжается подходящим фильтром.

201040029-2022

2.1.4.29. Азота монооксид и азота диоксид в газах медицинских

Азота монооксид и азота диоксид в газах медицинских определяют с помощью хемилюминесцентного анализатора (рисунок 2.1.4.29.-1).

Рисунок 2.1.4.29.-1. - Хемилюминесцентный анализатор

Конструкция аппарата включает в себя:

- устройство для фильтрования, проверки и контроля скорости потока испытуемого газа;

- преобразователь, восстанавливающий азота диоксид в азота монооксид для определения суммарного содержания азота монооксида и азота диоксида. Перед использованием необходимо проверить эффективность преобразователя;

- генератор озона с контролем скорости потока; озон производится высоковольтными электрическими разрядами между двумя электродами; в генератор озона подается чистый кислород или безводный воздух окружающей среды, а концентрация озона должна существенно превышать максимальное содержание всех определяемых оксидов азота;

- камеру, в которой протекает реакция азота монооксида с озоном;

- систему определения слабого излучения при длине волны 1,2 мкм, состоящую из селективного оптического фильтра и фотоумножительной трубки.

201040030-2022

2.1.4.30. Кислород в газах медицинских

Определение концентрации кислорода в газах медицинских проводят с помощью газового анализатора, использующего парамагнитный метод (парамагнитный анализатор).

Принцип метода основан на свойстве газообразного кислорода притягиваться к магниту. Парамагнитный анализатор измеряет степень вытеснения диамагнитного газа (азота) парамагнитным газом (кислородом) в сильном магнитном поле. Величина электрического тока, вызванного этим вытеснением прямо пропорциональна концентрации кислорода. Измерения концентрации кислорода зависят от давления и температуры, и, если в анализаторе отсутствует автоматическая регуляция температуры и давления, необходимо произвести калибровку прибора непосредственно перед использованием. Поскольку парамагнитный эффект кислорода имеет линейный характер, прибор должен позволять проводить измерения в подходящем диапазоне с точностью считывания показаний с дискретностью не более 0,1%.

Калибровка прибора. Калибровка производится следующим образом:

- устанавливают нулевой уровень, пропуская через прибор азот P1 до получения постоянных показателей;

- устанавливают шкалу на 100%, пропуская через прибор кислород P со скоростью потока, аналогичной используемой для азота P1, до получения постоянных показателей, так как любые минутные изменения объемной скорости газового потока будут фиксироваться как изменения в концентрации кислорода.

Количественное определение. Пропускают испытуемый образец через прибор с постоянной скоростью потока до получения стабильных показателей. Регистрируют концентрацию кислорода в испытуемом образце.

201040031-2022

2.1.4.31. Вода в газах медицинских

Содержание воды в газах определяют с помощью электролитического гигрометра, описанного ниже.

Измерительная камера состоит из тонкой пленки фосфора (V) оксида, расположенной между 2 платиновыми проводами в качестве электродов. Водный пар из испытуемого газа поглощается фосфора (V) оксидом, который преобразуется в фосфорную кислоту, являющуюся электрическим проводником. Постоянное напряжение на электродах вызывает электролиз воды и регенерацию фосфора (V) оксида. Затем измеряется результирующий электрический ток, который пропорционален содержанию воды в испытуемом газе. Данная система является самокалибрующейся, поскольку она соответствует закону Фарадея.

Отобранный испытуемый образец выдерживают для уравновешивания при температуре от 15 °C до 25 °C. Постоянно пропускают газ через камеру до получения стабильных показаний. Необходимо следить, чтобы в течение всего периода измерения температура приспособления для введения газа была постоянной.

При использовании электролитического гигрометра для точного определения содержания воды добиваются точного потока образца, обеспечивая стабильный объемный расход с помощью контроллера массового расхода. Калибровку контроллера массового расхода обычно выполняют с использованием азота. При использовании для калибровки других газов, необходимо обратиться к инструкциям производителя по вопросу соответствующих коэффициентов пересчета и удостовериться, что используется правильная камера для испытуемого типа газа.

201040032-2022

2.1.4.32. Серы диоксид

ПРИБОР

Прибор (рисунок 2.1.4.32.-1) состоит из следующих частей:

- круглодонная трехгорлая стеклянная колба вместимостью 500 мл (А);

- воронка вместимостью 100 мл (Б);

- обратный холодильник (В);

- пробирка (Г);

- переносящая трубка (Д);

- газовый порт (Е).

Рисунок 2.1.4.32.-1. - Прибор для определения серы диоксида

МЕТОДИКА

В колбу (А) помещают 150 мл воды P и уравновешивают систему, пропуская через нее углерода диоксид P в течение 15 мин со скоростью около 100 мл/мин.

К 10 мл раствора водорода пероксида разбавленного P прибавляют 0,15 мл раствора 1 г/л бромофенолового синего P в этаноле (20%, об/об) P. Затем прибавляют 0,1 M раствор натрия гидроксида P до появления фиолетово-синего оттенка, не достигая конечной точки титрования. Раствор помещают в пробирку (Г) и присоединяют ее к прибору как показано на рисунке 2.1.4.32.-1.

Не прерывая подачи углерода диоксида, снимают воронку (Б) и через освободившееся горло колбы вносят 25,0 г испытуемого образца (a) с помощью 100 мл воды P. Устанавливают воронку на место, закрывают кран и вливают в воронку 80 мл хлороводородной кислоты разбавленной P. Открывают кран воронки, чтобы хлороводородная кислота разбавленная P стекла в колбу. Для предотвращения улетучивания серы диоксида закрывают кран, оставляя несколько последних миллилитров хлороводородной кислоты разбавленной P. Кипятят в течение 1 ч. Открывают кран воронки и останавливают подачу углерода диоксида. Содержимое пробирки (Г) переносят в коническую колбу вместимостью 200 мл с помощью небольшого количества воды P. Колбу нагревают на водяной бане в течение 15 мин и выдерживают до охлаждения. Прибавляют 0,1 мл раствора 1 г/л бромфенолового синего P в этаноле (20%, об/об) P и титруют 0,1 M раствором натрия гидроксида до изменения окраски раствора с желтой на фиолетово-синюю (V1, мл).

Параллельно проводят контрольный опыт (, мл).

Содержание серы диоксида в частях на миллион рассчитывают по формуле:

,

где: - объем титранта, израсходованного на титрование, в миллилитрах;

- объем титранта, израсходованного на титрование в контрольном опыте, в миллилитрах;

C - молярная концентрация натрия гидроксида в растворе, используемом в качестве титранта, в молях на литр;

a - навеска испытуемого образца, в граммах.

201040033-2022

2.1.4.33. Окисляющие вещества

В коническую колбу с притертой пробкой вместимостью 125 мл помещают 4,0 г испытуемого образца и прибавляют 50,0 мл воды P. Закрывают пробкой и взбалтывают в течение 5 мин. Содержимое колбы переносят в центрифужную пробирку с притертой пробкой вместимостью 50 мл и центрифугируют. 30,0 мл прозрачной надосадочной жидкости переносят в коническую колбу с притертой пробкой вместимостью 125 мл, прибавляют 1 мл уксусной кислоты ледяной P и от 0,5 г до 1,0 г калия йодида P. Колбу закрывают пробкой, взбалтывают и выдерживают в темном месте в течение 25 - 30 мин. Прибавляют 1 мл раствора крахмала P и титруют 0,002 M раствором натрия тиосульфата до исчезновения окраски.

Параллельно проводят контрольный опыт.

На титрование испытуемого образца должно расходоваться не более 1,4 мл 0,002 M раствора натрия тиосульфата (0,002% в пересчете на H2O2).

1 мл 0,002 M раствора натрия тиосульфата соответствует 34 мкг окисляющих веществ в пересчете на водорода пероксид.

201040034-2022

2.1.4.34. Метил-, этил- и изопропилметансульфонат в метансульфоновой кислоте

Данная общая фармакопейная статья распространяется на метод определения метил-, этил- и изопропилметансульфонатов в диапазоне концентраций от 0,5 ppm до 100 ppm.

Если данный метод предполагается использовать для определения концентраций метил-, этил- и изопропилметансульфонатов, выходящих за указанные выше пределы (например, на ранних стадиях синтеза до их удаления), концентрация испытуемого раствора должна быть соответствующим образом скорректирована.

МЕТОДИКА

Испытания проводят методом газовой хроматографии (2.1.2.27) с масс-спектрометрией (2.1.2.51).

Раствор внутреннего стандарта. 7 мкл СО ФЕАЭС бутилметансульфоната (БМС) доводят метиленхлоридом P до объема 10,0 мл. 10 мкл полученного раствора доводят метиленхлоридом P до объема 100,0 мл.

Испытуемый раствор. К 0,74 г испытуемого образца прибавляют 10,0 мл воды P и проводят экстракцию в делительной воронке с использованием 10,0 мл раствора внутреннего стандарта. Выдерживают до расслоения фаз, переносят органический слой во флакон, содержащий натрия сульфат безводный P. Встряхивают и фильтруют.

Раствор сравнения (а). По 50 мг метилметансульфоната P (ММС), этилметансульфоната P (ЭМС) и изопропилметансульфоната P (ИМС) растворяют в растворе внутреннего стандарта и доводят объем раствора тем же раствором до 50,0 мл. 74 мкл полученного раствора доводят раствором внутреннего стандарта до объема 10,0 мл. 100 мкл полученного раствора доводят раствором внутреннего стандарта до объема 10,0 мл.

Раствор сравнения (б). 3,0 мл раствора сравнения (а) доводят раствором внутреннего стандарта до объема 10,0 мл.

Условия хроматографирования:

- колонка: из расплавленного кварца длиной 15 м и внутренним диаметром 0,25 мм, покрытая слоем поли(диметил)силоксана P толщиной 1 мкм;

- газ-носитель: гелий для хроматографии P;

- скорость газа-носителя: 1 мл/мин;

- импульсный ввод без деления потока: 250 кПа, 0,25 мин;

- температура:

Время (мин) Температура (°C)
Колонка 0 - 1 55
  1 - 9 55 135
Блок ввода проб   240
Детектор: автоматическая линия 280
  источник   230
  анализатор   150

- детектор: масс-спектрометрический, описанный ниже; корректируют настройку детектора для соответствия критериям пригодности системы:

- квадрупольный масс-спектрометр, снабженный системой ионизации электронным ударом (70 эВ);

- для режима фрагментометрии (одноионный мониторинг) параметры масс-спектрометра устанавливают следующим образом:

Вещество m/z Длительность мониторинга
Бутилметансульфонат (БМС) 56 между 7,0 мин и 9,0 мин
Метилметансульфонат (ММС) 80 между 2,0 мин и 3,5 мин
Этилметансульфонат (ЭМС) 79 между 4,0 мин и 4,7 мин
Изопропилметансульфонат (ИМС) 123 между 4,7 мин и 5,5 мин

- объем вводимой пробы: 2 мкл.

Относительное удерживание (время удерживания БМС около 7,6 мин): ММС - около 0,3; ЭМС - около 0,5; ИМС - около 0,6.

Пригодность хроматографической системы:

- разрешение: не менее 3,0 между пиками ЭМС и ИМС на хроматограмме раствора сравнения (а);

- отношение сигнал/шум: не менее 10 для пиков ММС, ЭМС и ИМС на хроматограмме раствора сравнения (б).

Содержание ММС, ЭМС или ИМС в частях на миллион (ppm) рассчитывают по формуле:

,

где: - площадь пика ММС, ЭМС или ИМС на хроматограмме раствора сравнения (а);

- площадь пика ММС, ЭМС или ИМС на хроматограмме испытуемого раствора;

Q - содержание основного вещества в навеске ММС, ЭМС или ИМС, в процентах;

- площадь пика внутреннего стандарта на хроматограмме раствора сравнения (а);

- площадь пика внутреннего стандарта на хроматограмме испытуемого раствора;

- навеска ММС, ЭМС или ИМС, взятая для приготовления раствора сравнения (а), в миллиграммах;

a - навеска испытуемого образца, взятая для приготовления испытуемого раствора, в миллиграммах;

0,148 - коэффициент разведения.

201040035-2022

2.1.4.35. Метил-, этил- и изопропилметансульфонат в активных фармацевтических субстанциях

Данная общая фармакопейная статья распространяется на метод определения концентраций метил-, этил- и изопропилметансульфонатов (в диапазоне концентраций от 0,2 ppm до 5 ppm) в бетагистина мезилате.

Если данный метод предполагается использовать для определения метил-, этил- и изопропилметансульфонатов в других активных фармацевтических субстанциях, содержащих отличающиеся концентрации метил-, этил- и изопропилметансульфонатов, концентрация испытуемого раствора и раствора сравнения должна быть соответствующим образом скорректирована и проведена подходящая валидация.

МЕТОДИКА

Испытания проводят методом газовой хроматографии (2.1.2.27) с масс-спектрометрией (2.1.2.51).

Испытуемый раствор и раствор сравнения готовят непосредственно перед использованием.

Важно использовать ацетонитрил соответствующей чистоты.

Смесь растворителей. Вода P - ацетонитрил P (20:80, об/об).

Раствор А. 30 мг натрия тиосульфата безводного P и 60,0 г натрия йодида P растворяют в воде P и доводят объем раствора тем же растворителем до 50,0 мл.

Раствор внутреннего стандарта. 10 мкл СО ФЕАЭС бутилметансульфоната (БМС) доводят смесью растворителей до объема 10,0 мл. 20 мкл полученного раствора доводят смесью растворителей до объема 100,0 мл.

Контрольный раствор. 0,50 мл раствора A и 0,50 мл раствора внутреннего стандарта помещают во флакон для парофазного пробоотборника, немедленно закрывают флакон силиконовой мембраной с политетрафторэтиленовым покрытием и обкатывают алюминиевым колпачком.

Испытуемый раствор. 25,0 мг испытуемого образца помещают во флакон для парофазного пробоотборника вместимостью 20 мл, прибавляют 0,50 мл раствора A и 0,50 мл раствора внутреннего стандарта, немедленно закрывают флакон силиконовой мембраной с политетрафторэтиленовым покрытием и обкатывают алюминиевым колпачком.

В ходе реакции дериватизации может образоваться осадок, который не влияет на достоверность количественного определения.

Раствор сравнения (а). По 25,0 мг метилметансульфоната P (ММС), этилметансульфоната P (ЭМС) и изопропилметансульфоната P (ИМС) растворяют в толуоле P и доводят объем раствора тем же растворителем до 5,0 мл. 50 мкл полученного раствора доводят раствором внутреннего стандарта до объема 25,0 мл.

Раствор сравнения (б). 20 мкл раствора сравнения (а) доводят раствором внутреннего стандарта до объема 20,0 мл. 0,50 мл полученного раствора и 0,50 мл раствора A помещают во флакон для парофазного пробоотборника вместимостью 20 мл, немедленно закрывают флакон силиконовой мембраной с политетрафторэтиленовым покрытием и обкатывают алюминиевым колпачком.

Раствор сравнения (в). 500 мкл раствора сравнения (а) доводят раствором внутреннего стандарта до объема 20,0 мл. 0,50 мл полученного раствора и 0,50 мл раствора A помещают во флакон для парофазного пробоотборника вместимостью 20 мл, немедленно закрывают флакон силиконовой мембраной с политетрафторэтиленовым покрытием и обкатывают алюминиевым колпачком.

Условия хроматографирования:

- колонка: из расплавленного кварца длиной 30 м и внутренним диаметром 0,25 мм, покрытая слоем макрогола (полиэтиленгликоля) полярно дезактивированного толщиной 1 мкм;

- газ-носитель: гелий для хроматографии P;

В устройстве для ввода испытуемого образца используют инертный лайнер без стекловолокна, что уменьшает эффект переноса между вводами.

- скорость газа-носителя: 0,5 мл/мин;

- деление потока: 1:20;

- допускается использование условий статической парофазной хроматографии:

- температура уравновешивания: 60 °C;

- время уравновешивания: 30 мин;

- температура автоматической линии: 120 °C;

- температура:

Время
(мин)
Температура
(°C)
Колонка <*> 0 - 1 40
  1 - 10 40 130
Блок ввода проб   220
Детектор: автоматическая линия 280
  источник   250
  анализатор   200

<*> В конце анализа поднимают температуру колонки до 240 °C и поддерживают ее в течение 7 мин.

- детектор: масс-спектрометрический, описанный ниже; корректируют настройку детектора для соответствия критериям пригодности системы; альтернативно может быть использован подходящий детектор с электронной ловушкой:

- квадрупольный масс-спектрометр, снабженный системой ионизации электронным ударом (70 эВ);

- для режима фрагментометрии (одноионный мониторинг) параметры масс-спектрометра устанавливают следующим образом:

Вещество Ион для количественного определения (m/z) Ион для квалификации (m/z)
Бутилйодид (BuI) <**> 184 127
Метилйодид (MeI) <**> 142 127
Этилйодид (EtI) <**> 156 127
Изопропилйодид (iPrI) <**> 170 127

<**> Получены из БМС, ММС, ЭМС и ИМС в результате реакции дериватизации.

- объем вводимой пробы: по 1 мл равновесной газовой фазы испытуемого образца, раствора сравнения (б), раствора сравнения (в) и контрольного раствора.

Относительное удерживание (время удерживания бутилйодида около 8,5 мин): метилйодид - около 0,51; этилйодид - около 0,63; изопропилйодид - около 0,68.

Пригодность хроматографической системы:

- разрешение: не менее 1,5 между пиками этилйодида и изопропилйодида на хроматограмме раствора сравнения (в);

- отношение сигнал/шум: не менее 10 для пиков каждого алкилйодида на хроматограмме раствора сравнения (б).

Содержание каждого алкилметансульфоната в частях на миллион (ppm) рассчитывают по формуле:

,

где: - площадь пика каждого алкилйодида на хроматограмме раствора сравнения (в);

- площадь пика каждого алкилйодида на хроматограмме испытуемого раствора;

Q - содержание основного вещества в каждом эфире, в процентах;

- площадь пика внутреннего стандарта на хроматограмме раствора сравнения (в);

- площадь пика внутреннего стандарта на хроматограмме испытуемого раствора;

- навеска каждого эфира, взятая для приготовления раствора сравнения (а), в миллиграммах;

- навеска испытуемого образца, взятая для приготовления испытуемого раствора, в миллиграммах;

0,05 - коэффициент разведения.

201040036-2022

2.1.4.36. Метансульфонилхлорид в метансульфоновой кислоте

Данная общая фармакопейная статья распространяется на метод определения метансульфонилхлорида в метансульфоновой кислоте в диапазоне концентраций от 0,05 ppm до 50 ppm.

Испытания проводят методом газовой хроматографии (2.1.2.27) с масс-спектрометрией (2.1.2.51).

Раствор внутреннего стандарта. 7 мкл СО ФЕАЭС бутилметансульфоната (БМС) растворяют в метиленхлориде P и доводят объем раствора тем же растворителем до 10,0 мл. 5,0 мл полученного раствора доводят метиленхлоридом P до объема 50,0 мл.

Испытуемый раствор. К 5 мл воды P добавляют 7,4 г испытуемого образца и медленно перемешивают. После охлаждения прибавляют 5,0 мл метиленхлорида P, 100 мкл раствора внутреннего стандарта и встряхивают. Выдерживают до расслоения фаз, переносят органический слой во флакон, содержащий 1 г натрия сульфата безводного P. Экстракцию повторяют дважды, каждый раз используя 5,0 мл метиленхлорида P. Органические слои смешивают и фильтруют.

Раствор сравнения (а). 50,0 мг метансульфонилхлорида P растворяют в метиленхлориде P и доводят объем раствора тем же растворителем до 10,0 мл. 1,0 мл полученного раствора доводят метиленхлоридом P до объема 10,0 мл. 300 мкл полученного раствора доводят метиленхлоридом P до объема 10,0 мл.

Раствор сравнения (б). 500 мкл раствора сравнения (а) и 100 мкл раствора внутреннего стандарта доводят метиленхлоридом P до объема 15,0 мл.

Раствор сравнения (в). 25 мкл раствора сравнения (а) и 100 мкл раствора внутреннего стандарта доводят метиленхлоридом P до объема 15,0 мл.

Условия хроматографирования:

- колонка: из расплавленного кварца длиной 15 м и внутренним диаметром 0,25 мм, покрытая слоем поли(диметил)силоксана P толщиной 1 мкм;

- газ-носителъ: гелий для хроматографии P;

- скорость газа-носителя: 1 мл/мин;

- импульсный ввод без деления потока: 60 кПа, 0,1 мин;

- температура:

Время
(мин)
Температура
(°C)
Колонка <*> 0 - 4 40
  4 - 8 40 200
Блок ввода проб   240
Детектор: автоматическая линия 280
  источник   230
  анализатор   150

<*> В конце анализа поднимают температуру колонки до 270 °C и поддерживают ее в течение 8 мин.

- детектор: масс-спектрометрический, описанный ниже; корректируют настройку детектора для соответствия критериям пригодности системы:

- квадрупольный масс-спектрометр, снабженный системой ионизации электронным ударом (70 эВ);

- для режима фрагментометрии (одноионный мониторинг) параметры масс-спектрометра устанавливают следующим образом:

Вещество m/z Длительность мониторинга
Метансульфонилхлорид 79 между 3,3 мин и 6,0 мин
Бутилметансульфонат (БМС) 56 между 6,0 мин и 8,0 мин

- объем вводимой пробы: 5 мкл.

Относительное удерживание (время удерживания внутреннего стандарта (БМС) около 7,2 мин): метансульфонилхлорид - около 0,68.

Пригодность хроматографической системы:

- на хроматограмме раствора внутреннего стандарта не должен обнаруживаться пик со временем удерживания, идентичным метансульфонилхлориду;

- разрешение: не менее 5,0 между пиками метансульфонилхлорида и БМС на хроматограмме раствора сравнения (б);

- отношение сигнал/шум: не менее 10 для пика метансульфонилхлорида на хроматограмме раствора сравнения (в).

Содержание метансульфонилхлорида в частях на миллион (ppm) рассчитывают по формуле:

,

где: - площадь пика метансульфонилхлорида на хроматограмме раствора сравнения (б);

- площадь пика метансульфонилхлорида на хроматограмме испытуемого раствора;

Q - содержание основного вещества в метансульфонилхлориде, в процентах;

- площадь пика внутреннего стандарта (БМС) на хроматограмме раствора сравнения (б);

- площадь пика внутреннего стандарта (БМС) на хроматограмме испытуемого раствора;

- навеска метансульфонилхлорида, взятая для приготовления раствора сравнения (а), в миллиграммах;

- навеска испытуемого образца, взятая для приготовления испытуемого раствора, в миллиграммах;

1,5 - коэффициент разведения.

2.1.5. МЕТОДЫ КОЛИЧЕСТВЕННОГО ОПРЕДЕЛЕНИЯ

201050016-2022

2.1.5.16. Определение фтора

Содержание фтора, входящего в состав молекулы лекарственного средства, может быть определено одним из трех методов: титриметрическим, спектрофотометрическим или ионометрическим. При выполнении анализа используется пластиковая посуда.

1. ТИТРИМЕТРИЧЕСКИЙ МЕТОД

Точную навеску лекарственного средства, указанную в фармакопейной статье (с содержанием фтора около 3,8 мг), сжигают в колбе с кислородом, поглощая продукты сжигания 15 мл воды P. Пробку, держатель образца и стенки колбы промывают 40 мл воды P (2.1.5.10. Метод сжигания в колбе с кислородом), прибавляют 0,6 мл раствора ализарина S P и по каплям 0,1 M раствор натрия гидроксида до красного окрашивания, затем 2 - 3 капли 1,5% раствора азотной кислоты P до перехода в желтое окрашивание, 3,5 мл буферного раствора с pH 3,0 и титруют 0,005 M раствором тория (IV) нитрата до розовой окраски.

1 мл 0,005 M раствора тория (IV) нитрата соответствует 0,380 мг фтора.

Примечания.

Приготовление буферного раствора с pH 3,0. 24,0 г натрия дигидрофосфата безводного P растворяют в воде P. Корректируют pH до значения 3,0 потенциометрически фосфорной кислотой разбавленной P и доводят объем раствора водой P до 1000,0 мл.

0,005 M тория (IV) нитрата раствор. 2,761 г тория (IV) нитрата P Th(NO3)4 · 4H2O растворяют в воде P, доводят объем раствора тем же растворителем до 1000,0 мл и перемешивают.

Установка титра. 0,05 г натрия фторида PO, предварительно высушенного при температуре 150 °C до постоянной массы, растворяют в воде P, доводят объем раствора тем же растворителем 250,0 мл и перемешивают К 20,0 мл полученного раствора прибавляют 0,6 мл раствора ализарина S P и по каплям 0,1 M раствор натрия гидроксида до перехода розовой окраски в желтую. Затем прибавляют 5,0 мл буферного раствора с pH 3,0 и титруют 0,005 M раствором тория (IV) нитрата до перехода желтой окраски в розовую.

1 мл 0,005 M раствора тория (IV) нитрата соответствует 0,380 мг фтора.

2. СПЕКТРОФОТОМЕТРИЧЕСКИЙ МЕТОД

Точную навеску лекарственного средства, указанную в фармакопейной статье (с содержанием фтора 50,0 - 70,0 мг), сжигают в колбе с кислородом, поглощая продукты сжигания 15 мл воды P. Пробку, держатель образца и стенки колбы промывают 40 мл воды P (2.1.5.10. Метод сжигания в колбе с кислородом), раствор количественно переносят в мерную колбу вместимостью 100 мл, прибавляют по 25,0 мл 0,01% раствора арсеназо I и 0,005 M раствора тория (IV) нитрата, доводят объем раствора водой P до метки и перемешивают. Через 30 мин измеряют оптическую плотность испытуемого раствора при длине волны 580 нм относительно компенсационного раствора, содержащего те же количества реактивов, но без лекарственного средства. Содержание фтора определяют по калибровочному графику.

Приготовление растворов сравнения.

4,0; 5,0; 6,0; 7,0; и 8,0 мл стандартного раствора фторид-ионов (10 ppm F-) (2.2.1.2. Стандартные растворы для испытаний на предельное содержание примесей) разбавляют до 100,0 мл и далее поступают, как указано выше, начиная со слов "... прибавляют по 25,0 мл 0,01% раствора арсеназо I".

Примечание.

Приготовление 0,01% раствор арсеназо I. 0,01 г арсеназо I P растворяют в воде P, доводят объем раствора водой P до 100,0 мл и перемешивают.

3. ИОНОМЕТРИЧЕСКИЙ МЕТОД

К точной навеске лекарственного средства, указанной в частной фармакопейной статье (с содержанием фтора около 20,0 мг), прибавляют 400 мл воды P и выдерживают в течение 20 мин на водяной бане при температуре около 80 °C, периодически перемешивая. Охлаждают до комнатной температуры, доводят объем раствора до 500,0 мл и фильтруют.

К объему полученного раствора, указанному в частной фармакопейной статье, прибавляют равный объем буферного раствора с pH 5,25 и перемешивают.

Определение содержания фторид-ионов проводят как описано в 2.1.2.47. Потенциометрическое определение концентрации ионов с использованием ионоселективных электродов. В качестве измерительного электрода используют фторидселективный электрод, в качестве электрода сравнения - хлорсеребряный или каломельный электроды.

Готовят не менее 3 стандартных растворов фторид-ионов подходящих концентраций, путем разбавления основного стандартного раствора фторид-ионов 2000 мкг/мл.

Строят калибровочный график зависимости разности потенциалов от логарифма концентрации фторид-ионов. По графику находят значение логарифма концентрации (lgC) для испытуемого раствора.

Концентрацию фторид-ионов (C) в испытуемом растворе, в микрограммах на миллилитр, вычисляют по формуле:

,

где x = lgC.

Буферный раствор с pH от 5,2 до 5,3. 57,0 мл уксусной кислоты ледяной P, 58,0 г натрия хлорида P и 4 г циклогексилендинитрилтетрауксусной кислоты P растворяют в воде P и доводят объем раствора тем же растворителем до 500,0 мл. Корректируют значение pH от 5,2 до 5,3 раствором натрия гидроксида P и доводят объем раствора водой P до 1000,0 мл. Раствор выдерживают в течение 24 ч.

Указанные количества компонентов могут быть изменены в зависимости от испытания и состава испытуемого образца.

Основной стандартный раствор фторид-ионов (2000 ppm F-). 4,42 г натрия фторида P, предварительно высушенного при температуре 300 °C в течение 12 ч, растворяют в воде P и доводят объем раствора тем же растворителем до 1000,0 мл (2000 мкг/мл).

Раствор хранят в полиэтиленовой или полипропиленовой емкости при комнатной температуре.

Срок хранения (срок годности) - не более 3 мес.

201050017-2022

2.1.5.17. Определение кислотонейтрализующей способности

Показатель Кислотонейтрализующая способность характеризует основные свойства лекарственных средств-антацидов - способность связывать хлороводородную кислоту. Кислотонейтрализующая способность выражается количеством миллиграмм-эквивалентов хлороводородной кислоты, связываемой 1 г или минимальной дозой лекарственного средства.

ПРИГОТОВЛЕНИЕ ИСПЫТУЕМОГО РАСТВОРА

Все испытания должны проводиться при температуре (37 +/- 3) °C.

При отсутствии других указаний в частной фармакопейной статье, испытуемый раствор готовят следующим образом:

Субстанции для фармацевтического применения, твердые лекарственные формы. Точно взвешенное количество (указанное в частной фармакопейной статье) субстанции для фармацевтического применения или препарата, эквивалентное минимальной дозе, помещают в стакан вместимостью 250 мл. Прибавляют 70 мл воды P и перемешивают на магнитной мешалке в течение 1 мин. При необходимости испытуемый образец увлажняют, прибавляя не более 5 мл этанола (96%) P (доведенного до величины pH 3,5, потенциометрически) и перемешивают до полного смачивания образца.

В случае шипучих таблеток к навеске сначала прибавляют 10 мл воды P и осторожно вращают стакан, пока реакция не прекратится. Добавляют еще 10 мл воды P и осторожно перемешивают. Обмывают стенки стакана 50 мл воды P и перемешивают на магнитной мешалке в течение 1 мин.

Суспензии и другие жидкости. Встряхивают контейнер, пока содержимое не станет однородным, определяют плотность в соответствии с общей фармакопейной статьей 2.1.2.5. Относительная плотность. Переносят точно взвешенное количество однородной смеси, эквивалентное минимальной дозе, в стакан вместимостью 250 мл, добавляют воду P до объема приблизительно 70 мл и перемешивают на магнитной мешалке в течение 1 мин.

МЕТОДИКА

К испытуемому раствору при перемешивании на магнитной мешалке прибавляют 30,0 мл 1 M хлороводородной кислоты. Перемешивают в течение 15 мин после добавления кислоты и немедленно начинают титровать избыток хлороводородной кислоты 0,5 M раствором натрия гидроксида в течение времени, не превышающего 5 мин, до достижения устойчивого в течение от 10 до 15 с значения pH 3,5 (потенциометрически).

Вычисляют количество миллиграмм-эквивалентов (мг-экв) поглощенной кислоты по формуле:

, (1)

где MHCl и MNaOH - молярная концентрация хлороводородной кислоты и натрия гидроксида соответственно;

VNaOH - объем 0,5 M раствора натрия гидроксида, израсходованный на титрование.

Если кислотонейтрализующая способность испытуемого образца больше 25 мг-экв, добавляют 60,0 мл 1 M хлороводородной кислоты и делают соответствующее изменение при вычислении.

Выражают результат в миллиграмм-эквивалентах (мг-экв) кислоты, поглощенной 1 г испытуемой субстанции для фармацевтического применения или испытуемого препарата () или минимальной дозой ():

Для субстанций для фармацевтического применения или твердых лекарственных форм:

(2)

(3)

где a - навеска субстанции для фармацевтического применения или испытуемого препарата, г;

b - средняя масса таблетки или содержимого капсулы, соответствующая минимальной дозе, г.

Для жидкостей:

(4)

где - объем минимальной дозы, мл;

- плотность жидкости, г/мл;

a - навеска испытуемого препарата, г.

201050018-2022

2.1.5.18. Цинк в инсулине

Настоящая общая фармакопейная статья распространяется на определение цинка в лекарственных препаратах и активных фармацевтических субстанциях инсулина. Определение цинка проводят методом атомно-абсорбционной спектрометрии (общая фармакопейная статья 2.1.2.22. Атомно-абсорбционная спектрометрия, метод I).

Испытуемый раствор:

- для лекарственных препаратов для парентерального применения в лекарственной форме растворили суспензия

В случае если испытуемый лекарственный препарат представляет собой суспензию, в упаковку предварительно добавляют 2 мкл 6 M хлороводородной кислоты P (при активности инсулина 40 МЕ/мл) или 4 мкл (при активности инсулина 100 МЕ/мл) на 1 мл лекарственного препарата и тщательно перемешивают.

Объединяют содержимое не менее 3 упаковок и перемешивают. Объем полученного образца, эквивалентный 100 МЕ, доводят 0,01 M хлороводородной кислотой P до 25,0 мл и перемешивают. При необходимости выполняют дополнительное разведение до получения концентрации цинка в пределах 0,4 - 1,6 мкг/мл.

- для надосадочной жидкости в лекарственных препаратах для парентерального применения в лекарственной форме суспензия

Тщательно перемешивают содержимое каждой упаковки до гомогенного состояния, объединяют содержимое не менее 3 упаковок, отбирают 5 - 10 мл гомогенной суспензии, переносят в центрифужную пробирку и центрифугируют. Используя надосадочную жидкость готовят раствор с концентрацией цинка в пределах 0,4 - 1,6 мкг/мл, используя 0,01 M хлороводородную кислоту P в качестве разбавителя.

- для активной фармацевтической субстанции

50,0 мг инсулина растворяют, избегая пенообразования, в 0,01 M хлороводородной кислоте P, доводят объем раствора тем же растворителем до 25,0 мл и перемешивают. Полученный раствор разводят 0,01 M хлороводородной кислоты P до концентрации цинка в пределах 0,4 - 1,6 мкг/мл и перемешивают.

Калибровочные растворы. С помощью стандартного раствора цинка ионов (5 мг/мл Zn2+) P готовят не менее 5 калибровочных растворов в диапазоне концентраций, зависящем от содержания цинка в лекарственном средстве и от рабочего диапазона применяемого оборудования, используя 0,01 M хлороводородную кислоту P в качестве разбавителя.

Условия испытания

Источник излучения Цинковая лампа с полым катодом (допускается использовать дуговые ксеноновые лампы в качестве источника сплошного спектра в сочетании с монохроматорами высокого разрешения при условии валидации методики)
Атомизация Воздушно-ацетиленовое пламя.
Длина волны 213,9 нм.

Измеряют поглощение испытуемого, контрольного и калибровочных растворов.

Строят калибровочный график зависимости атомного поглощения от концентрации цинка (мкг/мл).

Пригодность системы

Относительное стандартное отклонение атомного поглощения для калибровочного раствора с концентрацией цинка 0,8 мкг/мл должно быть не более 1,4% (6 измерений).

Коэффициент корреляции калибровочного графика должен составлять не менее 0,99.

Концентрацию цинка (C, мкг/мл) в испытуемом растворе определяют по калибровочному графику.

Содержание цинка в лекарственном препарате в микрограммах на миллилитр (X1) вычисляют по формуле:

,

где: C - концентрация цинка в испытуемом растворе, определенная по калибровочному графику, в микрограммах на миллилитр;

N - разведение испытуемого раствора.

Содержание цинка в активной фармацевтической субстанции в пересчете на сухое вещество в процентах (X2) вычисляют по формуле:

,

где: C - концентрация цинка в испытуемом растворе, определенная по калибровочному графику, в микрограммах на миллилитр;

a - навеска инсулина, в миллиграммах;

N - дополнительное разведение испытуемого раствора;

W - потеря в массе при высушивании, в процентах.

201050019-2022

2.1.5.19. Метод формольного титрования

Настоящая общая фармакопейная статья распространяется на метод формольного титрования, предназначенный для определения аминного азота свободных (концевых) аминогрупп в препаратах аминокислот, пептидов, белков и других с содержанием азота 1,5 - 5,0 мг в 1 мл испытуемого раствора. Метод формольного титрования (метод Серенсена) основан на защите формальдегидом свободных аминогрупп с образованием оснований Шиффа и алкалиметрическом титровании эквивалентного количества карбоксильных групп.

Метод не применим в случае присутствия ионов аммония, так как при этом высок риск получения завышенных результатов определения.

К точной навеске или точному объему испытуемого образца, указанного в частной фармакопейной статье, прибавляют воду P до объема 20 мл. При необходимости раствор нейтрализуют потенциометрически до pH 7,0, путем прибавления 0,1 M раствора натрия гидроксида или 0,1 M хлороводородной кислоты. По окончании нейтрализации прибавляют от 2 до 10 мл (конкретные величины указывают в частной фармакопейной статье) формальдегида раствор P, нейтрализованного в день анализа натрия гидроксида раствором 10% до pH 7,0, перемешивают и титруют 0,1 M раствором натрия гидроксида до значения pH 9,1 или до появления слабо-розового окрашивания (индикатор - фенолфталеина раствор P1), не изменяющихся при перемешивании в течение 2 мин.

Параллельно проводят контрольный опыт.

В зависимости от количества функциональных групп в определяемом соединении титр будет разным и должен быть установлен для каждого конкретного случая.

В частности, при определении аминного азота 1 мл 0,1 M раствора натрия гидроксида соответствует 1,4 мг аминного азота.

2.1.8. МЕТОДЫ ФАРМАКОГНОСТИЧЕСКИХ ИСПЫТАНИЙ

201080018-2022

2.1.8.18. Определение коэффициента водопоглощения и расходного коэффициента для лекарственного растительного сырья

Настоящая общая фармакопейная статья предназначена для учета вклада коэффициента водопоглощения при получении требуемых количеств водных извлечений из лекарственного растительного сырья, содержащего полисахариды (например: мать-и-мачехи листья и др.) и расходного коэффициента - при получении требуемых количеств водных извлечений из лекарственного растительного сырья, содержащего слизь (например: алтея корни).

КОЭФФИЦИЕНТ ВОДОПОГЛОЩЕНИЯ

Коэффициент водопоглощения - показатель, определяемый количеством воды в миллилитрах, удерживаемой 1,0 г лекарственного растительного сырья после его отжатия в перфорированном стакане инфундирного аппарата. Коэффициент водопоглощения используется для расчетов при получении водных извлечений из лекарственного растительного сырья.

Для определения коэффициента водопоглощения навеску цельного или измельченного лекарственного растительного сырья массой 10,0 г заливают водой P и готовят водное извлечение в соответствии с общей фармакопейной статьей 2.5.1.15. Настои и отвары. Полученное водное извлечение процеживают, оставшееся в перфорированном стакане инфундирного аппарата сырье отжимают и измеряют объем извлечения.

Коэффициент водопоглощения (Квп) рассчитывают по следующей формуле:

,

где: - требуемый объем водного извлечения, в миллилитрах;

- полученный объем водного извлечения после отжатия сырья, в миллилитрах;

m - масса лекарственного растительного сырья, в граммах.

Коэффициент водопоглощения рассчитывают как среднее арифметическое результатов трех параллельных определений.

Значения коэффициента водопоглощения заимствуют из таблицы 1 или используют его условные значения.

В таблице 2.1.8.18.-1 приведены значения коэффициентов водопоглощения для отдельных видов лекарственного растительного сырья.

Таблица 2.1.8.18.-1

Коэффициенты водопоглощения отдельных видов лекарственного растительного сырья

Вид сырья Коэффициент, мл
Валерианы корневища с корнями 2,9
Горицвета трава 2,8
Горца змеиного (змеевика) корневища 2,0
Дуба кора 2,0
Душицы трава 2,0
Зверобоя трава 1,6
Калины кора 2,0
Крапивы листья 1,8
Кровохлебки корневища и корни 1,7
Крушины кора 1,6
Лапчатки корневища 1,4
Мать-и-мачехи листья 3,0
Мяты перечной листья 2,4
Подорожника большого листья 2,5
Полыни горькой трава 2,1
Пустырника трава 2,0
Ромашки аптечной цветки 3,4
Сенны листья 1,8
Солодки корни 1,7
Сушеницы трава 2,2
Толокнянки листья 1,4
Шалфея листья 3,3
Шиповника плоды 1,1

При отсутствии коэффициента водопоглощения для лекарственного растительного сырья отдельных морфологических групп используют следующие условные значения:

- для корней и корневищ - 1,5 мл/г;

- для коры, почек, травы и цветков - 2,0 мл/г;

- для семян - 3,0 мл/г.

Объем воды (), необходимый для получения водного извлечения с учетом коэффициента водопоглощения (), рассчитывают по следующей формуле:

,

где: V - требуемый объем водного извлечения, в миллилитрах;

m - масса лекарственного растительного сырья, необходимая для получения водного извлечения, в граммах;

- коэффициент водопоглощения лекарственного растительного сырья.

РАСХОДНЫЙ КОЭФФИЦИЕНТ

При получении водных извлечений из лекарственного растительного сырья, содержащего слизь, в частности - алтея корней, используют расходный коэффициент (). Расходный коэффициент показывает во сколько раз следует увеличить массу сырья и объем воды P для получения требуемого объема (мл) водного извлечения.

Расходные коэффициенты для получения водного извлечения из алтея корней при различных соотношениях растительного сырья и воды P приведены в таблице 2.1.8.18.-2.

Таблица 2.1.8.18.-2

Расходные коэффициенты для получения водного извлечения алтея корней при различных соотношениях сырья и воды P

Соотношение сырье/вода P Расходный коэффициент алтея корней,
1:100 1,05
1:50 1,10
1:30 1,15
1:25 1,20
1:20 1,30

Для водного извлечения из алтея корней с концентрацией более 5% (1:20) расходный коэффициент () рассчитывают по формуле:

,

где: m - масса алтея корня в граммах, необходимая для получения 100 мл водного извлечения необходимой концентрации;

4,6 - постоянная величина, показывающая, что 1,0 г алтея корня удерживает 4,6 мл воды P.

201080019-2022

2.1.8.19. Идентификация жирных масел методом тонкослойной хроматографии

Испытания проводят методом тонкослойной хроматографии (2.1.2.26).

МЕТОДИКА 1

Испытуемый раствор. Около 20 мг (1 каплю) жирного масла растворяют в 3 мл метиленхлорида P, при отсутствии других указаний в частной фармакопейной статье.

Раствор сравнения. Около 20 мг (1 каплю) кукурузного масла P растворяют в 3 мл метиленхлорида P.

Условия хроматографирования:

- ТСХ пластинка со слоем силикагеля октадецилсилильного P [2 - 10 мкм];

- подвижная фаза А: эфир P;

- подвижная фаза Б: метиленхлорид P - уксусная кислота ледяная P - ацетон P (20:40:50, об/об/об);

- объем наносимой пробы: 1 мкл;

- пробег фронта подвижной фазы: дважды с подвижной фазой А не менее 0,5 см от линии старта, затем дважды с подвижной фазой Б не менее 8 см от линии старта;

- высушивание: на воздухе;

- детектирование: опрыскивают раствором 100 г/л фосфорномолибденовой кислоты P в этаноле (96%) P, нагревают при температуре 120 °C в течение около 3 мин и просматривают при дневном свете.

Типичная хроматограмма для идентификации жирных масел приведена на рисунке 2.1.8.19.-1.

Рисунок 2.1.8.19.-1. - Хроматограмма для идентификации жирных масел (методика 1). 1 - арахисовое масло; 2 - кунжутное масло; 3 - кукурузное масло; 4 - рапсовое масло; 5 - соевое масло; 6 - рапсовое масло (не содержащее эруковой кислоты); 7 - льняное масло; 8 - оливковое масло; 9 - подсолнечное масло; 10 - миндальное масло; 11 - масло зародышей пшеницы; 12 - масло бурачника лекарственного; 13 - энотеровое масло; 14 - сафлоровое масло (тип I); 15 - сафлоровое масло (тип II); 16 - гидрогенизированное арахисовое масло

МЕТОДИКА 2

Испытуемый раствор. Около 20 мг (1 каплю) жирного масла растворяют в 3 мл метиленхлорида P, при отсутствии других указаний в частной фармакопейной статье.

Раствор сравнения. Около 20 мг (1 каплю) кукурузного масла P растворяют в 3 мл метиленхлорида P.

Условия хроматографирования:

- ТСХ пластинка со слоем силикагеля октадецилсилильного P [2 - 10 мкм];

- подвижная фаза: метиленхлорид P - уксусная кислота ледяная P - ацетон P (20:40:50, об/об/об);

- объем наносимой пробы: 1 мкл в виде полос длиной 8 мм (может быть использован подходящий автоматизированный прибор);

- пробег фронта подвижной фазы: не менее 7 см от линии старта;

- высушивание: на воздухе;

- детектирование: обрабатывают раствором 100 г/л фосфорномолибденовой кислоты P в этаноле (96%) P, нагревают при температуре 120 °C в течение 3 мин и просматривают при дневном свете.

Типичная хроматограмма для идентификации жирных масел приведена на рисунке 2.1.8.19.-2.

Рисунок 2.1.8.19.-2. - Хроматограмма для идентификации жирных масел (методика 2). 1 - арахисовое масло; 2 - кунжутное масло; 3 - кукурузное масло; 4 - рапсовое масло; 5 - соевое масло; 6 - рапсовое масло (не содержащее эруковой кислоты); 7 - льняное масло; 8 - оливковое масло; 9 - подсолнечное масло; 10 - миндальное масло; 11 - масло зародышей пшеницы; 12 - масло бурачника лекарственного; 13 - энотеровое масло; 14 - сафлоровое масло (тип I); 15 - сафлоровое масло (тип II); 16 - гидрогенизированное арахисовое масло

201080020-2022

2.1.8.20. Определение щелочных примесей в жирных маслах

В пробирку помещают 10 мл свежеперегнанного ацетона P и 0,3 мл воды P, прибавляют 0,05 мл раствора 0,4 г/л бромфенолового синего P в этаноле (96%) P; при необходимости раствор нейтрализуют 0,01 M хлороводородной кислотой или 0,01 M раствором натрия гидроксида, затем прибавляют 10 мл испытуемого масла, встряхивают и оставляют до разделения слоев.

Для изменения окраски верхнего слоя в желтую должно быть израсходовано не более 0,1 мл 0,01 M хлороводородной кислоты.

201080021-2022

2.1.8.21. Определение посторонних масел в жирных маслах методом тонкослойной хроматографии

Испытание проводят методом тонкослойной хроматографии в соответствии с общей фармацевтической статьей 2.1.2.26. Тонкослойная хроматография с использованием в качестве тонкого слоя кизельгура G P.

Пластинку пропитывают, поместив в камеру, содержащую смесь парафин жидкий P - петролейный эфир P (10:90, об/об) в таком количестве, чтобы нижний край пластинки был погружен в жидкость на 5 мм. Когда смесь для пропитывания поднимется не менее чем на 12 см от нижнего края пластинки, ее вынимают из камеры и дают растворителю испариться в течение 5 мин. Последующее хроматографирование проводят в том же направлении, что и подготовка пластинки к испытанию.

Приготовление смеси жирных кислот. К 2 г масла прибавляют 30 мл 0,5 M раствора калия гидроксида спиртового и нагревают с обратным холодильником в течение 45 мин. Добавляют 50 мл воды P, охлаждают, переносят в делительную воронку и экстрагируют тремя порциями эфира P по 50 мл. Эфирные слои отбрасывают, водный слой подкисляют хлороводородной кислотой P и вновь встряхивают с тремя порциями эфира P по 50 мл. Эфирные экстракты объединяют и встряхивают с тремя порциями воды P по 10 мл, отбрасывая промывные воды. Объединенные эфирные экстракты сушат над натрия сульфатом безводным P и фильтруют. Затем эфир выпаривают на водяной бане, а из полученного остатка готовят испытуемый раствор. Жирные кислоты также можно извлечь из щелочного раствора, полученного при определении неомыляемых веществ.

Испытуемый раствор. 40 мг смеси жирных кислот, полученной из испытуемого образца масла, растворяют в 4 мл хлороформа P.

Раствор сравнения. 40 мг смеси жирных кислот, полученной из смеси 19 объемов кукурузного масла P и 1 объема рапсового масла P, растворяют в 4 мл хлороформа P.

На линию старта хроматографической пластинки наносят по 3 мкл испытуемого раствора и раствора сравнения. Помещают пластинку в камеру с системой растворителей: вода P - кислота уксусная ледяная P (10:90 об/об). Когда фронт растворителей пройдет 8 см от линии старта, пластинку вынимают из камеры, сушат при температуре 110 °C в течение 10 мин и оставляют до охлаждения. Затем, при отсутствии других указаний в частной фармакопейной статье, пластинку помещают в закрытую с плотно подогнанной крышкой хроматографическую камеру, предварительно насыщенную парами йода (на дно камеры в выпарительной чашке помещают йод P). Через некоторое время проявляются коричневые или желтовато-коричневые пятна. Пластинку вынимают из камеры и оставляют на несколько минут до исчезновения коричневого фона и опрыскивают раствором крахмала P. Появляются синие пятна (зона адсорбции), которые могут приобретать коричневую окраску при высушивании и вновь становятся синими после опрыскивания водой P.

На хроматограмме испытуемого раствора всегда должны обнаруживаться пятна с RF около 0,5 (олеиновая кислота) и пятно с RF около 0,65 (линолевая кислота), соответствующие пятнам на хроматограмме раствора сравнения. На хроматограмме испытуемого раствора некоторых масел может обнаруживаться пятно с RF около 0,75 (линоленовая кислота). При сравнении пятен на хроматограммах испытуемого раствора и раствора сравнения на хроматограмме испытуемого раствора не должно обнаруживаться пятно с RF около 0,25 (эруковая кислота).

201080022-2022

2.1.8.22. Определение никеля в гидрогенизированных растительных маслах

Определение проводят методом атомно-абсорбционной спектрометрии (2.1.2.22, метод I).

Перед использованием реактивы магния нитрат P и аммония дигидрофосфат P должны быть проверены на наличие никеля. При расчете содержания никеля в испытуемом образце учитывают его фактическое содержание в реактивах.

Испытуемый раствор. 0,250 г (m) испытуемого образца помещают в подходящий реакционный сосуд, устойчивый к высокому давлению (например, из фторполимера или кварцевого стекла), прибавляют 6,0 мл азотной кислоты, свободной от никеля, P и 2,0 мл раствора водорода пероксида концентрированного P. Аналогичным образом готовят контрольный раствор. Закрытые сосуды помещают в лабораторную микроволновую печь и обрабатывают их содержимое в соответствии с подходящей программой, например, при мощности 1000 Вт в течение 40 мин. Прежде чем открыть, реакционные сосуды охлаждают, затем прибавляют по 2,0 мл раствора водорода пероксида концентрированного P и повторяют стадию обработки. По окончании цикла сосуды охлаждают. Содержимое сосудов количественно переносят в мерные колбы вместимостью 25 мл, прибавляют в каждую колбу по 0,5 мл раствора 10 г/л магния нитрата P и раствора 100 г/л аммония дигидрофосфата P, доводят объем растворов водой для хроматографии P до 25,0 мл и перемешивают.

Растворы сравнения. В четыре мерные колбы вместимостью 25 мл помещают 25 мкл, 50 мкл, 75 мкл, 100 мкл стандартного раствора никеля ионов (5 ppm Ni2+) P. В каждую колбу прибавляют 0,5 мл раствора 10 г/л магния нитрата P, 0,5 мл раствора 100 г/л аммония дигидрофосфата P, 6,0 мл азотной кислоты, свободной от никеля, P, доводят водой для хроматографии P до объема 25,0 мл и перемешивают. Концентрация никеля в полученных растворах сравнения составляет 5 нг/мл, 10 нг/мл, 15 нг/мл и 20 нг/мл (ppb), соответственно.

Контрольный раствор. 1,0 мл раствора 10 г/л магния нитрата P, 1,0 мл раствора 100 г/л аммония дигидрофосфата P и 12,0 мл азотной кислоты, свободной от никеля, P доводят водой для хроматографии P до объема 50,0 мл и перемешивают.

Испытание.

Для испытания используют метод атомно-абсорбционной спектрометрии (2.1.2.22, метод I).

Условия определения:

- источник: никелевая лампа с полым катодом;

- длина волны: 232,0 нм;

- атомизатор: электротермический (графитовая трубчатая печь), оснащенный системой коррекции фона, трубкой с пиролитическим покрытием;

- температурный режим: нагрев до температуры высушивания (120 °C) проводят в течение 5 с и выдерживают при этой температуре в течение 35 с, нагрев до температуры озоления (1100 °C) проводят в течение 30 с и выдерживают при этой температуре в течение 10 с, охлаждение до температуры 800 °C проводят в течение 5 с и выдерживают при этой температуре 5 с, атомизацию проводят при температуре 2600 °C в течение 7 с.

Оптимальная температурная программа может отличаться для каждого прибора, поэтому допускается использование программы в соответствии с инструкцией завода-производителя.

Содержание никеля в испытуемом растворе определяют по полученной калибровочной кривой на основании соответствующей величины поглощения для испытуемого раствора. При необходимости, для получения значений поглощения в диапазоне калибровки, испытуемый раствор разводят контрольным раствором. Содержание никеля в микрограммах на грамм (ppm) рассчитывают по следующей формуле:

,

где: c - измеренная концентрация никеля в нанограммах на миллилитр;

f - коэффициент разбавления испытуемого раствора;

m - масса навески испытуемого образца в граммах.

201080023-2022

2.1.8.23. Общий холестерин в маслах с полиненасыщенными жирными омега-3 кислотами

Испытание может быть использовано для количественного определения общего содержания свободного и этерифицированного холестерина в лекарственных средствах животного происхождения с различной концентрацией омега-3 кислот. Холестерин в маслах с полиненасыщенными жирными омега-3 кислоты присутствует в продуктах из рыбьего жира, жира печени рыб.

Для количественного определения свободного и этерифицированного холестерина применяют метод газовой хроматографии с пламенно-ионизационной детекцией (2.1.2.27).

Основной раствор внутреннего стандарта. 0,15 г (5)-холестана P растворяют в гептане P и доводят объем тем же растворителем до 50,0 мл. Допускается хранение раствора внутреннего стандарта в морозильной камере до 6 месяцев.

Рабочий раствор внутреннего стандарта. Готовят непосредственно перед использованием. 1,0 мл основного раствора внутреннего стандарта доводят гептаном P до объема 10,0 мл.

Основной раствор холестерина. 50,0 мг холестерола P растворяют в гептане P и доводят объем раствора до 100,0 мл тем же растворителем. Основной раствор может храниться в морозильной камере до 6 месяцев.

Рабочий раствор холестерина. Готовят непосредственно перед использованием. 1,0 мл основного раствора холестерина растворяют в гептане P и доводят объем раствора до 10,0 мл тем же растворителем.

Основной раствор холестерина и -токоферола. 50,0 мг холестерина P и 50,0 мг -токоферола P растворяют в гептане P и доводят объем раствора до 100,0 мл тем же растворителем. Раствор можно хранить при комнатной температуре до 3 месяцев.

Раствор сравнения. Готовят раствор в день использования. 1,0 мл основного раствора холестерина и -токоферола растворяют в гептане P и доводят объем раствора до 100,0 мл тем же растворителем.

Калибровочные растворы. Готовят растворы в день использования. Навеску для каждого калибровочного раствора, согласно данным таблицы 2.1.8.23.-1, доводят 10% (об/об) раствором этилацетата P в гептане P до объема 20,0 мл.

Таблица 2.1.8.23.-1

Подготовка калибровочных растворов

Калибровочные растворы Основной раствор холестерина (мл) Рабочий раствор холестерина (мл) Рабочий раствор внутреннего стандарта (мл)
Концентрация холестерина (мг/мл) Концентрация холестерина (мг/г) <*>
0,1 20,0 4,0   1,0
0,05 10,0 2,0   1,0
0,015 3,0 0,60   1,0
0,005 1,0   2,0 1,0
0,001 0,2   0,40 1,0

<*> Из расчета навески в 0,100 г испытуемого образца.

При высоком содержании холестерина (от 3,0 до 20,0 мг/г) используют все 5 калибровочных растворов.

При низком содержании холестерина (от 0,2 до 3,0 мг/г) используют калибровочные растворы: 0,2 мг/г, 1,0 мг/г и 3,0 мг/г.

Испытуемый раствор. 0,100 г испытуемого образца субстанции помещают в термостойкую кварцевую пробирку на 15 мл (если образец имеет неоднородную консистенцию, то перед взвешиванием его энергично встряхивают в подходящей емкости, отстаивают от 10 мин до 15 мин, удерживая емкость в вертикальном положении, для взвешивания отбирают часть из среднего слоя).

В пробирку с навеской испытуемого образца добавляют 1,0 мл рабочего раствора внутреннего стандарта. Содержимое пробирки упаривают досуха при температуре 50 °C и пропускании через раствор слабого потока азота P. Добавляют 0,5 мл 50% раствора (м/м) калия гидроксида P и 3,0 мл этанола (96%) P. Наполняют пробирку азотам P, закрывают пробкой и гомогенизируют при 100 °C в течение 1 ч. Охлаждают в течение 10 минут, добавляют 6,0 мл воды дистиллированной P и гомогенизируют, получая гомогенную смесь с омыленным веществом.

Кондиционируют колонку для твердофазной экстракции (ТФЭ) (приводят сорбент в активное состояние).

Колонка объемом 20 мл, содержит 1 г силикагеля октадецилсилильного эндкепированного для хроматографии P (частицы диаметром 55 мкм и размером пор 7 нм) и 5 мл 50% (об/об) раствора этанола (96%) P в воде дистиллированной P.

Вносят 5,0 мл гомогенной смеси в колонку ТФЭ, следя за тем, чтобы колонка была постоянно влажной. Промывают колонку 5,0 мл 50% (об/об) этанола (96%) P в воде дистиллированной P. Элюирование проводят, используя 20,0 мл 10% (об/об) раствора этилацетата P в гептане P. Полученный элюат используют в качестве испытуемого раствора.

Условия хроматографирования:

- колонка: капиллярная из термостойкого кварца длиной 15 м и внутренним диаметром 0,25 мм, покрытая фенил(5)метил(95)полисилоксаном P толщиной 0,25 мкм;

- газ-носитель: гелий для хроматографии P;

- давление: 48 кПа (соответствует скорости газа-носителя примерно 0,6 мл/мин при 200 °C и примерно 0,4 мл/мин при 330 °C);

- деление потока: 1:5;

- режим изменения температуры:

Время (мин) Температура (°C)
Колонка 0 - 1 200
  1 - 7,5 200 330
  7,5 - 10 330
Блок ввода проб (инжектор) 250
Детектор   340

До начала испытания колонку прогревают до 340 °C не менее 30 мин при указанном давлении;

- детектор: пламенно-ионизационный;

- объем вводимой пробы: 1 мкл;

- время удержания: (5)-холестана около 7,5 мин, холестерина около 9 мин;

- калибровочная кривая: строят калибровочную кривую, отмечая по оси абсцисс (ось x) номинальную концентрацию холестерина в каждом из калибровочных растворов в миллиграммах на грамм, по оси ординат (ось y) отмечаем отношение площади пика холестерина () к площади пика (5)-холестана () на хроматограмме, полученной от каждого из калибровочных растворов. Рассчитывают наклон (S) и пересечение с осью ординат (ось y).

Пригодность хроматографической системы:

- разрешение: не менее 1,5, между пиками холестерина и -токоферола на хроматограмме раствора сравнения;

- коэффициент детерминации (R2) калибровочной кривой составляет не менее 0,995.

Содержание общего холестерина в испытуемом веществе (в миллиграммах на грамм) рассчитывают по формуле:

,

где: - площадь пика холестерина на хроматограмме испытуемого раствора;

- площадь пика (5)-холестана на хроматограмме испытуемого раствора;

- навеска субстанции в испытуемом растворе в граммах;

y - пересечение калибровочной кривой с осью ординат (ось y);

S - наклон калибровочной кривой, в граммах на миллиграмм.

201080024-2022

2.1.8.24. Определение жирнокислотного состава масел методом газовой хроматографии

Определение жирнокислотного состава масел проводят методом газовой хроматографии (2.1.2.27) после перевода жирных кислот в метиловые эфиры.

МЕТОД 1

Метод неприменим для масел, содержащих глицериды жирных кислот с эпокси-, гидроэпокси-, гидроперокси-, циклопропиловыми или циклопропениловыми группами, или для масел, в составе которых большая часть жирных кислот имеет длину цепи менее 8 атомов углерода, или для масел с кислотным числом более 2,0.

Испытуемый раствор. Перед метилированием масло подвергают сушке при наличии указаний в частной фармакопейной статье. 1,0 г масла помещают в круглодонную колбу вместимостью 25 мл со шлифом, снабженную обратным холодильником и газоотводной трубкой. В колбу прибавляют 10 мл метанола безводного P и 0,2 мл раствора 60 г/л калия гидроксида P в метаноле P, присоединяют обратный холодильник, пропускают азот P через смесь со скоростью 50 мл/мин, встряхивают и нагревают до кипения. Когда раствор станет прозрачным (обычно через 10 мин), продолжают нагревание в течение 5 мин. Затем колбу охлаждают под проточной водой и содержимое переносят в делительную воронку. Колбу промывают 5 мл гептана P, переносят промывной раствор в ту же делительную воронку и встряхивают. Прибавляют 10 мл раствора 200 г/л натрия хлорида P, энергично встряхивают и оставляют смесь до расслоения. Затем переносят органический слой в колбу с натрия сульфатом безводным P, выдерживают некоторое время и фильтруют.

Допускается применение других методик перевода жирных кислот в метиловые эфиры, при указании в частной фармакопейной статье.

Раствор сравнения (а). Готовят 0,50 г смеси веществ (калибровочную смесь), применяемых для калибровки состава, приведенных в одной из таблиц 2.1.8.24, согласно указаниям в частной фармакопейной статье. В случае, если раствор с определенным составом не указан в частной фармакопейной статье, используют состав, приведенный в таблице 2.1.8.24.-1. Смесь растворяют в гептане P и доводят тем же растворителем до объема 50,0 мл.

Таблица 2.1.8.24.-1

Смесь веществ, применяемых для калибровки (для газовой хроматографии с капиллярной колонкой и с делением потока)

Смесь веществ Состав (% м/м)
Метиллаурат P 5
Метилмиристат P 5
Метилпальмитат P 10
Метилстеарат P 20
Метиларахидат P 40
Метилолеат P 20

Раствор сравнения (б). 1,0 мл раствора сравнения (а) доводят гептаном P до объема 10,0 мл.

Раствор сравнения (в). Готовят 0,50 г смеси метиловых эфиров жирных кислот, соответствующих по составу смеси жирных кислот, указанной в частной фармакопейной статье на испытуемое масло. Смесь растворяют в гептане P и доводят тем же растворителем до объема 50,0 мл. Могут быть использованы коммерчески доступные смеси метиловых эфиров жирных кислот.

Условия хроматографирования:

- колонка: капиллярная, из термостойкого кварца длиной от 10 м до 30 м и внутренним диаметром от 0,2 мм до 0,8 мм, покрытая слоем макрогола 20 000 P толщиной от 0,1 мкм до 0,5 мкм или с другой подходящей неподвижной фазой;

- газ-носитель: гелий для хроматографии P или водород для хроматографии P;

- скорость газа-носителя: 1,3 мл/мин (для колонки с внутренним диаметром 0,32 мм);

- деление потока: 1:100 или менее, в зависимости от внутреннего диаметра применяемой колонки (например, в случае использования колонки с внутренним диаметром 0,32 мм деление потока должно составлять 1:50);

- детектор: пламенно-ионизационный;

- объем вводимой пробы: по 1 мкл испытуемого раствора и растворов сравнения (а), (б) и (в);

Температура:

- колонка:

в изотермических условиях (160 - 200) °C, в зависимости от длины и типа колонки (например, для колонки длиной 30 м, покрытой слоем макрогола 20 000 P, температура должна составлять 200 °C);

- в случае линейного градиента температуры, температуру колонки увеличивают от 170 °C до 230 °C со скоростью 3 °C/мин;

- блок для ввода проб: 250 °C;

- детектор: 250 °C.

Пригодность хроматографической системы

При использовании смеси калибрующих веществ, приведенных в таблице 2.1.8.24.-1 или таблице 2.1.8.24.-3:

- разрешение: не менее 1,8, между пиками соответствующими метилолеату и метилстеарату на хроматограмме раствора сравнения (а);

- отношение сигнал/шум: не менее 5, для пика метилмирастата на хроматограмме раствора сравнения (б);

- число теоретических тарелок: не менее 30 000, рассчитанных по пику метилстеарата на хроматограмме раствора сравнения (а).

При использовании смеси калибровочных веществ, приведенных в таблице 2.1.8.24.-2:

- разрешение: не менее 4,0 между пиками, соответствующими метилкаприлату и метилдеканоату, на хроматограмме раствора сравнения (а);

- отношение сигнал/шум: не менее 5 для пика метилкапроата на хроматограмме раствора сравнения (б);

- число теоретических тарелок: не менее 15 000, рассчитанных по пику метилдеканоата на хроматограмме раствора сравнения (а).

Таблица 2.1.8.24.-2

Смесь веществ, применяемых для калибровки (для газовой хроматографии с капиллярной колонкой и с делением потока)

Смесь веществ Состав (% м/м)
Метилкапроат P 10
Метилкаприлат P 10
Метилдеканоат P 20
Метиллаурат P 20
Метилмиристат P 40

Таблица 2.1.8.24.-3

Смесь веществ, применяемых для калибровки (для газовой хроматографии с капиллярной колонкой и с делением потока)

Смесь веществ Состав (% м/м)
Метилмиристат P 5
Метилпальмитат P 10
Метилстеарат P 15
Метиларахидат P 20
Метилолеат P 20
Метилэйкозеноат P 10
Метилбегенат P 10
Метиллигноцерат P 10

Примечание: при выполнении качественного определения с использованием калибровочных кривых в калибровочную смесь рекомендуется добавлять компонент испытуемого раствора с максимальным числом атомов углерода в цепи.

ОЦЕНКА ХРОМАТОГРАММ

Следует избегать условий хроматографирования, которые могут дать неразделенные пики (наличие компонентов с небольшим различием между временами удерживания, например, линолевая и арахиновая кислоты).

Качественное определение. Идентифицируют пики на хроматограмме раствора сравнения (в) (изотермические условия хроматографирования или линейный градиент температуры). При использовании изотермических условий хроматографирования пики могут быть также идентифицированы построением калибровочных кривых с использованием хроматограммы раствора сравнения (а) и данных таблиц 2.1.8.24.-1, 2.1.8.24.-2 или 2.1.8.24.-3.

На хроматограмме раствора сравнения (а) измеряют приведенное время удерживания () каждого пика. Приведенное время удерживания представляет собой разность между временем удерживания пика вещества и временем удерживания несорбирующегося (в условиях определения) вещества.

Строят график линейной зависимости:

,

где f - эквивалент числа атомов углерода в цепи.

Логарифмы ненасыщенных жирных кислот расположены на этой линии в точках, соответствующих нецелым значениям "эквивалента числа атомов углерода в цепи". Эквивалент числа атомов углерода в цепи представляет собой длину теоретической цепи насыщенной жирной кислоты, которая должна была иметь такое же значение , что и идентифицируемая жирная кислота. Например, у линолевой кислоты такое же , как и у теоретической насыщенной жирной кислоты, имеющей 18,8 атомов углерода.

Идентификацию пиков на хроматограмме испытуемого раствора проводят по прямой линии и приведенным временам удерживания. Значения эквивалентных длин цепи приведены в таблице 2.1.8.24.-4.

Таблица 2.4.8.24.-4

Значения эквивалентных длин цепи

Жирная кислота Эквивалент числа атомов углерода в цепи
Капроновая кислота 6,0
Каприловая кислота 8,0
Каприновая кислота 10,0
Лауриновая кислота 12,0
Миристиновая кислота 14,0
Пальмитиновая кислота 16,0
Пальмитолеиновая кислота 16,3
Маргариновая кислота 17,0
Стеариновая кислота 18,0
Олеиновая кислота 18,3
Линолевая кислота 18,8
Гамма-линоленовая кислота 19,0
Альфа-линоленовая кислота 19,2
Арахиновая кислота 20,0
Эйкозеновая кислота 20,2
(гондоиновая кислота)  
Арахидоновая кислота 21,2
Бегеновая кислота 22,0
Эруковая кислота 22,2
12-Оксостеариновая кислота 22,7
Рицинолеиновая кислота 23,9
12-Гидроксистеариновая кислота 23,9
Лигноцериновая кислота 24,0
Нервоновая кислота 24,2

Примечание: значения, вычисленные с использованием калибровочных кривых, приведены в качестве примера для колонки с макроголом 20 000.

КОЛИЧЕСТВЕННОЕ ОПРЕДЕЛЕНИЕ

Используют метод внутренней нормализации; при этом сумму площадей всех пиков на хроматограмме, кроме пиков, относящихся к растворителю, принимают за 100%. Содержание каждого компонента вычисляют как отношение площади соответствующего пика к сумме площадей всех пиков. Пики, площадь которых составляет менее 0,05% от суммы площадей всех пиков, не учитывают.

В определенных случаях, например, при наличии жирных кислот с 12 или менее атомами углерода, в частной фармакопейной статье должен быть указаны соответствующие поправочные коэффициенты для преобразования площадей пиков в проценты (м/м).

МЕТОД 2

Метод неприменим для масел, содержащих глицериды жирных кислот с эпокси-, гидроэпокси-, гидроперокси-, циклопропиловыми и циклопропениловыми группами или для масел с кислотным числом более 2,0.

Испытуемый раствор. 0,100 г испытуемого масла помещают в центрифужную пробирку вместимостью 10 мл с завинчивающейся крышкой, прибавляют 1 мл гептана P и 1 мл диметилкарбоната P и энергично встряхивают при умеренном нагревании (50 - 60) °C. К неостывшему раствору прибавляют 1 мл раствора 12 г/л натрия P в метаноле безводном P и энергично перемешивают в течение 5 мин. Затем прибавляют 3 мл воды дистиллированной P и энергично перемешивают в течение 30 с. Смесь центрифугируют в течение 15 мин со скоростью 1500 об/мин. Хроматографируют 1 мкл органического слоя.

Растворы сравнения и оценка хроматограмм. При отсутствии других указаний в частной фармакопейной статье, поступают в соответствии с указаниями, приведенными в методе 1.

Условия хроматографирования:

- колонка из термостойкого кварца длиной 30 м и внутренним диаметром 0,25 мм, покрытая слоем макрогола 20 000 P толщиной 0,25 мкм;

- газ-носитель: гелий для хроматографии P;

- скорость газа-носителя: 0,9 мл/мин;

- деление потока: 1:100;

- режим изменения температуры:

Время (мин) Температура (°C)
Колонка 0 - 15 100
  15 - 36 100 225
  36 - 61 225
Блок для ввода проб 250
Детектор 250

- детектор: пламенно-ионизационный.

- объем вводимой пробы: 1 мкл.

МЕТОД 3

Метод неприменим для масел, содержащих глицериды жирных кислот с эпокси-, гидроэпокси-, гидроперокси-, альдегидными, кетоновыми, циклопропиловыми и циклопропениловыми группами и сопряженными полиненасыщенными и ацетиленовыми компонентами из-за частичного или полного разрушения этих групп.

Испытуемый раствор. 0,1 г испытуемого масла помещают в коническую колбу вместимостью 25 мл, растворяют в 2 мл раствора 20 г/л натрия гидроксида P в метаноле безводном P и кипятят с обратным холодильником в течение 30 мин. Затем через холодильник прибавляют 2,0 мл раствора бора трифторида в метаноле P и кипятят в течение 30 мин, после чего прибавляют через холодильник 4,0 мл гептана P и кипятят в течение 5 мин. Смесь охлаждают, прибавляют 10,0 мл натрия хлорида насыщенного раствора P, встряхивают в течение 15 с и прибавляют такой объем натрия хлорида насыщенного раствора P, чтобы верхний слой поднялся к горлу колбы. Отбирают 2,0 мл верхнего слоя, помещают в делительную воронку, промывают тремя порциями воды P, по 2 мл каждая, и высушивают над натрия сульфатом безводным P.

Растворы сравнения и оценка хроматограмм. При отсутствии других указаний в частной фармакопейной статье, следуют указаниям, приведенным в методе 1.

201080025-2022

2.1.8.25. Полиненасыщенные жирные кислоты в маслах, содержащих омега-3 кислоты

Испытание может быть использовано для количественного определения эйкозапентаеновой кислоты (ЭПК), докозагексаеновой кислоты (ДГК) и общего содержания омега-3-полиненасыщенных жирных кислот в лекарственных средствах с различной концентрацией омега-3 кислот в форме триглицеридов и сложных эфиров. В форме триглицеридов омега-3 кислоты содержатся в продуктах из рыбьего жира, жира печени рыб, маслах водорослей и концентратах омега-3 кислот. Результаты испытания выражают как содержание триглицеридов или этиловых эфиров.

Для количественного определения омега-3-полиненасыщенных жирных кислот применяют метод газовой хроматографии с пламенно-ионизационной детекцией (2.1.2.27).

Испытания необходимо выполнять как можно быстрее, не допуская воздействия актиничного света, окислителей, катализаторов окисления (например, меди и железа) и воздуха.

Испытание проводят с этиловыми эфирами (all-Z)-эйкоза-5,8,11,14,17-пентаеновой кислоты (ЭПК; C20:5 n-3) и (all-Z)-докоза-4,7,10,13,16,19-гексаеновой кислоты (ДГК; C22:6 n-3) или метиловыми эфирами (после дериватизации триглицеридов - стадия 2) в испытуемых образцах.

Внутренний стандарт: метилтрикозаноат P.

Все испытуемые растворы готовят в двух повторностях.

СТАДИЯ 1.

Испытуемый раствор (а). Навеску испытуемого образца в соответствии с таблицей 2.1.8.25.-1 и 70,0 мг внутреннего стандарта растворяют в растворе 50 мг/л бутилгидрокситолуола P в триметилпентане P и доводят объем тем же раствором до 10,0 мл. Для растворения внутреннего стандарта допускается слабое нагревание до 60 °C. Полученный испытуемый раствор (а) используют для проведения испытаний на этиловые эфиры. Для определения триглицеридов испытание продолжить согласно стадии 2.

Таблица 2.1.8.25.-1

Приблизительная сумма ЭПК + ДГК (%) Навеска испытуемого образца (г)
30 - 50 0,4 - 0,5
50 - 70 0,3
70 - 90 0,25

Испытуемый раствор (б). Навеску испытуемого образца в соответствии с таблицей 2.1.8.25.-1 растворяют в растворе 50 мг/мл бутилгидрокситолуола P в триметилпентане P и доводят объем тем же раствором до 10,0 мл. Полученный раствор (б) используют для проведения испытаний на этиловые эфиры. Для определения триглицеридов испытание продолжить согласно стадии 2.

СТАДИЯ 2.

Затем в отдельные кварцевые пробирки вводят по 2,0 мл испытуемых растворов (а) и (б), полученных на этапе 1. Для испарения растворителя через растворы пропускают слабый поток азота P. Добавляют 1,5 мл натрия гидроксида раствор P (20 г/л) в метаноле P, создают над раствором прослойку азота P, плотно закрывают пробкой ламинированною политетрафторэтиленом, тщательно перемешивают и нагревают на водяной бане в течение 7 мин. Оставляют для охлаждения.

В остывшие пробирки добавляют 2 мл раствора бора трихлорида в метаноле P, вновь создают прослойку азота P, плотно закрывают пробкой, тщательно перемешивают и нагревают на водяной бане в течение 30 мин. Охлаждают до 40 - 50 °C. Добавляют 1 мл триметилпентана P, покрывают слоем азота P, закрывают пробкой и энергично перемешивают не менее 30 с. Немедленно добавляют 5 мл натрия хлорида насыщенный раствор P, покрывают азотом P, закрывают пробкой и тщательно перемешивают не менее 15 с. Переносят количественно верхний слой в отдельную пробирку. В оставшийся раствор добавляют 1 мл триметилпентана P, перемешивают и повторяют перенос. Объединенные экстракты триметилпентана промывают двумя порциями воды P по 1 мл и высушивают над натрия сульфат безводный P. Для высушивания на дно эксикатора помещают натрия сульфат безводный P, сверху устанавливают решетку, на которой размещают открытые пробирки, плотно закрывают эксикатор и выдерживают до появления сухого остатка.

Растворы сравнения: растворы сравнения (а1) и (а2) готовят в двух повторностях; раствор сравнения (в) готовят только для триглицеридов в том случае, если на хроматограмме испытуемого раствора (а) явно не обнаруживается пик метилового эфира тетракоз-15-еновой кислоты.

- раствор сравнения (аф Растворяют 70,0 мг внутреннего стандарта и 90,0 мг СО ФЕАЭС этилового эфира эйкозапентаеновой кислоты в растворе 50 мг/л бутилгидрокситолуола P в триметилпентане P и доводят объем тем же раствором до 10,0 мл. Для растворения внутреннего стандарта допускается слабое нагревание до 60 °C.

- раствор сравнения (а2). 60,0 мг СО ФЕАЭС этилового эфира докозагексаеновой кислоты и 70,0 мг внутреннего стандарта растворяют в растворе 50 мг/л бутилгидрокситолуола P в триметилпентане P и доводят объем тем же раствором до 10,0 мл. Для растворения внутреннего стандарта допускается слабое нагревание до 60 °C. Для определения этиловых эфиров растворы сравнения (а1) и (а2) готовы. Для определения триглицеридов, продолжить стадию 2 таким же образом, как для испытуемых образцов (а) и (б).

- раствор сравнения (б). 0,300 г метиларахидата P, 0,300 г метилбегената P, 0,300 г метилпальмитата P и 0,300 г метилстерата P растворяют в растворе 50 мг/л бутилгидрокситолуола P в триметилпентане P и доводят объем тем же раствором до 10,0 мл;

- раствор сравнения (в). Навеску, содержащую 55,0 мг метилового эфира докозагексаеновой кислоты P и 5,0 мг метилового эфира тетракоз-15-еновой кислоты P растворяют в растворе 50 мг/л бутилгидрокситолуола P в триметилпентане P и доводят объем тем же раствором до 10,0 мл.

Условия хроматографирования:

- колонка: капиллярная, из термостойкого кварца длиной не менее 25 м и внутренним диаметром 0,25 мм покрытая макроголом 20 000 P толщиной 0,2 мкм;

- газ-носитель: водород для хроматографии P или гелий для хроматографии P;

- скорость газа-носителя: 1 мл/мин;

- детектор: пламенно-ионизационный;

- объем вводимой пробы: 1 мл;

- деление потока: 1:200, в качестве альтернативы - введение без деления потоков с контролем температуры (в этом случае необходимо перед введением испытуемые растворы развести 1/200 раствором 50 мг/л бутилгидрокситолуола P в триметилпентане P).

При необходимости корректируют скорость потока и (или) разведение образца таким образом, чтобы достигнуть коэффициента симметрии 0,8 - 1,5 для пиков метиловых или этиловых эфиров эйкозапентаеновой кислоты и докозагексаеновой кислоты, при этом на хроматограмме испытуемого раствора (б) должны отчетливо обнаруживаться пики, относящиеся к соответствующим эфирам (линоленовой кислоты (C18:3 n-3), стеаридоновой кислоты (C18:4 n-3), эйкозатетраеновой кислоты (C20:4 n-3), геникозапентаеновой кислоты (C21:5 n-3) и докозапентаеновой кислоты (C22:5 n-3)). В случае невыполнения требований, приоритет имеют четкие обнаружения соответствующих сложных эфиров, представленных выше для испытуемого раствора (б).

При необходимости, для получения коэффициента симметрии 0,8 - 1,5 для пиков, обусловленных компонентами раствора сравнения (б), корректируют скорость потока и (или) разбавление образца.

- режим изменения температуры:

С делением потока Без деления потока
Время (мин) Температура (°C) Время (мин) Температура (°C)
Колонка 0 - 2 170 0 - 2 90
2 - 25,7 170 240 2 - 4,7 90 170
25,7 - 28 240 4,7 - 28 170 240
    28 - 30 240
Блок ввода проб (инжектор) 250   90 - 250 <*>
Детектор 270   270

<*> 90 °C при введении непосредственно в начало колонки.

Пригодность хроматографической системы:

- на хроматограмме раствора сравнения (б) площади пиков компонентов метилпальмитата, метилстеарата, метиларахидата и метилбегената изменяются в соответствии с коэффициентами чувствительности, представленными в таблице 2.1.8.25.-2 (площадь пика умножается на коэффициент чувствительности); после применения метода нормализации, откорректированные площади пиков метиловых эфиров жирных кислот принимают за 100 процентов; нормализированное процентное содержание площади каждого метилового эфира жирной кислоты должны быть в пределах (+/- 1) процента от соответствующего массового процента;

Таблица 2.1.8.25.-2

Метиловые эфиры жирных кислот Коэффициент чувствительности
Метилпальмитат 1,049
Метилстеарат 1,029
Метиларахидат 1,013
Метилбегенат 1

- разрешение:

- этиловые эфиры: не менее 1,2 между пиками метилтрикозаноата и этилового эфира геникозапентаеновой кислоты на хроматограмме раствора сравнения (а);

- триглицериды: не менее 1,2 между пиками метилового эфира докозагексаеновой кислоты и метилового эфира тетракоз-15-еновой кислоты на хроматограмме испытуемого раствора (а) или раствора сравнения (в);

- на хроматограмме, полученной с помощью испытуемого раствора (а), пики метилтрикозаноата и метилового эфира геникозапентаеновой кислоты при сравнении с хроматограммой, полученной с помощью испытуемого раствора (б) должны быть полностью разделены.

Содержание эйкозапентаеновой кислоты и докозагексаеновой кислоты в процентах с учетом их содержания в стандартных образцах рассчитывают по формуле:

,

где: - коэффициент чувствительности для эйкозапентаеновой кислоты и докозагексаеновой кислоты, рассчитанный по формуле:

,

где: - масса внутреннего стандарта в испытуемом растворе (а) в миллиграммах;

- масса испытуемого образца в испытуемом растворе (а) в миллиграммах;

- масса внутреннего стандарта в растворе сравнения (а) (для определения эйкозапентаеновой кислоты) или в растворе сравнения (а2) (для определения докозагексаеновой кислоты), в миллиграммах;

- масса СО ФЕАЭС этилового эфира эйкозапентаеновой кислоты в растворе сравнения (а1) или СО ФЕАЭС этилового эфира докозагексаеновой кислоты в растворе сравнения (а2), в миллиграммах;

- площадь пика этилового эфира эйкозапентаеновой кислоты или этилового эфира докозагексаеновой кислоты на хроматограмме испытуемого раствора (а);

- площадь пика этилового эфира эйкозапентаеновой кислоты на хроматограмме раствора сравнения (а1) или этилового эфира докозагексаеновой кислоты на хроматограмме раствора сравнения (а2);

- площадь пика внутреннего стандарта на хроматограмме испытуемого раствора (а);

- площадь пика внутреннего стандарта на хроматограммах раствора сравнения (а1) (для определения эйкозапентаеновой кислоты) или раствора сравнения (а2) (для определения докозагексаеновой кислоты);

К - коэффициент пересчета между этиловыми эфирами и триглицеридами:

Этиловые эфиры К - 1,00;

Триглицериды К - 0,954 для эйкозапентаеновой кислоты;

К - 0,957 для докозагексаеновой кислоты.

ОБЩЕЕ СОДЕРЖАНИЕ ОМЕГА-3-КИСЛОТ

На основании полученных результатов количественного определения эйкозапентаеновой кислоты и докозагексаеновой кислоты рассчитывают общее содержание омега-3-кислот в процентах по формуле:

,

где: ЭПК - содержание эйкозапентаеновой кислоты, в процентах;

ДГК - содержание докозагексаеновой кислоты, в процентах;

- сумма площадей пиков, соответствующих эфирам линоленовой кислоты (C18:3 n-3), стеаридоновой кислоты (C18:4 n-3), эйкозатетраеновой кислоты (C20:4 n-3), геникозапентаеновой кислоты (C21:5 n-3) и докозапентаеновой кислоты (C22:5 n-3) на хроматограмме испытуемого раствора (б);

- площадь пика этилового эфира ЭПК на хроматограмме испытуемого раствора (б);

- площадь пика этилового эфира ДГК на хроматограмме испытуемого раствора (б).

201080026-2022

2.1.8.26. Определение стеринов в жирных маслах

При отсутствии в частной фармакопейной статье ссылки на метод определения применяют метод 1. Любое изменение от метода 1 к методу 2 должно быть валидировано.

МЕТОД 1

Отделение стериновой фракции (ТСХ)

Получают неомыляемые вещества жирного масла и затем отделяют стериновую фракцию методом тонкослойной хроматографии (2.1.2.26), используя ТСХ пластинку со слоем силикагеля P толщиной от 0,2 мм до 0,5 мм.

Испытуемый раствор (а). В колбу вместимостью 150 мл, снабженную обратным холодильником, помещают объем 2 г/л раствора бетулина P в метиленхлориде P, соответствующего около 10% бетулина от содержания стерина в образце, взятом для определения (например, в случае оливкового масла прибавляют 500 мкл, в случае других растительных масел - 1500 мкл раствора бетулина). При наличии в частной фармакопейной статье указания на определение процентного содержания стеринов в стериновой фракции, то раствор бетулина допускается не прибавлять. Упаривают досуха в токе азота P, прибавляют 5,00 г (m) испытуемого образца, добавляют 50 мл 2 M калия гидроксида спиртового раствора P и нагревают на водяной бане в течение 1 ч, часто перемешивая содержимое колбы круговыми движениями. Охлаждают до температуры ниже 25 °C и с помощью 100 мл воды P количественно переносят содержимое колбы в делительную воронку. Осторожно встряхивают с тремя порциями эфира, свободного от пероксидов, P по 100 мл. Объединенные эфирные слои помещают в другую делительную воронку, содержащую 40 мл воды P, осторожно встряхивают в течение нескольких минут, выдерживают до расслоения и отбрасывают водный слой. Эфирный слой промывают несколькими порциями воды P по 40 мл до тех пор, пока водный слой не перестанет давать щелочную реакцию по фенолфталеину. Эфирный слой переносят в предварительно взвешенную колбу, промывая делительную воронку эфиром, свободным от пероксидов, P. Эфир отгоняют с необходимыми предосторожностями и прибавляют к остатку 6 мл ацетона P. Осторожно удаляют растворитель в токе азота P, остаток сушат до постоянной массы при температуре от 100 °C до 105 °C, охлаждают в эксикаторе и взвешивают. Остаток переносят в небольшую пробирку с помощью метиленхлорида P. Упаривают в токе азота до объема около 1 мл. В зависимости от неомыляемого содержимого масла концентрацию раствора доводят до (25 - 50) мг/мл.

Испытуемый раствор (б). 5,00 г рапсового масла P обрабатывают в соответствии с указаниями для испытуемого образца, начиная со слов "добавляют 50 мл 2 M калия гидроксида раствора спиртового P".

Испытуемый раствор (в). 5,00 г подсолнечного масла P обрабатывают в соответствии с указаниями для испытуемого образца, начиная со слов "добавляют 50 мл 2 M калия гидроксида раствора спиртового P".

Раствор сравнения. 25 мг холестерина P и 10 мг бетулина P растворяют в 1 мл метиленхлорида P.

Для каждого испытуемого образца используют отдельную пластинку.

Условия хроматографирования:

- ТСХ пластинка со слоем силикагеля G P;

- подвижная фаза: эфир P - гексан P (35:65, об/об);

- объем наносимый пробы: 10 мкл раствора сравнения (на расстоянии 20 мм от основания и 10 мм от левого края в виде полоски размером 10 мм);

- по 0,5 мл испытуемых растворов (а), (б), или (в) (на расстоянии 20 мм от основания в виде полоски размером 150 мм);

- пробег фронта подвижной фазы: 17 см от линии старта;

- высушивание: в токе азота P;

- детектирование: в ультрафиолетовом свете при длине волны 254 нм после опрыскивания раствором 2 г/л дихлорфлуоресцеина P в этаноле безводном P.

На хроматограмме раствора сравнения обнаруживаются полосы, соответствующие холестерину и бетулину. На хроматограммах испытуемых образцов обнаруживаются полосы со значениями , соответствующим стеринам.

С хроматограммы каждого испытуемого раствора снимают слой силикагеля с полосами стеринов, а также дополнительно силикагель на (2 - 3) мм выше и ниже видимых зон, соответствующих раствору сравнения, и помещают раздельно в три колбы вместимостью по 50 мл. В каждую колбу прибавляют по 15 мл метиленхлорида P и нагревают в течение 15 мин с обратным холодильником при перемешивании. Каждый раствор пропускают через стеклянный фильтр (40) (2.1.1.2) или подходящую фильтровальную бумагу и промывают каждый фильтр тремя порциями метиленхлорида P по 15 мл. Каждый из трех объединенных фильтратов и смывов помещают в три колбы, упаривают в токе азота P до объема от 5 мл до 10 мл. Переносят содержимое каждой колбы в небольшие пробирки и упаривают в токе азота P досуха.

Требование:

- на хроматограмме раствора сравнения обнаруживаются полосы, соответствующие холестерину и бетулину;

- на хроматограммах испытуемых растворов обнаруживаются полосы со значениями RF, соответствующим стеринам.

Определение стеринов (ГХ)

Определение проводят методом газовой хроматографии (2.1.2.27). Все операции проводят, защищая от влаги; растворы готовят непосредственно перед применением.

Испытуемый раствор. К стеринам, выделенным из испытуемого образца методом тонкослойной хроматографии, прибавляют свежеприготовленную смесь 0,04 мл хлортриметилсилана P, 0,1 мл гексаметилдисилазана P и 0,5 мл пиридина безводного P и выдерживают не менее 5 мин; используют жидкую фазу.

Раствор сравнения (а). К 9 частям стеринов, выделенных из рапсового масла P методом тонкослойной хроматографии, прибавляют 1 часть холестерина P. К полученной смеси добавляют свежеприготовленную смесь 0,04 мл хлортриметилсилана P, 0,1 мл гексаметилдисилазана P и 0,5 мл пиридина безводного P и выдерживают не менее 5 мин; используют жидкую фазу.

Раствор сравнения (б). К стеринам, выделенным из подсолнечного масла P методом тонкослойной хроматографии, прибавляют свежеприготовленную смесь 0,04 мл хлортриметилсилана P, 0,1 мл гексаметилдисилазана P и 0,5 мл пиридина безводного P и выдерживают не менее 5 мин; используют жидкую фазу.

Условия хроматографирования:

- колонка: из термостойкого кварца капиллярная, длиной от 10 м до 30 м и внутренним диаметром от 0,25 мм до 0,32 мм, заполненная поли[метил(95)фенил(5)]силоксаном P или поли(цианопропил)(7)(фенил)(7)(метил)(86)силоксаном P толщиной 0,25 мкм;

- газ-носитель: водород для хроматографии P или гелий для хроматографии P;

- линейная скорость газа-носителя: (30 - 50) см/с (водород) или (20 - 35) см/с (гелий);

- деление потока: 1:50 (водород) или 1:100 (гелий);

- температура колонки: 260 °C;

- температура блока для ввода проб: 280 °C;

- температура детектора: 290 °C;

- детектор: пламенно-ионизационный;

- объем вводимой пробы: по 1 мкл испытуемого раствора, растворов сравнения (а) и (б).

Идентификация пиков: на хроматограмме раствора сравнения (а) обнаруживаются четыре основных пика, соответствующие холестерину, брассикастерину, кампестерину и -ситостерину; на хроматограмме раствора сравнения (б) обнаруживаются 4 основных пика, соответствующие кампестерину, стигмастерину, -ситостерину и 7-стигмастенолу. Относительные времена удерживания пиков стеринов по отношению к пику -ситостерина приведены в таблице 2.1.8.26.-1.

Таблица 2.1.8.26.-1

Относительные времена удерживания пиков стеринов по отношению к пику -ситостерина для двух различных колонок

Стерины Поли(цианопропил)(7)(фенил)(7)-(метил)(86)силоксан Поли[метил(95)фенил-(5)]силоксан
Холестерин 0,64 0,63
Брассикастерин 0,70 0,71
24-Метилен холестерин 0,79 0,80
Кампестерин 0,82 0,81
Кампестанол 0,83 0,82
Стигмастерин 0,87 0,87
7-Кампестерин 0,93 0,92
5,23-Сигмастадиенол 0,95 0,95
Клеростерин 0,96 0,96
-Ситостерин 1 1
Ситостанол 1,01 1,02
5-Авенастерин 1,03 1,03
5,24-Сигмастадиенол 1,09 1,08
7-Сигмастенол <*> 1,13 1,12
7-Авенастерин 1,18 1,16
Бетулин 1,4 1,4

<*> В литературе данный стерин может быть также называться 7-стигмастерином.

Пик внутреннего стандарта (бетулин) должен быть четко отделен от пиков определяемых стеринов.

Идентифицируют пики, обнаруженные на хроматограмме испытуемого раствора.

Содержание каждого стерина в стериновой фракции испытуемого раствора рассчитывают в процентах по формуле:

,

где: - площадь пика стерина на хроматограмме испытуемого раствора;

- сумма площадей всех пиков стеринов, указанных в таблице 2.1.8.26.-1, кроме пика бетулина.

При наличии указаний в частной фармакопейной статье содержание каждого стерина в стериновой фракции испытуемого образца в процентах рассчитывают по формуле:

,

где S - площадь пика определяемого стерина на хроматограмме испытуемого раствора;

- площадь пика бетулина на хроматограмме раствора сравнения;

m - масса навески испытуемого образца в граммах;

- масса навески добавленного бетулина P в миллиграммах.

МЕТОД 2

Приготовление неомыляемых веществ

Неомыляемые вещества готовят методом, описанным в испытании на неомыляемые вещества в частной фармакопейной статье на субстанцию. При отсутствии данного метода, неомыляемые вещества готовят методом, представленным в общей фармакопейной статье 2.1.5.7. Неомыляемые вещества. После стадии нейтрализации этанол (96%) P упаривают, затем прибавляют 6 мл ацетона P и упаривают растворитель. Остаток сушат при температуре от 100 °C до 105 °C. Не требуется высушивание его до постоянной массы.

Параллельно в таких же условиях готовят неомыляемые вещества подсолнечного масла P, используемые, в частности, для идентификации стериновой фракции, которую следует собрать.

Отделение стериновой фракции (ЖХ)

Отделение стериновой фракции проводят методом жидкостной хроматографии. (2.1.2.28).

Испытуемый раствор. Высушенный остаток неомыляемых веществ переносят тремя порциями по 4 мл растворителя, используемого при получении неомыляемых веществ (обычно эфир P или петролейный эфир P), в пробирку вместимостью 15 мл, упаривают досуха в токе азота P. Остаток растворяют в объеме подвижной фазы, достаточном для получения концентрации около 40 мг/мл, прибавляют несколько капель 2-пропанола P1 для улучшения растворимости (обычно достаточно трех капель для обеспечения полного растворения). Полученный раствор пропускают через мембранный фильтр с размером пор 0,45 мкм.

Раствор сравнения. Готовят из неомыляемых веществ, полученных из подсолнечного масла P в соответствии с указаниями для испытуемого раствора.

Условия хроматографирования:

- предколонка: из нержавеющей стали длиной 0.005 м и внутренним диаметром 4,6 мм, покрытая слоем силикагеля для хроматографии P сферическим размером частиц 5 мкм и размером пор 6 нм;

- колонка: из нержавеющей стали длиной 0.25 м и внутренним диаметром 4,6 мм, покрытая слоем силикагеля для хроматографии P сферическим с размером частиц 5 мкм и размером пор 6 нм;

- подвижная фаза: 2-пропанол P1 - гексан P (1:99, об/об);

- скорость подвижной фазы: 1,0 мл/мин;

- детектор: ультрафиолетовой, длина волны 210 нм;

- объем вводимой пробы: по 50 мкл испытуемого раствора и раствора сравнения.

Идентификация пиков стеринов (раствор сравнения): обнаруживаются два основных пика, элюирующимися примерно между 23 мин и 32 мин. Пики фракции стеринов элюируются в конце хроматограммы.

Фракцию собирают на выходе детектора в пробирку с винтовой крышкой вместимостью 15 мл. Растворитель упаривают в токе азота P.

Определение стеринов (ГХ)

Определение стеринов проводят методом газовой хроматографии (2.1.2.27)

Испытуемый раствор. Растворяют фракцию стеринов, выделенную из испытуемого раствора методом тонкослойной хроматографии на предыдущем этапе, в смеси 0,2 мл пиридина безводного P и 0,2 мл смеси хлортриметисилан P - N,O-бис(триметилсилил)трифторацетамид P (1:99, об/об), пробирку плотно закрывают пробкой и нагревают при температуре 80 °C в течение 20 мин. Затем охлаждают и используют жидкую фазу.

Раствор сравнения. Растворяют фракцию стеринов, выделенную из раствора сравнения методом тонкослойной хроматографии на предыдущем этапе, в смеси 0,2 мл пиридина безводного P и 0,2 мл смеси хлортриметисилана P - N,O-бис(триметилсилил)трифторацетамида P (1:99, об/об), пробирку плотно закрывают пробкой и нагревают при температуре 80 °C в течение 20 мин. Затем охлаждают и используют жидкую фазу.

Также может быть использован СО ФЕАЭС холестерина отдельно или в смеси со стериновой фракцией подсолнечного масла. Дериватизацию проводят в соответствии с указаниями для испытуемого раствора.

Условия хроматографирования:

- колонка: капиллярная колонка из термостойкого кварца, длиной 30 м и внутренним диаметром 0,25 мм, покрытая слоем поли[метил(95)фенил(5)]силоксаном P толщиной 0,25 мкм;

- газ-носитель: гелий для хроматографии P;

- скорость газа-носителя: 2,6 мл/мин;

- деление потока: 1:25;

- объем вводимой пробы: 1 - 3 мкл (в зависимости от ожидаемого количества стеринов в испытуемом растворе);

- режим изменения температуры:

Элемент Время (мин) Температура (°C)
Колонка 0 - 38 260
  38 - 44 260 290
  44 - 49 290
Блок для ввода проб 290
Детектор 290

Идентификация пиков (раствор сравнения): пики кампестерина, стигмастерина, -ситостерина и 7-стигмастенола, стеринов и относительные удерживания пиков по отношению к пику -ситостерина, которые приведены в таблице 2.1.8.26.-1.

Пригодность системы (раствор сравнения):

- разрешение: не более 4,0 между пиками кампестерина и стигмастерина.

Содержание каждого стерина в стериновой фракции испытуемого образца в процентах рассчитывают по формуле:

,

где: - площадь пика определяемого стерина на хроматограмме испытуемого образца;

- сумма площадей всех пиков стеринов, указанных в таблице 2.1.8.26.-1, кроме пика бетулина.

2.1.9. ФАРМАЦЕВТИКО-ТЕХНОЛОГИЧЕСКИЕ ИСПЫТАНИЯ

201090018-2022

2.1.9.18. Определение выхода содержимого упаковки для недозированных аэрозолей, пен и спреев

Данное испытание предназначено для недозированных лекарственных форм, представляющих собой аэрозоли, пены или спреи, с целью определения процента выхода содержимого упаковки при их применении.

При отсутствии других указаний в частной фармакопейной статье и (или) нормативном документе по качеству испытание проводят не менее чем на трех образцах, отобранных в соответствии с общей фармакопейной статьей 2.1.7.1. Отбор проб.

Методика. Определяют массу каждой из трех упаковок, взвешенных вместе с распылителем или насадкой с точностью до 0,01 г (). Нажатием на распылитель или насадку из упаковки удаляют все содержимое и снова взвешивают пустую упаковку вместе с распылителем или насадкой с точностью до 0,01 г ().

Выход содержимого упаковки (X) в процентах вычисляют по формуле:

,

где: - масса упаковки с распылителем или насадкой, г;

- масса пустой упаковки с распылителем или насадкой, г;

- масса содержимого лекарственного препарата, указанная на этикетке, г (или полученная путем умножения номинального объема на плотность лекарственного препарата).

При отсутствии других указаний в частной фармакопейной статье и (или) нормативном документе по качеству лекарственный препарат считают выдержавшим испытание, если выход содержимого (X) каждой из трех упаковок составляет не менее 90% от массы содержимого лекарственного препарата, указанной на этикетке.

201090019-2022

2.1.9.19. Определение герметичности упаковки

Настоящая общая фармакопейная статья устанавливает общие требования к определению герметичности упаковки лекарственных средств.

Требования настоящей общей фармакопейной статьи не распространяются на определение герметичности упаковки без лекарственного средства, то есть упаковки без содержимого.

Под герметичностью упаковки, предназначенной для лекарственных средств, понимают ее способность совместно с укупорочными средствами и другими элементами системы упаковки препятствовать проникновению в содержимое упаковки и выходу из упаковки газов, паров и (или) жидкостей, при обычных условиях хранения, транспортирования и реализации.

Испытание на герметичность упаковки позволяет определить наличие разрыва, неплотного прилегания элементов упаковки. Утечка - это непреднамеренное проникновение или выход вещества (твердого, жидкого или газообразного) через отверстие в упаковке или через зазор между элементами упаковки в отличие от понятия "проницаемость упаковки", которое подразумевает прохождение газа, жидкости через непористую стенку упаковки или в упаковку, когда небольшая часть молекул способна пройти через барьер.

Определение герметичности упаковки лекарственных средств может быть проведено:

- при технологическом процессе производства лекарственных средств после заполнения и укупоривания;

- в ходе испытания готового лекарственного препарата и подтверждения его соответствия требованиям частной фармакопейной статьи и (или) нормативного документа по качеству.

Выбор метода испытания герметичности упаковки лекарственных средств, а также применяемые критерии приемлемости при оценке герметичности, зависят от типа, вида и других характеристик первичной упаковки, от лекарственной формы лекарственного препарата, для которого предназначена упаковка, и других факторов.

Определение герметичности проводят с использованием валидированных методов, соответствующего оборудования, позволяющих оценивать герметичность упаковки, в том числе в автоматическом режиме.

ОПРЕДЕЛЕНИЕ ГЕРМЕТИЧНОСТИ УПАКОВКИ МЕТОДОМ ВНУТРЕННЕГО ДАВЛЕНИЯ (ВАКУУМИРОВАНИЯ)

Метод применяют для определения герметичности упаковки лекарственных препаратов, как правило, представляющих собой жидкие лекарственные формы в запаянных ампулах, в герметично закрытых флаконах, бутылках, банках, при технологическом процессе производства лекарственных средств после заполнения и укупоривания или запаивания упаковки.

Метод основан на создании избыточного давления внутри испытуемого образца герметично закрытой или герметично запаянной упаковки и последующему определению герметичности упаковки визуальным контролем или с помощью соответствующего оборудования.

Определение герметичности ампул (определение качества запайки ампул). Лекарственные препараты в запаянных ампулах размещают в кассетах капиллярами ампул вниз, кассеты помещают в вакуумную камеру, эксикатор или соответствующую емкость используемого оборудования. В вакуумной камере создают необходимое разрежение, откачивая воздух, при этом внутри ампул создается избыточное давление. Если происходит частичное или полное истечение жидкости из ампул, упаковка ампул считается негерметичной.

Определение герметичности флаконов, бутылок, банок. Испытуемые образцы, представляющие собой герметично укупоренные упаковки с лекарственными препаратами в виде жидких лекарственных форм, помещают в вакуумную камеру, эксикатор или соответствующую емкость используемого оборудования горлышком вниз. С помощью вакуумного насоса достигают заданного разрежения в вакуумной камере, после чего останавливают вакуумный насос и сбрасывают вакуум до атмосферного давления.

Испытуемые образцы достают из вакуумной камеры и оценивают визуально и (или) с помощью впитывающей салфетки. При обнаружении в месте укупорки протечки, выявляемой по наличию капель и (или) следов лекарственного средства на салфетке, такие образцы упаковки, представляющие собой флаконы, бутылки или банки, считаются негерметичными.

ОПРЕДЕЛЕНИЕ ГЕРМЕТИЧНОСТИ УПАКОВКИ С ПОМОЩЬЮ ИНДИКАТОРНОГО (КРАСЯЩЕГО) РАСТВОРА

В данном методе герметичность упаковки определяют по отсутствию красителя внутри упаковки, подвергшейся действию избыточного, по сравнению с атмосферным, давления или действию вакуума.

Определение герметичности ампул и флаконов, герметизированных после заполнения их при атмосферном давлении. Лекарственные препараты в ампулах и (или) флаконах помещают в кассеты, которые погружают в емкость, заполненную водой, подкрашенной любым водорастворимым красителем, например, заполненную 0,0005% (м/об) раствором метиленового синего P. Кассеты погружают таким образом, чтобы ампулы и (или) флаконы полностью находились в воде. Емкость герметично закрывают и создают в ней избыточное, по сравнению с атмосферным, давление (100 +/- 20) кПа, которое выдерживают в течение 20 - 25 мин, после чего устанавливают в емкости давление, равное атмосферному. После снятия давления кассету с ампулами и (или) флаконами вынимают и просматривают на наличие красителя, прошедшего через дефекты упаковки внутрь ампул и (или) флаконов. Ампулы и (или) флаконы, содержащие краситель, считаются негерметичными.

Определение герметичности упаковок безъячейковых (стрипов), упаковок ячейковых (блистеров), пакетов, пакетиков (саше). Образцы лекарственных препаратов в герметично укупоренных упаковках, представляющих собой упаковки безъячейковые (стрипы), упаковки ячейковые (блистеры), пакеты или пакетики (саше) погружают в эксикатор (или соответствующую емкость используемого оборудования), заполненный водой, подкрашенной любым водорастворимым красителем, например, заполненный 0,0005% (м/об) раствором метиленового синего P. Упаковки должны быть полностью погружены в воду, при необходимости их накрывают сверху удерживающей пластиной с отверстиями. В испытательной камере (эксикаторе) создают давление 40 - 60 кПа, после чего останавливают вакуумный насос и сбрасывают давление до атмосферного. Выдерживают при атмосферном давлении в течение 30 мин.

Образцы достают из эксикатора, обмывают водой и оценивают визуально. При обнаружении красителя внутри образца, упаковка считается негерметичной.

ОПРЕДЕЛЕНИЕ ГЕРМЕТИЧНОСТИ УПАКОВКИ МЕТОДОМ СВЕЧЕНИЯ

Метод основан на способности газовой среды упаковки лекарственных средств светиться под действием высокочастотного электрического тока при большом напряжении. В зависимости от величины давления газовой среды упаковки (уровня вакуума) цвет свечения будет различным.

Применяют для лекарственных препаратов в ампулах и флаконах, герметизированных и соответственно укупоренных при пониженном давлении ("под вакуумом"). Определение герметичности упаковки в этом случае заключается в проверке ее способности сохранять уровень вакуума, необходимый для обеспечения надлежащего качества содержащегося лекарственного препарата.

Для проведения испытаний используют соответствующее оборудование, обеспечивающее определение уровня вакуума в необходимом диапазоне.

Испытуемые ампулы и (или) флаконы при комнатной температуре устанавливают в штативе, к ним на расстоянии 1 см подводят электрод, не прикасаясь высокочастотным электродом к месту запайки ампул. Экспозиция искрового заряда у каждой ампулы и (или) флакона не должна быть более 1 с во избежание пробоя стенки ампул и (или) флаконов. Свечение внутри ампулы и (или) флакона и характерное потрескивание при подведении к ним электрода указывает на наличие в упаковках вакуума. В зависимости от величины остаточного давления внутри ампулы и (или) флакона (уровня вакуума) цвет свечения будет различным (таблица 2.1.9.19.-1).

Таблица 2.1.9.19.-1

Зависимость цвета свечения от величины давления для иммунобиологических лекарственных препаратов

Величина давления, кПа Цвет свечения
От 0,010 до 0,1 Бледно-голубое
От 0,1 до 1,0 Розово-голубое
От 1,0 до 5,0 Фиолетовое
От 5,0 до 100,0 Нет свечения

Контроль точности определения следует проводить по свечению образцов ампул и флаконов, герметизированных в строго контролируемых условиях при точно известных значениях давления.

Например, при определении герметичности ампул и флаконов, содержащих иммунобиологические лекарственные препараты, методом свечения, при отсутствии других указаний, величину давления определяют по цвету свечения в соответствии с данными таблицы 2.1.9.19.-1. Упаковка считается негерметичной, если остаточное давление внутри ампулы или флакона будет более 1,0 кПа.

ОПРЕДЕЛЕНИЕ ГЕРМЕТИЧНОСТИ ТУБ С МЯГКИМИ ЛЕКАРСТВЕННЫМИ ФОРМАМИ

Испытание проводят для упаковки, представляющей собой тубы, содержащие мягкие лекарственные формы, в рамках контроля технологического процесса производства мягких лекарственных форм.

Первоначально отбирают 10 туб и тщательно вытирают наружные поверхности туб фильтровальной бумагой. Тубы помещают в горизонтальном положении на лист фильтровальной бумаги и выдерживают при температуре (60 +/- 3) °C в течение 8 ч.

Не должно быть подтеков на фильтровальной бумаге ни из одной тубы.

Если из одной из 10 первоначально отобранных туб наблюдаются подтеки, проводят дополнительное испытание еще с 20 тубами. Не должно быть подтеков ни в одной из 20 дополнительно отобранных туб.

ОПРЕДЕЛЕНИЕ ГЕРМЕТИЧНОСТИ АЭРОЗОЛЬНЫХ УПАКОВОК

Испытание проводят для упаковок, представляющих собой аэрозольные баллоны, укупоренные с помощью клапанно-распылительной системы (аэрозольные упаковки), содержащие лекарственные формы (например, аэрозоли, пены), находящиеся в этих упаковках под давлением пропеллента.

Визуальный метод определения герметичности. При отсутствии других указаний в частной фармакопейной статье и (или) нормативном документе по качеству испытание проводят не менее чем на трех образцах упаковки. Аэрозольный баллон без колпачка и распылителя или насадки полностью погружают в водяную баню при температуре (45 +/- 5) °C не менее чем на 15 мин и не более чем на 30 мин для стеклянного аэрозольного баллона и не менее чем на 10 мин и не более чем на 20 мин для металлического аэрозольного баллона. Толщина слоя воды над штоком клапана должна быть не менее 1 см. Упаковка считается герметичной, если не наблюдается выделение пузырьков газа.

Скорость утечки. Отбирают 12 ранее не использовавшихся аэрозольных баллонов, удаляют с них все этикетки. Каждый аэрозольный баллон без колпачка и распылителя или насадки взвешивают с точностью до 0,001 г (m0), записывают дату и время с точностью до получаса, и оставляют в вертикальном положении при температуре (25 +/- 2) °C в течение не менее 3 сут. После данного испытания каждый аэрозольный баллон повторно взвешивают с точностью до 0,001 г (m1), записывая дату и время с точностью до получаса. Отмечают время (T) в часах, в течение которого аэрозольные баллоны подвергались испытанию.

Освобождают каждый аэрозольный баллон от содержимого в соответствии со способом, указанным в частной фармакопейной статье или нормативном документе по качеству. Взвешивают каждый пустой аэрозольный баллон с точностью до 0,001 г () и рассчитывают массу содержимого каждого аэрозольного баллона () по формуле:

.

Среднюю массу содержимого испытуемых аэрозольных баллонов с точностью до 0,001 г () рассчитывают по формуле:

,

где: - сумма масс аэрозольных баллонов, подвергшихся испытанию, с содержимым, в граммах;

- сумма масс аэрозольных баллонов, подвергшихся испытанию, без содержимого, в граммах;

n - количество аэрозольных баллонов, подвергшихся испытанию.

Скорость утечки в год () в миллиграммах содержимого каждого аэрозольного баллона, подвергшегося испытанию, рассчитывают по формуле:

,

где: - масса аэрозольного баллона с содержимым, в граммах;

- масса аэрозольного баллона по окончании испытания, в граммах;

T - время, в часах;

1000 - пересчет граммов в миллиграммы.

Среднюю скорость утечки в год () в миллиграммах содержимого аэрозольных баллонов, подвергшихся испытанию, рассчитывают по формуле:

,

где: - сумма масс аэрозольных баллонов, подвергшихся испытанию, с содержимым, в граммах;

- сумма масс аэрозольных баллонов, подвергшихся испытанию, по окончании испытания, в граммах;

n - количество аэрозольных баллонов, подвергшихся испытанию;

T - время, в часах;

1000 - пересчет граммов в миллиграммы.

Скорость утечки в год в процентах () содержимого каждого аэрозольного баллона, подвергшегося испытанию, рассчитывают по формуле:

.

Среднюю скорость утечки в год в процентах () содержимого аэрозольных баллонов, подвергшихся испытанию, рассчитывают по формуле:

.

Если масса содержимого аэрозольного баллона составляет 15 г и более, при отсутствии других указаний в частной фармакопейной статье или нормативном документе по качеству, средняя скорость утечки в год для 12 аэрозольных баллонов не должна превышать 3,5% от средней массы содержимого аэрозольного баллона и ни для одного из них не должна превышать 5,0%.

Если, хотя бы для одного аэрозольного баллона, средняя скорость утечки в год превышает 5,0%, но ни для одного из аэрозольных баллонов не превышает 7,0%, испытание на скорость утечки проводят еще на 24 аэрозольных баллонах. Не более 2 аэрозольных баллонов из 36 могут иметь среднюю скорость утечки в год больше 5,0% и ни для одного из них средняя скорость утечки в год не должна превышать 7,0%.

Если масса содержимого аэрозольного баллона составляет менее 15 г, то средняя скорость утечки в год для 12 аэрозольных баллонов не должна превышать 525 мг и ни для одного из них не должна превышать 750 мг. Если хотя бы для одного аэрозольного баллона скорость утечки в год превышает 750 мг, но не более 1,1 г, то испытание на скорость утечки проводят еще на 24 аэрозольных баллонах. Не более 2 аэрозольных баллонов из 36 могут иметь скорость утечки в год более 750 мг и ни для одного аэрозольного баллона из 36 скорость утечки в год не должна превышать 1,1 г.

201090020-2022

2.1.9.20. Определение давления в герметичной упаковке

Данное испытание предназначено для лекарственных форм, находящихся под давлением в герметичной упаковке, представляющих собой аэрозоли и пены, в которых пропеллентами являются сжатые газы, с целью определения давления внутри упаковки.

При отсутствии других указаний в частной фармакопейной статье и (или) нормативном документе по качеству испытание проводят не менее чем на 3 образцах. Упаковка аэрозолей или пен, находящихся под давлением, представляет собой, как правило, аэрозольные баллоны.

Методика. При отсутствии других указаний в частной фармакопейной статье и (или) нормативном документе по качеству, отобранные для испытания аэрозольные баллоны выдерживают при температуре (20 +/- 5) °C в течение 1 ч. Затем аэрозольные баллоны встряхивают и устанавливают в вертикальное положение. С помощью специального адаптера (переходника) к отверстию клапана аэрозольного баллона присоединяют манометр, откалиброванный на измерение давления в нормируемом интервале величин, имеющий допустимую погрешность измерения не более 2,5% от его диапазона измерений. Измеряют давление внутри каждого аэрозольного баллона.

Давление внутри каждой упаковки должно соответствовать требованиям, указанным в частной фармакопейной статье и (или) нормативном документе по качеству. При отсутствии других указаний в частной фармакопейной статье и (или) нормативном документе по качеству, давление в каждой из испытуемых упаковок не должно превышать 0,8 МПа.

201090021-2022

2.1.9.21. Время растворения или диспергирования для получения восстановленных лекарственных форм

Настоящая общая фармакопейная статья предназначена для определения времени получения восстановленных лекарственных форм лекарственных препаратов из исходных лекарственных форм, требующих перед применением дополнительного преобразования путем растворения или диспергирования в соответствующем растворителе.

Данное испытание относится к гранулам, лиофилизатам, порошкам (далее - твердым лекарственным формам), предназначенным для получения жидких лекарственных форм, а также к порошкам шипучим.

Под понятием "время растворения или диспергирования" подразумевают время, в течение которого исходная лекарственная форма полностью растворилась или диспергировалась в соответствующем растворителе; в случае порошков шипучих - прекратилось выделение пузырьков углерода диоксида.

МЕТОДИКА ДЛЯ ТВЕРДЫХ ЛЕКАРСТВЕННЫХ ФОРМ, ПРЕДНАЗНАЧЕННЫХ ДЛЯ ПОЛУЧЕНИЯ ЖИДКИХ ЛЕКАРСТВЕННЫХ ФОРМ

Процесс растворения или диспергирования твердых лекарственных форм для получения восстановленных лекарственных форм лекарственных препаратов должен проходить в условиях, обеспечивающих полное смачивание всех компонентов лекарственного препарата в твердой лекарственной форме и переход твердых компонентов в раствор в течение достаточного времени при определенной интенсивности взбалтывания. При необходимости должны быть указаны особые требования к растворению лекарственного препарата (например, температурный режим и др.).

Определение проводят визуально на 6 образцах, отсчет времени осуществляют с помощью секундомера.

Под образцом принимают лекарственный препарат в однодозовой упаковке.

При отсутствии других указаний в частной фармакопейной статье и (или) нормативном документе по качеству, твердая лекарственная форма выдерживает испытание по показателю Время растворения или Время диспергирования для получения восстановленных лекарственных форм лекарственных препаратов, если каждый из 6 образцов растворяется или диспергируется в течение не более 5 мин.

Различают два способа подготовки образцов для определения показателя Время растворения или Время диспергирования для получения восстановленных лекарственных форм лекарственных препаратов.

В случае, если объем растворителя не превышает номинальный объем упаковки, представляющей собой, как правило, флакон, определение проводят следующим образом. Во флакон с лекарственным препаратом, представляющим собой твердую лекарственную форму, вводят указанное в частной фармакопейной статье и (или) нормативном документе по качеству количество растворителя и аккуратно перемешивают либо встряхивают до полного растворения или диспергирования твердой лекарственной формы. В установленных случаях растворитель вводят, прокалывая резиновую пробку, которой укупорен флакон с лекарственным препаратом, с помощью шприца, предварительно заполненного соответствующим растворителем.

Время растворения или диспергирования лекарственного препарата измеряют с момента внесения растворителя в упаковку с лекарственным препаратом.

Если объем растворителя превышает номинальный объем упаковки или упаковка не предназначена для внесения в нее растворителя, определение проводят следующим образом. Одну дозу лекарственного препарата в твердой лекарственной форме помещают в стакан, содержащий отмеренное количество растворителя, указанное в частной фармакопейной статье и (или) нормативном документе по качеству, аккуратно перемешивают или встряхивают до полного растворения или диспергирования твердой лекарственной формы.

Время растворения или диспергирования для получения восстановленной лекарственной формы лекарственного препарата измеряют с момента внесения лекарственной формы в растворитель.

МЕТОДИКА ОПРЕДЕЛЕНИЯ ДЛЯ ПОРОШКОВ ШИПУЧИХ

Определение проводят визуально на 6 образцах, отсчет времени осуществляют с помощью секундомера.

Под образцом принимают лекарственный препарат в однодозовой упаковке.

Если нет других указаний в частной фармакопейной статье и (или) нормативном документе по качеству, порошок шипучий выдерживает испытание по показателю Время растворения или Время диспергирования для получения восстановленной лекарственной формы лекарственного препарата, если каждый из 6 исследуемых образцов лекарственного препарата растворяется или диспергируется в течение не более 5 мин.

Одну дозу лекарственного препарата в виде порошка шипучего, помещают в стакан, содержащий 200 мл воды при температуре от 15 °C до 25 °C, при этом начинают выделяться пузырьки газа. Лекарственная форма считается восстановленной, если после прекращения выделения пузырьков газа она полностью растворилась или диспергировалась.

201090022-2022

2.1.9.22. Истираемость гранул и сфероидов

В данной общей фармакопейной статье описываются два метода определения истираемости гранул и сфероидов, которые могут использоваться при фармацевтической разработке. Допускается применение других, в равной степени пригодных, методов.

Испытание предназначено для определения в установленных условиях истираемости гранул и сфероидов. Истираемость определяют как уменьшение массы гранул или сфероидов или образование их фрагментов, наблюдаемое при механическом воздействии на гранулы или сфероиды в процессе обработки (встряхивание, вибрация, воздействие псевдоожиженного слоя и т.д.). Царапины, изломы или деформации гранул или сфероидов относят к изменениям.

МЕТОД 1

Прибор (прибор для создания псевдоожиженного слоя). Прибор (рисунок 2.1.9.22.-1) состоит из стеклянного цилиндра (А) с конусовидной нижней частью. Цилиндр снабжен решетчатой крышкой (Б), имеющей отверстия с размером 500 мкм, или любым другим подходящим ситом. Конусовидный конец прикреплен к U-образной стеклянной трубке (В), которая может отсоединяться от цилиндра для удаления гранул или сфероидов. U-образная трубка прикреплена к T-образной муфте (Г). Один конец T-образной муфты соединен при помощи силиконовой трубки с манометром, регулирующим поток сжатого воздуха (используют сжатый воздух), другой конец соединен через силиконовую трубку с измерителем скорости потока (Д) (0,10 - 1,00 м3 · ч-1).

Рисунок 2.1.9.22.-1. - Прибор для создания псевдоожиженного слоя

Обычно используют следующую методику.

Методика. Удаляют мелкие частицы путем просеивания через сито, имеющее размер отверстий 710 мкм или любое другое подходящее сито. Около 8,0 г (m1) гранул или сфероидов помещают в цилиндр (А). Прибор закрывают решетчатой крышкой (Б). Устанавливают скорость потока сжатого воздуха на уровне 0,45 м3 · ч-1. Через 15 мин удаляют гранулы или сфероиды из прибора путем отсоединения U-образной трубки и снова взвешивают (m2). Испытание проводят на трех образцах и рассчитывают среднее значение. Для снятия электростатического электричества рекомендуют опрыскивать внутреннюю поверхность прибора антистатическим реактивом после каждых трех определений.

Для определения потери в массе при высушивании образцы сушат в сушильном шкафу при температуре 105 °C, при отсутствии других указаний в частной фармакопейной статье. В качестве альтернативных допускается использование других условий высушивания, описанных в общей фармакопейной статье 2.1.2.31. Потеря в массе при высушивании.

Истираемость (F) рассчитывают по следующей формуле:

,

где: - потеря в массе при высушивании перед испытанием в процентах (среднее значение из двух определений);

- потеря в массе при высушивании после испытания в процентах (среднее значение из двух определений);

- масса гранул или сфероидов перед испытанием в граммах;

- масса гранул или сфероидов после испытания в граммах.

МЕТОД 2

Прибор (вибрационный прибор). Прибор (рисунок 2.1.9.22.-2) состоит из стеклянного сосуда, содержащего испытуемые гранулы или сфероиды, которые подвергают горизонтальным вибрациям. Частота и продолжительность вибраций может постоянно изменяться. Частоту можно регулировать с помощью шкалы до значения в пределах от 0 до 400 вибраций/мин. Продолжительность можно устанавливать в диапазоне от 0 до 9999 с.

Рисунок 2.1.9.22.-2. - Вибрационный прибор

Обычно используют следующую методику.

Методика. Удаляют мелкие частицы путем просеивания через сито, имеющее размер отверстий 355 мкм или любое другое подходящее сито. В стеклянном сосуде взвешивают около 10,00 г (m1) гранул или сфероидов. Сосуд устанавливают в прибор. Встряхивают в течение 240 с при наибольшей частоте для твердых гранул или сфероидов или в течение 120 с при наименьшей частоте (например, 140 вибраций/мин) для мягких гранул или сфероидов. Просеивают через сито 355 мкм или ранее использованное сито и снова взвешивают гранулы или сфероиды (m2). Испытание проводят на трех образцах и рассчитывают среднее значение.

Для определения потери в массе при высушивании образцы сушат в сушильном шкафу при температуре 105 °C, при отсутствии других указаний в частной фармакопейной статье. В качестве альтернативных допускается использование других условий высушивания, описанных в общей фармакопейной статье 2.1.2.31. Потеря в массе при высушивании.

Истираемость (F) рассчитывают по следующей формуле:

,

где: - потеря в массе при высушивании перед испытанием, в процентах (среднее значение из двух определений);

- потеря в массе при высушивании после испытания, в процентах (среднее значение из двух определений);

- масса гранул или сфероидов перед испытанием, в граммах;

- масса гранул или сфероидов после испытания, в граммах.

201090023-2022

2.1.9.23. Испытание на растворение для резинок жевательных лекарственных

Испытание предназначено для определения количества действующего вещества, которое за определенный промежуток времени должно высвободиться в среду растворения из жевательной резинки в условиях, указанных в настоящей общей фармакопейной статье, а также в частной фармакопейной статье и (или) нормативном документе по качеству.

Определение проводят путем механического разминания кусочка жевательной резинки, помещенного в небольшую камеру, имитирующую процесс жевания.

ОБОРУДОВАНИЕ

ПРИБОР А

Прибор А для имитации жевания (рисунок 2.1.9.23.-1) состоит из следующих частей:

- камеры, имитирующей процесс жевания;

- вертикального поршня;

- двух горизонтальных поршней с уплотнительными O-образными кольцами и прокладками.

Рисунок 2.1.9.23.-1. - Прибор А для имитации жевания. Жевательная камера и поршни. Размеры указаны в миллиметрах. А - горизонтальный поршень; Б - направляющий элемент; В - камера для имитации жевания; Г - воронка; Д - вертикальный поршень. Размеры указаны в миллиметрах

Камера для имитации жевания состоит из четырех отдельных частей:

- центральной камеры;

- воронки (рисунок 2.1.9.23.-2);

- двух направляющих элементов с втулками (рисунок 2.1.9.23.-3).

Рисунок 2.1.9.23.-2. - Прибор А. Воронка. Размеры указаны в миллиметрах

Рисунок 2.1.9.23.-3. - Прибор А (секция Е-Е). Направляющий элемент. Размеры указаны в миллиметрах

Воронку и направляющие элементы монтируют в центральную камеру. Уплотнительные O-образные кольца вставляют в выточку поршня, вокруг которой помещена прокладка, обеспечивающая герметичность камеры.

Горизонтальные поршни размещаются в камере по направляющим для имитации процесса жевания.

Жевательную резинку подвергают воздействию при помощи горизонтальных поршней; вертикальный поршень обеспечивает правильное местоположение жевательной резинки в процессе имитации жевания.

Для обеспечения постоянства рабочего цикла скорость прибора контролируется. Один цикл жевания определяется следующим образом: горизонтальные поршни начинают свое движение из крайних внешних положений, движутся к самому дальнему внутреннему положению и обратно в крайнее внешнее положение. В течение одного цикла вертикальный поршень движется из самого нижнего положения к самому верхнему и обратно в самое нижнее положение.

Величина хода каждого горизонтального поршня составляет 25,0 мм. Максимальное расстояние между двумя горизонтальными поршнями составляет 50 мм. Минимальное расстояние между двумя горизонтальными поршнями составляет от 0,1 мм до 1,0 мм. Величина хода вертикально поршня составляет 22,0 мм.

Движение горизонтальных поршней контролируется таким образом, чтобы оба поршня находились в самом дальнем внутреннем положении одновременно. Движение вертикального поршня должно согласовываться с движением горизонтальных поршней.

При необходимости прибор может быть сконструирован таким образом, чтобы к концу цикла горизонтальные поршни вращались вокруг собственных осей в противоположном направлении друг к другу для достижения максимального эффекта жевания.

Все части прибора, которые могут находиться в контакте с препаратом или средой растворения, должны быть химически инертными и не должны адсорбировать, реагировать или иным образом взаимодействовать с образцом.

ПРИБОР Б

Прибор Б для имитации жевания (рисунок 2.1.9.23.-4) состоит из:

- ячейки для испытания (рисунок 2.1.9.23.-5 или рисунок 2.1.9.23.-6);

- вертикального вала с верхней жевательной поверхностью (рисунки 2.1.9.23.-7 и 2.1.9.23.-8);

- камеры-основания с нижней жевательной поверхностью (рисунки 2.1.9.23.-9 и 2.1.9.23.10);

- устройства для выполнения жевательных движений;

- устройства, вращающего вертикальный вал.

Рисунок 2.1.9.23.-4. - Прибор Б. А - устройство, вращающее верхнюю жевательную поверхность; Б - корпус; В - ячейка для испытаний; Г - вал; Д - верхняя жевательная поверхность; Е - нижняя жевательная поверхность; Ж - камера-основание; И - устройство для имитации жевательных движений вверх - вниз.

Рисунок 2.1.9.23.-5. - Прибор Б. Ячейка для испытания. Размеры указаны в миллиметрах

Рисунок 2.1.9.23.-6. - Прибор Б. Ячейка для испытания (прямая). Размеры указаны в миллиметрах

Рисунок 2.1.9.23.-7. - Прибор Б. Вал. Размеры указаны в миллиметрах

Рисунок 2.1.9.23.-8. - Прибор Б. Верхняя жевательная поверхность. Размеры указаны в миллиметрах

Рисунок 2.1.9.23.-9. - Прибор Б. Камера-основание. Размеры указаны в миллиметрах

Рисунок 2.1.9.23.-10. - Прибор Б. Нижняя жевательная поверхность. Размеры указаны в миллиметрах

Обычно резинку вставляют между двумя вращающимися пластиковыми сетками для предотвращения ее распадения.

Допускается использование сеток, изготовленных из нейлона (PA6), с размером ячеек 1,4 мм и диаметром нитей 0,405 мм.

Жевательную резинку подвергают воздействию при помощи нижней и верхней жевательных поверхностей. Скорость прибора контролируют для обеспечения постоянства рабочего цикла. Расстояние между нижней и верхней жевательными поверхностями может устанавливаться до 5 миллиметров. Угол вращения вращательного устройства составляет около 20 градусов.

Ячейки для испытаний могут также оснащаться 1 или 2 стеклянными трубками для отбора проб, имеющими двойные термостатируемые стенки. Трубки позволяют также обеспечить сток жидкости наружу, который может потребоваться для умеренно растворимых веществ.

Все части прибора, которые могут находиться в контакте с препаратом или средой растворения, должны быть химически инертными и не должны адсорбировать, реагировать или взаимодействовать с образцом.

МЕТОДИКА

В частной фармакопейной статье и (или) нормативном документе по качеству на конкретную жевательную резинку указывается:

- используемый прибор (тип А или тип Б);

- состав, объем и температура среды растворения;

- количество циклов "жевания" в минуту;

- время и метод отбора проб;

- методика количественного определения;

- критерии приемлемости.

Количественное определение действующего вещества проводят с использованием остатка жевательной резинки или среды растворения.

В камеру для имитации жевания помещают указанный объем среды растворения, как правило, 20 мл фосфатного буферного раствора с pH 6,0 P2. Поддерживают температуру среды растворения при (37 +/- 0,5) °C, используя электрическое устройство с внешним контролем (прибор А) или термостат (прибор Б). Задают скорость движения поршней при указанном числе циклов жевания в минуту (обычно 60). Точно взвешивают часть жевательной резинки или резинку целиком, помещают ее в камеру для имитации жевания и приводят прибор в действие.

ОТБОР ПРОБ И ОЦЕНКА РЕЗУЛЬТАТОВ

Останавливают прибор в указанное время. Удаляют остатки резинки и отбирают пробу среды растворения. Определяют содержание действующего(их) вещества (веществ) по соответствующей методике. После каждого отбора проб допускается восполнение среды растворения; при расчетах необходимо учитывать изменение объема среды растворения или разбавление пробы. В качестве альтернативы возможно определение содержания действующего вещества (веществ), оставшегося(ихся) в жевательной резинке. Испытание последовательно проводят на 6 жевательных резинках.

Количество действующего(их) вещества (веществ), растворенного(ых) за определенное время, выражается в процентах от содержания, указанного на этикетке лекарственного препарата.

201090024-2022

2.1.9.24. Подтверждение однородности дозированных единиц с использованием выборки большого размера

Испытание предназначено для оценки лекарственных препаратов, производство которых осуществляется с применением процессно-аналитической технологии. В этом случае испытание проводится на выборке большого размера, в которой число дозированных единиц составляет не менее 100 (n >= 100). Для такой выборки соответствие требованиям общей фармакопейной статьи 2.1.9.14. Однородность дозированных единиц может подтверждаться с помощью альтернативных испытаний, описанных в данной общей фармакопейной статье. Применение данной общей фармакопейной статьи не является обязательным.

Выполнение требований любого из альтернативных испытаний означает, что испытуемый лекарственный препарат соответствует требованиям общей фармакопейной статьи 2.1.9.14. Однородность дозированных единиц. Приведенные альтернативные испытания считают эквивалентными при подтверждении соответствия требованиям общей фармакопейной статьи 2.1.9.14. Однородность дозированных единиц.

АЛЬТЕРНАТИВНОЕ ИСПЫТАНИЕ 1 (ПАРАМЕТРИЧЕСКОЕ)

Отбирают не менее 100 дозированных единиц в соответствии с предварительно составленным планом отбора проб.

Однородность дозированных единиц оценивают по однородности содержания или изменению массы, как указано в таблице 2.1.9.24.-1. Допустимое значение (AV) рассчитывают по следующей формуле:

,

для которой величины определяют из таблицы 2.1.9.24.-2, а значение K, зависящее от числа дозированных единиц в выборке, определяют из таблицы 2.1.9.24.-1.

Таблица 2.1.9.24.-1

Постоянная допустимости (k) и допустимое число дозированных единиц с содержанием действующего вещества за пределами (1 +/- L2 х 0,01) х M (= c2) для данного размера выборки n

n (>=) k c2   n (>=) k c2   n (>=) k c2   n (>=) k c2   n (>=) k c2   n (>=) k c2
100 2,15 0   804 2,26 7   2480 2,29 23   4366 2,30 41   6252 2,31 59   8243 2,31 78
905 2,27 2585 2,29 24 4471 2,30 42 6357 2,31 60
105 2,16
8347 2,31 79
120 2,17 908 2,27 8 2690 2,29 25 4576 2,30 43 6462 2,31 61 8452 2,31 80
139 2,18 1013 2,27 9 2794 2,29 26 4680 2,30 44 6566 2,31 62 8557 2,31 81
161 2,19 1118 2,27 10 2899 2,29 27 4785 2,30 45 6671 2,31 63
8662 2,31 82
176 2,19 1 1223 2.27 11 3004 2,29 28 4890 2,30 46 6776 2,31 64
8767 2,31 83
189 2,20 1276 2.28 3109 2.29 29 4995 2,30 47 6881 2,31 65
8871 2,31 84
224 2,21 1328 2,28 12 3171 2.30 5099 2,30 48 6985 2,31 66
1432 2,28 13 3213 2,30 30 5204 2,30 49 7090 2,31 67 8976 2,31 85
270 2,22
1537 2,28 14 3318 2,30 31 5309 2,30 50 7195 2,31 68 9081 2,31 86
280 2,22 2
1642 2,28 15 3423 2,30 32 5414 2,30 51 7300 2,31 69 9186 2,31 87
328 2,23
1747 2,28 16 3528 2,30 33 5519 2,30 52 7404 2,31 70 9290 2,31 88
385 2,23 3
1851 2,28 17 3633 2,30 34 5623 2,30 53 7509 2,31 71 9395 2,31 89
407 2,24
1918 2,29 3737 2,30 35 5728 2,30 54 7614 2,31 72 9500 2,31 90
490 2,24 4 1956 2,29 18 3842 2,30 36 5833 2,30 55 7719 2,31 73
9605 2,31 91
516 2,25
2061 2,29 19 3947 2,30 37 5938 2,30 56 7824 2,31 74
594 2,25 5 2166 2,29 20 4052 2,30 38 6042 2.30 57 7928 2,31 75 9710 2,31 92
9814 2,31 93
672 2,26
2270 2,29 21 4156 2,30 39 6136 2.31 8033 2,31 76
699 2,26 6 2375 2,29 22 4261 2,30 40 6147 2,31 58 8138 2,31 77 9919 2,31 94

Таблица 2.1.9.24.-2

Допустимое число отдельных дозированных единиц с содержанием действующего вещества за пределами (1 +/- L1 х 0,01) х T (= c1) и (1 +/- L2 х 0,01) х T (= c2) соответственно для каждого размера выборки n

n (>=) c1 c2   n (>=) c1 c2   n (>=) c1 c2   n (>=) c1 c2   n (>=) c1 c2   n (>=) c1 c2   n (>=) c1 c2
100 3 0   1432 35 13   2899 67 27   4366 98 41   5833 129 55   7300 160 69   8767 191 83
123 4 1476 36 2935 68 4377 99 5835 130 7304 161 8780 192
159 5 1521 37 2981 69 4424 100 5883 131 7351 162
8828 193
176 5 1 1537 37 14 3004 69 28 4471 101 42 5930 132 7399 163 8871 193 84
196 6 1566 38 3027 70 4518 102 5938 132 56 7404 163 70
8875 194
1611 39 3073 71 5977 133 7447 164
234 7 4565 103
8923 195
273 8 1642 39 15 3109 71 29 4576 103 43 6024 134 7494 165
8971 196
280 8 2 1656 40 3120 72 4612 104 6042 134 57 7509 165 71
1701 41
8976 196 85
3166 73 6072 135 7542 166
313 9 4658 105
1746 42
353 10 3212 74 4680 105   6119 136 7589 167
9019 197
385 10 3   1747 42 16   3213 74 30   4705 106 44   6147 136 58   7614 167 72   9066 198  
1791 43
3259 75 6166 137 7637 168
394 11 4752 107 9081 198 86
1836 44
434 12 3305 76 4785 107 45 6214 138 7684 169 9114 199
1851 44 17
3318 76 31 6252 138 59 7719 169 73
476 13 4799 108
9162 200
1882 45
3351 77 6261 139 7732 170
490 13 4 4846 109
9186 200 87
1927 46
3398 78 6308 140 7779 171
517 14 4890 109 46
1956 46 18
9210 201
3423 78 32 6355 141 7824 171 74
559 15 4893 110
1972 47
9257 202
3444 79 6357 141 60 7827 172
594 15 5 4940 111
2018 48
3491 80 6403 142 7875 173 9290 202 88
601 16 4987 112
2061 48 19
3528 80 33 6450 143 7922 174 75
9305 203
644 17 4995 112 47
2063 49
3537 81 6462 143   7928 174
686 18 5034 113
9353 204
699 18 6   2109 50     3584 82     5081 114     6498 144 61   7970 175     9395 204 89
2154 51
3630 83 6545 145 8017 176
729 19 2166 51 20 5099 114 48 9401 205
3633 83 34 6566 145 62 8033 176 76
772 20 2200 52 5128 115
9449 206
3677 84 6592 146 8065 177
2246 53
804 20 7 5175 116
9496 207
3723 85 6640 147 8113 178
2270 53 21
815 21 5204 116 49 9500 207 90
3737 85 35 6671 147 63 8138 178 77
2291 54
858 22 5222 117
9544 208
3770 86 6687 148 8160 179
2337 55
902 23 5269 118
3817 87 6734 149 8208 180
9592 209
2375 55 22
908 23 8 5309 118 50
3842 87 36 6776 149 64 8243 180 78
9605 209 91
2383 56
945 24 5317 119
3863 88 6782 150 8256 181
2429 57 9640 210
989 25 5364 120
3910 89 6829 151 8303 182
2475 58
9688 211
1013 25 9 5411 121
3947 89 37 6877 152 8347 182 79
2480 58 23
9710 211 92
1033 26 5414 121 51
3956 90 6881 152 65 8351 183
2520 59
1077 27 5458 122 9735 212
4003 91 6924 153 8399 184
2566 60
1118 27 10 5505 123 9783 213
4050 92 6972 154 8446 185 80
2585 60 24
1121 28 5519 123 52
2612 61 4052 92 38 6985 154 66 8452 185 9814 213 93
1165 29 5552 124
4097 93 7019 155 8494 186
9831 214
2658 62
1209 30 2690 62 25 4143 94 5599 125 7067 156 8542 187 9879 215
1223 30 11 5623 125 53
2704 63 4156 94 39 7090 156 67 8557 187 81 9919 215 94
1253 31 2750 64 4190 95 5647 126 7114 157 8589 188
9927 216
1298 32 2794 64 26 4237 96 5694 127 7161 158 8637 189
9975 217
1328 32 12 2796 65 4261 96 40 5728 127 54 7195 158 68 8662 189 82
1342 33 2843 66 4284 97 5741 128 7209 159 8685 190 10023 218
1387 34 2889 67 4330 98 5788 129 7256 160 8732 191 10070 219

ТРЕБОВАНИЯ

При отсутствии других указаний применяют следующие требования.

Требования для однородности дозированных единиц лекарственной формы выполняются, если:

1) допустимое значение (AV) меньше или равно L1 и

2) при расчете допустимого значения (AV) для однородности содержания или изменения массы число отдельных дозированных единиц с содержанием действующего вещества за пределами (1 +/- L2 х 0,01) х M

меньше или равно c2, как указано для данного размера выборки n в таблице 2.1.9.24.-1.

При отсутствии других указаний L1 = 15,0 и L2 = 25,0.

Таблицу 2.1.9.24.-1 используют следующим образом:

- для выборки размером n = 400 находят значения при n >= 385: k = 2,23 и c2 = 3;

- для выборки размером n = 450 находят значения при n >= 407: k = 2,24 и c2 = 3;

- для выборки размером n = 500 находят значения при n >= 490: k = 2,24 и c2 = 4.

АЛЬТЕРНАТИВНОЕ ИСПЫТАНИЕ 2 (НЕПАРАМЕТРИЧЕСКОЕ)

Отбирают не менее 100 дозированных единиц в соответствии с предварительно составленным планом отбора проб.

Однородность дозированных единиц оценивают по однородности содержания или изменению массы, как указано в таблице 2.1.9.24.-1. Проводят количественное определение действующего вещества в каждой единице или взвешивают единицы и рассчитывают содержание действующего вещества в каждой из них, как указано в общей фармакопейной статье 2.1.9.14. Однородность дозированных единиц. Вычисляют число отдельных дозированных единиц с содержанием действующего вещества за пределами (1 +/- L1 · 0,01) · T. Проводят оценку однородности дозированных единиц, если значения находятся в пределах, указанных в таблице 2.1.9.24.-2.

ТРЕБОВАНИЯ

При отсутствии других указаний применяют следующие требования.

Требования для однородности дозированных единиц лекарственной формы выполняются, если:

1) число отдельных дозированных единиц с содержанием действующего вещества за пределами (1 +/- L1 х 0,01) х T меньше или равно с 1 и

2) число отдельных дозированных единиц с содержанием действующего вещества за пределами (1 +/- L2 х 0,01) х T меньше или равно c2.

Для данного размера выборки n значения c1 и c2 определяют из таблицы 2.1.9.24.-2. При отсутствии других указаний L1 = 15,0 и L2 = 25,0.

Таблицу 2.1.9.24.-2 используют следующим образом:

- для выборки размером n = 400 находят значения при n >= 394: c1 = 11 и c2 = 3;

- для выборки размером n = 450 находят значения при n >= 434: c1 = 12 и c2 = 3;

- для выборки размером n = 500 находят значения при n >= 490: c1 = 13 и c2 = 4.

201090025-2022

2.1.9.25. Определение размера частиц в суспензиях, эмульсиях, мягких лекарственных формах

Данное испытание предназначено для определения размера частиц в лекарственных формах, представляющих собой суспензии, эмульсии, а также в мягких лекарственных формах гетерогенного и комбинированного типа, содержащих компоненты в виде твердой дисперсной фазы.

Определение проводят методом оптической микроскопии в соответствии с общей фармакопейной статьей 2.1.9.13. Оптическая микроскопия, исследуя объект визуально или в автоматическом режиме с помощью компьютерного обеспечения, методом лазерной дифракции в соответствии с общей фармакопейной статьей 2.1.9.26. Определение размера частиц методом дифракции лазерного излучения или в соответствии с методикой, указанной в частной фармакопейной статье и (или) нормативном документе по качеству.

ОПРЕДЕЛЕНИЕ РАЗМЕРА ЧАСТИЦ В МЯГКИХ ЛЕКАРСТВЕННЫХ ФОРМАХ И СУСПЕНЗИЯХ ДЛЯ ОФТАЛЬМОЛОГИЧЕСКОГО ПРИМЕНЕНИЯ

Испытание проводят методом оптической микроскопии. Пробу лекарственного препарата, содержащую не менее 10 мкг твердого действующего вещества, вносят в счетную камеру (для лекарственных препаратов, представляющих собой суспензии) или осторожно наносят на предметное стекло (для лекарственных препаратов, представляющих собой мягкие лекарственные формы) и просматривают под микроскопом всю площадь пробы. Вначале пробу просматривают при малом увеличении (например, 50x), отмечая частицы размером более 25 мкм. Затем проводят измерение этих частиц при большем увеличении (например, от 200x до 500x). Количество частиц рассчитывают в пересчете на пробу лекарственного препарата, содержащую 10 мкг твердого действующего вещества.

В пробе лекарственного препарата, содержащего 10 мкг твердого действующего вещества, не должно обнаруживаться более 20 частиц размером более 25 мкм, из них - не более двух частиц могут иметь размер более 50 мкм. Не допускается наличие частиц размером более 90 мкм.

ОПРЕДЕЛЕНИЕ РАЗМЕРА ЧАСТИЦ В МЯГКИХ ЛЕКАРСТВЕННЫХ ФОРМАХ

Испытание проводят методом оптической микроскопии. При отсутствии других указаний в частной фармакопейной статье и (или) нормативном документе по качеству, используют микроскоп, снабженный окулярным микрометром при увеличении окуляра 15x и объектива 8x. Цену деления окулярного микрометра выверяют по объект-микрометру для проходящего света.

Используемые предметные стекла должны быть обработаны с одной стороны следующим образом: посередине стекла алмазом или каким-либо другим абразивным материалом наносят квадрат со стороной около 15 мм и диагоналями. Линии окрашивают с помощью карандаша по стеклу. Обратная сторона предметного стекла остается необработанной.

Отбирают среднюю пробу лекарственного препарата, представляющего собой мягкую лекарственную форму, массой не менее 5 г. Если концентрация действующих веществ в лекарственном препарате превышает 10%, то добавляют соответствующую основу до содержания действующих веществ около 10% и перемешивают При отборе проб следует избегать измельчения частиц.

Из средней пробы лекарственного препарата, представляющего собой мягкую лекарственную форму, берут навеску 0,05 г и помещают на необработанную сторону предметного стекла. Пробу накрывают покровным стеклом (24 x 24 мм), фиксируют его путем слабого надавливания и просматривают по одному полю зрения в каждом из четырех сегментов, образованных диагоналями квадрата. Для испытаний одного лекарственного препарата проводят 5 определений средней пробы.

При отсутствии других указаний в частной фармакопейной статье и (или) нормативном документе по качеству, размер частиц в лекарственных препаратах, представляющих собой мягкие лекарственные формы гетерогенного и комбинированного типов, не должен превышать 100 мкм.

ОПРЕДЕЛЕНИЕ РАЗМЕРА ЧАСТИЦ В СУСПЕНЗИЯХ

При отсутствии других указаний в частной фармакопейной статье и (или) нормативном документе по качеству определение размера частиц в суспензиях проводят так же, как для суспензий, предназначенных для офтальмологического применения.

При отсутствии других указаний в частной фармакопейной статье и (или) нормативном документе по качеству, в пробе лекарственного препарата, представляющего собой суспензию, не должно обнаруживаться частиц размером более 100 мкм.

ОПРЕДЕЛЕНИЕ РАЗМЕРА ЧАСТИЦ В ЭМУЛЬСИЯХ

Испытание проводят в соответствии с методикой определения и требованиями, указанными в частной фармакопейной статье и (или) нормативном документе по качеству.

При отсутствии других указаний в частной фармакопейной статье и (или) нормативном документе по качеству, диаметр капель в эмульсиях для внутрисосудистого введения не должен превышать 5 мкм.

201090026-2022

2.1.9.26. Определение размера частиц методом дифракции лазерного излучения

Метод дифракции лазерного излучения, используемый для определения распределения частиц по размеру, основан на анализе профиля рассеяния света, возникающего при освещении частицы коллимированным лазерным лучом. Метод позволяет измерять частицы в диапазоне от 0,1 мкм до 3,0 мм.

ОБЛАСТЬ ПРИМЕНЕНИЯ

Метод предназначен для определения размера частиц и распределения частиц по размеру в лекарственных препаратах, представляющих собой такие лекарственные формы, как порошки, суспензии, эмульсии и др. Метод позволяет также определять, а затем и нормировать размер частиц фармацевтических субстанций и их распределение.

ОБОРУДОВАНИЕ

Оборудование размещают таким образом, чтобы защитить его от воздействия электрических помех, механических вибраций, температурных колебаний, влажности и прямого яркого света.

Схема прибора для лазерной дифракции представлена на рисунке 2.1.9.26.-1.

Рисунок 2.1.9.26.-1. - Схема прибора для определения размера частиц методом лазерной дифракции. 1 - источник лазерного излучения; 2 - модуль обработки лазерного излучения; 3 - частицы; 4 - рассеянный свет, не собранный линзой (6); 5 - рабочее расстояние линзы (6); 6 - линза Фурье; 7 - прямой луч; 8 - фокусное расстояние линзы (6); 9 - рассеянный луч; 10 - детектор затемнения, 11 - многоэлементный детектор

Взаимодействие луча падающего света и частиц дисперсной фазы приводит к образованию профиля рассеяния света с разными значениями интенсивности света при различных углах. Общее распределение угловой интенсивности, состоящее из прямого и рассеянного света, фокусируется линзой на многоэлементном детекторе. Линза создает профиль рассеяния света, который не зависит от расположения частиц в световом луче.

Работа прибора базируется на основных принципах рассеяния лазерного излучения при условии идеализированных свойств частиц, поэтому калибровка прибора перед измерением не требуется. Проверку правильности работы прибора можно осуществить путем измерения сертифицированного стандартного материала, состоящего из частиц известного распределения по размеру.

Работу прибора необходимо подтверждать через регулярные интервалы времени или с надлежащей частотой. Поверку системы производят с использованием контрольного материала, известного распределения по размеру. Средние значения трех измерений должны отличаться от установленного значения не более чем на 10% для x50 и не более чем на 15% для x10 и x90. Для x < 10 мкм эти величины необходимо удвоить.

ПРОБОПОДГОТОВКА

Методика пробоподготовки должна обеспечивать получение репрезентативного образца требуемого объема для измерения размера частиц.

Спреи, аэрозоли и пузырьки газа в жидкости измеряются непосредственно, поскольку пробоподготовка или разведение могут изменить распределение частиц по размеру.

Сыпучие порошки также можно преобразовать в аэрозоли при помощи диспергаторов, использующих энергию сжатого газа или перепады давления. Полученный аэрозоль проходит через зону измерения, после чего попадает во впускное отверстие вакуумного блока, где частицы аэрозоля собираются.

В качестве дисперсионной среды могут быть использованы вода P и различные органические растворители (этанол (96%) P, метанол P, изопропанол P, гексан P, ацетон P, толуол P и другие), что должно быть указано в частной фармакопейной статье и (или) нормативном документе по качеству.

Определение диапазона концентраций. Для получения приемлемого соотношения "сигнал - шум" в детекторе, концентрация частиц в дисперсии должна превышать минимальный уровень. Также она должна быть меньше максимального уровня концентрации во избежание многократного рассеяния.

На диапазон концентраций влияют: ширина лазерного луча, расстояние, проходимое лучом лазера в зоне измерения, оптические свойства частиц и чувствительность элементов детектора. Измерения необходимо проводить при различных концентрациях частиц для определения оптимального диапазона концентраций для каждого характерного образца материала.

Принцип метода. Образец, диспергированный в жидкости или газе с необходимой концентрацией, подвергается воздействию лазерного облучения. Свет, рассеянный от частиц на различных углах, измеряется многоэлементным детектором. Числовые значения, представляющие профиль рассеяния света, регистрируются для последующего анализа. В дальнейшем эти значения математически преобразуются с помощью оптической модели в доли от общего объема отдельных размерных классов, формируя, таким образом, объемное распределение частиц по размеру.

Метод не может отличить рассеяние от отдельных частиц и рассеяние от кластеров частиц, т.е. агломератов или агрегатов. В случае если образцы содержат агломераты или агрегаты частиц, и если необходимо определить распределение отдельных частиц по размеру, то перед измерением кластеры диспергируют на отдельные частицы. Для несферических частиц получают соответствующее распределение эквивалентных сфер по размеру, поскольку метод предполагает использование сферических частиц в своей оптической модели. Полученное распределение частиц по размеру может отличаться от распределений, основанных на других физических принципах (например, седиментации или ситовом определении).

МЕТОДИКА

Измерение размеров частиц осуществляют на малоугловых измерителях дисперсности в соответствии с руководством по эксплуатации прибора и инструкцией пользователя.

После соответствующей регулировки оптической части прибора проводят фоновое измерение среды, в которой отсутствуют дисперсные частицы. Уровень сигнала фона должен быть ниже соответствующего порогового значения. После фонового измерения проводят измерение пробы. Обычно при измерении проводится большое число регистраций сигнала на элементах детектора и определяется среднее значение для каждого элемента. Положение и размер элементов детектора, фокусное расстояние линзы определяют диапазон углов рассеяния для каждого элемента.

Большинство приборов также измеряют интенсивность центрального луча. Различие интенсивностей центрального луча в дисперсной системе и фонового измерения является параметром затемнения и свидетельствует об интенсивности рассеянного света и концентрации частиц.

Специфические условия проведения анализа по измерению размера частиц и их распределению в конкретных лекарственных средствах указывают в частных фармакопейных статьях и (или) нормативных документах по качеству.

Выбор оптической модели. Выбор подходящей оптической модели зависит от размера абсорбции, показателя преломления, шероховатости, ориентации кристалла и т.д., испытуемого образца. В большинстве случаев применяют аппроксимацию Фраунгофера или теорию Ми. При размере частиц менее 25 мкм различия между оптическими моделями становятся более существенными. В этом диапазоне более точные результаты позволяет получать теория Ми. При использовании теории Ми в прибор необходимо ввести значения показателя преломления частиц и среды или их отношение.

Время измерения. Время измерения, время и частота сбора данных детектором определяют экспериментально таким образом, чтобы достичь желаемой точности. Как правило, за время измерения происходит большое количество сканирований за короткий промежуток времени.

Повторные измерения. Число повторных измерений зависит от конкретного материала. Обычно измеряют не менее трех репрезентативных образцов одной серии.

Результаты измерений. Результаты обычно представляют в виде интегральной кривой распределения частиц по размеру (рисунок 2.1.9.26.-2). Величины xm отражают размер частиц, где m - доля частиц с размером x и менее. Для оценки распределения по размеру обычно используют значения x10, x50 и x90.

Рисунок 2.1.9.26.-2. - Интегральное объемное распределение частиц по размеру. x - размер частиц, определяемый как диаметр объема эквивалентной сферы; Q3(x) - объемная доля частиц с размером x и менее; x10, x50, x90 - размер частиц, соответствующий объемной доле 10%, 50% и 90% соответственно

Повторяемость. Предпочтительно использование сертифицированных или стандартных материалов, состоящих из сферических частиц известного распределения по размеру, с размерными группами, отличающимися по размеру более чем в 10 раз. Работоспособность прибора считается соответствующей требованиям, если среднее значение x50 по крайней мере трех независимых измерений сертифицированного или стандартного материала отличается не более чем на 3% от установленного диапазона значений. Средние значения x10 и x90 не должны превышать установленный диапазон значений более чем на 5%. Относительное стандартное отклонение должно быть менее 3% для x50 и менее 5% для x10 и x90. Для x < 10 мкм эти величины необходимо удвоить.

Промежуточная внутрилабораторная прецизионность. Промежуточная внутрилабораторная прецизионность метода, главным образом, зависит от характеристик материала (измельченный/неизмельченный, твердый/ломкий), а также от типа лекарственной формы. Обычно измеряют не менее трех репрезентативных образцов одной серии. Относительное стандартное отклонение должно быть менее 10% для x50. Для значений x10 и x90 относительное стандартное отклонение должно быть менее 15%. Для x < 10 мкм эти величины необходимо удвоить.

Меры предосторожности. При проведении измерений жидких дисперсий необходимо избегать появления пузырьков воздуха, испарения жидкости или других неоднородностей дисперсии. При работе с сухими дисперсиями необходимо избегать неравномерного потока частиц от диспергатора или турбулентного воздушного течения. Такие эффекты могут привести к получению недостоверных результатов по распределению частиц по размеру.

201090027-2022

2.1.9.27. Металлические частицы в мазях глазных

Данное испытание проводят для мазей глазных, упаковка которых представляет собой металлические тубы.

Методика. Определение проводят на 10 тубах. Содержимое каждой из 10 туб (мазь максимально выдавливают из туб) помещают в отдельные чистые, без царапин чашки Петри диаметром 60 мм с плоским дном. Чашки Петри закрывают крышками и нагревают содержимое при температуре около 85 °C до полного расплавления основы мази. Охлаждают мазь при комнатной температуре до затвердевания, избегая перемешивания и встряхивания.

Испытание проводят методом оптической микроскопии в соответствии с общей фармакопейной статьей 2.1.9.13. Оптическая микроскопия, исследуя объект визуально или с помощью компьютерного обеспечения. С чашек Петри удаляют крышки и переворачивают каждую из них на подставку микроскопа с увеличением не менее 30x и диском окуляра микрометра, который откалиброван на используемое увеличение. В дополнение к обычно применяемому освещению используют источник света, направленный на образец мази сверху под углом около 45°. Исследуют всю поверхность дна каждой чашки Петри на наличие металлических частиц, которые могут быть обнаружены по металлическому блеску при изменении интенсивности света от дополнительного источника. Подсчитывают число металлических частиц, размер которых по любой оси измерения составляет 50 мкм или более.

Мазь глазная соответствует требованиям, если общее число металлических частиц, размер которых составляет 50 мкм или более во всех 10 тубах не превышает 50, и если не более чем в 1 тубе содержится более 8 частиц указанного размера. Если данное требование не выполняется, исследование повторяют на 20 дополнительных тубах.

Мазь глазная соответствует требованиям, если общее число металлических частиц, размер которых составляет 50 мкм или более во всех 30 тубах не превышает 150, и если не более чем в 3 тубах содержится более 8 частиц указанного размера (в каждой из туб).

Не допускается наличие частиц с размером более 90 мкм.

201090028-2022

2.1.9.28. Возгораемость и характер тления лекарственных препаратов в виде пластин ветеринарных, шнуров ветеринарных и твердых лекарственных форм для ингаляций ветеринарных

Настоящая общая фармакопейная статья предназначена для оценки возгораемости и характера тления лекарственных препаратов в виде лекарственных форм, представляющих собой пластины ветеринарные, шнуры ветеринарные и твердые лекарственные формы (порошки, таблетки) для ингаляций ветеринарные, применяемые в виде аэрозоля (при термическом испарении) или путем термической возгонки действующего(их) вещества(в) под воздействием высокой температуры в процессе тления вспомогательных веществ.

В качестве вспомогательных веществ в лекарственных препаратах данных лекарственных форм используют основу для термического испарения или термической возгонки, окислители для инициирования реакции окисления (тления), а также пламегасители для предотвращения воспламенения.

Возгораемость - инициация процесса тления лекарственной формы при воздействии источника высокой температуры, а также определение интервала времени от начала воздействия источника высокой температуры до начала процесса тления.

Тление - один из видов горения, характеризующийся отсутствием пламени и низкой скоростью протекания окислительно-восстановительного процесса.

Характер тления - визуальная оценка процесса тления лекарственной формы (наличие или отсутствие искр и (или) пламени, цвет продуктов термического испарения или термической возгонки).

При отсутствии других указаний в частной фармакопейной статье испытание проводят не менее, чем на трех образцах, отобранных в соответствии с общей фармакопейной статьей 2.1.7.1. Отбор проб.

Методика. Оценку возгораемости и характера тления пластин ветеринарных, шнуров ветеринарных, порошков и таблеток для ингаляций ветеринарных необходимо проводить с соблюдением требований пожарной безопасности.

После вскрытия упаковки пластины ветеринарные, шнуры ветеринарные, порошки и таблетки для ингаляций ветеринарные помещают на поверхность из инертного негорючего материала (керамика, камень или металл).

Процесс тления инициируют при помощи источника высокой температуры, в качестве которого используют пламя (если иное не предусмотрено в частной фармакопейной статье).

Воздействие источника высокой температуры на лекарственную форму прекращают при начале процесса тления.

Возгораемость оценивают по возможности инициации процесса тления, а также по интервалу времени от начала воздействия источника высокой температуры до начала процесса тления.

Интервал времени от начала воздействия источника высокой температуры до начала процесса тления определяют при помощи секундомера.

Характер тления оценивают визуально по наличию или отсутствию искр и (или) пламени, цвету продуктов термического испарения или термической возгонки.

Пластины ветеринарные, шнуры ветеринарные, порошки и таблетки для ингаляций ветеринарные соответствуют требованиям, если процесс тления безотказно инициируется при воздействии источника высокой температуры.

Время с момента начала воздействия источника высокой температуры и до начала процесса тления должно соответствовать требованиям частной фармакопейной статьи и (или) нормативного документа на ветеринарное лекарственное средство.

В процессе тления искры и (или) открытое пламя должны отсутствовать, цвет продуктов термического испарения или термической возгонки должен соответствовать требованиям частной фармакопейной статьи и (или) нормативного документа на ветеринарное лекарственное средство.

201090029-2022

2.1.9.29. Определение времени тления лекарственных препаратов в виде пластин ветеринарных, шнуров ветеринарных и твердых лекарственных форм для ингаляций ветеринарных

Настоящая общая фармакопейная статья предназначена для определения времени тления лекарственных препаратов в виде лекарственных форм, представляющих собой пластины ветеринарные, шнуры ветеринарные и твердые лекарственные формы (порошки, таблетки) для ингаляций ветеринарные, применяемые в виде аэрозоля (при термическом испарении) или путем термической возгонки действующего(их) вещества(в) под воздействием высокой температуры в процессе тления вспомогательных веществ.

В качестве вспомогательных веществ в лекарственных препаратах данных лекарственных форм используют основу для термического испарения или термической возгонки, окислители для инициирования реакции окисления (тления), а также пламегасители для предотвращения воспламенения.

Тление - один из видов горения, характеризующийся отсутствием пламени и низкой скоростью протекания окислительно-восстановительного процесса.

Время тления - интервал времени от начала возгорания до окончания процесса тления.

При отсутствии других указаний в частной фармакопейной статье испытание проводят не менее, чем на трех образцах, отобранных в соответствии с общей фармакопейной статьей 2.1.7.1. Отбор проб.

Методика. Оценку времени тления пластин ветеринарных, шнуров ветеринарных, порошков и таблеток для ингаляций ветеринарных необходимо проводить с соблюдением требований пожарной безопасности.

После вскрытия упаковки пластины ветеринарные, шнуры ветеринарные, порошки и таблетки для ингаляций ветеринарные помещают на поверхность из инертного негорючего материала (керамика, камень или металл).

Процесс тления инициируют при помощи источника высокой температуры, в качестве которого используют пламя (если иное не предусмотрено в нормативном документе на ветеринарное лекарственное средство или частной фармакопейной статье).

Воздействие источника высокой температуры на лекарственную форму прекращают при начале процесса тления.

Интервал времени от начала и до окончания процесса тления определяют при помощи секундомера.

Пластины ветеринарные, шнуры ветеринарные, порошки и таблетки для ингаляций ветеринарные соответствуют требованиям, если интервал времени от начала возгорания и до окончания процесса тления соответствует требованиям частной фармакопейной статьи и (или) нормативного документа на ветеринарное лекарственное средство.

2.1.10. ОПРЕДЕЛЕНИЕ ФУНКЦИОНАЛЬНЫХ ХАРАКТЕРИСТИК

201100001-2022

2.1.10.1. Сыпучесть

Испытание на сыпучесть предназначено для определения способности твердых частиц (например, порошков и гранул) сыпаться в вертикальном направлении при заданных условиях.

ОБОРУДОВАНИЕ

В зависимости от сыпучести испытуемого образца используют воронки с выходным стволом или без него, с разными углами и диаметрами выходных отверстий. При отсутствии выходного ствола воронку используют с насадкой. Типичные воронки показаны на рисунках 2.1.10.1.-1 и 2.1.10.1.-2. Воронка поддерживается в вертикальном положении при помощи специального приспособления. Вся конструкция должна быть защищена от вибрации.

Рисунок 2.1.10.1.-1. - Воронка без выходного ствола и насадка. Насадка изготовлена из нержавеющей кислотоупорной стали (V4A, CrNi). Размеры указаны в миллиметрах

Насадка Диаметр (d) выходного отверстия (мм)
1 10,00 +/- 0,01
2 15,00 +/- 0,01
3 25,00 +/- 0,01

Рисунок 2.1.10.1.-2. - Воронка с выходным стволом. Размеры указаны в миллиметрах

МЕТОДИКА

В сухую воронку, выходное отверстие которой закрыто соответствующим образом, помещают без уплотнения навеску испытуемого образца, взвешенную с точностью до 0,5%. Количество испытуемого образца зависит от его кажущегося (насыпного) объема и используемого оборудования. Открывают выходное отверстие воронки и определяют время, необходимое для полного высыпания испытуемого образца из воронки. Проводят 3 измерения.

ПРЕДСТАВЛЕНИЕ РЕЗУЛЬТАТОВ

Сыпучесть выражают в секундах и десятых долях секунды, по отношению к 100 г испытуемого образца.

Результаты зависят от условий хранения испытуемого образца. Результаты могут быть представлены в виде:

а) среднего значения полученных результатов при условии, что ни один из результатов не отклоняется от среднего значения более чем на 10%;

б) диапазона значений, если отдельные результаты отклоняются от среднего значения более чем на 10%;

в) графика зависимости массы от времени высыпания;

г) времени, необходимого для испытуемого образца, не обладающего сыпучестью в случае неполного высыпания порошка из воронки.

201100002-2022

2.1.10.2. Сыпучесть порошков

Распространенное использование порошков в фармацевтической промышленности привело к возникновению разнообразных методов для характеристики их сыпучести. Предпринимается попытка установить связь с различными критериями сыпучести порошков и производственным процессом. Разработка такого большого количества разнообразных методик испытаний была неизбежна, так как поведение порошков многогранно, что усложняет попытки охарактеризовать их сыпучесть.

Целью данной общей фармакопейной статьи является обзор наиболее часто встречающихся в фармацевтической практике методов оценки сыпучести порошков.

Любой метод оценки сыпучести порошка должен быть практичным, воспроизводимым и чувствительным, а также обеспечивать получение информативных результатов. Однако ни один простой метод определения сыпучести порошков не способен адекватно и полностью охарактеризовать широкий спектр свойств сыпучести порошка, имеющий определенное значение для фармацевтической промышленности. Подходящей стратегией может быть использование нескольких стандартизированных методов испытаний, характеризующих различные характеристики сыпучести порошка, необходимые разработчику.

В данной общей фармакопейной статье приводятся рекомендации по стандартизации методов испытаний, которые могут быть полезны на стадии фармацевтической разработки.

Наиболее часто для оценки сыпучести порошка используют 4 метода испытаний:

- определение угла естественного откоса;

- определение коэффициента прессуемости или коэффициента Хауснера;

- определение скорости сыпучести через отверстие;

- метод сдвиговой ячейки.

Кроме того, встречаются многочисленные разновидности каждого из этих основных методов. Учитывая большое количество методов испытаний и их разновидностей, при возможности, необходима стандартизация методологии испытаний.

Далее приводится описание наиболее часто используемых методов. Определены важнейшие экспериментальные аспекты и представлены рекомендации, касающиеся стандартизации данных методов.

УГОЛ ЕСТЕСТВЕННОГО ОТКОСА

Угол естественного откоса используется в различных отраслях науки для описания свойств сыпучести твердых тел. Угол естественного откоса является характеристикой, учитывающей трение частиц между собой, а также сопротивление между частицами при их движении. Результат определения угла естественного откоса во многом зависит от используемого метода. Трудности в проведении испытания возникают из-за расслаивания (сегрегации), уплотнения или разрыхления (аэрации) порошка при формировании конуса. Несмотря на это, метод продолжает использоваться в фармацевтической промышленности, описано множество примеров, демонстрирующих его значение при прогнозировании производственных проблем.

Угол естественного откоса представляет собой постоянную величину трехмерного угла (относительно горизонтальной поверхности), образующегося при насыпании порошка горкой в виде конуса. Величину угла определяют из способов, описанных ниже.

Основные методики определения угла естественного откоса

Большинство применяемых методик определения статистического угла естественного откоса могут быть классифицированы на основе двух важных экспериментальных переменных:

- высота "воронки", через которую проходит порошок, которая может устанавливаться относительно основания или изменяться по мере формирования горки;

- основание, на котором образуется горка, которая может иметь определенный диаметр, или диаметр основания конуса горки из порошка может изменяться по мере формирования горки.

Разновидности методик определения угла естественного откоса

Представлены описания следующих разновидностей вышеупомянутых методик:

- стекающий угол естественного откоса определяется после "высыпания" из контейнера дополнительного количества порошка, выходящего за пределы основания конуса горки определенного диаметра. Стекающий угол естественного откоса определяют на сформировавшемся конусе порошка с основания определенного диаметра;

- динамический угол естественного откоса определяется путем заполнения цилиндра (с прозрачной плоской крышкой на одном конце) и вращения его с определенной скоростью. Динамический угол естественного откоса - это угол (относительно горизонтальной поверхности), сформированный сыпучим порошком. Внутренний угол кинетического трения определяют путем отделения на плоскости частиц, которые скатываются с верхнего слоя порошка, и частиц, которые вращаются вместе с цилиндром (с шероховатой поверхностью).

Общая шкала сыпучести и угла естественного откоса

Несмотря на то, что существуют некоторые различия в качественном описании сыпучести порошков с использованием угла естественного откоса, в большинстве случаев согласуется с классификацией Карра, приведенной в таблице 2.1.10.2.-1. Имеются примеры смесей с углом в диапазоне от 40° до 50°, которые достаточно широко используются в технологическом процессе. Порошки, с углом естественного откоса более 50°, редко приемлемы для производственных целей.

Таблица 2.1.10.2.-1

Сыпучесть и соответствующий угол естественного откоса

Характеристика сыпучести Угол естественного откоса (в градусах)
Отличная 25 - 30
Хорошая 31 - 35
Достаточная (дополнительных действий не требуется) 36 - 40
Удовлетворительная (может застревать) 41 - 45
Плохая (необходимо встряхивание, вибрация) 46 - 55
Очень плохая 56 - 65
Крайне плохая Более 66

Условия экспериментального определения угла естественного откоса

Угол естественного откоса не является естественным свойством порошка, так как он в значительной степени зависит от методики, используемой для формирования конуса порошка. Следует обратить внимание на следующие важные аспекты:

- вершина конуса порошка может деформироваться под воздействием порошка сверху. Деформацию под воздействием порошка сверху можно минимизировать при осторожном построении порошкового конуса;

- материал основания, на котором строится конус из порошка, влияет на угол естественного откоса. Рекомендуется, чтобы конус из порошка формировался на "одинаковом основании", то есть образование конуса порошка на слое порошка, достигаемый путем использования основания с определенным диаметром, внешние края которого имеют бортик для получения слоя порошка, на котором формируется конус.

Рекомендуемая методика определения угла естественного откоса

Формируют угол естественного откоса на неподвижном основании с бортиком, удерживающим на основании слой порошка. Основание не должно подвергаться вибрации. Высоту воронки подбирают таким образом, чтобы порошок образовывал симметричный конус.

Необходимо принять меры по предупреждению вибрации при движении воронки. Для уменьшения воздействия падающего порошка на формирующуюся вершину конуса, край воронки должен находиться на расстоянии 2 - 4 см от вершины горки порошка. Если симметричный конус порошка не удается получить или воспроизвести, то этот метод не может быть использован. Измеряют высоту полученного конуса порошка и рассчитывают угол естественного откоса, , по следующей формуле:

.

КОЭФФИЦИЕНТ ПРЕССУЕМОСТИ И КОЭФФИЦИЕНТ ХАУСНЕРА

В последние годы определение коэффициента прессуемости и близко связанного с ним коэффициента Хауснера стало простым, быстрым и популярным методом прогнозирования характеристик сыпучести порошков.

Коэффициент прессуемости был предложен в качестве косвенного показателя насыпной плотности, размера и формы, площади поверхности, содержания влаги и когезионной способности вещества, поскольку все эти параметры могут влиять на коэффициент прессуемости. Таким образом, коэффициент прессуемости и коэффициент Хауснера определяют путем измерения насыпного объема порошка и объема порошка после уплотнения.

Основные методики определения коэффициента прессуемости и коэффициента Хауснера

Хотя существует несколько разновидностей методики определения коэффициентов прессуемости и Хауснера, основное испытание заключается в измерении кажущегося (насыпного) объема порошка (V0) и объема порошка после его уплотнения (Vf) до тех пор, пока в объеме не будет происходить никаких изменений. Коэффициент прессуемости и коэффициент Хауснера рассчитывают по следующим формулам:

;

.

В качестве альтернативы коэффициент прессуемости и коэффициент Хауснера могут быть рассчитаны с использованием измеренных значений насыпной плотности () и плотности после уплотнения () следующим образом:

;

.

Иногда в некоторых разновидностях методики определяют степень уплотнения как отдельный либо дополнительный параметр изменения объема при уплотнении. Для коэффициента прессуемости и коэффициента Хауснера используется общепринятая шкала сыпучести, приведенная в таблице 2.1.10.2.-2.

Таблица 2.1.10.2.-2

Шкала сыпучести

Коэффициент прессуемости (%) Характеристика сыпучести Коэффициент Хауснера
1 - 10 Отличная 1,00 - 1,11
11 - 15 Хорошая 1,12 - 1,18
16 - 20 Достаточная 1,19 - 1,25
21 - 25 Удовлетворительная 1,26 - 1,34
26 - 31 Плохая 1,35 - 1,45
32 - 37 Очень плохая 1,46 - 1,59
Более 38 Крайне плохая Более 1,60

Условия экспериментального определения коэффициентов прессуемости и Хауснера

Коэффициенты прессуемости и Хауснера не являются присущими естественными свойствами порошка, так как они зависят от используемой методики. В имеющейся литературе указано несколько важных факторов, влияющих на определение кажущегося (насыпного) объема порошка , объема порошка после уплотнения , насыпной плотности и плотности после уплотнения :

- диаметр используемого цилиндра;

- количество встряхиваний, необходимых для достижения насыпной плотности после уплотнения;

- масса материала, используемого в испытании;

- вращение образца во время его уплотнения.

Рекомендуемая методика определения коэффициентов прессуемости и Хауснера

Используют мерный цилиндр вместимостью 250 мл и массу испытуемого образца в количестве 100 г. Могут использоваться меньшие количества и объемы, но описания всех изменений в методике должны быть описаны вместе с полученными результатами. Рекомендуется проводить в среднем 3 определения.

СКОРОСТЬ СЫПУЧЕСТИ ПОРОШКОВ ЧЕРЕЗ ОТВЕРСТИЕ

Скорость сыпучести порошка зависит от многих факторов, некоторые из которых обусловлены свойствами его частиц, а некоторые зависят от испытания. Определение скорости сыпучести порошка через отверстие было предложено в качестве улучшенного метода оценки его сыпучести. При использовании данного метода особое значение имеет проведение непрерывного мониторинга сыпучести порошка, так как пульсирующие потоки наблюдаются даже у свободно сыпучих порошков. Изменения скорости потока могут наблюдаться также по мере освобождения контейнера. Были выведены эмпирические уравнения, связывающие скорость потока с диаметром отверстия, размером и плотностью частиц. Однако определение скорости сыпучести порошка через отверстие может использоваться только при испытании свободно сыпучих порошков.

Скорость сыпучести порошков через отверстие обычно определяется отношением массы, вытекающей из контейнеров различного вида (цилиндра, воронки, загрузочной воронки), к времени. Измерение скорости сыпучести порошков может происходить в дискретных приращениях или непрерывно.

Основные методики определения скорости сыпучести порошков

Наиболее распространенные методики для определения скорости сыпучести порошков могут быть классифицированы на основании 3 важных экспериментальных переменных:

- тип контейнера, в который помещен порошок. Обычно используются контейнеры в виде цилиндров, воронок и загрузочных воронок из технологического оборудования;

- размер и форма используемого отверстия. Диаметр и форма отверстия являются критическими факторами при определении скорости сыпучести порошка;

- методика измерения скорости сыпучести порошка. Скорость потока может измеряться непрерывно с использованием электронных весов, оснащенных каким-либо записывающим устройством (ленточный самописец, компьютер) или в дискретных величинах (например, время, необходимое для прохождения через отверстие 100 г порошка с точностью до десятой доли секунды, или количество порошка, проходящего через отверстие в течение 10 с, с точностью до десятой доли грамма).

Разновидности методик определения скорости сыпучести порошков через отверстие

Можно определять массовую либо объемную скорость сыпучести порошков. Определение массовой скорости сыпучести порошков является более легкой методикой, но отрицательно влияет на результаты при испытании материалов с высокой плотностью. В таком случае предпочтительнее использовать определение объемной скорости сыпучести. Иногда для облегчения сыпучести порошка из контейнера используется виброустройство, что, однако, усложняет интерпретацию результатов. Для более точного моделирования условий роторного пресса было предложено использовать устройство с подвижным отверстием. Также определяется минимальный диаметр отверстия, через которое проходит поток порошка.

Общая шкала сыпучести и скорость сыпучести порошков

Так как скорость сыпучести зависит от используемого метода измерения, общая шкала сыпучести при данном методе не применима. Поэтому сравнение опубликованных результатов является затруднительным.

Условия экспериментального определения скорости сыпучести порошков

Скорость сыпучести через отверстие не является естественным его свойством. Она в значительной мере зависит от используемой методики. Известны несколько важных параметров, влияющих на получаемые результаты:

- диаметр и форма отверстия;

- тип материала, из которого сделан контейнер (металл, стекло, полимер);

- диаметр и высота порошкового слоя.

Рекомендуемая методика определения скорости сыпучести порошков через отверстие

Определение скорости сыпучести через отверстие используется для порошков, имеющих некоторую способность к сыпучести порошков. Эта методика не пригодна для когезивных порошков. Если высота порошкового слоя (так называемая "головная часть" порошка) значительно выше, чем диаметр диафрагмы, то степень сыпучести фактически не зависит от высоты слоя.

Целесообразно использовать в качестве контейнера цилиндр, чтобы стенки контейнера практически не влияли на поток порошка. В этом случае скорость потока будет определяться подвижностью порошка по порошку, а не движением порошка по стенке контейнера. Часто скорость вытекания порошка увеличивается, если высота столбика порошка меньше, чем его двойной диаметр. Отверстие должно быть круглым, а цилиндр не должен вибрировать. Основные требования к размерам цилиндра следующие:

- диаметр отверстия должен быть больше диаметра частиц более чем в 6 раз;

- диаметр цилиндра должен быть больше диаметра отверстия более чем в 2 раза.

Использование загрузочной воронки в качестве контейнера может быть уместно для репрезентативной оценки текучести в производственных условиях. Не рекомендуется использовать воронку, особенно с выходным стволом, так как скорость потока будет зависеть не только от размера и высоты выходного ствола, но и от силы трения между порошком и стволом воронки. Можно использовать воронку в виде усеченного конуса, но в этом случае на скорость потока будет влиять коэффициент трения между стенками и порошком, поэтому большое значение имеет материал воронки.

Для обеспечения максимальной подвижности и оптимальной структуры потока ("порошок по порошку") в плоском дне цилиндра делают отверстие с изменяемым диаметром. Измерение скорости сыпучести порошка может быть или дискретным, или непрерывным. Непрерывное измерение скорости сыпучести с использованием электронных весов позволяет более эффективно обнаруживать кратковременные изменения скорости сыпучести порошка.

МЕТОД СДВИГОВОЙ ЯЧЕЙКИ

Для обеспечения фундаментальных основ изучения сыпучести порошков и проектирования загрузочных воронок для разных видов порошков были разработаны специальные приборы и методы сдвига, позволяющие дать более полную и точную характеристику текучести порошков. Методология сдвиговой ячейки широко используется в изучении порошков, используемых в фармацевтической промышленности. Используя эти методы, можно получить множество различных параметров, включая зависимость сыпучести от наличия деформации сдвига, угол внутреннего трения, неограниченное напряжение при сыпучести, прочность при растяжении, а также производные параметры, такие как фактор потока и другие коэффициенты сыпучести.

Благодаря возможности управлять экспериментальными параметрами более точно характеристики сыпучести можно определять как функцию нагрузки уплотнения, времени и других условий внешней среды. Эти методы успешно используются для определения основных параметров загрузочной воронки и смесителей.

Основные методики сдвиговой ячейки

Одним из типов сдвиговой ячейки является цилиндрическая ячейка, которая в горизонтальном разрезе формирует плоскость сдвига между нижним неподвижным основанием и верхней подвижной частью кольца ячейки. После уплотнения слоя порошка в сдвиговой ячейке (при использовании детально описанной методики) определяют силу, необходимую для сдвига слоя порошка движением верхнего кольца. Модели кольцевой сдвиговой ячейки по сравнению с моделью цилиндрической сдвиговой ячейки имеют несколько преимуществ, включая использование меньшего количества материала. Недостатком данной ячейки, обусловленным ее конструкцией, является то, что слой порошка сдвигается неоднородно, так как частицы порошка на внешней части кольца сдвигаются больше, чем частицы внутренней области. Третий тип сдвиговой ячейки (тип пластины) представляет собой тонкий слой порошка между нижней неподвижной шероховатой поверхностью и верхней подвижной шероховатой поверхностью.

Все методики сдвиговой ячейки имеют свои преимущества и недостатки, однако их подробный обзор выходит за рамки данной общей фармакопейной статьи. Существенное преимущество метода сдвиговой ячейки заключается в возможности в большей степени контролировать условия испытания. Однако данный метод является достаточно длительным, требует значительного количества порошка и наличия обученного оператора.

Рекомендации к методу сдвиговой ячейки

Многие существующие конфигурации сдвиговых ячеек и методы испытаний предоставляют большой массив данных и могут очень эффективно использоваться для характеристики сыпучести порошков. Они также полезны при разработке оборудования, такого как загрузочные воронки и смесители. Из-за разнообразия используемого оборудования и экспериментальных процедур никакие определенные рекомендации относительно методологии в общей фармакопейной статье не приводятся. Рекомендуется, чтобы результаты определения характеристик сыпучести порошков, полученные с использованием метода сдвиговых ячеек, включила полное описание оборудования и используемой методики.

201100003-2022

2.1.10.3. Насыпная плотность и плотность после уплотнения

Данное фармацевтико-технологическое испытание применяют в зависимости от конкретных технологических задач.

Испытание позволяет определить при заданных условиях насыпные объемы до и после уплотнения, способность к уплотнению, а также насыпную плотность испытуемого образца (например, порошков и гранул). Насыпная плотность испытуемого образца представляет собой отношение массы неуплотненного образца к его объему, включая объем пустого пространства между частицами. Соответственно, насыпная плотность зависит как от плотности частиц, так и от их пространственного расположения в слое испытуемого образца. Насыпную плотность выражают в граммах на миллилитр (г/мл), в Международной системе единиц - в килограммах на метр кубический (1 г/мл = 103 кг/м3), так как измерение проводят с использованием цилиндров. Допускается использование выражения в граммах на сантиметр кубический (г/см3).

Насыпные свойства испытуемого образца зависят от способа производства, методов обработки и условий хранения. Уплотнение частиц и различные, даже незначительные воздействия на массу испытуемого образца в процессе испытаний могут приводить к изменению насыпной плотности. В связи с этим, объемную плотность испытуемого образца часто сложно измерить с достаточной воспроизводимостью и при предоставлении результатов необходимо указывать условия ее определения.

Насыпную плотность испытуемого образца определяют либо измерением его объема с известной массой в градуированном цилиндре (метод 1), либо измерением массы испытуемого образца, помещенного в чашку с известным объемом с использованием волюметра (метод 2) или в цилиндрический сосуд (метод 3). Методы 1 и 3 являются предпочтительными.

МЕТОД 1. ИЗМЕРЕНИЕ В ГРАДУИРОВАННОМ ЦИЛИНДРЕ

Методика. Испытуемого образца в количестве, достаточном для проведения испытания, пропускают через сито с размером отверстий не менее 1,0 мм, при необходимости разрушая его агломераты, образовавшиеся при хранении. Данную процедуру проводят с осторожностью во избежание изменения свойств образца. В сухой градуированный цилиндр вместимостью 250 мл с ценой деления 2 мл аккуратно помещают, без уплотнения, испытуемый образец с массой 100 г (m), взвешенный с точностью 0,1%. При необходимости осторожно выравнивают поверхность испытуемого образца без уплотнения и по ближайшему делению отмечают начальный объем () неуплотненного испытуемого образца.

Насыпную плотность в граммах на миллилитр (г/мл) рассчитывают по формуле:

,

где: m - масса испытуемого образца, в граммах;

- начальный объем неуплотненного испытуемого образца, в миллилитрах.

Вычисляют среднее значение трех определений, используя три испытуемых образца.

Использование испытуемого образца массой 100 г не допускается, если насыпная плотность слишком низкая или высокая и объем неуплотненного испытуемого образца составляет менее 150 мл или более 250 мл.

В данном случае количество испытуемого образца подбирают таким образом, чтобы объем неуплотненного испытуемого образца составлял от 150 мл до 250 мл (не менее 60% от общего объема цилиндра); массу испытуемого образца указывают в результатах испытания.

Для испытуемых образцов, имеющих объем неуплотненного испытуемого образца от 50 мл до 100 мл, допускается использование мерного цилиндра вместимостью 100 мл с ценой деления 1 мл; объем цилиндра указывают в результатах испытания.

МЕТОД 2. ИЗМЕРЕНИЕ В ВОЛЮМЕТРЕ

Прибор. Прибор (рисунок 2.1.10.3.-1) состоит из воронки для испытуемого образца, снабженной ситом с размером отверстий 1,0 мм, погрузочной воронки, установленной над камерой с четырьмя наклоненными стеклянными перегородками, по которым испытуемый образец скользит и направляется по ходу движения. В нижней части камеры находится воронка, направляющая испытуемый образец в чашку для приема образца, установленную непосредственно под ней. Чашка может быть цилиндрической (объем (25,00 +/- 0,05) мл и внутренний диаметр (30,00 +/- 2,00) мм) или квадратной (объем (16,39 +/- 2,00) мл и внутренние размеры (25,400 +/- 0,076) мм).

Рисунок 2.1.10.3.-1. - Волюметр. А - Сито с размером отверстий 1,0 мм; Б - воронка для испытуемого образца; В - погрузочная воронка; Г - камера; Д - стеклянные перегородки; Е - чашка для приема испытуемого образца; Ж - подставка

Методика. Испытуемый образец в избытке пропускают через устройство в чашку до ее переполнения, используя не менее 25 см3 образца для квадратной чашки и не менее 35 см3 образца для цилиндрической чашки. Излишек испытуемого образца в чашке осторожно выравнивают без уплотнения, равномерным перемещением шпателя перпендикулярно к ее краям. Со стенок чашки удаляют остатки испытуемого образца и определяют массу (m) образца с точностью 0,1%.

Насыпную плотность в граммах на миллилитр (г/мл) рассчитывают по формуле:

,

где: - начальный объем неуплотненного испытуемого образца, в миллилитрах;

m - масса испытуемого образца, в граммах.

Вычисляют среднее значение трех определений, используя три разных испытуемых образца.

МЕТОД 3. ИЗМЕРЕНИЕ В ЦИЛИНДРИЧЕСКОМ СОСУДЕ

Прибор. Прибор состоит из цилиндрического сосуда с крышкой вместимостью 100 мл, изготовленного из нержавеющей стали, с размерами, указанными на рисунке 2.1.10.3.-2.

Рисунок 2.1.10.3.-2. - Цилиндрический сосуд (слева) и крышка (справа). Размеры указаны в миллиметрах

Методика. Испытуемый образец в количестве, достаточном для проведения испытания, пропускают через сито с размером отверстий 1,0 мм, при необходимости разрушая его агломераты, образовавшиеся при хранении в мерный сосуд до его переполнения. Поверхность испытуемого образца осторожно выравнивают, как описано в методе 2. Массу испытуемого образца () определяют с точностью 0,1%, вычитая из массы цилиндрического сосуда с образцом массу пустого цилиндрического сосуда. Насыпную плотность в граммах на миллилитр (г/мл) рассчитывают по формуле:

,

где: - масса испытуемого образца, в граммах.

Вычисляют среднее значение трех определений, используя три разных испытуемых образца.

ПЛОТНОСТЬ ПОСЛЕ УПЛОТНЕНИЯ

Плотность после уплотнения представляет собой увеличенную насыпную плотность после уплотнения испытуемого образца путем механического уплотнения в градуированном цилиндре или сосуде.

После измерения первоначальной массы или объема испытуемого образца содержимое градуированного цилиндра или сосуда механически уплотняют до получения постоянной массы или объема. Уплотнение испытуемого образца достигается механическим поднятием градуированного цилиндра или сосуда на установленную высоту и его падением, под действием силы тяжести собственной массы, как описано ниже в одном из трех методов. Предпочтительно использовать устройства, которые при уплотнении испытуемого образца вращают градуированный цилиндр или сосуд для минимизации возможного разделения массы во время уплотнения.

МЕТОД 1

Прибор. Прибор (рисунок 2.1.10.3.-3) состоит из следующих частей:

- градуированный цилиндр (вместимость 250 мл с ценой деления 2 мл, масса (220 +/- 44) г);

- уплотняющий прибор ((250 +/- 15) встряхиваний в минуту с высотой (3 +/- 0,2) мм, или (300 +/-15) встряхиваний в минуту с высотой (14 +/- 2) мм).

Рисунок 2.1.10.3.-3. - Уплотняющее устройство для испытуемого образца. Размеры указаны в миллиметрах

Подставка для градуированного цилиндра с держателем имеет массу (450 +/- 10) г.

Методика. Определяют объем неуплотненного испытуемого образца методом 1 Измерение в градуированном цилиндре. Градуированный цилиндр закрепляют в держателе. С одним и тем же образцом порошка производят 10, 500 и 1250 встряхиваний и измеряют соответствующие объемы , и . Если разница между и составляет не более 2 мл, то за объем после уплотнения принимают . Если разница между и составляет более 2 мл, испытуемый образец дополнительно встряхивают при количестве встряхиваний, например 1250, до достижения разницы между последовательными измерениями объема не более 2 мл. Для некоторого испытуемого образца допускается методика с меньшим количеством встряхиваний при соответствующей ее валидации. Плотность после уплотнения в граммах на миллилитр (г/мл) рассчитывают по формуле:

,

где: - конечный насыпной объем испытуемого образца после уплотнения, в миллилитрах;

m - масса испытуемого образца, в граммах.

Определения, требуемые для расчета плотности после уплотнения, обычно повторяют. Высоту, с которой производили встряхивание, указывают в результатах испытания.

При отсутствии возможности провести испытание с испытуемым образцом массой 100 г используют меньшее его количество и подходящий градуированный цилиндр вместимостью 100 мл (цена деления 1 мл, масса (130 +/- 16) г), установленный на держателе (масса (240 +/- 12) г). Измененные условия указывают в результатах испытания. С одним и тем же испытуемым образцом производят 10, 500 и 1250 встряхиваний и измеряют соответствующие объемы , , . Если разница между и составляет не более 1 мл, то за объем после уплотнения принимают . Если разница между и составляет более 1 мл, испытуемый образец дополнительно встряхивают при количестве встряхиваний, например, 1250, до достижения разницы между последовательными измерениями объема не более 1 мл.

МЕТОД 2

Методика. Испытание проводят методом 1 Измерение в градуированном цилиндре, за исключением того, что уплотняющее устройство обеспечивает падение с установленной высоты (3 +/- 0,2) мм при частоте встряхивания 250 раз в минуту.

МЕТОД 3

Методика. Испытание проводят методом 3 Измерение в цилиндрическом сосуде, используя цилиндрический сосуд с крышкой, показанный на рисунке 2.1.10.3.-2. Сосуд с крышкой встряхивают с частотой 50 - 60 раз в минуту с помощью подходящего прибора для измерения плотности после уплотнения. Производят 200 встряхиваний, снимают крышку и осторожно удаляют избыток исходного образца с поверхности сосуда, как описано в методе 3 Измерение в цилиндрическом сосуде измерения насыпной плотности. Испытание повторяют при 400 встряхиваниях. Испытание повторяют, если разница между двумя измерениями массы, полученными после 200 и 400 встряхиваний составляет более 2%. Испытуемый образец дополнительно встряхивают при количестве встряхиваний 200 до достижения разницы между последовательными измерениями массы менее 2%. Плотность после уплотнения в граммах на миллилитр (г/мл) рассчитывают по формуле:

,

где: - масса испытуемого образца в цилиндрическом сосуде, в граммах.

Вычисляют среднее значение трех определений, используя три разных испытуемых образца. Условия испытаний, включая высоту, указывают в результатах.

ПОКАЗАТЕЛИ ПРЕССУЕМОСТИ

Взаимодействия между частицами влияют как на насыпную плотность, так и на сыпучесть испытуемого образца. Сравнение насыпной плотности до и после уплотнения позволяет оценить характер взаимодействия между различными частицами в слое испытуемого образца. Данные значения используют в качестве показателей сыпучести испытуемого образца: коэффициента прессуемости и коэффициента Хауснера.

Коэффициент прессуемости и коэффициент Хауснера показывают способность массы испытуемого образца к уплотнению и позволяют оценить относительную значимость взаимодействия между ее частицами. Для свободно сыпучих испытуемых образцов такие взаимодействия менее значимы, поэтому показатели их насыпной плотности и плотности после уплотнения будут близкие по значению. Для слабо сыпучих испытуемых образцов взаимодействие между частицами значительное, поэтому разница значений насыпной плотности и плотности после уплотнения будет высокой. Данные различия отражаются коэффициентом прессуемости и коэффициентом Хауснера.

Коэффициент прессуемости рассчитывают по формуле:

,

где: - начальный объем неуплотненного испытуемого образца, в миллилитрах;

- конечный насыпной объем испытуемого образца после уплотнения, в миллилитрах.

Коэффициент Хауснера рассчитывают по формуле:

.

В зависимости от природы вещества коэффициент прессуемости может определяться с помощью вместо . При использовании , это должно быть указано в результатах.

201100004-2022

2.1.10.4. Плотность твердых веществ

Плотность твердых веществ определяется средней массой единицы объема и, как правило, выражается в граммах на сантиметр кубический (г/см3).

В отличие от газов и жидкостей, плотность которых определятся только температурой и давлением, плотность твердых веществ зависит также от их структуры и поэтому изменяется в зависимости от структуры кристалла и степени кристалличности.

В том случае, когда твердые частицы являются аморфными или частично аморфными, их плотность зависит от способа получения, обработки и хранения.

Поэтому, в отличие от жидкостей, плотности двух химически эквивалентных твердых веществ могут быть различными, что отражает соответствующее различие в структуре твердого состояния. Плотность составных частиц является важной физической характеристикой лекарственных средств в форме порошка.

Плотность твердой частицы может принимать различные значения в зависимости от метода, используемого для измерения ее объема. Следует различать 3 уровня выражения плотности:

- истинная плотность, включающая только твердую фракцию материала; в случае кристаллических веществ истинную плотность также называют кристаллической плотностью;

- плотность частиц, включающая также объем пор внутри твердых частиц;

- насыпная плотность, включающая, кроме того, объемы пустот между частицами, образованных в слое порошка; объемную плотность называют также кажущейся плотностью или насыпной массой.

ИСТИННАЯ ПЛОТНОСТЬ

Истинная плотность вещества представляет собой отношение массы к объему элементарной ячейки кристалла за исключением объема пор, которые не являются неотъемлемой частью кристаллической решетки вещества. Истинная плотность является свойством, присущим индивидуальной кристаллической структуре вещества, и поэтому ее величина не должна зависеть от способа определения. Истинная плотность определяется расчетным путем.

Истинную плотность рассчитывают на основании кристаллографических данных (размер и состав элементарной ячейки кристалла), например, из данных дифракции рентгеновского излучения на монокристалле, или путем уточнения кристаллической структуры на основании данных дифракции рентгеновского излучения на порошке.

ПЛОТНОСТЬ ЧАСТИЦ

Плотность частиц вещества учитывает как истинную плотность, так и пористость самой частицы вещества (закрытые и (или) недоступные в условиях эксперимента открытые поры). Таким образом, плотность частиц зависит от величины установленного объема, который, в свою очередь, зависит от метода измерения. Плотность частицы вещества может быть установлена одним из двух следующих методов.

Пикнометрическая плотность определяется путем измерения объема, занимаемого известной массой порошкообразного вещества, который эквивалентен объему газа, вытесненного веществом, определяемому с помощью газового пикнометра. Объем вещества, установленный таким методом, исключает объем, занимаемый открытыми порами, но включает объем закрытых или недоступных для газа пор. Благодаря высокому коэффициенту диффузии гелия, который является наиболее предпочтительным для определения газом, большинство открытых пор доступны газу. Поэтому газовая пикнометрическая плотность тонко измельченного порошка, в общем, незначительно отличается от значения истинной плотности. Следовательно, пикнометрическая плотность является наилучшей оценкой истинной плотности аморфного или частично кристаллического образца и поэтому широко применяется для образцов лекарственных средств в форме порошков.

Плотность, устанавливаемая с помощью ртутного порозиметра, также называемая гранулярной плотностью. Объем, определяемый данным методом, включает объем, занимаемый закрытыми порами или порами, недоступными для ртути, но включает объем только тех открытых пор, которые меньше некоторого предельного значения. Предельное значение размера пор или минимальный диаметр доступности зависит от максимального давления, под которым подается ртуть во время измерения; при обычных условиях измерения ртуть не проникает в мельчайшие поры, доступные для гелия. Для одного образца могут быть получены различные значения гранулярной плотности при каждом используемом интрузионном давлении ртути, которые соответствуют различным значениям предельного размера пор при данном давлении.

НАСЫПНАЯ ПЛОТНОСТЬ И ПЛОТНОСТЬ ПОСЛЕ УПЛОТНЕНИЯ

Насыпная плотность порошка учитывает вклад свободного объема между частицами порошка. Поэтому насыпная плотность зависит как от плотности частиц порошка, так и от их пространственного расположения в слое порошка.

Насыпную плотность порошка зачастую довольно сложно измерить с надлежащей воспроизводимостью, так как мельчайшие нарушения в слое могут приводить к новому значению плотности. Таким образом, важно со значением насыпной плотности указать, каким образом оно было определено.

Насыпную плотность и плотность после уплотнения определяют как указано в общей фармакопейной статье 2.1.10.3. Насыпная плотность и плотность после уплотнения.

201100005-2022

2.1.10.5. Определение кристалличности твердых веществ методом рентгеновской порошковой дифрактометрии

Каждая кристаллическая фаза образца дает характерную картину рентгеновской дифракции. Рентгеновские дифрактограммы получают для беспорядочно ориентированных кристаллических порошков, состоящих из кристаллитов или фрагментов кристалла конечных размеров. Полученная дифрактограмма порошка включает три типа информации:

- угловое положение дифракционных линий (зависящее от геометрии и размера элементарной ячейки);

- интенсивность дифракционных линий (зависящая, главным образом, от типа атомов и их взаимного расположения, ориентации кристаллитов в образце);

- профили дифракционных линий (зависящие от разрешающей способности инструментальной техники, размеров кристаллитов, деформации и толщины образца).

Экспериментально полученные угловые положения и интенсивности линии используют как для качественного фазового анализа (например, идентификация кристаллических фаз), так и количественного фазового анализа кристаллических материалов. Проводят также оценку аморфных и кристаллических фракций в образец.

Метод рентгеновской порошковой дифракции (РПД) находит применение и в других областях, например, для исследования кристаллических фармацевтических субстанций: установление и уточнение кристаллической структуры, определение кристаллографической чистоты кристаллических фаз и характеристик кристаллографического материала и т.д. Применение метода РПД в указанной области не описано в данной общей фармацевтической статье.

Преимуществом метода РПД в сравнении с другими методами анализа является его способность не разрушать природу материала (пробоподготовка обычно ограничивается лишь измельчением для получения беспорядочно ориентированного образца). Исследования с помощью данного метода также проводят в условиях in situ, не зависящих от окружающей среды, например, при низких или высоких температурах и влажности.

ПРИНЦИП

Рентгеновская дифракция является результатом взаимодействия рентгеновских лучей с электронными оболочками атомов. В результате рассеяния рентгеновских лучей возникает интерференция, зависящая от расположения атомов. Интерференция влияет на строение вещества, если разность между двумя отраженными рентгеновскими лучами составляет целое число длин волн. Данное избирательное условие описывается уравнением (законом) Брэгга (см. рисунок 2.1.10.5.-1):

.

Рисунок 2.1.10.5.-1. - Дифракция рентгеновских лучей в кристалле по закону Брегга

Длина волны X-рентгеновских лучей имеет тот же порядок значений, что и расстояние между последовательными плоскостями кристаллической решетки (межплоскостное расстояние d). Величина - угол между падающим лучом и семейством плоскостей решетки, обратно пропорционален межплоскостному расстоянию d.

Направление и межплоскостное расстояние по отношению к осям элементарной ячейки определяются индексами Миллера . Индексы представляют собой наименьшее целое число отрезков, на которые плоскость делит оси элементарной ячейки. Постоянная решетки определяется отрезками a, b, c и углами между ними , и .

Межплоскостное расстояние для набора параллельных плоскостей hkl обозначают . Каждое такое семейство плоскостей показывает более высокий порядок дифракции, если величины d для соответствующих семейств плоскостей nh, nk, nl уменьшаются на фактор 1/n (n - целое число: 2, 3, 4 и т.д.).

Каждый набор плоскостей имеет соответствующий угол отражения Брэгга (при определенной длине волны ).

Образец порошка считают поликристаллическим, если для любого угла в ориентации имеются кристаллиты, вызывающие дифракцию согласно закону Брэгга. Идеальный порошок для дифракционных испытаний содержит большое количество небольших беспорядочно ориентированных сферических кристаллитов (коррегентно дифрагирующие кристаллические домены). При достаточном их количестве всегда имеется такое число ориентированных кристаллитов, которое позволяет получать воспроизводимые дифрактограммы.

Для заданной длины волны рентгеновского излучения положения пиков отражения (линии, отражения или отражения Брэгга) являются характеристическими для кристаллической решетки (межплоскостное расстояние d); их теоретические интенсивности зависят от состава кристаллографической элементарной ячейки (природы и положения атомов), а профили линий - от совершенства и размеров кристаллической решетки. При данных условиях дифракционный пик имеет конечную интенсивность, зависящую от взаимного расположения атомов, типа атомов, теплового движения и дефектов структуры, а также от инструментальных характеристик. Интенсивность зависит от многих факторов, например, от структуры, температуры, кристалличности, поляризации, мультиплетности и фактора Лорентца.

Основными характеристиками профилей дифракционных линий являются положение 2, высота пика, площадь и форма пика (характеризуется, например, шириной пика или асимметрией, аналитической функцией, эмпирической репрезентативностью). Примеры порошковых рентгенограмм, полученных для пяти различных твердых фаз вещества, показаны на рисунке 2.1.10.5.-2.

Рисунок 2.1.10.5.-2. - Порошковые дифрактограммы пяти различных твердых фаз вещества (интенсивности нормализованы)

В дополнение рентгеновская дифракция в эксперименте дает более или менее однородный фон, на который и происходит наложение дифракционных пиков. Помимо подготовки образца на создание фона оказывают воздействие другие факторы, например, помехи от держателя образца, диффузное рассеяние от воздуха и оборудования, инструментальные параметры (шум детектора, общее излучение рентгеновской трубки и т.д.). Отношение пика к фону увеличивают путем понижения фона и увеличения продолжительности времени экспозиции.

АППАРАТУРА

Настройка оборудования. Опыты по измерению рентгеновской дифрактометрии обычно проводят с помощью порошковых дифрактометров или порошковых камер.

Порошковый дифрактометр, как правило, состоит из пяти основных частей:

- источника рентгеновского излучения;

- оптической системы падающего пучка излучения, осуществляющей его монохроматизацию, фильтрацию, коллимацию и/или фокусировку;

- гониометра;

- оптической системы дифрагированного пучка излучения, обеспечивающей его монохроматизацию, фильтрацию, коллимацию и фокусировку или распаралелливание луча;

- детектора.

Для дифрактометрии необходимы также системы сбора и обработки данных, обычно входящие в комплект оборудования.

В зависимости от цели анализа (идентификация фаз, количественный фазовый анализ, определение параметров решетки и т.д.) требуются различные инструментальные конфигурации РПД и режимы выполнения эксперимента. Простейшими приборами, используемыми для исследования порошковых образцов, являются порошковые камеры. Замена фотопленок, ранее использовавшихся в качестве способа регистрации в фотонных детекторах, привела к разработке дифрактометров, в которых геометрическая конструкция рентгенооптической системы основана не на фокусировании, а парафокусировании, например, устройство Брэгга - Брентано. В настоящее время наибольшее распространение получила конфигурация парафокусирования Брэгга - Брентано, краткое описание которой приведено ниже.

Конструкция позволяет обеспечить горизонтальную или вертикальную /2-геометрию или вертикальную /-геометрию. В обоих случаях падающий пучок рентгеновского излучения образует с плоскостью образца угол , ас направлением дифрагированного пучка - угол 2. Рентгенооптическая схема представлена на рисунке 2.1.10.5.-3.

Рисунок 2.1.10.5.-3. - Геометрия парафокусирования Брэгга-Брентано. А - рентгеновская трубка; Б - щель, ограничивающая расхождение; В - образец; Г - антидиффузная щель; Д - приемная щель; Е - монохроматор; Ж - детектор приемной щели; З - детектор; И - круг дифрактометра; К - фокусный круг

Расходящийся пучок лучей из рентгеновской трубки (первичный пучок), проходя через плоскопараллельный коллиматор и щель, ограничивающую их расхождение, облучает плоскую поверхность образца. Лучи, преломленные на угол 2 ориентированными кристаллитами образца, фокусируются на приемной щели. Другой набор деталей, состоящий из плоскопараллельного коллиматора и рассеивающей щели, располагают впереди или позади приемной щели. Фокус трубки и приемная щель находятся на равных расстояниях от оси гониометра. Кванты рентгеновского излучения подсчитываются радиационным детектором, обычно сцинтилляционным счетчиком, газовым пропорциональным счетчиком или позиционно-чувствительным к твердофазным детекторам (например, томографическая пластинка или CCD детектор). Приемная щель и детектор, соединенные друг с другом, двигаются по касательной к фокусному кругу. При /2-сканировании гониометр вращает образец вокруг одной и той же оси, что и у детектора, но с меньшей в два раза скоростью (/2 перемещение). При этом поверхность образца располагается по касательной к фокусному кругу. Плоскопараллельный коллиматор ограничивает осевое расхождение пучка и, следовательно, частично контролирует форму профиля дифрагированной линии.

Дифрактометр также используют в режиме трансмиссии. Достоинством данной технологии является уменьшение эффектов, обусловленных преимущественной ориентацией кристаллитов. Для небольших количеств образца также используют капилляр толщиной (0,5 - 2) мм.

Рентгеновское излучение. В лаборатории рентгеновские лучи получают при бомбардировке металлического анода электронами, испускаемыми при термоионном эффекте и ускоряемыми в сильном электрическом поле (с использованием высоковольтного генератора). Большая часть кинетической энергии электронов преобразуется в теплоту, которая ограничивает мощность трубки и требует эффективного охлаждения анода. С помощью вращающихся анодов и рентгеновской оптической системы достигают 20 - 30-кратного увеличения интенсивности излучения. Кроме того, рентгеновские фотоны получают на крупных установках (синхротронах).

Спектр, испускаемый рентгеновской трубкой при достаточном ее напряжении, состоит из непрерывного фона полихроматического излучения и дополнительного характеристического излучения, зависящего от типа анода. В опытах с рентгеновской дифракцией используют лишь характеристическое излучение. Главными источниками излучения для рентгеновской дифракции являются вакуумные трубки с анодами, изготовленными из меди, молибдена, железа, кобальта или хрома; медные, молибденовые или кобальтовые аноды, в основном, используют для органических веществ (кобальтовые аноды предпочтительны для отделения четких рентгеновских линий). Выбор излучения зависит от абсорбционных характеристик образца и возможной флуоресценции присутствующих в нем атомов. Длины волн, используемые в порошковой дифракции, обычно соответствуют -изучению анода. Для устранения других компонентов спектра пучок рентгеновского излучения должен быть монохроматическим. Монохроматичность излучения частично достигается благодаря применению -фильтров, то есть металлических фильтров с областью абсорбции между и длинами волн, излучаемых трубкой.

Обычно -фильтры помещают между рентгеновской трубкой и образцом. Другим, более распространенным способом получения монохроматического рентгеновского излучения является применение большого монохроматического кристалла (монохроматор). Кристалл, располагаясь впереди или позади образца, преломляет характеристические пики рентгеновского излучения ( и ) под различными углами, обеспечивая вход лишь одного из них в детектор. Возможно также разделение и -излучения с помощью специализированных монохроматоров. Однако получение монохроматического излучения с помощью фильтра или монохроматора сопровождается потерей его интенсивности. Альтернативным способом разделения и -излучений является применение изогнутых рентгеновских зеркал, позволяющих осуществлять одновременную монохроматизацию, фокусирование или параллелизацию рентгеновского излучения.

РАДИАЦИОННАЯ ЗАЩИТА

Облучение любой части человеческого тела рентгеновскими лучами опасно для здоровья. В связи с этим при использовании рентгеновского оборудования необходимо применение соответствующих мер предосторожности для защиты оператора и окружающих. Рекомендуемые меры радиационной защиты на практике, а также предельные значения уровня рентгеновского облучения должны быть установлены национальным законодательством каждой страны. При отсутствии официальных правил или рекомендаций в стране необходимо выполнение последних рекомендаций Международной комиссии по радиологической защите.

ПОДГОТОВКА И УСТАНОВЛЕНИЕ ОБРАЗЦА

Подготовка образца порошкообразного вещества и его установление в держатель представляют собой критические этапы во многих аналитических методах, в частности, в методе РПД, ввиду существенного влияния на качество результатов. Аналогично, изменения могут иметь место в процессе получения данных при испытании неуравновешенных образцов (температура, влажность).

Основные источники ошибок, обусловленные указанными факторами, приводятся ниже для средств измерений, используемых в парафокусной геометрии Брэгга - Брентано.

ПОДГОТОВКА ОБРАЗЦА

Морфология большинства кристаллических частиц образца проявляет некоторую степень преимущественной ориентации при его установлении в держателе. Наглядным примером являются игольчатые или пластинчатые кристаллы, в которых уменьшение размеров приводит к более мелким иглам или пластинкам. Преимущественная ориентация в образце влияет на интенсивность отражений, усиливая или уменьшая ее в сравнении с интенсивностью отражения от полностью неупорядоченного образца. Для достижения неупорядоченности (и, следовательно, минимизации преимущественной ориентации) возможно использование нескольких способов, наилучшим и простейшим из которых является последующее уменьшение размеров частиц. Оптимальное число кристаллитов зависит от геометрии дифрактометра, его разрешающей способности и ослабления пучка рентгеновского излучения. При идентификации фаз удовлетворительные результаты в ряде случаев достигаются при размере частиц более 50 мкм. Однако чрезмерное измельчение (примерно менее 0,5 мкм) может привести к расширению спектральной линии и к таким значительным изменениям в образце, как:

- загрязнение образца частицами от измельчающих инструментов (ступка, пестик, шарики и т.д.);

- уменьшение степени кристалличности;

- твердофазный переход в другую полиморфную модификацию;

- химическое разложение;

- образование внутреннего напряжения;

- твердофазные реакции.

В связи с изложенным выше целесообразно сравнение дифрактограмм исходных образцов и полученных из них измельченных образцов. При сходстве порошковых дифрактограмм в обоих случаях измельчение не требуется.

При содержании в образце более чем одной фазы и применении процедуры просеивания возможно изменение состава образца.

УСТАНОВЛЕНИЕ ОБРАЗЦА

Влияние смещения образца. Смещение поверхности образца на расстояние D относительно оси вращения дифрактометра приводит к неизбежным систематическим ошибкам, в результате которых происходит смещение Dcos в 2 положениях (обычно порядка 0,01° в 2 при малых углах с при D = 15 мкм) и асимметричное расширение профиля в направлении меньших величин 2.

Смещение установленного нулевого значения гониометра является результатом постоянного смещения 2-линии во все наблюдаемые положения, то есть в данном случае происходит преобразование полной дифрактограммы путем перевода Z° в 2.

Использование подходящего внутреннего стандарта позволяет обнаружить и скорректировать наблюдаемый эффект наряду с эффектом, возникающим вследствие прозрачности образца. Указанное явление представляет собой основной источник ошибок в результатах, полученных на тщательно настроенных дифрактометрах.

Влияние толщины и прозрачности образца. При использовании в режиме отражения метод РПД предпочтительно применяют для образцов "бесконечной толщины". Для минимизации эффектов прозрачности целесообразно использование недифрагирующих подложек (держатель с нулевым фоном), например, пластинки монокристаллического кремния, вырезанных параллельно плоскостям решетки 510.

Преимуществом работы в режиме отражения является существенное уменьшение ошибок, связанных с высотой пробы и прозрачностью образца.

При испытании тонкого образца с низким затуханием точное измерение положений линии выполняют путем фокусирования конфигурации дифрактометра в геометрию трансмиссии или отражения. Точное измерение положений линии на образцах с низким затуханием предпочтительно проводят с использованием дифрактометров, имеющих оптические системы параллельного пучка, что позволяет снизить эффект, связанный с толщиной образца.

Использование подходящего внутреннего стандарта позволяет обнаружить и скорректировать наблюдаемый эффект наряду с эффектом, обусловленным смещением образца.

НАСТРОЙКА ДИФРАКТОМЕТРА

Гониометры и оптические системы для первичного и дифрагированного пучков рентгеновского излучения содержат механические части, требующие настройки. Точность настройки непосредственно влияет на качество результатов исследований методом РПД. В связи с этим составляющие дифрактометра (оптические, механические системы и т.д.) должны быть тщательно отрегулированы до минимального уровня систематических ошибок. При настройке дифрактометра установление максимальной интенсивности и максимального разрешения представляет собой противодействующие по характеру процедуры, что требует поиска их оптимального соотношения при настройке прибора. Существование большого числа различных конфигураций оборудования требует в каждом случае специфичных процедур регулировки.

Общая проверка пригодности дифрактометра должна проводиться периодически с использованием подходящих сертифицированных (аттестованных) стандартных образцов. В зависимости от типа анализа также допускается применение других всесторонне охарактеризованных стандартных образцов, однако предпочтительнее использование сертифицированных (аттестованных) стандартных образцов.

КАЧЕСТВЕННЫЙ ФАЗОВЫЙ АНАЛИЗ (ИДЕНТИФИКАЦИЯ ФАЗ)

Идентификация фазового состава неизвестного образца методом РПД основана на сравнении порошковых рентгенограмм его пробы с экспериментально полученной или рассчитанной рентгенограммой стандартного образца, которое проводят визуально или с помощью компьютера. Стандартные рентгенограммы высокого качества получают на однофазных образцах с полным набором установленных характеристик. Подобный подход позволяет в большинстве случаев проводить идентификацию кристаллического вещества по углам дифракции 2 или межплоскостным расстояниям d и его относительным интенсивностям. Компьютерное сравнение дифрактограмм неизвестного образца со стандартными данными проводят либо в более или менее расширенном 2-диапазоне полной дифрактограммы, либо с привлечением набора сокращенных данных, полученных из нее. Например, перечень значений межплоскостных расстояний d и нормализованных интенсивностей (d, - перечни), полученных из рентгенограмм, являются кристаллографической характеристикой материала типа "отпечатков пальцев", которые сравнивают с d, - перечнем однофазных образцов, имеющихся в базе данных.

Используя CuKa-излучение дифрактограмму для большинства органических кристаллов получают в 2-диапазоне от 0° до 40°. Если совпадение 2-дифракционных углов испытуемого и стандартного образцов одной и той же кристаллической формы происходит в пределах 0,2°, то соответствующие им интенсивности подвержены значительному варьированию вследствие эффекта преимущественной ориентации. Благодаря своей структуре для образцов другого типа (например, неорганические соли) необходимо расширение 2 - диапазона сканирования до углов более 40°. В общем случае достаточно сканирование десяти наиболее сильных отражений, идентифицированных по базе данных РПД для однофазных образцов.

Трудность или даже невозможность идентифицирования фаз связана со следующими случаями:

- испытание некристаллических или аморфных веществ;

- низкое содержание по массе фракций компонентов в аналитической пробе (обычно менее 10%, м/м);

- наличие эффекта преимущественной ориентации;

- отсутствие фазы в базе данных;

- образование твердых растворов;

- присутствие неупорядоченных структур, искажающих элементарную ячейку;

- содержание большого числа фаз в образце;

- наличие деформации решетки;

- структурное сходство различных фаз.

КОЛИЧЕСТВЕННЫЙ ФАЗОВЫЙ АНАЛИЗ

В случае использования в качестве испытуемого образца смесь двух или более известных фаз, из которых лишь одна является аморфной, возможно установление во многих случаях содержания в процентах (по объему или по массе) каждой кристаллической и аморфной фаз. Количественный фазовый анализ проводят по интегральным интенсивностям, высотам пиков некоторых отдельных дифракционных линий или полной рентгенограмме.

Если кристаллическая структура всех компонентов известна, то проводят количественный анализ методом Ритвелда с высокой точностью. Если кристаллическая структура компонента не известна, то используют метод Паули или метод наименьших квадратов.

Полученные значения интегральных интенсивностей, высот пиков или полных дифрактограмм сравнивают с соответствующими величинами для стандартного образца, представляющим собой одну фазу или смесь известных фаз. Сложности, возникающие при проведении количественного анализа, связаны с подготовкой образца (правильность и воспроизводимость результатов требуют исключительной однородности всех фаз и соответствующего распределения фракций по размеру в каждой фазе) и матричными эффектами. В отдельных случаях количество кристаллических фаз менее 10% может быть определено на твердых матрицах.

ПОЛИМОРФНЫЕ ОБРАЗЦЫ

Для образца, состоящего из двух полиморфных фаз a и b, количество фракция фазы a рассчитывают по формуле:

.

Фракцию определяют путем измерения отношения интенсивностей между двумя фазами при известных значениях константы K. Константа K представляет собой отношение абсолютных интенсивностей излучения двух чистых полиморфных фаз , значение которой определяют, используя стандартные образцы.

МЕТОДЫ ИСПОЛЬЗОВАНИЯ СТАНДАРТА

Количественный фазовый анализ проводят в большинстве случаев одним из следующих методов:

- метод внешнего стандарта;

- метод внутреннего стандарта;

- метод добавок (метод стандартных добавок).

Наиболее распространенным является метод внешнего стандарта, который основан на сравнении дифрактограмм или интенсивностей соответствующих линий испытуемого и стандартного образцов, или на сравнении с теоретическими интенсивностями структурной модели при условии ее полной изученности.

Для ограничения ошибок, обусловленных матричными эффектами, в качестве внутреннего стандартного образца используют смесь с размером кристаллитов и коэффициентом абсорбции рентгеновского излучения, сравнимыми для ее компонентов, а также с дифрактограммой, которая не накладывается на дифрактограмму анализируемого образца. Известное количество стандартного образца добавляют к анализируемому образцу и в каждую стандартную смесь. При этих условиях зависимость интенсивности излучения от концентрации фазы имеет линейный характер. Метод внутреннего стандарта требует точного измерения интенсивности рентгеновского излучения.

В методе добавок (или методе стандартных добавок) некоторое количество чистой фазы a добавляют в смесь, содержащую неизвестную концентрацию этой фазы. Добавление проводят многократно для построения графика зависимости интенсивности от концентрации фазы, по которому в отрицательной области определяют отрезок x, представляющий собой концентрацию фазы a в испытуемом образце.

ОЦЕНКА АМОРФНОСТИ И КРИСТАЛЛИЧНОСТИ ФРАКЦИЙ

Оценку содержания кристаллической и аморфной фаз в смеси проводят несколькими методами, выбор которых определяется природой образца:

- если образец состоит из кристаллических фракций и аморфной фракции различного химического состава, количество индивидуальной кристаллической фазы оценивают с помощью подходящих стандартных образцов, как описано выше; аморфную фракцию затем определяют вычитанием;

- если образец состоит из одной аморфной и одной кристаллической фракции одинакового элементного состава в виде однофазной или двухфазной смеси, количество кристаллической фазы (степень кристалличности) вычисляют путем измерения площадей пиков в трех областях дифрактограммы:

A - общая площадь пиков, возникающих при дифракции от кристаллической фазы образца;

B - общая площадь под областью A;

C - площадь фона, возникающая за счет воздушного рассеивания, флуоресценции, оборудования, т.д.

Приблизительное значение степени кристалличности вычисляют по следующей формуле:

Степень кристалличности (%) = 100 х A / (A + B - C)

Описанный метод не дает абсолютных значений степени кристалличности и используется, в основном, для целей сравнения.

Возможно также применение более сложных методов, например, метода Руланда.

СТРУКТУРА МОНОКРИСТАЛЛА

Обычно установление структуры проводят по данным РПД, полученным при использовании монокристаллов. Тем не менее, структурный анализ органических кристаллов представляет собой сложную задачу ввиду относительно больших значений параметров решетки, низкой симметрии и незначительных рассеивающих способностей.

Для любой кристаллической формы вещества знание кристаллической структуры позволяет проводить расчеты по соответствующим рентгенограммам РПД, используя для идентификации фаз рентгенограммы стандартных образцов, свободных от преимущественной ориентации.

201100006-2022

2.1.10.6. Определение кристалличности твердых веществ методами микрокалориметрии и калориметрии растворения

В рамках данной общей фармакопейной статьи в качестве твердых веществ рассматриваются кристаллические вещества, частично кристаллические вещества и аморфные вещества.

Полностью упорядоченная кристаллическая решетка, в которой каждая молекула занимает предположительно известное положение, является идеальной, но редко встречающейся, если вообще когда-либо бывает возможной. Другим крайним состоянием является аморфное, где твердое вещество содержит максимально возможную плотность дефектов (дефектов различных порядков), что обусловливает полную потерю дальнего порядка и присутствие только ближнего, представленного ближайшими соседними частицами. Реальные кристаллы находятся в рядах твердых веществ, между кристаллическим и аморфным веществами. Кристалличностью называется состояние кристалла, находящегося между кристаллическим и аморфным состоянием.

Все реальные кристаллы, даже в чистом состоянии, обладают некоторыми дефектами кристаллической решетки, которые увеличивают как энергию (энтальпию при условии постоянного атмосферного давления), так и неупорядоченность (выраженную через энтропию) кристаллической решетки. Кристалл, имеющий относительно низкую плотность дефектов, называют высоко кристаллическим и обладающим высокой кристалличностью. И наоборот, частицу с относительно высокой плотностью дефектов называют частично аморфной и обладающей низкой кристалличностью. В идеальных условиях полностью аморфной частице соответствует нулевая кристалличность. Аморфные частицы могут содержать в некоторой степени упорядоченные домены, которые могут играть роль ядра кристаллизации; о подобных так называемых аморфных частицах говорят, что они обладают низкой, но ограниченной степенью кристалличности.

При разработке и последующем производстве лекарственного средства большое значение имеет исследование биодоступности и определение содержания аморфной части в субстанции с высокой степенью кристалличности.

В действительности порошок может содержать частицы различной степени кристалличности и частицы с различными размерами и формой. Чем ниже кристалличность твердого вещества, тем больше его энтальпия и энтропия. Увеличение энтальпии не компенсируется полностью увеличением энтропии; поэтому свободная энергия Гиббса, отражающая равновесие между ними, фактически увеличивается. Следовательно, чем меньше кристалличность вещества (порошка) и больше выражен его аморфный характер, тем выше его кажущаяся характеристическая растворимость и скорость растворения, но ниже его термодинамическая стабильность. В связи с большой значимостью этих свойств кристалличность также является важным свойством и требует измерения соответствующим методом.

В данной общей фармакопейной статье описано определение кристалличности или содержание аморфной части порошка такими методами, как микрокалориметрия или калориметрия растворения, хотя могут использоваться и другие методы (например, описанные в общей фармакопейной статье 2.1.10.5. Определение кристалличности твердых веществ методом рентгеновской порошковой дифрактометрии).

Способность вещества существовать в различных кристаллических формах называют полиморфизмом. Кристаллы, содержащие молекулы воды или растворителя в кристаллических решетках, называются гидратами или сольватами. Как правило, они проявляют разные физические свойства, что связано с разной упаковкой кристалла и (или) молекулярной структурой и энергией решетки. Для простоты проведения калориметрических измерений при определении степени кристалличности, в данном случае рассматривается, что испытуемый образец имеет только одну кристаллическую форму. Теория и экспериментальный метод могут распространяться на полиморфную способность веществ при тщательном изучении различий в энтальпии полиморфных веществ.

МИКРОКАЛОРИМЕТРИЯ (ОПРЕДЕЛЕНИЕ СОДЕРЖАНИЯ АМОРФНОЙ ЧАСТИ)

Большинство химических, физических и биологических процессов связано с теплообменом с внешней средой. Микрокалориметрия является высокочувствительным методом, позволяющим отслеживать и рассчитывать как экзотермические (выделяющие теплоту), так и эндотермические (поглощающие теплоту) изменения, сопровождающие данные процессы. Метод позволяет определять скорость и степень протекания химических реакций, фазовых превращений или изменений структуры.

С помощью метода микрокалориметрии могут быть исследованы тепловые процессы, в результате которых образуется только напряжение, выражаемое в микроваттах. Это означает, что различия в температуре менее 10-6 К должны быть обнаруживаемы. В методе микрокалориметрии, как правило, используют принцип теплового эффекта (тепловое рассеивание), когда тепловой поток, выделяемый (или поглощаемый) в подходящем термостойком сосуде, перемещается из (в) него для установления теплового равновесия с окружающей средой. Исключительная термическая стабильность с окружающей средой должна быть достигнута с помощью теплоотвода или электронно-регулируемым устройством.

Тепловая энергия, исходящая от активного образца в реакционном сосуде, как правило, направляется через элементы Пельтье; они выступают в качестве термоэлектрических генераторов, используя эффект Зеебека (Seebeck). Тепловая энергия конвертируется в сигнал напряжения, пропорциональный тепловому потоку.

Результаты представляют обычно в виде количественной характеристики тепловой энергии, которая образуется в единицу времени (Ватт), как функции времени.

ПРИБОР

Микрокалориметры обычно представлены в виде парных систем с измерительным сосудом и сосудом сравнения. Сосуды обычно изготавливают из стекла или нержавеющей стали. Для определенных целей могут применяться специально сконструированные сосуды, позволяющие добавлять газ, жидкость или твердое вещество.

КАЛИБРОВКА

Микрокалориметр калибруют по тепловому потоку (энергия в единицу времени) с использованием откалиброванных внешнего или внутреннего электрических тепловых источников или соответствующей стандартной реакции.

ЧУВСТВИТЕЛЬНОСТЬ

В основе оценки чувствительности микрокалориметрического метода может быть положено использование подходящего стандартного образца, проанализированного соответствующим методом, в совокупности с определением флуктуационного шума измерительного прибора.

МЕТОДИКА

Соответствующее количество испытуемого образца взвешивают в подходящую колбу. Тщательно закрывают колбу, чтобы избежать испарения растворителей, и помещают ее в держатель образца. При необходимости колбу выдерживают при температуре измерения, прежде чем поместить ее в положение для измерения.

Начинают испытание и фиксируют значения величины теплового потока, откладывая значения времени на оси абсцисс, а теплового потока - на оси ординат (устанавливают направление экзотермического и эндотермического теплового потока).

ОБНАРУЖЕНИЕ И КОЛИЧЕСТВЕННОЕ ОПРЕДЕЛЕНИЕ СОДЕРЖАНИЯ АМОРФНОЙ ЧАСТИ В ПОРОШКАХ

Аморфное состояние является метастабильным по отношению к кристаллическому состоянию; поэтому может происходить перекристаллизация. Измерение теплоты перекристаллизации позволяет определять содержание аморфной части, используя площадь пика перекристаллизации. Содержание аморфной части испытуемого образца рассчитывают отношением выходных данных микрокалориметра для испытуемого образца к выходным данным для аморфного стандартного образца. Диапазон значений содержания аморфной части, охватываемый данным методом, зависит от конкретного испытуемого образца; в благоприятных случаях могут быть достигнуты пределы обнаружения ниже 1%.

Перекристаллизация может быть инициирована, если подвергнуть образец воздействию более высокой относительной влажности или атмосферы, содержащей органический пар. Испытуемый образец, как правило, помещают в ампулу, которая также содержит небольшую пробирку с водным насыщенным раствором соли, органическим растворителем или смесью растворителей.

Теплота перекристаллизации обычно измеряется с использованием образца фиксированной массы, помещенного в стакан или стальной сосуд. Пробирка, содержащая насыщенный раствор соли или органический растворитель, выбирается таким образом, чтобы она была достаточно большой для полного насыщения атмосферы над образцом. Масса испытуемого образца и природа атмосферного пара над ним выбираются таким образом, чтобы в процессе перекристаллизации наблюдался отчетливый пик, четко отделенный от исходных тепловых эффектов, вызванных введением образца.

Условия, при которых происходит переход аморфной фазы в термодинамически более стабильное кристаллическое состояние, оказывают значительное влияние на время перекристаллизации. В частности, физические смеси из чистых аморфных и чистых кристаллических веществ будут отличаться от частично кристаллического вещества в проявлении своих свойств. Такие влияния следует учитывать при разработке метода.

Типичный отклик для перекристаллизации преимущественно аморфного вещества показан на рисунке 2.1.10.6.-1. Первая часть кривой отображает несколько конкурирующих процессов, происходящих одновременно, таких как поглощение водяного пара аморфными частями порошка и выделение водяного пара из пробирки. После первоначального отклика отмечается большой экзотермический отклик, вызванный перекристаллизацией аморфного вещества. Присутствует также происходящее, но невидимое удаление избытка воды из перекристаллизованных частей и ее конденсация. Таким образом, площадь под этим экзотермическим откликом перекристаллизации пропорциональна теплоте перекристаллизации.

Рисунок 2.1.10.6.-1. - Типичные для микрокалориметрического измерения выходные данные по мощности (мкВт) в виде функции времени (часы): пик разрушения аморфной структуры (1) и пик кристаллизации (2) для преимущественно аморфной лактозы при температуре 25 °C и относительной влажности 75%

КАЛОРИМЕТРИЯ РАСТВОРЕНИЯ (ОПРЕДЕЛЕНИЕ КРИСТАЛЛИЧНОСТИ)

Калориметрия растворения устанавливает способы определения энтальпии растворения вещества (то есть теплоты растворения при постоянном атмосферном давлении). Энтальпия растворения определяется как разность энтальпии вещества, растворенного до определенной концентрации, и энтальпии исходного вещества. Для растворения должен использоваться такой растворитель, чтобы твердое вещество определенной массы растворилось в течение периода времени, соответствующего времени отклика калориметра, как это описано ниже. Энтальпия растворения пропорциональна количеству растворенного твердого вещества. Это количество может приниматься за 1 моль для молярной энтальпии или 1 г для удельной энтальпии. Если вещество имеет достаточную чистоту (определенную с требуемой степенью точности) и известна его молекулярная масса, то предпочтительной является молярная энтальпия, в ином случае должна использоваться удельная энтальпия. Энтальпия растворения слабо зависит от температуры, которая обычно имеет значение 25,0 °C, и конечной концентрации растворенного вещества.

Кристалличность вещества, , как правило, выражают в процентах. Для данного метода необходимо два стандарта сравнения, а именно: высоко кристаллический образец, при условии, что он имеет кристалличность 100% и измеренную энтальпию растворения , и аморфный образец, допуская, что он имеет кристалличность 0% и измеренную энтальпию растворения . Кристалличность твердого вещества () в процентах может быть рассчитана, используя значения указанных величин и измеренную энтальпию растворения изучаемого твердого вещества (), по формуле:

.

Очевидно, что кристалличность, выраженная в процентах, зависит от 3 измеренных величин, а энтальпии растворения могут быть заменены другими подходящими физическими величинами, зависящими от кристалличности. Значение кристалличности образца в процентах зависит не только от природы и метода приготовления двух стандартов сравнения, но также от выбора измеряемой физической величины. Энтальпия растворения измеряется с помощью изопериболического калориметра (постоянная оболочка, то есть рубашка) или изотермического калориметра (постоянная температура). Как правило, проводят не менее 3 измерений для каждого образца, затем рассчитывают среднее значение этих величин. Требования зависят от возможностей оборудования и необходимой степени точности.

ИЗОПЕРИБОЛИЧЕСКАЯ КАЛОРИМЕТРИЯ РАСТВОРЕНИЯ

В изопериболическом калориметре теплообмен в течение процесса растворения вызывает соответствующее изменение температуры в системе растворитель - растворенное вещество (то есть раствор). Данное изменение температуры измеряется температурным датчиком, включенным в электрическую цепь, который записывает электрический сигнал, соответствующий изменению температуры. Как правило, данное изменение температуры, представляемое в электронной форме, измеряется через точно определенные интервалы времени для получения данных температура - время, которые регистрируются, анализируются с помощью компьютера и затем отображаются графически. Контрольный опыт без прибавления раствора твердого вещества к растворителю обычно показывает заметное изменение наклона графика зависимости температура - время.

Для изопериболических калориметров отклик достаточно быстрый, но должны быть введены поправки на любые потери теплоты на баню или на поступление теплоты от нее. Следовательно, если процесс растворения относительно быстрый, то изопериболические калориметры имеют преимущества перед изотермическими калориметрами. Для измерения энтальпии растворения с использованием изопериболических калориметров важным является выбор растворителя. Природа, масса растворителя и масса испытуемого образца должны быть такими, чтобы процесс теплообмена для полного растворения твердого вещества, завершался в течение 5 мин при интенсивном перемешивании с постоянной скоростью вращения, находящейся в пределах интервала (400 - 600) об/мин.

Эффективная теплоемкость калориметрической ячейки и ее содержимого определяется для каждого калориметрического измерения. Это определение сопровождается электрическим нагревом содержимого калориметрической ячейки. Эффективная теплоемкость определяется в соответствии с одной из двух последовательностей действий: выполнение первого определения после разбивания ампулы или выполнение первого определения перед разбиванием ампулы, а второго - после разбивания ампулы и затем усреднение двух результатов. Точность и надежность электрического нагрева устанавливаются на основании точности и надежности вышеупомянутых химических калибровок.

ИЗОТЕРМИЧЕСКАЯ КАЛОРИМЕТРИЯ РАСТВОРЕНИЯ

В изотермическом (постоянная температура) калориметре изменение теплоты в течение процесса растворения компенсируется равным, но противоположным изменением энергии, таким, чтобы температура системы растворитель - растворенное вещество (то есть раствора) оставалась преимущественно постоянной. Измеряется равное, но противоположное изменение энергии, которое при изменении знака на обратный обусловливает энтальпию растворения. Для изотермических калориметров отклик относительно медленный, но компенсационный процесс уменьшает эффекты потери теплоты на баню или поступления теплоты от нее. Следовательно, изотермические калориметры имеют преимущества перед изопериболическими калориметрами в случае, когда процесс растворения относительно медленный.

КАЛИБРОВКА КАЛОРИМЕТРОВ РАСТВОРЕНИЯ

Для обеспечения точности калориметра химические калибровки должны выполняться на постоянной основе. Для эндотермического процесса растворения калибровка калориметра выполняется посредством измерения теплоты, поглощенной в течение процесса растворения калия хлорида в дистиллированной воде при температуре 298,15 К (25,0 °C). Установленное изменение энтальпии в данном эндотермическом процессе равно 235,5 Дж/г (17,56 кДж/моль). Для экзотермического процесса растворения проверка калориметра осуществляется измерением теплоты, выделенной в течение растворения 5 г/л трометамина (трис(гидроксиметил)аминометана) в 0,1 моль/л водном растворе хлороводородной кислоты при температуре 298,15 К (25,0 °C). Установленная теплота для вышеупомянутого процесса равна -246,0 Дж/г (-29,80 кДж/моль).

РАБОТА С ОБРАЗЦАМИ

Химическая и физическая стабильность твердых веществ может уменьшаться с уменьшением кристалличности. В частности, твердые вещества с низкой кристалличностью, особенно аморфные твердые вещества, стремятся сорбировать пары воды из атмосферы, приводя к кристаллизации и соответствующему увеличению кристалличности. Как правило, испытуемые образцы, не содержащие воду (безводные), перед проведением определения кристалличности должны храниться при нулевой влажности или при значениях влажности ниже критического предела, в герметичных камерах, содержащих поглотитель влаги и, предпочтительно, индикатор эффективности. В случае проведения исследования кристалличность - влажность, испытуемый образец должен храниться в герметичной камере, содержащей насыщенный раствор соли для обеспечения определенной влажности.

201100007-2022

2.1.10.7. Кажущееся растворение

Данный метод используется для определения скорости кажущегося (наблюдаемого) растворения твердых веществ, в том числе действующих веществ в лекарственных препаратах в форме порошков или гранул. Определение скорости кажущегося растворения применяется, в частности, при фармацевтической разработке лекарственных форм, так как позволяет прогнозировать потенциальные проблемы биодоступности с учетом выбранных компонентов лекарственного препарата.

ПРИБОР

Все части прибора, которые могут контактировать с образцом или средой растворения, должны быть химически инертными и не должны адсорбировать, реагировать или влиять каким-либо другим способом на испытуемый образец. Не должно быть никаких заметных движений, колебаний или вибраций, происходящих от частей прибора или окружающей среды, кроме тех, которые создаются проточной системой.

Предпочтительно использовать прибор, позволяющий наблюдать за испытуемым образцом.

Прибор (рисунок 2.1.10.7.-1) состоит из следующих частей:

- резервуар для среды растворения (А);

- насос для перекачивания среды растворения через проточную ячейку (Б);

- термостатируемая проточная ячейка из прозрачного инертного материала, установленная вертикально, с фильтрующей системой, предотвращающей удаление нерастворившихся частиц, с водяной баней, поддерживающей выбранную температуру среды растворения в диапазоне (37 +/- 0,5) °C (В);

- сосуды-сборники для анализируемых растворов (Г).

Рисунок 2.1.10.7.-1. - Проточный прибор. А - резервуар для среды растворения; Б - насос; В - термостатируемая проточная ячейка и система фильтров; Г - сосуды-сборники для анализируемых растворов.

Проточная ячейка (рисунок 2.1.10.7.-2) состоит из 3 частей, которые вставляются друг в друга. Нижняя часть, на которую помещают испытуемый образец, поддерживает систему сеток и фильтров. Средняя часть, которая устанавливается на нижнюю часть, содержит вкладыш, отсеивающий испытуемый образец во время прохождения среды растворения через ячейку. Данный вкладыш состоит из двух частей: конического сита, которое размещается на образце, и зажима, расположенного на половине расстояния до средней части, для удерживания сита на месте при прохождении среды растворения. Второй фильтрующий элемент (сетка и фильтр) расположен на вершине средней части перед соединением с верхней частью, через которую среда растворения выливается из ячейки.

Рисунок 2.1.10.7.-2. - Проточная ячейка. Размеры указаны в миллиметрах. А - нижняя часть; Б - вкладыш; В - сито; Г - зажим; Д - средняя часть; Е - верхняя часть.

СРЕДА РАСТВОРЕНИЯ

В качестве среды растворения могут использовать буферные растворы, указанные в общей фармакопейной статье 2.3.9.1. Рекомендации по проведению испытания на растворение. pH буферных растворов доводят до необходимого значения с точностью +/- 0,05. Из среды растворения удаляют растворенные газы, так как они могут вызвать образование пузырьков, значительно влияющих на результат испытания.

МЕТОДИКА

На дно конической нижней части помещают шарик диаметром (5,0 +/- 0,5) мм, затем стеклянные шарики подходящего размера, желательно диаметром (1,0 +/- 0,1) мм. Помещают сито (с размером отверстий 0,2 мм), подходящий фильтр и второе сито поверху нижней части прибора. К нижней части присоединяют среднюю часть прибора. Собранную часть прибора взвешивают. Испытуемый образец помещают на фильтрующий элемент и взвешивают его в ячейке. На испытуемый образец помещают сито вкладыша коническим концом вверх и закрепляют ниже середины средней части. Наверх средней части помещают сито (с размером отверстий 0,2 мм) и подходящий фильтр. Присоединяют верхнюю часть. Нагревают среду растворения до выбранной температуры. Нагретую среду растворения при помощи подходящего насоса направляют через дно ячейки с заданной скоростью потока (+/- 5%) по открытому или закрытому циклу.

ОТБОР ПРОБ

Отбор образцов всегда осуществляется на выходном отверстии ячейки, независимо от того, замкнутый или открытый цикл применяют.

Полученную жидкость немедленно пропускают через фильтр из инертного материала с подходящим размером пор. Материал фильтра не должен вызывать значительной адсорбции действующего вещества из раствора и содержать веществ, извлекаемых средой растворения, влияющих на результаты, получаемые аналитическим методом. Полученный фильтрат анализируют.

ОЦЕНКА РЕЗУЛЬТАТОВ

При проведении испытания при выпуске серии проводят достаточное количество повторов.

Результаты выражают следующим образом:

- количество растворившегося действующего вещества в единицу времени (если растворение линейно);

- время растворения всего испытуемого образца с учетом соответствующих промежуточных стадий.

201100008-2022

2.1.10.8. Оценка распределения частиц по размеру методом аналитического просеивания

Просеивание представляет собой один из наиболее ранних методов классификации порошков и гранул в зависимости от распределения частиц по размеру (гранулометрического состава). При использовании плетеной ткани сита просеивание сортирует частицы по их промежуточному размеру (т.е. ширины или толщины). Механическое просеивание является наиболее подходящим методом, если большая часть частиц имеет размер более 75 мкм. Малый вес более мелких частиц обусловливает отсутствие при просеивании достаточной силы для преодоления поверхностных сил когезии и адгезии, что вызывает слипание частиц между собой и с ситом, в свою очередь, приводящее к задерживанию на сите частиц, способных пройти сквозь него. Для таких образцов наиболее подходящим является воздушно-струйное и ультразвуковое просеивание. Тем не менее, иногда просеивание может использоваться для некоторых порошков или гранул со средним размером частиц менее 75 мкм при условии, если методика может быть валидирована. В фармацевтической практике просеивание, как правило, выбирают для грубой классификации однокомпонентных порошков или гранул. Данный метод особенно подходит для порошков или гранул, классифицируемых только по размеру частиц. В большинстве случаев испытание может проводиться в сухом состоянии.

К ограничениям метода просеивания относится необходимость использования существенного количества испытуемого образца (обычно не менее 25 г в зависимости от плотности порошка или гранул и от диаметра отверстий сита) и сложность просеивания маслянистых или других склеивающихся порошков или гранул, которые закупоривают отверстия сита. Метод, в основном, применяют для двумерной оценки размера частиц, так как прохождение частиц через отверстия сита часто зависит от их максимальной ширины и толщины, чем от длины.

Метод предназначен для оценки общего распределения по размеру частиц однокомпонентного образца. Он непригоден для определения количественного соотношения частиц, прошедших или задержанных на одном или двух ситах.

При отсутствии других указаний в частных фармакопейных статьях оценку распределения частиц по размеру проводят в соответствии с методикой, описанной в разделе Метод сухого просеивания. При затруднениях в достижении конечной точки просеивания (т.е. частицы образца с трудом проходят сквозь отверстия сита) или при необходимости использования сита с очень мелкими размерами отверстий (менее 75 мкм) должна быть рассмотрена возможность применения альтернативного метода определения размера частиц.

Просеивание проводят в условиях, исключающих увеличение или уменьшение влаги в испытуемом образце. При отсутствии других указаний в частных фармакопейных статьях ситовой анализ проводят при контролируемой комнатной температуре и относительной влажности окружающей среды.

Если известно, что испытуемый образец может быть источником электростатического заряда, необходимо тщательное наблюдение за отсутствием его влияния на результат анализа. Для минимизации подобного эффекта допускается добавление к испытуемому образцу антистатического средства, например, кремния диоксида коллоидного и (или) алюминия оксида в количестве 0,5% (м/м).

Любые особые условия, предусмотренные для определенного материала, должны быть подробно описаны в частных фармакопейных статьях.

Принципы аналитического просеивания. Аналитические сита изготавливают из тканой проволочной сетки, плетение которой обеспечивает практически квадратную форму отверстий и которая запаяна в основание открытого цилиндрического контейнера. Основной аналитический метод включает установку сит одно на другое в порядке увеличения размера отверстий с последующим помещением испытуемого порошка на верхнее сито. Набор сит встряхивают в течение стандартизированного периода времени, затем точно определяют массу материала, оставшегося на каждом сите. В результате испытания получают содержание фракций порошка в процентах на каждом сите используемого диапазона размера отверстий.

Такой способ просеивания, в основном, применяют для оценки распределения по размеру частиц однокомпонентных порошков, не менее 80% из которых имеют размер более 75 мкм. Параметр размера, используемый при оценке распределения частиц методом аналитического просеивания, представляет собой длину стороны минимального квадратного отверстия, через которое может пройти частица.

АНАЛИТИЧЕСКИЕ СИТА

Аналитические сита, используемые для фармакопейных испытаний, должны соответствовать действующему изданию ISO 3310-1: Аналитические сита - Технические требования и испытание - Часть 1: Аналитические сита из металлической сетки (см. таблицу 2.1.10.8.-1). При отсутствии других указаний в частных фармакопейных статьях применяют соответствующие ISO сита с размером отверстий, указанным в таблице 2.1.10.8.-1, которые рекомендуются в определенных регионах.

Таблица 2.1.10.8.-1

Аналитические сита из металлической сетки

Номинальный размер отверстия в соответствии с ISO США сита N Сита, рекомендованные Ф США
(мкм)
Европейские сита N Японские сита N
Основной размер Дополнительный размер
R 20/3 R 20 R 40/3        
11,20 мм 11,20 мм 11,20 мм     11 200  
  10,00 мм          
    9,50 мм        
  9,00 мм          
8,00 мм 8,00 мм 8,00 мм        
  7,10 мм          
    6,70 мм        
  6,30 мм          
5,60 мм 5,60 мм 5,60 мм     5600 3,5
  5,00 мм          
    4,75 мм       4
  4,50 мм          
4.00 мм 4,00 мм 4,00 мм 5 4000 4000 4,7
  3,55 мм          
    3,35 мм 6     5,5
  3,15 мм          
2,80 мм 2,80 мм 2,80 мм 7 2800 2800 6,5
  2,50 мм          
    2,36 мм 8     7,5
  2,24 мм          
2,00 мм 2,00 мм 2,00 мм 10 2000 2000 8,6
  1,80 мм          
    1,70 мм 12     10
  1,60 мм          
1,40 мм 1,40 мм 1,40 мм 14 1400 1400 12
  1,25 мм          
    1,18 мм 16     14
  1,12 мм          
1,00 мм 1,00 мм 1,00 мм 18 1000 1000 16
  900 мкм          
    850 мкм 20     18
  800 мкм          
710 мкм 710 мкм 710 мкм 25 710 710 22
  630 мкм          
    600 мкм 30     26
  560 мкм          
500 мкм 500 мкм 500 мкм 35 500 500 30
  450 мкм          
    425 мкм 40     36
  400          
355 мкм 355 мкм 355 мкм 45 355 355 42
  315          
    300 мкм 50     50
  280 мкм          
250 мкм 250 мкм 250 мкм 60 250 250 60
  224 мкм          
    212 мкм 70     70
  200 мкм          
180 мкм 180 мкм 180 мкм 80 180 180 83
  160 мкм          
    150 мкм 100     100
  140 мкм          
125 мкм 125 мкм 125 мкм 120 125 125 119
  112 мкм          
    106 мкм 140     140
  100 мкм          
90 мкм 90 мкм 90 мкм 170 90 90 166
  80 мкм          
    75 мкм 200     200
  71 мкм          
63 мкм 63 мкм 63 мкм 230 63 63 235
  56 мкм          
    53 мкм 270     282
  50 мкм          
45 мкм 45 мкм 45 мкм 325 45 45 330
  40 мкм          
    38 мкм     38 391

Сита выбирают таким образом, чтобы они охватывали полный диапазон размеров частиц, присутствующий в испытуемом образце. Рекомендуется использовать набор сит, площадь отверстий которых изменяется в v-прогрессии. Набор сит устанавливают так, чтобы сито с самым крупным размером отверстий было верхним, а с самым мелким размером отверстий - нижним. Размер отверстий аналитических сит выражают в микрометрах или миллиметрах. Для изготовления аналитических сит используют проволоку из нержавеющей стали или, менее предпочтительно, меди или другого подходящего химически неактивного металла.

Калибровка и повторная калибровка аналитических сит производится в соответствии с действующим изданием ISO 3310-1. Перед использованием сита тщательно проверяют на грубые искривления и изломы, в особенности соединения ситового каркаса. Допускается оптическая калибровка сит для определения среднего размера отверстия и различий в размерах отверстий.

Для оценки эффективности отверстий аналитических сит в диапазоне размеров (212 - 850) мкм применяют также стандартные стеклянные шарики. При отсутствии других указаний в частных фармакопейных статьях ситовой анализ проводят при контролируемой комнатной температуре и относительной влажности окружающей среды.

Очистка аналитических сит. В идеальном случае для очистки аналитических сит используют только воздушную струю под низким давлением или струю жидкости. Если некоторые отверстия все же закупориваются частицами испытуемого образца, то в крайнем случае допускается применение мягкой щетки.

Испытуемый образец. Если в частной фармакопейной статье нет указаний относительно массы навески для конкретного испытуемого образца, то для испытания на аналитических ситах диаметром 200 мм используют испытуемый образец массой (25 - 100) г в зависимости от его насыпной плотности. Для сит диаметром 76 мм количество испытуемого образца должно составлять около 1/7 от его количества, предусмотренного для испытаний на аналитических ситах диаметром 200 мм. Наиболее приемлемую массу для конкретного образца определяют просеиванием точных навесок разных масс, например, 25 г, 50 г и 100 г в течение одного и того же периода времени, используя механический встряхиватель (примечание: если результаты испытания сходны для навесок 25 г и 50 г, но для навески 100 г получен более низкий в процентах результат просеивания сквозь самое мелкое сито, то навеска 100 г слишком велика для данного образца). Если в наличии имеется только (10 - 25) г испытуемого образца, допускается замена аналитических сит на сита меньшего диаметра и с сеткой, соответствующей тем же спецификациям, однако конечная точка просеивания должна быть установлена заново. Допускается проведение испытания с навеской меньшей массы (т.е. не менее 5 г). В случае образцов с низкой кажущейся (насыпной) плотностью частиц или образцов, состоящих большей частью из частиц выраженной изодиаметрической формы, могут потребоваться навески массой менее 5 г в испытаниях на ситах диаметром 200 мм для предотвращения чрезмерного прилипания частиц к ситу. При проведении валидации определенной методики аналитического просеивания необходимо оценить проблемы, связанные с закупориванием отверстий сита частицами испытуемого образца.

Способы встряхивания. Для проведения ситового анализа могут использоваться различные виды сит и приспособлений для встряхивания порошков, имеющиеся в продаже. Однако различные способы встряхивания могут давать разные результаты ситового анализа и определения конечных точек просеивания, так как на каждую частицу во время испытания действуют силы различного типа и величины. В существующих приборах используют механическое или электромагнитное встряхивание; методы, вызывающие вертикальное колебание или горизонтальное круговое движение частиц, вибрацию или комбинацию вибрации и горизонтального кругового движения частиц. Для встряхивания частиц допускается применение также воздушной струи. В результатах должны быть указаны используемые метод и параметры встряхивания (в случае их возможного изменения), так как изменение условий встряхивания может привести к отличающимся и некорректным результатам ситового анализа и определения конечных точек просеивания.

Определение конечной точки просеивания. Ситовой анализ считают завершенным, когда масса остатка на любом аналитическом сите не отличается более чем на 5% или на 0,1 г (10% при просеивании на сите диаметром 76 мм) от его массы на данном сите при предыдущем взвешивании. Если масса остатка на сите составляет менее 5% от общей массы навески, то конечную точку просеивания увеличивают таким образом, чтобы разность масс на одном и том же сите при двух повторных взвешиваниях составляла не более 20%.

Если масса остатка на сите составляет более 50% от общей массы навески, то, при отсутствии других указаний в частной фармакопейной статье, испытание повторяют с добавлением к набору сит дополнительного сита, промежуточного по размеру отверстий между ситом, содержащим избыточную массу образца, и следующим ситом с наибольшим размером отверстий из оригинального набора, т.е. добавлением сита из серии в соответствии с ISO, исключенного из типового набора сит.

МЕТОДЫ ПРОСЕИВАНИЯ

Механическое встряхивание (Метод сухого просеивания). Каждое аналитическое сито взвешивают с точностью 0,1 г. Точную навеску испытуемого образца помещают на верхнее сито (с наибольшим размером отверстий) и накрывают крышкой. Набор сит встряхивают в течение 5 мин, затем аккуратно, без потери образца, вынимают каждое сито из набора.

Взвешивают каждое сито и определяют массу остатка на каждом сите после просеивания. Аналогичным образом определяют массу остатка в собирательной чашке. Повторно собирают набор сит и встряхивают в течение 5 мин. Снимают каждое сито и взвешивают в соответствии с описанным ранее. Повторяют процедуру до достижения конечной точки просеивания (см. Определение конечной точки просеивания в разделе Аналитические сита). После завершения анализа сравнивают массы фракций испытуемого образца. Суммарная потеря массы не должна превышать 5% от исходной массы навески испытуемого образца. Повторяют анализ с новым образцом, проводя однократное просеивание в течение времени, равного суммарному времени просеивания при предыдущем определении. Подтверждают, что данное время просеивания соответствует требованиям по определению конечной точки просеивания.

Если была проведена валидация определения конечной точки просеивания для данного образца, в последующих испытаниях допускается использование однократного просеивания в течение установленного периода времени при условии соответствия распределения частиц по размеру нормальному распределению.

При наличии признаков задержки на каком-либо из сит не отдельных частиц, а их агрегатов, применение метода механического сухого просеивания не обеспечит получение результатов с надлежащей воспроизводимостью, что требует использования другого метода определения размера частиц.

Методы с использованием воздуха (воздушно-струйное просеивание и ультразвуковое просеивание). Для просеивания могут быть использованы различные типы оборудования с применением потока воздуха. Воздушно-струйное просеивание представляет собой метод однократного просеивания. При использовании данного метода применяют методику, описанную в разделе Метод сухого просеивания, в которой обычный механизм встряхивания заменяют стандартизированной воздушной струей.

Для получения результатов по распределению частиц по размеру методика требует проведения последовательных испытаний на отдельных ситах, начиная с сита с наименьшим размером отверстий. Воздушно-струйное просеивание, как правило, включает применение аналитических сит с меньшим размером отверстий, чем при обычном сухом просеивании. Данный метод наиболее подходит для случаев, когда необходимо выделить отдельные фракции с наибольшим и наименьшим размером частиц.

В методе ультразвукового просеивания также используют набор сит, а испытуемый образец вносят в колонку, обеспечивающую вертикальные колебания воздуха, который поднимает образец и затем в течение определенного количества импульсов в минуту возвращает его через ситовые отверстия. При применении ультразвукового просеивания навеска испытуемого образца может быть уменьшена до 5 г.

Методы воздушно-струйного и ультразвукового просеивания могут быть пригодны для порошков или гранул, когда механическое просеивание не позволяет получить достоверный результат.

Указанные методы в высокой степени зависят от правильного распределения частиц порошка в воздушном потоке. Данное требование может быть трудно выполнимым, если для просеивания используют сита с очень мелкими размерами отверстий (менее 75 мкм), если частицы имеют тенденцию к слипанию и, особенно, если образец может быть источником электростатического заряда. По указанным выше причинам определение конечной точки просеивания является особенно критичным, а подтверждение того, что частицы с размером больше обычного представляют собой отдельные частицы, а не агрегаты, - чрезвычайно важным.

ОЦЕНКА РЕЗУЛЬТАТОВ

Помимо масс остатков, полученных на отдельных ситах и в собирательной чашке, первичные данные должны включать массу навески испытуемого образца, общее время и точную методику просеивания, заданные величины всех изменяемых параметров.

Для удобства допускается преобразование первичных данных в суммарное распределение масс и выражение распределения в виде суммарной массы частиц с размером меньше установленного предела. Диапазон использованных сит должен включать сито, сквозь которое проходит весь испытуемый образец. При наличии признаков того, что остаток образца, задержавшийся на сите, представляет собой агрегаты частиц, образовавшиеся в процессе просеивания, испытание считают недействительным.

201100009-2022

2.1.10.9. Измельченность порошков

В настоящей общей фармакопейной статье приведена простая описательная классификация измельченности порошков. Для определения измельченности порошков проводят, как правило, ситовой анализ с применением сит определенного размера (общая фармакопейная статья 2.1.1.4. Сита). Ситовой анализ является наиболее пригодным, если размер частиц порошка превышает 75 мкм, а также для отдельных порошков, имеющих и меньший размер частиц, если такая методика валидирована.

Распределение по размерам частиц порошков устанавливают методом аналитического просеивания в соответствии с общей фармакопейной статьей 2.1.10.8. Оценка распределения частиц по размеру методом аналитического просеивания или другими релевантными методами. Для определения распределения по размерам частиц широкого диапазона используют также метод дифракции света (общая фармакопейная статья 2.1.9.26. Определение размера частиц методом дифракции лазерного излучения), позволяющий измерять частицы в диапазоне от 0,1 мкм до 3,0 мм.

При определении суммарного распределения методом аналитического просеивания или другими подходящими методами, размер частиц может быть описан следующим образом:

- размер частиц, соответствующий 90% от суммарного распределения частиц, проходящих сквозь сито;

- средний размер частиц (т.е. 50% частиц меньшего размера и 50% частиц большего размера);

- размер частиц, соответствующий 10% от суммарного распределения частиц, проходящих сквозь сито.

Для обозначения данных величин широко применяют также символ d.

Таким образом, допускается использование символов , , .

На основе суммарного распределения могут быть определены параметры порошка, используемые в технологических процессах производства лекарственных средств. Эти параметры отражены в таблице 2.1.10.9.-1.

Таблица 2.1.10.9.-1

Тип распределения

r Тип распределения
0 Число
1 Длина
2 Площадь
3 Объем

- суммарное распределение частиц с размерами не более x, где индекс r отражает тип распределения.

Таким образом, согласно этому определению:

;

;

;

Также может быть использован другой менее информативный метод классификации измельченности порошков, использующий указанные данные для описания распределения частиц по размерам, представленный в таблице 2.1.10.9.-2.

Таблица 2.1.10.9.-2

Классификация порошков по их измельченности

Термин, используемый для описания порошков (мкм) Суммарное распределение на основе объема, Q3(x)
Крупный > 355
Среднекрупный 180 - 355
Мелкий 125 - 180
Очень мелкий <= 125

2.2. РЕАКТИВЫ

2.2.1. РЕАКТИВЫ, СТАНДАРТНЫЕ РАСТВОРЫ, БУФЕРНЫЕ РАСТВОРЫ

202010001-2022

2.2.1.1. Реактивы

ДОПОЛНЕНИЕ

Азотная кислота, свободная от никеля.

Должна выдерживать дополнительное испытание для азотной кислоты P. Никель: не более 0,005 ppm.

Бетулин в метиленхлориде.

Раствор 2 г/л C30CH50O2 в метиленхлориде P.

Бромфеноловый синий в 96% этаноле.

Раствор 0,4 г/л C19H10Br4O5S в этаноле (96%) P.

трет-Бутилгидропероксид в тетрагидрофуране.

Раствор 10 г/л C4H10O2 в тетрагидрофуране P.

Бутилированный гидрокситолуол в триметилпентане.

Раствор 50 мг/л C15H24O в триметилпентане P.

1,1,1,3,3,3-Гексафторпропан-2-ол.

C3H2F6O. (Mr 168,0). [920-66-1].

Содержит не менее 99,0% C3H2F6O. Определение проводится методом газовой хроматографии.

Прозрачная бесцветная жидкость, смешивается с водой и этанолом безводным.

около 1,596.

Температура кипения около 59 °C.

Диоксана раствор P2.

2,0 мл диоксана раствора P доводят водой P до объема 50,0 мл (0,02 мг/мл диоксана).

2,2'-Ди(октадецилокси)-5,5'-спироби(1,3,2-ди-оксафосфоринан).

C41H82O6P2. (Mr 733,0). Добавка к полимерному материалу 14.

Твердое воскообразное вещество белого или почти белого цвета. Практически не растворим в воде, растворим в углеводородах.

Температура плавления от 40 °C до 70 °C.

Динонилфталат в тетрагидрофуране для хроматографии.

Раствор 1 мг/л C26H42O4 в тетрагидрофуране для хроматографии P.

Динонилфталат в 96% этаноле.

Раствор 5 мкг/л C26H42O4 в этаноле (96%) P.

Дитизон в метиленхлориде.

Раствор 0,02 г/л C13H12N 4S в метиленхлориде P.

Дихлорфенолиндофенола натриевая соль в 96% этаноле.

Раствор 2 г/л C12H6Cl2NNaO2·2H2O в этаноле (96%) P.

Дихлорфлуоресцеин в 96% этаноле.

Раствор 2 г/л C20H10Cl2O5 в этаноле (96%) P.

Докозагексаеновой кислоты метиловый эфир. C23H34O2. (Mr 342,5). [301-01-9]. Цервоновой кислоты метиловый эфир.

(all-2)-Докоза-4,7,10,13,16,19-гексаеновой кислоты метиловый эфир.

Содержит не менее 90,0% C23H34O2. Определение проводят методом газовой хроматографии.

Изопропилметансульфонат. C4H10O3S. (Mr 138,2). [926-06-7].

1-метилэтилметансульфонат.

Прозрачная бесцветная жидкость.

Содержит не менее 99,0% C4H10O3S.

Плотность около 1,129 г/см3 (при 20 °C).

от 1,418 до 1,421.

Температура кипения около 82 °C при давлении 6 мм рт. ст.

Калия гидроксид в метаноле.

Раствор 60 г/л KOH в метаноле P.

Метансульфонилхлорид. CH3ClO2S. (Mr 114,6). [124-63-0].

Прозрачная бесцветная или желтоватая жидкость.

Содержит не менее 99,0% CH3ClO2S.

Плотность около 1,48 г/см3.

около 1,452.

Температура кипения около 161 °C.

Метилметансульфонат. C2H6O3S. (Mr 110,1). [66-27-3].

Прозрачная бесцветная или желтоватая жидкость.

Содержит не менее 99,0% C2H6O3S.

Плотность около 1,3 г/см3 (при 25 °C).

около 1,414.

Температура кипения около 202 °C.

Натрия йодид в уксусной кислоте безводной.

Раствор 200 г/л NaI в уксусной кислоте безводной P.

Натрия тетрагидроборат. NaBH4. (Mr 37,8). [16940-66-2].

Натрия борогидрат.

Бесцветные гигроскопичные кристаллы. Очень легко растворим в воде, растворим в этаноле безводном. Разлагается при высокой температуре или под действием кислот или некоторых солей металлов, образуя буру и водород.

Хранят в воздухонепроницаемом контейнере.

Натрия тетрагидробората раствор.

5,0 г натрия гидроксида P в гранулах или пластинках и 2,5 г тетрабората P растворяют в 100 мл воды P и доводят объем раствора водой P до 500,0 мл.

Раствор готовят непосредственно перед использованием.

Нафтиламин в 0,1 M хлороводородной кислоте.

Раствор 0,01 г/л C10H9N в 0,1 M хлороводородной кислоте.

Никеля нитрата гексагидрат. Ni(NO3)2·6H2O. (Mr 290,8). [13478-00-7].

Никеля сульфат. NiSO4·7H2O. (Mr 280,9). [10101-98-1].

Никеля сульфата гептагидрат.

Кристаллический порошок или кристаллы зеленого цвета. Легко растворим в воде, мало растворим в 96% этаноле.

Октадецил[3-[3,5-бис(1,1-диметилэтил)-4-гидроксифенил]пропионат]. C35H62O3. (Mr 530,9). [2082-79-3].

Октадецил 3-(3,5-ди-трет-бутил-4-гидро-ксифенил)пропионат.

Добавка к полимерному материалу 11.

Кристаллический порошок белого или слегка желтоватого цвета. Практически не растворим в воде, хорошо растворим в ацетоне и гексане, мало растворим в метаноле.

Температура плавления от 49 °C до 55 °C.

Олова(II) хлорид в 1 M хлороводородной кислоте.

Раствор 250 г/л SnCl2·2H2O в 1 M хлороводородной кислоте.

Тетрабутиламмония гидроксид в толуоле.

Раствор 10 г/л C16H37NO·30H2O в толуоле P.

Тетракоз-15-еновой кислоты метиловый эфир. C25H48O2. (Mr 380,7). [2733-88-2]. 15-Тетракозеновой кислоты метиловый эфир.

Метилтетракоз-15-еноат. Нервоновой кислоты метиловый эфир.

Содержит не менее 99,0% C25H48O2. Определение проводят методом газовой хроматографии.

N,O-бис(Триметилсилил)трифторацетамид. C8H18F3NOSi2. (Mr 257,4). [25561-30-2].

Бесцветная жидкость.

около 0,97.

около 1,38.

Температура кипения около 40 °C при давлении 12 мм рт. ст.

-Токоферол. [10191-41-0].

См. Токоферол.

1,3,5-Трис[3,5-ди(1,1-диметилэтил)-4-гид-роксибензил]-1,3,5-триазин-2,4,6(1H,3H,5H)-трион. C48H69O6N 3. (Mr 784,1). [27676-62-6].

Добавка к полимерному материалу 13.

Кристаллический порошок белого или почти белого цвета.

Температура плавления от 218 °C до 222 °C.

Трис[2,4-ди(1,1-диметилэтил)фенил]фосфит. C42H63O3P. (Mr 647,0). [31570-04-4].

Добавка к полимерному материалу 12.

Порошок белого или почти белого цвета.

Температура плавления от 182 °C до 186 °C.

ТСХ пластинка со слоем силикагеля октадецилсилильного.

Подложка из стекла, металла или полимера, покрытая слоем силикагеля октадецилсилильного. Сорбент может содержать связующее органическое вещество.

ТСХ пластинка со слоем силикагеля октадецилсилильного F254.

Подложка из стекла, металла или полимера, покрытая слоем силикагеля октадецилсилильного. Содержит флуоресцентный индикатор с максимумом поглощения при длине волны 254 нм.

Фенил(5)метил(95)полисилоксан.

Неподвижная фаза для газовой хроматографии.

Содержит 5% фенильных групп и 95% метильных групп.

Фосфорномолибденовая кислота в 96% этаноле.

Раствор 40 г/л 12MoO3·H3PO4·H2O в этаноле (96%) P.

(5)-Холестан. C27H48. (Mr 372,7). [481-21-0].

Мало растворим в этаноле безводном.

Температура плавления около 81 °C.

Хромотроповой кислоты натриевая соль в серной кислоте.

Раствор 1 г/л C10H6Na2O8S2 в серной кислоте P.

202010002-2022

2.2.1.2. Стандартные растворы для испытаний на предельное содержание примесей

ДОПОЛНЕНИЕ

Фторид-ионов стандартный раствор (100 ppm F-).

4,199 г натрия фторида P, предварительно высушенного при температуре 300 °C в течение 12 ч, растворяют в воде P и доводят объем раствора тем же растворителем до 1000,0 мл (2000 мкг/мл F-).

Раствор хранят в полиэтиленовом или полипропиленовом контейнере при комнатной температуре не более 3 мес.

2.3. ОБЩИЕ ТЕКСТЫ

203010002-2022

2.3.1.2. Требования к микробиологической чистоте лекарственных препаратов, фармацевтических субстанций и вспомогательных веществ для их производства

Настоящая общая фармакопейная статья определяет критерии приемлемости микробиологической чистоты лекарственных препаратов, фармацевтических субстанций и вспомогательных веществ для их производства.

Нестерильные лекарственные средства могут быть контаминированы микроорганизмами. Допускается лимитированное количество бактерий и грибов при отсутствии определенных видов, представляющих опасность для здоровья человека. Присутствие микроорганизмов в нестерильных лекарственных препаратах может оказать неблагоприятное воздействие на здоровье пациента и привести к снижению терапевтической эффективности препарата. Поэтому производители должны обеспечить соответствующий уровень микробиологической чистоты лекарственных средств путем выполнения действующих руководств по надлежащей практике производства, хранения и дистрибьюции лекарственных препаратов (G x P).

Микробиологическое испытание нестерильных лекарственных препаратов проводят в соответствии с методами, приведенными в общих фармакопейных статьях 2.1.6.6. Микробиологические испытания нестерильных лекарственных средств: общее количество жизнеспособных аэробных микроорганизмов и 2.1.6.7. Микробиологические испытания нестерильных лекарственных средств на наличие отдельных видов микроорганизмов.

Для нестерильных лекарственных препаратов критерии приемлемости, основанные на подсчете общего числа аэробных микроорганизмов (ОЧМ, TAMC) и общего числа дрожжевых и плесневых грибов (ОЧГ, TYMC), приведены в таблице 2.3.1.2.-1. Критерии приемлемости устанавливают на основании отдельных результатов или на среднем значении всех подсчетов при использовании репликации (например, метод прямого посева). Результаты интерпретируют следующим образом:

- КОЕ или не более КОЕ - максимально допустимое число 20 КОЕ/г (мл);

- КОЕ или не более КОЕ - максимально допустимое число 200 КОЕ/г (мл);

- КОЕ или не более КОЕ - максимально допустимое число 2000 КОЕ/г (мл).

Таблица 2.3.1.2.-1

Критерии приемлемости качества лекарственных препаратов по микробиологическим показателям

Категория Способ применения или путь введения Критерии приемлемости
1 Лекарственные препараты, к которым предъявляется требование Стерильность Должны быть стерильными
2 - Для применения местно (на слизистую оболочку полости рта, назально, введение в наружный слуховой проход и др.) и (или) наружно (на неповрежденные и (или) поврежденные кожные покровы)
За исключением тех лекарственных препаратов, которые должны быть стерильными
- Общее число аэробных микроорганизмов - не более КОЕ в 1 г (мл) препарата
- Общее число дрожжевых и плесневых грибов - не более КОЕ в 1 г (мл)
- Отсутствие Pseudomonas aeruginosa в 1 г (мл) препарата
- Отсутствие Staphylococcus aureus в 1 г (мл) препарата
  - Для вагинального применения
За исключением тех лекарственных препаратов, которые должны быть стерильными
- Общее число аэробных микроорганизмов - не более КОЕ в 1 г (мл) препарата
- Общее число дрожжевых и плесневых грибов - не более КОЕ в 1 г (мл)
- Отсутствие Pseudomonas aeruginosa в 1 г (мл) препарата
- Отсутствие Staphylococcus aureus в 1 г (мл) препарата
- Отсутствие Candida albicans в 1 г (мл)
  - Для ингаляционного применения
За исключением тех лекарственных препаратов, которые должны быть стерильными
- Общее число аэробных микроорганизмов - не более КОЕ в 1 г (мл) препарата
- Общее число дрожжевых и плесневых грибов - не более КОЕ в 1 г (мл)
- Отсутствие Pseudomonas aeruginosa в 1 г (мл) препарата
- Отсутствие Staphylococcus aureus в 1 г (мл) препарата
- Отсутствие энтеробактерий, устойчивых к желчи, в 1 г (мл) лекарственных препаратов
  - Трансдермальные пластыри
За исключением тех лекарственных препаратов, которые должны быть стерильными
- Общее число аэробных микроорганизмов - не более КОЕ на 1 пластыре (включая клейкую сторону и основу)
- Общее число дрожжевых и плесневых грибов - не более КОЕ на 1 пластыре (включая клейкую сторону и основу)
- Отсутствие Pseudomonas aeruginosa на 1 пластыре (включая клейкую сторону и основу)
- Отсутствие Staphylococcus aureus на 1 пластыре (включая клейкую сторону и основу)
Твердые (неводные) препараты для приема внутрь - Общее число аэробных микроорганизмов - не более КОЕ в 1 г
- Общее число дрожжевых и плесневых грибов - не более КОЕ в 1 г
- Отсутствие Escherichia coli в 1 г
  Жидкие препараты для приема внутрь - Общее число аэробных микроорганизмов - не более КОЕ в 1 г (мл)
- Общее число дрожжевых и плесневых грибов - не более КОЕ в 1 г (мл)
- Отсутствие Escherichia coli в 1 г (мл)
  Препараты для введения ректально - Общее число аэробных микроорганизмов - не более КОЕ в 1 г (мл)
- Общее число дрожжевых и плесневых грибов - не более КОЕ в 1 г (мл)
Для приема внутрь - из сырья природного происхождения, уровень микробной загрязненности которого невозможно снизить в процессе предварительной обработки.
Требования к микробиологической чистоте растительных лекарственных препаратов приведены в общей фармакопейной статье 2.3.1.4.
- Общее число аэробных микроорганизмов - не более КОЕ в 1 г (мл)
- Общее число дрожжевых и плесневых грибов - не более КОЕ в 1 г (мл)
- Энтеробактерий, устойчивых к желчи, - не более КОЕ в 1 г (мл)
- Отсутствие Escherichia coli в 1 г (мл)
- Отсутствие бактерий рода Salmonella spp. в 10 г (мл)
- Отсутствие Staphylococcus aureus в 1 г (мл)
Готовые смеси для лечебных кормов, применяемых в ветеринарии, с использованием наполнителей природного происхождения, для которых противомикробная обработка невозможна - Общее число аэробных микроорганизмов - не более КОЕ в 1 г (мл)
- Общее число дрожжевых и плесневых грибов - не более КОЕ в 1 г (мл)
- Энтеробактерий, устойчивых к желчи, - не более КОЕ в 1 г (мл)
- Отсутствие Escherichia coli в 1 г (мл)
- Отсутствие бактерий рода Salmonella spp. в 25 г (мл)

Указание требований в виде "не более 100 КОЕ/г (мл)" или "не более 200 КОЕ/г (мл)" означает, что количество обнаруживаемых аэробных микроорганизмов и дрожжевых и плесневых грибов не должно превышать указанного числа.

При установлении нормативных требований к качеству по микробиологической чистоте отдельных лекарственных средств и составлении нормативного документа по качеству могут применяться как цифровые обозначения категорий, так и указание требований к качеству по микробиологической чистоте в соответствии со способом применения.

Для фармацевтических субстанций, используемых в производстве лекарственных препаратов (за исключением растительных фармацевтических субстанций), общее число аэробных микроорганизмов должно составлять не более КОЕ в 1 г (мл), а общее число дрожжевых и плесневых грибов - не более КОЕ в 1 г (мл).

На основании анализа рисков производителем могут быть установлены иные критерии приемлемости качества по микробиологической чистоте фармацевтических субстанций и вспомогательных веществ. При этом учитывают особенности производственного процесса и назначения лекарственного препарата, в получении которого используется фармацевтическая субстанция, а также наличие вспомогательных веществ требуемого качества (таблица 2.3.1.2.-2).

Таблица 2.3.1.2.-2

Критерии приемлемости качества фармацевтических субстанций и вспомогательных веществ для производства лекарственных препаратов по микробиологическим показателям

Категория Фармацевтические субстанции
Вспомогательные вещества
Критерии приемлемости
1.2.А. Фармацевтические субстанции и вспомогательные вещества для производства стерильных лекарственных препаратов, которые не подвергаются стерилизации Должны быть стерильными
1.2.Б. Фармацевтические субстанции и вспомогательные вещества для производства:
- стерильных лекарственных препаратов, которые подвергаются стерилизации в упаковке;
- стерильных лекарственных препаратов, при производстве/изготовлении которых для обеспечения стерильности используется стерилизующая фильтрация;
- нестерильных лекарственных препаратов, относящихся к категории 2
- Общее число аэробных микроорганизмов - не более КОЕ в 1 г (мл)
- Общее число дрожжевых и плесневых грибов - не более КОЕ в 1 г (мл)
- Отсутствие энтеробактерий, устойчивых к желчи, в 1 г (мл)
- Отсутствие Pseudomonas aeruginosa в 1 г (мл)
- Отсутствие Staphylococcus aureus в 1 г (мл)
2.2 Фармацевтические субстанции и вспомогательные вещества синтетического происхождения для производства нестерильных лекарственных препаратов - Общее число аэробных микроорганизмов - не более КОЕ в 1 г (мл)
- Общее число дрожжевых и плесневых грибов - не более КОЕ в 1 г (мл)
- Отсутствие Escherichia coli в 1 г (мл)
3.2 Фармацевтические субстанции природного происхождения для производства нестерильных лекарственных препаратов.
Критерии приемлемости микробиологической чистоты лекарственного растительного сырья/растительных фармацевтических субстанций приведены в общей фармакопейной статье 2.3.1.4
- Общее число аэробных микроорганизмов - не более КОЕ в 1 г (мл)
- Общее число дрожжевых и плесневых грибов - не более КОЕ в 1 г (мл)
- Отсутствие Escherichia coli в 1 г (мл)
- Отсутствие бактерий рода Salmonella в 25 г (мл)
- Отсутствие Pseudomonas aeruginosa в 1 г (мл)
- Отсутствие Staphylococcus aureus в 1 г (мл)
- Энтеробактерий, устойчивых к желчи, не более КОЕ в 1 г (мл)

Примечания к таблицам 2.3.1.2.-1 и 2.3.1.2.-2:

1. При обнаружении во время проведения испытания других патогенных бактерий, кроме указанных выше, считают, что качество лекарственных препаратов, фармацевтических субстанций и вспомогательных веществ не соответствует требованиям по показателю Микробиологическая чистота.

2. Для лекарственного препарата могут быть установлены другие нормы в зависимости:

- от состава лекарственного препарата и особенностей технологического процесса его производства;

- назначения лекарственного препарата (опасность варьирует в зависимости от способа применения или пути введения);

- от предполагаемого реципиента (опасность варьирует для новорожденных, детей, ослабленных людей).

Введение иных норм должно быть обосновано.

203100000-2022

2.3.10.0. Примеси элементов

Данная общая фармакопейная статья содержит основные принципы и подходы к оценке и контролю примесей элементов токсикологического значения, которые могут присутствовать в лекарственных средствах.

Поскольку примеси элементов не обладают терапевтическим действием, их содержание в лекарственных средствах должно подлежать контролю и не превышать допустимых пределов. Стратегия контроля для ограничения содержания примесей элементов в лекарственных средствах должна разрабатываться с использованием принципов управления рисками.

Процессы оценки данных о токсичности примесей элементов, возможных в лекарственных средствах, описаны в нормативном документе Союза "Требования к поведению исследований (испытаний) лекарственных средств в части оценки и контроля примесей" (часть V. Примеси элементов). В указанных требованиях приводятся значения допустимого суточного воздействия (ДСВ) элементов при различных путях введения, а также представлены подходы к определению концентраций примесей элементов в лекарственных препаратах и (или) их компонентах (активных фармацевтических субстанциях, вспомогательных веществах), которые гарантировали бы, что значения ДСВ для этих примесей не превышены.

ОБЛАСТЬ ПРИМЕНЕНИЯ

Данная общая фармакопейная статья распространяется на субстанции для фармацевтического применения, полученные путем химического синтеза, и произведенные из них лекарственные препараты. Кроме того, в область применения статьи входят лекарственные средства, содержащие очищенные белки и полипептиды (в том числе рекомбинантные и нерекомбинантные белки и полипептиды), их производные и продукты, являющиеся их компонентами (например, конъюгаты), а также лекарственные средства, содержащие синтетические полипептиды, полинуклеотиды и олигосахариды.

Требования данной статьи не распространяются на растительные лекарственные средства, радиофармацевтические лекарственные препараты, вакцины, продукты клеточного метаболизма, препараты ДНК, экстракты аллергенов, клетки, цельную кровь, клеточные компоненты крови или производные крови, включая плазму и производные плазмы, растворы для диализа, не предназначенные для введения в системный кровоток, и элементы, преднамеренно включенные в состав лекарственного средства для оказания терапевтического действия, а также лекарственные средства, полученные на основе генов (генная терапия), клеток (клеточная терапия) и тканей методами тканевой инженерии. К этой же группе относятся лекарственные средства для ветеринарного применения и лекарственные препараты, не подлежащие регистрации.

Область применения данной статьи не включает лекарственные средства, находящиеся на этапе клинических исследований в процессе разработки. При разработке процесса производства в промышленном масштабе изложенные выше принципы и подходы могут использоваться для оценки примесей элементов, которые могут присутствовать в новых лекарственных средствах.

ВОЗМОЖНЫЕ ИСТОЧНИКИ ПРИМЕСЕЙ ЭЛЕМЕНТОВ В ЛЕКАРСТВЕННЫХ СРЕДСТВАХ

Примеси элементов в лекарственных средствах могут возникать из разных источников. Они могут представлять собой:

- остаточные примеси элементов, возникающие в результате преднамеренного использования содержащих их материалов в процессе производства субстанций для фармацевтического применения или других компонентов лекарственного препарата (например, катализаторы, реактивы);

- примеси элементов, не используемые преднамеренно в процессе производства, но присутствующие в субстанциях для фармацевтического применения, воде и других материалах, применяемых для получения лекарственного препарата;

- примеси элементов, занесенные в субстанции для фармацевтического применения и (или) лекарственный препарат в результате взаимодействия с производственным оборудованием;

- примеси элементов, занесенные в субстанции для фармацевтического применения и (или) лекарственный препарат в результате взаимодействия с материалами упаковки.

Загрязнение лекарственного средства примесями элементов может происходить как за счет отдельного источника, так и комбинации перечисленных источников. Определение общего загрязнения лекарственного средства примесями элементов должно быть основано на оценке рисков возможного загрязнения из каждого источника.

КЛАССИФИКАЦИЯ ПРИМЕСЕЙ ЭЛЕМЕНТОВ В ЛЕКАРСТВЕННЫХ СРЕДСТВАХ

Классификация примесей элементов в лекарственных средствах основана на оценке рисков, которая связана с их токсичностью, характеризующейся значениями ДСВ, и вероятностью присутствия в лекарственных препаратах.

Вероятность присутствия элементов в лекарственном препарате зависит от нескольких факторов, в том числе:

- вероятности использования в технологических процессах;

- вероятности того, что элемент является примесью, изолированной совместно с другими примесями элементов в материалах, используемых в технологических процессах;

- распространенности элемента в природе и его экологического распределения.

В данной общей фармакопейной статье элементом с низкой распространенностью в природе и экологическим распределением считается элемент с зарегистрированной распространенностью не более 1 атома на 106 атомов кремния.

В зависимости от значения ДСВ и вероятности присутствия в лекарственных средствах примеси элементов относят к одному из следующих классов:

Класс 1 - элементы, являющиеся наиболее токсичными для человека, например, As, Cd, Hg и Pb. Такие элементы не используются совсем или же используются с большой осторожностью при производстве лекарственных препаратов. Их присутствие в лекарственных средствах обычно связано с часто применяемыми материалами (например, природными минеральными веществами, выступающими в качестве вспомогательных веществ). При оценке рисков проводят проверку на вероятность загрязнения для всех возможных источников примесей элементов и всех путей введения. По результатам оценки рисков определяют те компоненты, для которых может понадобиться дополнительный контроль в виде испытаний на элементы данного класса. Такие испытания не обязательны для всех компонентов и должны проводиться лишь в случае, если при оценке рисков они будут сочтены необходимой мерой контроля.

Класс 2 - элементы, токсичность которых для человека зависит от пути введения. Элементы данного класса подразделяют на классы 2A и 2B в зависимости от относительной вероятности их присутствия в лекарственном средстве.

Класс 2A - элементы, имеющие относительно высокую вероятность присутствия в лекарственном средстве, например, Co, Ni и V. Такие элементы требуют проведения оценки рисков для всех возможных источников примесей элементов и всех путей введения.

Класс 2B - элементы, имеющие низкую вероятность присутствия в лекарственном средстве ввиду низкой распространенности в природе и слабой способности к совместной изоляции с другими материалами, например, Ag, Au, Ir, Os, Pd, Pt, Rh, Ru, Se и Tl. Такие элементы могут не включаться в оценку рисков, если только их не используют преднамеренно в производстве активных фармацевтических субстанций или других компонентов лекарственного препарата.

Класс 3 - элементы, обладающие относительно низкой токсичностью при пероральном пути введении, например, Ba, Cr, Cu, Li, Mo, Sb и Sn. Они характеризуются высокими значениями ДСВ, как правило, превышающими 500 мкг/сут. Такие элементы могут не включаться в оценку рисков для перорального пути введения, если только их не используют преднамеренно в процессе производства активных фармацевтических субстанций или других компонентов лекарственного препарата. При парентеральном и ингаляционном путях введения вероятность их присутствия в лекарственном препарате следует оценивать во время проведения оценки рисков. Исключением является случай, когда значения ДСВ для определенного пути введения превышают 500 мкг/сут.

Другие элементы - элементы с неустановленными значениями ДСВ вследствие их низкой токсичности, например, Al, B, Ca, Fe, K, Mg, Mn, Na, W и Zn. Такие элементы в случае присутствия или включения в состав лекарственного препарата входят в область применения других нормативных актов, входящих в право Союза, относящихся к определенным элементам (например, Mn и Zn для пациентов с нарушением функции печени, Al - с нарушением функции почек) или аспектам качества лекарственного препарата (например, присутствие примеси W в терапевтических белках).

В таблице 2.3.10.0.-1 перечислены элементы различных классов, подлежащие учету при оценке рисков.

Таблица 2.3.10.0.-1

Элементы, подлежащие учету при оценке рисков

Элемент Класс Преднамеренное использование (для всех путей введения) Непреднамеренное использование
пероральный путь введения парентеральный путь введения ингаляционный путь введения
Cd 1 да да да да
Pb 1 да да да да
As 1 да да да да
Hg 1 да да да да
Co 2A да да да да
V 2A да да да да
Ni 2A да да да да
Tl 2B да нет нет нет
Au 2B да нет нет нет
Pd 2B да нет нет нет
Ir 2B да нет нет нет
Os 2B да нет нет нет
Rh 2B да нет нет нет
Ru 2B да нет нет нет
Se 2B да нет нет нет
Ag 2B да нет нет нет
Pt 2B да нет нет нет
Li 3 да нет да да
Sb 3 да нет да да
Ba 3 да нет нет да
Mo 3 да нет нет да
Cu 3 да нет да да
Sn 3 да нет нет да
Cr 3 да нет нет да

ОЦЕНКА БЕЗОПАСНОСТИ И УСТАНОВЛЕНИЕ ДСВ ПРИМЕСЕЙ ЭЛЕМЕНТОВ

Оценку безопасности примесей элементов, возможных в лекарственных препаратах, проводят для установления ДСВ каждого элемента. Полученные значения ДСВ предоставляют информацию о максимальном допустимом количестве элемента, которое может содержаться в максимальном количестве лекарственного препарата, принимаемом в сутки.

При оценке безопасности и установлении ДСВ примесей элементов рассматривают следующие факторы:

- вероятную степень окисления элемента в лекарственном препарате;

- воздействие на организм человека и данные о безопасности, если они содержат необходимую информацию;

- наиболее релевантное исследование на животных;

- путь введения лекарственного препарата;

- релевантное конечное значение(я) ДСВ.

Оценку безопасности и установление ДСВ примесей элементов осуществляют, в основном, для перорального, парентерального и ингаляционного путей введения лекарственного препарата. Для других путей введения в качестве исходного значения обычно используют ДСВ при пероральном пути введения и в последующем проводят оценку вероятности возникновения местных реакций и, по возможности, биодоступности элемента при предполагаемом пути введения путем применения поправочных коэффициентов. В качестве исходного значения также допускается использование ДСВ при парентеральном или ингаляционном путях введения, что требует соответствующего обоснования.

Значения ДСВ примесей элементов для различных путей введения, установленные на основании существующих данных о безопасности, приводятся в таблице 2.3.10.0.-2.

Таблица 2.3.10.0.-2

Допустимое суточное воздействие (ДСВ) примесей элементов для лекарственных препаратов

Элемент Класс Допустимое суточное воздействие <*> (мкг/сут)
пероральный путь введения парентеральный путь введения ингаляционный путь введения
Cd 1 5 2 3
Pb 1 5 5 5
As 1 15 15 2
Hg 1 30 3 1
Co 2A 50 5 3
V 2A 100 10 1
Ni 2A 200 20 5
Tl 2B 8 8 8
Au 2B 100 100 1
Pd 2B 100 10 1
Ir 2B 100 10 1
Os 2B 100 10 1
Rh 2B 100 10 1
Ru 2B 100 10 1
Se 2B 150 80 130
Ag 2B 150 10 7
Pt 2B 100 10 1
Li 3 550 250 25
Sb 3 1 200 90 20
Ba 3 1 400 700 300
Mo 3 3 000 1 500 10
Cu 3 3 000 300 30
Sn 3 6 000 600 60
Cr 3 11 000 1 100 3

Примечание. <*> Для удобства применения на практике значения ДСВ менее 10 имеют одну значащую цифру и округлены до ближайшего целого числа. Значения ДСВ более 10 округлены до одной или двух значащих цифр в установленном порядке.

КОНТРОЛЬ ПРИМЕСЕЙ ЭЛЕМЕНТОВ В ЛЕКАРСТВЕННЫХ СРЕДСТВАХ

Контроль примесей элементов является частью общей стратегии контроля лекарственных средств, которая обеспечивает, чтобы содержание примесей элементов в лекарственных препаратах не превышало значений ДСВ. В случае превышения порога контроля принимают дополнительные меры, которые могут включать следующие:

- модификацию этапов процесса производства, способствующую сокращению содержания примесей элементов посредством специфических или неспецифических мероприятий по очистке до значений, не превышающих порога контроля;

- выполнение внутрипроизводственных и предшествующих началу производства видов контроля, разработанных с целью ограничения содержания примесей элементов в лекарственном препарате (ниже порога контроля);

- установление пределов содержания примесей элементов в спецификациях вспомогательных веществ, синтетических промежуточных продуктов и др.;

- установление пределов содержания примесей элементов в спецификации активной фармацевтической субстанции;

- установление пределов содержания примесей элементов в спецификации лекарственного препарата.

Если примеси элементов в лекарственных препаратах не превышают ДСВ, ужесточение пределов содержания примесей элементов, основанное на возможностях технологического процесса, может быть не обязательным для заявителя. Однако в некоторых случаях могут устанавливаться более низкие уровни содержания примесей элементов, если было показано, что их содержание, хотя и ниже порогов токсичности, оказывает влияние на качественные характеристики лекарственного препарата (например, если элемент ускоряет деградацию действующих веществ).

В отдельных случаях допускается более высокий уровень содержания примесей элементов относительно ДСВ. К таким случаям могут относиться следующие:

- интермиттирующий режим дозирования;

- краткосрочный прием лекарственного препарата (например, в течение 30 дней или менее);

- специфические показания к применению лекарственного препарата (например, заболевания, угрожающие жизни, и редкие заболевания).

УСТАНОВЛЕНИЕ ПРЕДЕЛЬНОЙ ДОПУСТИМОЙ КОНЦЕНТРАЦИИ ПРИМЕСЕЙ ЭЛЕМЕНТОВ

Поскольку ДСВ отражает общее воздействие лекарственного препарата на организм человека, для оценки примесей элементов в лекарственном препарате или его компонентах значения ДСВ могут быть преобразованы в соответствующие им значения предельной допустимой концентрации (ПДК).

Величина ПДК выражает максимальную допустимую концентрацию элемента в микрограммах в расчете на грамм лекарственного препарата или его компонентов.

ПДК примесей элементов в лекарственных препаратах и их компонентах могут использоваться:

- в качестве инструмента оценки рисков при сравнении наблюдаемого и предполагаемого уровней содержания примеси элемента относительно ДСВ;

- при контроле со стороны поставщиков сырья на этапах, предшествующих производству лекарственного препарата, для обеспечения того, чтобы значение ДСВ не было превышено;

- для установления концентраций примесей элементов при разработке их внутрипроизводственного контроля;

- для включения сведений по контролю примесей элементов в документы, предназначенные для подачи в регуляторные органы.

Для расчета ПДК элемента используют несколько подходов, выбор любого из которых основан на информации о количестве лекарственного препарата, принимаемого в сутки.

Расчет ПДК элемента (C) в лекарственном препарате проводят по формуле:

,

где a - количество лекарственного препарата, принимаемое в сутки.

В зависимости от количества лекарственного препарата, принимаемого в сутки, возможны следующие подходы:

- расчет ПДК элемента в каждом компоненте лекарственного препарата, принимаемого в количестве не более 10 г в сутки;

- расчет ПДК элемента в каждом компоненте лекарственного препарата, принимаемого в любом установленном количестве в сутки.

Последний подход предполагает расчет ПДК элемента как во всех по отдельности компонентах лекарственного препарата, так и выборочно в любом его компоненте. Выбор компонентов лекарственного препарата должен быть основан на сведениях о распределении примесей элементов в компонентах лекарственного препарата (например, более высокие концентрации в отдельных компонентах).

Для каждого элемента, потенциально присутствующего в компонентах лекарственного препарата, максимальная масса примеси элемента, предполагаемая в лекарственном препарате, может быть вычислена путем умножения массы каждого компонента на ПДК, установленную для каждого элемента, и сложения полученных результатов для всех компонентов. Значение максимальной массы не должно превышать значение ДСВ примеси элемента:

,

где k - индекс для каждого из N компонентов в лекарственном препарате;

- ПДК примеси элемента в компоненте k;

- масса компонента k в максимальном количестве лекарственного препарата, принимаемого в сутки.

Приведенное выражение позволяет вычислить значение ПДК для каждой примеси элемента в каждом компоненте лекарственного препарата, которое обеспечит соответствие значению ДСВ.

Значения ПДК, необходимые для оценки содержания примесей элементов в отдельном компоненте лекарственного препарата с суточной дозой не более 10 г приводятся в таблице 2.3.10.0.-3.

Таблица 2.3.10.0.-3

Предельная допустимая концентрация (ПДК) примесей элементов в отдельном компоненте лекарственного препарата

Элемент Класс Предельная допустимая концентрация (мкг/г)
пероральный путь введения парентеральный путь введения ингаляционный путь введения
Cd 1 0,5 0,2 0,3
Pb 1 0,5 0,5 0,5
As 1 1,5 1,5 0,2
Hg 1 3 0,3 0,1
Co 2A 5 0,5 0,3
V 2A 10 1 0,1
Ni 2A 20 2 0,5
Tl 2B 0,8 0,8 0,8
Au 2B 10 10 0,1
Pd 2B 10 1 0,1
Ir 2B 10 1 0,1
Os 2B 10 1 0,1
Rh 2B 10 1 0,1
Ru 2B 10 1 0,1
Se 2B 15 8 13
Ag 2B 15 1 0,7
Pt 2B 10 1 0,1
Li 3 55 25 2,5
Sb 3 120 9 2
Ba 3 140 70 30
Mo 3 300 150 1
Cu 3 300 30 3
Sn 3 600 60 6
Cr 3 1 100 110 0,3

Концентрацию каждого элемента в лекарственном препарате можно также измерить в процессе анализа лекарственного препарата. При использовании максимального количества лекарственного препарата, принимаемого в сутки, рассчитывают максимальную допустимую концентрацию примеси элемента в лекарственном препарате.

МЕТОДИКИ ОПРЕДЕЛЕНИЯ ПРИМЕСЕЙ ЭЛЕМЕНТОВ

Определение примесей элементов следует проводить в соответствии с требованиями общей фармакопейной статьи 2.1.4.23. Определение примесей элементов. При отсутствии другого обоснования испытания должны быть специфичными для каждой примеси элемента, подлежащей контролю на основе оценки рисков.

203110000-2022

2.3.11.0. Стандартные образцы

Данная общая фармакопейная статья распространяется на стандартные образцы, используемые при разработке и последующем контроле качества лекарственных средств.

Стандартные образцы утверждаются в установленном порядке, а их пригодность для последующего применения проверяется согласно предписанной программе. Необходимость использования стандартного образца указывается в общих и частных фармакопейных статьях или нормативных документах по качеству.

Если в фармакопейной статье предписано использование стандартного образца Фармакопеи Союза, то в спорных случаях только он принимается за арбитражный стандартный образец.

ТЕРМИНЫ И ОПРЕДЕЛЕНИЯ

Биологический стандартный образец - стандартный образец, представляющий собой вещество (или смесь веществ), как правило, биологического происхождения, предназначенный для использования в соответствии с указаниями нормативного документа по качеству.

Биологический стандартный образец Фармакопеи Евразийского экономического Союза - биологический стандартный образец, применяемый в соответствии с указаниями общих и частных статей Фармакопеи Союза. Биологические стандартные образцы Фармакопеи Союза являются вторичными стандартными образцами, сертифицированными (аттестованными) в Международных единицах, или первичными стандартными образцами, которые могут использоваться для установления иных единиц, например, титра вируса или количества бактерий.

Вторичный стандартный образец - стандартный образец со значением свойства, установленным путем сравнения с первичным стандартным образцом.

Международный стандартный образец - первичный стандартный образец, определяющий Международную единицу активности или другие подходящие единицы, позволяющие выражать результаты биологического или иммунологического анализа единым способом во всем мире. Всемирная организация здравоохранения устанавливает единицы активности для первой партии международного стандартного образца на основе проведенных международных межлабораторных исследований. Активность в международных единицах для последующих партий стандартного образца при необходимости устанавливают путем сравнения с предыдущей серией стандартного образца.

Первичный стандартный образец - стандартный образец, обладающий необходимыми свойствами для предполагаемого использования, установленными без сравнения с существующими стандартными образцами. Данное определение не относится к международным стандартным образцам.

Растительный стандартный образец - стандартный образец, полученный из лекарственного растительного сырья, предназначенный для использования в соответствии с указаниями нормативного документа по качеству.

Растительный стандартный образец Фармакопеи Евразийского экономического Союза - растительный стандартный образец, применяемый в соответствии с указаниями общих и частных статей Фармакопеи Союза. При отсутствии других указаний растительный стандартный образец Фармакопеи Союза является первичным стандартным образцом для предполагаемого использования.

Стандартный ИК-спектр Фармакопеи Союза (ИК ФЕАЭС) - графическое отображение зависимости пропускания ИК-излучения (%) от волнового числа (), записанное с использованием стандартного образца субстанции в условиях указанных в частной фармакопейной статье.

Стандартный образец - материал, достаточно однородный и стабильный в отношении определенных свойств для использования его при количественной или качественной оценке свойств в соответствии с предполагаемым назначением.

Стандартный образец предприятия - стандартный образец, утвержденный или допущенный руководителем предприятия к применению на данном предприятии в соответствии с требованиями документов по контролю качества лекарственного препарата или субстанции для фармацевтического применения

Стандартный образец Фармакопеи Евразийского экономического Союза (СО ФЕАЭС) - стандартный образец, предназначенный для использования в соответствии с указаниями фармакопейных статей Фармакопеи Союза. В качестве стандартных образцов Фармакопеи Союза принимаются стандартные образцы фармакопей государств - членов Союза и основных фармакопей, с которыми гармонизирована Фармакопея Союза. Перечень СО ФЕАЭС приводится на сайте Евразийского экономического союза в разделе "Фармакопея Союза".

Химический стандартный образец - стандартный образец, представляющий собой, как правило, химическое вещество (или смесь химических веществ), предназначенный для использования в соответствии с указаниями нормативного документа по качеству.

Химический стандартный образец Фармакопеи Евразийского экономического Союза - химический стандартный образец, применяемый в соответствии с указаниями общих и частных статей Фармакопеи Союза. Химические стандартные образцы Фармакопеи Союза, как правило, являются первичными стандартными образцами, за исключением стандартных образцов (преимущественно антибиотиков) с установленным значением, выраженным в Международных единицах, которые являются вторичными стандартными образцами, прослеживаемыми по отношению к международным стандартным образцам.

КЛАССИФИКАЦИЯ СТАНДАРТНЫХ ОБРАЗЦОВ

Стандартные образцы могут быть классифицированы на основании ряда признаков (таблица 2.3.11.0.-1).

Таблица 2.3.11.0.-1

Классификация стандартных образцов

N п/п Признак классификации Вид стандартного образца
1 Программа установления значения Первичный
Вторичный
2 Природа вещества Химический
Биологический
Растительный
3 Назначение Идентификация
Чистота
Количественное определение
Квалификация оборудования
4 Уровень признания Международный
Межгосударственный
Фармакопейный
Государственный
Стандартный образец предприятия

Стандартные образцы могут быть разработаны на основе субстанций для фармацевтического применения, веществ, являющихся примесями к субстанции, смеси субстанции и примеси(ей). Для целей фармакопейного анализа к стандартным образцам приравниваются стандартные ИК-спектры Фармакопеи Союза. Кроме того, для разработки стандартного образца для биологического лекарственного препарата может использоваться промышленная серия биологического лекарственного препарата, репрезентативная серии лекарственного препарата, использованной в клинических исследованиях.

ПРОИЗВОДСТВО СТАНДАРТНЫХ ОБРАЗЦОВ

Производство стандартных образцов обуславливается их природой.

Все производственные операции осуществляют согласно требованиям соответствующих межгосударственных стандартов с целью обеспечения однородности, прослеживаемости и сохранности стандартного образца. Производственная документация должна содержать полную информацию относительно упаковки, маркировки и хранения.

УСТАНОВЛЕНИЕ СВОЙСТВ СТАНДАРТНЫХ ОБРАЗЦОВ

В данном разделе приводится информация, разъясняющая лишь некоторые особенности процедуры установления свойств стандартного образца.

1. ПЕРВИЧНЫЕ СТАНДАРТНЫЕ ОБРАЗЦЫ

Для установления свойств веществ или материалов при создании первичных стандартных образцов, их характеризуют с применением различных аналитических методик.

К стандартному образцу, используемому для контроля лекарственных средств, обычно применяют подходящие части программы испытаний, описанной ниже.

- Описание вещества (подтверждение структуры) путем определения соответствующих химических свойств, таких как структурная формула, молекулярная формула, относительная молекулярная масса или состав. При этом могут быть использованы различные методы, включая:

- спектрометрию ядерного магнитного резонанса;

- масс-спектрометрию;

- спектрофотометрию в инфракрасной области;

- элементный анализ.

- Определение чистоты:

- определение содержания родственных примесей подходящими методами разделения и детектирования, если применимо;

- определение содержания воды;

- определение содержания остаточных органических растворителей;

- определение потери в массе при высушивании, которое может в некоторых случаях заменить определение содержания воды и остаточных количеств органических растворителей;

- определение неорганических примесей (например, сульфатная зола, атомно-абсорбционная спектрометрия, спектрометрия индуктивно связанной плазмы, спектрометрия рентгеновской флуоресценции); полученные результаты определения обычно не используют при установлении значения свойства, за исключением значительного влияния на это значение;

- определение чистоты абсолютным методом (например, спектрометрия ядерного магнитного резонанса (количественный анализ), дифференциальная сканирующая калориметрия или титрование; результаты этих определений используют для подтверждения результатов, полученных с использованием методов разделения; полученные результаты не используют при установлении значения свойства.

При установлении свойств первичных биологических стандартных образцов используют общепринятые методы определения их подлинности и специфической активности, а также, при необходимости, методы, использовавшиеся для характеристики активного (действующего) вещества при разработке лекарственного препарата. При этом подходящие серии биологического лекарственного препарата, предпочтительно из клинически оцененных, должны быть полностью охарактеризованы на предмет химического состава, чистоты, биологической активности, где это возможно, с полным определением последовательности аминокислот, и утверждены для использования как биологические стандартные образцы.

2. ВТОРИЧНЫЕ СТАНДАРТНЫЕ ОБРАЗЦЫ

Вторичный стандартный образец должен обладать теми же значимыми для испытания свойствами, что и первичный стандартный образец, до которого он должен быть прослеживаем.

3. ХИМИЧЕСКИЕ СТАНДАРТНЫЕ ОБРАЗЦЫ

Для установления свойств химического стандартного образца объем испытаний, подтверждающих его пригодность для использования по назначению, зависит от предполагаемого применения данного стандартного образца.

3.1. Химические стандартные образцы для идентификации. Как правило, выбранная для создания стандартного образца серия субстанции для фармацевтического применения должна выдерживать соответствующие требования частной фармакопейной статьи или спецификации производителя. Допускается проводить полное структурное описание только для первой серии первичного стандартного образца.

3.2. Химические стандартные образцы для испытания на родственные примеси. Стандартный образец соответствующей примеси, характеризуют по показателям подлинности и чистоты. В случае использования стандартного образца для определения содержания конкретной примеси, предпочтительно, чтобы содержание этой примеси в стандартном образце составляло не менее 95,0%; если это условие выполняется, то значение не указывают и принимают равным 100,0%; такое приближенное значение допустимо, так как оно не будет оказывать существенного влияния на определение примесей. Если указанное минимальное содержание не может быть достигнуто, то указывают установленное значение для стандартного образца.

Обычно используют стандартный образец в той же кислотной, основной или солевой форме, что и субстанция для фармацевтического применения, для контроля качества которой он используется. В противном случае, при отсутствии других указаний в частной фармакопейной статье и нормативном документе по качеству, используют соответствующий стехиометрический коэффициент пересчета.

Если примесь недоступна в достаточном для получения стандартного образца количестве, используют следующие подходы:

- приготовление стандартного образца, который содержит смесь основного(ых) компонента(ов) и примеси(ей);

- приготовление стандартного образца, содержащего смесь специфицированных примесей.

В случае если такая смесь используется и для определения содержания конкретной примеси, количественное содержание примеси в стандартном образце устанавливают при помощи стандартных методов разделения, а полученное значение является установленным значением стандартного образца.

3.3. Химические стандартные образцы для количественного определения

3.3.1. Химические, физико-химические и физические методы количественного определения. Объем испытаний стандартного образца для количественного определения шире, чем в случае другого назначения.

Установленное значение, как правило, рассчитывают исходя из результатов, полученных при определении примесей (родственных примесей, неорганических примесей, воды и остаточных органических растворителей), используя принцип баланса масс. Также могут быть использованы и другие подходящие методы. По возможности, установленное значение подтверждают путем сравнения с результатами, полученными при использовании абсолютного метода.

При отсутствии других указаний установленное значение стандартного образца, поставляемого в упаковке, принимается без дополнительных пересчетов "как есть", и содержимое упаковки не требует высушивания перед использованием. Для стандартных образцов, используемых при количественном определении и полученных путем лиофилизации, указывают содержание чистого вещества в миллиграммах или в Международных единицах на упаковку.

3.3.2. Микробиологические методы количественного определения. Активность выражают в Международных единицах или в Фармакопейных единицах действия (в случае отсутствия международного стандартного образца). Заявленную активность и доверительные интервалы результатов межлабораторного испытания рассчитывают согласно общепринятым статистическим методикам.

3.3.3. Количественное определение компонентов в лекарственном растительном сырье и лекарственных средствах на его основе.

Компоненты с известной терапевтической активностью или маркеры, используемые в качестве стандартных образцов, оценивают по показателям подлинности и чистоты; установленное значение указывают независимо от степени чистоты.

4. РАСТИТЕЛЬНЫЕ СТАНДАРТНЫЕ ОБРАЗЦЫ

Для установления свойств растительного стандартного образца объем испытаний, подтверждающих его пригодность для использования по назначению, зависит от предполагаемого применения данного стандартного образца.

Как правило их характеризуют с применением различных методов и применяют подходящие части описанной ниже программы испытаний:

- описание (внешние признаки и методы микроскопических исследований);

- тонкослойная хроматография;

- газовая хроматография;

- жидкостная хроматография;

- количественное определение содержания воды;

- содержание остаточных органических растворителей;

- потеря в массе при высушивании;

- примеси;

- количественное определение компонентов (например, компонентов с известной терапевтической активностью, активных маркеров, аналитических маркеров).

Расчет проводят относительно подходящего образца чистого компонента или компонентов, имеющего установленное значение.

5. БИОЛОГИЧЕСКИЕ И ХИМИЧЕСКИЕ СТАНДАРТНЫЕ ОБРАЗЦЫ, ПРЕДНАЗНАЧЕННЫЕ ДЛЯ КОНТРОЛЯ КАЧЕСТВА БИОЛОГИЧЕСКИХ ЛЕКАРСТВЕННЫХ СРЕДСТВ

Биологический и химический стандартный образец, предназначенный для контроля качества биологических лекарственных средств, как правило, представляет собой вторичный стандартный образец, калиброванный по соответствующему международному стандартному образцу Всемирной организации здравоохранения, а в случае отсутствия международного стандартного образца, представляет собой первичный стандартный образец с установленным значением, выраженным в единицах действия Фармакопеи Союза или в других подходящих единицах.

МАРКИРОВКА СТАНДАРТНЫХ ОБРАЗЦОВ

На этикетке первичной упаковки со стандартным образцом как минимум указывают наименование и адрес производителя, наименование стандартного образца, индекс, присвоенный производителем, номер серии (партии), количество стандартного образца в упаковке (по возможности), необходимую предупреждающую информацию о вреде для здоровья или о безопасности.

Также предоставляется документация (сертификат/паспорт и инструкция по применению (при наличии)) на стандартный образец, где указывают общее описание образца, назначение, указания по правильному использованию и соответствующим условиям хранения, установленное значение свойств с указанием неопределенности (при необходимости), дату истечения срока годности.

ХРАНЕНИЕ И ДИСТРИБЬЮЦИЯ СТАНДАРТНЫХ ОБРАЗЦОВ

Стандартный образец должен храниться и транспортироваться в предписанных производителем условиях, гарантирующих его стабильность.

Используют подходящую транспортную тару (упаковку) для минимизации риска повреждения при транспортировке, а также для хранения стандартного образца при определенной температуре и соответствия действующим руководствам по транспортировке.

ПРИМЕНЕНИЕ СТАНДАРТНЫХ ОБРАЗЦОВ

Стандартный образец должен быть признан пользователем пригодным для применения по назначению. Стандартный образец Фармакопеи Союза должен использоваться в целях, описанных в соответствующих фармакопейных статьях, если иное не разрешено уполномоченным органом.

Если стандартный образец предполагается использовать для целей, отличных от тех, для которых его значение свойства было установлено, его пригодность в этом случае должна быть доказана и полностью описана в регистрационном досье.

Как правило, стандартный образец фасуется в количестве, необходимом для немедленного использования после вскрытия упаковки. За применение стандартного образца в других условиях ответственность несет пользователь. Стандартный образец в невскрытой заводской упаковке пригоден для использования на протяжении срока, установленного производителем данного стандартного образца.

Вторичные стандартные образцы. Вторичные стандартные образцы, как правило, разрабатываются для сокращения использования первичных стандартных образцов и могут быть использованы в работе для рутинного контроля качества. Вторичный стандартный образец может быть использован только в тех же целях, что и первичный стандартный образец, по которому проводилось установление его свойств.

Стандартные ИК-спектры Фармакопеи Евразийского экономического Союза могут быть использованы для установления подлинности субстанций для фармацевтического применения в соответствии с указаниями частных фармакопейных статей.

ПРОГРАММА ПОВТОРНОГО КОНТРОЛЯ

Для подтверждения пригодности стандартных образцов для использования разрабатывают и применяют программу мониторинга стабильности стандартных образцов с учетом известных физико-химических свойств и данных по стабильности. Программа мониторинга призвана обнаруживать на ранней стадии любые признаки изменения показателей качества, влияющих на применение стандартных образцов с использованием соответствующих аналитических методик. Обычно выбирают методики из использованных в процессе создания стандартных образцов.

Период мониторинга (продление срока годности) может быть увеличен при наличии достаточного количества экспериментальных данных, обосновывающих эту возможность. Допустимые критерии отклонений должны быть заранее определены. В случае их превышения, необходимо повторно установить свойства серии стандартного образца или произвести замену серии.

203120000-2022

2.3.12.0. Статистическая обработка результатов биологических испытаний лекарственных средств

В данной общей фармакопейной статье изложены основные методы статистической обработки результатов фармакопейных биологических испытаний лекарственных средств.

Для расчетов можно использовать электронные таблицы. При этом, за счет разницы в точности вычислений, полученные результаты могут незначительно отличаться от приведенных в статье. Возможно применение специального валидированного статистического, в том числе биометрического: программного обеспечения (CombiStats, PLA или аналогичные).

УСЛОВНЫЕ ОБОЗНАЧЕНИЯ

Используют следующие основные условные обозначения:

a - свободный член линейной регрессии;
b - угловой коэффициент линейной регрессии (тангенс угла наклона линии зависимости величины ответа тест-объекта от дозы или ее логарифма;
c - число столбцов в таблице (раздел 4.2.3);
d, - разность некоторых величин;
- число доз для каждого образца, исключая контроль (раздел 3.2.8);
  - число тест-объектов, продемонстрировавших наличие ответа на "Образец 2" (раздел 4.2.3);
e - основание натурального логарифма;
f - число степеней свободы;
h - число образцов в испытании, включая стандартный образец (раздел 3.2.8);
k - число образцов в испытании (включая стандартный образец), умноженное на количество доз в испытании;
n - число ответов в группе;
p - уровень значимости;
r - число строк в таблице (раздел 4.2.3);
- дисперсия;
s() - среднее квадратическое отклонение;
, и - малая, средняя и большая доза стандартного образца ;
t - критерий Стьюдента, t-критерий (таблица 2 Приложения);
u - ответ тест-объекта в разделе 4.10;
, и - малая, средняя и большая доза испытуемого образца ;
x, y - ответ тест-объекта или логарифм дозы (раздел 3);
, и , - средний ответ на стандартный образец и испытуемый образец;
- значение критерия хи-квадрат;
A, B, C и D - число тест-объектов, продемонстрировавших наличие или отсутствие ответа (раздел 4.2.3);
- ожидаемая активность испытуемого образца;
и - коэффициенты для вычисления средней смертельной дозы (раздел 4.2.1);
B - сумма ответов за 2 дня для каждого животного (раздел 3.1.1.4);
  - сумма ответов контрольной группы (раздел 3.2.8);
C - статистика, применяемая для вычисления доверительного интервала;
  - сумма столбцов в методе случайных блоков (раздел 3.2.3) и латинском квадрате (разделы 3.2.4 и 3.2.5);
D - доза испытуемого препарата (раздел 4.2.1);
D - число тест-объектов, продемонстрировавших наличие эффекта при действии "Образца 2" (раздел 4.2.3);
и - сумма ответов в первый и второй день двойного перекреста (раздел 3.2.6);
E - сумма квадратов показателя Регрессия (раздел 3.2);
  - ожидаемое число наблюдений в ячейке (раздел 4.2.3);
F - значение критерия Фишера (отношение большей дисперсии к меньшей, таблица 3 Приложения);
G - комбинации условий (раздел 3.2.8);
H - множитель для дисперсионного анализа (раздел 3.2.8);
I - десятичный логарифм соотношения доз;
, , - статистики для вычисления показателя Нелинейность при дисперсионном анализе (раздел 3.2.8);
K - поправочный коэффициент для дисперсионного анализа;
L - разность логарифмов верхней и нижней доверительной границы биологической активности;
и - линейные контрасты стандартного образца и испытуемого образца;
  - линейные произведения стандартного образца и испытуемого образца (раздел 3.2.8);
- десятичный логарифм биологической активности испытуемого образца;
- величина, на которую найденная биологическая активность испытуемого образца отличается от его ожидаемой биологической активности (в логарифмическом виде);
N - общее число ответов в опыте;
O - фактическое число наблюдений в ячейке (раздел 4.2.3);
P - доверительная вероятность;
  - значение пробита (раздел 4.2.1);
  - статистика, вычисляемая по формуле Фишера (раздел 4.2.3);
Q - контрольный критерий выявления грубых ошибок;
и - квадратический контраст для стандартного образца и испытуемого образца в дисперсионном анализе;
R - сумма блоков в методе случайных блоков, сумма строк в методе латинского квадрата (раздел 3.1.1.3);
  - отношение угловых коэффициентов (раздел 3.1.2);
- найденная биологическая активность испытуемого образца ();
- стандартный образец;
S - суммарный ответ на стандартный образец;
, , и - суммарные ответы на малую, среднюю и большую дозу стандартного образца ;
- испытуемый образец;
U - суммарный ответ на испытуемый образец;
, , и - суммарные ответы на малую, среднюю и большую дозу испытуемого образца ;
W - весовой коэффициент для пробит-метода (раздел 4.2.1, таблица 4 Приложения);
  - весовой коэффициент для объединения независимых биологических испытаний (раздел 5);
V - коэффициент дисперсии для вычисления доверительных границ (раздел 3.2.8);
ДИ (CI) - доверительный интервал, диапазон вокруг среднего значения y, в котором с определенным уровнем надежности или доверия, находится истинное значение y.

1. РАНДОМИЗАЦИЯ

Порядок введения стандартного образца и испытуемого образца, различных воздействий на тест-объекты должно быть осуществлено случайным образом. Рекомендуется использовать "смешанные" группы, то есть тест-объекты, получающие одинаковую дозу одного и того же образца, должны быть равномерно распределены по клеткам, планшетам и т.д. Несмешанные группы допустимы только при наличии доказательств отсутствия статистически значимого влияния места и времени проведения испытания на его результаты.

Распределение тест-объектов по группам и исключение тест-объектов из групп при уравнивании их численности следует проводить методом случайных чисел. Для этого можно воспользоваться программным обеспечением, например функцией электронных таблиц СЛУЧМЕЖДУ (MS Excel, Calc и др.).

2. ОПРЕДЕЛЕНИЕ АКТИВНОСТИ ЛЕКАРСТВЕННОГО СРЕДСТВА БИОЛОГИЧЕСКИМИ МЕТОДАМИ

Физические и химические показатели не всегда в полной мере характеризуют качество лекарственного средства. В подобных случаях необходимо определение показателей, выполняемых биологическими методами.

С помощью фармакопейных биологических испытаний определяют биологическую активность или токсичность лекарственных средств, а также нежелательные примеси.

Согласно Правилам проведения исследований биологических лекарственных средств Евразийского экономического союза, утвержденным Решением Совета Евразийской экономической комиссии от 3 ноября 2016 г. N 89, биологическая активность определяет особую способность или свойство лекарственного средства производить определенный биологический эффект.

При определении биологической активности в подавляющем большинстве случаев используют стандартный образец: вещество, посредством сравнения с которым осуществляют контроль качества исследуемого лекарственного средства (раздел 3.2.1 - 3.2.6). В данном случае стандартный образец должен быть аттестован по биологической активности.

Определение наличия пролонгированного (удлиненного) действия препаратов инсулина и его аналогов основано на том же принципе (раздел 3.2.7).

В некоторых случаях биологическую активность оценивают без применения стандартного образца, например, при косвенном определении эффективных доз (раздел 4.1).

2.1. Составление групп и выравнивание их численности

При составлении групп следует обеспечивать однородность тест-объектов (по полу, возрасту, массе тела, происхождению, условиям содержания и т.д.) внутри групп, а также оптимальное распределение тест-объектов по группам при помощи рандомизации (раздел 1). Кроме того, следует стремиться к тому, чтобы число тест-объектов во всех группах было одинаково. Это является условием применимости ряда процедур статистического анализа и всегда упрощает вычисление.

Если по какой-либо причине (ошибка в эксперименте, гибель животного, не связанная с испытанием) в некоторых из групп выпал один или несколько результатов, можно уравнять численность групп одним из следующих способов:

а) из каждой большой группы исключить по одному результату;

б) к каждой меньшей группе прибавить один результат, равный среднему из оставшихся в этой группе результатов, но в дальнейших расчетах число степеней свободы, относящихся к данной группе, должно считаться на единицу меньшим.

Выбор способа выравнивания численности в группах зависит, главным образом, от числа групп, в которых образовались пробелы. Выравнивание следует проводить с применением рандомизации (раздел 1).

Эти процедуры можно применять и при различии в численности групп на две-три или большее число единиц, но это всегда менее желательно, так как снижает точность и надежность окончательных выводов по результатам испытания.

Использование специального программного обеспечения (CombiStats, PLA или аналогичные) позволяет не уравнивать численность групп.

2.2. Выявление грубых ошибок и первичная обработка полученных данных

Часто ответ тест-объекта, характеризующий биологическую активность лекарственного средства, выражают в количественной форме, например концентрация глюкозы в крови при определении биологической активности инсулина, время свертывания крови при действии гепарина и т.д. В таких случаях конечным результатом испытания чаще всего считают среднее значение y, а точнее - его доверительный интервал (ДИ), если в частной фармакопейной статье не указано иное.

При проверке, не является ли значение ответа так называемой "грубой ошибкой", которую следует исключить из дальнейших расчетов, используют контрольный Q-критерий (n <= 10). Значение, которое может рассматриваться как грубая ошибка, обозначают как x1, а n ответов упорядочивают по величине. Затем вычисляют

,

.

Найденное значение Q сопоставляют с табличным Q (P; n). Величину можно считать грубой ошибкой, если наблюдаемое значение Q превышает табличное (таблица 1 Приложения).

Например, при определении биологической активности гонадотропина хорионического на крысах-самках, в одной из групп были получены следующие результаты (отношение массы матки в мг к массе тела в г): 1,769; 2,556; 2,977; 3,123; 3,331; 3,354; 3,447; 3,525; 3,995; 4,382. Значение 1,769 лежит несколько в стороне от остальных и должно быть проверено с помощью Q-критерия. Согласно вышеуказанной формуле при n = 10

.

Полученное значение Q-критерия меньше критического, составляющего 0,48 (P = 0,95).

Следовательно, значение 1,769 не является грубой ошибкой.

При 10 < n < 1000 по всем данным, кроме подозрительного значения вычисляют среднее арифметическое и среднее квадратическое отклонение. Подозрительное значение считают грубой ошибкой, если оно удалено от среднего более чем на 4s.

В результате получают однородную выборку, для которой вычисляют средний ответ , дисперсию ответа , его среднее квадратическое отклонение и доверительный интервал.

В качестве примера первичной обработки полученных данных можно привести определение удлиненного (пролонгированного) действия инсулина и его аналогов (раздел 3.2.7). В контрольной временной точке (5,84 ч) концентрация глюкозы в крови животных группы, получившей стандартный образец, составила (в %) 92,25; 105,24; 98,34; 106,28; 102,99; 89,12; 95,94; 111,68; 98,71.

Расчет проводят по следующим формулам при p = 0,05.

Средний ответ .

Дисперсия ответа

.

Среднее квадратическое отклонение s = 7,17.

Число степеней свободы f = n - 1 = 8.

Критическое значение критерия Стьюдента t(0,05; 8) = 2,31 (таблица 2 Приложения).

Полуширина доверительного интервала

.

; ;

.

2.3. Сравнение выборок

Для множественного сравнения независимых групп используют дисперсионный анализ. Если групп всего две и распределение ответов является нормальным, их сравнение можно провести с помощью критерия Стьюдента.

2.3.1. Сравнение средних значений двух независимых выборок

Сравнение стандартного образца и испытуемого образца по среднему значению количественного показателя, применяемого для определения какого-либо показателя качества, например пролонгированного действия можно проводить при помощи критерия Стьюдента для независимых выборок:

;

.

В качестве примера можно привести финальную стадию обработки данных, полученных при определении пролонгированного действия инсулина (раздел 3.2.7).

В контрольной временной точке концентрация глюкозы в крови животных группы, получившей испытуемый образец, составила (в %) 80,75; 64,06; 84,82; 70,88; 86,59; 61,30; 77,37; 67,91; 70,28.

Расчет по вышеуказанным формулам дает: = 73,77%; = 81,60; = 9,03; = 8, = 14; = 6,83; (0,05;16) = 2,12. Из этого можно заключить, что вероятность, того, что пролонгированное действие препарата имеет место, превышает 95%.

Если / превышает критическое значение критерия Фишера (таблица 3 Приложения), то для вычисления наблюдаемого значения критерия Стьюдента следует применять формулу:

.

Вычисленное значение сравнивают с , как указано выше (число степеней свободы f округляют до целого числа). Критическое значение критерия Стьюдента можно также найти в приложениях (таблица 2 Приложения).

При сравнении биологических активностей вероятность различия 95% в большинстве случаев считают приемлемой, в зависимости от требований, установленных в частной фармакопейной статье на конкретный препарат.

Если распределение ответов в группах не является нормальным, то для сравнения двух независимых выборок следует воспользоваться непараметрическим критерием Манна - Уитни.

Предварительную проверку нормальности можно проводить с помощью критерия Колмогорова - Смирнова, W-критерия Шапиро - Уилка или, что предпочтительнее, гистограмм с наложением кривой нормального распределения, или нормальных вероятностных графиков (по оси абсцисс - наблюдаемое значение, по оси ординат - ожидаемое нормальное значение). Чем ровнее точки ложатся на прямую, тем распределение ближе к нормальному.

2.3.2. Сравнение средних значений двух зависимых выборок

При сравнении двух образцов рекомендуется использовать ряд достаточно однородных (сопряженных) пар тест-объектов. Сопряженную пару могут составить, например, животные из одного помета, одинакового пола и близкой массы тела или, если это допускается методикой испытания, два повторных определения на одном тест-объекте с достаточным разрывом во времени, обеспечивающим восстановление исходного состояния после первого опыта.

В таких случаях применяют парный критерий Стьюдента для зависимых выборок.

Для этого при использовании n сопряженных пар , , , , ... , составляют ряд разностей , , ... и вычисляют величину , где

;

.

Полученную величину t сравнивают с табличным значением t (p, f) для принятого уровня значимости p и числа степеней свободы f = n - 1.

Например, требуется выяснить, влияет ли предварительное введение гепатопротектора на действие гексенала.

Для этого 7 мышам внутрибрюшинно вводят раствор гексенала в дозе 100 мг/кг. Получены следующие величины продолжительности наркоза (в минутах): 35; 83; 53; 60; 71; 62; 39. Среднее значение составило 57,6 мин.

Второй группе из 7 мышей за 15 мин до введения той же дозы гексенала вводили (также внутрибрюшинно) гепатопротектор в дозе 150 мг/кг.

При этом тест-объекты N 1, 2, ... 7 из группы 1 были сопряжены с тест-объектами N 3, 1, 5, 2, 6, 4, 7 из группы 2 (в каждой паре были мыши из одного помета с примерно одинаковой массой тела).

Длительность наркотического сна оказалась (в минутах): 75; 78; 114; 110; 93; 100; 87. Среднее значение составило 93,9 мин.

=254/7=36,3, =27,27, = 3,52, при (p = 0,05, f = 6) = 2,45 и (p = 0,01, f = 6) = 3,71; (p = 0,001, f = 6) = 5,96.

Таким образом, можно заключить, что влияние гепатопротектора на длительность наркотического сна имеет место с доверительной вероятностью 95%.

Если распределение ответов в группах не является нормальным, то для сравнения двух зависимых выборок следует воспользоваться непараметрическим критерием Вилкоксона.

Предварительную проверку нормальности проводят, как указано выше в разделе 2.3.1.

3. БИОЛОГИЧЕСКИЕ ИСПЫТАНИЯ С КОЛИЧЕСТВЕННЫМ ТИПОМ ОТВЕТА

Количественные данные (ответы) поддаются непосредственному измерению или счету и могут принимать любое значение в определенном диапазоне. Они могут быть либо непрерывными (например, полученными с помощью прибора), подсчитанными (например, бляшкообразующими единицами), либо дискретными (например, титрами разбавления конечной точки).

Главная особенность количественных данных заключается в возможности выполнять над ними любые математические преобразования: складывать, вычитать, перемножать, возводить в целочисленную степень, извлекать квадратный корень (для величин, принимающих только неотрицательные значения), логарифмировать (только положительные величины) и т.д.

3.1. Общие принципы расчетов

3.1.1. Модель параллельных прямых

Для определения биологической активности наиболее часто применяют модель параллельных прямых. Она основана на том, что в подавляющем большинстве случаев в интервале обычно применяемых доз ответ, когда он выражен количественно, связан линейно с логарифмом дозы. Эту связь отражает уравнение линейной регрессии:

y = a + bx,

где a - свободный член линейной регрессии;

b - угловой коэффициент линейной регрессии;

x - логарифм дозы (десятичный или натуральный).

Определение биологической активности проводят путем сравнения линий дозозависимости стандартного образца и испытуемого образца. Графически величину биологической активности испытуемого образца можно выразить через расстояние между линиями дозозависимости по оси x (рисунок 3.1.1.-1).

Рисунок 3.1.1.-1. - Модель параллельных прямых (по 3 дозы стандартного образца и испытуемого образца)

При проведении рутинных биологических испытаний обычно используют 2 или 3 дозы стандартного образца и испытуемого образца, так как однодозовая постановка не позволяет вычислить дисперсию результатов опыта, без которой невозможна ни проверка пригодности результатов, ни вычисление доверительных границ биологической активности испытуемого образца. Каждую дозу вводят отдельной группе тест-объектов. В случае использования изолированного органа, все дозы испытывают на одном тест-объекте. Получают одинаковое число ответов на каждую дозу стандартного образца и испытуемого образца (т.н. сбалансированная схема). При наличии специального биометрического программного обеспечения (CombiStats, PLA или аналогичные) можно использовать несбалансированную схему.

В рамках модели параллельных прямых существует несколько основных типов постановки.

3.1.1.1. Рандомизированная постановка

Наиболее общий случай, когда рассматривают целиком весь полученный массив данных (раздел 3.2.1 и 3.2.2).

3.1.1.2. Рандомизированные (случайные) блоки

Каждый полный набор исследуемых доз стандартного образца и испытуемого образца рассматривают как отдельный блок, который может быть исключен из общих расчетов в случае, если он статистически значимо отличается от остальных блоков, полученных в результате испытания (раздел 3.2.3).

3.1.1.3. Латинский квадрат

Число строк равно числу доз, использованных в испытании. В случае двухдозовой постановки используется квадрат 4 на 4, а в случае трехдозовой постановки - квадрат 6 на 6. При этом можно использовать один и тот же тест-объект, например изолированный орган. Дозы вводят в определенной последовательности. В качестве примера такой последовательности можно привести так называемый циклический сдвиг. При этом при использовании двух доз стандартного образца и испытуемого образца, порядок введения доз следующий: , , , . Каждая последующая строка начинается с дозы, которой закончилась предыдущая, то есть порядок доз сдвигается вправо с началом каждой строки. В некоторых случаях это позволяет устранить возможное влияние одной дозы на другую (раздел 3.2.4 и 3.2.5).

3.1.1.4. Двойной перекрест

Если каждый тест-объект можно взять в опыт только один раз, исследователь вынужден иметь дело только с межгрупповой дисперсией результатов. Если же от каждого тест-объекта можно получить более одного ответа, то появляется внутригрупповая дисперсия. В том случае, если она меньше межгрупповой, то можно использовать двойной перекрест. Это позволяет снизить отрицательное влияние естественной вариабельности ответов и повысить точность и достоверность результатов. В качестве примера такого испытания можно привести определение биологической активности инсулина на кроликах или мышах, основанное на снижении концентрации глюкозы в крови. Введение инсулина проводят по особой схеме, таким образом, что каждая из 4 групп животных за 2 дня опыта получает как стандартный образец, так и испытуемый образец в разных дозах (раздел 3.2.6).

Таким образом, каждая группа получает две разных дозы разных образцов. Если группа в первый день получала стандартный образец, во второй день она получает испытуемый образец, если испытуемый образец, то стандартный образец, если малую дозу, то большую, если большую, то малую.

В связи с этим, графическое изображение двойного перекреста отличается от неперекрестных планов. Для каждого из двух дней строят прямую линию. По оси абсцисс откладывают разности логарифмов доз, а по оси ординат разности соответствующих им сумм ответов. Римские цифры означают день (таблица 3.1.1.4.-1, рисунок 3.1.1.4.-2).

Таблица 3.1.1.4.-1

Формулы для построения графика двойного перекреста

x y
День I lg дозы - lg дозы
  lg дозы - lg дозы
День II lg дозы - lg дозы
  lg дозы - lg дозы

Рисунок 3.1.1.4.-2. - Модель двойной перекрестной постановки (частный случай модели параллельных линий)

После построения линий "День I" и "День II" проводят среднюю линию (т.н. линию ответа). Если она проходит через начало координат, то найденная активность испытуемого образца равна 100%. Отрезок между точкой пересечения линии ответа с осью абсцисс и началом координат представляет собой разность между логарифмами ожидаемой и найденной активности испытуемого образца. В случае, изображенном на рисунке 3.1.1.4.-2, биологическая активность испытуемого образца составляет 108,9% биологической активности стандартного образца.

3.1.2. Модель угловых коэффициентов

Данную модель применяют для определения биологической активности некоторых лекарственных средств с помощью микробиологических испытаний.

По оси абсцисс откладывают значения доз. Начало оси координат соответствует нулевой дозе, значения доз возрастают слева направо. По оси ординат откладывают полученные ответы. Две линии, исходящие из одной точки, соответствующей нулевой дозе, представляют собой зависимости "доза-эффект", рассчитанные для стандартного образца и испытуемого образца (рисунок 3.1.2.-3). В отличие от модели параллельных прямых, значения доз не логарифмируют. Биологическую активность испытуемого образца характеризует соотношение угловых коэффициентов этих двух линий дозозависимости .

Рисунок 3.1.2.-3. - Модель угловых коэффициентов

Рисунок 3.1.3.-4. - Четырехпараметрический метод анализа S-образных кривых

Как и в случае модели параллельных линий, важно, чтобы ожидаемая активность была близка к истинной активности, и чтобы были подготовлены эквипотентные разведения стандартного образца и испытуемого образца (если это возможно). Чем ближе значение ожидаемой биологической активности к найденной, тем ближе будут две линии. Если угловой коэффициент испытуемого образца больше, чем у стандартного образца, найденная активность испытуемого образца выше ожидаемой, и наоборот.

Рекомендуемые параметры методики проведения биологического испытания:

- одинаковое число доз стандартного образца и испытуемого препарата с одинаковыми интервалами;

- возможное наличие дополнительной (контрольной) группы;

- одинаковое число тест-объектов в каждой группе.

Пример обработки полученных данных приведен в разделе 3.2.8.

Модель угловых коэффициентов реализована в специальном биометрическом программном обеспечении (например, CombiStats или аналогичные).

3.1.3. Четырехпараметрический метод анализа S-образных кривых дозозависимости

Данный метод применяют для определения биологической активности иммунобиологических лекарственных средств.

Кривая дозозозависимости как стандартного образца, так и испытуемого препарата, характеризуется четырьмя параметрами:

- верхнее плато ();

- нижнее плато ();

- угловой коэффициент ();

- расстояние между кривыми по оси x ().

Зависимость ответа u от натурального логарифма дозы x выражают следующей формулой:

.

Кривые стандартного образца и испытуемого образца можно сравнивать при одинаковом наклоне, а также одинаковом уровне верхнего и нижнего плато. Таким образом, кривые должны различаться только по параметру , который является показателем активности испытуемого образца. Равенство трех остальных параметров доказывают при валидации методики для рутинных испытаний. Повторная проверка равенства данных параметров необходима только при изменении условий испытания.

Четырехпараметрический метод реализован в специальном биометрическом программном обеспечении (например, CombiStats, PLA или аналогичные).

В случае отсутствия такого программного обеспечения, можно выбрать линейные участки кривых и сравнить их с помощью метода трехдозовой рандомизированной постановки (раздел 3.2.2).

3.1.4. Дисперсионный анализ результатов биологического испытания, вычисление биологической активности, ее доверительных границ и объединение результатов биологических испытаний

В процессе статистической обработки проводят специфическую модификацию дисперсионного анализа результатов каждого рутинного биологического испытания для того, чтобы проверить пригодность результатов опыта и вычислить его дисперсию. Определяют следующие компоненты или источники дисперсии (показатели):

Линейность (при использовании не менее трех доз стандартного образца и испытуемого образца). Для "лианеризации" дозозависимости, ответы тест-объектов (y) можно подвергать различным преобразованиям (логарифмировать, извлекать квадратный корень, возводить в квадрат и др.);

Непараллельность;

Дозозависимость;

Блоки или строки (при необходимости);

Столбцы (при необходимости);

Дни x непараллельность (при необходимости);

Другие вспомогательные показатели.

Для всех типов постановок обязательным является незначимость показателя Непараллельность (p = 0,05) и значимость показателя Регрессия (p = 0,01), характеризующего дозозависимость.

Дисперсионный анализ отличается при использовании двойного перекреста и неперекрестных планов. В качестве дисперсии опыта используют внутригрупповую дисперсию. Ее применяют, как для проверки пригодности результатов испытания, так и для вычисления доверительных границ биологической активности испытуемого образца.

При этом параллельность линии первого дня и линии второго дня отражает не показатель Непараллельность, который вычисляют по межгрупповой дисперсии, а показатель Дни x непараллельность, который вычисляют по внутригрупповой дисперсии. Он характеризует постоянство реакции разных групп тест-объектов на введение одной и той же дозы одного и того же образца.

Затем вычисляют биологическую активность испытуемого образца относительно стандартного образца (ее среднее значение и доверительные границы).

Объединение результатов двух и более биологических испытаний одного и того же образца проводят согласно разделу 5 "Объединение результатов независимых определений биологической активности".

Ниже, в качестве примеров, приведены рекомендуемые алгоритмы вычисления биологической активности испытуемых образцов с помощью наиболее распространенных методов испытаний с количественным типом ответов (раздел 3.2). Возможно применение специального биометрического программного обеспечение (CombiStats, PLA или аналогичные).

3.2. Примеры статистической обработки результатов биологических испытаний с количественным типом ответов

В данном разделе приведены контрольные примеры вычисления биологической активности, классифицированные по наиболее распространенным типам постановок (модель параллельных прямых). В конце раздела дан пример проверки наличия пролонгированного (удлиненного) действия препаратов инсулина и его аналогов с использованием критерия Стьюдента (раздел 3.2.7).

Для удобства использования, во всех примерах расчеты даны в полном объеме.

3.2.1. Рандомизированная постановка с использованием двух доз (на примере биологической активности гонадотропина хорионического)

Если в качестве тест-объекта используют крыс-самок, то в качестве ответа животного принимают отношение массы матки в мг к массе тела в г. В случае использования самцов, ответ животного представляет собой отношение массы добавочных половых желез в мг к массе тела в г.

Для определения активности гонадотропина хорионического использовали 4 группы крыс-самок по 10 особей в каждой. Каждую из доз испытуемого образца и стандартного образца, вводили одной группе животных (соотношение доз 1:2).

В таблице 3.2.1.-2 даны ответы крыс-самок на введение двух доз стандартного образца и двух доз испытуемого образца.

Таблица 3.2.1.-2

Относительная масса матки крыс (рандомизированная постановка с использованием двух доз на примере биологической активности гонадотропина хорионического)

Группа 1 Группа 2 Группа 3 Группа 4
0,398 2,233 0,533 3,447
0,443 2,129 0,663 3,123
0,483 2,872 0,434 3,354
0,623 2,732 0,710 1,769
0,462 3,043 0,637 4,382
0,619 2,717 0,470 3,525
0,436 2,939 0,650 3,331
0,495 1,785 0,600 3,995
0,568 3,474 0,820 2,977
0,593 3,120 0,512 2,556

Для того чтобы проверить статистическую значимость источников вариации, пригодность результатов и вычислить дисперсию опыта, проводят дисперсионный анализ полученных данных. При этом рассчитывают значения дисперсий для 6 источников (таблица 4 Приложения).

Для этого на основании данных, представленных в таблице 3.2.1.-2 и 3.2.1.-3, а также поправочного коэффициента, вычисляют суммы квадратов источников дисперсии.

Таблица 3.2.1.-3

Суммы ответов и контрасты (рандомизированная постановка с использованием двух доз на примере биологической активности гонадотропина хорионического)

Стандартный образец Испытуемый образец Сумма
Малая доза = 5,12 = 6,03  
Большая доза = 27,04 = 32,46  
Сумма S = 32,16 U = 38,49 y=70,65
Линейный контраст L=48,35

Поправочный коэффициент

;

;

;

;

;

;

.

Значимость различий дисперсий проверяют с помощью критерия Фишера. Обязательным является выполнение требований для показателей Регрессия и Непараллельность. Эти требования заключаются в том, что для Регрессии наблюдаемое значение критерия Фишера должно быть больше критического (p = 0,01), а для Непараллельности - меньше критического (p = 0,05).

Для того чтобы найти , средние квадраты показателей делят на средний квадрат показателя Отклонение. Полученные результаты сравнивают с табличными критическими значениями критерия Фишера (таблица 3 Приложения). Число степеней свободы , а .

Таблица 3.2.1.-4

Сводная таблица дисперсионного анализа (рандомизированная постановка с использованием двух доз на примере биологической активности гонадотропина хорионического)

Источник дисперсии (показатель) Число степеней свободы (f) Сумма квадратов Средний квадрат Наблюдаемое значение критерия Фишера
Критическое значение критерия Фишера
Препараты 1 0,99 0,99    
Регрессия 1 58,44 58,44 292,2 > 7,40
(p = 0,01)
Непараллельность 1 0,51 0,51 2,55 < 4,11
(p = 0,05)
Постановки k - 1 = 4 - 1 = 3 = 59,94 19,98    
Отклонение N - 1 - - m = 39 - 3 = 36 7,29 0,20    
Итог N - 1 - m = 39 67,23      

n = 10 (число ответов в группе); N = 40 (общее число ответов в опыте); m = 0 (число утраченных и замененных значений).

Дисперсионный анализ показал пригодность результатов опыта: статистическую значимость дозозависимости (Регрессия) и параллельность двух линий регрессии (Непараллельность).

Вычисление биологической активности и ее доверительных границ

Соотношение доз равно 2, следовательно I = lg2,0 = 0,3010;

t = 2,03 при f = 36 и p = 0,05;

;

;

;

;

;

Биологическая активность

.

Логарифмические доверительные границы биологической активности испытуемого образца вычисляют по формуле:

.

Логарифмические доверительные границы биологической активности испытуемого образца составляют 0,0036 и 0,0755. Нижняя и верхняя доверительная граница составляет и , т.е. 1008,3 МЕ/фл. и 1189,9 МЕ/фл. соответственно.

3.2.2. Рандомизированная постановка с использованием трех доз (на примере биологической активности гонадотропина хорионического)

Если в качестве тест-объекта используют крыс-самок, то в качестве ответа животного принимают отношение массы матки в мг к массе тела в г. В случае использования самцов, ответ животного представляет собой отношение массы добавочных половых желез в мг к массе тела в г.

Для определения активности гонадотропина хорионического использовали 6 групп крыс-самок по 10 особей в каждой. Каждую дозу испытуемого образца и стандартного образца, вводили одной группе животных (соотношение доз 1:2).

В таблице 3.2.2.-5 даны ответы крыс-самок на введение трех доз стандартного образца и трех доз испытуемого образца.

Таблица 3.2.2.-5

Относительная масса матки крыс (рандомизированная постановка с использованием трех доз на примере биологической активности гонадотропина хорионического)

Группа 1 Группа 2 Группа 3 Группа 4 Группа 5 Группа 6
0,398 1,583 2,233 0,533 1,655 3,447
0,443 0,780 2,129 0,663 0,935 3,123
0,483 2,380 2,872 0,434 1,973 3,354
0,623 0,984 2,732 0,71 2,199 1,769
0,462 1,265 3,043 0,637 0,886 4,382
0,619 1,568 2,717 0,47 1,097 3,525
0,436 1,167 2,939 0,65 2,447 3,331
0,495 1,743 1,785 0,600 1,941 3,995
0,568 1,375 3,474 0,820 1,151 2,977
0,593 1,375 3,120 0,512 2,804 2,556

Для того чтобы проверить статистическую значимость источников вариации, пригодность результатов и вычислить дисперсию опыта, проводят дисперсионный анализ полученных данных. При этом рассчитывают значения дисперсий для 8 источников (сводная таблица 3.2.2.-7).

Таблица 3.2.2.-6

Суммы ответов и контрасты (рандомизированная постановка с использованием трех доз на примере биологической активности гонадотропина хорионического)

Стандартный образец Испытуемый образец Сумма
Малая доза = 5,12 = 6,03  
Средняя доза = 14,22 = 17,09  
Большая доза = 27,04 = 32,46  
Сумма S = 46,38 U = 55,58 y=101,96
Линейный контраст L=48,35
Квадратический контраст Q=8,03

Таблица 3.2.2.-7

Сводная таблица дисперсионного анализа (рандомизированная постановка с использованием трех доз на примере биологической активности гонадотропина хорионического)

Источник дисперсии (показатель) Число степеней свободы (f) Сумма квадратов Средний квадрат Наблюдаемое значение критерия Фишера Критическое значение критерия Фишера
Препараты 1 1,41 1,41    
Регрессия 1 58,44 58,44 243,5 > 7,13
(p = 0,01)
Непараллельность 1 0,51 0,51 2,13 < 4,02
(p = 0,05)
Квадратичность 1 0,54 0,54 2,25 < 4,02
(p = 0,05)
Разность квадратичностей 1 0,0002 0,0002 0,0008 < 4,02
(p = 0,05)
Постановки k - 1 = 6 - 1 = 5 = 60,9 12,18    
Отклонение N - 1 - - m = 59 - 5 = 54 13,14 0,24    
Итог N - 1 - m = 59 74,04      

n = 10 (число ответов в группе); N = 60 (общее число ответов в опыте); m = 0 (число утраченных и замененных значений).

Для этого на основании данных, представленных в таблице 3.2.2.-5 и 3.2.2.-6, а также поправочного коэффициента, вычисляют суммы квадратов источников дисперсии.

Поправочный коэффициент

;

;

;

;

;

;

;

;

.

Значимость различий дисперсий проверяют с помощью критерия Фишера. Обязательным является выполнение требований для показателей Регрессия, Непараллельность, Квадратичность и Разность квадратичностей. Для Регрессии наблюдаемое значение критерия Фишера должно быть больше критического (p = 0,01), а для остальных показателей - меньше критического (p = 0,05).

Для того чтобы найти средние квадраты показателей делят на средний квадрат показателя Отклонение. Полученные результаты сравнивают с табличными критическими значениями критерия Фишера (таблица 3 Приложения). Число степеней свободы = 1, а = 54.

Дисперсионный анализ показал пригодность результатов опыта: статистическую значимость дозозависимости (Регрессия), параллельность и линейность двух линий регрессии (Непараллельность, Квадратичность и Разность квадратичностей).

Вычисление биологической активности и ее доверительных границ

Соотношение доз равно 2, следовательно I = lg2,0 = 0,3010;

при f = 54 и p = 0,05;

;

;

;

;

Ожидаемая активность

;

Биологическая активность

;

.

Логарифмические доверительные границы биологической активности испытуемого образца вычисляют по формуле:

.

Логарифмические доверительные границы биологической активности испытуемого образца составляют 0,0114 и 0,1411. Нижняя и верхняя доверительная граница составляет и , т.е. 1026,6 МЕ/фл. и 1383,9 МЕ/фл. соответственно.

3.2.3. Метод случайных блоков с использованием двух доз (на примере биологической активности окситоцина на петушке)

При использовании петушка в качестве тест-объекта, ответом является величина падения артериального давления (мм.рт.ст.) при введении двух доз стандартного образца окситоцина и двух доз испытуемого образца.

Петушку вводили по две дозы стандартного образца и две дозы испытуемого образца окситоцина (соотношение доз 1:2). Порядок введения доз и ответы тест-объекта приведены в таблице 3.2.3.-8.

Таблица 3.2.3.-8

Порядок введения доз и ответы петушка на введение стандартного образца и испытуемого образца окситоцина (метод случайных блоков с использованием двух доз)

Блоки (R)
1. 12 20 14 20 66
2. 15 23 16 22 76
3. 15 20 14 23 72
4. 15 20 14 24 73

Для того чтобы проверить статистическую значимость источников вариации, пригодность результатов и вычислить дисперсию опыта, проводят дисперсионный анализ полученных данных. При этом рассчитывают значения дисперсий для 7 источников (сводная таблица 3.2.3.-10).

Для этого на основании данных, представленных в таблицах 3.2.3.-8 и 3.2.3.-9, а также поправочного коэффициента, вычисляют суммы квадратов источников дисперсии.

Таблица 3.2.3.-9

Суммы ответов и контрасты (метод случайных блоков с использованием двух доз)

Стандартный образец Испытуемый образец Сумма
Малая доза = 57 = 58  
Большая доза = 83 = 89  
Сумма S = 140 U = 147 y=287
Линейный контраст = 26 = 31 L=57

Таблица 3.2.3.-10

Сводная таблица дисперсионного анализа (метод случайных блоков с использованием двух доз)

Источник дисперсии (показатель) Число степеней свободы (f) Сумма квадратов Средний квадрат Наблюдаемое значение критерия Фишера Критическое значение критерия Фишера
Препараты 1 3,065 3,065    
Регрессия 1 203,06 203,06 151,54 > 10,56
(p = 0,01)
Непараллельность 1 1,565 1,565 1,17 < 5,12
(p = 0,05)
Постановки k - 1 = 4 - 1 = 3 = 207,69 69,23    
Блоки n - 1 = 3 - 13,19 4,40 3,28 < 6,99
(p = 0,01)
Отклонение N - 1 - - - m = 9 12,06 1,34    
Итог N - 1 - m = 15 232,94 15,53    

n = 4 (число ответов на дозу); N = 16 (общее число ответов в опыте); m = 0 (число утраченных и замененных значений).

Поправочный коэффициент

;

;

;

;

;

;

;

.

Значимость различий дисперсий проверяют с помощью критерия Фишера. Обязательным является выполнение требований для показателей Регрессия, Непараллельность и Блоки. Для Регрессии наблюдаемое значение критерия Фишера должно быть больше критического (p = 0,01), а для Непараллельности и Блоков - меньше критического (p = 0,05 и p = 0,01 соответственно). Для того чтобы найти , средние квадраты показателей делят на средний квадрат показателя Отклонение. Полученные результаты сравнивают с табличными критическими значениями критерия Фишера (таблица 3 Приложения). Число степеней свободы = 1 или 3, а = 9.

Дисперсионный анализ показал пригодность результатов опыта: статистическую значимость дозозависимости (Регрессия), параллельность двух линий регрессии (Непараллельность) и отсутствие статистически значимых различий между блоками (Блоки).

Вычисление биологической активности и ее доверительных границ

Соотношение доз равно 2, следовательно I = lg2,0 = 0,3010;

,

при f = 9 и p = 0,05;

;

;

;

;

Ожидаемая активность

;

Биологическая активность

.

Логарифмические доверительные границы биологической активности испытуемого образца вычисляют по формуле:

.

Логарифмические доверительные границы биологической активности испытуемого образца составляют -0,0185 и 0,0950. Нижняя и верхняя доверительная граница составляет и , т.е. 4,79 МЕ/мл и 6,22 МЕ/мл соответственно.

3.2.4. Двухдозовый латинский квадрат (на примере биологической активности окситоцина на изолированном органе)

При использовании в качестве тест-объекта изолированного рога матки крысы, помещенного в термостатируемую ванночку с питательным раствором. Ответами изолированного органа являются величины изотонических сокращений после введения в равных объемах двух концентраций стандартного образца и двух концентраций испытуемого образца окситоцина. Сокращения регистрируют в виде амплитуды перемещения писчика регистрирующего устройства или, в случае компьютеризированного прибора, автоматически регистрируют с помощью программного обеспечения. Порядок введения стандартного образца и испытуемого образца приведен в таблице 3.2.4.-11.

Таблица 3.2.4.-11

Порядок введения доз стандартного образца и испытуемого образца окситоцина в ванночку (схема двухдозового латинского квадрата)

1.
2.
3.
4.

Для того чтобы проверить статистическую значимость источников вариации, пригодность результатов и вычислить дисперсию опыта, проводят дисперсионный анализ полученных данных. При этом рассчитывают значения дисперсий для 8 источников (сводная таблица 3.2.4.-14).

Для этого на основании данных, представленных в таблицах 3.2.4.-12 и 3.2.4.-13, а также поправочного коэффициента, вычисляют суммы квадратов источников дисперсии.

Таблица 3.2.4.-12

Ответы изолированного органа (см) на введение стандартного образца и испытуемого образца окситоцина (схема двухдозового латинского квадрата)

Строка Столбцы Сумма строк (R)
1. 6,50 12,45 9,75 12,5 = 41,20 1697,44
2. 12,20 5,35 12,70 6,10 = 36,35 1321,32
3. 6,40 12,30 5,25 12,85 = 36,80 1354,24
4. 12,80 5,70 11,55 4,30 = 34,35 1179,92
Сумма столбцов (C) 37,90 35,80 39,25 35,75   =5552,925
1436,41 1281,64 1540,56 1278,063 =5536,675  

Таблица 3.2.4.-13

Суммы ответов и контрасты (схема двухдозового латинского квадрата)

Стандартный образец S Испытуемый образец U Сумма
Малая доза = 21,40 = 27,95  
Большая доза = 50,80 = 48,55  
Сумма S = 72,20 U = 76,5 y=148,70
Линейный контраст = 29,40 = 20,6 L=50,00

Поправочный коэффициент

;

Таблица 3.2.4.-14

Сводная таблица дисперсионного анализа (двухдозовый латинский квадрат)

Источник дисперсии (показатель) Число степеней свободы (f) Сумма квадратов Средний квадрат Наблюдаемое значение критерия Фишера
Критическое значение критерия Фишера
Препараты 1 1,156 1,156    
Регрессия 1 156,25 156,25 186,75 > 13,75
(p = 0,01)
Непараллельность 1 4,84 4,84 5,78 < 5,99
(p = 0,05)
Постановки k - 1 = 4 - 1 = 3 = 162,246 54,082    
Строки n - 1 = 3 = 6,25 2,083 2,49 < 9,78
(p = 0,01)
Столбцы n - 1 = 3 = 2,19 0,73 0,872 < 9,78
(p = 0,01)
Отклонение N - 1 - - - - m = 6 5,02 0,837    
Итог N - 1 - m = 15 175,705 11,71    
n = 4 (число ответов на дозу); N = 16 (общее число ответов в опыте); m = 0 (число утраченных и замененных значений).

;

;

;

;

;

;

;

.

Значимость различий дисперсий проверяют с помощью критерия Фишера. Обязательным является выполнение требований для показателей Регрессия, Непараллельность, Строки и Столбцы. Для Регрессии наблюдаемое значение критерия Фишера должно быть больше критического (p = 0,01), а для показателей Непараллельность (p = 0,05), Строки (p = 0,01), Столбцы (p = 0,01) - меньше критического. Показатель Регрессия характеризует дозозависимость, Непараллельность - параллельность двух линий регрессии, а Строки и Столбцы - сбалансированность ответов изолированного органа на протяжении всего опыта.

Для того чтобы найти средние квадраты показателей делят на средний квадрат показателя Отклонение. Полученные результаты сравнивают с табличными критическими значениями критерия Фишера (таблица 3 Приложения). Число степеней свободы = 1 или 3, а = 6.

Дисперсионный анализ показал пригодность результатов опыта: статистическую значимость дозозависимости (Регрессия), параллельность двух линий регрессии (Непараллельность) и отсутствие статистически значимых различий между строками и столбцами (см. одноименные показатели).

Вычисление биологической активности и ее доверительных границ

Соотношение доз равно 2, следовательно I = lg2,0 = 0,3010;

при f = 6 и p = 0,05;

;

;

;

;

Ожидаемая активность

;

Биологическая активность

.

Логарифмические доверительные границы биологической активности испытуемого образца вычисляют по формуле:

.

Логарифмические доверительные границы биологической активности испытуемого образца составляют - 0,0281 и 0,0816. Нижняя и верхняя доверительная граница составляет и , т.е. 4,69 МЕ/мл и 6,03 МЕ/мл соответственно.

3.2.5. Трехдозовый латинский квадрат (на примере биологической активности антибиотиков методом диффузии в агар в чашках Петри)

Биологическую активность антибиотика определяли по зонам угнетения роста микроорганизмов. В каждую чашку Петри внесли по 3 раствора стандартного образца и 3 раствора испытуемого образца. Соотношение концентраций 1:1,5. В качестве ответа принимали диаметр зоны угнетения роста микроорганизмов в мм. Последовательность внесения растворов в лунки или цилиндры приведена в таблице 3.2.5.-15.

Таблица 3.2.5.-15

Порядок внесения растворов стандартного образца и испытуемого препарата антибиотика в чашки Петри (схема трехдозового латинского квадрата)

N чашки Концентрации растворов
1.
2.
3.
4.
5.
6.

Для того чтобы проверить статистическую значимость источников вариации, пригодность результатов и вычислить дисперсию опыта, проводят дисперсионный анализ полученных данных. При этом рассчитывают значения дисперсий для 10 источников (сводная таблица 3.2.5.-18).

Для этого на основании данных, представленных в таблицах 3.2.5.-16 и 3.2.5.-17, а также поправочного коэффициента, вычисляют суммы квадратов источников дисперсии.

Таблица 3.2.5.-16

Диаметр зоны угнетения роста микроорганизмов (трехдозовый латинский квадрат, определение биологической активности антибиотиков методом диффузии в агар в чашках Петри)

Строка Столбцы Сумма строк (R)
1. 16,4 17,6 18,2 16,2 17,2 18,4 = 104,0 10816,00
2. 17,8 16,4 17,4 18,2 16,0 17,2 = 103,0 10609,00
3. 17,0 18,4 16,6 17,2 18,8 15,4 = 103,4 10691,56
4. 16,4 16,6 18,0 16,0 17,6 18,0 = 102,6 10526,76
5. 18,2 16,0 17,4 18,6 16,2 17,4 = 103,8 10774,44
6. 17,4 18,4 16,2 17,4 18,0 16,0 = 103,4 10691,56
Сумма столбцов (C) 103,2 103,4 103,8 103,6 103,8 102,4   =64109,32
10650,24 10691,56 10774,44 10732,96 10774,44 10485,76 =64109,40  

Таблица 3.2.5.-17

Суммы ответов и контрасты (трехдозовый латинский квадрат, определение биологической активности антибиотиков методом диффузии в агар в чашках Петри)

Стандартный образец Испытуемый образец Сумма
Малая доза = 97,6 = 96,2  
Средняя доза = 104,6 = 102,8  
Большая доза = 109,8 = 109,2  
Сумма S = 312,0 U = 308,2 y=S+U=620,2
Линейный контраст = 12,2 = 13,0 + = 25,2
Квадратический контраст = - 1,8 = - 0,2 + = - 2,0

Таблица 3.2.5.-18

Сводная таблица дисперсионного анализа (трехдозовый латинский квадрат, определение биологической активности антибиотиков методом диффузии в агар в чашках Петри)

Источник дисперсии (показатель) Число степеней свободы (f) Сумма квадратов Средний квадрат Наблюдаемое значение критерия Фишера
Критическое значение критерия Фишера
Препараты 1 0,401 0,401 4,307  
Регрессия 1 26,46 26,46 284,18 > 8,1
(p = 0,01)
Непараллельность 1 0,027 0,027 0,290 < 4,35
(p = 0,05)
Квадратичность 1 0,055 0,055 0,591 < 4,35
(p = 0,05)
Разность квадратичностей 1 0,0361 0,0361 0,3877 < 4,35
(p = 0,05)
Постановки k - 1 = 6 - 1 = 5 = 26,9789 5,39578    
Строки n - 1 = 5 = 0,2189 0,04378 0,4702 < 4,1
(p = 0,01)
Столбцы n - 1 = 5 = 0,2322 0,04644 0,4988 < 4,1
(p = 0,01)
Отклонение N - 1 - - - - m = 20 1,8622 0,09311 =    
Итог N - 1 - m = 35 29,2922 0,83692    
n = 6 (число ответов на дозу); N = 36 (общее число ответов в опыте); m = 0 (число утраченных и замененных значений).

Поправочный коэффициент

;

;

;

;

;

;

;

;

;

;

.

Значимость различий дисперсий проверяют с помощью критерия Фишера. Обязательным является выполнение требований для показателей Регрессия, Непараллельность, Квадратичность, Разность квадратичностей, Строки и Столбцы. Для Регрессии наблюдаемое значение критерия Фишера должно быть больше критического (p = 0,01), а для показателей Непараллельность (p = 0,05), Строки (p = 0,01) и Столбцы (p = 0,01) - меньше критического. Показатель Регрессия характеризует дозозависимость, Непараллельность - параллельность двух линий регрессии, Квадратичность и Разность квадратичностей - линейность дозозависимости, а Строки и Столбцы - сбалансированность ответов на протяжении всего опыта.

Для того чтобы найти средние квадраты показателей делят на средний квадрат показателя Отклонение. Полученные результаты сравнивают с табличными критическими значениями критерия Фишера (таблица 3 Приложения). Число степеней свободы = 1 или 5, а = 20.

Дисперсионный анализ показал пригодность результатов опыта: статистическую значимость дозозависимости (Регрессия), параллельность двух линий регрессии (Непараллельность), линейность дозозависимости (Квадратичность и Разность квадратичностей) и отсутствие статистически значимых различий между строками и столбцами (см. одноименные показатели).

Вычисление биологической активности и ее доверительных границ

Соотношение концентраций равно 1,5, следовательно I = lg1,5 = 0,1761;

при f = 20 и p = 0,01;

;

;

;

;

Ожидаемая активность ;

;

Биологическая активность

;

Логарифмические доверительные границы биологической активности испытуемого образца вычисляют по формуле:

.

Логарифмические доверительные границы биологической активности испытуемого образца составляют -0,08610 и 0,01325 Нижняя и верхняя доверительная граница составляет и , т.е. 820,09 МЕ/мг и 1030,97 МЕ/мг соответственно.

3.2.6. Двойной перекрест

(на примере биологической активности инсулина методом A и B)

Таблица 3.2.6.-19

Схема двойного перекреста

ГРУППА 1 ГРУППА 2 ГРУППА 3 ГРУППА 4
I ПОСТАНОВКА (день I)
II ПОСТАНОВКА (день II)

Биологическую активность инсулина определяют по его гипогликемическому действию.

В качестве ответа животного (y) принимают:

- для кролика

1) сумму двух концентраций глюкозы в крови через 1 ч и 2,5 ч после подкожной инъекции инсулина (взятие крови из краевой вены уха, допускается погрешность +5 мин)

или

2) среднюю величину, на которую снижается концентрация глюкозы в крови через 1 и 2,5 часа после подкожного введения инсулина, выраженную в процентах по отношению к исходной (взятие крови из краевой вены уха, допускается погрешность +/- 5 мин);

- для мыши - концентрацию глюкозы в крови через 40 мин после подкожной инъекции (взятие крови из орбитального синуса).

В обоих случаях схема расчетов одинакова.

Ниже приведен пример обработки результатов двойного перекреста на 4 группах белых мышей (по 12 особей в группе). В таблице 3.2.6-20 приведены ответы животных на введение двух доз стандартного образца и двух доз испытуемого образца инсулина (соотношение доз 1:2,667).

Таблица 3.2.6.-20

Ответы мышей на инъекцию инсулина по схеме двойного перекреста (концентрация глюкозы (мг%) в крови животных через 40 мин после введения)

Группа 1   Группа 2   Группа 3   Группа 4
y Сумма за 2 дня (B)   y Сумма за 2 дня (B)   y Сумма за 2 дня (B)   y Сумма за 2 дня (B)
125 84 209   81 78 159   120 82 202   89 84 173
76 61 137   87 90 177   89 72 161   78 106 184
91 65 156   78 113 191   104 87 191   72 74 146
76 81 157   74 105 179   129 61 190   66 132 198
90 71 161   80 85 165   87 76 163   54 87 141
112 60 172   72 69 141   102 73 175   60 88 148
102 74 176   71 121 192   80 53 133   87 99 186
64 48 112   79 128 207   123 86 209   67 100 167
120 67 187   73 101 174   126 80 206   73 95 168
82 57 139   98 78 176   91 42 133   72 97 169
68 40 108   86 71 157   90 73 163   79 119 198
83 75 158   65 57 122   107 86 193   74 113 187

Для того чтобы проверить статистическую значимость источников вариации, пригодность результатов и вычислить дисперсию опыта, проводят дисперсионный анализ полученных данных. При этом рассчитывают значения дисперсий для 11 источников (сводная таблица 3.2.6.-22).

Для этого на основании данных, представленных в таблице 3.2.6.-20 и 3.2.6.-21, а также поправочного коэффициента, вычисляют суммы квадратов источников дисперсии.

Таблица 3.2.6.-21

Суммы ответов и контрасты (двойной перекрест на мышах)

Стандартный образец Испытуемый образец Сумма
День I      
Малая доза = 1089 = 1248  
Большая доза = 944 = 871  
Сумма = 2033 = 2119 = 4152
День II      
Малая доза = 1194 = 1096  
Большая доза = 871 = 783  
Сумма = 2065 = 1879 = 3944
Сумма ответов за 2 дня S = 4098 U = 3998 y=8096
Линейные контрасты      
День I = -145 = -377 = -522
День II = -323 = -313 = -636
Сумма = -468 = -690 L=-1158

Таблица 3.2.6.-22

Сводная таблица дисперсионного анализа (двойной перекрест на мышах)

Источник дисперсии (показатель) Число степеней свободы (f) Сумма квадратов Средний квадрат Наблюдаемое значение критерия Фишера Критическое значение критерия Фишера
Непараллельность 1 513,37 513,37 1,67 < 4,06
(p = 0,05)
Дни · препараты 1 770,68 770,68 2,50 < 4,06
(p = 0,05)
Дни · регрессию 1 135,37 135,37 0,44 < 4,06
(p = 0,05)
Отклонение (1) 13547,91 307,91    
Блоки 2n - 1 = 47 14967,33 318,45    
Препараты 1 104,16 104,16 0,55 < 4,06
(p = 0,05)
Регрессия 1 13968,38 13968,38 73,18 > 7,24
(p = 0,01)
Дни 1 450,66 450,66 2,36 < 4,06
(p = 0,05)
Дни · непараллельность 1 610,05 610,05 3,20 < 4,06
(p = 0,05)
Отклонение (2)
(дисперсия опыта)
8398,75 190,88    
Итог N - 1 - m = 95 38499,33      
N = 96 (общее число ответов в опыте); n = 24 (число ответов в группе); m = 0 (число утраченных и замененных значений).

Поправочный коэффициент

;

;

;

;

;

;

;

;

;

;

;

.

Значимость различий дисперсий проверяют с помощью критерия Фишера. Обязательным является выполнение требований для показателей Регрессия и Днинепараллельность. Регрессия характеризует дозозависимость, а Днинепараллельность - показатель групповой устойчивости, характеризующий согласованность углов наклона линий дозозависимости в первый и второй день. Для Регрессии наблюдаемое значение критерия Фишера должно быть больше критического (p = 0,01), а для показателя Днинепараллельность - меньше критического (p = 0,05).

Для того чтобы найти , средние квадраты показателей Непараллельность, Днипрепараты и Днирегрессию делят на средний квадрат показателя Отклонение (1), а все остальные - на средний квадрат Отклонения (2). Полученные результаты сравнивают с табличными критическими значениями критерия Фишера (таблица 2 Приложения). Число степеней свободы = 1, а = 44.

Вычисление биологической активности и ее доверительных границ

Соотношение доз равно 2,667, следовательно I = lg2,667 = 0,4260;

(f=44 и p=0,05);

;

;

;

;

.

Биологическая активность

.

Логарифмические доверительные границы биологической активности испытуемого образца вычисляют по формуле:

.

Логарифмические доверительные границы биологической активности испытуемого образца составляют 1,9351 и 2,1431.

Таким образом, биологическая активность испытуемого образца равна 108,9 МЕ/мл. Ее доверительные границы составляют - , т.е. 86,1 - 139,0 МЕ/мл.

3.2.7. Обработка результатов испытания на пролонгированное (удлиненное) действие лекарственных препаратов инсулина и его аналогов с использованием критерия Стьюдента

Пролонгированное действие препаратов инсулина и его аналогов определяют путем сравнения их гипогликемического действия с действием раствора стандартного образца инсулина человека после подкожной инъекции. В качестве тест-объекта используют кроликов, а в качестве ответа - концентрацию глюкозы в крови животных через 1,0; 1,5; 3,5 и 6,0 ч после введения (в % от исходного уровня). В таблице 3.2.7.-23 приведены концентрации глюкозы в крови двух групп кроликов по 9 особей в каждой до и после введения одинаковой дозы стандартного образца и испытуемого образца инсулина (взятие крови из краевой вены уха).

Таблица 3.2.7.-23

Ответы (концентрация глюкозы в крови кроликов в мг%) до и после введения стандартного образца и испытуемого образца инсулина

Стандартный образец
N п/п Время, ч
0 1,5 3 4,5 6  
1. 119 30 33 66 115  
2. 84 19 43 75 90  
3. 85 32 37 55 87  
4. 73 43 40 49 81  
5. 91 24 71 83 95  
6. 82 48 48 57 75  
7. 91 21 36 48 92  
8. 95 44 47 65 111  
9. 93 25 20 65 95  
            Сумма
Среднее, мг % 90,33 31,78 41,67 62,56 93,44 319,78
Среднее, % 100,00 35,18 46,13 69,26 103,44 n = 9
Среднее снижение, % 64,82 53,87 30,74 - 3,44    
Испытуемый образец
N п/п Время, ч
0 1,5 3 4,5 6  
1. 89 41 48 54 74  
2. 102 36 41 43 68  
3. 83 36 45 57 72  
4. 82 47 20 34 61  
5. 94 62 56 93 80  
6. 79 40 41 52 48  
7. 97 19 34 42 79  
8. 110 47 44 89 73  
9. 62 35 36 40 44  
            Сумма
Среднее, мг % 88,67 40,33 40,56 56,00 61.44 287,00
Среднее, % 100,00 45,48 45,74 63,16 69.29 n = 9
Среднее снижение, % 54,52 54,26 36,84 30,71    

Для каждого кролика в каждой временной точке рассчитывают индивидуальную относительную концентрацию глюкозы в крови в процентах от исходного уровня данного животного.

Так как в течение 6 ч средняя относительная концентрация глюкозы в крови кроликов, получивших раствор стандартного образца, достигла 103,7%, то в качестве контрольной точки принимают время, когда она достигла 100% (между 4,5 и 6 ч).

1. Расчет контрольной временной точки:

1.1. У группы кроликов, получивших стандартного образца, вычисляют изменение средней относительной концентрации глюкозы в крови на завершающем этапе опыта. Для этого вычисляют разность между средними значениями относительной концентрации глюкозы в крови группы животных, получивших раствор стандартного образца, через 6,0 и 4,5 ч после введения:

103,67 - 69,82 = 33,85 (%).

1.2. Разность между средним исходным уровнем и средней концентрацией глюкозы через 4,5 ч после введения:

100,00 - 69,82 = 30,18 (%).

1.3. Составляют следующую пропорцию:

прошло от 4,5 ч до контрольной точки.

1.4. Контрольная временная точка равна: 4,50 + 1,34 = 5,84 (ч).

2. Для каждого животного рассчитывают относительную концентрацию глюкозы в крови в контрольной временной точке. Например, для кролика N 1 в первой группе:

2.1. 96,64 - 55,46 = 41,18 (%) за 1,5 ч с 4,5 до 6 ч.

Следовательно, за время, прошедшее от 4,50 ч до контрольной временной точки 5,84 ч, концентрация глюкозы в крови данного животного возросла на

.

2.2. Поэтому, концентрация глюкозы в крови кролика N 1 в контрольной временной точке составила 55,46 + 36,79 = 92,25 (%).

Такие же расчеты проводят и для остальных животных. Полученные результаты переносят в таблицу 3.2.7.-25.

Для того чтобы проверить равенство дисперсий в двух группах, делят дисперсию на меньшую: , что меньше критического значения критерия Фишера для = = 8p = 0,05, равного 3,44 (таблица 3 Приложения). Это значит, что различие двух дисперсий статистически недостоверно. Поэтому проводят сравнение двух средних значений относительной концентрации глюкозы в крови 2 групп животных с помощью критерия Стьюдента по формуле:

,

где ;

,

при .

Это говорит о том, что в контрольное время (5,84 ч) средняя относительная концентрация глюкозы в крови кроликов, получивших испытуемый образец, была достоверно ниже, чем таковая в крови животных, получивших раствор стандартного образца, что свидетельствует о наличии пролонгированного действия испытуемого образца.

Таблица 3.2.7.-24

Концентрация глюкозы в крови кроликов в % от исходного уровня

Стандартный образец
N п/п Время, ч
0 1,5 3 4,5 6
1. 100,00 25,21 27,73 55,46 96,64
2. 100,00 22,62 51,19 89,29 107,14
3. 100,00 37,65 43,53 64,71 102,35
4. 100,00 58,9 54,79 67,12 110,96
5. 100,00 26,37 78,02 91,21 104,4
6. 100,00 58,54 58,54 69,51 91,46
7. 100,00 23,08 39,56 52,75 101,1
8. 100,00 46,32 49,47 68,42 116,84
9. 100,00 26,88 21,51 69,89 102,15
Среднее 100,00 36,17 47,15 69,82 103,67
n   9 9 9 9
f   8 8 8 8
s   14,915 16,838 13,085 7,486
t   2,306 2,306 2,306 2,306
x, p = 0,05   11,46 12,94 10,06 5,75
Испытуемый образец
N п/п Время, ч
0 1,5 3 4,5 6
1. 100,00 46,07 53,93 60,67 83,15
2. 100,00 35,29 40,2 42,16 66,67
3. 100,00 43,37 54,22 68,67 86,75
4. 100,00 57,32 24,39 41,46 74,39
5. 100,00 65,96 59,57 98,94 85,11
6. 100,00 50,63 51,9 65,82 60,76
7. 100,00 19,59 35,05 43,3 81,44
8. 100,00 42,73 40 80,91 66,36
9. 100,00 56,45 58,06 64,52 70,97
Среднее 100,00 46,38 46,37 62,94 75,06
n   9 9 9 9
f   8 8 8 8
s   13,628 11,99 19,192 9,431
t   2,306 2,306 2,306 2,306
x, p = 0,05   10,48 9,22 14,75 6,16

Таблица 3.2.7.-25

Результаты определения пролонгированного действия (%)

Стандартный образец   Испытуемый образец
0 4,5 ч 6 ч Контрольная точка 5,84 ч   0 4,5 6 ч Контрольная точка 5,84 ч
100,00 55,46 96,64 92,25   100,00 60,67 83,15 80,75
100,00 89,29 107,14 105,24   100,00 42,16 66,67 64,06
100,00 64,71 102,35 98,34   100,00 68,67 86,75 84,82
100,00 67,12 110,96 106,28   100,00 41,46 74,39 70,88
100,00 91,21 104,4 102,99   100,00 98,94 36,17 86,59
100,00 69,51 91,46 89,12   100,00 65,82 60,76 61,30
100,00 52,75 101,1 95,94   100,00 43,3 81,44 77,37
100,00 68,42 116,84 111,68   100,00 80,91 66,36 67,91
100,00 69,89 102,15 98,71   100,00 62,52 70,97 70,28
100,00 69,82 103,67     100,00 64,94 69,63 73,77
      = 51,446         = 81,599

Результаты опыта в графическом виде приведены на рисунке 3.2.7.-5.

Рисунок 3.2.7.-5. - Гипогликемические кривые кроликов в % от исходного уровня (определение пролонгированного действия)

Примечание. Если / превышает критическое значение критерия Фишера, то для вычисления наблюдаемого значения критерия Стьюдента следует применять формулу:

при .

Вычисленное значение сравнивают с , как указано выше (число степеней свободы f округляют до целого числа). Критическое значение критерия Стьюдента можно также найти в приложениях (таблица 2 Приложения). Подробнее см. раздел 1.3.1 "Сравнение средних значений двух независимых выборок".

Если распределение ответов в группах не является нормальным, то для сравнения двух независимых выборок следует воспользоваться непараметрическим критерием Манна - Уитни. Предварительную проверку на нормальность проводят, как описано в разделе 2.3.1.

3.2.8. Модель угловых коэффициентов (на примере биологической активности вакцины против гриппа)

Содержание антигена гемагглютинина в двух вакцинах против гриппа определяли методом радиальной иммунодиффузии. На этикетках обеих вакцин была указана активность 15 мкг гемагглютинина на одну дозу, что соответствует содержанию 30 мкг гемагглютинина/мл. Стандартный образец имел установленную активность 39 мкг гемагглютинина/мл.

Исследовали 4 концентрации стандартного образца и испытуемого препарата, рассчитанные, исходя из ожидаемых и обозначенных на этикетке значений биологической активности; в каждом случае число повторностей равно 2. Контрольную группу не использовали. После установления равновесия между внутренним и внешним реагентом, измеряли площадь кольцевых зон осадка. Результаты приведены в таблице 3.2.8.-26.

Таблица 3.2.8.-26

Площадь кольцевых зон осадка (определение биологической активности вакцины против гриппа, модель угловых коэффициентов)

Группа 1 Группа 2 Группа 3 Группа 4 Группа 5 Группа 6 Группа 7 Группа 8
 
y 18 22,8 30,4 35,7 15,1 23,1 28,9 34,4
  18 24,5 30,4 36,6 16,8 24,2 27,4 37,8
Среднее 18 23,65 30,4 36,15 15,95 23,65 28,15 36,1
Сумма столбцов (C) 36 47,3 60,8 72,3 31,9 47,3 56,3 72,2
1296 2237,29 3696,64 5227,29 1017,61 2237,29 3169,69 5212,84
 
  Группа 9 Группа 10 Группа 11 Группа 12 Сумма    
         
y 15,4 20,2 24,2 27,4        
  15,7 18,6 23,1 27        
Среднее 15,55 19,4 23,65 27,2        
Сумма столбцов (C) 31,1 38,8 47,3 54,4 C=595,7    
  967,21 1505,44 2237,29 2959,36    
n = 2 (число ответов в группе); N = 22 (общее число ответов в опыте); d = 4 (число доз для каждого образца); h = 3 (число образцов в испытании, включая стандартный образец); m = 0 (число утраченных и замененных значений).

Суммы ответов

;

;

.

Линейные произведения

;

;

.

Свободные коэффициенты

;

;

.

Угловые коэффициенты

;

;

.

Комбинации условий

;

;

.

Нелинейность

;

;

;

;

;

.

Для того чтобы проверить статистическую значимость источников вариации, пригодность результатов и вычислить дисперсию опыта, проводят дисперсионный анализ полученных данных. При этом рассчитывают значения дисперсий для 6 источников (таблица 3.2.8.-27).

Таблица 3.2.8.-27

Сводная таблица дисперсионного анализа (определение биологической активности вакцины против гриппа, модель угловых коэффициентов)

Источник дисперсии (показатель) Число степеней свободы (f) Сумма квадратов Средний квадрат Наблюдаемое значение критерия Фишера
Критическое значение критерия Фишера
Регрессия h = 3 1087,6 362,5 339,4 > 5,15
(p = 0,01)
Точка пересечения h - 1 = 2 3,474 1,737 1,626 < 4,07
(p = 0,05)
Нелинейность h(d - 2) = 3(4 - 2) = 6 5,090 0,848 0,794 < 3,0
(p = 0,05)
Постановки hd - 1 = 3 х 4 - 1 = 11 1096,2      
Отклонение hd(n - 1) = 3 х 4 х (2 - 1) = 12 12,8 1,068    
Итог nhd - 1 - m = 23 1096,2      

;

;

;

;

;

.

Значимость различий дисперсий проверяют с помощью критерия Фишера. Обязательным является выполнение требований для показателей Регрессия, Точка пересечения и Нелинейность. Эти требования заключаются в том, что для Регрессии наблюдаемое значение критерия Фишера должно быть больше критического (p = 0,01), а для Точки пересечения и Нелинейности - меньше критического (p = 0,05).

Для того чтобы найти , средние квадраты показателей делят на средний квадрат показателя Отклонение. Полученные результаты сравнивают с табличными критическими значениями критерия Фишера (таблица 3 Приложения). Число степеней свободы = 3, 2 и 6 соответственно, а = 36.

Дисперсионный анализ показал пригодность результатов опыта.

Вычисление биологической активности и ее доверительных границ

t = 2,179 при f = 12 и p = 0,05;

Угловой коэффициент стандартного образца

.

Угловой коэффициент испытуемого образца

.

Угловой коэффициент испытуемого образца

.

Соотношения активностей:

;

.

Коэффициенты дисперсии для вычисления доверительных границ

;

;

Доверительные границы биологической активности испытуемого образца вычисляют по формуле:

.

Для образца

.

Для образца

.

Содержание гемагглютинина в 1 мл вакцины находят путем умножения отношения активностей и доверительных интервалов на ожидаемую активность 30 мкг/мл. Результаты приведены в таблице 3.2.8.-28.

Таблица 3.2.8.-28

Полученное содержание гемагглютинина в вакцинах (мкг/дозу)

Нижняя доверительная граница Установленное значение Верхняя доверительная граница
Образец 13,4 14,3 15,3
Образец 8,9 9,7 10,6

Примечание. При использовании контрольной группы (схема "(hd) + 1") имеют место следующие отличия.

Дисперсионный анализ

1)

2) В сводной таблице дисперсионного анализа появляется дополнительный источник вариации: Контроль (после Регрессии).

при f = 1.

3) при f = hd.

4) Регрессия = постановки - контроль - точка пересечения - нелинейность.

5) .

6) .

7) Число степеней свободы для показателя Отклонение равно (hd + 1)(n - 1).

8) Число степеней свободы для показателя Итог равно nhd + n - 1.

Вычисление биологической активности и ее доверительных границ

1) .

2) .

3) .

4. БИОЛОГИЧЕСКИЕ ИСПЫТАНИЯ С КАЧЕСТВЕННЫМ (АЛЬТЕРНАТИВНЫМ) ТИПОМ ОТВЕТОВ

Качественные ответы не поддаются непосредственному измерению, и подлежат учету по наличию их свойств у отдельных членов изучаемой группы.

Качественные данные подразделяют на номинальные и порядковые. Частным случаем качественных данных являются дихотомические (альтернативные) данные; например, "все или ничего", "жизнь или смерть" в модели определения средней смертельной дозы.

В испытаниях с качественным типом ответов результатом их интерпретации чаще всего бывают не цифровые значения, а наличие или отсутствие признака".

4.1. Оценка биологической активности испытуемого образца при косвенном определении эффективных доз (оценка ED 50 с использованием пробит-метода)

Чаще всего прямое определение эффективной (пороговой) дозы для отдельного животного невозможно, и тогда количественной характеристикой активности испытуемого образца в каждом опыте служит доля (процент) тест-объектов, давших ответ. Зависимость этой доли от дозы имеет всегда вид S-образной несимметричной кривой, которая при замене доз их логарифмами обычно становится более или менее симметричной. В качестве показателя, характеризующего биологическую активность испытуемого образца в целом, чаще всего принимается та доза, которая вызывает эффект у 50% тест-объектов; ее называют 50-процентной эффективной дозой и обозначают ED50 (в частности, для токсинов употребляется 50-процентная (средняя) смертельная доза LD50, ЛД50).

Для нахождения ED50 следует провести испытания с несколькими (не менее 3) группами тест-объектов (как правило, не менее 6 в каждой группе) при разных дозах. Интервал используемых доз должен обеспечивать достаточно широкий диапазон наличия ответов (примерно от 20% до 80%). После получения процентов , наличия ответов для каждой из доз , они заменяются так называемыми пробитами согласно таблице V приложений. Смысл этой замены состоит в том, что зависимость между пробитами и логарифмами доз или обычно близка к линейной. Эта близость соблюдается тем лучше, чем ближе значение к 50%, поэтому для каждой из групп вводится весовой коэффициент зависящий от ; значения приведены в таблице VI приложений.

Ниже, в качестве примеров, приведены рекомендуемые алгоритмы статистической обработки результатов биологических испытаний, основанных на качественном ответе (определение ЛД50, сравнение ее значений, а также таблицы 2 x 2). Возможно применение биометрического программного обеспечение, в том числе специального (CombiStats, PLA или аналогичные).

4.2. Примеры статистической обработки результатов биологических испытаний с качественным типом ответов

4.2.1. Определение средней летальной дозы (ЛД50)

ЛД50 - доза, при которой погибает половина животных. В опыт взяли 4 группы белых мышей по 6 животных в каждой. Равное число животных в группах и равный интервал доз желателен, но не обязателен. В таблице 4.2.1.-29 приведены ответы животных на введение четырех доз змеиного яда, а также соответствующие пробиты и весовые коэффициенты (таблицы 5 - 7 Приложения).

Таблица 4.2.1.-29

Учет результатов опыта (змеиный яд)

Доза, мг/кг (D) Число погибших животных в группе Число животных в группе % погибших животных в группе Пробит (P) Весовой коэффициент (W)
2,50 0 6 0 3,27 1,54
3,75 3 6 50 5,00 5,00
5,00 5 6 83,3 5,962 3,576
6,25 6 6 100 6,73 1,54
        11,656

Вычисляют ЛД50:

;

.

Таблица 4.2.1.-30

Преобразование результатов опыта (пробит-метод)

DW PW W PWD
  3,850 5,036 9,625 12,590
  18,750 25,000 70,313 93,750
  17,880 21,320 89,400 106,601
  9,625 10,364 60,156 64,776
50,105 61,720 229,494 277,717

n = 12 (общее число животных в группах, в которых наблюдался эффект от 6,66 до 93,33%). В данном случае, в этот теоретический интервал попадают группы, получившие 3,75 мг/кг и 5,00 мг/кг.

Число степеней свободы f = n - 1 = 11;

(p = 0,05, f = 11);

;

;

;

;

;

Нижняя доверительная граница (p = 0,05) = - st = 3,962 - 0,464 х 2,201 = 2,941;

Верхняя доверительная граница (p = 0,05) = + st = 3,962 - 0,464 х 2,201 = 4,983.

4.2.2. Сравнение ЛД50 двух испытуемых образцов

Испытуемый образец 1 Испытуемый образец 2
= 3,962 мг/кг = 2,632 мг/кг
Доверительные границы
2,941 - 4,983 мг/кг
Доверительные границы
2,034 - 3,230 мг/кг
n = 12, f = 11, p = 0,05 n = 24, f = 23, p = 0,05
s = 0,464 s = 0,289

Разность ;

Стандартное отклонение этой разности ;

t = 2,0346 при и p = 0,05, следовательно, нижняя доверительная граница разности равна , а верхняя доверительная граница равна .

Из того, что и доверительные границы d являются положительными величинами, следует, что ЛД50 испытуемого образца 1 и испытуемого образца 2 статистически значимо различаются (p = 0,05).

4.2.3. Сравнение двух образцов по качественным признакам (таблицы 2 x 2)

При сравнении двух образцов по качественным признакам, например по наличию или отсутствию эффекта, можно использовать критерий хи-квадрат. С помощью данного критерия также можно оценить статистическую значимость реакции тест-объектов при применении лекарственного средства и без его воздействия.

Данный метод применим только для сравнения двух независимых выборок и непригоден для сравнения наблюдений "до и после".

Составляют следующую таблицу:

Таблица 4.2.3.-31

Схема сравнения двух независимых выборок по качественным признакам (фактическое число наблюдений)

- + Сумма
Образец 1 A B A + B
Образец 2 C D C + D
Сумма A + C B + D A + B + C + D = N
A, B, C и D число тест-объектов, продемонстрировавших наличие (+) или отсутствие (-) эффекта.

Вычисляют ожидаемое число наблюдений.

Наблюдаемое значение критерия хи-квадрат вычисляют по следующей формуле:

,

где O - фактическое число наблюдений в ячейке;

E - ожидаемое число наблюдений в ячейке.

Таблица 4.2.3.-32

Схема сравнения двух независимых выборок по качественным признакам (ожидаемое число наблюдений)

- + Сумма
Образец 1 A + B
Образец 2 C + D
Сумма A + C B + D N

Таблица 4.2.3.-33

Сравнение действия "Образца 1" и "Образца 2" (фактическое число наблюдений)

- + Сумма
Образец 1 42 33 75
Образец 2 28 47 75
Сумма 70 80 150

Для таблиц 2 x 2 число степеней свободы равно

f = (r - 1)(c - 1) = (2 - 1)(2 - 1) = 1,

где r - число строк

c - число столбцов.

Следовательно, критические значения критерия хи-квадрат ; ; являются константами.

Например, для оценки влияния препаратов на частоту случаев заболевания, животным сначала вводили сравниваемые испытуемые образцы, а затем заражали возбудителем заболевания. После введения "Образца 1" заболели 33 из 75 животных, а после введения "Образца 2" - 47 из 75.

Это значение превышает критическое значение . Следовательно, применение "Образца 1" снижает частоту заболеваемости (p = 0,05).

Если число ожидаемого явления меньше 10 хотя бы в одной ячейке, при анализе таблиц 2 x 2 необходимо вычислять критерий хи-квадрат с "поправкой на непрерывность" (т.н. поправкой Йетса). Она уменьшает погрешность, обусловленную разницей между непрерывным распределением хи-квадрат и дискретным выборочным распределением. Данная поправка уменьшает вероятность ошибки первого рода, то есть обнаружения различий там, где их нет. Она заключается в вычитании 0,5 из абсолютного значения разности между фактическим и ожидаемым числом наблюдений в каждой ячейке:

.

Если значение A, B, C или D меньше 5, критерий хи-квадрат применять не следует. В таких случаях используют точный критерий Фишера:

.

Таблица 4.2.3.-34

Сравнение действия "Образца 1" и "Образца 2" (ожидаемое число наблюдений)

- + Сумма
Образец 1 75 х 70 / 150 = 35 75 х 80 / 150 = 40 75
Образец 2 75 х 70 / 150 = 35 75 х 80 / 150 = 40 75
Сумма 70 80 150

.

Полученное значение P сравнивают с принятым критическим уровнем значимости (обычно 0,05, 0,01 или 0,001). Если полученное значение критерия меньше него, нулевую гипотезу об отсутствии статистически значимого различия отвергают, в противном случае - принимают.

5. ОБЪЕДИНЕНИЕ РЕЗУЛЬТАТОВ НЕЗАВИСИМЫХ ОПРЕДЕЛЕНИЙ БИОЛОГИЧЕСКОЙ АКТИВНОСТИ

При необходимости объединения результатов n определений биологической активности одного и того же испытуемого образца, применяют следующие способы.

Если данные получены с помощью методов, основанных на модели параллельных прямых (разделы 3.1, 4.1 - 4.7) или с помощью пробит-анализа (раздел 5.1), полученные значения активности перед объединением необходимо представить в логарифмическом виде. Значения активности, полученные при использовании модели угловых коэффициентов (раздел 3.2), объединяют без преобразований. Так как модель параллельных прямых используют чаще, чем модель угловых коэффициентов, в данном разделе применяют символ M, обозначающий логарифм биологической активности. При использовании модели угловых коэффициентов вместо M следует подставлять отношения угловых коэффициентов .

5.1. Взвешенное среднее

Данный метод можно применять при выполнении следующих условий:

независимость объединяемых испытаний;

значение C < 1,1;

число степеней свободы для дисперсий опытов (показатель Отклонение или Отклонение 2) не менее 6, но желательно более 15;

однородность объединяемых результатов (раздел 5.1.2).

5.1.1. Весовой коэффициент и средневзвешенная биологическая активность

Если при всех объединяемых биологических испытаниях исходят из одинакового значения ожидаемой активности испытуемого образца, для каждого опыта рассчитывают весовой коэффициент:

,

где L - разность логарифмов верхней и нижней доверительной границы биологической активности.

Средневзвешенная логарифмическая биологическая активность равна:

.

Стандартное отклонение средней биологической активности обратно пропорционально сумме весовых коэффициентов объединяемых биологических испытаний:

.

Доверительные границы объединенной активности составляют , где t = t(p, f), и при этом число степеней свободы f для данного значения критерия Стьюдента равно сумме степеней свободы показателей Отклонение объединяемых биологических испытаний (p = 0,05).

5.1.2. Однородность объединяемых результатов

Однородность полученных результатов проверяют с помощью критерия хи-квадрат (p = 0,05):

,

,

где f = n - 1, 1 < f < 30 и p = 0,05.

Критические значения критерия хи-квадрат можно также найти в приложениях (таблица 4).

Наблюдаемое значение критерия хи-квадрат () должно быть меньше критического. В противном случае, при определенных условиях, можно применять т.н. полувзвешенное среднее (см. руководство к соответствующему программному обеспечению).

5.2. Невзвешенное среднее

В случаях, когда расчет взвешенного среднего невозможен, например, при различном значении ожидаемой активности в объединяемых опытах, используют невзвешенное среднее с доверительными границами, основанными на дисперсии между опытами (не менее 6 опытов).

,

.

Доверительные границы равны при f = n - 1 и p = 0,05.

Приложение

Таблица 1

Критические значения контрольного критерия Q (P, n)

n Q
P = 0,90 P = 0,95 P = 0,99
3 0,89 0,94 0,99
4 0,68 0,77 0,89
5 0,56 0,64 0,76
6 0,48 0,56 0,70
7 0,43 0,51 0,64
8 0,48 0,55 0,68
9 0,44 0,51 0,64
10 0,41 0,48 0,60

Таблица 2

Критические значения критерия Стьюдента

f Доверительная вероятность   f Доверительная вероятность
P = 0,95 P = 0,99 P = 0,999 P = 0,95 P = 0,99 P = 0,999
1 12,71 63,60     21 2,08 2,83 3,82
2 4,30 9,93 31,60   22 2,07 2,82 3,79
3 3,18 5,84 12,94   23 2,07 2,81 3,77
4 2,78 4,60 8,61   24 2,06 2,80 3,75
5 2,57 4,03 6,86   25 2,06 2,79 3,73
6 2,45 3,71 5,96   26 2,06 2,78 3,71
7 2,37 3,50 5,41   27 2,05 2,77 3,69
8 2,31 3,36 5,04   28 2,05 2,76 3,67
9 2,26 3,25 4,78   29 2,04 2,76 3,66
10 2,23 3,17 4,59   30 2,04 2,75 3,65
11 2,20 3,11 4,44   40 2,02 2,70 3,55
12 2,18 3,06 4,32   50 2,01 2,68 3,50
13 2,16 3,01 4,22   60 2,00 2,66 3,46
14 2,15 2,98 4,14   80 1,99 2,64 3,42
15 2,13 2,95 4,07   100 1,98 2,63 3,39
16 2,12 2,92 4,02   120 1,98 2,62 3,37
17 2,11 2,90 3,97   200 1,97 2,60 3,34
18 2,10 2,88 3,92   500 1,96 2,59 3,31
19 2,09 2,86 3,88     1,96 2,58 3,29
20 2,09 2,85 3,85          
f p = 0,05 p = 0,01 p = 0,001   f p = 0,05 p = 0,01 p = 0,001
Уровень значимости   Уровень значимости

;

.

Таблица 3

Критические значения критерия Фишера

- число степеней свободы для меньшей дисперсии - число степеней свободы для большей дисперсии
1 2 3 4 5 6 7 8 20  
3 10,13 9,55 9,28 9,12 9,01 8,94 8,88 8,84 8,66 8,53
  34,12 30,81 29,46 28,71 28,24 27,91 27,67 27,49 26,69 26,12
6 5,99 5,14 4,76 4,53 4,39 4,28 4,21 4,15 3,87 3,67
  13,74 10,92 9,78 9,15 8,75 8,47 8,26 8,10 7,39 6,88
9 5,12 4,26 3,86 3,63 3,48 3,87 3,29 3,23 2,93 2,71
  10,56 8,02 6,99 6,42 6,06 5,80 5,62 5,47 4,80 4,31
12 4,75 3,89 3,49 3,26 3,11 3,00 2,91 2,85 2,54 2,30
  9,33 6,93 5,95 5,41 5,06 4,82 4,64 4,50 3,86 3,36
15 4,54 3,68 3,29 3,06 2,90 2,79 2,71 2,64 2,33 2,07
  8,68 6,36 5,42 4,89 4,56 4,32 4,14 4,00 3,37 2,87
20 4,35 3,49 3,10 2,87 2,71 2,60 2,51 2,45 2,12 1,84
  8,10 5,85 4,94 4,43 4,10 3,87 3,70 3,56 2,94 2,42
30 4,17 3,32 2,92 2,69 2,53 2,42 2,33 2,27 1,93 1,62
  7,56 5,39 4,51 4,02 3,70 3,47 3,30 3,17 2,55 2,01
60 4,00 3,15 2,76 2,53 2,37 2,25 2,17 2,10 1,75 1,39
  7,08 4,98 4,13 3,65 3,34 3,12 2,95 2,82 2,20 1,60
  3,84 3,00 2,60 2,37 2,21 2,10 2,01 1,94 1,57 1,00
  6,63 4,61 3,78 3,32 3,02 2,80 2,64 2,51 1,88 1,00

F для p = 0,05 напечатаны жирным шрифтом, а F для p = 0,01 - обычным.

Таблица 4

Критические значения критерия хи-квадрат ()

f p = 0,05 p = 0,01   f p = 0,05 p = 0,01   f p = 0,05 p = 0,01
1 3,84 6,63   18 28,9 34,8   35 49,8 57,3
2 5,99 9,21   19 30,1 36,2   36 51,0 58,6
3 7,81 11,3   20 31,4 37,6   37 52,2 59,9
4 9,49 13,3   21 32,7 38,9   38 53,4 61,2
5 11,1 15,1   22 33,9 40,3   39 54,6 62,4
6 12,6 16,8   23 35,2 41,6   40 55,8 63,7
7 14,1 18,5   24 36,4 43,0   41 56,9 65,0
8 15,5 20,1   25 37,7 44,3   42 58,1 66,2
9 16,9 21,7   26 38,9 45,6   43 59,3 67,5
10 18,3 23,2   27 40,1 47,0   44 60,5 68,7
11 19,7 24,7   28 41,3 48,3   45 61,7 70,0
12 21,0 26,2   29 42,6 49,6   46 62,8 71,2
13 22,4 27,7   30 43,8 50,9   47 64,0 72,4
14 23,7 29,1   31 45,0 52,2   48 65,2 73,7
15 25,0 30,6   32 46,2 53,5   49 66,3 74,9
16 26,3 32,0   33 47,4 54,8   50 67,5 76,2
17 27,6 33,4   34 48,6 56,1        

при 1 < f < 30 и p = 0,05; при 1 < f < 30 и p = 0,01.

Для f > 30 справедливы следующие приближения: при p = 0,05; при p = 0,01.

Таблица 5

Перевод процентов в пробиты

0 1 2 3 4 5 6 7 8 9
0 - 2,67 2,95 3,12 3,25 3,36 3,45 3,52 3,59 3,66
10 3,72 3,77 3,82 3,87 3,92 3,96 4,01 4,05 4,08 4,12
20 4,16 4,19 4,23 4,26 4,29 4,33 4,36 4,39 4,42 4,45
30 4,48 4,50 4,53 4,56 4,59 4,61 4,64 4,67 4,69 4,72
40 4,75 4,77 4,80 4,82 4,85 4,87 4,90 4,92 4,95 4,97
50 5,00 5,03 5,05 5,08 5,10 5,13 5,15 5,18 5,20 5,23
60 5,25 5,28 5,31 5,33 5,36 5,39 5,41 5,44 5,47 5,50
70 5,52 5,55 5,58 5,61 5,64 5,67 5,71 5,74 5,77 5,81
80 5,84 5,88 5,92 5,95 5,99 6,04 6,08 6,13 6,18 6,23
90 6,28 6,34 6,41 6,48 6,55 6,64 6,75 6,88 7,05 7,33
  0,0 0,1 0,2 0,3 0,4 0,5 0,6 0,7 0,8 0,9
99 7,33 7,37 7,41 7,46 7,51 7,58 7,65 7,75 7,88 8,09

Таблица 6

Перевод пробитов в весовые коэффициенты

Пробиты 0 0,1 0,2 0,3 0,4 0,5 0,6 0,7 0,8 0,9
3 1,0 1,2 1,4 1,6 1,8 2,0 2,3 2,6 2,9 3,2
4 3,5 3,7 3,9 4,1 4,3 4,5 4,6 4,7 4,8 4,9
5 5,0 4,9 4,8 4,7 4,6 4,5 4,3 4,1 3,9 3,7
6 3,5 3,2 2,9 2,6 2,3 2,0 1,8 1,6 1,4 1,2

Таблица 7

"Рабочие" пробиты для эффектов, равных 0% и 100%

Число животных в группе
(n)
0% 100%   Число животных в группе
(n)
0% 100%
2 3,85 6,15   12 2,97 7,03
3 3,62 6,38   13 2,93 7,07
4 3,47 6,53   14 2,90 7,10
5 3,36 6,64   15 2,87 7,13
6 3,27 6,73   16 2,85 7,15
7 3,20 6,80   17 2,82 7,18
8 3,13 6,87   18 2,80 7,20
9 3,09 6,91   19 2,78 7,22
10 3,04 6,96   20 2,76 7,24
11 3,00 7,00        

203130000-2022

2.3.13.0. Статистическая обработка результатов физических, физико-химических и химических испытаний

Настоящая общая фармакопейная статья содержит сведения об основных статистических подходах к обработке и оценке данных, полученных при проведении испытаний лекарственных средств физическими, физико-химическими и химическими методами анализа.

Задача статистической обработки результатов многократных измерений заключается в нахождении оценки измеряемой величины и доверительного интервала, в котором находится истинное значение. Статистические методы обработки результатов измерений используют для описания полученных данных, наиболее близких к истинному значению, для оценки систематических и случайных погрешностей измерений - результатов испытаний.

Статистическая обработка результатов физических, физико-химических и химических испытаний, которые могут быть изменчивыми, позволяет научно обосновывать и корректно интерпретировать полученные аналитические данные, а затем на их основе решать ряд прикладных задач, связанных с определением статистической достоверности результатов испытаний лекарственных средств. Правильное применение статистических принципов к аналитическим данным испытаний лекарственных средств возможно при условии, что такие данные собраны, зарегистрированы прослеживаемым образом и не содержат систематических ошибок. Получение таких данных необходимо осуществлять в соответствии с общими фармакопейными статьями 2.3.14.0. Валидация аналитических методик, 2.1.7.1. Отбор проб, 2.3.11.0. Стандартные образцы. Представленные в настоящей общей фармакопейной статье данные носят информационный характер и не являются исчерпывающими.

УСЛОВНЫЕ ОБОЗНАЧЕНИЯ

A - измеряемая величина;
a - свободный член линейной зависимости;
b - угловой коэффициент линейной зависимости;
F - критерий Фишера;
f - число степеней свободы; функция плотности вероятности нормального распределения;
i - порядковый номер варианта;
L - фактор, используемый при оценке сходимости результатов параллельных определений;
m, n - объемы выборки;
P - доверительная вероятность без конкретизации постановки задачи;
, - доверительная вероятность соответственно при двух- и односторонней постановке задачи;
, - контрольные критерии для идентификации грубых погрешностей;
R - размах варьирования;
- общий индекс корреляции (линейной);
r - (линейный) коэффициент корреляции;
- относительное стандартное отклонение, %;
- относительное стандартное отклонение среднего значения, %;
s - стандартное отклонение;
- относительное (по отношению к среднему результату) стандартное отклонение;
- дисперсия;
- относительная дисперсия;
- дисперсия генеральной совокупности;
- стандартное отклонение среднего результата;
- относительное (по отношению к среднему результату) стандартное отклонение среднего результата;
- логарифмическое стандартное отклонение;
- логарифмическая дисперсия;
- логарифмическое стандартное отклонение среднего результата;
, , - общая дисперсия и дисперсия коэффициентов линейной зависимости;
t - критерий Стьюдента;
U - коэффициент для расчета границ среднего результата гарантии качества испытуемого образца;
x, y - текущие координаты в уравнении линейной зависимости;
, - вычисленные, исходя из уравнения линейной зависимости, значения переменных x и y;
, - средние значения выборки (координаты центра линейной зависимости);
, - i-тая варианта (i-тая пара экспериментальных значений x и y);
- граничные значения доверительного интервала среднего результата;
- граничные значения доверительного интервала результата единичного определения;
d или - разность некоторых величин;
p - уровень значимости, степень надежности;
x - полуширина доверительного интервала неопределенности единичного определения;
- полуширина доверительного интервала неопределенности среднего результата;
x, r - полуширина относительного доверительного интервала неопределенности единичного определения;
- полуширина относительного доверительного интервала неопределенности среднего результата;
- суммарная неопределенность анализа;
- неопределенность конечной аналитической операции;
- неопределенность аттестации стандартного образца;
- неопределенность пробоподготовки;
- относительная величина систематической погрешности;
, - относительные неопределенности, соответственно, результата отдельного определения и среднего результата;
  истинное значение измеряемой величины;
- знак суммирования (сумма);
- критерий хи-квадрат.

В настоящей общей фармакопейной статье используются некоторые термины, определение которых приведено в общих фармакопейных статьях 2.3.14.0. Валидация аналитических методик и 2.1.7.1. Отбор проб.

1. ВЫБОРКА И ОСНОВНЫЕ СТАТИСТИЧЕСКИЕ ХАРАКТЕРИСТИКИ ОДНОРОДНОЙ ВЫБОРКИ

1.1. Выборка

При статистической обработке результатов физических, физико-химических и химических испытаний используют термин "выборка" для обозначения совокупности реально полученных, статистически эквивалентных результатов испытаний (вариант). В качестве такой совокупности можно, например, рассматривать ряд результатов, полученных при параллельных определениях содержания какого-либо вещества (величины x) в однородной по составу пробе. Количество полученных результатов представляет собой число наблюдений n, образующих выборку, называемых "объемом выборки". Отдельные значения вариант выборки объема n обозначают через . Упорядоченная в порядке возрастания вариант выборка может быть представлена в виде:

(1.1)

При статистической обработке результатов физических, физико-химических и химических испытаний различают выборку малого (n <= 10) и большого объема (n >= 10). В других случаях статистической обработки результатов выборка "малого объема" может быть определена, как не превышающая 30 (n <= 30).

1.2. Среднее значение, дисперсия, стандартное отклонение

В большинстве случаев среднее значение выборки является наилучшей оценкой истинного значения измеряемой величины , если его вычисляют как среднее арифметическое всех вариант:

. (1.2)

При этом разброс вариант xi вокруг среднего значения характеризуется величиной стандартного отклонения s. При количественном определении веществ методами физического, физико-химического и химического анализа величину s часто рассматривают как меру случайной погрешности, свойственной данной методике анализа. Квадрат этой величины называют дисперсией. Величина дисперсии может рассматриваться как мера прецизионности (сходимости) результатов, представленных в данной выборке. Вычисление величин s и проводят по уравнениям (1.5) и (1.6). Иногда для этого предварительно определяют значения отклонений и число степеней свободы (число независимых вариант) f:

, (1.3)

f = n - 1, (1.4)

, (1.5)

. (1.6)

Стандартное отклонение среднего результата рассчитывают по уравнению:

. (1.7)

При обработке результатов испытаний лекарственных средств во многих случаях целесообразно использовать относительные (по отношению к ) величины, например, относительное стандартное отклонение относительную дисперсию и относительное стандартное отклонение среднего результата . Их рассчитывают по формулам:

, (1.5а)

, (1.6а)

. (1.7а)

Указанные относительные величины в зависимости от решаемой задачи могут выражаться в процентах относительно . В этом случае их часто обозначают RSD и , соответственно:

, (1.6б)

. (1.7б)

Относительное стандартное отклонение среднего результата, выраженное в процентах () называют коэффициентом вариации. При обработке результатов испытаний лекарственных средств абсолютные величины обычно используют для прямых, а относительные - для косвенных методов анализа.

Если при измерениях получают логарифмы искомых вариант, среднее значение выборки вычисляют как среднее геометрическое, используя логарифм вариант:

. (1.8),

где:

, (1.9)

Значения , s и в этом случае также рассчитывают, исходя из логарифмов вариант, и обозначают соответственно через , , .

Пример вычисления среднего значения и дисперсии приведен в разделе 6.1.

1.3. Проверка однородности выборки. Исключение выпадающих значений вариант

Результаты, полученные при статистической обработке выборки, будут достоверными лишь в том случае, если эта выборка однородна, т.е. если варианты, составляющие выборку, не отягощены грубыми погрешностями, допущенными при измерении или расчете. Для принятия решения об исключении таких выпадающих значений вариант, перед окончательным вычислением статистических характеристик проводят проверку однородности выборки, используя различные подходы в зависимости от объема выборки.

Вместе с тем, следует учитывать, что могут быть такие испытания лекарственных препаратов, которые предусматривают проверку данных каждой из вариант выборки без предварительной оценки ее однородности и исключения вариант, например, при определении показателя Однородность дозированных единиц в соответствии с общей фармакопейной статьей 2.1.9.14. Однородность дозированных единиц, когда должны быть учтены и проанализированы все полученные результаты (значения вариант).

Для проверки однородности выборки и исключения резко выделяющихся, выпадающих, отягощенных грубыми погрешностями, значений вариант используют различные подходы в зависимости от объема выборки. Для проверки однородности выборок малого и большого объема наиболее часто используют следующие подходы.

Подход 1. Проверку однородности выборок малого объема (n <= 10) осуществляют без предварительного вычисления статистических характеристик. С этой целью все значения выборки представляют в виде (1.1) и предполагают, что крайние, граничные значения вариант выборки, то есть, и , являются выпадающими, отягощенными грубыми погрешностями. Для этих крайних значений выборки рассчитывают значения контрольного критерия для идентификации грубых погрешностей Q, исходя из величины размаха варьирования (размаха вариации) R, то есть разности значений между и .

, (1.10а)

для n = 8 - 10, (1.10б)

, (1.11а)

. (1.11б)

Выборка признается неоднородной, если хотя бы одно из вычисленных значений Q превышает критическое значение контрольного критерия Q (P, n), найденное для доверительной вероятности P (таблица 1 Приложения). Варианты или , которым соответствует значение Q > Q (P, n), отбрасывают и для полученной выборки уменьшенного объема выполняют новый цикл вычислений по уравнениям (1.10) и (1.11) с целью проверки ее однородности.

Если в исходной выборке следующие значения вариант:

,

то уравнения (1.11а) и (1.11б) принимают вид:

, (1.12а)

. (1.12б)

Полученная в конечном счете однородная выборка используется для вычисления , , s и .

Пример проверки однородности выборки малого объема приведен в разделе 6.2.

Подход 2. Для проверки однородности выборки большого объема (n > 10) целесообразно проводить предварительную статистическую обработку всей выборки, полагая ее однородной, и уже затем на основании найденных статистических характеристик решать вопрос о справедливости сделанного предположения об однородности согласно уравнению (1.13).

Вычисляют статистические характеристики , , s, для выборки большого объема и проверяют ее однородность. Выборка признается однородной, если для всех вариант выполняется условие:

. (1.13)

Если выборка признана неоднородной, то варианты, для которых > 3 х s, отбрасывают как отягощенные грубыми погрешностями с доверительной вероятностью P > 99,0%. В этом случае для полученной выборки сокращенного объема повторяют цикл вычислений статистических характеристик по уравнениям (1.2) - (1.7) и снова проводят проверку однородности. Вычисление статистических характеристик считают законченным, когда выборка сокращенного объема оказывается однородной.

1.4. Объединение однородных выборок

1.4.1. Объединенная дисперсия и объединенное среднее значение

Если имеется g выборок из одной и той же генеральной совокупности с порядковыми номерами k (1 <= k <= g), расчет объединенной дисперсии проводят по формуле:

(1.14)

или для объединенных относительных величин:

, (1.14а)

. (1.14б)

При этом объединенное число степеней свободы равно:

(1.15),

где: - число вариант в k-той выборке;

- число степеней свободы в k-той выборке;

- дисперсия k-той выборки;

- относительная дисперсия k-той выборки;

- отклонение i-той варианты в k-той выборке.

Если g выборок из одной и той же генеральной совокупности с порядковыми номерами k (1 <= k <= g) характеризуются выборочными средними значениями , полученными из вариант, объединенное среднее значение по всем выборкам рассчитывают по формуле:

. (1.16)

Необходимым условием совместной статистической обработки нескольких однородных выборок является отсутствие статистически значимой разницы между отдельными значениями в уравнении (1.14), в уравнении (1.14а) или в уравнении (1.14б), т.е. справедливость гипотезы равенства дисперсий. В простейшем случае можно ограничиться сравнением крайних значений с использованием критерия Фишера F. В более общем случае можно использовать критерии Бартлетта и Кохрена.

1.4.2. Критерий Бартлетта

Для проверки гипотезы, что все принадлежат к одной генеральной совокупности, используют выражение, приближенно распределенное как :

. (1.17)

При этом величины и рассчитывают по уравнениям (1.14) и (1.15). Найденную таким образом величину сравнивают с процентной точкой хи-квадрат распределения (таблица 5 Приложения). Если имеется g выборок, то число степеней свободы для берут равным . Проверяемую гипотезу принимают при условии . В противном случае вычисленное значение корректируют по формуле:

(1.18)

где:

, (1.19)

и снова сравнивают с процентной точкой хи-квадрат распределения . Если , то между некоторыми стандартными отклонениями имеются значимые различия. В этом случае необходимо провести анализ имеющихся данных, отбросить одно или несколько значений дисперсии, наиболее сильно отличающихся от остальных, и снова провести тест Бартлетта. Необходимо иметь в виду, что критерий Бартлетта, так же, как критерий Кохрена, очень чувствителен к нарушению требования нормального распределения. Но именно поэтому он может быть весьма полезен при сборе и формировании надежного архива данных о тех или иных аналитических испытаниях.

Описанный критерий Бартлетта применим только при условии, что число степеней свободы у всех объединяемых дисперсий больше 3, т.е. все .

1.4.3. Критерий Кохрена

В том случае, когда все объединяемые дисперсии имеют одинаковое число степеней свободы (т.е. ) для проверки гипотезы равенства дисперсий (однородности дисперсий) можно применять значительно более простой критерий Кохрена со статистикой:

. (1.20)

где

.

В формулах (1.17) и (1.20) вместо абсолютных величин могут быть использованы относительные величины и .

Критические значения критерия Кохрена приведены в таблице 6 Приложения. Для подтверждения гипотезы об однородности дисперсий рассчитанное значение G на выбранном уровне значимости (95% или 99%) не должно превосходить критическое значение (). В противном случае гипотеза равенства дисперсий не может быть принята: формулы (1.15) - (1.17) объединения выборок не являются корректными, наибольшую дисперсию в исследуемом наборе дисперсий считают выбросом.

1.5. Доверительные интервалы и оценка их величины

Если случайная однородная выборка конечного объема n получена в результате последовательных измерений некоторой величины A, имеющей истинное значение , то среднее этой выборки следует рассматривать лишь как приближенную оценку величины A. Достоверность этой оценки характеризуется величиной доверительного интервала , для которой с заданной доверительной вероятностью P выполняется условие:

. (1.21)

Данный доверительный интервал не характеризует погрешность определения величины , поскольку найденная величина может быть в действительности очень близка к истинному значению , которое остается неизвестным. Полученный доверительный интервал характеризует степень неопределенности наших знаний об истинном значении величины A по результатам последовательных измерений выборки конечного объема n. Поэтому правильно говорить о "неопределенности результатов анализа", которая характеризуется доверительным интервалом, вместо выражения "погрешность результатов анализа", которое нередко не совсем корректно используется.

Расчет граничных значений доверительного интервала при известном значении стандартного отклонения s или для выборок большого объема проводят по уравнению:

, (1.22а)

предполагая, что варианты, входящие в выборку, распределены нормально. Здесь U(P) - табличное значение функции нормального распределения.

Для выборок небольшого объема расчет граничных значений доверительного интервала проводят с использованием критерия Стьюдента, предполагая, что варианты, входящие в выборку, распределены нормально:

(1.22б)

или с использованием относительных величин:

. (1.22в)

Здесь t(P, f) - табличное значение критерия Стьюдента (таблица 2 Приложения).

Распределение по критерию Стьюдента t(P, f) является обобщением нормального распределения U(P) и переходит в него при достаточно большом числе степеней свободы f, т.е. t(P, f) U(P). С учетом этого далее для единообразия везде используется более часто употребляемые соотношения (1.22б) и (1.22в), даже в случае выборок достаточно большого объема.

Полуширины относительных доверительных интервалов единичного () и среднего () результатов часто выражают в процентах по отношению к . В этом случае в выражении (1.22в) вместо величины используют RSD, а вместо 1 указывают 100%, т.е.:

. (1.22г)

Если при измерении одной и той же методикой двух близких значений A были получены две случайные однородные выборки с объемами n и m, то при m < n для выборки объема m справедливо уравнение:

, (1.23)

где индекс указывает принадлежность величин к выборке объема m или n.

Уравнение (1.23) позволяет оценить величину доверительного интервала среднего , найденного, исходя из выборки объема m. Иными словами, доверительный интервал среднего для выборки относительно малого объема m может быть сужен благодаря использованию известных величин и , найденных ранее для выборки большего объема n. Более общим подходом является объединение выборок с расчетом объединенного стандартного отклонения и степеней свободы по уравнениям (1.14) - (1.15). Это стандартное отклонение и соответствующий объединенному числу степеней свободы критерий Стьюдента подставляют затем в выражение (1.22г).

Аналогично уравнениям (1.21) - (1.22) определяют доверительный интервал результата отдельного определения. Подставляя n = 1 в уравнение (1.22б) или m = 1 в уравнение (1.23), получают:

(1.24)

или с использованием относительных величин:

. (1.24а)

Этот интервал является доверительным интервалом результата отдельного определения. Для него с доверительной вероятностью P выполняются взаимосвязанные условия:

, (1.25)

. (1.26)

Значения и из уравнений (1.22б) и (1.24) используют при вычислении относительных неопределенностей отдельной варианты () и среднего результата , выражая эти величины в процентах:

, (1.27)

. (1.28)

Пример расчета доверительных интервалов в процентах и относительных неопределенностей приведен в разделе 6.3.

Если при измерениях получают логарифмы исходных вариант, то уравнения (1.22б) и (1.24) принимают вид:

; (1.29)

. (1.30)

Потенцирование выражений (1.29) и (1.30) приводит к несимметричным доверительным интервалам для значений и :

; (1.31)

, (1.32)

где:

, (1.33)

. (1.34)

При этом для нижних и верхних границ доверительных интервалов и x относительные неопределенности составляют:

, (1.35а)

. (1.35б).

1.5.1. Односторонние и двусторонние доверительные интервалы

Выражения (1.21) - (1.35) характеризуют так называемые "двусторонние" доверительные интервалы. Они основаны на двустороннем t-распределении и широко применяются при оценке правильности и прецизионности методик и представлении результатов. Вместе с тем, при решении некоторых задач, например, при контроле готовой продукции, в частности, при контроле качества лекарственных средств, нередко возникает необходимость использования так называемых "односторонних" доверительных интервалов. Например, для какого-нибудь лекарственного препарата допуски количественного содержания действующего вещества установлены от 90% до 110% от номинального. В процессе анализа получено среднее значение содержания = 94% от номинального значения. Необходимо решить, не выходит ли доверительный интервал за допуски содержания (90 - 110)%. Очевидно, что в данном случае этот доверительный интервал может выйти за пределы только нижнего допуска (90%), но не верхнего (110%) одновременно. Вопрос о возможности выхода истинной величины за пределы верхнего допуска не рассматривают, в связи с его крайне низкой вероятностью. Таким образом, истинное значение находится в интервале:

(1.36а)

Аналогичное выражение можно записать для случая, когда превышает 100% (например, = 105%):

(1.36б)

Выражения (1.36а) и (1.36б) характеризуют односторонние доверительные интервалы, поскольку величина ими ограничивается только с одной стороны. Это отличает их от выражения (1.21), где величина ограничивается с обеих сторон.

Существует следующее соотношение между двусторонним () и односторонним () критериями Стьюдента:

. (1.37)

В частности, односторонний критерий Стьюдента для вероятности 0,95 (т.е. 95%) совпадает с двусторонним критерием Стьюдента для вероятности 0,90 (т.е. 90%).

Таким образом, - это вероятность того, что математическое ожидание (или истинное значение) оцениваемой величины находится в двусторонне ограниченных пределах (1.21) - (1.35), а - это вероятность того, что оно находится в односторонне ограниченных пределах (1.36) - (1.35). Также могут использоваться величины, обозначаемые (1 - ) и (1 - ), которые характеризуют вероятность того, что математическое ожидание (или истинное значение) оцениваемой величины выходит за вышеуказанные пределы. Во многих случаях такие величины являются более удобными.

1.6. Проверка наличия значимой систематической погрешности

Для решения вопроса о наличии или отсутствии статистически значимой погрешности для выборки объема m, если величина , используют критерий Стьюдента, обозначаемый t и рассчитываемый по формуле:

(1.38)

или для относительных величин:

. (1.38а)

Если, например, при P = 95% и f = m - 1, реализуется неравенство:

, (1.39)

то полученные данной методикой результаты отягощены систематической погрешностью, относительная величина которой может быть вычислена по формуле:

. (1.40)

Статистически значимая систематическая погрешность может быть приемлема для решения поставленной аналитической задачи, если она критически не влияет на принятие решения по результатам анализа.

На статистическую значимость систематической погрешности влияет прецизионность. Вследствие высокой прецизионности систематическая погрешность может оказаться статистически значимой, и наоборот, низкая прецизионность может привести к статистической незначимости систематической погрешности (эффект маскировки).

Предположим, что для методики 1 систематическая погрешность и стандартное отклонение = 1,20%, а для методики 2 данные величины имеют значения и . За счет худшей прецизионности систематическая погрешность методики 1 оказывается статистически незначимой. Лучшая прецизионность методики 2 приводит к статистической значимости систематической погрешности, несмотря на то, что ее значение меньше в 2 раза, чем у методики 1. Поэтому создается ложное представление о невозможности использования методики 2 для конкретной аналитической задачи, например, количественного определения действующего вещества в лекарственном препарате. В действительности, для данной цели целесообразно использовать именно методику 2.

Таким образом, статистически значимая систематическая погрешность, может быть приемлемой и неприемлемой для решения поставленной аналитической задачи. В связи с этим статистически значимые систематические погрешности, т.е. погрешности, для которых выполняется неравенство (1.39), в дальнейшем оценивают на их практическую значимость.

2. СРАВНЕНИЕ ДВУХ МЕТОДИК АНАЛИЗА ПО ПРЕЦИЗИОННОСТИ

Сравнение двух методик анализа по прецизионности проводят путем выяснения значимости различия выборочных дисперсий анализа этих двух методик. В более общем случае данный подход применяют для оценки значимости различия двух выборочных дисперсий, например, с целью выяснения, можно ли их считать выборочными оценками одной и той же дисперсии генеральной совокупности.

При сравнении прецизионности двух методик анализа с оценками дисперсий и вычисляют критерий Фишера F:

. (2.1)

Критерий F характеризует при достоверность различия между и .

Вычисленное значение F сравнивают с табличным значением , найденным при (таблица 3 Приложения).

Если для вычисленного значения F выполняется неравенство:

, (2.2)

то различие дисперсий и признается статистически значимым с вероятностью , что позволяет сделать заключение о более высокой прецизионности второй методики.

Если выполняется неравенство:

, (2.3)

то различие значений и не может быть признано значимым и заключение о различии прецизионности (сходимости) методов сделать нельзя ввиду недостаточного объема информации.

Если

, (2.4)

то целесообразно провести дальнейшие экспериментальные исследования для методики с лучшей прецизионностью (сходимостью).

При сравнении двух методик анализа результаты статистической обработки могут быть представлены в виде таблицы 2.-1.

Таблица 2.-1

Данные для сравнительной статистической оценки двух методик анализа по прецизионности

Методика
N п/п
f s P t (P, f) (табл.) x (табл.) при P = 99% Примечания
1 2 3 4 5 6 7 8 9 10 11 12 13 14
1                          
2                          

Сравнение методик анализа желательно проводить при , и . Если точные значения и неизвестны, величины и не определяют.

Если при измерениях получают логарифмы исходных вариант, то вместо величин , и s в таблице 2.-1 приводят величины , и . При этом в графу 8 вносят величину , а в графу 9 - максимальное по абсолютной величине значение . Аналогичные замены проводят при вычислении t по уравнению (1.38) и F - по уравнению (3.1).

Пример сравнения двух методик анализа по прецизионности приведен в разделе 6.4.

3. СРАВНЕНИЕ СРЕДНИХ РЕЗУЛЬТАТОВ ВЫБОРОК

3.1. Данные для сравнения результатов выборок

Если с помощью данной методики анализа определяют значение некоторой величины A, то для экспериментально полученной однородной выборки объема m рассчитывают значения величин, приведенных в таблице 3.1.-2. Если же для данной методики уже имеются данные для статистической обработки (например, полученные при сравнении методик по прецизионности, таблица 2.-1), то в целях значительного сужения границ доверительного интервала за счет большего числа степеней свободы (уравнение 1.23) возможно их использование при заполнении граф 2, 4, 5, 7, 8 и 9 таблицы 3.1.-2.

Таблица 3.1.-2

Данные для сравнения средних результатов выборок

m f s P t(P, f) x или
1 2 3 4 5 6 7 8 9 10
                 

Если , а , величины s и f целесообразно вычислять по уравнениям (1.21) и (1.15).

Во многих случаях проще использовать относительные (по отношению к величины. В этом случае целесообразно использовать данные таблицы 3.1.-3.

Таблица 3.1.-3

Данные для сравнения средних результатов выборок с использованием относительных величин

m f s P t(P, f)
1 2 3 4 5 6 7 8 9 10
                 

Таким образом, на основании уравнения (1.21) для измеряемой величины A при незначительной систематической погрешности с вероятностью P выполняется условие:

, (3.1)

т.е., величина A при незначительной систематической погрешности лежит в пределах:

. (3.2)

или с использованием относительных величин:

(3.2а)

Если при измерениях получают логарифмы исходных вариант, в графе 9 таблицы 3.1.-3. приводят величину , а каждую из граф 3, 9 и 10 разбивают на две (а, б). В графе 3а приводят значение , в графе 3б - значение , в графах 9а и 9б - соответственно значения нижней и верхней границ доверительного интервала для (уравнения (1.31) и (1.32)). Наконец, в графе 10 приводят максимальное по абсолютной величине значение (уравнение (1.33а)).

3.2. Сравнение средних результатов двух выборок

Если в результате измерений одной и той же величины A получены две выборки объема и , причем , может возникнуть необходимость проверки статистической достоверности гипотезы:

, (3.3)

т.е. значимости величины разности .

Такая проверка необходима, например, если величина A определялась двумя разными методиками с целью их сравнения, или, если величина A определялась одной и той же методикой для двух разных объектов, идентичность которых требуется доказать. Для проверки гипотезы (3.3) следует установить, существует ли статистически значимое различие между дисперсиями и . Эта проверка проводится так же, как при сравнении двух методик анализа по воспроизводимости согласно уравнениям (2.1) - (2.3).

Рассматривают три случая.

Различие дисперсий и статистически незначимо, когда справедливо неравенство (2.3). В этом случае средневзвешенное значение , учитывающее не только количество выборок (дисперсий), но и их объем, вычисляют по уравнению (1.5), а дисперсию разности - по уравнению:

, (3.4)

. (3.4а)

Далее вычисляют критерий Стьюдента:

, (3.5)

. (3.5а)

Если при выбранном значении (например, при = 95%):

, (3.6)

то результат проверки положителен: разность является значимой и гипотезу отбрасывают. В противном случае надо признать, что эта гипотеза не противоречит экспериментальным данным.

Различие дисперсий и статистически значимо, когда справедливо неравенство (2.2). Если >, дисперсию разности находят по уравнению (3.7), а число степеней свободы f' - по уравнению (3.8):

; (3.7)

. (3.8)

Следовательно, в данном случае:

. (3.9)

Вычисленное по уравнению (3.9) значение t сравнивают с табличным значением , как это описано выше для первого случая.

Приведенные выше расчеты упрощаются, когда и . Тогда в отсутствие систематической погрешности среднее выборки объема принимают за достаточно точную оценку величины A, т.е. принимают . Справедливость гипотезы , эквивалентной гипотезе (3.3), проверяют с помощью уравнений (1.38) и (1.39), принимая . Гипотеза (3.3) отклоняется как статистически недостоверная, если выполнятся неравенство (1.39).

Известно точное значение величины A. Если A=, проверяют две гипотезы: и . Проверку выполняют с помощью уравнений (1.38) и (1.39) отдельно для каждой из гипотез. Если обе проверяемые гипотезы статистически достоверны, то следует признать достоверной и гипотезу (3.3). В противном случае гипотеза (3.3) должна быть отброшена.

Если при измерениях получают логарифмы исходных вариант, при сравнении средних используют величины , и . В тех случаях, когда разность оказывается значимой, определяют доверительный интервал для разности соответствующих генеральных средних :

. (3.10)

Пример сравнения средних результатов двух выборок приведен в разделе 6.5.

4. Расчет и статистическая оценка параметров линейной зависимости

При использовании физических, физико-химических и химических методов анализа для количественного определения веществ непосредственному измерению подвергается некоторая величина y (аналитический сигнал), которая является, как правило, линейной функцией искомой концентрации (количества) x определяемого вещества или элемента. Иными словами, в основе таких методов анализа лежит экспериментально подтвержденная линейная зависимость:

y = bx + a, (4.1);

где: y - измеряемая величина (измеряемое значение аналитического сигнала);

x - концентрация (количество) определяемого вещества или элемента;

b - угловой коэффициент линейной зависимости;

a - свободный член линейной зависимости.

(Здесь b и a рассматривают как коэффициенты (параметры) линейной регрессии y на x).

Для использования зависимости (4.1) в аналитических целях, т.е. для определения конкретной величины x по измеренному значению y, необходимо заранее найти числовые значения констант b и a, т.е. провести калибровку. Иногда константы зависимости (4.1) имеют тот или иной физический смысл, и их значения должны оцениваться с учетом соответствующего доверительного интервала. Если калибровка проведена и значения констант a и b определены, величину находят по измеренному значению :

. (4.2)

При калибровке величину x рассматривают как аргумент, а величину y - как функцию. Наличие линейной зависимости между x и y не всегда является очевидным, ее наличие целесообразно подтверждать расчетным путем. Для этого по экспериментальным данным, полученным при калибровке, оценивают достоверность линейной связи между x и y с использованием корреляционного анализа и лишь затем рассчитывают значения констант a и b зависимости (6.1) и их доверительные интервалы. В первом приближении судить о достоверности линейной связи между переменными x и y можно по величине линейного коэффициента корреляции (или просто коэффициента корреляции) r, который вычисляют по формуле, исходя из экспериментальных данных:

. (4.3)

Линейный коэффициент корреляции r изменяется в пределах от -1 до +1. Положительные значения r указывают на рост, а негативные - на уменьшение y с ростом x.

Линейный коэффициент корреляции r является частным случаем общего индекса корреляции , который применим также и для нелинейных зависимостей между величинами y и x:

, (4.3а)

где: - остаточное стандартное отклонение (стандартное отклонение линейной зависимости) (уравнение 4.7);

- стандартное отклонение величин у относительно среднего значения (4.15); рассчитывают с использованием уравнения (1.5).

Уравнение (4.3а) в силу своей простоты и наглядности нередко используют вместо уравнения (4.3) в том случае, когда знак коэффициента корреляции не имеет значения.

Чем ближе абсолютная величина |r| к единице, тем менее случайна наблюдаемая линейная зависимость между переменными x и y. Коэффициент корреляции r используют обычно для выявления стохастической взаимосвязи между величинами, функциональная зависимость между которыми может и отсутствовать. Коэффициент корреляции является значимым, если его величина для данной вероятности P и числа степеней свободы f превышает значения, приведенные таблице 4 Приложения. В противном случае нельзя говорить о существовании значимых зависимостей (4.1) - (4.2).

Значимость коэффициента корреляции является обязательным, но не достаточным условием использования уравнений (4.1) - (4.2) для аналитических целей. При статистической обработке результатов физического, физико-химического или химического методов анализа лекарственных средств могут быть использованы линейные зависимости с коэффициентом корреляции |r| >= 0,98 (при соответствии требованиям таблицы 4 Приложения), а при анализе следовых количеств определяемых веществ рассматривают линейные зависимости с коэффициентом корреляции |r| >= 0,90. При столь близких значениях величины |r| к единице формальное подтверждение наличия линейной связи между переменными x и y проводить не следует. Вместе с тем необходимо учитывать, что для различных методов анализа лекарственных средств, требования к линейности метода, могут быть различными.

Коэффициенты a и b и другие характеристики линейной зависимости (4.1) рассчитывают с использованием регрессионного анализа, т.е. методом наименьших квадратов по экспериментально измеренным значениям переменной y для заданных значений аргумента x. Пусть в результате эксперимента найдены представленные в таблице 4.-4. пары значений аргумента x и функции y.

Таблица 4.-4

Значения аргумента x и функции y

i
1
2
... ... ...
m

Тогда, если величины имеют одинаковую неопределенность (а такое допущение обычно выполняется для достаточно узкого диапазона варьирования величин ), то

, (4.4)

, (4.5)

f = m - 2. (4.6)

Если полученные значения коэффициентов a и b использовать для вычисления значений y по заданным в таблице 4.-4. значениям аргумента x согласно зависимости (4.1), то вычисленные значения y обозначают через . Разброс значений относительно значений характеризует величина остаточной дисперсии (дисперсии линейной зависимости), которую вычисляют по формуле:

. (4.7)

Для того, чтобы уравнения (4.1) - (4.2) адекватно описывали экспериментальные данные, необходимо, чтобы остаточная дисперсия не отличалась значимо по критерию Фишера (уравнения (2.1) и (2.2)) от дисперсии прецизионности величин . Последняя может быть найдена или спрогнозирована из паспортных данных оборудования.

В свою очередь, дисперсии констант b и a находят по уравнениям:

; (4.8)

. (4.9)

Стандартные отклонения и и величины b и a, необходимые для оценки доверительных интервалов констант уравнения регрессии, рассчитывают по уравнениям:

; (4.10)

; (4.11)

; (4.12)

. (4.13)

Коэффициенты a и b должны значимо отличаться от нуля, т.е. превышать, соответственно, величины и .

Уравнению (4.1) с константами a и b обязательно удовлетворяет точка с координатами и , называемая центром калибровочного графика:

; (4.14)

. (4.15)

Наименьшие отклонения значений от значений наблюдаются в окрестностях центра графика. Стандартные отклонения и величин y и x, рассчитанных соответственно по уравнениям (4.1) и (4.2), исходя соответственно из известных значений x и y, определяют с учетом удаления последних от центра графика:

; (4.16)

, (4.17)

где: - среднее значение;

- число вариант y, использованных при определении .

При x= и = выражения (4.16) и (4.17) принимают вид:

; (4.16а)

. (4.17а)

С учетом значений и могут быть найдены значения величин y и x:

; (4.18)

. (4.19)

Значения и , найденные при , являются характеристиками прецизионности аналитической методики, если x - концентрация (количество), а y - функция x.

Обычно результаты статистической обработки по методу наименьших квадратов сводят в таблицу (таблица 4.-5).

Таблица 4.-5

Результаты статистической обработки экспериментальных данных, полученных при изучении линейной зависимости y = bx + a

f b a при b a r при , x , %
1 2 3 4 5 6 7 8 9 10 11 12 13
                         

Примечания:

1. Если целью экспериментальной работы являлось определение констант b и a, графы 11, 12 и 13 таблицы не заполняют.

2. Если y = b х lgx + a, вычисления, описанные в настоящем разделе, выполняют с использованием уравнений (1.8), (1.9), (1.29) - (1.32).

5. РАСЧЕТ НЕОПРЕДЕЛЕННОСТИ ФУНКЦИИ НЕСКОЛЬКИХ СЛУЧАЙНЫХ ПЕРЕМЕННЫХ

Описанные в разделах 1 - 4 настоящей общей фармакопейной статьи расчеты доверительных интервалов результатов методик анализа применимы лишь в том случае, если измеряемая величина (концентрация, содержание и т.д.) является функцией только одной случайной переменной. Однако большинство методик количественного определения при испытании лекарственных средств методами физического, физико-химического и химического анализа являются косвенными, то есть используют стандартные образцы. Следовательно, измеряемая величина является функцией, как минимум, двух случайных переменных - аналитических сигналов (оптическая плотность или поглощение, высота или площадь пика и т.д.) испытуемого и стандартного образцов. Кроме того, нередко возникает проблема прогнозирования неопределенности аналитической методики, состоящей из нескольких стадий (взвешивание, разведение, конечная аналитическая операция), каждая из которых является по отношению к другой случайной величиной.

Таким образом, возникает общая проблема оценки неопределенности косвенно измеряемой величины, зависящей от нескольких измеряемых величин, в частности, как рассчитывать неопределенность всей аналитической методики, если известны неопределенности отдельных ее составляющих (стадий).

Если измеряемая на опыте величина y является функцией n независимых случайных величин xi, то есть:

, (5.1)

и число степеней свободы величин одинаково или достаточно велико (> 30, чтобы можно было применять статистику Гаусса, а не Стьюдента), то дисперсия величины y связана с дисперсиями величин соотношением (правило распространения неопределенностей):

. (5.2)

Однако на практике степени свободы величин обычно невелики и неравны друг другу. Кроме того, обычно интерес представляют не сами дисперсии (стандартные отклонения), а доверительные интервалы, рассчитать которые, используя уравнение (5.2), при небольших и неодинаковых степенях свободы невозможно. Поэтому для расчета неопределенности величины предложены различные подходы, среди которых можно выделить два основных: линейная модель и подход Уэлча - Сатертуэйта.

5.1. Линейная модель

Если случайные переменные статистически независимы, то доверительный интервал функции связан с доверительными интервалами переменных соотношением (доверительные интервалы берутся для одной и той же вероятности):

. (5.3)

Данное выражение является обобщением соотношения (5.2).

При испытании лекарственных средств методами физического, физико-химического и химического методами анализа измеряемая величина y представляет собой обычно произведение или частное случайных и постоянных величин (масс навесок, разведений, поглощений или площадей пиков и т.д.), т.е. (К - некая константа):

. (5.4)

В этом случае соотношение (4.2) принимает вид:

, (5.5)

где использованы относительные доверительные интервалы.

Соотношение (5.4) применимо при любых (разных) степенях свободы (в том числе и бесконечных) для величин . Его преимуществом является простота и наглядность. Использование абсолютных доверительных интервалов приводит к гораздо более громоздким выражениям, поэтому рекомендуется использовать относительные величины.

При проведении испытаний лекарственных средств в суммарной неопределенности () анализа обычно всегда можно выделить такие типы неопределенностей: неопределенность пробоподготовки (), неопределенность конечной аналитической операции () и неопределенность аттестации стандартного образца (). Величина обычно мала, поэтому в приведенном выражении она не использована. Учитывая это, а также то, что анализ проводится и для испытуемого раствора (индекс "smp"), и для раствора сравнения (индекс "st"), выражение (5.5) можно представить в виде:

. (5.6)

При этом каждое из слагаемых рассчитывают из входящих в него компонентов по уравнению (5.5).

Если число степеней свободы величин одинаково или достаточно велико (> 30), выражение (5.5) дает:

, (5.7)

Это же соотношение получают при тех же условиях и из выражения (5.2).

5.2. Подход Уэлча - Сатертуэйта

В этом подходе дисперсию величины рассчитывают по соотношению (5.2), не обращая внимания на различие в степенях свободы () величин . Для полученной дисперсии рассчитывают некое "эффективное" число степеней свободы (которое обычно является дробным), на основе которого затем по таблицам для заданной вероятности находят интерполяцией значения критерия Стьюдента. На основе его далее рассчитывают обычным путем доверительный интервал величины :

. (5.8)

Для определения величины y обычно выполняется уравнение (5.4). В этом случае в подходе Уэлча - Сатертуэйта соотношение (5.2) переходит в выражение (5.7), и соотношение (5.8) принимает более простой вид:

. (5.9)

Здесь величину рассчитывают из соотношения (4.7).

Подход Уэлча - Сатертуэйта обычно дает более узкие доверительные интервалы, чем линейная модель. Однако он гораздо сложнее в применении и не позволяет выделить так просто неопределенности разных этапов (с последующими рекомендациями по их минимизации), как линейная модель в форме выражения (5.6).

При прогнозе неопределенности анализа используют генеральные величины (с бесконечным числом степеней свободы). В этом случае подход Уэлча - Сатертуэйта совпадает с линейной моделью.

Пример расчета неопределенности функции нескольких переменных приведен в разделе 6.6.

6. ПРИМЕРЫ СТАТИСТИЧЕСКОЙ ОБРАБОТКИ РЕЗУЛЬТАТОВ ИСПЫТАНИЙ

6.1. Вычисление среднего значения и дисперсии

При количественном определении действующего вещества в образце лекарственного препарата, были получены данные, указанные в таблице 6.1.-6.

Таблица 6.1.-6.

Содержание действующего вещества в образце Порядковый номер варианты i
1 2 3 4 5
, % 9,52 9,55 9,83 10,12 10,33

n = 5; f = n - 1 = 5 - 1 = 4.

.

,

т.е.

.

;

;

;

;

;

;

.

6.2. Проверка однородности выборки малого объема

При количественном определении действующего вещества в каждой из девяти (n = 9) выборок лекарственного препарата были получены данные, указанные в таблице 6.2.-7. (в порядке возрастания).

Таблица 6.2.-7.

Содержание действующего вещества Порядковый номер варианты i
1 2 3 4 5 6 7 8 9
, % 0,62 0,81 0,83 0,86 0,87 0,90 0,94 0,98 0,99

По уравнениям (1.10б) и (1.11а) находим:

;

.

По таблице 1 Приложения находим:

;

.

Следовательно, гипотеза о том, что значение = 0,62 должно быть исключено из рассматриваемой совокупности результатов измерений как отягощенное грубой погрешностью, может быть принята с доверительной вероятностью 95%, но должна быть отвергнута, если выбранное значение доверительной вероятности равно 99%.

6.3. Вычисление доверительных интервалов и неопределенностей измерений

При определении количественного содержания действующего вещества в образце активной фармацевтической субстанции были получены данные (n = 10), указанные в таблице 6.3.-8.

Таблица 6.3.-8.

Содержание действующего вещества Порядковый номер варианты i
1 2 3 4 5 6 7 8 9 10
, % 49,80 49,83 49,87 49,87 49,92 50,01 50,05 50,06 50,10 50,11

Расчеты по уравнениям (1.2), (1.4), (1.5), (1.6) дали следующие результаты:

;

.

Доверительные интервалы результата отдельного определения и среднего результата при = 90% получаем согласно (1.24) и (1.22):

;

.

Тогда относительные неопределенности и , согласно (1.27) и (1.28), равны:

;

.

Обозначая истинное содержание действующего вещества в активной фармацевтической субстанции через , можно считать, что с 90% доверительной вероятностью справедливы неравенства:

;

.

6.4. Сравнение двух методик анализа по прецизионности

Пусть для двух выборок аналитических данных (1 и 2), характеризующих, например, различные методики анализа, получены данные для статистической обработки, приведенные в графах 1 - 10 таблицы 6.4.-9.

Таблица 6.4.-9.

Номер выборки f , % s , % x 8
1 2 3 4 5 6 7 8 9 10 11 12 13
1 100 20 100,13 0,464 95 2,09 0,97 0,97 1,28 3,36 17,92 -
2 100 15 98,01 0,110 95 2,13 0,23 0,24 72,36 3,36 17,92 1,99

Для заполнения графы 10 вычисляем значения и :

;

.

Поскольку , гипотеза может быть отвергнута, что позволяет считать результаты выборки 1 свободными от систематической ошибки.

Напротив, поскольку , гипотезу приходится признать статистически достоверной, что свидетельствует о наличии систематической ошибки в результатах выборки 2. В графу 13 вносим вычисленное значение :

.

Заполним графы 11 и 12:

;

;

.

Следовательно, при гипотезу о различии дисперсий и следует признать статистически достоверной.

Выводы:

- результаты, полученные при использовании первой методики, являются правильными, т.е. они не отягощены систематической погрешностью;

- результаты, полученные при использовании второй методики, отягощены систематической погрешностью;

- по прецизионности вторая методика существенно превосходит первую методику.

6.5. Сравнение средних результатов двух выборок

При определении содержания действующего вещества в двух образцах лекарственного препарата, произведенных по разной технологии, получены данные для статистической обработки средних результатов, приведенные в таблице 6.5.-10. Требуется определить, является ли первый образец по данному показателю лучшим в сравнении со вторым образцом.

Таблица 6.5.-10.

N образца n f , % s , % , %
1 2 3 4 5 6 7 8 9 10 11
1 8 7 99,10 0,50 0,18 95 2,36 1,18 0,42 0,42
2 6 5 98,33 0,56 0,23 95 2,57 1,44 0,59 0,60

Поскольку

,

то согласно неравенству (2.3) статистически достоверное различие величин и отсутствует.

Следовательно, гипотеза (3.3) проверяется с помощью уравнений (1.5), (1.7), (3.4) и (3.5).

;

.

;

.

.

.

.

.

Следовательно, с доверительной вероятностью гипотеза может быть принята (т.е. первый образец лучше второго по содержанию действующего вещества). Однако с доверительной вероятностью = 99% принять эту гипотезу нельзя из-за недостатка информации.

Если гипотеза принята, то определяют доверительный интервал разности генеральных средних и (уравнение (3.10)):

.

6.6. Расчет неопределенности результатов анализа лекарственных препаратов методом высокоэффективной жидкостной хроматографии

В таблетке со средней массой 0,50 г содержание вещества A составляет 0,050 г. Для количественного определения вещества A методом высокоэффективной жидкостной хроматографии готовили испытуемый раствор: навеску m = 0,5052 г порошка растертых таблеток поместили в мерную колбу вместимостью 50 мл и довели объем раствора растворителем до метки. Параллельно готовили раствор сравнения: 0,0508 г стандартного образца поместили в мерную колбу на 50 мл и довели объем раствора растворителем до метки. Попеременно хроматографировали испытуемый раствор и раствор сравнения, получая по 5 хроматограмм. Площади полученных пиков представлены в таблице 6.6.-11.

Таблица 6.6.-11.

Наименование раствора Площади пиков (S и ) для хроматограммы N
1 2 3 4 5
Испытуемый раствор 13957605 13806804 13924245 13715195 14059478
Раствор сравнения 14240777 14102192 14316388 14205217 14409585

6.6.1. Конечная аналитическая операция

Рассчитывают средние значения, содержание вещества A в одной таблетке и относительные стандартные отклонения площадей пиков для испытуемого раствора и раствора сравнения в конечной аналитической операции.

Средние значения площадей пиков:

- испытуемый раствор:

.

раствор сравнения:

.

Содержание анализируемого вещества A в граммах в пересчете на среднюю массу таблетки:

.

Относительные стандартные отклонения площадей пиков:

- испытуемый раствор:

- аналогично для раствора сравнения:

.

6.6.2. Суммарная неопределенность пробоподготовки

Неопределенности:

- неопределенность для мерной колбы вместимостью 50 мл - не более 0,17%;

- неопределенность взвешивания на аналитических весах - не более 0,2 мг (0,0002 г), что составляет:

;

.

Данные неопределенности можно считать доверительными интервалами для вероятности 95%.

Суммарную неопределенность пробоподготовки рассчитывают по формуле (5.5):

.

Приведенный расчет является корректным для обоих подходов - линейной модели и подхода Уэлча - Сатертуэйта, поскольку число степеней свободы для каждого члена здесь бесконечно, то используется статистика Гаусса.

6.6.3. Расчет суммарной неопределенности анализа

Данный расчет различен для линейной модели и подхода Уэлча - Сатертуэйта.

6.6.3.1. Линейная модель

Общий случай. Рассчитывают неопределенности конечной аналитической операции для испытуемого раствора и раствора сравнения. При расчете доверительных интервалов используют односторонний коэффициент Стьюдента для вероятности 95% (равен 90% для двустороннего распределения), который для числа степени свободы (5 - 1 = 4) равен 2,13. Доверительные интервалы рассчитывают для среднего из 5 результатов, поэтому в знаменателе ставим :

- для испытуемого:

.

- для стандартного:

.

Суммарная неопределенность конечной аналитической операции:

.

Используя уравнение (5.7), рассчитывают суммарную неопределенность анализа :

.

Использование объединенного стандартного отклонения.

Суммарную неопределенность анализа можно уменьшить за счет использования объединенного стандартного отклонения для конечной аналитической операции. Для этого нужно учесть, что RSD и являются выборочными величинами одной и той же генеральной совокупности. Проверяют вначале по Фишеру гипотезу о равенстве дисперсий:

.

Как видно, расчетное значение отношения дисперсий гораздо ниже табличного значения F-критерия на 95% уровне значимости. Поэтому можно принять гипотезу о равенстве дисперсий и принять формулы подраздела 1.4. настоящей общей фармакопейной статьи для объединения выборок.

Рассчитывают объединенное стандартное отклонение по уравнению:

.

имеет число степеней свободы 2 - (5 - 1) = 8. Коэффициент Стьюдента для данного числа степеней свободы и односторонней вероятности 0,95 равен 1,86. Тогда доверительные интервалы результатов конечной аналитической операции для испытуемого и стандартного растворов будут равны:

.

Суммарная неопределенность конечной аналитической операции равна:

.

Используя уравнение (5.7) рассчитывают суммарную неопределенность анализа :

.

Как видно, данная величина меньше величины, полученной для обычного случая (1,29%).

6.6.3.2. Подход Уэлча - Сатертуэйта

Находят стандартное отклонение пробоподготовки из доверительного интервала , используя коэффициент Гаусса 1,65 для односторонней вероятности 0,95 (поскольку число степеней свободы бесконечно, как для генеральной совокупности):

.

Из соотношения (5.5) найденное стандартное отклонение всей аналитической методики и делят на 5, как для дисперсий среднего результата:

.

Находят эффективное число степеней свободы . При этом для RSD и число степеней свободы равно 5 - 1 = 4, а для - бесконечность.

.

Находят коэффициент Стьюдента для числа степеней свободы 10,5 и односторонней вероятности 0,95 методом интерполяции - это 1,81. Тогда доверительный интервал всей аналитической методики будет:

.

Таким образом, рассчитанный доверительный интервал по подходу Уэлча - Сатертуэйта (1,10%) получается меньше, чем для обычного случая и для линейной модели (1,29% и 1,15% соответственно).

Приложение

Таблица 1.

Критические значения контрольного критерия

n Q
P = 90% P = 95% P = 99%
3 0,89 0,94 0,99
4 0,68 0,77 0,89
5 0,56 0,64 0,76
6 0,48 0,56 0,70
7 0,43 0,51 0,64
8 0,40 0,48 0,58
9 0,38 0,46 0,55

Таблица 2.

Критические значения критерия Стьюдента

f Доверительная вероятность f Доверительная вероятность
P = 95% P = 99% P = 99,9% P = 95% P = 99% P = 99,9%
1 12,71 63,60   21 2,08 2,83 3,82
2 4,30 9,93 31,60 22 2,07 2,82 3,79
3 3,18 5,84 12,94 23 2,07 2,81 3,77
4 2,78 4,60 8,61 24 2,06 2,80 3,75
5 2,57 4,03 6,86 25 2,06 2,79 3,73
6 2,45 3,71 5,96 26 2,06 2,78 3,71
7 2,37 3,50 5,41 27 2,05 2,77 3,69
8 2,31 3,36 5,04 28 2,05 2,76 3,67
9 2,26 3,25 4,78 29 2,04 2,76 3,66
10 2,23 3,17 4,59 30 2,04 2,75 3,65
11 2,20 3,11 4,44 40 2,02 2,70 3,55
12 2,18 3,06 4,32 50 2,01 2,68 3,50
13 2,16 3,01 4,22 60 2,00 2,66 3,46
14 2,15 2,98 4,14 80 1,99 2,64 3,42
15 2,13 2,95 4,07 100 1,98 2,63 3,39
16 2,12 2,92 4,02 120 1,98 2,62 3,37
17 2,11 2,90 3,97 200 1,97 2,60 3,34
18 2,10 2,88 3,92 500 1,96 2,59 3,31
19 2,09 2,86 3,88   1,96 2,58 3,29
20 2,09 2,85 3,85        
f p = 0,05 p = 0,01 p = 0,001 f p = 0,05 p = 0,01 p = 0,001
  Уровень значимости   Уровень значимости

Таблица 3.

Критические значения критерия Фишера

- число степеней свободы для меньшей дисперсии - число степеней свободы для большей дисперсии
  1 2 3 4 5 6 7 8 20  
3 10,13 9,55 9,28 9,12 9,01 8,94 8,88 8,84 8,66 8,53
  34,12 30,81 29,46 28,71 28,24 27,91 27,67 27,49 26,69 26,12
6 5,99 5,14 4,76 4,53 4,39 4,28 4,21 4,15 3,87 3,67
  13,74 10,92 9,78 9,15 8,75 8,47 8,26 8,10 7,39 6,88
9 5,12 4,26 3,86 3,63 3,48 3,87 3,29 3,23 2,93 2,71
  10,56 8,02 6,99 6,42 6,06 5,80 5,62 5,47 4,80 4,31
12 4,75 3,89 3,49 3,26 3,11 3,00 2,91 2,85 2,54 2,30
  9,33 6,93 5,95 5,41 5,06 4,82 4,64 4,50 3,86 3,36
15 4,54 3,68 3,29 3,06 2,90 2,79 2,71 2,64 2,33 2,07
  8,68 6,36 5,42 4,89 4,56 4,32 4,14 4,00 3,37 2,87
20 4,35 3,49 3,10 2,87 2,71 2,60 2,51 2,45 2,12 1,84
  8,10 5,85 4,94 4,43 4,10 3,87 3,70 3,56 2,94 2,42
30 4,17 3,32 2,92 2,69 2,53 2,42 2,33 2,27 1,93 1,62
  7,56 5,39 4,51 4,02 3,70 3,47 3,30 3,17 2,55 2,01
60 4,00 3,15 2,76 2,53 2,37 2,25 2,17 2,10 1,75 1,39
  7,08 4,98 4,13 3,65 3,34 3,12 2,95 2,82 2,20 1,60
  3,84 3,00 2,60 2,37 2,21 2,10 2,01 1,94 1,57 1,00
  6,63 4,61 3,78 3,32 3,02 2,80 2,64 2,51 1,88 1,00

f для P = 95% напечатаны жирным шрифтом, а f для P = 99% - обычным.

Таблица 4.

Процентные точки выборочного коэффициента корреляции r

Вероятность или
95% 97,5% 99% 99,5% 99,75% 99,95%
90% 95% 98% 99% 99,5% 99,9%
Число степеней свободы f Значения R(P, f)
1 0,9877 0,99692 0,999507 0,999877 0,999969 0,999999
2 0,900 0,950 0,980 0,990 0,9950 0,999000
3 0,805 0,878 0,9343 0,9587 0,9740 0,99114
4 0,729 0,811 0,882 0,9172 0,9417 0,9741
5 0,669 0,754 0,833 0,875 0,9056 0,9509
6 0,621 0,707 0,789 0,834 0,870 0,9249
7 0,582 0,666 0,750 0,798 0,836 0,898
8 0,549 0,632 0,715 0,765 0,805 0,872
9 0,521 0,602 0,685 0,735 0,776 0,847
10 0,497 0,576 0,658 0,708 0,750 0,823
11 0,476 0,553 0,634 0,684 0,726 0,801
12 0,457 0,532 0,612 0,661 0,703 0,780
13 0,441 0,514 0,592 0,641 0,683 0,760
14 0,426 0,497 0,574 0,623 0,664 0,742
15 0,412 0,482 0,558 0,606 0,647 0,725
16 0,400 0,468 0,543 0,590 0,631 0,708
17 0,389 0,456 0,529 0,575 0,616 0,693
18 0,378 0,444 0,516 0,561 0,602 0,679
19 0,369 0,433 0,503 0,549 0,589 0,665
20 0,360 0,423 0,492 0,537 0,576 0,652
25 0,323 0,381 0,445 0,487 0,524 0,597
30 0,296 0,349 0,409 0,449 0,484 0,554
35 0,275 0,325 0,381 0,428 0,452 0,519
40 0,257 0,304 0,358 0,393 0,425 0,490
45 0,243 0,288 0,338 0,372 0,403 0,465
50 0,231 0,273 0,322 0,354 0,380 0,443
60 0,211 0,250 0,295 0,325 0,352 0,408
70 0,195 0,232 0,274 0,302 0,327 0,380
80 0,183 0,217 0,257 0,283 0,307 0,357
90 0,173 0,205 0,242 0,267 0,290 0,338
100 0,164 0,195 0,230 0,254 0,276 0,321

- вероятность того, что r < R или R < r (односторонний критерий);

- вероятность того, что коэффициент корреляции r находится в интервале (двусторонний критерий);

Выборочный коэффициент корреляции r значимо (с надежностью или ) отличается от нуля, если его абсолютная величина |r| превышает табличное значение R(P, f).

Таблица 5.

Процентные точки распределения

f = 95% = 99%   f = 95% = 99%
1 3,841 6,635   17 27,587 33,409
2 5,991 9,210   18 28,869 34,805
3 7,815 11,345   19 30,144 36,191
4 9,488 13,277   20 31,410 37,566
5 11,070 15,086   21 32,671 38,932
6 12,592 16,812   22 33,924 40,289
7 14,067 18,475   23 35,172 41,638
8 15,507 20,090   24 36,415 42,980
9 16,919 21,666   25 37,652 44,314
10 18,307 23,209   26 38,885 45,642
11 19,675 24,725   27 40,113 46,963
12 21,026 26,217   28 41,337 48,278
13 22,362 27,688   29 42,557 49,588
14 23,685 29,141   30 43,773 50,892
15 24,996 30,578   40 55,758 63,691
16 26,296 32,000   50 67,505 76,154

- вероятность того, что оцениваемое значение не превышает табличное. Это оцениваемое значение рассматривается как значимое ( = 95%) или как высоко значимое ( = 99%).

Таблица 6.

Критические значения критерия Кохрена

f 1 2 3 4 5 6 7 8 9 10 16 36  
g
G (P = 95%)
2 0,9985 0,9750 0,9392 0,9057 0,8772 0,8534 0,8332 0,8159 0,8010 0,7880 0,7341 0,6602 0,5000
3 0,9669 0,8709 0,7977 0,7457 0,7071 0,6771 0,6530 0,6333 0,6167 0,6025 0,5466 0,4748 0,3333
4 0,9065 0,7679 0,6841 0,6287 0,5895 0,5598 0,5365 0,5175 0,5017 0,4884 0,4366 0,3720 0,2500
5 0,8412 0,6838 0,5981 0,5440 0,5063 0,4783 0,4564 0,4387 0,4241 0,4118 0,3645 0,3066 0,2000
6 0,7808 0,6161 0,5321 0,4803 0,4447 0,4184 0,3980 0,3817 0,3682 0,3568 0,3135 0,2612 0,1667
7 0,7271 0,5612 0,4800 0,4307 0,3974 0,3726 0,3535 0,3384 0,3259 0,3154 0,2756 0,2278 0,1429
8 0,6798 0,5157 0,4377 0,3910 0,3595 0,3362 0,3185 0,3043 0,2926 0,2829 0,2462 0,2022 0,1250
9 0,6385 0,4775 0,4027 0,3584 0,3286 0,3067 0,2901 0,2768 0,2659 0,2568 0,2226 0,1820 0,1111
10 0,6020 0,4450 0,3733 0,3311 0,3029 0,2823 0,2666 0,2541 0,2439 0,2353 0,2032 0,1655 0,1000
12 0,5410 0,3924 0,3264 0,2880 0,2624 0,2439 0,2299 0,2187 0,2098 0,2020 0,1737 0,1403 0,0833
15 0,4709 0,3346 0,2758 0,2419 0,2195 0,2034 0,1911 0,1815 0,1736 0,1671 0,1429 0,1144 0,0667
20 0,3894 0,2705 0,2205 0,1921 0,1735 0,1602 0,1501 0,1422 0,1357 0,1303 0,1108 0,0879 0,0500
24 0,3434 0,2354 0,1907 0,1656 0,1493 0,1374 0,1286 0,1216 0,1160 0,1113 0,0912 0,0743 0,0417
30 0,2929 0,1980 0,1593 0,1377 0,1237 0,1137 0,1061 0,1002 0,0958 0,0921 0,0771 0,0604 0,0333
40 0,2370 0,1576 0,1259 0,1082 0,0968 0,0887 0,0827 0,0780 0,0745 0,0713 0,0595 0,0462 0,0250
60 0,1737 0,1131 0,0895 0,0765 0,0682 0,0623 0,0583 0,0552 0,0520 0,0497 0,0411 0,0316 0,0167
  0 0 0 0 0 0 0 0 0 0 0 0 0
  G (P = 99%)
2 0,9999 0,9950 0,9794 0,9586 0,9373 0,9172 0,8988 0,8823 0,8674 0,8539 0,7949 0,7067 0,5000
3 0,9933 0,9423 0,8831 0,8335 0,7933 0,7606 0,7335 0,7107 0,6912 0,6743 0,6059 0,5153 0,3333
4 0,9676 0,8643 0,7814 0,7212 0,6761 0,6410 0,6129 0,5897 0,5702 0,5536 0,4884 0,4057 0,2500
5 0,9279 0,7885 0,6957 0,6329 0,5875 0,5531 0,5259 0,5037 0,4854 0,4697 0,4094 0,3351 0,2000
6 0,8828 0,7218 0,6258 0,5635 0,5195 0,4866 0,4608 0,4401 0,4229 0,4081 0,3529 0,2858 0,1667
7 0,8376 0,6644 0,5685 0,5080 0,4659 0,4347 0,4105 0,3911 0,3751 0,3616 0,3105 0,2494 0,1429
8 0,7945 0,6152 0,5209 0,4627 0,4226 0,3932 0,3704 0,3522 0,3373 0,3248 0,2779 0,2214 0,1250
9 0,7544 0,5727 0,4810 0,4251 0,3870 0,3592 0,3378 0,3207 0,3067 0,2950 0,2514 0,1992 0,1111
10 0,7175 0,5358 0,4469 0,3934 0,3572 0,3308 0,3106 0,2945 0,2813 0,2704 0,2297 0,1811 0,1000
12 0,6528 0,4751 0,3919 0,3428 0,3099 0,2861 0,2680 0,2535 0,2419 0,2320 0,1961 0,1535 0,0833
15 0,5747 0,4069 0,3317 0,2882 0,2593 0,2386 0,2228 0,2104 0,2002 0,1918 0,1612 0,1251 0,0667
20 0,4799 0,3297 0,2654 0,2288 0,2048 0,1877 0,1748 0,1646 0,1567 0,1501 0,1248 0,0960 0,0500
24 0,4247 0,2871 0,2295 0,1970 0,1759 0,1608 0,1495 0,1406 0,1338 0,1283 0,1060 0,0810 0,0417
30 0,3632 0,2412 0,1913 0,1635 0,1454 0,1327 0,1232 0,1157 0,1100 0,1054 0,0867 0,0658 0,0333
40 0,2940 0,1915 0,1508 0,1281 0,1135 0,1033 0,0957 0,0898 0,0853 0,0816 0,0668 0,0503 0,0250
60 0,2151 0,1371 0,1069 0,0902 0,0796 0,0721 0,0668 0,0625 0,0594 0,0567 0,0461 0,0344 0,0167
  0 0 0 0 0 0 0 0 0 0 0 0 0

203140000-2022

2.3.14.0. Валидация аналитических методик

Валидация аналитической методики - это экспериментальное доказательство того, что методика, предназначенная для контроля качества лекарственных средств, пригодна для решения предполагаемых задач.

При валидации проводится оценка аналитической методики по перечисленным ниже характеристикам, выбираемым с учетом типовых рекомендаций, приведенных в таблице 2.3.14.0-1:

Таблица 2.3.14.0.-1

Валидационные характеристики различных типов аналитических методик

Наименование характеристики Типы аналитических методик
Испытания на идентификацию Испытания на примеси Количественные испытания
Количественные методики Предельные испытания Определение содержания (активности);
Растворение (только измерение)
Правильность Нет Да Нет Да
Прецизионность: Нет Да Нет  
- повторяемость (сходимость) - промежуточная (внутрилабораторная) прецизионность Нет Да <***)> Нет Да
Да <***>
Специфичность <*> Да Да Да Да
Предел обнаружения Нет Нет <**> Да Нет
Предел количественного определения Нет Да Нет Нет
Линейность Нет Да Нет Да
Диапазон применения Нет Да Нет Да

<*> Недостаточная специфичность одной аналитической методики может быть компенсирована использованием одной или нескольких дополнительных аналитических методики.

<**> Может определяться при необходимости (например, когда предел обнаружения и нормируемый предел содержания определяемой примеси близки).

<***> Если определена воспроизводимость, определение промежуточной прецизионности не требуется.

- правильности (trueness/accuracy) - характеристики близости между принятым истинным (опорным) значением и полученным значением, которая выражается величиной открываемости;

- прецизионности (precision) - характеристики близости (степени разброса) результатов (значений) между сериями измерений, проведенными на множестве проб, взятых из одной и той же однородной пробы, в указанных методикой условиях;

- специфичности (specificity) - способности аналитической методики однозначно оценивать определяемое вещество независимо от других веществ (примеси, продукты деградации, вспомогательные вещества, матрица (дисперсионная среда) и др.), присутствующих в испытуемом образце;

- пределу обнаружения (detection limit) - наименьшему количеству определяемого вещества в образце, которое может быть обнаружено, но необязательно точно количественно определено, с использованием валидируемой методики;

- пределу количественного определения (quantitation limit) - наименьшему количеству вещества в образце, которое может быть количественно оценено с использованием валидируемой методики с соответствующей правильностью и прецизионностью;

- линейности (linearity) - прямой пропорциональной зависимости аналитического сигнала от концентрации (количества) определяемого вещества в испытуемом образце в пределах диапазона применения методики;

- диапазону применения (аналитической области) (range) - интервалу между наибольшей и наименьшей концентрациями (количеством) определяемого вещества в испытуемом образце (включая эти концентрации), для которого показано, что аналитическая методика имеет приемлемый уровень прецизионности, правильности и линейности.

Методология и правила валидации аналитических методик установлены согласно Руководству по валидации аналитических методик проведения испытаний лекарственных средств, утвержденному Решением Коллегии Евразийской экономической комиссии от 17 июля 2018 г. N 113.

Аналитические методики, приводимые в фармакопейной статье, являются валидированными. При использовании фармакопейной методики для контроля качества лекарственных средств она должна быть верифицирована согласно общей фармакопейной статье 2.3.15.0. Верификация фармакопейных методик.

203150000-2022

2.3.15.0. Верификация фармакопейных методик

Настоящая общая фармакопейная статья представляет общие сведения по верификации фармакопейных методик, выполняемых впервые с целью получения приемлемых результатов с помощью персонала, оборудования и доступных реактивов. Данная статья не предназначена для существующих и успешно применяемых в лаборатории фармакопейных методик. Положения статьи не распространяются на верификацию микробиологических методик ввиду ее рассмотрения в соответствующих общих фармакопейных статьях на микробиологические испытания.

Верификация представляет собой процесс подтверждения подлинности результатов и оценки возможности использования аналитической методики, прежде всего фармакопейной методики, по назначению в реальных условиях ее применения.

В процессе верификации производителем должны быть выполнены следующие задачи:

- подтверждение пригодности условий определения;

- определение рабочих аналитических характеристик верификации;

- установление факторов, влияющих на рабочие аналитические характеристики верификации (вспомогательные вещества, профиль примесей и др.).

В общей фармакопейной статье Валидация фармакопейных методик приводится общая информация о характеристиках, которые должны рассматриваться для различных категорий испытаний, и документации, которая должна сопровождать аналитические методики, представляемые для включения в фармакопею. Верификация включает оценку выбранных рабочих аналитических характеристик, описанных в общей фармакопейной статье 2.3.14.0. Валидация аналитических методик, для получения соответствующих данных, что является более предпочтительным, чем повторение процесса валидации.

Пользователи фармакопейных аналитических методик не должны проводить их валидацию, если они впервые применяются в их лабораториях, однако они должны установить и документировать пригодность этих методик в реальных условиях применения. Данное требование регламентировано правилами надлежащей производственной практики, в соответствии с которыми пригодность всех используемых методик испытания должна быть подтверждена в реальных условиях применения.

ПРОЦЕСС ВЕРИФИКАЦИИ

Процесс верификации фармакопейных методик испытаний состоит в оценке возможности использования методики в предполагаемых целях в реальных условиях применения для определенной активной фармацевтической субстанции и (или) лекарственного препарата.

Для понимания и выполнения фармакопейных методик в прописанном виде пользователи должны иметь соответствующий опыт, знания и подготовку. Верификация должна проводиться пользователем так, чтобы ее результаты обеспечивали уверенность в правильности выполнения фармакопейных методик.

При неудовлетворительных результатах верификации фармакопейных методик и невозможности решения связанных с ней вопросов при обращении в уполномоченный орган следует предоставить заключение, что методика не может считаться пригодной для применения к испытуемому в данной лаборатории образцу.

В дальнейшем может оказаться необходимым разработать и валидировать альтернативную методику. Альтернативная методика может быть представлена в уполномоченный орган вместе с соответствующими данными в качестве обоснования предложения по ее включению или замене ею действующей фармакопейной методики.

ВЕРИФИКАЦИОННЫЕ ТРЕБОВАНИЯ

Верификационные требования должны быть основаны на оценке сложности как методики, так и материала, к которому применяется методика. Хотя полная ревалидация фармакопейной методики не требуется для верификации пригодности методики в реальных условиях применения, для процесса верификации могут использоваться некоторые рабочие аналитические характеристики, перечисленные в общей фармакопейной статье 2.3.14.0. Валидация аналитических методик. Оценки требуют лишь те характеристики, которые считаются приемлемыми для верификации определенной методики. Процесс оценки пригодности фармакопейной методики аналитического испытания в условиях реального применения может требовать или не требовать определения в лаборатории каждой рабочей аналитической характеристики. Степень и масштаб процесса верификации могут зависеть от уровня подготовленности и опыта пользователя, типа методики и связанного с ней оборудования или измерительных приборов, конкретных этапов методики и испытуемого(ых) образца(ов).

Верификация должна оценивать пригодность фармакопейных методик для действующего вещества и (или) лекарственного препарата с учетом пути синтеза действующего вещества, технологии производства лекарственного препарата, или того и другого, в случае применимости. Верификация должна включать оценку таких факторов, как влияние вспомогательных веществ на величину открываемости количественного содержания примесей и действующих веществ в лекарственном препарате, а также пригодность хроматографических условий и колонки, приемлемость сигнала детектора и т.д.

Например, оценка специфичности является ключевым параметром в проверке пригодности фармакопейной методики для использования в количественном определении действующих веществ в субстанциях и лекарственных препаратах. В частности, приемлемая специфичность хроматографической методики может быть подтверждена соответствием требованиям для величины разрешения при проверке пригодности системы (если указано в методике). Однако, действующее вещество от разных поставщиков могут иметь различный профиль примесей, который не соответствует фармакопейной методике испытания. Аналогично, вспомогательные вещества в лекарственном препарате могут значительно отличаться у разных производителей и, возможно, оказывать непосредственное мешающее влияние на методику или вызывать образование примесей, которые не определяются фармакопейной методикой. Кроме того, лекарственные препараты, содержащие различные вспомогательные вещества, антиоксиданты, буферные агенты или вещества, экстрагируемые из упаковки (материал упаковки), могут воздействовать на величину открываемости количественного содержания действующего вещества в лекарственном препарате. В таких случаях может потребоваться более тщательная оценка влияния вспомогательных веществ с целью подтверждения пригодности методики для определенного действующего вещества или лекарственного препарата. Полезной для подтверждения пригодности фармакопейной методики в реальных условиях применения может быть оценка других рабочих аналитических характеристик, например, предела обнаружения или предела количественного определения и прецизионности определения примесей.

Обычно верификация применима к титриметрическим, хроматографическим и спектрофотометрическим методикам, с помощью которых проводят идентификацию и количественное определение действующих веществ, родственных примесей, пределов их содержания.

Метод жидкостной хроматографии широко применяется для испытания лекарственных препаратов в различных лекарственных формах. При использовании его для количественного определения активного вещества в лекарственном препарате верификацию хроматографической методики обычно проводят по характеристикам прецизионности и специфичности. Сравнение валидационных и верификационных требований к таким методикам приведено в таблице 2.3.15.0.-1.

Таблица 2.3.15.0.-1

Валидационные и верификационные требования к методикам жидкостной хроматографии для количественного определения действующего вещества в лекарственном препарате

Рабочие аналитические характеристики Валидация Верификация
Правильность (точность) + -
Прецизионность + +
Специфичность + +
Предел обнаружения - -
Предел количественного определения - -
Линейность + -
Диапазон определяемых содержаний + -

Верификация не требуется для повседневно выполняемых основных фармакопейных методик испытания до появления сведений о неприемлемости фармакопейной методики для испытуемого образца.

Основные фармакопейные методики включают (но не ограничиваются ими) методики определения потери в массе при высушивании, воды, тяжелых металлов, остатка после прокаливания, различные методики химического анализа, например, определения кислотного числа и простые инструментальные определения, например, измерение pH. Однако, если уже известные повседневно выполняемые методики впервые применяются к фармакопейным объектам испытания, рекомендуется рассмотреть требования к любым новым или другим способам обработки образцов или приготовления растворов.

203160000-2022

2.3.16.0. Трансфер аналитических методик

ВВЕДЕНИЕ

Трансфер аналитических методик (ТАМ) является неотъемлемой частью трансфера технологий и может осуществляться до начала или в процессе трансфера технологий. При этом аналитические методики, предполагаемые к трансферу, должны быть внедрены в лаборатории по крайней мере до начала испытаний образцов для валидации технологического процесса, выполняемой принимающей стороной.

Испытания и аналитические методики, включенные в процесс трансфера, масштабы деятельности по трансферу и стратегия его осуществления должны быть основаны на анализе рисков с учетом предшествующего опыта и знаний принимающей стороны, сложности испытуемого образца, спецификации качества, а также сложности аналитической методики.

ТАМ должен охватывать весь объем аналитических испытаний, необходимый для подтверждения соответствия передаваемого лекарственного средства его спецификации качества и нормативного документа по качеству.

ТАМ распространяется на испытания:

- активных фармацевтических субстанций;

- нерасфасованной продукции;

- лекарственных препаратов;

- промежуточной продукции;

- исходных веществ для производства активных фармацевтических субстанций;

- вспомогательных веществ;

- образцов очистки на определение остаточных количеств веществ после проведения очистки.

Как правило, для фармакопейных методик не требуется проведение аналитического трансфера, однако в отдельных случаях, когда отсутствует их подробное описание или критические параметры, требующиеся для получения правильных результатов, трансфер может быть осуществлен путем верификации.

Положения данной общей фармакопейной статьи не распространяются на статистические методы и не охватывают трансфер микробиологических и биологических методик испытаний. Приводятся лишь отдельные указания по трансферу методик испытаний на микробиологическую чистоту лекарственных средств.

В некоторых случаях допускается не проводить ТАМ, а принимающая сторона может квалифицироваться для выполнения аналитических методик без проведения сравнительных испытаний.

Отказ от ТАМ включает следующие случаи, но не ограничивается ими:

- принимающая сторона имеет существенный опыт и знания по выполнению аналитических методик, используемых для ТАМ;

- аналитическая методика, предназначенная для трансфера, используется принимающей стороной для контроля качества лекарственного препарата, который имеет схожий состав или другую концентрацию действующего вещества по сравнению с лекарственным препаратом в передающей стороне;

- аналитическая методика, предназначенная для трансфера, описана в одной или нескольких фармакопеях и не претерпела изменений, что требует проведения только ее верификации принимающей стороной;

- аналитическая методика, предназначенная для трансфера, является той же или включает незначительные изменения от используемой в лаборатории принимающей стороны, которые не влияют на ее выполнение (например, изменения в процедурах пробоподготовки или изменения в формулах расчета);

- персонал передающей стороны, ответственный за разработку, валидацию или повседневный контроль, переходит на работу в лабораторию принимающей стороны.

Отказ от ТАМ должен быть обоснован принимающей стороной и отражен в соответствующих документах (например, в плане анализа рисков для ТАМ или протоколе ТАМ).

ТЕРМИНЫ И ОПРЕДЕЛЕНИЯ

В данной общей фармакопейной статье используются следующие понятия:

Отчет о ТАМ - документ, содержащий результаты ТАМ, включая оценку заявленных в протоколе ТАМ критериев приемлемости или, при необходимости, выполнения дополнительных действий.

Передающая сторона - организация или подразделение, которые осуществляют ТАМ для передачи лекарственного средства.

Принимающая сторона - организация или подразделение, в которые осуществляется ТАМ для передачи лекарственного средства.

Протокол ТАМ - документ, содержащий информацию о целях, задачах, области применения, процессе осуществления ТАМ и выражающий согласованность между сторонами в отношении выполняемых требований и их ответственность.

Трансфер аналитических методик (ТАМ) - документально оформленный процесс, направленный на передачу, внедрение и оценку пригодности аналитических методик для целей контроля качества в принимающей стороне.

Трансфер технологий - документально оформленный процесс, направленный на передачу, внедрение и адаптацию знаний, результатов научных исследований, новых технологий и разработок, осуществляемый от разработчиков к производителям, а также внутри или между производственными площадками для производства готовой продукции в соответствии с ее предполагаемым применением. Указанные знания составляют основу процесса производства, стратегии контроля, подхода к процессу валидации и непрерывного улучшения.

Экспериментальный план ТАМ - план проведения испытаний, который включает показатели качества, подверженные существенным изменениям при ТАМ, аспекты, рассматриваемые при ТАМ, условия проведения испытаний и их количество, а также критерии приемлемости для всех испытаний и (или) аналитических методик, включенных в процесс ТАМ.

ТИПЫ ТРАНСФЕРА АНАЛИТИЧЕСКИХ МЕТОДИК

ТАМ может осуществляться и подтверждаться:

- проведением сравнительных испытаний передающей стороной и принимающей стороной (независимые перекрестные испытания);

- совместной валидацией в двух или нескольких лабораториях;

- повторной валидацией (ревалидацией) аналитических методик принимающей стороной.

Сравнительные испытания. Сравнительные испытания проводятся на однородных образцах, отобранных от промышленных серий готовой продукции, или образцов продукции, специально подготовленных для испытания, например, путем добавления соответствующих точных количеств известных примесей в образец. В условиях фармацевтической разработки при отсутствии образцов промышленных серий следует использовать образцы, наработанные в малом масштабе, но по окончательной технологии.

Сравнительные испытания образцов осуществляются как передающей стороной, так и принимающей стороной. Однако могут быть пригодны и другие подходы, осуществляемые только принимающей стороной, в частности, если полученные ею результаты (например, величина открываемости количественного содержания добавленной в образец примеси) соответствуют заранее установленным критериям приемлемости. Такие испытания выполняются по предварительно утвержденному протоколу ТАМ, в котором представлено подробное описание аналитической методики, образцов, предполагаемых к использованию, и заданных критериев приемлемости, в том числе допустимой вариабельности (изменчивости) результатов испытаний. Соответствие критериям приемлемости является обязательным при квалификации принимающей стороны для выполнения аналитической методики.

Решение не проводить сравнительные испытания при ТАМ должно быть обосновано.

Совместная валидация в двух или нескольких лабораториях. Передающая сторона может привлекать принимающую сторону к межлабораторной валидации, включая ее как часть валидационной команды при передающей стороне. Лаборатория, осуществляющая валидацию аналитической методики, квалифицируется в дальнейшем для выполнения методики в рамках ее трансфера. На основании полученных результатов проводится оценка воспроизводимости аналитической методики. Такая оценка выполняется по предварительно утвержденному протоколу трансфера или валидации, в котором представлено подробное описание аналитической методики, образцов, предполагаемых к использованию, и заданных критериев приемлемости. Требования к проведению валидационных испытаний и полученным характеристикам приводятся в общей фармакопейной статье 2.3.14.0. Валидация аналитических методик.

Ревалидация. Поскольку валидация аналитических методик выполняется при фармацевтической разработке, ее проведение принимающей стороной не является необходимым при ТАМ. Ревалидация принимающей стороной обычно выполняется для специфических аналитических методик при наличии соответствующего обоснования. В зависимости от сложности аналитической методики ее ревалидация может проводиться как в полном, так и частичном объеме с определением валидационных характеристик, которые предположительно будут затронуты при ТАМ.

ПРАКТИЧЕСКОЕ ОСУЩЕСТВЛЕНИЕ ТРАНСФЕРА АНАЛИТИЧЕСКИХ МЕТОДИК

Практическое осуществление ТАМ состоит из следующих этапов:

- определения аналитических методик, предполагаемых к трансферу;

- обучения аналитическим методикам специалистов принимающей стороны;

- проведения сравнительных испытаний образцов или других типов ТАМ.

Передающая сторона является ответственной за предоставление аналитической методики, стандартных образцов, отчета о валидации и любой необходимой документации. Передающая сторона может отвечать за обеспечение обучения и помощи принимающей стороне. Все аналитические методики, включенные в процесс трансфера, спецификации качества и нормативные документы по качеству лекарственных средств должны предоставляться в письменном виде в актуальных версиях, которые фактически применяются передающей стороной. Обучение должно быть документально оформлено.

Принимающая сторона предоставляет квалифицированный персонал или обучает его надлежащим образом до начала ТАМ, при необходимости обеспечивает на надлежащем уровне калибровку и квалификацию оборудования, помещений и подтверждает соответствие лабораторных систем применяемым правилам и общим лабораторным процедурам предприятия.

Передающая сторона и принимающая сторона должны выполнить протокол ТАМ и совместно подготовить отчет о ТАМ. В процессе выполнения протокола ТАМ стороны проводят сравнение и обсуждение полученных результатов, а также любых отклонений от протокола ТАМ. При этом принимающая сторона должна сформулировать вопросы, которые могут требовать решения до подписания протокола ТАМ.

При ТАМ необходимо учитывать чувствительность аналитических методик, вариабельность результатов испытаний, а также требования спецификаций для показателей качества. После обсуждения необходимые поправки или изменения должны быть отражены в отчете о ТАМ и в аналитической методике для обеспечения ее воспроизводимости.

Для оценки воспроизводимости аналитических методик в экспериментальный план ТАМ могут быть дополнительно включены показатели качества испытуемых образцов, подверженные существенным изменениям при ТАМ.

Для ТАМ может использоваться одна партия или серия лекарственного препарата, так как цель трансфера связана не с производственным процессом, а с оценкой аналитической эффективности передаваемой методики на принимающем участке.

При оформлении всех документов по ТАМ следует обеспечить целостность данных, в первую очередь их полноту и прослеживаемость.

ПРОТОКОЛ ТРАНСФЕРА АНАЛИТИЧЕСКИХ МЕТОДИК

Протокол ТАМ должен быть разработан перед осуществлением ТАМ.

Описание образцов лекарственного препарата и материалов для испытаний должно содержать наименования испытуемых образцов и стандартных образцов, номера серий, их количество. В данном разделе протокола необходимо также указать приборы, предусматриваемые к использованию, и их параметры. Образцы с истекшим сроком годности, хранившиеся длительное время или с добавленными в них веществами (модельные образцы), могут быть пригодны лишь для установления возможных проблем, связанных с различиями в оборудовании для пробоподготовки, и влияния возможных отклонений результатов на качество лекарственных препаратов, находящихся на рынке.

Условия проведения ТАМ включают участие в сравнительных испытаниях не менее двух аналитиков как в передающей стороне, так и принимающей стороне, проведение измерений в разные дни, независимое приготовление реактивов и растворов, а также количество испытаний (равное 6), выполняемых каждым специалистом. Для разных показателей качества рекомендуется различный объем испытаний, количество испытуемых образцов и число параллельных определений, которые отражаются в экспериментальном плане ТАМ (таблица 2.3.16.0.-1). В таблице представлен примерный план проведения испытаний, который может быть изменен в соответствии с опытом и знаниями передающей стороны о воспроизводимости аналитической методики.

Таблица 2.3.16.0.-1

Примерный экспериментальный план ТАМ и рекомендуемые критерии приемлемости аналитических методик при ТАМ

Показатель качества Аспекты, рассматриваемые при ТАМ Количество испытаний Условия проведения испытания Критерии приемлемости
прямой метод статистический метод
Идентификация - приготовление образцов;
- оборудование;
- интерпретация результатов;
- возможность совмещения с трансфером методики КО
1 испытание (обычно достаточно для подтверждения соответствия)      
Количественное определение или активность - неприемлемость неспецифической методики КО для испытаний стабильности;
- возможность применения брэкетинга для нескольких дозировок
2 аналитика x 3 образца x 3 ПО = 18 испытаний (в каждой лаборатории ПРС и ПЕС) - разные приборы;
- разные колонки;
- независимое приготовление реактивов и растворов
Сравнение и RSD 2 односторонних t-испытания,
(ПРС)-(ПЕС)2%
при P = 95%
Однородность содержания - отмена ТАМ при эквивалентности методики испытания на ОС методике КО 2 аналитика x 1 образец = 2 испытания (в каждой лаборатории ПРС и ПЕС) - разные приборы;
- разные колонки;
- независимое приготовление реактивов и растворов
(ПРС)-(ПЕС)=3% 2 односторонних t-испытания,
Сравнение RSD
(ПРС)-(ПЕС)3%
при P = 95%
Растворение - возможность применения брэкетинга для нескольких дозировок 6 единиц или 12 единиц дозированной лекарственной формы:
- для аналитической методики, не выполняемой повседневно в лаборатории ПРС;
- для лекарственных препаратов с пролонгированным высвобождением
  (ПРС)(ПЕС)=5% Сравнение профилей растворения () или результатов при заданных временных точках () (аналогично КО)
Посторонние примеси, продукты деградации, остаточные растворители - подтверждение коэффициентов чувствительности для расчетов по пику действующего вещества;
- подтверждение предела КО в лаборатории ПРС;
- сравнение хроматограмм;
- сравнение правильности и прецизионности в опытах на модельных образцах
2 аналитика x 3 образца x 2 ПО (или 3 ПО при совмещении с КО) = 12 (или 18) испытаний (в каждой лаборатории ПРС и ПЕС) - разные дни;
- разные приборы;
- разные колонки;
- однородные образцы в одинаковой упаковке одной даты производства, хранившиеся в одинаковых условиях;
- модельные образцы (при необходимости)
При низком содержании: При умеренно высоком содержании:
2 односторонних t-испытания,
(ПРС)-(ПЕС)=25%
или
(ПРС)-(ПЕС)10%
(ПРС)-(ПЕС)=0,05%
при P = 95%
Микробиологическая чистота - выполнение общего протокола валидации (обоснование, описание методики, валидационные характеристики, краткий обзор полученных результатов, критерии приемлемости, методы сбора, сопоставления и анализа результатов, обработка результатов, выходящих за пределы спецификации, требования к проведению последующих мероприятий);
- использование одних и тех же материалов, методик, приготовления инокулята
Валидация при 3 ПО - разные серии лекарственного препарата для каждой валидационной процедуры Подтверждение присутствия микроорганизмов (качественные испытания).
Соответствие найденного содержания микроорганизмов допустимым пределам, указанным в протоколе (количественные испытания)
 
Контроль очистки (найденное значение остаточных количеств на поверхности) - подтверждение использования одного и того же материала для тампонирования (свабирования) в лабораториях ПРС и ПЕС   - модельные образцы с содержанием определяемого вещества в пределах утроенного стандартного отклонения или в пределах +/- 10% от значения, указанного в спецификации (в зависимости от того, что больше) Все модельные образцы с результатами испытаний выше предела, указанного в спецификации, считаются несоответствующими.
90% модельных образцов с результатами испытаний ниже предела, указанного в спецификации, считаются соответствующими
 

Примечание. В таблице использованы следующие обозначения и сокращения: КО - количественное определение; ОС - однородность содержания; ПЕС - передающая сторона; ПО - повторное определение; ПРС - принимающая сторона; - коэффициент подобия; RSD - относительное стандартное отклонение, выраженное в процентах; t-испытание - испытание, основанное на использовании распределения Стьюдента (t-критерия Стьюдента); - значения результатов испытания; - среднее значение результатов испытания.

Критерии приемлемости ТАМ должны быть основаны на аналитической эффективности передаваемой методики, ретроспективных данных исследования стабильности лекарственного препарата и результатах контроля его качества при выпуске. Рекомендуемые критерии приемлемости аналитических методик при ТАМ приводятся в таблице 2.3.16.0.-1. Возможно использование других критериев приемлемости при соответствующем научном обосновании.

Для установления критериев приемлемости могут использоваться как прямой, так и статистический методы в зависимости от показателей качества лекарственного препарата.

При использовании прямого метода проводят непосредственное сравнение среднего значения результатов испытания и его вариабельности в виде относительного стандартного отклонения (RSD %) на всех исследовательских участках (в случае их доступности). Критерии приемлемости ТАМ могут быть получены также на основе статистических принципов по разности в средних значениях результатов испытаний и установленных диапазонах их изменений между принимающей стороной и передающей стороной, которые должны сопровождаться расчетом вариабельности для каждого участка при заданной доверительной вероятности (P = 95%), особенно промежуточной прецизионности для принимающей стороны.

Статистический метод может быть использован для установления критериев приемлемости при сравнении средних значений результатов количественного определения и испытаний на однородность содержания. В испытаниях на примеси с низкой прецизионностью, например, в случае следов примесей, допускается использование простого описательного подхода. Испытание на растворение может оцениваться сравнением профилей растворения с помощью коэффициента подобия ) или сравнением результатов, полученных при заданных временных точках ().

Поскольку протокол ТАМ основан на результатах валидации аналитической методики, должны быть указаны конкретные валидационные характеристики, необходимые для их последующей оценки, а также метод анализа результатов ТАМ. Однако валидационные критерии не всегда пригодны для ТАМ. Например, парный критерий Стьюдента наиболее приемлем при проверке внутрилабораторной прецизионности, но характеризуется чрезмерной статистической жесткостью при проверке межлабораторной прецизионности, несмотря на практическую незначимость различий результатов в принимающей и передающей сторонах. Таким образом, целесообразно для оценки приемлемости результатов ТАМ использовать обоснованные валидационные критерии и статистические методы. Каждая валидационная характеристика, не включаемая в оценку, требует соответствующего обоснования от сторон.

Раздел документации в протоколе ТАМ может включать формы отчетности для обеспечения согласованной записи результатов и улучшения согласованности работы между сторонами. Данный раздел может содержать дополнительную информацию о первичных материалах испытаний, например, типичные хроматограммы и спектры, а также дополнительную информацию в случае отклонения. Протокол ТАМ должен также объяснять, каким образом предполагается осуществлять управление любыми отклонениями от критериев приемлемости. Любые изменения, вносимые в протокол ТАМ в случае несоответствия критериям приемлемости, должны утверждаться перед сбором дополнительных данных.

АНАЛИТИЧЕСКАЯ МЕТОДИКА

Аналитическая методика должна быть подробно описана, чтобы обученный специалист после тщательного изучения методики мог выполнить ее без затруднений. Например, в случае жидкостной или газовой хроматографии должно быть точно указано число параллельных определений и последовательностей вколов, а в случае испытания на растворение - число единиц дозированной лекарственной формы. При необходимости в методике должны быть приведены указания по соблюдению мер предосторожности.

Результаты полной или частичной валидации (при наличии) должны быть предоставлены по запросу принимающей стороны вместе с подробным описанием технических аспектов, необходимых для выполнения испытания. В некоторых случаях целесообразно присутствие на участке осуществления ТАМ специалистов, привлеченных изначально к разработке или валидации аналитической методики. Для выяснения любых вопросов, относящихся к ТАМ, и своевременного предоставления ответов на них целесообразно проведение предварительного совещания с участием передающей стороны и принимающей стороны.

ОТЧЕТ О ТРАНСФЕРЕ АНАЛИТИЧЕСКОЙ МЕТОДИКИ

После успешного завершения ТАМ принимающая сторона должна подготовить отчет о ТАМ, который рассматривается и обсуждается совместно с передающей стороной. Отчет должен содержать заключение о подтверждении квалификации принимающей стороны для выполнения передаваемой аналитической методики.

ТАМ считают осуществленным при соответствии заданным критериям приемлемости, а принимающая сторона квалифицируется для выполнения аналитической методики. Любые отклонения результатов от заданных критериев приемлемости должны быть зафиксированы, подробно описаны и расследованы. Результаты расследования отклонений следует привести в отчете о ТАМ.

Аналитическая методика не может считаться переданной принимающей стороне, пока не будут приняты эффективные корректирующие мероприятия для соответствия критериям приемлемости ТАМ. Характер и масштабы корректирующих мероприятий, установленные путем расследования отклонений, могут варьировать от проведения дополнительной подготовки специалистов и разъяснений особенностей методики до более сложных подходов в зависимости от передаваемой аналитической методики.

203170000-2022

2.3.17.0. Стабильность лекарственных средств

Данная общая фармакопейная статья предназначена для информации. В статье описываются процессы химической деградации лекарственных средств и факторы, влияющие на их стабильность. Приведены физические признаки нестабильности наиболее распространенных лекарственных форм, позволяющие проводить контроль внешнего вида при хранении лекарственных препаратов. Рассмотрены меры по обеспечению стабильности произведенных и изготовленных лекарственных препаратов при хранении и отпуске из аптек.

ОПРЕДЕЛЕНИЕ

Стабильность представляет собой способность лекарственного средства сохранять в заданных пределах свойства и характеристики качества в течение его срока годности (срока хранения) и периода применения при соблюдении установленных условий хранения. Стабильность лекарственного средства является необходимым условием обеспечения его терапевтического эффекта или отсутствия у него новых побочных реакций.

В зависимости от сохраняемых свойств и характеристик качества различают следующие типы стабильности лекарственных средств:

- химическую стабильность, при которой сохраняются химическая целостность и активность действующего вещества в пределах, указанных в спецификации;

- физическую стабильность, при которой сохраняются первоначальные физические свойства лекарственного средства, в том числе внешний вид, вкус, однородность, растворимость, суспендируемость и др.;

- микробиологическую стабильность, при которой сохраняются стерильность, или микробиологическая чистота лекарственного средства в соответствии с указанными требованиями, или эффективность входящих в его состав антимикробных консервантов в указанных пределах;

- токсикологическую стабильность, при которой не происходит заметного повышения токсичности лекарственного препарата;

- терапевтическую стабильность, при которой терапевтический эффект лекарственного препарата остается неизменным.

ПРОЦЕССЫ ДЕГРАДАЦИИ ЛЕКАРСТВЕННЫХ СРЕДСТВ

Стабильность лекарственных средств связана с протеканием процессов деградации. Деградация действующего вещества может привести к уменьшению его содержания в лекарственном препарате и образованию продуктов, характеризующихся меньшей фармакологической активностью вплоть до ее потери.

Процессы деградации лекарственных средств в твердом состоянии протекают относительно медленно. Скорость деградации твердых веществ в сухом состоянии обычно характеризуется кинетикой реакций первого порядка или сигмовидной кривой. Поэтому твердые лекарственные средства с более низкой температурой плавления не следует сочетать с другими химическими веществами, образующими с ними эвтектическую смесь.

В присутствии влаги кинетика разложения твердого лекарственного средства может измениться с первого на нулевой порядок, поскольку скорость контролируется относительно небольшой долей действующего вещества в насыщенном растворе, образующемся на поверхности или в массе твердого лекарственного средства.

Процессы химической деградации лекарственных средств включают следующие реакции: гидролиз, дегидратацию, изомеризацию, окисление, декарбоксилирование, фотохимическое разложение, полимеризацию. Они могут протекать как самостоятельный процесс, так и в сочетании с другими реакциями деградации. В результате процесс деградации существенно усложняется, а составляющие его реакции могут быть обратимыми, параллельными или последовательными реакциями.

Гидролиз

Гидролитическому расщеплению подвержены действующие вещества следующих классов: сложные эфиры, амиды, лактамы. Чаще всего процесс катализируют ионы водорода (кислотный катализ) и гидроксид-ионы (основный катализ), а также другие кислотные или основные вещества, используемые обычно в качестве компонентов в составе буферных систем. Скорость гидролиза увеличивается прямо пропорционально давлению водяного пара в окружающей среде, снижаясь до незначительного уровня в сухой среде.

К сложным эфирам, подверженным гидролизу, относятся, например, прокаин, тетракаин, физостигмин, метилдопа, ацетилсалициловая кислота и др.

Гидролиз амидной (или пептидной) связи протекает в молекулах эргометрина, натрия бензилпенициллина, хлорамфеникола, некоторых местных анестетиков. При этом расщепление амидной связи происходит медленнее, чем сложноэфирной связи. Например, прокаин может гидролизоваться уже при автоклавировании, в то время как прокаинамид устойчив в этих условиях. Амидная (или пептидная) связь в пептидах и белках различается по способности к гидролизу.

Лактамное кольцо и азометиновая (или иминная) связь также проявляют способность к гидролитическому расщеплению, например, в случае бензодиазепинов (нитразепам) и хлордиазэпоксида. Катализаторами процесса являются не только неблагоприятные значения pH, но и некоторые вещества, например, декстроза и медь при гидролизе ампициллина.

Для подавления кислотно-основного гидролиза и повышения устойчивости к нему лекарственных средств могут применяться следующие методы:

- определение значений pH, обеспечивающих максимальную устойчивость действующего вещества, и последующее получение лекарственной формы при установленных значениях pH (если применимо);

- изменение диэлектрической постоянной среды путем добавления неводных растворителей, например, этанола, глицерина, пропиленгликоля и др.;

- уменьшение растворимости действующего вещества в лекарственной форме путем добавления цитратов, декстрозы, сорбитола, глюконата и др.;

- комплексообразование действующего вещества, например, добавление кофеина к водным растворам бензокаина и прокаина, подавляющее их кислотно-основный гидролиз;

- использование поверхностно-активных веществ в составе лекарственного препарата.

Дегидратация

Процесс катализируют кислоты. Дегидратация действующего вещества может приводить к потере его фармакологической активности, возникновению или повышению токсичности. Например, в результате дегидратации тетрациклина образуется эпиангидротетрациклин с низкой антибактериальной активностью и высокой токсичностью.

Окисление

Способность к окислению проявляют вещества, содержащие в структуре гидроксильную группу, непосредственно связанную с ароматическим кольцом (фенольная группа), например, морфин, фенилэфрин, катехоламины (допамин, адреналин), или представляющие собой сопряженные диены (ретинолы и ненасыщенные свободные жирные кислоты), гетероциклические ароматические соединения, нитрозо- и нитропроизводные, альдегиды. Продукты окисления обычно характеризуются недостаточной фармакологической активностью.

В большинстве случаев процесс окисления лекарственных средств протекает под воздействием атмосферного кислорода с низкой скоростью по цепному механизму (автоокисление). При визуальном наблюдении он может быть незаметным, например, как переход окраски от бесцветного раствора адреналина к его продуктам окисления янтарного цвета в некоторых разведениях.

Окисление может ускоряться при значениях pH, выше оптимальных, в присутствии многовалентных ионов тяжелых металлов (например, медь, железо и др.), под воздействием кислорода и ультрафиолетового излучения. Устойчивость к фотоокислению действующих веществ в лекарственных препаратах обеспечивают:

- использование антиоксидантов, например, токоферолов, бутилгидроксианизола, бутилгидрокситолуола, галловой кислоты и галлатов;

- использование восстановителей, например, натрия метабисульфита;

- заполнение ампул и флаконов лекарственным препаратом в атмосфере инертного газа (азота);

- упаковка лекарственного препарата в контейнеры из темного стекла или контейнеры, изготовленные из полимерных материалов;

- хранение лекарственного препарата в защищенном от света месте;

- покрытие таблеток полимерной пленкой, содержащей вещества, поглощающие ультрафиолетовое излучение.

Изомеризация

Изомеризация сопровождается превращением действующего вещества в его оптический изомер (эпимеризация) или геометрический изомер (цис-транс-изомеризация) со слабой фармакологической активностью или даже с полной потерей активности. Как правило, процесс протекает с высокой скоростью при значениях pH промежуточного диапазона (более 3). Например, значительное уменьшение активности адреналина в растворах при низких значениях pH связано с рацемизацией за счет превращения фармакологически активной формы (левовращающий изомер) в менее активный изомер.

Эпимеризации в наибольшей степени подвержены соединения семейства тетрациклинов. Деградация тетрациклина представляет собой обратимую реакцию, протекающую по кинетике первого порядка. В результате пространственной перегруппировки диметиламиногруппы образуется равновесная смесь тетрациклина с его эпимером (4-эпитетрациклин) с более низкой фармакологической активностью. Скорость деградации зависит от pH и достигает максимального значения при pH 3,2. Процесс ускоряют фосфат- и цитрат-ионы.

Некоторые процессы деградации действующих веществ протекают одновременно. Например, пилокарпин подвергается одновременно основному гидролизу с образованием пилокарпат-иона и эпимеризации под действием гидроксид-иона с образованием изопилокарпина, который в последующем также гидролизуется в изопилокарпат-ион.

Цис-транс-изомеризация также является причиной потери фармакологической активности, если геометрические изомеры различаются по активности. Изомеризация ретинола (витамин A) по атомам углерода в положениях 2 и 6 приводит к образованию цис-изомеров с общей активностью, сопоставимой с активностью одной молекулы полного транс-изомера.

Декарбоксилирование

Процесс сопровождается выделением углерода диоксида из карбоксильной или карбонильной групп действующего вещества. Как правило, образующееся соединение характеризуется меньшей фармакологической активностью.

Декарбоксилированию подвергаются некоторые карбоновые кислоты, например, n-аминосалициловая кислота, в растворах при нагревании.

-Кетодекарбоксилирование может происходить в случае некоторых антибиотиков, содержащих карбонильную группу при -углероде карбоновой кислоты или карбоксилат-аниона, в твердом состоянии. К таким антибиотикам относятся карбенициллин натрия и карбенициллиновая кислота, тикарциллин натрия и тикарциллиновая кислота.

Фотохимическое разложение

Воздействие ультрафиолетового излучения способно вызвать окисление (фотоокисление) и расщепление (фотолиз) ковалентных связей в действующих веществах. Процесс протекает по цепному свободно-радикальному механизму.

Фотодеградации в значительной степени подвержены нифедипин, нитропруссид, рибофлавин, фенотиазины и др. Процесс фотолиза, например, фенотиазина и хлорпромазина, сопровождается обесцвечиванием их растворов.

Полимеризация

Полимеризация двух и более молекул действующего вещества приводит к образованию сложной молекулы (димер, олигомер, полимер).

Полимеризация происходит в процессе хранения концентрированных водных растворов аминопенициллинов, например, ампициллина натрия. В результате раскрытия -лактамного кольца за счет реакции с аминогруппой боковой цепи второй молекулы ампициллина образуется димер, который в дальнейшем может превращаться в соединения с большей степенью полимеризации. Образующиеся продукты полимеризации могут быть причиной возникновения специфических аллергических реакций к ампициллину. Способность к димеризации аминопенициллинов, определяемая скоростью димеризации, увеличивается от ампициллина к амоксициллину.

ФАКТОРЫ, ВЛИЯЮЩИЕ НА СТАБИЛЬНОСТЬ ЛЕКАРСТВЕННЫХ СРЕДСТВ

Основными факторами окружающей среды, способными уменьшить стабильность лекарственного средства, являются воздействия температуры, света, влаги, кислорода и углекислого газа.

На стабильность действующего вещества или лекарственной формы может оказывать влияние любой ингредиент лекарственного препарата (другое действующее вещество или вспомогательное вещество) или реже материалы первичной упаковки.

К факторам, влияющим на стабильность лекарственной формы, в большинстве случаев относятся размер частиц (особенно в суспензиях и эмульсиях), pH, состав системы растворителей (в том числе присутствие в ней воды) и ее общая полярность, межионная совместимость, ионная сила раствора, специальные химические добавки, а также молекулярное связывание и диффузия действующих и вспомогательных веществ.

Температура

Как правило, скорость химической реакции увеличивается экспоненциально при повышении температуры на каждые 10 °C. Данная зависимость характерна для реакций гидролиза почти всех лекарственных средств и окисления у некоторых лекарственных средств. Фактический температурный коэффициент скорости реакции зависит от ее энергии активации. В свою очередь, энергия активации определяется реакционной способностью химической связи в молекуле действующего вещества и составом лекарственного препарата. Например, если действующее вещество является легкогидролизуемым, повышение температуры на 20 °C от температуры хранения в холодильнике до контролируемой комнатной температуры (15 - 20) °C может уменьшить срок годности (срок хранения) лекарственного препарата на 1/4 - 1/25.

Однако неприемлемо низкие температуры могут оказывать отрицательное воздействие. Например, охлаждение может стать причиной чрезмерной вязкости или пересыщенности некоторых жидких лекарственных препаратов. Замораживание может вызвать увеличение размера капель эмульсий вплоть до их разрушения, денатурацию белков и в некоторых редких случаях образование менее растворимых полиморфных состояний действующих веществ.

pH

Деградация многих действующих веществ в растворе ускоряется или замедляется экспоненциально вследствие изменения (уменьшения или увеличения) pH в определенном диапазоне значений. Наряду с воздействием повышенной температуры pH относится к фактору, с наибольшей вероятностью вызывающему клинически значимую потерю действующего вещества в результате реакций гидролиза и окисления. Например, лекарственный препарат в виде раствора или суспензии может быть стабильным в течение нескольких дней, недель или даже лет в своей первоначальной лекарственной форме, но при смешивании с другой жидкостью, изменяющей pH, подвергается деградации в течение нескольких минут или дней. Возможно, что изменение pH на единицу (например, от 4 до 3 или от 8 до 9) может снизить стабильность лекарственного средства в 10 или более раз.

Для действующих веществ, склонных к гидролизу, влияние pH на скорость гидролиза, как правило, устанавливают в процессе разработки лекарственной формы. Полученный профиль "pH (скорость гидролиза" позволяет определить значение pH, обеспечивающее наибольшую стабильность. Однако оно не всегда может быть использовано при получении лекарственной формы ввиду ухудшения растворимости или ослабления терапевтического эффекта лекарственного препарата при данном значении pH. Такая зависимость особенно характерна для слабоосновных действующих веществ, например, физостигмина, пилокарпина и атропина, применяемых в виде глазных капель. Хотя их максимальная стабильность наблюдается в кислых растворах, терапевтический эффект в большей степени проявляется ими в основной форме, чем в солевой.

Для сохранения постоянства pH в диапазоне, минимизирующем скорость деградации, в состав жидких лекарственных препаратов вводят буферные системы, которые обычно представляют собой смесь слабой кислоты или слабого основания и их соли. Однако наряду с регулированием pH компоненты буферной системы способны сами катализировать кислотно-основный гидролиз, что требует особой осторожности при выборе буферных систем.

Окислительная деградация действующих веществ также проявляет зависимость от pH. В значительной степени она выражена для действующих веществ, склонных к окислению, например, адреналина, некоторых гормонов и витаминов.

Величину pH лекарственных препаратов в виде растворов регулируют также для достижения растворимости действующего вещества. Например, значение pH, сопоставляемое с соответствующим значением pKa, позволяет контролировать долю обычно более растворимых ионизированных и менее растворимых неионизированных частиц слабых органических электролитов.

Не менее важным представляется влияние pH на физическую стабильность двухфазных систем, особенно эмульсий. Например, жировая эмульсия для внутривенного введения дестабилизируется значениями pH в кислой области.

Межионная (катион-анионная) совместимость

Свободное существование противоположно заряженных ионов в растворе, исключающее образование нерастворимых соединений, указывает на их совместимость в растворенном состоянии. Межионная совместимость зависит, главным образом, от величины заряда и размера ионов. Как правило, многовалентные ионы с противоположным зарядом с большей вероятностью будут несовместимыми. Несовместимость может возникнуть при добавлении иона крупного размера с зарядом, противоположным заряду иона действующего вещества.

Ионная сила

Влияние ионной силы на процессы деградации действующего вещества может происходить в присутствии электролитов, предназначенных для изотонирования растворов лекарственных средств, предотвращения их окисления или сохранения постоянства pH в качестве компонентов буферной системы.

Воздействие общей концентрации растворенных электролитов на скорость реакций гидролиза обусловлено влиянием ионной силы на межионное притяжение. Как правило, константа скорости гидролиза обратно пропорциональна ионной силе в случае противоположно заряженных ионов (например, катиона действующего вещества и анионов вспомогательного вещества) и прямо пропорциональна ионной силе для одноименно заряженных ионов. Любые реакции, которые приводят к образованию иона с зарядом, противоположным заряду исходного иона действующего вещества, при увеличении ионной силы в ходе реакции могут повысить скорость гидролиза действующего вещества.

Высокая ионная сила неорганических солей может снизить также растворимость некоторых лекарственных средств.

Растворители

Многие лекарственные средства, склонные к гидролизу в водных растворах, стабилизируют путем использования неводных растворителей в процессе получения лекарственной формы. Часто в качестве таких растворителей применяют этанол, глицерин, пропиленгликоль.

Влияние неводных растворителей на стабильность действующих веществ обосновано их диэлектрической постоянной, уменьшение которой, как правило, понижает скорость деградации. Однако и в этом случае стабильность зависит от заряда ионной формы действующего вещества и атакующего иона, например, иона водорода, катализирующего гидролиз катионных действующих веществ или гидроксид-иона, катализирующего гидролиз анионных действующих веществ. При одноименных зарядах взаимодействующих ионов (например, протонированная форма действующего вещества и катион водорода при кислотном гидролизе или анионная форма действующего вещества и гидроксид-ион при основном гидролизе) низкая диэлектрическая постоянная повышает устойчивость действующего вещества в процессе получения лекарственной формы. Противоположные заряды взаимодействующих ионов не позволяют достичь стабилизации действующего вещества в растворителях с низкой диэлектрической постоянной.

Поверхностно-активные вещества

Присутствие поверхностно-активных веществ в мицеллярной форме оказывает влияние на скорость гидролиза действующих веществ. Степень влияния зависит от различия констант скорости гидролиза действующего вещества в водном растворе и солюбилизированном состоянии внутри мицеллы. Для стабилизации неполярных и малополярных действующих веществ наиболее эффективны неионогенные поверхностно-активные вещества. В случае ионогенных поверхностно-активных веществ устойчивость к гидролизу действующих веществ определяется зарядами мицеллы и атакующего иона. При основном гидролизе солюбилизация действующего вещества в анионную мицеллу подавляет скорость гидролиза вследствие отталкивания от одноименно заряженных гидроксид-ионов. Катионная мицелла, наоборот, может усилить основный гидролиз.

Поверхностно-активные вещества могут предотвращать также окислительную деградацию лекарственных средств.

ФИЗИЧЕСКИЕ ПРИЗНАКИ НЕСТАБИЛЬНОСТИ ЛЕКАРСТВЕННЫХ ФОРМ

Обычно процессы химической деградации лекарственных средств довольно сложно подтвердить органолептическими методами. Однако в некоторых случаях их чрезмерное протекание сопровождается физическими изменениями, которые могут быть обнаружены по внешним признакам. Кроме того, некоторые физические изменения, например, изменение цвета и запаха, образование осадка, или помутнение раствора могут служить предупреждением о возможной нестабильности лекарственного средства. Лекарственный препарат, претерпевший физические изменения, не описанные в нормативном документе по качеству, общей характеристике лекарственного препарата и инструкции по медицинскому применению (листок-вкладыш), может подвергнуться химическому изменению.

Чрезмерный рост микроорганизмов и (или) микробная контаминация также могут обнаруживаться по внешним признакам. Резкое изменение физических характеристик, таких как цвет или запах, является признаком нестабильности всех лекарственных средств. Другие распространенные физические признаки лекарственных препаратов в различных лекарственных формах описаны ниже. Приведенные физические признаки позволяют проводить своевременный контроль внешнего вида лекарственных препаратов для выявления ухудшения их качества.

Твердые лекарственные формы

Многие твердые лекарственные формы предназначены для хранения в условиях пониженной влажности. Запотевание внутренней поверхности контейнера или комкование лекарственного препарата указывают на ненадлежащие условия хранения лекарственного препарата. Наличие влагопоглотителя внутри оригинальной упаковки указывает на необходимость особой осторожности при хранении и отпуске лекарственного препарата. Некоторые продукты деградации, например, салициловая кислота, образующаяся при гидролизе ацетилсалициловой кислоты, могут появляться в виде отложения кристаллов на поверхности твердой лекарственной формы или на стенках контейнера.

Твердые и мягкие желатиновые капсулы

Поскольку содержимое капсулы заключено в желатиновую оболочку, изменение внешнего вида или консистенции, включая затвердевание или размягчение оболочки, представляется основным признаком нестабильности капсул. Выделение газа, вызывающее вздутие капсулы, является еще одним признаком нестабильности.

Таблетки без оболочки

На физическую нестабильность таблеток без оболочки указывает образование на дне контейнера чрезмерного количества порошка и (или) кусочков, в результате раскрошивания таблетки (в отличие от истертых, раздробленных или расколотых таблеток), а также трещины или сколы, пятна на поверхности таблеток, изменение цвета или обесцвечивание окрашенных таблеток, их разбухание или слипание, отложение кристаллов на поверхности таблеток или на стенках контейнера.

Таблетки, покрытые оболочкой

Свидетельством физической нестабильности таблеток, покрытых оболочкой, является появление трещин или пятен на оболочке, слипание таблеток. Поверхность таблетки может стать липкой.

Сухие порошки и гранулы

Сухие порошки и гранулы, не предназначенные для растворения в исходном контейнере, могут превращаться в твердую массу или менять цвет, что также является недопустимым.

Порошки и гранулы, предназначенные для приготовления суспензий

Сухие порошки и гранулы, предназначенные для получения растворов или суспензий, требуют особого внимания. Обычно в таких лекарственных формах выпускаются антибиотики или витамины, которые особенно чувствительны к влаге, и их оригинальная упаковка должна обеспечивать полную защиту от ее воздействия. Однако необычный внешний вид или спекание твердой массы требуют тщательной оценки. Запотевание внутренней поверхности контейнера обычно делает лекарственный препарат непригодным для применения. Появление неприятного запаха также может свидетельствовать о нестабильности лекарственного препарата.

Шипучие таблетки, гранулы и порошки

Шипучие лекарственные формы особенно чувствительны к влаге. Разбухание твердой массы, возникновение давления газа являются специфическим признаком нестабильности, указывающим на преждевременное разрушение лекарственного препарата.

Суппозитории

Чрезмерное размягчение является основным признаком нестабильности суппозиториев. Некоторые из них могут высыхать и затвердевать. Признаки масляных пятен на упаковочном материале должны стать предупреждением для более тщательного изучения отдельных суппозиториев путем удаления пленочного покрытия. Как правило, суппозитории следует хранить в холодильнике.

Жидкие лекарственные формы

Первостепенное значение при хранении жидких лекарственных форм имеют сохранение гомогенности, отсутствие микробной контаминации и роста микроорганизмов. На нестабильность могут указывать помутнение раствора или образование осадка, разрушение эмульсии, спекание нересуспендировавшей суспензии или органолептические изменения. Рост микроорганизмов может сопровождаться обесцвечиванием, помутнением или газообразованием.

Растворы, эликсиры и сиропы

Образование осадка и признаки микробной контаминации или химического газообразования являются двумя основными признаками нестабильности.

Эмульсии

Разрушение эмульсии (отделение масляной фазы, не поддающейся редиспергированию) является характерным признаком нестабильности.

Суспензии

Спекшаяся твердая фаза, не поддающаяся ресуспендированию, при достаточном интенсивном встряхивании, является основным признаком нестабильности. Присутствие относительно крупных частиц может означать, что в суспензии произошел чрезмерный рост кристаллов.

Настойки и жидкие экстракты

Настойки, жидкие экстракты и другие аналогичные лекарственные препараты, как правило, имеют темную окраску вследствие своей концентрированности, что требует их тщательной оценки на наличие осадка, кроме случаев, когда допускается его образование.

Стерильные жидкие лекарственные формы

Микробную контаминацию стерильных жидких лекарственных форм обычно невозможно обнаружить визуально. Однако помутнение, изменение цвета, появление пленки на поверхности, образование твердых или хлопьевидных частиц или выделение газа могут служить основанием для подозрения на возможную контаминацию. Прозрачность стерильных растворов, предназначенных для офтальмологического или парентерального применения, имеет первостепенное значение. Возможное нарушение целостности и герметичности укупорочной системы также должно вызывать настороженность.

Мягкие лекарственные формы

Основным признаком нестабильности кремов и мазей часто является либо изменение цвета, либо заметное изменение консистенции или запаха.

Кремы

В отличие от мазей кремы обычно представляют собой эмульсии, содержащие воду и масло. Признаками их нестабильности являются разрушение эмульсии, рост кристаллов, усадка в результате испарения воды и сильная микробная контаминация.

Мази

Распространенными признаками нестабильности мазей являются изменение консистенции и выделение чрезмерного количества жидкости, а также образование гранул или зернистости.

ИССЛЕДОВАНИЕ СТАБИЛЬНОСТИ ЛЕКАРСТВЕННЫХ СРЕДСТВ ПРИ РАЗРАБОТКЕ И ПРОИЗВОДСТВЕ

Планирование и проведение исследований стабильности лекарственных средств осуществляются в соответствии с требованиями нормативных актов, входящих в право Союза.

Как правило, разработчик и (или) производитель лекарственного средства в первую очередь устанавливает влияние факторов окружающей среды и обычно используемых растворителей, вспомогательных веществ на активный(е) ингредиент(ы).

На основании полученных результатов готовят лекарственный препарат одного или нескольких составов для каждой лекарственной формы, фасуют лекарственный препарат в подходящую упаковку и хранят при различных условиях окружающей среды, осуществляя как ускоренное, так и естественное старение лекарственного препарата. Через соответствующие интервалы времени образцы лекарственного препарата анализируют подходящим методом на содержание (активность) действующего вещества, наблюдают за физическими изменениями и, если применимо, проводят испытания на стерильность или микробиологическую чистоту и другие подходящие испытания, а также изучают их токсичность и биодоступность. Такое исследование в сочетании с результатами клинических и неклинических исследований позволяет выбрать оптимальный состав лекарственного препарата, подходящую для него упаковку, установить необходимые условия хранения и срок годности (срок хранения) лекарственного препарата в разработанной лекарственной форме.

ОБЕСПЕЧЕНИЕ СТАБИЛЬНОСТИ ЛЕКАРСТВЕННЫХ ПРЕПАРАТОВ ПРИ ХРАНЕНИИ И ОТПУСКЕ ИЗ АПТЕК

Производитель может гарантировать качество лекарственного препарата в течение срока годности (срока хранения) только в случае хранения лекарственного препарата в оригинальной упаковке при рекомендуемых условиях. При хранении и отпуске из аптек произведенные лекарственные препараты должны соответствовать всем критериям качества и стабильности, основанным на требованиях Фармакопеи Союза и нормативного документа по качеству.

Для обеспечения стабильности лекарственных препаратов в процессе хранения и отпуска из аптек необходимо выполнение следующих действий:

- осуществление отпуска лекарственных препаратов в порядке сроков их поступления при условии соблюдения сроков годности (надлежащее обращение запасов);

- хранение лекарственных препаратов в условиях, указанных в частных фармакопейных статьях Фармакопеи Союза, инструкции по медицинскому применению (листок-вкладыш) и их маркировке;

- контроль внешнего вида лекарственных препаратов для выявления видимых признаков нестабильности при приемке и в процессе хранения до отпуска пациенту;

- отпуск изготовленных лекарственных препаратов (если применимо) в соответствующей системе упаковки, обеспечивающей их целостность и стабильность;

- информирование пациентов по надлежащему хранению и применению лекарственных препаратов.

203180000-2022

2.3.18.0. Субстанции для фармацевтического применения

ОПРЕДЕЛЕНИЕ

Субстанции для фармацевтического применения представляют собой органические или неорганические вещества, используемые в качестве активных субстанций или вспомогательных веществ при производстве лекарственных препаратов для медицинского или ветеринарного применения. Они могут быть получены из источников природного происхождения или путем экстракции из сырья, ферментации или синтеза.

Данная общая фармакопейная статья не распространяется:

- на лекарственное растительное сырье, лекарственное растительное сырье для гомеопатических препаратов, растительные фармацевтические субстанции, лекарственные растительные экстракты или матричные настойки для гомеопатических препаратов;

- на сырье для гомеопатических препаратов, за исключением случаев, когда имеется частная фармакопейная статья на субстанцию в негомеопатической части фармакопеи;

- на химические прекурсоры (предшественники) для радиофармацевтических препаратов.

Если при приготовлении для отдельных пациентов лекарственного препарата по особым показаниям используют субстанцию для фармацевтического применения, не описанную в частной фармакопейной статье, необходимость соответствия требованиям данной общей фармакопейной статьи определяют на основании оценки риска, которая проводится с учетом качества субстанции и ее предполагаемого применения.

Если в производстве лекарственных препаратов используют субстанции для фармацевтического применения животного происхождения или от человека, применяют требования общей фармакопейной статьи 2.3.1.3. Вирусная безопасность.

Субстанции для фармацевтического применения могут использоваться "как есть" или в качестве исходных материалов для производства лекарственных препаратов. В зависимости от состава лекарственного препарата некоторые субстанции могут применяться как активные фармацевтические субстанции и как вспомогательные вещества. Твердые субстанции могут подвергаться уплотнению, покрытию оболочкой, гранулированию, измельчению в порошок до необходимого размера частиц или обработке другим способом. Общую фармакопейную статью применяют к субстанции, смешанной со вспомогательным веществом, только в случаях, если такая обработка указана в разделе Определение частной фармакопейной статьи.

Субстанции для фармацевтического применения специальных категорий. При отсутствии других указаний или ограничений в частной фармакопейной статье субстанция для фармацевтического применения предназначена для использования в медицине и ветеринарии и должна иметь соответствующее качество для производства всех лекарственных препаратов, в которых она может быть использована.

Полиморфизм. В частных фармакопейных статьях обычно не указывают кристаллическую или аморфную формы, если это не влияет на биодоступность. При отсутствии других указаний в частной фармакопейной статье все полиморфные формы субстанции для фармацевтического применения должны соответствовать требованиям частной фармакопейной статьи.

ПРОИЗВОДСТВО

Субстанции для фармацевтического применения производят в условиях, обеспечивающих постоянное качество и соответствие требованиям частной фармакопейной статьи или утвержденной спецификации.

Производство активных фармацевтических субстанций должно осуществляться в условиях надлежащей производственной практики.

Требования к чистоте, приведенные в частной фармакопейной статье, распространяются на субстанции, полученные по определенной(ым) технологии(ям) и характеризующиеся определенным(и) профилем(ями) примесей.

В ряде случаев изменение технологии производства может привести к изменению профиля примесей, т.е. появлению примесей, не контролируемых соответствующей частной фармакопейной статьей. Все изменения, вносимые в технологию производства субстанции, должны сопровождаться представлением в уполномоченный орган сведений, подтверждающих возможность контроля качества данной субстанции испытаниями на чистоту по соответствующей частной фармакопейной статье.

При контроле примесей в субстанциях для фармацевтического применения используют требования общей фармакопейной статьи 2.3.5.0. Контроль примесей в субстанциях для фармацевтического применения.

Независимо от наличия специальных указаний в частной фармакопейной статье субстанции для фармацевтического применения должны соответствовать следующим требованиям:

- рекомбинантные белки или другие субстанции, полученные с использованием прямой генно-инженерной технологии на основе генетической модификации, должны также отвечать требованиям, если применимо, соответствующей общей фармакопейной статьи;

- субстанции, полученные от животных, восприимчивых к трансмиссионной губчатой энцефалопатии, за исключением экспериментально вызванных заболеваний, должны также отвечать, если применимо, требованиям общих фармакопейных статей и нормативных актов, входящих в право Союза, по оценке риска передачи возбудителей губчатой энцефалопатии животных;

- субстанции, полученные в результате процесса ферментации независимо от способа модификации использующихся микроорганизмов (традиционными методами или с использованием прямой генно-инженерной технологии), должны также отвечать требованиям, если применимо, соответствующей общей фармакопейной статьи.

Используемые в производстве растворители должны быть подходящего качества. Кроме того, следует учитывать их токсичность и остаточное содержание (общая фармакопейная статья 2.3.2.0. Остаточные органические растворители). Вода, используемая в производстве, должна быть соответствующего качества.

Примеси элементов, наличие которых обусловлено использованием катализаторов и реактивов, должны быть известны, и стратегию их контроля следует устанавливать с применением принципов управления рисками.

Если субстанции производят или обрабатывают с целью получения определенной формы или категории, субстанции в такой форме или такой категории должны выдерживать требования частной фармакопейной статьи. Для контроля свойств, которые могут влиять на пригодность субстанции и соответственно, качество лекарственных форм, приготовленных из них, в частной фармакопейной статье могут приводиться испытания определенных функциональных характеристик.

Порошкообразные субстанции могут подвергаться обработке для получения необходимой степени измельчения.

Уплотненные субстанции обрабатывают для увеличения размера частиц, или получения частиц специфической формы, и (или) получения субстанции с большей насыпной плотностью.

Покрытые оболочкой активные субстанции состоят из частиц активной фармацевтической субстанции, покрытых одним или несколькими подходящими вспомогательными веществами.

Гранулированные активные субстанции представляют собой частицы определенного размера и (или) формы, полученные из активной фармацевтической субстанции путем прямого гранулирования или гранулирования с использованием одного или нескольких подходящих вспомогательных веществ.

Если субстанции подвергают обработке вместе с вспомогательными веществами, последние должны отвечать требованиям соответствующей частной фармакопейной статьи или, при ее отсутствии, утвержденной спецификации.

В том случае, когда активные фармацевтические субстанции подвергают обработке вместе с вспомогательными веществами, например, покрытию оболочкой или гранулированию, процесс выполняют в условиях надлежащей производственной практики, и полученные после обработки субстанции рассматривают как полупродукты в производстве лекарственного препарата.

СВОЙСТВА

Сведения, приведенные в данном разделе частной фармакопейной статьи (например, растворимость или температура разложения), как правило, могут не рассматриваться в качестве обязательных указаний и носят информационный характер.

Если субстанция обладает полиморфизмом, это может указываться в разделе Свойства, чтобы обратить внимание пользователя, который может учесть данные сведения при разработке лекарственного препарата.

ИДЕНТИФИКАЦИЯ

Если в разделе Идентификация частной фармакопейной статьи имеются подразделы Первая идентификация и Вторая идентификация, испытание(я), описанное(ые) в подразделе Первая идентификация, может(гут) использоваться во всех случаях. Испытание(я), включенное(ые) в подраздел Вторая идентификация, может(гут) использоваться только в аптеках при подтверждении, что субстанция или лекарственный препарат полностью прослежены до серии, сертифицированной на соответствие всем другим требованиям частной фармакопейной статьи. Применение испытаний в рамках второй идентификации проводится в соответствии с требованиями государств - членов Союза.

Некоторые частные фармакопейные статьи содержат два или несколько наборов испытаний, предназначенных для первой идентификации, которые являются равноценными и могут использоваться независимо друг от друга. Как правило, в одном или нескольких наборах таких испытаний имеется перекрестная ссылка на испытание, указанное в разделе Испытания частной фармакопейной статьи, что может применяться для упрощения работы аналитика, одновременно выполняющего идентификацию и испытания, на которые приведена ссылка. Например, один набор испытаний для идентификации содержит перекрестную ссылку на испытание энантиомерной чистоты, в то время как другой набор содержит определение удельного оптического вращения. При этом цель двух испытаний одинакова - подтвердить присутствие соответствующего энантиомера.

ИСПЫТАНИЯ

Полиморфизм (2.3.4.0). Если кристаллическая или аморфная форма накладывает ограничения на использование субстанции в лекарственных препаратах, описывают характер конкретной кристаллической или аморфной формы, ее морфологию контролируют соответствующим образом, а саму форму указывают в маркировке упаковки.

Родственные примеси. При отсутствии других указаний в частной фармакопейной статье или обоснования и разрешения уполномоченного органа родственные примеси в активных фармацевтических субстанциях должны подлежать информированию, идентификации (по возможности) и квалификации в соответствии с таблицей 2.3.18.0.-1 или таблицей 2.3.18.0.-2 для пептидов, полученных химическим синтезом.

Таблица 2.3.18.0.-1

Пороги информирования, идентификации и квалификации родственных примесей в активных фармацевтических субстанциях

Назначение субстанции Максимальная суточная доза (г/сут) Порог информирования (%) Порог идентификации (%) Порог квалификации (%)
Для медицинского применения или медицинского и ветеринарного применения <= 2 > 0,05 > 0,10 или прием > 1,0 мг/сут (в зависимости от того, что меньше) > 0,15 или прием > 1,0 мг/сут (в зависимости от того, что меньше)
Для медицинского применения или медицинского и ветеринарного применения > 2 > 0,03 > 0,05 > 0,05
Только для ветеринарного применения Не применимо > 0,10 > 0,20 > 0,50

Таблица 2.3.18.0.-2

Пороги информирования, идентификации и квалификации родственных примесей в пептидах, полученных химическим синтезом

Порог информирования (%) Порог идентификации (%) Порог квалификации (%)
> 0,1 > 0,5 > 1,0

Для сильнодействующих примесей или примесей, способных вызывать токсическое или недопустимое фармакологическое действие, могут устанавливаться особые пороговые значения.

Качество и безопасность активных фармацевтических субстанций, используемых в лекарственных препаратах для медицинского применения, следует оценивать с учетом нормативных актов, входящих в право Союза, по оценке и контролю ДНК-реактивных (мутагенных) примесей в лекарственных средствах и установлению границ потенциального канцерогенного риска в случаях, определяемых областью применения документа.

Если частная фармакопейная статья не обеспечивает надлежащий контроль новой примеси, должно быть разработано и включено подходящее испытание в спецификацию качества субстанции.

Приведенные выше требования не распространяются на биологические и биотехнологические лекарственные средства, олигонуклеотиды, продукты ферментации и полученные из них полусинтетические продукты, сырье животного или растительного происхождения или лекарственные растительные средства.

Примеси элементов. Сущность подходов к оценке примесей элементов изложена в общей фармакопейной статье 2.3.10.0. Примеси элементов. Значения допустимого суточного воздействия примесей элементов, приведенные в рекомендации Евразийской экономической комиссии "Руководство по изучению примесей в лекарственных средствах", применяют и к лекарственным препаратам. В связи с этим частные фармакопейные статьи на субстанции для фармацевтического применения, при отсутствии других указаний, не включают спецификаций для примесей элементов.

Остаточные органические растворители. Содержание остаточных органических растворителей ограничивают в соответствии с требованиями, изложенными в общей фармакопейной статье 2.3.2.0. Остаточные органические растворители, используя общий метод, описанный в общей фармакопейной статье 2.1.4.19. Идентификация и контроль остаточных растворителей, или другой подходящий метод. Если проводят количественное определение остаточных растворителей и не проводят испытания на потерю в массе при высушивании, содержание остаточных растворителей учитывают в расчетах количественного содержания вещества, удельного оптического вращения и удельного показателя поглощения.

Микробиологическая чистота. При необходимости критерии приемлемости для микробиологической чистоты приводятся в частных фармакопейных статьях. Таблица 2.3.1.2.-2. - Критерии приемлемости качества фармацевтических субстанций и вспомогательных веществ для производства лекарственных препаратов по микробиологическим показателям, представленная в общей фармакопейной статье 2.3.1.2 Требования к микробиологической чистоте лекарственных препаратов, фармацевтических субстанций и вспомогательных веществ для их производства, содержит рекомендации, пригодные для всех субстанций, контролируемых по микробиологической чистоте. В зависимости от природы и предполагаемого назначения субстанции может быть обоснованным использование различных критериев приемлемости.

Стерильность (2.1.6.1). Если субстанция для фармацевтического применения предназначена для производства стерильных лекарственных форм без проведения последующей стерилизации или выпускается под категорией "Стерильно", она должна выдерживать испытание на стерильность.

Бактериальные эндотоксины (2.1.6.8). Если субстанция для фармацевтического применения выпускается под категорией "Бактериальные эндотоксины в пределах нормы" или предназначена для производства парентеральных лекарственных препаратов или лекарственных препаратов для орошения без проведения последующего удаления бактериальных эндотоксинов, она должна выдерживать испытание на бактериальные эндотоксины. Предельное содержание бактериальных эндотоксинов, если оно не указано в частной фармакопейной статье, определяют в соответствии с рекомендациями, изложенными в общей фармакопейной статье 2.1.6.8. Бактериальные эндотоксины.

Пирогенность (2.1.6.2). Если обоснована целесообразность проведения испытания на пирогенность, а не на бактериальные эндотоксины и если субстанция для фармацевтического применения выпускается под категорией "Апирогенно", она должна выдерживать испытание на пирогенность. Предельное содержание и метод испытания приводятся в частной фармакопейной статье или согласовываются с уполномоченным органом. При соответствующем обосновании испытание на пирогенность может заменяться испытанием на бактериальные эндотоксины.

Дополнительные показатели качества. Контроль дополнительных показателей качества (например, физические характеристики, функциональные характеристики) может быть необходим для конкретного производственного процесса или конкретной лекарственной формы. Для производства парентеральных лекарственных препаратов или других лекарственных форм могут выпускаться субстанции разных категорий (например, "Стерильно", "Бактериальные эндотоксины в пределах нормы", "Апирогенно"), для которых соответствующие требования могут указываться в частной фармакопейной статье.

КОЛИЧЕСТВЕННОЕ ОПРЕДЕЛЕНИЕ

При отсутствии обоснования и разрешения уполномоченного органа определяют количественное содержание действующих веществ в субстанциях для фармацевтического применения, используя подходящие методы.

МАРКИРОВКА

Как правило, маркировка лекарственных средств регулируется нормативными актами, входящими в право Союза. В связи с этим положения раздела Маркировка частной фармакопейной статьи не являются всеобъемлющими, более того, для фармакопейных целей обязательными являются лишь те положения, которые необходимы для подтверждения соответствия или несоответствия субстанции для фармацевтического применения требованиям частной фармакопейной статьи. Все другие положения носят рекомендательный характер. В тех случаях, когда в фармакопее используется термин "этикетка", по решению уполномоченного органа соответствующая информация может приводиться на упаковке, в сопроводительной документации или сертификате анализа, сопровождающем активную фармацевтическую субстанцию, вспомогательное вещество и материал.

В случае приемлемости, на этикетке указывают, что субстанция:

- предназначена для определенного применения;

- находится в определенной кристаллической форме;

- имеет определенную степень измельчения;

- является уплотненной;

- покрыта оболочкой;

- гранулирована;

- стерильна;

- содержит бактериальные эндотоксины в пределах нормы;

- апирогенна;

- содержит скользящие вещества.

В случае применимости, на этикетке указывают:

- степень гидратации;

- название и концентрацию всех вспомогательных веществ.

2.4. УПАКОВКА И МАТЕРИАЛЫ, ИСПОЛЬЗУЕМЫЕ ДЛЯ ЕЕ ПРОИЗВОДСТВА

2.4.1. МАТЕРИАЛЫ, ИСПОЛЬЗУЕМЫЕ ДЛЯ ПРОИЗВОДСТВА УПАКОВКИ

204010001-2022

2.4.1.1. Полиолефины

ОПРЕДЕЛЕНИЕ

Полиолефины получают полимеризацией этилена или пропилена, или сополимеризацией этих веществ с высшими гомологами (от C4 до C10), карбоновыми кислотами, эфирами с их содержанием не более 25%. Некоторые из них могут представлять собой смесь полиолефинов.

ОСОБЕННОСТИ ТЕХНОЛОГИИ

В полимеры вводят определенное количество добавок для улучшения их обработки или их химических, физических и механических свойств в зависимости от цели предполагаемого назначения. Полимеры могут содержать не более трех антиоксидантных добавок, одно или несколько смазывающих или антиадгезивных (препятствующих слипанию) веществ, а также титана диоксид в качестве средства, обеспечивающего непрозрачность материала для защиты от света. Добавки выбираются из нижеследующего перечня (при отсутствии другого обоснования и разрешения уполномоченного органа) в котором указано их максимально допустимое содержание:

- бутилгидрокситолуол (добавка к полимерному материалу 07): не более 0,125%;

- пентаэритритилтетракис[3-(3,5-ди-трет-бутил-4-гидроксифенил)пропионат] (добавка к полимерному материалу 09): не более 0,3%;

- 1,3,5-трис(3,5-ди-трет-бутил-4-гидроксибензил)-s-триазин-2,4,6(1H,3H,5H)-трион (добавка к полимерному материалу 13): не более 0,3%;

- октадецил-3-(3,5-ди-трет-бутил-4-гидроксифенил)пропионат (добавка к полимерному материалу 11): не более 0,3%;

- этиленбис[3,3-бис[3-(1,1-диметилэтил)-4-гидроксифенил]-бутаноат] (добавка к полимерному материалу 08): не более 0,3%;

- диоктадецилдисульфид (добавка к полимерному материалу 15): не более 0,3%;

- 4,4',4"-[(2,4,6-триметил-1,3,5-бензолтриил)трисметилен]трифенол (добавка к полимерному материалу 10): не более 0,3%;

- 2,2'-бис(октадецилокси)-5,5'-спироби[1,3,2-диоксафосфинан] (добавка к полимерному материалу 14): не более 0,3%;

- дидодецил-3,3'-тиодипропионат (добавка к полимерному материалу 16): не более 0,3%;

- диоктадецил-3,3'-тиодипропионат (добавка к полимерному материалу 17): не более 0,3%;

- трис[2,4-бис(1,1-диметилэтил)фенил]фосфит (добавка к полимерному материалу 12): не более 0,3%;

- добавка к полимерному материалу 18: не более 0,1%;

- сополимер диметилсукцината и (4-гидрокси-2,2,6,6-тетраметилпиперидин-1-ил)этанола (добавка к полимерному материалу 22): не более 0,3%.

Общее содержание перечисленных выше антиоксидантных добавок не должно превышать 0,3%.

- гидротальцит: не более 0,5%;

- алканамиды: не более 0,5%;

- алкенамиды: не более 0,5%;

- натрия алюмосиликат: не более 0,5%;

- кремния диоксид (натуральный или синтетический, с покрытием или без покрытия): не более 0,5%;

- натрия бензоат: не более 0,5%;

- эфиры или соли жирных кислот: не более 0,5%;

- тринатрия фосфат: не более 0,5%;

- парафин жидкий (вазелиновое масло): не более 0,5%;

- цинка оксид: не более 0,5%;

- тальк: не более 0,5%;

- магния оксид: не более 0,2%;

- кальция стеарат или цинка стеарат или их смесь: не более 0,5%;

- титана диоксид: не более 4%.

Поставщик материала должен гарантировать, что качественный и количественный составы каждой производственной серии соответствуют типовому образцу (2.4.2.3).

СВОЙСТВА

Описание. Порошок, однородные шарики, гранулы или после переработки пластинки разной толщины, или после преобразования виды первичной упаковки.

Растворимость. Практически не растворим в воде, этаноле безводном, гексане и метаноле, растворим в горячих ароматических углеводородах.

Размягчается при температуре от 65 °C до 165 °C. При сжигании пламя окрашивается в синий цвет.

ИДЕНТИФИКАЦИЯ

Образцы испытуемого полиолефина при необходимости разрезают на части с размером сторон не более 1 см.

А. Определение проводят методом абсорбционной спектрофотометрии в инфракрасной области (2.1.2.23).

К 0,25 г испытуемого полиолефина прибавляют 10 мл толуола P и кипятят с обратным холодильником в течение 15 мин. Несколько капель полученного раствора помещают на пластинку натрия хлорида или на диск из калия бромида P и досуха выпаривают при температуре 80 °C.

Также спектр может быть непосредственно записан на вырезанном фрагменте соответствующего размера пластин, гранул или пленок горячего прессования с использованием нарушенного полного внутреннего отражения. Полученный инфракрасный спектр поглощения должен соответствовать спектру типового образца полиолефина.

Б. Испытуемый полиолефин должен выдерживать дополнительные испытания на предельное содержание Добавки в соответствии с указаниями в разделе Испытания.

В. Выполняется только для непрозрачных образцов. Около 20 мг испытуемого образца помещают в платиновый тигель с 1 г калия гидросульфата P, смешивают, нагревают до полного расплавления и охлаждают. Добавляют 20 мл серной кислоты разбавленной P, осторожно нагревают и фильтруют. К полученному фильтрату добавляют 1 мл фосфорной кислоты P и 1 мл раствора водорода пероксида концентрированного P; если испытуемый полиолефин содержит титана диоксид, должно наблюдаться оранжево-желтое окрашивание.

ИСПЫТАНИЯ

Образцы испытуемого материала при необходимости разрезают на части с размером сторон не более 1 см.

Раствор S1. Раствор S1 должен быть использован в течение 4 ч после приготовления. 25 г испытуемого образца помещают в колбу из боросиликатного стекла с притертой пробкой, прибавляют 500 мл воды для инъекций P и кипятят с обратным холодильником в течение 5 ч. Раствор охлаждают и декантируют. Часть раствора сохраняют для проведения испытания на прозрачность и цветность. Оставшийся раствор фильтруют через стеклянный фильтр (16) (2.1.1.2).

Раствор S2. 2,0 г испытуемого образца помещают в коническую колбу из боросиликатного стекла с притертой пробкой, прибавляют 80 мл толуола P и кипятят с обратным холодильником при постоянном перемешивании в течение 90 мин. Охлаждают до температуры 60 °C и добавляют 120 мл метанола P при постоянном перемешивании. Раствор фильтруют через стеклянный фильтр (16) (2.1.1.2). Колбу и фильтр промывают 25 мл смеси толуол P - метанол P (40:60 об/об), добавляют смыв к фильтрату и доводят объем полученного раствора той же смесью растворителей до 250 мл. Также готовят контрольный раствор S2.

Раствор S3. 100 г испытуемого образца помещают в коническую колбу из боросиликатного стекла с притертой пробкой и прибавляют 250 мл 0,1 M хлороводородной кислоты и кипятят с обратным холодильником при постоянном перемешивании в течение 1 ч. Раствор охлаждают и декантируют.

Прозрачность раствора (2.1.2.1). Раствор S1 должен быть прозрачным.

Цветность раствора (2.1.2.2, Метод II). Раствор S1 должен быть бесцветным.

Кислотность или щелочность. К 100 мл раствора S1 прибавляют 0,15 мл раствора БКФ (BRP) индикатора P: окраска индикатора должна изменяться до синей при добавлении не более 1,5 мл 0,01 M раствора натрия гидроксида. К 100 мл раствора S1 прибавляют 0,2 мл раствора метилового оранжевого P; раствор окрашивается в желтый цвет. Оранжевое окрашивание раствора должно появиться при прибавлении не более 1,0 мл 0,01 M хлороводородной кислоты.

Поглощение/Оптическая плотность (2.1.2.24). Не более 0,2.

Определение проводят с использованием раствора S1 в области длин волн от 220 нм до 340 нм.

Восстанавливающие вещества. К 20,0 мл раствора S1 прибавляют 1 мл серной кислоты разбавленной P и 20,0 мл 0,002 M раствора калия перманганата, кипятят с обратным холодильником в течение 3 мин и немедленно охлаждают, добавляют 1 г калия йодида P и тотчас титруют 0,01 M раствором натрия тиосульфата, используя в качестве индикатора 0,25 мл раствор крахмала P. Параллельно проводят контрольный опыт, используя 20 мл воды для инъекций P. Разница между объемами титранта не должна превышать 3,0 мл.

Алюминий. Не более 1 ppm.

Определение проводят методом атомно-эмиссионной спектрометрии с индуктивно-связанной плазмой (2.1.2.41).

Испытуемый раствор. Используют раствор S3.

Растворы сравнения. Готовят разведением стандартного раствора алюминия ионов (200 ppm Al3+) P 0,1 M хлороводородной кислотой.

Измеряют интенсивность эмиссии алюминия при длине волны 396,15 нм, проводя коррекцию спектрального фона при длине волны 396,25 нм.

Проверяют отсутствие алюминия в используемой хлороводородной кислоте.

Титан (не для полиолефинов, очищенных от диоксида титана). Не более 1 ppm.

Определение проводят методом атомно-эмиссионной спектрометрии с индуктивно-связанной плазмой (2.1.2.41).

Испытуемый раствор. Используют раствор S3.

Растворы сравнения. Готовят разведением стандартного раствора титана ионов (100 ppm Ti3+) P 0,1 M хлороводородной кислотой.

Измеряют интенсивность эмиссии титана при длине волны 336,12 нм, проводя коррекцию спектрального фона при длине волны 336,16 нм.

Проверяют отсутствие титана в используемой хлороводородной кислоте.

Цинк. Не более 1 ppm.

Определение проводят методом атомно-абсорбционной спектрометрии (2.1.2.22, метод I).

Испытуемый раствор. Используют раствор S3.

Растворы сравнения. Готовят разведением стандартного раствора цинка ионов (10 ppm Zn2+) P 0,1 M хлороводородной кислотой.

Условия определения:

- источник: цинковая лампа с полым катодом;

- длина волны: 213,9 нм;

- атомизатор: воздушно-ацетиленовое пламя.

Проверяют отсутствие цинка в используемой хлороводородной кислоте.

Тяжелые металлы. (2.1.4.8). Не более 2,5 ppm.

50 мл раствора S3 упаривают до 5 мл на водяной бане и доводят объем водой P до 20,0 мл. 12 мл полученного раствора должны выдерживать испытание А на тяжелые металлы. Раствор сравнения готовят, используя 2,5 мл стандартного раствора свинца ионов (10 ppm Pb2+) P.

Сульфатная зола (2.1.4.14). Не более 1,0%.

Определение проводят с использованием 5,0 г испытуемого образца.

Указанный допустимый предел не распространяется на полиолефин, содержащий в качестве добавки титана диоксид, который придает непрозрачность материалу.

ДОПОЛНИТЕЛЬНЫЕ ИСПЫТАНИЯ

Данные испытания следует проводить полностью или частично только в тех случаях, когда этого требует указанный состав или область использования полиолефина.

Фенольные антиоксиданты. Определение проводят методом жидкостной хроматографии (2.1.2.28).

Смесь растворителей: ацетонитрил P - тетрагидрофуран P (50:50 об/об).

Испытуемый раствор S21. 50 мл раствора S2 выпаривают досуха в вакууме при температуре 45 °C. Сухой остаток растворяют в 5,0 мл смеси растворителей. Используют контрольный раствор (см. Раствор S2).

Испытуемый раствор S22. 50 мл раствора S2 выпаривают досуха в вакууме при температуре 45 °C. Сухой остаток растворяют в 5,0 мл смеси равных объемов ацетонитрила P и раствора 10 г/л трет-бутилгидропероксида P в тетрагидрофуране P, закрывают колбу и оставляют на 1 ч. Используют контрольный раствор, приготовленный в соответствии с указаниями в испытании Раствор S2.

Из приведенных ниже растворов сравнения готовят только те, которые необходимы для анализа фенольных антиоксидантов, входящих в состав испытуемого материала.

Раствор сравнения (а). 25,0 мг СО ФЕАЭС <1> бутилгидрокситолуола (добавка к полимерному материалу 07) и 60,0 мг СО ФЕАЭС добавки к полимерному материалу 08 растворяют в 10,0 мл смеси растворителей. 2,0 мл полученного раствора доводят смесью растворителей до объема 50,0 мл.

<1> См. таблицу соответствия стандартных образцов Фармакопеи Евразийского экономического союза (СО ФЕАЭС).

Раствор сравнения (б). 60,0 мг СО ФЕАЭС добавки к полимерному материалу 09 и 60,0 мг СО ФЕАЭС добавки к полимерному материалу 10 растворяют в 10,0 мл смеси растворителей. 2,0 мл полученного раствора доводят смесью растворителей до объема 50,0 мл.

Раствор сравнения (в). Готовят непосредственно перед использованием. 60,0 мг СО ФЕАЭС добавки к полимерному материалу 11 и 60,0 мг СО ФЕАЭС добавки к полимерным материалам 12 растворяют в 10,0 мл смеси растворителей. 2,0 мл полученного раствора доводят смесью растворителей до объема 50,0 мл.

Раствор сравнения (г). 25,0 мг СО ФЕАЭС бутилгидрокситолуола (добавка к полимерному материалу 07) растворяют в 10,0 мл смеси растворителей. 2,0 мл полученного раствора доводят смесью растворителей до объема 50,0 мл.

Раствор сравнения (д). 60,0 мг СО ФЕАЭС добавки к полимерному материалу 08 растворяют в 10,0 мл смеси растворителей. 2,0 мл полученного раствора доводят смесью растворителей до объема 50,0 мл.

Раствор сравнения (е). 60,0 мг СО ФЕАЭС добавки к полимерному материалу 13 растворяют в 10,0 мл смеси растворителей. 2,0 мл полученного раствора доводят смесью растворителей до объема 50,0 мл.

Раствор сравнения (ж). 60,0 мг СО ФЕАЭС добавки к полимерному материалу 09 растворяют в 10,0 мл смеси растворителей. 2,0 мл полученного раствора доводят смесью растворителей до объема 50,0 мл.

Раствор сравнения (з). 60,0 мг СО ФЕАЭС добавки к полимерному материалу 10 растворяют в 10,0 мл смеси растворителей. 2,0 мл полученного раствора доводят смесью растворителей до объема 50,0 мл.

Раствор сравнения (и). 60,0 мг СО ФЕАЭС добавки к полимерному материалу 11 растворяют в 10,0 мл смеси растворителей. 2,0 мл полученного раствора доводят смесью растворителей до объема 50,0 мл.

Раствор сравнения (к). Готовят непосредственно перед использованием. 60,0 мг СО ФЕАЭС добавки к полимерному материалу 12 растворяют в 10,0 мл смеси растворителей. 2,0 мл полученного раствора доводят смесью растворителей до объема 50,0 мл.

Раствор сравнения (л). 20,0 мг СО ФЕАЭС добавки к полимерному материалу 18 растворяют в 10,0 мл смеси равных объемов ацетонитрила P и раствора 10 г/л трет-бутилгидропероксида P в тетрагидрофуране P. Оставляют в закрытом контейнере на 1 ч 2,0 мл полученного раствора доводят смесью растворителей до объема 50,0 мл.

А. Если испытуемый полиолефин содержит добавку к полимерному материалу 07 и (или) добавку к полимерному материалу 08 хроматографирование проводят в следующих условиях:

Условия хроматографирования:

- колонка: длиной 0,25 м и внутренним диаметром 4,6 мм, заполненная силикагелем октадецилсилильным для хроматографии P с размером частиц 5 мкм;

- подвижная фаза: вода для хроматографии P - ацетонитрил P (30:70 об/об);

- скорость подвижной фазы: 2 мл/мин;

- детектор: спектрофотометрический, длина волны 280 нм;

- объем вводимый пробы: по 20 мкл испытуемого раствора S21, соответствующего контрольного раствора, раствора сравнения (а) и (или) раствора сравнения (д) или (е), или растворов сравнения (д) и (е);

- время хроматографирования: 30 мин.

Пригодность хроматографической системы:

- разрешение: не менее 5,0 между пиками добавки к полимерному материалу 07 и добавки к полимерному материалу 08 на хроматограмме раствора сравнения (а).

На хроматограмме испытуемого раствора S21 должны обнаруживаться пики, соответствующие антиоксидантам, указанным в составе полиолефина, и могут обнаруживаться второстепенные пики, соответствующие пикам на хроматограмме контрольного раствора.

Расчет содержания:

- для добавки к полимерному материалу 07 и (или) добавки к полимерному материалу 08 используют концентрацию соответствующего CO вещества в растворах сравнения (д) и (или) растворах сравнения (е).

Пределы содержания:

- добавка к полимерному материалу 07: не более 0,125%;

- добавка к полимерному материалу 08: не более 0,3%.

Б. Если испытуемый полиолефин содержит один или несколько из следующих антиоксидантов:

- добавка к полимерному материалу 09;

- добавка к полимерному материалу 10;

- добавка к полимерному материалу 11;

- добавка к полимерному материалу 12;

- добавка к полимерному материалу 13;

хроматографирование проводят в вышеописанных условиях со следующими изменениями:

- подвижная фаза: вода для хроматографии P - тетрагидрофуран P - ацетонитрил P (10:30:60 об/об/об);

- скорость подвижной фазы: 1,5 мл/мин;

- объем вводимой пробы: по 20 мкл испытуемого раствора S21, соответствующего контрольного раствора, раствора сравнения (б), раствора сравнения (в) и растворов сравнения антиоксидантов из вышеприведенного списка, входящих в состав испытуемого материала.

Пригодность хроматографической системы:

- разрешение: не менее 2,0 между пиками добавки к полимерному материалу 09 и добавки к полимерному материалу 10 на хроматограмме раствора сравнения (б); не менее 2,0 между пиками добавки к полимерному материалу 11 и добавки к полимерному материалу 12 на хроматограмме раствора сравнения (в).

На хроматограмме испытуемого раствора S21 должны обнаруживаться пики, соответствующие антиоксидантам, указанным в составе, и могут обнаруживаться второстепенные пики, соответствующие пикам на хроматограмме контрольного раствора.

Расчет содержания:

- для добавок к полимерным материалам 09, 10, 11, 12 и (или) добавки к полимерному материалу 13 используют концентрацию соответствующего CO вещества в растворах сравнения (ж), (з), (и), (к) и (или) (е).

Пределы содержания:

- добавка к полимерному материалу 09: не более 0,3%;

- добавка к полимерному материалу 10: не более 0,3%;

- добавка к полимерному материалу 11: не более 0,3%;

- добавка к полимерному материалу 12: не более 0,3%;

- добавка к полимерному материалу 13: не более 0,3%.

В. Если испытуемый полиолефин содержит добавку к полимерному материалу 18, хроматографирование проводят в условиях, описанных для добавки к полимерному материалу 07 и (или) добавки к полимерному материалу 08 со следующими изменениями:

- подвижная фаза: тетрагидрофуран P - ацетонитрил P (20:80 об/об);

- скорость подвижной фазы: 1,5 мл/мин;

- детектор: спектрофотометрический, длина волны 270 нм;

- объем вводимой пробы: по 20 мкл испытуемого раствора S22, соответствующего контрольного раствора и раствора сравнения (л).

Идентификация пиков: идентифицируют пик добавки к полимерному материалу 18, используя хроматограмму, прилагаемую к СО ФЕАЭС добавки к полимерному материалу 18 и хроматограмму раствора сравнения (л).

Время удерживания: для двух основных пиков добавки к полимерному материалу 18 составляет около 3,3 мин и около 6,6 мин.

Хроматограмма, полученная с помощью испытуемого раствора S22, имеет два основных пика добавки к полимерному материалу 18. Сумма площадей этих пиков должна составлять не менее 50% от суммы площадей всех пиков добавки к полимерному материалу 18.

Пригодность хроматографической системы:

- разрешение: не менее 6,0 между пиками двух основных пиков на хроматограмме раствора сравнения (л).

На хроматограмме испытуемого раствора S22 должны обнаруживаться пики, соответствующие антиоксидантам, указанным в составе, и могут обнаруживаться второстепенные пики, соответствующие пикам на хроматограмме контрольного раствора.

Расчет содержания:

- суммируют площади всех пиков, соответствующих добавке к полимерному материалу 18 (времена удерживания между 2,0 мин и 9,5 мин);

- используют концентрацию СО ФЕАЭС добавки к полимерному материалу 18 в растворе сравнения (л);

Пределы содержания:

- сумма площадей пиков добавок к полимерному материалу 18: не более 0,1%;

- неучитываемый предел: любой пик с площадью менее 0,3% от общей площади.

Нефенольные антиоксиданты. Определение проводят методом тонкослойной хроматографии (2.1.2.26).

Испытуемый раствор S23. 100 мл раствора S2 выпаривают досуха в вакууме при температуре 45 °C. Сухой остаток растворяют в 2 мл метиленхлорида подкисленного P.

Раствор сравнения (м). 60 мг СО ФЕАЭС добавки к полимерному материалу 14 растворяют в 10 мл метиленхлорида P. 2 мл полученного раствора доводят метиленхлоридом подкисленным P до объема 10 мл.

Раствор сравнения (н). 60 мг СО ФЕАЭС добавки к полимерному материалу 15 растворяют в 10 мл метиленхлорида P. 2 мл полученного раствора доводят метиленхлоридом подкисленным P до объема 10 мл.

Раствор сравнения (о). 60 мг СО ФЕАЭС добавки к полимерному материалу 16 растворяют в 10 мл метиленхлорида P. 2 мл полученного раствора доводят метиленхлоридом подкисленным P до объема 10 мл.

Раствор сравнения (п). 60 мг СО ФЕАЭС добавки к полимерному материалу 17 растворяют в 10 мл метиленхлорида P. 2 мл полученного раствора доводят метиленхлоридом подкисленным P до объема 10 мл.

Раствор сравнения (р). 60 мг СО ФЕАЭС добавки к полимерному материалу 16 и 60 мг СО ФЕАЭС добавки к полимерному материалу 17 растворяют в 10 мл метиленхлорида P. 2 мл полученного раствора доводят метиленхлоридом подкисленным P до объема 10 мл.

Условия хроматографирования:

- ТСХ пластинка со слоем силикагеля GF254 P;

- подвижная фаза А: гексан P;

- подвижная фаза Б: метиленхлорид P;

- объем наносимой пробы: по 20 мкл испытуемого раствора S23, раствора сравнения (р) и растворов сравнения, которые соответствуют всем фенольным и нефенольным антиоксидантам, входящим в состав материала типового образца испытуемого полиолефина;

- пробег фронта подвижной фазы: не менее 18 см от линии старта с использованием подвижной фазы А; после высушивания хроматографируют на расстояние не менее 17 см от линии старта с использованием подвижной фазы Б;

- высушивание: на воздухе;

- детектирование: просматривание в ультрафиолетовом свете при длине волны 254 нм, опрыскивание спиртовым раствором йода P и просматривание через 10 - 15 мин в ультрафиолетовом свете при длине волны 254 нм;

Пригодность хроматографической системы:

- на хроматограмме раствора сравнения (р) должны обнаруживаться 2 четко разделенных пятна.

Предел содержания:

- на хроматограмме испытуемого раствора S23 должны обнаруживаться пятна на уровне соответствующих пятен на хроматограммах растворов сравнения и не превышать их по интенсивности.

Добавка к полимерному материалу 22. Определение проводят методом жидкостной хроматографии (2.1.2.28).

Испытуемый раствор. 25 мл раствора S2 выпаривают досуха в вакууме при температуре 45 °C. Сухой остаток растворяют в 10 мл толуола P и 10 мл раствора 10 г/л тетрабутиламмония гидроксида P в смеси толуол P - этанол безводный P (35:65 об/об), кипятят с обратным холодильником в течение 3 ч, охлаждают и при необходимости фильтруют.

Раствор сравнения. 30 мг СО ФЕАЭС добавки к полимерному материалу 22 растворяют в 50 мл толуола P. 1 мл полученного раствора добавляют к 25 мл контрольного раствора S2 и выпаривают досуха в вакууме при температуре 45 °C. Сухой остаток растворяют в 10 мл толуола P и 10 мл раствора 10 г/л тетрабутиламмония гидроксида P в смеси толуол P - этанол безводный P (35:65 об/об), кипятят с обратным холодильником в течение 3 ч, охлаждают и при необходимости фильтруют.

Условия хроматографирования:

- колонка: длиной 0,25 м и внутренним диаметром 4,6 мм, заполненная силикагелем аминопропилсилильным для хроматографии P с размером частиц 5 мкм;

- подвижная фаза: этанол безводный P - гексан P (11:89 об/об);

- скорость подвижной фазы: 2 мл/мин;

- детектор: спектрофотометрический, длина волны 227 нм;

- объем вводимый пробы: по 20 мкл;

- время хроматографирования: 10 мин.

Пригодность хроматографической системы:

- разрешение: не менее 7,0 между пиками добавки к полимерному материалу 07 и добавки к полимерному материалу 08 на хроматограмме раствора сравнения (а).

Предел содержания:

- на хроматограмме испытуемого раствора площадь пика, соответствующего диольному компоненту в добавке к полимерному материалу 22, не должна превышать площадь соответствующего пика на хроматограмме раствора сравнения.

Амиды и стеараты. Определение проводят методом тонкослойной хроматографии (2.1.2.26).

Испытуемый раствор. Используют испытуемый раствор S23, приготовленный в соответствии с указаниями в испытании Нефенольные антиоксиданты.

Раствор сравнения (с). 20 мг СО ФЕАЭС стеариновой кислоты (добавка к полимерному материалу 19) растворяют в 10 мл метиленхлорида P.

Раствор сравнения (т). 40 мг олеамида (СО ФЕАЭС добавка к полимерному материалу 20) растворяют в 20 мл метиленхлорида P.

Раствор сравнения (у). 40 мг эрукамида (СО ФЕАЭС добавка к полимерному материалу 21) растворяют в 20 мл метиленхлорида P.

Условия хроматографирования:

- ТСХ пластинка со слоем силикагеля GF254 P (2 штуки).

А. - подвижная фаза: этанол безводный P - триметилпентан P (25:75 об/об);

- объем наносимой пробы: по 10 мкл испытуемого раствора и раствора сравнения (с);

- пробег фронта подвижной фазы: не менее 10 см от линии старта;

- высушивание: на воздухе;

- детектирование: опрыскивание раствором 2 г/л натриевой соли дихлорфенолиндофенола P в этаноле безводном P и нагревание при температуре 120 °C в течение нескольких минут для усиления интенсивности пятен.

Предел содержания:

- на хроматограмме испытуемого раствора пятно, соответствующее добавке к полимерному материалу 19, должно обнаруживаться на уровне пятна на хроматограмме раствора сравнения (с) (Rf около 0,5) и не превышать его по интенсивности.

Б. - подвижная фаза А: гексан P;

- подвижная фаза Б: метанол P - метиленхлорид P (5:95 об/об);

- объем наносимой пробы: по 10 мкл испытуемого раствора и растворов сравнения (т) и (у);

- пробег фронта подвижной фазы: не менее 13 см от линии старта с использованием подвижной фазы А; после высушивания хроматографируют на расстояние не менее 10 см от линии старта с использованием подвижной фазы Б;

- высушивание: на воздухе;

- детектирование: опрыскивание раствором 40 г/л фосфорномолибденовой кислоты P в этаноле безводном P и нагревание при температуре 120 °C до появления пятен.

Предел содержания:

- на хроматограмме испытуемого раствора пятна, соответствующие добавке к полимерному материалу 20 или добавке к полимерному материалу 21, должны обнаруживаться на уровне соответствующих пятен на хроматограммах растворов сравнения (т) и (у) (Rf около 0,2) и не превышать их по интенсивности.

204010002-2022

2.4.1.2. Полиэтилен без добавок

Требования настоящей общей фармакопейной статьи распространяются на полиэтилен без добавок, предназначенный для производства упаковок для лекарственных препаратов парентерального и офтальмологического применений.

Полиэтилен без добавок получают полимеризацией этилена под высоким давлением в присутствии кислорода или инициаторов образования свободных радикалов.

СВОЙСТВА

Описание. Однородные шарики, гранулы, порошок или после переработки полупрозрачные пластинки разной толщины, или после преобразования виды первичной упаковки.

Растворимость. Практически не растворим в воде, этаноле безводном, гексане и метаноле, растворим в горячих ароматических углеводородах.

Размягчается при температуре выше 65 °C.

Относительная плотность. От 0,910 до 0,937.

ИДЕНТИФИКАЦИЯ

Образцы испытуемого материала при необходимости разрезают на части с размером сторон не более 1 см.

А. Определение проводят методом абсорбционной спектрофотометрии в инфракрасной области (2.1.2.23).

К 0,25 г образца испытуемого материала прибавляют 10 мл толуола P и кипятят с обратным холодильником в течение 15 мин. Несколько капель полученного раствора помещают на пластинку натрия хлорида или на диск с калия бромидом P и досуха выпаривают в сушильном шкафу при температуре 80 °C.

Также спектр может быть непосредственно записан на вырезанном фрагменте соответствующего размера пластин, гранул или пленок горячего прессования с использованием нарушенного полного внутреннего отражения.

На инфракрасном спектре испытуемого образца должны обнаруживаться максимумы поглощения при всех волновых числах 2915 , 2848 , 1471 , 1465 , 729 , 719 (допустимое отклонение +/- 5 ).

Полученный спектр должен соответствовать спектру материала типового образца.

Б. Испытуемый материал должен выдерживать дополнительные испытания на предельное содержание Добавки в соответствии с указаниями в разделе Испытания.

ИСПЫТАНИЯ

Образцы испытуемого материала при необходимости разрезают на части с размером сторон не более 1 см.

Раствор S1. Раствор используется в течение 4 ч после приготовления. 25 г испытуемого образца помещают в колбу из боросиликатного стекла с притертой пробкой, прибавляют 500 мл воды P и кипятят с обратным холодильником в течение 5 ч. Охлаждают и декантируют раствор. Часть раствора оставляют для проведения испытания на прозрачность и цветность. Оставшийся раствор фильтруют через стеклянный фильтр (16) (2.1.1.2).

Раствор S2. 2,0 г испытуемого образца помещают в коническую колбу из боросиликатного стекла с притертой пробкой, прибавляют 80 мл толуола P и кипятят с обратным холодильником при постоянном перемешивании в течение 1 ч 30 мин. Охлаждают до температуры 60 °C и добавляют 120 мл метанола P при постоянном перемешивании. Раствор фильтруют через стеклянный фильтр (16) (2.1.1.2). Колбу и фильтр промывают 25 мл смеси толуол P - метанол P (40:60 об/об), добавляют смыв к фильтрату и доводят объем полученного раствора такой же смесью растворителей до 250 мл. Также готовят контрольный раствор S2.

Раствор S3. 100 г испытуемого образца помещают в коническую колбу из боросиликатного стекла с притертой пробкой. Прибавляют 250 мл 0,1 M хлороводородной кислоты, кипятят с обратным холодильником при постоянном перемешивании в течение 1 ч. Раствор охлаждают и декантируют.

Прозрачность раствора (2.1.2.1). Раствор S1 должен быть прозрачным.

Цветность раствора (2.1.2.2, метод II). Раствор S1 должен быть бесцветным.

Кислотность или щелочность. К 100 мл раствора S1 прибавляют 0,15 мл раствора БКФ (BRP) индикатора P; окраска индикатора должна измениться до синей при добавлении не более 1,5 мл 0,01 M раствора натрия гидроксида. К 100 мл раствора S1 прибавляют 0,2 мл раствора метилового оранжевого P; раствор окрашивается в желтый цвет. Оранжевое окрашивание раствора должно появиться при прибавлении не более 1,0 мл 0,01 M хлороводородной кислоты.

Поглощение/Оптическая плотность (2.1.2.24). Не более 0,2.

Определение проводят с использованием раствора S1 в области длин волн от 220 нм до 340 нм.

Восстанавливающие вещества. К 20 мл раствора S1 прибавляют 1 мл серной кислоты разбавленной P и 20 мл 0,002 M раствора калия перманганата. Кипятят с обратным холодильником в течение 3 мин и тотчас охлаждают, добавляют 1 г калия йодида P и тотчас титруют 0,01 M раствором натрия тиосульфата, используя в качестве индикатора 0,25 мл раствора крахмала P. Параллельно проводят контрольный опыт. Разница между объемами титранта не должна превышать 0,5 мл.

Добавки. Определение проводят методом тонкослойной хроматографии (2.1.2.26).

Испытуемый раствор. 50 мл раствора S2 выпаривают досуха в вакууме при температуре 45 °C. Сухой остаток растворяют в 5 мл метиленхлорида P. Используют контрольный раствор, приготовленный в соответствии с указаниями в испытании Раствор S2.

Раствор сравнения. 20 мг СО ФЕАЭС добавки к полимерному материалу 15 и 20 мг СО ФЕАЭС добавки к полимерному материалу 08 растворяют в метиленхлориде P и доводят объем раствора тем же растворителем до 10 мл.

Условия хроматографирования:

- ТСХ пластинка со слоем силикагеля G P;

- подвижная фаза А: гексан P;

- подвижная фаза Б: метанол P - метиленхлорид P (5:95 об/об);

- объем наносимый пробы: 10 мкл;

- пробег фронта подвижной фазы: не менее 13 см от линии старта с использованием подвижной фазы А; не менее 10 см от линии старта с использованием подвижной фазы Б;

- высушивание: на воздухе;

- детектирование: опрыскивание раствором 40 г/л фосфорномолибденовой кислоты P в этаноле (96%) P и нагревание при температуре 120 °C до появления пятен.

Пригодность хроматографической системы:

- на хроматограмме раствора сравнения должны обнаруживаться 2 четко разделенных пятна.

Требование:

- на хроматограмме испытуемого раствора не должны обнаруживаться пятна, кроме пятна, соответствующего олигомерам, которое может проявиться на фронте растворителя в камере с гексаном;

- не учитывают любые пятна, соответствующие пятнам на хроматограмме контрольного раствора.

Тяжелые металлы. (2.1.4.8, метод А). Не более 2,5 ppm.

50 мл раствора S3 упаривают до объема около 5 мл на водяной бане и доводят водой P до 20 мл. 12 мл полученного раствора должны выдерживать испытание на тяжелые металлы. Раствор сравнения готовят, используя 2,5 мл стандартного раствора свинца ионов (10 ppm Pb2+) P.

Сульфатная зола (2.1.4.14). Не более 0,02%.

Определение проводят с использованием 5,0 г испытуемого образца материала.

204010003-2022

2.4.1.3. Полиэтилен с добавками

ОПРЕДЕЛЕНИЕ

Требования настоящей общей фармакопейной статьи распространяются на полиэтилен с добавками, предназначенный для производства упаковок лекарственных препаратов парентерального и офтальмологического применений.

Полиэтилен с добавками получают полимеризацией этилена под давлением в присутствии катализатора или сополимеризацией этилена с не более 25% гомологами высших алкенов (от C3 до C10).

ОСОБЕННОСТИ ТЕХНОЛОГИИ

В полимер вводят определенное количество добавок для улучшения его обработки, химических, физических и механических свойств в зависимости от цели предполагаемого назначения.

Полиэтилен может содержать не более трех антиоксидантов, одно или несколько смазывающих или антиадгезивных (препятствующих слипанию) веществ, а также титана диоксид в качестве средства, обеспечивающего непрозрачность материала для защиты от света. Добавки выбираются из нижеследующего перечня (при отсутствии другого обоснования и разрешения уполномоченного органа) в котором указано их максимально допустимое содержание:

- бутилгидрокситолуол (добавка к полимерному материалу 07): не более 0,125%;

- пентаэритритилтетракис[3-(3,5-ди-трет-бутил-4-гидроксифенил)пропионат] (добавка к полимерному материалу 09): не более 0,3%;

- 1,3,5-трис(3,5-ди-трет-бутил-4-гидроксибензил)-s-триазин-2,4,6(1H,3H,5H)-трион (добавка к полимерному материалу 13): не более 0,3%;

- октадецил-3-(3,5-ди-трет-бутил-4-гидроксифенил)пропионат (добавка к полимерному материалу 11): не более 0,3%;

- этиленбис[3,3-бис[3-(1,1-диметилэтил)-4-гидроксифенил]-бутаноат] (добавка к полимерному материалу 08): не более 0,3%;

- диоктадецилдисульфид (добавка к полимерному материалу 15): не более 0,3%;

- 2,2',2",6,6',6"-гекса-трет-бутил-4,4',4"-[(2,4,6-триметил-1,3,5-бензолтриил) трисметилен]трифенол (добавка к полимерному материалу 10): не более 0,3%;

- 2,2'-бис(октадецилокси)-5,5'-спироби [1,3,2-диоксафосфинан] (добавка к полимерному материалу 14): не более 0,3%;

- дидодецил 3,3'-тиодипропионат (добавка к полимерному материалу 16): не более 0,3%;

- диоктадецил-3,3'-тиодипропионат (добавка к полимерному материалу 17): не более 0,3%;

- трис(2,4-ди-трет-бутилфенил)фосфит (добавка к полимерному материалу 12): не более 0,3%;

Общее содержание перечисленных выше антиоксидантных добавок не должно превышать 0,3%.

- гидротальцит: не более 0,5%;

- алканамиды: не более 0,5%;

- алкенамиды: не более 0,5%;

- натрия алюмосиликат: не более 0,5%;

- кремния диоксид (натуральный или синтетический, с покрытием или без покрытия): не более 0,5%;

- натрия бензоат: не более 0,5%;

- эфиры или соли жирных кислот: не более 0,5%;

- тринатрия фосфат: не более 0,5%;

- парафин жидкий (вазелиновое масло): не более 0,5%;

- цинка оксид: не более 0,5%;

- магния оксид: не более 0,2%;

- кальция стеарат или цинка стеарат или их смесь: не более 0,5%;

- титана диоксид, только для материалов упаковок офтальмологических лекарственных средств: не более 4%.

Поставщик материала должен гарантировать, что качественный и количественный составы каждой производственной серии соответствуют типовому образцу (2.4.2.3).

СВОЙСТВА

Описание. Порошок, однородные шарики, гранулы или после переработки пластинки разной толщины, после преобразования виды упаковки.

Растворимость. Практически не растворим в воде, этаноле безводном, гексане и метаноле, растворим в горячих ароматических углеводородах.

Размягчается при температуре от 70 °C до 140 °C.

Относительная плотность. От 0,890 до 0,965.

ИДЕНТИФИКАЦИЯ

Образцы испытуемого материала при необходимости разрезают на части с размером сторон не более 1 см.

А. Определение проводят методом абсорбционной спектрофотометрии в инфракрасной области (2.1.2.23).

К 0,25 г испытуемого образца материала прибавляют 10 мл толуола P и кипятят с обратным холодильником в течение 15 мин. Несколько капель полученного раствора помещают на пластинку натрия хлорида или на диск с калия бромидом P и выпаривают растворитель досуха в сушильном шкафу при температуре 80 °C.

Также спектр может быть непосредственно записан на вырезанном фрагменте соответствующего размера пластин, гранул или пленок горячего прессования с использованием нарушенного полного внутреннего отражения (НПВО).

На инфракрасном спектре испытуемого образца должны обнаруживаться максимумы поглощения при всех волновых числах 2915 , 2848 , 1471 , 1465 , 729 , 719 (допустимое отклонение +/- 5 ).

Б. Испытуемый образец должен выдерживать дополнительные испытания на предельное содержание Добавки в соответствии с указаниями в разделе Испытания.

В. (Выполняется только на непрозрачном полимере). Около 20 мг испытуемого образца помещают в платиновый тигель с 1 г калия гидросульфата P, нагревают до полного расплавления и охлаждают. Прибавляют 20 мл серной кислоты разбавленной P, осторожно нагревают и фильтруют. К полученному фильтрату добавляют 1 мл фосфорной кислоты P и 1 мл водорода пероксида раствора концентрированного P; если испытуемый образец содержит титана диоксид, должно наблюдаться оранжево-желтое окрашивание.

ИСПЫТАНИЯ

Образцы испытуемого материала при необходимости разрезают на части с размером сторон не более 1 см.

Раствор S1. 25 г испытуемого образца материала помещают в колбу из боросиликатного стекла с притертой пробкой. Прибавляют 500 мл воды P и кипятят с обратным холодильником в течение 5 ч. Охлаждают и декантируют раствор. Часть раствора сохраняют для проведения испытания на прозрачность и цветность. Оставшийся раствор фильтруют через стеклянный фильтр (16) (2.1.1.2). Раствор используется в течение 4 ч после приготовления.

Раствор S2. 2,0 г испытуемого образца материала помещают в коническую колбу из боросиликатного стекла с притертой пробкой. Прибавляют 80 мл толуола P и кипятят с обратным холодильником при постоянном перемешивании в течение 1 ч 30 мин. Охлаждают до температуры 60 °C и добавляют при постоянном перемешивании 120 мл метанола P. Раствор фильтруют через стеклянный фильтр (16) (2.1.1.2). Колбу и фильтр промывают 25 мл смеси толуол P - метанол P (40:60 об/об), добавляют смыв к фильтрату и доводят такой же смесью растворителей до объема 250,0 мл. Также готовят контрольный раствор S2.

Раствор S3. 100 г испытуемого образца материала помещают в коническую колбу из боросиликатного стекла с притертой пробкой. Прибавляют 250 мл 0,1 M хлороводородной кислоты, кипятят с обратным холодильником при постоянном перемешивании в течение 1 ч. Раствор охлаждают и декантируют.

Прозрачность раствора (2.1.2.1). Раствор S1 должен быть прозрачным.

Цветность раствора (2.1.2.2, метод II). Раствор S1 должен быть бесцветным.

Кислотность или щелочность. К 100 мл раствора S1, добавляют 0,15 мл БКФ (BRP) индикатора раствор P; окраска индикатора должна измениться до синей при добавлении не более 1,5 мл 0,01 M раствора натрия гидроксида. К 100 мл раствора S1 добавляют 0,2 мл метилового оранжевого раствора P, не более 1,0 мл 0,01 M хлороводородной кислоты должно израсходоваться до момента начала перехода окраски раствора от желтой до оранжевой.

Поглощение/Оптическая плотность (2.1.2.24). Оптическая плотность раствора S1 в области длин волн от 220 нм до 340 нм не должна превышать 0,2.

Восстанавливающие вещества. К 20 мл раствора S1 прибавляют 1 мл серной кислоты разбавленной P и 20 мл 0,002 M раствора калия перманганата. Кипятят с обратным холодильником в течение 3 мин и немедленно охлаждают. Добавляют 1 г калия йодида P и тотчас титруют 0,01 M раствором натрия тиосульфата, используя в качестве индикатора 0,25 мл крахмала раствор P. Параллельно проводят контрольное испытание. Разница между объемами титранта не должна превышать 0,5 мл.

Алюминий. Не более 1 ppm. Определение проводят методом атомно-эмиссионной спектрометрии с индуктивно-связанной плазмой (2.1.2.41).

Испытуемый раствор. Используют раствор S3.

Растворы сравнения. Готовят разбавлением стандартного раствора алюминия ионов (200 ppm Al3+) P 0,1 M хлороводородной кислотой.

Измеряют интенсивность эмиссии алюминия при длине волны 396,15 нм, проводя коррекцию спектрального фона при длине волны 396,25 нм.

Проверяют отсутствие алюминия в используемой хлороводородной кислоте.

Ванадий. Не более 0,1 ppm. Определение проводят методом атомно-эмиссионной спектрометрии с индуктивно-связанной плазмой (2.1.2.41).

Испытуемый раствор. Используют раствор S3.

Растворы сравнения. Готовят разведением стандартного раствора ванадия (1 г/л V+5) P смесью хлороводородная кислота P - вода P (2:8 об/об).

Измеряют интенсивность эмиссии ванадия при длине волны 292,40 нм, проводя коррекцию спектрального фона при длине волны 292,35 нм.

Проверяют отсутствие ванадия в используемой хлороводородной кислоте.

Титан. (не для материалов, очищенных от диоксида титана). Не более 1 ppm. Определение проводят методом атомно-эмиссионной спектрометрии с индуктивно-связанной плазмой (2.1.2.41).

Испытуемый раствор. Используют раствор S3.

Растворы сравнения. Готовят разведением стандартного раствора титана ионов (100 ppm Ti3+) P 0,1 M хлороводородной кислотой P.

Измеряют интенсивность эмиссии титана при длине волны 336,12 нм, проводя коррекцию спектрального фона при длине волны 336,16 нм.

Проверяют отсутствие титана в используемой хлороводородной кислоте.

Хром. Не более 0,05 ppm. Определение проводят методом атомно-эмиссионной спектрометрии с индуктивно-связанной плазмой (2.1.2.41).

Испытуемый раствор. Используют раствор S3.

Растворы сравнения. Готовят разведением стандартного раствора хрома (100 ppm Cr+6) P смесью хлороводородная кислота P - вода P (2:8 об/об).

Измеряют интенсивность эмиссии хрома при длине волны 205,55 нм, проводя коррекцию спектрального фона при длине волны 205,50 нм.

Проверяют отсутствие хрома в используемой хлороводородной кислоте.

Цинк. Не более 1 ppm. Определение проводят методом атомно-абсорбционной спектрометрии (2.1.2.22, метод I).

Испытуемый раствор. Используют раствор S3.

Растворы сравнения. Готовят разведением стандартного раствора цинка ионов (10 ppm Zn2+) P 0,1 M хлороводородной кислотой.

Измеряют поглощение полученных растворов при длине волны 213,9 нм, используя в качестве источника излучения лампу с полым цинковым катодом и воздушно-ацетиленовое пламя.

Проверяют отсутствие цинка в используемой хлороводородной кислоте.

Цирконий. Не более 0,1 ppm. Определение проводят методом атомно-эмиссионной спектрометрии с индуктивно-связанной плазмой (2.1.2.41).

Испытуемый раствор. Используют раствор S3.

Растворы сравнения. Готовят разведением стандартного раствора циркония (1 г/л Zr+4) P смесью хлороводородная кислота P - вода P (2:8 об/об).

Измеряют интенсивность эмиссии циркония при длине волны 343,82 нм, проводя коррекцию спектрального фона при длине волны 343,92 нм.

Проверяют отсутствие циркония в используемой хлороводородной кислоте.

Тяжелые металлы. (2.1.4.8, метод А). Не более 2,5 ppm.

50 мл раствора S3 упаривают на водяной бане до объема приблизительно 5 мл и доводят водой P до 20,0 мл. 12 мл полученного раствора должны выдерживать испытание на тяжелые металлы. Раствор сравнения готовят, используя 2,5 мл стандартного раствора свинца ионов (10 ppm Pb2+) P.

Сульфатная зола (2.1.4.14). Не более 1,0%.

Определение проводят из 5,0 г испытуемого образца материала.

Указанный допустимый предел не распространяется на полиэтилен, содержащий титана диоксид в качестве добавки, придающей непрозрачность материалу.

ДОПОЛНИТЕЛЬНЫЕ ИСПЫТАНИЯ

Данные испытания следует проводить полностью или частично только в тех случаях, когда этого требует указанный состав полиэтилена.

Фенольные антиоксиданты. Определение проводят методом жидкостной хроматографии (2.1.2.28).

Смесь растворителей: ацетонитрил P - тетратидрофуран P (50:50 об/об).

Испытуемый раствор S21. 50 мл раствора S2 выпаривают досуха в вакууме при температуре 45 °C. Сухой остаток растворяют в 5,0 мл смеси растворителей. Используют контрольный раствор, приготовленный в соответствии с указаниями в испытании Раствор S2.

Из приведенных ниже растворов сравнения готовят только те, которые необходимы для анализа фенольных антиоксидантов, входящих в состав испытуемого материала.

Раствор сравнения (а). 25,0 мг СО ФЕАЭС бутилгидрокситолуола (добавка к полимерному материалу 07) и 60,0 мг СО ФЕАЭС добавки к полимерному материалу 08 растворяют в 10,0 мл смеси растворителей. 2,0 мл полученного раствора доводят смесью растворителей до объема 50,0 мл.

Раствор сравнения (б). 60,0 мг СО ФЕАЭС добавки к полимерному материалу 09 и 60,0 мг СО ФЕАЭС добавки к полимерному материалу 10 растворяют в 10,0 мл смеси растворителей. 2,0 мл полученного раствора доводят смесью растворителей до объема 50,0 мл.

Раствор сравнения (в). Готовят непосредственно перед использованием. 60,0 мг СО ФЕАЭС добавки к полимерному материалу 11 и 60,0 мг СО ФЕАЭС добавки к полимерному материалу 12 растворяют в 10,0 мл смеси растворителей. 2,0 мл полученного раствора доводят смесью растворителей до объема 50,0 мл.

Раствор сравнения (г). 25,0 мг СО ФЕАЭС бутилгидрокситолуола (добавки к полимерному материалу 07) растворяют в 10,0 мл смеси растворителей. 2,0 мл полученного раствора доводят смесью растворителей до объема 50,0 мл.

Раствор сравнения (д). 60,0 мг СО ФЕАЭС добавки к полимерному материалу 08 растворяют в 10,0 мл смеси растворителей. 2,0 мл полученного раствора доводят смесью растворителей до объема 50,0 мл.

Раствор сравнения (е). 60,0 мг СО ФЕАЭС добавки к полимерному материалу 13 растворяют в 10,0 мл смеси растворителей. 2,0 мл полученного раствора доводят смесью растворителей до объема 50,0 мл.

Раствор сравнения (ж). 60,0 мг СО ФЕАЭС добавки к полимерному материалу 09 растворяют в 10,0 мл смеси растворителей. 2,0 мл полученного раствора доводят смесью растворителей до объема 50,0 мл.

Раствор сравнения (з). 60,0 мг СО ФЕАЭС добавки к полимерному материалу 10 растворяют в 10,0 мл смеси растворителей. 2,0 мл полученного раствора доводят смесью растворителей до объема 50,0 мл.

Раствор сравнения (и). 60,0 мг СО ФЕАЭС добавки к полимерному материалу 11 растворяют в 10,0 мл смеси растворителей. 2,0 мл полученного раствора доводят смесью растворителей до объема 50,0 мл.

Раствор сравнения (к). Готовят непосредственно перед использованием. 60,0 мг СО ФЕАЭС добавки к полимерному материалу 12 растворяют в 10,0 мл смеси растворителей. 2,0 мл полученного раствора доводят смесью растворителей до объема 50,0 мл.

Вариант 1.

Если испытуемый материал содержит добавки к полимерным материалам 07 и (или) добавки к полимерным материалам 08, хроматографирование проводят в следующих условиях:

- колонка с длиной 0,25 м и внутренним диаметром 4,6 мм, заполненная силикагелем октадецилсилильным для хроматографии P с размером частиц 5 мкм;

- подвижная фаза: вода для хроматографии P - ацетонитрил P (30:70 об/об);

- скорость подвижной фазы: 2 мл/мин;

- детектор: спектрофотометрический, длина волны 280 нм;

- объем вводимой пробы: по 20 мкл испытуемого раствора S21, соответствующего контрольного раствора, раствора сравнения (а) и раствора сравнения (г) или (д), или растворов сравнения (г) и (д);

- время хроматографирования: 30 мин.

Пригодность хроматографической системы:

- разрешение: не менее 5,0 между пиками добавки к полимерному материалу 07 и добавки к полимерному материалу 08 на хроматограмме раствора сравнения (а).

На хроматограмме испытуемого раствора S21 должны обнаруживаться пики, соответствующие антиоксидантам, указанным в составе полиэтилена, и могут обнаруживаться второстепенные пики, соответствующие пикам на хроматограмме контрольного раствора.

Расчет содержания:

- для расчета содержания добавки к полимерному материалу 07 и (или) добавки к полимерному материалу 08 используют концентрацию соответствующего стандартного образца вещества в растворах сравнения (г) и (или) (д).

Пределы содержания:

- добавка к полимерному материалу 07: не более 0,125%;

- добавка к полимерному материалу 08: не более 0,3%.

Вариант 2.

Если испытуемый образец содержит один или несколько из следующих антиоксидантов:

- добавка к полимерному материалу 09;

- добавка к полимерному материалу 10;

- добавка к полимерному материалу 11;

- добавка к полимерному материалу 12;

- добавка к полимерному материалу 13;

то хроматографирование проводят в вышеописанных условиях со следующими изменениями:

- подвижная фаза: вода для хроматографии P - тетрагидрофуран P - ацетонитрил P (10:30:60 об/об/об);

- скорость подвижной фазы: 1,5 мл/мин;

- объем вводимой пробы: по 20 мкл испытуемого раствора S21, соответствующего контрольного раствора, раствора сравнения (б), раствора сравнения (в) и растворов сравнения антиоксидантов из вышеприведенного списка, входящих в состав испытуемого полиэтилена.

Пригодность хроматографической системы:

- разрешение: не менее 2,0 между пиками добавки к полимерному материалу 09 и добавки к полимерному материалу 10 на хроматограмме раствора сравнения (б); не менее 2,0 между пиками добавки к полимерному материалу 11 и добавки к полимерному материалу 12 на хроматограмме раствора сравнения (в).

На хроматограмме испытуемого раствора S21 должны обнаруживаться пики, соответствующие антиоксидантам, указанным в составе, и могут обнаруживаться второстепенные пики, соответствующие пикам на хроматограмме контрольного раствора.

Расчет содержания:

- для расчета содержания добавок к полимерным материалам 09, 10, 11, 12 и (или) добавки к полимерному материалу 13 используют концентрацию соответствующего стандартного образца в растворах сравнения (ж), (з), (и), (к) и (или) (е).

Пределы содержания:

- добавка к полимерному материалу 09: не более 0,3%;

- добавка к полимерному материалу 10: не более 0,3%;

- добавка к полимерному материалу 11: не более 0,3%;

- добавка к полимерному материалу 12: не более 0,3%;

- добавка к полимерному материалу 13: не более 0,3%.

Нефенольные антиоксиданты. Определение проводят методом тонкослойной хроматографии (2.1.2.26).

Испытуемый раствор S22. 100 мл раствора S2 выпаривают досуха в вакууме при температуре 45 °C. Сухой остаток растворяют в 2 мл метиленхлорида подкисленного P.

Раствор сравнения (л). 60 мг СО ФЕАЭС добавки к полимерному материалу 14 растворяют в метиленхлориде P и доводят объем раствора тем же растворителем до 10 мл. 2 мл полученного раствора доводят метиленхлоридом подкисленным P до объема 10 мл.

Раствор сравнения (м). 60 мг СО ФЕАЭС добавки к полимерному материалу 15 растворяют в метиленхлориде P и доводят объем раствора тем же растворителем до 10 мл. 2 мл полученного раствора доводят метиленхлоридом подкисленным P до объема 10 мл.

Раствор сравнения (н). 60 мг СО ФЕАЭС добавки к полимерному материалу 16 растворяют в метиленхлориде P и доводят объем раствора тем же растворителем до 10 мл. 2 мл полученного раствора доводят метиленхлоридом подкисленным P до объема 10 мл.

Раствор сравнения (о). 60 мг СО ФЕАЭС добавки к полимерному материалу 17 растворяют в метиленхлориде P и доводят объем раствора тем же растворителем до 10 мл. 2 мл полученного раствора доводят метиленхлоридом подкисленным P до объема 10 мл.

Раствор сравнения (п). 60 мг СО ФЕАЭС добавки к полимерному материалу 16 и 60 мг СО ФЕАЭС добавки к полимерному материалу 17 растворяют в метиленхлориде P и доводят объем раствора тем же растворителем до 10 мл. 2 мл полученного раствора доводят метиленхлоридом подкисленным P до объема 10 мл.

Условия хроматографирования:

- ТСХ пластинка со слоем силикагеля CE254 P;

- подвижная фаза А: гексан P;

- подвижная фаза Б: метиленхлорид P;

- объем наносимой пробы: по 20 мкл испытуемого раствора S22, раствора сравнения (п) и растворов сравнения, соответствующие всем фенольным и нефенольным антиоксидантам и входящие в состав материала типового образца испытуемого полимера;

- высушивание: на воздухе;

- детектирование: пластинку просматривают в ультрафиолетовом свете при длине волны 254 нм, затем опрыскивают спиртовым раствором йода P и через 10 - 15 мин просматривают в ультрафиолетовом свете при длине волны 254 нм.

Хроматографическое разделение: не менее 18 см от линии старта с использованием подвижной фазы А; после высушивания хроматографируют на расстояние не менее 17 см от линии старта с использованием подвижной фазы Б.

Пригодность хроматографической системы:

- на хроматограмме раствора сравнения (п) должны обнаруживаться два четко разделенных пятна.

Предел содержания:

- на хроматограмме испытуемого раствора S22 должны обнаруживаться пятна на уровне соответствующих пятен на хроматограммах растворов сравнения и не превышать их по интенсивности.

Амиды и стеараты. Определение проводят методом тонкослойной хроматографии (2.1.2.26).

Испытуемый раствор. Используют испытуемый раствор S22, приготовленный в соответствии с указаниями в испытании Нефенольные антиоксиданты.

Раствор сравнения (р). 20 мг СО ФЕАЭС стеариновой кислоты (добавка к полимерному материалу 19) растворяют в метиленхлориде P и доводят объем раствора тем же растворителем до 10 мл.

Раствор сравнения (с). 40 мг СО ФЕАЭС добавки к полимерному материалу 20 растворяют в метиленхлориде P и доводят объем раствора тем же растворителем до 20 мл.

Раствор сравнения (т). 40 мг СО ФЕАЭС добавки к полимерному материалу 21 растворяют в метиленхлориде P и доводят объем раствора тем же растворителем до 20 мл.

Условия хроматографирования:

- ТСХ пластинка со слоем силикагеля GF254 P (2 штуки).

А.

- подвижная фаза: этанол безводный P - триметилпентан P (25:75 об/об);

- объем наносимой пробы: по 10 мкл испытуемого раствора S22 и раствора сравнения (с);

- хроматографическое разделение: не менее 10 см от линии старта;

- высушивание: на воздухе;

- детектирование: пластинку опрыскивают раствором 2 г/л дихлорфенолиндофенола натриевой соли P в этаноле безводном P и нагревают при температуре 120 °C в течение нескольких мин для усиления интенсивности пятен.

Предел содержания:

- на хроматограмме испытуемого раствора S22 пятна, соответствующие добавке к полимерному материалу 19, должны обнаруживаться на уровне пятна на хроматограмме раствора сравнения (р) (RF около 0,5) и не превышать его по интенсивности.

Б.

- подвижная фаза А: гексан P;

- подвижная фаза Б: метанол P - метиленхлорид P (5:95 об/об);

- объем наносимой пробы: по 10 мкл испытуемого раствора S22 и растворов сравнения (т) и (у);

- хроматографическое разделение: не менее 13 см от линии старта с использованием подвижной фазы А; после высушивания хроматографируют на расстояние не менее 10 см от линии старта с использованием подвижной фазы Б;

- высушивание: на воздухе;

- детектирование: пластинку опрыскивают раствором 40 г/л фосфорномолибденовой P кислоты в этаноле безводном P и нагревают при температуре 120 °C до появления пятен.

Предел содержания:

- на хроматограмме испытуемого раствора S22 пятна, соответствующие добавке к полимерному материалу 20 или добавке к полимерному материалу 21, должны обнаруживаться на уровне соответствующих пятен на хроматограммах растворов сравнения (с) и (т) (RF около 0,2) и не превышать их по интенсивности.

204010004-2022

2.4.1.4. Полипропилен

ОПРЕДЕЛЕНИЕ

Требования настоящей общей фармакопейной статьи распространяются на полипропилен для упаковок и укупорочных средств для лекарственных препаратов парентерального и офтальмологического применения.

Полипропилен состоит из гомополимера пропилена или сополимера пропилена с содержанием не более 25% этилена или смеси (сплава) полипропилена с содержанием не более 25% полиэтилена. Полимер может содержать добавки.

ОСОБЕННОСТИ ТЕХНОЛОГИИ

В полимер вводят некоторое количество добавок в зависимости от цели предполагаемого назначения для оптимизации его химических, физических и механических свойств. Полипропилен может содержать не более трех антиоксидантов, одно или несколько смазывающих или антиадгезивных (препятствующих слипанию) веществ, а также титана диоксид в качестве средства, обеспечивающего непрозрачность, когда полимер должен обеспечивать защиту от света.

Добавки выбираются из нижеследующего перечня (при отсутствии другого обоснования и разрешения уполномоченного органа) в котором указано их максимально допустимое содержание:

- бутилгидрокситолуол (добавка к полимерному материалу 07): не более 0,125%;

- пентаэритритилтетракис[3-(3,5-ди-трет-бутил-4-гидроксифенил)пропионат] (добавка к полимерному материалу 09): не более 0,3%;

- 1,3,5-трис(3,5-ди-трет-бутил-4-гидроксибензил)-s-триазин-2,4,6(1H,3H,5H)-трион (добавка к полимерному материалу 13): не более 0,3%;

- октадецил-3-(3,5-ди-трет-бутил-4-гидроксифенил)пропионат (добавка к полимерному материалу 11 к полимеру): не более 0,3%;

- этиленбис[3,3-бис[3-(1,1-диметилэтил)-4-гидроксифенил]-бутаноат] (добавка к полимерному материалу 08): не более 0,3%;

- диоктадецилдисульфид (добавка к полимерному материалу 15): не более 0,3%;

- 2,2',2",6,6',6"-гекса-трет-бутил-4,4',4"-[(2,4,6-триметил-1,3,5-бензолтриил)трисметилен]трифенол (добавка к полимерному материалу 10): не более 0,3%;

- 2,2'-бис(октадецилокси)-5,5'-спироби[1,3,2-диоксафосфинан] (добавка к полимерному материалу 14): не более 0,3%;

- дидодецил-3,3'-тиодипропионат (добавка к полимерному материалу 16): не более 0,3%;

- диоктадецил-3,3'-тиодипропионат (добавка к полимерному материалу 17): не более 0,3%;

- трис(2,4-ди-трет-бутилфенил)фосфит (добавка к полимерному материалу 12): не более 0,3%;

Общее содержание перечисленных выше антиоксидантных добавок не должно превышать 0,3%.

- гидротальцит: не более 0,5%;

- алканамиды: не более 0,5%;

- алкенамиды: не более 0,5%;

- натрия алюмосиликат: не более 0,5%;

- кремния диоксид (натуральный или синтетический, с покрытием или без покрытия): не более 0,5%;

- натрия бензоат: не более 0,5%;

- эфиры или соли жирных кислот: не более 0,5%;

- тринатрия фосфат: не более 0,5%;

- парафин жидкий (вазелиновое масло): не более 0,5%;

- цинка оксид: не более 0,5%;

- магния оксид: не более 0,2%;

- кальция стеарат или цинка стеарат или их смесь: не более 0,5%;

- титана диоксид, только для материалов упаковок, предназначенных для лекарственных офтальмологических препаратов, не более 4%.

Поставщик материала должен гарантировать, что качественный и количественный составы каждой производственной серии соответствуют типовому образцу (2.4.2.3).

СВОЙСТВА

Описание. Порошок, однородные шарики, гранулы или после переработки пластинки разной толщины, или после преобразования виды упаковки.

Растворимость. Практически не растворим в воде, этаноле безводном, гексане и метаноле, растворим в горячих ароматических углеводородах.

Размягчается при температуре около 120 °C.

ИДЕНТИФИКАЦИЯ

Образцы испытуемого полипропилена при необходимости разрезают на части с размером сторон не более 1 см.

А. Определение проводят методом абсорбционной спектрофотометрии в инфракрасной области (2.1.2.23).

К 0,25 г испытуемого образца материала прибавляют 10 мл толуола P и кипятят с обратным холодильником в течение 15 мин. Несколько капель полученного горячего раствора помещают на пластинку натрия хлорида или на диск с калия бромидом P и сушат при температуре 80 °C.

Также спектр может быть непосредственно записан на вырезанном фрагменте соответствующего размера пластин, гранул или пленок горячего прессования с использованием нарушенного полного внутреннего отражения (НПВО).

На инфракрасном спектре испытуемого образца должны обнаруживаться максимумы поглощения при всех волновых числах 2915 , 2848 , 1471 , 1465 , 729 , 719 (допустимое отклонение +/- 5 ).

Полученный спектр должен соответствовать спектру материала типового образца.

Б. Испытуемый материал должен выдерживать дополнительные испытания на предельное содержание Добавки в соответствии с указаниями в разделе Испытания.

В. (Выполняется только на непрозрачном полипропилене). 20 мг испытуемого образца материала помещают в платиновый тигель с 1 г калия гидросульфата P, смешивают и нагревают до полного расплавления и охлаждают. Прибавляют 20 мл серной кислоты разбавленной P, осторожно нагревают и фильтруют. К полученному фильтрату добавляют 1 мл фосфорной кислоты P и 1 мл раствора водорода пероксида концентрированного P; если испытуемый образец материала содержит титана диоксид, должно наблюдаться оранжево-желтое окрашивание.

ИСПЫТАНИЯ

Образцы испытуемого полипропилена при необходимости разрезают на части с размером сторон не более 1 см.

Раствор S1. Раствор S1 может быть использован в течение 4 ч после приготовления. 25 г испытуемого образца материала помещают в колбу из боросиликатного стекла с притертой пробкой, прибавляют 500 мл воды P и кипятят с обратным холодильником в течение 5 ч. Охлаждают и декантируют раствор. Часть раствора сохраняют для проведения испытания на прозрачность и цветность. Оставшийся раствор фильтруют через стеклянный фильтр (16) (2.1.1.2).

Раствор S2. 2,0 г испытуемого образца материала помещают в коническую колбу из боросиликатного стекла с притертой пробкой, прибавляют 80 мл толуола P и кипятят с обратным холодильником при постоянном перемешивании в течение 90 мин. Охлаждают до температуры 60 °C и добавляют 120 мл метанола P при постоянном перемешивании. Раствор фильтруют через стеклянный фильтр (16) (2.1.1.2). Колбу и фильтр промывают 25 мл смеси толуол P - метанол P (40:60 об/об), добавляют смыв к фильтрату и доводят объем полученного раствора такой же смесью растворителей до 250,0 мл. Также готовят контрольный раствор S2.

Раствор S3. 100 г испытуемого образца материала помещают в коническую колбу из боросиликатного стекла с притертой пробкой, прибавляют 250 мл 0,1 M хлороводородной кислоты, кипятят с обратным холодильником при постоянном перемешивании в течение 1 ч. Охлаждают и декантируют раствор.

Прозрачность раствора S1 (2.1.2.1). Опалесценция раствора S1 не должна превышать опалесценцию суспензию сравнения II.

Цветность раствора S1 (2.1.2.2, метод II). Раствор S1 должен быть бесцветным.

Кислотность или щелочность. К 100 мл раствора S1 прибавляют 0,15 мл БКФ (BRP) индикатора раствор P; окраска индикатора должна измениться до синей при добавлении не более 1,5 мл 0,01 M раствора натрия гидроксида. К 100 мл раствора S1 прибавляют 0,2 мл раствора метилового оранжевого P; не более 1,0 мл 0,01 M хлороводородной кислоты должно израсходоваться до момента начала перехода окраски раствора от желтой до оранжевой.

Поглощение/Оптическая плотность (2.1.2.24). Оптическая плотность раствора S1 в области от 220 нм до 340 нм не должна превышать 0,2.

Восстанавливающие вещества. К 20 мл раствора S1 прибавляют 1 мл серной кислоты разбавленной P и 20 мл 0,002 M раствора калия перманганата. Кипятят с обратным холодильником в течение 3 мин и сразу охлаждают. Добавляют 1 г калия йода P и немедленно титруют 0,01 M раствором натрия тиосульфата, используя в качестве индикатора 0,25 мл раствор крахмала P. Параллельно проводят контрольное испытание. Разница между объемами титранта не должна превышать 0,5 мл.

Алюминий. Не более 1 ppm. Определение проводят методом атомно-эмиссионной спектрометрии с индуктивно-связанной плазмой (2.1.2.41).

Испытуемый раствор. Используют раствор S3.

Растворы сравнения. Готовят разбавлением стандартного раствора алюминия ионов (200 ppm Al3+) P 0,1 M хлороводородной кислотой.

Измеряют интенсивность эмиссии алюминия при длине волны 396,15 нм, проводя коррекцию спектрального фона при длине волны 396,25 нм.

Проверяют отсутствие алюминия в используемой хлороводородной кислоте.

Ванадий. Не более 0,1 ppm. Определение проводят методом атомно-эмиссионной спектрометрии с индуктивно-связанной плазмой (2.1.2.41).

Испытуемый раствор. Используют раствор S3.

Растворы сравнения. Готовят разбавлением стандартного раствора ванадия (1 г/л V+5) P смесью хлороводородная кислота P - вода P (2:8 об/об).

Измеряют интенсивность эмиссии ванадия при длине волны 292,40 нм, проводя коррекцию спектрального фона при длине волны 292,35 нм.

Проверяют отсутствие ванадия в используемой хлороводородной кислоте.

Титан. Не более 1 ppm. Определение проводят методом атомно-эмиссионной спектрометрии с индуктивно-связанной плазмой (2.1.2.41).

Испытуемый раствор. Используют раствор S3.

Растворы сравнения. Готовят разведением стандартного раствора титана ионов (100 ppm Ti3+) P 0,1 M хлороводородной кислотой.

Измеряют интенсивность эмиссии титана при длине волны 336,12 нм, проводя коррекцию спектрального фона при длине волны 336,16 нм.

Проверяют отсутствие титана в используемой хлороводородной кислоте.

Хром. Не более 0,05 ppm. Определение проводят методом атомно-эмиссионной спектрометрии с индуктивно-связанной плазмой (2.1.2.21).

Испытуемый раствор. Используют раствор S3.

Растворы сравнения. Готовят разбавлением стандартного раствора хрома (100 ppm Cr+6) P смесью хлороводородная кислота P - вода P (2:8 об/об).

Измеряют интенсивность эмиссии хрома при длине волны 205,55 нм, проводя коррекцию спектрального фона при длине волны 205,50 нм.

Проверяют отсутствие хрома в используемой хлороводородной кислоте.

Цинк. Не более 1 ppm. Определение проводят методом атомно-абсорбционной спектрометрии (2.1.2.22, метод I).

Испытуемый раствор. Используют раствор S3.

Растворы сравнения. Готовят разведением стандартного раствора цинка ионов (10 ppm Zn2+) P 0,1 M хлороводородной кислотой.

Измеряют поглощение полученных растворов при длине волны 213,9 нм, используя как источник излучения лампу с полым цинковым катодом и воздушно-ацетиленовое пламя.

Проверяют отсутствие цинка в используемой хлороводородной кислоте.

Тяжелые металлы. (2.1.4.8, метод А). Не более 2,5 ppm.

50 мл раствора S3 упаривают до объема приблизительно 5 мл на водяной бане и доводят водой P до 20,0 мл. 12 мл полученного раствора должны выдерживать испытание на тяжелые металлы. Раствор сравнения готовят, используя 2,5 мл стандартного раствора свинца ионов (10 ppm Pb2+) P.

Сульфатная зола (2.1.4.14). Не более 1,0%.

Определение проводят из 5,0 г испытуемого образца материала. Указанный допустимый предел не распространяется на полипропилен, содержащий титана диоксид в качестве добавки, придающей непрозрачность материалу.

ДОПОЛНИТЕЛЬНЫЕ ИСПЫТАНИЯ

Данные испытания следует проводить полностью или частично только в тех случаях, когда этого требует указанный состав или область использования полипропилена.

Фенольные антиоксиданты. Испытание проводят методом жидкостной хроматографии (2.1.2.28).

Испытуемый раствор S21. 50 мл раствора S2 выпаривают досуха в вакууме при температуре 45 °C. Сухой остаток растворяют в 5,0 мл смеси равных объемов ацетонитрила P и тетрагидрофурана P. Используют контрольный раствор, приготовленный в соответствии с указаниями в испытании Раствор S2.

Из приведенных ниже растворов сравнения готовят только те, которые необходимы для анализа фенольных антиоксидантов, входящих в состав испытуемого образца материала.

Раствор сравнения (а). 25,0 мг СО ФЕАЭС бутилгидрокситолуола (добавка к полимерному материалу 07) и 60,0 мг СО ФЕАЭС добавки к полимерному материалу 08 растворяют в 10,0 мл смеси равных объемов ацетонитрила P и тетрагидрофурана P. 2,0 мл полученного раствора доводят смесью равных объемов ацетонитрила P и тетрагидрофурана P до объема 50,0 мл.

Раствор сравнения (б). 60,0 мг СО ФЕАЭС добавки к полимерному материалу 09 и 60,0 мг СО ФЕАЭС добавки к полимерному материалу 10 растворяют в 10,0 мл смеси равных объемов ацетонитрила P и тетрагидрофурана P. 2,0 мл полученного раствора доводят смесью равных объемов ацетонитрила P и тетрагидрофурана P до объема 50,0 мл.

Раствор сравнения (в). Готовят непосредственно перед применением. 60,0 мг СО ФЕАЭС добавки к полимерному материалу 11 и 60,0 мг СО ФЕАЭС добавки к полимерному материалу 12 растворяют в 10,0 мл смеси равных объемов ацетонитрила P и тетрагидрофурана P. 2,0 мл полученного раствора доводят смесью равных объемов ацетонитрила P и тетрагидрофурана P до объема 50,0 мл.

Раствор сравнения (г). 25,0 мг СО ФЕАЭС бутилгидрокситолуола добавка к полимерному материалу 07 растворяют в 10,0 мл смеси равных объемов ацетонитрила P и тетрагидрофурана P. 2,0 мл полученного раствора доводят смесью равных объемов ацетонитрила P и тетрагидрофурана P до объема 50,0 мл.

Раствор сравнения (д). 60,0 мг СО ФЕАЭС добавки к полимерному материалу 08 растворяют в 10,0 мл смеси равных объемов ацетонитрила P и тетрагидрофурана P. 2,0 мл полученного раствора доводят смесью равных объемов ацетонитрила P и тетрагидрофурана P до объема 50,0 мл.

Раствор сравнения (е). 60,0 мг СО ФЕАЭС добавки к полимерному материалу 13 растворяют в 10,0 мл смеси равных объемов ацетонитрила P и тетрагидрофурана P. 2,0 мл полученного раствора доводят смесью равных объемов ацетонитрила P и тетрагидрофурана P до объема 50,0 мл.

Раствор сравнения (ж). 60,0 мг СО ФЕАЭС добавки к полимерному материалу 09 растворяют в 10,0 мл смеси равных объемов ацетонитрила P и тетрагидрофурана P. 2,0 мл полученного раствора доводят смесью равных объемов ацетонитрила P и тетрагидрофурана P до объема 50,0 мл.

Раствор сравнения (з). 60,0 мг СО ФЕАЭС добавки к полимерному материалу 10 растворяют в 10,0 мл смеси равных объемов ацетонитрила P и тетрагидрофурана P. 2,0 мл полученного раствора доводят смесью равных объемов ацетонитрила P и тетрагидрофурана P до объема 50,0 мл.

Раствор сравнения (и). 60,0 мг СО ФЕАЭС добавки к полимерному материалу 11 растворяют в 10,0 мл смеси равных объемов ацетонитрила P и тетрагидрофурана P. 2,0 мл полученного раствора доводят смесью равных объемов ацетонитрила P и тетрагидрофурана P до объема 50,0 мл.

Раствор сравнения (к). Готовят непосредственно перед применением. 60,0 мг СО ФЕАЭС добавки к полимерному материалу 12 растворяют в 10,0 мл смеси равных объемов ацетонитрила P и тетрагидрофурана P. 2,0 мл полученного раствора смесью равных объемов ацетонитрила P и тетрагидрофурана P до объема 50,0 мл.

Вариант 1. Если испытуемый полипропилен содержит добавку к полимерному материалу 07 и (или) добавку к полимерному материалу 08, то хроматографирование проводят в следующих условиях:

- колонка: длиной 0,25 м и внутренним диаметром 4,6 мм, заполненная силикагелем октадецилсилильным для хроматографии P с размером частиц 5 мкм;

- подвижная фаза: вода для хроматографии P - ацетонитрил P (30:70 об/об);

- скорость подвижной фазы: 2 мл/мин;

- детектор: спектрофотометрический, длина волны 280 нм;

- объем вводимой пробы: по 20 мкл испытуемого раствора S21, соответствующего контрольного раствора, раствора сравнения (а) и (или) раствора сравнения (г) или (д), или растворов сравнения (г) и (д);

- время хроматографирования: 30 мин.

Пригодность хроматографической системы:

- разрешение: не менее 5,0 между пиками добавки к полимерному материалу 07 и добавки к полимерному материалу 08 хроматограмме раствора сравнения (а).

На хроматограмме испытуемого раствора S21 должны обнаруживаться пики, соответствующие антиоксидантам, указанным в составе полиолефина, и могут обнаруживаться второстепенные пики, соответствующие пикам на хроматограмме контрольного раствора.

Расчет содержания:

- для расчета содержания добавки к полимерному материалу 07 и (или) добавки к полимерному материалу 08 используют концентрацию соответствующего стандартного образца вещества в растворах сравнения (г) и (или) (д).

Пределы содержания:

- добавка к полимерному материалу 07: не более 0,125%;

- добавка к полимерному материалу 08: не более 0,3%.

Вариант 2. Если испытуемый полипропилен содержит один или более из следующих антиоксидантов:

- добавка к полимерному материалу 09;

- добавка к полимерному материалу 10;

- добавка к полимерному материалу 11;

- добавка к полимерному материалу 12;

- добавка к полимерному материалу 13;

хроматографирование проводят в вышеописанных условиях со следующими изменениями:

- подвижная фаза: вода для хроматографии P - тетрагидрофуран P - ацетонитрил P (10:30:60 об/об/об);

- скорость подвижной фазы: 1,5 мл/мин;

- объем вводимой пробы: по 20 мкл испытуемого образца S21, соответствующего контрольного раствора, раствора сравнения (б), раствора сравнения (в) и растворов сравнения антиоксидантов из вышеприведенного списка, входящих в состав испытуемого материала.

Пригодность хроматографической системы:

- разрешение: не менее 2,0 между пиками добавки к полимерному материалу 09 и добавки к полимерному материалу 10 на хроматограмме раствора сравнения (б); не менее 2,0 между пиками добавки к полимерному материалу 11 и добавки к полимерному материалу 12 на хроматограмме раствора сравнения (в).

На хроматограмме испытуемого раствора S21 должны обнаруживаться пики, соответствующие антиоксидантам, указанным в составе, и могут обнаруживаться второстепенные пики, соответствующие пикам на хроматограмме контрольного раствора.

Расчет содержания:

- Для расчета содержания добавок к полимерным материалам 09, 10, 11, 12 и (или) добавки к полимерному материалу 13 используют концентрацию соответствующего стандартного образца вещества в растворах сравнения (ж), (з), (и), (к) и (или) (е).

Пределы содержания:

- добавка к полимерному материалу 09: не более 0,3%;

- добавка к полимерному материалу 10: не более 0,3%;

- добавка к полимерному материалу 11: не более 0,3%;

- добавка к полимерному материалу 12: не более 0,3%;

- добавка к полимерному материалу 13: не более 0,3%.

Нефенольные антиоксиданты. Определение проводят методом тонкослойной хроматографии (2.1.2.26).

Испытуемый раствор S22. 100 мл раствора S2 выпаривают досуха в вакууме при температуре 45 °C. Сухой остаток растворяют в 2 мл метиленхлорида подкисленного P.

Раствор сравнения (л). 60 мг СО ФЕАЭС добавки к полимерному материалу 14 растворяют в метиленхлориде P и доводят объем раствора тем же растворителем до 10 мл. 2 мл полученного раствора доводят метиленхлоридом подкисленным P до объема 10 мл.

Раствор сравнения (м). 60 мг СО ФЕАЭС добавки к полимерному материалу 15 растворяют в метиленхлориде P и доводят объем раствора тем же растворителем до 10 мл. 2 мл полученного раствора доводят метиленхлоридом подкисленным P до объема 10 мл.

Раствор сравнения (н). 60 мг СО ФЕАЭС добавки к полимерному материалу 16 растворяют в метиленхлориде P и доводят объем раствора тем же растворителем до 10 мл. 2 мл полученного раствора доводят метиленхлоридом подкисленным P до объема 10 мл.

Раствор сравнения (о). 60 мг СО ФЕАЭС добавки к полимерному материалу 17 растворяют в метиленхлориде P и доводят объем раствора тем же растворителем до 10 мл. 2 мл полученного раствора доводят метиленхлоридом подкисленным P до объема 10 мл.

Раствор сравнения (п). 60 мг СО ФЕАЭС добавки к полимерному материалу 16 и 60 мг СО ФЕАЭС добавки к полимерным материалам 17 растворяют в метиленхлориде P и доводят объем раствора тем же растворителем до 10 мл. 2 мл полученного растворителя доводят метиленхлоридом подкисленным P до объема 10 мл.

Условия хроматографирования:

- ТСХ пластинка со слоем силикагеля GF254 P;

- подвижная фаза А: гексан P;

- подвижная фаза Б: метиленхлорид P;

- объем наносимой пробы: по 20 мкл испытуемого раствора S22, раствора сравнения (о) и растворов сравнения, которые соответствуют всем фенольным и нефенольным антиоксидантам, входящим в состав типового образца испытуемого полиолефина;

- хроматографическое разделение: не менее 18 см от линии старта с использованием подвижной фазы А; после высушивания хроматографируют на расстояние не менее 17 см от линии старта с использованием подвижной фазы Б;

- высушивание: на воздухе;

- детектирование: пластинку просматривают в ультрафиолетовом свете при длине волны 254 нм, затем опрыскивают спиртовым раствором йода P и через 10 - 15 мин просматривают в ультрафиолетовом свете при длине волны 254 нм.

Пригодность хроматографической системы:

- на хроматограмме раствора сравнения (п) должны обнаруживаться два четко разделенных пятна.

Предел содержания:

- на хроматограмме испытуемого раствора S22 должны обнаруживаться пятна на уровне соответствующих пятен на хроматограммах растворов сравнения и не превышать их по интенсивности.

Амиды и стеараты. Определение проводят методом тонкослойной хроматографии (2.1.2.26).

Испытуемый раствор. Используют испытуемый раствор S22, приготовленный в соответствии с указаниями в испытании Нефенольные антиоксиданты.

Раствор сравнения (р). 20 мг СО ФЕАЭС стеариновой кислоты (добавки к полимерному материалу 19) растворяют в метиленхлориде P и доводят объем раствора тем же растворителем до 10 мл.

Раствор сравнения (с). 40 мг СО ФЕАЭС добавки к полимерному материалу 20 растворяют в метиленхлориде P и доводят объем раствора тем же растворителем до 20 мл.

Раствор сравнения (т). 40 мг СО ФЕАЭС добавки к полимерному материалу 21 растворяют в метиленхлориде P и доводят объем раствора тем же растворителем до 20 мл.

Условия хроматографирования:

- ТСХ пластинка со слоем силикагеля GF254 P (2 штуки).

Вариант 1.

- подвижная фаза: этанол безводный P - триметилпентан P (25:75 об/об);

- объем наносимой пробы: по 10 мкл раствора S22 и раствора сравнения (р);

- хроматографическое разделение: не менее 10 см от линии старта;

- высушивание: на воздухе;

- детектирование: пластинку опрыскивают раствором 2 г/л дихлорфенолиндофенола натриевой соли P в этаноле безводном P и нагревают при температуре 120 °C в течение нескольких мин для усиления интенсивности пятен.

Предел содержания:

- на хроматограмме испытуемого раствора S22 пятно, соответствующее добавке к полимерному материалу 19, должно обнаруживаться на уровне пятна на хроматограмме раствора сравнения (р) (RF около 0,5) и не превышать его по интенсивности.

Вариант 2.

- подвижная фаза А: гексан P;

- подвижная фаза Б: метанол P - метиленхлорид P (5:95 об/об);

- объем наносимой пробы: по 10 мкл раствора S22 и растворов сравнения (с) и (т);

- хроматографическое разделение: не менее 13 см от линии старта с использованием подвижной фазы А; после высушивания хроматографируют на расстояние не менее 10 см от линии старта с использованием подвижной фазы Б;

- высушивание: на воздухе;

- детектирование: пластинку опрыскивают раствором 40 г/л фосфорномолибденовой кислоты P в этаноле безводном P и нагревают при температуре 120 °C до появления пятен.

Предел содержания:

- на хроматограмме испытуемого раствора S22 пятна, соответствующие добавке к полимерным материалам 20 или добавке к полимерным материалам 21, должны обнаруживаться на уровне соответствующих пятен на хроматограммах растворов сравнения (с) и (т) (RF около 0,2) и не превышать их по интенсивности.

204010005-2022

2.4.1.5. Полиэтиленвинилацетат

ОПРЕДЕЛЕНИЕ

Требования настоящей общей фармакопейной статьи распространяются на полиэтиленвинилацетат для упаковок и трубок для лекарственных препаратов общего парентерального питания.

Полиэтиленвинилацетат получают сополимеризацией смеси этилена и винилацетата. В полиэтиленвинилацетате для производства упаковок должно содержаться не более 25% винилацетата и для производства трубок - не более 30% винилацетата.

ОСОБЕННОСТИ ТЕХНОЛОГИИ

В полимер вводят некоторое количество добавок в зависимости от цели предполагаемого назначения для оптимизации его химических, физических и механических свойств. Добавки выбираются из нижеследующего перечня (при отсутствии другого обоснования и разрешения уполномоченного органа) в котором указано их максимально допустимое содержание. Полиэтиленвинилацетат может содержать не более трех из следующих антиоксидантов:

- бутилгидрокситолуол (добавка к полимерному материалу 07): не более 0,125%;

- пентаэритритилтетракис[3-(3,5-ди-трет-бутил-4-гидроксифенил)пропионат] (добавка к полимерному материалу 09): не более 0,2%;

- октадецил-3-(3,5-ди-трет-бутил-4-гидроксифенил)пропионат (добавка к полимерному материалу 11): не более 0,2%;

- трис(2,4-ди-трет-бутилфенил)фосфит (добавка к полимерному материалу 12): не более 0,2%;

- 2,2',2", 6,6',6"гекса-трет-бутил-4,4',4"-[(2,4,6-триметил-1,3,5-бензолтриил)трисметилен]трифенол (добавка к полимерному материалу 10): не более 0,2%.

Полиэтиленвинилацетат также может содержать:

- олеамид (добавка к полимерному материалу 20): не более 0,5%;

- эрукамид (добавка к полимерному материалу 21): не более 0,5%;

- кальция стеарат или цинка стеарат или смесь этих компонентов: не более 0,5%;

- кальция карбонат или калия гидроксид: не более 0,5%;

- кремния диоксид коллоидный: не более 0,2%.

Поставщик полиэтиленвинилацетата должен гарантировать, что качественный и количественный составы каждой производственной серии соответствуют типовому образцу (2.4.2.3).

СВОЙСТВА

Описание. Однородные шарики, гранулы или после переработки полупрозрачные пластинки, или трубки разной толщины, или образцы готовых продуктов.

Растворимость. Растворим в горячих ароматических углеводородах, практически не растворим в воде, в этаноле безводном, метаноле и гексане, однако гексан растворяет низкомолекулярные полимеры.

При сжигании пламя окрашивается в синий цвет.

Температура размягчения испытуемого полиэтиленвинилацетата изменяется в зависимости от содержания винилацетата; она снижается приблизительно от 100 °C (при содержании нескольких процентов винилацетата) до 70 °C (при содержании 30% винилацетата).

ИДЕНТИФИКАЦИЯ

Образцы испытуемого полиэтиленвинилацетата при необходимости разрезают на части с размером сторон не более 1 см.

Определение проводят методом абсорбционной спектрофотометрии в инфракрасной области (2.1.2.23).

К 0,25 г испытуемого образца прибавляют 10 мл толуола P и кипятят с обратным холодильником в течение 15 мин. Несколько капель полученного раствора помещают на пластинку натрия хлорида или на диск с калия бромидом P и выпаривают растворитель досуха в сушильном шкафу при температуре 80 °C.

Также спектр может быть непосредственно записан на вырезанном фрагменте соответствующего размера пластин, гранул или пленок горячего прессования с использованием нарушенного полного внутреннего отражения (НПВО).

На инфракрасном спектре испытуемого образца должны обнаруживаться максимумы поглощения при всех волновых числах 2920 , 2850 , 1740 , 1240 , 1020 , 720 и 610 (допустимое отклонение +/- 5 ).

Полученный спектр должен соответствовать спектру материала типового образца.

ИСПЫТАНИЯ

Образцы испытуемого полиэтиленвинилацетата при необходимости разрезают на части с размером сторон не более 1 см.

Раствор S1. 2,0 г испытуемого образца помещают в коническую колбу из боросиликатного стекла с притертой пробкой. Прибавляют 80 мл толуола P и нагревают с обратным холодильником при постоянном перемешивании в течение 90 мин. Охлаждают до температуры 60 °C и добавляют при постоянном перемешивании 120 мл метанола P. Фильтруют раствор через стеклянный фильтр (16) (2.1.1.2). Колбу и фильтр промывают 25 мл смеси толуол P - метанол P (40:60 об/об), добавляют их к фильтрату и доводят той же смесью растворителей до объема 250 мл.

Раствор S2. 25 г испытуемого образца помещают в колбу из боросиликатного стекла с притертой крышкой. Прибавляют 500 мл воды P и кипятят с обратным холодильником в течение 5 ч. Охлаждают и декантируют раствор. Часть раствора сохраняют для проведения испытания на прозрачность и цветность. Остаток раствора фильтруют через стеклянный фильтр (16) (2.1.1.2). Раствор S2 может быть использован в течение 4 ч после приготовления.

Прозрачность раствора (2.1.2.1). Раствор S2 должен быть прозрачным.

Цветность раствора (2.1.2.2, метод II).

Раствор S2 должен быть бесцветным

Кислотность или щелочность. К 100 мл раствора S2 добавляют 0,15 мл БКФ (BRP) индикатора раствор P: окраска индикатора должна измениться до синей при добавлении не более 1,0 мл 0,01 M раствора натрия гидроксида. К 100 мл раствора S2 прибавляют 0,2 мл метилового оранжевого раствора P; не более 1,0 мл 0,01 M хлороводородной кислоты должно израсходоваться до момента начала перехода окраски раствора от желтой до оранжевой.

Поглощение/Оптическая плотность (2.1.2.24). Оптическая плотность раствора S2 в области от 220 нм до 340 нм не должна превышать 0,2.

Восстанавливающие вещества. К 20,0 мл раствора S2 прибавляют 1 мл серной кислоты разбавленной P и 20,0 мл 0,002 M раствора калия перманганата. Кипятят с обратным холодильником в течение 3 мин и сразу охлаждают. Добавляют 1 г калия йодида P и сразу титруют 0,01 M раствором натрия тиосульфата, используя в качестве индикатора 0,25 мл раствор крахмала P. Параллельно проводят контрольный опыт. Разница между объемами титранта не должна превышать 0,5 мл.

Амиды и стеараты. Испытание проводят методом тонкослойной хроматографии (2.1.2.26).

Испытуемый раствор. 100 мл раствора S1 выпаривают досуха в вакууме при температуре 45 °C. Сухой остаток растворяют в 2 мл метиленхлорида подкисленного P.

Раствор сравнения (а). 20 мг СО ФЕАЭС стеариновой кислоты (добавка к полимерному материалу 19) растворяют в 10 мл метиленхлорида P.

Раствор сравнения (б). 40 мг СО ФЕАЭС добавки к полимерному материалу 20 растворяют в 20 мл метиленхлорида P.

Раствор сравнения (в). 40 мг СО ФЕАЭС добавки к полимерному материалу 21 растворяют в 20 мл метиленхлорида P.

Условия хроматографирования:

- ТСХ пластинка со слоем силикагеля GF254 P (2 штуки).

Вариант 1.

- подвижная фаза: этанол безводный P - триметилпентан P (25:75 об/об);

- объем наносимой пробы: по 10 мкл испытуемого раствора и раствора сравнения (а);

- хроматографическое разделение: не менее 10 см от линии старта;

- высушивание: на воздухе;

- детектирование: пластинку опрыскивают раствором 2 г/л дихлорфенолиндофенола натриевой соли P в этаноле безводном P и нагревают при температуре 120 °C в течение нескольких мин для усиления интенсивности пятен.

Предел содержания:

- на хроматограмме испытуемого раствора пятно, которое соответствует добавке к полимерному материалу 19, не должно быть интенсивнее пятна на хроматограмме раствора сравнения (а).

Вариант 2.

- подвижная фаза А: гексан P;

- подвижная фаза Б: метанол P - метиленхлорид P (5:95 об/об);

- объем наносимой пробы: по 10 мкл испытуемого раствора и растворов сравнения (б) и (в);

- хроматографическое разделение: не менее 13 см от линии старта с использованием подвижной фазы А; после высушивания хроматографируют на расстояние не менее 10 см от линии старта с использованием подвижной фазы Б;

- высушивание: на воздухе;

- детектирование: пластинку опрыскивают раствором 40 г/л фосфорномолибденовой кислоты P в этаноле безводном P и нагревают при температуре 120 °C до появления пятен.

Предел содержания:

- на хроматограмме испытуемого раствора пятна, соответствующие добавке к полимерному материалу 21 или добавке к полимерному материалу 20, не должны быть интенсивнее пятен на хроматограммах растворов сравнения (б) и (в) соответственно.

Фенольные антиоксиданты. Определение проводят методом жидкостной хроматографии (2.1.2.28).

Смесь растворителей: ацетонитрил P, тетрагидрофуран P (50:50 об/об).

Испытуемый раствор (а). 50 мл раствора S1 выпаривают досуха в вакууме при температуре 45 °C. Сухой остаток растворяют в 5,0 мл смеси равных объемов ацетонитрила P и тетрагидрофурана P.

Испытуемый раствор (б). 50 мл раствора S1 выпаривают досуха в вакууме при температуре 45 °C. Сухой остаток растворяют в 5,0 мл метиленхлорида P.

Раствор сравнения (а). 25,0 мг бутилгидрокситолуола СО ФЕАЭС (добавка к полимерному материалу 07) и 40,0 мг СО ФЕАЭС добавки к полимерному материалу 10, 40 мг СО ФЕАЭС добавки к полимерным материалам 09 и 40 мг СО ФЕАЭС добавки к полимерному материалу 11 растворяют в 10,0 мл смеси равных объемов ацетонитрила P и тетрагидрофурана Р. 2,0 мл полученного раствора доводят смесью равных объемов ацетонитрила P и тетрагидрофурана P до объема 50,0 мл.

Раствор сравнения (б). 40,0 мг СО ФЕАЭС добавки к полимерному материалу 11 и 40,0 мг СО ФЕАЭС добавки к полимерному материалу 12 растворяют в 10,0 мл метиленхлорида P. 2 мл полученного раствора доводят метиленхлоридом P до объема 50,0 мл.

Условия хроматографирования:

- колонка длиной 0,25 м и внутренним диаметром 4,6 мм, заполненная силикагелем октадецилсилильным для хроматографии P с размером частиц 5 мкм;

- подвижная фаза: вода P - тетрагидрофуран P - ацетонитрил P (10:30:60 об/об/об);

- скорость подвижной фазы: 1,5 мл/мин;

- детектор: спектрофотометрический, длина волны 280 нм;

- объем вводимой пробы: по 20 мкл испытуемого раствора (а) и раствора сравнения (а).

Пригодность хроматографической системы: раствор сравнения (а):

- разрешение: не менее 2,0 между пиками добавки к полимерному материалу 09 и добавки к полимерному материалу 10;

- число теоретических тарелок: не менее 2500, рассчитанное по пику добавки 07 к полимеру.

Предел содержания:

- на хроматограмме испытуемого раствора (а) должны обнаруживаться только основные пики, соответствующие пикам раствора сравнения (а) с временем удерживания более 2 мин.;

- на хроматограмме испытуемого раствора (а) площади пиков не должны превышать площади соответствующих пиков, кроме последнего пика, на хроматограмме раствора сравнения (а).

Если на хроматограмме испытуемого раствора (а) обнаруживается пик с тем же временем удерживания, что и для антиоксиданта, элюированного из раствора сравнения (а), испытания проводят со следующими изменениями:

- подвижная фаза: вода P - 2-пропанол P - метанол P (5:45:50 об/об/об);

- объем вводимой пробы: по 20 мкл испытуемого раствора (б) и раствора сравнения (б).

Пригодность хроматографической системы: раствор сравнения (б):

- разрешение: не менее 2,0 между пиками добавки к полимерному материалу 11 и добавки к полимерному материалу 12.

Предел содержания:

- на хроматограмме испытуемого раствора (б) должны обнаруживаться только основные пики, соответствующие пикам на хроматограмме раствора сравнения (б) с временем удерживания более 3 мин;

- на хроматограмме испытуемого раствора (б) площади пиков не должны превышать площади соответствующих пиков на хроматограмме раствора сравнения (б).

Сульфатная зола (2.1.4.14). Не более 1,2%. Определение проводят из 5,0 г испытуемого полиэтиленвинилацетата.

КОЛИЧЕСТВЕННОЕ ОПРЕДЕЛЕНИЕ

От 0,250 до 1,000 г испытуемого полиэтиленвинилацетата, в соответствии с содержанием винилацетата в сополимере, помещают в коническую колбу с притертой пробкой вместимостью 300 мл с магнитной мешалкой. Прибавляют 40 мл ксилола P. Кипятят с обратным холодильником при перемешивании в течение 4 ч. Охлаждают при постоянном перемешивании до начала образования осадка и медленно добавляют 25,0 мл калия гидроксида спиртового раствора P1. Повторно кипятят с обратным холодильником при перемешивании в течение 3 ч. Охлаждают при постоянном перемешивании, промывают холодильник 50 мл воды P и добавляют в колбу 30,0 мл 0,05 M серной кислоты раствора. Содержимое колбы переносят в лабораторный стакан вместимостью 400 мл. Колбу ополаскивают дважды порциями по 50 мл раствора 200 г/л натрия сульфата безводного P и трижды порциями по 20 мл воды P и добавляют смывы в тот же лабораторный стакан. Титруют избыток серной кислоты 0,1 M раствором натрия гидроксида потенциометрически (2.1.2.19). Параллельно проводят контрольный опыт.

1 мл 0,05 M раствора серной кислоты соответствует 8,609 мг винилацетата.

204010006-2022

2.4.1.6. Силиконовое масло, используемое в качестве смазывающей добавки

ОПИСАНИЕ

Силиконовое масло, используемое в качестве смазывающей добавки, представляет собой полидиметилсилоксан, полученный гидролизом и поликонденсацией дихлордиметилсилана и хлортриметилсилана. Существуют различные марки силиконового масла, которые характеризуются числом, указывающим величину ее номинальной вязкости и которую приводят после названия.

Степень полимеризации силиконовых масел, используемых в качестве смазывающих добавок (n = от 400 до 1200), должна быть такой, чтобы их кинематическая вязкость находилась в номинальных пределах от 103 мм2·с-1 до 30·103 мм2·с-1.

СВОЙСТВА

Описание. Прозрачная бесцветная жидкость различной вязкости, практически не растворима в воде и метаноле, смешивается с этилацетатом, метилэтилкетоном и толуолом, очень мало растворима в этаноле безводном.

ИДЕНТИФИКАЦИЯ

А. Испытуемый образец должен соответствовать требованиям к кинематической вязкости при температуре 25 °C, указанным в разделе Испытания.

Б. Инфракрасный спектр (2.1.2.23) испытуемого образца должен соответствовать спектру СО ФЕАЭС силиконового масла. Область спектра от 850 до 750 не принимают во внимание, так как в ней могут выявляться небольшие различия, обусловленные степенью полимеризации.

В. 0,5 г испытуемого образца помещают в пробирку и нагревают над небольшим пламенем до появления белых паров. Пробирку переворачивают над другой пробиркой, содержащей 1 мл раствора 1 г/л хромотроповой кислоты натриевой соли P в серной кислоте P, таким образом, чтобы пары достигли раствора. Вторую пробирку встряхивают в течение 10 с и нагревают на водяной бане в течение 5 мин; появляется фиолетовое окрашивание.

Г. Сульфатная зола (2.1.4.14), полученная в платиновом тигле с 50 мг испытуемого образца, должна представлять собой белый порошок, дающий реакцию на силикаты (2.1.3.1).

ИСПЫТАНИЯ

Кислотность. К 2,0 г испытуемого образца прибавляют 25 мл смеси равных объемов этанола безводного P и эфира P, добавляют 0,2 мл раствора бромтимолового синего P1 и взбалтывают; не более 0,15 мл 0,01 M раствора натрия гидроксида должно израсходоваться до перехода окраски раствора в синий цвет.

Вязкость (2.1.2.8). Динамическую вязкость определяют при температуре 25 °C.

Кинематическую вязкость рассчитывают, принимая относительную плотность, равную 0,97. Кинематическая вязкость должна быть не менее 95% и не более 105% от номинальной вязкости, указанной на упаковке.

Минеральные масла. 2 мл испытуемого образца помещают в пробирку и просматривают в УФ-свете при длине волны 365 нм; флуоресценция испытуемого образца не должна быть интенсивнее флуоресценции раствора, содержащего 0,1 ppm хинина сульфата P в 0,005 M растворе серной кислоты, при исследовании в тех же условиях.

Фенилированные соединения. Показатель преломления (2.1.2.6) должен быть не более 1,410.

Тяжелые металлы. Не более 5 ppm.

1,0 г испытуемого образца перемешивают с метиленхлоридом P и доводят тем же растворителем до объема 20 мл. Добавляют 1,0 мл свежеприготовленного раствора 0,02 г/л дитизона P в метиленхлориде P, 0,5 мл воды P и 0,5 мл смеси раствор аммиака разбавленный P2 - раствор 2 г/л гидроксиламина гидрохлорида P (1:9 об/об).

Параллельно готовят раствор сравнения. К 20 мл метиленхлорида P прибавляют 1,0 мл свежеприготовленного раствора 0,02 г/л дитизона P в метиленхлориде P, 0,5 мл стандартного раствора свинца ионов (10 ppm Pb2+) P и 0,5 мл смеси раствор аммиака разбавленный P2 - раствор 2 г/л гидроксиламина гидрохлорида P (1:9 об/об). Полученный раствор энергично встряхивают в течение 1 мин. Красное окрашивание раствора испытуемого образца не должно быть интенсивнее окрашивания раствора сравнения.

Летучие вещества. Не более 2,0%.

Испытание проводят из 2,00 г испытуемого образца при нагревании в печи при температуре 150 °C в течение 24 ч. Испытание проводят, используя чашку диаметром 60 мм и глубиной 10 мм.

МАРКИРОВКА

Указывают:

- номинальную вязкость в виде числа, помещенного после названия продукта;

- что содержимое следует использовать как смазывающую добавку.

04010007-2022

2.4.1.7. Силиконовые эластомеры для укупорочных средств и трубок

ОПРЕДЕЛЕНИЕ

Для изготовления укупорочных средств и трубок подходящим является силиконовый эластомер, соответствующий нижеперечисленным требованиям.

Силиконовый эластомер получают поперечным сшиванием линейного полисилоксана, состоящего в основном из диметилсилоксигрупп с небольшим количеством метилвинилсилоксигрупп; концы цепей блокированы триметилсилокси- или диметилвинилсилоксигруппами.

Общая формула полисилоксана:

Поперечное сшивание проводится в горячем состоянии или с использованием:

- 2,4-дихлорбензоилпероксида для экструдированных продуктов;

- 2,4-дихлорбензоилпероксида или дикумилпероксида, или OO-(1,1-диметилэтил) O-изопропилмонопероксикарбоната, или 2,5-бис [(1,1-диметилэтил)диокси]-2,5-диметилгексана для формованных продуктов;

- или гидросилированием -SiH групп полисилоксана, используя в качестве катализатора платину.

Во всех случаях используют соответствующие добавки, такие как кремния диоксид, и небольшие количества органосиликоновых добавок (, ).

СВОЙСТВА

Прозрачный или полупрозрачный материал, практически нерастворимый в органических растворителях, некоторые из них, например, циклогексан, гексан и метиленхлорид, вызывают обратимое набухание материала.

ИДЕНТИФИКАЦИЯ

А. Инфракрасной спектр поглощения испытуемого образца материала (2.1.2.23), записанный по методике многоразового отражения для твердых веществ, должен соответствовать спектру СО ФЕАЭС силиконового эластомера.

Б. 1,0 г испытуемого образца материала помещают в пробирку и нагревают над слабым пламенем до появления белых паров. Пробирку переворачивают над другой пробиркой, содержащей 1 мл раствора 1 г/л хромотроповой кислоты натриевой соли P в серной кислоте P так, чтобы пары достигли раствора. Вторую пробирку встряхивают в течение приблизительно 10 с и нагревают на водяной бане в течение 5 мин; появляется фиолетовое окрашивание.

В. 50 мг остатка после сжигания дают реакцию на силикаты (2.1.3.1).

ИСПЫТАНИЯ

Образцы испытуемого материала при необходимости разрезают на кусочки с размером сторон не более 1 см.

Раствор S. 25 г испытуемого образца помещают в колбу из боросиликатного стекла с притертой пробкой, прибавляют 500 мл воды P и кипятят с обратным холодильником в течение 5 ч, охлаждают и декантируют.

Прозрачность раствора (2.1.2.1). Раствор S должен быть прозрачным.

Кислотность или щелочность. К 100 мл раствора S прибавляют 0,15 мл раствора бромтимолового синего P1; окраска индикатора должна измениться до синей при добавлении не более 2,5 мл 0,01 P раствора натрия гидроксида. К 100 мл раствора S прибавляют 0,2 мл раствора метилового оранжевого P; раствор окрашивается в желтый цвет. Оранжевое окрашивание раствора должно появиться при прибавлении не более 1,0 мл 0,01 M хлороводородной кислоты.

Относительная плотность (2.1.2.5). От 1,05 до 1,25.

Испытание проводят, используя в качестве жидкости сравнения пикнометр с безводным этанолом P.

Восстанавливающие вещества. К 20 мл раствора S прибавляют 1 мл серной кислоты разбавленной P и 20 мл 0,002 M раствора калия перманганата и выдерживают в течение 15 мин, добавляют 1 г калия йодида P и тотчас титруют 0,01 M раствором натрия тиосульфата, используя в качестве индикатора 0,25 мл раствора крахмала P. Параллельно проводят контрольный опыт, используя 20 мл воды P вместо раствора S. Разница между объемами титранта не должна превышать 1,0 мл.

Вещества, растворимые в гексане. Не более 3%.

25 мл раствора, полученного при испытании Фенилированные соединения, выпаривают в стеклянной выпарительной чашке на водяной бане и сушат при температуре от 100 °C до 105 °C в течение 1 ч. Масса полученного остатка не должна превышать 15 мг.

Фенилированные соединения. 2,0 г испытуемого образца помещают в колбу из боросиликатного стекла с притертой пробкой и прибавляют 100 мл гексана P, кипятят с обратным холодильником в течение 4 ч, охлаждают, затем быстро фильтруют через стеклянный фильтр (16) (2.1.1.2) в колбу с плотно закрывающейся пробкой. Полученный фильтрат тотчас закрывают во избежание испарения.

Оптическая плотность полученного фильтрата (2.1.2.24), измеренная в области длин волн от 250 нм до 340 нм, не должна превышать 0,4.

Минеральные масла. 2 г испытуемого образца помещают в коническую колбу вместимостью 100 мл, которая содержит 30 мл смеси раствор аммиака P - пиридин P (5:95 об/об), и выдерживают при частом встряхивании в течение 2 ч. Полученный раствор пиридина декантируют и просматривают в УФ-свете при длине волны 365 нм; флюоресценция полученного раствора должна быть не интенсивнее флюоресценции раствора, содержащего 1 ppm хинина сульфата P в 0,005 M растворе серной кислоты, при исследовании в тех же условиях.

Летучие вещества. Взвешивают 10,0 г испытуемого образца, предварительно выдержанного в эксикаторе в течение 48 ч над кальция хлоридом безводным P, нагревают при температуре 200 °C в течение 4 ч, охлаждают в эксикаторе и снова взвешивают. Для силиконового эластомера, приготовленного с использованием пероксидов, содержание летучих веществ не должно превышать 0,5%. Для силиконового эластомера, приготовленного с использованием платины, содержание летучих веществ не должно превышать 2,0%.

Силиконовый эластомер, изготовленный с использованием пероксидов, должен выдерживать следующие дополнительные испытания.

Остаточные пероксиды. Не более 0,08%, в пересчете на дихлорбензоила пероксид.

5 г испытуемого образца помещают в колбу из боросиликатного стекла, прибавляют 150 мл метиленхлорида P, закрывают колбу и перемешивают с помощью механической мешалки в течение 16 ч. Затем быстро фильтруют, собирая фильтрат в колбу с притертой пробкой. Замещают воздух в колбе азотом, свободным от кислорода P, добавляют 1 мл раствора 200 г/л натрия йодида P в уксусной кислоте безводной P, закрывают колбу, тщательно встряхивают и выдерживают в защищенном от света месте в течение 30 мин. Добавляют 50 мл воды P и немедленно титруют 0,01 M раствором натрия тиосульфата, используя в качестве индикатора 0,25 мл раствора крахмала Р. Параллельно проводят контрольный опыт. Разница между объемами титранта не должна превышать 2,0 мл.

Силиконовый эластомер, изготовленный с использованием платины, должен выдерживать следующие дополнительные испытания.

Платина. Не более 30 ppm.

1,0 г испытуемого образца сжигают в кварцевом тигле, постепенно поднимая температуру, до получения белого остатка. Остаток переносят в графитовый тигель. В кварцевый тигель добавляют 10 мл свежеприготовленной смеси азотная кислота P - хлороводородная кислота P (1:3 об/об), нагревают на водяной бане в течение 1 - 2 мин и переносят в графитовый тигель. Добавляют 5 мг калия хлорида P и 5 мл фтороводородной кислоты P и выпаривают досуха на водяной бане. Добавляют 5 мл фтороводородной кислоты P и снова выпаривают досуха; эту операцию повторяют дважды. Полученный остаток растворяют в 5 мл 1 M хлороводородной кислоты при нагревании на водяной бане и охлаждают. Полученный раствор добавляют к 1 мл раствора 250 г/л олова (II) хлорида в 1 M хлороводородной кислоте, промывают графитовый тигель несколькими миллилитрами 1 M хлороводородной кислоты, присоединяют смывы к раствору и доводят объем раствора такой же кислотой до 10,0 мл.

Параллельно готовят раствор сравнения: к 1 мл раствора 250 г/л олова (II) хлорида в 1 M хлороводородной кислоте добавляют 1,0 мл стандартного раствора платины (30 ppm Pt+4) P и доводят объем раствора 1 M хлороводородной кислотой до 10,0 мл.

Окраска испытуемого раствора должна быть не интенсивнее окраски раствора сравнения.

МАРКИРОВКА

Указывают, что материал получен с использованием пероксидов или платины.

204010008-2022

2.4.1.8. Материалы на основе непластифицированного поливинилхлорида для упаковок непарентеральных водных растворов

Требования настоящей общей фармакопейной статьи распространяются на материалы на основе непластифицированного поливинилхлорида для упаковок, предназначенных для непарентеральных водных растворов. Они также могут быть использованы для твердых лекарственных форм для внутреннего применения. В некоторых случаях после проведения специальных испытаний на совместимость упаковки и его содержимого, эти материалы могут быть подходящими для производства упаковок для суппозиториев. Они состоят из одного полимера: поливинилхлорида или поливинилацетата или смеси поливинилхлорида и поливинилацетата.

Содержание поливинилхлорида, рассчитанное по содержанию хлора, должно быть не менее 80%.

Непластифицированный поливинилхлорид может содержать не более 15% сополимеров:

- на основе акриловой и (или) метакриловой кислот и (или) их эфиров;

- на основе стирола и (или) бутадиена.

ОСОБЕННОСТИ ТЕХНОЛОГИИ

Материалы на основе непластифицированного поливинилхлорида получают методом полимеризации, который гарантирует остаточное содержание винилхлорида менее 1 ppm. Данный метод получения должен быть валидирован для подтверждения соответствия материала требованиям следующего испытания.

Винилхлорид. Не более 1 ppm.

Определение проводят методом парофазной газовой хроматографии (2.1.2.27).

Раствор внутреннего стандарта. 10 мкл эфира P вводят в 20,0 мл диметилацетамида P с помощью микрошприца, погружая кончик иглы в растворитель. Непосредственно перед использованием раствор разводят диметилацетамидом P в 1000 раз.

Испытуемый раствор. 1,000 г испытуемого образца материала помещают во флакон вместимостью 50 мл и прибавляют 10,0 мл раствора внутреннего стандарта. Флакон герметично закрывают пробкой, встряхивают, избегая контакта между пробкой и жидкостью, помещают в водяную баню при температуре (60 +/- 1) °C и выдерживают в течение 2 ч.

Основной раствор винилхлорида. Готовят в вытяжном шкафу.

50,0 мл диметилацетамида P помещают во флакон вместимостью 50 мл, герметично закрывают пробкой и взвешивают с точностью до 0,1 мг. Наполняют полиэтиленовый или полипропиленовый шприц вместимостью 50 мл газообразным винилхлоридом P, оставляют газ в контакте со шприцом в течение около 3 мин, затем газ удаляют и снова наполняют шприц 50 мл газообразного винилхлорида P. Присоединяют к шприцу гиподермальную иглу и снижают объем газа в шприце от 50 мл до 25 мл. Медленно вводят полученные 25 мл винилхлорида во флакон, осторожно встряхивая и избегая контакта между жидкостью и иглой. Флакон повторно взвешивают; увеличение массы должно быть около 60 мг (1 мкл полученного раствора содержит около 1,2 мкг винилхлорида). Оставляют на 2 ч. Основной раствор хранят в холодильнике.

Стандартный раствор винилхлорида. Основной раствор винилхлорида - диметилацетамид P (1:3 об/об).

Растворы сравнения. По 10,0 мл раствора внутреннего стандарта помещают в шесть флаконов вместимостью 50 мл. Флаконы герметично закрывают пробками. В пять флаконов вводят при помощи микрошприца 1 мкл, 2 мкл, 3 мкл, 5 мкл и 10 мкл стандартного раствора винилхлорида, соответственно. Полученные таким образом шесть растворов содержат, соответственно, 0 мкг, 0,3 мкг, 0,6 мкг, 0,9 мкг, 1,5 мкг и 3 мкг винилхлорида. Флаконы встряхивают, избегая контакта между пробкой и жидкостью, помещают в водяную баню при температуре (60 +/- 1) °C и выдерживают в течение 2 ч.

Условия хроматографирования:

- колонка из нержавеющей стали длиной 3 м и внутренним диаметром 3 мм заполненная диатомитом силанизированным для газовой хроматографии P, импрегнированная 5% (м/м) диметилстеариламидом P и 5% (м/м) макроголом 400 P;

- газ-носитель: азот для хроматографии P;

- скорость газа-носителя: 30 мл/мин;

- температура:

- колонка: 45 °C;

- блок для ввода проб: 100 °C;

- детектор: 150 °C;

- детектор: пламенно-ионизационный;

- объем вводимой пробы: 1 мл газовой фазы каждого флакона.

Рассчитывают содержание винилхлорида.

Добавки

В зависимости от назначения полимеры могут содержать добавки для улучшения их обработки или химических, физических и механических свойств. Добавки выбираются из следующего перечня, в котором для каждого вещества указано максимально допустимое содержание:

- эпоксидированное соевое масло с содержанием кислорода в эпоксидной группе от 6% до 8% и йодным числом не более 6: не более 8%;

- кальциевая соль или цинковые соли алифатических жирных кислот, содержащие более семи углеродных атомов углерода или смеси этих веществ: не более 1,5%;

- парафин жидкий (вазелиновое масло): не более 1,5%;

- воск: не более 1,5%;

- гидрогенизованные масла или эфиры алифатических жирных кислот: не более 2%;

- эфиры макрогола: не более 1,5%;

- сорбит: не более 1,5%;

- 2,4-динонилфенилфосфит или ди(4-нонилфенил)фосфит или трис(нонилфенил)фосфит: не более 1%.

Материалы на основе непластифицированного поливинилхлорида могут содержать стабилизаторы одной из следующих групп:

- олово в виде ди(изооктил) 2,2'-[(диоктилстаннилен) бис(тио)]диацетата, содержащего около 27% три(изооктил)2,2',2"-[(монооктилстаннилиден)трис(тио)]триацетата: не более 0,25%;

- олово в виде смеси, содержащей не более 76% ди(изооктил) 2,2'-[(диметил-станнилен)-бис(тио)]диацетата и не более 85% три(изооктил)2,2',2"-[(монометилстаннилид-ин)трис(тио)]триацетата: не более 0,25%;

- 1-фенилэйкозан-1,3-дион (бензоилстеароилметан) или 2-(4-додецилфенил)индол или дидодецил1,4-дигидропиридин-2,6-диметил-3,5-дикарбоксилата или смесь из этих веществ: не более 1%.

Материалы на основе непластифицированного поливинилхлорида могут содержать краситель или пигмент при условии, что их безопасность подтверждена. Для обеспечения непрозрачности материала добавляют титана диоксид.

Поставщик материала должен гарантировать, что качественный и количественный составы каждой производственной серии соответствуют типовому образцу (2.4.2.3).

СВОЙСТВА

Описание. Порошок, однородные шарики, гранулы, пластинки различной толщины или образцы, отобранные из готовых объектов.

Растворимость. Практически нерастворимы в воде, нерастворимы в этаноле безводном, растворимы в тетрагидрофуране, мало растворимы в метиленхлориде.

При сжигании окрашивают пламя в оранжево-желтый цвет с зеленой каймой и выделяют густой черный дым.

ИДЕНТИФИКАЦИЯ

Определение проводят методом абсорбционной спектрофотометрии в инфракрасной области (2.1.2.23).

Остаток A, полученный при приготовлении раствора S2 в разделе Испытания, растворяют в 5 мл тетрагидрофурана P. Несколько капель полученного раствора помещают на диск натрия хлорида и упаривают растворитель досуха при температуре от 100 °C до 105 °C.

На инфракрасном спектре испытуемого образца должны обнаруживаться максимумы поглощения при всех волновых числах при 2910 , 1425 , 1330 , 1252 , 958 и 690 (допустимое отклонение +/- 5 ).

Полученный спектр должен также соответствовать спектру типового образца.

ИСПЫТАНИЯ

Испытуемые образцы материала при необходимости разрезают на части с размером сторон не более 1 см.

Раствор S1. 25 г испытуемого образца материала помещают в колбу из боросиликатного стекла, прибавляют 500 мл воды P и закрывают горлышко колбы лабораторным стаканом из боросиликатного стекла. Нагревают в автоклаве при температуре (121 +/- 2) °C в течение 20 мин, после чего охлаждают, сливают надосадочную жидкость и доводят водой P до объема 500 мл.

Раствор S2. 5,0 г испытуемого образца материала растворяют в 80 мл тетрагидрофурана P и доводят объем раствора тем же растворителем до 100 мл. При необходимости фильтруют (раствор может остаться опалесцирующим). 20 мл полученного раствора разводят 70 мл этанолом (96%) P, добавляя его по каплям при легком встряхивании. Охлаждают на ледяной бане в течение 1 ч. Затем фильтруют или центрифугируют (остаток A). Остаток A промывают этанолом (96%) P, добавляют промывной этанол к фильтрату или надосадочной жидкости и доводят этанолом (96%) P до объема 100 мл.

Раствор S3. 5 г испытуемого образца материала помещают в колбу из боросиликатного стекла с притертой пробкой, прибавляют 100 мл 0,1 M хлороводородной кислоты и кипятят с обратным холодильником в течение 1 ч. Затем охлаждают и выдерживают до осаждения твердой фазы.

Прозрачность раствора (2.1.2.1). Опалесценция раствора S1 не должна превышать опалесценцию суспензии сравнения II.

Цветность раствора (2.1.2.2, метод II). Раствор S1 должен быть бесцветным.

Поглощение/Оптическая плотность (2.1.2.24). 100 мл раствора S1 выпаривают досуха. Сухой остаток растворяют в 5 мл гексана P. При необходимости фильтруют через фильтр, предварительно промытый гексаном P. Оптическая плотность полученного фильтрата в области от 250 нм до 310 нм не должна превышать 0,25.

Поглощение/Оптическая плотность (2.1.2.24). Оптическая плотность раствора S2 в области от 250 нм до 330 нм не должна превышать 0,2 для материалов, стабилизированных оловом, или 0,4 - для других материалов.

Барий. Не более 2 ppm. Определение проводят методом атомно-эмиссионной спектрометрии с индуктивно связанной плазмой (2.1.2.41).

Испытуемый раствор. Используют раствор S3.

Раствор сравнения. Раствор, содержащий 0,1 ppm бария, готовят разведением стандартного раствора бария ионов (50 ppm Ba2+) P 0,1 M хлороводородной кислотой.

Измеряют интенсивность эмиссии при длине волны 455,40 нм, проводя коррекцию спектрального фона при длине волны 455,30 нм.

Проверяют отсутствие бария в используемой хлороводородной кислоте.

Поглощение испытуемого раствора при длине волны 455,40 нм не должно превышать интенсивность поглощения раствора сравнения.

Кадмий. Не более 0,6 ppm. Определение проводят методом атомно-абсорбционной спектрометрии (2.1.2.22, метод I).

Испытуемый раствор. Используют раствор S3.

Раствор сравнения. Раствор, содержащий 0,03 ppm кадмия, готовят разведением стандартного раствора кадмия ионов (0,1% Cd2+) P 0,1 M хлороводородной кислотой.

Проверяют отсутствие кадмия в используемой хлороводородной кислоте.

Поглощение испытуемого раствора при длине волны 228,8 нм не должно превышать поглощение раствора сравнения.

Материалы, стабилизированные оловом. Не более 0,25% Sn.

Основной раствор олова. 81 мг СО ФЕАЭС добавки к полимерным материалам 23 растворяют в тетрагидрофуране P и доводят тем же растворителем до 100,0 мл.

Стандартный раствор олова. 20 мл основного раствора олова доводят этанолом (96%) P до объема 100,0 мл.

К 0,10 мл раствора S2 в пробирке прибавляют 0,05 мл 1 M хлороводородной кислоты, 0,5 мл раствора калия йодида P и 5 мл этанола (96%) P, тщательно перемешивают и оставляют на 5 мин. К полученному раствору добавляют 9 мл воды P и 0,1 мл раствора 5 г/л натрия сульфита P и тщательно перемешивают, добавляют 1,5 мл раствора дитизона P, свежеразбавленного в 100 раз метиленхлоридом P, встряхивают в течение 15 с и оставляют на 2 мин.

Параллельно готовят раствор сравнения, используя 0,1 мл стандартного раствора олова.

Фиолетовая окраска нижнего слоя, полученного с раствором S2, не должна быть интенсивнее окраски раствора сравнения. Зеленовато-синяя окраска раствора дитизона в присутствии олова переходит в розовую.

Материалы нестабилизированные оловом. Не более 25 ppm Sn.

К 5 мл раствора S2 в пробирке прибавляют 0,05 мл 1 M хлороводородной кислоты и 0,5 мл раствора калия йодида P, тщательно перемешивают и оставляют на 5 мин. К полученному раствору добавляют 9 мл воды P и 0,1 мл раствора 5 г/л натрия сульфита P и тщательно перемешивают. Если полученный раствор не бесцветный, добавляют раствор натрия сульфита порциями по 0,05 мл до обесцвечивания. Затем добавляют 1,5 мл раствора дитизона P, свежеразбавленного в 100 раз метиленхлоридом P, встряхивают в течение 15 с и оставляют на 2 мин. Параллельно готовят раствор сравнения, используя 0,05 мл стандартного раствора олова (см. испытание выше).

Фиолетовая окраска нижнего слоя, полученная с раствором S2, должна быть не интенсивнее окрашивания раствора сравнения.

Цинк. Не более 100 ppm.

Определение проводят методом атомно-абсорбционная спектрометрия (2.1.2.22, метод I).

Испытуемый раствор. Раствор S3 разбавляют водой P в 10 раз.

Раствор сравнения. Раствор, содержащий 0,50 ppm цинка, готовят разбавлением цинка ионов стандартного раствора (5 мг/мл Zn2+) P 0,01 M хлороводородной кислотой.

Проверяют отсутствие цинка в используемой хлороводородной кислоте.

Поглощение испытуемого раствора при длине волны 214,0 нм не должно превышать поглощение раствора сравнения.

Тяжелые металлы (2.1.4.8, метод А). Не более 20 ppm.

12 мл раствора S3 должны выдерживать испытание на тяжелые металлы. Раствор сравнения готовят, используя стандартный раствор свинца ионов (1 ppm Pb2+) P.

Сульфатная зола (2.1.4.14). Не более 1,0%.

Определение проводят из 1,0 г испытуемого образца. Для материалов, содержащих титана диоксид в качестве добавки, что обуславливает непрозрачность, содержание сульфатной золы не должно превышать 4,0%.

КОЛИЧЕСТВЕННОЕ ОПРЕДЕЛЕНИЕ

Определение проводят методом сжигания в колбе с кислородом (2.1.5.10), используя 50,0 мг испытуемого образца материала. Продукты сгорания растворяют в 20 мл 1 M раствора натрия гидроксида. К полученному раствору добавляют 2,5 мл азотной кислоты P и титруют 0,1 M раствором серебра нитратом, определяя конечную точку титрования потенциометрически (2.1.2.19).

Параллельно проводят контрольное испытание.

1 мл 0,1 M раствора серебра нитрата соответствуют 6,25 мг поливинилхлорида.

204010009-2022

2.4.1.9. Материалы на основе непластифицированного поливинилхлорида для упаковок лекарственных препаратов в твердой лекарственной форме для приема внутрь

Требования настоящей общей фармакопейной статьи распространяются на материалы на основе непластифицированного поливинилхлорида для упаковок лекарственных препаратов в твердой лекарственной форме для приема внутрь. Эти материалы используют для изготовления лент или других видов упаковок. Они состоят из одного поливинилхлорида/поливинилацетата или смеси поливинилхлорида и поливинилацетата.

Содержание поливинилхлорида, рассчитанное по содержанию хлора, не менее 80%.

Непластифицированный поливинилхлорид может содержать не более 15% сополимеров:

- на основе акриловой и (или) метакриловой кислот и (или) их эфиров;

- на основе стирола и (или) бутадиена.

ОСОБЕННОСТИ ТЕХНОЛОГИИ

Материалы на основе непластифицированного поливинилхлорида получают методом полимеризации, который гарантирует остаточное содержание винилхлорида менее 1 ppm. Данный метод получения должен быть валидирован для подтверждения соответствия материала требованиям следующего испытания.

Винилхлорид. Не более 1 ppm.

Определение проводят методом парофазной газовой хроматографии (2.1.2.27).

Раствор внутреннего стандарта. 10 мкл эфира P вводят в 20,0 мл диметилацетамида P при помощи микрошприца, погружая кончик иглы в растворитель. Непосредственно перед использованием раствор разводят диметилацетамидом P в 1000 раз.

Испытуемый раствор. 1,000 г испытуемого образца помещают во флакон вместимостью 50 мл и прибавляют 10,0 мл раствора внутреннего стандарта. Флакон герметично закрывают пробкой, встряхивают, избегая контакта между пробкой и жидкостью, помещают в водяную баню при температуре (60 +/- 1) °C и выдерживают в течение 2 ч.

Основной раствор винилхлорида. Готовят в вытяжном шкафу.

50,0 мл диметилацетамида P помещают во флакон вместимостью 50 мл, герметично закрывают пробкой и взвешивают с точностью до 0,1 мг. Наполняют полиэтиленовый или полипропиленовый шприц вместимостью 50 мл газообразным винилхлоридом P, оставляют газ в контакте со шприцом в течение около 3 мин, затем газ удаляют и снова наполняют шприц 50 мл газообразного винилхлорида P. Присоединяют к шприцу гиподермальную иглу и снижают объем газа в шприце от 50 мл до 25 мл. Медленно вводят полученные 25 мл винилхлорида во флакон, осторожно встряхивая и избегая контакта между жидкостью и иглой. Флакон повторно взвешивают; увеличение массы должно быть около 60 мг (1 мкл полученного раствора содержит около 1,2 мкг винилхлорида). Оставляют на 2 ч. Основной раствор хранят в холодильнике.

Стандартный раствор винилхлорида. Основной раствор винилхлорида - диметилацетамид P (1:3 об/об).

Растворы сравнения. По 10,0 мл раствора внутреннего стандарта помещают в шесть флаконов вместимостью 50 мл. Флаконы герметично закрывают пробками. В пять флаконов вводят с помощью микрошприца 1 мкл, 2 мкл, 3 мкл, 5 мкл и 10 мкл стандартного раствора винилхлорида, соответственно. Полученные таким образом шесть растворов содержат, соответственно, 0 мкг, 0,3 мкг, 0,6 мкг, 0,9 мкг, 1,5 мкг и 3 мкг винилхлорида. Флаконы встряхивают, избегая контакта между пробкой и жидкостью, помещают в водяную баню при температуре 60 +/- 1 °C и выдерживают в течение 2 ч.

Условия хроматографирования:

- колонка из нержавеющей стали длиной 3 м и внутренним диаметром 3 мм, заполненная диатомитом силанизированным для газовой хроматографии P, импрегнированная 5% (м/м) диметилстеариламида P и 5% (м/м) макрогола 400 P;

- газ-носитель: азот для хроматографии P;

- скорость газа-носителя: 30 мл/мин;

- температура:

- колонка: 45 °C;

- блок для ввода проб: 100 °C;

- детектор: 150 °C;

- детектор: пламенно-ионизационный;

- объем вводимой пробы: 1 мл газовой фазы каждого флакона.

Рассчитывают содержание винилхлорида.

Добавки

В зависимости от назначения полимеры могут содержать добавки для улучшения их обработки или химических, физических и механических свойств. Эти добавки выбираются из следующего перечня, в котором для каждого вещества указано максимально допустимое содержание:

- эпоксидированное соевое масло с содержанием кислорода в эпоксидной группе от 6% до 8% и йодным числом не более 6 для материалов стабилизированных оловом: не более 2%;

- эпоксидированное соевое масло с содержанием кислорода в эпоксидной группе от 6% до 8% и йодным числом не более 6 для материалов нестабилизированных оловом: не более 3%;

- кальциевые, магниевые или цинковые соли алифатических жирных кислот содержащие более семи атомов углерода или смеси этих веществ: не более 1,5%;

- воск: не более 4%;

- парафин жидкий (вазелиновое масло): не более 1,5%;

- гидрогенизированные масла или эфиры алифатических жирных кислот: не более 2%;

- суммарное содержание трех приведенных выше смазывающих добавок: не более 4%;

- эфиры макрогола: не более 1,5%;

- сорбит: не более 1,5%;

- 2,4-динонилфенилфосфит или ди(4-нонилфенил)фосфит или трис(нонилфенил)фосфит: не более 1%;

- кальция карбонат: не более 1%;

- кремния диоксид: не более 1%.

Материалы на основе непластифицированного поливинилхлорида могут содержать стабилизаторы одной из следующих групп (где изооктилом является, например, 2-этилгексил):

- олово в виде ди(изооктил)2,2'-[(диоктилстаннилен)бис(тио)]диацетата, содержащий приблизительно 27% три(изооктил) 2,2',2"-[монооктилстаннилидин)трис(тио)]триацетата: не более 0,25%;

- олово в виде три(изооктил)2,2',2"-[монооктилстаннилидин)трис(тио)]триацетата: не более 0,25%;

- олово в виде смеси, содержащей не более 76% ди(изооктил) 2,2'-[(диметил-станнилен)бис(тио)]диацетата и не более 85% три(изооктил) 2,2',2"-[(монометилстаннилидин)трис(тио)]триацетата: не более 0,25%;

- 1-фенилейкозан-1,3-диона (бензоилстеароилметана): не более 1%.

Допускается добавление красителей при условии подтверждения их безопасности. При добавлении титана диоксида материал может быть непрозрачным.

Поставщик материала должен гарантировать, что качественный и количественный составы каждой производственной серии соответствуют типовому образцу (2.4.2.3).

СВОЙСТВА

Описание. Порошок, однородные шарики, гранулы, пластинки различной толщины или образцы, отобранные из готовых объектов.

Растворимость. Практически нерастворимы в воде и безводном этаноле, растворимы в тетрагидрофуране, мало растворимы в метиленхлориде.

При сжигании пламя окрашивается в оранжево-желтый цвет с зеленой каймой с выделением густого черного дыма.

ИДЕНТИФИКАЦИЯ

Определение проводят методом абсорбционной спектрофотометрии в инфракрасной области (2.1.2.23).

Остаток A, полученный при приготовлении раствора S2 в разделе Испытания, растворяют в 5 мл тетрагидрофурана P. Несколько капель полученного раствора помещают на диск натрия хлорида и выпаривают растворитель досуха при температуре от 100 °C до 105 °C.

На инфракрасном спектре испытуемого образца должны обнаруживаться максимумы поглощения при всех волновых числах при 2910 , 1425 , 1330 , 1252 , 958 и 690 (допустимое отклонение +/- 5 ).

Полученный спектр должен также соответствовать спектру типового образца.

ИСПЫТАНИЯ

При необходимости, образцы испытуемого материала разрезают на части с размером сторон не более 1 см.

Раствор S1. 25 г испытуемого образца материала помещают в колбу из боросиликатного стекла, прибавляют 500 мл воды P и закрывают горлышко колбы лабораторным стаканом из боросиликатного стекла. Нагревают в автоклаве при температуре (121 +/- 2) °C в течение 20 мин, после чего охлаждают, сливают надосадочную жидкость и доводят водой P до объема 500 мл.

Раствор S2. 5,0 г испытуемого образца материала растворяют в 80 мл тетрагидрофурана P и доводят объем раствора тем же растворителем до 100 мл. При необходимости фильтруют (раствор может остаться опалесцирующим). 20 мл полученного раствора разводят 70 мл этанола (96%) P, добавляя его по каплям при легком встряхивании. Охлаждают на ледяной бане в течение 1 ч. Затем фильтруют или центрифугируют (остаток A). Остаток A промывают этанолом (96%) P, добавляют промывной этанол к фильтрату или надосадочной жидкости и доводят этанолом (96%) P до 100 мл.

Раствор S3. 5 г испытуемого образца материала помещают в колбу из боросиликатного стекла с притертой пробкой, прибавляют 100 мл 0,1 M хлороводородной кислоты и кипятят с обратным холодильником в течение 1 ч. Затем охлаждают и выдерживают до осаждения твердой фазы.

Прозрачность раствора S1 (2.1.2.1). Опалесценция раствора S1 не должна превышать опалесценцию суспензии сравнения II.

Цветность раствора S1 (2.1.2.2, метод II). Раствор S1 должен быть бесцветным.

Поглощение/Оптическая плотность (2.1.2.24). 100 мл раствора S1 выпаривают досуха. Сухой остаток растворяют в 5 мл гексана P. При необходимости фильтруют через фильтр, предварительно промытый гексаном P. Поглощение полученного фильтрата в области от 250 нм до 310 нм не должно превышать 0,3.

Поглощение/Оптическая плотность (2.1.2.24). Поглощение раствора S2 для образца материала, который не содержит 1-фенилэйкозан-1,3-дион, в области от 250 нм до 330 нм не должно превышать 1,0. Для образца материала, содержащего 1-фенилэйкозан-1,3-дион, поглощение раствора S2, разбавленного в 10 раз этанолом (96%) P, в области от 250 нм до 330 нм не должно превышать 0,4.

Материалы стабилизированные оловом. Не более 0,25% Sn.

Основной раствор олова. 81 мг СО ФЕАЭС добавки к полимерным материалам 23 растворяют в тетрагидрофуране P и доводят тем же растворителем до 100,0 мл.

Стандартный раствор олова. 20 мл основного раствора олова доводят этанолом (96%) P до объема 100,0 мл.

К 0,10 мл раствора S2 в пробирке прибавляют 0,05 мл 1 M хлороводородной кислоты, 0,5 мл раствора калия йодида P и 5 мл этанола (96%) P, тщательно перемешивают и оставляют на 5 мин. К полученному раствору добавляют 9 мл воды P и 0,1 мл раствора 5 г/л натрия сульфита P и тщательно перемешивают, добавляют 1,5 мл раствора дитизона P, свежеразбавленного в 100 раз метиленхлоридом P, встряхивают в течение 15 с и оставляют на 2 мин.

Параллельно готовят раствор сравнения, используя 0,1 мл стандартного раствора олова. Фиолетовая окраска нижнего слоя, полученная с раствором S2, не должна быть интенсивнее окраски раствора сравнения. Зеленовато-синяя окраска раствора дитизона в присутствии олова переходит в розовую.

Материалы нестабилизированные оловом. Не более 25 ppm Sn.

К 5 мл раствора S2 в пробирке добавляют 0,05 мл 1 M хлороводородной кислоты и 0,5 мл раствора калия йодида Р. Тщательно перемешивают и оставляют на 5 мин. К полученному раствору добавляют 9 мл воды P и 0,1 мл раствора 5 г/л натрия сульфита P и тщательно перемешивают. Если полученный раствор не бесцветный, добавляют раствор натрия сульфита порциями по 0,05 мл до обесцвечивания. Затем добавляют 1,5 мл раствора дитизона P, свежеразбавленного в 100 раз метиленхлоридом P, встряхивают в течение 15 с и оставляют на 2 мин. Параллельно готовят раствор сравнения, используя 0,05 мл стандартного раствора олова (см. испытание выше).

Фиолетовая окраска нижнего слоя, полученная с раствором S2, должна быть не интенсивнее окраски раствора сравнения.

Цинк. Не более 100 ppm. Определение проводят методом атомно-абсорбционной спектрофотометрии (2.1.2.22, метод I).

Испытуемый раствор. Раствор S3 разбавляют водой P в 10 раз.

Раствор сравнения. Раствор, содержащий 0,50 ppm цинка, готовят разбавлением стандартного раствора цинка ионов (5 мг/мл Zn2+) P 0,01 M хлороводородной кислотой.

Проверяют отсутствие цинка в используемой хлороводородной кислоте.

Поглощение испытуемого раствора при длине волны 214,0 нм не должно превышать поглощение раствора сравнения.

Тяжелые металлы (2.1.4.8, метод А). Не более 20 ppm.

12 мл раствора S3 должны выдерживать испытания на тяжелые металлы. Раствор сравнения готовят, используя 10 мл стандартного раствора свинца ионов (1 ppm Pb2+) P.

Сульфатная зола (2.1.4.14). Не более 1,0%.

Определение проводят из 1,0 г испытуемого образца. Для материалов, содержащих титана диоксид в качестве добавки, что придает непрозрачность, содержание сульфатной золы не должно превышать 4,0%.

КОЛИЧЕСТВЕННОЕ ОПРЕДЕЛЕНИЕ

Определение проводят методом сжигания в колбе с кислородом (2.1.5.10), используя 50,0 мг испытуемого образца материала. Продукты сгорания растворяют в 20 мл 1 M раствора натрия гидроксида. К полученному раствору добавляют 2,5 мл азотной кислоты P и титруют 0,1 M раствором серебра нитратом, определяя конечную точку титрования потенциометрически (2.1.2.19).

Параллельно проводят контрольный опыт.

1 мл 0,1 M раствора серебра нитрата соответствуют 6,25 мг поливинилхлорида.

204010010-2022

2.4.1.10. Добавки к полимерным материалам

В настоящей общей фармакопейной статье представлен перечень добавок к полимерным материалам. К добавкам относят вещества, целенаправленно вводимые в полимерные материалы для улучшения их обработки или их химических, физических и механических свойств. Выбор добавки с необходимыми функциональными свойствами зависит от назначения полимерного материала. По составу добавки к полимерным материалам могут представлять собой одно, отдельно взятое химическое вещество, полимерное вещество или определенную смесь различных компонентов.

Вещества, присутствующие в конечном упаковочном материале, которые не были добавлены намеренно, считаются примесями и включают в себя продукты синтеза и деградации. Содержание примесей может быть ограничено соответствующей спецификацией.

ОБЩИЕ ТРЕБОВАНИЯ

Добавки и, при вероятности наличия в конечном упаковочном материале, их примеси, а также продукты синтеза и деградации, должны иметь подтверждение безопасности применения с учетом максимально возможного неблагоприятного воздействия в результате вымывания в содержимое упаковки.

Критерии приемлемости должны быть установлены для идентификации, определения физико-химических характеристик, примесей и содержания для каждого компонента упаковки.

Содержание добавок в материале упаковки не должно превышать минимальной эффективной концентрации, установленной для предполагаемого использования и обеспечения стабильности и качества конечного продукта.

Добавки к полимерным материалам, не представленные в фармакопее, могут использоваться при согласовании с уполномоченным органом в каждом конкретном случае.

ПЕРЕЧЕНЬ

Названия, приведенные первыми, соответствуют номенклатуре IUPAC. Синонимы, выделенные жирным шрифтом, соответствуют названиям, приведенным в Разделе 2.2. Перечень также включает регистрационный номер (CAS) и синонимы в соответствии с правилами номенклатуры Химической реферативной службы Chemical Abstracts (CA) Index.

Добавка 01. C24H38O4. [117-81-7].

бис[(2RS)-2-этилгексил]бензол-1,2-дикарбоксилат

синонимы: - ди(2-этилгексил)фталат, ди(2-этилгексил)бензол-1,2-дикарбоксилат;

- 1,2-бензолдикарбоновой кислоты бис(2-этилгексил) эфир;

- DEHP.

Добавка 02. C16H30O4Zn. [136-53-8].

цинка бис[(2RS)-2-этилгексаноат]

синонимы: - цинка октаноат;

- 2-этилгексановой кислоты цинковая соль (2:1);

- цинка 2-этилкапроат.

Добавка 03. [05518-18-3]/[00110-30-5].

N,N-(этан-1,2-диил)диалканамид

(с n и m = 14 или 16)

синонимы: - N,N'-диацилэтилендиамины;

- N,N-диацилэтилендиамин (в данном контексте ацил- означает, в частности, пальмитоил и стеароил).

Добавка 04. [8013-07-8].

эпоксидированное соевое масло

Добавка 05. [8016-11-3].

эпоксидированное льняное масло

Добавка 06.

[57455-37-5](TSCA)/[101357-30-6] EINECS/Пигмент синий 29 (CI 77007)

ультрамарин синий

Добавка 07. C15H24O. [128-37-0].

2,6-ди-трет-бутил-4-метилфенол

синонимы: - бутилгидрокситолуол;

- фенол, 2,6-бис(1,1-диметил-этил)-4 метил-;

- 2,6-бис(1,1-диметилэтил)-4-метилфенол.

Добавка 08. C50H66O8. [32509-66-3].

Этан-1,2-диил бис[3, 3-бис(3-трет-бутил-4-гидроксифенил)бутаноат]

синонимы: - этиленбис[3, 3-бис(3-(1,1-диметилэтил)-4-гидроксифенил] бутират];

- бензолпропановой кислоты 3-(1,1-диметилэтил)--[3-(1,1-диметилэтил)-4-гид-роксифенил]-4-гидрокси--метил-,1,1'-(1,2-этандиил)эфир;

- этиленбис[3, 3-бис(3-трет-бутил-4-гидроксифенил)бутират].

Добавка 09. C73H108O12. [6683-19-8].

2,2-бис[[[3-(3,5-ди-трет-бутил-4-гидроксифенил)пропаноил]окси] метил]пропан-1,3-диил бис[3-(3,5-ди-трет-бутил-4-гидроксифенил) пропаноат]

синонимы: - пентаэритритилтетракис [3-(3,5-ди-(1,1-диметилэтил)-4-гидроксифенил) пропионат];

- пентаэритритилтетракис[3-(3,5-ди-трет-бутил-4-гидроксифенил)-пропионат];

- бензолпропановой кислоты 3,5-бис(1,1-диметилэтил)-4-гидрокси-,1,1'-[2, 2-бис[[3-[3,5-бис(1,1-диметилэтил)-4-гидроксифенил]-1-оксопропокси] метил]-1,3-пропандиил]эфир;

- 2,2-бис[[[3-[3,5бис(1,1-диметилэтил)-4-гидроксифенил]пропаноил]окси]метил] пропан-1,3-диил3-[3,5-бис(1,1-диметилэтил)-4-гидроксифенил]пропаноат;

- 2,2-бис(Гидроксиметил)пропан-1,3-диолтетракис [3-(3,5-ди-трет-бутил-4-гидроксифенил)пропионат].

Добавка 10. C54H78O3. [1709-70-2].

4,4',4"-[(2,4,6-триметилбензол-1,3,5-триил)трис(метилен)]трис(2,6-ди-трет-бутилфенол)

синонимы: - 2,2',2",6,6',6"-гекса(1,1-диметилэтил)-4,4',4"-[(2,4,6-триметил-1,3,5-бензолтриил)трисметилен]трифенол;

- 2,2',2",6,6',6"-гекса-трет-бутил-4,4',4"-[(2,4,6-триметил-1,3,5-бензолтриил)трисметилен]трифенол;

- фенол, 4,4',4"-[(2,4,6-триметил-1,3,5-бензолтриил)трис(метилен)] трис[2,6-бис(1,1-диметилэтил)-;

- 1,3,5-трис[3,5-ди-трет-бутил-4-гидроксибензил]-2,4,6-триметилбензол.

Добавка 11. C35H62O3. [2082-79-3].

октадецил 3-(3,5-ди-трет-бутил-4-гидроксифенил)пропаноат

синонимы: - октадецил 3-(3,5-ди-трет-бутил-4-гидроксифенил)пропионат;

- бензолпропановой кислоты 3-[3,5-бис(1,1-диметилэтил)-4-гидрокси-] октадециловый эфир.

Добавка 12. C42H63O3P. [31570-04-4].

трис(2,4-ди-трет-бутилфенил)фосфит

синонимы: - трис(2,4-ди-трет-бутилфенил)фосфит;

- фенол, 2,4-бис (1,1-диметилэтил)-,1,1',1"-фосфит;

- 2,4-бис(1,1-диметилэтил)фенил, фосфит.

Добавка 13. C48H69N 3O6. [27676-62-6].

1,3,5-трис(3,5-ди-трет-бутил-4-гидроксифенил)метил]-1,3,5-триазин-2,4,6(1H,3H,5H)-трион

синонимы: - 1,3,5-трис(3,5-ди-трет-бутил-4-гидроксибензил)-s-триазин-2,4,6-(1H,3H,5H)-трион

- 1,3,5-триазин-2,4,6(1H,3H,5H)-трион,1,3,5-трис[[3,5-бис(1,1-диметилэтил)-4-гидроксифенил]метил]-.

Добавка 14. C41H82O6P2. [3806-34-6].

3,9-бис(октадецилокси)-2,4,8,10-тетраокса-3,9-дифосфаспиро[5.5]ундекан

синонимы: - 2,2'-бис(октадецилокси)-5,5'-спироби[1,3,2-диоксафосфоринан]

- 2,4,8,10-тетраокса-3,9-дифос-фаспиро[5.5]ундекан, 3,9-бис(октадецилокси)-.

Добавка 15. C36.H74S2. [2500-88-1].

(октадецилдисульфанил)октадекан

синонимы: - диоктадецилдисульфид;

- 1,1'-дитио-октадекан.

Добавка 16. C30H58O4S. [123-28-4].

Дидодецил 3,3'-сульфандиилдипропаноат

синонимы: - дидодецил-3,3'-тиодипропанат;

- пропановой кислоты 3,3'-тиобис-,1,1'-дидодециловый эфир;

- лаурилтиодипропионат.

Добавка 17. C42H82O4S. [693-36-7].

Диоктадецил-3,3'-сульфандиилдипропаноат

синонимы: - ди(октадецил)-3,3'-тиодипропанат;

- пропановой кислоты 3,3'-тиобис-,1,1'-диоктадециловый эфир;

- стеарилтиодипропионат.

Добавка 18. [119345-01-6].

Смесь семи продуктов, соответствующих продукту реакции ди-трет-бутилфосфонита с бифосфора трихлоридом, продуктам реакции с 1,1'-бифенилом и 2,4-ди-трет-бутилфенолом:

компонент I

тетракис(2,4-ди-трет-бутилфенил)

([1,1'-бифенил]-4,4'-диил)бис(фосфонит)

компонент II

тетракис(2,4-ди-трет-бутилфенил)

([1,1'-бифенил]-3,4'-диил)бис(фосфонит)

компонент III

тетракис(2,4-ди-трет-бутилфенил)

([1,1'-бифенил]-3,3'-диил)бис(фосфонит)

компонент IV

бис(2,4-ди-трет-бутилфенил)

([1,1'-бифенил]-4-ил)фосфонит

компонент V

трис(2,4-ди-трет-бутилфенил)фосфит

компонент VI

бис(2,4-ди-трет-бутилфенил)-4'-

[бис(2, 4-ди-трет-бутилфенокси)фосфанил]

([1,1'-бифенил]-4-ил)фосфонат

компонент VII

R-OH: 2,4-ди-трет-бутилфенол

Добавка 19. C18H36O2. [57-11-4].

октадекановая кислота

синонимы: - стеариновая кислота.

Добавка 20. C18H35NO. [301-02-0].

(9Z)-октадец-9-еноамид

синонимы: - олеамид;

- 9-октадеценамид, (9Z)-;

- 9-цис-олеамид.

Добавка 21. C22H43NO. [112-84-5].

(13Z)-докоз-13-еноамид

синонимы: - эрукамид;

- (Z)-Докоз-13-еноамид;

- 13-докоценамид, (13Z)-;

- 13-цис-докозенамид.

Добавка 22. [65447-77-0].

сополимер диметилбутандиоата

и 1-(2-гидроксиэтил)-2,2,6,6-тетраметил-пиперидин-4-ола

синонимы: - сополимер диметилсукцината и (4-гидрокси-2,2,6,6-тетра-метил пиперидин-1-ил)этанола;

- бутандиовой кислоты 1,4-диметиловый эфир, полимер с 4-гидрокси-2,2,6,6-тетраметил-1-пиперидинэтанолом.

Добавка 23. Смесь компонента I и около 27% компонента II

компонент I [26401-97-08]

бис[(2RS)-2-этилгексил]

[(диоктилстаннантриил)бис(сульфандиил)]диацетат

синонимы: - ди(изооктил)-2,2'-[(диоктил-станнилен)-бис(тио)диацетат;

- уксусной кислоты 2,2'-[(диоктил-станнилен)бис(тио)]бис-,1,1'-диизооктиловый эфир.

компонент II [26401-86-5]

трис[(2RS)-2-этилгексил][(октилстаннанэтрил)трис-(сульфандиил)]триацетат

синонимы: - три(изооктил)2,2',2"-[(монооктилстаннилиден)-трис(тио)триацетат;

- уксусной кислоты 2,2',2"-[(октилстаннилидин)трис(тио)]трис-,1,1',1"-три-изооктиловый эфир.

Добавка 24. C26H48O4. [166412-78-8].

Смесь структурных изомеров диизононил

(1, 2)-циклогексан-1,2-дикарбоксилат

синонимы: - циклогексан 1,2-дикарбоновой кислоты диизонониловый эфир;

- 1,2-циклогександикарбоновой кислоты 1,2-диизонониловый эфир.

Добавка 25. C28H50O8. [82469-79-2].

тригексил-2-(бутаноилокси)пропан-1,2,3-трикарбоксилат

синонимы: - бутирил три-н-гексил цитрат

- 1,2,3-пропантрикарбоновой кислоты 2-(1-оксобутокси)-1,2,3-тригексиловый эфир.

Добавка 26. C33H54O6. [3319-31-1].

трис[(2RS)-2-этилгексил] бензол-1,2,4-трикарбоксилат

синонимы: - трис(2-этилгексил)тримеллитат;

- 1,2,4-бензентрикарбоновой кислоты 1,2,4-трис(2-этилгексил) трикарбоксилат эфир.

Добавка 27. C24H38O4. [6422-86-2].

бис[(2RS)-2-этилгексил]бензол-1,4-дикарбоксилат

синонимы: - бис(2-этилгексил)терефталат;

- 1,4-бензолдикарбоновая кислота;

- 1,4-бис (2-этилгексила) эфир.

204010011-2022

2.4.1.11. Материалы на основе пластифицированного поливинилхлорида для упаковок водных растворов лекарственных препаратов для внутривенных инфузий

Материалы на основе пластифицированного поливинилхлорида содержат не менее 55% высокомолекулярного поливинилхлорида, полученного полимеризацией винилхлорида и различные добавки.

Свойства материалов упаковок на основе пластифицированного поливинилхлорида для водных растворов лекарственных препаратов предназначенных для внутривенных инфузий определяются характером и соотношением ингредиентов, входящих в их состав.

ОСОБЕННОСТИ ТЕХНОЛОГИИ

Материалы на основе пластифицированного поливинилхлорида получают методами полимеризации, которые гарантируют остаточное содержание винилхлорида менее 1 ppm.

Винилхлорид. Определение проводят методом парофазовой газовой хроматографии (2.1.2.27).

Раствор внутреннего стандарта. 10 мкл эфира P вводят в 20,0 мл диметилацетамида P с помощью микрошприца, погружая кончик иглы в растворитель. Непосредственно перед использованием раствор разводят диметилацетамидом P в 1000 раз.

Испытуемый раствор. 1,000 г испытуемого образца материала помещают во флакон вместимостью 50 мл и прибавляют 10,0 мл раствора внутреннего стандарта. Флакон герметично закрывают пробкой, встряхивают, избегая контакта между пробкой и жидкостью, помещают на водяную баню при температуре (60 +/- 1) °C и выдерживают в течение 2 ч.

Основной раствор винилхлорида. Готовят в вытяжном шкафу.

50,0 мл диметилацетамида P помещают во флакон вместимостью 50 мл, герметично закрывают пробкой и взвешивают с точностью до 0,1 мг. Наполняют полиэтиленовый или полипропиленовый шприц вместимостью 50 мл газообразным винилхлоридом P, оставляют газ в контакте с шприцом в течение около 3 мин, затем газ удаляют и снова наполняют шприц 50 мл газообразного винилхлорида P. Присоединяют к шприцу гиподермальную иглу и снижают объем газа в шприце от 50 мл до 25 мл. Медленно вводят оставшиеся 25 мл винилхлорида во флакон, осторожно встряхивая и избегая контакта между жидкостью и иглой. Флакон повторно взвешивают; увеличение массы должно быть около 60 мг (1 мкл полученного раствора содержит около 1,2 мкг винилхлорида). Оставляют на 2 ч. Основной раствор хранят в холодильнике.

Стандартный раствор винилхлорида. Основной раствор винилхлорида - диметилацетамид P (1:3 об/об).

Растворы сравнения. По 10,0 мл раствора внутреннего стандарта помещают в шесть флаконов вместимостью 50 мл. Флаконы герметично закрывают пробками. В пять флаконов вводят при помощи микрошприца 1 мкл, 2 мкл, 3 мкл, 5 мкл и 10 мкл стандартного раствора винилхлорида, соответственно. Полученные таким образом шесть растворов содержат, соответственно, 0 мкг, 0,3 мкг, 0,6 мкг, 0,9 мкг, 1,5 мкг и 3 мкг винилхлорида. Флаконы встряхивают, избегая контакта между пробкой и жидкостью, помещают на водяную баню при температуре (60 +/- 1) °C и выдерживают в течение 2 ч.

Условия хроматографирования:

- колонка из нержавеющей стали длиной 3 м и внутренним диаметром 3 мм заполненная диатомитом силанизированным для газовой хроматографии P и импрегнированная 5% (м/м) диметилстеариламидом P и 5% (м/м) макроголом 400 P;

- газ-носитель: азот для хроматографии P;

- скорость газа-носителя: 30 мл/мин;

- температура:

- колонка: 45 °C;

- блок для ввода проб: 100 °C;

- детектор: 150 °C;

- детектор: пламенно-ионизационный;

- объем вводимой пробы: 1 мл газовой фазы каждого флакона (введение непосредственно в начало колонки).

Добавки

В зависимости от назначения полимерные материалы могут содержать различные добавки для улучшения их обработки или химических, физических и механических свойств. Эти добавки выбираются из следующего перечня (при отсутствии другого обоснования и разрешения уполномоченного органа): в котором для каждого вещества указано максимально допустимое содержание.

Пределы содержания:

- ди(2-этилгексил)фталат (добавка к полимерному материалу 01): не более 40%;

- цинк 2-этилгексаноат (цинка октаноат) (добавка к полимерному материалу 02): не более 1%;

- кальция стеарат или цинка стеарат или смеси этих компонентов: не более 1%;

- N,N'-диацилэтилендиамины (добавка к полимерному материалу 03): не более 1%;

- одно из следующих эпоксидированных масел или смеси обоих компонентов: не более 10%:

- эпоксидированное соевое масло (добавка к полимерному материалу 04) с содержанием кислорода в эпоксидной группе от 6% до 8% и йодным числом не более 6;

- эпоксидированное льняное масло (добавка к полимерному материалу 05) с содержанием кислорода в эпоксидной группе не более 10% и йодным числом не более 7.

При добавлении красителей веществ используют ультрамарин синий (добавка к полимерному материалу 06). Допускается применение других красителей при условии, что безопасность материала подтверждена.

Поставщик материала должен гарантировать, что качественный и количественный составы каждой производственной серии соответствуют типовому образцу.

СВОЙСТВА

Порошок, однородные шарики, гранулы почти бесцветные, слегка голубые или бледно-желтые или полупрозрачные пластинки разной толщины со слабым запахом. При сжигании выделяют густой, черный дым.

ИДЕНТИФИКАЦИЯ

Образцы испытуемого материала при необходимости разрезают на части с размером сторон не более одного см.

К 2,0 г испытуемого образца материала добавляют 200 мл эфира, свободного от пероксидов, P и нагревают с обратным холодильником в течение 8 ч. Отделяют раствор A от остатка Б фильтрованием.

Раствор A выпаривают досуха при пониженном давлении на водяной бане при температуре 30 °C. Полученный остаток растворяют в 10 мл толуола P (раствор A1). Остаток Б растворяют в 60 мл этиленхлорида P, нагревая на водяной бане с обратным холодильником и затем фильтруют. Полученный раствор добавляют каплями при энергичном встряхивании к 600 мл гептана P, нагретого почти до кипения. Горячим фильтрованием отделяют сгусток Б1 от раствора в гептане P. Раствор охлаждают; отделяют осадок Б2, и фильтруют через стеклянный фильтр (40) (2.1.1.2).

А. Определение проводят методом абсорбционной спектрофотометрии в инфракрасной области (2.1.2.23).

Сгусток Б1 растворяют в 30 мл тетрагидрофурана P, к полученному раствору прибавляют небольшими порциями при встряхивании 40 мл этанола безводного P. Осадок Б3 отделяют фильтрованием и сушат в вакууме при температуре не более 50 °C над фосфора (V) оксидом P. Несколько миллиграммов осадка Б3 растворяют в 1 мл тетрагидрофурана P, помещают несколько капель полученного раствора на диск натрия хлорида и упаривают растворитель досуха при температуре от 100 °C до 105 °C.

Инфракрасный спектр (2.1.2.23) остатка должен соответствовать спектру СО ФЕАЭС поливинилхлорида.

Б. Добавка к полимерному материалу 01 (см. раздел Испытания).

ИСПЫТАНИЯ

При необходимости образцы испытуемого материала разрезают на части с размером сторон не более одного см.

Раствор S1. 5,0 г испытуемого образца материала помещают в колбу для сжигания, прибавляют 30 мл кислоты серной P, нагревают до получения черной сиропообразной массы, охлаждают и осторожно добавляют 10 мл раствора водорода пероксида концентрированный P. Осторожно нагревают, затем дают остыть и добавляют 1 мл раствора водорода пероксида концентрированный P. Повторяют процедуры, чередуя нагревание и испарение с добавлением концентрированного раствора водорода пероксида до получения бесцветной жидкости. Уменьшают объем раствора приблизительно до 10 мл, охлаждают и доводят объем раствора водой P до 50,0 мл.

Раствор S2. 25 г испытуемого образца материала помещают в колбу из боросиликатного стекла, прибавляют 500 мл воды P и закрывают горлышко колбы лабораторным стаканом из боросиликатного стекла. Нагревают в автоклаве при температуре (121 +/-2) °C в течение 20 мин, после чего охлаждают, сливают надосадочную жидкость и доводят объем раствора водой P до 500 мл.

Прозрачность раствора S2 (2.1.2.1). Раствор S2 должен быть прозрачным.

Цветность раствора S2 (2.1.2.2, Метод II). Раствор S2 должен быть бесцветным.

Кислотность или щелочность. К 100 мл раствора S2 прибавляют 0,15 мл раствора БКФ (BRP) индикатора P: окраска должна измениться до синей при добавлении не более 1,5 мл раствора 0,01 M натрия гидроксида.

К 100 мл раствора S2 прибавляют 0,2 мл раствора метилового оранжевого P: окраска раствора должна измениться от желтой до оранжевой при добавлении не более 1,0 мл 0,01 M хлороводородной кислоты.

Поглощение/Оптическая плотность (2.1.2.24). 100,0 мл раствора S2 выпаривают досуха. Сухой остаток растворяют в 5,0 мл гексана P. Оптическая плотность раствора в области длин волн от 250 нм до 310 нм не должна превышать 0,25.

Восстанавливающие вещества. Испытание проводят в течение 4 ч после приготовления раствора S2.

К 20,0 мл раствора S2 прибавляют 1 мл серной кислоты разбавленной P и 20,0 мл 0,002 M раствора калия перманганата. Кипятят с обратным холодильником в течение 3 мин и сразу охлаждают. Добавляют 1 г калия йодида P и сразу же титруют раствором 0,01 M натрия тиосульфата, используя в качестве индикатора 0,25 мл крахмала раствор P. Параллельно проводят контрольный опыт, используя 20 мл воды P. Разница между объемами титрантов не должна превышать 2,0 мл.

Первичные ароматические амины. Не более 20 ppm.

К 2,5 мл раствора A1, полученного при проведении испытания Идентификация, добавляют 6 мл воды P и 4 мл 0,1 M хлороводородной кислоты. Полученный водный раствор интенсивно встряхивают и удаляют верхний слой. Добавляют 0,4 мл свежеприготовленного раствора 10 г/л натрия нитрита P, перемешивают и оставляют на 1 мин. Добавляют 0,8 мл раствора 25 г/л аммония сульфамата P, оставляют на 1 мин и добавляют 2 мл раствора 5 г/л нафтилэтилендиамина дигидрохлорида P. Через 30 мин любое окрашивание полученного раствора должно быть не интенсивнее окрашивания раствора сравнения. Раствор сравнения готовят параллельно с испытуемым раствором тем же способом, но вместо водного раствора используют смесь 1 мл раствора 0,01 г/л нафтиламина P в 0,1 M хлороводородной кислоте, 5 мл воды P и 4 мл 0,1 M хлороводородной кислоты.

Добавка к полимерному материалу 01. Определение проводят методом газовой хроматографии (2.1.2.27) в сочетании с масс-спектрометрией (2.1.2.51).

Раствор внутреннего стандарта S3: 1 мг/мл раствора ди-н-октилфталата P в тетрагидрофуране для хроматографии P.

Раствор внутреннего стандарта S4: 5 мкг/мл раствора ди-н-октилфталата P в этаноле безводном P.

Испытуемый раствор. 0,2 г испытуемого образца материала разрезать на полоски длиной около 0,5 см. В 12,5 мл раствора внутреннего стандарта S3 растворить полоски, используя магнитную мешалку с магнитом, покрытым политетрафторэтиленом. Перемешивают от 20 мин до 30 мин до полного растворения испытуемого образца материала. В получившийся раствор для осаждения винилхлорида добавляют по каплям 37,5 мл этанола безводного P. Центрифугируют. 1,0 мл надосадочной жидкости доводят этанолом безводным P до 50,0 мл. Конечная концентрация внутреннего стандарта в испытуемом растворе составляет 5 мкг/мл. Испытуемый раствор можно хранить при температуре 4 °C до 2 недель.

Основной раствор. 20,0 мг СО ФЕАЭС добавки к полимерному материалу 01 растворяют в растворе внутреннего стандарта S4 и доводят тем же растворителем до 20,0 мл.

Растворы сравнения (a1) - (a5). Основной раствор разводят раствором внутреннего стандарта S4 для получения пяти растворов сравнения, содержащих от 10 мкг/мл до 40 мкг/мл СО ФЕАЭС добавки к полимерному материалу 01.

Условия хроматографирования:

- колонка из нержавеющей стали длиной 3 м и внутренним диаметром 3 мм, покрытая фенил(5)метил(95)полисилоксаном P толщиной 0,25 мкм;

- газ-носитель: гелий для хроматографии P;

- скорость газа-носителя: 1 мл/мин;

- деление потока: 1:20;

- режим изменения температуры:

Время (мин) Температура (°C)
Колонка 0 100
  0 - 3,3 100 200
  3,3 - 20 200 250
  20 - 22,5 250
  22,5 - 23 250 270
  23 - 25 270
  25 - 25,6 270 320
  25,6 - 30,6 320
Блок ввода проб
(инжектор)
  300

- детектор: настраивается согласно критериям пригодности системы;

- тип анализатора: квадрупольный масс-спектрометр с электронной ионизацией (70 эВ);

- температура источника ионов: 230 °C;

- система сбора данных: выполняется в режиме полного сканирования (m/z от 40 до 350) и в режиме сканирования одного иона (SIM);

- задержка на выход растворителя: 2,5 мин;

- параметры масс-спектрометра для селективной регистрации ионов:

Вещество Ион 1 (m/z) Ион 2 (m/z) Ион 3 (m/z)
добавка 01 149 167 279
ди-н-октилфталат
(внутренний стандарт)
149 279 167

- объем вводимой пробы: 1 мкл.

Относительное удерживание по отношению к ди-н-октилфталату (время удержания около 22 мин): добавка к полимерным материалам 01 около 0,80.

Специфичность детектирования проверяется мониторингом трех различных ионов для каждого вещества с помощью масс-спектрометра в режиме сканирования одного иона. Ионные соотношения определяются по пиковым областям после введения стандартного раствора.

Коэффициенты для соотношения ионов представлены для информации:

Материал Ион 1
(m/z)
Ион 2
(m/z)
Ион 3
(m/z)
Соотношение ионов
2/1 (%)
Соотношение ионов
3/1 (%)
добавка 01 149 167 279 50 30
ди-н-октилфталат          
(внутренний стандарт) 149 279 167 / /

Пригодность хроматографической системы:

- повторяемость: относительное стандартное отклонение времени удержания пика добавки к полимерному материалу 01, рассчитанное по шести вводам растворов сравнения входящим в середину диапазона калибровки (например, 20 мкг/мл): не более 1,0%;

- относительное стандартное отклонение соотношения площади пика добавки к полимерному материалу 01 и внутреннего стандарта, рассчитанное по 6 вводам растворов сравнения входящим в середину диапазона калибровки (например, 20 мкг/мл): не более 3,0%.

Расчет содержания:

- содержание добавки к полимерному материалу 01 в процентах в испытуемом образце материала рассчитывают по калибровочным кривым растворов сравнения.

Пределы содержания:

- добавка к полимерному материалу 01: не более 40%.

Добавка к полимерным материалам 03.

Осадок B2 на стеклянном пористом фильтре, полученный при испытании Идентификация, промывают этанолом безводным P. Высушивают до постоянной массы над фосфора (V) оксидом P (пентаоксид дифосфора) и взвешивают. Масса остатка не должна превышать 20 мг.

Определение проводят методом абсорбционной спектрофотометрии в инфракрасной области (2.1.2.23).

Инфракрасный спектр остатка должен соответствовать спектру СО ФЕАЭС добавки к полимерному материалу 03.

Добавки к полимерному материалу 04 и 05.

Определение проводят методом тонкослойной хроматографии (2.1.2.26).

Растворы сравнения. Растворы, которые содержат 10 мг/мл СО ФЕАЭС добавки к полимерному материалу 04 и СО ФЕАЭС добавки к полимерному материалу 05, соответственно, в толуоле Р.

Условия хроматографирования:

- ТСХ пластинка со слоем силикагеля GF254 Р;

- подвижная фаза: толуол P;

- объем наносимой пробы: 0,5 мл раствора A1, полученного при испытании Идентификация, в виде полосы размером 30 мм на 3 мм и по 5 мкл каждого раствора сравнения;

- хроматографическое разделение: более 2/3 пластины;

- высушивание: на воздухе;

- детектирование: пластину выдерживают в парах йода в течение 5 мин.

На хроматограмме раствора A1 находят положение зоны, которое соответствует добавкам к полимерным материалам 04 и 05 (Rf - 0,4) и снимают полосу силикагеля, которая соответствует этой зоне. Аналогичным образом удаляют полосу силикагеля, которая соответствует контрольному образцу. Оба образца по отдельности взбалтывают с 40 мл метанола P в течение 15 мин и фильтруют. Остаток на фильтре промывают дважды порциями метанола P по 10 мл, присоединяют смывы к фильтрату. Полученные жидкости упаривают досуха. Разница между массами должна быть не более 10 мг.

Барий. Не более 5 ppm.

Определение проводят методом атомно-эмиссионной спектрометрии с индуктивно связанной плазмой (2.1.2.41).

Испытуемый раствор. 1,0 г испытуемого образца сжигают в кварцевом тигле. Остаток растворяют в 10 мл хлороводородной кислоты P и выпаривают на водяной бане досуха. Остаток растворяют в 20 мл 0,1 M хлороводородной кислоты.

Раствор сравнения. Раствор, который содержит 0,25 ppm бария, готовят разведением стандартного раствора бария ионов (50 ppm Ba2+) P в 0,1 M хлороводородной кислоте.

Измеряют интенсивность эмиссии бария при длине волны 455,40 нм, проводя коррекцию спектрального фона при длине волны 455,30 нм.

Проверяют отсутствие бария в используемой хлороводородной кислоте.

Кадмий. Не более 0,6 ppm.

Определение проводят методом атомно-абсорбционной спектрометрии (2.1.2.22, метод I).

Испытуемый раствор. 10 мл раствора S1 упаривают досуха. Остаток пропитывают 5 мл 1% (об/об) раствором хлороводородной кислоты P, фильтруют и доводят объем фильтрата тем же растворителем до 10,0 мл.

Раствор сравнения. Готовят разведением стандартного раствора кадмия ионов (0,1% Cd2+) P в 1% (об/об) хлороводородной кислоте Р.

Измеряют поглощение полученных растворов.

Источник: лампа с полым кадмиевым катодом.

Длина волны: 228,8 нм.

Атомизатор: воздушно-ацетиленовое пламя.

Проверяют отсутствие кадмия в используемой хлороводородной кислоте.

Кальций. Не более 0,07%. Определение проводят методом атомно-эмиссионной спектрометрии с индуктивно связанной плазмой (2.1.2.41).

Испытуемый раствор. Используют испытуемый раствор, приготовленный для определения бария.

Раствор сравнения. Раствор, содержащий 50,0 ppm кальция, готовят разведением стандартного раствора кальция ионов (400 ppm Ca2+) P в 0,1 M хлороводородной кислоте.

Длина волны: измеряют интенсивность эмиссии кальция при 315,89 нм, проводя коррекцию спектрального фона при длине волны 315,60 нм.

Проверяют отсутствие кальция в используемой хлороводородной кислоте.

Олово. Не более 20 ppm. Определение проводят методом атомно-эмиссионной спектрометрии с индуктивно связанной плазмой (2.1.2.41).

Испытуемый раствор. Раствор S1 разводят водой P в 10 раз непосредственно перед использованием.

Раствор сравнения. 2 мл стандартного раствора олова ионов (5 ppm Sn2+) P помещают в колбу вместимостью 50 мл, которая содержит 5 мл 20% (об/об) раствора серной кислоты P и доводят водой P до объема 50 мл непосредственно перед использованием.

Длина волны: измеряют интенсивность эмиссии олова при 189,99 нм, спектральный фон - 190,10 нм, проводя коррекцию спектрального фона при длине волны 190,10 нм.

Проверяют отсутствие олова в используемой хлороводородной кислоте.

Цинк. Не более 0,2%. Определение проводят методом атомно-абсорбционной спектрометрии (2.2.22, метод I).

Испытуемый раствор. Раствор S1 разбавляют 0,1 M хлороводородной кислотой в 100 раз.

Раствор сравнения. Готовят разведением стандартного раствора цинка ионов (100 ppm Zn2+) P в 0,1 M хлороводородной кислоте.

Источник: лампа с полым цинковым катодом.

Длина волны: 213,9 нм.

Атомизатор: воздушно-ацетиленовое пламя.

Проверяют отсутствие цинка в используемой хлороводородной кислоте.

Тяжелые металлы (2.1.4.8, метод A). Не более 50 ppm.

К 10 мл раствора S1 прибавляют 0,5 мл фенолфталеина раствора P, затем натрия гидроксида концентрированный раствор P до появления бледно-розовой окраски и доводят водой P до объема 25 мл. 12 мл полученного раствора должны выдерживать испытание A. Раствор сравнения готовят, используя стандартный раствор свинца ионов (2 ppm Pb2+) P.

Вещества экстрагируемые водой. Не более 0,3%.

50,0 мл раствора S2 упаривают на водяной бане досуха и сушат остаток при температуре от 100 °C до 105 °C до постоянной массы. Параллельно проводят контрольный опыт, используя 50,0 мл воды Р. Масса сухого остатка не должна превышать 7,5 мг в сравнении с контрольным опытом.

КОЛИЧЕСТВЕННОЕ ОПРЕДЕЛЕНИЕ

Определение проводят методом сжигания в колбе с кислородом (2.1.5.10), используя 50,0 мг испытуемого образца материала. Для поглощения продуктов сгорания используют 20 мл 1 M раствора натрия гидроксида. К полученному раствору добавляют 2,5 мл азотной кислоты P и титруют 0,1 M раствором серебра нитрата, определяя конечную точку титрования потенциометрически (2.1.2.19).

Параллельно проводят контрольный опыт.

1 мл 0,1 M раствора нитрата серебра соответствует 6,25 мг поливинилхлорида.

204010012-2022

2.4.1.12. Полиэтилентерефталат для упаковок лекарственных препаратов непарентерального применения

Полиэтилентерефталат получают полимеризацией терефталевой кислоты или диметил-терефталата с этиленгликолем. Для полимеризации могут быть использованы кислота изофталевая, диметилизофталат, 1,4-бис(гидрокси-метил)циклогексан (циклогексан-1,4-диметанол) или диэтиленгликоль. Полиэтилентерефталат может содержать не более 0,5% кремния диоксида или силикатов и красители, разрешенные к применению.

ОСОБЕННОСТИ ТЕХНОЛОГИИ

Метод получения полиэтилентерефталата должен гарантировать остаточное содержание ацетальдегида в гранулах не более 10 ppm.

СВОЙСТВА

Описание. Прозрачные или матовые гранулы.

Растворимость. Практически нерастворимы в воде, в этаноле (96%) и метиленхлориде.

Гидролизуются сильными основаниями.

ИДЕНТИФИКАЦИЯ

А. 0,10 г испытуемого образца материала помещают в колбу из боросиликатного стекла с притертой пробкой, добавляют 25 мл раствора 200 г/л калия гидроксида P в 50% (об/об) этанола безводного P. Кипятят с обратным холодильником в течение 30 мин, охлаждают и доводят водой P до объема 100 мл. При необходимости фильтруют. 1,0 мл фильтрата доводят водой P до объема 100 мл. Ультрафиолетовый спектр (2.1.2.24) полученного раствора в области от 210 нм до 330 нм должен иметь максимум при длине волны 240 нм.

Б. 0,05 г испытуемого образца материала растворяют в 2 мл 1,1,1,3,3,3-гексафторпро-пан-2-ола Р. Несколько капель раствора наносят на стеклянную пластинку, находящуюся на водяной бане в вытяжном шкафу, для получения пятна размером 15 мм x 15 мм. После выпаривания растворителя пятно собирают, используя поток воды и скребок. Сушат при температуре от 100 °C до 105 °C в течение от 1 ч до 2 ч.

На инфракрасном спектре (2.1.2.23) испытуемого образца должны обнаруживаться максимумы поглощения при всех волновых числах 1725 , 1410 , 1265 , 1120 , 1100 , 1020 , 875 и 725 . Полученный спектр должен также соответствовать спектру типового образца.

ИСПЫТАНИЯ

Образцы испытуемого материала при необходимости разрезают на части с размером сторон не более 1 см.

Раствор S1. 10 г испытуемого образца помещают в колбу из боросиликатного стекла с притертой пробкой, добавляют 200 мл воды P и нагревают при температуре 50 °C в течение 5 ч, затем охлаждают и декантируют. Раствор S1 используют в течение 4 ч после приготовления.

Раствор S2. Раствор S2 используют в течение 4 ч после приготовления.

10 г испытуемого образца помещают в колбу из боросиликатного стекла с притертой пробкой, прибавляют 100 мл этанола (96%) P и нагревают при температуре 50 °C в течение 5 ч, охлаждают и сливают надосадочную жидкость.

Раствор S3. Раствор S3 используют в течение 4 ч после приготовления. 20 г испытуемого образца помещают в колбу из боросиликатного стекла с притертой пробкой, прибавляют 50 мл 0,1 M хлороводородной кислоты и нагревают при температуре 50 °C в течение 5 ч, охлаждают и сливают надосадочную жидкость.

Раствор S4. Раствор S4 используют в течение 4 ч после приготовления. 20 г испытуемого образца помещают в колбу из боросиликатного стекла с притертой пробкой, прибавляют 50 мл раствора 0,01 M раствора натрия гидроксида и нагревают при температуре 50 °C в течение 5 ч, охлаждают и сливают надосадочную жидкость.

Прозрачность раствора (2.1.2.1). Раствор S1 должен быть прозрачным.

Прозрачность раствора (2.1.2.1). Раствор S2 должен быть прозрачным.

Цветность раствора (2.1.2.2, метод II). Раствор S2 должен быть бесцветным.

Кислотность или щелочность. К 50 мл раствора S1 прибавляют 0,15 мл раствора БКФ (BRP) индикатора P; раствор окрашивается в желтый цвет. Окраска раствора должна изменяться до синей при добавлении не более 0,5 мл раствора 0,01 M раствора натрия гидроксида. К 50 мл раствора S1 прибавляют 0,2 мл раствора метилового оранжевого P; раствор окрашивается в желтый цвет. Окраска раствора должна изменяться от желтой до оранжевой при добавлении не более 0,5 мл 0,01 M хлороводородной кислоты.

Поглощение/Оптическая плотность (2.1.2.24). Оптическая плотность раствора S1 в области длин волн от 220 нм до 340 нм не должна превышать 0,2. Для окрашенного полиэтилентерефталата оптическая плотность раствора S1 в области от 400 нм до 800 нм не должна превышать 0,05.

Поглощение/Оптическая плотность (2.1.2.24). Оптическая плотность раствора S2 в области длин волн от 400 нм до 800 нм не должна превышать 0,05.

Восстанавливающие вещества. К 20,0 мл раствора S1 прибавляют 2 мл раствора 0,5 M серной кислоты и 20,0 мл 0,002 M раствора калия перманганата, кипятят в течение 3 мин и сразу охлаждают до комнатной температуры. Добавляют 1 г калия йодида P, 0,25 мл раствора крахмала P в качестве индикатора и сразу титруют раствором 0,01 M раствором натрия тиосульфата. Параллельно проводят контрольный опыт, используя 20,0 мл воды P. Разница между объемами титранта не должна превышать 0,5 мл.

Вещества, растворимые в диоксане. Не более 3%.

2 г испытуемого образца помещают в коническую колбу из боросиликатного стекла с притертой пробкой, прибавляют 20 мл диоксана P и нагревают с обратным холодильником на водяной бане в течение 2 ч. 10 мл полученного раствора выпаривают на водяной бане досуха и сушат остаток при температуре от 100 °C до 105 °C. Масса полученного остатка не должна превышать 30 мг.

Алюминий. Не более 1 ppm. Определение проводят методом атомно-эмиссионной спектрометрии с индуктивно связанной плазмой (2.1.2.41).

Испытуемый раствор. Используют раствор S3.

Растворы сравнения. Готовят разведением стандартного раствора алюминия ионов (200 ppm Al3+) P 0,1 M хлороводородной кислотой.

Измеряют интенсивность эмиссии при длине волны 396,15 нм, проводя коррекцию спектрального фона при длине волны 396,25 нм. Проверяют отсутствие алюминия в используемой 0,1 M хлороводородной кислоте.

Барий. Не более 1 ppm. Определение проводят методом атомно-эмиссионной спектрометрии с индуктивно связанной плазмой (2.1.2.41).

Испытуемый раствор. Используют раствор S3.

Раствор сравнения. Готовят разведением стандартного раствора бария ионов (50 ppm Ba2+) P 0,1 M хлороводородной кислотой.

Измеряют интенсивность эмиссии бария при длине волны 455,40 нм, проводя коррекцию спектрального фона при длине волны 455,30 нм.

Проверяют отсутствие бария в используемой 0,1 M хлороводородной кислоте.

Германий. Не более 1 ppm. Определение проводят методом атомно-эмиссионной спектрометрии с индуктивно связанной плазмой (2.1.2.41).

Испытуемый раствор. Используют раствор S4.

Раствор сравнения. Готовят разведением стандартного раствора германия (100 ppm Ge+4) P 0,01 M раствором натрия гидроксида.

Измеряют интенсивность эмиссии германия при длине волны 206,87 нм или 265,12 нм, проводя коррекцию спектрального фона при длине волны 206,75 нм.

Кобальт. Не более 1 ppm. Определение проводят методом атомно-эмиссионной спектрометрии с индуктивно связанной плазмой (2.1.2.41).

Испытуемый раствор. Используют раствор S3.

Раствор сравнения. Готовят разведением стандартного раствора кобальта ионов (100 ppm Co2+) P в 0,1 M хлороводородной кислоте.

Измеряют интенсивность эмиссии кобальта при длине волны 228,62 нм, проводя коррекцию спектрального фона при длине волны 228,50 нм.

Проверяют отсутствие кобальта в используемой 0,1 M хлороводородной кислоте.

Марганец. Не более 1 ppm.

Определение проводят методом атомно-эмиссионной спектрометрии с индуктивно связанной плазмой (2.1.2.41).

Испытуемый раствор. Используют раствор S3.

Раствор сравнения. Готовят разведением стандартного раствора марганца ионов (100 ppm Mn+) P 0,1 M хлороводородной кислотой.

Измеряют интенсивность эмиссии марганца при длине волны 257,61 нм, проводя коррекцию спектрального фона при длине волны 257,50 нм.

Проверяют отсутствие марганца в используемой 0,1 M хлороводородной кислоте.

Сурьма. Не более 1 ppm. Определение проводят методом атомно-эмиссионной спектрометрии с индуктивно связанной плазмой (2.1.2.41).

Испытуемый раствор. Используют раствор S4.

Раствор сравнения. Готовят разведением стандартного раствора сурьмы (100 ppm Sb+5) P 0,01 M раствором натрия гидроксида.

Измеряют интенсивность эмиссии сурьмы при длине волны 231,15 нм или 217,58 нм, проводя коррекцию спектрального фона при длине волны 231,05 нм.

Титан. Не более 1 ppm. Определение проводят методом атомно-эмиссионной спектрометрии с индуктивно связанной плазмой (2.1.2.41).

Испытуемый раствор. Используют раствор S3.

Растворы сравнения. Готовят разведением стандартного раствора титана ионов (100 ppm Ti+) P 0,1 M хлороводородной кислотой.

Измеряют интенсивность эмиссии титана при длине волны 323,45 нм или 334,94 нм, проводя коррекцию спектрального фона при длине волны 323,35 нм.

Проверяют отсутствие титана в используемой 0,1 M хлороводородной кислоте.

Цинк. Не более 1 ppm. Определение проводят методом атомно-эмиссионной спектрометрии с индуктивно связанной плазмой (2.1.2.41).

Испытуемый раствор. Используют раствор S3.

Растворы сравнения. Готовят разведением стандартного раствора цинка ионов (100 ppm Zn2+) P 0,1 M хлороводородной кислотой.

Измеряют интенсивность эмиссии цинка при длине волны 213,86 нм, проводя коррекцию спектрального фона при длине волны 213,75 нм.

Проверяют отсутствие цинка в используемой 0,1 M хлороводородной кислоте.

Сульфатная зола (2.1.4.14). Не более 0,5%.

Определение проводят использованием 1,0 г испытуемого образца.

2.4.2. УПАКОВКА

204020001-2022

2.4.2.1. Упаковка лекарственных средств

Настоящая общая фармакопейная статья устанавливает общие требования к упаковке субстанций для фармацевтического применения и лекарственных препаратов для медицинского применения.

Упаковка - материал или устройство, гарантирующее сохранение качества лекарственного средства для медицинского применения на протяжении установленного срока годности (хранения), обеспечивающее их защиту от повреждений и потерь, а также предохраняющее окружающую среду от загрязнений.

В зависимости от непосредственного контакта с лекарственным средством различают первичную упаковку и вторичную упаковку.

Примечание. Другие термины и определения, используемые в настоящей общей фармакопейной статье, нашли отражение в общей фармакопейной статье 2.1.7.1. Отбор проб.

КЛАССИФИКАЦИЯ УПАКОВКИ

К комплексу средств, образующих упаковку лекарственных средств, т.е. к элементам упаковки, относят тару, укупорочные средства, комплектующие средства и другие вспомогательные, дополнительные элементы упаковки, регламентированные требованиями частной фармакопейной статьи или нормативного документа по качеству на конкретное лекарственное средство.

ПО СТЕПЕНИ ЗАЩИТЫ

Упаковка может иметь несколько слоев защиты лекарственного средства.

Элементы первичной (внутренней) упаковки находятся в непосредственном физическом контакте с лекарственным средством и обеспечивают его защиту от влияния воздействий окружающей среды в процессе обращения лекарственного средства. В некоторых случаях первичная упаковка представляет собой специализированную систему доставки лекарственного средства, например, аэрозоль или дозирующее устройство, отрегулированное на отпуск одной дозы лекарственного средства.

Элементы вторичной (внешней) упаковки не вступают в прямой контакт с лекарственным средством, но обеспечивают необходимую защиту в целях сохранения стабильности. Вторичная упаковка содержит одну или несколько единиц первичной упаковки, в установленных случаях может содержать комплектующие средства (мерные стаканчики, насадки, нож ампульный, устройство для подвешивания и др.). Вторичная упаковка, содержащая необходимую информацию для применения по назначению, является потребительской упаковкой.

С целью дополнительной защиты лекарственного препарата или, исходя из особенностей его применения, первичная упаковка может быть помещена в промежуточную упаковку.

Лекарственные средства во вторичной (потребительской) упаковке могут быть помещены в групповую (объединенную) упаковку, представляющую собой, как правило, картонные коробки или стопы, с последующим обертыванием стоп бумагой, термоусадочной пленкой в соответствии с указаниями нормативного документа по качеству. При необходимости групповая упаковка может быть склеена или обвязана с использованием вспомогательных упаковочных и обвязочных средств, обеспечивающих прочность упаковки.

В случае реализации лекарственных препаратов только в лечебно-профилактические учреждения допускается использование упаковки "для стационаров", объединяющей установленное количество лекарственного препарата в первичной упаковке, помещенных в групповую упаковку в соответствии с указаниями нормативного документа по качеству.

Каждая упаковочная единица любого вида групповой упаковки должна быть снабжена этикеткой или оклеена бандерольной лентой с нанесенной на нее маркировкой. При склеивании или обвязывании групповой упаковки концы обвязки должны быть заклеены этикеткой, обеспечивающей контроль вскрытия.

При транспортировании лекарственных средств, находящихся в потребительской или групповой упаковке, их помещают в транспортную упаковку, предназначенную для хранения и транспортирования лекарственных средств с целью защиты их от повреждений при перемещении. В установленных случаях допускается транспортировать лекарственные средства в групповой упаковке в грузовых контейнерах без укладки в транспортную упаковку.

По защите от вскрытия

Упаковка с защитой от несанкционированного вскрытия (упаковка с контролем первого вскрытия) - упаковка, предусматривающая невозможность использования ее содержимого без очевидного нарушения специального элемента упаковки, необратимо изменяющегося при первом вскрытии, что позволяет отслеживать признаки любого нарушения целостности упаковки.

Упаковка с защитой от вскрытия детьми - упаковка, труднодоступная для вскрытия маленькими детьми, но возможная к использованию взрослыми людьми.

По защите от факторов внешнего воздействия

Хорошо укупоренная упаковка - упаковка, обеспечивающая защиту содержимого от попадания извне посторонних твердых и жидких веществ, и (или) потери содержимого при обычных условиях хранения, транспортирования и реализации.

Примечание. Для данного контекста обычными считаются условия хранения в помещении при относительной влажности не более 65% и температуре (15 - 25) °C или, в зависимости от климатической зоны, до 30 °C, при исключении посторонних запахов, источников загрязнения и интенсивного освещения.

Плотно укупоренная упаковка - упаковка, обеспечивающая защиту содержимого от попадания извне посторонних твердых, жидких и газообразных веществ, и (или) потери содержимого, выветривания, расплывания или испарения при обычных условиях хранения, транспортирования и реализации.

Герметично укупоренная упаковка - упаковка, обеспечивающая защиту содержимого от попадания извне посторонних веществ, и (или) потери содержимого, обеспечивающая непроницаемость для твердых, жидких и газообразных веществ при обычных условиях хранения, транспортирования и реализации.

Если указана плотно укупоренная упаковка, ее можно заменить герметично укупоренной упаковкой, но не наоборот.

Герметично запаянная упаковка - упаковка, обеспечивающая герметичность, укупоренная с помощью расплавления материала упаковки.

Воздухонепроницаемая упаковка - плотно укупоренная упаковка, обеспечивающая непроницаемость для воздуха, газов, паров и других газообразных веществ при обычных условиях хранения, транспортирования и реализации.

Влагонепроницаемая упаковка - плотно укупоренная упаковка, обеспечивающая непроницаемость для воды, влаги и других жидких веществ при обычных условиях хранения, транспортирования и реализации.

Если указана "воздухо"- или "влагонепроницаемая" упаковка, ее можно заменить на "герметично укупоренную".

Светозащитная упаковка - упаковка, обеспечивающая защиту содержимого от действия световой энергии за счет особенных свойств используемого упаковочного материала или за счет специального покрытия упаковки. Светонепроницаемость упаковки также можно обеспечить, помещая светопроницаемую упаковку внутрь подходящего светозащитного материала.

Изотермическая упаковка - упаковка, внутри которой сохраняется заданная температура в течение установленного времени.

Вакуумная упаковка - упаковка, внутреннее давление в которой ниже атмосферного.

По количеству использований и количеству доз

Одноразовая упаковка - упаковка, содержащая лекарственное средство в количестве, предназначенном для полного использования непосредственно после вскрытия упаковки.

Многоразовая упаковка - упаковка, содержащая лекарственное средство в количестве, которое предполагается использовать многократно по частям, последовательно отбирая содержащееся в ней лекарственное средство без изменения безопасности, качества или чистоты оставшейся части лекарственного средства до его полного использования.

Однодозовая упаковка - упаковка, содержащая лекарственный препарат в твердой, мягкой или жидкой лекарственной форме в количестве, соответствующем одной дозе или части дозы для однократного применения.

Многодозовая упаковка - упаковка, содержащая лекарственный препарат в количестве, соответствующем более одной дозы лекарственного препарата. Многодозовая упаковка может содержать лекарственный препарат в виде дозированной и недозированной лекарственной формы. Многодозовая упаковка, содержащая лекарственный препарат в виде недозированной лекарственной формы, представляет собой многоразовую упаковку.

По типу и виду

Классификационная единица, характеризующая упаковку по материалу и конструкции, определяет тип упаковки. Классификационная единица, характеризующая упаковку по форме, определяет вид упаковки.

Ампула - первичная упаковка из медицинского бесцветного или светозащитного стекла или полимерного материала, имеющая цилиндрический корпус с вытянутой горловиной, герметично запаиваемой после наполнения лекарственным препаратом, с плоским или выпуклым (вогнутым) дном, открываемая исключительно путем разламывания. Содержимое предназначено для однократного применения.

Баллон - упаковка, имеющая корпус каплеобразной, шарообразной или цилиндрической формы, со сферическим или вогнутым дном, с узкой горловиной.

Примечание. Стеклянный баллон допускается называть бутылью.

Баллон аэрозольный (аэрозольная упаковка) - герметично закрытая первичная упаковка из стекла, полимерных материалов или металла, имеющая корпус цилиндрической формы с узкой горловиной, укупориваемая с помощью клапанно-распылительной системы (дозирующей или недозирующей), внутри которой сохраняется заданное давление, позволяющее проводить распыление.

Баллон газовый - упаковка из металла, обычно цилиндрической формы, предназначенная для сжатого, сжиженного или растворенного газа, снабженная устройством, регулирующим спонтанный выход газа при атмосферном давлении и комнатной температуре.

Банка - первичная упаковка из медицинского бесцветного или светозащитного стекла или из полимерного материала, имеющая корпус преимущественно цилиндрической или другой формы с горловиной, диаметр которой равен диаметру корпуса или меньше его, с плоским или вогнутым дном.

Барабан - упаковка из полимерного материала, металла или фибрового картона, имеющая корпус цилиндрической формы без обручей или зигов катания, с плоским дном и съемной или несъемной крышкой.

Примечание. Бочки не классифицируются как барабан.

Бочка - транспортная упаковка, имеющая корпус цилиндрической или параболической формы, с обручами или зигами катания с двумя плоскими торцами (доньями) равного диаметра.

Бутылка - первичная упаковка из медицинского бесцветного или светозащитного стекла или из полимерного материала, имеющая преимущественно цилиндрический корпус разнообразной формы, переходящий в узкую горловину, с плоским или вогнутым дном.

Бутыль - упаковка из медицинского бесцветного или светозащитного стекла или из полимерного материала с цилиндрическим корпусом, переходящим в более или менее выраженную узкую горловину, с плоским или вогнутым дном вместимостью свыше 3000 мл.

Грузовой контейнер - единица транспортного оборудования многократного применения, предназначенная для перевозки и временного хранения грузов без промежуточных перегрузок, удобная для механизированной загрузки и разгрузки, погрузки и выгрузки, внутренним объемом, равным 1 м3 и более.

Инъекционный шприц - первичная упаковка из медицинского стекла или полимерных материалов цилиндрической формы с канюлеобразным носиком, без или с фиксированной иглой, подвижным поршнем со штоком, с защитным колпачком, обычно используемая для введения парентеральных лекарственных форм. Инъекционный шприц с лекарственным препаратом представляет собой предварительно наполненный шприц.

Канистра - упаковка из полимерного материала или металла с корпусом, имеющим в сечении, параллельном дну, форму, близкую к прямоугольной или многоугольной, с приспособлением для переноса, сливной горловиной и крышкой с затвором.

Примечание. Сливное отверстие и устройство для переноса обычно располагаются в верхней части корпуса или сбоку.

Картридж - первичная упаковка из медицинского стекла или полимерных материалов, обычно цилиндрической формы, подходящая для жидких или твердых дозированных лекарственных форм; предназначенная, главным образом, для использования в специально сконструированных аппаратах (например, шприц-ручках).

Контейнер полимерный для крови и ее компонентов однократного применения - упаковка, представляющая собой замкнутую эластичную, герметичную, стерильную систему однократного применения, предназначенную для взятия крови, разделения ее на компоненты, хранения, транспортирования и переливания крови и ее компонентов; состоящая из основной емкости для крови и дополнительных емкостей для компонентов крови и соединительных трубок. Контейнер полимерный для крови и ее компонентов однократного применения состоит из основной емкости для крови и дополнительных емкостей для компонентов крови и соединительных трубок. Каждая емкость упаковки имеет штуцеры с внутренним мембранным клапаном, основная емкость имеет узел взятия крови. Различают упаковку, содержащую и не содержащую антикоагулянт и (или) раствор консерванта, а также одно-, двух-, трех- и четырехкамерную упаковку.

Коробка - упаковка из картона или полимерного материала, имеющая корпус разнообразной формы с плоским дном, закрываемая клапанами или крышкой съемной, или на шарнире, или крышкой в форме обечайки.

Примечание.

1. Коробку, выполненную из одной заготовки, закрываемую клапанами, допускается называть пачкой.

2. Коробку, закрываемую крышкой в форме обечайки, допускается называть пеналом.

Мешок - транспортная мягкая упаковка, имеющая корпус в форме рукава с дном и открытым верхом (горловиной) или закрытым верхом с клапаном.

Пакет - упаковка, произведенная на основе бумаги, фольги, полимерного материала, имеющая корпус в виде рукава с дном и открытым верхом, преимущественно гибкая, состоящая из поверхностей, без или с плоским дном, закрываемая на дне или по сторонам методом склеивания, термосваривания или сшивания; верх может быть закрыт путем сплавления материалов, в зависимости от предназначения.

Примечание: Пакет небольшой емкости допускается называть пакетиком, саше.

Пробирка - первичная упаковка из медицинского бесцветного стекла, полимерного материала или металла (алюминия) с цилиндрическим корпусом, с плоским или выпуклым дном, с горловиной, диаметр которой равен диаметру корпуса, укупориваемая пробкой или крышкой, вместимостью до 5 мл.

Стопа - групповая упаковка, представляющая собой наложенные одна на другую, как правило, плоские, одинаковые по размеру, потребительские упаковки, например, пачки.

Туба - первичная упаковка, изготовленная из гибких металлических, полимерных или комбинированных материалов, имеющая корпус преимущественно цилиндрической формы с узкой горловиной, укупориваемой колпачком (бушоном), и дном, закрываемым после наполнения лекарственным препаратом. Извлечение лекарственного препарата осуществляется через горловину путем сдавливания упаковки.

Тюбик-капельница - первичная упаковка из эластичного полимерного материала с клапаном или винтовой горловиной, с защитным колпачком, обеспечивающая принудительное истечение находящегося в ней лекарственного препарата (жидкости) через каплеобразователь при надавливании на корпус упаковки.

Упаковка контурная безъячейковая (стрип) - гибкая упаковка из комбинированных материалов с лекарственным препаратом, запечатанным между двумя слоями упаковки, из которых лекарственный препарат извлекается путем ее разрыва.

Упаковка контурная ячейковая (блистер) - гибкая упаковка из комбинированных материалов, состоящая из двух слоев, один из которых представляет собой термоформованные ячейки, из которых лекарственный препарат извлекается путем выдавливания или вскрытия.

Флакон - первичная упаковка из медицинского бесцветного или светозащитного стекла или полимерного материала, имеющая корпус разнообразной формы, резко переходящий в горловину, диаметр венчика которой значительно меньше диаметра корпуса, с плоским или вогнутым дном.

Флакон-капельница - система упаковки, представляющая собой флакон из медицинского бесцветного или светозащитного стекла или полимерного материала, с винтовой горловиной, укомплектованный навинчиваемой крышкой и пробкой-капельницей, обеспечивающей свободное или принудительное истечение жидких лекарственных препаратов с заданной скоростью.

Флакон из трубки стеклянной (дрота) - первичная упаковка, представляющая собой флакон с гладкой горловиной и прямоугольным венчиком, предназначенный для укупоривания пробкой и алюминиевым закатываемым или обжимным колпачком, вместимостью от 5 мл до 30 мл. Содержимое лекарственного препарата для парентерального применения из флакона, укупоренного резиновой пробкой, извлекается путем прокалывания пробки иглой.

Фляга - транспортная многооборотная упаковка, предназначенная для многократного применения, имеющая цилиндрический корпус и широкую цилиндрическую горловину, диаметр которой меньше диаметра корпуса, с приспособлением для переноса и крышкой с затвором.

Шприц-тюбик - первичная упаковка из эластичного полимерного материала с нанесенной на горловину резьбой и инъекционной иглой с защитным колпачком, обеспечивающая принудительное истечение находящегося в ней содержимого (растворов для инъекций) через иглу при сжатии корпуса упаковки.

Ящик - транспортная жесткая упаковка с прямоугольными или многоугольными сторонами, с дном, двумя торцевыми и боковыми стенками, с крышкой или без нее.

Примечание.

1. Ящик без крышки с выступающими или не выступающими угловыми планками высотой не более 130 мм допускается называть лотком.

2. Стороны ящика могут содержать отверстия для манипуляции, вентиляции, демонстрации содержимого.

Примечание. Приведенный перечень типов и видов упаковки не является исчерпывающим, он может быть дополнен в соответствии с указаниями действующих нормативных документов.

По механическим свойствам

Жесткая упаковка - упаковка, форма и размеры которой не изменяются при наполнении или удалении содержимого.

Мягкая упаковка - упаковка, форма и размеры которой изменяются при наполнении или удалении содержимого.

Хрупкая упаковка - упаковка, чувствительная к воздействию динамических нагрузок.

Гибкая упаковка - упаковка, изготовленная из легко сгибаемых упаковочных материалов на основе бумаги, фольги, полимеров, картона.

ЭЛЕМЕНТЫ УПАКОВКИ

Тара - основной элемент упаковки, предназначенный для размещения лекарственных средств, конструкция которого может предусматривать наличие укупорочных средств для создания герметичности или замкнутого пространства.

Укупорочное средство - изделие, предназначенное для укупоривания упаковки и сохранения ее содержимого.

Укупорочные средства имеют различный вид (форма, внешние очертания) и тип (материал и модель).

Основные виды и типы укупорочных средств:

Пробка - укупорочное средство, вставляемое внутрь горловины тары.

Крышка - укупорочное средство, закрепляемое по всему наружному периметру верха упаковки или тары.

Бушон - крышка, навинчиваемая на горловину тубы.

Пробка-крышка - укупорочное средство, состоящее из двух частей - верхней крышки и внутренней пробки.

Колпачок - укупорочное средство, надеваемое или навинчиваемое на венчик горловины тары.

Комплектующее средство - изделие, помещаемое во вторичную (потребительскую) упаковку лекарственного препарата и используемое для правильного дозирования, введения или применения лекарственного препарата.

Средство дозирования (дозатор, дозирующее устройство) - функциональное устройство для отмеривания (дозирования) заданной массы или объема лекарственного препарата, которое может быть элементом первичной упаковки, например, элементом укупорочного средства (вставки-капельницы, глазные и назальные капельницы и др.) или элементом вторичной упаковки, т.е. комплектующим средством (мерные ложки/ложечки, мерные колпачки/стаканчики, шприцевые дозаторы, пипетки, аппликаторы вагинальные и ректальные и др.).

Градуировка средств дозирования должна быть четкой, нестираемой. Должно быть гарантировано соответствие рекомендованной к приему дозы лекарственного препарата той дозе, которая будет отмерена с помощью дозирующего устройства упаковки и доставлена пациенту.

Насадка-дозатор - укупорочное средство, часть которого вдавливается внутрь горловины упаковки (тары) и при надавливании на эластичный корпус этой упаковки (тары) обеспечивает принудительное истечение жидкого лекарственного препарата дозами.

Дозатор-ограничитель - функциональное устройство упаковки, предназначенное для отмеривания жидкого лекарственного препарата по объему и препятствующее или затрудняющее повторное заполнение упаковки.

Средство доставки лекарственного препарата - функциональное устройство, элемент упаковки (укупорочного средства), обеспечивающий доставку лекарственного препарата к месту его введения.

Аэрозольный клапан - затвор для аэрозольной упаковки, сохраняющий давление внутри упаковки и позволяющий при нажатии проводить распыление упакованной продукции.

Дозирующий клапан для аэрозолей является сложным элементом упаковки, обеспечивающим дозирование и доставку лекарственного препарата к месту его введения.

Средством доставки лекарственного препарата могут быть комплектующие средства, представляющие собой ингалятор, небулайзер, насос для спрея, мундштук и др.

Защитное приспособление - элемент укупорочного средства, предохраняющий упаковку от несанкционированного вскрытия и обеспечивающий визуальный контроль первого вскрытия.

Защитными приспособлениями упаковки являются: диск выдвижного клапана, предохранительное кольцо, контрольное стопорное кольцо, отрывной поясок, перфорация, мембрана из фольги и т.д.

Этикетка-бандероль - элемент упаковки и маркировки, представляющий собой полосу (ленту) упаковочного материала из бумаги или комбинированных материалов, предназначенную для оклеивания (обандероливания) групповой или потребительской упаковки (коробки) по всему периметру с соединением концов полосы, для обеспечения контроля первого вскрытия и последующего нанесения маркировки на полосу (бандероль).

Герметизирующее приспособление - элемент укупорочного средства, предохраняющий содержимое упаковки от потери и от воздействия внешних климатических факторов (крышки самоуплотняющиеся, крышки с герметизирующими прокладками, крышки со вставкой из силикагеля и др.).

Прокладка уплотнительная - элемент упаковки, представляющий собой плоский или рельефный горизонтальный вкладыш в виде диска или кольца, предназначенный для плотного соединения (герметизации) укупорочного средства с поверхностью тары.

Вспомогательные элементы первичной упаковки используют для поддержания и улучшения выполнения упаковкой предусмотренных функций.

Вкладыши, уплотнители, уплотнители-амортизаторы, наполнители - вспомогательные элементы, помещаемые внутрь первичной упаковки с лекарственным препаратом в виде твердой лекарственной формы, с целью предохранения содержимого упаковки от разрушения из-за перемещений, ударов, соприкосновений.

Осушители, влагопоглотители - вспомогательные элементы, помещаемые внутрь первичной упаковки с лекарственным препаратом в виде твердой лекарственной формы с целью защиты содержимого упаковки от влаги атмосферного воздух и (или) удаления влаги из воздуха упаковки.

ОБЩИЕ ТРЕБОВАНИЯ К УПАКОВКЕ ЛЕКАРСТВЕННЫХ СРЕДСТВ

Упаковка лекарственного средства должна быть надлежащего качества.

Упаковка и составляющие упаковку элементы (тара, укупорочные средства и др.), должны быть выполнены в соответствии с требованиями действующих в Евразийском экономическом союзе стандартов по утвержденным в установленном порядке документам (и (или) чертежам) на упаковку (тару, укупорочные средства и др.) для конкретных видов продукции. Форма (конструкция), размеры, допустимые отклонения от размеров упаковки и составляющих ее элементов, а также регламентируемые показатели качества и безопасности упаковки и элементов упаковки, должны отвечать требованиям действующих стандартов.

Для производства упаковки и составляющих ее элементов должны применяться упаковочные материалы, пригодные для контакта с упаковываемой продукцией, в соответствии с требованиями, указанными в общих фармакопейных статьях Фармакопеи Союза, стандартов и технической документации на конкретные виды упаковки и рекомендациями по использованию определенных видов упаковочных материалов для упаковки лекарственных средств. Упаковочные материалы должны быть нетоксичными, совместимыми с лекарственными средствами, пригодными для производства первичной упаковки с учетом пути введения лекарственных препаратов, для которых первичная упаковка предназначена.

Физико-химические и механические свойства упаковочных материалов, используемых для первичной и вторичной упаковки субстанций для фармацевтического применения и лекарственных препаратов для медицинского применения определяют на стадии фармацевтической разработки и производственного процесса лекарственных средств в соответствии с нормативными документами на упаковочные материалы.

Для каждой серии упаковываемых лекарственных средств упаковка должна быть аналогичной.

Упаковка лекарственных средств должна быть чистой, сухой, без посторонних запахов.

Упаковка должна обеспечить сохранение эффективности, качества и безопасности лекарственного средства на всех этапах его обращения: она не должна приводить к потере лекарственного средства, в том числе, посредством диффузии или проникновения лекарственного средства через нее; быть достаточно прочной, чтобы удерживать содержимое при обычном использовании; не изменяться под действием компонентов лекарственного препарата.

Упаковка должна обладать свойствами, защищающими лекарственное средство от неблагоприятного воздействия факторов внешней среды, способных повлиять на его качество или эффективность, таких как свет, температура, атмосферные газы и пары воздуха (кислород, углерода оксиды, влага и др.), микробная контаминация, а также препятствовать проницаемости (проникновению) указанных факторов к лекарственному средству через материалы упаковки и укупорочные средства. Упаковка должна защищать лекарственное средство от физического (механического) повреждения.

Упаковка должна обеспечивать сохранение массы (объема), качества и стабильности лекарственного средства в течение установленного срока годности в заявленных условиях хранения.

Выбранные вид и тип упаковки не должны взаимодействовать физически или химически с лекарственным средством, находящимся внутри упаковки, так как это может привести к изменению его качества.

Выбранные для упаковки лекарственного препарата укупорочные средства должны быть инертны по отношению к содержимому упаковки, обеспечивать надежность укупорки, не быть причиной нежелательного взаимодействия между содержимым упаковки и внешней средой.

Между элементами первичной упаковки и компонентами лекарственного средства, включающими действующие и вспомогательные вещества, в том числе растворители, используемые в различных лекарственных формах, возможно множество вероятных взаимодействий, включая:

- высвобождение (например, выщелачивание) химических веществ из элементов упаковки;

- высвобождение видимых/невидимых частиц;

- сорбция компонентов лекарственного средства материалами упаковки и ее элементами;

- химическое взаимодействие между лекарственным средством и элементами упаковки;

- разрушение элементов упаковки при контакте с лекарственным средством;

- влияние производственного процесса (например, стерилизации) на упаковку и т.д.

Упаковка должна обеспечить соблюдение условий хранения лекарственного средства в соответствии с разделом "Хранение" частной фармакопейной статьи или разделом "Условия хранения" нормативного документа по качеству.

Маркировка, нанесенная на упаковку, должна обеспечить идентификацию лекарственного средства и предоставить установленный нормативными документами объем информации о лекарственном средстве потребителю и специалистам, осуществляющим с ним работу.

Упаковка должна способствовать защите потребителя от подделки, фальсификации, предотвращения вскрытия лекарственного средства до использования, а также обеспечить удобство и безопасность при его использовании. Должно быть обеспечено дозированное или поштучное извлечение лекарственного препарата из многодозовой упаковки.

Упаковка должна иметь эстетичный внешний вид, быть удобной для транспортирования и хранения, экономичной и соответствовать современным экологическим нормам, требовать минимальных затрат на утилизацию.

Упаковка, предназначенная для наркотических и психотропных лекарственных средств, радиофармацевтических лекарственных препаратов и некоторых других лекарственных средств, должна соответствовать требованиям, предъявляемым к ней соответствующими нормативно-правовыми актами государств-членов Евразийского экономического союза.

УПАКОВОЧНЫЕ МАТЕРИАЛЫ

Упаковочный материал - любой материал, используемый для производства упаковки и элементов упаковки, предназначенных для субстанций для фармацевтического применения, лекарственных препаратов для медицинского применения или промежуточной продукции.

Основными упаковочными материалами для лекарственных средств являются стекло, полимерные и эластомерные материалы, металл, бумага, картон. Упаковочные материалы, состоящие из двух и более видов сырья, относят к комбинированным упаковочным материалам.

Стекло

Стекло является упаковочным материалом для производства одного из основных элементов первичной упаковки лекарственных средств - стеклянной тары.

Для производства упаковки для фармацевтического применения используют различные типы стекла, отличающиеся между собой по химическому составу. Выбор типа стекла зависит от физико-химических свойств, способа применения и других характеристик лекарственного средства и (или) лекарственной формы, контактирующих со стеклом.

Характеристика и классификация типов стекла, используемого для производства упаковки для фармацевтического применения, особенности производства упаковки из стекла, а также основные требования к упаковке из стекла по гидролитической устойчивости, объему наполнения, содержанию мышьяка и светопропусканию регламентированы общей фармакопейной статьей 2.4.2.2. Упаковка для фармацевтического применения из стекла.

Полимерные материалы

Полимерные материалы широко применяют в производстве упаковки для лекарственных средств и различных элементов упаковки-тары, укупорочных средств, средств дозирования и доставки, вспомогательных упаковочных средств и др.

Для лекарственных средств в качестве упаковочных материалов используют только определенные виды и марки полимерных материалов. При выборе подходящего вида и марки полимерного материала, предназначенного для производства упаковки и ее элементов для конкретного лекарственного средства, необходимо иметь информацию о его химическом составе, физико-химических и токсикологических свойствах, чтобы оценить потенциальный риск при использовании в качестве упаковочного материала, особенно для производства первичной упаковки.

Для производства упаковки и элементов упаковки для фармацевтического применения используют различные полимерные материалы: полипропилен, полиэтилен низкого и высокого давления и их смеси, пластифицированный и непластифицированный поливинилхлорид, полиэтилентерефталат, полиэтиленвинилацетат и др.

Требования, предъявляемые к полимерным материалам, используемым в фармацевтической практике, зависят от назначения производимой упаковки и ее элементов, при этом наиболее жесткие требования предъявляют к полимерным материалам для упаковки, предназначенной для лекарственных препаратов для парентерального и офтальмологического применения.

Первичная полимерная упаковка для лекарственных препаратов в виде растворов для парентерального применения представляет собой флакон, бутылку или пакет, помещенный, в установленных случаях, в мешок из пленки полимерной. По сравнению со стеклянной, полимерная упаковка имеет некоторые преимущества: она небьющаяся, гибкая и легкая, что особенно важно в случае выбора упаковки для растворов для парентерального применения. Вместе с тем, при выборе упаковки для лекарственных препаратов в виде растворов для парентерального применения следует учитывать свойство полупроницаемости полимерных упаковочных материалов.

Полимерные материалы, используемые для упаковки, предназначенной для лекарственных препаратов для парентерального, офтальмологического применения, парентерального питания, должны соответствовать требованиям, указанным в следующих общих фармакопейных статьях:

- 2.4.1.2. Полиэтилен без добавок;

- 2.4.1.3. Полиэтилен с добавками;

- 2.4.1.4. Полипропилен;

- 2.4.1.1. Полиолефины;

- 2.4.1.5. Полиэтиленвинилацетат;

- 2.4.1.11. Материалы на основе пластифицированного поливинилхлорида для упаковок водных растворов лекарственных препаратов для внутривенных инфузий.

Полимерные материалы, используемые для упаковки, предназначенной для лекарственных препаратов непарентерального применения, должны соответствовать требованиям, указанным в следующих общих фармакопейных статьях:

- 2.4.1.8. Материалы на основе непластифицированного поливинилхлорида для упаковок непарентеральных водных растворов;

- 2.4.1.9. Материалы на основе непластифицированного поливинилхлорида для упаковок лекарственных препаратов в твердой лекарственной форме для приема внутрь;

- 2.4.1.12. Полиэтилентерефталат для упаковок лекарственных препаратов непарентерального применения.

В состав упаковочных полимерных материалов могут быть включены специальные добавки, состоящие из антиоксидантов, стабилизаторов, пластификаторов, смазывающих веществ, красителей, модификаторов ударной прочности и др. Перечень добавок, допустимых для использования в полимерных материалах для фармацевтического применения, с указанием формулы вещества и возможных наименований по номенклатуре ИЮПАК, по номенклатуре химической службы рефератов с указанием регистрационного номера CAS, приведен в общей фармакопейной статье 2.4.1.10. Добавки к полимерным материалам. В общей фармакопейной статье 2.4.1.6. Силиконовое масло, используемое в качестве смазывающей добавки приведена характеристика указанной добавки и требования к ее качеству.

Полимерная упаковка и элементы упаковки должны соответствовать требованиям действующих стандартов на этот вид упаковки. Показатели качества и критерии приемлемости установлены в нормативных документах для конкретных видов упаковки в зависимости от ее назначения и характера упаковываемых лекарственных средств.

Основные общие требования к упаковке и укупорочным средствам из полимерных материалов, а также дополнительные требования к упаковке, предназначенной для водных растворов для инфузий, указаны в следующих общих фармакопейных статьях:

- 2.4.2.3. Полимерные упаковки и укупорочные средства для фармацевтического применения;

- 2.4.2.4. Полимерная упаковка для водных растворов для инфузий.

Эластомерные материалы

В фармацевтической практике резиновые и силиконовые эластомерные материалы используют в основном, как упаковочный материал для производства укупорочных средств и соединительных трубок некоторых видов первичной упаковки.

Эластомерные материалы представляют собой сложный многокомпонентный полимерный эластичный материал, включающий эластомерную составляющую и различные добавки. Основные свойства и характеристики эластомерного материала существенно зависят от состава и типа вулканизации (сшивания) ее базового эластомера, а также от добавок, вводимых для обеспечения заданных свойств (ускорители, наполнители, пластификаторы, мягчители, стабилизаторы, антиоксиданты и др.), которые могут составлять до 50% эластомерной смеси. При выборе марки материала для производства резиновых и силиконовых укупорочных средств и соединительных трубок необходимо учитывать возможность отрицательного влияния состава эластомерной смеси на эффективность, чистоту, стабильность и безопасность лекарственного средства.

Характеристика силиконовых и резиновых эластомеров, применяемых для производства укупорочных средств и соединительных трубок для упаковки лекарственных средств, требования к качеству эластомерных материалов и отдельных элементов упаковки из эластомерных материалов, включая испытание резиновых укупорочных средств на соответствие функциональных параметров (проницаемость, фрагментация, самозакупорка), приведены в общих фармакопейных статьях:

- 2.4.1.7. Силиконовые эластомеры для укупорочных средств и трубок;

- 2.4.2.5. Резиновые укупорочные средства для упаковки, предназначенной для лекарственных препаратов в виде водных растворов, порошков и лиофилизатов для парентерального применения.

Металл

Для производства упаковки и некоторых элементов упаковки лекарственных средств в качестве упаковочного материала используют стальные и алюминиевые сплавы металлов.

Алюминий является основным компонентом алюминиевых сплавов, используемых для получения первичной упаковки (баллонов аэрозольных, туб, банок, пробирок и др.), транспортной упаковки (барабанов, бочек, фляг), укупорочных средств (колпачков, крышек) и других элементов упаковки.

Алюминиевую фольгу используют в производстве гибкой контурной упаковки, различных герметизирующих и защитных элементов упаковки, а также совместно с бумагой и (или) полимерным материалом применяют для производства комбинированной упаковки.

Из стали различных марок, включая нержавеющую сталь, выпускают в основном крупногабаритную упаковку - бочки, фляги и др. Жесть, представляющую собой сплав стали с соответствующим покрытием из металла, используют в основном для производства первичной упаковки - банок металлических, жестяных и крышек для них.

По сравнению с упаковкой из полимерных материалов и стекла, упаковка из металлов является более прочной, непроницаемой для газов, небьющейся, обеспечивает хорошую защиту упаковки от вскрытия.

Соответствующие марки сплавов металлов рекомендованы для производства упаковки для лекарственных препаратов, используемых под давлением, например, в виде таких лекарственных форм, как аэрозоли, пены, сжиженные газы и др.

Вместе с тем, металл не предназначен для первичной упаковки лекарственных препаратов для парентерального применения.

Колпачки алюминиевые, используемые в качестве укупорочного средства, закатываемого или обжимного на горловине бутылки или флакона после заполнения их лекарственным препаратом и укупорки резиновыми пробками, обеспечивают герметичность укупорки и контроль первого вскрытия и могут быть выполнены либо из алюминиевой фольги, либо из двух материалов - алюминия и полимерного материала (полипропилена) с добавлением красителей.

Выбор марок металлов для производства упаковки и элементов упаковки, предназначенных для лекарственных средств, осуществляют в соответствии с указаниями действующих стандартов на конкретный вид упаковки.

Выбранные материалы должны обладать физико-механическими свойствами, обеспечивающими устойчивость к воздействию неблагоприятных факторов технологических процессов их производства, транспортирования, хранения и использования. По показателям безопасности материалы должны соответствовать действующим техническим регламентам или санитарным правилам, нормам и гигиеническим нормативам.

Форма, внешний вид, основные параметры и размеры, вместимость, масса, а также другие показатели качества готовой упаковки (элемента упаковки), должны соответствовать требованиям действующих стандартов на этот вид упаковки (элемент упаковки).

Бумага и картон

Для производства первичной и вторичной упаковки для лекарственных средств применяют определенные марки различных видов бумаги - бумага парафинированная, пергамент растительный и др. Картон (картон для потребительской тары, картон гофрированный и др.) чаще всего применяют при производстве вторичной (потребительской), групповой или транспортной упаковки (коробок, пачек и др.).

Качество бумаги и картона, используемых в производстве упаковки для лекарственных средств, должно соответствовать требованиям действующих стандартов, а показатели качества упаковки, выполненной с использованием этих материалов, должны соответствовать документации на этот вид и тип упаковки, утвержденной в установленном порядке.

Комбинированные упаковочные материалы

Бумага, картон, фольга, полимерные материалы являются основой комбинированных упаковочных материалов, используемых для производства упаковок: первичных (гибкие контурные упаковки (блистеры, стрипы), тубы и др.), вторичных (пачки, коробки и др.), групповых и др.

Комбинированный материал на основе бумаги или картона представляет собой двух- или многослойный материал, в котором бумага или картон прочно соединены склеиванием, при прессовкой или иными способами с полимерными пленками, алюминиевой фольгой или другими материалами в различных сочетаниях слоев, с дополнительной поверхностной обработкой слоев или без нее.

Примечание: склеенные слои бумаги и картона не являются комбинированными материалами.

Комбинированные материалы на основе фольги представляют собой трех- или четырехслойный материал, включающий алюминиевую фольгу, полиэтиленовую пленку и бумагу в различных сочетаниях в зависимости от марки материала.

Ламинат - комбинированный упаковочный материал, используемый в производстве туб для лекарственных препаратов для медицинского применения, представляет собой многослойный материал, состоящий из срединного барьерного слоя (алюминиевой фольги или полимерного материала), внешнего и внутреннего слоев из полимерных материалов (полиэтилен) и двух адгезионных слоев, которые связывают вместе три основных слоя.

КРИТЕРИИ ВЫБОРА УПАКОВКИ

При выборе оптимальной упаковки и ее элементов, включающих упаковочные материалы, тару, укупорочные средства и др., для конкретного лекарственного средства, необходимо учитывать:

- назначение упаковки (первичная, вторичная (потребительская), групповая и т.д.);

- предназначение упаковываемого лекарственного средства и его количество;

- свойства активной фармацевтической субстанции и компонентов лекарственного препарата, включая действующие и вспомогательные вещества, в том числе, растворители;

- свойства лекарственной формы лекарственного препарата;

- совместимость каждого элемента первичной упаковки с компонентами лекарственного средства;

- требуемую степень защиты лекарственного средства от влияния внешних факторов (атмосферных, микробиологических, физических) на всех этапах обращения, включая хранение, транспортирование и реализацию;

- защитные характеристики упаковочных материалов, тары, укупорочных средств, конструкции упаковки и т.п.;

- продолжительность хранения лекарственного средства;

- метод наполнения упаковки;

- способ маркировки лекарственного средства;

- удобство использования упаковки лекарственного препарата для потребителя (количество доз, параметры упаковки, способ открывания/закрывания, разборчивость маркировки, способ дозирования и применения лекарственного препарата).

Выбор упаковки, способной обеспечить требуемую стабильность лекарственного средства в течение определенного периода времени, решается производителем (разработчиком) в процессе изучения стабильности на стадии разработки лекарственного средства.

При выборе упаковки для лекарственных средств необходимо использовать представленные в настоящей общей фармакопейной статье данные о видах и типах упаковки/тары, укупорочных средств, упаковочных материалов и прочих элементов упаковки.

Выбранная упаковка (система упаковки) должна соответствовать требованиям раздела "Общие требования к упаковке" настоящей общей фармакопейной статьи в течение всего заявленного срока годности лекарственного средства.

Содержимое упаковки может быть предназначено для последующего производства/изготовления лекарственных средств (активные фармацевтические субстанции, вспомогательные вещества), для окончательной фасовки и последующей маркировки (нерасфасованные лекарственные средства), для распределения медицинским персоналом по назначению стационарным больным (упаковки "для стационаров"), для индивидуального приема пациентом.

Упаковка лекарственных препаратов, изготовленных аптечными организациями, должна соответствовать правилам изготовления лекарственных препаратов в аптеках и отпуска лекарственных препаратов из аптек.

Упаковка лекарственных средств, предназначенных для экспорта, должна соответствовать требованиям договора (контракта) поставщика с внешнеэкономической организацией или иностранным покупателем.

При выборе упаковки для субстанций для фармацевтического применения и лекарственных препаратов для медицинского применения, обладающих опасными свойствами (огнеопасные, взрывоопасные, радиофармацевтические, едкие, коррозионные, газы сжатые и сжиженные и др.) следует руководствоваться требованиями частной фармакопейной статьи и соответствующих нормативно-правовых актов государств-членов Евразийского экономического союза.

Лекарственные средства, содержащие летучие, выветривающиеся, гигроскопические или окисляющиеся вещества, должны быть упакованы в банки или флаконы, укупоренные навинчивающимися крышками в комплекте с пробками или прокладками с уплотнительными элементами; пробками с уплотнительными элементами; закатываемыми металлическими колпачками в комплекте с пробками или прокладками с уплотнительными элементами, закатываемыми металлическими крышками.

Каждое лекарственное средство, содержащее летучее вещество или обладающее запахом, должно быть упаковано отдельно от прочих лекарственных средств.

Лекарственные средства, чувствительные к воздействию света, должны быть упакованы в светозащитную упаковку. Защиту от света также можно обеспечить, помещая лекарственное средства в упаковке, проницаемой для света, внутрь подходящего светозащитного материала.

В качестве первичной упаковки для субстанций для фармацевтического применения рекомендованы банки, бутыли из медицинского бесцветного и светозащитного стекла или банки и канистры из полимерных материалов, пакеты и мешки из полимерных, комбинированных материалов или бумаги, фляги металлические, баллоны газовые и т.п. В случае необходимости использования емкостей больших объемов для хранения и транспортирования некоторых активных фармацевтических субстанций, например, этанола, выбор материала первичной упаковки, способной обеспечить требуемую стабильность активной фармацевтической субстанции в течение определенного периода времени, решается производителем (разработчиком) на стадии разработки лекарственного средства. Вторичной упаковкой являются барабаны, бочки, ящики, коробки, полимерные ведра и др.

При выборе упаковки для субстанций для фармацевтического применения, предназначенных для производства/изготовления стерильных лекарственных препаратов, необходимо обеспечить их максимальную защиту от микробиологического загрязнения, в установленных случаях - обеспечить стерильность.

Для активных фармацевтических субстанций используют, как правило, плотно укупоренную или герметично укупоренную, при необходимости дополнительно, светонепроницаемую, упаковку. Для вспомогательных веществ, обычно имеющих крупно-объемную (крупногабаритную) фасовку, подходящей по умолчанию является плотно укупоренная упаковка.

Выбор надлежащей упаковки для субстанции для фармацевтического применения, также зависит от ее массы (объема), поступающей в обращение.

При выборе первичной и вторичной (потребительской) упаковки для лекарственного препарата и оценке удобства ее использования потребителем, необходимо учитывать, что такие упаковки, как однодозовая, одноразовая, а также многодозовая, содержащая лекарственный препарат в виде дозированной лекарственной формы, гарантируют более безопасное применение лекарственного препарата, уменьшают вероятность ошибки при применении, то есть являются более практичными для пациента. Одноразовая упаковка также может быть полезна для лекарственных препаратов, имеющих ограниченный срок годности.

Укупорочные средства должны способствовать быстрому и безопасному использованию лекарственного препарата. Они могут быть удаляемыми или не удаляемыми. Тип упаковки, который не требует удаления укупорочного средства во время применения, является более предпочтительным, так как такая упаковка минимизирует риск микробиологического и иного загрязнения и (или) фальсификации лекарственного препарата.

Упаковка может иметь повторно закрывающееся укупорочное средство или представлять собой упаковку без возможности повторного закрытия - укупоренная методом запаивания, склеивания, термосваривания и т.д.

При выборе упаковки для лекарственного препарата необходимо учитывать свойства лекарственной формы, в виде которой он будет использоваться, его агрегатное состояние, способ применения, условия производства/изготовления, количество доз и другие характеристики.

Особенности упаковки твердых лекарственных форм (таблетки, драже, капсулы, гранулы, порошки, суппозитории, леденцы лекарственные, пастилки лекарственные и др.). Для твердых лекарственных форм первичной многодозовой упаковкой являются банки, флаконы, пробирки из бесцветного или светозащитного стекла, полимерного материала или металла, укупоренные пробками, крышками, колпачками, имеющими, как правило, уплотнители-амортизаторы.

Первичной многодозовой упаковкой, имеющей перфорации или ячейки для индивидуальных доз твердых лекарственных форм, являются контурные упаковки - стрипы и блистеры, изготовленные из фольги алюминиевой, комбинированных материалов на основе фольги, бумаги, полимерных материалов, укупоренные методом термосваривания.

В качестве первичной однодозовой упаковки для порошков и гранул, как правило, используют пакетики, саше из комбинированных материалов на основе бумаги, алюминиевой фольги полимерных материалов, укупоренных методом термосваривания.

Упаковка твердых лекарственных форм должна быть хорошо или плотно укупоренной, обеспечивающей защиту от микробиологического загрязнения и от того вида атмосферного фактора, к которому чувствителен содержащийся в упаковке лекарственный препарат.

Чувствительные к действию влаги шипучие твердые лекарственные формы (таблетки, гранулы, порошки) должны храниться в плотно укупоренной упаковке, обеспечивающей защиту от проникновения влаги (влагонепроницаемой). Упаковка таких лекарственных форм может содержать влагопоглощающие агенты, например, силикагель.

Если в состав гранул и других твердых лекарственных форм входят летучие вещества или вещества, требующие защиты от воздействия воздуха, то упаковка должна быть воздухонепроницаемой.

Таблетки, содержащие эфирные масла и упаковываемые в пробирки, должны быть завернуты в парафинированную бумагу или пергамент.

Первичная упаковка суппозиториев представляет собой ячейковую или безъячейковую контурную упаковку или ячейковую контурную упаковку с открытым хвостиком из комбинированных материалов с различными покрытиями и разными размерами, укупоренную методом термосваривания.

Вторичной (потребительской) упаковкой для твердых лекарственных форм является, как правило, пакет, пачка или коробка.

Особенности упаковки мягких лекарственных форм (мази, пасты, линименты, гели, кремы) и пластырей. Упаковка мягких лекарственных форм должна быть хорошо укупоренной, обеспечивающей защиту от микробиологического загрязнения и от того вида атмосферного фактора, к которому чувствителен содержащийся в упаковке лекарственный препарат.

Первичной многодозовой упаковкой для мягких лекарственных форм наиболее часто являются тубы из гибких материалов - металла (алюминия), полимерных или комбинированных материалов, укупоренные бушонами, крышками, колпачками из полимерных материалов; реже используют банки из стекла бесцветного или светозащитного, укупоренные пластмассовой крышкой с прокладкой или без прокладки.

При использовании туб предпочтительно использование металлических туб с внутренним лаковым покрытием или туб из полимерных материалов с защитной мембраной и латексным кольцом.

Использование туб для упаковки мягких лекарственных форм обеспечивает защиту лекарственного препарата от микробного загрязнения при его использовании, возможность снабжения упаковки средством доставки к месту нанесения лекарственного препарата, защитным приспособлением и др.

Упаковка стерильных мягких лекарственных форм должна быть герметично укупоренной и обязательно иметь защитное приспособление для контроля первого вскрытия.

Упаковка мягких лекарственных форм, предназначенных для назального, ушного, вагинального или ректального использования, может иметь дополнительное устройство для введения лекарственного препарата или укомплектована соответствующим аппликатором.

Первичной упаковкой для пластырей могут быть безъячейковые контурные упаковки различных размеров, а также укупоренные соответствующим образом пачки, пакеты с клапаном, банки из полимерных материалов. Каждый пластырь трансдермальный и пластырь лекарственный должен быть помещен в индивидуальную первичную упаковку.

Тубы, банки и контурные упаковки с мягкими лекарственными формами или пластырями помещают, как правило, во вторичную (потребительскую) упаковку, представляющую собой пачку или коробку.

Особенности упаковки жидких нестерильных лекарственных форм (растворы, сиропы, капли, суспензии, эмульсии, настойки, эликсиры и др.). Первичная упаковка жидких нестерильных лекарственных форм наиболее часто является многодозовой и представляет собой различного объема и дизайна флаконы из бесцветного или светозащитного стекла или полимерного материала, укупоренные средствами (крышками, пробками и др.), имеющими и (или) не имеющими защиту от несанкционированного вскрытия, а также устройство с защитой от вскрытия детьми.

Элементом укупорочного средства многодозовой упаковки для жидких лекарственных препаратов, предназначенных для приема внутрь, является дозирующее устройство для отмеривания, в том числе каплями, предписанной дозы лекарственного препарата. Дозирующее устройство также может быть самостоятельным элементом упаковки - мерная ложка, мерный стаканчик, пипетка и др.

Первичная упаковка для суспензий и эмульсий для внутреннего применения может быть однодозовой, снабженной при необходимости приспособлением, обеспечивающим удобство применения лекарственного препарата, а также устройством с защитой от вскрытия детьми.

Флаконы с жидкими нестерильными лекарственными формами помещают, как правило, во вторичную (потребительскую) упаковку, представляющую собой пачку или коробку.

Особенности упаковки аэрозолей, пен, спреев, лекарственных препаратов для ингаляционного применения. Первичная упаковка для аэрозолей, пен представляет собой, как правило, аэрозольный баллон металлический или стеклянный с защитным полимерным покрытием, для спреев - это может быть флакон из полимерных материалов. Укупорочным средством и одновременно средством доставки и дозирования лекарственного препарата из аэрозольного баллона служит нажимной (распылительный) клапан, который может быть как непрерывного действия, так и дозирующий. В систему упаковки также входит предохранительный колпачок, в некоторых случаях - распылительная насадка (распылитель).

Системы распыления и дозирования аэрозолей, пен, спреев могут быть различных типов и видов, например, флакон может быть укупорен обжимным микроспеером с дозатором и распылительной насадкой с направляющей трубкой и др. устройствами.

Упаковка для лекарственных препаратов для ингаляционного применения может включать дозирующее устройство и может быть многодозовой или однодозовой.

Упаковка для дозированных порошков для ингаляций представляет собой индивидуальные ингаляторы: капсульные (спинхалер, ротахалер, дискхалер), резервуарные (турбухалер, циклохалер, изихалер), мультидозированные (мультидиск), - обеспечивающие дозирование и введение (доставку) действующего вещества в дыхательные пути.

Вторичной (потребительской) упаковкой для аэрозолей, пен, спреев, лекарственных препаратов для ингаляционного применения являются пачки из картона.

Особенности упаковки стерильных лекарственных препаратов, в том числе, лекарственных препаратов для парентерального применения, для офтальмологического применения и др. Выбор упаковки для стерильных лекарственных препаратов зависит от технологического процесса производства лекарственного препарата, его назначения и других факторов.

В соответствии с технологическим процессом производства стерильные лекарственные препараты могут быть подвергнуты окончательной стерилизации, получены в условиях асептического производства, произведены по технологии "выдувание-наполнение-стерилизация" и др.

Упаковка лекарственных препаратов, подвергаемых окончательной стерилизации, должна позволять стерилизовать лекарственные препараты, как минимум, одним из используемых методов стерилизации.

Для лекарственных препаратов для парентерального применения используют различные типы и виды первичной упаковки:

- запаянные ампулы различной конфигурации из стекла и полимерного материала;

- флаконы из дрота или стекломассы, укупоренные резиновыми пробками, обжатые колпачками;

- бутылки для крови, трансфузионных и инфузионных препаратов из стекла, укупоренные резиновыми пробками, обкатанные алюминиевыми колпачками, или двумя колпачками, или с алюминиевой прокладкой и двумя алюминиевыми колпачками;

- бутылки (флаконы) из полимерного материала, герметично запаянные;

- пакеты (мешки) из полимерного материала, герметично запаянные;

- шприц-тюбики;

- предварительно наполненные шприцы;

- картриджи и др.

Упаковка для лекарственных препаратов для парентерального применения может быть однодозовой (ампулы, картриджи, шприц-тюбики, предварительно наполненные шприцы, пакеты) или многодозовой (флаконы, бутылки).

Если не указано другое в частной фармакопейной статье или нормативном документе по качеству, упаковка для лекарственных препаратов для парентерального применения должна быть достаточно прозрачной для проведения визуальной оценки содержимого, за исключением упаковки для имплантатов.

Первичные упаковки с лекарственными препаратами для парентерального применения должны быть укупорены соответствующими способами (запайка, укупорка резиновой или силиконовой пробкой, обжатой колпачком), прошедшими валидацию. Используемые эластомерные укупорочные средства могут быть различными по форме, размеру, иметь специальный дизайн, что обусловлено производственными процессами, например, такими как лиофилизация. Резиновые и силиконовые укупорочные средства должны быть достаточно эластичными, прочными, чтобы в случае прокалывания их иглой сохранялась целостность и обеспечивалась герметичность упаковки после извлечения иглы из укупорочного средства.

Система укупоривания первичной упаковки лекарственных препаратов для парентерального применения резиновыми и силиконовыми пробками считается целостной только после того, как на укупоренной пробкой упаковке (флаконе, бутылке) будет обжат (закатан) колпачок. Колпачки алюминиевые или полимерные являются, как правило, контролем первого вскрытия упаковки.

Потребительской упаковкой для лекарственных препаратов для парентерального применения являются коробки (включая коробки с перегородками), пачки; при этом лекарственные препараты в первичной упаковке (ампулы, флаконы, картриджи и др.) предварительно могут быть помещены в промежуточную упаковку (блистеры и др.).

При упаковывании ампул с хлорэтилом допускается применять в качестве амортизатора медицинский алигнин.

Упаковка лекарственных препаратов для инъекций в комплекте с растворителем указывается в частной фармакопейной статье или нормативном документе по качеству.

В упаковку с ампулами, не имеющими кольцо излома, должно быть вложено приспособление для вскрытия ампул - нож ампульный, скарификатор и т.п.

Имплантаты и таблетки для имплантации упаковывают в индивидуальные стерильные упаковки.

Для лекарственных препаратов для офтальмологического применения используют однодозовую и многодозовую упаковку с защитой от несанкционированного вскрытия.

Первичная упаковка глазных капель представляет собой стерильные флаконы, флаконы-капельницы, тюбик-капельницы. Однодозовая упаковка глазных капель обеспечивает сохранение стерильности содержимого и дозирующего устройства до момента использования.

Первичная упаковка глазных мазей и гелей представляет собой стерильные, сжимаемые тубы со встроенным или приложенным наконечником.

Каждую глазную пленку/имплантат перед помещением в блистеры, пеналы и т.д. упаковывают индивидуально.

Суспензии и эмульсии для парентерального применения, для офтальмологического применения или предназначенные для нанесения на поврежденную кожу, должны быть помещены в стерильную герметично укупоренную упаковку.

Для обеспечения требуемой защиты лекарственного средства от влияния внешних факторов, при выборе упаковки необходимо знать и учитывать защитные свойства элементов упаковки - упаковочных материалов, укупорочных средств.

Упаковочные материалы из стекла и металла, комбинированные упаковочные материалы на основе алюминиевой фольги защищают содержимое упаковки от улетучивания (испарения, проницаемости), влаго- и газообмена, от проникновения микроорганизмов извне.

Полимерные материалы и комбинированные материалы на основе бумаги и картона обеспечивают защиту содержимого упаковки от проникновения атмосферной микрофлоры; степень защиты лекарственных средств от улетучивания, влаго-, паро- и газопроницаемость этих материалов зависят как от вида применяемого упаковочного материала, так и от свойств действующих и вспомогательных веществ, входящих в состав лекарственного препарата, от требований к стабильности и сроку годности лекарственного средства, от условий его хранения.

Паро- и газопроницаемость полимерных материалов необходимо учитывать при выборе оптимальной упаковки для лекарственных препаратов, подлежащих стерилизации, в связи с тем, что упаковки из отдельных марок полимерных материалов являются полупроницаемыми.

В наименьшей степени от взаимодействия лекарственного средства с атмосферной средой защищает упаковка из бумаги и картона.

Защиту лекарственного средства от светового потока обеспечивает упаковка из оранжевого светозащитного стекла, из металла, из алюминиевой фольги, из полимерных материалов, окрашенных или замутненных титана диоксидом. Упаковку особо чувствительных к свету активных фармацевтических субстанций (серебра нитрат, прозерин) из светозащитного стекла рекомендуется оклеивать черной светонепроницаемой бумагой.

Применение упаковки из картона, бумаги для обеспечения защиты лекарственного средства от воздействия светового излучения, возможно при подтверждении светозащитных свойств в соответствующей области спектра используемых марок упаковочных материалов из картона и бумаги.

Если при хранении и транспортировании лекарственного средства допускается воздействие низкой температуры, то при выборе упаковочного материала необходимо учитывать риск повреждения упаковки и потери содержимого при замерзании последнего.

Защитные свойства тем выше, чем толще материал (стенки) упаковки и чем выше герметичность укупоривания упаковки.

Материал резиновых пробок способен обеспечить защиту от воздействия света, проникновения микроорганизмов, улетучивания (испарения, проницаемости); степень защиты от газопроницаемости зависит от физико-химических свойств резинового материала, состава и свойств лекарственного средства, его количества, температуры.

204020002-2022

2.4.2.2. Упаковка для фармацевтического применения из стекла

Упаковка для фармацевтического применения из стекла (упаковка) - изделия из стекла, непосредственно контактирующие с лекарственными препаратами.

Бесцветное стекло имеет высокую светонепроницаемость в видимой области спектра.

Окрашенное стекло получают добавлением небольших количеств оксидов металлов, выбранных в соответствии с необходимым спектральным поглощением.

Нейтральное стекло представляет собой боросиликатное стекло, содержащее значительное количество бора оксида, алюминия оксида, оксидов щелочных металлов и (или) оксидов щелочноземельных металлов. Согласно своему составу нейтральное стекло характеризуется высокой гидролитической и термической устойчивостью.

Силикатное стекло - стекло на основе кремния диоксида, содержащего оксиды щелочных металлов, в основном, натрия оксид и оксиды щелочноземельных металлов, в основном, кальция оксид. Согласно своему составу, силикатное стекло характеризуется только средней гидролитической устойчивостью.

Химическая стабильность упаковок для фармацевтического применения из стекла выражается гидролитической устойчивостью, т.е. устойчивостью к высвобождению растворимых минеральных веществ в воду в определенных условиях контакта внутренней поверхности упаковки или измельченного стекла с водой.

Гидролитическую устойчивость определяют путем титрования высвобожденной щелочи.

В соответствии с гидролитической устойчивостью упаковки классифицируют следующим образом:

- упаковки из стекла типа I: изготовлены из нейтрального стекла и имеют высокую гидролитическую устойчивость, обусловленную составом самого стекла;

- упаковки из стекла типа II: изготовлены обычно из силикатного стекла и имеют высокую гидролитическую устойчивость, обусловленную соответствующей обработкой поверхности;

- упаковки из стекла типа III: изготовлены обычно из силикатного стекла и имеют умеренную гидролитическую устойчивость;

Приведенные ниже формулировки, выделенные курсивом, представляют собой общие рекомендации, относящиеся к типу упаковки из стекла, который может быть использован для различных видов лекарственных препаратов. Производитель лекарственного препарата несет ответственность за обеспечение соответствия выбранной упаковки.

Упаковки из стекла типа I пригодны для большинства лекарственных препаратов, в том числе и для парентерального применения.

Упаковки из стекла типа II пригодны для лекарственных препаратов с кислой и нейтральной средами, в том числе и для парентерального применения.

Упаковки из стекла типа III пригодны для неводных лекарственных препаратов парентерального применения, порошков парентерального применения (за исключением лиофилизированных порошков), а также лекарственных препаратов, не предназначенных для парентерального применения.

Как правило, также могут быть использованы упаковки из стекла, имеющие более высокую гидролитическую устойчивость, чем рекомендуемые выше для конкретных видов лекарственных препаратов.

Упаковка, выбранная для данного лекарственного препарата, должна быть изготовлена из стекла, не выделяющего вещества в количествах, влияющих на стабильность лекарственного препарата или обладающих токсичным действием. В обоснованных случаях может понадобиться детальная информация о составе стекла для оценки влияния упаковки в случае длительного применения лекарственного препарата пациентами или уязвимыми группами пациентов.

Лекарственные препараты для парентерального применения обычно выпускают в упаковках из бесцветного стекла, однако для светочувствительных лекарственных препаратов целесообразно использовать окрашенное стекло. Рекомендуется, чтобы все упаковки из стекла для жидких лекарственных препаратов и порошков для парентерального применения позволяли визуально контролировать содержимое.

Внутренняя поверхность упаковки из стекла может быть специально обработана для улучшения гидролитической устойчивости, придания водоотталкивающих свойств и т.п., внешняя поверхность также может быть обработана, например, для снижения трения и улучшения устойчивости к истиранию.

Обработка внешней поверхности не должна вызывать загрязнение внутренней поверхности упаковки.

Упаковки из стекла для лекарственных препаратов не могут быть использованы повторно, за исключением упаковок из стекла типа I.

Упаковка для компонентов крови не должна использоваться повторно.

ОСОБЕННОСТИ ТЕХНОЛОГИИ

Упаковки для фармацевтического применения из стекла, изготовленные в неблагоприятных условиях (например, температурно-временной фактор) и (или) находящиеся в контакте с особенно агрессивными лекарственными препаратами, могут подвергаться расслоению, то есть разделению внутренней стеклянной поверхности на тонкие слои, называемые пластинками или чешуйками. Расслоение стекла может произойти в результате химической коррозии в соответствии с хорошо известными механизмами, такими как растворение в результате гидролиза и ионного обмена (выщелачивание) в зависимости от pH. Процесс взаимодействия между стеклянной поверхностью и лекарственным препаратом требует времени инкубации и расслоение может стать видимым только через несколько месяцев после наполнения упаковки.

Известны несколько факторов риска, которые увеличивают склонность стекла к расслоению. В значительной степени способствовать расслоению стекла могут химический состав лекарственного препарата, наличие буферных растворов, содержащих цитратионы или фосфат-ионы и ионная сила жидкой среды. Процесс изготовления упаковки, химическая обработка внутренней поверхности, а также окончательная стерилизация и обработка на линиях розлива лекарственных препаратов являются другими важными факторами риска, которые необходимо учитывать. Необходимо, чтобы производитель оценивал совместимость упаковки из стекла и лекарственного препарата, учитывая, например, лекарственную форму, свойства препарата и качество стекла.

Склонность к расслоению упаковок из стекла от разных производителей можно оценить, подвергая упаковку ускоренным испытаниям на разложение при определенных температурах в течение короткого времени, используя в качестве экстрагентов растворы, которые используются при производстве и применении лекарственного препарата. Наличие частиц в экстракционном растворе, возникновение фазового разделения на внутренней поверхности и резкое увеличение концентрации кремния оксида в экстракционном растворе - все это указывает на потенциальную склонность стекла к расслоению. Испытание на ускоренную деградацию стекла можно использовать в качестве прогностического инструмента для выбора наиболее подходящей упаковки для предполагаемого препарата, но полную совместимость действующего вещества с продуктами выщелачивания можно оценить только с помощью испытания на стабильность в нормальных условиях использования.

ИСПЫТАНИЯ

Упаковки для фармацевтического применения из стекла должны выдерживать испытания на гидролитическую устойчивость. Если упаковки из стекла имеют детали, изготовленные из других материалов, испытанию подлежит только стеклянная часть упаковки.

Для определения качества упаковки из стекла, в зависимости от предполагаемого применения, необходимо проведение одного или нескольких следующих испытаний.

Испытания на гидролитическую устойчивость упаковки проводят с целью контроля и определения типа стекла (I, II или III).

Кроме того, упаковки, предназначенные для водных парентеральных лекарственных препаратов, испытывают на наличие мышьяка, окрашенные упаковки из стекла проверяют на светопропускание.

ГИДРОЛИТИЧЕСКАЯ УСТОЙЧИВОСТЬ

Испытание проводят путем титрования экстракционных растворов, полученных в условиях, описанных в испытаниях А, Б и В. Испытание В проводят в случае отсутствия информации о типе стекла.

Таблица 2.4.2.2.-1

Типы упаковок из стекла

Тип упаковки Испытания
Упаковки из стекла типа I и типа II (для различия от упаковок из стекла типа III) А (испытание на поверхностную гидролитическую устойчивость)
Упаковки из стекла типа I (для различия от упаковок из стекла типа II от типа III) Б (испытание измельченного в порошок стекла) или В (испытание упаковок с обработанной поверхностью)
Упаковки из стекла типа I и типа II (определение влияния химического состава или степени обработки поверхности стекла на гидролитическую устойчивость) А и Б или А и В

ОБОРУДОВАНИЕ

Перед использованием автоклав и все вспомогательное оборудование следует очистить водой P.

- автоклав, способный поддерживать температуру (121 +/- 1) °C и давление (что соответствует 0,25 МПа или 2,5 бар), оборудованный термометром или, манометром, вентиляционным краном и поддоном, а также имеющий достаточную вместимость для размещения над поверхностью воды такого количества упаковок из стекла, которое необходимо для проведения испытания;

- бюретки соответствующей вместимости;

- мерные колбы вместимостью 1000 мл;

- пипетки и стаканы;

- конические колбы вместимостью 100 мл и 250 мл;

- водяная баня;

- металлическая фольга (например, из алюминия, нержавеющей стали).

Колбы и стаканы перед использованием следует заполнить водой P и выдержать в автоклаве при температуре 121 °C в течение не менее 1 ч.

ОПРЕДЕЛЕНИЕ ОБЪЕМА НАПОЛНЕНИЯ

Объем наполнения - это объем воды, которым следует наполнить упаковку для проведения испытания. Для бутылок и флаконов объем наполнения составляет 90% от полной вместимости упаковки (до краев). Для ампул объем наполнения соответствует объему до высоты плеча.

Флаконы и бутылки. Отбирают случайным образом из партии 6 упаковок (или 3, если их вместимость более 100 мл) и очищают от грязи и осколков. Пустые упаковки взвешивают с точностью до 0,1 г, помещают на горизонтальную поверхность и наполняют до края водой P, избегая переполнения и воздушных пузырьков. Уровень жидкости регулируют по нижнему мениску и взвешивают заполненные упаковки с точностью до 0,01 г для упаковок, имеющих номинальный объем меньше или равный 30 мл, и с точностью до 0,1 г для упаковок с номинальным объемом более 30 мл и получают массу воды. Рассчитывают среднее значение полной вместимости в миллилитрах и умножают на 0,9. Полученный объем с точностью до 0,1 мл является объемом наполнения для конкретной упаковки.

Ампулы. Помещают не менее 6 сухих ампул на горизонтальную поверхность и наполняют водой P из бюретки до высоты плеча (точка А) (см. рисунок 2.4.2.2.-1). Определяют вместимость (с точностью до 0,01) и вычисляют среднее значение. Объем, выраженный с точностью до одного десятичного знака, является объемом наполнения для конкретной партии ампул. Объем наполнения может также быть определен путем взвешивания.

Рисунок 2.4.2.2.-1. Объем наполнения ампул (до точки А)

Шприцы и картриджи. Выбирают 6 шприцев или картриджей, закрывают отверстие (горловина картриджей и иглы и (или) посадочный конус Луера), используя инертный материал (например, защитный колпачок). Определяют средний объем наполнения в соответствии с процедурой, описанной в разделе Флаконы и бутылки, и умножают на 0,9. Данный объем, выраженный с точностью до 0,1 мл, является объемом наполнения для конкретной партии упаковок.

ИСПЫТАНИЕ А. ГИДРОЛИТИЧЕСКАЯ УСТОЙЧИВОСТЬ ВНУТРЕННИХ ПОВЕРХНОСТЕЙ УПАКОВОК ИЗ СТЕКЛА (ИСПЫТАНИЕ ПОВЕРХНОСТИ)

Определение проводят на упаковках, которые ранее не использовались. Объемы испытуемой жидкости, необходимые для заключительного определения, приведены в таблице 2.4.2.2.-2.

Таблица 2.4.2.2.-2

Объемы испытуемой жидкости и количество титрований

Объем наполнения (мл) Объем испытуемой жидкости для титрования (мл) Количество титрований
До 3 25,0 1
От 3 до 30 50,0 2
От 30 до 100 100,0 2
Более 100 100,0 3

Очистка. Упаковки очищают от грязи и осколков. Непосредственно перед проведением испытания каждую упаковку наполняют водой P до краев, дают отстояться в течение (20 +/- 5) мин. Воду из упаковок сливают, затем их дважды тщательно промывают водой P, один раз водой P1 и дают воде стечь.

Закрытые ампулы не должны промываться перед испытанием. Закрытые ампулы перед открытием могут быть нагреты на водяной бане или в сушильном шкафу при температуре около 40 °C в течение около 2 мин для выравнивания давления внутри ампул.

Наполнение. Упаковки наполняют водой P1 до соответствующего объема. Упаковки в виде картриджей или шприцов для предварительного заполнения закрывают соответствующим материалом, который не влияет на результаты измерений. Каждая упаковка, в том числе ампулы, должны быть неплотно закрыты инертными материалами из нейтрального стекла или алюминиевой фольги, предварительно промытыми водой P. Бутылки и флаконы закрывают пробками из нейтрального стекла или алюминиевой фольгой, предварительно промытыми водой P. Шприцы и картриджи помещают в стакан и накрывают стакан алюминиевой фольгой. Упаковки вместимостью 2 мл и менее, в которых при автоклавировании вода не удерживается в достаточном количестве, могут быть закупорены подходящим образом, например, пробкой из инертного материала (силикона), фиксируемой плунжером или зажимом. Упаковки помещают на поддон автоклава, загружают в автоклав, содержащий воду P, таким образом, чтобы они находились выше уровня воды в автоклаве.

Процесс автоклавирования.

Закрывают автоклав и выполняют следующие действия:

- нагревают автоклав с постоянной скоростью в течение 20 - 30 мин до температуры 100 °C;

- поддерживают температуру (100 +/- 1) °C в течение (10 +/- 1) мин;

- повышают температуру от 100 °C до 121 °C в течение 20 - 22 мин;

- поддерживают температуру (121 +/- 1) °C в течение (60 +/- 1) мин;

- снижают температуру от 121 °C до 100 °C в течение 40 - 44 мин, избегая при этом образования вакуума;

- автоклав не открывают, пока вода в упаковках не достигнет температуры 95 °C;

- упаковки вынимают из автоклава с соблюдением обычных мер предосторожности, охлаждают до комнатной температуры в течение 30 мин.

Перед первым использованием автоклав и системы измерения температуры калибруют, чтобы гарантировать температуру внутри упаковок (121 +/- 1) °C.

Примечание: могут наблюдаться значительные различия между температурой в автоклаве и температурой внутри упаковок.

Экстракционные растворы анализируют путем титрования в соответствии с методикой, описанной ниже.

Методика. Титрование проводят в течение 1 ч после изъятия упаковок из автоклава. Экстракционные растворы, полученные из упаковок, объединяют и перемешивают. Необходимый объем жидкости (таблица 2.4.2.2.-1) помещают в коническую колбу. Во вторую аналогичную колбу добавляют такой же объем воды P1 (контрольный раствор). В каждую колбу добавляют 0,05 мл раствора метилового красного P на каждые 25 мл жидкости. Контрольный раствор титруют 0,01 M хлороводородной кислотой. Испытуемую жидкость титруют такой же кислотой до окраски контрольного раствора. Разница между объемами титранта выражается в миллилитрах 0,01 M хлороводородной кислоты на 100 мл. Объем титранта меньше 1,0 мл указывают с точностью до двух десятичных знаков, а объем титранта больше или равный 1,0 мл указывают с точностью до одного десятичного знака.

Пределы содержания. Полученные результаты не должны превышать значения, приведенные в таблице 2.4.2.2.-3.

Таблица 2.4.2.2.-3

Допустимые пределы при испытании поверхностной гидролитической устойчивости

Объем наполнения (мл) Максимальный объем 0,01 M HCl на 100 мл испытуемой жидкости (мл)
Класс стекла для упаковок
Тип I и II Тип III
До 0,5 3,0 30,0
От 0,5 до 1 2,0 20,0
От 1 до 2 1,8 17,6
От 2 до 3 1,6 16,1
От 3 до 5 1,3 13,2
От 5 до 10 1,0 10,2
От 10 до 20 0,80 8,1
От 20 до 50 0,60 6,1
От 50 до 100 0,50 4,8
От 100 до 200 0,40 3,8
От 200 до 500 0,30 2,9
Более 500 0,20 2,2

ИСПЫТАНИЕ Б. ГИДРОЛИТИЧЕСКАЯ УСТОЙЧИВОСТЬ ИЗМЕЛЬЧЕННОГО В ПОРОШОК СТЕКЛА (ИСПЫТАНИЕ ИЗМЕЛЬЧЕННОГО В ПОРОШОК СТЕКЛА)

Проверяют, были ли эти изделия подвергнуты обжигу для получения коммерчески приемлемого качества.

Испытание может проводиться на трубках, используемых для производства упаковок из стекла или на самих упаковках.

Оборудование.

- ступка, пестик (см. рисунок 2.4.2.2.-2) и молоток из закаленной магнитной стали;

Рисунок 2.4.2.2.-2. - Прибор для измельчения стекла. Размеры указаны в миллиметрах

- в качестве альтернативы ступке, пестику и молотку может быть использована шаровая мельница из агата, циркония диоксида или нержавеющей стали объемом 250 мл; используются 2 шарика диаметром 40 мм или 3 шарика диаметром 30 мм;

- комплект из трех сит с квадратными отверстиями из нержавеющей стали, установленных на рамках из того же материала и состоящий из:

(а) сита номер 710;

(б) сита номер 425;

(в) сита номер 300;

- для просеивания стекла можно использовать механический просеиватель или просеивающую машину;

- постоянный магнит;

- металлическая фольга (например, алюминий, нержавеющая сталь);

- сушильный шкаф, способный поддерживать температуру (140 +/- 5) °C;

- эксикатор;

- весы для взвешивания до 500 г с точностью 0,005 г;

- ультразвуковая баня.

Методика. Испытуемые образцы промывают водой P и высушивают в сушильном шкафу. Для получения двух образцов стекла массой около 100 г каждый, не менее трех упаковок заворачивают в чистую бумагу и разбивают молотком таким образом, чтобы получить осколки с размерами, не превышающими 30 мм.

При использовании ступки, пестика и молотка поступают следующим образом. 30 - 40 г одного образца с осколками размером 10 - 30 мм переносят в ступку, ставят пестик и сильно ударяют один раз молотком. Содержимое ступки переносят на большее сито (а) из комплекта. Операцию повторяют несколько раз, пока все осколки не будут перенесены на сито и быстро просеивают. Часть стекла, оставшегося на ситах (а) и (б) удаляют. Затем фракционируют, повторяя операции до тех пор, пока на сите (а) не останется около 10 г стекла. Выбрасывают эту часть и часть, проходящую через сито (в). Встряхивают комплект сит в течение 5 мин.

Оставляют в резерве часть стеклянных осколков, проходящих через сито (б) и оставшихся на сите (в).

При использовании шаровой мельницы поступают следующим образом. К около 50 г осколков размером 10 - 30 мм, взятых из 1 образца, добавляют шарики и измельчают тонкостенное стекло (толщина стенки до 1,5 мм) в течение 2 мин и толстостенное стекло (толщина стенки более 1,5 мм) в течение 5 мин. Переносят стекло в сито (а), просеивают в течение 30 с и собирают оставшуюся часть на сите (в). Переносят стекло из сит (а) и (б) в шаровую мельницу и снова измельчают и просеивают, как указано выше. Объединяют все части, оставшиеся на сите (в).

Повторяют операцию измельчения и просеивания со вторым образцом стекла до тех пор, пока на сите не останется около 10 г стекла.

Получают таким образом 2 образца, каждый массой не менее 10 г. Каждый образец выкладывают на чистую глянцевую бумагу и удаляют из стеклянных осколков любые металлические примеси, проводя над ними магнитом. Образцы стекла переносят в стакан, добавляют 30 мл ацетона P и очищают осколки с помощью стеклянной палочки, покрытой резиной или пластиком. Затем дают отстояться и декантируют слой ацетона. Прибавляют еще 30 мл ацетона P, встряхивают, сливают и прибавляют новую порцию 30 мл ацетона P.

Ультразвуковую баню наполняют водой комнатной температуры, помещают стаканы с образцами стекла и закрепляют так, чтобы уровень воды был на уровне ацетона и обрабатывают в течение 1 мин. Жидкость в стаканах отстаивают, максимально сливают ацетон, затем добавляют 30 мл ацетона P и повторно обрабатывают на ультразвуковой бане. Промывание ацетоном проводят до тех пор, пока раствор не станет прозрачным. Затем ацетон декантируют, выпаривают его остатки на теплой плитке, стеклянные осколки сушат в сушильном шкафу при температуре 140 °C в течение 20 мин. Высушенные осколки стекла из каждого стакана помещают раздельно во взвешенные бюксы, закрывают крышками и охлаждают в эксикаторе. Взвешивают по 10,00 г высушенных стеклянных осколков, помещают в две конические колбы, прибавляют по 50 мл воды P1 с помощью пипетки (испытуемые растворы). В третью коническую колбу прибавляют 50 мл воды P1 (контрольный раствор). Стеклянные осколки равномерно распределяют на дне колбы осторожным встряхиванием. Колбы закрывают пробками из нейтрального стекла или алюминиевой фольгой, промытыми водой P или перевернутыми стаканами так, чтобы внутренняя часть стакана плотно прилегала к горловине колбы. Колбы помещают в автоклав с водой комнатной температуры так, чтобы уровень воды в колбе был выше, чем в автоклаве и выдерживают при температуре (121 +/- 1) °C в течение (30 +/- 1) мин, выполняя те же операции, что и при проведении испытания А на поверхностную гидролитическую устойчивость. Автоклав не открывают, пока температура не снизится до 95 °C. Колбы вынимают из автоклава и сразу охлаждают под проточной водопроводной водой.

В каждую колбу добавляют 0,05 мл раствора метилового красного P и немедленно титруют 0,02 M хлороводородной кислотой в первую очередь контрольный раствор. Испытуемые растворы титруют такой же кислотой до окраски контрольного раствора. Вычисляют разницу между объемами титранта испытуемого раствора и контрольного раствора.

Для точного установления конечной точки титрования необходимо надосадочную жидкость декантировать в отдельную колбу вместимостью 250 мл; стеклянные осколки в каждой пробе промыть круговыми движениями три раза по 15 мл водой P1, добавляя промывные воды к основному раствору. К испытуемым растворам и контрольному раствору прибавляют по 0,05 мл раствора метилового красного P. Титруют и рассчитывают, как описано ниже. В контрольный раствор следует прибавить также 45 мл воды P1 и 0,05 мл раствора метилового красного P.

Рассчитывают среднее значение в миллилитрах 0,02 M хлороводородной кислоты на грамм образца результатов трех определений. Отклонение каждого определения от среднего значения не должно превышать +/- 10% - для стекла типа I и типа II; +/- 5% - для стекла типа III. При необходимости рассчитывают его эквивалент в пересчете на высвобождаемую щелочь, рассчитанный в микрограммах натрия оксида на грамм стеклянных зерен.

1 мл 0,02 M хлороводородной кислоты эквивалентен 620 мкг натрия оксида.

Пределы содержания. Должно быть израсходовано не более 0,1 мл 0,02 M хлороводородной кислоты на 1 г стекла типа I; не более 0,85 мл 0,02 M хлороводородной кислоты на 1 г стекла типа II или типа III.

ИСПЫТАНИЕ В. ИСПЫТАНИЕ УПАКОВОК С ОБРАБОТАННОЙ ПОВЕРХНОСТЬЮ (ИСПЫТАНИЕ ОБРАБОТАННОЙ ПОВЕРХНОСТИ)

Испытание В упаковок с обработанной поверхностью проводят в дополнение к испытанию А с целью определить, обрабатывалась ли поверхность стекла и (или) с целью установления различий стекла типа I и II. Альтернативно могут быть использованы испытания А и Б. Испытание В может быть проведено на неиспользованных образцах или на образцах, использованных ранее при испытании А.

Флаконы и бутылки. Объемы необходимой испытуемой жидкости приведены в таблице 2.4.2.2.-2. Упаковки дважды промывают водой P, заполняют до края смесью фтороводородной кислоты P и хлороводородной кислоты P (1:9 об/об) и выдерживают в течение 10 мин. Затем упаковки освобождают от содержимого и тщательно промывают водой P 5 раз. Непосредственно перед испытанием снова промывают водой P. Упаковки, подготовленные таким образом, подвергают процедуре автоклавирования и определяют в соответствии с указаниями в испытании А поверхностную гидролитическую устойчивость. Если полученные результаты значительно выше, чем полученные при испытании необработанных поверхностей (примерно в 5 - 10 раз), то считается, что образцы имеют обработанную поверхность.

Ампулы, картриджи, шприцы

Ампулы, картриджи, шприцы, изготовленные из стеклянных трубок, обычно не подвергаются внутренней обработке поверхности, так как их высокая химическая устойчивость зависит от химического состава стекла как материала.

Методики такие же как в Испытании В для флаконов и бутылок. В случае ампул с необработанной поверхностью получаемые значения несколько ниже, чем значения, полученные в испытаниях, описанных выше.

Различия между упаковками из стекла типа I и типа II

Полученные результаты в испытании В, по сравнению с результатами, полученными в испытании А. Интерпретация результатов приведена в таблице 2.4.2.2.-4.

Таблица 2.4.2.2.-4

Различия между упаковками из стекла типа I и типа II

Тип I Тип II
Значения очень близки к величинам, полученным при испытании поверхностной гидролитической устойчивости для упаковок из стекла типа I Значения значительно превышают величины, полученные при испытании поверхностной гидролитической устойчивости и подобны значениям, полученным для упаковок из стекла типа III, но не превышают их

МЫШЬЯК

Испытание применяется для упаковок, предназначенных для водных растворов лекарственных препаратов парентерального применения.

Определение проводят методом атомно-абсорбционной спектрометрии с приставкой для получения гидрида (2.1.2.22, метод I).

Испытуемый раствор. В мерную колбу вместимостью 100 мл прибавляют 10,0 мл экстракционного раствора, полученного из упаковок из стекол типов I и II, обработанных в автоклаве при 121 °C в течение 1 ч, как описано в испытании А поверхностной гидролитической устойчивости, прибавляют 10 мл хлороводородной кислоты P, 5 мл 200 г/л раствора калия йодида P, нагревают на водяной бане при 80 °C в течение 20 мин, охлаждают и разбавляют до 100,0 мл водой P.

Растворы сравнения. Растворы готовят с использованием стандартного раствора мышьяка (1 ppm As+3) P, добавляют к нему 10 мл хлороводородной кислоты P, 5 мл 200 г/л раствора калия йодида P. Растворы нагревают на водяной бане при 80 °C в течение 20 мин, охлаждают и доводят до 100,0 мл водой P. Диапазон концентраций растворов сравнения, как правило, от 0,005 ppm до 0,015 ppm.

Кислотный реактив - хлороводородная кислота P.

Восстанавливающий реактив - раствор натрия тетрагидробората P.

Используют устройство для получения мышьяка гидрида. Полученный мышьяка гидрид вносят в кювету атомно-абсорбционного спектрометра. Устанавливают и стандартизируют инструментальные и эксплуатационные режимы согласно инструкциям изготовителя, настраивают скорость перистальтического насоса, затем присоединяют трубки к резервуарам с кислотным реактивом, восстанавливающим реактивом и испытуемым раствором.

Условия определения:

- источник: лампа с полым мышьяковым катодом;

- длина волны: 193,7 нм;

- атомизатор: воздушно-ацетиленовое пламя.

Предельное содержание: не более 0,1 ppm As.

СВЕТОПРОПУСКАНИЕ

Испытание применяется для окрашенных упаковок из стекла.

Определение проводят методом абсорбционной спектрофотометрии в ультрафиолетовой и видимой областях (2.1.2.24).

Оборудование. Спектрофотометр, снабженный фотодиодным детектором или двухсторонним фотоэлектронным умножителем в сочетании с интегрирующей сферой.

Приготовление образца. Упаковку из стекла разбивают или разрезают циркуляционной пилой с диском для влажного абразивного шлифования, например, карборундовым или металлизированным алмазным диском. Выбирают фрагменты соответственной толщины стенок и вырезают их подходящим образом для установления в спектрофотометр. Если образец слишком мал для того, чтобы закрыть отверстие в штативе для образца, маскируют незакрытую часть непрозрачной бумагой или лентой при условии, что длина испытуемого образца больше длины щели. Образец перед помещением в штатив промывают, высушивают и вытирают тканью для протирания линз. Закрепляют образец при помощи воска или других подходящих средств, обращая внимание на то, чтобы не оставить на образце следов от пальцев или других следов.

Методика. Образец помещают в спектрофотометр таким образом, чтобы его цилиндрическая ось была параллельна щели, чтобы луч проходящего света был перпендикулярен к поверхности стекла и потери из-за отражения были сведены к минимуму. Измеряют светопропускание образца в интервале от 290 нм до 450 нм непрерывно или с интервалами в 20 нм.

Пределы содержания. Пропускание света, которое допускается для упаковок из окрашенного стекла, используемого для лекарственных препаратов, не предназначенных для парентерального применения, не должно превышать 10% при любой длине волны в интервале от 290 нм до 450 нм независимо от типа и объема стеклянной упаковки.

Пропускание света, которое допускается для упаковок из окрашенного стекла, использующихся для лекарственных препаратов, предназначенных для парентерального применения, не должно превышать пределы, приведенные в таблице 2.4.2.2.-5.

Таблица 2.4.2.2.-5

Допустимые пределы светопропускания для упаковок из окрашенного стекла для лекарственных препаратов, предназначенных для парентерального применения

Номинальный объем (мл) Максимальное светопропускание (%) при любой длине волны в интервале от 290 нм до 450 нм
Упаковки, герметизированные запаиванием Упаковки с пробками
До 1 50 25
От 1 до 2 45 20
От 2 до 5 40 15
От 5 до 10 35 13
От 10 до 20 30 12
Более 20 25 10

Приложение - Испытание на поверхностную гидролитическую устойчивость - определение на пламенном атомно-абсорбционном спектрометре (ПААС).

Поверхностная гидролитическая устойчивость стекла типов I и II может быть определена анализом щелочных растворов после выщелачивания стекла методом ПААС. Установлено, что ряд химических элементов, присутствующих в стекле в виде оксидов, влияют на щелочность раствора, что используется для определения эквивалента щелочности данным методом. Спектрометрический метод имеет преимущество, так как позволяет использовать значительно меньшие объемы извлечения и может применяться для анализа небольших индивидуальных упаковок. Это позволяет объективно оценить качество упаковок определенной партии, где такой показатель может быть критичным. Оба метода не могут считаться взаимозаменяемыми и результаты этих измерений не эквивалентны значениям, полученным при методе титриметрии. Корреляция между двумя методами зависит от типа стекла, а также от размера и формы упаковки.

Титриметрический метод является стандартным методом Фармакопеи Союза; спектрометрический метод может быть использован при необходимости и в обоснованных случаях.

Методика, подходящая для данного типа анализа, приводится ниже.

Определение проводят на не использованных ранее упаковках. Количество упаковок для испытаний приведено в таблице 2.4.2.2.-6.

Таблица 2.4.2.2.-6

Количество упаковок, которые могут быть использованы для спектрометрического метода

Объем наполнения (мл) Количество упаковок Количество упаковок, необходимое для дополнительных измерений
До 2 20 2
От 2 до 5 15 2
От 5 до 30 10 2
От 30 до 100 5 1
Более 100 3 1

Методика по определению объема заполнения, очистки упаковок, наполнения и нагревания приведена в испытании Гидролитическая устойчивость и испытании А.

РАСТВОРЫ

Спектрохимический буферный раствор. 80 г цезия хлорида P растворяют около в 300 мл воды P1, прибавляют 10 мл 6 M хлороводородной кислоты P и доводят водой P1 до 1000 мл, перемешивают.

Основные растворы:

- раствор натрия оксида, C(Na2O) - 1 мг/мл;

- раствор калия оксида, C(K2O) - 1 мг/мл;

- Раствор кальция оксида, C(CaO) - 1 мг/мл.

Также могут быть использованы коммерческие образцы растворов.

Раствор сравнения. Растворы сравнения готовят путем разведения исходных растворов с водой P1 до получения эталонных растворов соответствующих концентраций, например, 20 мкг/мл натрия оксида, калия оксида и кальция оксида, соответственно. Также могут быть использованы коммерческие образцы стандартных растворов.

Контрольный раствор. Готовят растворы для построения калибровочной кривой (набор калибровочных растворов) путем разведения подходящих концентрированных стандартных растворов с водой P1, учитывая нормальные рабочие диапазоны конкретных элементов, с учетом прибора, используемого для измерения.

Типичные диапазоны концентраций исходных растворов для определения методом атомной эмиссионной спектрометрии:

- натрия оксида и калия оксида: до 10 мкг/мл;

- натрия оксида и калия оксида: до 3 мкг/мл;

- кальция оксида: до 7 мкг/мл.

Можно использовать стандартные растворы, содержащие 5% (об/об) спектрохимического буферного раствора.

МЕТОДИКА

Предварительно определяют концентрацию калия оксида и кальция оксида в испытуемом растворе. В случае, если концентрация калия оксида составляет менее 0,2 мкг/мл и концентрация кальция оксида составляет менее 0,1 мкг/мл, остальные экстракционные растворы из этого типа упаковки не исследуют на содержание этих ионов. Экстракционный раствор из каждого образца вводят непосредственно в поглощающую зону атомизатора или атомной эмиссионной приставки и определяют приблизительную концентрацию натрия оксида (калия оксида и кальция оксида, если они присутствуют) по калибровочному графику.

ЗАКЛЮЧИТЕЛЬНОЕ ОПРЕДЕЛЕНИЕ

Если разбавление не требуется, в каждую упаковку прибавляют объем спектрохимического буферного раствора, равный 5% объема наполнения, тщательно перемешивают и определяют, при наличии, натрия оксид, кальция оксид и калия оксид по калибровочному графику. Для определения концентрации кальция оксида методом пламенной атомной спектрометрии используется пламя ацетилен/азота оксид.

Если необходимо разбавление, определение натрия оксида, кальция оксида и калия оксида, при их наличии, проводят в соответствии с процедурами, описанными выше. Испытуемые растворы должны содержать 5% (об/об) спектрохимического буферного раствора. Значения концентраций менее 1,0 мкг/мл должны быть выражены с точностью до 0,01, значения больше или равные 1,0 мкг/мл - с точностью до 0,1.

При расчетах необходимо учитывать добавление спектрохимического буферного раствора и дополнительные разведения.

ВЫЧИСЛЕНИЯ

Рассчитывают среднее значение концентрации отдельных оксидов, найденных в каждом из испытанных образцов, в мкг/мл экстракционного раствора и вычисляют сумму отдельных оксидов, выраженную в микрограммах натрия оксида на миллилитр экстракционного раствора, используя следующие массовые коэффициенты пересчета:

- 1 мкг калия оксида соответствует 0,658 мкг натрия оксида;

- 1 мкг кальция оксида соответствует 1,105 мкг натрия оксида.

Пределы содержания. Для каждой испытуемой упаковки предельные значения поверхностной гидролитической устойчивости представлены в таблице 2.4.2.2.-7.

Таблица 2.4.2.2.-7

Предельные значения поверхностной гидролитической устойчивости методом пламенной атомно-абсорбционной спектрометрии

Объем наполнения (мл) Предельные значения концентрации оксидов, выраженные в виде натрия оксида (мкг/мл)
Тип стекла упаковки типы I и II
До 0,5 7,50
От 0,5 до 1 5,00
От 1 до 2 4,50
От 2 до 3 4,10
От 3 до 5 3,20
От 5 до 10 2,50
От 10 до 20 2,00
От 20 до 50 1,50
От 50 до 100 1,20
От 100 до 200 1,00
От 200 до 500 0,75
Более 500 0,50

204020003-2022

2.4.2.3. Полимерные упаковки и укупорочные средства для фармацевтического применения

Полимерная упаковка для фармацевтического применения представляет собой изделие из полимерного материала, которое содержит или может содержать активную фармацевтическую субстанцию или лекарственный препарат и находится или может находиться с ними в непосредственном соприкосновении. Укупорочное средство является частью упаковки.

Полимерные упаковки и укупорочные средства для фармацевтического применения производят из материалов, которые могут содержать определенные добавки. Полимерные упаковки не должны содержать никаких веществ, миграция которых в лекарственный препарат может существенным образом повлиять на безопасность, эффективность лекарственного препарата или его стабильность.

Наиболее часто используемыми полимерами являются полиэтилен (содержащий или не содержащий добавок), полипропилен, поливинилхлорид, полиэтилентерефталат и полиэтиленвинилацетат.

Природа и количество добавок определяются типом полимера, технологией производства упаковки из полимера и предполагаемым применением. Добавки представляют собой антиоксиданты, стабилизаторы, пластификаторы, смазки, красители и модификаторы ударной прочности. Антистатики и антиадгезивы, облегчающие изъятие из формы, могут быть использованы только в составе полимеров для изготовления упаковок, предназначенных для лекарственных препаратов для приема внутрь или наружного применения, для которых разрешено их использование. Допустимые добавки указываются в спецификациях на каждый материал, описанный в Фармакопее Союза. Другие добавки можно применять при условии, что они в каждом конкретном случае разрешены уполномоченным органом.

При выборе соответствующей полимерной упаковки для оценки потенциальной опасности необходимо знать полный состав полимерного материала при его производстве, включая все материалы, использующиеся в процессе формования упаковки.

В обоснованных случаях может понадобиться детальная информация для оценки влияния полимерной упаковки в случае длительного применения лекарственного препарата пациентами или уязвимыми группами пациентов.

Полимерная упаковка, выбранная для любого конкретного лекарственного средства, должна соответствовать следующим требованиям:

- компоненты лекарственного средства, находящиеся в соприкосновении с полимерным материалом, не должны в значительной мере адсорбироваться его поверхностью и существенно мигрировать внутрь полимера или сквозь него;

- полимерный материал не должен выделять в содержимое упаковки никаких веществ в таком количестве, которое оказывало бы воздействие на эффективность или стабильность лекарственного средства или могло быть потенциально опасным с точки зрения токсичности.

Используя материал или материалы, выбранные в соответствии с этими критериями, изготавливают достаточное количество типовых образцов упаковок, используя четко определенную процедуру, и подвергают их практическим испытаниям в условиях, которые воспроизводят условия их предполагаемого использования, включая при необходимости стерилизацию. Для того, чтобы подтвердить совместимость упаковки и его содержимого и убедиться в отсутствии изменений, отрицательно влияющих на качество лекарственного средства, проводят различные испытания, такие как контроль отсутствия изменений физических характеристик, оценка каких-либо потерь или прироста содержимого упаковки из-за проницаемости упаковки, определение изменения pH, оценка изменений, вызванных влиянием света, химические испытания и при необходимости биологические испытания.

Метод производства должен гарантировать возможность его воспроизводства при последующем производстве в больших объемах, а условия производства подбираются таким образом, чтобы воспрепятствовать возможности загрязнения другими полимерными материалами или их ингредиентами. Изготовитель должен гарантировать, что упаковки промышленного производства по всем показателям идентичны типовым образцам.

Для достоверности результатов испытаний типовых образцов важно, чтобы:

- не было изменений в составе материала, указанного для типовых образцов;

- не было изменений в производственном процессе, указанном для типовых образцов, особенно температуры в процессе переработки материала или в ходе последующих процедур, таких как стерилизация;

- не использовался материал из отходов или брака.

Повторное использование излишков материала, природа и состав которого хорошо известны, может быть разрешена после соответствующей валидации.

При условии удовлетворительных испытаний на совместимость для каждой комбинации упаковки и его содержимого, материалы, описанные в Фармакопее Союза, считаются пригодными для предполагаемого использования.

204020004-2022

2.4.2.4. Полимерная упаковка для водных растворов для инфузий

ОПРЕДЕЛЕНИЕ

Настоящая общая фармакопейная статья распространяется на полимерную упаковку, предназначенную для лекарственных форм для парентерального применения, а именно, для водных растворов для инфузий.

Полимерные упаковки для водных растворов парентерального применения изготавливают из одного или нескольких полимеров, которые при необходимости содержат добавки. Упаковки, описанные в данной общей фармакопейной статье, не обязательно пригодны к использованию для эмульсий. В качестве материалов для упаковок чаще используют полиэтилен, полипропилен и поливинилхлорид. Требования, приведенные в данной общей фармакопейной статье, следует рассматривать совместно с требованиями общей фармакопейной статьи 2.4.2.3. Полимерные упаковки и укупорочные средства для фармацевтического применения.

Упаковки представляют собой пакеты или флаконы, имеющие один или несколько портов для введения лекарственных средств, а также устройства контроля первого вскрытия, что обеспечивает герметичность и надежность соединения с инфузионной системой. Они могут иметь приспособление, которое позволяет делать инъекцию во время использования. Упаковка обычно снабжена устойчивым к растяжению элементом, обеспечивающим возможность подвешивания в процессе использования. Упаковка должна выдерживать условия стерилизации. Конструкция упаковки и выбранный метод стерилизации должны быть такими, чтобы обеспечивать возможность стерилизации всех элементов упаковки, которые находятся в контакте с раствором для инфузий. Упаковка после укупоривания должна быть непроницаемой для микроорганизмов, и после наполнения должна быть устойчива к повреждению, обусловленному непредвиденным замораживанием, возможным при транспортировании готового лекарственного средства. Упаковка должна быть достаточно прозрачной для того, чтобы обеспечить возможность визуального исследования содержимого в любой момент, если нет других указаний.

Пустые упаковки не должны иметь дефектов, которые могли бы привести к утечке. Заполненная и закрытая упаковка не должна проявлять признаков утечки.

Для надлежащего хранения некоторых лекарственных средств упаковку следует упаковать в дополнительную упаковку. В таком случае первичную оценку сохранности проводят, используя упаковку в дополнительной упаковке.

ИСПЫТАНИЯ

Раствор S. Раствор S используют в течение 4 ч после приготовления.

Упаковку наполняют водой P до номинального объема и закрывают его, по возможности используя обычные укупорочные средства; можно закрыть упаковку чистой алюминиевой фольгой. Нагревают упаковку в автоклаве так, чтобы в течение от 20 мин до 30 мин температура достигла (121 +/- 2) °C, и выдерживают при этой температуре в течение 30 мин. Если нагревание при температуре 121 °C приводит к повреждению упаковки, нагревание ведут при температуре 100 °C в течение 2 ч.

Контрольный раствор. Готовят нагреванием воды P в колбе из боросиликатного стекла, закрытой чистой алюминиевой фольгой при температуре и в течение такого же времени, что и раствор S.

Прозрачность раствора (2.1.2.1). Раствор S должен быть прозрачным.

Цветность раствора (2.1.2.2, метод II). Раствор S должен быть бесцветным.

Кислотность или щелочность. К объему раствора S, соответствующему 4% номинального объема упаковки, прибавляют 0,1 мл фенолфталеина раствора P. Раствор должен оставаться бесцветным. Окраска раствора должна измениться до розовой при добавлении 0,4 мл 0,01 M раствора натрия гидроксида. Добавляют 0,8 мл 0,01 M хлороводородной кислоты и 0,1 мл метилового красного раствора P. Окраска раствора должна измениться до оранжево-красной или красной.

Поглощение/Оптическая плотность (2.1.2.24). Измеряют оптическую плотность раствора S в области от 230 нм до 360 нм, используя в качестве компенсационного раствора контрольный раствор (см. раствор S).

Оптическая плотность не должна превышать 0,20.

Восстанавливающие вещества. К 20,0 мл раствора S добавляют 1 мл серной кислоты разбавленной P и 20,0 мл 0,002 M раствора калия перманганата. Кипятят в течение 3 мин и сразу охлаждают. К полученному раствору добавляют 1 г калия йодида P и сразу титруют 0,01 M раствором натрия тиосульфата, используя в качестве индикатора 0,25 мл раствор крахмала P. Параллельно проводят контрольный опыт, используя 20,0 мл контрольного раствора. Разница между объемами титранта не должна превышать 1,5 мл.

Прозрачность. Упаковку, использованную до этого для приготовления раствора S, наполняют исходной опалесценцирующей суспензией (2.1.2.1), разбавленной в соотношении 1:200 для упаковок, изготовленных из полиэтилена или полипропилена, и 1:400 для других упаковок, в количестве, которое равно номинальному объему упаковки. При просматривании через упаковку и в сравнении с упаковкой, заполненной водой P, должна быть заметна опалесценция суспензии.

МАРКИРОВКА

Как правило, маркировка лекарственных средств регулируется нормативными правовыми актами Союза.

На маркировке серии пустых упаковок должно быть указано:

- наименование и адрес производителя;

- номер партии;

- дата производства;

- наименование полимерного материала, из которого она изготовлена.

204020005-2022

2.4.2.5. Резиновые укупорочные средства для упаковки, предназначенной для лекарственных препаратов в виде водных растворов, порошков и лиофилизатов для парентерального применения

Резиновые укупорочные средства для упаковки, предназначенной для лекарственных препаратов в виде водных растворов, порошков и лиофилизатов для парентерального применения изготавливают из эластомеров, полученных вулканизацией (поперечной сшивкой) макромолекулярных органических веществ с использованием соответствующих добавок. Эластомеры представляют собой полимерные вещества природного происхождения или полученные путем химического синтеза. Выбор основных компонентов и различных добавок (например, вулканизаторов, катализаторов, стабилизаторов, пигментов) зависит от требуемых свойств готового изделия. К резиновым укупорочным средствам относятся все типы резиновых пробок, включая пробки для флаконов, уплотнительные кольца и поршни для картриджей, а также резиновые колпачки для наконечников, защитные колпачки для игл и плунжерные пробки для шприцев.

Требования данной общей фармакопейной статьи распространяются на укупорочные средства, изготовленные из резины одного вида, на укупорочные пробки с покрытием, на двухслойные и смазанные пробки. Укупорочные пробки с покрытием изготавливают в основном из резины, на всей поверхности которой или на части поверхности которой имеется слой другой полимерной резины. Двухслойные пробки состоят из двух различных видов резины. Один вид обладает высоким уровнем химической чистоты и предназначен для контакта с лекарственным препаратом, другой обладает более высокой эластичностью и предназначен для улучшения уплотнения и устойчивости к разрушению резины. Смазанные резиновые пробки - это пробки, обработанные силиконовым маслом (2.4.1.6) или другими смазочными материалами, например, химически или механически связанными с пробками.

Если средство укупорки смазано, то оно подпадает под требования данной общей фармакопейной статьи. Требования данной общей фармакопейной статьи не распространяются на укупорочные средства, изготовленные из силиконового эластомера, которые должны соответствовать требованиям общей фармакопейной статьи (2.4.1.7) Силиконовые эластомеры для укупорочных средств и трубок.

Резиновые укупорочные средства классифицируют по двум типам:

- укупорочные средства типа I - пробки, удовлетворяющие самым строгим требованиям и являющиеся предпочтительными для использования;

- укупорочные средства типа II - пробки, имеющие механические свойства, пригодные для использования в специальных целях (например, для многократного прокалывания), но не удовлетворяющие настолько строгим требованиям, как пробки типа I, вследствие их химического состава.

К укупорочным средствам, применяемым для упаковки конкретного лекарственного препарата, предъявляются следующие требования:

- компоненты лекарственного препарата, находящиеся в контакте с пробкой, не должны адсорбироваться на поверхности пробки и мигрировать внутрь нее или сквозь пробку в количествах, отрицательно влияющих на качество лекарственного препарата;

- пробки не должны выделять в лекарственный препарат какие-либо вещества в таких количествах, чтобы воздействовать на стабильность лекарственного препарата или быть потенциально опасными в отношении токсичности;

- пробки должны быть совместимыми с лекарственным препаратом, для которого они используются, в течение всего надлежащего периода его хранения и применения.

Производитель лекарственного препарата должен получить от поставщика укупорочных средств гарантии того, что состав пробок не изменялся и идентичен составу пробок, использовавшихся в ходе испытаний на совместимость. Если поставщик информирует производителя лекарственного средства об изменениях в составе, то в зависимости от характера изменений следует провести испытания на совместимость в полном объеме или частично.

Пробки перед использованием моют и при необходимости стерилизуют.

СВОЙСТВА

Резиновые укупорочные средства эластичны; они полупрозрачны или непрозрачны и не имеют характерной окраски, которая зависит от применяемых добавок. Они практически не растворимы в тетрагидрофуране, однако, при этом может наблюдаться значительное обратимое набухание. Пробки однородны и практически не имеют неровностей и посторонних включений (например, волокон, механических частиц, отходов резины).

ИДЕНТИФИКАЦИЯ

Идентификация типа резины, использованной для изготовления укупорочных средств, выходит за рамки данной общей фармакопейной статьи. Приведенные ниже идентификационные испытания предназначены для отличия укупорочных средств, произведенных из резины, от укупорочных средств, произведенных из силиконового эластомера и пластиковых материалов, но не дифференцируют различные типы резины. Могут быть выполнены другие идентификационные испытания с целью выявления изменений в сериях по сравнению с пробками, которые использовались для проведения испытаний на совместимость. Для этого может быть использован один или несколько из следующих аналитических испытаний: определение относительной плотности, определение сульфатной золы, определение содержания серы; такие методы как тонкослойная хроматография извлечения, ультрафиолетовая абсорбционная спектрофотометрия извлечения, инфракрасная абсорбционная спектрофотометрия продуктов пиролиза или инфракрасная абсорбционная спектрофотометрия с получением спектра нарушенного полного внутреннего отражения.

А. Определение проводят методом абсорбционной спектрофотометрии в инфракрасной области (2.1.2.23). Получают спектр нарушенного полного внутреннего отражения.

При необходимости образец укупорочного средства разрезают вдоль соответствующей оси, изучают поверхность среза. Для покрытых, двухслойных и смазанных укупорочных средств испытание выполняют для каждой отдельной части укупорочного средства. Не следует выполнять испытание для силиконового масла, используемого в качестве смазки. Идентификация силиконового масла может выполняться до его использования.

Сравнение: с типовым образцом.

Б. Если прямое измерение спектра нарушенного полного внутреннего отражения на поверхности не представляется возможным (в основном, резиновые пробки, заполненные сажей), соответствующее количество резины нагревают в термостойкой пробирке над открытым пламенем до высушивания образца и продолжают нагревание до конденсации паров продуктов пиролиза возле верхнего края пробирки. Спектр нарушенного полного внутреннего отражения полученного пиролизата сравнивают со спектром нарушенного полного внутреннего отражения пиролизата типового образца.

Общая зола (2.1.4.16).

При отсутствии предварительной стерилизации паром образца укупорочного средства его сушку при (100 - 105) °C можно не проводить. Определяют процентное содержание общей золы в исследуемом образце и сравнивают с процентным содержанием общей золы в типовом образце (A0). В таблице приведены диапазоны содержания общей золы в исследуемом образце в зависимости от содержания общей золы в типовом образце. Если такие данные отсутствуют, то должны находиться в диапазоне, определенном в качестве целевого показателя для конкретного типа резины.

Таблица 2.4.2.5-1

Диапазоны содержания общей золы в исследуемом образце в зависимости от содержания общей золы в типовом образце

Содержание общей золы в типовом образце A0 (%) Пределы содержания общей золы в исследуемом образце (%)
A0 <= 5,0 от (A0 - 0,75) до (A0 + 0,75)
5,0 < A0 <= 10 от (A0 - 1,0) до (A0 + 1,0)
A0 > 10 от (A0 - 2,0) до (A0 + 2,0)

Дополнительно кроме тиглей из платины и кремния оксида, указанных в общей фармакопейной статье 2.1.4.16 Общая зола, могут быть использованы фарфоровые тигли. Сжигание образцов можно проводить в микроволновой печи вместо муфельной печи.

ИСПЫТАНИЯ

Раствор S. Неразрезанные пробки в количестве, соответствующем площади поверхности приблизительно 100 см2, помещают в колбу с широким горлом (стекло типа I, 2.4.2.2), добавляют 200 мл воды P и взвешивают. Закрывают отверстие колбы лабораторным стаканом из боросиликатного стекла. Нагревают в автоклаве таким образом, чтобы в течение (20 - 30) мин была достигнута температура (121 +/- 2) °C, и выдерживают при данной температуре около 30 мин. Датчик температуры для программного управления автоклавом погружают в воду в емкость, аналогичную используемой для образца. Охлаждают до комнатной температуры в течение 30 мин и доводят до исходной массы водой P. Раствор немедленно взбалтывают и сразу отделяют его от пробок декантацией. Раствор S взбалтывают перед началом каждого испытания.

При использовании плотно закрытой колбы (стекло типа I, 2.4.2.2) с инертной пробкой вместо колбы с широким горлом, закрытой химическим стаканом из боросиликатного стекла, отпадает необходимость доведения до исходной массы водой P.

Контрольный раствор. Готовят аналогично раствору S, используя 200 мл воды P.

Прозрачность раствора (2.1.2.1). Опалесценция раствора S не должна превышать опалесценцию суспензии сравнения II для пробок типа I и суспензии сравнения III для пробок типа II.

В случае нефелометрического определения предел для пробок типа I составляет 6 NTU, для пробок типа II - 18 NTU.

Цветность раствора (2.1.2.2, метод II). Окраска раствора S не должна быть интенсивнее окраски раствора сравнения GY5.

Кислотность или щелочность. К 20 мл раствора S прибавляют 0,1 мл бромтимолового синего раствора P1. Окраска раствора должна измениться до синей или желтой при добавлении не более 0,3 мл 0,01 M раствора натрия гидроксида или 0,8 мл 0,01 M хлороводородной кислоты, соответственно. Раствор, имеющий после добавления индикатора, зеленую окраску, является нейтральным и не требует титрования. Параллельно титруют 20,0 мл контрольного раствора (см. раствор S).

Поглощение/Оптическая плотность (2.1.2.24). Испытание проводят в течение 5 ч после приготовления раствора.

Раствор S фильтруют через мембранный фильтр с размером пор около 0,45 мкм, отбрасывая первые несколько миллилитров фильтрата. Измеряют оптическую плотность (2.1.2.24) фильтрата в области длин волн от 220 нм до 360 нм, используя в качестве раствора сравнения - контрольный раствор (см. раствор S). Оптическая плотность не должна превышать 0,2 для пробок типа I и 4,0 для пробок типа II. При необходимости разбавляют фильтрат перед измерением оптической плотности и корректируют результат с учетом разбавления.

Восстанавливающие вещества. Испытание проводят в течение 4 ч после приготовления раствора S. К 20,0 мл раствора S добавляют 1 мл серной кислоты разбавленной P и 20,0 мл 0,002 M калия перманганата раствора. Кипятят в течение 3 мин и охлаждают. Добавляют 1 г калия йодида P и немедленно титруют 0,01 M натрия тиосульфата раствором, используя в качестве индикатора 0,25 мл раствора крахмала P. Проводят контрольный опыт, используя 20,0 мл контрольного раствора. Разница между объемами титранта не должна превышать 3,0 мл (для пробок типа I) и 7,0 мл (для пробок типа II).

Аммония соли (2.1.4.1, метод А). Не более 2 ppm 5 мл раствора S доводят водой P до объема 14 мл.

Цинк. Не более 5 мкг в 1 мл раствора S. Определение проводят методом атомно-абсорбционной спектрометрии (2.1.2.22, метод I).

Испытуемый раствор. Используют раствор S. В случае выхода результатов за пределы диапазона калибровки, 10,0 мл раствора S доводят 0,1 M хлороводородной кислотой до соответствующего объема.

Растворы сравнения. Готовят разбавлением стандартного раствора цинка ионов (10 ppm Zn2+) P 0,1 M хлороводородной кислотой.

Условия определения:

- источник: цинковая лампа с полым катодом;

- длина волны: 213,9 нм;

- атомизатор: воздушно-ацетиленовое пламя.

Тяжелые металлы. (2.1.4.8). Не более 2 ppm.

Раствор S должен соответствовать требованиям испытания А. Раствор сравнения готовят, используя стандартный раствор свинца ионов (2 ppm Pb2+) P.

Сухой остаток. 50,0 мл раствора S выпаривают досуха на водяной бане и сушат при температуре от 100 °C до 105 °C до достижения постоянства массы. Масса остатка не должна превышать 2,0 мг для пробок типа I и 4,0 мг для пробок типа II.

Летучие сульфиды. Укупорочные средства общей площадью поверхности (20 +/- 2) см2, при необходимости разрезанные на части, помещают в коническую колбу вместимостью 100 мл и прибавляют 50 мл раствора 20 г/л лимонной кислоты P. Над отверстием колбы помещают кусочек свинцово-ацетатной бумаги P и выдерживают бумагу в этом положении, поместив сверху перевернутый бюкс для взвешивания. Нагревают в автоклаве при температуре (121 +/- 2) °C в течение 30 мин. Любое темное пятно на бумаге не должно быть интенсивнее пятна раствора сравнения, полученного таким же образом из смеси 50 мл 20 г/л раствора лимонной кислоты P и 5,0 мл свежеприготовленного раствора 0,0308 г/л натрия сульфида P в воде P.

Испытания на проницаемость, фрагментацию и самогерметизацию (самозакупорку) выполняются на целых пробках.

Для испытаний на проницаемость, фрагментацию и самогерметизацию (самозакупорку) используют нестерилизованные пробки, обработанные в соответствии с указаниями приготовления раствора S, высушенные. Для выполнения приведенных ниже трех испытаний прокалывают пробки иглой перпендикулярно поверхности пробок без вращения, используя для каждой пробки новую смазанную гиподермальную иглу с длинным срезом (угол среза (12 +/- 2)°) и наружным диаметром 0,8 мм.

Проницаемость. Для пробок, которые предусматривается прокалывать гиподермальной иглой, выполняют следующее испытание. 10 соответствующих флаконов наполняют до номинального объема водой P, закрывают испытуемыми пробками. Необходимая для прокалывания сила, определенная с точностью до +/-0,25 H, не должна превышать 10 H для каждой пробки.

Фрагментация. Для пробок, которые предусматривается прокалывать гиподермальной иглой, выполняют следующее испытание. Если пробки предназначены для водных растворов лекарственных препаратов, в 12 чистых флаконов добавляют объем воды P, который на 4 мл меньше номинального объема, закрывают флаконы испытуемыми пробками, закрепляют с помощью колпачков и выдерживают в течение 16 ч. Если пробки предназначены для сухих лекарственных препаратов, закрывают испытуемыми пробками 12 чистых флаконов. К чистому шприцу присоединяют иглу, вводят во флакон 1 мл воды P и удаляют 1 мл воздуха. Для каждой пробки проводят эту операцию еще 4 раза, прокалывая каждый раз в другом месте. Для каждой пробки используют новую иглу и проверяют, не затупилась ли игла в ходе испытания. Жидкость, которая находится во флаконе, пропускают через фильтр с размером пор около 0,5 мкм. Подсчитывают количество фрагментов резины, видимых невооруженным глазом. Общее количество фрагментов не должно превышать 5. Этот предел основывается на условии, что невооруженным глазом видны фрагменты размером, равным или большим 50 мкм; в сомнительных случаях фрагменты просматривают под микроскопом для проверки их природы и размера.

Самогерметизация (самозакупорка). Для пробок, предназначенных для использования в многодозовых упаковках, проводят следующее испытание. 10 подходящих флаконов заполняют до номинального объема водой P, закрывают испытуемыми пробками и закрепляют колпачками. Каждую пробку прокалывают по десять раз и каждый раз в другом месте. Погружают флаконы вертикально в раствор 1 г/л метиленового синего P и снижают внешнее давление до 27 кПа в течение 10 мин, затем восстанавливают давление до атмосферного и оставляют флаконы в растворе в течение 30 мин; флаконы промывают снаружи. Ни один флакон не должен содержать никаких следов окрашенного раствора.

2.5. ЛЕКАРСТВЕННЫЕ ФОРМЫ И ЛЕКАРСТВЕННЫЕ ПРЕПАРАТЫ

2.5.1. ЛЕКАРСТВЕННЫЕ ФОРМЫ

205010001-2022

2.5.1.1. Лекарственные формы

Настоящая общая фармакопейная статья устанавливает общие требования к производству, изготовлению, показателям и методам оценки качества лекарственных форм лекарственных препаратов.

ОСНОВНЫЕ ТЕРМИНЫ И ОПРЕДЕЛЕНИЯ

Определение ключевых терминов, используемых в настоящей общей фармакопейной статье, указаны в разделе 1. Общие сведения.

Основа представляет собой вспомогательное вещество или смесь вспомогательных веществ, являющееся носителем действующего вещества/веществ, обеспечивающее требуемый объем/массу и необходимые физические характеристики лекарственного препарата в конкретной лекарственной форме.

Дисперсионная среда - непрерывная фаза, в объеме которой распределена другая (твердая, жидкая или газообразная) дисперсная фаза. Дисперсная фаза также может быть представлена ионами или молекулами различных соединений.

Стабильность - способность лекарственного средства сохранять химические, физические, микробиологические, биофармацевтические и фармакологические свойства в определенных границах на протяжении срока годности.

Способ пименения (путь введения) - способ или путь доставки лекарственного средства в организм человека или животного.

Дозировка лекарственного препарата - количественно выраженное содержание действующих веществ в единице дозирования, объема или массы в соответствии с лекарственной формой, а для некоторых видов лекарственных форм - количество высвобождаемого из лекарственной формы действующего вещества за единицу времени.

КЛАССИФИКАЦИЯ И ПЕРЕЧЕНЬ ЛЕКАРСТВЕННЫХ ФОРМ

Все лекарственные формы могут быть иерархически классифицированы по следующими основным признакам, указанным в таблице: агрегатному состоянию, типу дисперсной системы, способу введения и применения, типу высвобождения (таблица 2.5.1.1.-1).

Таблица 2.5.1.1.-1

Классификация лекарственных форм

Уровень Классификационный признак
1 Лекарственные формы по агрегатному состоянию
  твердые жидкие мягкие газообразные
2 Лекарственные формы по типу дисперсной системы
гомогенные гетерогенные комбинированные
3 Лекарственные формы по способу/пути введения и применения
для приема внутрь для наружного применения для местного применения для парентерального применения для ингаляционного применения
4 Лекарственные формы по типу высвобождения
с обычным высвобождением с модифицированным высвобождением

К твердым лекарственным формам относят таблетки, капсулы, порошки, гранулы, драже, пастилки, лиофилизаты, имплантаты, карандаши, тампоны, сборы, пленки, сухие экстракты и др.

К жидким лекарственным формам относят растворы, капли, сиропы, суспензии, эмульсии, жидкие экстракты, настойки, эликсиры, шампуни, настои, отвары и др.

К мягким лекарственным формам относят мази, кремы, гели, линименты, пасты, густые экстракты и др.

К газообразным лекарственным формам относят газы медицинские, аэрозоли и др.

По типу дисперсной системы лекарственные формы могут быть гомогенными, гетерогенными и комбинированными.

Гомогенная дисперсная система - тип дисперсной системы, в которой отсутствует поверхность раздела фаз между дисперсной фазой и дисперсионной средой (истинные растворы, растворы высокомолекулярных соединений, мази-сплавы и др.).

Гетерогенная дисперсная система - тип дисперсной системы, в которой имеется поверхность раздела фаз между дисперсной фазой и дисперсионной средой (суспензии, эмульсии и др.).

Комбинированная дисперсная система - тип дисперсной системы, состоящей как из гомогенных, так и гетерогенных дисперсных систем.

Лекарственные формы по способу применения и пути введения классифицируют на такие основные группы как: для приема внутрь, для наружного применения, для местного применения, для парентерального применения, для ингаляционного применения, кроме того, могут быть выделены лекарственные формы для трансдермального применения. Каждая из указанных групп, при необходимости, может иметь подгруппы.

Лекарственные формы могут быть предназначены для оказания местного и (или) системного действия на организм человека или животного.

По типу высвобождения лекарственные формы могут иметь обычное и модифицированное высвобождение.

Лекарственная форма с обычным (стандартным) высвобождением - лекарственная форма с высвобождением действующего вещества/веществ, целенаправленно не модифицированным путем разработки особого состава и (или) технологии производства. В случае твердой лекарственной формы профиль растворения активного вещества зависит, главным образом, от его характерных свойств.

Лекарственная форма с модифицированным высвобождением - лекарственная форма, у которой скорость и (или) место высвобождения действующего вещества/веществ отличается от лекарственной формы с обычным (стандартным) высвобождением при одинаковом пути введения. Данная модификация высвобождения достигается путем разработки особого состава и (или) технологии производства.

Модифицированное (нестандартное) высвобождение может быть замедленным непрерывным (пролонгированным), прерывистым (пульсирующим), отсроченным и ускоренным. Модифицированное высвобождение достигается путем разработки особого состава и (или) технологии производства.

Лекарственная форма с пролонгированным высвобождением - лекарственная форма с модифицированным высвобождением, характеризующаяся более медленным высвобождением действующего вещества (веществ) по сравнению с лекарственной формой с обычным (стандартным) высвобождением при одинаковом пути введения.

Лекарственная форма с отсроченным (отложенным) высвобождением - лекарственная форма с модифицированным высвобождением, как правило, для приема внутрь, у которой высвобождение действующего вещества (веществ) наступает в указанное время или в указанном месте желудочно-кишечного тракта.

Лекарственная форма с пульсирующим высвобождением - лекарственная форма с модифицированным высвобождением, характеризующаяся последовательным прерывистым высвобождением действующего вещества (веществ).

По готовности к применению выделяют группу лекарственных форм, требующих перед применением дополнительного преобразования путем растворения или диспергирования в соответствующем растворителе, с целью приготовления восстановленных или разведенных лекарственных форм, предназначенных для непосредственного применения (введения).

Лекарственные формы могут быть дозированными или недозированными. Дозированными называют лекарственные формы, содержащие одну дозу или часть дозы действующего вещества (веществ) в каждой единице лекарственной формы.

Лекарственные формы могут быть выпущены в однодозовой упаковке, содержащей одну дозу или часть дозы действующего вещества/веществ, или в многодозовой упаковке, содержащей несколько доз действующего вещества/веществ.

Лекарственный препарат в различных лекарственных формах может включать одно, два и более действующих веществ (фармацевтических субстанций) и может не содержать вспомогательных веществ или, как правило, содержать одно или более вспомогательных веществ или основу, представляющую собой носитель для действующего вещества (веществ) (например, в мягких лекарственных формах), состоящую из одного или более вспомогательных веществ.

Различают лекарственные формы лекарственных препаратов, содержащих действующие вещества растительного происхождения: настойки, экстракты, эликсиры, настои, отвары, сборы, гранулы резано-прессованные, которые в ряде случаев могут быть позиционированы и использованы как растительные фармацевтические субстанции (экстракты в капсулах, таблетках и т.д.).

Классификационные признаки должны быть учтены при составлении наименования лекарственной формы лекарственного препарата для медицинского или ветеринарного применения.

Под "наименованием лекарственной формы" понимают слово или словосочетание, выражающее единичное понятие о лекарственной форме и отличающее ее от других лекарственных форм.

Основным элементом наименования лекарственной формы является общий термин, обозначающий самостоятельную, относительно однородную группу лекарственных форм. Наименование основного элемента лекарственной формы лекарственного препарата для медицинского или ветеринарного применения должно соответствовать определению, указанному в соответствующих общих фармакопейных статьях (например, 2.5.1.34. Таблетки, 2.5.1.10. Капсулы, 2.5.1.21. Пластыри трансдермальные и др.).

Дополнительным элементом наименования лекарственной формы является слово или словосочетание, которое отражает такие классификационные признаки, как способ применения (путь введения), тип модифицированного высвобождения, в установленных случаях - признак готовности к применению, технологические признаки (например, "таблетки, покрытые оболочкой", "порошок шипучий" и др.), признак разделения на дозы, признак возрастной группы (например, "для детей"), природу растворителя в растворах (например, "спиртовой", "масляный"), характер вкуса и (или) аромата (например, "со вкусом лимона", "с ароматом ментола") и др.

Возможные способы/пути введения или применения конкретной лекарственной формы, как правило, указаны в общей фармакопейной статье на данную лекарственную форму.

Если в наименовании таких лекарственных форм как таблетки, капсулы, гранулы, драже, сиропы, настойки, не указан способ применения, то следует считать, что лекарственные формы предназначены "для приема внутрь".

Под наружным применением понимается нанесение лекарственного препарата на неповрежденную и (или) поврежденную кожу, в том числе на раневые и (или) ожоговые поверхности, и (или) волосы, и (или) ногти.

Под местным применением понимается нанесение лекарственного препарата на слизистые оболочки, в том числе глазное, назальное, ректальное, вагинальное применение, нанесение на десны, на слизистую оболочку полости рта и др., а также введение в наружный слуховой проход.

Термин "для местного применения" используют, если лекарственная форма предназначена для трех и более способов применения (путей введения), относящихся к местному применению; если менее, чем для трех - указывают конкретный способ применения (путь введения).

Если лекарственная форма для местного применения в полости рта предназначена для трех и более способов применения (например, для нанесения на слизистую оболочку полости рта, для нанесения на зубы, для нанесения на десны и др.), используют термин "стоматологический"; если способ применения один или два, то указывают конкретный способ применения.

Под парентеральным применением понимают введение лекарственного препарата в организм человека или животного с нарушением целостности кожных покровов и (или) слизистых оболочек путем инъекций, инфузий или имплантации.

Термин "для инъекций" используют, если лекарственный препарат в этой лекарственной форме предназначен для трех и более инъекционных путей введения (например, для внутривенного, внутримышечного, подкожного введения и др.).

Термин "для инфузий" используют, если лекарственный препарат в этой лекарственной форме предназначен, как правило, для медленного, часто капельного введения в больших объемах с помощью инфузионных систем. Данный термин без уточнения пути введения означает "инфузию для внутривенного введения".

Отнесение лекарственной формы к той или иной классификационной подгруппе определяет подходы к оценке ее качества.

В зависимости от назначения, способа применения и пути введения, а также режима дозирования, технологических и других классификационных признаков лекарственной формы, в перечень испытаний для оценки ее качества, включаются испытания, отражающие, при необходимости, особенности данной лекарственной формы.

В зависимости от способа применения и пути введения лекарственного препарата отдельные лекарственные формы могут быть также объединены в группы и могут быть представлены одновременно в различных группах, например, таблетки могут быть для приема внутрь, для парентерального применения, для вагинального применения и т.д. В ряде случаев, лекарственные формы, объединенные в одну группу по способу применения и пути введения могут иметь общий дополнительный показатель их качества, который отражает специфику применения лекарственных препаратов в виде лекарственной формы той или иной группы.

ОСОБЕННОСТИ ТЕХНОЛОГИИ

Производство лекарственных препаратов в различных лекарственных формах должно осуществляться в соответствии с Правилами надлежащей производственной практики (GMP), утвержденными уполномоченным органом. Правила GMP распространяются на все виды лекарственных средств и устанавливают общие требования к организации их производства и контроля качества, а также дополнительные требования к организации производства отдельных видов лекарственных препаратов в различных лекарственных формах.

Изготовление лекарственных препаратов в различных лекарственных формах должно осуществляться в соответствии с Правилами, утвержденными уполномоченным органом.

Вспомогательные вещества, вводимые в состав лекарственных препаратов для обеспечения соответствующих свойств лекарственной формы, должны быть разрешены для медицинского применения.

При разработке составов лекарственных препаратов с антимикробными консервантами в любых лекарственных формах, необходимость использования и эффективность консервантов должны быть подтверждены. Методика определения и критерии эффективности консервантов, входящих в состав лекарственного препарата, должны соответствовать требованиям общей фармакопейной статьи 2.3.1.1. Эффективность антимикробных консервантов.

ИСПЫТАНИЯ

Для оценки качества лекарственных препаратов в различных лекарственных формах как правило, включают испытания по показателям качества, характеризующим конкретную лекарственную форму в зависимости от способа применения и пути введения, а также по показателям качества, характеризующим действующее вещество/вещества и, при необходимости, вспомогательное вещество/вещества, входящее в состав данного лекарственного препарата.

Испытания, характеризующие качество лекарственной формы лекарственного препарата, указаны в общих фармакопейных статьях на конкретную лекарственную форму, например: 2.5.1.2. Аэрозоли, 2.5.1.25. Растворы, 2.5.1.34. Таблетки и др., или группу лекарственных форм, например, 2.5.1.40. Мягкие лекарственные формы, 2.5.1.32. Суппозитории и палочки.

205010002-2022

2.5.1.2. Аэрозоли

Аэрозоли - лекарственная форма, представляющая собой раствор, эмульсию или суспензию действующих веществ, находящуюся под давлением пропеллента в герметичной упаковке (аэрозольный баллон), снабженной клапанно-распылительной системой, обеспечивающей высвобождение содержимого в виде дисперсии твердых или жидких частиц в газе, размер которых соответствует пути введения.

Аэрозоли представляют собой двухфазные (газ и жидкость) или трехфазные (газ, жидкость и твердое вещество или жидкость) системы. Двухфазные аэрозоли состоят из раствора активной фармацевтической субстанции в сжиженном пропелленте с добавлением растворителей, обеспечивающих растворимость активных фармацевтических субстанций. Трехфазные аэрозоли состоят из суспензии или эмульсии активных фармацевтических субстанций и пропеллента.

В зависимости от пути введения и способа применения различают аэрозоли для наружного применения, для местного применения, для ингаляций, трансдермальные. Аэрозоли для местного применения могут быть для применения в полости рта, назальные, ушные. К аэрозолям для применения в полости рта относят аэрозоли для нанесения на слизистую оболочку полости рта, подъязычные.

Аэрозоли могут быть дозированными и недозированными.

ОСОБЕННОСТИ ТЕХНОЛОГИИ

Вспомогательные вещества, входящие в состав аэрозолей, должны быть разрешены к медицинскому применению, должны обеспечивать оптимальные технологические характеристики лекарственной формы, быть совместимы с другими компонентами лекарственной формы и материалом упаковки. Вспомогательные вещества в составе аэрозолей для ингаляций не должны неблагоприятно влиять на функцию слизистой оболочки респираторного тракта.

В качестве вспомогательных веществ, применяемых при производстве аэрозолей, используют растворители, поверхностно-активные вещества, пленкообразователи, корригенты вкуса и запаха, антимикробные консерванты, антиоксиданты; а также пропелленты, например, сжиженные газы, галогенированные углеводороды или смеси пропеллентов.

Аэрозоли помещают в упаковку, которая должна быть прочной и устойчивой по отношению к внутреннему давлению. Упаковка аэрозолей может быть изготовлена из металла, стекла, полимерных материалов или комбинации указанных материалов, которые не должны взаимодействовать с содержимым упаковки. Стеклянные емкости аэрозолей должны быть защищены покрытием из полимерного материала.

Упаковка недозированных аэрозолей должна быть снабжена средством доставки лекарственного препарата - распылительным или клапанно-распылительным устройством непрерывного действия; упаковка дозированных аэрозолей - дозирующим распылительным или дозирующим клапанно-распылительным устройством. Распылительное устройство должно регулировать высвобождение содержимого упаковки во время использования: скорость и полноту высвобождения, размер частиц дисперсии, однородность дозирования. Клапанно-распылительное устройство аэрозолей должно обеспечивать герметичность упаковки в нерабочем состоянии. Материалы, используемые в производстве распылительных и дозирующих устройств (полимеры, эластомеры, металл), должны быть инертны по отношению к содержимому упаковки.

При получении лекарственных препаратов в лекарственной форме Аэрозоли должны быть приняты меры, исключающие возможность микробной контаминации, в установленных случаях, при получении стерильных Аэрозолей должны быть приняты меры, обеспечивающие их стерильность.

ИСПЫТАНИЯ

Аэрозоли должны соответствовать общей фармакопейной статье 2.5.1.1. Лекарственные формы и выдерживать следующие испытания, характерные для данной лекарственной формы.

Лекарственные препараты, выпускаемые в лекарственной форме Аэрозоль для ингаляций, должны соответствовать требованиям общей фармакопейной статьи 2.5.3.2. Лекарственные препараты для ингаляционного применения.

Описание. При высвобождении из упаковки аэрозоли образуют жидкость, представляющую собой раствор, суспензию, эмульсию. Аэрозоли характеризуют, отмечая внешний вид, органолептические (цвет, запах) и другие свойства жидкости в соответствии с требованиями частной фармакопейной статьи и (или) нормативного документа по качеству.

Для аэрозолей, представляющих собой эмульсии и суспензии, может наблюдаться расслаивание, но они должны легко реэмульгироваться и ресуспендироваться при встряхивании для обеспечения равномерного распределения активной фармацевтической субстанции в дисперсионной среде.

Давление в упаковке. Испытание проводят на стадиях фармацевтической разработки и технологического процесса производства для аэрозолей, в которых пропеллентами являются сжатые газы, в соответствии с общей фармакопейной статьей 2.1.9.20. Определение давления в герметичной упаковке.

Герметичность упаковки (скорость утечки). Испытание проводят в соответствии с общей фармакопейной статьей 2.1.9.19. Определение герметичности упаковки.

Испытание клапанного устройства. Испытание проводят, если применимо, на стадии технологического процесса производства.

Выход содержимого упаковки. Испытание проводят для недозированных аэрозолей в соответствии с общей фармакопейной статьей 2.1.9.18. Определение выхода содержимого упаковки для недозированных аэрозолей, пен и спреев.

Однородность массы доставляемых (высвобождаемых) доз. Испытание проводят для дозированных аэрозолей, представляющих собой растворы.

Испытание лекарственных препаратов в виде аэрозолей для ингаляций проводят в соответствии с общей фармакопейной статьей 2.5.3.2. Лекарственные препараты для ингаляционного применения (испытание Однородность доставляемых (высвобождаемых) доз).

Контроль показателя должен проводиться как для доз, высвобождаемых из одной упаковки, так и для доз, полученных из разных упаковок. Процедура отбора доз должна включать в себя отбор доз в начале, в середине и в конце использования лекарственного препарата.

При отсутствии других указаний в частной фармакопейной статье и (или) нормативном документе по качеству, отбор доз для испытания из 10 упаковок аэрозолей проводят следующим образом: из трех упаковок необходимое количество доз высвобождают в начале, из четырех упаковок - в середине, из трех упаковок - в конце использования лекарственного препарата.

Методика определения однородности массы доставляемых (высвобождаемых) доз для одной упаковки. Высвобождают одну дозу и отбрасывают ее. Спустя не менее 5 с встряхивают упаковку в течение 5 с, снова высвобождают и отбрасывают одну дозу. Повторяют указанную процедуру еще 3 раза, если иначе не указано в частной фармакопейной статье и (или) нормативном документе по качеству. Взвешивают упаковку. Встряхивают упаковку в течение 5 с, высвобождают и отбрасывают одну дозу, снова взвешивают упаковку. По разности вычисляют массу высвободившейся дозы.

Испытание повторяют еще для 9 доз, указанных в частной фармакопейной статье и (или) нормативном документе по качеству. Определяют среднюю массу дозы (mср) и отклонения индивидуальных значений масс от средней массы дозы.

Лекарственный препарат считают выдержавшим испытание, если не более 1 из 10 индивидуальных значений масс отклоняется от средней массы на величину, превышающую 25%, при этом не более чем на 35%. Если 2 или 3 результата выпадают из пределов 75 - 125%, испытание повторяют с 20 другими дозами. Не более 3 из 30 значений могут выходить за пределы 75 - 125%, и все значения должны быть в пределах от 65% до 135%.

Определение средней массы одной дозы.

Способ 1. Среднюю массу дозы (mср) рассчитывают, используя данные, полученные в ходе проведения испытания на Однородность массы доставляемых (высвобождаемых) доз.

Способ 2. При указании в частной фармакопейной статье и (или) нормативном документе по качеству среднюю массу одной дозы определяют по отдельной методике.

С помощью распылителя производят пять нажатий и высвобождают первые пять доз аэрозоля, упаковку с распылителем взвешивают с точностью до 0,01 г (). Затем производят точное количество нажатий (n), указанное в частной фармакопейной статье и (или) нормативном документе по качеству (от 10 до 20) с интервалом не менее 5 с и взвешивают упаковку с распылителем с точностью до 0,01 г ().

Среднюю массу одной дозы в граммах () вычисляют по формуле:

.

Испытания проводят при температуре (20 +/- 2) °C.

При отсутствии других указаний в частной фармакопейной статье или нормативном документе по качеству, средняя масса одной дозы должна быть в пределах от 85% до 115% от заявленной массы дозы.

Однородность доставляемых (высвобождаемых) доз. (Однородность дозирования). Испытание проводят для дозированных аэрозолей, представляющих собой эмульсии или суспензии.

Испытание лекарственных препаратов в виде аэрозолей для ингаляций проводят в соответствии с общей фармакопейной статьей 2.5.3.2. Лекарственные препараты для ингаляционного применения (испытание Однородность доставляемых (высвобождаемых) доз).

Контроль показателя должен проводиться как для доз, высвобождаемых из одной упаковки, так и для доз, полученных из разных упаковок. Процедура отбора доз должна включать в себя отбор доз в начале, в середине и в конце использования препарата.

При отсутствии других указаний в частной фармакопейной статье и (или) нормативном документе по качеству, отбор доз для испытания из 10 упаковок аэрозолей проводят следующим образом: из трех упаковок необходимое количество доз высвобождают в начале, из четырех упаковок - в середине, из трех упаковок - в конце использования лекарственного препарата.

Методика определения однородности доставляемых (высвобождаемых) доз (однородности дозирования) для одной упаковки. Испытание проводят с использованием аппарата или установки, способных к количественному удерживанию дозы, выпущенной из распылительного устройства. Встряхивают упаковку в течение 5 с, высвобождают и отбрасывают одну дозу. Спустя не менее 5 с снова встряхивают упаковку в течение 5 с, высвобождают и отбрасывают одну дозу. Повторяют указанную процедуру еще 3 раза, если иначе не указано в частной фармакопейной статье и (или) нормативном документе по качеству. Через 5 с выпускают одну дозу в приемник аппарата. Содержимое приемника собирают путем последовательных промываний и определяют содержание действующего вещества в объединенных промывных водах.

Испытание повторяют еще для 9 доз, указанных в частной фармакопейной статье и (или) нормативном документе по качеству. Определяют среднюю доставляемую дозу (среднее значение содержания действующего вещества в одной доставляемой дозе лекарственного препарата) и отклонения индивидуальных значений от средней доставляемой дозы. Допустимые отклонения средней доставляемой (высвобождаемой) дозы должны быть от 85% до 115% от заявленного значения, указанного на этикетке.

Лекарственный препарат выдерживает испытание, если 9 из 10 результатов находятся в пределах от 75% до 125% от среднего значения, а все результаты находятся в пределах от 65% до 135%. Если 2 или 3 результата выпадают из пределов 75 - 125%, испытание повторяют с 20 другими дозами. Не более 3 из 30 значений могут выходить за пределы 75 - 125%, и все значения должны быть в пределах от 65% до 135%.

Для аэрозолей, содержащих несколько действующих веществ, испытание на однородность доставляемых (высвобождаемых) доз должно быть выполнено для каждого вещества.

Количество высвобождений из упаковки (количество доз в упаковке). Испытание проводят для дозированных аэрозолей в многодозовой упаковке одним из указанных методов.

Метод 1. Выпускают содержимое одной упаковки, высвобождая дозы с интервалом не менее 5 с. Регистрируют количество высвобожденных доз.

Допускается проводить испытание одновременно с определением показателя Однородность массы доставляемых (высвобождаемых) доз/Однородность доставляемых (высвобождаемых) доз (Однородность дозирования).

Метод 2. Упаковку взвешивают вместе с распылителем с точностью до 0,01 г (). Нажимая на распылитель, из упаковки выпускают все содержимое и снова взвешивают упаковку вместе с распылителем с точностью до 0,01 г ().

Среднее количество доз () в одной упаковке вычисляют по формуле:

,

где: - средняя масса одной дозы, рассчитанная при определении показателя Однородность массы доставляемых (высвобождаемых) доз, в граммах.

Полученное в результате испытания количество доз должно быть не менее указанного на этикетке.

Размер частиц. Испытание проводят для аэрозолей, представляющих собой суспензию действующих веществ, не предназначенных для ингаляций. Методика определения и требования к размеру частиц должны быть указаны в частной фармакопейной статье и (или) нормативном документе по качеству.

Респирабельная фракция. (Аэродинамическое распределение мелкодисперсных частиц). Испытание проводят для аэрозолей, предназначенных для ингаляций в соответствии с требованиями, указанными в частной фармакопейной статье и (или) нормативном документе по качеству.

pH. Испытание проводят, если указано в частной фармакопейной статье и (или) нормативном документе по качеству в соответствии с общей фармакопейной статьей 2.1.2.3. Потенциометрическое определение pH. Значение pH указывают в частной фармакопейной статье и (или) нормативном документе по качеству.

Вода. Испытание проводят, если указано в частной фармакопейной статьи или нормативном документе по качеству в тех случаях, когда содержание воды может влиять на характеристики (биодоступность действующего вещества/веществ, стабильность и т.д.) лекарственного препарата.

Определение проводят в соответствии с общей фармакопейной статьей 2.1.5.12. Вода: определение полумикрометодом; общей фармакопейной статьей 2.1.5.13. Вода: микроопределение и требованиями, указанными в частной фармакопейной статье или нормативном документе по качеству.

МАРКИРОВКА

Для аэрозолей должны быть предусмотрены предупредительные надписи: "Хранить вдали от источника огня, отопительной системы и прямых солнечных лучей", "Не вскрывать", "Предохранять от падений и ударов" и, при необходимости, другие надписи.

205010003-2022

2.5.1.3. Газы медицинские

Газы медицинские - лекарственная форма, представляющая собой любое вещество или смесь веществ, газообразных при нормальном атмосферном давлении и комнатной температуре.

В зависимости от созданных температурных условий и давления различают газы медицинские криогенные, сжатые и сжиженные.

Газ медицинский криогенный - газ медицинский, сжижающийся при давлении 101,3 кПа и температуре ниже минус 150 °C.

Газ медицинский сжатый - газ медицинский, сохраняющий газообразное состояние при наполнении под давлением при температуре минус 50 °C.

Газ медицинский сжиженный - газ медицинский, находящийся в двухфазном состоянии (газ над жидкостью) при наполнении под давлением при температуре минус 50 °C.

Как лекарственная форма, газы медицинские могут быть предназначены для оказания местного и (или) системного действия на организм человека и по способу применения могут быть для наружного, местного или ингаляционного применения.

Газы медицинские рассматривают так же как лекарственные средства, при этом газы медицинские сжиженные представляют собой активные фармацевтические субстанции, которые используют для получения лекарственных препаратов в виде газов медицинских сжатых, выпускаемых в виде лекарственных форм Газы медицинские.

ОСОБЕННОСТИ ТЕХНОЛОГИИ

Газы медицинские, рассматриваемые как активные фармацевтические субстанции или вспомогательные вещества, могут быть произведены химическим синтезом или получены из природных источников с последующей их очисткой, при необходимости.

Производство газов медицинских должно быть организовано в промышленных условиях в соответствии с правилами надлежащей производственной практики газов медицинских, требованиями действующих нормативных правовых актов к данному виду опасного производства.

Исходные материалы, вспомогательные вещества, используемые в процессе производства газов медицинских, включая воздух, природные газы, воду и др., а также упаковка газов медицинских (баллоны, цистерны, резервуары и другие криогенные емкости) должны соответствовать установленным требованиям к их качеству, включая требования к микробиологической чистоте.

Вода, используемая для испытаний баллонов гидростатическим давлением, должна быть, как минимум, питьевого качества. Необходимо проводить микробиологический контроль воды, используемой для охлаждения во время сжатия воздуха, если она имеет контакт с газом медицинским.

При технологическом процессе производства газов медицинских, сжатых в баллонах, при отсутствии других указаний в частной фармакопейной статье и (или) нормативном документе по качеству, проводят испытания по показателям Давление газа в упаковке, Герметичность упаковки. Методика определения показателей Давление газа в упаковке, Герметичность упаковки, а также требования должны быть указаны в частной фармакопейной статье и (или) нормативном документе по качеству.

Газы медицинские, полученные промышленным способом, могут быть использованы непосредственно в том виде, в котором они выпущены, а также могут быть использованы для последующего изготовления газовоздушной смеси в условиях медицинского стационара или могут быть расфасованы (например, в кислородные подушки) в условиях аптечной или медицинской организации.

ИСПЫТАНИЯ

Газы медицинские должны соответствовать общим требованиям общей фармакопейной статьи 2.5.1.1. Лекарственные формы и выдерживать следующие испытания, характерные для данной лекарственной формы, а также испытания, характерные для газов медицинских, рассматриваемых как лекарственное средство (включая, подлинность, количественное определение, чистоту).

Отбор проб газов медицинских для испытаний проводят в соответствии с общей фармакопейной статьей 2.1.7.1. Отбор проб и процедурой (методикой) отбора проб, указанной в частной фармакопейной статье и (или) нормативном документе по качеству.

Описание. Газы медицинские характеризуют, отмечая физико-химические (агрегатное состояние, отношение к воспламенению, горению и др.), органолептические (цвет, запах) и другие свойства в соответствии с указаниями в частной фармакопейной статье и (или) нормативном документе по качеству. При необходимости, приводят методику определения указанных свойств газов медицинских.

Объем содержимого упаковки. Испытание проводят для газов медицинских сжатых в баллонах расчетным методом на основании измерения давления газа медицинского в упаковке с учетом температуры в соответствии с требованиями частной фармакопейной статьи и (или) нормативного документа по качеству.

Примечание. Испытания на наличие примесей и их содержание в газах медицинских проводят в соответствии со следующими общими фармакопейными статьями: 2.1.4.26. Углерода диоксид в газах медицинских, 2.1.4.27. Углерода монооксид в газах медицинских, 2.1.4.28. Азота (I) оксид в газах медицинских, 2.1.4.29. Азота монооксид и азота диоксид в газах медицинских, 2.1.4.30. Кислород в газах медицинских, 2.1.4.31. Вода в газах медицинских и требованиями, указанными в частных фармакопейных статьях и (или) нормативных документах по качеству на конкретный газ медицинский.

УПАКОВКА

Первичная упаковка газов медицинских сжиженных, как правило, представляет собой цистерны, резервуары и другие емкости.

Газы медицинские сжатые помещают, как правило, в баллоны газовые стальные различной емкости. Баллоны для газов медицинских должны быть опломбированы для контроля первого вскрытия; для защиты от загрязнения на баллоны рекомендуется устанавливать защитные колпачки.

МАРКИРОВКА

В соответствии с требованиями действующих нормативных правовых актов по маркировке опасных веществ.

Баллоны для газов медицинских должны быть окрашены в соответствующий цвет и иметь наименование (надпись) установленного цвета в соответствии с требованиями нормативных правовых актов.

ХРАНЕНИЕ И ТРАНСПОРТИРОВАНИЕ

В соответствии с требованиями, установленными нормативными правовыми актами для данного вида продукции.

205010004-2022

2.5.1.4. Гранулы

Гранулы - твердая лекарственная форма в виде агрегатов частиц порошка любой формы, содержащая одно или несколько действующих веществ с добавлением или без вспомогательных веществ.

Требования настоящей общей фармакопейной статьи не распространяются на гранулы резано-прессованные.

Гранулы резано-прессованные должны соответствовать требованиям общей фармакопейной статьи 2.5.1.5. Гранулы резано-прессованные.

Гранулы предназначены для приема внутрь, рассасывания или для приготовления жидких лекарственных форм для приема внутрь.

Гранулы должны быть однородны по окраске, если нет других указаний в фармакопейных статьях или нормативном документе по качеству.

Гранулы могут выпускаться в однодозовых или многодозовых упаковках.

В зависимости от наличия оболочки различают гранулы без оболочки (гранулы) и гранулы, покрытые оболочкой. По характеру высвобождения действующего вещества различают гранулы с обычным высвобождением и гранулы с модифицированным высвобождением.

Гранулы, покрытые оболочкой - гранулы, покрытые одним или несколькими слоями различных вспомогательных веществ, предназначенные для приема внутрь.

Гранулы с модифицированным высвобождением действующего вещества - гранулы, в состав оболочки и (или) содержимого которых входят специальные вспомогательные вещества для изменения скорости, и (или) времени, и (или) места высвобождения действующего вещества, предназначенные для приема внутрь.

Использование термина "модифицированное высвобождение" в наименовании лекарственной формы возможно в тех случаях, когда не применимы термины "кишечнорастворимые с пролонгированным высвобождением", "с пролонгированным высвобождением" или "кишечнорастворимые".

Среди гранул с модифицированным высвобождением различают гранулы с пролонгированным и отсроченным (отложенным) высвобождением.

Гранулы кишечнорастворимые - гранулы для приема внутрь, с отсроченным высвобождением, покрытые специальной оболочкой, или содержащие специальные вещества, или полученные с использованием специальной технологии, которые обеспечивают устойчивость в желудочном соке (гастрорезистентность) и обычное высвобождение действующих веществ в кишечном соке.

Гранулы для приготовления жидких лекарственных форм для приема внутрь - гранулы, предназначенные для приготовления растворов или суспензий для приема внутрь, которые получают путем их растворения или диспергирования в соответствующем растворителе.

Гранулы шипучие - гранулы, в состав которых введены органические кислоты и карбонаты или гидрокарбонаты, реагирующие в присутствии воды с выделением углерода диоксида. Гранулы шипучие предназначены для растворения или диспергирования в воде перед приемом внутрь. В состав гранул шипучих могут быть введены корригенты вкуса, стабилизаторы, консерванты, красители.

ОСОБЕННОСТИ ТЕХНОЛОГИИ

Гранулы, покрытые оболочкой, получают последовательным нанесением слоев пленкообразующего покрытия на частицы носителя любым подходящим способом.

ИСПЫТАНИЯ

Гранулы должны соответствовать общим требованиям общей фармакопейной статьи 2.5.1.1. Лекарственные формы и выдерживать следующие испытания, характерные для данной лекарственной формы.

Описание. Гранулы характеризуют, отмечая внешний вид (форму, наличие оболочки и др.), органолептические (цвет, запах) и другие свойства в соответствии с требованиями частной фармакопейной статьи и (или) нормативного документа по качеству.

Размер гранул. Размер гранул должен быть в пределах от 0,2 мм до 3 мм. Количество более мелких и более крупных гранул не должно превышать в сумме 5%. Испытание проводят в соответствии с общей фармакопейной статьей 2.1.10.8. Оценка распределения частиц по размеру методом аналитического просеивания. Гранулы в однодозовой упаковке подлежат контролю в рамках технологического процесса производства.

Потеря в массе при высушивании. Испытание проводят в соответствии с общей фармакопейной статьей 2.1.2.31. Потеря в массе при высушивании. Требования указывают в частной фармакопейной статье и (или) нормативном документе по качеству.

Распадаемость. Для проведения испытания используют 18 образцов, каждый из которых представляет собой навеску 0,5 г, если не указано иначе в частной фармакопейной статье или нормативном документе по качеству. В каждую из трубок помещают по одному образцу и, если предписано, диск.

Испытание проводят в соответствии с общей фармакопейной статьей 2.1.9.1. Распадаемость таблеток и капсул (испытание А) с использованием сетки с отверстиями размером 0,42 мм (40 меш). При отсутствии других указаний в частной фармакопейной статье или нормативном документе по качеству в качестве жидкой среды используют воду P.

Опускают корзинку в сосуд с жидкостью и включают прибор. По истечении установленного времени корзинку вынимают и исследуют состояние гранул. Все образцы должны распасться. Образец считается распавшимся, когда кроме фрагментов нерастворимой оболочки, находящихся на сетке или прилипших к нижней поверхности диска, если использовались диски, нет никакого остатка или остаток представляет собой мягкую массу, которая разрушается при легком прикосновении стеклянной палочки. Наличие такого остатка должно быть указано в частной фармакопейной статье и (или) нормативном документе по качеству.

Если 1 или 2 образца не распались, повторяют испытание на оставшихся 12 образцах. Не менее 16 из 18 образцов должны распасться.

Если нет других указаний в частной фармакопейной статье и (или) нормативном документе по качеству, гранулы должны распадаться в течение 15 мин, гранулы, покрытые оболочкой, должны распадаться в течение 30 мин.

Для гранул кишечнорастворимых, если не указано иначе в частной фармакопейной статье и (или) нормативном документе по качеству, испытание проводят со следующими изменениями в два этапа. В качестве жидкой среды на первом этапе используют 0,1 M хлороводородную кислоту. Время устойчивости гранул в кислой среде может зависеть от их состава, но не должно быть менее 1 ч и превышать 3 ч. Гранулы не должны распадаться и обнаруживать признаки растрескивания и размягчения. На втором этапе кислоту заменяют фосфатным буферным раствором с pH 6,8 P. Если нет других указаний в частной фармакопейной статье и (или) нормативном документе по качеству, то в буферном растворе гранулы должны распадаться в течение 1 ч.

Для гранул шипучих испытание проводят по следующей методике. В стакан, содержащий 200 мл воды P при температуре от 15 °C до 25 °C, помещают одну дозу гранул; наблюдается интенсивное выделение пузырьков газа. Гранулы считаются распавшимися, если после прекращения выделения газа они или растворились, или диспергировались в воде. Испытание повторяют еще на 5 дозах. Гранулы выдерживают испытание, если каждая из 6 доз растворяется в течение не более 5 мин.

Растворение. Гранулы, за исключением гранул шипучих и гранул для приготовления жидких лекарственных форм для приема внутрь в виде растворов должны выдерживать испытание на соответствие требованиям общей фармакопейной статьи 2.1.9.3. Испытание на растворение для твердых дозированных лекарственных форм. Если не указано иначе в частной фармакопейной статье и (или) нормативном документе по качеству, гранулы для приготовления жидких лекарственных форм для приема внутрь в виде суспензии должны выдерживать испытание на соответствие требованиям общей фармакопейной статьи 2.1.9.3. Испытание на растворение для твердых дозированных лекарственных форм. Если предусмотрено определение растворения, испытание на распадаемость не является обязательным.

Однородность дозированных единиц. Гранулы в однодозовой упаковке должны выдерживать испытание в соответствии с общей фармакопейной статьей 2.1.9.14. Однородность дозированных единиц.

Однородность массы доз. Гранулы, выпускаемые в многодозовой упаковке, должны выдерживать испытание в соответствии с общей фармакопейной статьей 2.1.9.12. Однородность массы доз, отмеренных из многодозовой упаковки.

205010005-2022

2.5.1.5. Гранулы резано-прессованные

Гранулы резано-прессованные - лекарственная форма, представляющая собой кусочки цилиндрической, округлой или неправильной формы, полученные из прессованного лекарственного растительного сырья и предназначенные для получения водных извлечений.

Для производства гранул резано-прессованных следует использовать только те виды лекарственного растительного сырья, в которых в процессе гранулирования не снижается количественное содержание биологически активных веществ.

Гранулы резано-прессованные выпускаются в однодозовой упаковке.

ОСОБЕННОСТИ ТЕХНОЛОГИИ

Для производства гранул резано-прессованных используется измельченное лекарственное растительное сырье (степень измельчения устанавливается для каждого вида лекарственного растительного сырья индивидуально), которое подвергается в течение 3 - 4 мин увлажнению насыщенным паром (давление насыщенного пара 3,5 - 5,5 Па) при постоянном перемешивании (для равномерного распределения влаги), после чего увлажненное сырье поступает в прессовочную машину, откуда после продавливания увлажненной массы через сито с отверстиями размером 5 - 7 мм выходит в виде спрессованных цилиндров длиной 10 - 30 мм, которые затем поступают в сушилку, охлаждаются за счет обдува воздухом, и далее подаются на вальцовую машину, где измельчаются до гранул.

ИСПЫТАНИЯ

Гранулы резано-прессованные должны соответствовать общей фармакопейной статье 2.5.1.1. Лекарственные формы и выдерживать следующие испытания, характерные для данной лекарственной формы.

Описание. Гранулы резано-прессованные характеризуют, отмечая внешний вид (форму и др.), органолептические (цвет, запах) и другие свойства в соответствии с требованиями частной фармакопейной статьи и (или) нормативного документа по качеству.

Размер гранул. Испытание проводят в соответствии с общей фармакопейной статьей. При отсутствии других указаний в частной фармакопейной статье и (или) нормативном документе по качеству, устанавливают следующие требования: гранул резано-прессованных, не проходящих сквозь сито с требуемым размером отверстий 2 мм, должно быть не более 5%; частиц, проходящих сквозь сито с размером отверстий 0,18 мм (180 мкм) - не более 5%.

Распадаемость. Испытание проводят по следующей методике: 10 - 12 гранул резано-прессованных помещают в коническую колбу вместимостью 100 мл, прибавляют 50 мл воды, нагретой до кипения и кипятят при периодическом взбалтывании содержимого колбы. Гранулы резано-прессованные считаются распавшимися, если они полностью распались или превратились в рыхлую массу. Время распадаемости отсчитывают с момента прибавления кипящей воды. За результат принимают среднее значение трех испытаний. При отсутствии других указаний в частной фармакопейной статье и (или) нормативном документе по качеству, гранулы резано-прессованные должны распадаться в течение не более 5 мин.

Общая зола. Испытание проводят в соответствии с общей фармакопейной статьей 2.1.4.16. Общая зола и требованиями, указанными в частной фармакопейной статье и (или) нормативном документе по качеству.

Зола, нерастворимая в хлороводородной кислоте. Испытание проводят в соответствии с общей фармакопейной статьей 2.1.8.1. Зола, нерастворимая в кислоте хлороводородной и требованиями, указанными в частной фармакопейной статье и (или) нормативном документе по качеству.

Тяжелые металлы и мышьяк. Испытание проводят в соответствии с общей фармакопейной статьей 2.1.4.21. Тяжелые металлы и мышьяк в лекарственном растительном сырье и лекарственных растительных препаратах.

Радионуклиды. Проводят испытание по определению содержания радионуклидов в растительной фармацевтической субстанции.

Пестициды. Проводят испытание по определению остаточного содержания пестицидов в растительной фармацевтической субстанции.

Потеря в массе при высушивании. Испытание проводят в соответствии с общей фармакопейной статьей 2.1.2.31. Потеря в массе при высушивании и требованиями, указанными в частной фармакопейной статье и (или) нормативном документе по качеству.

Масса содержимого упаковки. Проводят испытание по определению массы содержимого упаковки в соответствии с требованиями, указанными в частной фармакопейной статье и (или) нормативном документе по качеству.

205010006-2022

2.5.1.6. Губки лекарственные

Губки лекарственные - стерильная лекарственная форма, представляющая собой пористый абсорбирующий материал, пропитанный активной фармацевтической субстанцией (субстанциями) или являющийся ею, с добавлением или без добавления вспомогательных веществ, предназначенная для наружного или местного применения.

ОСОБЕННОСТИ ТЕХНОЛОГИИ

Производство губок лекарственных включает, как правило, процесс приготовления раствора соединения, образующего основу губки лекарственной, и введения в него активной фармацевтической субстанции (субстанций) и вспомогательных веществ с последующей сублимационной сушкой полученной композиции и приданием ей необходимой формы и размеров.

В качестве основы для производства губок лекарственных обычно используют природные соединения (желатин, коллаген, соли альгиновой кислоты и др.), представляющие собой, после специальной обработки, пористый абсорбирующий материал.

Как правило, в лекарственной форме Губки лекарственные выпускают гемостатические, антисептические, дерматопротекторные, стимулирующие репарацию тканей и другие лекарственные препараты.

Губки лекарственные производят с использованием материалов и методов, исключающих возможность микробной контаминации и роста микроорганизмов и обеспечивающих их стерильность и соответствие требованиям общей фармакопейной статьи 2.1.6.1. Стерильность.

ИСПЫТАНИЯ

Губки лекарственные должны соответствовать общим требованиям общей фармакопейной статьи 2.5.1.1. Лекарственные формы и выдерживать следующие испытания, характерные для данной лекарственной формы.

Описание. Губки лекарственные, как правило, представляют собой пластины или листы определенной формы и размера. Губки лекарственные характеризуют, отмечая структуру материала, ее форму, цвет (например: листы белого цвета пористой структуры или сухая пористая масса желтого цвета в форме пластин), запах (при наличии), характер поверхности губки лекарственной (например, рельефная, гладкая и другие) в соответствии с требованиями частной фармакопейной статьи или нормативного документа по качеству.

pH водного извлечения. Испытание проводят потенциометрическим методом в соответствии с общей фармакопейной статьей 2.1.2.3. Потенциометрическое определение pH. При отсутствии других указаний в частной фармакопейной статье и (или) нормативном документе по качеству, значение pH водного извлечения губки лекарственной должно быть в диапазоне от 4,5 до 7,5.

Абсорбирующая способность. Испытание проводят для губок лекарственных в лекарственных препаратах, предназначенных для поглощения экссудатов и других выделений из раневых поверхностей. Методику испытания и требования приводят в частной фармакопейной статье и (или) нормативном документе по качеству.

Потеря в массе при высушивании или Вода. Испытание проводят в соответствии с общими фармакопейными статьями: 2.1.2.31. Потеря в массе при высушивании или 2.1.5.12. Вода: определение полумикрометодом или общей фармакопейной статьей 2.1.5.13. Вода: микроопределение и требованиями, указанными в частной фармакопейной статье и (или) нормативном документе по качеству.

Показатели качества Потеря в массе при высушивании и Вода могут быть альтернативными, кроме случая, когда определение показателя качества Потеря в массе при высушивании необходимо для контроля содержания Остаточных органических растворителей.

Однородность массы. Испытание проводят в соответствии с общей фармакопейной статьей 2.1.9.5. Однородность массы единицы дозированного лекарственного препарата и требованиями, указанными в частной фармакопейной статье и (или) нормативном документе по качеству для губок лекарственных в однодозовой упаковке.

Определение гемостатической активности. Испытание проводят для губок лекарственных в гемостатических лекарственных препаратах. Методику испытания и требования приводят в частной фармакопейной статье и (или) нормативном документе по качеству.

Примечание. При количественном определении лекарственного препарата в виде губки лекарственной содержание действующего вещества выражают в мг/г или мг/см2 губки лекарственной.

205010007-2022

2.5.1.7. Драже

Драже - твердая дозированная лекарственная форма для приема внутрь, получаемая путем послойного нанесения действующих веществ в смеси со вспомогательными веществами на гранулы, полученные из индифферентных вспомогательных веществ.

Масса драже, как правило, колеблется в пределах от 0,1 г до 0,5 г, в отдельных случаях - до 1,0 г.

ОСОБЕННОСТИ ТЕХНОЛОГИИ

Производство драже осуществляется в дражировочных котлах с использованием технологии, заключающейся в многократном послойном нанесении активной фармацевтической субстанции (субстанций) в смеси со вспомогательными веществами на ядро, представляющее собой гранулу, полученную из подходящих индифферентных вспомогательных веществ.

В качестве вспомогательных веществ при производстве драже_используют разбавители, разрыхлители, связующие вещества, способствующие скольжению, корригенты вкуса и запаха, красители, лаки и др.

При производстве лекарственных препаратов в виде лекарственной формы Драже должны быть приняты меры, обеспечивающие их микробиологическую чистоту.

ИСПЫТАНИЯ

Драже должны соответствовать общим требованиям фармакопейной статьи 2.5.1.1. Лекарственные формы и выдерживать следующие испытания, характерные для данной лекарственной формы.

Описание. Драже характеризуют, отмечая внешний вид (форму, характер поверхности и другие), органолептические (цвет, запах) и другие свойства в соответствии с требованиями частной фармакопейной статьи и (или) нормативного документа по качеству.

Драже должны иметь правильную шарообразную форму. В отдельных случаях наружный слой драже может быть окрашенным. Если не указано другое в частной фармакопейной статье и (или) нормативном документе по качеству, поверхность драже должна быть ровной и гладкой, однородной по окраске.

Однородность массы. Испытание проводят в соответствии с общей фармакопейной статьей 2.1.9.5. Однородность массы единицы дозированного лекарственного препарата и требованиями, указанными в частной фармакопейной статье и (или) нормативном документе по качеству.

При отсутствии других указаний в частной фармакопейной статье и (или) нормативном документе по качеству, Драже выдерживают испытание, если не более двух индивидуальных масс отклоняются от средней массы более чем на +/- 15%, при этом ни одна индивидуальная масса не должна отклоняться от средней массы более чем на +/- 30% или на величину в два раза превышающую установленную норму.

Испытание не применяют, если предусмотрено испытание по показателю Однородность дозированных единиц для всех действующих веществ.

Распадаемость. Испытание проводят в соответствии с требованиями общей фармакопейной статьи 2.1.9.1. Распадаемость таблеток и капсул, в качестве жидкой среды используют воду P при отсутствии других указаний в частной фармакопейной статье и (или) нормативном документе по качеству. Драже должны распадаться в течение 30 мин, при отсутствии других указаний в частной фармакопейной статье и (или) нормативном документе по качеству.

Растворение. Испытание проводят в соответствии с общей фармакопейной статьей 2.1.9.3. Испытание на растворение для твердых дозированных лекарственных форм и требованиями, указанными в частной фармакопейной статье и (или) нормативном документе по качеству.

Если в частной фармакопейной статье и (или) нормативном документе по качеству предусмотрено испытание по показателю Растворение, то допускается не проводить испытание по показателю Распадаемостъ.

Потеря в массе при высушивании или Вода. Испытание проводят в соответствии с требованиями частной фармакопейной статьи и (или) нормативного документа по качеству в тех случаях, когда содержание воды может влиять на свойства действующего вещества, на стабильность лекарственного препарата в лекарственной форме Драже и т.д. Испытание проводят в соответствии с общими фармакопейными статьями 2.1.2.31. Потеря в массе при высушивании или 2.1.5.12. Вода: определение полумикрометодом или 2.1.5.13. Вода: микроопределение и требованиями, указанными в частной фармакопейной статье и (или) нормативном документе по качеству.

Однородность дозированных единиц. Испытание проводят в соответствии с общей фармакопейной статьей 2.1.9.14. Однородность дозированных единиц. При отсутствии других указаний в частной фармакопейной статье и (или) нормативном документе по качеству, испытание проводят так же, как для лекарственной формы Таблетки. Требования приводят в частной фармакопейной статье и (или) нормативном документе по качеству.

205010008-2022

2.5.1.8. Имплантаты

Имплантаты - стерильная твердая лекарственная форма, имеющая подходящие для введения в ткани тела размеры и форму, предназначенная для имплантации и высвобождающая действующее вещество (вещества) в течение длительного периода времени. Как правило, вводится подкожно, в иных случаях указывается путь введения.

Требования настоящей общей фармакопейной статьи не распространяются на таблетки для имплантации.

Лекарственные препараты в виде лекарственной формы таблетки для имплантации должны соответствовать требованиям общей фармакопейной статьи 2.5.3.4. Лекарственные препараты для парентерального применения.

По пути введения, кроме имплантатов для подкожного введения, различают также имплантаты глазные, имплантаты для внутримышечного введения, а также имплантаты для введения в различные органы.

Для имплантатов, предназначенных для подкожного введения, используют термин "имплантат".

Имплантат глазной - твердая дозированная лекарственная форма, предназначенная для введения во внутренние структуры глаза на длительный период времени для оказания определенного фармакологического действия. Разновидностью имплантата глазного является имплантат интравитреальный.

Имплантат интравитреальный - имплантат глазной, предназначенный для введения в заднюю камеру глаза.

По типу высвобождения имплантаты относят к лекарственным формам с модифицированным, как правило пролонгированным, высвобождением.

Имплантаты могут быть покрыты оболочкой.

Имплантаты могут быть произведены на основе биодеградируемых (растворимых) материалов (биодеградируемые имплантаты) и на основе небиодеградируемых материалов (небиодеградируемые имплантаты).

ОСОБЕННОСТИ ТЕХНОЛОГИИ

Имплантаты представляют собой полимерную основу (матрикс) с равномерно распределенным в ней действующим веществом (веществами), которое способно в течение определенного времени высвобождаться из основы в месте имплантации.

Биодеградируемые имплантаты, как правило, производят из синтетических алифатических полиэфиров (полигликолевой кислоты, полимолочной кислоты, сополимеров гликолевой и молочной кислот); поликапролактона, полипропилена фумарата и др. Наиболее часто в качестве биодеградируемого полимера для производства имплантатов используют сополимер молочной и гликолевой кислот (полилактид-когликолид).

Биодеградируемыми называются имплантаты, разрушающиеся в результате естественных (микробиологических, биохимических) процессов, протекающих в организме. Высвобождение действующего вещества из биодеградируемого имплантата возможно в течение 6 месяцев и более. На скорость высвобождения влияют размер частиц и растворимость активной фармацевтической субстанции (субстанций), площадь поверхности имплантата, скорость образования эрозии полимера и др. Биодеградируемые имплантаты не требуют удаления из места имплантации при завершении лечения.

В состав небиодеградируемых имплантатов могут входить поливиниловый спирт, этилвинилацетат, полибутилметилакрилат, полиэтилентерефталат, силикон и др.

Небиодеградируемые имплантаты должны быть удалены после завершения периода высвобождения действующего вещества для предотвращения их фиброзирования и инкапсулирования в местах имплантации, например, в полости глаза.

Полимерные имплантаты цилиндрической формы, как правило, получают методом экструзии расплава смеси активной фармацевтической субстанции (субстанций) и полимера. Также, имплантаты могут быть произведены путем прямого прессования активной фармацевтической субстанции (субстанций) с полимерным носителем.

Имплантаты могут быть покрыты оболочкой, обеспечивающей необходимую скорость высвобождения действующего вещества из полимерной основы.

При получении лекарственных препаратов в виде лекарственной формы Имплантаты должны быть приняты меры, обеспечивающие их стерильность в соответствии с требованиями общей фармакопейной статьи 2.1.6.1. Стерильность.

Как правило, стерильность имплантатов обеспечивают финишной стерилизацией или организацией асептических условий производства.

ИСПЫТАНИЯ

Имплантаты должны соответствовать общим требованиям общей фармакопейной статьи 2.5.1.1. Лекарственные формы, общей фармакопейной статьей 2.5.3.4. Лекарственные препараты для парентерального применения, а также выдерживать следующие испытания, характерные для данной лекарственной формы.

Описание. Имплантаты характеризуют, отмечая форму, цвет в соответствии с требованиями частной фармакопейной статьи. Для имплантатов, покрытых оболочкой, если указано в частной фармакопейной статье и (или) нормативном документе по качеству, отмечают толщину оболочки на поперечном разрезе имплантата.

Размеры имплантата. Определяют геометрические размеры (например, диаметр, длину и др.) имплантата в миллиметрах путем измерения микрометром. Количество имплантатов для данного испытания и допустимые отклонения размеров имплантата приводят в частной фармакопейной статье или нормативном документе по качеству.

Однородность массы. Испытание проводят в соответствии с требованиями общей фармакопейной статьи 2.1.9.5. Однородность массы единицы дозированного лекарственного препарата и требованиям, указанным в частной фармакопейной статье или нормативном документе по качеству. Испытание не применяют в случае, если предусмотрено испытание по показателю качества 2.1.9.14. Однородность дозированных единиц для всех действующих веществ.

Вода или Потеря в массе при высушивании. Испытание проводят в соответствии с требованиями в частной фармакопейной статье или нормативном документе по качеству в тех случаях, когда содержание воды может влиять на физико-химические свойства имплантата, биодоступность действующего вещества (веществ), на стабильность лекарственного препарата в лекарственной форме Имплантаты и т.д.

Определение проводят в соответствии с общими фармакопейными статьями: 2.1.5.12. Вода: определение полумикрометодом, 2.1.5.13. Вода: макроопределение или 2.1.2.31. Потеря в массе при высушивании и требованиями, указанными в частной фармакопейной статье или нормативном документе по качеству.

Показатели качества Потеря в массе при высушивании и Вода могут быть альтернативными, кроме случая, когда определение показателя качества Потеря в массе при высушивании необходимо для контроля содержания остаточных органических растворителей.

Однородность дозированных единиц. Испытание проводят в соответствии с требованиями общей фармакопейной статьи 2.1.9.14. Однородность дозированных единиц и требованиями, указанными в частной фармакопейной статье или нормативном документе по качеству.

Видимые механические включения. Проводят испытание на видимые механические включения для биодеградируемых имплантатов (в зависимости от места их имплантации, например, для глазных имплантатов) в соответствии с указаниями в частной фармакопейной статье и (или) нормативном документе по качеству.

205010009-2022

2.5.1.9. Капли

Капли - жидкая лекарственная форма, представляющая собой раствор, эмульсию или суспензию одной или нескольких активных фармацевтических субстанций в соответствующем растворителе и дозируемая каплями с помощью соответствующего приспособления (капельница, пипетка и др.).

В зависимости от пути введения и способа применения различают капли для приема внутрь, для местного применения, для применения в полости рта, глазные, назальные, ушные, для ингаляций.

Капли для приема внутрь - капли, предназначенные для приема внутрь, как правило, после разведения.

Капли для местного применения - капли, предназначенные для местного применения.

Капли глазные - стерильные капли, предназначенные для инстилляции в глаз.

Капли глазные с пролонгированным высвобождением - стерильные капли глазные, характеризующиеся высвобождением действующего вещества в течение продолжительного периода времени.

Капли назальные - капли, предназначенные для инстилляции в полость носа с целью оказания местного или системного действия.

Капли ушные - капли, предназначенные для инстилляции в наружный слуховой проход.

В ряде случаев капли назальные и капли ушные могут быть одновременно предназначены и для офтальмологического применения: капли глазные и назальные, капли глазные и ушные, капли глазные, назальные и ушные, а также могут быть капли назальные и ушные.

К каплям для применения в полости рта относят капли для нанесения на слизистую оболочку полости рта, капли зубные, капли подъязычные.

Капли для нанесения на слизистую оболочку полости рта - капли, предназначенные для нанесения на слизистую оболочку полости рта путем инстилляции в полость рта или на определенную часть полости рта, за исключением подъязычного пространства.

Капли зубные - капли, предназначенные для нанесения на зубы или десны с целью оказания местного действия.

Капли подъязычные - капли, предназначенные для инстилляции под язык с целью оказания системного действия.

Капли для ингаляций - капли, образующие пары при добавлении в горячую воду или при помощи соответствующего устройства (например, ингалятора и др.), предназначенные для вдыхания с целью оказания местного или системного действия.

По типу дисперсной системы капли могут быть гомогенными (капли-растворы), гетерогенными (капли-суспензии, капли-эмульсии) и комбинированными.

Капли, представляющие собой растворы, могут быть водными и неводными.

ОСОБЕННОСТИ ТЕХНОЛОГИИ

В зависимости от типа дисперсной системы капли могут быть получены растворением или диспергированием активной фармацевтической субстанции (субстанций) в соответствующем растворителе (растворителях) или дисперсионной среде.

В качестве растворителя или дисперсионной среды используют воду очищенную или воду для инъекций, этанол различной концентрации (30%, 40%, 70%, 95%, 96% и др.), масла (минеральные, жирные растительные, эфирные) и др. В качестве растворителей также могут быть использованы настойки, жидкие экстракты.

В качестве вспомогательных веществ при получении капель могут быть использованы подходящие антимикробные консерванты, буферные растворы, сорастворители, стабилизаторы, антиоксиданты, ароматизаторы, пролонгаторы, корригенты и другие вспомогательные вещества, разрешенные к медицинскому применению.

При разработке состава капель необходимо учитывать физико-химические свойства активных фармацевтических субстанций и вспомогательных веществ, их совместимость, особенности пути введения капель и др. Например, к каплям глазным предъявляются требования изотоничности, изоосмолярности, изогидричности и др. вещества, входящие в состав капель ушных не должны оказывать повреждающего давления на барабанную перепонку; капли назальные, представляющие собой водные растворы, как правило, должны быть изотоничны и т.д.

Капли, представляющие собой суспензии или эмульсии, для обеспечения корректной их дозировки должны быть достаточно стабильными, легко диспергироваться при встряхивании.

При получении лекарственных препаратов в виде лекарственной формы Капли должны быть приняты меры, обеспечивающие их микробиологическую чистоту, в установленных случаях, например, при получении капель глазных, капель глазных с пролонгированным высвобождением и других случаях, должны быть приняты меры, обеспечивающие их стерильность.

Капли могут быть выпущены готовыми к применению или быть приготовленными непосредственно перед применением в виде восстановленных лекарственных форм из гранул, порошков, таблеток или лиофилизатов, предназначенных для получения капель путем их растворения или диспергирования в соответствующем растворителе.

ИСПЫТАНИЯ

Капли должны соответствовать общей фармакопейной статье 2.5.1.1. Лекарственные формы и выдерживать следующие испытания, характерные для данной лекарственной формы.

Капли, представляющие собой водные и неводные растворы, должны соответствовать общей фармакопейной статье 2.5.1.25. Растворы.

Капли, представляющие собой суспензии, должны соответствовать общей фармакопейной статье 2.5.1.33. Суспензии.

Капли, представляющие собой эмульсии, должны соответствовать общей фармакопейной статье 2.5.1.39. Эмульсии.

Лекарственные препараты в виде лекарственных форм: капли глазные, капли глазные с пролонгированным высвобождением, а также в виде капель ушных и капель назальных, предназначенных, в том числе, и для офтальмологического применения, должны соответствовать общей фармакопейной статье 2.5.3.3. Лекарственные препараты для офтальмологического применения.

Лекарственные препараты в виде лекарственной формы Капли для ингаляций должны соответствовать общей фармакопейной статье 2.5.3.2. Лекарственные препараты для ингаляционного применения.

Лекарственные формы, представляющие собой порошки, таблетки, гранулы, лиофилизаты, предназначенные для приготовления капель, должны соответствовать следующим общим фармакопейным статьям: 2.5.1.24. Порошки, 2.5.1.34. Таблетки, 2.5.1.4. Гранулы, 2.5.1.14. Лиофилизаты.

Описание. Капли могут представлять собой прозрачный раствор или жидкость, однородную после взбалтывания. Капли характеризуют, отмечая прозрачность или мутность, цвет, запах (при наличии) и другие свойства в соответствии с требованиями частной фармакопейной статьи или нормативного документа по качеству.

Прозрачность. Испытание проводят для капель стерильных, капель для приема внутрь, капель для местного применения, представляющих собой растворы, в соответствии с общей фармакопейной статьей 2.1.2.1. Прозрачность и степень опалесценции жидкостей, для капель остальных - при соответствующем указании в частной фармакопейной статье и (или) нормативном документе по качеству.

Цветность. Испытание проводят для капель стерильных, капель для приема внутрь, капель для местного применения, представляющих собой растворы, в соответствии с общей фармакопейной статьей 2.1.2.2. Окраска и интенсивность окраски жидкостей; для капель остальных - при соответствующем указании в частной фармакопейной статье и (или) нормативном документе по качеству.

Доза и однородность дозы. Испытание проводят для капель, предназначенных для приема внутрь. Количество капель, соответствующее одной дозе, с помощью мерного или дозирующего устройства помещают в мерный цилиндр. Скорость капания не должна превышать 2 кап/с. Жидкость взвешивают, прибавляют еще одну дозу и вновь взвешивают; повторное прибавление с последующим взвешиванием проводят до тех пор, пока не будет взвешено 10 доз. Определяют среднюю массу дозы.

Масса ни одной дозы не должна отклоняться более чем на 10% от средней массы. Суммарная масса 10 доз не должна отличаться более чем на 15% от номинальной массы 10 доз.

При необходимости измеряют общий объем 10 доз. Объем не должен отличаться более чем на 15% от номинального объема 10 доз.

Масса (объем) содержимого упаковки. Испытание проводят в соответствии с общей фармакопейной статьей 2.1.9.17. Масса (объем) содержимого упаковки.

205010010-2022

2.5.1.10. Капсулы

Капсулы - твердая дозированная лекарственная форма, содержащая одно или несколько действующих веществ с добавлением или без добавления вспомогательных веществ, заключенных в твердую или мягкую оболочку различного размера и вместимости.

По способу применения капсулы делят на капсулы вагинальные, капсулы ректальные, капсулы для приема внутрь, капсулы для рассасывания, капсулы подъязычные, капсулы с порошком для ингаляций.

По консистенции капсулы делятся на твердые и мягкие.

Твердые капсулы - капсулы с твердой оболочкой цилиндрической формы с полусферическими концами, состоящие из двух частей - корпуса и крышечки, которые входят одна в другую, не образуя зазоров. Корпус и крышечка могут иметь специальные канавки и выступы для обеспечения "замка".

В зависимости от вместимости оболочки твердые капсулы могут быть 8 размеров (таблица 2.5.1.10.-1).

Таблица 2.5.1.10.-1

Размеры твердых капсул в зависимости от вместимости оболочки

Размер 000 00 0 1 2 3 4 5
Вместимость, мл 1,37 0,95 0,68 0,50 0,37 0,30 0,21 0,13

Допускается использовать капсулы размера 0el (вместимость 0,78 мл), представляющие собой удлиненные капсулы размера 0. Допускается также использовать капсулы других размеров, приведенных в нормативном документе по качеству.

Мягкие капсулы - цельные капсулы различной формы: сферической, цилиндрической, яйцевидной (ректальные или вагинальные), продолговатой или цилиндрической с полусферическими концами, со швом или без шва. Мягкие капсулы имеют более толстую оболочку, чем твердые. Капсулы могут быть различных размеров, вместимостью до 1,5 мл.

По характеру высвобождения действующего вещества капсулы делят на капсулы с обычным высвобождением (капсулы) и капсулы с модифицированным высвобождением.

Капсулы с модифицированным высвобождением - капсулы для приема внутрь, полученные по специальной технологии, или в состав оболочки и (или) содержимого которых входят специальные вспомогательные вещества для изменения скорости, и (или) времени, и (или) места высвобождения действующего вещества.

Капсулы кишечнорастворимые - капсулы для приема внутрь с отсроченным высвобождением, полученные путем заполнения гастрорезистентными гранулами или частицами или путем использования специальной технологии, которые обеспечивают устойчивость в желудочном соке (гастрорезистентность) и обычное высвобождение действующих веществ в кишечном соке.

Примечание. "el" - сокращение от англ. "elongated" - удлиненный.

ОСОБЕННОСТИ ТЕХНОЛОГИИ

Твердые капсулы получают внесением содержимого капсулы (преимущественно в твердой форме, например, порошок или гранулы) в корпус капсулы.

Мягкие капсулы формуют, наполняют и запаивают в ходе одной технологической операции. Содержимое мягких капсул может быть жидким или пастообразным. Твердые вещества обычно растворяют или диспергируют в подходящем носителе, разрешенном к медицинскому применению.

Для получения капсульной оболочки используют желатин, другие полимерные структурообразователи и вспомогательные вещества: непрозрачные наполнители, поверхностно-активные вещества, антимикробные консерванты, красители, корригенты вкуса, ароматизаторы и другие вещества, разрешенные к медицинскому применению.

Содержимое капсул может быть твердым, жидким или пастообразным. Оно состоит из одного или нескольких действующих веществ и вспомогательных веществ, таких как растворители, разбавители, смазывающие и разрыхляющие вещества или без вспомогательных веществ. Содержимое капсул не должно разрушать оболочку. Оболочка должна разрушаться в месте действия с высвобождением действующего вещества (веществ).

ИСПЫТАНИЯ

Капсулы должны соответствовать общей фармакопейной статье 2.5.1.1. Лекарственные формы и выдерживать следующие испытания, характерные для данной лекарственной формы.

Описание. Капсулы характеризуют, отмечая внешний вид (форму, размеры), органолептические (цвет, запах) и другие свойства в соответствии с требованиями частной фармакопейной статьи и (или) нормативного документа по качеству.

Оболочка капсулы должна иметь гладкую поверхность и не должна содержать воздушных пузырьков или механических повреждений. На поверхность капсул может быть нанесена маркировка.

Приводят описание содержимого капсулы.

Распадаемость. Испытание проводят в соответствии с общей фармакопейной статьей 2.1.9.1. Распадаемость таблеток и капсул.

Твердые и мягкие капсулы. Если не указано иначе в фармакопейной статье и (или) нормативном документе по качеству, капсулы должны распадаться в воде P за 30 мин. В качестве жидкой среды допускается использовать 0,1 M хлороводородную кислоту или искусственный желудочный сок P. Если капсулы всплывают на поверхности жидкости, следует использовать диски.

Кишечнорастворимые капсулы. Испытание распадаемости кишечнорастворимых капсул проводят в 0,1 M хлороводородной кислоте в течение 2 ч, не используя диски. Кишечнорастворимые капсулы должны оставаться неповрежденными в течение времени, указанного в фармакопейной статье и (или) нормативном документе по качеству, обычно оно составляет от 2 ч до 3 ч, но не менее 1 ч.

Повреждением капсулы считается любое нарушение целостности стенки капсулы, позволяющее содержимому капсулы выйти в окружающую среду. Затем капсулы помещают в фосфатный буферный раствор с pH 6,8 P, если не указано иначе в фармакопейной статье и (или) нормативном документе по качеству, и подвергают воздействию в течение 1 ч, используя диски. Может быть использован буферный раствор с pH 6,8 с добавлением порошка панкреатина (например, 0,35 г порошка панкреатина P на 100 мл буферного раствора).

Если капсулы не выдержали испытание вследствие прилипания к дискам, результаты считают недействительными. Испытание повторяют на следующих 6 капсулах, без дисков.

Испытание ректальных и вагинальных капсул проводят в соответствии с общей фармакопейной статьей 2.1.9.2. Распадаемость суппозиториев, вагинальных таблеток, ректальных и вагинальных капсул. При отсутствии другого обоснования капсулы вагинальные, не предназначенные для пролонгированного местного действия, и ректальные капсулы, не предназначенные для модифицированного высвобождения или пролонгированного местного действия, должны распадаться в течение 30 мин.

Растворение. Если не обосновано другое, проводят испытание в соответствии с общей фармакопейной статьей 2.1.9.3. Испытание на растворение для твердых дозированных лекарственных форм.

Если проводят испытание по показателю Растворение, то допускается испытание по показателю Распадаемость не проводить.

Однородность дозированных единиц. Испытание проводят в соответствии с общей фармакопейной статьей 2.1.9.14. Однородность дозированных единиц.

Однородность массы. Испытание проводят в соответствии с общей фармакопейной статьей 2.1.9.5. Однородность массы единицы дозированного лекарственного препарата.

Испытание не применяют в случае, если предусмотрено испытание на однородность дозированных единиц для всех действующих веществ.

205010011-2022

2.5.1.11. Карандаши лекарственные

Карандаши лекарственные - твердая лекарственная форма в виде карандаша цилиндрической или конической формы с закругленным концом, предназначенная для наружного применения с целью оказания местного действия и состоящая только из действующих веществ (одного или нескольких), либо представленная подходящей основой, в которой равномерно распределены действующие вещества.

Масса карандашей лекарственных, как правило, находится в пределах от 0,5 г до 10,0 г.

ОСОБЕННОСТИ ТЕХНОЛОГИИ

Карандаши лекарственные могут быть получены методами выливания, прессования, погружения.

Активные фармацевтические субстанции, в зависимости от свойств, могут быть введены в основу в виде раствора, эмульсии или суспензии.

Выливание может быть использовано для производства карандашей лекарственных, содержащих различные основы.

Метод прессования может быть использован только для производства карандашей лекарственных из масс, обладающих достаточной пластичностью.

Метод погружения заключается в погружении в расплавленную основу активных фармацевтических субстанций и вспомогательных веществ с использованием для этих целей специальных форм.

Основа карандашей лекарственных должна обеспечить определенную форму лекарственного препарата и достаточную твердость (прочность) для сопротивления нажиму при использовании, но также должна обеспечить оптимальное высвобождение действующего вещества/веществ, легкость нанесения (намазывания) карандаша лекарственного на кожу. Поверхность карандашей лекарственных при их медицинском применении, то есть нанесении на кожу, должна постепенно стираться без повреждений и травмирования кожи.

В качестве вспомогательных веществ при производстве карандашей лекарственных используют формообразующие вещества, пластифицирующие добавки, вещества, улучшающие биодоступность действующих веществ в лекарственной форме и другие вспомогательные вещества, разрешенные к медицинскому применению.

При производстве лекарственных препаратов в виде лекарственной формы Карандаши лекарственные должны быть приняты меры, обеспечивающие их микробиологическую чистоту.

ИСПЫТАНИЯ

Карандаши лекарственные должны соответствовать общей фармакопейной статье 2.5.1.1. Лекарственные формы и выдерживать испытания, характерные для данной лекарственной формы.

Описание. Карандаши лекарственные характеризуют, отмечая внешний вид (форму, геометрические размеры в миллиметрах), органолептические (цвет, запах) и другие свойства в соответствии с требованиями частной фармакопейной статьи или нормативного документа по качеству.

Карандаши лекарственные могут иметь вид цилиндрических палочек или сферических конусов, округло заостренных с одного конца.

Поверхность карандашей лекарственных должна быть ровной, гладкой, однородной, если другое не указано в частной фармакопейной статье или нормативном документе по качеству.

Размер частиц. Испытание проводят для карандашей лекарственных, содержащих компоненты в виде твердой дисперсной фазы (гетерогенных системах). Определение проводят методом оптической микроскопии в соответствии с общей фармакопейной статьей 2.1.9.13 Оптическая микроскопия. При отсутствии других указаний в частной фармакопейной статье или нормативном документе по качеству, размер частиц должен быть не более 100 мкм.

205010012-2022

2.5.1.12. Концентраты

Требования настоящей общей фармакопейной статьи не распространяются на экстракты-концентраты.

Экстракты-концентраты должны соответствовать общей фармакопейной статьи 2.5.1.37. Экстракты.

Концентраты - жидкая лекарственная форма, предназначенная для применения после разведения в соответствующем растворителе до требуемой концентрации.

Концентраты могут содержать одно или несколько действующих веществ с добавлением или без добавления вспомогательных веществ.

Концентраты используют для получения других лекарственных форм:

- концентрат для приготовления раствора - концентрат, предназначенный для получения раствора;

- концентрат для приготовления суспензии - концентрат, предназначенный для получения суспензии, в том числе микрогетерогенной;

- концентрат для приготовления эмульсии - концентрат, предназначенный для получения эмульсии, в том числе микрогетерогенной.

По пути введения и способу применения лекарственные формы, полученные из концентратов, предназначенных для их приготовления, используют для приема внутрь, для наружного применения, для местного применения, для парентерального применения. Для описания полученной лекарственной формы (разбавленной лекарственной формы) используют термин "Концентрат для приготовления..." с указанием наименования получаемой лекарственной формы и пути ее введения (способа применения), например, "концентрат для приготовления раствора для инфузий", "концентрат для приготовления эмульсии для наружного применения" и др.

Концентраты могут быть выпущены как в виде дозированной, так и в виде недозированной лекарственной формы.

ОСОБЕННОСТИ ТЕХНОЛОГИИ

Концентраты получают растворением активных фармацевтических субстанций и вспомогательных веществ в соответствующем растворителе или смеси растворителей.

В качестве основных растворителей при получении концентратов для приготовления водных растворов используют воду очищенную или воду для инъекций. В качестве растворителей при получении концентратов для приготовления неводных растворов используют этанол, масла жирные и др.

При последующем получении лекарственных форм из концентратов, предназначенных для их приготовления, концентрат, как правило, разбавляют до требуемой концентрации тем растворителем, который был использован при получении концентрата.

Активные фармацевтические субстанции, используемые при получении концентратов, могут представлять собой гигроскопичные, выветривающиеся или содержащие значительное количество кристаллизационной воды вещества.

При получении концентратов необходимо избегать концентраций растворенного вещества/веществ близких к насыщенным, так как в условиях понижения температуры возможна их кристаллизация.

В качестве вспомогательных веществ при получении концентратов используют стабилизаторы, солюбилизаторы, антиоксиданты, пластификаторы и другие вещества, разрешенные для медицинского применения.

Концентрированные растворы экстемпорального изготовления, как правило, изготавливают массо-объемным способом в асептических условиях с использованием свежеполученной воды очищенной, если другое не указано в действующих требованиях по изготовлению лекарственных препаратов аптечными организациями.

При получении лекарственных препаратов в виде лекарственной формы Концентраты должны быть приняты меры, обеспечивающие их микробиологическую чистоту, в установленных случаях, например, при производстве концентратов для приготовления растворов для инфузий и др., должны быть приняты меры, обеспечивающие их стерильность.

ИСПЫТАНИЯ

Концентраты должны соответствовать общей фармакопейной статье 2.5.1.1. Лекарственные формы и выдерживать следующие испытания, характерные для данной лекарственной формы.

Разбавленные лекарственные формы, полученные с использованием концентратов, предназначенных для их приготовления, должны соответствовать требованиям общих фармакопейных статей, регламентирующих качество полученных разбавленных лекарственных форм.

Описание. Концентраты характеризуют, отмечая внешний вид (прозрачность и др.), органолептические (цвет, запах) и другие свойства в соответствии с требованиями частной фармакопейной статьи и (или) нормативного документа по качеству.

Прозрачность. Испытание проводят для концентратов, предназначенных для приготовления водных растворов, в соответствии с общей фармакопейной статьей 2.1.2.1. Прозрачность и степень опалесценции жидкостей, для остальных концентратов - если указано в частной фармакопейной статье и (или) нормативном документе по качеству.

Цветность. Испытание проводят для концентратов, предназначенных для приготовления водных растворов, в соответствии с общей фармакопейной статьей 2.1.2.2. Окраска и интенсивность окраски жидкостей, для остальных концентратов - если указано в частной фармакопейной статье и (или) нормативном документе по качеству.

pH. Испытание проводят для концентратов, предназначенных для приготовления водных растворов, для концентратов для приготовления эмульсии, для остальных концентратов - если указано в частной фармакопейной статье и (или) нормативном документе по качеству. Определение проводят в соответствии с общей фармакопейной статьей 2.1.2.3. Потенциометрическое определение pH. Значение pH указывают в частной фармакопейной статье и (или) нормативном документе по качеству.

Плотность или Относительная плотность. Испытание проводят для концентратов, предназначенных для приготовления неводных растворов, содержащих этанол в концентрации выше 40% (об/об), для концентратов для приготовления эмульсии, для остальных концентратов - если указано в частной фармакопейной статье и (или) нормативном документе по качеству. Определение проводят в соответствии с общей фармакопейной статьей 2.1.2.5. Относительная плотность и требованиями, указанными в частной фармакопейной статье и (или) нормативном документе по качеству.

Этанол. Испытание проводят для концентратов, предназначенных для приготовления неводных растворов, содержащих этанол в концентрации ниже 40% (об/об) в соответствии с общей фармакопейной статьей 2.1.9.8. Содержание этанола и требованиями, указанными в частной фармакопейной статье и (или) нормативном документе по качеству.

Вода. Испытание проводят для концентратов, предназначенных для приготовления неводных растворов в соответствии с общей фармакопейной статьей 2.1.5.12. Вода: определение полумикрометодом и требованиями, указанными в частной фармакопейной статье и (или) нормативном документе по качеству.

Извлекаемый объем лекарственных форм для парентерального применения. Испытание проводят для концентратов для приготовления лекарственных форм для парентерального применения в соответствии с общей фармакопейной статьей 2.1.9.9. Испытание на извлекаемый объем парентеральных лекарственных препаратов.

Извлекаемый объем. Испытание проводят для концентратов для приготовления лекарственных форм для приема внутрь в соответствии с общей фармакопейной статьей 2.1.9.16. Извлекаемый объем для жидких лекарственных форм для приема внутрь.

Объем содержимого упаковки. Испытание проводят для всех концентратов, за исключением концентратов для приготовления лекарственных форм для парентерального применения и для концентратов для приготовления лекарственных форм для приема внутрь, в соответствии с общей фармакопейной статьей 2.1.9.17. Масса (объем) содержимого упаковки.

205010013-2022

2.5.1.13. Леденцы лекарственные

Леденцы лекарственные - твердая дозированная лекарственная форма, получаемая способом выливания или прессования, содержащая одно или несколько действующих веществ, равномерно распределенных в соответствующей основе, и предназначенная для рассасывания с целью оказания местного действия в полости рта и глотке.

ОСОБЕННОСТИ ТЕХНОЛОГИИ

Леденцы лекарственные получают методом выливания или прессования. В качестве основы для производства леденцов лекарственных методом выливания, как правило, используют смесь сахарозы и жидкой декстрозы (смесь декстрозы, олигосахаридов и полисахаридов) в соотношении 60:40 или иных соотношениях. Приготовление смеси проводят при определенной температуре (от 90 °C до 140 °C). Полученная смесь должна иметь пластичную консистенцию и содержать около 1% влаги. Затем в основу вводят активную фармацевтическую субстанцию (субстанции) и различные вспомогательные вещества (красители, ароматизаторы, корригенты вкуса, антимикробные консерванты и др.). После перемешивания полученную карамельную массу охлаждают и путем выливания получают леденцы лекарственные необходимой формы и размера.

При производстве леденцов лекарственных методом прессования следует принять меры, обеспечивающие механическую прочность леденцов, что подтверждается испытаниями, указанными в общей фармакопейной статье 2.1.9.6. Истираемость таблеток и общей фармакопейной статье 2.1.9.7. Устойчивость таблеток к раздавливанию.

ИСПЫТАНИЯ

Леденцы лекарственные должны соответствовать общим требованиям общей фармакопейной статьи 2.5.1.1. Лекарственные формы и выдерживать следующие испытания, характерные для данной лекарственной формы.

Описание. Леденцы лекарственные характеризуют, отмечая внешний вид (форму, размеры, однородность поверхности), органолептические (цвет, запах) и другие показатели в соответствии с требованиями частной фармакопейной статьи и (или) нормативного документа по качеству.

Леденцы лекарственные, как правило, имеют округлую форму, гладкую и однородную поверхность. Диаметр леденцов лекарственных округлой формы составляет, как правило, от 15 мм до 20 мм. Поверхность леденцов лекарственных должна быть гладкой, однородной, если не обосновано другое. Допускается неравномерность окрашивания, наличие пузырьков воздуха в карамельной массе и незначительная неровность краев.

Однородность массы. Испытание проводят в соответствии с общей фармакопейной статьей 2.1.9.5. Однородность массы единицы дозированного лекарственного препарата и требованиями, указанными в частной фармакопейной статье и (или) нормативном документе по качеству. Испытание не применяют, если предусмотрено испытание по показателю Однородность дозированных единиц для всех действующих веществ.

Однородность дозированных единиц. Испытание проводят в соответствии с общей фармакопейной статьей 2.1.9.14. Однородность дозированных единиц и требованиями, указанными в частной фармакопейной статье и (или) нормативном документе по качеству. Если не указано другое в частной фармакопейной статье и (или) нормативном документе по качеству, испытание проводят так же, как для лекарственной формы Таблетки.

205010014-2022

2.5.1.14. Лиофилизаты

Лиофилизаты - твердая лекарственная форма в виде порошка или пористой массы, полученная путем лиофилизации лекарственных средств жидкой или мягкой консистенции.

Лиофилизаты могут содержать одно или несколько действующих веществ с добавлением или без добавления вспомогательных веществ.

Лиофилизаты используют для получения других лекарственных форм:

- лиофилизат для приготовления раствора и лиофилизат для приготовления спрея (лиофилизат, предназначенный для получения раствора или спрея путем его растворения в соответствующем растворителе;

- лиофилизат для приготовления суспензии и лиофилизат для приготовления эмульсии (лиофилизат, предназначенный для получения суспензии или эмульсии путем его диспергирования в соответствующем растворителе;

- лиофилизат для приготовления капель и лиофилизат для приготовления концентрата - лиофилизат, предназначенный для получения капель или концентрата путем его растворения или диспергирования в соответствующем растворителе.

По пути введения и способу применения лекарственные формы, полученные из лиофилизатов, предназначенных для их приготовления, наиболее часто используют для парентерального применения, но могут быть также использованы для приема внутрь, наружного или местного применения. Для описания полученной лекарственной формы (восстановленной лекарственной формы) используют термин "Лиофилизат для приготовления..." с указанием наименования получаемой лекарственной формы и пути ее введения (способа применения), например, "лиофилизат для приготовления раствора для инфузий", "лиофилизат для приготовления суспензии для внутримышечного введения", "лиофилизат для приготовления капель глазных" и др.

Лиофилизаты, как правило, являются дозированной лекарственной формой.

Лиофилизаты могут быть использованы в качестве фармацевтических субстанций при производстве лекарственных препаратов в других лекарственных формах.

ОСОБЕННОСТИ ТЕХНОЛОГИИ

Метод лиофилизации (лиофильной сушки), применяемый для производства лиофилизатов, представляет собой процесс удаления растворителя из замороженного материала путем возгонки (сублимации) кристаллов растворителя в условиях вакуума, т.е. превращения его в пар, минуя жидкую фазу.

Процесс лиофилизации состоит из 3 основных стадий: замораживания, сублимации кристаллов растворителя (первичной сушки) и удаления остатков растворителя (вторичной сушки).

Температура замораживания определяется эвтектической зоной для лиофилизируемого лекарственного средства, то есть такой температурой, при которой достигается максимальная концентрация действующего вещества.

При замораживании растворов, содержащих воду с растворенными в ней веществами, сначала замерзает чистая вода, а вещества концентрируются в незамерзающей части до тех пор, пока раствор не достигнет эвтектической концентрации, при которой образуется однородная физическая смесь двух или более твердых кристаллических веществ, имеющих одинаковые физические свойства.

Скорость замораживания может быть различной. Для быстрого замораживания используют сжиженные газы или охлаждающие смеси, применяют в случае лекарственных средств, для которых важно сохранение клеточной структуры (плазмы крови, микроорганизмов и др.). Большинство других лекарственных средств подвергают медленному замораживанию в морозильных камерах или в воздушной среде в камерах сублимационных установок.

Удаление остатков растворителя осуществляется главным образом за счет сублимации, проводимой под вакуумом или значительно реже - в инертном газе, при этом происходит удаление остатков растворителя из замороженного объекта без образования жидкой фазы.

При производстве лиофилизатов используют вспомогательные вещества: растворители, солюбилизаторы, наполнители, антимикробные консерванты, регуляторы pH, стабилизаторы, криопротекторы и др., которые должны обеспечить сохранение надлежащего терапевтического эффекта и фармакокинетических параметров лекарственного препарата.

Наиболее часто лиофилизацию проводят из водного раствора. Также могут быть использованы неводные растворители, что позволяет увеличить скорость сублимации, уменьшить время растворения или диспергирования лиофилизата при получении конечной лекарственной формы и улучшить ее стабильность.

При производстве лекарственных препаратов в виде лекарственной формы Лиофилизаты должны быть приняты меры, обеспечивающие их микробиологическую чистоту, в установленных случаях должны быть приняты меры, обеспечивающие их стерильность, а также однородность дозированных единиц или однородность массы (в ходе внутрипроизводственного контроля за количеством раствора перед лиофилизацией).

ИСПЫТАНИЯ

Лиофилизаты должны соответствовать общим требованиям общей фармакопейной статьи 2.5.1.1. Лекарственные формы и выдерживать следующие испытания, характерные для данной лекарственной формы.

Восстановленные лекарственные формы, полученные с использованием лиофилизатов, предназначенных для их приготовления, должны соответствовать требованиям общих фармакопейных статей, регламентирующих качество полученных лекарственных форм.

Лиофилизаты, предназначенные для приготовления лекарственных препаратов для парентерального применения, должны соответствовать общей фармакопейной статье 2.5.3.4. Лекарственные препараты для парентерального применения.

Лиофилизаты, предназначенные для приготовления капель глазных, должны соответствовать общей фармакопейной статье 2.5.3.3. Лекарственные препараты для офтальмологического применения.

Лиофилизаты, предназначенные для приготовления лекарственных форм для ингаляций, должны соответствовать общей фармакопейной статье 2.5.3.2. Лекарственные препараты для ингаляционного применения.

Описание. Лиофилизаты характеризуют, отмечая внешний вид (сухая пористая масса, в виде таблетки, цельная или раскрошенная масса и др.), органолептические (цвет, запах) и другие свойства в соответствии с требованиями частной фармакопейной статьи и (или) нормативного документа по качеству.

Однородность массы. Испытание проводят в соответствии с общей фармакопейной статьей 2.1.9.5. Однородность массы единицы дозированного лекарственного препарата. Испытание не применяют в случае, если предусмотрено испытание по показателю Однородность дозированных единиц для всех действующих веществ.

Потеря в массе при высушивании или Вода. Испытание проводят, если указано в частной фармакопейной статье и (или) нормативном документе по качеству в тех случаях, когда содержание воды может влиять на физико-химические свойства лиофилизата, биодоступность действующего вещества/веществ, на стабильность лекарственного препарата в лекарственной форме Лиофилизат и т.д. Испытание проводят в соответствии с общей фармакопейной статьей 2.1.5.12. Вода: определение полумикрометодом или общей фармакопейной статьей 2.1.5.13. Вода: микроопределение или общей фармакопейной статьей 2.1.2.31. Потеря в массе при высушивании и требованиями, указанными в частной фармакопейной статье и (или) нормативном документе по качеству.

Показатели Потеря в массе при высушивании и Вода могут быть альтернативными, кроме случая, когда определение показателя Потеря в массе при высушивании необходимо для контроля содержания Остаточных органических растворителей.

Время растворения. Испытание проводят для лиофилизатов, предназначенных для получения растворов путем растворения лиофилизата в соответствующем растворителе, в соответствии с общей фармакопейной статьей 2.1.9.21. Время растворения или диспергирования для получения восстановленных лекарственных форм и требованиями, указанными в частной фармакопейной статье и (или) нормативном документе по качеству.

Однородность дозированных единиц. Испытание проводят в соответствии с общей фармакопейной статьей 2.1.9.14. Однородность дозированных единиц.

205010015-2022

2.5.1.15. Настои и отвары

Настои и отвары - жидкие лекарственные формы, представляющие собой водные извлечения из лекарственного растительного сырья.

Водные извлечения могут быть однокомпонентные - полученные из одного вида лекарственного растительного сырья, и многокомпонентные - полученные из двух и более видов лекарственного растительного сырья.

По пути введения и способу медицинского применения настои и отвары используют для приема внутрь, для наружного применения, для местного применения, для ингаляций.

ОСОБЕННОСТИ ТЕХНОЛОГИИ

Лекарственное растительное сырье, используемое для получения настоев и отваров, должно соответствовать требованиям общей фармакопейной статьи Лекарственное растительное сырье и требованиям соответствующих частных фармакопейных статей и (или) нормативных документов по качеству.

Для приготовления водных извлечений используют лекарственное растительное сырье: цельное, измельченное, порошок.

В случае использования цельного лекарственного растительного сырья отдельных морфологических групп для изготовления водных извлечений, его предварительно измельчают. Травы измельчают, как правило, до частиц размером не более 7 мм; листья и цветки - до частиц размером, как правило, не более 5 мм (кожистые листья, например, брусники, толокнянки - до частиц размером не более 3 мм); кору, корни, корневища - до частиц размером, как правило, не более 3 мм; плоды и семена используют преимущественно цельные, при необходимости измельчают до частиц размером не более 0,5 мм.

Оценку измельченности (размера частиц) подготовленного лекарственного растительного сырья проводят ситовым анализом в соответствии с общей фармакопейной статьей Ситовой анализ и общей фармакопейной статьей 2.1.1.4. Сита, учитывая, что диаметр сит с круглыми ячейками в 1,25 раза превышает размер квадратных ячеек.

При отсутствии других указаний, из лекарственного растительного сырья, представляющего собой цветки, листья или травы изготавливают настой; из лекарственного растительного сырья, представляющего собой кору, плоды, семена, почки, побеги, подземные органы - отвар.

При получении водного извлечения лекарственное растительное сырье помещают в перфорированный инфундирный стакан, а затем в инфундирку (сосуд для настаивания), заранее нагретую на водяной бане в течение 15 мин, заливают водой комнатной температуры, взятой с учетом соответствующего коэффициента водопоглощения, закрывают крышкой и настаивают на водяной бане: настои в течение 15 мин, отвары - в течение 30 мин, при отсутствии других указаний. Затем инфундирку снимают с водяной бани, выдерживают при комнатной температуре: настои - в течение 45 мин, отвары - в течение 10 мин при отсутствии других указаний. После охлаждения водное извлечение процеживают, остаток лекарственного растительного сырья отжимают, объем полученного извлечения доводят водой до предписанного объема.

Объем воды, необходимый для приготовления требуемого количества водного извлечения, определяют суммированием требуемого объема извлечения и дополнительного количества воды, взятого с учетом коэффициента водопоглощения, приведенного в общей фармакопейной статье 2.1.8.18. Определение коэффициента водопоглощения и расходного коэффициента лекарственного растительного сырья, для компенсации адсорбции жидкости сырьем. Дополнительное количество воды рассчитывают путем умножения прописанной массы лекарственного растительного сырья на коэффициент водопоглощения.

При изготовлении водных извлечений объемом 1000 - 3000 мл время настаивания на водяной бане увеличивается на 10 мин и составляет 25 мин для настоев и 40 мин - для отваров.

Из лекарственного растительного сырья, содержащего эфирное масло, независимо от морфологической группы сырья, получают настой (время настаивания 15 мин, время охлаждения при комнатной температуре - 45 мин), при этом сосуд для настаивания должен быть плотно закрыт во избежание потерь летучих компонентов эфирных масел.

Рекомендуется готовить настой из лекарственного растительного сырья, содержащего не только летучие, но и термолабильные биологически активные вещества, например, сердечные гликозиды.

Из лекарственного растительного сырья, содержащего дубильные вещества (кора дуба, корневища змеевика, корневища лапчатки, корневища и корни кровохлебки и др.), а также листьев толокнянки, листьев брусники, получают отвары, которые после снятия инфундирки (сосуда для настаивания) с водяной бани, не допуская охлаждения при комнатной температуре, немедленно процеживают, чтобы избежать осаждения дубильных веществ.

Из листьев сенны получают отвар, который процеживают после полного охлаждения водного извлечения при комнатной температуре для осаждения смол.

Как правило, соотношение лекарственного растительного сырья и полученного водного извлечения должно составлять 1:10, т.е. из 10 массовых частей лекарственного растительного сырья получают 100 объемных частей водного извлечения.

Настой корней алтея готовят без нагревания в соотношении 1:20: корни алтея заливают водой комнатной температуры и настаивают в течение 30 мин при комнатной температуре при частом помешивании, полученный настой процеживают, сырье не отжимают.

Для получения требуемого объема водного извлечения из лекарственного растительного сырья, содержащего слизь, в частности - корней алтея, следует использовать расходный коэффициент, который показывает, во сколько раз следует увеличить массу сырья и объем воды (экстрагента), чтобы получить соответствующий объем настоя или отвара. Величины расходного коэффициента приведены в общей фармакопейной статье 2.1.8.18. Определение коэффициента водопоглощения и расходного коэффициента лекарственного растительного сырья.

Водные извлечения из травы горицвета, травы ландыша, побегов багульника, корневищ с корнями валерианы, корней истода готовят в соотношении 1:30.

В ряде случаев следует брать 1 массовую часть лекарственного растительного сырья для получения 400 объемных частей водного извлечения (1:400).

При получении водных извлечений из лекарственного растительного сырья, содержащего сильнодействующие или ядовитые биологически активные вещества (сердечные гликозиды, алкалоиды), применяют лекарственное растительное сырье с определенной биологической активностью (ЛЕД) или с определенным процентным содержанием компонентов с известной терапевтической активностью. Лекарственное растительное сырье с большей биологической активностью или большим содержанием компонентов с известной терапевтической активностью берут в меньшем количестве, чем прописано, рассчитывая его по следующей формуле:

,

где: m - количество лекарственного растительного сырья, необходимое для изготовления водного извлечения в граммах;

А - прописанное количество лекарственного растительного сырья в граммах;

Б - фактическое количество единиц действия в лекарственном растительном сырье или содержание компонентов с известной терапевтической активностью в 1 г сырья в процентах;

В - стандартное содержание в единицах действия в лекарственном растительном сырье или содержание компонента с известной терапевтической активностью в 1 г сырья в процентах.

При изготовлении водных извлечений из лекарственного растительного сырья, содержащего алкалоиды, прибавляют лимонную, винную или хлороводородную кислоту (в пересчете на хлороводород), при этом кислоты берут по массе столько, сколько содержится алкалоидов во взятом количестве лекарственного растительного сырья.

Водные извлечения также могут быть получены путем растворения в воде стандартизованных сухих (1:1, м/м) или жидких (1:1 или 1:2, м/об) экстрактов - концентратов, взятых в соответствующих количествах по отношению к прописанному количеству лекарственного растительного сырья, то есть 1:1 или 1:2.

В водные извлечения могут быть добавлены активные фармацевтические субстанции и вспомогательные вещества. Твердые вещества растворяют после процеживания настоев и отваров в готовом водном извлечении, при необходимости объем доводят водой до указанного в прописи. Жидкие вещества (сиропы, настойки, жидкие экстракты) прибавляют к полученному настою или отвару.

При необходимости к настоям и отварам может быть добавлены консерванты, например, сорбиновая кислота.

ОПИСАНИЕ

Характеризуют цвет, запах (при наличии) водного извлечения.

ИСПЫТАНИЯ

Оценку качества осуществляют при изготовлении настоев и отваров в аптечной организации, а также при технологическом процессе производства лекарственных растительных препаратов.

МАРКИРОВКА

На флаконах должны быть этикетки: "Хранить в прохладном месте", "Встряхнуть перед употреблением".

ХРАНЕНИЕ

При температуре от 2 до 8 °C, в защищенном от света месте.

СРОК ГОДНОСТИ

Срок годности водных извлечений - не более 2 сут при отсутствии других указаний, например, срок годности настоев алтея и других водных извлечений, содержащих полисахариды, - не более 1 сут, водных извлечений из чаги - не более 4 сут.

205010016-2022

2.5.1.16. Настойки

Настойки - жидкая лекарственная форма, представляющая собой обычно окрашенные спиртовые или водно-спиртовые извлечения, полученные из лекарственного растительного сырья (высушенного или свежесобранного), а также из сырья животного происхождения без удаления экстрагента.

Настойки подразделяют на простые, полученные на основе одного вида лекарственного растительного сырья, и сложные (комплексные) - на основе смеси нескольких видов лекарственного растительного сырья.

В зависимости от пути введения и способа медицинского применения различают настойки для приема внутрь, для наружного применения, для местного применения, для ингаляций.

Термин настойка используют для настоек, предназначенных для приема внутрь, как правило, после разведения.

Настойка для ингаляций - настойка, образующая пары при добавлении в горячую воду или при помощи соответствующего устройства (например, ингалятора и др.), предназначенные для вдыхания с целью оказания местного действия.

Настойка для местного применения - настойка, предназначенная для местного применения (в том числе после разведения).

Настойка для наружного применения - настойка, предназначенная для наружного применения (в том числе после разведения).

Настойки могут использоваться как лекарственные растительные препараты, а также в качестве растительных фармацевтических субстанций входить в состав других лекарственных форм, представляющих собой, например, жидкие лекарственные формы, включая капли для приема внутрь, эликсиры и др.

Лекарственное растительное сырье, используемое для получения настоек, должно отвечать требованиям соответствующих общих и частных фармакопейных статей.

ОСОБЕННОСТИ ТЕХНОЛОГИИ

Настойки получают методом мацерации, перколяции или другим валидированным методом, используя в качестве экстрагента этанол в необходимой концентрации.

Из одной массовой части лекарственного растительного сырья получают 5 объемных частей настойки. Из одной массовой части лекарственного растительного сырья, содержащего алкалоиды и сердечные гликозиды, - 10 объемных частей настойки, если нет других указаний в частной фармакопейной статье или нормативном документе по качеству.

После завершения процесса экстракции настойки отстаивают при температуре не выше 10 °C не менее 2 сут до получения прозрачной жидкости и фильтруют. В процессе хранения некоторых настоек, главным образом комплексных, допускается образование незначительного осадка балластных веществ, при условии отсутствия в нем компонентов, по которым осуществляется стандартизация.

При получении лекарственных препаратов в виде лекарственной формы Настойки должны быть приняты меры, обеспечивающие их микробиологическую чистоту.

На стадии получения настойки должны выдерживать испытание на содержание метанола и 2-пропанола.

ИСПЫТАНИЯ

Настойки должны соответствовать общим требованиям общей фармакопейной статьи 2.5.1.1. Лекарственные формы и выдерживать испытания, характерные для данной лекарственной формы.

Описание. Настойки характеризуют, отмечая цвет, запах (при наличии) в соответствии с требованиями частной фармакопейной статьи или нормативного документа по качеству.

Допускается наличие опалесценции, взвеси, в ряде случаев, особенно в процессе хранения, возможно образование незначительного осадка, если это не влияет на эффективность и безопасность лекарственного средства.

Плотность или Относительная плотность. Испытание проводят в соответствии с общей фармакопейной статьей 2.1.2.5. Относительная плотность и требованиями, указанными в частной фармакопейной статье или нормативном документе по качеству.

Этанол. Испытание проводят одним из методов в соответствии с общей фармакопейной статьей 2.1.9.8. Содержание этанола и требованиями по содержанию этанола, указанными в частной фармакопейной статье или нормативном документе по качеству.

Метанол. Определение проводят на стадии производственного процесса. Допускается содержание не более 0,05% (об/об) метанола, если другое не указано в частной фармакопейной статье или нормативном документе по качеству.

Сухой остаток. 5,0 мл настойки помещают в предварительно высушенные при температуре 100 °C - 105 °C до постоянной массы фарфоровую чашку диаметром 5 см или бюкс, взвешенные с точностью до 0,0001 г, выпаривают на водяной бане досуха, сушат в сушильном шкафу в течение 2 ч при температуре 100 °C - 105 °C, охлаждают в эксикаторе (над безводным силикагелем P, кальция хлоридом безводным P или другим подходящим осушителем) в течение 30 мин и взвешивают. Результат выражают в массо-объемных процентах. Содержание сухого остатка должно соответствовать пределам, указанным в частной фармакопейной статье или нормативном документе по качеству.

Тяжелые металлы. 10 мл настойки выпаривают в фарфоровой чашке досуха на водяной бане, прибавляют 1 мл серной кислоты концентрированной P, осторожно сжигают и прокаливают при температуре 600 °C. К полученному остатку прибавляют при нагревании 5 мл раствора 615 г/л аммония ацетата P, фильтруют через беззольный фильтр, промывают 5 мл воды P и доводят фильтрат водой P до объема 100 мл; 12 мл полученного раствора должны выдерживать испытания на тяжелые металлы (общая фармакопейная статья 2.1.4.8 Тяжелые металлы, метод А, с использованием раствора натрия сульфида P и стандартного раствора свинца ионов (1 ppm Pb2+) P). Допустимое содержание тяжелых металлов не должно превышать 10 ppm (Pb2+) при отсутствии других указаний в частной фармакопейной статье.

205010017-2022

2.5.1.17. Пастилки лекарственные

Пастилки лекарственные - твердая дозированная лекарственная форма, представляющая собой упруго-пластичную основу с равномерно распределенным в ней действующим веществом/веществами, предназначенная для рассасывания с целью оказания местного действия в полости рта и глотке.

Пастилки лекарственные могут быть покрыты оболочкой.

ОСОБЕННОСТИ ТЕХНОЛОГИИ

Пастилки лекарственные производят путем формовки (отливки) пластичной массы, содержащей, как правило, ароматизированную и подслащенную основу с введенной в нее активной фармацевтической субстанцией (субстанциями).

В качестве основы для пастилок лекарственных используют природные высокомолекулярные соединения или синтетические полимеры или смолы с добавлением корригентов вкуса и запаха, пищевых красителей и других вспомогательных веществ, обеспечивающих особенность способа применения пастилок лекарственных - постепенно растворяться при рассасывании в полости рта.

Вкус пастилок лекарственных обеспечивается за счет подсластителей, сахарозаменителей и других веществ этого класса.

В качестве вспомогательных веществ при производстве пастилок лекарственных используют также антимикробные консерванты (например, сорбиновую кислоту), пластификаторы и др.

При производстве лекарственных препаратов в виде лекарственной формы Пастилки лекарственные должны быть приняты меры, обеспечивающие их микробиологическую чистоту.

ИСПЫТАНИЯ

Пастилки лекарственные должны соответствовать общим требованиям общей фармакопейной статьи 2.5.1.1. Лекарственные формы и выдерживать следующие испытания, характерные для данной лекарственной формы.

Описание. Пастилки лекарственные характеризуют, отмечая внешний вид (форму и др.), органолептические (цвет, запах) и другие свойства в соответствии с требованиями частной фармакопейной статьей и (или) нормативного документа по качеству. При отсутствии других указаний в частной фармакопейной статье или нормативном документе по качеству, поверхность пастилки должна быть гладкой, однородной.

Однородность массы. Испытание проводят в соответствии с общей фармакопейной статьей 2.1.9.5. Однородность массы единицы дозированного лекарственного препарата и требованиями, указанными в частной фармакопейной статье и (или) нормативном документе по качеству. Испытание не применяют в случае, если предусмотрено испытание по показателю качества Однородность дозирования для всех действующих веществ.

Распадаемость. Испытание проводят в соответствии с общей фармакопейной статьей 2.1.9.1. Распадаемость таблеток и капсул и требованиями, указанными в частной фармакопейной статье и (или) нормативном документе по качеству. При отсутствии других указаний в частной фармакопейной статье и (или) нормативном документе по качеству, в качестве жидкой среды при испытании используют воду.

Потеря в массе при высушивании или Вода. Испытание проводят в соответствии с требованиями частной фармакопейной статьи или нормативного документа по качеству в тех случаях, когда содержание воды может влиять на физико-химические свойства основы пастилок лекарственных (сохранение упруго-пластичных свойств), свойства действующего вещества/веществ, стабильность лекарственного препарата в лекарственной форме Пастилки лекарственные и т.д.

Определение проводят в соответствии с общей фармакопейной статьей 2.1.2.31. Потеря в массе при высушивании, или общей фармакопейной статьей 2.1.5.12. Вода: определение полумикрометодом, или общей фармакопейной статьей 2.1.5.13. Вода: микроопределение и требованиями, указанными в частной фармакопейной статье и (или) нормативном документе по качеству.

Однородность дозированных единиц. Испытания проводят в соответствии с общей фармакопейной статьей 2.1.9.14. Однородность дозированных единиц и требованиями, указанными в частной фармакопейной статье и (или) нормативном документе по качеству. Если не указано другое в частной фармакопейной статье и (или) нормативном документе по качеству, испытание проводят так же, как для лекарственной формы Таблетки.

205010018-2022

2.5.1.18. Пены лекарственные

Пены лекарственные - лекарственная форма, представляющая собой раствор, эмульсию или суспензию действующих и вспомогательных веществ (в том числе поверхностно-активных), которые находятся под давлением пропеллента в герметичной упаковке, снабженной клапанно-распылительной системой, обеспечивающей высвобождение содержимого в виде дисперсии газа в жидких, реже твердых фазах.

Пены лекарственные представляют собой трехфазную дисперсную систему, содержащую действующие вещества с добавлением поверхностно-активных вспомогательных веществ, растворителей и других веществ, находящихся под давлением газа-пропеллента.

В зависимости от природы дисперсионной среды различают водные и неводные пены лекарственные (водно-спиртовые, масляные и др.).

В зависимости от свойств активных фармацевтических субстанций и вспомогательных веществ, входящих в состав лекарственного препарата, пены лекарственные могут быть быстроразрушающимися и стабилизированными.

В зависимости от пути введения и способа применения выделяют, как правило, пены лекарственные для наружного применения и пены лекарственные для местного применения.

Пена лекарственная для наружного применения - пена лекарственная, предназначенная для наружного применения. Пены лекарственные для наружного применения после оседания могут образовывать защитную пленку.

К пенам лекарственным для местного применения относят пену лекарственную вагинальную, пену лекарственную внутриматочную, пену ректальную.

Пены лекарственные могут быть дозированными и недозированными.

ОСОБЕННОСТИ ТЕХНОЛОГИИ

Вспомогательные вещества, входящие в состав пен лекарственных, должны обеспечивать оптимальные технологические характеристики лекарственной формы, быть совместимы с другими компонентами лекарственной формы и материалом упаковки.

Пены лекарственные могут быть получены с использованием водных и неводных растворителей. В качестве водных растворителей используют воду очищенную или воду для инъекций; неводных растворителей - спирты, минеральные и жирные масла и др.

В состав пен лекарственных обязательно вводят раствор поверхностно-активного вещества (веществ) и газ-пропеллент, а также стабилизаторы, антимикробные консерванты и другие вспомогательные вещества, разрешенные для медицинского применения.

Поверхностно-активные вещества (например, полисорбаты) используют для обеспечения распределения газа в дисперсионной среде и стабилизации пены лекарственной.

Стабильная пена образуется, если пропеллент, как правило, вводят в состав дисперсной фазы (эмульсия типа "масло в воде").

При производстве лекарственных препаратов в виде лекарственной формы пены лекарственные должны быть приняты меры, обеспечивающие их микробиологическую чистоту; при производстве стерильных пен лекарственных должны быть приняты меры, обеспечивающие их стерильность.

ИСПЫТАНИЯ

Пены лекарственные должны соответствовать общим требованиям общей фармакопейной статьи 2.5.1.1. Лекарственные формы и выдерживать следующие испытания, характерные для данной лекарственной формы.

Описание. Пены лекарственные характеризуют, отмечая внешний вид (консистенцию и др.), органолептические (цвет, запах) и другие свойства высвободившегося содержимого упаковки в соответствии с требованиями частной фармакопейной статьи и (или) нормативного документа по качеству. При описании консистенции пен лекарственных могут быть применимы следующие термины: кремообразная, мелкоячеистая, пузырящаяся и др.

pH. Испытание проводят в соответствии с общей фармакопейной статьей 2.1.2.3. Потенциометрическое определение pH. Определяют pH полученного водного раствора после оседания пены или после растворения лекарственного препарата в воде. Условия проведения испытания и значение pH указывают в частной фармакопейной статье и (или) нормативном документе по качеству.

Давление в упаковке. Испытание проводят на стадии технологического процесса для пен лекарственных, в которых пропеллентами являются сжатые газы, в соответствии с общей фармакопейной статьей 2.1.9.20. Определение давления в герметичной упаковке и требованиями, указанными в частной фармакопейной статье и (или) нормативном документе по качеству.

Герметичность упаковки. Испытание проводят в соответствии с общей фармакопейной статьей 2.1.9.19. Определение герметичности упаковки.

Испытание клапанного устройства. Испытание проводят, если применимо, на стадии технологического процесса производства в соответствии с методикой, указанной в частной фармакопейной статье и (или) нормативном документе по качеству.

Выход содержимого упаковки. Испытание проводят для недозированных пен лекарственных в соответствии с общей фармакопейной статьей 2.1.9.18. Определение выхода содержимого упаковки для недозированных аэрозолей, пен и спреев.

Однородность массы доз. Испытание проводят для дозированных пен лекарственных, представляющих собой растворы.

Контроль показателя должен проводиться как для доз, высвобождаемых из одной упаковки, так и для доз, полученных из разных упаковок. Процедура отбора доз должна включать в себя отбор доз в начале, в середине и в конце использования лекарственного препарата.

При отсутствии других указаний в частной фармакопейной статье и (или) нормативном документе по качеству, отбор доз для испытания из 10 упаковок пен лекарственных проводят следующим образом: из 3 упаковок необходимое количество доз высвобождают в начале, из 4 упаковок - в середине, из 3 упаковок - в конце использования лекарственного препарата.

Высвобождают одну дозу и отбрасывают ее. Спустя не менее 5 с встряхивают упаковку в течение 5 с, снова высвобождают и отбрасывают одну дозу. Повторяют указанную процедуру еще 3 раза, если не указано иначе в частной фармакопейной статье или нормативном документе по качеству. Взвешивают упаковку. Встряхивают упаковку в течение 5 с, высвобождают и отбрасывают одну дозу, снова взвешивают упаковку. По разности вычисляют массу высвободившейся дозы.

Испытание повторяют еще для 9 доз, указанных в частной фармакопейной статье или нормативном документе по качеству. Рассчитывают среднюю массу дозы (mср) и отклонения индивидуальных значений от средней массы дозы.

Лекарственный препарат считают выдержавшим испытание, если не более 1 из 10 индивидуальных масс отклоняется от средней массы на величину, превышающую 25%, при этом не более чем на 35%. Если 2 или 3 результата выпадают из пределов 75 - 125%, испытание повторяют с 20 другими дозами. Не более 3 из 30 значений могут выходить за пределы 75 - 125%, и все значения должны быть в пределах от 65% до 135%.

Количество доз в упаковке. Испытание проводят для дозированных пен лекарственных в многодозовой упаковке одним из указанных методов.

Метод 1. Выпускают содержимое одной упаковки, высвобождая дозы с интервалом не менее 5 с. Регистрируют количество высвобожденных доз.

Допускается проводить испытание одновременно с определением показателя Однородность дозирования или показателя Однородность массы доз.

Метод 2. Упаковку взвешивают вместе с распылителем с точностью до 0,01 г (). Нажимая на распылитель, из упаковки выпускают все содержимое и снова взвешивают упаковку вместе с распылителем с точностью до 0,01 г ().

Среднее количество доз () в одной упаковке вычисляют по формуле:

,

где: - средняя масса одной дозы, рассчитанная при определении показателя Однородность массы дозы в граммах.

Полученное в результате испытания количество доз должно быть не менее указанного на этикетке.

Однородность дозирования. Испытание проводят для дозированных пен лекарственных, представляющих собой эмульсии или суспензии.

Контроль показателя должен проводиться как для доз, высвобождаемых из одной упаковки, так и для доз, полученных из разных упаковок. Процедура отбора доз должна включать в себя отбор доз в начале, в середине и в конце использования лекарственного препарата.

При отсутствии других указаний в частной фармакопейной статье и (или) нормативном документе по качеству, отбор доз для испытания из 10 упаковок пен лекарственных проводят следующим образом: из 3 упаковок необходимое количество доз высвобождают в начале, из 4 упаковок - в середине, из 3 упаковок - в конце использования лекарственного препарата.

Испытание проводят с использованием аппарата или установки, способных к количественному удерживанию дозы, выпущенной из распылительного устройства. Встряхивают упаковку в течение 5 с, высвобождают и отбрасывают одну дозу. Спустя не менее 5 с снова встряхивают упаковку в течение 5 с, высвобождают и отбрасывают одну дозу. Повторяют указанную процедуру еще 3 раза, если иначе не указано в частной фармакопейной статье или нормативном документе по качеству. Через 5 с выпускают одну дозу в приемник аппарата. Содержимое приемника собирают путем последовательных промываний и определяют содержание действующего вещества в объединенных промывных водах.

Испытание повторяют еще для 9 доз, указанных в частной фармакопейной статье и (или) нормативном документе по качеству.

Лекарственный препарат выдерживает испытание, если 9 из 10 результатов находятся в пределах от 75% до 125% от среднего значения, а все результаты находятся в пределах от 65% до 135%. Если 2 или 3 результата выпадают из пределов 75 - 125%, испытание повторяют с 20 другими дозами. Не более 3 из 30 значений могут выходить за пределы 75 - 125%, и все значения должны быть в пределах от 65% до 135%.

Для пен лекарственных, содержащих несколько действующих веществ, испытание на однородность дозирования должно быть выполнено для каждого вещества.

Относительная плотность пены. Аэрозольный баллон выдерживают при температуре 25 °C в течение не менее 24 ч. Следят за тем, чтобы аэрозольный баллон не нагревался: устанавливают на насадку аэрозольного баллона жесткую трубку длиной от 70 мм до 100 мм с внутренним диаметром отверстия около 1 мм. Аэрозольный баллон встряхивают для получения содержимого в виде однородной фазы, выпускают и отбрасывают от 5 мл до 10 мл пены. Взвешивают плоскодонную чашу вместимостью около 60 мл и высотой около 35 мм. Помещают конец жесткой трубки, прикрепленной к насадке аэрозольного баллона, в угол чаши и нажимают насадку. Круговыми движениями равномерно заполняют чашу. После того, как пена полностью расширится, сглаживают ее уровень, удалив излишки пены предметным стеклом. Взвешивают. Определяют массу такого же объема воды P, наполнив ту же чашу.

Относительную плотность пены () рассчитывают по формуле:

,

где: m - масса испытуемого образца пены в граммах;

e - масса такого же объема воды в граммах.

Проводят три определения. Ни одно полученное значение не должно отклоняться от среднего значения более чем на 20%.

Время пенообразования. Испытание проводят для пен лекарственных по методике, приведенной ниже. Прибор для определения времени пенообразования представлен на рисунке 2.5.1.18.-1. Прибор состоит из бюретки (1) вместимостью 50 мл, с внутренним диаметром 15 мм и ценой деления 0,1 мл, снабженной запорным краном (2) с одним отверстием диаметром 4 мм. Отметка, соответствующая 30 мл, должна находиться на расстоянии не менее 210 мм от оси запорного крана. Нижняя часть бюретки соединена при помощи полимерной трубки (3) длиной не более 50 мм и с внутренним диаметром 4 мм с аэрозольным баллоном (4), оборудованным подходящей для данного соединения насадкой нажимного типа. Аэрозольный баллон выдерживают при температуре 25 °C в течение не менее 24 ч. Следят за тем, чтобы аэрозольный баллон не нагревался, встряхивают для получения содержимого в виде однородной фазы, выпускают и отбрасывают от 5 мл до 10 мл пены. Соединяют насадку аэрозольного баллона (5) и носик бюретки. Открывают запорный кран, нажимают на насадку и выпускают одну дозу пены объемом около 30 мл, закрывают запорный кран и одновременно включают секундомер. Наблюдают за объемом пены в бюретке, каждые 10 с отмечают увеличение пены до тех пор, пока не будет достигнут максимальный объем. Проводят 3 определения.

Рисунок 2.5.1.18.-1. - Прибор для определения времени пенообразования. 1 - бюретка; 2 - запорный кран; 3 - полимерная трубка; 4 - аэрозольный баллон под давлением; 5 - насадка аэрозольного баллона

Время достижения максимального объема в каждом определении не должно превышать 5 мин.

Размер частиц. Испытание проводят для пен лекарственных суспензионного и комбинированного типа. Методика определения и требования к размеру частиц дисперсной фазы должны быть указаны в частной фармакопейной статье и (или) нормативном документе по качеству.

205010019-2022

2.5.1.19. Пластыри лекарственные

Требования настоящей общей фармакопейной статьи не распространяются на пластыри трансдермальные.

Пластыри трансдермальные должны соответствовать общей фармакопейной статье 2.5.1.21. Пластыри трансдермальные.

Пластыри лекарственные - лекарственная форма, состоящая из нанесенной на подложку основы, содержащей одно или несколько действующих веществ, обладающая способностью прилипать к коже или слизистым оболочкам, предназначенная для наружного или местного применения.

В редких случаях пластыри лекарственные представляют собой лекарственную форму, состоящую только из пластырной массы (основы с действующим веществом/веществами) без подложки.

Для пластырей лекарственных, предназначенных для наклеивания на поврежденную или неповрежденную поверхность кожи с целью оказания местного действия, используют термин "пластырь".

Пластыри лекарственные могут быть дозированными и недозированными.

Пластырь для слизистой оболочки полости рта - пластырь лекарственный, предназначенный для наклеивания на слизистую оболочку полости рта с целью оказания системного действия в течение определенного периода времени, по истечению которого он удаляется.

Пластыри в виде липкой ленты или в виде иной формы, не содержащие действующего вещества/веществ, используемые с целью фиксации повязок, компрессов, тампонов и других целей, не относят к пластырям лекарственным, так как они не являются лекарственными средствами.

Основа пластырей лекарственных представляет собой пластичную однородную адгезивную (липкую) массу, в которой равномерно распределено действующее вещество/вещества или прокладку с действующим веществом/веществами, закрепленную на подложке с липким слоем.

В зависимости от состава основы различают пластыри лекарственные: смоляно-восковые, каучуковые, акриловые и др.

В зависимости от материала и вида подложки различают пластыри лекарственные на тканевой, нетканой или полимерной основе, а также пластыри лекарственные перфорированные или без перфорации.

Пластыри лекарственные с липкой стороны должны быть покрыты защитной пленкой.

ОСОБЕННОСТИ ТЕХНОЛОГИИ

Технология производства пластырей лекарственных и перечень используемых вспомогательных веществ зависят от вида пластырей.

Основу смоляно-восковых пластырей лекарственных составляют сплавы смол и воска, в состав которых могут входить также жиры и углеводороды.

Пластырная основа каучуковых (резиновых) пластырей лекарственных представляют собой смесь каучука со смолами, активными фармацевтическими субстанциями и вспомогательными веществами. Данный вид пластырей лекарственных длительное время сохраняет свою клейкость.

В состав пластырной массы также могут быть внесены наполнители, антиоксиданты, антимикробные консерванты, красители, корректоры запаха и другие вспомогательные вещества, разрешенные к медицинскому применению.

Пластырная масса должна представлять собой однородную смесь, плотную при комнатной температуре и размягчающуюся, липкую при температуре тела.

Подложка, полученная из синтетических или природных материалов, и адгезивный (липкий) слой основы должны быть гипоаллергенны и не должны оказывать на кожу и слизистые раздражающего действия.

Защитная пленка должна препятствовать контакту липкого слоя пластырей лекарственных с окружающей средой и удаляться перед применением.

Пластыри лекарственные должны легко удаляться с кожи, не оставляя следов, не нанося повреждений и не отделяя пластырную массу от подложки.

При получении лекарственных препаратов в виде лекарственной формы Пластыри лекарственные должны быть приняты меры, обеспечивающие их микробиологическую чистоту, в установленных случаях должны быть приняты меры, обеспечивающие их стерильность.

ИСПЫТАНИЯ

Пластыри лекарственные должны соответствовать общим требованиям общей фармакопейной статьи 2.5.1.1. Лекарственные формы и выдерживать следующие испытания, характерные для данной лекарственной формы.

Описание. Характеризуют внешний вид, отмечая форму пластыря лекарственного, которая может быть прямоугольной, круглой, фигурной и др.; геометрические размеры, наличие перфорации; цвет, запах (при наличии), однородность пластырной массы, материал подложки, защитной пленки в соответствии с требованиями частной фармакопейной статьи и (или) нормативного документа по качеству.

Однородность дозированных единиц. Испытание проводят для пластырей лекарственных, предназначенных для оказания системного действия, в соответствии с общей фармакопейной статьей 2.1.9.14. Однородность дозированных единиц и требованиями, указанными в частной фармакопейной статье и (или) нормативном документе по качеству.

205010020-2022

2.5.1.20. Пластины лекарственные

Пластины лекарственные - твердая лекарственная форма, представляющая собой пластину определенного размера, состоящую из основы и равномерно распределенной в ней активной фармацевтической субстанции (субстанций), предназначенную для накладывания на раневую поверхность или слизистые оболочки и оказания действия в течение продолжительного периода времени.

ОСОБЕННОСТИ ТЕХНОЛОГИИ

Пластины лекарственные, как правило, получают путем специальной обработки водных растворов полимеров, содержащих одну или более активных фармацевтических субстанций.

Вспомогательные вещества, используемые при производстве пластин, должны обеспечивать высвобождение активной фармацевтической субстанции (действующего вещества) из основы, эластичность и прочность и другие необходимые технологические характеристики лекарственной формы.

При производстве пластин лекарственных могут использоваться пластификаторы, стабилизаторы и другие вещества при надлежащем обосновании.

Производственный процесс должен обеспечивать равномерное распределение веществ в массе пластины и надлежащее высвобождение активной фармацевтической субстанции (действующего вещества) при применении.

При производстве, упаковке, хранении и дистрибуции пластин лекарственных должны быть приняты меры, обеспечивающие их стерильность.

ИСПЫТАНИЯ

Пластины лекарственные должны соответствовать общим требованиям общей фармакопейной статьи 2.5.1.1. Лекарственные формы и выдерживать испытания, характерные для данной лекарственной формы.

Описание. Контролируют форму пластины, цвет. Не должно наблюдаться посторонних включений (частичек, ворсинок и т.п.).

Размеры пластины. Определяют геометрические размеры (длину, ширину, толщину) пластины в миллиметрах.

Средняя масса. Пластины должны выдерживать испытание на соответствие требованиям.

pH. Проводят испытание водного извлечения из пластин согласно общей фармакопейной статье 2.1.2.3. Потенциометрическое определение pH.

Степень набухания. Определяют степень набухания гидрогелевых пластин по методике, описанной ниже.

Фрагмент пластины массой 2,00 г помещают в стакан, прибавляют 50 мл воды P и выдерживают в течение 48 ч, после чего набухший фрагмент извлекают, дают стечь лишней воде, не промакивая, и взвешивают.

Масса фрагмента пластины после набухания не должна превышать массу исходного образца более, чем в 3 раза.

Биодеградация пластин. Результатом испытания является полное растворение пластины.

Испытание проводят для пластин лекарственных биодеградируемых в соответствии с методикой определения и требованиями.

205010021-2022

2.5.1.21. Пластыри трансдермальные

Пластыри трансдермальные - лекарственная форма для наружного применения, представляющая собой пластырь лекарственный, состоящий из нанесенных на подложку матрицы или резервуара, предназначенный для контролируемой доставки действующего вещества (веществ) в системный кровоток путем пассивной диффузии через неповрежденную кожу.

Пластыри трансдермальные могут содержать одно или несколько действующих веществ.

Пластырь трансдермальный представляет собой многослойный пластырь. Внешний покровный слой (подложка) является непроницаемым для действующего вещества и служит для придания жесткости всему пластырю, а также для защиты от внешнего воздействия. Со стороны поверхности высвобождения действующего вещества, предназначенной для аппликации на кожу, имеется защитное антиадгезионное покрытие, удаляемое непосредственно перед применением трансдермального пластыря.

Различают два основных вида пластырей трансдермальных: резервуарные и матричные (рисунок 2.5.1.21.-1). В резервуарных пластырях трансдермальных (рисунок 2.5.1.21.-1, А) действующее вещество/вещества находится в запаянном резервуаре в виде раствора, геля, суспензии или эмульсии. Внешний покровный слой резервуара представляет собой непроницаемую для содержимого резервуара полимерную пленку, а внутренний, обращенный к коже слой - полимерную мембрану, регулирующую скорость выхода действующего вещества/веществ из резервуара на кожу через слой адгезива. Адгезив обеспечивает прочное крепление пластыря на коже.

Рисунок 2.5.1.21.-1. - Схемы пластырей трансдермальных: резервуарный (А) и матричный (Б). А: 1 - внешний слой; 2 - резервуар с лекарственным веществом; 3 - мембрана; 4 - адгезив; 5 - защитное антиадгезионное покрытие. Б: 1 - внешний слой; 2 - полимерная адгезионная матрица; 3 - защитное антиадгезионное покрытие

Матричные пластыри трансдермальные устроены более просто (рисунок 2.5.1.21.-1, Б). Внешний покровный слой представляет собой непроницаемую для действующего вещества гибкую полимерную пленку, к которой прикреплена полимерная адгезионная матрица, содержащая действующие и вспомогательные вещества.

Площадь внешнего покровного слоя может быть равна площади высвобождения (подачи) действующего вещества/веществ (т.е. резервуара или полимерной адгезионной матрицы) или быть несколько больше, для нанесения по краям пластыря адгезива. Защитное покрытие также может быть несколько больше, чем сам пластырь трансдермальный, что облегчает процесс его удаления.

ОСОБЕННОСТИ ТЕХНОЛОГИИ

В качестве вспомогательных веществ, входящих в состав пластырей трансдермальных, могут быть использованы пластификаторы, стабилизаторы, солюбилизаторы, модификаторы скорости высвобождения действующего вещества, усилители проницаемости кожи для действующего вещества, адгезивы, полимеры, сополимеры, растворители, эмульгаторы и другие разрешенные к медицинскому применению вспомогательные вещества.

Вспомогательные вещества не должны обладать местнораздражающим, аллергизирующим и токсическим действием.

При производстве лекарственных препаратов в виде лекарственной формы Пластыри трансдермальные должны быть приняты меры, обеспечивающие их микробиологическую чистоту.

ИСПЫТАНИЯ

Пластыри трансдермальные должны соответствовать общим требованиям общей фармакопейной статьи 2.5.1.1. Лекарственные формы и выдерживать следующие испытания, характерные для данной лекарственной формы.

Описание. Характеризуют форму пластыря трансдермального, цвет внешнего покровного слоя, описание матрицы и (или) адгезива с указанием геометрических размеров площади подачи (высвобождения) действующего вещества с допустимыми отклонениями в соответствии с требованиями частной фармакопейной статьи и (или) нормативного документа по качеству.

Растворение. Испытание проводят в соответствии с общей фармакопейной статьей 2.1.9.4. Испытание на растворение для трансдермальных пластырей и требованиями, указанными в частной фармакопейной статье и (или) нормативном документе по качеству. Определяют скорость высвобождения действующего вещества из пластыря трансдермального или скорость его подачи через полимерную мембрану в выбранную среду растворения.

Однородность дозированных единиц. Испытание проводят в соответствии с общей фармакопейной статьей 2.1.9.14. Однородность дозированных единиц при отсутствии других указаний в частной фармакопейной статье и (или) нормативном документе по качеству.

205010022-2022

2.5.1.22. Пленки

Пленки - твердая дозированная лекарственная форма, представляющая собой одно или многослойные тонкие пластинки подходящего для применения размера, содержащие одно или несколько действующих веществ и вспомогательные, в том числе пленкообразующие, вещества.

В зависимости от пути введения и способа применения различают пленки глазные и пленки для применения в полости рта.

Пленки глазные - стерильные пленки, предназначенные для помещения в конъюнктивальный мешок глаза.

К пленкам для применения в полости рта относят пленки для наклеивания на десну, защечные, диспергируемые в полости рта, периодонтальные, подъязычные.

Пленки для наклеивания на десну - пленки, предназначенные для наклеивания на десну с целью оказания местного действия.

Пленки защечные - пленки, предназначенные для помещения в щечный карман с целью оказания системного действия.

Пленки, диспергируемые в полости рта - пленки, предназначенные для помещения в полость рта, где они быстро диспергируются перед проглатыванием.

Пленки периодонтальные - пленки, предназначенные для помещения в карман между зубом и десной.

Пленки подъязычные - пленки, предназначенные для помещения под язык с целью оказания системного действия.

По типу высвобождения пленки относят к лекарственным формам с модифицированным, как правило пролонгированным, высвобождением.

Пленки могут быть произведены на основе биодеградируемых/растворимых материалов (биодеградируемые пленки) и на основе небиодеградируемых материалов (небиодеградируемые пленки).

ОСОБЕННОСТИ ТЕХНОЛОГИИ

Тонкие пластинки пленок получают, как правило, методом выливания или экструзии.

В качестве пленкообразующей основы (матрицы) при производстве пленок из биодеградируемых материалов используют полимерные материалы синтетического и природного происхождения, не взаимодействующие химически и биологически с активной фармацевтической субстанцией (субстанциями) и обладающие склонностью к набуханию и постепенному высвобождению действующего вещества (веществ). Пленки могут быть получены на основе пищевых полимеров, водорастворимых полимеров, сополимеров и др.

Биодеградируемые пленки не требуют удаления из места применения при завершении лечения.

Вспомогательные вещества, используемые при получении пленок, должны обеспечить контролируемое высвобождение действующего вещества/веществ из полимерной основы в заданном интервале времени и другие необходимые технологические характеристики лекарственной формы.

В качестве вспомогательных веществ при производстве пленок используют также пластификаторы, антимикробные консерванты, стабилизаторы, адгезивные (клеящие) вещества и др. При производстве пленок, предназначенных для применения в полости рта, в качестве вспомогательных веществ используют также корригенты вкуса, ароматизаторы.

Активная фармацевтическая субстанция (субстанции) в основу пленки может быть введена в виде раствора, эмульсии или суспензии.

Отдельные слои многослойных пленок могут содержать различные концентрации и модификации действующего вещества (веществ).

При получении многослойных пленок из растворов на подложку (форму) наносят несколько слоев с последовательным высушиванием каждого слоя.

Технология производства пленок должна обеспечивать сохранение их целостности в процессе производства, упаковки, хранения и применения.

При получении лекарственных препаратов в виде лекарственной формы Пленки должны быть приняты меры, обеспечивающие их микробиологическую чистоту, в установленных случаях, например, при получении пленок глазных и др., должны быть приняты меры, обеспечивающие их стерильность.

Для получения стерильных пленок могут быть использованы радиационные методы стерилизации.

ИСПЫТАНИЯ

Пленки должны соответствовать общим требованиям общей фармакопейной статьи 2.5.1.1. Лекарственные формы и выдерживать испытания, характерные для данной лекарственной формы.

Лекарственные препараты в виде пленок глазных должны соответствовать общей фармакопейной статье 2.5.3.3. Лекарственные препараты для офтальмологического применения.

Описание. Пленки характеризуют, отмечая внешний вид (форму), органолептические (цвет, запах) и другие свойства в соответствии с требованиями частной фармакопейной статьи и (или) нормативного документа по качеству.

Размеры пленки. Определяют геометрические размеры (длину, ширину, толщину) пленки в миллиметрах путем измерения микрометром. Количество пленок для испытания и допустимые отклонения размеров пленки приводят в частной фармакопейной статье или нормативном документе по качеству.

Однородность массы. Испытание проводят в соответствии с общей фармакопейной статьей 2.1.9.5. Однородность массы единицы дозированного лекарственного препарата и требованиями, указанными в частной фармакопейной статье и (или) нормативном документе по качеству. Испытание не применяют в случае, если предусмотрено испытание по показателю качества Однородность дозированных единиц для всех действующих веществ.

Распадаемость. Испытание проводят для пленок из биодеградируемых материалов в соответствии с методикой определения и требованиями, указанными в частной фармакопейной статье или нормативном документе по качеству. Пленки должны распадаться в течение времени, указанного в частной фармакопейной статье или нормативном документе по качеству.

Растворение. Испытание проводят в соответствии с общей фармакопейной статьей 2.1.9.3. Испытание на растворение для твердых дозированных лекарственных форм и требованиями, указанными в частной фармакопейной статье и (или) нормативном документе по качеству.

Если в частной фармакопейной статье и (или) нормативном документе по качеству предусмотрено испытание по показателю качества Растворение, то допускается не проводить испытание по показателю качества Распадаемость.

Потеря в массе при высушивании или Вода. Испытание проводят в соответствии с требованиями частной фармакопейной статьи или нормативного документа по качеству в тех случаях, когда содержание воды может влиять на биодоступность действующего вещества/веществ, на стабильность лекарственного препарата в лекарственной форме Пленки и т.д.

Определение проводят в соответствии с общей фармакопейной статьей 2.1.2.31. Потеря в массе при высушивании, или общей фармакопейной статьей 2.1.5.12. Вода: определение полумикрометодом; или общей фармакопейной статьей 2.1.5.13. Вода: микроопределение и требованиями, указанными в частной фармакопейной статье и (или) нормативном документе по качеству.

pH. Испытание проводят для пленок из биодеградируемых материалов в соответствии с общей фармакопейной статьей 2.1.2.3. Потенциометрическое определение pH. Методику пробоподготовки для испытания и требования приводят в частной фармакопейной статье или нормативном документе по качеству.

Однородность дозированных единиц. Испытание проводят в соответствии с общей фармакопейной статьей 2.1.9.14. Однородность дозированных единиц и требованиями, указанными в частной фармакопейной статье и (или) нормативном документе по качеству. При отсутствии других указаний в частной фармакопейной статье и (или) нормативном документе по качеству, испытание проводят так же, как для лекарственной формы Таблетки.

Время растворения. Испытание проводят для пленок глазных из биорастворимых полимеров в соответствии с требованиями частной фармакопейной статьи или нормативного документа по качеству, в которых должны быть указаны среда растворения, условия проведения испытания, количество образцов, время растворения и др. При отсутствии других указаний в частной фармакопейной статье или нормативном документе по качеству пленки глазные должны раствориться в растворе натрия хлорида 0,9% в течение 2 - 3 ч.

Раствор, полученный при растворении пленок глазных из биорастворимых полимеров, исследуют по показателям Прозрачность раствора, Цветность раствора, pH, Видимые механические включения в соответствии с общими фармакопейными статьями: 2.1.2.1 Прозрачность и степень опалесценции жидкостей, 2.1.2.2. Окраска и интенсивность окраски жидкостей, 2.1.2.3. Потенциометрическое определение pH и требованиями, указанными в частных фармакопейных статьях и (или) нормативных документах по качеству.

205010023-2022

2.5.1.23. Плитки

Плитки - твердая лекарственная форма, представляющая собой пластичную массу с равномерно распределенным в ней действующим веществом (веществами), имеющая форму плитки определенного размера и предназначенная для приема внутрь целиком или частями.

Плитка может быть целой или поделенной на равные части (доли) с помощью нанесенных на ее поверхность рисок.

ОСОБЕННОСТИ ТЕХНОЛОГИИ

Лекарственные препараты в лекарственной форме Плитки производят методом формования из пластичной массы, представляющей собой основу, в которую предварительно вводят активную фармацевтическую субстанцию (субстанции) и вспомогательные вещества.

Для производства пластичной основы плиток используют сахарный сироп, крахмальную патоку, молоко сгущенное с сахаром, альбумин пищевой и другие, подходящие для этих целей вспомогательные вещества. Как правило, сначала получают молочно-сахарный сироп, а затем в него вводят активную фармацевтическую субстанцию (субстанции) и вспомогательные вещества и из полученной массы формируют плитки.

При производстве лекарственных препаратов в виде лекарственной формы Плитки должны быть приняты меры, обеспечивающие их микробиологическую чистоту.

ИСПЫТАНИЯ

Плитки должны соответствовать общим требованиям общей фармакопейной статьи 2.5.1.1. Лекарственные формы и выдерживать испытания, характерные для данной лекарственной формы.

Описание. Плитки характеризуют, отмечая внешний вид (форму, размеры), органолептические (цвет, запах) и другие свойства в соответствии с требованиями частной фармакопейной статьи и (или) нормативного документа по качеству. Если необходимо, описывают плитку на поперечном разрезе или изломе. Если плитка поделена на доли, отмечают их количество.

Потеря в массе при высушивании. Испытание проводят в соответствии с общей фармакопейной статьей 2.1.2.31. Потеря в массе при высушивании. При отсутствии других указаний в частной фармакопейной статье или нормативном документе по качеству, потеря в массе при высушивании должна составлять не более 8,0%.

Средняя масса и отклонения от средней массы плитки. Испытание проводят на 10 плитках. Каждую плитку взвешивают с точностью до 0,1 г. Вычисляют среднюю массу и отклонения от средней массы плитки. Требования приводят в частной фармакопейной статье или нормативном документе по качеству.

205010024-2022

2.5.1.24. Порошки

Порошки - твердая лекарственная форма, состоящая из отдельных сухих частиц различной степени дисперсности, обладающая свойством сыпучести.

Порошки должны быть однородными при рассмотрении невооруженным глазом и иметь размер частиц не более 160 мкм, если не указано иначе в частной фармакопейной статье или нормативном документе по качеству.

Порошки могут представлять собой дозированную или недозированную лекарственную форму лекарственного препарата, содержащего одно или несколько действующих веществ или их смесей со вспомогательными ингредиентами.

В зависимости от пути введения и способа применения различают порошки для наружного применения, для местного применения, для приема внутрь, назальные, периодонтальные, ушные, для ингаляций.

Порошки могут быть использованы для приготовления других лекарственных форм путем растворения/диспергирования в соответствующем растворителе: капель, концентратов, растворов, сиропов, спреев, суспензий, а также для приготовления гелей, паст. Лекарственные формы, полученные из порошков, предназначенных для их приготовления, в свою очередь могут быть использованы для приема внутрь, наружного, местного, парентерального применения. Для таких порошков используют термин Порошки для приготовления с указанием наименования получаемой лекарственной формы и пути ее введения (способа применения), например, "порошки для приготовления раствора для приема внутрь".

ОСОБЕННОСТИ ТЕХНОЛОГИИ

В качестве вспомогательных веществ, входящих в состав порошков, используют индифферентные наполнители, солюбилизаторы, корригенты вкуса, красители, консерванты, разрешенные к медицинскому применению.

Порошки могут содержать вспомогательные вещества, обеспечивающие растворение или диспергирование, предотвращающие слеживаемость, снижающие гигроскопичность, регулирующие или стабилизирующие pH, либо стабилизирующие фармацевтическую субстанцию и др.

Порошки шипучие для приема внутрь содержат, главным образом, вещества кислотного и основного характера, которые в присутствии воды быстро реагируют с выделением углерода диоксида. Порошки для ингаляций содержат одну или несколько тонкодисперсных фармацевтических субстанций вместе с инертными вспомогательными веществами - "носителями" (обычно лактоза) или без них.

В зависимости от способа применения лекарственного препарата к порошкам предъявляют различные требования в отношении дисперсности. Дисперсность порошков характеризуется размером отверстия сита, через которое проходит порошок. Размер частиц порошка выражают в микрометрах. При получении порошков для наружного, местного применения и (или) для приготовления суспензий для наружного, местного применения необходимо обеспечивать соответствующий размер частиц с указанием его в нормативном документе по качеству.

При получении многокомпонентных порошков каждое вещество измельчают отдельно и просеивают через соответствующее сито в соответствии с общей фармакопейной статьей 2.1.10.8. Оценка распределения частиц по размерам методом аналитического просеивания. Фармацевтические субстанции в порошках для ингаляций микронизируют (измельчают в специальных микронизирующих устройствах).

Ядовитые и сильнодействующие вещества в количествах менее 0,05 г на всю массу используют в виде тритураций - смеси с молочным сахаром или другими вспомогательными веществами, разрешенными к медицинскому применению (1:100 или 1:10).

ИСПЫТАНИЯ

Порошки должны соответствовать общим требованиям общей фармакопейной статьи 2.5.1.1. Лекарственные формы и выдерживать следующие испытания, характерные для данной лекарственной формы.

Описание. Порошки характеризуют, отмечая внешний вид, органолептические (цвет, запах) и другие свойства в соответствии с требованиями частной фармакопейной статьи и (или) нормативного документа по качеству. Порошки должны быть однородными при рассмотрении невооруженным глазом.

Размер частиц. Порошки должны иметь размер частиц не более 160 мкм, если не указано иначе в частной фармакопейной статье или нормативном документе по качеству. При необходимости размер частиц определяют ситовым анализом в соответствии с общей фармакопейной статьей 2.1.10.8. Оценка распределения частиц по размерам методом аналитического просеивания или другим валидированным методом.

Потеря в массе при высушивании или Вода. Определение проводят в соответствии с общей фармакопейной статьей 2.1.2.31. Потеря в массе при высушивании или общей фармакопейной статьей 2.1.5.12. Вода: определение полумикрометодом на соответствие требованиям, указанным в частной фармакопейной статье или нормативном документе по качеству.

Для порошков, предназначенных для приготовления растворов, при необходимости дополнительно контролируют Время растворения и pH полученных растворов.

Однородность дозированных единиц. Порошки в однодозовой упаковке должны выдерживать испытание в соответствии с общей фармакопейной статьей 2.1.9.14. Однородность дозированных единиц. При соответствующем обосновании данному испытанию не подвергают однокомпонентные порошки в однодозовой упаковке, не предназначенные для приготовления препаратов для парентерального применения. В этом случае порошки в однодозовой упаковке должны выдерживать требования общей фармакопейной статьи 2.1.9.5. Однородность массы единицы дозированного лекарственного препарата.

Однородность массы доз. Испытание проводят для порошков для приема внутрь, выпускаемых в многодозовой упаковке, снабженной устройством для дозирования, в соответствии с общей фармакопейной статьей 2.1.9.12. Однородность массы доз, отмеренных из многодозовой упаковки.

ОСОБЕННОСТИ ИСПЫТАНИЙ ОТДЕЛЬНЫХ ЛЕКАРСТВЕННЫХ ФОРМ

Порошки для местного применения и (или) для приготовления растворов или суспензий для местного применения. Порошки для местного применения, а также полученные из них растворы или суспензии, предназначенные для использования на открытых ранах или на поврежденной коже, должны быть стерильными в соответствии с общей фармакопейной статьей 2.1.6.1. Стерильность.

Порошки для приготовления раствора или суспензии для парентерального применения должны быть стерильными и должны соответствовать требованиям общей фармакопейной статьи 2.5.3.4. Лекарственные препараты для парентерального применения.

Порошки для приготовления капель глазных должны соответствовать требованиям общей фармакопейной статьи 2.5.3.3 Лекарственные препараты для офтальмологического применения.

Порошки для приготовления суспензий для приема внутрь. Для порошков, используемых для приготовления суспензий для приема внутрь, должен быть дополнительно предусмотрен контроль получаемой суспензии по показателям Размер частиц и Седиментационная устойчивость в соответствии с общей фармакопейной статьей 2.5.1.33. Суспензии.

Порошки для ингаляций. Испытание однородности дозирования порошков для ингаляций проводят в соответствии с общей фармакопейной статьей 2.5.3.2. Лекарственные препараты для ингаляционного применения.

Для дозированных порошков для ингаляций дополнительно определяют содержание респирабельной фракции в одной дозе порошка по показателям Аэродинамическое распределение мелкодисперсных частиц и Количество доз в упаковке в соответствии с общей фармакопейной статьей 2.5.3.2. Лекарственные препараты для ингаляционного применения.

205010025-2022

2.5.1.25. Растворы

Растворы - жидкая лекарственная форма, получаемая путем растворения твердых, жидких или газообразных веществ в соответствующем растворителе или смеси взаимосмешивающихся растворителей с образованием гомогенных дисперсных систем.

Растворы могут содержать одно или более действующих и вспомогательных веществ.

В зависимости от пути введения и способа применения различают растворы для приема внутрь, для наружного применения, для местного применения, вагинальные, внутриматочные, ректальные, для применения в полости рта, для применения в полости носа, для промывания слухового прохода, для гастроэнтерального введения, для эндотрахеального введения, трансдермальные, для орошения, для парентерального применения, для офтальмологического применения, для ингаляций, для диализа, для гемофильтрации, для перитонеального диализа и др.

Растворы для гастроэнтерального введения - растворы, предназначенные для введения в желудок или двенадцатиперстную кишку с помощью соответствующего устройства.

Растворы для эндотрахеального введения - стерильные растворы, предназначенные для введения в трахею и (или) бронхиолы путем инстилляции.

К растворам для применения в полости рта относят растворы: для полоскания, для промывания полости рта, для слизистой оболочки полости рта, для нанесения на десны, зубные.

Растворы для полоскания - растворы, предназначенные для полоскания полости рта и (или) глотки.

К растворам для применения в полости носа относят Растворы для промывания полости носа и Растворы для эндосинусиального введения.

Растворы для эндосинусиального введения - стерильные растворы, предназначенные для введения в синусы (пазухи) полости носа с целью оказания местного действия.

Растворы вагинальные - растворы, предназначенные для введения во влагалище с целью оказания местного действия.

Растворы внутриматочные - растворы, предназначенные для введения в полость матки.

Растворы для внутриполостного введения - стерильные растворы, предназначенные для введения в полости тела, например, в мочевой пузырь (для внутрипузырного введения), в суставную полость (для внутрисуставного введения), в амниотическую полость (для интраамниального введения), в субарахноидальное пространство через твердую мозговую оболочку (для интратекального введения) и т.д.

Растворы для орошения - стерильные водные растворы большого объема, предназначенные для орошения полостей тела (Растворы для орошения желудка, Растворы для орошения мочевого пузыря), а также для орошения ран и поверхностей, например, во время хирургических операций.

Растворы трансдермальные - растворы, предназначенные для контролируемой доставки действующего вещества в системный кровоток путем пассивной диффузии через неповрежденную кожу.

Растворы для парентерального применения представляют собой стерильные растворы, предназначенные для введения в организм человека путем инъекций или инфузий с нарушением целостности кожных покровов или слизистых оболочек, минуя желудочно-кишечный тракт.

Растворы для инъекций - стерильные водные или неводные растворы, предназначенные для инъекционного введения в определенные ткани или органы, или в сосудистое русло.

Растворы для инъекционного введения в определенные ткани могут быть предназначены для подкожного, внутрикожного, внутримышечного, околосуставного введения, для накожного скарификационного нанесения, для проведения прик-теста и др.

Растворы для инъекционного введения в определенные органы, могут быть предназначены для внутриполостного, внутрибрюшинного, внутрипузырного, внутрисуставного, внутрисердечного, интратекального, экстраамниального введения и др.

Растворы для инъекционного введения в сосудистое русло (для внутрисосудистого введения) могут быть предназначены для внутривенного, внутриартериального, внутрикоронарного, интралимфатического введения и др.

Растворы для инфузий - стерильные водные растворы, предназначенные для парентерального применения, путем, как правило, медленного, часто капельного введения в циркулирующий кровоток с помощью инфузионных систем в объеме 100 мл и более.

К растворам для офтальмологического применения относят растворы для инъекционного введения в ткани глаза и растворы для промывания глаз.

Растворы для внутриглазного введения - стерильные растворы, предназначенные для введения в глазное яблоко.

Растворы для парабульбарного введения - стерильные растворы, предназначенные для введения в клетчатку, окружающую глазное яблоко.

Растворы для субконъюнктивального введения - стерильные растворы, предназначенные для введения под конъюнктиву.

Растворы для промывания глаз - стерильные водные растворы, предназначенные для промывания и смачивания глаз, а также для пропитывания материалов, накладываемых на глазное яблоко.

Растворы для ингаляций представляют собой растворы, предназначенные для преобразования в аэрозоль для ингаляций с помощью соответствующего устройства (например, небулайзера), либо растворы, образующие пары при добавлении в горячую воду или при помощи соответствующего устройства (например, ингалятора и др.), предназначенные для вдыхания с целью оказания местного или системного действия. Термин используют в тех случаях, когда не применим термин "капли для ингаляций".

Различают также растворы, предназначенные для очищения организма посредством диализа и (или) фильтрации.

Растворы для гемодиализа, или гемофильтрации, или гемодиафильтрации - стерильные водные растворы, предназначенные соответственно для гемодиализа, или гемофильтрации, или гемодиафильтрации, содержащие электролиты с концентрацией, близкой к электролитному составу плазмы.

Растворы для перитонеального диализа - стерильные водные растворы, предназначенные для перитонеального диализа.

В зависимости от природы растворителя (растворителей) различают Растворы водные и неводные. В свою очередь, неводные растворы могут представлять собой Растворы спиртовые, масляные, глицериновые и т.д.

В зависимости от природы активной фармацевтической субстанции (субстанций) различают растворы истинные, растворы высокомолекулярных соединений, коллоидные растворы и т.д.

Такие лекарственные формы как Капли, Концентраты, Сиропы могут представлять собой раствор.

Для обозначения некоторых лекарственных форм, представляющих собой растворы, также применяют и другие термины (определения).

Микстуры - для обозначения растворов, а также других жидких лекарственных форм преимущественно аптечного изготовления, предназначенных для приема внутрь и дозируемых ложками.

Ароматные воды - для обозначения лекарственных форм, как правило, аптечного изготовления, представляющих собой водные или водно-спиртовые растворы, насыщенные компонентами эфирных масел.

Жидкости - для обозначения растворов, представляющих собой жидкую фармацевтическую субстанцию как таковую или смесь жидких фармацевтических субстанций, без растворителя. Термин не должен применяться для растительных, в том числе жирных, или эфирных, или минеральных масел, а также животных жиров.

Лаки для ногтей лекарственные - для обозначения жидких лекарственных форм, представляющих собой неводные растворы фармацевтических субстанций, предназначенных для нанесения на ногтевую пластинку с целью получения лакового покрытия после испарения летучих растворителей.

Клей жидкий (клей кожный, пластырь жидкий) - для обозначения жидких лекарственных форм, представляющих собой неводные растворы, предназначенных для наружного применения с целью получения пленкообразующего покрытия, обладающего способностью прилипать к коже после испарения летучих растворителей.

ОСОБЕННОСТИ ТЕХНОЛОГИИ

Растворы получают растворением активных фармацевтических субстанций и вспомогательных веществ в соответствующем растворителе или смеси растворителей.

Растворители (смеси растворителей) выбирают, исходя из свойств и природы активной фармацевтической субстанции (субстанций), для обеспечения отсутствия возможного химического и физико-химического взаимодействия между растворителем и действующим веществом (веществами). Растворитель (смеси растворителей) не должен оказывать влияния на фармакологическую активность действующего вещества (веществ).

В качестве основного растворителя для получения водных растворов используют воду очищенную, соответствующую требованиям частной фармакопейной статьи Вода очищенная или воду для инъекций, соответствующую требованиям частной фармакопейной статьи Вода для инъекций.

Растворы для орошения содержат действующие вещества являющиеся, как правило, электролитами или осмотическими активными веществами, растворенными в воде для инъекций, соответствующей требованиям частной фармакопейной статьи Вода для инъекций. В ряде случаев раствор для орошения может состоять только из воды для инъекций.

В неводных растворах основными растворителями являются этанол различных концентраций, масла жирные растительные, масло вазелиновое, глицерин и др.

Для получения спиртовых растворов в качестве основного растворителя используют этанол.

В качестве вспомогательных веществ при изготовлении/производстве растворов могут быть использованы подходящие антимикробные консерванты, антиоксиданты, стабилизаторы, солюбилизаторы, сорастворители, корригенты и другие вспомогательные вещества, разрешенные к медицинскому применению.

Вспомогательные вещества не должны отрицательно влиять на заявленное терапевтическое действие лекарственного препарата в лекарственной форме, не должны вызывать местное раздражение в используемых концентрациях.

При получении растворов используют, как правило, массо-объемный способ приготовления. Растворы также могут быть получены по массе или по объему в зависимости от природы активных фармацевтических субстанций и растворителя (вязкие, летучие растворители и др.).

Содержание действующих веществ в растворе выражают в процентной концентрации или массовой концентрации.

При получении растворов воду и водные растворы, близкие по плотности к воде (как правило, имеющие плотность от 0,95 г/см3 до 1,05 г/см3, отмеривают; твердые вещества (активные фармацевтические субстанции и вспомогательные вещества), а также растворители и растворы, плотность которых больше или меньше (1 +/- 0,05) г/см3, - отвешивают.

При получении растворов высокомолекулярных соединений учитывают природу активной фармацевтической субстанции (субстанций). Растворы неограниченно набухающих высокомолекулярных соединений (пепсин, трипсин и др.) получают по общим правилам приготовления растворов. Растворение ограниченно набухающих высокомолекулярных соединений (желатин, крахмал, метилцеллюлоза и др.) протекает, как правило, в определенных условиях, способствующих предварительному их набуханию и последующему растворению. На стадии набухания эти условия предусматривают определенный объем растворителя, температурный режим, время набухания и соблюдение условий, обеспечивающих переход набухших высокомолекулярных соединений в раствор (нагревание или охлаждение).

Для получения растворов коллоидных соединений (протаргол, колларгол) используют дополнительные технологические операции, обеспечивающие гидратацию коллоидных частиц.

При получении масляных и глицериновых растворов для увеличения скорости растворения активных фармацевтических субстанций и вспомогательных веществ используют нагревание.

Получение спиртовых растворов не подразумевает нагревание.

Ароматные воды могут быть получены различными способами: перегонкой эфирно-масличного лекарственного растительного сырья с водяным паром, растворением эфирного масла в воде или разведением концентратов. Для повышения устойчивости ароматных вод в их состав может быть добавлен этанол.

При получении лекарственных препаратов в виде лекарственной формы Растворы должны быть приняты меры, обеспечивающие их микробиологическую чистоту, в установленных случаях, например, при получении растворов для парентерального, офтальмологического применения, растворов для диализа, растворов для орошения и др., должны быть приняты меры, обеспечивающие их стерильность.

Растворы могут быть выпущены готовыми к применению или быть приготовленными непосредственно перед применением в виде восстановленных лекарственных форм из порошков, гранул, таблеток или лиофилизатов, предназначенных для приготовления растворов путем растворения в соответствующих растворителях.

Растворы в виде разведенной лекарственной формы могут быть приготовлены из концентратов, предназначенных для получения растворов после разведения (разбавления) в соответствующем растворителе до требуемой концентрации.

ИСПЫТАНИЯ

Растворы должны соответствовать общим требованиям общей фармакопейной статьи 2.5.1.1. Лекарственные формы и выдерживать следующие испытания, характерные для данной лекарственной формы.

Лекарственные препараты, выпускаемые в виде лекарственной формы Растворы, предназначенной для парентерального применения, должны соответствовать требованиям общей фармакопейной статьи 2.5.3.4. Лекарственные препараты для парентерального применения.

Лекарственные препараты, выпускаемые в виде лекарственной формы Растворы, предназначенной для офтальмологического применения (капли глазные, раствор для промывания глаз и др.), должны соответствовать требованиям общей фармакопейной статьи 2.5.3.3. Лекарственные препараты для офтальмологического применения.

Лекарственные препараты, выпускаемые в виде лекарственной формы Растворы, предназначенной для ингаляционного применения, должны соответствовать требованиям общей фармакопейной статьи 2.5.3.2. Лекарственные препараты для ингаляционного применения.

Лекарственные формы, представляющие собой порошки, таблетки, гранулы, лиофилизаты, концентраты, предназначенные для приготовления растворов, должны отвечать требованиям соответствующих общих фармакопейных статей: 2.5.1.24. Порошки, 2.5.1.34. Таблетки, 2.5.1.4. Гранулы, 2.5.1.14. Лиофилизаты, 2.5.1.12. Концентраты.

Описание. Растворы характеризуют, отмечая внешний вид (прозрачность, вязкость и др.), органолептические (цвет, запах) и другие свойства в соответствии с требованиями частной фармакопейной статьи и (или) нормативного документа по качеству.

Прозрачность. Испытание проводят для стерильных растворов, растворов для приема внутрь, растворов для местного применения в соответствии с общей фармакопейной статьей 2.1.2.1. Прозрачность и степень опалесценции жидкостей, для остальных растворов (при соответствующем указании в частной фармакопейной статье и (или) нормативном документе по качеству.

Цветность. Испытание проводят для стерильных растворов, растворов для приема внутрь, растворов для местного применения в соответствии с общей фармакопейной статьей 2.1.2.2. Окраска и интенсивность окраски жидкостей обязательно, для остальных растворов - при соответствующем указании в частной фармакопейной статье и (или) нормативном документе по качеству.

pH или Кислотность или щелочность. Испытание проводят для растворов, предназначенных для парентерального применения, для офтальмологического применения, для остальных растворов (водных, водно-спиртовых, спиртовых) - при соответствующем указании в частной фармакопейной статье и (или) нормативном документе по качеству.

Определение pH проводят потенциометрическим методом в соответствии с общей фармакопейной статьей 2.1.2.3. Потенциометрическое определение pH. Значение pH раствора указывают в частной фармакопейной статье и (или) нормативном документе по качеству.

При установлении пределов кислотности или щелочности растворов с помощью индикаторов используют растворы кислот или щелочей с концентрацией от 0,01 до 0,1 M.

Плотность или Относительная плотность. Испытание проводят для спиртовых растворов, содержащих этанол в концентрации выше 40% (об/об), и для других неводных растворов в соответствии с общей фармакопейной статьей 2.1.2.5. Относительная плотность и указаниями в частной фармакопейной статье и (или) нормативном документе по качеству.

Этанол. Испытание проводят для спиртовых растворов, содержащих этанол в концентрации ниже 40% (об/об) в соответствии с общей фармакопейной статьей 2.1.9.8. Содержание этанола и указаниями в частной фармакопейной статье или нормативном документе по качеству.

Вязкость. Испытание проводят для растворов высокомолекулярных соединений в соответствии с общей фармакопейной статьей 2.1.2.8. Вязкость и указаниями в частной фармакопейной статье или нормативном документе по качеству.

Кислотное и пероксидное число. Испытание проводят для растворов масляных в соответствии с общими фармакопейными статьями 2.1.5.1 Кислотное число и 2.1.5.5 Пероксидное число и указаниями в частной фармакопейной статье и (или) нормативном документе по качеству.

Однородность дозированных единиц. Испытание проводят для растворов в однодозовых упаковках, за исключением растворов для наружного применения, в соответствии с общей фармакопейной статьей 2.1.9.14. Однородность дозированных единиц.

Осмоляльность. Для лекарственных препаратов в виде растворов для инфузий определяют значение осмолярности и (или) осмоляльности в соответствии с общей фармакопейной статьей 2.1.2.32. Осмоляльность.

Видимые механические включения. Проводят испытание для растворов, предназначенных для парентерального применения, растворов, предназначенных для офтальмологического применения, растворов для орошения на видимые механические включения.

Невидимые механические включения. Испытание проводят для растворов для парентерального применения в соответствии с общей фармакопейной статьей 2.1.9.10. Механические включения: невидимые частицы.

Бактериальные эндотоксины или Пирогенность. Испытание проводят для растворов, предназначенных для парентерального применения, растворов для орошения в соответствии с общими фармакопейными статьями 2.1.6.8. Бактериальные эндотоксины или 2.1.6.2. Пирогенность и указаниями в частной фармакопейной статье и (или) нормативном документе по качеству.

Аномальная токсичность. Испытание проводят в соответствии с общей фармакопейной статьей 2.1.6.3. Аномальная токсичность для растворов для парентерального применения, полученных с использованием сырья природного происхождения; для инъекционных и инфузионных растворов в упаковках из полимерных материалов и в других случаях, при указании в частной фармакопейной статье и (или) нормативном документе по качеству. Испытание не проводят при наличии соответствующего обоснования.

Гистамин и (или) Депрессорные вещества. Испытания проводят в соответствии с общими фармакопейными статьями 2.1.6.4. Испытание на гистамин и 2.1.6.5. Испытание на депрессорные вещества для растворов для парентерального применения, предназначенных для внутрисосудистого введения и полученных из фармацевтических субстанций, которые могут обладать депрессорным действием.

Извлекаемый объем. Испытание проводят в соответствии с общей фармакопейной статьей 2.1.9.9. Испытание на извлекаемый объем парентеральных лекарственных препаратов для растворов, предназначенных для парентерального применения.

Для растворов, предназначенных для приема внутрь, испытание проводят в соответствии с общей фармакопейной статьей 2.1.9.16. Извлекаемый объем для жидких лекарственных форм для приема внутрь. Испытание не применяют для растворов в однодозовых упаковках, предназначенных для приема внутрь, если проводят испытание на однородность дозированных единиц.

Масса (объем) содержимого упаковки. Испытание проводят для всех растворов, за исключением растворов для парентерального применения, растворов для приема внутрь, в соответствии с общей фармакопейной статьей 2.1.9.17. Масса (объем) содержимого упаковки.

УПАКОВКА

Упаковка растворов может быть однодозовой и многодозовой.

Многодозовая упаковка растворов для приема внутрь может быть снабжена средством дозирования, представляющим собой мерную ложку, мерный стаканчик, мерный колпачок, шприцевой дозатор и др., для отмеривания предписанной дозы лекарственного препарата.

Упаковка растворов для вагинального, ректального, внутриматочного введения, а также, при необходимости, упаковка растворов для применения в полости рта, для применения в полости носа, для орошения и т.д., должна быть приспособлена для соответствующего введения или снабжена подходящей насадкой, аппликатором.

МАРКИРОВКА

Стерильные растворы должны иметь надпись "Стерильно". В случаях получения лекарственного препарата в асептических условиях без последующей стерилизации конечного продукта должна быть надпись "Приготовлено асептически".

Для инфузионных растворов должно быть указано теоретическое значение осмолярности (осмоляльности).

Маркировка растворов для орошения должны содержать дополнительные надписи:

- лекарственный препарат не должен использоваться для инъекций;

- лекарственный препарат должен быть использован однократно, любой неиспользованный остаток должен быть уничтожен.

205010026-2022

2.5.1.26. Резинки жевательные лекарственные

Резинки жевательные лекарственные - твердая дозированная лекарственная форма "резиноподобной" консистенции, предназначенная для жевания в течение определенного периода времени без последующего проглатывания с целью оказания местного действия в полости рта и глотке или системного действия.

Резинки жевательные лекарственные могут содержать одно или несколько действующих веществ.

Резинки жевательные лекарственные могут быть покрыты оболочкой.

ОСОБЕННОСТИ ТЕХНОЛОГИИ

Резинки жевательные лекарственные получают методом прессования порошка основы или плавления жевательной основы с последующим внесением в нее действующих и вспомогательных веществ и приданием полученной смеси необходимой формы. В установленных случаях резинки жевательные лекарственные могут быть покрыты оболочкой.

Жевательная основа состоит преимущественно из синтетических полимеров с добавлением воска, смол и карбоната кальция. В качестве вспомогательных веществ в жевательную основу добавляют пластификаторы, вкусовые добавки, подсластители, ароматизаторы, консерванты, красители и др.

При производстве лекарственных препаратов в виде лекарственной формы Резинки жевательные лекарственные должны быть приняты меры, обеспечивающие их микробиологическую чистоту.

ИСПЫТАНИЯ

Резинки жевательные лекарственные должны соответствовать общим требованиям общей фармакопейной статьи 2.5.1.1. Лекарственные формы и выдерживать следующие испытания, характерные для данной лекарственной формы.

Описание. Резинки жевательные лекарственные характеризуют, отмечая форму, цвет, запах (при наличии), размеры в миллиметрах, характер оболочки (при наличии) в соответствии с требованиями частной фармакопейной статьи или нормативного документа по качеству.

Однородность массы. Испытание проводят в соответствии с общей фармакопейной статьей 2.1.9.5. Однородность массы единицы дозированного лекарственного препарата. Испытание не применяют в случае, если предусмотрено испытание на однородность дозированных единиц для всех действующих веществ.

Потеря в массе при высушивании или Вода. Испытание проводят в соответствии с общими фармакопейными статьями: 2.1.2.31. Потеря в массе при высушивании или 2.1.5.12. Вода: определение полумикрометодом; 2.1.5.13. Вода: микроопределение. Если нет других указаний в частной фармакопейной статье или нормативном документе по качеству, содержание воды или потеря в массе при высушивании резинок жевательных лекарственных должно составлять не более 7,0%.

Растворение. Испытание проводят в соответствии с общей фармакопейной статьей 2.1.9.23. Испытание на растворение для резинок жевательных лекарственных согласно указаниям в частной фармакопейной статье или нормативном документе по качеству.

Однородность дозированных единиц. Резинки жевательные лекарственные должны выдерживать требования общей фармакопейной статьи 2.1.9.14. Однородность дозированных единиц. Если нет других указаний в частной фармакопейной статье или нормативном документе по качеству, испытание проводят так же, как для лекарственной формы Таблетки. Нормативные требования приводят в частной фармакопейной статье или нормативном документе по качеству.

205010027-2022

2.5.1.27. Салфетки лекарственные

Салфетки лекарственные - твердая лекарственная форма, представляющая собой материал в виде салфетки, содержащая одно или несколько действующих веществ, предназначенная для накладывания на раневую поверхность с целью оказания местного действия в течение продолжительного периода времени.

Салфетки лекарственные рассасывающиеся (биодеградируемые) - салфетки лекарственные, произведенные на основе биодеградируемых материалов. Салфетки лекарственные рассасывающиеся (биодеградируемые) не требуют удаления из места применения при завершении лечения, они рассасываются в ране или при имплантации в организм.

По типу высвобождения салфетки лекарственные относят к лекарственным формам с модифицированным, как правило, пролонгированным, высвобождением.

ОСОБЕННОСТИ ТЕХНОЛОГИИ

При производстве салфеток лекарственных активную фармацевтическую субстанцию (субстанции), как правило, иммобилизуют на носитель, представляющий собой тканый или нетканый природный или синтетический гипоаллергенный материал (например, трикотажное полотно, окисленная целлюлоза и др.), придают необходимую форму и размер.

Из места применения действующее вещество (вещества) из салфеток лекарственных должно высвободиться в течение определенного времени. Салфетки лекарственные рассасывающиеся должны полностью деградировать (рассасываться) в ране или тканях организма в установленные сроки, зависящие от свойств выбранного носителя, как правило, в течение до 30 сут.

При получении лекарственных препаратов в виде лекарственной формы Салфетки лекарственные должны быть приняты меры, обеспечивающие их стерильность.

ИСПЫТАНИЯ

Салфетки лекарственные должны соответствовать общим требованиям общей фармакопейной статьи 2.5.1.1. Лекарственные формы и выдерживать следующие испытания, характерные для данной лекарственной формы.

Описание. Салфетки лекарственные характеризуют, отмечая форму, цвет, запах (при наличии) в соответствии с требованиями частной фармакопейной статьи или нормативного документа по качеству.

Размеры. Определяют геометрические размеры (длину, ширину) салфеток лекарственных в сантиметрах, измерение проводят линейкой измерительной. Количество салфеток лекарственных для испытания и допустимые отклонения их геометрических размеров приводят в частной фармакопейной статье и (или) нормативном документе по качеству.

pH. Испытание проводят потенциометрически в соответствии с общей фармакопейной статьей 2.1.2.3. Потенциометрическое определение pH. Методику пробоподготовки образца лекарственного препарата для проведения испытания и нормативные требования приводят в частной фармакопейной статье и (или) нормативном документе по качеству.

Время растворения. Испытание проводят для салфеток лекарственных рассасывающихся (биодеградируемых). Методику определения, включающую условия растворения, время растворения и другие требования (при необходимости), приводят в частной фармакопейной статье и (или) нормативном документе по качеству.

Потеря в массе при высушивании. Испытание проводят при указании в частной фармакопейной статье и (или) нормативном документе по качеству в соответствии с общей фармакопейной статьей 2.1.2.31. Потеря в массе при высушивании. Методику определения и нормативные требования приводят в частной фармакопейной статье и (или) нормативном документе по качеству.

203010028-2022

2.5.1.28. Сиропы

Сиропы - жидкая лекарственная форма в виде водного раствора вязкой консистенции со сладким вкусом, содержащая сахарозу в концентрации не менее 45% (м/м) или ее заменители, предназначенная для приема внутрь.

Сиропы, как правило, являются гомогенными дисперсными системами, но также могут представлять собой гетерогенные (чаще всего суспензии) или комбинированные дисперсные системы.

ОСОБЕННОСТИ ТЕХНОЛОГИИ

Сиропы получают путем растворения в воде сахаров (сахарозы) или других сиропообразующих веществ (например, полиспиртов) при нагревании до температуры кипения. Обычно концентрация сахара или другой сиропообразующей субстанции в готовом сиропе составляет не менее 45% (м/м). Готовый сироп фильтруют.

Добавление активных фармацевтических субстанций, настоек, экстрактов, соков и т.д., а также вспомогательных веществ, производят после охлаждения сиропа до температуры (55 +/- 5) °C.

В качестве вспомогательных веществ при получении сиропов могут быть использованы антимикробные консерванты, для предотвращения кристаллизации сиропообразующего компонента и корректировки других показателей в сиропы могут быть введены различные полиспирты, поверхностно-активные вещества и другие вспомогательные вещества, разрешенные для приема внутрь.

Сиропы, в виде восстановленных лекарственных форм, могут быть также получены из гранул или порошков, предназначенных для приготовления сиропов путем растворения в соответствующем растворителе. При получении лекарственных препаратов в виде лекарственной формы Сиропы должны быть приняты меры, обеспечивающие их микробиологическую чистоту.

Сиропы могут выпускаться в однодозовой и многодозовой упаковке.

Многодозовая упаковка сиропов должна быть снабжена средством дозирования, представляющим собой мерную ложку, мерный стаканчик, мерный колпачок, шприцевой дозатор и др., для отмеривания предписанной дозы лекарственного препарата.

ИСПЫТАНИЯ

Сиропы должны соответствовать общим требованиям общей фармакопейной статьи 2.5.1.1. Лекарственные формы и выдерживать следующие испытания, характерные для данной лекарственной формы.

Порошки и гранулы, предназначенные для приготовления сиропов, должны соответствовать требованиям соответствующих общих фармакопейных статей: 2.5.1.24. Порошки или 2.5.1.4. Гранулы.

Описание. Сиропы, как правило, должны быть прозрачными, допускается наличие опалесценции, не допускается наличие признаков кристаллизации сиропообразующего компонента. Сиропы характеризуют, отмечая внешний вид с указанием прозрачности или опалесценции (при наличии) в соответствии с требованиями частной фармакопейной статьи или нормативного документа по качеству.

Плотность или Относительная плотность. Испытание проводят одним из методов в соответствии с общей фармакопейной статьей 2.1.2.5. Относительная плотность и требованиями, указанными в частной фармакопейной статье или нормативном документе по качеству.

pH. Испытание проводят, если указано в частной фармакопейной статье и (или) нормативном документе по качеству, потенциометрическим методом в соответствии с общей фармакопейной статьей 2.1.2.3. Потенциометрическое определение pH. Значение pH указывают в частной фармакопейной статье и (или) нормативном документе по качеству.

Однородность дозированных единиц. Испытание проводят для сиропов в однодозовых упаковках в соответствии с общей фармакопейной статьей 2.1.9.14. Однородность дозированных единиц.

Однородность массы доз. Испытание проводят для сиропов, выпускаемых в многодозовой упаковке, в соответствии с общей фармакопейной статьей 2.1.9.12. Однородность массы доз, отмеренных из многодозовой упаковки.

Извлекаемый объем. Испытание проводят в соответствии с общей фармакопейной статьей 2.1.9.16. Извлекаемый объем для жидких лекарственных форм для приема внутрь. Испытание не применяют для сиропов в однодозовых упаковках, если проводят испытание по показателю Однородность дозированных единиц.

УПАКОВКА

Упаковка сиропов может быть однодозовой и многодозовой.

Многодозовая упаковка сиропов должна быть снабжена средством дозирования, представляющим собой мерную ложку, мерный стаканчик, мерный колпачок, шприцевой дозатор и др., для отмеривания предписанной дозы лекарственного препарата.

205010029-2022

2.5.1.29. Системы терапевтические

Системы терапевтические - лекарственная форма, представляющая собой систему доставки и специфического высвобождения действующего вещества (веществ) в течение определенного, как правило, продолжительного периода времени. Высвобождение действующего вещества (веществ) из системы терапевтической осуществляется запрограммированным образом.

Настоящая общая фармакопейная статья не распространяется на системы терапевтические для ветеринарного применения.

Термин "система терапевтическая" для обозначения лекарственной формы допускается использовать только в том случае, если для обозначения лекарственной формы с действием, аналогичным системам терапевтическим, не применимы другие, более подходящие термины, например, пленки, имплантаты, трансдермальные пластыри и др.

Для правильного использования лекарственной формы в названии системы терапевтической обязательно должен быть указан способ введения.

Система вагинальная терапевтическая - система, предназначенная для введения и высвобождения действующего вещества во влагалище.

Система внутриматочная терапевтическая - система, предназначенная для введения и высвобождения действующего вещества в полости матки.

Различают системы терапевтические, оказывающие общее (системное) действие на организм человека, и системы терапевтические с направленной доставкой действующего вещества к заданному органу (ткани) - мишени.

Система терапевтическая может иметь устройство доставки. Если в маркировке системы терапевтической не указано иное, то устройство доставки должно быть удалено после использования.

Обозначение дозировки действующих веществ в системе терапевтической может быть указано как количество действующего вещества, высвобождаемого из лекарственной формы за определенный период времени, например, 20 мкг/24 часа, или как концентрация в названии лекарственного препарата, например, в процентах.

ОСОБЕННОСТИ ТЕХНОЛОГИИ

Основными компонентами систем терапевтических являются резервуар для лекарственного препарата и мембрана (мембраны), обеспечивающая, в том числе, запрограммированную (контролируемую) скорость высвобождения действующего вещества в течение определенного времени. Устройства доставки лекарственной формы к месту применения могут иметь различную форму, определяющую внешний вид системы.

При производстве систем терапевтических в качестве вспомогательных веществ используют биосовместимые полимерные материалы, в которые вводят активную фармацевтическую субстанцию (субстанции). Введение в лекарственную форму активной фармацевтической субстанции на полимерном носителе при применении лекарственного препарата должно обеспечить пролонгирование его действия, контролируемое высвобождение действующего вещества из полимерной основы в заданном интервале времени и другие необходимые биофармацевтические параметры. Активные фармацевтические субстанции и вспомогательные вещества, устройство доставки, материал упаковки должны быть совместимы между собой и с другими компонентами лекарственного препарата. В качестве полимерного материала-носителя используется, например, полидиметилсилоксановый эластомер и др.

При получении лекарственных препаратов в виде лекарственной формы Системы терапевтические должны быть приняты меры, обеспечивающие их микробиологическую чистоту, в установленных случаях должны быть приняты меры, обеспечивающие их стерильность.

ИСПЫТАНИЯ

Системы терапевтические должны соответствовать общим требованиям общей фармакопейной статьи 2.5.1.1. Лекарственные формы и выдерживать испытания, характерные для данной лекарственной формы.

Описание. Системы терапевтические характеризуют, отмечая внешний вид, включая описание устройства доставки, в соответствии с частной фармакопейной статьей и нормативным документом по качеству.

Растворение. Испытание проводят в соответствии с методикой и требованиями, указанными в частной фармакопейной статье или нормативном документе по качеству. Определяют количество действующего вещества, которое должно высвободиться из системы терапевтической в среду растворения за определенный промежуток времени.

Прочность. Испытание проводят, если указано в частной фармакопейной статье или нормативном документе по качеству, в соответствии с методикой и требованиями частной фармакопейной статьи или нормативного документа по качеству.

205010030-2022

2.5.1.30. Соки

Соки - жидкая лекарственная форма, представляющая собой выжатый сок, полученный из свежего лекарственного растительного сырья с добавлением активных фармацевтических субстанций и (или) вспомогательных веществ.

Соки подразделяют на простые, полученные из одного вида лекарственного растительного сырья, и сложные (комплексные) - из смеси двух и более видов лекарственного растительного сырья.

Лекарственные препараты в лекарственной форме Соки могут быть предназначены для приема внутрь, для наружного применения или для местного применения. Кроме того, соки могут быть использованы в качестве активных фармацевтических субстанций в составе других лекарственных препаратов, представляющих собой, например, жидкие лекарственные формы, включая капли для приема внутрь, а также мази, таблетки и др.

ОСОБЕННОСТИ ТЕХНОЛОГИИ

Для получения соков используют свежее лекарственное растительное сырье, как правило, с высоким содержанием воды. Качество используемого свежего лекарственного растительного сырья должно отвечать требованиям соответствующей частной фармакопейной статьи или нормативного документа по качеству.

Соки получают методом прессования предварительно измельченного свежего лекарственного растительного сырья. Для повышения выхода сока применяют повторное измельчение и прессование сырья, предварительную мацерацию измельченного лекарственного растительного сырья соответствующими экстрагентами перед прессованием, а также другие подходящие методы.

Полученную жидкость - выжатый сок, обрабатывают с использованием методов, обеспечивающих удаление балластных веществ: с добавлением Этанола, нагреванием при определенной температуре или другими методами.

После обработки сок подвергают очистке, выдерживая при определенной температуре в течение установленного времени для осаждения оставшихся балластных веществ, которые затем отделяют фильтрованием или центрифугированием.

В качестве вспомогательных веществ могут быть использованы антимикробные консерванты, стабилизаторы, антиоксиданты и другие вещества, разрешенные к медицинскому применению.

При получении лекарственных препаратов в виде лекарственной формы Соки должны быть приняты меры, обеспечивающие их микробиологическую чистоту; при получении стерильных соков, например, предназначенных для нанесения на раны, должны быть приняты меры, обеспечивающие их стерильность.

ИСПЫТАНИЯ

Соки должны соответствовать общим требованиям общей фармакопейной статьи 2.5.1.1. Лекарственные фермы и выдерживать следующие испытания, характерные для данной лекарственной формы.

Описание. Соки, как правило, представляют собой прозрачную жидкость, или жидкость с опалесценцией или взвесью. В ряде случаев, особенно в процессе хранения, возможно образование незначительного осадка. Соки характеризуют, отмечая внешний вид (с указанием прозрачности или опалесценции), органолептические (цвет, запах) и другие свойства в соответствии с требованиями частной фармакопейной статьи и (или) нормативного документа по качеству.

Плотность или Относительная плотность. Испытание проводят, если указано в частной фармакопейной статье или нормативном документе по качеству, в соответствии с общей фармакопейной статьей 2.1.2.5. Относительная плотность и требованиями, указанными в частной фармакопейной статье или нормативном документе по качеству.

Этанол. Испытание проводят для соков, при производстве которых используют этанол. Определение проводят одним из методов в соответствии с общей фармакопейной статьей 2.1.9.8. Содержание этанола и требованиями по содержанию этанола, указанными в частной фармакопейной статье или нормативном документе по качеству.

Сухой остаток. 5,0 мл сока помещают в предварительно высушенный при температуре (100 - 105) °C до постоянной массы бюкс, выпаривают на водяной бане досуха, сушат в сушильном шкафу в течение 3 ч при температуре (100 - 105) °C, охлаждают в эксикаторе (над безводным силикагелем P, кальция хлоридом безводным P или другим подходящим осушителем) в течение 30 мин и взвешивают. Результат выражают в массо-объемных процентах. Содержание сухого остатка должно соответствовать требованиям, указанным в частной фармакопейной статье или нормативном документе по качеству.

pH. Испытание проводят потенциометрическим методом в соответствии с общей фармакопейной статьей 2.1.2.3. Потенциометрическое определение pH и требованиями, указанными в частной фармакопейной статье или нормативном документе по качеству.

Тяжелые металлы. К 1 мл сока прибавляют 1 мл серной кислоты концентрированной P, осторожно сжигают и прокаливают при температуре 600 °C. К полученному остатку прибавляют при нагревании 5 мл 615 г/л раствора аммония ацетата P, фильтруют через беззольный фильтр, промывают 5 мл воды P и доводят фильтрат водой P до объема 100 мл.

12 мл полученного раствора должны выдерживать испытания на тяжелые металлы в соответствии с общей фармакопейной статьей 2.1.4.8 Тяжелые металлы, метод А, с использованием раствора натрия сульфида P1 и стандартного раствора свинца ионов (1 ppm Pb2+) P).

При отсутствии других указаний в частной фармакопейной статье или нормативном документе по качеству допустимое содержание тяжелых металлов должно быть не более 0,01% (не более 100 ppm).

Извлекаемый объем. Для соков, предназначенных для приема внутрь, испытание проводят в соответствии с общей фармакопейной статьей 2.1.9.16. Извлекаемый объем для жидких лекарственных форм для приема внутрь. Испытание не проводят для соков в однодозовых упаковках, если в частной фармакопейной статье или нормативном документе по качеству включено испытание на однородность дозированных единиц.

Масса (объем) содержимого упаковки. Для соков, предназначенных для наружного и местного применения, проводят испытание в соответствии с общей фармакопейной статьей 2.1.9.17. Масса (объем) содержимого упаковки.

205010031-2022

2.5.1.31. Спреи

Спреи - лекарственная форма, представляющая собой раствор, эмульсию или суспензию, высвобождение действующих веществ которых происходит за счет давления воздуха, создаваемого с помощью механического распылителя насосного типа или при сжатии полимерной упаковки, обеспечивающей высвобождение содержимого в виде дисперсии твердых или жидких частиц в воздухе, размер которых соответствует пути введения.

По сравнению с аэрозолями спреи не содержат пропеллента и являются более грубодисперсной системой.

Спреи представляют собой однофазные (жидкость) или двухфазные (жидкость и твердое вещество или жидкость) системы.

В зависимости от пути введения и способа применения различают спреи для наружного применения, для местного применения, трансдермальные. Спреи для местного применения могут быть для применения в полости рта, назальные, ушные. К спреям для применения в полости рта относят спреи для нанесения на слизистую оболочку полости рта, подъязычные.

Спреи могут быть дозированными и недозированными.

Спрей трансдермальный - спрей, предназначенный для контролируемой доставки действующего вещества в системный кровоток путем пассивной диффузии через неповрежденную кожу.

Спрей подъязычный дозированный - спрей, предназначенный для нанесения под язык с целью оказания системного действия, выпускаемый в упаковке с дозирующим устройством.

Упаковка спреев может быть однодозовой и многодозовой.

ОСОБЕННОСТИ ТЕХНОЛОГИИ

Вспомогательные вещества, входящие в состав спреев, должны быть разрешены к медицинскому применению, должны обеспечивать оптимальные технологические характеристики лекарственной формы, быть совместимы с другими компонентами лекарственной формы и материалом упаковки.

В качестве вспомогательных веществ, используемых при производстве спреев, используют растворители, поверхностно-активные вещества, пленкообразователи, корригенты вкуса и запаха, антимикробные консерванты, антиоксиданты.

Спреи могут быть получены путем растворения/диспергирования в соответствующем растворителе лиофилизатов или порошков, предназначенных для получения спреев.

Упаковка недозированных спреев должна быть снабжена средством доставки лекарственного препарата - распылительным устройством непрерывного действия; упаковка дозированных спреев - дозирующим распылительным устройством. Распылительное устройство должно регулировать высвобождение содержимого упаковки во время использования: скорость и полноту высвобождения, размер частиц дисперсии, однородность дозирования. Материалы, используемые в производстве упаковки спреев, а также распылительных и дозирующих устройств, должны быть инертны по отношению к содержимому упаковки.

При получении лекарственных препаратов в виде лекарственной формы Спреи должны быть приняты меры, обеспечивающие их микробиологическую чистоту; в установленных случаях, при получении стерильных Спреев, должны быть приняты меры, обеспечивающие их стерильность.

ИСПЫТАНИЯ

Спреи должны соответствовать общим требованиям общей фармакопейной статьи 2.5.1.1. Лекарственные формы и выдерживать следующие испытания, характерные для данной лекарственной формы.

Лекарственные формы, представляющие собой порошки и лиофилизаты, предназначенные для получения лекарственных препаратов в виде лекарственной формы Спрей, должны выдерживать требования общих фармакопейных статей: 2.5.1.24. Порошки и 2.5.1.14. Лиофилизаты соответственно.

Описание. При высвобождении из упаковки спреи образуют жидкость, представляющую собой раствор, суспензию или эмульсию. Спреи характеризуют, отмечая внешний вид, органолептические (цвет, запах) и другие свойства жидкости в соответствии с требованиями частной фармакопейной статьи и (или) нормативного документа по качеству.

Для спреев, представляющих собой эмульсии и суспензии, может наблюдаться расслаивание, но они должны легко реэмульгироваться и ресуспендироваться при встряхивании для обеспечения равномерного распределения активной фармацевтической субстанции в дисперсионной среде.

Выход содержимого упаковки. Испытание проводят для недозированных спреев в соответствии с общей фармакопейной статьей 2.1.9.18. Определение выхода содержимого упаковки для недозированных аэрозолей, пен и спреев.

Однородность массы доставляемых (высвобождаемых) доз. Испытание проводят для дозированных спреев, представляющих собой растворы.

Контроль показателя должен проводиться не только для доз, высвобождаемых из 1 упаковки, но и для доз, полученных из разных упаковок. Процедура отбора доз должна включать в себя отбор доз в начале, в середине и в конце использования препарата.

При отсутствии других указаний в частной фармакопейной статье и (или) нормативном документе по качеству, отбор доз для испытания из 10 упаковок спреев проводят следующим образом: из 3 упаковок необходимое количество доз высвобождают в начале, из 4 упаковок - в середине, из 3 упаковок - в конце использования лекарственного препарата.

Методика определения однородности массы доставляемых (высвобождаемых) доз для 1 упаковки. Высвобождают 1 дозу и отбрасывают ее. Спустя не менее 5 с встряхивают упаковку в течение 5 с, снова высвобождают и отбрасывают 1 дозу. Повторяют указанную процедуру еще 3 раза, если иначе не указано в частной фармакопейной статье и (или) нормативном документе по качеству. Взвешивают упаковку. Встряхивают упаковку в течение 5 с, высвобождают и отбрасывают 1 дозу, снова взвешивают упаковку. По разности вычисляют массу высвободившейся дозы.

Испытание повторяют еще для 9 доз, указанных в частной фармакопейной статье и (или) нормативном документе по качеству. Используя данные, полученные при определении однородности массы доставляемых (высвобождаемых) доз, рассчитывают среднюю массу дозы (mср) и отклонения индивидуальных значений от средней массы дозы.

Лекарственный препарат считают выдержавшим испытание, если не более 1 из 10 индивидуальных масс отклоняется от средней массы на величину, превышающую 25%, при этом не более чем на 35%. Если 2 или 3 результата выпадают из пределов 75 - 125%, испытание повторяют с 20 другими дозами. Не более 3 из 30 значений могут выходить за пределы 75 - 125%, и все значения должны быть в пределах от 65% до 135%.

При отсутствии других указаний в частной фармакопейной статье или нормативном документе по качеству, средняя масса одной дозы должна быть в пределах от 85% до 115% от заявленной массы дозы.

Однородность доставляемых (высвобождаемых) доз. (Однородность дозирования). Испытание проводят для дозированных спреев, представляющих собой эмульсии или суспензии.

Контроль данного показателя должен проводиться не только для доз, высвобождаемых из 1 упаковки, но и для доз, полученных из разных упаковок. Процедура отбора доз должна включать в себя отбор доз в начале, в середине и в конце использования препарата.

При отсутствии других указаний в частной фармакопейной статье и (или) нормативном документе по качеству, отбор доз для испытания из 10 упаковок спреев проводят следующим образом: из 3 упаковок необходимое количество доз высвобождают в начале, из 4 упаковок - в середине, из 3 упаковок - в конце использования лекарственного препарата.

Методика определения однородности доставляемых (высвобождаемых) доз (Однородности дозирования) для 1 упаковки. Испытание проводят с использованием аппарата или установки, способных к количественному удерживанию дозы, выпущенной из распылительного устройства. Встряхивают упаковку в течение 5 с, высвобождают и отбрасывают 1 дозу. Спустя не менее 5 с снова встряхивают упаковку в течение 5 с, высвобождают и отбрасывают 1 дозу. Повторяют указанную процедуру еще 3 раза, если иначе не указано в частной фармакопейной статье или нормативном документе по качеству. Через 5 с выпускают 1 дозу в приемник аппарата. Содержимое приемника собирают путем последовательных промываний и определяют содержание действующего вещества в объединенных промывных водах.

Испытание повторяют еще для 9 доз, указанных в частной фармакопейной статье и (или) нормативном документе по качеству.

Определяют среднюю доставляемую дозу (среднее значение содержания действующего вещества в 1 доставляемой дозе лекарственного препарата) и отклонения индивидуальных значений от средней доставляемой дозы. Допустимые отклонения должны быть от 85% до 115% от значения, указанного на этикетке.

Лекарственный препарат выдерживает испытание, если 9 из 10 результатов находятся в пределах от 75% до 125% от среднего значения, а все результаты находятся в пределах от 65% до 135%. Если 2 или 3 результата выпадают из пределов 75 - 125%, испытание повторяют с 20 другими дозами. Не более 3 из 30 значений могут выходить за пределы 75 - 125%, и все значения должны быть в пределах от 65% до 135%.

Для спреев, содержащих несколько действующих веществ, испытание на однородность дозирования должно быть выполнено для каждого вещества.

Однородность дозированных единиц. Испытание проводят для спреев в однодозовой упаковке в соответствии с общей фармакопейной статьей 2.1.9.14. Однородность дозированных единиц и требованиями, указанными в частной фармакопейной статье или нормативном документе по качеству.

Количество высвобождений из упаковки (количество доз в упаковке). Испытание проводят для дозированных спреев в многодозовой упаковке одним из указанных методов.

Метод 1. Выпускают содержимое 1 упаковки, высвобождая дозы с интервалом не менее 5 с. Регистрируют количество высвобожденных доз.

Допускается проводить испытание одновременно с определением показателя Однородность массы доставляемых (высвобождаемых) доз/Однородность доставляемых (высвобождаемых) доз (Однородность дозирования).

Метод 2. Упаковку взвешивают вместе с распылителем или насадкой с точностью до 0,01 г (). Нажимая на распылитель или насадку, из упаковки выпускают все содержимое и снова взвешивают упаковку вместе с распылителем или насадкой с точностью до 0,01 г ().

Среднее количество доз () в 1 упаковке вычисляют по формуле:

,

где: - средняя масса 1 дозы, рассчитанная при определении показателя Однородность массы доставляемых (высвобождаемых) доз в граммах.

Полученное в результате испытания количество доз должно быть не менее указанного на этикетке.

Размер частиц. Испытание проводят для спреев, представляющих собой суспензию действующих веществ. Методика определения и требования к размеру частиц должны быть указаны в частной фармакопейной статье и (или) нормативном документе по качеству.

pH. Испытание проводят, если указано в частной фармакопейной статье и (или) нормативном документе по качеству, в соответствии с общей фармакопейной статьей 2.1.2.3. Потенциометрическое определение pH. Значение pH указывают в частной фармакопейной статье и (или) нормативном документе по качеству.

205010032-2022

2.5.1.32. Суппозитории и палочки

Суппозитории - твердая дозированная лекарственная форма, предназначенная для введения в полость тела и расплавляющаяся (растворяющаяся, распадающаяся) при температуре тела.

Палочки - твердая дозированная лекарственная форма конической или цилиндрической формы, предназначенная для введения в естественные или патологические полости организма, способная расплавляться или растворяться при температуре тела.

Суппозитории и палочки могут содержать одно или более активных фармацевтических субстанций, растворенных или диспергированных в подходящей основе.

В зависимости от свойств активной фармацевтической субстанции (растворимой или нерастворимой в основе) суппозитории и палочки могут быть гомогенными, гетерогенными или комбинированными.

В зависимости от пути введения различают суппозитории ректальные и вагинальные, а также суппозитории внутриматочные, которые предназначены только для ветеринарного применения. Масса и размеры суппозиториев должны соответствовать пути их введения.

Суппозитории ректальные - суппозитории, предназначенные для введения в прямую кишку с целью оказания местного или системного действия.

Суппозитории ректальные, предназначенные для медицинского применения, обычно имеют коническую или торпедообразную форму. Масса одного суппозитория ректального должна находиться в пределах от 1 г до 4 г. Если масса не указана, то изготавливают суппозитории ректальные массой 3 г. Масса суппозитория ректального для детей должна быть от 0,5 г до 1,5 г. Максимальный диаметр суппозитория ректального не должен превышать 1,5 см.

Суппозитории вагинальные - суппозитории, предназначенные для введения во влагалище с целью оказания местного действия.

Суппозитории вагинальные для медицинского применения в основном имеют шарообразную, яйцевидную форму или вид плоского тела с закругленным концом (форму пессария). Масса одного суппозитория вагинального должна находиться в пределах от 1,5 г до 6 г. Если масса не указана, то суппозитории вагинальные изготавливают массой 4 г.

Суппозитории внутриматочные - суппозитории, предназначенные для непосредственного введения в матку животного с целью оказания местного действия.

Палочки могут быть предназначены для медицинского и для ветеринарного применения. В зависимости от пути введения различают палочки дентальные, назальные, периодонтальные, уретральные, ушные, а также палочки внутриматочные, которые предназначены только для ветеринарного применения.

Палочки дентальные - палочки, предназначенные для помещения в зубной канал с целью оказания местного действия.

Палочки назальные - палочки, предназначенные для помещения в полость носа с целью оказания местного действия.

Палочки периодонтальные - палочки, предназначенные для помещения в карман между зубом и десной.

Палочки уретральные - стерильные палочки, предназначенные для введения в мочеиспускательный канал.

Палочки ушные - палочки, предназначенные для введения в наружный слуховой проход.

Палочки внутриматочные - палочки, предназначенные для непосредственного введения в матку животного с целью оказания местного действия.

Палочки для медицинского применения, как правило, имеют форму цилиндра с заостренным концом и диаметром не более 0,2 - 0,5 см. Масса палочки должна быть от 0,5 г до 1 г.

ОСОБЕННОСТИ ТЕХНОЛОГИИ

В промышленных условиях суппозитории и палочки могут быть получены методом выливания расплавленной массы в формы или методом прессования.

В аптечных организациях суппозитории и палочки изготавливают методом ручного формования или выливания.

Основы, используемые при производстве суппозиториев и палочек, подразделяются на липофильные, гидрофильные и дифильные.

Производство суппозиториев и палочек методом выливания расплавленной массы в формы проводится по следующей схеме: приготовление основы, подготовка действующих веществ, введение в основу действующих веществ и гомогенизация, формование и упаковка.

Активные фармацевтические субстанции, при необходимости измельченные и просеянные, вводят непосредственно в основу в виде водного раствора или раствора в другом подходящем гидрофильном растворителе (для гидрофильных веществ), в виде раствора в жирах или липофильных растворителях (для липофильных веществ) или суспензий растертых порошков в основах (нерастворимые в воде и жирах).

Термолабильные вещества вводят в основу перед гомогенизацией и формованием при минимально возможной температуре основы, необходимой для сохранения качества веществ и структурных свойств основы.

Метод прессования для производства суппозиториев и палочек используется реже. Его преимуществами являются возможность избежать деструкции термолабильных действующих веществ, отсутствие седиментации действующего вещества и предотвращение его несовместимости с расплавленной суппозиторной основой.

В состав суппозиториев и палочек могут входить различные группы разрешенных для медицинского применения вспомогательных веществ: эмульгаторы, антимикробные консерванты, антиоксиданты, стабилизаторы и другие.

При получении лекарственных препаратов в виде лекарственной формы Суппозитории или Палочки должны быть приняты меры, обеспечивающие их микробиологическую чистоту, в установленных случаях, например, при получении палочек, вводимых в уретру и раны, а также других стерильных палочек, должны быть приняты меры, обеспечивающие их стерильность.

ИСПЫТАНИЯ

Суппозитории и палочки должны соответствовать общим требованиям общей фармакопейной статьи 2.5.1.1. Лекарственные формы и выдерживать следующие испытания, характерные для данной лекарственной формы.

Описание. Суппозитории и палочки характеризуют, отмечая внешний вид (форму, размеры и др.), органолептические (цвет, запах) и другие свойства в соответствии с требованиями частной фармакопейной статьи и (или) нормативного документа по качеству.

Суппозитории или палочки должны иметь одинаковую форму, однородную суппозиторную массу, обладать твердостью, обеспечивающей удобство применения. Однородность суппозиторной массы определяют визуально: на срезе суппозитория или палочки не должно быть вкраплений. На продольном срезе суппозиториев допускается наличие воздушного стержня или воронкообразного углубления. В отдельных случаях допускается наличие вкраплений на срезе, что должно быть указано в частной фармакопейной статье и (или) нормативном документе по качеству.

Размер частиц. Испытание проводят в соответствии с общей фармакопейной статьей 2.1.9.13. Оптическая микроскопия для суппозиториев и палочек, в основу которых активные фармацевтические субстанции введены в виде суспензии.

Методика определения, включая пробоподготовку, а также нормативные требования к размеру частиц указывают в частной фармакопейной статье и (или) нормативном документе по качеству. Размер частиц не должен превышать 100 мкм, если другое не указано в частной фармакопейной статье и (или) нормативном документе по качеству.

Однородность массы. Испытание проводят в соответствии с общей фармакопейной статьей 2.1.9.5. Однородность массы единицы дозированного лекарственного препарата.

Испытание не применяют, если предусмотрено испытание по показателю Однородность дозированных единиц (общая фармакопейная статья 2.1.9.14) для всех действующих веществ.

Растворение. Испытание проводят, если указано в частной фармакопейной статье и (или) нормативном документе по качеству:

- для суппозиториев и палочек на гидрофильной основе - в соответствии с общей фармакопейной статьей 2.1.9.3. Испытание на растворение для твердых дозированных лекарственных форм;

- для суппозиториев и палочек на липофильной основе - в соответствии с общей фармакопейной статьей 2.1.9.15. Испытание на растворение для лекарственных форм на липофильной основе.

Условия проведения испытания должны быть указаны в частной фармакопейной статье и (или) нормативном документе по качеству.

Распадаемость. Испытание проводят, если указано в частной фармакопейной статье или нормативном документе по качеству, в соответствии с общей фармакопейной статьей 2.1.9.2. Распадаемость суппозиториев и вагинальных таблеток, ректальных и вагинальных капсул. Если не указано другое в частной фармакопейной статье и (или) нормативном документе по качеству, то суппозитории и палочки на липофильной основе должны распадаться в течение не более чем через 30 мин; суппозитории и палочки на гидрофильной основе - не более чем через 60 мин.

Испытание не применяют, если предусмотрено испытание по показателю Растворение.

Испытание не применяют, если для суппозиториев и палочек на липофильной основе, предусмотрены испытания по показателям Температура плавления или Время полной деформации.

Температура плавления. Время полной деформации. Для суппозиториев и палочек на липофильной основе проводят испытание по показателям Температура плавления или Время полной деформации.

Испытание по показателю Температура плавления проводят в соответствии с общей фармакопейной статьей 2.1.2.15. Температура плавления - открытый капиллярный метод. Температура плавления не должна превышать 37 °C, если нет других указаний в частной фармакопейной статье и (или) нормативном документе по качеству.

Испытание по показателю Время полной деформации проводят в соответствии с общей фармакопейной статьей 2.1.9.11. Определение времени полной деформации суппозиториев на липофильной основе. Время полной деформации не должно превышать 15 мин, если нет других указаний в частной фармакопейной статье и (или) нормативном документе по качеству.

Однородность дозированных единиц. Испытание проводят в соответствии с общей фармакопейной статьей 2.1.9.14. Однородность дозированных единиц.

ХРАНЕНИЕ

В защищенном от света месте при температуре от 8 °C до 15 °C, если нет других указаний в частной фармакопейной статье или нормативном документе по качеству.

205010033-2022

2.5.1.33. Суспензии

Суспензии - жидкая лекарственная форма, представляющая собой гетерогенную дисперсную систему, содержащую одно или несколько твердых действующих веществ, распределенных в жидкой дисперсионной среде.

Суспензия, содержащая диспергированные частицы размером менее 1 мкм, представляет собой микрогетерогенную дисперсную систему.

В зависимости от пути введения и способа применения различают суспензии для приема внутрь, для наружного применения, для местного применения, вагинальные, ректальные, зубные, для слизистой оболочки полости рта, для ингаляций, для имплантации, для гастроэнтерального введения, для эндосинусиального введения, для эндотрахеального введения, для парентерального применения, для применения в форме глазных капель, а также внутриматочные и интрацистернальные, которые предназначены только для ветеринарного применения.

Суспензии для эндосинусиального введения - стерильные суспензии, предназначенные для введения в синусы (пазухи) полости носа.

Суспензии для эндотрахеального введения - стерильные суспензии, предназначенные для введения в трахею и (или) бронхиолы путем инстилляции.

Суспензии для имплантации - стерильные суспензии, предназначенные для имплантации с целью оказания системного действия в течение продолжительного периода времени.

ОСОБЕННОСТИ ТЕХНОЛОГИИ

Суспензии могут быть получены диспергированием твердой дисперсной фазы, содержащей нерастворимую, предварительно измельченную, активную фармацевтическую субстанцию (субстанции), с жидкой дисперсионной средой или другими методами.

Дисперсионной средой может быть вода, глицерин, растительные жирные масла и др. В качестве вспомогательных веществ в суспензиях могут быть использованы буферные растворы, стабилизаторы (вещества, повышающие вязкость дисперсионной среды, поверхностно-активные вещества и др.), корригенты, консерванты, антиоксиданты, красители и другие вещества, разрешенные к медицинскому применению.

Суспензии могут быть выпущены готовыми к применению или быть приготовленными непосредственно перед применением в виде восстановленных лекарственных форм из порошков, гранул, таблеток или лиофилизатов, предназначенных для приготовления суспензии путем диспергирования в соответствующем растворителе.

Суспензии для приема внутрь также могут быть получены из гелей или паст, предназначенных для приготовления суспензий для приема внутрь путем диспергирования мягких лекарственных форм (гелей, паст) в соответствующих растворителях.

Кроме того, суспензии в виде разбавленной лекарственной формы могут быть приготовлены из концентратов, предназначенных для получения суспензии после разведения в соответствующем растворителе до требуемой концентрации.

При получении лекарственных препаратов в виде лекарственной формы Суспензии должны быть приняты меры, обеспечивающие их микробиологическую чистоту, в установленных случаях, например, при производстве суспензий для парентерального применения, суспензий для применения в форме капель глазных и др., должны быть приняты меры, обеспечивающие их стерильность.

ИСПЫТАНИЯ

Суспензии должны соответствовать общей фармакопейной статье 2.5.1.1. Лекарственные формы и выдерживать следующие испытания, характерные для данной лекарственной формы.

Лекарственные препараты, выпускаемые в виде лекарственной формы Суспензия, предназначенной для парентерального применения, должны соответствовать общей фармакопейной статье 2.5.3.4. Лекарственные препараты для парентерального применения.

Лекарственные препараты, выпускаемые в виде лекарственной формы Капли глазные, представляющей собой суспензию, должны соответствовать общей фармакопейной статье 2.5.3.3. Лекарственные препараты для офтальмологического применения.

Лекарственные препараты, выпускаемые в виде лекарственной формы Суспензия, предназначенной для ингаляционного применения, должны соответствовать общей фармакопейной статье 2.5.3.2. Лекарственные препараты для ингаляционного применения.

Лекарственные формы, представляющие собой порошки, таблетки, гранулы, лиофилизаты, концентраты, гели, пасты, предназначенные для приготовления суспензий, должны отвечать соответствующим общим фармакопейным статьям: 2.5.1.24. Порошки, 2.5.1.34. Таблетки, 2.5.1.4. Гранулы, 2.5.1.14. Лиофилизаты, 2.5.1.12. Концентраты, 2.5.1.40. Мягкие лекарственные формы.

Описание. Суспензии характеризуют, отмечая внешний вид, органолептические (цвет, запах) и другие свойства в соответствии с требованиями частной фармакопейной статьи и (или) нормативной документации по качеству. После встряхивания суспензия должна представлять собой жидкость с однородно распределенными в ней частицами.

pH. Испытание проводят, если указано в частной фармакопейной статье и (или) нормативном документе по качеству. Определение проводят в соответствии с общей фармакопейной статьей 2.1.2.3. Потенциометрическое определение pH. Значение pH указывают в частной фармакопейной статье и (или) нормативном документе по качеству.

Размер частиц. При отсутствии другого обоснования, испытание проводят в соответствии с общей фармакопейной статьей 2.1.9.25. Определение размера частиц в суспензиях, эмульсиях, мягких лекарственных формах.

Проходимость через иглу. Испытание проводят для суспензий, предназначенных для парентерального применения в соответствии с методикой, указанной в частной фармакопейной статье и (или) нормативном документе по качеству. Если не указано другое в частной фармакопейной статье и (или) нормативном документе по качеству, суспензия должна свободно проходить в шприц через иглу 0,8 мм x 40 мм.

Седиментационная устойчивость. Испытание проводят по следующей методике. Лекарственный препарат тщательно взбалтывают и переносят из флакона (или другой упаковки, указанной в частной фармакопейной статье и (или) нормативном документе по качеству) в мерный цилиндр или стеклянную пробирку. Флакон (или другую соответствующую упаковку) также осматривают. Для осмотра полимерного флакона его разрезают на части. На дне и стенках флакона (упаковки) не должно наблюдаться агрегатов и агломератов частиц дисперсной фазы.

Для суспензий, предназначенных для парентерального применения и для приема внутрь, время ресуспендирования должно быть не более 1 мин, для суспензий, предназначенных для применения в форме капель глазных рекомендуемое время ресуспендирования - не более 30 с.

Не должно наблюдаться признаков седиментации и образования агрегатов и агломератов в течение времени, необходимого для осуществления приема (введения) лекарственного препарата. Как правило, для суспензий, предназначенных для парентерального применения, для приема внутрь, для применения в форме капель глазных, оно должно быть не менее 2 мин.

Испытание не применяют для восстановленных суспензий для приема внутрь в однодозовых упаковках.

Вязкость. При отсутствии другого обоснования, если в состав лекарственного препарата входят вещества, увеличивающие вязкость суспензии, испытание проводят в соответствии с общей фармакопейной статьей 2.1.2.10. Метод ротационной вискозиметрии и требованиями, указанными в частной фармакопейной статье и (или) нормативном документе по качеству.

Однородность дозированных единиц. Испытание проводят для суспензий в однодозовых упаковках, за исключением суспензий для наружного и местного применения, в соответствии с общей фармакопейной статьей 2.1.9.14. Однородность дозированных единиц.

Однородность массы доз. Испытание проводят для суспензий для приема внутрь в многодозовых упаковках в соответствии с общей фармакопейной статьей 2.1.9.12. Однородность массы доз, отмеренных из многодозовой упаковки.

Извлекаемый объем. Испытание проводят для суспензий для приема внутрь в соответствии с общей фармакопейной статьей 2.1.9.16. Извлекаемый объем для жидких лекарственных форм для приема внутрь.

Испытание не применяют для суспензий в однодозовых упаковках, если проводят испытание по показателю Однородность дозированных единиц.

Масса (объем) содержимого упаковки. Испытание проводят для всех суспензий, за исключением суспензий для приема внутрь, в соответствии с общей фармакопейной статьей 2.1.9.17. Масса (объем) содержимого упаковки.

205010034-2022

2.5.1.34. Таблетки

Таблетки - твердая дозированная лекарственная форма, содержащая одно или более действующих веществ с добавлением или без вспомогательных веществ и получаемая путем прессования порошков или гранул или другим подходящим способом.

Таблетки обычно представляют собой прямые круглые цилиндры с плоской или двояковыпуклой верхней и нижней поверхностью, цельными краями. Таблетки могут иметь и иную форму, например, овальную, многоугольную и др. Возможно наличие фаски.

Наличие оболочки, скорость и характер высвобождения действующего вещества, способ получения, способ применения таблеток и путь введения определяют классификационное деление таблеток на группы.

Различают таблетки без оболочки (таблетки) и таблетки, покрытые оболочкой.

Таблетки без оболочки (таблетки) - однослойные таблетки, полученные однократным прессованием частиц, или многослойные таблетки, состоящие из концентрических или параллельных слоев, полученные последовательным прессованием частиц различного состава. Используемые вспомогательные вещества специально не предназначены для высвобождения действующего вещества в желудочно-кишечном тракте. На разломе при рассматривании под лупой видна та или иная относительно однородная структура (однослойные таблетки) или послойная структура (многослойные таблетки), но не признаки оболочки.

Таблетки, покрытые оболочкой - таблетки, покрытые одним или несколькими слоями смеси различных веществ, предназначенные для приема внутрь. В зависимости от состава и способа нанесения различают дражированное, пленочное и прессованное покрытия. На разломе при рассматривании под лупой видно ядро, окруженное одним или несколькими сплошными слоями различной структуры.

Если оболочка представляет собой тонкое полимерное покрытие массой до 10%, используют термин "таблетки, покрытые пленочной оболочкой".

По скорости и характеру высвобождения выделяют таблетки с обычным и модифицированным высвобождением.

Оболочка может быть защитной или обеспечивать разрушение таблетки в определенном отделе желудочно-кишечного тракта, или регулировать время высвобождения действующих веществ.

Таблетки кишечнорастворимые - таблетки с отсроченным высвобождением (отложенным), устойчивые к воздействию желудочного сока (гастрорезистентные) и высвобождающие действующее вещество (вещества) в кишечном соке.

Таблетки с модифицированным высвобождением - таблетки, покрытые оболочкой и без оболочки, содержащие специальные вспомогательные вещества и (или) полученные по особой технологии, которые позволяют регулировать скорость и (или) время и (или) место высвобождения действующего вещества.

Модифицированное (нестандартное) высвобождение может быть пролонгированным (замедленным непрерывным), отсроченным (отложенным), пульсирующим (прерывистым) и ускоренным.

Таблетки с пролонгированным высвобождением - таблетки, покрытые оболочкой или без оболочки, содержащие специальные вспомогательные вещества или полученные по особой технологии, что позволяет обеспечивать замедленное непрерывное высвобождение действующих веществ. Пролонгация высвобождения может быть достигнута при использовании:

- специального покрытия таблеток;

- технологии создания многослойных таблеток;

- технологии создания таблеток с нерастворимым каркасом;

- иных способов иммобилизации действующих веществ на инертном носителе.

Таблетки с пульсирующим высвобождением - таблетки с периодическим высвобождением действующего вещества.

Таблетки с ускоренным высвобождением - таблетки, содержащие специальные вспомогательные вещества и (или) полученные по особой технологии, что позволяет обеспечивать увеличение скорости высвобождения действующего вещества.

По способу применения разделяют:

- таблетки, которые проглатывают целыми;

- таблетки жевательные;

- таблетки, применяемые после предварительного приготовления на их основе жидких лекарственных форм. В этом случае различают таблетки растворимые, диспергируемые, шипучие;

- таблетки для применения в полости рта: таблетки подъязычные (сублингвальные), защечные (трансбуккальные), для рассасывания;

- таблетки, диспергируемые в полости рта;

- таблетки для имплантации;

- таблетки для ингаляций;

- таблетки вагинальные;

- таблетки-лиофилизат.

Таблетки жевательные - таблетки, которые необходимо разжевать до проглатывания.

Таблетки растворимые - таблетки без оболочки или покрытые пленочной оболочкой, которые растворяют в подходящем растворителе (преимущественно в воде) перед применением; полученный раствор может быть слабо опалесцирующим.

Таблетки шипучие - таблетки без оболочки, содержащие вещества кислого и основного характера (карбонаты или гидрокарбонаты), которые быстро реагируют в воде с выделением углерода диоксида; они предназначены для растворения или диспергирования в воде непосредственно перед применением.

Таблетки диспергируемые - таблетки без оболочки или покрытые пленочной оболочкой, диспергируемые в соответствующем растворителе (преимущественно в воде) перед применением с образованием суспензии.

Также различают таблетки для приготовления растворов, суспензий и паст для парентерального/местного/наружного применения.

Таблетки для применения в полости рта - обычно таблетки без оболочки, полученные по специальной технологии с целью высвобождения действующего вещества или веществ в полости рта и обеспечения местного или системного действия (таблетки подъязычные, защечные, для рассасывания).

Таблетки подъязычные (сублингвальные) - таблетки, помещаемые под язык с целью получения системного действия.

Таблетки защечные (трансбуккальные) - таблетки, помещаемые в щечный карман с целью получения системного действия.

Таблетки для рассасывания - таблетки, помещаемые в полость рта для последующего рассасывания обычно для получения местного действия. Состав таблеток обеспечивает медленное высвобождение действующих веществ.

Таблетки, диспергируемые в полости рта - таблетки, которые помещают в полость рта, где они быстро диспергируются до проглатывания.

Таблетки для имплантации - стерильные таблетки, получаемые путем прессования, предназначенные для имплантации, обычно подкожной, с целью оказания местного или системного действия в течение продолжительного периода времени.

Таблетки для ингаляций - таблетки, образующие пары при добавлении в горячую воду или при помощи соответствующего устройства (например, ингалятора), предназначенные для вдыхания с целью оказания местного действия.

Таблетки вагинальные - таблетки без оболочки или покрытые пленочной оболочкой, предназначенные для вагинального применения, обычно для оказания местного действия.

Таблетки-лиофилизат - твердая лекарственная форма, получаемая путем лиофилизации в виде пористой массы, имеющей форму таблетки и предназначенная для помещения в полость рта, где происходит быстрое высвобождение действующих веществ при контакте со слюной перед проглатыванием.

ОСОБЕННОСТИ ТЕХНОЛОГИИ

Наиболее распространенным методом производства таблеток является метод прессования (прямое прессование или с применением влажного или сухого гранулирования), реже используется формование и лиофилизация. Формованные таблетки производят под низким давлением из увлажненной порошковой массы путем ее втирания в специальные формы или формовки расплавленной массы. Таблетки-лиофилизаты производят путем лиофилизации жидкостей или гелей, содержащих действующие вещества. Таблетки, полученные способом лиофилизации, быстро растворяются, будучи помещенными в полость рта, или их растворяют в воде перед применением.

В зависимости от технологии производства, способа применения таблеток, физико-химических свойств действующих веществ, их дозировки, скорости и характера высвобождения применяют различные вспомогательные вещества в соответствии с их назначением.

Разбавители используют для обеспечения необходимой массы таблетки, если в состав входит малое количество действующего вещества (или веществ). К этой группе относятся глюкоза (декстроза), крахмал, кальция гидрофосфат, кальция карбонат, лактозы моногидрат, магния карбонат, сорбит (сорбитол), микрокристаллическая целлюлоза, маннит (маннитол) и др.

Разрыхлители (дезинтегранты) включают в состав таблеток с целью обеспечения их распадаемости. К ним относятся набухающие разрыхлители: поперечно-сшитый повидон, алгиновая кислота и ее натриевая и калиевая соли, крахмал (в том числе химически модифицированный), метилцеллюлоза, натрий карбоксиметилцеллюлоза (кармеллоза натрия), кроскармеллоза, кросповидон, мальтоза, микрокристаллическая целлюлоза; газообразующие разрыхлители: твердые органические кислоты в сочетании с карбонатами или гидрокарбонатами и смачивающие - поверхностно активные вещества.

Связующие вещества вводят для обеспечения прочности гранул и таблеток. С этой целью используют крахмальный клейстер, желатин, сахарозу, натрия алгинат, гели алгиновой кислоты, природные камеди, макрогол, производные целлюлозы, повидон, повидон-винилацетат (коповидон) и др.

Вещества, способствующие скольжению, препятствуют прилипанию к пресс-инструменту, оказывают смазывающее действие, улучшают текучесть таблетируемых смесей. К ним относятся крахмал, тальк, аэросил (кремния диоксид коллоидный), каолин, обезжиренный молочный порошок, макрогол, полисорбат, стеариновая кислота и ее кальциевая и магниевая соли, полисорбат-80, натрия лаурилсульфат и др. Они замедляют скорость распадаемости таблетки и растворения действующего вещества, поэтому не рекомендуется превышать содержание полисорбата-80, стеариновой кислоты, кальция и магния стеарата более чем на 1%, талька - на 3%, аэросила - на 10% от массы таблетки.

В состав жевательных таблеток в качестве вспомогательных веществ обычно входят маннит (маннитол), сорбит (сорбитол), сахароза и др.

Для нанесения оболочек могут быть использованы различные вспомогательные вещества, условно подразделяющиеся на следующие группы: адгезивные вещества, обеспечивающие прилипание материалов покрытия оболочки к ядру таблетки - сахарный сироп, магния оксид; вещества, создающие каркасы - сахароза, тальк, магния карбонат основной (магния гидроксикарбонат), этилцеллюлоза; пластификаторы, которые придают покрытиям свойства пластичности - растительные масла, метилцеллюлоза, карбоксиметил-целлюлоза (кармеллоза), полисорбат и др.; вещества, придающие покрытиям свойства влагостойкости - аэросил (кремния диоксид коллоидный), шеллак, полиакриловые смолы и др.; красители и корригенты вкуса и запаха.

Корригенты вкуса, ароматизаторы и красители используют для улучшения внешнего вида таблеток и придания им необходимого вкуса и запаха, маркировки дозы, а также идентификации препарата.

При нанесении оболочки методом наращивания используют гуммиарабик (акации камедь), желатин, сахарный сироп, магния карбонат основной (магния гидроксикарбонат), крахмал, метилцеллюлозу, муку пшеничную, кальция стеарат, кальция карбонат, натрия алгинат, тальк, магния оксид и др.

В состав пленочных оболочек входят такие вещества, как гидроксипропилметилцеллюлоза (гипромеллоза), гидроксипропилцеллюлоза (гипролоза), карбоксиметилцеллюлоза (кармеллоза), ацетилфталилцеллюлоза (целлацефат), метилцеллюлоза, этилцеллюлоза, натрий карбоксиметилцеллюлоза (кармеллоза натрия), сополимеры метакриловой кислоты и ее эфиров, макрогол, повидон, желатин и др.

Для получения прессованных покрытий используют сахарозу, лактозу, крахмал, муку пшеничную, стеариновую кислоту и др.

Вещества, используемые для покрытия таблеток, обычно наносят в виде растворов или суспензий в условиях, позволяющих растворителю испариться. В качестве растворителей используют воду очищенную, этанол, ацетон, хлороформ, аммиак, хлороводородную кислоту и др.

Технология производства таблеток должна обеспечивать необходимую устойчивость таблеток к истиранию и механическую прочность.

Деление таблеток. На таблетки может(гут) наноситься риска(и), позволяющая(ие) делить их на части для облегчения приема лекарственного препарата или соответствия дозировке. В последнем случае целесообразность деления таблетки требует оценки и разрешения уполномоченного органа. Для обеспечения точности получения пациентом назначенной дозы при разработке лекарственного препарата должна оцениваться эффективность риски(ок) по однородности массы разделенных частей. Каждая разрешенная доза должна проверяться с использованием следующего испытания.

Разламывают вручную 30 произвольно отобранных таблеток. Одну часть каждой таблетки используют для испытания, а другую часть отбрасывают. Взвешивают по отдельности каждую из 30 частей и рассчитывают среднюю массу. Таблетки выдерживают испытание, если масса не более одной части выходит за пределы от 85% до 115% от средней массы.

Таблетки не выдерживают испытания, если масса более одной части выходит за указанные пределы или если масса одной части выходит за пределы от 75% до 125% от средней массы.

ИСПЫТАНИЯ

Таблетки должны соответствовать общей фармакопейной статье 2.5.1.1. Лекарственные формы и выдерживать следующие испытания, характерные для данной лекарственной формы.

Лекарственные препараты, выпускаемые в лекарственной форме Таблетки, предназначенной для приготовления лекарственных препаратов для парентерального применения в других лекарственных формах (растворов, суспензий), должны выдерживать требования общей фармакопейной статьи 2.5.3.4. Лекарственные препараты для парентерального применения.

Лекарственные препараты, выпускаемые в лекарственной форме Таблетки, предназначенной для приготовления капель глазных, должны выдерживать требования общей фармакопейной статьи 2.5.3.3. Лекарственные препараты для офтальмологического применения.

Описание. Таблетки характеризуют, отмечая внешний вид (форму, поверхность, обозначения на поверхности и др.), органолептические (цвет, запах) и другие свойства в соответствии с требованиями, указанными в частной фармакопейной статье и (или) нормативном документе по качеству.

Оценку внешнего вида таблеток осуществляют при осмотре невооруженным глазом 20 таблеток. Поверхность таблетки должна быть гладкой, однородной, если не обосновано иное. На поверхности таблетки могут быть нанесены штрихи, риски для деления, надписи и другие обозначения. Для таблеток диаметром 9 мм и более рекомендуется наличие риски.

Однородность массы. Испытание проводят в соответствии с общей фармакопейной статьей 2.1.9.5. Однородность массы единицы дозированного лекарственного препарата. Если предусмотрено испытание на однородность дозированных единиц для всех действующих веществ, то контроль однородности массы не требуется.

Однородность массы таблеток, покрытых оболочкой обеспечивается в рамках контроля технологического процесса.

Устойчивость таблеток к раздавливанию и истираемость таблеток. Испытание проводят в соответствии с требованиями общих фармакопейных статей 2.1.9.7. Устойчивость таблеток к раздавливанию, 2.1.9.6. Истираемость таблеток в рамках контроля технологического процесса производства таблеток.

Распадаемость. Таблетки без оболочки должны выдерживать испытание на распадаемость в соответствии с общей фармакопейной статьей 2.1.9.1. Распадаемость таблеток и капсул. При отсутствии других указаний в частной фармакопейной статье или нормативном документе по качеству в качестве жидкой среды используют воду P. Таблетки должны распадаться в течение 15 мин, если не указано иначе в частной фармакопейной статье и (или) нормативном документе по качеству.

Таблетки, покрытые оболочкой, должны выдерживать испытание на распадаемость в соответствии с общей фармакопейной статьей 2.1.9.1. Распадаемость таблеток и капсул. При отсутствии других указаний в частной фармакопейной статье и (или) нормативном документе по качеству в качестве жидкой среды используют воду P. Таблетки, покрытые оболочкой должны распадаться в течение 60 мин, таблетки, покрытые пленочной оболочкой в течение 30 мин, если не указано иначе в частной фармакопейной статье и (или) нормативном документе по качеству.

Для кишечнорастворимых таблеток (покрытых оболочкой) испытание на распадаемость проводят в соответствии с общей фармакопейной статьей 2.1.9.1. Распадаемость таблеток и капсул в 2 этапа со следующими изменениями. В качестве жидкой среды на первом этапе используют 0,1 M хлороводородную кислоту. Время устойчивости таблеток в кислой среде может зависеть от их состава, но не должно быть менее 1 ч и более 3 ч. Таблетки не должны распадаться и обнаруживать признаки растрескивания и размягчения. На втором этапе кислоту заменяют фосфатным буферным раствором с pH 6,8 P. Если нет других указаний в частной фармакопейной статье и (или) нормативном документе по качеству, то в буферном растворе таблетки должны распадаться в течение 1 ч. Может быть использован буферный раствор с pH 6,8 с добавлением порошка панкреатина (например, 0,35 г порошка панкреатина P на 100 мл буферного раствора).

Применение дисков может быть предусмотрено в частной фармакопейной статье и (или) нормативном документе по качеству.

Таблетки диспергируемые и таблетки растворимые должны распадаться в течение 3 мин. Испытание проводят в соответствии с общей фармакопейной статьей 2.1.9.1. Распадаемостъ таблеток и капсул. В качестве жидкой среды используют воду P с температурой от 15 °C до 25 °C.

Таблетки, диспергируемые в полости рта, должны распадаться в течение 3 мин. Испытание проводят в соответствии с общей фармакопейной статьей 2.1.9.1. Распадаемостъ таблеток и капсул. В качестве жидкой среды используют воду P.

Таблетки-лиофилизат. 1 таблетку помещают в стакан, содержащий 200 мл воды P при температуре от 15 °C до 25 °C. Время распадаемости не должно превышать 3 мин. Испытание повторяют на 5 других таблетках. Таблетки удовлетворяют требованиям, если все 6 таблеток распались.

Таблетки для применения в полости рта (таблетки подъязычные, защечные, для рассасывания). Проводят испытание в соответствии с общей фармакопейной статьей 2.1.9.1. Распадаемостъ таблеток и капсул. При отсутствии других указаний в частной фармакопейной статье и (или) нормативном документе по качеству в качестве жидкой среды используют воду P. Время распадаемости приводят в частной фармакопейной статье и (или) нормативном документе по качеству. В ряде случаев дополнительно нормируют время, в течение которого таблетка не должна распадаться.

Таблетки вагинальные. За исключением таблеток пролонгированного действия, испытание проводят в соответствии с общей фармакопейной статьей 2.1.9.2. Распадаемостъ суппозиториев и вагинальных таблеток, ректальных и вагинальных капсул. Если не указано иначе в частной фармакопейной статье и (или) нормативном документе по качеству, время распадаемости таблеток не должно превышать 30 мин.

Таблетки шипучие должны распадаться или растворяться в течение 5 мин. 1 таблетку помещают в стакан, содержащий 200 мл воды P при температуре от 15 °C до 25 °C, при этом начинают выделяться пузырьки газа. Таблетка считается распавшейся или растворившейся, если после прекращения выделения пузырьков газа вокруг нее или ее фрагментов, таблетка или растворилась, или диспергировалась в воде, и агломераты частиц отсутствуют. Тест повторяют на 5 других таблетках.

Растворение. Испытание проводят для подтверждения соответствующего высвобождения действующего вещества или веществ одним из способов, описанных в общей фармакопейной статье 2.1.9.3. Испытание на растворение для твердых дозированных лекарственных форм. Если в частной фармакопейной статье и (или) нормативном документе по качеству предусмотрено определение растворения, испытание на распадаемость таблеток не является обязательным.

Для таблеток с модифицированным высвобождением проводят испытание, подтверждающее соответствующее высвобождение действующего вещества.

Для кишечнорастворимых таблеток, при отсутствии другого обоснования, проводят испытание, подтверждающее отсроченное высвобождение необходимого количества действующего вещества в соответствии с общей фармакопейной статьей 2.1.9.3. Испытание на растворение для твердых дозированных лекарственных форм.

Степень диспергирования. Испытание проводят для диспергируемых таблеток. 2 таблетки помещают в колбу, содержащую 100 мл воды P, и перемешивают до полного диспергирования. Должна образоваться однородная суспензия, проходящая через сито с номинальным размером отверстий 710 мкм.

Потеря в массе при высушивании или Вода. Испытание проводят в тех случаях, когда содержание воды может влиять на свойства действующего вещества, стабильность препарата и т.д. Испытание обязательно для таблеток, полученных способом лиофилизации. Определение проводят в соответствии с общей фармакопейными статьями 2.1.2.31. Потеря в массе при высушивании или 2.1.5.12. Вода: Определение полумикрометодом.

Остаточные органические растворители. Таблетки, если применимо, должны выдерживать требования общей фармакопейной статьи 2.3.2.0. Остаточные органические растворители.

Норму содержания органического растворителя приводят в мкг/таблетку, исходя из предельно допустимой суточной дозы растворителя и из максимальной суточной дозы препарата.

Однородность дозированных единиц. Таблетки должны выдерживать требования общей фармакопейной статьи 2.1.9.14. Однородность дозированных единиц, если нет других указаний в частной фармакопейной статье и (или) нормативном документе по качеству.

Количественное определение. Для испытания берут навеску растертых таблеток (не менее 20 шт). Если измельчение таблетки может повлечь за собой разложение действующего вещества или затруднено получение однородно измельченного порошка, проводят испытание на целой таблетке или таблетках. В этом случае рекомендуется использовать не менее 10 таблеток.

За результат количественного определения может быть принято среднее значение, полученное в испытании на однородность дозирования.

205010035-2022

2.5.1.35. Тампоны лекарственные

Тампоны лекарственные - лекарственная форма, предназначенная для введения в естественные отверстия тела на ограниченный период времени, состоящая из мягкого волокнистого материала, пропитанного активной фармацевтической субстанций (субстанциями) с добавлением или без добавления вспомогательных веществ.

В зависимости от пути введения и способа применения различают следующие виды тампонов лекарственных:

- тампоны лекарственные вагинальные - тампоны лекарственные, предназначенные для введения во влагалище;

- тампоны лекарственные ректальные - тампоны лекарственные, предназначенные для введения в прямую кишку;

- тампоны лекарственные ушные - тампоны лекарственные, предназначенные для введения в наружный слуховой проход;

- тампоны лекарственные для ингаляций - тампоны лекарственные, как правило, помещаемые в соответствующие аппликаторы цилиндрической формы с закругленным концом и отверстием, предназначенные для ингаляций через носовые ходы.

Тампоны лекарственные вагинальные и тампоны лекарственные ушные предназначены для оказания местного действия, тампоны лекарственные ректальные и тампоны лекарственные для ингаляций - для оказания системного действия.

ОСОБЕННОСТИ ТЕХНОЛОГИИ

Тампоны лекарственные производят из тканных и нетканных природных и синтетических гипоаллергенных материалов (например, производных целлюлозы, коллагена, силикона и др.), которым придают необходимую форму и размер и пропитывают композицией активных фармацевтических субстанций и вспомогательных веществ.

При производстве, упаковке, хранении и дистрибьюции тампонов лекарственных должны быть приняты соответствующие меры по обеспечению необходимой микробиологической чистоты.

ИСПЫТАНИЯ

Тампоны лекарственные, помещенные в аппликатор, должны быть извлечены из аппликатора перед проведением испытаний.

Тампоны лекарственные должны соответствовать общим требованиям общей фармакопейной статьи 2.5.1.1. Лекарственные формы и выдерживать следующие испытания, характерные для данной лекарственной формы.

Описание. Тампоны лекарственные характеризуют, отмечая форму, цвет, геометрические размеры в миллиметрах с указанием запаха (при наличии) в соответствии с требованиями частной фармакопейной статьи и (или) нормативного документа по качеству.

pH. Испытание проводят потенциометрически в соответствии с общей фармакопейной статьей 2.1.2.3. Потенциометрическое определение pH. Значение pH должно находиться в диапазоне значений, приемлемых для обозначенного пути введения и способа применения лекарственного препарата в лекарственной форме Тампоны лекарственные. Методику пробоподготовки образца лекарственного препарата для проведения испытания и требования приводят в частной фармакопейной статье и (или) нормативном документе по качеству.

Испытание не применяют для тампонов лекарственных для ингаляций.

Однородность массы. Испытание проводят в соответствии с общей фармакопейной статьей 2.1.9.5. Однородность массы единицы дозированного лекарственного препарата согласно указаниям в частной фармакопейной статье и (или) нормативном документе по качеству. Испытание не применяют в случае, если предусмотрено испытание на однородность дозированных единиц для всех действующих веществ.

Однородность дозированных единиц. Испытание проводят в соответствии с общей фармакопейной статьей 2.1.9.14. Однородность дозированных единиц и требованиями, указанными в частной фармакопейной статье и (или) нормативном документе по качеству.

205010036-2022

2.5.1.36. Шампуни лекарственные

Шампуни лекарственные - жидкая или мягкая, легко вспениваемая лекарственная форма, содержащая действующие и вспомогательные вещества, в том числе поверхностно-активные вещества, предназначенная для наружного применения путем нанесения на волосы и кожу головы человека, на кожно-волосяной покров животного и последующего смывания водой.

Шампуни лекарственные по типу дисперсной системы могут быть гомогенными (растворы), гетерогенными (суспензии, эмульсии), а также являться комбинированными дисперсными системами.

ОСОБЕННОСТИ ТЕХНОЛОГИИ

Как правило, шампуни лекарственные получают растворением активных фармацевтических субстанций в воде очищенной с добавлением поверхностно-активных веществ и других вспомогательных веществ: загустителей, стабилизаторов, консервантов, регуляторов pH, ароматизаторов, красителей, кондиционирующих веществ и др.

Если активная фармацевтическая субстанция не растворяется в воде очищенной, то ее вводят в состав лекарственного препарата в виде суспензии или эмульсии.

Помимо воды очищенной, как сорастворитель и (или) солюбилизатор, может быть использован этанол.

В процессе производства шампуней лекарственных суспензионного и комбинированного типа, должен быть обеспечен необходимый размер частиц дисперсной фазы.

При производстве лекарственных препаратов в виде лекарственных форм Шампуни лекарственные должны быть приняты меры, обеспечивающие их микробиологическую чистоту.

ИСПЫТАНИЯ

Шампуни лекарственные должны соответствовать общим требованиям общей фармакопейной статьи 2.5.1.1. Лекарственные формы и выдерживать испытания, характерные для данной лекарственной формы.

Описание. Описание шампуня лекарственного, его консистенцию, цвет, запах (при наличии) приводят в частной фармакопейной статье или нормативном документе по качеству.

pH. Испытание проводят в соответствии с общей фармакопейной статьей 2.1.2.3. Потенциометрическое определение pH. Значение pH должно находиться в диапазоне от 5,0 до 8,0, если другое не указано в частной фармакопейной статье и (или) нормативном документе по качеству.

Вязкость. Испытание проводят в соответствии с общей фармакопейной статьей 2.1.2.8. Вязкость и требованиями, указанными в частной фармакопейной статье и (или) нормативном документе по качеству.

Плотность или Относительная плотность. Испытание проводят в соответствии с общей фармакопейной статьей 2.1.2.5. Относительная плотность и требованиями, указанными в частной фармакопейной статье и (или) нормативном документе по качеству.

Испытание не является обязательным, если предусмотрено проведение испытания шампуня лекарственного по показателю Вязкость.

Пенообразующая способность. Испытание допускается проводить в рамках контроля технологического процесса производства шампуней лекарственных.

Определение проводят на приборе Росс-Майлса (рисунок 2.5.1.36.-1) или аналогичном приборе. Прибор Росс-Майлса закреплен на штативе (6), состоит из мерного цилиндра с ценой деления 2 мм (4), помещенного в водяную рубашку (3), снабженную двумя выводами для соединения с термостатом (1) и пипетки, соединенной с калиброванной трубкой (5). Цилиндр сверху закрыт пробкой, которая имеет два отверстия: одно для ввода наконечника стеклянной пипетки (5), второе - для отвода воздуха. Стеклянная пипетка (рисунок 2.5.1.36.-2) соединена с калиброванной трубкой из стекла или нержавеющей стали.

Рисунок 2.5.1.36.-1. - Прибор Росс-Майлса. 1 - термостат, 2 - насос, 3 - водяная рубашка, 4 - мерный цилиндр, 5 - стеклянная пипетка, 6 - штатив. Размеры указаны в миллиметрах.

Рисунок 2.5.1.36.-2. - Стеклянная пипетка. Размеры указаны в миллиметрах.

Измерение проводят при температуре (37 +/- 2) °C водного раствора шампуня лекарственного с массовой долей шампуня 0,5%.

Для проведения испытания отбирают 9 образцов лекарственного препарата, содержимое которых соединяют вместе, тщательно перемешивают и сокращают до средней пробы массой 1 кг.

Приготовление испытуемого раствора. Навеску шампуня, соответствующую 5 г действующего вещества, взятую с погрешностью +/- 0,01 г, отбирают от средней пробы, помещают в стакан и растворяют в 50 - 60 мл воды с заданной жесткостью и перемешивают до полного растворения (для шампуней суспензионного и комбинированного типа - до полного ресуспендирования). Полученный раствор помещают в мерную колбу или цилиндр, доводят объем раствора до 1000 мл водой с заданной жесткостью и перемешивают, избегая пенообразования.

Приготовление раствора проводят при температуре испытания с допустимым отклонением +/- 5 °C. Раствор готовят не позднее, чем за 30 мин и не ранее чем за 2 ч до испытания.

Приготовление воды с заданной жесткостью. 8,5 мл раствора А и 1,5 мл раствора Б разбавляют каждый в отдельности водой очищенной P, полученной методом дистилляции, до объема 450 мл, переносят в мерную колбу вместимостью 1000 мл, доводят водой очищенной P, полученной методом дистилляции, до метки и перемешивают.

1. Приготовление раствора А. 40 г кальция хлорида (CaCl2 · 4H2O) помещают в мерную колбу вместимостью 1000 мл и доводят водой очищенной P, полученной методом дистилляции, до метки.

2. Приготовление раствора Б. 44 г магния сульфата (MgSO4 · 7H2O) помещают в мерную колбу вместимостью 1000 мл и доводят водой очищенной P, полученной методом дистилляции, до метки.

Для взятия навесок безводных солей необходимо проводить соответствующий пересчет.

Проведение испытания. Подготавливают для испытания прибор Росс-Майлса или аналогичный, доводя до температуры (37 +/- 2) °C жидкость в рубашке с помощью термостата. Одновременно 300 мл испытуемого раствора доводят до температуры (37 +/- 2) °C. Из этого количества отбирают 50 мл раствора, наливают в мерный цилиндр с внутренним диаметром 50 мм по стенке так, чтобы не образовалась пена. Через 10 мин с помощью резиновой груши вводят в пипетку 200 мл испытуемого раствора таким образом, чтобы не образовалась пена. Пипетку с раствором закрепляют в штативе так, чтобы ее выходное отверстие находилось на расстоянии 900 мм от уровня жидкости в цилиндре и обеспечивало попадание струи в центр жидкости. Затем открывают кран пипетки. По истечении раствора из пипетки включают секундомер и через 30 с измеряют высоту образовавшегося столба пены в миллиметрах (H0изм). Затем, через 5 мин измеряют высоту образовавшегося столба пены в миллиметрах (H5изм).

Если уровень столба пены имеет неровную поверхность, то за высоту столба пены принимают среднее арифметическое замеров максимальной и минимальной высоты пены.

Перед каждым новым определением мерный цилиндр промывают водой очищенной P, полученной методом дистилляции.

Разница между внутренним диаметром мерного цилиндра отдельных приборов оказывает влияние на высоту образовавшегося столба пены, поэтому для каждого прибора необходимо установить поправочный коэффициент, при помощи которого пересчитывают все полученные при измерениях значения на значения, отвечающие высоте столба пены, точно измеренной прибором с внутренним диаметром цилиндра 50 мм.

Поправочный коэффициент вычисляют по формуле:

,

где: D - фактический внутренний диаметр цилиндра испытуемого прибора, мм;

- внутренний диаметр цилиндра стандартного прибора в квадрате.

Пенообразующую способность (H0 и H5) в мм вычисляют по формулам:

,

где: H0изм - начальная высота столба пены, измеренная данным прибором, в миллиметрах;

K - поправочный коэффициент.

,

где: H5изм - высота столба пены по истечении 5 мин, измеренная данным прибором, в миллиметрах;

K - поправочный коэффициент.

Устойчивость пены (У) вычисляют по формуле:

,

где: и - скорректированные высоты столба пены (начальная и по истечении 5 мин), в миллиметрах.

Пенообразующую способность определяют по высоте столба пены в миллиметрах, измеренной через 30 с, а устойчивость пены определяют по высоте столба пены, измеренной через 5 мин.

За окончательный результат испытаний принимают среднее арифметическое результатов трех определений, допустимые расхождения между которыми не должны превышать 10 мм.

Требования по пенообразующей способности и устойчивости пены приводят в частной фармакопейной статье и (или) нормативном документе по качеству.

Седиментационная устойчивость. Испытание проводят для шампуней лекарственных суспензионного и комбинированного типа в соответствии с методикой, указанной в общей фармакопейной статье 2.5.1.33. Суспензии. Время ресуспендирования должно составлять не более 30 с, если не указано другое в частной фармакопейной статье и (или) нормативном документе по качеству.

205010037-2022

2.5.1.37. Экстракты

Экстракты - лекарственная форма, представляющая собой концентрированное извлечение из лекарственного растительного сырья, реже из сырья животного происхождения.

По консистенции различают:

- экстракты сухие (Extracta sicca) - порошкообразные массы, обладающие свойством сыпучести, с потерей в массе при высушивании не более 5%, если иное не указано в частной фармакопейной статье или нормативном документе по качеству;

- экстракты густые (Extracta spissa) - вязкие массы с потерей в массе при высушивании не более 25%, если иное не указано в частной фармакопейной статье или нормативном документе по качеству;

- экстракты жидкие (Extracta fluida) - густые, подвижные, иногда маслянистые жидкости.

Экстракты-концентраты - экстракты различной консистенции, стандартизованные по отношению к лекарственному растительному сырью в определенных соотношениях, например: 1:1 или 1:2. Экстракты-концентраты преимущественно используют для получения настоев и отваров, заменяя в указанных соотношениях лекарственное растительное сырье.

По используемому экстрагенту различают:

- экстракты водные, полученные с использованием в качестве экстрагента воды очищенной;

- экстракты спиртовые, полученные с использованием в качестве экстрагента этанола различных концентраций;

- экстракты масляные, полученные с использованием в качестве экстрагента растительного масла;

- экстракты, полученные с использованием различных органических экстрагентов (четыреххлористого углерода, дихлорэтана и др.);

- экстракты, полученные последовательным экстрагированием лекарственного растительного сырья экстрагентами, в том числе различной полярности.

Экстракты могут быть получены на основе одного вида лекарственного растительного сырья (простые) и на основе смеси нескольких видов лекарственного растительного сырья (сложные, комплексные).

В зависимости от пути введения и способа применения различают экстракты для приема внутрь, для наружного применения, для местного применения.

Экстракт для приема внутрь - экстракт, предназначенный для приема внутрь (в том числе после разведения).

Экстракт для наружного применения - экстракт, предназначенный для наружного применения (в том числе после разведения).

Экстракт для местного применения - экстракт, предназначенный для местного применения (в том числе после разведения).

Экстракты могут использоваться как лекарственные растительные препараты, а также в качестве фармацевтических субстанций входить в состав других лекарственных препаратов, представляющих собой различные лекарственные формы, например: таблетки, капсулы, эликсиры, суппозитории, капли для приема внутрь и др.

ОСОБЕННОСТИ ТЕХНОЛОГИИ

Экстракты могут быть получены методами перколяции, реперколяции, мацерации, циркуляционной экстракции и другими подходящими валидированными методами.

Лекарственное растительное сырье, используемое для получения экстрактов, должно отвечать требованиям соответствующих частных фармакопейных статей и общих фармакопейных статей.

Вспомогательные вещества, используемые в качестве экстрагентов, должны быть разрешены к медицинскому применению.

В качестве одного из критериев оценки эффективности процесса экстракции может быть использован показатель экстрактивные вещества.

Экстракты жидкие после завершения процесса экстрагирования следует обязательно выдерживать при температуре не выше 10 °C в течение не менее 2 сут для осаждения балластных веществ, отделяемых фильтрованием, и получения прозрачной жидкости. В процессе хранения экстрактов жидких допускается образование незначительного осадка балластных веществ при условии отсутствия в нем биологически активных веществ.

При получении экстрактов сухих и густых их освобождают от балластных веществ добавлением к полученной вытяжке этанола, адсорбентов, кипячением вытяжки и другими способами с последующим фильтрованием.

В случае экстрактов густых очищенные извлечения сгущают выпариванием под вакуумом до требуемой консистенции.

Экстракты сухие получают высушиванием экстрактов густых или непосредственно из очищенной вытяжки с использованием методов, обеспечивающих максимальное сохранение действующих веществ: распыление, лиофилизация, сублимация и др.

При производстве экстрактов-концентратов предварительно полученные экстракты различной консистенции стандартизуют до требуемого содержания компонента или группы компонентов, как правило, путем разбавления вспомогательными веществами, например, декстрином и др.

Гигроскопичность экстрактов сухих уменьшают добавлением лактозы, аэросила и других вспомогательных веществ.

При получении лекарственных препаратов с использованием экстрактов густых разрешено применение растворов экстрактов густых (Extracta soluta) в соотношении 1:2 к исходному экстракту. В качестве растворителя используют смесь, состоящую из 6 частей воды очищенной, 3 частей глицерина и 1 части этанола. Растворы экстрактов густых применяют в двойном количестве, срок их хранения не должен превышать 15 сут.

На стадии получения экстракты спиртосодержащие жидкие должны выдерживать испытание на содержание метанола и 2-пропанола.

При получении экстрактов должны быть приняты меры, обеспечивающие их микробиологическую чистоту.

ИСПЫТАНИЯ

Экстракты должны соответствовать общим требованиям общей фармакопейной статьи 2.5.1. Лекарственные формы и выдерживать испытания, характерные для данной лекарственной формы.

Описание. Экстракты характеризуют по консистенции, отмечая цвет, запах (при наличии). Для жидких экстрактов, при необходимости, отмечают наличие опалесценции, возможность образования осадка при хранении и др.

Потеря в массе при высушивании или Вода. Испытание для экстрактов густых и сухих проводят в соответствии с общей фармакопейной статьей 2.1.8.16. Потеря в массе при высушивании экстрактов и требованиями, указанными в частной фармакопейной статье или нормативном документе по качеству.

Испытание для экстрактов сухих проводят в соответствии с общей фармакопейной статьей 2.1.5.12. Вода: определение полумикрометодом и требованиями, указанными в частной фармакопейной статье или нормативном документе по качеству.

Этанол. Испытание проводят для спиртсодержащих экстрактов в соответствии с общей фармакопейной статьей 2.1.9.8. Содержание этанола и требованиями по содержанию спирта этилового, указанными в частной фармакопейной статье или нормативном документе по качеству.

Тяжелые металлы. К 1 мл жидкого экстракта или 1 г густого или сухого экстракта прибавляют 1 мл серной кислоты концентрированной P, осторожно сжигают и прокаливают при температуре 600 °C. К полученному остатку прибавляют при нагревании 5 мл раствора аммония ацетата P 615 г/л, фильтруют через беззольный фильтр, промывают 5 мл воды P и доводят фильтрат водой P до объема 100 мл; 12 мл полученного раствора должны выдерживать испытания на тяжелые металлы (общая фармакопейная статья 2.1.4.8. Тяжелые металлы, метод А, с использованием раствора натрия сульфида P1 и стандартного раствора свинца ионов (1 ppm Pb2+) P).

Допустимое содержание тяжелых металлов не должно превышать 100 ppm (Pb2+) при отсутствии других указаний в частной фармакопейной статье.

Сухой остаток. Испытание проводят для жидких экстрактов в соответствии с общей фармакопейной статьей 2.1.8.15. Сухой остаток экстрактов. Результат рассчитывают в массовых процентах (м/м) или граммах на литр. Содержание сухого остатка должно соответствовать пределам, указанным в частной фармакопейной статье или нормативном документе по качеству.

Кислотное число, пероксидное число, йодное число, число омыления. Испытание проводят для масляных экстрактов, если указано в частной фармакопейной статье, в соответствии с общими фармакопейными статьями: 2.1.5.1. Кислотное число, 2.1.5.5. Пероксидное число, 2.1.5.4. Йодное число, 2.1.5.6. Число омыления и требованиями, указанными в частной фармакопейной статье или нормативном документе по качеству.

Плотность или Относительная плотность. Испытание проводят для масляных экстрактов в соответствии с общей фармакопейной статьей 2.1.2.5. Относительная плотность и требованиями, указанными в частной фармакопейной статье или нормативном документе по качеству.

Показатель преломления. Испытание проводят для масляных экстрактов в соответствии с общей фармакопейной статьей 2.1.2.6. Показатель преломления (индекс рефракции) и требованиями, указанными в частной фармакопейной статье или нормативном документе по качеству.

Остаточные органические растворители. Испытание проводят для экстрактов, при производстве которых используют органические растворители, если указано в частной фармакопейной статье, в соответствии с общей фармакопейной статьей 2.3.2.0. Остаточные органические растворители и требованиями, указанными в частной фармакопейной статье.

Метанол. Определение проводят для жидких экстрактов на стадии производственного процесса. Допускается содержание не более 0,05% (об/об) метанола, если другое не указано в частной фармакопейной статье.

205010038-2022

2.5.1.38. Эликсиры

Эликсиры - жидкая лекарственная форма, предназначенная для приема внутрь, представляющая собой спирто-водные извлечения из одного или нескольких видов лекарственного растительного сырья и (или) смесь настоек и (или) экстрактов, с добавлением вспомогательных веществ (в том числе корригентов вкуса и запаха, антимикробных консервантов), а также с добавлением или без добавления других активных фармацевтических субстанций.

ОСОБЕННОСТИ ТЕХНОЛОГИИ

Эликсиры могут быть получены двумя способами. Один из них представляет собой экстракцию одного или нескольких видов лекарственного растительного сырья этанолом определенной концентрации. Другой способ состоит в смешивании предварительно полученных спирто-водных извлечений из лекарственного растительного сырья, как правило, представляющих собой настойки и (или) экстракты. Оба способа получения эликсиров предполагают добавление вспомогательных веществ и, при необходимости, активных фармацевтических субстанций, к полученному спирто-водному извлечению.

Обязательными компонентами эликсиров являются такие вспомогательные вещества как корригенты вкуса, ароматизаторы и антимикробные консерванты. В качестве корригентов вкуса и ароматизаторов в эликсиры могут быть добавлены сахара и (или) сахарный колер и (или) мед, сок; в качестве антимикробных консервантов используют метилпарагидроксибензоат, пропилпарагидроксибензоат, а также другие корригенты вкуса, ароматизаторы, антимикробные консерванты и необходимые вспомогательные вещества, разрешенные для применения внутрь.

На стадии производственного процесса лекарственных препаратов в лекарственной форме эликсиры должно осуществляться испытание на содержание метанола и 2-пропанола.

При получении лекарственных препаратов в виде лекарственной формы Эликсиры должны быть приняты меры, обеспечивающие их микробиологическую чистоту.

Эликсиры, выпускаемые в многодозовой упаковке, должны быть снабжены средством дозирования (мерная ложка, мерный стаканчик, мерный колпачок, шприцевой дозатор и др.) для отмеривания предписанной дозы лекарственного препарата.

ИСПЫТАНИЯ

Эликсиры должны соответствовать общим требованиям общей фармакопейной статьи 2.5.1.1. Лекарственные формы и выдерживать испытания, характерные для данной лекарственной формы.

Описание. Эликсиры, как правило, представляют собой жидкость, имеющую характерный цвет и запах. Допускается наличие опалесценции; в ряде случаев, особенно в процессе хранения, возможно образование незначительного осадка.

Эликсиры характеризуют, отмечая внешний вид с указанием прозрачности или опалесценции, цвета и запаха (при наличии) в соответствии с требованиями частной фармакопейной статьи или нормативного документа по качеству.

Этанол. Испытание проводят одним из методов в соответствии с общей фармакопейной статьей 2.1.9.8. Содержание этанола и требованиями по содержанию этанола, указанными в частной фармакопейной статье или нормативном документе по качеству.

Плотность или Относительная плотность. Испытание проводят в соответствии с общей фармакопейной статьей 2.1.2.5. Относительная плотность и требованиями, указанными в частной фармакопейной статье или нормативном документе по качеству.

pH. Испытание проводят, если указано в частной фармакопейной статье или нормативном документе по качеству, потенциометрическим методом в соответствии с общей фармакопейной статьей 2.1.2.3. Потенциометрическое определение pH. Допустимый интервал значений pH эликсира должен быть указан в частной фармакопейной статье или нормативном документе по качеству.

Тяжелые металлы. Испытание проводят для эликсиров, в состав которых входят спирто-водные извлечения, полученные экстракцией одного или нескольких видов лекарственного растительного сырья этанолом. Если не указано другое в частной фармакопейной статье или нормативном документе по качеству, испытание проводят по следующей методике:

10 мл эликсира выпаривают в фарфоровой чашке на водяной бане досуха, прибавляют 1 мл серной кислоты P, осторожно сжигают и прокаливают при температуре 600 °C. К полученному остатку прибавляют при нагревании 5 мл раствора аммония ацетата P 615 г/мл, фильтруют через беззольный фильтр, промывают 5 мл воды P и доводят фильтрат водой P до объема 100 мл; 12 мл полученного раствора должны выдерживать испытания на тяжелые металлы (общая фармакопейная статья 2.1.4.8. Тяжелые металлы, метод А, с использованием раствора натрия сульфида P1, стандартного раствора свинца ионов (1 ppm Pb2+) P). Допустимое содержание тяжелых металлов не должно превышать 10 ppm (Pb2+).

Однородность массы доз. Испытание проводят для эликсиров, выпускаемых в многодозовой упаковке, в соответствии с общей фармакопейной статьей 2.1.9.12. Однородность массы доз, отмеренных из многодозовой упаковки.

205010039-2022

2.5.1.39. Эмульсии

Эмульсии - жидкая лекарственная форма, представляющая собой гетерогенную двухфазную дисперсную систему с жидкой дисперсной фазой и жидкой дисперсионной средой.

Эмульсия, содержащая диспергированные частицы размером менее 1 мкм, представляет собой микрогетерогенную дисперсную систему.

Различают 2 основных типа эмульсий: "масло в воде" и "вода в масле".

В зависимости от пути введения и способа применения различают эмульсии для приема внутрь, для местного применения, для наружного применения, вагинальные, внутриматочные, ректальные, зубные, для гастроэнтерального введения, для промывания слухового прохода, для ингаляций, для парентерального применения, для применения в форме капель глазных, а также интрацистернальные, которые предназначены только для ветеринарного применения.

ОСОБЕННОСТИ ТЕХНОЛОГИИ

Эмульсии получают диспергированием эмульгатора с эмульгируемой жидкостью и дисперсионной средой.

При получении эмульсий в качестве масляной фазы используют масла растительного и животного происхождения, минеральные, эфирные масла и другие несмешивающиеся с водой жидкости.

Эмульгаторы вводят в состав эмульсий для обеспечения устойчивости.

Тип образующейся эмульсии определяется свойствами эмульгатора (его гидрофильно-липофильным балансом).

Эмульгаторы по типу образуемых эмульсий разделяют на гидрофильные, образующие эмульсии типа "масло в воде", и липофильные, образующие эмульсии типа "вода в масле".

Выбор эмульгатора и его количество зависит от природы и свойств эмульгатора и масла.

Активные фармацевтические субстанции вводят в состав эмульсий с учетом их физико-химических свойств: липофильные вещества растворяют в маслах, водорастворимые - в воде, нерастворимые вещества диспергируют и вводят в основу эмульсии.

В случае необходимости в состав эмульсии вводят антимикробные консерванты.

Эмульсии могут быть выпущены готовыми к применению или быть приготовленными непосредственно перед применением в виде восстановленной лекарственной формы из лиофилизатов, предназначенных для получения эмульсии путем диспергирования в соответствующем растворителе.

Эмульсии также могут быть получены в виде разбавленной лекарственной формы из концентратов, предназначенных для получения эмульсии после их разведения в соответствующем растворителе до требуемой концентрации.

При производстве лекарственных препаратов в виде лекарственной формы Эмульсии должны быть приняты меры, обеспечивающие их микробиологическую чистоту, в установленных случаях, например, при производстве эмульсий для парентерального применения, эмульсий для применения в форме капель глазных и др., должны быть приняты меры, обеспечивающие их стерильность.

ИСПЫТАНИЯ

Эмульсии должны соответствовать общей фармакопейной статье 2.5.1.1. Лекарственные формы и выдерживать следующие испытания, характерные для данной лекарственной формы.

Лекарственные препараты, выпускаемые в виде лекарственной формы Эмульсия, предназначенной для парентерального применения, должны соответствовать общей фармакопейной статье 2.5.2.3. Лекарственные препараты для парентерального применения.

Лекарственные препараты, выпускаемые в виде лекарственной формы Капли глазные, представляющей собой эмульсию, должны соответствовать общей фармакопейной статье 2.5.3.3. Лекарственные препараты для офтальмологического применения.

Лекарственные препараты, выпускаемые в виде лекарственной формы Эмульсия, предназначенной для ингаляционного применения, должны соответствовать общей фармакопейной статье 2.5.3.2. Лекарственные препараты для ингаляционного применения.

Лекарственные формы, представляющие собой лиофилизаты, концентраты, предназначенные для приготовления эмульсий, должны соответствовать общим фармакопейным статьям: 2.5.1.14. Лиофилизаты, 2.5.1.12. Концентраты.

Описание. Эмульсии характеризуют, отмечая внешний вид, органолептические (цвет, запах) и другие свойства в соответствии с требованиями частной фармакопейной статьи и (или) нормативного документа по качеству. Эмульсия должна представлять собой однородную жидкость, в которой может наблюдаться расслоение, исчезающее после встряхивания.

pH. Испытание проводят потенциометрическим методом в соответствии с общей фармакопейной статьей 2.1.2.3. Потенциометрическое определение pH. Значение pH указывают в частной фармакопейной статье и (или) нормативном документе по качеству.

Вязкость. Испытание проводят, если указано в частной фармакопейной статье и (или) нормативном документе по качеству, в соответствии с общей фармакопейной статьей 2.1.2.8. Вязкость. Требования указывают в частной фармакопейной статье и (или) нормативном документе по качеству.

Плотность или Относительная плотность. Испытание проводят, если указано в частной фармакопейной статье и (или) нормативном документе по качеству, одним из методов, описанных в общей фармакопейной статье 2.1.2.5. Относительная плотность. Требования указывают в частной фармакопейной статье и (или) нормативном документе по качеству.

Размер частиц. При отсутствии другого обоснования, если указано в частной фармакопейной статье и (или) нормативном документе по качеству, испытание проводят в соответствии с общей фармакопейной статьей 2.1.9.25. Определение размера частиц в суспензиях, эмульсиях, мягких лекарственных формах.

Однородность дозированных единиц. Испытание проводят для эмульсий в однодозовых упаковках, за исключением эмульсий для наружного и местного применения, в соответствии с общей фармакопейной статьей 2.1.9.14. Однородность дозированных единиц.

Однородность массы доз. Испытание проводят для эмульсий для приема внутрь в многодозовых упаковках в соответствии с общей фармакопейной статьей 2.1.9.12. Однородность массы доз, отмеренных из многодозовой упаковки.

Извлекаемый объем. Испытание проводят для эмульсий для приема внутрь в соответствии с общей фармакопейной статьей 2.1.9.16. Извлекаемый объем для жидких лекарственных форм для приема внутрь.

Испытание не применяют для эмульсий в однодозовых упаковках, если проводят испытание по показателю Однородность дозированных единиц.

Масса (объем) содержимого упаковки. Испытание проводят для всех эмульсий, за исключением эмульсий для приема внутрь, в соответствии с общей фармакопейной статьей 2.1.9.17. Масса (объем) содержимого упаковки.

205010040-2022

2.5.1.40. Мягкие лекарственные формы

Настоящая общая фармакопейная статья распространяется на мягкие лекарственные формы, представляющие собой гели, кремы, линименты, мази, пасты.

Гели - мягкая лекарственная форма в виде коллоидной дисперсии, полученная путем гелеобразования с использованием специальных веществ.

Кремы - мягкая лекарственная форма в виде многофазной системы, состоящей из липофильной типа "вода/масло" и гидрофильной типа "масло/вода" фаз или множественной эмульсии.

Линименты - мягкая лекарственная форма для местного применения, обладающая свойством текучести при температуре тела.

Мази - мягкая лекарственная форма, состоящая из однофазной основы, в которой растворены или диспергированы твердые или жидкие действующие вещества.

Пасты - мягкая лекарственная форма, содержащая значительное количество (более 25%) тонкоизмельченных твердых веществ.

Мягкие лекарственные формы в зависимости от пути введения и способа применения могут быть для наружного применения, для местного применения, вагинальные, ректальные, назальные, ушные и др.

К мягким лекарственным формам для применения в полости рта относят гели гидрофильные, мази, кремы и пасты для нанесения на слизистую оболочку полости рта; линименты и гели периодонтальные; гели и пасты для нанесения на десны; гели зубные и стоматологические; пасты лекарственные стоматологические.

Гели (как правило, гидрофильные) и пасты могут быть для приема внутрь, а также могут быть использованы для приготовления суспензий для приема внутрь путем диспергирования гелей или паст в соответствующем растворителе.

Различают также мягкие лекарственные формы для введения в полости тела с помощью соответствующих аппликаторов: гели эндоцервикальные или линименты эндоцервикальные, предназначенные для введения в канал шейки матки, а гели уретральные - для введения в мочеиспускательный канал.

Гели интестинальные - гели, предназначенные для введения в кишечник (двенадцатиперстную кишку, тонкую кишку, подвздошную кишку, толстую кишку) с помощью соответствующего устройства.

Гели трансдермальные - гели, предназначенные для нанесения на кожу с целью оказания системного действия за счет проникновения действующих веществ в кровоток через кожный барьер.

К лекарственным формам для ингаляций относят мази для ингаляций, представляющие собой мази, образующие пары при добавлении в горячую воду или при помощи соответствующего устройства (например, ингалятора), предназначенные для вдыхания с целью оказания местного действия.

К глазным лекарственным формам для офтальмологического применения относят мази глазные, кремы глазные и гели глазные, которые представляют собой стерильные лекарственные формы, предназначенные, как правило, для нанесения на слизистую оболочку глаза (конъюнктиву).

К лекарственным формам для парентерального применения относят гели для инъекций и гели для подкожного введения, представляющие собой стерильные гидрофильные гели, предназначенные для инъекционного введения в определенные ткани и органы или для введения непосредственно под кожу.

По типу дисперсных систем мягкие лекарственные формы могут быть гомогенными (сплавы, растворы), гетерогенными (суспензионные, эмульсионные) и комбинированными.

В зависимости от основы выделяют мягкие лекарственные формы на:

- гидрофобной основе;

- гидрофильной основе;

- дифильной основе;

- эмульсионной основе;

- многофазной основе.

Упаковка мягких лекарственных форм может быть однодозовой и многодозовой.

ОСОБЕННОСТИ ТЕХНОЛОГИИ

Технология мягких лекарственных форм должна обеспечивать максимальное диспергирование и равномерное распределение действующих веществ в основе, а также необходимую консистенцию. Состав лекарственного препарата, выпускаемого в виде мягкой лекарственной формы, должен обеспечивать стабильность его физического состояния при хранении и применении.

Основу для мягких лекарственных форм следует выбирать с учетом назначения лекарственного препарата, эффективности, безопасности и биодоступности действующих веществ, совместимости компонентов лекарственного препарата, реологических свойств, стабильности в течение срока годности.

Основы, используемые при производстве мягких лекарственных форм, подразделяются на:

- гидрофобные: жировые (липофильные), углеводородные, силиконовые и пр.;

- гидрофильные: гели высокомолекулярных углеводов и белков, гели неорганических веществ, гели синтетических высокомолекулярных соединений и др.;

- дифильные: абсорбционные основы - безводные сплавы гидрофобных основ, эмульсионные основы типа "вода/масло", реже - основы типа "масло/вода" и др.

В качестве вспомогательных веществ для мягких лекарственных форм используют эмульгаторы типа "масло/вода" и "вода/масло", гелеобразователи, антимикробные консерванты, антиоксиданты, солюбилизаторы, вещества, повышающие температуру плавления и вязкость, гидрофобные растворители, воду и гидрофильные растворители, отдушки и дезодорирующие средства, регуляторы pH, красители, ароматизаторы и др.

Мази на гидрофобной основе приготовлены, как правило, на углеводородных основах и могут содержать другие гидрофобные вспомогательные вещества. В их состав может быть введено только незначительное количество воды или водных растворов.

Мази на эмульсионной основе могут абсорбировать большое количество воды и образуют эмульсии типа "вода/масло" или "масло/вода" в зависимости от природы эмульгатора.

Мази на гидрофильной основе смешиваются с водой и обычно состоят из смесей жидких и твердых полиэтиленгликолей. В состав таких основ могут быть введены липофильные вещества и эмульгаторы типа "масло/вода".

Кремы на гидрофобной эмульсионной основе приготовлены на основе эмульсии типа "вода/масло" или "масло/вода/масло", стабилизированной подходящими эмульгаторами.

Кремы на гидрофильной эмульсионной основе приготовлены на основе эмульсии типа "масло/вода" или "вода/масло/вода", стабилизированной подходящими эмульгаторами. К ним также относят коллоидные дисперсные системы, которые состоят из диспергированных в воде или в смешанных водно-гликолевых растворителях высших жирных спиртов или кислот, которые стабилизированы гидрофильными поверхностно-активными веществами.

Олеогели - гели, приготовленные на основах, состоящих из гидрофобного растворителя и липофильного гелеобразователя и др.

Гидрогели - гели, приготовленные на основах, состоящих из воды, гидрофильного смешанного или неводного растворителя и гидрофильного гелеобразователя.

Мягкие лекарственные формы выпускаются готовыми к применению, но в отдельных случаях гели и пасты могут быть приготовлены непосредственно перед применением из порошков, предназначенных для их приготовления.

При получении лекарственных препаратов в виде мягких лекарственных форм должны быть приняты меры, обеспечивающие их микробиологическую чистоту; в установленных случаях, например, при получении мягких лекарственных форм для парентерального применения, глазных лекарственных форм, должны быть приняты меры, обеспечивающие их стерильность.

Лекарственные препараты в виде назальных, ушных, ректальных, вагинальных и др. мягких лекарственных форм могут содержать в упаковке дополнительное устройство или аппликатор для введения лекарственного препарата.

ИСПЫТАНИЯ

Мягкие лекарственные формы должны соответствовать общей фармакопейной статье 2.5.1.1. Лекарственные формы и выдерживать следующие испытания, характерные для конкретной мягкой лекарственной формы.

Восстановленные суспензии для приема внутрь, полученные с использованием гелей и паст, предназначенных для их получения, должны соответствовать общей фармакопейной статье 2.5.1.33. Суспензии. В частной фармакопейной статье и (или) нормативном документе по качеству указывают Время получения восстановленной лекарственной формы лекарственного препарата и, при необходимости, Описание полученной лекарственной формы.

Лекарственные препараты, выпускаемые в виде мягких лекарственных форм (мазей, кремов, гелей), предназначенных для офтальмологического применения, должны соответствовать общей фармакопейной статье 2.5.3.3. Лекарственные препараты для офтальмологического применения.

Лекарственные препараты, выпускаемые в виде гелей, предназначенных для инъекций, для подкожного введения, должны соответствовать общей фармакопейной статье 2.5.3.4. Лекарственные препараты для парентерального применения.

Лекарственные препараты, выпускаемые в виде мазей для ингаляций, должны соответствовать общей фармакопейной статье 2.5.3.2. Лекарственные препараты для ингаляционного применения.

Описание. Мягкие лекарственные формы характеризуют, отмечая внешний вид, органолептические (цвет, запах) и другие свойства в соответствии с требованиями частной фармакопейной статьи и (или) нормативного документа по качеству.

Мягкие лекарственные формы должны быть однородными, не иметь прогорклого запаха, а также признаков физической нестабильности (агрегации частиц, фазового расслоения, коагуляции).

Однородность дозированных единиц. Испытание проводят для мягких лекарственных форм в однодозовых упаковках в соответствии с общей фармакопейной статьей 2.1.9.14. Однородность дозированных единиц и требованиями, указанными в частной фармакопейной статье и (или) нормативном документе по качеству.

Размер частиц. Испытание проводят для мягких лекарственных форм гетерогенного и комбинированного типа, содержащих активную фармацевтическую субстанцию в виде твердой дисперсной фазы, в соответствии с общей фармакопейной статьей 2.1.9.25. Определение размера частиц в суспензиях, эмульсиях, мягких лекарственных формах.

Металлические частицы. Испытание проводят для мазей глазных, упаковка которых представляет собой металлические тубы, в соответствии с общей фармакопейной статьей 2.1.9.27. Металлические частицы в мазях глазных.

Герметичность упаковки. Испытание проводят для мягких лекарственных форм в соответствии с общей фармакопейной статьей 2.1.9.19. Определение герметичности упаковки.

pH. Испытание проводят в соответствии с методикой определения и требованиями, указанными в частной фармакопейной статье и (или) нормативном документе по качеству. Определяют значение pH мягкой лекарственной формы или pH водной вытяжки из мягкой лекарственной формы. Отсутствие данного показателя должно быть обосновано.

Кислотное число и пероксидное число. Испытание проводят для мягких лекарственных форм, в состав которых входят вещества, способные к гидролизу и окислению, если указано в частной фармакопейной статье и (или) нормативном документе по качеству. Определение проводят в соответствии с общей фармакопейной статьей 2.1.5.1. Кислотное число и общей фармакопейной статьей 2.1.5.5. Пероксидное число. Требования и методики определения приводят в частной фармакопейной статье и (или) нормативном документе по качеству.

Масса содержимого упаковки. Испытание проводят в соответствии с общей фармакопейной статьей 2.1.9.17. Масса (объем) содержимого упаковки.

2.5.2. ЛЕКАРСТВЕННЫЕ ФОРМЫ ВЕТЕРИНАРНЫХ ЛЕКАРСТВЕННЫХ ПРЕПАРАТОВ

205020001-2022

2.5.2.1. Системы терапевтические интраруминальные

Системы терапевтические интраруминальные - лекарственная форма, представляющая собой систему доставки и специфического высвобождения действующего вещества (веществ) в течение определенного периода времени, предназначенная для введения жвачным животным в рубец (отдел многокамерного желудка жвачных).

Системы терапевтические интраруминальные вводят животным в рубец с помощью зонда или болюсодавателя. Они могут быть снабжены приспособлениями для удерживания в рубце и, как правило, представляют собой полимерные или металлические контейнеры, с размещенными в них таблетками или капсулами, содержащими дозированное количество действующего вещества (веществ). При поступлении рубцовой жидкости через отверстие (отверстия) контейнера происходит постепенное высвобождение в рубец действующего вещества (веществ), длительность которого может варьироваться от нескольких дней до нескольких недель, в зависимости от назначения, структуры и свойств терапевтической системы, обеспечивающей заданные параметры.

Системы терапевтические интраруминальные подразделяются на категории, предназначенные:

- для нахождения на поверхности рубцовой жидкости;

- для удержания на дне рубца.

По способу высвобождения действующего вещества (веществ) системы терапевтические интраруминальные подразделяются на:

- непрерывного высвобождения;

- прерывистого высвобождения.

Для непрерывного высвобождения действующего вещества (веществ) система терапевтическая интраруминальная должна обеспечивать высвобождение заданного количества действующего вещества (веществ) при определенной скорости в течение установленного промежутка времени.

Для прерывистого высвобождения система терапевтическая интраруминальная должна обеспечивать высвобождение заданного количества действующего вещества (веществ) через одинаковые или различные интервалы времени.

Эти эффекты достигаются за счет структуры и материалов системы терапевтической интраруминальной, специфических химических, физических и физико-химических свойств подобранных материалов, в том числе их устойчивости к действию рубцовой жидкости, и состава вспомогательных веществ таблеток или капсул.

Обозначение дозировки действующего вещества (веществ) в системе терапевтической интраруминальной может быть указано как количество действующего вещества, высвобождаемого из лекарственной формы за определенный период времени, либо в массовых единицах или процентах.

ОСОБЕННОСТИ ТЕХНОЛОГИИ

Основным компонентом системы терапевтической интраруминальной является контейнер для лекарственного препарата с калиброванным отверстием (отверстиями), в которое может быть вставлена мембрана (мембраны), обеспечивающая, в том числе, запрограммированную (контролируемую) скорость высвобождения действующего вещества в течение определенного времени. Устройства доставки лекарственной формы к месту применения могут иметь различную форму, определяющую внешний вид системы.

При производстве системы терапевтической интраруминальной в качестве вспомогательных веществ используют биосовместимые полимерные материалы, в которые вводят действующее вещество (вещества). Введение в лекарственную форму действующего вещества на полимерном носителе при применении лекарственного препарата должно обеспечить пролонгирование его действия, контролируемое высвобождение действующего вещества из полимерной основы в заданном интервале времени и другие необходимые биофармацевтические параметры. Действующие и вспомогательные вещества, устройство доставки, материал упаковки должны быть совместимы между собой и с другими компонентами лекарственного препарата.

При производстве систем терапевтических интраруминальных принимаются меры по обеспечению заданных параметров дозирования и высвобождения действующего вещества (веществ) в рубец. Для этого должны быть подобраны: оптимальный размер частиц действующих веществ, состав вспомогательных компонентов для таблеток или капсул, материал, структура (включая диаметр калиброванного отверстия (отверстий)), а также оптимальное количество таблеток или капсул для контейнера.

Особенности технологии производства таблеток и капсул, являющихся компонентами систем терапевтических интраруминальных, приведены в общей фармакопейной статье 2.5.1.34. Таблетки и общей фармакопейной статье 2.5.1.10. Капсулы.

При производстве, упаковке, хранении систем терапевтических интраруминальных предпринимаются меры, обеспечивающие микробиологическую чистоту в соответствии с общей фармакопейной статьей 2.3.1.2. Требования к микробиологической чистоте лекарственных препаратов, фармацевтических субстанций и вспомогательных веществ для их производства.

ИСПЫТАНИЯ

Системы терапевтические интраруминальные должны соответствовать общим требованиям общей фармакопейной статьи 2.5.1.1. Лекарственные формы и выдерживать испытания, характерные для данной лекарственной формы.

Для систем терапевтических интраруминальных приводят описание внешнего вида, включая описание устройства доставки, а также описание и размеры приспособления для удерживания в рубце, диаметр калиброванного отверстия (отверстий) контейнера и количество таблеток или капсул в контейнере.

Таблетки или капсулы, являющиеся компонентами систем терапевтических интраруминальных, должны выдерживать требования общей фармакопейной статьи 2.5.1.34. Таблетки или общей фармакопейной статьи 2.5.1.10. Капсулы и методы их анализа.

Испытание на растворение проводят в соответствии с методикой и требованиями, указанными в нормативном документе на ветеринарное лекарственное средство. Определяют количество действующего вещества, которое должно высвободиться из системы терапевтической интраруминальной в среду растворения за определенный промежуток времени.

Системы терапевтические интраруминальные должны выдерживать требования общей фармакопейной статьи 2.3.1.2. Требования к микробиологической чистоте лекарственных препаратов, фармацевтических субстанций и вспомогательных веществ для их производства.

205020002-2022

2.5.2.2. Системы терапевтические для наружного применения ветеринарные

Системы терапевтические для наружного применения ветеринарные - лекарственная форма, представляющая собой систему специфического высвобождения и доставки действующего вещества (веществ) в течение определенного периода времени.

Для непрерывного высвобождения действующего вещества (веществ) системы терапевтические для наружного применения ветеринарные должны обеспечивать высвобождение заданного количества действующего вещества (веществ) при определенной скорости в течение установленного промежутка времени.

Этот эффект достигается за счет структуры и специфических химических, физических и физико-химических свойств подобранных материалов и действующего вещества (веществ) системы терапевтической для наружного применения ветеринарной.

Системы терапевтические для наружного применения ветеринарные имеют фиксатор для удерживания их на теле животного.

К системам терапевтическим для наружного применения ветеринарным относятся противопаразитарные ошейники и ушные бирки.

В процессе использования систем терапевтических для наружного применения ветеринарных при испарении действующего (действующих) вещества (веществ) и (или) физическом контакте с поверхностью тела животных происходит перенос действующего (действующих) вещества (веществ) на кожно-волосяной покров животных. Действующее (действующие) вещество (вещества) постепенно распределяется по кожно-волосяному покрову животного, оказывая инсектоакарицидный и (или) репеллентный эффект.

Обозначение дозировки действующего (действующих) вещества (веществ) в системе терапевтической для наружного применения ветеринарной может быть указано в массовых единицах или в процентах.

ОСОБЕННОСТИ ТЕХНОЛОГИИ

В состав систем терапевтических для наружного применения ветеринарных действующее (действующие) вещество (вещества) может быть внесено различными способами: равномерно импрегнированно в полимерную основу, или нанесено на поверхность основы в смеси с другими полимерами, обеспечивающими постепенное высвобождение действующего (действующих) вещества (веществ). При равномерном импрегнировании действующего (действующих) вещества (веществ) в полимерную основу, вспомогательные вещества должны обеспечивать пористость массы полимерной основы, обеспечивая постепенное высвобождение действующих веществ и перенос их на кожно-волосяной покров животного. При нанесении действующего (действующих) вещества (веществ) на поверхность полимерной основы, вспомогательные вещества облегчают перенос действующего (действующих) вещества (веществ) на кожно-волосяной покров животного за счет их постепенного истирания при физическом контакте с животным.

В качестве вспомогательных веществ для основы могут быть использованы различные полимеры, порообразователи, модификаторы (компоненты, регулирующие скорость высвобождения, действующего (действующих) вещества (веществ) в течение определенного периода времени). Вспомогательные вещества, система специфического высвобождения и доставки, материал упаковки должны быть совместимы между собой.

На стадии разработки должно быть экспериментально подтверждено постепенное высвобождение действующих веществ из полимерной основы системы терапевтической для наружного применения ветеринарной и переход их на кожно-волосяной покров животного.

Если в состав систем терапевтических для наружного применения ветеринарных входят летучие вещества, в процессе производства контролируют герметичность упаковки.

ИСПЫТАНИЯ

Для систем терапевтических для наружного применения ветеринарных приводят описание внешнего вида.

Размеры систем терапевтических для наружного применения ветеринарных контролируют по длине, ширине и толщине. Толщина может измеряться в одной или нескольких точках, если она различна.

Испытание на растворение проводят в соответствии с методикой и требованиями, указанными в фармакопейной статье или нормативном документе на ветеринарное лекарственное средство.

Определяют количество действующего (действующих) вещества (веществ), которое должно высвободиться из системы терапевтической для наружного применения ветеринарной в среду растворения, состоящую из органического растворителя (растворителей).

205020003-2022

2.5.2.3. Пластины ветеринарные

Пластина ветеринарная - твердая лекарственная форма, представляющая собой пластину определенного размера, состоящая из пористой основы с равномерно распределенным в ней действующим (действующими) веществом (веществами). Основа может быть из древесного шпона, картона или полимерных материалов.

Пластины ветеринарные предназначены для применения внутри ульев путем подвешивания в межрамочном пространстве. Для этой цели пластины ветеринарные могут иметь отверстия.

Пластины ветеринарные должны обеспечивать пролонгированное высвобождение действующего (действующих) вещества (веществ) в течение определенного периода времени.

При применении пластин ветеринарных высвобождение действующего (действующих) вещества (веществ) происходит за счет структуры и специфических химических, физических и физико-химических свойств подобранных материалов, вспомогательных компонентов и действующего (действующих) вещества (веществ).

Высвобождение действующего (действующих) вещества (веществ) во внутреннем пространстве улья происходит в виде аэрозоля при испарении (в том числе термическом) или путем термической возгонки (под воздействием высокой температуры) в процессе тления основы.

В процессе тления пластины ветеринарные должны полностью окисляться до зольного остатка. Процесс термического испарения или термической возгонки не должен приводить к разрушению действующего (действующих) вещества (веществ) под воздействием высокой температуры.

ОСОБЕННОСТИ ТЕХНОЛОГИИ

При производстве пластин ветеринарных принимаются меры по обеспечению заданных параметров дозирования и высвобождения действующего (действующих) вещества (веществ). Для этого должны быть подобраны оптимальные материалы, структура и размеры основы, состав вспомогательных компонентов и концентрация действующего (действующих) вещества (веществ).

В качестве вспомогательных веществ могут быть использованы различные полимеры, порообразователи, модификаторы (компоненты, влияющие на высвобождение действующего (действующих) вещества (веществ) в течение определенного периода времени), а также растворители, разбавители, антимикробные консерванты, стабилизирующие и солюбилизирующие агенты, окислители для инициирования реакции окисления (тления), пламегасители для предотвращения воспламенения.

Вспомогательные вещества должны обеспечивать оптимальные технологические характеристики лекарственной формы и не должны вызывать нежелательное действие на пчел в используемых концентрациях.

Вспомогательные вещества и материал упаковки должны быть совместимы между собой.

Пластины ветеринарные с высвобождением действующего (действующих) вещества (веществ) при термическом испарении или термической возгонке (под воздействием высокой температуры) контролируют по возгораемости и характеру тления в соответствии с общей фармакопейной статьей 2.1.9.28. Возгораемость и характер тления лекарственных препаратов в виде пластин ветеринарных, шнуров ветеринарных и твердых лекарственных форм для ингаляций ветеринарных, а также по времени тления в соответствии с общей фармакопейной статьей 2.1.9.29. Определение времени тления лекарственных препаратов в виде пластин ветеринарных, шнуров ветеринарных и твердых лекарственных форм для ингаляций ветеринарных.

При необходимости, в процессе производства, упаковки и хранении пластин ветеринарных предпринимаются меры, обеспечивающие микробиологическую чистоту в соответствии с требованиями общей фармакопейной статьи 2.3.1.2. Требования к микробиологической чистоте лекарственных препаратов, фармацевтических субстанций и вспомогательных веществ для их производства.

Если в состав пластин ветеринарных входят летучие вещества, в процессе производства контролируют герметичность упаковки в соответствии с общей фармакопейной статьей 2.1.9.19. Определение герметичности упаковки.

ИСПЫТАНИЯ

Пластины ветеринарные должны соответствовать общим требованиям общей фармакопейной статьи 2.5.1.1. Лекарственные формы и выдерживать испытания, характерные для данной лекарственной формы.

Описание. Для пластин ветеринарных приводят описание внешнего вида, цвета, запаха - при наличии.

Размеры пластины. Размеры пластины ветеринарной контролируют по длине, ширине и толщине в миллиметрах. Толщина может измеряться в одной или нескольких точках, если она различна. Количество пластин ветеринарных для испытания и допустимые отклонения размеров приводят в частной фармакопейной статье или нормативном документе на ветеринарное лекарственное средство.

Средняя масса. Количество пластин ветеринарных для испытания и допустимые отклонения средней массы приводят в частной фармакопейной статье или нормативном документе на ветеринарное лекарственное средство.

Микробиологическая чистота. Если не указано иначе в частной фармакопейной статье или нормативном документе на ветеринарное лекарственное средство пластины ветеринарные должны выдерживать требования общей фармакопейной статьи 2.3.1.2. Требования к микробиологической чистоте лекарственных препаратов, фармацевтических субстанций и вспомогательных веществ для их производства.

УПАКОВКА

Пластины ветеринарные упаковывают в индивидуальные упаковки, обеспечивающие, при необходимости, микробиологическую чистоту.

При наличии в составе пластин ветеринарных летучих веществ, упаковка должна быть герметична.

Материалы упаковки должны учитывать особенности применения лекарственной формы.

2.5.3. ЛЕКАРСТВЕННЫЕ ПРЕПАРАТЫ

205030001-2022

2.5.3.1. Лекарственные препараты

Настоящая общая фармакопейная статья устанавливает общие требования к лекарственным препаратам.

Лекарственные препараты - лекарственные средства в виде лекарственных форм.

Лекарственные препараты, поступающие в обращение на территории стран Евразийского экономического союза, должны быть зарегистрированы уполномоченным органом в установленном порядке.

Не подлежат регистрации лекарственные препараты, изготовленные аптечными организациями по рецептам врачей, требованиям медицинских или ветеринарных организаций.

Лекарственный препарат может содержать одно или более действующих веществ (активных фармацевтических субстанций) и, как правило, содержать одно или более вспомогательных веществ или основу. В ряде случаев лекарственный препарат может не содержать вспомогательных веществ.

Лекарственные препараты, в состав которых входит более одного действующего вещества (активной фармацевтической субстанции), называются комбинированными или многокомпонентными.

Наряду с требованиями настоящей общей фармакопейной статьи лекарственные препараты, также должны соответствовать требованиям раздела 1. Общие сведения и соответствующих общих фармакопейных статей на группы лекарственных препаратов.

Лекарственные препараты также должны отвечать требованиям общей фармакопейной статьи на лекарственные формы, в виде которых они выпущены.

Лекарственные препараты, полученные с использованием материалов от человека или животного, в случае приемлемости, должны выдерживать требования общей фармакопейной статьи 2.3.1.3. Вирусная безопасность и др.

ОСОБЕННОСТИ ТЕХНОЛОГИИ

Получение лекарственных препаратов должно осуществляться на основе результатов фармацевтической разработки, включающей выбор подходящих материалов, процессов, испытаний и других параметров, обеспечивающих выпуск лекарственного препарата, обладающего требуемым качеством, стабильностью и эффективностью в течение установленного срока годности.

Производство лекарственных препаратов - деятельность по производству лекарственных препаратов производителями лекарственных препаратов на одной стадии, нескольких или всех стадиях процесса производства, а также по хранению, транспортированию и реализации произведенных лекарственных препаратов.

Производство и контроль качества зарегистрированных лекарственных препаратов должны осуществляться производителями лекарственных препаратов, имеющими соответствующие разрешения (лицензии) на производство лекарственных средств, в соответствии с Правилами надлежащей производственной практики Евразийского экономического союза, утвержденными в установленном порядке и отвечать, как общим требованиям указанных Правил, так и требованиям к организации производства отдельных видов (типов) лекарственных препаратов, включая стерильные, растительные, биологические, радиофармацевтические лекарственные препараты, медицинские газы и др.

Изготовление лекарственных препаратов - деятельность по изготовлению лекарственных препаратов, не подлежащих регистрации, осуществляемая аптечными организациями, имеющими соответствующее разрешение (лицензию), по требованиям медицинских или ветеринарных организаций и рецептам врачей.

Как правило, выделяют следующие основные категории лекарственных препаратов, которые могут быть изготовлены аптечными организациями:

- лекарственные препараты, изготовленные по рецептам врачей, требованиям медицинских или ветеринарных организаций для одного пациента, группы пациентов или животных, отпускаемые после приготовления (экстемпоральные препараты);

- лекарственные препараты, изготовленные заранее в виде внутриаптечной заготовки по часто встречающимся прописям, хранящиеся до получения требования на отпуск.

Субстанции для фармацевтического применения, используемые для получения лекарственных препаратов, должны соответствовать требованиям частных и соответствующих общих фармакопейных статей 2.3.18.0. Субстанции для фармацевтического применения, 2.3.2.0. Остаточные органические растворители, 2.3.1.3. Вирусная безопасность и др.

В зависимости от состава и назначения лекарственного препарата одно и то же вещество в ряде случаев может быть использовано в производстве/изготовлении лекарственного препарата как в качестве активной фармацевтической субстанции, так и в качестве вспомогательного вещества.

В зависимости от физико-химических свойств используемых активных фармацевтических субстанций, дозировки, классификационных признаков лекарственной формы (способ/путь введения и применения, агрегатное состояние, тип дисперсной системы, скорость и характер высвобождения действующих веществ и др.) для получения лекарственных препаратов используют различные группы вспомогательных веществ в соответствии с их назначением: антимикробные консерванты, антиоксиданты, стабилизаторы, солюбилизаторы, эмульгаторы, разрыхлители, смазывающие и красящие вещества, корригенты вкуса, ароматизаторы и др.

Подробная информация о функциональных свойствах вспомогательных веществ, используемых при получении лекарственных препаратов, приведены в общей фармакопейной статье 2.3.7.0. Функциональные характеристики вспомогательных веществ.

Должна быть изучена стабильность лекарственного препарата: установлены и проконтролированы физико-химические, функциональные и другие характеристики активных фармацевтических субстанций, вспомогательных веществ, особенности лекарственной формы, системы упаковки и другие причины, способные оказать неблагоприятное воздействие на производственный процесс, на качество лекарственного препарата, в том числе, при его хранении, транспортировании и применении в течение предполагаемого срока годности и др.

В ходе изучения стабильности должен быть подтвержден заявленный срок годности лекарственного препарата и условия хранения, обеспечивающие его качество в течение заявленного срока годности.

Изучение стабильности лекарственных препаратов, подлежащих регистрации, а также установление их срока годности, должны соответствовать требованиям действующих нормативных документов, утвержденных уполномоченным органом. Методики, применяемые при изучении стабильности лекарственного препарата, должны быть валидированы в соответствии с общей фармакопейной статьей 2.3.14.0. Валидация аналитических методик.

Произведенные/изготовленные лекарственные препараты могут быть стерильными и нестерильными.

Стерильные лекарственные препараты должны быть получены с применением материалов и методов, исключающих возможность микробной контаминации, роста микроорганизмов и обеспечивающих их стерильность в соответствии с общей фармакопейной статьей 2.1.6.1. Стерильность.

Лекарственные препараты, которые в силу особенностей физико-химических свойств действующих веществ, вида лекарственной формы и др., не могут быть подвергнуты ни одному из видов стерилизации, производят/изготовляют в асептических условиях без последующей стерилизации.

Нестерильные лекарственные препараты должны быть получены с применением материалов и методов, обеспечивающих их соответствие требованиям общих фармакопейных статей 2.3.1.2. Требования к микробиологической чистоте лекарственных препаратов, фармацевтических субстанций и вспомогательных веществ для их производства, 2.3.1.4. Требования к микробиологической чистоте фармацевтических субстанций растительного происхождения, лекарственных растительных препаратов и экстрактов, используемых для их получения.

Выбранный состав, лекарственная форма, технология получения, упаковка и условия хранения должны обеспечить необходимую категорию микробиологической чистоты нестерильного лекарственного препарата при его применении.

Для достижения этой цели в состав лекарственного препарата в редких случаях, при наличии обоснования, могут быть введены вспомогательные вещества - антимикробные консерванты.

При разработке лекарственных препаратов, в состав которых должны быть введены антимикробные консерванты, необходимость их использования и эффективность должны быть подтверждены в соответствии с требованиями общей фармакопейной статьи 2.3.1.1. Эффективность антимикробных консервантов.

Основные требования к получению лекарственных препаратов, обусловленные специфическими особенностями лекарственных форм, приведены в разделе Особенности технологии общей фармакопейной статьи 2.5.1.1. Лекарственные формы и общих фармакопейных статей на отдельные лекарственные формы и группы лекарственных форм. Например, при производстве лекарственных препаратов в виде жидких лекарственных форм, представляющих собой гетерогенные дисперсные системы (суспензии, эмульсии), должны быть приняты меры, обеспечивающие необходимый и контролируемый размер частиц с учетом предполагаемого применения и др.

Лекарственные препараты могут быть выпущены готовыми к применению или могут быть получены медицинским персоналом, пациентом или ветеринарным врачом в виде восстановленных или разбавленных лекарственных препаратов из зарегистрированных лекарственных препаратов, выпущенных в виде лиофилизатов, порошков, таблеток, гранул, концентратов путем их растворения/диспергирования в соответствующем растворителе согласно информации, указанной в инструкции по медицинскому или ветеринарному применению.

ИСПЫТАНИЯ

Испытания, применяемые для оценки качества любого лекарственного препарата, включают показатели качества, характеризующие действующие и вспомогательные вещества, входящие в его состав и показатели качества лекарственной формы, в виде которой препарат получен, в зависимости от способа применения/пути введения.

Испытания, применяемые к лекарственным формам лекарственных препаратов, указаны в общих фармакопейных статьях на отдельные лекарственные формы, группы лекарственных форм и в настоящей общей фармакопейной статье не приводятся.

Для достижения необходимого качества, соответствующего проводимой оценке риска, лекарственных препаратов, не подлежащих регистрации, их испытания проводят на основании требований соответствующих действующих нормативных документов государств-членов Союза, как правило, при осуществлении внутриаптечного контроля их качества. Обычно лекарственные препараты в виде внутриаптечной заготовки подлежат испытаниям по большему количеству показателей качества, чем экстемпоральные препараты.

Для оценки качества лекарственных препаратов применяют универсальные испытания, такие как: описание, подлинность, чистота, количественное определение, а также специфичные (индивидуальные) испытания, зависящие от особенностей и (или) от способа применения/пути введения лекарственного препарата.

Описание. Содержит сведения, которые наиболее полно характеризуют требования, предъявляемые к внешнему виду (агрегатное состояние, форма, размеры и др., что применимо) и органолептическим свойствам (цвет, запах) лекарственного препарата; описание вкуса не приводится. Раздел Описание включается в нормативный документ по качеству лекарственного препарата.

Идентификация. Выбор испытаний по определению подлинности действующего вещества/веществ и, в ряде случаев, входящих в состав лекарственного препарата вспомогательных веществ, определяется составом лекарственного препарата. Идентифицируют действующие вещества, антимикробные консерванты, антиоксиданты и другие вспомогательные вещества в зависимости от природы фармацевтической субстанции и особенностей лекарственной формы, в соответствии с указаниями частной фармакопейной статьи и (или) нормативного документа по качеству. Испытания проводят, используя наиболее специфичные методы анализа, включая химические (2.1.3.1), физико-химические (спектрометрические, хроматографические и др.) (2.1.2.23, 2.1.2.28 и др.) и другие методы анализа, а также их сочетание.

Чистота. Данный показатель качества лекарственных препаратов включает испытания на отсутствие или нормируемое содержание различных примесей, представляющих собой любые компоненты, присутствующие в лекарственном препарате, наличие которых нежелательно. Как правило, для большинства лекарственных препаратов применимы испытания на определение содержания остаточных органических растворителей и испытания на родственные примеси.

Остаточные органические растворители. Испытание проводят для лекарственных препаратов в соответствии с требованиями общих фармакопейных статей 2.3.2.0. Остаточные органические растворители и 2.1.4.19. Идентификация и контроль остаточных растворителей, а также в соответствии с валидированными методиками определения, указанными в частной фармакопейной статье или нормативном документе по качеству на лекарственный препарат.

Примеси. Лекарственные препараты должны выдерживать испытание, если существует вероятность наличия примесей активной фармацевтической субстанции, связанных с образованием и накоплением продуктов деструкции в результате деградации активной фармацевтической субстанции (например, при способности к образованию изомеров, продуктов распада и др.) или в результате взаимодействия активной фармацевтической субстанции со вспомогательными веществами или с материалами первичной упаковки и укупорочных средств (например, в процессе хранения, транспортирования) и др.

Примеси определяют в соответствии с требованиями, указанными в частной фармакопейной статье или нормативном документе по качеству на конкретный лекарственный препарат.

Для определения примесей используют специфичные методы анализа.

Примеси элементов. Испытание применяют ко всем лекарственным препаратам, за исключением лекарственных препаратов для ветеринарного применения, лекарственных препаратов, не подлежащих регистрации, и других лекарственных препаратов, не входящих в область применения данной общей фармакопейной статьи, в соответствии с общей фармакопейной статьей 2.3.10.0. Примеси элементов. В случае приемлемости, испытания проводят с использованием аналитических методик в соответствии с указаниями общей фармакопейной статьи 2.1.4.23. Определение примесей элементов.

Количественное определение. Лекарственные препараты должны выдерживать данное испытание. Выбор испытаний количественного определения действующего вещества/веществ и отдельных вспомогательных веществ определяется составом лекарственного препарата. Количественное определение действующего вещества/веществ, антимикробных консервантов, антиоксидантов и других вспомогательных веществ проводят в зависимости от природы фармацевтической субстанции и особенностей лекарственной формы, в соответствии с указаниями частной фармакопейной статьи или нормативного документа по качеству. Испытания проводят, используя физико-химические (спектрометрические, хроматографические и др.) (2.1.2.24, 2.1.2.28 и др.) и химические (титриметрические) (2.1.5.11 и др.), биологические методы анализа и др.

Любые используемые методы (методики) количественного определения лекарственных препаратов подлежат валидации согласно требованиям общей фармакопейной статьи 2.3.14.0. Валидация аналитических методик.

При выборе методов (методик) испытаний количественного определения действующего вещества в лекарственном препарате:

- рекомендуется использовать специфические методы анализа, например, высокоэффективную жидкостную или газовую хроматографию, что позволяет исключить возможное влияние на результаты испытания со стороны вспомогательных веществ, которое при использовании не специфических методов анализа может стать причиной значительной погрешности;

- использовать, по возможности, тот же метод, который, согласно частной фармакопейной статье, применяется для количественного определения фармацевтической субстанции (действующего вещества лекарственного препарата); при этом необходимо подтвердить, что присутствующие в лекарственном препарате вспомогательные вещества и (или) лекарственная форма не оказывают влияния на полученный результат;

- методы (методики), применяемые при изучении стабильности этого лекарственного препарата.

Допускается использовать разные методы (методики) количественного определения при проведении испытаний лекарственного препарата по таким показателям, в ходе которых проводят количественное определение одного и того же действующего вещества (например, Растворение, Однородность дозирования, Количественное определение); при этом пригодность методов (методик) должна быть подтверждена соответствующими процедурами валидации.

В лекарственных препаратах, содержащих два и более действующих веществ, при невозможности количественного определения по отдельности каждого из действующих веществ с помощью единой аналитической методики (метода), допустимо использование нескольких соответствующих валидированных методов (методик) анализа.

Если действующее вещество лекарственного препарата является фармацевтической субстанцией, представляющей собой соль, то количественное определение допускается проводить по одному из ионов - предпочтительно по фармакологически активному.

Пределы содержания компонентов лекарственного препарата при проведении испытаний по показателю Количественное определение, должны быть указаны в частной фармакопейной статье и в нормативном документе по качеству на конкретный лекарственный препарат. Максимально допустимое отклонение содержания действующего вещества в лекарственном препарате на дату его производства не должно превышать +/- 5% за исключением соответствующим образом обоснованных случаев.

Лекарственные препараты, полученные при растворении и диспергировании твердых лекарственных форм (таблеток, порошков, гранул, лиофилизатов) или разбавлении жидких лекарственных формы (концентратов), предназначенных для их приготовления, должны соответствовать требованиям настоящей общей фармакопейной статьи и требованиям, указанным в частной фармакопейной статье или нормативном документе по качеству на исходный лекарственный препарат.

Следующие испытания являются специфичными, применяемыми к определенным лекарственным препаратам.

Микробиологическая чистота. Испытание проводят для всех нестерильных лекарственных препаратов в соответствии с общими фармакопейными статьями 2.1.6.6. Микробиологические испытания нестерильных лекарственных средств: общее количество жизнеспособных аэробных организмов; 2.1.6.7. Микробиологические испытания нестерильных лекарственных средств на наличие отдельных видов микроорганизмов; 2.1.6.9. Микробиологические испытания лекарственных препаратов природного происхождения для приема внутрь и сырья, используемого для их получения с учетом свойств действующего вещества/веществ лекарственного препарата, вида лекарственной формы с ее классификационными признаками, а также требованиями, регламентированными общими фармакопейными статьями 2.3.1.2. Требования к микробиологической чистоте лекарственных препаратов, фармацевтических субстанций и вспомогательных веществ для их производства или 2.3.1.4. Требования к микробиологической чистоте фармацевтических субстанций растительного происхождения, лекарственных растительных препаратов и экстрактов, используемых для их получения.

Стерильность. Испытание проводят для всех лекарственных препаратов, к которым предъявляется требование стерильности, в соответствии с общей фармакопейной статьей 2.1.6.1. Стерильность.

Бактериальные эндотоксины и (или) Пирогенность. Испытание проводят для лекарственных препаратов, предназначенных для парентерального применения, растворов для орошения и, при указании в частной фармакопейной статье или нормативном документе по качеству, для других лекарственных препаратов. Испытание проводят в соответствии с общей фармакопейной статьей 2.1.6.8. Бактериальные эндотоксины или общей фармакопейной статьей 2.1.6.2. Пирогенность.

Аномальная токсичность. Испытание проводят в соответствии с общей фармакопейной статьей 2.1.6.3. Аномальная токсичность для лекарственных препаратов, содержащих вещества природного происхождения; вещества, получаемые из крови, органов, тканей человека или животного; растительного сырья; микроорганизмов и продуктов их жизнедеятельности в виде лекарственных форм, предназначенных, в основном, для парентерального применения. При соответствующем обосновании испытание может не проводиться.

Стандартные образцы. Стандартные образцы, которые могут быть необходимы на различных стадиях испытания лекарственного препарата, должны соответствовать требованиям общей фармакопейной статьи 2.3.11.0. Стандартные образцы.

Другие испытания лекарственных препаратов проводят, если имеются соответствующие указания в частной фармакопейной статье или нормативном документе по качеству.

Разделы Упаковка, Маркировка, Хранение включают в частную фармакопейную статью на лекарственный препарат в случае необходимости, при этом руководствуясь соответствующими требованиями, указанными в общих фармакопейных статьях на лекарственные формы, и используя необходимые руководства и другие акты Евразийской экономической комиссии.

205030002-2022

2.5.3.2. Лекарственные препараты для ингаляционного применения

Лекарственные препараты для ингаляционного применения представляют собой препараты, предназначенные для введения действующего вещества в дыхательную систему в виде паров или дисперсий твердых или жидких частиц в газовой среде с целью оказания местного или системного действия.

Лекарственные препараты для ингаляционного применения содержат одно или более действующих веществ, растворенных или диспергированных в соответствующем носителе.

Для введения лекарственных препаратов для ингаляционного применения в дыхательную систему могут быть использованы специальные устройства - небулайзеры, ингаляторы (находящиеся под давлением, не находящиеся под давлением или предназначенные для порошков) и др.

Выделяют несколько видов лекарственных препаратов для ингаляций:

- аэрозоли для ингаляций дозированные;

- порошки для ингаляций дозированные, в том числе капсулы с порошком для ингаляций;

- жидкости для ингаляций (лекарственные препараты для распыления с помощью небулайзера);

- неаэрозольные дозированные лекарственные препараты для ингаляций;

- лекарственные препараты для введения в виде пара;

- тампоны лекарственные для ингаляций.

К лекарственным препаратам для введения в виде пара относят лекарственные препараты, образующие пары при добавлении в горячую воду или образующие пары при помощи соответствующего устройства (например, ингалятора), выпускаемые в следующих лекарственных формах:

- жидкие лекарственные формы: растворы для ингаляций, капли для ингаляций, эмульсии для ингаляций, суспензии для ингаляций, настойки для ингаляций;

- мягкие лекарственные формы: мази для ингаляций;

- твердые лекарственные формы: таблетки для ингаляций, предназначенные для растворения или диспергирования в жидкой среде перед применением.

Лекарственные препараты для распыления представляют собой лекарственные препараты, предназначенные для преобразования в аэрозоль для ингаляций с помощью соответствующего устройства, например, небулайзера, выпускаемые в виде следующих лекарственных форм:

- жидкие лекарственные формы: растворы для ингаляций, суспензии для ингаляций, эмульсии для ингаляций; концентраты для приготовления жидкой лекарственной формы для ингаляций;

- твердые лекарственные формы: таблетки или порошки для приготовления жидкой лекарственной формы для ингаляций.

Лекарственные препараты для распыления, полученные после разбавления концентратов для приготовления жидкой лекарственной формы для ингаляций в соответствующем растворителе, или полученные после растворения или диспергирования порошков или таблеток для приготовления жидкой лекарственной формы для ингаляций в соответствующем растворителе, должны соответствовать требованиям, предъявляемым к лекарственным препаратам для распыления в жидкой лекарственной форме.

К лекарственным препаратам для ингаляционного применения, находящимся под давлением, относят лекарственные препараты в виде аэрозолей для ингаляций, которые в свою очередь могут представлять собой растворы, суспензии или эмульсии. Лекарственные препараты для ингаляционного применения, находящиеся под давлением, выпускают в упаковке с дозирующей клапанно-распылительной системой.

К лекарственным препаратам для ингаляционного применения, не находящимися под давлением, относят лекарственные препараты в виде неаэрозольных лекарственных форм, представляющих собой растворы, суспензии или эмульсии, доставляющих дозу лекарственного препарата за одно или более высвобождений с помощью портативного устройства для доставки, ультразвуковых колебаний или иных методов.

К лекарственным препаратам для ингаляционного применения, представляющих собой порошки для ингаляций дозированные, относят:

- порошок для ингаляций дозированный (порошок для ингаляций предварительно дозированный, порошковый ингалятор, предварительно дозированный) - лекарственный препарат, содержащий заранее отмеренное количество действующего вещества в виде порошка, как правило, заключенного в капсулы или блистерную упаковку;

- порошок для ингаляций, дозированный с дозирующим устройством (порошковый ингалятор с дозирующим устройством) - лекарственный препарат, содержащий резервуар с порошком, дозируемым на отдельные высвобождения с помощью устройства для доставки (распыления).

Капсулы с порошком для ингаляций представляют собой лекарственный препарат в виде капсул, содержащих порошок, предназначенный для ингаляционного введения с помощью соответствующего ингалятора в дыхательную систему.

Таким образом, порошковые ингаляторы, снабженные дозирующим устройством, могут содержать заранее отмеренное количество действующего вещества, как правило, заключенного в однодозовые капсулы, блистеры или иные подходящие формы, или могут содержать резервуар с порошком, дозируемым на отдельные высвобождения с помощью устройства для доставки (распыления).

Лекарственные препараты для ингаляционного применения в виде тампонов лекарственных представляют собой тампоны лекарственные, как правило, помещаемые в соответствующие аппликаторы цилиндрической формы с закругленными концом и отверстием, предназначенные для ингаляций через носовые ходы.

Общие требования к лекарственным препаратам для ингаляционного применения приведены в общей фармакопейной статье 2.5.3.1. Лекарственные препараты, к лекарственным формам, в виде которых лекарственные препараты получены - в общей фармакопейной статье 2.5.1.1. Лекарственные формы и общих фармакопейных статьях на конкретную лекарственную форму.

ОПРЕДЕЛЕНИЯ

Высвобождение - приведение в действие специального устройства распыления/доставки лекарственного средства.

Доза - количество действующего вещества, которое должно быть принято за один раз, указанное в инструкции по медицинскому применению. Для получения одной дозы лекарственного препарата для ингаляционного применения может потребоваться одно или несколько высвобождений.

Доставляемая (высвобождаемая) доза - количество действующего вещества, которое фактически получает пациент (не учитывается количество действующего вещества, осевшее на составных частях ингалятора).

Респирабельная фракция - количество действующего вещества, предположительно проникающее в дыхательную систему во время ингаляции (частицы с диаметром приблизительно от 1 мкм до 5 мкм).

Небулайзер - ингалятор, обеспечивающий преобразование жидкого лекарственного средства для распыления в дисперсию в газовой среде (аэрозоль), как правило, при помощи электрической энергии. Небулайзеры должны обеспечивать образование дисперсных частиц подходящего размера для доставки действующего вещества в дыхательные пути и легкие. Различают компрессорные, ультразвуковые, либо иного типа небулайзеры.

ОСОБЕННОСТИ ТЕХНОЛОГИИ

Вспомогательные вещества, входящие в состав лекарственных препаратов для ингаляционного применения, в используемых концентрациях не должны отрицательно влиять на основное терапевтическое действие лекарственного препарата, не должны быть токсичными и не должны неблагоприятно воздействовать на функции слизистой оболочки дыхательных путей и ее реснитчатого эпителия.

В зависимости от лекарственной формы и природы активной фармацевтической субстанции (субстанций) лекарственные препараты для ингаляционного применения могут содержать пропелленты, растворители, разбавители, антимикробные консерванты, поверхностно-активные вещества, стабилизирующие и солюбилизирующие агенты и т.д.

Лекарственные препараты для ингаляционного применения выпускают в однодозовых и многодозовых упаковках.

Лекарственные препараты для распыления в жидких лекарственных формах и лекарственные препараты для ингаляционного применения, не находящиеся под давлением, в однодозовых упаковках, должны быть стерильными и не должны содержать антимикробных консервантов. при отсутствии другого обоснования.

Лекарственные препараты для распыления в жидких лекарственных формах и лекарственные препараты для ингаляционного применения, не находящиеся под давлением, в многодозовых упаковках, могут содержать антимикробные консерванты, за исключением лекарственных препаратов, которые сами обладают антимикробными свойствами.

Порошки для ингаляций содержат одно или несколько тонкодисперсных действующих веществ вместе с инертными вспомогательными веществами - "носителями" (обычно лактоза) или без них. При производстве порошков для ингаляций активные фармацевтические субстанции микронизируют в специальных устройствах.

При производстве лекарственных препаратов для ингаляционного применения, содержащих диспергированные частицы и представляющих собой гетерогенные, комбинированные дисперсные системы, должна быть предусмотрена технология, обеспечивающая получение и контроль частиц необходимого размера и однородность доставляемой дозы.

Состав лекарственных препаратов для ингаляционного применения и процесс их производства должны обеспечивать однородность дозирования и респирабельность (доставляемость в легкие) действующего вещества.

Лекарственные препараты для ингаляционного применения производят с использованием материалов и методов, исключающих возможность микробной контаминации и роста микроорганизмов и обеспечивающих их микробиологическую чистоту в соответствии с общей фармакопейной статьей 2.3.1.2. Требования к микробиологической чистоте лекарственных препаратов, фармацевтических субстанций и вспомогательных веществ для их производства, в установленных случаях должны быть приняты меры, обеспечивающие стерильность и соответствие лекарственного препарата общей фармакопейной статье 2.1.6.1. Стерильность.

Лекарственные препараты для введения в виде пара и для распыления могут быть выпущены готовыми к применению или быть приготовленными непосредственно перед применением в виде восстановленных лекарственных препаратов из таблеток, порошков, мазей, концентратов, предназначенных для их получения путем растворения (разбавления) или диспергирования исходных лекарственных препаратов в соответствующем растворителе.

Упаковка, укупорочные средства, материалы, используемые для производства упаковки, укупорочных средств и других элементов упаковки лекарственных препаратов для ингаляционного применения, должны соответствовать требованиям, предъявляемым к материалам, используемым для производства упаковки и к упаковке.

ИСПЫТАНИЯ

Лекарственные препараты для ингаляционного применения должны выдерживать следующие испытания.

Описание. Лекарственные препараты для ингаляционного применения характеризуют, отмечая внешний вид (агрегатное состояние и др.) и основные физические, органолептические (цвет, запах) и другие свойства в соответствии с указаниями в частной фармакопейной статье и (или) нормативном документе по качеству.

pH. Испытание проводят для лекарственных препаратов для ингаляционного применения, предназначенных для введения в виде пара, а также лекарственных препаратов в виде жидких лекарственных форм, предназначенных для распыления с помощью небулайзера. Определение проводят потенциометрическим методом в соответствии с общей фармакопейной статьей 2.1.2.3. Потенциометрическое определение pH. При отсутствии других указаний в частной фармакопейной статье и (или) нормативном документе по качеству, значение pH жидких лекарственных форм или твердых и мягких лекарственных форм после их растворения/диспергирования должно быть от 3,0 до 10,0.

Однородность дозированных единиц. Испытание проводят для лекарственных препаратов для ингаляционного применения, представляющих собой жидкие лекарственные формы, выпускаемые в однодозовой упаковке и предназначенные для распыления с помощью небулайзера, в соответствии с общей фармакопейной статьей 2.1.9.14. Однородность дозированных единиц.

Или, при соответствующем обосновании, проводят испытание по показателю Однородность массы согласно методике: взвешивают по отдельности содержимое 20 упаковок, извлекая содержимое как можно полнее, определяют среднюю массу. Масса каждой индивидуальной упаковки может отклоняться от средней массы 20 упаковок не более чем на +/- 10%, при этом масса не более 2 индивидуальных упаковок может отклоняться более +/- 10%, но не должна превышать +/- 20% от средней массы.

Однородность доставляемых (высвобождаемых) доз. (Однородность дозирования). Испытание проводят для аэрозолей для ингаляций дозированных, дозированных лекарственных препаратов для ингаляционного применения, не находящихся под давлением, порошков для ингаляций, капсул с порошком для ингаляций.

Контроль данного показателя для лекарственных препаратов в упаковках с дозирующим устройством должен проводиться не только для доз, высвобождаемых из одной упаковки, но и для доз, полученных из разных упаковок. Процедура отбора доз должна включать в себя отбор доз в начале, в середине и в конце использования ингалятора.

При отсутствии других указаний в частной фармакопейной статье и (или) нормативном документе по качеству, отбор доз для испытания из 10 упаковок лекарственного препарата для ингаляционного применения проводят следующим образом: из трех упаковок необходимое количество доз высвобождают в начале, из четырех упаковок - в середине, из трех упаковок - в конце использования лекарственного препарата.

Методика определения однородности доставляемых (высвобождаемых) доз (однородности дозирования) для одной упаковки лекарственного препарата для ингаляционного применения.

Высвобождение доз проводят в соответствии со способом, описанным в инструкции по медицинскому применению лекарственного препарата. Как правило, ингалятор используют при нижнем положении клапана. Для ингаляторов, применяемых при верхнем положении клапана, используют методики, обеспечивающие полноту сбора доставляемых (высвобождаемых) доз.

Для сбора дозы используют следующий прибор и методику.

Прибор (рисунок 2.5.3.2.-1) состоит из держателя фильтра (А), цилиндра для сбора образцов (Б), который герметично закрепляется с держателем фильтра и адаптером мундштука (В), соединяющим цилиндр для сбора образцов и выходное отверстие ингалятора. Используют адаптер мундштука, позволяющий лицевой стороне мундштука ингалятора находиться на одном уровне с лицевой стороной трубки для сбора образцов или на 2,5 мм ее нарезной части, в зависимости от ингалятора. Держатель фильтра сконструирован для использования фильтров диаметром 25 мм. Вакуумный ниппель подсоединен к насосу и регулятору воздушного потока. Воздушный поток регулируют таким образом, чтобы воздух проходил через всю конструкцию, включая фильтр и ингалятор, со скоростью 28,3 л/мин (+/- 5%). Воздух должен непрерывно пропускаться через цилиндр для сбора доз во избежание потери действующего вещества в окружающую среду. Фильтр и другие составляющие части конструкции должны быть совместимы с действующим веществом, другими компонентами лекарственного препарата и растворителями, которые используются для извлечения действующего вещества из фильтра. В собранном виде все соединения прибора должны быть герметичны.

Испытание проводят, по отдельности определяя количество действующего вещества в 10 дозах. При отсутствии других указаний в инструкции по медицинскому применению перед использованием упаковку встряхивают в течение 5 с и отбрасывают одну дозу. При включенном насосе вставляют ингалятор в прибор и выпускают одну дозу, через 5 с насос отключают. Производят смывы с фильтра и внутренней поверхности собирательного цилиндра, используя определенные порции растворителя в соответствии с методикой, приведенной в частной фармакопейной статье и (или) нормативном документе по качеству. Испытание повторяют для последующих двух доз.

Необходимое количество доз отбрасывают с интервалом не менее 5 с до тех пор, пока не останется (n / 2) + 1 доза, где n - заявленное количество доз. Собирают 4 дозы согласно описанной выше методике.

Снова отбрасывают необходимое количество доз с интервалом не менее 5 с до тех пор, пока не останется 3 дозы. Собирают 3 последние дозы согласно описанной выше методике.

Определяют количество действующего вещества в каждой собранной порции по методике, приведенной в частной фармакопейной статье и (или) нормативном документе по качеству.

Для лекарственных препаратов, содержащих более одного действующего вещества, проводят испытание по показателю Однородность доставляемых (высвобождаемых) доз (Однородность дозирования) для каждого действующего вещества.

В случае если содержимое упаковки представляет собой раствор, допускается производить оценку однородности доставляемых (высвобождаемых) доз путем определения средней массы одной дозы и отклонений от средней массы.

Лекарственный препарат выдерживает испытание, если 9 из 10 результатов находятся в пределах от 75% до 125% от среднего значения, а все результаты находятся в пределах от 65% до 135%. Если 2 или 3 результата выпадают из пределов 75 - 125%, испытание повторяют с двумя другими ингаляторами. Не более 3 из 30 значений могут выходить за пределы 75 - 125%, и все значения должны быть в пределах от 65% до 135%.

Среднее значение доставляемых (высвобождаемых) доз должно находиться в пределах от 85% до 115% от заявленного значения.

Методика определения однородности доставляемых (высвобождаемых) доз для порошков для ингаляций.

Высвобождение дозы проводят в соответствии со способом, описанным в инструкции по применению. Прибор для сбора дозы аналогичен прибору, представленному на рисунке 2.5.3.2.-1, однако имеет больший диаметр. Для испытания собирают прибор для определения однородности дозирования в порошковых ингаляторах, представленный на рисунке 2.5.3.2.-2 и описанный в таблице 2.5.3.2.-1. Размеры фильтров и трубок должны быть приемлемы для используемой скорости потока.

Рисунок 2.5.3.2.-1. - Прибор для сбора доз в дозированных лекарственных препаратах, находящихся под давлением. Размеры приведены в миллиметрах

Рисунок 2.5.3.2.-2. Прибор для определения однородности доставляемых (высвобождаемых) доз в порошковых ингаляторах.

Таблица 2.5.3.2.-1

Описание элементов прибора, предназначенного для определения однородности доставляемых (высвобождаемых) доз в порошковых ингаляторах

Код Элемент прибора Описание
А Цилиндр для сбора образца Количественный отбор действующего вещества. Аналогичен цилиндру на рисунке 2.5.2.2.-1 с размерами 34,85 мм (внутренний диаметр) x 12 см (длина)
Б Фильтр 47 мм фильтр, например, стеклянный волокнистый фильтр
В Соединитель Внутренний диаметр >= 8 мм, например, короткая металлическая муфта с отводом к меньшего диаметра
Г Вакуумная трубка Трубка >= 8 мм (внутренний диаметр), достаточной длины для внутреннего объема (25 +/- 5) мл, например, силиконовая
Д Двухсторонний клапан Двухсторонний, двухпортовый электромагнитный клапан, имеющий минимальное сопротивление воздушному потоку, с внутренним диаметром >= 8 мм и временем реакции <= 100 мс
Е Вакуумный насос Насос должен обеспечивать достаточную скорость воздушного потока через собранную систему. Насос соединяют с двухсторонним клапаном с помощью вакуумной трубки (внутренний диаметр >= 10 мм)
Ж Таймер Таймер, способный управлять двухсторонним клапаном в течение необходимого времени
Отвод к манометру 2,2 мм (внутренний диаметр), 3,1 мм (наружный диаметр), находится на одном уровне с внутренней стороной трубки для сбора образца, отцентрированный на расстоянии 59 мм от входного отверстия, с гладкой поверхностью. Регулятор давления никогда не должен открываться в атмосферу. Давление относительно атмосферного измеряется

Измерители давления Измерители абсолютного давления
З Регулирующий клапан Клапан, регулирующий воздушный поток с максимальным значением >= 1

Определяют скорость потока и длительность отбора образца с помощью цилиндра для сбора образца по следующей методике.

Ингалятор готовят согласно инструкции по применению и герметично соединяют его с цилиндром для сбора образца при помощи адаптера. Используют адаптер мундштука, позволяющий лицевой стороне мундштука ингалятора находиться на одном уровне с лицевой стороной трубки для сбора образцов. Соединяют одно отверстие дифференциального манометра с отводом (), второе отверстие манометра оставляют открытым. Включают насос, открывают двухсторонний клапан (Д). С помощью регулирующего клапана (З) устанавливают в ингаляторе дифференциальное давление на уровне 4,0 кПа. Отсоединяют ингалятор от адаптера и, не изменяя положение регулирующего клапана (З), присоединяют измеритель скорости потока к входному отверстию системы.

Для измерения скорости исходящего потока используют либо измеритель скорости потока, откалиброванный на измерение объема потока, выходящего из измерительного прибора, либо рассчитывают скорость выходящего из него потока (), используя уравнение идеального газа. Для измерителя, откалиброванного на измерение входящего потока (), применяют следующее уравнение:

,

где: - атмосферное давление, в миллиметрах ртутного столба;

- перепад давления в измерительном приборе, в миллиметрах ртутного столба.

В случае если скорость потока превышает 100 л/мин, с помощью регулирующего клапана (З) устанавливают данный показатель в пределах 100 л/мин (+/- 5%) Отмечают скорость потока, выходящего из измерителя, и определяют время, в течение которого 4 л воздуха проходят через ингалятор.

Проверку наличия требуемого потока воздуха в регуляторе потока проводят следующим образом: при присоединенном ингаляторе и при установленной скорости потока измеряют абсолютное давление с обеих сторон регулирующего клапана, рисунок 2.5.3.2.-2 (точки замера и ). Соотношение / должно составлять <= 0,5, в противном случае производят увеличение мощности насоса и повторяют измерения.

В случае ингаляторов, предназначенных для использования капсул с порошком для ингаляций, подготавливают ингалятор в соответствии с инструкцией по применению, герметично подсоединяют к прибору. Пропускают 4 л воздуха через прибор. Отсоединяют ингалятор. Количественно собирают доставленный (высвободившийся) лекарственный препарат и определяют содержание действующего вещества в соответствии с методикой, приведенной в частной фармакопейной статье и (или) нормативном документе по качеству. Повторяют процедуру для последующих 9 доз.

Ингаляторы, имеющие резервуар для порошка, подготавливают в соответствии с инструкцией по применению, герметично подсоединяют к прибору. Пропускают 4 л воздуха через прибор. Отсоединяют ингалятор. Количественно собирают доставленный (высвободившийся) лекарственный препарат и определяют содержание действующего вещества в соответствии с методикой, приведенной в частной фармакопейной статье и (или) нормативном документе по качеству. Повторяют процедуру для последующих 2 доз.

Необходимое количество доз отбрасывают до тех пор, пока не останется (n / 2) + 1 доза, где n - заявленное количество доз. Собирают 4 дозы согласно описанной выше методике.

Снова отбрасывают необходимое количество доз до тех пор, пока не останется 3 дозы. Собирают 3 последние дозы согласно описанной выше методике и определяют содержание действующего вещества в соответствии с методикой, приведенной в частной фармакопейной статье и (или) нормативном документе по качеству.

Для лекарственных препаратов для ингаляционного применения, содержащих более одного действующего вещества, проводят определение для каждого действующего вещества.

Лекарственный препарат выдерживает испытание, если 9 из 10 результатов находятся в пределах от 75% до 125% от среднего значения, а все результаты находятся в пределах от 65% до 135%. Если 2 или 3 результата выпадают из пределов 75 - 125%, испытание повторяют с двумя другими ингаляторами. Не более 3 из 30 значений могут выходить за пределы 75 - 125%, и все значения должны быть в пределах от 65% до 135%.

Среднее значение доставляемых (высвобождаемых) доз должно находиться в пределах от 85% до 115% от заявленного значения.

Количество высвобождений из упаковки (количество доз в упаковке). Испытание проводят для дозированных лекарственных препаратов для ингаляционного применения, снабженных дозирующим устройством. Допускается проводить испытание одновременно с определением показателя Однородность массы доставляемых (высвобождаемых) доз/Однородность доставляемых (высвобождаемых) доз (Однородность дозирования). Количество высвобождений из упаковки (количество доз в упаковке) должно быть не менее указанного на этикетке.

Респирабельная фракция. (Аэродинамическое распределение мелкодисперсных частиц). Испытание проводят для аэрозолей для ингаляций дозированных, дозированных лекарственных препаратов для ингаляционного применения, не находящихся под давлением, порошков для ингаляций, капсул с порошком для ингаляций в соответствии с требованиями, указанными в частной фармакопейной статье и (или) нормативном документе по качеству.

Испытания для лекарственных препаратов, представляющих собой суспензии, предназначенные для распыления с помощью небулайзера, проводят в соответствии с требованиями, указанными в частной фармакопейной статье и (или) нормативном документе по качеству.

МАРКИРОВКА

Для дозированных лекарственных препаратов для ингаляционного применения указывают количество доз в ингаляторе, количество действующего вещества в доставляемой дозе (мг/доза). В случаях, если для получения минимальной рекомендуемой дозы требуется более одного высвобождения, указывают необходимое число высвобождений (количество нажатий на ингалятор).

205030003-2022

2.5.3.3. Лекарственные препараты для офтальмологического применения

Лекарственные препараты для офтальмологического применения представляют собой препараты, предназначенные для местного применения на глазном яблоке и (или) на конъюнктиве.

Лекарственные препараты для офтальмологического применения выпускают в следующих лекарственных формах:

- жидкие лекарственные формы: капли глазные (растворы, эмульсии, суспензии), растворы для промывания глаз;

- мягкие лекарственные формы: мази глазные, гели глазные, кремы глазные;

- твердые лекарственные формы: пленки глазные; таблетки, порошки или лиофилизаты для приготовления капель глазных.

Капли глазные, полученные после растворения или диспергирования таблеток, порошков или лиофилизатов для приготовления капель глазных, должны соответствовать требованиям, предъявляемым к каплям глазным.

Лекарственные препараты для офтальмологического применения могут быть дозированными и недозированными.

Общие требования к лекарственным препаратам для офтальмологического применения приведены в общей фармакопейной статье 2.5.3.1. Лекарственные препараты, общей фармакопейной статье 2.5.1.1. Лекарственные формы и общих фармакопейных статьях на конкретную лекарственную форму.

ОСОБЕННОСТИ ТЕХНОЛОГИИ

Все лекарственные препараты для офтальмологического применения должны быть стерильными.

Методы и условия стерилизации лекарственных препаратов для офтальмологического применения должны обеспечивать их стерильность и соответствие лекарственного препарата общей фармакопейной статье 2.1.6.1. Стерильностъ.

Лекарственные препараты для офтальмологического применения в зависимости от физико-химических характеристик активных фармацевтических субстанций могут быть получены с использованием финишной стерилизации или без нее (асептические условия).

Способ получения лекарственных препаратов для офтальмологического применения зависит от вида лекарственной формы.

Для получения лекарственных препаратов для офтальмологического применения могут быть использованы вспомогательные вещества различных функциональных классов. Для обеспечения стабильности лекарственных препаратов для офтальмологического применения в их состав могут входить антиоксиданты, комплексообразователи, антимикробные консерванты, вещества, регулирующие pH среды и др.

Лекарственные препараты для офтальмологического применения на водной основе в многодозовых упаковках должны содержать подходящий антимикробный консервант в необходимой концентрации, за исключением тех случаев, когда сама активная фармацевтическая субстанция обладает достаточным антимикробным действием.

Лекарственные препараты для офтальмологического применения в однодозовых упаковках в виде капель глазных или растворов для промывания глаз не должны содержать антимикробных консервантов, например, капли глазные, предназначенные для применения во время хирургического вмешательства.

Осмоляльность лекарственных препаратов для офтальмологического применения должна находиться в пределах осмоляльности 0,6 - 2,0% раствора натрия хлорида. Допускается получение и применение гипер- и гипоосмотических капель глазных, но, как правило, состав капель глазных с концентрацией действующих веществ ниже эквивалентной 0,6% концентрации раствора натрия хлорида, подлежит коррекции посредством добавления соответствующих вспомогательных веществ.

Оптимальное значение pH лекарственных препаратов для офтальмологического применения должно соответствовать pH слезной жидкости - 7,4. Значение pH может отличаться от оптимального, но должно находиться в пределах от 3,5 до 8,5.

Увеличение продолжительности действия капель глазных может быть достигнуто повышением их вязкости. Для этого используют вспомогательные вещества-пролонгаторы. Для капель глазных оптимальной является вязкость 5 - 15 мм2/с. Показатель вязкости капель глазных может отличаться от оптимальных значений, но, как правило, не должен превышать 150 мм2/с.

Основа для лекарственных препаратов для офтальмологического применения, представляющих собой мягкие лекарственные формы, должна быть нейтральной, не раздражать конъюнктиву, должна равномерно распределяться на слизистой оболочке глаза и не содержать каких-либо посторонних примесей.

Мази глазные, упакованные в тубы, в рамках контроля технологического процесса производства мазей, подвергают испытанию по показателю Герметичность упаковки в соответствии с общей фармакопейной статьей 2.1.9.19. Определение герметичности упаковки.

При производстве лекарственных препаратов для офтальмологического применения, содержащих диспергированные частицы и представляющих собой гетерогенные, комбинированные дисперсные системы, должна быть предусмотрена технология, обеспечивающая получение и контроль частиц необходимого размера.

Лекарственные препараты для офтальмологического применения производят с использованием материалов и методов, исключающих возможность микробной контаминации и роста микроорганизмов и обеспечивающих их стерильность в соответствии с общей фармакопейной статьей 2.1.6.1. Стерильность.

Капли глазные могут быть выпущены готовыми к применению или быть приготовленными непосредственно перед применением в виде восстановленных лекарственных форм из таблеток, порошков или лиофилизатов, предназначенных для получения капель глазных путем растворения или диспергирования их в соответствующем стерильном растворителе.

Упаковка, укупорочные средства, материалы, используемые для производства упаковки, укупорочных средств и других элементов упаковки лекарственных препаратов для офтальмологического применения, должны соответствовать требованиям, предъявляемым к материалам, используемым для производства упаковки и к упаковке.

ИСПЫТАНИЯ

Лекарственные препараты для офтальмологического применения должны выдерживать следующие испытания.

Описание. Лекарственные препараты для офтальмологического применения характеризуют, отмечая внешний вид (агрегатное состояние, форму, размеры и др.) и основные физические, органолептические (цвет, запах) и другие свойства в соответствии с указаниями в частной фармакопейной статье и (или) нормативном документе по качеству.

Стерильность. Испытание проводят для всех лекарственных препаратов для офтальмологического применения в соответствии с общей фармакопейной статьей 2.1.6.1. Стерильность.

Однородность дозированных единиц. Испытание проводят в соответствии с общей фармакопейной статьей 2.1.9.14. Однородность дозированных единиц для лекарственных препаратов для офтальмологического применения в виде дозированных лекарственных форм или выпускаемых в однодозовой упаковке.

Лекарственные препараты для офтальмологического применения, представляющие собой суспензии, эмульсии, гели в однодозовой упаковке, не подвергают данному испытанию.

Видимые механические включения. Проводят испытание для лекарственных препаратов для офтальмологического применения на механические включения: видимые частицы, за исключением лекарственных препаратов для офтальмологического применения в виде мягких лекарственных форм, а также капель глазных суспензионного и эмульсионного типа.

pH. Испытание проводят для всех лекарственных препаратов для офтальмологического применения потенциометрическим методом в соответствии с общей фармакопейной статьей 2.1.2.3. Потенциометрическое определение pH и требованиями, указанными в частной фармакопейной статье и (или) нормативном документе по качеству. Испытание не проводят при наличии соответствующего обоснования.

Осмоляльность. Для капель глазных, представляющих собой водные растворы, определяют значение осмолярности или осмоляльности в соответствии с общей фармакопейной статьей 2.1.2.32. Осмоляльность и требованиями, указанными в частной фармакопейной статье и (или) нормативном документе по качеству.

Размер частиц. Испытание проводят для лекарственных препаратов для офтальмологического применения в виде мягких лекарственных форм, суспензий или эмульсий для офтальмологического применения в соответствии с общей фармакопейной статьей 2.1.9.25. Определение размера частиц в суспензиях, эмульсиях, мягких лекарственных формах.

Металлические частицы. Испытание проводят для мазей глазных, упаковка которых представляет собой металлические тубы, в соответствии с общей фармакопейной статьей 2.1.9.27. Металлические частицы в мазях глазных.

Вязкость. Испытание проводят для гелей глазных, представляющих собой растворы карбомера, в соответствии с общей фармакопейной статьей 2.1.2.10. Метод ротационной вискозиметрии.

Дополнительные испытания, указанные ниже, определяются видом лекарственной формы лекарственного препарата и применяются к определенным лекарственным препаратам для офтальмологического применения.

Лекарственные препараты для офтальмологического применения в виде лекарственной формы Капли глазные должны соответствовать общей фармакопейной статье 2.5.1.9. Капли и требованиям, указанным в частных фармакопейных статьях и (или) нормативных документах по качеству.

Растворы для промывания глаз, а также капли глазные, представляющие собой лекарственную форму Растворы, должны соответствовать общей фармакопейной статье 2.5.1.25. Растворы и требованиям, указанным в частных фармакопейных статьях и (или) нормативных документах по качеству.

Лекарственные формы Капли глазные, представляющие собой суспензии, должны соответствовать общей фармакопейной статье 2.5.1.33. Суспензии и требованиям, указанным в частных фармакопейных статьях и (или) нормативных документах по качеству.

Лекарственные формы Капли глазные, представляющие собой эмульсии, должны соответствовать общей фармакопейной статье 2.5.1.39. Эмульсии и требованиям, указанным в частных фармакопейных статьях и (или) нормативных документах по качеству.

Лекарственные препараты для офтальмологического применения, представляющие собой лекарственные формы Таблетки, Порошки или Лиофилизаты, предназначенные для приготовления капель глазных, должны соответствовать соответствующим общим фармакопейным статьям: 2.5.1.34. Таблетки (исключая показатели Распадаемость, Растворение), 2.5.1.24. Порошки (исключая показатель Размер частиц), 2.5.1.14. Лиофилизаты и требованиям, указанным в соответствующих частных фармакопейных статьях и (или) нормативных документах по качеству.

Лекарственные препараты для офтальмологического применения, представляющие собой лекарственные формы Мази глазные, Кремы глазные, Гели глазные, должны соответствовать общей фармакопейной статье 2.5.1.40. Мягкие лекарственные формы и требованиям, указанным в частных фармакопейных статьях и (или) нормативных документах по качеству.

Лекарственные препараты для офтальмологического применения, представляющие собой лекарственную форму Пленки глазные из биорастворимых полимеров, должны соответствовать общей фармакопейной статье 2.5.1.22. Пленки (исключая показатель Растворение) и требованиям, указанным в частных фармакопейных статьях и (или) нормативных документах по качеству.

УПАКОВКА

Лекарственные препараты для офтальмологического применения выпускают в стерильных однодозовых и многодозовых упаковках с контролем первого вскрытия.

Многодозовая упаковка капель глазных должна содержать не более 10 мл лекарственного препарата, при отсутствии другого обоснования. Мази глазные, гели глазные, кремы глазные упаковывают в стерильные, сжимаемые, мелкоемкие тубы со встроенным или приложенным наконечником массой лекарственного препарата не более 10 г, при отсутствии другого обоснования.

Объем раствора для промывания глаз в многодозовой упаковке должен быть не более 200 мл, при отсутствии другого обоснования.

205030040-2022

2.5.3.4. Лекарственные препараты для парентерального применения

Лекарственные препараты для парентерального применения представляют собой стерильные препараты, предназначенные для введения в организм человека или животного с нарушением целостности кожных покровов или слизистых оболочек путем инъекций, инфузий или имплантации.

Требования настоящей общей фармакопейной статьи не распространяются на лекарственные препараты для парентерального применения, полученные из крови человека, иммунобиологические и радиофармацевтические.

Особые требования могут применяться для лекарственных препаратов для парентерального применения, используемых в ветеринарии в зависимости от вида животного.

Лекарственные препараты для инъекций и лекарственные препараты для инфузий выпускают в следующих лекарственных формах:

- жидкие лекарственные формы: растворы для инъекций, суспензии для инъекций, эмульсии для инъекций; растворы для инфузий, эмульсии для инфузий; концентраты для приготовления лекарственных препаратов для инъекций или инфузий;

- мягкие лекарственные формы: гели для инъекций, гели для подкожного введения;

- твердые лекарственные формы: порошки для приготовления лекарственных препаратов для инъекций или инфузий; лиофилизаты для приготовления лекарственных препаратов для инъекций или инфузий.

Лекарственные препараты для парентерального применения, полученные после разведения концентратов, растворения порошков или лиофилизатов для приготовления лекарственных препаратов для инъекций или инфузий, или диспергирования порошков или лиофилизатов для приготовления лекарственных препаратов для инъекций, должны соответствовать требованиям, предъявляемым к лекарственным препаратам для инъекций или лекарственным препаратам для инфузий.

Лекарственные препараты для парентерального применения могут быть выпущены в однодозовых или многодозовых упаковках.

Лекарственные препараты для парентерального применения могут быть малого объема - выпускаемые в упаковках с номинальным содержанием 100 мл и менее, и большого объема - выпускаемые в упаковках с номинальным содержанием более 100 мл.

Лекарственные препараты для имплантации выпускают в следующих лекарственных формах:

- твердые лекарственные формы: имплантаты, включая имплантаты интравитреальные; таблетки для имплантации;

- жидкие лекарственные формы: суспензии для имплантации.

Общие требования к лекарственным препаратам для парентерального применения приведены в общей фармакопейной статье 2.5.3.1. Лекарственные препараты, общей фармакопейной статье 2.5.1.1. Лекарственные формы и общих фармакопейных статьях на конкретную лекарственную форму.

ОСОБЕННОСТИ ТЕХНОЛОГИИ

Все лекарственные препараты для парентерального применения должны быть стерильными.

Методы и условия стерилизации лекарственных препаратов для парентерального применения должны обеспечивать их стерильность и соответствие лекарственного препарата общей фармакопейной статье 2.1.6.1. Стерильность.

Лекарственные препараты для парентерального применения в зависимости от физико-химических характеристик действующих веществ могут быть получены с использованием финишной стерилизации или без нее (асептические условия).

Способ получения лекарственных препаратов для парентерального применения зависит от вида лекарственной формы.

Для получения лекарственных препаратов для парентерального применения используют воду для инъекций.

Для получения неводных растворов лекарственных препаратов для парентерального применения используют жирные растительные масла или органические растворители, разрешенные к использованию в производстве лекарственных средств.

В составе комплексных растворителей могут быть применены этанол, глицерин, пропиленгликоль, макрогол 400, бензилбензоат, бензиловый спирт и другие вспомогательные вещества.

При использовании жирных растительных масел для получения лекарственных препаратов для парентерального применения следует обращать особое внимание на внешний вид растворителя: масло должно быть прозрачным при температуре 10 °C, без запаха или почти без запаха, а также на соответствие таких показателей качества, как кислотное число, число омыления, йодное число требованиям частной фармакопейной статьи и (или) нормативного документа по качеству, установленного для конкретного масла.

Для получения лекарственных препаратов для парентерального применения могут быть использованы вспомогательные вещества различных функциональных классов, например, обеспечивающие изотоничность лекарственного препарата относительно крови, регулирующие pH, улучшающие растворимость действующих веществ, антимикробные консерванты, антиоксиданты, стабилизаторы, эмульгаторы и другие вещества при надлежащем обосновании.

В лекарственных препаратах для парентерального применения, содержащих антимикробные консерванты и антиоксиданты, необходимо проводить испытания по идентификации и количественному их определению с указанием пределов (верхнего и нижнего) их содержания.

При этом содержание некоторых вспомогательных веществ в лекарственных препаратах для парентерального применения должно быть обосновано. Вспомогательные вещества, содержащие ртуть и катионные поверхностно-активные соединения, вещества, подобные хлорбутанолу, крезолу и фенолу, представляющие собой серы диоксид или калия или натрия сульфит, бисульфит и метабисульфит, должны использоваться в количествах, не превышающих концентраций, регламентированных соответствующими актами Союза, а при их отсутствии - актами государств - членов Союза.

В лекарственные препараты для инъекций в многодозовой упаковке антимикробные консерванты добавляют в необходимой концентрации независимо от способа стерилизации, за исключением тех случаев, когда активная фармацевтическая субстанция обладает достаточной антимикробной активностью.

Лекарственные препараты для инъекций с объемом введения в одноразовой дозе более 15 мл, при отсутствии соответствующего обоснования, а также лекарственные препараты для внутриполостных, внутрисердечных, внутриглазных инъекций или инъекций, имеющих доступ к спинномозговой жидкости и предназначенных для новорожденных, не должны содержать антимикробных консервантов.

Лекарственные препараты для инфузий не должны содержать антимикробных консервантов и, как правило, должны быть изотоничны по отношению к крови человека и животного.

Основа для гелей для парентерального применения должна обладать вязкостью, обеспечивающей модифицированное высвобождение действующего вещества в месте введения.

При производстве лекарственных препаратов для парентерального применения, содержащих диспергированные частицы и представляющих собой гетерогенные, комбинированные дисперсные системы, должна быть предусмотрена технология, обеспечивающая получение и контроль частиц необходимого размера. Эмульсии для инъекций и инфузий не должны обнаруживать признаков расслоения. В суспензиях для инъекций может наблюдаться осадок, который при взбалтывании должен быстро диспергироваться с образованием достаточно стабильной суспензии, чтобы обеспечить необходимую дозу введения.

Лекарственные препараты для парентерального применения производят с использованием материалов и методов, исключающих возможность микробной контаминации и роста микроорганизмов и обеспечивающих их стерильность и соответствие лекарственного препарата общей фармакопейной статье 2.1.6.1 Стерильность.

Растворители, используемые для разведения перед применением лекарственных препаратов для парентерального применения в виде жидких лекарственных форм, должны выдерживать дополнительные требования по показателям Бактериальные эндотоксины (2.1.6.8.) или Пирогенность (2.1.6.2).

Лекарственные препараты для инъекций и инфузий могут быть выпущены готовыми к применению или быть приготовленными непосредственно перед применением в виде восстановленных лекарственных форм из порошков или лиофилизатов, предназначенных для получения лекарственных препаратов для инъекций или инфузий путем растворения, или из порошков или лиофилизатов, предназначенных для получения лекарственных препаратов для инъекций путем диспергирования их в соответствующем растворителе, или из концентратов, предназначенных для получения лекарственных препаратов для инъекций или инфузий после разведения в соответствующем растворителе до требуемой концентрации.

Упаковка, укупорочные средства, материалы, используемые для производства упаковки, укупорочных средств и других элементов упаковки лекарственных препаратов для парентерального применения, должны соответствовать требованиям, предъявляемым к материалам, используемым для производства упаковки и к упаковке. При отсутствии другого обоснования упаковка лекарственных препаратов для парентерального применения должна быть достаточно прозрачна для проведения визуального контроля содержимого, за исключением упаковки для имплантатов.

Система упаковки и укупорки лекарственных препаратов для парентерального применения должна обеспечивать герметичность. Испытания на герметичность упаковки проводят при контроле технологического процесса производства лекарственных препаратов для парентерального применения в соответствии с общей фармакопейной статьей 2.1.9.19. Определение герметичности упаковки.

Если продукты вымывания из системы упаковки и укупорки лекарственных препаратов для парентерального применения могут оказать влияние на их безопасность и эффективность, необходимо предусмотреть дополнительные испытания. При фармацевтической разработке лекарственного препарата, при изучении его стабильности, в рамках контроля технологического процесса производства растворы для инфузий в полимерной упаковке должны быть подвергнуты испытаниям на экстрагируемые вещества, а растворы для инфузий в упаковке из поливинилхлорида - дополнительно по показателю Гемолитически действующие вещества.

ИСПЫТАНИЯ

Лекарственные препараты для парентерального применения должны выдерживать следующие испытания.

Описание. Лекарственные препараты для парентерального применения характеризуют, отмечая внешний вид (агрегатное состояние, форму, размеры и др.) и основные физические, органолептические (цвет, запах) и другие свойства в соответствии с указаниями в частной фармакопейной статье и (или) нормативном документе по качеству.

Стерильность. Испытание проводят для всех лекарственных препаратов для парентерального применения в соответствии с общей фармакопейной статьей 2.1.6.1. Стерильность.

Бактериальные эндотоксины или Пирогенность. Испытание проводят для всех лекарственных препаратов для парентерального применения в соответствии с общей фармакопейной статьей 2.1.6.8. Бактериальные эндотоксины или общей фармакопейной статьей 2.1.6.2. Пирогенность.

Для ветеринарных лекарственных парентеральных препаратов испытания по показателям качества Бактериальные эндотоксины или Пирогенность проводят в том случае, если объем однократно вводимой дозы лекарственного препарата составляет 15 мл или более и доза равна 0,2 мл или более на килограмм массы тела.

Аномальная токсичность. Испытание проводят в соответствии с общей фармакопейной статьей 2.1.6.3. Аномальная токсичность для лекарственных препаратов для парентерального применения, полученных из сырья природного происхождения; для лекарственных препаратов для инъекций и инфузий в упаковках из полимерных материалов и в других случаях, если имеются соответствующие указания в частной фармакопейной статье и (или) нормативном документе по качеству. Испытание не проводят при наличии соответствующего обоснования.

Гистамин и (или) Депрессорные вещества. Испытания проводят для лекарственных препаратов для парентерального применения, предназначенных для внутрисосудистого введения и полученных из активных фармацевтических субстанций, которые могут обладать депрессорным действием (субстанции микробиологического или животного происхождения), в соответствии с общей фармакопейной статьей 2.1.6.4. Испытание на гистамин и (или) общей фармакопейной статьей 2.1.6.5. Испытание на депрессорные вещества.

pH. Испытание проводят для лекарственных препаратов для парентерального применения, представляющих собой жидкие лекарственные формы непосредственно или после восстановления, в соответствии с общей фармакопейной статьей 2.1.2.3. Потенциометрическое определение pH и требованиями, указанными в частной фармакопейной статье и (или) нормативном документе по качеству.

Видимые механические включения. Проводят испытание для лекарственных препаратов для парентерального применения на видимые механические включения.

Невидимые механические включения. Испытание проводят для лекарственных препаратов для парентерального применения в соответствии с общей фармакопейной статьей 2.1.9.10. Механические включения: невидимые частицы.

Однородность дозированных единиц. Испытание проводят в соответствии с общей фармакопейной статьей 2.1.9.14. Однородность дозированных единиц для лекарственных препаратов для парентерального применения в виде дозированных лекарственных форм или выпускаемых в однодозовой упаковке.

Осмоляльность. Для лекарственных препаратов для инфузий определяют значение осмолярности или осмоляльности в соответствии с общей фармакопейной статьей 2.1.2.32. Осмоляльность и требованиями, указанными в частной фармакопейной статье и (или) нормативном документе по качеству.

Извлекаемый объем. Испытание проводят для лекарственных препаратов для парентерального применения в соответствии с общей фармакопейной статьей 2.1.9.9. Испытание на извлекаемый объем парентеральных лекарственных препаратов.

Дополнительные испытания, указанные ниже, определяются видом лекарственной формы лекарственного препарата и применяются к определенным лекарственным препаратам для парентерального применения.

Лекарственные препараты для парентерального применения, выпускаемые в виде лекарственной формы Растворы должны соответствовать общей фармакопейной статье 2.5.1.25. Растворы и требованиям, указанным в частных фармакопейных статьях и (или) нормативных документах по качеству.

Лекарственные препараты для парентерального применения, выпускаемые в виде мягких лекарственных форм, должны соответствовать общей фармакопейной статье 2.5.1.40. Мягкие лекарственные формы и требованиям, указанным в частных фармакопейных статьях и (или) нормативных документах по качеству.

Лекарственные препараты, представляющие собой Концентраты, предназначенные для приготовления лекарственных препаратов для инъекций или инфузий, должны соответствовать общей фармакопейной статье 2.5.1.12. Концентраты, и требованиям, указанным в частных фармакопейных статьях и (или) нормативных документах по качеству.

Лекарственные препараты, представляющие собой Порошки, предназначенные для приготовления лекарственных препаратов для инъекций или инфузий или Лиофилизаты, предназначенные для приготовления лекарственных препаратов для инъекций или инфузий, должны соответствовать общей фармакопейной статье 2.5.1.24. Порошки (исключая показатель Размер частиц) или общей фармакопейной статьи 2.5.1.14. Лиофилизаты и требованиям, указанным в частных фармакопейных статьях и (или) нормативных документах по качеству.

Лекарственные препараты, представляющие собой Суспензии для инъекций, должны соответствовать общей фармакопейной статье 2.5.1.33. Суспензии и требованиям, указанным в частных фармакопейных статьях и (или) нормативных документах по качеству.

Лекарственные препараты, представляющие собой Эмульсии для инъекций или Эмульсии для инфузий должны соответствовать общей фармакопейной статье 2.5.1.39. Эмульсии и требованиям, указанным в частных фармакопейных статьях и (или) нормативных документах по качеству.

Лекарственные препараты для парентерального применения, представляющие собой Имплантаты, должны соответствовать общей фармакопейной статье 2.5.1.8. Имплантаты и требованиям, указанным в частных фармакопейных статьях и (или) нормативных документах по качеству.

Таблетки для имплантации должны соответствовать общей фармакопейной статье 2.5.1.34. Таблетки (исключая показатель Распадаемость) и требованиям, указанным в частных фармакопейных статьях и (или) нормативных документах по качеству. Отсутствие показателя Растворение при испытании Таблеток для имплантации должно быть обосновано.

УПАКОВКА

Лекарственные препараты для парентерального применения выпускают в стерильных однодозовых (ампулы, картриджи, преднаполненные шприцы, индивидуальная упаковка имплантатов и др.) или в многодозовых (бутылки, флаконы и др.) воздухонепроницаемых упаковках с контролем первого вскрытия.

Объем лекарственных препаратов, представляющих собой растворы для парентерального применения в однодозовой упаковке, должен быть достаточным для однократного введения, но не должен превышать 1 л.

Лекарственные препараты для парентерального применения, предназначенные для внутриполостных, внутрисердечных, внутриглазных инъекций или инъекций, имеющих доступ к спинномозговой жидкости, должны выпускаться только в однодозовых упаковках.

2.5.4. ВЕТЕРИНАРНЫЕ ЛЕКАРСТВЕННЫЕ ПРЕПАРАТЫ

205040001-2022

2.5.4.1. Внутриматочные ветеринарные лекарственные препараты

Внутриматочные ветеринарные лекарственные препараты выпускаются в жидких, мягких или твердых лекарственных формах, а также в виде пен, предназначены для непосредственного введения в матку (шейку, полость или дно) с целью достижения местного эффекта. Они содержат 1 или более действующих веществ в подходящем носителе или основе. Для введения в матку могут использоваться соответствующие аппликаторы и катетеры.

Твердые лекарственные формы для внутриматочного введения представляют собой суппозитории внутриматочные, палочки внутриматочные, таблетки внутриматочные, капсулы внутриматочные, таблетки для приготовления растворов внутриматочных, таблетки для приготовления суспензий для внутриматочного введения, порошки для приготовления растворов внутриматочных, порошки для приготовления суспензий для внутриматочного введения; мягкие лекарственные формы - мази для внутриматочного применения, кремы для внутриматочного введения, гели для внутриматочного применения; жидкие лекарственные формы - растворы внутриматочные, эмульсии внутриматочные, суспензии для внутриматочного введения, концентраты для приготовления растворов внутриматочных, концентраты для приготовления эмульсий внутриматочных, а также концентраты для приготовления суспензий для внутриматочного введения.

Пены внутриматочные - трехфазные аэрозоли, так называемые пенные аэрозоли, представляющие собой систему из растворов, эмульсий или суспензий действующих веществ с добавлением поверхностно-активных вспомогательных веществ, находящихся под давлением газа-пропеллента.

ОСОБЕННОСТИ ТЕХНОЛОГИИ

При разработке внутриматочных ветеринарных лекарственных препаратов следует учитывать, что лекарственная форма должна быть удобна непосредственно для внутриматочного введения, либо должна снабжаться устройством для введения (аппликаторы, катетеры и др.). Вспомогательные вещества (консерванты, антиоксиданты, стабилизаторы, эмульгаторы, загустители, пропелленты, поверхностно-активные вещества и др.) должны быть фармацевтически совместимы, обеспечивать оптимальные технологические характеристики лекарственных форм и не должны вызывать нежелательное местное действие в используемых концентрациях.

Состав и технология производства внутриматочных ветеринарных лекарственных препаратов должны обеспечивать равномерное распределение действующего(их) вещества(в) в носителе или основе, а также стабильность лекарственной формы в процессе хранения.

Методика и критерии оценки эффективности консервантов, входящих в состав препаратов, приведены в общей фармакопейной статье 2.3.1.1. Эффективность антимикробных консервантов.

Особенности технологии производства внутриматочных ветеринарных лекарственных препаратов приведены в общих фармакопейных статьях на различные виды лекарственных форм:

- растворы внутриматочные - общая фармакопейная статья 2.5.1.25. Растворы;

- эмульсии внутриматочные - общая фармакопейная статья 2.5.1.39. Эмульсии;

- суспензии для внутриматочного введения - общая фармакопейная статья 2.5.1.33. Суспензии;

- пены внутриматочные - общая фармакопейная статья 2.5.1.18. Пены лекарственные и общая фармакопейная статья 2.5.1.2. Аэрозоли;

- таблетки внутриматочные, таблетки для приготовления растворов внутриматочных, таблетки для приготовления суспензий для внутриматочного введения, порошки для приготовления растворов внутриматочных, порошки для приготовления суспензий для внутриматочного введения - общая фармакопейная статья 2.5.1.34. Таблетки и общая фармакопейная статья 2.5.1.24. Порошки;

- капсулы внутриматочные - общая фармакопейная статья 2.5.1.10. Капсулы;

- суппозитории внутриматочные, палочки внутриматочные - общая фармакопейная статья 2.5.1.32. Суппозитории и палочки;

- мази для внутриматочного применения, кремы для внутриматочного введения, гели для внутриматочного применения - общая фармакопейная статья 2.5.1.40. Мягкие лекарственные формы.

При производстве, упаковке и хранении внутриматочных ветеринарных лекарственных препаратов предпринимают меры, обеспечивающие их микробиологическую чистоту в соответствии с общей фармакопейной статьей 2.3.1.2. Требования к микробиологической чистоте лекарственных препаратов, фармацевтических субстанций и вспомогательных веществ для их производства.

При производстве твердых лекарственных форм обеспечивается однородность массы или, если применимо, однородность содержания действующего вещества.

В ходе разработки внутриматочных ветеринарных лекарственных препаратов должно быть подтверждено, что из однодозового контейнера с жидкими или мягкими лекарственными формами извлекается количество препарата с установленным номинальным содержанием.

ИСПЫТАНИЯ

Внутриматочные ветеринарные лекарственные препараты должны выдерживать требования соответствующих общих фармакопейных статей на лекарственные формы и методы их анализа.

Для внутриматочных ветеринарных лекарственных препаратов определяют массу или объем содержимого упаковки в соответствии с общей фармакопейной статьей 2.1.9.17. Масса (объем) содержимого упаковки.

Для дозированных и однодозовых лекарственных форм препаратов определяют однородность массы доз в соответствии с общей фармакопейной статьей 2.1.9.14. Однородность дозированных единиц или общей фармакопейной статьей 2.1.9.5. Однородность массы единицы дозированного лекарственного препарата.

Критерии оценки эффективности антимикробных консервантов должны соответствовать требованиям общей фармакопейной статьи 2.3.1.1. Эффективность антимикробных консервантов.

Внутриматочные ветеринарные лекарственные препараты должны выдерживать требования общей фармакопейной статьи 2.3.1.2. Требования к микробиологической чистоте лекарственных препаратов, фармацевтических субстанций и вспомогательных веществ для их производства.

Пенообразующие внутриматочные таблетки, капсулы и суппозитории дополнительно контролируются в соответствии с общей фармакопейной статьей 2.5.1.18. Пены лекарственные и методами анализа, описанными в частной фармакопейной статье или нормативном документе на ветеринарное лекарственное средство.

Таблетки, за исключением тех, которые предназначены для пролонгированного местного действия, а также суппозитории должны отвечать требованиям общей фармакопейной статьи 2.1.9.2. Распадаемость суппозиториев и вагинальных таблеток, ректальных и вагинальных капсул.

Порошки и таблетки для приготовления внутриматочных растворов и суспензий дополнительно должны контролироваться после растворения на соответствие требованиям общей фармакопейной статьи 2.5.1.25. Растворы или общей фармакопейной статьи 2.5.1.33. Суспензии в зависимости от конечной лекарственной формы.

Пены внутриматочные контролируются в соответствии с общей фармакопейной статьей 2.5.1.18. Пены лекарственные (если иное не указано в частной фармакопейной статье).

Испытания на подлинность определяются входящими в состав препарата действующими веществами, реже вспомогательными веществами (антимикробными консервантами, антиоксидантами, стабилизаторами и др.). Для оценки подлинности рекомендуется сочетание физико-химических (ВЭЖХ, ТСХ, ГХ и др.) и химических или биологических методов анализа.

Для определения содержания действующего (действующих) и при необходимости вспомогательных веществ рекомендуется использовать физико-химические (ВЭЖХ, ГХ, спектрофотометрия), химические (титриметрия), микробиологические и другие методы, представленные в соответствующем нормативном документе на ветеринарное лекарственное средство или частной фармакопейной статье.

Если не указано иначе в нормативном документе на ветеринарное лекарственное средство или в частной фармакопейной статье, содержание определяемых веществ выражают в массовых, массово-объемных единицах или единицах активности для не дозированных лекарственных форм или в массовых, массово-объемных единицах или единицах активности в одной дозе для дозированных лекарственных форм.

УПАКОВКА

Упаковка должна обеспечивать качество лекарственного препарата в течение установленного срока годности в заявленных условиях хранения.

Материалы первичной и вторичной (потребительской) упаковки должны быть разрешены для производства данного вида упаковки с учетом пути введения лекарственной формы.

При выпуске в многодозовом контейнере препарат должен содержать подходящий консервант в соответствующей концентрации, за исключением случаев, когда сам препарат обладает достаточными антимикробными свойствами. Внутриматочные ветеринарные лекарственные препараты в многодозовых контейнерах должны снабжаться специальными устройствами (например, одноразовые наконечники для введения) для предотвращения микробной контаминации.

МАРКИРОВКА

На вторичной (потребительской) упаковке указывают входящие в состав вспомогательные вещества без указания их количества, если нет других указаний в нормативном документе на ветеринарное лекарственное средство или частной фармакопейной статье.

Для многодозовых лекарственных форм указывают срок хранения лекарственного препарата после первого вскрытия.

Для однодозовых лекарственных форм указывают наименование и содержание действующих веществ в 1 дозе, для многодозовых - содержание действующих веществ в 1 дозе, с указанием количества доз в упаковке.

Для недозированных лекарственных форм приводят наименование действующих веществ и их количества в определенной массе (объеме) лекарственного препарата.

При необходимости должны быть предупредительные надписи в зависимости от лекарственной формы препарата и вида упаковки.

ХРАНЕНИЕ

Условия хранения должны обеспечивать стабильность лекарственного препарата в течение всего установленного срока его годности в заявленном виде упаковки.

Условия хранения препаратов, выпускаемых в контейнерах под давлением, должны соответствовать требованиям общей фармакопейной статьи 2.5.1.2. Аэрозоли.

Если допускается хранение препарата между введениями, должны быть предприняты меры, предотвращающие его микробную контаминацию.

Требования к условиям хранения приводят в частной фармакопейной статье или нормативном документе на ветеринарное лекарственное средство.

205040002-2022

2.5.4.2. Ветеринарные лекарственные препараты в жидких лекарственных формах для наружного применения

Ветеринарные лекарственные препараты в жидких лекарственных формах для наружного применения содержат одно или несколько действующих веществ в соответствующем носителе, предназначены для нанесения на неповрежденную, поврежденную кожу (в том числе раневые, ожоговые поверхности), соски вымени, кожно-волосяной покров, копыта (копытца), когти с целью достижения местного или системного эффекта.

Ветеринарные лекарственные препараты в жидких лекарственных формах для наружного применения выпускаются в виде растворов, эмульсий, суспензий, шампуней.

По способу введения и применения выделяют несколько видов ветеринарных лекарственных препаратов в жидких лекарственных формах для наружного применения:

- препараты для поливания (растворы, эмульсии или суспензии для наружного применения);

- препараты для точечного нанесения (растворы, эмульсии или суспензии для наружного применения);

- концентраты для опрыскивания, купания, обработки дистальных отделов конечностей животных (концентраты для приготовления растворов, эмульсий или суспензий для наружного применения);

- препараты для обработки сосков вымени животных (растворы для наружного применения);

- шампуни (растворы, эмульсии или суспензии для наружного применения).

Препараты для поливания предназначены для профилактической и (или) лечебной обработки животных при паразитарных болезнях. Применяют путем капельного нанесения на серединную линию спины вдоль позвоночника, в объемах, указанных в инструкции по применению препарата.

Препараты для точечного нанесения предназначены для профилактической, лечебной обработки при паразитарных болезнях животных. Применяют путем капельного нанесения на неповрежденную кожу в области шеи у основания черепа или позвоночника животного.

Концентраты для опрыскивания, купания, обработки дистальных отделов конечностей животных - ветеринарные препараты высокой концентрации, предназначенные для применения после растворения, диспергирования в соответствующем растворителе до требуемой концентрации. Животных полностью погружают в емкость или опрыскивают разведенным препаратом.

Препараты для обработки сосков вымени животных предназначены для профилактической обработки сосков вымени до и после доения путем их погружения в раствор, протирания, обработки методом распыления.

Шампуни предназначены для нанесения на кожно-волосяной покров животного и последующего смывания водой. Содержат поверхностно-активные вещества. При смешивании с водой образуют пену.

ОСОБЕННОСТИ ТЕХНОЛОГИИ

Ветеринарные лекарственные препараты в жидких лекарственных формах для наружного применения разрабатывают с учетом их назначения и предполагаемого способа применения. Вспомогательные вещества (консерванты, антиоксиданты, стабилизаторы, эмульгаторы, загустители, поверхностно-активные вещества, смягчающие вещества, растворители, пропелленты, корригенты, пленкообразователи и др.) должны обеспечить оптимальные технологические характеристики лекарственных форм, не должны оказывать дополнительный терапевтический эффект и вызывать нежелательное местное действие в используемых концентрациях.

Методика и критерии оценки эффективности консервантов, входящих в состав препаратов, приведены в общей фармакопейной статье 2.3.1.1. Эффективность антимикробных консервантов.

Особенности технологии производства ветеринарных лекарственных препаратов в жидких лекарственных формах для наружного применения приведены в общих фармакопейных статьях на различные виды лекарственных форм:

- растворы для наружного применения - общая фармакопейная статья 2.5.1.25. Растворы;

- эмульсии для наружного применения - общая фармакопейная статья 2.5.1.39. Эмульсии;

- суспензии для наружного применения - общая фармакопейная статья 2.5.1.33. Суспензии;

- шампуни - общая фармакопейная статья 2.5.1.36. Шампуни лекарственные.

При разработке дозированных лекарственных форм должно быть подтверждено, что предложенный состав и технология производства обеспечивают однородность дозирования.

При производстве, упаковке, хранении и транспортировании ветеринарных лекарственных препаратов в жидких лекарственных формах для наружного применения предпринимают меры, обеспечивающие их микробиологическую чистоту в соответствии с общей фармакопейной статьей 2.3.1.2. Требования к микробиологической чистоте лекарственных препаратов, фармацевтических субстанций и вспомогательных веществ для их производства или стерильность (для препаратов, наносимых на раневые и (или) ожоговые поверхности) в соответствии с общей фармакопейной статьей 2.1.6.1. Стерильность.

ИСПЫТАНИЯ

Ветеринарные лекарственные препараты в жидких лекарственных формах для наружного применения должны выдерживать требования соответствующих общих фармакопейных статей на лекарственные формы и методы их анализа.

Для ветеринарных лекарственных препаратов в жидких лекарственных формах для наружного применения определяют массу или объем содержимого упаковки в соответствии с общей фармакопейной статьей 2.1.9.17. Масса (объем) содержимого упаковки.

Для препаратов, выпускаемых в многодозовой упаковке, определяют равномерность распределения действующего вещества в единице дозированной лекарственной формы в соответствии с общей фармакопейной статьей 2.1.9.14. Однородность дозированных единиц.

Критерии оценки эффективности антимикробных консервантов должны соответствовать требованиям общей фармакопейной статьи 2.3.1.1. Эффективность антимикробных консервантов.

Ветеринарные лекарственные препараты в жидких лекарственных формах для наружного применения должны выдерживать требования общей фармакопейной статьи 2.3.1.2. Требования к микробиологической чистоте лекарственных препаратов, фармацевтических субстанций и вспомогательных веществ для их производства.

Препараты, предназначенные для нанесения на раневые и (или) ожоговые поверхности, должны быть стерильны и выдерживать требования общей фармакопейной статьи 2.1.6.1. Стерильность.

Испытания на подлинность определяются входящими в со став препарата действующими веществами, реже вспомогательными (антимикробными консервантами, антиоксидантами, стабилизаторами и др.) веществами. Для оценки подлинности рекомендуется сочетание физико-химических (ВЭЖХ, ТСХ, ГХ и др.) и химических методов анализа.

Для определения содержания действующего (действующих) и при необходимости вспомогательных веществ рекомендуется использовать физико-химические (ВЭЖХ, ГХ, спектрофотометрия), химические (титриметрия) и микробиологические и другие методы, представленные в соответствующем нормативном документе на ветеринарное лекарственное средство или частной фармакопейной статье.

Если не указано иначе в нормативном документе на ветеринарное лекарственное средство или частной фармакопейной статье, содержание определяемых веществ выражают в массовых, массово-объемных единицах или единицах активности для не дозированных лекарственных форм или в массовых, массово-объемных единицах или единицах активности в 1 дозе для дозированных лекарственных форм.

УПАКОВКА

Упаковка должна обеспечивать качество лекарственного препарата в течение установленного срока годности в заявленных условиях хранения.

Материалы первичной и вторичной (потребительской) упаковки должны быть разрешены для производства данного вида упаковки с учетом пути введения лекарственной формы.

Препараты, содержащие летучие компоненты, хранят в герметичной упаковке.

Препараты, предназначенные для нанесения на раневые и (или) ожоговые поверхности, упаковывают в стерильную плотно укупоренную первичную упаковку с контролем первого вскрытия.

При выпуске в многодозовом контейнере препарат должен содержать подходящий консервант в соответствующей концентрации, за исключением случаев, когда сам препарат обладает достаточными антимикробными свойствами.

МАРКИРОВКА

Для стерильных лекарственных форм на упаковке приводят указание о стерильности лекарственного препарата.

На вторичной (потребительской) упаковке указывают входящие в состав вспомогательные вещества без указания их количества, если нет других указаний в нормативном документе на ветеринарное лекарственное средство или частной фармакопейной статье.

Для многодозовых лекарственных форм указывают срок хранения лекарственного препарата после первого вскрытия.

Для однодозовых лекарственных форм указывают наименование и содержание действующих веществ в 1 дозе, для многодозовых - содержание действующих веществ в 1 дозе, с указанием количества доз в упаковке.

Для недозированных лекарственных форм приводят наименование действующих веществ и их количества в определенной массе (объеме) лекарственного препарата.

При необходимости должны быть предупредительные надписи в зависимости от лекарственной формы препарата и вида упаковки.

205040003-2022

2.5.4.3. Ветеринарные лекарственные препараты в мягких лекарственных формах для приема внутрь

Ветеринарные лекарственные препараты в мягких лекарственных формах для приема внутрь (обычно в виде паст или гелей для приема внутрь) состоят из одного или более действующих веществ, растворенных или диспергированных в однофазной или многофазной основе из синтетических и природных веществ.

В состав ветеринарных лекарственных препаратов в мягких лекарственных формах для приема внутрь в качестве вспомогательных веществ могут входить антимикробные консерванты, диспергирующие, суспендирующие, буферизующие, смачивающие, растворяющие и другие компоненты, а также загустители, эмульгаторы, стабилизаторы, ароматизаторы и подсластители.

Ветеринарные лекарственные препараты в мягких лекарственных формах для приема внутрь предназначены для применения в ротовой полости или для доставки действующих веществ в желудочно-кишечный тракт после проглатывания.

Ветеринарные лекарственные препараты в мягких лекарственных формах для приема внутрь обычно выпускаются в одно- или многодозовых контейнерах, таких как шприцы, позволяющих точно дозировать препараты в соответствии с массой животного. Каждая доза из многодозового контейнера применяется с помощью дозирующего устройства, предназначенного для измерения определенного объема/массы.

ОСОБЕННОСТИ ТЕХНОЛОГИИ

Технология производства ветеринарных лекарственных препаратов в мягких лекарственных формах для приема внутрь должна обеспечивать максимальное диспергирование и равномерное распределение действующих веществ в основе. Основу следует выбирать с учетом назначения, эффективности, безопасности лекарственного средства, биодоступности действующих веществ, совместимости компонентов, реологических свойств, стабильности лекарственной формы в течение срока годности. Консистенция паст и гелей должна обеспечивать легкость применения препаратов внутрь.

Необходимость использования в составе ветеринарных лекарственных препаратов в мягких лекарственных формах для приема внутрь антимикробных консервантов должна быть обоснована. Методика и критерии оценки эффективности консервантов, входящих в состав препаратов, приведены в общей фармакопейной статье 2.3.1.1. Эффективность антимикробных консервантов.

При производстве, упаковке, хранении и транспортировании ветеринарных лекарственных препаратов в мягких лекарственных формах для приема внутрь предпринимают меры, обеспечивающие их микробиологическую чистоту в соответствии с общей фармакопейной статьей 2.3.1.2. Требования к микробиологической чистоте лекарственных препаратов, фармацевтических субстанций и вспомогательных веществ для их производства.

При разработке дозированных лекарственных форм должно быть подтверждено, что предложенный состав и технология производства обеспечивают однородность дозирования.

Герметичность упаковки контролируют в процессе производства мягких лекарственных форм, упакованных в шприцы и тубы.

ИСПЫТАНИЯ

Ветеринарные лекарственные препараты в мягких лекарственных формах для приема внутрь должны соответствовать требованиям общей фармакопейной статьи 2.5.1.40. Мягкие лекарственные формы.

Для ветеринарных лекарственных препаратов в мягких лекарственных формах для приема внутрь определяют массу или объем содержимого упаковки в соответствии с требованиями общей фармакопейной статьи 2.1.9.17. Масса (объем) содержимого упаковки.

Для препаратов, выпускаемых в дозируемых лекарственных формах, определяют однородность распределения действующих веществ в единицах дозированной лекарственной формы в соответствии с общей фармакопейной статьей 2.1.9.14. Однородность дозированных единиц.

Критерии оценки эффективности антимикробных консервантов должны соответствовать требованиям общей фармакопейной статьи 2.3.1.1. Эффективность антимикробных консервантов.

Ветеринарные лекарственные препараты в мягких лекарственных формах для приема внутрь должны выдерживать требования общей фармакопейной статьи 2.3.1.2. Требования к микробиологической чистоте лекарственных препаратов, фармацевтических субстанций и вспомогательных веществ для их производства (критерии приемлемости должны соответствовать категории 3А для твердых (неводных) препаратов для приема внутрь).

Испытания подлинности определяются входящими в состав препарата действующими веществами, реже вспомогательными веществами (антимикробными консервантами, антиоксидантами, стабилизаторами и др.). Для оценки подлинности рекомендуется сочетание физико-химических (ВЭЖХ, ТСХ, ГХ и др.) и химических методов анализа.

Для определения содержания действующего (действующих) и при необходимости вспомогательных веществ рекомендуется использовать физико-химические (ВЭЖХ, ГХ, спектрофотометрия), химические (титриметрия), микробиологические и другие методы, представленные в соответствующем нормативном документе на ветеринарное лекарственное средство или частной фармакопейной статье.

Если не указано иначе в нормативном документе на ветеринарное лекарственное средство или частной фармакопейной статье, содержание определяемых веществ выражают в массовых, массово-объемных единицах или единицах активности для не дозированных лекарственных форм или в массовых, массово-объемных единицах или единицах активности в одной дозе для дозированных лекарственных форм.

УПАКОВКА

Упаковка должна обеспечивать качество лекарственного препарата в течение установленного срока годности в заявленных условиях хранения.

Материалы первичной и вторичной (потребительской) упаковки должны быть разрешены для производства данного вида упаковки с учетом пути введения лекарственной формы.

При выпуске в многодозовом контейнере препарат должен содержать подходящий консервант в соответствующей концентрации, за исключением случаев, когда сам препарат обладает достаточными антимикробными свойствами.

Ветеринарные лекарственные препараты в мягких лекарственных формах для приема внутрь хранят в герметичной упаковке.

МАРКИРОВКА

На вторичной (потребительской) упаковке указывают входящие в состав вспомогательные вещества, если нет других указаний в нормативном документе на ветеринарное лекарственное средство или частной фармакопейной статье.

Для многодозовых лекарственных форм указывают срок хранения лекарственного препарата после первого вскрытия.

Для однодозовых лекарственных форм указывают наименование и содержание действующих веществ в одной дозе, для многодозовых - содержание действующих веществ в одной дозе, с указанием количества доз в упаковке.

Для недозированных лекарственных форм приводят наименование действующих веществ и их количества в определенной массе лекарственного препарата.

При необходимости должны быть предупредительные надписи в зависимости от лекарственной формы препарата и вида упаковки.

ХРАНЕНИЕ

Условия хранения должны обеспечивать стабильность лекарственного препарата в течение всего установленного срока его годности в заявленном виде упаковки.

Если допускается хранение препарата между введениями, должны быть предприняты меры, предотвращающие его микробную контаминацию.

Требования к условиям хранения приводят в частной фармакопейной статье или нормативном документе на ветеринарное лекарственное средство.

205040004-2022

2.5.4.4. Интрацистернальные ветеринарные лекарственные препараты

Интрацистернальные ветеринарные лекарственные препараты содержат одно или несколько действующих веществ в подходящем носителе или основе, должны быть стерильными, предназначены для введения в молочную железу через сосковый канал с целью достижения местного лечебно-профилактического эффекта.

Интрацистернальные ветеринарные лекарственные препараты могут быть в жидкой (растворы для интрацистернального введения, эмульсии для интрацистернального введения, суспензии для интрацистернального введения) или в мягкой (мази для интрацистернального применения, гели для интрацистернального применения, кремы для интрацистернального введения) лекарственных формах.

Интрацистернальные ветеринарные лекарственные препараты предназначены для лечения маститов крупного и мелкого рогатого скота в сухостойный период или в период лактации.

ОСОБЕННОСТИ ТЕХНОЛОГИИ

Технология производства интрацистернальных ветеринарных лекарственных препаратов должна обеспечивать максимальное диспергирование и равномерное распределение действующих веществ в носителе или основе, а также стабильность лекарственной формы в процессе хранения.

Носитель или основу следует выбирать с учетом назначения, эффективности, безопасности лекарственного средства, биодоступности действующих веществ, совместимости компонентов, реологических свойств, стабильности лекарственной формы в течение срока годности.

Консистенция мазей, гелей и кремов должна обеспечивать легкость введения в молочную железу через сосковый канал.

Вспомогательные вещества (консерванты, антиоксиданты, стабилизаторы, эмульгаторы, загустители и др.) должны быть фармацевтически совместимы, обеспечивать оптимальные технологические характеристики лекарственной формы и не должны вызывать нежелательное местное действие в используемых концентрациях.

Методика и критерии оценки эффективности консервантов, входящих в состав препаратов, приведены в общей фармакопейной статье 2.3.1.1. Эффективность антимикробных консервантов.

Особенности технологии производства интрацистернальных ветеринарных лекарственных препаратов приведены в общих фармакопейных статьях на различные виды лекарственных форм:

- растворы для интрацистернального введения (общая фармакопейная статья 2.5.1.25. Растворы;

- эмульсии для интрацистернального введения (общая фармакопейная статья 2.5.1.39. Эмульсии;

- суспензии для интрацистернального введения (общая фармакопейная статья 2.5.1.33. Суспензии;

- мази для интрацистернального применения, гели для интрацистернального применения и кремы для интрацистернального введения - общая фармакопейная статья 2.5.1.40. Мягкие лекарственные формы.

При производстве, упаковке и хранении интрацистернальных ветеринарных лекарственных препаратов предпринимаются меры, обеспечивающие их стерильность и исключающие возможность их контаминации и роста микроорганизмов в соответствии с общей фармакопейной статьей 2.1.6.1. Стерильность.

ИСПЫТАНИЯ

Интрацистернальные ветеринарные лекарственные препараты должны выдерживать требования соответствующих общих фармакопейных статей на лекарственные формы и методы их анализа.

Мягкие лекарственные формы интрацистернальных ветеринарных лекарственных препаратов (мази для интрацистернального применения, гели для интрацистернального применения, кремы для интрацистернального введения) должны отвечать требованиям общей фармакопейной статьи 2.5.1.40. Мягкие лекарственные формы.

Для интрацистернальных ветеринарных лекарственных препаратов определяют извлекаемый объем, а также массу или объем содержимого упаковки в соответствии с требованиями общей фармакопейной статьи 2.1.9.17. Масса (объем) содержимого упаковки.

При введении в состав препаратов антимикробных консервантов должны быть предусмотрены соответствующие методы определения их подлинности и количества. Критерии оценки эффективности антимикробных консервантов должны соответствовать требованиям общей фармакопейной статьи 2.3.1.1. Эффективность антимикробных консервантов.

Интрацистернальные ветеринарные лекарственные препараты должны быть стерильны и выдерживать требования общей фармакопейной статьи 2.1.6.1. Стерильность.

Испытания на подлинность определяются входящими в со став препарата действующими веществами, реже вспомогательными (антимикробными консервантами, антиоксидантами, стабилизаторами и др.) веществами. Для оценки подлинности рекомендуется сочетание физико-химических (ВЭЖХ, ТСХ, ГХ и др.) и химических методов анализа.

Для определения содержания действующего (действующих) и вспомогательных веществ рекомендуется использовать физико-химические (ВЭЖХ, ГХ, спектрофотометрия), химические (титриметрия), микробиологические и другие методы, представленные в соответствующем нормативном документе на ветеринарное лекарственное средство или частной фармакопейной статье.

Если не указано иначе в нормативном документе на ветеринарное лекарственное средство или частной фармакопейной статье, содержание определяемых веществ выражают в массовых, массово-объемных единицах или единицах активности для не дозированных лекарственных форм или в массовых, массово-объемных единицах или единицах активности в одной дозе для дозированных лекарственных форм.

УПАКОВКА

Упаковка должна обеспечивать качество лекарственного препарата в течение установленного срока годности в заявленных в нормативном документе на ветеринарное лекарственное средство условиях хранения.

Материалы первичной и вторичной (потребительской) упаковки должны быть разрешены для производства данного вида упаковки с учетом пути введения лекарственной формы.

Если иное не обосновано, интрацистернальные ветеринарные лекарственные препараты выпускают в контейнерах для одноразового применения для введения только через один сосковый канал молочной железы.

При выпуске в многодозовом контейнере препарат должен содержать подходящий консервант в соответствующей концентрации, за исключением случаев, когда сам препарат обладает достаточными антимикробными свойствами. Интрацистернальные ветеринарные лекарственные препараты в многодозовых контейнерах должны снабжаться специальными устройствами (например, одноразовые наконечники для введения сосковый канал) для предотвращения микробной контаминации вымени.

МАРКИРОВКА

На вторичной (потребительской) упаковке указывают входящие в состав вспомогательные вещества без указания их количества, если нет других указаний в нормативном документе на ветеринарное лекарственное средство или частной фармакопейной статье.

Для многодозовых лекарственных форм указывают срок хранения лекарственного препарата после первого вскрытия упаковки.

Для однодозовых лекарственных форм указывают наименование и содержание действующих веществ в одной дозе, для многодозовых - содержание действующих веществ в одной дозе, с указанием количества доз в упаковке.

При необходимости должны быть предупредительные надписи в зависимости от лекарственной формы препарата и вида упаковки.

ХРАНЕНИЕ

Условия хранения должны обеспечивать стабильность лекарственного препарата в течение всего установленного срока его годности, указанного в нормативном документе на ветеринарное лекарственное средство, в заявленном виде упаковки.

Если допускается хранение препарата между введениями, должны быть предприняты меры, предотвращающие его микробную контаминацию.

Требования к условиям хранения приводят в частной фармакопейной статье или нормативном документе на ветеринарное лекарственное средство.

205040005-2022

2.5.4.5. Ветеринарные лекарственные препараты для ингаляций

Ветеринарные лекарственные препараты для ингаляций выпускаются в жидких или твердых лекарственных формах, предназначены для введения в дыхательную систему животных действующего (действующих) вещества (веществ) в виде дисперсий твердых или жидких частиц в газовой среде с целью оказания местного или системного действия.

Ветеринарные лекарственные препараты для ингаляций могут содержать одно или более действующих веществ, растворенных или диспергированных в соответствующем носителе или основе.

Лекарственные формы ветеринарных лекарственных препаратов для ингаляций должны обеспечивать требуемую концентрацию действующего (действующих) вещества (веществ) в определенном объеме помещения в течение заданного времени.

Ветеринарные лекарственные препараты для ингаляций в жидких лекарственных формах представляют собой растворы для ингаляций, суспензии для ингаляций или эмульсии для ингаляций и предназначены для преобразования в аэрозоль или спрей для ингаляций с помощью соответствующего оборудования или устройства (распылителей, аэрозольных генераторов и др.).

Ветеринарные лекарственные препараты для ингаляций в твердых лекарственных формах представляют собой порошки, таблетки, а также лиофилизаты для приготовления растворов для ингаляций или суспензий для ингаляций.

Твердые лекарственные формы применяются путем распыления в виде аэрозоля или спрея после приготовления из них растворов или суспензий, а также в виде аэрозоля (при термическом испарении) или путем термической возгонки действующего (действующих) вещества (веществ) под воздействием высокой температуры в процессе тления вспомогательных веществ.

Если в твердые лекарственные формы в качестве действующего (действующих) вещества (веществ) входят эфирные масла, то при тлении под воздействием высокой температуры происходит их термическое испарение с образованием аэрозоля.

Если твердые лекарственные формы содержат в качестве действующего вещества йод кристаллический, то при тлении под воздействием высокой температуры происходит его термическая возгонка.

В составе твердых лекарственных форм, применяемых путем термического испарения или термической возгонки, в качестве вспомогательных веществ используют основу для термического испарения или термической возгонки, окислители для инициирования реакции окисления (тления), а также пламегасители для предотвращения процесса горения. Процесс тления должен происходить равномерно, без образования искр и пламени.

В процессе тления твердые лекарственные формы должны окисляться полностью. Процесс термического испарения или термической возгонки не должен приводить к разрушению действующего (действующих) вещества (веществ) под воздействием высокой температуры.

ОСОБЕННОСТИ ТЕХНОЛОГИИ

Общие требования к производству и изготовлению ветеринарных лекарственных препаратов для ингаляций приведены в общей фармакопейной статье 2.5.3.1. Лекарственные препараты и общей фармакопейной статье 2.5.1.1. Лекарственные формы.

При разработке ветеринарных лекарственных препаратов для ингаляций следует учитывать, что лекарственная форма должна быть удобной и безопасной при применении.

Вспомогательные вещества должны быть фармацевтически совместимы, обеспечивать оптимальные технологические характеристики лекарственной формы в используемых концентрациях, не должны отрицательно влиять на основное терапевтическое действие, не являться токсичными и не должны неблагоприятно воздействовать на функции слизистой оболочки дыхательных путей животных.

В зависимости от типа лекарственной формы и природы действующего (действующих) вещества (веществ) ветеринарные лекарственные препараты для ингаляций могут содержать пропелленты, растворители, разбавители, антимикробные консерванты, поверхностно-активные вещества, стабилизирующие и солюбилизирующие агенты, основу для термического испарения или термической возгонки, окислители для инициирования реакции окисления (тления), пламегасители для предотвращения процесса горения и т.д.

На стадии разработки ветеринарных лекарственных препаратов для ингаляций должно быть экспериментально подтверждено достижение требуемой концентрации действующего (действующих) вещества (веществ) в определенном объеме помещения в течение заданного промежутка времени.

Технология производства ветеринарных лекарственных препаратов для ингаляций должна обеспечивать равномерное распределение действующего (действующих) вещества (веществ) в носителе или основе, а также стабильность лекарственной формы в процессе хранения.

Особенности технологии производства ветеринарных лекарственных препаратов для ингаляций приведены в общей фармакопейной статье 2.5.1.25. Растворы, общей фармакопейной статье 2.5.1.33. Суспензии, общей фармакопейной статье 2.5.1.39. Эмульсии, общей фармакопейной статье 2.5.1.24. Порошки, общей фармакопейной статье 2.5.1.34. Таблетки, общей фармакопейной статье 2.5.1.14. Лиофилизаты.

Если в состав ветеринарных лекарственных препаратов для ингаляций входят летучие вещества, в процессе производства контролируют герметичность упаковки.

ИСПЫТАНИЯ

Ветеринарные лекарственные препараты для ингаляций должны соответствовать требованиям общей фармакопейной статьи 2.5.3.1. Лекарственные препараты и выдерживать испытания, характерные для лекарственной формы, в виде которой получены лекарственные препараты, согласно общей фармакопейной статье 2.5.1.1. Лекарственные формы и общей фармакопейной статье на конкретную лекарственную форму.

Для ветеринарных лекарственных препаратов для ингаляций определяют массу или объем содержимого упаковки в соответствии с общей фармакопейной статьей 2.1.9.17. Масса (объем) содержимого упаковки.

Жидкие лекарственные формы, представляющие собой растворы, суспензии, эмульсии (в том числе, полученные из твердых лекарственных форм путем растворения или диспергирования в соответствующем растворителе) должны соответствовать требованиям общей фармакопейной статьи 2.5.1.25. Растворы, общей фармакопейной статьи 2.5.1.33. Суспензии, общей фармакопейной статьи 2.5.1.39. Эмульсии.

Твердые лекарственные формы (кроме предназначенных для применения путем термического испарения или термической возгонки) должны соответствовать требованиям общей фармакопейной статьи 2.5.1.24. Порошки, общей фармакопейной статьи 2.5.1.34. Таблетки, общей фармакопейной статьи 2.5.1.14. Лиофилизаты.

Ветеринарные лекарственные препараты для ингаляций в форме таблеток для применения путем термического испарения или термической возгонки контролируют по показателям Описание, Однородность массы, Потеря в массе при высушивании или Вода в соответствии с общей фармакопейной статьей 2.5.1.34. Таблетки.

Ветеринарные лекарственные препараты для ингаляций в форме порошков для применения путем термического испарения или термической возгонки контролируют по показателям Описание, Размер частиц, Потеря в массе при высушивании или Вода в соответствии с общей фармакопейной статьей 2.5.1.24. Порошки.

Твердые лекарственные формы (порошки, таблетки), предназначенные для применения путем термического испарения или термической возгонки, дополнительно должны контролироваться по следующим показателям:

Возгораемость и характер тления - определение возможности приведения в действие от источника огня, а также визуальное определение характера, насыщенности и цвета продуктов термического испарения или термической возгонки при тлении контролируется в соответствии с требованиями общей фармакопейной статьи 2.1.9.28. Возгораемость и характер тления лекарственных препаратов в виде пластин ветеринарных, шнуров ветеринарных и твердых лекарственных форм для ингаляций ветеринарных.

Время тления (определение времени от начала тления до его окончания) контролируется в соответствии с требованиями общей фармакопейной статьи 2.1.9.29. Определение времени тления лекарственных препаратов в виде пластин ветеринарных, шнуров ветеринарных и твердых лекарственных форм для ингаляций ветеринарных.

УПАКОВКА

Упаковка должна обеспечивать качество лекарственного препарата в течение установленного срока годности в заявленных условиях хранения.

Материалы первичной и вторичной (потребительской) упаковки должны быть разрешены для производства данного вида упаковки с учетом пути применения.

Для препаратов, содержащих летучие компоненты, должна быть предусмотрена герметичная упаковка.

МАРКИРОВКА

На вторичной (потребительской) упаковке указывают наименование действующих веществ и их количества в определенной массе (объеме) лекарственного препарата, а также входящие в состав вспомогательные вещества без указания их количества, если нет других указаний в нормативном документе на ветеринарное лекарственное средство или частной фармакопейной статье.

При необходимости должны быть предупредительные надписи в зависимости от лекарственной формы препарата и вида упаковки.

205040006-2022

2.5.4.6. Ветеринарные лекарственные препараты для пчел

Ветеринарные лекарственные препараты для пчел предназначены для применения с лечебно-профилактической целью при заболеваниях медоносных пчел.

Ветеринарные лекарственные препараты для пчел могут быть в виде лекарственных форм:

- жидкие (растворы для наружного применения, растворы для приема внутрь, суспензии для наружного применения, суспензии для приема внутрь, эмульсии для наружного применения, концентраты для приготовления растворов для наружного применения, концентраты для приготовления растворов для приема внутрь, концентраты для приготовления суспензий для наружного применения, концентраты для приготовления суспензий для приема внутрь, концентраты для приготовления эмульсий для наружного применения);

- экстракты для наружного применения, экстракты для приема внутрь;

- мягкие (пасты для наружного применения, пасты для приема внутрь, гели для наружного применения, гели для приема внутрь);

- твердые (порошки для наружного применения, порошки для приема внутрь, порошки для приготовления растворов для наружного применения, порошки для приготовления растворов для приема внутрь, порошки для приготовления суспензий для наружного применения, порошки для приготовления суспензий для приема внутрь, лиофилизаты для приготовления растворов для наружного применения, лиофилизаты для приготовления растворов для приема внутрь, лиофилизаты для приготовления суспензий для наружного применения, лиофилизаты для приготовления суспензий для приема внутрь);

- пластины ветеринарные, шнуры ветеринарные.

По способу действия выделяют несколько категорий ветеринарных лекарственных препаратов для пчел:

- препараты контактного действия (растворы для наружного применения, суспензии для наружного применения, эмульсии для наружного применения, концентраты для приготовления растворов для наружного применения, концентраты для приготовления суспензий для наружного применения, концентраты для приготовления эмульсий для наружного применения, экстракты для наружного применения, пасты для наружного применения, гели для наружного применения, порошки для наружного применения, порошки для приготовления растворов для наружного применения, порошки для приготовления суспензий для наружного применения, лиофилизаты для приготовления растворов для наружного применения, лиофилизаты для приготовления суспензий для наружного применения): действующее (действующие) вещество (вещества) воздействует на организм пчел путем физического контакта насекомого с препаратом;

- препараты для приема внутрь (растворы для приема внутрь, суспензии для приема внутрь, концентраты для приготовления растворов для приема внутрь, концентраты для приготовления суспензий для приема внутрь, экстракты для приема внутрь, пасты для приема внутрь, гели для приема внутрь, порошки для приема внутрь, лиофилизаты для приготовления растворов для приема внутрь, лиофилизаты для приготовления суспензий для приема внутрь): скармливают пчелам в смеси с сахарным сиропом или специальным кормом - канди (смесь воды, муки и сахара);

- препараты, применяемые в виде аэрозоля (при термическом испарении) или путем термической возгонки действующего (действующих) вещества (веществ) под воздействием высокой температуры в процессе тления вспомогательных веществ (пластины ветеринарные, шнуры ветеринарные);

Ветеринарные лекарственные препараты для пчел в жидких лекарственных формах содержат одно или несколько действующих веществ в соответствующем носителе, предназначены для наружного применения или приема внутрь с целью достижения местного и (или) системного эффекта.

Концентраты - жидкая лекарственная форма, предназначенная для применения после разбавления (разведения) в соответствующем растворителе до требуемой концентрации. Концентраты могут содержать одно или несколько действующих веществ с добавлением или без добавления вспомогательных веществ. Концентраты также используют для получения других лекарственных форм (растворов, суспензий, эмульсий).

Экстракты - лекарственная форма ветеринарных лекарственных препаратов для пчел, представляющая собой концентрированное извлечение из лекарственного растительного сырья.

Экстракты могут быть получены на основе одного вида лекарственного растительного сырья (простые) и на основе смеси нескольких видов лекарственного растительного сырья (сложные, комплексные).

Мягкие лекарственные формы ветеринарных лекарственных препаратов для пчел содержат значительное количество (более 20%) тонкоизмельченных твердых веществ (пасты) или представляют собой коллоидные дисперсии, полученные путем гелеобразования с использованием специальных веществ (гели).

Порошки - твердая лекарственная форма ветеринарных лекарственных препаратов для пчел, состоящая из отдельных сухих частиц различной степени дисперсности, обладающая свойством сыпучести.

Лиофилизаты - твердая лекарственная форма ветеринарных лекарственных препаратов для пчел в виде порошка или пористой массы, полученная путем лиофилизации лекарственных средств жидкой или мягкой консистенции.

Порошки и лиофилизаты могут быть использованы для приготовления других лекарственных форм ветеринарных лекарственных препаратов для пчел путем растворения/диспергирования в соответствующем растворителе: растворов, суспензий.

Пластины ветеринарные - лекарственная форма, состоящая из твердой основы с равномерно распределенным в ней действующим (действующими) веществом (веществами). Основа может быть из древесного шпона, картона или полимерных материалов.

Пластины ветеринарные размещают внутри ульев путем подвешивания в межрамочном пространстве. Для этой цели пластины могут иметь отверстия.

При применении пластин ветеринарных высвобождение действующего (действующих) вещества (веществ) происходит за счет структуры и специфических химических, физических и физико-химических свойств подобранных материалов или основы и действующего (действующих) вещества (веществ).

Шнуры ветеринарные - твердая лекарственная форма, состоящая из основы (шнура) с равномерно распределенным в ней действующим (действующими) веществом (веществами). Основа может быть из волокон растительного происхождения.

Ветеринарные лекарственные препараты для пчел выпускают в одно- или многодозовых упаковках, позволяющих разместить препараты в улье после вскрытия упаковки или перенести определенную дозу препарата на подложку.

Жидкие лекарственные формы дозируют по объему из расчета на 1 семью пчел (улей) или 1 межрамочное пространство (улочка).

Мягкие и твердые лекарственные формы ветеринарных лекарственных препаратов для пчел дозируют по массе из расчета 1 упаковка на семью (улей).

Пластины ветеринарные и шнуры ветеринарные дозируют по количеству единиц пластин или шнуров из расчета на пчелиную семью (улей).

ОСОБЕННОСТИ ТЕХНОЛОГИИ

При разработке лекарственных препаратов следует учитывать, что лекарственная форма должна быть удобна непосредственно для применения внутри улья. Вспомогательные вещества (консерванты, антиоксиданты, стабилизаторы, эмульгаторы, загустители и др.) должны быть фармацевтически совместимы, обеспечивать оптимальные технологические характеристики лекарственных форм и не должны вызывать нежелательное действие на пчел в используемых концентрациях.

Состав и технология производства лекарственных препаратов должны обеспечивать равномерное распределение действующего (действующих) вещества (веществ) в носителе или основе, а также стабильность лекарственной формы в процессе хранения.

При разработке дозированных лекарственных форм должно быть подтверждено, что предложенный состав и технология производства обеспечивают однородность дозирования.

Необходимость использования в составе лекарственных препаратов антимикробных консервантов должна быть обоснована. Методика и критерии оценки эффективности консервантов, входящих в состав препаратов, приведены в общей фармакопейной статье 2.3.1.1. Эффективность антимикробных консервантов.

Особенности технологии производства лекарственных препаратов приведены в общих фармакопейных статьях на различные виды лекарственных форм:

- растворы для наружного применения, растворы для приема внутрь - общая фармакопейная статья 2.5.1.25. Растворы;

- эмульсии для наружного применения - общая фармакопейная статья 2.5.1.39. Эмульсии;

- суспензии для наружного применения и суспензии для приема внутрь - общая фармакопейная статья 2.5.1.33. Суспензии;

- концентраты для приготовления растворов для наружного применения, концентраты для приготовления растворов для приема внутрь, концентраты для приготовления эмульсий для наружного применения - общая фармакопейная статья 2.5.1.12. Концентраты;

- пасты для наружного применения, пасты для приема внутрь, гели для наружного применения, гели для приема внутрь - в общей фармакопейной статье 2.5.1.40. Мягкие лекарственные формы;

- экстракты для наружного применения, экстракты для приема внутрь - в общей фармакопейной статье 2.5.1.37. Экстракты;

- порошки для наружного применения, порошки для приема внутрь, порошки для приготовления растворов для наружного применения, порошки для приготовления растворов для приема внутрь, порошки для приготовления суспензий для наружного применения, порошки для приготовления суспензий для приема внутрь - в общей фармакопейной статье 2.5.1.24. Порошки;

- лиофилизаты для приготовления растворов для наружного применения, лиофилизаты для приготовления растворов для приема внутрь, лиофилизаты для приготовления суспензий для наружного применения, лиофилизаты для приготовления суспензий для приема внутрь - в общей фармакопейной статье 2.5.1.14. Лиофилизаты.

При производстве лекарственных препаратов твердых лекарственных форм обеспечивается однородность массы или, если применимо, однородность содержания действующего вещества.

В ходе разработки лекарственных препаратов должно быть подтверждено, что из однодозового контейнера с жидкими или мягкими лекарственными формами извлекается количество препарата с установленным номинальным содержанием.

Если в состав лекарственных препаратов входят летучие вещества, в процессе производства контролируют герметичность упаковки.

ИСПЫТАНИЯ

Лекарственные препараты должны выдерживать требования соответствующих общих фармакопейных статей на лекарственные формы и методы их анализа.

Для лекарственных препаратов определяют массу или объем содержимого упаковки в соответствии с требованиями общей фармакопейной статьи 2.1.9.17. Масса (объем) содержимого упаковки.

Для дозированных и однодозовых лекарственных форм лекарственных препаратов определяют однородность массы доз в соответствии с общей фармакопейной статьей 2.1.9.14. Однородность дозированных единиц или общей фармакопейной статьей 2.1.9.5. Однородность массы единицы дозированного лекарственного препарата.

Критерии оценки эффективности антимикробных консервантов должны соответствовать требованиям общей фармакопейной статьи 2.3.1.1. Эффективность антимикробных консервантов.

Лекарственные препараты в виде порошков и лиофилизатов для приготовления растворов и суспензий дополнительно должны контролироваться на соответствие требованиям общей фармакопейной статьи 2.5.1.25. Растворы или общей фармакопейной статьи 2.5.1.33. Суспензии в зависимости от конечной лекарственной формы.

Лекарственные препараты в виде пластин ветеринарных и шнуров ветеринарных следует контролировать по внешнему виду и размерам (длине, ширине и толщине).

Лекарственные препараты в форме пластин ветеринарных и шнуров ветеринарных, применяемые в виде аэрозоля (при термическом испарении) или путем термической возгонки действующего (действующих) вещества (веществ), дополнительно должны контролироваться в соответствии с общей фармакопейной статьей 2.1.9.28. Возгораемость и характер тления лекарственных препаратов в виде пластин ветеринарных шнуров ветеринарных и твердых лекарственных форм для ингаляций ветеринарных, а также общей фармакопейной статьей 2.1.9.29. Определение времени тления лекарственных препаратов в виде пластин ветеринарных, шнуров ветеринарных и твердых лекарственных форм для ингаляций ветеринарных.

Испытания на подлинность определяются входящими в состав лекарственного препарата действующими веществами, реже вспомогательными веществами (антимикробными консервантами, антиоксидантами, стабилизаторами и др.).

Для оценки подлинности рекомендуется сочетание физико-химических (ВЭЖХ, ТСХ, ГХ и др.) и химических или биологических методов анализа.

Для определения содержания действующего (действующих) и при необходимости вспомогательных веществ рекомендуется использовать физико-химические (ВЭЖХ, ГХ, спектрофотометрия), химические (титриметрия), микробиологические и другие методы, представленные в соответствующем нормативном документе на ветеринарное лекарственное средство или частной фармакопейной статье.

Если не указано иначе в частной фармакопейной статье или нормативном документе на ветеринарное лекарственное средство, содержание определяемых веществ выражают в массовых, массово-объемных единицах или единицах активности для не дозированных лекарственных форм или в массовых, массово-объемных единицах или единицах активности в одной дозе для дозированных лекарственных форм.

УПАКОВКА

Упаковка должна обеспечивать качество лекарственного препарата в течение установленного срока годности в заявленных условиях хранения.

Материалы первичной и вторичной (потребительской) упаковки должны быть разрешены для производства данного вида упаковки с учетом пути применения лекарственной формы.

Для лекарственных препаратов, содержащих летучие компоненты, должна быть предусмотрена герметичная упаковка.

При выпуске в многодозовом контейнере лекарственный препарат должен содержать подходящий консервант в соответствующей концентрации, за исключением случаев, когда сам препарат обладает достаточными антимикробными свойствами.

МАРКИРОВКА

Маркировка ветеринарных лекарственных препаратов для пчел осуществляется в соответствии с требованиями действующих нормативных документов при отсутствии других указаний в фармакопейной статье или нормативном документе на ветеринарное лекарственное средство.

Общие фармакопейные статьи, предусмотренные пунктом 10 изменений, вводятся в действие с 01.04.2023 (пункт 2).