Автомобильные транспортные средства единичные. Методы экспертизы и испытаний для проведения оценки соответствия. ГОСТ 33670-2015

(утв. Приказом Росстандарта от 22.06.2016 N 664-СТ)
Редакция от 22.11.2021 — Действует с 03.10.2022
Показать изменения

Данный документ приведен с учетом Поправки, опубликованной в ИУС "Национальные стандарты", N 5, 2023.


МЕЖГОСУДАРСТВЕННЫЙ СТАНДАРТ

АВТОМОБИЛЬНЫЕ ТРАНСПОРТНЫЕ СРЕДСТВА ЕДИНИЧНЫЕ МЕТОДЫ ЭКСПЕРТИЗЫ И ИСПЫТАНИЙ ДЛЯ ПРОВЕДЕНИЯ ОЦЕНКИ СООТВЕТСТВИЯ

Single road vehicles. Test methods for compliance assessment

ГОСТ 33670-2015

МКС 43.020

(в ред. Изменения N 1, утв. Приказом Росстандарта от 22.11.2021 N 1525-ст)

Дата введения
1 апреля 2017 года

Предисловие

Цели, основные принципы и основной порядок проведения работ по межгосударственной стандартизации установлены ГОСТ 1.0-92 "Межгосударственная система стандартизации. Основные положения" и ГОСТ 1.2-2009 "Межгосударственная система стандартизации. Стандарты межгосударственные, правила и рекомендации по межгосударственной стандартизации. Правила разработки, принятия, применения, обновления и отмены"

ГОСТ 1.0-92 отменен. Взамен него с 01.07.2016 введен в действие ГОСТ 1.0-2015.

Сведения о стандарте

1 РАЗРАБОТАН Федеральным государственным унитарным предприятием "Центральный ордена Трудового Красного Знамени научно-исследовательский автомобильный и автомоторный институт "НАМИ" (ФГУП "НАМИ")

2 ВНЕСЕН Межгосударственным техническим комитетом по стандартизации МТК 56 "Дорожный транспорт"

3 ПРИНЯТ Межгосударственным советом по стандартизации, метрологии и сертификации (протокол от 10 декабря 2015 г. N 48).

За принятие проголосовали:

Краткое наименование страны по МК (ISO 3166) 004-97 Код страны по МК (ISO 3166) 004-97 Сокращенное наименование национального органа по стандартизации
Армения AM Минэкономики Республики Армения
Беларусь BY Госстандарт Республики Беларусь
Казахстан KZ Госстандарт Республики Казахстан
Киргизия KG Кыргызстандарт
Россия RU Росстандарт
Таджикистан TJ Таджикстандарт

4 Приказом Федерального агентства по техническому регулированию и метрологии от 22 июня 2016 г. N 664-ст межгосударственный стандарт ГОСТ 33670-2015 "Автомобильные транспортные средства единичные. Методы экспертизы и испытаний для проведения оценки соответствия" введен в действие в качестве национального стандарта Российской Федерации с 1 апреля 2017 г.

5 ВВЕДЕН ВПЕРВЫЕ

Информация об изменениях к настоящему стандарту публикуется в ежегодном информационном указателе "Национальные стандарты", а текст изменений и поправок - в ежемесячном информационном указателе "Национальные стандарты". В случае пересмотра (замены) или отмены настоящего стандарта соответствующее уведомление будет опубликовано в ежемесячном информационном указателе "Национальные стандарты". Соответствующая информация, уведомление и тексты размещаются также в информационной системе общего пользования - на официальном сайте Федерального агентства по техническому регулированию и метрологии в сети Интернет (www.gost.ru)

1 Область применения (в ред. Изменения N 1, утв. Приказом Росстандарта от 22.11.2021 N 1525-ст)

Настоящий стандарт распространяется на единичные транспортные средства (далее - ТС) категорий L, М, N, О по [1] перед выпуском в обращение и устанавливает методы проверки соответствия требованиям к единичным ТС, установленным [61].

Положения настоящего стандарта могут быть использованы при проведении проверок выполнения требований к ТС, находящимся в эксплуатации, в случае внесения изменений в их конструкцию

2 Термины и определения

В настоящем стандарте применены следующие термины с соответствующими определениями:

2.1 антиблокировочная тормозная система: Тормозная система ТС с автоматическим регулированием в процессе торможения степени проскальзывания колес ТС в направлении их вращения.

2.2 аппаратура спутниковой навигации: Аппаратно-программное устройство, устанавливаемое на ТС для определения его текущего местоположения, направления и скорости движения по сигналам не менее двух действующих глобальных навигационных спутниковых систем, обмена данными с дополнительным бортовым оборудованием, а также для обмена информацией по сетям подвижной радиотелефонной связи.

2.3 базовое ТС: Выпущенное в обращение ТС, которое в целом или его основные компоненты в виде кузова или шасси были использованы для создания другого ТС.

2.4 блокирование колеса: Прекращение качения колеса при его перемещении по опорной поверхности.

2.5 вентиляция: Обеспечение воздухообмена в кабине и пассажирском помещении ТС.

2.6 внесение изменений в конструкцию ТС: Исключение предусмотренных или установка не предусмотренных конструкцией конкретного ТС составных частей и предметов оборудования, выполненные после выпуска ТС в обращение и влияющие на безопасность дорожного движения.

2.7 внешние световые приборы: Устройства для освещения дороги, государственного регистрационного знака, а также устройства световой сигнализации.

2.8 время срабатывания тормозной системы: Интервал времени от начала торможения до момента, в который замедление ТС принимает установившееся значение при проверках в дорожных условиях, либо до момента, в который тормозная сила при проверках на стендах принимает максимальное значение или происходит блокировка колеса ТС на роликах стенда.

2.9 вспомогательная тормозная система: Износостойкая (бесконтактная) тормозная система, предназначенная для уменьшения энергонагруженности тормозных механизмов рабочей тормозной системы ТС.

2.10 выбросы: Выбрасываемые в атмосферный воздух вредные вещества, содержащиеся в отработавших газах двигателей внутреннего сгорания и испарениях топлива ТС, которыми являются оксид углерода (CO), углеводороды (HC), оксиды азота (NOx), дисперсные частицы.

2.11 выпуск в обращение: Разрешение заинтересованным лицам без ограничений использовать и распоряжаться ТС (шасси) или партией компонентов на единой таможенной территории Таможенного союза.

2.12 двигатель внутреннего сгорания: Тепловой двигатель, в котором химическая энергия топлива, сгорающего в рабочей полости, преобразуется в механическую работу.

2.13 двигатель с принудительным зажиганием: Двигатель внутреннего сгорания, в котором воспламенение рабочей смеси инициируется электрической искрой.

2.14 дефект: Каждое отдельное несоответствие продукции установленным требованиям.

2.15 дизель: Двигатель внутреннего сгорания, работающий по принципу воспламенения от сжатия.

2.16 документ, идентифицирующий ТС (шасси): Документ, выпускаемый уполномоченным органом государства - члена Таможенного союза на каждое ТС (шасси) и содержащий сведения о собственнике (владельце) ТС (шасси), экологическом классе ТС (шасси) и о документе, удостоверяющем соответствие ТС (шасси) требованиям.

2.17 единичное ТС: ТС изготовленное в государствах - членах Таможенного союза в условиях серийного производства, в конструкцию которого в индивидуальном порядке были внесены изменения до выпуска в обращение; или вне серийного производства в индивидуальном порядке из сборочного комплекта; или являющееся результатом индивидуального технического творчества; или выпускаемое в обращение из числа ранее поставленных по государственному оборонному заказу; либо ТС, ввозимое на единую таможенную территорию Таможенного союза: физическим лицом для собственных нужд; или ранее участвовавшее в дорожном движении в государствах, не являющихся членами Таможенного союза, при условии, что с момента изготовления ТС прошло более трех лет.

2.18 запасная (аварийная) тормозная система: Тормозная система, предназначенная для снижения скорости ТС при выходе из строя рабочей тормозной системы.

2.19 зона, очищенная от обледенения: Зона наружной поверхности ветрового или заднего стекла, имеющая сухую поверхность или поверхность, покрытую растаявшим или частично растаявшим инеем, который может быть удален с наружной поверхности стеклоочистителем (эта зона не включает поверхность стекла, покрытую сухим нерастаявшим инеем).

2.20 идентификация: Установление тождественности заводской маркировки, имеющейся на ТС (шасси) и его компонентах, и данных, содержащихся в представленной заявителем документации либо в удостоверяющих соответствие документах, проводимое без разборки ТС (шасси) или его компонентов.

2.21 изготовитель: Лицо, осуществляющее изготовление ТС (шасси) или его компонентов с намерением выпуска их в обращение для реализации либо собственного пользования.

2.22 источник света: Один или более элементов для генерирования электромагнитного излучения в оптической области спектра, которые могут использоваться в сборе с одной или более прозрачными оболочками и цоколем для механического крепежа и электрического соединения. Источником света также является крайний элемент световода.

2.23 исходная ось: Линия, проходящая через ось симметрии лампы накаливания светового прибора, или линия, перпендикулярная к плоскости, касающейся поверхности светового прибора в его геометрическом центре, определяющая ориентацию направления светоиспускания.

2.24 категория ТС: Классификационная характеристика ТС, применяемая в целях установления в настоящем стандарте требований.

2.25 кит-кар: ТС, которое изготавливается в виде комплекта компонентов и в таком виде передается потребителю для самостоятельной сборки.

2.26 класс источника света: Характеристика физического принципа излучения света: лампа накаливания (класс 0), лампа накаливания с наполнением колбы галогеносодержащими газами (класс H), газоразрядная лампа (класс D), светоизлучающий диод (класс LED).

2.27 комплектное ТС: ТС, пригодное для эксплуатации в соответствии с его назначением.

2.28 компоненты ТС: Составные части конструкции ТС, поставляемые на сборочное производство ТС и/или в качестве сменных (запасных) частей для ТС, находящихся в эксплуатации.

2.29 кондиционирование: Подготовка воздуха в обитаемом помещении ТС по определенным параметрам (влажности, температуры, чистоты, состава) и поддержание заданных параметров. (в ред. Изменения N 1, утв. Приказом Росстандарта от 22.11.2021 N 1525-ст)

2.30 контурная маркировка: Серия светоотражающих полос, предназначенных для нанесения таким образом, чтобы они указывали очертания ТС сбоку и сзади.

2.31 крайние габаритные точки: По отношению к стороне ТС: вертикальная плоскость, параллельная продольной оси ТС и совпадающая с его боковым наружным контуром, без учета выступающих частей:

а) шин, деформировавшихся под нагрузкой ТС;

б) штуцеров для шинных манометров;

в) противоскользящих приспособлений, установленных на колесах;

г) зеркал заднего вида;

д) фонарей и отражателей;

е) уплотнений и приспособлений для их крепления и защиты;

ж) только относительно наружных выступов (раздел 17 настоящего стандарта): окон, ручек, петель, кнопок и крышек наливных горловин топливных баков.

Официальный источник электронного документа содержит неточность: раздел 17 в настоящем стандарте отсутствует.

2.32 марка: Используемое изготовителем продукции обозначение, помещаемое на изделии или его упаковке.

2.33 масса ТС в снаряженном состоянии: Определенная изготовителем масса комплектного ТС с водителем без нагрузки. Масса включает в себя не менее 90% топлива.

2.34 междугородное сообщение: Перевозка пассажиров автобусами, осуществляемая за пределы границы населенного пункта на расстояние более 50 км.

2.35 модельный год: Определяемый изготовителем период времени, в течение которого он не вносит существенных изменений в конструкцию производимых ТС и который может не совпадать с календарным годом по началу, окончанию и продолжительности, но не может превышать 730 дней.

2.36 модификация: Вариант конструкции, отличающийся от других вариантов, относящихся к тому же типу.

2.37 наружная поверхность: Поверхность ТС, обращенная наружу на любой высоте, от линии пола кузова до высоты 2 м от горизонтальной поверхности, на которой находится ТС.

2.38 нейтральное положение рулевого колеса (управляемых колес): Положение рулевого колеса (управляемых колес), соответствующее прямолинейному движению ТС при отсутствии возмущающих воздействий.

2.39 несоответствие: Невыполнение установленного требования.

2.40 обзорность: Свойство конструкции ТС, характеризующее объективную возможность и условия восприятия водителем визуальной информации, необходимой для безопасного и эффективного управления ТС.

2.41 обитаемое помещение: Внутренняя часть ТС, используемая для размещения водителя (экипажа) и пассажиров.

2.42 опознавательные знаки: Графическое изображение информации о ведомственной принадлежности и/или функциональном назначении ТС (гербы, эмблемы, логотипы и т.д.).

2.43 оптическая ось прибора для проверки и регулировки фар: Линия, проходящая через центр объектива на экране, встроенном в прибор для проверки и регулировки фар.

2.44 оптический центр (центр отсчета): Обозначение на рассеивателе точки пересечения его наружной поверхности осью отсчета светового прибора.

2.45 орган управления: Конструктивный элемент ТС, на который воздействует водитель для изменения функционирования ТС или его частей.

2.46 ось отсчета: Линия пересечения плоскостей, проходящих через оптический центр светового прибора параллельно продольной центральной плоскости ТС и опорной поверхности.

2.47 откидное сиденье: Дополнительное сиденье, которое предназначено для нерегулярного использования и обычно находится в сложенном состоянии.

2.48 отопление: Регулируемое повышение и поддержание на заданном уровне температуры в обитаемом помещении.

2.49 подтекание: Появление жидкости на поверхности и в соединениях деталей герметичных систем ТС, воспринимаемое на ощупь.

2.50 подушка безопасности: Мешок из эластичного материала, наполняемый газом при срабатывании пиротехнического газогенератора, предназначенный для повышения пассивной безопасности ТС путем фиксации положения водителя и пассажиров относительно кузова.

2.51 поясной ремень: Ремень безопасности сиденья, проходящий через тазовую область пассажира, предназначенный для использования взрослыми.

2.52 продольная центральная (средняя) плоскость ТС: Плоскость, перпендикулярная к плоскости опорной поверхности и проходящая через середину колеи ТС.

2.53 работоспособность: Состояние, при котором ТС или его компоненты могут выполнять свои функции в соответствии с эксплуатационной документацией.

2.54 рабочая тормозная система: Тормозная система, предназначенная для снижения скорости и/или остановки ТС.

2.55 рассеиватель: Наиболее удаленный элемент светового прибора, который пропускает свет через освещающую поверхность.

2.56 ремень безопасности: Предохранительный ремень для взрослых, включающий в себя поясную и/или плечевую (диагональную) ветви.

2.57 рулевой механизм: Механизм, преобразующий вращение рулевого колеса в поступательное перемещение рулевого привода, вызывающее поворот управляемых колес.

2.58 рулевой привод: Система тяг и рычагов, осуществляющая связь управляемых колес автомобиля с рулевым механизмом.

2.59 световой модуль: Светоизлучающая часть устройства освещения и световой сигнализации ТС, состоящая из оптических, механических и электрических элементов, предназначенная для формирования или усиления светового пучка от источника света.

2.60 система вызова экстренных оперативных служб: Система, выполняющая функции устройства вызова экстренных оперативных служб, обеспечивающая передачу сообщения о ТС при дорожно-транспортном и ином происшествиях в автоматическом режиме.

2.61 система защиты от разбрызгивания: Устройства, предназначенные для защиты от разбрызгивания воды, выбрасываемой шинами движущегося ТС.

2.62 система нейтрализации отработавших газов: Совокупность компонентов, обеспечивающих снижение выбросов загрязняющих веществ с отработавшими газами при работе двигателя.

2.63 система омывания: Система, состоящая из устройства для хранения жидкости и подачи ее на наружную поверхность стекла, а также органов управления для приведения в действие и остановки устройства.

2.64 система очистки: Система, состоящая из устройства для очистки наружной поверхности стекла, а также дополнительных приспособлений и органов управления для приведения в действие и остановки устройства.

2.65 скорость ТС: Линейная скорость центра масс ТС.

2.66 скругленная кромка: Кромка, имеющая радиус закругления больший или равный 2,5 мм, за исключением выступов на поверхности высотой не более 3,2 мм. В этом случае требование минимального радиуса кривизны не применяется при условии, что высота выступа не больше, чем половина его ширины и его края притуплены. (в ред. Изменения N 1, утв. Приказом Росстандарта от 22.11.2021 N 1525-ст)

2.67 сообщение об официальном утверждении типа: Документ, выдаваемый на основании Соглашения 1958 года, удостоверяющий соответствие ТС или его компонента требованиям Правил ООН.

2.68 сочлененное ТС: ТС, которое состоит из двух или более жестких секций, шарнирно сочлененных друг с другом, разделение которых выполнимо только с помощью специального оборудования.

2.69 специализированное пассажирское ТС: ТС категории M2G или M3G, изготовленное на шасси ТС повышенной проходимости категории N 1G, N 2G или N 3G.

2.70 специализированное ТС: ТС, предназначенное для перевозки определенных видов грузов (нефтепродуктов, пищевых жидкостей, сжиженных углеводородных газов, пищевых продуктов и т.д.).

2.71 специальное ТС: ТС, предназначенное для выполнения специальных функций, для которых требуется специальное оборудование (автокраны, пожарные автомобили, автомобили, оснащенные подъемниками с рабочими платформами, автоэвакуаторы и т.д.).

2.72 стояночная тормозная система: Тормозная система, предназначенная для удержания ТС неподвижным.

2.73 суммарный люфт в рулевом управлении: Угол поворота рулевого колеса от положения, соответствующего началу поворота управляемых колес в одну сторону, до положения, соответствующего началу их поворота в противоположную сторону от положения, соответствующего прямолинейному движению ТС.

2.74 технически допустимая максимальная масса: Установленная изготовителем максимальная масса ТС со снаряжением, пассажирами и грузом, обусловленная его конструкцией и заданными характеристиками.

2.75 технический осмотр: Проверка технического состояния находящегося в эксплуатации ТС.

2.76 техническое обслуживание ТС: Совокупность регламентированных изготовителем работ, осуществляемых с установленной периодичностью для поддержания работоспособности ТС или его компонентов при эксплуатации с целью снижения риска возникновения отказов и неисправностей.

2.77 тип ТС (шасси, компоненты): ТС (шасси, компоненты) с общими конструктивными признаками, зафиксированными в техническом описании, изготовленные одним изготовителем.

2.78 торможение: Процесс создания и изменения искусственного сопротивления движению ТС.

2.79 тормозная сила: Реакция опорной поверхности на колесо ТС, вызывающая замедление колеса и/или ТС.

2.80 тормозная система: Совокупность частей ТС, предназначенных для его торможения при воздействии на орган управления тормозной системы.

2.81 тормозной привод: Совокупность частей тормозного управления, предназначенных для управляемой передачи энергии от ее источника к тормозным механизмам с целью осуществления торможения.

2.82 тормозной путь: Расстояние, пройденное ТС от начала до конца торможения.

2.83 ТС: устройство на колесном ходу категорий L, M, N, O, предназначенное для перевозки людей, грузов или оборудования, установленного на нем.

2.84 угол регулировки светового пучка фар ближнего света или противотуманных фар ТС: Угол между наклонной плоскостью, содержащей плоскую верхнюю (левую) границу светового пучка фары ближнего света или противотуманной фары, и горизонтальной плоскостью, проходящей через оптический центр фары.

2.85 управляемые колеса: Колеса, приводимые в действие рулевым управлением ТС.

2.86 уровень выбросов: Предельные значения выбросов, которые отражают максимально допустимую массу выбросов в атмосферу в расчете на единицу произведенной ТС и двигателем внутреннего сгорания работы или пробега.

2.87 установившееся замедление: Среднее значение замедления за время торможения от момента окончания периода нарастания замедления до начала его спада в конце торможения.

2.88 устойчивость ТС при торможении: Способность ТС двигаться при торможениях в пределах установленного коридора движения.

2.89 устройство вызова экстренных оперативных служб: Устройство, осуществляющее и обеспечивающее определение координат, скорости и направления движения ТС с помощью сигналов не менее двух действующих глобальных навигационных спутниковых систем, передачу сообщения о ТС при дорожно-транспортном и ином происшествиях в ручном режиме и двустороннюю голосовую связь с экстренными оперативными службами по сетям подвижной радиотелефонной связи.

2.90 фары типа DR, DC, DCR: Фары с газоразрядными источниками света класса D дальнего DR-света и ближнего DC-света и двухрежимные (ближнего и дальнего) DCR-света.

2.91 фары типа HR, HC, HCR: Фары с галогенными источниками света класса H дальнего HR-света и ближнего HC-света и двухрежимные (ближнего и дальнего) HCR-света.

2.92 фары типа R, C, CR: Фары с источниками света в виде ламп накаливания класса 0 дальнего R-света и ближнего C-света и двухрежимные (ближнего и дальнего) CR-света.

2.93 фары типа B и типа F3: Фары противотуманные, отличающиеся фотометрическими характеристиками и маркировкой, нанесенной на фару.

2.94 форсунка стеклоомывателя: Устройство, которое направляет омывающую жидкость на ветровое стекло.

2.95 цветографическая схема: Графическое изображение компоновки, конфигурации и композиционной взаимосвязи основного цвета, декоративных полос, опознавательных знаков и информационных надписей, нанесенных на наружную поверхность ТС.

2.96 шасси: Устройство на колесном ходу, не оснащенное и/или кабиной, и/или двигателем, и/или кузовом, не предназначенное для эксплуатации в качестве ТС.

2.97 шип противоскольжения: Твердый профилированный стержень, состоящий из корпуса и износостойкого элемента и устанавливаемый в выступе протектора зимней шины для повышения сцепления шины с обледенелым или заснеженным дорожным покрытием.

2.98 экологический класс: Классификационный код, характеризующий конструкцию ТС или двигателя внутреннего сгорания в зависимости от уровня выбросов, а также уровня требований к системам бортовой диагностики.

2.99 эксплуатация: Стадия жизненного цикла ТС, на которой осуществляется его использование по назначению, с момента его государственной регистрации до утилизации.

2.100 эффективность торможения: Свойство, характеризующее способность тормозной системы создавать необходимое искусственное продольное сопротивление движению ТС.

2.101 ненадежное крепление: Деталь или ее крепление, которое вследствие конструктивных особенностей не полностью присоединено к каркасу кузова или другой детали.

2.102 анализ: Метод исследования, характеризующийся выделением и изучением отдельных частей объектов исследования. (в ред. Изменения N 1, утв. Приказом Росстандарта от 22.11.2021 N 1525-ст)

2.103 визуальный контроль: Органолептический контроль, осуществляемый органами зрения. (в ред. Изменения N 1, утв. Приказом Росстандарта от 22.11.2021 N 1525-ст)

2.104 измерение: Процесс определения величины. (в ред. Изменения N 1, утв. Приказом Росстандарта от 22.11.2021 N 1525-ст)

2.105 исправное состояние: Состояние ТС, при котором оно соответствует всем требованиям нормативно-технической и (или) конструкторской, и (или) эксплуатационной документации. (в ред. Изменения N 1, утв. Приказом Росстандарта от 22.11.2021 N 1525-ст)

2.106 испытание: Определение одной или более характеристик объекта оценки соответствия согласно процедуре. (в ред. Изменения N 1, утв. Приказом Росстандарта от 22.11.2021 N 1525-ст)

2.107 контроль: Определение соответствия установленным требованиям для конкретного использования или применения. (в ред. Изменения N 1, утв. Приказом Росстандарта от 22.11.2021 N 1525-ст)

2.108 надежность конструкции (крепления): Комплексное свойство конструкции (крепления) обеспечивать заданные функции, сохраняя свои основные характеристики (при определенных условиях эксплуатации) в установленных пределах. (в ред. Изменения N 1, утв. Приказом Росстандарта от 22.11.2021 N 1525-ст)

2.109 органолептический контроль: Контроль, при котором первичная информация воспринимается органами чувств без использования средств измерений. (в ред. Изменения N 1, утв. Приказом Росстандарта от 22.11.2021 N 1525-ст)

2.110 проверка: Определение выполнения заданных требований объектом оценки соответствия. (в ред. Изменения N 1, утв. Приказом Росстандарта от 22.11.2021 N 1525-ст)

2.111 процедура: Установленный способ осуществления деятельности или процесса. (в ред. Изменения N 1, утв. Приказом Росстандарта от 22.11.2021 N 1525-ст)

2.112 техническая экспертиза конструкции транспортного средства: Анализ конструкции транспортного средства и технической документации на него без проведения испытаний. (в ред. Изменения N 1, утв. Приказом Росстандарта от 22.11.2021 N 1525-ст)

Примечание - К методам технической экспертизы конструкции ТС относятся следующие методы проверки, проводимые без применения средств испытаний/измерений: визуальный контроль, функциональный контроль (проверка), контроль (анализ, проверка) документации, анализ конструкции, органолептический контроль (проверка). (в ред. Изменения N 1, утв. Приказом Росстандарта от 22.11.2021 N 1525-ст)

2.113 техническое состояние: Совокупность подверженных изменению в процессе эксплуатации свойств и установленных нормативными документами параметров ТС, определяющая возможность его применения по назначению. (в ред. Изменения N 1, утв. Приказом Росстандарта от 22.11.2021 N 1525-ст)

2.114 функциональная проверка: Контроль качества работы объекта оценки соответствия или его частей в соответствии с его назначением. (в ред. Изменения N 1, утв. Приказом Росстандарта от 22.11.2021 N 1525-ст)

2а Нормативные ссылки (в ред. Изменения N 1, утв. Приказом Росстандарта от 22.11.2021 N 1525-ст)

В настоящем стандарте использованы нормативные ссылки на следующие межгосударственные стандарты:

ГОСТ ISO/IEC 17025 Общие требования к компетентности испытательных и калибровочных лабораторий

ГОСТ 33464-2015 Глобальная навигационная спутниковая система. Система экстренного реагирования при авариях. Устройство/система вызова экстренных оперативных служб. Общие технические требования

ГОСТ 33997-2016 Колесные транспортные средства. Требования к безопасности в эксплуатации и методы проверки

Примечание - При пользовании настоящим стандартом целесообразно проверить действие ссылочных стандартов и классификаторов на официальном интернет-сайте Межгосударственного совета по стандартизации, метрологии и сертификации (www.easc.by) или по указателям национальных стандартов, издаваемым в государствах, указанных в предисловии, или на официальных сайтах соответствующих национальных органов по стандартизации. Если на документ дана недатированная ссылка, то следует использовать документ, действующий на текущий момент, с учетом всех внесенных в него изменений. Если заменен ссылочный документ, на который дана датированная ссылка, то следует использовать указанную версию этого документа. Если после принятия настоящего стандарта в ссылочный документ, на который дана датированная ссылка, внесено изменение, затрагивающее положение, на которое дана ссылка, то это положение применяется без учета данного изменения. Если ссылочный документ отменен без замены, то положение, в котором дана ссылка на него, применяется в части, не затрагивающей эту ссылку

3 Проверка выполнения требований к единичным ТС

3.1 Проверка выполнения требований проводится непосредственно на единичном ТС, заявленном для проведения оценки соответствия.

3.2 Условия проведения проверки

3.2.1 Единичное ТС должно быть представлено в аккредитованную испытательную лабораторию по месту осуществления деятельности. (в ред. Изменения N 1, утв. Приказом Росстандарта от 22.11.2021 N 1525-ст)

Примечание - При проведении работ по оценке внесения изменений в конструкцию находящихся в эксплуатации ТС определение необходимости предоставления ТС непосредственно в испытательную лабораторию относится к компетенции лаборатории, проводящей вышеуказанную оценку. Допускается не предоставлять ТС в аккредитованную испытательную лабораторию при проверке требований, изложенных в таблице А.22 (пункты А.22.5-А.22.5.6.3) и таблицы А.27 (пункт А.27.8), при переоборудовании автомобилей, находящихся в эксплуатации, в газобаллонные. Данную проверку можно осуществлять дистанционно. (в ред. Изменения N 1, утв. Приказом Росстандарта от 22.11.2021 N 1525-ст)

3.2.2 ТС должно быть комплектным, в исправном и чистом состоянии, полностью заправленным техническими и эксплуатационными жидкостями, включая не менее 90 % топлива, укомплектовано запасным колесом и инструментом, предусмотренными конструкцией и эксплуатационной документацией (в ред. Изменения N 1, утв. Приказом Росстандарта от 22.11.2021 N 1525-ст)

3.2.3 ТС должно быть в снаряженном состоянии. Допускается наличие груза на ТС, если этот груз не мешает проведению проверки. (в ред. Изменения N 1, утв. Приказом Росстандарта от 22.11.2021 N 1525-ст)

3.2.4 Двери, крышки (капота, багажника, горловины топливного бака и другие) ТС должны беспрепятственно открываться.

3.2.5 На ТС должен быть нанесен идентификационный номер или серийный (заводской) номер, позволяющий идентифицировать единичное ТС. (в ред. Изменения N 1, утв. Приказом Росстандарта от 22.11.2021 N 1525-ст)

3.2.6. Пункт исключен. (в ред. Изменения N 1, утв. Приказом Росстандарта от 22.11.2021 N 1525-ст)

3.3 Проведение проверки

3.3.1 ТС должно быть идентифицировано по представленной на него документации. Марка, тип, категория, идентификационный или серийный (заводской) номер и год выпуска (модельный год) ТС должны соответствовать сведениям, указанным в документации на это ТС. (в ред. Изменения N 1, утв. Приказом Росстандарта от 22.11.2021 N 1525-ст)

3.3.2 Проверка преимущественно проводится в форме технической экспертизы конструкции. В отношении тех требований, выполнение которых невозможно подтвердить посредством технической экспертизы конструкции, проводятся испытания (измерения). Требования к единичным ТС и методы их проверки приведены в приложении А.

Приложение А состоит из разделов, в которые сгруппированы требования к отдельным элементам конструкции ТС. Установлена область применения каждого раздела по категориям ТС.

Каждый раздел структурирован в виде таблиц, левая колонка которых содержит требования, подлежащие проверке. Для каждого блока требований во второй колонке таблицы указаны методы проверки, а в третьей колонке таблицы указано применяемое измерительное оборудование. В четвертой колонке таблицы указаны основания для признания несоответствия требованиям.

3.3.3 Сводный перечень оборудования, применяемого при проведении проверки, и его основные характеристики приведены в приложении Б.

3.3.4 Если ТС изготовлено в государствах - членах Таможенного союза в условиях серийного производства и в его конструкцию в индивидуальном порядке были внесены изменения до выпуска в обращение, то проверяется выполнение тех требований приложения А, которые связаны с внесенными в конструкцию изменениями.

3.3.5 Если ТС относится к типу, на который представлены сообщения об официальном утверждении типа ТС в отношении Правил ООН N 10 [2], 11 [3], 12 [4], 14 [5], 16 [6], 17 [7], 18 [8], 21 [9], 26 [10], 34 [11], 39 [12], 46 [13], 48 [14], 58 [15], 73 [16] и 107 [17], то проверка выполнения требований соответствующих разделов приложения А такого ТС не проводится.

В качестве доказательственных материалов, подтверждающих соответствие единичного ТС установленным требованиям, могут представляться протоколы испытаний, проведенных в другой аккредитованной испытательной лаборатории (в ред. Изменения N 1, утв. Приказом Росстандарта от 22.11.2021 N 1525-ст)

3.3.6 Если ТС имеет кузов, изготовленный вне серийного производства, то должны быть представлены результаты расчетов, подтверждающие прочность кузова и его способность выдерживать перегрузки, возникающие при эксплуатации ТС и при дорожно-транспортных происшествиях.

3.3.7. Пункт исключен. (в ред. Изменения N 1, утв. Приказом Росстандарта от 22.11.2021 N 1525-ст)

3.3.8 При проведении проверки рассматривается содержание всех разделов приложения А, применимых к проверке конкретного ТС. Признание ТС, не соответствующим какому-либо требованию, не влечет прекращения проверки. (в ред. Изменения N 1, утв. Приказом Росстандарта от 22.11.2021 N 1525-ст)

3.3.9 Результаты испытаний и измерений оформляют протоколом испытаний и измерений в соответствии с ГОСТ ISO/IEC 17025 в части технических записей и представления отчетов о результатах, а результаты проведения технической экспертизы конструкции оформляют протоколом технической экспертизы конструкции ТС, содержащим требования к ТС и результаты, полученные при проведении данной экспертизы (в ред. Изменения N 1, утв. Приказом Росстандарта от 22.11.2021 N 1525-ст)

3.3.10 В случае представления ТС для повторного проведения проверки такая проверка проводится только по тем требованиям, по отношению к которым было установлено несоответствие ТС.

3.3.11 Проведение проверки должно сопровождаться фотофиксацией. В протоколах испытаний (или в приложениях к ним) должны быть приведены фотографии, однозначно подтверждающие факт проведения испытаний единичного ТС (в обязательном порядке - испытания на тормозном стенде или дорожные испытания рабочей тормозной системы, испытания с помощью шумомера, испытания на содержание оксида углерода (СО) или дымности отработавших газов ТС). Данное требование не является обязательным в случае, если условия и процедуру испытаний невозможно подтвердить с помощью фотографий. Фотоматериалы хранятся в электронном виде в течение срока, установленного для хранения материалов, подтверждающих проведение оценки соответствия (в ред. Изменения N 1, утв. Приказом Росстандарта от 22.11.2021 N 1525-ст)

Приложение А
(обязательное)

МЕТОДЫ ТЕХНИЧЕСКОЙ ЭКСПЕРТИЗЫ, ИСПЫТАНИЙ И ИЗМЕРЕНИЙ, ПРИМЕНЯЕМЫЕ К ЕДИНИЧНЫМ ТС ПРИ ПРОВЕДЕНИИ ОЦЕНКИ СООТВЕТСТВИЯ

(в ред. Изменения N 1, утв. Приказом Росстандарта от 22.11.2021 N 1525-ст)

А.1а В случае, когда методы испытаний и измерений не указаны в явной форме, они проводятся в соответствии с руководством по эксплуатации применяемого оборудования. (в ред. Изменения N 1, утв. Приказом Росстандарта от 22.11.2021 N 1525-ст)

А.1 Оценка соответствия требованиям к обеспечению возможности идентификации ТС

Категории ТС: L, M, N, O

Таблица А.1

Требование Метод проверки Применяемое измерительное оборудование Основание для признания несоответствия
А.1.1 Идентификационный номер или серийный (заводской) номер, нанесенный на ТС, должен соответствовать указанному в документах на это ТС Визуальный контроль, контроль имеющейся документации - Идентификационный номер или серийный (заводской) номер, нанесенный на ТС, не соответствует указанному в документах на это ТС или отсутствует
(в ред. Изменения N 1, утв. Приказом Росстандарта от 22.11.2021 N 1525-ст)
А.1.2 Государственные регистрационные знаки должны устанавливаться на ТС в местах, предусмотренных его конструкцией, с соблюдением следующих требований: Визуальный контроль - Места установки государственных регистрационных знаков не соответствуют требованиям А.1.2
А.1.2.1 Государственный регистрационный знак должен устанавливаться по оси симметрии ТС или слева от нее по направлению движения ТС Визуальный контроль - Государственный регистрационный знак не установлен по оси симметрии ТС или слева от нее по направлению движения ТС
А.1.2.2 Государственный регистрационный знак должен устанавливаться перпендикулярно к продольной плоскости симметрии ТС +/- 3° и перпендикулярно к опорной плоскости ТС +/- 5°.
Однако если конструкция ТС не позволяет установить государственный регистрационный знак перпендикулярно к опорной плоскости ТС, то для государственных регистрационных знаков, высота верхнего края которых от опорной поверхности не более 1200 мм, допускается увеличение отклонения от вертикальной плоскости до 30°, если поверхность, на которой устанавливается государственный регистрационный знак, обращена вверх, и 15°, если эта поверхность обращена вниз.
А.1.2.3 Для находящегося в снаряженном состоянии ТС высота от опорной плоскости нижнего края государственного регистрационного знака для ТС, кроме относящихся к категории L, должна быть не менее 300 мм, для ТС категории L она должна быть не менее 200 мм, а высота его верхнего края должна быть не более 1200 мм.
Однако если конструкция ТС не позволяет обеспечить указанную в первом абзаце настоящего пункта высоту расположения государственного регистрационного знака, допускается его размещение таким образом, чтобы высота его верхнего края насколько возможно минимально превысила размер 1200 мм
Визуальный контроль, линейные измерения, угловые измерения 1 Рулетка.
2 Угломер
Требования к установке государственного регистрационного знака не выполнены
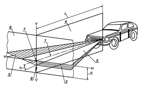
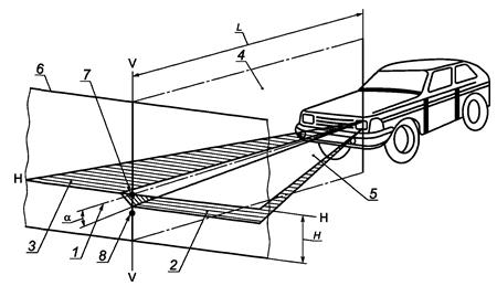
А.1.2.4 Государственный регистрационный знак должен быть видимым в пространстве, ограниченном четырьмя плоскостями, образующими углы видимости, не менее: вверх - 15°, вниз - 0°, влево и вправо - 30° (рисунок А.1) Угловые измерения Угломер или специальный шаблон Требования к месту установки государственного регистрационного знака не выполнены
(в ред. Изменения N 1, утв. Приказом Росстандарта от 22.11.2021 N 1525-ст)
А.1.3 Пункт исключен.
(в ред. Изменения N 1, утв. Приказом Росстандарта от 22.11.2021 N 1525-ст)

Рисунок А.1 - Углы видимости заднего государственного регистрационного знака

А.2 Оценка соответствия требованиям к аппаратуре спутниковой навигации

Категории ТС: M, N

Таблица А.2

Требование Метод проверки Применяемое измерительное оборудование Основание для признания несоответствия
А.2.1 Выпускаемые в обращение ТС категории M, используемые для коммерческих перевозок пассажиров, а также специально предназначенные для перевозки детей, и категории N, используемые для перевозки твердых бытовых отходов и мусора (мусоровозы), специальных, опасных, тяжеловесных и/или крупногабаритных грузов, а также ТС оперативных служб подлежат оснащению аппаратурой спутниковой навигации. Конструкция указанных ТС должна обеспечивать возможность оснащения их указанной аппаратурой. Визуальный контроль и анализ документации или анализ конструкции - На ТС, подлежащем оснащению аппаратурой спутниковой навигации, такое оборудование отсутствует, а также отсутствует конструктивная возможность для установки указанного оборудования
(в ред. Изменения N 1, утв. Приказом Росстандарта от 22.11.2021 N 1525-ст)
Примечание - ТС оперативных служб и ТС категории N, используемые для перевозки твердых бытовых отходов и мусора (мусоровозы), оснащаются аппаратурой спутниковой навигации в порядке, установленном законодательством государств - членов Таможенного союза.      
Оснащение указанной аппаратурой ТС, находящихся в эксплуатации, осуществляется в порядке, установленном законодательством государств - членов Таможенного союза      

А.3 Оценка соответствия требованиям к ТС в отношении установки устройства (системы) вызова экстренных оперативных служб

Категории ТС: M, N

Таблица А.3

Требование Метод проверки Применяемое измерительное оборудование Основание для признания несоответствия
А.3.1 Выпускаемые в обращение ТС категории M1, входящие в область применения Правил ООН N 94 [18] и 95 [19], и категории N 1, входящие в область применения Правил ООН N 95 [19], оснащаются системой вызова экстренных оперативных служб, интегрированной в конструкцию ТС Контроль имеющейся документации (руководство по эксплуатации и др.), подтверждающей выполнение требования
Функциональная проверка в соответствии с приложением Г
- На ТС, подлежащем оснащению системой вызова экстренных оперативных служб, такое оборудование отсутствует или неработоспособно
(в ред. Изменения N 1, утв. Приказом Росстандарта от 22.11.2021 N 1525-ст)
А.3.2 ТС категории M1, не входящие в область применения Правил ООН N 94 [18] и 95 [19], категории N 1, не входящие в область применения Правил ООН N 95 [19], категорий M2, M3, N 2 и N 3 должны комплектоваться сертифицированным устройством вызова экстренных оперативных служб Контроль имеющейся документации (руководство по эксплуатации и др.<*>), подтверждающей выполнение требования. Функциональная проверка в соответствии с приложением Г - На ТС, подлежащем оснащению устройством вызова экстренных оперативных служб, такое оборудование отсутствует или не предоставлено документальное подтверждение наличия такого оборудования в составе ТС или сертификат соответствия на оборудование не предоставлен, или оборудование неработоспособно
(в ред. Изменения N 1, утв. Приказом Росстандарта от 22.11.2021 N 1525-ст)
Примечание - Исключено.
(в ред. Изменения N 1, утв. Приказом Росстандарта от 22.11.2021 N 1525-ст)
<*>) Под другими понимаются следующие документы:
- сертификат соответствия требованиям [61] для устройства вызова экстренных оперативных служб;
- договор купли-продажи устройства вызова экстренных оперативных служб с отметкой об активации устройства в национальной системе экстренного реагирования при авариях (оформляется продавцом устройства вызова экстренных оперативных служб);
- акт работ по установке устройства вызова экстренных оперативных служб на ТС (оформляется сервисным центром (мастерской)).
     
(в ред. Изменения N 1, утв. Приказом Росстандарта от 22.11.2021 N 1525-ст)
Примечания
1 Под активацией устройства вызова экстренных оперативных служб понимается предоставление информации об устройстве вызова экстренных оперативных служб и ТС, на котором установлено данное устройство, оператору национальной системы экстренного реагирования при авариях для идентификации устройства вызова экстренных оперативных служб в системе.
2 Продавец устройства вызова экстренных оперативных служб и установочный центр могут выступать в одном лице
     
(в ред. Изменения N 1, утв. Приказом Росстандарта от 22.11.2021 N 1525-ст)

А.4 Оценка соответствия требованиям к тахографу

Категории ТС: M2, M3, N 2, N 3

Таблица А.4

Требование Метод проверки Применяемое измерительное оборудование Основание для признания несоответствия
А.4.1 Конструкция выпускаемых в обращение ТС категорий M2 и M3, осуществляющих коммерческие перевозки пассажиров, категорий N 2 и N 3, осуществляющих коммерческие перевозки грузов, должна предусматривать возможность оснащения (штатные места установки, крепления, энергопитания) техническими средствами контроля за соблюдением водителями режимов движения, труда и отдыха (тахографами). Визуальный контроль - На ТС отсутствует тахограф. При этом не предусмотрено штатное место для его установки.
В случае наличия штатного места для установки тахографа отсутствуют крепления тахографа либо не предусмотрена подача энергопитания на тахограф
Примечание - Оснащение указанной аппаратурой ТС осуществляется в порядке, установленном нормативными правовыми актами государств - членов Таможенного союза.      
Примечание - Требования А.4.1 не применяются в отношении транспортных средств:
а) которые предназначены для перевозки грузов и разрешенная максимальная масса которых, включая массу прицепов или полуприцепов, не превышает 3,5 т;
б) которые предназначены для перевозки пассажиров и которые в силу своей конструкции и оборудования могут перевозить не более девяти человек, включая водителя, и предназначены для этой цели;
в) которые предназначены для перевозки пассажиров на регулярных линиях, протяженность которых не превышает 50 км;
г) разрешенная максимальная скорость которых не превышает 40 км/ч;
д) силовых структур, служб по чрезвычайным ситуациям, скорой медицинской помощи;
е) специальных аварийных, которые предназначены для эксплуатации в пределах 100 км от своего пункта приписки;
ж) разрешенная максимальная масса которых не превышает 7,5 т и которые используются для некоммерческих перевозок грузов;
и) которые имеют исторический статус согласно национальному законодательству страны, где они эксплуатируются, и которые используются для некоммерческих перевозок пассажиров или грузов.

А.5 Оценка соответствия требованиям к тормозному управлению

Категории ТС: L, M, N, O

Таблица А.5

Требование Метод проверки Применяемое измерительное оборудование Основания для признания несоответствия
А.5.1 ТС оснащается тормозными системами, способными выполнять следующие функции торможения:
А.5.1.1 Рабочая тормозная система:
А.5.1.1.1 Действует на все колеса от одного органа управления (кроме ТС категорий L1 - L4).
Испытания на стенде или, если его нельзя использовать по техническим причинам, дорожные испытания с помощью деселерометра Роликовый стенд для проверки тормозных систем ТС 1 Рабочая тормозная система не действует на все колеса от одного органа управления.
2 Рабочая тормозная система не замедляет движение ТС вплоть до полной остановки как при движении вперед, так и задним ходом при воздействии водителя на орган управления со своего сиденья, при расположении обеих рук водителя на органе рулевого управления
А.5.1.1.2 При воздействии водителя на орган управления со своего сиденья, при расположении обеих рук водителя на органе рулевого управления - замедляет движение ТС вплоть до полной остановки как при движении вперед, так и задним ходом Функциональная проверка
(в ред. Изменения N 1, утв. Приказом Росстандарта от 22.11.2021 N 1525-ст)
А.5.1.1.3 Рабочая тормозная система ТС должна обеспечивать выполнение нормативов эффективности торможения на стендах согласно таблице А.5.1 либо в дорожных условиях согласно таблице А.5.2. Начальная скорость торможения при проверках в дорожных условиях - 40 км/ч. Масса ТС при проверках не должна превышать технически допустимой максимальной массы Испытания на стенде или, если его нельзя использовать по техническим причинам, дорожные испытания с помощью деселерометра. Проверка ТС категорий N и O на стенде проводится в груженом состоянии (не менее 65% от технически допустимой максимальной массы ТС). Допускается использование имитаторов нагрузки или расчетных методов по состоянию давления в пневматической тормозной системе.
Проверка прицепов с инерционным тормозом может проводиться на установке для проверки тормозной системы (роликовом тормозном стенде) с использованием устройства (нагружателя), воздействующего на сцепную головку одноосных прицепов с усилием не более 0,1, а для остальных прицепов - не более 0,067 веса полностью груженого прицепа (соответствующей его технически допустимой максимальной массе). Дорожные испытания должны проводиться на сухом, ровном, горизонтальном участке с цементобетонным или асфальтобетонным покрытием
1 Роликовый стенд для проверки тормозных систем ТС.
2 Нагружатель сцепного устройства прицепов.
3 Прибор для проверки эффективности тормозных систем ТС в дорожных условиях
Рабочая тормозная система ТС не обеспечивает выполнение нормативов эффективности торможения на стендах
А.5.1.1.4 При проверках на стендах допускается относительная разность тормозных сил колес оси (в процентах от наибольшего значения) для осей ТС с дисковыми колесными тормозными механизмами не более 20% и для осей с барабанными колесными тормозными механизмами не более 25% Испытания на стенде. В ходе испытаний осуществляется постепенное увеличение нагрузки на органе управления тормозной системой до максимального усилия.
При расчете относительной разности тормозных сил колес оси используются значения тормозных сил, измеренные одновременно на правом и левом колесах в момент достижения максимального значения тормозной силы первым из этих колес
1 Роликовый стенд для проверки тормозных систем ТС.
2 Нагружатель сцепного устройства прицепов
Относительная разность тормозных сил колес оси (в процентах от наибольшего значения) для осей ТС:
- с дисковыми колесными тормозными механизмами более 20%;
- с барабанными колесными тормозными механизмами более 25%
А.5.1.1.5 В дорожных условиях при торможении рабочей тормозной системой с начальной скоростью торможения 40 км/ч ТС не должно ни одной своей частью выходить из нормативного коридора движения шириной 3 м Дорожные испытания должны проводиться на сухом, ровном, горизонтальном участке с цементобетонным или асфальтобетонным покрытием - В дорожных условиях при торможении рабочей тормозной системой с начальной скоростью торможения 40 км/ч ТС выходит из нормативного коридора движения шириной 3 м
А.5.1.2 Запасная тормозная система способна:
А.5.1.2.1 Воздействовать на тормозные механизмы посредством по крайней мере половины двухконтурной рабочей тормозной системы по крайней мере на два колеса (на каждой из сторон ТС) в случае отказа рабочей тормозной системы или усилителя тормозной системы
Анализ эксплуатационной документации" Роликовый стенд для проверки тормозных систем ТС" на "-" Запасная тормозная система не способна воздействовать на тормозные механизмы посредством половины двухконтурной рабочей тормозной системы на два колеса (на каждой из сторон ТС) в случае отказа рабочей тормозной системы или усилителя тормозной системы
(в ред. Изменения N 1, утв. Приказом Росстандарта от 22.11.2021 N 1525-ст)
А.5.1.2.2 Запасная тормозная система, снабженная независимым от других тормозных систем органом управления, должна обеспечивать соответствие нормативам показателей эффективности торможения ТС на стенде согласно таблице А.5.1 либо в дорожных условиях согласно таблице А.5.2 при начальной скорости торможения 40 км/ч Испытания на стенде или, если его нельзя использовать по техническим причинам, дорожные испытания при помощи деселерометра. Проверка ТС категорий N и O на стенде проводится в груженом состоянии (не менее 65% от технически допустимой максимальной массы ТС). Допускается использование имитаторов нагрузки или расчетных методов по состоянию давления в пневматической тормозной системе.
Дорожные испытания должны проводиться на сухом, ровном, горизонтальном участке с цементобетонным или асфальтобетонным покрытием
Роликовый стенд для проверки тормозных систем ТС Запасная тормозная система, снабженная независимым от других тормозных систем органом управления, не обеспечивает соответствие нормативам показателей эффективности торможения ТС
А.5.1.3 Стояночная тормозная система:
А.5.1.3.1 Затормаживает все колеса по крайней мере одной из осей.
А.5.1.3.2 Имеет орган управления, который, будучи приведенным в действие, способен сохранять заторможенное состояние ТС только механическим путем
Испытания на стенде или, если его нельзя использовать по техническим причинам, дорожные испытания при помощи деселерометра Роликовый стенд для проверки тормозных систем ТС 1 Стояночная тормозная система не затормаживает все колеса по крайней мере одной из осей.
2 Стояночная тормозная система не имеет органа управления, который, будучи приведенным в действие, способен сохранять заторможенное состояние ТС только механическим путем
А.5.1.4 Стояночная тормозная система считается работоспособной при выполнении следующих требований:
А.5.1.4.1 Для ТС с технически допустимой максимальной массой:
А.5.1.4.1.1 Или значение удельной тормозной силы не менее 0,16.
А.5.1.4.1.2 Или удержание ТС на опорной поверхности с уклоном (16 +/- 1)%.
А.5.1.4.2 Для ТС в снаряженном состоянии в том случае, если не проводилась проверка ТС технически допустимой максимальной массы:
А.5.1.4.2.1 Или расчетная удельная тормозная сила, равная меньшему из двух значений: 0,15 отношения технически допустимой максимальной массы к массе ТС при проверке, или 0,6 отношения массы ТС в снаряженном состоянии, приходящейся на ось (оси), на которые воздействует стояночная тормозная система, к массе ТС в снаряженном состоянии.
А.5.1.4.2.2 Или неподвижное состояние ТС на поверхности с уклоном (23 +/- 1)% для ТС категорий M1 - M3 и (31 +/- 1)% для категорий N 1 - N 3.
А.5.1.4.2.3 Или установившееся замедление не менее 2,2 м/с2 при торможении в дорожных условиях с начальной скоростью 20 км/ч ТС категорий M2 и M3, оборудованного стояночной тормозной системой с приводом на пружинные камеры, раздельным с приводом запасной тормозной системы, у которых не менее 0,37 массы ТС в снаряженном состоянии приходится на ось(и), оборудованную(ые) стояночной тормозной системой, или не менее 2,9 м/с2 - для ТС категории N, у которого не менее 0,49 массы ТС в снаряженном состоянии приходится на ось(и), оборудованную(ые) стояночной тормозной системой с указанным приводом
Испытания на стенде или испытания при нахождении ТС на уклоне определенной крутизны. Грузовые ТС следует испытывать по возможности в груженом состоянии. Проверки на уклоне выполняют на очищенной от льда и снега твердой нескользкой опорной поверхности 1 Роликовый стенд для проверки тормозных систем ТС.
2 Прибор для проверки эффективности тормозных систем ТС в дорожных условиях
1 Для ТС с технически допустимой максимальной массой значение удельной тормозной силы менее 0,16 и возможность удержания ТС на опорной поверхности с уклоном (16 +/- 1)% отсутствует.
2 Условия А.5.1.4.2 не соблюдены
А.5.1.4.3 Стопорный механизм (или функция фиксации) органа управления стояночной тормозной системой работоспособен Функциональная проверка - Стопорный механизм (или функция фиксации) органа управления стояночной тормозной системой неработоспособен
А.5.1.5 Усилие, прикладываемое к органу управления стояночной тормозной системой для приведения ее в действие, не должно превышать:
- 589 Н - в случае ручного органа управления;
- 688 Н - в случае ножного органа управления
Испытания по измерению усилия на органе управления стояночной тормозной системой Динамометр Усилие, прикладываемое к органу управления стояночной тормозной системой для приведения ее в действие превышает:
- 589 Н - в случае ручного органа управления;
- 688 Н - в случае ножного органа управления
А.5.2 Тормозные силы на колесах не должны возникать, если органы управления тормозными системами не задействованы Функциональная проверка на стенде или, если его нельзя использовать по техническим причинам, дорожные испытания Роликовый стенд для проверки тормозных систем ТС Возникает торможение колес при отсутствии воздействия на орган управления тормозной системой
(в ред. Изменения N 1, утв. Приказом Росстандарта от 22.11.2021 N 1525-ст)
А.5.3 Действие рабочей и запасной тормозных систем обеспечивает плавное, адекватное уменьшение или увеличение тормозных сил (замедление ТС) при уменьшении или увеличении соответственно усилия воздействия на орган управления тормозной системой Функциональная проверка на стенде или, если его нельзя использовать по техническим причинам, дорожные испытания Роликовый стенд для проверки тормозных систем ТС Действие рабочей и запасной тормозных систем не обеспечивает плавное, адекватное уменьшение или увеличение тормозных сил (замедление ТС) при уменьшении или увеличении соответственно усилия воздействия на орган управления тормозной системой
(в ред. Изменения N 1, утв. Приказом Росстандарта от 22.11.2021 N 1525-ст)
А.5.4 Гидравлическая тормозная система оборудуется красным сигнальным индикатором, который включается по сигналу от датчика давления, информирующим о неисправности любой части гидравлической тормозной системы, связанной с утечкой тормозной жидкости Анализ эксплуатационной документации и/или визуальный контроль - Красный сигнальный индикатор гидравлической тормозной системы отсутствует
(в ред. Изменения N 1, утв. Приказом Росстандарта от 22.11.2021 N 1525-ст)
А.5.5 Органы управления и контроля
А.5.5.1 Рабочая тормозная система
     
А.5.5.1.1 Применяется ножной орган управления (педаль), который перемещается без помех при нахождении ноги в естественном положении.
Примечание - Данное требование не распространяется на ТС, предназначенные для управления лицами, физические возможности которых не позволяют осуществлять управление тормозной системой при помощи ног, и ТС категорий L и О.
Визуальный контроль и функциональная проверка - 1 Ножной орган управления (педаль) не применяется.
2 Перемещение ножного органа управления (педали) затруднено при нахождении ноги в естественном положении.
3 При нажатой до упора педали зазор между педалью и полом отсутствует.
4 При отпускании педаль возвращается в исходное положение не полностью
А.5.5.1.1.1 При нажатой до упора педали должен оставаться зазор между педалью и полом.
А.5.5.1.1.2 При отпускании педаль должна полностью возвращаться в исходное положение
(в ред. Изменения N 1, утв. Приказом Росстандарта от 22.11.2021 N 1525-ст)
А.5.5.1.2 В рабочей тормозной системе предусматривается компенсационная регулировка в связи с износом фрикционного материала тормозных накладок. Такая регулировка должна осуществляться автоматически на всех осях ТС, имеющих не менее четырех колес Анализ эксплуатационной документации. При наличии обоснованных сомнений в выполнении данного требования - анализ конструкции рабочих тормозных механизмов - 1 Компенсационная регулировка в связи с износом фрикционного материала тормозных накладок не предусмотрена.
2 Компенсационная регулировка автоматически не осуществляется
А.5.5.1.3 При наличии отдельных органов управления для рабочей и аварийной тормозных систем одновременное приведение в действие обоих органов управления не должно приводить к одновременному отключению систем рабочего и аварийного торможений Функциональная проверка на стенде или, если его нельзя использовать по техническим причинам, дорожные испытания Роликовый стенд для проверки тормозных систем ТС 1 При наличии отдельных органов управления для рабочей и аварийной тормозных систем одновременное приведение в действие обоих органов управления приводит к одновременному отключению систем рабочего и аварийного торможения
А.5.5.2 Стояночная тормозная система
А.5.5.2.1 Стояночная тормозная система оснащается органом управления, не зависящим от органа управления рабочей тормозной системой.
Примечание - Данное требование не распространяется на ТС категорий L1 и L3.

Орган управления стояночной тормозной системой оборудуется работоспособным стопорным механизмом
Визуальный контроль и функциональная проверка - 1 Стояночная тормозная система не оснащена органом управления, не зависящим от органа управления рабочей тормозной системой.
2 Орган управления стояночным тормозом не оборудован работоспособным стопорным механизмом
А.5.5.2.2 В стояночной тормозной системе предусматривается ручная или автоматическая компенсационная регулировка в связи с износом фрикционного материала тормозных накладок Анализ эксплуатационной документации. При наличии обоснованных сомнений в выполнении данного требования - анализ конструкции стояночного тормозного механизма - В стояночной тормозной системе не предусмотрена ни ручная, ни автоматическая компенсационная регулировка в связи с износом фрикционного материала тормозных накладок
А.5.6 ТС категорий M2, M3, N 2, N 3, O3 и O4 с количеством осей не более четырех оборудуются антиблокировочными тормозными системами (АБС) Анализ эксплуатационной документации. При наличии обоснованных сомнений в выполнении данного требования - функциональная проверка в дорожных условиях или на стенде Роликовый стенд для проверки тормозных систем ТС АБС отсутствует
А.5.7 В целях обеспечения периодических технических проверок тормозных систем обеспечивается возможность проверки износа накладок рабочих тормозов ТС с использованием лишь обычно прилагаемых к нему инструментов или приспособлений, например, при помощи соответствующих смотровых отверстий или каким-либо иным способом. В качестве альтернативы допускаются звуковые или оптические устройства предупреждения водителя на его рабочем месте о необходимости замены накладок. В качестве визуального предупреждающего сигнала может использоваться желтый предупреждающий сигнал Анализ эксплуатационной документации. Визуальный контроль - Возможность проверки износа накладок рабочих тормозных механизмов снаружи или снизу ТС с использованием лишь обычно прилагаемых к нему инструментов или приспособлений отсутствует
А.5.8 Действие рабочей и запасной тормозных систем при воздействии на орган управления тормозной системы должно быть адекватным для водителя ТС Функциональная проверка на стенде или, если его нельзя использовать по техническим причинам, дорожные испытания Роликовый стенд для проверки тормозных систем ТС 1 Тормозное усилие изменяется:
- неравномерно;
- резко;
- с наличием заеданий и/или рывков.
2 Имеет место наличие существенных колебаний, обусловленных деформациями поверхности тормозных дисков и/или тормозных барабанов
А.5.9 Для проверки рабочей тормозной системы оценивают показатели эффективности торможения и устойчивости ТС при торможении. Для проверки запасной, стояночной и вспомогательной тормозных систем оценивают эффективность торможения по наибольшим значениям тормозных сил. Объемы проверки тормозных систем на роликовых стендах или в дорожных условиях согласно таблицам А.5.3 и А.5.4 Испытания на стенде или, если его нельзя использовать по техническим причинам, дорожные испытания при помощи деселерометра. Эксплуатационные характеристики находящейся под нагрузкой тормозной системы должны проверяться в ходе испытания ТС в груженом состоянии, либо путем оценки при помощи метода, основанного на экстраполяции, или же за счет использования каких-либо других приемлемых средств.
При проверках на стендах направление вращения колеса при измерении тормозной силы должно соответствовать движению ТС вперед. Начальная скорость торможения, имитируемая на стендах, должна быть не менее 2 км/ч
1 Роликовый стенд для проверки тормозных систем ТС.
2 Прибор для проверки эффективности тормозных систем ТС в дорожных условиях
Показатели эффективности и устойчивости ТС при торможении выходят за допустимые пределы
А.5.10 Вспомогательная тормозная система, за исключением моторного замедлителя, при проверках в дорожных условиях на скорости (30 +/- 5) км/ч должна обеспечивать установившееся замедление не менее 0,5 м/с2 для ТС с технически допустимой максимальной массой и 0,8 м/с2 - для ТС в снаряженном состоянии с учетом массы водителя Дорожные испытания при помощи деселерометра.
Дорожные испытания должны проводиться на сухом, ровном, горизонтальном участке с цементобетонным или асфальтобетонным покрытием
Прибор для проверки эффективности тормозных систем ТС в дорожных условиях Вспомогательная тормозная система, за исключением моторного замедлителя, при проверке в дорожных условиях на скорости (30 +/- 5) км/ч обеспечивает установившееся замедление:
- менее 0,5 м/с2 для ТС с технически допустимой максимальной массой;
- менее 0,8 м/с2 для ТС в снаряженном состоянии с учетом массы водителя
А.5.11 Не допускаются:
А.5.11.1 Утечки сжатого воздуха из тормозных камер.
А.5.11.2 Нарушения герметичности трубопроводов или соединений в гидравлическом тормозном приводе и подтекание тормозной жидкости.
А.5.11.3 Коррозия, грозящая потерей герметичности или разрушением.
А.5.11.4 Перегибы, видимые перетирания и другие механические повреждения тормозных трубопроводов.
А.5.11.5 Наличие деталей с трещинами или остаточной деформацией в тормозном приводе.
А.5.11.6 Нарушение целостности регулятора тормозных сил на ТС, оборудованном этим устройством. А.5.11.7 Набухание шлангов под давлением и наличие на них трещин и видимых мест перетирания.
А.5.11.8 Демонтаж регулятора тормозных сил, предусмотренного в эксплуатационной документации ТС
Визуальный контроль при включенной тормозной системе.
Примечание - ТС, оборудованные тормозной системой с усилителем, должны проходить проверку при выключенном двигателе.
- 1 Наличие утечки сжатого воздуха из тормозных камер, определяемое на слух или по изменению показаний манометра тормозной системы.
2 Нарушена герметичность трубопроводов и/или соединений в гидравлическом тормозном приводе.
3 Подтекание тормозной жидкости.
4 Наличие коррозии, грозящей потерей герметичности или разрушением.
5 Наличие перегибов, видимых перетираний и/или других механических повреждений тормозных трубопроводов.
6 Наличие деталей с трещинами и/или остаточной деформацией в тормозном приводе.
7 Нарушение целостности регулятора тормозных сил на ТС, оборудованном этим устройством.
8 Набухшие шланги, находящиеся под давлением.
9 Наличие трещин и видимых мест перетирания на шлангах под давлением.
10 Регулятор тормозных сил, предусмотренный в эксплуатационной документации ТС, отсутствует
(в ред. Изменения N 1, утв. Приказом Росстандарта от 22.11.2021 N 1525-ст)
А.5.12 Средства сигнализации и контроля тормозных систем, манометры пневматического и пневмогидравлического тормозного привода, устройство фиксации органа управления стояночной тормозной системы должны быть работоспособны Функциональная проверка - 1 Средства сигнализации и/или контроля тормозных систем неработоспособны.
2 Манометры пневматического и пневмогидравлического тормозного привода неработоспособны.
3 Устройство фиксации органа управления стояночной тормозной системы неработоспособно
А.5.13 Гибкие тормозные шланги, передающие давление сжатого воздуха или тормозной жидкости колесным тормозным механизмам, должны соединяться друг с другом без дополнительных переходных элементов. Расположение и длина гибких тормозных шлангов должны обеспечивать герметичность соединений с учетом максимальных деформаций упругих элементов подвески и углов поворота колес ТС Визуальный контроль - 1 Гибкие тормозные шланги, передающие давление сжатого воздуха или тормозной жидкости колесным тормозным механизмам, соединяются друг с другом при помощи дополнительных переходных элементов.
2 Расположение и/или длина гибких тормозных шлангов не обеспечивают герметичность соединений с учетом максимальных деформаций упругих элементов подвески и углов поворота колес ТС
А.5.14 Пункт исключен.
(в ред. Изменения N 1, утв. Приказом Росстандарта от 22.11.2021 N 1525-ст)
А.5.15 Требования к АБС (при наличии)     1 АБС находится не в комплектном состоянии.
2 АБС не функционирует.
3 Наличие видимых повреждений, ненадежное крепление, отсоединение элементов АБС
А.5.15.1 АБС должна быть в комплектном и работоспособном состоянии. Должны отсутствовать видимые повреждения, ненадежное крепление, отсоединение элементов АБС Визуальный контроль -
А.5.15.2 Световой индикатор мониторинга рабочего состояния АБС должен находиться в рабочем состоянии, включаться при активации АБС после включения зажигания и отключаться не позже, чем когда скорость ТС достигнет 10 км/ч Функциональная проверка - 1 Световой индикатор мониторинга рабочего состояния АБС неисправен.
2 Световой индикатор мониторинга рабочего состояния АБС не включается при активации АБС после включения зажигания.
3 Световой индикатор мониторинга рабочего состояния АБС отключается позже, чем когда скорость ТС достигнет 10 км/ч
А.5.15.3 Пункт исключен.  
(в ред. Изменения N 1, утв. Приказом Росстандарта от 22.11.2021 N 1525-ст)
А.5.16 У ТС с пневматическими тормозными системами глушители шума истечения сжатого воздуха из тормозной системы должны быть герметично закреплены и работоспособны Функциональная проверка - У ТС с пневматическими тормозными системами глушители шума истечения сжатого воздуха из тормозной системы:
- закреплены негерметично;
- не выполняют свои функции

Таблица А.5.1

Нормативы эффективности торможения ТС при проверках на роликовых стендах

Категория ТС Усилие на органе управления Рп, Н, не более Удельная тормозная сила рис, не менее, для
Рабочей тормозной системы Запасной тормозной системы
M2, M3 686 или 980 <*> (589) <**> 0,50 0,25
N 2, N 3 686 или 980 <*> (589) <**> 0,45 0,22
490 или 980 <*> 0,50 -
(в ред. Изменения N 1, утв. Приказом Росстандарта от 22.11.2021 N 1525-ст)
686 или 980 <*> 0,45 -
(в ред. Изменения N 1, утв. Приказом Росстандарта от 22.11.2021 N 1525-ст)      
, (прицепы с инерционным тормозом) 490 0,50 -
(в ред. Изменения N 1, утв. Приказом Росстандарта от 22.11.2021 N 1525-ст)      
, , (прицепы, исключая оборудованные инерционным тормозом) 686 0,45 -
(в ред. Изменения N 1, утв. Приказом Росстандарта от 22.11.2021 N 1525-ст)
02, , (прицепы с центральной осью и полуприцепы, исключая оборудованные инерционным тормозом) 686 0,41 -
(в ред. Изменения N 1, утв. Приказом Росстандарта от 22.11.2021 N 1525-ст)
350 (200 <**>) 0,42 -
(в ред. Изменения N 1, утв. Приказом Росстандарта от 22.11.2021 N 1525-ст)
350 (200 <**>) 0,40 -
(в ред. Изменения N 1, утв. Приказом Росстандарта от 22.11.2021 N 1525-ст)
350 (200 <**>) 0,50 -
(в ред. Изменения N 1, утв. Приказом Росстандарта от 22.11.2021 N 1525-ст)
350 (200 <**>) 0,46 0,25
(в ред. Изменения N 1, утв. Приказом Росстандарта от 22.11.2021 N 1525-ст)
, 500 (400 <**>) 0,44 0,25
(в ред. Изменения N 1, утв. Приказом Росстандарта от 22.11.2021 N 1525-ст)
500 (400 <**>) 0,40 0,25
(в ред. Изменения N 1, утв. Приказом Росстандарта от 22.11.2021 N 1525-ст)
L, задний колесный тормоз   0,25  
(в ред. Изменения N 1, утв. Приказом Росстандарта от 22.11.2021 N 1525-ст)
<*> Для осей ТС, в тормозном приводе которых установлен регулятор тормозных сил.
<**> Для ТС с ручным органом управления запасной тормозной системой.

Таблица А.5.2

Нормативы эффективности торможения ТС при проверках в дорожных условиях

Категория ТС Усилие на органе управления Рп, Н, не более Тормозной путь ТС Sт, м, не более Установившееся замедление jуст, м/с2, не менее Время срабатывания тормозной системы рис, с, не более
Рабочей тормозной системы Запасной тормозной системы Рабочей тормозной системы Запасной тормозной системы
M2, M3 686 (589 <*>) 18,6 30,6 4,9 2,4 0,8
N 2, N 3 686 (589 <*>) 20,0 34,0 4,4 2,2 0,8
<*> Для ТС с ручным органом управления запасной тормозной системой.
490 16,6 - 4,9 - 0,6
(в ред. Изменения N 1, утв. Приказом Росстандарта от 22.11.2021 N 1525-ст)
686 (589 <*>) 16,6 - 4,9 - 0,6
(в ред. Изменения N 1, утв. Приказом Росстандарта от 22.11.2021 N 1525-ст)
<**> 350 / 200 21,8/26,9 - 3,4/2,7 - -
(в ред. Изменения N 1, утв. Приказом Росстандарта от 22.11.2021 N 1525-ст)
<**> 350 / 200 26,9/26,9 - 2,7/2,7 - -
(в ред. Изменения N 1, утв. Приказом Росстандарта от 22.11.2021 N 1525-ст)
<**> 350 / 200 25,0/36,2 - 4,4/2,9 - -
(в ред. Изменения N 1, утв. Приказом Росстандарта от 22.11.2021 N 1525-ст)
<**> 350 / 200 29,4/29,4 - 3,6/3,6 - -
(в ред. Изменения N 1, утв. Приказом Росстандарта от 22.11.2021 N 1525-ст)
<**> 500 / 400 - 41,2 - 2,5 -
(в ред. Изменения N 1, утв. Приказом Росстандарта от 22.11.2021 N 1525-ст)
, , 500 (400*) 22,6 41,2 5,0 2,5 -
(в ред. Изменения N 1, утв. Приказом Росстандарта от 22.11.2021 N 1525-ст)
<**> Для КТС категорий - в числителе - усилие на ножном органе управления, тормозной путь и установившееся замедление при торможении передним тормозом; в знаменателе - усилие на ручном органе управления, тормозной путь и установившееся замедление при торможении задним тормозом"
(в ред. Изменения N 1, утв. Приказом Росстандарта от 22.11.2021 N 1525-ст)

Таблица А.5.3

Использование показателей эффективности торможения и устойчивости ТС при торможении при проверках на роликовых стендах

Наименование показателя Тормозная система
рабочая запасная стояночная
без АБС или с АБС с порогом отключения выше скорости стенда с АБС с порогом отключения ниже скорости стенда
Эффективность торможения Устойчивость ТС при торможении Эффективность торможения Устойчивость ТС при торможении
Удельная тормозная сила + - - - + +
Относительная разность тормозных сил колес оси - + - - - -
Блокирование колес ТС на роликах или автоматическое отключение стенда вследствие проскальзывания колес по роликам <*> + - - - + +
<*> Используется только вместо показателя удельной тормозной силы.

Примечание - Знак "+" означает, что соответствующий показатель должен использоваться при оценке эффективности торможения или устойчивости ТС при торможении, знак "-" - показатель не должен использоваться.

Таблица А.5.4

Использование показателей эффективности торможения и устойчивости ТС при торможении при проверках в дорожных условиях

Наименование показателя Тормозная система
рабочая запасная стояночная вспомогательная
без АБС с АБС
Эффективность торможения Устойчивость ТС при торможении Эффективность торможения Устойчивость ТС при торможении
Тормозной путь + - + - + - -
Установившееся замедление <*> + - + - + - +
Время срабатывания тормозной системы <*> + - + - + - -
Коридор движения - + - + - - -
Уклон дороги, на котором ТС удерживается неподвижно - - - - - + -
<*> Используются совместно только вместо показателя "тормозной путь".

Знак "+" означает, что соответствующий показатель должен использоваться при оценке эффективности торможения или устойчивости ТС при торможении, знак "-" - показатель не должен использоваться.

Примечание - В дорожных условиях при торможении рабочей тормозной системой с начальной скоростью торможения 40 км/ч ТС категорий , , , , , не должно ни одной своей частью выходить из нормативного коридора движения шириной 3 м, а ТС категорий , , - шириной 2,6 м
(в ред. Изменения N 1, утв. Приказом Росстандарта от 22.11.2021 N 1525-ст)

А.6 Оценка соответствия требованиям к устройствам для предотвращения несанкционированного использования (противоугонным устройствам)

Категории ТС: L, M, N

Таблица А.6

Требование Метод проверки Применяемое измерительное оборудование Основание для признания несоответствия
А.6.1 ТС категорий M, N, L6 и L7 на постоянной основе оснащаются противоугонными устройствами - системами для предотвращения несанкционированного приведения в действие двигателя обычными средствами или использования другого источника энергии основного двигателя ТС в комбинации по крайней мере с одной системой, которая:
- блокирует рулевое управление;
- блокирует передаточный механизм или
- блокирует механизм переключения передач
Визуальный контроль и функциональная проверка - Противоугонное устройство отсутствует на ТС
А.6.2 Противоугонное устройство должно быть сконструировано таким образом, чтобы его необходимо было отключить для:
А.6.2.1 запуска двигателя при помощи обычного привода и
А.6.2.2 управления ТС, вождения или перемещения ТС вперед при помощи его собственной тяги
Функциональная проверка - 1 Противоугонное устройство не препятствует запуску двигателя при помощи обычного привода.
2 Противоугонное средство не препятствует управлению ТС, вождению или перемещению ТС вперед при помощи его собственной тяги
А.6.3 Выполнение требований пункта А.6.2.1 должно обеспечиваться посредством одной операции, осуществляемой одним ключом Функциональная проверка - Запуск двигателя при помощи обычного привода не обеспечивается посредством одной операции, осуществляемой одним ключом
А.6.4 Использование сервопривода допускается лишь для включения и/или отключения устройства для предотвращения несанкционированного использования. Работа этого устройства должна обеспечиваться при помощи любого подходящего средства, не требующего электропитания Функциональная проверка - 1 Сервопривод используется не только для включения и/или отключения устройства для предотвращения несанкционированного использования.
2 Работа устройства для предотвращения несанкционированного использования не обеспечивается при помощи средств, не требующих электропитания
А.6.5 Противоугонное устройство, действующее на рулевое управление, должно блокировать рулевое управление.
Примечание - До запуска двигателя работа рулевого управления должна быть восстановлена в полном объеме.
Функциональная проверка - Противоугонное устройство, действующее на рулевое управление, не блокирует рулевое управление
А.6.6 Противоугонное устройство, действующее на привод трансмиссии, должно препятствовать вращению ведущих колес ТС Функциональная проверка - Противоугонное устройство, действующее на привод трансмиссии, не препятствует вращению ведущих колес ТС
А.6.7 Противоугонное устройство, действующее на механизм переключения передач, должно препятствовать переключению передач в следующих положениях:
А.6.7.1 В автоматических коробках передач, в которых предусмотрено "стояночное" положение, блокировка должна осуществляться лишь в "стояночном" положении; допускается дополнительная блокировка в нейтральном положении и/или в положении заднего хода.
А.6.7.2 В автоматических коробках передач, в которых не предусмотрено "стояночное" положение, блокировка должна допускаться лишь в нейтральном положении и/или в положении заднего хода
Функциональная проверка - 1 В автоматических коробках передач, в которых предусмотрено "стояночное" положение, блокировка не осуществляется только в "стояночном" положении.
2 В автоматических коробках передач, в которых не предусмотрено "стояночное" положение, блокировка допускается не только в нейтральном положении и/или в положении заднего хода
А.6.8 Противоугонные устройства должны быть такими, чтобы во время движения ТС исключалась возможность случайной блокировки Функциональная проверка - Конструкция противоугонного устройства не исключает возможности случайной блокировки во время движения ТС
А.6.9 Противоугонные устройства, препятствующие растормаживанию ТС, не допускаются Функциональная проверка - Противоугонное устройство препятствует растормаживанию ТС

А.7 Оценка соответствия требованиям к системам отопления, системам управления климатом

Категории ТС: M, N

Таблица А.7

Требование Метод проверки Применяемое измерительное оборудование Основание для признания несоответствия
А.7.1 Не допускается в составе кондиционеров, а также холодильного оборудования, применяемых на ТС, наличие озоноразрушающих веществ и материалов, перечень которых утвержден Комиссией Таможенного союза Проверка сведений, содержащихся в руководстве по эксплуатации или на этикетке на ТС. В случае их отсутствия - лабораторный анализ состава хладагента - В составе кондиционеров или холодильного оборудования, применяемых на ТС, имеются озоноразрушающие вещества и/или материалы
А.7.2 Обитаемое помещение каждого ТС оснащается системой отопления Функциональная проверка - Обитаемое помещение ТС системой отопления не оснащено
А.7.3 Автономная от двигателя система отопления должна отключаться автоматически, и подача топлива должна прекращаться в течение 5 с после прекращения работы двигателя ТС.
Примечание - Если перед этим было включено ручное устройство управления, то система отопления может продолжать функционировать.
Функциональная проверка Секундомер 1 Автономная от двигателя система отопления автоматически не отключается.
2 Подача топлива не прекращается в течение 5 с после прекращения работы двигателя ТС
(в ред. Изменения N 1, утв. Приказом Росстандарта от 22.11.2021 N 1525-ст)
А.7.4 Части кузова и любые другие элементы, располагающиеся поблизости от обогревательного прибора, систем подачи теплого воздуха внутрь ТС, должны быть размещены таким образом, чтобы была исключена возможность получения травм или порчи имущества при соприкосновении с ними, или защищены от чрезмерного нагревания и возможного загрязнения топливом или маслом Визуальный контроль - 1 Защита от чрезмерного нагревания частей кузова и любых других элементов, располагающихся поблизости от обогревательного прибора, отсутствует или недостаточна.
2 Защита от загрязнения топливом или маслом частей кузова и любых других элементов, располагающихся поблизости от обогревательного прибора, отсутствует или недостаточна
А.7.5 Выхлопная труба системы выпуска отработавших газов отопителя должна быть расположена таким образом, чтобы была исключена возможность попадания выхлопных газов внутрь ТС через вентиляторы, воздухозаборники системы отопления или открытые окна Функциональная проверка органолептическим методом - Выявлено попадание отработавших газов отопителя внутрь ТС через вентиляторы, воздухозаборники системы отопления или открытые окна
А.7.6 Воздух для камеры сгорания обогревательного прибора не должен поступать из пассажирского салона ТС Функциональная проверка - Воздух для камеры сгорания обогревательного прибора поступает из пассажирского салона ТС
А.7.7 Воздух, нагреваемый обогревательным прибором, должен поступать из чистой зоны, где отсутствует вероятность его загрязнения отработавшими газами, выделяемыми двигателем ТС или топливным обогревательным прибором Функциональная проверка - Воздух, нагреваемый обогревательным прибором, поступает из зоны, где есть большая вероятность его загрязнения отработавшими газами, выделяемыми двигателем ТС или топливным обогревательным прибором

А.8 Оценка соответствия требованиям к устройствам освещения и световой сигнализации

Категории ТС: L, M, N, O

Таблица А.8

Требование Метод проверки Применяемое измерительное оборудование Основание для признания несоответствия
А.8.1 Устройства освещения и световой сигнализации должны быть работоспособны, и их режим работы должен соответствовать требованиям настоящего стандарта. На ТС категорий M, N, O и L применение устройств освещения и световой сигнализации регламентируется таблицей А.8.1 Визуальный контроль и функциональная проверка - 1 Устройства освещения и световой сигнализации не работоспособны или их режим работы не соответствует требованиям настоящего стандарта.
2 На ТС установлено несоответствующее таблице А.8.1 число обязательных устройств освещения и световой сигнализации
А.8.2 Никакой свет красного цвета не должен излучаться в направлении вперед, и никакой свет белого цвета, за исключением света от фонаря заднего хода, не должен излучаться в направлении назад.
Примечание - Данное требование не распространяется на устройства освещения, устанавливаемые для внутреннего освещения ТС.
Визуальный контроль, функциональная проверка - 1 Прибор излучает свет красного цвета в направлении вперед.
2 Прибор (за исключением фонаря заднего хода) излучает свет белого цвета в направлении назад
А.8.3 Включение и выключение передних и задних габаритных фонарей, контурных огней, если таковые имеются, боковых габаритных фонарей, если таковые имеются, и фонаря заднего государственного регистрационного знака должны осуществляться общим органом управления.
Примечание - Данное требование не применяется при использовании передних и задних габаритных фонарей, а также боковых габаритных фонарей в качестве стояночных огней.
Функциональная проверка - Передние и задние габаритные фонари, контурные огни (при наличии), боковые габаритные фонари (при наличии) и фонарь заднего государственного регистрационного знака не включаются или не выключаются одновременно
А.8.4 Включение фар дальнего и ближнего света и передних противотуманных фар должно осуществляться только в том случае, если включены также огни, упоминаемые в А.8.3.
Примечание - Данное требование не применяется к фарам дальнего и ближнего света, когда мигание этих фар применяется для подачи кратковременных предупреждающих световых сигналов.
Функциональная проверка - 1 Фары дальнего света включаются при выключенных передних и задних габаритных фонарях, контурных огнях (при наличии), боковых габаритных фонарях (при наличии) и фонарях заднего государственного регистрационного знака.
2 Фары ближнего света включаются при выключенных передних и задних габаритных фонарях, контурных огнях (при наличии), боковых габаритных фонарях (при наличии) и фонарях заднего государственного регистрационного знака.
3 Передние противотуманные фары включаются при выключенных передних и задних габаритных фонарях, контурных огнях (при наличии), боковых габаритных фонарях (при наличии) и фонарях заднего государственного регистрационного знака
А.8.5 Обязательно наличие работоспособных, видимых водителем контрольных световых сигналов включения для фар дальнего света, передних противотуманных фар, указателей поворота, передних и задних габаритных огней, задних противотуманных фонарей.
Примечание - Требования данного подпункта в отношении передних и задних габаритных огней считаются выполненными, если одновременно с ними включается освещение комбинации приборов.
Функциональная проверка - 1 Контрольные световые сигналы включения фар дальнего света отсутствуют или неработоспособны.
2 Контрольные световые сигналы включения передних противотуманных фар отсутствуют или неработоспособны.
3 Контрольные световые сигналы включения указателей поворота отсутствуют или неработоспособны.
4 Контрольные световые сигналы включения габаритных огней (передних и задних) отсутствуют или неработоспособны.
5 Контрольные световые сигналы включения задних противотуманных фонарей отсутствуют или неработоспособны
А.8.6 Допускается одновременное либо попарное включение фар дальнего света. При переключении дальнего света на ближний все фары дальнего света должны выключаться одновременно Функциональная проверка - 1 Фары дальнего света не включаются одновременно или попарно.
2 При переключении дальнего света на ближний все фары дальнего света не выключаются одновременно
А.8.7 Адаптивные системы переднего освещения, выполняющие функцию ближнего света, независимо от используемого источника света, фары ближнего света с источниками света класса LED, а также фары ближнего света и противотуманные с источниками света любого класса, имеющими номинальный световой поток более 2000 лм, должны быть оснащены автоматическим корректирующим устройством регулировки угла наклона фар.
Фары ближнего света, имеющие источники света с номинальным световым потоком более 2000 лм, должны быть оснащены работоспособным устройством фароочистки.
Примечание - Сменные газоразрядные источники света категорий D1R, D2R, D3R, D4R, D1S, D2S, D3S, D4S и галогенные лампы накаливания категорий H9, H9B, HIR1 имеют номинальный световой поток более 2000 лм.
Визуальный контроль наличия автоматического корректирующего устройства регулировки угла наклона фар и устройств фароочистки в соответствующих случаях, а также проведение их функциональный проверки - 1 Устройства освещения, описанные в А.8.7, не оснащены автоматическим корректирующим устройством регулировки угла наклона фар.
2 Фары ближнего света, имеющие источники света с номинальным световым потоком более 2000 лм, не оснащены работоспособным устройством фароочистки
А.8.8 Маркировка фар дальнего и ближнего света и противотуманных и классы установленных в них источников света должны соответствовать.
Примечание - В том случае, когда обнаружено внесение изменений в конструкцию фар, включая изменение источников света в фарах, применяются положения А.8.18.2 - А.8.18.4.
Визуальный контроль - 1 Обнаружено несоответствие маркировки фар дальнего и ближнего света и противотуманных с классом установленных в них источников света.
2 Внесены изменения в конструкцию фар, не соответствующие требованиям А.8.18.2 - А.8.18.4
(в ред. Изменения N 1, утв. Приказом Росстандарта от 22.11.2021 N 1525-ст)
А.8.9 Требования к размещению фар ближнего света: по высоте над опорной поверхностью - не менее 500 мм, не более 1200 мм.
Примечание - Для ТС категории N 3G максимальная высота может быть увеличена до 1500 мм.
Визуальный контроль, линейные измерения Рулетка Фары ближнего света располагаются на высоте менее 500 мм или более 1200 мм над опорной поверхностью
А.8.10 Требования к размещению передних противотуманных фар (кроме ТС категорий L1 - L4, L6):
А.8.10.1 По ширине: та точка видимой поверхности в направлении исходной оси, которая в наибольшей степени удалена от средней продольной плоскости ТС, должна находиться на расстоянии не более 400 мм от края габаритной ширины ТС.
А.8.10.2 По высоте: не менее 250 мм над поверхностью земли; для ТС категорий M1 и N 1 - не более 800 мм над опорной поверхностью; для всех других категорий ТС максимальная высота не предусмотрена.
А.8.10.3 Ни одна из точек на видимой поверхности не должна находиться выше наиболее высокой точки видимой поверхности фары ближнего света
А.8.11 Требования к размещению указателей поворота и аварийной сигнализации.
Если установлены факультативные указатели поворота, то они должны располагаться симметрично и находиться на как можно большем расстоянии по вертикали, которое допускается контуром кузова, но не менее чем 600 мм над обязательными огнями
Визуальный контроль, линейные измерения Рулетка 1 Точка видимой поверхности в направлении исходной оси, которая в наибольшей степени удалена от средней продольной плоскости ТС, находится на расстоянии более 400 мм от края габаритной ширины ТС.
2 Передние противотуманные фары располагаются на высоте менее 250 мм или более 800 мм (только для ТС категорий M1 и N 1 над опорной поверхностью.
3 Часть видимой поверхности передней противотуманной фары находится выше наиболее высокой точки видимой поверхности фары ближнего света
Визуальный контроль, линейные измерения Рулетка Факультативные указатели поворота расположены несимметрично или находятся на расстоянии по вертикали менее чем 600 мм над обязательными огнями
А.8.12 Требования к размещению сигналов торможения:
А.8.12.1 По ширине: для ТС категорий M1, N 1, L2, L4 - L7 та точка видимой поверхности в направлении исходной оси, которая в наибольшей степени удалена от средней продольной плоскости ТС, должна находиться на расстоянии не более 400 мм от края габаритной ширины ТС; для ТС категорий L2, L5 - L7 в случае установки одного сигнала торможения его исходная ось должна лежать в средней продольной плоскости ТС, для ТС категории L4, если устанавливается третий сигнал торможения, то он должен быть установлен симметрично сигналу торможения, установленному на мотоцикле относительно средней продольной плоскости мотоцикла; для всех других категорий ТС та точка видимой поверхности в направлении исходной оси, которая в наименьшей степени удалена от средней продольной плоскости ТС, должна находиться на расстоянии не менее 600 мм от края габаритной ширины ТС. Это расстояние может быть уменьшено до 400 мм, если габаритная ширина ТС составляет менее 1300 мм.
А.8.12.2 По высоте: над опорной поверхностью в пределах от 350 до 1500 мм (не менее 2100 мм, если соблюдение указанного требования невозможно из-за формы кузова, если факультативные огни не установлены). Если факультативные огни установлены, то они должны располагаться симметрично на как можно большем расстоянии по вертикали, которое допускается контуром кузова, но не менее чем 600 мм над обязательными огнями (кроме ТС категорий L). Для ТС категорий L1 - L3, L5 - L7 - не менее 250 мм и не более 1500 мм над опорной поверхностью; для ТС категории L4 - не менее 250 мм, не более 1200 мм над опорной поверхностью.
А.8.12.3 Дополнительные сигналы торможения должны быть установлены не более 150 мм от нижнего края внешней поверхности или покрытия заднего стекла и не менее 850 мм от уровня опорной поверхности.
А.8.12.4 Допускается смещение оптического центра дополнительного сигнала торможения влево или вправо от средней продольной плоскости на расстояние не более 150 мм либо установка двух дополнительных сигналов торможения, которые в этом случае должны находиться как можно ближе к средней продольной плоскости, по одному устройству с каждой стороны этой плоскости
Визуальный контроль, линейные измерения Рулетка 1 Точка видимой поверхности в направлении исходной оси, которая в наименьшей степени удалена от средней продольной плоскости ТС, находится на расстоянии менее 600 мм от края габаритной ширины ТС (менее 400 мм, если габаритная ширина ТС составляет менее 1300 мм).
2 Сигнал торможения находится на высоте менее 350 мм над опорной поверхностью.
3 Сигнал торможения находится на высоте более 1500 мм над опорной поверхностью (2100 мм, если соблюдение указанного требования невозможно из-за формы кузова, если факультативные огни не установлены).
4 Факультативные огни (при наличии) расположены несимметрично.
5 Факультативные огни (при наличии) расположены на высоте менее 600 мм над обязательными огнями.
6 Плоскость, касательная к нижнему краю видимой поверхности, находится более чем на 150 мм ниже горизонтальной плоскости, касательной к нижнему краю внешней поверхности или покрытия заднего стекла (для дополнительного сигнала торможения).
7 Плоскость, касательная к нижнему краю видимой поверхности, находится более чем на 850 мм выше уровня опорной поверхности (для дополнительного сигнала торможения)
А.8.13 Требования к размещению задних противотуманных фонарей:
А.8.13.1 По ширине: если имеется только один задний противотуманный фонарь, то он должен находиться с левой стороны от средней продольной плоскости ТС по отношению к направлению движения либо на этой плоскости.
А.8.13.2 По высоте над опорной поверхностью - не менее 250 мм, не более - 1000 мм.
Примечание - Для ТС категории N 3G максимальная высота может быть увеличена до 1200 мм.
Визуальный контроль, линейные измерения Рулетка 1 Задний противотуманный фонарь (если установлен только один) находится не с левой стороны от средней продольной плоскости ТС по отношению к направлению движения и не на этой плоскости.
2 Задний противотуманный фонарь находится на высоте менее 250 мм над опорной поверхностью.
3 Задний противотуманный фонарь находится на высоте более 1000 мм над опорной поверхностью
А.8.14 Количество, расположение, назначение, режим работы, цвет огней внешних световых приборов и световой сигнализации на ТС должны соответствовать указанным изготовителем в эксплуатационной документации ТС. При этом световой пучок фар ближнего света должен соответствовать условиям правостороннего движения.
Класс источника света, установленного в устройствах освещения и световой сигнализации ТС, должен соответствовать указанному изготовителем в эксплуатационной документации с учетом заводской комплектации данного ТС либо, в случае внесения изменений в конструкцию ТС, указанному в документации на световые приборы, установленные вместо предусмотренных конструкцией.
Внешние световые приборы должны находиться в работоспособном состоянии
Визуальный контроль, контроль по эксплуатационной документации, функциональная проверка - 1 Число, расположение, назначение, режим работы, цвет огней внешних световых приборов и/или световой сигнализации на ТС не соответствуют указанным изготовителем в эксплуатационной документации ТС или световой пучок фар ближнего света не соответствует условиям правостороннего движения.
2 Пункт исключен..
3 Класс источника света, установленного в устройствах освещения и световой сигнализации ТС, не соответствует указанному изготовителем в эксплуатационной документации с учетом заводской комплектации данного ТС либо, в случае внесения изменений в конструкцию ТС, указанному в документации на световые приборы, установленные вместо предусмотренных конструкцией.
4 Внешние световые приборы не находятся в работоспособном состоянии
(в ред. Изменения N 1, утв. Приказом Росстандарта от 22.11.2021 N 1525-ст)
А.8.15 Изменение цвета огней, режима работы, мест расположения, назначения, замена, установка дополнительных и демонтаж предусмотренных изготовителем в эксплуатационной документации внешних световых приборов допускается только в соответствии с разделом А.8.1 и таблицей А.8.2, а также при выполнении требований А.8.18.2 - А.8.18.4.
Примечание - На ТС, снятых с производства, допускается замена светотехнических устройств на используемые на ТС других типов.
Визуальный контроль, контроль по эксплуатационной документации, функциональная проверка - 1 Изменение цвета огней, режима работы, мест расположения, назначения, замена, установка дополнительных и демонтаж предусмотренных изготовителем в эксплуатационной документации внешних световых приборов не соответствует:
- требованиям раздела А.8.1;
- таблице А.8.2;
- требованиям А.8.18.2 - А.8.18.4
(в ред. Изменения N 1, утв. Приказом Росстандарта от 22.11.2021 N 1525-ст)
А.8.16 Никакой огонь не должен быть мигающим, за исключением огней указателей поворота, огней аварийной сигнализации, огней аварийного сигнала торможения и боковых габаритных огней автожелтого цвета, применяемых совместно с указателями поворота Визуальный контроль и функциональная проверка - 1 Огни световых приборов являются мигающими (за исключением огней указателей поворота, огней аварийного сигнала и боковых габаритных огней автожелтого цвета, применяемых совместно с указателями поворота).
2 Огонь боковых габаритных огней автожелтого цвета является мигающим и при этом не применяется совместно с указателем поворота
А.8.17 Отсутствие, разрушение и загрязнения рассеивателей внешних световых приборов и установка не предусмотренных конструкцией светового прибора оптических элементов (в том числе бесцветных или окрашенных оптических деталей и пленок) не допускаются.
Примечание - Данное требование не распространяется на оптические элементы, предназначенные для коррекции светового пучка фар в целях приведения его в соответствие с требованиями настоящего стандарта.
Визуальный контроль и функциональная проверка - 1 Рассеиватель светового прибора имеет трещины или дефекты.
2 Установлены дополнительные по отношению к конструкции светового прибора оптические элементы, в том числе, бесцветные или окрашенные оптические детали и пленки (если они не предназначены для коррекции светового пучка фар)
А.8.18 В случае наличия оптических элементов, предназначенных для коррекции светового пучка фар в целях приведения его в соответствие с требованиями настоящего стандарта применяются следующие требования:
А.8.18.1 Пункт исключен.
Проверка документации - -
Примечание - Данные требования применяются только в случае обнаружения внесения изменений в конструкцию фар, включая изменение источников света в фарах в соответствии с А.8.8, и не применяются для ТС, находящихся в эксплуатации, в случае внесения изменений в их конструкцию
(в ред. Изменения N 1, утв. Приказом Росстандарта от 22.11.2021 N 1525-ст)
А.8.18.2 В случае замены предусмотренного конструкцией ТС источника света на источник света того же класса с иными фотометрическими характеристиками либо иного класса такая замена допускается только совместно со световым модулем, соответствующим заменяемому источнику света, либо фары в сборе.
Не допускается установка нештатных световых модулей в случае, если освещающая поверхность рассеивателя в зоне прохождения пучка света нештатного светового модуля имеет оптические элементы, участвующие в формировании пучка света.
В случае изменения класса источника света необходимо заключение аккредитованной испытательной лаборатории о соответствии Правилам ООН N 1 [20], 3 [21], 4 [22], 6 [23], 7 [24], 8 [25], 19 [26], 20 [27], 23 [28], 31 [29], 37 [30], 38 [31], 50 [32], 56 [33], 57 [34], 72 [35], 76 [36], 77 [37], 82 [38], 87 [39], 91 [40], 98 [41], 99 [42], 112 [43], 113 [44], 119 [45], 123 [46], применяемым в отношении соответствующих типов фар и источников света, фотометрических параметров фары с замененными источниками света и световыми модулями
Визуальный контроль, проверка документации - 1 Замена предусмотренного конструкцией ТС источника света на источник света того же класса с иными фотометрическими характеристиками либо иного класса проведена:
- без светового модуля, соответствующего заменяемому источнику света;
- без фары в сборе.
2 Освещающая поверхность рассеивателя в зоне прохождения пучка света нештатного светового модуля имеет оптические элементы, участвующие в формировании пучка света.
3 Отсутствует маркировка указанных устройств знаками "E" и/или "e" или заключение аккредитованной испытательной лаборатории о соответствии Правилам ООН, применяемым в отношении соответствующих типов фар и источников света, фотометрических параметров фары с замененными источниками света и световыми модулями
А.8.18.3 В случае установки элементов, предназначенных для коррекции светового пучка фар в целях приведения его в соответствие с требованиями настоящего стандарта, подтверждение этого соответствия производится путем проверки фотометрических параметров фары согласно требованиям А.8.20 Визуальный контроль, проверка документации - В случае установки элементов, предназначенных для коррекции светового пучка фар в целях приведения его в соответствие с требованиями настоящего стандарта, фотометрические параметры фары не соответствуют требованиям А.8.20
(в ред. Изменения N 1, утв. Приказом Росстандарта от 22.11.2021 N 1525-ст)
А.8.18.4 При установке на ТС не предусмотренных его конструкцией устройств освещения и световой сигнализации, а также изменении конструкции фар (изменении класса источника света в них) должны выполняться (с учетом категории ТС) требования Правил ООН N 48 [14], 53 [47], 74 [48] Визуальный контроль, проверка документации - При наличии не предусмотренных конструкцией ТС устройств освещения и световой сигнализации, а также изменении класса источника света в фарах отсутствует заключение аккредитованной испытательной лаборатории о соответствии таких устройств освещения (с учетом категории ТС) Правил ООН N 48 [14], 53 [47], 74 [48]
(в ред. Изменения N 1, утв. Приказом Росстандарта от 22.11.2021 N 1525-ст)
А.8.19 Повреждения и отслоения светоотражающей маркировки не допускаются Визуальный контроль - Наличие повреждений и/или отслоений светоотражающей маркировки
А.8.20 Требования к фарам ближнего и дальнего света и противотуманным:
А.8.20.1 Форма, цвет и размер фар должны быть одинаковыми, а расположение - симметричным.
А.8.20.2 В фарах должны применяться источники света, соответствующие типу светового модуля, указанному изготовителем в эксплуатационной документации на ТС.
Примечание - В случае установки источника света, не соответствующего указанному в эксплуатационной документации ТС по классу, либо требующего установки (использования) дополнительных элементов по отношению к исходной конструкции фары, либо требующего внесения изменений в электрическую схему ТС, проверяется выполнение положений настоящего стандарта, касающихся внесения изменений в конструкцию ТС.

При проверке следует руководствоваться маркировкой согласно Правилам ООН N 1 [20], 8 [25], 19 [26], 20 [27], 31 [29], 56 [33], 57 [34], 72 [35], 76 [36], 82 [38], 98 [41], применяемым в отношении данной фары, и информацией, приведенной в руководстве по эксплуатации ТС, а также в свидетельстве о соответствии ТС с внесенными в его конструкцию изменениями требованиям безопасности.
Не допускается использование в фарах ТС сменных источников света, не имеющих знака официального утверждения либо с не соответствующими установленному изготовителем в эксплуатационной документации классом источника света, цоколем, мощностью, цветовой температурой, а также переходников с цоколя источника света одного класса на другой при установке источника света в световой модуль.
Примечания
1 В случае использования в световых приборах ТС сменных источников света классов 0 и H (лампы накаливания, включая галогенные) они должны соответствовать Правилам ООН N 37 [30].
2 В случае использования в световых приборах ТС сменных источников света класса D (газоразрядные лампы) они должны соответствовать Правилам ООН N 99 [42], включая тип цоколя согласно обозначениям: "DxR" (где x - цифра от 1 до 4) в фарах со световым модулем без линзы;
"DxS" (где x - цифра от 1 до 4) в фарах со световым модулем с линзой
Визуальный контроль, контроль по эксплуатационной документации, функциональная проверка - 1 Фары дальнего света, ближнего света или противотуманные имеют разные размеры и/или форму, отличаются цветом, расположены несимметрично.
2 Источники света фар не соответствуют типу светового модуля, указанному изготовителем в эксплуатационной документации на ТС.
3 В фарах используются сменные источники света, не имеющие знака официального утверждения.
4 В фарах используются сменные источники света с не соответствующими установленному изготовителем в эксплуатационной документации классом источника света, цоколем, мощностью, цветовой температурой.
5 В фарах используются переходники с цоколя источника света одного класса на другой при установке источника света в световой модуль
А.8.20.3 Не допускается отсутствие или неработоспособность предусмотренных конструкцией ТС либо установленных при внесении изменений в конструкцию ТС устройства фароочистки и автоматического корректирующего устройства угла наклона фар.
Примечание - В соответствии с Правилами ООН N 48 [14] устройствами фароочистки комплектуются фары ближнего света, имеющие источники света с номинальным световым потоком более 2000 лм. Автоматическим корректирующим устройством угла наклона фар комплектуются адаптивные системы переднего освещения, выполняющие функцию ближнего света, независимо от используемого источника света, фары ближнего света с источниками света класса LED, а также фары ближнего света и противотуманные с источниками света любого класса, имеющими номинальный световой поток более 2000 лм. Сменные газоразрядные источники света категорий D1R, D2R, D3R, D4R, D1S, D2S, D3S, D4S и галогенные лампы накаливания категорий H9, H9B, HIR1 имеют номинальный световой поток более 2000 лм.
Визуальный контроль и функциональная проверка - 1 Устройства фароочистки, предусмотренные конструкцией ТС либо установленные при внесении изменений в конструкцию ТС, отсутствуют или неработоспособны.
2 Автоматическое корректирующее устройство угла наклона фар, предусмотренное конструкцией ТС либо установленное при внесении изменений в конструкцию ТС, отсутствует или неработоспособно
(в ред. Изменения N 1, утв. Приказом Росстандарта от 22.11.2021 N 1525-ст)
А.8.20.4 Угол наклона плоскости (рисунок А.8.1), содержащей левую (от ТС) часть верхней светотеневой границы пучка, именуемый углом регулировки ближнего света фар типов C, HC, DC, CR, HCR, DCR, должен быть в пределах +/- 0,2% в вертикальном направлении от нормативного значения угла регулировки, указанного в эксплуатационной документации и/или обозначенного на ТС.
Примечания
1 При отсутствии на ТС и в эксплуатационной документации данных о нормативном значении угла регулировки фары типов C, HC, DC, CR, HCR, DCR должны быть отрегулированы в соответствии с указанными значениями угла рис регулировки ближнего света фар на рисунке А.8.1 а) или б) и в таблице А.8.3.
Нормативы угла рис регулировки заданы в зависимости от высоты H установки оптического центра фары над плоскостью рабочей площадки.
2 Правый участок следа светотеневой границы пучка ближнего света фар типов C, HC, DC, CR, HCR, DCR на экране может быть наклонным или ломаным.
Определение для каждой фары направления световых лучей огня ближнего света с использованием прибора для регулировки фар или светового экрана Прибор для проверки и регулировки фар Угол регулировки ближнего света фар выходит за пределы вертикального направления от нормативного значения угла регулировки, указанного в эксплуатационной документации и/или обозначенного на ТС, более чем на 0,2%
А.8.20.5 Угловое отклонение в горизонтальном направлении точки пересечения левого горизонтального и правого наклонного участков светотеневой границы светового пучка фар типов C, HC, DC, CR, HCR, DCR от вертикальной плоскости, проходящей через ось отсчета, должно быть не более +/- 0,2% Определение для каждой фары направления световых лучей огня ближнего света с использованием прибора для регулировки фар или светового экрана Прибор для проверки и регулировки фар Угловое отклонение в горизонтальном направлении точки пересечения левого горизонтального и правого наклонного участков светотеневой границы светового пучка фар типов C, HC, DC, CR, HCR, DCR от вертикальной плоскости, проходящей через ось отсчета, более +/- 0,2%
А.8.20.6 Сила света каждой из фар в режиме "ближний свет", измеренная в вертикальной плоскости, проходящей через ось отсчета, должна быть не более 750 кд в направлении 34' вверх от положения левой части светотеневой границы и не менее 1600 кд в направлении 52' вниз от положения левой части светотеневой границы.
Примечание - Исключено.
Определение для каждой фары силы света огня ближнего света с использованием прибора для регулировки фар или светового экрана Прибор для проверки и регулировки фар 1 Сила света какой-либо фары в режиме "ближний свет", измеренная в вертикальной плоскости, проходящей через ось отсчета, более 750 кд в направлении 34' вверх от положения левой части светотеневой границы.
2 Сила света какой-либо фары в режиме "ближний свет", измеренная в вертикальной плоскости, проходящей через ось отсчета, менее 1600 кд в направлении 52' вниз от положения левой части светотеневой границы
(в ред. Изменения N 1, утв. Приказом Росстандарта от 22.11.2021 N 1525-ст)
А.8.20.7 Максимальная сила света всех фар, которые могут быть включены одновременно в режиме "дальний свет", не должна превышать 300 000 кд.
Примечания - Исключены.
Определение для каждой фары силы света. Определение силы света фар при одновременном включении фар Прибор для проверки и регулировки фар Максимальная сила света всех фар, которые могут быть включены одновременно в режиме "дальний свет", превышает 300 000 кд
(в ред. Изменения N 1, утв. Приказом Росстандарта от 22.11.2021 N 1525-ст)
А.8.20.8 Противотуманные фары должны быть отрегулированы в соответствии с указаниями изготовителя ТС в эксплуатационной документации или, если они недоступны или отсутствуют, то светотеневая граница должна находиться ниже линии H в соответствии с таблицей А.8.4. Однако во всех случаях угол регулировки рис света противотуманной фары типа B не должен быть менее угла регулировки фары ближнего света Определение для каждой фары направления световых лучей противотуманных фар с использованием прибора для регулировки фар или светового экрана Прибор для проверки и регулировки фар 1 Регулировка противотуманных фар отличается от указанной в эксплуатационной документации.
2 Светотеневая граница находится выше линии H (см. таблицу А.8.4).
3 Угол регулировки рис света противотуманной фары типа B менее угла регулировки фары ближнего света
(в ред. Изменения N 1, утв. Приказом Росстандарта от 22.11.2021 N 1525-ст)
А.8.21 Фонари заднего хода должны включаться при включении передачи заднего хода и работать в постоянном режиме Функциональная проверка - 1 Фонари заднего хода не включаются при включении передачи заднего хода.
2 Фонари заднего хода не работают в постоянном режиме
А.8.22 Требования к указателям поворота и аварийной сигнализации:
А.8.22.1 Указатели поворота должны работать в мигающем режиме. Частота следования проблесков должна находиться в пределах (1,5 +/- 0,5) Гц, (90 +/- 30 проблесков в минуту).
А.8.22.2 Аварийная сигнализация должна обеспечивать синхронное включение всех указателей поворота в проблесковом режиме с частотой, указанной в пункте А.8.22.1.
А.8.22.3 Все указатели поворота, расположенные на одной и той же стороне ТС, должны включаться и выключаться одним и тем же устройством и работать синхронно
Функциональная проверка
Определение частоты следования проблесков
Прибор для проверки и регулировки фар 1 Указатели поворота не работают в мигающем режиме.
2 Частота следования проблесков не находится в пределах (90 +/- 30) проблесков в минуту или (1,5 +/- 0,5) Гц.
3 Аварийная сигнализация не обеспечивает синхронное включение всех указателей поворота в проблесковом режиме с частотой, указанной в пункте А.8.22.1.
4 Указатели поворота, расположенные на одной и той же стороне ТС, не выключаются одним и тем же устройством.
5 Указатели поворота, расположенные на одной и той же стороне ТС, не работают синхронно
(в ред. Изменения N 1, утв. Приказом Росстандарта от 22.11.2021 N 1525-ст)
А.8.23 Требования к сигналам торможения:
А.8.23.1 Сигналы торможения (основные и дополнительные) должны включаться при воздействии на органы управления рабочей или аварийной тормозными системами и обеспечивать излучение в постоянном режиме.
А.8.23.2 Совмещение для центрального дополнительного сигнала торможения с другими огнями не допускается
Функциональная проверка - 1 Сигналы торможения (основные и дополнительные) не включаются при воздействии на органы управления рабочей тормозной системой.
2 Сигналы торможения (основные и дополнительные) не включаются при воздействии на органы управления аварийной тормозной системой.
3 Сигналы торможения (основные и дополнительные) не работают в постоянном режиме.
4 Центральный дополнительный сигнал торможения совмещен с другими огнями
А.8.24 Требования к задним противотуманным фонарям:
А.8.24.1 Включение задних противотуманных фонарей должно быть обеспечено только при включенных фарах дальнего или ближнего света либо противотуманных фарах и должно обеспечивать излучение в постоянном режиме.
А.8.24.2 Задние противотуманные фонари могут оставаться включенными до тех пор, пока не выключены габаритные фонари.
А.8.24.3 Задние противотуманные фонари не должны включаться при воздействии на педаль рабочей тормозной системы
Функциональная проверка - 1 Задние противотуманные фонари включаются при выключенных фарах дальнего или ближнего света либо противотуманных фарах.
2 Задние противотуманные фонари не работают в постоянном режиме.
3 При выключении габаритных огней задние противотуманные фонари остаются включенными.
4 Задние противотуманные фонари включаются при воздействии на педаль рабочей тормозной системы
А.8.25 Стояночные огни, расположенные с одной стороны ТС, должны включаться независимо от любых других огней, а также независимо от положения выключателя зажигания Функциональная проверка - 1 Стояночные огни, расположенные с одной стороны ТС, не включаются независимо от любых других огней.
2 Стояночные огни, расположенные с одной стороны ТС, не включаются независимо от положения выключателя зажигания
А.8.26 Габаритные и контурные огни должны работать в постоянном режиме Функциональная проверка - Габаритные и/или контурные огни не работают в постоянном режиме
А.8.27 Дневные ходовые огни, если таковые установлены, должны включаться автоматически, когда выключатель зажигания находится в таком положении, которое не исключает возможности работы двигателя, однако они могут оставаться выключенными при нахождении рычага автоматической коробки передач в положении "Стоянка", или приведенной в действие стояночной тормозной системы, или до начала движения ТС после каждого запуска двигателя вручную. Дневные ходовые огни должны выключаться автоматически при включении фар, в том числе передних противотуманных фар, за исключением тех случаев, когда мигание фар применяется для подачи кратковременных предупреждающих световых сигналов Функциональная проверка - 1 Дневные ходовые огни не включаются автоматически, когда выключатель зажигания находится в таком положении, которое не исключает возможность работы двигателя.
2 Дневные ходовые огни не выключаются автоматически при включении фар (за исключением тех случаев, когда мигание фар применяется для подачи кратковременных предупреждающих световых сигналов)
А.8.28 Фонарь освещения заднего государственного регистрационного знака должен включаться одновременно с габаритными огнями и работать в постоянном режиме Функциональная проверка - 1 Фонарь освещения заднего государственного регистрационного знака не включается одновременно с габаритными огнями.
2 Фонарь освещения заднего государственного регистрационного знака не работает в постоянном режиме

Таблица А.8.1

Применение устройств освещения и световой сигнализации

Наименование внешних световых приборов Цвет излучения Число приборов на ТС Наличие приборов на ТС в зависимости от категории
Фара дальнего света Белый 2 или 4 Обязательно для категорий M, N.
1 или 2 Обязательно для категорий L.
Запрещено для категорий O
Фара ближнего света Белый 2 Обязательно для категорий M, N.
1 или 2 Обязательно для категорий L3, L4, L5, L7. Запрещено для категорий O
Передняя противотуманная фара Белый или желтый 2 Факультативно для категорий M, N.
1 или 2 Факультативно для категорий L3, L4, L5, L7.
Запрещено для категорий O
Фонарь заднего хода Белый 1 или 2 <1> Обязательно для категорий M, N, O2, O3, O4. Факультативно для категорий O1, L5, L7
Указатели поворота Передние Автожелтый 2 Обязательно для категорий M, N, L3, L4, L5, L6 (с закрытым кузовом), L7.
Факультативно для категорий L1, L2, L6 (с открытым кузовом).
Запрещено для категорий O
Указатели поворота Задние Автожелтый 2 Обязательно
Боковые Автожелтый 2 Обязательно для категорий M, N.
Запрещено для категорий O
Аварийная сигнализация <2> Автожелтый   Обязательно для категорий M, N, O, L7
Сигнал торможения Основной Красный 2
1 или 2
Обязательно для категорий M, N.
Обязательно для категорий L
Дополнительный (центральный) Красный 1 или 2 Обязательно для категорий M1, N 1 <3>.
Факультативно для остальных категорий ТС (кроме категории L)
Передний габаритный огонь Белый 2 Обязательно для категорий M, N.
Обязательно для категорий O шириной более 1,6 м.
1 или 2 Факультативно для категорий O шириной не более 1,6 м.
Обязательно для категорий L
Задний габаритный огонь Красный 2 Обязательно
Задний противотуманный фонарь <4> Красный 1 или 2 Обязательно для категорий M, N, O. Факультативно для категорий L3, L4, L5, L7
Стояночный огонь Передний Белый По два спереди и сзади либо по одному с каждой стороны  
Задний Красный
Боковой Автожелтый <5> Факультативно для ТС длиной до 6 м и шириной до 2 м и запрещено на остальных ТС
Боковой габаритный фонарь Автожелтый или красный <6> Не менее двух с каждой стороны Обязательно на ТС длиной более 6 м, за исключением грузовых автомобилей без кузова. Кроме того, на ТС категорий M1 и N 1 длиной менее 6 м, если они не обеспечивают выполнение требований в отношении геометрической видимости передних и задних габаритных огней, должны использоваться боковые габаритные фонари. Факультативно для других категорий ТС
Контурный огонь Передний Белый 2 Обязательно на ТС шириной более 2,1 м. Факультативно для ТС шириной от 1,8 до 2,1 м и для грузовых автомобилей без кузова
Задний Красный 2
Фонарь освещения заднего государственного регистрационного знака Белый Не регламентируется <7> Обязательно
Дневной ходовой огонь Белый 2 Факультативно для категорий M, N. Обязательно для категорий M, N, выпущенных в обращение после 1 января 2016 г.
Запрещено для категорий O
Переднее светоотражающее устройство нетреугольной формы Белый 2 Обязательно для ТС категорий O и на ТС с убирающимися фарами.
Факультативно для других ТС (кроме категории L)
Боковое светоотражающее устройство нетреугольной формы Переднее Желтый Не менее двух с каждой стороны для ТС длиной более 6 м
1 или 2
Обязательно для ТС категории O и ТС категорий M и N длиной более 6 м.
Факультативно для других ТС.
Обязательно для категорий L1 и L3
Боковое Желтый или красный <8> 1 Допускается одно (спереди или сзади) для ТС длиной менее 6 м
Заднее Красный 1 или 2 Обязательно для категорий L1 и L3
Заднее светоотражающее устройство Нетреугольной формы Красный 2 Обязательно для ТС категорий M, N и L. Факультативно для ТС категорий O при группировании с другими задними приборами световой сигнализации
Треугольной формы Красный 2 Обязательно для ТС категорий O.
Запрещено для ТС категорий M и N
Адаптивная система переднего освещения Белый 2 Факультативно для ТС категорий M и N. Запрещено для ТС категорий O
Фонарь угловой Белый 2 Факультативно для ТС категорий M и N
Контурная маркировка Боковая <9> Белая или желтая Один или несколько элементов Запрещено для ТС категорий M1, O1.
Факультативно для категорий M2, M3, N 1, N 2 с технически допустимой максимальной массой до 7,5 тонн.
Обязательно для категорий N 2 с технически допустимой максимальной массой не менее 7,5 тонн, N 3 (кроме седельных тягачей и шасси), O3, O4
Задняя <4> Красная или желтая
<1> Одно устройство обязательно и одно факультативно для ТС длиной, не превышающей 6 м. Два устройства обязательно для ТС всех категорий, кроме ТС длиной, превышающей 6 м.
<2> Аварийная сигнализация представляет собой все одновременно мигающие указатели поворота.
<3> За исключением ТС категории N 1 с открытым грузовым отделением или без кузова.
<4> Обязательна для ТС с габаритной шириной более 2,1 м.
<5> При совмещении с боковыми указателями поворота и боковыми габаритными фонарями.
<6> При группировании, комбинировании или совмещении с задним габаритным, контурным огнями, задним противотуманным фонарем или сигналом торможения или при наличии отчасти общей светоизлучающей поверхности с задним светоотражающим устройством.
<7> Число фонарей освещения заднего регистрационного знака должно быть достаточным для освещения всей его поверхности.
<8> При группировании или наличии общей светоизлучающей поверхности с задним габаритным фонарем, задним контурным огнем, задним противотуманным фонарем, сигналом торможения или красным боковым габаритным фонарем.
<9> Обязательна для ТС с габаритной длиной более 6 м.

Таблица А.8.2

Дополнительные световые приборы

Наименование внешних световых приборов Число приборов на ТС Цвет излучения Дополнительное требование
Фара-прожектор или прожектор-искатель 1 Белый Допускается наличие, если они предусмотрены конструкцией ТС
Фары дальнего света 2 Белый Разрешены на ТС категории N 3. Если на ТС уже имеются четыре фары дальнего света, то дополнительные две фары могут использоваться только в дневное время для подачи кратковременных предупреждающих световых сигналов
Фонари заднего хода 2 Белый Разрешены на ТС, длина которых превышает 6 м. Должны быть установлены симметрично оси ТС
Задние габаритные огни 2 Красный Разрешены. Должны быть установлены симметрично оси ТС, как можно ближе к габаритной ширине ТС и выше обязательных габаритных огней не менее чем на 600 мм
Сигналы торможения Один центральный, когда его установка не является обязательной, два боковых при отсутствии центрального Красный Должны быть направлены непосредственно назад.
Должны располагаться не менее чем на 600 мм выше обязательных сигналов торможения
Сигналы аварийного торможения <1>     Должна быть обеспечена частота мигания (4 +/- 1) Гц
Указатели поворота боковые (повторители) Любое число Автожелтый Должны быть подключены так, чтобы обеспечивалась их синхронная работа с остальными указателями поворота
Указатели поворота задние По два Автожелтый Разрешены. Должны располагаться не менее чем на 600 мм выше обязательных указателей поворота
Внешняя подсветка Любое число Белый Разрешена и может включаться на стоящем ТС с выключенным двигателем при открытии дверей водителя, пассажирских или багажных отсеков. Внешняя подсветка должна быть такой, чтобы ее нельзя было перепутать с другими огнями ТС
Задние светоотражающие устройства Любое число, если они не снижают эффективности обязательных устройств Красный Не должны иметь треугольную форму. Внешняя граница видимой поверхности не должна быть удалена от внешней границы ТС больше чем на 400 мм
Боковые светоотражающие устройства Любое число, если они не снижают эффективности обязательных устройств Автожелтый Внешняя граница видимой поверхности должна быть не ниже 250 мм и не выше 900 мм от опорной поверхности (1500 мм, если расстояние 900 мм невозможно выдержать из-за особенностей конструкции)
<1> Сигналы аварийного торможения представляют собой все одновременно мигающие указатели поворота и сигналы торможения.

Таблица А.8.3

Геометрические показатели расположения светотеневой границы пучка ближнего света фар на матовом экране в зависимости от высоты установки фар

Расстояние от оптического центра фары до плоскости рабочей площадки H, мм Угол регулировки ближнего света фары рис
угл. мин. %
До 600 34 1,00
От 600 до 700 45 1,30
От 700 до 800 52 1,50
От 800 до 900 60 1,76
От 900 до 1000 69 2,00
От 1000 до 1200 75 2,20
От 1200 до 1500 100 2,90

Таблица А.8.4

Геометрические показатели расположения светотеневой границы пучка света противотуманных фар на матовом экране в зависимости от высоты установки фар

Тип фары Расстояние от оптического центра фары до плоскости рабочей площадки H, мм Угол регулировки света противотуманной фары рис
угл. мин. %
B - До 52 До 1,5%
F3 не более 800 От 34 до 85 От 1,0% до 2,5%
F3 свыше 800 От 52 до 104 От 1,5% до 3,0%

а) Для режима "ближний свет" с наклонным правым участком светотеневой границы

Рисунок А.8.1, лист 1 - Схема расположения ТС на посту проверки света фар, форма светотеневой границы и размещение контрольных точек на экране

б) для режима "ближний свет" с ломаным правым участком светотеневой границы

Рисунок А.8.1, лист 2

в) для противотуманных фар

1 - ось отсчета; 2 - горизонтальная (левая) часть светотеневой границы; 3 - наклонная (правая) часть светотеневой границы; 4 - вертикальная плоскость, проходящая через ось отсчета; 5 - плоскость, параллельная плоскости рабочей площадки, на которой установлено ТС; 6 - плоскость матового экрана; 7 - положение контрольной точки для измерения силы света в режиме "ближний свет" в направлении линии, расположенной в одной вертикальной плоскости с осью отсчета под углом 34' выше горизонтальной части светотеневой границы пучка ближнего света; 8 - положение контрольной точки для измерения силы света в режиме "ближний свет" в направлении линии, расположенной в одной вертикальной плоскости с оптической осью прибора для проверки и регулировки фар и направленной под углом 52' ниже горизонтальной части светотеневой границы светового пучка ближнего света; H - расстояние от проекции оптического центра фары до плоскости рабочей площадки; рис - угол наклона светового пучка к горизонтальной плоскости; L - расстояние от оптического центра фары до экрана

Рисунок А.8.1, лист 3

А.9 Оценка соответствия дополнительным требованиям к общей безопасности пассажирских ТС категорий M2 и M3

Таблица А.9

Требование Метод проверки Применяемое измерительное оборудование Основание для признания несоответствия
А.9.1 Противопожарная защита
А.9.1.1 В моторном отделении не допускается использование никакого легковоспламеняющегося звукоизоляционного материала либо материала, абсорбирующего топливо, смазочное масло или другое горючее вещество, если он не покрыт герметичным слоем
Визуальный контроль - В моторном отделении используется:
- легковоспламеняющийся звукоизоляционный материал;
- материал, абсорбирующий топливо, смазочное масло или другое горючее вещество, не покрытый герметичным слоем
(в ред. Изменения N 1, утв. Приказом Росстандарта от 22.11.2021 N 1525-ст)
А.9.1.2 Должны быть предусмотрены меры предосторожности против накопления топлива, смазочного масла или любого другого горючего вещества в любом месте моторного отделения за счет соответствующих конструктивных особенностей или посредством создания дренажных отверстий Визуальный контроль - В моторном отделении ТС не предусмотрены меры предосторожности против накопления топлива, смазочного материала или любого другого горючего вещества
А.9.1.3 Между моторным отделением или любым другим источником тепла (таким как устройство, предназначенное для поглощения энергии, освобождаемой при движении ТС по длинному спуску, например замедлитель, или устройство для отопления салона, кроме любых устройств, обогреваемых жидкостью системы охлаждения двигателя) и остальной частью ТС должна размещаться перегородка из жаропрочного материала. Все крепежные приспособления, зажимы, прокладки и т.д., используемые для перегородки, должны быть огнестойкими Визуальный контроль - Между моторным отделением или любым другим источником тепла и остальной частью ТС:
- перегородка не установлена;
- материал перегородки не является жаропрочным;
- крепежные приспособления, зажимы, прокладки и т. д., используемые для перегородки, не являются огнестойкими
(в ред. Изменения N 1, утв. Приказом Росстандарта от 22.11.2021 N 1525-ст)
А.9.1.4 Наличие каких-либо воспламеняющихся материалов в пределах 100 мм от системы выпуска либо других существенных источников тепла должно допускаться лишь в том случае, если эти материалы надлежащим образом защищены. Для предотвращения попадания смазки или соприкосновения других воспламеняющихся материалов с выхлопной системой или другими существенными источниками тепла должна быть обеспечена соответствующая защита. Для целей настоящего пункта воспламеняющимся материалом считается материал, который не предназначен для того, чтобы выдерживать высокие температуры, которые возможны в месте его использования Визуальный контроль, линейные измерения Рулетка 1 Воспламеняющиеся материалы находятся в пределах 100 мм от выхлопной системы либо других существенных источников тепла и не защищены.
2 Защита от попадания смазки на выхлопную систему или другие существенные источники тепла не обеспечена.
3 Защита от соприкосновения других воспламеняющихся материалов с выхлопной системой или другими существенными источниками тепла не обеспечена
(в ред. Изменения N 1, утв. Приказом Росстандарта от 22.11.2021 N 1525-ст)
А.9.1.5 (не применяется к двухэтажным ТС). Должно быть предусмотрено место для установки одного или нескольких огнетушителей, один из которых должен находиться поблизости от сиденья водителя. В случае помещения огнетушителей в запирающийся ящик либо за легко разбиваемое стекло должны быть четко обозначены места их хранения и обеспечена возможность их беспрепятственного извлечения в аварийной ситуации Визуальный контроль - Огнетушитель:
- место установки не предусмотрено рядом с сиденьем водителя;
- отсутствует обозначение мест хранения;
- отсутствуют средства для беспрепятственного извлечения в аварийной ситуации
А.9.2 Электрооборудование и электропроводка
А.9.2.1 Все провода должны быть надежно изолированы, и вся электропроводка и электрооборудование должны выдерживать воздействие температуры и влажности, которым они подвергаются. Все провода должны быть надежно защищены и прочно прикреплены, чтобы исключалась возможность их обрыва, перетирания или износа
Визуальный контроль - 1 Изоляция проводов отсутствует или недостаточно надежна.
2 Защита проводов отсутствует или недостаточно надежна.
3 Крепление проводов отсутствует или недостаточно надежно.
4 Имеется возможность обрыва, перетирания или износа проводов
А.9.2.2 Все электрические кабели должны быть расположены таким образом, чтобы никакая часть не соприкасалась ни с каким топливопроводом или любой другой деталью системы выпуска и не подвергалась чрезмерному нагреву, если не предусмотрено надлежащей специальной изоляции и защиты Визуальный контроль - Электрические кабели:
- соприкасаются с топливопроводом или с элементом системы выпуска;
- подвергаются чрезмерному нагреву, специальная защита и изоляция отсутствуют
А.9.3 Аккумуляторные батареи
Все аккумуляторные батареи должны быть хорошо закреплены и легкодоступны
Визуальный контроль - Аккумуляторные батареи:
- закреплены ненадежно;
- доступ затруднен
А.9.3.1 Отделение, в котором размещаются аккумуляторные батареи, должно быть отделено от пассажирского салона и отделения водителя и надлежащим образом должно вентилироваться наружным воздухом Визуальный контроль - 1 Аккумуляторный отсек не отделен от пассажирского салона и/или отделения водителя.
2 Надлежащая вентиляция аккумуляторного отсека наружным воздухом не обеспечена
А.9.3.2 Полюса аккумуляторной батареи должны быть защищены от опасности короткого замыкания Визуальный контроль - Защита от опасности короткого замыкания не обеспечена
А.9.4 Аптечки первой помощи (автомобильные)
Должно быть предусмотрено место для установки одной или нескольких аптечек первой помощи (автомобильных). Аптечки могут предохраняться от кражи или вандализма (например, посредством помещения их в запирающийся ящик либо за легко разбиваемое стекло) при условии четкого обозначения мест хранения этих предметов и обеспечения средств для их беспрепятственного извлечения в аварийной ситуации
Визуальный контроль - 1 Место для установки аптечки первой помощи не предусмотрено.
2 Отсутствует обозначение мест хранения аптечек первой помощи.
3 Отсутствует возможность для беспрепятственного извлечения аптечки первой помощи в аварийной ситуации
А.9.5 Число выходов (не применяется к двухэтажным ТС).
А.9.5.1 Минимальное число дверей в ТС должно равняться двум: либо две служебных двери, либо одна служебная дверь и одна запасная дверь. Минимальное число служебных дверей должно соответствовать таблице А.9.1
Визуальный контроль - Минимальное число дверей в ТС не обеспечено
А.9.5.2 Минимальное число служебных дверей в каждой жесткой секции сочлененного ТС должно равняться одному; исключение составляет передняя секция сочлененного автобуса класса I, где минимальное число дверей должно равняться двум. Служебные двери, оборудованные механизированной системой привода, не должны рассматриваться в качестве запасных дверей, если их нельзя легко открывать вручную Визуальный контроль - Минимальное число служебных дверей в каждой секции сочлененного ТС не обеспечено
А.9.5.3 Минимальное число выходов должно быть таким, чтобы общее число выходов в обособленном отделении соответствовало таблице А.9.2. Аварийные люки могут рассматриваться лишь в качестве одного из вышеуказанных аварийных выходов.
А.9.5.4 Для целей определения минимального числа и расположения выходов каждую жесткую секцию сочлененного ТС следует рассматривать в качестве отдельного ТС. Для целей определения числа запасных выходов туалет и кухня не считаются обособленными отделениями. Число пассажиров должно определяться для каждой жесткой секции.
А.9.5.5 Двойная служебная дверь рассматривается в качестве двух дверей, а двойное или комбинированное окно - как два запасных окна
Визуальный контроль - Минимальное число выходов не обеспечено
А.9.5.6 Если отделение водителя не соединено с пассажирским салоном с помощью прохода, должны соблюдаться следующие условия:
А.9.5.6.1 Отделение водителя должно быть оснащено двумя выходами, которые не должны быть расположены на одной и той же боковой стенке; если одним из выходов является окно, то оно должно удовлетворять требованиям, предъявляемым к запасным окнам и изложенным в пунктах А.9.7.1 и А.9.12.
А.9.5.6.2 Сбоку от водителя допускается установка одного или двух сидений для дополнительных пассажиров; в этом случае выходами являются двери. Водительская дверь рассматривается в качестве запасной двери для лиц, занимающих вышеуказанные сиденья, при условии, что водительское сиденье, рулевое колесо, кожух двигателя, рычаг переключения передач, рычаг ручного тормоза и т.п. не затрудняют выход. Дверь, предусмотренная для вышеупомянутых лиц, считается в качестве запасной двери для водителя
Визуальный контроль - 1 Выходы отделения водителя:
- менее двух;
- расположены на одной и той же боковой стенке.
2 Окно, которое рассматривается как один из выходов, не соответствует требованиям, предъявляемым к запасным окнам.
3 При установке сидений для дополнительных пассажиров сбоку от водителя:
- водительское сиденье, рулевое колесо, кожух двигателя, рычаг переключения передач, рычаг ручного тормоза и т.п. затрудняют выход;
- количество сидений не соответствует требованиям;
- сиденья и предусмотренное для них пространство не удовлетворяют требованиям;
- дверь, обеспечивающая доступ в пассажирский салон, не отвечает требованиям, предъявляемым к запасным дверям
А.9.5.7 Если к отделению водителя и любым местам, расположенным рядом с ним, обеспечивается доступ из остальной части пассажирского салона за счет соответствующего прохода, внешний выход из отделения водителя не требуется.
Примечание - Этот случай не исключает наличия двери или другого барьера между сиденьем водителя и пассажирским салоном при условии, что этот барьер может быть быстро снят водителем в аварийной ситуации. Водительская дверь в отделении, закрытом таким барьером, не рассматривается в качестве выхода для пассажиров.
Визуальный контроль - Барьер между сиденьем водителя и пассажирским салоном не может быть быстро снят водителем в аварийной ситуации
А.9.5.8 Помимо запасных дверей и окон в ТС классов II, III и B должны иметься аварийные люки. Ими также могут оборудоваться ТС классов I и A. Минимальное число люков должно соответствовать таблице А.9.3 Визуальный контроль -- Аварийные люки отсутствуют или имеются в недостаточном количестве
А.9.6 Расположение выходов (не применяется к двухэтажным ТС).
Примечание - ТС вместимостью не более 22 пассажиров могут отвечать либо требованиям пункта А.9.6, либо требованиям пункта А.9.21.

А.9.6.1 Служебная дверь(и) должна(ы) располагаться с правой стороны ТС, причем в случае двух и более дверей как минимум одна из них должна находиться в передней половине ТС. Это не исключает наличия двери в задней торцевой части ТС, предназначенной для использования пассажирами в инвалидных колясках
Визуальный контроль - Служебные двери:
- располагаются с левой стороны;
- отсутствуют в передней половине ТС
А.9.6.2 По крайней мере один аварийный выход должен быть расположен соответственно в задней или в передней торцевой части ТС. Для ТС класса I и для ТС, в которых задняя часть полностью обособлена от пассажирского салона, это предписание считается выполненным, если установлен аварийный люк Визуальный контроль - Аварийный выход отсутствует в задней или в передней торцевой части ТС (не относится к ТС класса I и ТС, в которых задняя часть полностью обособлена от пассажирского салона с установленным аварийным люком)
А.9.6.3 При наличии аварийных люков они должны размещаться следующим образом: если имеется только один люк, то он должен устанавливаться в средней трети ТС; если имеются два люка, то расстояние между ближайшими краями отверстий, измеренное по линии, параллельной продольной оси ТС, должно быть не менее 2 м Визуальный контроль, линейные измерения Рулетка 1 Аварийный люк находится не в средней трети ТС (в случае установки одного люка).
2 Расстояние между ближайшими краями отверстий люков, измеренное по линии, параллельной продольной оси ТС, менее 2 м (в случае установки двух и более люков)
А.9.7 Минимальные размеры выходов
А.9.7.1 Для выходов различных типов должны соблюдаться минимальные размеры, приведенные в таблице А.9.4
Визуальный контроль, линейные измерения, проверка с применением шаблона 1 Рулетка.
2 Шаблон для определения соответствия размеров аварийных окон
Размеры выходов не соответствуют требованиям
А.9.8 Технические требования ко всем служебным дверям
А.9.8.1 Каждая служебная дверь должна легко открываться изнутри и снаружи ТС, когда ТС находится в неподвижном состоянии (данное условие не является обязательным для движущегося ТС). Однако это требование не должно толковаться как исключающее возможность запирания дверей снаружи при условии, что эту дверь всегда можно открыть изнутри
Функциональная проверка - Служебная дверь:
- не открывается изнутри;
- не открывается снаружи
А.9.8.2 Каждая открываемая и закрываемая вручную одинарная служебная дверь, навешиваемая на петлях или шарнирах, должна устанавливаться таким образом, чтобы при ее соприкосновении в открытом положении с неподвижным объектом во время движения ТС вперед она перемещалась в сторону закрывания. Если открываемая и закрываемая вручную служебная дверь оборудована английским замком, то он должен быть двухпозиционного типа Функциональная проверка - 1 Одинарная служебная дверь, навешиваемая на петлях или шарнирах, перемещается в сторону открывания при соприкосновении в открытом положении с неподвижным объектом во время движения ТС вперед.
2 Английский замок не является двухпозиционным
А.9.8.3 На внутренней стороне служебной двери не должно иметься никаких устройств, предназначенных для закрывания внутренних ступенек, когда дверь находится в закрытом положении. Это не исключает наличия в нише ступенек, когда дверь находится в закрытом положении, механизма управления дверью и другого оборудования, смонтированного на внутренней стороне двери и не являющегося частью пола, на которой можно стоять. Этот механизм и оборудование не должны представлять опасности для пассажиров Визуальный контроль - 1 На внутренней стороне служебной двери имеется устройство, предназначенное для закрывания внутренних ступенек, когда дверь находится в закрытом положении.
2 Механизм управления дверью или другое оборудование, смонтированное на внутренней стороне двери и не являющееся частью пола, на которой можно стоять, не является безопасным для пассажиров
А.9.8.4 Если прямой обзор является недостаточным, необходимо устанавливать оптические или другие устройства, позволяющие водителю со своего места видеть пассажиров, находящихся в непосредственной близости снаружи от каждой служебной двери, не являющейся автоматической. В случае служебной двери в задней торцевой части ТС вместимостью не более 22 пассажиров это требование считается выполненным, если водитель способен обнаружить присутствие объекта высотой 1,3 м, находящегося на расстоянии 1 м позади ТС Визуальный контроль, проверка с применением шаблона Шаблон высотой 1,3 м Отсутствие возможности для водителя видеть пассажиров, находящихся в непосредственной близости снаружи от каждой служебной двери, не являющейся автоматической
А.9.8.5 Если служебная дверь прилегает к двери туалета или другого внутреннего отделения, то такая служебная дверь должна быть оборудована устройством, предотвращающим ее непреднамеренное открывание. Однако это предписание не должно применяться, если служебная дверь закрывается автоматически при движении ТС со скоростью более 5 км/ч Функциональная проверка - Устройство, предотвращающее непреднамеренное открывание служебной двери, прилегающей к двери туалета или другого внутреннего отделения, отсутствует, и дверь не закрывается автоматически при движении ТС со скоростью более 5 км/ч
А.9.9 Дополнительные технические требования к автоматическим служебным дверям
Механизмы открывания каждой автоматической служебной двери должны приводиться в действие и отключаться только водителем с его сиденья. Приведение в действие и отключение может быть либо прямым, при помощи выключателя, либо косвенным, например, путем открывания и закрывания передней служебной двери
Функциональная проверка - Расположение органов управления механизмами открывания автоматических служебных дверей не соответствует требованиям
А.9.10 Закрывание автоматических служебных дверей
А.9.10.1 После того как автоматическая служебная дверь открылась, она должна закрыться вновь автоматически по истечении определенного периода времени. Если в течение этого периода времени в ТС входит или из него выходит пассажир, приспособление безопасности (например, контактная панель в полу, световой барьер, проход в одном направлении) должно обеспечивать достаточный интервал времени до закрывания двери
Функциональная проверка - 1 Дверь автоматически не закрывается по истечении определенного периода времени.
2 Приспособление безопасности:
- отсутствует;
- не обеспечивает достаточный интервал времени до закрывания двери
А.9.10.2 Если пассажир входит в ТС или выходит из него во время закрывания двери, процесс закрывания должен прерываться автоматически, и дверь должна возвращаться в открытое положение Функциональная проверка - Если пассажир входит в ТС или выходит из него во время закрытия двери, процесс закрывания не прерывается, и дверь не возвращается в открытое положение
А.9.10.3 После отключения водителем механизмов открывания автоматической служебной двери открытые двери должны закрыться в соответствии с требованиями А.9.10.1 и А.9.10.2 Функциональная проверка - Двери не закрываются после отключения водителем механизмов открывания
А.9.11 Требования к запасным дверям
А.9.11.1 Запасные двери должны легко открываться изнутри и снаружи, когда ТС находится в неподвижном состоянии. Однако это требование не должно толковаться как исключающее возможность запирания двери снаружи при условии, что она всегда может быть открыта изнутри при помощи обычного механизма открывания двери
Функциональная проверка - Запасная дверь:
- не открывается изнутри;
- не открывается снаружи
А.9.11.2 Запасные двери, используемые в качестве таковых, не должны иметь механического привода, кроме тех случаев, когда после приведения в действие и возвращения в обычное положение механизма управления двери не закрываются вновь, пока водитель не включит механизм их закрывания. Они также не должны быть раздвижного типа, кроме как на ТС вместимостью не более 22 пассажиров Функциональная проверка - Запасные двери:
- имеют механический привод (не относится к случаю, когда после приведения в действие и возвращения в обычное положение механизма управления двери не закрываются вновь, пока водитель не включит механизм их закрывания);
- раздвижного типа (не относится к ТС вместимостью не более 22 пассажиров)
А.9.11.3 Навесные запасные двери, установленные на боковой части ТС, должны навешиваться передней частью и открываться наружу. Ремни, ограничивающие открывание двери, цепочки или другие ограничивающие устройства допускаются, если они не препятствуют свободному открыванию дверей на угол не менее 100° и позволяют им оставаться в этом положении. Если имеются достаточные средства для обеспечения свободного доступа к запасной двери, требование в отношении минимального угла 100° не применяется Функциональная проверка - 1 Навесные запасные двери, установленные на боковой части ТС:
- навешиваются задней частью;
- открываются внутрь.
2 Ремни, ограничивающие открывание двери, цепочки или другие ограничивающие устройства препятствуют свободному открыванию дверей на угол не менее 100° и не позволяют им оставаться в этом положении (за исключением наличия достаточных средств для обеспечения свободного доступа к запасной двери)
А.9.11.4 Запасные двери должны быть оборудованы устройством, предотвращающим их непреднамеренное открывание. Однако это требование не применяется, если запасная дверь закрывается автоматически при движении ТС со скоростью более 5 км/ч Функциональная проверка - Запасные двери не оборудованы устройством, предотвращающим их непреднамеренное открывание (кроме случаев, когда запасная дверь закрывается автоматически при движении ТС со скоростью более 5 км/ч)
А.9.11.5 Все запасные двери должны быть оснащены звуковым устройством, предупреждающим водителя о том, что они закрыты неплотно. Предупреждающее устройство должно приводиться в действие движением фиксатора или рукоятки двери, а не движением самой двери Функциональная проверка - Звуковое устройство, предупреждающее водителя о том, что запасные двери закрыты неплотно, отсутствует или неработоспособно
А.9.12 Требования к запасным окнам
А.9.12.1 Любое навесное или откидное запасное окно должно открываться наружу
Функциональная проверка -  
А.9.12.2 Любое запасное окно должно:
А.9.12.2.1 Либо легко и быстро открываться изнутри и снаружи ТС при помощи соответствующего приспособления.
А.9.12.2.2 Либо иметь легко разбиваемое предохранительное стекло. Последнее положение исключает возможность использования слоистого стекла или стекла, изготовленного из пластического материала. Вблизи каждого запасного окна должно быть установлено приспособление, легко доступное для лиц, находящихся в ТС, с тем чтобы можно было разбить каждое окно
Функциональная проверка - 1 Запасное окно:
- не открывается изнутри;
- не открывается снаружи.
2 Легко разбиваемое предохранительное стекло отсутствует.
3 Приспособление, легко доступное для лиц, находящихся в ТС, с тем чтобы можно было разбить каждое окно, отсутствует
А.9.12.3 Каждое запасное окно, которое может быть заперто снаружи, должно быть сконструировано таким образом, чтобы его в любое время можно было открыть изнутри ТС Функциональная проверка - Открытие запасного окна изнутри ТС не обеспечено
А.9.12.4 Запасное навесное окно с петлями, установленными горизонтально в верхней кромке, должно быть оборудовано соответствующим механизмом для его удержания в полностью открытом положении. Каждое навесное аварийное окно должно открываться и закрываться таким образом, чтобы не препятствовать свободному доступу внутрь ТС или выходу из него Функциональная проверка - 1 Механизм удержания окна с петлями, установленными горизонтально в верхней кромке, отсутствует.
2 Навесное аварийное окно при открытии препятствует свободному доступу внутрь ТС или выходу из него
А.9.13 Требования к аварийным люкам
А.9.13.1 Каждый аварийный люк должен открываться и закрываться таким образом, чтобы не препятствовать свободному доступу внутрь ТС или выходу из него
Функциональная проверка - Аварийный люк при открытии препятствует свободному доступу внутрь ТС или выходу из него
А.9.13.2 Запасные люки в крыше должны быть откидными, навесными или изготовленными из легко разбиваемого предохранительного стекла.
Запасные люки в полу должны быть защищены от непроизвольного срабатывания. Однако данное требование не применяется, если люк в полу запирается автоматически при движении ТС со скоростью более 5 км/ч
Функциональная проверка - 1 Люки в крыше не являются откидными, навесными или изготовленными из легко разбиваемого предохранительного стекла.
2 Люки в полу не защищены от произвольного срабатывания (не применяется, если люк в полу запирается автоматически при движении ТС со скоростью более 5 км/ч)
А.9.13.3 Люки откидного типа не должны полностью отделяться от ТС при открывании, чтобы люк не представлял никакой опасности для других участников дорожного движения. Откидные люки в полу должны открываться только внутрь пассажирского салона Функциональная проверка - 1 Люк откидного типа полностью отделяется от ТС при открывании.
2 Люк откидного типа в полу открывается не внутрь пассажирского салона
А.9.13.4 Аварийные люки должны легко открываться или сниматься как изнутри, так и снаружи. В случае легко разбиваемого люка поблизости от него должно быть установлено устройство, легко доступное для лиц, находящихся в ТС, с тем чтобы люк можно было разбить Функциональная проверка - 1 Аварийные люки:
- не открываются изнутри;
- не открываются снаружи.
2 Отсутствует устройство, легко доступное для лиц, находящихся в ТС, с тем чтобы люк можно было разбить, (в случае легко разбиваемого люка)
А.9.14 Надписи
А.9.14.1 Изнутри и снаружи ТС каждый запасной выход должен обозначаться надписью "Запасной выход", дополненной при необходимости соответствующим международным обозначением.
Примечание - Надпись выполняется на русском языке и может дублироваться на государственном языке государства - члена Таможенного союза.
Визуальный контроль - Запасные выходы не обозначены надписью "Запасной выход"
А.9.14.2 Механизмы аварийного управления служебными дверями и всеми запасными выходами изнутри и снаружи ТС должны обозначаться как таковые соответствующим знаком или четкой надписью на русском языке, которая может дублироваться на государственном языке государства - члена Таможенного союза Визуальный контроль - Механизмы аварийного управления служебными дверями и всеми запасными выходами:
- не обозначены изнутри ТС;
- не обозначены снаружи ТС
А.9.14.3 На каждом механизме аварийного управления запасными выходами или около каждого из них должны иметься четкие инструкции о пользовании ими на русском языке, которые могут дублироваться на государственном языке государства - члена Таможенного союза Визуальный контроль - Четкие инструкции о пользовании механизмами аварийного управления запасными выходами на русском языке отсутствуют
А.9.15 Внутренняя планировка
А.9.15.1 Внутренняя планировка должна обеспечивать доступ пассажиров к служебным дверям, запасным дверям, запасным окнам, аварийным люкам в крыше, аварийным люкам в полу
Проверка обеспечения доступа к служебным дверям, запасным дверям, запасным окнам, аварийным люкам в крыше, аварийным люкам в полу с помощью шаблонов 1 Шаблоны для проверки обеспечения доступа к служебным дверям.
2 Шаблоны для проверки обеспечения доступа к запасным окнам.
3 Шаблоны для проверки обеспечения доступа к основным проходам
Не обеспечен доступ пассажиров к:
- служебным дверям;
- запасным дверям;
- запасным окнам;
- аварийным люкам в крыше;
- аварийным люкам в полу
А.9.15.2 Пол проходов, обеспечивающих доступ, должен иметь препятствующую скольжению поверхность Функциональная проверка - Поверхность пола проходов, обеспечивающих доступ, не препятствует скольжению
А.9.16 Связь с водителем
На ТС классов I, II и A должны быть предусмотрены устройства, позволяющие пассажирам передавать водителю сигнал для остановки ТС. Элементы управления всеми такими устройствами связи должны
иметь выступающие кнопки, которые на ТС классов I и A должны находиться на высоте не более 1200 мм от уровня пола и иметь контрастную расцветку. Эти элементы управления должны быть распределены равномерно по всему ТС
Визуальный контроль и функциональная проверка - 1 Устройства, позволяющие пассажирам передавать водителю сигнал для остановки ТС, отсутствуют.
2 Элементы управления этими устройствами:
- не имеют выступающих кнопок;
- не соответствуют требованиям к расположению по высоте;
- не имеют контрастной расцветки;
- не распределены равномерно по всему ТС
А.9.17 Электрический свет внутри салона должен обеспечивать искусственное внутреннее освещение:
А.9.17.1 Всех пассажирских салонов, отделений экипажа, туалетов и поворотной секции сочлененного ТС.
А.9.17.2 Всех ступенек.
А.9.17.3 Подходов ко всем выходам и зоны, прилегающей к служебной(ым) двери(ям).
А.9.17.4 Внутренних обозначений и надписей и внутренних механизмов управления всеми выходами.
А.9.17.5 Всех мест, где имеются какие-либо препятствия
Функциональная проверка - Не обеспечивается достаточное освещение:
- пассажирских салонов, отделений экипажа, туалетов и поворотной секции сочлененного ТС;
- ступенек;
- подходов ко всем выходам и зоны, прилегающей к служебной двери;
- внутренних обозначений и надписей и внутренних механизмов управления всеми выходами;
- всех мест, где имеются какие-либо препятствия
А.9.18 Поворотная секция сочлененных ТС
А.9.18.1 Если сочлененное ТС в снаряженном состоянии стоит на ровной горизонтальной поверхности, то между полом любой из его жестких секций и полом вращающейся площадки или элемента, который ее заменяет, не должно быть неприкрытого зазора, ширина которого превышала бы:
А.9.18.1.1 10 мм, когда все колеса ТС расположены на одной плоскости, или
А.9.18.1.2 20 мм, когда колеса смежной с поворотной секцией оси находятся на поверхности, расположенной на 150 мм выше поверхности, на которую опираются колеса остальных осей
Визуальный контроль, линейные измерения Линейка Между полом любой из жестких секций сочлененного ТС и полом вращающейся площадки или элемента, который ее заменяет, находится неприкрытый зазор, ширина которого составляет:
- более 10 мм (в случае, когда все колеса ТС расположены на одной плоскости);
- более 20 мм (в случае, когда колеса смежной с поворотной секцией оси находятся на поверхности, расположенной на 150 мм выше поверхности, на которую опираются колеса остальных осей)
А.9.18.2 Перепад между уровнем пола жестких секций и уровнем пола вращающейся площадки, измеренный в месте соединения, не должен превышать:
А.9.18.2.1 20 мм при условиях, описанных выше, в пункте А.9.18.1.1, или
А.9.18.2.2 30 мм при условиях, описанных выше, в пункте А.9.18.1.2
Визуальный контроль, линейные измерения Линейка Перепад между уровнем пола жестких секций и уровнем пола вращающейся площадки, измеренный в месте соединения составляет:
- более 20 мм (в случае, когда все колеса ТС расположены на одной плоскости);
- более 30 мм (в случае, когда колеса смежной с поворотной секцией оси находятся на поверхности, расположенной на 150 мм выше поверхности, на которую опираются колеса остальных осей)
А.9.18.3 На сочлененных ТС должны быть предусмотрены средства, препятствующие доступу пассажиров в любой участок поворотной секции, где:
А.9.18.3.1 В полу имеется неприкрытый зазор, величина которого не соответствует предписаниям пункта А.9.18.1.1.
А.9.18.3.2 Пол не выдерживает массы пассажиров
Функциональная проверка - Не предусмотрены средства, препятствующие доступу пассажиров в участок поворотной секции, где:
- в полу имеется неприкрытый зазор, величина которого не соответствует предписаниям пункта А.9.18.1.1;
- пол не выдерживает массы пассажиров
А.9.19 Поручни и опоры для рук
А.9.19.1 Сечение поручней и опор для рук должно быть таким, чтобы пассажир мог легко ухватиться за них и крепко держаться. Длина любого поручня должна быть не менее 100 мм, чтобы на нем могла поместиться кисть руки
Визуальный контроль, линейные измерения Рулетка Длина поручня и/или опоры для рук менее 100 мм
А.9.19.2 Свободное пространство между поручнями или опорами для рук и смежной частью потолка или стенок ТС должно быть не менее 40 мм. Однако в случае дверного поручня или поручня у сиденья или в обеспечивающем доступ проходе ТС классов II, III или B допускается минимальное свободное пространство в 35 мм Визуальный контроль, линейные измерения Рулетка Свободное пространство между поручнями или опорами для рук и смежной частью потолка или стенок ТС:
- менее 40 мм (кроме ТС классов II, III или B);
- менее 35 мм (для ТС классов II, III или B)
А.9.19.3 Поверхности каждого поручня, опоры для рук или стойки должны иметь контрастную окраску и быть нескользкими Функциональная проверка - Поверхность поручня, опоры для рук или стойки:
- не имеет контрастной окраски;
- скользкая
А.9.19.4 Поручни и опоры для рук у служебных дверей. Дверные проемы должны оборудоваться поручнями и/или опорами для рук с обеих сторон. Для двойных дверей это предписание может считаться выполненным, если установлена одна центральная стойка или один поручень Визуальный контроль - Дверные проемы поручнями и/или опорами для рук с обеих сторон не оборудованы
А.9.20 Ограждение проемов для ступенек
Если сидящий пассажир может быть выброшен вперед в проем для ступенек в результате резкого торможения, то должно быть предусмотрено соответствующее ограждение. Это ограждение должно устанавливаться на высоте не менее 800 мм от пола, где находятся ноги пассажира, и простираться от стенки ТС внутрь салона не менее чем на 100 мм за продольную осевую линию того места для сидения, где пассажир подвергается опасности, или до подъема первой ступеньки, причем берется меньшее из этих двух расстояний
Визуальный контроль, линейные измерения Рулетка Ограждение проемов для ступенек:
- не установлено (если необходимо);
- установлено на высоте менее 800 мм от пола;
- простирается от стенки ТС внутрь салона менее чем на 100 мм за продольную осевую линию того сидячего места, где пассажир подвергается опасности, или до подъема первой ступеньки
А.9.21 Специальные требования к ТС вместимостью не более 22 пассажиров
А.9.21.1 Минимальные размеры выходов
Для выходов различных типов должны соблюдаться размеры, указанные в таблице А.9.5
Визуальный контроль, линейные измерения Рулетка Минимальные размеры выходов не соответствуют требованиям
А.9.21.2 ТС вместимостью не более 22 пассажиров должно отвечать требованиям таблицы А.9.5 в отношении запасных окон и аварийных люков и минимальным требованиям для служебных дверей и запасных дверей, приведенным в таблице А.9.6 Визуальный контроль, линейные измерения Рулетка 1 Запасные окна не соответствуют требованиям таблицы А.9.5.
2 Аварийные люки не соответствуют требованиям таблицы А.9.5.
3 Служебные двери не соответствуют требованиям таблицы А.9.6.
4 Запасные двери не соответствуют требованиям таблицы А.9.6
А.9.21.3 Расположение выходов:
А.9.21.3.1 Служебная(ые) дверь(и) должна(ы) располагаться с правой стороны ТС или в задней торцевой части ТС
Визуальный контроль - Расположение служебных дверей не соответствует требованиям
А.9.21.3.2 Выходы должны располагаться таким образом, чтобы с каждой стороны ТС имелся по крайней мере один выход Визуальный контроль - Выход отсутствует:
- с правой стороны ТС;
- с левой стороны ТС
А.9.21.3.3 В передней половине и задней половинах пространства для пассажиров должно быть предусмотрено по крайней мере по одному выходу Визуальный контроль - Выход отсутствует:
- в передней половине пространства для пассажиров;
- в задней половине пространства для пассажиров
А.9.21.3.4 При отсутствии аварийного люка по крайней мере один выход должен быть предусмотрен либо в задней торцевой части, либо в передней торцевой части ТС Визуальный контроль - Выход отсутствует в задней или передней торцевой части ТС
А.9.22 Особые требования к двухэтажным ТС
А.9.22.1 Должно быть предусмотрено место для установки двух огнетушителей, один из которых должен находиться поблизости от сиденья водителя, а другой - на верхнем этаже
Визуальный контроль - Огнетушитель:
- отсутствует поблизости сиденья водителя;
- отсутствует на верхнем этаже
А.9.22.2 Число выходов
А.9.22.2.1 На нижнем этаже каждого двухэтажного ТС должно быть предусмотрено две двери. Минимальное число служебных дверей должно соответствовать указанному в таблице А.9.7
Визуальный контроль - Минимальное число дверей не соответствует требованиям
А.9.22.2.2 Минимальное число запасных выходов должно быть таким, чтобы общее число выходов соответствовало указанным в таблице А.9.4 значениям, причем число выходов для каждого отдельного этажа и каждого обособленного отделения определяется по отдельности. Для целей определения числа запасных выходов туалет и кухня не считаются обособленными отделениями. Аварийные люки могут рассматриваться лишь в качестве одного из вышеуказанных запасных выходов Визуальный контроль - Минимальное число запасных выходов не соответствует требованиям
А.9.22.2.3 Помимо запасных дверей и окон в крыше верхнего этажа ТС классов II и III должны иметься аварийные люки. Ими также могут оборудоваться ТС класса I. В таком случае минимальное число люков должно соответствовать указанному в таблице А.9.5 при условии, что указанное число пассажиров располагается на верхнем этаже Визуальный контроль - Минимальное число аварийных люков не соответствует требованиям
А.9.22.2.4 Каждая междуэтажная лестница рассматривается в качестве выхода с верхнего этажа      
А.9.22.2.5 Все лица, размещенные на нижнем этаже, в аварийной ситуации должны иметь возможность покинуть ТС без необходимости входа на верхний этаж Визуальный контроль - Отсутствует возможность покинуть ТС без необходимости входа на верхний этаж
А.9.22.2.6 Основной проход на верхнем этаже должен быть соединен с проходом к служебной двери или с основным проходом на нижнем этаже с помощью одной или нескольких междуэтажных лестниц, находящихся на расстоянии менее 3 м от служебной двери:
А.9.22.2.6.1 В ТС классов I и II должны иметься две лестницы или по крайней мере одна лестница, ведущая к нижнему проходу, и одна лестница, ведущая к аварийному выходу, если на верхнем этаже перевозится более 50 пассажиров;
А.9.22.2.6.2 В ТС класса III должно иметься две лестницы или по крайней мере одна лестница, ведущая к нижнему проходу, и одна лестница, ведущая к аварийному выходу, если на верхнем этаже перевозится более 30 пассажиров
Визуальный контроль, линейные измерения Рулетка 1 Междуэтажные лестницы:
- отсутствуют;
- находятся на расстоянии более 3 м от служебной двери.
2 Установлено менее двух лестниц
А.9.22.3 Расположение выходов
А.9.22.3.1 Выходы на каждом этаже должны располагаться таким образом, чтобы их число с обеих сторон ТС было практически одинаковым
Визуальный контроль - Выходы расположены неравномерно по сторонам ТС
А.9.22.3.2 На верхнем этаже по крайней мере один аварийный выход должен быть расположен соответственно либо в задней, либо в передней торцевой части ТС Визуальный контроль - Аварийный выход не предусмотрен ни в задней, ни в передней торцевой части верхнего этажа ТС
А.9.22.4 Поручни и опоры для междуэтажных лестниц
Все междуэтажные лестницы с обеих сторон должны оснащаться поручнями или опорами для рук, которые устанавливаются на высоте (800 - 1110) мм от поверхности каждой ступеньки
Визуальный контроль, линейные измерения Рулетка Поручни и опоры междуэтажных лестниц:
- не установлены;
- установлены на высоте менее 800 мм от поверхности каждой ступеньки;
- установлены на высоте более 1110 мм от поверхности каждой ступеньки
А.9.22.5 Ограждение проемов для ступенек и неогражденные сиденья
А.9.22.5.1 На верхнем этаже двухэтажного ТС проем междуэтажной лестницы должен предохраняться ограждением высотой не менее 800 мм от пола. Нижний край ограждения должен находиться на высоте не более 100 мм от пола
Визуальный контроль, линейные измерения Рулетка Ограждение проемов для ступенек:
- не установлено на верхнем этаже;
- установлено на высоте менее 800 мм от пола;
- нижний край находится на высоте более 100 мм от пола
А.9.22.5.2 Ветровое стекло перед пассажирами, занимающими передние места на верхнем этаже, должно оснащаться ограждением из набивочного материала. Верхний край этого ограждения должен располагаться вертикально на высоте (800 - 900) мм от пола, где находятся ноги пассажира Визуальный контроль, линейные измерения Рулетка 1 Ограждение из набивочного материала отсутствует.
2 Верхний край ограждения расположен на высоте менее 800 мм от пола.
3 Верхний край ограждения расположен на высоте более 900 мм от пола
А.9.22.5.3 Подъем каждой ступеньки и лестницы должен быть закрыт Визуальный контроль - Подъем ступенек и лестницы не закрыт
А.9.23 Требования к дополнительной маркировке для ТС категорий M2 и M3
А.9.23.1 ТС категорий M2 и M3 должны иметь четкую маркировку, хорошо видимую изнутри и нанесенную вблизи передней двери в виде букв или пиктограмм высотой не менее 15 мм и цифр высотой не менее 25 мм, на которой должны быть указаны:
А.9.23.1.2 Максимальное число сидящих пассажиров, которое может перевозиться в ТС.
Визуальный контроль, линейные измерения Линейка 1 Маркировка, нанесенная вблизи передней двери в виде букв или пиктограмм и цифр, отсутствует.
2 Маркировка нечеткая и/или не видна.
3 Пиктограммы или буквы имеют высоту менее 15 мм.
4 Цифры имеют высоту менее 25 мм.
5 Маркировка не содержит всю требуемую информацию.
6 Маркировка не содержит информацию для всех вариантов планировок ТС
(в ред. Изменения N 1, утв. Приказом Росстандарта от 22.11.2021 N 1525-ст)
А.9.23.1.3 В соответствующем случае - максимальное число стоящих пассажиров, которое может перевозиться в ТС.      

А.9.23.2 В случае если конструкция ТС позволяет изменять число мест для сидения, пространство, предназначенное для стоящих пассажиров, или число перевозимых инвалидных колясок, то требование пункта А.9.23.1 применяется в отношении каждой компоновки с максимальным числом мест для сидения и с соответствующим числом инвалидных колясок и стоящих пассажиров
     
А.9.24 Аварийный выключатель дверей и сигнал требования остановки, аварийные выходы и устройства приведения их в действие, приборы внутреннего освещения салона, привод управления дверями и сигнализация их работы должны быть работоспособны Функциональная проверка - 1 Аварийный выключатель дверей неработоспособен.
2 Сигнал требования остановки неработоспособен.
3 Аварийные выходы и/или устройства приведения их в действие неработоспособны.
4 Приборы внутреннего освещения салона неработоспособны.
5 Привод управления дверями и/или сигнализация их работы неработоспособны
А.9.25 Аварийные выходы должны быть обозначены и снабжены табличками по правилам их использования Визуальный контроль - 1 Аварийные выходы не обозначены.
2 Таблички с правилами использования аварийных выходов отсутствуют
А.9.26 Детали приведения в действие аварийных выходов (рукоятки, скобы, ручки и др.) должны быть четко обозначены как предназначенные для использования в аварийной ситуации Визуальный контроль - Детали приведения в действие аварийных выходов не обозначены соответствующим образом
А.9.27 Не допускается оборудование салона дополнительными элементами конструкции или создание иных препятствий, ограничивающих свободный доступ к аварийным выходам Визуальный контроль, при необходимости - проверка обеспечения доступа к аварийным выходам с помощью шаблонов 1 Шаблоны для проверки обеспечения доступа к запасным окнам.
2 Шаблоны для проверки обеспечения доступа к основным проходам
Имеются препятствия, ограничивающие доступ к аварийным выходам
А.9.28 Поручни должны быть закреплены в местах, предусмотренных конструкцией ТС Визуальный контроль - Места крепления поручней отличаются от изначально предусмотренных конструкцией ТС
А.9.29 Сквозная коррозия или разрушение пола пассажирского помещения не допускаются Визуальный контроль - Присутствует сквозная коррозия и/или разрушение пола пассажирского помещения
А.9.30 Установка дополнительных мест для сидения пассажиров, не предусмотренных конструкцией ТС, не допускается Визуальный контроль - На ТС установлены дополнительные места для сидения пассажиров, не предусмотренные конструкцией ТС
А.9.31 Спереди и сзади автобуса для перевозки детей должны быть установлены опознавательные знаки "Перевозка детей" в соответствии с Правилами дорожного движения государств - членов Таможенного союза Визуальный контроль - Отсутствуют опознавательные знаки "Перевозка детей" спереди и/или сзади ТС
А.9.32 На наружных боковых сторонах кузова, а также спереди и сзади по оси симметрии автобуса для перевозки детей должны быть нанесены контрастные надписи "ДЕТИ" прямыми прописными буквами высотой не менее 25 см и толщиной не менее 1/10 ее высоты. Надписи выполняются на русском языке и могут дублироваться на государственном языке государства - члена Таможенного союза.
Наличие других обозначений или надписей вблизи указанных надписей (на расстоянии не менее 1/2 их высоты) не допускается
Визуальный контроль, линейные измерения Рулетка 1 Контрастные надписи "ДЕТИ" на наружных боковых сторонах кузова, спереди и/или сзади по оси симметрии автобуса для перевозки детей отсутствуют.
2 Высота надписи "ДЕТИ" менее 25 см.
3 Толщина надписи "ДЕТИ" менее 1/10 ее высоты.
4 Вблизи с надписями "ДЕТИ" (на расстоянии не менее 1/2 их высоты) имеет место наличие каких-либо других обозначений или надписей
А.9.33 Кузов автобуса для перевозки детей должен быть окрашен в желтый цвет Визуальный контроль -  
А.9.34 Дополнительные требования к троллейбусам      
А.9.34.1 Натяжные пружины токоприемника должны быть отрегулированы таким образом, чтобы усилие нажатия токоприемника на высоте подвески контактного провода 5,8 м составляло (120 - 140) Н Проверка регулировки натяжных пружин токоприемника с помощью устройства для измерения давления токоприемника на контактный провод и рулетки для определения требуемой высоты для измерений 1 Устройство для измерения давления токоприемника на контактный провод.
2 Рулетка
Регулировка пружины токоприемника не соответствует требованиям усилия нажатия на высоте 5,8 м, составляющим (120 - 140) Н
А.9.34.2 Разница в длине штанг токоприемника не должна превышать 100 мм Визуальный контроль, линейные измерения Рулетка Разница в длине штанг токоприемника превышает 100 мм
А.9.34.3 Сила тока утечки не должна превышать 3 мА Определение силы тока утечки с помощью мультиметра Мультиметр Сила тока утечки превышает 3 мА
А.9.34.4 Не допускаются:
А.9.34.4.1 Дефекты токоприемников, вызывающие сход токоприемных головок с контактных проводов
Визуальный контроль - Имеют место дефекты токоприемников, вызывающие сход токоприемных головок с контактных проводов
А.9.34.4.2 Наличие трещин, погнутостей и сквозных прожогов на штангах Визуальный контроль - Наличие трещин, погнутостей и/или сквозных прожогов на штангах
А.9.34.4.3 Заедание в шарнирах токоприемников при перемещении штанг в горизонтальной или вертикальной плоскостях Функциональная проверка - При перемещении штанг в горизонтальной и/или вертикальной плоскостях выявлено заедание в шарнирах токоприемников
А.9.34.4.4 Неисправность головок токоприемников Функциональная проверка - Головки токоприемников неисправны
А.9.34.4.5 Неисправность приспособлений, предохраняющих от падения головки токоприемника при срыве со штанги, если это предусмотрено конструкцией Функциональная проверка - Приспособление, предохраняющее от падения головки токоприемника при срыве со штанги, неисправно или отсутствует
А.9.34.4.6 Неисправность или неправильное регулирование системы ограничения подъема и опускания штанг Функциональная проверка - Система ограничения подъема и опускания штанг неисправна или отрегулирована неправильно
А.9.34.4.7 Дефекты токоприемников, колец и изоляторов Визуальный контроль - Токоприемник, кольца и/или изоляторы имеют дефекты
А.9.34.4.8 Повреждение или отсутствие на крыше дорожки из электроизоляционного материала Визуальный контроль - Дорожка из электроизоляционного материала на крыше отсутствует или повреждена
А.9.34.4.9 Установка нестандартных контактных вставок Визуальный контроль - Установлены нестандартные контактные вставки
А.9.34.4.10 Неисправность штангоуловителей при их наличии Функциональная проверка - Предусмотренные конструкцией штангоуловители неисправны или отсутствуют
А.9.34.4.11 Нарушение работы тяговых двигателей, вспомогательных электрических машин, пускорегулирующей и защитной аппаратуры, вспомогательных цепей, аккумуляторной батареи Функциональная проверка - Нарушена работа:
- тяговых двигателей;
- вспомогательных электрических машин;
- пускорегулирующей и защитной аппаратуры;
- вспомогательных цепей;
- аккумуляторной батареи
А.9.34.4.12 Отсутствие пломбирования ограничительных аппаратов защиты Визуальный контроль - Пломбирование ограничительных аппаратов защиты отсутствует
А.9.34.4.13 Неработоспособность контрольно-измерительных приборов электрического оборудования Функциональная проверка - Контрольно-измерительные приборы электрического оборудования неработоспособны
А.9.34.4.14 Заедание пусковой педали Функциональная проверка - Пусковая педаль заедает
Примечания
1 Все проверки и измерения производятся на снаряженном ТС в обычном рабочем состоянии, находящемся на ровной горизонтальной поверхности. Если ТС оснащено системой опускания пола, то она должна быть отрегулирована таким образом, чтобы ТС находилось на уровне своей обычной высоты движения.
2 В отношении ТС, не предназначенных для коммерческого использования, специализированных пассажирских ТС, автобусов категорий M2G и M3G, автобусов для ритуальных услуг, а также ТС категорий M2 и M3 повышенной комфортности с уменьшенным числом посадочных мест требования А.9.5, А.9.6.2 - А.9.6.3, А.9.7, А.9.19, А.9.20, А.9.21.1 - А.9.21.2, А.9.21.3.2 - А.9.21.3.4 не применяют.

Таблица А.9.1

Минимальное число служебных дверей

Число пассажиров Число служебных дверей
Классы I и A Класс II Классы III и B
9 - 45 1 1 1
46 - 70 2 1 1
71 - 100 3 2 1
> 100 4 3 1

Таблица А.9.2

Минимальное число выходов

Число пассажиров и членов экипажа, которые могут находиться в каждом отделении Минимальное общее число выходов
1 - 8 2
9 - 16 3
17 - 30 4
31 - 45 5
46 - 60 6
61 - 75 7
76 - 90 8
91 - 110 9
111 - 130 10
более 130 11

Таблица А.9.3

Число люков

Число пассажиров Число люков
не более 50 1
более 50 2

Таблица А.9.4

Минимальные размеры выходов

Служебная дверь Дверной проем Высота, мм для класса I 1800
для классов II и III 1650
Ширина дверей, мм одинарной 650 <*>
двойной 1200 <*>
Запасная дверь Высота, мм 1250
Ширина, мм 550
Запасное окно Площадь, мм2 400 000 <**>
Аварийный люк Проем люка Площадь, мм2 400 000 <**>
<*> Этот размер может быть сокращен на 100 мм, если измерение производится на уровне поручней.
<**> В это отверстие должен вписываться прямоугольник 500 x 700 мм.

Примечания
1 Запасное окно, расположенное в задней торцевой части ТС, если заводом-изготовителем не предусматривается запасного окна с вышеуказанными минимальными размерами.
2 В проем запасного окна должен вписываться прямоугольник высотой 350 мм и шириной 1550 мм. Углы этого прямоугольника могут быть закруглены, причем радиус кривизны не должен превышать 250 мм.
(в ред. Изменения N 1, утв. Приказом Росстандарта от 22.11.2021 N 1525-ст)

Таблица А.9.5

Требования в отношении запасных окон и аварийных люков для ТС вместимостью не более 22 пассажиров

Проем Размер Примечание
Служебная дверь Высота входа для классов:
A - 1650 мм
B - 1500 мм
Высота проема служебной двери измеряется как вертикальное расстояние по вертикальной плоскости горизонтальных проекций средней точки дверного проема и верхней поверхности нижней ступеньки
Высота проема Высота проема служебной двери должна соответствовать таблице А.9.6. Верхние углы могут быть закруглены, причем радиус закругления должен составлять не более 150 мм
Ширина:
одинарной двери - 650 мм
двойной двери - 1200 мм
Для ТС класса B, в которых высота проема служебной двери составляет (1400 - 1500) мм, минимальная ширина проема одинарной двери должна составлять 750 мм. Для всех ТС ширина любой служебной двери может быть уменьшена на 100 мм, если измерение производится на уровне поручней, и на 250 мм, когда это требуется в случае выступающих надколесных дуг, механизма включения автоматического или дистанционного управления дверями либо наклона ветрового стекла
Запасная дверь Высота - 1250 мм
Ширина - 550 мм
Ширина может быть уменьшена до 300 мм, если это требуется в случае выступающих надколесных дуг, при условии, что ширина составляет 550 мм на минимальной высоте 400 мм над самой низкой частью дверного проема. Верхние углы могут быть закруглены, причем радиус закругления не должен превышать 150 мм
Запасное окно Площадь проема - 4000 см2 В это отверстие должен вписываться прямоугольник размером 500 x 700 мм

Таблица А.9.6

Минимальные требования к дверям ТС вместимостью не более 22 пассажиров

Проем Размер Примечание
Служебная дверь Высота проема - 1110 мм Размер может быть уменьшен, если радиус закругления в углах проема не превышает 150 мм
Ширина:
одинарной двери - 650 мм
двойной двери - 1200 мм
Размер может быть уменьшен, если радиус закругления в углах проема не превышает 150 мм. Ширина может быть уменьшена на 100 мм, если измерение производится на уровне поручней, и 250 мм, если это требуется в случае выступающих надколесных дуг, механизма включения автоматического или дистанционного управления дверями либо наклона ветрового стекла
Запасная дверь Высота - 1000 мм
Ширина - 550 мм
Ширина может быть уменьшена до 300 мм, если это требуется в случае выступающих надколесных дуг; при условии, что ширина составляет 550 мм на минимальной высоте в 400 мм над самой низкой частью дверного проема. Верхние углы могут быть закруглены, причем радиус закругления не должен превышать 150 мм

Таблица А.9.7

Минимальное число служебных дверей в двухэтажном ТС

Число пассажиров Классы I и A Класс II Классы III и B
9 - 45 1 1 1
46 - 70 2 1 1
71 - 100 2 2 1
Более 100 4 3 1

А.10 Оценка соответствия требованиям к шинам и колесам

Категории ТС: L, M, N, O

Таблица А.10

Требование Метод проверки Применяемое измерительное оборудование Основание для признания несоответствия
А.10.1 Каждая установленная на ТС шина:
- должна иметь маркировку "E", "e" или "DOT".
Образец маркировки приведен на рисунке А.10.1;
- должна иметь отформованную маркировку обозначения размера шины, индекса несущей способности и индекса категории скорости (см. таблицу А.10.1)
Визуальный контроль каждой шины - 1 Отформованная маркировка знаком соответствия отсутствует.
2 Отформованная маркировка не содержит:
- обозначения размера шины;
- обозначения индекса несущей способности;
- обозначения индекса категории скорости
А.10.2 ТС должны быть укомплектованы шинами согласно эксплуатационной документации изготовителей ТС Контроль эксплуатационной документации ТС и визуальный контроль каждой шины - Шины, которыми укомплектовано ТС, не соответствуют заявленным в эксплуатационной документации
А.10.3 Каждая установленная на ТС шина должна:
- по размерности соответствовать рекомендациям эксплуатационной документации ТС и размерности колеса, на котором она смонтирована;
- по категории скорости, указанной в нанесенной на шину маркировке, соответствовать или превышать максимальную конструктивную скорость ТС;
- по фактической максимальной массе, приходящейся на шину, не превышать значения, соответствующего индексу несущей способности, указанному в нанесенной на шину маркировке согласно таблице А.10.2
Визуальный контроль каждой шины - 1 Размерность шины не соответствует сведениям, приведенным в эксплуатационной документации ТС, и/или размерности колеса, на котором она смонтирована.
2 Категория скорости, указанная в нанесенной на шину маркировке, меньше максимальной конструктивной скорости ТС.
3 Фактическая максимальная масса, приходящаяся на шину, превышает значение, соответствующее индексу несущей способности, указанному в нанесенной на шину маркировке
А.10.4 Сдвоенные колеса должны быть установлены таким образом, чтобы вентильные отверстия в дисках были совмещены для обеспечения возможности измерения давления воздуха и подкачивания шин Визуальный контроль каждой шины - Отсутствует возможность измерения давления воздуха и/или подкачивания шин
А.10.5 Зимние шины в случае их применения должны быть установлены на все колеса ТС Зимние шины в случае их применения установлены не на всех колесах ТС
А.10.6 Шины с шипами противоскольжения в случае их применения должны быть установлены на все колеса ТС Шины с шипами противоскольжения в случае их применения установлены не на всех колесах ТС
(в ред. Изменения N 1, утв. Приказом Росстандарта от 22.11.2021 N 1525-ст)
А.10.7 Шина считается непригодной к эксплуатации при:
А.10.7.1 Появлении одного индикатора износа (выступа по дну канавки беговой дорожки, предназначенного для визуального определения степени его износа, глубина которого соответствует минимально допустимой глубине рисунка протектора шин).
А.10.7.2 Остаточной глубине рисунка протектора шин (при отсутствии индикаторов износа) не более:
- 0,8 мм - для ТС категорий L;
- 1,0 мм - для ТС категорий N 2, N 3, O3, O4;
- 1,6 мм - для ТС категорий M1, N 1, O1, O2;
- 2,0 мм - для ТС категорий M2, M3.
А.10.7.3 Остаточной глубине рисунка протектора зимних шин, предназначенных для эксплуатации на обледеневшем или заснеженном дорожном покрытии, маркированных знаком в виде горной вершины с тремя пиками и снежинки внутри нее (см. рисунок А.10.2), а также маркированных знаками "M+S", "M&S", "M S" (при отсутствии индикаторов износа), во время эксплуатации на указанном покрытии не более 4,0 мм.
А.10.7.4 Замене золотников заглушками, пробками и другими приспособлениями.
А.10.7.5 Наличии местных повреждений шин (пробои, сквозные и несквозные порезы и прочие), которые обнажают корд, а также расслоений в каркасе, брекере, борте (вздутия), местном отслоении протектора, боковины и герметизирующего слоя
Визуальный контроль каждой шины, линейные измерения Штангенциркуль (с линейкой для измерения глубин) или специальные шаблоны 1 Появление хотя бы одного индикатора износа шины.
2 Остаточная глубина рисунка протектора шин (при отсутствии индикаторов износа) менее допустимого значения.
3 Остаточная глубина рисунка протектора зимних шин, предназначенных для эксплуатации на обледеневшем или заснеженном дорожном покрытии, во время эксплуатации на указанном покрытии менее 4,0 мм.
4 Наличие взамен золотника заглушки, пробки и/или других приспособлений.
5 Шина имеет местное повреждение, которое обнажает корд.
6 Шина имеет расслоение в каркасе, брекере, борте (вздутие), местное отслоение протектора, боковины и/или герметизирующего слоя
А.10.8 Не допускаются:
А.10.8.1 Отсутствие хотя бы одного болта или гайки крепления дисков и ободьев колес.
А.10.8.2 Наличие трещин на дисках и ободьях колес, следов их устранения сваркой.
А.10.8.3 Видимые нарушения формы и размеров крепежных отверстий в дисках колес.
А.10.8.4 Установка на одну ось ТС шин разной размерности, конструкции (радиальной, диагональной, камерной, бескамерной), с разными категориями скорости, индексами несущей способности, рисунками протектора, зимних и не зимних, новых и восстановленных, новых и с углубленным рисунком протектора.
Примечание - Требования пункта А.10.8.4 не применяются в случае временной установки на ТС запасной шины
Визуальный контроль каждого колеса - 1 Хотя бы один болт и/или одна гайка крепления дисков и ободьев колес отсутствует.
2 На дисках и/или ободьях колес имеются трещины и/или следы их устранения сваркой.
3 Нарушена форма и/или размеры крепежных отверстий в дисках колес.
4 На одну ось ТС установлены шины:
- разной размерности;
- разной конструкции;
- с разными категориями скорости;
- с разными индексами несущей способности;
- с разными рисунками протектора;
- зимние вместе с не зимними;
- новые и восстановленные;
- новые и с углубленным рисунком протектора
(в ред. Изменения N 1, утв. Приказом Росстандарта от 22.11.2021 N 1525-ст)
А.10.9 Применение восстановленных шин
А.10.9.1 Применение шин, восстановленных наложением нового протектора, не допускается на передней оси ТС
Визуальный контроль - На передней оси ТС применяются шины, восстановленные наложением нового протектора
А.10.9.2 В случаях, не предусмотренных пунктом А.10.9.1, на ТС могут применяться шины, восстановленные в соответствии со следующими требованиями Правил ООН N 108 [49] и 109 [50] по производству восстановленных шин:
А.10.9.2.1 Повторное восстановление шин с ранее уже восстановленным протектором по [15] не допускается.
А.10.9.2.2 Восстановление протектора шин, возраст которых превышает семь лет, по Правилам ООН N 108 [49] не допускается.
А.10.9.2.3 В маркировке восстановленной шины должно присутствовать указание "Retread".
А.10.9.2.4 На шине с восстановленным протектором помимо маркировки должен быть четко проставлен международный знак официального утверждения, состоящий из круга, в котором указана буква "E", за которой следует отличительный номер страны, предоставившей официальное утверждение по Правилам ООН N 108 [49] или 109 [50], и номера официального утверждения.
А.10.9.2.5 В маркировке шин с восстановленным протектором не допускается указание категории скорости и индекса несущей способности более высоких, чем до восстановления.
А.10.9.3 На задней оси ТС категории M, средней оси ТС категории M3, средних и задней осях ТС категории N допускается применение шин с отремонтированными местными повреждениями, а в случае шин, имеющих маркировку "Regroovable", также с рисунком протектора, углубленным методом нарезки в соответствии с документацией изготовителя шин
Визуальный контроль, контроль эксплуатационной документации - 1 Применяются шины с повторно восстановленным протектором.
2 Применяются шины с восстановленным протектором, возраст которых превышает семь лет.
3 В маркировке восстановленной шины отсутствует указание "Retread".
4 На шине с восстановленным протектором отсутствует международный знак официального утверждения по Правилам ООН N 108 [49] или 109 [50].
5 Индекс несущей способности или категория скорости шины с восстановленным протектором указаны выше, чем было до восстановления

Таблица А.10.1

Маркировка категории скорости

Обозначение категории скорости Максимально допускаемая скорость, км/ч
F 80
G 90
J 100
K 110
L 120
M 130
N 140
P 150
Q 160
R 170
S 180
T 190
U 200
H 210
V 240
W 270
Y 300

Таблица А.10.2

Маркировка индекса несущей способности

Индекс несущей способности шины Максимально допускаемая масса, приходящаяся на шину, кг Индекс несущей способности шины Максимально допускаемая масса, приходящаяся на шину, кг
0 45 101 825
1 46,2 102 850
2 47,5 103 875
3 48,7 104 900
4 50 105 925
5 51,5 106 950
6 53 107 975
7 54,5 108 1000
8 56 109 1030
9 58 110 1060
10 60 111 1090
11 61,5 112 1120
12 63 113 1150
13 65 114 1180
14 67 115 1215
15 69 116 1250
16 71 117 1285
17 73 118 1320
18 75 119 1360
19 77,5 120 1400
20 80 121 1450
21 82,5 122 1500
22 85 123 1550
23 87,5 124 1600
24 90 125 1650
25 92,5 126 1700
26 95 127 1750
27 97,5 128 1800
28 100 129 1850
29 103 130 1900
30 106 131 1950
31 109 132 2000
32 112 133 2060
33 115 134 2120
34 118 135 2180
35 121 136 2240
36 125 137 2300
37 128 138 2360
38 132 139 2430
39 136 140 2500
40 140 141 2575
41 145 142 2650
42 150 143 2725
43 155 144 2800
44 160 145 2900
45 165 146 3000
46 170 147 3075
47 175 148 3150
48 180 149 3250
49 185 150 3350
50 190 151 3450
51 195 152 3550
52 200 153 3650
53 206 154 3750
54 212 155 3875
55 218 156 4000
56 224 157 4125
57 230 158 4250
58 236 159 4375
59 243 160 4500
60 250 161 4625
61 257 162 4750
62 265 163 4875
63 272 164 5000
64 280 165 5150
65 290 166 5300
66 300 167 5450
67 307 168 5600
68 315 169 5800
69 325 170 6000
70 335 171 6150
71 345 172 6300
72 355 173 6500
73 365 174 6700
74 375 175 6900
75 387 176 7100
76 400 177 7300
77 412 178 7500
78 425 179 7750
79 437 180 8000
80 450 181 8250
81 462 182 8500
82 475 183 8750
83 487 184 9000
84 500 185 9250
85 515 186 9500
86 530 187 9750
87 545 188 10000
88 560 189 10300
89 580 190 10600
90 600 191 10900
91 615 192 11200
92 630 193 11500
93 650 194 11800
94 670 195 12150
95 690 196 12500
96 710 197 12850
97 730 198 13200
98 750 199 13600
99 775 200 14000
100 800    
Примечание - Для скоростей более 210 км/ч показатель максимальной массы, приходящейся на шину, должен соответствовать Правилам ООН N 30 [51].

Примечание - Знаки "E" и "e" являются знаками официального утверждения. Вместо многоточия указывается отличительный номер страны, которая предоставила сообщение об официальном утверждении типа ТС или компонента и номер официального утверждения.

Рисунок А.10.1 - Образец маркировки

Рисунок А.10.2 - Маркировка, наносимая на зимнюю шину

А.11 Оценка соответствия требованиям к средствам обеспечения обзорности

Категории ТС: L, M, N, O

Таблица А.11

Требование Метод проверки Применяемое измерительное оборудование Основание для признания несоответствия
А.11.1 Водитель, который будет управлять ТС, должен иметь возможность беспрепятственно видеть дорогу впереди себя, а также иметь обзор справа и слева от ТС Визуальный контроль - 1 Наличие препятствий, не позволяющих обеспечить необходимую обзорность дороги впереди водителя.
2 Отсутствует возможность обзора справа и/или слева ТС
А.11.2 ТС оборудуется встроенной на постоянной основе в конструкцию системой, способной очищать ветровое стекло от обледенения и запотевания. Система, использующая для очистки стекла нагретый воздух, должна иметь вентилятор и подвод воздуха к ветровому стеклу через сопла Визуальный контроль и функциональная проверка - 1 ТС не оснащено системой, предназначенной для очистки от обледенения рабочей области ветрового стекла.
2 ТС не оснащено системой, предназначенной для очистки от запотевания рабочей области ветрового стекла.
3 Вентилятор и/или подвод воздуха к ветровому стеклу через сопла не предусмотрены (для системы, использующей для очистки стекла нагретый воздух)
А.11.3 ТС оснащается хотя бы одним стеклоочистителем и хотя бы одной форсункой стеклоомывателя ветрового стекла Визуальный контроль - 1 ТС не оснащено стеклоочистителем.
2 ТС не оснащено форсунками стеклоомывателя ветрового стекла
А.11.4 Каждая из щеток стеклоочистителя после выключения автоматически возвращается в исходную позицию, располагающуюся на границе зоны очистки или ниже ее Функциональная проверка - Щетка стеклоочистителя не возвращается в положение на границе зоны очистки или ниже ее
А.11.5 ТС должно быть укомплектовано стеклами, предусмотренными изготовителем Визуальный контроль - Стекла, предусмотренные изготовителем, на ТС отсутствуют
А.11.6 Не допускается наличие дополнительных предметов или покрытий, ограничивающих обзорность с места водителя.
Примечание - Исключением считаются зеркала заднего вида, детали стеклоочистителей, наружные и нанесенные или встроенные в стекла радиоантенны, нагревательные элементы устройств размораживания и осушения ветрового стекла
Визуальный контроль - Наличие дополнительных предметов и покрытий, ограничивающих обзорность с места водителя
А.11.7 На боковых и задних окнах ТС категории M3 класса III допускается наличие занавесок      
А.11.8 Светопропускание ветрового стекла и стекол, через которые обеспечивается передняя обзорность для водителя, должно составлять не менее 70%.
В верхней части ветрового стекла допускается наличие светозащитной полосы, выполненной в массе стекла, либо крепление светозащитной полосы прозрачной цветной пленки: на ТС категорий M1, M2 и N 1, а также L6 и L7 (с кузовом закрытого типа) - шириной не более 140 мм, а на ТС категорий M3, N 2 и N 3 - шириной, не превышающей минимального расстояния между верхним краем ветрового стекла и верхней границей зоны его очистки стеклоочистителем. Если тонировка выполнена в массе стекла, ширина затеняющей полосы должна соответствовать установленной изготовителем ТС. Светопропускание светозащитной полосы не нормируется
Визуальный контроль и проверка с помощью прибора для проверки светопропускания стекол Прибор для проверки светопропускания стекол 1 Светопропускание ветрового стекла и/или стекол, через которые обеспечивается передняя обзорность для водителя, менее 70%.
2 Ширина светозащитной полосы (в случае применения) больше максимально разрешенной.
3 Тонировка, выполненная в массе стекла, не соответствует установленной изготовителем ТС
А.11.9 Окрашенные в массе и тонированные ветровые стекла не должны искажать правильное восприятие белого, желтого, красного, зеленого и голубого цветов Визуальный контроль - Окрашенные в массе и тонированные ветровые стекла искажают правильное восприятие белого, желтого, красного, зеленого и голубого цветов
А.11.10 Не разрешается применять стекла, покрытие которых создает зеркальный эффект Визуальный контроль - Покрытие стекол создает зеркальный эффект
А.11.11 Наличие трещин на ветровых стеклах ТС в зоне очистки стеклоочистителем половины стекла, расположенной со стороны водителя, не допускается Визуальный контроль - Наличие трещин на ветровых стеклах ТС в зоне очистки стеклоочистителем половины стекла, расположенной со стороны водителя
А.11.12 Стеклоочистители и стеклоомыватели должны быть работоспособны. Не допускается демонтаж предусмотренных изготовителем в эксплуатационной документации ТС стеклоочистителей и стеклоомывателей Визуальный контроль, контроль эксплуатационной документации и функциональная проверка - 1 Стеклоочистители неработоспособны.
2 Стеклоомыватели неработоспособны.
3 Стеклоочистители и/или стеклоомыватели, предусмотренные в эксплуатационной документации ТС, отсутствуют
А.11.13 Стеклоомыватели должны обеспечивать подачу жидкости в зоны очистки стекла Функциональная проверка - Стеклоомыватель не подает достаточного количества жидкости для эффективной очистки ветрового стекла
А.11.14 ТС должно быть укомплектовано противосолнечными козырьками Визуальный контроль - Противосолнечные козырьки на ТС отсутствуют
А.11.15 ТС должно быть укомплектовано зеркалами заднего вида согласно таблице А.11.1.
А.11.16 ТС, имеющие менее четырех колес, с кузовом, который полностью или частично закрывает водителя, должны быть оборудованы:
А.11.16.1 Либо внутренним зеркалом заднего вида класса I и внешним зеркалом заднего вида классов II или III, которые устанавливаются на ТС со стороны водителя.
А.11.16.2 Либо двумя внешними зеркалами заднего вида классов II или III - по одному с каждой стороны ТС
Визуальный контроль - Обязательные зеркала заднего вида на ТС отсутствуют
А.11.17 Зеркала заднего вида должны быть закреплены так, чтобы исключалась возможность их произвольного смещения во время движения ТС Функциональная проверка - Возможно произвольное смещение зеркал заднего вида во время движения ТС

Таблица А.11.1

Требования к наличию зеркал заднего вида на ТС

Категория ТС Характеристика зеркала Класс зеркала Число и расположение зеркал на ТС Наличие зеркала
L1 - L5 Наружное основное L Одно слева Обязательно
Одно справа Допускается. При максимальной конструктивной скорости более 50 км/ч - обязательно
M1, N 1, L5, L6, L7 (с закрытой кабиной) Внутреннее I Одно внутри Обязательно только при наличии обзора через него
M1, N 1 Наружное основное III
(или II)
Одно слева Обязательно
Одно справа Обязательно при недостаточном обзоре через внутреннее зеркало, в остальных случаях - допускается
Наружное широкоугольное IV Одно справа, одно слева Допускается
Наружное бокового обзора V <*> Одно справа, одно слева Допускается
Наружное переднего обзора VI <*> Одно спереди Допускается
M2, M3 Наружное основное II Одно справа, одно слева Обязательно
Внутреннее I Одно внутри Допускается
Наружное широкоугольное IV Одно справа, одно слева Допускается
Наружное бокового обзора V <*> Одно справа, одно слева Допускается
Наружное переднего обзора VI <*> Одно спереди Допускается
N 2
(не более 7,5 т)
Наружное основное II Одно справа, одно слева Обязательно
Внутреннее I Одно внутри Допускается
Наружное широкоугольное IV Одно справа, одно слева Допускается
Наружное бокового обзора V <*> Одно справа, одно слева Допускается
Наружное переднего обзора VI <*> Одно спереди Допускается
N 2 (св. 7,5 т), N 3 Наружное основное II Одно справа, одно слева Обязательно
Наружное широкоугольное IV Одно справа Обязательно
Наружное бокового обзора V <*> Одно справа Обязательно
Наружное переднего обзора VI <*> Одно спереди Обязательно для ТС с передним расположением органов управления <**>
Внутреннее I Одно внутри Допускается
Наружное бокового обзора V <*> Одно слева Допускается
<*> Зеркало должно располагаться на высоте не менее 2 м от уровня опорной поверхности. Зеркало не должно устанавливаться на ТС, кабина которых располагается на такой высоте, что данное предписание не может быть выполнено.
<**> Под "передним расположением органов управления" понимается компоновка, в которой более половины длины двигателя находится за наиболее удаленной передней точкой основания ветрового стекла, а ступица рулевого колеса - в передней четверти длины ТС.
Классы зеркал заднего вида:
I - внутренние зеркала заднего вида плоские или сферические;
II - основные внешние зеркала заднего вида большого размера сферические;
IV - широкоугольные внешние зеркала заднего вида сферические;
V - внешние зеркала бокового обзора сферические;
VI - зеркала переднего обзора сферические.

А.12 Оценка соответствия требованиям к спидометрам

Категории ТС: L, M, N

Таблица А.12

Требование Метод проверки Применяемое измерительное оборудование Основание для признания несоответствия
А.12.1 На каждом ТС категории L, M и N имеется спидометр Визуальный контроль - На ТС спидометр отсутствует
А.12.2 Показания спидометра видимы в любое время суток Функциональная проверка - Не обеспечена видимость показаний спидометра в любое время суток
А.12.3 Скорость ТС по показаниям спидометра не должна быть меньше его фактической скорости
Примечание - Достаточным является испытание ТС в диапазоне скоростей от 0 до 30 км/ч
Проверка с применением прибора для независимого определения скорости Прибор "путь - скорость - время" или аналогичный Скорость ТС по показаниям спидометра меньше его фактической скорости
(в ред. Изменения N 1, утв. Приказом Росстандарта от 22.11.2021 N 1525-ст)

А.13 Оценка соответствия требованиям к ремням безопасности и местам их крепления

Категории ТС: L, M, N

Таблица А.13

Требование Метод проверки Применяемое измерительное оборудование Основание для признания несоответствия
А.13.1 Сиденья ТС категорий M1, M2 и M3 классов II, III и B, категорий N, L6 и L7 (с автомобильной компоновкой), за исключением сидений, предназначенных для использования исключительно в неподвижном ТС, оснащаются ремнями безопасности.
Примечание - В случае сидений, способных поворачиваться или устанавливаться в других направлениях, необходимо оснащение ремнями безопасности сидений, только установленных в направлении, предназначенном для использования при движении ТС
Визуальный контроль - 1 Ремни безопасности отсутствуют на сиденьях, где требуется их наличие.
2 Тип ремней безопасности не соответствует требованиям таблицы А.13.1
А.13.2 Минимальные требования к типам ремней безопасности для различных типов сидений и категорий ТС приведены в таблице А.13.1
А.13.3 С ремнями безопасности не допускается использование втягивающих устройств:
А.13.3.1 Которые не имеют регулятора длины вытянутой лямки.
А.13.3.2 Которые требуют приведения в действие вручную приспособления для получения желаемой длины лямки и которые автоматически запираются после достижения пользователем желаемой длины
Функциональная проверка - 1 Втягивающие устройства не имеют регулятора длины вытянутой лямки.
2 Втягивающее устройство требует приведения в действие вручную приспособления для получения желаемой длины лямки.
3 Втягивающее устройство автоматически запирается после достижения пользователем желаемой длины
А.13.4 Ремни с креплением в трех точках и втягивающими устройствами имеют по крайней мере одно втягивающее устройство для диагональной лямки Визуальный контроль - Ремни с креплением в трех точках и втягивающими устройствами не имеют втягивающего устройства для диагональной лямки
А.13.5 За исключением случая, указанного в пункте А.13.6, для каждого пассажирского сиденья, оснащенного подушкой безопасности, предусматривается знак предупреждения против использования на нем детского удерживающего устройства, установленного против направления движения. Предупреждающая этикетка в виде пиктограммы, которая может содержать пояснительный текст, надежно прикрепляется и размещается таким образом, чтобы ее могло видеть лицо, намеревающееся установить на данном сиденье детское удерживающее устройство, расположенное против направления движения. Пример пиктограммы приведен на рисунке А.13.1. Предупреждающий знак должен быть виден во всех случаях, в том числе при закрытой двери.
Цвета:
- пиктограмма - красный;
- сиденье, детское сиденье и контурная линия подушки безопасности - черный;
- слова "AirBag" ("подушка безопасности"), а также рисунок подушки безопасности - белый
Визуальный контроль - 1 Отсутствует знак предупреждения против использования на пассажирском сиденье, оснащенном подушкой безопасности, детского удерживающего устройства, установленного против направления движения.
2 Предупреждающая этикетка в виде пиктограммы прикреплена ненадежно.
3 Предупреждающая этикетка в виде пиктограммы не видна для лица, намеревающегося установить на данном сиденье детское удерживающее устройство, расположенное против направления движения.
4 Предупреждающий знак не виден при закрытой двери или в других случаях
А.13.6 Предписания пункта А.13.5 не применяются, если ТС оборудовано сенсорным механизмом, который автоматически определяет наличие детского удерживающего устройства, установленного против направления движения, и не допускает срабатывания подушки безопасности при наличии такой детской удерживающей системы
А.13.7 Ремни безопасности устанавливаются таким образом, чтобы:
А.13.7.1 Практически отсутствовала возможность соскальзывания с плеча правильно надетого ремня в результате смещения водителя или пассажира вперед.
А.13.7.2 Практически отсутствовала возможность повреждения лямки ремня при соприкосновении с острыми твердыми элементами конструкции ТС или сиденья детских удерживающих систем и детских удерживающих систем ISOFIX
Функциональная проверка - 1 Имеется возможность соскальзывания с плеча правильно надетого ремня в результате смещения водителя или пассажира вперед.
2 Имеется возможность повреждения лямки ремня при соприкосновении с острыми твердыми элементами конструкции ТС или сиденья детских удерживающих систем и детских удерживающих систем ISOFIX
А.13.8 Конструкция и установка ремней безопасности позволяют пристегнуться ими в любое время. Если сиденье в сборе или подушка сиденья и/или спинка сиденья могут складываться для обеспечения доступа к задней части ТС или грузовому, или багажному отделению, то после их откидывания и последующей установки в обычное положение предусмотренные ремни безопасности должны быть доступными или легко извлекаться из-под сиденья либо из-за него пользователем без посторонней помощи Функциональная проверка - 1 Конструкция и/или установка ремней безопасности не позволяет пристегнуться ими в любое время.
2 Ремни безопасности недоступны или не могут быть легко извлечены из-под сиденья либо из-за него пользователем без посторонней помощи
А.13.9 Устройство, служащее для открывания пряжки, является хорошо заметным и легкодоступным для пользователя и конструируется таким образом, чтобы исключалась возможность его неожиданного или случайного открытия Визуальный контроль - 1 Устройство, служащее для открывания пряжки, плохо заметно и/или труднодоступно для пользователя.
2 Конструкцией устройства, служащего для открывания пряжки, не предусмотрена защита от его неожиданного и случайного для пользователя открытия
(в ред. Изменения N 1, утв. Приказом Росстандарта от 22.11.2021 N 1525-ст)
А.13.10 Пряжка располагается в таком месте, чтобы она была легкодоступной для спасателя в том случае, если необходимо срочно высвободить из ТС водителя или пассажира Визуальный контроль - Пряжка труднодоступна для спасателя в том случае, если необходимо срочно высвободить из ТС водителя или пассажира
А.13.11 Пряжка устанавливается таким образом, чтобы как в открытом состоянии, так и под нагрузкой массы пользователя он мог ее открыть простым движением как левой, так и правой руки в одном направлении Функциональная проверка - Открытие пряжки простым движением как левой, так и правой руки в одном направлении затруднено или невозможно
А.13.12 Надетый ремень либо регулируется автоматически, либо имеет такую конструкцию, чтобы устройство ручной регулировки было легкодоступным для сидящего пользователя и удобным и простым в использовании. Кроме того, пользователь должен быть в состоянии затянуть ремень одной рукой, подогнав его под свою комплекцию и положение, в котором находится сиденье ТС Функциональная проверка - 1 Надетый ремень не регулируется автоматически и не имеет такой конструкции, чтобы устройство ручной регулировки было легкодоступным для сидящего пользователя и удобным и простым в использовании.
2 У пользователя отсутствует возможность затянуть ремень одной рукой, подогнав его под свою комплекцию и положение, в котором находится сиденье ТС
А.13.13 Каждое место для сидения оборудуется местами крепления ремней безопасности, соответствующими типу применяемых ремней Визуальный контроль - Места крепления ремней безопасности не соответствуют типу применяемых ремней
А.13.14 Если для обеспечения доступа к передним и задним сиденьям используется двустворчатая дверная конструкция, то конструкция системы крепления ремня не должна препятствовать свободному входу в ТС и выходу из него Визуальный контроль - Конструкция системы крепления ремня препятствует свободному входу в ТС и выходу из него
(в ред. Изменения N 1, утв. Приказом Росстандарта от 22.11.2021 N 1525-ст)
А.13.15 Места крепления не располагаются на тонких и/или плоских панелях с недостаточными жесткостью и усилением или в тонкостенных трубах Визуальный контроль - Места крепления располагаются на тонких и/или плоских панелях с недостаточной жесткостью и усилением и/или в тонкостенных трубах
А.13.16 При визуальном осмотре мест крепления ремней безопасности не наблюдается пропусков в сварном шве, видимых непроваров Визуальный контроль - При визуальном осмотре мест крепления ремней безопасности обнаружены пропуски в сварном шве или видимые непровары
А.13.17 Болты, используемые в конструкции мест крепления ремней безопасности, должны быть класса 8.8 или более прочные. Такие болты маркируются обозначением 8.8 или 12.9 на шестигранной головке, однако болты 7/16" UNF для крепления ремней безопасности (с анодированным покрытием), не маркированные указанными обозначениями, могут рассматриваться в качестве болтов эквивалентной прочности. Диаметр резьбы болтов не меньше чем М8 Визуальный контроль - 1 Болты, используемые в конструкции мест крепления ремней безопасности, не имеют надлежащей прочности.
2 Болты, используемые в конструкции мест крепления ремней безопасности, не имеют надлежащей маркировки.
3 Диаметр резьбы менее М8
А.13.18 Пункт исключен.
(в ред. Изменения N 1, утв. Приказом Росстандарта от 22.11.2021 N 1525-ст)
А.13.19 Установленные на ТС ремни безопасности не должны иметь следующих дефектов:
А.13.19.1 Надрыв на лямке, видимый невооруженным глазом.
А.13.19.2 Замок не фиксирует "язык" лямки или не выбрасывает его после нажатия на кнопку замыкающего устройства.
А.13.19.3 Лямка не вытягивается или не втягивается во втягивающее устройство (катушку).
А.13.19.4 При резком вытягивании лямки ремня с аварийным запирающимся втягивающим устройством не обеспечивается прекращение (блокирование) ее вытягивания из втягивающего устройства (катушки)
Визуальный контроль и функциональная проверка - 1 Надрыв на лямке ремня, видимый невооруженным глазом.
2 Замок не фиксирует "язык" лямки или не выбрасывает его после нажатия на кнопку замыкающего устройства.
3 Лямка не вытягивается или не втягивается во втягивающее устройство (катушку).
4 При резком вытягивании лямки ремня с аварийным запирающимся втягивающим устройством не обеспечивается прекращение (блокирование) ее вытягивания из втягивающего устройства (катушки)
А.13.20 Установка подушек безопасности, не предусмотренных изготовителем в эксплуатационной документации ТС, не допускается Визуальный контроль, контроль эксплуатационной документации - Установлена подушка безопасности, не предусмотренная изготовителем в эксплуатационной документации ТС
А.13.21 Не допускается демонтаж подголовников, предусмотренных конструкцией ТС Визуальный контроль, контроль эксплуатационной документации - Подголовник, предусмотренный конструкцией ТС, отсутствует

Рисунок А.13.1 - Пример пиктограммы

Таблица А.13.1

Минимальные требования к типам ремней безопасности

Категория ТС Сиденья, расположенные по направлению движения Сиденья, расположенные против направления движения
Боковые сиденья Центральные сиденья
Передние Прочие Передние Прочие
M1
L6 и L7
(с автомобильной компоновкой)
Ar4m       B
M2 <= 3,5 т Ar4m       Br3
M2 > 3,5 т и M3         Br3
N 1 Ar4m Ar4m или Br4m <**> A или B <*> B B
N 2 и N 3 A или B <*> B A или B <*> B B
<*> Допускается поясной ремень, если ветровое стекло не находится в "исходной зоне" в соответствии с определением, приведенным ниже, в пункте, обозначенном знаком рис, а для категорий N 2 и N 3 также в случае сиденья водителя.
<**> Для боковых сидений, за исключением передних, ТС категории N 1 допускается установка поясного ремня, если между сиденьем и ближайшей боковой стенкой ТС предусмотрен проход для обеспечения доступа пассажиров к другим частям ТС. Пространство между сиденьем и боковой стенкой считается проходом, если при всех закрытых дверях расстояние между этой боковой стенкой и вертикальной продольной плоскостью, проходящей через центр соответствующего сиденья, измеренное в точке R перпендикулярно к средней продольной плоскости ТС, составляет более 500 мм.

Примечания
A - ремень (поясной и диагональный) с креплением в трех точках.
B - ремень (поясной) с креплением в двух точках.
r - Втягивающее устройство для частичного или полного втягивания лямки ремня безопасности.
3 - Втягивающее устройство, которое позволяет получить желаемую длину лямки и которое при закрытой пряжке автоматически регулирует ее длину для пользователя. Без вмешательства пользователя дальнейшее извлечение лямки из устройства невозможно (автоматически запирающееся втягивающее устройство).
4 - Втягивающее устройство, которое при обычных условиях движения не ограничивает свободу движения пользователя. Такое устройство включает в себя приспособление для регулировки длины, которое автоматически регулирует лямку в зависимости от телосложения пользователя, и запирающий механизм, срабатывающий в случае аварии под действием замедления ТС либо сочетания замедления ТС, движения ремня или любого другого автоматического устройства (аварийное запирающееся втягивающее устройство).
m - Аварийное запирающееся втягивающее устройство с многоуровневой чувствительностью.
рис Ремни с креплением в двух точках могут применяться только на тех сиденьях, у которых:
- непосредственно впереди находится сиденье, либо
- ни один из элементов ТС не может находиться в "исходной зоне" при движении ТС. Под "исходной зоной" подразумевается пространство между двумя вертикальными продольными плоскостями, расположенными на расстоянии 400 мм друг от друга симметрично точке H, которое определяется поворотом модели головы диаметром 165 мм из вертикального в горизонтальное положение (имитация наклона туловища вперед по ходу движения). Эта модель устанавливается в точке H и на 127 мм впереди точки H, и расстояние от оси вращения до верха модели головы составляет 840 мм.

А.14 Оценка соответствия требованиям к сиденьям и их креплениям

Категории ТС: M, N

Таблица А.14

Требование Метод проверки Применяемое измерительное оборудование Основание для признания несоответствия
А.14.1 Сиденья надежно прикрепляются к шасси или иным частям ТС Визуальный контроль - Не обеспечено надежное крепление сидений
(в ред. Изменения N 1, утв. Приказом Росстандарта от 22.11.2021 N 1525-ст)
А.14.2 На ТС, оборудованных механизмами продольной регулировки положения подушки и угла наклона спинки сиденья или механизмом перемещения сиденья (для посадки и высадки пассажиров), указанные механизмы должны быть работоспособны. После прекращения регулирования или пользования эти механизмы автоматически блокируются Функциональная проверка - 1 Механизмы продольной регулировки положения подушки и угла наклона спинки сиденья или механизм перемещения сиденья (для посадки и высадки пассажиров) неработоспособны.
2 После прекращения регулирования или пользования механизмы автоматически не блокируются
А.14.3 Подголовники устанавливаются на каждом переднем боковом сиденье ТС категорий M1, M2 (технически допустимой максимальной массой не выше 3,5 тонн) и N 1 Визуальный контроль - Подголовники не установлены

А.15 Оценка соответствия требованиям к дверям, замкам и петлям дверей ТС категорий M1, N, L6 и L7 (с кузовом закрытого типа)

Таблица А.15

Требование Метод проверки Применяемое измерительное оборудование Основание для признания несоответствия
А.15.1 Все двери, открывающие доступ в ТС, имеют возможность надежно фиксироваться замками в закрытом состоянии Функциональная проверка - Отсутствует возможность фиксации замками двери, открывающей доступ в ТС, в закрытом состоянии
А.15.2 Механизмы замков дверей для входа и выхода водителя и пассажиров имеют два положения запирания: промежуточное и окончательное Функциональная проверка - Механизмы замков дверей для входа и выхода водителя и пассажиров не имеют промежуточного и окончательного положений запирания
А.15.3 Механизмы замков дверей, закрепленных на петлях, не открываются ни в промежуточном, ни в окончательном положениях запирания при приложении силы, равной 300 Н Функциональная проверка Динамометр Механизм замка двери, закрепленной на петлях, открывается в промежуточном или в окончательном положениях запирания при приложении силы, равной или менее 300 Н
(в ред. Изменения N 1, утв. Приказом Росстандарта от 22.11.2021 N 1525-ст)

А.16 Оценка соответствия требованиям к травмобезопасности наружных выступов ТС категорий M1, N, L6 и L7 (с кузовом закрытого типа)

Таблица А.16

Требование Метод проверки Применяемое измерительное оборудование Основание для признания несоответствия
А.16.1 В зоне наружной поверхности кузова, расположенной между дорожной поверхностью и высотой 2 м от дорожной поверхности, не имеется элементов конструкции, которые могли бы захватить (зацепить) или увеличивать риск или степень тяжести травмирования любого лица, которое может соприкоснуться с ТС Визуальный контроль, линейные измерения Рулетка В зоне наружной поверхности кузова, расположенной между дорожной поверхностью и высотой 2 м от дорожной поверхности имеются элементы конструкции, которые могут захватить (зацепить) или увеличивают риск или степень тяжести травмирования лица, которое может соприкоснуться с ТС
А.16.2 Эмблемы и другие декоративные объекты, выступающие более чем на 10 мм, включая любую подложку, над поверхностью, к которой они крепятся, имеют возможность отклоняться или отламываться при приложении к ним силы 100 Н, а в отклоненном или отломанном состоянии не выступают над поверхностью, к которой они крепятся, более чем на 10 мм Визуальный контроль, линейные измерения, функциональная проверка при приложении силы 100 Н 1 Рулетка.
2 Динамометр
1 Эмблемы или другие декоративные объекты, выступающие более чем на 10 мм, не имеют возможности отклоняться/отламываться при приложении к ним силы 100 Н.
2 Эмблемы или другие декоративные объекты, выступающие более чем на 10 мм, в отклоненном или отломанном состоянии выступают над поверхностью, к которой они крепятся, более чем на 10 мм
А.16.3 Колеса, гайки или болты крепления колес, колпаки ступиц и колесные колпаки не имеют остроконечных или режущих кромок, выступающих за поверхность обода колеса Визуальный контроль - Колеса, гайки или болты крепления колес, колпаки ступиц и колесные колпаки имеют остроконечные или режущие кромки, выступающие за поверхность обода колеса
А.16.4 Колеса не имеют "барашковых гаек" Визуальный контроль - Колеса имеют "барашковые гайки"
А.16.5 Колеса не выступают за пределы наружного контура кузова в плане, за исключением шин, колпаков колес и гаек крепления колес Визуальный контроль - Колеса выступают за пределы наружного контура кузова в плане (не относится к шинам, колпакам колес и гайкам крепления колес)
А.16.6 Боковые воздушные дефлекторы или водосточные желоба в том случае, если они не загнуты по направлению к кузову так, что их края не могут соприкоснуться с шаром диаметром 100 мм, имеют радиус закругления кромок не менее 1 мм Визуальный контроль, проверка с использованием испытательного шара 1 Испытательный шар диаметром 100 мм.
2 Шаблон радиусом 1,5 мм
Боковые воздушные дефлекторы или водосточные желоба в том случае, если они не загнуты по направлению к кузову так, что их края не могут соприкоснуться с шаром диаметром 100 мм, имеют радиус закругления кромок менее 1 мм
(в ред. Изменения N 1, утв. Приказом Росстандарта от 22.11.2021 N 1525-ст)
А.16.7 Концы бамперов загибаются в направлении к кузову так, чтобы с ними не мог соприкоснуться шар диаметром 100 мм, и расстояние между краем бампера и кузовом не превышает 20 мм.
Примечание - В качестве альтернативы концы бампера могут быть утоплены в углублениях кузова или иметь с кузовом общую поверхность
Визуальный контроль, проверка с использованием испытательного шара, линейные измерения 1 Испытательный шар диаметром 100 мм.
2 Рулетка
1 Концы бамперов не загнуты в направлении к кузову или загнуты так, что с ними может соприкоснуться шар диаметром 100 мм.
2 Расстояние между краем бампера и кузовом превышает 20 мм
А.16.8 Буксирные сцепки и лебедки (при наличии) не выступают за переднюю поверхность бампера.
Примечание - Допускается, чтобы лебедка выступала за переднюю поверхность бампера, если она закрыта соответствующим защитным элементом, имеющим радиус закругления на менее 2,5 мм
Визуальный контроль Шаблон радиусом 2,5 мм Буксирные сцепки или лебедки (при наличии) выступают за переднюю поверхность бампера и не закрыты защитным элементом, имеющим радиус закругления на менее 2,5 мм
(в ред. Изменения N 1, утв. Приказом Росстандарта от 22.11.2021 N 1525-ст)
А.16.9 Для ТС категории M1, N 1, L6 и L7 не выступают за наружную поверхность кузова ручки дверей и багажника более чем на 40 мм, остальные выступающие элементы - более чем на 30 мм Визуальный контроль, линейные измерения Линейка 1 Ручки дверей и/или багажника выступают за наружную поверхность кузова более чем на 40 мм.
2 Выступающие элементы (кроме указанных в пункте 1) выступают за наружную поверхность кузова более чем на 30 мм
А.16.10 Для ТС категорий N 2 и N 3 не выступают за наружную поверхность кабины кнопки дверей более чем на 30 мм, поручни и ручки крепления капота - более чем на 70 мм, остальные выступающие элементы - более чем на 50 мм Визуальный контроль, линейные измерения Линейка 1 Кнопки дверей выступают за наружную поверхность кузова более чем на 30 мм.
2 Поручни и/или ручки крепления капота выступают за наружную поверхность кузова более чем на 70 мм.
3 Выступающие элементы (кроме оговоренных выше) выступают за наружную поверхность кузова более чем на 50 мм
А.16.11 Открытые концы поворотных ручек, вращающихся параллельно плоскости двери, должны быть загнуты по направлению к поверхности кузова Визуальный контроль - Открытые концы поворотных ручек, которые вращаются параллельно плоскости двери, не загнуты по направлению к поверхности кузова
А.16.12 Поворотные ручки, которые вращаются наружу в любом направлении, но не параллельно плоскости двери, в закрытом положении ограждаются предохранительной рамкой или заглубляются. Конец ручки направляется либо назад, либо вниз Визуальный контроль - 1 Поворотные ручки, которые вращаются наружу в любом направлении, но не параллельно плоскости двери, в закрытом положении не ограждены предохранительной рамкой и не заглублены.
2 Конец ручки не направлен назад или вниз
А.16.13 Стекла окон, открывающихся наружу по отношению к внешней поверхности ТС, при открытии не имеют кромок, направленных вперед, а также не выступают за край габаритной ширины ТС Визуальный контроль - 1. Стекла окон, открывающихся наружу по отношению к внешней поверхности ТС при открытии имеют кромки, направленные вперед.
2. Стекла окон, открывающихся наружу по отношению к внешней поверхности ТС, выступают за край габаритной ширины ТС
А.16.14 Ободки и козырьки фар не выступают по отношению к наиболее выступающей точке поверхности стекла фары более чем на 30 мм (при горизонтальном измерении от точки контакта сферы диаметром 100 мм одновременно со стеклом фары и с ободком (козырьком) фары Визуальный контроль, проверка с использованием испытательного шара, линейные измерения 1 Испытательный шар диаметром 100 мм.
2 Линейка
Ободки и/или козырьки фар выступают по отношению к наиболее выступающей точке поверхности стекла фары более чем на 30 мм
А.16.15 Кронштейны для домкрата не выступают за вертикальную проекцию линии пола, расположенную непосредственно над ними, более чем на 10 мм Визуальный контроль, линейные измерения Линейка Кронштейны для домкрата выступают за вертикальную проекцию линии пола, расположенную непосредственно над ними, более чем на 10 мм
А.16.16 Выпускные трубы, выступающие за расположенную непосредственно над ними вертикальную проекцию линии пола более чем на 10 мм, заканчиваются насадкой или закругленной кромкой с радиусом закругления не менее 2,5 мм Визуальный контроль, линейные измерения 1 Линейка.
2 Шаблон радиусом 2,5 мм
Выпускные трубы, выступающие за расположенную непосредственно над ними вертикальную проекцию линии пола более чем на 10 мм, не заканчиваются насадкой или закругленной кромкой с радиусом закругления не менее 2,5 мм
(в ред. Изменения N 1, утв. Приказом Росстандарта от 22.11.2021 N 1525-ст)
А.16.17 Кромки подножек и ступенек должны закругляться Визуальный контроль - Кромки подножек и ступенек не закруглены
А.16.18 Радиус кривизны выступающих наружу краев боковых воздушных обтекателей, дождевых щитков и противогрязевых дефлекторов окон выполняется не менее 1 мм Визуальный контроль Шаблон радиусом 1 мм Радиус кривизны выступающих наружу краев боковых воздушных обтекателей, дождевых щитков и противогрязевых дефлекторов окон менее 1 мм
(в ред. Изменения N 1, утв. Приказом Росстандарта от 22.11.2021 N 1525-ст)

А.17 Оценка соответствия требованиям к травмобезопасности рулевого управления ТС категорий M1, N 1, L6 и L7 (с автомобильной компоновкой)

Таблица А.17

Требование Метод проверки Применяемое измерительное оборудование Основание для признания несоответствия
А.17.1 Рулевое колесо не должно зацеплять и захватывать часть одежды или ювелирные украшения водителя при обычном воздействии на него Функциональная проверка - Рулевое колесо зацепляет и/или захватывает одежду или ювелирные украшения при обычном воздействии на него
А.17.2 Болты, используемые для крепления рулевого колеса к ступице, в том случае если они находятся снаружи, утапливаются заподлицо с поверхностью Визуальный контроль - Болты, используемые для крепления рулевого колеса к ступице, в том случае если они находятся снаружи, выступают над поверхностью
А.17.3 Непокрытые металлические спицы могут применяться в том случае, если они имеют установленные радиусы закруглений Визуальный контроль, линейные измерения Шаблон радиусом 2,5 мм При наличии на рулевом колесе непокрытых металлических спиц их радиусы закругления менее 2,5 мм

А.18 Оценка соответствия требованиям к травмобезопасности внутреннего оборудования ТС категорий M1, L6 и L7 (с кузовом закрытого типа)

Таблица А.18

Требование Метод проверки Применяемое измерительное оборудование Основания для признания несоответствия
А.18.1 Поверхности внутреннего объема пассажирского помещения ТС не должны иметь острых кромок.
Примечание - Острой кромкой считается кромка твердого материала, имеющая радиус закругления меньше чем 2,5 мм, за исключением выступов на поверхности высотой не более 3,2 мм. В этом случае требование минимального радиуса кривизны не применяется при условии, что высота выступа не больше, чем половина его ширины, и его края притуплены
Визуальный контроль, линейные измерения 1 Шаблон радиусом 2,5 мм.
2 Линейка
Наличие острых кромок на поверхностях внутреннего объема пассажирского помещения ТС
(в ред. Изменения N 1, утв. Приказом Росстандарта от 22.11.2021 N 1525-ст)
А.18.2 Лицевые поверхности каркаса сиденья, позади которого расположено сиденье, предназначенное для обычного использования во время движения ТС, в верхней и задней части покрываются нежестким обивочным материалом.
Примечание - Нежестким обивочным материалом считается материал, который имеет способность к продавливанию нажатием пальца и возвращается в исходное состояние после снятия нагрузки, а будучи сжатым, сохраняет способность защищать от прямого контакта с поверхностью, которую он покрывает
Визуальный контроль - Лицевая поверхность каркаса сиденья, позади которого расположено сиденье, предназначенное для обычного использования во время движения ТС, в верхней и задней части покрыто жестким обивочным материалом
А.18.3 Полки для вещей или аналогичные элементы интерьера не имеют кронштейнов или деталей крепления с выступающими краями, и если они имеют части, выступающие внутрь ТС, такие части имеют высоту не менее 25 мм, с краями, закругленными радиусами не менее 3,2 мм, и покрываются нежестким обивочным материалом Визуальный контроль, линейные измерения 1 Шаблон радиусом 3,2 мм.
2 Линейка
Полки для вещей и/или аналогичные элементы интерьера имеют кронштейн или деталь крепления с выступающими краями, высота которых не менее 25 мм:
- не имеют закругленных краев или имеют такие края с радиусом закругления менее 3,2 мм;
- покрыты жестким обивочным материалом
А.18.4 Внутренняя поверхность кузова и установленные на ней элементы (например, поручни, лампы, противосолнечные козырьки), находящиеся впереди и сверху от сидящих водителя и пассажиров, которые могут контактировать со сферой диаметром 165 мм, в случае наличия у них выступающих частей из жесткого материала удовлетворяют следующим требованиям:
А.18.4.1 Ширина выступающих частей не меньше, чем величина выступания.
А.18.4.2 Если это элементы крыши, радиус закругления краев не меньше 5 мм.
А.18.4.3 Если это установленные на крыше компоненты, радиусы закруглений контактирующих кромок не должны быть меньше 3,2 мм.
А.18.4.4 Любые планки и ребра крыши, за исключением передних рам остекленных поверхностей и дверных рам, сделанные из жесткого материала, не выступают вниз более чем на 19 мм.
А.18.5 Требования пункта А.18.4.4 применяются в том числе к ТС с открывающейся крышей, включая устройства открывания и закрывания, находящиеся в положении "закрыто", но не применяются к ТС со складывающейся мягкой крышей в части деталей складывающегося верха, покрытых нежестким обивочным материалом, и элементов каркаса складывающейся крыши
Визуальный контроль, линейные измерения 1 Шаблоны радиусом 3,2 мм, 5 мм.
2 Линейка.
3 Испытательный шар диаметром 165 мм
1 Ширина выступающих частей меньше, чем величина выступания.
2 Радиус закругления краев элементов крыши менее 5 мм.
3 Радиусы закруглений контактирующих кромок установленных на крыше компонентов менее 3,2 мм.
4 Планки и/или ребра крыши, сделанные из жесткого материала (за исключением передних рам остекленных поверхностей и дверных рам), выступают вниз более чем на 19 мм

А.19 Оценка соответствия требованиям к задним и боковым защитным устройствам

Категории ТС: N 2, N 3, O3, O4

Таблица А.19

Требование Метод проверки Применяемое измерительное оборудование Основание для признания несоответствия
А.19.1 На ТС категорий N 2, N 3 (за исключением седельных тягачей) устанавливаются задние и боковые защитные устройства, позволяющие исключить попадание легкового автомобиля под ТС в случае дорожно-транспортного происшествия. Визуальный контроль - На ТС отсутствуют задние или боковые защитные устройства, позволяющие исключить попадание легкового автомобиля под ТС в случае дорожно-транспортного происшествия
Примечания
1 Допускается отсутствие задних защитных устройств на ТС, конструктивные особенности которых не позволяют выполнить установку соответствующих устройств.
2 Допускается установка боковых защитных устройств с отклонениями от установленных требований на ТС, конструктивные особенности и назначение которых не позволяют в полной мере обеспечить выполнение соответствующих требований.
Постоянно закрепленные на кузове ТС запасное колесо, контейнер для аккумуляторных батарей, топливные баки, ресиверы тормозной системы и другие компоненты могут рассматриваться как части бокового защитного устройства, если они удовлетворяют вышеустановленным требованиям к его размерным характеристикам
А.19.2 Заднее защитное устройство по ширине должно быть не более ширины задней оси и не короче ее более чем на 100 мм с каждой стороны Визуальный контроль, линейные измерения Рулетка 1 Заднее защитное устройство по ширине более ширины задней оси.
2 Заднее защитное устройство по ширине короче ширины задней оси более чем на 100 мм с какой-либо из сторон
А.19.3 Высота заднего защитного устройства должна быть не менее 100 мм Визуальный контроль, линейные измерения Рулетка Высота заднего защитного устройства менее 100 мм
А.19.4 Концы заднего защитного устройства не должны быть загнуты назад Визуальный контроль - Концы заднего защитного устройства загнуты назад
А.19.5 Задняя поверхность заднего защитного устройства должна отстоять от заднего габарита ТС не более чем на 400 мм Визуальный контроль, линейные измерения Рулетка Задняя поверхность заднего защитного устройства отстоит от заднего габарита ТС более чем на 400 мм
А.19.6 Кромки заднего защитного устройства закругляются радиусом не менее 2,5 мм Визуальный контроль, линейные измерения Шаблон радиусом 2,5 мм Кромки заднего защитного устройства не закруглены или закруглены радиусом менее 2,5 мм
А.19.7 Расстояние от опорной поверхности до нижнего края заднего защитного устройства на всем его протяжении не превышает 550 мм Визуальный контроль, линейные измерения Рулетка Расстояние от опорной поверхности до нижнего края заднего защитного устройства превышает 550 мм
А.19.8 Боковое защитное устройство не должно выступать за габариты ТС по ширине Визуальный контроль - Боковое защитное устройство выступает за габариты ТС по ширине
А.19.9 Внешняя поверхность бокового защитного устройства должна отстоять от бокового габарита ТС внутрь не более чем на 120 мм. В задней части на протяжении не менее 250 мм наружная поверхность бокового защитного устройства должна отстоять от внешнего края наружной задней шины внутрь не более чем на 30 мм (без учета прогиба шины в нижней части под массой ТС).
Болты, заклепки и другие детали крепления могут выступать на расстояние до 10 мм от внешней поверхности. Все кромки закругляются радиусом не менее 2,5 мм
Визуальный контроль, линейные измерения 1 Рулетка.
2 Шаблон радиусом 2,5 мм
1 Внешняя поверхность бокового защитного устройства отстоит от бокового габарита ТС внутрь более чем на 120 мм.
2 В задней части (на протяжении не менее 250 мм) наружная поверхность бокового защитного устройства отстоит от внешнего края наружной задней шины внутрь более чем на 30 мм (без учета прогиба шины в нижней части под массой ТС).
3 Болты, заклепки или другие детали крепления выступают на расстояние более 10 мм от внешней поверхности.
4 Кромки не закруглены или закруглены радиусом менее 2,5 мм
А.19.10 Если боковое защитное устройство состоит из
горизонтальных профилей, расстояние между ними
должно быть не более 300 мм и высота их должна
быть не менее:
А.19.10.1 50 мм - для ТС категорий N 2 и O3.
А.19.10.2 100 мм - для ТС категорий N 3 и O4
Визуальный контроль, линейные измерения Рулетка 1 Расстояние между горизонтальными профилями бокового защитного устройства более 300 мм.
2. Высота горизонтальных профилей менее:
- 50 мм - для ТС категорий N 2 и O3;
- 100 мм - для ТС категорий N 3 и O4
А.19.11 Передний конец бокового защитного устройства по горизонтали отстоит не более чем на 300 мм от задней поверхности протектора шины переднего колеса. Если в указанной зоне находится кабина, то не более чем на 100 мм от задней поверхности кабины Визуальный контроль, линейные измерения Рулетка Передний конец бокового защитного устройства по горизонтали отстоит более чем на 300 мм от задней поверхности протектора шины переднего колеса
А.19.12 Задний конец бокового защитного устройства по горизонтали отстоит не более чем на 300 мм от передней поверхности протектора шины заднего колеса Визуальный контроль, линейные измерения Рулетка Задний конец бокового защитного устройства по горизонтали отстоит более чем на 300 мм от передней поверхности протектора шины заднего колеса
А.19.13 Расстояние от опорной поверхности до нижнего края бокового защитного устройства на всем его протяжении не превышает 550 мм Визуальный контроль, линейные измерения Рулетка Расстояние от опорной поверхности до нижнего края бокового защитного устройства где-либо превышает 550 мм
А.19.14 Боковое защитное устройство не может использоваться для крепления воздушных и гидравлических трубопроводов Визуальный контроль - Боковое защитное устройство используется для крепления воздушных или гидравлических трубопроводов
А.19.15 Демонтаж или изменение места размещения предусмотренных изготовителем заднего и боковых защитных устройств не допускается Визуальный контроль - Заднее и/или боковое защитное устройство, предусмотренное изготовителем, демонтировано или изменено его место размещения

А.20 Оценка соответствия требованиям к пожарной безопасности

Категории ТС: L, M, N

Таблица А.20

Требование Метод проверки Применяемое измерительное оборудование Основание для признания несоответствия
А.20.1 Топливо, которое может пролиться при наполнении топливного(ых) бака(ов), не попадает на систему выпуска выхлопных газов, а отводится на грунт Визуальный контроль - Топливо, которое может пролиться при наполнении топливного(ых) бака(ов):
- попадает на систему выпуска выхлопных газов;
- не отводится на грунт
А.20.2 Топливный бак(и) не располагается(ются) в пассажирском помещении или другом отделении, являющемся его составной частью, и не составляет(ют) какую-либо его поверхность (пол, стенка, перегородка). Пассажирское помещение отделяется от топливного(ых) бака(ов) перегородкой. Перегородка может иметь отверстия при условии, что они устроены таким образом, чтобы при обычных условиях эксплуатации топливо из бака(ов) не могло свободно вытекать в пассажирское помещение или другое отделение, являющееся его составной частью Визуальный контроль - 1 Топливный бак располагается в пассажирском помещении или другом отделении, являющемся его составной частью.
2 Топливный бак составляет какую-либо поверхность в пассажирском помещении (пол, стенка, перегородка).
3 Пассажирское помещение не отделено от топливного бака перегородкой
А.20.3 Наливная горловина топливного бака не находится в салоне, в багажном отделении и в моторном отсеке и снабжается крышкой для предотвращения выливания топлива Визуальный контроль - 1 Наливная горловина топливного бака находится в салоне, багажном отделении или моторном отсеке ТС.
2 Наливная горловина топливного бака не снабжена крышкой для предотвращения выливания топлива
А.20.5 Предписания А.20.4 также считаются выполненными, если приняты меры для предотвращения утечки избыточных паров и топлива при отсутствии крышки наливной горловины.
Это может быть достигнуто при помощи одной из следующих мер:
А.20.5.1 Использования несъемной крышки наливной горловины топливного бака, открывающейся и закрывающейся автоматически.
А.20.5.2 Использования элементов конструкции, не допускающих утечки избыточных паров и топлива в случае отсутствия крышки наливной горловины.
А.20.5.3 Принятия любой другой меры, дающей аналогичный результат.
Примечание - Примеры могут включать, в частности, использование крышки на тросике, крышки, снабженной цепочкой, или крышки, для открытия которой используется тот же ключ, что и для замка зажигания ТС. В последнем случае ключ должен выниматься из замка крышки наливной горловины только в запертом положении
Визуальный контроль - Меры для предотвращения утечки избыточных паров и топлива при отсутствии крышки наливной горловины не выполнены
А.20.6 Уплотнение между крышкой и наливной трубой прочно закрепляется. В закрытом положении крышка плотно прилегает к уплотнению и наливной трубе Визуальный контроль - 1 Уплотнение между крышкой и наливной трубой закреплено не прочно.
2 В закрытом положении крышка не плотно прилегает к уплотнению и наливной трубе
А.20.7 Рядом с топливным(и) баком(ами) не имеется никаких выступающих частей, острых краев и т.п. с тем, чтобы топливный(е) бак(и) был(и) защищен(ы) на случай фронтального или бокового столкновения ТС Визуальный контроль - Рядом с топливным(и) баком(ами) имеются выступающие части, острые края и т.п.
А.20.8 Компоненты топливной системы защищаются частями шасси или кузова от соприкосновения с возможными препятствиями на грунте.
Примечание - Такая защита не требуется, если компоненты, находящиеся в нижней части ТС, располагаются по отношению к грунту выше части шасси или кузова, расположенной перед ними
Визуальный контроль - Компоненты топливной системы не защищены частями шасси или кузова от соприкосновения с возможными препятствиями на грунте

А.21 Оценка соответствия требованиям к выбросам ТС категорий L, M, N (экологический класс 4)

Таблица А.21

Требование Метод проверки Применяемое измерительное оборудование Основание для признания несоответствия
А.21.1 Год выпуска (модельный год) ТС - не ранее 2007 г.
Примечание - ТС более раннего года выпуска (модельного года) считается соответствующим требованиям настоящего стандарта и экологическому классу 4 при наличии сообщения об официальном утверждении типа или сертификата соответствия, выданного государством - членом Таможенного союза
Анализ документов, представленных заявителем - Год выпуска или модельный год ТС - ранее 2007 г., и сообщение об официальном утверждении типа или сертификат соответствия, выданный государством - членом Таможенного союза отсутствуют
А.21.2 Для ТС категорий M1 полной массой не более 3,5 т и N 1 обязательное наличие системы бортовой диагностики (в отношении экологических показателей) в работоспособном состоянии Визуальный контроль и функциональная проверка системы бортовой диагностики сканером Сканер системы бортовой диагностики - устройство для считывания информации из памяти системы бортовой диагностики Система бортовой диагностики отсутствует или неработоспособна
А.21.3 Для ТС категорий M1 полной массой более 3,5 т, M2, M3, N 2, N 3 2008 г. и более поздних годов выпуска с дизелями и 2010 г. и более поздних годов выпуска с газовыми двигателями обязательное наличие системы бортовой диагностики в работоспособном состоянии Визуальный контроль и функциональная проверка системы бортовой диагностики сканером Сканер системы бортовой диагностики - устройство для считывания информации из памяти системы бортовой диагностики 1 Система бортовой диагностики отсутствует:
- у дизельных ТС 2008 г. и более поздних годов выпуска;
- у газовых ТС 2010 г. и более поздних годов выпуска
А.21.4 Оснащение устройствами и системами снижения токсичности в исправном состоянии, как минимум:
- ТС категорий M1 полной массой до 3,5 т и N 1 с двигателями с принудительным зажиганием - каталитическим нейтрализатором;
- ТС категорий M1 полной массой до 3,5 т и N 1 с дизелями - системой рециркуляции отработавших газов и/или каталитическим нейтрализатором и/или фильтром частиц;
- ТС категорий M1 полной массой более 3,5 т, M2, M3, N 2, N 3 с дизелями - системой рециркуляции отработавших газов и фильтром частиц (каталитическим нейтрализатором) или каталитическим нейтрализатором и фильтром частиц или селективным нейтрализатором оксидов азота (с использованием раствора мочевины);
- ТС всех категорий с бензиновыми двигателями - уловителем углеводородов из бензобака (абсорбер)
Визуальный контроль и функциональная проверка. При невозможности удостовериться в комплектности и исправности устройств и систем снижения токсичности проведение испытаний по измерению уровня выбросов в соответствии с Правилами ООН N 49 [52] или 83 [53] (в зависимости от категории ТС) на соответствие требованиям экологического класса 4 - 1 У ТС категорий M1 полной массой до 3,5 т и N 1 с двигателями с принудительным зажиганием отсутствует или неисправен каталитический нейтрализатор.
2 У ТС категорий M1 полной массой до 3,5 т и N 1 с дизелями отсутствуют или неисправны:
- система рециркуляции отработавших газов;
- каталитический нейтрализатор;
- фильтр частиц.
3 У ТС категорий M1 полной массой более 3,5 т, M2, M3, N 2, N 3 с дизелем отсутствуют или неисправны:
- система рециркуляции отработавших газов;
- фильтр частиц (каталитический нейтрализатор)
или:
- каталитический нейтрализатор;
- фильтр частиц
или:
- селективный нейтрализатор оксидов азота (с использованием раствора мочевины).
4 У ТС с бензиновыми двигателями отсутствует или неисправен уловитель углеводородов из бензобаков (абсорбер).
Система бортовой диагностики не подтверждает комплектность или работоспособность систем, обеспечивающих уровень выбросов.
5 Уровень выбросов ТС не соответствует требованиям экологического класса 4
А.21.5 Система бортовой диагностики подтверждает комплектность и работоспособность систем, обеспечивающих уровень выбросов
А.21.6 В конструкцию системы питания, системы выпуска и систем, обеспечивающих соответствующий уровень выбросов, не были внесены изменения Визуальный контроль - Были внесены изменения в конструкцию системы питания и/или системы выпуска и/или других систем, обеспечивающих соответствующий уровень выбросов
А.21.7 Содержание оксида углерода (CO) в отработавших газах ТС с бензиновыми и газовыми двигателями в режиме холостого хода на минимальной и повышенной частотах вращения коленчатого вала двигателя не должно превышать значений, установленных изготовителем для целей оценки соответствия типа ТС перед его выпуском в обращение, а при отсутствии таких данных - не должно превышать значений, указанных в таблице А.21.1.
Оценка проводится при частоте вращения коленчатого вала двигателя, установленной изготовителем ТС. При отсутствии данных изготовителя о величине повышенной частоты вращения проверка проводится при частоте вращения коленчатого вала двигателя не ниже 2000 мин-1 (кроме ТС категорий L) и 1500 мин-1 (у ТС категорий L).
При этом значение коэффициента избытка воздуха для ТС экологического класса 4 и выше при повышенной частоте вращения коленчатого вала двигателя должно быть в пределах, установленных изготовителем для целей оценки соответствия типа ТС перед его выпуском в обращение. При отсутствии таких данных проверка не проводится
Анализ эксплуатационной документации, инструментальные измерения контролируемых показателей на прогретом двигателе 1 Газоанализатор - прибор для определения содержания загрязняющих веществ в отработавших газах ТС с двигателями с искровым зажиганием или универсальный измеритель содержания загрязняющих веществ и дымности в отработавших газах.
2 Прибор для измерения частоты оборотов двигателя и температуры масла.
3 Универсальный измеритель содержания загрязняющих веществ и дымности в отработавших газах
1 Содержание оксида углерода (CO) в отработавших газах ТС с бензиновыми и газовыми двигателями в режиме холостого хода на минимальной и повышенной частотах вращения коленчатого вала двигателя превышает значения, установленные изготовителем для целей оценки соответствия типа ТС перед его выпуском в обращение, а при отсутствии таких данных - превышает значения, указанные в таблице А.21.1 для экологического класса 4 и выше. Измерения должны быть проведены при частоте вращения коленчатого вала двигателя, установленной изготовителем ТС или не ниже 2000 мин-1 (кроме ТС категорий L) и 1500 мин-1 (у ТС категорий L). 2 Значение коэффициента избытка воздуха для ТС экологического класса 4 или выше при повышенной частоте вращения коленчатого вала двигателя не соответствует пределам, установленным изготовителем для целей оценки соответствия типа ТС перед его выпуском в обращение
А.21.8 Дымность отработавших газов ТС с дизелями в режиме свободного ускорения не должна превышать значений коэффициента поглощения света, указанного в документах, удостоверяющих соответствие ТС Правилам ООН N 24 [54], либо значений, указанных на знаке официального утверждения, нанесенном на двигатель или ТС, либо установленных изготовителем ТС в эксплуатационной документации Анализ эксплуатационной документации, инструментальные измерения контролируемых показателей на прогретом двигателе 1 Дымомер - прибор для определения дымности в отработавших газах ТС с двигателями с воспламенением от сжатия.
2 Универсальный измеритель содержания загрязняющих веществ и дымности в отработавших газах
Дымность отработавших газов ТС с дизелями в режиме свободного ускорения превышает значения коэффициента поглощения света, указанного в документах, удостоверяющих соответствие ТС Правилам ООН N 24 [54], или значения, указанные на знаке официального утверждения, нанесенном на двигатель или ТС, или значения, установленные изготовителем ТС в эксплуатационной документации, или для двигателей экологического класса 4 и выше - значение 1,5 м-1
А.21.9 При проведении проверки соответствия требованиям А.21.7 и А.21.8 пробег ТС должен быть не менее 3000 км. При меньшем пробеге проверка не проводится

Таблица А.21.1

Пределы содержания оксида углерода (CO) в отработавших газах двигателя

Категория и комплектация ТС Частота вращения коленчатого вала двигателя CO, объемная доля, %
M и N экологического класса 4 и выше, оснащенные системами нейтрализации отработавших газов Минимальная 0,3
Повышенная 0,2
L, не оснащенные системами нейтрализации отработавших газов Минимальная 4,5

А.22 Оценка соответствия требованиям к двигателям ТС и их системам

Категории ТС: L, M, N

Таблица А.22

Требование Метод проверки Применяемое измерительное оборудование Основание для признания несоответствия
А.22.1 Отсутствие и видимые повреждения элементов системы контроля и управления двигателем и системы снижения выбросов (электронный блок управления двигателем, кислородный датчик, каталитический нейтрализатор, система вентиляции картера двигателя, система рециркуляции отработавших газов, система улавливания паров топлива и другие) не допускаются Анализ эксплуатационной документации, визуальный контроль - Элементы системы контроля и управления двигателем и системы снижения выбросов, предусмотренные в конструкции ТС, отсутствуют или повреждены
А.22.2 Показания размещенных на комбинации приборов сигнализаторов средств контроля двигателя и его систем должны соответствовать исправному состоянию двигателя и его систем. На ТС, оснащенных системой бортовой диагностики, эта система должна быть комплектна и работоспособна, а также должны отсутствовать коды неисправностей систем обеспечения безопасности ТС, сохраненные системой бортовой диагностики Визуальный контроль и функциональная проверка системы бортовой диагностики сканером Сканер системы бортовой диагностики - устройство для считывания информации из памяти системы бортовой диагностики 1 Показания размещенных на комбинации приборов сигнализаторов средств контроля двигателя и его систем не соответствуют исправному состоянию двигателя и его систем.
2 Система бортовой диагностики:
- отсутствует;
- неработоспособна;
- содержит сохраненные коды неисправностей систем обеспечения безопасности ТС
А.22.3 Системы питания и выпуска ТС должны быть комплектны и герметичны. Подтекания и каплепадение топлива в системе питания двигателей не допускаются. Подсос воздуха и/или утечка отработавших газов, минуя систему выпуска, не допускаются. Системы улавливания паров топлива, рециркуляции отработавших газов и вентиляции картера, предусмотренные изготовителем в эксплуатационной документации ТС, должны быть комплектны и герметичны Визуальный контроль и функциональная проверка - 1 Системы питания и/или выпуска ТС:
- некомплектны;
- негерметичны.
2 Наличие подтеканий или каплепадения топлива в системе питания двигателей.
3 Наличие подсоса воздуха, минуя систему впуска.
4 Наличие утечки отработавших газов, минуя систему выпуска.
5 Система улавливания паров топлива некомплектна и/или негерметична.
6 Система рециркуляции отработавших газов некомплектна и/или негерметична.
7 Система вентиляции картера некомплектна и/или негерметична
А.22.4 Запорные устройства топливных баков и устройства перекрытия топлива должны быть работоспособны. Крышки топливных баков должны фиксироваться в закрытом положении, повреждения уплотняющих элементов крышек не допускаются. Отсутствие, повреждение или ослабление деталей крепления элементов системы питания не допускаются Визуальный контроль и функциональная проверка - 1 Запорные устройства топливных баков отсутствуют или неработоспособны.
2 Устройства перекрытия топлива отсутствуют или неработоспособны.
3 Крышки топливных баков не фиксируются в закрытом положении.
4 Наличие повреждений уплотняющих элементов крышек.
5 Детали крепления элементов системы питания отсутствуют, повреждены или ослаблены
А.22.5 Система питания газобаллонных ТС, ее размещение и установка должны соответствовать следующим требованиям:
А.22.5.1 На каждый газовый баллон должен иметься паспорт, оформленный его изготовителем.
А.22.5.2 На каждом газовом баллоне, установленном на ТС, должны быть четко нанесены нестираемым образом по меньшей мере следующие данные:
- серийный номер;
- обозначение "СНГ" или "КПГ".
А.22.5.3 Газобаллонное оборудование на ТС в специально уполномоченных организациях подвергается периодическим испытаниям с периодичностью, совпадающей с периодичностью освидетельствования баллонов, установленной изготовителем баллонов и указанной в паспорте на баллон (баллоны). По результатам периодических испытаний специально уполномоченные организации оформляют свидетельство о проведении периодических испытаний газобаллонного оборудования, установленного на ТС.
А.22.5.4 Внесение изменений в конструкцию и комплектность установленного газобаллонного оборудования при эксплуатации не допускается. Изменения, вносимые при ремонте газобаллонного оборудования (замена редуктора или баллона), оформляются специально уполномоченными организациями свидетельством о соответствии газобаллонного оборудования требованиям безопасности.
А.22.5.5 Единые для государств - членов Таможенного союза формы документов, упомянутых в А.22.5.1, А.22.5.3 и А.22.5.4, устанавливаются решением Комиссии Таможенного союза. Указанные документы предъявляются при проведении проверки технического состояния ТС
Визуальный контроль и контроль имеющейся документации - 1 Отсутствует паспорт на газовый баллон, оформленный его изготовителем.
2 На газовом баллоне, установленном на ТС, отсутствуют следующие данные:
- серийный номер;
- обозначение "СНГ" или "КПГ".
3 Надписи на газовом баллоне нанесены неразборчиво или подвержены истиранию.
4 Свидетельство о проведении периодических испытаний газобаллонного оборудования, установленного на ТС, отсутствует.
5 Были внесены изменения в конструкцию и/или комплектность установленного газобаллонного оборудования при эксплуатации, при этом свидетельство о соответствии газобаллонного оборудования требованиям безопасности отсутствует
А.22.5.6 Не допускается:
А.22.5.6.1 Использование газовых баллонов с истекшим сроком их периодического освидетельствования.
А.22.5.6.2 Нарушения крепления компонентов газобаллонного оборудования.
А.22.5.6.3 Утечки газа из элементов газобаллонного оборудования и в местах их соединений
Визуальный контроль и проверка утечки газа Индикатор-течеискатель для проверки герметичности газовой системы питания ТС 1 Используются газовые баллоны с истекшим сроком их периодического освидетельствования.
2 Крепление компонентов газобаллонного оборудования нарушено.
3 Наличие утечки газа из элементов газобаллонного оборудования и/или в местах их соединений

А.23 Оценка соответствия требованиям к шуму ТС

Категории ТС: L, M, N

Таблица А.23

Требование Метод проверки Применяемое измерительное оборудование Основание для признания несоответствия
А.23.1 Уровень шума выпуска отработавших газов ТС, измеренный на расстоянии 0,5 м от среза выпускной трубы под углом 45° +/- 10° к оси потока газа на неподвижном ТС при работе двигателя на холостом ходу при поддержании постоянной целевой частоты вращения коленчатого вала двигателя и в режиме замедления его вращения от целевой частоты до минимальной частоты холостого хода, не должен превышать более чем на 5 дБ A значений, установленных изготовителем ТС, а при отсутствии этих данных - значений, указанных в таблице А.23.1. Измерения с использованием шумомера. Метод проверки в соответствии с приложением В Шумомер Уровень шума выпуска отработавших газов превышает более чем на 5 дБ A значения, установленные изготовителем ТС, или значения, указанные в таблице А.23.1
Примечание - Целевая частота вращения коленчатого вала двигателя составляет:
75% от частоты вращения, соответствующей максимальной мощности двигателя, для ТС с частотой вращения коленчатого вала двигателя, соответствующей максимальной мощности, не выше 5000 мин-1; 3750 мин-1 для ТС с частотой вращения коленчатого вала двигателя, соответствующей максимальной мощности, более 5000 мин-1, но менее 7500 мин-1; 50% частоты вращения коленчатого вала двигателя для ТС с частотой вращения коленчатого вала двигателя 7500 мин-1 и выше.
Если двигатель внутреннего сгорания не может достичь указанной частоты вращения коленчатого вала, то целевая частота принимается на 5% ниже максимально возможной для неподвижного ТС.
Для ТС, у которого двигатель внутреннего сгорания не может работать, когда ТС неподвижно, проверка не проводится
(в ред. Изменения N 1, утв. Приказом Росстандарта от 22.11.2021 N 1525-ст)
А.23.2 Не допускается внесение изменений в конструкцию системы выпуска отработавших газов Визуальный контроль и анализ эксплуатационной документации - В конструкцию системы выпуска отработавших газов внесены изменения
(в ред. Изменения N 1, утв. Приказом Росстандарта от 22.11.2021 N 1525-ст)

Таблица А.23.1

Предельные уровни шума выпуска двигателей ТС

Категория ТС Уровень звука, дБ A
M1, N 1, L 96
M2, N 2 98
M3, N 3 100

А.24 Оценка соответствия требованиям к рулевому управлению

Категории ТС: L, M, N

Таблица А.24

Требование Метод проверки Применяемое измерительное оборудование Основание для признания несоответствия
А.24.1 Изменение усилия при повороте рулевого колеса должно быть плавным во всем диапазоне угла его поворота. Неработоспособность усилителя рулевого управления ТС (при его наличии на ТС) не допускается. Запрещен демонтаж усилителя рулевого управления, предусмотренного изготовителем в эксплуатационной документации ТС Функциональная проверка Тестер проверки люфтов в деталях рулевого управления и подвески 1 Изменение усилия при повороте рулевого колеса происходит не плавно.
2 Усилитель рулевого управления ТС (при наличии) неработоспособен.
3. Усилитель рулевого управления, предусмотренный изготовителем в эксплуатационной документации ТС, отсутствует
А.24.2 Самопроизвольный поворот рулевого колеса с усилителем рулевого управления от нейтрального положения при работающем двигателе, вопреки желанию и ожиданиям водителя, не допускается Функциональная проверка - Самопроизвольный поворот рулевого колеса от нейтрального положения у ТС с усилителем рулевого управления при работающем двигателе
А.24.3 Суммарный люфт в рулевом управлении не должен превышать предельных значений, установленных изготовителем ТС, а при отсутствии указанных данных следующих предельных значений:
- ТС категорий M2 и N 2, созданные на базе агрегатов ТС категории M1, - 10°;
- ТС категорий M2 и M3 - 20°;
- ТС категорий N - 25°
Инструментальные измерения Прибор для измерения суммарного люфта в рулевом управлении Суммарный люфт в рулевом управлении превышает значения, установленные изготовителем в эксплуатационной документации, а при их отсутствии - значения, установленные в А.22
А.24.4 Повреждения и отсутствие деталей крепления рулевой колонки и картера рулевого механизма не допускаются. Резьбовые соединения должны быть затянуты и зафиксированы способом, предусмотренным изготовителем ТС. Люфт в соединениях рычагов поворотных цапф и шарнирах рулевых тяг не допускается. Устройство фиксации положения рулевой колонки с регулируемым положением рулевого колеса должно быть работоспособно Функциональная проверка Тестер проверки люфтов в деталях рулевого управления и подвески 1 Детали крепления рулевой колонки повреждены или отсутствуют.
2 Детали крепления картера рулевого механизма повреждены или отсутствуют.
3 Резьбовые соединения не затянуты или не зафиксированы.
4 Резьбовые соединения зафиксированы способом, не предусмотренным изготовителем ТС.
5 В соединениях рычагов поворотных цапф и шарнирах рулевых тяг имеется люфт.
6 Устройство фиксации положения рулевой колонки с регулируемым положением рулевого колеса неработоспособно
А.24.5 Применение в рулевом механизме и рулевом приводе деталей со следами остаточной деформации, с трещинами и другими дефектами не допускается Визуальный контроль - Детали рулевого механизма или рулевого привода имеют следы остаточной деформации, трещины или другие дефекты
А.24.6 Подтекание рабочей жидкости в гидросистеме усилителя рулевого управления не допускается Визуальный контроль при работающем двигателе - Подтекание рабочей жидкости в гидросистеме усилителя рулевого управления

А.25 Оценка соответствия требованиям к сцепным устройствам

Категории ТС: M, N, O

Таблица А.25

Требование Метод проверки Применяемое измерительное оборудование Основание для признания несоответствия
А.25.1 Замок седельно-сцепного устройства седельных тягачей должен после сцепки закрываться автоматически. Ручная и автоматическая блокировки седельно-сцепного устройства должны предотвращать самопроизвольное расцепление тягача и полуприцепа. Деформации, разрывы, трещины и другие видимые повреждения сцепного шкворня, гнезда шкворня, опорной плиты, тягового крюка, шара тягово-сцепного устройства, трещины, разрушения, в том числе местные, или отсутствие деталей сцепных устройств и их крепления не допускаются Визуальный контроль - 1 Замок седельно-сцепного устройства седельных тягачей после сцепки автоматически не закрывается.
2 Ручная и/или автоматическая блокировка седельно-сцепного устройства не предотвращают самопроизвольное расцепление тягача и полуприцепа.
3 Наличие деформации, разрыва, трещины или других видимых повреждений в конструкции сцепного шкворня, гнезда шкворня, опорной плиты, тягового крюка, шара тягово-сцепного устройства.
4 Детали сцепных устройств и/или их крепления:
- отсутствуют;
- имеют трещины;
- имеют разрушения, в том числе местные
А.25.2 Ослабление болтовых соединений и фиксации крепления дышла к прицепу, сцепной петли к дышлу, шкворня и гаек реактивных штанг не допускается. Гайка оси дышла должна быть завернута до отказа и зашплинтована.
Гайка крепления сцепной петли дышла должна быть завернута до отказа и зафиксирована замковой шайбой и гайкой.
Стопорные шайбы шкворня должны фиксировать завернутую до отказа гайку
Визуальный контроль, контроль посредством приложения нагрузки к деталям сцепного устройства - 1 Болтовые соединения ослаблены.
2 Фиксация крепления дышла к прицепу, сцепной петли к дышлу, шкворня и/или гаек реактивных штанг ослаблена.
3 Гайка оси дышла не завернута до отказа.
4 Гайка оси дышла не зашплинтована.
5 Гайка крепления сцепной петли дышла не зафиксирована замковой шайбой и гайкой.
6 Стопорные шайбы шкворня не фиксируют завернутую до отказа гайку
А.25.3 Продольный люфт в беззазорных тягово-сцепных устройствах с тяговой вилкой для сцепленного с прицепом тягача не допускается Функциональная проверка - Наличие продольного люфта в беззазорных тягово-сцепных устройствах с тяговой вилкой
А.25.4 Требования к размерным характеристикам сцепных устройств Визуальный контроль, линейные измерения Штангенциркуль Размерные характеристики сцепных устройств не соответствуют установленным значениям
А.25.4.1 Диаметр сцепного шкворня сцепных устройств полуприцепов технически допустимой максимальной массой до 40 т должен быть в пределах от номинального, равного 50,9 мм, до предельно допустимого, составляющего 48,3 мм, а наибольший внутренний диаметр рабочих поверхностей захватов сцепного устройства - от 50,8 до 55 мм соответственно.
А.25.4.2 Диаметр сцепного шкворня сцепных устройств с клиновым замком полуприцепов с технически допустимой максимальной массой до 55 т должен быть в пределах от номинального, равного 50 мм, до предельно допустимого, составляющего 49 мм, а полуприцепов с технически допустимой максимальной массой более 55 т - в пределах от номинального, равного 89,1 мм, до предельно допустимого, составляющего 86,6 мм.
А.25.4.3 Диаметр зева тягового крюка тягово-сцепной системы "крюк - петля" тягача, измеренный в продольной плоскости, должен быть в пределах от минимального, составляющего 48 мм, до предельно допустимого, равного 53 мм, а наименьший диаметр сечения прутка сцепной петли - 43,9 мм, до 36 мм соответственно.
А.25.4.4 Диаметр шкворня типоразмера 40 мм беззазорных тягово-сцепных устройств с тяговой вилкой тягача должен быть в пределах от номинального, составляющего 40 мм, до минимально допустимого, равного 36,2 мм, а диаметр шкворня типоразмера 50 мм в пределах от номинального, составляющего 50 мм, до минимально допустимого, равного 47,2 мм. Диаметр сменной вставки типоразмера 40 мм дышла прицепа должен быть в пределах от номинального, составляющего 40 мм, до предельно допустимого, равного 41,6 мм, а сменной вставки типоразмера 50 мм - в пределах от номинального, составляющего 50 мм, до предельно допустимого, равного 51,6 мм.
А.25.4.5 Диаметр шара тягово-сцепного устройства легковых автомобилей должен быть в пределах от номинального, равного 50 мм, до минимально допустимого, составляющего 49,6 мм
     

А.26 Оценка соответствия требованиям к прочим элементам конструкции

Категории ТС: L, M, N, O

Таблица А.26

Требование Метод проверки Применяемое измерительное оборудование Основание для признания несоответствия
А.26.1 Показания сигнализаторов бортовых (встроенных) средств контроля и диагностирования на ТС, оснащенных такими средствами, должны соответствовать работоспособному состоянию ТС. Бортовые средства контроля и диагностирования должны быть при этом комплектны и сохранны, их видимые повреждения не допускаются Визуальный контроль и функциональная проверка - 1 Показания сигнализаторов бортовых (встроенных) средств контроля и диагностирования не соответствуют работоспособному состоянию ТС.
2 Бортовые средства контроля и диагностирования:
- некомплектны;
- повреждены;
- находятся в нерабочем состоянии
А.26.2 Замки дверей кузова или кабины, запоры бортов грузовой платформы, запоры горловин цистерн, механизмы регулировки и фиксирующие устройства сидений водителя и пассажиров, устройство обогрева и обдува ветрового стекла, предусмотренное изготовителем ТС противоугонное устройство должны быть работоспособны.
Примечание - Выполнение этого требования ранее проверялось
- - -
А.26.3 Замки боковых навесных дверей ТС должны фиксироваться в двух положениях запирания: промежуточном и окончательном, если это предусмотрено изготовителем ТС в эксплуатационной документации.
Примечание - Выполнение этого требования ранее проверялось
- - -
А.26.4 ТС должно быть укомплектовано звуковым сигнальным прибором в работоспособном состоянии. Звуковой сигнальный прибор должен при приведении в действие органа его управления издавать непрерывный и монотонный звук, акустический спектр которого не должен претерпевать значительных изменений Функциональная проверка - 1 Звуковой сигнальный прибор:
- отсутствует;
- неработоспособен.
2 При приведении в действие органа управления:
- издает прерывистый звук;
- издает звук изменяющегося тона.
3 Акустический спектр издаваемого звука значительно изменяется
(в ред. Изменения N 1, утв. Приказом Росстандарта от 22.11.2021 N 1525-ст)
А.26.5 Демонтаж и неработоспособность средств измерения скорости (спидометры), а также технические средства контроля за соблюдением водителями режимов движения, труда и отдыха (если их установка предусмотрена настоящим стандартом) не допускаются.
Примечание - Выполнение этого требования ранее проверялось
- - -
А.26.6 Ослабление затяжки болтовых соединений и разрушения деталей подвески и карданной передачи ТС не допускаются Визуальный контроль, функциональная проверка Тестер проверки люфтов в деталях рулевого управления и подвески 1 Затяжка болтовых соединений подвески и/или карданной передачи ТС ослаблена.
2 В деталях подвески и/или карданной передачи ТС имеются видимые повреждения
А.26.7 Давление на контрольном выводе регулятора уровня пола ТС с пневматической подвеской, изготовленного после 1 января 1997 г., должно соответствовать указанному изготовителем в эксплуатационной документации Измерение давления, сравнение с данными, приведенными в эксплуатационной документации ТС Манометр Давление на контрольном выводе регулятора уровня пола ТС с пневматической подвеской не соответствует указанному изготовителем в эксплуатационной документации
А.26.8 Деформации вследствие повреждений или изменения конструкции передних и задних бамперов ТС, при которых радиус кривизны выступающих наружу частей бампера (за исключением деталей, изготовленных из неметаллических эластичных материалов) менее 5 мм, не допускаются.
Примечание - Выполнение этого требования ранее проверялось
- - -
А.26.9 Видимые разрушения, короткие замыкания и следы пробоя изоляции электрических проводов не допускаются Визуальный контроль - Наличие:
- видимых разрушений электрических проводов;
- следов коротких замыканий;
- следов пробоя изоляции электрических проводов
А.26.10 Запасное колесо, аккумуляторные батареи, сиденья должны быть надежно закреплены в местах, предусмотренных изготовителем в эксплуатационной документации ТС Визуальный контроль, контроль эксплуатационной документации ТС - 1 Запасное колесо не закреплено или закреплено ненадежно.
2 Аккумуляторные батареи не закреплены или закреплены ненадежно.
3 Сиденья не закреплены или закреплены ненадежно.
4 Места крепления запасного колеса, аккумуляторных батарей или сидений отличаются от мест, предусмотренных изготовителем в эксплуатационной документации ТС
(в ред. Изменения N 1, утв. Приказом Росстандарта от 22.11.2021 N 1525-ст)
А.26.11 На ТС, оборудованных механизмами продольной регулировки положения подушки и угла наклона спинки сиденья или механизмом перемещения сиденья водителя (для посадки и высадки пассажиров), указанные механизмы должны быть работоспособны. После прекращения регулирования или пользования эти механизмы должны автоматически блокироваться Функциональная проверка - 1 Неработоспособны:
- механизмы продольной регулировки положения подушки сиденья;
- механизмы регулировки угла наклона спинки сиденья;
- механизм перемещения сиденья водителя (для посадки и высадки пассажиров).
2 Автоматическая блокировка после прекращения регулирования или пользования механизмов, указанных выше, отсутствует
А.26.12 Держатель запасного колеса должен быть работоспособен Функциональная проверка - Держатель запасного колеса неработоспособен
А.26.13 Каплепадение масел и рабочих жидкостей из двигателя, коробки передач, бортовых редукторов, заднего моста, сцепления, аккумуляторной батареи, систем охлаждения и кондиционирования воздуха и дополнительно устанавливаемых на ТС гидравлических устройств не допускается Визуальный контроль - Наблюдается каплепадение масел или масел и рабочих жидкостей из двигателя, коробки передач, бортовых редукторов, заднего моста, сцепления, аккумуляторной батареи, систем охлаждения и кондиционирования воздуха и дополнительно устанавливаемых на ТС гидравлических устройств
А.26.14 Ослабление крепления амортизаторов вследствие отсутствия, повреждения или сквозной коррозии деталей их крепления не допускается Визуальный контроль - 1 Крепление амортизаторов ослаблено.
2 Детали крепления амортизаторов:
- отсутствуют;
- повреждены;
- имеют следы сквозной коррозии
(в ред. Изменения N 1, утв. Приказом Росстандарта от 22.11.2021 N 1525-ст)
А.26.15 Трещины и разрушения щек кронштейнов подвески, а также стоек либо каркасов бортов и приспособлений для крепления грузов не допускаются Визуальный контроль - Наличие трещин и разрушений щек кронштейнов подвески, стоек либо каркасов бортов и приспособлений для крепления грузов
А.26.16 Отсутствие предусмотренных изготовителем в эксплуатационной документации ТС элементов системы защиты от разбрызгивания из-под колес не допускается Визуальный контроль, контроль эксплуатационной документации ТС - Элементы системы защиты от разбрызгивания из-под колес, предусмотренные изготовителем в эксплуатационной документации ТС, отсутствуют
А.26.17 Запрещено неправомерное оборудование ТС специальными звуковыми и световыми сигнальными приборами, нанесение окраски по цветографическим схемам, установленным для ТС оперативных служб Визуальный контроль, контроль документации на ТС - Неправомерное оборудование ТС специальными звуковыми и световыми сигнальными приборами, нанесение окраски по цветографическим схемам, установленным для ТС оперативных служб

А.27 Оценка соответствия требованиям к комплектности ТС

Категории ТС: L, M, N, O

Таблица А.27

Требование Метод проверки Применяемое измерительное оборудование Основание для признания несоответствия
А.27.1 ТС комплектуются знаком аварийной остановки, выполненным в соответствии с Правилами ООН N 27 [55] Визуальный контроль - ТС не укомплектовано знаком аварийной остановки или этот знак не соответствует Правилам ООН N 27 [55]
А.27.2 ТС комплектуются аптечкой первой помощи (автомобильной), а ТС категории M3 классов II и III - тремя аптечками первой помощи (автомобильными). Указанные аптечки комплектуются пригодными для использования изделиями медицинского назначения и прочими средствами.
Примечание - Произвольное изменение комплектации аптечки или применение изделий медицинского назначения и прочих средств с поврежденной маркировкой и просроченным периодом использования не допускаются
Визуальный контроль - 1 ТС не укомплектовано требуемым количеством аптечек первой помощи.
2 Изделия медицинского назначения и/или прочие средства, которыми комплектуется аптечка первой помощи, непригодны для использования
А.27.3 ТС комплектуются не менее чем двумя противооткатными упорами, соответствующими диаметру колес ТС Визуальный контроль - 1 Отсутствуют один или два противооткатных упора.
2 Противооткатные упоры не соответствуют диаметру колес ТС
А.27.4 Независимо от наличия автоматической системы пожаротушения ТС оснащаются не менее чем одним огнетушителем емкостью не менее 2 л. Огнетушитель размещается в легкодоступном месте. У ТС категорий M2 и M3 огнетушитель размещается поблизости от рабочего места водителя. В случае двухэтажного ТС на верхнем этаже должен находиться дополнительный огнетушитель. Огнетушители должны быть опломбированы, и на них должен быть указан срок окончания использования, который на момент проверки не должен быть завершен Визуальный контроль - 1 Отсутствует хотя бы один требуемый огнетушитель.
2 Емкость хотя бы одного огнетушителя менее 2 л.
3 Огнетушители:
- располагаются в местах, затрудняющих их использование;
- отсутствуют поблизости от рабочего места водителя (для ТС категорий M2 и M3);
- не опломбированы.
4 Дополнительный огнетушитель отсутствует на верхнем этаже двухэтажного ТС.
5 На огнетушителях не указан срок окончания их использования
А.27.5 Огнетушители и аптечки первой помощи (автомобильные) на ТС, оборудованных приспособлениями для их крепления, надежно закрепляются в местах, предусмотренных конструкцией ТС Визуальный контроль, контроль эксплуатационной документации ТС - 1 Огнетушители и/или аптечки первой помощи не закреплены или закреплены ненадежно.
2 Места крепления огнетушителей и/или аптечек первой помощи не соответствуют предусмотренным конструкцией ТС
А.27.6 ТС, максимальная конструктивная скорость которых не превышает 40 км/ч, комплектуются опознавательным знаком тихоходного ТС, выполненным в соответствии с Правилами ООН N 69 [56] Визуальный контроль - ТС, максимальная конструктивная скорость которых не превышает 40 км/ч, не укомплектованы опознавательным знаком тихоходного ТС, выполненным в соответствии с Правилами ООН N 69 [56]
А.27.7 Сочлененные ТС категорий M, ТС категории N 3, кроме тягачей, буксирующих полуприцепы, комплектуются опознавательным знаком ТС большой длины и грузоподъемности, выполненным в соответствии с Правилами ООН N 70 [57] Визуальный контроль - Сочлененное ТС категорий M2 или M3, ТС категории N 3, кроме тягачей, буксирующих полуприцепы, не укомплектовано опознавательным знаком ТС большой длины и грузоподъемности, выполненным в соответствии с Правилами ООН N 70 [57]
А.27.8 На ТС категорий M2 и M3, использующие в качестве топлива сжиженный нефтяной газ (СНГ) или компримированный природный газ (КПГ), наносятся опознавательные знаки, предусмотренные Правилами ООН N 67 [58] и 110 [59], в виде ромба зеленого цвета с каймой белого цвета. В середине знака располагаются буквы: "СНГ" или "КПГ" (см. рисунок А.27.1). Горизонтальная диагональ ромба (110 - 150) мм, вертикальная диагональ ромба (80 - 110) мм, ширина каймы (4 - 6) мм, высота букв более 25 мм, ширина букв более 4 мм. Опознавательные знаки размещаются спереди и сзади, а также по правому борту ТС снаружи дверей Визуальный контроль - Опознавательные знаки, предусмотренные Правилами ООН N 67 [58] и 110 [59], на ТС категорий M2 и M3, использующих в качестве топлива сжиженный нефтяной газ (СНГ) или компримированный природный газ (КПГ):
- отсутствуют или находятся в неустановленных местах;
- выполнены не в соответствии с Правилами ООН N 67 [58] и 110 [59]

Рисунок А.27.1 - Образец опознавательного знака для ТС категорий M2 и M3, использующих в качестве топлива СНГ или КПГ

Приложение Б
(обязательное)

ОБОРУДОВАНИЕ, ПРИМЕНЯЕМОЕ ДЛЯ ЦЕЛЕЙ ОЦЕНКИ СООТВЕТСТВИЯ ЕДИНИЧНЫХ ТС, И ЕГО ОСНОВНЫЕ ХАРАКТЕРИСТИКИ

(в ред. Изменения N 1, утв. Приказом Росстандарта от 22.11.2021 N 1525-ст)

Таблица Б.1

Порядковый номер Раздел приложения А и вид оборудования Техническая характеристика Особенность применения
Измеряемый параметр Диапазон измерения Максимальная погрешность
1 А.1 Требования к обеспечению возможности идентификации ТС  
1.1 Рулетка Линейные размеры 0 - 5 м ±[0,30+0,15(L-1)] мм, где L - число полных и неполных метров в отрезке  
(в ред. Изменения N 1, утв. Приказом Росстандарта от 22.11.2021 N 1525-ст)
1.2 Угломер Угловые размеры, градусы 0 - 220 +/- 1  
2 А.2 Требования к аппаратуре спутниковой навигации Не применяется
3 А.3 Требования к ТС в отношении установки устройства (системы) вызова экстренных оперативных служб.
Эмулятор системы экстренного реагирования при авариях.
Примечание - Допускается при проведении натурных испытаний систем/устройств вызова экстренных оперативных служб и ТС в качестве эмулятора использовать подсистему тестирования системы экстренного реагирования при авариях, а обмен информацией осуществлять по реальным сетям подвижной радиотелефонной связи. Указанное допущение возможно при условии проведения соответствующего комплекса мероприятий по обеспечению требуемого радиопокрытия и качества сигналов сетей подвижной радиотелефонной связи в месте проведения натурных испытаний
Тестовый фрагмент сети сотовой связи, эмулятор PSAP сервера для передачи в автоматизированную систему эталонного сообщения о ДТП и голосовой связи Диапазон частот: от 70 МГц до 6 ГГц. Стандарты связи: LTE, LTE-Advanced, 802.22 a/b/g/n/ac (WI-FI), 802.15 Частоты ± 1 х , мощности ± 2 дБ  
(в ред. Изменения N 1, утв. Приказом Росстандарта от 22.11.2021 N 1525-ст)
4 А.4 Требования к тахографу Не применяется
5 А.5 Требования к тормозному управлению  
5.1 Универсальный роликовый стенд для проверки тормозных систем ТС с максимальной массой, приходящейся на ось, до 13 000 кг
([60], приложение, пункт 1.1)
Тормозная сила колеса, кН 0 - 30 +/- 3%  
  Усилие на органе управления, Н 200 - 800 +/- 7%
  Масса ТС, приходящаяся на ось, кг 0 - 13 000 +/- 3%
  Давление сжатого воздуха, МПа 0 - 1 5%
5.2 Универсальный площадочный стенд для проверки тормозных систем ТС с максимальной массой, приходящейся на ось, 12 000 кг
([60], приложение, пункт 1.2)
Тормозная сила колеса, кН 0 - 30 +/- 3% Применяется альтернативно стенду по 5.1
  Усилие на органе управления, Н 200 - 800 +/- 7%
  Масса ТС, приходящаяся на ось, кг 0 - 12 000 +/- 3%
  Давление сжатого воздуха, МПа 0 - 1 5%
5.3 Роликовый стенд для проверки тормозных систем ТС с максимальной массой, приходящейся на ось, до 18 000 кг
([60], приложение, пункт 1.4)
Тормозная сила колеса, кН 0 - 60 +/- 3% Применяется альтернативно стенду по 5.1 при необходимости проверки ТС с большими осевыми нагрузками
  Усилие на органе управления, Н 200 - 800 +/- 7%
  Масса ТС, приходящаяся на ось, кг 0 - 18 000 +/- 3%
  Давление сжатого воздуха, МПа 0 - 1 5%
5.4 Средства контроля давления сжатого воздуха и герметичности (падения давления) в пневматическом и пневмогидравлическом тормозных приводах
([60], приложение, пункт 1.5)
Давление сжатого воздуха, МПа 0 - 1 +/- 5% Необходимы, если соответствующее оборудование не входит в комплектацию стенда для проверки тормозных систем
5.5 Нагружатель сцепного устройства прицепов
([60], приложение, пункт 1.6)
Усилие вталкивания сцепного устройства, Н 50 - 3700 +/- 5%  
5.6 Прибор для проверки эффективности тормозных систем ТС в дорожных условиях
([60], приложение, пункт 1.7)
Замедление, м/с2 0 - 9,81 +/- 4% Применяется альтернативно стенду по 5.1
  Время срабатывания тормозной системы, с 0 - 3 +/- 0,1
  Усилие на органе управления, Н 200 - 800 +/- 5%
5.7 Динамометр Усилие на органе управления, Н 200 - 800 +/- 5%
6 А.6 Требования к устройствам для предотвращения несанкционированного использования (противоугонным устройствам) Не применяется
7 А.7 Требования к системам отопления, системам управления климатом Не применяется
8 А.8 Требования к устройствам освещения и световой сигнализации  
8.1 Рулетка Линейные размеры 0 - 5 м +/- 0,5 мм  
8.2 Прибор для контроля регулировки и силы света фар
([60], приложение, пункт 3.1)
Угол наклона светотеневой границы светового пучка в вертикальной плоскости 0°00' - 2°20' +/- 0,1% Габариты входного отверстия объектива прибора должны превышать габариты светящейся поверхности фары не менее 30%
  Сила света фар, кд 200 - 125 000 15%
  Высота измерений, мм 250 - 1400 -
  Погрешность ориентации оптической оси прибора относительно продольной плоскости ТС - +/- 30'
9 А.9 Дополнительные требования к общей безопасности пассажирских ТС категорий M2 и M3  
9.1 Рулетка Линейные размеры 0 - 5 м +/- 0,5 мм  
9.2 Линейка Линейные размеры 0 - 250 мм +/- 0,5 мм  
9.3 Шаблон для определения соответствия размеров аварийных окон Линейные размеры, мм 500 x 700 - Для аварийных окон в торцевой части ТС
350 x 1550, радиус кривизны менее 250 мм  
9.4 Шаблоны для проверки обеспечения доступа к служебным дверям       В соответствии с Правилами ООН N 107 [17], приложение 3, пункт 7.7.1
9.5 Шаблоны для проверки обеспечения доступа к запасным окнам       В соответствии с Правилами ООН N 107 [17] приложение 3, пункт 7.7.3
9.6 Шаблоны для проверки обеспечения доступа к основным проходам       В соответствии с Правилами ООН N 107 [17], приложение 3, пункт 7.7.5
9.7 Устройство для измерения давления токоприемника на контактный провод Давление на контактный провод, Н 50 - 500 +/- 5%  
9.8 Мультиметр        
9.9 Угломер Угловые размеры, градусы 0 - 220 +/- 1  
9.10 Испытательный стержень 1, сходящийся на конус к одному концу по длине 300 мм с толщины 30 мм до толщины 5 мм. Его поверхность не должна быть полированной или смазанной маслом        
9.11 Испытательный стержень 2, имеющий сечение высотой 60 мм, шириной 20 мм, с радиусом закругления углов 5 мм        
9.12 Цилиндр:        
9.12.1 - диаметр 300 мм;
- высота 700 мм над уровнем пола
       
9.12.2 - диаметр 550 мм;
- высота 700 мм
      Применяется совместно с цилиндром, приведенным в 9.12.1
9.13 Испытательная пирамида для определения доступа к аварийным люкам в крыше ТС.
Размеры:
высота - 1600 мм;
боковой угол - 20°
       
9.14 Испытательное устройство для определения расположения поручней       В соответствии с Правилами ООН N 107 [17], приложение 3, подпункт 7.11.2.1
9.15 Шаблон высотой 1,3 м        
10 А.10 Требования к шинам и колесам  
10.1 Штангенциркуль (с линейкой для измерения глубин)
([60], приложение, пункт 4.1)
Измерение линейных размеров, мм 0 - 100 +/- 0,05 Для измерения глубины рисунка протектора шины также допускается использование специальных шаблонов
11 А.11 Требования к средствам обеспечения обзорности  
11.1 Прибор для проверки светопропускания стекол Светопропускание 4 - 100% +/- 2%  
11.2 Рулетка Линейные размеры 0 - 5 м +/- 0,5 мм  
12 А.12 Требования к спидометрам  
12.1 Прибор для независимого определения скорости ТС Скорость ТС 0 - 150 км/ч +/- 0,1 км/ч  
13 А.13 Требования к ремням безопасности и местам их крепления Не применяется
14 А.14 Требования к сиденьям и их креплениям Не применяется
15 А.15 Требования к дверям, замкам и петлям дверей ТС категорий , N, и (с кузовом закрытого типа)  
15.1 Динамометр Усилие на органе управления, Н 50 - 500 +/- 5%  
(в ред. Изменения N 1, утв. Приказом Росстандарта от 22.11.2021 N 1525-ст)
16 А.16 Требования к травмобезопасности наружных выступов ТС категорий M1, N, L6 и L7 (с кузовом закрытого типа)  
16.1 Рулетка Линейные размеры 0 - 5 м +/- 0,5 мм  
16.2 Динамометр Усилие на органе управления, Н 50 - 500 +/- 5%  
16.3 Испытательный шар диаметром 100 мм        
16.4 Линейка Линейные размеры 0 - 250 мм +/- 0,5 мм  
17 А.17 Требования к травмобезопасности рулевого управления ТС категорий M1, N 1, L6 и L7 (с автомобильной компоновкой)  
17.1 Шаблон радиусом 2,5 мм        
18 А.18 Требования к травмобезопасности внутреннего оборудования ТС категорий M1, L6 и L7 (с кузовом закрытого типа)  
18.1 Шаблон радиусом 2,5 мм        
18.2 Шаблон радиусом 3,2 мм        
18.3 Шаблон радиусом 5 мм        
18.4 Линейка Линейные размеры 0 - 250 мм +/- 0,5 мм  
18.5 Испытательный шар диаметром 165 мм        
19 А.19 Требования к задним и боковым защитным устройствам  
19.1 Рулетка Линейные размеры 0 - 5 м +/- 0,5 мм  
19.2 Шаблон радиусом 2,5 мм        
20 А.20 Требования к пожарной безопасности Не применяется
21 А.21 Требования к выбросам ТС  
21.1 Сканер системы бортовой диагностики - устройство для считывания информации из памяти системы бортовой диагностики, например, универсальный OBDII-сканер        
21.2 Газоанализатор - прибор для определения содержания загрязняющих веществ в отработавших газах ТС с двигателями с искровым зажиганием Содержание оксида углерода (CO), % 0 - 5 ± 3 %  
(в ред. Изменения N 1, утв. Приказом Росстандарта от 22.11.2021 N 1525-ст)
21.3 Дымомер - прибор для определения дымности в отработавших газах ТС с двигателями с воспламенением от сжатия
([60], приложение, пункт 5.2)
Коэффициент поглощения света, м-1 0 до рис (0 - 10, при k > 10 рис) +/- 0,05 при k = 1,6 - 1,8  
21.4 Прибор для измерения частоты оборотов двигателя и температуры масла
([60], приложение, пункт 5.3)
Частота вращения коленчатого вала, мин -1 400 - 6000 +/- 2,5%  
Температура масла, °C 0 - 100 +/- 2,5  
21.5 Универсальный измеритель содержания загрязняющих веществ и дымности в отработавших газах
([60], приложение, пункт 5.4)
Параметры в соответствии с 21.2, 21.3, 21.4 В соответствии с 21.2, 21.3, 21.4 В соответствии с 21.2, 21.3, 21.4 Применяется вместо газоанализатора по 21.2, дымомера по 21.3 и прибора для измерения частоты оборотов двигателя и температуры масла по 21.4
22 А.22 Требования к выбросам ТС и их системам  
22.1 Индикатор-течеискатель для проверки герметичности газовой системы питания ТС с порогом срабатывания 0,40 ± 0,16 объемной доли, % по пропану, и с порогом чувствительности 0,001 и порогом срабатывания 1,00 ± 0,4 объемной доли, % по метану Содержание пропана, метана, гексана и др. в воздухе - -  
(в ред. Изменения N 1, утв. Приказом Росстандарта от 22.11.2021 N 1525-ст)
23 А.23 Требования к шуму ТС  
23.1 Шумомер
(ГОСТ 33997-2016. приложение Ж)
Уровень шума, дБ A 60 - 130 +/- 1  
(в ред. Изменения N 1, утв. Приказом Росстандарта от 22.11.2021 N 1525-ст)
24 А.24 Требования к рулевому управлению  
24.1 Прибор для измерения суммарного люфта в рулевом управлении
([60], приложение, пункт 2.1)
Угол суммарного угла рулевого управления (по ободу рулевого колеса), градусы 0 - 45 +/- 0,5 Конструкция оборудования, используемого при диагностике, должна обеспечивать возможность его применения на всех категориях ТС, входящих в область аккредитации, независимо от размера колес и материала, из которого они изготовлены
(в ред. Изменения N 1, утв. Приказом Росстандарта от 22.11.2021 N 1525-ст)
24.2 Тестер проверки люфтов в деталях рулевого управления и подвески
([60], приложение, пункт 2.2)
Максимальная масса ТС, приходящаяся на ось, кг 16 000 - Для тяжелых ТС
24.3 Тестер проверки люфтов в деталях рулевого управления и подвески (мобильное исполнение) Максимальная масса ТС, приходящаяся на ось, кг 3000 - Для легких ТС
25 А.25 Требования к сцепным устройствам  
25.1 Штангенциркуль Измерение линейных размеров, мм 0 - 100 +/- 0,05  
26 А.26 Требования к прочим элементам конструкции  
26.1 Тестер проверки люфтов в деталях рулевого управления и подвески
([60], приложение, пункт 2.2)
Максимальная масса ТС, приходящаяся на ось, кг 16 000 - Для тяжелых ТС
26.2 Тестер проверки люфтов в деталях рулевого управления и подвески (мобильное исполнение) Максимальная масса ТС, приходящаяся на ось, кг 3000 - Для легких ТС
26.3 Манометр Давление воздуха 0,2 - 1 МПа +/- 5%  
27 А.27 Требования к комплектности ТС Не применяется      

Приложение В
(обязательное)

ПРОВЕРКА УРОВНЯ ШУМА ВЫПУСКА ОТРАБОТАВШИХ ГАЗОВ ТС

(в ред. Изменения N 1, утв. Приказом Росстандарта от 22.11.2021 N 1525-ст)

В.1 Уровень шума выпуска отработавших газов двигателя ТС категорий М, N, L измеряют при работе на холостом ходу двигателя неподвижного ТС с помощью шумомера.

В.2 Уровень шума проверяют в закрытых производственных помещениях или на открытой площадке.

Удовлетворительный результат проверки в закрытом помещении указывает, что на открытой площадке проверяемое ТС тем более будет соответствовать нормативным требованиям. При неудовлетворительном результате проверки в помещении допускается его уточнение путем повторного выполнения той же процедуры проверки на открытой площадке.

В.З Пост проверки шума выпуска отработавших газов двигателя ТС в закрытом помещении должен обеспечивать возможность размещения ТС, при котором микрофон окажется на удалении от шумоотражающих объектов (стен, выступов, шкафов, других ТС) не менее 1,5 м во всех направлениях. В целях обеспечения безопасности труда шум выпуска отработавших газов двигателя ТС в производственных помещениях допускается проверять только при открытых въездных (выездных) воротах.

В.4 Площадка должна обеспечивать возможность размещения ТС, при котором расстояние от микрофона до ближайших крупных шумоотражающих объектов (строений и других ТС) будет не менее 3 м. Для проверки ТС категорий L используют прямоугольную площадку, размеры которой обеспечивают расстояние от внешнего края ТС (без учета руля) до препятствий не менее 3 м.

В.5 Площадка должна иметь твердое покрытие, наличие снежного покрова (исключая лед) на площадке не допускается.

В.6 Перед измерениями холодный двигатель прогревают до минимальной рабочей температуры, рекомендованной изготовителем в эксплуатационной документации ТС. При отсутствии этих данных температуру охлаждающей жидкости (моторного масла) двигателя доводят до плюс 60°С. Температуру охлаждающей жидкости (моторного масла) на ТС с заведомо прогретым двигателем допускается не измерять.

В.7 Проверку шума выпуска отработавших газов ТС выполняют в следующей последовательности.

В.7.1 ТС размещают на рабочем посту или площадке по В.3 или В.4.

В.7.2 Заглушают двигатель.

В.7.3 Затормаживают ТС стояночной тормозной системой.

В.7.4 На ТС, не оборудованных штатным тахометром, открывают капот и подсоединяют датчик (или разъем) внешнего тахометра в соответствии с инструкцией по эксплуатации тахометра, который размещают в поле зрения проверяющего.

В.7.5 Устанавливают микрофон согласно позиции 7 на рисунке В.1 для ТС категорий М и N или согласно рисунку В.2 для ТС категорий L:

а) микрофон устанавливают над поверхностью площадки на высоте расположения выпускной трубы глушителя, но не ниже 0,2 м (позиция 7 на рисунке В.1);

б) микрофон размещают на расстоянии (0,5 ± 0,05) м от среза выпускной трубы (позиции 1 - 5 на рисунке В.1);

в) главная ось микрофона должна быть параллельна поверхности площадки с отклонением не более ±15° и составлять угол (45 ± 10)° с вертикальной плоскостью, содержащей ось потока отработавших газов, выходящих из выпускной трубы глушителя (позиции 1-5 на рисунке В.1);

г) для ТС с двумя или более выпускными трубами, расстояние между которыми не более 0,3 м, микрофон устанавливают у выпускной трубы, расположенной ближе к боковой стороне ТС или в более высокой точке над поверхностью площадки (позиция 2 на рисунке В.1);

д) для ТС с двумя или более выпускными трубами, расстояние между которыми более 0,3 м, микрофон устанавливают у каждой выпускной трубы (позиция 3 на рисунке В.1);

е) для ТС с вертикальным расположением выпускной трубы микрофон устанавливают на высоте среза выпускной трубы на расстоянии (0,5 ± 0,05) м от ближайшей стороны ТС. Ось микрофона направляют вертикально, мембрану ориентируют вверх (позиция б на рисунке В.1);

ж) для двухколесных ТС категорий L микрофон устанавливают на уровне высоты среза выпускной трубы или на высоте не менее 0,2 м над опорной поверхностью. Микрофон ориентируют на срез выпускной трубы на удалении (0,5±0,05) м от него. Ось максимальной чувствительности микрофона ориентируют параллельно опорной поверхности под углом (45 ± 10)° к вертикальной плоскости, проходящей через срез выпускной трубы в направлении выброса отработавших газов;

и) если ТС категории L оборудовано несколькими выпускными трубами, расстояние между продольными осями которых не более 0,3 м, то микрофон ориентируют на срез выпускной трубы, расположенный выше опорной поверхности. Если расстояние между осями выпускных труб более 0,3 м, то измерения проводят для каждой выпускной трубы и учитывают максимальное значение.

В.7.6 Подготавливают шумомер к работе в соответствии с инструкцией по эксплуатации шумомера.

В.7.7 Устанавливают рычаг переключения передач (для ТС с автоматической коробкой передач - избиратель передач) в нейтральное положение.

На ТС категорий L переключатель скоростей устанавливают в нейтральное положение. Если передача не может быть отключена, обеспечивают возможность вращения ведущего колеса без нагрузки, например, путем вывешивания.

В.7.8 С помощью шумомера измеряют фон шумовых помех (окружающий шум). При этом включают режим эквивалентного (среднего по времени) уровня звука, продолжительность измерения не менее 30 с. В случае превышения фоном шумовых помех нормативного ограничения проверку уровня шума ТС не выполняют до устранения источника шумовых помех, после чего повторяют измерение шумового фона.

В.7.9 Запускают двигатель ТС и проверяют по показаниям тахометра ТС возможность поддержания минимальной и целевой частот вращения коленчатого вала двигателя в пределах, установленных изготовителем в эксплуатационной документации.

В.7.10 При работе двигателя ТС в режиме холостого хода с минимальной частотой вращения педалью управления подачей топлива устанавливают целевую частоту вращения с отклонением не более ±100 , контролируя частоту по тахометру. При отсутствии штатного тахометра на ТС используют внешний стробоскопический тахометр или тахометр с датчиком импульсов в высоковольтном проводе системы зажигания или с датчиком импульсов деформации трубопровода высокого давления системы питания дизеля. Для измерения частоты вращения открывают капот двигателя ТС, наносят метку на деталь, вращающуюся с частотой коленчатого вала двигателя, или подсоединяют датчик тахометра к свече зажигания или трубопроводу высокого давления дизеля. По показаниям тахометра считывают частоту вращения в соответствии с указаниями изготовителя тахометра в инструкции по эксплуатации.

Режим целевой частоты вращения коленчатого вала двигателя выдерживают в течение 5 - 7 с.

В.7.11 Педалью управления подачей топлива ступенчато устанавливают минимальную частоту вращения и в течение всего периода снижения частоты вращения вала двигателя до установления минимальной частоты вращения измеряют шумомером уровень шума выпуска отработавших газов двигателя ТС.

В.8 Результатом измерения считают максимальное показание шумомера, зафиксированное в период выдержки целевой частоты вращения и ее сброса до установления минимальной частоты вращения. Результат измерения признают, если он превышает фон шумовых помех не менее чем на 10 дБА. Дробные показания округляют до ближайшего целого числа: если цифра после запятой от 0 до 4, то округляют в сторону уменьшения, а если от 5 до 9 - в сторону увеличения.

В.9 Схемы установки микрофона для измерения уровня шума выпуска отработавших газов ТС категорий М и N при различном расположении выпускных труб:

1 - 5 - установка микрофона относительно выпускной трубы в горизонтальной плоскости;

6 - установка микрофона относительно вертикально расположенной выпускной трубы;

7 - установка микрофона относительно выпускной трубы в вертикальной плоскости.

Размеры в метрах

Рисунок В.1 - Расположение микрофона для измерения шума выпуска отработавших газов ТС категорий М и N

В.10 Схемы установки микрофона для измерения уровня шума выпуска отработавших газов ТС категорий L при различном расположении выпускных труб приведены на рисунке В.2.

Размеры в метрах

Рисунок В.2 - Расположение микрофона для измерения шума выпуска отработавших газов ТС категорий L

Приложение Г
(обязательное)

ФУНКЦИОНАЛЬНАЯ ПРОВЕРКА ТС, ОСНАЩЕННОГО УСТРОЙСТВОМ ВЫЗОВА ЭКСТРЕННЫХ ОПЕРАТИВНЫХ СЛУЖБ

(в ред. Изменения N 1, утв. Приказом Росстандарта от 22.11.2021 N 1525-ст)

Г.1 При проведении функциональной проверки ТС, оснащенного устройством вызова экстренных оперативных служб, проводятся следующие операции:

Г.2 Включают зажигание (переводят пусковой переключатель в положение "включено" (рабочее положение)) и по завершении процедуры самодиагностики ТС убеждаются в работоспособности устройства вызова экстренных оперативных служб на основе информации от оптического индикатора состояния устройства или текстового сообщения на комбинации приборов ТС.

Г.3 Нажимают кнопку "Экстренный вызов" (кнопку вызова экстренных оперативных служб), находящуюся в кабине (салоне) транспортного средства.

Г.4 Дожидаются ответа оператора фильтрующего контакт-центра (ФКЦ) национальной системы экстренного реагирования при авариях <1)>.

<1)> В Российской Федерации при нажатии в ТС кнопки "Экстренный вызов" поступает ответ от оператора ФКЦ, воспроизводимый в кабине (салоне) ТС в виде голосового сообщения: "Оператор системы "ЭРА-ГЛОНАСС". Слушаю Вас. Требуется ли Вам помощь экстренных служб?".

Г.5 Сообщают оператору ФКЦ о проводимой проверке, для чего произносят в микрофон следующую фразу:

"Тестовый вызов. Проведение проверки автомобиля (указывают марку, модель и цвет) в испытательном центре. Прошу подтвердить информацию".

Примечания

1 В рамках установленного при экстренном вызове голосового соединения устройство вызова экстренных оперативных служб осуществляет передачу в систему экстренного реагирования при авариях минимального набора данных, содержащего информацию о координатно-временных параметрах ТС в момент осуществления экстренного вызова, а также об идентификационных параметрах ТС (категория, VIN и др.).

2 При получении сообщения, указанного в Г.5, оператор ФКЦ осуществляет проверку соответствия данных о ТС в рамках голосового контакта с данными, имеющимися в системе экстренного реагирования при авариях. Сверка данных проводится непосредственно в рамках установленного голосового соединения и завершается:

а) при успешном результате сверки - фразой оператора ФКЦ: "Информация о транспортном средстве соответствует. Вызов признан ложным, вызов завершаю", после которой оператор ФКЦ завершит вызов;

б) при выявлении расхождения или отсутствии данных о ТС в базе системы экстренного реагирования при авариях - фразой оператора ФКЦ: "Информация о транспортном средстве (марка, модель, цвет) отличается от имеющейся (или отсутствует). Вызов признан ложным, вызов завершаю", после которой оператор ФКЦ завершит вызов (соединение).

Г.6 При отсутствии сигнала контакт-центра (ФКЦ) национальной системы экстренного реагирования при авариях проверку осуществляют с помощью Эмулятора системы экстренного реагирования при авариях в следующем порядке:

Г.7 При помощи Эмулятора системы экстренного реагирования при авариях проверяют, находится ли устройство вызова экстренных оперативных служб в режиме "ЭРА" и работоспособно ли оно в части возможности передачи минимального набора данных (МИД) о ДТП и установки громкой двухсторонней голосовой связи, для чего выполняют экстренный вызов в ручном режиме на Эмулятор системы экстренного реагирования при аварии посредством нажатия кнопки "Экстренный вызов".

Г.8 После совершения экстренного вызова путем нажатия кнопки "Экстренный вызов", используя интерфейс пользователя Эмулятор системы экстренного реагирования при аварии, проверяют:

- поступило ли сообщение об аварии, сформирован ли переданный МИД и содержит ли он информацию о ТС, текущем местоположении, направлении и скорости движения в соответствии с требованиями ГОСТ 33464-2015 (приложение В);

- произвело ли устройство вызова экстренных оперативных служб предусмотренные ГОСТ 33464-2015 (пункт 7.5.3) оповещения, предназначенные для лиц, находящихся в салоне (кабине) ТС, и было ли установлено двухстороннее голосовое соединение с оператором пользователя Эмулятора системы экстренного реагирования при аварии.

БИБЛИОГРАФИЯ

(в ред. Изменения N 1, утв. Приказом Росстандарта от 22.11.2021 N 1525-ст)

[1] Сводная резолюция о конструкции транспортных средств (СР.3) (принята КВТ ЕЭК ООН, пересмотр 3, поправка 1, 2014 г.).

[2] Правила ООН N 10 Единообразные предписания, касающиеся официального утверждения транспортных средств в отношении электромагнитной совместимости.

[3] Правила ООН N 11 Единообразные предписания, касающиеся официального утверждения транспортных средств в отношении замков и устройств крепления дверей.

[4] Правила ООН N 12 Единообразные предписания, касающиеся официального утверждения транспортных средств в отношении защиты водителя от удара о систему рулевого управления.

[5] Правила ООН N 14 Единообразные предписания, касающиеся официального утверждения транспортных средств в отношении креплений ремней безопасности, систем креплений ISOFIX, креплений верхнего страховочного троса ISOFIX и сидячих мест размера i.

[6] Правила ООН N 16 Единообразные предписания, касающиеся официального утверждения:

I. ремней безопасности, удерживающих систем, детских удерживающих систем и детских удерживающих систем ISOFIX, предназначенных для лиц, находящихся в механических транспортных средствах;

II. транспортных средств, оснащенных ремнями безопасности, сигнализатором непристегнутого ремня безопасности, удерживающими системами, детскими удерживающими системами, детскими удерживающими системами ISOFIX и детскими удерживающими системами размера i.

[7] Правила ООН N 17 Единообразные предписания, касающиеся официального утверждения транспортных средств в отношении сидений, их креплений и подголовников.

[8] Правила ООН N 18 Единообразные предписания, касающиеся официального утверждения автотранспортных средств в отношении их защиты от несанкционированного использования.

[9] Правила ООН N 21 Единообразные предписания, касающиеся официального утверждения транспортных средств в отношении их внутреннего оборудования.

[10] Правила ООН N 26 Единообразные предписания, касающиеся официального утверждения транспортных средств в отношении их наружных выступов.

[11] Правила ООН N 34 Единообразные предписания, касающиеся официального утверждения транспортных средств в отношении предотвращения опасности возникновения пожара.

[12] Правила ООН N 39 Единообразные предписания, касающиеся официального утверждения транспортных средств в отношении механизма для измерения скорости, включая его установку.

[13] Правила ООН N 46 Единообразные предписания, касающиеся официального утверждения устройств непрямого обзора и механических транспортных средств в отношении установки этих устройств.

[14] Правила ООН N 48 Единообразные предписания, касающиеся официального утверждения транспортных средств в отношении установки устройств освещения и световой сигнализации.

[15] Правила ООН N 58 Единообразные предписания, касающиеся официального утверждения:

I. задних защитных устройств;

II. транспортных средств в отношении установки задних защитных устройств официально утвержденного типа;

III. транспортных средств в отношении их задней защиты.

[16] Правила ООН N 73 Единообразные предписания, касающиеся официального утверждения:

I. транспортных средств в отношении их боковых защитных устройств (БЗУ);

II. боковых защитных устройств (БЗУ);

III. транспортных средств в отношении установки боковых защитных устройств (БЗУ), официально утвержденных по типу конструкции на основании части II настоящих Правил.

[17] Правила ООН N 107 Единообразные предписания, касающиеся официального утверждения транспортных средств категорий M2 и M3 в отношении их общей конструкции.

[18] Правила ООН N 94 Единообразные предписания, касающиеся официального утверждения транспортных средств в отношении защиты водителя и пассажиров в случае лобового столкновения.

[19] Правила ООН N 95 Единообразные предписания, касающиеся официального утверждения транспортных средств в отношении защиты водителя и пассажиров в случае бокового столкновения.

[20] Правила ООН N 1 Единообразные предписания, касающиеся официального утверждения автомобильных фар, дающих асимметричный луч ближнего и/или дальнего света и оснащенных лампами накаливания категории R2 и/или HS1.

[21] Правила ООН N 3 Единообразные предписания, касающиеся официального утверждения светоотражающих приспособлений для механических транспортных средств и их прицепов.

[22] Правила ООН N 4 Единообразные предписания, касающиеся официального утверждения приспособлений для освещения заднего номерного знака механических транспортных средств и их прицепов.

[23] Правила ООН N 6 Единообразные предписания, касающиеся официального утверждения указателей поворота механических транспортных средств и их прицепов.

[24] Правила ООН N 7 Единообразные предписания, касающиеся официального утверждения подфарников, задних габаритных огней, стоп-сигналов и контурных огней механических транспортных средств и их прицепов.

[25] Правила ООН N 8 Единообразные предписания, касающиеся официального утверждения автомобильных фар с асимметричными огнями ближнего света и/или огнями дальнего света, предназначенных для использования с галогенными лампами накаливания (лампы H1, H2, H3, HB3, HB4, H7, H8, H9, HIR1, HIR2 и/или H11).

[26] Правила ООН N 19 Единообразные предписания, касающиеся официального утверждения передних противотуманных фар для механических транспортных средств.

[27] Правила ООН N 20 Единообразные предписания, касающиеся официального утверждения автомобильных фар с асимметричными огнями ближнего света и/или огнями дальнего света, предназначенных для использования с галогенными лампами накаливания (лампа H4).

[28] Правила ООН N 23 Единообразные предписания, касающиеся официального утверждения задних фар и огней маневрирования механических транспортных средств и их прицепов.

[29] Правила ООН N 31 Единообразные предписания, касающиеся официального утверждения автомобильных галогенных ламп-фар "sealed-beam" (HSB) в отношении европейских асимметричных огней ближнего и/или дальнего света.

[30] Правила ООН N 37 Единообразные предписания, касающиеся официального утверждения ламп накаливания, предназначенных для использования в официально утвержденных огнях механических транспортных средств и их прицепов.

[31] Правила ООН N 38 Единообразные предписания, касающиеся официального утверждения задних противотуманных огней механических транспортных средств и их прицепов.

[32] Правила ООН N 50 Единообразные предписания, касающиеся официального утверждения подфарников, задних габаритных огней, стоп-сигналов, указателей поворота и устройств освещения заднего номерного знака для транспортных средств категории L.

[33] Правила ООН N 56 Единообразные предписания, касающиеся официального утверждения фар для мопедов и приравниваемых к ним транспортных средств.

[34] Правила ООН N 57 Единообразные предписания, касающиеся официального утверждения фар для мотоциклов и приравниваемых к ним транспортных средств.

[35] Правила ООН N 72 Единообразные предписания, касающиеся официального утверждения фар для мотоциклов, дающих асимметричный луч ближнего света и луч дальнего света, оборудованных галогенными лампами (лампы HS1).

[36] Правила ООН N 76 Единообразные предписания, касающиеся официального утверждения фар дальнего и ближнего света для мопедов.

[37] Правила ООН N 77 Единообразные предписания, касающиеся официального утверждения стояночных фонарей механических транспортных средств.

[38] Правила ООН N 82 Единообразные предписания, касающиеся официального утверждения фар для мопедов, оборудованных галогенными лампами накаливания (типа HS2).

[39] Правила ООН N 87 Единообразные предписания, касающиеся официального утверждения дневных ходовых огней механических транспортных средств.

[40] Правила ООН N 91 Единообразные предписания, касающиеся официального утверждения боковых габаритных фонарей для механических транспортных средств и их прицепов.

[41] Правила ООН N 98 Единообразные предписания, касающиеся официального утверждения фар механических транспортных средств с газоразрядными источниками света.

[42] Правила ООН N 99 Единообразные предписания, касающиеся официального утверждения газоразрядных источников света для использования в официально утвержденных газоразрядных оптических элементах механических транспортных средств.

[43] Правила ООН N 112 Единообразные предписания, касающиеся официального утверждения автомобильных фар, испускающих асимметричный луч ближнего или дальнего света либо оба луча и оснащенных лампами накаливания и/или модулями СИД.

[44] Правила ООН N 113 Единообразные предписания, касающиеся официального утверждения автомобильных фар, испускающих симметричный луч ближнего или дальнего света либо оба луча и оснащенных лампами накаливания, газоразрядными источниками света или модулями СИД.

[45] Правила ООН N 119 Единообразные предписания, касающиеся официального утверждения боковых фонарей механических транспортных средств.

[46] Правила ООН N 123 Единообразные предписания, касающиеся официального утверждения адаптивных систем переднего освещения (АСПО) для механических транспортных средств.

[47] Правила ООН N 53 Единообразные предписания, касающиеся официального утверждения транспортных средств категории L3 в отношении установки устройств освещения и световой сигнализации.

[48] Правила ООН N 74 Единообразные предписания, касающиеся официального утверждения транспортных средств категории L1 в отношении установки устройств освещения и световой сигнализации.

[49] Правила ООН N 108 Единообразные предписания, касающиеся официального утверждения в отношении производства пневматических шин с восстановленным протектором для автотранспортных средств и их прицепов.

[50] Правила ООН N 109 Единообразные предписания, касающиеся официального утверждения производства шин с восстановленным протектором для транспортных средств неиндивидуального пользования и их прицепов.

[51] Правила ООН N 30 Единообразные предписания, касающиеся официального утверждения шин для автомобилей и их прицепов.

[52] Правила ООН N 49 Единообразные предписания, касающиеся подлежащих принятию мер по ограничению выбросов загрязняющих газообразных веществ и твердых частиц из двигателей с воспламенением от сжатия и двигателей с принудительным зажиганием, предназначенных для использования на транспортных средствах.

[53] Правила ООН N 83 Единообразные предписания, касающиеся официального утверждения транспортных средств в отношении выбросов загрязняющих веществ в зависимости от топлива, необходимого для двигателей.

[54] Правила ООН N 24 Единообразные предписания, касающиеся:

I. официального утверждения двигателей с воспламенением от сжатия в отношении выброса видимых загрязняющих веществ;

II. официального утверждения автотранспортных средств в отношении установки на них двигателей с воспламенением от сжатия, официально утвержденных по типу конструкции;

III. официального утверждения автотранспортных средств с двигателем с воспламенением от сжатия в отношении выброса видимых загрязняющих веществ;

IV. измерения мощности двигателей с воспламенением от сжатия.

[55] Правила ООН N 27 Единообразные предписания, касающиеся официального утверждения предупреждающих треугольников.

[56] Правила ООН N 69 Единообразные предписания, касающиеся официального утверждения задних опознавательных знаков для тихоходных (по своей конструкции) транспортных средств и их прицепов.

[57] Правила ООН N 70 Единообразные предписания, касающиеся официального утверждения задних опознавательных знаков для транспортных средств большой длины и грузоподъемности.

[58] Правила ООН N 67 Единообразные предписания, касающиеся:

I. официального утверждения специального оборудования транспортных средств категорий M и N, двигатели которых работают на сжиженном нефтяном газе;

II. официального утверждения транспортных средств категорий M и N, оснащенных специальным оборудованием для использования сжиженного нефтяного газа в качестве топлива, в отношении установки такого оборудования.

[59] Правила ООН N 110 Единообразные предписания, касающиеся официального утверждения:

I. элементов специального оборудования механических транспортных средств, двигатели которых работают на компримированном природном газе (КПГ) и/или сжиженном природном газе (СПГ);

II. транспортных средств в отношении установки элементов специального оборудования официально утвержденного типа для использования в их двигателях компримированного природного газа (КПГ) и/или сжиженного природного газа (СПГ).

[60] Приказ Министерства промышленности и торговли Российской Федерации от 06.12.2011 г. N 1677 "Об утверждении основных технических характеристик средств технического диагностирования и их перечня".

[61] Технический регламент Таможенного союза ТР ТС 018/2011 "О безопасности колесных транспортных средств". (в ред. Изменения N 1, утв. Приказом Росстандарта от 22.11.2021 N 1525-ст)