Подстанции трансформаторные комплектные мощностью от 25 до 2500 кв X а на напряжение до 10 кв. общие технические условия. ГОСТ 14695-80* (ст СЭВ 1127-78)

(утв. Постановлением Госстандарта СССР от 31.10.80 N 5230)
Редакция от 21.02.1990 — Действует с 01.07.1990

Ограничение срока действия снято по Протоколу Межгосударственного совета по стандартизации, метрологии и сертификации ("ИУС", N 2, 93).


ГОСУДАРСТВЕННЫЙ СТАНДАРТ СОЮЗА ССР

ПОДСТАНЦИИ ТРАНСФОРМАТОРНЫЕ КОМПЛЕКТНЫЕ МОЩНОСТЬЮ ОТ 25 ДО 2500 кВ x А НА НАПРЯЖЕНИЕ ДО 10 кВ

ОБЩИЕ ТЕХНИЧЕСКИЕ УСЛОВИЯ

Compact unit substations rated at 25 - 2500 kV x A up to 10 kV. General specifications

ГОСТ 14695-80*
(СТ СЭВ 1127-78)

(в ред. Изменений N 1, утв. 01.02.83, N 2, утв. 01.06.85, N 3, утв. Постановлением Госстандарта СССР от 21.05.87 N 1647, N 4, утв. Постановлением Госстандарта СССР от 21.09.87 N 3589, N 5, утв. Постановлением Госстандарта СССР от 21.02.90 N 255)

Постановлением Государственного комитета СССР по стандартам от 31 октября 1980 г. N 5230 срок действия установлен с 01.01.1983 до 01.01.1988.

Взамен ГОСТ 14695-73, ГОСТ 18279-72.

Переиздание (декабрь 1985 г.) с Изменениями N 1, 2, утвержденными в феврале 1983 г., июне 1985 г. (ИУС 6-83, 9-85).

Настоящий стандарт распространяется на комплектные трансформаторные подстанции (КТП) трехфазного переменного тока частоты 50 и 60 Гц на напряжение до 10 кВ общего назначения, предназначенные для приема, преобразования и распределения электроэнергии, видов климатических исполнений У1, У3, ХЛ1 по ГОСТ 15150-69.

Стандарт не распространяется на КТП: работающие в среде, содержащей едкие пары и газы, разрушающие металлы и изоляцию; специальные КТП, предназначенные для подвижных установок и для питания отдельных электроприводов целевого назначения; взрывозащищенные и рудничные КТП.

Стандарт устанавливает требования к КТП, изготовляемых для нужд народного хозяйства и для экспорта.

Абзац. - Исключен. (в ред. Изменения N 3, утв. Постановлением Госстандарта СССР от 21.05.87 N 1647)

Термины, применяемые в настоящем стандарте, и их пояснения приведены в справочном Приложении 1.

1. КЛАССИФИКАЦИЯ

1.1. Классификация исполнений КТП должна соответствовать указанной в табл. 1 и предусматриваться в технических условиях на конкретные типы КТП.

Таблица 1

Признаки классификации КТП Исполнение
1. По типу силового трансформатора С масляным трансформатором; с герметичным масляным трансформатором; с герметичным трансформатором с негорючим жидким диэлектриком; с сухим трансформатором; с трансформатором с литой изоляцией
(в ред. Изменения N 3, утв. Постановлением Госстандарта СССР от 21.05.87 N 1647)
2. По способу выполнения нейтрали трансформатора на стороне низшего напряжения (стороне НН) С глухозаземленной нейтралью; с изолированной нейтралью
3. По взаимному расположению изделий Однорядное; двухрядное
4. По числу применяемых силовых трансформаторов С одним трансформатором; с двумя или более трансформаторами
5. Наличие изоляции шин в распределительном устройстве со стороны НН (РУНН) С неизолированными шинами; с изолированными шинами (КТП мощностью 1000 кВ x А и выше)
6. По выполнению высоковольтного ввода Кабельный, шинный, воздушный
7. По выполнению выводов (шинами и кабелями) в РУНН Вывод вверх; вывод вниз; вывод вверх и вниз
8. По климатическим исполнениям и месту размещения Категории 1, 3 исполнения У; категория 1, исполнения ХЛ по ГОСТ 15150-69, ГОСТ 15543-70 и в сочетании категорий (смешанная установка):
1 - для устройства со стороны высшего напряжения (УВН), шинопровода и силового трансформатора; 3 исполнения У для РУНН
9. По виду оболочек и степени защиты По ГОСТ 14254-80
10. По способу установки автоматических выключателей С выдвижными выключателями; со стационарными выключателями
11. По назначению шкафов РУНН Вводные, линейные, секционные
12. По наличию коридора (тамбура) обслуживания в УВН и РУНН категории 1 Без коридора (тамбура) обслуживания; с коридором (тамбуром) обслуживания
(в ред. Изменения N 3, утв. Постановлением Госстандарта СССР от 21.05.87 N 1647)

(в ред. Изменения N 1, утв. 01.02.83)

2. ОСНОВНЫЕ ПАРАМЕТРЫ И РАЗМЕРЫ

2.1. Основные параметры КТП должны соответствовать указанным в табл. 2.

Таблица 2

Наименование параметра Значение параметра
1. Мощность силового трансформатора, кВ x А 25; 40; 63; 100; 160; 250; 400; 630; 1000; 1600; 2500
2. Номинальное напряжение на стороне высшего напряжения (стороне ВН), кВ 6; 10
3. Наибольшее рабочее напряжение на стороне ВН, кВ 7, 2; 12
4. Номинальное напряжение на стороне НН, кВ 0,23; 0,4; 0,69
5. Ток термической стойкости в течение 1 с на стороне ВН, кА 6,3; 8; 10; 12,5; 16; 20; 25; 31,5
6. Ток электродинамической стойкости на стороне ВН, кА 12,5; 16; 21; 26; 32; 41; 51; 64; 81
(в ред. Изменения N 3, утв. Постановлением Госстандарта СССР от 21.05.87 N 1647)
7. Уровень изоляции по ГОСТ 1516.1-76:  
с масляным трансформатором Нормальная изоляция
с сухим трансформатором и с негорючим жидким диэлектриком Облегченная изоляция

Примечания.

1. Пункт утратил силу. (в ред. Изменения N 3, утв. Постановлением Госстандарта СССР от 21.05.87 N 1647)

2. По заказу потребителя допускается исполнение КТП со временем протекания тока термической стойкости 3 с.

2.2. Номинальные токи вводов ВН и сборных шин НН КТП должны быть не менее номинальных токов силового трансформатора.

Нулевая шина в РУНН должна соответствовать 50%-му значению номинального тока силового трансформатора.

По заказу потребителя допускается применять нулевые шины, соответствующие 75%-ному значению номинального тока. (в ред. Изменения N 1, утв. 01.02.83)

2.2.1. В шкафах РУНН групповые ответвления от сборных шин к нескольким коммутационным аппаратам главной цепи должны выдерживать длительную нагрузку током, равную 70% суммы номинальных нагрузок на аппараты, но не более номинального тока сборных шин.

Критерием для установления допустимых нагрузок на коммутационные аппараты является температура нагрева частей этих аппаратов (или их контрольных точек), указанная в стандартах или технических условиях на них, при заданной температуре окружающей среды вне шкафов РУНН. (в ред. Изменения N 1, утв. 01.02.83)

2.3. Структура условного обозначения типа КТП.

Примечание. Для КТП с трансформаторами разных классов напряжения, отличающихся лишь номинальными напряжениями обмоток ВН при одинаковых массе, габаритно-установочных размерах и цене, указывают наибольший из классов напряжения обмоток ВН этих трансформаторов.

Пример условного обозначения типа КТП мощностью 400 кВ x А, класса напряжения 10 кВ на номинальное напряжение на стороне НН 0,4 кВ, год разработки 1982, климатического исполнения ХЛ, категории размещения 1:

КТП-400/10/0,4-82-ХЛ1.

То же, двухтрансформаторной КТП мощностью 1600 кВ x А, класса напряжения 6 кВ (трансформатор отличается только номинальным напряжением обмотки ВН), на номинальное напряжение на стороне НН 0,69 кВ, год разработки 1983, климатического исполнения У, категории размещения 3:

2 КТП-1600/10/0,69-83-У3.

То же, КТП мощностью 1000 кВ x А, класса напряжения 10 кВ, на номинальное напряжение на стороне НН 0,4 кВ, год разработки 1981, климатического исполнения У, категории размещения для вводного устройства со стороны высшего напряжения, шинопровода и трансформатора - 1, а распределительного устройства со стороны низшего напряжения - 3:

КТП-1000/10/0,4-81-У1 (РУНН-У3).

(в ред. Изменения N 1, утв. 01.02.83)

2.4. Номенклатура основных показателей качества КТП - по ГОСТ 4.316-85.

Значения основных показателей качества устанавливают в технических условиях на КТП конкретных типов. (в ред. Изменения N 3, утв. Постановлением Госстандарта СССР от 21.05.87 N 1647)

3. ТЕХНИЧЕСКИЕ ТРЕБОВАНИЯ

3.1. КТП должны изготавливаться в соответствии с требованиями настоящего стандарта и технических условий на конкретные типы КТП по рабочим чертежам и схемам главных и вспомогательных цепей, утвержденным в установленном порядке и, кроме того, КТП, предназначенные для экспорта, - в соответствии с требованиями заказа-наряда внешнеторговой организации.

Допускается по заказу потребителя изготовление КТП по нетиповым схемам главных и вспомогательных цепей.

3.2. КТП должны изготовляться для работы на высоте над уровнем моря до 1000 м.

Примечание. Допускается применение КТП для работы на высоте над уровнем моря более 1000 м с соблюдением требований ГОСТ 15150-69, ГОСТ 1516.1-76, ГОСТ 8024-84, ГОСТ 12434-83.

3.3. Требования к электрической прочности изоляции главных и вспомогательных цепей КТП со стороны ВН - по ГОСТ 1516.1-76.

Изоляция главных и вспомогательных цепей КТП со стороны НН должна выдерживать испытательное напряжение 2 кВ переменного тока частотой 50 Гц в течение 1 мин без пробоя или перекрытия.

Если какие-либо элементы цепей согласно стандартам, по которым они изготовлены, не допускают испытания напряжением 2 кВ, то испытательное напряжение следует соответственно уменьшить, но не ниже чем до 1,5 кВ. При наличии в цепях элементов, не допускающих испытания напряжением 1,5 кВ, испытательное напряжение должно быть приложено при отсоединении этих элементов. После этого проводят комплексное испытание цепей со всеми присоединенными элементами при напряжении менее 1,5 кВ, допускаемом всеми элементами.

Сопротивление изоляции электрически изолированных цепей шкафов РУНН при нормальных климатических условиях должно быть не менее 1 мОм. (в ред. Изменения N 1, утв. 01.02.83)

3.4. В КТП категории 1 по ГОСТ 15150-69 должна быть предусмотрена изоляция, рассчитанная на нормальную работу при выпадении росы, или должны быть предусмотрены конструкцией меры, исключающие возможность ее образования.

3.5. Стойкость к токам короткого замыкания сборных шин НН и ответвления от них в пределах КТП должна соответствовать стойкости к току короткого замыкания вводов со стороны НН трансформатора. Продолжительность тока термической стойкости - 1 с.

Примечания.

1. Требование не распространяется на ответвление к аппаратам цепей уличного освещения, собственных нужд и вспомогательных цепей.

2. Стойкость к токам короткого замыкания ответвлений после коммутационных аппаратов главных цепей на номинальный ток до 250 А включительно - в соответствии с термической и электродинамической стойкостью этих аппаратов. (в ред. Изменения N 1, утв. 01.02.83)

3.5.1. Температура нагрева токоведущих частей КТП (главных цепей) при воздействии токов короткого замыкания не должна превышать: (в ред. Изменения N 1, утв. 01.02.83)

плюс 250 °C - для металлических токоведущих частей (кроме алюминиевых), соприкасающихся с изоляцией, при этом ее разрушение или повреждение не допускаются; (в ред. Изменения N 1, утв. 01.02.83)

плюс 300 °C - для токоведущих частей из меди и ее сплавов, не соприкасающихся с изоляцией; (в ред. Изменения N 1, утв. 01.02.83)

плюс 200 °C - для токоведущих частей из алюминия. (в ред. Изменения N 1, утв. 01.02.83)

3.6. УВН, ввод и сборные шины РУНН двухтрансформаторных КТП, а также однотрансформаторных, предназначенных для дальнейшего расширения в двухтрансформаторные, должны допускать аварийные перегрузки на 30% выше номинального тока силового трансформатора продолжительностью не более 3 ч в сутки, если длительная предварительная нагрузка составляла не более 70% номинального тока трансформатора. (в ред. Изменения N 1, утв. 01.02.83)

По заказу потребителя указанные в данном пункте КТП должны комплектоваться УВН и шкафами ввода РУНН на ток не менее 1,4 номинального тока трансформатора, установленного в КТП <*>. (в ред. Изменения N 1, утв. 01.02.83)

В режиме перегрузки температура нагрева контакта и элементов конструкции РУНН не нормируется, но должна обеспечиваться нормальная работа КТП после устранения перегрузки; пункт 3.6 дополнить сноской: Требование не распространяется на КТП, разработанные и поставленные на производство до 1 января 1984 г. (в ред. Изменения N 1, утв. 01.02.83)

3.7. Силовые трансформаторы, входящие в состав КТП, должны соответствовать требованиям ГОСТ 11677-85, ГОСТ 16555-75, а также техническим условиям на конкретные типы трансформаторов, технические требования УВН - согласно требованиям разд. 2 ГОСТ 14693-77. (в ред. Изменений N 1, утв. 01.02.83, N 3, утв. Постановлением Госстандарта СССР от 21.05.87 N 1647, N 5, утв. Постановлением Госстандарта СССР от 21.02.90 N 255)

3.8. Контактные соединения в КТП - по ГОСТ 10434-82, ГОСТ 12434-83, ГОСТ 8024-84 и ГОСТ 21242-75.

3.9. Комплектующая аппаратура должна быть специально предназначена для работы в КТП.

Допускается применение комплектующей аппаратуры общего назначения, условия ее применения должны указываться в технических условиях на конкретные типы КТП.

3.10. Конструкция КТП в части механической прочности должна обеспечивать нормальные условия работы и транспортирования без каких-либо остаточных деформаций или повреждений, препятствующих нормальной работе КТП.

Шкафы РУНН должны выдерживать:

1000 открываний и закрываний дверей;

установленное соответствующими стандартами на коммутационные аппараты число включений - отключений, а также введений из ремонтного положения в рабочее и выведений из рабочего положения в ремонтное (для РУНН с аппаратами выдвижного использования). (в ред. Изменения N 1, утв. 01.02.83)

3.10.1. Конструкция КТП должна исключать ложные срабатывания встроенных в шкафы приборов защиты при перемещении выдвижных элементов, а также обеспечивать нормальное функционирование приборов измерения и учета, управления и сигнализации при работе встроенных аппаратов. (в ред. Изменения N 1, утв. 01.02.83)

3.11. Разборные соединения сборочных единиц, подвергающихся механическим нагрузкам в процессе транспортирования и эксплуатации, должны быть снабжены приспособлениями, препятствующими самоотвинчиванию.

3.12. Шины должны быть окрашены в следующие отличительные цвета: фаза A - желтый, фаза B - зеленый, фаза C - красный.

Допускается применение одноцветных шин, в том числе с изоляционным покрытием, а также шин без покрытия, если это допустимо по условиям эксплуатации. В этих случаях на шинах должны быть покрытия отличительного цвета поперечными полосами шириной не менее 10 мм (не менее одной полосы на участке шины до 1 м) в местах, удобных для обозрения.

Заземляющие шины, проложенные открыто, должны быть окрашены в черный цвет.

Во вводных шкафах РУНН должны быть предусмотрены и обозначены места для наложения переносного заземления. (в ред. Изменения N 1, утв. 01.02.83)

3.13. Все детали из черных металлов должны иметь защитное покрытие против коррозии.

Составные части КТП должны иметь лакокрасочное покрытие одного цвета светлого тона. Допускается для КТП мощностью до 250 кВ x А включительно климатического исполнения У1 но ГОСТ 15150-69 применять лакокрасочное покрытие другого тона, при этом цвет покрытия следует указывать в технических условиях на КТП конкретных типов.

Отдельные сборочные единицы (днища, салазки), а также декоративные элементы допускается окрашивать в другие тона. (в ред. Изменения N 5, утв. Постановлением Госстандарта СССР от 21.02.90 N 255)

Качество окрашенных поверхностей не должно быть ниже V класса покрытий по ГОСТ 9.032-74.

3.13.1. Конструкцией шкафов РУНН и УВН должна быть предусмотрена сохранность лакокрасочных покрытий металлоконструкций при открывании и закрывании дверей. (в ред. Изменения N 1, утв. 01.02.83)

3.14. Температура нагрева в нормальном режиме нетоковедущих частей КТП, к которым можно прикасаться при эксплуатации (листы приборные, крышки), не должны превышать 70 °C.

3.15. Конструкция КТП должна обеспечивать возможность замены силового трансформатора без демонтажа РУНН.

3.16. КТП должны выполняться в полностью собранном виде или транспортными блоками, подготовленными для сборки на месте монтажа без разборки коммутационных аппаратов, проверки надежности болтовых соединений и правильности внутренних соединений.

Конструкция составных частей КТП (транспортных блоков) должна обеспечивать их сочленяемость.

3.16.1. Конструкция шкафов РУНН должна обеспечивать взаимозаменяемость однотипных выдвижных аппаратов без дополнительной подгонки. (в ред. Изменения N 1, утв. 01.02.83)

3.17. КТП, выполненные с воздушными вводами, должны быть оборудованы вентильными разрядниками на сторонах ВН и НН и иметь исполнения вводов категории А или Б по ГОСТ 9920-75.

3.18. Двери в КТП должны без заеданий поворачиваться на шарнирах на угол не менее 95°, иметь замки и ручки. Ручки могут быть съемными или совмещены с ключом или защелкой.

3.19. Замки дверей УВН и РУНН должны запираться ключами с разными секретами.

3.20. Отдельные шкафы или транспортные блоки шкафов КТП должны иметь приспособления для подъема и перемещения в процессе монтажа.

3.21. Конструкция КТП должна обеспечивать установку на ровном полу (без крепления к полу), а также крепление их на фундаментах с помощью болтов или приварки к закладным деталям.

3.22. КТП категории 1 по ГОСТ 15150-69 должны:

быть пригодны для работы в условиях гололеда при толщине льда до 20 мм и скорости ветра 15 м/с (скоростном напоре ветра 146 Па), а при отсутствии гололеда - при скорости ветра до 36 м/с (скоростном напоре ветра до 800 Па);

иметь освещение панелей, на которых смонтированы измерительные приборы и расположены рукоятки управления аппаратами;

иметь питание напряжением не выше 42 В и розетку для включения лампы переносного освещения. Для однотрансформаторных КТП мощностью до 250 кВ x А допускается освещение не выполнять и осветительную арматуру не устанавливать;

иметь фиксацию дверей в крайних положениях. (в ред. Изменения N 3, утв. Постановлением Госстандарта СССР от 21.05.87 N 1647)

Конструкция шкафов РУНН для КТП категории 1 должна обеспечивать возможность присоединения:

воздушных линий;

кабельных линий;

как кабельных, так и воздушных линий. (в ред. Изменения N 1, утв. 01.02.83)

3.23. Номинальное напряжение вспомогательных цепей КТП не должно превышать 400 В переменного тока и 440 В постоянного тока.

3.24. По условиям механической прочности присоединения проводов к зажимам или аппаратам вспомогательные цепи КТП должны выполняться проводами с медными жилами сечением не менее:

0,75 мм2 - для однопроволочных жил, присоединяемых к винтовым зажимам;

0,5 мм2 - для однопроволочных жил, присоединенных пайкой;

0,35 мм2 - для многопроволочных жил, присоединенных пайкой или под винт с помощью специальных наконечников.

Присоединение однопроволочных жил (под винт или пайкой) допускается только к неподвижным элементам аппаратуры. Присоединение жил к подвижным элементам аппаратуры должно производиться гибкими (многопроволочными) жилами.

Для переходов на двери должны применяться многопроволочные провода сечением не менее 0,5 мм2, допускается также применение для этих целей проводов с однопроволочными жилами сечением не менее 1,5 мм2 при условии, что жгуты проволок работают только на кручение.

3.25. В КТП прокладка проводов вспомогательных цепей должна производиться изолированным проводом как в монтажных коробках, так и непосредственно по металлическим панелям с обеспечением возможности контроля и замены поврежденного провода.

В отсеках, где расположено электрооборудование на напряжение свыше 1000 В, провода, предназначенные для присоединения аппаратуры НН, должны быть отделены перегородками (или проложены в трубах, металлорукавах), за исключением коротких участков, отделение которых связано с существенным усложнением монтажа или конструкции.

Прокладка в шкафах УВН проводов и кабелей, не относящихся к данному шкафу, не допускается. В исключительных случаях, когда выполнение требования приводит к существенному усложнению монтажа или конструкции, допускается прокладывать эти провода и кабели в трубах или коробах. (в ред. Изменения N 3, утв. Постановлением Госстандарта СССР от 21.05.87 N 1647)

3.26. Присоединение внешних цепей контрольными кабелями и проводами должно осуществляться при помощи зажимов или штепсельных соединений.

3.27. Приборы и аппараты вспомогательных цепей должны устанавливаться таким образом, чтобы была обеспечена возможность их обслуживания без снятия напряжения с главных цепей КТП.

3.27.1. В шкафах УВН с высоковольтными предохранителями, имеющими указатели срабатывания, должна быть обеспечена возможность наблюдения за их состоянием без снятия напряжения с главных цепей. (в ред. Изменения N 3, утв. Постановлением Госстандарта СССР от 21.05.87 N 1647)

Примечание. Для тупиковых однотрансформаторных КТП мощностью до 250 кВ x А включительно климатического исполнения У1 по ГОСТ 15150-69 необходимость в данном требовании устанавливают в технических условиях по согласованию между изготовителем и потребителем. (в ред. Изменения N 5, утв. Постановлением Госстандарта СССР от 21.02.90 N 255)

3.28. Все приборы, аппараты, а также ряды зажимов и соединительная проводка должны быть маркированы.

Маркировка должна наноситься способом, обеспечивающим ее стойкость против действия влаги и света.

3.29. Разъединяющие контакты вспомогательных цепей между шкафом КТП и выдвижным выключателем, установленным в нем, должны выполняться в виде штепсельных разъемов с числом цепей не более 47. (в ред. Изменения N 1, утв. 01.02.83)

3.30. Приборы, устанавливаемые на КТП, должны быть расположены с фасадной стороны для удобства наблюдения за их показаниями. По согласованию с потребителем допускается иное расположение приборов. (в ред. Изменения N 1, утв. 01.02.83)

Измерительные приборы, в том числе и счетчики, рекомендуется устанавливать таким образом, чтобы их шкалы находились на высоте не более 2100 мм от пола. (в ред. Изменения N 1, утв. 01.02.83)

Аппараты ручного управления (автоматы, переключатели, кнопки и т.п.) рекомендуется располагать на высоте не более 2100 мм от пола. (в ред. Изменения N 1, утв. 01.02.83)

Примечание. Указанные в данном пункте размеры допускается принимать иными в зависимости от назначения КТП и условий его эксплуатации. В этом случае размеры должны указываться в технических условиях на конкретные типы КТП. (в ред. Изменения N 1, утв. 01.02.83)

3.30.1. Рукоятки ручных приводов коммутационных аппаратов в шкафах РУНН должны включать аппараты: (в ред. Изменения N 1, утв. 01.02.83)

в направлении движения часовой стрелки при вращении в плоскости, параллельной плоскости двери; (в ред. Изменения N 1, утв. 01.02.83)

снизу вверх или справа налево при вращении в плоскости, перпендикулярной плоскости двери. (в ред. Изменения N 1, утв. 01.02.83)

Положение рукоятки должно быть обозначено четкими нестирающимися цифрами 1 (включенное положение) и 0 (отключенное положение). (в ред. Изменения N 1, утв. 01.02.83)

При использовании рукояток с самовозвратом на двери ячейки (или на рукоятке) должна быть нанесена цифра 1 со стрелкой, указывающей направление движения рукоятки при включении. (в ред. Изменения N 1, утв. 01.02.83)

3.30.2. Нормируемое усилие на рукоятку должно быть установлено в соответствии со стандартами и техническими условиями на конкретные типы аппаратов. (в ред. Изменения N 1, утв. 01.02.83)

3.31. Полный установленный срок службы КТП - не менее 25 лет (при условии проведения технического обслуживания или замены аппаратуры в соответствии с указаниями инструкции по эксплуатации на конкретные типы КТП и их составные части). (в ред. Изменения N 3, утв. Постановлением Госстандарта СССР от 21.05.87 N 1647)

3.31.1. Установленную безотказную наработку КТП устанавливают в технических условиях на КТП конкретных типов. (в ред. Изменения N 3, утв. Постановлением Госстандарта СССР от 21.05.87 N 1647)

3.32. Требования безопасности - по ГОСТ 12.2.007.0-75 и ГОСТ 12.2.007.4-75.

3.33. Требования, которые должны быть указаны в технических условиях на конкретные типы КТП, приведены в обязательном Приложении 2.

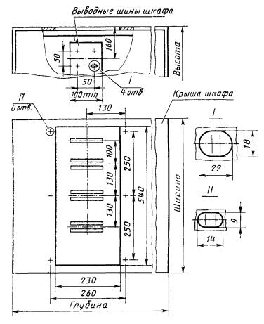
3.34. Требования <*> к присоединительным размерам шинных выводов РУНН КТП для подключения магистральных шинопроводов на номинальные токи от 1000 до 4000 А.

<*> Требования не распространяются на КТП, разработанные и поставленные на производство до 1 января 1986 г.

3.34.1. Шинные выводы РУНН КТП для подключения магистральных шинопроводов следует выполнять внутри шкафов и располагать по ширине шкафа.

3.34.2. Конструкцией шкафов РУНН КТП должна быть обеспечена возможность подключения присоединительных секций магистральных шинопроводов без дополнительных операций, не относящихся непосредственно к присоединению секции (съем элементов конструкции, подгонка отверстий, обработка контактных поверхностей выводов).

3.34.3. Отверстия в шинах присоединительных секций магистральных шинопроводов и в выводных шинах шкафов РУНН КТП должны быть овальными с расположением большей оси овала в шинопроводах вертикально, в РУНН КТП - горизонтально по отношению к продольной оси шин.

3.34.4. Отверстия во фланцах присоединительных секций магистральных шинопроводов и крышах шкафов РУНН КТП должны быть овальными с расположением большей оси овала в секции шинопровода вдоль широкой стороны фланца, в крыше шкафа - вдоль узкой стороны фланца. (в ред. Изменения N 2, утв. 01.06.85)

3.34.5. Присоединительные размеры шинных выводов и отверстия в крышах шкафов РУНН КТП должны соответствовать указанным в обязательном Приложении 3. (в ред. Изменения N 2, утв. 01.06.85)

4. КОМПЛЕКТНОСТЬ

4.1. В комплект КТП должны входить: (в ред. Изменения N 1, утв. 01.02.83)

УВН (по заказу потребителя); (в ред. Изменения N 1, утв. 01.02.83)

силовой трансформатор (по заказу потребителя); (в ред. Изменения N 1, утв. 01.02.83)

РУНН (типы и количество шкафов по заказу потребителя); (в ред. Изменения N 1, утв. 01.02.83)

шинопроводы, предусмотренные конструкцией КТП; (в ред. Изменения N 1, утв. 01.02.83)

шкафы сигнализации (по заказу потребителя); (в ред. Изменения N 1, утв. 01.02.83)

приспособление для подъема и съема автоматических выключателей, если масса последних превышает 30 кг (по заказу потребителя); (в ред. Изменения N 1, утв. 01.02.83)

монтажные материалы; (в ред. Изменения N 1, утв. 01.02.83)

запасные части и принадлежности по ведомости ЗИП. (в ред. Изменения N 1, утв. 01.02.83)

4.2. К каждой КТП должны быть приложены: (в ред. Изменения N 1, утв. 01.02.83)

документация на трансформаторы по ГОСТ 11677-85 - 1 экз.; (в ред. Изменений N 1, утв. 01.02.83, N 3, утв. Постановлением Госстандарта СССР от 21.05.87 N 1647)

документация на комплектующую аппаратуру, подвергающуюся наладке и ремонту в процессе эксплуатации, - в соответствии с техническими условиями на конкретные типы аппаратуры; (в ред. Изменения N 1, утв. 01.02.83)

схемы электрические принципиальные и схемы электрических соединений, сборочный чертеж КТП - 2 экз.; (в ред. Изменения N 1, утв. 01.02.83)

эксплуатационная документация по ГОСТ 2.601-68 - 1 экз.; (в ред. Изменения N 1, утв. 01.02.83)

ведомость ЗИП - 1 экз. (в ред. Изменения N 1, утв. 01.02.83)

5. ПРАВИЛА ПРИЕМКИ

5.1. КТП должны подвергаться предприятием-изготовителем приемо-сдаточным, периодическим и типовым испытаниям.

5.2. Приемо-сдаточные испытания

5.2.1. Приемо-сдаточным испытаниям должна подвергаться каждая КТП (УВН, шкафы РУНН, трансформатор) по программе, указанной в табл. 3.

Таблица 3

Вид испытаний и проверок Пункты
технических требований методов контроля (испытаний)
1. Проверка внешнего вида и проверка на соответствие чертежам 2.1; 3.1; 3.7; 3.9; 3.11 - 3.13; 3.13.1; 3.16; 3.17; 3.19 - 3.22; 3.25 - 3.30; 3.33; 4.1; 4.2; 7.1 - 7.7;
приложение 2, подпункты 1, 3, 7, 8, 13 - 15, 18, 20
6.1
2. Измерение сопротивления изоляции 3.7; приложение 2, подпункт 4 6.1
3. Проверка правильности выполнения оперативных цепей управления, защиты, автоматики и сигнализации 3.1; 3.7; 3.16; 3.24; 3.25; 3.28 6.1
4. Опробование первичной коммутационной аппаратуры и проводов на включение и отключение 3.7; 3.10; 3.23 6.1
5. Проверка действия механических и электрических блокировок 3.7; 3.32, приложение 2, подпункт 8 6.1
6. Испытание на электрическую прочность изоляции главных и вспомогательных цепей напряжением промышленной частоты 3.3; 3.7 6.1

(в ред. Изменения N 1, утв. 01.02.83)

5.3. Периодические испытания

5.3.1. Периодические испытания должны проводиться в сроки, установленные в технических условиях на отдельные типы КТП, но не реже одного раза в 10 лет, по программе, указанной в табл. 4.

Таблица 4

Вид испытаний и проверок Пункты
технических требований методов контроля (испытаний)
1. Проверка внешнего вида и проверка на соответствие чертежам 3.7; 3.30.2  
2. Испытание на нагрев 2.2; 2.2.1; 3.6; 3.7; 3.9; 3.14 6.1
3. Испытание на электродинамическую и термическую стойкость к токам короткого замыкания 2.1; 3.5; 3.7; 3.9 6.1
4. Испытание на взаимозаменяемость однотипных выдвижных аппаратов 3.7; 3.16.1 6.1
5. Испытание на механическую прочность элементов конструкции КТП при многократных операциях 3.7; 3.9 - 3.11; 3.18; 3.32 6.1
6. Испытание электрической прочности изоляции напряжением грузовых импульсов 2.1; 3.3; 3.7 6.1
7. Испытание на внешние климатические воздействия 1.1; 3.4; 3.7; 3.9; 3.13; 3.22; 7.10 6.1
8. Испытания на механические воздействия Приложение 2, подпункт 6 6.1
9. Испытание на прочность при транспортировании, в т. ч. испытание упаковки 3.7; 3.10; 3.11; 7.3; 7.6 - 7.8 приложение 2, подпункт 14, 15 6.3
10. Контрольная сборка КТП 3.1; 3.15; 3.16; 3.20; 3.21; 3.27 6.1
11. Испытание на надежность 3.31, приложение 2, подпункт 11 6.2

Примечания.

1. Испытанию по п. 3 допускается не подвергать аппаратуру и ошиновку КТП напряжением выше 1000 В:

защищенные плавкими предохранителями независимо от их номинального тока и типа - на термическую стойкость;

защищенные плавкими предохранителями с вставками на номинальный ток до 60 А - на электродинамическую стойкость к токам короткого замыкания.

2. Испытания по п. 8 относятся только к типовым.

3. Испытания по пп. 2; 3; 5; 6; 8 производятся на составных частях КТП.

4. Испытания по п. 9 проводятся на КТП или транспортных блоках. (в ред. Изменения N 1, утв. 01.02.83)

5.3.2. Периодические испытания должны проводиться на КТП или ее составных частях, прошедших приемо-сдаточные испытания. Для РУНН, состоящих из набора шкафов, периодические испытания проводятся в типопредставителях с распространением результатов испытаний на все типоисполнения РУНН.

Выбор типопредставителей РУНН и определение их количества проводится предприятием-изготовителем по согласованию с предприятием - разработчиком конструкции и оформляется протоколом.

5.3.3. Если за период, прошедший после проведения периодических испытаний, были проведены типовые испытания, связанные с изменением конструкции, материалов или технологии производства, то периодические испытания должны проводиться только по тем пунктам программы периодических испытаний, по которым не проводились типовые испытания.

5.4. Типовые испытания

5.4.1. Типовые испытания должны проводиться при изменении конструкции, исходных материалов или технологии производства, если изменения могут влиять на характеристики и параметры КТП. (в ред. Изменения N 1, утв. 01.02.83)

5.4.2. Объем испытаний и количество образцов, подвергаемых испытаниям, устанавливают в программе, согласованной предприятием - держателем подлинников конструкторской документации с изготовителем.

5.4.3. Допускается не проводить типовые испытания, за исключением контрольной сборки и испытания на взаимозаменяемость однотипных выдвижных аппаратов, если КТП данного типа в части проверяемых требований полностью идентична КТП другого типа, ранее подвергавшейся такому испытанию.

5.5. Если масса или габаритные размеры КТП (транспортного блока) не позволяют проводить климатические и механические испытания на существующем оборудовании, то оценку КТП (транспортного блока) следует производить в объеме требований, устанавливаемых в технических условиях на конкретные типы КТП.

При этом для отдельных видов климатических испытаний допускается испытание макетов при условии обеспечения конструктивного и технологического подобия макета.

5.6. КТП допускается не подвергать всем или некоторым видам климатических испытаний, если входящие в ее состав части и встроенные элементы удовлетворяют требованиям, предъявляемым к ним в соответствии с требованиями к КТП в целом.

5.7. Правила приемки трансформаторов - по ГОСТ 11677-85. (в ред. Изменения N 3, утв. Постановлением Госстандарта СССР от 21.05.87 N 1647)

6. МЕТОДЫ ИСПЫТАНИЙ

6.1. Испытания КТП должны проводиться по ГОСТ 20248-82.

6.2. Оценка показателей надежности КТП производится на основании статистических данных при эксплуатации или специальных испытаниях.

6.3. Испытания на прочность при транспортировании - по ГОСТ 23216-78.

7. МАРКИРОВКА, УПАКОВКА, ТРАНСПОРТИРОВАНИЕ И ХРАНЕНИЕ

7.1. КТП должна иметь табличку по ГОСТ 12969-67, содержащую следующие данные:

условное обозначение (индекс) изделия;

товарный знак;

заводской номер и (или) дату изготовления;

наименование изделия (при необходимости);

напряжение в киловольтах со стороны ВН и НН;

обозначение стандартов или технических условий <*>;

изображение государственного Знака качества при его присвоении в порядке, установленном Госстандартом СССР <**>; (в ред. Изменения N 3, утв. Постановлением Госстандарта СССР от 21.05.87 N 1647)

надпись "Сделано в СССР" <***>;

другие данные, необходимые для монтажа и эксплуатации, по усмотрению предприятия-изготовителя. (в ред. Изменения N 2, утв. 01.06.85)

<*> Обозначение технических условий на КТП, предназначенных на экспорт, не допускается.

<**> Для КТП, предназначенных на экспорт, не указывать.

<***> Для КТП, предназначенных на экспорт.

7.2. Транспортная маркировка грузов - по ГОСТ 14192-77, при этом на каждый груз, кроме основных и дополнительных надписей, должны быть нанесены манипуляционные знаки: "Верх, не кантовать", "Осторожно, хрупкое", "Места строповки".

При высоте груза более 1 м должен ставиться знак "Центр тяжести".

7.3. Все подвижные части КТП на время транспортирования должны быть перед упаковкой надежно закреплены (заклинивание деревянными колодками, подвязка лентами и т.д.).

7.4. Все неокрашенные металлические поверхности КТП (винты, таблички, замки, ручки проводов и др.) должны быть подвергнуты консервации по ГОСТ 23216-78.

7.5. КТП категории размещения 3 должны быть упакованы в ящики по ГОСТ 16511-86 или другую тару по отраслевой нормативно-технической документации, обеспечивающую сохранность изделий при транспортировании, хранении и погрузочно-разгрузочных операциях. (в ред. Изменения N 5, утв. Постановлением Госстандарта СССР от 21.02.90 N 255)

7.6. КТП категории размещения 1 транспортируются без упаковки. По требованию потребителя КТП категории размещения 1 должны упаковываться в соответствии с п. 7.5.

7.7. При транспортировании КТП категории размещения 1 без упаковки все проемы должны быть закрыты заглушками и защищены от попадания атмосферных осадков. Должна быть исключена возможность открывания дверей и крышек с целью защиты бьющихся и легко снимаемых частей.

7.8. Документация должна быть упакована по ГОСТ 23216-78.

7.9. КТП должны транспортироваться в полностью собранном виде или отдельными транспортными блоками длиной не более 4 м. Допускается по согласованию между изготовителем и потребителем транспортирование КТП блоками длиной более 4 м.

7.10. Требования к упаковке, хранению, транспортированию КТП, которые должны быть указаны в технических условиях на конкретные типы КТП, приведены в обязательном Приложении 2.

8. УКАЗАНИЯ ПО ЭКСПЛУАТАЦИИ

8.1. Эксплуатация и монтаж КТП должны производиться в соответствии с инструкцией по монтажу и эксплуатации предприятия-изготовителя, а также в соответствии с "Правилами технической эксплуатации электроустановок потребителей и правилами техники безопасности при эксплуатации электроустановок потребителей", утвержденными Госэнергонадзором 12 апреля 1969 г., и "Правилами устройства электроустановок".

9. ГАРАНТИИ ИЗГОТОВИТЕЛЯ

9.1. Изготовитель гарантирует соответствие КТП требованиям настоящего стандарта при соблюдении условий эксплуатации, транспортирования, хранения, монтажа.

9.2. Гарантийный срок эксплуатации КТП - три года со дня ввода в эксплуатации. (в ред. Изменения N 3, утв. Постановлением Госстандарта СССР от 21.05.87 N 1647)

9.3. Гарантийный срок эксплуатации КТП, предназначенных для экспорта, - один год со дня ввода в эксплуатацию, но не более двух лет со дня проследования через Государственную границу СССР.

Приложение 1
Справочное

ПОЯСНЕНИЕ ТЕРМИНОВ, ПРИМЕНЯЕМЫХ В СТАНДАРТЕ

Комплектная трансформаторная подстанция (КТП) - электротехническое устройство напряжением 6 - 10 кВ, мощностью 25 - 2500 кВ x А, служащее для приема, преобразования и распределения электроэнергии трехфазного переменного тока и состоящее из устройства со стороны высшего напряжения, трансформатора, распределительного устройства со стороны низшего напряжения и шинопроводов между ними, поставляемых в собранном или подготовленном для сборки виде.

Устройство со стороны высшего напряжения КТП (УВН) - устройство в металлической оболочке со встроенными в нее аппаратами для коммутации, управления и защиты (или без них - глухой ввод), служащее для приема электроэнергии и передачи ее по цепям, обусловленным схемой коммутации на стороне высшего напряжения трансформатора.

Распределительное устройство со стороны низшего напряжения КТП (РУНН) - устройство напряжением до 690 В в металлической оболочке, состоящее из одного или нескольких шкафов со встроенными в них аппаратами для коммутации, управления, измерения и защиты, служащее для распределения электроэнергии.

Шинопровод - токоведущие элементы, расположенные в металлической оболочке, служащие для соединения главных цепей составных частей КТП в соответствии с электрической схемой соединения и конструктивным исполнением КТП.

Транспортный блок - часть КТП, подлежащая транспортированию в одной упаковке (или без нее) и состоящая из отдельных изделий, подготовленных для сборки на месте монтажа без ревизии (УВН, силового трансформатора, нескольких шкафов РУНН, установленных на общей раме с полностью смонтированными шинами и вспомогательными цепями).

Приложение 2
Обязательное

ОСНОВНЫЕ ТЕХНИЧЕСКИЕ ТРЕБОВАНИЯ, УКАЗЫВАЕМЫЕ В ТЕХНИЧЕСКИХ УСЛОВИЯХ НА КОНКРЕТНЫЕ ТИПЫ КТП

1. Классификация и параметры КТП.

2. Тип атмосферы по ГОСТ 15150-69.

3. Напряжение короткого замыкания, схемы и группы соединений обмоток трансформаторов, устанавливаемых в КТП.

4. Требовании к сопротивлению изоляции составных частей КТП.

5. Исполнение КТП по степени защиты.

6. Условия эксплуатации в части воздействия механических факторов внешней среды по ГОСТ 17516-72 (при наличии механических воздействий на КТП).

7. Требовании к УВН.

8. Дополнительные указания по выполнению требований безопасности.

9. По требованию потребителя - уровень звука КТП.

10. Требования к элементам вводов (тяжение проводов, влияние ветра, гололед и др.).

11. Требования к надежности (установленный срок службы, вероятность безотказной работы, по требованию потребителя - установленная наработка на отказ), критерии отказов и предельных состояний для отдельных составных частей КТП.

12. По требованию потребителя - показатели ремонтопригодности: среднее время восстановления и коэффициент технической готовности.

13. Варианты компоновок (схемы электрические принципиальные главных цепей), габаритные, установочные, присоединительные размеры и масса КТП.

14. Типы упаковки, виды тары для КТП и ее составных частей, ЗИП.

15. Условия транспортирования в части воздействия климатических и механических факторов, условия и срок хранения КТП в соответствии с ГОСТ 15150-69 и ГОСТ 23216-78.

16. Требования к комплектности поставки, а также возможность изготовления по заказу отдельных изделий, входящих в КТП (УВН, силового трансформатора, РУНН и шинопроводы).

17. При транспортировании по железной дороге:

нормативно-техническая документация МПС по погрузке и креплению;

род подвижного состава (платформы, полувагоны и др.).

18. Длина транспортных блоков РУНН. (в ред. Изменения N 1, утв. 01.02.83)

19. Требования к наличию мест наложения переносного заземления во вводных шкафах РУНН и их обозначению. (в ред. Изменения N 1, утв. 01.02.83)

20. Требования к наличию надписей и установке светильников на фасадах шкафов РУНН. (в ред. Изменения N 1, утв. 01.02.83)

21. Значения токов электродинамической и термической стойкости на сторонах ВН и НН. (в ред. Изменения N 1, утв. 01.02.83)

22. Требования к маркировке шкафов - для КТП, имеющих отдельные шкафы УВН и РУНН. (в ред. Изменений N 1, утв. 01.02.83, N 2, утв. 01.06.85)

23. Основные показатели качества "КТП. (в ред. Изменения N 3, утв. Постановлением Госстандарта СССР от 21.05.87 N 1647)

24. Требование к удобству обслуживания УВН и РУНН. (в ред. Изменения N 3, утв. Постановлением Госстандарта СССР от 21.05.87 N 1647)

Приложение 3
Обязательное

ПРИСОЕДИНИТЕЛЬНЫЕ РАЗМЕРЫ ШИННЫХ ВЫВОДОВ И ОТВЕРСТИЯ В КРЫШАХ ШКАФОВ РУНН КТП

Присоединительные размеры для установки шинопроводов на номинальный ток 1000 и 1600 А

Черт. 1

Присоединительные размеры для установки шинопроводов на номинальный ток 1600 и 2500 А

Черт. 2

Присоединительные размеры для установки шинопроводов на номинальный ток 4000 А

Черт. 3