Инструкция по эксплуатации оперативных блокировок безопасности в распределительных устройствах высокого напряжения. РД 34.35.512

(утв. Минэнерго СССР 05.10.79)
Редакция от 05.10.1979 — Действует с 05.10.1979

Данный документ не поддерживается в сервисе Норматив.


УТВЕРЖДЕНА
заместителем начальника Главтехуправления
К.М. АНТИПОВЫМ
5 октября 1979 года

Согласована
с начальником Отдела по технике безопасности
и промышленной санитарии
Р.А. ГАДЖИЕВЫМ
3 октября 1979 года

ИНСТРУКЦИЯ ПО ЭКСПЛУАТАЦИИ ОПЕРАТИВНЫХ БЛОКИРОВОК БЕЗОПАСНОСТИ В РАСПРЕДЕЛИТЕЛЬНЫХ УСТРОЙСТВАХ ВЫСОКОГО НАПРЯЖЕНИЯ

РД 34.35.512

Согласована с начальником Отдела по технике безопасности и промышленной санитарии Р.А. Гаджиевым 03.10.79.

Утверждена заместителем начальника Главтехуправления К.М. Антиповым 05.10.79.

В настоящей Инструкции приведено описание оперативных блокировок в распределительных устройствах высокого напряжения, даны указания по их монтажу и эксплуатации, испытаниям и профилактическим осмотрам.

Инструкция предназначена для руководящего, оперативного и эксплуатационного персонала электростанций и подстанций.

Введение

Важным средством предупреждения неправильных операций, производимых оперативным персоналом, является оснащение всех разъединителей и заземляющих ножей устройствами блокировки.

Оперативная блокировка должна рассматриваться как дополнительное средство, препятствующее производству ошибочных операций. Персонал обязан знать инструкции по производству переключений в электрических распределительных устройствах и производить оперативные переключения сознательно, четко представляя очередность операций и конечную цель переключений.

1. ОБЩИЕ ТРЕБОВАНИЯ К УСТРОЙСТВАМ БЛОКИРОВКИ И ПРИНЦИПЫ ИХ ВЫПОЛНЕНИЯ

1.1. Оперативная блокировка разъединителей с выключателями должна предотвращать:

- включение и отключение разъединителями активной и реактивной мощности, за исключением предусмотренных § 48.16 "Правил технической эксплуатации электрических станций и сетей" ("Энергия", 1977) случаев включения и отключения намагничивающего тока силовых трансформаторов и зарядного тока линий;

- включение и отключение разъединителями больших уравнительных токов или включение на несинхронное напряжение.

Блокировка защитных заземлений должна предотвращать:

- включение заземляющих ножей на шины и участки присоединений, находящиеся под напряжением;

- включение разъединителей на участки шин и присоединений, заземленные включенными заземляющими ножами;

- подачу напряжения выключателем на заземленный участок шин.

Принципы выполнения оперативной блокировки разъединителей и заземляющих ножей соответствуют изложенным в Решении N Э-7/77 - ТБ-1/77 "О применении в электроустановках напряжением выше 1000 В стационарных заземляющих ножей и их блокировке" (СПО Союзтехэнерго) и заключаются в следующем:

а) для разъединителей и заземляющих ножей должна выполняться блокировка, исключающая:

- оперирование разъединителем под нагрузкой (за исключением тех случаев, когда разъединитель шунтирован другой электрической цепью, не содержащей сопротивления, например шиносоединительным выключателем);

- включение заземляющего ножа на участке цепи, не отделенном разъединителями от участков, находящихся под напряжением;

- возможность подачи напряжения разъединителем на заземленный участок цепи; в соответствии с требованием § II-2-22 "Правил техники безопасности при эксплуатации электроустановок электрических станций и подстанций" ("Энергия", 1972) заземления должны быть отделены видимым разрывом от токоведущих частей, находящихся под напряжением;

- возможность подачи напряжения выключателем на заземленный участок цепи. Это достигается тем, что от других участков цепей выключатель отделяется с обеих сторон разъединителями, сблокированными с заземляющими ножами таким образом, что включение заземляющего ножа с одной стороны выключателя оказывается возможным только при отключенном разъединителе с другой стороны выключателя и, наоборот, включение разъединителя с одной стороны выключателя возможно при отключенном заземляющем ноже с другой стороны выключателя. Введение каких-либо блокировочных элементов в цепи включения выключателей для предотвращения их включения на заземленный участок цепи при этом не допускается;

б) для разъединителей с пофазным исполнением оперативная блокировка выполняется таким образом, что оперирование разъединителем любой фазы невозможно при включенных заземляющих ножах на любой другой фазе. Это условие необходимо, так как фазы связаны через обмотки трансформатора;

в) блокировка, исключающая возможность подачи на включенный заземляющий нож напряжения с противоположной стороны линии, не выполняется из-за ее сложности; достаточной является блокировка заземляющего ножа только с линейным разъединителем на данном конце линии;

г) для шинных разъединителей и заземляющих ножей сборных шин выполняется полная оперативная блокировка, запрещающая включение заземляющего ножа сборных шин при включенном (хотя бы одном) шинном разъединителе и включение любого шинного разъединителя при включенном заземляющем ноже сборных шин;

д) в комплектных РУ СН 6 кВ выполняется оперативная блокировка, запрещающая включение заземляющего ножа сборных шин РУ СН 6 кВ при рабочем положении тележек выключателей в цепях вводов рабочего и резервного питания, тележек выключателей трансформаторов СН 6/0,38 кВ и линий 6 - 10 кВ с двусторонним питанием, а также вкатывание этих тележек в рабочие положения при включенном заземляющем ноже шин РУ СН 6 кВ.

1.2. К устройствам блокировки предъявляются следующие требования:

- блокировка должна быть полной, т.е. предусматривать блокирование всех неправильных операций, которые могут быть произведены разъединителями;

- устройства оперативной блокировки и блокировки заземляющих ножей должны осуществляться по общей схеме;

- блокировка должна быть надежна в эксплуатации.

Недопустимо, чтобы при различных неисправностях или исчезновении напряжения оперативного тока блокировка позволяла производить операции с разъединителями;

- приводы разъединителей должны запираться блок-замками только в крайних положениях "Включено" и "Отключено". В промежуточных положениях устройства блокировки должны препятствовать запиранию приводов и выниманию ключа из замка;

- установка механических замков на приводах должна производиться на неподвижных деталях, чтобы не увеличивать инерцию подвижных частей механизма;

- при наличии устройств механической блокировки приводы выключателей (за исключением шиносоединительных) должны запираться блок-замком только в отключенном положении, чтобы выключатели не могли быть включены ни дистанционно, ни вручную. Приводы шиносоединительных выключателей должны запираться в двух положениях: "Включено" и "Отключено". При устройстве электромагнитной и электромеханической блокировок установки замков на приводах выключателей не требуется;

- установка механических замков на приводах выключателей (за исключением шиносоединительных) должна выполняться так, чтобы при включенном выключателе невозможно было вынуть ключ из замка;

- необходимо также выполнить указанную блокировку так, чтобы не вызвать отключения выключателей при попытке вынуть ключ из замка;

- блокировка не должна без надобности усложнять или замедлять операции с разъединителями, что особенно важно при большом количестве присоединений. Блокировочная аппаратура должна быть доступна для осмотра при наличии напряжения на блокируемом оборудовании;

- блокировка не должна препятствовать включению и отключению выключателя при разобранной схеме (отключенных разъединителях присоединения). Однако блокировка должна исключать возможность подачи напряжения на заземленные участки присоединений включением выключателя.

2. СИСТЕМЫ ПРИМЕНЯЕМЫХ БЛОКИРОВОК

Наиболее широкое применение получили следующие блокировки: механическая непосредственного действия, электромагнитная и механическая замковая (электромеханическая).

Механическая блокировка непосредственного действия имеет ограниченное применение: для простых схем, а чаще как дополнительное средство при наличии других основных видов блокировок.

Электромагнитная блокировка пригодна для любых схем первичных цепей, проста в эксплуатации.

Механическая замковая и электромеханическая блокировки, основанные на одном и том же принципе, применяются в распределительных устройствах с простыми первичными схемами и небольшим количеством присоединений.

Остальные системы блокировок либо не получили широкого применения, либо в настоящее время заменены указанными выше.

2.1. Механическая блокировка непосредственного действия

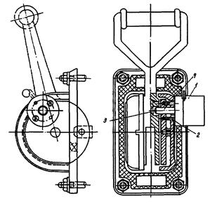
Механическая блокировка непосредственного действия в заводском исполнении применяется в комплектных распределительных устройствах (блокировка от перемещений тележки при включенном масляном выключателе, от вкатывания тележки в рабочее положение при включенном заземляющем разъединителе, автоматическое закрытие защитных шторок при выкатывании тележки и др.), а также для блокирования разъединителей с заземляющими ножами. На рис. 1 показана механическая блокировка главных и заземляющих ножей разъединителей РНДЗ с приводом ПРН, выполненная в виде дисков (с вырезами), насаженных на валы. Эта блокировка не допускает включения заземляющих ножей при включенных главных ножах и, наоборот, включения главных ножей при включенных заземляющих ножах.

1 - вал; 2 - диск; 3 - блокировочный замок

Рис. 1. Механическая блокировка главных и заземляющих ножей разъединителей

В самых простых схемах, если механическая блокировка непосредственного действия обеспечивает полностью безопасность производства операций, другие типы блокировок применять не следует. При каждой ревизии основного аппарата необходимо проверять работоспособность механической блокировки непосредственного действия.

2.2. Электромагнитная блокировка

Электромагнитная блокировка рекомендуется для распределительных устройств со сложными схемами первичных соединений независимо от напряжения при большом количестве присоединений (более 10). Достоинством этой системы являются ее универсальность (она применима для любой конструкции распределительного устройства и при любой схеме первичных соединений), простота операций (автоматичность действий КСА) при минимальных затратах времени.

2.2.1. Аппаратура блокировки

Аппаратура для электромагнитной блокировки выпускается двух видов:

- для внутренней установки производства Курского завода низковольтной аппаратуры (замок ЗБ-1, ключ КЗЗ-1);

- для наружной установки (может быть также применена в закрытых распределительных устройствах) производства Рижского опытного завода Латвэнерго (замок ЭМБЗ, ключ ЭМК, розетка У-94Б). Кроме того, применяются блок-контакты КСА, которые используются как для внутренней, так и для наружной установки, и реле РП-23, используемое в качестве реле блокировки (РБЭ) при наличии разъединителей с электродвигательным приводом.

2.2.2. Схемы блокировки

Ниже приведено описание схем блокировки для распределительных устройств и присоединений с наиболее сложными схемами первичных цепей. Схемы блокировки для других схем первичных цепей являются частью описываемых и могут быть составлены самостоятельно. При выполнении приведенных схем оперативной блокировки разъединителей, отделителей и заземляющих ножей исключается возможность неправильных операций.

При этом:

- разъединитель механически сблокирован с заземляющим ножом таким образом, что включить разъединитель можно только при отключенном заземляющем ноже, а включить заземляющий нож - только при отключенном разъединителе;

- для разъединителя, главные ножи которого управляются электродвигательным приводом, должна выполняться электромагнитная блокировка между главными и заземляющими ножами, несмотря на наличие механической блокировки между ними. Это вызвано тем, что включение электродвигателя привода главных ножей может производиться независимо от положения заземляющих ножей. Поэтому для исключения повреждения электродвигателя привода из-за работы в заторможенном режиме или поломки механической блокировки между главным и заземляющими ножами включение электродвигателя запрещается, если заземляющие ножи разъединителя включены (с помощью реле РБЭ);

- в схемах оперативной блокировки разъединителей применяются реле-повторители блок-контактов выключателей, отделителей, разъединителей и короткозамыкателей в том случае, когда нет свободных блок-контактов этих аппаратов. Для замены размыкающих блок-контактов аппаратов используются замыкающие контакты реле-повторителей, включенные на размыкающие блок-контакты аппаратов, а для замены замыкающих блок-контактов аппаратов - контакты реле-повторителей, включенные на замыкающие блок-контакты аппаратов. Такое включение реле-повторителей исключает ложную работу блокировки при нарушении цепи обмотки реле-повторителя;

- для разъединителей с электродвигательным приводом оперативная блокировка осуществляется разрывом цепей управления электродвигательного привода при несоблюдении условий, при которых допустимо оперирование. Разрыв осуществляется контактами реле блокировки РБЭ, обмотка которого включена в цепи оперативной блокировки разъединителя.

Операция переключения прекращается, если во время переключения изменяются условия, при которых эта операция разрешается.

Для возможности осуществления блокировки при ручном управлении главными и заземляющими ножами предусматриваются блок-замки. Шток блок-замка закрывает доступ к валу привода для установки рукоятки ручного оперирования. Шток может быть вытянут только в том случае, если в блок-замок вставлен ключ и соблюдены условия, при которых допустимо оперирование ножами разъединителя.

Приводы снабжены также механизмом блокировки, который исключает возможность осуществления электродвигательного оперирования при ручных операциях. Блокировка выполнена включением в цепи управления электродвигателя привода главных ножей разъединителя контакта конечного выключателя ВК, который размыкается, когда на вал привода устанавливается рукоятка ручного оперирования.

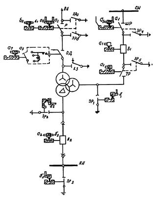
Двойная система шин с шиносоединительным и обходным выключателями (рис. 2).

Рис. 2. Схема распределительного устройства с двумя системами шин, шиносоединительным и обходным выключателями

Операция с каждым шинным разъединителем любого присоединения разрешается в двух случаях: если отключен выключатель, разъединитель и его заземляющий нож другой системы шин данного присоединения, а также заземляющий нож с другой стороны выключателя. Во всех схемах блокировки следует учитывать, что при отключении выключателя нельзя считать, что гарантирован разрыв цепи, поскольку выключатель может быть случайно включен; если включены шиносоединительный выключатель и оба его разъединителя, а также разъединитель другой системы шин данного присоединения. Это условие обеспечивает перевод присоединений с одной системы шин на другую без перерыва питания. Возможность оперирования шинным разъединителем обеспечивается питанием электромагнитных замков от шинки ШБР (рис. 3, см. вклейку). Для включения шинных разъединителей в обоих случаях необходимо, чтобы были отключены заземляющие ножи шин. Это обеспечивается питанием электромагнитных замков от шинок 1ШБ и 2ШБ.

Часть 1

Часть 2

Рис. 3. Схема блокировки элементов распределительного устройства с двумя системами шин, шиносоединительным и обходным выключателями

Для операции с линейным разъединителем линии достаточным условием является отключенное положение выключателя и заземляющих ножей по обе его стороны. Ввиду отсутствия блокировки заземляющего ножа линейного разъединителя со стороны линии с линейным разъединителем противоположного конца линии его привод должен быть заперт на висячий замок, а ключ храниться на щите управления. В схемах предусматривается использование однополюсных выключателей. Блок-контакты всех фаз выключаются последовательно. В случае применения трехполюсных выключателей используется один блок-контакт.

Операции с заземляющими ножами шин возможны при отключении всех шинных разъединителей данной системы шин. При секционировании системы шин в цепь вводится также блок-контакт секционного разъединителя. В схеме предусмотрено секционирование II СШ. Следует отметить, что данный узел наиболее ненадежный, поскольку последовательно в одной цепи подключены блок-контакты всех шинных разъединителей и всегда возможен разрыв хотя бы одного контакта.

Оперирование обходным разъединителем любого из присоединений разрешается при условии, если обходная система шин свободна и не заземлена, т.е. отключены заземляющие ножи РЗб и 4РЗб, обходной выключатель и все остальные индивидуальные разъединители обходной системы шин. Оперирование заземляющими ножами РЗб и 4РЗб обходной системы шин разрешается при условии, что отключены все индивидуальные разъединители обходной системы шин.

Обходной выключатель может быть совмещен с секционным (рис. 4). Схема блокировки представлена на рис. 5.

Рис. 4. Схема обходного выключателя, совмещенного с секционным

Рис. 5. Схема блокировки обходного выключателя, совмещенного с секционным

Операции с шинными разъединителями разрешаются только при отключенном заземляющем ноже данной системы (секции) шин. Операции с заземляющими ножами шин разрешаются только при отключенном положении всех разъединителей данной системы (секции) шин. Для этого в цепь блок-замка заземляющего ножа системы или секции шин введены размыкающие блок-контакты всех шинных разъединителей этой системы (секции) шин. Разъединители обходной системы шин могут быть включены, если обходная система шин не заземлена, т.е. отключен заземляющий нож 3РЗб, отключены все индивидуальные разъединители обходной системы шин всех остальных присоединений и обходной выключатель. Заземляющий нож 3РЗб нельзя включить, если включен разъединитель хотя бы одного присоединения.

Для обеспечения возможности операций с разъединителями 2Р обходного выключателя, совмещенного с секционным, и 5Р перемычки не только при отключенном, но и при включенном выключателе в цепях блок-замков этих разъединителей предусматриваются следующие контакты:

- разъединителя 2Р - замыкающие блок-контакты разъединителей 5Р, 15Р, 3Р, 1Р и повторителя блок-контактов обходного выключателя, совмещенного с секционным;

- разъединителя 5Р - замыкающие блок-контакты разъединителей 2Р, 15Р, 3Р, 1Р и повторителя блок-контактов обходного выключателя, совмещенного с секционным.

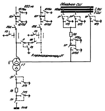
Два блока (ВЛ - автотрансформаторы) с автоматической перемычкой между ними (рис. 6).

Рис. 6. Схема двух блоков (ВЛ - автотрансформаторы) с автоматической перемычкой между ними

Схемы блокировок для случая установки отделителей и короткозамыкателей со стороны ВН приведены на рис. 7 (см. вклейку). Питание может быть подано с любой стороны. Операция с линейным разъединителем 12Р разрешается при отключенном отделителе и закрытых дверцах шкафов его приводов, отсутствии напряжения и включенных заземляющих ножах со всех сторон автотрансформатора данного блока, т.е. при отключении выключателей 3В и 1В, разъединителя секционной перемычки Р, короткозамыкателя КЗ, заземляющих ножей 3РЗб и 4РЗ; а для блока с другим автотрансформатором - также РЗ. Операции вручную отделителем разрешаются при отключенной нагрузке автотрансформатора, т.е. когда отключены выключатели 3В и 1В, секционная перемычка Р и заземляющий нож 12РЗб. Для подстанции 110 кВ схема блокировки несколько изменяется. Это связано с тем, что для включения отделителя ОД-110 с приводом ШПО требуется значительное усилие, что часто замедляет процесс включения и приводит к возникновению затяжной дуги. Для предотвращения этого необходимо отключение тока холостого хода производить отделителем, а включение - разъединителем (в соответствии с Решением N Э-15/68 "Об отключении отделителями и разъединителями намагничивающего тока силовых трансформаторов и зарядного тока воздушных и кабельных линий" - СЦНТИ ОРГРЭС). Схема блокировки имеет существенный недостаток. Цепи блокировки отделителя разрешают оперирование им вне зависимости от положения линейного разъединителя. Это вызвано установкой блокировки замка не на валу, а на дверце шкафа отделителя. Следует всегда помнить о необходимости после операции с отделителями произвести операцию с линейным разъединителем.

Часть 1

Часть 2

Рис. 7. Схема блокировок элементов двух блоков (ВЛ - автотрансформаторы) с автоматической перемычкой между ними для случая установки отделителей и короткозамыкателей на стороне ВН

Оперирование разъединителем перемычки Р для подстанции 220 кВ разрешается при условии, когда отключен отделитель перемычки, закрыты дверцы шкафов его приводов, отсутствует напряжение и заземляющие ножи включены со всех сторон автотрансформатора.

Условием включения отделителя перемычки является отсутствие напряжения со всех сторон одного из автотрансформаторов, т.е. должны быть отключены его выключатели 3В и 1В, отделитель 20Д и заземляющий нож РЗ.

При напряжении ВН 110 кВ схема блокировки разъединителя и отделителя перемычки и порядок операций такие же, как для линейного разъединителя и отделителя (при напряжении 110 кВ).

Схема блокировки разъединителей и заземляющих ножей на стороне СН автотрансформатора, подключенных к двойной системе шин с обходной, была разобрана выше. Схема блокировки разъединителей и заземляющих ножей на стороне НН автотрансформатора не требует пояснений.

Для приводов ПРО и ПРК разработаны новые схемы оперативных блокировок (см. рис. 7). Схема блокировки стороны низшего напряжения этих приводов аналогична схемам блокировки других типов приводов.

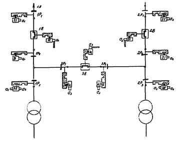
Схема блока генератор - двухобмоточный трансформатор (автотрансформатор)

Схема блока генератор - двухобмоточный трансформатор (автотрансформатор) может быть выполнена с выключателем или без него в цепи генератора. Сторона ВН трансформатора может быть подключена к распределительному устройству с двойной или секционированной системой шин, с полуторной схемой, со схемой мостика или непосредственно к линии, образуя таким образом блок генератор - трансформатор - линия. При всех этих схемах подключения блоков генератор - двухобмоточный трансформатор (автотрансформатор) схемы блокировки мало различаются. Поэтому достаточно рассмотреть один пример схемы блока генератор - двухобмоточный трансформатор, подключенного к двойной системе шин с обходной без выключателя в цепи генератора.

Схема блокировки разъединителей и заземляющих ножей на стороне ВН выполняется в зависимости от первичной схемы распределительного устройства высокого напряжения. Следует отметить особенность схемы оперативной блокировки для блоков генератор - трансформатор (автотрансформатор), не имеющих выключателя в цепи ответвления к рабочему трансформатору СН (рис. 8): выполнение блокировки разъединителей ЗР и Р с заземляющими ножами РЗТа и РЗТб. Разъединители ЗР и Р сблокированы не непосредственно с РЗТа и РЗТб, а только с РЗг, который в свою очередь сблокирован с РЗТа и РЗТб так, что при наложении заземлений вначале должен включаться РЗг и затем РЗТа и РЗТб. При снятии заземлений вначале должны отключаться РЗТа и РЗТб, а затем РЗг. Разъединители ЗР и Р сблокированы не непосредственно с РЗТа и РЗТб, а только с РЗг, который, в свою очередь, сблокирован с РЗТа и РЗТб так, что при наложении заземлений вначале должен включаться РЗг и затем РЗТа и РЗТб. При снятии заземлений вначале должны отключаться РЗТа и РЗТб, а затем РЗг.

Рис. 8. Схема блокировки для блоков генератор - автотрансформатор

При таком выполнении схемы нет необходимости включать контакты заземляющих ножей РЗТа и РЗТб в цепи оперативной блокировки Ра и Рб, что позволяет упростить как схему блокировки, так и кабельные связи.

Необходимым условием для включения заземляющих ножей со стороны высшего напряжения блока (РЗ и 3РЗ2) и генераторного напряжения РЗг должно быть отсутствие напряжения со всех сторон блока (отключены разъединители ЗР и Р, тележки выключателей Ва и Вб и отключено возбуждение генератора). Блокировка, запрещающая включение возбуждения генератора при включенных заземляющих ножах, выполняется введением блок-контактов этих ножей в цепи включения выключателей на вводах от рабочего и резервного возбудителей, так как установка на этих выключателях блокировочной аппаратуры невозможна.

Для генератора с бесщеточной системой возбуждения, в которой отсутствуют выключатели вводов, блок-контакты заземляющих ножей должны включаться в цепь бесщеточного возбудителя.

Полуторная схема распределительного устройства

Схема блокировки (рис. 9) выполнена с учетом наличия у всех разъединителей электродвигательных приводов, а у заземляющих ножей - ручных приводов.

Рис. 9. Схема блокировки элементов полуторной схемы распределительного устройства

Оперирование любым разъединителем разрешается при отсутствии напряжения с одной стороны и отключенных заземляющих ножах с обеих сторон.

Оперирование любым заземляющим ножом (за исключением линейного) разрешается при отсутствии напряжения с обеих сторон, т.е. при отключенных разъединителях.

В схеме отсутствует блокировка заземляющего ножа блока РЗб и линии РЗл.

Двойная секционированная система шин

Для каждого из двух разъединителей, секционирующих одну систему сборных шин, оперирование разрешается при соблюдении любого из двух условий (рис. 10):

Рис. 10. Схема блокировки секционных разъединителей

- при свободных и незаземленных шинах, примыкающих к разъединителю секции (ремонт шин данной секции);

- при отключенном втором секционном разъединителе (ремонт шин другой секции).

Цепь проверки отключения разъединителей всех присоединений данной секции, необходимая для реализации первого условия, образуется в схеме блокировки заземляющих ножей сборных шин (см. рис. 3). Реле 1РБ (2РБ) контролирует отключенные положения всех шинных разъединителей 1(2) секций II СШ.

2.2.3. Питание цепей блокировки

На большинстве действующих подстанций питание цепей блокировки осуществлено от аккумуляторных батарей. Однако в цепях блокировки, проложенным по открытым распределительным устройствам, часто появляется "земля". Для отыскания места повреждения и обеспечения нормальной работы устройств защиты, автоматики и сигнализации присоединений электромагнитную блокировку приходится выводить из работы на длительное время. В связи с этим питание цепей электромагнитной блокировки рекомендуется осуществлять от выпрямленного тока.

Для этой цели применяются блоки питания БПЗ-401 (взамен снятых с производства БПН-101/1), БПН-1001, БПН-1002, типовая панель ЭПР-512-74.

Для питания цепей оперативной блокировки в случае отсутствия разъединителей с двигательными пофазными приводами могут использоваться блоки питания БПН-11/1 с последовательным соединением элементов на стороне выпрямленного напряжения (напряжение выхода 220 В).

Технические данные блока БПЗ-401:

Номинальное напряжение входа - 100, 110, 127, 220 В; номинальное напряжение выхода - 110, 220, 400 +/- 5% В; минимально допустимое сопротивление нагрузки: для номинального выпрямленного напряжения 110 В - 50 Ом, для номинального выпрямленного напряжения 220 В - 200 Ом; длительно допустимое сопротивление нагрузки: для номинального выпрямленного напряжения 110 В - 150 Ом, для номинального выпрямленного напряжения 220 В - 600 Ом. Блоки питания в общепромышленном исполнении допускают длительное включение на напряжение 110% номинального при отсутствии нагрузки.

Потребление блока на уставке выпрямленного напряжения 110 В не превышает 5 В x А в режиме холостого хода; при минимально допустимом сопротивлении нагрузки - 400 В x А; при длительно допустимом сопротивлении нагрузки - 200 В x А.

Для уставки выпрямленного напряжения 100 В в среднее значение выходного напряжения (при подведении номинального напряжения) не более 130 В в режиме XX и не менее 95 В при минимально допустимом сопротивлении нагрузки, а для уставки 220 В - соответственно не более 260 В в режиме XX и не менее 190 В при минимально допустимом сопротивлении нагрузки.

Технические данные блока БПН-1001:

Номинальное напряжение входа - 110, 220 и 380 В; номинальное напряжение выхода - 110, 220 В.

Потребление блока при номинальном напряжении входа составляет:

а) не более 25 В x А на фазу при отсутствии нагрузки;

б) не более 300 В x А на фазу при нагрузке 20 Ом и (80 Ом и );

в) не более 500 В x А на фазу при нагрузке 10 Ом и (40 Ом и ).

Блок питания в общепромышленном исполнении допускает длительное включение на напряжение 110% номинального.

Длительно допустимый ток: на основном выходе блока по условиям работы выпрямителей при - 3,2 А; при - 1,8 А; на дополнительном выходе 3 А на фазу.

Технические данные блока БПН-1002:

Номинальное первичное напряжение - 100, 110, 127, 220, 380, 440 В. Блок может также включаться на напряжение 115, 230 и 400 В. При этом во вторичных обмотках трансформатора блока должны использоваться соответствующие ответвления.

Выпрямленное напряжение блока при питании симметричным трехфазным напряжением - 110, 220 В.

Потребление блока при указанном выше первичном напряжении составляет:

а) не более 25 В x А на фазу при отсутствии нагрузки;

б) не более 1500 В x А на фазу при нагрузке 5 Ом (уставка выпрямленного напряжения 110 В) и 20 Ом (уставка выпрямленного напряжения 220 В);

в) не более 750 В x А на фазу при нагрузке 10 Ом (уставка выпрямленного напряжения 220 В).

Блок питания в длительном режиме работы допускает включение на напряжение 110% номинального.

Схемы питания цепей оперативной блокировки

Для подстанций с масляными выключателями (рис. 11) ввиду небольшого потребления мощности цепи оперативной блокировки получают питание от блока БПЗ-401, подключенного к I или II секции шин собственных нужд через выключатели АП50-2МТ шин собственных нужд, защищающих цепи до блока БПЗ. Переключение с одной стороны секции шин собственных нужд на другую происходит с помощью устройства АВР. Напряжение цепей оперативного тока - 110 В. Для однотрансформаторных подстанций цепи АВР отсутствуют. Для подстанций с воздушными выключателями (рис. 12) осуществляется совместное питание цепей блокировки разъединителей с лампами сигнализации положения выключателей от двух блоков питания БПН-1001 и БПН-1002 (в зависимости от нагрузки). Блоки подключены к I и II секциям шин собственных нужд через выключатели шин собственных нужд для защиты кабелей и через выключатели АП50-3МТ для защиты блоков. Напряжение цепей оперативного тока 220 В.

Рис. 11. Схема питания цепей оперативной блокировки разъединителей для подстанций с масляными выключателями

Рис. 12. Схема питания цепей оперативной блокировки разъединителей для подстанций с воздушными выключателями

Для уменьшения количества блоков питания и возможности взаимного резервирования выхода цепей выпрямленного напряжения обоих блоков объединяются.

На стороне выпрямленного напряжения предусматриваются шинки блокировки ШБ, общие для подстанций. На шинках ШБ осуществлен контроль изоляции и уровня напряжения с помощью вольтметра и переключателя. Шинки ШБ, устройство контроля изоляции, рубильники, защитные устройства и блоки питания размещаются на панели оперативной блокировки, устанавливаемой в помещении щита управления.

От шинок ШБ отходят по две линии (рабочая и резервная) в каждое распределительное устройство: ШБI - в РУ 110 - 220 кВ; ШБII - в ОРУ 35 кВ; ШБIII - в РУ 6 - 10 кВ.

Питание цепей блокировки осуществляется через рубильники, устанавливаемые в ящике управления разъединителями (ЯУР), если они имеют электродвигательный привод, или в ящике зажимов выключателя (отделителя), если разъединители снабжены ручным приводом.

Питание цепей электромагнитной блокировки РУ на ТЭС осуществляется от панели питания ЭПР-512-74. Для возможности оперирования разъединителями при полном обеспечении ТЭС предусматривается резервное питание этих цепей от аккумуляторных батарей.

Как правило, на ТЭС должны устанавливаться две панели, питающие выпрямительное устройство. Одна из них размещена в главном корпусе ТЭС и обеспечивает питание цепей блокировки разделителей и заземляющих ножей, установленных в ГРУ 6 - 10 кВ, в РУ СН 6 кВ, в цепях генераторов, рабочих и резервных источников питания собственных нужд. Другая панель размещается в помещении релейного щита или щита 380 В в ОРУ (ЗРУ) и обеспечивает питание цепей блокировки разъединителей и заземляющих ножей, установленных в распределительных устройствах 35 кВ и выше. Если при этом одно ОРУ значительно удалено от другого, то для них могут предусматриваться отдельные панели питающих выпрямительных устройств. Источником питания выпрямительных устройств в главном корпусе служат шины 380 В одного из общестанционных распределительных пунктов серии П1-9000. В РУ для этой цели используются шины 380 В РП серии ПР-9000 в помещении релейного щита или щита 380 В в РУ. Цепи 380 В от шин РП подводятся к панели питающих выпрямительных устройств одним кабелем. Шинки блокировки ШБ одного распределительного устройства получают питание по отдельному кабелю с панели выпрямительного устройства. Для распределительных устройств со схемами "полуторная", "4/3", "многоугольник", кроме основных шинок ШБ, предусматривается дополнительная шинка, используемая для питания ламп сигнализации положения разъединителей, управляемых с ЦЩУ. Защита цепей оперативной блокировки осуществляется автоматическими выключателями.

2.2.4. Установка (монтаж) аппаратуры

Заводы-изготовители не всегда устанавливают блокировочные замки на приводах разъединителей, особенно на напряжение 6 - 10 кВ. В некоторых случаях заводы предусматривают места для размещения замков на приводах, а установка производится непосредственно при монтаже разъединителей.

Ниже приведены примеры установки замков электромагнитной блокировки на некоторых приводах. На конструкциях, где устанавливаются замки, необходимо выполнить отверстия согласно рис. 13 и таблице.

Рис. 13. Разметка отверстий под замки

Обозначения на рис. 13Размеры замков, мм
ЗБ-1Рижского ремонтно-механического завода
А3436
Б1718
Ф1216,5
М58

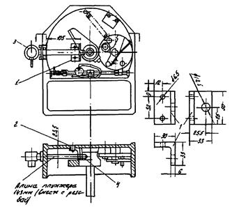
На приводе разъединителя ПРТ-1 замок 1 устанавливается на боковой правой или левой крышке привода и крепится к его подшипнику двумя винтами 2 (рис. 14). Запорный стержень 4 замка должен входить в отверстие в рукоятке привода и запирать привод при положении разъединителя "Включено" или "Отключено". При установке блок-замка следует обращать особое внимание на точность сверления отверстий 3 в рукоятке привода. Установка блок-замков на приводах ПРМ, ПРБ выполняется аналогично. В приводе ПР-ЗТ для фиксации конечных положений предусматривается механический фиксатор, закрепленный на его подшипнике. При установке блок-замка механический фиксатор демонтируется.

1 - замок; 2 - винт М5; l = 75 мм; 3 - отверстие в рукоятке привода диаметром 11,5 мм под плунжер замка; 4 - запорный стержень

Рис. 14. Установка блок-замка электромагнитной блокировки на приводе ПРТ-1

Рукоятки червячных приводов при включении разъединителей делают несколько оборотов, поэтому они не могут быть использованы для фиксации крайних положений разъединителя. В связи с этим устройство блокировки этого привода более сложно, чем рычажного. Для установки замка изготовляется более длинный червячный вал (рис. 15) с ленточной резьбой. На новый вал навинчивается муфта, которая удерживается от вращения двумя направляющими. При вращении вала муфта движется вдоль его оси. В крайних положениях разъединителя в муфте просверливаются отверстия для запорного стержня замка. Блокировочный замок устанавливается на кронштейне таким образом, что стержень входит в одно из отверстий муфты. В промежуточных положениях разъединителя запорный стержень упирается в муфту, которая препятствует повороту ключа и выниманию его из замка.

1 - червяк; 2 - подвижная муфта; 3 - кронштейн; 4 - направляющая; 5 - болт М12; 6 - замок

Рис. 15. Установка электромагнитного замка на приводе ПЧ-50/100

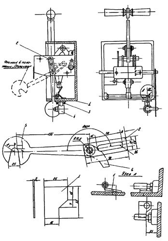
На рис. 16 показан общий вид устройства блокировки дверей сетчатого ограждения. Горизонтальная тяга 1 с помощью подшипников 2 может поворачиваться вокруг своей оси на угол 90° рукояткой 12, соединяющейся с горизонтальной тягой рычагом 9, вертикальной тягой 7 и двойным рычагом 6. Промежуточная вертикальная тяга 7 ввиду большой высоты установки горизонтальной тяги недоступна для непосредственного ручного управления. Блок-замок 13 крепится к скобе 8, приваренной к уголку сетчатого ограждения на одном уровне с рычагом 9. К горизонтальной тяге 1 приварены щеколды 4, по две на каждую створку двери сетчатого ограждения. Одна щеколда служит для запирания двери, другая выполняет роль "следящего устройства" и предназначена для того, чтобы запорный стержень замка не мог застопорить рычаг 9 при открытой двери. В этом случае щеколда упирается в уголок (пятку) открытой двери ограждения и препятствует повороту горизонтальной тяги. В нижнем положении рукоятки все щеколды расположены вертикально и запирают двери ограждения. При этом запорный стержень входит в отверстие в рычаге 9, запирает его и тем самым не дает возможности повернуть рукоятку 12. Для освобождения рычага 9 необходимо с помощью ключа открыть блок-замок. Отверстия в рычаге 9 должны быть закрыты колпачками для того, чтобы нельзя было нажать на запирающий стержень рукой и открыть замок без ключа.

1 - горизонтальная тяга; 2 - подшипник; 3 - штифт; 4 - щеколда; 5 - рычаг; 6 - ось; 7 - вертикальная тяга; 8 - скоба; 9 - рычаг; 10, 11 - оси; 12 - рукоятка; 13 - блок-замок

Рис. 16. Установка устройства блокировки дверей сетчатого ограждения

При допустимости операции с разъединителем замок отпирается ключом, после чего с помощью рукоятки 12 горизонтальная тяга 1 поворачивается так, чтобы щеколды поднялись до горизонтального положения и позволили открыть дверь.

Под замок ЗБ-1 необходимо подкладывать изоляционную прокладку толщиной 1 мм. При установке замка ЭМБЗ рядом монтируется розетка У-94Б, поставляемая заводом вместе с замком. Место установки замка выбирается в каждом конкретном случае в зависимости от конструкции, на которой крепится замок, но оно должно находиться на расстоянии не более 300 мм от замка (ограничивается длиной соединительного шнура ключа 350 +/- 50 мм).

Провода, подсоединяемые к замку ЗБ-1 или розетке У-94Б, должны иметь сечение не более 2,5 мм2.

Подвижные части замка и ключа должны быть смазаны консистентной незамерзающей смазкой.

Блоки питания БПЗ-401, БПН-1001 и БПН-1002 следует устанавливать на вертикальной плоскости, чтобы обеспечить свободное прохождение охлаждающего воздуха. Не рекомендуется устанавливать блоки вблизи отопительной системы или других источников тепла.

2.2.5. Настройка и испытание аппаратуры

В процессе установки аппаратура должна быть подвергнута испытаниям и настроена в следующем объеме.

Замки ЗБ-1

Внешний осмотр. Проверяется целостность корпуса замка, выполненного из изоляционного материала. Детали из прессованных материалов не должны иметь недопрессовок и вздутий. Токоведущие части должны быть защищены от случайных прикосновений к ним обслуживающего персонала. Металлические поверхности деталей замка должны иметь антикоррозионное покрытие.

Проверяется невозможность открытия замка вручную (без ключа) и возможность его открытия после снятия пломбы.

Запирающий стержень замка в крайнем "закрытом" положении должен быть утоплен в корпус замка на 1 - 3 мм.

Проверка хода запирающего стержня и усилия для его втягивания. При проверке, которая производится с помощью приспособления с сигнальной лампочкой, обеспечивается точность измерения: хода +/- 0,5 мм, усилия +/- 0,5 Н. Ход запирающего стержня замка должен быть 13 +/- 1 мм.

Усилие, необходимое для втягивания запирающего стержня в крайнее "открытое" положение, должно быть не более 30 Н.

Проверка электрической прочности изоляции. Испытательным напряжением 1000 В переменного тока производится проверка (в течение 1 мин) изоляции:

- между независимыми контактами (зажимами) замка;

- между токоведущими частями и крышкой замка, обернутой станиолевой обкладкой;

- между токоведущими частями и винтами, крепящими крышку замка.

Испытания обязательны при включении после монтажа и при первой плановой проверке. При последующей эксплуатации испытание повышенным напряжением частоты 50 Гц может быть заменено измерением сопротивления изоляции мегомметром на напряжение 2500 В в течение 1 мин. Если при этом результат получается неудовлетворительным, то испытание повышенным напряжением 1000 В является обязательным.

Проверка сопротивления изоляции замка производится мегомметром на 1000 В между токоведущими частями и винтами, крепящими крышку замка. При температуре 20 +/- 5 °C оно не должно быть ниже 20 МОм.

Ключи КЭЗ-1

Внешний осмотр. Проверяется целостность корпуса замка и наличие антикоррозионных покрытий на его металлических деталях.

Проверка хода сердечника и усилия тяги электромагнитов. Условия проверки аналогичны указанным выше. Рабочий ход сердечника ключа должен быть не менее 12 мм. Удерживающее усилие электромагнита ключа при 80% номинального напряжения должно быть не менее 50 Н.

Проверка электрической прочности изоляции. Испытательным напряжением 1000 В переменного тока производится проверка (в течение 1 мин) изоляции:

- между корпусом и выводами;

- между токоведущими штырями и сердечником.

Проверка сопротивления изоляции ключа производится мегомметром на 1000 В между выводами и винтами, крепящими крышку ключа. Сопротивление изоляции при температуре 20 +/- 5 °C не должно быть ниже 20 МОм.

Замок ЭМБЗ

Внешний осмотр. Проверяется целостность и отсутствие погнутостей коробчатого корпуса, направляющей стойки и фланца замка.

Подвижная часть замка должна свободно двигаться в корпусе и стопориться в крайних положениях фиксаторами. Необходимо убедиться, что ключ можно вставить в замок или вынуть из него только при выдвинутом положении запорного стержня, т.е. при запертом приводе блокируемого элемента.

Если замок предусмотрен для наружной установки, следует убедиться, что его запорный стержень изготовлен из коррозионно-стойкого материала, и проверить плотность прилегания защитного колпачка.

Проверка хода запорного стержня. Рабочий ход стержня должен составлять 14 +/- 1 мм.

Ключ ЭМК

Внешний осмотр. Проверяется целостность корпуса замка, соединительного шнура и штепсельной вилки. По надписи на ключе необходимо убедиться, что он предусмотрен на соответствующие род тока и номинальное напряжение. Для заземления электромагнитного ключа третий провод шнура должен быть присоединен к корпусу ключа и к защитным контактам штепсельной вилки. Проверка производится с помощью омметра или мегомметра при подключении одного провода к корпусу ключа, а другого - к заземляющему контакту штепсельной вилки.

Проверка действия ключа. Электромагнит ключа должен срабатывать при напряжении 80% номинального. При этом вставка ключа должна выдвинуться полностью, чтобы войти в полное зацепление с поворотным диском замка. При снятии напряжения с ключа вставка должна четко отпадать. Таким образом проверяется достаточность усилия, создаваемого пружиной электромагнита для возврата ключа в исходное положение при отсутствии тока в обмотке.

Проверка электрической прочности изоляции. Испытательным напряжением 1000 В переменного тока производится проверка изоляции (в течение 1 мин) между токоведущими частями и корпусом ключа.

Проверка сопротивления изоляции ключа производится мегомметром на 1000 В между токоведущими частями и корпусом ключа. При температуре 20 +/- 5 °C оно не должно быть ниже 20 МОм.

Блок-контакты КСА

Внешний осмотр. Проверяется целостность всех элементов, отсутствие трещин в цоколях, выполненных из пластмассы, легкость хода подвижных частей - поворотом подвижных контактов с помощью рычага, отсутствие пыли и грязи, а также предохранительной смазки.

Регулировка контактов производится только после их установки на оборудовании. Эта операция должна производиться особенно тщательно, так как кинематика привода КСА выполнена со ступенчатым регулированием положения, в результате чего имеются довольно большие люфты и возможна потеря контакта в одном из положений. Подвижный контакт должен соприкасаться с неподвижным в средней его части. Регулировка производится с помощью выбора положения тяги блок-контакта или изменением длины звена, подключаемого к тяге. Разъединители с электродвигательным приводом имеют две группы блок-контактов КВ и КО типа КСА-10 на главном валу. Их регулировка должна быть выполнена так, чтобы блок-контакты КВ срабатывали в конце операции включения и возвращались в исходное положение в начале операции отключения, а блок-контакты КО срабатывали в конце операции отключения и возвращались в исходное положение в начале операции включения. Согласно ГОСТ 690-69 блок-контакты приводов, предназначенные для сигнализации положения разъединителя, должны настраиваться таким образом, чтобы сигнал об отключении разъединителя появлялся после прохождения подвижными контактами 80% расстояния между разомкнутыми контактами, а о включении - не ранее момента соприкосновения подвижных и неподвижных контактов.

Проверка электрической прочности изоляции. Испытательным напряжением 1000 В переменного тока производится проверка изоляции (в течение 1 мин) между каждой токоведущей цепью и крепящим подшипником.

Проверка сопротивления изоляции производится мегомметром на 1000 В между каждой токоведущей цепью и крепящим подшипником. При температуре 20 +/- 5 °C оно не должно быть ниже 20 МОм.

Все данные по настройке и испытанию аппаратуры блокировки заносятся в паспорт-протокол (Приложение).

Аппаратура питания

Внешний осмотр и проверка монтажа. При внешнем осмотре необходимо тщательно проверить крепление трансформаторов, переключателей, выпрямителей и конденсаторов. Проверяется затяжка всех винтовых соединений. Следует тщательно проверить также качество паек. Все места паек на выпрямительных мостах и конденсаторах должны проверяться осторожным покачиванием припаянных проводников. При проверке исправности выпрямителей определяют сопротивление диодов в обоих направлениях (наиболее удобный предел измерения 100 Ом). Целью проверки является обнаружение поврежденных диодов, поэтому важно лишь убедиться в значительной разнице между значениями сопротивлений диодов в прямом и обратном направлениях. Каждый из полупроводниковых диодов необходимо проверить отдельно. Поскольку при использовании селеновых выпрямителей такая проверка невозможна, приходится проверять плечо выпрямительного моста целиком. Неисправные диоды заменяются исправными того же типа. Пайку полупроводниковых диодов следует производить так, чтобы они не нагревались. Для отвода тепла выводы диодов необходимо поддерживать массивными плоскогубцами. Время пайки должно быть минимальным. Токоведущие части не должны касаться корпуса блока или панели. После пайки проверяют сопротивление изоляции входных зажимов относительно корпуса.

Снятие основных характеристик и выявление дефектов блоков (рис. 17). Регулировка напряжения производится автотрансформатором ЛАТР-1 или трехфазным трансформатором РНТ-220-6. Для измерения тока и напряжения на входе блока могут быть использованы амперметры и вольтметры переменного тока любого типа, отградуированные в действующих значениях. Выходные токи и напряжения следует измерять магнитоэлектрическими приборами, реагирующими на среднее значение выпрямленного напряжения и тока. Перед включением питания переключатели и накладки в блоках должны быть установлены в положения, соответствующие выбранным установкам. Далее при холостом ходе блока плавно увеличивают напряжение на его входе до 10 - 15% номинального. При этом напряжении определяют ток холостого хода на входе блока и выходное напряжение. Ток холостого хода должен составлять не более 10 - 25%, а выходное напряжение - 10 - 15% значений при номинальном напряжении. Ток холостого хода при номинальном напряжении определяется по значению потребляемой мощности при холостом ходе, приведенному в паспорте для каждого блока.

а - с автотрансформатором ЛАТР-1; б - с трехфазным трансформатором РНТ - 220-6

Рис. 17. Схемы включения регулировочных автотрансформаторов для проверки трехфазных блоков напряжения

Отклонения от этих соотношений указывают на вероятность неисправности блока, и увеличение напряжения следует прекратить до выяснения причин отклонений.

Значение тока холостого хода может быть завышенным вследствие:

- ошибки монтажа (перемена полярности секционированных обмоток);

- пробоя диодов в мосте;

- наличия короткозамкнутых витков в обмотках трансформатора.

Для выяснения причин необходимо отделить выпрямительный мост от промежуточного трансформатора. На всех блоках это легко выполнить снятием накладок в цепи регулировки числа витков вторичной обмотки. Если повреждены выпрямители, то после отключения этих накладок ток холостого хода резко уменьшится. Если выпрямители исправны, то причиной возрастания тока может являться повреждение в обмотках трансформатора. Для проверки секции первичных обмоток включают последовательно. Напряжение на каждой из них должно составлять 50% входного. Если при таком включении секции ток холостого хода остается завышенным, то причиной может быть либо встречное включение секций, либо междувитковое замыкание в одной из обмоток.

Завышенное значение выходного напряжения может быть вызвано теми же причинами, что и увеличение тока холостого хода, а также обрывом в одном из диодов или в месте пайки.

Наличие небольшого числа короткозамкнутых витков в обмотках трансформатора не оказывает существенного влияния на выходное напряжение, а обрыв в цепи одного из диодов снижает его в два раза.

Если блок исправен, то перед снятием его характеристики следует определить значение тока КЗ, что необходимо для выбора уставки автоматов. Значение тока определяют при напряжении на входе блока около 10% номинального поочередным замыканием накоротко выхода и одного плеча выпрямительного моста. При номинальном напряжении ток КЗ будет в 10 раз большим. Действительный ток КЗ при номинальном напряжении будет несколько большим расчетного вследствие того, что сопротивление выпрямителей при увеличении тока снижается. Вместе с тем уменьшение тока КЗ может быть вызвано падением напряжения в трансформаторах.

Для проверки исправности блоков снимается характеристика зависимости выпрямленного напряжения от входного напряжения при работе блока на холостом ходу и при полной нагрузке только на выбранных ответвлениях обмоток. Длительное протекание тока полной нагрузки недопустимо, и все измерения должны производиться как можно быстрее. Нагрузкой блока при этих измерениях служат нагрузочные сопротивления.

2.3. Механическая замковая (электромеханическая) блокировка

Механическая замковая (электромеханическая) блокировка работает по следующему принципу: несколько взаимно блокируемых приводов или дверей сетчатых ограждений запирается замками, имеющими один общий ключ. Необходимая последовательность действия при операциях с разъединителями достигается обменом ключей в замках. Это возможно благодаря конструктивному соответствию замка и ключа, т.е. каждое гнездо замка имеет свой секрет, соответствующий секрету ключа. Ключи вынимаются из замков только при полностью запертом замке. При этом положение блокируемого элемента фиксируется, а освобождение ключа свидетельствует о выполнении данной операции. Затем этим ключом отпирается следующий замок в соответствии со схемой блокировки.

В распределительных устройствах с двойной системой шин вводится дополнительный элемент - обменная рейка или обойма, устанавливаемая в распределительном устройстве. Обменная рейка служит для хранения ключей от блокировочных замков шинных разъединителей. Ключи могут быть получены из замков обменной рейки только после включения шиносоединительного выключателя и его разъединителей. Механическая замковая и электромеханическая блокировки основаны на одном принципе. Механическая замковая блокировка применяется для схем с местным управлением выключателя, блокировочный замок которого механически связан с приводом. Электромеханическая блокировка применяется для схем с дистанционным управлением выключателя. Блокировочный замок выключателя имеет электрическую связь с цепями управления выключателей.

Достоинством указанных систем блокировки является возможность ее осуществления без дополнительных затрат на прокладку электрических цепей блокировки и на установку блок-контактов (КСА) на всех блокируемых элементах. Однако эти системы блокировки могут быть рекомендованы только для распределительных устройств с относительно простой схемой первичных цепей. При сложных схемах первичных цепей или большом количестве присоединений операции с разъединителями усложняются и замедляются. В настоящее время в проектах указанные системы блокировки применяются только для комплектных распределительных устройств на напряжение 6 - 10 кВ. Однако в действующих распределительных устройствах на напряжение 6 - 220 кВ установлено большое количество работающих механических замковых и электромеханических блокировок.

2.3.1. Аппаратура блокировки

Для исполнения механической замковой и электромеханической блокировок используется одна и та же аппаратура, выпускаемая Рижским ремонтно-механическим заводом. Аппаратура блокировки состоит из замков, ключей и обменных реек.

Замки выпускаются трех основных видов в зависимости от назначения.

Механический двуключевой замок типа 32 устанавливается:

- на приводах разъединителей в схемах с двойной системой шин;

- в обменных рейках для обмена ключей при переводе присоединений с одной системы шин на другую;

- для блокировки одного из ключей в замке.

Механический одноключевой замок типа 31 устанавливается:

- на приводах разъединителей в схемах с одинарной системой шин;

- на приводах выключателей при отсутствии дистанционного управления выключателей.

Электромеханический одноключевой замок типа ЗЭ устанавливается на щите управления для связи со схемой дистанционного управления выключателя.

2.3.2. Схемы блокировки

Типовые схемы полной механической замковой (электромеханической) блокировки отсутствуют. При оснащении такими блокировками распределительных устройств используют схемы, разработанные Рижским ремонтно-механическим заводом.

В приводимых ниже примерах схем и вариантах присоединений рассматриваются лишь наиболее часто применяющиеся схемы первичных цепей распределительных устройств электростанций и подстанций, на которых установлена механическая замковая или электромеханическая блокировка разъединителей.

Описанная аппаратура может быть применена и при других схемах распределительных устройств.

В приведенных ниже схемах приняты условные обозначения, указанные на рис. 18. Рассматриваемая блокировка является частичной, поскольку предусмотрена блокировка только главных ножей разъединителей. Полная блокировка главных и заземляющих ножей в разных энергосистемах выполняется по-разному. Один из вариантов приведен ниже.

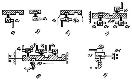
а - замок 31 запирает аппарат в двух положениях; б - замок 31 запирает аппарат в одном положении; в - замок 32 запирает аппарат в двух положениях. Экран препятствует повороту ключа ; г - механическая рейка РМ заперта замками 32, с которых сняты ключи ; д - электромеханическая рейка РЭ заперта ремонтным замком ЗР; е - электромеханический одноключевой замок ЗЭ с блок-контактами БК

Рис. 18. Условные обозначения, принятые в схемах

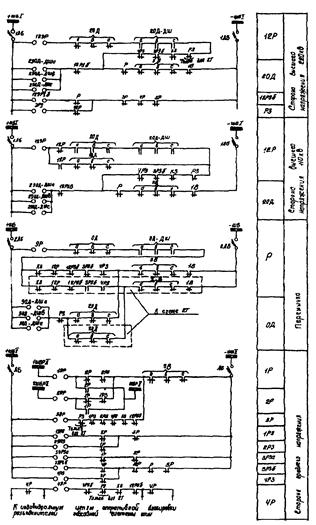
Одна система шин (рис. 19)

Рис. 19. Одна система шин

Шинный и линейный разъединители каждой линии блокируются со своим выключателем. Операции с разъединителем могут быть произведены только при отключенном линейном выключателе. Выключатель отключается и привод его запирается замком 31 или ЗЭ. В положении "Отключено" ключ освобождается. Освобожденным ключом отпирается привод шинного разъединителя и разъединитель отключается (присоединение I). При наличии линейного разъединителя (присоединение II) после отключения выключателя освобожденным ключом отключаются в любой последовательности линейный и шинный разъединители. Для соблюдения строгой последовательности операций на приводах разъединителей устанавливаются двухключевые замки с экраном (присоединение III). В этом случае операция отключения присоединения производится в следующем порядке: отключается выключатель, привод запирается замком 31 или ЗЭ в положении "Отключено". Ключ а освобождается. Освобожденный ключ переносится в свободную крышку замка 32 линейного разъединителя и одновременно (поворотом на 180°) с ключом б, закрытым экраном (экран не препятствует повороту ключа), замок отпирает привод. Разъединитель отключается и обратным поворотом ключей запирается в положении "Отключено". При этом ключ а закрывается экраном, а ключ б освобождается и вынимается из замка. Затем ключ б переносится в свободную крышку замка 32 шинного разъединителя и поворачивается одновременно с ключом у, закрытым экраном, при этом привод отпирается. Разъединитель отключается и его привод запирается. Ключ б закрывается экраном, а ключ у освобождается и может быть извлечен из замка. Он и используется для опробования выключателя и линейного разъединителя при ревизии. Для этого в крышке замка 31 и ЗЭ выключателя и в свободной крышке замка 32 отключенного линейного разъединителя имеется дополнительный секрет у, что позволяет ключом у отпереть привод для его опробования.

Основное преимущество варианта присоединения III заключается в том, что ключ может быть вынут из замка только при полностью отключенной схеме присоединения и при запертых приводах, что значительно повышает безопасность работ при ревизиях оборудования.

При наличии двух линейных разъединителей на одном выключателе (присоединение IV) на всех приводах разъединителей устанавливаются замки 31 с одним общим ключом (секретом) на все замки одного присоединения. После отключения выключателя присоединения освобожденным ключом в любой последовательности отпираются приводы линейных разъединителей. Разъединители отключаются и запираются в положении "Отключено", при этом ключ снова освобождается. Этим же ключом отпирается привод шинного разъединителя. Разъединитель отключается и запирается. Включение всех рассмотренных присоединений производится в обратном порядке.

Аппаратура блокировки каждого присоединения имеет свой секрет.

Одна система шин, секционированная разъединителем (рис. 20). Операции с секционным разъединителем разрешаются только в том случае, если отключены все выключатели присоединений одной или обеих секций. Блокировка между секционным разъединителем и выключателями присоединений осуществляется через обменные рейки РМ-1 и РМ-2.

Рис. 20. Одна система шин, секционированная разъединителем

Привод секционного разъединителя РС запирается в двух крайних положениях "Включено" и "Отключено" замком 31 с двумя секретами б и у в одной крышке. Замок действует как от ключа с секретом б, так и от ключа с секретом у. Ключ с секретом б предназначен для замка рейки РМ-1, а ключ у - для замка рейки РМ-2. Ключи нормально заперты в своих обменных рейках в положении рейки "Открыто". Для освобождения ключа б из рейки РМ-1 должны быть отключены все выключатели первой секции. При наличии в рейке РМ ключей , и т.д. от всех отключенных выключателей данной секции рейка отпирается и переводится в положение "Закрыто". В этом положении рейка РМ-1 запирается замком 31. Запирается рейка ключами , , ключ б освобождается, переносится в замок 31 привода секционного разъединителя, и привод отпирается. После этого производятся операции с секционным разъединителем. При включении секционного разъединителя операции производятся в обратном порядке.

При отключении секционного разъединителя для ревизии оборудования, например, первой секции, разъединитель РС запирается в положении "Отключено". Ключ б переносится в замок 31 на рейке РМ-1, рейка отпирается и переводится в положение "Открыто". В этом положении рейка запирается ключами , от присоединений, оборудование которых подлежит ревизии. Операции с разъединителями и выключателем линейных присоединений разрешаются блокировкой в порядке, указанном выше. Все операции как для первой, так и второй секции производятся одинаково.

Система шин типа "Н" (рис. 21).

Рис. 21. Система шин типа "Н"

Блокировка выключателей с разъединителями осуществляется так же, как и по схеме рис. 19, за исключением разъединителей и . Операции с разъединителями и разрешаются только при отключенных выключателях: для разъединителя - выключателях 1В и 3В; для разъединителя - выключателях 2В и 3В. Такое условие обеспечивается установкой на приводах этих разъединителей двухключевых замков 32 без экранов. Ключи от этих замков находятся в замках включенных выключателей 1В, 2В, 3В. При отключении выключателей 1В и 3В освобождаются два ключа для замка разъединителя , которыми он может отпираться. При отключении выключателей 2В и 3В освобождаются ключи для разъединителя . Опробование оборудования при ревизиях и ремонтах производится при соблюдении условий, изложенных выше (см. рис. 20). При разборке схем, в которых предусмотрено дистанционное управление выключателями, взамен ключей 31 на приводах выключателей на щите управления устанавливаются электромеханические замки ЗЭ. Соединение электрических цепей сигнализации и управления с электромеханическим замком может производиться согласно рис. 22.

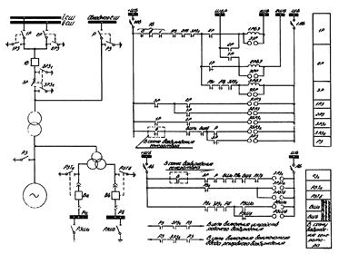
Две рабочие системы шин (см. рис. 22)

Рис. 22. Две рабочие системы шин

Операции с шинным разъединителем любого присоединения разрешаются блокировкой в двух случаях:

- если отключен выключатель данного присоединения;

- если включен шиносоединительный выключатель и оба его разъединителя и один из шинных разъединителей данного присоединения.

Взаимодействие электромеханического замка ЗЭ с цепями сигнализации и управления следующее: обмотка электромагнита замка ЗЭ подключается параллельно цепи лампы, сигнализирующей об отключении выключателя. В цепь обмотки электромагнита вводится кнопка с самовозвратом. При подаче напряжения на обмотки электромагнита нажатием на кнопку при отключенном выключателе ключ освобождается. Поворотом ключа на 180° стержень замка ЗЭ выводится из замка и нажимает на блок-контакты БК. При этом одна пара контактов размыкается и разрывает цепь дистанционного включения, другая пара контактов замыкается и подает "плюс" на разомкнутые блок-контакты выключателя в цепи отключающей катушки. Эго обеспечивает мгновенное отключение выключателя при его ошибочном включении помимо ключа управления (например от контактора).

Последовательность операций при отключении присоединения II с линейным разъединителем

Дистанционно отключается выключатель и после нажатия на кнопку замка ЗЭ освобождается ключ (при установке механического замка 31 непосредственно на приводе выключателя ключ освобождается)

Освобожденный ключ переносится в замок 32 линейного разъединителя РЛ. Одновременно поворачивается ключ (закрытый экраном) и разъединитель отпирается. После отключения разъединителя обратным поворотом ключей привод запирается в положении "Отключено". После всех операций ключ закрывается экраном, ключ освобождается и свободно вынимается из замка.

Освобожденный ключ переносится в замок 32 включенного шинного разъединителя , одновременно поворачивается ключ и отпирается привод. Разъединитель отключается. Обратным поворотом ключей разъединитель запирается в положении "Отключено". Ключ закрывается экраном, а ключ освобождается и используется для опробования выключателя и разъединителей при ремонтах и ревизиях. Для этой цели замок 32 линейного разъединителя, а также замок ЗЭ на щите управления (или 31 на приводе выключателя) имеют дополнительные секретные прорези.

Последовательность операций при отключении присоединения I без линейного разъединителя

После отключения выключателя освобожденный из замка ЗЭ ключ вставляется в свободную крышку замка 32 на приводе разъединителя и поворачивается одновременно с ключом . Привод отпирается, и разъединитель отключается. Обратным поворотом ключей разъединитель запирается. При этом ключ закрывается экраном, а ключ освобождается. Свободный ключ после отключения присоединения должен храниться на щите управления в замке ЗЭ своей линии, для чего в крышке замка ЗЭ имеется дополнительный секрет .

Включение присоединения производится в обратном порядке. Ключ подходит к свободным крышкам замков 32 разъединителей и , чем обеспечивается возможность включения присоединения на любую систему шин.

Для опробования при ревизиях и ремонтах выключателя пользуются этим же ключом .

Последовательность операций при отключении присоединения III

При использовании варианта III присоединения с двумя и более линейными разъединителями при одном выключателе на линии должна быть обеспечена возможность при включении линий включать как оба, так и один из линейных разъединителей при отключенном и запертом другом разъединителе.

После отключения выключателя ключом , освобожденным из замка ЗЭ, в любой последовательности отпираются замки 31 на приводах линейных разъединителей. Разъединители отключаются и запираются в положении "Отключено". Освобожденный ключ переносится в свободную крышку замка 32 на приводе шинного разъединителя и одновременно с поворотом ключа отпирает привод. Разъединитель отключается. Обратным поворотом привод запирается в положении "Отключено". Ключ при этом закрывается экраном, а ключ освобождается.

Включение присоединения производится в обратном порядке. При необходимости может быть включен один или оба линейных разъединителя, так как ключ при этом варианте блокировки свободно освобождается при крайних запертых положениях приводов линейных разъединителей.

Для опробования выключателя при ревизиях освобожденный ключ переносится в замок выключателя ЗЭ (или 31), и выключатель может быть включен. При расположении в одном коридоре приводов линейных и шинных разъединителей и схеме блокировки, выполненной по рассматриваемому варианту, во избежание ошибочных операций дополнительный секрет в крышках замков 31 линейных разъединителей не предусматривается. При испытаниях линейных разъединителей с таким расположением приводов замки деблокируются с записью в журнале.

Последовательность операций при переводе присоединений с одной системы шин на другую

Для перевода присоединений с одной системы шин на другую на щите устанавливается обменная рейка. Обмотка электромагнита рейки подключается через кнопку и замыкающие блок-контакты выключателя. Блок-контакты обменной рейки подключены в рассечку оперативной цепи отключающего электромагнита ШСВ.

Собирается схема шиносоединительного выключателя.

Ключами и отпирается и включается разъединитель , а затем в этом положении запирается. При этом ключ закрывается экраном, а освобождается. Свободный ключ должен храниться в ремонтном замке ЗР обменной рейки.

Освобожденный ключ переносится в свободное гнездо замка 32 шинного разъединителя . Разъединитель включается, затем запирается. Ключ закрывается экраном, а освобождается.

Освобожденный ключ переносится на щит управления. Замок ЗЭ отпирается, восстанавливаются оперативные цепи и шиносоединительный выключатель включается. Нажатием на кнопку в цепи обмотки электромагнита рейки подается питание, и каретка рейки перемещается. Сигнальная лампа гаснет, так как цепь на отключение размыкается блок-контактами рейки. Переводные ключи вынимаются из замков и для удобства закладываются в переносную кассету. Каретка рейки запирается замками при отсутствии в них ключей.

Переводными ключами , , совместно с ключами , , (при закрытых экранах) отпираются и включаются в любой последовательности шинные разъединители резервной системы шин. Затем разъединители запираются в положении "Включено". В результате ключи , , закрываются экранами, а , , освобождаются.

Освобожденными ключами , , также в любой последовательности отпираются и отключаются шинные разъединители рабочей системы шин. Разъединители запираются в положении "Отключено". В результате ключи , , оказываются закрытыми экранами, а , , , однотипные с вынутыми ранее из замков рейки, освобождаются.

Все освобожденные ключи переносятся обратно в обменную рейку и вставляются в свободные крышки замков с одноименными секретами. Одновременным поворотом обоих ключей каждый замок отпирается, освобождая одно из отверстий в подвижной части рейки. Пока все замки 32 рейки не будут открыты, переместить каретку рейки невозможно, так как каждый замок в отдельности запирает ее. Поэтому не может быть восстановлена цепь на отключающий электромагнит и ШСВ не может быть отключен. Таким образом, до полного окончания операций по переводу с одной системы шин на другую ШСВ не отключается. При всех открытых замках каретка рейки перемещается, оперативная цепь СО восстанавливается, загорается сигнальная лампа и выключатель может быть отключен.

При отключенных разъединителях 1 и 2 системы шин шиносоединительного выключателя последний при ревизии и ремонте может быть опробован следующим образом. Ключ освобождается из замка разъединителями и переносится в свободное гнездо ремонтного замка ЗР обменной рейки, в котором находится ключ . При одновременном повороте двух ключей замок запирается. Ключ остается в замке, а освобождается. При этом каретка рейки запирается в положении "Закрыто", что препятствует высвобождению переводных ключей присоединений. Освобожденный из ремонтного замка ЗР ключ переносится в замок ЗЭ ШСВ, после чего выключатель может включаться для опробования.

При необходимости опробования отключенного шинного разъединителя ключ переносится и вставляется в свободную крышку замка 32, в котором для этой цели предусмотрен секрет.

Схема однотрансформаторной подстанции с отделителем и короткозамыкателем на стороне высшего напряжения (рис. 23).

Рис. 23. Схема однотрансформаторной подстанции с отделителем и короткозамыкателем на стороне высшего напряжения

Установка отделителей и короткозамыкателей на стороне высшего напряжения выдвигает дополнительные требования к порядку производства оперативных переключений. Существующие схемы механических ключевых блокировок для подстанций с выключателями и разъединителями на стороне высшего напряжения в указанных случаях не могут быть применены.

Наибольшая трудность заключается в необходимости выполнения блокировки отделителя. Включение и отключение отделителя производится с помощью разных деталей приводов ШПО: включение - с помощью рукоятки, насаживаемой на вал, а отключение - с помощью штока ручного отключения. Привод ШПО не приспособлен для установки на нем двух замков, поэтому такая блокировка очень сложна и трудно осуществима в условиях эксплуатации (типовая схема разработана институтом "Энергосетьпроект"). В ряде энергосистем разработаны собственные схемы блокировок для подстанций с отделителями и короткозамыкателями на стороне высшего напряжения. Одна из схем, разработанных в Белглавэнерго, рассмотрена ниже.

При выполнении блокировки принят ряд упрощений. Чтобы препятствовать автоматическим переключениям во время бестоковой паузы при АПВ, блокировочные замки устанавливаются у отделителей только на дверях шкафа привода. Опыт эксплуатации подтверждает целесообразность такого упрощения. Отключение ненагруженных трансформаторов отделителями является этапом разборки схемы трансформаторов, поэтому оно должно производиться не дистанционно, а вручную, как и включение.

Следовательно, целесообразна установка замка на дверях шкафа привода отделителя для препятствия доступа оператора одновременно к элементам отключения и включения привода отделителя. Другим упрощением является отсутствие блокировки короткозамыкателя. Короткозамыкатель, сблокированный в аварийном режиме с отделителем, в нормальном режиме не участвует в производстве переключений и не может служить заземляющим аппаратом при выводе в ремонт трансформатора. Поэтому его не следует блокировать, чтобы не усложнять схему блокировки (Письмо Главтехуправления от 30/VII 1964 г. N 30/6-10). Если блокировка все же требуется, то может быть выполнена механическая беззамковая блокировка короткозамыкателя с отделителем. Еще одним упрощением является установка на двери шкафа привода ШПО и на приводе разъединителя, включенного последовательно с отделителем, блок-замков с одинаковыми секретами. Как показала практика эксплуатации таких блокировок, оперативный персонал не допускает при этом ошибок, но иногда сознательно отключает сначала разъединитель, а затем отделитель. Опыт эксплуатации отделителей 110 кВ подтверждает ненадежность их отключения, особенно в зимнее время, когда при этом может наблюдаться лишь небольшой сдвиг полуножей отделителя. Это объясняется несовершенством конструкции сочленения отделителя и особенно подшипника вала при выходе из шкафа привода. В условиях атмосферных воздействий интенсивно ржавеют поверхности трения, замерзает вода в подшипнике, поэтому проворачивание вала крайне затруднено. В Белглавэнерго произошло несколько отказов в отключении отделителей при плановых переключениях. В этих случаях отключение трансформаторов производилось немедленным отключением разъединителей. Поэтому установка на разъединителе, включенном последовательно с отделителем, блок-замка с таким же секретом, как и на отделителе, вполне оправдана.

На рис. 23 приведены также заземляющие ножи и их блокировка. В соответствии с указанием Главтехуправления заземляющие ножи, предназначенные для заземления выводов трехобмоточного трансформатора, должны иметь блокировку со всеми разъединителями на стороне ВВ, СН, НН (трансформаторными или шинными), которые могут подать напряжение на заземленный участок.

Блокировка должна выполняться так, чтобы включение заземляющих ножей могло производиться только после того, как заземленный участок будет отключен со всех сторон, откуда может быть подано напряжение.

Порядок операций при разборке схемы

Отключается выключатель и его привод запирается в отключенном положении. Освободившийся ключ используется для отпирания замка на заземляющем разъединителе шин низкого напряжения, а ключ используется в дальнейшем для отпирания замка дверей привода отделителя. Отключается выключатель и запирается в отключенном положении ключом . Ключ освобождается и переносится на привод шинного разъединителя ШР. Ключами и привод отпирается, и разъединитель ШР отключается. После запирания привода освободившийся ключ используется для отключения разъединителя ТР, а ключ может быть использован для опробования выключателя . После отключения разъединителя ТР освободившийся ключ переносится на замок двери привода отделителя, где совместно с ключом отпирает дверь, что позволяет оператору производить операции с отделителем. Последний может быть отключен. Повторным поворотом ключей и при открытой двери замок запирается, а ключи освобождаются и переносятся на замок привода разъединителя высшего напряжения. Привод его отпирается, разъединитель отключается и запирается в отключенном положении. Ключи и освобождаются и используются для опробования выключателя и разъединителя ТР.

При отключении разъединителя Р привод его при необходимости может быть заперт замком с ключами и , которые затем отпирают замки приводов заземляющих разъединителей и трансформатора. В этом положении их можно включить, т.е. заземлить трансформатор со стороны среднего и низшего напряжений. При этом ключи и не могут быть освобождены до отключения заземляющих разъединителей и .

Порядок операций при сборке схемы

Отключаются заземляющие разъединители и , приводы запираются. Освобожденные при этом ключи и используются в дальнейшем для включения разъединителя Р. Затем включается отделитель ОД и запирается дверь привода ШПО. Ключи и освобождаются и используются совместно с ключами и для отпирания привода разъединителя Р, с помощью которого трансформатор включается на холостой ход. После запирания привода разъединителя во включенном положении ключ совместно с ключом используются для включения выключателя , а ключ - для сборки присоединения среднего напряжения трансформатора. Сначала отпирается привод разъединителя ТР, разъединитель включается и запирается во включенном положении. Ключ освобождается и используется для включения шинного разъединителя ШР. При этом ключ закрывается экраном, а ключ освобождается и используется для отпирания привода выключателя . Выключатель включается, а ключ остается в замке его привода.

Схема однотрансформаторной подстанции с разъединителем и предохранителем на стороне высшего напряжения (рис. 24).

Рис. 24. Схема однотрансформаторной подстанции с разъединителем и предохранителем на стороне высшего напряжения

Для питания городских и сельских потребителей используются однотрансформаторные подстанции, со стороны ВН (6 - 10 кВ) подключенные через разъединитель или разъединитель и предохранители, а со стороны НН (0,4 - 0,23 кВ) - через автоматический выключатель или рубильник. Отечественная промышленность выпускает комплектные трансформаторные подстанции (КТП): для наружной установки КТП-30-160; КТПН-58-(180-560) и ТКТПМ-180-320; для внутренней установки КНТП-180 (320; 560; 750; 1000), КТП-180 (320; 560), КТПФ-320; КТПФ-560; КТП-400 и КТП-630, которые комплектуются из шкафов ВН и НН.

Блокировка выполнена таким образом, что операцию по отключению трансформатора можно начать только с отключения автоматического выключателя АВ 0,4 кВ. Замок 31 установлен на дверях шкафа АВ. Если вместо выключателя установлен рубильник, замок должен закрывать его привод. После отключения выключателя ключ освобождается и переносится в замок 32, установленный на приводе разъединителя Р со стороны ВН. Одновременным поворотом ключей и отпирается привод, и разъединитель Р отключается. При этом ключ закрывается экраном, а освобождается и переносится в замок 31, установленный на дверях шкафа предохранителей. Предохранители могут быть сняты.

Включение трансформатора под нагрузку производится в обратном порядке.

2.3.3. Установка (монтаж) аппаратуры

При установке аппаратуры следует руководствоваться следующими принципами:

1. При установке блок-замков следует строго придерживаться принятой схемы расстановки замков на электрооборудовании и правильного взаимного расположения крышек замков с соответствующим секретом по отношению к экранам. Необходимость установки экранов определяется выбором схемы блокировки.

2. На всех замках распределительного устройства положение ручек при определенном состоянии замка должно быть одинаковым. Например, замки заперты - ручки внизу; замки открыты - ручки вверху. При несоответствии этому положению крышки замков и ползуны переставляются.

3. При установке замков следует учесть следующее:

- диаметр отверстия под выступающую на 8 мм часть стойки - 16,5 мм;

- диаметр отверстия в теле детали - 15 мм;

- диаметр штифта, входящего в поводок поворотного замка для фиксации положения "32-П", - 7,5 мм;

- зазор между плоскостью чашки ключа и экраном - 2 - 3 мм.

Экраны не должны служить упорами электрического аппарата в конечном положении.

4. Выдвижение запорного стержня (запирание) и разрешение на снятие при этом ключа должно быть возможным только в тех крайних положениях электрического аппарата, которые предусмотрены схемой блокировки. Во всех остальных положениях аппарата запорный стержень должен встречать жесткую преграду.

5. При выборе застопориваемого элемента приводов и места крепления замка следует определить усилия, которые могут возникнуть при попытках неправильных операций с аппаратами. Развиваемые усилия должны находиться в пределах прочности конструкции привода и замка.

6. При установке блок-замков на приводах выключателей возможны два варианта блокировки:

- блок-замок непосредственно стопорит вал привода или связанную с ним деталь;

- блок-замок воздействует на отключающий механизм привода и обеспечивает отказ при неправильных операциях. В этом случае необходимо дополнительно обеспечить блокировку от неправильных действий самим ключом при включенном масляном выключателе, поскольку при попытке запереть замок произойдет отключение выключателя.

7. При установке замков на некоторые приводы может возникнуть необходимость удлинения запорного стержня замка или изменения конструкции отдельных деталей механизма привода, взаимодействующего с замком.

8. Электромеханический замок ЗЭ устанавливается, как правило, на пульте управления рядом с ключом дистанционного управления масляного выключателя, а обменные рейки - внутри помещения распределительного устройства.

После установки замка оба крепящих винта пломбируются (для этой цели используются отверстия в винтах). Пломбируется также планка замка ЗЭ, служащая для его деблокировки.

Ниже приведены примеры установки замков на приводах некоторых типов разъединителей и масляных выключателей, не имеющих дистанционного привода. Для выключателей с дистанционным приводом применяются замки ЗЭ, устанавливаемые, как указано выше, на щите управления.

Установка поворотного замка 32П на приводах разъединителей ПРМ, ПРБ для внутренней установки (рис. 25).

1 - поводок; 2 - ведущий штифт; 3 - шайба; 4 - удерживающая скоба; 5 - экран; 6 - винт М8; 7 - замок 32П; 8 - отверстие под шплинт (сверлится при сборке); 9 - отверстие М8 под деталь 2; 10 - отверстия М8; 11 - отверстия диаметром 16,5 мм

Рис. 25. Установка замка на приводе ПРБ

На левой щеке привода высверливается отверстие диаметром 16,5 мм для выступающей втулки замка. В рукоятке привода для входа запорного стержня замка в крайних положениях разъединителя "Включено" и "Отключено" высверливаются отверстия диаметром 15 мм. Замок устанавливается так, что выступающая часть втулки замка вводится в отверстие щеки привода. Фланец замка удерживается скобой 4, к которой крепится экран 5. Скоба 4, удерживающая замок, не должна допускать осевого и радиального люфтов замка и не должна препятствовать его свободному повороту. Скоба крепится к щеке привода специальными винтами. Для поворота замка в рукоятке привода высверливается отверстие М8 на глубину 12 мм, куда ввертывается ведущий штифт 2. Штифт заводится в поводок 1, приваренный к замку. При повороте рукоятки привода на 180° поворачивается также и замок. При этом один из ключей выходит из-за экрана, а другой заходит за экран. Колпачок ключа должен подходить к экрану на расстояние 2 - 3 мм. В крайних положениях разъединителя, когда замок запирается, экран не должен препятствовать повороту ключей.

Установка замка на приводе разъединителя ПРТ производится аналогично.

Установка замка 32 на приводах разъединителей для открытой установки типа РЛН (рис. 26).

1 - экран; 2 - кронштейн; 3 - винт; 4 - замок; 5 - отверстие М8; 6 - отверстие диаметром 15 мм

Рис. 26. Установка замка 32 на приводе РЛН

К вертикальной трубе привода приваривается дуга с экранами 1. Экраны не должны служить ограничителями крайних положений рукоятки привода разъединителя или заменить их. Затем к горизонтальной плите привода приваривается кронштейн 2, на котором крепится замок 4. В дуге сверлятся два отверстия для запорного стержня замка в крайних положениях разъединителя "Включено" и "Отключено". После установки на кронштейн замка с ключами экраны регулируются так, чтобы зазор между плечом и экраном был не более 2-3 мм. На экранах выполняются надписи "Включено" и "Отключено". Дуга с экранами и кронштейны изготовляются по месту.

Установка блокировочных замков электромеханической блокировки на сетчатых ограждениях однополюсных разъединителей в распределительных устройствах с двойной системой шин сложна, требует изготовления значительного количества деталей на месте и недостаточно надежна. Поэтому указанная блокировка в распределительных устройствах с однополюсными разъединителями и двойной системой шин не может быть рекомендована. В указанных случаях рекомендуется применять электромагнитную блокировку.

Установка замка 31 на приводе ПРБА (РБА) (рис. 27).

1 - планка; 2 - ушко; 3 - винт; 4 - замок; 5 - существующая деталь; 6 - существующий рычажок (удаляется и приваривается деталь 2)

Рис. 27. Установка замка 31 на приводе ПРБА (РБА)

Замок устанавливается снизу привода, с правой стороны.

В дне коробки в правом углу высверливается отверстие диаметром 16,5 мм и два отверстия для крепления замка. К отключающему валику приваривается дополнительная планка 1 (узел А). В положении замка "Заперто" запорный стержень замка отжимает эту планку, благодаря чему сцепление вала выключателя с механизмом привода произойти не может. Таким образом, при вынутом из замка ключе выключатель включить нельзя.

Во избежание ошибочного отключения выключателя поворотом ключа конструкция указателя положения выключателя несколько изменяется. Во флажке вырезается конусообразная прорезь. При положении выключателя "Включено" прорезь флажка охватывает рукоятку ключа и препятствует его повороту. Работы по монтажу замка производятся на установленном приводе.

Установка замка 31 на приводе КАМ (рис. 28).

1 - кронштейн; 2 - винт; 3 - замок; 4 - отверстие диаметром 15 мм (сверлится по месту)

Рис. 28. Установка замка 31 на приводе КАМ

Установка выполняется таким образом, что рычаг вала привода запирается. Для придания устойчивости запорному стержню замка на задней стенке внутри коробки устанавливается кронштейн 1 из угловой стали. Замок крепится к боковой левой стенке коробки привода.

При установленном приводе размечаются отверстия в коробке привода и рычаге вала при положении выключателя "Отключено". Рычаг вала снимается вместе с валом и затем в нем сверлится отверстие диаметром 15 мм на глубину не менее 12 мм.

2.3.4. Настройка и испытания аппаратуры

В процессе установки аппаратура должна быть настроена и испытана в следующем объеме:

1. Внешний осмотр

Проверяется наличие гальванических или лакокрасочных покрытий на металлических деталях аппаратуры, подверженной атмосферному воздействию, наличие специальных болтов с отверстиями для пломбирования (по два на каждый замок) в целях крепления замков на оборудовании.

Проверяется плотность прилегания защитных колпачков замков, устанавливаемых в открытых распределительных устройствах. Выдвижной запорный стержень замков наружной установки должен быть изготовлен из коррозионно-стойкого материала.

Проверяется соответствие секретных прорезей крышек замков и секретных вставок ключей предусмотренной схеме блокировки. По маркировке на электромеханическом замке проверяется его соответствие роду тока и номинальному напряжению.

2. Проверка действия аппаратуры

Подвижная часть замка должна свободно двигаться в корпусе замка и жестко стопориться и фиксироваться в крайних положениях так, чтобы предотвратить случайные передвижения из этих положений без поворота ключа.

Скоба, удерживающая замок 32-П, не должна допускать осевой и радиальной качки замка и не должна препятствовать его свободным поворотам. Экран должен быть установлен так, чтобы не препятствовать повороту ключей при запирании замка в крайних положениях разъединителей.

Проверяется напряжение срабатывания электромагнита электромеханического замка - оно должно быть не выше 80% номинального. При снятии напряжения сердечник электромагнита должен отпадать. Таким образом проверяется достаточность усилия, создаваемого пружиной электромагнита, для надежного возврата сердечника при отсутствии тока в обмотке.

Блок-контакт БК должен быть установлен и отрегулирован вместе с замком так, чтобы в запертом положении замка запорный стержень нажатием на блок-контакт надежно замыкал замыкающие и размыкал размыкающие контакты.

Проверяется возможность освобождения подвижной части электромеханического замка выводом из нее сердечника электромагнита путем нажатия на планку после снятия пломбы (деблокировка замка).

Каретка блок-рейки должна свободно двигаться в направляющих корпусах с помощью специальной рукоятки. При положении каретки "Открыто", когда освобождаются переводные ключи, ремонтный ключ не может быть освобожден из ремонтного замка, и блок-контакты в электромеханической рейке должны разрывать цепь отключения шиносоединительного выключателя. Разрыв цепи проверяется омметром или другим прибором. Проверяется также надежность фиксации блокировкой каретки в крайних положениях.

При установке экранов для замков они регулируются так, чтобы зазор между ключом, вставленным в замок, и экраном был не более 2 - 3 мм.

3. Измерение сопротивления изоляции

Сопротивление изоляции между токоведущими цепями и корпусами аппаратов при температуре 20 +/- 5 °C должно быть не менее 20 МОм.

4. Испытание электрической прочности изоляции

Испытательное напряжение 2000 В переменного тока частотой 50 Гц прикладывается в течение 1 мин между токоведущими цепями аппарата и его корпусом.

Все данные по настройке и испытанию аппаратуры блокировки заносятся в паспорт-протокол (см. Приложение).

3. ТЕХНИЧЕСКОЕ ОБСЛУЖИВАНИЕ БЛОКИРОВОК

3.1. Виды и сроки проведения работ

В процессе монтажа и эксплуатации устройств блокировки производятся следующие работы:

а) приемка в эксплуатацию, проверка, наладка и испытания;

б) плановая проверка и текущий ремонт устройств, выполняемые одновременно с плановыми проверками и текущим ремонтом оборудования, на котором установлены эти устройства;

в) осмотр и проверка действия устройств, проводимые во время оперативных переключений,

г) неплановый ремонт и проверка устройств, осуществляемые по мере необходимости.

3.2. Объем и назначение выполняемых работ

Проверка, наладка и испытания при новом включении после монтажа производятся в полном объеме, указанном в разд. 2.2.5. Основное назначение этих работ - выявить и устранить все дефекты монтажа и установленной аппаратуры. Подвижные части аппаратуры должны быть смазаны консистентной незамерзающей смазкой. Замок ЗЭ и рейка РЭ должны быть заземлены.

Для предотвращения вскрытия ключа ЭМК без разрешения на корпусе и крышке имеется общее отверстие, которое должно заливаться сургучом и клеймиться. Все блокировочные замки должны быть опломбированы.

Одним из недостатков блок-замков ЗБ-1 является возможность открытия замка вручную без снятия пломб. Проволока пломбы не может закреплять ее жестко, небольшой люфт достаточен для появления возможности деблокировки. Поэтому рекомендуется выполнить пломбирование замков ЗБ-1 по методу, предложенному в Азглавэнерго. Сущность его (рис. 29) заключается в следующем: на рычаге, служащем для ручного выдвижения запирающего стержня, и в карболитовом корпусе (в верхней его части) просверливаются отверстия 3 диаметром 2 мм для пропуска через них нити 1 пломбы и закрепления пломбы 2. Такая пломба исключает возможность механической деблокировки.

1 - нить; 2 - пломба; 3 и 4 - отверстия

Рис. 29. Схема пломбирования блок-замка ЗБ-1

Плановая проверка и текущий ремонт устройств блокировки производятся в несколько сокращенном объеме по сравнению с проверкой при новом включении: внешний осмотр, проверка действия аппаратуры и измерение сопротивления изоляции. При этом, если цепи оперативной блокировки получают питание от трехфазных выпрямительных устройств, вместо определения напряжения срабатывания электромагнитного замка достаточно проверить работу блокировки при отключенной фазе со стороны переменного тока. Сопротивление изоляции измеряется в общей электрической схеме блокировки. Его значение должно быть не менее 5 МОм между токоведущими цепями и "землей" при любой температуре.

Для блок-контактов КСА дополнительно производится регулировка контактов.

При каждой проверке все подвижные детали смазывают консистентной смазкой.

3.3. Методика выполнения работ

1. Организация работы и допуск к работе

Перед включением устройств блокировки в работу после монтажа подбирается необходимая техническая документация. От монтажных и наладочных организаций должны быть получены исполнительные принципиальные и монтажные схемы устройств блокировки, протоколы наладки и испытания аппаратуры.

Приемка аппаратуры в эксплуатацию производится после опробования ее действия.

Все работы по проверке и наладке устройств блокировки должны производиться с соблюдением Правил техники безопасности при эксплуатации электроустановок электрических станций и подстанций ("Энергия", 1972), Правил технической эксплуатации электрических станций и сетей и настоящей Инструкции.

Допуск к работе на действующем оборудовании при необходимости ремонта и регулировки аппаратуры блокировки производится по наряду.

Осмотр и оперативные переключения, выполняемые обслуживающим персоналом, производятся без наряда.

2. Порядок производства переключений

В соответствии с Правилами технической эксплуатации электрических станций и сетей при наличии полного объема действующих устройств блокировки переключения в распределительном устройстве производятся без бланков переключений, в том числе перевод присоединения с одной системы шин на другую.

Перевод двух присоединений и более с одной системы шин на другую во всех случаях производится по бланку переключений.

Если блокировка коммутационных аппаратов выполнена не в полном объеме, все переключения в распределительном устройстве производятся также по бланкам переключений. Во время переключений устройства блокировки должны находиться в работе.

При необходимости производства операций разъединителями с ручным управлением или заземляющими ножами с помощью ключей открываются блокировочные замки и производится операция переключения.

Ключи рассчитаны на кратковременное включение, поэтому во избежание недопустимого перегрева обмотки ключей КЭЗ-1 не должны находиться под напряжением более 10 мин, а ключа ЭМБЗ-1 - более 5 мин. С этой же целью рекомендуется не допускать протекание тока длительностью более 10 мин через обмотку электромагнита электромеханического замка.

При наличии электромагнитной блокировки с ключом КЭЗ-1 и замками ЗБ-1 иногда невозможно с помощью ключа вытянуть сердечник замка из-за заедания, перекоса и т.п. Однако оператором, производящим операцию, это воспринимается как запрет операции или как появление какой-либо неисправности. Для устранения указанного недостатка ключ КЭЗ-1 может быть усовершенствован путем установки в нем неоновой лампочки, сигнализирующей о наличии напряжения в гнездах замка. Оперативному персоналу запрещается во время переключения нарушать взаимодействие блокировки, а также пользоваться недозволенными приемами деблокировки (например, без срыва пломбы отводить запорный стержень блок-замка не электромагнитным ключом, а рукой за счет люфта деблокировочного рычажка и т.д.).

3. Деблокировка устройств блокировки

В том случае, если блокировка не разрешает проведение какой-либо операции, необходимо прекратить переключение и проверить:

а) правильность выбранного присоединения;

б) положение коммутационных аппаратов, связанных с производством переключения, и его соответствие производимой на данном присоединении операции;

в) целостность предохранителей в цепях блокировки и исправность электромагнитного ключа.

Если в результате такой проверки будет установлена неисправность блокировки, об этом необходимо сообщить лицу, отдавшему распоряжение о переключениях.

Оперативному персоналу, непосредственно производящему переключения, запрещается самовольно деблокировать устройства блокировки.

Деблокирование (со снятием пломб) коммутационных аппаратов является крайней мерой и допускается только с разрешения начальника электроцеха или его заместителя на электростанциях; начальника подстанции или группы подстанций в электрических сетях. В аварийных ситуациях разрешение на деблокировку может дать диспетчер РДП (или ЦДП) или дежурный инженер электростанции.

Если возникла необходимость деблокировки, а переключение производилось без бланка переключений, необходимо его составить. В бланк должна быть внесена операция деблокировки. При производстве операции в соответствии с бланком в нем необходимо сделать отметку об операции деблокировки.

Деблокировка замка ЗБ-1 и электромеханического замка ЗЭ производится снятием пломбы и нажатием на деблокировочный рычажок. При этом отводится запорный стержень, отпирается привод разъединителя при наличии замка ЗБ-1 и освобождается ползун замка, позволяя вынуть ключ, если установлен замок ЗЭ.

Для деблокировки замков ЭМБЗ и замков механической блокировки производится их снятие.

В РУ высокого напряжения, где демонтированы рычажки, при деблокировке необходимо снять торцевую крышку со стороны установки ключа и удалить запорный стержень, освобождая этим привод.

О деблокировке производится запись в оперативном журнале.

4. Контроль изоляции цепей электромагнитной блокировки

Измерение сопротивления изоляции цепей блокировки производится один раз в смену с помощью устройства контроля изоляции следующим образом: сначала находят такое положение переключателя ПИ ("+" или "-") и движка потенциометра, при котором напряжение на вольтметре равно нулю. Прибор при этом должен показывать . Затем, не изменяя положение движка потенциометра, переводят переключатель в другое крайнее положение ("+" или "-") и непосредственно по шкале вольтметра отсчитывают сопротивление изоляции сети (а по шкале потенциометра - значения коэффициентов и ). Сопротивление изоляции сети "-" и "+" определяется умножением измеренного сопротивления соответственно на коэффициент и .

Направление, в которое отклоняется стрелка вольтметра при измерении, зависит от знака величин "-" и "+". По направлению отклонения стрелки прибора (вправо или влево) можно сделать вывод о том, со стороны какого полюса изоляция сети имеет более низкое сопротивление. Исключение составляет случай, когда "-" равен "+": в этом случае стрелка может отклоняться в любом направлении.

По окончании измерения переключатель ставится в среднее положение - "Сигнал". В этом положении переключателя прибор работает как обычный вольтметр контроля изоляции.

Для того, чтобы по показаниям прибора при среднем положении переключателя можно было судить о том, насколько сопротивление изоляции близко к аварийному значению, целесообразно на шкалу вольтметра нанести красные черточки против делений, соответствующих напряжению срабатывания указательного реле.

3.4. Лица, ответственные за эксплуатацию блокировок

Ответственными за исправное состояние и правильную работу электромагнитных блокировок, установленных в распределительных устройствах подстанций, является служба МС РЗАИ, а в распределительных устройствах электрических станций - персонал электролаборатории. Состояние электромагнитной блокировки контролируется указанным персоналом при плановых проверках и осмотрах. Этот персонал также осуществляет пломбирование блок-замков и регулярную проверку целостности пломб.

Ответственными за исправное состояние механических блокировок, установленных в распределительных устройствах отдельных подстанций, является начальник подстанции, а в распределительных устройствах электрических станций - начальник электроцеха электростанции. Проверку состояния блокировок производит ремонтный персонал подстанции или электроцеха.

Обо всех случаях деблокировки, неисправности устройств блокировки производится запись в оперативном журнале с последующей записью в паспорте-протоколе оперативной блокировки.

Электротехнические службы энергосистем контролируют правильность ведения эксплуатации, учитывают оснащенность устройствами блокировки распределительных устройств энергосистемы и проводят работы по внедрению новых устройств блокировки и замене устаревших.

Приложение

Электростанция (п/ст.) __________
Присоединение ___________________

ПАСПОРТ-ПРОТОКОЛ N
ПРОВЕРКИ ОПЕРАТИВНОЙ БЛОКИРОВКИ

I. Паспортные данные

Наименование аппаратурыТипЗавод-изготовительРод токаНапряжениеГод установкиОбозначение в схемеМесто установки
Ключ       
-"-       
Замок       
-"-       
-"-       
-"-       
-"-       
-"-       
-"-       
-"-       
-"-       
-"-       
-"-       
Блок-контакт       
-"-       
-"-       
-"-       
-"-       
-"-       
-"-       
-"-       
-"-       
Обменная рейка       

II. Результаты осмотра, обнаруженные дефекты

III. Проверка действия аппаратуры

IV. Проверка хода запирающего стержня замков ЗБ-1 и усилия для его втягивания

Обозначение в схеме
 
Ход, мм
 
Усилие, Н

V. Проверка напряжения срабатывания электромагнитов ключей хода сердечника и усилия тяги электромагнита ключа КЭЗ-1

Ключ  
  
Ход, мм  
Усилие, Н  

Примечание. Для электромеханической блокировки проверяется напряжение срабатывания электромагнита электромеханического замка.

VI. Проверка сопротивления изоляции аппаратуры при температуре, °C

Обозначение в схемеЗамкиКлючиКСАОбменная рейка

VII. Аппаратура испытана напряжением

VIII. Произведена регулировка блок-контактов КСА

IX. Проверена изоляция собранной схемы электромагнитной блокировки

X. Произведена проверка работы блокировки в полной схеме

XI. Заключение

Проверку производили ________________
"__"________ 197_ г. ________________

ДАННЫЕ ПО ТЕКУЩИМ И КАПИТАЛЬНЫМ РЕМОНТАМ

Дата ремонтаПричина ремонтаНаименование работФамилия, имя, отчество производившего ремонтПодпись