Продукты пищевые. Методы выявления бактерий LISTERIA MONOCYTOGENES и других видов LISTERIA (LISTERIA SPP.). ГОСТ 32031-2022

(утв. Приказом Росстандарта от 13.10.2022 N 1133-СТ)
Редакция от 13.10.2022 — Действует с 01.01.2023

Данный документ приведен с учетом Поправки, опубликованной в "ИУС", N 8, 2023.


МЕЖГОСУДАРСТВЕННЫЙ СТАНДАРТ

ПРОДУКТЫ ПИЩЕВЫЕ

МЕТОДЫ ВЫЯВЛЕНИЯ БАКТЕРИЙ LISTERIA MONOCYTOGENES И ДРУГИХ ВИДОВ LISTERIA (LISTERIA SPP.)

Food products. Methods for detection of Listeria monocytogenes and other Listeria (Listeria spp.)

ГОСТ 32031-2022

Дата введения
1 января 2023 года

Предисловие

Цели, основные принципы и общие правила проведения работ по межгосударственной стандартизации установлены ГОСТ 1.0 "Межгосударственная система стандартизации. Основные положения" и ГОСТ 1.2 "Межгосударственная система стандартизации. Стандарты межгосударственные, правила и рекомендации по межгосударственной стандартизации. Правила разработки, принятия, обновления и отмены"

Сведения о стандарте

1. РАЗРАБОТАН Федеральным государственным бюджетным научным учреждением "Федеральный научный центр пищевых систем им. В.М. Горбатова" РАН (ФГБНУ "ФНЦ пищевых систем им. В.М. Горбатова" РАН)

2. ВНЕСЕН Федеральным агентством по техническому регулированию и метрологии

3. ПРИНЯТ Межгосударственным советом по стандартизации, метрологии и сертификации (протокол от 31 августа 2022 г. N 153-П)

За принятие проголосовали:

Краткое наименование страны по МК (ИСО 3166) 004-97 Код страны по МК (ИСО 3166) 004-97 Сокращенное наименование национального органа по стандартизации
Армения AM ЗАО "Национальный орган по стандартизации и метрологии" Республики Армения
Беларусь BY Госстандарт Республики Беларусь
Казахстан KZ Госстандарт Республики Казахстан
Киргизия KG Кыргызстандарт
Россия RU Росстандарт
Узбекистан UZ Узстандарт

4. Приказом Федерального агентства по техническому регулированию и метрологии от 13 октября 2022 г. N 1133-ст межгосударственный стандарт ГОСТ 32031-2022 введен в действие в качестве национального стандарта Российской Федерации с 1 января 2023 г.

5. ВЗАМЕН ГОСТ 32031-2012

Информация о введении в действие (прекращении действия) настоящего стандарта и изменений к нему на территории указанных выше государств публикуется в указателях национальных стандартов, издаваемых в этих государствах, а также в сети Интернет на сайтах соответствующих национальных органов по стандартизации.

В случае пересмотра, изменения или отмены настоящего стандарта соответствующая информация будет опубликована на официальном интернет-сайте Межгосударственного совета по стандартизации, метрологии и сертификации в каталоге "Межгосударственные стандарты"

1. Область применения

Настоящий стандарт распространяется на пищевые продукты, объекты производственной среды (смывы с технологического оборудования, тары, инвентаря, стен, полов, одежды и рук работников) и устанавливает методы выявления бактерий Listeria monocytogenes и других видов Listeria (Listeria spp.).

2. Нормативные ссылки

В настоящем стандарте использованы нормативные ссылки на следующие межгосударственные стандарты:

ГОСТ 7702.2.0 Продукты убоя птицы, полуфабрикаты из мяса птицы и объекты окружающей производственной среды. Методы отбора проб и подготовка к микробиологическим исследованиям

ГОСТ 10444.1-84 Консервы. Приготовление растворов реактивов, красок, индикаторов и питательных сред, применяемых в микробиологическом анализе

ГОСТ 26669 Продукты пищевые и вкусовые. Подготовка проб для микробиологических анализов

ГОСТ 26670 Продукты пищевые. Методы культивирования микроорганизмов

ГОСТ 30425 Консервы. Метод определения промышленной стерильности

ГОСТ ISO 707 <*> Молоко и молочные продукты. Руководство по отбору проб

<*> В Российской Федерации действует ГОСТ Р ИСО 707-2010 "Молоко и молочные продукты. Руководство по отбору проб".

ГОСТ ISO 6887-1 <**> Микробиология пищевой цепи. Подготовка образцов для испытаний, исходной суспензии и десятикратных разведений для микробиологического исследования. Часть 1. Общие правила приготовления исходной суспензии и десятикратных разведений

<**> В Российской Федерации не действует.

ГОСТ ISO 6887-2 <***> Микробиология пищевой цепи. Подготовка образцов для испытания, исходной суспензии и десятикратных разведений для микробиологического исследования. Часть 2. Специальные правила подготовки мяса и мясной продукции

<***> В Российской Федерации действует ГОСТ Р ИСО 6887-2-2013 "Микробиология пищевых продуктов и кормов для животных. Подготовка проб, исходной суспензии и десятикратных разведений. Для микробиологических исследований. Часть 2. Специальные правила подготовки мяса и мясных продуктов".

ГОСТ ISO 6887-3 <**> Микробиология пищевой цепи. Подготовка образцов для испытания, исходной суспензии и десятикратных разведений для микробиологического исследования. Часть 3. Специальные правила подготовки рыбы и рыбной продукции

ГОСТ ISO 6887-4 <**> Микробиология пищевой цепи. Подготовка образцов для испытания, исходной суспензии и десятикратных разведений для микробиологического исследования. Часть 4. Специальные правила подготовки различной пищевой продукции и кормов

ГОСТ ISO 6887-5 Микробиология пищевой продукции и кормов. Подготовка образцов для испытания, исходной суспензии и десятикратных разведений для микробиологического исследования. Часть 5. Специальные правила подготовки молока и молочной продукции

ГОСТ ISO 6887-6 Микробиология пищевых продуктов и кормов для животных. Подготовка проб для анализа, исходной суспензии и десятичных разведений для микробиологического исследования. Часть 6. Специальные правила приготовления проб, отобранных на начальной стадии производства

ГОСТ ISO 7218 Микробиология пищевых продуктов и кормов для животных. Общие требования и рекомендации по микробиологическим исследованиям

ГОСТ ISO 11133 Микробиология пищевых продуктов, кормов для животных и воды. Приготовление, производство, хранение и определение рабочих характеристик питательных сред

ГОСТ ISO 13307 Микробиология пищевых продуктов и кормов для животных. Начальная стадия производства. Методы отбора проб

ГОСТ ISO 16140 Микробиология продуктов питания и кормов для животных. Протокол валидации альтернативных методов

ГОСТ ISO 17604 <*> Микробиология пищевой цепи. Отбор проб с туши для микробиологического анализа

<*> В Российской Федерации действует ГОСТ Р ИСО 17604-2011 "Микробиология пищевых продуктов и кормов для животных. Отбор проб с туши для микробиологического анализа".

ГОСТ ISO/TS 17728 Микробиология пищевой цепи. Методы отбора проб пищевой продукции и кормов для микробиологического анализа

Примечание - При пользовании настоящим стандартом целесообразно проверить действие ссылочных стандартов и классификаторов на официальном интернет-сайте Межгосударственного совета по стандартизации, метрологии и сертификации (www.easc.by) или по указателям национальных стандартов, издаваемым в государствах, указанных в предисловии, или на официальных сайтах соответствующих национальных органов по стандартизации. Если на документ дана недатированная ссылка, то следует использовать документ, действующий на текущий момент, с учетом всех внесенных в него изменений. Если заменен ссылочный документ, на который дана датированная ссылка, то следует использовать указанную версию этого документа. Если после принятия настоящего стандарта в ссылочный документ, на который дана датированная ссылка, внесено изменение, затрагивающее положение, на которое дана ссылка, то это положение применяется без учета данного изменения. Если ссылочный документ отменен без замены, то положение, в котором дана ссылка на него, применяется в части, не затрагивающей эту ссылку.

3. Термины и определения

В настоящем стандарте применены термины по ГОСТ ISO 11133, а также следующие термины с соответствующими определениями.

3.1 Listeria monocytogenes: Микроорганизмы, образующие типичные колонии на плотных селективных средах и идентифицируемые по морфологическим, культуральным и биохимическим свойствам в соответствии с настоящим стандартом.

3.2 обнаружение Listeria monocytogenes: Определение наличия или отсутствия бактерий Listeria monocytogenes в определенной массе или объеме продукта или на определенной поверхности в соответствии с настоящим стандартом.

3.3 бактерии рода Listeria (Listeria spp.): Микроорганизмы, которые образуют типичные колонии на плотных селективных средах и идентифицируемые по морфологическим, культуральным и биохимическим свойствам в соответствии с настоящим стандартом.

3.4 обнаружение бактерий рода Listeria (Listeria spp.): Определение наличия или отсутствия Listeria spp. в определенной массе или объеме продукта или на определенной поверхности в соответствии с настоящим стандартом.

4. Сокращения

В настоящем стандарте использованы следующие сокращения:

ALOA - агар Listeria по Оттавиани и Агости;

МПА - мясопептонный агар;

МПБ - мясопептонный бульон;

ПАЛ - питательный агар для выделения листерий;

ПБЛ - питательный бульон для выделения листерий;

ПЦР - полимеразная цепная реакция;

PBS - фосфатно-солевой буфер;

TSB - трипказо-соевый бульон;

TSYEA - триптон-соевый агар с дрожжевым экстрактом;

TSYEB - триптон-соевый бульон с дрожжевым экстрактом;

UVM - селективный накопительный бульон;

VP - реакция Фогеса-Проскауэра.

5. Сущность метода

Метод выявления бактерий L. monocytogenes и других видов Listeria (Listeria spp.) в определенной массе или объеме продукта, а также на определенной площади поверхности производственной окружающей среды состоит из четырех последовательных этапов (см. 5.1, 5.2, 5.3, 5.4 и приложение А).

5.1. Первичное обогащение анализируемой пробы в жидкой среде со сниженной концентрацией селективных компонентов при температуре 30 °C в течение 24 - 26 ч.

Примечание - Бактерии рода Listeria в продукте могут находиться в небольшом количестве, очень часто на фоне значительного количества микроорганизмов других родов. Поэтому для выявления небольшого количества бактерий рода Listeria, а также "поврежденных" клеток в пробе необходим этап селективного обогащения на среде с пониженной концентрацией селективных компонентов.

Присутствие L. monocytogenes может быть замаскировано присутствием других видов Listeria, в частности L. innocua или L. ivanovii.

5.2. Вторичное обогащение посевного материала, полученного по 5.1 в жидкой среде с полной концентрацией селективных компонентов при температуре (37 +/- 1) °C в течение (24 +/- 2) ч при выявлении L. monocytogenes и 48 ч - при выявлении Listeria spp. В случае использования другой жидкой питательной среды следует руководствоваться рекомендациями производителя.

5.3. Пересев посевного материала, полученного по 5.1 и 5.2, параллельно на две плотные селективные среды:

а) первая среда: ALOA.

Примечание - Допускается использование других сред с тем же составом;

б) вторая среда (обязательная): одна из плотных селективных сред, на выбор лаборатории: Оксфорд агар, или Палкам агар, или ПАЛ, или хромогенные среды, отличные от первой среды [см. 5.3 а)].

Посевы на средах ALOA культивируют при температуре (37 +/- 1) °C и просматривают через (24 +/- 3) ч, при необходимости культивируют еще через (24 +/- 3) ч, контролируя наличие роста колоний, характерных для L. monocytogenes или других видов Listeria.

Примечание - Некоторые L. monocytogenes характеризуются медленной активностью PIPLC (фосфатидилинозитолфосфолипазы C) и могут проявлять на нее например, через 4 дня культивирования.

Некоторые штаммы L. monocytogenes образуют очень слабую зону помутнения среды вокруг колоний в случаях испытанного стресса, в частности кислотного.

Температура и продолжительность инкубации на второй селективной среде определяется согласно рекомендациям производителя питательных сред.

5.4. Подтверждение

Колонии с характерным для Listeria monocytogenes и других видов Listeria (Listeria spp.) ростом, полученные по 5.3, пересевают на поверхность плотных неселективных питательных сред и культивируют при температуре (37 +/- 1) °C в течение (24 +/- 3) ч для дальнейшего подтверждения по тестам идентификации.

6. Питательные среды, тест-системы и реактивы

6.1. Общие требования

Состав и приготовление питательных сред и реактивов - в соответствии с приложением Б.

6.2. Селективные среды первичного обогащения

В качестве селективных сред первичного обогащения могут быть использованы следующие среды.

6.2.1. Бульон Фразера полуконцентрированный (Half Fraser broth) - по Б.1.1.

6.2.2. Селективный накопительный бульон (UVM) - по Б.1.2.

6.2.3. Питательный бульон для выделения и культивирования листерий (ПБЛ I) - по Б.1.3.

6.3. Селективные среды вторичного обогащения

В качестве селективных сред вторичного обогащения могут быть использованы следующие среды.

6.3.1. Бульон Фразера (Fraser broth) - по Б.2.1.

6.3.2. Селективный накопительный бульон (UVM II) - по Б.2.2.

6.3.3. Питательный бульон для выделения и культивирования листерий (ПБЛ II) - по Б.2.3.

6.4. Селективные плотные среды

В качестве первой среды необходимо использовать следующую среду.

6.4.1. Агар Listeria по Оттавиани и Агости (ALOA) - по Б.3.1.1.

Примечание - Допускается использование других хромогенных сред с тем же составом [см. 5.3 а)].

В качестве второй среды необходимо использовать одну из следующих сред.

6.4.2. Оксфорд агар (Oxford agar) - по Б.3.2.1.

6.4.3. Палкам агар (PALCAM agar) - по Б.3.2.2.

6.4.4. Питательный агар для выделения листерий (ПАЛ) - по Б.3.2.3.

6.4.5. Бриллианс Listeria агар (BRILLIANCE LISTERIA agar) - по Б.3.2.4.

Выбор второй среды - на усмотрение испытательной лаборатории.

6.5. Питательные среды для изучения культурально-морфологических свойств бактерий рода Listeria

6.5.1. Плотные неселективные питательные среды

6.5.1.1. Триптон-соевый агар с дрожжевым экстрактом (TSYEA) - по Б.4.1.1.

6.5.1.2. Трипказо-соевый агар (TSA) - по Б.4.1.2.

6.5.1.3. Мясопептонный агар (МПА) - по Б.4.1.3.

6.5.2. Жидкие неселективные питательные среды

6.5.2.1. Триптон-соевый бульон с дрожжевым экстрактом (TSYEB) - по Б.4.2.1.

6.5.2.2. Трипказо-соевый бульон (TSB) - по Б.4.2.2.

6.5.2.3. Мясопептонный бульон (МПБ) - по Б.4.2.3.

6.6. Среды и реактивы для подтверждения рода Listeria (Listeria spp.)

6.6.1. Раствор с объемной долей перекиси водорода 3% - по ГОСТ 10444.1.

6.6.2. Растворы и реактивы для окраски по Граму - по ГОСТ 10444.1 или ГОСТ ISO 7218.

6.6.3. Коммерческие наборы для окраски по Граму - согласно инструкции производителя.

6.6.4. Среда для определения подвижности бактерий - по Б.8.

6.6.5. Среда для определения лецитиназной активности - по Б.10.1 и Б.10.2.

6.6.6. Среда и реактивы для реакции Фогеса-Проскауэра (VP) - по Б.10.3.

6.7. Среды и реактивы для дальнейшего подтверждения Listeria monocytogenes и других видов Listeria

6.7.1. Среда и реактив для определения -гемолитической активности

6.7.1.1. Кровяной агар - по Б.5.1.

6.7.1.2. Суспензия из эритроцитов барана - по Б.6.

6.7.2. Буфер фосфатно-солевой (PBS) - по Б.11.

6.7.3. Среда для проведения КАМП-теста (CAMP) - по Б.9 (при необходимости).

6.7.4. Среды для определения ферментативных свойств культуры - по Б.7.1 и Б.7.2.

6.7.5. Углеводы - по Б.7.1.2.

6.7.5.1. Рамноза.

6.7.5.2. Ксилоза.

6.8. Среды и реактивы для взятия смывов

6.8.1. Универсальный нейтрализатор - по Б.12.

6.8.2. Пептонная вода - по Б.13.

7. Средства измерений, аппаратура, посуда, материалы и тест-штаммы

Аппаратура и материалы по ГОСТ 10444.1 и ГОСТ ISO 7218 со следующими дополнениями.

pH-метр с точностью измерения +/- 0,1 ед. pH при 25 °C.

Шкаф сушильный стерилизационный для сухой стерилизации или автоклав для влажной стерилизации.

Термостат, поддерживающий температуру между (25 +/- 1) °C и (50 +/- 1) °C.

Термостаты, поддерживающие температуры: (25 +/- 1) °C, (30 +/- 1) °C, (37 +/- 1) °C.

Баня водяная, поддерживающая температуру 44 °C - 47 °C.

Петля микробиологическая из платиново-иридиевого или никель-хромового сплава или пластиковая диаметром 3 мм или объемом 10 мкл.

Игла из платиново-иридиевого или никель-хромового сплава или пластиковая.

Шпатели стеклянные, пластиковые или алюминиевые, предназначенные для посева культур микроорганизмов на чашках Петри.

Пробирки стерильные.

Колбы и флаконы необходимой вместимости.

Дозаторы автоматические переменного объема.

Наконечники одноразовые, стерильные для дозаторов.

Чашки Петри стеклянные или пластиковые диаметром от 90 до 100 мм.

Микроскоп для фазово-контрастной микроскопии.

Рамки-трафареты.

Одноразовое оборудование и материалы - по ГОСТ ISO 7218.

Контрольные тест-штаммы:

- S. aureus (при необходимости);

- R. equi (при необходимости);

- L. innocua;

- L. ivanovii (при необходимости);

- L. monocytogenes;

- E. faecalis;

- E. coli.

Материалы для отбора смывов:

- стерильный тампон с хлопком или синтетическим материалом в пробирке или без;

- стерильная ткань (или салфетка), не содержащая ингибирующих веществ;

- стерильная губка с ручкой или без нее, без ингибирующих веществ.

Допускается применение других средств измерений, аппаратуры с аналогичными метрологическими и техническими характеристиками, а также материалов и реактивов по качеству не хуже указанных в настоящем стандарте.

8. Отбор и подготовка проб к исследованию

8.1. Отбор и подготовка проб пищевых продуктов - по ГОСТ ISO/TS 17728, ГОСТ ISO 707, ГОСТ ISO 17604, ГОСТ ISO 13307, ГОСТ ISO 7218, ГОСТ ISO 6887-1, ГОСТ ISO 6887-2, ГОСТ ISO 6887-3, ГОСТ ISO 6887-4, ГОСТ ISO 6887-5, ГОСТ ISO 6887-6, ГОСТ 26669, ГОСТ 26670, ГОСТ 7702.2.0.

8.2. Отбор проб (смывов) с объектов окружающей производственной среды (технологического оборудования, тары, инвентаря, стен и полов производственных цехов, одежды и поверхности рук работников) осуществляется согласно приложению В с учетом нижеследующего:

- при отборе смывов с влажной поверхности допускается использовать сухой тампон/губку/ткань (салфетку) при условии отсутствия необходимости использования нейтрализатора;

- при отборе смывов с сухой поверхности необходимо использовать тампон, губку/ткань (салфетку), увлажненный нейтрализатором (см. 6.8.1) - в случае отбора смывов после дезинфекции или пептонной водой (см. 6.8.2) - в остальных случаях;

- смывы с площади меньше или равной 10 x 10 см (100 см2) отбирают стерильным тампоном с хлопком или синтетическим материалом;

- при отборе смывов с площади более 100 см2 следует использовать губку/ткань (салфетку);

- смывы с мелких объектов (поверхность которых менее 100 см2) берут со всей поверхности;

- при взятии смывов с ровной поверхности рекомендуется использовать стерильные металлические рамки-трафареты, ограничивающие площадь взятия смывов, которые должны быть фламбированы перед каждым повторным использованием;

- при взятии смывов с рук тщательно протирают не менее 5 раз ладони, а также пальцы, межпальцевое пространство и особенно ногтевое ложе стерильными и увлажненными ватными тампонами. С перчаток смывы берут только со стороны ладоней;

- смывы с санитарной одежды отбирают с помощью тампонов с четырех участков, каждый из которых должен быть не менее 25 см2, а именно нижняя часть каждого рукава и две площадки с верхней и средней частей передних пол одежды;

- для отбора проб в труднодоступных небольших участках следует использовать тампоны.

Примечания

1. Для увеличения извлекаемости микроорганизмов с области отбора смывов рекомендуется использовать увлажненные тампоны.

2. Для увеличения обнаружения микроорганизмов общая площадь выборки должна быть как можно большей. В связи с этим рекомендуется отбирать пробы площадью от 100 см2.

9. Проведение испытания

Схема проведения испытания пищевой продукции и смывов приведена в приложении А.

9.1. Проба для анализа и исходная суспензия

Анализируемую пробу X (г или см3) вносят в селективную среду первичного обогащения, исходя из соотношения продукта и среды 1:9.

Смывы, отобранные по 8.2, вносят в селективную среду первичного обогащения согласно приложению Б.

9.2. Первичное обогащение

Исходную суспензию (см. 9.1) культивируют при температуре (30 +/- 1) °C в течение (25 +/- 1) ч.

9.3. Вторичное обогащение

9.3.1. Посевной материал, полученный по 9.2 в объеме 0,1 см3, пересевают в пробирку, содержащую 10 см3 среды селективного обогащения (см. 6.3).

9.3.2. Посевы (см. 9.3.1) культивируют при температуре (37 +/- 1) °C в течение (24 +/- 2) ч (для бульона Фразера). В случае использования другой селективной жидкой питательной среды продолжительность культивирования согласно инструкции производителя.

Примечание - Посевы на питательных средах первичного и вторичного обогащения после окончания культивирования перед пересевом на плотные селективные среды допускается хранить при температуре не выше 5 °C не более 72 ч.

9.4. Пересев на плотные селективные среды

9.4.1. Посевной материал, полученный после первичного и вторичного обогащения (см. 9.2 и 9.3) с помощью бактериологической петли, пересевают на поверхность первой плотной селективной среды <*> (см. 6.4.1) так, чтобы получить хорошо изолированные колонии.

<*> Допускается в Российской Федерации не использовать.

Аналогичным образом проводят пересев и на вторую плотную селективную среду (см. 6.4.2, или 6.4.3, или 6.4.4, или 6.4.5).

9.4.2. Чашки с посевами на первой плотной селективной среде (см. 9.4.1) культивируют в термостате при температуре (37 +/- 1) °C в течение 24 - 48 ч.

Чашки с посевами на второй плотной селективной среде инкубируют согласно инструкции производителя питательных сред.

Официальный источник электронного документа содержит неточность: в электронном документе пункт 10.4 отсутствует.

9.4.3. Через (24 +/- 3) ч или (48 +/- 2) ч [если после (24 +/- 3) ч отмечен слабый рост культуры или его отсутствие] культивирования на первой и второй плотной селективной средах (10.4) учитывают наличие колоний с ростом характерных для бактерий рода Listeria и Listeria monocytogenes.

9.4.3.1. На первой селективной плотной среде бактерии вида L. monocytogenes и L. ivanovii растут в виде сине-зеленых колоний, окруженные непрозрачным ореолом (типичные колонии). Другие виды бактерий рода Listeria также растут в виде сине-зеленых колоний, но без ореола.

Примечания

1. Некоторые штаммы L. monocytogenes могут давать очень слабый ореол помутнения питательного агара вокруг колонии или вовсе не иметь его. Это характерно для "поврежденных" клеток L. monocytogenes (например, вследствие воздействия кислот).

2. Некоторые штаммы L. monocytogenes характеризуются пониженной фосфатидилинозитолфосфолипазной C активностью. Для выявления таких штаммов требуется более продолжительное культивирование.

3. После инкубации посевы на плотных селективных средах до начала следующих тестов допускается хранить не более двух дней при температуре 5 °C.

9.4.3.2. Посевы на второй плотной селективной среде просматривают на наличие колоний с ростом, характерным для бактерий рода Listeria.

На Палкам агаре все виды бактерий рода Listeria формируют мелкие серовато-зеленые или оливково-зеленые колонии с черным ореолом, иногда с черным центром.

На Оксфорд агаре все виды бактерий рода Listeria формируют мелкие сероватые колонии, окруженные черным ореолом.

На ПАЛ все виды бактерий рода Listeria формируют мелкие серовато-желтые колонии с черным ореолом.

На Бриллианс Listeria агаре (BRILLIANCE LISTERIA agar) бактерии L. monocytogenes и L. ivanovii растут в виде сине-зеленых колоний, окруженные непрозрачным ореолом (типичные колонии). Другие виды бактерий рода Listeria растут в виде сине-зеленых колоний, но без ореола.

9.4.3.3. При отсутствии колоний с ростом, характерным для Listeria monocytogenes и рода Listeria (Listeria spp.) как на первой, так и на второй плотных селективных средах, исследование прекращают и делают заключение, в зависимости от поставленной задачи, об отсутствии в исследуемой пробе бактерий Listeria monocytogenes или рода Listeria (Listeria spp.).

9.5. Подтверждение принадлежности выделенных культур к роду Listeria

9.5.1. Выбор колоний для подтверждения

9.5.1.1 С каждой чашки с плотной селективной средой (см. 9.4.3) отбирают по пять колоний с ростом, характерным для бактерий рода Listeria.

Если на чашке выросло менее пяти типичных колоний, отбирают их все.

9.5.1.2 Отобранные колонии пересевают на поверхность подсушенного плотного неселективного питательного агара (см. 6.5.1.1 - 6.5.1.3) так, чтобы получить изолированные колонии.

Посевы культивируют при температуре (37 +/- 1) °C в течение (24 +/- 3) ч.

На плотных неселективных питательных средах бактерии Listeria spp. растут в виде выпуклых, бесцветных и непрозрачных колоний в диаметре от 1,0 до 2,0 мм. Когда чашку Петри просматривают на свету (искусственном или естественном) под углом около 45°, колонии имеют сине-серый цвет и зернистую поверхность.

Достаточно одной подтвержденной типичной колонии на образец. Если первая колония будет отрицательна, для проведения идентификации используют остальные отобранные колонии.

Для подтверждения принадлежности выделенной культуры к бактериям рода Listeria проводят тесты, приведенные в таблице 1.

Таблица 1

Подтверждающие тесты на бактерии рода Listeria

Статус тестов Тесты для идентификации бактерий рода Listeria Результаты
Обязательные Микроскопия Тонкие короткие грамположительные палочки или коккобациллы
Реакция на каталазу +
Необязательные VP тест +
Подвижность при 25 °C +

9.5.2. Микроскопия

Культуры, выделенные по 9.5.1.2, окрашивают по Граму согласно ГОСТ 30425 или ГОСТ ISO 7218 и микроскопируют.

Бактерии рода Listeria spp. представляют собой грамположительные тонкие, короткие палочки или коккоподобные палочки.

9.5.3. Реакция на каталазу

Берут изолированную колонию, выделенную по 9.5.1.2, и вносят в каплю 3%-ного раствора перекиси водорода (см. 6.6.1). Мгновенное образование пузырьков газа указывает на положительную реакцию.

Бактерии Listeria spp. являются каталазоположительными.

9.5.4. Реакция Фогеса-Проскауэра (VP)

Пробирку, содержащую 3 см3 среды VP (см. Б.10.3.1) инокулируют с помощью петли культурой, полученной по 9.5.1.2, и инкубируют при температуре 37 °C в течение (24 +/- 3) ч. После инкубации добавляют 0,6 см3 5%-ного раствора -нафтола (см. Б.10.3.2) и 0,2 см3 40%-ного раствора гидроксида калия (см. Б.10.3.3), хорошо встряхивают, наклоняя пробирку, чтобы увеличить площадь поверхности раздела воздух - жидкость и учитывают результат через 15 мин и 1 ч. Положительная реакция обозначена ярко-красным цветом раствора.

9.5.5. Определение подвижности

Культуру, выделенную по 9.5.1.2, пересевают в жидкую неселективную питательную среду (см. 6.5.2).

Посевы культивируют при температуре (25 +/- 1) °C от 8 до 24 ч до появления мутности в бульоне. Затем каплю культуральной жидкости помещают на предметное стекло, накрывают сверху покровным стеклом и микроскопируют.

В поле зрения микроскопа должны наблюдаться короткие палочки с опрокидывающими движениями.

При культивировании посевов в жидкой питательной среде при температуре выше (25 +/- 1) °C подвижность бактерий не наблюдается.

В качестве альтернативного теста определения подвижности можно использовать посев культуры уколом в питательную среду (см. 6.6.4).

Посевы культивируют в термостате при температуре (25 +/- 1) °C в течение 48 ч.

Бактерии Listeria spp. подвижны при температуре (25 +/- 1) °C, образуют характерный рост вокруг линии укола, похожий на зонтик. Если рост слабый, необходимо культивировать еще пять суток с ежедневным просмотром посевов.

9.6. Подтверждение Listeria monocytogenes

Для подтверждения Listeria monocytogenes культуры, выделенной по 9.5.1.2, проводят тесты, приведенные в таблице 2.

Таблица 2

Подтверждающие тесты на L. monocytogenes

Статус тестов Тесты для идентификации L. monocytogenes Результаты
Обязательные Микроскопия <*> Тонкие короткие грамположительные палочки или коккобациллы
B-гемолиз +
Ферментация L-рамнозы +
Ферментация D-ксилозы -
Необязательные Реакция на каталазу +
Подвижность при 25 °C +
КАМП-тест +
<*> Микроскопия необязательна для колоний, отобранных с первой и для второй плотной селективной среды, если они позволяют различать патогенные и непатогенные виды Listeria spp.

9.6.1. Определение бета-гемолитической активности

9.6.1.1. С использованием кровяного агара

Поверхность кровяного агара (см. 6.7.1.1) перед использованием необходимо тщательно подсушить. Чашку с тыльной стороны целесообразно разделить на квадраты и проколоть каждый маркированный квадрат бактериальной иглой с колонией культуры, полученной по 9.5.1.2. На каждую чашку с кровяным агаром, кроме исследуемых культур, должны быть посеяны контрольные штаммы, такие как L. monocytogenes (положительный контроль) и L. innocua (отрицательный контроль).

Посевы культивируют при температуре (37 +/- 1) °C в течение (24 +/- 2) ч.

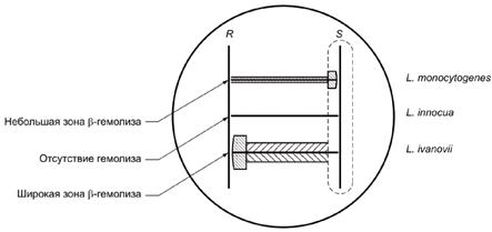
Зона -гемолиза на кровяном агаре у культуры L. monocytogenes - в виде узкой, чистой, светлой зоны; L. innocua - нет зоны гемолиза вокруг укола; L. seeligeri - слабая зона гемолиза; L. ivanovii - широкая, четко обозначенная зона гемолиза.

После инкубирования проводят визуальное сравнение прозрачности зон вокруг анализируемых и контрольных культур.

Примечание - Зона -гемолиза более четко видна при удалении колонии с поверхности агара вокруг места посева.

9.6.1.2. С использованием суспензии эритроцитов барана

В 0,15 см3 жидкой неселективной питательной среды (см. 6.5.2) необходимо внести одну колонию культуры, полученную по 9.5.1.2.

Посевы культивируют при температуре (37 +/- 1) °C в течение 24 ч. Затем добавляют 0,15 см3 суспензии эритроцитов барана (см. 6.7.1.2) и продолжают культивирование при температуре (37 +/- 1) °C от 15 до 60 мин, с последующим охлаждением при температуре (3 +/- 2) °C около 2 ч.

При наличии у культуры гемолитической активности - жидкость окрашена в соломенно-коричневый цвет и отсутствует осадок красных кровяных клеток на дне лунки.

При отсутствии гемолитической активности наблюдается осадок красных кровяных клеток на дне лунки. Клетки могут быть красно-коричневыми по цвету.

Если реакция неопределенная, следует оставить культуру при температуре (3 +/- 2) °C на 24 ч.

9.6.2. Определение лецитиназной активности (при необходимости)

При необходимости изучения лецитиназной активности культуры, полученной по 9.5.1.2, можно использовать лецитин-агар с активированным углем и без угля.

Поверхность лецитин-агара с активированным углем и без угля (см. 6.6.5) перед использованием необходимо тщательно подсушить. Чашку с тыльной стороны целесообразно разделить на квадраты и высевать на каждый маркированный квадрат бактериологической петлей колонию культуры, полученной по 9.5.1.2. На каждую чашку с лецитин-агаром с активированным углем и без угля, кроме исследуемых культур, должен быть посеян контрольный штамм L. monocytogenes (положительный контроль).

Посевы культивируют при температуре (37 +/- 1) °C в течение (48 +/- 2) ч.

L. monocytogenes при росте дает плотную зону помутнения шириной 3,0 - 6,0 мм на лецитин-агаре с активированным углем за счет гидролиза лецитина.

L. monocytogenes при росте не дает плотную зону помутнения на лецитин-агаре без активированного угля.

9.6.3. Определение ферментативных свойств L. monocytogenes

У культур, полученных по 9.5.1.2, определяют ферментативные свойства. Для этого используют суточную культуру.

Посевы следует культивировать при температуре (37 +/- 1) °C.

Положительную реакцию в отношении углеводов определяют по изменению окраски среды в желтый цвет за счет образования кислоты. Изменение цвета среды происходит, как правило, в течение 24 - 48 ч. При использовании микрообъемов питательных сред ферментативные реакции протекают быстрее. Продолжительность культивирования согласно инструкции производителя питательных сред.

9.6.4. КАМП-тест

В случае возникновения сомнений при интерпретации результатов гемолитического теста допускается использовать КАМП-тест как вспомогательный тест.

Существуют редкие штаммы L. monocytogenes, которые не показывают -гемолиз или положительную реакцию на КАМП-тесте в условиях, описанных в настоящем стандарте.

Двухсуточные культуры гемолитических штаммов Staphylococcus aureus и Rhodococcus equi высевают на кровяной агар, как показано на рисунке 1.

Рисунок 1. Посев и интерпретация КАМП-теста

Между вертикальными линиями Staphylococcus aureus и Rhodococcus equi засевают параллельными линиями исследуемые культуры на расстоянии друг от друга не менее 1 см и от вертикальных линий - 0,5 см.

Посевы культивируют при температуре (37 +/- 1) °C в течение 24 ч.

Для положительного контроля рекомендуется провести посев тест-штамма Listeria monocytogenes аналогично посеву исследуемых культур.

После культивирования посевов отмечают изменение (расширение и просветление) зоны гемолиза в зонах, соседствующих с вертикальными штрихами Staphylococcus aureus и Rhodococcus equi.

Listeria monocytogenes дает положительную реакцию (расширение и просветление зоны гемолиза) около штриха Staphylococcus aureus и отрицательную (отсутствие изменений в зоне гемолиза) - около штриха Rhodococcus equi.

9.7 Интерпретация морфологических и физиологических свойств и биохимических реакций

Все Listeria spp. - мелкие, грамположительные коккоподобные палочки, которые дают положительную реакцию VP и являются каталазоположительными.

L. monocytogenes отличаются от других видов Listeria spp. биохимическими свойствами, указанными в таблице 3.

Таблица 3

Биохимические свойства различных видов бактерий рода Listeria

Виды Реакция на -гемолиз Ферментация КАМП-тест
рамноза ксилоза S. aureus R. equi
L. monocytogenes + + - + -
L. innocua - V - - -
L. ivanovii + - + - +
L. seeligeri (+) - + (+) -
L. welshimeri - V + - -
L. grayisubsp. grayi - - - - -
L. grayisubsp. murrayi - V - - -
Примечание - В данной таблице приведены следующие обозначения:
"V" - вариабельная реакция;
"(+)" - слабая реакция;
"+" - > 90% положительных реакций;
"-" - нет реакции.

Примечание - Для изучения биохимических свойств выделенных по 9.5.1.2 колоний можно использовать следующие коммерческие тест-системы: Listeria ID MID-67, Microbact 12L, API Listeria и другие тест-системы, валидированные по ГОСТ ISO 16140.

9.8. Ускоренное обнаружение и идентификация бактерий Listeria spp. и Listeria monocytogenes с использованием различных тестов и тест-систем

Для ускоренного обнаружения (скрининга) и идентификации Listeria spp. и Listeria monocytogenes допускается использование валидированных по ГОСТ ISO 16140 тестов и тест-систем в соответствии с инструкциями производителя, в том числе следующих.

9.8.1. Идентификация бактерий до рода Listeria

Listeria Latex Kit.

Singlepath Listeria.

VIDAS Listeria Duo (LDUO).

Анализатор GENE-UP.

API Listeria.

Listeria ID MID-67.

Microbact 12L.

9.8.2. Идентификация бактерий Listeria monocytogenes

VIDAS Listeria monocytogenes II (LMO2).

VIDAS L. monocytogenes Xpress (LMX).

Singlepath L'mono.

API Listeria.

Listeria ID MID-67.

Microbact 12L.

BAX System PCR assay for L. monocytogenes.

BAX System PCR assay for L. monocytogenes 24E.

TaqMan Listeria monocytogenes Detection Kit и Prep Man Ultra Sample Preparation Reagent.

Food proof Listeria monocytogenes Detection Kit, 5'nuclease.

MDS Система молекулярного анализа.

Vitek 2 Compact.

MALDI-TOF масс-спектрометрический анализатор.

ПЦР-РВ: "АмплиСенс Listeria monocytogenes-скрин/монитор-FL" (ООО "Интерлабсервис"); "Listeria monocytogenes" (ООО "ДНК-Технология").

9.9.Типирование выделенных штаммов Listeria monocytogenes

По эпидемиологическим показаниям штаммы, идентифицированные как L. monocytogenes, направляют в референс лаборатории для серотипирования и/или генотипирования.

10. Обработка результатов испытаний

Обработку результатов проводят по ГОСТ ISO 7218 и отмечают наличие или отсутствие L. monocytogenes и Listeria spp. в исследованной пробе с указанием массы в граммах, объема в см3 или площади в см2.

11. Оформление протокола испытания

В протоколе испытания необходимо указать метод испытания и полученные результаты. В нем должны быть также упомянуты все процедуры, не указанные в настоящем стандарте, или рассматриваемые как дополнительные, а также сведения о любых случаях, вероятно повлиявших на результаты.

В протокол испытаний должна быть включена вся информация, необходимая для точной идентификации образца.

12. Требования безопасности

Требования безопасности при выполнении работ и квалификации оператора - по ГОСТ ISO 7218, а также выполнение требований национальных нормативных документов по обеспечению безопасности работ с условно-патогенными и патогенными агентами.

Для защиты здоровья лабораторного персонала настоятельно рекомендуется проводить работу, связанную с выявлением L. monocytogenes и Listeria spp., в лабораториях с квалифицированным микробиологом и соблюдать особую осторожность при работе с зараженным материалом. В частности, не рекомендуется беременному персоналу работать с бактериями L. monocytogenes и Listeria spp.

Приложение А
(обязательное)

СХЕМА ПРОВЕДЕНИЯ ИСПЫТАНИЯ

<*> В случае использования других питательных сред для первичного и вторичного обогащения, отличных от бульона Фразера, время инкубации определяется рекомендациями производителя.

<**> В случае исследования образца на наличие Listeria spp. дополнительная 24-часовая инкубация среды вторичного обогащения (бульон Фразера) позволяет выявить большее количество видов.

Приложение Б
(обязательное)

СОСТАВ И ПРИГОТОВЛЕНИЕ ПИТАТЕЛЬНЫХ СРЕД И РЕАКТИВОВ

Б.1. Селективные среды первичного обогащения

Б.1.1. Полуконцентрированный бульон Фразера (Half Fraser broth)

Б.1.1.1. Основа среды

Состав:

мясной пептон (пептический перевар животной ткани) . . . . . . . . . . . . . . . . . . . . . . . . . . . . . . . . . . . . . . . . . 5,0 г
триптон (ферментативный гидролизат казеина) . . . . . . . . . . . . . . . . . . . . . . . . . . . . . . . . . . . . . . . . . . . . . . . 5,0 г
мясной экстракт . . . . . . . . . . . . . . . . . . . . . . . . . . . . . . . . . . . . . . . . . . . . . . . . . . . . . . . . . . . . . . . . . . . . . . . . . 5,0 г
дрожжевой экстракт . . . . . . . . . . . . . . . . . . . . . . . . . . . . . . . . . . . . . . . . . . . . . . . . . . . . . . . . . . . . . . . . . . . . . . 5,0 г
хлорид натрия . . . . . . . . . . . . . . . . . . . . . . . . . . . . . . . . . . . . . . . . . . . . . . . . . . . . . . . . . . . . . . . . . . . . . . . . . . 20,0 г
натрий фосфорнокислый двузамещенный . . . . . . . . . . . . . . . . . . . . . . . . . . . . . . . . . . . . . . . . . . . . . . . . . . . 12,0 г
калий фосфорнокислый однозамещенный . . . . . . . . . . . . . . . . . . . . . . . . . . . . . . . . . . . . . . . . . . . . . . . . . . . 1,35 г
эскулин . . . . . . . . . . . . . . . . . . . . . . . . . . . . . . . . . . . . . . . . . . . . . . . . . . . . . . . . . . . . . . . . . . . . . . . . . . . . . . . . 1,0 г
дистиллированная вода . . . . . . . . . . . . . . . . . . . . . . . . . . . . . . . . . . . . . . . . . . . . . . . . . . . . . . . . . . . . . . . . . . 1000 см3

Приготовление

Компоненты или сухую готовую среду растворяют в дистиллированной воде, нагревая при необходимости.

Устанавливают pH среды таким образом, чтобы после стерилизации его значение составляло (7,2 +/- 0,2) ед. pH при температуре 25 °C. Разливают основу среды в колбы или флаконы соответствующего объема в количестве, необходимом для проведения анализа (см. Б.10.1), и стерилизуют в автоклаве при температуре 121 °C в течение 15 мин.

Примечание - Раствор хлорида лития и раствор налидиксовой кислоты могут быть добавлены в основу до стерилизации.

Б.1.1.2. Растворы селективных добавок

Б.1.1.2.1. Раствор хлорида лития

Состав:

хлорид лития . . . . . . . . . . . . . . . . . . . . . . . . . . . . . . . . . . . . . . . . . . 3,0 г
дистиллированная вода . . . . . . . . . . . . . . . . . . . . . . . . . . . . . . . . . 10,0 см3

Приготовление

Хлорид лития растворяют в дистиллированной воде и стерилизуют раствор путем фильтрования.

Предупреждение - Необходимо принимать все меры предосторожности при растворении хлорида лития в воде, так как реакция является экзотермической. Раствор хлорида лития раздражает слизистую оболочку.

Б.1.1.2.2. Раствор натриевой соли налидиксовой кислоты

Состав:

натриевая соль налидиксовой кислоты . . . . . . . . . . . . . . . . . . . . . 0,1 г
0,05 моль/дм3 раствора гидроксида натрия . . . . . . . . . . . . . . . . . . 10,0 см3

Приготовление

Натриевую соль налидиксовой кислоты растворяют в растворе гидроксида натрия и стерилизуют раствор путем фильтрования.

Б.1.1.2.3. Раствор акрифлавина гидрохлорида

Состав:

акрифлавин гидрохлорид . . . . . . . . . . . . . . . . . . . . . . . . . . . . . . . . 0,25 г
дистиллированная вода . . . . . . . . . . . . . . . . . . . . . . . . . . . . . . . . . 100 см3

Приготовление

Акрифлавин гидрохлорид растворяют в дистиллированной воде и стерилизуют раствор путем фильтрования.

Б.1.1.2.4. Раствор цитрата аммонийного железа (III)

Состав:

цитрат аммонийного железа (III) . . . . . . . . . . . . . . . . . . . . . . . . . . 5,0 г
дистиллированная вода . . . . . . . . . . . . . . . . . . . . . . . . . . . . . . . . . 100 см3

Приготовление

Цитрат аммонийного железа (III) растворяют в дистиллированной воде и стерилизуют раствор путем фильтрования.

Б.1.1.3. Готовая среда

Состав:

основа среды (см. Б.1.1.1) . . . . . . . . . . . . . . . . . . . . . . . . . . . . . . . . 100 см3
раствор хлорида лития (см. Б.1.1.2.1) . . . . . . . . . . . . . . . . . . . . . . . 1,0 см3
раствор натриевой соли налидиксовой кислоты (см. Б.1.1.2.2) . . 0,1 см3
раствор акрифлавина гидрохлорида (см. Б.1.1.2.3) . . . . . . . . . . . . 0,5 см3
раствор цитрата аммонийного железа (III) (см. Б.1.1.2.4) . . . . . . . 1,0 см3

Приготовление

В основу среды добавляют четыре раствора селективных добавок непосредственно перед использованием.

Б.1.2. Селективный накопительный бульон (UVM)

Состав:

триптоза . . . . . . . . . . . . . . . . . . . . . . . . . . . . . . . . . . . . . . . . . . . . . . 10,0 г
мясной экстракт . . . . . . . . . . . . . . . . . . . . . . . . . . . . . . . . . . . . . . . . 5,0 г
дрожжевой экстракт . . . . . . . . . . . . . . . . . . . . . . . . . . . . . . . . . . . . 5,0 г
хлористый натрий . . . . . . . . . . . . . . . . . . . . . . . . . . . . . . . . . . . . . . 20,0 г
фосфорнокислый натрий двузамещенный . . . . . . . . . . . . . . . . . . . 12,0 г
калий фосфорнокислый однозамещенный . . . . . . . . . . . . . . . . . . . 1,35 г
эскулин . . . . . . . . . . . . . . . . . . . . . . . . . . . . . . . . . . . . . . . . . . . . . . . . 1,0 г
налидиксовая кислота . . . . . . . . . . . . . . . . . . . . . . . . . . . . . . . . . . . . 20,0 мг
акрифлавин гидрохлорид . . . . . . . . . . . . . . . . . . . . . . . . . . . . . . . . . 12,0 мг
дистиллированная вода . . . . . . . . . . . . . . . . . . . . . . . . . . . . . . . . . . 1000,0 см3

Приготовление

Компоненты или сухую готовую среду растворяют в дистиллированной воде, нагревая при необходимости.

Устанавливают pH среды таким образом, чтобы после стерилизации его значение составляло (7,2 +/- 0,2) ед. pH. Разливают среду в колбы или во флаконы соответствующего объема в количестве 225 см3 и стерилизуют в автоклаве при температуре 121 °C в течение 15 мин.

Б.1.3. Питательный бульон для выделения и культивирования листерий (ПБЛ I)

Б.1.3.1. Основа среды

Состав:

гидролизат казеина ферментативный . . . . . . . . . . . . . . . . . . . . . . 10,0 г
пептон мясной ферментативный . . . . . . . . . . . . . . . . . . . . . . . . . . 15,0 г
гидролизат дрожжей автолизованных . . . . . . . . . . . . . . . . . . . . . 2,0 г
хлорид натрия . . . . . . . . . . . . . . . . . . . . . . . . . . . . . . . . . . . . . . . . . 3,5 г
хлорид лития . . . . . . . . . . . . . . . . . . . . . . . . . . . . . . . . . . . . . . . . . . 3,0 г
дистиллированная вода . . . . . . . . . . . . . . . . . . . . . . . . . . . . . . . . . 1000,0 см3

Приготовление

Компоненты или сухую готовую среду растворяют в дистиллированной воде, нагревая при необходимости.

Устанавливают pH среды таким образом, чтобы после стерилизации его значение составляло (7,0 +/- 0,2) ед. pH при температуре 25 °C. Разливают среду в колбы или флаконы соответствующего объема и стерилизуют в автоклаве при температуре 121 °C в течение 15 мин.

Б.1.3.2. Раствор селективной добавки

Состав:

налидиксовая кислота . . . . . . . . . . . . . . . . . . . . . . . . . . . . . . . . . . 10 мг
акрифлавин . . . . . . . . . . . . . . . . . . . . . . . . . . . . . . . . . . . . . . . . . . 5 мг
полимиксин B сульфат . . . . . . . . . . . . . . . . . . . . . . . . . . . . . . . . . 5 мг
стерильная дистиллированная вода . . . . . . . . . . . . . . . . . . . . . . 10 см3

Приготовление

Налидиксовую кислоту, акрифлавин и полимиксин B сульфат растворяют в стерильной дистиллированной воде.

Б.1.3.3. Готовая среда

Состав:

основа среды (см. Б.1.3.1) . . . . . . . . . . . . . . . . . . . . . . . . . . . . . . . 1000 см3
раствор селективной добавки (см. Б.1.3.2) . . . . . . . . . . . . . . . . . . 4,44 см3

Приготовление

В основу среды добавляют раствор селективной добавки. Среду хранят не более двух суток в защищенном от света месте при температуре не выше 8 °C.

Б.2. Селективные среды вторичного обогащения

Б.2.1. Бульон Фразера (Fraser broth)

Б.2.1.1. Основа среды

Состав:

мясной пептон (пептический перевар животной ткани) . . . . . . 5,0 г
триптон (ферментативный гидролизат казеина) . . . . . . . . . . . . . 5,0 г
мясной экстракт . . . . . . . . . . . . . . . . . . . . . . . . . . . . . . . . . . . . . . . 5,0 г
дрожжевой экстракт . . . . . . . . . . . . . . . . . . . . . . . . . . . . . . . . . . . . 5,0 г
хлорид натрия . . . . . . . . . . . . . . . . . . . . . . . . . . . . . . . . . . . . . . . . . 20,0 г
натрий фосфорнокислый двузамещенный . . . . . . . . . . . . . . . . . . 12,0 г
калий фосфорнокислый однозамещенный . . . . . . . . . . . . . . . . . . 1,35 г
эскулин . . . . . . . . . . . . . . . . . . . . . . . . . . . . . . . . . . . . . . . . . . . . . . . 1,0 г
хлорид лития . . . . . . . . . . . . . . . . . . . . . . . . . . . . . . . . . . . . . . . . . . 3,0 г
натриевая соль налидиксовой кислоты . . . . . . . . . . . . . . . . . . . . . 0,1 г
дистиллированная вода . . . . . . . . . . . . . . . . . . . . . . . . . . . . . . . . . . 1000 см3

Приготовление

Компоненты или сухую готовую среду растворяют в дистиллированной воде, нагревая ее при необходимости.

Устанавливают pH среды таким образом, чтобы после стерилизации его значение составляло (7,2 +/- 0,2) ед. pH при температуре 25 °C. Разливают основу среды в колбы или флаконы соответствующего объема в количестве необходимом для проведения анализа и стерилизуют в автоклаве при температуре 121 °C в течение 15 мин.

Б.2.1.2. Растворы селективных добавок

Б.2.1.2.1. Раствор акрифлавина гидрохлорида - по Б.1.1.2.3.

Б.2.1.2.2. Раствор цитрата аммонийного железа (III) - по Б.1.1.2.4.

Б.2.1.3. Готовая среда

Приготовление

В пробирки с 10 см3 основы среды (см. Б.2.1.1) добавляют по 0,1 см3 раствора акрифлавина гидрохлорида (см. Б.2.1.2.1) и раствор цитрата аммонийного железа (III) (см. Б.2.1.2.2) непосредственно перед использованием.

Б.2.2. Селективный накопительный бульон (UVM II)

Б.2.2.1. Основа среды

Согласно Б.1.2.

Б.2.2.2. Раствор акрифлавина гидрохлорида

Состав:

акрифлавин гидрохлорид . . . . . . . . . . . . . . . . . . . . . . . . . . . . . . . . 13 мг
стерильная дистиллированная вода . . . . . . . . . . . . . . . . . . . . . . . 10 см3

Приготовление

Акрифлавин гидрохлорид растворяют в стерильной дистиллированной воде.

Б.2.2.3. Готовая среда

Состав:

основа среды (см. Б.2.2.1) . . . . . . . . . . . . . . . . . . . . . . . . . . . . . . . 1000 см3
раствор акрифлавина гидрохлорида (см. Б.2.2.2) . . . . . . . . . . . . 4,44 см3

Приготовление

К 1000,0 см3 основы среды (см. Б.2.2.1) добавляют раствор акрифлавина гидрохлорида (см. Б.2.2.2).

Б.2.3. Питательный бульон для выделения и культивирования листерий (ПБЛ II)

Б.2.3.1. Основа среды

Согласно Б.1.3.

Б.2.3.2. Раствор селективной добавки

Состав:

налидиксовая кислота . . . . . . . . . . . . . . . . . . . . . . . . . . . . . . . . . . . 10 мг
акрифлавин гидрохлорид . . . . . . . . . . . . . . . . . . . . . . . . . . . . . . . . 5 мг
полимиксин B сульфат . . . . . . . . . . . . . . . . . . . . . . . . . . . . . . . . . . 5 мг
стерильная дистиллированная вода . . . . . . . . . . . . . . . . . . . . . . . 5 см3

Приготовление

Налидиксовую кислоту, акрифлавин гидрохлорид и полимиксин B сульфат растворяют в стерильной дистиллированной воде.

Б.2.3.3. Готовая среда

Состав:

основа среды (см. Б.2.3.1) . . . . . . . . . . . . . . . . . . . . . . . . . . . . . . . . 1000 см3
раствор селективной добавки (см. Б.2.3.2) . . . . . . . . . . . . . . . . . . 4,44 см3

Приготовление

В основу среды (см. Б.2.3.1) добавляют раствор селективной добавки (см. Б.2.3.2) и разливают в стерильные пробирки по 10 см3. Среду хранят не более двух суток в защищенном от света месте при температуре не выше 8 °C.

Б.2.4. Бульон для обогащения Listeria monocytogenes (LMX Broth)

Б.2.4.1. Основа среды

Состав:

ферментативный перевар животных тканей (бычьих/свиных) . 5 г
ферментативный перевар казеина (бычий) . . . . . . . . . . . . . . . . . 5 г
мясной экстракт (бычий/свиной) . . . . . . . . . . . . . . . . . . . . . . . . . 5 г
дрожжевой экстракт . . . . . . . . . . . . . . . . . . . . . . . . . . . . . . . . . . . . 5 г
буфер . . . . . . . . . . . . . . . . . . . . . . . . . . . . . . . . . . . . . . . . . . . . . . . . . 18,32 г
смесь солей . . . . . . . . . . . . . . . . . . . . . . . . . . . . . . . . . . . . . . . . . . . 11 г
глюкоза . . . . . . . . . . . . . . . . . . . . . . . . . . . . . . . . . . . . . . . . . . . . . . . 2 г
акрифлавин гидрохлорид . . . . . . . . . . . . . . . . . . . . . . . . . . . . . . . . 0,005 г
налидиксовая кислота . . . . . . . . . . . . . . . . . . . . . . . . . . . . . . . . . . . 0,01 г
очищенная вода . . . . . . . . . . . . . . . . . . . . . . . . . . . . . . . . . . . . . . . . 1000 см3

Б.2.4.2. Раствор селективной добавки

Состав:

цефалексин . . . . . . . . . . . . . . . . . . . . . . . . . . . . . . . . . . . . . . . . . . . . >= 1%
фосфомицин . . . . . . . . . . . . . . . . . . . . . . . . . . . . . . . . . . . . . . . . . . . >= 1%
смесь антибиотиков/противогрибковых препаратов . . . . . . . . . > 2%

Б.3. Селективные плотные среды для пересева

Б.3.1. Первая среда

Б.3.1.1. Агар Listeria по Оттавиани и Агости (ALOA)

Б.3.1.1.1. Основа среды

Состав:

ферментативный перевар животного белка . . . . . . . . . . . . . . . . . 18,0 г
панкреатический гидролизат казеина . . . . . . . . . . . . . . . . . . . . . . 6,0 г
дрожжевой экстракт . . . . . . . . . . . . . . . . . . . . . . . . . . . . . . . . . . . . 10,0 г
пируват натрия . . . . . . . . . . . . . . . . . . . . . . . . . . . . . . . . . . . . . . . . 2,0 г
глюкоза . . . . . . . . . . . . . . . . . . . . . . . . . . . . . . . . . . . . . . . . . . . . . . . 2,0 г
глицерофосфат магния . . . . . . . . . . . . . . . . . . . . . . . . . . . . . . . . . . 1,0 г
сульфат магния (безводный) . . . . . . . . . . . . . . . . . . . . . . . . . . . . . 0,5 г
хлорид натрия . . . . . . . . . . . . . . . . . . . . . . . . . . . . . . . . . . . . . . . . . 5,0 г
хлорид лития . . . . . . . . . . . . . . . . . . . . . . . . . . . . . . . . . . . . . . . . . . 10,0 г
натрий фосфорнокислый двузамещенный (безводный) . . . . . . . 2,5 г
5-бромо-4-хлоро-3-индолил--D-глюкопиранозид . . . . . . . . . . . . 0,05 г
агар . . . . . . . . . . . . . . . . . . . . . . . . . . . . . . . . . . . . . . . . . . . . . . . . . . 12,0 - 18,0 г <*>
дистиллированная вода . . . . . . . . . . . . . . . . . . . . . . . . . . . . . . . . . 930 см3 <**>

<*> В зависимости от плотности среды.

<**> 925 см3, если используют раствор амфотерицина B.

Приготовление

Компоненты или сухую готовую среду растворяют при нагревании в дистиллированной воде.

Устанавливают pH среды таким образом, чтобы после стерилизации его значение составляло (7,2 +/- 0,2) ед. pH. Разливают основу среды в колбы или флаконы соответствующего объема и стерилизуют в автоклаве при температуре 121 °C в течение 15 мин.

Б.3.1.1.2. Растворы селективных добавок

Б.3.1.1.2.1. Раствор налидиксовой кислоты

Состав:

натриевая соль налидиксовой кислоты . . . . . . . . . . . . . . . . . . . . 0,02 г
0,05 моль/дм3 раствора гидроксида натрия . . . . . . . . . . . . . . . . . 5,0 см3

Приготовление

Натриевую соль налидиксовой кислоты растворяют в 5 см3 0,05 моль/дм3 раствора гидроксида натрия и стерилизуют раствор путем фильтрования.

Б.3.1.1.2.2. Раствор цефтазидима

Состав:

цефтазидим . . . . . . . . . . . . . . . . . . . . . . . . . . . . . . . . . . . . . . . . . . . 0,02 г
дистиллированная вода . . . . . . . . . . . . . . . . . . . . . . . . . . . . . . . . . 5,0 см3

Приготовление

Цефтазидим растворяют в 5 см3 дистиллированной воды и стерилизуют раствор путем фильтрования через мембрану с диаметром пор 0,45 мкм.

Б.3.1.1.2.3. Раствор полимиксина B сульфата

Состав:

полимиксин B сульфат . . . . . . . . . . . . . . . . . . . . . . . . . . . . . . . . . . 76700,0 е.а.
дистиллированная вода . . . . . . . . . . . . . . . . . . . . . . . . . . . . . . . . . 5,0 см3

Приготовление

Полимиксин B сульфат растворяют в 5 см3 дистиллированной воды и стерилизуют раствор путем фильтрования через мембрану с диаметром пор 0,45 мкм.

Б.3.1.1.3. Растворы антибиотиков

Б.3.1.1.3.1. Раствор циклогексимида

Состав:

циклогексимид . . . . . . . . . . . . . . . . . . . . . . . . . . . . . . . . . . . . . . . . . 0,05 г
этанол . . . . . . . . . . . . . . . . . . . . . . . . . . . . . . . . . . . . . . . . . . . . . . . . 2,5 см3
дистиллированная вода . . . . . . . . . . . . . . . . . . . . . . . . . . . . . . . . . 2,5 см3

Приготовление

Циклогексимид растворяют в 2,5 см3 этанола, затем добавляют 2,5 см3 дистиллированной воды и стерилизуют раствор путем фильтрования через мембрану с диаметром пор 0,45 мкм.

Б.3.1.1.3.2. Раствор амфотерицина B (используется как альтернатива для раствора циклогексимида)

Состав:

амфотерицин B . . . . . . . . . . . . . . . . . . . . . . . . . . . . . . . . . . . . . . . . 0,01 г
1 моль/дм3 раствора соляной кислоты . . . . . . . . . . . . . . . . . . . . . 2,5 см3
диметилформамид (DMF) . . . . . . . . . . . . . . . . . . . . . . . . . . . . . . . . 7,5 см3

Приготовление

Амфотерицин растворяют в растворе соляной кислоты и диметилформамида (DMF) и стерилизуют раствор путем фильтрования через мембрану с диаметром пор 0,45 мкм.

Предупреждение - Раствор соляной кислоты и диметилформамид (DMF) очень токсичны. Обращаться с осторожностью.

Б.3.1.1.4. Дифференциальная добавка

Состав:

L--фосфатидилинозитал (Sigma P 6636) <*> . . . . . . . . . 2,0 г
холодная дистиллированная вода . . . . . . . . . . . . . . . . . . . . . . . . . 50 см3

<*> Данная информация является рекомендуемой и приведена для удобства пользователей настоящего стандарта.

Приготовление

L--фосфатидилинозитол (Sigma P 6636) растворяют в холодной дистиллированной воде. Раствор перемешивают в течение 30 мин до получения гомогенной суспензии. Автоклавируют при температуре 121 °C в течение 15 мин с последующим охлаждением до температуры (47 +/- 2) °C.

Б.3.1.1.5. Готовая среда

Состав:

основа среды (см. Б.3.1.1.1) . . . . . . . . . . . . . . . . . . . . . . . . . . . . . . 930,0 см3 <*>
раствор налидиксовой кислоты (см. Б.3.1.1.2.1) . . . . . . . . . . . . . 5,0 см3
раствор цефтазидима (см. Б.3.1.1.2.2) . . . . . . . . . . . . . . . . . . . . . . 5,0 см3
раствор полимиксина B сульфата (см. Б.3.1.1.2.3) . . . . . . . . . . . . 5,0 см3
раствор циклогексимида (см. Б.3.1.1.3.1) . . . . . . . . . . . . . . . . . . . 5,0 см3
или амфотерицина B (см. Б.3.1.1.3.2) . . . . . . . . . . . . . . . . . . . . . . 10,0 см3
дифференциальная добавка (см. Б.3.1.1.4) . . . . . . . . . . . . . . . . . . 50,0 см3

<*> 925 см3, если используют раствор амфотерицина B.

Приготовление

В расплавленную и охлажденную на водяной бане до температуры (47 +/- 2) °C основу среды (см. Б.3.1.1.1) добавляют растворы ингибиторов (см. Б.3.1.1.2.1, Б.3.1.1.2.2, Б.3.1.1.2.3), антибиотиков (см. Б.3.1.1.3.1, Б.3.1.1.3.2) и дифференциальную добавку (см. Б.3.1.1.4), тщательно перемешивая после каждого добавления.

pH готовой среды должен составлять (7,2 +/- 0,2) ед. pH.

Готовая среда должна быть гомогенной и непрозрачной.

В стерильные чашки Петри разливают свежеприготовленную готовую среду приблизительно по 15 - 20 см3 и дают агару затвердеть.

Непосредственно перед применением среда в чашках должна быть подсушена в соответствии с ГОСТ ISO 11133.

Б.3.1.2. Оценка качества первой среды

Определение селективности и продуктивности питательной среды необходимо проводить согласно ГОСТ ISO 11133.

Б.3.2. Вторая селективная среда для посева

Б.3.2.1. Оксфорд агар (Oxford agar)

Б.3.2.1.1. Основа среды

Состав:

пептон . . . . . . . . . . . . . . . . . . . . . . . . . . . . . . . . . . . . . . . . . . . . . . . . 23,0 г
крахмал . . . . . . . . . . . . . . . . . . . . . . . . . . . . . . . . . . . . . . . . . . . . . . . 1,0 г
хлорид натрия . . . . . . . . . . . . . . . . . . . . . . . . . . . . . . . . . . . . . . . . . 5,0 г
эскулин . . . . . . . . . . . . . . . . . . . . . . . . . . . . . . . . . . . . . . . . . . . . . . . 1,0 г
цитрат аммонийного железа (III) . . . . . . . . . . . . . . . . . . . . . . . . . . 0,5 г
хлорид лития . . . . . . . . . . . . . . . . . . . . . . . . . . . . . . . . . . . . . . . . . . 15,0 г
агар . . . . . . . . . . . . . . . . . . . . . . . . . . . . . . . . . . . . . . . . . . . . . . . . . . 9,0 - 18,0 г <**>
дистиллированная вода . . . . . . . . . . . . . . . . . . . . . . . . . . . . . . . . . 1000,0 см3

<**> В зависимости от плотности среды

Приготовление

Компоненты или сухую готовую среду растворяют в дистиллированной воде при нагревании.

Устанавливают pH среды таким образом, чтобы после стерилизации его значение составляло (7,0 +/- 0,2) ед. pH. Разливают основу среды в колбы или флаконы соответствующего объема и стерилизуют в автоклаве при температуре 121 °C в течение 15 мин.

Б.3.2.1.2. Раствор селективной добавки

Состав:

циклогексимид . . . . . . . . . . . . . . . . . . . . . . . . . . . . . . . . . . . . . . . . . 400,0 мг
сульфат колистина (полимиксин E) . . . . . . . . . . . . . . . . . . . . . . . . 20,0 мг
акрифлавин гидрохлорид . . . . . . . . . . . . . . . . . . . . . . . . . . . . . . . . 5,0 мг
цефотетан . . . . . . . . . . . . . . . . . . . . . . . . . . . . . . . . . . . . . . . . . . . . . 2,0 мг
фосфомицин . . . . . . . . . . . . . . . . . . . . . . . . . . . . . . . . . . . . . . . . . . . 10,0 мг
этанол . . . . . . . . . . . . . . . . . . . . . . . . . . . . . . . . . . . . . . . . . . . . . . . . 5,0 см3
дистиллированная вода . . . . . . . . . . . . . . . . . . . . . . . . . . . . . . . . . 5,0 см3

Приготовление

Компоненты добавки растворяют в смеси этанола и воды. Стерилизуют раствор фильтрованием.

Б.3.2.1.3. Готовая среда

Приготовление

В расплавленную и охлажденную на водяной бане до температуры (47 +/- 2) °C основу среды (см. Б.3.2.1.1) добавляют, тщательно перемешивая, раствор селективной добавки (см. Б.3.2.1.2).

В стерильные чашки Петри разливают свежеприготовленную готовую среду приблизительно по 15 - 20 см3 и дают агару затвердеть.

Непосредственно перед применением среда в чашках должна быть подсушена в соответствии с ГОСТ ISO 11133.

Б.3.2.2. Палкам агар (PALCAM agar)

Б.3.2.2.1. Основа среды

Состав:

пептон . . . . . . . . . . . . . . . . . . . . . . . . . . . . . . . . . . . . . . . . . . . . . . . . 23,0 г
крахмал . . . . . . . . . . . . . . . . . . . . . . . . . . . . . . . . . . . . . . . . . . . . . . . 1,0 г
хлорид натрия . . . . . . . . . . . . . . . . . . . . . . . . . . . . . . . . . . . . . . . . . 5,0 г
дрожжевой экстракт . . . . . . . . . . . . . . . . . . . . . . . . . . . . . . . . . . . . 3,0 г
D-глюкоза . . . . . . . . . . . . . . . . . . . . . . . . . . . . . . . . . . . . . . . . . . . . 0,5 г
D-маннит . . . . . . . . . . . . . . . . . . . . . . . . . . . . . . . . . . . . . . . . . . . . . 10,0 г
эскулин . . . . . . . . . . . . . . . . . . . . . . . . . . . . . . . . . . . . . . . . . . . . . . . 0,8 г
цитрат аммонийного железа (III) . . . . . . . . . . . . . . . . . . . . . . . . . . 0,5 г
феноловый красный . . . . . . . . . . . . . . . . . . . . . . . . . . . . . . . . . . . . 0,08 г
хлорид лития . . . . . . . . . . . . . . . . . . . . . . . . . . . . . . . . . . . . . . . . . . 15,0 г
агар . . . . . . . . . . . . . . . . . . . . . . . . . . . . . . . . . . . . . . . . . . . . . . . . . . 9,0 - 18,0 г <*>
дистиллированная вода . . . . . . . . . . . . . . . . . . . . . . . . . . . . . . . . . 960,0 см3

<*> В зависимости от плотности среды.

Приготовление

Компоненты или сухую готовую среду растворяют в дистиллированной воде при нагревании.

Устанавливают pH среды таким образом, чтобы после стерилизации его значение составляло (7,2 +/- 0,2) ед. pH. Разливают основу среды в колбы или флаконы соответствующего объема и стерилизуют в автоклаве при температуре 121 °C в течение 15 мин.

Б.3.2.2.2. Раствор полимиксина B сульфата

Состав:

полимиксин B сульфат (100000 е.а.) . . . . . . . . . . . . . . . . . . . . . . . 0,1 г
дистиллированная вода . . . . . . . . . . . . . . . . . . . . . . . . . . . . . . . . . 100 см3

Приготовление

Растворяют полимиксин B сульфат в воде. Стерилизуют раствор фильтрованием.

Б.3.2.2.3. Раствор акрифлавина гидрохлорида

Состав:

акрифлавин гидрохлорид . . . . . . . . . . . . . . . . . . . . . . . . . . . . . . . . 0,05 г
дистиллированная вода . . . . . . . . . . . . . . . . . . . . . . . . . . . . . . . . . 100 см3

Приготовление

Растворяют акрифлавин гидрохлорид в дистиллированной воде. Стерилизуют раствор фильтрованием.

Б.3.2.2.4. Раствор пентагидрата цефтазидима натрия

Состав:

пентагидрат цефтазидима натрия . . . . . . . . . . . . . . . . . . . . . . . . . 0,116 г
дистиллированная вода . . . . . . . . . . . . . . . . . . . . . . . . . . . . . . . . . 100 см3

Приготовление

Растворяют пентагидрат цефтазидима натрия в воде. Стерилизуют раствор фильтрованием.

Б.3.2.2.5. Готовая среда

Состав:

основа агара . . . . . . . . . . . . . . . . . . . . . . . . . . . . . . . . . . . . . . . . . . . 960,0 см3
раствор полимиксин B сульфата . . . . . . . . . . . . . . . . . . . . . . . . . . 10,0 см3
раствор акрифлавина гидрохлорида . . . . . . . . . . . . . . . . . . . . . . . 10,0 см3
раствор пентагидрата цефтазидима натрия . . . . . . . . . . . . . . . . . 20,0 см3

Приготовление

В расплавленную и охлажденную на водяной бане до (47 +/- 2) °C основу среды (см. Б.3.2.2.1), добавляют, тщательно перемешивая, растворы добавок (см. Б.3.2.2.2, Б.3.2.2.3).

В стерильные чашки Петри разливают свежеприготовленную готовую среду приблизительно по 15 - 20 см3 и дают агару затвердеть.

Непосредственно перед применением среда в чашках должна быть подсушена в соответствии с ГОСТ ISO 11133.

Б.3.2.3. Питательный агар для выделения листерий (ПАЛ)

Б.3.2.3.1. Основа среды

Состав:

гидролизат казеина панкреатический . . . . . . . . . . . . . . . . . . . . . . 10,0 г
гидролизат рыбной муки панкреатический . . . . . . . . . . . . . . . . . 15,0 г
гидролизат автолизованных дрожжей . . . . . . . . . . . . . . . . . . . . . 2,0 г
хлорид натрия . . . . . . . . . . . . . . . . . . . . . . . . . . . . . . . . . . . . . . . . . 3,5 г
хлорид лития . . . . . . . . . . . . . . . . . . . . . . . . . . . . . . . . . . . . . . . . . . 15,0 г
цитрат аммонийного железа . . . . . . . . . . . . . . . . . . . . . . . . . . . . . 0,5 г
эскулин . . . . . . . . . . . . . . . . . . . . . . . . . . . . . . . . . . . . . . . . . . . . . . . 0,8 г
агар . . . . . . . . . . . . . . . . . . . . . . . . . . . . . . . . . . . . . . . . . . . . . . . . . . 13,0 г
дистиллированная вода . . . . . . . . . . . . . . . . . . . . . . . . . . . . . . . . . до 1000,0 см3

Приготовление

Компоненты растворяют в дистиллированной воде при нагревании и тщательно перемешивают до полного растворения. Устанавливают pH (7,0 +/- 0,2) ед. pH и стерилизуют в автоклаве при температуре (121 +/- 1) °C в течение 15 мин.

Б.3.2.3.2. Раствор селективной добавки

Состав:

налидиксовая кислота . . . . . . . . . . . . . . . . . . . . . . . . . . . . . . . . . . . 20 мг
акрифлавин гидрохлорид . . . . . . . . . . . . . . . . . . . . . . . . . . . . . . . . 10 мг
полимиксин B сульфат . . . . . . . . . . . . . . . . . . . . . . . . . . . . . . . . . . 10 мг
стерильная дистиллированная вода . . . . . . . . . . . . . . . . . . . . . . . 10 см3

Приготовление

Налидиксовую кислоту, акрифлавин и полимиксин B сульфат растворяют в стерильном физиологическом растворе.

Б.3.2.3.3. Готовая среда

Состав:

основа среды (см. Б.3.2.3.1) . . . . . . . . . . . . . . . . . . . . . . . . . . . . . . 1000 см3
раствор селективной добавки (см. Б.3.2.3.2) . . . . . . . . . . . . . . . . 4,44 см3

Приготовление

К расплавленной основе среды добавляют с соблюдением правил асептики раствор селективной добавки. Готовую среду разливают в стерильные чашки Петри и хранят не более двух суток в защищенном от света месте при температуре не выше 8 °C.

Б.3.2.4. Бриллианс Listeria агар (BRILLIANCE LISTERIA agar)

Б.3.2.4.1. Основа среды

Состав:

пептон . . . . . . . . . . . . . . . . . . . . . . . . . . . . . . . . . . . . . . . . . . . . . . . 18,5 г
дрожжевой экстракт . . . . . . . . . . . . . . . . . . . . . . . . . . . . . . . . . . . . 4,0 г
хлорид натрия . . . . . . . . . . . . . . . . . . . . . . . . . . . . . . . . . . . . . . . . . 9,5 г
пируват натрия . . . . . . . . . . . . . . . . . . . . . . . . . . . . . . . . . . . . . . . . 2,0 г
хлорид лития . . . . . . . . . . . . . . . . . . . . . . . . . . . . . . . . . . . . . . . . . . 15,0 г
мальтоза . . . . . . . . . . . . . . . . . . . . . . . . . . . . . . . . . . . . . . . . . . . . . . 4,0 г
5-бромо-4-хлоро-3-индолил--D-глюкопиранозид. . . . . . . . . . . . 0,2 г
агар . . . . . . . . . . . . . . . . . . . . . . . . . . . . . . . . . . . . . . . . . . . . . . . . . . 14,0 г
дистиллированная вода . . . . . . . . . . . . . . . . . . . . . . . . . . . . . . . . . 930 см3 <*>

<*> 925 см3, если используют раствор амфотерицина B.

Приготовление

Компоненты или сухую готовую среду растворяют при нагревании в дистиллированной воде.

Устанавливают pH среды таким образом, чтобы после стерилизации его значение составляло (7,2 +/- 0,2) ед. pH. Разливают основу среды в колбы или флаконы соответствующего объема и стерилизуют в автоклаве при температуре 121 °C в течение 15 мин.

Б.3.2.4.2. Растворы селективных добавок

Б.3.2.4.2.1. Раствор налидиксовой кислоты

Состав:

натриевая соль налидиксовой кислоты . . . . . . . . . . . . . . . . . . . . . 0,02 г
0,05 моль/дм3 раствора гидроксида натрия . . . . . . . . . . . . . . . . . . 5,0 см3

Приготовление

Натриевую соль налидиксовой кислоты растворяют в 5 см3 0,05 моль/дм3 раствора гидроксида натрия и стерилизуют раствор путем фильтрования.

Б.3.2.4.2.2. Раствор цефтазидима

Состав:

цефтазидим . . . . . . . . . . . . . . . . . . . . . . . . . . . . . . . . . . . . . . . . . . . . 0,02 г
дистиллированная вода . . . . . . . . . . . . . . . . . . . . . . . . . . . . . . . . . . 5,0 см3

Приготовление

Цефтазидим растворяют в 5 см3 дистиллированной воды и стерилизуют раствор путем фильтрования через мембрану с диаметром пор 0,45 мкм.

Б.3.2.4.2.3. Раствор полимиксина B сульфата

Состав:

полимиксин B сульфат . . . . . . . . . . . . . . . . . . . . . . . . . . . . . . . . . . 76700,0 е.а.
дистиллированная вода . . . . . . . . . . . . . . . . . . . . . . . . . . . . . . . . . 5,0 см3

Приготовление

Полимиксин B сульфат растворяют в дистиллированной воде и стерилизуют раствор путем фильтрования через мембрану с диаметром пор 0,45 мкм.

Б.3.2.4.3. Растворы антибиотиков

Б.3.2.4.3.1. Раствор циклогексимида

Состав:

циклогексимид . . . . . . . . . . . . . . . . . . . . . . . . . . . . . . . . . . . . . . . . . 0,05 г
этанол . . . . . . . . . . . . . . . . . . . . . . . . . . . . . . . . . . . . . . . . . . . . . . . . 2,5 см3
дистиллированная вода . . . . . . . . . . . . . . . . . . . . . . . . . . . . . . . . . 2,5 см3

Приготовление

Циклогексимид растворяют в 2,5 см3 этанола, затем добавляют 2,5 см3 дистиллированной воды и стерилизуют раствор путем фильтрования через мембрану с диаметром пор 0,45 мкм.

Б.3.2.4.3.2. Раствор амфотерицина B (используют, как альтернативу для раствора циклогексимида)

Состав:

амфотерицин B . . . . . . . . . . . . . . . . . . . . . . . . . . . . . . . . . . . . . . . . 0,01 г
1 моль/дм3 раствора соляной кислоты . . . . . . . . . . . . . . . . . . . . . 2,5 см3
диметилформамид (DMF) . . . . . . . . . . . . . . . . . . . . . . . . . . . . . . . 7,5 см3

Приготовление

Амфотерицин B растворяют в растворе соляной кислоты и диметилформамида (DMF) и стерилизуют раствор путем фильтрования через мембрану с диаметром пор 0,45 мкм.

Предупреждение - Раствор соляной кислоты и диметилформамид (DMF) очень токсичны. Обращаться с осторожностью.

Б.3.2.4.4. Дифференциальная добавка

Состав:

L--фосфатидилинозитал (Sigma P 6636) <*> . . . . . . . . . 2,0 г
холодная дистиллированная вода . . . . . . . . . . . . . . . . . . . . . . . . . 50,0 см3

<*> Данная информация является рекомендуемой и приведена для удобства пользователей настоящего стандарта.

Приготовление

L--фосфатидилинозитал (Sigma P 6636) растворяют в холодной дистиллированной воде. Раствор перемешивают в течение 30 мин до получения гомогенной суспензии. Автоклавируют при температуре 121 °C в течение 15 мин с последующим охлаждением до температуры (47 +/- 2) °C.

Б.3.2.4.5. Готовая среда

Состав:

основа среды (см. Б.3.1.1.1) . . . . . . . . . . . . . . . . . . . . . . . . . . . . . . 933,0 см3 <*>
раствор налидиксовой кислоты (см. Б.3.1.1.2.1) . . . . . . . . . . . . . 5,0 см3
раствор цефтазидима (см. Б.3.1.1.2.2) . . . . . . . . . . . . . . . . . . . . . . 5,0 см3
раствор полимиксина B сульфата (см. Б.3.1.1.2.3) . . . . . . . . . . . . 5,0 см3
раствор циклогексимида (см. Б.3.1.1.3.1) . . . . . . . . . . . . . . . . . . . 5,0 см3
или амфотерицина B (см. Б.3.1.1.3.2) . . . . . . . . . . . . . . . . . . . . . . 10,0 см3
дифференциальная добавка (см. Б.3.1.1.4) . . . . . . . . . . . . . . . . . . 50,0 см3

<*> 925 см3, если используют раствор амфотерицина B.

Приготовление

В расплавленную и охлажденную на водяной бане до температуры (47 +/- 2) °C основу среды (см. Б.3.1.1.1) добавляют растворы ингибиторов (см. Б.3.1.1.2.1, Б.3.1.1.2.2, Б.3.1.1.2.3), антибиотиков (см. Б.3.1.1.3.1, Б.3.1.1.3.2) и дифференциальную добавку (см. Б.3.1.1.4), тщательно перемешивая после каждого добавления.

pH готовой среды должен составлять (7,2 +/- 0,2) ед. pH.

Готовая среда должна быть гомогенной и непрозрачной.

В стерильные чашки Петри разливают свежеприготовленную готовую среду приблизительно по 15 - 20 см3 и дают агару затвердеть.

Непосредственно перед применением среда в чашках должна быть подсушена в соответствии с ГОСТ ISO 11133.

Б.4. Питательные среды, используемые для изучения культурально-морфологических свойств

Б.4.1. Плотные питательные среды

Б.4.1.1. Триптон-соевый агар с дрожжевым экстрактом (TSYEA)

Состав:

триптон или панкреатический гидролизат казеина . . . . . . . . . . . 17,0 г
соевый пептон . . . . . . . . . . . . . . . . . . . . . . . . . . . . . . . . . . . . . . . . . 3,0 г
хлорид натрия . . . . . . . . . . . . . . . . . . . . . . . . . . . . . . . . . . . . . . . . . 5,0 г
калий фосфорнокислый двузамещенный . . . . . . . . . . . . . . . . . . . 2,5 г
глюкоза . . . . . . . . . . . . . . . . . . . . . . . . . . . . . . . . . . . . . . . . . . . . . . 2,5 г
дрожжевой экстракт . . . . . . . . . . . . . . . . . . . . . . . . . . . . . . . . . . . 6,0 г
агар . . . . . . . . . . . . . . . . . . . . . . . . . . . . . . . . . . . . . . . . . . . . . . . . . . 9,0 - 18,0 г <**>
дистиллированная вода . . . . . . . . . . . . . . . . . . . . . . . . . . . . . . . . . 1000,0 см3

<**> В зависимости от плотности среды.

Приготовление

Растворяют компоненты или сухую готовую среду в дистиллированной воде, нагревая. При необходимости устанавливают pH так, чтобы после стерилизации его значение соответствовало (7,3 +/- 0,2) ед. pH при температуре 25 °C. Среду необходимого объема разливают в пробирки. Стерилизуют в автоклаве при температуре 121 °C в течение 15 мин. Скашивают агар. Для приготовления чашек с агаром готовую среду разливают в стерильные чашки Петри в объеме, необходимом для проведения теста. Дают агару застыть.

Б.4.1.2. Трипказо-соевый агар (TSA)

Состав:

триптон . . . . . . . . . . . . . . . . . . . . . . . . . . . . . . . . . . . . . . . . . . . . . . 15,0 г
соевый пептон . . . . . . . . . . . . . . . . . . . . . . . . . . . . . . . . . . . . . . . . 5,0 г
хлорид натрия . . . . . . . . . . . . . . . . . . . . . . . . . . . . . . . . . . . . . . . . 5,0 г
агар . . . . . . . . . . . . . . . . . . . . . . . . . . . . . . . . . . . . . . . . . . . . . . . . . 5,0 г
дистиллированная вода . . . . . . . . . . . . . . . . . . . . . . . . . . . . . . . . 1000,0 см3

Приготовление

Растворяют компоненты или сухую готовую среду в дистиллированной воде, нагревая. Устанавливают pH (7,3 +/- 0,2) ед. pH и стерилизуют при температуре (121 +/- 1) °C в течение 15 мин.

Приготовленную среду разливают в чашки Петри и хранят в защищенном от света месте при температуре не выше 8 °C.

Б.4.1.3. Мясопептонный агар (МПА)

Готовят по ГОСТ 10444.1-84 (подраздел 5.12).

Б.4.2. Жидкие питательные среды

Б.4.2.1. Триптон-соевый бульон с дрожжевым экстрактом (TSYEB)

Состав:

триптон или панкреатический гидролизат казеина . . . . . . . . . . 17,0 г
соевый пептон . . . . . . . . . . . . . . . . . . . . . . . . . . . . . . . . . . . . . . . . 3,0 г
хлорид натрия . . . . . . . . . . . . . . . . . . . . . . . . . . . . . . . . . . . . . . . . 5,0 г
калий фосфорнокислый двузамещенный . . . . . . . . . . . . . . . . . . . 2,5 г
глюкоза . . . . . . . . . . . . . . . . . . . . . . . . . . . . . . . . . . . . . . . . . . . . . . 2,5 г
дрожжевой экстракт . . . . . . . . . . . . . . . . . . . . . . . . . . . . . . . . . . . 6,0 г
дистиллированная вода . . . . . . . . . . . . . . . . . . . . . . . . . . . . . . . . . 1000,0 см3

Приготовление

Компоненты или сухую готовую среду растворяют в дистиллированной воде, при необходимости нагревая. Устанавливают pH (7,3 +/- 0,2) ед. pH. Среду разливают в пробирки или колбы и стерилизуют при температуре (121 +/- 1) °C в течение 15 мин.

Б.4.2.2. Трипказо-соевый бульон (TSB)

Состав:

триптон . . . . . . . . . . . . . . . . . . . . . . . . . . . . . . . . . . . . . . . . . . . . . . 17,0 г
соевый пептон . . . . . . . . . . . . . . . . . . . . . . . . . . . . . . . . . . . . . . . . 3,0 г
хлорид натрия . . . . . . . . . . . . . . . . . . . . . . . . . . . . . . . . . . . . . . . . . 5,0 г
калий фосфорнокислый однозамещенный . . . . . . . . . . . . . . . . . . 2,5 г
декстроза . . . . . . . . . . . . . . . . . . . . . . . . . . . . . . . . . . . . . . . . . . . . . 2,5 г
дистиллированная вода . . . . . . . . . . . . . . . . . . . . . . . . . . . . . . . . . 1000,0 см3

Приготовление

Компоненты или сухую готовую среду растворяют в дистиллированной воде, при необходимости нагревая. Устанавливают pH (7,3 +/- 0,2) ед. pH. Среду разливают в пробирки или колбы и стерилизуют при температуре (121 +/- 1) °C в течение 15 мин.

Приготовленную среду хранят в защищенном от света месте при температуре не выше 8 °C.

Б.4.2.3. Мясопептонный бульон (МПБ)

Готовят по ГОСТ 10444.1-84 (подраздел 5.12).

Б.5. Среда для определения -гемолитической активности

Б.5.1. Кровяной агар

Б.5.1.1. Основа среды (вариант 1)

Состав:

мясной пептон . . . . . . . . . . . . . . . . . . . . . . . . . . . . . . . . . . . . . . . . . 15,0 г
печеночный перевар . . . . . . . . . . . . . . . . . . . . . . . . . . . . . . . . . . . . 2,5 г
дрожжевой экстракт . . . . . . . . . . . . . . . . . . . . . . . . . . . . . . . . . . . . 5,0 г
хлорид натрия . . . . . . . . . . . . . . . . . . . . . . . . . . . . . . . . . . . . . . . . . 5,0 г
агар . . . . . . . . . . . . . . . . . . . . . . . . . . . . . . . . . . . . . . . . . . . . . . . . . . 9,0 - 18,0 г <*>
дистиллированная вода . . . . . . . . . . . . . . . . . . . . . . . . . . . . . . . . . 1000,0 см3

<*> В зависимости от плотности среды.

Приготовление

Компоненты или сухую готовую среду растворяют в дистиллированной воде, нагревая на водяной бане. При необходимости устанавливают pH так, чтобы после стерилизации его значение соответствовало (7,2 +/- 0,2) ед. pH при температуре 25 °C. Среду разливают в колбы и стерилизуют при температуре (121 +/- 1) °C в течение 15 мин.

Б.5.1.2. Основа среды (вариант 2)

Состав и приготовление согласно ГОСТ 10444.1-84 (подраздел 5.12).

Б.5.1.3. Дефибринированная кровь барана

Приготовление.

В стерильную колбу со стеклянными бусами вливают 8 см3 только что взятой крови барана и непрерывно встряхивают в течение 10 - 15 мин, в результате чего находящийся в крови фибрин выпадает в осадок, обволакивая бусы. Дефибринированную кровь сливают в другую колбу или пробирку. Слитая дефибринированная кровь утрачивает способность свертываться и может храниться при температуре (4 +/- 1) °C в течение одной недели.

Б.5.1.4. Готовая среда

Состав:

основа среды (см. Б.5.1.1 или Б.5.1.2) . . . . . . . . . . . . . . . . . . . . . . 100 см3
дефибринированная кровь барана . . . . . . . . . . . . . . . . . . . . . . . . . 5,0 - 7,0 см3

Приготовление

В основу среды (см. Б.5.1.1 или Б.5.1.2), охлажденную на водяной бане до температуры (47 +/- 2) °C, добавляют дефибринированную кровь барана (см. Б.5.1.3). Среда должна иметь pH (7,2 +/- 0,2) ед. pH.

Готовую среду осторожно перемешивают и разливают в чашки Петри (не более 10 см3 на чашку) и после затвердения агара подсушивают его при температуре (47 +/- 2) °C в течение 30 мин или в ламинарном боксе в течение 1 - 2 ч или в других условиях, обеспечивающих испарение конденсационной влаги и исключающих микробное загрязнение.

Среду в чашках хранят при температуре (4 +/- 1) °C не более двух суток.

Слой агара в чашке Петри должен быть равномерно окрашен в красный цвет. Для посева должна использоваться подсушенная среда.

Б.6. Суспензия из эритроцитов барана для определения гемолитической активности

Приготовление

Кровь из яремной вены барана отбирают в стерильную банку с бусами и дефибринируют (см. Б.5.1.3). Эритроциты трижды отмывают изотоническим раствором хлорида натрия путем центрифугирования при 1000 - 2000 об/мин в течение 5 - 10 мин соответственно. После последнего центрифугирования надосадочная жидкость должна быть прозрачной. Красный цвет жидкости (гемолиз) свидетельствует о непригодности эритроцитов к применению. Отмытые эритроциты барана необходимо хранить при температуре (3 +/- 2) °C не более двух суток.

Если гемолиз эритроцитов барана не наблюдается, необходимо внести 2 см3 кровяных телец в 98 см3 фосфатно-солевого буфера (PBS) (см. Б.11).

Если гемолиз эритроцитов наблюдается, необходимо внести около 4 см3 слоя кровяных телец в 10 см3 фосфатно-солевого буфера (PBS) (см. Б.11) и осторожно перемешать, а затем центрифугировать. Если жидкость на поверхности стала четко красного цвета благодаря выраженному гемолизу, не допускается использование такой суспензии эритроцитов, она должна утилизироваться.

Суспензию эритроцитов барана необходимо хранить при температуре (3 +/- 2) °C не более пяти суток.

Б.7. Среды для определения ферментативных свойств

Б.7.1. Бульон с бромкрезоловым пурпурным

Б.7.1.1. Основа среды

Состав:

протеозный пептон . . . . . . . . . . . . . . . . . . . . . . . . . . . . . . . . . . . . . 10,0 г
мясной экстракт . . . . . . . . . . . . . . . . . . . . . . . . . . . . . . . . . . . . . . . . 1,0 г
хлорид натрия . . . . . . . . . . . . . . . . . . . . . . . . . . . . . . . . . . . . . . . . . 5,0 г
бромкрезоловый пурпурный . . . . . . . . . . . . . . . . . . . . . . . . . . . . . 0,02 г
дистиллированная вода . . . . . . . . . . . . . . . . . . . . . . . . . . . . . . . . . 1000,0 см3

Приготовление

Компоненты или сухую готовую среду растворяют в дистиллированной воде.

Устанавливают pH среды таким образом, чтобы после стерилизации его значение составляло (6,8 +/- 0,2) ед. pH. Разливают среду в пробирки соответствующего объема и стерилизуют в автоклаве при температуре 121 °C в течение 15 мин.

Б.7.1.2. Растворы углеводов

Состав:

углевод <*> . . . . . . . . . . . . . . . . . . . . . . . . . . . . . . . . . . . . . . . . . . . 5,0 г
дистиллированная вода . . . . . . . . . . . . . . . . . . . . . . . . . . . . . . . . . 100 см3

<*> L-рамноза, D-ксилоза.

Приготовление

Каждый из углеводов отдельно растворяют в 100 см3 дистиллированной воды и стерилизуют раствор путем фильтрования.

Б.7.1.3. Готовая среда

Состав:

основа среды (см. Б.7.1.1) . . . . . . . . . . . . . . . . . . . . . . . . . . . . . . . . 9,0 см3
углевод (см. Б.7.1.2) . . . . . . . . . . . . . . . . . . . . . . . . . . . . . . . . . . . . . 1,0 см3

Приготовление

В асептических условиях в основу среды (см. Б.7.1.1) перед применением добавляют раствор каждого углевода (см. Б.7.1.2) в отдельности.

Б.7.2. Среды Гисса

Состав и приготовление в соответствии с ГОСТ 10444.1.

Углеводы: L-рамноза, D-ксилоза.

Б.8. Агар для определения подвижности культуры микроорганизма

Состав:

ферментативный гидролизат казеина . . . . . . . . . . . . . . . . . . . . . . 20,0 г
пептон . . . . . . . . . . . . . . . . . . . . . . . . . . . . . . . . . . . . . . . . . . . . . . . 6,1 г
агар-агар . . . . . . . . . . . . . . . . . . . . . . . . . . . . . . . . . . . . . . . . . . . . . . 3,5 г
дистиллированная вода . . . . . . . . . . . . . . . . . . . . . . . . . . . . . . . . . 1000,0 см3

Приготовление

Компоненты или сухую готовую среду растворяют в дистиллированной воде при нагревании.

Устанавливают pH среды таким образом, чтобы после стерилизации его значение составляло (7,3 +/- 0,2) ед. pH. Разливают среду в пробирки соответствующего объема в количестве 5 см3 и стерилизуют в автоклаве при температуре 121 °C в течение 15 мин.

Б.9. Среды для проведения КАМП-теста (CAMP)

Для проведения КАМП-теста могут быть использованы чашки Петри с кровяным агаром (см. Б.5.1), но предпочтительнее использовать чашки с двойным слоем: среды (см. Б.5.1.1 или Б.5.1.2) и тонкого слоя кровяного агара (см. Б.5.1).

Среду (см. Б.5.1.1 или Б.5.1.2) разливают примерно по 10 см3 в стерильные чашки Петри и дают застыть. Затем очень тонким слоем заливают кровяной агар (см. Б.5.1), но не более 3 см3 на чашку. Дают агару застыть.

Если кровяной агар (см. Б.5.1) вносится в заранее приготовленные чашки со средой (см. Б.5.1.1 или Б.5.1.2), то перед тем, как внести ее, необходимо прогреть эти чашки в течение 20 мин в термостате при температуре 37 °C.

Б.10. Среда для определения лецитиназной активности

Б.10.1. Лецитин-агар с активированным углем

Б.10.1.1. Основа среды

Состав:

панкреатический гидролизат рыбной муки . . . . . . . . . . . . . . . . 15,0 г
панкреатический гидролизат казеина . . . . . . . . . . . . . . . . . . . . . 10,0 г
экстракт дрожжевой . . . . . . . . . . . . . . . . . . . . . . . . . . . . . . . . . . . 2,0 г
натрий хлорид . . . . . . . . . . . . . . . . . . . . . . . . . . . . . . . . . . . . . . . . 3,5 г
глюкоза . . . . . . . . . . . . . . . . . . . . . . . . . . . . . . . . . . . . . . . . . . . . . . 1,0 г
агар . . . . . . . . . . . . . . . . . . . . . . . . . . . . . . . . . . . . . . . . . . . . . . . . . 10,0 +/- 2,0 г
дистиллированная вода . . . . . . . . . . . . . . . . . . . . . . . . . . . . . . . . . 1000 см3

Приготовление

Компоненты или сухую готовую среду растворяют в дистиллированной воде, кипятят в течение 2 мин до полного расплавления агара, фильтруют через ватно-марлевый фильтр, разливают в стерильные колбы и флаконы и стерилизуют автоклавированием при температуре 121 °C в течение 15 мин.

Б.10.1.2. Активированный уголь

Активированный уголь растирают до порошкообразного состояния.

Б.10.1.3. Эмульсия яичного желтка

Поверхность яйца обрабатывают этиловым спиртом, стерильным пинцетом пробивают с двух сторон отверстия и через одно из них полностью удаляют белок. Желток выливают в стерильную колбу.

Для приготовления желточной эмульсии к одному желтку с соблюдением правил асептики добавляют 150 см3 стерильного физиологического раствора и тщательно перемешивают до получения однородной массы.

Б.10.1.4. Готовая среда

Состав:

основа среды (см. Б.10.1.1) . . . . . . . . . . . . . . . . . . . . . . . . . . . . . . 100 см3
активированный уголь (см. Б.10.1.2) . . . . . . . . . . . . . . . . . . . . . . 0,5 г
желточная эмульсия (см. Б.10.1.3) . . . . . . . . . . . . . . . . . . . . . . . . 5 см3

Приготовление

Расплавленную основу среды (см. Б.10.1.1) охлаждают до температуры (47 +/- 2,0) °C, добавляют активированный уголь (см. Б.10.1.2) и желточную эмульсию (см. Б.10.1.3), тщательно перемешивают и разливают по (20 +/- 5) см3 в стерильные чашки Петри и после застывания подсушивают в термостате при температуре (37 +/- 1) °C в течение (40 +/- 5) мин.

Б.10.2. Лецитин-агар без угля

Б.10.2.1. Основа среды

Состав:

панкреатический гидролизат рыбной муки . . . . . . . . . . . . . . . . . 15,0 г
панкреатический гидролизат казеина . . . . . . . . . . . . . . . . . . . . . . 10,0 г
экстракт дрожжевой . . . . . . . . . . . . . . . . . . . . . . . . . . . . . . . . . . . . 2,0 г
натрий хлорид . . . . . . . . . . . . . . . . . . . . . . . . . . . . . . . . . . . . . . . . . 3,5 г
глюкоза . . . . . . . . . . . . . . . . . . . . . . . . . . . . . . . . . . . . . . . . . . . . . . . 1,0 г
агар . . . . . . . . . . . . . . . . . . . . . . . . . . . . . . . . . . . . . . . . . . . . . . . . . . (10,0 +/- 2,0) г
дистиллированная вода . . . . . . . . . . . . . . . . . . . . . . . . . . . . . . . . . 1000 см3

Приготовление

Компоненты или сухую готовую среду растворяют в дистиллированной воде, кипятят в течение 2 мин до полного расплавления агара, фильтруют через ватно-марлевый фильтр, разливают в стерильные колбы и флаконы и стерилизуют автоклавированием при температуре 121 °C в течение 15 мин.

Б.10.2.2. Эмульсия яичного желтка

Поверхность яйца обрабатывают этиловым спиртом, стерильным пинцетом пробивают с двух сторон отверстия и через одно из них полностью удаляют белок. Желток выливают в стерильную колбу.

Для приготовления желточной эмульсии к одному желтку с соблюдением правил асептики добавляют 150 см3 стерильного фосфатно-солевого буфера (PBS) (см. Б.11) и тщательно перемешивают до получения однородной массы.

Б.10.2.3. Готовая среда

Состав:

основа среды (см. Б.10.2.1) . . . . . . . . . . . . . . . . . . . . . . . . . . . . . . . 100 см3
желточная эмульсия (см. Б.10.2.2) . . . . . . . . . . . . . . . . . . . . . . . . . 5 см3

Приготовление

Расплавленную основу среды (см. Б.10.2.1) охлаждают до температуры (47 +/- 2,0) °C, добавляют желточную эмульсию (см. Б.10.2.2), тщательно перемешивают и разливают по (20 +/- 5) см3 в стерильные чашки Петри и после застывания подсушивают в термостате при температуре (37 +/- 1) °C в течение (40 +/- 5) мин.

Б.10.3. Среда и реактивы для реакции Фогеса-Проскауэра (VP)

Б.10.3.1. Основа среды

Состав:

протеозный пептон . . . . . . . . . . . . . . . . . . . . . . . . . . . . . . . . . . . . 7,0 г
хлорид натрия . . . . . . . . . . . . . . . . . . . . . . . . . . . . . . . . . . . . . . . . 5,0 г
глюкоза . . . . . . . . . . . . . . . . . . . . . . . . . . . . . . . . . . . . . . . . . . . . . . 5,0 г
дистиллированная вода . . . . . . . . . . . . . . . . . . . . . . . . . . . . . . . . 1000 см3

Приготовление

Компоненты растворяют в дистиллированной воде, нагревая при необходимости.

Устанавливают pH среды таким образом, чтобы после стерилизации его значение составляло (6,9 +/- 0,2) ед. pH при 25 °C. Разливают среду в пробирки по 3 см3 и стерилизуют в автоклаве при температуре 121 °C в течение 15 мин.

Б.10.3.2. Спиртовой раствор -нафтола

Состав:

-нафтол. . . . . . . . . . . . . . . . . . . . . . . . . . . . . . . . . . . . . . . . . . . . . . 5,0 г
этанол, 96% (объемная доля) . . . . . . . . . . . . . . . . . . . . . . . . . . . . . 100 см3

Приготовление

Растворяют -нафтол в этаноле.

Б.10.3.3. Раствор гидроксида калия

Состав:

гидроксид калия . . . . . . . . . . . . . . . . . . . . . . . . . . . . . . . . . . . . . . . . 40,0 г
дистиллированная вода . . . . . . . . . . . . . . . . . . . . . . . . . . . . . . . . . . 100 см3

Приготовление

Растворяют гидроксид калия в дистиллированной воде.

Б.11. Фосфатно-солевой буфер (PBS)

Состав:

натрий фосфорнокислый двузамещенный . . . . . . . . . . . . . . . . . . 8,98 г
натрий фосфорнокислый однозамещенный . . . . . . . . . . . . . . . . . 2,71 г
хлорид натрия . . . . . . . . . . . . . . . . . . . . . . . . . . . . . . . . . . . . . . . . . 8,5 г
дистиллированная вода . . . . . . . . . . . . . . . . . . . . . . . . . . . . . . . . . 1000,0 см3

Приготовление

Компоненты растворяют в дистиллированной воде. При необходимости устанавливают pH так, чтобы после стерилизации его значение соответствовало (7,2 +/- 0,2) ед. pH при температуре 25 °C. Стерилизуют в автоклаве при температуре 121 °C в течение 15 мин.

Б.12. Универсальный нейтрализатор

Б.12.1. Основа среды

Состав:

пептон . . . . . . . . . . . . . . . . . . . . . . . . . . . . . . . . . . . . . . . . . . . . . . . 1,0 г
хлорида натрия . . . . . . . . . . . . . . . . . . . . . . . . . . . . . . . . . . . . . . . . 8,5 г
дистиллированная вода . . . . . . . . . . . . . . . . . . . . . . . . . . . . . . . . . 1000 см3

Приготовление

Компоненты или сухую готовую среду растворяют в дистиллированной воде.

Б.12.2. Готовая среда

Состав:

основа среды . . . . . . . . . . . . . . . . . . . . . . . . . . . . . . . . . . . . . . . . . . 1000 см3
сорбитан моноолеат . . . . . . . . . . . . . . . . . . . . . . . . . . . . . . . . . . . . 30,0 г
лецитин . . . . . . . . . . . . . . . . . . . . . . . . . . . . . . . . . . . . . . . . . . . . . . 3,0 г
тиосульфат натрия . . . . . . . . . . . . . . . . . . . . . . . . . . . . . . . . . . . . . . 5,0 г
гистидинт . . . . . . . . . . . . . . . . . . . . . . . . . . . . . . . . . . . . . . . . . . . . . 1,0 г
сапонин . . . . . . . . . . . . . . . . . . . . . . . . . . . . . . . . . . . . . . . . . . . . . . . 30,0 г

Приготовление

Компоненты растворяют в основе среды. Готовый раствор разливают в пробирки или бутылки и стерилизуют в течение 15 мин при температуре 121 °C.

Примечание - Допускается применение других нейтрализаторов или их комбинаций в отношении известного дезинфицирующего средства.

Б.13. Пептонная вода

Состав:

пептон . . . . . . . . . . . . . . . . . . . . . . . . . . . . . . . . . . . . . . . . . . . . . . . . 10,0 г
хлористый натрий . . . . . . . . . . . . . . . . . . . . . . . . . . . . . . . . . . . . . . 5,0 г
фосфорнокислый натрий двузамещенный 12-водный . . . . . . . . 9,0 г
фосфорнокислый калий однозамещенный . . . . . . . . . . . . . . . . . . 1,5 г
дистиллированная вода . . . . . . . . . . . . . . . . . . . . . . . . . . . . . . . . . 1000 см3

Приготовление

Компоненты или сухую готовую среду растворяют в дистиллированной воде. При необходимости устанавливают pH так, чтобы после стерилизации его значение соответствовало (7,0 +/- 0,2) ед. pH при температуре 25 °C. Стерилизуют в автоклаве при температуре 121 °C в течение 15 мин.

Приложение В
(обязательное)

ОТБОР ПРОБ (СМЫВОВ) И ПОДГОТОВКА ИХ К ПРОВЕДЕНИЮ ИССЛЕДОВАНИЙ

Таблица В.1

Вид материала для взятия смывов Площадь (S, см2) Объем (см3) селективной среды первичного обогащения
Низкая контаминация исследуемой поверхности Высокая контаминация исследуемой поверхности
Губка, ткань >= 100 100 225
Тампон <= 100 10