Взрывоопасные среды. Часть 0. Оборудование. Общие требования. ГОСТ 31610.0-2019 (IEC 60079-0:2017)

(утв. Приказом Росстандарта от 29.11.2019 N 1284-СТ)
Редакция от 06.09.2022 — Действует с 01.01.2023

Данный документ приведен с учетом Поправки, введенной в действие с 05.08.2022.


МЕЖГОСУДАРСТВЕННЫЙ СТАНДАРТ

ВЗРЫВООПАСНЫЕ СРЕДЫ

ЧАСТЬ 0

ОБОРУДОВАНИЕ. ОБЩИЕ ТРЕБОВАНИЯ

Explosive atmospheres. Part 0. Equipment. General requirements

(IEC 60079-0:2017, MOD)
ГОСТ 31610.0-2019
(IEC 60079-0:2017)

(в ред. Изменения N 1, утв. Приказом Росстандарта от 06.09.2022 N 880-ст)

Дата введения
1 июня 2020 года

Предисловие

Цели, основные принципы и общие правила проведения работ по межгосударственной стандартизации установлены ГОСТ 1.0 "Межгосударственная система стандартизации. Основные положения" и ГОСТ 1.2 "Межгосударственная система стандартизации. Стандарты межгосударственные, правила и рекомендации по межгосударственной стандартизации. Правила разработки, принятия, обновления и отмены"

Сведения о стандарте

1 ПОДГОТОВЛЕН Автономной некоммерческой национальной организацией "Ex-стандарт" (АННО "Ex-стандарт") на основе собственного перевода на русский язык англоязычной версии стандарта, указанного в пункте 5

2 ВНЕСЕН Федеральным агентством по техническому регулированию и метрологии (ТК 403)

3 ПРИНЯТ Межгосударственным советом по стандартизации, метрологии и сертификации (протокол от 28 ноября 2019 г. N 124-П)

За принятие проголосовали:

Краткое наименование страны по МК (ИСО 3166) 004-97 Код страны по МК (ИСО 3166) 004-97 Сокращенное наименование национального органа по стандартизации
Армения AM Минэкономики Республики Армения
Беларусь BY Госстандарт Республики Беларусь
Казахстан KZ Госстандарт Республики Казахстан
Киргизия KG Кыргызстандарт
Россия RU Росстандарт
Таджикистан TJ Таджикстандарт
Узбекистан UZ Узстандарт
Украина UA Минэкономразвития Украины

4 Приказом Федерального агентства по техническому регулированию и метрологии от 29 ноября 2019 г. N 1284-ст межгосударственный стандарт ГОСТ 31610.0-2019 (IEC 60079-0:2017) введен в действие в качестве национального стандарта Российской Федерации с 1 июня 2020 г.

5 Настоящий стандарт является модифицированным по отношению к седьмому изданию международного стандарта IEC 60079-0:2017 "Взрывоопасные среды. Часть 0. Оборудование. Общие требования" ("Explosive atmospheres - Part 0: Equipment - General requirements", MOD). В настоящий стандарт включены дополнительные по отношению к международному стандарту IEC 60079-0:2017 положения, выделенные курсивом.

Сведения о соответствии ссылочных межгосударственных стандартов международным стандартам, использованным в качестве ссылочных в примененном международном стандарте, приведены в дополнительном приложении ДА

6 ВЗАМЕН ГОСТ 31610.0-2012, ГОСТ 30852.0-2002

Информация о введении в действие (прекращении действия) настоящего стандарта и изменений к нему на территории указанных выше государств публикуется в указателях национальных стандартов, издаваемых в этих государствах, а также в сети Интернет на сайтах соответствующих национальных органов по стандартизации.

В случае пересмотра, изменения или отмены настоящего стандарта соответствующая информация будет опубликована на официальном интернет-сайте Межгосударственного совета по стандартизации, метрологии и сертификации в каталоге "Межгосударственные стандарты"

Введение

Настоящий стандарт является модифицированным по отношению к седьмому изданию международного стандарта IEC 60079-0:2017.

Настоящий стандарт является одним из комплекса стандартов, устанавливающих требования к взрывозащите оборудования, применяемого во взрывоопасных средах.

Стандарт предназначен для использования в целях нормативного обеспечения подтверждения соответствия и испытаний.

Выполнение установленных настоящим стандартом требований вместе с требованиями стандартов на взрывозащиту конкретных видов обеспечивает безопасность применения оборудования на опасных производственных объектах в угольной, газовой, нефтяной, нефтеперерабатывающей и других отраслях промышленности.

Значительные изменения, внесенные в настоящий стандарт, по сравнению с предыдущим изданием, представлены в виде таблицы.

Таблица

Объяснение значимости изменений Раздел, пункт Вид
Незначительные и редакционные изменения Расширение Существенные технические изменения
Слово "электрооборудование" заменено словом "оборудование", в соответствующих случаях Многократно X    
Область применения. Перечень стандартов по "Виды взрывозащиты" и по "Изделия" объединены в один список 1 X    
Добавлены определения, используемые в нескольких стандартах, входящих в данный комплекс.
Определения согласованы с определениями в стандартах, входящих в данный комплекс, и добавлены в настоящий стандарт, при необходимости.
Обновлены определения батарей
3 X    
Разъяснение способа выражения информации о влиянии технологической температуры 5.1.2 X    
Уточнение в отношении определения эксплуатационной температуры при наличии слоев пыли 5.2 X    
Уточнение необходимости предоставления информации об эксплуатационной температуре для Ex-компонентов в перечне ограничений 5.2 X    
Перемещение требований к слою пыли при уровне взрывозащиты оборудования Da из ГОСТ 31610.18 и ГОСТ IEC 60079-31 5.3.2.3.1 A1    
Уточнено, что для уровня взрывозащиты оборудования Db максимальный указанный слой пыли не допускается более 200 мм, поскольку более толстые слои не оказывают дополнительного влияния на максимальную температуру поверхности 5.3.2.3.1 b) X    
Добавленный для уровня взрывозащиты оборудования Db слой пыли в указанной ориентации обозначен как TL 5.3.2.3.1 c)   X  
Уточнено, что для уровня взрывозащиты оборудования Dc не требуются испытания слоя пыли 5.3.2.3.3 X    
Уточнено, что "температура" - это температура воздуха, окружающего компонент 5.3.3 X    
Раздел, посвященный более высоким допустимым температурам поверхности для "гладких" поверхностей, разбит на подразделы. Исправлена площадь с 1000 мм2 на 10000 мм2 5.3.4 X    
Уточнено, что требования к взрывозащищенности ГОСТ 31610 (IEC 60079) дополняют требования, предъявляемые в соответствующих отраслевых стандартах 6.1 X    
Добавлено требование о том, что при использовании клея для крепления прокладки он должен использоваться в пределах рабочей температуры при непрерывной эксплуатации и должен соответствовать требованиям к скрепляющим веществам 6.5     C1
Требования перенесены в ГОСТ 31610.28 6.6.2 A2    
Ультразвуковые требования обновлены на основе последних исследований 6.6.3   X  
Добавлена ссылка на ГОСТ 31610.28 6.6.4 A2    
Параметры идентификации материалов были пересмотрены с учетом обоснованно доступной информации 7.1.2.2 X    
Уточнено, что выражение "ОТИ-механический" включает "ОТИ-механическая прочность" и "ОТИ-ударная нагрузка" 7.1.2.2 X    
Параметры идентификации материалов были пересмотрены с учетом обоснованно доступной информации 7.1.2.3 X    
Перемещена информация о скрепляющих веществах из раздела 12 7.1.2.4 X    
Уточнено, что выражение "относительный температурный индекс - механический" включает "относительный температурный индекс - механическая прочность" и "относительный температурный индекс - ударная нагрузка". Требования к скрепляющим веществам согласованы с требованиями к эластомерам 7.2.2 X    
Перемещение предельного значения 10 К для уровня взрывозащиты оборудования Gc или Dc из ГОСТ 31610.15, ГОСТ 31610.18 и ГОСТ IEC 60079-31 7.2.2 A3    
Добавлено разъяснение в отношении прокладок и уплотнений, в которых только внешний край потенциально подвергается воздействию света 7.3 X    
Добавлено уточнение, что можно использовать один или несколько описанных методов 7.4.2 X    
Добавлена дополнительная разрядка для случая, когда поверхность находится в контакте с заземленной поверхностью только с двух из четырех сторон 7.4.2 b)   X  
Добавлена ссылка на IEC 60243-1 [20] и IEC 60243-2 [21] для метода испытания, требующего испытания при постоянном токе 4 кВ 7.4.2 c)     C2
Добавлены дополнительные рекомендации относительно возможных специальных условий применения 7.4.2 e) X    
Добавлен новый вариант для портативного, питающегося от сети оборудования с защитным заземлением 7.4.2 f)   X  
Добавлен вариант определения максимального переносимого заряда 7.4.2 g), таблица 10   X  
Добавлены недостающие ограничения (такие же, как в 7.4.2) 7.4.3 a) X    
Уточнено, что испытание проводят при постоянном токе 7.4.3 b) X    
Уточнено, что это требование не применяется к персональному или переносному оборудованию 7.5 X    
Уточнены ограничения для оборудования группы I 8.2 X    
Уточнены ограничения оборудования группы II, уровня взрывозащиты оборудования Ga 8.3 X    
Добавлено ограничение для внешних поверхностей, с содержанием меди более 65% 8.5     C3
Добавлено уточнение относительно того, что считается инструментом 9.1 X    
Уточнено, что класс допуска установочного винта не является важным, нужно только чтобы он не выступал из резьбового отверстия после затягивания 9.4 X    
Информация о герметиках перенесена в раздел 7 12 X    
Добавлено требование о том, что перечень ограничений должен быть указан во всех сертификатах на Ex-компоненты 13.5   X  
Пересмотрено, чтобы уточнить, что не все соединительные контактные зажимы должны быть "ячейками" 14 X    
Подпункт разделен, чтобы отделить требования к защитному заземлению от эквипотенциального соединения 15.3, 15.4 X    
Раздел разделен, чтобы отделить требования к безопасности электрических соединений от внутренней шины заземления 15.6, 15.7 X    
Нерезьбовые кабельные втулки группы I больше не обязательно должны быть Ex-компонентами 16.3   X  
Нерезьбовые заглушки группы I больше не обязательно должны быть Ex-компонентами 16.4   X  
Область применения раздела 17 уточнена для определения применимости 17 X    
Добавлены дополнительные рекомендации по подшипникам 17.3 X    
Уточнена применимость к размыкателям, устройствам и переключателям блокировки 18.2 X    
Требования к предохранителям удалены, поскольку они рассматриваются в отдельных частях 19 X    
Добавлены требования к уровням взрывозащиты оборудования Gc и Dc 20.1     C4
Требования к испытательной цепи для взрывозащищенного соединения были удалены, поскольку они более полно определены в ГОСТ IEC 60079-1 20.2 X    
Требования к испытанию на ударную нагрузку для осветительных приборов перенесены в таблицу 15 21.1, таблица 15 X    
Уточнен механизм работы переключателя блокировки для взрывозащищенных осветительных приборов 21.2 X    
Уточнено, что некоторые виды защиты позволяют подключать гальванические элементы параллельно 23.2 X    
Добавлены новые типы и данные по первичным элементам Таблица 13   X  
(в ред. Изменения N 1, утв. Приказом Росстандарта от 06.09.2022 N 880-ст)
Добавлены новые типы и данные гальванических элементов последних разработок Таблица 14     C5
Разъяснение того, какая документация должна быть подготовлена в отношении аспектов взрывозащищенности оборудования 24 X    
Уточнение того, что типовые испытания должны учитывать инструкции по установке (монтажу) 26.2 X    
Уточнение того, что требования к стеклу также применяются к керамическим частям 26.4.1.1 X    
Добавлено разрешение на изменение порядка испытаний при низкой температуре и высокой температуре 26.4.1.2.2, 26.4.1.2.3 X    
Уточнена конструкция стенда для испытаний на ударную нагрузку 26.4.2 X    
Уточнены испытания на ударную нагрузку для стеклянных деталей 26.4.2 X    
Добавлено уточнение для учета новых номинальных характеристик IPX9 26.4.5.1   X  
Уточнено испытательное напряжение для максимальной температуры поверхности 26.5.1.3 X    
Перемещение требований к пылевому слою при уровне взрывозащиты оборудования Da из ГОСТ 31610.18 и ГОСТ IEC 60079-31 26.5.1.3 A1    
Перемещение указанных требований к слою пыли для уровня взрывозащиты оборудования Db из ГОСТ IEC 60079-31 26.5.1.3 A4    
Добавленный для уровня взрывозащиты оборудования Db слой пыли в указанной ориентации обозначен как TL 26.5.1.3   B1  
Уточнено, что для уровня взрывозащиты оборудования Dc испытание проводят без слоя пыли 26.5.1.3 X    
Перемещение термостойкости к тепловой релаксацию 10 К для оборудования Gc из ГОСТ 31610.15, ГОСТ 31610.18 и ГОСТ IEC 60079-31 Таблица 17 X    
Разъяснение последовательного способа обращения с эластомерными материалами, подвергающимися воздействию ультрафиолетового излучения 26.10 X    
Замена обозначения "масло N 2" на пересмотренное обозначение "масло IRM 902" 26.11 X    
Добавлен вариант для испытания при более низких напряжениях для материалов с низким сопротивлением 26.13   X  
Добавлено испытание на переносимый заряд на основе ГОСТ 31610.32-2 26.17   X  
Ссылка на конкретный документ с инструкциями вместо условия "X", перенесена в перечисление e) вместо примечания с разрешением 29.3 e) X    
Обновлен текст, чтобы отразить дополнительные уровни вида взрывозащиты, уже указанные в подразделах: "da", "dc", "eb", "ec", "oc", "op is", "op pr", "op sh", "pxb", "pyb", "pzc", "qb", "sa", "sb" и "sc" 29.4 b) X    
(в ред. Изменения N 1, утв. Приказом Росстандарта от 06.09.2022 N 880-ст)
Добавлен текст для маркировки "Ex-связанное оборудование" 29.4   X  
Обновлен текст, чтобы отразить дополнительные уровни видов взрывозащиты, уже указанные в подразделах: "ic", "op is", "op pr", "op sh", "pxb", "pyb", "pzc", "sa", "sb" и "sc", "h" 29.5 b)     X
(в ред. Изменения N 1, утв. Приказом Росстандарта от 06.09.2022 N 880-ст)
Уточнена маркировка уровней взрывозащиты оборудования Da, взрывозащиты оборудования Db без слоя пыли, взрывозащиты оборудования Db с указанным слоем пыли и взрывозащиты оборудования Dc 29.5 d) X    
Введена маркировка для уровня взрывозащиты оборудования Db со слоем пыли в заданной ориентации 29.5 d)   X  
Добавлен текст для маркировки Ex-связанное оборудование 29.5   X  
Добавлен текст для маркировки оборудования, предназначенного для установки на разделительной перегородке 29.9   X  
Требования к маркировке корпуса взрывозащищенного компонента была согласована с требованиями к маркировке в ГОСТ IEC 60079-1 и ГОСТ 31610.7 29.10 X    
Альтернативная маркировка уровней взрывозащиты оборудования была удалена Ранее 29.13     C6
Уточнена маркировка для электрических машин, работающих с преобразователем 29.15 X    
Уточнено содержание руководства по эксплуатации 30.1 X    
Добавлен дополнительный раздел руководства по эксплуатации для электрических машин 30.3     C7
Добавлен дополнительный раздел руководства по эксплуатации для кабельных вводов 30.5, A.5     C8
Разрешено использование шлангов в сборе ISO 10807 [50] с кабельными вводами A.1   X  
Уточнено испытание с оправками из нержавеющей стали A.3 X    
Сокращение допустимого времени/проскальзывания A.3.1.1   X  
Уточнение испытаний кабельных вводов на ударостойкость A.3.3, Рисунок A.3 X    
Уточнен порядок испытаний A.3.4 X    
Уточнены замечания Приложение B X    
Совмещен рисунок с текстом Рисунок C.1 X    
Уточнены положения, касающиеся работы вращающихся электрических машин с преобразователями Приложение D X    
Уточнены температурные испытания вращающихся электрических машин Приложение E X    
Блок-схема испытания кабельных вводов Приложение G X    
Добавлен расчет энергии искрения подшипников или вала двигателя Приложение H X    

Примечание - Указанные технические изменения включают в себя значимые технические изменения в пересмотренном стандарте, но они не представляют собой исчерпывающий перечень всех изменений по сравнению с предыдущей версией.

Разъяснение видов изменений

A) Определения

1 Незначительные и редакционные изменения:

- разъяснение;

- сокращение технических требований;

- незначительные технические изменения;

- редакторские правки.

Такие изменения являются модификацией требований редакционного характера или вносят незначительные технические поправки. К ним относятся: изменение формулировок для уточнения технических требований без внесения технических изменений или сокращение в рамках существующих требований.

2 Расширение: внесение технических дополнений

Данные изменения представляют собой добавление новых или модификацию существующих технических требований, например введение дополнительных вариантов. При этом не допускается расширения требований для оборудования, которое полностью соответствовало требованиям предыдущего издания. Таким образом, данные изменения не должны распространяться на изделия, которые выполнены в соответствии с предыдущим изданием.

3 Значительные технические изменения: дополнение технических требований, расширение технических требований

Данные изменения модифицируют технические требования (дополняют, расширяют область применения или отменяют требования) таким образом, что оборудование, которое соответствовало требованиям, установленным в предыдущем издании, уже не будет соответствовать требованиям, установленным в новом издании. Данные изменения должны быть рассмотрены с точки зрения их применения к оборудованию, соответствующему предыдущему изданию. Дополнительные сведения указаны в пункте B).

Примечание - Данные изменения отражают достижения современных технологий. Однако такие изменения, как правило, не должны влиять на оборудование, уже выпущенное на рынок.

B) Обоснование внесения значительных технических изменений

A1 Требования к слою пыли для уровня взрывозащиты оборудования Da не меняются по сравнению с ранее существовавшими в ГОСТ 31610.18 и ГОСТ IEC 60079-31, но были перенесены в настоящий стандарт, чтобы обеспечить согласованное применение во всех видах взрывозащиты.

A2 ГОСТ 31610.28 теперь включает все требования к оптическому излучению для всех уровней взрывозащиты оборудования.

A3 Требования к рабочей температуре при непрерывной эксплуатации для уровней взрывозащиты оборудования Gc или Dc не меняются по сравнению с ранее существовавшими в ГОСТ 31610.15, ГОСТ 31610.18 и ГОСТ IEC 60079-31, но были перенесены в настоящий стандарт, чтобы обеспечить согласованное применение во всех видах взрывозащиты.

A4 Требования к слою пыли для уровня взрывозащиты оборудования Db с заданной глубиной слоя пыли остаются неизменными по сравнению с ранее существовавшими в ГОСТ IEC 60079-31, но были перенесены в настоящий стандарт, чтобы обеспечить согласованное применение во всех видах взрывозащиты.

B1 Добавлены требования к слою пыли для уровня взрывозащиты оборудования Db со слоем пыли в заданной ориентации.

C1 Признано, что новые требования во многих случаях уже применяют. Изменение заключается в том, чтобы обеспечить их единообразное и последовательное применение.

C2 Требование о необходимости проведения испытания при напряжении 4 кВ постоянного тока.

C3 Данное ограничение распространяется на внешние поверхности, отличные от поверхностей кабельных вводов, заглушек, резьбовых переходников и втулок.

C4 Добавленные требования к креплению и маркировке инструмента согласуются с подходом в ГОСТ 31610.15.

C5 Значения напряжения были изменены после дополнительных исследований из-за сложной оценки и иногда неопределенной конструкции литий-ионных элементов. Было обнаружено, что некоторые ранее указанные значения напряжения были слишком низкими.

C6 Требуемая теперь маркировка уровня взрывозащиты оборудования может отличаться от той, которая разрешена уровнем вида взрывозащиты, для учета предельных ограничений площади поверхности материала или пластмассы. (в ред. Изменения N 1, утв. Приказом Росстандарта от 06.09.2022 N 880-ст)

C7 Дополнительный раздел руководства по эксплуатации для электрических машин необходим для облегчения выбора, установки и обслуживания.

C8 Дополнительный раздел руководства по эксплуатации для кабельных вводов необходим для облегчения выбора и установки.

В настоящий стандарт включены дополнительные по отношению к седьмому изданию международного стандарта IEC 60079-0:2017 положения (слова), отражающие потребности экономики страны СНГ, выделенные курсивом, а именно:

- в разделе 1 и 1.2, 29.4 и 29.16 приведены требования к обозначению неэлектрического оборудования;

- в соответствии с требованиями ГОСТ 1.5-2001 связи с невведенностью IEC 60086-1, IEC 60192, IEC 60216-1, IEC 60216-2, IEC 60243-1, IEC 60423-2, IEC 60423, IEC 60662, IEC 60664-1, IEC 61951-1, IEC 61951-2, IEC 61960, ISO 262, ISO 48, ISO 178, ISO 179, ISO 527-2, ISO 3601-1, ISO 3601-2, ISO 4014, ISO 4017, ISO 4892-2, ISO 14583, ANSI/UL 746B, ANSI/UL 746C, ASTM D5964 в качестве межгосударственных стандартов данные документы перенесены из раздела нормативные ссылки в структурный элемент "Библиография". Нормативные ссылки на международные стандарты заменены соответственно на эквивалентные межгосударственные стандарты;

- в раздел 2 дополнительно включены в качестве нормативных ссылок межгосударственные стандарты, входящие в комплекс стандартов по взрывозащите;

- в 3.4, примечание, перечисление b), уточнено требование о нанесении маркировки взрывозащиты на корпус встраиваемого прибора в соответствии с разделом 29;

- в разделе 3 внесены уточнения в определения уровней взрывозащиты оборудования;

- в раздел 3 добавлен пункт с определением уровня взрывозащиты Mc для оборудования группы I;

- уточнено определение 3.36, 3.32, 3.61, 3.76, 3.83, 3.84;

- в раздел 3 добавлен термин "Ex-установки" с соответствующим определением;

- в разделе 4 и по всему тексту стандарта уточнена область применения оборудования групп I, II и III и соответствующих подгрупп в части применения в подземных выработках шахт и их наземных строениях, опасных по рудничному газу и (или) горючей пыли;

- в 5.3.3 уточнены примеры малых элементов;

- в разделе 6 уточнен текст примечаний;

- в 6.3 уточнены положения перечисления b);

- в 6.4 уточнен текст первого абзаца;

- в 7.4.2 уточнено требование к оболочкам кабелей;

- в 8.2 - 8.4 уточнено требование к процентному содержанию состава материалов;

- в 9.2 уточнены требования к опорным поверхностям и крепежным деталям;

- в разделе 10 уточнены требования к блокировкам;

- в разделе 13 уточнены требования к компонентам;

- в 13.5 и по всему тексту уточнены требования к расположению знаков "X" и "U";

- в 14.1 добавлены примечания;

- в 18.2 уточнены требования к разделителям;

- в 23.2 уточнены требования к соединениям элементов для образования батарей;

- в 23.3 уточнены требования к элементам;

- в 26.1 уточнены общие требования и текст примечания;

- в 26.4.1.2.2, 26.4.1.2.3 уточнен порядок испытаний;

- в 26.5.1.3 уточнены условия и критерии оценки результатов испытаний;

- по всему тексту стандарта термин "протокол испытаний" изложен в редакции "протокол испытаний (протокол оценки и испытаний)";

- в 29.3, перечисление c), уточнено требование к порядковому номеру;

- в 29.3, перечисление d), уточнено требование к номеру сертификата;

- в 29.3, перечисление e), 29.4, 29.5, 29.8 и 29.11 приведена дополнительная маркировка для оборудования (за исключением связанного оборудования) путем нанесения знака уровня взрывозащиты, размещаемого перед знаком Ex в соответствии с 29.4, перечисление a), настоящего стандарта и размещения знака X после маркировки взрывозащиты, нанесения наименования органа по сертификации и номера сертификата;

- в 29.4, 29.16 принятый в международных стандартах серии IEC 60079 термин вида взрывозащиты - "Повышенная защита "e" обозначен как "Повышенная защита вида "e";

- в 29.6 - 29.8 и 29.11 приведена дополнительная маркировка для Ex-компонентов путем размещения знака "U" после маркировки взрывозащиты, нанесения наименования органа по сертификации и номера сертификата;

- в 29.4, 29.5 и 29.16 приведена дополнительная маркировка для неэлектрического оборудования;

- в 29.13 уточнено требование к предупредительным надписям;

- в 30.1 уточнено требование к документам;

- в приложении A уточнены требования к кабельным вводам.

По мере принятия межгосударственных стандартов, гармонизированных со стандартами IEC и ISO и приведенных в разделе "Библиография" (идентичных международным или модифицированных), а также нормативных документов, определяющих область применения оборудования для взрывоопасных сред в зависимости от уровня его взрывозащиты или категории применения, в настоящий стандарт будут вноситься соответствующие изменения.

1 Область применения

1.1 Настоящий стандарт устанавливает общие требования по конструированию, испытанию и маркировке Ex-оборудования и Ex-компонентов, предназначенных для использования во взрывоопасных газовых и пылевых средах.

Стандартными атмосферными условиями (относящимися к характеристикам среды с точки зрения взрыва), при которых предполагается возможность эксплуатации Ex-оборудования, являются:

- температура от минус 20 °C до плюс 60 °C;

- давление от 80 кПа (0,8 бар) до 110 кПа (1,1 бар);

- воздух с нормальным содержанием кислорода, как правило, 21% по объему.

Настоящий стандарт и другие стандарты, дополняющие настоящий стандарт, устанавливают дополнительные требования к испытанию Ex-оборудования, работающего в диапазоне, отличающемся от стандартного температурного диапазона. Применение Ex-оборудования в условиях, отличающихся от стандартных условий, в части диапазона атмосферного давления и стандартного содержания кислорода, может потребовать дополнительного рассмотрения и дополнительных испытаний. Дополнительные испытания могут потребоваться в особенности для видов взрывозащиты, которые зависят от гашения пламени, например таких как "взрывонепроницаемые оболочки "d" (ГОСТ IEC 60079-1) или от ограничения энергии - "искробезопасная цепь "i" (ГОСТ 31610.11).

Примечания

1 Хотя, как указано выше, при стандартных атмосферных условиях температура среды принята в диапазоне от минус 20 °C до плюс 60 °C, нормальной температурой окружающей среды для Ex-оборудования, рассматриваемого в настоящем стандарте, является температура от минус 20 °C до плюс 40 °C, если не указано или не промаркировано иное. См. 5.1.1. Считается, что температура от минус 20 °C до плюс 40 °C достаточна для части Ex-оборудования и что изготовление всего Ex-оборудования для верхнего предела стандартной температуры окружающей среды 60 °C повлечет излишние конструктивные ограничения.

2 Требования настоящего стандарта установлены по результатам оценки опасности воспламенения, проведенной на оборудовании. Учитывались такие источники воспламенения, которые связаны с данным видом оборудования, такие как нагретые поверхности, электромагнитные излучения, фрикционные искры, механические удары, приводящие к термическим реакциям, электрическое искрение и разряд статического электричества при нормальных промышленных условиях эксплуатации.

3 Если взрывоопасная газовая и пылевая среды присутствуют или могут присутствовать в одно и то же время, одновременное их присутствие зачастую ведет к необходимости принимать дополнительные меры защиты. Дополнительное руководство по применению Ex-оборудования в гибридных смесях (смеси горючих газов или паров с горючей пылью или горючими частицами) дано в ГОСТ IEC 60079-14.

Межгосударственные стандарты серии ГОСТ 31610 (МЭК 60079) не устанавливают требования по защите от других источников воспламенения, непосредственно не связанных с риском взрыва, таких как адиабатическое сжатие, ударные волны, экзотермическая химическая реакция, самовоспламенение пыли, открытое пламя и горячие газы/жидкости.

Примечание - Несмотря на то, что данное оборудование не попадает в область применения данного стандарта, проводят анализ опасностей данного оборудования, в соответствии с которым определяют и устанавливают все потенциальные источники воспламенения, а также меры, которые позволят исключить их возникновение. См. ГОСТ 32407.

Требования настоящего стандарта дополняются или заменяются требованиями стандартов и технических требований, за исключением положений 1.2 настоящего стандарта: ГОСТ IEC 60079-1, ГОСТ IEC 60079-2, ГОСТ 31610.5, ГОСТ 31610.6, ГОСТ 31610.7, ГОСТ 31610.11, ГОСТ 31610.13, ГОСТ 31610.15, ГОСТ 31610.18, ГОСТ IEC 60079-25, ГОСТ 31610.26, ГОСТ 31610.28, ГОСТ IEC 60079-29-1, ГОСТ 31610.30-1, ГОСТ IEC 60079-31, ГОСТ 31610.33, ГОСТ 31610.35-1, ГОСТ 31610.39, ГОСТ 31610.40, ГОСТ 32407, ГОСТ ISO/DIS 80079-37, [1].

Настоящий стандарт, а также дополнительные стандарты, упомянутые выше, не распространяются на электрические медицинские изделия, взрывотехнические приборы, приборы для проверки электродетонаторов и взрывные цепи.

1.2 Требования раздела 29 настоящего стандарта имеют приоритет по отношению к требованиям ГОСТ 32407 и ГОСТ ISO/DIS 80079-37 в части указания номера стандарта в маркировке. Примеры маркировки в соответствии с ГОСТ 32407 и ГОСТ ISO/DIS 80079-37 приведены в разделе 29 настоящего стандарта.

2 Нормативные ссылки

В настоящем стандарте использованы нормативные ссылки на следующие межгосударственные стандарты:

ГОСТ 1481 Винты установочные с шестигранной головкой и цилиндрическим концом классов точности A и B. Конструкция и размеры

ГОСТ 4647 Пластмассы. Метод определения ударной вязкости по Шарпи

ГОСТ 4648 (ISO 178:2010) Пластмассы. Метод испытания на статический изгиб

ГОСТ 5915 <1> Гайки шестигранные класса точности B. Конструкция и размеры

ГОСТ 5927 <1> Гайки шестигранные класса точности A. Конструкция и размеры

<1> В Российской Федерации действует ГОСТ Р ИСО 4014-2013 "Болты с шестигранной головкой. Классы точности A и B".

ГОСТ 7795 Болты с шестигранной уменьшенной головкой и направляющим подголовком класса точности B. Конструкция и размеры

ГОСТ 7796 Болты с шестигранной уменьшенной головкой класса точности B. Конструкция и размеры

ГОСТ 7798 Болты с шестигранной головкой класса точности B. Конструкция и размер

ГОСТ 7805 Болты с шестигранной головкой класса точности A. Конструкция и размеры

ГОСТ 8724 (ИСО 261-98) Основные нормы взаимозаменяемости. Резьба метрическая. Диаметры и шаги

ГОСТ 8878 (ИСО 4027-77) <2> Винты установочные с коническим концом и шестигранным углублением под ключ классов точности A и B. Технические условия

<2> Исключено. (в ред. Изменения N 1, утв. Приказом Росстандарта от 06.09.2022 N 880-ст)

ГОСТ 10605 (ИСО 4032-86) Гайки шестигранные с диаметром резьбы свыше 48 мм класса точности B. Технические условия

ГОСТ 11074 (ИСО 4026-77) <3> Винты установочные с плоским концом и шестигранным углублением под ключ классов точности A и B. Технические условия

<3> В Российской Федерации действует ГОСТ Р ИСО 4026-2013 "Винты установочные с шестигранным углублением и плоским концом".

ГОСТ 11075 (ИСО 4028-77) <4> Винты установочные с цилиндрическим концом и шестигранным углублением под ключ классов точности A и B. Технические условия

<4> В Российской Федерации действует ГОСТ Р ИСО 4028-2013 "Винты установочные с шестигранным углублением и цилиндрическим концом".

ГОСТ 11262 (ISO 527-2:2012) Пластмассы. Метод испытания на растяжение

ГОСТ 11284 Отверстия сквозные под крепежные детали. Размеры

ГОСТ 11738 (ИСО 4762-77) Винты с цилиндрической головкой и шестигранным углублением под ключ класса точности A. Конструкция и размеры

ГОСТ 12876 Поверхности опорные под крепежные детали. Размеры

ГОСТ 14254 (IEC 60529:2013) Степени защиты, обеспечиваемые оболочками (Код IP)

ГОСТ 16093 (ИСО 965-1:1998, ИСО 965-3:1998) Основные нормы взаимозаменяемости. Резьба метрическая. Допуски. Посадки с зазором

ГОСТ 21341 Пластмассы и эбонит. Метод определения теплостойкости по Мартенсу

ГОСТ 27174 (МЭК 623-83) Аккумуляторы и батареи аккумуляторные щелочные никель-кадмиевые негерметичные емкостью до 150 А·ч. Общие технические условия

ГОСТ 28964 (ИСО 4029-77) <1> Винты установочные с шестигранным углублением и засверленным конусом. Технические условия

<1> В Российской Федерации действует ГОСТ Р ИСО 4029-2013 "Винты установочные с шестигранным углублением и концом с лункой".

ГОСТ 31610.5 (IEC 60079-5:2015) Взрывоопасные среды. Часть 5. Оборудование с видом взрывозащиты "кварцевое заполнение оболочки "q"

ГОСТ 31610.6/IEC 60079-6:2015 Взрывоопасные среды. Часть 6. Оборудование с видом взрывозащиты "заполнение оболочки жидкостью "o"

ГОСТ 31610.7 (IEC 60079-7:2015) Взрывоопасные среды. Часть 7. Оборудование. Повышенная защита вида "e"

ГОСТ 31610.11 (IEC 60079-11:2011) Взрывоопасные среды. Часть 11. Оборудование с видом взрывозащиты "искробезопасная электрическая цепь "i"

ГОСТ 31610.13 (IEC 60079-13:2017) Взрывоопасные среды. Часть 13. Защита оборудования помещениями под избыточным давлением "p" и помещениями с искусственной вентиляцией "v" (в ред. Изменения N 1, утв. Приказом Росстандарта от 06.09.2022 N 880-ст)

ГОСТ 31610.15/IEC 60079-15:2010 Взрывоопасные среды. Часть 15. Оборудование с видом взрывозащиты "n"

ГОСТ 31610.18/IEC 60079-18:2014 Взрывоопасные среды. Часть 18. Оборудование с видом взрывозащиты "герметизация компаундом "m"

ГОСТ 31610.20-1 (ISO/IEC 80079-20-1:2017) Взрывоопасные среды. Часть 20-1. Характеристики веществ для классификации газа и пара. Методы испытаний и данные (в ред. Изменения N 1, утв. Приказом Росстандарта от 06.09.2022 N 880-ст)

<2> В Российской Федерации действует ГОСТ Р МЭК 60079-20-1-2011 "Взрывоопасные среды. Часть 20-1. Характеристики веществ для классификации газа и пара. Методы испытаний и данные".

ГОСТ 31610.20-2/ISO/IEC 80079-20-2:2016 Взрывоопасные среды. Часть 20-2. Характеристики материалов. Методы испытаний горючей пыли

ГОСТ 31610.26/IEC 60079-26:2014 Взрывоопасные среды. Часть 26. Оборудование с уровнем взрывозащиты оборудования Ga

ГОСТ 31610.28 (IEC 60079-28:2015) Взрывоопасные среды. Часть 28. Защита оборудования и передающих систем, использующих оптическое излучение

ГОСТ 31610.30-1 (IEC/IEEE 60079-30-1:2015) Взрывоопасные среды. Часть 30-1. Нагреватели сетевые электрические резистивные. Общие требования и требования к испытаниям

ГОСТ 31610.32-1/IEC/TS 60079-32-1:2013 Взрывоопасные среды. Часть 32-1. Электростатика. Опасные проявления. Руководство

ГОСТ 31610.33 (IEC 60079-33:2012) Взрывоопасные среды. Часть 33. Оборудование с видом взрывозащиты "s"

ГОСТ 31610.35-1 (IEC 60079-35-1:2011) Взрывоопасные среды. Часть 35-1. Головные светильники для применения в шахтах, опасных по рудничному газу. Общие требования и методы испытаний, относящиеся к риску взрыва

ГОСТ 31610.39 (IEC/TS 60079-39:2015) Взрывоопасные среды. Часть 39. Искробезопасные системы с электронным ограничением длительности искрового разряда

ГОСТ 31610.40/IEC/TS 60079-40:2015 Взрывоопасные среды. Часть 40. Требования к технологическим уплотнениям между легковоспламеняющимися технологическими жидкостями и электрическими системами

ГОСТ 31610.46-2020 (IEC TS 60079-46:2017) Взрывоопасные среды. Часть 46. Узлы оборудования (в ред. Изменения N 1, утв. Приказом Росстандарта от 06.09.2022 N 880-ст)

ГОСТ 32407 (ISO/DIS 80079-36) Взрывоопасные среды. Часть 36. Неэлектрическое оборудование для взрывоопасных сред. Общие требования и методы испытаний

ГОСТ ISO 7380-1 Винты с полукруглой головкой. Часть 1. Винты с полукруглой головкой и шестигранным углублением

ГОСТ ISO/DIS 80079-37 Взрывоопасные среды. Часть 37. Неэлектрическое оборудование для взрывоопасных сред. Неэлектрическое оборудование с видами взрывозащиты "конструкционная безопасность "c", контроль источника воспламенения "b", погружение в жидкость "k"

ГОСТ IEC 60034-1 Машины электрические вращающиеся. Часть 1. Номинальные значения параметров и эксплуатационные характеристики

ГОСТ IEC 60034-5 Машины электрические вращающиеся. Часть 5. Классификация степеней защиты, обеспечиваемых оболочками вращающихся электрических машин (Код IP)

ГОСТ IEC 60034-29 Машины электрические вращающиеся. Часть 29. Эквивалентные методы нагрузки и наложения. Косвенное определение превышения температуры

ГОСТ IEC 60050-426 Международный электротехнический словарь. Часть 426. Оборудование для взрывоопасных сред (в ред. Изменения N 1, утв. Приказом Росстандарта от 06.09.2022 N 880-ст)

ГОСТ IEC 60079-1 Взрывоопасные среды. Часть 1. Оборудование с видом взрывозащиты "взрывонепроницаемые оболочки "d"

ГОСТ IEC 60079-2 Взрывоопасные среды. Часть 2. Оборудование с видом взрывозащиты заполнение или продувка оболочки под избыточным давлением "p"

ГОСТ IEC 60079-14 Взрывоопасные среды. Часть 14. Проектирование, выбор и монтаж электроустановок

ГОСТ IEC 60079-25 <1> Среды взрывоопасные. Часть 25. Искробезопасные системы

<1> В Российской Федерации действует ГОСТ Р МЭК 60079-25-2012 "Взрывоопасные среды. Часть 25. Искробезопасные системы".

ГОСТ IEC 60079-29-1 Взрывоопасные среды. Часть 29-1. Газоанализаторы. Требования к эксплуатационным характеристикам газоанализаторов горючих газов

ГОСТ IEC 60079-31 Взрывоопасные среды. Часть 31. Оборудование с защитой от воспламенения пыли оболочками "t"

ГОСТ IEC 60079-35-2 Взрывоопасные среды. Часть 35-2. Головные светильники для применения в шахтах, опасных по рудничному газу. Эксплуатационные и другие характеристики, относящиеся к безопасности

ГОСТ IEC 60947-1 Аппаратура распределения и управления низковольтная. Часть 1. Общие правила

ГОСТ IEC 62626-1 Аппаратура коммутационная и управления низковольтная в оболочке. Часть 1. Выключатели-разъединители в оболочке, не охватываемые областью применения IEC 60947-3, для обеспечения разъединения при ремонте и техническом обслуживании

Примечание - При пользовании настоящим стандартом целесообразно проверить действие ссылочных стандартов и классификаторов на официальном интернет-сайте Межгосударственного совета по стандартизации, метрологии и сертификации (www.easc.by) или по указателям национальных стандартов, издаваемым в государствах, указанных в предисловии, или на официальных сайтах соответствующих национальных органов по стандартизации. Если на документ дана недатированная ссылка, то следует использовать документ, действующий на текущий момент, с учетом всех внесенных в него изменений. Если заменен ссылочный документ, на который дана датированная ссылка, то следует использовать указанную версию этого документа. Если после принятия настоящего стандарта в ссылочный документ, на который дана датированная ссылка, внесено изменение, затрагивающее положение, на которое дана ссылка, то это положение применяется без учета данного изменения. Если ссылочный документ отменен без замены, то положение, в котором дана ссылка на него, применяется в части, не затрагивающей эту ссылку.

3 Термины и определения

В настоящем стандарте применены следующие термины с соответствующими определениями.

Примечание - Определения других терминов, особенно общего характера, приведены в ГОСТ IEC 60050-426 или других главах МЭС (Международного электротехнического словаря).

3.1 температура окружающей среды (ambient temperature): Температура воздуха или другой среды в непосредственной близости от оборудования или компонента.

Примечания

1 Данное определение не распространяется на температуру технологической среды, если только оборудование или компонент не погружены полностью в данную технологическую среду (см. 5.1.1).

2 Если Ex-оборудование или Ex-компонент располагается внутри или рядом с другим оборудованием, температурой окружающей среды является температура воздуха или другой среды, окружающей Ex-оборудование или Ex-компонент, и может быть выше температуры окружающей среды всего оборудования из-за тепла, рассеиваемого в оборудовании в целом.

3 Термин "температура окружающей среды", применяемый в стандартах серии ГОСТ 31610 и ГОСТ IEC 60079, относится только к взрывобезопасности Ex-оборудования или Ex-компонента.

3.2 взрывоопасная зона (area, hazardous): Зона, в которой присутствует или может образоваться взрывоопасная среда в объеме, требующем специальных мер защиты при конструировании, монтаже и эксплуатации оборудования.

3.3 взрывобезопасная [невзрывоопасная] зона (non-hazardous area): Зона, в которой не предполагается наличие взрывоопасной среды в объеме, требующем специальных мер защиты при конструировании, монтаже и эксплуатации оборудования.

3.4 связанное оборудование (associated apparatus): Оборудование, которое содержит как искробезопасные, так и искроопасные цепи и конструкцией которого исключена возможность отрицательного влияния искроопасных цепей на искробезопасные.

Примечание - Связанным оборудованием является:

a) оборудование, защищенное дополнительным видом взрывозащиты, для эксплуатации в соответствующей взрывоопасной среде;

b) оборудование, не защищенное дополнительным видом взрывозащиты, для эксплуатации в соответствующей взрывоопасной среде и, следовательно, не предназначенное для применения во взрывоопасной среде.

При установке такого связанного оборудования на корпус регистрирующего прибора должна быть нанесена Ex-маркировка в соответствии с разделом 29.

3.5 Ex-связанное оборудование (Ex associated equipment): Вспомогательное оборудование, применяемое совместно со взрывозащищенным оборудованием, для сохранения конкретных аспектов видов взрывозащиты взрывозащищенного оборудования.

Примечания

1 Примерами данного оборудования являются специальные реле, срабатывающие по времени/току, применяемые с двигателями с повышенной защитой, системы контроля продувки, пределы мощности для герметизированного Ex-оборудования и т.п.

2 Ex-связанным оборудованием является:

a) оборудование, защищенное дополнительным видом взрывозащиты, предназначенным для эксплуатации в соответствующей взрывоопасной среде; или

b) оборудование, не защищенное дополнительным видом взрывозащиты, для эксплуатации в соответствующей взрывоопасной среде и, следовательно, не предназначенное для применения во взрывоопасной среде.

3 Подобная концепция применяется к искробезопасности, если она связана со связанным оборудованием. См. 3.4. В одном изделии может присутствовать как Ex-связанное оборудование, так и связанное оборудование.

3.6 температура самовоспламенения (auto-ignition temperature, AIT): Наименьшая температура (поверхности), при которой в указанных условиях (согласно ГОСТ 31610.20-1) происходит воспламенение горючего газа или пара в смеси с воздухом или воздухом/инертным газом.

3.7 элементы и батареи (cells and batteries)

3.7.1 батарея (battery): Один или более элементов, снабженных устройствами, с необходимыми для использования, например, клеммами, маркировкой и защитными устройствами.

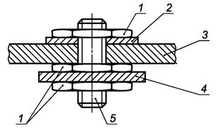
Примечание - Типовая конструкция батареи показана на рисунке 1.

1 - корпус элемента/корпус батареи; 2 - корпус батареи

Рисунок 1 - Примеры типовых батарей

3.7.2 емкость (capacity): Электрический заряд, который батарея или элемент могут передавать в обозначенных условиях.

Примечание - Единица заряда или количество электричества в системе СИ измеряется в кулонах (1 Кл = 1 А·с), но на практике емкость обычно выражают в ампер-часах (А·ч).

3.7.3 элемент (cell): Базовый функциональный блок, состоящий из сборки электродов, электролита, корпуса, клемм и, как правило, сепараторов, являющихся источником электрической энергии, полученных путем прямого преобразования химической энергии.

Примечание - См. термины "первичный элемент" и "аккумулятор".

3.7.4 зарядка (charging): Операция, в течение которой аккумулятор или батарея снабжаются электрической энергией от внешней цепи, что приводит к химическим изменениям в элементе и, таким образом, накоплению энергии в виде химической энергии.

3.7.5 глубокая разрядка (deep discharge): Снижение значения напряжения элемента по сравнению со значением, рекомендованным изготовителем элемента или батареи.

3.7.6 максимальное напряжение разомкнутой цепи (элемента или батареи) [maximum open-circuit voltage (cell or battery)]: Напряжение новой первичной батареи или полностью заряженная аккумуляторная батарея, когда разрядный ток равен нулю.

Примечание - См. таблицы 13 и 14, в которых указано максимальное напряжение разомкнутой цепи, допустимое для элементов.

3.7.7 номинальное напряжение (элемента или батареи) [nominal voltage (cell or battery)]: Подходящее приблизительное значение напряжения, используемое для обозначения или идентификации элемента или батареи или электрохимической системы.

3.7.8 негерметичный элемент (негерметичная батарея) (vented cell or battery): Аккумулятор или батарея, имеющие отверстие, через которое выходят газы.

3.7.9 первичный элемент (первичная батарея) (primary cell or battery): Элемент или батарея, не предназначенные для повторной электрической зарядки.

3.7.10 обратная зарядка (reverse charging): Пропускание через первичный элемент или аккумулятор тока, в том же направлении, что и в нормальном режиме работы как правило, из-за обратной полярности в элементе с истекшим сроком годности, последовательно подключенного в батарее.

3.7.11 герметичный элемент (sealed cell): Аккумулятор, выполненный в герметичной оболочке, через которую не выделяется газ или жидкость при работе в предписанных условиях, указанных изготовителем элемента.

Примечание - Герметичный элемент может быть снабжен устройством безопасности, предохраняющим от опасного высокого внутреннего давления и предназначенный для работы в течение всего срока службы, указанного изготовителем, без нарушения первоначального герметизированного состояния.

3.7.12 элемент или батарея с регулирующим клапаном (valve-regulated cell or battery): Элемент или батарея, являющиеся закрытыми в нормальном режиме работы, но имеющие предохранительный клапан, позволяющий сбрасывать избыточное давление газа, если значение внутреннего давления превышает заданное.

Примечание - Элемент, как правило, не предназначен для добавления электролита.

3.7.13 аккумулятор (аккумуляторная батарея) (secondary cell or battery): Элемент или батарея, предназначенные для повторной электрической зарядки.

Примечание - Зарядка осуществляется в результате обратимой химической реакции.

3.7.14 аккумуляторный отсек (battery compartment): Отсек оборудования, который вмещает одну или несколько элементов и батарей.

Примечания

1 Аккумуляторный отсек является неотъемлемой частью оборудования.

2 Аккумуляторный отсек может являться контейнером батареи.

3.7.15 контейнер батареи (battery container): Оболочка, в которой расположен один или более элементов или батарей.

Примечание - На рисунке 2 изображены типовые конструкции батареи.

1 - оборудование; 2 - аккумуляторный отсек; 3 - элемент/батарея/заменяемый батарейный блок

Рисунок 2 - Типовой аккумуляторный отсек

3.7.16 корпус батареи, корпус элемента (battery case, cell case): Оболочка элемента или батареи, являющаяся неотъемлемой частью конструкции элемента или батареи.

Примечание - Корпус может быть герметичным, с регулирующим клапаном или негерметичным.

3.7.17 заменяемый батарейный блок (replaceable battery pack): Узел, состоящий из одного или нескольких взаимосвязанных элементов, вместе с любыми встроенными защитными компонентами, которые образуют полностью заменяемый батарейный блок.

Примечание - На рисунке 3 изображены типовые конструкции заменяемого батарейного блока.

1 - контейнер батареи; 2 - элемент/батарея

Рисунок 3 - Типовой заменяемый батарейный блок

3.8 дыхательное устройство (breathing device): Устройство, позволяющее осуществлять обмен между средой внутри оболочки и окружающей средой и поддерживающее целостность вида взрывозащиты.

3.9 проходной изолятор (bushing): Устройство, обеспечивающее прохождение одного или нескольких проводников через внутреннюю или наружную стенку оболочки.

3.10 кабельный ввод (cable gland): Устройство ввода одного или нескольких электрических или оптоволоконных кабелей в Ex-оборудование, обеспечивающее взрывозащиту соответствующего вида и степень разгрузки натяжения.

3.10.1 элемент крепления кабеля (в кабельном вводе) [clamping device (cable gland)]: Элемент кабельного ввода, предотвращающий передачу на соединения усилий, возникающих при растягивающих или скручивающих нагрузках на кабель.

3.10.2 нажимной элемент (кабельного ввода) [compression element (cable gland)]: Элемент кабельного ввода, оказывающий нажимное или смещающее воздействие на уплотнительное кольцо.

3.10.3 уплотнительное кольцо (кабельного ввода) [sealing ring (cable gland)]: Элемент, используемый в кабельном вводе для обеспечения уплотнения между кабельным вводом и кабелем.

3.10.4 Ex-кабельный ввод (Ex Equipment cable gland): Кабельный ввод, предназначенный для установки на оболочке Ex-оборудования, испытуемый отдельно от оболочки оборудования, но имеющий сертификат Ex-оборудования.

Примечание - Настоящим не исключается возможность оформления на кабельные вводы сертификатов Ex-компонентов.

3.10.5 кабельное проходное устройство (cable transit device): Устройство для ввода одного или нескольких электрических или оптоволоконных кабелей с уплотнением из одного или нескольких отдельных эластомерных модулей или частей модулей (модульного внутреннего уплотнения), сжимаемых вместе при сборке и установке устройства.

Примечание - Кабельные проходные устройства также выступают в качестве Ex-заглушек, если позволяют имеющиеся эластомерные модули.

3.11 заливка (неметаллическим компаундом) [casting (non-metallic compound)]: Процесс заливки жидкого компаунда при нормальном давлении окружающей среды в форму.

3.12 сертификат (certificate): Документ, означающий подтверждения соответствие изделия, процесса, системы, лица или организации установленным требованиям.

Примечание - Сертификатом является либо декларация поставщика о соответствии или признание соответствия покупателем или сертификат (как результат действий третьей стороны) в соответствии с [2].

3.12.1 сертификат Ex-компонента (Ex Component Certificate): Сертификат, выданный на Ex-компонент. См. 3.36.

3.12.2 сертификат Ex-оборудования (Ex-equipment certificate): Сертификат, выданный на Ex-оборудование.

3.13 покрытие (coating): Материал, нанесенный на поверхность.

3.14 конформное покрытие (conformal coating): Электроизоляционный материал, наносимый в качестве покрытия на смонтированные печатные платы для получения тонкого слоя, соответствующего поверхности, для создания защитного барьера против вредных воздействий окружающей среды.

3.15 компаунд [для герметизации] [(compound (for encapsulation)]: Термоактивная, термопластичная, полимерная смола или эластомерные материалы с наполнителями и (или) добавками или без них в твердом состоянии.

3.16 трубный ввод (conduit entry): Устройство ввода трубы в Ex-оборудование, обеспечивающее соответствующий вид взрывозащиты.

3.17 соединительные устройства (connection facilities): Клеммы, винты или другие части, используемые для электрического присоединения проводников.

3.18 заводские соединения (connections, factory): Концевые заделки проводов, предназначенные для их подсоединения в процессе изготовления в контролируемых условиях.

3.19 присоединения, выполняемые на месте эксплуатации (connections, field-wiring): Концевые заделки проводов, предназначенные для их подсоединения на месте эксплуатации.

3.20 температура при продолжительной работе (continuous operating temperature): Предел изменения температуры, при котором сохраняются устойчивость и целостность материала в течение ожидаемого срока службы оборудования или его части при применении по назначению.

3.21 преобразователь тока (для применения с электрическими машинами) [converter (for use with electric machines)]: Устройство силового электронного преобразования, изменяющее одну или несколько электрических характеристик и содержащее один или несколько электронных переключателей и связанных элементов, таких как трансформаторы, фильтры, средства коммутации, устройства управления и защиты, а также вспомогательные устройства, при наличии таковых.

Примечание - Известны также другие термины, например, "частотный преобразователь", "инверторный привод", "регулируемый электропривод" или "частотно-регулируемый электропривод".

3.21.1 преобразователь тока для плавного пуска (электрических машин) [converter, soft-start (for use with electric machines)]: Преобразователь, ограничивающий входной ток электрической машины в процессе пуска.

Примечание - Предполагается, что преобразователь для плавного пуска используется только во время пуска и затем отключается от системы питания или шунтируется во время работы машины.

3.22 степень защиты, обеспечиваемая оболочкой (IP) (degree of protection of enclosure): Цифровые обозначения, следующие за кодом IP и указанные на оболочке оборудования, которые в соответствии с ГОСТ 14254 или ГОСТ IEC 60034-5 (в зависимости от применяемого стандарта) характеризуют защиту:

- персонала от прикасания или доступа к находящимся под напряжением или движущимся частям (за исключением гладких вращающихся валов и т.п.), расположенным внутри оболочки;

- оборудования от проникания в него твердых посторонних тел;

- оборудования от вредного проникания воды, если это указано в обозначении кода IP.

Примечания

1 Требования к испытанию вращающихся электрических машин изложены в ГОСТ IEC 60034-5.

2 Оболочка, обеспечивающая степень защиты IP, не обязательно является той же оболочкой оборудования, обеспечивающей виды взрывозащиты, перечисленные в разделе 1.

3 Оболочка, обеспечивающая степень защиты, необходимую в соответствии с требованиями к одному из видов взрывозащиты, перечисленных в разделе 1, будет подвергаться другим видам испытаний перед тем, как подвергнется испытаниям степени защиты. См. 26.4.

3.23 дренажное устройство (draining device): Устройство, обеспечивающее вытекание жидкости из оболочки и поддерживающее целостность вида взрывозащиты оболочки.

3.24 пыль (dust): Общее понятие, к которому относятся горючая пыль и горючие летучие частицы.

3.24.1 горючая пыль (combustible dust): Мелкодисперсные твердые частицы номинальным размером 500 мкм или менее, которые могут образовывать взрывоопасную смесь с воздухом при атмосферном давлении и температуре.

Примечания

1 К горючей пыли относятся пыль и абразив в соответствии с [3].

2 К твердым частицам относятся частицы, включая пустотелые частицы, находящиеся в твердом, а не в газообразном или жидком состоянии.

3.24.1.1 электропроводящая пыль (conductive dust): Горючая пыль, электрическое сопротивление которой равно или менее 1 кОм·м.

Примечание - Метод определения электрического сопротивления пыли приведен в ГОСТ 31610.20-2.

3.24.1.2 неэлектропроводящая пыль (non-conductive dust): Горючая пыль, электрическое сопротивление которой более 1 кОм·м.

Примечание - Метод определения электрического сопротивления пыли приведен в ГОСТ 31610.20-2.

3.24.2 горючие частицы (combustible flyings): Твердые частицы, включая волокна и летучие частицы номинальным размером более 500 мкм, которые могут образовывать взрывоопасную смесь с воздухом при атмосферном давлении и температуре.

Примечания

1 Размер в одном из измерений значительно превышает размеры в двух других измерениях.

2 Волокна и летучие частицы включают в себя вискозу, хлопок (с хлопковым линтером и паклей), сизаль, джут, коноплю, волокна кокосового ореха, паклю и упакованную вату.

3.25 пыленепроницаемая оболочка (dust-tight enclosure): Оболочка, способная полностью предотвратить видимое отложение частиц пыли.

3.26 пылезащитная оболочка (dust-protected enclosure): Оболочка, доступ пыли в которую предотвращен не полностью, но пыль поступает в количествах, не достаточных для нарушения безопасного режима работы оборудования и не скапливается в местах внутри оболочки, в которых она может вызвать опасность воспламенения.

3.27

рабочий цикл (duty cycle): Повторяющееся изменение нагрузки, при которой время цикла слишком короткое для достижения теплового равновесия в первом цикле.
[ГОСТ IEC 60050-411-2015, 411-51-07]

3.28 эластомерный материал (elastomer): Макромолекулярный материал, который быстро восстанавливает свои исходные размеры и форму после значительной деформации и снятия нагрузки.

Примечание - Это определение относится к испытаниям при комнатной температуре.

3.29 герметизация (encapsulation): Процесс нанесения компаунда для защиты любого(ых) электрического(их) устройства (устройств) любым приемлемым методом.

3.30 оболочка (enclosure): Совокупность стенок, дверей, крышек, кабельных вводов, тяг, валиков управления, валов и т.п. частей, которые содействуют обеспечению вида взрывозащиты или степени защиты IP-оборудования.

3.31 оборудование (equipment): Общий термин, обозначающий оборудование, соединительные детали, устройства, компоненты и другие подобные устройства, применяемые как часть или в соединении с установкой.

3.31.1 электрооборудование (electrical equipment): Устройства, применяемые целиком или по частям и предназначенные для использования электрической энергии.

Примечание - Кроме того, такие устройства осуществляют генерирование, передачу, распределение, хранение, измерение, регулирование, преобразование и потребление электроэнергии, а также включают в себя средства для ее передачи.

3.31.2 фиксированное оборудование (equipment fixed): Оборудование, которое крепится к опоре или иным образом закрепляется в определенном месте при включении. (в ред. Изменения N 1, утв. Приказом Росстандарта от 06.09.2022 N 880-ст)

3.31.3 персональное оборудование (equipment personal): Оборудование, предназначенное для ношения и контакта с телом человека во время работы.

3.31.4 переносное оборудование (equipment portable): Оборудование, предназначенное для переноски человеком во время эксплуатации.

Примечание - Переносное оборудование, носимое человеком во время эксплуатации, иногда упоминается как ручное оборудование.

3.31.5 передвижное оборудование (equipment transportable): Оборудование, которое не предназначено для переноски человеком во время эксплуатации и не предназначено для фиксированного монтажа.

3.32 классификация оборудования по группам (equipment grouping): Система классификации оборудования в зависимости от взрывоопасной среды, для использования в которой оно предназначено.

Примечание - Настоящий стандарт идентифицирует три группы оборудования:

группа I - оборудование, предназначенное для применения в подземных выработках шахт и их наземных строений, опасных по рудничному газу и (или) горючей пыли;

группа II, которая разделена на подгруппы, - оборудование для всех мест со взрывоопасной газовой средой, кроме подземных выработок шахт и их наземных строений, опасных по рудничному газу и (или) горючей пыли;

группа III, которая разделена на подгруппы, - оборудование для всех мест со взрывоопасной пылевой средой, кроме подземных выработок шахт и их наземных строений, опасных по рудничному газу и (или) горючей пыли.

3.33 уровень взрывозащиты оборудования (equipment protection level): Уровень защиты, присваиваемый оборудованию в зависимости от опасности стать источником воспламенения и для обозначения условий применения во взрывоопасных газовых средах, взрывоопасных пылевых средах, а также в подземных выработках шахт и их наземных строений, опасных по рудничному газу и (или) горючей пыли.

3.33.1 уровень взрывозащиты оборудования Ma (уровень взрывозащиты оборудования - рудничный особовзрывобезопасный РО) (EPL Ma): Уровень, присваиваемый рудничному оборудованию для установки в подземных выработках шахт и их наземных строениях, опасных по рудничному газу и (или) горючей пыли, с уровнем защиты "очень высокий", характеризующемуся надежной защищенностью и малой вероятностью стать источником воспламенения в нормальном режиме эксплуатации, при ожидаемых или редких неисправностях при сохранении питания электрической энергией даже в присутствии выброса газа.

Примечание - В оборудовании с уровнем взрывозащиты оборудования Ma по сравнению с Mb приняты дополнительные средства взрывозащиты, предусмотренные стандартами на виды взрывозащиты.

3.33.2 уровень взрывозащиты оборудования Mb (уровень взрывозащиты оборудования - рудничный взрывобезопасный РВ) (EPL Mb): Уровень, присваиваемый рудничному оборудованию для установки в подземных выработках шахт и их наземных строениях, опасных по рудничному газу и (или) горючей пыли, с уровнем взрывозащиты "высокий", характеризующемуся надежной защищенностью и малой вероятностью стать источником воспламенения в нормальном режиме эксплуатации или при ожидаемых неисправностях в течение времени от момента выброса газа до обесточивания.

Примечание - В оборудовании с уровнем взрывозащиты оборудования Mb взрывозащита обеспечена как при нормальном режиме работы, так и при признанных вероятных повреждениях, определяемых условиями эксплуатации, кроме повреждений средств взрывозащиты.

3.33.3 уровень взрывозащиты оборудования Mc (уровень взрывозащиты оборудования - рудничный повышенной надежности против взрыва РП) (EPL Mc): Уровень, присваиваемый рудничному оборудованию для установки в подземных выработках шахт и их наземных строениях, опасных по рудничному газу и (или) горючей пыли, с уровнем взрывозащиты "повышенный", характеризующемуся достаточной защитой и малой вероятностью стать источником воспламенения в нормальном режиме эксплуатации, где присутствие взрывоопасной среды маловероятно, а если она присутствует, то очень непродолжительное время.

Примечания

1 Оборудование работает во взрывоопасной среде в течение времени от момента ее возникновения до момента обесточивания.

2 В оборудовании с уровнем взрывозащиты оборудования Mc взрывозащита обеспечена только в нормальном режиме эксплуатации.

3.33.4 уровень взрывозащиты оборудования Ga (для оборудования дополнительное обозначение уровня взрывозащиты - особовзрывобезопасный 0) (EPL Ga): Уровень, присваиваемый оборудованию для взрывоопасных газовых сред, с уровнем защиты "очень высокий", не являющемуся источником воспламенения в нормальном режиме эксплуатации, при ожидаемых или редких неисправностях.

Примечание - В оборудовании с уровнем взрывозащиты Ga по сравнению с Gb приняты дополнительные средства взрывозащиты, предусмотренные стандартами на виды взрывозащиты.

3.33.5 уровень взрывозащиты оборудования Gb (для оборудования дополнительное обозначение уровня взрывозащиты - взрывобезопасный 1) (EPL Gb): Уровень, присваиваемый оборудованию для взрывоопасных газовых сред, с уровнем защиты "высокий", не являющемуся источником воспламенения в нормальном режиме эксплуатации или при ожидаемых неисправностях и характеризующемуся малой вероятностью стать источником воспламенения в течение времени от момента возникновения взрывоопасной среды до момента обесточивания.

Примечание - В оборудовании с уровнем взрывозащиты оборудования Gb взрывозащита обеспечена как при нормальном режиме работы, так и при учитываемых повреждениях, определяемых условиями эксплуатации, кроме повреждений средств взрывозащиты.

3.33.6 уровень взрывозащиты оборудования Gc (для оборудования дополнительное обозначение уровня взрывозащиты - повышенная надежность против взрыва 2) (EPL Gc): Уровень, присваиваемый оборудованию для взрывоопасных газовых сред с "повышенным" уровнем защиты, не являющемуся источником воспламенения в нормальном режиме эксплуатации и которое может иметь дополнительную защиту, обеспечивающую ему свойства неактивного источника воспламенения при регулярных ожидаемых неисправностях (например, при выходе из строя лампы).

Примечания

1 Оборудование работает во взрывоопасной среде в течение времени от момента ее возникновения до момента обесточивания.

2 В оборудовании с уровнем взрывозащиты оборудования Gc взрывозащита обеспечена только в нормальном режиме эксплуатации.

3.33.7 уровень взрывозащиты оборудования Da (EPL Da): Уровень, присваиваемый оборудованию для взрывоопасных пылевых сред, с уровнем защиты "очень высокий", не являющемуся источником воспламенения в нормальных условиях эксплуатации, при ожидаемых или редких неисправностях.

Примечание - В оборудовании с уровнем взрывозащиты оборудования Da по сравнению с Db приняты дополнительные средства взрывозащиты, предусмотренные стандартами на виды взрывозащиты.

3.33.8 уровень взрывозащиты оборудования Db (EPL Db): Уровень, присваиваемый оборудованию для взрывоопасных пылевых сред с уровнем защиты "высокий", не являющемуся источником воспламенения в нормальном режиме эксплуатации или при ожидаемых неисправностях, характеризующемуся малой вероятностью стать источником воспламенения в течение времени от момента возникновения взрывоопасной пылевой среды до момента обесточивания.

Примечание - В оборудовании с уровнем взрывозащиты оборудования Db взрывозащита обеспечена как при нормальном режиме работы, так и при учитываемых повреждениях, определяемых условиями эксплуатации, кроме повреждений средств взрывозащиты.

3.33.9 уровень взрывозащиты оборудования Dc (EPL Dc): Уровень, присваиваемый оборудованию для взрывоопасных пылевых сред с "повышенным" уровнем защиты, не являющемуся источником воспламенения в нормальном режиме эксплуатации и которое может иметь дополнительную защиту, обеспечивающую ему свойства неактивного источника воспламенения при ожидаемых регулярных неисправностях (например, при выходе из строя лампы).

Примечания

1 Оборудование работает во взрывоопасной среде в течение времени от момента ее возникновения до момента обесточивания.

2 В оборудовании с уровнем взрывозащиты оборудования Dc взрывозащита обеспечена только в нормальном режиме эксплуатации.

3.34 Ex-заглушка (Ex equipment blanking element): Заглушка, испытуемая отдельно от оболочки Ex-оборудования, но сертифицируемая в качестве Ex-оборудования и предназначенная для установки на оболочке Ex-оборудования.

Примечание - Данное требование не исключает сертификацию заглушек как Ex-компонентов.

3.35 Ex-резьбовой переходник (Ex equipment thread adapter): Резьбовой переходник, испытуемый отдельно от оболочки Ex-оборудования, но сертифицируемый в качестве Ex-оборудования и предназначенный для установки на оболочке Ex-оборудования.

Примечание - Настоящее требование не исключает сертификацию резьбовых переходников как Ex-компонентов.

3.36 Ex-компонент (Ex Component): Оборудование, которое предназначено, чтобы быть частью Ex-оборудования, отмеченное знаком "U", не предназначенное для отдельного использования и требующее дополнительного рассмотрения (для подтверждения соответствия взрывозащитных свойств требованиям нормативных документов) при встраивании в Ex-оборудование.

3.37 Ex-оборудование (Ex-equipment): Взрывозащищенное оборудование.

Примечание - Данное оборудование зачастую включает Ex-компоненты, но дополнительная оценка всегда требуется при встраивании в оборудование.

3.38 взрывоопасная среда (explosive atmosphere): Смесь с воздухом, при атмосферных условиях, горючих веществ в форме газа, пара, пыли, в которой после воспламенения происходит самоподдерживающееся распространение пламени.

3.39 взрывоопасная пылевая среда (explosive dust atmosphere): Смесь с воздухом, при атмосферных условиях, горючих веществ в форме пыли, в которой после воспламенения происходит самоподдерживающееся распространение пламени.

3.40 взрывоопасная газовая среда (explosive gas atmosphere): Смесь с воздухом, при атмосферных условиях, горючих веществ в форме газа, пара, в которой после воспламенения происходит самоподдерживающееся распространение пламени.

3.41 взрывоопасная испытательная смесь (explosive test mixture): Определенная взрывоопасная смесь, используемая при испытаниях оборудования, предназначенного для применения во взрывоопасных газовых средах.

3.42 учитываемое повреждение (countable fault): Повреждение, происходящее в частях электрооборудования, удовлетворяющего требованиям к конструкции согласно применяемому стандарту по виду взрывозащиты.

3.43 неучитываемое повреждение (non-countable fault): Повреждение, происходящее в частях электрооборудования, не удовлетворяющего требованиям к конструкции согласно применяемому стандарту по виду взрывозащиты.

3.44 рудничный газ (firedamp): Смесь горючих газов, естественным образом образующаяся в шахте.

Примечание - Рудничный газ состоит в основном из метана, но часто содержит небольшое количество других газов, таких как азот, диоксид углерода, водород, а иногда этан и оксид углерода. Термины "рудничный газ" и "метан" часто используются в горной области как синонимы.

3.45 свободное пространство (free space): Пространство, преднамеренно создаваемое вокруг или внутри компонентов.

3.46 предохранитель (fuse): Устройство, которое путем слияния одного или нескольких его специально разработанных и распределенных компонентов, предназначенных для плавления под действием тока, превышающего некоторое определенное значение в течение определенного периода времени, размыкает цепь, в которой оно установлено, путем прерывания тока, когда его значение превышает заданное значение в течение достаточного времени.

3.47 гальваническая развязка (galvanic isolation): Взаимодействие электрических цепей, при котором передача сигналов или энергии между двумя цепями осуществляется без непосредственного контакта между ними.

Примечание - Гальваническая развязка часто осуществляется магнитными элементами (трансформатор или реле) или оптическими средствами связи.

3.48 прокладка (gasket): Сжимаемый элемент, предусмотренный в соединении оболочки, чтобы обеспечить степень защиты от проникновения твердых посторонних предметов или от попадания воды.

3.49 газ (gas): Состояние вещества, которое не может достичь равновесия с его жидким или твердым состоянием в диапазоне температур и давлений, установленном областью применения настоящего стандарта.

Примечание - Данное определение является упрощенной формой научного определения. Согласно данному определению требуется, чтобы вещество находилось выше точки кипения или точки сублимации при температуре и давлении окружающей среды.

3.50 комбинированная смесь (hybrid mixture): Смесь горючего газа или пара с горючей пылью.

Примечание - Согласно ГОСТ 31610.20-2 определение термина "пыль" включает как горючую пыль, так и горючие летучие частицы.

3.51 неповреждаемое разделение (infallible separation): Разделение между токопроводящими частями, которое в соответствии с требованиями к "неповреждаемости" конструкции в соответствии с применяемым стандартом на вид взрывозащиты рассматривается как не подверженное короткому замыканию.

3.52 соединение (joint): Место схождения поверхностей двух частей оболочки или соединения двух оболочек.

3.53 уровень вида взрывозащиты (level of protection): Часть обозначения вида взрывозащиты, связанная с уровнем взрывозащиты оборудования, которая показывает вероятность того, что оборудование может стать источником воспламенения.

Примечание - Например, вид взрывозащиты "искробезопасная электрическая цепь "i" подразделяется на уровни вида взрывозащиты "ia", "ib" и "ic", которые соотносятся с уровнями взрывозащиты оборудования Ga, Gb и Gc (для взрывоопасных газовых сред). (в ред. Изменения N 1, утв. Приказом Росстандарта от 06.09.2022 N 880-ст)

3.54 предельная температура (limiting temperature): Наибольшая допустимая температура оборудования или его частей, равная меньшему из двух значений температуры, определенных с учетом:

a) максимальной температуры поверхности;

b) термостойкости использованных материалов.

3.55 нижний предел распространения пламени; НПР (lower flammable limit, LFL): Концентрация горючего газа или пара в воздухе, ниже которой взрывоопасная газовая среда не образуется.

Примечания

1 Для целей Ex-оборудования ранее данный термин назывался нижний концентрационный предел распространения пламени, НКПР.

2 Концентрация может выражаться либо в объемных долях, либо в единицах массы на единицу объема.

3.56 неисправность (malfunction): Невыполнение предназначенных с точки зрения взрывозащиты функций оборудованием или компонентами.

Примечания

1 В настоящем стандарте неисправности могут происходить по целому ряду причин, например:

- выход из строя одного или более элементов оборудования или компонента;

- внешние помехи (например, удары, вибрация, электромагнитные поля);

- ошибки или недочеты, допущенные при проектировании (например, программные ошибки);

- сбои источников питания или других устройств;

- потеря управления оператором (особенно для переносного оборудования).

2 В более ранних изданиях стандартов на виды взрывозащиты в значении "неисправности" применялся термин "повреждение".

3.56.1 ожидаемая неисправность (expected malfunction): Сбои или неисправности оборудования, которые обычно возникают на практике.

3.56.2 редкая неисправность (rare malfunction): Вид неисправности, которая является ожидаемой, но происходит редко.

Примечание - Две независимые ожидаемые неисправности, которые по отдельности не создают источник воспламенения, но при совместном появлении могут стать источником воспламенения, считаются одной редкой неисправностью.

3.57 максимальная температура поверхности (maximum surface temperature): Наибольшая температура, до которой в процессе эксплуатации при наиболее неблагоприятных условиях (но в пределах регламентированных отклонений) нагревается любая часть или поверхность Ex-оборудования.

3.58 минимальная температура воспламенения взрывоопасной газовой среды (minimum ignition temperature of an explosive gas atmosphere): Наименьшая температура нагретой поверхности, которая в заданных ГОСТ 31610.20-1 условиях воспламеняет горючие вещества в виде газа, пара в смеси с воздухом.

Примечание - Данный термин и термин "температура самовоспламенения" часто применяют как взаимозаменяемые.

3.59 минимальная температура воспламенения слоя пыли (minimum ignition temperature of a dust layer): Наименьшая температура горячей поверхности, при которой происходит воспламенение слоя пыли при заданных условиях испытаний.

Примечание - В ГОСТ 31610.20-2 изложены методы определения температуры воспламенения слоя пыли.

3.60 минимальная температура воспламенения облака пыли (minimum ignition temperature of a dust cloud): Наименьшая температура горячей поверхности, на которой происходит воспламенение наиболее воспламеняемой смеси пыли с воздухом при заданных условиях испытаний.

Примечание - В ГОСТ 31610.20-2 изложены методы определения температуры воспламенения облака пыли.

3.61 туман (mist): Жидкость, выпущенная через небольшое отверстие, при температурах ниже температуры вспышки данной жидкости, что приводит к образованию чрезвычайно мелких капель, образующих облако.

Примечание - Действие настоящего стандарта не распространяется на среды, содержащие горючие вещества в форме тумана.

3.62 нормальный режим эксплуатации (normal operation): Режим работы оборудования, при котором его электрические и механические характеристики не выходят за пределы ограничений, указанных изготовителем в технической документации.

Примечания

1 Ограничения, установленные изготовителем, могут предусматривать постоянные условия функционирования, например рабочий цикл функционирования.

2 Изменение напряжения питания в установленных пределах, а также другие отклонения параметров при эксплуатации составляют часть нормального режима эксплуатации.

3.63 категория перенапряжения (overvoltage category): Числовые значения условий временных перенапряжений.

Примечание - Применяются категории перенапряжений I, II, III и IV, см. [4].

3.64 пластмассы (пластические массы, пластики) (plastic): Материалы, основой которых являются высокомолекулярные полимеры и которые формуются на некоторых этапах переработки в готовые изделия.

Примечание - Эластомеры, которые также формуются, не являются пластмассами.

3.65 степень загрязнения (pollution degree): Числовые значения ожидаемых загрязнений микромасштабной окружающей среды.

Примечание - Применяют степени загрязнений 1, 2, 3 и 4, установленные в [4].

3.66 распространяющийся кистевой разряд (propagating brush discharge): Высокоэнергетический электростатический разряд из изолирующего листа, слоя или покрытия на заземленной проводящей поверхности или из материала с высоким удельным сопротивлением и высоким пробивным напряжением с двумя поверхностями, сильно заряженными до противоположной полярности.

3.67 защитное устройство (protective device): Устройство, предназначенное для прерывания электрической цепи в случае, если контролируемый параметр превышает заданное значение.

Примечание - Параметры часто включают ток, температуру, давление и т.д.

3.68 пирофорное вещество (pyrophoric substance): Вещество, которое самопроизвольно воспламеняется при воздействии воздуха (например, фосфора) или воды (например, калия или натрия).

Примечание - Пирофорные вещества не рассматриваются в рамках настоящего стандарта.

3.69 радиочастоты (radio frequency): Электромагнитные волны в диапазоне частот от 9 кГц до 60 ГГц.

3.69.1 непрерывное излучение (continuous transmission): Излучение, продолжительность импульса которого составляет более половины времени теплового инициирования.

3.69.2 импульсное излучение (pulsed transmission): Излучение, продолжительность импульса которого составляет менее половины времени теплового инициирования, но промежуток времени между двумя последовательными импульсами больше трехкратного времени теплового инициирования.

3.69.3 время теплового инициирования (thermal initiation time): Время (усреднения пороговой мощности), в течение которого энергия искрового разряда аккумулируется вокруг него в малом объеме газа, при этом не происходит значительного рассеивания тепла.

Примечание - Для времени, продолжительность которого меньше времени теплового инициирования, общая энергия искрового разряда определяет, произойдет или не произойдет воспламенение. При значительно более длительном времени мощность или энергия искрового разряда становятся определяющим фактором воспламенения.

3.69.4 пороговая энергия Zth (threshold energy Zth): Максимальная энергия отдельного импульса радиочастотного разряда, которая может быть принята приемным устройством.

3.69.5 пороговая мощность Pth (threshold power Pth): Мощность, образуемая эффективной выходной мощностью передатчика, умноженная на коэффициент усиления антенны.

Примечания

1 Коэффициент усиления антенны определяет увеличение ею уровня сигнала в заданном направлении по сравнению с уровнем сигнала эталонной антенны.

2 Пороговая мощность считается равной эффективной изотропной излучаемой мощности согласно [5].

3.69.6 усиление антенны (antenna gain): Коэффициент усиления, создаваемый излучением, концентрирующемся антенной, в определенном направлении.

Примечание - Усиление антенн часто меньше единицы.

3.70 номинальный параметр (rated value): Значение параметра для указанных условий эксплуатации детали, устройства или оборудования, как правило, устанавливаемое изготовителем.

3.71 номинальное напряжение изоляции (rated insulation voltage): Действующее значение выдерживаемого напряжения, присвоенное изготовителем оборудованию или его части, характеризующее указанную (долговременную) выдерживающую способность его изоляции.

Примечание - Номинальное напряжение изоляции не обязательно равно номинальному напряжению оборудования, которое прежде всего связано с функциональной работоспособностью.

3.72 номинальные характеристики (rating): Ряд номинальных параметров и условий эксплуатации.

3.73 периодическое максимальное напряжение (recurring peak voltage): Значение максимального напряжения при периодических изменениях формы кривой напряжения, являющихся результатом искажений напряжения переменного тока или переключения элементов с напряжением переменного тока на напряжение постоянного тока.

Примечание - Случайные броски напряжения, например при случайном включении, не считаются периодическим максимальным напряжением.

3.74 связанный чертеж (related drawing): Чертеж или документ, указанный в качестве ссылочного в сертификационном чертеже и используемый, например, для детального изготовления составных частей.

3.75 защитное устройство (safety device): Устройство, предназначенное для применения внутри или снаружи взрывоопасной среды, необходимое или способствующее безопасной работе оборудования и защитных систем в отношении рисков взрыва.

3.76 сертификационный чертеж (schedule drawing): Чертеж или документ, указанный в протоколе испытаний (протоколе оценки и испытаний) и описывающий меры по обеспечению взрывозащиты.

3.77 разделительный элемент (separation element): Механический элемент внутри оборудования, который отделяет различные части оборудования с разными уровнями взрывозащиты оборудования.

Примечание - Разделительный элемент состоит из механической перегородки, которая может сочетаться с взрывонепроницаемым соединением или естественной вентиляцией.

3.78 исправное состояние (serviceable condition): Условие, которое позволяет использовать заменяемую или восстановленную компоненту без ущерба для характеристик или характеристик защиты от взрыва оборудования, с учетом графиков чертежей, если это применимо, в которых используется такая составная часть.

3.79 эксплуатационная температура (service temperature): Максимальная или минимальная температура, возникающая в частях оборудования при номинальных условиях с учетом температуры окружающей среды и внешних источников нагревания или охлаждения. См. 5.2.

Примечание - Разные части оборудования могут иметь разную эксплуатационную температуру.

3.80 твердая изоляция (solid insulation): Электроизоляционный материал, прессованный или отливаемый, но не образованный в результате заливки.

Примечание - Изоляторы, выполненные из двух или более частей электроизоляционного материала, соединенных вместе твердым способом, могут считаться твердым электроизоляционным материалом. Термин "твердый электроизоляционный материал" описывает конечную форму, а не обязательно форму, в которой он изначально наносится. Для обмоток электрических машин процесс нанесения лака в качестве консолидации и изоляции обмотки считают в итоге твердым электроизоляционным материалом, несмотря на то, каким образом наносится лак.

3.81 электрические разделения (spacings, electrical): Разделительные расстояния между токопроводящими частями с разными электрическими потенциалами.

3.81.1 электрический зазор (clearance): Наименьшее расстояние по воздуху между двумя токопроводящими частями.

3.81.2 путь утечки (creepage distance): Наименьшее расстояние по поверхности твердого электроизоляционного материала, находящегося в контакте с воздухом, между двумя токопроводящими частями.

3.81.3 расстояние через заливку компаундом (distance through casting compound): Наименьшее расстояние через заливку компаундом между двумя токопроводящими частями.

3.81.4 расстояние через твердую изоляцию (distance through solid insulation): Наименьшее расстояние через твердую изоляцию между двумя токопроводящими частями.

3.81.5 расстояние под покрытием (distance under coating): Наименьшее расстояние между токопроводящими частями по поверхности электроизоляционной среды, на которую нанесено изолирующее покрытие.

3.82 специальное крепежное устройство (special fastener): Особая форма крепежного устройства согласно настоящему стандарту.

3.83 знак "U" (symbol "U"): Знак, указываемый в конце Ex-маркировки, используемый для обозначения Ex-компонента.

Примечание - Знак "U" используют для обозначения того, что оборудование не предназначено для отдельного использования и не может быть установлено без дополнительной оценки для подтверждения соответствия взрывобезопасных свойств требованиям нормативных документов.

3.84 знак "X" (symbol "X"): Знак, указываемый в конце Ex-маркировки, используемый для обозначения специальных условий применения оборудования.

Примечание - Знак "X" используют для обозначения того, что в сертификате содержится дополнительная необходимая информация по установке, использованию и техническому обслуживанию оборудования.

3.85 температурный класс (temperature class): Система классификации Ex-оборудования на основании максимальной температуры поверхности, относящейся к конкретной среде взрывоопасного газа, для использования в которой оно предназначено.

3.86 соединительное отделение (termination compartment): Отделение, содержащее соединительные устройства.

3.87 контрольное испытание (test, routine): Испытание, которому подвергают каждое отдельное устройство в процессе изготовления или после него для установления соответствия этого устройства определенным критериям.

3.88 типовое испытание (test, type): Испытание одного или нескольких устройств определенной конструкции для установления соответствия данной конструкции определенным требованиям.

3.89 вид взрывозащиты (type of protection): Специальные меры, предусмотренные в оборудовании для предотвращения воспламенения окружающей взрывоопасной среды.

3.90 верхний предел распространения пламени; ВПР (upper flammable limit, UFL): Концентрация горючего газа или пара в воздухе, выше которой взрывоопасная газовая среда не образуется (см. ГОСТ 31610.20-1).

Примечания

1 Для целей Ex-оборудования ранее данный термин назывался верхний концентрационный предел распространения пламени, ВКПР.

2 Концентрация может выражаться либо в объемных долях, либо в единицах массы на единицу объема.

3.91 пар (vapour): Газообразное состояние вещества, которое может достигнуть равновесия в жидком или газообразном состоянии в диапазоне температур и давлений, установленном областью применения настоящего стандарта.

3.92 полость (void): Пространство в компаунде, непреднамеренно образующееся в процессе герметизации.

3.93 рабочее напряжение (working voltage): Максимальное значение напряжения постоянного тока или действующего (эффективного) значения напряжения переменного тока, возможное при номинальном напряжении на электрооборудовании с конкретным типом изоляции.

Примечания

1 Переходные процессы не принимают во внимание.

2 Условия разомкнутой цепи и нормальные условия эксплуатации принимают во внимание.

3.94 Ex-установки (Ex installations): Установки для применения во взрывоопасных средах, представляющие собой совокупность взрывозащищенного электрооборудования и/или неэлектрического оборудования, предназначенного для применения в потенциально взрывоопасных средах, систем электро-, гидро-, пневмо- и/или иной проводки (при наличии) и других необходимых устройств, установленных полностью или частично во взрывоопасной зоне, соединенных согласно технической документации для работы в соответствии с назначением.

Примечание - Примерами Ex-установок являются: комплектное оборудование, комбайн, насосный агрегат, подъемная машина и др.

4 Классификация оборудования по группам

4.1 Общие положения

Оборудование для взрывоопасных сред подразделяют на следующие группы согласно 4.2, 4.3 и 4.4.

4.2 Группа I

Оборудование группы I предназначено для применения в подземных выработках шахт и их наземных строениях, опасных по рудничному газу и (или) горючей пыли.

Примечание - Виды взрывозащиты для оборудования группы I учитывают как воспламенение рудничного газа и угольной пыли, так и повышенную механическую защиту оборудования, применяемого в подземных выработках шахт.

Оборудование, предназначенное для подземных выработок шахт, атмосфера которых может в значительных количествах содержать, кроме рудничного газа, примеси других горючих газов (кроме метана), должно быть сконструировано и испытано согласно требованиям, установленным для группы I, а также для той подгруппы группы II, которая соответствует другим горючим газам.

4.3 Группа II

Оборудование группы II предназначено для применения в средах со взрывоопасной газовой средой, кроме подземных выработок шахт и их наземных строений, опасных по рудничному газу и (или) горючей пыли.

Оборудование группы II может быть подразделено на подгруппы в соответствии с категорией взрывоопасности взрывоопасной газовой среды, для которой оно предназначено.

Группа II подразделяется:

- на подгруппу IIA, типовой газ - пропан;

- подгруппу IIB, типовой газ - этилен;

- подгруппу IIC, типовые газы - водород и ацетилен.

Примечания

1 Такое разделение на подгруппы основано на безопасном экспериментальном максимальном зазоре (БЭМЗ) или кратности минимального воспламеняющего тока (кратность МВТ) взрывоопасной газовой среды, в которой оборудование может быть установлено (см. ГОСТ 31610.20-1).

2 Для внешних неметаллических материалов оборудования разделение на подгруппы основывается на опасности накопления электростатического заряда на внешних поверхностях (см. 7.4.2).

3 Оборудование, на котором указано IIB, пригодно также для применения там, где требуется оборудование подгруппы IIA. Таким образом, оборудование, на котором указано IIC, пригодно также для применения там, где требуется оборудование подгруппы IIA или IIB.

4.4 Группа III

Оборудование группы III предназначено для применения во взрывоопасных пылевых средах, кроме подземных выработок шахт и их наземных строений, опасных по рудничному газу и (или) горючей пыли.

Оборудование группы III может быть подразделено на подгруппы в соответствии с характеристикой конкретной взрывоопасной пылевой среды, для которой оно предназначено.

Группа III подразделяется:

- на подгруппу IIIA: горючие летучие частицы;

- подгруппу IIIB: непроводящая пыль;

- подгруппу IIIC: проводящая пыль.

Примечание - Оборудование, на котором указано IIIB, пригодно также для применения там, где требуется оборудование подгруппы IIIA. Таким образом, оборудование, на котором указано IIIC, пригодно также для применения там, где требуется оборудование подгруппы IIIA или IIIB.

4.5 Оборудование для применения в конкретной взрывоопасной газовой среде

Оборудование может быть испытано на возможность его применения в конкретной взрывоопасной газовой среде. В этом случае в сертификате должна содержаться информация, а оборудование соответственно маркировано.

5 Температуры

5.1 Влияние окружающей среды

5.1.1 Температура окружающей среды

В маркировке оборудования, сконструированного для использования в нормальном диапазоне температуры окружающей среды от минус 20 °C до плюс 40 °C, не требуется указывать диапазон температуры окружающей среды. Оборудование, сконструированное для применения в диапазоне температур, отличающемся от нормального диапазона окружающей среды, рассматривают как специальное. В этом случае при маркировке используют знак Ta или Tamb вместе с указанием верхней и нижней температур диапазона или, если это неосуществимо, используют знак "X" для обозначения специальных условий применения, которые включают в себя значения верхней и нижней температур диапазона окружающей среды [см. 29.3, перечисление e) и таблицу 1].

Примечание - Допускается, чтобы диапазон температуры окружающей среды был ограниченным, например: минус 5 °C <= Tamb <= плюс 15 °C.

Таблица 1

Температура окружающей среды в условиях эксплуатации и дополнительная маркировка

Наименование оборудования Температура окружающей среды в условиях эксплуатации Дополнительная маркировка
Обычное Максимальная: 40 °C Минимальная: минус 20 °C Нет
Специальное Указывает изготовитель Ta или Tamb с указанием специального диапазона, например: минус 30 °C <= Ta <= 40 °C или знак "X"

5.1.2 Внешние источники нагревания или охлаждения

Если оборудование предназначено для непосредственного соединения или воздействия со стороны отдельного внешнего источника нагревания или охлаждения, например с охлаждающей или нагревающей технологической камерой или трубопроводом, в сертификате и инструкции изготовителя должны быть указаны номинальные характеристики такого внешнего источника.

Примечания

1 Внешний источник нагревания или охлаждения часто называют температурой технологического процесса.

2 Параметры номинальных характеристик зависят от типа источника и условий установки и эксплуатации. Для крупных источников (которые в целом больше самого оборудования) достаточно указывать значения максимальной или минимальной температуры. Для небольших источников (которые в целом меньше самого оборудования) или для случая прохождения тепла через теплоизоляцию следует указывать характеристики теплового потока. Также допускается указывать номинальные характеристики путем указания температуры в определенной доступной точке оборудования.

3 При окончательной установке может потребоваться определить воздействие излучаемого тепла (см. ГОСТ IEC 60079-14).

5.2 Эксплуатационная температура

В тех случаях, когда в настоящем стандарте или стандарте на взрывозащиту конкретного вида требуется определение эксплуатационной температуры в любой части оборудования, то температура должна быть определена для номинальных характеристик оборудования при его работе при максимальной или минимальной температуре окружающей среды и, если это необходимо, при максимальном значении номинальных параметров внешнего источника нагревания или охлаждения. Испытания эксплуатационной температуры, если они необходимы, должны быть проведены в соответствии с 26.5.1.

Для оборудования с уровнем взрывозащиты оборудования Da при определении эксплуатационной температуры должен применяться такой же пылезащитный слой, что и в 5.3.2.3.1.

Для оборудования с уровнем взрывозащиты оборудования Db со слоем пыли, при определении эксплуатационной температуры применяются те же пылевые слои, что и в перечислениях b) или c) 5.3.2.3.2.

Если температурный диапазон Ex-компонента зависит от диапазона эксплуатационных температур одного или нескольких материалов конструкции, от которых зависит вид взрывозащиты, допустимый температурный диапазон для Ex-компонента должен быть указан в перечне ограничений. См. 13.5.

Примечание - Номинальные характеристики электрооборудования включают температуру окружающей среды, характеристики питания и нагрузки, рабочий цикл и режим эксплуатации, заданные изготовителем, обычно в соответствии с указанными в маркировке.

5.3 Максимальная температура поверхности

5.3.1 Определение максимальной температуры поверхности

Максимальная температура поверхности должна быть определена в соответствии с 26.5.1 с учетом максимальной температуры окружающей среды и при максимальных номинальных параметрах внешнего источника нагрева, если таковой имеется.

5.3.2 Ограничение максимальной температуры поверхности

5.3.2.1 Электрооборудование группы I

Для электрооборудования группы I максимальная температура поверхности должна быть указана в соответствующей документации согласно разделу 24.

Максимальная температура поверхности должна быть не более:

150 °C - для поверхностей, на которых возможно отложение угольной пыли в виде слоя;

450 °C - если отложение угольной пыли в виде слоя является маловероятным (например, на элементах внутри пылезащитной оболочки).

5.3.2.2 Электрооборудование группы II

Максимальная определенная температура поверхности, см. 26.5.1, должна быть не более:

- температуры заданного температурного класса (см. таблицу 2), или

- заданной максимальной температуры поверхности (см. таблицу 2), или,

- если это более приемлемо, температуры воспламенения конкретного газа, для использования в среде которого оборудование предназначено.

Таблица 2

Классификация максимальных температур поверхности для электрооборудования группы II

Обозначение температурного класса Значение максимальной температуры поверхности, °C
T1 <= 450
T2 <= 300
T3 <= 200
T4 <= 135
T5 <= 100
T6 <= 85

Для различных температур окружающей среды и разных внешних источников нагревания или охлаждения может быть определен более чем один температурный класс.

5.3.2.3 Электрооборудование группы III

5.3.2.3.1 Максимальная температура поверхности для оборудования с уровнем взрывозащиты оборудования Da

Максимальную температуру поверхности следует определять со слоем пыли глубиной не менее 200 мм, который окружает все стороны оборудования в соответствии с 26.5.1.

Примечание - Глубина слоя пыли более 200 мм не приводит к дополнительному увеличению температуры, которое должно быть принято во внимание.

5.3.2.3.2 Максимальная температура поверхности оборудования с уровнем взрывозащиты оборудования Db

Максимальная температура поверхности оборудования с уровнем взрывозащиты оборудования Db может быть определена при любой из трех конфигураций.

a) Максимальная температура поверхности определяется без слоя пыли для оборудования с уровнем взрывозащиты оборудования Db.

Максимальная температура поверхности, определенная без слоя пыли в соответствии с 26.5.1, не должна превышать максимальную заданную температуру поверхности.

b) Максимальная температура поверхности относительно заданного слоя пыли для оборудования с уровнем взрывозащиты оборудования Db

В дополнение к максимальной температуре поверхности, согласно перечислению a), указанному выше, максимальная температура поверхности также может быть определена в соответствии с 26.5.1 для заданной глубины слоя (глубину слоя пыли в мм указывают в обозначении максимальной температуры поверхности как значение L в виде TL) пыли, окружающей все стороны оборудования. Максимальная указанная глубина слоя не должна превышать 200 мм.

Примечание - Глубина слоя пыли более 200 мм не приводит к дальнейшему повышению температуры.

c) Максимальная температура поверхности относительно слоя пыли для оборудования, которое должно быть установлено в определенном положении, для уровня взрывозащиты оборудования Db.

Если в инструкциях указано одно или несколько конкретных положений, испытания следует проводить в соответствии с 26.5.1 со слоем пыли на поверхностях, на которых может накапливаться пыль (для каждого положения) (слой пыли после символа, указывающего максимальную температуру поверхности, TL) и после Ex-маркировки должен быть указан знак "X", чтобы указать это конкретное условие использования в соответствии с перечислением d) 29.5.

Примечание - Дополнительная информация о применении оборудования, на котором может накапливаться слой пыли до 50 мм, приведена в ГОСТ IEC 60079-14.

5.3.2.3.3 Максимальная температура поверхности, определенная без слоя пыли для оборудования с уровнем взрывозащиты оборудования Dc

Максимальная температура поверхности, определенная без слоя пыли в соответствии с 26.5.1, не должна превышать максимальную заданную температуру поверхности.

5.3.3 Температура поверхности малых элементов электрооборудования группы I или II

Примечание - Существуют теоретические и практические доказательства того, что чем меньше площадь нагретой поверхности, тем выше требуется температура поверхности, способная воспламенить данную взрывоопасную среду.

Использование малых элементов, например, таких электронных компонентов как транзисторы, резисторы, и других, значения температуры которых превышают значения, установленные классификацией взрывоопасных смесей, допустимо, если выполняется одно из следующих условий:

a) при испытаниях в соответствии с 26.5.3 малые элементы не должны поджигать взрывоопасную смесь, а любое их разрушение или деформация из-за высокой температуры не нарушает вид взрывозащиты, или

b) для температурного класса T4 и группы I размеры малых элементов соответствуют указанным в таблицах 3 и 4, или

c) для температурного класса T5 температура поверхности элемента, площадь которой менее 1000 мм2 (за исключением проволочных выводов), не превышает 150 °C.

Таблица 3

Оценка температурной классификации в зависимости от размера элемента

Общая площадь поверхности, исключая проволочные выводы, мм2 Оборудование группы II с температурным классом T4 Оборудование группы I (без пыли)
Максимальная температура поверхности, °C Максимальная рассеиваемая мощность, Вт Максимальная температура поверхности, °C Максимальная рассеиваемая мощность, Вт
< 20 275 - 950 -
>= 20 <= 1000 200 Согласно таблице 4 - Согласно таблице 4
> 1000 - Согласно таблице 4 - Согласно таблице 4

Таблица 4

Оценка температурной классификации элемента с площадью поверхности >= 20 мм2. Изменение максимальной рассеиваемой мощности с учетом температуры

Максимальная локальная температура <*>, °C 40 50 60 70 80
Максимальная рассеиваемая мощность, Вт, для группы оборудования:          
Группа II 1,3 1,25 1,2 1,1 1,0
Группа I (без пыли) 3,3 3,22 3,15 3,07 3,0
<*> Локальной температурой считают температуру воздуха вокруг элемента (но не температуру поверхности элемента) с учетом нагрева от элемента или других расположенных рядом элементов, и, если применяется, внешних источников нагрева, в нормальных условиях эксплуатации.

Перечисления a), b) и c) не применяются к малым элементам, которые приводят к повышению температуры поверхности в результате каталитической или другой химической реакции. Могут применяться испытания 26.5.3, но с горючими смесями, при которых возникает самая высокая температура элемента в результате химической реакции, с учетом как группы оборудования, так и температурного класса, в которых предполагается применение оборудования.

Для потенциометров площадь поверхности выбирают исходя из поверхности резистивного элемента, а не внешней поверхности элемента. В процессе испытаний следует принимать во внимание условия монтажа, теплоотвод и охлаждающий эффект конструкции потенциометра в целом. Температуру измеряют на дорожке потенциометра при значении тока, протекающего в условиях испытания, предусмотренных стандартом на взрывозащиту конкретного вида. Если при этом значение сопротивления меньше 10% значения сопротивления дорожки, измерения температуры следует выполнять при 10%-ном значении сопротивления дорожки.

5.3.4 Температура элементов гладких поверхностей для электрооборудования группы I или II

При площади поверхности не более 10 000 мм2 температура поверхности может превышать температуру для температурного класса, указанного на электрооборудовании группы II, или соответствующую максимальную температуру поверхности для электрооборудования группы I, если отсутствует опасность воспламенения от этих поверхностей с запасом по безопасности:

- на 50 К - для температурных классов T1, T2 и T3 группы II;

- на 25 К - для температурных классов T4, T5 и T6 группы II;

- на 25 К - для группы I.

Значение данного запаса по безопасности должно быть основано на опыте испытаний подобных элементов или определено путем проведения испытаний самого электрооборудования в представительных взрывоопасных смесях для конкретного температурного класса.

Во всех случаях использование малых элементов, значения температуры которых превышают значения, установленные классификацией взрывоопасных смесей, допустимо, если при испытаниях в соответствии с 26.5.3 малые элементы не воспламеняют представительную испытательную взрывоопасную смесь, а любое их разрушение или деформация из-за высокой температуры не нарушает вид взрывозащиты.

Примечание - На гладких нагретых поверхностях иногда возникает более высокая температура поверхности перед тем, как происходит самовоспламенение окружающей среды. При испытаниях указанный запас по безопасности, как правило, обеспечивается путем повышения температуры окружающей среды или увеличением рассеиваемой мощности элемента. Для метана второй вариант является более практичным.

6 Требования ко всему оборудованию

6.1 Общие положения

Требования настоящего стандарта и стандартов на взрывозащиту конкретных видов, перечисленных в разделе 1, являются дополнительными по отношению к применяемым требованиям по безопасности соответствующих промышленных стандартов.

Примечания

1 При проведении сертификации орган по сертификации не должен проверять соответствие оборудования или компонента требованиям промышленных стандартов.

2 Если Ex-оборудование или Ex-компонент должны выдерживать определенные неблагоприятные условия эксплуатации (например, небрежное обращение, воздействие влажности, колебания температуры окружающей среды, воздействие химических реагентов, коррозию, вибрацию), эти условия обычно сообщаются потребителем изготовителю. Настоящий стандарт не устанавливает требования, чтобы при проведении сертификации орган по сертификации подтверждал пригодность оборудования для использования в неблагоприятных условиях. Как правило, применяют специальные меры предосторожности при воздействии вибрации на клеммы, патроны предохранителей, патроны ламп, токопроводящие соединения, которые могут снизить безопасность оборудования в целом, если они не соответствуют требованиям конкретных стандартов. Дополнительная информация о применении Ex-оборудования при низких температурных условиях ниже минус 20 °C, см. [6].

3 Руководства по эксплуатации, как правило, содержат информацию об особых неблагоприятных условиях, для применения в которых оборудование может применяться.

6.2 Механическая прочность оборудования

Оборудование должно быть подвергнуто испытаниям в соответствии с 26.4. Защитные противоударные приспособления, снимаемые только с помощью инструмента, должны оставаться на месте при проведении испытаний на ударостойкость.

6.3 Время открытия оболочки

Оболочки, которые могут быть открыты быстрее времени, необходимого:

a) для разрядки встроенных конденсаторов, заряженных напряжением 200 В или выше, до значения остаточной энергии:

- 0,2 мДж - для электрооборудования группы I или подгруппы IIA,

- 0,06 мДж - для электрооборудования подгруппы IIB,

- 0,02 мДж - для электрооборудования подгруппы IIC, в том числе для оборудования, маркированного только как для группы II,

- 0,2 мДж - для электрооборудования группы III,

или в два раза превышающей приведенные уровни энергии, если зарядное напряжение менее 200 В; или

b) для снижения температуры поверхности встроенных в оболочку нагретых элементов ниже заданной максимальной температуры поверхности или температурного класса электрооборудования, должны иметь надпись:

- предупреждающую о времени задержки открытия согласно 29.13, перечисление a), или

- предупреждающую об открытии согласно 29.13, перечисление b).

6.4 Блуждающие токи в оболочках (например, крупных электрических машин)

В необходимых случаях должны быть приняты меры для защиты от влияния присутствия блуждающих токов, вызываемых магнитными полями, дуговых или искровых разрядов, которые могут возникать при прерывании блуждающих токов, или высокой температуры отдельных частей оборудования, обусловленной протеканием блуждающих токов.

Примечания

1 Магнитные поля рассеяния могут создавать значительные токи как внутри, так и между соединенными болтами секциями многосекционных оболочек, часто применяемых в крупных вращающихся электрических машинах, особенно при пуске двигателя. Важно избегать искрения при периодических прерываниях таких токов.

2 Подобная ситуация возможна не только для крупных вращающихся машин, но и для другого оборудования с большими магнитными полями рассеяния, взаимодействующими с соединенными болтами секциями многосекционных оболочек.

3 Могут быть применены следующие меры:

- уравнивание потенциалов отдельных частей оболочки и других элементов конструкции или

- обеспечение крепежных деталей соответствующей конфигурации.

Если применяют эквипотенциальные уравнивающие проводники, то их номинальные характеристики должны соответствовать ожидаемым значениям тока и обеспечивать надежное протекание тока без искрения при таких неблагоприятных условиях эксплуатации, как вибрация или коррозия. Соединения должны быть защищены от коррозии и ослабления крепления в соответствии с 15.5 и 15.6. Особое внимание должно быть обращено на неизолированные гибкие проводники в непосредственной близости от соединенных деталей.

Использование соединяющих проводников не требуется, если изоляция не допускает возможности возникновения блуждающих токов между частями. Изоляция таких частей должна выдерживать приложение действующего (эффективного) значения напряжения 100 В в течение 1 мин. Вместе с тем следует обеспечивать надежное заземление изолированных открытых токопроводящих частей.

6.5 Крепление прокладки

Если степень защиты, обеспечиваемая оболочкой, зависит от плотности соединения, которое должно быть открыто во время монтажа или в нормальном режиме эксплуатации, прокладки должны быть присоединены или прикреплены к одной из стыковочных поверхностей, чтобы избежать потери, порчи или неправильной установки. Уплотнительный материал не должен прилипать к другой соединительной поверхности. Если соединение было открыто и снова закрыто перед началом испытаний на степень защиты, обеспечиваемую оболочкой, необходимо убедиться, что материал прокладки остается присоединенным или прикрепленным к одной из стыковочных поверхностей и не прилип к другой стыковочной поверхности (см. 26.4.1.2).

В случае использования клея для закрепления прокладки он должен соответствовать требованиям к герметикам по 7.1.2.4 и иметь соответствующую температуру при продолжительной работе.

6.6 Оборудование, создающее электромагнитные и ультразвуковые излучения

6.6.1 Общие положения

Уровень излучений не должен превышать значений, указанных в 6.6.2 или 6.6.3, в зависимости от того, какие требования применяются.

Примечание - Дополнительное руководство о применении источников излучений высокой мощности для групп I и II приведено в [7]. Результаты в протоколе испытаний (протоколе оценки и испытаний) основаны на условиях поля в дальней зоне.

6.6.2 Источники радиочастотных излучений

Пороговая мощность РЧ-излучений (от 9 кГц до 60 ГГц) для непрерывных и импульсных передач с длительностью импульса, превышающей время теплового инициирования, не должна быть более приведенной в таблице 5. Не допускается использование программируемого или программного управления, устанавливаемого пользователем.

Таблица 5

Пороговая мощность

Обозначение группы (подгруппы) оборудования Максимальная пороговая мощность, Вт Максимальное время теплового инициирования, мкс
I 6 200
IIA 6 100
IIB 3,5 80
IIC 2 20
III 6 200

Для импульсных радиолокационных и других передач с импульсом, не превышающим время теплового инициирования, значения пороговой энергии не должны превышать значений, приведенных в таблице 6.

Таблица 6

Пороговая энергия

Обозначение группы (подгруппы) оборудования Максимальная пороговая энергия , мкДж
I 1500
IIA 950
IIB 250
IIC 50
III 1500

Примечания

1 Значения, указанные в таблицах 5 и 6, применимы для оборудования с уровнями взрывозащиты оборудования Ma, Mb, Mc, Ga, Gb, Gc, Da, Db или Dc в связи с необходимостью использования высоких коэффициентов безопасности.

2 В таблицах 5 и 6 для оборудования группы III приняты значения, применяемые для оборудования группы I, а не экспериментально полученные значения.

3 Значения, приведенные в таблицах 5 и 6, применяются в нормальных условиях эксплуатации, при условии, что потребитель оборудования не имеет доступа к регулировке оборудования для настройки более высоких значений. В связи с использованием высоких запасов по безопасности и большой вероятностью того, что радиочастотные усилители быстро выйдут из строя при неисправности, значительно увеличивающей выходную мощность, нет необходимости учитывать возможное повышение мощности при неисправностях.

6.6.3 Источники ультразвуковых излучений

Значения выходных параметров отдельных источников ультразвуковых излучений оборудования с уровнем взрывозащиты оборудования Ma, Mb, Mc, Ga, Gb, Gc, Da, Db или Dc не должны превышать следующих значений:

для газов и пыли:

- 10 МГц;

- для непрерывных источников - уровень звукового давления 170 дБ (соответствует 20 мкПа);

- для источников импульсных излучений (усредненных за один интервал 1 с) - средний уровень звукового давления 170 дБ (соответствует 20 мкПа).

Примечание - Уровень звукового давления 170 дБ (при 20 мкПа в качестве эталонного уровня давления) представляет собой интенсивность звука 10 Вт/см2, что является значительным послаблением по сравнению с прежним пределом 0,1 Вт/см2;

для жидкостей:

- 10 МГц;

- для непрерывных источников - плотность мощности 40 Вт/см2;

- для источников импульсных излучений (усредненных за один интервал 1 с) - средняя плотность мощности 40 Вт/см2.

Для D > , используют для расчета плотности мощности,

для D , используют для расчета плотности мощности,

где P - акустическая мощность или электрическая входная мощность, Вт;

D - диаметр излучающей поверхности (или малый размер, если излучающая поверхность является прямоугольной), см;

- длина волны в жидкости, м.

Когда несколько ультразвуковых источников аддитивно перекрываются, сумма интенсивностей также должна соответствовать пороговым значениям.

6.6.4 Лазеры, светильники и другие недивергентные непрерывные волновые оптические источники

Требования к лазерам, светильникам и другим недивергентным непрерывным волновым оптическим источникам, таким как светодиодные светильники, фонари и оптоволоконные передатчики/приемники, приведены в ГОСТ 31610.28.

7 Неметаллические оболочки и неметаллические части оболочек

7.1 Общие требования

7.1.1 Применяемость

К неметаллическим оболочкам и неметаллическим частям оболочек, от которых зависит вид взрывозащиты, следует применять приведенные ниже требования и требования согласно 26.7.

Примечания

1 Примерами неметаллических частей оболочек, от которых зависит вид взрывозащиты, являются уплотнительные прокладки крышки оболочки с видами взрывозащиты "e" или "t", герметизирующие компаунды кабельного ввода с видами взрывозащиты "d" или "e", уплотнительные кольца кабельных вводов, уплотнения приводов переключателей для оболочек с видом взрывозащиты "e" и т.п. (в ред. Изменения N 1, утв. Приказом Росстандарта от 06.09.2022 N 880-ст)

2 Требования настоящего раздела также применяют к неметаллическим частям, которые не являются оболочками, но от которых зависит вид взрывозащиты, например, проходным изоляторам "d", клеммам "e".

7.1.2 Технические характеристики материалов

7.1.2.1 Общие требования

В документации согласно разделу 24 должен быть указан материал оболочки или ее части.

7.1.2.2 Пластмассовые материалы

Технические характеристики пластмассовых материалов должны включать в себя:

a) наименование или зарегистрированный торговый знак изготовителя пластмассового материала;

b) точное и полное обозначение материала, включая его тип, цвет;

c) возможную обработку поверхностей, например покрытие лаком и т.д.;

d) температурный индекс TI, соответствующий точке 20 000 ч на графе теплостойкости, отражающий снижение временного сопротивления при изгибе не более чем на 50% начального значения; графу теплостойкости определяют согласно ГОСТ 21341, [8] и [9] с учетом стойкости к изгибу согласно ГОСТ 4648 и [10]. Если материал не разрушился при этом испытании до выдержки в тепле, индекс должен базироваться на сопротивлении к растяжению согласно ГОСТ 11262 и [11] испытательных образцов типа 1A или 1B. Вместо температурного индекса TI может быть использован относительный температурный индекс RTI (характеризующий механическую прочность или ударостойкость), определяемый в соответствии с [12];

e) данные, подтверждающие соответствие 7.3 (светостойкость), когда необходимо.

Должны быть определены источники, из которых получены данные характеристики.

Примечания

1 Настоящий стандарт не требует проведения проверки соответствия пластмассового материала его техническим характеристикам.

2 При выборе пластиковых материалов некоторые производители отмечают, что изменения типа и процентного содержания наполнителей, антипиренов, ультрафиолетовых стабилизаторов света и тому подобное могут оказать значительное влияние на свойства пластмассовых материалов.

3 Руководство по прослеживаемости материалов приведено в [13]. Производители, намеревающиеся использовать метод "отпечатка пальца", такой как инфракрасное сканирование или индекс кислорода для отслеживания пластиков, должны знать об этом во время проведения типовых испытаний, чтобы получить базовую информацию.

7.1.2.3 Эластомерные материалы

Технические характеристики эластомерных материалов должны включать в себя:

a) наименование или зарегистрированный торговый знак изготовителя эластомерного материала;

b) точное и полное обозначение материала, включая его тип и цвет;

c) возможную обработку поверхностей, например покрытие лаком и т.д.;

d) значение температуры при продолжительной работе;

e) данные, подтверждающие соответствие 7.3 (светостойкость), при необходимости.

Должны быть определены источники, из которых получены данные характеристики.

Примечания

1 Настоящий стандарт не требует проведения проверки соответствия эластомерного материала техническим характеристикам, указанным изготовителем.

2 При выборе эластомерных материалов некоторые производители отмечают, что изменения типа и процентного содержания наполнителей, антипиренов, ультрафиолетовых стабилизаторов света и тому подобное могут оказать значительное влияние на свойства эластомерных материалов.

3 Руководство по прослеживаемости материалов приведено в [13]. Производители, намеревающиеся использовать метод "отпечатка пальца", такой как инфракрасное сканирование или индекс кислорода для отслеживания свойств эластомерных материалов, должны знать об этом во время проведения типовых испытаний, чтобы получить базовую информацию.

7.1.2.4 Материалы, используемые в качестве герметиков

Технические характеристики материалов, используемых в качестве герметиков, должны включать в себя:

a) наименование или зарегистрированный торговый знак изготовителя материалов, используемых в качестве герметиков;

b) идентификационные сведения о материале, включая обозначение типа;

c) значение температуры при продолжительной работе.

Должны быть определены источники, из которых получены данные характеристики.

Примечание - Настоящий стандарт не требует проведения проверки соответствия материалов, используемых в качестве герметиков, техническим характеристикам, указанным изготовителем.

7.2 Теплостойкость

7.2.1 Испытания теплостойкости

Испытания теплостойкости и холодостойкости должны быть выполнены в соответствии с требованиями 26.8 и 26.9. См. также - порядок испытаний, приведенный в 26.4.1.

7.2.2 Выбор материала

Пластмассовые материалы должны иметь температурный индекс ТИ (TI) или индекс относительный температурный индекс ОТИ (RTI) - механическая прочность, или ОТИ - ударная нагрузка (в соответствии с 7.1.2), превышающий не менее чем на 20 К (или 10 К для уровней взрывозащиты оборудования Gc, Mc и Dc) максимальную эксплуатационную температуру оболочки или ее части (см. 26.5.1).

Температура при продолжительной работе эластомерных материалов и материалов, используемых в качестве герметиков, должна включать в себя значение минимальной температуры, не превышающее значения или равное значению минимальной эксплуатационной температуры, и значение максимальной температуры, которое не менее чем на 20 К (или 10 К для уровней взрывозащиты оборудования Gc, Mc и Dc) больше значения максимальной эксплуатационной температуры.

Примечание - Разные части оборудования могут иметь разную эксплуатационную температуру. Выбор и испытание отдельных материалов, как правило, осуществляют на основе эксплуатационной температуры данной части, но зачастую они основываются на максимальной (или минимальной) эксплуатационной температуре комплектного оборудования для упрощения программы испытаний.

7.2.3 Альтернативное испытание эластомерных уплотнительных колец

Эластомерные уплотнительные кольца обычно рассматривают как часть оболочки комплектного оборудования, когда необходимо обеспечить определенную степень защиты, обеспечиваемую оболочкой (IP) в соответствии с видом взрывозащиты. В качестве альтернативы металлическую оболочку с эластомерными уплотнительными кольцами в соответствии с [14], используемую при определенных условиях монтажа в соответствии с [15], допускается оценивать с применением испытательного приспособления вместо испытания уплотнительных колец в оболочке готового оборудования. Испытательное приспособление должно повторять размеры крепления уплотнительного кольца в оболочке готового оборудования. Испытания проводят в соответствии с 26.16. Затем уплотнительное кольцо устанавливают в оболочку готового оборудования и подвергают испытаниям на определение IP в соответствии с 26.4.5.

Примечание - Значение остаточной деформации сжатия, определенное после испытаний в соответствии с 26.16, используют для последующего сравнения эластомерных уплотнительных колец с уплотнительными кольцами из других материалов, предназначенных для данного применения.

Испытания для определения степени IP дополнительных материалов уплотнительных колец не требуются, если после испытаний в соответствии с 26.16 значение остаточной деформации сжатия кольцевого уплотнения из другого материала меньше или равно значению для первоначально испытанного уплотнительного кольца.

7.3 Светостойкость к воздействию УФ-света

Светостойкость оболочки или частей оболочки из неметаллических материалов к воздействию УФ-света должна удовлетворять требованиям 26.10. Материалы, соответствующие требованиям к воздействию УФ-света (f1) (см. [16]), считают приемлемыми.

При отсутствии защиты от воздействия УФ-света неметаллическая оболочка или части оболочки, от которых зависит вид взрывозащиты, должны быть испытаны на стойкость материала, из которого они изготовлены, на воздействие ультрафиолетового света. В составе оборудования группы I испытывают только светильники.

Примечание - Внутренние части оболочек, не подверженные прямому воздействию УФ-света, как правило, не подвергаются разрушающему воздействию.

Если при установке оборудования обеспечена его защита от воздействия УФ-света (например, дневного или искусственного) и поэтому испытания не проводят, то оборудование должно иметь маркировку "X" в соответствии с 29.3, перечисление e), для обозначения специальных условий применения.

Требования к стойкости воздействия УФ-света не распространяются на прокладки и уплотнения, имеющие конструкцию, при которой только их внешний край может потенциально подвергаться воздействию света.

Примечания

1 Известно, что стеклянные и керамические материалы при испытании на светостойкость не подвержены отрицательным воздействиям, поэтому проведение таких испытаний может не потребоваться.

2 Испытания на светостойкость проводят на специальных образцах для испытаний, а не на оболочке. Специальные образцы для испытаний не должны подвергаться испытаниям для оболочек по 26.4 до проведения испытаний на светостойкость к воздействию УФ-света.

7.4 Заряды статического электричества на внешних неметаллических материалах

7.4.1 Применяемость

Требования 7.4 распространяются только на внешние неметаллические материалы оборудования.

Требования 7.4 также применяются к неметаллическим частям, которые наносят на внешнюю поверхность оболочки.

Примечания

1 Неметаллические краски, пленки, фольгу и пластины, как правило, наносят на внешнюю поверхность оболочек для обеспечения дополнительной защиты от внешних воздействий. В настоящем разделе рассмотрена их способность сохранять заряд статического электричества.

2 Признано, что стекло не накапливает заряд статического электричества.

3 Дополнительное руководство по риску электростатического разряда приведено в ГОСТ 31610.32-1.

7.4.2 Предотвращение образования электростатического заряда статического для группы I или II

Оборудование должно быть сконструировано таким образом, чтобы при нормальных условиях эксплуатации была исключена опасность воспламенения от электростатических зарядов на внешних поверхностях оболочек. Указанное требование обеспечивают путем применения одного или нескольких способов (зачастую целесообразно использовать различные меры по предотвращению рисков на разных частях оборудования):

a) выбором материала, поверхностное сопротивление которого, измеренное в соответствии с 26.13, соответствует как минимум одному из критериев, указанных ниже:

- не более или равно 1 ГОм при относительной влажности (50 +/- 5)%;

- не более или равно 100 ГОм при относительной влажности (30 +/- 5)%;

b) ограничением площади поверхности неметаллических частей оболочек, как указано в таблице 7.

Таблица 7

Ограничение площади поверхностей

Максимальная площадь поверхности, мм2, для оборудования группы (подгруппы)
I II
Уровень взрывозащиты оборудования IIA IIB IIC
10 000 Ga 5000 2500 400
Gb 10 000 10 000 2000
Gc 10 000 10 000 2000

Площадь поверхности определяют следующим образом:

- для листовых материалов поверхностью считают открытую (заряжаемую) поверхность;

- для изогнутых объектов поверхностью считают проекцию объекта, создающую максимальную площадь;

- для отдельных частей из неметаллических материалов площадь поверхности определяют независимо для каждой части, если они разделены проводящими заземленными каркасами.

Значения допустимого размера поверхности могут быть увеличены в четыре раза, если данная поверхность неметаллического материала обрамлена или соприкасается с проводящей заземленной поверхностью.

Значения допустимого размера поверхности могут быть увеличены в два раза, если наибольшие по длине противоположные стороны данной поверхности соприкасаются с проводящей заземленной поверхностью.

Для длинных частей с неметаллическими поверхностями, таких как трубы, стержни или канаты, площадь поверхности можно не учитывать, но значение их диаметров или ширины не должно превышать значения, указанного в таблице 8. Вышеприведенные требования не применяют к оболочкам кабелей, используемых при соединении внешних цепей (см. 16.7).

Таблица 8

Максимальный диаметр или ширина

Максимальный диаметр или ширина, мм, для оборудования группы (подгруппы)
I II
Уровень взрывозащиты оборудования IIA IIB IIC
30 Ga 3 3 1
Gb 30 30 20
Gc 30 30 20

c) ограничением толщины слоя неметаллического материала, соединенного с проводящей или рассеивающей поверхностью, подключенной к земле с сопротивлением менее 1 ГОм. Рассеивающими поверхностями в настоящем стандарте считают поверхности, соответствующие требованиям перечисления a) 7.4.2. Значения толщины слоя неметаллического материала не должны превышать значений, указанных в таблице 9, или значение напряжения пробоя (измеренное поперек толщины изоляционного материала в соответствии с методом, описанным в [17] с учетом дополнительных требований к проведению испытаний постоянным током см. [18]) должно быть не более или равно 4 кВ постоянного тока.

Примечание - Окрашенная оболочка, отвечающая только требованиям перечисления c) 7.4.2 и таблицы 9, не будет соответствовать требованиям перечисления c) 7.4.3.

Таблица 9

Ограничение толщины неметаллического слоя

Максимальная толщина, мм, для оборудования группы (подгруппы)
I II
Уровень взрывозащиты оборудования IIA IIB IIC
2 Ga 2 2 0,2
Gb
Gc

d) нанесением проводящего или рассеивающего покрытия. Неметаллические поверхности могут иметь долговечное связывающее проводящее покрытие. Электрическое сопротивление между таким покрытием и местом соединения (для стационарных установок) и самой дальней точкой контакта с потенциалом с оболочкой (для переносного оборудования) должно быть не более 1 ГОм. Сопротивление следует измерять в соответствии с 26.13 с помощью электрода площадью 100 мм2 в наиболее неблагоприятном положении поверхности и либо в месте соединения, либо в самой дальней точки контакта с потенциалом. В этом случае оборудование должно иметь маркировку "X" в соответствии с перечислением e) 29.3, а документация должна содержать руководство по использованию защитных соединений (для фиксированного оборудования) и необходимые сведения, которые позволят пользователю определять долговечность материала покрытия в зависимости от условий окружающей среды. (в ред. Изменения N 1, утв. Приказом Росстандарта от 06.09.2022 N 880-ст)

Примечание - Условия окружающей среды, влияющие на материал покрытия, могут заключаться в воздействии на покрытие мелких частиц в воздушном потоке, паров растворителей и подобных веществ;

e) для стационарных установок меры по предотвращению возникновения опасности от электростатического разряда могут быть частью процесса его монтажа или подготовки к эксплуатации. В этом случае оборудование должно иметь маркировку "X" в соответствии с перечислением e) 29.3, а инструкции должны содержать руководство для пользователя для минимизации риска электростатического разряда. В отдельных случаях оборудование также может иметь табличку с надписью, предупреждающей об опасности электростатического заряда в соответствии с перечислением g) 29.13.

Примечание - Примеры возможных указаний специальных условий применения:

- контролировать влажность окружающей среды для минимизации образования статического электричества;

- защищать от прямого воздушного потока, вызывающего перенос заряда;

- прикасаться изолирующим предметом;

- обеспечивать средство для непрерывного стекания электростатических зарядов;

f) для переносного оборудования, с питанием от сети, где неметаллические материалы защищены от зарядки или разрядки посредством заземленной проводящей или рассеивающей защиты, оборудование должно быть помечено знаком "X" в соответствии с перечислением e) 29.3. В инструкциях должно быть приведено руководство для пользователя для минимизации риска электростатического разряда. Там, где это практически возможно, оборудование также должно быть отмечено предупреждением о возможности накопления электростатического заряда согласно перечислению g) 29.13;

g) путем испытания того, что максимальный переносимый заряд, измеренный в соответствии с 26.17, находится в пределах пороговых значений, указанных в таблице 10.

Примечания

1 Во многих промышленных областях, включая угольную промышленность, таблички могут стать нечитаемыми из-за отложения на них слоя пыли. В таких случаях возможно возникновение электростатического разряда при очистке таблички.

2 Минимальное значение сопротивления изоляции электроизоляционных материалов, как правило, указывают для исключения опасностей в результате прикасания к наружным неметаллическим частям, находящимся в контакте с токоведущими частями.

3 Эти ограничения толщины не относятся к неметаллическим слоям с поверхностным сопротивлением менее 1 ГОм или 100 ГОм соответственно [см. 7.4.2 перечисление a)].

4 Ограничение толщины неметаллического слоя обусловлено тем, что при его максимальном значении должно обеспечиваться связывание статического заряда на поверхности. Таким образом, не будет происходить накопление заряда статического электричества, способного образовать воспламеняющий разряд.

Таблица 10

Максимально допустимый перенесенный заряд

Максимально допустимый перенесенный заряд, нКл, для оборудования группы (подгруппы)
I II
Уровень взрывозащиты оборудования IIA IIB IIC
60 Ga 60 25 10
Gb
Gc
Примечание - В указанных пределах обеспечивается, что не будет происходить появления заряда, способного образовать воспламеняющий разряд.

7.4.3 Предотвращение образования заряда статического электричества для группы III

Внешняя поверхность оболочки из пластмассового материала или из металла с окрашенной или защищенной покрытием поверхностью должна быть сконструирована таким образом, чтобы при нормальных условиях эксплуатации была исключена опасность воспламенения от кистевых разрядов.

Оболочки из пластмассового материала не могут быть заряжены до такой критической плотности электрического заряда, при которой возникают распространяющиеся кистевые разряды. Однако никакие плоские токопроводящие поверхности большой площади не должны быть установлены внутри оболочки на расстоянии 8 мм от внешней поверхности.

Внутренняя печатная плата может рассматриваться как плоская токопроводящая поверхность большой площади, хотя это не относится к малогабаритному переносному или персональному оборудованию, если нет вероятности того, что оно подвергнется воздействию мощного генерирующего заряды механизма (это возможно при воздушном переносе порошков или заряда в процессе нанесения порошкового покрытия). Считается, что заряд электростатического электричества от нормально работающего переносного или персонального оборудования не ведет к возникновению мощного генерирующего заряды механизма и, следовательно, возникновению условий распространения кистевых разрядов.

Примечания

1 Единичную плоскую токопроводящую поверхность площадью не более 500 мм2 не считают поверхностью большой площади. Это позволяет использовать опорные изоляторы или кронштейны для монтажа плоских токопроводящих пластин внутри оболочки.

2 Разряды от изоляционных поверхностей, не поддерживаемых проводящим материалом, не могут воспламенить взрывоопасную пылевую среду.

3 Механизмы образования зарядов, такие как натирание вручную, не являются риском воспламенения для взрывоопасной пылевой атмосферы. Однако механизмы образования зарядов, такие как быстро движущиеся частицы вдоль поверхности, пневматическая передача порошков и распыление заряда в процессе нанесения электростатического покрытия, обычно приводят к риску образования воспламеняющих разрядов с изоляционных поверхностей площадью более 500 мм2, с проводящим материалом, соединенным с землей, с сопротивлением 1 МОм или менее.

Если пластмассовый материал или эластомер с площадью поверхности более 500 мм2 используют в качестве покрытия на проводящем материале, следует использовать одну или несколько следующих мер по предотвращению рисков (зачастую целесообразно использовать различные меры по предотвращению рисков на разных частях оборудования):

a) выбором материала, поверхностное сопротивление которого, измеренное в соответствии с 26.13, соответствует как минимум одному из критериев, указанных ниже:

- не более или равно 1 ГОм - при относительной влажности (50 +/- 5)%;

- не более или равно 100 ГОм - при относительной влажности (30 +/- 5)%;

b) выбором материала с напряжением пробоя не более или равно 4 кВ постоянного тока (измеренное поперек толщины изоляционного материала с использованием метода, описанного в [17] с учетом дополнительных требований к проведению испытаний постоянным током [18]);

c) контролем толщины неметаллического материала не менее или равной 8 мм.

Примечание - Окрашенная оболочка, отвечающая требованиям перечисления c) 7.4.2 и только таблицы 9, не будет соответствовать требованиям перечисления c) 7.4.3. При применении как во взрывоопасных газовых, так и пылевых средах часто используют перечисление a) 7.4.2 и перечисление a) 7.4.3; или перечисление c) 7.4.2 и перечисление b) 7.4.3;

d) нанесением на оборудование знака "X" в соответствии с перечислением e) 29.3. Данное требование относится только к стационарным установкам, когда установка предназначена для уменьшения риска электростатического разряда. В инструкции должно содержаться руководство для пользователя по мерам, которые необходимо выполнять для уменьшения риска электростатического разряда.

7.5 Прикрепленные внешние проводящие части

Внешние проводящие части, такие как таблички, которые прикрепляются к неметаллической оболочке или части неметаллической оболочки с электрическим сопротивлением относительно земли более 1 ГОм, измеренным при (500 +/- 25) В постоянного тока, способны накапливать заряды статического электричества, которые могут стать источником воспламенения. Должна быть определена емкость таких частей в соответствии с 26.14.

Оборудование:

- кроме переносного или персонального; и

- если измеренная емкость любой проводящей части превышает значение, приведенное в таблице 11, должно иметь маркировку "X" в соответствии с 29.3, перечисление e), и измеренное значение емкости должно быть указано в специальных условиях применения, чтобы потребитель мог определить пригодность оборудования для конкретного применения. Не требуется испытывать внешние проводящие части, расположенные таким образом, что возникновения разрядов при соприкосновении с заземленными объектами маловероятно.

Таблица 11

Максимальная емкость незаземленных проводящих частей

Максимальная емкость, пФ, для оборудования
групп I или III группы II
Уровень взрывозащиты оборудования Подгруппа IIA Подгруппа IIB Подгруппа IIC
10 Ga 3 3 3
Gb 10 10 3
Gc 10 10 3

Примечания

1 Принято, что значение емкости незаземленной металлической крепежной детали, например, винта для закрепления крышки, не превышает 3 пФ.

2 Для оборудования группы III, предназначенного для применения в коробах или трубах, в которых может присутствовать движущаяся с высокой скоростью пыль, более низкое предельное значение емкости находится на рассмотрении.

8 Металлические оболочки и металлические части оболочек

8.1 Состав материала

Документация согласно разделу 24 должна содержать сведения о материале оболочки или части оболочки.

Примечания

1 Настоящий стандарт не требует проведения испытаний химического состава материала.

2 Краски или покрытия, нанесенные на металлические оболочки, являются неметаллическими частями оболочки и к ним необходимо применять требования 7.4.

8.2 Группа I

Процентное содержание состава материалов, используемых для изготовления оболочек оборудования группы I с уровнем взрывозащиты оборудования Ma, Mb или Mc, должно быть не более:

- 15% (в сумме) - алюминия, магния, титана и циркония, с не более чем 7,5% (в сумме) магния, титана и циркония.

Эти требования не распространяются на переносное измерительное оборудование группы I. Однако такое оборудование должно иметь маркировку "X" в соответствии с 29.3, перечисление e), а в специальных условиях применения должны быть приведены специальные меры предосторожности при хранении, транспортировании и использовании оборудования.

8.3 Группа II

Процентное содержание состава материалов, используемых для изготовления оболочек оборудования группы II, для указанных ниже уровней взрывозащиты оборудования должно быть:

- для уровня взрывозащиты оборудования Ga не более 10% (в сумме) - алюминия, магния, титана и циркония, с не более чем 7,5% (в сумме) - магния, титана и циркония;

- для уровня взрывозащиты оборудования Gb - не более 7,5% (в сумме) магния, титана и циркония;

- для уровня взрывозащиты оборудования Gc - без ограничений, кроме лопастей вентиляторов, кожухов и вентиляционных жалюзи, которые должны соответствовать требованиям для уровня взрывозащиты оборудования Gb.

В случаях, когда предельные значения для оборудования для уровней взрывозащиты оборудования Ga или Gb превышены, оборудование должно иметь маркировку "X" в соответствии с 29.3, перечисление e), и в руководстве по эксплуатации должны быть указаны специальные условия применения для определения потребителем пригодности оборудования для конкретного применения во избежание опасности воспламенения от фрикционных искр, образующихся при трении или соударении деталей.

8.4 Группа III

Процентное содержание состава материалов, используемых для изготовления оболочек оборудования группы III, для указанных ниже уровней взрывозащиты оборудования должны содержать:

- для уровня взрывозащиты оборудования Da - не более 7,5% (в сумме) магния, титана и циркония;

- для уровня взрывозащиты оборудования Db - не более 7,5% (в сумме) магния, титана и циркония;

- для уровня взрывозащиты оборудования Dc - без ограничений, кроме вентиляторов, кожухов и вентиляционных жалюзи, которые должны соответствовать требованиям для уровня защиты оборудования Db.

В случаях, когда содержание легких сплавов в материале оболочки превышает указанные предельные значения для уровня взрывозащиты оборудования Da или Db, оно должно иметь маркировку "X" в соответствии с 29.3, перечисление e), и в руководстве по эксплуатации должны быть указаны специальные условия применения для определения потребителем пригодности оборудования для конкретного применения во избежание опасности воспламенения от фрикционных искр, образующихся при трении или соударении деталей.

8.5 Медные сплавы

Изготовленные из меди или медных сплавов оболочки оборудования и оболочки Ex-компонентов, предназначенные для наружного монтажа в средах, содержащих ацетилен:

- должны быть покрыты оловом, никелем или другими покрытиями; или

- максимальное содержание меди в сплаве должно составлять не более 65%.

Кабельные вводы, как определено в приложении A, заглушки, резьбовые переходники и проходные изоляторы не считаются оболочкой, требующей ограничения на покрытие или содержание меди.

Примечание - Ограничение использования меди в средах ацетилена связано с потенциальным образованием ацетилидов на внешних поверхностях, которые могут воспламеняться при трении или ударе.

9 Крепежные детали

9.1 Общие требования

Части, обеспечивающие взрывозащиту конкретного вида или используемые для предотвращения доступа к неизолированным электрическим частям, находящимся под напряжением, должны быть сняты или ослаблены только с помощью инструмента, такого как ключ, отвертка или гаечный ключ.

Крепежные детали для оболочек из материалов, содержащих алюминий, магний, титан или цирконий, могут быть изготовлены из алюминия, магния, титана или циркония, или неметаллического материала, если материал крепежной детали совместим с материалом оболочки.

Резьбовые отверстия под крепежные детали крышек, открываемых в условиях эксплуатации для регулировок, проверок и по другим причинам, должны быть нарезаны непосредственно в материале оболочки, если форма резьбы совместима с используемым материалом оболочки.

9.2 Специальные крепежные детали

Если стандарт на взрывозащиту конкретного вида требует применения специального крепежа, то крепеж должен удовлетворять следующим условиям:

- шаг резьбы должен быть крупным по ГОСТ 8724 и [19] с полем допуска 6g/6H в соответствии с ГОСТ 16093 (см. также [20] и [21]);

- головка винта или гайки должна быть выполнена по ГОСТ 10605, ГОСТ 11738 или ГОСТ ISO 7380-1 (ГОСТ 1481, ГОСТ 5915, ГОСТ 5927, ГОСТ 7795, ГОСТ 7796, ГОСТ 7798 или ГОСТ 7805) (см. также [55], [56], [57], [58], [59], [60]), а в случае установочных винтов и крепежных болтов с шестигранным углублением под ключ - в соответствии с ГОСТ 8878, ГОСТ 11074, ГОСТ 11075, ГОСТ 28964 (см. также [61], [62], [63], [64]). Допускается применение винтов или гаек с головками другой конструкции при условии, что оборудование должно иметь маркировку "X" в соответствии с 29.3, перечисление e). При этом документация должна содержать специальные условия применения таких крепежных деталей с указанием, что их замена может быть проведена только на идентичные крепежные детали;

- отверстия в оборудовании должны соответствовать требованиям 9.3;

- опорные поверхности под крепежные детали должны отвечать требованиям ГОСТ 12876.

Примечания

1 Диаметр болтов, винтов и шпилек, предназначенных для крепления деталей оболочек оборудования группы I, открываемых в шахте, должен быть не менее 6 мм. Для крепления деталей оболочек контрольно-измерительных приборов и устройств автоматики допускается применение крепежных болтов, винтов и шпилек диаметром не менее 5 мм.

Требования к минимальному диаметру крепежных болтов, винтов и шпилек не распространяются на оболочки приборов и устройств индивидуального пользования, если крепежные детали не подлежат отвинчиванию в условиях эксплуатации (в шахтах), например, установлены на клее или опломбированы.

2 Болты, винты, гайки и другие крепежные детали должны быть предохранены от самопроизвольного ослабления способом, приведенным в технической документации.

9.3 Отверстия для специальных крепежных деталей

9.3.1 Длина резьбы зацепления

Отверстия под специальные крепежные детали по 9.2 должны иметь длину резьбы, обеспечивающую ввинчивание крепежной детали на глубину h, равную, по крайней мере, основному диаметру резьбы крепежной детали (см. рисунки 4 и 5).

h - длина резьбы зацепления, не менее основного диаметра резьбы крепежной детали; c - размер, равный или не более максимального зазора при допуске H13" [22]

Рисунок 4 - Допуски и зазор для резьбовых крепежных деталей

- диаметр отверстия под крепежную деталь, обеспечивающий стандартный зазор для прохода резьбы соответствующей формы; h - длина резьбы зацепления, размер, который должен быть не менее основного диаметра резьбы крепежной детали; X - опорный размер крепежной детали с уменьшенным телом, который должен быть не менее размера стандартной головки стандартной крепежной детали (с полным телом) с резьбой используемого размера по всей длине

Рисунок 5 - Опорная поверхность под головкой крепежной детали с уменьшенным телом

9.3.2 Допуски и зазоры

Внутренняя резьба должна иметь поле допуска 6H в соответствии с ГОСТ 16093, [20] и [21], при этом:

a) отверстие под головкой крепежной детали должно допускать зазор, не превышающий допуск, указанный для среднего класса H13 по ГОСТ 11284 и [22] (см. рисунок 4 настоящего стандарта), или (в ред. Изменения N 1, утв. Приказом Росстандарта от 06.09.2022 N 880-ст)

b) отверстие под головкой (или гайкой) крепежной детали с уменьшенным телом должно иметь резьбу, достаточную для обеспечения удержания крепежной детали. Размеры резьбового отверстия должны быть такими, чтобы описанная под головкой данной крепежной детали опорная поверхность была не меньше опорной поверхности такой же крепежной детали с полным (не уменьшенным) телом, проходящей через отверстие с зазором (см. рисунок 5).

9.4 Установочные винты с шестигранным углублением под ключ

Установочные винты с шестигранным углублением под ключ, используемые для закрепления резьбовых крышек, не должны выступать из резьбового отверстия после затяжки.

10 Блокировки

Блокировки, используемые для сохранения взрывозащиты данного вида, должны быть сконструированы таким образом, чтобы их эффективность не могла быть легко нарушена.

Примечания

1 Конструкция блокировки должна быть выполнена таким образом, чтобы блокировка не могла быть легко нарушена (отключена) отверткой, плоскогубцами или другими подобными инструментами.

2 Необходимость наличия блокировки должна быть установлена стандартами на взрывозащиту отдельных видов или электротехнические устройства.

3 На крышках оболочек оборудования, которое не имеет блокировки и наличие напряжения на котором не может быть установлено без снятия крышки, необходимого в процессе эксплуатации для проведения профилактических ремонтов и осмотров, должна быть нанесена предупредительная надпись "Открывать, отключив от сети" или "Открывать во взрывоопасной среде запрещается", или "Открывать в шахте запрещается".

11 Проходные изоляторы

Проходные изоляторы, используемые для присоединений, выполняемых на месте эксплуатации, в качестве соединительных устройств и которые могут быть подвергнуты воздействию крутящего момента при присоединении или отсоединении, должны быть установлены таким образом, чтобы было исключено проворачивание.

Соответствующие испытания при воздействии крутящих моментов приведены в 26.6.

12 Зарезервировано

13 Ex-компоненты

13.1 Общие требования

Ex-компоненты должны соответствовать требованиям, приведенным в приложении B. Примерами Ex-компонентов являются:

a) пустая оболочка или

b) компоненты или сборочные единицы (узлы), кроме кабельных вводов, предназначенные для применения в сборе с оборудованием, которое соответствует требованиям одного или нескольких видов взрывозащиты, указанных в разделе 1.

13.2 Монтаж

Ex-компоненты могут быть установлены:

a) полностью внутри оболочки оборудования (например, клемма, амперметр, нагреватель или индикатор с видом взрывозащиты "e", выключатель или термостат с видом взрывозащиты "d", выключатель или термостат с видом взрывозащиты "m", источник питания с видом взрывозащиты "i"), или

b) полностью снаружи оболочки оборудования (например, заземляющая клемма с видом взрывозащиты "e", датчик с видом взрывозащиты "i"), или

c) частично внутри и частично снаружи оболочки оборудования (например, кнопочный выключатель с видом взрывозащиты "d", кнопочный выключатель, концевой выключатель или арматура светосигнальная с видом взрывозащиты "t", амперметр с видом взрывозащиты "e", индикатор с видом взрывозащиты "i").

13.3 Монтаж внутри оборудования

В случае монтажа Ex-компонента полностью внутри оболочки испытаниям или оценке подвергают только те его части, которые не были испытаны и/или оценены как отдельный компонент (например, испытания или оценка температуры поверхности, путей утечки и электрических зазоров между компонентом и близлежащими проводящими частями).

13.4 Монтаж снаружи оборудования

В случае монтажа Ex-компонента снаружи оболочки или частично внутри и частично снаружи оболочки должны быть проведены испытания или оценка сопряжения Ex-компонента и оболочки на соответствие примененному виду взрывозащиты и испытания оболочки согласно 26.4.

13.5 Сертификат Ex-компонента

Поскольку Ex-компоненты не предназначены для самостоятельного применения и требуют дополнительной оценки при включении их в состав оборудования или систем, в отношении них не применяются специальные условия применения с добавлением знака "X" в конце маркировки Ex - компонента. В тех случаях, когда в настоящем стандарте или в одном из стандартов, входящих в данный комплекс, установлены специальные условия применения с добавлением знака "X" в Ex-маркировку, в сертификате на Ex-компонент необходимо указывать перечень ограничений и добавлять знак "U" в Ex-маркировку Ex-компонента.

Информация, необходимая для правильного применения Ex-компонента, должна быть указана в перечне ограничений в сертификате. См. также 28.2 и приложение B.

Примечания

1 Перечень ограничений включает диапазон температур для Ex-компонента. В некоторых случаях определяют диапазоны в нескольких точках, чтобы обеспечить максимальную гибкость при применении Ex-компонента.

2 В соответствии с приложением B температурный класс Ex-компонентам не присваивается.

14 Соединительные устройства

14.1 Общие требования

Электрооборудование, предназначенное для присоединения к внешним цепям, должно иметь соединительные устройства, кроме случаев, когда электрооборудование изготавливают с постоянно присоединенным кабелем.

Примечания

1 Оборудование всех видов, сконструированное с постоянно присоединенным кабелем, должно быть маркировано знаком "X", указывающим на необходимость соответствующего присоединения свободного конца кабеля.

2 Соединительные устройства должны иметь маркировку, если ее отсутствие может привести к неправильному присоединению. Допускается наносить маркировку на соединительное устройство, вблизи него или на прикрепленную к нему бирку.

3 Токоведущие части соединительных устройств должны быть соединены таким образом, чтобы электрический контакт в месте соединения в течение длительного времени эксплуатации не ухудшался из-за нагрева в условиях переменного теплового режима, изменения размеров изоляционных деталей и вибрации. Не допускается передача контактного давления на электрические соединения через изоляционные материалы, кроме случаев, когда давление передается через фарфор, стеатит или другие материалы с аналогичными термическими и механическими свойствами, при этом необходимо учитывать различия в тепловом расширении изолирующих и токоведущих частей.

4 Токоведущие части соединительных устройств в оборудовании группы I должны быть выполнены из стойких к коррозии, обладающих высокой проводимостью материалов (например, медь, латунь). Части соединительных устройств, не являющиеся токоведущими (нажимные винты), могут быть изготовлены из стали, если предусмотрено соответствующее антикоррозионное покрытие. Диаметр контактных винтов (болтов, шпилек) для присоединения внешних проводов и жил кабелей оборудования группы I должен быть не менее 6 мм.

5 В устройствах управления, контроля и автоматики допускается применение контактных винтов диаметром менее 6 мм. При этом для измерительных приборов минимальный диаметр контактных винтов не нормируют. В устройствах связи, автоматики и сигнализации диаметр контактных винтов должен быть не менее 4 мм.

14.2 Вид взрывозащиты

Соединительные устройства должны соответствовать требованиям одного из конкретных видов взрывозащиты, перечисленных в разделе 1.

14.3 Пути утечки и электрические зазоры

Соединительные устройства должны быть сконструированы таким образом, чтобы после правильно выполненного присоединения проводников значения путей утечки и электрических зазоров соответствовали требованиям, если таковые установлены, стандартов на взрывозащиту примененного вида.

15 Соединительные устройства для заземляющих проводников или проводников, обеспечивающих уравнивающее соединение

15.1 Оборудование, требующее заземления или уравнивающего соединения

15.1.1 Внутреннее заземление

Внутри электрооборудования должно быть предусмотрено соединительное устройство для подключения заземляющего проводника рядом с другими соединительными устройствами. Требования к оборудованию, не требующему внутреннего заземления, - см. также 15.2.

15.1.2 Внешнее уравнивающее соединение

Электрооборудование с металлической оболочкой должно быть снабжено дополнительным наружным соединительным устройством для эквипотенциального уравнивающего проводника, за исключением оборудования:

a) перемещаемого под напряжением и питающегося с помощью кабеля, содержащего заземляющий провод или эквипотенциальный уравнивающий провод;

b) установленного только вместе с системой электропроводки, не требующей внешнего заземления, например с металлической трубой или бронированным кабелем.

Изготовитель должен указать, требуется ли применение заземляющих проводников или проводников, обеспечивающих уравнивающее соединение, при установке в условиях, указанных в перечислении a) или b), в руководстве по эксплуатации в соответствии с разделом 30.

Дополнительное наружное соединительное устройство должно быть электрически соединено с соединительным устройством, указанным в 15.1.1.

Примечание - Выражение "электрически соединен" не означает обязательного применения проводника.

15.2 Оборудование, не требующее заземления

В оборудовании, к которому не предъявляют требования по наличию заземления, например в определенных видах оборудования, имеющем двойную или усиленную изоляцию, или для которого не требуется дополнительное заземление, внутреннее соединительное устройство согласно 15.1.1 может быть не предусмотрено.

Примечание - Для электрооборудования, например, имеющего двойную изоляцию, в котором отсутствует опасность поражения электрическим током, часто обеспечивается уравнивающее соединение для уменьшения риска воспламенения в результате электростатических разрядов.

15.3 Размер поперечного сечения защитного заземляющего проводника

Соединительные устройства защитных заземляющих проводников (PE) должны обеспечивать надежное подсоединение, по крайней мере, одного проводника с площадью поперечного сечения, приведенной в таблице 12. Соединительные устройства защитных заземляющих (PE) проводников электрических машин должны соответствовать ГОСТ IEC 60034-1.

Таблица 12

Минимальная площадь поперечного сечения PE проводников

Площадь поперечного сечения фазных проводников оборудования S, мм2 Минимальная площадь поперечного сечения соответствующего заземляющего и нулевого защитного проводников , мм2
S <= 16 S
16 < S <= 35 16
S > 35 0,5S

15.4 Размер поперечного сечения эквипотенциального уравнивающего проводника

Соединительные устройства эквипотенциального уравнивающего (EP) проводника снаружи оборудования должны обеспечивать надежное подсоединение проводника с площадью поперечного сечения не менее 4 мм2. Если соединительное устройство используется так же как PE-соединение, должны выполняться требования согласно таблице 12 при условии, что площадь поперечного сечения составляет не менее 4 мм2.

15.5 Защита от коррозии

Соединительные устройства должны быть надежно защищены от коррозии. Если одна из контактирующих частей выполнена из материала, содержащего алюминий, магний, титан или цирконий, должны быть предусмотрены специальные меры предосторожности, например использованием промежуточной части, выполненной из стали при выполнении соединения с материалом, содержащим алюминий, магний, титан или цирконий.

15.6 Безопасность электрических соединений

Соединительные устройства должны быть сконструированы таким образом, чтобы была предотвращена возможность ослабления или самоотвинчивания электрических проводников. Если не применяются требования 15.7, контактное давление в электрических соединениях должно сохраняться и не должно ухудшаться вследствие изменений размеров изоляционных материалов в процессе эксплуатации под воздействием температуры или влажности и т.п.

Примечания

1 Пружинные и стопорные шайбы часто используются для предотвращения ослабления соединения.

2 В качестве средств для предотвращения скручивания электрических проводников часто используют фиксированные соединительные панели с U-образным зажимом, антиротационные ребра или углубления на оболочке и тому подобное.

15.7 Внутренняя шина заземления

Неметаллические стенки оболочки с внутренней шиной заземления, должны быть испытаны в соответствии с 26.12.

Примечание - Внутреннюю шину заземления часто устанавливают, например, чтобы обеспечить возможность применения металлических кабельных вводов без раздельных индивидуальных зажимов заземления.

16 Вводы в оболочки

16.1 Общие требования

Вводы в оборудование должны быть в виде обычного либо резьбового отверстия, расположенного:

- в стенке оболочки или

- в промежуточной плате, предназначенной для монтажа внутрь стенки или на стенке оболочки.

Примечание - Более подробная информация по установке труб или дополнительных приспособлений в резьбовые или обычные отверстия содержится в ГОСТ IEC 60079-14.

16.2 Идентификация вводов

В документации, представляемой в соответствии с разделом 24, изготовитель должен точно определить все вводы с указанием их максимально допустимого числа, их позиции или места/расположения на оборудовании. Тип резьбы (например, метрическая или NPT) резьбовых вводов должна быть маркирована на оборудовании или указана в инструкции по установке (см. также раздел 30).

Примечания

1 Не требуется наносить маркировку на отдельные вводы, если это не является требованием конкретного вида взрывозащиты.

2 Если предусмотрена возможность различного расположения вводов, то в руководстве по эксплуатации, как правило, предоставляется информация о местах расположения вводов, их размерах и расстояниях между ними.

16.3 Кабельные вводы

Кабельные вводы должны быть установлены в соответствии с руководством по эксплуатации согласно разделу 30, не должны нарушать специфические параметры вида взрывозащиты электрооборудования, на котором их монтируют. Это условие должно быть выполнено для всего диапазона кабелей, определенных изготовителем кабельных вводов в качестве пригодных для использования с указанными кабельными вводами. Кабельные вводы могут быть неотъемлемой частью оборудования, если какая-либо главная деталь ввода или его часть образует с оболочкой оборудования неразъемную конструкцию. В таких случаях вводы следует испытывать вместе с оборудованием.

Нерезьбовые кабельные вводы для группы I должны:

- являться Ex-кабельными вводами;

- являться Ex-компонентами; или

- должны быть указаны в качестве части в сертификате на готовое оборудование.

Нерезьбовые кабельные вводы для групп II или III должны:

- являться Ex-компонентами; или

- должны быть указаны в качестве части в сертификате на готовое оборудование.

Резьбовые кабельные вводы и кабельные проходные устройства для групп I, II или III должны:

- являться Ex-кабельными вводами;

- являться Ex-компонентами; или

- должны быть указаны в качестве части в сертификате на готовое оборудование.

Кабельные вводы и кабельные проходные устройства как неотъемлемые, так и изготовленные отдельно, должны удовлетворять соответствующим требованиям приложения A.

Примечание - Все требования к кабельным вводам с маркировкой для уровня вида взрывозащиты "eb" указаны в настоящем стандарте. (в ред. Изменения N 1, утв. Приказом Росстандарта от 06.09.2022 N 880-ст)

16.4 Заглушки

Заглушки, предназначенные для закрывания неиспользуемых отверстий в стенках оболочек электрооборудования их применения, должны удовлетворять требованиям используемого вида взрывозащиты. Средства, обеспечивающие выполнение этого требования, должны быть такими, чтобы заглушку можно было снять только с помощью инструмента.

Резьбовые заглушки должны являться Ex-заглушками, Ex-компонентами или должны быть указаны в качестве части в сертификате на готовое оборудование.

Нерезьбовые заглушки для группы I должны являться Ex-заглушками, Ex-компонентами или должны быть указаны в качестве части в сертификате на готовое оборудование.

Нерезьбовые заглушки для группы II или III должны являться Ex-компонентами или должны быть указаны в качестве части в сертификате на готовое оборудование.

16.5 Резьбовые переходники

Резьбовые переходники должны удовлетворять требованиям используемого вида взрывозащиты.

Резьбовые переходники должны являться Ex-резьбовыми переходниками, Ex-компонентами или должны быть указаны в качестве части в сертификате на готовое оборудование.

16.6 Температура в месте разделки жил и ввода

Если эксплуатационная температура превышает 70 °C в месте ввода или 80 °C в месте разделки жил (в месте разветвления) проводников, то в маркировке или инструкциях должна содержаться информация, обращающая внимание пользователя на выбор соответствующего кабеля и кабельного ввода или проводников в трубном вводе (см. рисунки 6 и 7).

1 - место ввода кабеля (где находится уплотнение, если оно используется); 2 - место разделки жил кабеля

Рисунок 6 - Кабельный ввод

1 - место ввода кабеля (где находится уплотнение, если оно используется); 2 - место разделки жил кабеля

Рисунок 7 - Трубный ввод

При наличии достаточной информации о выборе соответствующих кабелей, кабельных вводов и проводников в трубном вводе в маркировке можно указывать только ссылку на руководство по эксплуатации оборудования.

Использование максимальной температуры внутреннего воздушного пространства в качестве максимальной рабочей температуры прокладок и уплотнений клеммной коробки, температуры точки разветвления кабеля и температуры точки входа является обычной практикой испытания электрических вращающихся машин без предварительного знания о фактически применяемых вводах и кабелях, которые будут использоваться для установки. Нагрев от соединений электрических вращающихся машин обычно незначителен по сравнению с выделением тепла из обмоток и магнитопровода машины. Точка ввода кабеля, где измеряется температура, должна быть по возможности герметизирована, чтобы обеспечить минимальную циркуляцию воздуха, которая может снизить измеряемую температуру, которая должна учитывать нагрев кабеля под нагрузкой. Это не относится к прокладкам между клеммной коробкой и корпусом вращающейся электрической машины, где могут регистрироваться более высокие температуры, а только к прокладке между клеммной коробкой и ее крышкой. В данном контексте описывается электрическая вращающаяся машина, но эквивалентный подход применим и к другим типам оборудования. (в ред. Изменения N 1, утв. Приказом Росстандарта от 06.09.2022 N 880-ст)

16.7 Электростатические заряды на оболочках кабеля

В настоящем стандарте оболочки кабелей не рассматривают как неметаллические оболочки или части оболочек, в соответствии с требованиями раздела 7 и не оценивают на соответствие требованиям указанного раздела.

17 Дополнительные требования к электрическим машинам

17.1 Общие требования

Требования данного раздела распространяются на вращающиеся электрические машины, соответствующие области применения ГОСТ IEC 60034-1.

Для других вращающихся устройств, например сервомоторов, требования настоящего стандарта, включая требования настоящего раздела, применяются там, где они являются применимыми.

Для не вращающихся машин, например, линейных двигателей, требования этого стандарта, в том числе положения настоящего раздела, применяются там, где они являются применимыми.

17.2 Вентиляция

17.2.1 Вентиляционные отверстия

Степень защиты IP, обеспечиваемая вентиляционными отверстиями, должна быть не ниже IP20 - со стороны поступления воздуха; IP10 - со стороны выхода воздуха в соответствии с ГОСТ IEC 60034-5.

Для установленных вертикально вращающихся электрических машин и установленных вертикально вращающихся вентиляторов должны быть предприняты меры, исключающие попадание в вентиляционные отверстия падающих инородных тел. Для вращающихся машин группы I степень защиты IP10 считают достаточной только в том случае, если отверстия устроены или расположены таким образом, что инородные тела размером более 12,5 мм не могут проникнуть к движущимся частям машины ни в результате вертикального падения, ни вследствие вибрации.

Вентиляторы, устанавливаемые в воздуховодах, должны быть сконструированы таким образом, чтобы выполнялись требования к степени защиты IP и другие требования к частям, обеспечивающим степень защиты (стойкость к удару, требования к материалам) на входе и выходе воздуховода. В этом случае вентилятор должен иметь маркировку "X" в соответствии с 29.3, перечисление e) и в Специальных условиях применения должны быть указаны критерии выбора защитного экрана на входе и выходе воздуховода.

17.2.2 Материалы для наружных вентиляторов

Лопасти наружных вентиляторов, вентиляционные кожухи, вентиляционные жалюзи, изготовленные из неметаллических материалов, должны удовлетворять требованиям раздела 7. Требования 7.4 не распространяются на лопасти наружных вентиляторов, установленных на вращающихся машинах группы II и имеющих окружную скорость менее 50 м/с.

Лопасти наружных вентиляторов, вентиляционные кожухи, вентиляционные жалюзи, изготовленные из материалов, содержащих алюминий, магний, титан или цирконий, должны удовлетворять требованиям раздела 8.

17.2.3 Вентиляторы для охлаждения вращающихся электрических машин

Примечание - Наружные охлаждающие вентиляторы, о которых идет речь в данном пункте, представляют собой вентиляторы, используемые для охлаждения непосредственно вращающихся электрических машин, а не для охлаждения другого оборудования.

17.2.3.1 Вентиляторы и вентиляционные кожухи

Наружный охлаждающий вентилятор для охлаждения вращающейся электрической машины должен быть закрыт вентиляционным кожухом и удовлетворять требованиям 17.2.3.2 и 17.2.3.3.

17.2.3.2 Конструкция и монтаж вентиляционных систем

Вентиляторы, вентиляционные кожухи и вентиляционные жалюзи должны быть сконструированы таким образом, чтобы они удовлетворяли требованиям по испытаниям на стойкость к удару в соответствии с 26.4.2 при оценке результатов испытаний согласно 26.4.4.

17.2.3.3 Зазоры для вентиляционных систем

В нормальных условиях работы, с учетом конструктивных допусков, зазор между наружным вентилятором и его кожухом, вентиляционными жалюзи и элементами их крепления должен быть не менее 1/100 максимального диаметра рабочего колеса вентилятора. Нет необходимости оставлять зазор более 5 мм, и этот зазор может быть уменьшен до 1 мм, если технология изготовления противостоящих частей гарантирует необходимую точность и стабильность их размеров (например, литые обработанные детали). В любом случае упомянутый зазор должен быть не менее 1 мм.

17.2.4 Вспомогательные вентиляторы для охлаждения электродвигателей

Охлаждающие вентиляторы, установленные не на валу охлаждаемого электродвигателя и требующие минимального обратного давления, чтобы не превысить номинальных характеристик двигателя вентилятора, должны пройти испытания как часть охлаждаемого электродвигателя или должны иметь маркировку "X" в соответствии с 29.3, перечисление e), и в специальных условиях применения должны быть указаны меры для исключения превышения номинальных характеристик. Если предельные значения обратного давления указаны в качестве таких условий, они предельные значения быть проверены испытаниями в соответствии с требованиями 26.15.

17.2.5 Вентиляторы для вентиляции помещений

17.2.5.1 Применяемость

Требования, приведенные в 17.2.5, распространяются на вентиляторы мощностью до 5 кВт с рабочим колесом, установленным непосредственно на валу электродвигателя. Не допускается использовать вентиляторы в уровнях взрывозащиты оборудования Ma, Ga или Da.

Примечания

1 Эти требования распространяются на вентиляторы (например, комнатные вентиляторы) с одинаковым уровнем взрывозащиты оборудования внутри и снаружи оболочки вентилятора для применения в зоне одного класса как внутри, так и снаружи оболочки. Если оболочка вентилятора предназначена для отделения взрывоопасной зоны внутри оболочки от другой взрывоопасной зоны снаружи оболочки, то необходимо учесть дополнительные требования, например, к герметичности оболочки.

2 В настоящем подразделе рассматриваются требования по взрывозащите вентиляторов, предназначенных для применения во взрывоопасной зоне, а не функциональные требования к вентиляторам.

3 Применение вентиляторов с уровнями взрывозащиты Ma, Ga или Da во взрывоопасной зоне не допускается, так как в этом случае происходит перенос горючей технологической среды, а не просто перенос воздуха при выполнении вентиляционной функции.

17.2.5.2 Общие требования

Применяют требования, приведенные в 17.2.5, вместе с другими соответствующими требованиями настоящего стандарта. Номинальная мощность вентилятора не должна превышать номинальной мощности электродвигателя. Вентиляторы, для которых требуется минимальное обратное давление во избежание превышения номинальной мощности электродвигателя, должны иметь маркировку "X" в соответствии с 29.3, перечисление e), и в специальных условиях применения должны быть указаны меры для исключения превышения номинальной мощности. Если предельные значения обратного давления указаны в качестве таких условий, они должны быть проверены испытаниями в соответствии с требованиями 26.15.

17.2.5.3 Вентиляторы и вентиляционные кожухи

Вращающиеся части вентилятора должны быть закрыты кожухом, который не рассматривают как часть оболочки оборудования, используемой в оборудовании, например, электродвигателя. Такие вентиляторы и кожухи должны удовлетворять требованиям 17.2.5.4 и 17.2.5.5.

17.2.5.4 Конструкция и монтаж

Части вентилятора, в которых возможен контакт между вращающимися и стационарными частями (например, кожухи вентиляторов и вентиляционные жалюзи) должны соответствовать требованиям по испытаниям на стойкость к удару (26.4.2) при оценке результатов испытаний согласно 26.4.4.

Во избежание избыточного нагрева уплотнений вала материал противостоящих частей, используемый для изготовления вала и уплотнений, должен соответствовать 17.2.2, а зазоры между такими частями должны соответствовать 17.2.5.5.

17.2.5.5 Зазоры для вращающихся частей

В нормальных условиях работы, с учетом конструктивных допусков, зазор между рабочим колесом вентилятора и кожухом вентилятора, вентиляционными жалюзи и элементами их крепления должен быть не менее 1/100 диаметра рабочего колеса вентилятора. Однако зазор должен быть не менее 2,0 мм и может быть уменьшен до 1,0 мм, если технология изготовления противостоящих частей гарантирует необходимую точность и стабильность их размеров (например, литые обработанные детали). Для вентиляторов с гарантированной точностью и стабильностью размеров допускается оставлять зазоры не более 5,0 мм.

17.3 Подшипники

Смазочные материалы и уплотнения, используемые в подшипниках, должны соответствовать условиям применения при максимальной эксплуатационной температуре подшипников.

Примечания

1 В инструкциях, как правило, указывают дополнительные сведения об условиях монтажа и применения, которые могут оказывать непосредственное влияние на вращающиеся машины, например информацию о смазке, подшипниках, токах, протекающих по валу, вибрации и т.п. См. 30.3.

2 Токи, протекающие по валу и через подшипники, могут стать первичным источником воспламенения и в значительной степени влиять на срок службы подшипников. Практика показывает, что их срок службы может составлять всего несколько недель, поэтому этот срок практически невозможно прогнозировать с помощью традиционных методов контроля. В приложениях D и H приведено дополнительное руководство по проведению анализа токов, протекающих по валу в системе, и сведения о том, каким образом необходимо проектировать систему, чтобы снизить вероятность неожиданного повреждения подшипника.

3 В настоящее время не существует подходящих видов испытаний, чтобы продемонстрировать, что данный тип подшипника имеет низкий риск стать источником воспламенения в эксплуатации. Однако изготовители шариковых и роликовых подшипников указывают базовый номинальный ресурс, соответствующий вероятности механического отказа, возникающего во время работы (например, отказ от деформации элемента или отслаивание или отслаивание усталости на одном из его элементов). Данная базовая техническая характеристика может использоваться для оценки риска возникновения неисправности подшипника, который может привести к образованию воспламеняющейся горячей поверхности или искры. Основной номинальный срок службы шарико-роликового подшипника основывается на значении радиальной и осевой нагрузки, которой шариковый/роликовый подшипник теоретически может выдерживать при одном миллионе оборотов. Он обычно выражается как значение L по отношению к ожидаемому количеству оборотов в пределах срока службы. В попытке уменьшить риск сбоя в процессе эксплуатации до минимума, первостепенное значение имеет тот факт, что производитель оборудования обращает внимание на то, чтобы подшипники были хорошо спроектированы, учитывают соотношение осевых и радиальных нагрузок, конструкцию, смазку, охлаждение и процедуры технического обслуживания. Регулярное обследование во время работы является одним из способов обнаружения возможной неисправности. Если подшипники используются в качестве изолятора, применяют конструктивные меры для эффективного соединения других частей оборудования.

4 Срок службы подшипников в значительной степени зависит от условий эксплуатации, и поэтому невозможно достоверно определить их срок службы без знания условий обслуживания, которым они подвергаются.

18 Дополнительные требования к коммутационным аппаратам

18.1 Горючий диэлектрик

Применение коммутационных аппаратов с контактами, погруженными в горючий диэлектрик, не допускается.

18.2 Разъединители

Разъединитель в коммутационном аппарате должен выключать все фазы или полюсы и быть сконструирован таким образом, чтобы:

- было видно положение контактов разъединителя или

- обеспечено надежное обозначение их выключенного положения (см. ГОСТ IEC 60947-1).

Если на крышке или двери разъединителя коммутационного аппарата установлена блокировка, она должна обеспечивать возможность открывания крышки или двери только при полном размыкании контактов разъединителя.

Если на крышке или двери разъединителя коммутационного аппарата блокировка не установлена, на оборудование должна быть нанесена предупредительная надпись в соответствии с 29.13, перечисление d).

"Переключатель для проведения технического обслуживания" в соответствии с ГОСТ IEC 62626-1 должен быть снабжен системой блокировки замка, которая запирает переключатель в положении "ВЫКЛ". Возможность открыть оболочку должна быть предусмотрена только в том случае, когда переключатель установлен в положении ВКЛ.

Примечания

1 Оболочка с блокировкой, содержащая как разъединитель, так и переключатель для проведения технического обслуживания, может быть открыта только тогда, когда разъединитель находится в положении "ВЫКЛ", а переключатель для проведения технического обслуживания в положении "ВКЛ".

2 Один переключатель, который служит как разъединителем, так и переключателем для проведения технического обслуживания, может быть отмечен только предупреждением в соответствии с перечислением d) 29.13, поскольку невозможно одновременно соблюдать требования блокировки для разъединителя и требования блокировки для переключателя для проведения технического обслуживания.

Разъединители, которые по своей конструкции не предназначены для разъединения цепей под нагрузкой, должны быть:

- электрически или механически сблокированы с соответствующим выключателем нагрузки;

- или снабжены, только для оборудования группы II, предупредительной надписью, располагаемой вблизи привода (рукоятки), в соответствии с 29.13, перечисление c).

18.3 Группа I. Обеспечение запирания

Механизм разъединителя коммутационных аппаратов группы I должен обеспечивать в разомкнутом положении разъединителя запирание с помощью висячего замка. Должны быть предусмотрены устройства (защелки), фиксирующие срабатывание максимальных токовых защит и защит от замыкания на землю (если таковые применяются). Если коммутационный аппарат имеет деблокирующее устройство (устройство возврата), установленное снаружи оболочки, крышка, закрывающая это устройство, должна иметь специальное крепление согласно 9.2.

18.4 Двери и крышки

Двери и крышки, обеспечивающие доступ внутрь оболочки, в которой содержатся дистанционно управляемые переключающие контакты, которые могут быть замкнуты или разомкнуты не вручную, а с помощью каких-либо воздействий (электрических, механических, магнитных, электромагнитных, электрооптических, пневматических, гидравлических, акустических или тепловых), должны быть:

a) сблокированы с разъединителем таким образом, чтобы был предотвращен доступ к внутренним частям, если разъединителем не отключены незащищенные внутренние цепи, или

b) снабжены предупредительной надписью в соответствии с 29.13, перечисление d).

В случае перечисления a), если требуется, чтобы после отключения разъединителя отдельные внутренние части остались под напряжением, оставшиеся под напряжением части с целью минимизации опасности взрыва должны иметь:

1) взрывозащиту одного из видов, перечисленных в разделе 1, или

2) защиту, при которой:

- электрические зазоры и пути утечки между фазами (полюсами) и землей принимают в соответствии с требованиями ГОСТ 31610.7; и

- используют дополнительную(ые) внутреннюю(ие) оболочку(и), заключающую(ие) в себе остающиеся под напряжением части и обеспечивающую(ие) степень защиты не ниже IP20 в соответствии с ГОСТ 14254, и

- на дополнительной внутренней оболочке наносят предупредительную надпись в соответствии с 29.13, перечисление h).

Примечание - К оборудованию, остающемуся под напряжением после отключения разъединителя, относится оборудование с питанием от элементов и батарей, расположенных внутри оборудования.

19 Зарезервировано

20 Дополнительные требования к внешним вилкам, штепсельным розеткам и соединителям для выполнения присоединений на месте эксплуатации

20.1 Общие требования

Настоящие требования, относящиеся к штепсельным розеткам, также применяют к соединителям в целом.

Вилки и штепсельные розетки должны:

a) иметь механическую или электрическую, или какую-либо другую блокировку, выполненную таким образом, чтобы была исключена возможность их разъединения, если контакты находятся под напряжением, а также возможность подачи напряжения на контакты, когда вилка и штепсельная розетка разъединены, или

b) для уровней взрывозащиты Gb, Db или Mb быть смонтированы с помощью специальных крепежных деталей в соответствии с 9.2, а на оборудовании должна быть выполнена предупредительная надпись по разъединению в соответствии с 29.13, перечисление e);

c) для уровней взрывозащиты Gc, Dc или Mc быть смонтированы в соответствии с 9.1, а на оборудовании должна быть выполнена предупредительная надпись по разъединению в соответствии с 29.13, перечисление e).

Если до разъединения напряжение с соединителей не может быть снято, поскольку они присоединены к аккумуляторной батарее, должна быть предусмотрена предупредительная надпись в соответствии с 29.13, перечисление f).

20.2 Взрывоопасные газовые среды

Вилки и штепсельные розетки с уровнем взрывозащиты оборудования Gb или Gc могут не удовлетворять требованиям 20.1, при соблюдении всех следующих условий:

- под напряжением остается штепсельная розетка;

- разъединение вилки и штепсельной розетки происходит с задержкой на время, достаточное для отключения номинального тока, поэтому электрическая дуга при их разъединении не возникает;

- соединение вилки со штепсельной розеткой сохраняет взрывонепроницаемость согласно ГОСТ IEC 60079-1 в течение всего времени гашения электрической дуги, возникающей при размыкании испытательной цепи, указанной в ГОСТ IEC 60079-1;

- контакты, оставшиеся под напряжением после разъединения, имеют взрывозащиту одного из видов, перечисленных в разделе 1.

20.3 Взрывоопасные пылевые среды

Во всех случаях применяют требования 20.1.

20.4 Вилки под напряжением

Вилки и компоненты не должны оставаться под напряжением, если они не соединены со штепсельной розеткой.

21 Дополнительные требования к осветительным приборам

21.1 Общие требования

Источник света осветительных приборов должен быть защищен светопропускающей крышкой, которая может быть снабжена дополнительной защитной решеткой.

Один рым-болт может быть использован в качестве средства монтажа осветительного прибора, предусмотренного для стационарной установки, только в том случае, если он является неотъемлемой частью светильника, например, если при выполнении совместно с оболочкой путем отливки или сварки с оболочкой или (если применена установка на резьбе) стопорения с помощью средств, препятствующих его ослаблению при отвинчивании.

21.2 Крышки осветительных приборов с уровнем взрывозащиты оборудования Mb, Gb или Db

Конструкцией крышек, обеспечивающих доступ к патрону лампы или другим внутренним частям осветительного прибора для замены лампы, должно быть предусмотрено выполнение одного из следующих условий:

a) крышки должны быть сблокированы с устройством, автоматически отключающим все полюсы патрона лампы, во время открывания; или

b) на крышках должна быть предусмотрена предупредительная надпись в соответствии с 29.13, перечисление d).

В случае перечисления a), когда некоторые части, кроме патрона лампы, все же остаются под напряжением после срабатывания отключающего устройства, они, с целью минимизации опасности взрыва, должны иметь:

1) взрывозащиту одного из видов, перечисленных в разделе 1 (для требуемого уровня взрывозащиты оборудования), или

2) защиту, при которой:

- конструкцией отключающего устройства при случайном на него воздействии вручную исключена возможность непреднамеренной подачи напряжения на незащищенные части; и

- электрические зазоры и пути утечки между фазами (полюсами) и землей принимают в соответствии с требованиями ГОСТ 31610.7; и

- используют дополнительную внутреннюю оболочку (которая одновременно может служить и рефлектором для источника света), закрывающую находящиеся под напряжением части и обеспечивающую степень защиты не ниже IP20 по ГОСТ 14254; и

- на дополнительной внутренней оболочке наносят предупредительную надпись в соответствии с 29.13, перечисление h);

- осветительные приборы с видом взрывозащиты "d" должны оставаться взрывонепроницаемыми в соответствии с ГОСТ IEC 60079-1 до размыкания переключателя, и переключатель не должен быть закрыт до тех пор, пока не будет восстановлен вид взрывозащиты "d".

Примечание - Замена ламп устройств с видом взрывозащиты "t" во время присутствия облака пыли не предусмотрена.

21.3 Крышки осветительных приборов с уровнем взрывозащиты оборудования Gc, Mc или Dc

Конструкцией крышек, обеспечивающих доступ к патрону лампы или другим внутренним частям осветительного прибора с целью замены лампы, должно быть предусмотрено выполнение одного из следующих условий:

a) крышки должны быть сблокированы с устройством, автоматически отключающим все полюсы патрона лампы, во время процедуры открывания; или

b) на крышках должна быть предусмотрена предупредительная надпись в соответствии с 29.13, перечисление d).

В первом случае, когда некоторые части, кроме патрона лампы, все же остаются под напряжением после срабатывания отключающего устройства, они, в целях минимизации опасности взрыва, должны иметь:

- электрические зазоры и пути утечки между фазами (полюсами) и землей (см. [4]) с повышенным напряжением категории II и степенью загрязнения 3; и

- дополнительную внутреннюю оболочку (которая одновременно может служить и рефлектором для источника света), закрывающую находящиеся под напряжением части и обеспечивающую степень защиты не ниже IP20 по ГОСТ 14254; и

- предупредительную надпись на дополнительной внутренней оболочке в соответствии с 29.13, перечисление h).

21.4 Натриевые лампы

Лампы, содержащие натрий (например, натриевые лампы низкого давления (см. [23]), к применению не допускаются.

Допускаются натриевые лампы высокого давления (например, в см. [24]).

Примечание - Применение ламп, содержащих свободный металлический натрий, не допускается вследствие риска воспламенения в случае повреждения лампы (например, во время замены) при контакте свободного металлического натрия с водой.

22 Дополнительные требования к головным и ручным светильникам

22.1 Головные светильники группы I

Требования к головным светильникам группы I, предназначенным для применения в шахтах, опасных по рудничному газу, установлены в ГОСТ 31610.35-1 и ГОСТ IEC 60079-35-2.

22.2 Головные и ручные светильники групп II и III

Утечка электролита из батарей должна быть исключена при любом положении оборудования.

Если источник света и источник питания расположены в отдельных оболочках, которые механически не связаны друг с другом ничем, кроме электрического кабеля, то кабельные вводы и соединительный кабель должны быть испытаны на соответствие требованиям A.3.1 или A.3.2 соответственно. Испытания должны быть проведены с применением кабеля, соединяющего обе части. Тип, размеры и другая информация о кабеле должны быть указаны в документации изготовителя.

Примечание - К ручным светильникам относятся светильники с питанием от батарей, которые также называют фонарями или прожекторами.

23 Оборудование, содержащее элементы и батареи

23.1 Общие требования

Все элементы и батареи, входящие в состав взрывозащищенного оборудования, должны удовлетворять требованиям 23.2 - 23.12.

23.2 Соединение элементов для образования батарей

Если иное не установлено требованиями стандартов на конкретный вид взрывозащиты, батареи внутри взрывозащищенного оборудования должны состоять только из элементов, соединенных последовательно.

Параллельное соединение элементов питания допускается при применении соответствующих защитных мер, препятствующих возникновению нежелательных или опасных обратных токов через элементы, например, диодной развязки, с учетом выполнения других требований по взрывозащите, приведенных в стандартах по видам взрывозащиты.

Примечание - Определенные виды взрывозащиты могут допускать параллельное соединение элементов.

23.3 Типы элементов

Допускаются к установке только те типы элементов, которые указаны таблицах 13 или 14.

Таблица 13

Первичные элементы

Буквенное обозначение элемента (см. [28]) Материал положительного электрода Наименование электролита Материал отрицательного электрода Номинальное напряжение <1>, В Максимальное напряжение разомкнутой цепи <2>, В
- Диоксид марганца (MnO2) Хлориды аммония, цинка Цинк (Zn) 1,5 1,725
A Кислород (O2) Хлориды аммония, цинка 1,4 1,55
B Однофтористый углерод (CF)x Органический электролит Литий (Li) 3 3,7
C Диоксид марганца (MnO2) 3 3,7
E Хлорид тионила (SOCl2) Безводный неорганический Литий (Li) 3,6 3,9
F Дисульфид железа (FeS2) Органический электролит 1,5 1,83
G Оксид (II) меди (CuO) Органический электролит 2,3
L Диоксид марганца (MnO2) Гидроксид щелочного металла Цинк (Zn) 1,5 1,65
P Кислород (O2) Гидроксид щелочного металла 1,4 1,68
S Оксид серебра (Ag2O) Гидроксид щелочного металла 1,55 1,63
W Диоксид серы (SO2) Безводная органическая соль Литий (Li) 3 3
Y Сульфурилхлорид (SO2Cl2) Безводный Литий (Li) 3,9 4,1
Z Гидроокись никеля (NiOOH) Гидроксид щелочного металла Цинк (Zn) 1,5 1,78
<1> Испытания на увеличение температуры поверхности проведены при этом напряжении.
<2> Напряжение, используемое для оценки опасности искры.

Примечания
1 Не все конструкции элементов подходят для всех видов защиты. См. стандарт по виду взрывозащиты.
2 Элементы из цинка/диоксида марганца описаны в [28], но не имеют буквенного обозначения типа.
3 Сведения об электрохимических элементах в данной таблице приведены на основе данных [28].
4 Значение номинального напряжения не поддается проверке; поэтому оно приводится только в качестве ссылки.
5 Исследования показали, что некоторые вторичные литиево-ионные элементы, в частности элементы с положительным электродом LiCoO2 и со спиральной конструкцией, можно рассматривать как потенциально сильные окислители и источники экзотермической химической реакции воспламенения.

Таблица 14

Аккумуляторы

Тип, система, буквенное обозначение Положительный электрод Наименование электролита Отрицательный электрод Напряжение <a> (на элементе), В Максимальное напряжение разомкнутой цепи (на элементе) <b>, В
Свинцово-кислотные (наливные) (см. [29] - [35]) Оксид свинца Серная кислота (плотность 1,25 - 1,32 г/см3) Свинец 2,2 2,67 <c> 2,35 <d>
Свинцово-кислотные (VRLA)
(см. [29] - [35])
Оксид свинца Серная кислота (плотность 1,25 - 1,32 г/см3) Свинец 2,2 2,35 <d>
Никель-кадмиевые <e>
~K~&~KC~
по ГОСТ 27174 (см. [36] - [39])
Оксигидроксид никеля Гидроксид калия (плотность 1,3 г/см3) Кадмий 1,3 1,55
Никель-металлгидридные
~H~
(см. [39])
Оксигидроксид никеля Гидроксид калия Гидрид металла 1,3 1,55
Литий-ионные (см. [40]) (LCO) LiCoO2 литий оксид кобальта Жидкий раствор, содержащий литиевую соль и один или несколько органических растворителей или гель-электролит, который представляет собой жидкий раствор, смешанный с полимером Углерод 3,6 4,2
(LCO) LiCoO2 литий оксид кобальта (LTO)
Li4Ti5O12
Литий-титановый оксид
2,3 2,7
(LFP) литий-железо-фосфат LiFePO4 Углерод 3,3 3,6
(LFP) LiFePO4 литий-железо-фосфат (LTO)
Li4Ti5O12
Литий-титановый оксид
2,0 2,1
(NCA) Li(NiCoAl)O2 никель-кобальтовый алюминий   Углерод 3,6 4,2
(NCA) Li(NiCoAl)O2 никель-кобальтовый алюминий (LTO)
Li4Ti5O12
Литий-титановый оксид
2,3 2,7
(NMC) Li(NiMnCo)O2 никель-марганцевый кобальт Углерод 3,7 4,35
(NMC) Li(NiMnCo)O2 никель-марганцевый кобальт (LTO)
Li4Ti5O12
литий-титановый оксид
2,4 2,85
(LMO) LiMn2O4 литий-марганец-оксид Углерод 3,6 4,3
Литий-ионные (см. [40]) (LMO) LiMn2O4 литий-марганец-оксид   (LTO)
Li4Ti5O12
литий-титановый оксид
2,3 2,8
<a> Значение напряжения, применяемое для проведения всех оценок (например, температуры, значений путей утечек и электрических зазоров), кроме оценки опасности создания искры.
<b> Напряжение, используемое для оценки опасности искры. Если данные изготовителя элемента отражают зарядное напряжение выше указанного значения, используется значение производителя.
<c> Наливной элемент - элемент с жидким электролитом, который может быть восполнен.
<d> Сухой элемент - элемент, содержащий связанный электролит.
<e> В химии для зарядки используют метод с постоянным током.

Примечания
1 Не все конструкции элементов подходят для всех видов защиты - см. стандарт на вид взрывозащиты.
2 Сведения о свинцово-кислотных электрохимических элементах даны в соответствии с [41].
3 Сведения о никель-кадмиевых и никель-металлгидридных электрохимических элементах даны в соответствии с [36], [39], [38], ГОСТ 27174 и [41].
4 Источником электрохимической информации о литий-ионных и литиевых металлических электрохимических элементах являются [40] и [41].
5 Исследования показали, что некоторые литиево-ионные аккумуляторы, в частности элементы с положительным электродом LiCoO2 и со спиральной конструкцией, можно рассматривать как потенциально сильные окислители и источники экзотермической химической реакции воспламенения.

Автономные химические источники тока (элементы и батареи), входящие в состав взрывозащищенного оборудования, не должны быть источником воспламенения при нормальных и аварийных режимах работы взрывозащищенного оборудования и удовлетворять требованиям, приведенным ниже:

- допускаются к установке только те элементы, характеристики которых указаны в стандартах на эти элементы;

- все элементы в батарее должны иметь одинаковые электрохимическую систему и конструкцию, равные значения номинальных емкостей и быть изготовлены одним изготовителем;

- все батареи следует размещать и эксплуатировать таким образом, чтобы не выходить за допустимые пределы, указанные изготовителем элемента или батареи;

- первичные элементы и батареи перезаряжать не допускается. Если внутри оборудования, содержащего первичные батареи, есть другой источник напряжения и существует опасность их взаимного электрического соединения, то необходимо предпринять меры, предотвращающие пропускание через них зарядного тока;

- все элементы и батареи должны быть сконструированы или размещены таким образом, чтобы избежать утечки электролита, которая могла бы оказать негативное воздействие на вид взрывозащиты или на компоненты, от которых зависит безопасность;

- необходимо использовать только рекомендованный(ые) изготовителем метод(ы) подключения к батарее;

- если при установке элемента или батареи внутри оборудования важно расположение, оно должно быть указано снаружи оболочки оборудования;

- если в процессе эксплуатации оборудования допускается замена элементов и батарей, потребителю должна быть предоставлена информация, позволяющая провести их квалифицированную замену.

На оболочке или внутри нее должны быть указаны параметры в виде легкочитаемой и долговечной маркировки, содержащей наименование изготовителя, тип элементов или батарей, номинальное напряжение, емкость;

- если элементы и батареи, не предназначенные для замены или зарядки во взрывоопасной среде оборудование должно иметь предупредительную надпись. Например: "Предупреждение! Не заменять (не заряжать) батарею, если возможно присутствие взрывоопасной среды". Текст после слова "Предупреждение" допускается заменять технически эквивалентным.

Все элементы и батареи, входящие в состав взрывозащищенного оборудования, должны иметь документ подтверждения соответствия требованиям безопасности в форме, установленной нормативными документами, на соответствие требованиям стандартов, (см. например [25], [26] или [27]).

23.4 Элементы в батарее

Все элементы в батарее должны иметь одинаковые электрохимическую систему и конструкцию, равные значения номинальных емкостей и должны быть изготовлены одним изготовителем.

23.5 Номинальные характеристики батарей

Все батареи следует размещать и эксплуатировать таким образом, чтобы не выходить за допустимые пределы, указанные изготовителем элемента или батареи.

23.6 Взаимозаменяемость

Первичные элементы и аккумуляторы или батареи не следует использовать в одной оболочке с оборудованием, если они полностью взаимозаменяемы.

23.7 Зарядка первичных батарей

Первичные батареи перезаряжать не допускается. Если внутри оборудования, содержащего первичные батареи, есть другой источник напряжения и существует опасность их взаимного электрического соединения, то необходимо предпринять меры, предотвращающие пропускание через них зарядного тока.

23.8 Утечка

Все элементы должны быть сконструированы или размещены таким образом, чтобы избежать утечки электролита, которая могла бы оказать негативное воздействие на вид взрывозащиты или на компоненты, от которых зависит безопасность.

23.9 Подключение

Необходимо использовать только рекомендованный(е) изготовителем батареи метод(ы) подключения к батарее.

23.10 Расположение

Если при установке батареи внутри оборудования важно ее расположение, оно должно быть указано снаружи оболочки оборудования.

Примечание - Правильное расположение батареи, как правило, важно для предотвращения утечки электролита.

23.11 Замена элементов или батарей

При необходимости замены потребителем элементов или батарей внутри оболочки должны быть указаны соответствующие параметры, позволяющие провести их технически грамотную замену. Параметры должны быть указаны или на оболочке или внутри нее в виде легко читаемой и долговечной маркировки по 29.14, или в руководстве по эксплуатации в соответствии с 30.2. К таким параметрам относятся наименование изготовителя и номер части элементов или батарей или тип их электрохимической системы, номинальные напряжение и емкость.

23.12 Заменяемый портативный батарейный источник питания

При необходимости замены потребителем портативного батарейного источника питания снаружи такого источника должна быть выполнена легко читаемая и долговечная маркировка согласно 29.14.

Заменяемый портативный батарейный источник питания должен быть:

- расположен полностью внутри оболочки оборудования или

- соединен с оборудованием и должен соответствовать требованиям соответствующего вида взрывозащиты при отсоединении от оборудования и иметь маркировку в соответствии с перечислением b) 29.13, или

- соединен с оборудованием и должен иметь средства размыкания, соответствующие требованиям раздела 20.

Информация о замене портативного батарейного источника питания должна быть приведена в инструкциях изготовителя в соответствии с 30.2.

24 Документация

Изготовитель должен подготовить документацию, содержащую сведения об аспектах взрывозащищенности оборудования, необходимую для определения соответствия настоящему стандарту или любому примененному стандарту по видам взрывозащиты.

Примечание - Как правило, такой документацией являются сертификационные чертежи.

25 Соответствие прототипа или образца документации

Представленные для проведения типовых проверок и испытаний прототипы или образцы оборудования должны соответствовать упомянутой в разделе 24 документации изготовителя.

26 Типовые (сертификационные) испытания (в ред. Изменения N 1, утв. Приказом Росстандарта от 06.09.2022 N 880-ст)

26.1 Общие требования

Образец или прототип подвергают испытаниям в соответствии с требованиями к типовым испытаниям по настоящему стандарту и стандартам на взрывозащиту конкретных видов. Однако определенные испытания могут быть исключены испытательной организацией из программы испытаний, если испытательная организация посчитает их проведение необязательным. Должен вестись учет всех проведенных испытаний и обоснований причин, по которым те или иные испытания не проводились.

Испытания, которым были подвергнуты Ex-компоненты, допускается повторно не проводить.

Примечание - Считают, что при коэффициентах безопасности, принятых для видов взрывозащиты, неопределенность измерения высококачественного и регулярно калибруемого измерительного оборудования не оказывает значительного неблагоприятного влияния на параметры взрывозащиты, и ее не следует учитывать при выполнении измерений для проверки соответствия оборудования требованиям межгосударственных стандартов, разработанных на основе стандартов серии IEC 60079. (в ред. Изменения N 1, утв. Приказом Росстандарта от 06.09.2022 N 880-ст)

26.2 Условия испытаний

Каждое испытание оборудования должно быть проведено в наиболее неблагоприятных условиях с учетом требований инструкции по монтажу. Рекомендуемые условия проведения испытаний, если не указано иное: диапазон температур от 15 °C до 35 °C, относительная влажность от 25% до 75%, давление от 86 кПа до 106 кПа.

26.3 Испытания во взрывоопасных испытательных смесях

Испытания во взрывоопасных смесях следует проводить в соответствии с требованиями, установленными в соответствующих стандартах, перечисленных в разделе 1.

Примечание - Доступные газы и пары с чистотой 95% или выше считают удовлетворительными для проведения указанных испытаний. Допускается изменение рекомендуемых значений температуры и атмосферного давления, а также влажности испытательной взрывоопасной смеси при испытании вследствие незначительности таких изменений.

26.4 Испытания оболочек

26.4.1 Порядок проведения испытаний

26.4.1.1 Металлические оболочки, металлические части оболочек и части оболочек из стекла и керамики

Испытания металлических оболочек, металлических частей оболочек и частей оболочек из стекла и керамики должны быть проведены в следующем порядке:

- испытания на ударостойкость (см. 26.4.2);

- испытание сбрасыванием, если таковое предусмотрено (см. 26.4.3);

- испытание на соответствие степени защиты (IP), обеспечиваемой оболочкой (см. 26.4.5);

- другие испытания в соответствии с требованиями настоящего стандарта;

- другие испытания, предусмотренные для конкретного примененного вида взрывозащиты.

Испытаниям должны быть подвергнуты образцы в количестве, указанном для каждого метода испытаний.

Примечание - Если вид взрывозащиты степени защиты IP обеспечивается неметаллическими уплотнительными материалами (не из стекла или керамики), следует применять требования 26.4.1.2.

26.4.1.2 Неметаллические оболочки или неметаллические части оболочек

26.4.1.2.1 Общие требования

Испытания неметаллических оболочек или неметаллических частей оболочек должны быть проведены в последовательности, приведенной в приложении F.

Если неметаллическим материалом является стекло или керамика, испытания согласно 26.4.1.2 не проводят.

26.4.1.2.2 Оборудование группы I

Испытания должны быть проведены следующим образом.

Используют четыре образца. Все четыре образца испытывают на теплостойкость при высокой температуре (см. 26.8), затем на холодостойкость при низкой температуре (см. 26.9). Затем два образца испытывают последовательно на ударостойкость (см. 26.4.2), при этом испытания проводят при наиболее высокой температуре испытаний (см. 26.7.2). Затем другие два образца испытывают на ударостойкость (см. 26.4.2), затем на стойкость к сбрасыванию, если проведение такого испытания предусмотрено (26.4.3), но при наиболее низкой температуре испытаний (см. 26.7.2). Любое соединение, которое должно быть открыто при монтаже или в нормальном режиме эксплуатации, должно быть открыто и затем повторно закрыто в соответствии с инструкциями изготовителя. Затем все четыре образца испытывают на соответствие степени защиты (IP), обеспечиваемой оболочкой, если проведение такого испытания предусмотрено, (см. 26.4.5), после чего их подвергают испытаниям в соответствии с примененным видом взрывозащиты.

Допускается для проведения испытаний иметь два образца, каждый из которых испытывают последовательно на теплостойкость (см. 26.8), на холодостойкость (см. 26.9). Затем оба образца испытывают на ударостойкость (см. 26.4.2), стойкость к сбрасыванию, если проведение такого испытания предусмотрено (см. 26.4.3), при этом испытания проводят при наиболее высокой температуре испытаний (см. 26.7.2). После этого оба образца снова испытывают на ударостойкость (см. 26.4.2), затем на стойкость к сбрасыванию, если проведение такого испытания предусмотрено, (см. 26.4.3), но при наиболее низкой температуре испытаний (см. 26.7.2). Любое соединение, которое должно быть открыто при монтаже или в нормальном режиме работы, должно быть открыто и затем повторно закрыто в соответствии с инструкциями изготовителя. Затем оба образца испытывают на соответствие степени защиты (IP), обеспечиваемой оболочкой, (см. 26.4.5), после чего их подвергают испытаниям в соответствии с примененным видом взрывозащиты. Порядок испытаний при наиболее низкой температуре испытаний и при наиболее высокой температуре испытаний может быть взаимозаменяем.

Примечание - Вне зависимости от того, в какой из указанных последовательностей проводят испытания, после тепловых испытаний в оболочке может образоваться конденсат, который должен быть удален до начала испытаний на соответствие степени защиты, обеспечиваемой оболочкой (IP), для получения достоверных результатов.

Два образца испытывают последовательно на стойкость к воздействию масел и смазочных материалов (см. 26.11), на ударостойкость (см. 26.4.2), стойкость к сбрасыванию, если проведение такого испытания предусмотрено (см. 26.4.3), на соответствие степени защиты (IP), обеспечиваемой оболочкой, (см. 26.4.5), после чего их подвергают испытаниям в соответствии с примененным видом взрывозащиты.

Два образца испытывают на стойкость к воздействию гидравлических жидкостей, применяющихся в шахтах (см. 26.11), на ударостойкость (см. 26.4.2), стойкость к сбрасыванию, если проведение такого испытания предусмотрено (см. 26.4.3), на соответствие степени защиты (IP), обеспечиваемой оболочкой, если проведение такого испытания предусмотрено (см. 26.4.5), после чего их подвергают испытаниям в соответствии с примененным видом взрывозащиты.

Согласно виду и последовательности испытаний, указанных выше, должна быть доказана способность неметаллического материала обеспечивать сохранение взрывозащиты примененных видов, указанных в разделе 1, после того как образец был подвергнут воздействию предельных температур и вредных веществ, имеющих место при эксплуатации. Число испытаний взрывозащиты на каждом образце может быть сокращено до минимума, если очевидно, что образец не был поврежден до такой степени, чтобы была нарушена взрывозащита данного вида. Таким образом, возможно уменьшить число образцов совмещением испытания по воздействию среды с испытаниями, подтверждающими взрывозащищенность тех же самых двух образцов.

26.4.1.2.3 Оборудование групп II и III

Испытания проводят на четырех образцах. Все четыре образца испытывают на теплостойкость при высокой температуре (см. 26.8) и на холодостойкость при низкой температуре (см. 26.9). Затем два из четырех образцов испытывают последовательно на ударостойкость (см. 26.4.2), при этом испытания проводят при наиболее высокой температуре испытаний (см. 26.7.2). Другие два образца также испытывают на ударостойкость (см. 26.4.2), стойкость к сбрасыванию (если проведение такого испытания предусмотрено 26.4.3), но при наиболее низкой температуре испытаний (см. 26.7.2). Любое соединение, которое должно быть открыто при установке или в нормальном режиме работы, должно быть открыто и затем повторно закрыто в соответствии с инструкциями изготовителя. Затем все четыре образца испытывают на соответствие степени защиты (IP), обеспечиваемой оболочкой (см. 26.4.5), после чего их подвергают испытаниям в соответствии с примененным видом взрывозащиты.

Допускается для проведения испытаний иметь два образца (вместо четырех), каждый из которых испытывают последовательно на теплостойкость (см. 26.8), на холодостойкость (см. 26.9). Затем оба образца испытывают на ударостойкость (см. 26.4.2), при этом испытания проводят при наиболее высокой температуре испытаний (см. 26.7.2). После этого оба образца снова испытывают на ударостойкость (см. 26.4.2), стойкость к сбрасыванию (если проведение такого испытания предусмотрено 26.4.3), но при наиболее низкой температуре испытаний (см. 26.7.2). Любое соединение, которое должно быть открыто при установке или в нормальном режиме работы, должно быть открыто и затем повторно закрыто в соответствии с инструкциями изготовителя. Затем оба образца испытывают на соответствие степени защиты (IP), обеспечиваемой оболочкой (см. 26.4.5), после чего их подвергают испытаниям в соответствии с примененным видом взрывозащиты. Порядок испытаний при наиболее низкой температуре испытаний и при наиболее высокой температуре испытаний может быть взаимозаменяем.

Примечания

1 Вне зависимости от того, в какой из указанных последовательностей проводят испытания, после тепловых испытаний в оболочке может образоваться конденсат, который должен быть удален до начала испытаний на соответствие степени защиты IP, обеспечиваемой оболочкой, для получения достоверных результатов.

2 Если используют только два образца и оборудование содержит светопроводящие части из стекла, стекло каждого образца должно быть подвергнуто одному испытанию на ударостойкость при низкой температуре и другому испытанию на ударостойкость при высокой температуре, т.е. по стеклу каждого образца должно быть нанесено два удара.

3 Стеклянные части оболочек с герметизированными соединениями подвергают воздействию на удар для обеспечения подтверждения сцепления герметика со стеклом и оболочкой. Стекло не требуется испытывать на ударостойкость как при высокой, так и при низкой температуре, но другой способ испытать герметик без установленного стекла отсутствует. При использовании четырех образцов вместо двух количество испытаний на ударостойкость стеклянной части сокращается.

26.4.2 Испытание на ударостойкость

При этом испытании оборудование подвергают воздействию вертикально падающего с высоты h груза массой 1 кг. Высота h определена в таблице 15 в зависимости от назначения оборудования. Груз должен быть снабжен бойком из закаленной стали в форме полусферы диаметром (25 +/- 0,5) мм.

Таблица 15

Испытания на ударостойкость

Наименование испытуемого оборудования Высота сбрасывания м, бойка массой кг для оборудования групп
I II и III
Степень опасности механических повреждений
Высокая Низкая Высокая Низкая
Оболочки и внешние части оболочек (кроме светопропускающих частей) 2 0,7 0,7 <d> 0,4 <b>, <d>
Защитные решетки, крышки, кожухи вентиляторов, кабельные вводы 2 0,7 0,7 0,4 <b>
Светопропускающие части переносных или передвижных осветительных устройств или ручных светильников с площадью поверхности 5000 мм2 или менее с защитой отдельным выступающим краем высотой не менее 2 мм <c> 0,7 0,4 0,4 <b>
Светопропускающие части переносных или передвижных осветительных устройств или ручных светильников без решетки или светопропускающие части с площадью поверхности более 5000 мм2 2 0,7 0,7 <b>
Светопропускающие части без защитной решетки 0,7 0,4 0,4 <d> 0,2 <b>, <d>
Светопропускающие части с защитной решеткой с отверстиями площадью от 625 до 2500 мм2, испытываемые без защитной решетки <a> 0,4 0,2 0,2 0,1 <b>
<a> Защитная решетка светопропускающей части с отверстиями площадью от 625 до 2500 мм2 снижает риск удара, но не предотвращает его. Данное требование также распространяется на фиксированные, передвижные или переносные осветительные устройства.
(в ред. Изменения N 1, утв. Приказом Росстандарта от 06.09.2022 N 880-ст)
<b> Переносные или передвижные осветительные устройства или ручные светильники следует испытывать только согласно требованиям к "высокой" степени опасности механических повреждений.
<c> Выступающий край, являющийся частью оболочки, но не являющийся частью светопропускающего устройства, снижает риск удара, но не предотвращает удар.
<d> Если часть оборудования (такая как неметаллическое покрытие сенсорной панели) служит для выполнения нескольких функций, например используется как светопропускающая поверхности, а также как часть оболочки, то в зависимости от функции, охватывающей наибольшую площадь, определяют, какой из столбцов, определяющих степень опасности механических повреждений использовать.

Диаметр испытательного груза не должен быть значительно больше, чем ударная головка 25 мм, чтобы не произошло ограничения контакта ударной головки с испытываемым оборудованием.

Если для направления испытательного груза используется направляющая трубка, диаметр направляющей трубки или отверстий для сброса давления должен быть таким, чтобы перемещение испытательной массы не ограничивалось сжатием воздуха, создаваемым падением испытательной массы.

Перед каждым испытанием следует убедиться, что поверхность бойка находится в хорошем состоянии.

Испытание на ударостойкость проводят на полностью собранном и готовом к работе оборудовании, однако если это условие невыполнимо (например, в случае светопропускающих частей), испытание проводят на демонтированных частях, установленных в своих обычных или эквивалентных устройствах. Испытания на пустых оболочках допускается проводить только в том случае, если это оговорено в документации (см. раздел 24).

Испытание проводят не менее чем на двух образцах. Испытания проводят на двух разных частях каждого образца. При испытании оборудования со светопропускающими частями из стекла по стеклу наносят только один из двух ударов.

Удары наносят по наименее прочным местам по внешней стороне, чаще всего подвергаемой удару в процессе эксплуатации. Если оболочка защищена другой оболочкой, испытанию на ударостойкость подвергают только внешние части устройства. Если оборудование может изготавливаться из разных материалов, или имеет несколько наиболее неблагоприятных точек для удара, может потребоваться более двух испытательных образцов или точек удара для проведения адекватной оценки ударостойкости оборудования.

Оборудование устанавливают на стальной подставке таким образом, чтобы направление удара было перпендикулярным к испытуемой поверхности, если она плоская, или перпендикулярным к касательной к поверхности в точке удара, если поверхность неплоская. Масса подставки должна быть не менее 20 кг или она должна быть жестко закреплена на полу или заделана в него (например, надежно залита в бетон). В приложении C приведен пример соответствующего испытательного устройства.

При нанесении удара боек может несколько раз отскочить от поверхности испытуемого образца. Поэтому его не снимают с поверхности до тех пор, пока он не остановится.

Если по просьбе изготовителя оборудование подвергают испытанию, соответствующему низкой опасности механических повреждений, оно должно быть маркировано знаком "X" для обозначения специальных условий применения согласно 29.3, перечисление e).

Испытание проводят при температуре окружающей среды (20 +/- 5) °C, за исключением случаев, когда характеристики металла показывают, что его ударостойкость при более низких температурах в пределах предписанного диапазона температуры окружающей среды снижается. В этом случае испытание должно быть проведено при минимальной температуре предписанного диапазона согласно 26.7.2.

Примечание - Считают, что температуры не оказывают неблагоприятного воздействия с точки зрения ударостойкости на стекло и керамические части.

Если оборудование имеет оболочку или часть оболочки из неметаллических материалов, за исключением стекла и керамики, включая неметаллические вентиляционные кожухи и вентиляционные жалюзи вращающихся электрических машин, испытание проводят при максимальной и минимальной температурах согласно 26.7.2.

26.4.3 Испытания сбрасыванием

В дополнение к испытанию на ударостойкость в соответствии с 26.4.2 каждый образец переносного или персонального оборудования должен быть сброшен в готовом к работе состоянии четыре раза с высоты не менее 1 м на горизонтальную бетонную поверхность. Образец испытывают в наиболее неблагоприятном положении.

Испытание сбрасыванием проводят при подключенном к оборудованию портативном батарейном источнике питания.

Испытание оборудования в металлических оболочках проводят при температуре (20 +/- 5) °C, за исключением случая, когда характеристики материала показывают, что его ударостойкость при более низких температурах в пределах предписанного диапазона температуры окружающей среды снижается. В этом случае испытание должно быть проведено при минимальной температуре предписанного диапазона согласно 26.7.2.

Если оборудование имеет оболочку или часть оболочки из неметаллических материалов, испытание проводят при минимальной температуре согласно 26.7.2.

26.4.4 Критерии оценки результатов испытаний

Испытания на ударостойкость и стойкость к сбрасыванию не должны приводить к повреждениям, нарушающим вид взрывозащиты оборудования.

Поверхностные повреждения, отслаивание краски, повреждение ребер охлаждения или других подобных частей оборудования, а также незначительные вмятины принимать во внимание не следует.

Защитные кожухи наружных вентиляторов и вентиляционные жалюзи должны выдерживать испытания без деформаций или смещений, приводящих к трению подвижных частей.

26.4.5 Степень защиты, обеспечиваемая оболочками (IP)

26.4.5.1 Порядок проведения испытаний

Если требования к степени защиты, обеспечиваемой оболочкой, установлены настоящим стандартом или другими стандартами на взрывозащиту конкретных видов, то порядок проведения испытаний должен соответствовать ГОСТ 14254 (условия проведения испытаний согласно [54]), за исключением вращающихся электрических машин, порядок проведения испытаний которых указан в ГОСТ IEC 60034-5.

При проведении испытаний в соответствии с ГОСТ 14254:

- оболочки следует относить к категории I согласно ГОСТ 14254;

- на оборудование не следует подавать напряжение;

- испытание электрической прочности изоляции, если это требуется по ГОСТ 14254, проводят при эффективном значении напряжения [(2Uном + 1000) +/- 10%] в течение 10 - 12 с, где Uном - максимальное значение номинального или внутреннего напряжения оборудования, В.

Примечание - Определение "Оболочки категории I" дано в ГОСТ 14254 и не связано с категорией 1, используемой в [43].

Оценка первой характеристической цифры до 6 включительно подтверждает соответствие требованиям предшествующих цифр. Оценка второй характеристической цифры до 6 включительно подтверждает соответствие требованиям предшествующих цифр. Оценка соответствия второй характеристической цифре 7, 8 или 9 не означает соответствие вторым характеристическим цифрам 5 или 6.

Примечание - Установлено, что в ГОСТ 14254 допущена ошибка по разъясненному выше требованию.

При проведении испытаний в соответствии с ГОСТ IEC 60034-5:

- на вращающиеся электрические машины не следует подавать напряжение.

Примечание - В [43] приведена информация о проведении испытаний по подтверждению маркировки IP, отличающейся от минимальных номинальных характеристик, требуемых согласно стандартам по примененным видам взрывозащиты, и отмечено, что отсутствует необходимость указывать маркировку IP как часть маркировки взрывозащиты, но маркировку IP часто указывают отдельной строчкой.

26.4.5.2 Критерии оценки результатов испытаний

Для оборудования, испытуемого в соответствии с ГОСТ 14254, критерии оценки результатов испытаний должны соответствовать указанному стандарту, за исключением случаев, когда изготовитель устанавливает более жесткие критерии, чем требует ГОСТ 14254, например, критерии в соответствующем стандарте на изделие. В таких случаях должны быть применены критерии оценки соответствующего стандарта на изделие, если это не окажет отрицательного влияния на взрывозащиту.

Критерии оценки по ГОСТ IEC 60034-5, применяемые к вращающимся электрическим машинам, не заменяют испытания видов взрывозащиты.

Если в стандарте на оборудование для взрывоопасных сред указаны критерии оценки для степени защиты IPXX, то их следует использовать вместо критериев по ГОСТ 14254 или ГОСТ IEC 60034-5.

26.5 Тепловые испытания

26.5.1 Измерение температуры

26.5.1.1 Общие требования

Примечание - Для оборудования, которое в обычных условиях может использоваться в любом пространственном положении, температуру определяют для каждого положения и в расчет принимают самую высокую температуру. (в ред. Изменения N 1, утв. Приказом Росстандарта от 06.09.2022 N 880-ст)

Примечания

1 Если оборудование может быть использовано в неконтролируемых положениях, то применять знак "X" не допускается. Например, шахтные головные светильники могут некоторое время работать под углом, не предусмотренным в нормальном режиме работы (вертикальное положение) и достигать избыточной температуры.

Температурные испытания должны проводиться при максимальном значении заявленного изготовителем диапазона температур окружающей среды или ниже, а результаты должны быть линейно скорректированы с учетом расчетной максимальной температуры окружающей среды. Если оборудование предназначено для непосредственного соединения или воздействия со стороны отдельного внешнего источника нагревания или охлаждения, при температурных испытаниях должны быть учтены номинальные параметры такого источника, влияющие на максимальную температуру поверхности оцениваемого оборудования. (в ред. Изменения N 1, утв. Приказом Росстандарта от 06.09.2022 N 880-ст)

Измерение температуры, как предписано в настоящем стандарте и в конкретных стандартах для соответствующих видов взрывозащиты, должно производиться в спокойном воздухе. (в ред. Изменения N 1, утв. Приказом Росстандарта от 06.09.2022 N 880-ст)

Измерительные приборы (термометры, термопары и др.) и соединительные кабели выбирают и размещают таким образом, чтобы они не оказывали заметного влияния на тепловые характеристики оборудования.

Конечную температуру считают установившейся, когда скорость возрастания температуры не превышает 2 К/ч. Если определение температуры эксплуатации или поверхности проводят с требуемым слоем пыли для уровня взрывозащиты Da или указанной глубиной слоя пыли для уровня взрывозащиты Db, конечную температуру считают установившейся, когда скорость возрастания температуры не превышает 1 К/сут.

Считают, что отклонения частоты источника питания, применяемого при эксплуатации, и источника питания, используемого при испытаниях, являются незначительными и их можно не учитывать, если изготовитель не указал иное.

Примечание - Для ограничения температуры в некоторых видах оборудования могут потребоваться встроенные датчики температуры.

26.5.1.2 Эксплуатационная температура

Испытания по определению эксплуатационной температуры проводят при номинальном напряжении оборудования, но без учета повреждений.

Необходимо определить температуру в самой горячей точке части, от которой зависит вид взрывозащиты.

Если входное напряжение не влияет непосредственно на увеличение температуры оборудования или Ex-компонента, например, клеммы или переключателя, то испытательный ток должен соответствовать номинальному значению.

Если номинальные характеристики оборудования заданы как диапазон значений (например, 100 - 250 В или 240 В +/- 10%), то испытания должны быть проведены при самом высоком или самом низком значении диапазона, в зависимости от того, какое значение приводит к наибольшему повышению температуры.

26.5.1.3 Максимальная температура поверхности

Испытания по определению максимальной температуры поверхности проводят при наиболее неблагоприятных номинальных параметрах входного напряжения 90% или при 110% номинального напряжения электрооборудования, в зависимости от того, при каком значении создается максимальная температура поверхности.

Максимальную температуру поверхности электрических машин допускается определять при наиболее неблагоприятном испытательном напряжении в "Зоне A" согласно ГОСТ IEC 60034-1. В этом случае оборудование должно быть маркировано знаком "X" в соответствии с 29.3, перечисление e), а в специальных условиях применения необходимо указать, что при определении температуры поверхности приняты условия его работы в "Зоне A" (по ГОСТ IEC 60034-1) при отклонении напряжения от номинального значения на +/- 5%. Для электрических машин с преобразователем испытательное напряжение при определении максимальной температуры поверхности подводят ко всей системе "двигатель-преобразователь" (на вход преобразователя), а не на вход двигателя. Дополнительная информация об испытаниях температуры поверхности электрических машин приведена в приложении E.

Если входное напряжение непосредственно не влияет на увеличение температуры оборудования или Ex-компонента, такого как клеммы или выключатель, может потребоваться увеличение испытательного тока до 110% номинального значения для имитации увеличения тока, которое произойдет при увеличении входного напряжения при эксплуатации оборудования.

Испытания для определения максимальной температуры поверхности осуществляют без учета повреждений, за исключением случаев, когда конкретные повреждения предписаны в требованиях для конкретного вида взрывозащиты.

Если технические характеристики оборудования заданы как диапазон значений (например, 100 - 250 В или 240 В +/- 10%), то испытания следует проводить при 90% наименьшего значения напряжения диапазона или при 110% наибольшего значения напряжения диапазона, в зависимости от того, какое значение приводит к наибольшему повышению температуры.

Считают, что отклонения частоты источника питания, применяемого при эксплуатации, и источника питания, используемого при испытаниях, являются незначительными и их можно не учитывать, если изготовитель не указал иное.

Примечание - Благодаря регулирующим свойствам преобразователя изменения напряжения на входе в преобразователь не ведут непосредственно к изменениям напряжения на выходе из преобразователя.

Испытания оборудования группы III, уровень взрывозащиты оборудования Da, проводят, обеспечив слой пыли не менее 200 мм со всех сторон. Температурные измерения проводят при теплопроводности пыли не более 0,1 Вт/(м·К), измеренной при температуре (100 +/- 5) °C.

Примечания

1 Пыли для этого испытания, которые могут соответствовать по теплопроводности, включают определенные виды древесной муки, какао-порошка, диатомовой земли, вспениваемых гранул полистирола и тому подобного.

2 Из-за изоляционных свойств слоя пыли рассеивание мощности более чем на несколько ватт обычно нецелесообразно.

Для электрооборудования группы III, уровень взрывозащиты оборудования Db, оцененного для указанной глубины слоя пыли, (глубину слоя пыли в мм указывают в обозначении максимальной температуры поверхности, как значение L в виде TL), в соответствии с 5.3.2.3.2 b), испытываемое оборудование должно быть окружено со всех сторон толщиной пыли, равной, по меньшей мере, указанной глубине слоя. Измерения температуры должны проводиться с использованием испытательной пыли с теплопроводностью не более 0,10 Вт/(м·К), измеренной при (100 +/- 5) °C.

Для электрооборудования группы III, уровень взрывозащиты оборудования Db, оцененный со слоем пыли в соответствии с 5.3.2.3.2 c), (слой пыли указывают в обозначении максимальной температуры поверхности, TL) в определенном(ых) положении(ях), как указано в специальных условиях применения, испытание следует проводить при максимальном слое, который будет удерживаться на оборудовании в указанном положении оборудования, с учетом того, что толщина пыли не будет однородной. Пыль следует наносить путем мягкого осаждения с помощью сита или аналогичного метода на поверхность(и) без дальнейшего уплотнения, пока не будет накапливаться больше пыли. Измерения температуры следует проводить с использованием испытательной пыли с теплопроводностью не более 0,10 Вт/(м·К), измеренной при температуре (100 +/- 5) °C.

Измеренная максимальная температура поверхности должна быть не более:

- для оборудования группы I - значений, приведенных в 5.3.2.1,

- для оборудования группы II при типовых испытаниях по определению максимальной температуры поверхности - температуры или температурного класса, маркированных на оборудовании температуры, уменьшенных на 5 К для температурных классов T6, T5, T4 и T3 (или температуры, приведенной в маркировке, менее или равной 200 °C) и на 10 К для температурных классов T2 и T1 (или температуры, указанной в маркировке, свыше 200 °C). В качестве альтернативы - температуры или температурного класса, указанных в маркировке - при контрольных испытаниях по определению максимальной температуры поверхности;

- для оборудования группы III - значений, приведенных в 5.3.2.3.

Результат должен быть скорректирован с учетом максимальной температуры окружающей среды, приведенной в технической документации.

Измерение температуры поверхности, когда это предписывается настоящим стандартом и стандартами на взрывозащиту конкретных видов, проводят в спокойном состоянии окружающего воздуха, а непосредственно оборудование при этом устанавливают в нормальное рабочее положение.

26.5.2 Испытание на тепловой удар

Стеклянные части осветительных приборов и смотровых окон оборудования должны выдерживать без визуального повреждения тепловой удар, вызываемый струей воды диаметром 1 мм при температуре (10 +/- 5) °C, направленной на части, нагретые до температуры, не менее максимальной эксплуатационной температуры. Испытания должны быть проведены не менее, чем на одном образце.

Примечание - Струю воды обычно создают с помощью небольшого (около 10 см3) шприца, температура воды в котором 10 °C. Расстояние, с которого подают струю, и давление струи не оказывают значительного влияния на результаты.

26.5.3 Испытание малых элементов на воспламенение взрывоопасных смесей (оборудование групп I и II)

26.5.3.1 Общие требования

Испытание малых элементов на воспламенение взрывоопасной газовоздушной смеси проводят в соответствии с 26.5.3.2 для подтверждения того, что эти элементы не могут быть причиной воспламенения такой смеси согласно 5.3.3, перечисление a).

26.5.3.2 Порядок проведения испытаний

Испытания должны быть проведены:

- на малом элементе, смонтированном в оборудовании, для которого он предназначен, при этом следует обеспечить контакт испытательной взрывоопасной смеси с этим элементом; или

- на модели, которая гарантирует объективные результаты. Моделирование должно учитывать влияние других частей оборудования, находящихся вблизи от испытуемого малого элемента, которые оказывают воздействие на температуру смеси и скорость ее потока около малого элемента в результате вентиляции и тепловых эффектов.

Малые элементы должны быть испытаны в нормальном режиме или в условиях повреждений, предписываемых стандартом на вид взрывозащиты, при котором возникает наибольшее значение температуры поверхности. Испытание необходимо продолжать до тех пор, пока не будет достигнуто тепловое равновесие между испытуемым элементом и окружающими частями или пока температура испытуемого элемента не начнет снижаться. Если повреждение элемента вызывает снижение температуры, испытания должны быть повторены пять раз с использованием пяти дополнительных образцов.

Если в нормальном или аварийном режиме работы, указанном в стандарте на взрывозащиту конкретного вида, температура более чем одного элемента превышает температурный класс оборудования, испытания должны быть проведены со всеми такими элементами при максимальных значениях температуры.

Запас по безопасности для выполнения требования 5.3.3 может быть обеспечен путем повышения температуры окружающей среды, при которой проводят испытания, или путем повышения температуры испытуемого элемента и других соответствующих смежных поверхностей на требуемое значение, если это возможно.

Для группы I следует использовать однородную испытательную смесь с содержанием не менее 6,2% и не более 6,8% объемных долей метана в воздухе.

Для температурного класса T4 должны быть использованы следующие смеси:

a) однородная смесь с содержанием не менее 22,5% и не более 23,5% объемных долей диэтилового эфира в воздухе или

b) смесь диэтилового эфира и воздуха, полученная в результате выпаривания небольшого количества диэтилового эфира в испытательной камере во время проведения испытания на воспламенение.

Для других температурных классов испытательную смесь определяют по усмотрению испытательной организации.

Если при проведении испытаний не происходит воспламенения, наличие взрывоопасной смеси контролируют поджиганием другими способами.

26.5.3.3 Критерии оценки результатов испытаний

Испытание пройдено, если компонент не вызвал воспламенения взрывоопасной среды и продемонстрировано, что испытательная смесь является взрывоопасной.

Появление "холодного пламени" рассматривают как воспламенение. Воспламенение обнаруживают визуально или измерением температуры, например термопарами.

26.6 Испытание проходных изоляторов крутящим моментом

26.6.1 Порядок проведения испытаний

Проходные изоляторы, используемые в соединительных устройствах и подвергающиеся воздействию крутящего момента при подсоединении или отсоединении проводников, должны быть испытаны на стойкость к воздействию крутящего момента.

Испытания шпильки и непосредственно смонтированного в изделии проходного изолятора проводят, прилагая к шпильке крутящий момент, значение которого указано в таблице 16.

Таблица 16

Крутящий момент, прилагаемый к шпильке проходного изолятора соединительных контактных зажимов

Обозначение диаметра резьбы шпильки проходного изолятора Крутящий момент, Н·м Обозначение диаметра резьбы шпильки проходного изолятора Крутящий момент, Н·м
М4 2,0 М12 25,0
М5 3,2 М16 50,0
М6 5,0 М20 85,0
М8 10,0 М24 130,0
М10 16,0
Примечание - Значение крутящего момента для шпилек, размеры которых отличаются от указанных выше, может быть определено по графику, построенному по приведенным в таблице значениям. Кроме того, график можно экстраполировать для определения значений крутящих моментов для шпилек проходных изоляторов, РИС по размерам, чем указанные в таблице.

26.6.2 Критерии оценки результатов испытания

Ни шпилька проходного изолятора, ни вмонтированный в изделие проходной изолятор не должны проворачиваться при воздействии на шпильку крутящего момента.

26.7 Неметаллические оболочки или неметаллические части оболочек

26.7.1 Общие требования

Кроме испытаний, описанных в 26.1 - 26.6, неметаллические оболочки должны быть также испытаны на соответствие требованиям 26.8 - 26.15. Испытания на соответствие требованиям 26.10 - 26.15 - независимые испытания, проводимые на самостоятельных образцах, которые не обязательно должны быть частью испытательного ряда для испытания оболочек (26.4). Неметаллические части оболочек должны быть испытаны вместе с оболочкой или с представительной моделью оболочки.

26.7.2 Температура при испытаниях

Если в соответствии с настоящим стандартом или стандартами на взрывозащиту конкретных видов, перечисленными в разделе 1, испытания должны быть проведены с учетом верхних и нижних значений диапазона эксплуатационной температуры, то значения этой испытательной температуры должны быть следующими:

- для верхнего предела - максимальное значение эксплуатационной температуры (см. 5.2), увеличенное не менее чем на 10 К, но не более чем на 15 К;

- для нижнего предела - минимальное значение эксплуатационной температуры (см. 5.2), уменьшенное не менее чем на 5 К, но не более чем на 10 К.

26.8 Теплостойкость

Теплостойкость определяют путем испытания оболочек или частей оболочек из неметаллических материалов, которые обеспечивают целостность вида взрывозащиты, в соответствии с таблицей 17.

Таблица 17

Испытания на теплостойкость

Уровень взрывозащиты оборудования Эксплуатационная температура Условия испытания Условия альтернативного испытания
Ga,
Gb,
Da,
Db,
Ma,
Mb
<= 70 °C ч при относительной влажности (90 +/- 5)% при + (20 +/- 2) К (но температура испытаний не менее 80 °C)
70 °C < <= 75 °C ч при относительной влажности (90 +/- 5)% при + (20 +/- 2) К ч при относительной влажности (90 +/- 5)% при (90 +/- 2) °C, затем ч в сухом состоянии при + (20 +/- 2) К
> 75 °C ч при относительной влажности (90 +/- 5)% при (95 +/- 2) °C, затем ч в сухом состоянии при + (20 +/- 2) К ч при относительной влажности (90 +/- 5)% при (90 +/- 2) °C, затем ч в сухом состоянии при (20 +/- 2) К
Gc,
Dc,
Mc
< 80 °C ч при относительной влажности (90 +/- 5)% при + (10 +/- 2) К
80 °C < <= 85 °C ч при относительной влажности (90 +/- 5)% при + (10 +/- 2) К ч при относительной влажности (90 +/- 5)% при (90 +/- 2) °C, затем ч в сухом состоянии при + (10 +/- 2) К
> 85 °C ч при относительной влажности (90 +/- 5)% при (95 +/- 2) °C, затем ч в сухом состоянии при + (10 +/- 2) К ч при относительной влажности (90 +/- 5)% при (90 +/-2) °C, затем ч в сухом состоянии при (10 +/- 2) К
Примечание - Тэ - это значение температуры, определенное в 5.2, которое не должно включать повышение температуры, указанное в 26.7.2.

По окончании испытания в соответствии с таблицей 17 испытанные оболочки или их части из неметаллических материалов должны быть подвергнуты испытаниям при температуре (20 +/- 5) °C и относительной влажности (50 +/- 5)% в течение 24+48 ч, а затем немедленно испытаниям на холодостойкость в соответствии с 26.9.

Примечания

1 Испытательные значения, приведенные в таблице 17, получены для двух разных режимов испытания. Условия испытания, приведенные во второй графе, применялись в предыдущих изданиях настоящего стандарта и позволяют считать ранее полученные результаты действительными для настоящего издания. Условия, приведенные в третьей графе, позволяют проводить испытания в легко достижимых условиях температуры и влажности, хотя и при увеличении времени испытания.

2 В связи с тем, что стекло и керамика имеют высокую теплостойкость, проведение таких испытаний необязательно.

3 Настоящим стандартом не регламентирована длительность этапов испытания на термическую стойкость. Испытание не предназначено для тестирования на тепловой удар.

26.9 Холодостойкость

Холодостойкость определяют выдержкой представленных на испытание оболочек или частей оболочек из неметаллических материалов, от которых зависит вид взрывозащиты, в течение 24+2 ч при температуре окружающей среды, соответствующей минимальной эксплуатационной температуре, уменьшенной согласно 26.7.2.

Примечание - В связи с тем, что стекло и керамика имеют высокую холодостойкость, проведение таких испытаний необязательно.

26.10 Светостойкость к УФ-свету

26.10.1 Общие требования

Испытание пластмассовых материалов проводят на шести испытательных стержнях стандартного размера [(80 x 10 x 4) +/- 0,2] мм в соответствии с ГОСТ 4647 и [44]. Испытательные стержни должны быть изготовлены в тех же условиях, что те, которые применяют для изготовления оболочки; эти условия должны быть отражены в протоколе испытаний (протоколе оценки и испытаний) оборудования.

Если свойства неметаллического материала не позволяют подготовить испытательный образец в соответствии с ГОСТ 4647 и [44], возможно проведение испытания другого вида при условии, что это будет обосновано в протоколе испытаний (протоколе оценки и испытаний) оборудования.

Для эластомеров испытание следует проводить на шести образцах, где это практически возможно, образцы, как определено в [45], на каждый применяемый метод испытаний L, N, M или H. Допускается проведение альтернативных испытаний при условии наличия обоснования в протоколе испытаний (протоколе оценки и испытаний) для оборудования.

Если свойства эластомерного материала не позволяют подготовить испытательный образец в соответствии с [45] или если используются специальные эластомерные уплотнительные профили, то следует использовать измерение твердости по методу [45] CN, CM, CH или CL. Допускается проведение альтернативных испытаний при условии наличия обоснования в протоколе испытаний (протоколе оценки и испытаний) для оборудования.

Примечание - Испытания на пластмассовых материалах, как правило, разрушительны, поэтому для определения начальных свойств материала обычно используются шесть стержней или образцов, не подвергавшихся никаким воздействиям.

26.10.2 Выдержка под воздействием света

Испытание проводят в соответствии с [46] в экспозиционной камере с использованием ксеноновой лампы и системы фильтров, моделирующих солнечный свет, без повторения в сухих условиях среды на поверхности черной панели температурой (65 +/- 3) °C или (55 +/- 3) °C. Продолжительность испытания должна составлять от 1000 до 1025 ч.

Примечание - Значение температуры поверхности черной панели 65 °C выбрано для обеспечения соответствия испытаниям, проводимым на оборудовании, специально спроектированном для работы в соответствии с [46]. Значение температуры поверхности черной панели 55 °C выбрано для обеспечения соответствия результатам, полученным по предыдущим изданиям настоящего стандарта. В соответствии с [46] условия испытаний почти одинаковые, хотя незначительные отличия, не имеющие отношения к цели данного испытания, могут иметь место.

26.10.3 Критерии оценки результатов испытаний

Оценочный критерий для пластмассовых материалов - прочность при ударном изгибе в соответствии с ГОСТ 4647 и [44]. Прочность при ударе в случае удара по облученной стороне образца должна составлять не менее 50% соответствующей величины, измеренной на стержнях, не подвергшихся облучению. Для пластмассовых материалов, прочность которых при ударном изгибе не может быть измерена до облучения, поскольку никаких разрушений не возникало, допускается разрушение не более трех подвергшихся облучению образцов. Допускается применение альтернативных критериев испытаний при условии наличия обоснования в протоколе испытаний (протоколе оценки и испытаний) для оборудования.

Для эластомеров критерием оценки является измерение твердости по [45] с использованием того же метода испытаний, который выбран для подготовки образцов. Средняя твердость, выраженная в единицах IRHD (степень твердости резины по международной шкале), как указано [45], на открытой поверхности шести образцов после воздействия, должна изменяться не более чем на 20% от соответствующего значения, измеренного на неэкспонированных образцах. Допускается применение альтернативных критериев испытаний при условии наличия обоснования в протоколе испытаний (протоколе оценки и испытаний) для оборудования.

26.11 Стойкость оборудования группы I к воздействию химических агентов

Оболочки и части оболочек из неметаллических материалов должны быть представлены для испытания на стойкость к воздействию следующих химических агентов:

- масел и смазочных материалов;

- гидравлических жидкостей, применяемых в шахтах.

Испытания проводят на четырех образцах, закрытых таким образом, чтобы исключить попадание испытательной жидкости вовнутрь оболочки. При этом:

- два образца выдерживают в течение (24 +/- 2) ч в масле IRM902 в соответствии с [47] при температуре (50 +/- 2) °C;

- два других образца выдерживают в течение (24 +/- 2) ч в негорючей гидравлической жидкости, предназначенной для работы при температуре от минус 20 °C до плюс 60 °C, представляющей собой раствор полимера в 35% воды при температуре (50 +/- 2) °C.

В конце испытаний упомянутые образцы оболочек вынимают из ванны с жидкостью, тщательно вытирают и выдерживают в течение (24 +/- 2) ч в лабораторных условиях. После этого каждый образец оболочки подвергают испытаниям согласно 26.4.

Если хотя бы один из образцов оболочки не выдержал такие испытания после воздействия одного или более химического агента, оболочка должна быть маркирована знаком "X", чтобы указать на условия для обеспечения безопасности в соответствии с 29.3, перечисление e), т.е. исключить воздействие специфических химических агентов при эксплуатации оборудования.

26.12 Проверка целостности заземления

Материал, из которого изготовлена оболочка, может быть испытан как единая оболочка, как часть оболочки или как образец материала оболочки при условии, что соответствующие критические размеры образца такие же, как и у оболочки.

Кабельный ввод должен быть представлен в виде испытательного стержня номинальным диаметром 20 мм, изготовленного из латуни (CuZn39Pb3 или CuZn38Pb4), со стандартной метрической резьбой с полем допуска 6g и шагом 1,5 мм (см. [48]). Длина испытательного стержня должна быть такой, чтобы по меньшей мере один полный виток резьбы оставался свободным с каждого конца в собранном виде, как показано на рисунке 8.

1 - гайка; 2 - пластина заземления; 3 - стенка оболочки (неметаллическая); 4 - пластина заземления или часть пластины; 5 - испытательный стержень

Рисунок 8 - Сборка испытательного образца для испытания целостности заземления

При проведении испытания должны быть использованы полные пластины заземления или части пластин, которые будут установлены на оболочке.

Диаметр отверстия с гарантированным зазором в испытуемых образцах должен быть от 22 до 23 мм, а метод сборки должен обеспечить отсутствие прямого контакта винтовой резьбы испытательного стержня с внутренней стороной отверстия.

Зажимные гайки должны быть изготовлены из латуни (CuZn39Pb3 или CuZn38Pb4) и снабжены стандартной метрической резьбой с полем допуска 6H и шагом 1,5 мм в соответствии с [48]. Номинальная толщина гаек должна быть 3 мм, а их максимальный размер до 27 мм.

Компоненты должны быть собраны так, как показано на рисунке 8. Крутящий момент, приложенный к каждой паре гаек по очереди, должен составлять 10 Нм +/- 10%.

Отверстие в стенке (части стенки или в испытательном образце) может быть простым сквозным или отверстием с резьбой, соответствующей резьбе на испытательном стержне.

После сборки испытательный образец необходимо выдержать в условиях, установленных для испытаний теплостойкости согласно 26.8.

Затем его необходимо выдержать ч в сушильном шкафу при температуре не менее 80 °C.

По завершении этой процедуры необходимо рассчитать сопротивление между пластинами заземления или частями пластин заземления, пропустив постоянный ток от 10 до 20 А между этими пластинами и измерив падение напряжения между ними.

Неметаллический материал, испытанный таким способом, считают пригодным для применения, если сопротивление между пластинами заземления или частями пластин заземления не превышает 0,005 Ом.

26.13 Испытание по определению электрического поверхностного сопротивления частей оболочек из неметаллических материалов

Поверхностное сопротивление определяют на частях оболочек, если позволяют их размеры, или на испытательном образце в виде прямоугольной пластины размерами в соответствии с рисунком 9. Поверхность испытательного образца должна быть неповрежденной. На образец наносят два параллельных электрода из проводящей краски на растворителе, который не оказывает существенного влияния на поверхностное сопротивление.

Рисунок 9 - Испытуемый образец с электродами из проводящей краски

Перед испытаниями испытательный образец промывают дистиллированной водой, затем изопропиловым спиртом (или другим растворителем, который может смешиваться с водой и не влияет на испытуемый образец), еще раз дистиллированной водой и просушивают. Не касаясь образца голыми руками, его помещают в испытательную камеру и выдерживают в течение 24 ч при температуре (23 +/- 2) °C и относительной влажности (50 +/- 5)% или (30 +/- 5)% в зависимости от применяемых условий [см. 7.4.2 a)]. Испытания проводят при тех же условиях окружающей среды.

Напряжение постоянного тока, прилагаемое между электродами в течение (65 +/- 5) с, должно составлять (500 +/- 25) В постоянного тока.

Напряжение при испытании должно быть стабильным, чтобы зарядный ток, возникающий вследствие флуктуации напряжения, был незначительным по сравнению с током, протекающим по испытуемому образцу.

Поверхностное сопротивление - это частное от деления напряжения постоянного тока, приложенного к электродам, на общий ток, протекающий между ними.

При возникновении трудностей при проведении испытаний при высоких значениях тока при напряжении 500 В постоянного тока, испытание - тест можно изменить следующим образом: приложив измерительное напряжение (10 +/- 0,5) В постоянного тока в течение (15 +/- 5) с между электродами. Если сопротивление ниже 10 МОм, измерительное напряжение должно быть увеличено до (100 +/- 5) В постоянного тока и подаваться в течение (15 +/- 5) с.

26.14 Измерение емкости

26.14.1 Общие требования

Испытание проводят на одном полностью собранном образце оборудования. Не требуется, чтобы образец предварительно был подвергнут испытаниям для оболочек. Образец выдерживают в климатической камере в течение по меньшей мере 1 ч при температуре (23 +/- 2) °C и относительной влажности (50 +/- 5)%. Испытуемый образец устанавливают на незаземленную металлическую пластину значительно большего размера, чем испытуемый образец. При необходимости образец поддерживают с помощью тисков или клещей (предпочтительно, изготовленных из пластмассы), но не рукой. Другое оборудование должно находиться как можно дальше от испытуемого образца. Соединительные провода должны быть как можно короче. Положение образцов должно быть таким, чтобы можно было выполнить измерения в неизолированной испытательной точке на металлической поверхности как можно ближе к незаземленной металлической пластине без контакта с пластиной. Однако при наличии электрического контакта между внешней металлической частью и внутренними металлическими частями необходимо измерять емкость оборудования по всем направлениям для обеспечения определения максимальной емкости.

Не следует использовать металлические пластины с окисленной поверхностью, так как это может привести к получению ошибочных результатов.

26.14.2 Порядок проведения испытаний

Измеряют значение емкости между каждой открытой металлической частью на оболочке оборудования и металлической пластиной. Отрицательный контакт измерителя емкости должен быть подключен к незаземленной металлической пластине. Положительный контакт измерителя емкости должен находиться как можно дальше от металлической пластины.

Может потребоваться аккумуляторный измеритель емкости для обеспечения стабильных показаний.

Если металлическая часть труднодоступна для подсоединения контактов измерителя емкости, допускается использовать винт для ее удлинения и создания испытательной точки. Не допускается электрический контакт этого винта с другими внутренними металлическими частями.

Паразитная емкость должна быть сведена к минимуму. Для этого другое оборудование должно находиться как можно дальше от испытуемого образца.

Применяют следующий порядок проведения измерения емкости:

1 Положительный электрод измерителя емкости устанавливают на расстоянии 3 - 5 мм от испытательной точки на металлической части оболочки. Снимают значение паразитной емкости в воздухе с точностью до 1 пФ.

2 Устанавливают контакт между положительным выводом измерителя емкости и испытательной точкой на металлической части оболочки и снимают значение емкости с точностью до 1 пФ.

3 Вычисляют разницу между значениями, измеренными на этапах 1 и 2, и записывают результат.

4 Этапы 1 - 3 повторяют два раза для каждой испытательной точки.

5 Вычисляют среднее значение емкости по трем полученным измерениям.

26.15 Проверка номинальных характеристик вентиляторов

Вентилятор должен получать питание номинальным напряжением при заданном обратном давлении, если оно используется. Значения максимальной мощности, тока и скорости вращения должны быть измерены и должны соответствовать номинальным значениям вентилятора. Номинальные параметры электродвигателя и любых других электрических частей вентилятора не должны быть превышены.

26.16 Альтернативные испытания эластомерных уплотнительных колец

Толщину t0 уплотнительного кольца измеряют при температуре (20 +/- 5) °C. Затем кольцо сжимают в собранной оболочке оборудования или в испытательном устройстве.

Сжатое уплотнительное кольцо подвергают испытаниям на теплостойкость (26.8) и холодостойкость (26.9), после чего уплотнительное кольцо снимают с адаптера или извлекают из оборудования и выдерживают в течение не менее 24+2 ч при температуре (20 +/- 5) °C, а затем измеряют толщину уплотнительного кольца.

Заданное значение сжатия с (см. рисунок 10) рассчитывается следующим образом:

,

где - первоначальная толщина уплотнительного кольца, измеренная при температуре (20 +/- 5) °C;

- толщина уплотнительного кольца при его сжатии в оборудовании;

- толщина уплотнительного кольца, измеренная при температуре (20 +/- 5) °C после температурных испытаний.

Примечание - Остаточная деформация при сжатии характеризует способность уплотнительного кольца восстанавливать свой первоначальный размер после сжатия.

Рисунок 10 - Остаточная деформация при сжатии уплотнительного кольца

26.17 Испытания переносимого заряда

26.17.1 Установка для испытаний

Необходимо следующее оборудование и материалы:

1 Стол или твердый щит из рассеивающего материала, например из необработанной древесины.

Примечание - Правильное применение рассеивающей поверхности стола гарантирует накопление большого заряда на заряженной поверхности вследствие эффектов связывания заряда. После подъема образца со стола его заряды теряют связь с зарядами противоположного знака стола, что создает оптимальные условия для возникновения разрядов.

2 Ткани из материалов без обработки, стоящих друг от друга достаточно далеко по месту в трибоэлектрическом ряду, и достаточно большого размера, чтобы исключить контакт между испытуемым образцом и пальцами испытателя в процессе натирания, и перчатка или другой предмет из мягкой натуральной кожи.

Примечания

1 Трибоэлектрические ряды см. в [49].

2 Подходящими положительно заряжающимися при трибоэлектризации материалами являются, например, мягкая натуральная кожа, войлок из овечьей шерсти, полиамидная плащевая ткань, хлопок и кошачий мех. Подходящими отрицательно заряжающимися при трибоэлектризации материалами являются, например, полиуретановые и полиэтиленовые скатерти.

3 Одиночный металлический игольчатый электрод или многоигольчатые электроды, подключенные к отрицательному полюсу источника питания высокого напряжения (30 - 70 кВ постоянного тока) для зарядки коронным зарядом.

4 Любое оборудование из приведенного ниже или эквивалентное для измерения перенесенного заряда:

a) отполированный металлический электрод с диаметром (25 +/- 5) мм, соединенный с осциллографом с входом 50 Ом при разрешающей способности 109 1/с и с полосой пропускания 300 МГц, а также имеющий циркулярный шунт заземления с сопротивлением (0,25 +/- 0,05) Ом и полосой пропускания 300 МГц, или

b) отполированный металлический электрод диаметром (25 +/- 5) мм, подключенный к заземленному конденсатору емкостью (100 +/- 10) нФ с параллельно подключенным резистором (15 +/- 2) кОм, при этом оба они подключены к входу вольтметра, автоматически включающегося и удерживающего самое высокое значение, или

c) отполированный металлический электрод диаметром (3 +/- 1) мм в отверстии с гладкими краями диаметром (5 +/- 1) мм в стенке заземленной полой сферы диаметром (25 +/- 5) мм, подключенной к заземленному конденсатору (100 +/- 10) нФ на входе кулонметра.

5 Плоский круглый диск из ПТФЭ толщиной менее 3 мм с площадью поверхности более 20 000 мм2 как эталон сильно электризующегося материала.

26.17.2 Испытуемый образец

Испытание проводят на полностью собранном образце изделия или материале с такими же технологическими свойствами. Образец не должен предварительно подвергаться другим испытаниям и может состоять из любого сочетания изолирующих, проводящих или рассеивающих материалов.

Предпочтительно испытывать образец полностью собранного конечного изделия, так как эффект связывания зарядов, например, вследствие наличия внутренних проводящих элементов, может способствовать предотвращению возникновения опасных разрядов.

Образец должен быть выдержан в климатической камере не менее 24 ч при температуре (23 +/- 2) °C и относительной влажности (30 +/- 5)%.

Поверхность образца должна быть чистая и неповрежденная. Так как от любого растворителя на поверхности могут остаться проводящие следы, лучше очищать поверхность только щеткой. Это особенно важно в тех случаях, когда поверхность обработана специальными антистатическими реагентами.

Однако если на поверхности видны отпечатки пальцев или загрязнение и специальные антистатические реагенты не применялись, то испытуемый образец очищают 2-пропанолом (изопропиловым спиртом) или другим растворителем, который не влияет на материал испытуемого образца и на электроды, и просушивают. Не касаясь образца голыми руками, его помещают в испытательную камеру и выдерживают в течение 24 ч при температуре (23 +/- 2) °C и относительной влажности (25 +/- 5).

26.17.3 Порядок проведения испытаний

Во время испытаний проводящие части должны быть заземлены, если заземление предусмотрено руководством по эксплуатации изготовителя.

Испытание проводят следующим образом:

1) Проверяют правильность работы измерительной системы, например, с помощью испытательных импульсов 50 нКл от сферического электрода на входе откалиброванного электростатического вольтметра с известной входной емкостью (например, 10 пФ) и при известном приложенном напряжении (например, 5 кВ). В качестве альтернативы при очень кратковременном контакте батареи 1,5 В (как правило, 1,65 В) с входом кулонометра (как правило, с входной емкостью 100 пФ) должно быть получено показание переносимого заряда (как правило, 165 нКл).

2) Проводят испытания по этапам 3 - 11 с использованием дисков из фторопласта (PTFE) и удостоверяются, что получено значение не менее 100 нКл.

3) Испытуемый образец натирают материалом с положительного конца трибоэлектрического ряда со скоростью не менее одного движения в секунду, прилагая среднее усилие (примерно 40 Н) в направлении от испытателя. Испытуемая поверхность не должна контактировать с голой рукой. Натирание осуществляют в течение (10 +/- 1) с и заканчивают резким ударом применяемого контртела (материала, которым натирали испытуемый образец).

Примечание - Подходящими положительно заряжающимися при трибоэлектризации материалами являются, например, мягкая натуральная кожа, войлок из овечьей шерсти, полиамидная плащевая ткань, хлопок и кошачий мех.

4) Осторожно поднимают образец над столом на расстояние не менее 20 см таким образом, чтобы потери заряда были как можно меньше.

5) Не теряя времени, разряжают образец, медленно перемещая сферический электрод измерительного оборудования по направлению к испытуемому образцу, пока не произойдет разряд. Особое внимание следует обратить на следующее:

a) необходимо разряжать самые опасные части образца например, поверхности большой площади и мелкие проводящие элементы;

b) разряды при зазорах менее 2 мм для подгруппы IIA, 1 мм для подгруппы IIB и 0,5 мм для подгруппы IIC имеют меньшую воспламеняющую способность, чем можно прогнозировать по их переносимому заряду из-за гасящего эффекта электродов.

6) Немедленно удаляют образец от электрода.

7) Считывают показание на индикаторе или суммируют зарегистрированное значение тока (как правило, горизонтальная настройка 40 нс/деление) и умножают его на известный калибровочный коэффициент. (в ред. Изменения N 1, утв. Приказом Росстандарта от 06.09.2022 N 880-ст)

8) Повторяют испытание девять раз.

9) Повторяют этапы 3 - 8 с материалом от отрицательного конца трибоэлектрического ряда.

Примечание - Подходящими отрицательно заряжающимися при трибоэлектризации материалами являются, например, полиуретановые и полиэтиленовые скатерти.

10) Повторяют этапы 3 - 8 со вторым материалом от положительного конца трибоэлектрического ряда.

11) Повторяют этапы 3 - 8 с третьим материалом или повторяют этапы 3 - 8, но этап 3 заменяют ударом по образцу пять раз гладкой частью кожаной перчатки.

12) Проверяют, есть ли в испытуемом образце части из изолирующего материала с проводящей противоположной стороной или он рассеивающий или проводящий. Если да, то переходят к этапу 15, если нет - к этапу 13.

Примечание - Это необходимо для того, чтобы гарантировать невозможность возникновения распространяющихся кистевых разрядов, повреждающих измерительное оборудование.

13) Заряжают образец, установив коронирующий электрод немного выше испытуемого образца и делая круговые движения малого радиуса. Круговые движения не требуются, если используется многоигольчатый электрод. Через 5 с электрод убирают подальше от образца без отключения высокого напряжения, чтобы заряженный образец не разрядился обратно на острие.

14) Испытание продолжают, выполняя этапы 4 - 8.

15) Окончание испытаний.

27 Контрольные испытания

Изготовитель выполняет контрольные испытания в соответствии с требованиями стандартов, указанных в разделе 1, которые применяют для проверки и испытания оборудования.

28 Ответственность изготовителя

28.1 Соответствие документации

Изготовитель проводит контрольные проверки или испытания, необходимые для того, чтобы гарантировать обеспечение соответствия изготовленного оборудования документации.

Примечания

1 Настоящий пункт не требует выполнения 100%-ной проверки частей. Для проверки соответствия часто используют статистические методы.

2 Дополнительную информацию см. в [13].

28.2 Сертификат

Изготовитель должен подготовить оборудование к сертификации или уже получить сертификат, подтверждающий, что оборудование соответствует требованиям настоящего стандарта, а также примененным стандартам на взрывозащиту конкретных видов и дополнительным стандартам, перечисленным в разделе 1. Сертификат может быть на Ex-оборудование или Ex-компонент.

Сертификат на Ex-компонент (обозначаемый знаком "U" в конце маркировки взрывозащиты) распространяется на части оборудования, которые не предназначены для самостоятельного применения и требуют дополнительной оценки до включения их в состав Ex-оборудования. Информация, необходимая для правильного применения Ex-компонента должна быть указана в перечне ограничений в сертификате.

В сертификате на Ex-компонент должно быть ясно указано, что он не является сертификатом на Ex-оборудование.

28.3 Ответственность за маркировку

Маркируя оборудование в соответствии с разделом 29, изготовитель подтверждает под свою ответственность следующее:

- конструкция оборудования соответствует требованиям соответствующих примененных стандартов в части безопасности;

- контрольные проверки и испытания по 28.1 выполнены в полном объеме и оборудование соответствует документации.

29 Маркировка

29.1 Применяемость

Для обеспечения безопасности приведенная ниже система маркировки должна быть применена только к Ex-оборудованию или Ex-компонентам, соответствующим требованиям стандартов на взрывозащиту конкретных видов, перечисленных в разделе 1.

29.2 Расположение маркировки

На основной части корпуса Ex-оборудования должна быть легко читаемая маркировка, которая должна быть видна снаружи до установки Ex-оборудования.

Примечания

1 Маркировка должна быть расположена таким образом, чтобы она была видна после установки Ex-оборудования.

2 Если маркировку наносят на съемную часть Ex-оборудования, желательно также повторно разместить ее внутри Ex-оборудования, что поможет избежать путаницы при установке или техническом обслуживании схожего по внешнему виду Ex-оборудования. Руководство по нанесению маркировки на особо малогабаритное оборудование и Ex-компоненты приведено в 29.11 и 29.12.

29.3 Общие требования

Маркировка должна включать в себя:

a) наименование предприятия-изготовителя или его зарегистрированный товарный знак;

b) обозначение типа оборудования;

c) порядковый номер по системе нумерации предприятия-изготовителя, за исключением:

- присоединительной арматуры (кабельные вводы, заглушки, резьбовые переходники или проходные изоляторы);

- миниатюрного оборудования с ограниченной поверхностью.

(Номер партии может быть рассмотрен в качестве альтернативы порядковому номеру);

d) номер сертификата; (в ред. Изменения N 1, утв. Приказом Росстандарта от 06.09.2022 N 880-ст)

e) специальные условия применения, если их необходимо указать; в этом случае за Ex-маркировкой согласно 29.4 или 29.5 должен размещаться знак "X". Вместо знака "X" можно использовать предупредительную надпись на оборудовании. Вместо знака "X" в маркировке допускается привести ссылку на специальную инструкцию, содержащую подробную информацию.

Примечание - Необходимо, чтобы сведения об условиях безопасного применения были переданы пользователю вместе с другой необходимой информацией.

f) специальную Ex-маркировку для взрывоопасной газовой или пылевой среды, согласно 29.4 или 29.5. Специальные Ex-маркировки взрывоопасной газовой и пылевой среды должны быть разделены;

g) любую другую дополнительную маркировку, предписываемую стандартами на взрывозащиту конкретных видов, перечисленными в разделе 1.

Примечания

1 Требования к дополнительной маркировке могут быть приведены в общепромышленных стандартах на оборудование конкретного вида.

2 В [43] приведена информация о проведении испытаний по подтверждению маркировки IP, отличающейся от минимальных номинальных характеристик, требуемых согласно стандартам по примененным видам взрывозащиты, и отмечено, что отсутствует необходимость указывать маркировку IP как часть маркировки взрывозащиты, но маркировку IP часто указывают отдельной строчкой.

29.4 Ex-маркировка для взрывоопасных газовых сред

Ex-маркировка должна включать в себя:

a) обозначение соответствующего уровня взрывозащиты для взрывоопасных газовых сред РО, РВ, РП, 0, 1 или 2, а также знак "Ex", указывающий, что оборудование соответствует одному или нескольким видам взрывозащиты, требования к которым установлены конкретными стандартами, указанными в разделе 1;

b) обозначение каждого примененного уровня вида взрывозащиты или вида взрывозащиты или букву "h" (для неэлектрического оборудования): (в ред. Изменения N 1, утв. Приказом Росстандарта от 06.09.2022 N 880-ст)

da - взрывонепроницаемая оболочка (для уровня взрывозащиты оборудования Ma или Ga);

db - взрывонепроницаемая оболочка (для уровня взрывозащиты оборудования Mb или Gb);

dc - взрывонепроницаемая оболочка (для уровня взрывозащиты оборудования Mc или Gc);

eb - повышенная защита вида "e" (для уровня взрывозащиты оборудования Gb или Mc);

ec - повышенная защита вида "e" (для уровня взрывозащиты оборудования Gc);

h - обозначение неэлектрического оборудования или неэлектрической части электрического оборудования (для уровней взрывозащиты оборудования Ma, Mb, Mc, Ga, Gb или Gc); (в ред. Изменения N 1, утв. Приказом Росстандарта от 06.09.2022 N 880-ст)

ia - искробезопасность (для уровня взрывозащиты оборудования Ma или Ga);

ib - искробезопасность (для уровня взрывозащиты оборудования Mb или Gb);

ic - искробезопасность (для уровня взрывозащиты оборудования Mc или Gc);

ma - герметизация компаундом (для уровня взрывозащиты оборудования Ma или Ga);

mb - герметизация компаундом (для уровня взрывозащиты оборудования Mb или Gb);

mc - герметизация компаундом (для уровня взрывозащиты оборудования Mc или Gc);

nA - неискрящее оборудование (для уровня взрывозащиты оборудования Gc);

nC - устройства, содержащие или не содержащие искрящие контакты, защищенные оболочкой (для уровня взрывозащиты оборудования Gc);

nR - оболочка с ограниченным пропуском газов (для уровня взрывозащиты оборудования Gc);

ob - заполнение оболочки жидкостью (для уровня взрывозащиты оборудования Gb);

oc - заполнение оболочки жидкостью (для уровня взрывозащиты оборудования Gc);

op is - искробезопасное оптическое излучение (для уровня взрывозащиты оборудования Ma или Mb и Ga или Gb или Gc);

op pr - защищенное оптическое излучение (для уровня взрывозащиты оборудования Gb или Gc или Mb);

op sh - оптическая система с блокировкой (для уровня взрывозащиты оборудования Ga или Gb или Gc или Ma или Mb);

pv - заполнение или продувка оболочки под избыточным давлением (для уровня взрывозащиты оборудования Gb или Gc);

pxb - заполнение или продувка оболочки под избыточным давлением (для уровня взрывозащиты Mb или Gb);

pyb - заполнение или продувка оболочки под избыточным давлением (для уровня взрывозащиты оборудования Gb);

pzc - заполнение или продувка оболочки под избыточным давлением (для уровня взрывозащиты оборудования Gc);

q - кварцевое заполнение оболочки (для уровня взрывозащиты оборудования Mb или Gb);

sa - специальный вид взрывозащиты (для уровня взрывозащиты оборудования Ma или Ga);

sb - специальный вид взрывозащиты (для уровня взрывозащиты оборудования Mb или Gb);

sc - специальный вид взрывозащиты (для уровня взрывозащиты оборудования Gc или Mc);

c) обозначение подгруппы оборудования:

I - для Ex-оборудования, предназначенного для применения в подземных выработках шахт и их наземных строениях, опасных по рудничному газу и (или) горючей пыли;

IIA, или IIB или IIC - для Ex-оборудования, предназначенного для применения во взрывоопасных газовых средах (кроме подземных выработок шахт и их наземных строений, опасных по рудничному газу и (или) горючей пыли).

Если Ex-оборудование предназначено для применения только с определенным газом, то в круглых скобках указывают химическую формулу или название газа после уровня защиты.

Если Ex-оборудование, отнесенное к определенной группе, также предназначено и для применения только с одним газом, сразу за обозначением группы должна быть указана химическая формула этого газа, при этом оба знака должны быть разделены знаком "+", например "IIB + H2";

d) для Ex-оборудования группы II - обозначение температурного класса. Если изготовитель желает указать значение максимальной температуры поверхности, находящейся внутри диапазона двух температурных классов, в маркировке должна быть приведена только максимальная температура поверхности в градусах Цельсия или же эта температура и следующий температурный класс в круглых скобках, например: T1 или 350 °C, или 350 °C (T1).

Ex-оборудование группы II, имеющее максимальную температуру поверхности свыше 450 °C, должно быть маркировано лишь значением максимальной температуры в градусах Цельсия, например 600 °C.

Если Ex-оборудование группы II относится к нескольким температурным классам, например, для разных диапазонов температуры окружающей среды, и не представляется возможным включить полную информацию в маркировку или имеются внешние источники нагрева/охлаждения (см. 5.1.2), то

- полная информация о температурном классе должна быть включена в сертификат, а маркировка должна содержать знак "X" для обозначения специальных условий применения в соответствии с 29.3, перечисление e), и

- диапазон температурных классов должен быть указан в маркировке в виде обозначения верхнего и нижнего пределов температурного класса, разделяемых с помощью многоточия "...", например, T6 ... T3. (в ред. Изменения N 1, утв. Приказом Росстандарта от 06.09.2022 N 880-ст)

Ex-оборудование группы II, предназначенное для применения в определенном газе, не требует указания температурного класса или максимальной температуры поверхности.

На Ex-кабельных вводах, Ex-заглушках и Ex-резьбовых адаптерах температурный класс или максимальную температуру поверхности не маркируют;

e) обозначение соответствующего уровня взрывозащиты оборудования Ma, Mb, Mc, Ga, Gb или Gc.

Примечание - Уровень взрывозащиты оборудования, обозначенный на Ex-оборудовании, может быть в большей степени ограничительным, чем обычно применяемый для конкретного вида взрывозащиты, так как он учитывает другие аспекты оборудования, такие как ограничения для материалов. Например, 1Ex ia IIC T4 Gb, когда Ex-оборудование изготовлено из материала с большим содержанием алюминия, чем допускается в 8.3;

f) в соответствии с 5.1.1 маркировка должна включать в себя обозначение Ta или Tamb вместе с диапазоном окружающей температуры, или знак "X" для указания на специальные условия применения в соответствии с 29.3, перечисление e). Если оборудование также маркировано для применения во взрывоопасной пылевой среде с идентичным диапазоном температуры окружающей среды, то достаточно только одной маркировки диапазона температуры окружающей среды.

Маркировка согласно перечислениям a) - e) должна быть размещена в последовательности по 29.4 и разделена пробелом. Обозначение уровня взрывозащиты 0, 1 или 2 размещается перед знаком "Ex" без пробела.

Для связанного оборудования с выходными искробезопасными цепями, предназначенного для установки во взрывоопасной среде, когда ограничение энергии обеспечивается внутри Ex-оборудования во взрывоопасной среде, обозначения уровня вида взрывозащиты и уровня взрывозащиты оборудования должны быть заключены в квадратные скобки, например 1Ex db [ia Ga] IIC T4 Gb. Если связанное оборудование относится к другой группе (подгруппе) оборудования, то обозначение группы (подгруппы) связанного оборудования должно быть заключено в квадратные скобки, например 1Ex db [ia IIC Ga] IIB T4 Gb. (в ред. Изменения N 1, утв. Приказом Росстандарта от 06.09.2022 N 880-ст)

Примечание - Типовой пример такого оборудования - барьер искрозащиты с шунтирующими диодами, расположенный внутри взрывонепроницаемой оболочки.

Для связанного оборудования с внешними искробезопасными цепями, которое может быть установлено в опасной зоне, обозначение вида взрывозащиты не должно быть заключено в квадратные скобки, например: 1Ex db ia IIC T4 Gb.

Примечание - Типовой пример такого оборудования - светильник с видом взрывозащиты "взрывонепроницаемая оболочка" с искробезопасным фотоэлементом, соединенным с внешним выходом искробезопасной цепи.

Для связанного оборудования, которое не может быть установлено в опасной зоне, как обозначение Ex, так и обозначение уровня вида взрывозащиты и уровня взрывозащиты оборудования, должны быть заключены в квадратные скобки, например [Ex ia Ga] IIC. (в ред. Изменения N 1, утв. Приказом Росстандарта от 06.09.2022 N 880-ст)

Если в состав Ex-оборудования входит связанное и искробезопасное оборудование, к искробезопасной части которого потребителю не требуется выполнять какие-либо подключения, то маркировка связанного оборудования не должна быть приведена, если только оно не относится к другому уровню взрывозащиты оборудования, например 1Ex db ib IIC T4 Gb, а не 1Ex db ib [ib Gb] IIC T4 Gb. Если же уровень взрывозащиты оборудования связанного оборудования отличается от уровня взрывозащиты оборудования основного оборудования, то маркировка 1Ex db ia [ia Ga] IIC T4 Gb является правильной.

Примечание - Температурный класс связанного оборудования, которое не может быть установлено во взрывоопасной зоне, не обозначают.

Для Ex-связанного оборудования, которое подходит для установки во взрывоопасной зоне, обозначения уровня вида взрывозащиты Ex-связанного оборудования и уровня взрывозащиты оборудования Ex-связанного оборудования должны быть заключены в квадратные скобки, например 1Ex db [pxb Gb] IIC T4 Gb. Если присутствует как Ex-связанное оборудование, так и связанное оборудование, обозначение уровней вида взрывозащиты и уровней взрывозащиты оборудования указывают в отдельных квадратных скобках, например 1Ex db [ib Gb] [pxb Gb] IIC T4 Gb. (в ред. Изменения N 1, утв. Приказом Росстандарта от 06.09.2022 N 880-ст)

Для Ex-связанного оборудования, которое не подходит для установки во взрывоопасной зоне, знак "Ex", обозначение уровня вида взрывозащиты Ex-связанного оборудования и уровня взрывозащиты оборудования должны быть заключены в те же квадратные скобки, например [Ex pxb Gb]. Если присутствует как Ex-связанное оборудование, так и связанное оборудование, обозначение уровней вида взрывозащиты и уровней взрывозащиты оборудования указывают в отдельных квадратных скобках, например [Ex ib Gb] [Ex pxb Gb] IIC. (в ред. Изменения N 1, утв. Приказом Росстандарта от 06.09.2022 N 880-ст)

Если у Ex-оборудования и Ex-связанного оборудования разная группа оборудования, то она также должна быть показана, например, 1Ex db [ib IIC Gb] [pxb Gb] IIB T4 Gb.

Примечание - Для Ex-связанного оборудования, не предназначенного для установки в опасной зоне, не указывают температурный класс и следующие знаки уровня взрывозащиты: РО, РВ, РП, 0, 1 и 2.

29.5 Ex-маркировка взрывоопасных пылевых сред

Ex-маркировка должна включать в себя:

a) знак "Ex", указывающий, что Ex-оборудование соответствует одному или нескольким стандартам на взрывозащиту конкретного вида, указанным в разделе 1;

b) обозначение каждого примененного уровня вида взрывозащиты или вида взрывозащиты или букву "h" (для неэлектрического оборудования): (в ред. Изменения N 1, утв. Приказом Росстандарта от 06.09.2022 N 880-ст)

h - обозначение неэлектрического оборудования или неэлектрической части электрического оборудования (для уровней взрывозащиты оборудования Da, Db или Dc); (в ред. Изменения N 1, утв. Приказом Росстандарта от 06.09.2022 N 880-ст)

ia - искробезопасность (для уровня взрывозащиты оборудования Da);

ib - искробезопасность (для уровня взрывозащиты оборудования Db);

ic - искробезопасность (для уровня взрывозащиты оборудования Dc);

ma - герметизация компаундом (для уровня взрывозащиты оборудования Da);

mb - герметизация компаундом (для уровня взрывозащиты оборудования Db);

mc - герметизация компаундом (для уровня взрывозащиты оборудования Dc);

op is - искробезопасное оптическое излучение (для уровня взрывозащиты оборудования Da или Db или Dc);

op pr - защищенное оптическое излучение (для уровня взрывозащиты оборудования Db или Dc);

op sh - оптическая система с блокировкой (для уровня взрывозащиты оборудования Da или Db или Dc);

pxb - заполнение или продувка оболочки под избыточным давлением (для уровня взрывозащиты оборудования Db);

pyb - заполнение или продувка оболочки под избыточным давлением (для уровня взрывозащиты оборудования Db);

pzc - заполнение или продувка оболочки под избыточным давлением (для уровня взрывозащиты оборудования Dc);

sa - специальный вид взрывозащиты (для уровня взрывозащиты оборудования Da);

sb - специальный вид взрывозащиты (для уровня взрывозащиты оборудования Db);

sc - специальный вид взрывозащиты (для уровня взрывозащиты оборудования Dc);

ta - защита оболочкой (для уровня взрывозащиты оборудования Da);

tb - защита оболочкой (для уровня взрывозащиты оборудования Db);

tc - защита оболочкой (для уровня взрывозащиты оборудования Dc);

c) обозначение группы (подгруппы) оборудования:

IIIA, IIIB или IIIC - для Ex-оборудования, предназначенного для применения во взрывоопасных пылевых средах;

d) обозначение максимальной температуры поверхности в соответствии с присвоенным уровнем взрывозащиты оборудования:

- для уровня взрывозащиты оборудования Da значение максимальной температуры поверхности должно быть показано как значение температуры в градусах Цельсия и с указанием единицы измерения °C, глубиной слоя 200 мм, указанным как нижний индекс (например, T200 320 °C). Поскольку определение температуры поверхности для Da без слоя не допускается, максимальная температура поверхности не может быть указана без слоя пыли.

Примечание - Глубина пыли более 200 мм не приводит к дальнейшему увеличению температуры, которое необходимо учитывать;

- для уровня взрывозащиты оборудования Db и Dc, когда испытания проводились без слоя пыли, значение максимальной температуры поверхности должно быть показано как значение температуры в градусах Цельсия и единицу измерения °C, перед которым ставят знак "T", например T 90 °C;

- для уровня взрывозащиты оборудования Db, при применении перечисления b) 5.2.2.3.2, маркировка максимальной температуры поверхности TL должна также быть указана в дополнении к маркировке без слоя пыли, как значение температуры в градусах Цельсия с единицей измерения °C, с указанием слоя L, который приводят в миллиметрах для определенного положения в нижнем индексе T, например TL 320 °C.

Если Ex-оборудование группы III имеет несколько значений максимальной температуры поверхности, например, для разных диапазонов температуры окружающей среды, и не представляется возможным включить полную информацию в маркировку или имеются внешние источники нагрева/охлаждения (см. 5.1.2), то

- полная информация о максимальной температуре поверхности должна быть включена в сертификат, а маркировка должна содержать знак "X" для обозначения специальных условий применения в соответствии с 29.3, перечисление e), и

- максимальный диапазон температуры поверхности должен быть указан в маркировке в виде обозначения верхнего и нижнего пределов температуры поверхности, разделяемых с помощью многоточия "...", например T80 °C ... T195 °C. (в ред. Изменения N 1, утв. Приказом Росстандарта от 06.09.2022 N 880-ст)

На Ex-кабельных вводах, Ex-заглушках и Ex-резьбовых адаптерах максимальную температуру поверхности не маркируют;

e) обозначение соответствующего уровня взрывозащиты оборудования Da, Db или Dc.

Примечание - Уровень взрывозащиты оборудования, обозначенный на оборудовании, может быть в большей степени ограничительным, чем обычно применяемый для конкретного вида взрывозащиты, так как он учитывает другие аспекты оборудования, такие как ограничения для материалов. Например, Ex ia IIIC T135 °C Dc, когда оборудование изготовлено из материала с большим содержанием алюминия, чем допускается в 8.4;

f) В соответствии с 5.1.1 маркировка должна включать в себя обозначение Ta или Tamb вместе с диапазоном температуры окружающей среды, либо знак "X" для указания на специальные условия применения в соответствии с 29.3, перечисление e). Если Ex-оборудование также маркировано для применения во взрывоопасной газовой среде с идентичным диапазоном температуры окружающей среды, то достаточно только одной маркировки диапазона температуры окружающей среды.

Ex-маркировка согласно перечислениям a) - e) должна быть размещена в последовательности по 29.5 и разделена пробелом.

Для связанного оборудования с выходными искробезопасными цепями, предназначенного для установки во взрывоопасной среде, когда ограничение энергии обеспечивается внутри Ex-оборудования во взрывоопасной среде, обозначения уровня вида взрывозащиты должны быть заключены в квадратные скобки, например: Ex tb [ia Da] IIIC T100 °C Db. Если связанное оборудование относится к другой группе (подгруппе) оборудования, то обозначение группы (подгруппы) связанного оборудования должно быть заключено в квадратные скобки, например: Ex tb [ia IIIC Da] IIIB T100 °C Db. (в ред. Изменения N 1, утв. Приказом Росстандарта от 06.09.2022 N 880-ст)

Примечание - Типовой пример такого оборудования - барьер искрозащиты с шунтирующими диодами, расположенный внутри пылезащитной оболочки.

Для связанного оборудования с выходными искробезопасными цепями, которое может быть установлено в опасной зоне, когда ограничение энергии обеспечивается внешними по отношению к Ex-оборудованию устройствами во взрывоопасной зоне, обозначение вида взрывозащиты не должно быть заключено в квадратные скобки, например: Ex ia tb IIIC T100 °C Db.

Примечание - Типовой пример такого оборудования - светильник с видом взрывозащиты "защита оболочкой" с искробезопасным фотоэлементом, соединенным с внешним выходом искробезопасной цепи.

Для связанного оборудования, которое не может быть установлено в опасной зоне, обозначение Ex и обозначения уровня вида взрывозащиты и уровня взрывозащиты оборудования должны быть заключены в квадратные скобки, например: [Ex ia Da] IIIC. (в ред. Изменения N 1, утв. Приказом Росстандарта от 06.09.2022 N 880-ст)

Если в состав оборудования входит связанное и искробезопасное оборудование, к искробезопасной части которого потребителю не требуется выполнять какие-либо подключения, то маркировка связанного оборудования не должна быть приведена, если только оно не относится к другому уровню взрывозащиты оборудования, например: Ex ib tb IIIC T100 °C Db, а не Ex ib tb [ib Db] IIIC T100 °C Db. Если же уровень взрывозащиты оборудования связанного оборудования отличается от уровня взрывозащиты оборудования основного оборудования, то маркировка Ex ia tb [ia Da] IIIC T100 °C Db является правильной.

Примечание - Для связанного оборудования, которое не может быть установлено в опасной зоне, значение температуры не указывают.

Для Ex-связанного оборудования, которое подходит для установки во взрывоопасной зоне, обозначения уровня вида взрывозащиты Ex-связанного оборудования и уровня взрывозащиты оборудования должны быть заключены в квадратные скобки, например Ex tb [pxb Db] IIIC T135 °C Db. Если присутствует как Ex-связанное оборудование, так и связанное оборудование, обозначение уровней вида взрывозащиты и уровней взрывозащиты оборудования указывают в отдельных квадратных скобках, например Ex tb [ib Db] [pxb Db] IIIC T135 °C Db. (в ред. Изменения N 1, утв. Приказом Росстандарта от 06.09.2022 N 880-ст)

Для Ex-связанного оборудования, которое не подходит для установки во взрывоопасной зоне, знак "Ex", обозначение уровня вида взрывозащиты Ex-связанного оборудования и уровня взрывозащиты оборудования должны быть заключены в те же квадратные скобки, например [Ex pxb Db]. Если присутствует как Ex-связанное оборудование, так и связанное оборудование, обозначение уровней вида взрывозащиты и уровней взрывозащиты оборудования указывают в отдельных квадратных скобках, например [Ex ib Db] [Ex pxb Db] IIIC. (в ред. Изменения N 1, утв. Приказом Росстандарта от 06.09.2022 N 880-ст)

Если у Ex-оборудования и Ex-связанного оборудования разные группы оборудования, то группа оборудования также должна быть показана, например, Ex tb [ib IIIC Db] [pxb Db] IIIB T135 °C Db.

Примечание - Для Ex-связанного оборудования, не предназначенного для установки в опасной зоне, не указывают температурный класс.

29.6 Комбинации видов взрывозащиты (или уровней вида взрывозащиты) (в ред. Изменения N 1, утв. Приказом Росстандарта от 06.09.2022 N 880-ст)

При использовании на различных частях Ex-оборудования или Ex-компонентов различных видов взрывозащиты (или уровней вида взрывозащиты) в Ex-маркировке должны быть обозначены все примененные виды взрывозащиты (или уровни вида(ов) взрывозащиты). (в ред. Изменения N 1, утв. Приказом Росстандарта от 06.09.2022 N 880-ст)

Обозначение видов взрывозащиты указывают в алфавитном порядке с пробелами. Если используют связанное оборудование, обозначение его вида взрывозащиты (или уровня вида взрывозащиты), включая квадратные скобки (при их применении), должно следовать за обозначением соответствующего вида взрывозащиты (или уровня вида взрывозащиты) данного оборудования. (в ред. Изменения N 1, утв. Приказом Росстандарта от 06.09.2022 N 880-ст)

29.7 Использование нескольких видов взрывозащиты

Ex-оборудование может быть спроектировано с использованием нескольких видов взрывозащиты для обеспечения возможности его установки различными способами, исходя из требований выбранных видов взрывозащиты. Например, Ex-оборудование, конструкция которого одновременно соответствует требованиям вида взрывозащиты "i", а также видам взрывозащиты "d" и "e", может быть установлено по усмотрению потребителя.

В этом случае:

- за исключением Ex-кабельных вводов, Ex-заглушек и Ex-резьбовых переходников, Ex-маркировка каждого вида взрывозащиты должна быть приведена в маркировке оборудования отдельно, и перед ней должен быть указан знак "Ex", чтобы выбранная Ex-маркировка могла быть идентифицирована при установке;

- Ex-маркировка каждого вида взрывозащиты должна быть приведена в сертификате отдельно.

Если несколько отдельных Ex-маркировок указаны в одном сертификате, то соответствующие маркировки и любые варианты параметров или технических требований для каждой Ex-маркировки должны быть указаны таким образом, чтобы избежать двусмысленности.

Если для каждой Ex-маркировки оформлен отдельный сертификат, то в сертификате должны быть указаны все соответствующие параметры или технические требования для данной отдельной Ex-маркировки.

29.8 Оборудование Ga, в котором используется два независимых вида взрывозащиты (или уровня вида взрывозащиты), соответствующих уровню взрывозащиты оборудования Gb (в ред. Изменения N 1, утв. Приказом Росстандарта от 06.09.2022 N 880-ст)

В случае применения в одной единице оборудования двух независимых видов взрывозащиты с уровнем взрывозащиты оборудования Gb для обеспечения уровня взрывозащиты оборудования Ga Ex-маркировка должна включать в себя символы для обозначения двух примененных видов взрывозащиты (или уровня вида взрывозащиты), объединенных знаком "+", см. ГОСТ 31610.26. (в ред. Изменения N 1, утв. Приказом Росстандарта от 06.09.2022 N 880-ст)

29.9 Разделительная перегородка

Если оборудование предназначено для установки на разделительной перегородке между зоной, требующей уровня взрывозащиты оборудования Ga или Da и менее опасной зоной, то на маркировочной табличке указывают оба уровня вида взрывозащиты и оба уровня взрывозащиты оборудования, разделяя их косой чертой "/", например: (в ред. Изменения N 1, утв. Приказом Росстандарта от 06.09.2022 N 880-ст)

0/1 Ex ia/db IIC T6 Ga/Gb, или (см. ГОСТ 31610.26)

0/1 Ex ia/tb IIIC T85 °C Da/Db

29.10 Ex-компоненты

Ex-компоненты по разделу 13 должны иметь разборчивую маркировку, содержащую:

a) наименование или обозначение (зарегистрированный товарный знак) изготовителя;

b) обозначение типа Ex-компонента, присвоенное изготовителем;

c) обозначение (знак) "Ex";

d) обозначение (знак) каждого примененного вида взрывозащиты (или уровня вида взрывозащиты); (в ред. Изменения N 1, утв. Приказом Росстандарта от 06.09.2022 N 880-ст)

e) обозначение (знак) группы оборудования Ex-компонента;

f) наименование или знак органа по сертификации, номер сертификата;

g) знак "U" после обозначения (знака) группы оборудования Ex-компонента.

Примечание - Знаки "X" не применяют;

h) дополнительную маркировку, предписываемую стандартами на конкретные примененные виды взрывозащиты из числа приведенных в разделе 1.

Примечание - Требования по дополнительной маркировке могут быть установлены стандартами на оборудование основного вида.

i) остальную маркировку по 29.4 или 29.5, при наличии места.

Ex-маркировки для взрывоопасной газовой среды и взрывоопасной пылевой среды должны быть разделены и не допускается их объединять.

Не допускается наносить Ex-маркировку оболочек, являющихся Ex-компонентами, на внешней стороне изделия. На внешней стороне допускается размещать только сведения из перечислений a) и b). Маркировка, наносимая с внутренней стороны, не обязательно должна быть долговечной. Маркировка может не наноситься, если изготовитель Ex-компонента будет также держателем сертификата на оборудование и данное условие будет указано в перечне ограничений в сертификате на Ex-компонент.

29.11 Малогабаритные Ex-оборудование и Ex-компоненты

На малогабаритном Ex-оборудовании и на Ex-компонентах с ограниченной поверхностью маркировка может быть сокращена, тем не менее, в ней должно быть отражено следующее:

a) наименование или обозначение (зарегистрированный товарный знак) изготовителя;

b) обозначение типа оборудования, присвоенное изготовителем. Это обозначение может быть сокращено или опущено, если ссылка на сертификат позволяет установить конкретный тип оборудования;

c) наименование или знак органа по сертификации, номер сертификата;

d) знак "X" (только для Ex-оборудования, если предусмотрен) или "U" (только для Ex-компонентов, если предусмотрен).

Примечание - Знаки "X" и "U" не применяют совместно;

e) остальную маркировку по 29.4 или 29.5, при наличии места, если используется.

29.12 Особо малогабаритные Ex-оборудование и Ex-компоненты

Для особо малогабаритного Ex-оборудования и особо малых Ex-компонентов, на которых отсутствует место для маркировки, допускается использовать маркировку, наносимую на этикетку, поставляемую вместе с Ex-оборудованием или Ex-компонентом. Маркировка на этикетке должна быть идентична маркировке, указанной в зависимости от изделия в 29.3, 29.4 или 29.5, а этикетка должна быть размещена на Ex-оборудовании или Ex-компоненте.

29.13 Предупредительные надписи

Если требуется нанесение на оборудование предупредительных надписей, текст таблицы 18 после слова "ПРЕДУПРЕЖДЕНИЕ" может быть заменен технически равнозначным. Несколько текстов предупредительных надписей можно объединить в равнозначный.

Таблица 18

Текст предупредительных надписей

Пункт настоящего стандарта Предупредительная надпись
a) 6.3 ПРЕДУПРЕЖДЕНИЕ - ПОСЛЕ ВЫКЛЮЧЕНИЯ НЕ ОТКРЫВАТЬ Y МИНУТ (Y - значение в минутах требуемой задержки)
b) 6.3,
23.12
ПРЕДУПРЕЖДЕНИЕ - НЕ ОТКРЫВАТЬ ПРИ ВОЗМОЖНОМ ПРИСУТСТВИИ ВЗРЫВООПАСНОЙ СРЕДЫ
c) 18.2 ПРЕДУПРЕЖДЕНИЕ - НЕ ОТКЛЮЧАТЬ ПОД НАГРУЗКОЙ
d) 18.4 b),
21.2 b),
21.3 b)
ПРЕДУПРЕЖДЕНИЕ - ОТКРЫВАТЬ, ОТКЛЮЧИВ ОТ СЕТИ
e) 20.1 b) ПРЕДУПРЕЖДЕНИЕ - НЕ ОТСОЕДИНЯТЬ ПОД НАПРЯЖЕНИЕМ
f) 20.1 b) ПРЕДУПРЕЖДЕНИЕ - ОТСОЕДИНЯТЬ ТОЛЬКО В БЕЗОПАСНОЙ ЗОНЕ
g) 7.4.2 e)
7.4.3 d)
ПРЕДУПРЕЖДЕНИЕ - ОПАСНОСТЬ ПОТЕНЦИАЛЬНОГО ЭЛЕКТРОСТАТИЧЕСКОГО ЗАРЯДА. СМ. ИНСТРУКЦИИ
h) 18.4 b)
21.2 b)
21.3 b)
ПРЕДУПРЕЖДЕНИЕ - ПОД КРЫШКОЙ НАХОДЯТСЯ ЧАСТИ ПОД НАПРЯЖЕНИЕМ, НЕ ПРИКАСАТЬСЯ
Примечание - На оборудовании с ограниченной площадью поверхности слово "ПРЕДУПРЕЖДЕНИЕ" допускается не наносить.

(в ред. Изменения N 1, утв. Приказом Росстандарта от 06.09.2022 N 880-ст)

29.14 Элементы и батареи

При необходимости замены при эксплуатации в соответствии с 23.11 элементов или батарей, находящихся внутри оболочки, снаружи или изнутри оболочки должны быть стойкой краской четко маркированы соответствующие параметры, обеспечивающие правильную замену этих компонентов. Должны быть указаны наименование изготовителя и номер партии элементов или батарей или их электрохимическая система, номинальные напряжение и емкость.

Используемые сменные портативные батарейные источники питания должны иметь маркировку на внешней части корпуса, включающую в себя:

- наименование или зарегистрированный товарный знак изготовителя;

- обозначение типа оборудования, присвоенное изготовителем;

- надпись "Использовать только с...", за которой должен быть приведен тип оборудования, для использования с которым предназначен данный портативный батарейный источник питания.

На Ex-оборудовании должна быть нанесена надпись "Использовать только со сменным портативным батарейным источником питания", и должны быть приведены наименование изготовителя и тип сменного портативного батарейного источника питания.

29.15 Электрические машины с питанием через преобразователь

На электрические машины, предназначенные для работы с преобразователем, должна быть нанесена следующая дополнительная маркировка:

- надпись "Питание через преобразователь";

- диапазон оборотов или частотный диапазон, в котором машина должна работать;

- минимальная частота переключений для низковольтных двухуровневых преобразователей.

Примечания

1 Частотой переключения считают частоту импульсов или несущую частоту преобразователя.

2 Низким напряжением считают напряжение менее или равное 1000 В переменного тока;

- тип приложения крутящего момента, например, переменный крутящий момент, постоянный крутящий момент, постоянная мощность или, в качестве альтернативы, рабочие пределы крутящего момента;

- при необходимости, обозначение типа специального преобразователя;

- при необходимости, тип преобразователя, например, преобразователь с широтно-импульсной модуляцией, многоуровневый и т.д.

29.16 Примеры маркировки <1>

<1> Данная информация указана для удобства пользователей настоящим стандартом и не является подтверждением того, что IEC одобрит указанные изделия по приведенной маркировке. Допускается использовать равнозначную маркировку изделий, если может быть продемонстрировано, что они обеспечивают те же результаты. (в ред. Изменения N 1, утв. Приказом Росстандарта от 06.09.2022 N 880-ст)

1) Электрооборудование с видом взрывозащиты "взрывонепроницаемая оболочка "d" (уровень взрывозащиты оборудования Mb) для применения в подземных выработках шахт и их наземных строениях, опасных по рудничному газу и (или) горючей пыли:

Изготовитель ABC

Тип 123

РВ Ex db I Mb

Серийный номер N 123

Номер сертификата N ABC 123

......

......

2) Ex-компонент с видом взрывозащиты "взрывонепроницаемая оболочка "d" (уровень взрывозащиты оборудования Gb) с искробезопасной выходной цепью "ia" (уровень взрывозащиты оборудования Ga) для применения во взрывоопасных газовых средах, кроме подземных выработок шахт и их наземных строений, опасных по рудничному газу и (или) горючей пыли, а именно с газом подгруппы C:

Ex db [ia Ga] IIC Gb U

Номер сертификата N ABC 123

......

Изготовитель ABC

......

3) Оборудование с видами взрывозащиты "повышенная защита вида "e" (уровень взрывозащиты оборудования Gb) и "заполнение или продувка оболочки под избыточным давлением "px" (уровень взрывозащиты оборудования Gb) с максимальной температурой поверхности 125 °C, для взрывоопасных газовых сред, кроме подземных выработок шахт и их наземных строений, опасных по рудничному газу и (или) горючей пыли, а именно с газом, температура воспламенения которого более 125 °C, при выполнении специальных условий применения, приведенных в сертификате:

1Ex eb pxb IIC 125 °C (T4) Gb X

Серийный номер N 123

Номер сертификата N ABC 123

......

......

4) Оборудование с видами взрывозащиты "взрывонепроницаемая оболочка "d" (уровни взрывозащиты оборудования Mb и Gb) и "повышенная защита вида "e" (уровни взрывозащиты оборудования Mc и Gb) для применения в подземных выработках шахт и их наземных строений, опасных по рудничному газу и (или) горючей пыли, а также взрывоопасных газовых средах, кроме подземных выработок шахт и их наземных строений, опасных по рудничному газу и (или) горючей пыли, с газом подгруппы B, температура воспламенения которого более 200 °C:

Изготовитель ABC

Тип 123

РП Ex db eb I Mc

1Ex db eb IIB T3 Gb

Серийный номер N 123

Номер сертификата N ABC 123

......

......

5) Электрооборудование с видом взрывозащиты "повышенная защита вида "e" (уровень взрывозащиты оборудования Gb) для применения во взрывоопасных газовых средах, кроме подземных выработок шахт и их наземных строений, опасных по рудничному газу и (или) горючей пыли, с газом подгруппы C и температурой воспламенения более 85 °C:

GS&CoA.G.

1Ex eb IIС T6 Gb

N 1847

Номер сертификата N ABC 123

......

......

6) Электрооборудование с видом взрывозащиты "взрывонепроницаемая оболочка "d" (уровень взрывозащиты оборудования Gb) для применения во взрывоопасных газовых средах только на основе аммиака:

WOKAITERT SARL

TYPE NT 3

1Ex db (NH3) Gb

N 6549

Номер сертификата N ABC 123

......

......

7) Электрооборудование с видом взрывозащиты "герметизация компаундом "m" (уровень взрывозащиты оборудования Da) для применения во взрывоопасных пылевых средах, содержащих проводящую пыль подгруппы IIIC, с максимальной температурой поверхности менее 120 °C:

ABC компания

Тип RST

Серийный номер N 123456

Ex ma IIIC T200120 °C Da

Номер сертификата N ABC 123

......

......

8) Электрооборудование с видом взрывозащиты "искробезопасность "i" (уровень взрывозащиты оборудования Da) для применения во взрывоопасных пылевых средах, содержащих проводящую пыль подгруппы IIIC, с максимальной температурой поверхности менее 120 °C:

ABC компания

Тип XYZ

Серийный номер N 123456

Ex ia IIIC T200120 °C Da

Номер сертификата N ABC 123

......

......

9) Оборудование с видом взрывозащиты "заполнение или продувка оболочки под избыточным давлением "p" (уровень взрывозащиты оборудования Db) для применения во взрывоопасных пылевых средах, содержащих проводящую пыль подгруппы IIIC, с максимальной температурой поверхности менее 120 °C:

ABC компания

Тип KLM

Серийный номер N 123456

Ex pxb IIIC T120 °C Db

Номер сертификата N ABC 123

......

......

10) Оборудование с видом взрывозащиты "защита оболочкой "t" (уровень взрывозащиты оборудования Db) для применения во взрывоопасных пылевых средах, содержащих проводящую пыль подгруппы IIIC, с максимальной температурой поверхности менее 225 °C и менее 320 °C при испытании с пылью, толщина слоя которой 150 мм:

ABC компания

Тип RST

Серийный номер N 987654

Ex tb IIIC T225 °C T150 320 °C Db

Номер сертификата N ABC 123

......

......

11) Оборудование с видом взрывозащиты "защита оболочкой "t" (уровень взрывозащиты оборудования Db) для применения во взрывоопасных пылевых средах, содержащих проводящую пыль подгруппы IIIC, с максимальной температурой поверхности менее 175 °C с расширенным диапазоном температуры окружающей среды от минус 40 °C до плюс 120 °C:

ABC компания

Тип RST

Серийный номер N 987654

Ex tb IIIC T175 °C Db

-40 °C <= Tamb <= 120 °C

Номер сертификата N ABC 123

......

.......

12) Оборудование с видом взрывозащиты "герметизация компаундом "m" (уровень взрывозащиты оборудования Ga) для применения во взрывоопасных газовых средах подгруппы IIC с максимальной температурой поверхности менее 135 °C и видом взрывозащиты "герметизация компаундом "m" (уровень взрывозащиты оборудования Da) для применения во взрывоопасных пылевых средах, содержащих проводящую пыль подгруппы IIIC, с максимальной температурой поверхности менее 120 °C. Подготовлен один сертификат:

ABC компания

Тип RST

Серийный номер N 123456

0Ex ma IIC T4 Ga

Ex ma IIIC T120 °C Da

Номер сертификата N ABC 123

......

.......

13) Электрооборудование с видом взрывозащиты "герметизация компаундом "m" (уровень взрывозащиты оборудования Ga) для применения во взрывоопасных газовых средах с газом подгруппы IIC с максимальной температурой поверхности менее 135 °C и с видом взрывозащиты "герметизация компаундом "m" (уровень взрывозащиты оборудования Da) для применения во взрывоопасных пылевых средах, содержащих проводящую пыль подгруппы IIIC, с максимальной температурой поверхности менее 120 °C. Подготовлено два отдельных сертификата:

ABC компания

Тип RST

Серийный номер N 123456

Сертификат 1: 0Ex ma IIC T4 Ga

Номер сертификата N ABC 123

Сертификат 2: Ex ma IIIC T200120 °C Da

Номер сертификата N ABC 123

......

.......

14) Для неэлектрического оборудования (в соответствии с ГОСТ 32407) с уровнем взрывозащиты Gb для эксплуатации во взрывоопасной газовой среде подгруппы IIB и при температуре воспламенения свыше 135 °C. (в ред. Изменения N 1, утв. Приказом Росстандарта от 06.09.2022 N 880-ст)

ABC компания

Тип RST

1Ex h IIB T4 Gb - "1" - обозначение соответствующего уровня взрывозащиты для взрывоопасных газовых сред, знак "Ex", буква "h" (см. 29.4 b)), оборудование группы II (подгруппа IIB), температурный класс T4, уровень взрывозащиты оборудования Gb (в ред. Изменения N 1, утв. Приказом Росстандарта от 06.09.2022 N 880-ст)

Серийный номер N 123

Номер сертификата N ABC 123

......

.......

15) Для неэлектрического оборудования (в соответствии с ГОСТ 32407) с уровнем взрывозащиты оборудования Db для эксплуатации во взрывоопасной пылевой среде подгруппы IIIC, содержащей электропроводящую пыль, и при температуре воспламенения свыше 120 °C.

ABC компания

Тип RST

Ex h IIIC T120 °C Db - маркировка после знака "Ex": буква "h", оборудование группы III (подгруппа IIIC), температурный класс T120 °C, уровень взрывозащиты оборудования Db

Серийный номер N 123

Номер сертификата N ABC 123

16) Для комплектного оборудования (Ex-установок) групп II и III, в состав которого входит неэлектрическое и/или электрическое оборудование: неэлектрическое оборудование и электрическое оборудование с различными видами взрывозащиты для применения во взрывоопасных газовых средах подгруппы IIC, с температурным классом оборудования T4, с уровнем взрывозащиты оборудования Gb, и с максимальной температурой поверхности менее 135 °C с уровнем взрывозащиты оборудования Db для применения во взрывоопасных пылевых средах, содержащих проводящую пыль подгруппы IIIC, с учетом специальных условий применения:

ABC компания

Тип RST

1Ex IIC T4 Gb X - обобщенная маркировка неэлектрического и электрического оборудования для взрывоопасных газовых сред. При этом на Ex-оборудование и Ex-компоненты, входящие в состав комплектного оборудования, должна быть нанесена соответствующая Ex-маркировка. (в ред. Изменения N 1, утв. Приказом Росстандарта от 06.09.2022 N 880-ст)

Ex IIIC T135 °C Db X - обобщенная маркировка неэлектрического и электрического оборудования для взрывоопасных пылевых сред. При этом на Ex-оборудование и Ex-компоненты, входящие в состав комплектного оборудования, должна быть нанесена соответствующая Ex-маркировка. (в ред. Изменения N 1, утв. Приказом Росстандарта от 06.09.2022 N 880-ст)

Серийный номер N 123

Номер сертификата N ABC 123

17) Для рудничного оборудования, в состав которого входит неэлектрическое и/или электрическое оборудование группы I: неэлектрическое оборудование и электрооборудование с различными видами взрывозащиты для применения в подземных выработках шахт и их наземных строений, опасных по рудничному газу и (или) горючей пыли, во взрывоопасных средах с газом группы I с уровнем взрывозащиты оборудования Mb:

ABC компания

Тип RST

PBEx I Mb или PBEx h I Mb - например, рудничный очистной комбайн, маркировка наносится на комбайн (в ред. Изменения N 1, утв. Приказом Росстандарта от 06.09.2022 N 880-ст)

Серийный номер N 123

Номер сертификата N ABC 123

Примечание - Комплектующее электрооборудование к комбайну должно иметь свою маркировку взрывозащиты с уровнем взрывозащиты оборудования не ниже Mb.

18) Оборудование, в состав которого входят как электрические, так и неэлектрические части, должно иметь комбинированную маркировку:

1Ex db h IIA T4 Gb

Ex h tb IIIC T135 °C Db

В приведенных примерах для пользователя будет более ясно, что совокупный риск электрической части и неэлектрической части, охватываемый одним сертификатом, был оценен для всего оборудования, с указанием одного уровня взрывозащиты оборудования одной группы оборудования и одного температурного класса для газа и то же самое для пыли (но с указанием максимальной температуры поверхности вместо температурного класса). Для оборудования, для которого были подготовлены отдельные сертификаты, один для электрических частей и один для неэлектрических частей, целесообразно иметь отдельные электрические и неэлектрические маркировочные строки, каждая из которых имеет свой собственный номер сертификата.

Примечание - Дополнительные указания по маркировке узлов приведены в ГОСТ 31610.46. (в ред. Изменения N 1, утв. Приказом Росстандарта от 06.09.2022 N 880-ст)

Примечание - Некоторые виды Ex-оборудования, например мощные электродвигатели, комплектуются дополнительным оборудованием или компонентами, которые выполняют функцию, не являющуюся неотъемлемой частью основной функции Ex-оборудования. В случае мощного электродвигателя это могут быть, например, датчики температуры подшипников, датчики вибрации подшипников и датчик уровня воды в поддоне электродвигателя с водяным охлаждением.

Термины "вспомогательное Ex-оборудование" (которое может включать связанное Ex-оборудование) и "Ex-компонент" будут использоваться в настоящем примечании, чтобы отличить их от Ex-оборудования. Для целей настоящего примечания предполагается, что вспомогательное Ex-оборудование и Ex-компоненты уже имеют отдельные сертификаты соответствия.

Цель настоящего примечания состоит в том, чтобы предоставить руководство о том, как отражать вспомогательное Ex-оборудование и Ex-компоненты в сертификате соответствия на Ex-оборудование и в маркировке Ex-оборудования.

Настоящее примечание распространяется только на вспомогательное Ex-оборудование или Ex-компоненты, которые используются совместно с Ex-оборудованием и установлены в нем или на нем. Положения настоящего примечания не распространяются на узлы оборудования, подпадающие под действие ГОСТ 31610.46.

Основной принцип: Сертификат соответствия предназначен для обеспечения четкого понимания покупателями и пользователями Ex-оборудования того, на какие части Ex-оборудования распространяется данный сертификат и на какие части Ex-оборудования распространяются отдельные сертификаты Ex-компонентов или вспомогательного Ex-оборудования.

Примером такого Ex-оборудования может быть электродвигатель с уровнем вида взрывозащиты "eb", который включает в себя вспомогательное Ex-оборудование и Ex-компоненты, такие как Ex-компонент клеммная коробка с уровнем вида взрывозащиты "eb", вспомогательное Ex-оборудование датчик температуры подшипника с уровнем вида взрывозащиты "ib" и вспомогательное Ex-оборудование вибромонитор с уровнем вида взрывозащиты "ib".

Все вспомогательное Ex-оборудование, которое на момент сертификации Ex-оборудования предполагается устанавливать на/в/совместно с Ex-оборудованием, должно быть перечислено в сертификате Ex-оборудования и в документации согласно п. 24. Там, где это удобно, это может быть выполнено в виде таблицы со столбцами, озаглавленными: вспомогательное Ex-оборудование, изготовитель, номер сертификата, маркировка.

Техническая оценка вспомогательного Ex-оборудования со стороны органа по сертификации должна ограничиваться подтверждением соблюдения специальных условий использования и того, что способ монтажа и подключения вспомогательного Ex-оборудования не нарушает действия его сертификата. Поскольку сертификаты вспомогательного Ex-оборудования - это самостоятельные сертификаты, соответствующие маркировки этого оборудования не включают в маркировку Ex-оборудования.

Техническая оценка Ex-компонента(ов) распространяется на полный пересмотр перечня ограничений и, при необходимости, на оценку технических отличий. Поскольку сертификат Ex-компонента является неполным, соответствующая маркировка Ex-компонента становится частью маркировки Ex-оборудования.

В сертификате должны быть перечислены все соответствующие маркировки по видам взрывозащиты на основе Ex-компонентов, которые могут быть использованы в Ex-оборудовании.

Необходимо перечислять в сертификате только те стандарты, которые относятся к Ex-оборудованию и Ex-компонентам, а не к вспомогательному Ex-оборудованию.

Цель указания маркировки на маркировочной табличке Ex-оборудования состоит в том, чтобы обеспечить немедленное руководство для тех, кто может проверять оборудование, но не имеет непосредственного доступа к сертификату.

Если Ex-оборудование содержит Ex-компоненты, то соответствующие виды взрывозащиты или уровни видов взрывозащиты Ex-компонентов должны быть включены в маркировку Ex-оборудования.

В тех случаях, когда Ex-оборудование может использоваться с вспомогательным Ex-оборудованием, не требуется, чтобы соответствующая маркировка вспомогательного Ex-оборудования была включена в маркировку Ex-оборудования. (в ред. Изменения N 1, утв. Приказом Росстандарта от 06.09.2022 N 880-ст)

30 Руководства по эксплуатации

30.1 Общие требования

Руководства по эксплуатации, подготовленные изготовителем, должны содержать, по меньшей мере, следующее:

- краткие сведения, содержащиеся в маркировке оборудования, кроме серийного номера (см. раздел 29), а также любую соответствующую дополнительную информацию для облегчения технического обслуживания (например, адрес поставщика, ремонтной службы и т.д.);

- инструкции по безопасности, содержащие сведения о:

- сборке на месте:

1) любая специализированная информация об установке для пользователя, такая как определенная последовательность монтажа;

2) информация об особенностях сборки, касающихся механической части, таких как соединения труб;

- монтаже и возведении:

1) информация, за исключением общих требований, изложенных в ГОСТ IEC 60079-14;

2) информация о соединениях, защитном заземлении или защите от перенапряжения;

3) руководство по выбору взрывонепроницаемых устройств ввода для соединительных отделений с эталонным давлением более 2000 кПа для группы II или 1333 кПа для группы I.

Примечание - Минимальные требования в ГОСТ IEC 60079-1 для взрывонепроницаемых устройств ввода предполагают максимальное эталонное давление 2000 кПа для группы II и 1 333 кПа для группы I. Существуют другие устройства с более высокими номинальными характеристиками, чем указанные выше минимальные требования.

- настройка и наладка параметров:

1) информация о нагревательных устройствах;

- ввод в эксплуатацию - оборудования/всей установки:

1) информацию о проверках/испытаниях перед (первым) использованием оборудования в соответствии с требованиями вида(ов) взрывозащиты, с указанием последовательности проведения таких проверок/испытаний;

2) подробная информация о любых специальных требованиях к установке в соответствии с требованиями примененных видов взрывозащиты;

- использование и настройка:

1) данные, которые позволяют принять обоснованное решение относительно того, может ли оборудование безопасно использоваться в предполагаемой зоне в ожидаемых рабочих условиях;

2) номинальные характеристики, такие как значения электрических показателей, температуры окружающей среды и давления, максимальные температуры поверхности и другие предельные значения, связанные с назначением;

3) информация для пользователя, а не просто предоставление параметров, связанных с необходимостью применения специальных устройств защиты от перегрузки для двигателей с видом взрывозащиты "повышенная надежность "e" или специальных требованиях, связанных с электростатикой;

- техническое обслуживание:

1) информацию, отличную от общих требований, изложенных в ГОСТ 60079-17;

2) информация, такая как очистка, проверка уровня масла или требования к повторной калибровке;

3) требования по обеспечению взрывозащиты;

4) информация об устранении неполадок;

- ремонт:

1) информация, отличная от общих требований, изложенных в ГОСТ 60079-19;

2) информация, касающаяся подгонки или удаления деталей/компонентов;

3) информация о запасных частях;

4) требования к документации такого ремонта;

5) информация о необходимых проверках/испытаниях для перезапуска оборудования;

- выведение из эксплуатации и демонтаж:

1) информация о закреплении механических деталей, чтобы предотвратить перезапуск, или о порядке отключения электрических соединений;

- если применимо, специальные условия применения согласно перечислению e) 29.3;

- эта информация не должна быть скрыта в тексте и должна быть выделена в руководстве по эксплуатации, часто как специальная глава;

- для Ex-компонентов вместо специальных условий применения указывают перечень ограничений, см. 13.5;

- если применимо, любая дополнительная информация для использования, включая информацию, связанную с возможным неправильным применением, которое, как показал опыт, может иметь место;

- при необходимости, инструкции по обучению для безопасного использования;

- при необходимости основные характеристики инструментов, которые могут использоваться с оборудованием; таких как специальная отвертка;

- список стандартов, включая дату издания, которым оборудование соответствует. Список стандартов не требуется, если сертификат указывает стандарты и даты издания, даже если сертификат не включен как часть руководства по эксплуатации.

В дополнение к руководству по эксплуатации может быть предоставлен технический паспорт, при необходимости.

30.2 Элементы и батареи

При необходимости замены при эксплуатации согласно 23.11 элементов или батарей, находящихся внутри оболочки, в руководстве по эксплуатации должны быть указаны соответствующие параметры, обеспечивающие правильную замену этих компонентов, включая наименование изготовителя и номер изделия, или их электрохимической системы, номинальные напряжение и емкость. Если замена элементов или батарей должна осуществляться только при отсутствии взрывоопасной среды, в руководстве по эксплуатации должна быть определена процедура такой замены.

При необходимости замены при эксплуатации согласно 23.12 батарейного источника питания в руководстве по эксплуатации должны быть указаны соответствующие параметры, обеспечивающие правильную замену в соответствии с 29.14. Если замена батарейного источника питания должна осуществляться только при отсутствии взрывоопасной среды, в руководстве по эксплуатации должна быть определена процедура такой замены.

30.3 Электрические машины

В дополнение к информации, необходимой согласно 30.1, для электрических машин должны быть приведены:

- кривые изменения скорости/крутящего момента для электрических машин с питанием через преобразователь;

- для двигателей с видом взрывозащиты "e", которые были испытаны с преобразователем, номинальный ток двигателя, взвешенное полное гармоническое искажение напряжения (WTHD) или частота импульсов и напряжения вставки постоянного тока преобразователя, который использовался при типовых испытаниях, позволяющих выбрать сопоставимый силовой преобразователь.

Примечание - Эта информация часто представлена в виде таблице.

Таблица 19

Пример записи параметров конвертера, использованного при проведении типовых испытаний

Скорость Минимальная скорость Базовая скорость Максимальная скорость
Ток I1 I2 I3
Напряжение U1 U2 U3
Взвешенное полное гармоническое искажение напряжения WTHD1 WTHD2 WTHD3
Примечание - Вместо взвешенного полного гармонического искажения напряжения может быть указана частота импульсов и напряжения звена постоянного тока преобразователя.

- руководство по выбору и монтажу необходимой защиты электродвигателя от перегрузки или перегрева, включая руководство по рекомендуемым значениям для установки срабатывания сигнализации и выключения (включая логику голосования для нескольких входов датчиков), если это применимо, для мониторинга за температурой обмотки и подшипника. Эта защита может дополнять защиту, обеспечиваемую преобразователем;

- требования к смазке подшипников при сдаче в эксплуатацию и техобслуживании;

- разрешенная осевая и радиальная нагрузки вала;

- тепловое расширение вала и корпуса при номинальных условиях;

- необходимое техническое обслуживание защиты, обеспечиваемой изготовителем от блуждающих циркулирующих токов в подшипниках или валах;

Примечание - Приложение H содержит дополнительную информацию о блуждающих циркулирующих токах и напряжениях вала.

- необходимая защита подшипников от вибрации, в том числе при транспортировке, хранении или резервном обслуживании;

- указания по периодам технического обслуживания и замены подшипников в зависимости от условий эксплуатации.

30.4 Вентиляторы

В дополнение к информации, приведенной в 30.1, для вентиляторов должна быть также представлена следующая информация в соответствии с 17.2.5:

a) минимальный и максимальный расходы воздуха (в зависимости от температуры поверхности и температурных характеристик);

b) при необходимости, обратное давление (для эксплуатации вентилятора в пределах его номинальных характеристик);

c) любые ограничения в отношении попадания загрязнений (например требования к IP и т.д. для входных отверстий воздуховодов в соответствии с 17.2.5);

Примечание - Для вентиляторов, предназначенных для определенных неблагоприятных условий эксплуатации в соответствии с примечаниями 6.1, например, вентиляторов камер для окрашивания распылением, дополнительные меры должны быть согласованы между изготовителем и потребителем (например, установка фильтров на входных отверстиях) для предотвращения образования внутри вентиляторов и воздуховодов отложений, способных нарушить взрывозащиту.

d) меры специального заземления для предотвращения накопления электростатических зарядов.

30.5 Кабельные вводы

Требования к дополнительной информации, которая должна быть предоставлена для кабельных вводов, приведена в A.5.

Приложение A
(обязательное)

ДОПОЛНИТЕЛЬНЫЕ ТРЕБОВАНИЯ К КАБЕЛЬНЫМ ВВОДАМ

A.1 Общие требования

Настоящее приложение устанавливает дополнительные требования по конструкции, испытанию и маркировке кабельных вводов и может быть дополнено или изменено согласно требованиям стандартов, приведенных в разделе 1.

Требования к кабельным вводам применяют также к транзитным устройствам для ввода кабеля.

Неметаллическими частями кабельных вводов являются неметаллические части оболочек от которых зависит вид взрывозащиты. См. раздел 7.

Примечание - Минимальный диаметр кабеля, на который рассчитан кабельный ввод, указывается изготовителем кабельного ввода. В соответствии с ГОСТ IEC 60079-14 считают, что потребитель должен гарантировать, что минимальные размеры выбранного им для использования в уплотнении кабеля, учитывая допуски, равны установленным изготовителем значениям или превышают их.

Требования приложения A применяют также к транзитным устройствам для ввода кабеля, которые могут быть сертифицированы как Ex-оборудование или как Ex-компонент. Транзитное устройство для ввода кабеля может быть сертифицировано как оборудование только при условии, что оно включает в себя фланцевое уплотнение и в инструкциях изготовителя указано, что устройство должно быть установлено таким образом, чтобы соединение между фланцем и оболочкой обеспечивало требуемую степень защиты от проникновения загрязнений после монтажа. Фланцевое уплотнение должно быть установлено при проведении испытаний по A.3.4. К маркировке устройства необходимо добавлять знак "X", для указания на то, что применяются специальные условия применения в соответствии с перечислением e) 29.3 и эти специальные условия применения в отношении степени защиты (IP) после монтажа должны быть указаны в сертификате.

В зависимости от типа конструкции и эластичности уплотнения в условиях или инструкциях может быть указана плоская или жесткая конструкция оболочки, на которой может быть установлен кабельный ввод.

Металлические шланговые соединения (см. [50]) могут использоваться для защиты кабелей от повреждений. Им разрешено быть частью кабельного ввода, где они не нарушают:

- зажим кабельного ввода;

- уплотнение кабельного ввода; и

- крепление кабельного ввода.

Во всех случаях кабельный ввод должен соответствовать требованиям настоящего стандарта без металлических шланговых соединений.

A.2 Требования к конструкции

A.2.1 Уплотнение кабеля

Степень защиты между кабелем и кабельным вводом должна быть обеспечена одним или несколькими способами (см. рисунок A.1):

- эластомерным уплотнительным кольцом;

- металлическим или составным уплотнительным кольцом;

- герметизацией компаундом; (в ред. Изменения N 1, утв. Приказом Росстандарта от 06.09.2022 N 880-ст)

- другими соответствующими способами.

1 - уплотнительное кольцо; 2 - корпус ввода; 3 - нажимная деталь; 4 - кабель; 5 - герметизирующий компаунд; 6 - уплотнение; 7 - деталь, фиксирующая компаунд

(в ред. Изменения N 1, утв. Приказом Росстандарта от 06.09.2022 N 880-ст)

Рисунок A.1 - Кабельные вводы

Уплотнение кабеля может быть выполнено из одного материала или из комбинации материалов и должно соответствовать форме применяемого кабеля.

Примечания

1 При выборе материалов для уплотнительных колец следует обратить внимание на примечание 2 к 6.1.

2 Обеспечение вида взрывозащиты оболочки может зависеть также от внутренней конструкции кабеля, например, при использовании кабеля с конструктивным заполнением воздушных полостей в сердечнике.

A.2.2 Герметизирующие компаунды (в ред. Изменения N 1, утв. Приказом Росстандарта от 06.09.2022 N 880-ст)

Материалы, используемые в качестве герметизирующих компаундов, должны соответствовать требованиям 7.1.2.4 к материалам, используемым в качестве герметиков. (в ред. Изменения N 1, утв. Приказом Росстандарта от 06.09.2022 N 880-ст)

A.2.3 Приспособления для закрепления

A.2.3.1 Общие требования

Кабельные вводы должны обеспечивать закрепление кабеля для предотвращения передачи растягивающих усилий, действующих на кабель, на соединительные устройства. Такое закрепление может быть обеспечено путем применения уплотнительных устройств (см. A.2.1) или встроенным закрепляющим устройством. Любое закрепляющее устройство должно выдерживать соответствующие типовые испытания по A.3.

A.2.3.2 Кабельные вводы групп II или III

Кабельные вводы Ex-оборудования группы II или III без закрепляющих устройств могут быть рассмотрены как соответствующие требованиям настоящего приложения, если они выдерживают испытания на закрепление кабеля, проводимые с уменьшенными до 25% нагрузками, указанными в A.3. Такие кабельные вводы должны быть маркированы знаком "X" для указания на специальные условия применения в соответствии с 29.3, перечисление e), а в специальных условиях применения должно быть указано, что пользователь должен выполнить дополнительное закрепление кабеля для предотвращения передачи на соединения растягивающих усилий.

A.2.4 Ввод кабеля

A.2.4.1 Острые края

Кабельные вводы не должны иметь острых краев, способных повредить кабель.

A.2.4.2 Место ввода

Место ввода гибких кабелей должно иметь скругленные на угол не менее 75° края с радиусом скругления R, равным не менее 1/4 диаметра максимального допущенного для этого кабельного ввода кабеля, но не более 3 мм (см. рисунок A.2).

Рисунок A.2 - Скругление края в месте ввода гибкого кабеля

A.2.5 Ослабление с помощью инструмента

Кабельные вводы должны быть сконструированы таким образом, чтобы после установки они могли быть ослаблены или демонтированы только с помощью инструмента.

A.2.6 Крепление

Средства крепления кабельных вводов к оболочкам оборудования должны обеспечивать сохранность кабельного ввода, когда приспособления для закрепления подвергают как механическим испытаниям, так и испытаниям на ударостойкость по A.3.

A.2.7 Степень защиты

Кабельные вводы, установленные в испытываемую оболочку в соответствии с требованиями A.5, должны быть способны обеспечивать степень в соответствии с A.3.4.

A.3 Типовые испытания

A.3.1 Испытания закрепления небронированных кабелей и кабелей с оплеткой

A.3.1.1 Кабельные вводы с закреплением посредством уплотнительного кольца

Испытания закрепления кабеля должны быть проведены с использованием для каждого типа и размера кабельного ввода двух уплотнительных колец:

- одно кольцо, равное наименьшему допущенного к применению размеру кабеля;

- другое кольцо, равное наибольшему допущенного к применению размеру кабеля.

Каждое кольцо эластомерных уплотнительных колец для круглых кабелей монтируют на чистой, сухой полированной цилиндрической оправке из нержавеющей стали с максимальной шероховатостью поверхности 1,6 мкм, Ra, диаметр которой равен или менее наименьшему допустимому диаметру вводимого в каждое из двух колец кабеля, указанному изготовителем кабельного ввода.

Для эластомерных уплотнительных колец с несколькими отверстиями для уплотнения отдельных кабелей или жил испытания на закрепление следует проводить на описанных образцах, с использованием оправок из нержавеющей стали с максимальной шероховатостью поверхности 1,6 мкм, Ra и диаметром менее или равным наименьшему диаметру, допускаемому для испытания диаметра жилы. Образец для максимального количества жил для максимального допустимого диаметра жилы и образец для максимального количества жил для минимального диаметра жилы, разрешенного производителем кабельных вводов.

Примечание - Вопрос об уточнении требований к испытательным образцам для нескольких уплотнительных колец находится на рассмотрении.

Кольцо некруглых кабелей для каждого типа, размера и формы кабеля монтируют на образце чистого сухого кабеля, размеры которого равны размерам, установленным изготовителем кабельного ввода.

В качестве альтернативы допускается использовать чистую, сухую, полированную оправку из нержавеющей стали с максимальной шероховатостью поверхности 1,6 мкм, Ra, размерами, меньшими или равными минимальным допустимым размерам кабеля. Для кабелей с металлической оплеткой кольцо для каждого размера кабеля должно быть установлено на образце сухого, чистого кабеля, изготовленного с материалом оплетки, и с размерами, меньшими или равными размеру, указанному изготовителем кабельного ввода.

При использовании металлических уплотнительных колец каждое кольцо должно быть смонтировано на чистой, сухой полированной оправке из нержавеющей стали с максимальной шероховатостью поверхности 1,6 мкм, Ra, размеры которой менее или равны наименьшему допустимому диаметру кабеля, который может применяться в кольце, указанному изготовителем кабельного ввода.

В качестве альтернативы оправке может использоваться образец чистого, сухого кабеля эквивалентного размера и, как указано изготовителем кабельного ввода. Следует отметить, что этот кабель теперь является неметаллическим материалом, от которого зависит вид взрывозащиты, и подпадает под действие требований 7.1.1.

Уплотнительное кольцо в сборе с оправкой или кабелем, в зависимости от принятого варианта, должно быть установлено в кабельном вводе. Затем к винтам (в случае, если фланцевый нажимной элемент имеет винты) или к гайке (в случае применения винтового нажимного элемента) должен быть приложен крутящий момент для сжатия уплотнительного кольца.

Уплотнительное кольцо должно обеспечивать закрепление оправки или кабеля при приложении к ним усилия в ньютонах, равного:

20-кратному значению (в миллиметрах) диаметра оправки или кабеля, если кабельный ввод сконструирован для круглого кабеля;

6-кратному значению (в миллиметрах) периметра кабеля, если кабельный ввод сконструирован для некруглых кабелей.

Если направление усилия не горизонтальное, следует прилагать усилие для компенсации веса (массы) оправки и связанных частей. Направление усилия должно быть противоположным вводу.

Примечание - Вопрос об уточнении требований к испытаниям для испытательных колец с несколькими отверстиями находится на рассмотрении. Испытание закрепления кабельных вводов, предназначенных для кабелей с оплеткой, должно показать эффективность кабельного ввода в креплении кабеля, а не прочность оплетки. Если испытание проводят на кабеле с оплеткой, оплетка не должна быть закреплена.

Усилие прикладывают не менее одного часа. Испытания следует проводить при температуре окружающей среды (20 +/- 5) °C. Крепление, обеспечиваемое уплотнительным кольцом, считают приемлемым, если выскальзывание оправки или образца кабеля составляет не более 2 мм. Затем либо собранный кабельный ввод с оправкой, которые использовались для предыдущего испытания, либо новый образец, подготовленный с приложением того же крутящего момента, подвергают тепловым испытаниям (26.8 и 26.9), если применяются. Считают, что максимальная эксплуатационная температура составляет 75 °C, если изготовителем не указана иная температура.

Значения упомянутого выше крутящего момента могут быть определены экспериментально до испытаний или сообщены изготовителем кабельного ввода.

Примечания

1 Испытания кабельных вводов по более ранним изданиям настоящего стандарта проводились 6 ч, и проскальзывание составляло не более 6 мм после проведения испытаний на теплостойкость. Данные результаты испытаний считают приемлемыми, и они являются основой для испытаний по A.3.1.4.

2 Значение эксплуатационной температуры 75 °C является средним значением между значениями температуры в оконцовке разделки и в месте ввода кабеля.

3 Испытание на теплостойкость кабельных вводов с использованием только металлических уплотнительных колец и частей не требуется.

Условия испытаний и критерии оценки результатов испытаний приведены в A.3.1.4.

A.3.1.2 Кабельные вводы с закреплением посредством герметизирующего компаунда (в ред. Изменения N 1, утв. Приказом Росстандарта от 06.09.2022 N 880-ст)

Испытания закрепления кабеля должны быть проведены на подготовленных образцах с оправками из нержавеющей стали:

- один образец - с одной оправкой диаметром более или равным максимальному диаметру поверх жил;

- другой образец - с максимальным количеством оправок, представляющих собой максимальное количество жил, указанное изготовителем кабельного ввода.

Примечание - Диаметром поверх жил считают диаметр жгута жил.

Перед проведением испытаний имеющееся пространство заполняют герметизирующим компаундом, подготовленным и затвердевшим в соответствии с руководством по эксплуатации изготовителя кабельного ввода. (в ред. Изменения N 1, утв. Приказом Росстандарта от 06.09.2022 N 880-ст)

Полностью собранный кабельный ввод и оправка должны затем быть подвергнуты тепловым испытаниям. Считают, что максимальная эксплуатационная температура составляет 75 °C, если изготовителем не указана иная температура.

Примечание - Значение эксплуатационной температуры 75 °C является средним значением между значениями температуры в оконцовке разделки и в месте ввода кабеля.

Герметизирующий компаунд должен предотвращать выскальзывание оправки при приложении к нему усилия в ньютонах, равного: (в ред. Изменения N 1, утв. Приказом Росстандарта от 06.09.2022 N 880-ст)

- 20-кратному значению диаметра (в миллиметрах) кабеля, предназначенного для применения, если кабельный ввод сконструирован для круглого кабеля;

- 6-кратному значению (в миллиметрах) периметра кабеля, предназначенного для применения, если кабельный ввод сконструирован для некруглого кабеля.

Если направление усилия является не горизонтальным, то средства приложения усилия должны быть подобраны с учетом компенсации веса оправки и связанных частей. Направление прилагаемого усилия должно быть противоположным по отношению к кабелю.

Испытание закрепления кабельных вводов, предназначенных для кабелей с оплеткой, должно показать эффективность кабельного ввода в креплении кабеля, а не прочность оплетки. Если конструкция кабельного ввода такова, что оплетка будет окружена компаундом, контакт компаунда с оплеткой при проведении испытания должен быть сведен к минимуму.

Условия испытаний и критерии оценки результатов испытаний см. в A.3.1.4.

A.3.1.3 Кабельные вводы с закреплением посредством закрепляющего устройства

Испытание закрепления кабеля должно быть проведено с использованием для каждого типа и размера закрепляющего устройства кабельного ввода.

Закрепляющее устройство должно быть смонтировано на оправке из нержавеющей стали или образце чистого сухого кабеля, размер которого соответствует данному устройству и предписан изготовителем кабельного ввода.

Элемент крепления кабеля, уплотнительное кольцо и кабель максимально допустимого по отношению к элементу крепления размера, предписанного изготовителем кабельного ввода, должны быть смонтированы в кабельном вводе; ввод после этого должен быть собран со сжатием уплотнительного кольца и затяжкой элемента крепления кабеля. Испытания проводят в соответствии с A.3.1.1. Затем испытание повторяют с использованием минимально допустимого по отношению к элементу крепления размера оправки или кабеля, предписанного изготовителем кабельного ввода.

Такие испытания кабельных вводов, предназначенных для кабелей с оплеткой, проводят для оценки прочности закрепления кабеля, а не оплетки. Если испытание проводят на кабеле с оплеткой, оплетка не должна быть закреплена.

A.3.1.4 Испытание на закрепление

Образец, подготовленный в соответствии с A.3.1.1 - A.3.1.3, в зависимости от применяемого пункта, подвергают воздействию постоянного усилия, равному значениям, указанным в A.3.1.1 или A.3.1.2, соответственно. До прикладывания указывающего усилия ввод может быть повторно затянут в соответствии с инструкцией изготовителя. Усилие прилагают в течение не менее 6 ч. Испытание проводят при температуре окружающей среды (20 +/- 5) °C. Закрепление, обеспечиваемое уплотнительным кольцом, герметизирующим компаундом или закрепляющим устройством, считается приемлемым, если оправка или образец кабеля выскальзывает не более чем на 6 мм. (в ред. Изменения N 1, утв. Приказом Росстандарта от 06.09.2022 N 880-ст)

Примечание - Крутящий момент прикладывают к винтам или гайке во время повторной затяжки не обязательно должен соответствовать моменту, приложенному по A.3.1.1.

A.3.1.5 Механическая прочность

После испытания на закрепление кабельный ввод подвергают следующим испытаниям и проверкам:

a) в случае кабельных вводов с закреплением посредством уплотнительного кольца или закрепляющего устройства винты или гайки (в зависимости от варианта) подвергают испытаниям на механическую прочность крутящим моментом, в 1,5 раза превышающим крутящий момент, необходимый согласно A.3.1.4. Кабельный ввод затем разбирают, а его детали проверяют. Механическая прочность кабельного ввода считается достаточной, если отсутствуют деформации, нарушающие вид взрывозащиты. Какие-либо деформации уплотнительных колец не принимают во внимание;

b) если кабельные вводы изготовляют из неметаллических материалов, допускается, чтобы предписанный испытательный крутящий момент не был достигнут из-за пластических деформаций резьбы. Кабельный ввод считается выдержавшим испытание, если отсутствуют видимые повреждения, при этом испытание на закрепление согласно A.3.1.4 может быть проведено без доработок;

c) в случае кабельных вводов с закреплением герметизирующим компаундом кабельный ввод разбирают, насколько это возможно, без повреждения герметизирующего компаунда. При проверке не должно быть обнаружено физических или видимых повреждений в заполняющем компаунде, которые могли бы нарушить взрывозащиту принятого вида. (в ред. Изменения N 1, утв. Приказом Росстандарта от 06.09.2022 N 880-ст)

A.3.2 Испытания закрепления бронированных кабелей

A.3.2.1 Испытания устройства, закрепляющего броню, являющегося неотъемлемой частью кабельного ввода

A.3.2.1.1 Общие требования

Испытания проводят с использованием для каждого типа и размера кабельного ввода образца бронированного кабеля наименьшего предписанного размера. Допускается использовать броню, соответствующую размеру кабеля. Образец бронированного кабеля монтируют в закрепляющем устройстве кабельного ввода. Затем прилагают крутящий момент к болтам (в случае фланцевого зажимного устройства) или к гайке (в случае резьбовых закрепляющих устройств) для зажатия закрепляющего устройства и предотвращения выскальзывания брони. Определенный таким образом крутящий момент считают эталонным.

Закрепляющее устройство должно предотвращать выскальзывание брони, когда прилагают усилие в ньютонах, равное:

80-кратному значению (в миллиметрах) диаметра кабеля поверх брони для оборудования группы I, или

20-кратному значению (в миллиметрах) диаметра кабеля поверх брони для оборудования группы II или III.

Примечание - Значения крутящего момента, упомянутые выше, часто определяют экспериментально до проведения испытаний на закрепление, или они могут быть представлены изготовителем кабельного ввода.

Если направление усилия является не горизонтальным, то средства приложения усилия должны быть подобраны с учетом компенсации веса образца бронированного кабеля и соответствующих частей. Направление прилагаемого усилия должно быть противоположным по отношению к кабелю.

Полностью собранный кабельный ввод и бронированный кабель подвергают тепловым испытаниям. Считают, что максимальная эксплуатационная температура составляет 75 °C, если изготовителем не указана иная температура.

Примечания

1 Значение эксплуатационной температуры 75 °C является средним значением между значениями температуры в оконцовке разделки и в месте ввода кабеля.

2 Испытание на теплостойкость кабельных вводов с использованием только металлических уплотнительных колец и частей не требуется.

A.3.2.1.2 Испытание на закрепление

Подготовленный образец подвергают воздействию постоянного усилия, равному значению, определенному в A.3.2.1, в течение (120 +/- 10) с. Испытание проводят при температуре окружающей среды (20 +/- 5) °C. Закрепление, обеспечиваемое закрепляющим устройством, считают достаточным, если выскальзывание брони практически отсутствует.

A.3.2.1.3 Механическая прочность

Болты и гайки после монтажа должны быть затянуты крутящим моментом, значение которого в 1,5 раза превышает значения по A.3.2.1.2, после чего кабельный ввод разбирают. Механическую прочность считают достаточной, если не обнаружены какие-либо деформации, нарушающие вид взрывозащиты.

A.3.2.2 Испытания закрепления бронированных кабелей, не обеспечиваемого устройством на самом кабельном вводе

Кабельный ввод рассматривают как предназначенный для ввода небронированных кабелей по A.3.1.

A.3.3 Типовые испытания на ударостойкость

Испытания по 26.4.2 проводят с каждым типом и размером кабельного ввода с наименьшей оправкой или наименьшим размером кабеля. (в ред. Изменения N 1, утв. Приказом Росстандарта от 06.09.2022 N 880-ст)

Для испытания кабельный ввод закрепляют в жестко смонтированной стальной плите или монтируют точно так, как это предписывает изготовитель кабельного ввода. Крутящий момент, прилагаемый к резьбовым крепежным элементам кабельного ввода, выбирают в соответствии с A.3.1.4 или A.3.2.1.2.

1 - направляющая трубка; 2 - регулировочный штифт; 3 - стальной груз массой 1 кг; 4 - ударная головка диаметром 25 мм из закаленной стали; 5 - направляющая трубка; 6 - кабельный ввод; 7 - кабель; 8 - монтажный угол; 9 - стальная основа (масса >= 20 кг); h - высота падения

Рисунок A.3 - Пример испытательной установки на ударостойкость

A.3.4 Испытание степени защиты (IP) кабельных вводов

До испытаний на IP испытательные образцы подвергают тепловым испытаниям (26.8 и 26.9) и испытаниям на ударостойкость (A.3.3), если применяются. Затем испытание проводят в условиях, оговоренных в ГОСТ 14254, как описано ниже, с использованием кабельного ввода каждого типа с одним уплотнительным кольцом от каждого из ряда допущенных размеров.

Степень защиты, обеспечиваемая оболочкой кабельного ввода, должна быть не менее для оборудования:

- групп I и II - IP54;

- группы III с уровнем взрывозащиты оборудования Da - IP6X;

- группы III с уровнем взрывозащиты оборудования Db - IP6X;

- подгруппы IIIC с уровнем взрывозащиты оборудования Dc - IP6X;

- подгруппы IIIA или IIIB с уровнем взрывозащиты оборудования Dc - IP5X.

При испытаниях на герметичность каждое уплотнительное кольцо монтируют на образце чистого, сухого кабеля или чистой сухой полированной оправке из нержавеющей стали с максимальной шероховатостью поверхности Ra = 1,6 мкм и диаметром, равным наименьшему диаметру кабеля, предписанному изготовителем кабельного ввода для данного ввода. При проведении этого испытания кабельный ввод с кабелем или оправкой монтируют в соответствующей оболочке, чтобы обеспечить уплотнение на внешней стороне между кабельным вводом и оболочкой, в соответствии с A.5.

Не требуется, чтобы эти испытательные образцы были теми же образцами, что подвергались испытаниям на закрепление в соответствии с A.3.1.4 и механическую прочность в соответствии с A.3.1.5.

A.4 Маркировка

A.4.1 Маркировка кабельных вводов

Кабельные вводы должны иметь маркировку согласно 29.3, и, если изготовителем не указано иное, маркировка должна включать обозначение уровня вида взрывозащиты "eb" и дополнительно другую маркировку для соответствующих видов взрывозащиты, и если ввод резьбовой - в соответствии с типом и размером резьбы. (в ред. Изменения N 1, утв. Приказом Росстандарта от 06.09.2022 N 880-ст)

Примечания

1 Кабельные вводы уровня вида взрывозащиты "eb могут применяться для: (в ред. Изменения N 1, утв. Приказом Росстандарта от 06.09.2022 N 880-ст)

- всех условий, требующих уровня взрывозащиты оборудования Gb или Gc, кроме вида взрывозащиты "d";

- всех условий, требующих уровня вида взрывозащиты "ia". См. ГОСТ IEC 60079-14. (в ред. Изменения N 1, утв. Приказом Росстандарта от 06.09.2022 N 880-ст)

2 Дополнительные требования к кабельным вводам с видом взрывозащиты "d" указаны в ГОСТ IEC 60079-1.

3 Дополнительные требования к кабельным вводам с видом взрывозащиты "t" приведены в ГОСТ/IEC 60079-31.

4 Минимальные требования к IP различны в зависимости от группы оборудования (см. A.3.4).

Если поверхность для маркировки ограничена, может быть применена сокращенная маркировка согласно требованиям 29.11 или 29.12.

A.4.2 Идентификация уплотнительных колец кабельных вводов

Уплотнительные кольца кабельных вводов, позволяющие устанавливать кольца разных размеров, должны иметь обозначения минимального и максимального диаметров (в миллиметрах) допущенных к вводу в них кабелей.

Если уплотнительное кольцо скреплено с металлической шайбой, идентификационные сведения могут быть указаны на шайбе.

На уплотнительные кольца кабельных вводов должны быть нанесены идентификационные сведения, позволяющие потребителю определить, соответствует ли кольцо кабельному вводу.

Если ввод и уплотнительное кольцо предназначены для применения вне диапазона температуры от минус 20 °C до плюс 75 °C, они должны иметь маркировку с указанием диапазона температур.

Примечание - Сведения об идентификации уплотнительных колец и диапазона температур указаны в руководстве по эксплуатации.

A.5 Руководства по эксплуатации

В дополнение к требованиям к сведениям, указываемым в руководстве по эксплуатации согласно 30.1, руководства по эксплуатации для кабельных вводов должны содержать, как минимум, следующую информацию:

a) минимальный и максимальный диаметры кабеля для круглых кабелей;

b) минимальные и максимальные размеры для некруглых и кабелей с металлическим покрытием;

c) процесс затяжки нажимного элемента, включая момент затяжки;

d) для кабельных вводов с заполнением компаундом - сведения о нанесении заполнителя;

e) для кабельных вводов с заполнением компаундом - максимальный диаметр поверх жил кабеля, на который рассчитан кабельный ввод; и максимальное количество жил, которые могут проходить через компаунд;

f) для вводов в оболочки:

резьбовые вводы:

- размер резьбы и класс допуска;

- ограничения по использованию оболочек из определенных материалов;

- метод герметизации оболочки;

- максимальная шероховатость поверхности оболочки, предназначенной для уплотнения;

- диапазон толщины стенки оболочки;

- перпендикулярность;

- информация о допустимости применения и расположении колец заземления;

зазоры отверстий:

- размеры отверстий, включая допуск;

- ограничения по использованию оболочек из определенных материалов;

- диапазон толщины стенки оболочки;

- метод герметизации оболочки;

- максимальная шероховатость поверхности оболочки, предназначенной для уплотнения;

- перпендикулярность;

- детали крепления кабельного ввода;

- информация о допустимости применения и расположении колец заземления.

Примечание - Для оболочки со стенкой, в том числе рамой, цекование наружной поверхности является обычным способом, позволяющим устанавливать кабельный ввод и уплотнительное кольцо перпендикулярно к стенке оболочки.

Приложение B
(обязательное)

ТРЕБОВАНИЯ К Ex-КОМПОНЕНТАМ

Ex-компоненты должны соответствовать требованиям пунктов, указанных в таблице B.1.

Таблица B.1

Применяемость требований настоящего стандарта к Ex-компонентам

Раздел, подраздел или пункт настоящего стандарта Применяемость Примечание
1 - 4 (включительно) Да  
5 Нет За исключением того, что должны быть установлены пределы эксплуатационной температуры
6.1 Да  
6.2 Нет  
6.3 Нет  
6.4 Нет  
6.5 Да  
6.6 Да  
7.1 Да См. <a>
7.2 Да То же
7.3 Да "
7.4 Да Если внешние, см. <a>
7.5 Да Если внешние, см. <a>
8 Да  
9.1 Да  
9.2 Да Только если это оболочка оборудования
9.3 Да То же
9.4 Да "
10 Да  
11 Да  
12 Нет  
13 Да  
14 Да  
15.1.1 Да Только если это оболочка оборудования
15.1.2 Да То же
15.2 Да  
15.3 Да  
15.4 Да Только если это оболочка оборудования
15.5 Да Только для соединений заземления
15.6 Да  
15.7 Да Только если это оболочка оборудования
16 Да То же
17.1 Да  
17.2 Нет За исключением оболочек машин
17.3 Да  
18 Да  
19 Нет  
20 Да  
21 Да  
22.1 Да  
22.2 Нет  
23 Да  
24 Да  
25 Да  
26.1 Да  
26.2 Нет  
26.3 Да  
26.4 Да Только если это оболочка оборудования
26.5 Да  
26.5.1 Да Если необходимо, определить эксплуатационную температуру
26.5.2 Да  
26.5.3 Да Если применялось смягчение требований к малым элементам
26.6 Да  
26.7 Да Если указана максимальная температура
26.8 Да  
26.9 Да  
26.10 Да Только если это оболочка оборудования
26.11 Да Только если это оболочка оборудования группы I
26.12 Да Только если это оболочка оборудования
26.13 Да То же
26.14 Да "
26.15 Нет  
26.16 Да Только если это оболочка оборудования
26.17 Да То же
27 Да  
28 Да  
29.1 Да  
29.2 Да Требуется маркировка на Ex-компоненте
29.3 Нет  
29.4 Да См. <b>
29.5 Да То же
29.6 Да  
29.7 Нет  
29.8 Да  
29.9 Да  
29.10 Да  
29.11 Да  
29.12 Да  
29.13 Нет  
29.14 Да  
29.15 Нет  
29.16 Нет  
30 Нет Информация, необходимая для правильного применения Ex-компонента, должна быть указана в перечне ограничений в сертификате. Дополнительная информация может быть подготовлена в качестве инструкций по включению Ex-компонента в окончательную сборку Ex-оборудования
<a> Следует учитывать условия, при которых настоящие требования применяют к компонентам, размещаемым в другой оболочке.
<b> Температурную классификацию к Ex-компонентам не применяют.

Приложение C
(справочное)

ПРИМЕР УСТАНОВКИ ДЛЯ ИСПЫТАНИЙ НА УДАРОСТОЙКОСТЬ

1 - регулировочный штифт; 2 - стальной груз массой 1 кг; 3 - ударная головка диаметром 25 мм из закаленной стали; 4 - направляющая трубка; 5 - испытуемый образец; 6 - стальная основа (масса >= 20 кг); h - высота падения

Рисунок C.1 - Пример установки для испытаний на ударостойкость

Приложение D
(справочное)

ВРАЩАЮЩИЕСЯ ЭЛЕКТРИЧЕСКИЕ МАШИНЫ, ПОДКЛЮЧЕННЫЕ К ПРЕОБРАЗОВАТЕЛЯМ

Если двигатель подключен к преобразователю для обеспечения возможности работать с разными скоростями и нагрузками, необходимо определить тепловые характеристики двигателя при работе от преобразователя (и выходного фильтра, если используется) для всего диапазона указанных скоростей и крутящих моментов. Для этого необходимо выполнить ряд типовых испытаний и расчетов. Специальные методы, которые следует применять, описаны в специальных стандартах на виды взрывозащиты.

Примечания

1 В связи со сложностью проведения испытаний конкретной системы "преобразователь - вращающаяся электрическая машина" допускается испытывать сопоставимый преобразователь при условии сравнения характеристик.

2 Обычно также учитывают дополнительные факторы, например предоставление потребителю дополнительных выходных фильтров или стабилизаторов, информации о допустимой длине кабеля между вращающейся электрической машиной и преобразователем, поскольку подобные факторы воздействуют на входное напряжение и могут привести к дополнительному нагреву.

Для некоторых видов взрывозащиты требуется использование датчиков вместе с защитным устройством для ограничения температуры. Данное устройство должно быть указано в документации согласно разделу 24 и в руководстве по эксплуатации согласно разделу 30, а его эффективность должна быть проверена испытаниями или расчетами.

Примечание - Высокочастотная широтно-импульсная модуляция в преобразователях может привести к значительным скачкам перенапряжения в обмотке и цепях кабеля, которые могут стать потенциальным источником воспламенения. Воздействие таких скачков перенапряжения будет изменяться в зависимости от примененного вида взрывозащиты.

В документации согласно разделу 24 и в руководстве по эксплуатации согласно разделу 30 должны быть указаны параметры и условия, необходимые для работы с преобразователем.

В валах и подшипниках вращающихся электрических машин, работающих с преобразователем, могут возникать паразитные токи. Следует применять один или несколько из следующих методов защиты:

- применением соответствующих фильтров между вращающейся электрической машиной и преобразователем;

- применением соединительных или заземляющих скользящих контактов для вала с видом взрывозащиты, соответствующим уровню взрывозащиты оборудования;

- установкой на вал подшипников и муфт, электрически изолированных от корпуса оборудования;

- применением в качестве проводников питания между преобразователем и вращающейся электрической машиной низковольтных кабелей с симметричной конструкцией фазных и заземляющей жил;

- применением соединительных и заземляющих кабелей и системы уравнивания потенциала;

- выбором периферийного оборудования и программированием системы управления преобразователя в соответствии с типом вращающейся электрической машины и приводного механизма для снижения синфазного напряжения.

Возможно применение альтернативных методов, исключающих синфазное напряжение.

Примечания

1 Дополнительные сведения приведены в [51] и [52].

2 Паразитные (блуждающие) токи могут возникать в других частях механической и электрической систем.

3 Электромагнитное излучение от кабелей, которые подключены к вращающимся электрическим машинам, работающим с преобразователями, может вызывать помехи в работе цепей управления оборудования, что особенно учитывается в случае группы I.

Приложение E
(справочное)

ТЕПЛОВЫЕ ИСПЫТАНИЯ ВРАЩАЮЩИХСЯ ЭЛЕКТРИЧЕСКИХ МАШИН

Несмотря на то, что в данном приложении упоминаются двигатели, аналогичный подход может применяться для генераторов, для которых также используется подход настоящего приложения.

Примечания

1 Согласно требованиям ГОСТ IEC 60079-14 все двигатели должны быть установлены с устройством защиты от перегрузки для обеспечения защиты от перегрузок и других ожидаемых неисправностей. Существуют некоторые уровни вида взрывозащиты, такие как "eb", которые обычно требуют дополнительного Ex-защитного устройства для ограничения максимальной температуры поверхности в соответствии с указанным температурным классом. В некоторых случаях устройство защиты от перегрузки и Ex-защитное устройство объединяют в одно устройство. Испытание на повышение температуры вращающихся электрических машин, описанное в этом стандарте, проводится без устройства защиты от перегрузки. (в ред. Изменения N 1, утв. Приказом Росстандарта от 06.09.2022 N 880-ст)

2 Национальные правила, такие как [42], требуют учитывать работу устройств безопасности, необходимых для обеспечения безопасного функционирования оборудования в отношении риска взрывов.

Типовые ожидаемые неисправности для электродвигателей указаны в [53], при этом требования к отдельным видам взрывозащиты могут не включать полный перечень ожидаемых неисправностей.

Длительная тепловая перегрузка возможна в результате:

- дефектов вентиляции или системы вентиляции из-за чрезмерного количества пыли в вентиляции воздуховодов или грязи на обмотках или ребрах охлаждения корпуса и т.п.;

- чрезмерного повышения температуры окружающей среды или температуры охлаждающей среды;

- постепенного увеличения механической перегрузки;

- превышения нагрузки на двигатель, рассчитанный на кратковременный или повторно-кратковременный режим работы;

- длительного падения напряжения, перенапряжения или дисбаланса в питании машины;

- отклонения частоты.

Быстрый перегрев возникает в результате:

- "опрокидывания" двигателя;

- обрыва фазы;

- запуска в ненормальных условиях, например при высокой инерции, слишком низком напряжении, слишком большом крутящем моменте;

- внезапного и значительного увеличения нагрузки;

- повторного включения в течение короткого времени.

Максимальное отклонение (положительное или отрицательное) питающего напряжения от номинального значения приведет к появлению максимальной температуры поверхности статора или ротора. Как правило, это зависит от следующих условий:

- асинхронные двигатели с номинальной мощностью менее 5 кВт достигают максимальной температуры поверхности при работе с напряжением питания выше номинального вследствие потерь в сердечнике и тока намагничивания, значение которого резко увеличивается по мере насыщения стали сердечника с ростом напряжения питания;

- асинхронные двигатели, как правило, с номинальной мощностью от 5 до 20 кВт подвержены влиянию многих факторов, определяющих эксплуатационные показатели, поэтому невозможно прогнозировать превышение параметров без знания конкретной конструкции двигателя;

- асинхронные двигатели мощностью более 20 кВт обычно достигают максимальной температуры поверхности во время работы с напряжением питания ниже номинального вследствие потерь в обмотке статора, являющихся результатом увеличения тока. Эти потери обычно выше потерь в сердечнике или при возникновении тока намагничивания при приложении напряжения выше номинального.

Примечание - Указанные номинальные значения мощности - исходные значения, зависящие от относительного намагничивания сердечника.

Допускается применение альтернативных методов определения температуры согласно ГОСТ IEC 60034-29. Коэффициенты "+/- 5%" или "+/- 10%" (см. 26.5.1) следует учитывать при определении максимальной температуры поверхности с применением методов согласно ГОСТ IEC 60034-29.

Максимальную температуру поверхности двигателя, подключенного к преобразователю, следует определять при максимальном значении скорости двигателя в рабочем режиме с помощью одного из следующих методов испытаний:

- специальный преобразователь:

Двигатель должен быть испытан с заданным преобразователем.

Нормальное +/- 10% изменение входного напряжения не требуется, если выходное напряжение преобразователя и гармоническое содержание формы выходного напряжения эффективно не зависят от изменения входного напряжения на +/- 10% при поддержании номинального входного тока двигателя (зависит от скорости) и соотношения В/Гц.

Примечание - Когда увеличение входного напряжения преобразователя приводит к изменению гармонического спектра выхода (даже если номинальный синусоидальный эквивалент выходного напряжения остается постоянным), это приводит к увеличению потерь из-за гармонических эффектов и дополнительных потерь насыщения в стали сердечников;

- подобный преобразователь:

Двигатель допускается испытывать с подобным преобразователем при наличии достаточной информации для подтверждения подобия. Допускается применение дополнительных коэффициентов безопасности для учета степени подобия.

Нормальное +/- 10% изменение входного напряжения не требуется, если выходное напряжение преобразователя и гармоническое содержание формы выходного напряжения эффективно не зависят от изменения входного напряжения на +/- 10% при поддержании номинального входного тока двигателя (зависит от скорости) и соотношения В/Гц.

Примечание - Когда увеличение входного напряжения преобразователя приводит к изменению гармонического спектра выхода (даже если номинальный синусоидальный эквивалент выходного напряжения остается постоянным), это приводит к увеличению потерь из-за гармонических эффектов и дополнительных потерь насыщения в стали сердечников;

- синусоидальный источник питания:

Двигатель не должен испытываться с использованием сопоставимого преобразователя и может быть испытан с использованием синусоидального источника питания при всех следующих условиях:

- предполагаемый крутящий момент нагрузки должен быть в целом пропорционален квадрату скорости;

- двигатель должен быть максимально нагружен при максимальной номинальной скорости;

- диапазон скорости двигателя составляет от 40% до 100% от максимальной номинальной скорости;

- дополнительный коэффициент безопасности следует применять для учета дополнительных потерь, которые возникают при работе от преобразователя. Применяемый коэффициент безопасности должен учитывать повышение температуры на 15% в Кельвинах, если расчеты не могут определить альтернативный коэффициент безопасности.

Двигатели с видами взрывозащиты "d", "p" <a> или "t", испытуемые с синусоидальным источником питания:

- обеспечение непосредственной тепловой защиты, как правило, в обмотке статора, с соответствующей уставкой срабатывания для контроля и предотвращения превышения температуры в подшипниках ротора, крышках подшипника и выступающих частях вала. Порог срабатывания допускается определять испытаниями или расчетом. В специальных условиях применения указывают о необходимости обязательного подключения и использования датчиков вместе с защитными устройствами.

<a> Для уровня защиты "pxb3" может потребоваться обязательное время охлаждения для снижения температуры горячих внутренних элементов до класса температуры, указанного в маркировке.

Для определения максимальной температуры поверхности изготовителю, пользователю и сертификационному органу (если он привлекается) допускается использовать расчетные данные или альтернативные испытания с учетом соответствующих коэффициентов безопасности, если это отвечает условиям изготовителя. Расчет должен быть основан на ранее полученных представительных данных испытаний в соответствии с [44].

Для определения максимальной температуры поверхности необходимо определить наиболее неблагоприятные условия для двигателя, подключенного к преобразователю, включая:

- значения механических характеристик электропривода (зависимость скорости вращения от крутящего момента на валу) с учетом определенного закона изменения нагрузки на валу (квадратичная зависимость/линейно изменяющаяся нагрузка/постоянное значение):

- для двигателей с переменной нагрузкой на валу максимальную температуру поверхности определяют при максимальных значениях мощности и при максимальной номинальной скорости;

- для двигателей с линейной и постоянной нагрузкой на валу максимальную температуру поверхности определяют по меньшей мере при минимальной и максимальной скоростях;

- для двигателей с комбинированной нагрузкой на валу максимальную температуру поверхности определяют по меньшей мере в точках перехода на графике механической характеристики (зависимости скорости вращения от момента на валу);

- при регулировании с поддержанием постоянной мощности:

- максимальную температуру поверхности определяют при максимальной и минимальной скоростях;

- падение напряжения (длинная кабельная линия, выходные фильтры, преобразователь):

- при проектировании и пуске в эксплуатацию необходимо учитывать падение напряжения на всех элементах. Поэтому необходимо иметь информацию о падении напряжения в преобразователе, выходном фильтре и в длинной кабельной линии, а также данные о конфигурации системы и входном напряжении преобразователя. В руководстве по эксплуатации изготовителя в соответствии с разделом 30 должна содержаться вся соответствующая информация, необходимая для расчета и создания рабочих условий;

- выходные характеристики преобразователя (dU dt, частота коммутаций):

- более низкие переключающие частоты ведут к увеличению температур двигателя. Может потребоваться указание минимальной переключающей частоты в специальных условиях применения;

- многоуровневые (три и более) преобразователи, как правило, приводят к снижению нагрева двигателя;

- система охлаждения:

- максимальная температура поверхности, определенная при минимальном значении номинального расхода/максимальной номинальной температуре охладителя;

- может потребоваться указание требований к системе охлаждения в специальных условиях применения.

Примечания

1 Ротор может нагреваться значительно больше, чем статор. Значение нагрева зависит от вида взрывозащиты. Определять температуру ротора особенно важно для двигателей с уровнями видов взрывозащиты "ec", "eb" или "pxb" <a>, а также это может быть важно при применении таких уровней видов взрывозащиты, как "db", "pyb", "pzc", "tb" или "tc", если высокая температура горячего ротора передается на подшипники и внешний вал. (в ред. Изменения N 1, утв. Приказом Росстандарта от 06.09.2022 N 880-ст)

2 Считается, что переменные, импульсные и несущие частоты имеют одно значение.

<a> Для уровня вида взрывозащиты "pxb" может потребоваться обязательное время охлаждения для снижения температуры горячих внутренних элементов до класса температуры, указанного в маркировке. (в ред. Изменения N 1, утв. Приказом Росстандарта от 06.09.2022 N 880-ст)

Приложение F
(справочное)

СХЕМА ИСПЫТАНИЙ НЕМЕТАЛЛИЧЕСКИХ ОБОЛОЧЕК ИЛИ НЕМЕТАЛЛИЧЕСКИХ ЧАСТЕЙ ОБОЛОЧЕК

В настоящем приложении приведена общая схема испытаний оболочек (см. 26.4), необходимых для наиболее распространенных исполнений оборудования. При разработке программы испытаний конкретного оборудования особое внимание следует обратить на подробное описание соответствующих требований.

Примечание - Порядок испытаний при и может быть взаимозаменяемым.

Рисунок F.1 - Неметаллические оболочки и неметаллические части оболочек

Приложение G
(справочное)

ПОРЯДОК ИСПЫТАНИЙ КАБЕЛЬНЫХ ВВОДОВ

- уплотнительное кольцо, равное наименьшему допустимому размеру или наименьшему диаметру оправки;
- уплотнительное кольцо, равное наибольшему допустимому размеру или наибольшему диаметру оправки;
- максимальная испытательная температура (26.7.2, 26.8);
- минимальная испытательная температура (26.7.2, 26.9)

Примечание - Для каждого этапа испытаний испытательные образцы в сборе могут быть прикручены или откручены, например, от испытательной пластины.

Рисунок G.1 - Порядок испытаний кабельных вводов

Приложение H
(справочное)

НАПРЯЖЕНИЕ НА КОНЦАХ ВАЛА, ВЫЗЫВАЮЩЕЕ ИСКРЕНИЕ В ПОДШИПНИКЕ ДВИГАТЕЛЯ ИЛИ НА ШЕЙКЕ. РАСЧЕТ ЭНЕРГИИ РАЗРЯДА

H.1 Общие требования

Потенциальным источником воспламенения для мощных машин и двигателей любого размера с питанием через преобразователь может быть искрение подшипника или вала из-за синфазного напряжения (СФН) или циркулирующих токов вала. Напряжение, наведенное или переданное валу машины, может вызвать ток, величина которого ограничена полным сопротивлением смазочной пленки в подшипнике. Напряжение вала обычно считают напряжением заряженного конденсатора, при этом емкость создается ротором, статором и подшипниками. Когда потенциал вала на смазочной пленке достигает значения напряжения диэлектрического пробоя, происходит разряд. Разряд может вызвать образование ямок в подшипнике. Отказ подшипника может привести к нагреву подшипника.

Соединительное устройство вала, которое подключает вал машины к тому же напряжению, что и раму (корпус) машины рядом с подшипником, может быть установлено внутри и снаружи машины, чтобы способствовать продлению срока службы подшипников в основном за счет закорачивания конденсатора и, таким образом, уменьшения до минимума искрения на подшипнике и продления его срока службы.

Соединительные устройства вала или подшипники, установленные внутри машины или оболочки с видом взрывозащиты "d" или "p", не являются источником воспламенения для окружающей взрывоопасной среды. Соединительные устройства вала или подшипники, установленные внутри или с внешней стороны машины с видом взрывозащиты "e" или с внешней стороны машины с видом взрывозащиты "d" или "p", могут представлять риск воспламенения, который должен быть снижен. В настоящем приложении содержится руководство по оценке возможности применения соединительных устройств вала, если не применяются виды взрывозащиты "d" или "p".

H.2 Оценка риска воспламенения с помощью расчета энергии воспламенения

Пиковые значения энергии воспламенения могут быть измерены или рассчитаны, если известны некоторые параметры. Затем полученная энергия разряда может быть сравнена с минимальной энергией воспламенения конкретного горючего материала или группы оборудования, как показано в таблице H.1.

Максимальная энергия емкостного разряда в искре E, Дж, может быть рассчитана с помощью следующего уравнения:

, (H.1)

где C - общая емкость ротора и подшипников, в которых возникает напряжение U (Ф);

U - наивысшее возможное пиковое напряжение вала с учетом влияния переходных процессов (В).

Емкость определяют для распределенной площади поверхностей от вращающегося узла до заземленных частей машины. Эти поверхности обычно находятся между ротором и статором и между опорными несущими поверхностями на каждом конце вала. Все значения емкости складывают для получения общего значения емкости, которое используется для расчета максимальной энергии разряда E.

Примечание - Для машин с питанием через преобразователь значение U оценивают с запасом, как равное 10% синфазного напряжения преобразователя. Напряжение вала можно также вывести из эффекта взаимосвязи синфазного режима между емкостью обмотка/ротор и емкостью ротор/корпус.

Значение емкости конденсатора C (Ф) может быть определено с помощью соответствующей формулы с учетом геометрических параметров конденсатора. Например, для конденсатора, состоящего из концентрических цилиндров, можно применить любую из приведенных ниже формул:

, (H.2)

где - диэлектрическая проницаемость материала, кроме воздуха, между поверхностями (Ф/м);

l - длина цилиндра, м;

a <*> - внешний диаметр, м;

b <*> - внутренний диаметр, м.

Примечание - Для воздуха диэлектрическая проницаемость равна 8,85· Ф/м. Для масла или консистентной смазки диэлектрическая проницаемость составляет от 18· до 25·10-12 Ф/м.

<*> Внутренний диаметр и внешний диаметр частей двигателя, для которого рассчитывают C, например статора, ротора, вала, подшипникового щита, подшипника и т.д. Допускается использовать радиус вместо диаметра, если его будут использовать вместо диаметров для обеих частей.

Риск воспламенения эффективно предотвращается, когда определенная максимальная энергия разряда E ниже, чем минимальная энергия воспламенения конкретного горючего материала или значений, указанных в таблице H.1, для соответствующих групп/подгрупп оборудования. Для практической оценки в отдельных случаях следует использовать кривые, приведенные на рисунке H.4.

Таблица H.1

Максимально допустимая энергия

Группа I Подгруппа IIA Подгруппа IIB Подгруппа IIC Группа III
0,2 мДж 0,2 мДж 0,06 мДж 0,02 мДж 0,2 мДж

H.3 Определение напряжения вала для вращающейся машины

Выходное напряжение инвертера имеет измеримый компонент синфазного напряжения. Синфазное напряжение индуцирует напряжение вала в машине с питанием через инвертер. В то время как синфазное напряжение стремится в среднем к нулю в течение определенного периода времени, появляющиеся пиковые отклонения представляют интерес.

Необходимо использовать осциллограф и датчик для электрического подключения к вращающемуся валу двигателя с помощью небольшой проводящей щетки. Контрольный контакт датчика заземлен через корпус машины. Скачки напряжения вала и тока, вызванные широтно-импульсным выходом приводов двигателя, могут быть очень малы, часто в микросекундном диапазоне измерения. Это необходимо учитывать при выборе установочных параметров.

H.4 Расчет емкости C для вращающейся машины

Емкость C зависит от распределенной площади поверхностей от вращающегося узла до заземленных частей двигателя. Изоляция, разделяющая эти металлические части, - это воздух в зазоре между ротором и статором или смазочные материалы, например масло и консистентная смазка, в подшипниках вала.

Значение емкости конденсатора может быть определено с помощью соответствующей формулы с учетом геометрических параметров той части вращающейся машины, которая создает эту емкость.

Для вращающейся машины возможно возникновение емкости между следующими частями:

1) корпусом внутреннего подшипника и валом;

2) корпусом внешнего подшипника и валом;

3) валом и подшипниками для машины с подшипниками скольжения;

4) внутренней и внешней обоймами подшипника, находящимися в контакте с каждым шариком шариковых подшипников;

5) ротором и статором;

6) статором и корпусом.

Необходимо получить от изготовителя подробные геометрические параметры вращающейся машины, чтобы использовать в уравнениях соответствующие размеры.

Каждое значение емкости может быть определено по формуле для цилиндрической части, как показано в уравнении (H.2). Описание подшипника скольжения приведено на рисунке H.1. Зазор между ротором и статором показан на рисунке H.2.

a - внешний диаметр; b - внутренний диаметр

Примечания

1 Подшипник скольжения может быть цилиндрическим (ровный зазор подшипника), или с двумя (эллиптическими), или с четырьмя выступами. Можно уменьшить зазор подшипника на коэффициент несущей способности в зависимости от типа подшипника, как объяснено выше.

2 Поскольку в нормальных условиях работы зазоры подшипника несимметричны и вал не вращается концентрично с подшипником, при расчете емкости, как правило, учитывают меньшие значения зазора вал-подшипник.

3 В подшипниках скольжения часто устанавливают изоляцию между корпусом подшипника и стойкой подшипника, и последовательный монтаж уменьшает общую емкость подшипника. Эту изоляцию обычно учитывают при расчете общей емкости подшипника, за исключением случаев, когда емкость изоляции была шунтирована проводником.

Рисунок H.1 - Емкость в зазоре подшипника скольжения между шейкой и внешним корпусом подшипника

a - внешний диаметр; b - внутренний диаметр

Рисунок H.2 - Воздушный зазор между статором и ротором

Шариковый подшипник показан на рисунке H.3. Для шариковых подшипников общая емкость - это сумма емкостей, рассчитанных для каждой отдельной секции шарикового подшипника. - емкость подшипника Ф, рассчитываемая по формуле

,(H.3)

где - число шариков;

- относительная диэлектрическая проницаемость смазки;

- диэлектрическая проницаемость вакуума, Ф/м;

- радиус шарика подшипника, м;

- радиальный зазор подшипника, м.

1 - воздушный зазор; 2 - подшипник; 3 - крышка подшипника

Рисунок H.3 - Типичные поверхности, образующие конденсаторы между валом двигателя и землей

H.5 Расчет энергии разряда E для вращающейся машины

Все значения емкости, определенные для элементов вращающейся машины, складывают для получения значения общей емкости, которое используют для расчета максимальной энергии разряда E с помощью формулы (H.1).

Рассчитанная минимальная энергия воспламенения должна быть меньше, чем указанная в таблице H.1 для соответствующего газа, чтобы подтвердить возможность применения устройства вал-заземление во взрывоопасной зоне.

H.6 Оценка с применением эталонных кривых

Для оценки можно использовать рисунок H.4. Как правило, применяют следующую методику:

- определяют условия наиболее неблагоприятного случая для получения напряжения и емкости рассматриваемой вращающейся машины;

- проверяют, что параметры полученной цепи приемлемы в соответствии с эталонными кривыми на рисунке H.4.

Любая точка слева от кривой, где напряжение и емкость для наиболее неблагоприятного случая пересекаются, будет не способна вызвать зажигание материала указанной группы.

Цепь, полученная для целей этой оценки, может быть испытана с помощью искрообразующего механизма, если испытание предпочтительнее оценки.

Рисунок H.4 - Графики воспламенения при емкостной нагрузке

Приложение ДА
(справочное)

СВЕДЕНИЯ О СООТВЕТСТВИИ ССЫЛОЧНЫХ МЕЖГОСУДАРСТВЕННЫХ СТАНДАРТОВ МЕЖДУНАРОДНЫМ СТАНДАРТАМ, ИСПОЛЬЗУЕМЫМ В КАЧЕСТВЕ ССЫЛОЧНЫХ В ПРИМЕНЕННОМ МЕЖДУНАРОДНОМ СТАНДАРТЕ

Таблица ДА.1

(в ред. Изменения N 1, утв. Приказом Росстандарта от 06.09.2022 N 880-ст)

Обозначение ссылочного межгосударственного стандарта Степень соответствия Обозначение и наименование ссылочного международного стандарта
ГОСТ 4648-2014 (ISO 178:2010) MOD ISO 178:2010 <*> "Пластмассы. Определение свойств при изгибе"
ГОСТ 8724-2002 (ИСО 261-98) MOD ISO 261:1998 "Резьбы винтовые общего назначения по ISO. Общий вид"
ГОСТ 8878-93 (ИСО 4027-77) MOD ISO 4027:1977 "Винты установочные с шестигранным углублением "Под ключ" и коническим концом"
ГОСТ 10605-94 (ИСО 4032-86) MOD ISO 4032:1986 <**> "Гайки шестигранные типа 1. Классы изделия A и B"

<*> Заменен на ISO 178:2019.

<**> Заменен на ISO 4032:2012.

Продолжение таблицы ДА.1

Обозначение ссылочного межгосударственного стандарта Степень соответствия Обозначение и наименование ссылочного международного стандарта
ГОСТ 11074-93 (ИСО 4026-77) MOD ISO 4026:1977 <*> "Винты установочные с шестигранным углублением "Под ключ" и плоским концом"
ГОСТ 11075-93 (ИСО 4028-77) MOD ISO 4028:1977 <**> "Винты установочные с шестигранным углублением "Под ключ" и ступенчатым концом"
ГОСТ 11262-2017 (ISO 527-2:2012) MOD ISO 527-2:2012 "Пластмассы. Определение механических свойств при растяжении. Часть 2. Условия испытаний формовочных и экструзионных пластмасс"
ГОСТ 11738-84 (ИСО 4762-77) MOD ISO 4762:1977 <***> "Винты с цилиндрической головкой и шестигранным углублением под ключ"
ГОСТ 16093-2004 (ИСО 965-1:1998, ИСО 965-3:1998) MOD ISO 965-1:1998 <*4> "Резьбы ISO метрические общего назначения. Часть 1. Принципы и основные данные"
ISO 965-3:1998 <*5> "Резьбы метрические ISO общего назначения. Допуски. Часть 3. Отклонения для конструкционных резьб"
ГОСТ 27174-86 (МЭК 623-83) MOD IEC 60623:1983 <*6> "Аккумуляторы и аккумуляторные батареи, содержащие щелочной или другие некислотные электролиты. Аккумуляторы никель-кадмиевые открытые призматические"
ГОСТ 28964-91 (ИСО 4029-77) MOD ISO 4029:1977 <*7> "Винты установочные с шестигранным углублением "Под ключ" и закругленным концом"
ГОСТ 31610.5-2017 (IEC 60079-5:2015) MOD IEC 60079-5:2015 "Взрывоопасные среды. Часть 5. Оборудование с кварцевым заполнением оболочки "q"
ГОСТ 31610.6-2015/ IEC 60079-6:2015 IDT IEC 60079-6:2015 <*8> "Взрывоопасные среды. Часть 6. Оборудование с видом взрывозащиты "заполнение оболочки жидкостью "o"
ГОСТ 31610.7-2017 (IEC 60079-7:2015) MOD IEC 60079-7:2015 "Взрывоопасные среды. Часть 7. Защита оборудования повышенной защитой "e"
ГОСТ 31610.11-2014 (IEC 60079-11:2011) MOD IEC 60079-11:2011 "Взрывоопасные среды. Часть 11. Искробезопасное оборудование с видом взрывозащиты "i"
ГОСТ 31610.13-2019 (IEC 60079-13:2017) MOD IEC 60079-13:2017 "Взрывоопасные среды. Часть 13. Защита оборудования помещениями под избыточным давлением "p" и помещениями с искусственной вентиляцией "v"
ГОСТ 31610.15-2014/IEC 60079-15:2010 IDT IEC 60079-15:2010 <*9> "Среды взрывоопасные. Часть 15. Оборудование с видом взрывозащиты "n"
ГОСТ 31610.18-2016/IEC 60079-18:2014 IDT IEC 60079-18:2014 "Взрывоопасные среды. Часть 18. Оборудование с видом взрывозащиты "герметизация компаундом "m"
ГОСТ 31610.20-1-2020 (ISO/IEC 80079-20-1:2017) MOD ISO/IEC 80079-20-1:2017 "Взрывоопасные среды. Часть 20-1. Характеристики веществ для классификации газа и пара"
ГОСТ 31610.20-2-2017/ISO/IEC 80079-20-2:2016 IDT ISO/IEC 80079-20-2:2016 "Взрывоопасные среды. Часть 20-2. Характеристики материалов. Методы испытаний горючей пыли"

<*> Заменен на ISO 4026:2003.

<**> Заменен на ISO 4028:2003.

<***> Заменен на ISO 4762:2004.

<*4> Заменен на ISO 965-1:2013.

<*5> Заменен на ISO 965-3:2021.

<*6> Заменен на IEC 60623:2017.

<*7> Заменен на ISO 4029:2003.

<*8> Заменен на IEC 60079-6:2020.

<*9> Заменен на IEC 60079-15:2017.

Продолжение таблицы ДА.1

Обозначение ссылочного межгосударственного стандарта Степень соответствия Обозначение и наименование ссылочного международного стандарта
ГОСТ 31610.26-2016/IEC 60079-26:2014 IDT IEC 60079-26:2014 <*> "Взрывоопасные среды. Часть 26. Оборудование с уровнем взрывозащиты оборудования Ga"
ГОСТ 31610.28-2017 (IEC 60079-28:2015) MOD IEC 60079-28:2015 "Взрывоопасные среды. Часть 28. Защита оборудования и передающих систем, использующих оптическое излучение"
ГОСТ 31610.30-1-2017 (IEC/IEEE 60079-30-1:2015) MOD IEC/IEEE 60079-30-1:2015 "Взрывоопасные среды. Часть 30-1. Резистивный распределенный электронагреватель. Общие требования и требования к испытаниям"
ГОСТ 31610.32-1-2017/IEC/TS 60079-32-1:2013 IDT IEC/TS 60079-32-1:2013 "Взрывоопасные среды. Часть 32-1. Электростатика. Опасные проявления. Руководство"
ГОСТ 31610.33-2014 (IEC 60079-33:2012) MOD IEC 60079-33:2012 "Среды взрывоопасные. Часть 33. Оборудование для конкретного вида защиты"
ГОСТ 31610.35-1-2014 (IEC 60079-35-1:2011) MOD IEC 60079-35-1:2011 "Взрывоопасные атмосферы. Часть 35-1. Головные лампы для использования в шахтах, атмосфера которых чувствительна к рудничным газам. Общие требования. Конструкции и испытания, связанные с риском взрыва"
ГОСТ 31610.39-2017 (IEC/TS 60079-39:2015) MOD IEC/TS 60079-39:2015 "Взрывоопасные среды. Часть 39. Искробезопасные системы с электронным ограничением длительности искрового разряда"
ГОСТ 31610.40-2017/IEC/TS 60079-40:2015 IDT IEC/TS 60079-40:2015 "Взрывоопасные среды. Часть 40. Требования к технологическим уплотнениям между легковоспламеняющимися технологическими жидкими средами и электрическими системами"
ГОСТ 31610.46-2020 (IEC TS 60079-46:2017) MOD IEC/TS 60079-46:2017 "Взрывоопасные среды. Часть 46. Узлы оборудования"
ГОСТ 32407-2013 (ISO/DIS 80079-36) MOD ISO 80079-36:2016 "Взрывоопасные среды. Часть 36. Неэлектрическое оборудование для взрывоопасных сред. Общие требования и методы испытаний"
ГОСТ ISO 7380-1-2014 IDT ISO 7380-1:2011 "Винты с полукруглой головкой. Часть 1. Винты с полукруглой головкой и шестигранным углублением под ключ"
ГОСТ ISO/DIS 80079-37-2013 IDT ISO 80079-37:2016 "Взрывоопасные среды. Часть 37. Неэлектрическое оборудование для взрывоопасных сред. Неэлектрическое оборудование с видами взрывозащиты "конструкционная безопасность "c", контроль источника воспламенения "b", погружение в жидкость "k"
ГОСТ IEC 60034-1-2014 IDT IEC 60034-1:2010 <**> "Машины электрические вращающиеся. Часть 1. Номинальные значения параметров и эксплуатационные характеристики"
ГОСТ IEC 60034-5-2011 IDT IEC 60034-5:2006 <***> "Машины электрические вращающиеся. Часть 5. Степени защиты, обеспечиваемые собственной конструкцией вращающихся электрических машин (код IP). Классификация"
ГОСТ IEC 60034-29-2013 IDT IEC 60034-29:2008 "Машины электрические вращающиеся. Часть 29. Эквивалентные методы нагрузки и наложения. Косвенное определение повышения температуры"
ГОСТ IEC 60050-426-2011 IDT IEC 60050-426:2008 <*4> Международный электротехнический словарь. Часть 426. Электрооборудование для взрывоопасных сред

<*> Заменен на IEC 60079-26:2021.

<**> Заменен на IEC 60034-1:2017.

<***> Заменен на IEC 60034-5:2020.

<*4> Заменен на IEC 60050-426:2020.

Окончание таблицы ДА.1

Обозначение ссылочного межгосударственного стандарта Степень соответствия Обозначение и наименование ссылочного международного стандарта
ГОСТ IEC 60079-1-2013 IDT IEC 60079-1:2014 "Взрывоопасные среды. Часть 1. Оборудование с видом взрывозащиты "взрывонепроницаемые оболочки "d"
ГОСТ IEC 60079-2-2013 IDT IEC 60079-2:2014 "Электрооборудование для взрывоопасных сред. Часть 2. Защита оборудования оболочкой под избыточным давлением "p"
ГОСТ IEC 60079-14-2013 IDT IEC 60079-14:2013 "Взрывоопасные среды. Часть 14. Проектирование, выбор и монтаж электроустановок"
ГОСТ IEC 60079-25-2016 IDT IEC 60079-25:2010 <*> "Атмосферы взрывоопасные. Часть 25. Электрические системы внутренней безопасности"
ГОСТ IEC 60079-29-1-2013 IDT IEC 60079-29-1 "Взрывоопасные среды. Часть 29-1. Газоанализаторы. Требования к эксплуатационным характеристикам газоанализаторов горючих газов"
ГОСТ IEC 60079-31-2013 IDT IEC 60079-31:2013 <**> "Атмосферы взрывоопасные. Часть 31. Защита оборудования от возгорания корпусом "t"
ГОСТ IEC 60079-35-2-2013 IDT IEC 60079-35-2:2011 "Взрывоопасные атмосферы. Часть 35-2. Головные лампы для использования в шахтах, атмосфера которых чувствительна к рудничным газам. Эксплуатационные характеристики и другие вопросы, относящиеся к безопасности"
ГОСТ IEC 60947-1-2017 IDT IEC 60947-1:2014 <***> "Аппаратура распределения и управления низковольтная. Часть 1. Общие правила"
ГОСТ IEC 62626-1-2017 IDT IEC 62626-1:2014 "Аппаратура коммутационная и управления низковольтная в оболочке. Часть 1. Выключатели-разъединители в оболочке, не охватываемые областью применения IEC 60947-3, для обеспечения разъединения при ремонте и техническом обслуживании двигателей"
Примечание - В настоящей таблице использованы следующие условные обозначения степени соответствия стандартов:
- IDT - идентичные стандарты;
- MOD - модифицированные стандарты.

<*> Заменен на IEC 60079-25:2020.

<**> Заменен на IEC 60079-31:2022.

<***> Заменен на IEC 60947-1:2020.

БИБЛИОГРАФИЯ

[1] IEC 60079-29-4 Explosive atmospheres - Part 29-4: Gas detectors - Performance requirements of open path detectors for flammable gases (Взрывоопасные газовые среды. Часть 29-4. Детекторы газа. Требования к рабочим характеристикам детекторов свободного газохода для воспламеняемых газов)
[2] ISO/IEC 17000 Conformity assessment - General vocabulary and general principles (Оценка соответствия - Общий словарь)
[3] ISO 4225 Air quality. General aspects. Vocabulary (Качество воздуха. Общие аспекты. Словарь)
(в ред. Изменения N 1, утв. Приказом Росстандарта от 06.09.2022 N 880-ст)
[4] IEC 60664-1 Insulation coordination for equipment within low-voltage systems - Part 1: Principles, requirements and tests (Координация изоляции для оборудования в низковольтных системах. Часть 1. Принципы, требования и испытания)
[5] ITU-R BS.561-2 Definitions of radiation in LF, MF and HF broadcasting bands (Определение излучения в диапазонах LF, MF и HF)
[6] IEC TS 60079-43 Explosive atmospheres - Part 43: Equipment in adverse service conditions (Взрывоопасные среды. Часть 43. Оборудование, используемое в неблагоприятных условиях эксплуатации)
[7] CLC/TR 50427 Assessment of inadvertent ignition of flammable atmospheres by radio-frequency radiation - Guide (Оценка возможности воспламенения взрывоопасной среды при воздействии радиочастотного излучения. Руководство)
[8] IEC 60216-1 Electrical insulating materials - Properties of thermal endurance - Part 1: Ageing procedures and evaluation of test results (Материалы электроизоляционные. Определение теплостойкости. Часть 1. Общие указания по процедуре старения и оценке результатов испытаний)
[9] IEC 60216-2 Electrical insulating materials - Thermal endurance properties - Part 2: Determination of thermal endurance properties of electrical insulating materials - Choice of test criteria (Материалы электроизоляционные. Определение теплостойкости. Часть 2. Выбор методов испытаний)
[10] ISO 178 Plastics - Determination of flexural properties (Пластмассы. Определение характеристик при изгибе)
[11] ISO 527-2 Plastics - Determination of tensile properties - Part 2: Test conditions for moulding and extrusion plastics (Пластмассы. Определение механических свойств при растяжении. Часть 2. Условия испытаний для литьевых и экструзионных пластмасс)
[12] ANSI/UL 746B Полимерные материалы - Используемые при оценке оборудования (Polymeric Materials - Long-Term Property Evaluations)
[13] ISO/IEC 80079-34:2011 Explosive atmospheres - Part 34: Application of quality systems for equipment manufacture (Взрывоопасные среды. Часть 34. Применение систем качества для производства оборудования)
[14] ISO 3601-1 Fluid power systems - O-rings - Part 1: Inside diameters, cross-sections, tolerances and designation codes (Системы гидравлические и пневматические. Уплотнительные кольца. Часть 1. Внутренние диаметры, поперечные сечения, допуски и коды обозначений)
[15] ISO 3601-2 Fluid power systems - O-rings - Part 2: Housing dimensions for general applications (Системы гидравлические и пневматические. Уплотнительные кольца. Часть 2. Размеры посадочных мест под уплотнения для общих применений)
[16] ANSI/UL 746C Polymeric Materials - Used in Electrical Equipment Evaluations (Полимерные материалы - Оценка длительно сохраняемых свойств)
[17] IEC 60243-1 Electrical strength of insulating materials - Test methods - Part 1: Tests at power frequencies (Материалы изоляционные. Методы определения электрической прочности. Часть 1. Испытания на промышленных частотах)
[18] IEC 60243-2 Electric strength of solid insulating materials. Test methods. Part 2: Additional requirements for tests using direct voltage (Материалы твердые изоляционные. Методы испытания электрической прочности. Часть 2. Дополнительные требования к испытаниям при постоянном напряжении)
[19] ISO 262 ISO general - purpose metric screw threads - Selected sizes for screws, bolts and nuts (Резьбы ISO метрические общего назначения. Выбранные размеры для винтов, болтов и гаек)
[20] ISO 965-1 ISO general - purpose metric screw threads - Tolerances - Part 1: Principles and basic data (Резьбы ISO метрические общего назначения. Допуски. Часть 1. Принципы и основные данные)
[21] ISO 965-3 ISO general - purpose metric screw threads - Tolerances - Part 3: Deviations for constructional screw threads (Резьбы ISO метрические общего назначения. Допуски. Часть 3. Отклонения для конструкционных резьб)
[22] ISO 273 Fasteners - Clearance holes for bolts and screws (Изделия крепежные. Отверстия с гарантированным зазором для болтов и винтов)
[23] IEC 60192 Low-pressure sodium vapour lamps - Performance specifications (Лампы натриевые низкого давления. Требования к рабочим характеристикам)
[24] IEC 60662 High-pressure sodium vapour lamps (Лампы натриевые высокого давления)
[25] IEC 62133-2 Secondary cells and batteries containing alkaline or other non-acid electrolytes - Safety requirements for portable sealed secondary lithium cells, and for batteries made from them, for use in portable applications - Part 2: Lithium systems (Аккумуляторы и аккумуляторные батареи, содержащие щелочной и другие некислотные электролиты. Требования безопасности для портативных герметичных аккумуляторов и батарей из них при портативном применении. Часть 2. Системы на основе лития)
[26] IEC 60086-4 Primary batteries - Part 4: Safety of lithium batteries (Батареи первичные. Часть 4. Безопасность литиевых батарей)
[27] UL 1642 Lithium Batteries (Литиевые батареи)
[28] IEC 60086-1 Primary batteries - Part 1: General (Батареи первичные. Часть 1. Общие требования)
[29] IEC 60896-11 Stationary lead-acid batteries - Part 11: Vented types - General requirements and methods of tests (Батареи аккумуляторные свинцовые стационарные. Часть 11. Вентилируемые типы. Основные требования и методы испытаний)
[30] IEC 60254 Lead-acid traction batteries (all parts) [Батареи свинцово-кислотные для средств электротяги (все части)]
[31] IEC 60095-1 Lead-acid starter batteries - Part 1: General requirements and methods of test (Батареи аккумуляторные свинцовые стартерные для автотракторной техники. Общие технические требования)
[32] IEC 60896-21 Stationary lead-acid batteries - Part 21: Valve regulated types - Methods of test (Батареи аккумуляторные свинцовые стационарные. Часть 21. Типы батарей с клапанным регулированием. Методы испытаний)
[33] IEC 60952 Aircraft batteries (all parts) [Батареи аккумуляторные авиационные (все части)]
[34] IEC 61427 Secondary cells and batteries for photovoltaic energy systems (PVES) - General requirements and methods of test (Элементы вторичные и аккумуляторные батареи для солнечных фотоэлектрических энергосистем. Общие требования и методы испытания)
[35] IEC 61056-1 General purpose lead-acid batteries (valve-regulated types) - Part 1: General requirements, functional characteristics - Methods of tests (Портативные свинцово-кислотные аккумуляторы и батареи (закрытого типа). Часть 1. Общие требования, функциональные характеристики. Методы испытаний)
[36] IEC 61951-1 Secondary cells and batteries containing alkaline and other non-acid electrolytes - Portable sealed rechargeable single cells - Part 1: Nickel-cadmium (Аккумуляторы и аккумуляторные батареи, содержащие щелочной или другие некислотные электролиты. Портативные герметичные аккумуляторы. Часть 1. Никель-кадмий)
[37] IEC 60623 Secondary cells and batteries containing alkaline or other non-acid electrolytes - Vented nickel-cadmium prismatic rechargeable single cells (Аккумуляторы и аккумуляторные батареи, содержащие щелочной или другие некислотные электролиты. Аккумуляторы никель-кадмиевые открытые призматические)
(в ред. Изменения N 1, утв. Приказом Росстандарта от 06.09.2022 N 880-ст)
[38] IEC 60622 Secondary cells and batteries containing alkaline or other non-acid electrolytes - Sealed nickel-cadmium prismatic rechargeable single cells (Аккумуляторы и батареи, содержащие щелочи и другие некислотные электролиты. Элементы аккумуляторные одиночные герметичные никель-кадмиевые призматические перезаряжаемые)
[39] IEC 61951-2 Secondary cells and batteries containing alkaline or other non-acid electrolytes - Secondary sealed cells and batteries for portable applications - Part 2: Nickel-metal hydride (Аккумуляторы и аккумуляторные батареи, содержащие щелочной или другие некислотные электролиты. Портативные герметичные аккумуляторы. Часть 2. Никель-металл гидрид)
[40] IEC 61960 Secondary cells and batteries containing alkaline or other non-acid electrolytes - Secondary lithium cells and batteries for portable applications (Аккумуляторы и аккумуляторные батареи, содержащие щелочной и другие некислотные электролиты. Аккумуляторы и аккумуляторные батареи литиевые для портативного применения) (все части)
(в ред. Изменения N 1, утв. Приказом Росстандарта от 06.09.2022 N 880-ст)
[41] Thomas Reddy, Linden's Handbook of Batteries, 4th Edition McGraw-Hill Education; 2010, p. 1456 (Томас Рэдди. Справочник Линдена по батареям., McGraw-Hill Education; 4-е издание, 2010, с. 1456)
(в ред. Изменения N 1, утв. Приказом Росстандарта от 06.09.2022 N 880-ст)
[42] ATEX Directive 2014/34/EU DIRECTIVE 2014/34/EU OF THE EUROPEAN PARLIAMENT AND OF THE COUNCIL of 26 February 2014 on the harmonisation of the laws of the Member States relating to equipment and protective systems intended for use in potentially explosive atmospheres. (ATEX Директива 2014/34/ЕС Европейского Парламента и Совета от 26 февраля 2014 г. по гармонизации законов государств-членов, касающихся оборудования и защитных систем, предназначенных для использования в потенциально взрывоопасных средах. Директива ATEX)
[43] IECEx ExTAG DS 2012/005 Decision sheet IECEx ExTAG DS 2012/005 (Лист решений ExTAG DS 2012/005)
[44] ISO 179 (All parts) Plastics - Determination of Charpy impact properties [(Все части) Пластмассы. Определение ударной прочности по Шарпи. Часть 1. Неинструментальный метод испытания на удар]
[45] ISO 48-2 Rubber, vulcanized or thermoplastic - Determination of hardness - Part 2: Hardness between 10 IRHD and 100 IRHD (Резина и термопласты. Определение твердости. Часть 2. Твердость от 10 IRHD до 100 IRHD)
(в ред. Изменения N 1, утв. Приказом Росстандарта от 06.09.2022 N 880-ст)
[46] ISO 4892-2 Plastics - Methods of exposure to laboratory light sources - Part 2: Xenon-arc lamps (Пластмассы. Методы экспонирования под лабораторными источниками света. Часть 2. Лампы с ксеноновой дугой)
[47] ASTM D5964 Standard practice for rubber IRM 901, IRM 902, and IRM 903 replacement oils for ASTM No. 1, ASTM No. 2, and ASTM No. 3 (Стандартная практика для резиновых смазочных материалов IRM 901, IRM 902 и IRM 903 для ASTM N 1, ASTM N 2 и ASTM N 3)
[48] IEC 60423 Conduits for electrical purposes - Outside diameters of conduits for electrical installations and threads for conduits and fittings (Кабелепроводы электротехнического назначения. Наружные диаметры кабелепроводов для электроустановок и резьбы для кабелепроводов и фитингов)
[49] IEC TR 61340-1 Electrostatics - Part 1: Electrostatic phenomena - Principles and measurements (Электростатика. Часть 1. Электростатические явления. Принципы и измерения)
[50] ISO 10807 Pipework - Corrugated flexible metallic hose assemblies for the protection of electrical cables in explosive atmospheres (Трубопроводы - Гофрированные гибкие металлические шланговые узлы для защиты электрических кабелей во взрывоопасных средах)
[51] IEC 60034-25 Rotating electrical machines. Part 25: Guidance for the design and performance of a.c. motors specifically designed for converter supply (Машины электрические вращающиеся. Часть 25. Руководство по конструкции и характеристикам машин переменного тока, специально предназначенных для питания от преобразователей)
[52] IEEE/PCIC-2002-08 IEEE/PCIC-2002-08 - R.F. Schiferl, M.J. Melfi, J.S. Wang, "Inverter driven induction motor bearing current solutions", 49th Annual IEEE Petroleum and Chemical Industry Conference, 23 - 25 Sept. 2002, pp. 67 - 75 (Р.Ф. Шиферл, М.Дж. Мелфи, Дж.С. Ван, "Подшипниковый ток асинхронных двигателей с инвертером. Решения" 49-я ежегодная конференция по нефтяной и химической промышленности IEEE, 23 - 25 сент. 2002, стр. 67 - 75)
[53] IEC 60034-11 Rotating electrical machines - Part 11: Thermal protection (Машины электрические вращающиеся. Часть 11. Тепловая защита)
[54] IEC 60529 Degrees of protection provided by enclosures (IP Code) [Степени защиты, обеспечиваемые корпусами (Код IP)]
[55] ISO 4014 Hexagon head bolts - Product grades A and B (Болты с шестигранной головкой. Классы изделия A и B)
[56] ISO 4017 Fasteners - Hexagon head screws - Product grades A and B (Крепежные изделия. Винты с шестигранной головкой. Классы изделия A и B)
[57] ISO 4032 Plastics - Methods of exposure to laboratory light sources - Part 4: Open-flame carbon-arc lamps
[58] ISO 4762 Hexagon socket head cap screws (Винты с цилиндрической головкой и шестигранным углублением под ключ)
[59] ISO 7380 Button head screws (Винты с полукруглой головкой)
[60] ISO 14583 Hexalobular socket pan head screws (Винты с округленной головкой и шестилепестковым углублением под торцовый ключ)
[61] ISO 4026 Hexagon socket set screws with flat point (Винты установочные с плоским концом и шестигранным углублением под ключ)
[62] ISO 4027 Hexagon socket set screws with cone point (Винты установочные с шестигранным углублением под ключ и коническим концом)
[63] ISO 4028 Hexagon socket set screws with dog point (Установочный винт с шестигранным углублением под ключ и цилиндрическим концом)
[64] ISO 4029 Hexagon socket set screws with cup point (Установочный винт с шестигранным углублением под ключ и засверленным концом)