Свод правил. Канализация. Наружные сети и сооружения. СНиП 2.04.03-85. СП 32.13330.2018

(утв. Приказом Минстроя РФ от 25.12.2018 N 860/ПР)
Редакция от 17.01.2025 — Действует с 25.02.2025
Показать изменения

СВОД ПРАВИЛ

КАНАЛИЗАЦИЯ. НАРУЖНЫЕ СЕТИ И СООРУЖЕНИЯ

СНиП 2.04.03-85

Sewerage. Pipelines and wastewater treatment plants

СП 32.13330.2018

(в ред. Изменений N 1, утв. Приказом Минстроя РФ от 23.12.2019 N 839/пр, N 2, утв. Приказом Минстроя РФ от 27.12.2021 N 1023/пр, N 3, утв. Приказом Минстроя РФ от 28.12.2023 N 1009/пр, N 4, утв. Приказом Минстроя РФ. от 17.01.2025 N 17/пр)

Дата введения
26 июня 2019 года

Предисловие

Сведения о своде правил

1. ИСПОЛНИТЕЛЬ - Научно-исследовательский институт строительной физики Российской академии архитектуры и строительных наук (НИИСФ РААСН)

2. ВНЕСЕН Техническим комитетом по стандартизации ТК 465 "Строительство"

3. ПОДГОТОВЛЕН к утверждению Департаментом градостроительной деятельности и архитектуры Министерства строительства и жилищно-коммунального хозяйства Российской Федерации (Минстрой России)

4. УТВЕРЖДЕН приказом Министерства строительства и жилищно-коммунального хозяйства Российской Федерации от 25 декабря 2018 г. N 860/пр и введен в действие с 26 июня 2019 г.

5. ЗАРЕГИСТРИРОВАН Федеральным агентством по техническому регулированию и метрологии (Росстандарт). Пересмотр СП 32.13330.2012 "СНиП 2.04.03-85 Канализация. Наружные сети и сооружения"

В случае пересмотра (замены) или отмены настоящего свода правил соответствующее уведомление будет опубликовано в установленном порядке. Соответствующая информация, уведомление и тексты размещаются также в информационной системе общего пользования - на официальном сайте разработчика (Минстрой России) в сети Интернет

Введение

Настоящий свод правил составлен с учетом требований федеральных законов от 30 декабря 2009 г. N 384-ФЗ "Технический регламент о безопасности зданий и сооружений", от 27 декабря 2002 г. N 184-ФЗ "О техническом регулировании", от 23 ноября 2009 г. N 261-ФЗ "Об энергосбережении и о повышении энергетической эффективности и о внесении изменений в отдельные законодательные акты Российской Федерации", от 7 декабря 2011 г. N 416-ФЗ "О водоснабжении и водоотведении", от 29 июля 2017 г. N 225-ФЗ "О внесении изменений в Федеральный закон "О водоснабжении и водоотведении" и отдельные законодательные акты Российской Федерации", от 21 июля 2014 г. N 219-ФЗ "О внесении изменений в Федеральный закон "Об охране окружающей среды", от 3 июня 2006 г. N 74-ФЗ "Водный кодекс Российской Федерации", постановления Правительства Российской Федерации от 29 июля 2013 г. N 644 "Об утверждении Правил холодного водоснабжения и водоотведения и о внесении изменений в некоторые акты Правительства Российской Федерации".

Пересмотр выполнен авторским коллективом Федерального государственного бюджетного учреждения "Научно-исследовательский институт строительной физики Российской академии архитектуры и строительных наук" (канд. техн. наук Д.Б. Фрог, д-р техн. наук О.Г. Примин), ПГУПС (д-р техн. наук Н.А. Черников), СПбГАСУ (д-р техн. наук М.И. Алексеев), МИИТ (д-р техн. наук Ю.А. Ермолин), АО НИИ ВОДГЕО (канд. техн. наук Л.М. Верещагина), Ассоциация "ЖКХ и городская среда" (канд. техн. наук Д.А. Данилович), ООО "РЭСЭКОСТРОЙ" (В.Д. Бутман), АО "МосводоканалНИИпроект" (д-р техн. наук И.И. Павлинова), ЗАО ВИВ (д-р техн. наук В.И. Баженов), ФГБОУ ВО НИ МГСУ (канд. техн. наук В.А. Чухин), ООО "УК "Группа ПОЛИПЛАСТИК" (канд. техн. наук И.А. Аверкеев, И.П. Сафронова), ООО "Липецкой трубной компании "Свободный сокол" (И.В. Ефремов).

Изменение N 1 к СП 32.13330.2018 разработано авторским коллективом: АО "ЦНИИПромзданий" (д-р техн. наук В.В. Гранев, канд. архитектуры Д.К. Лейкина), ФГБОУ ВО "РГАУ-МСХА имени К.А. Тимирязева" (канд. техн. наук М.Г. Мхитарян), АО "Институт МосводоканалНИИпроект" (д-р техн. наук О.Г. Примин). (в ред. Изменения N 1, утв. Приказом Минстроя РФ от 23.12.2019 N 839/пр)

Изменение N 2 к настоящему своду правил разработано авторским коллективом НИИСФ РААСН (канд. техн. наук Д.Б. Фрог, канд. техн. наук Д.А. Данилович, канд. техн. наук П.Л. Карасев, канд. техн. наук Е.С. Гогина), АО "МосводоканалНИИпроект" (канд. техн. наук Л.М. Верещагина), Российская ассоциация водоснабжения и водоотведения (канд. техн. наук О.В. Харькина), ООО "Домкопстрой" (А.Н. Эпов), ГУП "Водоканал Санкт-Петербурга" (О.Н. Рублевская, Т.И. Лысова), ООО "ОКСгрупп" (С.В. Свицков), НПО "ЛИТ" (Д.А. Левченко). (в ред. Изменения N 2, утв. Приказом Минстроя РФ от 27.12.2021 N 1023/пр)

Изменение N 3 к СП 32.13330.2018 разработано авторским коллективом НИИСФ РААСН (канд. техн. наук Д.Б. Фрог, канд. техн. наук Д.А. Данилович, канд. техн. наук Л.М. Верещагина, канд. техн. наук П.Л. Карасев) при участии АО "Мосводоканал" (канд. биол. наук М.В. Кевбрина) и ООО НПФ "БИФАР" (канд. техн. наук С.Д. Беляева). (в ред. Изменения N 3, утв. Приказом Минстроя РФ от 28.12.2023 N 1009/пр)

1 Область применения (в ред. Изменения N 3, утв. Приказом Минстроя РФ от 28.12.2023 N 1009/пр)

Настоящий свод правил устанавливает требования к вновь строящимся и реконструируемым системам водоотведения населенных пунктов, наружным сетям и сооружениям постоянного назначения для бытовых, поверхностных (дождевых и талых) и близких к ним по составу производственных сточных вод.

2. Нормативные ссылки

В настоящем своде правил использованы нормативные ссылки на следующие документы:

ГОСТ 9.602-2016 Единая система защиты от коррозии и старения. Сооружения подземные. Общие требования к защите от коррозии (в ред. Изменения N 2, утв. Приказом Минстроя РФ от 27.12.2021 N 1023/пр)

ГОСТ 12.1.005-88 Система стандартов безопасности труда. Общие санитарно-гигиенические требования к воздуху рабочей зоны (в ред. Изменения N 2, утв. Приказом Минстроя РФ от 27.12.2021 N 1023/пр)

Ссылка. - Исключена. (в ред. Изменения N 2, утв. Приказом Минстроя РФ от 27.12.2021 N 1023/пр)

Ссылка. - Исключена. (в ред. Изменения N 2, утв. Приказом Минстроя РФ от 27.12.2021 N 1023/пр)

Ссылка. - Исключена. (в ред. Изменения N 2, утв. Приказом Минстроя РФ от 27.12.2021 N 1023/пр)

ГОСТ 8020-2016 Конструкции бетонные и железобетонные для колодцев канализационных, водопроводных и газопроводных сетей. Технические условия (в ред. Изменения N 2, утв. Приказом Минстроя РФ от 27.12.2021 N 1023/пр)

ГОСТ 14254-2015 (IEC 60529:2013) Степени защиты, обеспечиваемые оболочками (Код IP)

ГОСТ 15150-69 Машины, приборы и другие технические изделия. Исполнения для различных климатических районов. Категории, условия эксплуатации, хранения и транспортирования в части воздействия климатических факторов внешней среды

ГОСТ 17516.1-90 Изделия электротехнические. Общие требования в части стойкости к механическим внешним воздействующим факторам

ГОСТ 19179-73 Гидрология суши. Термины и определения

Ссылка. - Исключена. (в ред. Изменения N 3, утв. Приказом Минстроя РФ от 28.12.2023 N 1009/пр)

ГОСТ 24856-2014 Арматура трубопроводная. Термины и определения

ГОСТ 25150-2023 Канализация. Термины и определения (в ред. Изменения N 3, утв. Приказом Минстроя РФ от 28.12.2023 N 1009/пр)

ГОСТ 27751-2014 Надежность строительных конструкций и оснований. Основные положения

ГОСТ 30331.1-2013 Электроустановки низковольтные. Часть 1. Основные положения, оценка общих характеристик, термины и определения

ГОСТ 31445-2012 Трубы стальные и чугунные с защитными покрытиями. Технические требования (в ред. Изменения N 2, утв. Приказом Минстроя РФ от 27.12.2021 N 1023/пр)

ГОСТ 31937-2024 Здания и сооружения. Правила обследования и мониторинга технического состояния (в ред. Изменения N 4, утв. Приказом Минстроя РФ. от 17.01.2025 N 17/пр)

ГОСТ 32661-2014 Трубы и детали трубопроводов из реактопластов, армированных волокном. Общие технические условия (в ред. Изменения N 3, утв. Приказом Минстроя РФ от 28.12.2023 N 1009/пр)

ГОСТ ИСО/ТС 10303-1046-2012 Системы автоматизации производства и их интеграция. Представление данных об изделии и обмен этими данными. Часть 1046. Прикладной модуль. Замена изделия (в ред. Изменения N 3, утв. Приказом Минстроя РФ от 28.12.2023 N 1009/пр)

ГОСТ ISO 2531-2022 Трубы, фитинги, арматура и их соединения из чугуна с шаровидным графитом для водоснабжения. Технические условия (в ред. Изменения N 3, утв. Приказом Минстроя РФ от 28.12.2023 N 1009/пр)

ГОСТ Р 8.674-2009 Государственная система обеспечения единства измерений. Общие требования к средствам измерений и техническим системам и устройствам с измерительными функциями (в ред. Изменения N 2, утв. Приказом Минстроя РФ от 27.12.2021 N 1023/пр)

ГОСТ Р 17.4.3.07-2001 Охрана природы. Почвы. Требования к свойствам осадков сточных вод при использовании их в качестве удобрений (в ред. Изменения N 3, утв. Приказом Минстроя РФ от 28.12.2023 N 1009/пр)

Ссылка. - Исключена. (в ред. Изменения N 3, утв. Приказом Минстроя РФ от 28.12.2023 N 1009/пр)

Ссылка. - Исключена. (в ред. Изменения N 3, утв. Приказом Минстроя РФ от 28.12.2023 N 1009/пр)

ГОСТ Р 50571.5.52-2011 Электроустановки низковольтные. Часть 5-52. Выбор и монтаж электрооборудования. Электропроводки

ГОСТ Р 50571.7.706-2016 Электроустановки низковольтные. Часть 7-706. Требования к специальным установкам или местам их расположения. Проводящие помещения со стесненными условиями

ГОСТ Р 52949 Фитинги-переходники из меди и медных сплавов для соединения трубопроводов. Технические условия (в ред. Изменения N 3, утв. Приказом Минстроя РФ от 28.12.2023 N 1009/пр)

ГОСТ Р 54534-2011 Ресурсосбережение. Осадки сточных вод. Требования при использовании для рекультивации нарушенных земель (в ред. Изменения N 3, утв. Приказом Минстроя РФ от 28.12.2023 N 1009/пр)

ГОСТ Р 54535-2011 Ресурсосбережение. Осадки сточных вод. Требования при размещении и использовании на полигонах (в ред. Изменения N 3, утв. Приказом Минстроя РФ от 28.12.2023 N 1009/пр)

ГОСТ 54560-2015 Трубы и детали трубопроводов из реактопластов, армированных стекловолокном, для водоснабжения, водоотведения, дренажа и канализации. Технические условия (в ред. Изменения N 3, утв. Приказом Минстроя РФ от 28.12.2023 N 1009/пр)

ГОСТ Р 54651-2011 Удобрения органические на основе осадков сточных вод. Технические условия (в ред. Изменения N 3, утв. Приказом Минстроя РФ от 28.12.2023 N 1009/пр)

ГОСТ Р 55068-2012 Трубы и детали трубопроводов из композитных материалов на основе эпоксидных связующих, армированных стекло- и базальтоволокнами. Технические условия (в ред. Изменения N 3, утв. Приказом Минстроя РФ от 28.12.2023 N 1009/пр)

ГОСТ Р 55072-2012 Емкости из реактопластов, армированных стекловолокном. Технические условия

ГОСТ Р 55075-2012 Сегменты трубопроводов, изготовленные из композиционных материалов, предназначенные для открытой прокладки и ремонта систем водоснабжения и водоотведения (в ред. Изменения N 3, утв. Приказом Минстроя РФ от 28.12.2023 N 1009/пр)

Ссылка. - Исключена. (в ред. Изменения N 3, утв. Приказом Минстроя РФ от 28.12.2023 N 1009/пр)

ГОСТ Р 58578-2019 Правила установления нормативов и контроля выбросов запаха в атмосферу (в ред. Изменения N 2, утв. Приказом Минстроя РФ от 27.12.2021 N 1023/пр)

ГОСТ Р 58785-2019 Качество воды. Оценка стоимости жизненного цикла для эффективной работы систем и сооружений водоснабжения и водоотведения (в ред. Изменения N 2, утв. Приказом Минстроя РФ от 27.12.2021 N 1023/пр)

ГОСТ Р 70953-2023 Канализационные очистные сооружения. Строительство и реконструкция. Основные технические решения. Требования к разработке, структуре и содержанию в целях обеспечения оптимальных капитальных затрат и эксплуатационных показателей (в ред. Изменения N 3, утв. Приказом Минстроя РФ от 28.12.2023 N 1009/пр)

ГОСТ Р ИСО 10467-2013 Трубопроводы из армированных стекловолокном термореактопластов на основе ненасыщенных полиэфирных смол для напорной и безнапорной канализации и дренажа. Общие технические требования (в ред. Изменения N 3, утв. Приказом Минстроя РФ от 28.12.2023 N 1009/пр)

Ссылка. - Исключена. (в ред. Изменения N 2, утв. Приказом Минстроя РФ от 27.12.2021 N 1023/пр)

СП 12.13130.2009 Определение категорий помещений, зданий и наружных установок по взрывопожарной и пожарной опасности (с изменением N 1)

СП 14.13330.2018 "СНиП II-7-81* Строительство в сейсмических районах" (с изменениями N 2, N 3, N 4) (в ред. Изменения N 4, утв. Приказом Минстроя РФ. от 17.01.2025 N 17/пр)

СП 18.13330.2019 Производственные объекты. Планировочная организация земельного участка (СНиП II-89-80* Генеральные планы промышленных предприятий) (с изменениями N 1, N 2, N 3) (в ред. Изменения N 4, утв. Приказом Минстроя РФ. от 17.01.2025 N 17/пр)

СП 20.13330.2016 "СНиП 2.01.07-85* Нагрузки и воздействия" (с изменениями N 1, N 2, N 3, N 4, N 5, N 6) (в ред. Изменения N 4, утв. Приказом Минстроя РФ. от 17.01.2025 N 17/пр)

СП 21.13330.2012 "СНиП 2.01.09-91 Здания и сооружения на подрабатываемых территориях и просадочных грунтах" (с изменением N 1)

СП 22.13330.2016 "СНиП 2.02.01-83* Основания зданий и сооружений" (с изменениями N 1, N 2, N 3, N 4, N 5) (в ред. Изменения N 4, утв. Приказом Минстроя РФ. от 17.01.2025 N 17/пр)

СП 25.13330.2020 "СНиП 2.02.04-88 Основания и фундаменты на вечномерзлых грунтах" (с изменением N 1) (в ред. Изменений N 2, утв. Приказом Минстроя РФ от 27.12.2021 N 1023/пр, N 3, утв. Приказом Минстроя РФ от 28.12.2023 N 1009/пр)

СП 28.13330.2017 "СНиП 2.03.11-85 Защита строительных конструкций от коррозии" (с изменениями N 1, N 2, N 3, N 4) (в ред. Изменения N 4, утв. Приказом Минстроя РФ. от 17.01.2025 N 17/пр)

СП 30.13330.2020 "СНиП 2.04.01-85* Внутренний водопровод и канализация зданий" (с изменениями N 1, N 2, N 3, N 4) (в ред. Изменения N 4, утв. Приказом Минстроя РФ. от 17.01.2025 N 17/пр)

СП 31.13330.2021 "СНиП 2.04.02-84* Водоснабжение. Наружные сети и сооружения" (в ред. Изменения N 3, утв. Приказом Минстроя РФ от 28.12.2023 N 1009/пр)

СП 38.13330.2018 "СНиП 2.06.04-82* Нагрузки и воздействия на гидротехнические сооружения (волновые, ледовые и от судов)" (с изменением N 1) (в ред. Изменения N 3, утв. Приказом Минстроя РФ от 28.12.2023 N 1009/пр)

СП 42.13330.2016 "СНиП 2.07.01-89* Градостроительство. Планировка и застройка городских и сельских поселений" (с изменениями N 1, N 2, N 3, N 4) (в ред. Изменений N 2, утв. Приказом Минстроя РФ от 27.12.2021 N 1023/пр, N 3, утв. Приказом Минстроя РФ от 28.12.2023 N 1009/пр)

СП 43.13330.2012 "СНиП 2.09.03-85 Сооружения промышленных предприятий" (с изменениями N 1, N 2, N 3, N 4) (в ред. Изменения N 4, утв. Приказом Минстроя РФ. от 17.01.2025 N 17/пр)

СП 44.13330.2011 "СНиП 2.09.04-87* Административные и бытовые здания" (с изменениями N 1, N 2, N 3, N 4) (в ред. Изменений N 2, утв. Приказом Минстроя РФ от 27.12.2021 N 1023/пр, N 3, утв. Приказом Минстроя РФ от 28.12.2023 N 1009/пр)

СП 45.13330.2017 "СНиП 3.02.01-87 Земляные сооружения, основания и фундаменты" (с изменениями N 1, N 2, N 3) (в ред. Изменений N 2, утв. Приказом Минстроя РФ от 27.12.2021 N 1023/пр, N 3, утв. Приказом Минстроя РФ от 28.12.2023 N 1009/пр)

Ссылка. - Исключена. (в ред. Изменения N 3, утв. Приказом Минстроя РФ от 28.12.2023 N 1009/пр)

СП 48.13330.2019 "СНиП 12-01-2004 Организация строительства" с изменением N 1) (в ред. Изменений N 2, утв. Приказом Минстроя РФ от 27.12.2021 N 1023/пр, N 3, утв. Приказом Минстроя РФ от 28.12.2023 N 1009/пр)

СП 52.13330.2016 "СНиП 23-05-95* Естественное и искусственное освещение" (с изменениями N 1, N 2) (в ред. Изменений N 2, утв. Приказом Минстроя РФ от 27.12.2021 N 1023/пр, N 3, утв. Приказом Минстроя РФ от 28.12.2023 N 1009/пр)

СП 60.13330.2020 "СНиП 41-01-2003 Отопление, вентиляция и кондиционирование воздуха" (с изменениями N 1, N 2, N 3, N 4)

в ред. Изменения N 4, утв. Приказом Минстроя РФ. от 17.01.2025 N 17/пр)

СП 62.13330.2011 "СНиП 42-01-2002 Газораспределительные системы" (с изменениями N 1, N 2, N 3, N 4) (в ред. Изменений N 2, утв. Приказом Минстроя РФ от 27.12.2021 N 1023/пр, N 3, утв. Приказом Минстроя РФ от 28.12.2023 N 1009/пр)

СП 66.13330.2011 Проектирование и строительство напорных сетей водоснабжения и водоотведения с применением высокопрочных труб из чугуна с шаровидным графитом (с изменениями N 1, N 2)

СП 71.13330.2017 Изоляционные и отделочные покрытия (с изменениями N 1, N 2) (в ред. Изменения N 3, утв. Приказом Минстроя РФ от 28.12.2023 N 1009/пр)

СП 72.13330.2016 "СНиП 3.04.03-85 Защита строительных конструкций и сооружений от коррозии" (с изменением N 1) (в ред. Изменения N 1, утв. Приказом Минстроя РФ от 23.12.2019 N 839/пр)

СП 104.13330.2016 "СНиП 2.06.15-85 Инженерная защита территории от затопления и подтопления" (с изменением N 1) (в ред. Изменения N 2, утв. Приказом Минстроя РФ от 27.12.2021 N 1023/пр)

Ссылка. - Исключена. (в ред. Изменения N 2, утв. Приказом Минстроя РФ от 27.12.2021 N 1023/пр)

СП 116.13330.2012 "СНиП 22-02-2003 Инженерная защита территорий, зданий и сооружений от опасных геологических процессов. Основные положения" (с изменениями N 1, N 2)

в ред. Изменения N 4, утв. Приказом Минстроя РФ. от 17.01.2025 N 17/пр)

СП 129.13330.2019 "СНиП 3.05.04-85* Наружные сети и сооружения водоснабжения и канализации" (с изменением N 1)

в ред. Изменения N 4, утв. Приказом Минстроя РФ. от 17.01.2025 N 17/пр)

СП 131.13330.2020 "СНиП 23-01-99* Строительная климатология" (с изменениями N 1, N 2)

в ред. Изменения N 4, утв. Приказом Минстроя РФ. от 17.01.2025 N 17/пр)

СП 132.13330.2011 Обеспечение антитеррористической защищенности зданий и сооружений. Общие требования проектирования

СП 249.1325800.2016 Коммуникации подземные. Проектирование и строительство закрытым и открытым способами (с изменением N 1) (в ред. Изменения N 2, утв. Приказом Минстроя РФ от 27.12.2021 N 1023/пр)

СП 255.1325800.2016 Здания и сооружения. Правила эксплуатации. Основные положения (с изменениями N 1, N 2, N 3) (в ред. Изменения N 2, утв. Приказом Минстроя РФ от 27.12.2021 N 1023/пр)

СП 272.1325800.2016 Системы водоотведения городские и поселковые. Правила обследования (с изменением N 1) (в ред. Изменения N 2, утв. Приказом Минстроя РФ от 27.12.2021 N 1023/пр)

СП 273.1325800.2016 Водоснабжение и водоотведение. Правила проектирования и производства работ при восстановлении трубопроводов гибкими полимерными рукавами (с изменением N 1)

в ред. Изменения N 4, утв. Приказом Минстроя РФ. от 17.01.2025 N 17/пр)

СП 328.1325800.2020 Информационное моделирование в строительстве. Правила описания компонентов информационной модели (в ред. Изменения N 3, утв. Приказом Минстроя РФ от 28.12.2023 N 1009/пр)

СП 333.1325800.2020 Информационное моделирование в строительстве. Правила формирования информационной модели объектов на различных стадиях жизненного цикла (в ред. Изменения N 3, утв. Приказом Минстроя РФ от 28.12.2023 N 1009/пр)

СП 399.1325800.2018 Системы водоснабжения и канализации наружные из полимерных материалов. Правила проектирования и монтажа (с изменением N 1) (в ред. Измененийм N 1, утв. Приказом Минстроя РФ от 23.12.2019 N 839/пр, N 3, утв. Приказом Минстроя РФ от 28.12.2023 N 1009/пр)

Ссылка. - Исключена. (в ред. Изменения N 3, утв. Приказом Минстроя РФ от 28.12.2023 N 1009/пр)

Ссылка. - Исключена. (в ред. Изменения N 3, утв. Приказом Минстроя РФ от 28.12.2023 N 1009/пр)

Ссылка. - Исключена. (в ред. Изменения N 3, утв. Приказом Минстроя РФ от 28.12.2023 N 1009/пр)

СП 517.1325800.2022 Эксплуатация централизованных систем, сооружений водоснабжения и водоотведения (в ред. Изменения N 3, утв. Приказом Минстроя РФ от 28.12.2023 N 1009/пр)

Ссылка. - Исключена. (в ред. Изменения N 3, утв. Приказом Минстроя РФ от 28.12.2023 N 1009/пр)

Ссылка. - Исключена. (в ред. Изменения N 3, утв. Приказом Минстроя РФ от 28.12.2023 N 1009/пр)

Ссылка. - Исключена. (в ред. Изменения N 2, утв. Приказом Минстроя РФ от 27.12.2021 N 1023/пр)

Ссылка. - Исключена. (в ред. Изменения N 2, утв. Приказом Минстроя РФ от 27.12.2021 N 1023/пр)

Ссылка. - Исключена. (в ред. Изменения N 2, утв. Приказом Минстроя РФ от 27.12.2021 N 1023/пр)

Ссылка. - Исключена. (в ред. Изменения N 3, утв. Приказом Минстроя РФ от 28.12.2023 N 1009/пр)

Ссылка. - Исключена. (в ред. Изменения N 3, утв. Приказом Минстроя РФ от 28.12.2023 N 1009/пр)

Примечание - При пользовании настоящим сводом правил целесообразно проверить действие ссылочных документов в информационной системе общего пользования - на официальном сайте федерального органа исполнительной власти в сфере стандартизации в сети Интернет или по ежегодному информационному указателю "Национальные стандарты", который опубликован по состоянию на 1 января текущего года, и по выпускам ежемесячного информационного указателя "Национальные стандарты" за текущий год. Если заменен ссылочный документ, на который дана недатированная ссылка, то рекомендуется использовать действующую версию этого документа с учетом всех внесенных в данную версию изменений. Если заменен ссылочный документ, на который дана датированная ссылка, то рекомендуется использовать версию этого документа с указанным выше годом утверждения (принятия). Если после утверждения настоящего свода правил в ссылочный документ, на который дана датированная ссылка, внесено изменение, затрагивающее положение, на которое дана ссылка, то это положение рекомендуется применять без учета данного изменения. Если ссылочный документ отменен без замены, то положение, в котором дана ссылка на него, рекомендуется применять в части, не затрагивающей эту ссылку. Сведения о действии сводов правил целесообразно проверить в Федеральном информационном фонде стандартов.

3. Термины и определения

В настоящем своде правил применены термины по ГОСТ 19179, ГОСТ 19185, ГОСТ 24856, ГОСТ 25150, ГОСТ ISO 2531, [1], [2], [3], [4], [5], [6], [7], [8], [9], а также следующие термины с соответствующими определениями: (в ред. Изменения N 2, утв. Приказом Минстроя РФ от 27.12.2021 N 1023/пр)

3.1 вакуумная канализационная насосная станция: Совокупность агрегатов и оборудования, предназначенных для вакуумного транспортирования в канализационную сеть или на очистные сооружения канализации сточных вод. (в ред. Изменения N 3, утв. Приказом Минстроя РФ от 28.12.2023 N 1009/пр)

3.2 вакуумный насос: Устройство, предназначенное для создания и поддержания вакуума посредством удаления (откачки) газов или паров до определенного уровня давления (технического вакуума). (в ред. Изменения N 3, утв. Приказом Минстроя РФ от 28.12.2023 N 1009/пр)

3.3. Пункт исключен. (в ред. Изменения N 3, утв. Приказом Минстроя РФ от 28.12.2023 N 1009/пр)

3.3а. Пункт исключен. (в ред. Изменения N 3, утв. Приказом Минстроя РФ от 28.12.2023 N 1009/пр)

3.3б. Пункт исключен. (в ред. Изменения N 3, утв. Приказом Минстроя РФ от 28.12.2023 N 1009/пр)

3.3в. Пункт исключен. (в ред. Изменения N 3, утв. Приказом Минстроя РФ от 28.12.2023 N 1009/пр)

3.3г. Пункт исключен. (в ред. Изменения N 3, утв. Приказом Минстроя РФ от 28.12.2023 N 1009/пр)

3.3д. Пункт исключен. (в ред. Изменения N 3, утв. Приказом Минстроя РФ от 28.12.2023 N 1009/пр)

3.4 сточные воды смешанные населенного пункта: Смесь хозяйственно-бытовых, производственных, поливомоечных вод, отводимых/попадающих в централизованную хозяйственно-бытовую систему водоотведения, а также смесь хозяйственно-бытовых, производственных и поверхностных сточных вод, отводимых/попадающих в централизованную общесплавную систему водоотведения. (в ред. Изменения N 3, утв. Приказом Минстроя РФ от 28.12.2023 N 1009/пр)

3.4а--3.4б. Пункты исключены. (в ред. Изменения N 3, утв. Приказом Минстроя РФ от 28.12.2023 N 1009/пр)

3.5 дурнопахнущее вещество; ДПВ: Вещество, которое воздействует на обонятельную систему человека в такой степени, что человек чувствует запах, воспринимаемый человеком как неприятный или раздражающий. (в ред. Изменения N 3, утв. Приказом Минстроя РФ от 28.12.2023 N 1009/пр)

3.6 клапан вакуумный: Устройство, устанавливаемое в приемном колодце системы вакуумной канализации, при срабатывании которого происходят вытеснение и отвод сточных вод в сборный вакуумный резервуар. (в ред. Изменения N 3, утв. Приказом Минстроя РФ от 28.12.2023 N 1009/пр)

3.6а--3.6б. Пункты исключены. (в ред. Изменения N 3, утв. Приказом Минстроя РФ от 28.12.2023 N 1009/пр)

3.7 лифт-фитинг: Подъемное колено трубопровода системы вакуумной канализации. (в ред. Изменения N 3, утв. Приказом Минстроя РФ от 28.12.2023 N 1009/пр)

3.8 мощность очистных сооружений смешанных (городских) сточных вод для действующих объектов: Среднесуточный за три календарных года подряд (или с даты введения в эксплуатацию, если это произошло менее трех лет назад), предшествующие году определения данной величины, приток на очистные сооружения из централизованной системы водоотведения. (в ред. Изменения N 3, утв. Приказом Минстроя РФ от 28.12.2023 N 1009/пр)

Примечания (в ред. Изменения N 3, утв. Приказом Минстроя РФ от 28.12.2023 N 1009/пр)

1 Применяются следующие категории очистных сооружений смешанных (городских) сточных вод централизованных систем водоотведения поселений или городских округов по мощности (далее - категории очистных сооружений по мощности), устанавливаемые в соответствии с притоком, м3/сут: (в ред. Изменения N 3, утв. Приказом Минстроя РФ от 28.12.2023 N 1009/пр)

- св. 600000 - сверхкрупные; (в ред. Изменения N 3, утв. Приказом Минстроя РФ от 28.12.2023 N 1009/пр)

- 200001 - 600000 - крупнейшие; (в ред. Изменения N 3, утв. Приказом Минстроя РФ от 28.12.2023 N 1009/пр)

- 40001 - 200000 - крупные; (в ред. Изменения N 3, утв. Приказом Минстроя РФ от 28.12.2023 N 1009/пр)

- 10001 - 40000 - большие; (в ред. Изменения N 3, утв. Приказом Минстроя РФ от 28.12.2023 N 1009/пр)

- 4001 - 10000 - средние; (в ред. Изменения N 3, утв. Приказом Минстроя РФ от 28.12.2023 N 1009/пр)

- 1001 - 4000 - небольшие; (в ред. Изменения N 3, утв. Приказом Минстроя РФ от 28.12.2023 N 1009/пр)

- 101 - 1000 - малые; (в ред. Изменения N 3, утв. Приказом Минстроя РФ от 28.12.2023 N 1009/пр)

- 10 - 100 - сверхмалые. (в ред. Изменения N 3, утв. Приказом Минстроя РФ от 28.12.2023 N 1009/пр)

2 Применительно к очистным сооружениям поверхностных сточных вод применяется показатель производительности, соответствующий максимальной подаче, обеспечивающей проектные параметры качества очистки, м3/сут (л/с), осуществляемой в периоды притока поверхностных сточных вод и (или) их наличия в аккумулирующем резервуаре. (в ред. Изменения N 3, утв. Приказом Минстроя РФ от 28.12.2023 N 1009/пр)

3.9 мощность очистных сооружений смешанных (городских) сточных вод для проектируемых объектов: Среднесуточный объем сброса сточных вод, определенный в соответствии со среднесуточной проектной мощностью очистных сооружений. (в ред. Изменения N 3, утв. Приказом Минстроя РФ от 28.12.2023 N 1009/пр)

3.9а--3.9б. Пункты исключены. (в ред. Изменения N 3, утв. Приказом Минстроя РФ от 28.12.2023 N 1009/пр)

3.10 надежность системы водоотведения: Свойство системы выполнять заданные функции водоотведения и очистки сточных вод, сохраняя во времени установленные эксплуатационные показатели в пределах, соответствующих заданным режимам и условиям эксплуатации. (в ред. Изменения N 3, утв. Приказом Минстроя РФ от 28.12.2023 N 1009/пр)

3.11 (в ред. Изменения N 3, утв. Приказом Минстроя РФ от 28.12.2023 N 1009/пр)

обеспеченность гидрологической величины: Вероятность того, что рассматриваемое значение гидрологической величины может быть превышено.
[ГОСТ 19179-73, статья 91]

(в ред. Изменения N 3, утв. Приказом Минстроя РФ от 28.12.2023 N 1009/пр)

3.12 основные технические решения по строительству или реконструкции канализационных очистных сооружений; ОТР по строительству или реконструкции КОС; ОТР по КОС: Укрупненное описание основных технологических и технических решений по оптимальному варианту либо по альтернативным вариантам строительства или реконструкции КОС, произведенное на основе обработки и анализа исходных данных по объекту, технической и экономической проработки и оценки вариантов, технологических расчетов в объеме, необходимом для обоснованного выбора решений для реализации в рамках выполнения проекта. (в ред. Изменения N 3, утв. Приказом Минстроя РФ от 28.12.2023 N 1009/пр)

3.13 поверхностные сточные воды 1-го типа: Поверхностные сточные воды, образующиеся на территориях жилых и общественно-деловых зон всех видов, и близкие к ним по составу и степени загрязнения поверхностные сточные воды, образующиеся на территориях. (в ред. Изменения N 3, утв. Приказом Минстроя РФ от 28.12.2023 N 1009/пр)

Примечание - К указанным территориям относятся зоны размещения коммунальных и складских объектов, объектов жилищно-коммунального хозяйства (за исключением объектов очистки сточных вод и обращения с отходами), объектов автомобильного транспорта, включая автомобильные дороги, городские улицы и автотранспортные предприятия, объектов оптовой торговли, а также производственных зон, в которых расположены объекты (предприятия или отдельные их территории), отнесенные по критериям негативного воздействия на окружающую среду [10] к объектам III и IV категорий, а также объекты, отнесенные к I и II категориям, на которых осуществляется деятельность по обеспечению электрической энергией, газом и паром (за исключением территорий складов и резервуаров горюче-смазочных материалов), а также объекты, за исключением указанных в 3.14, предназначенные для приема, отправки воздушных судов и обслуживания воздушных перевозок, объектов инфраструктуры железнодорожного транспорта. Данные поверхностные сточные воды не содержат значимых количеств загрязняющих веществ с токсичными свойствами, а также нефтепродуктов, аммонийного азота, фосфора фосфатов и высоких концентраций органических веществ, определяемых показателями БПК и ХПК. (в ред. Изменения N 3, утв. Приказом Минстроя РФ от 28.12.2023 N 1009/пр)

3.14 поверхностные сточные воды 2-го типа: Поверхностные сточные воды, образующиеся на территориях производственных зон и зон транспортной инфраструктуры, которые могут быть загрязнены специфическими загрязняющими веществами с токсичными свойствами или органическими веществами, обусловливающими высокие значения показателей ХПК, БПК5, а также нефтепродуктами, СПАВ, тяжелыми металлами, аммонийным азотом, фосфором фосфатов. (в ред. Изменения N 3, утв. Приказом Минстроя РФ от 28.12.2023 N 1009/пр)

Примечание - К производственным и транспортным зонам, поверхностные сточные воды которых могут быть загрязнены специфическими загрязняющими веществами с токсичными свойствами или органическими веществами, обусловливающими высокие значения показателей ХПК, БПК5, а также нефтепродуктами, СПАВ, тяжелыми металлами, аммонийным азотом, фосфором фосфатов, относятся территории, на которых расположены предприятия, отнесенные по критериям негативного воздействия на окружающую среду [10] к объектам I и II категорий, а также шпалопропиточные участки объектов инфраструктуры железнодорожного транспорта и отдельные территории объектов, предназначенных для приема, отправки воздушных судов и обслуживания воздушных перевозок: площадки для мойки и обработки воздушных судов антиобледенителями, склады горюче-смазочных материалов, а также отдельные территории контейнерных терминалов с оборотом более 500 - 700 тыс. двадцатифутовых эквивалентов/год. (в ред. Изменения N 3, утв. Приказом Минстроя РФ от 28.12.2023 N 1009/пр)

3.15 приемный колодец системы вакуумной канализации: Колодец сбора сточных вод от абонентов с установленным вакуумным клапаном для отвода сточной воды в систему вакуумной канализации. (в ред. Изменения N 3, утв. Приказом Минстроя РФ от 28.12.2023 N 1009/пр)

3.16 процентиль: Выраженная в процентах доля значений выборки (совокупности величин), которые не превышают фиксированную величину. (в ред. Изменения N 3, утв. Приказом Минстроя РФ от 28.12.2023 N 1009/пр)

Примечание - Величина 85-го процентиля, например, представляет собой такой уровень величины, который превышает только 15% величин из всей использованной выборки, величина 99-го процентиля - уровень, который превышает только 1% величин. Значения процентиля и обеспеченности для величины в составе выборки связаны выражением П = 100 - Об, где П - процентиль, Об - обеспеченность. (в ред. Изменения N 3, утв. Приказом Минстроя РФ от 28.12.2023 N 1009/пр)

3.17 производственно-ливневая система водоотведения (канализации): Система водоотведения, включающая последующее повторное использование, смеси поверхностных и производственных сточных вод (как условно чистых, так и предварительно очищенных на локальных очистных сооружениях), а также инфильтрационных и дренажных вод. (в ред. Изменения N 3, утв. Приказом Минстроя РФ от 28.12.2023 N 1009/пр)

3.18 релевантные исходные данные: Значения исходных данных, адекватные решаемой задаче, учитывающие специфику данного сооружения (процесса) и параметры, влияющие на его работу. (в ред. Изменения N 3, утв. Приказом Минстроя РФ от 28.12.2023 N 1009/пр)

3.19 раздельная система водоотведения (канализации): Совокупность двух и более самостоятельных систем водоотведения (канализации): системы водоотведения хозяйственно-бытовых и части производственных сточных вод, допускаемых к сбросу в нее, системы водоотведения поверхностных сточных вод (ливневая система водоотведения), а также, при ее наличии, системы водоотведения загрязненных производственных сточных вод, не допускаемых к совместному отведению и очистке с хозяйственно-бытовыми сточными водами. (в ред. Изменения N 3, утв. Приказом Минстроя РФ от 28.12.2023 N 1009/пр)

3.20 соединительная деталь (в канализации): Элемент трубопровода, предназначенный для соединения труб, изменения направления, а также разветвления трассы, в том числе для изменения диаметра трубопровода или перехода с одного материала на другой. (в ред. Изменения N 3, утв. Приказом Минстроя РФ от 28.12.2023 N 1009/пр)

3.21 система вакуумной канализации: Совокупность взаимосвязанных сооружений, предназначенных для сбора и транспортирования сточных вод различного происхождения в замкнутой системе при разряжении. (в ред. Изменения N 3, утв. Приказом Минстроя РФ от 28.12.2023 N 1009/пр)

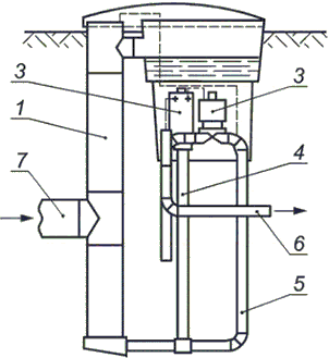
Примечание - Включает в себя трубопроводные сети, приемные колодцы с установленными в них вакуумными клапанами, вакуумные канализационные насосные станции, сборные вакуумные резервуары, вакуумные и канализационные насосы. (в ред. Изменения N 3, утв. Приказом Минстроя РФ от 28.12.2023 N 1009/пр)

3.22 технологически нормируемые вещества: Загрязняющие вещества, для которых установлены технологические показатели наилучших доступных технологий в сфере очистки сточных вод с использованием централизованных систем водоотведения поселений или городских округов. (в ред. Изменения N 3, утв. Приказом Минстроя РФ от 28.12.2023 N 1009/пр)

Примечание - Для городских (смешанных) сточных вод к технологически нормируемым веществам относятся: взвешенные вещества, ХПК, БПК5, аммонийный азот, азот нитритов, азот нитратов, фосфор фосфатов. Для поверхностных сточных вод - взвешенные вещества, нефтепродукты, ХПК, БПК5, фосфор фосфатов. (в ред. Изменения N 3, утв. Приказом Минстроя РФ от 28.12.2023 N 1009/пр)

3.23 типы поверхностных сточных вод по территориально-производственному признаку образования (типы поверхностных сточных вод): Классификационные группы указанных сточных вод, сформированные в целях регламентации последующего обращения с ними на основе общности их состава и степени загрязнения, характерного для определенных территориальных зон градостроительного зонирования и ряда территорий производственного назначения. (в ред. Изменения N 3, утв. Приказом Минстроя РФ от 28.12.2023 N 1009/пр)

3.24 трубопроводы системы вакуумной канализации: Система трубопроводов, находящихся под разряжением и служащих для сбора и отведения сточных вод в сборный вакуумный резервуар. (в ред. Изменения N 3, утв. Приказом Минстроя РФ от 28.12.2023 N 1009/пр)

3.25 (в ред. Изменения N 3, утв. Приказом Минстроя РФ от 28.12.2023 N 1009/пр)

фитинг: Устройство в трубопроводной системе, предназначенное для соединения труб между собой или с другими компонентами этой системы.
[ГОСТ Р 52949-2008, пункт 3.1]

(в ред. Изменения N 3, утв. Приказом Минстроя РФ от 28.12.2023 N 1009/пр)

3.26 общесплавная система водоотведения (канализации): Система водоотведения, предназначенная для совместного отведения и очистки всех видов сточных вод, включая хозяйственно-бытовые, производственные и поверхностные. (в ред. Изменения N 3, утв. Приказом Минстроя РФ от 28.12.2023 N 1009/пр)

3.27 централизованная ливневая система водоотведения (канализации): Система водоотведения, предназначенная для приема, транспортирования и очистки поверхностных сточных вод. (в ред. Изменения N 3, утв. Приказом Минстроя РФ от 28.12.2023 N 1009/пр)

3.28 эквивалентная численность жителей; ЭЧЖ: Условное число жителей, которое определяется как отношение суммарной массовой нагрузки по БПК5 в сточных водах на входе на городские очистные сооружения к удельной нагрузке по БПК5 от одного эквивалентного жителя (ЭЖ), равной 60 гO2/сут.". (в ред. Изменения N 3, утв. Приказом Минстроя РФ от 28.12.2023 N 1009/пр)

Сокращения (в ред. Изменения N 3, утв. Приказом Минстроя РФ от 28.12.2023 N 1009/пр)

В настоящем своде правил применены следующие сокращения: (в ред. Изменения N 3, утв. Приказом Минстроя РФ от 28.12.2023 N 1009/пр)

АО - активированные отстойники с рециркуляцией осадка; (в ред. Изменения N 3, утв. Приказом Минстроя РФ от 28.12.2023 N 1009/пр)

АСУТП - автоматизированные системы управления технологическими процессами; (в ред. Изменения N 3, утв. Приказом Минстроя РФ от 28.12.2023 N 1009/пр)

АСУП - автоматизированные системы управления предприятием; (в ред. Изменения N 3, утв. Приказом Минстроя РФ от 28.12.2023 N 1009/пр)

АУ - ацидофикаторы-уплотнители; (в ред. Изменения N 3, утв. Приказом Минстроя РФ от 28.12.2023 N 1009/пр)

АС-У - ацидофикаторы-смесители с уплотнителями; (в ред. Изменения N 3, утв. Приказом Минстроя РФ от 28.12.2023 N 1009/пр)

БПКi - биологическое потребление кислорода (индекс i - количество суток); (в ред. Изменения N 3, утв. Приказом Минстроя РФ от 28.12.2023 N 1009/пр)

ВКНС - вакуумная канализационная насосная станция; (в ред. Изменения N 3, утв. Приказом Минстроя РФ от 28.12.2023 N 1009/пр)

ИБП - источник бесперебойного питания; (в ред. Изменения N 3, утв. Приказом Минстроя РФ от 28.12.2023 N 1009/пр)

КОС - канализационные очистные сооружения; (в ред. Изменения N 3, утв. Приказом Минстроя РФ от 28.12.2023 N 1009/пр)

МБР - мембранный биологический реактор; (в ред. Изменения N 3, утв. Приказом Минстроя РФ от 28.12.2023 N 1009/пр)

МДП - местный диспетчерский пункт; (в ред. Изменения N 3, утв. Приказом Минстроя РФ от 28.12.2023 N 1009/пр)

НВОС - негативное воздействие на окружающую среду; (в ред. Изменения N 3, утв. Приказом Минстроя РФ от 28.12.2023 N 1009/пр)

НДВ - нормативы допустимых выбросов; (в ред. Изменения N 3, утв. Приказом Минстроя РФ от 28.12.2023 N 1009/пр)

НДС - нормативы допустимых сбросов; (в ред. Изменения N 3, утв. Приказом Минстроя РФ от 28.12.2023 N 1009/пр)

НДТ - наилучшие доступные технологии; (в ред. Изменения N 3, утв. Приказом Минстроя РФ от 28.12.2023 N 1009/пр)

ОС - очистные сооружения; (в ред. Изменения N 3, утв. Приказом Минстроя РФ от 28.12.2023 N 1009/пр)

ОТР - основные технические решения; (в ред. Изменения N 3, утв. Приказом Минстроя РФ от 28.12.2023 N 1009/пр)

ПДВ - предельно допустимый выброс (выбросы); (в ред. Изменения N 3, утв. Приказом Минстроя РФ от 28.12.2023 N 1009/пр)

ПДК - предельно допустимая концентрация; (в ред. Изменения N 3, утв. Приказом Минстроя РФ от 28.12.2023 N 1009/пр)

ПДСВ - производственно-дождевые сточные воды; (в ред. Изменения N 3, утв. Приказом Минстроя РФ от 28.12.2023 N 1009/пр)

ПДСК - производственно-дождевая система канализации; (в ред. Изменения N 3, утв. Приказом Минстроя РФ от 28.12.2023 N 1009/пр)

ПЛСВ - производственно-ливневые сточные воды; (в ред. Изменения N 3, утв. Приказом Минстроя РФ от 28.12.2023 N 1009/пр)

ПО КМ - программное обеспечение компьютерного моделирования; (в ред. Изменения N 3, утв. Приказом Минстроя РФ от 28.12.2023 N 1009/пр)

САК - система автоматического контроля; (в ред. Изменения N 3, утв. Приказом Минстроя РФ от 28.12.2023 N 1009/пр)

СЗЗ - санитарно-защитная зона; (в ред. Изменения N 3, утв. Приказом Минстроя РФ от 28.12.2023 N 1009/пр)

СПАВ - синтетические поверхностно-активные вещества; (в ред. Изменения N 3, утв. Приказом Минстроя РФ от 28.12.2023 N 1009/пр)

СПП - снегоплавильный пункт; (в ред. Изменения N 3, утв. Приказом Минстроя РФ от 28.12.2023 N 1009/пр)

СЖЦ - стоимость жизненного цикла; (в ред. Изменения N 3, утв. Приказом Минстроя РФ от 28.12.2023 N 1009/пр)

ХПК - химическое потребление кислорода; (в ред. Изменения N 3, утв. Приказом Минстроя РФ от 28.12.2023 N 1009/пр)

ЦДП - центральный диспетчерский пункт; (в ред. Изменения N 3, утв. Приказом Минстроя РФ от 28.12.2023 N 1009/пр)

ЦСВП - централизованная система водоотведения поселения, муниципального округа или городского округа. (в ред. Изменения N 3, утв. Приказом Минстроя РФ от 28.12.2023 N 1009/пр)

4. Общие положения

4.1. Проектирование систем водоотведения (канализации) поселений, городских округов должно осуществляться на основании [8], генеральных схем и проектов районной планировки и застройки поселений, городских округов и размещения промышленных предприятий, схемы водоотведения населенных пунктов, с учетом требований к очистке сточных вод, климатических условий, рельефа местности, геологических, гидрологических, экологических условий и других факторов. (в ред. Изменений N 2, утв. Приказом Минстроя РФ от 27.12.2021 N 1023/пр, N 3, утв. Приказом Минстроя РФ от 28.12.2023 N 1009/пр)

В составе схемы водоотведения для поселения, городского округа с населением 150 тыс. чел. и более рекомендуется разрабатывать электронную модель централизованной системы водоотведения для объективной оценки влияния мероприятий, направленных на оптимизацию работы этих систем.

Для очистных сооружений поселений и городских округов начиная со средних по мощности следует осуществлять разработку ОТР в соответствии с ГОСТ Р 70953. (в ред. Изменения N 3, утв. Приказом Минстроя РФ от 28.12.2023 N 1009/пр)

Проекты схем водоотведения разрабатываются в соответствии с документами территориального планирования поселения, городского округа [8]. При этом следует учитывать существующие и планируемые схемы водоснабжения, энергоснабжения, теплоснабжения и газоснабжения. (в ред. Изменения N 2, утв. Приказом Минстроя РФ от 27.12.2021 N 1023/пр)

4.2 При проектировании новых и реконструкции существующих систем и объектов водоотведения необходимо экономическим расчетом обосновывать объединение систем водоотведения локальных объектов, предусматривать возможность их совместного использования и интенсификацию их совместной работы. При этом следует учитывать критерии надежности, экологическую, экономическую и санитарную оценки существующих сооружений согласно [42] - [44]. Проектную документацию следует выполнять с учетом СП 42.13330, СП 48.13330, СП 132.13330. (в ред. Изменений N 2, утв. Приказом Минстроя РФ от 27.12.2021 N 1023/пр, N 3, утв. Приказом Минстроя РФ от 28.12.2023 N 1009/пр)

Официальный источник электронного документа содержит неточность: имеется в виду СанПиН 1.2.3685-21.

Сооружения и трубопроводы следует проектировать на срок службы не менее 50 лет для условий нормальной эксплуатации согласно СП 255.1325800.

На проектируемых объектах необходимо обеспечивать требования к сбросу сточных вод:

- от очистных сооружений централизованных систем водоотведения поселений или городских округов - технологических нормативов сбросов для наилучших доступных технологий (НДТ), определяемых в соответствии с [11] на основе технологических показателей, установленных [3];

- от иных объектов, соответствующих области применения настоящего свода правил, относящихся к областям применения наилучших доступных технологий [12] - технологических нормативов сбросов для НДТ, определяемых в соответствии с [11] на основе технологических показателей, установленных нормативными документами в области охраны окружающей среды [13] - [24];

- от объектов, соответствующих области применения настоящего свода правил, но не относящихся к областям применения наилучших доступных технологий [12] - нормативов допустимых сбросов (НДС), разработанных в соответствии с [25].

Применительно к очистным сооружениям централизованных систем водоотведения поселений или городских округов следует также учитывать положения информационно-технического справочника в области очистки сточных вод централизованных систем водоотведения поселений, городских округов [26].

Применительно к очистным сооружениям объектов, не являющихся централизованными системами водоотведения поселений или городских округов, но соответствующих области применения настоящего свода правил и относящихся к областям применения наилучших доступных технологий [10], следует также учитывать [27].

Определение категории существующих либо проектируемых очистных сооружений централизованных систем водоотведения поселений или городских округов по мощности для установления технологических показателей и применения настоящего свода правил следует выполнять в соответствии с [3].

К очистным сооружениям поверхностных сточных вод категории по мощности не применяются. (в ред. Изменения N 2, утв. Приказом Минстроя РФ от 27.12.2021 N 1023/пр)

4.3 Очистку производственных, бытовых и поверхностных сточных вод поселений, городских округов допускается производить совместно или раздельно в зависимости от характера и степени их загрязнения с учетом существующей или проектируемой схемы и системы водоотведения. (в ред. Изменения N 3, утв. Приказом Минстроя РФ от 28.12.2023 N 1009/пр)

Системы водоотведения поселений, городских округов следует проектировать раздельными, то есть с раздельным отведением и очисткой городских (смешанных) и поверхностных сточных вод. (в ред. Изменения N 3, утв. Приказом Минстроя РФ от 28.12.2023 N 1009/пр)

Применение общесплавных систем водоотведения для новых ЦСВ не допускается. (в ред. Изменения N 3, утв. Приказом Минстроя РФ от 28.12.2023 N 1009/пр)

При развитии ЦСВ населенных пунктов, имеющих иные системы водоотведения, решения по выбору систем для новых (реконструируемых) участков этих систем, следует принимать на основании технико-экономического обоснования с учетом методики оценки стоимости жизненного цикла в соответствии с ГОСТ Р 58785. (в ред. Изменения N 3, утв. Приказом Минстроя РФ от 28.12.2023 N 1009/пр)

4.4 Проекты водоотведения производственных объектов должны быть увязаны со схемой их водоснабжения, с обязательным рассмотрением возможности использования очищенных производственных, поверхностных вод и (или) ПЛСВ, для производственного водоснабжения и других технических и коммунально-бытовых нужд. (в ред. Изменения N 3, утв. Приказом Минстроя РФ от 28.12.2023 N 1009/пр)

4.5. При выборе схемы водоотведения промышленных предприятий необходимо учитывать:

- возможность сокращения объемов загрязненных сточных вод, образующихся в технологических процессах за счет внедрения безотходных и безводных производств, устройства замкнутых систем водного хозяйства, применения воздушных методов охлаждения и т.п.;

- возможность локальной очистки потоков сточных вод с целью извлечения отдельных компонентов;

- возможность последовательного использования воды в различных технологических процессах с различными требованиями к ее качеству;

- условия выпуска производственных сточных вод в водные объекты или в централизованную систему водоотведения поселения, городского округа или другого водопользователя, которые определяются действующим природоохранным законодательством, а также нормативными правовыми актами в сфере водоснабжения и водоотведения, регулирующими отношения между организациями, осуществляющими водоснабжение и водоотведение, и их абонентами;

- условия удаления и использования осадков и отходов, образующихся при очистке сточных вод.

Следует также руководствоваться [27] и [28]. (в ред. Изменений N 2, утв. Приказом Минстроя РФ от 27.12.2021 N 1023/пр, N 3, утв. Приказом Минстроя РФ от 28.12.2023 N 1009/пр)

4.6. Объединение потоков производственных сточных вод с различными загрязняющими веществами, в отношении которых применяются меры государственного регулирования [29], допускается при целесообразности их совместной очистки. При этом необходимо учитывать возможность протекания в коммуникациях химических процессов с образованием газообразных или твердых продуктов. (в ред. Изменения N 2, утв. Приказом Минстроя РФ от 27.12.2021 N 1023/пр)

4.7. При присоединении канализационных сетей абонентов, не относящихся к жилому фонду, к централизованным системам водоотведения поселений, городских округов следует предусматривать выпуски с контрольными колодцами в соответствии с [6]. (в ред. Изменения N 2, утв. Приказом Минстроя РФ от 27.12.2021 N 1023/пр)

Необходимо предусматривать устройства для измерения расхода сбрасываемых сточных вод от каждого предприятия, если абонент имеет существенно разомкнутый водный баланс, как минимум, в следующих случаях:

- если абонент не подключен к централизованной системе водоснабжения либо имеет (или может иметь) водоснабжение из нескольких источников;

- если в ходе производственного процесса добавляется либо изымается свыше 5% расхода воды, потребляемого из водопровода.

Объединение производственных сточных вод нескольких предприятий допускается после контрольного колодца каждого предприятия.

4.8. Запрещается производить сброс в централизованные системы водоотведения веществ, материалов, отходов и сточных вод, запрещенных к сбросу в централизованные системы водоотведения, по перечню [4]. Значения показателей общих свойств сточных вод и концентраций загрязняющих веществ в сточных водах не должны превышать максимальные допустимые значения нормативных показателей общих свойств сточных вод и концентраций загрязняющих веществ в сточных водах, установленные в целях предотвращения негативного воздействия на работу централизованных систем водоотведения по перечню [4]. (в ред. Изменения N 2, утв. Приказом Минстроя РФ от 27.12.2021 N 1023/пр)

Отведение (прием) поверхностных сточных вод в централизованную систему водоотведения поселения или городского округа разрешается при наличии технической возможности для приема, транспортирования и очистки таких сточных вод. Отведение (прием) бытовых сточных вод и жидких отходов в централизованные системы водоотведения поверхностного стока запрещается. (в ред. Изменения N 2, утв. Приказом Минстроя РФ от 27.12.2021 N 1023/пр)

Производственные сточные воды, подлежащие совместному отведению и очистке с бытовыми сточными водами поселения или городского округа, должны отвечать действующим требованиям к составу и свойствам сточных вод, принимаемых в систему водоотведения поселения или городского округа согласно [4]. Производственные сточные воды, не отвечающие указанным требованиям, должны подвергаться предварительной очистке с учетом 7.1.4. (в ред. Изменения N 2, утв. Приказом Минстроя РФ от 27.12.2021 N 1023/пр)

4.9 Наружные сети и системы канализации с транспортированием сточных вод с помощью вакуума следует проектировать по приложению И. (в ред. Изменения N 3, утв. Приказом Минстроя РФ от 28.12.2023 N 1009/пр)

4.10. При проектировании очистных сооружений общесплавной и комбинированной систем водоотведения, осуществляющих совместное отведение на очистку всех видов сточных вод, следует руководствоваться настоящим сводом правил и другими нормативными документами, включая региональные, регламентирующие работу таких систем. (в ред. Изменений N 2, утв. Приказом Минстроя РФ от 27.12.2021 N 1023/пр, N 3, утв. Приказом Минстроя РФ от 28.12.2023 N 1009/пр)

4.11. На очистные сооружения должна отводиться наиболее загрязненная часть поверхностных сточных вод, которая образуется в периоды выпадения дождей, таяния снега и от мойки дорожных покрытий, в количестве не менее 70% среднегодового объема поверхностных сточных вод 1-го типа и всего среднегодового объема поверхностных сточных вод 2-го типа. (в ред. Изменения N 2, утв. Приказом Минстроя РФ от 27.12.2021 N 1023/пр)

4.12. Поверхностные сточные воды с территорий промышленных зон, строительных площадок, складских и логистических терминалов, транспортных автомагистралей и автохозяйств, а также особо загрязненных участков, расположенных на территориях поселений и городских округов (бензозаправочные станции, автомобильные стоянки, автобусные станции, торгово-развлекательные центры), а также с территории объектов, расположенных в границах водоохранных зон, перед сбросом в централизованные системы водоотведения поселений, городских округов должны подвергаться очистке на локальных очистных сооружениях согласно [4], [6]. (в ред. Изменения N 2, утв. Приказом Минстроя РФ от 27.12.2021 N 1023/пр)

4.13. При определении условий выпуска поверхностных сточных вод в водные объекты следует руководствоваться [3], [5], [25], [34]. (в ред. Изменения N 2, утв. Приказом Минстроя РФ от 27.12.2021 N 1023/пр)

Выбор схемы отведения и очистки поверхностных сточных вод, а также конструкции очистных сооружений, определяются его исходными качественными и количественными характеристиками, условиями отведения и осуществляются на основании оценки технической возможности реализации того или иного варианта и сравнения технико-экономических показателей с учетом стоимости жизненного цикла оборудования и срока службы сооружений в соответствии с ГОСТ Р 58785. (в ред. Изменений N 2, утв. Приказом Минстроя РФ от 27.12.2021 N 1023/пр, N 3, утв. Приказом Минстроя РФ от 28.12.2023 N 1009/пр)

4.14 При проектировании сооружений очистки городских и (или) поверхностных сточных вод поселений и городских округов, а также поверхностных сточных вод производственных объектов на стадии основных технических решений необходимо рассматривать возможности по обеспечению имеющихся в регионе потребностей в техническом водоснабжении, обводнении и орошении за счет использования очищенных сточных вод. (в ред. Изменения N 3, утв. Приказом Минстроя РФ от 28.12.2023 N 1009/пр)

4.15 Технические решения, применяемые в проектах, и очередность их осуществления должны учитывать санитарно-гигиенические, экологические требования, а также положения СП 333.1325800 и СП 328.1325800. (в ред. Изменения N 3, утв. Приказом Минстроя РФ от 28.12.2023 N 1009/пр)

Для предпроектных проработок и обоснования эффективности проектных решений допускается использование методики ГОСТ Р 58785. (в ред. Изменения N 3, утв. Приказом Минстроя РФ от 28.12.2023 N 1009/пр)

4.16 При проектировании сетей и сооружений водоотведения должны быть предусмотрены прогрессивные технические решения, механизация трудоемких работ, автоматизация технологических процессов, индустриализация строительно-монтажных работ за счет применения сооружений, конструкций и изделий заводского изготовления и т.п. (в ред. Изменения N 3, утв. Приказом Минстроя РФ от 28.12.2023 N 1009/пр)

Трубы, фитинги, соединительные детали, оборудование и материалы, применяемые при устройстве систем водоотведения, должны соответствовать требованиям настоящего свода правил и стандартов. (в ред. Изменения N 3, утв. Приказом Минстроя РФ от 28.12.2023 N 1009/пр)

Следует предусматривать мероприятия по энергосбережению, а также по экономически выгодному использованию вторичных энергоресурсов станций очистки сточных вод и утилизации осадков и продукции на их основе. (в ред. Изменения N 3, утв. Приказом Минстроя РФ от 28.12.2023 N 1009/пр)

Проектные мероприятия, связанные с обеспечением эффективной эксплуатации объектов водоотведения, следует предусматривать с учетом СП 517.1325800. (в ред. Изменения N 3, утв. Приказом Минстроя РФ от 28.12.2023 N 1009/пр)

4.16а Транспортирование сточных вод может осуществляться самотечным (гравитационным) или принудительным (напорным или вакуумным) способом, за счет создания избыточного давления [напора или разряжения (вакуума)] обеспечивающим движение сточной жидкости с расчетными скоростями. (в ред. Изменения N 3, утв. Приказом Минстроя РФ от 28.12.2023 N 1009/пр)

4.17 Расположение объектов водоотведения в акваториях водных объектов, а также условия и места выпусков сточных вод должны соответствовать положениям законодательства Российской Федерации [1], [5] и требованиям [42] и [43]. (в ред. Изменений N 2, утв. Приказом Минстроя РФ от 27.12.2021 N 1023/пр, N 3, утв. Приказом Минстроя РФ от 28.12.2023 N 1009/пр)

Официальный источник электронного документа содержит неточность: имеется в виду СанПиН 1.2.3685-21.

4.18 Надежность системы водоотведения характеризуется ее способностью сохранять расчетную пропускную способность сооружений транспортирования сточных вод и обеспечивать расчетное качество очищенных сточных вод в условиях изменения расходов и загрязненности сточных вод, а также в условиях перебоев в электроснабжении, возможных аварийных ситуаций, при производстве плановых и аварийных ремонтных работ.

При проектировании необходимо предусматривать мероприятия по обеспечению надежности с учетом уровня ответственности объекта в соответствии с 4.19. Следует определять пределы допустимых снижений пропускной способности системы и (или) эффективности очистки сточных вод в нештатных и аварийных ситуациях.

4.19 Надежность системы водоотведения обеспечивается: (в ред. Изменения N 3, утв. Приказом Минстроя РФ от 28.12.2023 N 1009/пр)

- секционированием сооружений с выделением параллельно работающих линий и резервированием рабочего оборудования одного назначения согласно требованиям настоящего свода правил; (в ред. Изменения N 3, утв. Приказом Минстроя РФ от 28.12.2023 N 1009/пр)

- дублированием коммуникаций, устройством обводных линий и перепусков, переключения на параллельных трубопроводах и т.п.; (в ред. Изменения N 3, утв. Приказом Минстроя РФ от 28.12.2023 N 1009/пр)

- обеспечением необходимого запаса мощности, пропускной способности, вместимости и числа единиц оборудования и сооружений в соответствии с требованиями настоящего свода правил; (в ред. Изменения N 3, утв. Приказом Минстроя РФ от 28.12.2023 N 1009/пр)

- интегрированными в единую систему проектными решениями по отдельным сооружениям и элементам; (в ред. Изменения N 3, утв. Приказом Минстроя РФ от 28.12.2023 N 1009/пр)

- соблюдением регламента эксплуатации в соответствии с СП 517.1325800; (в ред. Изменения N 3, утв. Приказом Минстроя РФ от 28.12.2023 N 1009/пр)

- энергоснабжением в соответствии с установленной категорией надежности, наличием резервной автономной электростанции, аккумуляторных батарей и т.п. согласно требованиям настоящего свода правил, [30] и [31]; (в ред. Изменения N 3, утв. Приказом Минстроя РФ от 28.12.2023 N 1009/пр)

- для безнапорных сетей применением аварийных или аварийно-регулирующих резервуаров; (в ред. Изменения N 3, утв. Приказом Минстроя РФ от 28.12.2023 N 1009/пр)

- средствами дистанционного контроля и автоматического управления элементами системы. (в ред. Изменения N 3, утв. Приказом Минстроя РФ от 28.12.2023 N 1009/пр)

4.20 Санитарно-защитные зоны от объектов централизованных систем водоотведения устанавливаются, изменяются и прекращают свое действие в порядке, определенном в [32], в соответствии с [9] и [42]. (в ред. Изменений N 2, утв. Приказом Минстроя РФ от 27.12.2021 N 1023/пр, N 3, утв. Приказом Минстроя РФ от 28.12.2023 N 1009/пр)

4.21. Использование восстановленных стальных труб и других, бывших в употреблении видов металлоконструкций (профилей, балок, листов, полос, свай, шпунтов и др.) не допускается предусматривать в проектной и рабочей документации на строительство, реконструкцию и капитальный ремонт зданий и сооружений повышенного и нормального уровня ответственности.

4.22 При проектировании реконструкции существующих очистных сооружений и насосных станций расчетные расходы, включая максимальные суточные и максимальные часовые значения, необходимо устанавливать по данным ежесуточных инструментальных измерений, осуществляемых в ходе эксплуатации за период не менее трех лет, при их наличии (в том числе записей почасовых притоков, включая дни с сильными ливнями и (или) снеготаянием). Указанные данные должны быть получены при соблюдении требований к средствам измерений согласно ГОСТ Р 8.674. (в ред. Изменения N 3, утв. Приказом Минстроя РФ от 28.12.2023 N 1009/пр)

В отсутствие достаточного объема верифицированных данных следует предусматривать определение расходов инструментальным путем: для очистных сооружений мощностью начиная со средних - в ходе разработки ОТР по ГОСТ Р 70953, а в иных ситуациях - в ходе инженерных изысканий (вид дополнительных и специальных работ - получение недостающих исходных материалов и данных) по СП 47.13330, а также с учетом СП 272.1325800. При проведении инструментальных измерений и оценке их результатов следует учитывать фактор сезонности, а также погодные условия в период проведения измерений. (в ред. Изменения N 3, утв. Приказом Минстроя РФ от 28.12.2023 N 1009/пр)

Полученные результаты следует сопоставлять с данными службы эксплуатации и по результатам сопоставления принимать решение о возможности использования данного массива в качестве исходных данных без изменений либо с поправочным коэффициентом.

При наличии фактических данных измерений притока на очистные сооружения (подачи сточных вод насосной станцией), полученных при соблюдении требований к средствам измерений согласно ГОСТ Р 8.674, существенно превышающих расчетные значения по 5.1.1 - 5.1.5, следует использовать фактические данные.

При использовании фактических данных при определении расчетных расходов следует учитывать изменение расходов на перспективу в соответствии с утвержденной схемой водоотведения.

При проектировании не допускается обеспечение запаса мощности очистных сооружений централизованных систем водоотведения поселений на срок более 20 лет от момента начала разработки проектной документации (в том числе с учетом очередей строительства), при этом расчетный срок вывода первой очереди на проектную нагрузку не должен превышать 12 лет от начала разработки проектной документации.

Величины коэффициентов неравномерности для проектирования сетей и насосных станций в составе систем водоотведения следует определять в соответствии с разделом 5, а для проектирования очистных сооружений смешанных (городских) сточных вод - в соответствии с приложением Г. (в ред. Изменения N 2, утв. Приказом Минстроя РФ от 27.12.2021 N 1023/пр)

5. Гидравлический расчет канализационных сетей. Удельные расходы, коэффициенты неравномерности и расчетные расходы сточных вод

5.1. Общие указания

5.1.1 При отсутствии данных инструментального контроля средние расходы сточных вод в бассейнах канализования централизованных систем водоотведения поселений и городских округов следует определять как сумму расходов, устанавливаемых по 5.1.1а - 5.1.5. Также допускается определение по данным пунктам средних притоков на очистные сооружения централизованных систем водоотведения поселений и городских округов при условиях, определенных приложением Г. (в ред. Изменения N 3, утв. Приказом Минстроя РФ от 28.12.2023 N 1009/пр)

5.1.1а Расчетное среднесуточное (за год) водоотведение бытовых сточных вод от жилых зданий, оздоровительных и рекреационных объектов следует принимать равным расчетному среднесуточному (за год) водопотреблению согласно удельным данным СП 31.13330 и расчетной на перспективу численности населения, обеспеченного услугой водоотведения, без учета расхода воды на полив территорий и зеленых насаждений. Для курортных поселений следует рассчитывать отдельно водоотведение для курортного сезона и сезона с минимальной численностью отдыхающих. (в ред. Изменения N 3, утв. Приказом Минстроя РФ от 28.12.2023 N 1009/пр)

5.1.2. Удельное водоотведение для определения расчетных расходов сточных вод от отдельных жилых и общественных зданий при необходимости учета сосредоточенных расходов следует принимать согласно СП 30.13330.

5.1.3 При проектировании систем водоотведения поселений и городских округов расходы сточных вод от промышленных предприятий, крупных объектов транспортной и логистической инфраструктуры, оборонных объектов, объектов пенитенциарной системы и других подобных объектов следует определять: (в ред. Изменения N 3, утв. Приказом Минстроя РФ от 28.12.2023 N 1009/пр)

- для существующих объектов - по данным эксплуатирующей организации по приему сточных вод в систему водоотведения либо их сбросу в водные объекты за три года. При этом максимальные часовые расходы допускается определять по информации, полученной от данных объектов; (в ред. Изменения N 3, утв. Приказом Минстроя РФ от 28.12.2023 N 1009/пр)

- для новых объектов - по выданным техническим условиям на присоединение к системе водоотведения. (в ред. Изменения N 3, утв. Приказом Минстроя РФ от 28.12.2023 N 1009/пр)

При проектировании систем водоотведения промышленных предприятий расходы сточных вод и коэффициенты неравномерности их притока следует определять по технологическим данным с анализом водохозяйственного баланса в части возможного водооборота и повторного использования сточных вод, при отсутствии данных - по укрупненным нормам расхода воды на единицу продукции или сырья либо по данным аналогичных предприятий. При этом из общего количества сточных вод предприятий следует выделять расходы, сбрасываемые в сеть водоотведения поселений (городских округов) или другого водопользователя. (в ред. Изменения N 3, утв. Приказом Минстроя РФ от 28.12.2023 N 1009/пр)

5.1.4 Объем привозимых автотранспортом сточных вод и жидких фракций из накопителей в неканализованных районах на сливные станции, расположенные в бассейне канализования, следует принимать по данным (планам) эксплуатирующей организации на расчетный период, в том числе развития канализования данных районов. При отсутствии таких данных допускается рассчитывать эти объемы на основании численности населения неканализованных районов. При этом удельное водоотведение в неканализованных районах допускается принимать от 25 л/сут на одного жителя в районах с водоснабжением от водоразборных колонок до расчетного водопотребления согласно СП 30.13330, в районах, имеющих в домах централизованное водоснабжение либо нецентрализованное водоснабжение от индивидуальных источников, при накоплении сточных вод в герметичных накопителях. (в ред. Изменения N 3, утв. Приказом Минстроя РФ от 28.12.2023 N 1009/пр)

5.1.5 В дополнение к расходам, определенным по 5.1.1а - 5.1.4 для централизованных систем водоотведения поселений и городских округов, следует учитывать поступление следующих притоков сточных вод, принимая их среднее количество в процентах от суммы притоков, определенных по 5.1.1а - 5.1.4, в размере: (в ред. Изменения N 3, утв. Приказом Минстроя РФ от 28.12.2023 N 1009/пр)

- сточных вод от предприятий сферы торговли, услуг и местной промышленности - 6% - 12%; (в ред. Изменения N 3, утв. Приказом Минстроя РФ от 28.12.2023 N 1009/пр)

- неучтенных притоков от абонентов - 4% - 8%; (в ред. Изменения N 3, утв. Приказом Минстроя РФ от 28.12.2023 N 1009/пр)

- неорганизованного притока (поверхностные, инфильтрационные и дренажные воды) - 4% - 8%. (в ред. Изменения N 3, утв. Приказом Минстроя РФ от 28.12.2023 N 1009/пр)

5.1.6 При проектировании систем вакуумной канализации в расчетах среднесуточных расходов дополнительный приток по 5.1.5 не учитывается. (в ред. Изменения N 3, утв. Приказом Минстроя РФ от 28.12.2023 N 1009/пр)

5.1.7. Расчетные максимальные и минимальные расходы сточных вод для расчета канализационной сети следует определять по результатам инструментальных измерений с учетом 4.2.2, либо компьютерного моделирования систем водоотведения, учитывающих графики притока сточных вод от зданий, жилых массивов, промышленных предприятий, протяженность и конфигурацию сетей, наличие насосных станций и другие факторы, либо, в отсутствие возможности получения указанных данных - по данным фактического графика водоподачи при эксплуатации аналогичных объектов. При отсутствии указанных данных допускается принимать значения общего коэффициента неравномерности для определения максимального расчетного часового расхода в системе водоотведения (ее технологической зоне) как сумму значения из таблицы 1 (соответствующего процентиля с учетом примечаний к таблице) и уменьшенного на единицу отношения суммы среднесуточного (за год) расхода, определенного по 5.1.5, приведенного в л/с, и дополнительного притока, рассчитанного в соответствии с 5.1.10, к среднесуточному (за год) расходу по 5.1.5, приведенному, л/с, по формуле (в ред. Изменений N 2, утв. Приказом Минстроя РФ от 27.12.2021 N 1023/пр, N 3, утв. Приказом Минстроя РФ от 28.12.2023 N 1009/пр)

Кобщ = Кнер + ((qср + q1)/qср - 1), (1а) (в ред. Изменения N 3, утв. Приказом Минстроя РФ от 28.12.2023 N 1009/пр)

где Кнер - коэффициент неравномерности по таблице 1; (в ред. Изменения N 3, утв. Приказом Минстроя РФ от 28.12.2023 N 1009/пр)

qср - средний расход, л/с; (в ред. Изменения N 3, утв. Приказом Минстроя РФ от 28.12.2023 N 1009/пр)

q1 - расход по формуле (1а), л/с. (в ред. Изменения N 3, утв. Приказом Минстроя РФ от 28.12.2023 N 1009/пр)

Абзац второй. - Исключен. (в ред. Изменения N 3, утв. Приказом Минстроя РФ от 28.12.2023 N 1009/пр)

Таблица 1

Общие максимальные и минимальные коэффициенты часовой неравномерности притока сточных вод 99-го и 95-го процентилей (обеспеченностью 1%-ной и 5%-ной, соответственно)

(в ред. Изменений N 2, утв. Приказом Минстроя РФ от 27.12.2021 N 1023/пр, N 3, утв. Приказом Минстроя РФ от 28.12.2023 N 1009/пр)

Коэффициенты неравномерности, соответствующие притокам заданного процентиля (заданной обеспеченности) Средний за год либо за расчетный сезон расход сточных вод, л/с
5 10 20 50 100 300 500 1000 5000 и более
(в ред. Изменения N 3, утв. Приказом Минстроя РФ от 28.12.2023 N 1009/пр)
При притоке 99-го процентиля (1%-ной обеспеченности)
(в ред. Изменения N 2, утв. Приказом Минстроя РФ от 27.12.2021 N 1023/пр)
Максимальный 3,0 2,7 2,5 2,2 2,0 1,8 1,75 1,7 1,6
Минимальный 0,2 0,23 0,26 0,3 0,35 0,4 0,45 0,51 0,56
При притоке 95-го процентиля (5%-ной обеспеченности)
(в ред. Изменения N 2, утв. Приказом Минстроя РФ от 27.12.2021 N 1023/пр)
Максимальный 2,5 2,1 1,9 1,7 1,6 1,55 1,5 1,47 1,44
Минимальный 0,38 0,46 0,5 0,55 0,59 0,62 0,66 0,69 0,71
Примечания
1. Значения общих коэффициентов неравномерности притока сточных вод, приведенных в настоящей таблице, допускается принимать при количестве производственных сточных вод, не превышающем 45% общего расхода.
2. При средних расходах сточных вод менее 5 л/с максимальный коэффициент неравномерности принимается 3.
3. Величина притока 95-го процентиля (5%-ной обеспеченности) предполагает возможное увеличение (уменьшение) притока в среднем один раз в течение суток. Величина 99-го процентиля (1%-ной обеспеченности) - один раз в течение 5 - 6 сут.
(в ред. Изменения N 2, утв. Приказом Минстроя России от 27.12.2021 N 1023/пр)
4. Величина притока 95-го процентиля (5%-ной обеспеченности) принимается для определения наибольшей степени наполнения труб в соответствии с таблицей 2, а величина 99-го процентиля (1%-ной обеспеченности) принимается при учете свободной емкости сети при полном наполнении. Приток 99-го процентиля (1%-ной обеспеченности) должен учитываться при определении объемов приемных резервуаров насосных станций.
(в ред. Изменения N 2, утв. Приказом Минстроя РФ от 27.12.2021 N 1023/пр)
5. Значения общих коэффициентов неравномерности притока сточных вод, приведенных в настоящей таблице, не применимы непосредственно для определения максимального суточного притока на очистные сооружения городских (смешанных) сточных вод. Определение этого коэффициента для данной задачи следует осуществлять в соответствии с приложением Г.
(в ред. Изменения N 2, утв. Приказом Минстроя РФ от 27.12.2021 N 1023/пр)

(в ред. Изменения N 2, утв. Приказом Минстроя РФ от 27.12.2021 N 1023/пр)

5.1.8 Расчетные расходы для сетей и сооружений транспортирования сточных вод при подаче их насосами следует принимать равными расчетной (проектной) производительности насосных станций. Расчетные расходы для очистных сооружений следует принимать в соответствии с приложением Г. (в ред. Изменения N 3, утв. Приказом Минстроя РФ от 28.12.2023 N 1009/пр)

5.1.9. Пункт сключен. (в ред. Изменения N 3, утв. Приказом Минстроя РФ от 28.12.2023 N 1009/пр)

5.1.10 Трубопроводы и насосные станции раздельной системы канализации должны быть рассчитаны на пропуск без излива сточных вод и иных аварийных ситуаций суммарного расчетного максимального расхода (определенного по 5.1.1а - 5.1.7, без учета составляющей неорганизованного притока) и максимального дополнительного притока поверхностных и грунтовых вод, неорганизованно поступающего в самотечные сети канализации через люки колодцев и за счет инфильтрации грунтовых вод. (в ред. Изменений N 2, утв. Приказом Минстроя РФ от 27.12.2021 N 1023/пр, N 3, утв. Приказом Минстроя РФ от 28.12.2023 N 1009/пр)

Количественно величина дополнительного притока , л/с, определяется на основе специальных изысканий или по данным результатов эксплуатации аналогичных объектов, а при их отсутствии - по формуле

, (1) (в ред. Изменения N 2, утв. Приказом Минстроя РФ от 27.12.2021 N 1023/пр)

где:

L - общая длина самотечных трубопроводов до рассчитываемого сооружения (створа трубопровода), км;

- максимальное суточное количество осадков, мм (по СП 131.13330), но не более 30 мм; (в ред. Изменения N 2, утв. Приказом Минстроя РФ от 27.12.2021 N 1023/пр)

a - коэффициент, принимаемый равным для существующих поселений - 0,45, для проектируемых новых микрорайонов (поселений) при прокладке сетей водоотведения выше уровня грунтовых вод - 0,15, ниже уровня грунтовых вод - 0,25. (в ред. Изменения N 2, утв. Приказом Минстроя РФ от 27.12.2021 N 1023/пр)

Проверочный расчет самотечных трубопроводов и каналов поперечным сечением любой формы на пропуск увеличенного расхода должен осуществляться при наполнении 0,95 высоты.

5.2. Гидравлический расчет канализационных сетей

5.2.1. Гидравлический расчет канализационных самотечных трубопроводов (лотков, каналов) следует выполнять на расчетный максимальный секундный расход сточных вод по таблицам, графикам и номограммам. Основное требование при проектировании самотечных коллекторов - пропуск расчетных расходов при самоочищающих скоростях движения транспортируемых сточных вод.

Гидравлический расчет канализационных самотечных трубопроводов, частично или полностью наполненных, из полимерных материалов следует производить по СП 399.1325800. При применении труб и деталей трубопровода из композитных материалов на основе эпоксидных связующих, армированных стекло- и базальтоволокнами, следует руководствоваться ГОСТ Р 55068 и учитывать их более высокую прочность относительно труб из термопластичных материалов. Для гидравлических расчетов стеклопластиковых труб, изготовляемых методами непрерывной продольно-поперечной, радиально-перекрестной и косослойной продольно-поперечной намотки, абсолютную шероховатость (средняя высота выступов внутренней поверхности трубы) следует принимать равной 0,0004 м. (в ред. Изменений N 1, утв. Приказом Минстроя РФ от 23.12.2019 N 839/пр, N 3, утв. Приказом Минстроя РФ от 28.12.2023 N 1009/пр)

5.2.2. Гидравлический расчет напорных канализационных трубопроводов следует производить согласно СП 31.13330.

5.2.3. Гидравлический расчет напорных трубопроводов, транспортирующих сырые, сброженные осадки и активный ил, следует производить с учетом режима движения, физических свойств и особенностей состава осадков. При влажности 99% и более осадок подчиняется законам движения сточной жидкости.

5.2.4. Гидравлический уклон i при расчете напорных илопроводов диаметром 150 - 400 мм следует определять по формуле

, (2)

где:

- влажность осадка, %;

V - скорость движения осадка, м/с;

D - диаметр трубопровода, м;

- диаметр трубопровода, см;

- коэффициент сопротивления трению по длине, определяемый по формуле

. (3)

Для трубопроводов диаметром 150 мм значение следует увеличивать на 0,01.

5.3. Наименьшие диаметры труб

5.3.1. Наименьшие диаметры труб самотечных сетей следует принимать, мм:

200 - для уличной сети;

150 - внутриквартальной сети, сети бытовой и производственной канализации;

300 - для уличной сети поверхностного стока; (в ред. Изменения N 2, утв. Приказом Минстроя РФ от 27.12.2021 N 1023/пр)

Абзац - Исключен. (в ред. Изменения N 2, утв. Приказом Минстроя РФ от 27.12.2021 N 1023/пр)

150 - наименьший диаметр напорных илопроводов.

Примечания

1. В поселениях и городских округах с расходом сточных вод до 300 м3/сут для уличной сети допускается применение труб диаметром 150 мм.

2 Для производственной сети допускается применение труб диаметром менее 150 мм. (в ред. Изменения N 3, утв. Приказом Минстроя РФ от 28.12.2023 N 1009/пр)

5.4. Расчетные скорости и наполнения труб и каналов

5.4.1. Во избежание заиливания канализационных сетей расчетные скорости движения сточных вод следует принимать в зависимости от степени наполнения труб и каналов и крупности взвешенных веществ, содержащихся в сточных водах.

Минимальные скорости движения сточных вод в сетях бытового и поверхностного стока при наибольшем расчетном наполнении труб следует принимать по таблице 2.

Таблица 2

Расчетные минимальные скорости , м/с, движения сточных вод в зависимости от наполнения труб в сети бытового и поверхностного стока

Диаметр трубопровода, мм Скорость , м/с, при наполнении H/D
0,6 0,7 0,75 0,8
150 - 250 0,7 - - -
300 - 400 - 0,8 - -
450 - 500 - - 0,9 -
600 - 800 - - 1,0 -
900 - - 1,10 -
1000 - 1200 - - - 1,20
1500 - - - 1,30
1600 - 1900 - - - 1,50
2000 - 3000 - - - 1,60
Примечания
1. Для производственных сточных вод наименьшие скорости следует принимать в соответствии с указаниями по строительному проектированию предприятий отдельных отраслей промышленности или по эксплуатационным данным.
2. Для производственных сточных вод, близких по характеру взвешенных веществ к бытовым, наименьшие скорости следует принимать как для бытовых сточных вод.
3. Для поверхностного водоотведения при периоде однократного превышения расчетной интенсивности дождя P = 0,33 года наименьшую скорость следует принимать 0,6 м/с.

5.4.2. Минимальную расчетную скорость движения осветленных или биологически очищенных сточных вод в лотках и трубах допускается принимать 0,4 м/с.

Наибольшую расчетную скорость движения сточных вод следует принимать, м/с:

8 (10) - для металлических и полимерных труб, а также труб из реактопластов, армированных стекловолокном (далее - стеклокомпозитные трубы);

4 (7) - для неметаллических (бетонных, железобетонных и хризотилцементных).

В скобках указаны значения для сетей поверхностного водоотведения.

5.4.3. Расчетную скорость движения неосветленных сточных вод в дюкерах необходимо принимать не менее 1 м/с, при этом в местах подхода сточных вод к дюкеру скорости должны быть не более скоростей в дюкере.

5.4.4. Наименьшие расчетные значения скоростей движения сырых и сброженных осадков, а также уплотненного активного ила в напорных илопроводах следует принимать по таблице 3.

Таблица 3

Расчетные минимальные значения скоростей движения сырых и сброженных осадков, а также уплотненного активного ила в напорных илопроводах

Влажность осадка, % , м/с, при диаметре илопровода
D = 150 - 200 мм D = 250 - 400 мм
98 0,8 0,9
97 0,9 1,0
96 1,0 1,1
95 1,1 1,2
94 1,2 1,3
93 1,3 1,4
92 1,4 1,5
91 1,7 1,8
90 1,9 2,1

5.4.5. Наибольшие значения скорости движения дождевых и допускаемых к спуску в водоемы производственных сточных вод в каналах следует принимать по таблице 4.

Таблица 4

Наибольшие значения скорости движения дождевых и допускаемых к спуску в водоемы производственных сточных вод в каналах

Грунт или тип крепления канала Наибольшая скорость движения в каналах, м/с, при глубине потока от 0,4 до 1 м
Крепление бетонными плитами 4
Известняки, песчаники средние 4
Одерновка:  
плашмя 1
о стенку 1,6
Мощение:  
одинарное 2
двойное 3 - 3,5
Примечание - При глубине потока менее 0,4 м значения скоростей движения сточных вод следует принимать с коэффициентом 0,85; при глубине свыше 1 м - с коэффициентом 1,24.

5.4.6. Расчетное наполнение трубопроводов и каналов любого сечения (кроме прямоугольного) следует принимать не более 0,7 диаметра (высоты).

Расчетное наполнение каналов прямоугольного поперечного сечения допускается принимать не более 0,75 высоты.

Для трубопроводов поверхностного водоотведения допускается принимать полное наполнение, в том числе и при кратковременных сбросах сточных вод.

5.5. Уклоны трубопроводов, каналов и лотков

5.5.1. Наименьшие уклоны трубопроводов и каналов следует принимать в зависимости от допустимых минимальных скоростей движения сточных вод.

Для всех систем водоотведения следует принимать уклоны для труб диаметрами:

150 мм - 0,008;

200 мм - 0,007.

В зависимости от местных условий для отдельных участков сети допускается принимать уклоны для труб диаметрами: 200 мм - 0,005; 150 мм - 0,007. (в ред. Изменения N 3, утв. Приказом Минстроя РФ от 28.12.2023 N 1009/пр)

В зависимости от условий производства работ для стеклокомпозитных труб номинальным диаметром DN 1000 и более допускается принимать минимальный уклон 0,0005.

Уклон трубопровода дождеприемника следует принимать 0,02. Допускается принимать уклон трубопровода дождеприемника менее 0,02, но не менее 0,005 при применении трубопроводов из полимерных материалов с улучшенными гидравлическими характеристиками. (в ред. Изменения N 4, утв. Приказом Минстроя РФ. от 17.01.2025 N 17/пр)

5.5.2. В открытой дождевой сети наименьшие уклоны следует принимать по таблице 5.

Таблица 5

Наименьшие уклоны лотков проезжей части, кюветов и водоотводящих канав

Наименование элемента сети (покрытия) Наименьший уклон
Лотки, покрытые асфальтобетоном 0,003
Лотки, покрытые брусчаткой или щебеночным покрытием 0,004
Булыжная мостовая 0,005
Отдельные лотки и кюветы 0,006
Водоотводящие канавы 0,003
Полимерные, стеклокомпозитные, полимербетонные лотки 0,001 - 0,005

5.5.3. Наименьшие размеры кюветов и канав трапецеидального сечения следует принимать:

0,3 м - ширину по дну;

0,4 м - глубину.

6. Канализационные сети и сооружения на них

6.1. Общие указания

6.1.1. Самотечные (безнапорные) сети канализации проектируются в одну линию.

При параллельной прокладке самотечных коллекторов канализации следует предусматривать устройство перепускных трубопроводов и камер (там, где это технически возможно и экономически обосновано) для отключения участков коллекторов в аварийных ситуациях. (в ред. Изменения N 3, утв. Приказом Минстроя РФ от 28.12.2023 N 1009/пр)

Допускается перепуск сточных вод в аварийные резервуары с последующей откачкой в сеть или на очистные сооружения. Объем аварийных резервуаров системы водоотведения определяется соответствующим категории временем ликвидации аварии. (в ред. Изменения N 3, утв. Приказом Минстроя РФ от 28.12.2023 N 1009/пр)

Для систем водоотведения поверхностных сточных вод 1-го типа допускается сброс в водный объект пиковых расходов от ливневых дождей интенсивностью, превышающей расчетную, но не более 30% среднегодового объема поверхностного стока. (в ред. Изменения N 2, утв. Приказом Минстроя РФ от 27.12.2021 N 1023/пр)

6.1.2 Надежность действия безнапорных сетей (коллекторов) водоотведения определяется выбором их диаметров, обеспечением самоочищающих скоростей, уклонов и наполнений, а также эффективной эксплуатацией с проведением планово-профилактических ремонтов, прочисток и т.п. Следует учитывать коррозионную стойкость материала труб (каналов) и стыковых соединений как к транспортируемой сточной воде, так и к процессам коррозии в надводном пространстве. (в ред. Изменения N 3, утв. Приказом Минстроя РФ от 28.12.2023 N 1009/пр)

6.1.3. Минимальные расстояния по горизонтали (в свету) от наружной поверхности трубопроводов водоотведения до зданий, сооружений и сетей инженерно-технического обеспечения должны приниматься согласно СП 42.13330, а для промышленных предприятий по СП 18.13330.

При пересечении сетей водоотведения с другими сетями инженерно-технического обеспечения минимальные расстояния по вертикали (в свету) должны приниматься согласно СП 18.13330.

В местах пересечения сетей водоотведения с трубопроводами водоснабжения допускается уменьшение расстояния по вертикали (в свету) в земле до 0,2 м (вниз от стенки трубопровода водоснабжения до стенки трубопровода водоотведения) при условии выполнения мероприятий по защите трубопровода водоснабжения от залива сточными водами при аварии, а трубопроводов канализации - от продавливания вышерасположенными сетями (футляры, обоймы). Длину футляров (обойм) следует принимать не менее чем на 2 м в каждую сторону от стенок трубы канализации. Защитные футляры могут быть выполнены из стали или стеклокомпозитных материалов. (в ред. Изменения N 3, утв. Приказом Минстроя РФ от 28.12.2023 N 1009/пр)

Расстояния от подземных сетей канализации до деревьев, кустарников, растений, высаженных в кадках, защитных прикорневых барьеров должны приниматься согласно СП 42.13330 и СП 31.13330.2012 (пункт 11.48).

Примечание - В стесненных условиях строительства допускается выполнять прокладку участков дождевой канализации глубиной заложения меньше приведенной в 6.2.4 при условии выполнения компенсационных мероприятий:

- тип основания сетей принимать по несущей способности грунтов, трубопроводов, защитных и строительных конструкций и воспринимаемых нагрузок в соответствии с СП 22.13330 и СП 45.13330;

- значения нагрузок и воздействий, коэффициенты к ним и предельные значения деформаций следует принимать в соответствии с ГОСТ 27751 и СП 20.13330;

- при соединении металлических труб трубопроводов и стальных защитных футляров на сварке выполнять требования 6.7.8;

- защиту строительных конструкций от коррозии следует выполнять в соответствии с СП 28.13330, СП 72.13330, ГОСТ 31445 и ГОСТ 9.602;

- оценку влияния строительства на иные объекты капитального строительства окружающей застройки следует выполнять в соответствии с СП 22.13330;

- принимаемые в проектной документации механизмы и технологии выполнения строительно-монтажных работ не должны оказывать недопустимое воздействие на существующие здания и сооружения;

- разработка комплекса мер по обеспечению сохранности строительных конструкций зданий и сооружений, попадающих в зону производства работ;

- обследование технического состояния зданий и сооружений, попадающих в зону влияния строительства, а также мониторинг их технического состояния следует выполнять по ГОСТ 31937;

- гидроизоляция наружных поверхностей железобетонных строительных конструкций сетей инженерно-технического обеспечения должна выполняться из материалов, обладающих свойствами адгезии к бетону, водонепроницаемостью, стойкостью к химическому воздействию окружающей среды и трещиностойкостью, не поддающихся химико-биологической коррозии;

- стальные футляры, применяемые при прокладке трубопроводов сетей должны:

а) соответствовать по герметичности требованиям, предъявляемым к размещаемым в них трубопроводам;

б) иметь внутренний диаметр не менее, чем на 200 мм больше наружного диаметра трубопровода (независимо от способа производства работ: закрытый/открытый), обеспечивающий размещение в них трубопроводов без повреждения их наружной противокоррозионной изоляции и (или) исключающие недопустимые повреждения наружной поверхности стенки трубы:

- сплошные монолитные железобетонные обоймы усиления, применяемые при прокладке трубопроводов сетей инженерно-технического обеспечения, которые должны иметь толщину, определяемую по расчетным нагрузкам и воздействиям в соответствии с СП 20.13330;

- заполнять межтрубное пространство стальных защитных футляров цементно-песчаными растворами М 100 и выше;

- применять трубы и элементы стыковых соединений из материалов, удовлетворяющих требованиям морозоустойчивости. При необходимости, подтвержденной теплотехническим расчетом, следует предусматривать мероприятия по предотвращению недопустимого уменьшения проходного сечения указанных участков дождевой канализации в результате сезонного промерзания. (в ред. Изменения N 2, утв. Приказом Минстроя РФ от 27.12.2021 N 1023/пр)

6.1.4 Отвод сточной воды от опорожняемого участка при ремонте следует предусматривать (без сброса в водный объект) в специальную емкость с последующей перекачкой в канализационную сеть или вывозом автоцистерной либо перекачкой по временным трубопроводам, в том числе вакуумной. (в ред. Изменения N 3, утв. Приказом Минстроя РФ от 28.12.2023 N 1009/пр)

6.1.5. Проектирование коллекторов глубокого заложения, прокладываемых щитовой проходкой или горным способом, необходимо выполнять согласно СП 43.13330.

6.1.6. Наземная и надземная прокладка канализационных трубопроводов на территории поселений и городских округов и на площадках промышленных предприятий, расположенных в их черте, за исключением подвесных сетей водоотведения поверхностного стока мостов, не допускается.

При укладке канализационных трубопроводов за пределами поселений и городских округов, а также для сетей водоотведения поверхностного стока мостов в черте поселений и городских округов, допускается наземная или надземная прокладка трубопроводов с обеспечением мероприятий, исключающих замерзание трубопроводов, и выполнением необходимых требований надежности эксплуатации (техники безопасности), с учетом прочностных характеристик труб при воздействии на опоры ветровых нагрузок и пр.

6.1.7 Материал труб и каналов, применяемых в системах водоотведения, должен быть стойким к влиянию, как транспортируемой сточной жидкости, так и к коррозии в верхней части коллекторов. (в ред. Изменения N 3, утв. Приказом Минстроя РФ от 28.12.2023 N 1009/пр)

Для предотвращения коррозии следует предусматривать соответствующую защиту труб и мероприятия по предотвращению условий образования агрессивных сред (вентиляция сети, исключение застойных зон и т.д.), а также применять стеклокомпозитные или полимерные трубы. При использовании полимерных труб следует руководствоваться СП 399.1325800. При использовании стеклокомпозитных труб следует руководствоваться ГОСТ Р 55075, ГОСТ 32661, ГОСТ Р 54560, ГОСТ Р ИСО 10467, СП 129.13330. (в ред. Изменений N 2, утв. Приказом Минстроя РФ от 27.12.2021 N 1023/пр, N 3, утв. Приказом Минстроя РФ от 28.12.2023 N 1009/пр)

Для существующих железобетонных сетей канализации, при необходимости, следует предусматривать мероприятия по восстановлению (реновации) и сохранению пропускной способности с применением стеклокомпозитных труб, а также полимерных труб и гибких рукавов по СП 273.1325800. (в ред. Изменения N 1, утв. Приказом Минстроя РФ от 23.12.2019 N 839/пр)

Резервуары и емкости из стеклокомпозитов должны применяться в соответствии с действующими нормативными документами. Характеристики и численные значения показателей прочности, деформативности и долговечности всех применяемых резервуаров и емкостей из стеклокомпозитов должны подтверждаться расчетами. (в ред. Изменения N 3, утв. Приказом Минстроя РФ от 28.12.2023 N 1009/пр)

Емкости из полимерных материалов должны применяться в соответствии с действующими нормативными техническими документами. По согласованию допускается применение резервуаров других форм и конструкций.

6.1.8 Тип основания трубы необходимо принимать в зависимости от несущей способности грунтов и нагрузок, а также прочностных характеристик трубы. Обратная засыпка трубопроводов должна учитывать несущую способность и деформацию трубы.

Для полимерных и стеклокомпозитных трубопроводов следует выполнять расчеты по определению шага и массы пригрузов.

6.2. Глубина заложения трубопроводов. Повороты и соединения

6.2.1. Присоединения и повороты на коллекторах следует предусматривать в колодцах.

Радиус кривой поворота лотка необходимо принимать не менее диаметра трубы; на коллекторах диаметром 1200 мм и более - не менее пяти диаметров с установкой смотровых колодцев в начале и конце кривой.

6.2.2. Угол между присоединяемой и отводящей трубами должен быть не менее 90°.

Примечание - При присоединении с перепадом допускается любой угол между присоединяемым и отводящим трубопроводами согласно примечанию к 6.4.1.

6.2.3. Соединения трубопроводов разных диаметров в колодцах следует предусматривать по шелыгам труб. При обосновании, допускается соединение труб по расчетному уровню воды.

6.2.4. Глубину заложения трубопроводов водоотведения следует принимать на основании СП 131.13330 и опыта эксплуатации сетей в районе проектируемого объекта. Для снижения глубины заложения и стоимости строительства канализационных сетей, при условии подтверждения теплотехническим расчетом, допускается применение сертифицированных строительных гидрофобных теплоизоляционных материалов.

При отсутствии данных отметку минимальной глубины заложения лотка трубопровода допускается принимать выше отметки глубины проникания в грунт нулевой температуры на:

- 0,3 м для труб диаметром до 500 мм;

- 0,5 м для труб большего диаметра.

Во избежание повреждения трубопроводов наземным транспортом глубина заложения должна быть не менее 0,7 м до верха трубы, считая от отметки планировки поверхности земли.

6.2.5. Максимальную глубину заложения труб определяют расчетом в зависимости от материала труб, их диаметра, грунтовых условий, материала засыпки, ширины траншеи и метода производства работ.

6.2.6. Для компенсации линейного расширения, соответствующего выбранному в проекте материалу трубопровода, следует применять гибкие компенсаторы (различной формы) и углы поворотов трубопроводов с учетом СП 31.13330.

Допускается предусматривать сильфонные и линзовые компенсаторы, которые в сочетании с неподвижными опорами располагаются внутри камер. Функцию компенсаторов выполняют замковые соединения "RJ" и "RJS" при применении раструбных трубопроводов из высокопрочного чугуна.

6.2.7 Глубину заложения трубопроводов ливневой системы водоотведения следует принимать на основании теплотехнического расчета, подтверждающего сохранение в трубопроводе положительных значений температуры. При отсутствии теплотехнического расчета допускается глубину заложения трубопроводов системы ливневой канализации по шелыге трубы принимать равной глубине проникновения в грунт нулевой температуры. (в ред. Изменения N 3, утв. Приказом Минстроя РФ от 28.12.2023 N 1009/пр)

6.3. Смотровые колодцы

6.3.1. На самотечных канализационных сетях всех систем следует предусматривать смотровые колодцы из железобетона (ГОСТ 8020), полимерных и стеклокомпозитных материалов или железобетона с футеровочным, полимерным или стеклокомпозитным покрытием. Допускается применять колодцы из стали с антикоррозионным покрытием в соответствии с СП 28.13330, при этом должны выполняться: расчеты прочности наружных и внутренних стен, днища, перекрытий, колонн, расчеты всплытия колодца и обеспечение мероприятий, препятствующих всплытию, расчеты оснований колодца по деформациям.

Колодцы следует предусматривать:

- в местах присоединений;

- в местах изменения направления, уклонов и диаметров трубопроводов;

- на прямых участках, на расстояниях в зависимости от диаметра труб: 150 мм - 35 м, 200 - 450 мм - 50 м, 500 - 600 мм - 75 м, 700 - 900 мм - 100 м, 1000 - 1400 мм - 150 м, 1500 - 2000 мм - 200 м, свыше 2000 мм - 250 - 300 м.

Размеры в плане колодцев или камер на канализационных сетях следует принимать в зависимости от трубы наибольшего диаметра D:

- на трубопроводах диаметром до 600 мм - длину и ширину 1000 мм;

- на трубопроводах диаметром 700 мм и более - длину D + 400 мм, ширину D + 500 мм.

Диаметры круглых колодцев следует принимать на трубопроводах диаметрами: до 600 мм - 1000 мм; 700 мм - не менее 1250 мм; 800 - 1000 мм - 1500 мм; 1200 мм и более - 2000 мм.

Примечания

1. Размеры в плане колодцев на поворотах необходимо определять из условия размещения в них лотков поворота.

2. Для прямолинейных участков сети допускается устройство стеклокомпозитных колодцев при диаметре труб от 1000 мм и более по индивидуальным чертежам.

3. На трубопроводах диаметром не более 150 мм и глубине заложения до 1,2 м допускается устройство колодцев диаметром 600 мм. Такие колодцы предназначаются только для ввода очищающих устройств без спуска в них людей.

4 На территориях с сейсмичностью 7 и 8 баллов железобетонные кольца (кроме опорных) должны иметь фальцевые торцевые поверхности, стыкуемые между собой с использованием резиновых уплотнителей. При обосновании расчетом допускается применение железобетонных колец с гладкими торцевыми поверхностями с применением внешних муфт (швы между кольцами и муфтой следует заполнять долговечными эластичными герметизирующими материалами). (в ред. Изменения N 3, утв. Приказом Минстроя РФ от 28.12.2023 N 1009/пр)

5. В отдельных случаях (расположение колодца в откосе, наличие грунтовых вод, особый статус объекта и пр.) при высоте горловины колодца более 4 м допускается устройство вокруг нее железобетонной обоймы.

6. Железобетонные кольца колодцев и горловин с гладкими торцевыми плоскостями при монтаже следует соединять между собой металлическими Н-образными креплениями, тремя в каждом стыке колец под углом 120 градусов. (в ред. Изменения N 2, утв. Приказом Минстроя РФ от 27.12.2021 N 1023/пр)

6.3.2. Высоту рабочей части (от полки или площадки до перекрытия) колодцев с заложением более 2 м необходимо принимать не менее 1800 мм; в колодцах с заложением менее 2 м высота рабочей части не регламентируется, а при высоте рабочей части колодцев менее 1200 мм ширину их допускается принимать равной D + 300 мм, но не менее 1000 мм. (в ред. Изменения N 2, утв. Приказом Минстроя РФ от 27.12.2021 N 1023/пр)

6.3.3. Полки лотка смотровых колодцев должны располагаться на уровне верха трубы большего диаметра.

В колодцах на трубопроводах диаметром 700 мм и более допускается предусматривать рабочую площадку с одной стороны лотка и полку шириной не менее 100 мм с другой. На трубопроводах диаметром свыше 2000 мм допускается устройство рабочей площадки на консолях, при этом размеры открытой части лотка следует принимать не менее 2000 x 2000 мм.

6.3.4. В рабочей части колодцев следует предусматривать:

- установку навесных лестниц для спуска в колодец (переносных и стационарных) либо заделанных полимерных или офутерованных скоб; (в ред. Изменения N 2, утв. Приказом Минстроя РФ от 27.12.2021 N 1023/пр)

- ограждение рабочей площадки высотой 1000 мм.

Примечания

1. На коллекторах и каналах диаметром от 600 мм и выше скобы и лестницы, а также все не офутерованные металлоконструкции в колодцах и камерах следует предусматривать из нержавеющей стали марки 12Х18Н10Т.

2. Заделку стационарных лестниц следует осуществлять в бетонную полку лотка и наверху рабочей части колодца. Промежуточные крепления в железобетонных сборных колодцах следует предусматривать приблизительно через 1 м в стыках между кольцами с установкой креплений с наружных сторон колец. При необходимости установки креплений путем пробивки сборного кольца или монолитной стены, следует предусматривать заделку отверстия между скобой и бетоном расширяющимся цементом марки М-400. (в ред. Изменения N 2, утв. Приказом Минстроя РФ от 27.12.2021 N 1023/пр)

3 Проход трубопровода из стеклокомпозитных материалов в железобетонных колодцах следует осуществлять с применением забетонированных гильз. Зазор "труба - гильза" герметизируется кольцами из эластичных материалов и (или) герметиками в соответствии с СП 71.13330. (в ред. Изменения N 3, утв. Приказом Минстроя РФ от 28.12.2023 N 1009/пр)

6.3.5. Размеры в плане колодцев на сети водоотведения поверхностного стока следует принимать на трубопроводах диаметром до 600 мм включительно - диаметром 1000 мм либо прямоугольными - длиной и шириной не менее 1000 мм; на трубопроводах диаметром 700 мм и более - круглыми или прямоугольными с лотками длиной 1000 мм и шириной, равной диаметру наибольшей трубы, но не менее 1000 мм. (в ред. Изменения N 2, утв. Приказом Минстроя РФ от 27.12.2021 N 1023/пр)

Высоту рабочей части колодцев на трубопроводах диаметром от 700 до 1400 мм включительно следует принимать от лотка трубы наибольшего диаметра; на трубопроводах диаметром 1500 м и более рабочие части не предусматриваются.

Полки лотков колодцев должны быть предусмотрены только на трубопроводах диаметром до 900 мм включительно на уровне половины диаметра наибольшей трубы.

6.3.6. Горловины смотровых колодцев, предназначенных для доступа эксплуатационного персонала на сетях водоотведения всех систем, следует принимать диаметром не менее 700 мм и не менее диаметра, достаточного для ввода и извлечения оборудования и конструкций, монтируемых в них. (в ред. Изменения N 2, утв. Приказом Минстроя РФ от 27.12.2021 N 1023/пр)

Диаметры горловин инспекционных колодцев, не предназначенных для доступа эксплуатационного персонала, должны быть достаточными для опускания приспособлений для прочистки сети и контрольного оборудования, при этом минимальный диаметр должен быть указан в задании на проектирование.

Минимальный размер горловины полимерного колодца составляет 200 мм. (в ред. Изменения N 1, утв. Приказом Минстроя РФ от 23.12.2019 N 839/пр)

6.3.7. Установку люков необходимо предусматривать в одном уровне с поверхностью проезжей части при усовершенствованном покрытии; на 50 - 70 мм выше поверхности земли в зеленой зоне и на 200 мм - на не застроенной территории. Люки с запорными устройствами предусматриваются при наличии соответствующего требования в техническом задании. Конструкция должна обеспечивать условия эксплуатации с учетом нагрузок от транспорта, безопасного спуска и подъема персонала.

6.3.8. При наличии грунтовых вод с расчетным уровнем выше дна колодца необходимо устанавливать колодцы из железобетона с футеровочным полимерным покрытием с фальцевым соединением (с дальнейшей сваркой) или колодцы из стеклокомпозитных и полимерных материалов при наличии штатных герметичных соединений колодца с примыкающими трубопроводами. (в ред. Изменения N 2, утв. Приказом Минстроя РФ от 27.12.2021 N 1023/пр)

6.3.9 Выбор и проектирование полимерных колодцев следует осуществлять в соответствии с СП 399.1325800. Для колодцев из полимерных и стеклокомпозитных материалов следует рассчитывать и обеспечивать мероприятия, препятствующие всплытию, в соответствии с СП 399.1325800. (в ред. Изменения N 2, утв. Приказом Минстроя РФ от 27.12.2021 N 1023/пр)

6.4. Перепадные колодцы

6.4.1. Перепады высотой до 3 м на трубопроводах диаметром 600 мм и более следует принимать в виде водосливов практического профиля.

Перепады высотой до 6 м на трубопроводах диаметром до 500 мм включительно следует осуществлять в колодцах в виде стояка или вертикальных стенок-растекателей, при удельном расходе сточных вод на 1 пог. м ширины стенки или длины окружности сечения стояка не более 0,3 м3/с.

Над стояком необходимо предусматривать приемную воронку, под стояком - водобойный приямок с металлической плитой в основании.

Для стояков диаметром до 300 мм допускается установка направляющего колена взамен водобойного приямка.

Примечание - Перепадом следует считать взаимное расположение трубопроводов в колодце, когда лоток трубопровода, входящего в колодец, выше по отметке шелыги выходящего. На трубопроводах диаметром до 600 мм перепады высотой до 0,5 м допускается выполнять без устройства перепадного колодца.

6.4.2. На коллекторах водоотведения поверхностного стока при высоте перепадов до 1 м допускается предусматривать перепадные колодцы водосливного типа, при высоте перепада 1 - 3 м - водобойного типа с одной решеткой из водобойных балок (плит), при перепаде высотой 3 - 4 м - с двумя водобойными решетками.

6.5. Дождеприемники

6.5.1. Дождеприемники следует предусматривать:

- в лотках улиц с продольным уклоном - на затяжных участках спусков, на перекрестках и пешеходных переходах со стороны притока поверхностных вод;

- в пониженных местах без свободного стока поверхностных вод, - при пилообразном профиле лотков улиц, в конце затяжных участков спусков на территориях дворов и парков.

В пониженных местах наряду с горизонтальными дождеприемниками (с решетками в плоскости проезжей части) допускается применение:

- вертикальных дождеприемников с отверстием в плоскости бордюрного камня;

- дождеприемников комбинированного типа с горизонтальной и вертикальной решетками.

В лотках улиц с продольным уклоном применять дождеприемники вертикального и комбинированного типов не допускается. (в ред. Изменения N 3, утв. Приказом Минстроя РФ от 28.12.2023 N 1009/пр)

6.5.2. Расстояния между дождеприемниками при пилообразном продольном профиле лотка назначаются в зависимости от значений продольного уклона лотка и глубины воды в лотке у дождеприемника (не более 12 см).

Расстояния между дождеприемниками на участке улиц с продольным уклоном одного направления устанавливаются расчетом из условия, что ширина потока в лотке перед решеткой не превышает 2 м (при дожде расчетной интенсивности).

При ширине улиц до 30 м и отсутствии поступления дождевых вод с территории кварталов расстояние между дождеприемниками допускается принимать по таблице 6.

При ширине улицы более 30 м расстояние между дождеприемниками должно быть не более 60 м.

Таблица 6

Наибольшие расстояния между дождеприемниками

Уклон улицы Наибольшее расстояние между дождеприемниками, м
До 0,004 50
Более 0,004 до 0,006 60
Более 0,006 до 0,01 70
Более 0,01 до 0,03 80

6.5.3. Длина трубопровода от дождеприемника до смотрового колодца на коллекторе должна быть не более 40 м, при этом допускается установка не более одного промежуточного дождеприемника. Диаметр присоединения назначается по расчетному притоку воды к дождеприемнику при уклоне 0,02, но не менее 200 мм.

6.5.4. К дождеприемнику допускается присоединение водосточных труб зданий и дренажных сетей.

6.5.5. Присоединение канавы (лотка) к закрытой сети следует предусматривать через колодец с отстойной частью.

В оголовке канавы необходимо предусматривать решетки с прозорами не более 50 мм, диаметр соединительного трубопровода - по расчету, но не менее 250 мм.

6.6. Дюкеры

6.6.1. Пункт исключен. (в ред. Изменения N 2, утв. Приказом Минстроя РФ от 27.12.2021 N 1023/пр)

6.6.2. Дюкеры при пересечении водных объектов необходимо принимать не менее чем в две рабочие линии.

Каждая линия должна проверяться на пропуск расчетного расхода сточных вод с учетом допустимого подпора.

При расходах сточных вод, не обеспечивающих расчетных (не засоряющих) скоростей, одну из линий следует принимать резервной (неработающей).

При пересечении оврагов и суходолов допускается предусматривать дюкеры в одну линию.

6.6.3. При проектировании дюкеров необходимо принимать:

- диаметры труб не менее 150 мм;

- глубину заложения подводной части трубопровода до проектных отметок или возможного размыва дна водотока до верха трубы - не менее 0,5 м, в пределах фарватера на судоходных водных объектах - не менее 1 м;

- угол наклона восходящей части дюкеров - не более 20° к горизонту;

- расстояние между нитками дюкера в свету не менее 0,7 - 1,5 м в зависимости от давления, а также технологии производства работ.

6.6.4. Во входной и выходной камерах дюкеров следует предусматривать затворы.

6.6.5. Отметку планировки поверхности земли у камер дюкеров при расположении их в пойменной части водного объекта следует принимать на 0,5 м выше горизонта высоких вод обеспеченностью 3%.

6.6.6. Места переходов дюкеров через водные объекты должны быть обозначены соответствующими знаками на берегах.

6.7. Переходы через дороги

Официальный источник электронного документа содержит неточность: имеется в виду СП 31.13330.2021.

6.7.1. Пересечение трубопроводами железных дорог и автомобильных дорог проектируется в соответствии с отраслевыми нормативами и СП 31.13330.2021 (пункты 11.20 и 11.51). (в ред. Изменений N 2, утв. Приказом Минстроя РФ от 27.12.2021 N 1023/пр, N 4, утв. Приказом Минстроя РФ. от 17.01.2025 N 17/пр)

6.7.2 Места переходов через железные и автомобильные дороги должны быть согласованы с эксплуатационными службами собственников дорог. (в ред. Изменения N 3, утв. Приказом Минстроя РФ от 28.12.2023 N 1009/пр)

При разработке проекта перехода следует учитывать перспективу укладки дополнительных путей.

6.7.3. Отвод сточных вод из футляра напорного канализационного трубопровода при аварии на трубопроводе следует предусматривать в канализационные сети, а при их отсутствии должны предусматриваться мероприятия по предотвращению попадания сточных вод в водные объекты или на рельеф (аварийные емкости, автоматическое отключение насосов, переключение трубопроводной арматуры и т.п.). (в ред. Изменения N 2, утв. Приказом Минстроя РФ от 27.12.2021 N 1023/пр)

6.7.4. Для сохранения необходимого уклона при прокладке самотечного трубопровода в футляре должны предусматриваться соответствующая набетонка с направляющими конструкциями или опорно-центрирующие кольца.

6.7.5. Допускается использование верхней зоны футляра для размещения электрокабелей или кабелей связи в соответствующих трубах. (в ред. Изменения N 3, утв. Приказом Минстроя РФ от 28.12.2023 N 1009/пр)

6.7.6. После протаскивания труб пространство между ними и футляром следует заполнять специальными растворами. При этом должен производиться прочностной расчет для проверки несущей способности трубопровода в период заполнения данного пространства с определением основных параметров по: (в ред. Изменений N 2, утв. Приказом Минстроя РФ от 27.12.2021 N 1023/пр, N 3, утв. Приказом Минстроя РФ от 28.12.2023 N 1009/пр)

- прочности на воздействие внутреннего давления;

- предельно допустимой овализации (деформации) поперечного сечения трубы;

- устойчивости круглой формы поперечного сечения трубопровода.

6.7.7. Толщину стенок футляра следует определять на основании расчета с учетом заглубления, а для футляров, укладываемых способом прокола или продавливания - с учетом необходимого усилия, развиваемого домкратами.

6.7.8. Футляры должны быть обеспечены соответствующей противокоррозионной изоляцией наружной и внутренней поверхностей, а стальные и из высокопрочного чугуна протекторной защитой от электрохимической коррозии.

В стесненных условиях строительства в качестве компенсационных мероприятий выполняются: (в ред. Изменения N 3, утв. Приказом Минстроя РФ от 28.12.2023 N 1009/пр)

- 100%-ный неразрушающий контроль швов при соединении металлических труб трубопроводов и стальных защитных футляров на сварке;

- при использовании труб со стыковыми соединениями их монтаж должен быть выполнен с применением уплотняющих элементов, обеспечивающих герметичность этих соединений в течение всего срока эксплуатации сетей. (в ред. Изменения N 2, утв. Приказом Минстроя РФ от 27.12.2021 N 1023/пр)

6.8. Выпуски и ливнеотводы

6.8.1 Следует использовать для размещения выпусков в водные объекты места с повышенной турбулентностью потока (сужениях, протоках, порогах и пр.) при их наличии. Преимущества использования таких мест следует определять на основании технико-экономической проработки с учетом их удаленности от площадки очистных сооружений и условий прокладки трубопроводов очищенной сточной воды. (в ред. Изменения N 3, утв. Приказом Минстроя РФ от 28.12.2023 N 1009/пр)

В зависимости от условий сброса очищенных сточных вод следует принимать береговые, русловые или рассеивающие выпуски. При сбросе очищенных сточных вод в моря и водохранилища необходимо предусматривать глубоководные выпуски. Допускается выпуск сточных вод, очищенных согласно требованиям по 4.2, в сооружения фильтрации открытого или подземного типа согласно 9.2.13.2а. (в ред. Изменения N 3, утв. Приказом Минстроя РФ от 28.12.2023 N 1009/пр)

6.8.2. Пункт исключен. (в ред. Изменения N 2, утв. Приказом Минстроя РФ от 27.12.2021 N 1023/пр)

6.8.3. Трубопроводы русловых и глубоководных выпусков следует проектировать из стальных труб с усиленной изоляцией, а также полимерных или стеклокомпозитных труб с балластировкой по расчету на всплытие. Укладывать трубопроводы следует в траншеях. (в ред. Изменения N 2, утв. Приказом Минстроя РФ от 27.12.2021 N 1023/пр)

6.8.4. Ливнеотводы следует предусматривать в виде:

- выпусков с оголовками в форме стенок с открылками - при неукрепленных берегах;

- отверстия в подпорной стенке - при наличии набережных.

Во избежание подтопления территории в случае периодических подъемов уровня воды в водном объекте, в зависимости от местных условий, необходимо предусматривать специальные канализационные затворы, предотвращающие в ливнеотводах сетей поверхностного водоотведения обратный ток воды.

6.9. Вентиляция сетей

6.9.1 Вытяжную вентиляцию сетей бытового водоотведения следует предусматривать через стояки внутреннего водоотведения зданий. В отдельных случаях допускается предусматривать искусственную вытяжную вентиляцию сетей. (в ред. Изменения N 3, утв. Приказом Минстроя РФ от 28.12.2023 N 1009/пр)

6.9.2. Специальные вытяжные устройства следует предусматривать во входных камерах дюкеров, в смотровых колодцах в местах резкого снижения скорости течения воды в трубах диаметром свыше 400 мм, в перепадных колодцах при высоте перепада более 1 м и расходе воды более 50 л/с, а также в камерах гашения напора.

6.9.3. При расположении вентиляционных выбросов в пределах санитарно-защитных зон, зон жилой застройки, а также большого скопления людей, следует предусматривать мероприятия для их очистки, предусмотренные разделом 13. (в ред. Изменения N 2, утв. Приказом Минстроя РФ от 27.12.2021 N 1023/пр)

6.9.4. Для естественной вытяжной вентиляции наружных сетей, отводящих сточные воды, содержащие летучие токсичные и взрывоопасные вещества, на каждом выпуске из здания следует предусматривать вытяжные стояки диаметром не менее 200 мм, размещаемые в отапливаемой части здания, при этом они должны соединяться с наружной камерой гидравлического затвора и выводиться выше максимальной отметки крыши не менее чем на 0,7 м.

6.9.5. Вентиляция канализационных каналов и коллекторов больших сечений, в том числе, прокладываемых горным или щитовым способом, принимается по специальным расчетам.

6.10. Сливные станции

6.10.1 Прием сточных вод и жидких фракций, доставляемых с неканализованных объектов ассенизационным транспортом, и обработку их перед сбросом в канализационную сеть, следует осуществлять на сливных станциях. Допускается прием жидких фракций, извлекаемых из выгребных ям, на сооружения обработки осадка очистных сооружений (с обработкой перед сбросом). Сливные станции могут располагаться как на территории очистных сооружений, так и вблизи самотечных канализационных коллекторов. (в ред. Изменения N 3, утв. Приказом Минстроя РФ от 28.12.2023 N 1009/пр)

При проектировании сточные воды и иные жидкие фракции, привозимые на сливные станции, следует подразделять на: (в ред. Изменения N 3, утв. Приказом Минстроя РФ от 28.12.2023 N 1009/пр)

- привозные сточные воды - сточные воды, отбираемые из герметичных в отношении грунта накопителей от жилых домов, в том числе многоквартирных, социально-бытовых учреждений, подключенных к централизованному водоснабжению, в которых они накапливались не более 7 сут;

- осадки из септиков и негерметичных в отношении грунта накопителей от объектов, подключенных к централизованному водоснабжению, осадки локальных очистных сооружений хозяйственно-бытовых сточных вод, жидкие фракции из переносных туалетов (биотуалетов), а также емкостей-накопителей, используемых на транспорте; (в ред. Изменения N 3, утв. Приказом Минстроя РФ от 28.12.2023 N 1009/пр)

Абзац пятый. - Исключен. (в ред. Изменения N 3, утв. Приказом Минстроя РФ от 28.12.2023 N 1009/пр)

- фекальные массы из выгребов, не имеющих централизованного водоснабжения.

Прием в систему водоотведения привозных сточных вод, осадков септиков, локальных очистных сооружений и жидких фракций из передвижных туалетов и баков-накопителей может осуществляться в сливные станции, расположенные на самотечных коллекторах диаметром не менее 400 мм (при использовании для разбавления условно чистых вод) и не менее 600 мм (при разбавлении сточными водами, отбираемыми из данного коллектора), в приемные камеры на очистных сооружениях, а также в резервуары насосных станций (перед процеживанием).

При приеме исключительно привозных сточных вод разбавление таких вод не требуется.

Прием фекальных масс из выгребов, не имеющих централизованного водоснабжения, может осуществляться только на очистных сооружениях.

При приеме смешанных фракций должны применяться наиболее жесткие требования из вышеперечисленных. (в ред. Изменения N 2, утв. Приказом Минстроя РФ от 27.12.2021 N 1023/пр)

6.10.2. При приеме в коллектор осадков септиков, локальных очистных сооружений и жидких фракций из передвижных туалетов и баков-накопителей количество принимаемых на сливную станцию указанных жидких фракций должно быть не более 20% среднего расчетного расхода по коллектору при использовании для разбавления условно чистых вод и не более 10% при разбавлении сточными водами. Использование для разбавления водопроводной воды не допускается. (в ред. Изменения N 2, утв. Приказом Минстроя РФ от 27.12.2021 N 1023/пр)

6.10.3 Доставляемые ассенизационным транспортом на сливную станцию жидкие фракции необходимо разбавлять перед обработкой и сбросом. При приеме фекальных масс из выгребов, не имеющих централизованного водоснабжения, осадков из септиков и негерметичных в отношении грунта накопителей от объектов, подключенных к централизованному водоснабжению, а также осадков локальных очистных сооружений, жидких фракций из передвижных туалетов и баков-накопителей на транспорте разбавление должно составлять 1,5 - 2,0 м3 на 1 м3 жидких фракций при использовании условно чистых вод, в том числе очищенных сточных вод - 2,0 - 2,5 м3.

При приеме на сливных станциях фекальных масс из выгребов и смешанных фракций разбавление должно составлять 3 - 4 м3/м3 при использовании условно чистых вод и 5 - 6 м3/м3 при использовании сточных вод. (в ред. Изменений N 2, утв. Приказом Минстроя РФ от 27.12.2021 N 1023/пр, N 3, утв. Приказом Минстроя РФ от 28.12.2023 N 1009/пр)

6.10.4 Разбавление жидких фракций на сливных станциях следует осуществлять очищенными сточными водами, водой из водных объектов, закрытых (открытых) систем технического водоснабжения, дренажных систем, сточными водами из коллектора (канала), куда осуществляется сброс, а также из напорных канализационных трубопроводов. (в ред. Изменения N 3, утв. Приказом Минстроя РФ от 28.12.2023 N 1009/пр)

Вода подается, в зависимости от принятой технологии слива, на обмыв транспорта (при необходимости), в приемное отделение сливной станции во время разгрузки, на разбавление в каналах и в приемные воронки, в отделения решеток и при создании водяной завесы. Вода, используемая через брандспойты и для водяной завесы, должна соответствовать санитарно-гигиеническим требованиям к технической воде для открытых систем водоснабжения.

Сливная станция может проектироваться с помещением для заезда машин или без него. В обоих вариантах должны обеспечиваться мероприятия, предотвращающие выделение в воздух дурнопахнущих веществ. (в ред. Изменения N 2, утв. Приказом Минстроя РФ от 27.12.2021 N 1023/пр)

6.10.5. Обработка жидких фракций перед сбросом в коллектор (канал) после разбавления должна заключаться в улавливании крупных включений (применение камнеуловителей), процеживании на решетках с прозорами 20 - 30 мм либо измельчении крупных фракций с помощью мацераторов.

Сливные станции следует оснащать оборудованием для коммерческого учета количества жидких фракций, доставляемых ассенизационным транспортом. (в ред. Изменения N 2, утв. Приказом Минстроя РФ от 27.12.2021 N 1023/пр)

6.10.6 Для сокращения санитарно-защитной зоны сливных станций следует обеспечивать все или часть из ниже перечисленных мероприятий, в зависимости от фактических размеров данной зоны: (в ред. Изменения N 3, утв. Приказом Минстроя РФ от 28.12.2023 N 1009/пр)

- размещение сливных постов за закрываемыми воротами;

- закрытый слив содержимого ассенизационного транспорта через быстроразъемное соединение с дальнейшей обработкой также в закрытых сооружениях;

- при сливе с разрывом струи - создание пониженного давления в приемном трубопроводе;

- очистка вентиляционных выбросов от сливной станции. (в ред. Изменения N 2, утв. Приказом Минстроя РФ от 27.12.2021 N 1023/пр)

6.11. Снегоплавильные пункты

6.11.1. Возможность устройства снегоплавильных пунктов на коллекторах централизованных систем водоотведения поселений определяется температурой сточных вод, поступающих на городские очистные сооружения, в зимний период. Если минимальная среднемесячная температура сточных вод составляет 12 °C и ниже, прием снега в централизованные системы водоотведения поселений не допускается.

При сооружениях водоотведения допускается устройство снегоплавильных пунктов с применением для плавления снега и льда, убираемого с улиц, тепловой энергии сточных вод, а также иных теплоносителей (источников тепла), со сбросом получаемой талой воды в самотечную сеть водоотведения. Количество подаваемых на плавление снега сточных вод или иных теплоносителей должно определяться теплотехническим расчетом. (в ред. Изменения N 2, утв. Приказом Минстроя РФ от 27.12.2021 N 1023/пр)

6.11.2. Снегоплавильные пункты следует проектировать на основании генеральной схемы их размещения, учитывающей близость расположения основных территорий, убираемых от снега, наличие точек подачи сточной воды или иных теплоносителей (источников тепла) и отвода талой на очистные сооружения, доступность относительно дорожной сети, удобство подъездов и организации встречного движения грузового автотранспорта, обеспечение санитарно-защитной зоны и т.п. Оптимальная мощность снегоплавильных пунктов - 5 - 10 тыс. м3 снега в сутки.

В зависимости от гидравлических ресурсов системы водоотведения и наличия территорий, пригодных для сооружения снегоплавильных пунктов, применяются следующие типы СПП:

- незаглубленные (подповерхностные) сооружения с напорной подачей сточной воды из самотечного коллектора с помощью насосной станции;

- незаглубленные (подповерхностные) сооружения с подачей сточной воды от напорного трубопровода канализации и сбросом воды в самотечный коллектор. Допускается устройство отводов напорных трубопроводов к снегоплавильному пункту;

- среднезаглубленные сооружения (глубиной не более 6 м до днища, позволяющей осуществлять очистку с поверхности) на "байпасной" линии самотечного коллектора с регулированием подачи сточных вод с помощью затворов. (в ред. Изменения N 2, утв. Приказом Минстроя РФ от 27.12.2021 N 1023/пр)

6.11.3. В состав снегоплавильного пункта должны входить:

- снегоплавильные камеры (одна или более);

- устройства и механизмы для подачи и измельчения снега;

- площадка для промежуточного складирования снега;

- площадка для временного складирования извлеченного мусора;

- производственно-бытовые помещения;

- контрольно-пропускной пункт. (в ред. Изменения N 2, утв. Приказом Минстроя РФ от 27.12.2021 N 1023/пр)

Сброс снега и льда непосредственно в коллектор, без устройства снегоплавильных камер, не допускается. (в ред. Изменения N 2, утв. Приказом Минстроя РФ от 27.12.2021 N 1023/пр)

6.11.4. Завозимый снег необходимо измельчать перед подачей в снегоплавильную камеру, отделяя при этом крупные тяжелые включения (фрагменты дорожного покрытия, крупные камни, автопокрышки и т.п.). Для измельчения включений допускается применять:

- специальные сепараторы-дробилки;

- решетки, через которые снег продавливается с помощью гусеничных бульдозеров.

6.11.5. Талые воды снегоплавильных установок, в процессе плавления которых не использовались хозяйственно-бытовые и близкие по составу сточные воды, допускается подвергать очистке на локальных очистных сооружениях поверхностного стока с учетом их взаимного расположения и возможности использования в холодное время года. (в ред. Изменения N 2, утв. Приказом Минстроя РФ от 27.12.2021 N 1023/пр)

6.11.6. При отборе сточной воды из самотечной системы канализации на нужды СПП следует проводить расчет с учетом 5.1.7 на час минимального притока сточных вод и условия обеспечения минимальной скорости стоков без заиления сетей. (в ред. Изменения N 2, утв. Приказом Минстроя РФ от 27.12.2021 N 1023/пр)

6.11.7. Следует предусматривать три режима работы СПП, соответствующие климатическим условиям (интенсивности снегопада, температуры воздуха) и технологическим особенностям переработки снега:

- штатный режим соответствует работе СПП с проектной (номинальной) производительностью, применяемый основную часть сезона и гарантирующий соблюдение всех регламентных требований к процессу переработки снега;

- форсированный режим работы СПП (увеличение производительности СПП в 2 раза);

- максимальный режим, при котором СПП принимают максимально возможное количество снега, что достигается: увеличением расхода теплой воды, фактическим увеличением плотности принимаемого снега; использованием буферных площадок, дополнительным продавливанием снега автопогрузчиками через решетки, расположенные над песколовками и др. (в ред. Изменения N 2, утв. Приказом Минстроя РФ от 27.12.2021 N 1023/пр)

6.11.8. Объем и внутреннее устройство снегоплавильных камер должны обеспечивать плавление подаваемого в них снега, с выделением из него оседающих и всплывающих включений. Задачей снегоплавильного пункта является выделение из талой воды включений, не характерных для бытовых сточных вод, во избежание отложения грубодисперсных включений в каналах и коллекторах и перегрузки решеток крупными плавающими предметами. Конструкция снегоплавильных камер должна обеспечивать задержание таких включений с их последующей выгрузкой и удалением.

6.11.9. При расчете снегоплавильной камеры следует определять: объем зоны плавления снега и расход подаваемой на плавление сточной воды (теплотехническим расчетом), объем зоны накопления оседающих и всплывающих включений, периодичность очистки камеры.

6.11.10 Выгрузку задержанных включений следует осуществлять грейферами. При обосновании допускается применять механическое оборудование (скребки, нории и т.п.). При выгрузке грейферами следует предусматривать защиту днища сооружения. (в ред. Изменений N 2, утв. Приказом Минстроя РФ от 27.12.2021 N 1023/пр, N 3, утв. Приказом Минстроя РФ от 28.12.2023 N 1009/пр)

6.11.11. Для предотвращения выделения неприятных запахов поверхность снегоплавильной камеры должна быть перекрыта съемными плитами.

6.11.12. Извлеченный из снегоплавильной камеры мусор следует вывозить на полигон размещения отходов.

6.11.13. Для снижения уровней шума следует предусматривать оборудование снегоплавильного пункта шумозащитными экранами по периметру со стороны существующей и (или) перспективной застройки. (в ред. Изменения N 2, утв. Приказом Минстроя РФ от 27.12.2021 N 1023/пр)

7. Отведение и очистка поверхностных сточных вод (в ред. Изменения N 2, утв. Приказом Минстроя РФ от 27.12.2021 N 1023/пр)

7.1. Требования к отведению поверхностных сточных вод (в ред. Изменения N 2, утв. Приказом Минстроя РФ от 27.12.2021 N 1023/пр)

7.1.1 На очистные сооружения должны отводиться поверхностные сточные воды с территорий поселений и городских округов, отличающихся значительной величиной нагрузки по загрязняющим веществам, т.е. от промышленных зон, районов многоэтажной жилой застройки с интенсивным движением автомобильного транспорта и пешеходов, крупных транспортных магистралей, торгово-развлекательных центров. При этом должно быть исключено отведение в централизованные ливневые системы водоотведения хозяйственно-бытовых сточных вод, а также жидких бытовых и промышленных отходов [4]. (в ред. Изменений N 2, утв. Приказом Минстроя РФ от 27.12.2021 N 1023/пр, N 3, утв. Приказом Минстроя РФ от 28.12.2023 N 1009/пр)

7.1.2 При раздельной системе водоотведения поверхностных сточных вод очистные сооружения следует размещать на устьевых участках главных коллекторов поверхностных сточных вод перед выпуском в водный объект. При отсутствии площадки для размещения очистных сооружений допускаются иные технические решения. (в ред. Изменений N 2, утв. Приказом Минстроя РФ от 27.12.2021 N 1023/пр, N 3, утв. Приказом Минстроя РФ от 28.12.2023 N 1009/пр)

7.1.3. При проектировании очистных сооружений поверхностных сточных вод от технологических зон водоотведения централизованной ливневой системы водоотведения поселения, городского округа степень очистки должна обеспечивать соблюдение:

- технологических нормативов для технологически нормируемых веществ для поверхностных сточных вод, устанавливаемых по [11] на основе технологических показателей [3], применяемых с учетом категории водного объекта по [2] для объектов I категории негативного воздействия на окружающую среду, а также объектов II категории негативного воздействия на окружающую среду, переходящих на технологическое нормирование;

- нормативов допустимого сброса, устанавливаемых по [25] для объектов II категории негативного воздействия на окружающую среду;

- поверхностные сточные воды 1-го типа, образующиеся на территории производственных зон, а также все поверхностные сточные воды 2-го типа, принимаемые в централизованные системы водоотведения поселений, городских округов (общесплавные, ливневые, комбинированные), не соответствующие нормативным показателям, установленным в целях предотвращения негативного воздействия на работу централизованных систем водоотведения [4], должны подвергаться предварительной локальной очистке от загрязняющих веществ в соответствии с условиями технологического присоединения. (в ред. Изменения N 3, утв. Приказом Минстроя РФ от 28.12.2023 N 1009/пр)

Организованно отводимые поверхностные сточные воды с территории парков, рекреационно-парковых и аналогичных по назначению зон поселений перед сбросом в водный объект или любую централизованную систему водоотведения допускается подвергать предварительной механической очистке от мусора, взвешенных веществ, а также от всплывающих веществ и нефтепродуктов. (в ред. Изменения N 3, утв. Приказом Минстроя РФ от 28.12.2023 N 1009/пр)

7.1.4. Поверхностные сточные воды 1-го типа, образующиеся на территориях производственных зон, а также все поверхностные воды 2-го типа, принимаемые в централизованные системы водоотведения поселений, городских округов (общесплавные, ливневые, комбинированные), должны соответствовать нормативным показателям общих свойств и концентраций загрязняющих веществ в сточных водах, установленным в целях предотвращения негативного воздействия на работу централизованных систем водоотведения [4]. Данные поверхностные сточные воды, не соответствующие требованиям [4], должны подвергаться предварительной локальной очистке от загрязняющих веществ.

При отсутствии в централизованной ливневой системе водоотведения поселения, городского округа очистных сооружений перед сбросом в водный объект поверхностные сточные воды 1-го типа, образующиеся на территориях производственных зон, все поверхностные воды 2-го типа, а также отводимые совместно с ними производственные сточные воды перед отведением в данную систему должны подвергаться обязательной предварительной очистке до нормативов, предъявляемых на сбросе в водный объект по всему перечню загрязняющих веществ, нормируемых для данной централизованной ливневой системы водоотведения. (в ред. Изменения N 2, утв. Приказом Минстроя РФ от 27.12.2021 N 1023/пр)

7.1.5. Отведение (прием) поверхностных сточных вод с территорий предприятий в централизованные бытовые системы водоотведения поселения или городского округа (для совместной очистки с бытовыми сточными водами) допускается при наличии технической возможности для их приема, транспортирования и очистки и должно быть обосновано в каждом конкретном случае расчетами пропускной способности бытовой системы водоотведения, качества очистки на очистных сооружениях с учетом условий сброса очищенных сточных вод в водоприемник. (в ред. Изменения N 2, утв. Приказом Минстроя РФ от 27.12.2021 N 1023/пр)

7.1.6. В системах отведения поверхностных сточных вод с территорий поселений, городских округов и промышленных площадок должна учитываться возможность поступления в коллекторную сеть инфильтрационных и дренажных вод из сопутствующих дренажей инженерных сетей и коммуникационных коллекторов, а также незагрязненных сточных вод промышленных предприятий.

7.1.7. Для предотвращения загрязнения водных объектов талым стоком в зимний период с территорий поселений и городских округов с развитой сетью автомобильных дорог и интенсивным движением транспорта, необходимо предусматривать организацию уборки и вывоза снега с депонированием на "сухие" снегосвалки или его сброс в снегоплавильные камеры с последующим отводом талых вод в канализационную сеть.

7.1.8. Отведение дождевых и талых вод с кровель зданий и сооружений, оборудованных внутренними водостоками, следует предусматривать в сеть водоотведения поверхностного стока без очистки.

7.1.9 Отведение поверхностных сточных вод на очистные сооружения и в водные объекты следует предусматривать, по возможности в самотечном режиме по пониженным участкам площади стока. Перекачка поверхностного стока на очистные сооружения допускается в исключительных случаях при технико-экономическом обосновании. (в ред. Изменения N 3, утв. Приказом Минстроя РФ от 28.12.2023 N 1009/пр)

7.1.10 На территории городских и сельских поселений, промышленных объектов следует предусматривать закрытые системы отведения поверхностных сточных вод. Отведение по открытой системе водостоков с применением лотков, канав, кюветов, оврагов, ручьев и малых рек допускается для территорий с малоэтажной индивидуальной застройкой, поселков в сельской местности, на пешеходных и административных территориях промышленных предприятий, коммунальных и складских объектов, объектов жилищно-коммунального хозяйства (за исключением объектов очистки сточных вод и обращения с отходами), объектов автомобильного транспорта и железнодорожного транспорта, а также объектов, предназначенных для приема, отправки воздушных судов и обслуживания воздушных перевозок, на которых образуются поверхностные сточные воды 1-го типа, а также парковых территорий с устройством мостов или труб на пересечениях с дорогами. (в ред. Изменений N 2, утв. Приказом Минстроя РФ от 27.12.2021 N 1023/пр, N 3, утв. Приказом Минстроя РФ от 28.12.2023 N 1009/пр)

В пешеходной зоне и внутридворовых проездах многоэтажной застройки в городских и сельских поселениях допускается использование открытых лотков с малой площадью поперечного сечения согласно СП 42.13330.

Отведение на очистку поверхностного стока от автомобильных дорог и объектов дорожного сервиса, расположенных вне городских и сельских поселений, допускается выполнять лотками и кюветами. (в ред. Изменения N 1, утв. Приказом Минстроя РФ от 23.12.2019 N 839/пр)

7.1.11 При проектировании систем отведения и очистки поверхностных сточных вод следует применять очистные сооружения накопительного типа с регулированием по объему и расходу. Применение очистных сооружений проточного типа (с регулированием по расходу) допускается для очистки поверхностных сточных вод линейных объектов транспортной инфраструктуры, включая мостовые сооружения автомобильных и железных дорог, а также в ситуациях, когда сформировавшаяся система водоотведения поверхностного стока поселения представляет собой коллекторно-речную сеть, включающую в себя водные объекты природного, природно-антропогенного или антропогенного происхождения, способные аккумулировать (регулировать) поверхностный сток и снижать расход поверхностных сточных вод перед очистными сооружениями, при этом на площади водосбора действуют природные или техногенные факторы, обусловливающие значительное постоянное (круглогодичное) фоновое загрязнение сточных вод. (в ред. Изменений N 2, утв. Приказом Минстроя РФ от 27.12.2021 N 1023/пр, N 3, утв. Приказом Минстроя РФ от 28.12.2023 N 1009/пр)

7.1.12 При обеспечении санитарно-эпидемиологических, экологических и технических требований допускаются применение естественных методов очистки или доочистки поверхностных сточных вод с учетом 9.2.13.2, накопление в целях повторного использования поверхностных сточных вод для орошения и технического водоснабжения, а также сброс очищенных поверхностных сточных вод в сооружения фильтрации открытого или подземного типа в соответствии с 9.2.13.2а. (в ред. Изменения N 3, утв. Приказом Минстроя РФ от 28.12.2023 N 1009/пр)

7.2. Определение среднегодовых объемов поверхностных сточных вод

7.2.1. Среднегодовой объем поверхностных сточных вод , образующихся в период выпадения дождей, таяния снега и мойки дорожных покрытий, определяют по формуле (в ред. Изменения N 2, утв. Приказом Минстроя РФ от 27.12.2021 N 1023/пр)

, (4)

где , и - среднегодовой объем дождевых, талых и поливо-моечных вод соответственно, м3.

7.2.2. Среднегодовой объем дождевых и талых вод определяется по формулам: (в ред. Изменения N 2, утв. Приказом Минстроя РФ от 27.12.2021 N 1023/пр)

, (5)

, (6)

где:

- слой осадков, мм, за теплый период года, определяется по СП 131.13330;

и - общий коэффициент стока дождевых и талых вод соответственно;

F - площадь стока коллектора, га;

- слой осадков, мм, за холодный период года (определяет общее годовое количество талых вод) или запас воды в снежном покрове к началу снеготаяния определяется по СП 131.13330;

- коэффициент, учитывающий уборку снега, следует принимать 0,5 - 0,8 или рассчитывать по формуле

, (6а)

где - площадь, очищаемая от снега, включая площадь кровель, оборудованных внутренними водостоками. (в ред. Изменения N 2, утв. Приказом Минстроя РФ от 27.12.2021 N 1023/пр)

7.2.3. При определении среднегодового количества дождевых вод общий коэффициент стока для общей площади стока F рассчитывается как средневзвешенное значение из частных значений для площадей стока с разным видом поверхности согласно таблице 7. (в ред. Изменения N 2, утв. Приказом Минстроя РФ от 27.12.2021 N 1023/пр)

Таблица 7

Значения коэффициента стока для разного вида поверхностей

Вид поверхности или площади стока Общий коэффициент стока
Кровли и асфальтобетонные покрытия 0,6 - 0,7
Булыжные или щебеночные мостовые 0,4 - 0,5
Кварталы без дорожных покрытий, небольшие скверы, бульвары 0,2 - 0,3
Газоны 0,1
Кварталы с современной застройкой 0,4 - 0,5
Средние городские округа 0,4 - 0,5
Небольшие городские округа и поселения 0,3 - 0,4

7.2.4. При определении среднегодового объема дождевых вод , стекающих с территорий промышленных предприятий и производств, значение общего коэффициента стока находится как средневзвешенное значение для всей площади стока с учетом средних значений коэффициентов стока для разного вида поверхностей, которые равны:

0,6 - 0,8 - для водонепроницаемых покрытий;

0,2 - для грунтовых поверхностей;

0,1 - для газонов.

7.2.5. При определении среднегодового объема талых вод общий коэффициент стока с учетом уборки снега и потерь воды за счет частичного впитывания водопроницаемыми поверхностями в период оттепелей допускается принимать в пределах 0,5 - 0,7. (в ред. Изменения N 2, утв. Приказом Минстроя РФ от 27.12.2021 N 1023/пр)

7.2.6. Общий годовой объем поливо-моечных вод , м3, стекающих с площади стока, определяют по формуле

, (7)

где:

m - удельный расход воды на мойку дорожных покрытий (принимается 0,5 на ручную и 1,2 - 1,5 л/м2 на одну механизированную мойку);

k - среднее число моек в году (для средней полосы Российской Федерации составляет 100 - 150);

- коэффициент стока для поливо-моечных вод (принимается равным 0,5);

- площадь твердых покрытий, подвергающихся мойке, га.

7.3. Определение расчетных объемов поверхностных сточных вод при отведении на очистку

7.3.1. Объем дождевого стока от расчетного дождя , м3, который полностью отводится на очистные сооружения, определяют по формуле (в ред. Изменения N 2, утв. Приказом Минстроя РФ от 27.12.2021 N 1023/пр)

, (8)

где:

10 - переводной коэффициент;

- максимальный суточный слой осадков за дождь, сток от которого подвергается очистке в полном объеме, мм;

- средний коэффициент стока для расчетного дождя (определяется как средневзвешенное значение в зависимости от постоянных значений коэффициента стока для разного вида поверхностей по таблице 8); (в ред. Изменения N 2, утв. Приказом Минстроя РФ от 27.12.2021 N 1023/пр)

F - площадь стока, га.

Таблица 8

Значения постоянного коэффициента стока для различных видов поверхности стока

(в ред. Изменения N 2, утв. Приказом Минстроя РФ от 27.12.2021 N 1023/пр)

Вид поверхности стока Постоянный коэффициент стока
Водонепроницаемые поверхности (кровли и асфальтобетонные покрытия) 0,95
Брусчатые мостовые и щебеночные покрытия 0,6
Булыжные мостовые 0,45
Щебеночные покрытия, не обработанные вяжущими материалами 0,4
Гравийные садово-парковые дорожки 0,3
Грунтовые поверхности (спланированные) 0,2
Газоны 0,1

7.3.2. Для поверхностных сточных вод 1-го типа значение , мм, принимается равным суточному слою осадков от малоинтенсивных часто повторяющихся дождей с периодом однократного превышения расчетной интенсивности P = 0,05 - 0,1 года, что для большинства поселений и городских округов обеспечивает прием на очистку не менее 70% годового объема поверхностного стока.

Для поверхностных сточных вод 2-го типа величина максимального суточного слоя дождя , мм, среднегодовой сток от которого в полном объеме должен подвергаться очистке, принимается равной максимальному за год суточному слою атмосферных осадков от дождей с периодом однократного превышения P 1 года (соответствует обеспеченности 63% и менее). Величину допускается определять одним из двух способов:

- на основании данных многолетних наблюдений метеостанций за атмосферными осадками в конкретной местности или на ближайших репрезентативных метеостанциях (не менее чем за 10 - 15 лет). При отсутствии таких данных величина с обеспеченностью 63% (при необходимости другой) определяется по климатическим данным;

- расчетным путем по формуле

, (8а)

где:

- максимальный суточный слой осадков требуемой обеспеченности, мм; ;

- значение среднего максимума суточного слоя осадков, мм;

Ф - нормированные отклонения от среднего значения при разных значениях обеспеченности , %, и коэффициента асимметрии ;

- коэффициент вариации суточных осадков.

Параметры формулы (8а) - , Ф, и определяются по таблицам Е.4, Е.5 и Е.6. (в ред. Изменения N 2, утв. Приказом Минстроя РФ от 27.12.2021 N 1023/пр)

7.3.3 Методики расчета максимального суточного слоя осадков за дождь, сток от которого подвергается очистке в полном объеме, hа, мм, приведены в разделах Е.1 и Е.2. (в ред. Изменения N 2, утв. Приказом Минстроя РФ от 27.12.2021 N 1023/пр)

В качестве исходных данных для расчета hа, используются статистически обработанные данные многолетних наблюдений метеостанций (не менее чем за 10 - 15 лет) за атмосферными осадками в конкретной местности или на ближайших репрезентативных метеостанциях.

Метеорологическая станция считается репрезентативной относительно рассматриваемой площади стока, если выполняются следующие условия:

- расстояние от станции до площади водосбора объекта менее 100 км;

- разница высотных отметок площади водосбора над уровнем моря и метеостанции не превышает 50 м.

Четвертый абзац. - Исключен. (в ред. Изменения N 3, утв. Приказом Минстроя РФ от 28.12.2023 N 1009/пр)

7.3.4 При отсутствии на метеостанциях данных многолетних наблюдений (не менее чем 10 - 15 лет) за количеством атмосферных осадков для конкретных территорий при выполнении расчетов допускается применять статистически обработанные данные многолетних климатических наблюдений за атмосферными осадками Федеральной службы по гидрометеорологии и мониторингу окружающей среды, в том числе в виде данных из Единого государственного фонда данных о состоянии окружающей среды [46]. (в ред. Изменений N 2, утв. Приказом Минстроя РФ от 27.12.2021 N 1023/пр, N 3, утв. Приказом Минстроя РФ от 28.12.2023 N 1009/пр)

7.3.5. Максимальный суточный объем талых вод , м3, отводимых на очистные сооружения в середине периода весеннего снеготаяния, определяют по формуле (в ред. Изменения N 2, утв. Приказом Минстроя РФ от 27.12.2021 N 1023/пр)

, (9)

где:

10 - переводной коэффициент;

- слой талых вод за 10 дневных часов при заданной обеспеченности, мм (в соответствии со статистически обработанными данными многолетних наблюдений на местных метеостанциях или по климатическим данным); (в ред. Изменения N 2, утв. Приказом Минстроя РФ от 27.12.2021 N 1023/пр)

F - площадь стока, га;

- коэффициент, учитывающий неравномерность снеготаяния, допускается принимать 0,8;

- общий коэффициент стока талых вод (принимается 0,5 - 0,8);

- коэффициент, учитывающий частичный вывоз и уборку снега, определяемый по формуле

, (10)

где - площадь, очищаемая от снега (включая площадь кровель, оборудованных внутренними водостоками).

7.4. Определение расчетных расходов дождевых вод в системе водоотведения (в ред. Изменения N 2, утв. Приказом Минстроя РФ от 27.12.2021 N 1023/пр)

7.4.1. Расчетные расходы дождевых и инфильтрационных вод в системе водоотведения следует определять по приложению Ж.

7.4.2 С учетом высокой степени неравномерности поступления расхода поверхностных сточных вод в систему водоотведения следует применять регулирование их расхода как водоотводящей сети, так и перед очистными сооружениями. Для регулирования расхода сточных вод в коллекторах большой протяженности устанавливаются разделительные камеры (ливнесбросы) и (или) регулирующие резервуары, в которые направляются пиковые расходы стока при выпадении интенсивных ливневых дождей. (в ред. Изменения N 3, утв. Приказом Минстроя РФ от 28.12.2023 N 1009/пр)

При устройстве разделительных камер для регулирования расхода стока в сети дождевой канализации следует применять конструкции, обеспечивающие постоянное значение зарегулированного расхода при изменении в широком диапазоне расхода перед камерой: разделительные камеры типа донного слива и камеры с разделительной стенкой с отверстием.

Расчет объема регулирующего резервуара, устанавливаемого на сети дождевой канализации, в общем виде сводится к определению оптимального соотношения между объемом регулирующего резервуара и пропускной способностью коллектора с зарегулированным расходом. Опорожнение резервуара осуществляется в отводящий коллектор после прекращения дождя.

7.4.3. Регулирование расхода поверхностных сточных вод 2-го типа без сброса их непосредственно в водоприемник, следует предусматривать за счет устройства аккумулирующих (регулирующих) резервуаров, рассчитанных на прием стока от дождя с максимальным расчетным слоем осадков , мм, с заданной вероятностью превышения (расчет , мм, приводится в разделе Е.2).

Таблицы 9 - 14. - Исключены. (в ред. Изменения N 2, утв. Приказом Минстроя РФ от 27.12.2021 N 1023/пр)

7.5. Определение производительности очистных сооружений (в ред. Изменения N 2, утв. Приказом Минстроя РФ от 27.12.2021 N 1023/пр)

7.5.1. Производительность очистных сооружений поверхностных сточных вод накопительного и проточного типа следует определять по приложению В.

7.5.2 Производительность очистных сооружений накопительного типа рассчитывается исходя из периода переработки объема поверхностных сточных вод от расчетного дождя (период опорожнения аккумулирующего резервуара) на основании данных о средней продолжительности периодов между стокообразующими осадками. При отсутствии таких данных допускается принимать эту продолжительность равной 2 - 3 сут. В отдельных случаях этот период может быть увеличен на основании статистической обработки данных о натурном ряде дождей для данной местности за многолетний период. (в ред. Изменения N 3, утв. Приказом Минстроя РФ от 28.12.2023 N 1009/пр)

Производительность очистных сооружений определяется исходя из выбранного периода опорожнения аккумулирующего резервуара.

Примечание - Время переработки максимального суточного объема талых вод определяется в соответствии с В.1.5.

7.6. Качественная характеристика поверхностных сточных вод поселений (в ред. Изменения N 2, утв. Приказом Минстроя РФ от 27.12.2021 N 1023/пр)

7.6.1. Степень и характер загрязнения поверхностных сточных вод различны и зависят от санитарного состояния бассейна водосбора и приземной атмосферы, уровня благоустройства территории, а также гидрометеорологических параметров выпадающих осадков: интенсивности и продолжительности дождей, предшествующего периода сухой погоды, интенсивности весеннего снеготаяния. (в ред. Изменения N 2, утв. Приказом Минстроя РФ от 27.12.2021 N 1023/пр)

7.6.2. При отсутствии информации о качественном составе поверхностных сточных вод для различных участков водосборных поверхностей жилых и общественно-деловых зон поселений данные по нему допускается принимать по таблице 15.

Состав и концентрации загрязняющих веществ поверхностных сточных вод линейных объектов транспортной инфраструктуры, направляемых на очистку, следует принимать на основании ведомственных нормативных документов.

Состав поверхностных и производственно-ливневых сточных вод следует принимать:

- для действующих объектов - по фактическим данным производственно-экологического контроля;

- для вновь строящихся и реконструируемых объектов - по данным объектов-аналогов с учетом требований отраслевых и ведомственных нормативных документов.

Таблица 15

Примерные значения показателей загрязнения в поверхностных сточных водах с различных участков водосборных поверхностей жилых и общественно-деловых зон поселений

Тип участка Значения показателей загрязнения, мг/дм3
Дождевой сток Талый сток
Взвешенные вещества ХПК Нефтепродукты Взвешенные вещества ХПК Нефтепродукты
Участки с высоким уровнем благоустройства и регулярной механизированной уборкой дорожных покрытий 400 40 300 8 2000 70 700 20
Современная жилая застройка 500 60 300 8 2000 100 800 20
Магистральные улицы с интенсивным движением транспорта 800 120 500 20 2000 150 1200 25
Территории, прилегающие к промышленным зонам 800 120 400 18 3000 120 1000 20
Кровли зданий и сооружений < 20 < 10 < 80 0,01 - 0,7 < 20 < 10 < 100 0,01 - 0,7
Территории с преобладанием индивидуальной жилой застройки; газоны и зеленые насаждения 300 60 280 < 1 1500 100 800 < 1

(в ред. Изменения N 2, утв. Приказом Минстроя РФ от 27.12.2021 N 1023/пр)

7.6.3. При проектировании сооружений очистки поверхностных сточных вод с территорий производственных зон, особенно сточных вод 2-го типа следует учитывать, что эти воды имеют более сложный состав, который определяется характером основных технологических процессов, а концентрация примесей зависит от вида поверхности водосбора, санитарно-технического состояния и режима уборки территории, эффективности работы систем газо- и пылеулавливания, организации складирования и транспортирования сырья, промежуточных и готовых продуктов, отходов производства.

При разработке технологии очистки и схемы отведения поверхностных сточных вод на крупных предприятиях [27] следует учитывать особенности состава и количества загрязнений по площадкам различного производственного назначения. (в ред. Изменений N 2, утв. Приказом Минстроя РФ от 27.12.2021 N 1023/пр, N 3, утв. Приказом Минстроя РФ от 28.12.2023 N 1009/пр)

7.6.4. Для сокращения объема талых вод, отводимых на очистку, а также снижения производительности очистных сооружений на территории поселений, городских округов в зимний период необходимо предусматривать организацию уборки и вывоза снега с депонированием на "сухих" снегосвалках или его переработку в снегоплавильных камерах (6.11.1 - 6.11.12) с последующим отводом талых вод в канализационную сеть и далее на сооружения очистки. (в ред. Изменения N 2, утв. Приказом Минстроя РФ от 27.12.2021 N 1023/пр)

7.6.5. При выборе технологических схем очистки поверхностных сточных вод поселений, городских округов следует исходить из:

- качественного состава и степени загрязнения поверхностных сточных вод с учетом возможного присутствия загрязняющих веществ, перечисленных в [29];

- необходимости выполнения нормативных требований к степени очистки поверхностных сточных вод в соответствии с условиями отведения: в централизованные системы водоотведения поселений [4] или водные объекты с учетом их категории и целевого использования в соответствии с требованиями [2], [3], [11], [25], [42] и [43]. (в ред. Изменения N 3, утв. Приказом Минстроя РФ от 28.12.2023 N 1009/пр)

При отведении поверхностных сточных вод в централизованные системы водоотведения поселений, городских округов (общесплавные, ливневые, комбинированные) технологическая схема их очистки должна обеспечивать значения нормативных показателей общих свойств и концентраций загрязняющих веществ в сточных водах, установленных в целях предотвращения негативного воздействия на работу централизованных систем водоотведения [4].

Сбрасываемые после очистки поверхностные сточные воды должны соответствовать требованиям по общим свойствам и содержанию микробиологических загрязнений [43]. (в ред. Изменений N 2, утв. Приказом Минстроя РФ от 27.12.2021 N 1023/пр, N 3, утв. Приказом Минстроя РФ от 28.12.2023 N 1009/пр)

7.6.6. Пункт исключен. (в ред. Изменения N 2, утв. Приказом Минстроя РФ от 27.12.2021 N 1023/пр)

7.7. Очистка поверхностных сточных вод (в ред. Изменения N 2, утв. Приказом Минстроя РФ от 27.12.2021 N 1023/пр)

7.7.1. Общие положения

7.7.1.1 Требования к составу и свойствам очищенных поверхностных сточных вод определяются условиями приема их в централизованные системы водоотведения поселения или городского округа [4] или условиями выпуска в водные объекты, исходя из категории водных объектов или их частей и требований [2], [3], [11], [18]. При повторном использовании в системах производственного водоснабжения очищенный поверхностный сток должен соответствовать [43], а также техническим условиям конкретных потребителей, если таковые предъявляются. (в ред. Изменения N 3, утв. Приказом Минстроя РФ от 28.12.2023 N 1009/пр)

7.7.1.2 При проектировании очистных сооружений поверхностных сточных вод необходимо обеспечивать:

- прием на очистку наиболее загрязненной части поверхностных сточных вод 1-го типа в количестве не менее 70% годового объема, и всего среднегодового объема сточных вод 2-го типа;

- режим подачи сточных вод на очистку, приближенный к равномерному;

- наличие в составе очистных сооружений необходимого и достаточного набора технологических стадий очистки сточных вод (а в ряде случаев, и обработки образующихся осадков), обеспечивающих условия выпуска в водные объекты, централизованные системы водоотведения и использования в системах производственного водоснабжения;

- наличие в составе очистных сооружений системы автоматического контроля и управления технологическими процессами (начиная с определенной производительности).

При проектировании сооружений для очистки сточных вод производственно-ливневой канализации промышленных предприятий, необходимо учитывать технологические и конструктивные особенности, вызываемые постоянным поступлением производственного стока, с относительно постоянным или переменным расходом и составом, в том числе оснащение сооружения и оборудования для регулирования и осветления сточных вод стационарными системами для цикличного удаления осадка, а также устройствами для его обработки.

При разработке очистных сооружений производственно-ливневой канализации необходим учет индивидуальных особенностей предприятия, с проведением, при необходимости, в составе инженерных изысканий, подбора оборудования и реагентов, а также эффективно работающих объектов-аналогов.

7.7.1.3 Сооружения накопительного типа следует применять при проектировании очистных сооружений поверхностных сточных вод любой производительности. Создание водосборных бассейнов, формирующих производительность очистных сооружений поверхностных сточных вод накопительного типа свыше 20 000 м3/сут, допускается исключительно при отсутствии территорий для размещения нескольких очистных сооружений меньшей производительности. (в ред. Изменения N 3, утв. Приказом Минстроя РФ от 28.12.2023 N 1009/пр)

Сооружения проточного типа допускается использовать на объектах производительностью до 4000 м3/сут для локальной очистки перед сбросом в централизованные системы водоотведения или в водные объекты при соблюдении нормативных требований к качеству очищенных сточных вод [3], [4], [25] с территорий транспортной инфраструктуры, объектов дорожного сервиса, небольших поселений и коттеджных поселков, а также без ограничения применять для очистки поверхностных сточных вод со сбросом в водные объекты в ситуациях, когда сформировавшаяся система водоотведения поселений, городских округов представляет собой коллекторно-речную сеть, включающую в себя водные объекты (пруды) природного, природно-антропогенного или антропогенного происхождения, способные аккумулировать (регулировать) поверхностный сток и снижать расход поверхностных сточных вод перед очистными сооружениями. (в ред. Изменения N 3, утв. Приказом Минстроя РФ от 28.12.2023 N 1009/пр)

7.7.1.4 При проектировании сооружений проточного типа для регулирования расхода сточных вод следует применять разделительные камеры, которые устанавливаются перед очистными сооружениями на подводящем самотечном коллекторе (см. 7.4.2).

7.7.1.5 Регулирование объема и усреднение состава поступающих на очистку поверхностных сточных вод при проектировании очистных сооружений накопительного типа следует производить в аккумулирующих резервуарах. Подача сточных вод из аккумулирующих резервуаров на глубокую очистку следует предусматривать равномерно с постоянным расходом в течение 2 - 3 сут.

7.7.1.6 Схема очистных сооружений поверхностных сточных вод должна разрабатываться с учетом принятой схемы отведения и регулирования, качественной и количественной характеристик поступающего стока, фазово-дисперсного состояния примесей, требований к качеству очищенной воды.

7.7.1.7 При выборе технологических схем очистки поверхностных сточных вод следует исходить из конкретных условий проектирования объекта и необходимости выполнения нормативных требований к степени очистки сточных вод при отведении их в водные объекты или централизованные системы водоотведения поселений, городских округов, в том числе, в зависимости от выбранной системы нормирования:

- на основе технологических показателей НДТ в сфере очистки поверхностных сточных вод [2], [3], [26];

- на основе нормативов допустимого сброса, разрабатываемых в целях соблюдения ПДК загрязняющих веществ в воде водных объектов рыбохозяйственного значения [11], [25];

- гигиенических нормативов и требований к условиям отведения сточных вод в водные объекты хозяйственно-питьевого и культурно-бытового водопользования в соответствии с [43]; (в ред. Изменения N 3, утв. Приказом Минстроя РФ от 28.12.2023 N 1009/пр)

- максимально допустимых значений нормативных показателей общих свойств сточных вод и концентраций загрязняющих веществ в сточных водах [4] в целях предотвращения негативного воздействия на работу централизованных систем водоотведения поселений.

7.7.1.8 Выбор технологии очистки сточных вод должен производиться с учетом качественного состава рассматриваемых сточных вод и требований к качеству очищенных вод. Для обеспечения требуемого качества очищенных сточных вод при сбросе их в водные объекты необходимо применять многоступенчатые схемы очистки, включающие в себя, как минимум, следующий набор последовательных технологических стадий:

- предварительную очистку стока от крупных механических примесей и мусора методами процеживания через мусоросборные корзины, ручные и механизированные решетки и сита;

- разделение потока сточных вод на загрязненную и условно чистую части в разделительной камере на входе в аккумулирующий резервуар;

- очистку стока от тяжелых минеральных примесей (пескоулавливание) в проточных песколовках различного типа или во входной секции аккумулирующего резервуара;

- стадию аккумулирования и усреднения стока. Для очистных сооружений производительностью до 2000 м3/сут и (или) при очистке поверхностных сточных вод 1-го типа ее допускается совмещать со стадией предварительной очистки от механических примесей и нефтепродуктов методом статического отстаивания в аккумулирующем резервуаре;

- выделение основной массы органических и минеральных загрязнений методами отстаивания, флотации или контактной фильтрации с предварительной реагентной обработкой сточных вод;

- доочистку от остаточных механических примесей с сорбированными на них нефтепродуктами и органическими веществами методом механического фильтрования с обеспечением стандартных процедур промывки фильтрующей загрузки;

- сорбционную доочистку стоков от остаточных концентраций растворенных нефтепродуктов и других органических веществ при отведении очищенных стоков в водные объекты рыбохозяйственного значения при нормировании на основе нормативов допустимого сброса и в водные объекты категории А при нормировании на основе технологических показателей НДТ [2], [3] а также, при обосновании, - и при сбросе в водные объекты других категорий;

- обеззараживание очищенных стоков при их отведении в водные объекты или при их повторном использовании на нужды технического водоснабжения.

7.7.1.9 В технологических схемах очистки поверхностных сточных вод на сооружениях любой производительности необходимо предусматривать технические решения по организации удаления осадков и всплывающих веществ. При наличии площади применение естественной сушки допускается при любой производительности. На сооружениях производительностью свыше 700 м3/сут следует рассматривать применение механического обезвоживания. Решение по выбору способа снижения объема осадка принимается в зависимости от местных условий. (в ред. Изменения N 3, утв. Приказом Минстроя РФ от 28.12.2023 N 1009/пр)

На сооружениях до 2000 м3/сут допускается предусматривать вывоз осадка автотранспортом.

7.7.1.10 Вследствие непрерывного во времени поступления сточных вод, процессы аккумулирования и очистки ПДСВ следует осуществлять в непрерывном динамическом режиме. В состав технологической схемы их очистки должны входить стадии: предварительной механической очистки от крупных минеральных частиц и мусора, аккумулирования в резервуаре, осветления (безреагентным или реагентным способами) или флотации, доочистки от взвешенных веществ, нефтепродуктов и других контролируемых показателей загрязнения в соответствии с [3], [4], [25]. Расчетные расходы для определения производительности очистных сооружений и оборудования должны учитывать как постоянное поступление ПДСВ, так и периодические притоки в период ливневых дождей. Ввиду многообразия состава производственных сточных вод и режима их поступления технологические схемы очистки, параметры сооружений и оборудования следует принимать на основании экспериментально обоснованного технологического регламента очистки и повторного использования ПДСВ на основе выбранного направления использования очищенных сточных вод. (в ред. Изменения N 3, утв. Приказом Минстроя РФ от 28.12.2023 N 1009/пр)

7.7.2 Очистка поверхностных сточных вод от крупных механических примесей и мусора (в ред. Изменения N 3, утв. Приказом Минстроя РФ от 28.12.2023 N 1009/пр)

7.7.2.1 Очистку поверхностных сточных вод от крупных механических примесей и мусора следует производить: (в ред. Изменения N 3, утв. Приказом Минстроя РФ от 28.12.2023 N 1009/пр)

- перед сооружениями для аккумулирования поверхностного стока (для очистных сооружений накопительного типа);

- перед камерами разделения стока по расходу (для очистных сооружений проточного типа).

7.7.2.2 Для очистных сооружений мощностью до 2000 м3/сут, очищающих поверхностные сточные воды 1-го типа, для очистки от крупных механических примесей и мусора допускается применение мусоросборных корзин с ручной периодической выгрузкой уловленных загрязнений. Мусоросборные корзины следует устанавливать: (в ред. Изменения N 3, утв. Приказом Минстроя РФ от 28.12.2023 N 1009/пр)

- на входе в аккумулирующие резервуары перед разделительными камерами стока по объему (для очистных сооружений накопительного типа);

- в колодцах, предназначенных для их размещения на подводящем коллекторе перед разделительными камерами стока по расходу (для очистных сооружений проточного типа).

Ширина отверстий в мусоросборных корзинах должна составлять 5 - 10 мм.

7.7.2.3 Использование стержневых или перфорированных решеток следует предусматривать для очистных сооружений производительностью от 2000 м3/сут, а при обосновании - при меньшей производительности. Для сооружений, принимающих поверхностные сточные воды 1-го типа, с площадью водосбора до 100 га допускается применение решеток с ручной очисткой; при площади стока более 100 га требуются механизированные решетки с автоматической системой очистки.

Следует использовать решетки с прозорами 5 - 10 мм. Количество рабочих решеток должно быть не менее двух, при использовании механизированных решеток следует предусматривать одну резервную решетку.

7.7.2.4 Проектирование решеток следует выполнять согласно подразделу 9.2.

Максимальная гидравлическая производительность очистного оборудования принимается равной величине расчетного расхода незарегулированного стока в подводящем коллекторе на входе на очистные сооружения до разделительной камеры.

7.7.3 Очистка от минеральных примесей

7.7.3.1 Очистку поверхностных сточных вод от минеральных примесей следует производить:

- в проточных песколовках на очистных сооружениях накопительного и проточного типа или

- в аккумулирующих резервуарах на очистных сооружениях накопительного типа.

7.7.3.2 Расчет проточных песколовок следует выполнять на удаление частиц гидравлической крупностью 24 мм/с и выше. Количество песколовок или их отдельных секций должно быть не менее двух (все рабочие).

Максимальную пропускную способность песколовок следует принимать:

- в очистных сооружениях накопительного типа - равной величине расчетного расхода, незарегулированного стока в подводящем коллекторе;

- в очистных сооружениях проточного типа - равной величине расчетного расхода зарегулированного стока в подводящем коллекторе после разделительной камеры.

7.7.3.3 Для расчета объема песковых бункеров проточных песколовок параметры песковой пульпы следует принимать: влажность до 70%, удельный вес 1,2 - 1,5 т/м3.

7.7.4 Аккумулирование и предварительное гравитационное осветление поверхностных сточных вод

7.7.4.1 В очистных сооружениях накопительного типа регулирование расхода и усреднение состава сточных вод, подаваемых на глубокую очистку, производится в аккумулирующих резервуарах. Для очистных сооружений производительностью до 2000 м3/сут и (или) принимающих поверхностные сточные воды 1-го типа допускается совмещение стадий аккумулирования и предварительной очистки (осветления) стоков от механических примесей и нефтепродуктов методом статического отстаивания.

Аккумулирующие резервуары рекомендуется выполнять из монолитного железобетона. В дополнение к железобетонным резервуарам допускается применение резервуаров из стеклокомпозитов по ГОСТ Р 54560 и ГОСТ Р ИСО 10467. Для малых очистных сооружений производительностью до 1000 м3/сут допускается применение серийно производимых емкостей из стеклокомпозитных и полимерных материалов. С учетом местных условий допускается применение надземных стальных аккумулирующих резервуаров, а также, при благоприятных гидрогеологических условиях - подземных стальных резервуаров с учетом ГОСТ 31445, СП 28.13330 и СП 72.13330 с защитными покрытиями усиленного типа по ГОСТ 9.602. (в ред. Изменения N 3, утв. Приказом Минстроя РФ от 28.12.2023 N 1009/пр)

Выбор конструкции (в том числе, количество секций) аккумулирующего резервуара производится с учетом его назначения и объема.

7.7.4.2 Для выделяемого из сточных вод осадка следует предусматривать устройства для его сбора, накопления и временного хранения.

Полезный (рабочий) объем аккумулирующего резервуара, для регулирования дождевого стока и последующего отведения его на сооружения глубокой очистки должен быть не менее объема дождевого стока от расчетного дождя Wос.д, рассчитанного по формуле (8). При этом необходимо выполнять проверочный расчет на прием в аккумулирующий резервуар суточного объема талого стока в соответствии с [17]. К проектированию принимается наибольшая из двух величин.

Следует учитывать необходимость создания дополнительного резерва объема аккумулирующего резервуара для накопления и хранения в течение 3 - 6 мес выделяемого из сточных вод осадка. Полный гидравлический объем аккумулирующего резервуара следует увеличивать:

- на 5% - 10% для аккумулирующего резервуара, используемого преимущественно для регулирования расхода сточных вод;

- на 35% - 45% для аккумулирующего резервуара, используемого также для предварительного осветления сточных вод.

7.7.4.3 Выбор конструкции аккумулирующего резервуара следует производить с учетом его назначения. При использовании аккумулирующего резервуара для регулирования расхода отводимых на очистку сточных вод следует предусматривать мероприятия по предотвращению отстаивания сточных вод (гидравлическое или пневматическое взмучивание). При использовании аккумулирующего резервуара не только для регулирования расхода сточных вод, но и для их предварительной механической очистки необходимо предусматривать технические решения для периодического сбора и удаления всплывающих веществ и оседающих механических примесей.

7.7.4.4 При использовании аккумулирующего резервуара для регулирования расхода сточных вод, отводимых на очистку, штатный режим работы очистных сооружений предусматривает полное опорожнение (осушение) резервуара в конце периода переработки стока от расчетного дождя или талого стока.

В этом случае днище резервуара может устраиваться плоским с уклоном к водозаборному приямку не менее 0,05. Следует также предусматривать взмучивание различными методами. (в ред. Изменения N 3, утв. Приказом Минстроя РФ от 28.12.2023 N 1009/пр)

Периодическую очистку днища резервуара от тяжелых минеральных примесей (песка) следует производить в период отсутствия поступления поверхностного стока не менее 1 - 2 раза в год с применением средств механизации (в том числе, малогабаритной уборочной техники), для чего в резервуаре устраивается соответствующий пандус или проем в перекрытии, а также площадки перегрузки.

Параметры песковой пульпы, остающейся на дне аккумулирующего резервуара, для предварительных расчетов объема осадочной пескосборной части могут приниматься: влажность 55% - 65%, удельный вес 1,3 - 1,5 т/м3.

7.7.4.5 При использовании аккумулирующего резервуара не только для регулирования расхода сточных вод, но и для их предварительного осветления методом статического безреагентного отстаивания штатный режим работы очистных сооружений должен предусматривать частичное насосное опорожнение на дальнейшие стадии очистки резервуара в конце периода переработки стока от расчетного дождя или талого стока. При этом следует предусматривать сохранение в аккумулирующем резервуаре придонного слоя осадка и буферного слоя осветленной воды, которые должны быть удалены для обработки.

В аккумулирующих резервуарах следует предусматривать технические решения для периодического сбора и удаления оседающих механических примесей и всплывающих веществ. Для сбора и удаления всплывших нефтепродуктов могут быть использованы нефтесборные устройства (скиммеры), рассчитанные на значительные колебания уровня воды в аккумулирующем резервуаре.

В аккумулирующих резервуарах небольшого объема целесообразно рассматривать устройство днища в виде ряда пирамидальных иловых приямков с уклоном стенок не менее 45°. В резервуарах значительного объема иловые приямки следует устраивать в виде заглубленных относительно днища поперечных или продольных лотков с уклоном стенок не менее 45° и уклоном днища резервуара к лоткам (вдоль лотков) не менее 0,05. При длине свыше 18 м указанные лотки также могут включать в себя дополнительные заглубленные приямки с уклоном стенок не менее 45° и уклоном дна лотков к этим приямкам не менее 0,05. Для удаления осадка с площади днища в лотки и приямки может быть использован гидросмыв. Суммарный объем приямков определяется исходя из возможного объема осадка при принятой периодичности его удаления.

Высота зоны отстаивания в резервуарах принимается в пределах 2 - 4 м, высота борта резервуара над максимальным уровнем воды - не менее 0,3 м, высота защитной зоны над максимальным уровнем осадка (буферный слой) - не менее 0,3 - 0,5 м.

Удаление из аккумулирующего резервуара осадка (с буферным слоем воды) следует производить периодически, не реже одного раза в месяц, самовсасывающими насосами (стационарными с гибким всосом или автоилососами), при этом влажность выгружаемого осадка допускается принимать равной 98%. Обращение с данным осадком следует осуществлять согласно 7.7.1.9.

7.7.5 Реагентная очистка поверхностных сточных вод

7.7.5.1 При сбросе поверхностных сточных вод в водные объекты следует предусматривать реагентную обработку с использованием коагулянтов и флокулянтов с последующим осветлением методами отстаивания, напорной или импеллерной флотации и контактного осветления.

В качестве реагентов используются минеральные коагулянты на основе солей алюминия или железа совместно с высокомолекулярными флокулянтами.

В отдельных случаях при экспериментальном обосновании может использоваться самостоятельная обработка стоков сильноосновными катионными флокулянтами, а также органическими сильноосновными катионными коагулянтами.

7.7.5.2 Обработку сточных вод реагентами следует производить в камерах смешения и хлопьеобразования (флокуляции), оснащенных электромеханическими перемешивающими устройствами. При этом следует соблюдать необходимый гидродинамический режим реагентной обработки стоков (интенсивность и продолжительность перемешивания).

7.7.5.3 При реагентной обработке сточных вод перед стадией напорной контактной фильтрации допускается введение раствора коагулянта и (или) флокулянта в статический флокулятор. При этом следует обеспечивать необходимый интервал времени между точками ввода коагулянта и флокулянта (1 - 2 мин по движению потока, уточняется при пробном коагулировании) и общую продолжительность контакта сточной воды с реагентами.

7.7.5.4 Гравитационное отстаивание обработанной реагентами поверхностных сточных вод может осуществляться в отстойниках различного типа: горизонтальных, вертикальных, радиальных, тонкослойных.

Нефтепродукты, всплывшие в отстойниках, следует удалять нефтесборными скиммерами (устройствами с вращающейся лентой, обладающей олеофильными свойствами, с последующим удалением с нее извлеченных нефтепродуктов).

7.7.5.5 При проектировании отстойников расчетную гидравлическую крупность сфлокулированных загрязнений в поверхностном стоке допускается принимать в пределах 0,25 - 0,4 мм/с или определять экспериментально. Конструирование отстойников следует производить по подразделу 9.2.

Для поверхностных сточных вод 2-го типа эффективность реагентного отстаивания и параметры образующихся осадков следует определять на основании технологических экспериментов, данных научно-исследовательских организаций и аналогичных объектов.

7.7.5.6 Флотационную реагентную очистку (напорную флотацию, импеллерную и электрофлотацию) допускается применять для очистки поверхностных сточных вод 2-го типа, с содержанием нефтепродуктов, жиров, масел и других эмульгированных жидкостей концентрациями более 100 мг/дм3 или близкими. При обосновании допускается применение флотационной реагентной очистки для поверхностных сточных вод 1-го типа.

7.7.5.7 При использовании напорной флотации следует предусматривать подачу в сатуратор 20% - 50% поступающего расхода при давлении в сатураторе 0,4 - 0,5 МПа. Воздух в сатуратор может подаваться от компрессора или через эжектор.

Для повышения эффективности следует использовать напорные флотационные установки комбинированного типа, включающие камеры смешения и хлопьеобразования, секции объемной и тонкослойной флотации.

Флотационную камеру следует рассчитывать с коэффициентом использования объема K = 0,5 и на выделение флотокомплексов гидравлической крупностью не менее 1,2 - 1,4 мм/с. Проектирование флотационных установок следует выполнять по [19], [20] и данным специализированных организаций.

Для поверхностных сточных вод 2-го типа эффективность реагентной напорной флотации, а также параметры образующихся флотошлама и осадков следует определять на основании технологических экспериментов или аналогичных объектов.

7.7.5.8 Установки импеллерной флотации могут применяться для выделения механических примесей и нефтепродуктов из поверхностных сточных вод.

Следует применять импеллерные флотаторы, содержащие не менее трех последовательных камер, в которых устанавливаются импеллерные диспергаторы воздуха. За флотокамерами следует располагать зону отделения флотокомплексов. Ее следует рассчитывать с коэффициентом использования объема K = 0,5 на выделение флотокомплексов гидравлической крупностью всплытия 1,4 мм/с или иное значение по экспериментальным данным. Для повышения эффективности следует рассматривать применение реагентов, растворы которых необходимо подавать в аванкамеру, располагаемую перед камерами импеллеров. (в ред. Изменений N 3, утв. Приказом Минстроя РФ от 28.12.2023 N 1009/пр, N 4, утв. Приказом Минстроя РФ. от 17.01.2025 N 17/пр)

7.7.5.9 Электрофлотационные установки допускаются на очистных сооружениях поверхностных сточных вод 2-го типа производительностью до 1000 м3/сут. В качестве электродов может использоваться листовой алюминий, нержавеющая сталь, а также титан и графит. Расстояние между электродами следует принимать 6 - 8 мм. Плотность тока допускается принимать в пределах 250 - 400 А/м2. Флотокамера должна рассчитываться на выделение флотокомплексов гидравлической крупностью 1 - 1,2 мм/с при коэффициенте использования ее объема K = 0,5.

При электрофлотации может использоваться предварительная обработка воды реагентами. В этом случае раствор реагента подается в поток камерой флотации, которая совмещает в себе функцию камеры хлопьеобразования.

7.7.6 Очистка поверхностных сточных вод методом контактной фильтрации (в ред. Изменения N 3, утв. Приказом Минстроя РФ от 28.12.2023 N 1009/пр)

7.7.6.1 В очистных сооружениях прозводительностью до 2000 м3/сут для поверхностных сточных вод при предварительном их осветлении в аккумулирующих резервуарах выделение органических и минеральных загрязнений из обработанного водоочистными реагентами стока может производиться методом контактной фильтрации на напорных или открытых (безнапорных) контактных фильтрах.

7.7.6.2 В качестве загрузок фильтров следует использовать традиционные (стандартные) фильтровальные материалы: кварцевый песок, гидроантрацит, гранитная крошка. Использование новых (нестандартных) фильтровальных загрузок допускается при обосновании.

7.7.6.3 Основное направление фильтрования в контактных фильтрах - сверху вниз. Скорость фильтрования 8 - 10 м/ч. Продолжительность фильтроцикла следует принимать в пределах 8 - 24 ч в зависимости от степени загрязнения сточных вод, скорости фильтрования и характеристик фильтровальной загрузки.

Расчет контактных фильтров следует производить по СП 31.13330. Загрязненные от промывки фильтров воды следует отводить в аккумулирующий резервуар.

7.7.6.4 В связи с периодичностью работы очистных сооружений поверхностных сточных вод, включая длительные периоды простоя, требуется периодическая промывка фильтровальной загрузки контактных фильтров (а также механических и сорбционных фильтров) дезинфицирующими агентами. (в ред. Изменения N 3, утв. Приказом Минстроя РФ от 28.12.2023 N 1009/пр)

7.7.6.5 Работу контактных фильтров следует автоматизировать. В качестве технологических показателей для управления работой фильтров следует использовать показатели мутности фильтрованной воды и (или) перепада давления на фильтрах (повышения напора перед фильтрами) сверх установленной предельной величины.

7.7.7 Доочистка поверхностных сточных вод фильтрованием (в ред. Изменения N 3, утв. Приказом Минстроя РФ от 28.12.2023 N 1009/пр)

7.7.7.1 Перед стадиями глубокой доочистки поверхностных сточных вод от растворенных органических и минеральных загрязнений предварительно очищенные методами реагентного отстаивания/флотации/контактной фильтрации поверхностные сточные воды следует направлять на механические фильтры с целью снижения концентрации взвешенных веществ до 1 - 3 мг/дм3. Для этого должны применяться напорные или безнапорные фильтры. (в ред. Изменения N 3, утв. Приказом Минстроя РФ от 28.12.2023 N 1009/пр)

7.7.7.2 В качестве загрузок фильтров оправдано использование традиционных (стандартных) фильтровальных материалов: кварцевый песок, гидроантрацит, гранитная крошка. Использование новых (нестандартных) фильтровальных загрузок допускается при обосновании.

7.7.7.3 Основное направление фильтрования - сверху вниз. Скорость фильтрования 6 - 8 м/ч. Продолжительность фильтроцикла следует принимать в пределах 12 - 24 ч в зависимости от степени загрязнения сточных вод, скорости фильтрования и характеристик фильтровальной загрузки.

Расчет фильтров следует выполнять по СП 31.13330. Загрязненные от промывки фильтров воды следует отводить в аккумулирующий резервуар.

7.7.7.4 Наряду с классическими фильтрами могут применяться самопромывающиеся зернистые фильтры непрерывного действия, с параметрами по данным изготовителей.

7.7.7.5 Работу фильтров следует автоматизировать. В качестве технологических показателей для управления работой фильтров следует использовать показатели мутности фильтрованной воды и (или) перепада давления на фильтрах (повышения напора перед фильтрами) сверх установленной предельной величины.

7.7.8 Адсорбционная доочистка

7.7.8.1 Глубокая адсорбционная доочистка от растворенных нефтепродуктов и ряда других органических веществ должна применяться при необходимости достижения в очищенной сточной воде значения технологического показателя НДТ по нефтепродуктам 0,3 мг/л для сброса в водные объекты категории А и (или) значения ПДК нефтепродуктов в воде водных объектов рыбохозяйственного назначения 0,05 мг/л.

Допускается применение глубокой адсорбционной доочистки при отведении сточных вод в водные объекты категорий Б - Г. (в ред. Изменения N 3, утв. Приказом Минстроя РФ от 28.12.2023 N 1009/пр)

Содержание взвешенных веществ в сточных водах, поступающих на стадию глубокой адсорбционной доочистки, должно быть не более 2 мг/дм3, нефтепродуктов - 0,5 - 1 мг/дм3. Для обеспечения таких показателей требуются механическая и физико-химическая очистки сточных вод с реагентной обработкой и последующим фильтрованием через фильтры с инертной зернистой загрузкой. (в ред. Изменения N 3, утв. Приказом Минстроя РФ от 28.12.2023 N 1009/пр)

7.7.8.2 Для глубокой адсорбционной доочистки допускается применение напорных или безнапорных сорбционных фильтров с плотным слоем загрузки гранулированного активированного угля. (в ред. Изменения N 3, утв. Приказом Минстроя РФ от 28.12.2023 N 1009/пр)

В качестве загрузок сорбционных фильтров следует использовать стандартные гранулированные активированные угли крупностью фракций не более 1 - 4 мм. Использование нестандартных сорбционных загрузок допускается при обосновании. (в ред. Изменения N 3, утв. Приказом Минстроя РФ от 28.12.2023 N 1009/пр)

7.7.8.3 Сорбционные фильтры со стандартной гранулированной загрузкой следует предусматривать с нисходящим потоком при скорости фильтрования 6 - 10 м/ч и продолжительности контакта очищаемого стока с сорбентом - не менее 15 - 20 мин. Для иных типов сорбционных загрузок допускается применять другие параметры. (в ред. Изменения N 3, утв. Приказом Минстроя РФ от 28.12.2023 N 1009/пр)

Промывку сорбционных фильтров от взвешенных веществ следует осуществлять очищенной сточной водой. Периодичность промывки фильтров от взвешенных веществ допускается принимать равной 1 раз в 2 - 3 дня. Загрязненные от промывки фильтров воды следует отводить в аккумулирующий резервуар.

Расчет и проектирование сорбционных установок следует выполнять в соответствии с СП 31.13330. При проектировании сорбционных фильтров продолжительность их работы до исчерпания сорбционной емкости следует предусматривать не менее 0,5 года. Отработанную сорбционную загрузку следует заменять или подвергать термической регенерации.

7.7.8.4 Допускается применение сорбционных фильтров с непрерывной промывкой и сорбционных фильтров с фильтрующей загрузкой в виде углеродно-волокнистых сорбентов.

7.7.9 Биологическая очистка

7.7.9.1 Биологическую очистку (или доочистку) следует применять для удаления из поверхностных сточных вод органических соединений, а также для снижения содержания СПАВ и других специфических загрязняющих компонентов техногенного происхождения (фенолов, формальдегида, этиленгликоля и т.д.), аммонийного азота и фосфора фосфатов при необходимости достижения требований НДС в водные объекты рыбохозяйственного значения [25] и при необходимости соблюдения технологических показателей НДТ при сбросе в водные объекты категории А [2], [3]. Минимальная температура сточной воды, при которой эффективно применение биологической очистки с прикрепленным биоценозом - 5 °C. (в ред. Изменения N 3, утв. Приказом Минстроя РФ от 28.12.2023 N 1009/пр)

7.7.9.2 В технологической схеме очистных сооружений поверхностных сточных вод стадии биологической очистки должна предшествовать стадия механической очистки, в результате которой содержание взвешенных веществ должно быть не более 50 мг/дм3, нефтепродуктов 5 мг/дм3.

7.7.9.3 В зависимости от вида и концентрации загрязняющих компонентов биологическая очистка (или доочистка) поверхностных сточных вод может осуществляться в искусственных условиях - в аэрируемых биореакторах (сооружениях с микрофлорой, закрепленной на различных подвижных или стационарных носителях (активных или инертных)), либо в естественных условиях (биопруды) с последующей доочисткой фильтрацией в сорбционных фильтрах. Допускается использование в биореакторах в качестве загрузочного материала активированного угля (гранулированный фракцией 1 - 3 мм или порошкообразный), а также дробленых цеолитов (фракцией 1 - 3 мм) - для обеспечения глубокого удаления аммонийного азота из поверхностного стока вплоть до требований на сброс в водоемы рыбохозяйственного назначения. Применение активированного угля и цеолитов на стадии биологической очистки или доочистки не требует их замены за счет непрерывной биологической регенерации сорбента.

Также могут быть использованы сооружения почвенной очистки.

7.7.10 Ионный обмен

7.7.10.1 Доочистка поверхностных сточных вод от соединений аммонийного азота и тяжелых металлов при необходимости достижения требований к сбросу в водные объекты рыбохозяйственного значения может осуществляться ионным обменом с использованием природных минеральных ионообменных материалов.

7.7.10.2 На ионообменную установку должны подаваться стоки после глубокой доочистки от механических примесей и органических загрязнений с содержанием взвешенных веществ не более 5 мг/дм3, величиной ХПК не более 8 - 10 мг/дм3 и общей жесткостью не более 4 мг-экв/дм3.

7.7.10.3 Расчетная скорость фильтрования воды через ионообменные напорные фильтры при нормальном режиме эксплуатации составляет 12 - 15 м/ч.

Расчет и проектирование ионообменных установок для доочистки поверхностного стока следует проводить в соответствии с [19], [20].

7.7.11 Обеззараживание поверхностных сточных вод

7.7.11.1 Поверхностные сточные воды перед сбросом в водные объекты или повторным использованием в системах производственного водоснабжения следует обеззараживать в соответствии с [43]. Перед отведением поверхностных сточных вод в централизованные системы водоотведения поселений, городских округов (общесплавные, ливневые, комбинированные) их обеззараживание не производится. (в ред. Изменения N 3, утв. Приказом Минстроя РФ от 28.12.2023 N 1009/пр)

7.7.11.2 Обеззараживание сточных вод следует осуществлять на заключительном этапе их очистки.

7.7.11.3 Выбирать метод обеззараживания следует с учетом расхода и качества поверхностного стока, эффективности его очистки, условий поставки, транспортирования и хранения реагентов, возможности автоматизации процессов и условий отведения очищенного стока в водный объект или использования в системах производственного водоснабжения.

7.7.11.4 Для обеззараживания поверхностных сточных вод могут использоваться УФ-облучение, хлорирование, озонирование. (в ред. Изменения N 3, утв. Приказом Минстроя РФ от 28.12.2023 N 1009/пр)

При использовании для обеззараживания сточных вод хлорсодержащих реагентов перед сбросом в водные объекты требуется обязательное дехлорирование.

7.7.11.5 Дозу УФ-излучения следует определять в соответствии с [33], но она должна быть не менее 30 мДж/см2. Для использования очищенной воды в качестве технической (восстановленной) может потребоваться повышенная доза. УФ-обеззараживание технической воды для открытых систем требуется производить непосредственно при подаче ее в систему из резервуара технической воды, а не перед резервуаром.

7.7.11.6 Допускается при обосновании использование в качестве дезинфицирующих агентов других веществ и препаратов, имеющих санитарно-гигиеническое разрешение на применение.

Подраздел 7.8 - Исключен. (в ред. Изменения N 2, утв. Приказом Минстроя РФ от 27.12.2021 N 1023/пр)

8. Насосные и воздуходувные станции

8.1. Общие указания

8.1.1. Насосные станции по надежности действия подразделяются на три категории, указанные в таблице 16.

Таблица 16

Категории насосных станций

Категория надежности действия насосных станций Характеристика режима работы насосных станций
Первая Не допускается перерыва или снижения подачи сточных вод
Вторая Допускается перерыв в подаче сточных вод не более 6 ч или снижение ее в пределах, определяемых надежностью системы водоснабжения поселений и городских округов или промышленного предприятия
Третья Допускающие перерыв подачи сточных вод не более суток (с прекращением водоснабжения поселений и городских округов при численности жителей до 5000)

8.1.2. Основные требования к компоновке насосных и воздуходувных станций, определению размеров машинных залов, подъемно-транспортному оборудованию, размещению агрегатов, арматуры и трубопроводов, обслуживающих устройств (мостиков, площадок, лестниц и т.д.), а также мероприятий против затопления машинных залов следует принимать согласно СП 31.13330.

Компоновку и обустройство канализационных насосных станций с погружными насосами необходимо выполнять согласно настоящему своду правил. (в ред. Изменения N 2, утв. Приказом Минстроя РФ от 27.12.2021 N 1023/пр)

Допускается не предусматривать установку резервных агрегатов в насосных станциях третьей категории при условии хранения их в помещении насосной станции и наличии возможности замены в течение 2 - 6 ч. (в ред. Изменения N 2, утв. Приказом Минстроя РФ от 27.12.2021 N 1023/пр)

8.2. Насосные станции

8.2.1. Насосы, оборудование и трубопроводы следует выбирать в зависимости от расчетного притока и физико-химических свойств сточных вод или осадков, высоты подъема, с учетом характеристик насосов и напорных трубопроводов, проектной очередности ввода в действие объекта.

Компоновка и трубопроводная обвязка оборудования должны обеспечивать возможность замены агрегатов, арматуры и отдельных узлов без остановки работы станции. Установочные места хранящихся на складе резервных насосов должны быть полностью укомплектованы и готовы к монтажу с подключением к системам энергоснабжения и автоматизации. Число резервных насосных агрегатов следует принимать по таблице 17. (в ред. Изменения N 3, утв. Приказом Минстроя РФ от 28.12.2023 N 1009/пр)

Примечания

1. Производительность насосных станций перекачки поверхностных сточных вод необходимо принимать с учетом обеспечения незатопляемости пониженных территорий при установленном периоде однократного переполнения сети, регулирования стока и допустимого периода откачки. Насосная станция должна быть оборудована не менее, чем двумя рабочими агрегатами.

2. В насосных станциях 1-й категории надежности действия при невозможности обеспечения электропитания от двух источников допускается устанавливать резервные насосные агрегаты с двигателями внутреннего сгорания, тепловыми и др., а также автономные источники электрической энергии (дизельные электростанции и т.п.).

3. При необходимости перспективного увеличения производительности заглубленных насосных станций допускается предусматривать возможность замены штатных насосов насосами большей производительности или устройство резервных фундаментов для установки дополнительных агрегатов.

4. Резервный насос предназначен для выполнения функций основного насоса в случае отказа последнего, поэтому в расчетах КНС не учитывают производительность резервных насосов. (в ред. Изменения N 2, утв. Приказом Минстроя РФ от 27.12.2021 N 1023/пр)

Таблица 17

Число резервных насосных агрегатов

Бытовые и близкие к ним по составу производственные сточные воды Агрессивные сточные воды
Число насосов
рабочих резервных при категории надежности действия рабочих резервных при любой категории надежности действия
первой второй третьей
1 1 и 1 на складе 1 1 1 1 и 1 на складе
2 1 и 1 на складе 1 1 2 - 3 2
3 и более 2 2 1 и 1 на складе 4 3
- - - - 5 и более Не менее 50%
Примечания
1. В насосных станциях водоотведения поверхностного стока резервные насосы предусматривают, когда аварийный сброс в водные объекты невозможен.
2. При реконструкции, связанной с увеличением производительности насосных станций перекачки бытовых сточных вод третьей категории надежности действия, допускается хранить резервные агрегаты на складе.
3. В насосных станциях бытовых и близких к ним по составу производственных сточных вод, оборудованных тремя и более погружными насосами погружной и (или) сухой установки, допускается хранить один из резервных насосов на складе.

8.2.2 Насосные станции для перекачки бытовых и поверхностных сточных вод следует располагать в отдельно стоящих зданиях. Для подземной установки допускается применять насосные станции с корпусами из полимерных и стеклокомпозитных материалов, в т.ч. стеклокомпозитных в полной заводской готовности, а также насосные станции с корпусом из стали с внутренним и наружным антикоррозионными покрытиями заводского нанесения. При производительности свыше 500 м3/ч предпочтительно железобетонное исполнение. Насосные агрегаты предпочтительны сухого исполнения. Использование станций из полимерных и стеклокомпозитных материалов при производительности свыше 500 м3/ч допускается только при отсутствии технической возможности использования железобетонных конструкций. (в ред. Изменений N 2, утв. Приказом Минстроя РФ от 27.12.2021 N 1023/пр. N 3, утв. Приказом Минстроя РФ от 28.12.2023 N 1009/пр)

Насосные станции для перекачки производственных сточных вод допускается располагать в блоке с производственными зданиями или в производственных помещениях соответствующей категории производственных процессов.

В общем машинном зале допускается установка насосов, предназначенных для перекачки сточных вод различных категорий, кроме содержащих горючие, легковоспламеняющиеся, взрывоопасные и летучие токсичные вещества.

Допускается установка насосов для перекачки сточных вод в производственных помещениях станций очистки сточных вод.

В машинных залах насосных станций ширину проходов следует принимать не менее:

1 м - между насосами или электродвигателями;

0,7 м - между насосами или электродвигателями и стеной в заглубленных помещениях, 1 м - в прочих. При этом ширина прохода со стороны электродвигателя должна быть достаточной для демонтажа ротора;

0,7 м - между неподвижными выступающими частями оборудования;

2 м - перед распределительным электрическим щитом.

Примечание - Для агрегатов с нагнетательным патрубком диаметром до 100 мм включительно допускаются: установка агрегатов у стены или на кронштейнах; установка двух агрегатов на одном фундаменте при расстоянии между выступающими частями агрегатов на менее 0,25 м с обеспечением вокруг сдвоенной установки проходов шириной не менее 0,7 м. (в ред. Изменения N 2, утв. Приказом Минстроя РФ от 27.12.2021 N 1023/пр)

8.2.3 На подводящем коллекторе насосной станции следует предусматривать запорное устройство с приводом, управляемым с поверхности земли, а в насосных станциях с корпусами из стеклокомпозитов в полной заводской готовности внутри корпуса коллектора насосной станции в подводном исполнении допускается установка запорного устройства для привода с ручным управлением с поверхности земли или в водозащищенном исполнении для привода с электрифицированным управлением. (в ред. Изменений N 2, утв. Приказом Минстроя РФ от 27.12.2021 N 1023/пр. N 3, утв. Приказом Минстроя РФ от 28.12.2023 N 1009/пр)

На автоматизированных насосных станциях при отсутствии устройства автоматического включения резерва необходимо предусматривать электроснабжение приводов от аккумуляторов или устройств бесперебойного питания. (в ред. Изменения N 2, утв. Приказом Минстроя РФ от 27.12.2021 N 1023/пр)

Примечание - Во избежание затопления территории насосной станции, необходимо предусматривать аварийный выпуск сточных вод с организованным отводом на время аварии в водные объекты, специальные резервуары и т.п. Приводы на запорной арматуре должны быть опломбированы. (в ред. Изменения N 2, утв. Приказом Минстроя РФ от 27.12.2021 N 1023/пр)

8.2.4. Конструкция и габариты отсеков насосных станций, в которых размещены стационарные насосы или всасывающие патрубки, должны предотвращать образование устойчивых депрессионных воронок на поверхности перекачиваемой жидкости. Должно быть обеспечено заглубление всасывающего патрубка относительно минимального уровня жидкости не менее чем на два его диаметра, но более чем на величину требуемого кавитационного запаса, устанавливаемого изготовителем насоса. Необходимо обеспечивать расстояние от створа всасывающего патрубка до точки входа жидкости в отсек или до решеток, сит и т.п. - не менее пяти диаметров патрубка. При параллельной работе групп насосов с подачей каждого более 315 л/с, следует предусматривать струенаправляющие перегородки.

8.2.5. К каждому насосу следует предусматривать самостоятельный всасывающий трубопровод. Размеры приемного резервуара и размещение всасывающих трубопроводов следует принимать в соответствии с СП 31.13330. (в ред. Изменения N 2, утв. Приказом Минстроя РФ от 27.12.2021 N 1023/пр)

8.2.6. Число напорных трубопроводов от насосных станций любой категории надежности действия необходимо принимать на основании технико-экономических расчетов с учетом возможности устройства аварийного выпуска (перепуска), регулирующей емкости, использования аккумулирующей вместимости подводящей сети, допускаемого снижения водопотребления согласно СП 31.13330.

При протяженности более 2 км двух и более напорных трубопроводов от насосной станции первой категории надежности действия следует предусматривать между ними переключения, расстояние между которыми принимается исходя из пропуска при аварии на одном из них 100%, а при наличии аварийного выпуска - 70% расчетного расхода. При этом следует учитывать возможность использования резервных насосов и переключений между трубопроводами.

Для насосных станций с корпусами из стеклокомпозитных или полимерных материалов в полной заводской готовности погружные насосы и запорно-регулирующую арматуру допускается размещать в различных корпусах.

Примечание - Трубопроводная арматура, устройства для гашения гидравлических ударов, вантузы должны быть рассчитаны на пропуск сточных вод соответствующего состава.

8.2.7. Насосы следует устанавливать под заливом перекачиваемой жидкости или с подпором жидкости (по паспортным данным насоса). В случае расположения корпуса насоса выше расчетного уровня сточных вод в резервуаре необходимо предусматривать мероприятия для обеспечения запуска и бескавитационных условий работы насосов. Насосы для перекачки илов и шламов должны устанавливаться под заливом.

8.2.8. Скорости движения сточных вод или осадков во всасывающих и напорных трубопроводах должны исключать осаждение взвешенных веществ. Для бытовых сточных вод минимальная скорость - 1 м/с.

8.2.9. В насосных станциях для перекачки илов и шламов необходимо предусматривать возможность промывки всасывающих и напорных коммуникаций.

Допускается предусматривать механические средства прочистки шламопроводов.

8.2.10. Насосные станции с насосами погружной установки необходимо проектировать согласно СП 31.13330 с учетом конструктивных и технологических особенностей. (в ред. Изменения N 2, утв. Приказом Минстроя РФ от 27.12.2021 N 1023/пр)

8.2.11. Для защиты насосов от засорения в приемных резервуарах насосных станций (или перед ними) следует предусматривать:

- устройства для задержания крупных взвешенных компонентов, транспортируемых сточными водами (решетки различных типов, процеживатели, сетки и т.п.);

- оборудование и механизмы для измельчения крупной взвеси в потоке сточных вод;

- принудительное перемешивание посредством применения погружных мешалок, гидроэжекторов и/или подачи части перекачиваемых сточных вод в приемный резервуар. (в ред. Изменений N 2, утв. Приказом Минстроя РФ от 27.12.2021 N 1023/пр. N 3, утв. Приказом Минстроя РФ от 28.12.2023 N 1009/пр)

Абзац пятый. - Исключен. (в ред. Изменения N 3, утв. Приказом Минстроя РФ от 28.12.2023 N 1009/пр)

8.2.12. При установке оборудования должны быть обеспечены зоны, необходимые для обслуживания и ремонта. (в ред. Изменения N 2, утв. Приказом Минстроя РФ от 27.12.2021 N 1023/пр)

8.2.13. Задержанные измельченные отбросы допускается возвращать обратно в поток сточных вод или обезвоживать на соответствующем оборудовании и вывозить в герметичных контейнерах на свалку или утилизацию.

Примечание - Дробленые отбросы допускается использовать в качестве наполнителя при компостировании.

8.2.14. Приемный резервуар, совмещенный в одном здании с машинным залом, должен быть отделен от него глухой водонепроницаемой перегородкой. Сообщение через дверь между машинным залом и помещением решеток допускается только в незаглубленной части здания при обеспечении мероприятий, исключающих попадание сточных вод в машинный зал при подтоплении сети.

Примечания

1. Уровень порогов дверей следует рассчитывать исходя из условий возможности подтопления при обесточивании объекта и его расположения на местности.

2. Для повышения степени надежности насосной станции допускается установка в машинном зале погружных (герметичных) насосов в "сухом" исполнении и погружных насосов для аварийной откачки воды из машинного зала.

8.2.15 Вместимость резервуара насосной станции следует определять в зависимости от графика притока-откачки сточных вод с учетом производительности насосов, допустимой частоты их включений и условий охлаждения насосного оборудования. Минимальная полезная вместимость резервуара насосной станции принимается в объеме, равном 5-минутной подаче одного насоса. (в ред. Изменения N 3, утв. Приказом Минстроя РФ от 28.12.2023 N 1009/пр)

В приемных резервуарах насосных станций производительностью свыше 100 тыс. м3/сут необходимо предусматривать два отделения без увеличения общего объема.

Вместимость приемных резервуаров насосных станций, работающих последовательно, следует определять из условия их совместной работы. В отдельных случаях эту вместимость допускается определять исходя из условий опорожнения напорного трубопровода.

8.2.16. Вместимость резервуара иловой насосной станции при перекачке осадка за пределы станции очистки сточных вод необходимо определять исходя из условия 15-минутной непрерывной работы насоса, при этом допускается уменьшать ее за счет непрерывного выпуска осадка из очистных сооружений во время работы насоса. (в ред. Изменения N 2, утв. Приказом Минстроя РФ от 27.12.2021 N 1023/пр)

Приемные резервуары иловых насосных станций допускается использовать в качестве емкостей для воды при промывке трубопроводов.

8.2.17. В приемных резервуарах следует предусматривать устройства для взмучивания осадка и обмыва резервуара.

Для перемешивания допускается применять погружные мешалки, гидроэжекторы и (или) циркуляцию части перекачиваемых сточных вод. (в ред. Изменения N 3, утв. Приказом Минстроя РФ от 28.12.2023 N 1009/пр)

Уклон дна резервуара к приямкам следует принимать не менее 0,1. Для резервуаров с уменьшающимися по глубине размерами в плане и для приямков уклоны их стен к горизонту следует принимать не менее 60° для бетонных и не менее 45° - для гладких поверхностей (полимер, стеклокомпозит, бетон с полимерным покрытием и др.). (в ред. Изменения N 2, утв. Приказом Минстроя РФ от 27.12.2021 N 1023/пр)

8.2.18. В резервуарах для приема сточных вод, смешение которых может вызвать образование вредных газов, осаждающихся, кольматирующих или токсичных веществ, а также при необходимости сохранения самостоятельных потоков сточных вод необходимо предусматривать отдельные секции для каждого потока.

8.2.19. Резервуары производственных сточных вод, содержащих горючие, легковоспламеняющиеся, взрывоопасные или летучие токсичные вещества, должны быть отдельно стоящими. Расстояние от наружной стены этих резервуаров должно быть не менее: 10 м - до зданий насосных станций, 20 м - до других производственных зданий, 100 м - до общественных зданий.

8.2.20. Резервуары производственных агрессивных сточных вод должны быть отдельно стоящими. Допускается их размещение в машинном зале. Резервуары должны быть защищены от коррозии или выполнены из некорродирующего материала. (в ред. Изменения N 2, утв. Приказом Минстроя РФ от 27.12.2021 N 1023/пр)

При непрерывном поступлении сточных вод число резервуаров должно быть не менее двух. При периодических сбросах допускается предусматривать один резервуар, при условии обеспечения возможности проведения ремонтных работ.

8.2.21. Диаметр всасывающего трубопровода следует предусматривать больше диаметра всасывающего патрубка насоса. (в ред. Изменения N 2, утв. Приказом Минстроя РФ от 27.12.2021 N 1023/пр)

Длина прямого участка всасывающего патрубка от перехода (конфузора) до близлежащего фитинга (отвода, арматуры) должна быть не менее пяти диаметров патрубка.

Переходы (конфузоры) для горизонтально расположенных всасывающих трубопроводов должны быть эксцентричными с прямой верхней частью, во избежание образования в них воздушных полостей. Всасывающий трубопровод должен иметь непрерывный подъем к насосу не менее 0,005.

Укладку всасывающих трубопроводов между отдельно стоящими резервуарами и зданиями насосных станций следует предусматривать в каналах или тоннелях с подъемом к насосам.

8.2.22. В насосных станциях прокладку трубопроводов следует предусматривать над поверхностью пола или в каналах под полом с доступом к обслуживанию и управлению арматурой.

Не допускается укладка в каналах трубопроводов, транспортирующих агрессивные сточные воды. Количество единиц запорной арматуры следует принимать минимальным.

8.2.23. Для снижения величины пикового расхода сточных вод и для аккумулирования расхода сточных вод во время аварий на напорных трубопроводах допускается устройство регулирующих или аварийно-регулирующих резервуаров. Оптимальное значение зарегулированного расчетного расхода следует определять технико-экономическим расчетом.

При реконструкции насосных станций, осуществляющих подачу сточных вод на очистные сооружения с использованием в работе одного или двух насосных агрегатов с единичной или совместной производительностью, не соответствующей фактическому притоку (существенно превышающей его), в целях снижения внутричасовой неравномерности поступления сточных вод на очистные сооружения требуется подбор и установка насосов соответствующей производительности. Также допускается применение устройств плавного пуска и преобразователей частоты тока для обеспечения плавной подачи существующими насосами, при обязательном обеспечении периодического, не реже одного раза в смену, опорожнения резервуара насосной станции, реализуемом с помощью средств автоматики. (в ред. Изменения N 2, утв. Приказом Минстроя РФ от 27.12.2021 N 1023/пр)

8.2.24. Конструкцией регулирующих и аварийно-регулирующих резервуаров должно быть обеспечено:

- предотвращение загнивания сточных вод;

- предотвращение выпадения в осадок взвешенных веществ;

- организация подачи зарегулированного расхода на очистные сооружения;

- удаление собранных взвешенных веществ со смывом и гидротранспортированием осевшего песка;

- очистка вентиляционных выбросов.

8.3. Воздуходувные станции

8.3.1. Производительность воздуходувных станций следует рассчитывать, исходя из требуемого суммарного объемного расхода воздуха на аэротенки (аэрируемые зоны биореакторов), обработку осадков, доочистку, перемешивание в сооружениях и каналах, перекачку эрлифтами и иные потребности в сжатом воздухе, не использующие отдельные воздуходувные агрегаты.

Следует осуществлять расчет максимальной температуры нагнетаемого воздуха для абсолютно максимальной температуры окружающего воздуха на площадке размещения воздуходувной станции.

Подбор агрегатов и расчет их количества следует осуществлять, исходя из общей производительности воздуходувной станции, давления нагнетания воздуха, давления всасывания воздуха с учетом барометрического давления на объекте согласно СП 131.13330 для диапазона температур абсолютно минимальных и абсолютно максимальных. Объемный расход воздуха следует приводить к нормальным условиям (абсолютная температура воздуха 273,15 К или 0 °C, абсолютное давление 101325 Па, относительная влажность 0%, плотность воздуха 1,293 кг/м3).

Подбор агрегатов следует осуществлять технико-экономическим расчетом с учетом необходимого регулирования и значения удельного энергопотребления на подачу 1000 м3 воздуха (кВт·ч/1000 м3). (в ред. Изменения N 2, утв. Приказом Минстроя РФ от 27.12.2021 N 1023/пр)

8.3.2. Число рабочих агрегатов при производительности воздуходувной станции свыше 5000 м3/ч следует принимать не менее двух, при меньшей производительности допускается принимать один рабочий агрегат.

Число резервных агрегатов - один при числе рабочих агрегатов до двух включительно, при трех и большем числе рабочих агрегатов - не менее двух. (в ред. Изменения N 2, утв. Приказом Минстроя РФ от 27.12.2021 N 1023/пр)

8.3.3 При компоновке помещений воздуходувной станции необходимо учитывать обеспечение допустимого уровня шума при работе агрегатов. При превышении допустимого уровня шума требуется установка звукопоглощающих кожухов и глушителей противопомпажных клапанов. Данные мероприятия обязательны при сокращении санитарно-защитной зоны. (в ред. Изменения N 2, утв. Приказом Минстроя РФ от 27.12.2021 N 1023/пр)

8.3.4. Скорость движения воздуха следует принимать, м/с:

до 4 - в камерах фильтров,

до 6 - в подводящих каналах,

10 - 25 - на магистральных участках воздухопровода (при распределении воздуха на магистральных участках воздуховода большее значение скорости относится к воздухопроводу большего диаметра),

4 - 10 - на отдельных ответвлениях и на участках, подающих воздух к аэраторам.

Расчет воздуховодов необходимо производить с учетом сжатия воздуха, повышения его температуры и равномерности распределения его по секциям аэротенка.

Расчетное значение потерь напора в аэротенках следует принимать с учетом глубины погружения аэраторов и потерь напора в них на конец расчетного срока службы (с учетом факторов загрязнения и деформации и наличия системы регенерации аэраторов). (в ред. Изменения N 2, утв. Приказом Минстроя РФ от 27.12.2021 N 1023/пр)

Необходимо рассматривать возможность утилизации тепла сжатого воздуха для нужд станции очистки сточных вод.

8.3.5. Следует использовать воздуходувное оборудование, позволяющее осуществлять регулирование расхода подаваемого воздуха. (в ред. Изменения N 2, утв. Приказом Минстроя РФ от 27.12.2021 N 1023/пр)

Диапазон регулирования следует определять в соответствии с характером неравномерности исходных технологических нагрузок на аэротенки по расходам и концентрациям загрязнений в разное время года и суток. Для городских сточных вод внутрисуточный диапазон регулирования расхода, подаваемого в аэрируемые зоны биореакторов, в отсутствие достоверных фактических данных, может быть принят равным 40% - 100% максимальной производительности. Диапазон регулирования производительности регулируемого воздуходувного оборудования следует поддерживать не ниже значений границы помпажа. (в ред. Изменения N 2, утв. Приказом Минстроя РФ от 27.12.2021 N 1023/пр)

8.3.6. Воздуховоды следует изготавливать из некорродирующих материалов, способных выдерживать максимальную температуру сжатого воздуха, определенную в соответствии с 8.3.1. При проектировании воздуховодов следует предусматривать мероприятия, предотвращающие возможность возникновения при их эксплуатации специфических аэродинамических и вибрационных шумов. (в ред. Изменения N 2, утв. Приказом Минстроя РФ от 27.12.2021 N 1023/пр)

8.3.7. При подключении к единой системе подачи сжатого воздуха потребителей с разными рабочими давлениями следует предусматривать регулируемые редукторы.

8.3.8. Для удаленных от воздуходувной станции объектов, потребляющих сжатый воздух, при обосновании допускается предусматривать устройство локальных воздуходувных установок.

8.3.9 Требования к компоновке машинных залов воздуходувных станций следует принимать согласно СП 31.13330. (в ред. Изменения N 3, утв. Приказом Минстроя РФ от 28.12.2023 N 1009/пр)

9. Сооружения очистки смешанных (городских) сточных вод и близких к ним по составу производственных сточных вод (в ред. Изменения N 2, утв. Приказом Минстроя РФ от 27.12.2021 N 1023/пр)

9.1. Общие указания

9.1.1. Содержание загрязняющих веществ, микробиологических загрязнений в очищенных сточных водах, сбрасываемых в водные объекты, а также их общие свойства должны соответствовать требованиям действующего законодательства в области охраны окружающей среды, а в повторно используемых сточных водах - санитарно-гигиеническим и технологическим требованиям потребителя.

При проектировании очистных сооружений городских сточных вод от централизованных бытовых и общесплавных систем водоотведения поселения, городского округа либо от их технологических зон степень очистки должна обеспечивать соблюдение: (в ред. Изменения N 3, утв. Приказом Минстроя РФ от 28.12.2023 N 1009/пр)

- для объектов I категории негативного воздействия на окружающую среду, а также объектов II категории негативного воздействия на окружающую среду, переходящих на технологическое нормирование - технологических показателей НДТ, установленных [3] для технологически нормируемых веществ для городских (смешанных) сточных вод с учетом мощности очистных сооружений и категории водного объекта;

- для объектов II категории негативного воздействия на окружающую среду, не переходящих на технологическое нормирование - НДС, рассчитанных на основании [25] и [34]. (в ред. Изменения N 2, утв. Приказом Минстроя РФ от 27.12.2021 N 1023/пр)

9.1.2 Технологические исходные данные для проектирования развития и реконструкции существующих очистных сооружений следует принимать на основании верифицированных результатов контроля расхода и свойств поступающих сточных вод за период не менее 3 лет, с учетом данных схем водоотведения поселений или городских округов на расчетную перспективу и фактических ретроспективных данных по динамике удельного водоотведения и численности населения поселения за период не менее 10 лет. В целях верификации (проверки, распознавания достоверности) имеющиеся по объекту данные следует анализировать в соответствии с приложением Г. (в ред. Изменения N 3, утв. Приказом Минстроя РФ от 28.12.2023 N 1009/пр)

При отсутствии применимых данных по качественному составу и (или) расходам поступающих сточных вод, в том числе для новых очистных сооружений, следует осуществлять расчетное определение притоков и качественного состава поступающих сточных вод с использованием данных о водопотреблении и численности жителей, о сбросах абонентов и др. в соответствии с приложением Г. (в ред. Изменения N 3, утв. Приказом Минстроя РФ от 28.12.2023 N 1009/пр)

Для расчетов сооружений необходимо использовать релевантные значения исходных данных, набор которых определяется в зависимости от используемых методик расчета, а также от применяемых нормативных требований, в том числе формата применения нормативов (в том числе как среднегодовых, в соответствии с требованиями [3], так и обеспечиваемых в каждой пробе - по требованиям [42]) и [33]. Определять расчетные данные для различных ситуаций с обеспеченностью верифицированными фактическими данными следует в соответствии с приложением Г. (в ред. Изменения N 3, утв. Приказом Минстроя РФ от 28.12.2023 N 1009/пр)

При расчете очистных сооружений на обеспечение выполнения технологических нормативов, утвержденных как среднегодовых [3], [11], следует использовать в качестве расчетной концентрации загрязняющих веществ на сбросе величину, среднюю за сутки с притоком 85-го процентиля.

При этом концентрации в точечных (разовых) и составных (среднесуточных) пробах при любых расчетных величинах притока на очистные сооружения не должны превышать произведения технологических показателей НДТ для данных очистных сооружений, принятых согласно [3], на соответствующие значения повышающих коэффициентов к среднегодовым значениям технологических показателей НДТ для очистных сооружений смешанных (городских) сточных вод, учитывающих различные факторы неравномерности, приведенные в приложении Д. (в ред. Изменения N 3, утв. Приказом Минстроя РФ от 28.12.2023 N 1009/пр)

В качестве базовых исходных данных для получения расчетных концентраций следует использовать величины массовых нагрузок по загрязняющим веществам (кг/сут, т/сут), определяемые как произведение расхода сточных вод в конкретные сутки на концентрацию данного загрязняющего вещества в эти сутки. Расчетные массовые нагрузки следует принимать на уровне значений, соответствующих определенной величине процентиля в зависимости от объема исходных данных, согласно Г.2.4. Расчетные концентрации загрязняющих веществ, мг/л, надлежит получать как отношение расчетной массовой нагрузки, кг/сут, к притоку на очистные сооружения 85-го процентиля. (в ред. Изменения N 3, утв. Приказом Минстроя РФ от 28.12.2023 N 1009/пр)

Следует предусматривать соблюдение нормативного качества очищенных сточных вод в диапазоне концентраций загрязняющих веществ в поступающих сточных водах от 15-го процентиля (минимальное значение из расчетного диапазона) до 85-го процентиля - максимальное значение концентраций из расчетного диапазона (с учетом Г.2.7 по соотношению БПК5 к общему азоту). В зависимости от конкретной ситуации и при обосновании, значения указанных процентилей могут быть изменены. (в ред. Изменения N 3, утв. Приказом Минстроя РФ от 28.12.2023 N 1009/пр)

Определение расчетных величин нагрузок, релевантных расходов и концентраций загрязняющих веществ следует осуществлять по приложению Г.

Официальный источник электронного документа содержит неточность: в данном документе пункт 9.3.1.9 отсутствует.

Релевантные нагрузки для сооружений биологической очистки следует рассчитывать с учетом 9.3.1.9.

Получение технологических исходных данных на основании обработки первичных данных производственного контроля или иным способом в соответствии с приложением Г следует осуществлять в ходе разработки ОТР по КОС (при их выполнении). (в ред. Изменений N 2, утв. Приказом Минстроя РФ от 27.12.2021 N 1023/пр, N 3, утв. Приказом Минстроя РФ от 28.12.2023 N 1009/пр)

9.1.3-9.1.6. Пункты исключены. (в ред. Изменения N 2, утв. Приказом Минстроя РФ от 27.12.2021 N 1023/пр)

9.1.7 При определении исходных данных для проектирования очистных сооружений следует учитывать объемы и массовые нагрузки по загрязняющим веществам, поступающие в дополнение к притоку сточных вод от централизованной системы водоотведения: жидких бытовых отходов, иных органических отходов, возвратных потоков от сооружений обработки осадков сточных вод, промывных вод сооружений доочистки, поверхностных сточных и дренажных вод и т.п., с учетом мест их подачи в очистные сооружения. (в ред. Изменения N 3, утв. Приказом Минстроя РФ от 28.12.2023 N 1009/пр)

9.1.8. Допускается при обосновании осуществлять прием в систему водоотведения осадков, образующихся на станциях водоподготовки (осадки отстойников и оборотных систем промывной воды фильтров). Прием промывных сточных вод фильтров, образующихся на станциях водоподготовки, должен быть исключен в связи со значительной гидравлической перегрузкой системы водоотведения в целом.

Сброс осадков следует предусматривать максимально равномерным в течение суток. Их количество должно учитываться при определении нагрузки на очистные сооружения, образовании биорезистентной части осадка первичных отстойников (при расчете процессов сбраживания) и расчете прироста ила. Следует учитывать связывание остаточным коагулянтом части фосфатов в нерастворимые соединения. В отсутствие фактических данных допускается принимать 20%-ное снижение концентрации фосфора фосфатов в поступающей воде относительно ситуации до начала сброса водопроводного осадка. (в ред. Изменения N 2, утв. Приказом Минстроя РФ от 27.12.2021 N 1023/пр)

9.1.9 Технологические схемы очистных сооружений следует разрабатывать как для целостных процессов с учетом взаимовлияния стадий очистки сточных вод и обработки осадка. Выбор технологических схем очистки сточных вод следует осуществлять в ходе разработки ОТР с учетом качественного и количественного состава поступающих сточных вод и требований к очищенным водам, а также с учетом [26], [27]. При сбросе в водные объекты обязательными стадиями очистки городских сточных вод и близких к ним по составу производственных сточных вод при любой мощности очистных сооружений и условиях сброса являются: удаление грубых механических примесей, биологическая очистка, обеззараживание, обезвоживание образующихся осадков. Применение других стадий очистки сточных вод и обработки осадка обусловлено целями, задачами и местными условиями в конкретной ситуации. (в ред. Изменения N 3, утв. Приказом Минстроя РФ от 28.12.2023 N 1009/пр)

Методы предварительной очистки производственных сточных вод перед их отведением в ЦСВ должны определяться в соответствии с составом и свойствами сточных вод, требованиями к приему в ЦСВ с учетом местных факторов (схемы водоотведения предприятия, условий размещения на промышленной площадке и т.п.). В связи с существенной спецификой каждого вида производственных сточных вод настоящий свод правил следует использовать в качестве одного из источников рекомендаций по их очистке. (в ред. Изменения N 2, утв. Приказом Минстроя РФ от 27.12.2021 N 1023/пр)

9.1.10. При очистке хозяйственно-бытовых сточных вод, образующихся на объектах с временным пребыванием персонала и (или) отдыхающих, с сезонным формированием сточных вод (не более 100 календарных дней в году), осуществляемой на очистных сооружениях централизованных систем водоотведения поселений, городских округов, относящихся по мощности к категории очистных сооружений централизованных систем водоотведения поселений, городских округов к сверхмалым, при сбросе в водный объект (часть водного объекта) категорий Б, В и Г, определяемый на основе положений [2], допускается применение методов физико-химической очистки с последующей доочисткой фильтрацией до технологических показателей, установленных [3]. (в ред. Изменения N 2, утв. Приказом Минстроя РФ от 27.12.2021 N 1023/пр)

9.1.11 Точки сброса очищенных сточных вод следует размещать ниже по течению водотока относительно расположения водозаборов, обеспечивающих водоснабжение данного населенного пункта (пунктов) или объекта (объектов). (в ред. Изменения N 3, утв. Приказом Минстроя РФ от 28.12.2023 N 1009/пр)

Примечание - При расположении на одном водотоке нескольких поселений и/или городских округов с водозаборами из поверхностного (подруслового) источника варианты размещения точки сброса очищенных сточных вод следует обосновывать и согласовывать со всеми заинтересованными организациями. (в ред. Изменения N 3, утв. Приказом Минстроя РФ от 28.12.2023 N 1009/пр)

9.1.12. Компоновка зданий и сооружений на площадке должна обеспечивать:

- рациональное использование территории с учетом перспективного расширения сооружений и возможность строительства по очередям;

- оптимальное блокирование сооружений и зданий различного назначения и минимальную протяженность внутриплощадочных коммуникаций;

- оптимальное использование уклона местности (планировки территории) для самотечного прохождения основного потока сточных вод через сооружения с учетом всех потерь напора. При обосновании допускается применение сооружений подкачки сточных вод.

9.1.13. При проектировании сооружений очистки сточных вод следует предусматривать:

- устройства для равномерного распределения сточных вод и осадка между отдельными элементами сооружений, а также для отключения сооружений, каналов и трубопроводов на ремонт без нарушения режима работы комплекса, для опорожнения и промывки сооружений и коммуникаций;

- устройства для измерения расходов сточных вод, осадка, воздуха и биогаза;

- экономически обоснованное использование вторичных энергоресурсов (биогаза; тепла сжатого воздуха и сточных вод) для нужд станции очистки; (в ред. Изменений N 2, утв. Приказом Минстроя РФ от 27.12.2021 N 1023/пр, N 3, утв. Приказом Минстроя РФ от 28.12.2023 N 1009/пр)

- оборудование для непрерывного контроля качества поступающих и очищенных сточных вод или лабораторное оборудование для периодического контроля. На очистных сооружениях, отнесенных к I категории природопользователей, следует предусматривать системы автоматического контроля сбросов загрязняющих веществ и технические средства фиксации и передачи информации о показателях в государственный реестр объектов, оказывающих негативное воздействие на окружающую среду в соответствии с [35], [36]; (в ред. Изменения N 2, утв. Приказом Минстроя РФ от 27.12.2021 N 1023/пр)

- оптимальную степень автоматизации работы, с учетом технико-экономического обоснования, наличия квалифицированного персонала и др.

9.1.14. При проектировании очистных сооружений необходимо предусматривать мероприятия по недопущению выбросов загрязняющих веществ, приводящих к превышениям ПДК, предотвращению вторичного загрязнения почвы, поверхностных и подземных вод в результате деятельности по очистке сточных вод и обработки осадка. (в ред. Изменения N 2, утв. Приказом Минстроя РФ от 27.12.2021 N 1023/пр)

9.1.15. Мероприятия по защите атмосферного воздуха следует предусматривать в соответствии с разделом 13. (в ред. Изменения N 2, утв. Приказом Минстроя РФ от 27.12.2021 N 1023/пр)

9.1.16. Каналы станции очистки сточных вод и лотки сооружений следует рассчитывать (а при реконструкции существующих сооружений - проверять) на пропуск максимального секундного расхода (среднего за максимальный расчетный час) с коэффициентом 1,4 (за исключением ситуаций с наличием выше по течению сооружений значительной площади, способных за счет увеличения рабочего уровня служить буфером внутричасовых колебаний притока сточных вод). При напорном поступлении сточных вод на очистные сооружения и использовании максимального расчетного часового расхода, определенного по Г.3.2 для данной ситуации, допускается использовать значение указанного коэффициента, равное 1,2. (в ред. Изменения N 2, утв. Приказом Минстроя РФ от 27.12.2021 N 1023/пр)

9.1.17. Состав бытовых помещений принимается в зависимости от численности обслуживающего персонала.

Состав и площади вспомогательных и лабораторных помещений станций очистки сточных вод следует определять исходя из конкретных местных условий (наличие лабораторий соответствующего профиля в данном районе, организаций по ремонту и обслуживанию оборудования и приборов, возможной кооперации с другими организациями и др.).

9.1.18. Расчет сооружений для очистки производственных сточных вод и обработки их осадков следует выполнять на основании данных научно-исследовательских и инжиниринговых организаций, опыта эксплуатации действующих аналогичных сооружений с учетом настоящего свода правил и норм проектирования предприятий соответствующих отраслей промышленности.

9.2. Механическая очистка сточных вод (в ред. Изменения N 2, утв. Приказом Минстроя РФ от 27.12.2021 N 1023/пр)

9.2.1. Оборудование для предварительного процеживания

9.2.1.1 В составе станций очистки сточных вод необходимо предусматривать оборудование для задержания грубодисперсных примесей. (в ред. Изменения N 3, утв. Приказом Минстроя РФ от 28.12.2023 N 1009/пр)

В зависимости от мощности сооружений и местных условий допускается применение одно- и двухступенчатого процеживания. (в ред. Изменения N 3, утв. Приказом Минстроя РФ от 28.12.2023 N 1009/пр)

При одноступенчатом процеживании при напорной подаче сточных вод следует использовать решетки с прозорами (двумерные сита с отверстиями) не более 10 мм и не менее 5 мм, при самотечном поступлении - с прозорами не более 16 мм и не менее 8 мм. Применение сит при самотечном поступлении сточных вод при одноступенчатом процеживании не допускается. (в ред. Изменения N 3, утв. Приказом Минстроя РФ от 28.12.2023 N 1009/пр)

Двухступенчатое процеживание следует применять: (в ред. Изменения N 3, утв. Приказом Минстроя РФ от 28.12.2023 N 1009/пр)

- на очистных сооружениях мощностью, начиная от крупных, при самотечном поступлении сточных вод по коллектору (без насосной перекачки) в объеме более 30% общего среднего притока. Допускается применение на по мощности очистных сооружениях, работающих в аналогичных условиях. При этом допускается на первой ступени применять решетки с прозорами 15 - 50 мм, а на второй - решетки (двумерные сита) с прозорами 3 - 10 мм (при гравитационном илоразделении); (в ред. Изменения N 3, утв. Приказом Минстроя РФ от 28.12.2023 N 1009/пр)

- если подающие насосные станции оборудованы защитными решетками с прозорами 30 - 60 мм, на первой ступени допускается применять решетки с прозорами 15 - 30 мм, но не более прозоров решеток на подающих КНС, а на второй - решетки (двумерные сита) с прозорами 3 - 8 мм (при гравитационном илоразделении при биологической очистке). (в ред. Изменения N 3, утв. Приказом Минстроя РФ от 28.12.2023 N 1009/пр)

При самотечном поступлении на очистные сооружения 10% - 30% сточных вод двухступенчатое процеживание допускается при мощности от крупных и выше. (в ред. Изменения N 3, утв. Приказом Минстроя РФ от 28.12.2023 N 1009/пр)

При использовании мембранных технологий (МБР) вне зависимости от способа подачи сточных вод и мощности сооружений следует использовать процеживание на ситах с отверстиями 1 - 3 мм (в зависимости от типа применяемых мембран) в качестве второй либо третьей ступени, располагая данную ступень после песколовок. (в ред. Изменения N 3, утв. Приказом Минстроя РФ от 28.12.2023 N 1009/пр)

Номинальный прозор решеток (диаметр отверстий сит) при отсутствии в технологической схеме стадии первичного осветления - 5 - 6 мм. (в ред. Изменения N 3, утв. Приказом Минстроя РФ от 28.12.2023 N 1009/пр)

Использование измельчителей на потоке сточных вод допускается исключительно при обосновании. (в ред. Изменения N 3, утв. Приказом Минстроя РФ от 28.12.2023 N 1009/пр)

Примечание - Допускается не предусматривать решетки в случае подачи сточных вод на станцию очистки насосами при установке перед насосами механизированных решеток с прозорами не более 16 мм или решеток-дробилок, при этом длина напорного трубопровода должна быть не более 500 м и на насосных станциях предусматривается вывоз задержанных на решетках отбросов. (в ред. Изменения N 3, утв. Приказом Минстроя РФ от 28.12.2023 N 1009/пр)

9.2.1.2. При определении числа единиц оборудования следует учитывать выключение одной из решеток для проведения регламентных или ремонтных работ. На очистных сооружениях до средних включительно допускается установка резервной решетки с ручным удалением отбросов, если это не противоречит требованиям последующей технологии очистки.

При реконструкции, если замена решеток не предусматривается, количество отбросов, задерживаемых решетками из сточных вод, следует принимать по фактическим данным, с учетом перспективной численности обслуживаемого населения. Для новых сооружений, а также при замене решеток допускается принимать количество отбросов (до промывки и прессования) в зависимости от ширины прозоров, мм, с учетом содержания грубодисперсных примесей в сточных водах. Для городских сточных вод удельное количество отбросов от ЭЖ в зависимости от ширины прозоров может быть принято, л/(ЭЖ·год), в соответствии с рисунком 1а.

Рисунок 1а. Удельный съем отбросов с решеток (до прессования) от ЭЖ в зависимости от ширины прозоров, л/(ЭЖ·год)

Расчетный годовой объем отбросов с решеток следует определять как произведение величины ЭЧЖ, определенной по формуле (Г.13) на величину, полученную по рисунку 1а. Максимальный расчетный суточный объем отбросов допускается определять как произведение среднесуточного за год объема с повышающим коэффициентом 1,5.

Плотность отбросов с решеток с прозорами более 10 мм до обезвоживания допускается принимать равной 750 кг/м3, их влажность - 80%, после обезвоживания влажность 60%, плотность 700 кг/м3. Плотность отбросов с решеток с прозорами от 3 до 10 мм до обезвоживания допускается принимать равной 870 кг/м3, их влажность - 90%, после обезвоживания плотность - 750 кг/м3, влажность - 60%. (в ред. Изменений N 2, утв. Приказом Минстроя РФ от 27.12.2021 N 1023/пр, N 3, утв. Приказом Минстроя РФ от 28.12.2023 N 1009/пр)

9.2.1.3. Для транспортирования отбросов вдоль фронта решеток следует использовать шнековые или ленточные транспортеры. На очистных сооружениях, начиная с больших, следует предусматривать отмывку отбросов с решеток технической водой с последующим их прессованием. При накоплении отбросов дольше 2 сут необходима их пересыпка обеззараживающим реагентом в контейнере по мере накопления. Накопление отбросов свыше 5 сут запрещается. (в ред. Изменения N 2, утв. Приказом Минстроя РФ от 27.12.2021 N 1023/пр)

Обеззараживание отбросов непосредственно перед вывозом либо обработкой не требуется. (в ред. Изменения N 3, утв. Приказом Минстроя РФ от 28.12.2023 N 1009/пр)

Задержанные отбросы следует:

- вывозить в места обработки (захоронения) твердых коммунальных и промышленных отходов;

- обезвоживать и направлять для совместной термической обработки с осадками сточных вод и (или) ТКО; (в ред. Изменения N 3, утв. Приказом Минстроя РФ от 28.12.2023 N 1009/пр)

- компостировать совместно с осадками сточных вод. (в ред. Изменения N 2, утв. Приказом Минстроя РФ от 27.12.2021 N 1023/пр)

9.2.1.4. В здании решеток следует исключать возможность поступления холодного воздуха через подводящие и отводящие каналы.

Пол здания решеток следует располагать выше расчетного уровня сточной воды в каналах не менее чем на 0,5 м. До и после каждой решетки (процеживателя, измельчителя) необходимо предусматривать запорные устройства для их отключения. (в ред. Изменения N 2, утв. Приказом Минстроя РФ от 27.12.2021 N 1023/пр)

9.2.1.5 При самотечном поступлении сточных вод на очистные сооружения без использования главной насосной станции (либо, если более половины сточных вод поступает таким путем) следует при наличии возможности предусматривать на канале между приемной камерой и решетками предварительную песколовку для задержания песка, выносимого из подводящего коллектора при сильных ливнях, с периодическим извлечением его строительной техникой или иными устройствами. Объем углубления на канале допускается принимать из расчета количества песка, улавливаемого в песколовках за двое суток. (в ред. Изменения N 3, утв. Приказом Минстроя РФ от 28.12.2023 N 1009/пр)

Предварительную песколовку допускается выполнять в виде углубления на канале, с защитой бетона в зоне углубления металлическими листами. При обосновании аналогичные решения допускаются и при напорной подаче сточных вод на очистные сооружения. (в ред. Изменения N 2, утв. Приказом Минстроя РФ от 27.12.2021 N 1023/пр)

9.2.1.6. Для пропуска всего максимального расчетного расхода воды при аварийной остановке решеток следует предусматривать технические решения. В зависимости от высотной схемы и других факторов может быть применен байпасный канал (трубопровод), незатопленный при нормальной работе, а также понижение отметки пола у решеток (части решеток) с возможностью протока расхода в этой зоне без нарушения работоспособности оборудования. Байпасный канал (трубопровод), а также зона перетока должны быть оснащены системой аварийной сигнализации, работающей от аккумулятора, включая местный звуковой сигнал, срабатывающей при начале поступления сточных вод. (в ред. Изменения N 2, утв. Приказом Минстроя РФ от 27.12.2021 N 1023/пр)

9.2.1.7. На очистных сооружениях, начиная с крупных вне зависимости от категории энергоснабжения, следует предусматривать аварийный электрогенератор для запитывания решеток и транспортеров при аварии в системе энергоснабжения. (в ред. Изменения N 2, утв. Приказом Минстроя РФ от 27.12.2021 N 1023/пр)

9.2.1.8. Следует предусматривать возможность сбора отбросов с решеток, оборудованных тем или иным транспортером отбросов, в индивидуальные контейнеры, на случай выхода из строя транспортера. Следует предусматривать возможность сбора непромытых и непрессованных отбросов в контейнер при выходе из строя устройств для промывки и прессования отбросов. (в ред. Изменения N 2, утв. Приказом Минстроя РФ от 27.12.2021 N 1023/пр)

9.2.1.9. При использовании решеток с шириной прозоров более 4 мм, а проведении отмывки отбросов - при любых величинах прозоров (диаметра сит) не следует учитывать изменение содержания взвешенных веществ в сточных водах. (в ред. Изменения N 2, утв. Приказом Минстроя РФ от 27.12.2021 N 1023/пр)

9.2.1.10 На сооружениях, начиная с больших по мощности, допускается устройство сливной станции для приема привозных сточных вод и жидких фракций в подводящий канал между приемной камерой и решетками. При этом должны быть обеспечены предварительная обработка и разбавление жидких фракций в соответствии с 6.10. (в ред. Изменения N 3, утв. Приказом Минстроя РФ от 28.12.2023 N 1009/пр)

9.2.2. Сооружения для отделения и обработки песка (в ред. Изменения N 2, утв. Приказом Минстроя РФ от 27.12.2021 N 1023/пр)

9.2.2.1. В составе очистных сооружений смешанных (городских) сточных вод мощностью более 25 м3/сут (для общесплавной канализации - при любой производительности) необходимо предусматривать песколовки. (в ред. Изменения N 2, утв. Приказом Минстроя РФ от 27.12.2021 N 1023/пр)

Число песколовок следует принимать не менее двух, причем все песколовки или отделения должны быть рабочими. До и после каждой песколовки необходимо предусматривать затворы, отключающие ее на периоды минимального притока и время ремонта.

Тип песколовки необходимо принимать с учетом производительности очистных сооружений, схемы очистки сточных вод и обработки их осадков, характеристики взвешенных веществ, компоновочных решений и т.п. При использовании на стадии биологической очистки процесса улучшенного биологического удаления фосфора аэрируемые песколовки не применяются. Песколовки следует рассчитывать на удаление при расчетном притоке: (в ред. Изменения N 3, утв. Приказом Минстроя РФ от 28.12.2023 N 1009/пр)

- на очистных сооружениях до средних включительно - частиц песка диаметром 0,2 мм, включая более крупные фракции (расчетная гидравлическая крупность 18,7 мм/с);

- на очистных сооружениях, начиная с больших, а также на средних, не использующих первичное осветление - частиц песка диаметром 0,15 мм, включая более крупные фракции (расчетная гидравлическая крупность 13,2 мм/с). (в ред. Изменения N 2, утв. Приказом Минстроя РФ от 27.12.2021 N 1023/пр)

На сооружениях до мощности 20 тыс. м3/сут допускается применение комбинированных установок предварительной механической очистки в составе решетки единственной либо второй ступени и песколовки. В этом случае следует предусматривать резервную установку. (в ред. Изменения N 3, утв. Приказом Минстроя РФ от 28.12.2023 N 1009/пр)

9.2.2.2. Задержанный песок из песколовок всех типов следует удалять механическим или гидромеханическим способом. При объеме задерживаемого песка менее 0,05 м3/сут допускается удаление песка вручную.

Объем пескового приямка (приямков) следует рассчитывать на период накопления не более двух суток. Угол наклона стенок приямка к горизонту - не менее 60°. Удельное количество песка, задерживаемого в песколовках, для смешанных (городских) сточных вод при отсутствии фактических данных допускается принимать равным 0,02 л/(ЭЖ·сут), влажность песка 60%, объемный вес 1,5 т/м3. Расчетный суточный объем песка осадка следует определять, как произведение удельного количества на величину ЭЧЖ, определенную по формуле (Г.13). (в ред. Изменения N 2, утв. Приказом Минстроя РФ от 27.12.2021 N 1023/пр)

9.2.2.3 Необходимость применения оборудования для отмывки песка, задержанного на песколовках, от органических примесей (пескопромыватели, промывные шнеки и т.п.) следует определять с учетом особенностей примененных песколовок и решений по последующим обработке, использованию или размещению пескового осадка. При вывозе песка из песколовок на захоронение его отмывка и обеззараживание не обязательны. (в ред. Изменения N 3, утв. Приказом Минстроя РФ от 28.12.2023 N 1009/пр)

При реконструкции очистных сооружений мощностью до больших включительно, не требующих сокращения санитарно-защитной зоны (СЗЗ), допускается использование для обезвоживания песка (без его отмывки) песковых площадок. При новом строительстве песковые площадки допускаются до диапазона мощности "Средние" включительно. Использование песковых бункеров допускается без ограничения мощности очистных сооружений.

Содержание органического вещества в песке после отмывки, если таковая предусмотрена, должно быть не более 5%. Для подготовки песка к рециклингу в качестве товарного грунта для отсыпки и других нужд дополнительно к отмывке следует предусматривать его грохочение и обеззараживание.

При использовании аэрируемых песколовок, а при применении отмывки песка - для любых песколовок не следует учитывать изменение содержания взвешенных веществ в сточных водах. Необходимо предусматривать резервирование механического оборудования для обработки песка путем установки одной дополнительной линии либо аварийного пескового бункера, либо (для очистных сооружений до больших включительно, не требующих сокращения СЗЗ) устройство с этой целью резервных песковых площадок. (в ред. Изменения N 3, утв. Приказом Минстроя РФ от 28.12.2023 N 1009/пр)

Дренажную воду из сооружений для отмывки и (или) обезвоживания песка следует возвращать в поток очищаемых сточных вод после песколовок перед решетками. (в ред. Изменения N 3, утв. Приказом Минстроя РФ от 28.12.2023 N 1009/пр)

Высоту борта над уровнем воды в аэрируемых песколовках следует принимать не менее 0,5 м, для других типов - 0,3 м. (в ред. Изменения N 2, утв. Приказом Минстроя РФ от 27.12.2021 N 1023/пр)

9.2.2.4. Песковые площадки следует предусматривать с ограждающими валиками высотой 1 - 2 м. Нагрузку на площадку следует предусматривать не более 3 м3/м2 в год при условии периодического вывоза подсушенного песка в течение года. Удаляемую с песковых площадок воду необходимо направлять в начало очистных сооружений. Для съезда автотранспорта на песковые площадки следует устраивать пандус уклоном 0,12 - 0,2. (в ред. Изменения N 2, утв. Приказом Минстроя РФ от 27.12.2021 N 1023/пр)

9.2.3. Усреднители

9.2.3.1 Для городских сточных вод устройство усреднителя расхода требуется для всех сверхмалых по мощности очистных сооружений, для малых и небольших по мощности - при значении часового коэффициента неравномерности свыше 2,0. Применение усреднителя расхода для очистных сооружений мощностью от 4000 до 20 000 м3/сут допускается при значении часового коэффициента неравномерности свыше 2,0 и при наличии подтвержденной расчетом технико-экономической эффективности. На очистных сооружениях мощностью свыше 20 000 м3/сут устройство усреднителя не допускается. (в ред. Изменения N 3, утв. Приказом Минстроя РФ от 28.12.2023 N 1009/пр)

Для производственных сточных вод, характеризующихся неравномерностью расхода и загрязненности, следует предусматривать усреднитель. (в ред. Изменения N 3, утв. Приказом Минстроя РФ от 28.12.2023 N 1009/пр)

9.2.3.2 Объем усреднителя городских сточных вод следует определять по графику часового притока (фактическому либо принятому исходя из значения коэффициента часовой неравномерности) из условия обеспечения в потоке сточной воды после него значения коэффициента часовой неравномерности не более 1,5. В усреднитель допускается направлять как весь поток сточных вод, так и только ту его часть, которая превышает заданный максимальный расход после усреднения. (в ред. Изменения N 3, утв. Приказом Минстроя РФ от 28.12.2023 N 1009/пр)

Тип усреднителя производственных сточных вод (барботажный, с механическим перемешиванием, многоканальный и т.д.) необходимо выбирать с учетом характера колебаний расходов сточных вод и концентраций загрязняющих веществ (циклические, произвольные колебания и залповые сбросы), последующего технологического процесса, а также вида и количества загрязняющих веществ. (в ред. Изменения N 3, утв. Приказом Минстроя РФ от 28.12.2023 N 1009/пр)

9.2.3.3. Число секций усреднителей необходимо принимать не менее двух, причем обе рабочие. Допускается использование односекционного усреднителя при обеспечении возможности механической очистки его от отложений без опорожнения, а также, на сверхмалых очистных сооружениях при устройстве байпасной линии вокруг него. (в ред. Изменения N 2, утв. Приказом Минстроя РФ от 27.12.2021 N 1023/пр)

Следует предусматривать решения, обеспечивающие возможность проведения работ по очистке усреднителя от отложений. (в ред. Изменения N 3, утв. Приказом Минстроя РФ от 28.12.2023 N 1009/пр)

9.2.3.4 В усреднителе расхода городских сточных вод для предотвращения осаждения взвешенных веществ следует применять мешалки. В случае, если в последующей технологической схеме не применяется биологическое удаление фосфора, допускается перемешивание усреднителя с помощью эжекторов либо барботажа. (в ред. Изменения N 3, утв. Приказом Минстроя РФ от 28.12.2023 N 1009/пр)

9.2.3.5 В зависимости от технологической схемы допускается использование усреднителя для достижения также и технологического эффекта. Для протекания в усреднителе процесса денитрификации в технологиях, не предусматривающих биологическое удаление фосфора, допускается подача в усреднитель возвратного активного ила. В технологиях с биологическим или биологическо-химическим удалением фосфора допускается создание в усреднителе условий для ацидофикации загрязнений сточных вод путем формирования в нем соответствующей биомассы. (в ред. Изменения N 3, утв. Приказом Минстроя РФ от 28.12.2023 N 1009/пр)

В обеих ситуациях следует рассчитывать объем усреднителя с добавлением неснижаемой при нормальной эксплуатации части ("мертвый объем"), равной 25% требуемой расчетной величины. (в ред. Изменения N 2, утв. Приказом Минстроя РФ от 27.12.2021 N 1023/пр)

9.2.3.6 Для промышленных стоков с повышенными концентрациями органических загрязнений в технологических схемах с флотацией либо осветлением с последующей биологической очисткой в аэротенках следует рассматривать использование процесса биокоагуляции в усреднителе, с подачей в него избыточного активного ила и аэрацией усреднителя с помощью механических аэраторов. (в ред. Изменений N 2, утв. Приказом Минстроя РФ от 27.12.2021 N 1023/пр, N 3, утв. Приказом Минстроя РФ от 28.12.2023 N 1009/пр)

9.2.3.7. Для плавного регулирования расхода, отбираемого из усреднителя, следует использовать насосы с частотным регулированием подачи. (в ред. Изменения N 2, утв. Приказом Минстроя РФ от 27.12.2021 N 1023/пр)

9.2.3.8. С учетом наличия и размеров СЗЗ или необходимости ее сокращения следует рассматривать выполнение усреднителя перекрытым, с откачкой загрязненного воздуха на очистку. (в ред. Изменения N 2, утв. Приказом Минстроя РФ от 27.12.2021 N 1023/пр)

9.2.3.9. Во избежание отложений песка и образования корки в усреднителе его следует располагать в технологической цепочке после стадий процеживания и удаления песка. (в ред. Изменения N 2, утв. Приказом Минстроя РФ от 27.12.2021 N 1023/пр)

9.2.4. Сооружения осветления сточных вод

9.2.4.1 Применение сооружений осветления сточных вод следует рассматривать для очистных сооружений городских сточных вод, начиная с небольших, для производственных сточных вод - при любой производительности. Для этого используются первичные отстойники, механические процеживатели, а для производственных сточных вод и их смеси с бытовыми - масло-, жиро-, нефтеловушки, гидроциклоны, флотаторы и др. При реализации технологии нитри-денитрификации и удаления фосфора решение об использовании сооружений осветления следует принимать на основании расчетов необходимого для процессов денитрификации и биологического удаления фосфора количества органических соединений. (в ред. Изменения N 3, утв. Приказом Минстроя РФ от 28.12.2023 N 1009/пр)

При необходимости повышения эффективности осветления производственных сточных вод или их смеси с бытовыми сточными водами при применении отстойников и флотаторов следует рассматривать применение предварительной реагентной обработки. (в ред. Изменения N 3, утв. Приказом Минстроя РФ от 28.12.2023 N 1009/пр)

Основаниями для возможного отказа от сооружений осветления на очистных сооружениях городских сточных вод мощностью от небольших и выше являются: недостаточное количество органического вещества для денитрификации или денитрификации и биологического удаления фосфора (допустимая по расчету эффективность осветления ниже 25%), а также необходимость соблюдения малой СЗЗ. Для очистных сооружений городских сточных вод мощностью в диапазоне небольшие - большие также допускается отказ от первичного осветления в целях упрощения технологической схемы и размещения сооружений в стесненных условиях площадки. Для очистных сооружений городских сточных вод, средних по мощности, допускается отказ от первичного осветления в целях упрощения технологической схемы. Для таких объектов прозоры процеживающих решеток должны быть не более 5 - 6 мм, песколовки должны быть рассчитаны на удержание частиц песка диаметром 0,15 мм, включая более крупные фракции (расчетная гидравлическая крупность 13,2 мм/с), а задержанный в них осадок должен в обязательном порядке подвергаться отмывке от органических веществ. (в ред. Изменений N 2, утв. Приказом Минстроя РФ от 27.12.2021 N 1023/пр, N 3, утв. Приказом Минстроя РФ от 28.12.2023 N 1009/пр)

9.2.4.2 Тип первичного отстойника (вертикальный, радиальный, горизонтальный, двухъярусный, с нисходяще-восходящим потоком и др.) следует выбирать с учетом принятой технологической схемы очистки сточных вод, производительности станции, компоновки сооружений, числа эксплуатируемых единиц, конфигурации и рельефа площадки, геологических условий, уровня грунтовых вод и т.п. Применение тонкослойных первичных отстойников допускается на очистных сооружениях по мощности не выше средних. (в ред. Изменений N 2, утв. Приказом Минстроя РФ от 27.12.2021 N 1023/пр, N 3, утв. Приказом Минстроя РФ от 28.12.2023 N 1009/пр)

9.2.4.3 Число первичных отстойников следует принимать исходя из условия надежности их действия при ремонте одного из них, но не менее двух. (в ред. Изменений N 2, утв. Приказом Минстроя РФ от 27.12.2021 N 1023/пр, N 3, утв. Приказом Минстроя РФ от 28.12.2023 N 1009/пр)

При минимальном числе эксплуатируемых единиц (секций) отстойников их расчетный объем необходимо увеличивать так, чтобы перегрузка одного отстойника (секции) при расчетном расходе не превышала 25%.

9.2.4.4. Расчет первичных отстойников следует проводить на основе кинетики осаждения взвешенных веществ с учетом требуемого эффекта осветления и коэффициента использования объема сооружения. При использовании первичного отстойника в технологической схеме с последующей нитри-денитрификацией следует:

- определять предельную расчетную эффективность осветления, которая гарантирует достаточность органических веществ по для последующего протекания процесса денитрификации и биологического удаления фосфора (при его применении в технологической схеме). При значении предельной расчетной эффективности менее 25% при новом строительстве не следует предусматривать первичное осветление; (в ред. Изменения N 3, утв. Приказом Минстроя РФ от 28.12.2023 N 1009/пр)

- проводить расчет первичных отстойников на среднечасовое значение расхода в сутки 85-го процентиля.

В отсутствие эксплуатационных или экспериментальных данных расчетные величины концентраций загрязняющих веществ после первичного осветления допускается определять по обобщенной формуле (в ред. Изменения N 3, утв. Приказом Минстроя РФ от 28.12.2023 N 1009/пр)

, (18)

где:

XX - обозначение загрязняющего вещества (, ХПК, общий азот, общий фосфор);

- расчетная концентрация загрязняющего вещества XX;

- расчетная концентрация взвешенных веществ в поступающей сточной воде;

- расчетная концентрация взвешенных веществ в осветленной сточной воде;

- коэффициент, отражающий удельное содержание , ХПК, общего азота, общего фосфора во взвешенных веществах, г/г.

Величины следует принимать в соответствии с приложением Г. (в ред. Изменения N 2, утв. Приказом Минстроя РФ от 27.12.2021 N 1023/пр)

9.2.4.5. Основные конструктивные параметры первичных отстойников следует принимать:

а) для горизонтальных и радиальных отстойников:

впуск исходной воды и сбор осветленной - равномерными по ширине (периметру) впускного и сборного устройств отстойника;

высоту нейтрального слоя - на 0,3 м выше днища (на выходе из отстойника);

гидравлическую глубину - как сумму глубины проточной части отстойника и нейтрального слоя;

угол наклона стенок илового приямка - 50° - 55°;

б) для вертикальных отстойников:

длину центральной трубы - равной глубине зоны отстаивания;

скорость движения рабочего потока в центральной трубе - не более 30 мм/с;

диаметр раструба - 1,35 диаметра трубы;

диаметр отражательного щита - 1,3 диаметра раструба;

угол конусности отражательного щита - 146°;

скорость рабочего потока между раструбом и отражательным щитом - не более 20 мм/с для первичных отстойников и не более 15 мм/с для вторичных;

высоту нейтрального слоя между низом отражательного щита и уровнем осадка - 0,3 м;

угол наклона конического днища - 50° - 60°;

в) для отстойников с нисходяще-восходящим потоком:

площадь зоны нисходящего потока - равной площади зоны восходящего;

высоту перегородки, разделяющей зоны, - равной 2/3 глубины;

уровень верхней кромки перегородки - выше уровня воды на 0,3 м, но не выше стенки отстойника;

распределительный лоток переменного сечения - внутри разделительной перегородки. Начальное сечение лотка следует рассчитывать на пропуск расчетного расхода со скоростью не менее 0,5 м/с, в конечном сечении скорость - не менее 0,1 м/с.

Для равномерного распределения воды кромку водослива распределительного лотка следует выполнять в виде треугольных водосливов через 0,5 м. (в ред. Изменения N 2, утв. Приказом Минстроя РФ от 27.12.2021 N 1023/пр)

9.2.4.6. Перемещение выпавшего осадка к приямкам следует предусматривать механическим способом или созданием соответствующего наклона днища.

9.2.4.7. Удаление осадка из приямка отстойника необходимо предусматривать самотеком, под гидростатическим давлением или насосами, предназначенными для перекачки осадков. При обосновании допускается применять удаление осадка гидроэлеваторами, эрлифтами, а при высокой плотности образующегося осадка производственных сточных вод - грейферами и т.д.

Гидростатическое давление при удалении осадка из первичных отстойников следует принимать не менее 15 кПа (1,5 м вод. ст.).

Диаметр труб для удаления осадка следует принимать не менее 200 мм. На малых и сверхмалых сооружениях диаметр труб для удаления осадка следует принимать исходя из условий, предотвращающих их заиливание в режиме периодического вывода осадка, но не менее 100 мм. (в ред. Изменения N 2, утв. Приказом Минстроя РФ от 27.12.2021 N 1023/пр)

9.2.4.8 Содержание сухого вещества в осадке первичных отстойников для городских сточных вод допускается принимать равным 4% - 5% для всех типов первичных отстойников при самотечном удалении (под гидростатическим давлением) и 5% - 6% при удалении насосами. При сбросе осадка станций водоподготовки в систему водоотведения концентрацию содержания сухого вещества в осадке следует принимать на 15% - 30% ниже указанных значений, в зависимости от нагрузки по осадку станций водоподготовки, параметров воды, очищаемой на станции водоподготовки (максимальное значение - для высокоцветной обрабатываемой воды) и применяемых реагентов. (в ред. Изменения N 2, утв. Приказом Минстроя РФ от 27.12.2021 N 1023/пр)

При подаче осадка первичных отстойников на отдельные сооружения ацидофикации, работающие с уплотнением, допускается откачка осадка при содержании сухого вещества до 0,5% - 1,0%. (в ред. Изменения N 3, утв. Приказом Минстроя РФ от 28.12.2023 N 1009/пр)

Влажность осадка производственных сточных вод допускается принимать по экспериментальным данным.

9.2.4.9. Удаление осадка из отстойников допускается непрерывное или периодическое.

Интервал времени при периодическом удалении следует устанавливать исходя из объема образующегося осадка и вместимости зоны его накопления, но не более одних суток. (в ред. Изменения N 2, утв. Приказом Минстроя РФ от 27.12.2021 N 1023/пр)

При механизированном удалении осадка вместимость зоны накопления его в первичных отстойниках следует принимать по количеству выпавшего осадка за период не более 8 ч.

9.2.4.10 В целях улучшения последующего биологического удаления фосфора, а также азота из городских сточных вод допускается осуществлять в первичных отстойниках ацидофикацию осадка (использовать режим активированных отстойников - АО). Для этого допускается предусматривать увеличенное время пребывания осадка за счет его накопления в отстойниках с одновременной рециркуляцией в пределах 50% - 150% суточной нагрузки по взвешенным веществам в неосветленных сточных водах в поток неосветленных сточных вод в целях высвобождения продуктов гидролиза взвешенных веществ в осветленную воду. (в ред. Изменения N 3, утв. Приказом Минстроя РФ от 28.12.2023 N 1009/пр)

При использовании ацидофикации следует учитывать в расчете первичных отстойников уменьшение глубины зоны осветления за счет глубины слоя накопленного осадка и увеличение концентрации взвешенных веществ в сточной воде на входе в отстойники в результате рециркуляции осадка. Также эффективность осветления в АО следует дополнительно уменьшать на 1/4 по отношению к полученной по расчету. (в ред. Изменения N 3, утв. Приказом Минстроя РФ от 28.12.2023 N 1009/пр)

Содержание сухого вещества в выгружаемом осадке АО для городских сточных вод допускается принимать равным 4,5% - 5,0%. Выгрузку осадка следует предусматривать насосами. (в ред. Изменения N 3, утв. Приказом Минстроя РФ от 28.12.2023 N 1009/пр)

Другие параметры процесса ацидофикации в АО следует принимать по 9.2.4.14. (в ред. Изменения N 3, утв. Приказом Минстроя РФ от 28.12.2023 N 1009/пр)

9.2.4.11. Для удержания всплывших веществ перед водосбросным устройством следует предусматривать полупогружные (не менее 0,3 м) перегородки и устройства удаления накопленных на поверхности веществ.

Высоту борта отстойника над поверхностью воды следует принимать 0,3 м.

9.2.4.12. Кромку водослива на водоприемных (сборных) лотках необходимо предусматривать регулируемой по высоте. Водосливная кромка может быть прямой или с треугольными вырезами. Нагрузка на 1 м водослива не должна превышать 10 л/с. (в ред. Изменения N 2, утв. Приказом Минстроя РФ от 27.12.2021 N 1023/пр)

9.2.4.13 При установленном расчетом дефиците органического вещества в осветленной сточной воде для проведения денитрификации (с учетом положений 9.2.4.4 по минимальной эффективности осветления), а также для улучшения биологического удаления фосфора допускается предусматривать ацидофикацию осадка первичных отстойников. (в ред. Изменения N 3, утв. Приказом Минстроя РФ от 28.12.2023 N 1009/пр)

Для проведения ацидофикации допускается использовать активированные отстойники с рециркуляцией осадка (АО), ацидофикаторы-уплотнители (АУ), либо технологию ацидофикации в перемешиваемых реакторах с последующей промывкой и уплотнением ацидофицированного осадка в отдельных уплотнителях (ацидофикаторы-смесители с уплотнителями - АС-У). Также допускается совместное применение АО и АУ. Решение по применению ацидофикации и выбору технологии следует принимать по результатам технико-экономического сравнения в ходе ОТР. (в ред. Изменения N 3, утв. Приказом Минстроя РФ от 28.12.2023 N 1009/пр)

9.2.4.14 Время пребывания сухого вещества осадка в зоне уплотнения АУ, а также время пребывания осадка в реакторах ацидофикации следует принимать равным 3 - 5 сут (но не более 6 сут, во избежание развития процессов метаногенеза) при температуре осадка свыше 16 °C и 4 - 8 сут при температуре осадка ниже 16 °C. (в ред. Изменения N 3, утв. Приказом Минстроя РФ от 28.12.2023 N 1009/пр)

Увеличение БПК5 в смеси осветленной воды и сливной воды от уплотнения ацидофицированного осадка при использовании АУ и АС-У допускается принимать (при соблюдении оптимального времени пребывания по сухому веществу) равным 0,15 кг БПК5 на 1 кг беззольного вещества взвешенных веществ поданного в ацидофикаторы осадка первичных отстойников (с учетом увеличения концентрации БПК5 за счет дополнительно выносимых со сливной водой взвешенных веществ). Для АО увеличение БПК5 в осветленной воде допускается принимать равным 0,02 кг БПК5 на кг беззольного вещества взвешенных веществ в неосветленной сточной воде на каждые сутки времени пребывания сухого вещества осадка в зоне уплотнения, но не более 0,07 кг БПК5 на 1 кг беззольного вещества взвешенных веществ в неосветленной сточной воде. (в ред. Изменения N 3, утв. Приказом Минстроя РФ от 28.12.2023 N 1009/пр)

Вынос взвешенных веществ в сливной воде от ацидофикаторов при использовании АУ и АС-У допускается принимать равным 25% расчетного количества взвешенных веществ, задержанных при осветлении в первичных отстойниках. (в ред. Изменения N 3, утв. Приказом Минстроя РФ от 28.12.2023 N 1009/пр)

Технологически допустимое время пребывания сухого вещества осадка в зоне уплотнения осадка в АО при реконструкции существующих сооружений следует определять расчетом возможной глубины слоя накапливаемого осадка (но не более 40% гидравлической глубины отстойника) исходя из объема имеющихся первичных отстойников, гидравлической нагрузки на них и необходимой эффективности осветления. При этом оптимальные и максимальные значения времени пребывания сухого вещества осадка аналогичны таковым для АУ и АС-У. (в ред. Изменения N 3, утв. Приказом Минстроя РФ от 28.12.2023 N 1009/пр)

Среднюю концентрацию осадка в зоне уплотнения в АО допускается принимать равной 3,5% по сухому веществу. (в ред. Изменения N 3, утв. Приказом Минстроя РФ от 28.12.2023 N 1009/пр)

Увеличением концентрации аммонийного азота в осветленной сточной воде при использовании ацидофикации допускается пренебречь. (в ред. Изменения N 3, утв. Приказом Минстроя РФ от 28.12.2023 N 1009/пр)

9.2.4.15 При использовании отдельных АУ (как вновь сооружаемых, так и размещаемых в объеме первичных отстойников в ходе реконструкции) допускается принимать: (в ред. Изменения N 3, утв. Приказом Минстроя РФ от 28.12.2023 N 1009/пр)

- рециркуляцию части выгружаемого из АУ осадка перед ними в целях высвобождения продуктов гидролиза взвешенных веществ в сливную воду - от 100% до 300% его суточного количества, подаваемого в АУ из первичных отстойников (по сухому веществу); (в ред. Изменения N 3, утв. Приказом Минстроя РФ от 28.12.2023 N 1009/пр)

- опциональную дополнительную рециркуляцию части выгружаемого из АУ осадка в поток сточной воды перед первичными отстойниками - до 50% его суточного количества, подаваемого в АУ из первичных отстойников (по сухому веществу); (в ред. Изменения N 3, утв. Приказом Минстроя РФ от 28.12.2023 N 1009/пр)

- концентрацию выгружаемого из АУ уплотненного ацидофицированного осадка - 5% по сухому веществу; (в ред. Изменения N 3, утв. Приказом Минстроя РФ от 28.12.2023 N 1009/пр)

- среднюю концентрацию осадка в зоне уплотнения - 4% по сухому веществу; (в ред. Изменения N 3, утв. Приказом Минстроя РФ от 28.12.2023 N 1009/пр)

- глубину слоя уплотняемого осадка - не более половины общей глубины уплотнителя; (в ред. Изменения N 3, утв. Приказом Минстроя РФ от 28.12.2023 N 1009/пр)

- подачу в АУ части потока сточной воды исходя из времени пребывания в проточной части 2 - 8 ч (данный расход следует вычитать из нагрузки на отстойники-осветлители). (в ред. Изменения N 3, утв. Приказом Минстроя РФ от 28.12.2023 N 1009/пр)

Оптимальное количество АУ - две единицы, однако, учитывая опциональный характер процесса ацидофикации осадка, допускается применение одного сооружения. При любом их количестве должна быть обеспечена возможность полного вывода их из работы и отвода осадка из первичных отстойников сразу на дальнейшую обработку. Следует также обеспечивать возможность работы АУ в режиме первичных отстойников. (в ред. Изменения N 3, утв. Приказом Минстроя РФ от 28.12.2023 N 1009/пр)

При реконструкции очистных сооружений при наличии первичных отстойников и при установленной расчетом эффективности проведения осветления с позиции обеспечения процесса денитрификации органическим веществом, при обосновании, допускается реализация в имеющихся емкостях процессов осветления сточных вод и ацидофикации осадка исключительно для повышения концентрации легкоокисляемых органических веществ, с отведением на обработку малой части осадка первичных отстойников и подачей остальной части вместе со сточными водами на биологическую очистку. (в ред. Изменения N 3, утв. Приказом Минстроя РФ от 28.12.2023 N 1009/пр)

9.2.4.16 При использовании АС-У допускается принимать: (в ред. Изменения N 3, утв. Приказом Минстроя РФ от 28.12.2023 N 1009/пр)

- концентрацию сухого вещества в реакторе - 1,5% - 2,0%; (в ред. Изменения N 3, утв. Приказом Минстроя РФ от 28.12.2023 N 1009/пр)

- поддержание концентрации сухого вещества в реакторах путем подачи в них неосветленной сточной воды в нужном количестве либо путем регулирования средней концентрации подаваемого в них осадка первичных отстойников; (в ред. Изменения N 3, утв. Приказом Минстроя РФ от 28.12.2023 N 1009/пр)

- самотечное поступление ацидофицированного осадка из реакторов в уплотнители; (в ред. Изменения N 3, утв. Приказом Минстроя РФ от 28.12.2023 N 1009/пр)

- механическое перемешивание реактора с энергией 8 - 10 Вт/м3 реактора; (в ред. Изменения N 3, утв. Приказом Минстроя РФ от 28.12.2023 N 1009/пр)

- подачу неосветленной сточной воды в уплотнители для промывки ацидофицированного осадка для достижения концентрации сухого вещества перед уплотнением 0,3% - 0,5%; (в ред. Изменения N 3, утв. Приказом Минстроя РФ от 28.12.2023 N 1009/пр)

- нагрузку на уплотнитель по сухому веществу 75 - 100 кг сухого вещества осадка/(м2 сут). (в ред. Изменения N 3, утв. Приказом Минстроя РФ от 28.12.2023 N 1009/пр)

9.2.4.17 Следует предусматривать мероприятия, обеспечивающие относительно равномерное в течение суток поступление сливной воды из АУ или отдельных уплотнителей системы АС-У на сооружения биологической очистки, в том числе ее накопители с насосной подачей. (в ред. Изменения N 3, утв. Приказом Минстроя РФ от 28.12.2023 N 1009/пр)

9.2.4.18 Любые конструкции ацидофикаторов, как реакторов, так и уплотнителей, следует проектировать перекрытыми, с отбором и очисткой загрязненного воздуха из-под перекрытия с кратностью воздухообмена 10. (в ред. Изменения N 3, утв. Приказом Минстроя РФ от 28.12.2023 N 1009/пр)

Перед ацидофикаторами следует предусматривать процеживание осадка на решетках либо применение мацераторов. (в ред. Изменения N 3, утв. Приказом Минстроя РФ от 28.12.2023 N 1009/пр)

В уплотнителях (совмещенных с ацидофикатором либо отдельных) следует предусматривать устройства для сбора плавающих грубодисперсных примесей. (в ред. Изменения N 3, утв. Приказом Минстроя РФ от 28.12.2023 N 1009/пр)

При новом строительстве гидравлическую глубину АО, АУ, АС-У следует принимать равной 5 - 6 м. (в ред. Изменения N 3, утв. Приказом Минстроя РФ от 28.12.2023 N 1009/пр)

В реакторах ацидофикации следует предусматривать возможность очистки днища от отложений песка, в том числе при периодическом опорожнении с помощью средств малой механизации. Допускается использование с этой целью в реакторах илоскребов с отведением части потока обработанного осадка в уплотнители из приямков в реактор с помощью насосов. (в ред. Изменения N 3, утв. Приказом Минстроя РФ от 28.12.2023 N 1009/пр)

Для откачки уплотненного осадка следует использовать насосы, предназначенные для работы с высоким содержанием твердых частиц и песка. (в ред. Изменения N 3, утв. Приказом Минстроя РФ от 28.12.2023 N 1009/пр)

9.2.5. Биологическая очистка сточных вод (в ред. Изменения N 2, утв. Приказом Минстроя РФ от 27.12.2021 N 1023/пр)

9.2.5.1 Сооружения аэробной биологической очистки (включающие в себя сооружения отделения ила и биопленки, там, где они необходимы) - аэротенки, незатопленные и затопленные биофильтры, циркуляционные окислительные каналы, циклические реакторы (реакторы периодического действия), биореакторы других типов, биологические пруды, фитоочистные системы - следует применять как основные для очистки городских сточных вод от органических загрязнений и соединений азота и фосфора. (в ред. Изменения N 3, утв. Приказом Минстроя РФ от 28.12.2023 N 1009/пр)

При обосновании для производственных сточных вод и их смесей с бытовыми сточными водами допускается использование двух и более ступеней биологической очистки.

9.2.5.2. Для производственных сточных вод, высококонцентрированных по органическим загрязняющим веществам ( свыше 1000 - 1500 мг/л), а также содержащих высокие концентрации сульфатов допускается использовать на первой ступени сооружения анаэробной биологической очистки. (в ред. Изменения N 2, утв. Приказом Минстроя РФ от 27.12.2021 N 1023/пр)

9.2.5.3. Для эффективной реализации процессов биологической очистки сточных вод в сооружениях, указанных в 9.2.5.1, необходимо обеспечивать содержание биогенных элементов не менее 5 мг/л азота аммонийного и 1 мг/л фосфора фосфатов на каждые 100 мг/л . При меньшем содержании биогенных элементов их следует добавлять из внешних источников. (в ред. Изменения N 2, утв. Приказом Минстроя РФ от 27.12.2021 N 1023/пр)

9.2.5.4 Удаление азота следует предусматривать в основном процессе биологической очистки с помощью биологической нитри-денитрификации. Удалять фосфор следует с помощью биологического подпроцесса в основном процессе биологической очистки, включающем в себя нитри-денитрификацию, химического (с помощью осаждающих реагентов) или комбинацией этих методов (биолого-реагентное удаление). Также допускается удаление фосфора на стадии доочистки (если она применяется) либо комбинированное. (в ред. Изменений N 2, утв. Приказом Минстроя РФ от 27.12.2021 N 1023/пр, N 3, утв. Приказом Минстроя РФ от 28.12.2023 N 1009/пр)

9.2.5.5. Реагенты для химического удаления фосфора допускается дозировать:

- перед сооружениями осветления (только в схемах с химическим удалением фосфора и при соблюдении достаточного количества органических веществ для денитрификации);

- в аэробные зоны сооружений (или в аэробной части цикла процесса очистки);

- перед илоразделителями или в возвратный ил;

- в биологически очищенную воду перед фильтрами доочистки от взвешенных веществ или иными сооружениями доочистки. (в ред. Изменения N 2, утв. Приказом Минстроя РФ от 27.12.2021 N 1023/пр)

При добавлении реагентов не в аэрируемые зоны необходимо предусматривать мероприятия по их смешению с жидкостью в соответствии с требованиями СП 31.13330. Проектировать узлы приема реагентов, приготовления и дозирования их растворов следует в соответствии с требованиями СП 31.13330.

Запрещается использовать в качестве реагентов для осаждения фосфора на сооружениях биологической очистки сточных вод отходы переменного состава, а также содержащие тяжелые металлы в концентрациях, превышающих требования к содержанию этих элементов в коагулянтах для питьевого водоснабжения более чем в пять раз.

9.2.5.6 Возможность использования биологического или биолого-химического удаления фосфора должна быть подтверждена расчетами исходя из качественных показателей сточных вод и требований к качеству очищенной воды. (в ред. Изменения N 3, утв. Приказом Минстроя РФ от 28.12.2023 N 1009/пр)

9.2.5.7. Концентрация активного вещества реагентов определяется как произведение стехиометрического мольного соотношения железо/фосфор и алюминий/фосфор и значения -фактора, учитывающего точку ввода реагентов.

Стехиометрическое мольное соотношение составляет: железо/фосфор и алюминий/фосфор:

- с использованием солей железа - 1,8 кг железа/кг осажденного фосфора;

- с использованием солей алюминия - 0,87 кг алюминия/кг осажденного фосфора.

Допускается принимать следующие значения -фактора:

- при вводе реагента перед первичными отстойниками - 2 - 3;

- при вводе реагента в блок биологической очистки (в поступающие на биологическую очистку сточные воды, в поток возвратного активного ила, непосредственно в аэротенк/биореактор, в иловую смесь перед вторичным отстойником) - 1,5;

- после вторичных отстойников в биологически очищенную воду перед фильтрами доочистки от взвешенных веществ - 2 - 2,5.

При добавлении реагента в блок биологической очистки следует учитывать увеличение при этом инертной составляющей в иле при расчете аэротенков/биореакторов или дополнительный прирост избыточного активного ила. Последний допускается принимать:

- 2,5 кг сухого вещества/кг добавленного железа;

- 4 кг сухого вещества/кг добавленного алюминия.

При биологическом удалении фосфора дополнительный прирост допускается принимать равным 3 кг сухого вещества/кг удаленного общего фосфора. (в ред. Изменения N 2, утв. Приказом Минстроя РФ от 27.12.2021 N 1023/пр)

9.2.5.8-9.2.5.9. Пункты исключены. (в ред. Изменения N 2, утв. Приказом Минстроя РФ от 27.12.2021 N 1023/пр.

9.2.5.10 Температура поступающих на биологическую очистку сточных вод должна быть не ниже 10 °C и не выше 39 °C. При необходимости следует предусматривать корректировку температуры (подогрев, охлаждение) или применять другие методы очистки. (в ред. Изменения N 3, утв. Приказом Минстроя РФ от 28.12.2023 N 1009/пр)

9.2.5.11. Для обеспечения процессов биологической денитрификации при неблагоприятном соотношении в сточных водах БПК к общему азоту следует предусматривать добавление органических реагентов или материалов и нетоксичных отходов (5-го класса опасности): любых хорошо биоразлагаемых растворенных (или растворимых) органических веществ, как реагентов (уксусная кислота, технический этиловый спирт и др.), так и отходов (молочная и сырная сыворотка и др.) или продуктов (патока и др.). Расчет количества добавляемого внешнего источника органических веществ допускается проводить исходя из удельной потребности 5 кг ХПК/кг азота, подлежащего денитрификации, но не обеспеченного органическим субстратом, либо 3,5 - 4 кг /кг азота.

Для улучшения биологического удаления фосфора допускается добавление в анаэробную зону технических летучих жирных (муравьиной и уксусной) кислот. Количество добавляемого для биологической дефосфотации реагента допускается принимать из расчета 20 кг легко биоразлагаемого ХПК/кг фосфора, дополнительно удаляемого биологическим путем. При расчете потребности в на процесс денитрификации допускается учитывать доступность 60% органических веществ, добавляемых в анаэробную зону, для процесса денитрификации.

Добавляемое количество органического вещества следует учитывать при расчетах прироста избыточного ила (биопленки). Учет его при расчете необходимого количества кислорода не требуется, т.к. это органическое вещество потребляет в процессе денитрификации и не требует дополнительного кислорода на окисление.

При использовании органических реагентов следует принимать необходимые меры по минимизации их потребления (автоматизация контроля необходимости и дозирования реагентов). (в ред. Изменения N 2, утв. Приказом Минстроя РФ от 27.12.2021 N 1023/пр)

9.2.6. Биологические фильтры (биофильтры)

9.2.6.1. Биофильтры допускается применять как основные сооружения биологической очистки от органических загрязнений при одноступенчатой схеме или в качестве одной или нескольких ступеней для очистки от органических загрязнений и/или аммонийного азота при многоступенчатой схеме очистки.

9.2.6.2 Капельные и высоконагружаемые биофильтры допускается устраивать как с естественной, так и с искусственной аэрацией (аэрофильтры). (в ред. Изменения N 3, утв. Приказом Минстроя РФ от 28.12.2023 N 1009/пр)

9.2.6.3 В качестве загрузочного материала для биофильтров допускается применять изделия из пластмасс, способные выдерживать температуру от 6 °C до 40 °C без потери прочности, щебень или гальку прочных горных пород, а также специальные материалы, предназначенные для использования в процессах биофильтрации. (в ред. Изменения N 3, утв. Приказом Минстроя РФ от 28.12.2023 N 1009/пр)

Все загрузочные материалы, за исключением пластмасс, должны выдерживать:

- нагрузку не менее 0,1 МПа (1 кг/см2) при насыпной плотности до 1000 кг/м3;

- не менее чем пятикратную пропитку насыщенным раствором сернокислого натрия;

- не менее 10 циклов испытаний на морозостойкость;

- кипячение в течение 1 ч в 5%-ном растворе соляной кислоты, масса которой должна превышать массу испытуемого материала в три раза.

После испытаний загрузочный материал должен быть без заметных повреждений, и его масса не должна уменьшаться более чем на 10% от первоначальной.

9.2.6.4. Распределение сточных вод по поверхности биофильтров следует осуществлять с помощью: качающихся желобов, разбрызгивателей, реактивных оросителей и т.п.

Возможно применение баков-дозаторов для периодической подачи очищаемых сточных вод.

Расчет распределительной и отводящей систем биофильтров должен производиться по максимальному расходу воды с учетом рециркуляционного расхода.

9.2.6.5. Число биофильтров должно быть не менее двух, причем все они должны быть рабочими.

9.2.6.6 Биофильтры допускается размещать в помещениях (отапливаемых или неотапливаемых) либо на открытом воздухе. Размещение биофильтров в неотапливаемых помещениях либо на открытом воздухе допускается в случае обеспечения расчетной температуры в теле биофильтра более 10 °C, что должно быть обосновано теплотехническим расчетом с учетом опыта эксплуатации сооружений, работающих в аналогичных условиях. (в ред. Изменения N 3, утв. Приказом Минстроя РФ от 28.12.2023 N 1009/пр)

9.2.6.7. Допускается предусматривать рециркуляцию очищенных сточных вод. Коэффициент рециркуляции следует определять исходя из получения концентрации смеси, подаваемой на фильтр, в пределах указанных ограничений.

В случае возможного прекращения притока сточных вод на биофильтр необходимо предусматривать рециркуляцию во избежание высыхания поверхности загрузки.

9.2.6.8. Определение расчетных параметров биофильтров следует выполнять в зависимости от состава и расчетного расхода сточных вод, требуемой степени очистки. При расчете следует определять необходимое количество загрузочного материала, расход рециркуляции, подаваемого воздуха (для аэрофильтров), прирост избыточной биопленки.

Биофильтры для очистки производственных сточных вод допускается рассчитывать по окислительной мощности, определяемой экспериментально.

9.2.6.9. Количество избыточной биопленки, выносимой из биофильтров, допускается принимать:

8 г/(чел·сут) по сухому веществу - для капельных фильтров;

28 г/(чел·сут) - для аэрофильтров.

Влажность биопленки допускается принимать равной 96%.

9.2.7. Аэротенки

9.2.7.1. Аэротенки (непрерывно работающие сооружения аэробной биологической очистки со свободноплавающим илом) допускается применять как в виде отдельно расположенных сооружений, так и в виде комбинированных установок, где аэротенки совмещены с илоотделителями или другими сооружениями (аэротенки - отстойники, аэротенки - биофильтры, мембранные биореакторы и др.).

9.2.7.2. Пункт исключен. (в ред. Изменения N 2, утв. Приказом Минстроя РФ от 27.12.2021 N 1023/пр)

9.2.7.3 Число рабочих секций аэротенков следует принимать не менее двух, все - рабочие. Для сверхмалых очистных сооружений допускается принимать единственный аэротенк при условии выполнения данной емкости из коррозионно-стойких и механически прочных материалов и возможности замены аэрационной системы и другого технологического оборудования аэротенка без его опорожнения. (в ред. Изменения N 3, утв. Приказом Минстроя РФ от 28.12.2023 N 1009/пр)

9.2.7.4 Гидравлическую глубину аэротенка следует принимать в диапазоне 3 - 6 м, в зависимости от мощности и конструкции. В стесненных условиях допускается использование большей глубины, включая башенные и шахтные аэротенки. При этом следует учитывать требования [35]. При использовании на сверхмалых и малых очистных сооружениях установок заводского изготовления допускается меньшая глубина аэротенков. (в ред. Изменения N 3, утв. Приказом Минстроя РФ от 28.12.2023 N 1009/пр)

При использовании коридорной конструкции аэротенка соотношение ширины коридора к рабочей глубине следует принимать в пределах от 0,5:1 до 3:1. В аэротенках не коридорной конструкции соотношение ширины и глубины следует определять исходя из гидродинамических и конструктивных соображений. Высоту борта аэротенка над поверхностью воды необходимо принимать не менее 0,5 м. (в ред. Изменений N 2, утв. Приказом Минстроя РФ от 27.12.2021 N 1023/пр, N 3, утв. Приказом Минстроя РФ от 28.12.2023 N 1009/пр)

9.2.7.5 Для реализации процессов нитри-денитрификации в аэротенках следует предусматривать, в том числе:

- выделение отдельных зон с аэрацией и без аэрации (аноксидные зоны), а также зон переменного назначения, обеспечивая рециркуляцию иловой смеси (и (или) возвратного ила), содержащей нитраты, образованные в аэробных зонах; (в ред. Изменения N 3, утв. Приказом Минстроя РФ от 28.12.2023 N 1009/пр)

- обеспечение периодического чередования аэробных и аноксидных условий в единой емкости;

- возможность поддержания концентрации растворенного кислорода в аэробных зонах, как правило, не ниже 2 мг/л (для первой трети аэробной зоны в аэротенке коридорного типа, а также в аэробных зонах "карусельных" аэротенков - не ниже 1 мг/л, с учетом фактической динамики насыщения иловой смеси кислородом в их начальных зонах);

- принятие мер по недопущению возникновения в аноксидных зонах концентрации растворенного кислорода более 0,2 мг/л (с учетом фактической динамики потребления кислорода в их начальных зонах, попавшего туда с рециркуляционными потоками);

- поддержание концентрации растворенного кислорода или иных показателей, обеспечивающих (характеризующих) одновременное протекание аноксидных и аэробных процессов, в соответствии с выбранным технологическим процессом. (в ред. Изменения N 2, утв. Приказом Минстроя РФ от 27.12.2021 N 1023/пр)

9.2.7.6 В аноксидных зонах (или при аноксидных условиях) следует обеспечивать перемешивание для предотвращения осаждения активного ила. Перемешивание следует осуществлять электромеханическими мешалками. Допускается при обосновании осуществлять перемешивание с помощью пневмомеханических, гидравлических и других подобных устройств. Допускается осуществлять перемешивание созданием в двух и более коридорах аэротенка продольного циркуляционного потока со скоростью, достаточной для поддержания ила во взвешенном состоянии. Рециркуляцию иловой смеси между зонами, необходимую для реализации выбранной технологической схемы, допускается осуществлять погружными низконапорными насосами, обеспечивающими минимально необходимый напор. (в ред. Изменения N 3, утв. Приказом Минстроя РФ от 28.12.2023 N 1009/пр)

Резерв следует предусматривать на складе из расчета один резервный насос (мешалка) при общем числе рециркуляционных насосов (мешалок) данного типа во всех секциях аэротенка до трех включительно, от четырех до 12 - два резервных; от 12 до 30 - три резервных насоса (мешалки), свыше 30 - четыре-пять резервных насосов. (в ред. Изменения N 2, утв. Приказом Минстроя РФ от 27.12.2021 N 1023/пр)

9.2.7.7 Для осуществления процесса биологического удаления фосфора следует организовывать в аэротенках анаэробные зоны, в дополнение к аноксидным и аэробным, обеспечивая в них наименьшее содержание не только растворенного кислорода, но и нитратов, принимать меры по предотвращению избыточного растворения кислорода в сточной воде, поступающей на такие сооружения, избегая значительных перепадов потока на водосливах, столкновений потоков и т.п. (в ред. Изменений N 2, утв. Приказом Минстроя РФ от 27.12.2021 N 1023/пр, N 3, утв. Приказом Минстроя РФ от 28.12.2023 N 1009/пр)

9.2.7.8 При использовании коридорных аэротенков для биологического удаления азота и фосфора в условиях значительных сезонных изменений притока сточных вод, их концентрации и температуры в целях удержания оптимального протекания процесса биологической очистки следует обеспечивать возможность изменения объемов технологических зон путем создания ячеек (зон) переменного назначения. (в ред. Изменения N 3, утв. Приказом Минстроя РФ от 28.12.2023 N 1009/пр)

9.2.7.9 При расчете аэротенков следует определять, как минимум:

- для всех типов технологий - необходимый общий объем и объемы различных технологических зон; (в ред. Изменения N 2, утв. Приказом Минстроя РФ от 27.12.2021 N 1023/пр)

- для всех технологий, предусматривающих окисление аммонийного азота - аэробный возраст ила (отношение массы сухого вещества ила в аэрируемых зонах к ежесуточной массе сухого вещества выводимого избыточного ила);

- для технологий биологического удаления фосфора - предельную эффективность этого процесса для данной сточной воды и расчетный возраст ила. (в ред. Изменения N 3, утв. Приказом Минстроя РФ от 28.12.2023 N 1009/пр)

Расход циркулирующего активного ила при расчете рабочего объема аэротенков не учитывается. (в ред. Изменения N 2, утв. Приказом Минстроя РФ от 27.12.2021 N 1023/пр)

Расчет параметров работы сооружений биологической очистки (аэротенков и вторичных отстойников), использующих технологии удаления соединений азота или соединений азота и фосфора, по вышеперечисленным параметрам (включая потребности в кислороде воздуха) следует осуществлять по методикам, опубликованным в научно-технической литературе на русском языке на территории Российской Федерации не ранее 2000 г. (в ред. Изменения N 3, утв. Приказом Минстроя РФ от 28.12.2023 N 1009/пр)

Выполнение расчета должно обеспечивать возможность последующей экспертной проверки его соответствия алгоритму и формулам примененной методики, использованных исходных данных, назначенных констант и принятых допущений. (в ред. Изменения N 3, утв. Приказом Минстроя РФ от 28.12.2023 N 1009/пр)

В дополнение к основному расчету для уточнения объемов технологических зон, других параметров аэротенков, а также для проверки сооружений на обеспечение проектных показателей в расчетных диапазонах притоков и концентраций загрязняющих веществ допускается применение математического моделирования процессов, с представлением, наряду с условиями и результатами моделирования, материалов по настройке модели. (в ред. Изменения N 3, утв. Приказом Минстроя РФ от 28.12.2023 N 1009/пр)

9.2.7.10. Необходимо обеспечивать аэробный возраст ила, достаточный для надежного протекания обеих стадий процесса нитрификации, обеспечивающих заданное качество очищенной воды как по аммонийному азоту, так и по азоту нитритов. Определять значения аэробного возраста активного ила следует расчетным путем. Полученное значение должно иметь инженерный запас, учитывающий возможные колебания нагрузки по загрязнениям и концентрации растворенного кислорода в аэрируемых зонах. (в ред. Изменения N 2, утв. Приказом Минстроя РФ от 27.12.2021 N 1023/пр)

9.2.7.11 При расположении зон с различным кислородным режимом (анаэробным, аноксидным, аэробным) в пределах одного коридора (без применения продольных циркуляционных потоков) следует разделять зоны друг от друга перегородками с проемами, обеспечивающими прохождение потока иловой смеси и всплывающих веществ к концу аэротенка и позволяющими осуществлять беспрепятственное опорожнение всех зон. При этом следует избегать формирования эрлифтного эффекта, приводящего к рециркуляции иловой смеси из аэрируемой зоны в аноксидную и обратно. (в ред. Изменений N 2, утв. Приказом Минстроя РФ от 27.12.2021 N 1023/пр, N 3, утв. Приказом Минстроя РФ от 28.12.2023 N 1009/пр)

В конце открытых каналов, отводящих иловую смесь на вторичные отстойники, допускается предусматривать устройства по сбору и удалению пены, которая может образовываться на поверхности аэротенков. (в ред. Изменения N 3, утв. Приказом Минстроя РФ от 28.12.2023 N 1009/пр)

9.2.7.12. Тип аэраторов в аэротенках следует выбирать с учетом технико-экономических характеристик (в том числе с учетом затрат электроэнергии на аэрацию) и их срока службы. (в ред. Изменения N 2, утв. Приказом Минстроя РФ от 27.12.2021 N 1023/пр)

9.2.7.13. Расход воздуха, требуемый для очистки сточных вод в аэротенках при использовании пневматической аэрации, следует принимать по расчету на основании потребности процесса в кислороде при необходимой эффективности удаления загрязняющих веществ, используемой технологии, удельной эффективности растворения кислорода воздуха используемыми аэраторами, глубины аэротенка, температуры сточных вод, коэффициента качества сточных вод (альфа-фактор), с учетом соотношения площадей аэрируемой зоны и аэротенка, минимально допустимого расхода на перемешивание. Количество используемых аэраторов необходимо определять расчетом с учетом зависимости эффективности растворения кислорода от нагрузки на аэраторы. (в ред. Изменения N 2, утв. Приказом Минстроя РФ от 27.12.2021 N 1023/пр)

Абзац - Исключен. (в ред. Изменения N 2, утв. Приказом Минстроя РФ от 27.12.2021 N 1023/пр)

9.2.7.14. При определении расчетной потребности сооружений биологической очистки в кислороде следует учитывать потребление кислорода на окисление органических веществ и соединений азота (аммонийного и органического), а также использование кислорода восстанавливаемых при денитрификации нитратов для окисления органических соединений. При расчете максимальной часовой потребности в кислороде следует учитывать неравномерность массовой нагрузки по и по аммонийному азоту, в том числе их зависимость от мощности очистных сооружений. (в ред. Изменения N 2, утв. Приказом Минстроя РФ от 27.12.2021 N 1023/пр)

9.2.7.15 Для отделения очищенной воды от активного ила (биопленки) следует использовать вторичные отстойники. На основании выводов вариантных технико-экономических проработок в ОТР допускается использование осветлителей со взвешенным слоем осадка, а для очистных сооружений до больших включительно - флотационных установок, мембранных модулей. (в ред. Изменения N 3, утв. Приказом Минстроя РФ от 28.12.2023 N 1009/пр)

На очистных сооружениях, начиная с больших, следует предусматривать гибкое или ступенчатое управление системой подачи воздуха в аэротенки с использованием средств автоматизации. Воздуходувки, используемые в таких системах, должны обеспечивать регулирование подачи в диапазоне не менее 40% - 100% расчетного максимального значения при постоянном давлении. На небольших и средних очистных сооружениях указанное регулирование применяют при обосновании. (в ред. Изменения N 3, утв. Приказом Минстроя РФ от 28.12.2023 N 1009/пр)

Воздуходувное оборудование следует выбирать с учетом его КПД. (в ред. Изменения N 3, утв. Приказом Минстроя РФ от 28.12.2023 N 1009/пр)

9.2.8. Биореакторы с прикрепленной биопленкой

9.2.8.1 Для биологической очистки с удалением биогенных элементов или доочистки допускается использование затопленных биореакторов с прикрепленной биопленкой. Биореакторы с прикрепленной биопленкой могут применяться как со свободно плавающим илом, так и без него. В случае технологии без применения свободно плавающего ила, при необходимости, следует предусматривать реагентное удаление фосфора. (в ред. Изменения N 3, утв. Приказом Минстроя РФ от 28.12.2023 N 1009/пр)

При использовании биореакторов в качестве основной ступени биологической очистки и для денитрификации после них необходимо предусматривать отделение избыточной биопленки. При использовании биореакторов в качестве первой ступени в многоступенчатой технологии биологической очистки или в качестве сооружения глубокой нитрификации очищенных вод с последующей доочисткой фильтрацией, при обосновании, допускается отказ от сооружений для отделения биопленки. (в ред. Изменения N 2, утв. Приказом Минстроя РФ от 27.12.2021 N 1023/пр)

9.2.8.2. При заполнении биореакторов может быть использован как закрепленный или неподвижно размещенный, так и движущийся (плавающий) загрузочный материал. При использовании неподвижного (закрепленного) материала следует обеспечивать необходимые мероприятия по регенерации загрузки (удаления избыточной биопленки), а также надежность конструктивных решений с учетом увеличения массы в результате обрастания биопленкой. (в ред. Изменения N 2, утв. Приказом Минстроя РФ от 27.12.2021 N 1023/пр)

9.2.8.3. В качестве загрузочного материала для прикрепления биопленки допускается применять изделия из пластмасс, органических гелей, искусственные неорганические загрузки или искусственные (плавающие или способные к псевдоожижению, неподвижные загрузки). Требования к загрузочным материалам неорганического происхождения следует принимать в соответствии с 9.2.6.3. (в ред. Изменения N 2, утв. Приказом Минстроя РФ от 27.12.2021 N 1023/пр)

9.2.9. Сооружения для илоотделения

9.2.9.1 Для отделения очищенной воды от активного ила (биопленки) следует использовать вторичные отстойники. Допускается использование осветлителей со взвешенным слоем осадка, а для очистных сооружений до больших по мощности включительно - мембранных модулей. Для интенсификации работ сооружений гравитационного илоотделения на очистных сооружениях до средних включительно допускается применение тонкослойных модулей при условии обеспечения эффективных мероприятий по предотвращению их заиливания, а также с учетом обеспечения необходимого объема зоны уплотнения ила. Применение тонкослойных модулей для осаждения биопленки после биофильтров и затопленных биореакторов с прикрепленной биопленкой допускается без ограничения по мощности очистных сооружений. (в ред. Изменений N 2, утв. Приказом Минстроя РФ от 27.12.2021 N 1023/пр, N 3, утв. Приказом Минстроя РФ от 28.12.2023 N 1009/пр)

9.2.9.2 Тип вторичного отстойника (вертикальный, радиальный, горизонтальный) необходимо выбирать с учетом производительности станции, компоновки сооружений, числа эксплуатируемых отстойников, конфигурации и рельефа площадки, геологических условий, уровня грунтовых вод и т.п. Количество вторичных отстойников следует принимать исходя из условия надежности их действия при ремонте одного из них, но не менее трех. При минимальном числе эксплуатируемых единиц (секций) отстойников их расчетный объем необходимо увеличивать так, чтобы перегрузка одного отстойника (секции) при расчетном расходе не превышала 25%. Для малых очистных сооружений, допускается два вторичных отстойника. При отсутствии в конструкции отстойника движущихся механических частей и при резервировании используемого насосного оборудования (в случае его применения) для сверхмалых очистных сооружений допускается применение одного вторичного отстойника. (в ред. Изменений N 2, утв. Приказом Минстроя РФ от 27.12.2021 N 1023/пр, N 3, утв. Приказом Минстроя РФ от 28.12.2023 N 1009/пр)

9.2.9.3 Вторичные отстойники для отделения ила следует рассчитывать по двум взаимосвязанным показателям: (в ред. Изменения N 3, утв. Приказом Минстроя РФ от 28.12.2023 N 1009/пр)

- гидравлической нагрузке на поверхность, м3/(м2·ч), с учетом глубины зоны отстаивания (проточной части отстойника), коэффициента использования объема сооружения, илового индекса и концентрации ила в аэротенке. Расход возвратного ила при расчете нагрузки на поверхность не учитывается;

- необходимой глубине отстойника, обеспечивающей совокупность расчетных значений глубины проточной части отстойника и глубины зоны уплотнения ила, которая определяется с учетом гидравлической нагрузки на поверхность, степени рециркуляции возвратного ила, концентрации ила в аэротенке, концентрации ила после уплотнения и времени пребывания ила в зоне уплотнения. При применении вертикальных отстойников необходимую глубину следует определять с учетом конической формы днища сооружения.

При расчетах вторичных отстойников среднесуточная величина выноса взвешенных веществ активного ила в сутки с притоком 85-го процентиля должна приниматься не более значения технологического показателя НДТ для очистных сооружений данных мощности и категории водного объекта по [2]. Также следует подтверждать расчетом обеспечение выполнения требований к концентрации взвешенных веществ в максимальной разовой пробе согласно приложению Д. (в ред. Изменения N 3, утв. Приказом Минстроя РФ от 28.12.2023 N 1009/пр)

Вторичные отстойники для отделения биопленки после биофильтров следует рассчитывать по гидравлической нагрузке на поверхность, причем в расчетах необходимо учитывать рециркуляционный расход.

При проектировании сооружений совместного биологического удаления азота и фосфора расчетный иловый индекс следует принимать равным 160 см3/г, биологического удаления азота с химическим удалением фосфора (или без него) - не менее 140 см3/г. При реконструкции сооружений биологической очистки, на которых уже используется процесс биологического удаления азота и фосфора, без его изменения, допускается принимать расчетное значение илового индекса по данным производственного контроля за три предшествующих года равным максимальному среднему за месяц значению. При использовании методов улучшения седиментационных свойств ила допускается принимать иные значения илового индекса. (в ред. Изменений N 2, утв. Приказом Минстроя РФ от 27.12.2021 N 1023/пр, N 3, утв. Приказом Минстроя РФ от 28.12.2023 N 1009/пр)

9.2.9.4. Основные конструктивные параметры вторичных отстойников следует принимать:

- впуск иловой смеси и сбор очищенной воды - равномерными по периметру впускного и сборного устройств;

Абзац третий. - Исключен. (в ред. Изменения N 3, утв. Приказом Минстроя РФ от 28.12.2023 N 1009/пр)

- угол наклона конического днища вертикальных отстойников и стенок иловых приямков горизонтальных и радиальных отстойников должен быть 55° - 60°.

Допускается уточнять основные конструктивные параметры отстойников на основании результатов математического и гидравлического моделирования.

9.2.9.5. Удаление ила, выпавшего на днище радиальных и горизонтальных отстойников, следует осуществлять через приямки, куда ил перемещается механическим способом (илоскребом), либо непосредственно с днища с помощью илососов. При использовании илососов на радиальных вторичных отстойниках диаметром свыше 18 м каждое приемное устройство должно иметь индивидуальный отвод в сборный желоб (камеру), с возможностью регулирования потока ила через него и отбора пробы ила для определения его концентрации. Для удаления биопленки в отстойниках таких типов следует использовать илоскребы. (в ред. Изменения N 2, утв. Приказом Минстроя РФ от 27.12.2021 N 1023/пр)

Создание зон на днище радиальных и горизонтальных вторичных отстойников, которые не обслуживаются илоскребами и илососами, не допускается. (в ред. Изменения N 3, утв. Приказом Минстроя РФ от 28.12.2023 N 1009/пр)

Следует предусматривать самопроизвольное удаление ила и биопленки в вертикальных отстойниках созданием угла наклона днища 50° - 60°.

9.2.9.6 Удаление ила (биопленки) из приямка вторичного отстойника следует предусматривать самотеком, под гидростатическим давлением. Диаметр труб для самотечного удаления осадка из вторичного отстойника следует принимать не менее 200 мм. На сооружениях по мощности не более средних допускается насосное удаление ила (биопленки). (в ред. Изменения N 3, утв. Приказом Минстроя РФ от 28.12.2023 N 1009/пр)

Гидростатическое давление при удалении осадка из вторичных отстойников следует принимать, не менее:

12 кПа (1,2 м вод. ст.) - после биофильтров;

9 кПа (0,9 м вод. ст.) - после аэротенков.

На очистных сооружениях, начиная с больших, следует регулировать расход выгружаемого ила в зависимости от притока сточных вод на сооружения, для поддержания заданной степени рециркуляции. При самотечной выгрузке регулирование следует осуществлять путем изменения высоты гидростатического напора на регулируемых (телескопических) измерительных водосливах, устанавливаемых на линии выгрузки ила с каждого отстойника. При сборе ила илососами выгрузка из индивидуальных труб от каждого сосуна должна производиться под уровень жидкости в сборной емкости. (в ред. Изменения N 2, утв. Приказом Минстроя РФ от 27.12.2021 N 1023/пр)

9.2.9.7 Концентрацию возвратного ила из вторичного отстойника следует определять расчетом с учетом коэффициента рециркуляции, типа отстойника, типа сборно-транспортирующего устройства, времени уплотнения ила и илового индекса. (в ред. Изменения N 3, утв. Приказом Минстроя РФ от 28.12.2023 N 1009/пр)

9.2.9.8. Удаление ила из вторичных отстойников допускается непрерывное или периодическое (недопустимо при использовании технологии биологического удаления фосфора).

Интервал времени при периодическом удалении ила следует устанавливать исходя из объема образующегося осадка и вместимости зоны его накопления, но не более трех часов.

Вместимость приямков вторичных отстойников после биофильтров при периодическом удалении осадка следует предусматривать не более двухсуточного его объема, вторичных отстойников после аэротенков - не более двухчасового пребывания активного ила.

9.2.9.8а На очистных сооружениях с биологическим удалением азота или азота и фосфора, начиная со средних, рециркуляцию возвратного ила следует осуществлять с помощью насосов. При доступности по производительности следует рассматривать использование осевых насосов в погружной или сухой установке. Количество резервных насосов рецикла возвратного ила следует принимать согласно таблице 17, для насосных станций 1-й категории. (в ред. Изменения N 3, утв. Приказом Минстроя РФ от 28.12.2023 N 1009/пр)

Не следует подключать напорные линии возвратного ила к единому коллектору. Следует обеспечивать самостоятельную разгрузку напорных линий в камере, с последующей самотечной подачей возвратного ила в аэротенк. (в ред. Изменения N 3, утв. Приказом Минстроя РФ от 28.12.2023 N 1009/пр)

На сооружениях до небольших включительно, допускается рециркуляция возвратного ила с помощью эрлифта.

Следует объединять потоки возвратного ила от радиальных вторичных отстойников с последующим распределением по секциям аэротенка. (в ред. Изменений N 2, утв. Приказом Минстроя РФ от 27.12.2021 N 1023/пр, N 3, утв. Приказом Минстроя РФ от 28.12.2023 N 1009/пр)

9.2.9.9. Высоту борта вторичного отстойника над поверхностью воды следует принимать не менее 0,3 м.

9.2.9.9а. Допускается использование:

- вторичных отстойников, расположенных в объеме аэротенков (в том числе и в процессах с нитри-денитрификацией, с отделением ила во взвешенном слое, формируемом в восходящем потоке);

- циклических биореакторов, в которых процессы биологической очистки (в том числе с удалением азота и фосфора) и илоразделения осуществляются в одном объеме. При этом число реакторов (секций) должно быть достаточным для обеспечения приема сточных вод. (в ред. Изменения N 2, утв. Приказом Минстроя РФ от 27.12.2021 N 1023/пр)

9.2.9.10. Для сбора очищенной воды следует предусматривать зубчатый водослив. Кромку водослива на водоприемных (сборных) лотках следует предусматривать регулируемой по высоте. Нагрузка на 1 м водослива во вторичных отстойниках не должна превышать 10 л/с. (в ред. Изменения N 2, утв. Приказом Минстроя РФ от 27.12.2021 N 1023/пр)

Для сбора очищенной воды допускается использовать погружные перфорированные трубы.

9.2.10. Доочистка сточных вод (в ред. Изменения N 2, утв. Приказом Минстроя РФ от 27.12.2021 N 1023/пр)

9.2.10.1 Сооружения доочистки предназначены для снижения концентрации загрязняющих веществ в сточных водах после основной стадии биологической (или физико-химической) очистки перед сбросом в водный объект или повторным использованием их, в том числе в качестве технической воды на очистных сооружениях. (в ред. Изменений N 2, утв. Приказом Минстроя РФ от 27.12.2021 N 1023/пр, N 3, утв. Приказом Минстроя РФ от 28.12.2023 N 1009/пр)

9.2.10.2 Сооружения доочистки после биологической очистки сточных вод централизованных систем водоотведения поселений, рассчитываемых на выполнение технологических нормативов, следует применять на основании результатов сравнения вариантов обеспечения требуемого качества очистки непосредственно после вторичных отстойников (с учетом допустимых коэффициентов неравномерности для разовых и составных проб, приведенных в приложении Д) и с использованием доочистки, а также с учетом последующего обеззараживания. При этом требуется сравнение вариантов обеспечения требуемого качества непосредственно после вторичных отстойников и с использованием доочистки, а также с учетом последующего обеззараживания. При сбросе сточных вод в водные объекты категории А [2], [3] доочистка от взвешенных веществ, а также ХПК и БПК5 необходима. (в ред. Изменения N 3, утв. Приказом Минстроя РФ от 28.12.2023 N 1009/пр)

Для доочистки биологически очищенных сточных вод от взвешенных веществ могут быть применены фильтры различных конструкций. При использовании доочистки от взвешенных веществ она также может быть использована для основного или дополнительного удаления фосфора. Для повышения надежности обеспечения нормативов по взвешенным веществам, на очистных сооружениях до средних включительно также могут быть применены биологические пруды. (в ред. Изменения N 3, утв. Приказом Минстроя РФ от 28.12.2023 N 1009/пр)

При невозможности достижения технологических нормативов по органическим веществам и (или) соединениям азота в объемах сооружений биологической очистки при реконструкции очистных сооружений допускается применение биореакторов доочистки с использованием загрузочного материала, а также биологических прудов.

Применение биореакторов доочистки с использованием загрузочного материала также допускается при необходимости достижения как на существующих, так и на новых сооружениях более жестких, чем технологические, нормативов по органическим веществам и (или) соединениям азота.

Не следует применять для смешанных (городских) сточных вод сооружений доочистки для достижения технологических нормативов по соединениям азота. Эту задачу следует решать на стадии биологической очистки. При необходимости более глубокого снижения концентрации азота нитратов могут быть применены биофильтры и биореакторы доочистки различных конструкций, работающие с добавлением внешнего органического субстрата. (в ред. Изменения N 3, утв. Приказом Минстроя РФ от 28.12.2023 N 1009/пр)

Для обеспечения требований к технической воде для открытых систем [22], а именно - для более глубокого удаления взвешенных веществ, снижения ХПК и улучшения органолептических свойств также могут быть применены установки обработки окислителями (озоном и др.), а также биологические пруды.

Доочистка также может быть применена для удаления из производственных сточных вод специфических загрязняющих веществ (солей тяжелых металлов, бионеразлагаемых органических соединений и др.) и снижения в них общего солесодержания (обратноосмотические мембраны и др.). (в ред. Изменения N 3, утв. Приказом Минстроя РФ от 28.12.2023 N 1009/пр)

9.2.10.3. Выбор технологии, типа оборудования и конструкций сооружений для доочистки следует производить на основе вариантного сравнения, в том числе технико-экономического расчета. (в ред. Изменения N 3, утв. Приказом Минстроя РФ от 28.12.2023 N 1009/пр)

9.2.10.4. Число резервных фильтров, работающих по принципу фильтрации через мембрану, сетку или ткань (микрофильтров), механических фильтров различных конструкций, а также зернистых фильтров с непрерывной промывкой следует принимать - один при четырех рабочих фильтрах и менее, и два - при более четырех рабочих фильтрах.

Для зернистых фильтров с периодической промывкой резервирование не требуется за счет применения форсированного режима работы. (в ред. Изменения N 2, утв. Приказом Минстроя РФ от 27.12.2021 N 1023/пр)

9.2.11. Обеззараживание сточных вод

9.2.11.1 Очищенные городские сточные воды, сбрасываемые в водные объекты или используемые для технических целей, должны подвергаться обеззараживанию для соблюдения требований по микробиологической загрязненности [42] и [43] соответственно. Обеззараживание следует производить после биологической очистки сточных вод (либо физико-химической очистки, если биологическая очистка не может быть использована), а при использовании доочистки - после нее. (в ред. Изменений N 2, утв. Приказом Минстроя РФ от 27.12.2021 N 1023/пр, N 3, утв. Приказом Минстроя РФ от 28.12.2023 N 1009/пр)

9.2.11.2. Обеззараживание сточных вод, сбрасываемых в водные объекты, следует выполнять ультрафиолетовым излучением. При сбросе в водные объекты категорий Б - Г [2] допускается обеззараживание хлором или другими хлорсодержащими реагентами (хлорной известью, гипохлоритом натрия, получаемым в виде продукта с химических предприятий, электролизом растворов солей или минерализованных вод, прямым электролизом сточных вод и др.) при обеспечении обязательного дехлорирования обеззараженных сточных вод до содержания остаточного хлора 0,2 мг/дм3 (не более для любой пробы) для очистных сооружений до крупных включительно и 0,1 мг/дм3 (не более для любой пробы) для крупнейших очистных сооружений.

Обеззараживание хлором и хлор-реагентами без дехлорирования (при содержании остаточного хлора не более 2,0 мг/дм3 для любой пробы) допускается на вновь создаваемых очистных сооружениях до малых включительно, при реконструкции - до небольших включительно.

При сбросе в водные объекты категории А [2] допускается применение обеззараживания только ультрафиолетовым излучением. (в ред. Изменения N 2, утв. Приказом Минстроя РФ от 27.12.2021 N 1023/пр)

9.2.11.3 Доза ультрафиолетового облучения определяется в соответствии с [33], но она должна быть не менее 30 мДж/см2. Необходимо предусматривать резервное ультрафиолетовое оборудование корпусного типа в количестве не менее одной установки. Резервирование открытых ультрафиолетовых систем лоткового типа в зависимости от их конфигурации допускается предусматривать одним каналом или одной секцией в каждом канале или одним модулем вне канала. (в ред. Изменения N 3, утв. Приказом Минстроя РФ от 28.12.2023 N 1009/пр)

При подаче очищенной воды сторонним потребителям в качестве технической на полив для выполнения требований [43] по микробиологической загрязненности следует использовать повышенную дозу УФ-облучения либо осуществлять двухступенчатое УФ-обеззараживание. В таких ситуациях основное либо дополнительное обеззараживание следует выполнять на напорных установках непосредственно при подаче ее потребителю. (в ред. Изменения N 3, утв. Приказом Минстроя РФ от 28.12.2023 N 1009/пр)

При УФ-обеззараживании сточных вод следует предусматривать дополнительное обеззараживание технической воды для собственных нужд очистных сооружений, подлежащей возможному применению в открытых системах, с помощью реагентов, обеспечивающих соблюдение требований [43] по микробиологической загрязненности, с пролонгированным эффектом. (в ред. Изменения N 3, утв. Приказом Минстроя РФ от 28.12.2023 N 1009/пр)

9.2.11.3а В открытых канальных системах следует предусматривать применение открытых модулей с погруженными в воду УФ-лампами, расположенными либо горизонтально вдоль движения воды, либо вертикально перпендикулярно движению воды. В целях для выравнивания скорости потока воды в поперечном сечении канала с УФ-модулями следует применять выравнивающие решетки, установленные в начале канала (после поворота, сужения, расширения и т.п.). Для полного выравнивания потока воды в канале с УФ-модулями необходимо обеспечить расстояние от выравнивающей решетки до первой секции с УФ-модулями, составляющее не менее одной диагонали живого сечения потока воды в канале. В случае отсутствия выравнивающей решетки расстояние от начала канала до первой секции УФ-модулей должно составлять не менее трех диагоналей живого сечения потока воды в канале. (в ред. Изменения N 3, утв. Приказом Минстроя РФ от 28.12.2023 N 1009/пр)

Канальные системы УФ-обеззараживания сточной воды следует оснащать системами поддержания уровня воды, не допускающими оголение УФ-ламп или полное затопление УФ-модулей. В открытых канальных системах расстояние от последней по течению воды секции с УФ-модулями до системы поддержания уровня должно быть не менее одной диагонали живого сечения потока воды в канале. (в ред. Изменения N 3, утв. Приказом Минстроя РФ от 28.12.2023 N 1009/пр)

9.2.11.3б Оборудование УФ-обеззараживания должно быть оснащено системами для периодической промывки защитных кварцевых чехлов УФ-ламп специальными химическими реагентами. На очистных сооружениях, начиная с крупных, используемое оборудование лоткового типа должно быть дополнительно оснащено автоматическими механическими системами очистки кварцевых чехлов ультрафиолетовых ламп. (в ред. Изменения N 3, утв. Приказом Минстроя РФ от 28.12.2023 N 1009/пр)

Оборудование для УФ-обеззараживания корпусного или лоткового типа должно быть оснащено датчиками контроля интенсивности УФ-излучения ламп в сточной воде. Датчики должны быть избирательными для работы в бактерицидном УФ-диапазоне излучения с длиной волны 200 - 280 нм и не иметь чувствительности к излучению с длиной волны более 300 нм. (в ред. Изменения N 3, утв. Приказом Минстроя РФ от 28.12.2023 N 1009/пр)

Оборудование УФ-обеззараживания корпусного типа должно быть оснащено датчиками температуры для предотвращения возможности ее перегрева. (в ред. Изменения N 3, утв. Приказом Минстроя РФ от 28.12.2023 N 1009/пр)

Для очистных сооружений от крупных по мощности и выше в системах УФ необходимо предусматривать устройство контроля качества поступающей на обеззараживание воды по показателю пропускания УФ-излучения. (в ред. Изменения N 3, утв. Приказом Минстроя РФ от 28.12.2023 N 1009/пр)

Для повышения энергоэффективности оборудования при сохранении требуемой дозы УФ-облучения система управления должна иметь возможность динамического изменения энергопотребления всего оборудования при изменении входных параметров (расход поступающей на обеззараживание очищенной сточной воды и ее качество по пропусканию УФ-излучения, если его измерение предусмотрено). Работа системы регулировки мощности должна использовать показания датчиков контроля интенсивности УФ-излучения в качестве входных сигналов. (в ред. Изменения N 3, утв. Приказом Минстроя РФ от 28.12.2023 N 1009/пр)

9.2.11.4. Расчетную дозу активного хлора следует принимать с учетом хлоропоглощаемости сточных вод при обеспечении содержания остаточного хлора в очищенной воде после контакта не менее 1,5 мг/л. (в ред. Изменения N 2, утв. Приказом Минстроя РФ от 27.12.2021 N 1023/пр)

9.2.11.5. Хлорное хозяйство и электролизные установки следует проектировать согласно СП 31.13330 и [36]. Хлорное хозяйство станций очистки сточных вод должно обеспечивать возможность увеличения расчетной дозы хлора до 1,5 раз без изменения вместимости склада. (в ред. Изменения N 2, утв. Приказом Минстроя РФ от 27.12.2021 N 1023/пр)

9.2.11.6. Для смешения сточной воды с хлорсодержащими реагентами допускается применять смесители любого типа.

9.2.11.7. Продолжительность контакта хлора с водой в отводящей системе (резервуарах, лотках, каналах и трубопроводах) до выпуска в водный объект следует принимать 30 мин.

9.2.12. Сооружения для насыщения очищенных сточных вод кислородом

9.2.12.1. При необходимости дополнительного насыщения очищенных сточных вод кислородом перед выпуском их в водный объект следует предусматривать устройства: многоступенчатые водосливы-аэраторы или быстротоки - при наличии перепада уровней между сооружениями станции очистки сточных вод и в водном объекте приемнике очищаемых вод, барботажные сооружения - в остальных случаях.

9.2.13. Малые и сверхмалые сооружения очистки сточных вод (в ред. Изменения N 2, утв. Приказом Минстроя РФ от 27.12.2021 N 1023/пр)

9.2.13.1. Для очистки сточных вод централизованных систем водоотведения поселений, городских округов на сверхмалых и малых очистных сооружениях, а также сточных вод отдельно стоящих предприятий, вахтовых поселков, оздоровительно-рекреационных и гостиничных организаций, воинских частей, фермерских хозяйств и т.п. допускается применение комплектных установок биологической или при неблагоприятных климатических условиях или при сезонной работе, физико-химической очистки заводского изготовления.

Не допускается применение очистных сооружений производительностью свыше 1000 м3/сут с подземным исполнением основных технологических емкостей заводского изготовления.

Не допускается применение комплектных очистных сооружений с числом технологических линий (секций сооружений на каждой из стадий) заводской готовности свыше 7. (в ред. Изменения N 2, утв. Приказом Минстроя РФ от 27.12.2021 N 1023/пр)

9.2.13.2 Допускается применение естественных методов очистки или доочистки сточных вод (полей орошения, полей подземной фильтрации, фильтрующих колодцев и траншей, биологических прудов и т.п.) от объектов в следующих случаях: благоприятные грунтовые условия, низкий уровень стояния грунтовых вод, надежная защита подземных вод и водоисточников от загрязняющих веществ, удовлетворительные климатические условия. (в ред. Изменения N 3, утв. Приказом Минстроя РФ от 28.12.2023 N 1009/пр)

9.2.13.2а. Допускается использовать сооружения фильтрации открытого или подземного типа для приема очищенных сточных вод. Их следует устраивать в грунтах, обладающих повышенными показателями водопроводимости, например, в пористых, песчаных, супесчаных или имеющих взаимосвязанную структуру трещин (из мела, мергеля и т.д.).

Поля фильтрации открытого типа могут применяться в виде карт и прудов с донным фильтром глубиной 0,5 м из песчано-гравийной смеси или других материалов с коэффициентом фильтрации более 5 м/сут. Нагрузки могут быть приняты в зависимости от подстилающих грунтов, равными, м3/(га·сут): для песка 70 - 125, супеси 50 - 100, суглинка 40 - 70.

Сооружения фильтрации подземного типа допускается применять следующих типов: площадные, траншейные поля фильтрации, фильтрующие колодцы, фильтрующие скважины (вертикальные и горизонтальные лучевые).

Очищенную сточную воду на поля фильтрации следует подавать перфорированными трубами, укладываемыми на слой щебня (гравия) толщиной 0,5 м - при использовании площадных полей и на слой щебня (гравия) или крупнозернистого песка толщиной 0,3 - 0,5 м - при использовании траншейных полей. Ширина траншеи по низу должна составлять не менее 0,5 м.

Площадные поля фильтрации следует применять в песчаных и супесчаных грунтах, а траншейные - на этих грунтах, а также на суглинистых грунтах с расходами - в песках 16 - 30, в супесях 8 - 16, в суглинках 4 - 8 л/сут на 1 пог. м трубы.

Фильтрующие колодцы допускается применять в песчаных и супесчаных грунтах. Колодцы устраиваются из железобетонных колец, усиленного кирпича или бутового камня. В нижней части колодца следует предусматривать донный фильтр глубиной 1,0 м из щебня, гравия или других материалов с коэффициентом фильтрации более 10 м/сут. Обсыпка колодца проводится тем же материалом. Размеры колодца не должны превышать: диаметр - 2 м, глубина - 2,5 м. Расход на 1 м2 фильтрующей поверхности следует принимать - в песках до 80 л/сут, в супесях 40 л/сут.

Фильтрующие скважины (вертикальные и горизонтальные лучевые) допускается применять в песчаных грунтах с коэффициентом фильтрации не менее 10 м/сут, при создании избыточного напора. В вертикальных скважинах следует предусматривать фильтрующую обсыпку из щебня, гравия диаметром 2 - 5 мм мощности, равной мощности водоприемного горизонта. Горизонтальные скважины используются без обсыпки с укладкой фильтрующих труб непосредственно в принимающий пласт. (в ред. Изменения N 2, утв. Приказом Минстроя РФ от 27.12.2021 N 1023/пр)

9.2.13.3. Для предварительной механической очистки в автономных системах очистки, обслуживающих не более 100 чел., в качестве сооружения глубокого осветления сточных вод и анаэробной стабилизации осадка допускается принимать септики. Расчетный объем септика следует принимать: при обслуживании до 25 чел. - не менее 3-кратного суточного притока, при обслуживании свыше 25 чел. - не менее 2,5-кратного. Обработанную в септиках сточную воду следует подвергать дальнейшей очистке с помощью естественных методов в соответствии с 9.2.13.2. (в ред. Изменения N 2, утв. Приказом Минстроя РФ от 27.12.2021 N 1023/пр)

9.2.13.4. В зависимости от расхода сточных вод для предварительной механической очистки необходимо принимать: однокамерные септики - при ЭЧЖ не более пяти, двухкамерные - при ЭЧЖ до 50 и трехкамерные - при ЭЧЖ 50 - 100. В септиках следует предусматривать устройства для задержания плавающих веществ и естественную вентиляцию. Присоединение выпусков из зданий к септику следует выполнять через смотровой колодец. (в ред. Изменения N 2, утв. Приказом Минстроя РФ от 27.12.2021 N 1023/пр)

9.2.13.5. Для очистки сточных вод от органических веществ, азота и фосфора в климатических подрайонах IV, IIIБ, IIIВ, IIБ, IIВ на очистных сооружениях до малых включительно допускается применение фитоочистных систем (ФОС), осуществляющих очистку в корневищной системе высшей водной растительности (камыш, рогоз, тростник), развивающейся в дренажном слое инертного материала, с предварительным удалением грубодисперсных примесей на решетках с прозорами не более 10 мм и осветлением в первичных отстойниках или септиках. Для предотвращения промерзания инертного материала в зимний период требуется устройство теплоизоляционного слоя. (в ред. Изменения N 2, утв. Приказом Минстроя РФ от 27.12.2021 N 1023/пр)

9.2.13.6 При выраженной в течение недели суточной неравномерности поступления сточных вод на малые и сверхмалые очистные сооружения (превышение притока в выходные дни в два и более раза по отношению к притоку в будние дни и аналогичные ситуации) следует предусматривать аккумулирующие резервуары, располагаемые после предварительной механической очистки, с подачей из них сточных вод в дни минимального притока на дальнейшую очистку. Конструкцией таких резервуаров должны быть обеспечены предотвращение выпадения в осадок взвешенных веществ и гидроудаление при опорожнении донного осадка и песка. На очистных сооружениях, работающих с таким режимом, не следует использовать капельные биофильтры. (в ред. Изменения N 3, утв. Приказом Минстроя РФ от 28.12.2023 N 1009/пр)

9.2.13.7 Для малых и сверхмалых по мощности очистных сооружений с выраженной в течение недели суточной неравномерностью поступления сточных вод, а также при средней за месяц минимальной температуре сточных вод ниже 15 °C следует предусматривать мероприятия по предотвращению остывания сточной воды в сооружениях (размещение в здании, высокоэффективное утепление емкостей и трубопроводов, подогрев трубопроводов, подогрев сточных вод с использованием тепловых насосов или иных доступных источников тепла, а также комбинации этих методов). (в ред. Изменения N 3, утв. Приказом Минстроя РФ от 28.12.2023 N 1009/пр)

9.2.14. Обработка осадка сточных вод (в ред. Изменения N 2, утв. Приказом Минстроя РФ от 27.12.2021 N 1023/пр)

9.2.14.1. Осадки, образующиеся в процессе очистки сточных вод (песок из песколовок, осадок первичных отстойников, избыточный активный ил и др.), должны подвергаться обработке для обезвоживания, стабилизации, снижения запаха, обеззараживания, улучшения физико-механических свойств, обеспечивающих возможность их экологически безопасной утилизации или размещения (хранения или захоронения) в окружающей среде.

9.2.14.2 Выбор технологических схем обработки осадков следует проводить в ходе разработки ОТР с учетом мощности очистных сооружений, состава и свойств осадков, фактора энергоэффективности, наличия территории, требований к СЗЗ и с учетом перспективы использования или размещения в окружающей среде. (в ред. Изменения N 3, утв. Приказом Минстроя РФ от 28.12.2023 N 1009/пр)

При обосновании допускаются перекачка (перевозка автотранспортом) жидких осадков, а также перевозка обезвоженных осадков для обработки на других очистных сооружениях. (в ред. Изменения N 3, утв. Приказом Минстроя РФ от 28.12.2023 N 1009/пр)

9.2.14.3. При расчете сооружений обработки осадков необходимо учитывать сезонную и суточную неравномерность их образования. Учет внутрисезонной суточной неравномерности допускается определять путем использования дополнительного коэффициента 1,2 к расчетному значению. (в ред. Изменения N 2, утв. Приказом Минстроя РФ от 27.12.2021 N 1023/пр)

9.2.14.4. Повышение концентрации избыточного активного ила перед дальнейшей обработкой следует осуществлять путем его уплотнения (сгущения) в сооружениях и оборудовании различных типов (гравитационные, механические либо флотационные уплотнители и т.п.). Содержание сухого вещества перед подачей ила в метантенки должно быть не менее 4,5%. (в ред. Изменения N 3, утв. Приказом Минстроя РФ от 28.12.2023 N 1009/пр)

9.2.14.5 При обработке избыточного активного ила от сооружений, реализующих технологию удаления фосфора, необходимо принимать меры по предотвращению выделения фосфатов в иловую воду: не допускать возникновения анаэробных условий в иле. Не допускается гравитационное уплотнение такого ила при времени пребывания свыше 5 ч. Не допускается смешение такого ила с осадком первичных отстойников, за исключением камеры смешения перед метантенками и смесительного резервуара перед обезвоживанием (сгущением). При пребывании смеси осадков в смесительном резервуаре свыше 5 мин необходима их интенсивная аэрация. Время пребывания смеси осадков в таком резервуаре не должно превышать 30 мин, а при использовании в технологической схеме процесса ацидофикации осадка первичных отстойников - 5 мин. (в ред. Изменений N 2, утв. Приказом Минстроя РФ от 27.12.2021 N 1023/пр, N 3, утв. Приказом Минстроя РФ от 28.12.2023 N 1009/пр)

9.2.14.6 Необходимость обеспечения и методы стабилизации осадков на площадке очистных сооружений должны быть определены в ходе разработки ОТР. Допускается использование биологических, химических, термических и термохимических методов стабилизации. В зависимости от метода стабилизации могут подвергаться жидкие и обезвоженные (подсушенные в естественных условиях) осадки сточных вод. (в ред. Изменения N 3, утв. Приказом Минстроя РФ от 28.12.2023 N 1009/пр)

При вывозе обезвоженных (подсушенных в естественных условиях) осадков на полигон размещения отходов в качестве отхода, а также при использовании осадков в качестве удобрения (мелиоранта), стабилизация осадка не обязательна. (в ред. Изменения N 3, утв. Приказом Минстроя РФ от 28.12.2023 N 1009/пр)

9.2.14.7 Жидкие осадки могут быть стабилизированы методами анаэробного метанового сбраживания, анаэробно-аэробной, аэробно-анаэробной обработки; аэробной стабилизации. Не следует применять ферментные препараты для стабилизации жидких осадков сооружений биологической очистки сточных вод. (в ред. Изменений N 2, утв. Приказом Минстроя РФ от 27.12.2021 N 1023/пр, N 3, утв. Приказом Минстроя РФ от 28.12.2023 N 1009/пр)

9.2.14.8 Анаэробное (метановое) сбраживание в метантенках следует рассматривать как технологию стабилизации осадков и получения вторичных энергоресурсов (опционально также обеззараживания) для очистных сооружений начиная с крупных. (в ред. Изменений N 2, утв. Приказом Минстроя РФ от 27.12.2021 N 1023/пр, N 3, утв. Приказом Минстроя РФ от 28.12.2023 N 1009/пр)

9.2.14.9 Допускается добавление в осадок перед подачей в метантенки других видов сбраживаемых отходов (навоз, птичий помет, жидкие органические отходы пищевой промышленности, некондиционная пищевая продукция, специально подготовленные (глубоко измельченные) органические компоненты твердых бытовых отходов, другие близкие к ним по составу нетоксичные для процесса промышленные отходы, концентрированные фракции жидких бытовых отходов с содержанием взвешенных веществ более 30 г/л). При этом следует обеспечивать изъятие из этих отходов грубодисперсных примесей и оседающих неорганических включений, а также необходимую гомогенизацию подаваемой в метантенки смеси. (в ред. Изменений N 2, утв. Приказом Минстроя РФ от 27.12.2021 N 1023/пр, N 3, утв. Приказом Минстроя РФ от 28.12.2023 N 1009/пр)

9.2.14.10. Допускается проводить сбраживание в мезофильном (температура около 35 °C) и термофильном (температура 50 °C - 60 °C) режимах. При обосновании допускается также использование двухфазного термофильно-мезофильного режима сбраживания. Температурный режим следует выбирать по результатам технико-экономических расчетов с учетом технологии дальнейшей обработки и утилизации осадка, санитарных требований, метода утилизации образующегося биогаза и теплотехнических расчетов.

9.2.14.11 В случае, если прозоры решеток на входе на очистные сооружения более 10 мм, для дополнительного удаления грубодисперсных включений осадок, подаваемый в метантенки, должен быть процежен на решетках (ситах) с прозорами не более 6 мм. (в ред. Изменений N 2, утв. Приказом Минстроя РФ от 27.12.2021 N 1023/пр, N 3, утв. Приказом Минстроя РФ от 28.12.2023 N 1009/пр)

9.2.14.12. По результатам технико-экономического обоснования допускается использование методов предварительной термической (до 180 °C), механической, ферментативной и ультразвуковой обработки осадков, а также их сочетания, перед сбраживанием для повышения степени распада органического вещества и увеличения выхода биогаза. (в ред. Изменения N 2, утв. Приказом Минстроя РФ от 27.12.2021 N 1023/пр)

9.2.14.13 Объем метантенков следует определять расчетом по органической нагрузке на рабочий объем сооружения. Максимальная расчетная объемная доза загрузки осадка не должна превышать для термофильного процесса - 15%, для мезофильного процесса - 7%. Среднегодовые значения объемной дозы загрузки для термофильного процесса допускается принимать 10%, для мезофильного процесса - 5%. Объемная доза загрузки осадка не должна превышать для термофильного процесса - 15%, для мезофильного процесса - 7%, при этом рекомендуется не превышать среднегодовые значения объемной дозы загрузки для термофильного процесса - 10%, для мезофильного процесса - 5%. (в ред. Изменений N 2, утв. Приказом Минстроя РФ от 27.12.2021 N 1023/пр, N 3, утв. Приказом Минстроя РФ от 28.12.2023 N 1009/пр)

Степень распада органического вещества осадка следует определять расчетом с учетом типов осадков, температуры процесса, наличия и методов предварительной обработки.

9.2.14.14. Для обеспечения эффективности и надежности процесса сбраживания осадка при проектировании метантенков необходимо предусматривать:

- возможность промывки всех трубопроводов;

- перемешивание осадка мешалками или газом (использование насосов для перемешивания допускается только в качестве резервного оборудования);

- устройство систем пеногашения;

- два трубопровода выгрузки сброженного осадка - из нижней и верхней частей сооружения;

- систему аварийного перелива;

- герметично закрывающиеся люки-лазы как в верхней части сооружения (на газовом колпаке), так и в нижней;

- эффективную теплоизоляцию;

- использование рекуперационных теплообменников при применении термофильного режима сбраживания, с рекуперацией не менее 15 °C.

9.2.14.15. Весовое количество газа, получаемого при сбраживании (биогаза), следует принимать 0,9 л на 1 г распавшегося беззольного вещества осадка, теплотворная способность - 5500 ккал/м3.

9.2.14.16. Необходимо предусматривать обязательную утилизацию биогаза, образующегося при сбраживании следующими методами:

- сжигание в котельных для производства пара и горячей воды, как раздельно, так и совместно с природным газом;

- использование в качестве моторного топлива в электрогенераторах, а также при обосновании в двигателях приводов воздуходувок и на автотранспорте;

- использование в качестве топлива в установках термической сушки и сжигания осадка.

9.2.14.17 При использовании биогаза в качестве моторного топлива следует предусматривать его очистку от примесей, оказывающих неблагоприятное воздействие на работу двигателей внутреннего сгорания (вода, взвешенные частицы, сероводород, силоксаны и др.). (в ред. Изменения N 3, утв. Приказом Минстроя РФ от 28.12.2023 N 1009/пр)

9.2.14.18. При проектировании метантенков следует предусматривать:

- мероприятия по взрывопожарной и пожарной опасности (СП 12.13130) комплекса в целом, оборудования и обслуживающих помещений; (в ред. Изменений N 2, утв. Приказом Минстроя РФ от 27.12.2021 N 1023/пр, N 3, утв. Приказом Минстроя РФ от 28.12.2023 N 1009/пр)

- герметичность резервуаров метантенков, рассчитанных на избыточное давление до 5 кПа (500 мм вод. ст.);

- автоматический контроль уровня осадка и давления в метантенках;

- расстояние от метантенков до высоковольтных линий - не менее 1,5 высоты опоры;

- ограждение территории метантенков;

- газгольдеры для усреднения расхода биогаза. Допускается использовать "мокрые" и сухие газгольдеры на давление 1,5 - 2,5 кПа (0,15 - 0,25 м вод. ст.), рассчитанные на 2 - 4-часовой выход биогаза. При технико-экономическом обосновании допускается использование шарообразных газгольдеров под более высоким давлением. Их следует проектировать в соответствии с требованиями к сооружениям для хранения природного газа;

- "свечу" с автоматическим поджигом для сжигания избыточного объема биогаза. Категорически не допускается сброс биогаза в атмосферу без сжигания. (в ред. Изменения N 2, утв. Приказом Минстроя РФ от 27.12.2021 N 1023/пр)

9.2.14.19. Проектирование газового хозяйства метантенков (газосборных пунктов, газовой сети, газгольдеров и т.п.) необходимо осуществлять в соответствии с СП 62.13330.

9.2.14.20 Аэробную стабилизацию осадка допускается проводить без подогрева ила в психрофильном режиме при температуре не менее 15 °C - 20 °C, так и в автотермофильном режиме. (в ред. Изменения N 3, утв. Приказом Минстроя РФ от 28.12.2023 N 1009/пр)

При расчетах психрофильной аэробной стабилизации следует принимать степень распада органического вещества осадка не более 20%. При использовании автотермофильного режима допускается принимать степень распада до 45%. При расчетах следует определять: время аэробной обработки, необходимый расход воздуха, а для термофильной аэробной стабилизации - условия автотермичности процесса. (в ред. Изменения N 3, утв. Приказом Минстроя РФ от 28.12.2023 N 1009/пр)

9.2.14.21. Аэробная стабилизация смеси осадков в психрофильном режиме (при температуре 10 °C - 25 °C) допускается на очистных сооружениях до больших включительно. При проведении аэробной стабилизации высококонцентрированной (содержание сухого вещества свыше 20 г/л) смеси осадков необходимо предусматривать механическую и пневмомеханическую аэрацию. (в ред. Изменения N 2, утв. Приказом Минстроя РФ от 27.12.2021 N 1023/пр)

Не следует применять аэробную стабилизацию избыточного активного ила в психрофильном режиме при отсутствии на очистных сооружениях стадии осветления сточных вод и значении общего возраста ила в расчетный период более 15 сут. (в ред. Изменения N 3, утв. Приказом Минстроя РФ от 28.12.2023 N 1009/пр)

Не следует применять аэробную стабилизацию при наличии в дальнейшей технологической схеме обработки осадков как минимум одного из следующих процессов: анаэробное сбраживание, термическая сушка, пиролиз (термохимическая обработка), сжигание (термоутилизация). (в ред. Изменения N 3, утв. Приказом Минстроя РФ от 28.12.2023 N 1009/пр)

9.2.14.22. Все жидкие осадки должны обезвоживаться до влажности не более 82% естественным (подсушка на иловых площадках) или механическим методом (с использованием обезвоживающего оборудования или фильтрующих мешков, геотуб). (в ред. Изменения N 2, утв. Приказом Минстроя РФ от 27.12.2021 N 1023/пр)

При новом проектировании очистных сооружений начиная от средних следует предусматривать обезвоживание осадков механическими методами, иловые площадки допускаются только в качестве резервных сооружений. При проектировании иловых площадок не допускается использование площадок на естественном основании без дренажа (кроме площадок-уплотнителей). (в ред. Изменений N 2, утв. Приказом Минстроя РФ от 27.12.2021 N 1023/пр, N 3, утв. Приказом Минстроя РФ от 28.12.2023 N 1009/пр)

Допускается периодическое обезвоживание осадка с помощью передвижных установок, обслуживающих несколько очистных сооружений. В этом случае необходимо предусматривать достаточную емкость накопителя жидкого осадка, в котором следует исключать возможность загнивания и ухудшения водоотдающих свойств осадка. (в ред. Изменения N 3, утв. Приказом Минстроя РФ от 28.12.2023 N 1009/пр)

9.2.14.23 Для всех типов осадков перед обезвоживанием следует предусматривать расходные резервуары с перемешиванием. Для избыточного активного ила допускается не предусматривать такую емкость, если его отбор на обезвоживание или сгущение проводится с помощью насосов из резервуара возвратного активного ила. При биологическом (биолого-химическом) удалении фосфора не допускается смешение осадка первичных отстойников и избыточного активного ила в расходных резервуарах перед обезвоживанием (за исключением технологических схем с извлечением фосфора из иловой воды после обезвоживания). (в ред. Изменения N 3, утв. Приказом Минстроя РФ от 28.12.2023 N 1009/пр)

Время пребывания осадков в расходных резервуарах не должно превышать 24 ч. (в ред. Изменения N 3, утв. Приказом Минстроя РФ от 28.12.2023 N 1009/пр)

9.2.14.24 Для механического обезвоживания осадков допускается использовать центрифуги (центробежные декантеры) и ленточные, камерные и шнековые фильтр-прессы, а на сооружениях от сверхмалых до небольших по мощности - мешочные фильтры. (в ред. Изменений N 2, утв. Приказом Минстроя РФ от 27.12.2021 N 1023/пр, N 3, утв. Приказом Минстроя РФ от 28.12.2023 N 1009/пр)

9.2.14.25 В качестве реагентов для улучшения водоотдающих свойств осадков сточных вод и схожих с ними по составу следует использовать органические полимеры (флокулянты). При технико-экономическом обосновании допускается использование реагентов и присадок, улучшающих процесс обезвоживания, а также подогрев осадка за счет утилизации низкопотенциального тепла от других процессов. (в ред. Изменения N 3, утв. Приказом Минстроя РФ от 28.12.2023 N 1009/пр)

9.2.14.26 При механическом обезвоживании термофильно сброженных осадков следует применять для обезвоживания центробежные декантеры с прямой подачей горячего осадка после метантенков. Не следует применять технологические решения с промывкой и уплотнением сброженного осадка перед обезвоживанием. (в ред. Изменения N 3, утв. Приказом Минстроя РФ от 28.12.2023 N 1009/пр)

9.2.14.27-9.2.14.28. Пункты исключены. (в ред. Изменения N 2, утв. Приказом Минстроя РФ от 27.12.2021 N 1023/пр)

9.2.14.29. При технико-экономическом обосновании допускается предусматривать сооружения аэробной обработки сброженных осадков с целью улучшения их водоотдающей способности и сокращения рецикла биогенных веществ.

9.2.14.30. Используемые методы улучшения водоотдающих свойств осадка должны обеспечивать максимальное содержание сухого вещества в обезвоженном осадке в соответствии с применяемым обезвоживающим оборудованием. Среднемесячная концентрация взвешенных веществ в фильтрате (фугате) от обезвоживания осадка должна быть не более 500 мг/л. (в ред. Изменения N 2, утв. Приказом Минстроя РФ от 27.12.2021 N 1023/пр)

9.2.14.31. При наличии требований по ограничению содержания песка и грубодисперсных примесей в осадке, подаваемом на аппараты механического обезвоживания и при недостаточном обеспечении этих требований на стадии предварительной механической очистки, следует предусматривать соответствующую обработку осадка, обеспечивающую снижение их содержания: выделение песка, процеживание или измельчение осадка и т.п. (в ред. Изменения N 2, утв. Приказом Минстроя РФ от 27.12.2021 N 1023/пр)

9.2.14.32. При проектировании сооружений механического обезвоживания осадка при наличии резервных иловых площадок, имеющих свободные площади для приема не менее 20% годового расхода осадка, необходимо предусматривать: один резервный фильтр-пресс при числе рабочих до трех включительно, и два - при четырех и более рабочих агрегатах, одну резервную центрифугу при числе рабочих до двух включительно, и две - при числе рабочих три и более.

Для вновь создаваемых очистных сооружений от больших и крупнее следует ориентироваться на работу без резервных иловых площадок. Применительно к существующим очистным сооружениям, имеющим иловые площадки, допускается отказ от их использования (при отсутствии возможности, экономической нецелесообразности дальнейшей эксплуатации иловых площадок или при необходимости сокращения санитарно-защитной зоны). (в ред. Изменения N 3, утв. Приказом Минстроя РФ от 28.12.2023 N 1009/пр)

На очистных сооружениях, не имеющих резервных иловых площадок, должен быть реализован комплекс мероприятий по обеспечению приема и обработки осадка в аварийных ситуациях, в состав которых должны входить, как минимум: накопители осадка с временем пребывания не менее одних суток, увеличенное количество резервного обезвоживающего оборудования, резервирование всех вспомогательных узлов отделения обезвоживания (транспортерное оборудование, бункеры, насосы, компрессоры, реагентные узлы и др.). При использовании механического сгущения избыточного активного ила в условиях отсутствия иловых площадок следует предусматривать один дополнительный сгуститель.

Накопитель избыточного активного ила может не использоваться при расчетном обосновании возможности накопления ила непосредственно в сооружениях биологической очистки с увеличением концентрации ила в течение двух суток не более, чем на 20%.

При отсутствии резервных иловых площадок необходимо предусматривать следующее количество резервного оборудования той же (или большей) производительности, что и рабочие:

- при использовании фильтров-прессов любой конструкции с расчетным временем работы 16 ч в сутки и более - два резервных агрегата при любом количестве рабочих;

- при использовании фильтров-прессов любой конструкции с расчетным временем работы менее 16 ч в сутки - один резервный агрегат при одном рабочем фильтре-прессе и два резервных при большем количестве рабочих;

- при использовании центрифуг (центробежных декантеров) - две резервных при числе рабочих до четырех и три резервных при большем количестве. (в ред. Изменений N 2, утв. Приказом Минстроя РФ от 27.12.2021 N 1023/пр, N 3, утв. Приказом Минстроя РФ от 28.12.2023 N 1009/пр)

9.2.14.33. Следует предусматривать резервирование общих для нескольких аппаратов механического обезвоживания систем транспортирования обезвоженного осадка. Допускается использование насосных установок перекачки обезвоженного осадка. (в ред. Изменения N 2, утв. Приказом Минстроя РФ от 27.12.2021 N 1023/пр)

9.2.14.34. Допускается использование бункеров для хранения и последующей загрузки обезвоженного осадка в автомобильный транспорт. В этом случае бункер должен иметь коническое днище с углом наклона 55° - 60° или днище, оснащенное шнеками для выгрузки осадка.

Допускается использовать для накопления и последующего транспортирования обезвоженного осадка сменные специальные бункеры с крышками, а также рельсовые системы или тележки на электроходу для подачи этих бункеров под загрузку осадком и под погрузку в автомобильный транспорт. (в ред. Изменения N 2, утв. Приказом Минстроя РФ от 27.12.2021 N 1023/пр)

9.2.14.35. При технико-экономическом обосновании допускается предусматривать сооружения локальной очистки фильтрата и фугата, а также сливной воды от уплотнителей сброженного осадка от взвешенных веществ, аммонийного азота и/или фосфатов (в частности, методами нитриденитрификации, анаэробного окисления аммония, извлечения фосфатов в виде струвита и т.п.).

9.2.14.36. Площадки стабилизации и обеззараживания обезвоженного (подсушенного) осадка следует предусматривать на искусственном основании. Следует предусматривать отвод фильтрата, дождевых и талых вод на очистные сооружения. (в ред. Изменения N 2, утв. Приказом Минстроя РФ от 27.12.2021 N 1023/пр)

9.2.14.37. При подсушивании осадка в естественных условиях нагрузку на иловые площадки в районах со среднегодовой температурой воздуха 3 °C - 6 °C и количеством осадков не более 500 мм/год следует принимать по таблице 19 с учетом рисунка 1.

Таблица 1

В электронном документе нумерация таблиц соответствует официальному источнику.

Нагрузка на иловые площадки для различного типа осадков, м3/м2 в год

(в ред. Изменения N 2, утв. Приказом Минстроя РФ от 27.12.2021 N 1023/пр)

Характеристика осадка Иловые площадки
на естественном основании на естественном основании с дренажом на искусственном асфальтобетонном основании с дренажом каскадные с отстаиванием и поверхностным удалением иловой воды на естественном основании площадки-уплотнители
Анаэробно сброженная в мезофильных условиях смесь осадка из первичных отстойников и активного ила 1,2 1,5 2,0 1,5 1,5
То же, в термофильных условиях 0,8 1,0 1,5 1,0 1,0
Нестабилизированная смесь осадка из первичных отстойников и активного ила либо нестабилизированный осадок первичных отстойников, либо нестабилизированный активный ил 0,8 1,0 1,5 1,0 1,0
Анаэробно сброженный осадок из первичных отстойников и осадок из двухъярусных отстойников 2,0 2,3 2,5 2,0 2,3
Аэробно стабилизированная смесь активного ила и осадка из первичных отстойников или стабилизированный активный ил 1,2 1,5 2,0 1,5 1,5

Рисунок 1. Климатические коэффициенты для определения величины нагрузки на иловые площадки (сплошные и пунктирные линии) и продолжительности периода намораживания на иловых площадках, дни (точечные линии)

9.2.14.38. При использовании метода естественной сушки осадка следует предусматривать:

- конструкцию иловых площадок (на естественном или искусственном основании, с дренажом, каскадные, уплотнители и т.п.) - в зависимости от гидрогеологических и климатических условий, рельефа местности;

- число карт - не менее четырех;

- рабочую глубину карт - 0,7 - 1 м;

- высоту оградительных валиков - на 0,3 м выше рабочего уровня.

9.2.14.39. Площадь иловых площадок следует проверять на намораживание. Продолжительность периода намораживания следует принимать равной числу дней со среднесуточной температурой воздуха ниже минус 10 °C. Количество намороженного осадка следует принимать 75% поданного на иловые площадки за период намораживания.

9.2.14.40. Необходимо предусматривать периодическое перемешивание и буртование подсушенного осадка на иловых площадках.

9.2.14.41 Сливная вода с иловых площадок должна подаваться на очистку (непосредственно на очистные сооружения или в систему водоотведения). При технико-экономическом обосновании допускается предусматривать локальную очистку сливной воды и при условии очистки и обеззараживания до действующих требований - использование сливной воды для орошения сельскохозяйственных культур, питомников и т.п. При использовании сливной воды для орошения при отсутствии дополнительной возможности подачи сливной воды на централизованные очистные сооружения в периоды, когда орошение не производится, следует предусматривать емкости-накопители достаточной вместимости.

9.2.14.41а Для подготовки механически обезвоженных осадков, а также осадков, подсушенных в естественных условиях на иловых площадках до влажности, близкой к 80%, к использованию в качестве органических удобрений, почвогрунтов и рекультивантов либо их компонента, материала для биологической и технической рекультивации нарушенных земель или в качестве перестилающих и изолирующих слоев на полигонах складирования отходов следует использовать методы, обеспечивающие наряду с их обеззараживанием также стабилизацию и удовлетворительные механические свойства (отсутствие вязкости, липкости, разжижения при транспортировании, обеспечение сыпучести, рыхлости). При использовании обеззараженного осадка в качестве органического удобрения требуется применение перечисленных методов. (в ред. Изменения N 3, утв. Приказом Минстроя РФ от 28.12.2023 N 1009/пр)

В зависимости от выбранного направления (направлений) дальнейшего использования состав и свойства обработанных осадков и продукции на их основе должны соответствовать требованиям ГОСТ Р 17.4.3.07 и ГОСТ Р 54651 (при использовании в качестве органических удобрений), ГОСТ Р 54534 (при использовании в качестве почвогрунтов, рекультивантов, инертного материала для биологической и технической рекультивации нарушенных земель), ГОСТ Р 54535 (при использовании в качестве перестилающих и изолирующих слоев на полигонах захоронения отходов). (в ред. Изменения N 3, утв. Приказом Минстроя РФ от 28.12.2023 N 1009/пр)

9.2.14.42. Допускается смешение стабилизированного и обеззараженного осадка с обеззараженным песком из песколовок, строительным песком, неплодородным грунтом для получения почвогрунта или рекультиванта для технической рекультивации нарушенных земель. (в ред. Изменения N 2, утв. Приказом Минстроя РФ от 27.12.2021 N 1023/пр)

9.2.14.43 Для подготовки механически обезвоженных осадков и осадков, подсушенных в естественных условиях на иловых площадках, в качестве местных органических удобрений в качестве метода, обеспечивающего как стабилизацию, так и обеззараживание, следует рассматривать их компостирование с органо-содержащими наполнителями (торфом, опилками, измельченной корой деревьев и растительными отходами). Допускается для снижения расхода наполнителя использовать готовый компост, а также крупную щепу, применяемую в процессе многократно. (в ред. Изменений N 2, утв. Приказом Минстроя РФ от 27.12.2021 N 1023/пр, N 3, утв. Приказом Минстроя РФ от 28.12.2023 N 1009/пр)

Компостирование может осуществляться: в буртах на обвалованных площадках с твердым покрытием, на площадках с искусственным основанием, в коридорных и других сооружениях. Допускается компостирование в ферментерах. Смешение осадков и наполнителя может осуществляться непосредственно в цехе механического обезвоживания в аппаратах для смешения или на площадках компостирования.

9.2.14.44. При расчете процесса компостирования следует определять: соотношение исходного осадка с наполнителями, расход подаваемого воздуха (при принудительной аэрации) и частоту перемешивания, время обработки на каждой стадии компостирования (в зависимости от сезона и типа наполнителя).

9.2.14.45. Для ускорения процесса компостирования допускается использование специальных укрывных теплоизолирующих материалов с односторонней проницаемостью, а также добавление биопрепаратов, интенсифицирующих термофильную стадию и уменьшающих выделение дурнопахнущих веществ. Для подготовки сброженного осадка к почвенной утилизации его допускается подвергать компостированию. Компостированный осадок должен быть отделен от крупных включений.

9.2.14.46 Осадки сточных вод должны подвергаться обеззараживанию (включая дезинвазию) в целях обеспечения санитарно-микробиологических и санитарно-паразитологических показателей, соответствующих требованиям [45], а также стандартов, указанных в 9.2.14.41а, перед использованием их полезных свойств, в том числе при непосредственном внесении в почву в качестве удобрения, и при производстве побочной продукции (технологический процесс которого не обеспечивает обеззараживание), в т.ч. органических удобрений, почвогрунтов, инертного материала для технической рекультивации нарушенных земель и т.п. (в ред. Изменения N 3, утв. Приказом Минстроя РФ от 28.12.2023 N 1009/пр)

Для обеззараживания осадков сточных вод (включая дезинвазию) допускается применять следующие методы обработки: (в ред. Изменения N 3, утв. Приказом Минстроя РФ от 28.12.2023 N 1009/пр)

- прогревание жидких либо обезвоженных осадков до 60 °C при времени экспозиции после достижения этой температуры не менее 20 мин; (в ред. Изменения N 3, утв. Приказом Минстроя РФ от 28.12.2023 N 1009/пр)

- термическая сушка механически обезвоженных осадков в сушильных аппаратах (за исключением низкотемпературных сушилок с температурой сушки менее 60 °C); (в ред. Изменения N 3, утв. Приказом Минстроя РФ от 28.12.2023 N 1009/пр)

- компостирование с органо-содержащими наполнителями (опилками, щепой, корой, торфом и т.п., обеспечивающее протекание термофильной стадии в аэробных условиях в течение 2 - 4 недель (с достижением температуры во всем объеме смеси не менее 55 °C в течение 3 - 5 сут) и последующих мезофильной и психрофильной стадий дозревания, совокупную продолжительность которых следует определять в зависимости от условий перемешивания, времени закладки, типа наполнителя, климатических условий и других факторов; (в ред. Изменения N 3, утв. Приказом Минстроя РФ от 28.12.2023 N 1009/пр)

- выдержка подсушенных в естественных условиях на иловых площадках до влажности около 80% или механически обезвоженных осадков на площадках стабилизации и обеззараживания в соответствии с 9.2.14.46а. (в ред. Изменения N 3, утв. Приказом Минстроя РФ от 28.12.2023 N 1009/пр)

По результатам вариантных технико-экономических проработок в ОТР допускается применение для обеззараживания (в т.ч. дезинвазии) обезвоженного осадка негашеной извести. При этом доза реагента должна обеспечивать нагрев всего объема смеси не менее чем до 55 °C. Достижение необходимой температуры разогрева смеси в результате тепловыделения при гидратации негашеной извести должно быть подтверждено расчетом. Осадки, обработанные известью, подлежат дальнейшей выдержке в естественных условиях на площадках в течение 3 - 6 мес в целях стабилизации состава и прекращения выделения аммиака. После выдержки известьсодержащие осадки с pH 9 - 12 могут быть использованы только в качестве органо-известковых удобрений для химической мелиорации кислых почв с pH ниже 5,5. (в ред. Изменения N 3, утв. Приказом Минстроя РФ от 28.12.2023 N 1009/пр)

Не допускаются: (в ред. Изменения N 3, утв. Приказом Минстроя РФ от 28.12.2023 N 1009/пр)

- использование для обеззараживания реагентов, содержащих в качестве действующего вещества (либо одного из действующих веществ) соединения тяжелых металлов, если последующее использование осадка планируется в качестве органических удобрений, почвогрунтов, инертного материала для технической рекультивации; (в ред. Изменения N 3, утв. Приказом Минстроя РФ от 28.12.2023 N 1009/пр)

- использование реагентов, обеспечивающих только дезинвазию осадков, без необходимого обеззараживания по санитарно-микробиологическим показателям, либо наоборот; (в ред. Изменения N 3, утв. Приказом Минстроя РФ от 28.12.2023 N 1009/пр)

- внесение реагентов в обезвоженный осадок, за исключением извести (гашеной и негашеной). (в ред. Изменения N 3, утв. Приказом Минстроя РФ от 28.12.2023 N 1009/пр)

Для осадков, подвергнутых анаэробному термофильному сбраживанию при температуре не менее 53 °C, либо компостированию, либо выдержке в естественных условиях по 9.2.14.10, дополнительная обработка в целях обеззараживания не требуется. (в ред. Изменения N 3, утв. Приказом Минстроя РФ от 28.12.2023 N 1009/пр)

В случае невозможности использования полезных свойств осадков и вывоза их на размещение на полигон захоронения обеззараживание (включая дезинвазию) в соответствии с [45] не требуется. (в ред. Изменения N 3, утв. Приказом Минстроя РФ от 28.12.2023 N 1009/пр)

9.2.14.46а Обезвоженные механическим способом осадки, а также осадки, подсушенные в естественных условиях, допускается обрабатывать выдержкой в естественных условиях на площадках стабилизации и обеззараживания. В процессе выдержки достигается дополнительная подсушка, стабилизация органических веществ, обеззараживание (включая дезинвазию), улучшение структуры. Период выдержки следует принимать равным одному - трем годам, в зависимости от климатических районов по СП 131.13330 (климатических районов I и II - не менее трех лет; климатического района III - не менее двух лет; климатического района IV - не менее одного года). При наличии достаточных площадей срок выдержки может быть увеличен до пяти - восьми лет. Размещение осадков на площадках стабилизации и обеззараживания должно производиться на основании разработанных проектных решений, а также регламента эксплуатации, обеспечивающих невозможность смешения масс осадков различных лет (периодов). В качестве площадок стабилизации и обеззараживания допускается использовать также выведенные из эксплуатации иловые площадки и иные сооружения. (в ред. Изменения N 3, утв. Приказом Минстроя РФ от 28.12.2023 N 1009/пр)

Период заполнения площадки новым осадком и период вывоза осадка после окончания процесса выдержки не входят в указанные сроки. (в ред. Изменения N 3, утв. Приказом Минстроя РФ от 28.12.2023 N 1009/пр)

Для интенсификации процесса следует предусматривать передвижение осадка на площадке, формирование и перемешивание буртов, в том числе вместе с произрастающей растительностью, с использованием строительной или специальной техники. За время выдержки следует предусматривать перебуртование осадка не реже четырех раз, в том числе при более длительном сроке - не реже одного раза в год. (в ред. Изменения N 3, утв. Приказом Минстроя РФ от 28.12.2023 N 1009/пр)

При расчетах площадок стабилизации и обеззараживания допускается принимать изменение влажности и зольности осадка в результате выдержки по данным таблицы 19а. (в ред. Изменения N 3, утв. Приказом Минстроя РФ от 28.12.2023 N 1009/пр)

Таблица 19а

Показатели влажности и зольности механически обезвоженных осадков в результате выдержки на площадках стабилизации и обеззараживания

(в ред. Изменения N 3, утв. Приказом Минстроя РФ от 28.12.2023 N 1009/пр)

Показатель 1 год 2 года 3 года 5 лет
Влажность, % 75 65 55 45
Зольность, % 45 55 65 70
Примечание - Данные приведены исходя из начальной влажности обезвоженного осадка 80% и зольности 30%.

9.2.14.47 Термосушку допускается применять для подготовки осадка к вывозке и размещению на полигонах, сжиганию (термической утилизации), термохимической обработке, утилизации осадка в качестве сырья и топлива на других предприятиях (цементные заводы и др.). Допускается осуществлять сушку осадка в местах его дальнейшей утилизации при наличии там соответствующих тепловых ресурсов, а также принимать на сушку обезвоженный осадок с других очистных сооружений. (в ред. Изменения N 3, утв. Приказом Минстроя РФ от 28.12.2023 N 1009/пр)

9.2.14.48. При термосушке следует предусматривать:

- максимально возможное обезвоживание осадка перед подачей на сушильные аппараты;

- транспортирование высушенного осадка в герметичных емкостях, оснащенных системами пневматической разгрузки; (в ред. Изменения N 3, утв. Приказом Минстроя РФ от 28.12.2023 N 1009/пр)

- использование для сушки имеющихся (возможных) тепловых ресурсов, при обосновании - получение и использование низкопотенциального тепла от сушилок;

- отделение высушенного осадка от крупных и пылевидных частиц, с возвратом их в процесс сушки;

- очистку газовых выбросов из сушильных аппаратов;

- мероприятия по обеспечению взрыво- и пожаробезопасности установки сушки, а также бункеров и складов высушенного осадка.

9.2.14.49. Для термической утилизации осадка допускается применять печи сжигания различных типов, установки пиролиза, газификации, и т.п., допускается совместное использование сушки осадка и сжигания. При использовании высокотемпературного пиролиза и газификации осадка его предварительно следует подвергать сушке.

9.2.14.50. Необходимо предусматривать автотермичный режим процесса термической утилизации или, при обосновании, минимизировать подачу дополнительного топлива. При технико-экономическом обосновании для высокотемпературной обработки осадка допускается использование дополнительного топлива, в том числе твердого, а также технического кислорода.

9.2.14.51. Допускается совместная термическая утилизация обезвоженных осадков и твердых бытовых отходов, а также производственных отходов.

9.2.14.52. Газовые выбросы от установок сушки и термической утилизации осадка необходимо очищать до установленных норм выброса в атмосферный воздух. (в ред. Изменения N 2, утв. Приказом Минстроя РФ от 27.12.2021 N 1023/пр)

9.2.14.53. Необходимо предусматривать утилизацию тепловых ресурсов, получаемых от установок термической обработки, прежде всего для нужд процессов предварительной обработки осадка, обогрева и горячего водоснабжения зданий очистных сооружений.

9.2.14.53а Решение о применении термической сушки и (или) термической утилизации обезвоженного осадка должно быть детально обосновано при разработке ОТР на основании результатов технико-экономической оценки в сравнении с иными методами утилизации осадка либо его размещении как отхода с учетом в том числе информации о планируемом дальнейшем применении высушенного осадка либо продуктов термической утилизации в качестве как удобрения, сырья для дальнейшей переработки, топлива, так и в иных целях, либо их размещении как отходов, а также с учетом логистической информации. (в ред. Изменения N 3, утв. Приказом Минстроя РФ от 28.12.2023 N 1009/пр)

При определении оптимального решения по сушке либо оптимального решения по термической утилизации осадка следует сопоставлять по вариантам реализации технологий капитальные и эксплуатационные затраты как удельные, на килограмм испаряемой влаги в час с учетом расхода энергии на пусковые периоды в разрезе годовых затрат. Применительно к термической утилизации следует принимать испарение влаги до 0% влажности. (в ред. Изменения N 3, утв. Приказом Минстроя РФ от 28.12.2023 N 1009/пр)

Следует оценить влияние определенных затрат по вариантам с сушкой и (или) термоутилизацией осадка на увеличение тарифа на водоотведение. (в ред. Изменения N 3, утв. Приказом Минстроя РФ от 28.12.2023 N 1009/пр)

Для снижения затрат для выработки греющего теплоносителя для процесса сушки допускается применять системы термоутилизации (пиролиз, сжигание) топлива, произведенного из побочных продуктов сортировки твердых коммунальных отходов, отходов лесопереработки и др. Также допускается использовать для сушки осадка отходящие газы от мини-ТЭС, в том числе работающих на биогазе. (в ред. Изменения N 3, утв. Приказом Минстроя РФ от 28.12.2023 N 1009/пр)

9.2.14.54. Временное (перед дальнейшей обработкой или использованием) хранение обезвоженных осадков следует предусматривать на специально оборудованных площадках или складах с механизацией погрузочно-разгрузочных работ.

9.2.14.55 Допускается захоронение стабилизированного обезвоженного, а также высушенного и термохимически обработанного осадка и золы от его сжигания в специальных инженерных сооружениях захоронения осадка сточных вод. При этом следует предусматривать мероприятия по защите от загрязнения грунтовых и поверхностных вод, атмосферного воздуха и почв. При размещении на полигонах совместно с твердыми бытовыми отходами и (или) промышленными отходами показатели свойств осадка, а также твердых продуктов его термической утилизации должны соответствовать требованиям ГОСТ Р 54535 (применительно к размещению на полигонах) либо требованиям, предъявляемым лицами, эксплуатирующими такие полигоны. (в ред. Изменения N 3, утв. Приказом Минстроя РФ от 28.12.2023 N 1009/пр)

9.2.14.56 Необходимо предусматривать систему дренажа по дну специальных инженерных сооружений захоронения осадка сточных вод с откачкой выделяющегося фильтрата на очистку. (в ред. Изменения N 3, утв. Приказом Минстроя РФ от 28.12.2023 N 1009/пр)

9.2.14.57 При захоронении осадков с зольностью менее 43% следует оборудовать инженерные сооружения захоронения осадка сточных вод системой отбора и утилизации свалочного биогаза. При этом отдельные секции сооружения по захоронению должны заполняться за период времени, не превышающий 3 мес. Захоронение в таких сооружениях осадка с зольностью менее 38% не допускается. (в ред. Изменения N 3, утв. Приказом Минстроя РФ от 28.12.2023 N 1009/пр)

Примечания (в ред. Изменения N 3, утв. Приказом Минстроя РФ от 28.12.2023 N 1009/пр)

1 По результатам вариантных технико-экономических проработок в ОТР допускается многолетнее складирование обезвоженного осадка в накопителях, оборудованных аналогично полигонам захоронения, с последующей утилизацией осадка, демонтажом накопителя и рекультивацией нарушенной территории. (в ред. Изменения N 3, утв. Приказом Минстроя РФ от 28.12.2023 N 1009/пр)

2 Допускается захоронение осадка на специально подготовленной площадке непосредственно в геотубах, в которых он подвергался обезвоживанию. (в ред. Изменения N 3, утв. Приказом Минстроя РФ от 28.12.2023 N 1009/пр)

9.2.14.58. Допускается размещение на площадках очистных сооружений установок по приготовлению почвогрунтов (смесей) с использованием обезвоженных и стабилизированных осадков сточных вод, с добавлением других ингредиентов.

10. Электрооборудование, технологический контроль, автоматизация и системы управления

10.1. Общие указания

10.1.1 Электроснабжение сооружений, входящих в состав системы водоотведения, должно осуществляться от сетей 35, 20, 10 и (или) 0,4 кВ (6 кВ допускается в обоснованных случаях).

10.1.2 Электроснабжение систем водоотведения должно обеспечиваться от двух независимых источников. Необходимость автоматического включения резерва (АВР) должно определяться в проектной документации.

10.1.3 Наложение аварии в системах по сбору, транспортированию и очистке сточных вод и (или) электроснабжения и (или) автоматики учитываться не должно.

10.1.4 Передача и распределение электроэнергии напряжением 0,4 кВ от источников к технологическим объектам, входящим в состав технологического комплекса, должны осуществляться по магистральной схеме ("неразрезная магистраль"). При этом магистраль должна прокладываться открыто (эстакада, галерея, канал, лоток, низкие стойки).

При использовании одной магистрали, она должна конструктивно выполняться шинопроводом или одножильными кабелями, проложенными симметрично дистанцированно один от другого по изоляционным основаниям.

При использовании двух магистралей из многожильных кабелей, они должны быть проложены на расстоянии не менее 1 м или по разным сторонам продольной трудносгораемой перегородки, способной выдерживать без повреждения термодинамический удар, возникающий при коротком замыкании.

10.1.5 Электрооборудование должно быть максимально приближено к соответствующим технологическим установкам, т.е. располагаться в производственных помещениях (в поле видимости). При этом степень защиты (оболочек) по ГОСТ 14254 должна соответствовать среде, указанной в технологической части проекта. Следует избегать расположения электрооборудования в зонах возможного затопления.

Должны быть предусмотрены специальные электропомещения:

- если нет возможности обеспечить электрооборудованию защитную оболочку, соответствующую среде;

- если это требуется по условиям работы оперативного персонала (объект с постоянным присутствием персонала).

Электрооборудование, располагаемое в электропомещениях, доступных только квалифицированному персоналу, должно быть выполнено в виде открытых панелей.

10.1.6 В наземных помещениях с расположенным в них технологическим оборудованием, площадью менее 100 м2 электроосвещение допускается принимать следующих видов:

- общее равномерное рабочее освещение;

- аварийно-эвакуационное с автономным источником электроэнергии;

- ремонтных работ;

- локализованное (в помещениях с площадками обслуживания);

- дежурное (в помещениях площадью более 100 м2).

10.1.7 В подземных помещениях (кроме колодцев) следует предусматривать локализованное освещение светильниками, опускаемыми в помещение на время осмотра и обслуживания. Для опуска светильников допускается использовать входы для обслуживающего персонала или специально предусмотренные проемы. При этом для установки светильников в подземной части должны быть предусмотрены кронштейны. Присоединение светильников к стационарной сети должно быть выполнено гибкими кабелями со штепсельными разъемами (вилка). Ответная часть разъемов (розетка) должна быть установлена на наружной стене наземной части сооружения. Штепсельные разъемы должны иметь исполнение и категорию, соответствующие месту установки. Электробезопасность должна быть обеспечена системой низкого напряжения (СНН) или разделительным трансформатором и в обоих случаях с применением устройства защитного отключения (УЗО).

10.1.8 В колодцах предусматривается местное освещение мобильными источниками света с обеспечением электробезопасности по 10.1.7.

10.1.9 При проектировании освещения помещений вновь строящихся и реконструируемых зданий и сооружений объектов водоотведения, наружного освещения площадок предприятий и мест производства работ вне зданий следует применять СП 52.13330.

10.1.10 Управление электроосвещением помещений должно быть предусмотрено:

- дистанционное из помещения оператора при наличии постоянно присутствующего персонала;

- автоматическое в функции общей освещенности без постоянно присутствующего персонала.

10.1.11 В помещениях площадью более 100 м2 с комбинированным освещением следует устанавливать диммеры. (в ред. Изменения N 3, утв. Приказом Минстроя РФ от 28.12.2023 N 1009/пр)

10.1.12 Объекты на сетях водоотведения должны быть оборудованы молниезащитой.

Примечание - В случае, если в состав электрооборудования объекта входит микропроцессорная техника для целей учета, автоматизированная система управления технологическим процессом (АСУТП), автоматизированная система контроля и учета электропитания (АСКУЭ), автоматическое вводораспределение (АВР), диспетчеризация и т.п., следует предусматривать устройства защиты от вторичных воздействий молнии.

10.1.13 При выполнении проектов электроустановок объектов водоотведения следует обеспечивать по ГОСТ 30331.1, ГОСТ Р 50571.5.52, ГОСТ 17516.1, ГОСТ Р 50571.7.706 и [31]. (в ред. Изменения N 3, утв. Приказом Минстроя РФ от 28.12.2023 N 1009/пр)

10.1.14 В соответствии с классификацией [31] большинство помещений, где расположены электроустановки объектов водоотведения, относятся к помещениям с повышенной опасностью или особо опасным помещениям. (в ред. Изменения N 3, утв. Приказом Минстроя РФ от 28.12.2023 N 1009/пр)

10.1.15 При установке на кровле здания молниеприемников в качестве молниеотводов используются металлоконструкции здания. Для выравнивания потенциала в зоне присоединения молниеприемников к металлоконструкциям здания следует рассматривать решения с использованием арматурных сеток железобетонных конструкций. (в ред. Изменения N 3, утв. Приказом Минстроя РФ от 28.12.2023 N 1009/пр)

10.2 Технологическая часть

10.2.1 Параметры технологического процесса, контрольные точки, точность измерений, диапазон регулирования, условия окружающей среды, необходимость отображения информации (сбор, обработка, хранение информации, обеспечение доступа к ней, ее предоставление, размещение и распространение для государственной информационной системы ЖКХ) на месте измерения и передачу ее на местный диспетчерский пункт следует определять по технологической части проекта. Интерфейс и протокол передачи данных должны быть полностью совместимы с вышестоящим уровнем АСУТП. (в ред. Изменения N 2, утв. Приказом Минстроя РФ от 27.12.2021 N 1023/пр)

Обязательному измерению подлежит расход, значения концентраций загрязняющих веществ и иные параметры сбрасываемой сточной воды, предписанные [37], [38]. (в ред. Изменения N 2, утв. Приказом Минстроя РФ от 27.12.2021 N 1023/пр)

10.2.2 Напряжение сети для присоединения выбираемых приборов должно соответствовать требованиям электробезопасности (ГОСТ Р 50571.7.706).

10.2.3 Присоединение экранов кабелей информационных сетей к системе заземления должно соответствовать техническим решениям, принятым в системе АСУТП.

10.2.4 Применяемые приборы и устройства должны соответствовать климатическому исполнению и категории размещения по ГОСТ 15150, а защитные оболочки - ГОСТ 17516.1 в зависимости от возможных непреднамеренных механических воздействий.

Абзац второй. - Исключен. (в ред. Изменения N 3, утв. Приказом Минстроя РФ от 28.12.2023 N 1009/пр)

10.2.5 Электропроводки для присоединения приборов и устройств к сети должны соответствовать ГОСТ Р 50571.5.52 и обеспечивать максимально возможную эксплуатационную надежность.

10.2.6 Следует применять системы управления электроприводами, поставляемые комплектно с механизмами. (в ред. Изменения N 3, утв. Приказом Минстроя РФ от 28.12.2023 N 1009/пр)

10.2.7 Следует предусматривать для управления механизмами два режима управления: (в ред. Изменения N 3, утв. Приказом Минстроя РФ от 28.12.2023 N 1009/пр)

- местный (в пределах прямой видимости механизма);

- автоматический.

10.2.8 Дистанционный режим допускается применять только при невозможности установки электрооборудования в прямой видимости механизма с места управления. (в ред. Изменения N 3, утв. Приказом Минстроя РФ от 28.12.2023 N 1009/пр)

10.2.9 При дистанционном управлении должен быть предусмотрен предупредительный и/или световой сигнал и выключатель безопасности, устанавливаемый в непосредственной близости от механизма для предотвращения внезапного запуска этого механизма.

10.2.10 Выбор режима управления должен осуществляться со шкафа управления механизма.

10.2.11 Параметр, по которому работает электропривод механизма, должен назначаться с учетом раздела 8 и обеспечивать наибольшую энергоэффективность работы механизма. (в ред. Изменения N 3, утв. Приказом Минстроя РФ от 28.12.2023 N 1009/пр)

10.2.12 При решении варианта регулирования главных насосных агрегатов следует рассматривать возможность сокращения числа резервных и рабочих агрегатов за счет увеличения единичной мощности регулируемых агрегатов и, соответственно, повышения энергоэффективности станции за счет сокращения строительного объема, обогреваемой, вентилируемой и освещаемой кубатуры здания и более высокого КПД агрегатов.

10.2.13 После определения числа основных насосных агрегатов следует принять один из возможных вариантов регулирования:

- один из насосных агрегатов работает с преобразователем частоты (ПЧ), остальные работают прямо от сети или через устройство плавного пуска (ПП);

- каждый насосный агрегат по мере нарастания потока поочередно разгоняется через устройство ПП и при выходе на сетевую частоту переключается на сеть;

- каждый насосный агрегат работает через свой ПЧ.

При выборе варианта следует учитывать:

- энергоэффективность (эксплуатационные затраты в виде дополнительных потерь);

- надежность (эксплуатационные затраты);

- капитальные затраты;

- стоимость жизненного цикла. (в ред. Изменения N 2, утв. Приказом Минстроя РФ от 27.12.2021 N 1023/пр)

10.2.14 Рабочие и резервные агрегаты должны быть присоединены к разным источникам электроэнергии.

10.2.15 Следует предусматривать наличие у электрооборудования очистных сооружений и насосных станций интерфейсных выходов (входов) для связи с АСУТП. (в ред. Изменений N 2, утв. Приказом Минстроя РФ от 27.12.2021 N 1023/пр, N 3, утв. Приказом Минстроя РФ от 28.12.2023 N 1009/пр)

10.3 АСУТП и диспетчеризация

10.3.1 При проектировании систем АСУТП и диспетчеризации следует учитывать требования правил технической эксплуатации систем и сооружений коммунального водоснабжения и водоотведения. Комплексы очистных сооружений поверхностных сточных вод должны быть оснащены системами измерений и регистрации количественных и качественных показателей работы с соответствующим программным обеспечением и возможностью дистанционной передачи полученных результатов мониторинга.

10.3.2 Системы управления технологическими процессами следует применять для всех вновь проектируемых или реконструируемых сооружений независимо от производительности. Автоматизированная система управления технологическими процессами сооружений водоотведения по принципу управления должна быть централизованной, с единым пунктом принятия решений. Систему управления отдельного технологического узла или объекта водоотведения производительностью до 50 тыс. м3/сут допускается выполнять одноуровневой (уровень локального управления) с собственным интеллектуальным узлом управления, решающим задачи локального управления и обеспечивающим связь с уровнем автоматизированного контроля и управления (диспетчерский пункт цеха, станции, предприятия или подразделения ЖКХ). Систему управления объекта, состоящего из нескольких технологических узлов (цехов) следует выполнять двухуровневой с собственным диспетчерским пунктом, оснащенным автоматизированным рабочим местом (АРМ) оператора и линиями связи с локальными узлами. Для объектов, имеющих несколько диспетчерских пунктов, должна применяться трехуровневая система управления с центральным диспетчерским пунктом. При комплектации цехов и станций канализации следует отдавать предпочтение технологическим узлам комплектной поставки с собственными локальными системами управления. Система управления объектом, в этом случае, должна представлять собой сеть передачи данных и узлы автоматизированного и централизованного управления, дополненные, при необходимости уровнем АСУТП (управление технологическим процессом) и АСУП (управление предприятием). При проектировании АСУТП объектов водоотведения необходимо до начала проектирования разработать техническое задание, а в процессе проектирования общесистемные решения: организационную структуру диспетчерского управления; функциональную структуру, т.е. состав автоматизируемых функций управления и алгоритмы решения задач; программное, математическое и информационное обеспечение, т.е. программы выполнения на компьютерах и контроллерах по задачам АСУТП; техническое обеспечение, т.е. комплекс технических средств, необходимых для реализации функций АСУТП. (в ред. Изменений N 2, утв. Приказом Минстроя РФ от 27.12.2021 N 1023/пр, N 4, утв. Приказом Минстроя РФ. от 17.01.2025 N 17/пр)

10.3.3 На объектах водоотведения и очистных сооружениях централизованных систем водоотведения поселений, городских округов I категории НВОС стационарные источники выбросов загрязняющих веществ, сбросов загрязняющих веществ, образующихся при эксплуатации технических устройств, оборудования или их совокупности (установок), виды которых установлены [37], должны быть оснащены автоматическими средствами измерения и учета показателей выбросов загрязняющих веществ и (или) сбросов загрязняющих веществ, а также техническими средствами фиксации и передачи информации о показателях выбросов загрязняющих веществ и (или) сбросов загрязняющих веществ в государственный реестр объектов, оказывающих негативное воздействие на окружающую среду (далее САК) [38]. САК должна проектироваться в отношении маркерных загрязняющих веществ и с учетом применимых положений [26], [27] и [39]. (в ред. Изменения N 2, утв. Приказом Минстроя РФ от 27.12.2021 N 1023/пр)

10.4 Слаботочные системы

10.4.1.-10.4.2. Пункты исключены. (в ред. Изменения N 3, утв. Приказом Минстроя РФ от 28.12.2023 N 1009/пр)

10.4.3 Система должна обеспечивать безотказную, бесперебойную, круглогодичную работу.

10.4.4 Для обеспечения бесперебойной работы системы следует предусматривать установку источника бесперебойного питания (ИБП).

10.4.5 Следует предусматривать передачу сигналов систем пожарной сигнализации в местный диспетчерский пункт (МДП), центральный диспетчерский пункт (ЦДП) и в ближайшее пожарное депо, закрепленное за данной территорией.

10.4.6 Состав и объем проектной документации по пожарной сигнализации должен определяться проектом в соответствии с техническим заданием на проектирование.

10.4.7 На объектах коммунального хозяйства должна быть предусмотрена охранная сигнализация с функциями контроля доступа персонала на объект. (в ред. Изменения N 3, утв. Приказом Минстроя РФ от 28.12.2023 N 1009/пр)

10.4.8 Для обеспечения бесперебойной работы систем сигнализации следует предусматривать установку источника бесперебойного питания (ИБП).

10.4.9 Необходимо предусматривать передачу сигналов систем охранной сигнализации в местный диспетчерский пункт, центральный диспетчерский пункт и/или в службу безопасности объекта.

10.4.10. Пункт исключены. (в ред. Изменения N 3, утв. Приказом Минстроя РФ от 28.12.2023 N 1009/пр)

10.4.11 Состав и объем проектной документации по охранной/охранно-пожарной сигнализации, а также видеонаблюдения, определяются проектом в соответствии с техническим заданием на проектирование.

10.4.12 Состав и объем проектной документации по видеонаблюдению следует определять проектом в соответствии с техническим заданием на проектирование.

11. Требования к строительным решениям и конструкциям зданий и сооружений

11.1. Генплан и объемно-планировочные решения

11.1.1. Выбор площадок для строительства сооружений водоотведения, планировку, застройку и благоустройство их территории следует выполнять в соответствии с технологическими требованиями СП 42.13330, [41] и общими требованиями СП 31.13330. (в ред. Изменения N 2, утв. Приказом Минстроя РФ от 27.12.2021 N 1023/пр)

Планировочные отметки площадок канализационных сооружений и насосных станций, размещаемых на прибрежных участках водотоков и водоемов, следует принимать не менее чем на 0,5 м выше максимального горизонта паводковых вод с обеспеченностью 3% с учетом ветрового нагона воды и высоты наката ветровой волны, определяемой согласно СП 38.13330.

11.1.2. Территория очистных сооружений водоотведения поселений и городских округов, а также промышленных предприятий, располагаемых за пределами промышленных площадок, во всех случаях должна быть ограждена. Тип ограждения необходимо выбирать с учетом местных условий. В необходимых случаях для отдельных сооружений следует предусматривать ограждения в соответствии с правилами техники безопасности.

Поля фильтрации и поглощения допускается не ограждать.

11.1.3. Объемно-планировочные и конструктивные решения зданий и сооружений систем водоотведения следует выполнять согласно СП 44.13330, СП 31.13330 и настоящему разделу.

11.1.4 Здания и сооружения системы водоотведения, канализационные сети как объекты жизнеобеспечения поселений и городских округов необходимо относить к классу сооружений повышенного уровня ответственности КС-3 (по классификации ГОСТ 27751). Для отдельных зданий и сооружений допускается устанавливать класс ответственности КС-2 в том случае, если на них не предусматривается постоянных рабочих мест. Иловые площадки, поля фильтрации и биологические пруды следует относить к классу ответственности КС-1. (в ред. Изменений N 2, утв. Приказом Минстроя РФ от 27.12.2021 N 1023/пр, N 3, утв. Приказом Минстроя РФ от 28.12.2023 N 1009/пр)

Здания и сооружения канализации необходимо принимать не ниже II степени огнестойкости по [41], за исключением иловых площадок, полей фильтрации, биологических прудов, регулирующих емкостей, канализационных сетей и сооружений на них, степень огнестойкости которых не нормируется. (в ред. Изменения N 3, утв. Приказом Минстроя РФ от 28.12.2023 N 1009/пр)

11.1.5. Пункт исключен. (в ред. Изменения N 3, утв. Приказом Минстроя РФ от 28.12.2023 N 1009/пр)

11.1.6. На сооружениях водоотведения необходимо предусматривать бытовые помещения, состав которых определяется в зависимости от санитарной характеристики производственных процессов согласно СП 44.13330.

Группу санитарной характеристики производственных процессов на сооружениях водоотведения поселений и городских округов следует принимать по таблице 20.

Таблица 20

Санитарная характеристика производственных процессов на сооружениях водоотведения

Производственный процесс на сооружениях водоотведения поселений и городских округов Группа санитарной характеристики производственных процессов
Работы на очистных сооружениях, насосных станциях по перекачке сточных вод, сливных станциях, сетях водоотведения, в лабораториях 3
(в ред. Изменения N 2, утв. Приказом Минстроя РФ от 27.12.2021 N 1023/пр)
То же, в хлораторных и на складах хлора 3
То же, в воздуходувных станциях и в ремонтных мастерских
То же, в аппарате управления
Примечание - Работу инженерно-технических работников на канализационных сооружениях следует относить к группам производственных процессов тех участков, которые они обслуживают.

11.1.7. Работы на сооружениях биологической очистки производственных сточных вод по санитарной характеристике приравниваются к работам на очистных сооружениях водоотведения.

Санитарную характеристику работ на сооружениях механической, химической и других методов очистки производственных сточных вод следует принимать в зависимости от состава сточных вод и метода очистки в соответствии с требованиями охраны труда.

Данные для проектирования естественного и искусственного освещений производственных помещений следует принимать согласно СП 52.13330.

11.1.8 Блокирование в одном здании различных по назначению производственных и вспомогательных помещений следует проводить во всех случаях, когда это диктуется условиями планировки участка технико-экономическими соображениями и не противоречит условиям технологического процесса, санитарно-гигиеническим и противопожарным требованиям. (в ред. Изменений N 3, утв. Приказом Минстроя РФ от 28.12.2023 N 1009/пр, N 4, утв. Приказом Минстроя РФ. от 17.01.2025 N 17/пр)

Блокировать прямоугольные емкости сооружений следует во всех случаях, когда это экономически выгодно по условиям технологического процесса и конструктивным соображениям. (в ред. Изменения N 3, утв. Приказом Минстроя РФ от 28.12.2023 N 1009/пр)

11.1.9. Внутреннюю отделку хозяйственных, административных, лабораторных и других помещений в зданиях систем водоотведения следует назначать согласно СП 31.13330, бытовых помещений - согласно СП 44.13330.

11.1.10. Расчет конструкций канализационных емкостных сооружений следует выполнять согласно СП 31.13330.

11.1.11. Антикоррозионная защита строительных конструкций зданий и сооружений должна быть предусмотрена согласно СП 28.13330, СП 31.13330, СП 72.13330.

Необходимо выполнять специальные работы по изоляции подземных сооружений, вмещающих неочищенные сточные воды и осадки, препятствующие попаданию их в грунт.

11.2. Отопление и вентиляция

11.2.1. Необходимый воздухообмен в производственных помещениях в соответствии с СП 60.13330 следует рассчитывать по количеству вредных выделений от оборудования, арматуры и коммуникаций. Количество вредных выделений необходимо принимать по данным технологической части проекта.

При отсутствии таких данных следует использовать данные натурных обследований аналогичных действующих сооружений. Для сооружений, которым нет аналогов, допускается рассчитывать количество воздуха по кратности воздухообмена по таблице 21.

Таблица 21

Значения температуры и кратности воздухообмена для различных зданий и помещений на сооружениях канализации

(в ред. Изменения N 3, утв. Приказом Минстроя РФ от 28.12.2023 N 1009/пр)

Здания и помещения Температура воздуха для проектирования систем отопления, °C Кратность воздухообмена в 1 ч
приток вытяжка
1 Канализационные насосные станции (машинные залы) для перекачки:      
а) бытовых и близких к ним по составу производственных сточных вод и осадка 5 По расчету на удаление теплоизбытков, но не менее 3
б) производственных взрывоопасных сточных вод 5 См. примечание 2
2 Приемные камеры, камеры гашения, камеры переключения 5 10 10
3 Приемные резервуары и помещения решеток насосных станций для перекачки:      
а) бытовых и близких к ним по составу производственных сточных вод и осадка 5 5 5
б) производственных агрессивных или взрывоопасных сточных вод 5 См. примечание 2
4 Воздуходувная станция 5 По расчету на удаление теплоизбытков
5 Здания решеток 5 5 5
6 Биофильтры (аэрофильтры) в зданиях См. примечание 3 По расчету на удаление влаги
7 Аэротенки в зданиях См. примечание 3 По расчету на удаление влаги
8 Метантенки:      
а) насосная станция 5 12 12
  Плюс аварийная 8-кратная, необходимость которой определяется проектом
б) инжекторная, газовый киоск 5 12 12
9 Отделение механического обезвоживания осадка 16 По расчету на влаговыделение
10 Реагентное хозяйство для приготовления раствора:      
а) хлорного железа, сульфата аммония, едкого натра, хлорной извести 16 6 6
б) известкового молока, суперфосфата, аммиачной селитры, кальцинированной соды, флокулянта 16 3 3
11 Склады:      
а) бисульфита натрия 5 6 6
б) извести, суперфосфата, аммиачной селитры (в таре), сульфата аммония, кальцинированной соды, флокулянта 5 3 3
12 Сливная станция в помещении 5 5 5
Примечания
1 При постоянном присутствии в производственных помещениях обслуживающего персонала температура воздуха в них должна быть принята по ГОСТ 12.1.005.
2 Воздухообмен следует принимать по расчету. При отсутствии данных о количестве вредностей, выделяющихся в воздух помещений, допускается определять количество вентиляционного воздуха по кратности воздухообмена основного производства, от которого поступают сточные воды.
3 Температуру воздуха в зданиях биофильтров (аэрофильтров) и аэротенков следует принимать не менее чем на 2 °C выше температуры сточной воды.
4 При размещении в едином производственном помещении воздуходувных станций, цеха механического обезвоживания, реагентного хозяйства и склада реагентов допускается принимать кратность воздухообмена по наименьшему из показателей с устройством местных отсосов. Температуру воздуха для проектирования систем отопления следует принимать наибольшую.
5 В сливных станциях, выполняемых в помещении, следует предусматривать тепловую завесу над воротами для въезда автотранспорта.
6 При направлении вентиляционных выбросов из помещения на очистку от ДПВ объем выбросов следует определять на основании всего объема помещения, вплоть до его перекрытия.

11.2.2. В отделении решеток и приемных резервуаров удаление воздуха следует предусматривать в размере 1/3 из верхней зоны и 2/3 из нижней зоны. В дополнение к этому следует осуществлять отбор наиболее загрязненного воздуха из-под перекрытых каналов сточных вод расходом, обеспечивающим разрежение под перекрытиями.

Кроме того, необходимо предусматривать отсосы от дробилок отбросов (при их применении). (в ред. Изменений N 2, утв. Приказом Минстроя РФ от 27.12.2021 N 1023/пр, N 3, утв. Приказом Минстроя РФ от 28.12.2023 N 1009/пр)

11.2.3 Приточная вентиляция общеобменной вентиляции в помещениях с изолированными (перекрытыми) источниками вредных и дурнопахнущих веществ должна быть на 10% - 30% больше вытяжной вентиляции для исключения возможности накопления загрязняющих веществ. Общеобменную вытяжную вентиляцию и вытяжку из-под перекрытий каналов и от технологического оборудования следует разделять. На каналах здания решеток необходимо организовывать резиновые шторки (опускать ниже минимального уровня воды в канале) для исключения воздушного сообщения с соседними технологическими сооружениями. (в ред. Изменений N 2, утв. Приказом Минстроя РФ от 27.12.2021 N 1023/пр, N 3, утв. Приказом Минстроя РФ от 28.12.2023 N 1009/пр)

11.2.4 Организацию перекрытий открытых емкостных сооружений следует разрабатывать с учетом как одного из критериев минимизации расстояния от зеркала воды до конструкции перекрытий с учетом колебаний уровня и возможного пенообразования. (в ред. Изменений N 2, утв. Приказом Минстроя РФ от 27.12.2021 N 1023/пр, N 3, утв. Приказом Минстроя РФ от 28.12.2023 N 1009/пр)

11.2.5. В помещении механического обезвоживания осадка следует предусматривать мероприятия по исключению попадания порошка флокулянта в систему вентиляции при вытяжке от основного технологического оборудования. (в ред. Изменения N 2, утв. Приказом Минстроя РФ от 27.12.2021 N 1023/пр)

11.2.6. В перекрытых емкостных сооружениях для исключения эмиссии загрязняющих веществ в атмосферу необходимо создавать разряжение. Приток воздуха должен быть меньше вытяжки и компенсироваться за счет неплотностей перекрытия, технологических проемов и других конструктивных элементов, а также за счет дополнительного газообразования в источнике ДПВ (стоки, осадок и т.п.). Минимальный приток и вытяжку следует принимать согласно таблице 21. (в ред. Изменения N 2, утв. Приказом Минстроя РФ от 27.12.2021 N 1023/пр)

12. Дополнительные требования к системам водоотведения в особых природных и климатических условиях

12.1. Сейсмические районы

12.1.1. Конструкции зданий и сооружений необходимо проектировать в соответствии с требованиями СП 14.13330 и СП 31.13330.

12.1.2. При проектировании канализации промышленных предприятий, поселений и городских округов, расположенных в сейсмических районах, следует предусматривать мероприятия, исключающие затопление территории сточными водами и загрязнение подземных вод и открытых водоемов в случае повреждения канализационных трубопроводов и сооружений.

12.1.3. При выборе схем канализации следует предусматривать децентрализованное размещение канализационных сооружений, если это не вызывает значительного усложнения и удорожания работ, а также следует принимать разделение технологических элементов очистных сооружений на отдельные секции.

12.1.4 При благоприятных местных условиях для малых и сверхмалых очистных сооружений следует рассматривать как альтернативный метод естественной очистки сточных вод." (в ред. Изменения N 3, утв. Приказом Минстроя РФ от 28.12.2023 N 1009/пр)

12.1.5. Заглубленные здания необходимо располагать на расстоянии не менее 10 м от других сооружений и не менее 12 наружных диаметров трубопровода от других трубопроводов.

12.1.6. В насосных станциях в местах присоединения трубопроводов к насосам необходимо предусматривать гибкие соединения, допускающие угловые и продольные взаимные перемещения концов труб.

12.1.7. Для предохранения территории канализуемого объекта от затопления сточными водами, а также загрязнения подземных вод и открытых водоемов (водотоков) при аварии необходимо устраивать перепуски (под напором) от сети в другие сети или аварийные резервуары без сброса в водные объекты.

12.1.8. Для коллекторов и сетей безнапорной и напорной канализации следует принимать все виды труб с учетом назначения трубопроводов, требуемой прочности труб, компенсационной способности стыков и результатов технико-экономических расчетов, при этом глубина заложения всех видов труб в любых грунтах не нормируется.

12.1.9. Прочность канализационных сетей необходимо обеспечивать выбором материала и класса прочности труб на основании статического расчета с учетом дополнительной сейсмической нагрузки, определяемой расчетом.

12.1.10. Компенсационные способности стыков необходимо обеспечивать применением гибких стыковых соединений, муфтовых или раструбных соединений, определяемых расчетом.

12.1.11. Напорные трубопроводы следует проектировать согласно СП 31.13330.

12.1.12 Не допускается прокладка коллекторов в насыщенных водой грунтах (кроме скальных, полускальных и крупнообломочных), в насыпных грунтах независимо от их влажности, а также на участках со следами тектонических нарушений. (в ред. Изменения N 3, утв. Приказом Минстроя РФ от 28.12.2023 N 1009/пр)

12.2. Просадочные грунты

12.2.1. Объекты канализации, подлежащие строительству на просадочных, засоленных и набухающих грунтах, следует проектировать согласно СП 21.13330 с учетом СП 66.13330.

12.2.2. При грунтовых условиях II типа по просадочности следует применять при просадках грунтов от собственной массы:

- до 5 см для самотечных трубопроводов - железобетонные и хризотилцементные безнапорные, керамические, полимерные, стеклокомпозитные трубы; то же для напорных трубопроводов - железобетонные напорные, хризотилцементные, полимерные, стеклокомпозитные трубы;

- свыше 5 см для самотечных трубопроводов - железобетонные напорные, хризотилцементные напорные, керамические, полимерные, стеклокомпозитные трубы; то же для напорных трубопроводов - полимерные, стеклокомпозитные, чугунные трубы.

Допускается применение для напорных трубопроводов стальных труб на участках при возможной просадке грунта от собственной массы до 5 см и рабочем давлении свыше 0,9 МПа (9 кгс/см2), а также при возможной просадке свыше 5 см и рабочем давлении свыше 0,6 МПа (6 кгс/см2).

Требования к основаниям под безнапорные трубопроводы в грунтовых условиях I и II типов по просадочности при прокладке трубопроводов открытым и закрытым способами следует определять согласно СП 21.13330 и с учетом СП 249.1325800.

12.2.3. Стыковые соединения железобетонных, хризотилцементных, керамических, полимерных, стеклокомпозитных труб и труб из высокопрочного чугуна на просадочных грунтах со II типом грунтовых условий должны быть податливыми за счет применения эластичных заделок.

При возможной просадке от собственной массы грунта свыше 10 см условие, при котором сохраняется герметичность безнапорного трубопровода вследствие горизонтальных перемещений грунта, определяется выражением (в ред. Изменений N 2, утв. Приказом Минстроя РФ от 27.12.2021 N 1023/пр, N 3, утв. Приказом Минстроя РФ от 28.12.2023 N 1009/пр)

, (19)

где:

- допустимая осевая компенсационная способность стыкового соединения труб, см, принимаемая равной половине глубины щели раструбных труб или длины муфты стыковых соединений;

- необходимая из условия воздействия горизонтальных перемещений грунта, возникающих при просадках его от собственной массы, компенсационная способность стыкового соединения;

- величина оставляемого при строительстве зазора между концами труб в стыке, принимаемая равной 1 см.

Необходимая из условия воздействия горизонтальных перемещений компенсационная способность стыкового соединения , см, определяют по формуле

, (20)

где:

- коэффициент условий работы, принимаемый равным 0,6;

- длина секции (звена) трубопровода, см;

- относительная величина горизонтального перемещения грунта при просадке его от собственной массы;

- наружный диаметр трубопровода, м;

- условный радиус кривизны поверхности грунта при просадке его от собственной массы, м.

Относительную величину горизонтального перемещения , м, определяют по формуле

, (21)

где:

- просадка грунта от собственной массы, м;

- длина криволинейного участка просадки грунта, м, от собственной массы, вычисляемая по формуле

(22)

где:

- величина просадочной толщи, м;

- коэффициент, принимаемый равным для однородных толщ грунтов - 1, для неоднородных - 1,7;

- угол распространения воды в стороны от источника замачивания, принимаемый равным для супесей и лессов - 35°, для суглинков и глин - менее 50°.

Условный радиус кривизны поверхности грунта , м, вычисляется по формуле

. (23)

12.3. Многолетнемерзлые грунты

12.3.1. Общие указания

12.3.1.1. При проектировании оснований под сети и сооружения следует руководствоваться принципами I или II использования многолетнемерзлых грунтов согласно СП 25.13330.

12.3.1.2. Использование грунтов оснований по принципу I следует принимать в случаях, если:

- грунты характеризуются значительными осадками при оттаивании;

- оттаивание грунтов вокруг трубопровода влияет на устойчивость расположенных вблизи зданий и сооружений, строящихся с сохранением основания в мерзлом состоянии.

12.3.1.3. Использование грунтов оснований по принципу II следует принимать в случаях, если:

- грунты характеризуются незначительными осадками на всю расчетную глубину оттаивания;

- здания и сооружения по трассе трубопроводов расположены на расстоянии, исключающем их тепловое влияние, или строятся с допущением оттаивания многолетнемерзлых грунтов в их основании.

12.3.1.4. В расчетных расходах следует учитывать холостой сброс воды для предохранения сетей от замерзания, величина которого определяется теплотехническим расчетом, но допускается не более 20% основного расхода.

12.3.1.5. Систему канализации следует проектировать неполную раздельную (с поверхностным отведением дождевых вод), при этом следует предусматривать максимально возможное совместное отведение бытовых и производственных сточных вод.

12.3.1.6. Способы прокладки трубопроводов в зависимости от объемно-планировочных решений застройки, мерзлотно-грунтовых условий по трассе, теплового режима трубопроводов и принципа использования многолетнемерзлых грунтов в качестве основания следует принимать:

- подземный - в траншеях или каналах (проходных, полупроходных, непроходных);

- наземный - на подсыпке с обвалованием;

- надземный - по опорам, эстакадам, мачтам и другим с устройством пешеходных переходов в поселениях и городских округах при расположении на низких опорах.

В районах со слабыми водонасыщенными грунтами наружные сети канализации следует предусматривать напорными из высокопрочного чугуна и стали.

12.3.1.7. Проектирование способа прокладки трубопроводов и подготовки оснований под них проводят согласно СП 31.13330 с учетом СП 66.13330.

12.3.1.8. Прокладка сетей канализации совместно с сетями хозяйственно-питьевого водопровода допускается только в том случае, когда под канализационные трубы выделен отдельный отсек канала, обеспечивающий отвод сточных вод в аварийный период.

12.3.1.9 При трассировке сетей канализации следует предусматривать присоединение объектов с постоянным выпуском сточных вод к начальным участкам сети. (в ред. Изменения N 3, утв. Приказом Минстроя РФ от 28.12.2023 N 1009/пр)

12.3.1.10. На выпусках из зданий следует предусматривать комбинированную изоляцию труб (теплоаккумулирующую и тепловую).

12.3.1.11 Расстояние от центра смотровых колодцев до зданий и сооружений, возводимых по первому принципу строительства, следует принимать не менее 10 м. Допускается принимать расстояние менее указанного при условии устройства теплоизоляционной подсыпки и (или) теплозащитных экранов из условия сохранения природного температурного состояния грунтов согласно СП 25.13330.2020 (пункт 8.2). (в ред. Изменения N 3, утв. Приказом Минстроя РФ от 28.12.2023 N 1009/пр)

12.3.1.12. Материал труб для напорных сетей канализации следует принимать как для водопроводных сетей. Для самотечных сетей канализации необходимо применять безнапорные трубы из материалов, устойчивых к коррозии и истиранию, не выделяющих веществ, изменяющих химический состав сточной воды. Технические характеристики труб для самотечных сетей канализации должны соответствовать условиям безопасной эксплуатации. (в ред. Изменения N 1, утв. Приказом Минстроя РФ от 23.12.2019 N 839/пр)

12.3.1.13. Уклон тоннелей или каналов должен обеспечивать выпуск аварийных утечек в систему канализации.

При плоском рельефе местности для удаления аварийных утечек допускается предусматривать насосные станции.

12.3.1.14. Для исключения возможного нарушения многолетнемерзлого состояния грунтов в основании зданий выпуски канализации необходимо прокладывать в подземных каналах или надземно для зданий с проветриваемыми подпольями.

12.3.1.15. Устройство открытых лотков в колодцах на сетях канализации не допускается. Для чистки труб следует предусматривать закрытые ревизии.

12.3.1.16. Для предохранения от замерзания трубопроводов канализации следует предусматривать:

- дополнительный сброс в сеть канализации теплой воды (отработанной или специально подогретой);

- сопровождение участков трубопроводов, в наибольшей степени подверженных опасности замерзания, греющим кабелем или теплопроводом.

Выбор мер должен быть обоснован технико-экономическим расчетом.

12.3.2. Очистные сооружения

12.3.2.1. Строительные конструкции зданий и сооружений следует принимать согласно СП 25.13330 и СП 31.13330.

12.3.2.2. Необходимо учитывать низкую самоочищающую способность водных объектов, их полное перемерзание или резкое сокращение расходов в зимний период.

12.3.2.3. Для очистки сточных вод допускается применять биологический, биолого-химический, физико-химический методы. Выбор метода очистки должен быть определен его технико-экономическими показателями, условиями сброса сточных вод в водные объекты, наличием транспортных связей и степенью освоения района, типом населенного места (постоянный, временный), наличием реагентов и т.п.

12.3.2.4. При выборе метода и степени очистки следует учитывать температуру сточных вод, холостые сбросы водопроводной воды, изменения концентрации загрязняющих веществ за счет разбавления.

Среднемесячную температуру сточных вод , °C, при подземной прокладке канализационной сети следует определять по формуле

, (24)

где:

- среднемесячная температура воды в водоисточнике, °C;

- эмпирическое число, зависящее от степени благоустройства населенного места. Для районов застройки без централизованного горячего водоснабжения, = 4 - 5; для районов, с системой централизованного горячего водоснабжения в отдельных группах зданий, = 7 - 9; для районов, где здания оборудованы централизованным горячим водоснабжением, = 10 - 12.

12.3.2.5. Расчетную температуру сточных вод в месте выпуска следует определять теплотехническим расчетом.

12.3.2.6. Биологическую очистку сточных вод следует предусматривать только в искусственных сооружениях.

12.3.2.7 Обработку осадка следует осуществлять в искусственных сооружениях. (в ред. Изменения N 3, утв. Приказом Минстроя РФ от 28.12.2023 N 1009/пр)

12.3.2.8. Намораживание осадка с последующим его оттаиванием необходимо предусматривать в специальных накопителях при производительности очистных сооружений до 3 - 5 тыс. м3/сут. Высота слоя намораживания осадка должна быть не больше глубины сезонного оттаивания.

12.3.2.9 Сверхмалые и малые по мощности очистные сооружения следует предусматривать в закрытых отапливаемых зданиях. Небольшие и выше по мощности очистные сооружения при выполнении мероприятий по защите от промерзания могут располагаться на открытом воздухе с обязательным устройством над ними шатров, проходных галерей и т.п. При этом необходимо предусматривать мероприятия по защите сооружений, механических узлов и устройств от обледенения, ветро- и снегозащитные мероприятия (шатры, навесы, перегородки, проходные галереи между зданиями и сооружениями и т.п.). (в ред. Изменения N 3, утв. Приказом Минстроя РФ от 28.12.2023 N 1009/пр)

12.3.2.10. Очистные сооружения следует применять полной или высокой заводской готовности.

12.3.2.11. Установки физико-химической очистки предпочтительней для вахтовых и временных поселков, отличающихся большой неравномерностью поступления сточных вод, низкой температурой и концентрацией загрязняющих веществ.

12.3.2.12. Технологические процессы перекачки и очистки сточных вод должны быть максимально механизированными и автоматизированными.

12.3.2.13. Санитарно-защитные зоны от канализационных сооружений до границ жилой застройки, общественных зданий и предприятий пищевой промышленности следует принимать максимально допустимыми с учетом соответствующих мероприятий, обеспечивающих сокращение: размещение сооружений с подветренной стороны по отношению к застройке, устройство закрытых сооружений и т.д.

12.4. Подрабатываемые территории

12.4.1. Общие указания

12.4.1.1. При проектировании наружных сетей и сооружений канализации на подрабатываемых территориях необходимо учитывать дополнительные воздействия от сдвижений и деформаций земной поверхности, вызываемых проводимыми горными выработками. Следует предусматривать конструктивные и технологические меры по предупреждению разгерметизации стальных трубопроводов под влиянием подработок.

Назначение мероприятий по защите от воздействий горных выработок следует производить с учетом сроков их проведения под проектируемыми сетями и сооружениями согласно СП 21.13330 и СП 31.13330.

12.4.1.2. На подрабатываемых территориях не допускается размещение полей фильтрации и иловых площадок.

12.4.1.3. Мероприятия по защите безнапорных трубопроводов канализации от воздействий деформирующегося грунта должны обеспечивать сохранение безнапорного режима, герметичность стыковых соединений, прочность отдельных секций.

12.4.1.4. При выборе мероприятий по защите и определению их объемов в разрабатываемом на стадии проектирования горно-геологическом обосновании должны быть дополнительно указаны:

- сроки начала подработок площадки расположения сетей и сооружений канализации, а также отдельных участков внеплощадочных трубопроводов;

- места пересечений трубопроводами линий выхода на поверхность (под наносы) тектонических нарушений, границ шахтных полей и охранных целиков;

- территории возможных образований на земной поверхности крупных трещин с уступами и провалов.

12.4.1.5. Краны, задвижки, вентили, клапаны и другая запорная арматура для подрабатываемых трубопроводов должны применяться только стальные вне зависимости от проектного давления.

12.4.2. Коллекторы и сети

12.4.2.1. Ожидаемые деформации земной поверхности для проектирования защиты безнапорных трубопроводов канализации должны быть заданы:

- на площадях с известным на момент разработки проекта положением горных выработок - от проведения заданных очистных выработок;

- на площадях, где планы проведения выработок неизвестны, - от условно задаваемых выработок по одному наиболее мощному из намечаемых к отработке пластов или выработок на одном горизонте;

- в местах пересечений трубопроводами границ шахтных полей, охранных целиков и линий выхода на поверхность тектонических нарушений - суммарными от выработок в пластах, намечаемых к отработке в ближайшие 5 лет.

При определении объемов мероприятий по защите необходимо принимать максимальные значения ожидаемых деформаций с учетом коэффициента перегрузки согласно СП 21.13330.

12.4.2.2. Для безнапорной канализации применяются трубы из высокопрочного чугуна. Допускается применять керамические, железобетонные, хризотилцементные, стеклокомпозитные и полимерные трубы, а также полимерные, стеклокомпозитные или железобетонные лотки и каналы.

Выбор типа труб необходимо производить в зависимости от состава сточных вод и горно-геологических условий строительной площадки или трассы трубопровода.

Абзац третий. - Исключен. (в ред. Изменения N 3, утв. Приказом Минстроя РФ от 28.12.2023 N 1009/пр)

В проектах следует применять трубы с удлиненными раструбами и долговечными уплотнителями, сохраняющими эластичность в течение полного периода эксплуатации трубопроводов.

12.4.2.3. Для сохранения безнапорного режима в трубопроводе уклоны участков при проектировании продольного профиля необходимо назначать с учетом расчетных неравномерных оседаний (наклонов) земной поверхности исходя из условия

, (25)

где:

- необходимый для сохранения безнапорного режима работы строительный уклон трубопровода;

- наименьший допустимый уклон трубопровода при расчетном наполнении;

- расчетные наклоны земной поверхности на участке трубопровода.

После выбора трассы и основных технических параметров (материал, диаметр) выполняются прогнозный расчет вертикальных и горизонтальных сдвижений грунта на участке подработки и поверочный расчет подрабатываемого трубопровода.

В проектах следует применять трубы с удлиненными раструбами или муфтами с долговечными уплотнителями, сохраняющими эластичность в течение полного периода эксплуатации трубопроводов. (в ред. Изменения N 3, утв. Приказом Минстроя РФ от 28.12.2023 N 1009/пр)

12.4.2.4 При невозможности обеспечивать необходимый уклон безнапорного трубопровода, например, по условиям рельефа местности или в условиях заданной разности отметок начальной и конечной точек проектируемого трубопровода, а также у границ шахтных полей, охранных целиков и тектонических нарушений следует проектировать вакуумный способ транспортирования по приложению И или: (в ред. Изменения N 3, утв. Приказом Минстроя РФ от 28.12.2023 N 1009/пр)

- предусматривать трассу трубопровода в направлении больших уклонов или в зоне меньших ожидаемых наклонов земной поверхности;

- увеличивать диаметр трубопровода;

- уменьшать расчетное наполнение трубопровода;

- предусматривать станции перекачки сточных вод в тот же или другой трубопровод за пределами зоны неблагоприятных наклонов земной поверхности.

Станции перекачки сточных вод необходимо сооружать при строительстве трубопровода, если горные работы намечены на ближайшие пять лет, и непосредственно перед горными работами при более поздних сроках их осуществления.

12.4.2.5. Стыковые соединения труб следует предусматривать податливыми, работающими как компенсаторы, за счет применения эластичных уплотнительных колец и заделок.

Условие, при котором сохраняется герметичность стыковых соединений безнапорного трубопровода, определяется условием

, (26)

где:

- допускаемая (нормативная) осевая компенсационная способность податливого стыкового соединения труб, см:

4 - керамических;

5 - железобетонных раструбных;

6 - хризотилцементных и стеклокомпозитных муфтовых;

- необходимая осевая компенсационная способность стыка, см, определяемая расчетом в зависимости от ожидаемых деформаций земной поверхности и геометрических размеров принимаемых труб;

- величина оставляемого при строительстве зазора между концами труб в стыке, принимаемая не менее 20% .

12.4.2.6. Несущая способность поперечного сечения трубы при растяжении должна удовлетворять условию

, (27)

где:

- максимальное продольное усилие в отдельной секции трубы, вызываемое горизонтальными деформациями грунта;

- максимальное продольное усилие в отдельной секции трубы, вызываемое появлением уступа на земной поверхности.

При несоблюдении условий необходимо:

- применять трубы меньшей длины или другого типа;

- изменять трассу трубопровода, проложив ее в зоне меньших ожидаемых деформаций земной поверхности;

- повышать несущую способность трубопровода устройством в его основании железобетонной постели (ложа) с разрезкой на секции податливыми швами.

12.4.2.7. Разность отметок входного и выходного колодцев дюкера следует назначать с учетом неравномерных оседаний земной поверхности, вызываемых проведением очистных горных выработок.

12.4.2.8. Расстояние между канализационными колодцами на прямолинейных участках трубопроводов канализации в условиях подрабатываемых территорий необходимо принимать не более 50 м.

12.4.2.9. При необходимости пересечения трубопроводом канализации площадей, где возможно образование провалов или локальных трещин с уступами, следует предусматривать напорные участки с надземной прокладкой.

12.4.3. Очистные сооружения

12.4.3.1. Сооружения канализации следует проектировать по жестким и комбинированным конструктивным схемам. Размеры в плане жестких блоков, отсеков должны определяться расчетом в зависимости от величин деформаций земной поверхности и наличия конструктивных мер защиты, в том числе деформационных швов необходимой компенсационной способности.

12.4.3.2. Податливые конструктивные схемы допускаются только для сооружений канализации типа открытых емкостей, не имеющих стационарного оборудования.

12.4.3.3. Сооружения канализации, имеющие стационарное оборудование, следует проектировать только по жестким конструктивным схемам.

12.4.3.4. Сблокированные сооружения канализации различного функционального назначения должны быть разделены между собой деформационными швами.

12.4.3.5. Коммуникационные системы не должны иметь жесткой связи с сооружениями.

Уклоны лотков и каналов следует назначать с учетом расчетных деформаций земной поверхности.

13. Мероприятия по предотвращению образования и выделения дурнопахнущих веществ и распространения запахов от объектов водоотведения (в ред. Изменения N 2, утв. Приказом Минстроя РФ от 27.12.2021 N 1023/пр)

13.1 При проектировании или реконструкции объектов водоотведения следует рассматривать необходимость применения мероприятий по предотвращению выделения и распространения вредных и дурнопахнущих веществ в атмосферном воздухе с применением комплекса мер на основе оценки влияния рассеивания загрязняющих веществ на границе санитарно-защитной зоны, с учетом технических, экономических и социальных факторов и требований ГОСТ Р 58578, а также для реконструируемых объектов - наличия и обоснованности жалоб населения. Для проектируемых объектов следует использовать информацию о выбросах загрязняющих веществ и о наличии запаха по объектам-аналогам. (в ред. Изменения N 3, утв. Приказом Минстроя РФ от 28.12.2023 N 1009/пр)

При принятии решений о необходимости проектирования мероприятий по снижению выброса ДПВ допускается использовать данные периодических (оптимально - в каждый сезон) измерений сероводорода как маркерного вещества согласно [10] в приповерхностном слое на неорганизованных источниках выбросов запаха и в вытяжной системе вентиляции для организованных источников с помощью газоанализаторов с функцией автоматической регистрации в течение не менее 24 ч с частотой измерения не менее одного раза в 15 мин, а также дополнительно данные ольфактометрических измерений, выполненных по ГОСТ Р 58578 (при наличии/возможности проведения таких измерений). (в ред. Изменения N 3, утв. Приказом Минстроя РФ от 28.12.2023 N 1009/пр)

На проектируемых сооружениях допускается использование данных аналогичных объектов, работающих при использовании таких же или подобных технологий. (в ред. Изменения N 3, утв. Приказом Минстроя РФ от 28.12.2023 N 1009/пр)

13.2 При транспортировании и обработке сточных вод необходимо предпринимать мероприятия по снижению выхода дурнопахнущих веществ из сточных вод в атмосферный воздух. К таким мероприятиям относятся: уменьшение точек турбулентного состояния сточных вод и осадков, увеличение степени заполнения вновь проектируемых (реконструируемых) коллекторов до максимально допустимых, минимизация зазора между поверхностью емкостных сооружений и перекрытием, и т.д.

На очистных сооружениях для снижения выбросов ДПВ следует не допускать возникновения в сооружениях очистки сточных вод гидравлических застойных зон, накопления корки из плавающих веществ, не складировать обезвоженный осадок на открытых площадках.

13.3 На проектируемых или реконструируемых очистных сооружениях для снижения выбросов ДПВ в атмосферу необходимо перекрывать все объекты - источники потенциального или действующего загрязнения окружающей среды ДПВ. На очистных сооружениях при необходимости снижения выбросов необходимо перекрывать как минимум: приемные камеры, каналы сточных вод от нее до биореакторов, песколовки, усреднители, камеры загрузки осадка в метантенки и выгрузки из них, уплотнители осадка первичных отстойников и сброженного осадка, ацидофикаторы и комбинированные сооружения, использующие принцип ацидофикации.

При необходимости перекрытия песколовок не следует использовать в них аэрацию.

Необходимость перекрытия первичных отстойников и неаэрируемых зон биореакторов следует обосновывать расчетом концентраций ДПВ на границе СЗЗ. Перекрытие поверхности аэрируемых зон биореакторов (аэротенков) нежелательно ввиду существенного снижения контроля за состоянием аэрационных систем и допускается только при необходимости дополнительного снижения концентрации ДПВ на границе СЗЗ. Перекрытие биореакторов должно предусматривать необходимые люки для размещения (ревизии, демонтажа) оборудования. Рекомендуется обеспечивать возможность частичного или полного демонтажа разборной части перекрытий для замены аэрационной системы.

Абзац исключен. (в ред. Изменения N 3, утв. Приказом Минстроя РФ от 28.12.2023 N 1009/пр)

Под перекрытием сооружений необходимо организовать воздухообмен (вытяжную вентиляцию) с подачей загрязненного воздуха на очистку с расходом, обеспечивающим диапазон концентрации ДПВ, соответствующих эффективности используемого оборудования для очистки выбросов, с учетом условий его применения. (в ред. Изменения N 3, утв. Приказом Минстроя РФ от 28.12.2023 N 1009/пр)

При перекрытии аэротенков объем под перекрытием должен находиться под небольшим отрицательным давлением, для чего расход отбираемого воздуха должен на 10% - 20% превышать расход воздуха, подаваемого в аэротенки.

Перекрытие сооружений в целях борьбы с выбросами с возможностью доступа персонала внутрь перекрытия при работающем сооружении не допускается. (в ред. Изменения N 3, утв. Приказом Минстроя РФ от 28.12.2023 N 1009/пр)

Следует не допускать возникновения образования воздушных застойных зон, в которых могут накапливаться различные взрывоопасные газы, достигая уровней нижнего концентрационного предела взрываемости (НКПВ).

13.4 В качестве материалов для перекрытия могут быть использованы: стеклопластиковые и полимерные элементы, коррозионно-стойкие металлы и сплавы, железобетон. Следует предусматривать защиту железобетона перекрываемых емкостей и их перекрытия (при использовании железобетонных элементов в перекрытии) от биохимической коррозии.

Стеклопластиковые конструкции должны иметь сертификаты, удостоверяющие защиту от корродирующего воздействия (сернокислотная коррозия) внутри и от солнечного УФ-излучения снаружи, полимерные - от солнечного УФ-излучения снаружи.

Перекрытия следует устраивать на небольшом расстоянии от перекрываемой поверхности (с учетом возможного пенообразования и других подобных воздействий), что позволяет минимизировать объемы очищаемого воздуха и повышать эффективность очистки.

Не следует предусматривать перекрытие сооружений конструкциями, проходными для персонала, а также расположение очистных сооружений в зданиях в целях снижения выбросов (не по климатическим причинам). (в ред. Изменения N 3, утв. Приказом Минстроя РФ от 28.12.2023 N 1009/пр)

13.5 При новом строительстве при необходимости перекрытия радиальных первичных отстойников диаметром свыше 33 м следует рассматривать применение конструкций илоскребов с центральным приводом, либо со стационарным приводом у борта. При реконструкции радиальных первичных отстойников диаметром до 40 м включительно при сохранении илоскреба с периферийным приводом следует рассматривать подшивное перекрытие на неподвижных фермах, закрепленных на стенке отстойника (либо на дополнительных конструкциях за ее пределами), расположенных под движущейся фермой илоскреба. Допускается, при обосновании, применение перекрытия только зоны водослива в первичных отстойниках, где выделение ДПВ наиболее интенсивно. (в ред. Изменения N 3, утв. Приказом Минстроя РФ от 28.12.2023 N 1009/пр)

Для снижения объема очищаемых вентиляционных выбросов от первичного отстойника, а также для упрощения конструкции возможно применение плавающих перекрытий из нержавеющей стали при выполнении следующих условий:

- удельная нагрузка на поверхность первичного отстойника должна быть не менее 1,2 м3/м2 при минимальном притоке;

- применяемые песколовки должны предусматривать сбор и удаление плавающих веществ;

- необходимо осуществлять отбор газов, накапливающихся под перекрытием, из лотковой части первичного отстойника.

13.5а В случае невозможности надземной прокладки воздуховодов для забора воздуха от источника ДПВ на газоочистку следует принимать меры по защите воздуховодов от механического повреждения путем прокладки их на глубине не менее 0,5 м, а также по сбору и отведению из них конденсата, для чего следует предусматривать накопительные колодцы с уклоном воздуховода к ним не менее 0,01 с периодической откачкой из них. (в ред. Изменения N 3, утв. Приказом Минстроя РФ от 28.12.2023 N 1009/пр)

13.6 При необходимости и обоснованности снижения выбросов ДПВ следует предусматривать очистку выбросов от производственных помещений, в которых осуществляется грубая механическая очистка, сгущение и обезвоживание осадка, иловых насосных станций, имеющих резервуары, камер загрузки и выгрузки метантенков.

В обязательном порядке следует предусматривать многоступенчатую очистку выбросов от сооружений и оборудования обезвоживания сушки, сжигания, компостирования, закрытых помещений для хранения обезвоженного осадка.

13.7 Для очистки вентиляционных выбросов следует использовать технологии очистки [40] с учетом [26] и [28]. Выбор технологии должен производиться исходя из концентраций сероводорода (при необходимости рассматриваются и другие вещества из перечня ПДВ), их суточных и сезонных колебаний, расхода отводимого (выделяющегося) воздуха, наличия пространства для размещения оборудования, климатических условий эксплуатации и требований по взрывобезопасности оборудования. Методы очистки выбросов, допускаемые как базовые, учитывающие сочетания расходов и загрязненности выбросов (но не учитывающие фактические размеры СЗЗ), приведены в таблице 22. В зависимости от местных условий допускается применение иных методов и их сочетаний. (в ред. Изменения N 3, утв. Приказом Минстроя РФ от 28.12.2023 N 1009/пр)

Таблица 22

Таблица 22 - Методы очистки выбросов, допускаемые как базовые, в зависимости от значений

(в ред. Изменения N 3, утв. Приказом Минстроя РФ от 28.12.2023 N 1009/пр)

Расход загрязненного воздуха, м3/ч Среднесуточные концентрации сероводорода, мг/м3
Низкие (менее 5) Средние (5 - 30) Высокие (30 - 500)
Меньше 1000 Адсорбция Адсорбция (катализаторы + сорбенты повышенной емкости), биофильтры (с доочисткой) Адсорбция (катализаторы + сорбенты повышенной емкости), орошаемые биофильтры (с доочисткой)
Больше 1000 Адсорбция, фотосорбционно-каталитический метод, плазмо-каталитический метод (с предварительной осушкой очищаемого воздуха до относительной влажности ниже 85%) Адсорбция (катализаторы + сорбенты повышенной емкости), абсорбция (химические скрубберы с доочисткой), абсорбция с гомогенным катализом (с доочисткой), фотосорбционно-каталитический метод, орошаемые биофильтры (с доочисткой) Абсорбция (химические скрубберы с доочисткой), абсорбция с гомогенным катализом (с доочисткой), фотосорбционно-каталитический метод (с предочисткой), орошаемые биофильтры (с доочисткой), биоскрубберы (с доочисткой)
(в ред. Изменения N 3, утв. Приказом Минстроя РФ от 28.12.2023 N 1009/пр)
Примечание - Плазмо-каталитические и газоразрядные методы на основе электрических разрядов не должны применяться в условиях возможного достижения в очищаемом воздухе концентраций веществ (в том числе метана) свыше 30% нижнего концентрационного предела взрываемости.

При выборе технологий очистки выбросов следует руководствоваться результатами расчета основных источников выброса ДПВ с определением зоны рассеивания и указанием источников, которые влияют на повышенное содержание ДПВ на указанных направлениях, что позволит определять необходимую эффективность очистки, обеспечивающую соблюдение нормативов на границе СЗЗ. Для выбросов от объектов смешанных (городских) систем водоотведения и схожих с ними по составу загрязняющих веществ сточных вод, в качестве маркерного показателя (характеризующего в целом выделение дурнопахнущих веществ) следует использовать сероводород. (в ред. Изменения N 3, утв. Приказом Минстроя РФ от 28.12.2023 N 1009/пр)

Для очистки воздуха от ДПВ и других вредных веществ допускается применение апробированных технологических решений, основанных на принципах химической, физической, физико-химической, биологической и др. очистки с подтвержденной совокупной эффективностью очистки по сероводороду (как индикаторный показатель выбросов от очистных сооружений) не менее 95% и, как дополнительный способ, по обобщенному показателю "запахи", измеренному методами ольфактометрии, с эффективностью не менее 90%. Эффективность газоочистного оборудования по другим показателям должна сопоставляться с требуемыми степенями очистки, необходимыми для данного объекта.

При необходимости более высокого эффекта очистки по сероводороду следует предусматривать технологическую схему с последовательным пропусканием потока воздуха через две или более основных ступеней очистки, основанного на различных принципах работы.

13.8. В многоступенчатых схемах в качестве предочистки следует выбирать технологии, которые максимально эффективны при работе с высокими концентрациями ДПВ, при этом их эффективность на выходе должна удовлетворять требованиям входных концентраций для последующей технологии. В качестве доочистки выбираются технологии, которые максимально эффективны при работе с несколько более низкими концентрациями ДПВ, чем основная технология, и предназначены для снижения ДПВ до требуемого уровня.

13.9 Следует предусматривать мероприятия по очистке выбросов применительно к линейным объектам водоотведения, для которых СЗЗ не устанавливаются, но происходит выделение ДПВ (перепадные колодцы и вентиляционные киоски самотечных систем водоотведения, камеры гашения напорных трубопроводов) при их размещении в непосредственной близости от застройки, в местах отдыха населения (парки, скверы и т.п.), вблизи крупных транспортных пересадочных узлов и иных объектов, в которых выделение ДПВ может ухудшить состояние городской среды.

Также следует обеспечивать равномерную вентиляцию линейных объектов. При необходимости обеспечивать реконструкцию/установку новых вентиляционных киосков.

На вентиляционных системах водоотводящей сети при отсутствии возможности энергоснабжения допускается применять адсорбционные фильтры, работающие за счет потока воздуха из сети (пассивная вентиляция). При этом не допускается существенное ухудшение воздухообмена на вентилируемых участках.

При доступности энергоснабжения могут быть применены решения по таблице 22. (в ред. Изменения N 3, утв. Приказом Минстроя РФ от 28.12.2023 N 1009/пр)

На насосных станциях для снижения концентрации ДПВ в выбросах следует использовать газоочистное оборудование. (в ред. Изменения N 3, утв. Приказом Минстроя РФ от 28.12.2023 N 1009/пр)

13.10 Применяемые технологии должны исключать попадание в рабочую зону вредных веществ из очищаемого воздуха или веществ, непосредственно участвующих в разложении/удалении ДПВ, характерных для выбранной технологии, либо веществ, образующихся при разложении ДПВ (концентрации в рабочей зоне, указанные в [43], не должны быть превышены). (в ред. Изменения N 3, утв. Приказом Минстроя РФ от 28.12.2023 N 1009/пр)

Необходимо предусматривать систему предварительной механической очистки с фильтрацией воздуха, поступающего на газоочистку, для недопущения механического загрязнения основного технологического оборудования удаления ДПВ, а также попадания в него водяного аэрозоля. Предварительная очистка должна включать в себя стадии фильтрации и каплеотделения. Устройства фильтрации и каплеотделения должны быть выполнены из коррозионно-стойких материалов, не влияющих на газовый состав очищаемого воздуха. При необходимости следует предусматривать осушку воздуха.

Плазмо-каталитические методы на основе электрических разрядов не должны применяться в условиях возможного достижения в очищаемом воздухе концентраций веществ (в том числе метана) свыше 30% НКПВ.

При выборе технологии очистки воздуха на объектах водоотведения необходимо учитывать влажность поступающего на очистку воздуха. Типичные значения относительной влажности воздуха в источниках ДПВ составляют 80% - 100% (при текущих значениях температуры воздуха), что потребует для части технологий применять предварительную осушку воздуха.

13.11. В отдельных случаях для различных источников запаха, в том числе для неорганизованных источников выбросов большой площади, допускается применять распыление веществ, нейтрализующих запах (реакционно-активных веществ) по периметру таких источников.

Приложение А

(в ред. Изменения N 2, утв. Приказом Минстроя РФ от 27.12.2021 N 1023/пр)

Приложение Б

(в ред. Изменения N 2, утв. Приказом Минстроя РФ от 27.12.2021 N 1023/пр)

Приложение В

ОПРЕДЕЛЕНИЕ ПРОИЗВОДИТЕЛЬНОСТИ ОЧИСТНЫХ СООРУЖЕНИЙ ПОВЕРХНОСТНЫХ СТОЧНЫХ ВОД

(в ред. Изменений N 2, утв. Приказом Минстроя РФ от 27.12.2021 N 1023/пр, N 3, утв. Приказом Минстроя РФ от 28.12.2023 N 1009/пр)

В.1. Расчетная производительность очистных сооружений накопительного типа

В.1.1. При проектировании очистных сооружений накопительного типа для определения их производительности следует принимать большее из значений производительности, рассчитанных по дождевому и талому стокам.

В.1.2. Производительность очистных сооружений, рассчитываемую по дождевому стоку, определяют по формуле

, (В.1)

где:

- объем стока от расчетного дождя, м3, отводимого на очистные сооружения по 7.3.1;

- суммарный объем загрязненных вод, образующихся при обслуживании технологического оборудования очистных сооружений в течение нормативного периода переработки объема стока от расчетного дождя, м3;

3,6 - переводной коэффициент;

- нормативный период переработки объема стока от расчетного дождя, отводимого на очистные сооружения, ч;

- суммарная продолжительность технологических перерывов в работе очистных сооружений в течение нормативного периода переработки объема стока от расчетного дождя, отводимого на очистные сооружения, ч;

- минимальная продолжительность отстаивания стока в аккумулирующем резервуаре, ч.

В.1.3 Период опорожнения аккумулирующего резервуара допускается принимать в пределах 2 - 3 сут. В отдельных случаях этот период может быть увеличен на основании достоверных статистически обработанных данных многолетних наблюдений за характером выпадающих дождей и продолжительностью интервалов между дождями (периодов сухой погоды) в конкретной местности. (в ред. Изменения N 3, утв. Приказом Минстроя РФ от 28.12.2023 N 1009/пр)

Продолжительность отстаивания стоков определяется исходя из величины гидравлической крупности выделяемых в аккумулирующем резервуаре частиц механических примесей и гидравлической глубины резервуара при его максимальном расчетном заполнении.

В.1.4 Производительность очистных сооружений, рассчитываемая по талому стоку на основании суточного объема талых вод в середине периода снеготаяния , времени его переработки , минимальной продолжительности предварительного отстаивания , продолжительности технологических перерывов в работе очистных сооружений (например, при промывке фильтров) и запаса производительности для очистки объема загрязненных вод , образующихся при обслуживании технологического оборудования очистных сооружений (загрязненная вода от промывки фильтров, фильтрат от оборудования по обезвоживанию осадков и т.п.) определяется по формуле (в ред. Изменения N 3, утв. Приказом Минстроя РФ от 28.12.2023 N 1009/пр)

, (В.2)

где:

- суточный объем талых вод в середине периода снеготаяния, м3;

3,6 - переводной коэффициент;

- период переработки суточного объема талого стока, ч.

В.1.5. Период переработки максимального суточного объема талых вод следует принимать исходя из климатических характеристик объекта канализования. Для большей части территории Российской Федерации этот период следует принимать:

- при использовании аккумулирующего резервуара только для регулирования расхода отводимых на очистку сточных вод - 24 ч;

- при использовании аккумулирующего резервуара для регулирования расхода и предварительного отстаивания сточных вод - 14 ч.

Период переработки максимального суточного объема талых вод допускается увеличивать на основании расчета при запасе рабочего объема аккумулирующего резервуара.

В.2. Расчетная производительность очистных сооружений проточного типа

В.2.1. Расчетная производительность очистных сооружений проточного типа определяется исходя из требования приема на очистку не менее 70% годового объема поверхностных сточных вод.

Величину периода однократного превышения интенсивности "предельного" дождя , сток от которого полностью направляется на очистные сооружения проточного типа, допускается принимать в пределах 0,05 - 0,2 года в зависимости от годового количества жидких атмосферных осадков для конкретной местности. Для средней полосы Российской Федерации период однократного превышения интенсивности составляет не менее 0,1 года. (в ред. Изменения N 3, утв. Приказом Минстроя РФ от 28.12.2023 N 1009/пр)

В.2.2. При проектировании очистных сооружений проточного типа следует выполнять проверочный расчет производительности очистных сооружений в режиме очистки талого стока, а также учитывать расход притока инфильтрационных и дренажных вод в сеть дождевой канализации.

В.2.3. Применение очистных сооружений проточного типа (в подземном исполнении) для очистки поверхностных сточных вод поселений, городских округов ограничивается производительностью 1000 м3/сут.

Приложение Г

ПОЛУЧЕНИЕ ИСХОДНЫХ ДАННЫХ ДЛЯ РАСЧЕТА ОЧИСТНЫХ СООРУЖЕНИЙ СМЕШАННЫХ (ГОРОДСКИХ) СТОЧНЫХ ВОД ПОСЕЛЕНИЙ

(в ред. Изменения N 2, утв. Приказом Минстроя РФ от 27.12.2021 N 1023/пр)

Г.1. Общие положения

Г.1.1 В качестве источников первичных исходных данных для расчетов в зависимости от ситуации следует использовать, в совокупности:

а) для существующих очистных сооружений (либо существующего потока сточных вод от имеющегося поселения, либо производственного предприятия):

- данные производственного контроля со стороны службы эксплуатации;

- данные инженерных изысканий (отборов и анализов проб, измерений расходов и других параметров);

- информацию о планируемых изменениях в бассейне водоотведения очистных сооружений (его расширение, сужение/разделение, прирост населения, изменения удельного водоотведения и др.) на основе схемы водоотведения, генеральной схемы развития поселения, городского округа; (в ред. Изменения N 3, утв. Приказом Минстроя РФ от 28.12.2023 N 1009/пр)

- существующие либо перспективные, к моменту ввода в эксплуатацию проектируемых сооружений, нормативные требования к составу и общим свойствам очищенных сточных вод и форма их выражения (проба или период, к которому они могут быть отнесены).

Также следует использовать, при необходимости, оценки данных производственного контроля или их недостаточности, косвенные данные (водопотребление в поселении, численность населения и т.д.). (в ред. Изменения N 3, утв. Приказом Минстроя РФ от 28.12.2023 N 1009/пр)

При планировании изменений при реконструкции действующих сооружений технологической схемы и (или) замены оборудования, способных приводить к значительному увеличению или снижению нагрузки по возвратным потокам, поступающим "в голову" сооружений, следует оценочно учитывать данные изменения в исходных данных; (в ред. Изменения N 3, утв. Приказом Минстроя РФ от 28.12.2023 N 1009/пр)

б) для вновь создаваемых очистных сооружений (создаваемого или развиваемого поселения, производственного предприятия):

- генеральную схему развития поселения, городского округа либо инвестиционную программу развития предприятия;

- схему водоотведения (при ее наличии).

В качестве исходных данных для технологических расчетов применительно к существующим очистным сооружениям следует использовать результаты совокупной процедуры сбора, анализа и верификации первичного массива данных, обработки верифицированного массива с получением исходных данных для расчета, изложенных в настоящем приложении.

Все процедуры сбора, анализа и верификации первичного массива данных, обработки верифицированного массива с получением исходных данных для расчета для очистных сооружений по мощности от средних и выше следует проводить в ходе разработки ОТР по ГОСТ Р 70953. (в ред. Изменения N 3, утв. Приказом Минстроя РФ от 28.12.2023 N 1009/пр)

Г.1.2 При обработке исходных данных следует использовать понятие расчетного периода (сезона), что объясняется выраженной динамикой температуры сточных вод. При этом для выделения расчетного периода (периодов) следует обрабатывать весь массив данных, предусмотренных 9.1.2.

Для населенных пунктов обычного типа, а также для зимних курортов в качестве расчетного периода для определения всех параметров очистных сооружений (за исключением потребности в воздухе) следует принимать более холодный сезон (теплый сезон, как правило, характеризуется некоторым снижением притока сточных вод на очистные сооружения). В качестве расчетного сезона для населенных пунктов обычного типа следует принимать три месяца каждого рассматриваемого года, характеризующиеся минимальной температурой поступающих сточных вод (в зависимости от фактических данных по температуре поступающих сточных вод) Если данные по температуре отсутствуют, то допускается принимать в качестве расчетного сезона декабрь - март. (в ред. Изменения N 3, утв. Приказом Минстроя РФ от 28.12.2023 N 1009/пр)

Для летних курортов следует принимать два расчетных периода - летний (два месяца, совокупное, постоянное и временное население в которые максимально) и зимний, принимая к проектированию большие из полученных значений для конкретных сооружений. Решение о необходимости использования двух расчетных периодов следует принимать для поселений, для которых выполняется один из следующих критериев:

- нагрузка по БПК5 в летний период (среднемесячная для месяца с максимальным значением) не менее, чем в 1,3 раза превышает среднюю нагрузку в три зимних месяца, в которые температура сточных вод минимальна;

- численность летнего населения, по сумме постоянного и временного, превышает таковую для трех наиболее холодных месяцев не менее, чем на 30%.

Для определения расчетной потребности в воздухе во избежание нерационального завышения ее производительности для очистных сооружений обычных поселений, начиная с крупных, также следует использовать двух расчетных сезонов - зимнего и летнего. Зимний сезон следует назначать аналогично, а летний принимать по трем месяцам, характеризующимся максимальной температурой поступающих сточных вод. (в ред. Изменения N 3, утв. Приказом Минстроя РФ от 28.12.2023 N 1009/пр)

Г.1.3 Следует использовать для анализа, верификации и обработки, при наличии, следующий набор первичных исходных данных, полученных службой эксплуатации в ходе производственного контроля (не менее, чем за три года, предшествующие сбору данных): (в ред. Изменения N 3, утв. Приказом Минстроя РФ от 28.12.2023 N 1009/пр)

- данные по посуточным притокам сточных вод на очистные сооружения;

- почасовую динамику притока сточных вод на очистные сооружения, взятую для различных дней недели, как рабочих, так и выходных, а также как для дней без осадков, так и с сильными ливнями;

- данные всех выполненных определений, с конкретными датами отбора проб, загрязненности сточных вод, поступающих на очистные сооружения (с четкой идентификацией, производится ли контроль до смешения с возвратными потоками или после) по следующим параметрам: взвешенные вещества, , ХПК, общий азот (при наличии контроля), общий фосфор (при наличии контроля), аммонийный азот (либо аммоний-ион), фосфор фосфатов. Учитывать данные по нитритам и нитратам следует в случае наличия специфических абонентов, осуществляющих сброс сточных вод, содержащих повышенные концентрации данных веществ; (в ред. Изменения N 3, утв. Приказом Минстроя РФ от 28.12.2023 N 1009/пр)

- аналогичные данные по осветленной сточной воде, если на очистных сооружениях эксплуатируются первичные отстойники;

- данные о температуре поступающих сточных вод (или в иной точке контроля), с конкретными датами определения.

При выявлении выраженной динамики показателей расхода и загрязненности поступающих сточных вод (снижение или рост в сумме за три года не менее, чем на 30%, не вызванный теми или иными идентифицированными временными явлениями социально-экономического, климатического и т.п. характера) допускается использовать для получения исходных данных массив первичных данных за последний полный год наблюдений. (в ред. Изменения N 3, утв. Приказом Минстроя РФ от 28.12.2023 N 1009/пр)

Также, в дополнение к указанному, следует получать информацию по работе существующих очистных сооружений с активным илом (вне зависимости от используемой технологии): иловый индекс (данные всех выполненных определений, с конкретными датами отбора проб), как минимум среднеквартальные данные по концентрации активного ила в аэротенках, а также ХПК и взвешенным веществам в очищенной сточной воде.

При разработке проектной документации реконструкции очистных сооружений, работающих по той или иной технологии удаления азота и фосфора, следует получать для анализа фактические (реальные) данные всех выполненных определений с конкретными датами отбора проб и дифференцированно для различных блоков очистных сооружений, по содержанию загрязняющих веществ в очищенной сточной воде после сооружений биологической очистки и после сооружений доочистки, если таковые применяются.

Г.1.4 В рамках инженерных изысканий разработки ОТР по ГОСТ Р 70953 следует осуществлять анализ и верификацию первичных исходных данных производственного контроля поступающих сточных вод с целью подтверждения возможности использования их для выработки расчетных исходных данных либо отклонения. В случае принятия решения о невозможности использования исходных данных производственного контроля следует использовать положения раздела Г.3. (в ред. Изменения N 3, утв. Приказом Минстроя РФ от 28.12.2023 N 1009/пр)

В целях верификации полученных данных следует проводить их анализ и статистическую обработку, в том числе: (в ред. Изменения N 3, утв. Приказом Минстроя РФ от 28.12.2023 N 1009/пр)

- сопоставления нагрузок по загрязняющим веществам на очистные сооружения, кг/сут, полученных расчетным путем (см. раздел Г.3) и определяемых по представленным данным по расходам и концентрациям загрязняющих веществ;

- соотношений концентраций загрязняющих веществ (ХПК/, взвешенные вещества , /общий азот (см. Г.2.5), /фосфор общий и др.) в сопоставлении с соотношениями для этих показателей согласно Г.3; (в ред. Изменения N 3, утв. Приказом Минстроя РФ от 28.12.2023 N 1009/пр)

- разброса данных по каждому из показателей в сравнении с нормальным статистическим распределением (кроме общесплавных систем водоотведения), а также ошибкой анализа (включая пробоотбор). (в ред. Изменения N 3, утв. Приказом Минстроя РФ от 28.12.2023 N 1009/пр)

В качестве критериев, указывающих на низкую достоверность либо подлинность данных, следует отмечать:

- отсутствие данных по конкретным дням отбора проб, с предоставлением только среднемесячных данных или средних данных за большие промежутки времени;

- значительные (свыше 40%) расхождения между указанными соотношениями концентраций загрязняющих веществ по данным производственного контроля и по Г.3, аналогично - для нагрузок по загрязняющим веществам;

- разброс индивидуальных результатов производственного контроля в узких диапазонах, наличие близких либо повторяющихся значений. (в ред. Изменения N 3, утв. Приказом Минстроя РФ от 28.12.2023 N 1009/пр)

Следует сопоставлять фактические данные по притоку на очистные сооружения (или другой проектируемый объект) с данными по объемам водопотребления в данном бассейне водоотведения (вода, поданная абонентам, а также полученная ими от других источников водоснабжения). При наличии существенных (свыше 25%) расхождений следует проанализировать их возможные причины.

При выявлении значимых несоответствий следует:

- проанализировать методологию измерения расхода поступающих сточных вод и (или) аналитического контроля концентраций загрязняющих веществ;

- провести обсуждение полученных результатов со службами эксплуатации в целях получения дополнительной информации;

- принять решение о возможности/невозможности использования данных эксплуатации для получения исходных данных для проектирования. (в ред. Изменения N 3, утв. Приказом Минстроя РФ от 28.12.2023 N 1009/пр)

Г.2. Получение исходных данных в условиях достаточного верифицированного массива исходной информации производственного контроля

Г.2.1 Верифицированный массив первичных данных по расходам сточных вод следует подвергать следующей универсальной обработке (приведено для максимального объема доступных данных): (в ред. Изменения N 3, утв. Приказом Минстроя РФ от 28.12.2023 N 1009/пр)

- получение исходных данных по суточным расходам по году в целом: суточный расход (приток) сточных вод, м3/сут: средний, 85-го процентиля и максимальный расход за три года (расход 99,7-го процентиля). Также для поверочных расчетов вторичных отстойников и сооружений доочистки следует определять расходы 97-го и 99-го процентилей; (в ред. Изменения N 3, утв. Приказом Минстроя РФ от 28.12.2023 N 1009/пр)

- получение аналогичных исходных данных по суточным расходам в расчетный период (каждый из двух периодов);

- получение максимального фактического часового расхода (при развернутых данных по часовым притокам), м3/ч, либо значения коэффициента часовой неравномерности (при фрагментарных данных по часовым притокам).

Величину коэффициента часовой неравномерности при фрагментарных (не более месяца) данных измерений часовых притоков следует принимать по максимальному из значений, рассчитанных на основании измеренных часовых расходов.

При подаче сточных вод на очистные сооружения насосной станцией (станциями) в качестве максимального часового притока следует использовать совокупную подачу насосов, отмеченную за последние три года при максимальных притоках сточных вод, принятую по данным о работе насосов насосной станции (станций). При отсутствии на насосной станции контроля расхода подаваемых сточных вод подачу каждого из работавших насосов следует принимать по данным на его рабочей точке. Полученные данные по максимальному часовому притоку следует корректировать с учетом прогнозируемых изменений в бассейне данной насосной станции (станций) согласно Г.2.2. (в ред. Изменения N 3, утв. Приказом Минстроя РФ от 28.12.2023 N 1009/пр)

Г.2.2. Значения фактических исходных данных по суточным притокам следует скорректировать для учета прогнозируемых изменений в бассейне водоотведения очистных сооружений (Г.1.1) по формуле

, (Г.1)

где

- значение прогнозируемого расчетного расхода, м3/сут;

- фактическое значение расхода сточных вод, принимаемого в систему водоотведения от всех абонентов, определяемое по данным абонентской службы организации, эксплуатирующей централизованную систему водоотведения;

- актуальная численность канализованного населения в бассейне водоотведения очистных сооружений, тыс. жителей, в том числе с учетом изменения границ этого бассейна; (в ред. Изменения N 3, утв. Приказом Минстроя РФ от 28.12.2023 N 1009/пр)

- прогнозная численность канализованного населения в бассейне водоотведения очистных сооружений согласно генеральному плану развития, тыс. жителей, в том числе с учетом изменения границ этого бассейна; (в ред. Изменения N 3, утв. Приказом Минстроя РФ от 28.12.2023 N 1009/пр)

- фактическое средневзвешенное расчетное удельное водоотведение, л/сут на одного жителя, определяемая по данным абонентской службы организации, эксплуатирующей централизованную систему водоотведения; (в ред. Изменения N 3, утв. Приказом Минстроя РФ от 28.12.2023 N 1009/пр)

- прогнозируемое средневзвешенное расчетное удельное водоотведение на расчетный период, л/сут на одного жителя; (в ред. Изменения N 3, утв. Приказом Минстроя РФ от 28.12.2023 N 1009/пр)

- неорганизованный приток в систему водоотведения (разница между измеренным притоком на очистные сооружения и суммарным водоотведением всех абонентов в бассейне водоотведения), м3/сут;

- прогнозируемый неорганизованный приток в систему водоотведения на расчетный период, м3/сут;

- сумма прогнозируемых дополнительных притоков в бассейне водоотведения (расходы производственных сточных вод от новых абонентов, технологические потоки, образующиеся при эксплуатации сооружений водоснабжения и водоотведения и т.п.); (в ред. Изменения N 3, утв. Приказом Минстроя РФ от 28.12.2023 N 1009/пр)

- сумма прогнозируемой убыли источников сточных вод в бассейне водоотведения (расходы производственных сточных вод от закрываемых предприятий, сокращение технологических потоков, образующихся при эксплуатации сооружений водоснабжения и водоотведения, и т.п.). (в ред. Изменения N 3, утв. Приказом Минстроя РФ от 28.12.2023 N 1009/пр)

Не допускается при учете прогнозируемых изменений в бассейне водоотведения принимать в качестве подтверждения прогнозного изменения численности населения поселения предполагаемую численность населения строящихся жилых комплексов (ввод и заселение таких комплексов - составная часть социально-экономической и демографической ситуации в поселениях наряду со сносом ветхого жилья, негативными компонентами демографического баланса и т.п.).

Рост удельной нормы водоотведения допускается принимать только на основе детального ретроспективного анализа этого показателя в поселении и аргументов, подтверждающих обоснованность такого прогноза. Не допускается принимать рост нормы водоотведения в поселениях, в которые осуществляется подача воды по графику, если при этом фактическая норма водопотребления соответствует СП 31.13330.2012 (пункт 5.2). Также не следует использовать как информацию о приросте притока сточных вод на очистные сооружения суммированные данные по выданным техническим условиям на присоединение к системам водоотведения. (в ред. Изменения N 3, утв. Приказом Минстроя РФ от 28.12.2023 N 1009/пр)

Г.2.3 Для расчета сооружений следует использовать релевантные величины расхода, соответствующие принятой системе нормирования качества очищенной сточной воды и используемой методике расчета. (в ред. Изменения N 3, утв. Приказом Минстроя РФ от 28.12.2023 N 1009/пр)

Для расчета нагрузки на поверхность вторичных отстойников, обеспечивающей качество очистки по среднегодовому значению в технологических схемах без применения доочистки от взвешенных веществ, следует использовать величину максимального часового расхода в сутки с притоком 85-го процентиля, определенного в целом по году, имея в виду соблюдение норматива в составной пробе в данные сутки и при всех значениях нагрузки ниже указанного процентиля. Для расчета максимальной нагрузки на поверхность вторичных отстойников в технологических схемах без применения доочистки от взвешенных веществ, обеспечивающей качество очистки с учетом требований приложения Д, следует использовать величину максимального часового расхода в сутки с расчетным максимальным притоком, определенного в целом по году. (в ред. Изменения N 3, утв. Приказом Минстроя РФ от 28.12.2023 N 1009/пр)

Здесь и далее под средним за год или расчетный период подразумевается среднее значение из трех величин соответствующего процентиля, определенных для каждого из трех лет, по которым обрабатываются первичные исходные данные.

Для систем илоудаления и рециркуляции возвратного ила в качестве релевантного расчетного расхода следует принимать расчетный максимальный часовой расход в целом по году.

Для технологического расчета первичных отстойников следует использовать среднечасовое значение расхода в сутки 85-го процентиля. (в ред. Изменения N 3, утв. Приказом Минстроя РФ от 28.12.2023 N 1009/пр)

Расчетный максимальный расход на сооружения доочистки допускается определять с возможным байпасом части потока. Допустимый расход байпаса следует определять расчетом на основе эксплуатационных характеристик установок доочистки с тем, чтобы максимальные расчетные значения концентраций загрязняющих веществ в смеси потока доочищенной воды и байпасного потока не превышали произведения технологических показателей НДТ для данных очистных сооружений на соответствующие значения повышающих коэффициентов к среднегодовым значениям технологических показателей НДТ для очистных сооружений смешанных (городских) сточных вод, учитывающих различные факторы неравномерности, приведенные в приложении Д.

Г.2.4 При получении расчетных величин концентраций загрязняющих веществ в поступающих сточных водах в качестве базовых следует использовать массивы значений массовых нагрузок по загрязняющим веществам, перечисленным в Г.1.3 (кг/сут, т/сут) BXXdim, определяемых как произведение расхода сточных вод в конкретные сутки на концентрацию данного загрязняющего вещества в пробе, отобранной в эти сутки. Далее на основании данных массивов следует получать расчетные значения массовых нагрузок, являющиеся средними значениями за три года (или другой выбранный период) величинами 85-го процентиля, если по данному показателю за каждый год имеется более 100 значений 87-го процентиля, если число значений менее 100 и более 40, если число значений за каждый год менее 40 и 95-го процентиля - если оно менее 15. Расчетные нагрузки по соединениям азота и фосфора следует получать с использованием Г.2.5. (в ред. Изменения N 3, утв. Приказом Минстроя РФ от 28.12.2023 N 1009/пр)

Для расчета процессов нитрификации и денитрификации следует использовать синхронные (отобранные в одной пробе) данные по взвешенным веществам, и азоту.

При получении прогнозных расчетных данных на перспективу с учетом изменений в бассейне водоотведения (включая демографическое развитие поселения) и (или) изменения в технологии очистных сооружений, ведущие за собой существенные изменения в возвратных потоках (если возвратные потоки поступают в основной поток сточной воды до точки контроля качества поступающих сточных вод), прогнозируемую (расчетную) нагрузку следует определять как сумму результатов наблюдений с планируемой разницей нагрузок, по формуле

, (Г.2)

где

- общая прогнозируемая (расчетная) нагрузка по загрязняющему веществу XX на входе на ОС (включающая возвратные потоки);

- нагрузка по загрязняющему веществу XX, определенная по результатам достоверных наблюдений либо при отсутствии возможности их выполнить - расчетное значение;

- прогнозируемая (расчетная) нагрузка по загрязняющему веществу XX, ожидаемая после реализации точечных изменений в бассейне водоотведения (дополнительных планируемых внешних нагрузок), а также изменений в технологии очистки сточных вод и обработки осадка, в том числе:

- подключения других бассейнов водоотведения поселений;

- прогнозируемые новые массовые нагрузки от промышленных предприятий и иных планируемых абонентов, не включающие в себя хозяйственно-бытовые сточные воды;

- завоз жидких отходов (как бытовых, так и производственных) от неканализованных объектов на сливные пункты;

- прием оговоренного количества загрязняющих веществ, относящихся к технологически нормируемым показателям от производственных предприятий по договору (согласно [4]);

- прием водопроводного осадка или снега в систему городской канализации;

- дополнительные проектируемые нагрузки в бассейне канализования или дополнительные нагрузки, связанные с подключением новых бассейнов канализования.

Если возвратные потоки поступают в основной поток сточной воды после точки контроля качества поступающих сточных вод, прогнозируемую (расчетную) нагрузку следует определять, как сумму результатов наблюдений с планируемой нагрузкой по возвратным потокам, по формуле

. (Г.3)

При подаче возвратных потоков в аэротенки аналогичное суммирование нужно производить с учетом точки их подачи в технологической схеме очистки сточных вод.

Расчетные концентрации загрязняющих веществ на следующем шаге определяются как отношение расчетных (прогнозных) значений массовых нагрузок к расчетному (прогнозному) суточному значению расхода сточных вод 85-го процентиля.

Вышеописанные процедуры следует выполнять раздельно для каждого из расчетных сезонов, на массивах первичных данных, соответствующих их календарным периодам.

Г.2.5 Для расчетов сооружений с удалением азота и фосфора следует использовать только исходные данные по концентрации в сточных водах общего азота и общего фосфора. При отсутствии фактических данных по наличию первичных исходных данных по общему азоту и общему фосфору их следует определять расчетным путем на основании данных по аммонийному азоту (аммоний-иону) и фосфору фосфатов. Для этого необходимо учитывать содержание азота и фосфора во взвешенных веществах и содержание органического азота и органического фосфора в поступающих сточных водах. (в ред. Изменения N 3, утв. Приказом Минстроя РФ от 28.12.2023 N 1009/пр)

При соотношениях концентраций загрязнений /азот аммонийный, взвешенные вещества/, ХПК/, соответствующих таблице Г.1 в пределах +/- 10%, допускается использовать следующие коэффициенты пересчета: для азота аммонийного в общий азот 1,15 - 1,4, а для фосфора фосфатов в общий фосфор - 1,6 - 2, при этом большие значения коэффициентов следует принимать при малом времени транспортирования сточных вод на очистные сооружения, а меньшие - при большом времени (большая протяженность сетей, малое наполнение коллекторов и т.п.). При отличающихся соотношениях концентраций общих форм биогенов в сточной воде, поступающей на ОС, и могут быть определены по формулам: (в ред. Изменения N 3, утв. Приказом Минстроя РФ от 28.12.2023 N 1009/пр)

, (Г.4) (в ред. Изменения N 3, утв. Приказом Минстроя РФ от 28.12.2023 N 1009/пр)

, (Г.5) (в ред. Изменения N 3, утв. Приказом Минстроя РФ от 28.12.2023 N 1009/пр)

где - расчетная концентрация аммонийного азота, мг/л; (в ред. Изменения N 3, утв. Приказом Минстроя РФ от 28.12.2023 N 1009/пр)

_ расчетная концентрация фосфора фосфатов, мг/л; (в ред. Изменения N 3, утв. Приказом Минстроя РФ от 28.12.2023 N 1009/пр)

- расчетная концентрация взвешенных веществ, мг/л; (в ред. Изменения N 3, утв. Приказом Минстроя РФ от 28.12.2023 N 1009/пр)

- концентрация растворенного органического азота, которую для городских сточных вод допускается принимать равной 2 мг/л; (в ред. Изменения N 3, утв. Приказом Минстроя РФ от 28.12.2023 N 1009/пр)

- концентрация полифосфатов и фосфора, содержащихся в растворенном органическом веществе, для поступающих городских сточных вод. Ее допускается принимать равной 0,7 мг/л; (в ред. Изменения N 3, утв. Приказом Минстроя РФ от 28.12.2023 N 1009/пр)

и - коэффициенты, соответствующие удельным величинам общего азота и общего фосфора в составе взвешенных веществ, г/г. (в ред. Изменения N 3, утв. Приказом Минстроя РФ от 28.12.2023 N 1009/пр)

Наряду с этими коэффициентами, при расчете концентраций загрязнений в осветленной сточной воде следует использовать и - коэффициенты, соответствующие удельным величинам и ХПК взвешенных веществ. (в ред. Изменения N 3, утв. Приказом Минстроя РФ от 28.12.2023 N 1009/пр)

Стандартные значения данных коэффициентов для вышеуказанных соотношений основных загрязняющих веществ могут быть приняты равными - 0,4, - 0,035, - 0,012, - 1,2. (в ред. Изменения N 3, утв. Приказом Минстроя РФ от 28.12.2023 N 1009/пр)

В случаях, когда сточная вода характеризуется высоким соотношением взвешенных веществ к БПК5, превышающим 1,3, при близких к нормальным (относительно данных таблицы Г.1) соотношениях /измеренный общий азот (или /аммонийный азот) и /измеренный общий фосфор (или /фосфор фосфатов), а также при том, что фактическая нагрузка по на ОС ближе к расчетной, полученной по формуле (Г.11), чем фактическая нагрузка по взвешенным веществам к расчетной для этого параметра, следует в ходе разработки ОТР по ГОСТ Р 70953 предусматривать определение уточненных значений коэффициентов , , на основе дополнительных данных производственного контроля или экспериментальных определений. (в ред. Изменения N 3, утв. Приказом Минстроя РФ от 28.12.2023 N 1009/пр)

При наличии на реконструируемом объекте нормально работающих первичных отстойников, из которых производится регулярное регламентное удаление образовавшегося осадка, следует в ходе разработки ОТР по ГОСТ Р 70953 предусматривать определение взвешенных веществ, , БПКполн, ХПК, общего азота и общего фосфора для пары проб - поступающей сточной воды и осветленной, отобранной через промежуток времени, соответствующий примерному времени пребывания сточной воды в отстойниках в данный момент (величины БПКполн могут понадобиться при уточнении расчета системы аэрации). Такие определения следует проводить минимум трехкратно в различные дни недели, не характеризующиеся паводковым притоком или иными нетипичными событиями. На основании полученных данных уточненные значения определяются по формуле (в ред. Изменения N 3, утв. Приказом Минстроя РФ от 28.12.2023 N 1009/пр)

, (Г.6) (в ред. Изменения N 3, утв. Приказом Минстроя РФ от 28.12.2023 N 1009/пр)

где - в осветленной сточной воде, (в ред. Изменения N 3, утв. Приказом Минстроя РФ от 28.12.2023 N 1009/пр)

и по аналогичным формулам - для , . (в ред. Изменения N 3, утв. Приказом Минстроя РФ от 28.12.2023 N 1009/пр)

При отсутствии на очистных сооружениях нормально работающих первичных отстойников для уточнения исходных данных по осветленной воде следует предусматривать в ходе разработки ОТР по ГОСТ Р 70953 проведение лабораторного исследования загрязненности сточной воды, с определением (серией не менее трех повторений в различные дни с учетом приведенных выше указаний) в одной пробе взвешенных веществ, ХПК, , БПКполн, общего азота и общего фосфора как во взболтанной, так и в фильтрованной пробах. По результатам таких определений уточненные значения определяются по формуле (в ред. Изменения N 3, утв. Приказом Минстроя РФ от 28.12.2023 N 1009/пр)

, (Г.7) (в ред. Изменения N 3, утв. Приказом Минстроя РФ от 28.12.2023 N 1009/пр)

где - в фильтрованной сточной воде, (в ред. Изменения N 3, утв. Приказом Минстроя РФ от 28.12.2023 N 1009/пр)

и по аналогичным формулам - для , , . (в ред. Изменения N 3, утв. Приказом Минстроя РФ от 28.12.2023 N 1009/пр)

При отсутствии возможности проведения описанных исследований стока значения рассматриваемых коэффициентов допускается определять по формулам: (в ред. Изменения N 3, утв. Приказом Минстроя РФ от 28.12.2023 N 1009/пр)

; (в ред. Изменения N 3, утв. Приказом Минстроя РФ от 28.12.2023 N 1009/пр)

; (Г.8) (в ред. Изменения N 3, утв. Приказом Минстроя РФ от 28.12.2023 N 1009/пр)

. (в ред. Изменения N 3, утв. Приказом Минстроя РФ от 28.12.2023 N 1009/пр)

При использовании данных формул следует оценивать корректность результата проводимых определений . (в ред. Изменения N 3, утв. Приказом Минстроя РФ от 28.12.2023 N 1009/пр)

Г.2.6. Значения температуры сточных вод для расчета биологических процессов следует принимать:

- минимальную среднемесячную (для расчета биореакторов для холодного сезона) - как среднее за три года наблюдений значение средней температуры за месяц, за три месяца с минимальным ее значением;

- среднюю за период с максимальным значением (для расчета биореакторов на летний период) - как минимальное значение за три года наблюдений значение средней температуры за три месяца каждого года, имеющие максимальные значения температуры;

- максимальную среднемесячную (для расчета аэрационной системы) - как максимальное среднемесячное значение за три года наблюдений.

Г.2.7 В связи с тем, что для органической нагрузки (по ), как правило, характерны более резкие колебания, чем для азота, для получения актуальных расчетных параметров процесса денитрификации допускается использовать иные релевантные значения величин и взвешенных веществ - и ,, которые должны относиться к минимально допустимому соотношению (в данном случае релевантной является не максимальная, а минимальная расчетная величина). Для определения этой величины следует рассчитывать для каждой пробы из верифицированного массива первичных данных за три года наблюдений соотношения (при отсутствии данных по общему азоту), следует определять его значение расчетным путем по Г.2.5. Обрабатывая массив соотношений следует получать значение данного соотношения 30-го процентиля (т.е. значение, ниже которого только 30% величин ) - . (в ред. Изменения N 3, утв. Приказом Минстроя РФ от 28.12.2023 N 1009/пр)

Значение , используемое для расчетов процессов удаления азота , следует определять по формуле

, (Г.9)

где - расчетная величина концентрации общего азота.

Соответствующая величина концентрации взвешенных веществ определяется как

. (Г.10)

Г.2.8. Пункт исключен. (в ред. Изменения N 3, утв. Приказом Минстроя РФ от 28.12.2023 N 1009/пр)

Г.3. Получение исходных данных в условиях недостаточного массива исходной информации производственного контроля либо полного отсутствия массива исходных данных

Г.3.1. При отсутствии на момент подготовки к проектированию потока сточных вод как такового либо достаточного массива верифицированных данных по нему исходные данные для проектирования следует получать расчетным путем.

Следует использовать общий алгоритм получения исходных данных, описанный в Г.2 (определение расходов, определение расчетных нагрузок по загрязнениям, определение концентраций), но с использованием указанных ниже источников данных. (в ред. Изменения N 3, утв. Приказом Минстроя РФ от 28.12.2023 N 1009/пр)

Г.3.2 Среднесуточный расход (приток) сточных вод следует определять по 5.1.1 - 5.1.5. Максимальный расчетный суточный приток сточных вод на очистные сооружения следует определять, как произведение среднесуточного (за год) расхода, определенного в соответствии с 5.1.1 - 5.1.5 на значение коэффициента суточной неравномерности, принимаемого согласно СП 31.13330, и на дополнительный коэффициент неравномерности, учитывающий поступление неорганизованного притока в сильные ливни и паводки. Данный коэффициент допускается принимать равным 1,15 - 1,3 в зависимости от местных условий (состояние сетей, глубина заложения относительно уровня грунтовых вод и т.п.). (в ред. Изменения N 3, утв. Приказом Минстроя РФ от 28.12.2023 N 1009/пр)

Суточный расход 85-го процентиля допускается принимать как 0,75 - 0,85 от (в зависимости от доли неорганизованного притока в максимальном притоке). (в ред. Изменения N 3, утв. Приказом Минстроя РФ от 28.12.2023 N 1009/пр)

Значение коэффициента часовой неравномерности притока следует принимать в соответствии с СП 31.13330, с умножением полученного значения на дополнительный коэффициент неравномерности, учитывающий неорганизованный приток в систему водоотведения дождевых и дренажных вод. Данный коэффициент применительно к часовой неравномерности может быть принят равным 1,1 - 1,15.

На существующих объектах, на которых отсутствует штатное измерение расхода сточных вод, поступающих на очистные сооружения, следует предусматривать в ходе разработки ОТР по ГОСТ Р 70953 проведение как минимум в течение нескольких суток измерения расхода сточных вод, подаваемых (поступающих) на очистные сооружения с использованием накладных расходомеров, других измерительных устройств или по энергопотреблению насосов, с обязательным контролем давления в напорном трубопроводе. (в ред. Изменения N 3, утв. Приказом Минстроя РФ от 28.12.2023 N 1009/пр)

Абзац пятый. - Исключен. (в ред. Изменения N 3, утв. Приказом Минстроя РФ от 28.12.2023 N 1009/пр)

Г.3.3 Значения нагрузок по загрязняющим веществам (расчетную нагрузку на очистные сооружения) при отсутствии фактических данных следует определять на основе численности жителей, проживающих по данным органа государственной статистики в канализуемом населенном пункте (пунктах), и прогнозной доле населения, которая будет обеспечена услугой водоотведения на расчетный период. Следует также учитывать нагрузку от временного населения, для курортов - для пикового и низкого сезонов. (в ред. Изменения N 3, утв. Приказом Минстроя РФ от 28.12.2023 N 1009/пр)

Общую расчетную нагрузку по загрязняющим веществам на ОС следует определять как сумму нагрузки от жителей и нагрузки от промышленных предприятий населенного пункта (не включающих в себя отдельно отводимые от них хозяйственно-бытовые сточные воды), а также внутренних рециркуляционных потоков на ОС. Расчетную нагрузку по загрязняющему веществу XX (трактуемую как величину 85-го процентиля) следует определять по формуле (в ред. Изменения N 3, утв. Приказом Минстроя РФ от 28.12.2023 N 1009/пр)

, (Г.11

где:

- нагрузка от жителей, кг/сут;

- суммарная нагрузка от промышленных предприятий населенного пункта, кг/сут;
- суммарная нагрузка от возвратных потоков на очистных сооружениях.

Нагрузка от жителей определяется по формуле

, (Г.12)

где:

N - фактическая численность населения населенного пункта (т.е. численность постоянного и временного населения);

- удельная нагрузка по загрязняющему веществу XX от одного жителя, по таблице Г.1, аналогично определяется для всех показателей загрязненности, приведенных в таблице Г.1.

При наличии сливных пунктов общая нагрузка по загрязняющим веществам от населения рассчитывается как сумма произведений по формуле (Г.12) для канализованных и неканализованных жителей соответственно, с учетом примечания 2 к таблице Г.1. (в ред. Изменения N 3, утв. Приказом Минстроя РФ от 28.12.2023 N 1009/пр)

Таблица Г.1

Количество загрязняющих веществ, приходящихся на одного жителя

Показатель Количество загрязняющих веществ на одного жителя, г/сут
Взвешенные вещества 67
неосветленной жидкости 60
ХПК 120
Азот общий 11,7
Азот аммонийных солей 8,8
Фосфор общий 1,8
Фосфор фосфатов 1,0
Примечания
1. Указанные в настоящей таблице значения удельной нагрузки от одного жителя относятся к 85-му процентилю. Величины для минеральных форм азота и фосфора относятся к точке отбора на ОС. При отборе проб непосредственно у жилья они могут быть существенно ниже. В целом в дальнейших расчетах величины минеральных форм азота и фосфора не используются, кроме как в формулах пересчета в общие формы.
2. Количество загрязняющих веществ от населения, проживающего в неканализованных районах, допускается учитывать в размере от 33% до 80% табличных значений соответственно, в зависимости от принятой схемы сбора и транспортирования сточных вод и жидких коммунальных отходов.
3. При сбросе бытовых сточных вод промышленных предприятий в канализацию населенного пункта количество загрязняющих веществ от эксплуатационного персонала дополнительно не учитывается.

Величины суммарной нагрузки по каждому из загрязняющих веществ от промышленных предприятий населенного пункта следует определять по данным абонентской службы организации централизованного водоотведения либо по проектным данным (для новых населенных пунктов или их частей). При отсутствии данных о составе производственных сточных вод от вновь строящихся объектов, подключенных к централизованной системе водоотведения их концентрацию (в среднесуточной пробе) следует принимать на уровне допустимых концентраций, установленных в целях предотвращения негативного воздействия на ЦСВП [4]. Также следует учитывать нагрузку по загрязняющим веществам от предприятий сферы торговли, услуг и местной промышленности (не учтенной по данным абонентской службы) и от неучтенных притоков. Данную нагрузку допускается принимать в процентном отношении к нагрузке от жителей и промышленных предприятий, приняв эти величины в процентах в соответствии с 5.1.5. (в ред. Изменения N 3, утв. Приказом Минстроя РФ от 28.12.2023 N 1009/пр)

Расчетные концентрации загрязняющих веществ следует определять путем деления полученной суммарной нагрузки по загрязняющему веществу XX на величину . (в ред. Изменения N 3, утв. Приказом Минстроя РФ от 28.12.2023 N 1009/пр)

Данные таблицы Г.1 также следует использовать для оценки мощности очистных сооружений в единицах эквивалентной численности жителей. Величину ЭЧЖ (), выраженную в эквивалентных жителях, следует определять по формуле (в ред. Изменения N 3, утв. Приказом Минстроя РФ от 28.12.2023 N 1009/пр)

, (Г.13)

где:

- нагрузка 85-го процентиля по на входе на очистные сооружения, кг ;

- удельная нагрузка по от одного эквивалентного жителя, равная 60 г .

Соотношение /общий азот для расчета процесса денитрификации допускается принимать как .                    
                   

Суммарные годовые нагрузки по загрязняющим веществам XX (для определения годовых эксплуатационных параметров) могут быть приняты как .

При наличии представительных, но кратких по периоду получения данных контроля загрязненности (например, при наличии заслуживающих доверия данных за период менее одного года либо данных собственных детальных обследований ОС), следует сопоставлять эти данные с расчетными и принимать решение по результатам сопоставления.

Расчетные значения температуры сточных вод, перечисленные в разделе Г.2, в отсутствие фактических значений допускается принимать по таблице Г.2.

Таблица Г.2

Ориентировочные расчетные значения температуры сточных вод

Категория очистных сооружений централизованных систем водоотведения поселений или городских округов по мощности Ориентировочные расчетные значения температуры сточных вод, °C
Минимальная среднемесячная <1> Средняя за период с максимальным значением <2> Максимальная среднемесячная <1>
(в ред. Изменения N 3, утв. Приказом Минстроя РФ от 28.12.2023 N 1009/пр)
1. Сверхкрупные 16 24 26
2. Крупнейшие 16 24 26
3. Крупные 14 22 26
4. Большие 14 22 24
5. Средние 12 20 24
6. Небольшие 12 20 22
7. Малые 12 19 22
8. Сверхмалые 12 18 22
<1> Используется в расчетах потребления кислорода в процессах биологической очистки и потребности в воздухе.
<2> Для очистных сооружений, расположенных в III и IV климатических районах, ориентировочные расчетные значения средней за период с максимальным значением температуры сточных вод для сверхмалых - крупных очистных сооружений следует принимать на 2 °C выше.
(в ред. Изменения N 3, утв. Приказом Минстроя РФ от 28.12.2023 N 1009/пр)

Примечание - Указанные в настоящей таблице значения являются ориентировочными. Фактические значения определяются рядом факторов, в числе которых:
- обеспеченность населения горячей водой;
- уровень жизни населения;
- температура воздуха в зимний и летний сезоны;
- мощность очистных сооружений;
- особенности эксплуатации системы отопления и горячего водоснабжения;
- структура и глубина залегания систем водоотведения;
- скорость движения сточной воды по трубам.

Допускается принимать расчетные значения температуры по объектам-аналогам, максимально близким к проектируемому по указанным факторам.

Приложение Д

ЗНАЧЕНИЯ ПОВЫШАЮЩИХ КОЭФФИЦИЕНТОВ К СРЕДНЕГОДОВЫМ ЗНАЧЕНИЯМ ТЕХНОЛОГИЧЕСКИХ ПОКАЗАТЕЛЕЙ НДТ ДЛЯ ОЧИСТНЫХ СООРУЖЕНИЙ СМЕШАННЫХ (ГОРОДСКИХ) СТОЧНЫХ ВОД, УЧИТЫВАЮЩИХ РАЗЛИЧНЫЕ ФАКТОРЫ НЕРАВНОМЕРНОСТИ

(в ред. Изменений N 2, утв. Приказом Минстроя РФ от 27.12.2021 N 1023/пр, N 3, утв. Приказом Минстроя РФ от 28.12.2023 N 1009/пр)

Д.1. Значения повышающих коэффициентов для составных (среднесуточных) проб, т.е., проб, полученных с помощью пробоотборного оборудования либо путем ежечасного отбора проб иным способом, с последующим их смешением, приведены в таблице Д.1.

Таблица Д.1

Значения повышающих коэффициентов для составных (среднесуточных) проб к среднегодовым значениям технологических показателей НДТ для очистных сооружений смешанных (городских) сточных вод, учитывающие различные факторы неравномерности

(в ред. Изменения N 3, утв. Приказом Минстроя РФ от 28.12.2023 N 1009/пр)

Диапазоны мощности очистных сооружений включительно Значения повышающих коэффициентов
Взвешенные вещества <1> ХПК Азот аммонийный Азот нитратов Азот нитритов Фосфор фосфатов
1 При сбросе в водный объект (часть водного объекта) категории А
От больших до сверхкрупных 1,3 1,3 1,3 1,5 1,2 1,5 1,2
От сверхмалых до средних 1,5 1,3 1,5 2 1,2 1,5 1,5
2 При сбросе в водный объект (часть водного объекта) категории Б
От больших до сверхкрупных 1,5 1,2 1,3 1,5 1,3 2,5 1,7
От малых до средних 1,5 1,2 1,5 2 1,3 2,5 1,7
Сверхмалые 1,5 1,2 1,5 1,3 1,3 2,5 1,5
3 При сбросе в водный объект (часть водного объекта) категории В
От больших до сверхкрупных 1,5 1,2 1,3 1,5 1,3 2,5 1,3
Средние 1,5 1,2 1,3 1,5 1,3 2,5 1,3
От сверхмалых до небольших 1,5 1,2 1,3 1,5 1,3 2,5 1,3
4 При сбросе в водный объект (часть водного объекта) категории Г
От больших до сверхкрупных 1,5 1,2 1,3 1,5 1,3 1,5 1,3
От сверхмалых до средних 1,5 1,2 1,5 2 1,3 2 1,5
5 При очистке хозяйственно-бытовых сточных вод, образующихся на объектах с временным пребыванием персонала и (или) отдыхающих, с сезонным формированием сточных вод (не более 100 календарных дней в году), осуществляемой на очистных сооружениях, относящихся по диапазонам мощности очистных сооружений к сверхмалым, при сбросе в водный объект (часть водного объекта) категорий Б - Г
Сверхмалые 1,5 1,3 1,5 1,5 1,5 1,5 1,5
<1> Для общесплавных систем при сбросе в водные объекты категорий Б - Г значение повышающего коэффициента по взвешенным веществам следует принимать равным 2,0.

Значения повышающих коэффициентов для точечных (разовых), т.е. проб, полученных путем однократного отбора, приведены в таблице Д.2.

Таблица Д.2

Значения повышающих коэффициентов для точечных (разовых) проб к среднегодовым значениям технологических показателей НДТ для очистных сооружений смешанных (городских) сточных вод, учитывающие различные факторы неравномерности

(в ред. Изменения N 3, утв. Приказом Минстроя РФ от 28.12.2023 N 1009/пр)

Диапазоны мощности очистных сооружений включительно Значения повышающих коэффициентов
Взвешенные вещества <1> ХПК Азот аммонийный Азот нитратов Азот нитритов Фосфор фосфатов
1 При сбросе в водный объект (часть водного объекта) категории А
От больших до сверхкрупных 1,5 1,5 1,5 2 1,5 2 1,5
От сверхмалых до средних 2 1,5 1,7 2,5 1,5 2,5 1,8
2 При сбросе в водный объект (часть водного объекта) категории Б
От больших до сверхкрупных 2 1,3 1,5 25 1,5 3 2
От малых до средних 2 1,3 1,7 3 1,5 3 2
Сверхмалые 2 1,3 1,7 3 1,5 3 1,5
3 При сбросе в водный объект (часть водного объекта) категории В
От больших до сверхкрупных 2 1,3 1,5 2,5 1,5 3 2
Средние 2 1,3 1,5 2,5 1,5 3 1,5
От сверхмалых до небольших 2 1,3 1,7 2,5 1,5 3 1,5
4 При сбросе в водный объект (часть водного объекта) категории Г
От больших до сверхкрупных 2 1,3 1,5 2,5 1,5 2,5 1,5
От сверхмалых до средних 2 1,3 1,7 3 1,5 3 2
5 При очистке хозяйственно-бытовых сточных вод, образующихся на объектах с временным пребыванием персонала и (или) отдыхающих с сезонным формированием сточных вод (не более 100 календарных дней в году), осуществляемой на очистных сооружениях, относящихся по диапазонам мощности очистных сооружений к сверхмалым, при сбросе в водный объект (часть водного объекта) категорий Б - Г
Сверхмалые 2 1,5 1,5 1,5 1,5 2 2
<1> Для общесплавных систем при сбросе в водные объекты категорий Б - Г значение повышающего коэффициента по взвешенным веществам следует принимать равным 2,5.

Приложение Е

МЕТОДИКИ ОПРЕДЕЛЕНИЯ МАКСИМАЛЬНЫХ СУТОЧНЫХ СЛОЕВ ОСАДКОВ

(в ред. Изменений N 2, утв. Приказом Минстроя РФ от 27.12.2021 N 1023/пр, N 3, утв. Приказом Минстроя РФ от 28.12.2023 N 1009/пр)

Е.1. Методика определения максимального суточного слоя дождевых осадков территорий, на которых образуются поверхностные сточные воды 1-го типа

Определение максимального суточного слоя жидких атмосферных осадков , дождевой сток от которых при отведении на очистные сооружения обеспечивает прием на очистку не менее 70% среднегодового количества осадков, приводится для климатических условий г. Санкт-Петербурга.

Для определения строится график зависимости принимаемой на очистку части осадков (% их суммарного количества за теплый период года слоя) от величины максимального суточного слоя дождя , мм, принимаемого на очистку в полном объеме.

Для построения графика используются данные по климату.

Для г. Санкт-Петербурга теплый период года (с положительной среднемесячной температурой воздуха) наблюдается в период с апреля по октябрь включительно. В таблице Е.1 представлены справочные данные, охватывающие указанный период года и расчетные данные по суммарному количеству дней с осадками, превышающими заданный слой.

Расчет параметров графика зависимости, принимаемой на очистку части дождевых осадков, %, от величины максимального суточного слоя дождя, мм, приведен в таблице Е.2. Физический смысл расчета заключается в определении полученного при заданном суммарного за расчетный период слоя дождевых осадков , %, принимаемого на очистные сооружения.

Таблица Е.1

Среднее число дней с различным количеством осадков за теплый период года для г. Санкт-Петербурга по метеостанции Ленинград, ИЦП

Месяц Количество осадков, мм
0,1 0,5 1,0 5,0 10,0 20,0 30,0
IV 12,8 9,7 7,7 2,0 0,6 0,1  
V 12,4 9,6 7,8 2,8 1,0 0,2 0,04
VI 13,3 10,8 9,3 3,9 1,7 0,3 0,1
VII 13,8 11,3 9,5 4,0 2,0 0,4 0,1
VIII 15,0 12,5 10,8 4,9 2,3 0,7 0,2
IX 16,2 12,9 10,8 4,3 1,6 0,2 0,1
X 16,8 13,2 10,7 3,7 1,2 0,1  
IV - X 100,3 80 66,6 25,6 10,4 2 0,54

Заданный суточный слой определяется как среднее арифметическое суточных слоев осадков.

Для построения графика используются данные 3-й и 6-й граф таблицы Е.2.

Таблица Е.2

Расчет параметров определения зависимости, принимаемой на очистку части дождевых осадков от величины суточного слоя дождя для г. Санкт-Петербурга

Суточный слой осадков, мм Число дней с суточным слоем осадков Средний суточный слой осадков , мм Число дней с суточным слоем осадков Суммарный за теплый период года слой дождевых осадков, принимаемый на очистные сооружения
, мм , %
0,1 100,3 100,3 - 80,0 = 20,3 7,0
0,5 80,0
80,0 - 66,6 = 13,4 15,3
1,0 66,6
66,6 - 25,6 = 41,0 50,0
5,0 25,6
25,6 - 10,4 = 15,2 76,7
10,0 10,4
10,4 - 2,0 = 8,4 94,7
20,0 2,0
2,0 - 0,5 = 1,5 99,4
30,0 0,54
30,0 0,5 100,0
  100,3  

График представлен на рисунке Е.1.

Рисунок Е.1. Зависимость принимаемого на очистку суммарного за год слоя жидких осадков, %, от величины максимального суточного слоя дождя, мм, принимаемого на очистку в полном объеме, для г. Санкт-Петербурга

По графику определяем, что максимальный суточный слой осадков , при котором обеспечивается прием на очистные сооружения 70% суммарного количества осадков, для г. Санкт-Петербурга составляет 6 мм. Это означает, что на очистные сооружения направляются: полный объем стока от всех дождей с суточным слоем осадков не более 6 мм и часть объема стока от дождей с суточным слоем осадков более 6 мм.

Е.2. Методика определения максимального суточного слоя осадков с заданной вероятностью превышения для территорий, на которых образуются поверхностные сточные воды 2-го типа

Е.2.1 Суточные слои жидких атмосферных осадков Нр заданной вероятности превышения роб следует определять по кривым обеспеченности , которые строятся по данным ближайших к объекту проектирования метеостанций с длительным периодом наблюдения (не менее 25 лет) или по объединенному ряду годовых максимумов суточных осадков на нескольких соседних метеостанциях, что обеспечивает устойчивость и надежность кривой распределения вероятностей превышения. (в ред. Изменения N 3, утв. Приказом Минстроя РФ от 28.12.2023 N 1009/пр)

Аналитическая кривая обеспеченности характеризуется тремя стандартными статистическими параметрами:

средним значением

; (Е.1)

коэффициентом вариации

; (Е.2)

коэффициентом асимметрии

, (Е.3)

где , , ..., , - наибольшие суточные слои осадков в году, наблюдавшиеся за n лет.

При для аналитического выражения кривых обеспеченности суточных слоев осадков применяется логарифмически номинальная кривая обеспеченности, при - биноминальная кривая.

При отсутствии длительных рядов наблюдений за количеством осадков для конкретных территорий при выполнении расчетов допускается пользоваться статистически обработанными данными гидрометеорологической службы. Значения величин H, и для отдельных крупных населенных пунктов - в Е.3.

Е.2.2. Методика расчета суточных слоев осадков различной обеспеченности (вероятности превышения) для г. Санкт-Петербурга

Суточные слои осадков , мм, различной обеспеченности вычисляются по формуле

, (Е.4)

где:

- среднее максимальное суточное количество осадков, мм;

Ф - нормированные отклонения от среднего значения при разных значениях обеспеченности , %, и коэффициента асимметрии ;

- коэффициент вариации суточных осадков.

Параметры H, Ф, и формулы (Е.4) определяются по таблицам Е.4, Е.5 и Е.6.

Результаты расчета суточных слоев атмосферных осадков различной обеспеченности для г. Санкт-Петербурга по формуле (Е.4) приведены в таблице Е.3.

Таблица Е.3

Суточные слои жидких атмосферных осадков , мм, различной обеспеченности

Обеспеченность , % Период однократного превышения P, лет Нормированное отклонение ординат от среднего значения Ф Суточный слой жидких атмосферных осадков , мм
4,9 20 1,89 55,11
9,5 10 1,275 47,07
18 5 0,862 41,67
28 3 0,36 35,10
39 2 - 0,035 29,94
63 1 -0,475 24,20
86 0,5 -0,93 18,24
95 0,33 -1,16 15,24
99 0,22 -1,375 12,43

Так как коэффициент асимметрии кривой обеспеченности для г. Санкт-Петербурга больше коэффициента вариации и выполняется неравенство , то для определения значений нормированного отклонения ординат Ф от среднего значения были использованы статистические данные логарифмически нормальной кривой обеспеченности, приведенные в таблице Е.4. При для определения нормированного отклонения ординат Ф от среднего значения используют данные биноминальной кривой, приведенные в таблице Е.5.

Для г. Санкт-Петербурга среднее максимальное суточное количество осадков , коэффициент вариации и коэффициент асимметрии в соответствии с данными таблицы Е.6 составляют соответственно 30,4 мм, 0,43 и 1,7.

Как следует из таблицы Е.3 при значении коэффициента асимметрии и обеспеченности, например, , нормированное отклонение ординат от среднего значения Ф составляет (-0,475). Тогда по формуле (Е.4) расчетное значение суточного слоя осадков обеспеченностью 63% составит

мм.

Поскольку при гидравлических расчетах систем отведения поверхностных сточных вод для выражения вероятности события обычно пользуются периодом однократного превышения расчетной интенсивности дождя P, лет, в таблице Е.3 для наглядности приведены результаты пересчета обеспеченности , %, (вероятности ежегодного превышения) в период однократного превышения P, лет. При расчете исходят из того, что параметры , %, и P, лет, связаны между собой законом распределения независимых событий Пуассона

. (Е.5)

Таким образом, в Санкт-Петербурге на территориях, на которых образуются поверхностные сточные воды 2-го типа максимальный слой осадков за дождь , сток от которого должен отводиться на очистные сооружения в полном объеме, следует принимать не менее 24,2 мм (при расчете сети дождевой канализации на период однократного превышения расчетной интенсивности P = 1 год).

Е.2.3. Статистические параметры аналитической кривой обеспеченности для разных климатических районов Российской Федерации

Таблица Е.4

Нормированные отклонения от среднего значения ординат логарифмически нормальной кривой распределения Ф при разных значениях обеспеченности и коэффициента асимметрии

Коэффициент асимметрии Значения Ф при обеспеченности , %
5 10 25 39 63 80 86 95 99
0,4 1,75 1,32 0,63 0,21 -0,40 -0,85 -1,08 -1,53 -2,04
0,6 1,79 1,33 0,60 0,18 -0,42 -0,85 -1,07 -1,46 -1,91
0,8 1,82 1,32 0,57 0,15 -0,43 -0,87 -0,4 -0,40 -1,79
1,0 1,85 1,31 0,54 0,12 -0,45 -0,84 -1,01 -1,34 -1,68
1,2 1,87 1,31 0,52 0,10 -0,46 -0,82 -0,99 -1,29 -1,58
1,4 1,88 1,30 0,49 0,07 -0,47 -0,81 -0,97 -1,23 -1,49
1,6 1,89 1,28 0,46 0,05 -0,47 -0,80 -0,94 -1,18 -1,41
1,8 1,89 1,27 0,44 0,02 -0,48 -0,78 -0,92 -1,14 -1,34
2,0 1,89 1,25 0,41 0,00 -0,48 -0,77 -0,89 -1,10 -1,28
2,2 1,89 1,23 0,39 0,00 -0,48 -0,76 -0,87 -1,06 -1,22
2,4 1,88 1,21 0,37 -0,03 -0,48 -0,74 -0,86 -1,02 -1,17
2,6 1,87 1,19 0,34 -0,04 -0,48 -0,73 -0,83 -0,99 -1,12
2,8 1,86 1,17 0,32 -0,06 -0,48 -0,72 -0,81 -0,96 -0,8
3,0 1,85 1,15 0,31 -0,07 -0,48 -0,71 -0,79 -0,93 -1,04
3,2 1,84 1,13 0,19 -0,08 -0,48 -0,69 -0,77 -0,90 -1,01
3,4 1,83 1,11 0,28 -0,09 -0,47 -0,68 -0,76 -0,88 -0,98
3,6 1,81 1,09 0,26 -0,09 -0,47 -0,67 -0,75 -0,86 -0,95
3,8 1,80 1,08 0,25 -0,10 -0,47 -0,66 -0,73 -0,84 -0,92
4,0 1,78 1,06 0,24 -0,11 -0,47 -0,65 -0,72 -0,82 -0,90
4,5 1,75 1,01 0,21 -0,12 -0,46 -0,63 -0,70 -0,78 -0,84
5,0 1,71 0,98 0,19 -0,13 -0,45 -0,62 -0,66 -0,74 -0,80
6,0 1,64 0,91 0,15 -0,15 -0,44 -0,57 -0,62 -0,68 -0,73

Таблица Е.5

Нормированные отклонения ординат биноминальной кривой распределения Ф при разных значениях обеспеченности и коэффициента асимметрии

Коэффициент асимметрии Обеспеченность , %
5 10 25 40 60 80 90 95 99
0,4 1,75 1,32 0,63 0,19 -0,31 -0,85 -1,23 -1,52 -2,03
0,6 1,80 1,33 0,61 0,16 -0,34 -0,85 -1,20 -1,45 -1,88
0,8 1,84 1,34 0,58 0,12 -0,37 -0,86 -1,17 -1,38 -1,74
1,0 1,88 1,34 0,55 0,09 -0,39 -0,85 -1,13 -1,32 -1,59
1,2 1,92 1,34 0,52 0,05 -0,42 -0,84 -1,08 -1,24 -1,45
1,4 1,95 1,34 0,49 0,02 -0,44 -0,83 -1,04 -1,17 -1,32
1,6 1,97 1,33 0,46 -0,02 -0,46 -0,81 -0,99 -1,10 -1,20
1,8 1,99 1,32 0,42 -0,03 -0,48 -0,80 -0,94 -1,02 -1,09
2,0 2,00 1,30 0,39 -0,08 -0,49 -0,87 -0,90 -0,95 -0,99
2,2 2,02 1,27 0,35 -0,12 -0,50 -0,75 -0,842 -0,882 -0,905
2,4 2,00 1,25 0,29 -0,14 -0,51 -0,72 -0,792 -0,82 -0,83
2,6 2,00 1,21 0,25 -0,17 -0,51 -0,70 -0,746 -0,64 -0,77
2,8 2,00 1,18 0,22 -0,20 -0,51 -0,67 -0,703 -0,711 -0,715
3,0 1,97 1,13 0,19 -0,22 -0,51 -0,64 -0,661 -0,665 -0,666
3,2 1,96 1,09 0,15 -0,25 -0,51 -0,61 -0,621 -0,625 -0,625
3,4 1,94 1,06 0,11 -0,27 -0,50 -0,58 -0,586 -0,587 -0,589
3,6 1,93 1,03 0,064 -0,28 -0,49 -0,55 -0,555 -0,556 -0,556
3,8 1,90 1,00 0,032 -0,30 -0,48 -0,52 -0,526 -0,526 -0,526
4,0 1,90 0,96 0,01 -0,31 -0,46 -0,50 -0,50 -0,50 -0,50
4,5 1,85 0,89 -0,042 -0,32 -0,43 -0,445 -0,445 -0,445 -0,445
5,0 1,78 0,78 -0,099 -0,33 -0,395 -0,40 -0,40 -0,40 -0,40

Таблица Е.6

Среднесуточные слои осадков , коэффициенты вариации , асимметрии для различных поселений, муниципальных образований Российской Федерации

Расположение метеостанции Номер территориального района Параметры формулы (Е.4)
Алтайский край и Республика Алтай
Барнаул 134 27,7 0,49 2,3
Бийск 135 28,5 0,35 1,4
Горно-Алтайск 135 36,3 0,32 1,5
Улаган 135 21,4 0,32 1,6
Чемал 135 29,4 0,30 1,6
Амурская область
Благовещенск 155 49,4 0,44 2,2
Архангельская область
Архангельск 6 29,7 0,45 1,5
Холмогоры 6 28,4 0,46 2,6
Астраханская область
Астрахань 65 26,7 0,68 2,4
Республика Башкортостан
Бирск 34 28,1 0,44 2,2
Уфа 34 28,5 0,43 1,4
Белгородская область
Белгород 36а 35,4 0,46 2,2
Новый Оскол 36а 31,7 0,34 0,5
Брянская область
Брянск 36 34,7 0,36 1,8
Республика Бурятия
Улан-Удэ 146 31,1 0,53 2,2
Баргузин 145 29,5 0,47 2,3
Владимирская область
Владимир 27 34,0 0,39 1,7
Гусь-Хрустальный 27 36,0 0,41 1,3
Ковров 27 34,5 0,41 1,3
Муром 27 32,2 0,38 1,3
Петушки 27 35,4 0,40 2,3
Суздаль 27 33,3 0,46 1,8
Волгоградская область
Волгоград 63 26,1 0,43 1,4
Вологодская область
Великий Устюг 8 30,5 0,37 2,2
Вологда 7 31,3 0,4 2,5
Тотьма 8 23,3 0,28 2,0
Череповец 7 32,5 0,33 1,2
Кириллов 7 29,8 0,3 1,3
Каргополь 7 29,5 0,4 2,3
Воронежская область
Воронеж 38 33,3 0,66 3,2
Калач 38 28,5 0,34 1,1
Лиски 38 34,3 0,61 2,5
Острогожск 38 36,2 0,46 1,8
Павловск 38 33,3 0,41 1,5
Россошь 38 30,8 0,41 1,7
Забайкальский край
Могоча 147 41,7 0,41 1,8
Нерчинск 147 31,8 0,36 1,5
Сретенск 147 35,2 0,41 1,8
Чита 147 32,8 0,36 2,1
Шилка 147 33,1 0,37 1,2
Ивановская область
Иваново 28 31,9 0,44 3,0
Кинешма 28 31,1 0,36 1,4
Шуя 28 29,6 0,27 0,9
Юрьевец 28 31,3 0,50 3,0
Иркутская область
Иркутск 142 38,4 0,41 1,5
Братск 143 32,0 0,61 3,2
Кабардино-Балкарская Республика
Нальчик 74 49,2 0,38 1,2
Калужская область
Калуга 26 40,3 0,43 2,2
Малоярославец 26 34,3 0,31 0,8
Камчатский край
Петропавловск-Камчатский 170 69,7 0,53 2,5
Усть-Камчатск 170 26,5 0,53 1,8
Республика Карелия
Калевала 4 24,6 0,34 1,7
Кемь 5 28,1 0,3 1,0
Кондопога 4 26,5 0,34 1,2
Петрозаводск 4 34,4 0,48 2,2
Кировская область
Киров 31 32,7 0,47 2,1
Республика Коми
Сыктывкар 8 28,5 0,32 1,8
Ухта 9 28,8 0,43 1,4
Костромская область
Кострома 28 30,5 0,39 2,0
Шарья 28 35,7 0,59 2,9
Краснодарский край
Адлер 70 78,9 0,35 1,1
Белореченск 66 41,8 0,44 2,4
Красная поляна 70 67,0 0,30 1,5
Краснодар 66 41,1 0,50 2,2
Крымск 66 44,3 0,46 1,5
Кущевская 66 38,4 0,46 2,0
Новороссийск 69 51,7 0,60 2,0
Приморско-Ахтарск 66 47,7 0,54 2,3
Тамань 66 39,7 0,54 2,0
Тихорецк 66 39,7 0,48 2,2
Туапсе 70 87,3 0,46 0,9
Сочи 70 78,3 0,38 1,6
Красноярский край
Ачинск 137 30,0 0,58 2,5
Енисейск 136 24,8 0,36 1,6
Красноярск 138 34,0 0,54 2,4
Минусинск 140 24,6 0,47 2,3
Норильск 136 24,4 0,62 2,9
Севастополь и Республика Крым
Алушта 60 36,1 0,59 2,0
Евпатория 58 32,8 0,53 1,8
Керчь 61 46,1 0,50 1,7
Севастополь 58 30,5 0,43 1,4
Симферополь 59 41,4 0,52 2,2
Судак 61 33,4 0,63 2,4
Феодосия 61 35,9 0,43 1,4
Ялта 60 43,4 0,67 3,4
Курганская область
Каргаполье 110 34,2 0,55 1,8
Курган 110 25,8 0,63 2,2
Шадринск 110 29,6 0,47 1,5
Курская область
Курск 36а 39,6 0,66 4,0
Санкт-Петербург и Ленинградская область
Волхов 19 29,9 0,4 1,3
Выборг 17 34,0 0,49 2,1
Приморск 17 31,7 0,35 2,1
Пушкин 18 30,3 0,33 2,2
Санкт-Петербург 17 30,4 0,43 1,7
Липецкая область
Кирсанов 37 30,5 0,49 2,0
Елец 37 29,3 0,42 2,0
Липецк 37 32,3 0,47 2,6
Республика Марий Эл
Йошкар-Ола 29 30,2 0,43 4,0
Республика Мордовия
Саранск 30 36,6 0,62 3,6
Москва и Московская область
Волоколамск 25 35,8 0,50 2,9
Дмитров 25 36,8 0,31 1,1
Кашира 26 31,6 0,40 1,4
Клин 25 36,7 0,42 2,1
Коломна 26 33,6 0,39 1,3
Михнево 26 34,3 0,40 2,1
Москва 25 33,2 0,38 2,3
Нарофоминск 26 35,9 0,38 1,2
Павловский Посад 25 33,5 0,58 2,0
Починки 25 32,0 0,52 2,6
Сергиев Посад 25 35,7 0,33 1,0
Серпухов 26 33,2 0,42 2,4
Мурманская область
Апатиты 2 23,0 0,38 1,2
Кандалакша 3 23,7 0,39 1,3
Мончегорск 2 25,6 0,37 1,2
Мурманск 1 24,1 0,35 0,9
Хибины 2 27,2 0,33 0,9
Нижегородская область
Ардатов 30 28,7 0,35 1,2
Арзамас 29 29,6 0,52 3,6
Кулебаки 29 30,3 0,39 1,9
Лукоянов 30 35,66 0,69 5,3
Нижний Новгород 29 30,3 0,40 1,6
Новгородская область
Новгород Великий 18 32,8 0,41 1,2
Новосибирская область
Новосибирск 134 29,3 0,53 3,2
Омская область
Омск 132 28,3 0,58 2,4
Оренбургская область
Оренбург 43 25,1 0,44 1,4
Орловская область
Орел 36 35,9 0,59 3,0
Пензенская область
Пенза 39 36,2 0,51 2,5
Пермский край
Березники 32 31,4 0,39 1,3
Пермь 32 30,6 0,45 2,4
Соликамск 32 29,4 0,43 1,4
Приморский край
Владивосток 163 90,3 0,47 1,6
Псковская область
Великие Луки 20 32,9 0,38 1,2
Псков 18 36,8 0,37 0,8
Ростовская область
Ейск 66 36,5 0,43 1,4
Ростов-на-Дону 64 41,0 0,49 1,5
Рязанская область
Елатьма 27 30,5 0,39 1,6
Касимов 27 32,8 0,49 2,4
Рязань 27 32,9 0,46 1,5
Ряжск 26 30,0 0,36 1,1
Тума 27 34,0 0,46 1,7
Самарская область
Самара 41а 28,1 0,49 2,1
Саратовская область
Балашов 40 28,7 0,39 1,2
Саратов 40 30,2 0,44 1,5
Сахалинская область
Южно-Сахалинск 174 50,6 0,40 1,3
Александровск-Сахалинский 173 39,2 0,43 1,4
Свердловская область
Екатеринбург 108 31,2 0,37 1,2
Красноуфимск 33 31,0 0,39 1,0
Республика Северная Осетия - Алания
Владикавказ 74 56,6 0,38 1,6
Смоленская область
Вязьма 23 33,5 0,36 1,1
Ельня 23 36,7 0,44 1,8
Рославль 23 35,6 0,42 2,0
Смоленск 23 35,1 0,42 1,9
Ставропольский край
Ессентуки 73 39,6 0,37 1,2
Железноводск 73 47,9 0,44 1,4
Кисловодск 73 50,8 0,25 1,7
Ново-Пятигорск 73 43,0 0,51 2,9
Пятигорск 73 43,1 0,42 1,3
Ставрополь 68 40,6 0,38 1,9
Тамбовская область
Моршанск 37 30,2 0,41 1,8
Тамбов 37 32,8 0,33 1,1
Республика Татарстан
Бугульма 41 31,6 0,39 1,6
Елабуга 40 30,4 0,42 1,4
Казань 41 30,7 0,54 3,6
Мамадыш 41 28,7 0,50 2,6
Тверская область
Ржев 22 34,8 0,40 1,5
Осташков 22 32,2 0,45 1,9
Тверь 22 32,1 0,37 1,6
Торжок 22 29,6 0,37 1,7
Тургиново 22 30,6 0,40 1,8
Томская область
Томск 133 31,3 0,48 2,4
Тульская область
Ефремов 26 31,4 0,50 3,2
Тула 26 31,2 0,37 1,4
Тюменская область
Викулово 131 35,0 0,43 1,5
Салехард 129 27,3 0,53 1,9
Сургут 130 29,7 0,35 1,1
Тобольск 131 32,5 0,38 0,5
Тюмень 131 33,8 0,51 1,7
Хабаровский край
Болонь 158 63,2 0,69 4,4
Комсомольск-на-Амуре 157 46,3 0,42 1,2
Николаевск-на-Амуре 157 39,8 0,47 2,4
Советская Гавань 162а 64,9 0,43 2,2
Троицкое 158 47,0 0,35 1,3
Хабаровск 158 47,3 0,46 3,4
Елабуга 158 49,1 0,35 1,3
Челябинская область
Магнитогорск 111 31,1 0,76 6,0
Троицк 111 30,7 0,59 6,0
Челябинск 111 31,1 0,37 2,6
Чувашская республика
Чебоксары 29 31,3 0,55 2,2
Чукотский автономный округ
Анадырь - 18,9 0,48 1,6
Республика Саха (Якутия)
Верхоянск 150 16,5 0,53 2,0
Якутск 149 21,7 0,50 1,6
Ярославская область
Ростов Великий 24 34,7 0,39 1,6
Рыбинск 24 34,8 0,38 1,4
Углич 24 33,9 0,32 1,2
Ярославль 24 33,6 0,38 1,5
Примечания
1 Номер территориального района и значения параметров формулы (Е.4) для метеостанций Российской Федерации приведены согласно карте районирования кривой редукции выпадения дождей, приведенной в справочной литературе.
2 Для территорий новых субъектов Российской Федерации в бассейне р. Северный Донец и в Приазовье следует использовать данные таблицы Е.7.
3 В отсутствие верифицированных данных территориальных управлений Гидрометеослужбы на территориях новых субъектов Российской Федерации для расчетов сети дождевой канализации на период однократного превышения расчетной интенсивности P = 1 год допускается принимать следующие значения: среднесуточный слой осадков = 45 мм; коэффициент вариации = 0,5; коэффициент асимметрии - в диапазоне 1,4 - 3,4; нормированное отклонение ординат биноминальной кривой распределения Ф - в диапазоне от минус 0,4 до минус 0,6.
(в ред. Изменения N 3, утв. Приказом Минстроя РФ от 28.12.2023 N 1009/пр)

Таблица Е.7

Среднесуточные слои осадков Нср, коэффициенты вариации Cv, асимметрии Cs для новых субъектов Российской Федерации в бассейне р. Северский Донец и в Приазовье

(в ред. Изменения N 3, утв. Приказом Минстроя РФ от 28.12.2023 N 1009/пр)

Расположение метеостанции Номер территориального района Параметры формулы (Е.4)
Бассейн р. Северский Донец и Приазовье
Артемовск 53 38,8 0,52 2,8
Донецк 53 38,7 0,51 2,4
Лисичанск 53 34,6 0,32 1
Славянск 53 38,3 0,5 2,2
Мелитополь 53 38,6 0,4 1,9

Приложение Ж

ОПРЕДЕЛЕНИЕ РАСЧЕТНЫХ РАСХОДОВ ДОЖДЕВЫХ И ИНФИЛЬТРАЦИОННЫХ ВОД В СИСТЕМЕ ВОДООТВЕДЕНИЯ ПОВЕРХНОСТНЫХ СТОЧНЫХ ВОД

(в ред. Изменений N 2, утв. Приказом Минстроя РФ от 27.12.2021 N 1023/пр, N 3, утв. Приказом Минстроя РФ от 28.12.2023 N 1009/пр)

Ж.1. При гидравлическом расчете систем водоотведения поверхностных сточных вод расходы дождевых вод в самотечных сетях, л/с, следует определять методом предельных интенсивностей по формуле

, (Ж.1)

где:

A и n - параметры, характеризующие расчетную интенсивность дождя для конкретной местности (определяются в соответствии с формулой (Ж.2);

- среднее значение коэффициента покрова, характеризующего поверхность бассейна стока, определяемое как средневзвешенное значение в зависимости от значений коэффициентов для различных видов поверхности водосбора, по таблицам Ж.6 и Ж.7;

- расчетная площадь стока, га, с ограничением не более 150 га;

- расчетная продолжительность дождя, равная продолжительности протекания дождевых вод по поверхности и трубам до расчетного участка (определяется в соответствии с Ж.5).

Ж.2. Параметры A и n определяются по результатам обработки многолетних (не менее 15 лет) записей самопишущих дождемеров местных метеорологических станций или по данным территориальных управлений Гидрометеослужбы. При отсутствии обработанных данных параметр допускается определять по формуле

, (Ж.2)

где:

- интенсивность дождя для данной местности продолжительностью 20 мин при P = 1 год, определяют по рисунку Ж.1;

n - показатель степени, определяемый по таблице Ж.1;

- среднее количество дождей за год, принимаемое по таблице Ж.1;

P - период однократного превышения расчетной интенсивности дождя, годы;

- показатель степени, принимаемый по таблице Ж.1.

Рисунок Ж.1. Значения величин интенсивности дождя

Таблица Ж.1

Значения параметров n, , для определения расчетных расходов в коллекторах водоотведения поверхностного стока

Район Значение n при
P 1 P < 1
Побережье Белого и Баренцева морей 0,4 0,35 130 1,33
Север Европейской части России и Западной Сибири 0,62 0,48 120 1,33
Равнинные области запада и центра Европейской части России 0,71 0,59 150 1,54
Возвышенности Европейской части России, западный склон Урала 0,71 0,59 150 1,54
Низовье Волги, Днепра и Дона, Южный Крым 0,67 0,57 60 1,82
(в ред. Изменения N 3, утв. Приказом Минстроя РФ от 28.12.2023 N 1009/пр)
Нижнее Поволжье 0,65 0,66 50 2
Наветренные склоны возвышенностей Европейской части России и Северное Предкавказье 0,7 0,66 70 1,54
Ставропольская возвышенность, северные предгорья Большого Кавказа, северный склон Большого Кавказа 0,63 0,56 100 1,82
Южная часть Западной Сибири 0,72 0,58 80 1,54
Алтай 0,61 0,48 140 1,33
Северный склон Западных Саян 0,49 0,33 100 1,54
Средняя Сибирь 0,69 0,47 130 1,54
Хребет Хамар-Дабан 0,48 0,35 130 1,82
Восточная Сибирь 0,6 0,52 90 1,54
Бассейны рек Шилки и Аргуни, долина реки Среднего Амура 0,65 0,54 100 1,54
Бассейны рек Охотского моря и Колымы, северная часть Нижнеамурской низменности 0,36 0,48 100 1,54
Побережье Охотского моря, бассейны рек Берингова моря, центральная и западная части Камчатки 0,36 0,31 80 1,54
Восточное побережье Камчатки южнее 56° с.ш. 0,28 0,26 110 1,54
Побережье Татарского пролива 0,35 0,28 110 1,54
Район о. Ханка 0,65 0,57 90 1,54
Бассейны рек Японского моря, о. Сахалин, Курильские острова 0,45 0,44 110 1,54
Южный склон Большого Кавказа выше 1500 м, Южный склон выше 500 м, Дагестан 0,57 0,52 100 1,54
Черноморское побережье и западный склон Большого Кавказа до Сухуми 0,62 0,58 90 1,54

Ж.3. Период однократного превышения расчетной интенсивности дождя необходимо выбирать в зависимости от характера объекта водоотведения, условий расположения коллектора с учетом последствий, которые могут быть вызваны выпадением дождей, превышающих расчетные, и принимать по таблицам Ж.2 и Ж.3 или определять расчетом в зависимости от условий расположения коллектора, интенсивности дождей, площади водосбора и коэффициента стока по предельному периоду превышения.

Таблица Ж.2

Период однократного превышения расчетной интенсивности дождя

Условия расположения коллекторов Период однократного превышения расчетной интенсивности дождя P, лет, для поселений и городских округов при значении
На проездах местного значения На магистральных улицах < 60 60 - 80 80 - 120 > 120
Благоприятные и средние Благоприятные 0,5 0,5 - 1 1 - 1,5 1,5 - 2
Неблагоприятные Средние 0,5 - 1 1 - 1,5 1,5 - 2 2 - 3
Особо неблагоприятные Неблагоприятные 2 - 3 2 - 3 3 - 5 5 - 10
Особо неблагоприятные Особо неблагоприятные 3 - 5 3 - 5 5 - 10 10 - 20
Примечания
1. Благоприятные условия расположения коллекторов: бассейн площадью не более 150 га с плоским рельефом при среднем уклоне поверхности 0,005 м и менее; коллектор проходит по водоразделу или в верхней части склона на расстоянии от водораздела не более 400 м.
2. Средние условия расположения коллекторов: бассейн площадью свыше 150 га с плоским рельефом с уклоном 0,005 м и менее; коллектор проходит в нижней части склона по тальвегу с уклоном склонов 0,02 м и менее, при этом площадь бассейна должна быть не более 150 га.
3. Неблагоприятные условия расположения коллекторов: коллектор проходит в нижней части склона, площадь бассейна превышает 150 га; коллектор проходит по тальвегу с крутыми склонами при среднем уровне склонов свыше 0,02.
4. Особо неблагоприятные условия расположения коллекторов: коллектор отводит воду из замкнутого пониженного места (котловины).

Таблица Ж.3

Период однократного превышения P

Результат кратковременного переполнения сети Период однократного превышения расчетной интенсивности дождя P, годы, для территории промышленных предприятий при значениях
До 70 70 - 100 Св. 100
Технологические процессы предприятия не нарушаются 0,5 0,5 - 1 2
Технологические процессы предприятия нарушаются 0,5 - 1 1 - 2 3 - 5
Примечания
1. Для предприятий, расположенных в замкнутой котловине, период однократного превышения расчетной интенсивности дождя следует определять расчетом или принимать равным не менее 5 лет.
2. Для территорий предприятий, на которых образуются поверхностные сточные воды 2-го типа, период однократного превышения расчетной интенсивности дождя следует принимать с учетом экологических последствий подтоплений не менее чем 1 год.

При проектировании систем отведения поверхностного стока у метро, вокзалов, подземных переходов и для засушливых районов, где значения менее 50 л/с (с 1 га), при P = 1, период однократного превышения расчетной интенсивности следует определять только расчетом с учетом предельного периода превышения расчетной интенсивности дождя, указанного в таблице Ж.4. При этом периоды однократного превышения расчетной интенсивности дождя, определенные расчетом, должны быть не менее указанных в таблицах Ж.2 и Ж.3.

Таблица Ж.4

Предельный период превышения интенсивности дождя в зависимости от условий расположения коллектора

Характер бассейна, обслуживаемого коллектором Предельный период превышения интенсивности дождя P, лет, в зависимости от условий расположения коллектора
Благоприятные Средние Неблагоприятные Особо неблагоприятные
Территория кварталов и проезды местного значения 10 10 25 50
Магистральные улицы 10 25 50 100

Ж.4. Расчетную площадь стока для рассчитываемого участка сети необходимо принимать равной всей площади стока или части ее, дающей максимальный расход стока. Если площадь стока коллектора составляет 500 га и более, то в формулу (Ж.1) следует вводить поправочный коэффициент K, учитывающий неравномерность выпадения дождя по площади и принимаемый по таблице Ж.5.

Таблица Ж.5

Значения поправочного коэффициента K, учитывающего неравномерность выпадения дождя по площади

Площадь стока, га Коэффициент K
500 0,95
1000 0,90
2000 0,85
4000 0,8
6000 0,7
8000 0,6
10000 0,55

Ж.5. Расчетную продолжительность протекания дождевых вод по поверхности и трубам до расчетного участка (створа) , мин, следует определять по формуле

, (Ж.3)

где:

- продолжительность протекания дождевых вод до уличного лотка или при наличии дождеприемников в пределах квартала до уличного коллектора (время поверхностной концентрации), мин, определяется согласно Ж.6;

- то же, по уличным лоткам до дождеприемника (при отсутствии их в пределах квартала), определяется по формуле (Ж.4);

- то же, по трубам до рассчитываемого створа, определяется по формуле (Ж.5).

Ж.6. Время поверхностной концентрации дождевого стока следует рассчитывать или, при отсутствии внутриквартальных закрытых дождевых сетей в поселениях и городских округах, принимать 5 - 10 мин, а при их наличии - 3 - 5 мин. При расчете внутриквартальной канализационной сети время поверхностной концентрации следует принимать 2 - 3 мин.

Продолжительность протекания дождевых вод по уличным лоткам следует определять по формуле

, (Ж.4)

где - длина участков лотков, м;

- расчетная скорость течения на участке, м/с.

В электронном документе текст соответствует официальному источнику.

Продолжительность протекания дождевых вод по трубам до рассчитываемого сечения , мин, следует определять по формуле

, (Ж.5)

где:

- длина расчетных участков коллектора, м;

- расчетная скорость течения на участке, м/с.

При расчете времени поверхностной концентрации продолжительность протекания дождевых вод по крыше и водосточным трубам допускается принимать 0,5 мин, продолжительность протекания по внутриквартальным лоткам - определять расчетом по формуле (Ж.4).

Примечание - Время добегания дождевого стока до рассматриваемого сечения коллекторной сети из формулы (Ж.3), принимаемое равным продолжительности дождя tr, как правило, составляет больше 10 мин. При величине расчетной продолжительности протекания дождевых вод менее 10 мин в формулу (Ж.1) следует вводить поправочный коэффициент, равный 0,8 при = 5 мин и 0,9 при = 7 мин.

Ж.7. Значения коэффициента покрова для различных видов поверхности стока, используемые для определения средневзвешенных значений коэффициентов при определении расчетных расходов дождевых вод в системе отведения поверхностного стока, приведены в таблице Ж.6, для водонепроницаемых поверхностей - в таблице Ж.7.

Таблица Ж.6

Значения коэффициентов покрова для различных видов поверхности стока

Вид поверхности стока Коэффициент покрова
Водонепроницаемые поверхности (кровли и асфальтобетонные покрытия) 0,33 - 0,23
(принимается по таблице 15)
Брусчатые мостовые и щебеночные покрытия 0,224
Булыжные мостовые 0,145
Щебеночные покрытия, не обработанные вяжущими материалами 0,125
Гравийные садово-парковые дорожки 0,09
Грунтовые поверхности (спланированные) 0,064
Газоны 0,038

Таблица Ж.7

Значения коэффициента при параметре А

Параметр n Коэффициент при параметре А
300 400 500 600 700 800 1000 1200 1500
Менее 0,65 0,32 0,30 0,29 0,28 0,27 0,26 0,25 0,24 0,23
0,65 и более 0,33 0,31 0,30 0,29 0,28 0,27 0,26 0,25 0,24

Ж.8. Расход инфильтрационных и дренажных вод, отводимых по сети дождевой канализации и влияющих на качественную и количественную характеристику поверхностного стока, следует определять на основании исследований, а также посредством измерений поступления воды в коллекторную сеть в сухую погоду.

При выполнении расчетов следует руководствоваться СП 116.13330, СП 104.13330, а также прогнозами подтопления и расчетами дренажных систем на застраиваемых и застроенных территориях.

Расчетный расход притока инфильтрационных вод в коллектор дождевой канализации, л/с, в сухую погоду при известном удельном притоке инфильтрационных вод определяется по формуле

, (Ж.6)

где:

q - удельный приток дренажных (инфильтрационных) вод, л/(с·га);

F - площадь стока коллектора, га.

Приложение И

НАРУЖНЫЕ СЕТИ И СИСТЕМЫ ВАКУУМНОЙ КАНАЛИЗАЦИИ

(в ред. Изменения N 3, утв. Приказом Минстроя РФ от 28.12.2023 N 1009/пр)

И.1 Системы вакуумной канализации следует предусматривать на основании технико-экономических расчетов при строительстве и реконструкции канализационных сетей сельских поселений, районов малоэтажного строительства, коттеджных поселков, домов отдыха, гостиничных комплексов, временных объектов и на территориях с низкой плотностью застройки.

Требования к компоновке и обустройству вакуумных канализационных станций необходимо принимать с учетом требований 8.2.2, 8.2.6 настоящего свода правил.

Применение системы вакуумной канализации следует рассматривать:

- для равнинной местности без естественных уклонов;

- грунтов с пониженной несущей способностью;

- скалистых грунтов;

- высокого уровня грунтовых вод и на подтопляемых территориях;

- стесненных условий;

- чувствительных экосистем;

- охранных зон прибрежных территорий;

- намывных территорий;

- вечной мерзлоты.

И.2 Система вакуумной канализации должна проектироваться с учетом сохранения работоспособности всей системы при выполнении ремонтных работ на отдельных ее компонентах. Рабочий диапазон разряжения в системе - от 40 до 60 кПа. Приемные колодцы системы вакуумной канализации должны обладать возможностью приема стоков при отсутствии вакуума в системе (ремонтные или профилактические работы) на срок не менее 6 ч.

И.3 Системы вакуумной канализации выполняются герметичными во взрывозащищенном исполнении. Сброс огнеопасных веществ, кислот, нефтепродуктов, крупногабаритных твердых отходов в систему вакуумной канализации запрещен.

И.4 Соотношение объема воздуха и жидкости в вакуумных канализационных системах должно быть не менее трех частей воздуха к одной части жидкости.

И.5 В сети вакуумной канализации комбинирование труб и фитингов различных серий не допускается. Для наружных систем вакуумной канализации следует использовать трубопроводы и фасонные части со стандартным размерным соотношением (SDR) не ниже 17 ед. с минимальным диаметром 90 мм.

Наименьшие уклоны трубопроводов систем вакуумной канализации следует принимать для труб диаметрами:

90 - 160 мм - 0,008;

180 - 225 мм - 0,007;

более 225 мм - 0,002.

И.6 Допускается наземная и надземная прокладка трубопроводов систем вакуумной канализации на площадках промышленных предприятий, в т.ч. расположенных в черте городских поселений. Допускается при обосновании надземная прокладка на опорах и эстакадах при пересечении препятствий трубопроводов систем вакуумной канализации при условии выполнения требований 6.1.6.

И.7 В системах вакуумной канализации присоединения и повороты выполняются с помощью соединительных деталей без устройства колодцев.

И.8 Глубины заложения трубопроводов системы вакуумной канализации следует принимать в соответствии с 6.2.4.

И.9 Расчетные расходы для определения диаметра вакуумного трубопровода должны соответствовать следующим параметрам:

90 мм - 1,1 л/с (4 м3/ч), при длине трассы не более 100 м;

110 мм - 1,95 л/с (7 м3/ч), при длине трассы не более 600 м;

125 мм - 3 л/с (11 м3/ч), при длине трассы не более 600 м;

140 мм - 4,7 л/с (17 м3/ч), при длине трассы не более 600 м;

160 мм - 5,5 л/с (20 м3/ч), при длине трассы не более 600 м;

180 мм - 8,3 л/с (30 м3/ч), при длине трассы не более 600 м;

225 мм трубы - 13,3 л/с (48 м3/ч), длиной более 600 м;

280 мм трубы - 23,6 л/с (85 м3/ч), длиной более 600 м.

В основе укладки трубопроводов системы вакуумной канализации должен использоваться ступенчатый профиль или профиль в форме радикала. Допускается ступенчатый профиль выполнять изогнутыми трубами. Основные способы укладки трубопроводов приведены на рисунке И.1.

А) При подъеме рельефа
Б) На равнинном участке

Рисунок И.1 - Принципы построения профилей сетей вакуумной канализации

И.10 Максимальное расстояние между лифт-фитингами не должно превышать 100 м. Высоту лифт-фитинга в зависимости от диаметра трубопровода следует принимать по таблице И.1.

Таблица И.1

Высота лифт-фитинга в зависимости от диаметра трубопровода

Диаметр трубы , мм Высота лифт-фитинга
, мм
min norm max
90 200 300 450
110
125
140
160
180 -
225 -
280 -

Для преодоления возвышенности трубопроводом системы вакуумной канализации участки с подъемом размещаются на расстоянии не менее 6 м друг от друга. В случае если на трубопроводе, прокладываемом с уклоном более 0,002, необходимо выполнить подъем, то следует перед подъемом на отрезке длиной 15 м обеспечить уклон 0,002.

Профили, примыкающие к основному трубопроводу на расстоянии не менее 6 м, должны иметь постоянный уклон.

Для вертикального и горизонтального изменения профиля трубопровода системы вакуумной канализации должны быть использованы два отвода 45°, использование одного отвода под 90° не допускается. Все присоединения фасонных частей трубопроводов в системе вакуумной канализации необходимо выполнять только сверху, угол присоединения не более 45°.

И.11 Все подключения трубопроводов и приемных колодцев системы вакуумной канализации необходимо выполнять на расстоянии, не превышающем 2 м перед лифт-фитингом и не ближе 6 м после подъемного колена лифт-фитинга.

На каждом участке присоединения боковых трубопроводов системы вакуумной канализации к главному трубопроводу системы вакуумной канализации и через каждые 450 м на основных направлениях должна устанавливаться запорная арматура.

В конце каждого трубопровода системы вакуумной канализации и перед каждой единицей запорной арматуры устанавливается инспекционная трубка для присоединения вакуумметра.

Максимальный перепад высот между наиболее удаленным абонентом сети и вакуумной канализационной насосной станцией не должен превышать 4 м (суммарная высота лифт-фитингов не должна превышать 4 м). Расчет суммарных потерь на лифт-фитингах проводят по формуле

(И.1)

Данные для расчета суммарной высоты лифт-фитингов приведены на рисунке И.2.

Рисунок И.2 - Схема расчета лифт-фитингов

И.12 Параллельная прокладка и пересечения инженерных сетей с трубопроводами системы вакуумной канализации, расстояния до сооружений регламентируются СП 42.13330.

И.13 Приемные колодцы системы вакуумной канализации устанавливают в непосредственной близости к строению (строениям). Для промышленных предприятий допускается установка в границах территории. В климатических зонах умеренного и холодного климата приемные колодцы вакуумной канализации следует устанавливать в подвальных помещениях зданий, при этом необходимо обеспечить удаление канализационных газов из приемного колодца через вентиляционный стояк за пределы здания с выполнением требований СП 30.13330. Сточные воды от абонента должны поступать в приемный колодец по самотечным трубопроводам номинальным диаметром не более 150 мм.

Максимальное число абонентов, подключаемых к приемному колодцу системы вакуумной канализации, определяется из условия И.2, но не более 5.

Приемные колодцы системы вакуумной канализации следует использовать двух видов:

- с установкой вакуумного клапана внутри приемного колодца (в мокром колодце);

- с установкой вакуумного клапана изолированно от рабочего объема приемного колодца.

Виды приемных колодцев системы вакуумной канализации приведены на рисунке И.3.

а) Клапан внутри приемного колодца б) Приемный колодец на два клапана
в) Раздельный приемный колодец б) Отдельно стоящий приемный колодец

1 - приемный колодец системы вакуумной канализации; 2 - клапан вакуумный; 3 - контроллер клапана вакуумного; 4 - трубка сенсорная или поплавковый датчик; 5 - всасывающий трубопровод; 6 - отводящий трубопровод системы вакуумной канализации; 7 - трубопровод самотечной канализации абонента
Рисунок И.3 - Виды приемных колодцев системы вакуумной канализации

Приемные колодцы системы вакуумной канализации следует выполнять из материалов по 6.3.1.

В рабочей части приемных колодцев системы вакуумной канализации при необходимости следует предусматривать установку навесных лестниц.

На люках приемных камер системы вакуумной канализации необходимо предусматривать запорные устройства. При установке люков необходимо руководствоваться 6.3.7.

И.14 При проходе полимерных или стеклокомпозитных труб через строительные конструкции железобетонного колодца необходимо предусматривать гильзы. Внутренний диаметр гильзы должен быть на 10 мм больше наружного диаметра прокладываемой трубы. Заделку зазора следует принимать из долговечных эластичных гидрофобных материалов.

Необходимо предусматривать наружную гидроизоляцию дна и стен приемного колодца системы вакуумной канализации, выполненного из монолитного железобетона вне зависимости от наличия грунтовых вод. Наружная гидроизоляция не требуется в случае применения колодцев из бетона марок B35 и выше с водонепроницаемостью не ниже W8 при пазогребневом соединении высотой не менее 6 см с уплотнительным кольцом.

Внутри приемного колодца системы вакуумной канализации необходимо устройство приямка объемом не менее 40 л, при установке двух клапанов в колодце - необходимо устройство приямка для каждого клапана отдельно.

И.15 Для обеспечения автоматического опорожнения каждый приемный колодец должен быть оборудован вакуумным клапаном, работой которого управляет контроллер, работающий автономно. Вакуумный клапан приемного колодца следует оснащать датчиком уровня (наполнения) сенсорного или поплавкового типа. Время открытия вакуумного клапана должно регулироваться в диапазоне от 3 до 10 с.

И.16 Для систем с мембранным датчиком при отсутствии на трубопроводе внутренней системы канализации абонента воздухозаборного устройства следует предусмотреть установку воздухозаборника непосредственно на приемном колодце системы вакуумной канализации. Воздухозаборник следует устанавливать выше уровня земли минимум на 0,6 м с применением конструктивных элементов, исключающих попадание атмосферных осадков и мусора. На подтопляемых территориях высоту воздухозаборников необходимо выбирать исходя из максимального (по результатам наблюдений) уровня подъема воды. Необходимо предусматривать защитные меры (включая антивандальные) от возможности повреждения воздухозаборников.

Трубопровод воздухозаборника, самотечный трубопровод и соединительные детали должны быть одного типоразмера.

И.17 Вакуумные канализационные насосные станции должны иметь в своем составе следующие узлы и агрегаты:

- два сборных вакуумных резервуара;

- не менее двух вакуумных насосов (рабочий + резервный);

- не менее двух канализационных насосов (рабочий + резервный);

- щит управления.

Сборные вакуумные резервуары должны иметь полезный объем не менее 3 м3.

Сборные вакуумные резервуары следует располагать:

- внутри насосной станции;

- в непосредственной близости от ВКНС в подземном исполнении.

Сборные вакуумные резервуары должны быть рассчитаны на рабочее давление 70 кПа и испытаны на 95 кПа вакуума.

Сборный вакуумный резервуар должен быть оснащен смотровым люком, предназначенным для очистки от донных отложений при проведении профилактических работ.

Необходимый объем вакуумного сборного резервуара определяют по формуле

, (И.2)

где - объем жидкости в сборном резервуаре, м3.

Объем жидкости , м3, в сборном резервуаре рассчитывают по формуле

, (И.3)

где - минимальное поступление сточных вод в резервуар, м3/ч;

n - допустимое число включений канализационного насоса в час (в отсутствие точного количества включений принимается n = 4 - 6);

- производительность канализационного насоса, м3/ч.

Производительность канализационного насоса , м3/ч, рассчитывают по формуле

, (И.4)

где - максимальный расход насосной станции, м3/ч;

- среднесуточный расход, м3/ч, определяется в соответствии с 5.2 настоящего свода правил;

k - коэффициент неравномерности, принимается по таблице И.2.

Таблица И.2

Коэффициенты неравномерности

Население, чел Коэффициент неравномерности
100 6,30
300 4,20
500 3,50
1000 2,80
1500 2,52
2500 2,24
4000 2,10
6000 1,96
10 000 1,82

Минимальное поступление сточных вод , м3/ч, в сборный вакуумный резервуар следует определять по формуле

, (И.5)

И.18 При расчете требуемого напора канализационного насоса следует учитывать величину на преодоление разряжения в сборном вакуумном резервуаре.

Производительность вакуумных насосов необходимо подбирать с условием достижения разряжения в системе вакуумной канализации 70 кПа за время не более 3 мин.

Между вакуумным сборным резервуаром, вакуумными насосами и трубопроводом сточных вод должна быть установлена запорная арматура.

Прокладку трубопроводов и компоновку оборудования ВКНС следует предусматривать в соответствии с разделом 8.

Для исключения загрязнения окружающей среды весь объем откачиваемого воздуха из сборного вакуумного резервуара должен проходить через фильтры. Фильтры для откачиваемого воздуха должны соответствовать 13.9 и содержать адсорбционные высокопористые материалы, активированный уголь, цеолиты и т.п.

Требования компоновки сборного вакуумного резервуара с погружными канализационными насосами необходимо принимать с учетом специфических особенностей, устанавливаемых изготовителем насосов.

Прочие требования компоновки вакуумной канализационной насосной станции:

- определение размеров машинных залов;

- подъемно-транспортное оборудование;

- размещение арматуры и трубопроводов, обслуживающих устройств следует принимать согласно СП 31.13330.

И.19 Основные требования к электрооборудованию, технологическому контролю и АСУТП для систем вакуумной канализации следует принимать в соответствии с разделом 10 настоящего свода правил. Система должна быть обеспечена аварийной сигнализацией и средствами оповещения диспетчера.

Сборный вакуумный резервуар должен быть оснащен приборами, контролирующими следующие параметры сточных вод:

- аварийный минимальный уровень сточных вод;

- минимальный уровень сточных вод (останов насоса);

- рабочий уровень сточных вод (пуск насоса);

- максимальный уровень сточных вод (пуск резервного насоса);

- аварийный уровень сточных вод (принудительное отключение вакуумных насосов).

БИБЛИОГРАФИЯ

(в ред. Изменений N 2, утв. Приказом Минстроя РФ от 27.12.2021 N 1023/пр, N 3, утв. Приказом Минстроя РФ от 28.12.2023 N 1009/пр)

[1] Федеральный закон от 3 июня 2006 г. N 74-ФЗ "Водный кодекс Российской Федерации"

[2] Постановление Правительства Российской Федерации от 26 октября 2019 г. N 1379 "Об утверждении Правил отнесения водных объектов к категориям водных объектов для целей установления технологических показателей наилучших доступных технологий в сфере очистки сточных вод с использованием централизованных систем водоотведения поселений или городских округов"

[3] Постановление Правительства Российской Федерации от 15 сентября 2020 г. N 1430 "Об утверждении технологических показателей наилучших доступных технологий в сфере очистки сточных вод с использованием централизованных систем водоотведения поселений или городских округов"

[4] Постановление Правительства Российской Федерации от 29 июля 2013 г. N 644 "Об утверждении Правил холодного водоснабжения и водоотведения и о внесении изменений в некоторые акты Правительства Российской Федерации"

[5] Федеральный закон от 10 января 2002 г. N 7-ФЗ "Об охране окружающей среды"

[6] Федеральный закон от 7 декабря 2011 г. N 416-ФЗ "О водоснабжении и водоотведении"

[7] Постановление Правительства Российской Федерации от 22 мая 2020 г. N 728 "Об утверждении Правил осуществления контроля состава и свойств сточных вод и о внесении изменений и признании утратившими силу некоторых актов Правительства Российской Федерации"

[8] Постановление Правительства Российской Федерации от 5 сентября 2013 г. N 782 "О схемах водоснабжения и водоотведения"

[9] Федеральный закон от 29 декабря 2004 г. N 190-ФЗ "Градостроительный кодекс Российской Федерации"

[10] Постановление Правительства Российской Федерации от 31 декабря 2020 г. N 2398 "Об утверждении критериев отнесения объектов, оказывающих негативное воздействие на окружающую среду, к объектам I, II, III и IV категорий"

[11] Приказ Министерства природных ресурсов и экологии Российской Федерации от 14 февраля 2019 г. N 89 "Об утверждении Правил разработки технологических нормативов"

[12] Распоряжение Правительства Российской Федерации от 24 декабря 2014 г. N 2674-р "Об утверждении Перечня областей применения наилучших доступных технологий"

[13] Приказ Минприроды России от 27 мая 2022 г. N 376 "Об утверждении нормативного документа в области охраны окружающей среды "Технологические показатели наилучших доступных технологий переработки нефти" (в ред. Изменения N 3, утв. Приказом Минстроя РФ от 28.12.2023 N 1009/пр)

[14] Приказ Минприроды России от 2 апреля 2019 г. N 211 "Об утверждении нормативного документа в области охраны окружающей среды "Технологические показатели наилучших доступных технологий производства текстильных изделий (промывка, отбеливание, мерсеризация, крашение текстильных волокон, отбеливание, крашение текстильной продукции)"

[15] Приказ Минприроды России от 12 апреля 2019 г. N 231 "Об утверждении нормативного документа в области охраны окружающей среды "Технологические показатели наилучших доступных технологий производства продукции тонкого органического синтеза"

[16] Приказ Минприроды России от 16 ноября 2022 г. N 780 "Об утверждении нормативного документа в области охраны окружающей среды "Технологические показатели наилучших доступных технологий дубления, крашения, выделки шкур и кожи" (в ред. Изменения N 3, утв. Приказом Минстроя РФ от 28.12.2023 N 1009/пр)

[17] Приказ Минприроды России от 12 апреля 2019 г. N 236 "Об утверждении нормативного документа в области охраны окружающей среды "Технологические показатели наилучших доступных технологий производства напитков, молока и молочной продукции"

[18] Приказ Минприроды России от 21 мая 2019 г. N 316 "Об утверждении нормативного документа в области охраны окружающей среды "Технологические показатели наилучших доступных технологий интенсивного разведения свиней"

[19] Приказ Минприроды России от 21 мая 2019 г. N 319 "Об утверждении нормативного документа в области охраны окружающей среды "Технологические показатели наилучших доступных технологий переработки природного и попутного газа"

[20] Приказ Минприроды России от 6 июня 2019 г. N 355 "Об утверждении нормативного документа в области охраны окружающей среды "Технологические показатели наилучших доступных технологий производства продуктов питания"

[21] Приказ Минприроды России от 27 мая 2022 г. N 377 "Об утверждении нормативного документа в области охраны окружающей среды "Технологические показатели наилучших доступных технологий добычи нефти" (в ред. Изменения N 3, утв. Приказом Минстроя РФ от 28.12.2023 N 1009/пр)

[22] Приказ Минприроды России от 11 июля 2019 г. N 457 "Об утверждении нормативного документа в области охраны окружающей среды "Технологические показатели наилучших доступных технологий убоя животных на мясокомбинатах, мясохладобойнях"

[23] Приказ Минприроды России от 27 августа 2019 г. N 579 "Об утверждении нормативного документа в области охраны окружающей среды "Технологические показатели наилучших доступных технологий производства целлюлозы, древесной массы, бумаги, картона"

[24] Приказ Минприроды России от 29 декабря 2020 г. N 1116 "Об утверждении нормативного документа в области охраны окружающей среды "Технологические показатели наилучших доступных технологий производства основных органических химических веществ" (в ред. Изменения N 3, утв. Приказом Минстроя РФ от 28.12.2023 N 1009/пр)

[25] Приказ Минприроды России от 29 декабря 2020 г. N 1118 "Об утверждении Методики разработки нормативов допустимых сбросов загрязняющих веществ в водные объекты для водопользователей"

[26] ИТС 10-2019 Очистка сточных вод с использованием централизованных систем водоотведения поселений, городских округов (в ред. Изменения N 3, утв. Приказом Минстроя РФ от 28.12.2023 N 1009/пр)

[27] ИТС 8-2022 Очистка сточных вод при производстве продукции (товаров), выполнении работ и оказании услуг на крупных предприятиях (в ред. Изменения N 3, утв. Приказом Минстроя РФ от 28.12.2023 N 1009/пр)

[28] ИТС 47-2017 Системы обработки (обращения) со сточными водами и отходящими газами в химической промышленности (в ред. Изменения N 3, утв. Приказом Минстроя РФ от 28.12.2023 N 1009/пр)

[29] Распоряжение Правительства Российской Федерации от 8 июля 2015 г. N 1316-р "Об утверждении перечня загрязняющих веществ, в отношении которых применяются меры государственного регулирования в области охраны окружающей среды"

[30] Постановление Правительства Российской Федерации от 27 декабря 2004 г. N 861 "Об утверждении Правил недискриминационного доступа к услугам по передаче электрической энергии и оказания этих услуг, Правил недискриминационного доступа к услугам по оперативно-диспетчерскому управлению в электроэнергетике и оказания этих услуг, Правил недискриминационного доступа к услугам администратора торговой системы оптового рынка и оказания этих услуг и Правил технологического присоединения энергопринимающих устройств потребителей электрической энергии, объектов по производству электрической энергии, а также объектов электросетевого хозяйства, принадлежащих сетевым организациям и иным лицам, к электрическим сетям"

[31] ПУЭ Правила устройства электроустановок (7-е изд.)

[32] Постановление Правительства Российской Федерации от 3 марта 2018 г. N 222 "Об утверждении Правил установления санитарно-защитных зон и использования земельных участков, расположенных в границах санитарно-защитных зон"

[33] МУК 4.2030-05 Санитарно-вирусологический контроль эффективности обеззараживания питьевых и сточных вод УФ-облучением

Официальный источник электронного документа содержит неточность: имеются в виду МУК 4.3.2030-05.

[34] Приказ Министерства сельского хозяйства Российской Федерации от 13 декабря 2016 г. N 552 "Об утверждении нормативов качества воды водных объектов рыбохозяйственного значения, в том числе нормативов предельно допустимых концентраций вредных веществ в водах водных объектов рыбохозяйственного значения"

[35] Приказ Федеральной службы по экологическому, технологическому и атомному надзору от 15 декабря 2020 г. N 536 "Об утверждении Федеральных норм и правил в области промышленной безопасности "Правила промышленной безопасности при использовании оборудования, работающего под избыточным давлением"

[36] Приказ Федеральной службы по экологическому, технологическому и атомному надзору от 03.12.2020 N 486 "Об утверждении Федеральных норм и правил в области промышленной безопасности "Правила безопасности при производстве, хранении, транспортировании и применении хлора" (в ред. Изменения N 3, утв. Приказом Минстроя РФ от 28.12.2023 N 1009/пр)

[37] Постановление Правительства Российской Федерации от 13 марта 2019 г. N 262 "Об утверждении Правил создания и эксплуатации системы автоматического контроля выбросов загрязняющих веществ и (или) сбросов загрязняющих веществ"

[38] Постановление Правительства Российской Федерации от 13 марта 2019 г. N 263 "О требованиях к автоматическим средствам измерения и учета показателей выбросов загрязняющих веществ и (или) сбросов загрязняющих веществ, к техническим средствам фиксации и передачи информации о показателях выбросов загрязняющих веществ и (или) сбросов загрязняющих веществ в государственный реестр объектов, оказывающих негативное воздействие на окружающую среду"

[39] ИТС 22.1-2021 Общие принципы производственного экологического контроля и его метрологического обеспечения (в ред. Изменения N 3, утв. Приказом Минстроя РФ от 28.12.2023 N 1009/пр)

[40] ИТС 22-2016 Очистка выбросов вредных (загрязняющих) веществ в атмосферный воздух при производстве продукции (товаров), а также при проведении работ и оказании услуг на крупных предприятиях

[41] Федеральный закон от 22 июля 2008 г. N 123-ФЗ "Технический регламент о требованиях пожарной безопасности"

[42] СанПиН 2.1.3684-21 Санитарно-эпидемиологические требования к содержанию территорий городских и сельских поселений, к водным объектам, питьевой воде и питьевому водоснабжению, атмосферному воздуху, почвам, жилым помещениям, эксплуатации производственных, общественных помещений, организации и проведению санитарно-противоэпидемических (профилактических) мероприятий (в ред. Изменения N 3, утв. Приказом Минстроя РФ от 28.12.2023 N 1009/пр)

[43] СанПиН 2.1.3685-21 Гигиенические нормативы и требования к обеспечению безопасности и (или) безвредности для человека факторов среды обитания (в ред. Изменения N 3, утв. Приказом Минстроя РФ от 28.12.2023 N 1009/пр)

[44] СанПиН 2.2.1/2.1.1.1200-03 Санитарно-защитные зоны и санитарная классификация предприятий, сооружений и иных объектов (в ред. Изменения N 3, утв. Приказом Минстроя РФ от 28.12.2023 N 1009/пр)

[45] СанПиН 3.3686-21 Санитарно-эпидемиологические требования по профилактике инфекционных болезней" (в ред. Изменения N 3, утв. Приказом Минстроя РФ от 28.12.2023 N 1009/пр)

[46] Приказ Минстроя России от 17 октября 2014 г. N 639/пр "Об утверждении Методических указаний по расчету объема принятых (отведенных) поверхностных сточных вод (в ред. Изменения N 3, утв. Приказом Минстроя РФ от 28.12.2023 N 1009/пр)