Единая система защиты от коррозии и старения. Сооружения подземные. Общие требования к защите от коррозии. ГОСТ 9.602-2016

(утв. Приказом Росстандарта от 07.10.2016 N 1327-СТ)
Редакция от 07.10.2016 — Действует с 01.06.2017

Данный документ приведен с учетом Поправок, опубликованных в ИУС "Национальные стандарты", N 1, 2021, N 1, 2022.


МЕЖГОСУДАРСТВЕННЫЙ СТАНДАРТ

ЕДИНАЯ СИСТЕМА ЗАЩИТЫ ОТ КОРРОЗИИ И СТАРЕНИЯ

СООРУЖЕНИЯ ПОДЗЕМНЫЕ

ОБЩИЕ ТРЕБОВАНИЯ К ЗАЩИТЕ ОТ КОРРОЗИИ

Unified system of corrosion and ageing protection. Underground constructions. General requirements for corrosion protection

ГОСТ 9.602-2016

Дата введения
1 июня 2017 года

Предисловие

Цели, основные принципы и основной порядок проведения работ по межгосударственной стандартизации установлены в ГОСТ 1.0-2015 "Межгосударственная система стандартизации. Основные положения" и ГОСТ 1.2-2015 "Межгосударственная система стандартизации. Стандарты межгосударственные, правила и рекомендации по межгосударственной стандартизации. Правила разработки, принятия, обновления и отмены"

Сведения о стандарте

1 РАЗРАБОТАН Обществом с ограниченной ответственностью "Научно-исследовательский институт природных газов и газовых технологий - Газпром ВНИИГАЗ" (ООО "Газпром ВНИИГАЗ"), Открытым акционерным обществом "Инжиниринговая нефтегазовая компания - Всесоюзный научно-исследовательский институт по строительству и эксплуатации трубопроводов, объектов ТЭК" (ОАО ВНИИСТ), Обществом с ограниченной ответственностью "НефтегазТехЭкспертиза" (ООО "НефтеГазТехЭкспертиза") и Саморегулируемой Организацией - Некоммерческим Партнерством содействия в реализации инновационных программ в области противокоррозионной защиты (СРО НП "СОПКОР")

2 ВНЕСЕН Межгосударственным техническим комитетом по стандартизации МТК 523 "Техника и технологии добычи и переработки нефти и газа"

3 ПРИНЯТ Межгосударственным советом по стандартизации, метрологии и сертификации (протокол от 31 августа 2016 г. N 90)

За принятие проголосовали:

Краткое наименование страны по МК (ИСО 3166) 004-97 Код страны по МК (ИСО 3166) 004-97 Сокращенное наименование национального органа по стандартизации
Азербайджан AZ Азстандарт
Армения AM Минэкономики Республики Армения
Беларусь BY Госстандарт Республики Беларусь
Казахстан KZ Госстандарт Республики Казахстан
Киргизия KG Кыргызстандарт
Россия RU Росстандарт
Таджикистан TJ Таджикстандарт
Туркмения TM Главгосслужба "Туркменстандартлары"

4 Приказом Федерального агентства по техническому регулированию и метрологии от 7 октября 2016 г. N 1327-ст межгосударственный стандарт ГОСТ 9.602-2016 введен в действие в качестве национального стандарта Российской Федерации с 1 июня 2017 г.

5 ВЗАМЕН ГОСТ 9.602-2005

Информация об изменениях к настоящему стандарту публикуется в ежегодном информационном указателе "Национальные стандарты", а текст изменений и поправок - в ежемесячном информационном указателе "Национальные стандарты". В случае пересмотра (замены) или отмены настоящего стандарта соответствующее уведомление будет опубликовано в ежемесячном информационном указателе "Национальные стандарты". Соответствующая информация, уведомление и тексты размещаются также в информационной системе общего пользования - на официальном сайте Федерального агентства по техническому регулированию и метрологии в сети Интернет (www.gost.ru)

Введение

Подземные металлические сооружения (трубопроводы, резервуары, опоры, фундаменты) являются одной из самых капиталоемких составляющих промышленных объектов. От их надежного, бесперебойного функционирования зависит промышленная безопасность и жизнеобеспеченность промышленных и аграрных предприятий, городов и населенных пунктов.

Значительное влияние на срок службы подземных металлических сооружений оказывает коррозионная агрессивность окружающей среды (включая биокоррозионную агрессивность грунтов), а также внешние техногенные воздействия (блуждающие и индуцированные токи), которые могут привести к существенному снижению надежности и безопасности эксплуатируемых сооружений и в несколько раз сократить срок их службы.

Единственно возможным способом борьбы с этим негативным явлением является своевременное применение мер по противокоррозионной защите стальных подземных сооружений.

В настоящем стандарте установлены критерии опасности коррозии и методы их определения; требования к защитным покрытиям, нормативы их качества для разных условий эксплуатации подземных сооружений (адгезия защитных покрытий к поверхности трубы, адгезия между слоями защитных покрытий, стойкость к растрескиванию, стойкость к удару, стойкость к воздействию светопогоды и др.) и методы оценки качества защитных покрытий; регламентированы требования к электрохимической защите, а также методы контроля эффективности противокоррозионной защиты.

В настоящем стандарте учтены новейшие научно-технические разработки и достижения в практике противокоррозионной защиты, накопленные эксплуатационными, строительными и проектными организациями.

Внедрение настоящего стандарта позволит увеличить срок службы и надежность подземных металлических сооружений, сократить расходы на их техническую эксплуатацию.

1. Область применения

Настоящий стандарт устанавливает общие требования к защите от коррозии наружной поверхности подземных (в том числе подводных с заглублением в дно) стальных сооружений, проложенных ниже уровня поверхности земли или в обваловании, выполненных из углеродистых и низколегированных сталей (далее - сооружения): трубопроводов, транспортирующих природный газ (газопроводы магистральные и распределительные), нефть, нефтепродукты, и отводов от них; резервуаров (в том числе траншейного типа); водопроводов; трубопроводов тепловых сетей; свай, шпунтов, колонн и других несущих стальных подземных конструкций. Настоящий стандарт также устанавливает требования по ограничению токов утечки на источниках блуждающих токов, оказывающих влияние на защиту от коррозии подземных сооружений: электрифицированный рельсовый транспорт, линии передачи энергии постоянного тока по системе "провод-земля", промышленные предприятия, потребляющие постоянный электрический ток в технологических целях.

Настоящий стандарт не распространяется на следующие сооружения: железобетонные и чугунные сооружения; на сооружения специального оборонного и космического назначения, морские и прибрежные сооружения, в том числе, трубопроводы; сооружения атомных, приливных, гидроэлектрических станций и плотин; коммуникации, прокладываемые в зданиях; кабели в металлической оболочке; трубопроводы тепловых сетей с пенополиуретановой тепловой изоляцией и трубой-оболочкой из жесткого полиэтилена (конструкция "труба в трубе"), имеющие действующую систему оперативного дистанционного контроля состояния изоляции трубопроводов.

2. Нормативные ссылки

В настоящем стандарте использованы нормативные ссылки на следующие межгосударственные стандарты:

ГОСТ 9.008-82 Единая система защиты от коррозии и старения. Покрытия металлические и неметаллические неорганические. Термины и определения

ГОСТ 9.039-74 Единая система защиты от коррозии и старения. Коррозионная агрессивность атмосферы

ГОСТ 9.102-91 Единая система защиты от коррозии и старения. Воздействие биологических факторов на технические объекты. Термины и определения

ГОСТ 9.103-78 Единая система защиты от коррозии и старения. Временная противокоррозионная защита металлов и изделий. Термины и определения

ГОСТ 9.401-91 Единая система защиты от коррозии и старения. Покрытия лакокрасочные. Общие требования и методы ускоренных испытаний на стойкость к воздействию климатических факторов

ГОСТ 12.0.004-90 отменен. Взамен него с 01.03.2017 введен в действие ГОСТ 12.0.004-2015. Действие ГОСТ 12.0.004-2015 приостановлено на срок до 01.09.2026.

ГОСТ 12.0.004-90 Система стандартов безопасности труда. Организация обучения безопасности труда. Общие положения

ГОСТ 12.1.003-83 отменен. Взамен него с 01.11.2015 введен в действие ГОСТ 12.1.003-2014.

ГОСТ 12.1.003-83 Система стандартов безопасности труда. Шум. Общие требования безопасности

ГОСТ 12.1.005-88 Система стандартов безопасности труда. Общие санитарно-гигиенические требования к воздуху рабочей зоны

ГОСТ 12.2.004-75 Система стандартов безопасности труда. Машины и механизмы специальные для трубопроводного строительства. Требования безопасности

ГОСТ 12.3.016-87 отменен. Взамен него с 01.01.2021 введен в действие ГОСТ Р 12.3.052-2020.

ГОСТ 12.3.016-87 Система стандартов безопасности труда. Строительство. Работы антикоррозионные. Требования безопасности

ГОСТ 12.4.172-87 Система стандартов безопасности труда. Комплект индивидуальный экранирующий для защиты от электрических полей промышленной частоты. Общие технические требования и методы контроля

ГОСТ 427-75 Линейки измерительные металлические. Технические условия

ГОСТ 1050-2013 Металлопродукция из нелегированных конструкционных качественных и специальных сталей. Общие технические условия

ГОСТ 2583-92 Батареи из цилиндрических марганцево-цинковых элементов с солевым электролитом. Технические условия

ГОСТ 2678-94 Материалы рулонные кровельные и гидроизоляционные. Методы испытаний

ГОСТ 2768-84 Ацетон технический. Технические условия

ГОСТ 4166-76 Реактивы. Натрий сернокислый. Технические условия

ГОСТ 4233-77 Реактивы. Натрий хлористый. Технические условия

ГОСТ 4234-77 Реактивы. Калий хлористый. Технические условия

ГОСТ 5180-84 Грунты. Методы лабораторного определения физических характеристик

ГОСТ 5272-68 Коррозия металлов. Термины

ГОСТ 6323-79 Провода с поливинилхлоридной изоляцией для электрических установок. Технические условия

ГОСТ 6456-82 Шкурка шлифовальная бумажная. Технические условия

ГОСТ 6616-94 Преобразователи термоэлектрические. Общие технические условия

ГОСТ 6709-72 отменен. Взамен него с 01.07.2021 введен в действие ГОСТ Р 58144-2018.

ГОСТ 6709-72 Вода дистиллированная. Технические условия

ГОСТ 8711-93 (МЭК 51-2-84) Приборы аналоговые показывающие электроизмерительные прямого действия и вспомогательные части к ним. Часть 2. Особые требования к амперметрам и вольтметрам

ГОСТ 9812-74 Битумы нефтяные изоляционные. Технические условия

ГОСТ 10821-2007 Проволока из платины и платинородиевых сплавов для термоэлектрических преобразователей. Технические условия

ГОСТ 11262-80 Пластмассы. Метод испытания на растяжение

ГОСТ 11645-73 Пластмассы. Метод определения показателя текучести расплава термопластов

ГОСТ 12026-76 Бумага фильтровальная лабораторная. Технические условия

ГОСТ 13518-68 Пластмассы. Метод определения стойкости полиэтилена к растрескиванию под напряжением

ГОСТ 14236-81 Пленки полимерные. Метод испытаний на растяжение

ГОСТ 14261-77 Кислота соляная особой чистоты. Технические условия

ГОСТ 15140-78 Материалы лакокрасочные. Методы определения адгезии

ГОСТ 15150-69 Машины, приборы и другие технические изделия. Исполнения для различных климатических районов. Категории, условия эксплуатации, хранения и транспортирования в части воздействия климатических факторов внешней среды

ГОСТ 16336-77 Композиции полиэтилена для кабельной промышленности. Технические условия

ГОСТ 16783-71 Пластмассы. Метод определения температуры хрупкости при сдавливании образца, сложенного петлей

ГОСТ 17299-78 Спирт этиловый технический. Технические условия

ГОСТ 17792-72 Электрод сравнения хлорсеребряный насыщенный образцовый 2-го разряда

ГОСТ 19179-73 Гидрология суши. Термины и определения

ГОСТ 23750-79 Аппараты искусственной погоды на ксеноновых излучателях. Общие технические требования

ГОСТ 26996-86 Полипропилен и сополимеры пропилена. Технические условия

ГОСТ 29227-91 (ИСО 835-1-81) Посуда лабораторная стеклянная. Пипетки градуированные. Часть 1. Общие требования

ГОСТ 25812-83 Трубопроводы стальные магистральные. Общие требования к защите от коррозии

Примечание - При пользовании настоящим стандартом целесообразно проверить действие ссылочных стандартов на территории государства по соответствующему указателю стандартов, составленному по состоянию на 1 января текущего года, и по соответствующим информационным указателям, опубликованным в текущем году. Если ссылочный документ заменен (изменен), то при пользовании настоящим стандартом следует руководствоваться замененным (измененным) стандартом. Если ссылочный документ отменен без замены, то положение, в котором дана ссылка на него, применяется в части, не затрагивающей эту ссылку.

3. Термины и определения

В настоящем стандарте применены термины по ГОСТ 5272, ГОСТ 9.008, ГОСТ 9.072, ГОСТ 9.103, [1] и [2].

4. Общие положения

4.1 Требования настоящего стандарта обязательны при проектировании, строительстве, реконструкции, ремонте, эксплуатации подземных сооружений. Настоящий стандарт является основанием для разработки нормативных документов (НД) и определения мероприятий по защите конкретных видов подземных металлических сооружений от коррозии.

4.2 При разработке проекта строительства и реконструкции сооружений одновременно разрабатывают проект защиты их от коррозии.

4.3 Мероприятия по защите от коррозии строящихся, действующих и реконструируемых сооружений предусматривают в проектной документации в соответствии с требованиями настоящего стандарта. Для комплексных объектов (магистральные трубопроводы, резервуарные парки, промышленные площадки с подземными трубопроводами и несущими подземными стальными конструкциями) при проектировании, как правило, предусматривается создание систем противокоррозионной защиты.

4.4 При проектировании, строительстве, эксплуатации и реконструкции подземных сооружений предусматривают мероприятия по определению источников блуждающих токов, оценке их опасности. Организации, эксплуатирующие сооружения и оборудование, которые являются источниками блуждающих токов, должны обеспечить ограничение их опасного влияния в соответствии с настоящим стандартом.

4.5 Все средства защиты от коррозии, предусмотренные проектом, принимают в эксплуатацию до сдачи в эксплуатацию сооружений.

4.6 Проектные решения должны учитывать влияние электромагнитных воздействий и ударов молнии, а также технических средств для ограничения указанных воздействий на средства защиты сооружений от коррозии.

4.7 При эксплуатации сооружений должны быть обеспечены систематический контроль эффективности противокоррозионной защиты и опасности коррозии, а также регистрация и анализ причин коррозионных повреждений.

5. Критерии опасности коррозии

5.1 Видами коррозионного воздействия на наружную поверхность подземных стальных сооружений являются:

- атмосферная коррозия;

- коррозия в почвенно-грунтовых водах и грунтах;

- биокоррозия;

- коррозия, вызванная блуждающими токами (переменными и постоянными);

- коррозия, вызванная индуцированным переменным током.

Примечания

1 Атмосферная коррозия подземных сооружений является вероятным и часто встречающимся на практике случаем (участки выхода подземных сооружений из земли, непроектный выход подземных коммуникаций на поверхность: размывы, выветривание, участки проведения работ со вскрытием подземных коммуникаций) и учитывается при планировании защитных мероприятий, в т.ч. требований к защитным покрытиям.

2 Определение термина "почвенно-грунтовые воды" соответствует ГОСТ 19179.

5.2 Оценка опасности атмосферной коррозии стальных сооружений осуществляется по величине коррозионных потерь в соответствии с ГОСТ 9.039 и степени коррозионной агрессивности атмосферы по ГОСТ 15150.

5.3 Коррозионная агрессивность грунта и почвенно-грунтовых вод по отношению к стальным подземным сооружениям характеризуется значениями удельного электрического сопротивления грунта (почвенно-грунтовых вод); средней плотностью катодного тока; наличием (или отсутствием) признаков биокоррозии.

5.4 Для оценки коррозионной агрессивности грунта по отношению к стали определяют удельное электрическое сопротивление грунта, измеренное в полевых или лабораторных условиях, и среднюю плотность катодного тока при смещении потенциала на 100 мВ отрицательней стационарного потенциала стали в грунте (см. таблицу 1). Если при определении первого показателя (удельного электрического сопротивления грунта) установлена высокая коррозионная агрессивность грунта, то другой показатель не определяют.

5.5 Методы определения удельного электрического сопротивления грунта и средней плотности катодного тока приведены в приложениях А и Б. Допускается применять другие аттестованные методы определения указанных параметров.

Примечания

1 Для трубопроводов тепловых сетей, проложенных в каналах, тепловых камерах, смотровых колодцах и т.д., критерием опасности коррозии является наличие воды или грунта в каналах (тепловых камерах, смотровых колодцах и т.д.), если вода или грунт соприкасаются с теплоизоляционной конструкцией или поверхностью трубопровода.

2 Воздействие фактора биокоррозии оценивают с применением терминов в соответствии с ГОСТ 9.102.

3 Если удельное электрическое сопротивление грунта, измеренное в полевых или лабораторных условиях, равно или более 130 Ом·м, то коррозионную агрессивность грунта считают низкой и по средней плотности катодного тока не оценивают.

Таблица 1

Коррозионная агрессивность грунта (почвенно-грунтовых вод) по отношению к углеродистой и низколегированной стали

Коррозионная агрессивность грунта Удельное электрическое сопротивление грунта (почвенно-грунтовых вод), Ом·м Средняя плотность катодного тока, А/м2
Низкая Св. 50 До 0,05 включ.
Средняя Св. 20 до 50 включ. Св. 0,05 до 0,20 включ.
Высокая До 20 включ. Св. 0,20

5.6 Для находящихся в эксплуатации подземных стальных сооружений оценка опасности биокоррозии должна осуществляться на основании следующих признаков:

- тип (язва, питтинг), размеры и расположение коррозионного повреждения;

- наличие коррозионных повреждений под отслоившимся защитным покрытием;

- условия протекания коррозионного процесса (аэробный, анаэробный);

- наличие коррозионных повреждений, не связанных с воздействием блуждающих токов;

- идентификация продуктов биокоррозии.

5.7 Критерием биокоррозионной опасности (агрессивности грунта), связанным с воздействием сульфатредуцирующих бактерий, может являться наличие визуальных признаков оглеения грунта (окрашенности грунта в сероватые, сизые, голубоватые тона) и наличие в грунте восстановленных соединений серы. Метод качественного определения биокоррозионной агрессивности грунта приведен в приложении В.

5.8 Оценку опасности биокоррозии, обусловленной воздействием микроорганизмов, следует осуществлять на основании их идентификации и установления связи их жизнедеятельности с коррозионным процессом. Предварительным подтверждением опасности биокоррозии, обусловленной воздействием микроорганизмов, являются положительные результаты определения качественных признаков, которые приведены в приложении В.

5.9 Критерием наличия блуждающих токов от источников постоянного тока в грунте является значение разности потенциалов, измеренное относительно электродов сравнения между двумя отстоящими друг от друга на расстоянии 100 м точками на поверхности земли. Измерения проводятся в двух взаимно перпендикулярных направлениях. Метод определения наличия блуждающих постоянных токов в земле приведен в приложении Г.

Если максимальная разность потенциалов превышает 0,5 В, то это означает наличие блуждающих токов.

5.10 Для подземных трубопроводов, проектируемых параллельно существующим (в одном технологическом коридоре), наличие или отсутствие блуждающих токов необходимо оценивать в соответствии с 5.9 и по результатам измерений на существующих трубопроводах.

5.11 Признаком опасного влияния блуждающего постоянного тока на сооружения является наличие изменяющегося по знаку и значению смещения суммарного потенциала сооружения по отношению к его стационарному потенциалу (знакопеременная зона) или наличие только положительного смещения суммарного потенциала, как правило, изменяющегося по значению (анодная зона). Метод определения опасного влияния блуждающего постоянного тока приведен в приложениях Г и Д.

Примечание - Для вновь проектируемых сооружений опасным является наличие блуждающих токов в земле, способ определения которого приведен в приложении Г.

5.12 Опасное влияние переменного тока промышленной частоты (в том числе индуцированного переменного тока) на стальные сооружения характеризуется наличием переменного тока плотностью более 2 мА/см2 (20 А/м2) на вспомогательном электроде либо смещением среднего значения потенциала сооружения в отрицательную сторону не менее чем на 10 мВ по отношению к его стационарному потенциалу.

Метод определения опасного влияния переменного тока на подземные сооружения приведен в приложении Е.

5.13 Для проектируемых трубопроводов на участках с параллельным следованием их с воздушными линиями электропередачи напряжением 110 кВ и более, оценка влияния индуцированного (наведенного) переменного тока осуществляется в соответствии с ГОСТ 25812 "Трубопроводы стальные магистральные. Общие требования к защите от коррозии" (Проект) (приложение В).

5.14 Опасность коррозии переменным током промышленной частоты для несущих конструкций (свай, опор), используемых в качестве заземляющих устройств (естественных заземлителей), определяется плотностью тока, стекающего с поверхности арматуры подземных конструкций в грунт. Опасность коррозии существует, если плотность тока превышает 1 А/м2.

6. Выбор методов защиты от коррозии

6.1 Методы защиты от коррозии сооружения должны соответствовать его назначению, конструкции и условиям эксплуатации.

6.2 Основными методами защиты подземных стальных сооружений от коррозии в почвенно-грунтовых водах и грунтах и коррозии, вызванной блуждающими токами, являются:

- применение защитных покрытий;

- применение средств электрохимической защиты (катодная поляризация).

6.3 Дополнительными методами защиты от коррозии являются:

- выбор трасс прокладки проектируемых стальных сооружений (при прочих равных условиях) с учетом опасности воздействия блуждающих и индуцированных токов;

- ограничение токов и напряжений при воздействии индуцированного переменного тока;

- ограничение блуждающих токов на их источниках.

6.4 При определении методов защиты от коррозии сооружений предусматривают:

- оценку условий строительства и эксплуатации сооружения;

- оценку критериев опасности коррозии сооружения;

- выбор защитных покрытий, соответствующих условиям эксплуатации сооружения;

- оценку необходимости и выбор решений по электрохимической защите (катодной поляризации) сооружений;

- оценку необходимости и выбор дополнительных методов защиты от коррозии.

6.5 Независимо от коррозионной агрессивности грунта, для всех подземных сооружений предусматривают применение защитных покрытий в качестве основного метода защиты от коррозии.

6.6 Стальные подземные трубопроводы, резервуары (в том числе траншейного типа), расположенные в грунтах средней и высокой коррозионной агрессивности и биоагрессивных грунтах, в зонах опасного действия блуждающих постоянных и переменных токов, подлежат защите средствами электрохимической защиты (установками катодной защиты, установками дренажной защиты, протекторными установками (гальваническими анодами)). В остальных случаях необходимость обеспечения объекта средствами электрохимической защиты должна подтверждаться соответствующим обоснованием или требованиями заказчика.

6.7 Катодная поляризация обеспечивается средствами электрохимической защиты: установками катодной защиты, поляризованными и усиленными дренажами, протекторными установками.

Установки катодной защиты и протекторные установки применяют при защите подземных сооружений от коррозии в почвенно-грунтовых водах и грунтах, биокоррозии, коррозии переменными токами промышленной частоты и при защите от коррозии блуждающими постоянными токами.

Поляризованные и усиленные дренажи применяют при защите от коррозии, вызываемой блуждающими постоянными токами рельсового транспорта, электрифицированного на постоянном токе.

6.8 Магистральные трубопроводы подлежат обязательной электрохимической защите независимо от условий прокладки.

6.9 Трубопроводы сельскохозяйственного водоснабжения (групповые и межхозяйственные стальные водопроводы) и резервуары траншейного типа защищают методом катодной поляризации независимо от коррозионной агрессивности грунта.

6.10 Стальные трубопроводы оросительных систем и систем обводнения защищают методом катодной поляризации в грунтах высокой и средней коррозионной агрессивности.

6.11 Действующие теплопроводы канальной прокладки защищают методом катодной поляризации при наличии воды или грунта в канале, если вода или грунт соприкасаются с теплоизоляционной конструкцией или поверхностью трубопровода.

6.12 Сваи, опоры сооружений, элементы и узлы соединения несущих конструкций должны иметь защиту от коррозии. При отсутствии свободного доступа к ним для осмотров и возобновления защитных покрытий конструкции первоначально должны быть защищены от коррозии на весь период эксплуатации.

6.13 При проектировании защиты от коррозии свай и опор в составе конструкций сооружений, строящихся в районах с расчетной температурой наружного воздуха ниже минус 40 °C, необходимо учитывать требования ГОСТ 9.401. За температуру наружного воздуха принимается температура наиболее холодной пятидневки.

6.14 Электрохимическую защиту свай, опор совместно с защитными покрытиями следует предусматривать при высокой коррозионной агрессивности грунтов, опасном влиянии блуждающих токов. Для элементов несущих конструкций сооружений из канатов и тросов электрохимическая защита не предусматривается.

6.15 Для защиты от биокоррозии с целью снижения агрессивности окружающей среды могут применяться допущенные к использованию в установленном порядке биоциды и ингибиторы коррозии.

6.16 Для защиты сооружений и оборудования от опасного влияния токов и напряжений индуцированного переменного тока высоковольтных линий электропередачи и защиты от поражения электрическим током обслуживающего персонала применяют технические устройства, обеспечивающие снижение величин переменного тока и напряжений до безопасных значений.

7. Требования к защитным покрытиям и методам контроля качества

7.1 Требования к защитным покрытиям подземных стальных сооружений (кроме магистральных трубопроводов и теплопроводов) усиленного и нормального типа приведены в таблицах 2 и 3 соответственно.

Таблица 2

Требования к защитным покрытиям усиленного типа

Наименование показателя <1> Значение Метод испытания Номер защитного покрытия по таблице Ж.1 (приложение Ж)
1. Адгезия к стали,      
не менее, при температуре 20 °C, Н/см 70,0 В соответствии с приложением К 2
50,0 1 (для трубопроводов диаметром 820 мм и более)
40 °C, Н/см 35,0 В соответствии с приложением К 1 (для трубопроводов диаметром до 820 мм), 9
20,0 3, 4, 5, 6, 10
35,0 2
20 °C, МПа 20,0 В соответствии с приложением К 1, 9
10,0 3, 4, 10
0,5 7, 8
5,0 11
7,0 12, 13
2. Адгезия в зоне нахлеста при температуре 20 °C, Н/см, не менее:   В соответствии с приложением К  
Ленты к ленте 7,0 3, 4, 5
35,0 9
20,0 10
Обертки к ленте 5,0 4
Слоя экструдированного полиолефина к ленте 15,0 3
3. Адгезия к стали после выдержки в воде в течение 1000 ч при температуре 20 °C, Н/см, не менее 50,0   1 (для трубопроводов диаметром 820 мм и более)
МПа, не менее 35,0 В соответствии с приложением К 1, 2 (для трубопроводов диаметром до 820 мм)
30,0 9
15,0 3, 4
3,5 В соответствии с приложением К 11
5,0 12, 13
4. Прочность при ударе, не менее, Дж, при температуре:     Для всех защитных покрытий (кроме 1, 2, 3), для трубопроводов диаметром, мм:
минус 15 °C   В соответствии с приложением Л  
5,0 до 273 включ.
6,0 св. 273 до 530 включ.
8,0 св. 530 до 820
10,0 св. 820
20 °C   В соответствии с приложением Л Для всех защитных покрытий (кроме 1, 2, 3, 4, 5, 9, 10, 11, 13), для трубопроводов диаметром, мм:
5,0 до 273 включ.
6,0 св. 273 до 530 включ.
8,0 св. 530 до 820
10,0 св. 820
4,0 В соответствии с приложением Л 4, 5, 9, 10
  6,0 В соответствии с приложением Л 11, 13
    Для всех защитных покрытий (кроме 1, 2, 3, 4, 5), для трубопроводов диаметром, мм:
40 °C 5,0 В соответствии с приложением Л до 273 включ.
6,0 св. 273 до 530 включ.
8,0 св. 530 до 820
10,0 св. 820
4,0 В соответствии с приложением Л 4, 5, 9, 10, 11
6, 0 В соответствии с приложением Л 13
20 °C, Дж/мм толщины защитного покрытия   В соответствии с приложением Л 1, 2 для трубопроводов диаметром, мм:
5,0 до 820 включ.
6,0 св. 820
5. Прочность при разрыве, МПа, не менее, при температуре 20 °C <2> 12,0 По ГОСТ 11262 1, 2, 9
10,0 По ГОСТ 14236 3, 8, 10
6. Площадь отслаивания защитного покрытия при катодной поляризации, см2, не более, при температуре:   В соответствии с приложением М  
20 °C 5,0   Для всех защитных покрытий
60 °C 10,0   1, 2, 9
7. Стойкость к растрескиванию под напряжением при температуре 50 °C, ч, не менее 1000 По ГОСТ 13518 1, 2, 3, 8, 9, 10
8. Стойкость к воздействию светопогоды, ч, не менее 500 В соответствии с приложением Н 1, 2, 3, 8
9. Температура хрупкости, °C, не выше -50 °C По ГОСТ 16783 4, 9
10. Температура хрупкости мастичного слоя (гибкость на стержне) °C, не более -10 °C По ГОСТ 2678 5, 6, 8, 10
11. Переходное электрическое сопротивление защитного покрытия в 3%-ном растворе Na2SO4 при температуре (20 +/- 5) °C, Ом·м2, не менее:   В соответствии с приложением П  
Исходное   1, 2, 9
    3, 4, 5, 6, 7, 8, 10, 11, 12, 13
Через 100 сут выдержки   1, 2, 9
    3, 4, 5, 6, 7, 8, 10, 11, 12, 13
12. Переходное электрическое сопротивление защитного покрытия <3> на законченных строительством участках трубопровода (в шурфах) при температуре выше 0 °C, Ом·м2, не менее Приведено в приложении П 1, 2, 3, 8, 9, 10
    4, 5, 6
    7
13. Диэлектрическая сплошность (отсутствия пробоя при электрическом напряжении), кВ/мм 5,0 7.14 Для всех защитных покрытий
14. Сопротивление вдавливанию (пенетрация) при температуре (20 +/- 5) °C, мм, не более 0,3 В соответствии с приложением Р Для всех защитных покрытий
15. Водонасыщаемость за 24 ч при температуре (20 +/- 5) °C, %, не более 0,1 По ГОСТ 9812 5, 6, 7, 8, 10
<1> Показатели свойств измеряют при 20 °C, если в НД не оговорены другие условия. При установлении дополнительных требований к стойкости защитных покрытий при температурных и механических воздействиях, оценка дополнительных показателей стойкости может быть осуществлена по приложениям С, Т, У, Ф.
<2> Прочность при разрыве комбинированных защитных покрытий, лент и защитных оберток (в МПа) относят только к толщине несущей полимерной основы без учета толщины мастичного или каучукового подслоя, при этом прочность при разрыве, отнесенная к общей толщине ленты, не менее 50 Н/см ширины, а защитной обертки - не менее 80 Н/см ширины.
<3> Предельно допустимое значение переходного электрического сопротивления защитного покрытия в процессе эксплуатации подземных трубопроводов составляет не менее 400 Ом·м2.

Таблица 3

Требования к защитным покрытиям нормального типа

Наименование показателя <1> Значение Метод испытания Номер защитного покрытия по таблице Ж.1 (приложение Ж)
1 Адгезия к стали при температуре 20 °C:   В соответствии с приложением К 14 (для трубопроводов диаметром 820 мм и более)
Н/см, не менее 50,0 ГОСТ 15140 14 (для трубопроводов диаметром до 820 мм)
Балл, не более 35,0  
МПа, не менее 20,0 В соответствии с приложением К 15
  1 17
  7,0 18
2 Адгезия в нахлесте при температуре 20 °C, Н/см, не менее:   В соответствии с приложением К  
ленты к ленте 7,0 15
слоя экструдированного полиэтилена к ленте 15,0 15
3 Адгезия к стали после выдержки в воде в течение 1000 ч при температуре 20 °C:      
Н/см, не менее 50,0 В соответствии с приложением К 14 (для трубопроводов диаметром 820 мм и более)
  35,0   14 (для трубопроводов диаметром до 820 мм)
МПа, не менее 15,0 В соответствии с приложением К 15
5,0 18
4 Прочность при ударе, не менее, при температуре: 2,0 Приложение Л 17
минус 15 °C, Дж 6,0   16
  2,0   17
20 °C, Дж 6,0 В соответствии с приложением Л 16
40 °C, Дж 3,0 В соответствии с приложением Л 18
2,0 В соответствии с приложением Л 17
6,0 16
20 °C, Дж/мм толщины защитного покрытия   В соответствии с приложением Л 14, 15 для трубопроводов диаметром, мм:
4,25 до 159 включ.
5,0 св. 159 до 530 включ.
6,0 св. 530
5 Прочность при разрыве, МПа, не менее, при температуре 20 °C <2> 12,0 По ГОСТ 11262 14
10,0 По ГОСТ 14236 15
6 Площадь отслаивания защитного покрытия при катодной поляризации, см2, не более, при температуре:   В соответствии с приложением М  
20 °C 4,0   18
  5,0   14, 15, 16
40 °C 8,0   14, 18
7 Стойкость к растрескиванию под напряжением при температуре:   По ГОСТ 13518 Для защитных покрытий с толщиной полиолефинового слоя не менее 1 мм:
50 °C, ч, не менее 500 14, 15
8 Стойкость к воздействию светопогоды, ч, не менее 500 В соответствии с приложением Н 14, 15
9 Переходное электрическое сопротивление защитного покрытия в 3%-ном растворе Na2SO4 при температуре (20 +/- 5) °C, Ом·м2, не менее:   В соответствии с приложением П  
Исходное   14
  15, 16, 18
через 100 сут выдержки   17
  14
  15, 16, 18
  17
10 Переходное электрическое сопротивление защитного покрытия <3> на законченных строительством участках трубопровода (в шурфах) при температуре выше 0 °C, Ом·м2, не менее В соответствии с приложением П 14, 15, 17
    18
  16
11 Диэлектрическая сплошность (отсутствие пробоя при электрическом напряжении), кВ/мм 5,0 7.14 14, 15
  4,0   18
  2,0   17
12 Водонасыщаемость за 24 ч, %, не более 0,1 По ГОСТ 9812 16
<1> Показатели свойств измеряют при 20 °C, если в нормативных документах (НД) не оговорены другие условия.
<2> Прочность при разрыве комбинированного защитного покрытия, лент и защитных оберток относят только к толщине несущей полимерной основы без учета толщины мастичного или каучукового подслоя. При этом прочность при разрыве, отнесенная к общей толщине ленты, не менее 50 Н/см ширины, а защитной обертки - не менее 80 Н/см ширины.
<3> Предельно допустимое значение переходного электрического сопротивления защитного покрытия в процессе эксплуатации подземных трубопроводов должно составлять не менее 400 Ом·м2.

7.2 Рекомендуемые конструкции защитных покрытий, применяемые для защиты стальных подземных сооружений (кроме магистральных трубопроводов и теплопроводов), приведены в приложении Ж. Допускается применять другие конструкции защитных покрытий, обеспечивающие выполнение требований настоящего стандарта.

7.3 Для магистральных трубопроводов классификация и требования к защитным покрытиям определены в ГОСТ 25812.

7.4 Для защиты трубопроводов тепловых сетей от наружной коррозии применяют защитные покрытия, конструкции и условия применения которых приведены в приложении И. Допускается применять другие конструкции защитных покрытий, обеспечивающие выполнение требований настоящего стандарта.

7.5 Защитные покрытия усиленного типа, соответствующие требованиям таблицы 2, должны применяться для:

- стальных трубопроводов, прокладываемых непосредственно в земле в пределах территорий городов, населенных пунктов и промышленных предприятий;

- газопроводов с давлением газа до 1,2 МПа (12 кгс/см2), предназначенных для газоснабжения городов, населенных пунктов и промышленных предприятий, но прокладываемых вне их территорий;

- стальных резервуаров, установленных в грунт или обвалованных грунтом.

Примечание - Для трубопроводов, транспортирующих углеводороды с давлением среды свыше 1,2 МПа (категория 1а) рекомендуется применять защитные покрытия, соответствующие требованиям ГОСТ 25812.

7.6 Для стальных трубопроводов оросительных систем, систем сельскохозяйственного водоснабжения (групповых и межхозяйственных водопроводов и отводов от них) и обводнения применяют защитные покрытия нормального типа, соответствующие требованиям таблицы 3.

7.7 При проведении работ по строительству и ремонту подземных сооружений, как правило, должны применяться стальные конструкции, изолированные в заводских (базовых) условиях на механизированных линиях изоляции с использованием полиэтиленовых, полипропиленовых, полиуретановых, эпоксидных покрытий.

7.8 Работы по нанесению защитных покрытий в трассовых условиях (ручным и механизированным способом) осуществляют при защите от коррозии подземной части резервуаров, изоляции сварных стыков и фасонных частей, устранении повреждений покрытия (не более 10% площади трубы), возникших при транспортировании труб, а также при ремонте участков трубопроводов длиной не более 10 м.

7.9 При строительстве и ремонте сооружений места повреждения защитного покрытия ремонтируют в трассовых условиях с применением материалов, соответствующих основному защитному покрытию, ремонтными комплектами в соответствии с рекомендациями производителя защитных покрытий.

7.10 Толщину защитных покрытий контролируют методом неразрушающего контроля с применением толщиномеров и других измерительных приборов:

- на трубах в базовых и заводских условиях для двухслойных и трехслойных полимерных покрытий на основе экструдированного полиэтилена, полипропилена; комбинированного на основе полиэтиленовой ленты и экструдированного полиэтилена; ленточного полимерного и мастичного покрытий - на каждой десятой трубе одной партии не менее чем в четырех точках по окружности трубы и в местах, вызывающих сомнение;

- на трубах с применением мастичных покрытий в трассовых условиях - на 10% отремонтированной площади труб и сварных стыков, изолируемых вручную, в четырех точках по окружности трубы;

- на резервуарах, изолированных с применением мастичных покрытий - в одной точке на каждом квадратном метре поверхности, а в местах перегибов защитных покрытий - через 1 м по длине окружности.

7.11 Адгезию защитных покрытий к стали при строительстве и ремонте контролируют с применением адгезиметров:

- на трубах в базовых и заводских условиях - через каждые 100 м или на каждой десятой трубе в партии;

- на трубах в трассовых условиях - на 10% сварных стыков труб, изолированных вручную, на основном защитном покрытии трубы - на каждой десятой трубе, изолированной любым (механизированным, ручным) способом в трассовых условиях, и в местах, вызывающих сомнение;

- на резервуарах - не менее чем в двух точках по окружности.

7.12 Для мастичных покрытий допускается определять адгезию методом выреза равностороннего треугольника с длиной стороны не менее 3,0 см и не более 5,0 см с последующим отслаиванием покрытия от вершины угла надреза. Адгезия считается удовлетворительной, если вырезанный треугольник отслаивается только с приложением усилия, при этом наблюдается когезионный характер отслаивания по всей площади трубы под вырезанным треугольником. При отслаивании защитных покрытий не менее 50% площади отслаиваемой мастики должно оставаться на металле трубы. Поврежденное в процессе проверки адгезии защитное покрытие должно быть отремонтировано в соответствии с НД.

7.13 Сплошность защитных покрытий отдельных элементов (труб, соединительных деталей, емкостей) при нанесении в заводских (базовых) условиях контролируют после окончания процесса изоляции; при нанесении в трассовых условиях - после изоляции резервуаров и перед опусканием трубопровода в траншею.

7.14 Контроль сплошности должен осуществляться по всей поверхности покрытия искровым дефектоскопом с рабочим электродом в виде щетки из проволоки или кольца из проволоки со спиральной навивкой. При проведении данных испытаний на поверхности покрытия не должно быть влаги, а прибор (искровой дефектоскоп) и металлическое сооружение (конструкция) с нанесенным покрытием должны быть заземлены. Прибор должен быть оснащен системами световой и звуковой сигнализации для обнаружения нарушения сплошности (электрического пробоя) покрытия. Напряжение на рабочем электроде при проверке покрытия должно соответствовать требованиям таблицы 2 для покрытий усиленного типа, и требованиям таблицы 3 для покрытий нормального типа. Величина напряжения при контроле покрытия не должна превышать 20 кВ. Скорость перемещения рабочего электрода по контролируемой поверхности покрытия не должна превышать 0,5 м/с.

7.15 Дефектные места, а также сквозные повреждения защитного покрытия, выявленные во время проверки его качества, ремонтируют до засыпки подземного сооружения. При ремонте дефектных участков обеспечивают однотипность, монолитность и сплошность защитного покрытия; после исправления отремонтированные места защитного покрытия подлежат повторной проверке искровым дефектоскопом.

7.16 После засыпки сооружения грунтом защитное покрытие проверяют на отсутствие сквозных повреждений с помощью методов и средств инструментального контроля состояния защитного покрытия. Указанные работы проводят на сооружении, находящемся в незамерзшем грунте, не ранее чем через 14 дней после засыпки его грунтом. В случае обнаружения дефектов, защитное покрытие должно быть отремонтировано.

8. Требования к электрохимической защите

8.1. Общие требования

8.1.1 Электрохимическая защита должна обеспечивать непрерывную по времени катодную поляризацию подземных сооружений, подлежащих защите в соответствии с 6.6, 6.8 - 6.11 настоящего стандарта, в течение всего срока их эксплуатации.

8.1.2 Дополнительные требования к электрохимической защите объектов магистральных трубопроводов определены в ГОСТ 25812.

Примечание - Для трубопроводов, транспортирующих углеводороды с давлением среды свыше 1,2 МПа (категория 1а) рекомендуется применять требования к электрохимической защите, соответствующие требованиям ГОСТ 25812.

8.1.3 Средства электрохимической защиты, предусмотренные проектом, вводят в действие в зонах опасного влияния блуждающих токов не позднее одного месяца, а в остальных случаях - не позднее трех месяцев после укладки сооружения в грунт. Если предусматриваются более поздние сроки окончания строительства и ввода в эксплуатацию средств электрохимической защиты, то необходимо предусмотреть временную электрохимическую защиту с указанными в настоящем пункте сроками ввода в эксплуатацию.

8.1.4 Сооружения, температура металла которых весь период эксплуатации ниже чем 268 К (минус 5 °C), не подлежат электрохимической защите, при отсутствии опасного влияния блуждающих и индуцированных токов, вызванных сторонними источниками. Сбор исходных данных о коррозионной ситуации на проектируемом участке сооружения для принятия решения об отказе от применения электрохимической защиты сооружения должен осуществляться в период максимального растепления грунта и его естественного увлажнения.

8.1.5 Допускается не предусматривать электрохимическую защиту стальных вставок, стальных футляров (кожухов) в составе линейной части неметаллических трубопроводов, участков соединений неметаллических газопроводов со стальными вводами в дома (при наличии на вводе электроизолирующих вставок) с защитным покрытием усиленного типа, длиной не более 10 м. При этом засыпку траншеи в той ее части, где проложена стальная вставка, по всей глубине заменяют на песчаную.

8.1.6 Для контроля эффективности электрохимической защиты сооружения измеряют потенциалы на защищаемом сооружении в контрольно-измерительных пунктах, на вводах в здания и других элементах сооружения, доступных для проведения измерения.

8.1.7 Места размещения контрольно-измерительных пунктов магистральных трубопроводов определены в ГОСТ 25812. Для остальных сооружений контрольно-измерительные пункты устанавливают с интервалом не более 200 м в пределах поселения и не более 500 м - вне пределов поселения, в том числе:

- в пунктах подключения дренажного кабеля к сооружению;

- на границах зоны защиты установки катодной защиты и границах зон защиты смежных установок катодной защиты;

- в местах максимального сближения сооружения с анодным заземлителем;

- в местах пересечения с автомобильными дорогами и железнодорожными путями с контролем параметров электрохимической защиты по обе стороны от пересечения;

- в местах подземного расположения электроизолирующих вставок.

Примечание - Для трубопроводов, транспортирующих углеводороды с давлением среды свыше 1,2 МПа (категория 1а) рекомендуется места размещения контрольно-измерительных пунктов определять в соответствии с требованиями ГОСТ 25812.

8.1.8 Измерение поляризационных потенциалов (потенциалов без омической составляющей) проводят следующими методами (см. приложение Х):

- метод отключения тока поляризации датчика потенциала (вспомогательного электрода), имитирующего дефект в защитном покрытии;

- метод отключения тока защиты подземного сооружения;

- метод непосредственного измерения потенциала вспомогательного электрода через электролитический ключ, максимально приближенный к вспомогательному электроду.

Примечание - При использовании для измерения любых датчиков потенциала (вспомогательных электродов), рекомендуется определить соотношение размеров датчика (вспомогательного электрода) и среднего значения размеров дефектов защитного покрытия на контролируемом участке сооружения для учета при оценке результатов измерений согласно основным закономерностям теории электрического поля в грунте.

8.1.9 Катодную поляризацию сооружений осуществляют таким образом, чтобы защитные потенциалы металла относительно насыщенного медно-сульфатного электрода сравнения находились между минимальным и максимальным (по абсолютному значению) значениями в соответствии с таблицей 4. Допускается применение других неполяризующихся электродов сравнения с приведением результатов измерения к насыщенному медно-сульфатному электроду сравнения.

Таблица 4

Защитные потенциалы металла сооружения относительно насыщенного медно-сульфатного электрода сравнения

Сооружения и условия их эксплуатации Минимальный защитный потенциал <1> относительно насыщенного медно-сульфатного электрода сравнения <2>, В Максимальный защитный потенциал <1> относительно насыщенного медно-сульфатного электрода сравнения <2>, В
Поляризационный потенциал (без омической составляющей) Суммарный (с омической составляющей) Поляризационный потенциал (без омической составляющей) Суммарный (с омической составляющей)
Действующие стальные сооружения до их реконструкции <3>:
С температурой поверхности (транспортируемого продукта) не выше 40 °C        
-0,85 -0,9 -1,15 -2,5
С температурой поверхности (транспортируемого продукта) свыше 40 °C; сооружения при опасности биокоррозии -0,95 -1,05 -1,15 -3,5
Вновь построенные и реконструированные сооружения:
С температурой поверхности (транспортируемого продукта) не выше 40 °C -0,85 -0,95 -1,2 -3,5
С температурой поверхности (транспортируемого продукта) свыше 40 °C, не имеющие теплоизоляции -0,95 -1,05 - 1,1 -3,5
<1> Здесь и далее под минимальным и максимальным значениями потенциала подразумевают его значения по абсолютной величине.
<2> Электроды сравнения обеспечивают стабильность потенциала по отношению к образцовому электроду сравнения по ГОСТ 17792 в пределах +/- 15 мВ.
<3> Показатели относятся к сооружениям, для которых проектными решениями не был предусмотрен контроль поляризационного потенциала. Допускается оценивать защищенность только по величине потенциала с омической составляющей, который для действующих стальных сооружений с температурой поверхности (транспортируемого продукта) не выше 40 °C, с покрытием на основе битумной мастики не отрицательнее минус 2,5 В относительно насыщенного медно-сульфатного электрода сравнения.

8.1.10 Катодную поляризацию трубопроводов с теплоизоляцией, в том числе тепловых сетей и горячего водоснабжения бесканальной прокладки, а также канальной прокладки при расположении анодного заземления за пределами канала, проводят таким образом, чтобы потенциал с омической составляющей (суммарный потенциал) трубопровода был в пределах от минус 1,1 до минус 2,5 В по медно-сульфатному электроду сравнения. При отсутствии защитного изоляционного покрытия на наружной поверхности трубопровода, его потенциал с омической составляющей трубопровода должен находиться в пределах от минус 1,1 до минус 3,5 В по медно-сульфатному электроду сравнения.

8.1.11 Катодную поляризацию трубопроводов тепловых сетей и горячего водоснабжения канальной прокладки применяют при расположении анодных заземлений в канале или вне канала. При расположении анодных заземлений в канале потенциал трубопровода, измеренный относительно установленного у поверхности трубы вспомогательного стального электрода, поддерживают на 0,3 - 0,8 В отрицательнее потенциала трубы относительно этого электрода, измеренного при отсутствии катодной поляризации трубы. Измерение потенциала трубопровода при расположении анодного заземления в канале приведено в приложении Ш.

8.1.12 Катодную поляризацию подземных металлических сооружений осуществляют так, чтобы она не оказывала опасного влияния на смежные подземные металлические сооружения. Если при осуществлении катодной поляризации возникнет опасное влияние на смежные подземные металлические сооружения, то необходимо принять меры по его устранению или выполнить совместную защиту этих сооружений.

Примечание - Опасным влиянием катодной поляризации защищаемого сооружения на соседние металлические сооружения в соответствии с 5.11 считают:

- уменьшение по абсолютной величине минимального или увеличение по абсолютной величине максимального защитного потенциала на соседних металлических сооружениях, имеющих электрохимическую защиту;

- появление опасности коррозии на соседних подземных металлических сооружениях, ранее не требовавших защиты от нее.

8.1.13 Для повышения эффективности электрохимической защиты и ограничения опасного влияния на соседние металлические сооружения, а также электрического секционирования трубопроводов, проходящих в зонах воздействия блуждающих токов, необходимо предусматривать электроизолирующие вставки (фланцы, муфты и т.п.) в соответствии с нормативной документацией. Места их установки определяются проектом.

8.1.14 Контроль работы установок электрохимической защиты в эксплуатационных условиях заключается в периодическом осмотре, оценке технического состояния и проверке эффективности их работы. При значительных изменениях, связанных с развитием сети подземных металлических сооружений и источников блуждающих и индуцированных токов, проводят дополнительный контроль.

8.1.15 Контроль непрерывности работы (перерывов в работе) установок катодной защиты должен быть обеспечен с учетом времени на производство плановых регламентных и ремонтных работ в процессе эксплуатации. Перерывы в работе установок катодной защиты допускаются только для проведения плановых работ. Работу по внеплановому ремонту вышедших из строя установок электрохимической защиты классифицируют как аварийную.

8.1.16 Если в зоне действия вышедшей из строя установки электрохимической защиты защитный потенциал трубопровода обеспечивается соседними (смежными) установками защиты (перекрывание зон защиты), то срок устранения неисправности определяется техническим руководителем эксплуатационной организации.

8.1.17 Стальные трубопроводы, реконструируемые методом санирования (облицовки внутренней поверхности трубы) с помощью полимерных материалов, как правило, подлежат защите в соответствии с 8.1.9. Стальные трубопроводы, реконструируемые методом протяжки неметаллических труб, подлежат защите на тех участках, где стальная труба необходима как защитный футляр (под автомобильными, железными дорогами и др.) с учетом 8.1.5.

8.1.18 Стальные футляры (кожухи) трубопроводов под автомобильными дорогами, железнодорожными и трамвайными путями при бестраншейной прокладке (прокол, продавливание и другие технологии, разрешенные к применению), как правило, защищают защитными покрытиями и средствами электрохимической защиты в соответствии с 6.6 и 8.1.9.

8.1.19 В качестве футляров (кожухов) рекомендуется использовать трубы с внутренним защитным покрытием.

8.1.20 Если обеспечение защитных потенциалов по 8.1.9 на действующих трубопроводах, транспортирующих среды температурой не выше 40 °C и длительное время находившихся в эксплуатации в коррозионно-опасных условиях, экономически нецелесообразно, по согласованию с проектной и обследующей организациями допускается применять в качестве минимального поляризационного защитного потенциала трубопровода его значение на 100 мВ отрицательнее стационарного потенциала. Стационарный потенциал трубопровода определяют по датчику потенциала (вспомогательному электроду) (см. приложение Щ).

Примечание - Минимальный защитный поляризационный потенциал - более отрицательный, чем минус 0,65 В.

8.2. Требования к электрохимической защите при наличии опасного влияния блуждающих токов и индуцированных переменных токов

8.2.1 Защиту стальных подземных трубопроводов от коррозии, вызываемой блуждающими постоянными токами от электрифицированного транспорта, а также переменными токами, в том числе индуцированными от высоковольтных линий электропередач, обеспечивают в опасных зонах, независимо от коррозионной агрессивности грунтов, средствами электрохимической защиты.

8.2.2 Защиту сооружений от опасного влияния блуждающих постоянных токов осуществляют так, чтобы исключить образование на сооружении знакопеременных или стационарных анодных зон.

Допускается кратковременное анодное смещение потенциала сооружения относительно стационарного потенциала, суммарной продолжительностью не более 4 мин в сутки.

8.2.3 Определение смещений потенциала (разность между измеренным потенциалом сооружения и стационарным потенциалом) проводят в соответствии с приложением Д.

Примечание - При отсутствии данных о стационарном потенциале его значение для стали принимают равным минус 0,70 В.

8.2.4 В условиях опасного влияния блуждающих постоянных токов при защите стальных трубопроводов и резервуаров с температурой транспортируемого (хранимого) продукта не выше 40 °C в грунтах высокой коррозионной агрессивности, трубопроводов оросительных систем и систем обводнения в грунтах средней коррозионной агрессивности, трубопроводов сельскохозяйственного водоснабжения и резервуаров траншейного типа, независимо от коррозионной агрессивности грунтов, средние значения поляризационных и суммарных потенциалов должны быть в пределах, указанных в 8.1.9.

8.2.5 Применение дренажной защиты должно обеспечивать выполнение требований 8.1.9. Если применение поляризованных дренажей неэффективно, то используют катодную защиту, защиту усиленными дренажами или катодную защиту совместно с поляризованным дренажом; электрическое секционирование трубопроводов с применением электроизолирующих вставок.

8.2.6 Подключение дренажных устройств к рельсовым путям производится в соответствии с требованиями НД. Не допускается непосредственно присоединять установки дренажной защиты к отрицательным шинам и к сборке отрицательных линий тяговых подстанций электрифицированного транспорта.

8.3. Требования к протекторной защите

8.3.1 Защиту с использованием протекторов (гальванических анодов) рекомендуется применять при обеспечении токоотдачи единичного протектора не менее 50 мА:

- для отдельных участков трубопроводов небольшой протяженности (не имеющих электрических контактов с другими сооружениями) при отсутствии или при наличии опасности блуждающих постоянных токов, если вызываемое ими среднее смещение потенциала от стационарного не превышает плюс 0,3 В;

- для участков трубопроводов, электрически отсоединенных от других коммуникаций электроизолирующими вставками;

- при относительно малых расчетных значениях токов (менее или равных 1 А);

- как дополнительное средство защиты, когда действующие (предусмотренные проектом) средства электрохимической защиты не обеспечивают защиту отдельных участков трубопроводов;

- для защиты от опасного влияния переменного тока.

8.3.2 Протекторную защиту трубопроводов тепловых сетей и горячего водоснабжения применяют только при их прокладке в каналах с размещением протекторов (гальванических анодов) в канале или непосредственно на поверхности трубопроводов.

9. Требования по ограничению токов утечки на источниках блуждающих токов

9.1 Ввод в эксплуатацию объектов, являющихся источниками блуждающих токов, не допускается до проведения всех предусмотренных проектом мероприятий по ограничению этих токов.

9.2 На объектах электрифицированного рельсового транспорта, являющихся источниками блуждающих токов, мероприятиями по ограничению блуждающих токов являются:

- обеспечение электропроводности стыков, межрельсовых и междупутных перемычек;

- изоляция рельсовых путей электрифицированного рельсового транспорта по отношению к земле, в соответствии с требованиями НД;

Примечание - На линиях рельсового транспорта, электрифицированных по системе переменного тока, специальные меры по ограничению утечки тяговых токов на рельсовых путях и устройствах электроснабжения в части защиты от коррозии не предусматривают.

- электрическое отделение электрифицированных путей от неэлектрифицированных изолирующими стыками;

- отвод поверхностных и почвенно-грунтовых вод от основания пути.

9.3 Продольное сопротивление рельсовой сети за счет сборных стыков не должно увеличиваться более чем на 20% проектного значения.

9.4 Для ограничения стекания тяговых токов главные пути наземных линий укладывают на щебеночном, гравийном или равноценном им по изоляционным свойствам балласте.

9.5 Деревянные шпалы, укладываемые в путь, пропитывают неэлектропроводными антисептиками. Железобетонные шпалы или железобетонные блочные основания изолируют от рельсов. Не допускается металлическая связь арматуры железобетона непосредственно с рельсами или деталями рельсовых скреплений.

9.6 Конструкцию путей электрифицированного рельсового транспорта выполняют так, чтобы обеспечить переходное сопротивление рельсов (сопротивление изоляции) по отношению к земле не менее значений, приведенных в таблице 5.

Таблица 5

Требования к изоляции рельсового пути для электрифицированного транспорта

Вид транспорта Переходное сопротивление рельс-земля <1> (две нити в параллель), Ом·км, не менее
Железнодорожный магистральный 0,25
Метрополитен:  
- в тоннелях и закрытых наземных участках, на участках, смежных с метромостами (до 200 м по обе стороны) 1,5 <2>
- на эстакадах, метромостах, в здании электродепо 3,0
- на открытых наземных линиях и парковых путях электродепо 0,5
Трамвай 0,02
<1> Для железнодорожного промышленного и карьерного видов транспорта показатель не нормируется. Для тоннелей нормируется переходное сопротивление "рельс-тоннельная обделка".
<2> В начальный период эксплуатации метрополитена (не более 6 месяцев со дня ввода в эксплуатацию) допускается снижение переходного сопротивления рельсов в тоннеле до 0,5 Ом·км.

9.7 Все неэлектрифицированные пути в месте их примыкания к электрифицированным путям отделяют изолирующими стыками, устанавливаемыми в каждую рельсовую нить.

9.8 Электрифицированные пути от неэлектрифицированных отделяют двумя изолирующими стыками в каждой нити в следующих случаях:

- на подъездных путях тяговых подстанций, промышленных объектов, нефтебаз и складов с горючими и взрывоопасными веществами;

- на соединительных линиях между разными видами рельсового транспорта;

- на примыкающих строящихся линиях электрифицированного рельсового транспорта.

Стыки устанавливают таким образом, чтобы они не перекрывались одновременно подвижным составом, подаваемым на неэлектрифицированные пути.

9.9 Для ограничения утечки тяговых токов с локальных участков пути (тоннель, депо, станционные парки) рекомендуется применять технические средства, препятствующие стеканию тягового тока, в соответствии с требованиями НД.

9.10 Наличие прямых течей поверхностных и почвенно-грунтовых вод на путь в тоннелях не допускается.

9.11 При наличии в трамвайной тяговой рельсовой сети нескольких пунктов присоединения отрицательных питающих линий для одной тяговой подстанции применяют статические вольтодобавочные устройства или добавочные сопротивления для уравнивания потенциалов отсасывающих пунктов, разность которых в период интенсивного графика движения не должна превышать 0,5 В при вольтодобавочных устройствах и 1,0 В - при реостатах. Для контроля потенциалов предусматривают систему контрольных проводов.

9.12 Использование отрицательных линий и пути трамвая в качестве проводника тока троллейбусных нагрузок не допускается.

9.13 В пунктах присоединения отрицательных линий трамвая применяют разъемное электрическое соединение отрицательных линий с проводниками, идущими непосредственно к рельсовым нитям. Сопротивление контакта в месте присоединения каждого из указанных проводников к рельсовой нити не должно превышать 0,0015 Ом.

9.14 Кабели, используемые для прокладки отрицательных линий трамвая, оборудуют контрольными шинами для измерения потенциалов пунктов присоединения отрицательных кабелей к рельсам.

9.15 Для контроля разности потенциалов между пунктами присоединения отрицательных кабелей трамвая смежные параллельно работающие подстанции оборудуют системой контрольных проводов.

9.16 Для контроля потенциалов рельсовой сети метрополитена оборудуют систему контрольно-измерительных пунктов в соответствии с НД.

9.17 При проектировании рабочих заземлений линий передач энергии постоянного тока системы "провод-земля" предусматривают мероприятия, исключающие их опасное влияние на подземные сооружения.

9.18 Источники блуждающих токов промышленных объектов (шинопроводы постоянного тока, электролизеры, металлические трубопроводы, присоединенные к электролизерам) электрически изолируют от строительных конструкций, с применением в качестве изоляторов изделий из базальта, фарфора, диабаза, стекла, пластмассы и других материалов с удельным объемным сопротивлением не менее 1012 Ом·м.

9.19 Для ограничения тока утечки предусматривают секционирование с помощью электроизолирующих швов железобетонных перекрытий, железобетонных площадок для обслуживания электролизеров в подземных железобетонных конструкциях. Перекрытие, на котором устанавливают электролизеры, отделяют от примыкающих к нему железобетонных стен, колонн, перекрытий других отделений электроизолирующим швом в виде воздушных зазоров из мастичных или рулонных материалов с удельным электрическим сопротивлением 1012 Ом·м.

9.20 В отделениях электролиза водных растворов для ограничения токов утечки применяют полимербетон для конструкций, примыкающих к электронесущему оборудованию (опоры, балки, фундаменты под электролизеры, опорные столбы под шинопроводы, опорные балки и фундаменты под оборудование, соединенное с электролизерами).

9.21 Трубопроводы, транспортирующие электролит и продукты электролиза, выполняют из неэлектропроводных материалов (фаолит, стекло, полиэтилен и др.) с целью ограничения токов утечки с них.

9.22 Эксплуатационный контроль выполнения требований по ограничению токов утечки с рельсовой сети проводят подразделения (службы) транспорта конкретного вида. Перечень контролируемых параметров, сроки и методы их выполнения определены в соответствующих НД.

9.23 Выполнение требований по ограничению токов утечки при строительстве линий электрифицированного рельсового транспорта контролирует строительная организация совместно с организацией, эксплуатирующей стальные подземные коммуникации, на которые может быть оказано опасное влияние блуждающего тока строящегося объекта. Результаты контроля предъявляют при приемке линий в эксплуатацию.

9.24 Соответствие подключения средств активной защиты (поляризованных и усиленных дренажей) к рельсовой сети источника блуждающих токов требованиям настоящего стандарта проверяют представители рельсового транспорта и заинтересованной организации при первом опытном включении защиты, а в дальнейшем - организация, в ведении которой она находится.

9.25 Сведения об изменении режимов работы сооружений - источников блуждающих токов, способных привести к увеличению опасности коррозии находящихся в зоне их воздействия сторонних подземных сооружений, сообщают в организации, осуществляющие координацию и контроль противокоррозионной защиты подземных сооружений, не позднее, чем за один месяц до перехода на новый режим работы.

10. Требования по безопасному выполнению работ по противокоррозионной защите подземных сооружений

10.1 Все работы по защите сооружений от коррозии выполняют в соответствии с действующими правилами эксплуатации конкретных видов защищаемых сооружений, утвержденными в установленном порядке. Работы должны осуществляться опытным и квалифицированным персоналом.

10.2 К выполнению работ по защите сооружений от коррозии допускаются лица не моложе 18 лет, прошедшие медицинское освидетельствование, обучение и инструктаж по ГОСТ 12.0.004. При допуске к работе каждого рабочего инструктируют на рабочем месте с соответствующей записью в журнале по проведению инструктажа.

10.3 Работы по защите от коррозии выполняют с учетом требований ГОСТ 12.3.016, ГОСТ 12.2.004. Запрещается проведение работ по обслуживанию электроустановок электрохимической защиты и выполнение электрометрических работ на протяженных подземных сооружениях при грозе.

10.4 При электрохимической защите трубопроводов тепловых сетей с расположением анодных заземлений непосредственно в каналах напряжение постоянного тока на выходе преобразователя катодной защиты ограничивают 30 В. На участках размещения анодных заземлений в каналах, под крышками люков тепловых камер устанавливают указатели с надписью "Внимание! В каналах действует катодная защита".

10.5 При выполнении работ по защите сооружений от коррозии работающий персонал должен быть обеспечен средствами индивидуальной защиты в соответствии с требованиями нормативных документов.

10.6 При проведении работ предусматривают предупредительные знаки, уровень шума должен соответствовать ГОСТ 12.1.003, содержание вредных веществ в воздухе рабочей зоны - не более предельно допустимых концентраций, установленных ГОСТ 12.1.005.

10.7 При проведении на сооружениях работ, связанных с электрическими измерениями, монтажом, ремонтом и наладкой оборудования электрохимической защиты, соблюдают правила, обеспечивающие безопасность их выполнения.

10.8 Работы в пределах проезжей части улиц и дорог для автотранспорта, на рельсовых путях железных дорог, трамвая, источниках электропитания оборудования электрохимической защиты выполняет бригада в составе не менее двух человек, а при проведении работ в колодцах, туннелях или глубоких траншеях (глубиной более 2 м) - бригада в составе не менее трех человек.

10.9 Измерения в контрольных пунктах, расположенных на проезжей части дорог, на рельсах трамвая или электрифицированной железной дороги, проводят два человека, один из которых следит за работой и ведет наблюдение за движением транспорта.

10.11 При проведении работ на участках протяженных подземных коммуникаций, проходящих на участках параллельного следования или пересечения с высоковольтными линиями электропередачи переменного тока напряжением свыше 35 кВ, должны быть обеспечены организационные и технические мероприятия, обеспечивающие защиту персонала от воздействия индуцированного напряжения переменного тока. В качестве средств защиты от воздействия электрического поля рекомендуется применять экранирующие комплекты по ГОСТ 12.4.172, а от воздействия магнитного поля - переносные магнитные экраны.

10.12 Работы с применением ручного электрифицированного инструмента необходимо проводить в соответствии с требованиями действующих нормативных документов о защите от поражения электрическим током.

Приложение А
(справочное)

ОПРЕДЕЛЕНИЕ УДЕЛЬНОГО ЭЛЕКТРИЧЕСКОГО СОПРОТИВЛЕНИЯ ГРУНТА

А.1 Определение удельного электрического (кажущегося) сопротивления грунта в полевых условиях

А.1.1 Средства контроля и вспомогательные устройства

Полевые электроразведочные приборы, например типа АС-72; электроды в виде стальных стержней длиной от 250 до 350 мм и диаметром от 15 до 20 мм.

Допускается применять другие приборы, в том числе установки с измерением электрического поля незаземленными линиями, при соблюдении условия эквивалентности установкам с заземленными электродами.

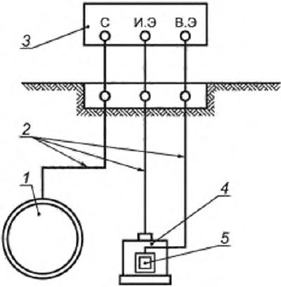
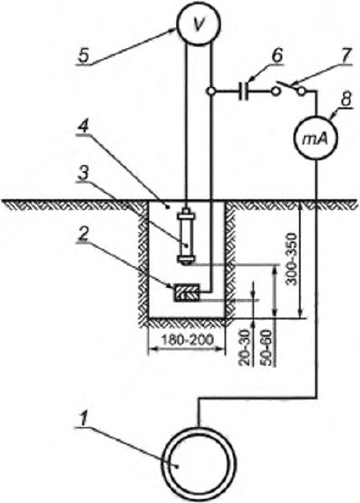
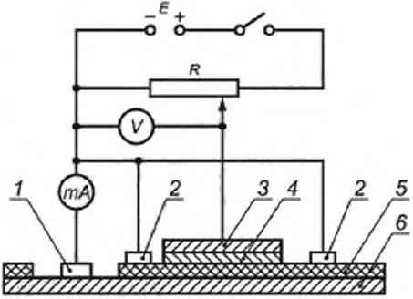
А.1.2 Проведение измерений

Удельное электрическое сопротивление грунта измеряют непосредственно на трассе подземного трубопровода без отбора проб грунта по четырехэлектродной схеме (см. рисунок А.1).

1 - электрод, 2 - прибор с клеммами:
I - токовыми; E - измерительными;
a - расстояния между электродами (см. формулу (А.1))

Рисунок А.1 - Схема определения удельного электрического (кажущегося) сопротивления грунта в полевых условиях

Электроды размещают на поверхности земли на одной прямой линии, совпадающей с осью трассы для проектируемого сооружения, а для сооружения, уложенного в землю, на линии, проходящей перпендикулярно или параллельно, на расстоянии в пределах от 2 до 4 м от оси сооружения. Измерения выполняют с интервалом от 100 до 200 м в период, когда на глубине заложения сооружения отсутствует промерзание грунта.

Глубина забивания электродов в грунт должна быть не более 1/20 расстояния между электродами.

А.1.3 Обработка результатов измерения

Удельное электрическое сопротивление грунта , Ом·м, вычисляют по формуле

(А.1)

где - электрическое сопротивление грунта, измеренное прибором, Ом;

a - расстояние между электродами, равное глубине прокладки подземного сооружения, м.

А.1.4 Оформление результатов измерения

Результаты измерений и расчетов заносят в протокол по форме, приведенной в А.1.5.

А.1.5 Форма протокола определения удельного электрического сопротивления грунта в трассовых условиях

Протокол определения удельного электрического сопротивления грунта в трассовых условиях

Прибор типа  
Заводской номер  
Дата проверки  
Дата измерения  
Погодные условия  

Адрес пункта измерения Номер пункта измерения по схеме Расстояние между электродами a, м Измеренное электрическое сопротивление грунта , Ом Удельное электрическое сопротивление грунта , Ом·м Коррозионная агрессивность грунта
1 2 3 4 5 6
           
Измерение провел  
Проверку провел  

А.2 Определение удельного электрического сопротивления грунта в лабораторных условиях

А.2.1 Отбор проб

Для определения удельного электрического сопротивления грунта отбирают пробы грунтов в шурфах, скважинах и траншеях из слоев, расположенных на глубине прокладки сооружения, с интервалами от 50 до 200 м на расстоянии от 0,5 до 0,7 м от боковой стенки трубы. Для пробы берут от 1,5 до 2 кг грунта, удаляют твердые включения размером более 3 мм. Отобранную пробу помещают в полиэтиленовый пакет и снабжают паспортом, в котором указывают номера объекта и пробы, место и глубину отбора пробы.

Если уровень почвенно-грунтовых вод выше глубины отбора проб, отбирают грунтовый электролит объемом от 200 до 300 см3 и помещают в герметически закрывающуюся емкость, которую маркируют и снабжают паспортом.

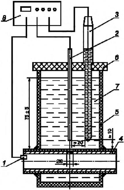
А.2.2 Средства контроля и вспомогательные устройства

- источник постоянного или низкочастотного переменного тока любого типа;

- миллиамперметр любого типа класса точности не ниже 1,5 с диапазонами 200 или 500 мА;

- вольтметр любого типа с входным сопротивлением не менее 1 МОм;

Примечание - Специальные приборы использовать допускается.

- ячейка прямоугольной формы внутренними размерами: a = 100 мм; b = 45 мм, h = 45 мм (см. рисунок А.2) из диэлектрического материала (стекло, фарфор, пластмасса) или стали с внутренней футеровкой изоляционным материалом;

- электроды внешние (A, B) размером 44 x 40 мм (40 мм - высота электрода) в виде прямоугольных пластин (из углеродистой или нержавеющей стали) с ножкой, к которой крепят или припаивают проводник-токоподвод, при этом одну сторону каждой пластины, которая примыкает к торцовой поверхности ячейки, изолируют;

- электроды внутренние (M, N) из медной проволоки или стержня диаметром от 1 до 3 мм и длиной на 10 мм больше высоты ячейки;

- шкурка шлифовальная зернистостью 40 (или менее) - по ГОСТ 6456;

- вода дистиллированная - по ГОСТ 6709;

- ацетон - по ГОСТ 2768.

1 - миллиамперметр; 2 - источник тока; 3 - вольтметр;
4 - измерительная ячейка размерами a, b; h (см. А.2.2);
A и B - внешние электроды; M и N - внутренние электроды

Рисунок А.2 - Схема установки для определения удельного электрического сопротивления грунта в лабораторных условиях

А.2.3 Подготовка к измерению

Отобранную пробу песчаных грунтов смачивают до полного влагонасыщения, а глинистых - до достижения мягкопластичного состояния. Если уровень почвенно-грунтовых вод ниже уровня отбора проб, смачивание проводят дистиллированной водой, а если выше - грунтовой водой.

Электроды зачищают шлифовальной шкуркой, обезжиривают ацетоном и промывают дистиллированной водой. Внешние электроды устанавливают вплотную к внутренним торцовым поверхностям ячейки. При сборе ячейки пластины размещают друг к другу неизолированными сторонами. Затем в ячейку помещают грунт, послойно утрамбовывая его. Высота грунта должна быть на 4 мм менее высоты ячейки. Устанавливают внутренние электроды вертикально, опуская их до дна по центральной линии ячейки на расстоянии 50 мм друг от друга и 25 мм - от торцовых стенок ячейки.

А.2.4 Проведение измерений

Удельное электрическое сопротивление грунта определяют по четырехэлектродной схеме на постоянном или низкочастотном (от 100 до 1000 Гц) переменном токе (см. рисунок А.2). Внешние электроды с одинаковой площадью рабочей поверхности Sр поляризуют током определенной силы I1 и измеряют падение напряжения V1 между двумя внутренними электродами при расстоянии IMN между ними.

А.2.5 Обработка результатов измерения

А.2.5.1 Электрическое сопротивление грунта , Ом, вычисляют по формуле

(А.2)

где - падение напряжения между двумя внутренними электродами, В;

- сила тока в ячейке, А.

Примечание - При отсутствии тока разность потенциалов между двумя внутренними электродами может отличаться от нуля в пределах от 10 до 30 мВ, тогда для расчета электрического сопротивления грунта используют формулу

(А.3)

А.2.5.2 Удельное электрическое сопротивление грунта , Ом·м, вычисляют по формуле

(А.4)

где - электрическое сопротивление грунта, рассчитанное по формуле (А.2) или (А.3), Ом;

- площадь поверхности рабочего электрода, м2;

- расстояние между внутренними электродами, м.

При использовании специальных приборов измерения при определении электрического сопротивления грунта проводят в соответствии с инструкцией по эксплуатации прибора.

А.2.6 Оформление результатов измерений

Результаты измерений и расчетов заносят в протокол по форме, приведенной в А.2.7

А.2.7 Форма протокола определения удельного электрического сопротивления грунта в лабораторных условиях

Протокол определения удельного электрического сопротивления грунта в лабораторных условиях

Адрес пункта отбора проб Номер пункта по схеме Электрическое сопротивление грунта , Ом Удельное электрическое сопротивление грунта, , Ом·м Коррозионная агрессивность грунта Тип прибора, заводской номер, дата поверки
1 2 3 4 5 6
         
Измерения провел  

"___" ________________ г.

Приложение Б
(справочное)

ОПРЕДЕЛЕНИЕ СРЕДНЕЙ ПЛОТНОСТИ КАТОДНОГО ТОКА

Б.1 Сущность метода заключается в определении средней плотности катодного тока, необходимого для смещения потенциала стали в грунте на 100 мВ отрицательнее потенциала коррозии.

Б.2 Отбор проб - согласно А.2.1 приложения А.

Б.3 Средства контроля и вспомогательные устройства:

- источник постоянного тока любого типа;

- миллиамперметр с верхним пределом измерения 1 мА или микроамперметр с пределом измерения 200 или 500 мкА, класса точности не ниже 1,5;

- вольтметр любого типа с пределом измерений 1 В и входным сопротивлением не менее 1 МОм;

- сопротивление регулировочное;

- прерыватель тока;

Примечание - Специальные приборы, которые обеспечивают автоматическое смещение потенциала от потенциала коррозии и поддерживают его на заданном уровне в течение опыта, использовать допускается.

- ячейка прямоугольной формы размером 70 x 70 x 100 мм из диэлектрического материала (стекло, фарфор, пластмасса и т.д.) вместимостью от 0,5 до 1 дм3;

- электрод рабочий, представляющий собой прямоугольную пластину из стали марки Ст10 по ГОСТ 1050 толщиной от 1,5 до 2 мм, размером 50 x 20 мм и рабочей поверхностью 10 см2 (0,001 м2);

- электрод вспомогательный из стали марки Ст10 по ГОСТ 1050 или другой углеродистой стали, по форме и размерам аналогичный рабочему электроду (одну поверхность рабочего, а также вспомогательного электродов и токоотводы от них изолируют мастикой);

- электрод сравнения - насыщенный медно-сульфатный (допускается применение хлорсеребряного, каломельного электрода сравнения);

- вода дистиллированная по ГОСТ 6709.

Б.4 Подготовка к измерениям

Отобранную пробу загружают в ячейку, сохраняя естественную влажность грунта. Если при хранении проб после их отбора возможно изменение естественной влажности грунта, определяют влажность отобранной пробы по ГОСТ 5180. Перед испытанием вновь определяют влажность пробы грунта и доводят ее до измеренного исходного значения влажности с помощью дистиллированной воды.

На дно ячейки насыпают на высоту 20 мм грунт и уплотняют. Рабочий и вспомогательный электроды устанавливают вертикально неизолированными поверхностями друг к другу на расстоянии от 3 до 4 см. Затем грунт укладывают в ячейку послойно (один - три слоя) с последовательным трамбованием слоев, добиваясь максимально возможного уплотнения. Расстояние от верхней кромки рабочего электрода до поверхности грунта - 50 мм. Электрод сравнения устанавливают сверху ячейки в грунт, заглубляя его на 1,0 - 1,5 см.

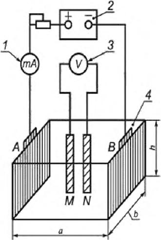
Одним и тем же грунтом заполняют три ячейки и параллельно выполняют три измерения силы катодного тока , в микроамперметрах, в каждой ячейке.

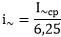
Собирают установку по схеме, приведенной на рисунке Б.1, с использованием прерывателя тока и вольтметра или с использованием специального прибора, включающего в себя прерыватель тока.

1 - миллиамперметр; 2 - регулируемое сопротивление;
3 - источник постоянного тока; 4 - вольтметр;
5 - прерыватель тока с клеммами для подключения электродов:
T - вспомогательного, Э.С - сравнения, D - рабочего;
6 - ячейка; 7 - рабочий электрод; 8 - вспомогательный электрод; 9 - электрод сравнения

Рисунок Б.1 - Схема установки для определения плотности катодного тока

Б.5 Проведение измерений

Рабочий электрод выдерживают в грунте до включения поляризации от 15 до 20 мин и измеряют его стационарный потенциал относительно электрода сравнения.

Катодную поляризацию осуществляют, подключая рабочий электрод к отрицательному полюсу источника постоянного тока, а вспомогательный электрод - к положительному. Потенциал электрода смещают на 100 мВ отрицательнее его стационарного потенциала, исключая омическую составляющую из измеряемого потенциала рабочего электрода , мВ, путем разрыва цепи в момент измерения.

Измеряют силу тока в микроамперах. Если сила тока постоянна или уменьшается во времени, то длительность поляризации составляет 15 мин, в течение которых измеряют и записывают три-четыре значения и соответствующее время измерения t. Если сила тока во времени растет, то измеряют и записывают пять-шесть раз в течение 40 мин или в более короткий промежуток времени. Сила тока более 200 мкА (2 x А), с учетом рабочей поверхности электрода 10 см2, характеризует высокую коррозионную агрессивность грунта.

Последнее значение силы тока в каждой ячейке берут для вычисления среднеарифметического значения силы катодного тока по результатам параллельных измерений в трех ячейках и последующего определения средней плотности катодного тока .

Б.6 Обработка результатов измерений

Среднюю плотность катодного тока , А/м2, вычисляют по формуле

В электронном документе формула соответствует официальному источнику.

(Б.1)

где - среднеарифметическое значение силы катодного тока по результатам измерений в трех параллельных ячейках, А;

0,001 - площадь поверхности рабочего электрода, м2.

Б.7 Оформление результатов измерения

Б.7.1 Результаты измерения заносят в протокол по форме, приведенной в Б.7.2.

Б.7.2 Форма протокола определения средней плотности катодного тока

Протокол определения средней плотности катодного тока

Наименование города  

Дата отбора проб "______" ________________ г.

Адрес пункта отбора проб Номер пункта по схеме Ячейка 1 Ячейка 2
t, мин , В , А t, мин , В , А
1 2 3 4 5 6 7 8
             
Ячейка 3 Среднее значение силы тока , А Средняя плотность катодного тока , А/м2 Коррозионная агрессивность грунта Тип измерительного прибора, заводской номер, дата поверки
t, мин , В , А
9 10 11 12 13 14 15
           
Измерения провел  

"______" __________________ г.

Б.7.3 Результаты определения коррозионной агрессивности грунтов заносят в протокол по форме, приведенной в Б.7.4.

Б.7.4 Форма протокола результатов определения коррозионной агрессивности грунтов по отношению к стали

Протокол результатов определения коррозионной агрессивности грунтов по отношению к стали

Адрес пункта измерений или отбора проб Номер пункта по плану (схеме) трассы трубопровода Удельное электрическое сопротивление грунта, определенное в полевых условиях , Ом·м Удельное электрическое сопротивление грунта, определенное в лабораторных условиях , Ом·м Средняя плотность катодного тока , А/м2 Оценка коррозионной агрессивности грунта
1 2 3 4 5 6
         

Приложения:

1. План (схема) трассы трубопровода.

2. Протоколы измерений (формы, приведенные в Б.7.2, Б.7.4).

Приложение В
(справочное)

ОПРЕДЕЛЕНИЕ БИОКОРРОЗИОННОЙ АГРЕССИВНОСТИ ГРУНТА

В.1 Биокоррозионную агрессивность грунта на глубине укладки подземного сооружения при воздействии сульфатвосстанавливающих (сульфатредуцирующих) бактерий определяют следующие качественные признаки:

- окраска грунта (сероватые, зеленоватые и сизые тона указывают на анаэробную обстановку при избыточном увлажнении и преобладание восстановленных форм железа, алюминия, марганца);

- наличие в грунте восстановленных соединений серы, являющихся продуктами жизнедеятельности сульфатвосстанавливающих бактерий.

В.2 Определение наличия восстановленных соединений серы

На пробу грунта, продуктов коррозии или отложений объемом 1 см3 с помощью пипетки по ГОСТ 29227 наносят 2 - 3 капли соляной кислоты по ГОСТ 14261, разбавленной дистиллированной водой по ГОСТ 6709 в соотношении 1:3 (плотность исходной кислоты 1,47 г/см3).

В.3 Обработка результатов определений

По характерному запаху выделяющегося сероводорода делают вывод о наличии восстановленных соединений серы (гидросульфидов, сульфидов железа, некоторых органических соединений серы).

В.4 Оформление результатов определений

Результаты определений заносят в протокол, содержащий следующие данные:

- место проведения определений;

- глубину укладки подземного сооружения;

- погодные условия при проведении определений;

- дату проведения определений;

- визуальные наблюдения (окраска грунта);

- наличие восстановленных соединений серы;

- обозначение настоящего стандарта;

- фамилию, инициалы лица, проводившего определения.

Приложение Г
(справочное)

ОПРЕДЕЛЕНИЕ НАЛИЧИЯ БЛУЖДАЮЩИХ ТОКОВ В ЗЕМЛЕ

Г.1 Средства контроля и вспомогательные устройства

Вольтметры постоянного тока с входным сопротивлением не менее 1 МОм, регистрирующие или показывающие, с пределами измерений: 0,5 - 0 - 0,5 В; 1,0 - 0 - 1,0 В; 5,0 - 0 - 5,0 В или другими, близкими к указанным пределам.

Два медно-сульфатных электрода сравнения.

Г.2 Проведение измерений

Медно-сульфатные электроды располагают параллельно будущей трассе сооружения, а затем перпендикулярно к оси трассы.

Разность потенциалов на трассе проектируемого сооружения измеряют между двумя точками земли, через каждые 1000 м, по двум взаимно перпендикулярным направлениям, при разносе измерительных электродов на 100 м для обнаружения блуждающих токов.

Показания вольтметра снимают через каждые 10 с в течение 10 минут в каждой точке.

Г.3 Обработка результатов измерений

Если измеряемое значение превышает (по абсолютной величине) 0,5 В или наибольший размах колебаний измеряемой величины (разность наибольшего и наименьшего значений) во времени превышает 0,5 В (в обоих случаях с учетом различия потенциалов между применяемыми электродами сравнения), то в данном пункте измерения регистрируют наличие блуждающих токов.

Г.4 Оформление результатов измерений

Результаты измерений заносят в протокол, содержащий следующие данные:

- место проведения измерений;

- схему трассы;

- погодные условия при проведении измерений;

- обозначение настоящего стандарта;

- дату проведения измерений;

- измеренные значения потенциалов;

- указание на наличие (отсутствие) блуждающих токов;

- фамилию, инициалы лица, проводившего измерения.

Приложение Д
(справочное)

ОПРЕДЕЛЕНИЕ ОПАСНОГО ВЛИЯНИЯ БЛУЖДАЮЩЕГО ПОСТОЯННОГО ТОКА

Д.1 Образцами для определения опасного влияния блуждающего постоянного тока являются участки подземных сооружений.

Д.2 Средства контроля и вспомогательные устройства:

- вольтметр постоянного тока с внутренним сопротивлением не менее 1 МОм, регистрирующий или показывающий, любого типа;

- электрод сравнения медно-сульфатный;

- электрод в виде стального стержня в соответствии с А.1.1 (приложение А).

Д.3 Проведение измерений

Д.3.1 Измерения проводят в контрольно-измерительных пунктах, колодцах, шурфах или с поверхности земли на минимально возможном расстоянии (в плане) от трубопровода. Положительную клемму вольтметра присоединяют к сооружению, отрицательную - к электроду сравнения.

Д.3.2 Продолжительность и режим измерений, а также шаг между точками измерения по трассе устанавливают по НД.

Д.3.3 При измерениях в зонах действия блуждающих токов, где амплитуда колебаний измеряемой разности потенциалов превышает 0,5 В, могут быть использованы стальные электроды вместо медно-сульфатных электродов сравнения.

Д.3.4 Стационарный потенциал подземного сооружения определяют при выключенных средствах электрохимической защиты путем непрерывного измерения и регистрации разности потенциалов между сооружением и медно-сульфатным электродом сравнения в течение достаточно длительного времени - вплоть до выявления практически не изменяющегося во времени значения потенциала (в пределах 0,04 В). Как правило, это относится к периоду перерыва в движении электрифицированного транспорта, например в городах в ночное время суток, когда блуждающий ток отсутствует. За стационарный потенциал сооружения принимают среднее значение потенциала при разности измеренных значений не более 0,04 В.

Д.4 Обработка результатов измерений

Разность , В, между измеренным потенциалом сооружения и стационарным потенциалом вычисляют по формуле

(Д.1)

где - наиболее отрицательная или наиболее положительная мгновенная разность потенциалов между сооружением и медно-сульфатным электродом сравнения, В;

- стационарный потенциал сооружения, В.

Оценка осуществляется по наибольшему размаху колебаний потенциала сооружения, измеряемого относительно медно-сульфатного электрода сравнения (абсолютная разность потенциалов между наибольшим и наименьшим значениями). Наличие положительной разности потенциалов, превышающей 0,04 В, означает наличие опасного влияния блуждающих токов.

Д.5 Оформление результатов измерений

Результаты измерений (с помощью показывающего прибора) мгновенной разности потенциалов между подземным сооружением и медно-сульфатным электродом сравнения в условиях влияния блуждающего постоянного тока заносят в протокол по форме, приведенной в Д.6.

Д.6 Форма протокола измерений потенциала трубопровода при оценке влияния блуждающих постоянных токов

Протокол измерений потенциала трубопровода при оценке влияния блуждающих постоянных токов

Наименование города  
Вид подземного сооружения и пункта измерения  
Дата  
Время измерения: начало   , окончание  
Тип и номер прибора  
Дата поверки прибора  

Результаты измерений:

Интервал измерений , В, для интервала
0 с 10 с 20 с 30 с 40 с 50 с
0 мин            
1 мин            
2 мин            
3 мин            
4 мин            
5 мин            
6 мин            
7 мин            
8 мин            
9 мин            
10 мин            

Результаты камеральной обработки измерений

Оценка опасности коррозии
при наиболее отрицательном при наиболее положительном
1 2 3
     
Измерения провел  

Приложение Е
(справочное)

ОПРЕДЕЛЕНИЕ ОПАСНОГО ВЛИЯНИЯ ПЕРЕМЕННОГО ТОКА

Е.1 Для измерения выбирают участки стальных трубопроводов, на которых зафиксировано напряжение переменного тока между трубопроводом и землей, превышающее 0,3 В при отключенных средствах катодной защиты.

Е.2 Средства контроля и вспомогательные устройства:

- вольтметр постоянного и переменного тока с входным сопротивлением не менее 1 МОм любого типа. Миллиамперметр переменного тока любого типа с пределом измерений от 10 до 50 мА. Конденсатор емкостью 4 мкФ;

- электрод сравнения медно-сульфатный насыщенный переносной;

- электрод вспомогательный из стальной пластинки размером 25 x 25 мм, одна сторона которой изолирована (неизолированная сторона - рабочая);

- шкурка шлифовальная по ГОСТ 6456;

- ткань любая мягкая чистая (например, бязь).

Е.3 Подготовка к измерениям

Е.3.1 Над трубопроводом или в максимальном приближении к нему в месте отсутствия дорожного покрытия делают шурф глубиной от 300 до 350 мм и диаметром от 180 до 200 мм. Из взятой со дна шурфа части грунта удаляют твердые включения размером более 3 мм. На выровненное дно шурфа насыпают слой грунта, не содержащего твердых включений, и уплотняют.

Рабочую поверхность вспомогательного электрода (ВЭ) зачищают шлифовальной шкуркой по ГОСТ 6456 зернистостью 40 и меньше и насухо протирают тканью.

Затем укладывают на дно шурфа вспомогательный электрод (ВЭ) рабочей поверхностью вниз и засыпают грунтом на высоту от 60 до 80 мм от дна шурфа. Грунт над ВЭ утрамбовывают с усилием от 3 до 4 кг на площадь ВЭ. Сверху устанавливают переносной медно-сульфатный электрод сравнения. При наличии атмосферных осадков предусматривают меры против попадания влаги в грунт.

Е.3.2 Схему измерений, приведенную на рисунке Е.1, собирают при разомкнутой цепи между ВЭ и трубопроводом. Положительную клемму вольтметра присоединяют к ВЭ, а отрицательную - к переносному медно-сульфатному электроду сравнения.

1 - трубопровод; 2 - вспомогательный электрод;
3 - переносной медно-сульфатный электрод сравнения;
4 - шурф; 5 - вольтметр; 6 - конденсатор; 7 - выключатель;
8 - миллиамперметр переменного тока

Рисунок Е.1 - Схема измерений опасного влияния переменного тока на подземный стальной трубопровод

Е.4 Проведение измерений

Измерения выполняют в следующей последовательности:

- через 10 мин после установки В.Э в грунт измеряют его стационарный потенциал относительно медно-сульфатного электрода сравнения;

- подключают В.Э к трубопроводу, выдерживают 10 мин, после чего снимают показания вольтметра и миллиамперметра через каждые 10 с. Продолжительность измерения - не менее 10 мин.

Е.5 Обработка результатов измерений

Е.5.1 Среднеарифметическое смещение потенциала , мВ, В.Э за период измерений вычисляют по формуле

(Е.1)

где - сумма мгновенных значений потенциала В.Э при подключении В.Э к трубопроводу, мВ;

- стационарный потенциал В.Э, мВ;

n - число измерений.

Е.5.2 Среднюю плотность переменного тока , мА/см2, вычисляют по формуле

(Е.2)

где - среднеарифметическое значение силы переменного тока за время измерений, мА;

6,25 - площадь ВЭ, см2.

Е.6 Оформление результатов измерений

Результаты измерений потенциалов и расчетов смещения потенциала заносят в протокол по форме, приведенной в Е.7, а измерений силы тока и расчета плотности тока - в протокол по форме, приведенной в Е.8. Данные могут быть на любом носителе (бумажном или электронном).

Е.7 Форма протокола измерений смещения потенциала трубопровода при определении опасного влияния переменного тока

Протокол измерений смещения потенциала трубопровода при определении опасного влияния переменного тока

Наименование города  
Вид подземного сооружения и пункта измерения  

Дата "_____" ______________ г.

Время измерения: начало   , окончание  
Тип и заводской номер прибора   , дата поверки  
Измеренное значение стационарного потенциала вспомогательного электрода (ВЭ) относительно медно-сульфатного электрода сравнения  

Результаты измерений:

Интервал измерений , мВ, для интервала
0 с 10 с 20 с 30 с 40 с 50 с
0 мин            
1 мин            
2 мин            
3 мин            
4 мин            
5 мин            
6 мин            
7 мин            
8 мин            
9 мин            

Результаты камеральной обработки измерений

Число измерений Сумма мгновенных значений потенциала Среднее значение потенциала Среднее значение смещения
1 2 3 4
     

Оценка опасности коррозии под действием переменного тока ______ опасно, неопасно

Измерения провел  
Проверку провел  
Обработку данных провел  

Е.8 Форма протокола измерений плотности переменного тока при определении опасного влияния переменного тока

Протокол измерений плотности переменного тока при определении опасного влияния переменного тока

Наименование города  
Вид подземного сооружения и пункта измерения  
Дата  
Время измерения: начало   , конец  
Тип и номер прибора   , дата поверки  

Результаты измерений мгновенной силы переменного тока:

Интервал измерений , мА, для интервала
0 с 10 с 20 с 30 с 40 с 50 с
0 мин            
1 мин            
2 мин            
3 мин            
4 мин            
5 мин            
6 мин            
7 мин            
8 мин            
9 мин            

Результаты камеральной обработки измерений

Число измерений Сумма мгновенных значений силы переменного тока , мА Среднее значение силы переменного тока , мА Среднее значение плотности переменного тока , мА/см2
1 2 3 4
     

Оценка опасности коррозии под действием переменного тока ______ опасно, неопасно

Измерение провел  
Проверку провел  
Обработку результатов провел  

Приложение Ж
(справочное)

КОНСТРУКЦИЯ ЗАЩИТНЫХ ПОКРЫТИЙ СТРОЯЩИХСЯ И РЕКОНСТРУИРУЕМЫХ СООРУЖЕНИЙ

Ж.1 Конструкция защитных покрытий строящихся и реконструируемых сооружений приведена в таблице Ж.1.

Таблица Ж.1

Конструкция защитных покрытий

Условия нанесения покрытия Номер конструкции Конструкция (структура) защитного покрытия Толщина защитного покрытия, мм, не менее Диаметр трубы, мм Максимальная температура эксплуатации, °C
Защитные покрытия усиленного типа
Заводские (базовые) 1 Трехслойное полимерное:
- грунтовка на основе термореактивных смол;
- термоплавкий полимерный подслой;
- защитный слой на основе экструдированного полиолефина
Двухслойное полимерное:
- термоплавкий полимерный подслой;
- защитный слой на основе экструдированного полиэтилена
2,0 До 273 включ. 60
2,2 От 273 до 530
2,5 От 530 до 820
3,0 Св. 820
2 Двухслойное полимерное <1>:
- термоплавкий полимерный подслой;
- защитный слой на основе экструдированного полиэтилена
2,0 До 273 включ. 60
2,2 От 273 до 530
2,5 От 530 до 820
3,0 Св. 820
3 Комбинированное на основе полиэтиленовой ленты и экструдированного полиэтилена:
- грунтовка полимерная;
- лента полиэтиленовая с липким слоем толщиной не менее 0,45 мм (в один слой);
- защитный слой на основе экструдированного полиэтилена
2,2 От 57 до 114 включ. 40
2,5 От 133 до 259
3,0 От 273 до 530
Заводские (базовые) 4 Ленточное полимерное <2>:
- грунтовка полимерная;
- лента изоляционная с липким слоем толщиной не менее 0,45 мм;
- обертка защитная с липким слоем толщиной не менее 0,6 мм (в один слой)
1,8 От 57 до 530 включ. 40
Трассовые 5 Ленточное полимерно-битумное:
- грунтовка битумная или битумно-полимерная;
- лента полимерно-битумная толщиной не менее 2,0 мм (в два слоя);
- обертка защитная полимерная с липким слоем, толщиной не менее 0,6 мм
4,0 От 57 до 159 включ. 40
4,6 От 168 до 1020
Заводские (базовые) и трассовые 6 Ленточное полимерно-битумное или полимерно-асмольное <3>:
- грунтовка битумная или асмольная;
- лента полимерно-битумная или полимерно-асмольная толщиной не менее 2,0 мм (в один слой);
- обертка полимерная толщиной не менее 0,6 мм, с липким слоем
2,6 От 57 до 114 включ. 40
3,2 От 133 до 426
Заводские (базовые) 7 Мастичное <4>:
- грунтовка битумная или битумно-полимерная;
- мастика изоляционная битумная или битумно-полимерная, или на основе асфальтосмолистых олигомеров, армированная двумя слоями стеклохолста (стеклоткани);
- слой наружной обертки
7,5 От 57 до 159 включ. 40
9,0 От 168 до 1020
8 Комбинированное на основе мастики и экструдированного полиэтилена:
- грунтовка битумная или битумно-полимерная;
- мастика битумно-полимерная модифицированная толщиной от 1,5 до 2,0 мм;
- защитный слой на основе экструдированного полиэтилена
3,3 От 57 до 159 включ. 40
4,0 От 168 до 426
Заводские (базовые) и трассовые 9 На основе термоусаживающихся лент с термоплавким клеем (в один слой) 1,5 <5> До 530 включ. 60
2,0 Св. 530
Трассовые 10 На основе термоусаживающихся материалов с мастично-полимерным клеевым слоем 1,5 До 530 включ. 40
2,0 От 530 до 820
Трассовые 11 Двухслойное полиуретановое:
- грунтовка на основе эпоксидных смол;
- защитный слой на основе полиуретана.
Однослойное полиуретановое:
- защитный слой на основе полиуретана
1,5 До 1420 включ. 60
Заводские (базовые) 12 Двухслойное полиуретановое:
- грунтовка на основе эпоксидных смол;
- защитный слой на основе полиуретана.
Однослойное полиуретановое:
- защитный слой на основе полиуретана
2,0 До 1420 включ. 80
Заводские (базовые) 13 Двухслойное эпоксидное:
- грунтовочный слой на основе эпоксидных смол;
- защитный слой на основе эпоксидных смол
0,75 До 1420 включ. 80
Защитные покрытия нормального типа
Заводские (базовые) 14 Трехслойное полимерное:
- грунтовка на основе термореактивных смол;
- термоплавкий полимерный подслой;
- защитный слой на основе экструдированного полиэтилена.
Двухслойное полимерное:
- термоплавкий полимерный подслой;
- защитный слой на основе экструдированного полиэтилена
1,8 От 57 до 114 включ. 60
2,0 От 133 до 259
2,2 От 273 до 530
2,5 От 630 до 820
Заводские (базовые) 15 Комбинированное на основе полиэтиленовой ленты и экструдированного полиэтилена:
- грунтовка полимерная;
- лента полиэтиленовая с липким слоем толщиной не менее 0,45 мм (в один слой);
- защитный слой на основе экструдированного полиэтилена
2,2 От 57 до 273 включ. 40
2,5 От 325 до 530
Заводские (базовые) 16 Мастичное:
- грунтовка битумная или битумно-полимерная;
- мастика изоляционная битумная или битумно-полимерная, или на основе асфальтосмолистых олигомеров, армированная двумя слоями стеклохолста;
- слой наружной обертки из рулонных материалов толщиной не менее 0,6 мм
6,0 От 57 до 820 включ. 40
Заводские (базовые) 17 Силикатно-эмалевое (в два слоя) 0,4 От 57 до 426 включ. 150
18 Однослойное эпоксидное 0,35 От 57 до 820 включ. 80
<1> Защитное покрытие применяют для труб, используемых при бестраншейной прокладке.
<2> Максимальный диаметр труб с ленточным защитным покрытием, наносимым в базовых условиях, 530 мм. Нанесение ленточных защитных покрытий на газопровод в трассовых условиях ручным способом допускается только в теплое время года (при температуре окружающего воздуха не ниже 10 °C).
<3> Для труб диаметром более 114 мм применяют два слоя полимерной обертки.
<4> Толщина мастичного битумного покрытия сварного стыка или отремонтированного в трассовых условиях участка покрытия должна быть не менее 7,5 мм для труб диаметром до 159 мм включительно и не менее 9,0 мм - для трубопроводов диаметром 168 мм и более.
<5> Толщину 1,5 мм применяют при нанесении защитных покрытий в трассовых условиях на стыки трубопровода диаметром от 57 до 530 мм включительно.

Примечание - Конструкция защитного покрытия N 5 применяется для изоляции стыков, мест присоединений углов поворотов и ремонта защитных покрытий подземных трубопроводов в трассовых условиях, а также для изоляции стальных резервуаров; конструкция N 15 применяется для защиты подземных несущих конструкций (опор, свай, шпунтов).

Приложение И
(справочное)

КОНСТРУКЦИЯ ЗАЩИТНЫХ ПОКРЫТИЙ ТРУБОПРОВОДОВ ТЕПЛОВЫХ СЕТЕЙ

И.1 Характеристики покрытий и условия их применения приведены в таблице И.1.

Таблица И.1

Характеристики защитных покрытий и условия их применения

Условия нанесения покрытия Конструкция (структура) защитного покрытия Толщина покрытия, мм Способ прокладки теплопровода Вид теплоизоляции Максимально допустимая температура теплоносителя, °C
Заводские (базовые) Силикатно-эмалевое (два слоя эмали, оплавленной при температуре 800 °C) 0,5 для труб диаметром до 159 мм включ.;
0,6 для труб диаметром св. 159 мм
Подземный в каналах и бесканальный Все виды тепловой изоляции 300
Алюмокерамическое (один слой покрытия плазменного нанесения из смеси порошкового алюминия (85%) и ильменитового концентрата (15%)) Не менее 0,25 Подземный в каналах и бесканальный Все виды тепловой изоляции, pH водной вытяжки которой 2,5 - 10,5 300
На основе металлизационного алюминия с пропиткой кремнийорганическими красками (два слоя алюминия, один слой краски) Не менее 0,25 Подземный в каналах и бесканальный Все виды тепловой изоляции, pH водной вытяжки которой 4,5 - 9,5 150
Органосиликатное (с термообработкой при температуре 200 °C) Не менее 0,25 Подземный в каналах Все виды тепловой изоляции 180
Трассовые Органосиликатное с отвердителем <1> Не менее 0,45 Подземный в каналах Все виды тепловой изоляции 150
Эпоксидное <1> Не менее 0,35 Подземный в каналах Все виды подвесной тепловой изоляции 150
Кремнийорганическое <1> Не менее 0,25 Подземный в каналах То же 150
<1> Применяют при ремонте теплопроводов, а также для изоляции стыков и мест присоединений.

Приложение К
(обязательное)

ОПРЕДЕЛЕНИЕ АДГЕЗИИ ЗАЩИТНЫХ ПОКРЫТИЙ

К.1 Определение адгезии защитных покрытий на основе рулонных материалов: полимерных липких, полимерно-битумных и термоусаживающихся лент

Сущность метода заключается в определении усилия, при котором отслаивается под углом 90° или 180° полоса защитного покрытия заданной ширины.

К.1.1 Требования к образцам

Образцами для контроля являются:

- трубы с защитным покрытием, отобранные согласно требованиям настоящего стандарта;

- образцы-свидетели или карты, вырезанные из труб с защитными покрытиями.

К.1.2 Средства контроля:

- линейка измерительная металлическая по ГОСТ 427;

- динамометр или цифровой адгезиметр типа АМЦ 2-20, АМЦ 2-50 с ценой деления не более 0,1 Н (0,01 кгс), или разрывная машина с динамометрическим датчиком с ценой деления шкалы не более 0,1 кН, обеспечивающим точность измерений +/- 1%;

- цифровой контактный термометр (термопара) по ГОСТ 6616 с точностью измерений +/- 1 °C;

- инструмент для разрезания покрытия.

К.1.3 Подготовка к контролю

К.1.3.1 Контроль адгезии проводят не менее чем в трех точках трубы, отстоящих друг от друга на расстоянии не менее 0,5 м или на отрезках труб или образцах-свидетелях - это полосы защитного покрытия, прорезанные с канавкой шириной от 1 до 3 мм до металла.

К.1.3.2 На образце для контроля специальным ножом вырезают полосу защитного покрытия шириной от 10 до 40 мм; ширина отслаиваемой полосы должна быть кратна 10 мм.

К.1.3.3 Прорезают конец вырезанной полосы, отслаивают ее вручную от трубы на длину не менее 50 мм и закрепляют в зажиме динамометра (или разрывной машины в случае испытаний в лабораторных условиях).

К.1.3.4 Измеряют температуру трубы, карты или образца-свидетеля.

Примечание - Зависимость адгезии от температуры устанавливают в технических условиях на данный тип покрытия.

К.1.4 Проведение контроля

К.1.4.1 Равномерно производят отслаивание полосы защитного покрытия (на основе полимерных и полимерно-битумных лент с мастичным адгезивом) под углом 180° к поверхности трубы на длину от 50 до 60 мм со скоростью (50 +/- 5) мм/мин, позволяющую определить устойчивое усилие отслаивания, визуально определяя характер разрушения:

- адгезионный - отслаивание от металла;

- когезионный - отслаивание по подклеивающему (адгезионному) подслою или по грунтовке (праймеру);

- смешанный - совместный характер отслаивания.

Примечание - Контроль адгезии термоусаживающихся лент с мастичным адгезионным подслоем на образцах, отрезках труб с покрытием (трубчатых образцах) или образцах-свидетелях при толщине полиэтиленовой подложки более 0,5 мм допускается осуществлять под углом (90 +/- 10)°.

К.1.4.2 Отслаивание полосы защитного покрытия на основе термоусаживающейся ленты с термоплавким адгезионным подслоем производят равномерно под углом (90 +/- 10)° к поверхности трубы на длину от 50 до 60 мм со скоростью (10 +/- 2) мм/мин, позволяющую определить устойчивое усилие отслаивания и характер разрушения.

К.1.5 Обработка результатов контроля

К.1.5.1 Адгезию защитных покрытий A, Н/см (кгс/см), вычисляют по формуле:

(К.1)

где F - усилие отслаивания на контролируемом участке, Н (кгс);

B - ширина полосы отслаивания, см.

К.1.5.2 За величину адгезии защитного покрытия принимают среднее арифметическое не менее трех измерений, вычисленное с погрешностью 0,1 Н/см (0,01 кгс/см).

К.1.5.3 Адгезию при отслаивании для каждого участка трубы оценивают как удовлетворительную, если среднее значение адгезии A, Н/см, больше или равно нормируемому значению. Если адгезия менее нормы, то испытания повторяют на удвоенном количестве мест измерений. Если повторно получают среднюю величину адгезии менее нормируемой, то покрытие оценивают как не удовлетворяющее требованиям НД по показателю адгезии при отслаивании.

К.2 Определение адгезии защитных покрытий на основе битумных и битумно-полимерных мастик

К.2.1 Требования к образцам и вспомогательные устройства

К.2.1.1 Образцами для испытания являются трубы с защитными покрытиями на основе битумных и битумно-полимерных мастик.

К.2.1.2 Прибор СМ-1, приведенный на рисунке К.1, состоит из корпуса 15, внутри которого расположена перемещающаяся система ведущего штока 10 и ведомого штока 12, соединенных между собой тарированной пружиной 11. Ведущий горизонтальный шток 10, предназначенный для сжатия пружины 11, приводится в движение вращением винта 8, шарнирно закрепленного в торцевой части корпуса прибора. На штоке 10 закреплен кронштейн 7 с регулировочным винтом 6 и стопорной гайкой 5, предназначенными для передачи значений линейной деформации тарированной пружины 11 на подвижную ножку индикатора 17, который укреплен в чаше 4 при помощи стопорного винта 16.

1 - стальной нож; 2 - шарнир; 3 - винт;
4 - чаша; 5 - стопорная гайка; 6 - регулировочный винт;
7 - кронштейн; 8 - винт; 9 - опорный нож; 10 - ведущий шток; 11 - тарированная пружина; 12 - ведомый шток;
13 - втулка; 14 - вертикальный шток; 15 - корпус; 16 - стопорный винт; 17 - индикатор; 18 - шкала; 19 - съемная крышка

Рисунок К.1 - Прибор СМ-1 для испытания адгезии защитных покрытий на основе битумных и битумно-полимерных мастик

Нож 1 для сдвига образца защитного покрытия укреплен внутри вертикального штока 14, перемещающегося внутри втулки 13 при вращении винта 3, закрепленного шарнирно в передней части корпуса прибора 15.

На нижнем основании корпуса прибора 15 укреплены три опорных ножа 9, предназначенных для крепления прибора на поверхности изолированной трубы.

На верхней съемной крышке 19 прибора укреплена шкала 18 для пересчета показаний индикатора 17 в величину усилия сдвига образца.

В комплект прибора входит стальной нож для надреза защитного покрытия.

К.2.2 Подготовка к контролю

К.2.2.1 Определение адгезии проводят в трех точках, отстоящих друг от друга на расстоянии не менее 0,5 м.

К.2.2.2 На образце трубы вручную делают надрез до металла в испытуемом защитном покрытии размером 10 x 10 мм. Схема проведения надреза приведена на рисунке К.2.

1 - испытуемое защитное покрытие; 2 - расчищенная площадка; 3 - образец покрытия для сдвига

Рисунок К.2 - Схема проведения надреза для сдвига образца защитного покрытия

К.2.2.3 Вокруг надреза расчищают площадку 3 размером 30 x 35 мм (снимают покрытие) для сдвига образца защитного покрытия 2.

К.2.2.4 Прибор СМ-1 устанавливают на защитное покрытие так, чтобы передвижная грань ножа 1 (см. рисунок К.1) находилась против торцевой плоскости вырезанного образца.

К.2.2.5 Нож поднимают вверх с помощью вращения винта 3, затем нажимают на корпус прибора так, чтобы опорные ножи 9 вошли в защитное покрытие.

К.2.2.6 Нож 1 подводят с помощью вращения винта 8 до соприкосновения с торцевой плоскостью образца, вращением винта 3 опускают нож до металлической поверхности трубы.

К.2.2.7 Крышку 19 снимают, устанавливают нуль на индикаторе, доведением подвижной ножки индикатора до соприкосновения с торцом регулировочного винта 6 и вращением верхней подвижной части индикатора.

К.2.3 Порядок контроля

К.2.3.1 Усилие передают с помощью вращения винта 8 на нож 1, а следовательно, и на образец защитного покрытия через систему штоков 10 и 12 и тарированную пружину 11. Вращение винта 8 проводят (по часовой стрелке) со скоростью примерно 1/4 об/с, что соответствует скорости деформации пружины 15 мм/мин.

Деформацию пружины, пропорциональную передаваемому усилию, фиксируют индикатором 17. Ведомый шток 12 вместе с ножом 1 горизонтально перемещается, в результате чего индикатор смещается относительно торцевой плоскости регулировочного винта 6. Рост показаний индикатора при этом прекращается. Фиксируют максимальный показатель индикатора в миллиметрах и по шкале 18 определяют усилие сдвига образца защитного покрытия. Визуально определяют характер разрушения (адгезионный, когезионный, смешанный) по К.1.4.1.

К.2.3.2 Адгезию защитного покрытия характеризуют усилием сдвига образца изоляции площадью 1 см2.

К.2.3.3 Измерения проводят в интервале температур защитного покрытия от 258 до 298 К (от минус 15 до 25 °C). При температуре выше 298 К (25 °C) допускается показатель менее 0,20 МПа (2,00 кгс/см2), характеризующий адгезию материала (см. таблицы 3 и 4).

К.2.4 Обработка результатов измерений

К.2.4.1 За значение адгезии защитного покрытия принимают среднее арифметическое трех измерений с погрешностью не более 0,01 МПа (0,1 кгс/см2).

К.2.4.2 Запись результатов измерений проводят по формам, приведенным в К.2.4.3.

К.2.4.3 Формы протокола определения адгезии защитных покрытий

наименование организации

Протокол определения адгезии защитных покрытий

Тип и конструкция защитного покрытия  
Диаметр трубы  

Дата испытаний Номер партии труб, номер образца Номер измерения Среднее усилие отслаивания F, Н (кгс) Ширина отслаиваемой полосы B, см Среднее значение адгезии , Н/см Характер отслаивания
    1        
    2        
    3        
Адгезия покрытия образца (участка трубопровода)  

соответствует, не соответствует требуемому значению

       
должность лица, проводившего измерения   личная подпись   расшифровка подписи
дата
наименование организации

Протокол определения адгезии защитных покрытий

Тип и конструкция защитного покрытия  
Диаметр трубы  

Дата испытаний Номер партии труб, номер шурфа Номер измерения Среднее усилие отрыва F, Н (кгс) Площадь отрываемого покрытия S, мм2 Среднее значение адгезии , МПа Характер разрушения
    1        
    2        
    3        
Адгезия покрытия образца (участка трубопровода)  

соответствует, не соответствует требуемому значению

       
должность лица, проводившего измерения   личная подпись   расшифровка подписи
дата

К.3 Определение адгезии защитного покрытия методом отслаивания под углом (90 +/- 10)° (для эластичных, пластичных покрытий)

К.3.1 Испытание предназначено для оценки адгезии защитного покрытия к стали методом отслаивания полосы покрытия определенной ширины с постоянной скоростью под углом (90 +/- 10)° при различных температурах.

К.3.2 Требования к образцам

Образцами для испытаний являются:

- трубы и изделия с защитным покрытием;

- фрагменты (карты), вырезанные из труб (или других изделий) с покрытием, или образцы-свидетели размером (100 +/- 2) x (150 +/- 2) мм (см. рисунок К.3).

К испытаниям допускаются образцы без признаков отслаивания покрытия по кромкам реза, а также, толщина которых соответствует нормативным требованиям.

Количество параллельных образцов должно быть не менее трех.

К.3.3 Средства контроля и вспомогательные устройства:

- цифровой адгезиметр (например, "АМЦ 2-20", "АМЦ 2-50") или другие приборы, обеспечивающие точность измерения +/- 1 Н;

- разрывная машина с динамометрическим датчиком (тензодатчиком) с ценой деления шкалы не более 0,1 кН, обеспечивающим точность измерений +/- 1%;

- термокамера для разрывной машины для проведения испытаний при повышенных температурах, обеспечивающая поддержание температуры с точностью +/- 3 °C;

- цифровой контактный термометр (термопара) по ГОСТ 6616 с точностью измерений +/- 1 °C;

- струбцина для крепления образца, обеспечивающая прямой угол отслаивания;

- зажим (пневматический захват) для фиксации полосы отслаиваемого покрытия;

- металлическая линейка по ГОСТ 427;

- специальный нож или ножовка по металлу;

- стамеска с шириной лезвия от 10 до 20 мм;

- молоток.

К.3.4 Подготовка к проведению контроля

С помощью специального ножа или ножовки по металлу на каждом образце (по всей его длине) в покрытии вырезают три полосы шириной (20 +/- 1) мм. Прорези выполняются до металла. Ширина прорезей должна составлять не менее 1 мм (см. рисунок К.3).

С использованием стамески и молотка производят отслаивание кончика полосы защитного покрытия от стальной подложки на длину, достаточную для закрепления полосы покрытия в зажиме, приблизительно от 30 до 50 мм.

Образец для испытания размером 150 x 100 мм вырезают длинной стороной вдоль экструзии термопластичного слоя покрытия (полиэтиленового, полипропиленового). Пропилы в защитном покрытии выполняют вдоль длины образца на всю толщину покрытия до металла. Ширина полос защитного покрытия между пропилами должна составлять (20 +/- 1) мм. Ширина пропилов должна составлять не менее 1 мм.

К.3.5 Порядок контроля

К.3.5.1 При проведении испытания на изолированной трубе (изделии) отслоенный кончик полосы защитного покрытия закрепляют в зажиме адгезиметра, после чего адгезиметр подготавливают к измерению в соответствии с прилагаемой к нему инструкцией. С использованием адгезиметра вручную производят отслаивание полосы защитного покрытия от стали под углом (90 +/- 10)° при скорости отслаивания (10 +/- 3) мм/мин. Усилие отслаивания защитного покрытия от стали в ньютонах фиксируют с помощью цифрового адгезиметра. При этом определяют минимальное, максимальное и среднее усилия отслаивания.

Рисунок К.3 - Испытательный образец для определения адгезии методом отслаивания под углом (90 +/- 10)°

К.3.5.2 В случае испытаний образцов, вырезанных из труб (изделий) с покрытием, или образцов-свидетелей испытания проводят на разрывной машине с применением соответствующих струбцины и захвата, обеспечивающих угол отслаивания полосы (90 +/- 10)° (см. рисунок К.4).

1 - защитное покрытие; 2 - металлическая подложка;
3 - основание струбцины; 4 - зажим; 5 - крепежная гайка; 6 - крепежная шпилька

Рисунок К.4 - Струбцина для крепления образцов

Струбцину с испытываемым образцом закрепляют в неподвижном нижнем захвате разрывной машины, а отслоенный кончик полосы защитного покрытия образца фиксируют верхним зажимом, соединенным через датчик нагрузки с подвижной траверсой машины.

Отслаивание защитного покрытия от металла производят при скорости подвижного захвата (10 +/- 3) мм/мин. Усилие отслаивания защитного покрытия фиксируют на участке длиной 45 мм, за исключением начального участка отслаивания, составляющего приблизительно от 5 до 15 мм.

Определение адгезии защитного покрытия к стали при повышенных температурах производится в термокамере. Перед началом испытаний образцы прогревают при температуре испытания не менее 30 мин.

К.3.6 Обработка результатов контроля

За результат испытания на одной полосе принимается среднее значение усилия отслаивания в ньютонах на один сантиметр ширины отслоенной полосы.

Адгезию защитного покрытия к стали , Н/см, на каждой полосе вычисляют по формуле

, (К.2)

где i - номер полосы;

F - среднее усилие отслаивания полосы на протяжении всего участка отслаивания за исключением первых (5 - 15) мм, Н (определяется как среднее арифметическое усилия отслаивания на данном участке);

B - средняя ширина полосы, см (определяется как среднее арифметическое по результатам трех измерений).

За результат проведенных испытаний (адгезию покрытия к стали) принимается среднее арифметическое значение адгезии, полученное, как минимум, для трех параллельных образцов, A, Н/см

(К.3)

где i - номер полосы;

n - количество полос, шт.

Наряду с величиной адгезии защитного покрытия к стали оценивают характер отслаивания (адгезионный, когезионный, смешанный).

Адгезионное отслаивание имеет место, когда защитное покрытие отслаивается от металла или происходит разделение различных слоев покрытия (например, разделение по границе адгезив/праймирующий слой); когезионное расслаивание (например, адгезионного подслоя).

В случае, если адгезия превышает прочностные свойства отслаиваемой полосы и отслаивания покрытия не происходит, то за результат испытаний принимается среднее усилие растяжения (обрыва) полосы в пересчете на 1 см ширины.

Адгезию оценивают как удовлетворительную, если величина адгезии не менее значения, нормируемого настоящим стандартом в соответствии с показателями таблиц 3 и 4 на данный вид покрытий.

К.3.7 По результатам испытаний составляют протокол, который должен содержать следующие сведения:

- дату проведения испытания;

- сведения о заводе-изготовителе;

- наименование испытываемого покрытия;

- температуру испытания;

- скорость отслаивания;

- усредненные значения адгезии по каждой полосе отслаиваемого защитного покрытия;

- среднее арифметическое значение адгезии по всем параллельным испытаниям;

- минимальное и максимальное значения адгезии по всем параллельным испытаниям;

- характер отслаивания.

К.4 Определение адгезии защитного покрытия методом нормального отрыва (для жестких покрытий)

К.4.1 Испытание предназначено для оценки адгезии защитного покрытия к стали методом отрыва покрытия под прямым углом.

К.4.2 Требования к образцам

Образцами для испытаний являются:

- трубы и изделия с защитным покрытием;

- фрагменты (карты), вырезанные из труб (или других изделий) с покрытием, или образцы-свидетели размером (80 - 90) x (150 - 160) мм.

К испытаниям допускаются образцы, не имеющие видимых повреждений, а также толщина которых соответствует нормативным требованиям.

Количество параллельных образцов для испытаний с заданными условиями должно быть не менее трех.

К.4.3 Средства контроля и вспомогательные устройства:

- адгезиметр для определения адгезии методом нормального отрыва обеспечивающий точность измерения +/- 0,01 МПа;

- разрывная машина с динамометрическим датчиком (тензодатчиком) с ценой деления шкалы не более 0,1 кН, обеспечивающим точность измерений +/- 1%;

- струбцина для крепления образца;

- струбцина к верхней подвижной траверсе для захвата "грибка";

- "грибки", изготовленные из алюминия или нержавеющей стали, для приклеивания к покрытию образцов диаметром 10-1 мм или 20-1 мм;

- металлическая линейка по ГОСТ 427;

- режущий инструмент - кольцевая фреза внутренним диаметром 10+1 мм или 20+1 мм;

- клей (эпоксидный, акрилатный или другой) для приклеивания металлического "грибка" к поверхности полимерного покрытия;

- спирт этиловый технический по ГОСТ 17299;

- шкурка шлифовальная по ГОСТ 6456.

К.4.4 Подготовка к проведению контроля

Испытание проводится не ранее, чем через трое суток после нанесения покрытия.

При проведении испытаний на изолированном изделии измерения производят на трех участках, отстоящих друг от друга на расстоянии не менее 100 мм.

При проведении испытаний на образцах, вырезанных из изолированных изделий, или образцах-свидетелях "грибки" приклеивают на расстоянии от 35 до 40 мм друг от друга и от краевых зон (см. рисунок К.5).

Рисунок К.5 - Внешний вид и размеры образца с покрытием для определения адгезии методом нормального отрыва. Местоположение приклеивания "грибков"

Перед проведением испытаний в месте приклеивания "грибков" проверяют толщину покрытия.

Рабочую поверхность "грибков" и участки покрытия в месте приклеивания "грибков" обрабатывают наждачной бумагой с целью придания шероховатости, после чего обеспыливают и обезжиривают - протирают смоченной в этиловом спирте ветошью. После этого на поверхность "грибка" и поверхность покрытия наносят тонкий слой клея и "грибок" плотно прижимают к покрытию.

После отверждения клея с помощью дрели и режущего инструмента (кольцевой фрезы) покрытие вокруг "грибка" прорезают на всю толщину до металла, при этом ширина пропила должна быть не менее 1 мм.

К.4.5 Порядок контроля

Испытания проводятся не ранее, чем через 24 ч после приклеивания "грибков" и не ранее, чем через 1 ч после произведения пропила покрытия вокруг "грибков" (во время пропила образец может нагреться, необходимо дать ему остыть).

К.4.5.1 При проведении испытания на изолированной трубе (изделии) используют механический адгезиметр. "Грибок" помещают в специальный зажим адгезиметра, затем вращением рукоятки адгезиметра через пружину к "грибку" прикладывают усилие нормального отрыва. Испытания завершаются после отрыва "грибка" от поверхности покрытия. Величину адгезии A, МПа, фиксируют на измерительной шкале прибора.

К.4.5.2 В случае испытаний образцов, вырезанных из труб (изделий) с покрытием, или образцов-свидетелей испытание проводят на разрывной машине с применением соответствующих струбцины и захвата, обеспечивающих прямой угол отрыва.

Образец с приклеенным к нему "грибком" устанавливают в струбцине, прикрепленной к нижнему неподвижному захвату, "грибок" фиксируют в верхней струбцине, соединенной через датчик нагрузки с верхней подвижной траверсой машины. Образец должен быть закреплен так, чтобы обеспечить прямой угол отрыва. Отслаивание покрытия происходит при постоянной скорости растяжения от 2,5 до 10 мм/мин. В момент отрыва "грибка" от покрытия фиксируется усилие отрыва F, кН.

К.4.6 Обработка результатов контроля

После проведения испытания покрытие осматривают в месте отрыва "грибка" и оценивают характер отслаивания (адгезионный, когезионный, смешанный).

Адгезионное отслаивание имеет место, когда защитное покрытие отслаивается от металла или происходит разделение различных слоев покрытия (например, разделение по границе праймирующий слой/защитный слой); когезионное расслаивание (например, адгезионного подслоя).

Адгезию защитного покрытия к стали для единичного отрыва , МПа, вычисляют по формуле

, (К.4)

где i - номер образца;

F - усилие отрыва, Н;

S - площадь поверхности покрытия, к которой прикладывается усилие отрыва, мм2.

За значение адгезии защитного покрытия к стали A, МПа, принимается среднее значение, полученное по группе параллельных образцов

(К.5)

где i - номер отрыва;

n - количество отрывов, шт.

Адгезию оценивают как удовлетворительную, если значение адгезии соответствует техническим требованиям, предъявляемым к данному типу покрытий.

К.4.7 По результатам испытаний составляют протокол, который должен содержать следующие сведения:

- дату проведения испытания;

- сведения о заводе-изготовителе;

- наименование испытываемого покрытия;

- скорость отслаивания;

- значения адгезии по каждому испытанию;

- среднее арифметическое значение адгезии по всем параллельным испытаниям;

- минимальное и максимальное значения адгезии по всем параллельным испытаниям;

- характер отслаивания.

К.5 Контроль адгезии защитного покрытия после выдержки в воде

К.5.1 Испытание предназначено для оценки стойкости адгезии защитного покрытия к стали после выдержки в воде в течение 1000 ч при различных температурах.

К.5.2 Требования к образцам

Водостойкость адгезии определяют на образцах, вырезанных из труб (или других изделий) с покрытием или образцах-свидетелях, прошедших испытание на исходную адгезию при температуре (20 +/- 5) °C (см. К.3 или К.4).

Количество параллельных образцов для заданных условий испытаний должно быть не менее трех.

К.5.3 Средства контроля и вспомогательные устройства:

- термошкафы соответствующего объема, обеспечивающие поддержание температуры с точностью +/- 3 °C;

- емкости для выдержки образцов в воде, изготовленные из стойкого к коррозии и повышенной температуре материала;

- спирт этиловый технический по ГОСТ 17299;

- бумага фильтровальная по ГОСТ 12026;

- скоба зажимная;

- адгезиметр;

- нож;

- вода дистиллированная по ГОСТ 6709.

К.5.4 Подготовка к проведению контроля

Кромки реза образцов (вдоль пропилов) обезжиривают этиловым спиртом.

К.5.5 Порядок контроля

Образцы укладывают в емкости таким образом, чтобы кромки реза образцов оставались открытыми для доступа воды, при этом разрешается укладывать образцы друг на друга. Емкости с образцами заливают дистиллированной водой так, чтобы уровень воды был выше поверхности образцов, и фиксируют время начала испытаний.

При испытаниях защитного покрытия на водостойкость адгезии при повышенных температурах, в емкость с образцами заливают воду, предварительно нагретую до заданной температуры, после чего емкость с образцами устанавливают в термошкаф, обеспечивающий поддержание необходимой температуры в течение всего времени испытаний. В процессе испытаний следят за уровнем воды в емкости, поддерживая его выше поверхности образцов, периодически подливая нагретую воду.

После выдержки в течение 1000 ч в воде при различных температурах образцы извлекают из воды, удаляют с их поверхности промокательной бумагой влагу и выдерживают при температуре (20 +/- 5) °C не менее 24 ч.

По окончании этих испытаний определяют адгезию защитного покрытия к металлу на разрывной машине при температуре (20 +/- 5) °C по методу, аналогичному методу определения исходной адгезии.

К.5.6 Обработка результатов контроля

За значение адгезии защитного покрытия к стали после выдержки в воде при каждой заданной температуре принимается среднее значение, полученное по группе параллельных образцов.

Изменение адгезии покрытия к стали после выдержки в воде при температуре T в течение 1000 ч относительно исходной , %, вычисляют по следующей формуле

(К.6)

где - адгезия покрытия к стали после выдержки в воде при температуре T в течение 1000 ч, Н/см или МПа;

- исходная адгезия покрытия к стали, Н/см или МПа (определяют при температуре (20 +/- 5) °C (см. К.3 или К.4).

Адгезию защитного покрытия к стали после выдержки в воде при заданной температуре в течение 1000 ч оценивают как удовлетворительную, если значение снижения адгезии относительно исходной не превышает допустимого в технических требованиях, предъявляемых к данному типу покрытий.

К.5.7 По результатам испытаний составляют протокол, который должен содержать следующие сведения:

- дату проведения испытания;

- сведения о заводе-изготовителе;

- наименование испытываемого защитного покрытия;

- температуру выдержки покрытия в воде;

- длительность выдержки покрытия в воде;

- скорость отслаивания;

- значения адгезии по каждому испытанию;

- среднее арифметическое значение адгезии по всем параллельным испытаниям;

- минимальное и максимальное значения адгезии по всем параллельным испытаниям;

- стандартное отклонение значений адгезии по всем параллельным испытаниям;

- характер отслаивания;

- изменение адгезии покрытия к стали после выдержки в воде.

Приложение Л
(обязательное)

ОПРЕДЕЛЕНИЕ ПРОЧНОСТИ ЗАЩИТНОГО ПОКРЫТИЯ ПРИ УДАРЕ

Л.1 Испытание заключается в проверке прочности защитного покрытия при ударе свободно падающего груза при определенной температуре.

Л.2 Требования к образцам

Л.2.1 Образцами для испытаний являются:

- трубы или другие изделия с защитным покрытием;

- образцы, вырезанные из труб с покрытием (длинной стороной вдоль оси трубы), размером (70 - 100) x (150 - 200) мм;

- образцы-свидетели размером (100 - 150) x (100 - 150) x (6 - 10) мм.

Л.2.2 Количество параллельных образцов для заданных условий испытаний должно быть не менее трех.

Л.3 Средства контроля и вспомогательные устройства:

- ударное приспособление (копер со свободно падающим грузом), оснащенное стальным бойком сферической формы твердостью HRC 60, радиусом 8 мм, направляющей со шкалой от 0 до 100 см (см. рисунок Л.1);

- дополнительные калиброванные грузы с точностью массы (1 +/- 0,005) кг;

- термокриокамера;

- контактный термометр (термопара) по ГОСТ 6616 с точностью измерений +/- 1 °C;

- искровой дефектоскоп с погрешностью измерения +/- 5%;

- толщиномер с точностью измерений +/- 5%.

Л.4 Подготовка к проведению контроля

Л.4.1 Перед проведением контроля определяют сплошность покрытия искровым дефектоскопом.

Л.4.2 Массу и высоту подъема груза подбирают исходя из нормируемого значения ударной прочности на данный вид защитного покрытия.

Высоту поднятого груза H, м, вычисляют по формуле

(Л.1)

где U - прочность покрытия при ударе, Дж;

P - вес груза, Н;

m - масса груза, кг;

g ~= 9,81 м/с2 - ускорение свободного падения.

Л.4.3 При испытаниях при температуре, отличной от комнатной, образцы помещают в термокриокамеру и выдерживают не менее 30 минут.

1 - металлическое основание; 2 - направляющая для свободного падения бойка с грузом; 3 - винты-ножки;
4 - уровень; 5 - груз; 6 - стальной боек; 7 - труба с защитным покрытием

Рисунок Л.1 - Ударное приспособление для испытаний на трубе, оснащенное стальным бойком сферической формы

Л.5 Порядок контроля

Л.5.1 При испытаниях покрытий на трубах ударное приспособление размещают в соответствии с рисунком Л.1. При использовании вырезанных из труб образцов и образцов-свидетелей с защитным покрытием их размещают на наковальне ударного приспособления. Устанавливают положение поверхности образца на уровне нулевой точки отсчета высоты подъема груза. Затем производят удар. Если поверхность образца имеет кривизну, то удар следует производить по образующей линии цилиндрической поверхности (удар не должен быть скользящим).

Л.5.2 Расстояние от края образца до точки удара, а также между точками удара должно быть не менее 30 мм.

Испытания на трубах с покрытием проводят в 10 точках, отстоящих друг от друга на расстоянии не менее 0,5 м, а также в местах, вызывающих сомнение; точки ударов не должны приходиться на сварные швы.

Л.5.3 Подбирают максимально возможную энергию удара, при котором покрытие не разрушается. Это осуществляют наращиванием массы и/или высоты падения груза, до энергии, достаточной для разрушения покрытия. Энергию удара фиксируют по точкам разрушения и неразрушения покрытия.

Л.5.4 Место удара проверяют на электрический пробой искровым дефектоскопом; напряжение на щупе должно составлять 5 кВ на 1 мм толщины покрытия.

Л.6 Обработка результатов контроля

Защитное покрытие считают выдержавшим испытание, если энергия удара, не приводящего к разрушению покрытия, не менее значения, нормируемого настоящим стандартом на данный вид покрытий. При этом должно быть произведено минимум 10 ударов с одинаковой энергией без разрушения покрытия (в точке удара отсутствуют поры, трещины и электрический пробой).

В качестве результата испытания принимают прочность покрытия при ударе U, Дж, или прочность покрытия при ударе, отнесенную к его толщине , Дж/мм.

Л.7 По результатам испытаний составляют протокол, который должен содержать следующие сведения:

- дату проведения испытания;

- наименование испытываемого защитного покрытия;

- сведения о заводе-изготовителе;

- температуру испытания;

- толщину испытываемого образца защитного покрытия;

- прочность защитного покрытия при ударе (энергия удара) и/или прочность покрытия при ударе на 1 мм толщины покрытия (энергия удара, отнесенная к толщине покрытия);

- напряжение на щупе дефектоскопа.

Приложение М
(рекомендуемое)

ОПРЕДЕЛЕНИЕ ПЛОЩАДИ ОТСЛАИВАНИЯ ЗАЩИТНОГО ПОКРЫТИЯ ПРИ КАТОДНОЙ ПОЛЯРИЗАЦИИ

М.1 Испытание заключается в определении площади отслаивания защитного покрытия с искусственным дефектом при катодной поляризации в среде электролита в различных температурных условиях.

М.2 Требования к образцам

М.2.1 Образцами для испытаний являются:

- трубки с наружным защитным покрытием;

- фрагменты (карты), вырезанные из труб (или других изделий) с покрытием, или образцы-свидетели размером не менее 100 x 100 мм.

М.2.2 К испытаниям допускаются образцы без повреждений, а также толщина и диэлектрическая сплошность которых соответствует нормативным требованиям.

М.2.3 Количество параллельных образцов для заданных условий испытаний должно быть не менее трех.

М.3 Средства контроля и вспомогательные устройства:

- потенциостат с постоянным регулируемым выходным напряжением в диапазоне +/- 2 В;

- электрод сравнения стандартный хлорсеребряный по ГОСТ 17792;

- вспомогательный электрод (анод инертный) - платиновая проволока по ГОСТ 10821, графитовый или платинированный титановый стержень;

- термошкаф соответствующего объема или песчаная баня, обеспечивающие поддержание температуры с точностью +/- 3 °C;

- скальпель или нож;

- токонепроводящий термостойкий герметик;

- цилиндры из токонепроводящего термостойкого материала (оргстекла, поликарбоната, полиэтилена, минерального стекла) размерами: внутренний диаметр не менее 70 мм, высота не менее 80 мм;

- крышки к цилиндрам из токонепроводящего термостойкого материала с отверстиями для электродов;

- хлористый натрий по ГОСТ 4233;

- хлористый калий по ГОСТ 4234;

- вода дистиллированная по ГОСТ 6709;

- спирт этиловый технический по ГОСТ 17299;

- провода соединительные по ГОСТ 6323;

- штангенциркуль или линейка.

М.4 Подготовка к проведению контроля

В центре образца в защитном покрытии создают искусственный дефект - просверливают покрытие насквозь до металла с образованием в металле небольшого конического углубления. Металл при этом не должен быть перфорирован. Диаметр дефекта должен составлять 6 мм.

Поверхность металла в углублении и поверхность защитного покрытия обезжиривают спиртом.

М.4.1 Подготовка ячейки для электролиза для проведения испытаний на пластинах или картах

На пластину с покрытием или карту 4 (см. рисунок М.1) с помощью герметика или пластилина устанавливают цилиндр 5 так, чтобы ось цилиндра совпала с центром искусственного дефекта покрытия. Если испытания проводят на образцах с криволинейной поверхностью, то торец цилиндра обрезают соответственно кривизне образца.

1 - катод; 2 - вспомогательный электрод (инертный анод); 3 - хлорсеребряный насыщенный электрод (электрод сравнения);
4 - карта или пластина с защитным покрытием (испытуемый образец); 5 - цилиндр; 6 - крышка; 7 - электролит; 8 - потенциостат

Рисунок М.1 - Ячейка для испытаний на пластинах или картах

М.4.2 Подготовка ячейки для электролиза для проведения испытаний на трубках малого диаметра

Ячейка должна иметь дно (стакан) и боковые отверстия достаточной величины для помещения образца в виде трубки с наружным покрытием (см. рисунок М.2). Трубку ориентируют так, чтобы искусственный дефект на образце располагался в центре ячейки и был направлен вверх. Трубка должна выходить за пределы стакана, зазоры между трубкой и стаканом должны быть заполнены герметиком.

1 - катод; 2 - вспомогательный электрод (инертный анод);
3 - хлорсеребряный насыщенный электрод (электрод сравнения);
4 - трубка с защитным покрытием (испытуемый образец);
5 - стакан с боковыми отверстиями; 6 - крышка;
7 - электролит; 8 - потенциостат

Рисунок М.2 - Ячейка для испытаний на трубках малого диаметра

М.4.3 В ячейку заливают электролит (водный раствор хлористого натрия 3%). Минимальный уровень наполнения должен составлять 70 мм.

М.4.4 Водный раствор хлористого натрия (NaCl) концентрации 3% (по массе) приготавливают путем добавления в 970 мл дистиллированной воды (30,0 +/- 0,5) г хлорида натрия (NaCl) и перемешивания до полного растворения.

М.4.5 Для заполнения хлорсеребряного электрода используют насыщенный водный раствор хлористого калия (KCl) (концентрации не менее 3,4 моль/л).

М.4.6 Приготовление насыщенного раствора калия хлористого:

Навеску хлорида калия массой (255,0 +/- 0,5) г переносят в мерную колбу вместимостью 1000 мл. Наливают в колбу дистиллированную воду до метки.

Термостатируют колбу при температуре (20 +/- 2) °C не менее 4 ч, периодически перемешивая водную суспензию хлорида калия. Срок хранения раствора - не более 6 мес.

М.4.7 Ячейку закрывают крышкой с отверстиями. Вспомогательный электрод располагают на расстоянии 10 мм над искусственным дефектом и электрод сравнения - на расстоянии (20 +/- 2) мм от вспомогательного электрода и 10 мм от поверхности покрытия.

М.5 Порядок контроля

Образец 1 подключают к отрицательному полюсу источника тока. Вспомогательный электрод 2 соединяют с положительным полюсом источника тока.

Потенциал на образце устанавливают равным (минус 1,50 +/- 0,05) В и поддерживают постоянным в течение всего испытания.

Образцы выдерживают в растворе электролита под действием наложенного катодного тока в течение промежутка времени и при температурах испытаний, устанавливаемых в технических требованиях, предъявляемых к данному типу покрытий.

При проведении испытаний при повышенных температурах ячейки помещают в термошкафы. Для проведения испытаний при температуре (95 +/- 3) °C допускается использовать песчаную баню с регулировкой температуры с точностью 3 °C и возможностью измерения температуры образца на уровне контакта с покрытием.

Уровень электролита в ячейке и электроде сравнения контролируют не реже одного раза в сутки.

Через каждые 7 дней производят замену раствора электролита, для чего подачу напряжения на образцы прекращают, электролит выливают, ячейку и образцы промывают дистиллированной водой (два-три раза) и заливают свежий 3%-ный раствор NaCl.

По окончании испытаний ячейку демонтируют, образцы промывают водой и вытирают ветошью. Участок отслоившегося покрытия оголяют, осторожно поддевая или срезая покрытие скальпелем. Площадью отслаивания защитного покрытия является участок металла, на котором покрытие отслаивалось без заметных усилий.

Для жестких покрытий толщиной более 1,2 мм допускается нагревание образца выше температуры размягчения с последующим полным удалением покрытия с металла. Площадью отслаивания покрытия в этом случае является площадь между краем искусственного дефекта и верхним контуром большего кольца с изменением цвета металла с серого на более темный.

М.6 Обработка результатов испытаний

Обработку результатов испытаний производят следующими способами: методом измерения линейкой, методом взвешивания или методом определения площади на электронно-вычислительной машине (ЭВМ).

М.6.1 Метод измерения линейкой

Метод заключается в определении среднеарифметического из трех отдельных значений диаметральных длин площади с отслоением защитного покрытия, измеренных металлической линейкой в миллиметрах.

Площадь отслаивания S, см2, вычисляют по формуле

(М.1)

где D - среднее арифметическое по четырем измерениям диаметра поверхности с отслоением покрытия, см;

d - диаметр отверстия (искусственного дефекта), см.

М.6.2 Метод взвешивания

Контуры площади отслаивания покрытия переводят на кальку, затем переносят кальку на плотную бумагу с известной массой единицы площади, вырезают ее и взвешивают.

Площадь отслаивания S, см2, вычисляют по формуле

, (М.2)

где m - масса бумаги площадью, равной площади отслаивания, г;

m' - масса 1 см2 бумаги (значение m' определяют как среднее арифметическое массы десяти образцов площадью 1 см2, вырезанных по диагонали листа бумаги), г/см2.

Альтернативный метод взвешивания: взвешивают листок бумаги размером 10 x 10 см. Контуры площади отслаивания покрытия переводят на кальку. Затем переносят кальку на листок бумаги размером 10 x 10 см, вырезают ее и взвешивают.

Площадь отслаивания S, см2, вычисляют по формуле

(М.3)

где m - масса бумаги площадью, равной площади отслаивания, г;

m' - масса 100 см2 бумаги, г.

М.6.3 Метод определения площади на ЭВМ

Допускается определять площадь отслаивания с помощью программного обеспечения, позволяющего определять площадь фигур по сканированному или фотоизображению.

М.6.4 За величину площади отслаивания защитного покрытия принимают среднее арифметическое значение измерений не менее трех образцов покрытия, вычисленное с точностью до 0,5 см2.

Защитное покрытие считается выдержавшим испытание, если величина площади отслаивания не превышает значение, нормируемое настоящим стандартом на данный вид покрытий.

М.7 По результатам испытаний составляют протокол, который должен содержать следующие сведения:

- дату проведения испытания;

- сведения о заводе-изготовителе;

- наименование испытываемого защитного покрытия;

- номера образцов и их размеры;

- диаметр искусственного дефекта;

- температуру испытаний;

- длительность испытаний;

- значения площади отслаивания для каждого образца;

- среднее арифметическое значение площади отслаивания по всем параллельным испытаниям.

Приложение Н
(справочное)

ОПРЕДЕЛЕНИЕ СТОЙКОСТИ ЗАЩИТНОГО ПОКРЫТИЯ К ВОЗДЕЙСТВИЮ СВЕТОПОГОДЫ

Н.1 Испытание предназначено для оценки стойкости материала (наружного слоя защитного покрытия) к воздействию светопогоды и заключается в определении изменения его свойств в результате воздействия излучения в ближнем ультрафиолетовом (УФ) и видимом диапазоне спектра при определенной температуре и влажности, в совокупности моделирующих воздействие атмосферных условий при хранении изделий на открытом воздухе.

При проведении ускоренных испытаний в аппарате искусственной светопогоды образцы подвергают воздействию трех факторов, способствующих деструкции материала: облучению, нагреву и увлажнению.

Источником излучения служит ксеноновая лампа, свет которой, проходя через установленные фильтры, приобретает спектральное распределение, наиболее приближенное к дневному солнечному свету в УФ (длина волны от 300 до 400 нм) и видимом (от 400 до 800 нм) диапазоне. Для поверхностной плотности потока энергии УФ излучения E300-400 (в диапазоне длин волн от 300 до 400 нм) и поверхностной плотности потока энергии интегрального излучения E300-2450 (от 300 до 2450 нм) должно выполняться соотношение

(Н.1)

Стойкость покрытия к воздействию светопогоды оценивают по снижению относительного удлинения при разрыве и/или изменению показателя текучести расплава (ПТР) полимера относительно исходного значения.

Н.2 Требования к образцам

Н.2.1 Образцами для испытаний являются:

- образцы, вырезанные из труб с защитным покрытием, или образцы-свидетели (образцы должны быть изолированы со всех сторон), пригодные для последующего определения адгезии покрытия к стали;

- образцы, вырубленные из свободного (без эпоксидного праймера и адгезионного подслоя) слоя экструдированного термопласта в виде "лопаток" - тип 1 по ГОСТ 11262 с длиной рабочей части (33 +/- 1) мм и шириной (6,0 +/- 0,4) мм с использованием стандартного ножа. Образцы вырезают вдоль экструзии термопласта, они предназначены для определения относительного удлинения при разрыве.

В случае испытания исходного изоляционного материала вместо экструдированного материала допускается изготавливать пластины толщиной не менее 2 мм прессованием по ГОСТ 16336 (в случае полиэтиленовых композиций) и по ГОСТ 26996 (в случае полипропиленовых композиций).

Н.2.2 Поверхность и края образцов должны быть ровными, гладкими, без раковин, трещин и других дефектов, видимых невооруженным глазом.

Н.2.3 Количество параллельных образцов должно быть не менее пяти.

Н.3 Средства контроля и вспомогательные устройства:

- аппарат искусственной погоды с ксеноновой газоразрядной лампой по ГОСТ 23750 или стандарту [3];

- вырубной пресс;

- вырубной нож для изготовления образцов типа 1 по ГОСТ 11262;

- разрывная машина для проведения испытаний на удлинение с погрешностью измерения не более +/- 1%;

- экструзионный пластометр для определения ПТР;

- вода дистиллированная по ГОСТ 6709;

- спирт этиловый технический по ГОСТ 17299.

Н.4 Подготовка к проведению контроля

Для проведения испытаний готовят две партии образцов в количестве не менее пяти в каждой. Одна, для экспонирования в камере светопогоды, другая - для определения исходных характеристик покрытия.

Перед испытанием образцы очищают ветошью, смоченной в этиловом спирте.

Н.5 Порядок контроля

Н.5.1 Испытания проводятся в аппарате искусственной светопогоды в непрерывном режиме облучения.

Н.5.2 Образцы в камере закрепляют так, чтобы лицевая сторона образца была доступна облучению, и задают соответствующие параметры экспонирования (мощность потока излучения, температуру стандартной черной панели, температуру в камере, влажность в камере, цикличность орошения) и запускают испытание.

Н.5.3 Условия экспозиции образцов в аппарате искусственной светопогоды приведены в таблице Н.1.

Таблица Н.1

Условия экспозиции для определения стойкости защитного покрытия к воздействию искусственной светопогоды

Условие экспозиции Характеристика
Мощность потока излучения в УФ области спектра (от 300 до 400 нм) (120 +/- 2) Вт/м2
Температура в камере (38 +/- 3) °C
Температура стандартной черной панели (температура на уровне образцов) (65 +/- 3) °C
Относительная влажность в камере (65 +/- 5)%
Цикл орошения (18,0 +/- 0,5) мин с орошением/
(102,0 +/- 0,5) мин без орошения
Продолжительность испытания 500 ч

Н.5.4 По окончании испытания образцы протирают ветошью, смоченной в этиловом спирте, для удаления с поверхности возможных продуктов распада полимера в результате светового воздействия.

Н.5.5 Далее образцы кондиционируют в условиях температуры (20 +/- 5) °C и относительной влажности воздуха от 30% до 80% в течение 24 ч.

Официальный источник электронного документа содержит неточность: пункт 7.19 отсутствует.

Н.5.6 Определение относительного удлинения при разрыве свободного слоя покрытия проводят по ГОСТ 11262 на разрывной машине при температуре (20 +/- 5) °C и скорости растяжения образцов согласно 7.19. Определение ПТР проводят по ГОСТ 11645. Адгезию защитного покрытия к стали определяют по приложению К.

Н.5.7 Условия определения относительного удлинения при разрыве и ПТР термопласта после экспонирования идентичны условиям определения исходных характеристик.

Н.6 Обработка результатов контроля

Н.6.1 Изменение относительного удлинения при разрыве свободного слоя покрытия , %, рассчитывают по формуле

(Н.2)

где - исходное относительное удлинение при разрыве свободного слоя покрытия, %;

- относительное удлинение при разрыве свободного слоя покрытия после экспозиции, %.

Н.6.2 Изменение ПТР термопласта , %, рассчитывают по формуле

(Н.3)

где - исходный ПТР термопласта, г/10 мин;

- ПТР термопласта после УФ-облучения, г/10 мин.

Н.6.3 Защитное покрытие считается выдержавшим испытание на стойкость к воздействию светопогоды, если изменение относительного удлинения при разрыве и/или изменение ПТР после выдержки в камере светопогоды не превышают значений, нормируемых на данный вид покрытий.

Н.7 По результатам испытаний составляют протокол, который должен содержать следующие сведения:

- дату проведения испытания;

- наименование испытываемого защитного покрытия;

- сведения о заводе-изготовителе;

- размеры и количество образцов;

- мощность потока излучения;

- температуру в камере;

- температуру стандартной черной панели;

- относительную влажность в камере;

- цикл орошения;

- длительность испытания;

- относительное удлинение при разрыве после экспозиции;

- исходный ПТР термопласта;

- ПТР термопласта после экспозиции;

- изменение ПТР в результате экспозиции;

- изменение относительного удлинения при разрыве отслоенного защитного покрытия в результате экспозиции;

- наблюдаемое изменение внешнего вида защитного покрытия.

Приложение П
(справочное)

ОПРЕДЕЛЕНИЕ ПЕРЕХОДНОГО ЭЛЕКТРИЧЕСКОГО СОПРОТИВЛЕНИЯ ЗАЩИТНОГО ПОКРЫТИЯ

П.1 Определение переходного электрического сопротивления в лабораторных условиях

П.1.1 Испытание предназначено для определения изменения защитной способности защитного покрытия в среде электролита.

Сущность метода заключается в измерении переходного сопротивления защитного покрытия после выдержки в растворе электролита при различных температурах в течение определенных промежутков времени.

П.1.2 Требования к образцам

П.1.2.1 Образцами для испытаний являются:

- трубы (или изделия) с защитным покрытием;

- карты, вырезанные из труб с покрытием (темплеты), или образцы-свидетели размером не менее 100 x 100 мм.

П.1.2.2 К испытаниям допускаются образцы без повреждений защитного покрытия, толщина и диэлектрическая сплошность которых соответствует нормативным требованиям.

П.1.2.3 Количество параллельных образцов для заданных условий испытаний должно быть не менее трех.

П.1.3 Средства контроля и вспомогательные устройства:

- источник постоянного напряжения с минимальным выходным напряжением 50 В;

- тераомметр с диапазоном измерений от до Ом или вольтметр и амперметр;

- экранирующая камера для защиты образцов от внешних электромагнитных полей;

- вспомогательный электрод (инертный) - графитовый стержень или платиновая проволока диаметром (0,5 - 0,8) мм по ГОСТ 10821;

- термошкаф, обеспечивающий поддержание температуры с точностью +/- 3 °C;

- цилиндры из токонепроводящего термостойкого материала (оргстекла, поликарбоната, полиэтилена, минерального стекла) размерами: внутренний диаметр не менее 60 мм, высота не менее 70 мм;

- крышки к цилиндрам из токонепроводящего термостойкого материала;

- токонепроводящий термостойкий герметик;

- хлористый натрий по ГОСТ 4233;

- вода дистиллированная по ГОСТ 6709;

- провода соединительные по ГОСТ 6323;

- спирт этиловый технический по ГОСТ 17299.

П.1.4 Подготовка к проведению контроля

П.1.4.1 Поверхность защитного покрытия образцов обезжиривают этиловым спиртом.

П.1.4.2 Подготовка ячейки для проведения испытаний на пластинах или картах.

На пластину с покрытием или карту 4 (см. рисунок П.1) с помощью герметика или пластилина устанавливают цилиндр 5. Если испытания проводят на картах или трубах, то торец цилиндра обрезают сообразно кривизне образца.

1 - вспомогательный электрод (инертный); 2 - контакт для подачи напряжения на испытуемый образец;
3 - карта или пластина с покрытием (испытуемый образец); 4 - цилиндр;
5 - крышка; 6 - электролит; 7 - омметр или источник постоянного напряжения

Рисунок П.1 - Ячейка для испытаний на пластинах, картах или трубах (изделиях)

П.1.4.3 Подготовка ячейки для проведения испытаний на трубках малого диаметра. Ячейка должна иметь дно (стакан) и боковые отверстия достаточной величины для помещения образца в виде трубки с наружным покрытием (см. рисунок П.2). Трубка должна выходить за пределы стакана, зазоры между трубкой и стаканом должны быть заполнены герметиком.

1 - вспомогательный электрод (инертный); 2 - контакт для подачи напряжения на испытуемый образец;
3 - трубка с покрытием (испытуемый образец); 4 - стакан с боковыми отверстиями;
5 - крышка; 6 - электролит; 7 - омметр или источник постоянного напряжения

Рисунок П.2 - Ячейка для испытаний на трубках малого диаметра

П.1.4.4 В ячейку заливают 3%-ный раствор хлористого натрия. Уровень электролита должен находиться от поверхности покрытия не менее чем на 50 мм. Цилиндры накрывают крышками для предотвращения испарения воды.

П.1.5 Порядок контроля

Исходное переходное сопротивление защитного покрытия определяют через трое суток после выдержки образцов в электролите при температуре (20 +/- 5) °C.

Переходное сопротивление защитного покрытия измеряют с погружением инертного электрода в раствор при температуре (20 +/- 5) °C с помощью тераомметра или определяют по результатам измерений с помощью вольтметра и амперметра. С целью исключения влияния внешних электромагнитных полей ячейку с электролитом на время измерения помещают в экранирующую камеру.

При длительных испытаниях при комнатной температуре результирующие измерения проводят через 100 сут от момента заливки испытательной ячейки раствором электролита. Промежуточные измерения рекомендуется проводить через каждые 25 сут. Если хотя бы в одной ячейке переходное сопротивление имеет значение меньше нормативного, испытания прекращают.

При испытаниях в условиях повышенных температур испытательные ячейки с электролитом помещают в термошкафы после замера исходного значения. Результирующие измерения проводят через 30 сут от начала выдержки образцов в термошкафу.

Перед очередным определением переходного сопротивления покрытия образцы необходимо охладить до комнатной температуры, при необходимости поменять раствор электролита.

Один раз в 10 суток проверяют уровень электролита в ячейках и, подливая дистиллированную воду, доводят его до первоначального. Допускается замена электролита, для чего ячейку промывают дистиллированной водой, затем заливают свежий 3%-ный раствор NaCl.

П.1.6 Обработка результатов контроля

П.1.6.1 Расчет среднего значения переходного сопротивления покрытия , Ом·м2, на каждом образце проводят по формуле

(П.1)

где i - номер образца;

j - номер измерения;

n - количество измерений на i-м образце;

- сопротивление i-го образца при j-м измерении, Ом;

S - площадь контакта образца с раствором, м2, равная:

(П.2)

где d - внутренний диаметр цилиндра, м.

(П.3)

где - приложенное напряжение между противоположным инертным электродом и металлической подложкой i-го образца при j-м измерении, В;

- ток, протекающий между противоположным инертным электродом и металлической подложкой i-го образца при j-м измерении, А.

П.1.6.2 За значение переходного сопротивления защитного покрытия принимают среднее арифметическое результатов измерений.

П.1.6.3 Покрытие считают выдержавшим испытание, если величина переходного сопротивления защитного покрытия не менее значения, нормируемого настоящим стандартом на данный вид покрытий.

П.1.7 По результатам испытаний составляют протокол, который должен содержать следующие сведения:

- дату проведения испытания;

- сведения о заводе-изготовителе;

- наименование испытываемого защитного покрытия;

- температуру испытаний;

- длительность испытаний;

- площадь контакта образца с раствором;

- напряжение на образце при измерении;

- значения переходного сопротивления покрытия для каждого образца;

- среднее арифметическое значение переходного сопротивления защитного покрытия по всем параллельным испытаниям.

П.2 Определение переходного электрического сопротивления на уложенном в грунт трубопроводе

Метод предназначен для проведения локальной оценки защитной способности покрытия на уложенном в грунт трубопроводе (в местах шурфования) при температуре свыше 0 °C.

П.2.1 Средства контроля и вспомогательные устройства:

- тераомметр с диапазоном измерений от 1· до 1· Ом или мегомметр;

- электрод-бандаж из оцинкованного стального листа толщиной 0,5 мм, шириной 0,4 м, длиной L, равной , где D - диаметр трубы;

- полотенце из хлопчатобумажной ткани размером не менее размера электрода-бандажа;

- натрий сернокислый (Na2SO4) по ГОСТ 4166 или натрий хлористый (NaCl) по ГОСТ 4233, 3%-ный раствор;

- дефектоскоп искровой типа Крона 1Р или другой с аналогичными параметрами;

- толщиномер любого типа с погрешностью измерения: +/- 50 мкм - для покрытий толщиной до 1,0 мм; +/- 100 мкм - для покрытий толщиной более 1,0 мм;

- провода соединительные по ГОСТ 6323 или аналогичные;

- источник постоянного тока - система электрических батарей по ГОСТ 2583 или аналогичные с общим напряжением не менее 30 В;

- вольтметр высокоомный типа ЭВ-2234 по ГОСТ 8711;

- миллиамперметры по ГОСТ 8711;

- резистор (реостат) любого типа.

П.2.2 Образцы для испытаний

П.2.2.1 В качестве образцов для испытаний используют непосредственно трубы, уложенные в грунт.

П.2.2.2 Количество испытуемых участков на трубопроводе определяет количество шурфов.

П.2.3 Проведение измерений

П.2.3.1 При измерении переходного электрического сопротивления защитного покрытия на эксплуатирующихся подземных трубопроводах в местах шурфования на поверхность покрытия трубопровода, очищенную от грунта не менее чем на 0,8 м по его длине, по периметру накладывают тканевое полотенце, смоченное 3%-ным раствором сернокислого натрия, на полотенце накладывают металлический электрод-бандаж шириной не менее 0,4 м и плотно стягивают его болтами или резиновыми лентами.

П.2.3.2 Для исключения влияния поверхностной утечки тока через загрязненную или увлажненную поверхность защитного покрытия дополнительно по обе стороны накладывают два экранирующих электрода-бандажа шириной не менее 0,05 м, так чтобы они не контактировали с грунтом.

П.2.3.3 Резистором устанавливают рабочее напряжение 30 В и снимают показания амперметра и вольтметра.

Допускается измерять переходное электрическое сопротивление защитного покрытия на уложенных в грунт трубопроводах мегомметром, например марки М 1101, при этом измерения проводят, как приведено на рисунке П.3.

П.2.3.4 Если при шурфовании не предусматривается нарушение целостности защитного покрытия (например, для измерения адгезии), то контакт 1 замыкают не на оголенный участок трубы, а на стальной штырь, вбитый в грунт рядом с трубопроводом.

П.2.4 Обработка результатов испытаний

П.2.4.1 Переходное электрическое сопротивление защитного покрытия на новых трубах , Ом·м2, вычисляют по формуле

, (П.4)

где - показания тераомметра или мегомметра, Ом;

- площадь электрода-бандажа, имеющего контакт с защитным покрытием, м2.

1 - контакт с трубой; 2 - экранирующие кольцевые электроды-бандажи; 3 - кольцевой электрод-бандаж;
4 - тканевое полотенце; 5 - защитное покрытие трубы; 6 - стенка трубы; E - источник постоянного тока;
R - потенциометр; V - высокоомный вольтметр; mA - миллиамперметр

Рисунок П.3 - Схема измерения переходного электрического сопротивления защитного покрытия методом "мокрого контакта" на уложенных в грунт трубопроводах (в шурфах)

П.2.4.2 Переходное электрическое сопротивление защитного покрытия , Ом·м2, на уложенных в грунт трубопроводах вычисляют по формуле

(П.5)

где - падение напряжения между трубопроводом и бандажом (по показаниям вольтметра), В;

- сила тока в цепи, А;

- площадь электрода-бандажа, имеющего контакт с защитным покрытием трубопровода, м2.

Защитное покрытие считают выдержавшим испытания, если переходное электрическое сопротивление соответствует указанному в таблицах 2 и 3 настоящего стандарта.

П.2.5 Оформление результатов испытаний

П.2.5.1 Результаты испытаний для новых труб оформляют в виде протокола, в котором указывают:

- наименование предприятия-изготовителя и его адрес;

- номер партии труб с защитным покрытием;

- дату изготовления труб с защитным покрытием;

- результаты определения среднего значения переходного электрического сопротивления защитного покрытия;

- должность, фамилию, подпись лица, проводившего испытания;

- дату испытаний.

П.2.5.2 Результаты измерений переходного электрического сопротивления защитного покрытия на уложенных в грунт трубопроводах заносят в протокол, приведенный в П.2.5.3.

П.2.5.3 Форма протокола определения переходного электрического сопротивления покрытий методом "мокрого контакта" на уложенных в грунт трубопроводах

наименование организации

Протокол определения переходного электрического сопротивления покрытий методом "мокрого контакта" на уложенных в грунт трубопроводах

Наименование трубопровода, его протяженность
Участок трубопровода (номер шурфа)
Тип и конструкция защитного покрытия

Дата Номер шурфа Диаметр трубы, м Падение напряжения (по показаниям вольтметра) , В Сила тока в цепи , А Площадь электрода-бандажа, контактирующего с трубой, , м2 Значение переходного электрического сопротивления покрытия , Ом·м2
             
             
             

Переходное электрическое сопротивление покрытия трубопровода

соответствует, не соответствует требуемому значению

       
должность лица, проводившего измерения   личная подпись   расшифровка подписи

Приложение Р
(обязательное)

ОПРЕДЕЛЕНИЕ СОПРОТИВЛЕНИЯ ЗАЩИТНОГО ПОКРЫТИЯ ВДАВЛИВАНИЮ (ПЕНЕТРАЦИИ)

Р.1 Сущность метода заключается в определении сопротивления защитного покрытия вдавливанию (пенетрации) путем измерения глубины проникновения металлического стержня под воздействием статической нагрузки 10 Н/мм2 в течение 24 ч.

Р.2 Требования к образцам

Р.2.1 Образцами для испытаний являются:

- образцы, вырезанные из труб с защитным покрытием, или образцы-свидетели;

- образцы, вырубленные из свободного (без эпоксидного праймера и адгезионного подслоя) слоя экструдированного термопласта или отвержденного термореактивного материала;

- пластины толщиной не менее 2 мм, из прессованного изоляционного материала по ГОСТ 16336 (в случае полиэтиленовых композиций) и по ГОСТ 26996 (в случае полипропиленовых композиций), допускаются в случае испытания исходного изоляционного материала.

Р.2.2 Рекомендуемые размеры образцов 35 x 35 мм.

Р.2.3 Количество параллельных образцов должно быть не менее трех.

Р.2.4 К испытаниям допускаются образцы с защитным покрытием, имеющим гладкую ровную поверхность без вздутий, сколов, трещин, раковин и других дефектов.

Р.3 Средства контроля и вспомогательные устройства:

- термошкаф или жидкостный термостат с точностью регулирования температуры +/- 2 °C;

- пенетрометр, оснащенный датчиком смещения с погрешностью измерений не более 0,01 мм;

- стержень с цилиндрическим наконечником диаметром (1,8 +/- 0,1) мм с плоским основанием (площадью 2,5 мм2) общей массой (250 +/- 20) г;

- дополнительный груз массой (2250 +/- 50) г;

- часы механические;

- теплоноситель для жидкостного термостата: силиконовое масло (полиметилсилоксановая жидкость) "ПМС-10" или дистиллированная вода, раствор глицерина в воде (в пропорции 1:1);

- спирт этиловый технический по ГОСТ 17299.

Р.4 Подготовка к испытанию

Р.4.1 Образцы испытывают не ранее чем через 16 ч после прессования или нанесения покрытия.

Р.4.2 Устанавливают образец на металлическое основание пенетрометра и выдерживают при температуре испытания в течение 60 мин.

Р.5 Проведение испытаний

Р.5.1 На испытуемый образец опускают металлический стержень и через 5 с на индикаторе устанавливают нулевое значение, после чего добавляют груз массой 2250 г. Если поверхность образца имеет кривизну, то стержень следует устанавливать на образец так, чтобы игла опускалась на образующую линию цилиндрической поверхности.

Р.5.2 Через 24 ч снимают со шкалы датчика смещения показание глубины вдавливания с точностью до 0,01 мм.

Р.5.3 Проводят три параллельных испытания.

Р.6 Обработка результатов испытаний

Величину глубины вдавливания представляют в абсолютном и процентном выражении - отношение глубины вдавливания к исходной толщине покрытия.

Р.6.1 Расчет среднего значения глубины вдавливания , мм, для параллельных образцов осуществляют по формуле

(Р.1)

где - значение глубины вдавливания для i-го образца, мм;

n - количество испытанных образцов.

Р.6.2 Расчет среднего значения процентного отношения глубины вдавливания к исходной толщине покрытия , %, проводят по формуле

(Р.2)

где - значение глубины вдавливания для i-го образца, мм;

- толщина покрытия i-го образца, мм;

n - количество испытанных образцов.

Р.6.3 Сопротивление защитного покрытия вдавливанию оценивают как удовлетворительное, если среднее значение глубины вдавливания не превышает нормативного значения. При неудовлетворительном результате испытания проводят на удвоенном количестве образцов. Результаты повторных испытаний считают окончательными.

Р.7 По результатам испытаний составляют протокол, который должен содержать следующие сведения:

- дату проведения испытания;

- наименование испытываемого защитного покрытия;

- сведения о заводе-изготовителе;

- номера образцов и их размеры;

- температуру испытания;

- толщину испытываемого образца покрытия;

- глубину вдавливания;

- отношение глубины вдавливания к исходной толщине покрытия.

Приложение С
(рекомендуемое)

ОПРЕДЕЛЕНИЕ СТОЙКОСТИ ЗАЩИТНОГО ПОКРЫТИЯ К ТЕРМОЦИКЛИРОВАНИЮ

С.1 Испытание заключается в определении стойкости защитных покрытий к циклическим термическим воздействиям в диапазоне температур от минус (50 +/- 3) до (20 +/- 5) °C и от минус (60 +/- 3) до (20 +/- 5) °C.

С.2 Требования к образцам

С.2.1 Образцами для испытаний являются образцы, вырезанные из изделий с наружным защитным покрытием с минимальным перегревом и повреждением покрытия, или образцы-свидетели. При изготовлении образцов не допускается нагрев покрытия до температуры более 80 °C.

С.2.2 Рекомендуемые размеры образцов (100 - 150) x (100 - 150) мм.

С.2.3 Количество параллельных образцов для заданных условий испытаний должно быть не менее трех.

С.2.4 Внешний вид, толщина и диэлектрическая сплошность покрытия должны соответствовать нормативным требованиям, предъявляемым к данному типу покрытий. Образцы с дефектами покрытия не испытываются.

С.3 Средства контроля и вспомогательные устройства:

- низкотемпературная камера, обеспечивающая поддержание температуры минус (60 +/- 3) °C с точностью +/- 3 °C;

- емкость с крышкой для выдержки образцов в воде, рабочим объемом не менее 5 л;

- вода техническая;

- спирт этиловый технический по ГОСТ 17299.

С.4 Подготовка к проведению контроля

Торцы образцов должны быть свободны от покрытия. Покрытие на торцах удаляют напильником, наждачной бумагой, шлифовальной машинкой так, чтобы была видна граница раздела "металл-покрытие".

Торцы образцов с покрытием обезжиривают этиловым спиртом.

К испытаниям допускаются образцы без отслаивания покрытия на торцах.

С.5 Порядок контроля

С.5.1 Образцы подвергают испытаниям по следующему режиму:

- 8 ч выдержки при температуре минус (50 +/- 3) °C или минус (60 +/- 3) °C;

- 15 ч выдержки в воде при температуре (20 +/- 5) °C;

- 1 ч сушки на воздухе при комнатной температуре (20 +/- 5) °C.

Образцы помещают в криокамеру с заданной температурой: минус (50 +/- 3) °C или минус (60 +/- 3) °C. Через 8 ч выдержки образцы перемещают в емкость с водой, имеющей температуру (20 +/- 5) °C, и выдерживают при комнатной температуре в течение 15 ч.

С.5.2 Образцы укладывают в емкость таким образом, чтобы торцы образцов были открыты для доступа воды, при этом разрешается укладывать образцы друг на друга.

Емкость с образцами заливают водой так, чтобы уровень воды был приблизительно на 10 см выше поверхности образцов, и фиксируют время начала испытаний.

С.5.3 Затем образцы извлекают из воды, удаляют с их поверхности фильтровальной бумагой влагу и выдерживают при комнатной температуре в течение 1 ч.

С.5.4 При отсутствии отслаивания и растрескивания покрытия образцы вновь погружают в криокамеру, и цикл повторяют. Полное испытание составляет 10 циклов.

С.6 Оценка результатов контроля

Образец считается выдержавшим испытание, если без привлечения увеличительных средств не наблюдается краевого отслаивания защитного покрытия после 10 циклов.

С.7 По результатам испытаний составляют протокол, который должен содержать следующие сведения:

- дату проведения испытания;

- наименование испытываемого защитного покрытия;

- сведения о заводе-изготовителе;

- размеры и количество испытанных образцов;

- температурный диапазон испытания;

- количество циклов без отслаивания и растрескивания защитного покрытия для каждого образца;

- изменение внешнего вида защитного покрытия (наличие/отсутствие трещин и отслаивания покрытия от металла).

Приложение Т
(справочное)

ОПРЕДЕЛЕНИЕ СТОЙКОСТИ ЗАЩИТНОГО ПОКРЫТИЯ К ТЕРМОСТАРЕНИЮ

Т.1 Испытание заключается в непрерывной выдержке покрытия в условиях повышенной температуры.

Стойкость покрытия к термостарению определяют по изменению показателя текучести расплава (ПТР) термопласта и/или изменению относительного удлинения при разрыве отслоенного покрытия в результате выдержки на воздухе при повышенных температурах.

Т.2 Требования к образцам

Т.2.1 Образцами для испытаний являются образцы, вырубленные из свободного (без эпоксидного праймера и адгезионного подслоя) слоя экструдированного термопласта в виде "лопаток" - тип 1 по ГОСТ 11262 с длиной рабочей части (33 +/- 1) мм и шириной (6,0 +/- 0,4) мм с использованием стандартного ножа. Образцы вырезаются вдоль экструзии термопласта.

В случае испытания исходного изоляционного материала допускается изготавливать пластины толщиной не менее 2 мм прессованием по ГОСТ 16336 (в случае полиэтиленовых композиций) и по ГОСТ 26996 (в случае полипропиленовых композиций).

Т.2.2 Поверхность и края образцов должны быть ровными, гладкими, без раковин, трещин и других дефектов, видимых невооруженным глазом.

Т.2.3 Количество параллельных образцов должно быть не менее пяти.

Т.3 Средства контроля и вспомогательные устройства:

- термошкаф с рабочей температурой до 150 °C и точностью регулирования температуры +/- 3 °C;

- вырубной пресс;

- вырубной нож для изготовления образцов типа 1 по ГОСТ 11262;

- разрывная машина для проведения испытаний на удлинение с погрешностью измерения не более +/- 1%;

- спирт этиловый по ГОСТ 17299;

- экструзионный пластометр для определения ПТР.

Т.4 Подготовка к проведению контроля

Для проведения испытаний готовят несколько партий образцов в количестве не менее пяти в каждой. Количество партий образцов равно количеству режимов испытаний на данный тип покрытия. Дополнительная партия образцов не подвергается температурному воздействию и предназначена для определения исходных характеристик покрытия.

Перед испытанием образцы очищают ветошью, смоченной в этиловом спирте.

Т.5 Порядок контроля

В электронном документе нумерация пунктов соответствует официальному источнику.

М.5.1 Образцы помещают в термошкаф, где подвергают непрерывному температурному воздействию. Температура и длительность испытаний регламентируются нормативными требованиями к испытываемому защитному покрытию.

Т.5.2 По окончании температурного воздействия, перед определением относительного удлинения при разрыве и ПТР, образцы необходимо кондиционировать в условиях температуры (20 +/- 5) °C и относительной влажности воздуха от 30% до 80% в течение 24 ч.

Официальный источник электронного документа содержит неточность: пункт 7.19 отсутствует.

Т.5.3 Определение относительного удлинения при разрыве свободного слоя покрытия проводят по ГОСТ 11262 на разрывной машине при температуре (20 +/- 5) °C и скорости растяжения образцов согласно 7.19. Определение ПТР защитного покрытия проводится по ГОСТ 11645 на экструзионном пластометре.

Т.5.4 Условия определения относительного удлинения при разрыве и ПТР покрытия после температурного воздействия идентичны условиям определения исходных характеристик.

Т.6 Обработка результатов контроля

Т.6.1 Изменение относительного удлинения при разрыве свободного слоя покрытия , %, вычисляют по формуле

(Т.1)

где - исходное относительное удлинение при разрыве, %;

- относительное удлинение при разрыве после термостарения, %.

В электронном документе нумерация пунктов соответствует официальному источнику.

М.6.2 Изменение ПТР термопласта , %, рассчитывают по формуле

(Т.2)

где - исходный ПТР термопласта, г/10 мин;

- ПТР термопласта после термостарения, г/10 мин.

Т.6.3 Защитное покрытие считается выдержавшим испытание на стойкость к термоокислительному старению, если изменение относительного удлинения при разрыве и/или изменение ПТР после выдержки в условиях повышенных температур не превышают значений, нормируемых настоящим стандартом на данный вид покрытий.

Т.7 По результатам испытаний составляют протокол, который должен содержать следующие сведения:

- дату проведения испытания;

- наименование испытываемого защитного покрытия;

- сведения о заводе-изготовителе;

- размеры и количество образцов;

- температуру испытания;

- длительность испытания;

- толщину испытываемого образца защитного покрытия;

- исходное относительное удлинение при разрыве;

- относительное удлинение при разрыве после термостарения;

- исходный ПТР термопласта;

- ПТР термопласта после термостарения;

- изменение ПТР в результате термостарения;

- изменение относительного удлинения при разрыве в результате термостарения;

- наблюдаемое изменение внешнего вида защитного покрытия.

Приложение У
(рекомендуемое)

ОПРЕДЕЛЕНИЕ ЭЛАСТИЧНОСТИ ЗАЩИТНОГО ПОКРЫТИЯ (ИСПЫТАНИЕ НА ИЗГИБ)

У.1 Испытание на изгиб позволяет оценить способность защитного покрытия противостоять разрушению при деформации металлической подложки и заключается в проведении изгиба образца вокруг оправки с помощью разрывной машины или пресса.

У.2 Требования к образцам

У.2.1 Испытания проводятся на образцах-свидетелях, представляющих собой металлические пластины размерами (250 - 300) x (30 - 50) мм (нормируется нежестко) и толщиной подложки 6 мм с нанесенным защитным покрытием, или на образцах, вырезанных из изолированного изделия холодной резкой, размерами 350 x 50 мм (нормируется нежестко), длинной стороной в направлении оси трубы.

У.2.2 Поверхность защитного покрытия образцов должна быть ровной, гладкой, без раковин, трещин и других дефектов, видимых невооруженным глазом. Края образцов должны быть ровными и гладкими без признаков краевого отслаивания покрытия.

У.2.3 Количество параллельных образцов для заданных условий испытаний должно быть не менее трех.

У.3 Средства контроля и вспомогательные устройства:

- разрывная машина или гидравлический (пневматический) пресс;

- оправка для изгиба;

- секундомер.

У.4 Подготовка к проведению контроля

Испытания проводятся при температуре (20 +/- 5) °C.

Диаметр оправки для изгиба образцов-свидетелей должен составлять (594 +/- 5) мм.

Длина дуги оправки должна составлять (225 +/- 25) мм (нормируется нежестко).

У.5 Порядок контроля

Образец с защитным покрытием помещается на опоры неизолированной частью в сторону оправки и подвергается изгибу вокруг оправки при температуре (20 +/- 5) °C. Время испытаний - не более 30 сек. Образец следует изгибать до тех пор, пока вся его поверхность не будет соприкасаться с поверхностью оправки.

У.6 Оценка результатов контроля

Защитное покрытие считается выдержавшим испытание, если после проведения изгиба на защитном покрытии не наблюдается видимых признаков растрескиваний, отслоений или микроотверстий.

У.7 По результатам испытаний составляют протокол, который должен содержать следующие сведения:

- дату проведения испытания;

- наименование испытываемого защитного покрытия;

- сведения о заводе-изготовителе;

- размеры и количество испытанных образцов;

- наблюдаемое изменение внешнего вида защитного покрытия (наличие/отсутствие признаков растрескиваний, отслоений или микроотверстий).

Приложение Ф
(справочное)

ОПРЕДЕЛЕНИЕ СТОЙКОСТИ ЗАЩИТНОГО ПОКРЫТИЯ К ПРОРЕЗАНИЮ

Ф.1 Метод предназначен для определения стойкости защитного покрытия к прорезанию при перемещении стандартного конусного резца, к которому приложена статическая нагрузка, по поверхности покрытия.

Ф.2 Требования к образцам

Ф.2.1 Образцами для испытаний являются фрагменты (карты), вырезанные из труб с защитным покрытием. Рекомендуемые размеры образцов - 70 x 120 мм, выпиленные длинной стороной вдоль оси трубы.

Ф.2.2 Поверхность образцов должна быть ровной, гладкой, без раковин, трещин и других дефектов, видимых невооруженным глазом.

Ф.2.3 Количество параллельных образцов для заданных условий испытаний должно быть не менее шести.

Ф.3 Средства контроля и вспомогательные устройства:

а) испытательная установка (схема приведена на рисунке Ф.1), в составе которой должно быть следующее оборудование:

1) конусный резец с гладким твердосплавным наконечником - индентором размерами согласно рисунку Ф.2, твердостью не менее HRC 60;

2) съемный груз массой, определенной с точностью (1 +/- 0,01) кг (набор грузов должен обеспечивать массы (40 +/- 0,4) кг и (50 +/- 0,5) кг);

3) регулируемый привод для перемещения платформы с образцом;

б) толщиномер с точностью измерений +/- 5%;

в) прибор для измерения глубины канавок (глубиномер) с погрешностью измерений не более 0,01 мм.

Ф.4 Подготовка к проведению контроля

Перед началом испытаний необходимо осмотреть каждый образец и убедиться в отсутствии дефектов.

На каждом образце наметить, не нарушая защитного покрытия, предполагаемые линии прорезания покрытия длиной не менее 80 мм. Измерить толщину покрытия в шести точках каждого образца на линии последующего выполнения прореза.

1 - основание; 2 - подвижная платформа; 3 - образец
с покрытием; 4 - съемный груз; 5 - конусный резец;
6 - фиксаторы образца; 7 - регулируемый привод

Рисунок Ф.1 - Принципиальная схема установки на прорезание

Рисунок Ф.2 - Размеры резца для выполнения прорезания

Ф.5 Порядок контроля

Испытания проводят при температуре (20 +/- 5) °C.

Закрепить образец с защитным покрытием в испытательной установке и приложить требуемую нагрузку на конусный резец таким образом, чтобы резец располагался в начале размеченной линии движения.

Установить скорость движения образца или конусного резца (250 +/- 5) мм/мин. Включить привод и выполнить прорез.

Определить глубину прорезания защитного покрытия с помощью глубиномера не менее, чем в шести точках, равномерно распределенных по длине каждой образовавшейся канавки, а также в местах, вызывающих сомнения. За результат испытаний на одном образце принимают среднеарифметическое значение не менее чем шести измерений.

Ф.6 Обработка результатов контроля

Ф.6.1 Расчет среднего значения глубины прорезания , мм, для группы параллельных образцов проводят по формуле

(Ф.1)

где - значение глубины прорезания для i-го образца, мм;

n - количество испытанных образцов.

Ф.6.2 За результат стойкости к прорезанию принимают среднеарифметическое значение глубины прорезания не менее шести образцов.

Ф.7 По результатам испытаний составляют протокол, который должен содержать следующие сведения:

- дату проведения испытания;

- наименование испытываемого защитного покрытия;

- сведения о заводе-изготовителе;

- размеры и количество образцов;

- толщину испытываемого образца покрытия;

- нагрузку, прикладываемую к образцу;

- тип твердосплавного наконечника;

- глубину прорезания покрытия для каждого испытания;

- среднеарифметическое значение глубины прорезания защитного покрытия по всем параллельным испытаниям.

Приложение Х
(справочное)

ИЗМЕРЕНИЕ ПОЛЯРИЗАЦИОННОГО ПОТЕНЦИАЛА (ПОТЕНЦИАЛА БЕЗ ОМИЧЕСКОЙ СОСТАВЛЯЮЩЕЙ) СООРУЖЕНИЯ, НАХОДЯЩЕГОСЯ ПОД ЭЛЕКТРОХИМИЧЕСКОЙ ЗАЩИТОЙ

Х.1 Метод измерения поляризационных потенциалов на подземных стальных трубопроводах с отключением тока поляризации датчика потенциала (вспомогательного электрода)

Х.1.1 Поляризационные потенциалы E на подземных стальных трубопроводах измеряют с помощью датчика потенциала (вспомогательного электрода), имитирующего дефект в защитном покрытии, на специально оборудованных стационарных контрольно-измерительных пунктах двумя способами:

- способ 1 - при помощи стационарного медно-сульфатного электрода сравнения длительного действия и датчика поляризационного потенциала (вспомогательного электрода) (см. рисунок Х.1);

- способ 2 - при помощи переносного медно-сульфатного электрода сравнения и датчика поляризационного потенциала (вспомогательного электрода).

Х.1.2 Объектами для измерений поляризационного потенциала являются коррозионно-опасные участки сооружений, расположенные в зоне действия средств электрохимической защиты. Анодные участки трубопроводов выявляются электрометрическими методами обследования и по данным внутритрубной дефектоскопии с контрольной шурфовкой. Не рекомендуется выполнять измерение поляризационных потенциалов на участках трубопроводов с экструдированным полиэтиленовым покрытием, имеющим минимальное количество сквозных повреждений в изоляции.

Х.1.3 Средства контроля и вспомогательные устройства:

- прибор для измерений потенциала любого типа с входным сопротивлением не менее 1 МОм с прерывателем тока поляризации датчика;

- электрод сравнения медно-сульфатный длительного действия стационарный с датчиком потенциала;

- электрод сравнения переносной медно-сульфатный;

- труба асбоцементная (допускается использовать пластиковую трубу) диаметром от 100 до 120 мм для установки переносного медно-сульфатного электрода сравнения;

- датчик потенциала в виде стальной пластины размером 25 x 25 мм, изолированной с одной стороны мастикой, при этом датчик крепят на корпусе стационарного медно-сульфатного электрода сравнения (см. рисунок Х.1) или на асбоцементной (пластиковой) трубе.

Оборудование стационарных контрольно-измерительных пунктов:

- для проведения измерений по способу 1 стационарный медно-сульфатный электрод сравнения длительного действия с датчиком потенциала устанавливают так, чтобы дно корпуса медно-сульфатного электрода сравнения и датчик находились на уровне нижней образующей сооружения (трубопровода) и на расстоянии 100 мм от его боковой поверхности; для трубопроводов плоскость датчика располагают перпендикулярно к оси трубопровода, если трубопровод проложен выше уровня промерзания грунта, то медно-сульфатный электрод сравнения устанавливают так, чтобы дно его корпуса находилось на расстоянии от 100 до 150 мм ниже максимальной глубины промерзания грунта; проводники от трубы, медно-сульфатного электрода сравнения и датчика подсоединяют к клеммам (выводам проводников) согласно рисунку Х.1, при использовании прибора со встроенным прерывателем тока поляризации датчика проводники присоединяют в соответствии с инструкцией по эксплуатации прибора;

- для проведения измерений по способу 2 асбоцементную трубу с закрепленным на ней датчиком устанавливают так, чтобы нижний конец трубы и датчик находились на уровне нижней образующей трубопровода на расстоянии 100 мм от его боковой поверхности; плоскость датчика располагают перпендикулярно к оси трубопровода; проводники от трубы и датчика подсоединяют к клеммам (выводам проводников).

1 - трубопровод; 2 - контрольные проводники; 3 - прибор со встроенным прерывателем тока поляризации датчика
с клеммами: С - для подключения сооружения (трубопровода), ИЭ - электрода сравнения, ВЭ - датчика потенциала;
4 - стационарный медно-сульфатный электрод сравнения; 5 - датчик потенциала

Рисунок Х.1 - Схема измерения поляризационного потенциала по способу 1

Примечание - На участках, имеющих коррозионные повреждения, при проведении измерений по способам 1 и 2 допускается установка электрода сравнения на уровне характерного расположения коррозионных повреждений, выявленного в процессе эксплуатации трубопровода.

Х.1.4 Подготовка к измерениям

Х.1.4.1 Способ 1

Подключают проводники от сооружения, медно-сульфатного электрода сравнения и датчика потенциала к измерительному прибору в соответствии с инструкцией по эксплуатации прибора.

Если датчик был постоянно замкнут на трубу перемычкой, то после подключений ее снимают.

Х.1.4.2 Способ 2

Устанавливают переносной медно-сульфатный электрод сравнения на штанге в асбоцементной трубе и подключают проводник от медно-сульфатного электрода сравнения к соответствующей клемме в контрольно-измерительном пункте или на приборе.

Х.1.5 Проведение измерений

Если перемычка в контрольно-измерительном пункте была установлена, то после ее удаления и подсоединения проводников к прибору через 1 - 2 мин измеряют поляризационный потенциал с интервалом 30 с в соответствии с инструкцией по эксплуатации используемого прибора. Число измерений составляет не менее трех, а при наличии блуждающих токов не менее десяти. При применении прибора, регистрирующего поляризационный потенциал, продолжительность записи определяется конкретными условиями и задачами проведения измерений.

Если перемычки в контрольно-измерительном пункте не было, то указанные измерения поляризационного потенциала начинают не ранее чем через 10 мин.

Регистрируют значения поляризационного потенциала Ei в вольтах при нескольких длительностях разрыва цепи поляризации датчика (в зависимости от типа прибора).

Х.1.6 Обработка результатов измерений

Х.1.6.1 Результаты измерения заносят в форму, приведенную в таблице Х.1, и вычисляют среднеарифметическое значение поляризационного потенциала , В, для каждой задержки по формуле

(Х.1)

где - измеренное значение поляризационного потенциала, В;

n - число измерений.

Таблица Х.1

Результат измерения поляризационного потенциала

Номер измерения , В, при , мкс
1        
2        
3        
         
n        
       

За результат измерения поляризационного потенциала принимают наиболее отрицательное из вычисленных среднеарифметических значений .

Х.1.7 Результаты измерений заносят в протокол по форме, приведенной в Х.1.8.

Х.1.8 Форма протокола измерений поляризационных потенциалов подземных сооружений при контроле эффективности электрохимической защиты

Протокол измерений поляризационных потенциалов подземных сооружений при контроле эффективности электрохимической защиты

Наименование города  
Вид подземного сооружения и пункта измерения  

Дата "__" ____________ г.

Время измерений: начало   , окончание  
Тип и заводской номер прибора   , дата поверки  
Предел измерений  

Номер пункта измерения по плану (схеме) трубопровода Адрес пункта измерения Среднее значение защитного поляризационного потенциала, В Минимальное (по абсолютной величине) значение защитного потенциала, В
1 2 3 4
     
Измерение провел  
Обработку результатов провел  
Проверку провел  

Х.2 Метод отключения тока защиты подземного сооружения

Х.2.1 Метод отключения тока защиты основан на различии во времени спада поляризационного потенциала и омического падения напряжения. При отключении тока омическое падение напряжения исчезает очень быстро (от до с), тогда как спад поляризационного потенциала происходит достаточно медленно (от десятых долей секунд до нескольких секунд).

Х.2.2 Измерение потенциала следует проводить вслед за отключением тока через небольшой промежуток времени (от 150 до 400 мс), необходимый для исключения влияния переходных процессов. Измеренное таким способом значение называют "потенциалом отключения" , близким к величине поляризационного потенциала. Оформление результатов измерений по форме, приведенной в Х.1.8.

Х.2.3 При использовании метода отключения тока необходимо, чтобы все средства катодной защиты, оказывающие влияние на защиту участка подземного сооружения, на котором проводят измерение, отключались синхронно. Это условие выполняют, используя специальные синхронные прерыватели тока средств электрохимической защиты.

Х.2.4 Метод отключения тока не может применяться при измерениях на участках подземных сооружений, подверженных опасному влиянию интенсивных блуждающих токов (с размахом потенциала 100 мВ и более).

Х.3 Метод измерения потенциала вспомогательного электрода через электролитический ключ, максимально приближенный к поверхности вспомогательного электрода

Х.3.1 Метод основан на измерении потенциала вспомогательного образца способом Габера-Луггина, модифицированного Пионтелли, при котором мембрана электролитического ключа максимально приближена к вспомогательному электроду. При таком способе измерений омическая составляющая в измеренной величине практически отсутствует или имеет минимальное значение, которым можно пренебречь.

Х.3.2 Для проведения измерений электрод помещают в предварительно подготовленный шпур в непосредственной близости от подземного сооружения (предпочтительно, вблизи от сквозного повреждения в защитном покрытии) и обеспечивают подключение вспомогательного электрода к сооружению через контрольно-измерительный пункт (КИП).

Х.3.3 Для проведения измерений не требуется отключений (прерываний поляризации) вспомогательного электрода от подземного сооружения. При отсутствии блуждающих токов для одиночных измерений используют высокоомные вольтметры с входным сопротивлением не менее 10 МОм. При наличии блуждающих токов для долговременных измерений используют автономные регистраторы. Оформление результатов измерений по форме, приведенной в Х.1.8.

Х.3.4 Для определения плотности тока катодной поляризации измеряют силу тока между сооружением и вспомогательным электродом с помощью шунта. Рекомендуемое сопротивление шунта от 1 до 10 Ом.

Приложение Ц
(справочное)

ИЗМЕРЕНИЕ СУММАРНОГО ПОТЕНЦИАЛА (ПОТЕНЦИАЛА С ОМИЧЕСКОЙ СОСТАВЛЯЮЩЕЙ) СООРУЖЕНИЯ, НАХОДЯЩЕГОСЯ ПОД ЭЛЕКТРОХИМИЧЕСКОЙ ЗАЩИТОЙ

Ц.1 Измерения проводят на участках сооружений, которые оборудованы средствами электрохимической защиты, в стационарных контрольно-измерительных пунктах или в местах, где есть вывод от сооружения и открытый участок поверхности земли над сооружением, на котором может быть установлен переносной медно-сульфатный электрод сравнения.

Ц.2 Средства контроля и вспомогательные устройства:

- вольтметр постоянного тока любого типа, класса точности не ниже 1,5, с входным сопротивлением не менее 1 МОм (регистрирующий или показывающий);

- электрод сравнения медно-сульфатный стационарный или переносной.

Ц.3 Проведение измерений

Проводники от сооружения и медно-сульфатного электрода сравнения подсоединяют к прибору и измеряют разность потенциалов между подземным сооружением и электродом сравнения в соответствии с инструкцией по эксплуатации прибора с интервалом 10 с в течение не менее 10 мин.

Ц.4 Обработка результатов измерений

Среднеарифметическое значение суммарного потенциала , В, вычисляют по формуле

(Ц.1)

где - мгновенное значение потенциала, В;

n - число измерений.

Ц.5 Результаты измерений суммарного потенциала и камеральной обработки заносят в протокол по форме, приведенной в Ц.6.

Ц.6 Форма протокола измерений суммарных потенциалов подземных сооружений при контроле эффективности электрохимической защиты

Протокол измерений суммарных потенциалов подземных сооружений при контроле эффективности электрохимической защиты

Наименование и расположение объекта  
Вид подземного сооружения и пункта измерения  
Дата  
  число, месяц, год
Время измерений: начало   , окончание  
Адрес пункта измерений  
Режим измерения  
  без защиты, с включенной защитой
Тип и заводской номер, дата поверки  
Предел измерений  

Результаты измерений:

Интервал измерений для интервала
0 с 10 с 20 с 30 с 40 с 50 с
0 мин            
1 мин            
2 мин            
3 мин            
4 мин            
5 мин            
6 мин            
7 мин            
8 мин            
9 мин            
Примечание - Если измерения проведены самопишущим (регистрирующим) прибором, таблицу заменяют графиком.

Результаты камеральной обработки измерений суммарного потенциала

Номер пункта измерения по плану (схеме) сооружения Адрес пункта измерения Число измерений n Сумма измеренных значений потенциала Среднее значение защитного потенциала Минимальное (по абсолютной величине) значение защитного потенциала, В
1 2 3 4 5 6
         
Измерение провел  
Обработку результатов провел  

Ц.7 Определение смещения суммарного потенциала относительно стационарного потенциала сооружения

Ц.7.1 Для проверки эффективности электрохимической защиты от блуждающих постоянных токов определяют разность суммарного потенциала, измеренного в соответствии с Ц.1 - Ц.3, и стационарного потенциала сооружения, определяемого в соответствии с Д.3.4 (приложение Д).

Ц.7.2 Обработка результатов измерений

Среднее значение , В, положительного (анодного) смещения потенциала относительно стационарного потенциала сооружения , В, вычисляют по формуле

(Ц.2)

где - число положительных смещений потенциала относительно за период измерений;

- мгновенное зарегистрированное значение суммарного потенциала, менее отрицательное, чем , В.

Электрохимическую защиту считают эффективной при отсутствии положительных смещений потенциала относительно стационарного потенциала.

При наличии записи колебаний потенциала регистрирующим прибором в качестве признака эффективности электрохимической защиты можно принимать суммарную продолжительность положительных смещений потенциала от стационарного потенциала, не превышающую в пересчете на сутки 4 мин/сут.

Ц.7.3 Оформление результатов измерений - по Ц.7.

Приложение Ш
(справочное)

ИЗМЕРЕНИЕ ПОТЕНЦИАЛА ТРУБОПРОВОДА КАНАЛЬНОЙ ПРОКЛАДКИ ПРИ ЭЛЕКТРОХИМИЧЕСКОЙ ЗАЩИТЕ ТРУБОПРОВОДОВ С РАСПОЛОЖЕНИЕМ АНОДНОГО ЗАЗЕМЛЕНИЯ В КАНАЛЕ

Ш.1 Сущность метода заключается в определении потенциала трубопровода относительно установленного у поверхности трубы вспомогательного электрода (В.Э) при определении эффективности действия установок электрохимической защиты в условиях затопления канала (или заноса канала грунтом) до уровня установки В.Э, приведенной на рисунке Ш.1.

Ш.2 Средства контроля и вспомогательные устройства:

- мегомметр любого типа;

- вольтметр любого типа с внутренним сопротивлением не менее 1 МОм, класса точности не ниже 1,5;

- электрод вспомогательный в соответствии с Е.2 (приложение Е).

1 - вспомогательный электрод; 2 - трубопровод; 3 - изоляционная конструкция; 4 - клеммная панель контрольно-измерительного пункта для присоединения
контрольных проводников от подающего (ПТ) и обратного (ОТ) трубопроводов; 5 - электрическая перемычка; 6 - контрольные проводники

Рисунок Ш.1 - Схема расположения вспомогательных электродов на поверхности подающего и обратного трубопроводов

Ш.3 Проведение измерений

Ш.3.1 В заданной зоне электрохимической защиты визуально или инструментальным методом определяют уровень затопления канала и камер, где установлены В.Э. Уровень затопления канала или камеры, достигающий уровня установки В.Э на подающем и обратном трубопроводах в зонах их нижней образующей, определяют в последовательности:

- отключают средства электрохимической защиты;

- отключают перемычки на контрольно-измерительном пункте между трубопроводом и В.Э (рисунок Ш.1), при этом если В.Э изготовлен из нержавеющей стали, то перемычка не устанавливается;

- к клеммам Т и В.Э подключают мегомметр и измеряют электрическое сопротивление между трубопроводом и В.Э.

Значение электрического сопротивления, равное или менее 10,0 кОм, указывает на наличие воды в канале (камере) на уровне установки В.Э или выше него.

Аналогичные измерения проводят во всех пунктах установок В.Э.

Ш.3.2 При затоплении канала на уровне установки В.Э или выше него потенциал измеряют в следующей последовательности:

- при выключенной установке катодной защиты подключают вольтметр к клеммам контрольного пункта: положительный зажим вольтметра - к клемме Т (трубопровод), отрицательный - к клемме В.Э, при этом перемычка на клеммнике должна быть разомкнута;

- не менее чем через 30 мин после подготовки схемы фиксируют исходную разность потенциалов , В, между трубопроводом и В.Э с учетом ее знака;

- включают установку катодной защиты, установив режим ее работы при минимальных значениях силы тока и напряжения;

- увеличением силы тока в цепи установки катодной защиты устанавливают разность потенциалов между трубопроводом и В.Э от минус 600 до минус 900 мВ (не ранее чем через 10 мин после установки значения силы тока).

По окончании измерений замыкают В.Э на трубопровод.

Примечание - При изготовлении вспомогательного электрода из нержавеющей стали перемычку не устанавливают.

Ш.4 Обработка результатов измерений

Разность потенциалов , мВ, вычисляют по формуле

(Ш.1)

где - исходная разность потенциалов, мВ;

- разность потенциалов между трубопроводом и В.Э после включения защиты, мВ.

Если полученные значения на контрольно-измерительном пункте в зоне действия электрохимической защиты (на участках затопления или заноса канала грунтом) не находятся в пределах от минус 100 до минус 300 мВ, проводят регулировку силы тока преобразователя, при этом силу тока преобразователя увеличивают с учетом предельно допустимого напряжения на выходе преобразователя, равного 12,0 В.

Официальный источник электронного документа содержит неточность: имеется в виду пункт Ш.6.

Ш.5 Результаты измерений заносят в протокол по форме, приведенной в Ш.5.

Ш.6 Форма протокола измерений смещения потенциалов трубопровода (подающего, обратного) при контроле эффективности электрохимической защиты с помощью установок катодной защиты или протекторов (гальванических анодов)

Протокол измерений смещения потенциалов трубопровода (подающего, обратного) при контроле эффективности электрохимической защиты с помощью установок катодной защиты или протекторов (гальванических анодов)

Наименование города  
Вид подземного сооружения и пункта измерения  
Дата  
  число, месяц, год
Время измерения: начало   , окончание  
Адрес пункта измерения  

Вид измерений: разность потенциалов между трубопроводом и В.Э после включения защиты

Тип и заводской номер прибора   , дата поверки  

Результаты измерений:

Интервал измерений , В, для интервала
0 с 10 с 20 с 30 с 40 с 50 с
0 мин            
1 мин            
2 мин            
3 мин            
4 мин            
5 мин            
6 мин            
7 мин            
8 мин            
9 мин            

Результаты камеральной обработки измерений

Номер пункта измерений Число измерений Сумма значений Среднее значение Среднее значение
1 2 3 4 5 6
         
Измерение провел  
Проверку провел  
Обработку результатов провел  

Приложение Щ
(справочное)

ОПРЕДЕЛЕНИЕ МИНИМАЛЬНОГО ПОЛЯРИЗАЦИОННОГО ЗАЩИТНОГО ПОТЕНЦИАЛА ПОДЗЕМНЫХ СТАЛЬНЫХ ТРУБОПРОВОДОВ ПО СМЕЩЕНИЮ ОТ СТАЦИОНАРНОГО ПОТЕНЦИАЛА

Щ.1 Измерения проводят при отсутствии опасного влияния постоянных блуждающих токов и переменных токов на концах зон защиты участков подземных трубопроводов, длительное время находящихся в эксплуатации в коррозионно-агрессивных грунтах и защищенных катодной поляризацией.

Щ.2 Средства контроля и вспомогательные устройства - по Х.1.3 (приложение Х).

Щ.3 Измерения проводят в стационарных контрольно-измерительных пунктах, оборудованных по Х.1.3 (приложение Х).

Щ.4 Подготовка к измерениям - по Х.1.4 (приложение Х).

Щ.5 Проведение измерений

Поляризационный потенциал измеряют в соответствии с Х.1.5 (приложение Х) не менее трех раз в течение не менее 10 мин. Средний поляризационный потенциал за это время, вычисленный при обработке данных измерений по Х.1.6.1 (приложение Х), должен быть не менее отрицательным, чем минус 0,85 В относительно медно-сульфатного электрода сравнения.

Щ.6 После измерений по Щ.5 проводник прибора, соединявшийся с трубой, отключают от трубы. Измеряют потенциал датчика в режиме измерения суммарного потенциала в течение не менее 10 мин и регистрируют его значение. Если измеренный потенциал датчика отрицательнее минус 0,55 В, то это значение (например, минус 0,60 В) принимают за стационарный потенциал . Если измеренное значение равно минус 0,55 В или менее отрицательно, то в качестве принимают значение минус 0,55 В.

Щ.7 Обработка результатов измерений

Минимальный поляризационный защитный потенциал , В, вычисляют по формуле

, (Щ.1)

где - стационарный потенциал, В;

0,10 - необходимое смещение потенциала от стационарного потенциала, В.

Полученное значение используют при установлении режима работы электрохимической защиты. Допускается вести контроль эффективности электрохимической защиты по суммарному потенциалу трубопровода, измеренному сразу после установления нужного значения .

Щ.8 Результаты измерений заносят в протокол по форме, приведенной в Щ.9.

Щ.9 Форма протокола измерений стационарного потенциала трубопровода, определенного по датчику потенциала

Протокол измерений стационарного потенциала трубопровода, определенного по датчику потенциала

Наименование города  
Вид подземного сооружения и пункта измерения  
Дата  
  число, месяц, год
Время измерения: начало   , окончание  
Тип и заводской номер прибора   , дата поверки  

Номер пункта измерения по плану (схеме) трубопровода Адрес пункта измерения Стационарный потенциал , В Минимальный поляризационный защитный потенциал В
1 2 3 4
     
Измерение провел  
Проверку провел  
Обработку результатов провел  

БИБЛИОГРАФИЯ

[1] ISO 8044:1999 Коррозия металлов и сплавов. Общие термины и определения
(Corrosion of metals and alloys. Basic terms and definitions)
[2] ISO 25589-1:2003 Промышленность нефтяная и газовая. Катодная защита систем транспортирования по трубопроводам. Часть 1: Наземные трубопроводы
(Petroleum and natural gas industries - Cathodic protection of pipeline transportation systems - Part 1: On-land pipelines)
[3] ISO 4892-2:2013 Пластмассы. Методы экспонирования под лабораторными источниками света. Часть 2. Лампы с ксеноновой дугой
(Plastics - Methods of exposure to laboratory light sources - Part 2: Xenon-arc lamps)