"Изменение N 1 ГОСТ Р 54523-2011 "Портовые гидротехнические сооружения. Правила обследования и мониторинга технического состояния"

(утв. Приказом Росстандарта от 29.09.2023 N 1016-ст)
Редакция от 29.09.2023 — Действует с 01.01.2024

Утверждено и введено в действие

Приказом Федерального

агентства по техническому

регулированию и метрологии

от 29 сентября 2023 г. N 1016-ст

ИЗМЕНЕНИЕ N 1 ГОСТ Р 54523-2011 "ПОРТОВЫЕ ГИДРОТЕХНИЧЕСКИЕ СООРУЖЕНИЯ. ПРАВИЛА ОБСЛЕДОВАНИЯ И МОНИТОРИНГА ТЕХНИЧЕСКОГО СОСТОЯНИЯ"

Дата введения

1 января 2024 года

Содержание. Приложения С, Т. Заменить слово: "(рекомендуемое)" на "(обязательное)";

приложение 4 после слова "рейдовых" дополнить словами: "и плавучих".

Раздел 2 изложить в новой редакции (кроме наименования):

"В настоящем стандарте использованы нормативные ссылки на следующие стандарты:

ГОСТ 2.302 Единая система конструкторской документации. Масштабы

ГОСТ 9.407 Единая система защиты от коррозии и старения. Покрытия лакокрасочные. Метод оценки внешнего вида

ГОСТ 9.908 Единая система защиты от коррозии и старения. Металлы и сплавы. Методы определения показателей коррозии и коррозионной стойкости

ГОСТ 12.0.004 Система стандартов безопасности труда. Организация обучения безопасности труда. Общие положения

ГОСТ 21.204 Система проектной документации для строительства. Условные графические обозначения и изображения элементов генеральных планов и сооружений транспорта

ГОСТ 1497 (ИСО 6892-84) Металлы. Методы испытаний на растяжение

ГОСТ 6782.1 Пилопродукция из древесины хвойных пород. Величина усушки

ГОСТ 6782.2 Пилопродукция из древесины лиственных пород. Величина усушки

ГОСТ 7502 Рулетки измерительные металлические. Технические условия

ГОСТ 7564 Прокат. Общие правила отбора проб, заготовок и образцов для механических и технологических испытаний

ГОСТ 9012 (ИСО 410-82, ИСО 6506-81) Металлы. Метод измерения твердости по Бринеллю

ГОСТ 10060 Бетоны. Методы определения морозостойкости

ГОСТ 10180 Бетоны. Методы определения прочности по контрольным образцам

ГОСТ 10528 Нивелиры. Общие технические условия

ГОСТ 10529 Теодолиты. Общие технические условия

ГОСТ 12071 Грунты. Отбор, упаковка, транспортирование и хранение образцов

ГОСТ 12503 Сталь. Методы ультразвукового контроля. Общие требования

ГОСТ 12730.0 Бетоны. Общие требования к методам определения плотности, влажности, водопоглощения, пористости и водонепроницаемости

ГОСТ 12730.1 Бетоны. Методы определения плотности

ГОСТ 12730.2 Бетоны. Метод определения влажности

ГОСТ 12730.3 Бетоны. Метод определения водопоглощения

ГОСТ 12730.4 Бетоны. Методы определения параметров пористости

ГОСТ 15467 Управление качеством продукции. Основные понятия. Термины и определения

ГОСТ 16483.0 Древесина. Общие требования к физико-механическим испытаниям

ГОСТ 16483.1 Древесина. Метод определения плотности

ГОСТ 16483.2 Древесина. Метод определения условного предела прочности при местном смятии поперек волокон

ГОСТ 16483.3 Древесина. Метод определения предела прочности при статическом изгибе

ГОСТ 16504 Система государственных испытаний продукции. Испытания и контроль качества продукции. Основные термины и определения

ГОСТ 17624 Бетоны. Ультразвуковой метод определения прочности

ГОСТ 18105 Бетоны. Правила контроля и оценки прочности

ГОСТ 18322 Система технического обслуживания и ремонта техники. Термины и определения

ГОСТ 19223 Светодальномеры геодезические. Общие технические условия

ГОСТ 19919 Контроль автоматизированный технического состояния изделий авиационной техники. Термины и определения

ГОСТ 20415 Контроль неразрушающий. Методы акустические. Общие положения

ГОСТ 21830 Приборы геодезические. Термины и определения

ГОСТ 22268 Геодезия. Термины и определения

ГОСТ 22536.0 Сталь углеродистая и чугун нелегированный. Общие требования к методам анализа

ГОСТ 22690 Бетоны. Определение прочности механическими методами неразрушающего контроля

ГОСТ 22783 Бетоны. Методы прогнозирования прочности на сжатие

ГОСТ 22904 Конструкции железобетонные. Магнитный метод определения толщины защитного слоя бетона и расположения арматуры

ГОСТ 24846 Грунты. Методы измерения деформаций оснований зданий и сооружений

ГОСТ 25100 Грунты. Классификация

ГОСТ 26134 Бетоны. Ультразвуковой метод определения морозостойкости

ГОСТ 30416 Грунты. Лабораторные испытания. Общие положения

ГОСТ Р 2.105 Единая система конструкторской документации. Общие требования к текстовым документам

ГОСТ Р 8.563 Государственная система обеспечения единства измерений. Методики (методы) измерений

ГОСТ Р 21.101 Система проектной документации для строительства. Основные требования к проектной и рабочей документации

ГОСТ Р 27.102 Надежность в технике. Надежность объекта. Термины и определения

ГОСТ Р 53340 Приборы геодезические. Общие технические условия

ГОСТ Р 55561 Внутренний водный транспорт. Портовые гидротехнические сооружения. Требования безопасности

ГОСТ Р 55724 Контроль неразрушающий. Соединения сварные. Методы ультразвуковые

ГОСТ Р 56241 Внутренний водный транспорт. Техническая эксплуатация портовых гидротехнических сооружений. Требования безопасности

ГОСТ Р 58942 Система обеспечения точности геометрических параметров в строительстве. Технологические допуски

ГОСТ Р ИСО 16809 Контроль неразрушающий. Контроль ультразвуковой. Измерение толщины

Примечание - При пользовании настоящим стандартом целесообразно проверить действие ссылочных стандартов в информационной системе общего пользования - на официальном сайте Федерального агентства по техническому регулированию и метрологии в сети Интернет или по ежегодному информационному указателю "Национальные стандарты", который опубликован по состоянию на 1 января текущего года, и по выпускам ежемесячного информационного указателя "Национальные стандарты" за текущий год. Если заменен ссылочный стандарт, на который дана недатированная ссылка, то рекомендуется использовать действующую версию этого стандарта с учетом всех внесенных в данную версию изменений. Если заменен ссылочный стандарт, на который дана датированная ссылка, то рекомендуется использовать версию этого стандарта с указанным выше годом утверждения (принятия). Если после утверждения настоящего стандарта в ссылочный стандарт, на который дана датированная ссылка, внесено изменение, затрагивающее положение, на которое дана ссылка, то это положение рекомендуется применять без учета данного изменения. Если ссылочный стандарт отменен без замены, то положение, в котором дана ссылка на него, рекомендуется применять в части, не затрагивающей эту ссылку".

Пункт 3.2.2. Заменить слово: "мореплавания" на "судоходства".

Пункты 3.3.1, 3.3.2 изложить в новой редакции:

"3.3.1 причал: Устройство или сооружение, предназначенное для безопасной стоянки, обработки и обслуживания судов, имеющее швартовные, отбойные и другие устройства.

3.3.2 плавучий причал: Причал из системы плавучих элементов, установленный у берега или на рейде".

Пункт 3.3.6. Заменить слово: "набережная:" на "причальная набережная:".

Пункт 3.7.1 изложить в новой редакции:

"3.7.1 акватория порта: Водное пространство в пределах естественных, искусственных или условных границ, обеспечивающее безопасную эксплуатацию технологического комплекса порта".

Пункт 3.7.11 после слов "с заданной обеспеченностью" дополнить словами: "(для морских портов - ноль глубин порта; для внутренних водных путей - низкий судоходный уровень)".

Пункт 3.7.14 изложить в новой редакции:

"3.7.14 навигационная глубина: Глубина воды, отсчитываемая от отсчетного уровня и равная сумме: максимальной эксплуатационной осадки расчетного судна в грузу, навигационного запаса под его днищем, запаса глубины на дифферент судна, запаса глубины на засорение акватории, запаса глубины на волнение, запаса глубины на ветровой сгон".

Пункт 3.8.34 изложить в новой редакции:

"3.8.34 колесоотбойный брус: Ограждающая продольная балка, препятствующая либо падению транспорта, механизмов и людей с причала в акваторию, либо повреждению коммуникаций и оборудования, расположенных вдоль линии кордона".

Подраздел 3.8 дополнить пунктом 3.8.29а:

"3.8.29а швартовное устройство: Устройство, предназначенное для причаливания и удержания судна".

Пункт 3.9.1 после слов "технической документацией" дополнить словами: "на это сооружение (элемент)".

Пункт 3.9.7. Заменить слово: "нормативное" на "нормативное (исправное)".

Пункт 3.9.10 изложить в новой редакции:

"3.9.10 неработоспособное (предаварийное) состояние: Категория технического состояния, характеризующегося снижением несущей способности и эксплуатационных характеристик, при котором существует опасность для жизни и здоровья людей и нарушения работоспособности оборудования".

Пункт 3.9.11. Заменить слова: "по причинам опасности либо нецелесообразна исходя из экологических или экономических причин" на "по причине возникновения аварий".

Пункт 3.10.4 изложить в новой редакции:

"3.10.4 режим эксплуатации сооружения: Совокупность количественных параметров и качественных признаков, определяемых проектом или установленных в процессе эксплуатации сооружения".

Подраздел 3.10 дополнить пунктом 3.10.7:

"3.10.7 эксплуатирующая организация: Предприятие или организация (юридическое лицо любой организационно-правовой формы) или физическое лицо, осуществляющее техническую эксплуатацию гидротехнического сооружения на праве собственности или ином законном основании".

Пункт 3.11.10 изложить в новой редакции:

"3.11.10 обследование сооружения: Комплекс мероприятий по определению и оценке фактических значений, контролируемых качественных и количественных характеристик технического состояния сооружения и его элементов".

Пункт 3.11.17. Заменить слово: "операций" на "мероприятий".

Пункты 3.11.18, 3.11.20, 3.11.21 изложить в новой редакции:

"3.11.18 текущий ремонт: Комплекс мероприятий, предусматривающих замену и (или) восстановление отдельных элементов конструкции сооружения (за исключением элементов несущих строительных конструкций)";

"3.11.20 реконструкция: Комплекс мероприятий по изменению параметров сооружения или его частей (геометрические параметры, площадь, объем) для его использования при новом режиме эксплуатации и (или) изменения его назначения.

3.11.21 восстановление: Процесс или мероприятия, обеспечивающие возвращение сооружения или отдельных элементов этого сооружения в работоспособное состояние".

Пункт 3.11.22. Заменить слово: "Комплекс" на "Применение".

Подраздел 3.11 дополнить пунктами 3.11.23, 3.11.24, 3.11.25:

"3.11.23 диагностирование: Определение технического состояния.

3.11.24 дноуглубление: Углубление, очистка или иные работы на дне водного объекта, сопряженные с изъятием и (или) перемещением грунта.

3.11.25 площадное обследование: Выполнение съемки рельефа дна в пределах полосы, позволяющей определить значение глубины в любой ее точке с заданной точностью".

Пункт 4.1 после слов "установленного срока их службы" дополнить ссылкой: "(см. [27] - [29])".

Пункт 4.5. Второе и третье перечисления изложить в новой редакции:

"- очередные комплексные обследования - проводятся не реже одного раза в пять лет либо по истечении срока действия свидетельства о годности сооружения к эксплуатации;

- внеочередные обследования - проводятся при нарушениях нормативных условий эксплуатации, при возникновении обоснованных сомнений в работоспособности конструкций сооружения, при возникновении аварийных повреждений конструкций, после реконструкции или капитального ремонта, а также после проведения ремонтных работ по устранению значительных и критических дефектов, не позволяющих эксплуатировать сооружение в нормативном режиме в период между очередными обследованиями".

Пункт 4.6 дополнить перечислением:

"- для подтверждения выполненных мероприятий с целью изменения ограничений режима эксплуатации".

Пункт 4.8. Последнее перечисление изложить в новой редакции:

"- заключение о техническом состоянии гидротехнического сооружения морских портов в соответствии с приложением Е. Заключение о техническом состоянии сооружения внутренних водных путей включено в его паспорт в соответствии с ГОСТ Р 55561".

Пункт 4.10 изложить в новой редакции:

"4.10 Если в результате обследования сооружения установлено, что в нем отсутствуют значительные и критические дефекты несущих конструкций и сооружение эксплуатируется без нарушений установленного режима, руководитель работ по обследованию оформляет свидетельство о годности сооружения к эксплуатации с установленным сроком его действия, а также с заключением о его техническом состоянии. При наличии значительных и критических дефектов несущих конструкций определяется возможность эксплуатировать сооружение в условиях изменения режима его эксплуатации до выполнения ремонтных работ. В этом случае свидетельство о годности сооружения к эксплуатации сопровождается извещением, ограничивающим режим эксплуатации и (или) предлагающим устранить дефекты. В извещении о необходимости изменения режима эксплуатации указывается срок, на который вводятся указанные ограничения. В этом случае срок действия свидетельства о годности сооружения к эксплуатации и декларации о соответствии портового гидротехнического сооружения установленным требованиям не может быть больше срока введения ограничений режима эксплуатации. Результаты обследования сооружения, не позволяющие подтвердить его годность к эксплуатации, оформляются в виде извещения о выводе сооружения из эксплуатации, с перечислением дефектов, подлежащих устранению".

Пункт 4.18 после слов "правила охраны труда в портах [20]" дополнить словами: ", правила охраны труда при проведении водолазных работ [30],".

Раздел 4 дополнить пунктами 4.19, 4.20:

"4.19 Обследования и мониторинг технического состояния помещений и штатного оборудования портовых гидротехнических сооружений на соответствие требованиям безопасности [31], [32] осуществляется уполномоченными органами Российской Федерации в установленном порядке.

4.20 Разработка технической документации для морских портовых гидротехнических сооружений осуществляется в соответствии с требованиями настоящего стандарта.

Разработка технической документации для портовых гидротехнических сооружений внутреннего водного транспорта осуществляется в соответствии с требованиями ГОСТ Р 55561, ГОСТ Р 56241".

Пункт 5.1.2. Первое перечисление изложить в новой редакции:

"- прочность конструктивных элементов сооружения и их деформации, допустимые смещения и деформации сооружения должны соответствовать требованиям проектной документации (при ее отсутствии нормативным документам). В случае отсутствия данных значений они должны быть определены аккредитованной экспертной организацией".

Пункт 5.1.3. Первый абзац. Заменить слово: "определения" на "контроля".

Пункт 5.1.7 Первый абзац. Заменить ссылку: "ГОСТ 27.002" на "ГОСТ Р 27.102";

второй абзац. Заменить слова: "Технический контроль сооружений сводится к контролю технического состояния составляющих его элементов, узлов их соединений, конструкций. По ГОСТ 27.002 выделены следующие категории технического состояния объектов:" на "Техническое состояние объектов оценивается следующими категориями:".

Пункт 5.1.10. Четвертое перечисление после слов "(при необходимости)" дополнить словом: "материалов,".

Пункт 5.1.14. Четвертое перечисление изложить в новой редакции:

"- справочник допускаемых нагрузок;

- отчеты о ранее проводившихся обследованиях сооружения, а также испытаниях и выполненных поверочных расчетах несущей способности сооружения при их наличии;

- акты ранее проводившихся освидетельствований сооружения".

Пункт 5.1.17. Третье перечисление дополнить словами: "(при необходимости)".

Пункт 5.1.18 дополнить абзацем:

"Разработка и корректировка паспорта осуществляются проектантом или иным юридическим лицом, имеющим свидетельство о допуске к соответствующим проектным работам".

Пункт 5.2.6 дополнить словами: ", согласованием его с эксплуатирующей организацией".

Пункт 5.3.2. Перечисление г) изложить в новой редакции:

"г) определение фактических характеристик материалов с помощью методов неразрушающего контроля".

Пункт 5.4.1. Последнее перечисление изложить в новой редакции:

"- выбор мест установки новых реперов и марок, отсутствующих и взамен утраченных (выполняется в соответствии с требованиями приложения Щ)".

Пункт 5.4.3. Последний абзац изложить в новой редакции:

"Размеры сооружения и его элементов измеряются дальномерами, тахеометрами или металлическими рулетками с точностью до сантиметра".

Пункт 5.4.7. Второе перечисление дополнить словами: "(при необходимости);";

четвертое перечисление. Заменить слово: "отчета" на "отчетной документации".

Пункт 5.4.9. Первый абзац. Заменить ссылку: "ГОСТ 21779" на "ГОСТ Р 58942".

Пункт 5.5.1. Заменить слова: "(физико-механических характеристик, размеров сечений и др.)" на "(характеристик, размеров сечений и др.)".

Пункт 5.6.1. Заменить ссылки: "ГОСТ Р 53231" на "ГОСТ 18105"; "ГОСТ 10060.0" на "ГОСТ 10060".

Пункт 5.6.2. Заменить ссылку: "ГОСТ Р 53778" на "[17]".

Пункт 5.6.4 изложить в новой редакции:

"5.6.4 Ширину раскрытия трещин в бетоне измеряют в местах максимального их раскрытия и на уровне арматуры растянутой зоны элемента. Степень раскрытия трещин определяют в соответствии с [4]. Трещины в бетоне и их характеристики анализируют с учетом конструктивных особенностей и напряженно-деформированного состояния конструкции".

Пункт 5.6.7. Заменить слова: "определяют их конструктивные решения" на "проверяют их соответствие проектной и исполнительной документации".

Пункт 5.7.1. Исключить ссылку: "ГОСТ 9.101";

заменить ссылку: "ГОСТ 14782" на "ГОСТ Р 55724 и ГОСТ Р ИСО 16809".

Пункт 5.7.2. Заменить ссылку: "ГОСТ Р 53778" на "[17]".

Пункт 5.7.12. Последнее перечисление. Исключить слова: "(более 25% общего количества)".

Пункт 5.7.14 после слова "непосредственными" дополнить словом: "(прямыми)".

Пункт 5.7.15 изложить в новой редакции:

"5.7.15 Определение ширины и глубины раскрытия трещин проводят с помощью измерительного инструмента (лупа, специальный микроскоп, микрометр, штангенциркуль, индикатор, щупы, ультразвуковой прибор и т.д.). Признаками наличия трещин могут быть подтеки ржавчины, шелушение краски и др.".

Пункт 5.7.17. Заменить слова: "может служить предельное значение изменения наклона шпунтовой стенки (более 3%)" на "служит предельное значение изменения наклона шпунтовой стенки, определяемое в соответствии с приложением Ц".

Пункт 5.8.3 Первый абзац. Третье перечисление; третий абзац. Исключить слова: "ракообразными морскими".

Пункт 5.9.2 дополнить словами: "Измерение габаритов элементов бетонных и железобетонных конструкций необходимо производить с точностью до 5 мм, деревянных - до 10 мм. С такой же точностью следует измерять швы между элементами конструкций. В случаях, когда изменение размеров швов может свидетельствовать о деформации сооружения, точность измерений должна быть повышена до 1 мм. Металлические элементы и прокатные профили следует измерять с точностью до 1 мм.

При определении геометрических параметров древесины необходимо учитывать влажность древесины в соответствии с ГОСТ 6782.1 и ГОСТ 6782.2, которая может быть определена весовым методом или при помощи влагомера".

Пункт 5.9.7 изложить в новой редакции:

"5.9.7 Осмотр отбойных устройств включает в себя подсчет обрывов и неисправных отбоев и их распределение по длине причала, а также осмотр самих отбоев и элементов их крепления к причальной стенке в целях выявления повреждений:

- трещин в резиновых элементах;

- разрывов пневматических амортизаторов;

- деформации металлических рам и узлов крепления;

- излома, скола, расщепления, разрушения вследствие гниения брусьев деревянной отбойной рамы.

Тип, количество и схема расстановки отбойных устройств должны соответствовать проекту (паспорту)".

Пункт 5.9.11. Первый абзац после слова "бетонных" дополнить словом: "деревянных";

второй абзац после слов "набора щупов" дополнить словами: "или при помощи ультразвуковых приборов".

Пункт 5.10.1 изложить в новой редакции:

"5.10.1 Обследование подводной части сооружений должно проводиться водолазами специализированных аккредитованных организаций под руководством инженеров-гидротехников, допущенных к руководству спусками и (или) водолазными работами в установленном порядке в соответствии с требованиями настоящего подраздела и рекомендациями, приведенными в приложениях Ю, Я, 1 - 6".

Пункт 6.2.5. Заменить слово: "причалов" на "сооружений".

Пункт 6.2.14. Заменить слова: "данными расчетов сооружения под нагрузкой" на "нормативными значениями этих параметров".

Пункт 6.2.15 изложить в новой редакции:

"6.2.15 Испытания сооружений опытной статической огрузкой проводят по программам, в которых указаны цель и задачи испытаний, нагрузки и места их расположения, измерительное оборудование, требования безопасности, которые следует выполнять при опытной огрузке, периоды времени, необходимые для выполнения отдельных этапов огрузки, состав отчетной технической документации".

Пункт 6.3.4 дополнить словами: "за исключением сооружений, эксплуатируемых в условиях Крайнего Севера в период отсутствия доступа на сооружения, а также подходных каналов и акваторий, подводных сооружений, созданных в результате проведения дноуглубительных работ. Периодичность регулярных технических осмотров сооружений, эксплуатируемых в условиях Крайнего Севера, устанавливается локальными нормативными актами эксплуатирующей организации с учетом местных условий. Периодичность регулярных технических осмотров подходных каналов и акваторий, подводных сооружений, созданных в результате проведения дноуглубительных работ, устанавливается локальными нормативными актами эксплуатирующей организации, но не реже одного раза в год".

Пункт 6.5.10 изложить в новой редакции:

"6.5.10 Проверку положения крановых путей на податливом основании (шпально-балластном, в виде железобетонных балок (плит) на грунтовом основании) с использованием средств измерений следует производить не реже одного раза в шесть месяцев, а на жестком основании (свайном, гравитационном) - не реже одного раза в год. В случае если на причалах после введения их в эксплуатацию возникли просадки территории, проверку положения крановых путей на этих причалах рекомендуется производить ежесуточно до достижения контролируемых параметров критических значений.

При превышении контролируемых параметров критических значений необходимо прекратить эксплуатацию кранового пути на деформируемом участке.

Проверку положения крановых путей производит эксплуатирующая организация либо привлекают специализированную организацию".

Пункт 6.5.14 изложить в новой редакции:

"6.5.14 Оценку планового положения рельсов крановых путей следует производить путем сравнения отклонений в расстоянии между их осями относительно проектной ширины колеи, а также отклонений рельсов от прямой линии с допусками, приведенными в приложении 9, или с допусками по данным фирм - поставщиков оборудования".

Пункт 7.1.1 изложить в новой редакции:

"7.1.1 Документацию по первичному и очередному обследованию сооружения следует оформлять в соответствии с общими правилами выполнения графической и текстовой документации по ГОСТ Р 2.105 и ГОСТ Р 21.101. Документация по обследованию сооружения должна оформляться в виде отчета, состоящего из введения, описания конструкции объекта обследования, результатов обследования, заключения по результатам обследования, приложений. По результатам обследования должен быть составлен акт освидетельствования портового гидротехнического сооружения в соответствии с приложением В".

Пункт 7.1.2 дополнить словами:

"Документацию по обследованию сооружения следует оформлять в соответствии с общими правилами выполнения графической и текстовой документации по ГОСТ Р 2.105 и ГОСТ Р 21.101".

Пункт 7.2.3. Третье перечисление дополнить словами:

"На плане сооружения в границах акваторий портов и каналов необходимо отображать предметы, мешающие судоходству, с указанием их местоположения;".

Пункт 7.3.1. Первый абзац. Исключить слова: "Оси Y и Z системы координат лежат в вертикальной плоскости, совпадающей с морской стороной лицевой стенки причала";

второе перечисление. Исключить слово: "моря".

Пункт 7.3.5. Пример изложить в новой редакции:

"Пример - Песок мелкий;  = 30; C = 0,00 Па; y = 1,8 т/м3 (согласно ГОСТ 25100-95)".

Пункт 7.3.6. Первый абзац. Заменить слова: "7.3.6 При оформлении графической документации используют условные знаки для топографических планов масштабов 1:5000, 1:2000, 1:1000 и 1:500 по ГОСТ 21.204, [21]" на "7.3.6 При оформлении графической документации следует руководствоваться [33] - [35], масштаб изображений на чертежах - согласно ГОСТ 2.302";

второй абзац. Перечисления изложить в новой редакции:

"- горизонтальный - 1:100, 1:200, 1:400, 1:500, 1:1000;

- вертикальный - 1:2; 1:2,5; 1:5; 1:10".

Пункт 7.3.7 изложить в новой редакции:

"7.3.7 Планшет съемки рельефа дна составляют в масштабе от 1:200 до 1:1000 [назначают в Алгоритме контроля (программе работ)] в соответствии с таблицей 2 и [36], [37]. В исключительных случаях, при больших размерах сооружения, в плане допускается применять масштабы 1:2000, 1:5000 и 1:10000.

Таблица 2

Основные характеристики промерных работ для составления планшета съемки рельефа дна

Наименование (подробность) промераМасштаб планаРасстояние между галсами, мРасстояние между промерными точками, м
При сложном рельефеПри спокойном рельефеПри сложном рельефеПри спокойном рельефе
Контрольный, рекогносцировочный1:200
1:400
1:500
1:1000
2040510
Специальный1:200
1:400
1:500
51025
1:10001020510
Подробный1:200
1:400
1:500
1:1000
2020110
1:200020401020
1:5000501002030
1:10 0001002003040
Облегченный1:200040601020
1:50001001502030
1:10 0002003003040
Примечания
1 Допускается увеличение частоты промера в соответствии с Алгоритмом контроля и программой работ.
2 При изображении рельефа дна изобатами их шаг составляет:
- для контрольного, специального и подробного промеров - 0,5 м для глубин до 10 м и 1,0 м - для глубин более 10 м;
- для облегченного и рекогносцировочного промеров - 0,5 м для глубин менее 5 м и 1,0 м - для глубин более 5 м.

Приложение А. Таблицу А.1 изложить в новой редакции:

"Таблица А.1

Наименование сооруженияОбщая схемаКонструктивная схема сооружения
01234567891011
1 Причальная стенка
2 Причальная эстакада 30 - берменный массив;
31 - парапет;
32 - надстройка мола;
33 - капитель;
34 - элемент сопряжения подпричального откоса с территорией;
35 - шатровый блок;
36 - защитное покрытие откоса;
37 - упор порога судовозного пути;
38 - средства навигационного оборудования;
39 - плавучесть;
40 - поворотное устройство;
41 - якоря;
42 - якорная цепь;
43 - плавучий гибкий шланг на поплавках;
44 - гибкий трубопровод;
45 - подвесной груз;
46 - подводный трубопровод;
47 - платформа;
48 - швартовые тросы;
49 - поплавок;
50- анкерная опора;
51 - стабилизационная колонна;
52 - понтон;
53 - грунты основания;
54 - грунты засыпки;
55 - дренажные устройства;
56 - элемент водоснабжения;
57 - электроснабжение;
58 - элементы системы связи;
59 - специальные элементы конструкций
3 Рейдовый перегрузочный комплекс  
4 Оградительное сооружение 
5 Берегоукрепительное сооружение  
6 Судоподъемное сооружениеУсловные обозначения:
1 - дно;
2 - кордонная плита, шапочный брус;
3 - отбойное устройство;
4 - колесоотбойный брус;
5 - швартовное устройство;
6 - крановый путь;
7- покрытие;
8 - шпунтовая стенка;
9 - анкерная тяга;
10 - анкерная опора;
11 - разгрузочная платформа;
12- элемент внешней пригрузки;
13 - плита ростверка;
14 - постель;
15 - массивовая кладка;
 
16 - каменная призма;
17 - массив-гигант;
18 - оболочка большого диаметра;
19 - лицевая плита уголкового блока;
20 - фундаментная плита
уголкового бока;
21 - контрфорс;
22 - ряж;
23 - свая;
24 - судовозный рельсовый путь;
25 - шпунтовая ячейка;
26 - ригель;
27 - балка (ферма) пролетною строения;
28 - крепление откоса;
29 - каменная наброска;
7 Судоходный канал   
Примечания
1 Позиции 53 - 59 на схемах условно не показаны.
2 Шифр конструктивной схемы, приведенный в приложениях Л, Ц и Ш, присваивается следующим образом: первая цифра шифра соответствует номеру в первой графе таблицы и обозначает вид сооружения (от 1 до 7); вторая (после точки) - обозначает конструктивный тип сооружения и соответствует номеру в головке таблицы (от 0 до 11).

".

Приложение Б. Пункт Б.4. Заменить слова: "Отчет или акт" на "Акт".

Приложение Д после слов:

"вывести сооружение из эксплуатации <*> _______________________________"

дополнить словами:

"Рекомендации по проведению мероприятий, обеспечивающих безопасность гидротехнического сооружения, ______________________________".

Приложение И. Пункт И.1 изложить в новой редакции:

"И.1 Паспорт портового гидротехнического сооружения (далее - паспорт) является основным техническим документом, отражающим назначение, характеристики и техническое состояние сооружения. Он должен содержать основные характеристики сооружения и расположенных на нем крановых путей, данные о классе сооружения (определяются в соответствии с [27]), естественных условиях, расчетных судах, категориях эксплуатационных нагрузок и другие данные в соответствии с приложением Л, графические материалы (план, фасад, разрез), результаты освидетельствования и проверки технического состояния сооружения в период эксплуатации, в том числе параметры операционной акватории, координаты опорной точки участка размещения сооружения, кадастровый номер земельного участка, занятого сооружением".

Пункт И.5 изложить в новой редакции:

"И.5 Паспорт должен составляться в двух экземплярах, один из которых хранится у собственника сооружения, а другой - в эксплуатирующей организации. Паспорт подлежит корректировке после капитального ремонта или реконструкции сооружения, а также в случаях изменения технических или технологических характеристик сооружения. При этом возможность изменения назначения сооружения, параметров расчетного судна и повышения категории нагрузок должна быть обоснована специализированной организацией в виде соответствующего заключения.

При обосновании изменения (расширения) назначения грузового причала и корректировке его паспорта следует указывать вид груза, номенклатуру перерабатываемых грузов (при необходимости - с учетом перспективной номенклатуры грузов) следует указывать в справочнике допускаемых нагрузок.

При обосновании изменения параметров расчетного судна и корректировке паспорта причала следует указывать параметры расчетного судна, соответствующие проекту, а также параметры одного или, при необходимости, нескольких судов, обоснованные в соответствии с нормативно-техническими документами с учетом характеристик причала, его технического состояния, гидрометеорологических условий места его расположения, характеристик акватории порта и условий, касающихся безопасности мореплавания в акватории порта.

При обосновании повышения категории эксплуатационных нагрузок на причал и корректировке его паспорта следует подтверждать возможность данного повышения соответствующим расчетом.

При обосновании изменения вида эксплуатационных нагрузок на причал (сосредоточенные, полосовые и др.) и корректировке его паспорта следует выполнять сопоставление данных нагрузок, приведенных к эквивалентным равномерно распределенным нагрузкам, с нормативными равномерно распределенными нагрузками в прикордонной, переходной и тыловой зонах причала. В случае если данные нагрузки выше нормативных, следует подтверждать возможность такого повышения соответствующим расчетом для наиболее неблагоприятного случая расположения нагрузок на сооружении.

Величины допустимых предельных смещений и деформаций сооружения за период эксплуатации должны отражаться в паспорте сооружения в примечании к пункту 3.1 "Описание конструкции" (см. приложение Л, таблица 3). Данные величины следует определять в соответствии с приложением Ц и [29]".

Пункт И.8. Заменить слова: "о техническом состоянии сооружения" на "о технических и технологических характеристиках сооружения, его техническом состоянии и изменениях режима эксплуатации".

Приложение Л. Таблицу 1 "Общие данные" дополнить пунктами 1.13 - 1.15:

"1.13 Кадастровый номер земельного участка, занятого сооружением

1.14 Координаты опорной точки участка размещения сооружения

1.15 Параметры операционной акватории:

- проектная глубина, м;

- ширина (радиус - для одноточечных причалов), м";

таблица 7. Пункт 7.2 изложить в новой редакции:

"7.2 Ситуационный план либо схема расположения сооружения".

Приложение М. Пункт М.3 дополнить словами: "с внесением записи "Замечаний нет".

Приложение С. Заменить слово: "рекомендуемое" на "обязательное";

примечания. Пункты 2 - 5 изложить в новой редакции:

"2 В графе 1 таблицы состава и объема работ указывают наименование контролируемых элементов по классификатору, приведенному в приложении А.

3 В графе 2 указывают наименование контрольной операции.

4 В графе 3 таблицы указывают объем поверхности осмотра, положение участков (при выборочном осмотре) или точек, в которых необходимо выполнять осмотр и измерения.

5 В графе 4 таблицы даются ссылки на методики контроля, приведенные в приложении Х";

дополнить пунктом 6:

"6 При необходимости уточнения отдельных операций контроля соответствующее примечание помещают в раздел 2 со ссылкой в графе 5 таблицы".

Приложение Т. Заменить слово: "рекомендуемое" на "обязательное".

Приложение Ф. Таблица Ф.1. Графа "Контролируемые признаки технического состояния". Первая строка. Заменить значение: "20 м" на "шириной от 20 до 50 м".

Приложение Ц. Таблица Ц.1. Пятую строку изложить в новой редакции:

"

5 Швартовное устройство1.0 - 1.10, 2.0 - 2.7Разрыв крепежных шпилекДо 10% общего количества шпилек на тумбуПри смещении и определяется расчетом несущей способности
ТрещинаНе допускаетсяСквозная
Свободная высота цилиндрической частиСоответствует проектуМеньше проектного значения

";

графа "Вид дефекта". Строка 18. Заменить слово: "моря" на "акватории";

примечание. Заменить ссылку: "ГОСТ 21779-82" на "ГОСТ Р 58942".

Приложение Ш. Таблица Ш.1. Графа "Наименование элемента". Четвертая строка. Заменить слова: "Лицевая плита уголкового блока" на "Лицевая плита уголкового блока с контрфорсом";

графа "b, %". Восьмая строка. Заменить значение: "35" на "20".

Приложение Э. Пункт Э.5. Заменить слова: "за процессом развития деформаций трещин в местах их наибольшего расширения" на "за трещинами в местах их наибольшего раскрытия".

Приложение Ю. Пункт Ю.5. Последнее перечисление. Исключить слово: "морскими";

пункт Ю.12. Первый абзац. Заменить слово: "моря" на "акватории".

Приложение 1. Пункт 1.2. Девятое перечисление. Исключить слово: "морскими";

дополнить пунктами 1.6 и 1.7:

"1.6 На причальных сооружениях внутренних водных путей и морских сооружениях с приливно-отливными явлениями необходимо контролировать уровень грунтовых вод посредством установленных на причалах пьезометров.

1.7 На причальных сооружениях, оборудованных системой электроснабжения, необходимо проводить контроль за блуждающими токами [38]".

Приложение 3. Пункт 3.1. Второй абзац. Заменить слова: "на сваи-оболочки" на "на свайное основание";

пункт 3.2. Заменить слова: "с учетом конструктивных особенностей сооружений и условий их эксплуатации" на "в соответствии с нормативно-технической документацией и с учетом конструктивных особенностей наклонных судоподъемных сооружений и условий их эксплуатации".

Приложение 4. Наименование изложить в новой редакции:

"Обследование рейдовых и плавучих причалов";

дополнить пунктом 4.9:

"4.9 При обследовании плавучих причалов из понтонов с якорными системами удержания следует определять техническое состояние и пространственное положение следующих элементов: дно, якоря, якорные связи, плавучести, понтоны, швартовные устройства, отбойные устройства, колесоотбойные устройства, покрытие, перильное (леерное) ограждение - согласно методикам, изложенным в 5.5 - 5.7, 5.9, 5.10 и приведенным в приложениях 5 - 7".

Приложение 5. Пункт 5.5 дополнить словами:

"Рекогносцировочный осмотр дна следует проводить с участием водолазов либо с использованием дистанционно управляемых подводных аппаратов, оснащенных фото-, видеоаппаратурой либо гидроакустическим оборудованием";

пункт 5.7 изложить в новой редакции:

"5.7 Обследование дна выполняется следующими способами:

- промер глубин, во время которого выполняют детальную планово-высотную съемку рельефа дна на галсах, отстоящих друг от друга на расстояниях, устанавливаемых в зависимости от характера рельефа дна и глубин в соответствии с 7.3.7. Промер осуществляется с использованием мерного лота либо эхолота;

- площадное обследование, во время которого выполняют измерение глубин в пределах полосы съемки с получением результатов промеров в любой ее точке.

При необходимости, помимо указанных способов обследования дна, может производиться инструментальная оценка рельефа дна гидролокаторами бокового обзора или гидрографическое траление, а на отдельных небольших участках - водолазное обследование, во время которого выполняют дополнительную координатную привязку подводных препятствий и посторонних предметов. Обследование дна должно завершиться построением батиметрического плана (планшет съемки рельефа дна) и профилей с планово-высотной привязкой предметов, лежащих на дне. Сравнение этих материалов, полученных в различное время, должно обосновывать заключение об изменениях рельефа дна, происшедших между промерами";

пункт 5.11 дополнить словами:

"В качестве дополнительного способа определения планового положения водолаза допускается использование спутникового метода определения места. Применяемые приборы должны обеспечивать получение приращений координат в плане на обследуемой акватории с погрешностью не более 0,10 м при доверительной вероятности 95%";

пункты 5.18 - 5.21 изложить в новой редакции:

"5.18 При изучении поверхностных грунтов для выявления наносов необходимо определять их тип и показатели, характеризующие их гранулометрический состав и морфологические особенности образца грунта. Определение типа грунта производится для назначения мероприятий по удалению наносов.

5.19 Тип грунтов оценивают по классификационным и косвенным показателям (см. таблицу 5.1). Исследование крупнообломочных грунтов производят при водолазном обследовании визуально, на ощупь и при помощи измерений линейных размеров частиц при нормальных условиях погружений в соответствии с правилами охраны труда при проведении водолазных работ.

Исследование сыпучих и связанных грунтов производят путем отбора проб грунта, с последующей обработкой на плавсредстве или на берегу.

При усложненных, сложных и особых условиях работы водолаза исследование грунтов должно производиться путем отбора проб грунта с последующей обработкой на плавсредстве или на берегу.

Зону расположения грунтов, подверженных исследованию, определяют после установления характера рельефа дна и выявления всех опасных для плавания мест: на гребнях перекатов; непосредственно на всех навигационных опасностях; на полосе шириной 20 - 50 м вдоль сооружения в пределах операционной акватории.

Площадь и границы распространения наносов определяют с помощью графических построений.

Мощность слоя наносов, а также наличие отдельных включений в их толще определяют с помощью зондирования грунта металлическим щупом с сантиметровой разбивкой.

Объемы отбора проб донного грунта должны определяться в зависимости от класса, типа донных грунтов, протяженности или площади обследуемого участка, слоистости грунтов и учитываться при разработке программы изысканий с учетом сложности инженерно-геологических условий исследуемой территории.

Масса образцов донного грунта должна составлять:

- 1,5 - 2,0 кг - для глинистых грунтов;

- 2,0 - 3,0 кг - для песков;

- 3,0 - 5,0 кг - для крупнообломочных грунтов.

Отбор донных грунтов производят приборами, например, донным щупом, грунтовой трубкой, дночерпателем или драгой. Выбор прибора осуществляют в зависимости от характера грунта и глубин, на которых он определяется.

Результаты исследований донного грунта должны быть внесены в журнал подводного обследования дна акватории.

5.20 Классификацию грунтов по крупности и составу необходимо производить в соответствии с показателями таблицы 5.1. Обследование крупнообломочных грунтов включает определение геометрических параметров частиц. При описании гравия, галечника и валунов отмечают состав пород, степень окатанности частиц, их форму, характер поверхности. Обломки различают угловатые, окатанные и полуокатанные. При описании поверхности породы отмечают: гладкая поверхность или неровная, обнажена порода, обросла коркой (железистой, известковой и т.д.) или же покрыта организмами. Если крупнообломочный материал представлен в виде включений, то при описании дополнительно отмечают количество включений и их ориентировку. Определяют цвет пород, при этом на глубинах более 15 м используют искусственное освещение в связи с нарушением цветопередачи.

5.21 Изучение особенностей залегания наносов проводится для выявления условий их формирования и оценки их подвижности под воздействием рельефообразующих факторов (скорость течения, направление течения, наличие объектов на дне, влияющих на параметры течения воды, и т.д.). Залегание наносов характеризуют мощностью слоя, размерами и очертаниями занимаемой площади, уклонами дна, формами рельефа, сортировкой и распределением наносов в вертикальном и горизонтальном направлениях, наличием включений";

таблицу 5.1 изложить в новой редакции:

"Таблица 5.1

Классификационные и косвенные показатели состава грунта

ГруппаТип грунтаКлассификационные показателиКосвенные показатели
окатанные обломки и частицынеокатанные обломки и частицыразмер преобладающих частиц, ммсодержание частиц, % от массы
КрупнообломочныеВалуны:Глыбы: > 50Отдельнозернистый грунт
- крупные- крупные> 800
- средние- средние400 - 800
- мелкие- мелкие200 - 400
Галечник:Щебень: > 50
- крупный- крупный100 - 200
- средний- средний60 - 100
- мелкий- мелкий10 - 60
Гравий:Дресва: > 50
- крупный- крупная5 - 10
- мелкий- мелкая2 - 5
ПесчаныеПесок0,5 - 125 - 75 <1>Несвязный сыпучий грунт.
Видны песчаные частицы. При взбалтывании смеси песка с водой в пробирке через 1 мин раствор осветляется полностью. При растирании между пальцами грунт не скатывается, не мажет
СупесиСупесь0,05 - 2<1>Непластичный грунт. Видны песчаные частицы.
При взбалтывании смеси пробы с водой в пробирке через 1 мин раствор дает быстро осаждающуюся муть, осветляется на 50 - 70 мм <2>. Шнур при скатывании рассыпается.
Комочки раздавливаются при слабом сдавливании.
При растирании между пальцами грунт не скатывается, не мажет
СуглинкиСуглинок:   
- легкий0,05 - 2<1>Грунт малопластичен, липкость малая. При скатывании в шнур толщиной до 2 мм распадается на кусочки. При взбалтывании смеси пробы с водой в пробирке через 1 мин раствор осветляется на 20 - 50 мм <2>. При растирании чувствуются песчаные частицы
- тяжелыйГрунт пластичен, скатывается в шнур толщиной до 2 мм, при сгибании в кольцо диаметром 3 см трескается по краям <2>. При взбалтывании смеси пробы с водой в пробирке через 1 мин раствор осветляется на 10 - 20 мм. При растирании грунт липкий, чувствуются песчаные частицы
ГлинистыеГлина0,05 - 2<1>Грунт пластичен. Скатывается в тонкий, гибкий шнур толщиной до 0,5 мм, при сгибании в кольцо диаметром 3 см не дает трещин. При взбалтывании смеси пробы с водой в пробирке через 1 мин раствор осветляется до 1 мм <2>. На ощупь маслянистый, липнет к пальцам, на пальцах частицы не чувствуются. Высыхая, плотно цементируется в один комок
<1> Состав частиц и физико-механические характеристики определяют (при необходимости) в лабораторных условиях. Для этого отбор проб грунта, упаковку, транспортирование и хранение производят в соответствии с ГОСТ 12071.
<2> Высота столбика грунта в пробирке - 2 - 3 см, объем дистиллированной воды - в три раза больше объема грунта.

".

Приложение 5 дополнить пунктом 5.22:

"5.22 По результатам водолазного обследования дна составляют технический отчет, включающий акт водолазного обследования и результаты исследований, приведенные в 5.1".

Приложение 6. Пункт 6.1. Заменить слова: "водолазный осмотр" на "визуальный осмотр с участием водолазов".

Пункт 6.2 дополнить абзацами:

"Рекогносцировочный осмотр дна следует проводить с участием водолазов либо с использованием дистанционно управляемых подводных аппаратов, оснащенных фото-, видеоаппаратурой либо гидроакустическим оборудованием.

Для выявления посторонних предметов на дне также возможно использование механического траления".

Приложение 7. Пункт 7.3 изложить в новой редакции:

"7.3 Для выполнения промерных работ перед сооружением следует использовать ручной лот с разбивкой через 10 см и грузом до 4 кг или эхолот в соответствии с 7.3.7".

Пункт 7.8. Исключить слова: "(нулю глубин порта)";

заменить слова: "к нулю глубин порта" на "к отсчетному уровню".

Приложение 9. Таблицу 9.1 изложить в новой редакции:

"Таблица 9.1

ОтклонениеГрафическое представление отклоненияТипы кранов
мостовыекозловыепортальныемостовые перегружатели
Разность отметок головок рельсов в одном поперечном сечении P1, мм
S - размер колеи (пролет)
0,002·S, но не более 40404050
Для подвесных кранов i·S, где i - допускаемый изготовителем уклон пути талиДля полукозловых кранов - не более 0,002 проектной разности уровней головок рельсов верхней и нижней рельсовых нитейДля полупортальных кранов - не более 0,002 проектной разности уровней головок рельсов верхней и нижней рельсовых нитей
Разность отметок рельсов на соседних колоннах P2, мм0,0015L, но не более 10 мм при L <= 10 м и 20 мм при L >= 10 м.
Для подвесных кранов - 0,001L
---
Для талей - i·L, где i - допускаемый изготовителем уклон пути талиДля наземной рельсовой нити полукозловых кранов - не более 0,003 расстояния между соседними точками измерения, равного расстоянию между колоннами надземной части рельсового путиДля наземной рельсовой нити полупортальных кранов - не более 0,003 расстояния между соседними точками измерения, равного расстоянию между колоннами надземной части рельсового пути
Для монорельсовых тележек 0,002L, где L - расстояние между соседними точками крепления рельса
Сужение или расширение колеи рельсового пути (отклонение размера пролета S в плане) P3, мм0,002S, но не более 15. Для подвесных кранов - , где  и ​​​​​​​ - зазоры между краями ездовой полки двутавра и ребордами ходовых катков крана с левой и правой сторон соответственно151520
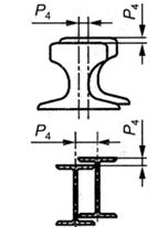
Взаимное смещение торцов стыкуемых рельсов в плане и по высоте P4, мм2
Зазоры в стыках рельсов при температуре 0 °C и длине рельса 12,5 м P5, мм6
Разность высотных отметок головок рельсов на длине 10 м кранового пути (общая) P6, мм-302030
Примечания
1 При увеличении температуры на 10 °C допуск на зазор в стыках рельсов уменьшается на 1,5 мм, при уменьшении температуры на 10 °C - увеличивается на 1,5 мм.
2 Величины отклонений для козловых кранов пролетом 30 м и более принимаются как для кранов-перегружателей.
      

Элемент стандарта "Библиография". Позиции [4] - [6], [8], [9], [12], [16], [18], [20], [23] - [25] изложить в новой редакции:

"

[4]СП 63.13330.2018 "СНиП 52-01-2003 Бетонные и железобетонные конструкции. Основные положения"
[5]СП 16.13330.2017 "СНиП II-23-81* Стальные конструкции"
[6]СП 64.13330.2017 "СНиП II-25-80 Деревянные конструкции"
[8]СП 22.13330.2016 "СНиП 2.02.01-83* Основания зданий и сооружений"
[9]СП 24.13330.2021 "СНиП 2.02.03-85 Свайные фундаменты"
[12]СП 45.13330.2017 "СНиП 3.02.01-87 Земляные сооружения, основания и фундаменты"
[16]СП 15.13330.2020 "СНиП II-22-81* Каменные и армокаменные конструкции"
[18]Постановление Правительства Российской Федерации от 01.12.2021 N 2161 "Об утверждении общих требований к организации и осуществлению регионального государственного строительного надзора, внесении изменений в постановление Правительства Российской Федерации от 30 июня 2021 г. N 1087 и признании утратившими силу некоторых актов Правительства Российской Федерации"
[20]Приказ Министерства труда и социальной защиты Российской Федерации от 15.06.2020 N 343н "Об утверждении Правил по охране труда в морских и речных портах"
[23]СП 41.13330.2012 "СНиП 2.06.08-87 Бетонные и железобетонные конструкции гидротехнических сооружений"
[24]Приказ Министерства промышленности и торговли Российской Федерации от 28.08.2020 N 2905 "Об утверждении порядка проведения испытаний стандартных образцов или средств измерений в целях утверждения типа, порядка утверждения типа стандартных образцов или типа средств измерений, внесения изменений в сведения о них, порядка выдачи сертификатов об утверждении типа стандартных образцов или типа средств измерений, формы сертификатов об утверждении типа стандартных образцов или типа средств измерений, требований к знакам утверждения типа стандартных образцов или типа средств измерений и порядка их нанесения"
[25]Приказ Ростехнадзора от 26.11.2020 N 461 "Об утверждении федеральных норм и правил в области промышленной безопасности "Правила безопасности опасных производственных объектов, на которых используются подъемные сооружения

";

дополнить позициями [27] - [38]:

"

[27]СП 58.13330.2019 "СНиП 33-01-2003 Гидротехнические сооружения. Основные положения"
[28]РД 31.3.3-97 Руководство по техническому контролю гидротехнических сооружений морского транспорта
[29]СП 389.1326000.2018 Техническая эксплуатация объектов инфраструктуры морского порта
[30]Приказ Министерства труда и социальной защиты Российской Федерации от 17.12.2020 N 922н "Об утверждении Правил по охране труда при проведении водолазных работ"
[31]Федеральный закон от 22.07.2008 N 123-ФЗ "Технический регламент о требованиях пожарной безопасности"
[32]Постановление Правительства Российской Федерации от 24.02.2010 N 86 "Об утверждении технического регламента о безопасности оборудования для работы во взрывоопасных средах"
[33]РД 31.30.01.01-89 Правила оформления чертежей и текстовых документов объектов строительства морского транспорта. Раздел 1. Общие положения
[34]РД 31.30.01.02-88 Правила оформления чертежей и текстовых документов объектов строительства морского транспорта. Раздел 2. Генеральный план и транспорт
[35]РД 31.30.01.06-85 Правила оформления чертежей и текстовых документов объектов строительства морского транспорта. Раздел 6. Гидротехнические решения
[36]РД 31.74.04-2002 Технология промерных работ при производстве дноуглубительных работ и при контроле глубин для безопасности плавания судов в морских портах и на подходах к ним
[37]СП 317.1325800.2017 Инженерно-геодезические изыскания для строительства. Общие правила производства работ
[38]СП 28.13330.2017 "СНиП 2.03.11-85 Защита строительных конструкций от коррозии

".