Постановление Госгортехнадзора РФ от 05.06.2003 N 53

"Об утверждении "Инструкции по проектированию, установке и эксплуатации взрыворазрядных устройств на оборудовании опасных производственных объектов по хранению, переработке и использованию сырья в агропромышленном комплексе"
Редакция от 05.06.2003 — Документ утратил силу, см. «Приказ Ростехнадзора от 15.11.2016 N 475»

Зарегистрировано в Минюсте РФ 16 июня 2003 г. N 4692


ФЕДЕРАЛЬНЫЙ ГОРНЫЙ И ПРОМЫШЛЕННЫЙ НАДЗОР РОССИИ

ПОСТАНОВЛЕНИЕ
от 5 июня 2003 г. N 53

ОБ УТВЕРЖДЕНИИ "ИНСТРУКЦИИ ПО ПРОЕКТИРОВАНИЮ, УСТАНОВКЕ И ЭКСПЛУАТАЦИИ ВЗРЫВОРАЗРЯДНЫХ УСТРОЙСТВ НА ОБОРУДОВАНИИ ОПАСНЫХ ПРОИЗВОДСТВЕННЫХ ОБЪЕКТОВ ПО ХРАНЕНИЮ, ПЕРЕРАБОТКЕ И ИСПОЛЬЗОВАНИЮ СЫРЬЯ В АГРОПРОМЫШЛЕННОМ КОМПЛЕКСЕ"

Госгортехнадзор России постановляет:

1. Утвердить "Инструкцию по проектированию, установке и эксплуатации взрыворазрядных устройств на оборудовании опасных производственных объектов по хранению, переработке и использованию сырья в агропромышленном комплексе".

2. Направить "Инструкцию по проектированию, установке и эксплуатации взрыворазрядных устройств на оборудовании опасных производственных объектов по хранению, переработке и использованию сырья в агропромышленном комплексе" на государственную регистрацию в Министерство юстиции Российской Федерации.

Начальник
Госгортехнадзора России
В.М.КУЛЬЕЧЕВ

УТВЕРЖДЕНА
постановлением
Госгортехнадзора России
от 5 июня 2003 года N 53

ИНСТРУКЦИЯ
ПО ПРОЕКТИРОВАНИЮ, УСТАНОВКЕ И ЭКСПЛУАТАЦИИ ВЗРЫВОРАЗРЯДНЫХ УСТРОЙСТВ НА ОБОРУДОВАНИИ ОПАСНЫХ ПРОИЗВОДСТВЕННЫХ ОБЪЕКТОВ ПО ХРАНЕНИЮ, ПЕРЕРАБОТКЕ И ИСПОЛЬЗОВАНИЮ СЫРЬЯ В АГРОПРОМЫШЛЕННОМ КОМПЛЕКСЕ

РД 14-568-03

Настоящая Инструкция разработана согласно Федеральному закону "О промышленной безопасности опасных производственных объектов" от 21.07.97 N 116-ФЗ (Собрание законодательства Российской Федерации, 1997, N 30, ст.3588), Положению о Федеральном горном и промышленном надзоре России, утвержденному постановлением Правительства Российской Федерации от 3 декабря 2001 года N 841 (Собрание законодательства Российской Федерации, 2001, N 50, ст.4742), Общим правилам промышленной безопасности для организаций, осуществляющих деятельность в области промышленной безопасности опасных производственных объектов (ПБ 03-517-02), утвержденным постановлением Госгортехнадзора России от 18.10.2002 N 61-А, зарегистрированным Министерством юстиции Российской Федерации 28.11.2002 N 3968 (Российская газета N 231 от 05.12.2002), и определяет требования к проектированию, установке и эксплуатации взрыворазрядных устройств на оборудовании, в котором возможно образование и воспламенение пылевоздушных смесей.

Инструкция распространяется на опасные производственные объекты, на которых получаются, используются, перерабатываются, образуются, хранятся и транспортируются опасные вещества (растительное сырье и продукты его переработки), способные самовозгораться, возгораться от источника зажигания и самостоятельно гореть после его удаления, а также способные образовывать взрывоопасные пылевоздушные смеси. К указанным объектам относятся:

- приемно-отпускные устройства для железнодорожного, автомобильного и водного транспорта;

- рабочие здания, силосные корпуса элеваторов, склады силосного и напольного типов, галереи для бестарного хранения и перемещения сырья и продуктов его переработки;

- цехи, отделения, блочно-модульные и агрегатные установки по производству муки, крупы, солода, комбикормов и кормовых смесей, белково-витаминных добавок и премиксов, семяобрабатывающих и кукурузообрабатывающих производств;

- подготовительные, дробильные отделения по очистке, измельчению солода, зерна, шелушению маслосемян, отделения расщипки и резания табака;

- отделения для растаривания, взвешивания, просеивания муки, размола сахарного песка;

- зерносушильные установки, приемно-очистительные и сушильно-очистительные башни, цехи отходов, пыли, очистки и сортировки мешкотары.

Инструкция также распространяется на организации, осуществляющие разработку и изготовление технических устройств, предназначенных для применения на указанных опасных производственных объектах.

I. Общие положения

1.1. Взрыворазрядные устройства предназначаются для предотвращения роста давления взрыва в объеме защищаемого оборудования выше допустимого уровня с целью защиты оборудования от разрушения и предотвращения распространения пламени и продуктов взрывного горения пылевоздушной смеси в производственные помещения.

1.2. Предотвращение роста давления взрыва выше допустимого уровня осуществляется путем отвода пламени и продуктов взрывного горения и несгоревшей пылевоздушной смеси из объема защищаемого оборудования в безопасную зону за пределы производственного здания.

1.3. Взрыворазрядное устройство состоит из предохранительной мембраны или откидного клапана, отводящего трубопровода, а при необходимости и из огнепреграждающего устройства.

1.4. Предохранительная мембрана или клапан должны устанавливаться на минимально возможном расстоянии от корпуса защищаемого оборудования и обеспечивать герметичное перекрытие проходного сечения взрыворазрядного устройства.

1.5. Взрыворазрядными устройствами защищается следующее оборудование: нории, дробилки, фильтр-циклоны <*>, рециркуляционные зерносушилки с камерами нагрева <*>, шахтные зерносушилки с подогревателями <*>, каскадные нагреватели <*>.

<*> Требования по установке взрыворазрядителей на фильтр-циклоны, зерносушилки и каскадные нагреватели для действующих предприятий являются рекомендуемыми и относятся к организациям, осуществляющим разработку, изготовление и применение в проектах указанного оборудования.

На нориях со свободным объемом менее 0,25 м3, дробилках с объемом рабочей зоны и поддробильного бункера менее 0,3 м3 и фильтр-циклонах со свободным объемом менее 0,5 м3 взрыворазрядные устройства допускается не устанавливать. Величина свободного объема защищаемого оборудования V м3 определяется как разность геометрического объема оборудования и объема расположенных внутри него узлов и агрегатов.

1.6. Установка взрыворазрядных устройств должна быть предусмотрена как в конструкторской документации на потенциально опасное оборудование, так и в проектной документации на производственные объекты по хранению, переработке и использованию сырья агропромышленного комплекса. Требования Инструкции относятся как к проектируемым, так и к действующим объектам.

1.7. В потенциально опасном оборудовании (см. п.1.5) заводы-изготовители должны предусматривать устройство специальных отверстий и переходных патрубков для присоединения взрыворазрядных устройств. Форма и расположение переходных патрубков при нормальном режиме работы оборудования должны не допускать накопления в них пыли и продукта, а также исключать механическое повреждение предохранительной мембраны из-за попадания на нее продукта.

1.8. Диаметры (площади) проходных сечений взрыворазрядных устройств для норий определяются из таблиц (см. раздел 3) или расчетом, а для других видов оборудования определяются расчетом (см. разделы 4, 5, 6) с учетом величины защищаемого объема, допустимого давления взрыва, статического давления вскрытия мембраны (клапана), формы проходного сечения, длины, количества и величины углов поворота отводящих трубопроводов, а при установке огнепреградителей - с учетом дополнительного гидравлического сопротивления огнепреградителей.

1.9. Методика расчета взрыворазрядных устройств приведена в обязательном приложении 1, примеры расчета взрыворазрядных устройств - в справочном приложении 4.

Наряду с расчетами по указанной Методике допускается использовать расчеты, выполняемые по другим методикам, согласованным с Госгортехнадзором России.

1.10. В качестве основных типов взрыворазрядных устройств рекомендуются:

- взрыворазрядные устройства с разрывными предохранительными мембранами;

- взрыворазрядные устройства с откидными клапанами;

- взрыворазрядные устройства с выщелкивающимися мембранами;

- комбинированные взрыворазрядные устройства.

Взрыворазрядные устройства с разрывными предохранительными мембранами рекомендуется выполнять с шиберным или бандажным креплением мембраны.

Примеры конструктивных схем взрыворазрядных устройств различного типа представлены в рекомендуемом приложении 5 на рис.1-7.

Схемы установки взрыворазрядных устройств на защищаемом оборудовании представлены в приложении 5 на рис.8-14, 17-20.

1.11. Проектно-конструкторская документация на взрыворазрядные устройства, предназначенные для использования на опасных производственных объектах, подлежит экспертизе промышленной безопасности в установленном порядке.

II. Требования к взрыворазрядным устройствам

2.1. Предпочтительными являются взрыворазрядные устройства с проходными сечениями и отводящими трубопроводами круглой формы. Допускаются взрыворазрядные устройства с проходными сечениями и отводящими трубопроводами квадратной или прямоугольной формы.

Соотношение геометрических размеров прямоугольного проходного сечения взрыворазрядного устройства (или отводящего трубопровода) h и b должно удовлетворять условию

0,25 h/b 4,0.

2.2. Во взрыворазрядных устройствах, устанавливаемых на оборудовании, рекомендуется в качестве разрывных мембран применять полиэтиленовые пленки марок ТТ, СТ, СИК, СК, В, Н или алюминиевую фольгу толщиной 0,04 мм

2.3. Конструкции взрыворазрядных устройств должны обеспечивать вскрытие мембран (клапанов) при избыточном статическом давлении Pст <*> не более 0,10 кгс/см2 в диапазоне температур окружающей среды от -40 до +40°С.

<*> Избыточное статическое давление вскрытия взрыворазрядителя Pст - это разность между абсолютным статическим давлением в объеме защищаемого оборудования и нормальным атмосферным давлением.

Толщину полиэтиленовой пленки, применяемой для разрывных мембран во взрыворазрядных устройствах бандажного или шиберного типа, необходимо выбирать в зависимости от диаметра D проходного сечения взрыворазрядного устройства в соответствии с табл.1.

Таблица 1

D, м От 0,2 до 0,3 Свыше 0,3 до 0,4 Свыше 0,4 до 0,5 Свыше 0,5 до 0,65 Свыше 0,65 до 0,85 Свыше 0,85 до 1,05 Свыше 1,05 до 1,25
, мм 0,05 0,07 0,10 0,12 0,15 0,20 0,25

Допускается применение разрывных предохранительных мембран из других материалов при условии обеспечения приведенных выше значений статического давления вскрытия мембран.

2.4. Отводящие трубопроводы взрыворазрядных устройств должны быть, как правило, прямыми и минимальной длины. При необходимости допускается установка отводящих трубопроводов с поворотами при условии, что сумма коэффициентов гидравлического сопротивления поворотов _a, приведенных в п.п.6-8 табл.1 обязательного приложения 3, не превышает 1,3.

2.5. В качестве отводящих трубопроводов взрыворазрядных устройств рекомендуется использовать стальные сварные трубы круглого сечения с толщиной стенок не менее 1,0 мм или трубы любых типов, выдерживающие остаточное давление взрыва Pост <*>, величина которого определяется в соответствии с приложением 1 по формуле (12) или (13).

<*> Остаточное давление взрыва Pост - это разность между абсолютным максимальным давлением взрыва в объеме защищаемого оборудования при условии срабатывания взрыворазрядителя и нормальным атмосферным давлением.

Диаметры проходных сечений отводящих трубопроводов Dтр должны быть не менее диаметров проходных сечений взрыворазрядных устройств Dвзр.

2.6. На торце горизонтального отводящего трубопровода, выводимого из здания, должны быть предусмотрены срез под углом ~ 30° (для защиты от атмосферных осадков) и металлическая защитная сетка из проволоки толщиной не более 1 мм с размером ячеек не менее 15 х 15 мм.

2.7. При вертикальном выведении из здания отводящего трубопровода на его срезе для защиты от атмосферных осадков должен устанавливаться диффузор с зонтом (см. п.11 табл.1 приложения 3, рис.7-9 приложения 5).

2.8. При применении в качестве взрыворазрядного устройства откидного клапана (см. приложение 5, рис.3, 4) необходимо при расчетном определении диаметра его проходного сечения Dвзр учитывать дополнительно объем переходного трубопровода, соединяющего защищаемое оборудование с клапаном, и коэффициенты гидравлического сопротивления этого трубопровода.

2.9. Вес откидной крышки клапана должен ограничиваться следующим соотношением:

Gкл 0,1 Рст х Fвзр,

где: Gкл - вес откидной крышки клапана, кгс;

Рст - статическое давление открытия клапана, кгс/см2, значения которого составляют 0,10 кгс/см2;

Fвзр - площадь проходного сечения взрыворазрядного устройства, см2.

2.10. При применении на нориях в качестве взрыворазрядного устройства откидного клапана длина входного трубопровода, соединяющего защищаемое оборудование и клапан, не должна превышать 3,0 м. При увеличении длины этого трубопровода при установке откидного клапана на нориях площадь его проходного сечения должна увеличиваться на 3,0% на каждый 1 м длины. При применении взрыворазрядных устройств с откидными клапанами на других видах оборудования диаметр и допустимая длина входного трубопровода определяются при расчете диаметра проходного сечения Dвзр по Методике приложения 1 с учетом требований п.п. 2.5, 2.8 настоящего раздела Инструкции.

2.11. На оборудовании, установленном вне здания, допускается применение взрыворазрядных устройств без отводящих трубопроводов, если выброс продуктов горения осуществляется в безопасную зону.

Опасная зона выброса пламени и продуктов взрывного горения при срабатывании взрыворазрядного устройства находится в пределах ~ до 25 диаметров отводящего трубопровода от его торцевого среза (вдоль оси) и ~ до 3 диаметров в стороны от оси трубопровода.

На первых этажах торец отводящего трубопровода должен располагаться не ниже 2,5 м от планировочной отметки.

2.12. Отводящие трубопроводы от нескольких единиц оборудования допускается объединять в единый коллектор, диаметр которого должен быть не менее наибольшего диаметра трубопровода из числа объединяемых в коллектор. При этом на оборудовании должны устанавливаться комбинированные взрыворазрядные устройства или откидные клапаны, не допускающие распространения продуктов взрывного горения из одного оборудования в другое (см. приложение 5, рис.20). Длина каждого отводящего трубопровода от защищаемого оборудования до коллектора не должна превышать 3,0 м.

III. Установка взрыворазрядных устройств на нориях

3.1. Места установки взрыворазрядных устройств на нориях, их количество, диаметры проходных сечений взрыворазрядных устройств определяются в зависимости от типа нории, высоты норийных труб, расположения нории по отношению к ограждающим строительным конструкциям и оборудованию. Предпочтительными конструкциями взрыворазрядных устройств для нории являются взрыворазрядные устройства с предохранительными мембранами или с откидными клапанами.

3.2. На нориях с высотой норийных труб Ннор не более 36,0 м взрыворазрядные устройства должны устанавливаться на головке нории или на обеих норийных трубах в любом месте по высоте нории, удобном для монтажа и обслуживания взрыворазрядных устройств.

3.3. На нориях с высотой норийных труб более 36,0 м взрыворазрядные устройства должны устанавливаться на головке нории (или на норийных трубах на расстоянии не более 1/3 Ннор от головки нории) и на обеих норийных трубах на расстоянии не более 1/3 Ннор от башмака нории в любом месте, удобном для монтажа и обслуживания взрыворазрядных устройств.

3.4. Диаметр проходного сечения взрыворазрядного устройства, устанавливаемого на норийной трубе, должен быть не менее диаметра, определенного по формуле (7) приложения 1, где h и b - внутренние размеры поперечного сечения норийной трубы.

Диаметр проходного сечения взрыворазрядного устройства, устанавливаемого на головке нории, должен быть не менее диаметра проходного сечения взрыворазрядного устройства, устанавливаемого на норийной трубе, умноженного на коэффициент 1,414.

3.5. Требуемые значения диаметров D (площадей Fвзр) проходного сечения взрыворазрядных устройств, устанавливаемых на головке нории, указаны для основных типов нории в табл.2.

Таблица 2

Тип нории I-10 I-2 х 10 I-20 I-2 х 20 II-50 II-100 II-175 II-2 х 175 II-350 II-500
D, м 0,285 0,385 0,335 0,440 0,390 0,430 0,6575 0,820 0,800 1,100
Fвзр <*>, м2 0,064 0,116 0,088 0,152 0,119 0,145 0,338 0,530 0,515 0,950

<*> Площади даны для проходных сечений круглой формы.

Допускается уменьшение указанного в табл.2 диаметра проходного сечения взрыворазрядного устройства D, устанавливаемого на головке нории, при условии установки на каждой норийной трубе (или на головке нории) дополнительного взрыворазрядного устройства, компенсирующего допущенное уменьшение диаметра проходного сечения.

3.6. Требуемые значения диаметров D (площадей Fвзр) проходного сечения взрыворазрядных устройств, устанавливаемых на норийных трубах, указаны для основных типов норий в табл.3.

Таблица 3

Тип нории I-10 I-2 х
10
I-20 I-2 х 20 II-50 II-100 II-175 II-2 х 175 II-350 II-500
D, м 0,200 0,270 0,235 0,310 0,275 0,305 0,465 0,580 0,565 0,770
Fвзр<*>, м2 0,032 0,058 0,044 0,076 0,060 0,073 0,170 0,265 0,250 0,466

Допускается уменьшение указанного в табл.3 диаметра проходного сечения взрыворазрядного устройства D, устанавливаемого на норийной трубе, при условии установки на этой норийной трубе дополнительного взрыворазрядного устройства, компенсирующего допущенное уменьшение диаметра проходного сечения.

<*> Диаметр проходного сечения дополнительного взрыворазрядного устройства по п.п.3.5 и 3.6 должен быть не менее 0,20 м, а суммарная площадь проходных сечений круглой формы основного и дополнительного взрыворазрядного устройства должна быть не менее площади проходного сечения взрыворазрядного устройства, рассчитанной в соответствии с п.3.4 (или приведенной в табл.2 и 3).

3.7. На головках норий с гравитационной разгрузкой взрыворазрядные устройства устанавливаются в любом месте на крышке или на боковых стенках головки нории, а на головках норий с центробежной и центробежно-гравитационной разгрузкой - на верхней части крышки над восходящей ветвью или на боковых стенках головки нории (см. приложение 5, рис.8-12).

3.8. Установка взрыворазрядного устройства на крышке головки нории не должна приводить к обратной сыпи и попаданию продукта на предохранительную мембрану.

3.9. Взрыворазрядные устройства на норийных трубах устанавливаются на фланцах входных патрубков таким образом, чтобы норийная лента не препятствовала выбросу продуктов взрывного горения и несгоревшей смеси (см. приложение 5, рис.8, 10, 11, 13-16).

3.10. На головке сдвоенной нории допускается устанавливать взрыворазрядное устройство, общее для обеих частей нории.

3.11. Для типов норий, не указанных в табл.2 и 3, для вновь разрабатываемых норий и для норий с трубами круглого сечения диаметры проходных сечений взрыворазрядных устройств должны определяться расчетом в соответствии с п.3.4.

3.12. При установке взрыворазрядных устройств на норийных трубах допускается объединение двух норийных труб одной нории в месте расположения общего взрыворазрядного устройства.

Конструкция патрубка, объединяющего норийные трубы через их внутренние стенки, должна обеспечивать свободную площадь его проходного сечения не менее половины проходного сечения общего взрыворазрядного устройства. При этом необходимо учитывать, что объединяющий патрубок частично будет перекрываться норийной лентой (см. приложение 5, рис.15, 16).

Конструкция патрубка, объединяющего норийные трубы через их боковые стенки, должна обеспечивать свободную площадь его проходного сечения не менее площади проходного сечения общего взрыворазрядного устройства (см. приложение 5, рис.16).

Диаметр проходного сечения общего взрыворазрядного устройства определяется расчетом или на основе использования табличных данных, но должен быть не менее диаметра проходного сечения взрыворазрядного устройства, устанавливаемого на головке нории в соответствии с п.3.4.

3.13. Общая длина трубопровода от проходного сечения взрыворазрядного устройства до наружного среза не должна превышать 12 м при определении диаметра проходного сечения взрыворазрядного устройства для норий по табл.2 и 3.

При коротком, примерно до 3,0 м, вертикальном отводящем трубопроводе допускается установка мембраны на срезе трубопровода, при этом защитный зонт должен быть съемным и легкосбрасываемым (см. приложение 5, рис.7).

IV. Установка взрыворазрядных устройств на молотковых дробилках

4.1. На действующих предприятиях дробилки должны защищаться взрыворазрядными устройствами, которые устанавливаются на боковой стенке в верхней части поддробильного бункера или конуса (см. приложение 5, рис.17).

Предпочтительными конструкциями взрыворазрядных устройств для дробилок с механическим забором продукта являются взрыворазрядные устройства с разрывными мембранами, а для дробилок с пневмозабором продукта - взрыворазрядные устройства с откидными клапанами.

4.2. Диаметр проходного сечения взрыворазрядного устройства на поддробильном бункере (конусе) дробилки определяется расчетом по Методике, представленной в приложении 1.

При этом защищаемый объем складывается из свободного объема рабочей зоны дробилки и объема поддробильного бункера. Для отдельных типов дробилок значения этих объемов приведены в табл.1, 2 приложения 4.

4.3. При отсутствии сведений о прочности бункеров при расчете взрыворазрядных устройств для дробилок допускается принимать значения допустимого давления взрыва Pдоп = 1,0 кгс/см2 при объеме поддробильного бункера до 2,0 м3 и Pдоп = 0,5 кгс/см2 при объеме бункера свыше 2,0 м3.

4.4. Для предохранения разрывных мембран от повреждений под действием разрежения внутри дробилок с забором продукта пневматическим транспортом перед мембраной со стороны поддробильного бункера следует устанавливать сетку из проволоки толщиной 1-2 мм с ячейками размером 30 х 30 мм.

4.5. Технические решения заводов-изготовителей по взрывозащите дробилок должны быть согласованы с Госгортехнадзором России.

V. Установка взрыворазрядных устройств на фильтрах типа РЦИЭ и РЦИРЭ (фильтрах-циклонах)

5.1. Взрыворазрядные устройства должны устанавливаться на фильтр-циклонах аспирационных сетей, аспирирующих потенциально опасное оборудование (нории, вальцовые станки, дробилки и другое измельчающее оборудование ударного действия).

Предпочтительными конструкциями взрыворазрядных устройств для фильтр-циклонов являются взрыворазрядные устройства с откидными клапанами.

5.2. Взрыворазрядные устройства должны устанавливаться на корпусе фильтр-циклона в зоне неочищенного воздуха (см. рекомендуемое приложение 5, рис.18).

5.3. Для предохранения разрывных мембран от повреждений под действием пульсации давления (или при разрежении внутри фильтр-циклона) перед мембраной следует устанавливать сетку из проволоки толщиной 1-2 мм с ячейками размером 30 х 30 мм.

5.4. Требование по установке взрыворазрядных устройств на фильтр-циклонах для действующих предприятий является рекомендуемым.

5.5. Технические решения заводов-изготовителей по взрывозащите фильтр-циклонов должны быть согласованы с Госгортехнадзором России.

VI. Установка взрыворазрядных устройств на рециркуляционных зерносушилках с камерами нагрева, на шахтных зерносушилках с подогревателями и на каскадных нагревателях

6.1. Зерносушилки защищаются установкой взрыворазрядных устройств на камерах нагрева, подогревателях, каскадных нагревателях, осадочных камерах, топках, надсушильных бункерах, на нориях.

6.2. Взрыворазрядные устройства на нориях, обслуживающих зерносушилки, устанавливаются в соответствии с разд.3 настоящей Инструкции.

6.3. Взрыворазрядные устройства на надсушильных бункерах устанавливаются на верхней крышке или на боковой стенке в верхней части бункера.

6.4. Взрыворазрядные устройства на камерах нагрева устанавливаются на боковой стенке камеры.

При установке нескольких взрыворазрядных устройств их следует распределять равномерно по высоте камеры.

6.5. Взрыворазрядные устройства на подогревателях устанавливаются на боковой стенке секций подогревателя со стороны, противоположной входу агента сушки.

6.6. Взрыворазрядные устройства на каскадных нагревателях устанавливаются на боковой стенке секций противоточной шахты со стороны наклонных ребер решетчатых полок.

6.7. Взрыворазрядные устройства на осадочных камерах устанавливаются на боковых стенках в верхней части камер.

6.8. Рекомендуемая схема установки взрыворазрядных устройств на зерносушилке РД-2 х 25-70 представлена на рис.19 приложения 5.

6.9. Топки защищаются взрыворазрядными клапанами в соответствии с требованиями, предъявляемыми по взрывозащите топок.

6.10. В качестве предохранительных мембран, устанавливаемых во взрыворазрядных устройствах на камерах нагрева, подогревателях, каскадных нагревателях, осадочных камерах, рекомендуются взрыворазрядные устройства клапанного типа или взрыворазрядные устройства с выщелкивающимися мембранами из стального листа толщиной = 0,5-1,0 мм или из других материалов, выдерживающих длительное воздействие повышенной температуры (см. приложение 5, рис.3-5).

6.11. При отсутствии сведений о прочности конструкции защищаемых емкостей при расчете взрыворазрядных устройств, устанавливаемых на каскадных нагревателях, а также на камерах нагрева, подогревателях, осадочных камерах и надсушильных бункерах зерносушилок, рекомендуется принимать значение допустимого давления взрыва Pдоп = 0,5 кгс/см2.

6.12. Требования установки взрыворазрядных устройств на зерносушилках и каскадных нагревателях для действующих предприятий являются рекомендуемыми.

6.13. Требования по установке взрыворазрядных устройств на зерносушилках и каскадных нагревателях относятся к организациям, осуществляющим разработку, изготовление и применение в проектах зерносушилок и каскадных нагревателей.

Технические решения заводов-изготовителей по взрывозащите зерносушилок и каскадных нагревателей должны быть согласованы с Госгортехнадзором России.

VII. Эксплуатация взрыворазрядных устройств

7.1. Ответственность за исправное состояние взрыворазрядных устройств возлагается на соответствующее должностное лицо приказом по организации.

7.2. На установленное взрыворазрядное устройство оформляется паспорт, который заполняется по прилагаемой форме (см. рекомендуемое приложение 6). После установки все взрыворазрядные устройства нумеруются, а шиберные и бандажные пломбируются.

7.3. Разрывные предохранительные мембраны, выщелкивающиеся мембраны, откидные клапаны, поворотные створки, узлы их крепления, уплотняющие прокладки, отводящие трубопроводы должны быть в постоянной исправности.

7.4. Взрыворазрядные устройства ежемесячно проверяют, контролируя целостность мембран, герметизирующих прокладок, подвижность откидных клапанов и поворотных створок комбинированных взрыворазрядных устройств, отсутствие накоплений на мембранах и в отводящих трубопроводах пыли или продукта.

Результаты осмотров, сведения о проводимых ремонтах или замене мембран регистрируются в журнале, оформляемом по прилагаемой форме (см. рекомендуемое приложение 7).

7.5. При систематических нарушениях целостности мембран вследствие разрежения внутри оборудования или значительных пульсации давления рекомендуется установка защитной стальной сетки в соответствии с требованиями п. 4.4 настоящей Инструкции.

7.6. По истечении одного года эксплуатации взрыворазрядных устройств с разрывными предохранительными мембранами из полиэтиленовой пленки или алюминиевой фольги разрывные предохранительные мембраны подлежат замене.

7.7. При отклонениях от нормальной работы оборудования (завал продукта, интенсивное пыление, повышенные вибрации и т.д.) взрыворазрядные устройства после остановки оборудования немедленно проверяют и при необходимости заменяют разрывные предохранительные мембраны или другие поврежденные элементы конструкций.

Приложение 1
Обязательное

МЕТОДИКА РАСЧЕТА ВЗРЫВОРАЗРЯДНЫХ УСТРОЙСТВ

1. Площадь проходных сечений взрыворазрядных устройств (Fвзр, м2) рассчитывается из условия того, что остаточное давление взрыва (Pост, кгс/см2) не должно превышать допустимого значения внутреннего избыточного давления (Pдоп, кгс/см2), величина которого определяется прочностью конструкции защищаемого оборудования:

Pост Pдоп (1)

2. Площади проходных сечений круглой формы для одного или нескольких взрыворазрядных устройств (Fвзр или FвзрN) с одинаковыми конструктивными параметрами определяются соответственно по формулам:

Fвзр (2)
     
FвзрN (3)

где:

V - свободный объем защищаемого оборудования, величина которого определяется как разность геометрического объема оборудования и объема расположенных внутри его узлов и агрегатов, м3;

а - коэффициент, характеризующий давление вскрытия взрыворазрядного устройства, величина которого определяется из соотношения (9);

N - число одинаковых взрыворазрядных устройств, которыми защищается одна единица оборудования;

Pдоп - допустимое внутреннее избыточное давление, кгс/см2, величина которого определяется прочностью конструкции защищаемого оборудования. Для оборудования, несущая способность которого на действие внутреннего избыточного давления превышает 1,0 кгс/см2, следует принимать Pдоп = 1,0 кгс/см2;

_ - суммарный коэффициент гидравлического сопротивления отводящего трубопровода при защите оборудования одним взрыворазрядным устройством, величина которого определяется в соответствии с п.7 настоящей Методики;

_N - суммарный коэффициент гидравлического сопротивления отводящего трубопровода от одного взрыворазрядного устройства при защите оборудования одинаковыми взрыворазрядными устройствами, величина которого определяется в соответствии с п.7 настоящей Методики;

К - коэффициент, характеризующий длину (L, м) отводящих трубопроводов взрыворазрядного устройства, величина которого определяется из соотношений (11).

3. Диаметр проходного сечения взрыворазрядного устройства определяется по формуле

D = 2 х (4)

При квадратной форме проходного сечения взрыворазрядного устройства сторона квадрата h принимается равной расчетному значению диаметра D.

При прямоугольной форме проходного сечения взрыворазрядного устройства его стороны h и b с учетом требований п.2.1 настоящей Инструкции должны находиться в пределах

0,625D b (или h) 2,5D (5)

При определении размеров прямоугольного сечения следует исходя из технических условий с учетом ограничения (5) задаться значением одной из сторон (например, стороны h), тогда другая сторона прямоугольного сечения может быть определена по формуле

                  b = D х h                         (6)
                    2h – D                        

При прямоугольной форме проходного сечения взрыворазрядного устройства со сторонами h и b приведенный диаметр проходного сечения определяется по формуле

                  D = 2b х h                         (7)
                    h + b                        

4. При защите оборудования N взрыворазрядными устройствами с разными конструктивными параметрами с предохранительными мембранами, вскрывающимися при одинаковом значении избыточного статического давления (Pст, кгс/см2), площади проходных сечений взрыворазрядных устройств F(i), должны удовлетворять следующему соотношению:

Рдоп (8)

5. Значение коэффициента а определяется из соотношений:

a = 0,4 при Рст 0,1 кгс/см2    
      (9)
a = 0,268+1,32 Рст при Рст > 0,1 кгс/см2,    

где: Рст - избыточное статическое давление вскрытия взрыворазрядного устройства, величина которого для разрывных мембран диаметром D, мм, из полиэтиленовой пленки толщиной d, мм, определяется из соотношения

                  Рст = 440 х                           (10)
                    D                          

Для мембран других типов и из других материалов величина Рст определяется экспериментально или расчетом.

6. Значение коэффициента К определяется из соотношений:

К = 3L при L 3,5 м    
      (11)
К = 10,5 при L > 3,5м,    

где: L - длина отводящего трубопровода, м.

7. Вычисление суммарных коэффициентов гидравлического сопротивления отводящих трубопроводов взрыворазрядных устройств производится с использованием данных табл.1 приложения 3.

7.1. Для прямолинейных отводящих трубопроводов при соотношении L/D 3 значение суммарного коэффициента гидравлического сопротивления принимается равным коэффициенту гидравлического сопротивления из п.5 табл.1 приложения 3.

7.2. При соотношении L/D > 3 значение суммарного коэффициента гидравлического сопротивления определяется как сумма приведенных в табл.1 приложения 3 коэффициентов гидравлического сопротивления отдельных элементов отводящего трубопровода (входа, прямолинейных участков, поворотов, выхода).

7.3. При применении взрыворазрядных устройств с огнепреградителями при определении суммарного гидравлического сопротивления _ должно учитываться дополнительное гидравлическое сопротивление огнепреградителя _огнепр, которое указывается в его паспорте.

Для определения величины коэффициентов гидравлического сопротивления отдельных элементов отводящего трубопровода по табл.1 приложения 3 используются значения диаметра проходного сечения взрыворазрядного устройства D, определенные в первом приближении из номограммы, которая приведена в обязательном приложении 2.

Номограмма построена для взрыворазрядных устройств с прямыми отводящими трубопроводами. Если по номограмме определять диаметр проходного сечения для взрыворазрядного устройства с отводящими трубопроводами с поворотами, то это приведет к занижению определяемой величины.

8. При расчете площади проходного сечения взрыворазрядных устройств по формулам (2) и (3), в случае если полученный результат будет существенно отличаться от результатов первого приближения, полученного по номограмме, рекомендуется скорректировать коэффициенты гидравлического сопротивления и провести повторный расчет.

Порядок пользования номограммой

На левой вертикальной шкале представлены значения допустимого давления взрыва Pдоп, кгс/см2, на правой вертикальной шкале - значения величины защищаемого объема V, м2.

Между вертикальными шкалами расположены десять прямых наклонных линий, каждая из которых соответствует определенной длине отводящего трубопровода L, м.

Наклонные линии пересекаются шестнадцатью кривыми линиями, соответствующими величине проходного сечения взрыворазрядного устройства: вверху - в виде площади проходного сечения Fвзр, м2, внизу - в виде диаметра проходного сечения взрыворазрядного устройства D, м.

Ключ пользования номограммой приведен рядом с номограммой и заключается в следующем:

необходимо определить в первом приближении значение диаметра проходного сечения взрыворазрядного устройства D2 (или площадь проходного сечения F1) по заданным значениям Pдоп, V и L;

нанести заданные значения Pдоп и V на вертикальные шкалы номограммы, соединить их прямой линией и найти точку пересечения этой прямой с заданной линией L;

численное значение кривой D (F), проходящей через полученную точку пересечения, и есть искомое значение диаметра взрыворазрядного устройства в первом приближении D1 (или площади проходного сечения F1).

При попадании точки пересечения между двумя кривыми D (F) в качестве D1 (F1) следует принимать численное значение линии D (F) ближайшей слева.

Определение остаточного давления взрыва <*>

<*> 1. Все формулы основаны на экспериментальных данных и исходят из предпосылки о возможности возникновения взрыва в защищаемом оборудовании в максимально жестком режиме - по концентрации пылевоздушной смеси, по равномерности заполнения свободного объема пылевоздушной смесью, по дисперсности твердой фазы, по интенсивности и месту расположения источника зажигания.

2. На основании анализа результатов аварийных ситуаций установлено, что возникающее разрежение в защищаемых объемах при максимальной интенсивности выброса потока продуктов взрывного горения может приводить к частичной деформации аспирационных трубопроводов, воздуховодов и материалопроводов; основное технологическое оборудование выдерживает возникающее разрежение без деформаций.

Определение остаточного давления взрыва Pост в защищаемом оборудовании с одним взрыворазрядным устройством производится по формуле

Pост = (12)

Определение остаточного давления взрыва Pост в защищаемом оборудовании с несколькими взрыворазрядными устройствами производится по формуле

Pост = (13)

Все обозначения в формулах (12) и (13) и порядок определения коэффициентов а, К, и других параметров представлены в п.п.1-7 настоящей Методики расчета.

Приложение 2
Обязательное

НОМОГРАММА ДЛЯ ОПРЕДЕЛЕНИЯ ПЛОЩАДИ (ДИАМЕТРА) ПРОХОДНОГО СЕЧЕНИЯ ВЗРЫВОРАЗРЯДНЫХ УСТРОЙСТВ

Приложение 3
Обязательное

ЗНАЧЕНИЕ КОЭФФИЦИЕНТОВ ГИДРАВЛИЧЕСКОГО СОПРОТИВЛЕНИЯ РАЗЛИЧНЫХ ЭЛЕМЕНТОВ ТРУБОПРОВОДА

Таблица 1

1. Вход в трубопровод с острой кромкой

_вх = 0,5

2. Вход с закругленной кромкой

r/D 0,01 0,02 0,03 0,04 0,05
_вх 0,43 0,36 0,31 0,26 0,22
r/D 0,06 0,08 0,12 0,16 0,20
_вх 0,20 0,15 0,09 0,06 0,03

3. Вход с конической кромкой

° 10 20 30 40 60
VD
0,025 0,47 0,45 0,43 0,41 0,40
0,050 0,45 0,41 0,36 0,33 0,30
0,075 0,42 0,35 0,30 0,26 0,23
0,100 0,39 0,32 0,25 0,22 0,18
0,150 0,37 0,27 0,20 0,16 0,15
0,600 0,27 0,18 0,13 0,11 0,10

4. Прямолинейный участок

приближенно _L = 1_D х 0,5L (L и D, м)

D, м 0,20 0,25 0,30 0,40 0,50 0,60 0,80 1,00
1_D 0,19 0,15 0,12 0,08 0,06 0,05 0,04 0,03

5. Отверстие в стенке (короткий патрубок)

l/D 0 0,2 0,4 0,6 0,8 1,0 1,6 2...3
_H 2,85 2,72 2,60 2,34 1,95 1,76 1,60 1,55

6. Резкий поворот на угол а (колено)

_a = (1 + 0,2/D) 1_a

° 15 20 30 45 60 75 90
1_a 0,09 0,12 0,20 0,35 0,55 0,80 1,20
D, м Значения _a
0,20 0,18 0,24 0,40 0,70 1,10 1,60 2,40
0,25 0,16 0,22 0,36 0,63 0,99 1,44 2,16
0,30 0,15 0,20 0,33 0,58 0,92 1,33 2,00
0,40 0,14 0,18 0,30 0,53 0,83 1,20 1,80
0,50 0,13 0,17 0,28 0,49 0,77 1,12 1,68
1,00 0,11 0,14 0,24 0,42 0,66 0,96 1,44

7. Составной поворот на угол

а) ° = 45°, l(k) = 1,17D, R = 2,95D

б) ° = 60°, l(k) = 1,23D, R = 2,3D

в) ° = 90°, l(k) = 1,7D, R = 2,1D

Значения _a

D, м/ 0,20 0,25 0,30 0,40 0,50 0,80 1,00
°
45 0,24 0,22 0,20 0,18 0,17 0,15 0,15
60 0,32 0,29 0,27 0,25 0,23 0,20 0,20
90 0,63 0,57 0,53 0,48 0,44 0,40 0,38

8. Плавный поворот на угол

_a = 1_a х /90 I_k = 1,17D, R = 2,95D

D, м 0,20 0,25 0,30 0,40 0,60 0,80 1,0 1,2
1_a 0,36 0,32 0,30 0,27 0,25 0,23 0,22 0,21

9. Сетка в трубопроводе

d/h 0,5 0,10 0,20 0,30 0,40 0,50
_c 0,01 0,05 0,12 0,40 0,72 1,13

10. Выход из трубы с косым срезом

_вых = 1

11. Выход из диффузора с зонтом

h/D 0,25 0,30 0,35 0,40 0,50
_вых 1 0,80 0,70 0,65 0,60

Приложение 4
Справочное

ПРИМЕРЫ РАСЧЕТА ВЗРЫВОРАЗРЯДНЫХ УСТРОЙСТВ

I. Молотковые дробилки

ПРИМЕР 1.1. Требуется определить диаметры проходных сечений взрыворазрядных устройств с прямыми отводящими трубопроводами, имеющими косой срез на выходе в атмосферу, для дробилок типа А1-БД2-М, ДДО, ДМ-440У, ДМ, ДДМ, А1-ДДП, А1-ДДР, А1-ДМР с забором продукта механическим транспортом. Каждая дробилка расположена таким образом, что расстояние по оси взрыворазрядного устройства от выходного взрыворазрядного отверстия в стенке бункера до косого среза составляет 2,5 м.

Значения свободных объемов указанных типов дробилок V(др), определенные за вычетом объемов расположенных внутри узлов и агрегатов, значения объемов выпускных бункеров V(Б) и суммарных защищаемых объемов V приведены в табл.1.

Таблица 1

Тип дробилки А1-БД2-М ДДО, ДМ-440У ДМ ДДМ А1-ДДП, А1-ДДР А1-ДМР
Объем, м3
V(др) 0,02 0,1 0,2 0,7 0,75 0,85
V(Б) 1,5 1,5 1,5 1,0 1,0 1,0
V 1,52 1,6 1,7 1,7 1,75 1,85

Значение допустимого давления взрыва Pдоп для дробилок с выпускными бункерами объемом до 2,0 м3 принимаем равным 1,0 кгс/см3 в соответствии с п.4.3 настоящей Инструкции.

Подготовка исходных данных

В соответствии с п.5 Методики расчета (см. приложение 1) a = 0,4 и в соответствии с п.6 К = 3L = 7,5.

Для вычисления суммарного коэффициента сопротивления взрыворазрядного устройства и отводящих трубопроводов _ в соответствии с п.7 Методики расчета предварительно определим по номограмме диаметры проходных сечений взрыворазрядных устройств в первом приближении D(1).

Для дробилки типа А1-БД2-М диаметр взрыворазрядного устройства составляет D(1) = 0,25 м, а для остальных дробилок D1 = 0,30 м. В соответствии с п.7.2 Методики расчета суммарные коэффициенты сопротивления взрыворазрядных устройств и отводящих трубопроводов _ будут равны:

для D1 = 0,25 м

= 0,5 + 2,5/2 х 0,15 + 1,0 = 1,69;

для D1 = 0,30 м

= 0,5 + 2,5/2 х 0,12 + 1,0 = 1,65.

Выполнение расчетов

По формуле (2) Методики расчета получаем:

для дробилки А1-БД2-М

Fвзр = 0,0512 м2
         
D = 0,225 м    

для дробилок ДДО, ДМ-440У

Fвзр = 0,0523 м2

D 0,258 м

для дробилок ДМ, ДДМ

Fвзр = 1,42/26,2 = 0,0542 м2

D 0,263 м

для дробилок А1-ДДП, А1-ДДР

Fвзр = 1,45/26,2 = 0,553 м2

D 0,265 м

для дробилки А1-ДМР

Fвзр = 1,51/26,2 = 0,0576 м2

D 0,271 м

Далее в соответствии с п.2.2 и табл.1 настоящей Инструкции находим, что на взрыворазрядных устройствах для всех указанных дробилок в качестве предохранительных мембран может быть использована полиэтиленовая пленка толщиной = 0,05 мм.

ПРИМЕР 1.2. Для дробилки А1-ДМР со свободным объемом V = 1,85 м3 требуется определить расчетом площадь проходного сечения квадратной формы для взрыворазрядного устройства клапанного типа, расположенного вне производственного здания. Длина трубопровода, соединяющего защищаемый объем и клапан, L = 5 м. Значение допустимого давления Pдоп = 1,0 кгс/с м2.

Подготовка исходных данных

В соответствии с п.п.5 и 6 Методики расчета a = 0,4 и К = 10,5.

Первоначально по номограмме определяем площадь проходного сечения взрыворазрядного устройства для V = 1,85 м3, которая оказывается равной Fвзр = 0,0707 м2 (D = 0,30 м). Затем после определения защищаемого объема с учетом объема соединительного трубопровода V = 1,85 + 0,070 х 5,0 = 2,2 м3 вновь по номограмме определяем для этого объема площадь проходного сечения взрыворазрядного устройства Fвзр = 0,0962 м2 (D = 0,35 м).

В соответствии с п.7.2 Методики расчета суммарный коэффициент сопротивления взрыворазрядного устройства и отводящего трубопровода _ будет равен

= 0,5 + 5/2 х 0,10 + 1,0 = 1,75

Выполнение расчетов

По формуле (2) Методики расчета получаем

Fвзр = 0,0791 м2

D 0,317 м

Диаметр проходного сечения для круглого трубопровода D принимаем равным 0,317 м, а численное значение стороны квадрата проходного сечения взрыворазрядного устройства будет равным h = D = 0,317 м.

Выполнение дополнительного приближения, как показывается ниже, является излишнем, так как получающиеся при этом результаты практически совпадают с полученными при первоначальном расчете:

V = 1,85 + 0,0791 х 5,0 = 2,25

= 0,5 + 5/2 х 0,112 + 1,0 = 1,78
Fвзр = 0,0782 м2

D 0,316 м

ПРИМЕР 1.3. Для дробилок А1-БД2-М, ДМ-440У, ДМ и А1-ДМР с забором продукта механическим транспортом требуется определить диаметры проходных сечений взрыворазрядных устройств, отводящие трубопроводы которых имеют по два составных поворота на угол = 90° каждый и косой срез на выходе в атмосферу. Выпускные (поддробильные) бункеры дробилок выполнены в форме обелиска. Дробилки расположены таким образом, что длина отводящих трубопроводов от каждого взрыворазрядного устройства составляет 12 м. Размеры выпускных бункеров, величины их объемов и суммарных защищаемых объемов представлены в табл.2.

Таблица 2

Тип дробилки А1-БД2-М ДМ-440У ДМ А1-ДМР
Размеры и объем бункеров        
a1 х b1 (м х м) 2,00 х 2,20 2,20 х 2,56 1,60 х 2,56 1,60 х 2,81
a2 х b2 (м х м) 0,30 х 0,30 0,30 х 0,30 0,30 х 0,30 0,30 х 0,30
Н (м) 1,7 1,91 1,68 2,05
V(Б) (м3) 1,5 1,5 1,5
V (м3) 1,52 1,6 1,7 1,85

Значение допустимого давления взрыва Pдоп для дробилок с выпускными бункерами объемом свыше 2,0 м2 принимаем равным 0,5 кгс/см2 в соответствии с п.4.3 Инструкции.

Подготовка исходных данных

В соответствии с п.5 Методики расчета a = 0,4 и в соответствии с п.6 К = 10,5.

Для вычисления суммарного коэффициента гидравлического сопротивления взрыворазрядного устройства и отводящих трубопроводов _ предварительно определим по номограмме диаметры проходных сечений взрыворазрядных устройств в первом приближении D1.

Для дробилок типа А1-БД2-М, ДМ диаметр взрыворазрядного устройства D1 = 0,50 м, а для дробилок типа ДМ-440У и А1-ДМР диаметр взрыворазрядного устройства D1 = 0,60 м.

В соответствии с п.7.2 Методики расчета суммарные коэффициенты гидравлического сопротивления взрыворазрядных устройств и отводящих трубопроводов _ будут равны:

D1 = 0,5 м

D1 = 0,6 м

Выполнение расчетов

По формуле (2) Методики расчета получаем:

для дробилки А1-БД2-М

Fвзр = 0,320 м2
           
D = 0,638 м;      

для дробилки ДМ

Fвзр = 2,029/6,386 = 0,318 м2; D 0,636 м;

для дробилки ДМ-440У

Fвзр = 0,392 м2

D 0,707 м

для дробилки А1-ДМР

Fвзр = 2,702/6,638 = 0,407 м2; D 0,720 м

Далее в соответствии с п.2.2 и табл.1 настоящей Инструкции находим, что на взрыворазрядных устройствах в качестве предохранительных мембран может быть использована полиэтиленовая пленка толщиной = 0,12 мм для дробилок А1-БД2-М, ДМ и = 0,15 мм для дробилок ДМ-440У и А1-ДМР.

Следует обратить внимание на заметное расхождение диаметров проходных сечений взрыворазрядных устройств, определенных в первом приближении по номограмме (D1 = 0,5 и 0,6 м), и диаметров проходных сечений взрыворазрядных устройств (D = 0,638; 0,636; 0,707 и 0,720 м), определенных по формуле (2).

Это связано с тем, что номограмма определения диаметров D1 построена для взрыворазрядных устройств с прямыми отводящими трубопроводами, а в рассматриваемом примере каждый трубопровод имеет по два составных поворота на угол 90°.

В связи с этим сделаем еще одно уточненное определение диаметров проходных сечений взрыворазрядных устройств D по формуле (2), используя при этом уточненные значения _, определенные для D1, вычисленных по формуле (2), а не по номограмме:

для D = 0,638 м и D = 0,636 м

_ = 0,5 + 12/2 х 0,048 + 2 х 0,422 + 1,0 = 2,63;

для D = 0,707 м

_ = 0,5 + 12/2 х 0,045 + 2 х 0,412 + 1,0 = 2,59;

для D = 0,720 м

_ = 0,5 + 12/2 х 0,044 + 2 х 0,411 + 1,0 = 2,58

Тогда уточненные значения D будут равны:

для дробилки А1-БД2-М

Fвзр = 0,303 м2
           
D = 0,622 м;      

для дробилки ДМ

Fвзр = 2,029/6,735 = 0,301 м2; D 0,619 м;

для дробилки ДМ-440У

Fвзр = 0,379 м2

D 0,695 м

для дробилки А1-ДМР

Fвзр = 0,392 м2

D 0,707 м

Сравнение значений D (0,638; 0,636; 0,707 и 0,720 м), определенных в соответствии с Методикой по формуле (2) при использовании первоначальных значений _, с уточненными значениями, определенными по формуле (2) при использовании уточненных значений, _ показывает, что уточненные значения D (0,622; 0,619; 0,695 и 0,707 м) в среднем меньше на 0,025 м (3,6%), чем на практике можно пренебречь.

II. Зерносушилки

ПРИМЕР 2.1. Требуется определить проходное сечение взрыворазрядного устройства на подсушильном бункере объемом V = 12 м3. Металлический бункер верхней частью примыкает к перекрытию.

Расположение бункера позволяет установить взрыворазрядное устройство под перекрытием на боковой стенке с горизонтальным отводящим трубопроводом длиной L = 0,5 м.

Подготовка исходных данных

В соответствии с п.5 Методики расчета a = 0,4 и в соответствии с п.6 К = 3L = 1,5.

Для вычисления суммарного коэффициента гидравлического сопротивления взрыворазрядного устройства и отводящего трубопровода _ в соответствии с п.7 Методики расчета предварительно определяем по номограмме диаметр проходного сечения взрыворазрядного устройства в первом приближении D1, который будет равен 0,6 м. При этом в соответствии с п.6.11 Инструкции принимается, что допустимое давление взрыва Pдоп = 0,5 кгс/см2.

Поскольку L/D = 0,5/0,6 = 0,83 < 3,0, то в соответствии с п.7.1 Методики расчета принимаем, что _ = _H, а из п.5 табл.1 приложения 3 получаем, что _H =1,92.

Выполнение расчетов

По формуле (2) Методики расчета получаем

Fвзр = 0,281 м2
           
D = 0,598 м      

ПРИМЕР 2.2. Требуется определить диаметр проходного сечения взрыворазрядного устройства для камеры нагрева зерносушилки РД-2 х 25-70. Защищаемый объем, включающий часть объема тепловлагообменника, составляет 24 м3. Длина отводящего трубопровода L = 0,35 м. Рассмотрим варианты установки одного и двух взрыворазрядных устройств.

Подготовка исходных данных для расчета двух взрыворазрядных устройств

В соответствии с п.5 Методики расчета а = 0,4 и в соответствии с п.6 К = 3L = 1,05.

При этом в качестве мембраны взрыворазрядного устройства применяется выщелкивающаяся мембрана из стального листа толщиной = 0,55 мм с креплением, обеспечивающим вскрытие мембраны при Pст = 0,5 кгс/см2.

Для вычисления суммарного коэффициента сопротивления взрыворазрядного устройства и отводящего трубопровода _ в соответствии с п.7 Методики расчета предварительно определяем по номограмме диаметр проходного сечения взрыворазрядного устройства в первом приближении D1.

При этом в соответствии с п.6.11 Инструкции принимаем, что значение допустимого давления взрыва Pст = 0,5 кгс/см2, и условно считаем, что каждый из двух взрыворазрядных устройств защищает объем 12 м3. Тогда D1 = 0,6 м.

Поскольку L/D = 0,35/0,6 = 0,583 < 3,0, то в соответствии с п.7.1 Методики расчета принимаем, что _ = _H, а из п.5 табл.1 приложения 3 получаем, что _H = 2,34.

Проведение расчета двух взрыворазрядных устройств

По формуле (3) Методики расчета площадь каждого взрыворазрядного устройства должна быть

Fвзр = 0,242 м2
           
D = 0,555 м      

Поскольку при определении D1 было принято допущение о том, что каждое взрыворазрядное устройство защищает объем 12 м3, выполним уточнение определения D при _H = 2,4 (соответствующего диаметру 0,555 м).

Fвзр = 0,245 м2
           
D = 0,558 м      

Расхождение между диаметрами D = 0,555 м и D = 0,558 м составляет менее 0,5%, и им можно пренебречь.

Подготовка исходных данных для расчета одного взрыворазрядного устройства

В соответствии с п.5 Методики расчета a = 0,4 и в соответствии с п.6 К = 3L = 1,05.

В качестве мембраны взрыворазрядного устройства применяется выщелкивающаяся мембрана из стального листа толщиной = 0,55 мм с креплением, обеспечивающим вскрытие мембраны при избыточном давлении Pст 0,1 кгс/см2.

Поскольку номограмма непосредственно не может быть использована для определения диаметра D1, так как рассчитана для объемов до 12 м3, то принимаем допущение, что площадь проходного сечения одного взрыворазрядного устройства в первом приближении F1 равна суммарной площади двух взрыворазрядных устройств, определенных выше.

Тогда D = 0,785 м

Поскольку L/D = 0,35/0,785 = 0,45 < 3,0, то в соответствии с п.7.1 Методики расчета принимаем, что _ = _H, а из п.5 табл.1 приложения 3 получаем, что _H = 2,54.

Проведение расчета одного взрыворазрядного устройства

По формуле (2) Методики расчета площадь взрыворазрядного устройства должна быть

Fвзр = 0,504 м2
           
D = 0,801 м      

Поскольку при определении D1 было принято допущение, что суммарная площадь двух взрыворазрядных устройств равна площади проходного сечения одного взрыворазрядного устройства, выполняем уточненное определение D при _H = 2,55 (соответствующего диаметру 0,801 м).

Fвзр = 0,507 м2
           
D = 0,804 м      

Полученное уточнение составляет ~ 0,4 %, и им можно пренебречь.

Приложение 5
Рекомендуемое

КОНСТРУКТИВНЫЕ СХЕМЫ ВЗРЫВОРАЗРЯДНЫХ УСТРОЙСТВ И СХЕМЫ ИХ УСТАНОВКИ

Фетровые (паронитовые) накладки на шибере 3 крепятся клеем БФ-2.

Рис.1. Конструктивная схема шиберного взрыворазрядного устройства: 1 - разрывная мембрана с опорной сеткой; 2 - прокладка (асбест); 3 - шибер; 4 - выходной патрубок; 5 - накладки (фетр или паронит); 6 - пластина установочная; 7 - входной патрубок

Рис.2. Конструктивная схема взрыворазрядного устройства с бандажным креплением разрывной мембраны: 1- входной патрубок; 2 - концы бандажа; 3 - разрывная мембрана; 4- подвижной патрубок; 5 - выходной патрубок; 6 - отводящий трубопровод; 7 - кольцо резиновое; 8 - бандаж; 9 - проволока диаметром 5-6 мм; 10 - ручки; 11 - стопорные крючки

Рис.3. Конструктивная схема взрыворазрядного устройства с откидным клапаном и вертикальным отводящим трубопроводом: 1 - крышка откидная; 2 - груз; 3 - ось поворота крышки; 4 - соединяющий (входной) патрубок; 5 - окантовочный пруток патрубка; 6 - уплотняющая прокладка

Рис.4. Конструктивная схема взрыворазрядного устройства с откидным клапаном и горизонтальным отводящим трубопроводом: 1 - крышка откидная; 2 - груз; 3- ось поворота крышки; 4 - соединяющий (входной) патрубок

Рис.5. Конструктивная схема взрыворазрядного устройства с выщелкивающейся мембраной: 1 - выщелкивающаяся мембрана; 2 - опорное ребро (уголок); 3 - входной патрубок; 4 - герметизирующая разрывная мембрана; 5 - съемный выходной патрубок; 6 - бандаж; 7 - шайба; 8 - винт; 9- асбестовые прокладки

На схеме ось створчатого клапана условно повернута на 90°, при установке клапана его ось должна располагаться вертикально.

Рис.6. Конструктивная схема комбинированного взрыворазрядного устройства (с бандажным креплением герметизирующей разрывной мембраны и клапаном с поворотными створками): 1- кассета со створчатым клапаном; 2 - поворотные створки клапана; 3- промежуточный патрубок; 4 - подвижной патрубок; 5 - герметизирующая разрывная мембрана (из полиэтиленовой пленки или алюминиевой фольги); 6 - входной патрубок; 7 - резиновое кольцо; 8 - паронитовое кольцо; 9 - уголок; 10 - резина d = 2 мм; 11 - шайба; 12 - отводящий трубопровод

Рис.7. Конструктивная схема взрыворазрядного устройства с диффузором на срезе короткого вертикального патрубка: 1 - легкосбрасываемый зонт; 2 - цепочка; 3 - стойка со стопором; 4 - рамка с полиэтиленовой пленкой или алюминиевой фольгой; 5 - диффузор; 6 - отводящий трубопровод

Рис.8. Схема расположения на нории взрыворазрядных устройств шиберного типа: 1 - башмак нории; 2- норийные трубы; 3 - головка нории; 4 - вертикальный отводящий трубопровод с диффузором; 5 - взрыворазрядное устройство шиберного типа; 6 - горизонтальный отводящий трубопровод; 7 - выходной трубопровод с косым срезом

Рис.9. Схема расположения на головке нории взрыворазрядного устройства шиберного типа: 1 - защитный зонт; 2 - вертикальный отводящий трубопровод с диффузором; 3- взрыворазрядное устройство шиберного типа; 4 - входной патрубок; 5- корпус головки нории; 6 - переходник; 7 - хомут; 8 - покрытие

Рис.10. Возможные варианты расположения взрыворазрядных устройств на головке нории с гравитационной разгрузкой: A, D - взрыворазрядные устройства с горизонтальными отводящими трубопроводами; В, С - взрыворазрядные устройства с вертикальными отводящими трубопроводами

Рис.11. Возможные варианты расположения взрыворазрядных устройств на головке нории с центробежно-гравитационной разгрузкой: А - взрыворазрядное устройство с вертикальными отводящими трубопроводами; В - взрыворазрядное устройство с горизонтальными отводящими трубопроводами

Рис.12. Возможные варианты расположения входных патрубков под взрыворазрядные устройства на головке нории с центробежно-гравитационной разгрузкой: С - взрыворазрядное устройство с горизонтальным или вертикальным отводящим трубопроводом; D - взрыворазрядное устройство с вертикальным отводящим трубопроводом

Рис.13. Схема расположения на норийной трубе взрыворазрядного устройства шиберного типа: 1 - норийная труба; 2 - входной патрубок; 3 - переходник; 4 - стена; 5 - выходной трубопровод с косым срезом; 6 - отводящий трубопровод; 7 -взрыворазрядное устройство шиберного типа

Взрыворазрядные устройства I, II допускается устанавливать на разных уровнях.

Рис.14. Возможные варианты расположения взрыворазрядных устройств на норийных трубах: 1, 2, 3 ... - возможные направления оси взрыворазрядного устройства

Рис.15. Схема объединения норийных труб для установки общего взрыворазрядного устройства (I вариант): 1- норийные трубы; 2 - объединяющий переходник; 3 - входной патрубок под общее взрыворазрядное устройство

Диаметр общего взрыворазрядного устройства D определяется расчетом или из табл.2 (таблица для головок норий).

Рис.16. Схема объединения норийных труб для установки общего взрыворазрядного устройства (II вариант): 1- норийные трубы; 2 - объединяющий переходник; 3 - входной патрубок под общее взрыворазрядное устройство

Рис.17. Схема расположения взрыворазрядного устройства на поддробильном бункере: 1 - входной патрубок; 2 - взрыворазрядное устройство (с мембраной или с откидным клапаном); 3 - горизонтальный отводящий трубопровод; 4 - поддробильный бункер

Рис.18. Схема расположения взрыворазрядного устройства на фильтр-циклоне: 1 - входной патрубок; 2- взрыворазрядное устройство (с мембраной или с откидным клапаном); 3 - горизонтальный отводящий трубопровод

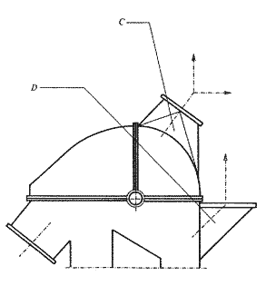
Рис.19. Схема расположения взрыворазрядных устройств на зерносушилке РД-2г25-70: 1 - взрыворазрядное устройство на надсушильном бункере; 2 - взрыворазрядное устройство на камере нагрева; 3 - взрыворазрядитель на осадочной камере

Рис.20. Схема установки на группе оборудования комбинированных взрыворазрядных устройств, объединенных коллектором: 1 - коллектор; 2 - комбинированные или клапанные взрыворазрядные устройства; 3 - защищаемое оборудование; 4 - отводящие трубопроводы

Приложение 6
Рекомендуемое

         ФОРМА ПАСПОРТА ВЗРЫВОРАЗРЯДНОГО УСТРОЙСТВА <*>
 

    <*> Пункты 1,  2, 3 заполняются изготовителем взрыворазрядного
устройства.
 
              Паспорт взрыворазрядного устройства N
 
1. Изготовитель __________________________________________________
2. Дата изготовления _____________________________________________
3. Тип взрыворазрядного устройства _______________________________
                                     (диаметр проходного сечения, 
__________________________________________________________________
                тип взрыворазрядного устройства)
4. Наименование цеха, участка ____________________________________
5. Наименование оборудования, его номер и место установки ________
6. Место установки взрыворазрядного устройства ___________________
7. Материал и толщина мембраны ___________________________________
8. Диаметр отводящего трубопровода _______________________________
9. Длина отводящего трубопровода _________________________________
10. Количество поворотов отводящего трубопровода и углы поворотов
__________________________________________________________________
11. Величина защищаемого объема __________________________________
12. С каким оборудованием отводящие трубопроводы  соединены  общим
коллектором ______________________________________________________
13. Дата установки взрыворазрядного устройства ___________________
14. Дата заполнения паспорта _____________________________________
 
Подпись изготовителя                    __________________________
                                            (должность, фамилия)
 
Подпись ответственного за техническое
состояние и эксплуатацию                __________________________
                                            (должность, фамилия)
 
 
 

Приложение 7
Рекомендуемое

ФОРМА ЖУРНАЛА ПЕРИОДИЧЕСКИХ ОСМОТРОВ И РЕМОНТОВ ВЗРЫВОРАЗРЯДНЫХ УСТРОЙСТВ

Журнал периодических осмотров и ремонтов взрыворазрядных устройств

N п/п Дата N взрыворазрядного устройства и вид оборудования, на котором он установлен Периодические осмотры и ремонты Аварийное срабатывание взрыворазрядного устройства Должность и подпись лица, проводившего осмотр
       
1 2 3 4 5 6 7 8
Наименование производственного участка, где установлено защищаемое оборудование, или наименование защищаемых сооружений