Информационная технология. Взаимосвязь открытых систем. Внутренняя организация сетевого уровня. ГОСТ р ИСО 8648-98

(утв. Постановлением Госстандарта РФ от 14.05.98 N 206)
Редакция от 14.05.1998 — Действует с 14.05.1998

Принят и введен в действие
Постановлением Госстандарта России
от 14 мая 1998 г. N 206

ГОСУДАРСТВЕННЫЙ СТАНДАРТ РОССИЙСКОЙ ФЕДЕРАЦИИ

ИНФОРМАЦИОННАЯ ТЕХНОЛОГИЯ. ВЗАИМОСВЯЗЬ ОТКРЫТЫХ СИСТЕМ. ВНУТРЕННЯЯ ОРГАНИЗАЦИЯ СЕТЕВОГО УРОВНЯ.

ГОСТ Р ИСО 8648-98

Information technology. Open systems interconnection. Internal organization of the network layer

Дата введения 01 января 1999 года

ВВЕДЕНИЕ

 

Настоящий стандарт определяет архитектурную организацию сетевого уровня эталонной модели взаимосвязи открытых систем (ВОС). В нем рассматриваются функциональная организация логических объектов сетевого уровня в открытых системах и способы преобразования этих объектов в объекты "реального мира" (например, "реальные" сети, коммутаторы, передающие физическую среду и т.д.). Настоящий стандарт соотносит рассматриваемые им объекты "реального мира" с набором абстрактных элементов. Возможны многие варианты преобразования между абстрактным элементом и физическим оборудованием, используемым для его реализации. Для описания таких преобразований необходимо провести четкое различие между архитектурными понятиями и понятиями реального мира.

Устанавливаемая настоящим стандартом архитектурная организация идентифицирует и классифицирует способы выполнения протоколами сетевого уровня его внутренних функций. При этом она обеспечивает унифицированную основу для определения способов использования различных протоколов сетевого уровня, действующих по отдельности или совместно, при обеспечении услуг сетевого уровня (УСУ) ВОС. Уделяя особое внимание общим функциональным элементам протоколов сетевого уровня, эта архитектура ставит своими задачами:

a) упростить использование протоколов сетевого уровня для обеспечения услуг сетевого уровня в различных ситуациях;

b) ограничить неуправляемый рост числа протоколов сетевого уровня с перекрывающимися функциями;

c) уточнить требования к будущим стандартам по протоколам сетевого уровня и создать руководство по их разработке.

Для сетевого уровня такая детализированная внутренняя структура необходима по двум причинам.

1) Сетевой уровень предоставляет своим пользователям унифицирована услуги независимо от наличия возможно больших различий в нижерасположенных услугах, технологии и методах административной организации сетей "реального мира". Важно понять способы организации нижерасположенных компонентов и их взаимодействия внутри сетевого уровня, а также способы их эффективного использования.

2) ГОСТ 28906 устанавливает, что сетевой уровень выполняет функции маршрутизации и ретрансляции и может содержать логические объекты, расположенные как в промежуточных, так и в оконечных системах. Необходимо описание событий, происходящих в логических объектах сетевого уровня обоих типов, т.е. в оконечных системах (в которых услуги сетевого уровня предоставляются пользователям УСУ) и в промежуточных системах (в которых логические объекты сетевого уровня, обеспечивающие указанные функции маршрутизации и ретрансляции, не предоставляют услуг сетевого уровня пользователям УСУ).

1. НАЗНАЧЕНИЕ И ОБЛАСТЬ ПРИМЕНЕНИЯ

Настоящий стандарт устанавливает архитектурную модель сетевого уровня ВОС в качестве основы для его стандартизации, позволяя охватить архитектурой ВОС существующие сети.

Эта архитектурная организация способствует разработке реальных подсетей, полностью обеспечивающих услуги сетевого уровня ВОС, и в то же время приспосабливая функционирование в среде ВОС других подсетей, не полностью обеспечивающих услуги сетевого уровня ВОС.

Стандарт распространяется на разработку и применение протоколов сетевого уровня, действующих между логическими объектами сетевого уровня оконечных систем, обеспечивающих услуги сетевого уровня ВОС, либо промежуточных систем, обеспечивающих функции маршрутизации и ретрансляции.

Он должен использоваться с целью:

a) создания общего набора понятий и терминологии, используемых в стандартах по сетевому уровню (такие стандарты должны ссылаться на настоящий стандарт);

b) анализа функций и классификации протоколов сетевого уровня;

c) определения способа использования "реальных сетей" для поддержки или обеспечения услуг сетевого уровня ВОС, особенно в тех ситуациях, когда необходимо взаимоувязать и использовать несколько "реальных сетей".

Устанавливаемая здесь организация сетевого уровня не затрагивает вопрос диспетчеризации сетевого уровня, в частности, она не касается взаимоотношений между логическими объектами сетевого уровня, которые могут учитываться при диспетчеризации сетевого уровня. Кроме того, настоящий стандарт не устанавливает требований к функциям ретрансляции промежуточных систем, а также к способам практического и эффективного использования конкретных сочетаний разрешенных функций.

2. НОРМАТИВНЫЕ ССЫЛКИ

Настоящий стандарт содержит ссылки на следующие документы:

ГОСТ 28906-91 (ИСО 7498-84 с Доп. 1-84) Системы обработки информации. Взаимосвязь открытых систем. Базовая эталонная модель

Примечание - См. также рекомендацию МККТТ Х.200 Эталонная модель. Взаимосвязь открытых систем для применений МККТТ

ГОСТ 28907-91 (ИСО 8802-2-89) Системы обработки информации. Передача данных. Локальные вычислительные сети. Управление логическим звеном.

ГОСТ 34.913.3-91 (ИСО 8802-3-89) Информационная технология. Локальные вычислительные сети. Часть 3. Коллективный доступ с опознанием несущей и обнаружением конфликтов (КДОН/ОК). Метод доступа и спецификация физического уровня

ГОСТ 34.913.4-91 (ИСО 8802-4-88) Информационная технология. Локальные вычислительные сети. Часть 4. Метод доступа к шине с передачей маркера и спецификация физического уровня

ГОСТ Р 34.950-92 (ИСО 8208-87) Системы обработки информации. Передача данных. Протокол пакетного уровня Х.25 для оконечного оборудования данных

ГОСТ Р 34.951-92 (ИСО 8348-87 с Доп. 1-87) Системы обработки информации. Передача данных. Определение услуг сетевого уровня

Примечание - См. также, .рекомендацию Х.213 МККТТ Определение услуг сетевого уровня взаимосвязи открытых систем (ВОС) для применений МККТТ

ГОСТ Р ИСО/ТО 8509-95 Системы обработки информации. Взаимосвязь открытых систем. Соглашения по услугам

Примечание - См. также рекомендацию Х.210 МККТТ Соглашения по определению услуг уровней ВОС

ИСО/МЭК 8802-5-92* Информационная технология. Локальные и региональные вычислительные сети. Часть 5. Метод доступа к кольцу с передачей маркера и спецификация физического уровня

ИСО 8802-7-91* Информационная технология. Локальные вычислительные сети. Часть 7. Метод тактированного доступа к кольцу и спецификация физического уровня

* Оригиналы стандартов и проектов ИСО/МЭК - во ВНИИКИ Госстандарта России.

Рекомендация Х.21 МККТТ Стык между оконечным оборудованием данных (ООД) и аппаратурой окончания канала данных (АКД) для синхронной работы по СДОП

Рекомендация Х.25 МККТТ Стык между оконечным оборудованием данных (ООД) и аппаратурой окончания канала данных (АКД) для оконечных установок, работающих в пакетных режиме и подключенных к сетям данных общего пользования по выделенным каналам.

3. ОПРЕДЕЛЕНИЯ

3.1. Определения из стандарта по эталонной модели

В настоящем стандарте используются следующие понятия, определенные в ГОСТ 28906:

Сетевой уровень ВОС

Услуги сетевого уровня ВОС

Пункт доступа к услугам сетевого уровня ВОС

Адрес пункта доступа к услугам сетевого уровня ВОС (адрес сетевого уровня)

Логический объект сетевого уровня ВОС

Ретрансляция на сетевом уровне

Маршрутизация

Услуга

Протокол

Протокольная управляющая информация

3.2. Определения из соглашений по услугам

В настоящем стандарте используются следующие понятия, определенные в ГОСТ Р ИСО/ТО 8509:

Пользователь услуг

Поставщик услуг

3.3. Определения понятий архитектуры сетевого уровня

В настоящем стандарте используются следующие термины и определения:

Реальная подсеть - совокупность оборудования и физической среды, которая образует автономное целое и может использоваться для взаимосвязи реальных систем с целью обмена данными.

Подсеть - абстрактное представление реальной сети.

Устройство взаимодействия - один или несколько элементов оборудования или часть элемента оборудования, выполняющих функцию ретрансляции на сетевом уровне (т. е. реальная система, которая принимает данные от данного взаимодействующего логического объекта сетевого уровня и направляет их к другому взаимодействующему логическому объекту сетевого уровня).

Примечание - Такое оборудование может быть составной частью реальных подсетей, взаимосвязь которых оно осуществляет.

Ретрансляционная система - абстрактное представление технических средств, образующих устройство взаимодействия.

Промежуточная система - абстрактное представление реальной системы, обеспечивающей ретрансляционную функцию сетевого уровня.

Услуга передачи данных - совокупность возможностей реальной подсети, которая может быть использована пользователями этой подсети для передачи и приема данных.

Примечание - Эта услуга определена между теми пунктами, к которым подключен каждый пользователь и в которых он получает доступ к реальной подсети (например на стыке ООД/АКД), и ее не следует путать с услугой на границе уровней, определенной в ГОСТ 28906.

4. СОКРАЩЕНИЯ

В настоящем стандарте используются следующие сокращения:

АКД - аппаратура окончания канала данных

ЛВС - локальная вычислительная сеть

ООД - оконечное оборудование данных

ПДП - протокол доступа к подсети

ПДУСУ - пункт доступа к услугам сетевого уровня

ПСЗП - протокол сходимости, зависимый от подсети

ПСНЗП - протокол сходимости, независимый от подсети

ПУИ - протокольная управляющая информация

СУ - сетевой уровень

УВД - устройство взаимодействия

УСУ УС - услуга сетевого уровня в режиме с установлением соединения

УСУ БУС - услуга сетевого уровня в режиме без установления соединения

5. ПОНЯТИЯ И ТЕРМИНОЛОГИЯ СЕТЕВОГО УРОВНЯ

В данном разделе определяется смысл многих понятий, которые используются в стандартах по сетевому уровню ВОС и в общем случае имеют более широкую интерпретацию.

5.1. Объекты реального мира и абстрактные элементы

В этом подразделе и в разделе 8 для иллюстрации различных представляющих интерес конфигураций сетевого уровня используются диаграммы. Каждая диаграмма состоит из двух частей. Объекты реального мира изображены в верхней части каждой диаграммы, а соответствующие абстрактные элементы - в нижней. В таблице 1 приведены графические изображения тех объектов реального мира и абстрактных элементов, которые использованы на диаграммах.

На рисунках 1-4 показаны основные комбинации взаимосвязей объектов реального мира и соответствующих им абстрактных элементов. Из этого базового набора взаимосвязей можно построить любое число допустимых взаимосвязей путем повторяющегося и/или рекурсивного использования базовых взаимосвязей, показанных на рисунках 1-4.

Примечание - На рисунке 5 и последующих рисунках абстрактные элементы изображены более подробно (для иллюстрации, например, уровней ВОС, протокольных ролей и др.).

Таблица 1

Соответствие между объектами реального мира и абстрактными элементами

Объект реального мира Графическое представление объекта реального мира Соответствующий абстрактный элемент Графическое представление абстрактного элемента
Реальная система   Система  
Реальная открытая система   Открытая система  
Устройство взаимодействия Коммутационная система
Реальная подсеть Подсеть
Реальная оконечная система Оконечная система
Примечание - Графическое представление непосредственно соединенных оконечных систем (см. 5.2.1) должно изображаться в виде одного звена, а не в виде промежуточной системы

Рисунок 1
"Прямой" обмен данными между оконечными системами
(без участия промежуточной системы)
 

 

Рисунок 2
Обмен данными между оконечными системами через промежуточную систему


а) Представление каждой реальной подсети и функции взаимодействия в виде промежуточной системы


b) Представление комбинированных функций взаимодействия в виде отдельной промежуточной системы

Рисунок 3
Взаимосвязь реальных подсетей, охватывающая функции встроенного устройства взаимодействия

Рисунок 4
Взаимосвязь реальных подсетей посредством отдельного устройства взаимодействия

Рисунок 5
Взаимосвязь между услугами подсети и услугами передачи данных

Примечание - На данном рисунке показан случай, когда услуги подсети не идентичны услугам сетевого уровня ВОС

5.2. Оконечная и промежуточная системы

Оконечные и промежуточные системы представляют собой абстрактное представление технических средств, удовлетворяющих тем требованиям стандартов ВОС, которые необходимы для функционирования открытой системы (см. ГОСТ 28906). Промежуточная система выполняет только те функции, которые относятся к трем нижним уровням эталонной модели. Устройства взаимодействия и реальные подсети служат примерами реальных технических средств, выполняющих роль промежуточной системы. Оконечная система должна, кроме того, обеспечивать функции уровней, расположенных выше сетевого уровня. Реальная оконечная система - это некоторая часть технических средств или некоторая совокупность частей оборудования, выполняющая функции такой оконечной системы. Логические объекты сетевого уровня, расположенные внутри оконечных систем, должны обеспечивать те же межсистемные функции сетевого уровня по обмену данными, которые они выполняют в промежуточных системах, за исключением ретрансляционных функций, которые выполняются только промежуточными системами.

В зависимости от условий применения одна и та же совокупность физических средств может функционировать как реальная оконечная система, как устройство взаимодействия либо как то и другое одновременно. При этом в каждой конкретной ситуации используемые функции соответствуют функциям либо абстрактной оконечной системы, либо промежуточной системы.

5.2.1 Свойства оконечных систем

Оконечная система может обмениваться данными с другой оконечной системой двумя способами:

a) непосредственно без участия промежуточной системы (см. рисунок 1) либо

b) через одну или несколько промежуточных систем (см. рисунок 2).

В данном контексте понятие "непосредственно" означает, что в обмене данными участвуют только логические объекты сетевого уровня двух взаимосвязанных оконечных систем. Взаимодействие "через одну или несколько промежуточных систем" означает, что, помимо участия в обмене данными взаимодействующих логических объектов сетевого уровня двух оконечных систем, один или несколько таких объектов выполняют ретрансляционные функции сетевого уровня.

В любом случае на способ использования ретрансляционных функций нижерасположенных уровней (например ретрансляция на уровне звена данных или на физическом уровне) для обеспечения обмена данными между логическими объектами сетевого уровня не налагается никаких ограничений.

Например, реальная подсеть, непосредственно соединяющая две оконечные системы (как показано на рисунке 1), может быть такой же простой, как и прямое двухпунктовое звено между двумя оконечными системами, или такой же сложной, как и совокупность взаимосвязей локальных вычислительных сетей (ЛВС).

5.2.2 Свойства промежуточных систем

Промежуточная система является абстрактным представлением:

a) реальной сети (см., например, 5.3 и рисунок 2), отличной от той, с которой она непосредственно соединена (как в 5.2.1);

b) устройства взаимодействия, соединяющего две или более реальных подсетей (см. 5.4 и рисунок 4, где показан случай использования только двух реальных подсетей), либо

c) реальной подсети с соответствующим устройством взаимодействия (см. 5.4 и рисунок 3).

Любую комбинацию приведенных выше возможностей можно рассматривать как промежуточную систему.

В некоторых применениях может оказаться полезным идентифицировать и различать абстрактные функциональные возможности реальной подсети и функциональные возможности устройства взаимодействия. В таких случаях для представления этих конкретных типов промежуточных систем могут быть использованы понятия "подсеть" и "коммутационная система" (как описано ниже в 5.3 и 5.4).

5.3. Реальные подсети и подсети

Реальная подсеть представляет собой совокупность технических средств и физической среды, которые образуют автономное целое и которые могут быть использованы для взаимосвязи других реальных систем с целью обмена данными (см. рисунок 2). Примерами реальных подсетей служат:

- общеизвестные сети общего пользования, обеспечиваемые поставщиками;

- сети частных поставщиков и пользователей;

- локальные вычислительные сети;

- любая из вышеупомянутых сетей с соответствующими интерфейсными средствами и/или устройством(ами) взаимодействия, рассматриваемыми в совокупности как реальная подсеть.

Все компоненты оборудования, образующие такую реальную подсеть, могут быть представлены в виде одной абстрактной подсети. Важно отметить, что совокупность физического оборудования перечисленных выше типов, представленную здесь как "подсеть", обычно называют сетью.

Наблюдаемые извне свойства некоторых реальных подсетей описана в различных стандартах и рекомендациях, например в рекомендации МККТТ Х.21 по коммутации каналов и Х.25 по коммутации пакетов или в стандартах ИСО по ЛВС. Во взаимосвязи реальных систем могут участвовать несколько реальных подсетей. Понятие "подсеть" может быть рекурсивно расширено на совокупность подсетей, взаимосвязанных таким образом, что с точки зрения подключенной к ним системы они могут выглядеть и рассматриваться как одна подсеть.

Реальную подсеть можно реализовать таким образом, чтобы она полностью поддерживала услуги сетевого уровня ВОС, т. е. так, чтобы функции, обеспечиваемые реальной подсетью и успешно используемые подключенными к ней реальными оконечными системами, были полностью эквивалентны в абстрактном смысле функциям услуг сетевого уровня ВОС (см. 5.5). Реальная подсеть, обладающая такими свойствами, рассматривается как подсеть, обеспечивающая все элементы услуг сетевого уровня ВОС. Будучи способной обеспечить все услуги сетевого уровня ВОС, реальная подсеть должна обеспечить и все обязательные элементы услуг этого уровня. Кроме того, она может обеспечить любые факультативные возможности поставщика услуг сетевого уровня, хотя такая возможность и не является обязательным требованием.

5.4. Ретрансляционные системы и устройства взаимодействия

Ретрансляционная система - это абстрактное представление некоторого компонента оборудования (или некоторой совокупности компонентов оборудования), которую в реальном представлении принято рассматривать как устройство взаимодействия. Назначение устройств взаимодействия состоит в том, чтобы способствовать взаимосвязи различных реальных подсетей.

Устройство взаимодействия может находиться в распоряжении поставщика реальной подсети или в административном ведении кого-то другого. В тех случаях, когда устройство взаимодействия физически отделено от реальных подсетей, которое оно соединяет, это устройство может быть представлено как отдельная промежуточная система (см. рисунок 4). Устройство взаимодействия может быть также встроено в виде составной части в любую из взаимосвязанных реальных подсетей.

В таких случаях реальную подсеть вместе со встроенными в нее устройством взаимодействия можно представить в виде одной промежуточной системы (см. рисунок 3а). С другой стороны, каждую реальную подсеть в отдельности можно представить в виде промежуточной системы, соединенную с другой промежуточной системой, которая обладает совокупной функциональной возможностью объединенных промежуточных устройств взаимодействия (см. рисунок 3b).

5.5. Услуги по передаче данных и услуги подсети

Любая реальная подсеть обеспечивает для реальных систем определенную совокупность функций, используемых этими системами. Некоторые реальные подсети выполняют функции, расположенные выше сетевого уровня архитектуры ВОС (или вообще выходят за рамки ВОС). Такие функции не входят в предмет рассмотрения настоящего стандарта. Абстрактное представление совокупности возможностей, доступных на границе между реальной оконечной системой и реальной подсетью, и есть услуги по передаче данных. Соответственно различным типам реальных подсетей существуют различные виды услуг по передаче данных (например, услуги по передаче данных с коммутацией каналов или с коммутацией пакетов в соответствии с определениями МККТТ).

В констексте описания сетевого уровня ВОС абстрактное представление функций, обеспечиваемых подсетью, а также выполняемых внутри открытых систем и необходимых для использования функций, обеспечиваемых подсетью, и есть услуги подсети. Услуги подсети включают в себя услуги по передаче данных или их подмножество (см. рисунок 5).

Следовательно, услуги подсети могут быть:

a) идентичны услугам сетевого уровня ВОС во всех применениях (см. 5.3);

b) отличны от услуг сетевого уровня во всех применениях;

c) отличны от услуг сетевого уровня ВОС в некоторых применениях и идентичны услугам сетевого уровня ВОС в других применениях.

Если реальная подсеть обеспечивает услуги типа b) или c), то для обеспечения всего набора услуг сетевого уровня ВОС для всех применений сетевой уровень должен обеспечить некоторые дополнительные функции. Эти дополнительные функции выполняются в оконечных и/или в ретрансляционных системах, привлекающих услуги данной реальной подсети.

Конкретным примером услуг типа 5.5 с) в режиме с установлением соединения является случай, когда реальная подсеть определена таким образом, что ее протокол доступа содержит все функции, необходимые для организации установления и разъединения сетевых соединений, но не все функции, необходимые для обеспечения передачи данных по этим соединениям. Поэтому в таких подсетях расширение протоколов потребуется для фазы передачи данных, но не для фаз установления и разъединения соединений.

5.6. Типы услуг

Сервис сетевого уровня ВОС содержит услуги двух основных типов:

a) услуги режима с установлением соединения (УСУ УС) и

b) услуги режима без установления соединения (УСУ БУС) (см. ГОСТ Р 34.951).

Точно также и подсеть может обеспечивать услуги любого из указанных типов или обоих типов одновременно. Протоколы сетевого уровня могут обеспечивать услуги любого типа или обоих типов при использовании взаимосвязанных подсетей, способных обеспечивать услуги любого типа в любом сочетании (см. раздел 8 и таблицу 2).

В каждом конкретном случае обмена данными для обоих пользователей УСУ обеспечиваются услуги одного типа (т. е. либо в режиме с установлением соединения, либо в режиме без установления соединения). Выбор конкретного типа услуг сетевого уровня осуществляется в соответствии с 6.2 ГОСТ 28906.

6. ОРГАНИЗАЦИЯ СЕТЕВОГО УРОВНЯ

В некоторых применениях среди реальных взаимосвязанных подсетей имеются такие, которые не полностью обеспечивают услуги сетевого уровня ВОС. Поэтому при использовании таких подсетей для обеспечения всего набора услуг сетевого уровня ВОС необходимо создать архитектурную основу сетевого уровня. Настоящий стандарт обеспечивает такую основу, которую можно использовать при разработке и применении стандартов, относящихся к взаимосвязи реальных подсетей.

Таблица 2
 

Перечень сценариев взаимосвязи

Услуги подсети, предоставляемые подсетью А Услуги подсети, представленные подсетью В Услуги, требуемые от сетевого уровня ВОС Рисунок сценария
Н/И Н/И УСУ УС или УСУ БУС 7
БУС или УС Н/И УСУ БУС или УСУ УС 8
УС УС УСУ УС 9, 10, 11
БУС БУС УСУ БУС 9, 12, 13
УС УС УСУ БУС 14, 15
БУС БУС УСУ УС 16, 17
БУС УС УСУ БУС 18, 19
БУС УС УСУ УС 20, 21
Обозначения:
Н/И - не используется, в данном случае ни одной подсети нет;
УС - услуги в режиме с установлением соединения;
БУС - услуги в режиме без соединения.

6.1. Факторы, влияющие на внутреннюю организацию сетевого уровня

При обеспечении услуг сетевого уровня ВОС возможны ситуации, когда каждая из используемых реальных подсетей обеспечивает все элементы услуг сетевого уровня. В таких ситуациях услуги сетевого уровня ВОС могут быть обеспечены одним протоколом сетевого уровня, действующим во взаимосвязи с каждой подсетью (см. 6.7). Однако в других ситуациях из-за различий между услугами подсетей использование одного протокола сетевого уровня во взаимосвязи с каждой подсетью может оказаться недостаточным, и для реализации услуг сетевого уровня ВОС может потребоваться использование нескольких совместно работающих протоколов сетевого уровня ВОС. Следовательно, при заданной комбинации взаимосвязанных оконечных и промежуточных систем конкретный протокол сетевого уровня может выполнять все или только некоторые из функций, необходимых для обеспечения сетевого уровня ВОС.

Чтобы понять, при каких обстоятельствах и какими способами можно использовать несколько протоколов сетевого уровня для обеспечения услуг сетевого уровня ВОС, полезно ввести понятие "роли", которую выполняет протокол сетевого уровня при функционировании в заданной комбинации систем. "Роль" протокола сетевого уровня определяется теми функциями, которые он выполняет, участвуя в обеспечении услуг сетевого уровня ВОС. Эта "роль" зависит от того сочетания систем, в которой функционирует протокол, и от его взаимоотношения со всеми другими функционирующими совместно с ним протоколами.

Примечание - Одним из элементов определения роли протокола является определение двух видов услуг: тех, которые по согласованию должен обеспечить протокол, и нижерасположенных, которые он предлагает использовать. Любой протокол (сетевого или любого другого уровня) должен быть определен относительно конкретных нижерасположенных услуг; частично определение протокола касается способа использования им этих услуг.

6.2. Описание возможных ролей протокола сетевого уровня

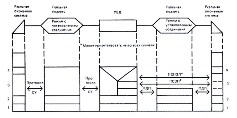
Для описания способа использования группы протоколов сетевого уровня ВОС с целью обеспечения услуг сетевого уровня ВОС определены три "роли" этих протоколов (см. рисунок 6):

a) роль протокола сходимости, независимо от подсети (ПСНЗП);

b) роль протокола сходимости, зависимого от подсети (ПСЗП);

c) роль протокола доступа к подсети (ПДП).

В конкретной комбинации систем протокол на сетевом уровне может выполнять одну из этих ролей; в различных комбинациях систем один протокол может выполнять одну или несколько различных ролей. Необязательно, чтобы каждая отдельная роль выполнялась индивидуально отдельным протоколом. Ситуация, когда один протокол сетевого уровня обеспечивает все услуги сетевого уровня ВОС, может рассматриваться как такой случай, когда один протокол выполняет все определенные выше протокольные роли. Пример конфигурации такого рода изложен в 6.7 и представлен на рисунках 7а), 8а), 9а) и 9b). Конфигурации, в которых используется несколько протоколов сетевого уровня, описаны в 6.3-6.5 и изображены на рисунках 10-21.

Рисунок 6
Протокольные правила сетевого уровня

Примечание - Треугольник с обозначением "маршрутизация и ретрансляция представляет совокупность функций, необходимых для того, чтобы привязать протокольную информацию к соответствующим сторонам наклонных линий, позволяя тем самым продвигать информацию от одной из промежуточной оконечной системы к другой системе без поддержки услуг сетевого уровня ВОС.

Использование отдельных четко различных протоколов, каждый из которых выполняет на рисунке 6 индивидуальную роль, не является общим требованием. Например, отдельный протокол сетевого уровня также может обеспечить все услуги сетевого уровня ВОС. Приведенные на рисунке 6 обозначения ПСНЗП, ПСЗП, ПДП относятся к ситуации, в которой каждый отдельный протокол выполняет одну из ролей: ПСНЗП, ПСЗП или ПДП. Протоколы, обозначенные цифрой 1, могут быть функционально неэквивалентны соответствующим протоколам, обозначенным цифрой 2.

6.3. Протоколы доступа к подсети

Протокол, выполняющий роль ПДП, функционирует при ограничениях, которые в явном виде представлены в виде характеристик конкретной подсети. Операции такого протокола вносят свой вклад в обеспечение услуг подсети, зависящих от особенностей этой подсети; эти услуги подсети могут совпадать или не совпадать с услугами сетевого уровня ВОС. Способ участия такого протокола в конструировании услуг сетевого уровня ВОС зависит от определения услуг соответствующей подсети и от того, каким образом другие протоколы сетевого уровня (если они имеются) используют эти услуги в конкретной конфигурации.

Конкретная подсеть может выполнять функции маршрутизации и ретрансляции, которые полностью управляют продвижением информации внутри самой подсети. Рабочие характеристики функций маршрутизации и ретрансляции подсети логически связаны с операциями протоколов, выполняющих роль ПДП.

6.4. Протоколы сходимости, не зависимые от подсети

Протокол, выполняющий роль ПСНЗП, функционирует с целью обеспечения услуг сетевого уровня ВОС на основе четко определенного набора обеспечиваемых снизу функциональных возможностей, которые не обязательно должны базироваться на характеристиках услуг какой-то конкретной подсети.

Спецификация протокола, предназначенного для выполнения роли ПСНЗП, начинается с определения набора нижерасположенных функциональных возможностей, используемых этим протоколом. Такие возможности обеспечиваются функционированием других протоколов сетевого уровня (или услугами уровня звена данных).

Выбор подходящего набора нижерасположенных функциональных возможностей основывается на:

a) тех типах подсетей и их комбинациях, в работе с которыми предполагается использовать данный протокол;

b) ожидаемых технических и экономических преимуществах и недостатках одного набора нижерасположенных функциональных возможностей относительно другого набора;

c) вероятности обеспечения в готовом виде требуемых функциональных возможностей на основе операций других протоколов сетевого уровня (или на основе услуг уровня звена данных);

d) степени сложности тех протокольных механизмов в самом ПСНЗП, обеспечение которых оправдано и желательно.

Отличительная характеристика протокола, действующего в роли ПСНЗП, состоит в том, что нижерасположенные функциональные возможности, от которых он зависит, не обязательно должны вытекать из характеристик услуг какой-либо конкретной подсети.

6.5. Протоколы сходимости, зависимые от подсети

По определению протокол, выполняющий роль ПСЗП, функционирует, опираясь на протокол, выполняющий роль ПДП. Он используется для обеспечения тех функциональных возможностей, на которые рассчитывает протокол, выполняющий роль ПСНЗП, или же для обеспечения услуг сетевого уровня ВОС путем выполнения ролей как ПСНЗП, так и ПСЗП. Функции протокола в роли ПСЗП ограничены специфическими характеристиками конкретных услуг подсети и запросами со стороны ПСНЗП.

6.5.1 Отношение ПСЗП к ПСНЗП

Введение роли ПСЗП позволяет отделить потребности ПСНЗП от детальных операций конкретных ПДП и тем самым обеспечить необходимую общность протокола, выполняющего роль ПСНЗП.

Обеспечение нижерасположенных функциональных возможностей, в которых нуждается ПСНЗП, использующий услуги конкретной подсети, может потребовать операции четко определенного протокола (т.е. протокола, выполняющего строго определенные процедуры обмена протокольной управляющей информацией между равноправными логическими объектами сетевого уровня) в роли ПСЗП. Возможны однако и такие ситуации, когда "протокол" в роли ПСЗП просто состоит из набора правил манипуляции услугами подсети. Такой набор правил можно было бы при необходимости реализовать в отдельных оконечных и промежуточных системах, но без использования каких-либо строгих процедур обмена протокольной управляющей информацией.

6.5.2 Отношение ПСЗП к услугам сетевого уровня ВОС

В некоторых ситуациях протокол может функционировать, опираясь соответственно на услуги конкретной подсети (и на соответствующий ПДП) и обеспечивать функциональные возможности, полностью эквивалентные услугам .сетевого уровня ВОС (а не некоторому набору функциональных возможностей, отличных от услуг сетевого уровня, ориентированных на выполнение требований ПСНЗП). При таком использовании протокол действует с целью одновременного выполнения как роли ПСНЗП (обеспечивая услуги сетевого уровня), так и роли ПСЗП (опираясь на услуги конкретной подсети).

6.6. Ретрансляция и маршрутизация

Функции ретрансляции позволяют конкретному логическому объекту сетевого уровня направлять информацию, полученную от одного логического объекта сетевого уровня - отправителя, к другому логическому объекту сетевого уровня - получателю. Функции маршрутизации определяют соответствующий маршрут между сетевыми адресами.

Если в конфигурации насчитывается несколько реальных подсетей, то к распределению функции ретрансляции и маршрутизации по отдельным логическим объектам сетевого уровня возможны два подхода:

a) функции ретрансляции и маршрутизации размещены в логических объектах сетевого уровня вне реальных подсетей; в этом случае эти функции выполняет идентифицируемое устройство взаимодействия, подключенное к двум реальным подсетям (см. рисунок 4), или

b) функции ретрансляции и маршрутизации размещены в логических объектах сетевого уровня внутри реальных подсетей; в этом случае считается, что эти функции выполняет(ют) устройство(а) взаимодействия в каждой реальной подсети, а эти реальные подсети с точки зрения ретрансляции и маршрутизации могут быть представлены в виде одной абстрактной подсети (см. рисунок 3а).

Комбинация реальных подсетей с функциями ретрансляции и маршрутизации вне реальных подсетей может быть взаимосвязана с такой комбинацией, в которой функции ретрансляции и маршрутизации выполняются внутри реальных подсетей, если между этими двумя комбинациями обеспечены необходимые функции взаимодействия.

6.7. Выполнение всех протокольных ролей одним протоколом сетевого уровня

Отличительной характеристикой подсетей, поддерживающих все элементы услуг сетевого уровня, является то, что для взаимосвязи двух оконечных систем ВОС или промежуточных систем, непосредственно соединенных с этими реальными подсетями, не требуется надстраивать никакого дополнительного протокола над протоколом, предназначенным для использования этих реальных подсетей (например над протоколом по ГОСТ Р 34.950). Обладающий такими свойствами протокол сетевого уровня реальной подсети способен осуществлять обмен всей информацией, необходимой для обеспечения услуг сетевого уровня ВОС, между оконечными и промежуточными системами, подключенными к этой реальной подсети в соответствующей комбинации.

7. ПРИМЕНЕНИЕ ПРИНЦИПОВ ВНУТРЕННЕЙ ОРГАНИЗАЦИИ СЕТЕВОГО УРОВНЯ

Изложенные в разделе 6 принципы внутренней организации сетевого уровня могут быть применены к описанию конкретных методов, используемых для организации взаимосвязи подсетей и являющихся предметом стандартизации ВОС.

Подобные методы касаются обеспечения услуг сетевого уровня ВОС путем использования некоторой комбинации взаимосвязанных подсетей. Такие функции, как межсетевая ретрансляция и маршрутизация, объединяются с функциями, выполняемыми отдельными подсетями, с целью обеспечения обмена данными в режиме с установлением или без установления соединения на сетевом уровне ВОС между оконечными системами, непосредственно подключенными или не подключенными к одной и той же подсети.

В последующих подразделах описаны три подхода к применению принципов внутренней организации сетевого уровня для взаимосвязи подсетей. К ним относятся:

a) взаимосвязь подсетей, обеспечивающих все элементы услуг сетевого уровня ВОС;

b) постадийная (относительная каждой отдельной подсети) гармонизация протоколов и

c) использование протокола взаимодействия, опирающегося более чем на одну подсеть.

Применительно к услугам, ориентированным на соединение, эти три подхода могут быть использованы независимо в каждой из трех фаз соединения сетевого уровня.

Примечание - Использование слова "межсетевой" в понятии "межсетевой протокол" определяет стиль взаимосвязи и не относится к какому-либо конкретному протоколу.

7.1. Взаимосвязь подсетей, поддерживающих все элементы услуг сетевого уровня

Метод взаимосвязи подсетей, поддерживающих все элементы услуг сетевого уровня, основан на предположении, что каждая из участвующих реальных подсетей поддерживает все услуги сетевого уровня ВОС. Для обеспечения этих услуг используется один протокол между подсоединенными к каждой такой подсети оконечными и промежуточными системами (см. 6.7). Эти подсети взаимосвязаны посредством ретрансляционных и маршрутных функций (см. 6.6) таким образом, чтобы поддерживать межконцевые услуги сетевого уровня ВОС. Во взаимосвязях подобного типа адреса ПДУСУ передаются посредством одного используемого протокола сетевого уровня.

7.2. Постадийная гармонизация

Метод постадийной гармонизации применим в комбинации таких реальных подсетей, из которых по меньшей мере одна не обеспечивает всех элементов услуг сетевого уровня. При использовании этого метода услуги каждой подсети, не поддерживающей всех элементов услуг сетевого уровня, "гармонизируются" таким образом, что они становятся идентичны услугам сетевого уровня ВОС. Дополнительные функции, необходимые для преобразования услуг подсети в услуги сетевого уровня ВОС, в общем случае могут выполнять маскирование некоторых особенностей услуг подсети, а также расширение или углубление этих услуг. Во многих случаях добавление таких функций гармонизации может потребовать работы одного или нескольких четко различных протоколов, выполняющих роль ПСНЗП и, возможно, выполнения роли ПСЗП над протоколами ПДП.

Если каждая подсеть приспособлена таким образом для поддержки требуемых услуг сетевого уровня ВОС, то услуги гармонизированных подсетей взаимосвязываются посредством ретрансляционных и маршрутных функций так, чтобы поддерживать требуемые межконцевые услуги сетевого уровня. Адреса ПДУСУ передаются по каждой подсети в виде протокольной управляющей информации внутри ПЗП либо внутри ПСНЗП или ПСЗП. Выбор протокола, переносящего адресную информацию, зависит от функциональных возможностей нижерасположенных реальных подсетей.

Важное следствие такого метода взаимосвязи состоит в следующем. Если процесс постадийной гармонизации охватывает заданную подсеть, то все подсоединенные к этой реальной подсети оконечные системы и устройства взаимодействия должны поддерживать тот же (те же) протокол(ы), который(е) используется(ются) для выполнения постадийной гармонизации, с тем чтобы обеспечить возможность обмена данными между всеми оконечными системами.

7.3. Использование межсетевого протокола

В методе использования межсетевого протокола определены те протоколы, которые способны функционировать, опираясь на последовательность взаимосвязанных подсетей, причем подсетей различных типов. При этом услуги сетевого уровня ВОС могут быть обеспечены путем использования отдельного такого протокола, выполняющего роль ПСНЗП при работе через многие взаимосвязанные подсети и промежуточные системы Межсетевой протокол, как и любой ПСНЗП, при своем функционировании должен опираться на некоторый определенный набор обеспечиваемых функциональных возможностей. Спецификация такого набора возможностей составляет существенную часть спецификации межсетевого протокола. Это очень важное соображение при выборе тех подсетей, опираясь на которые может функционировать такой межсетевой протокол.

На практике возможны различные варианты структурной организации, различающиеся степенью участия промежуточных систем в различных функциях межсетевого протокола и, следовательно, степенью сложности самого межсетевого протокола. Например, промежуточная система может обеспечить такую функцию, как управление межсетевым потоком или функцию сегментирования протокольных блоков данных, сборки ранее сегментированных блоков данных или все эти функции.

Межсетевой протокол может функционировать, опираясь на такие подсети, услуги которых отличаются от заданного набора функциональных возможностей, на которые ориентированы операции данного протокола. В подобных случаях протокол, выполняющий роль ПСНЗП (т. е. строго определенный протокол или просто набор правил обработки услуг подсети), используется для преобразования услуг подсети в набор тех функциональных возможностей, которые требуются для ПСНЗП. При этом межсетевой протокол может функционировать, опираясь на ПСЗП или ПДП для данной подсети (либо для каждой из подсетей, участвующих во взаимосвязи). В этом случае адреса ПДУСУ передаются через все участвующие подсети в виде элемента межсетевого протокола.

При использовании такого подхода к взаимосвязи подсетей возможность обмена данными между реальными системами, реальными оконечными системами и устройствами взаимодействия, подсоединенными к реальным подсетям, может быть обеспечена только в тех случаях, когда эти системы используют один и тот же межсетевой протокол.

7.4. Комбинации методов взаимосвязи подсетей

С применением трех различных методов взаимосвязи реальных подсетей, описанных в 7.1 - 7.3, появляется принципиальная возможность использования любой комбинации различных методов в комбинации взаимосвязанных подсетей. При комбинационном подходе, когда межсетевой протокол используется, но не функционирует в качестве межконцевого, он действует как протокол многостадийной гармонизации.

8. СЦЕНАРИИ ВЗАИМОСВЯЗИ

На рисунках данного раздела показаны различные сценарии взаимосвязи, иллюстрирующие применение описанной в предыдущих разделах внутренней организации сетевого уровня. В таблице 2 приведен перечень изображенных на чертежах сценариев с указанием используемых услуг подсети и обеспечиваемого режима работы: с установлением соединения (УСУ УС) или без установления соединения (УСУ БУС).

Примечание - Одна и та же реальная подсеть может обеспечивать УСУ УС и УСУ БУС, однако в каждом конкретном сеансе передачи данных режим обеспечиваемых услуг должен быть одинаков для обоих пользователей подсети.

На рисунках обозначения ПСНЗП, ПСЗП и ПДП относятся к отдельным идентифицируемым протоколам, выполняющим соответствующую роль. Там, где указано, что один или несколько таких протоколов могут отсутствовать, один или несколько остальных протоколов обеспечат все те необходимые функции, которые должны были обеспечить отсутствующие протоколы.

Цифры в таблице 2 означают конкретные комбинации тех протоколов, которые используются на сетевом уровне в конкретном случае обмена данными. При передаче данных в режиме с установлением соединения такие комбинации имеют место в течение всего времени существования соединения сетевого уровня между показанными на рисунке реальными оконечными системами. При обеспечении между реальными оконечными системами режима без установления соединения такие комбинации могут иметь место в любой момент выполнения передачи данных в таком режиме.

Примечание - Поскольку указанные цифры относятся только к заданному моменту времени в период передачи данных, то к различным фазам услуг в режиме с установлением соединения могут быть применимы различные сценарии.

8.1. Взаимосвязь "одно звено данных - одна подсеть"

На рисунках 7 и 8 изображены диапазоны функциональных возможностей обеспечения взаимосвязей через:

a) одно звено данных и

b) одну подсеть соответственно.

Для каждой из указанных конфигураций проиллюстрированы два случая:

1) использование одного протокола сетевого уровня и

2) использование нескольких протоколов сетевого уровня.

Понятие "одно звено данных" охватывает весь диапазон конфигураций, указанных в 5.2.1.

8.2. Взаимосвязи участвующих подсетей, которые поддерживают все элементы услуг сетевого уровня

На рисунке 3 показана взаимосвязь реальных подсетей, описанная в 7.1, для двух случаев: без отдельного УВД (рисунок 9а) и с использованием отдельного УВД (рисунок 9Ь) (см. 5.2). В данном сценарии либо:

a) обе подсети обеспечивают подсетевые услуги УС и используются для предоставления УСУ УС, либо

b) обе подсети обеспечивают подсетевые услуги БУС и используются для предоставления УСУ БУС

8.3. Взаимосвязи, охватывающие комбинации нескольких протоколов

На рисунках 10-21 изображены взаимосвязи, в которых требуется либо постадийная гармонизация, либо использование межсетевого протокола. В этих сценариях для обеспечения УСУ УС и УСУ БУС используются подсетевые услуги одного и того же или различных типов.

Для каждого изображенного сценария возможно несколько различных ситуаций. Например, на рисунке 10 показаны три различные ситуации, в которых УСУ УС обеспечиваются через подсети, ориентированные на соединения, с использованием постадийной гармонизации.

На рисунке 10а показаны две реальные подсети, взаимосвязанные без использования отдельных УВД. В данном случае одна из подсетей обеспечивает все элементы услуг сетевого уровня, и для работы с ней используется один протокол сетевого уровня. На рисунке 10b показаны две реальные подсети, взаимосвязанные через отдельное УВД, где опять-таки одна из подсетей обеспечивает все элементы услуг сетевого уровня. На рисунке 10с подсети, обеспечивающие все элементы УСУ, отсутствуют и, для работы с каждой участвующей подсетью используются различные протоколы сетевого уровня.

На рисунках 11-21 показаны другие различные сценарии взаимосвязи, перечисленные в таблице 2. На каждом из этих чертежей фактически отражена только такая ситуация, когда с каждой подсетью работает несколько протоколов сетевого уровня. (Эта ситуация подобна ситуации, показанной на рисунке 10с). Однако в равной степени каждый сценарий можно изобразить так, чтобы показать ситуацию, в которой одна из подсетей обеспечивает все элементы услуг сетевого уровня (такие ситуации подобны ситуациям на рисунках 10а и 10b).

Важно отметить, что на рисунках 11-21 обозначения ПСЗП и ПДП не обязательно означают идентичные протоколы на каждой стороне УВД.

Но в ситуациях с использованием метода межсетевого протокола (см. рисунки 11,13,15,17,19 и 21) ПСНЗП на каждой стороне УВД по определению является одним и тем же протоколом.


а) Использование одного протокола СУ


b) Возможное использование нескольких протоколов

 

Рисунок 7
Обеспечение УСУ УС или УСУ БУС при одном звене данных


а) Использование одного протокола СУ
 

b) Возможное использование нескольких протоколов

 

Рисунок 8
Обеспечение УСУ УС или УСУ БУС через одну подсеть
 

а) Прямое соединение без отдельных устройств взаимодействия


b) Использование отдельного устройства взаимодействия
 
Рисунок 9
Взаимосвязь подсетей, использующих один протокол сетевого уровня для обеспечения УСУ,
УС или УСУ БУС через две подсети УС или БУС
 

а) Прямое соединение между двумя подсетями без отдельного устройства взаимодействия и использование одного протокола СУ по одной подсети


b) Использование отдельного устройства взаимодействия и одного протокола СУ по одной подсети


с) Возможные применения различных протоколов через обе подсети, взаимосвязанные отдельным
устройством взаимодействия

 

Рисунок 10
Обеспечение УСУ УС через две подсети УС с использованием постадийной гармонизации

Рисунок 11
Обеспечение УСУ УС через две подсети УС с использованием межсетевого протокола


 
Рисунок 12
Обеспечение УСУ БУС через две подсети БУС с использованием постадийной гармонизации


 
Рисунок 13
Обеспечение УСУ БУС по двум подсетям БУС с использованием межсетевого протокола

 

Рисунок 14
Обеспечение УСУ БУС по двум подсетям УС с использованием постадийной гармонизации


 
Рисунок 15
Обеспечение УСУ БУС по двум подсетям УС с использованием межсетевого протокола


 
Рисунок 16
Обеспечение УСУ УС по двум подсетям БУС с использованием постадийной гармонизации


 
Рисунок 17
Обеспечение УСУ УС по двум подсетям БУС с использованием межсетевого протокола

 

Рисунок 18
Обеспечение УСУ УС по двум подсетям БУС и УС с использованием постадийной гармонизации


 
Рисунок 19
Обеспечение УСУ БУС через подсети БУС и УС с использованием межсетевого протокола


 
Рисунок 20
Обеспечение УСУ УС через подсети БУС и УС с использованием постадийной гармонизации


 
Рисунок 21
Обеспечение УСУ УС через подсети БУС и УС с использованием межсетевого протокола