Маркировка грузов. ГОСТ 14192-96

(утв. Постановлением Госстандарта РФ от 18.06.97 N 219)
Редакция от 14.09.2000 — Не действует Перейти в действующую
Показать изменения

МЕЖГОСУДАРСТВЕННЫЙ СТАНДАРТ

МАРКИРОВКА ГРУЗОВ

Marking of cargoes

ГОСТ 14192-96

ОКСТУ 0079

МКС 55.020

(в ред. Изменения N 1, утв. Постановлением Госстандарта России от 14.09.2000 N 223-ст)

Дата введения 1998-01-01

Предисловие

1 РАЗРАБОТАН Научно-исследовательским экспериментально-конструкторским институтом тары и упаковки (НИЭКИТУ), МТК 223 "Упаковка"

ВНЕСЕН Госстандартом России

2 ПРИНЯТ Межгосударственным Советом по стандартизации, метрологии и сертификации (протокол N 10 от 4 октября 1996 г.)

За принятие проголосовали:

Наименование государства Наименование национального органа по сертификации
Азербайджанская Республика Азгосстандарт
Республика Армения Армгосстандарт
Республика Белоруссия Госстандарт Белоруссии
Республика Казахстан Госстандарт Республики Казахстан
Киргизская Республика Киргизстандарт
Республика Молдова Молдовастандарт
Российская Федерация Госстандарт России
Республика Таджикистан Такжикгосстандарт
Туркменистан Главная государственная инспекция Туркменистана
Республика Узбекистан Узгосстандарт
Украина Госстандарт Украины

3 Постановлением Государственного комитета Российской Федерации по стандартизации, метрологии и сертификации от 18 июня 1997 г. N 219 межгосударственный стандарт ГОСТ 14192-96 введен непосредственно в качестве государственного стандарта Российской Федерации с 1 января 1998 г.

4 ВЗАМЕН ГОСТ 14192-77

ВНЕСЕНО Изменение N 1, принятое Межгосударственным Советом по стандартизации, метрологии и сертификации (протокол N 17 от 22.06.2000). Государство-разработчик Россия. Постановлением Госстандарта России от 14.09.2000 N 223-ст введено в действие на территории РФ с 01.01.2001 (ИУС N 11, 2000 год)

1. ОБЛАСТЬ ПРИМЕНЕНИЯ

Настоящий стандарт устанавливает общие правила маркировки грузов, в том числе поставляемых на экспорт, и предназначен для разработки нормативного документа* на конкретные виды продукции.

* Здесь и далее по всему тексту стандарта слова "нормативная документация" заменена на "нормативный документ". (в ред. Изменения N 1, утв. Постановлением Госстандарта России от 14.09.2000 N 223-ст)

Маркировка опасных грузов должна соответствовать требованиям ГОСТ 19433.

Стандарт не распространяется на маркировку, содержащую данные об упакованной продукции, требования к которой должны устанавливаться в нормативном документе на конкретные виды продукции, а также не распространяется на маркировку грузов, отправляемых специализированными транспортными средствами, почтовыми посылками, насыпью или навалом в транспортных средствах. (в ред. Изменения N 1, утв. Постановлением Госстандарта России от 14.09.2000 N 223-ст)

2. НОРМАТИВНЫЕ ССЫЛКИ (в ред. Изменения N 1, утв. Постановлением Госстандарта России от 14.09.2000 N 223-ст)

В настоящем стандарте использованы ссылки на следующие стандарты:

ГОСТ 9481-76 Ящики из гофрированного картона для химических нитей. Технические условия

ГОСТ 19433-88 Грузы опасные. Классификация и маркировка

ГОСТ 26319-84 Грузы опасные. Упаковка

3. СОДЕРЖАНИЕ МАРКИРОВКИ

3.1 Транспортная маркировка должна содержать манипуляционные знаки, основные, дополнительные и информационные надписи.

3.2 Манипуляционные знаки - изображения, указывающие на способы обращения с грузом.

3.3 Основные надписи должны содержать:

полное или условное зарегистрированное в установленном порядке наименование грузополучателя;

наименование пункта назначения с указанием, при необходимости, станции или порта перегрузки. Если пунктом назначения является железнодорожная станция (порт), должно быть указано полное наименование станции (порта) и сокращенное наименование дороги (пароходства) назначения;

количество грузовых мест в партии и порядковый номер места внутри партии указывают дробью: в числителе - порядковый номер места в партии, в знаменателе - количество мест в партии.

Количество грузовых мест и порядковый номер места следует указывать при перевозке следующих грузов:

разнородных или разносортных грузов в однотипной таре (например, разные сорта хлопка в кипах);

однородных грузов в разнотипной таре;

однородных грузов, когда недопустимо смешение сортов в партии;

комплектов оборудования;

грузов в одном вагоне мелкими отправками. (в ред. Изменения N 1, утв. Постановлением Госстандарта России от 14.09.2000 N 223-ст)

3.4 Дополнительные надписи должны содержать:

полное или условное зарегистрированное в установленном порядке наименование грузоотправителя;

наименование пункта отправления с указанием железнодорожной станции отправления и сокращенное наименование дороги отправления;

надписи транспортных организаций (содержание надписей и порядок нанесения устанавливаются правилами транспортных министерств).

3.5 Информационные надписи должны содержать:

массы брутто и нетто грузового места в килограммах. Допускается вместо массы нетто указывать количество изделий в штуках, а также не наносить массу брутто и нетто или количество изделий в штуках, если они указаны в маркировке, характеризующей упакованную продукцию;

габаритные размеры грузового места в сантиметрах (длина, ширина и высота или диаметр и высота).

Габаритные размеры не указывают, если ни один из габаритных размеров не превышает 1 м при транспортировании груза на открытом подвижном составе, 1,2 м - в крытом и 0,7 м при транспортировании воздушным транспортом.

3.6 При перевозке грузов транспортными пакетами на каждом из них должны быть нанесены основные, дополнительные и информационные надписи. При этом вместо порядкового номера места и количества грузовых мест в партии наносят:

в числителе - общее количество пакетов в партии;

в знаменателе - количество грузовых мест в пакете, в скобках порядковый номер пакета, например: 3/50 (2).

Основные, дополнительные и информационные надписи (кроме массы брутто и нетто) не наносят на отдельные грузовые места, из которых сформирован пакет.

На пакетах, сформированных из грузов, перевозимых без упаковки, необходимость нанесения общего количества пакетов в партии, количества грузовых мест в пакете и порядкового номера пакета устанавливают в нормативном документе на конкретные виды продукции. (в ред. Изменения N 1, утв. Постановлением Госстандарта России от 14.09.2000 N 223-ст)

4. МАНИПУЛЯЦИОННЫЕ ЗНАКИ

4.1 Изображение, наименование и назначение манипуляционных знаков должны соответствовать указанным в таблице 1.

Таблица 1

(в ред. Изменения N 1, утв. Постановлением Госстандарта России от 14.09.2000 N 223-ст)

4.2 Допускается применять предупредительные надписи, если невозможно выразить манипуляционными знаками способ обращения с грузом.

4.3 В рекомендуемое обозначение манипуляционного знака входит номер (номера) знака или наименование знака по таблице 1 и обозначение настоящего стандарта.

Пример: 2 ГОСТ 14192; "Беречь от солнечных лучей" ГОСТ 14192. (в ред. Изменения N 1, утв. Постановлением Госстандарта России от 14.09.2000 N 223-ст)

5. МЕСТО И СПОСОБ НАНЕСЕНИЯ ТРАНСПОРТНОЙ МАРКИРОВКИ

5.1 Порядок расположения транспортной маркировки приведен в приложении А.

Транспортная маркировка (основные, дополнительные, информационные надписи и манипуляционные знаки) должна быть нанесена на бумажные, картонные, фанерные, металлические и другие ярлыки, или непосредственно на тару. (в ред. Изменения N 1, утв. Постановлением Госстандарта России от 14.09.2000 N 223-ст)

5.2 При транспортировании грузов на открытом подвижном составе, в смешанном железнодорожно-водном сообщении или водным транспортом, а также мелкими отправками, при хранении груза более одного года маркировка должна быть нанесена непосредственно на тару или ярлыки, которые должны быть прочно прикреплены и защищены или изготовлены из материалов, обеспечивающих сохранность маркировки. (в ред. Изменения N 1, утв. Постановлением Госстандарта России от 14.09.2000 N 223-ст)

5.3 Основные, дополнительные и информационные надписи располагают:

на ящиках - на одной из боковых сторон. Для решетчатых ящиков и ящиков, имеющих наружные планки, должна быть обеспечена возможность размещения маркировки (прикрепление планок, закрытие просветов между дощечками и др.). При транспортировании в открытом железнодорожном подвижном составе мелкими отправками грузов, на которые нанесен знак, имеющий значение "Верх", транспортная маркировка (кроме наименования грузоотправителя и пункта отправления) должна быть нанесена дополнительно на верхней стороне (крышке) упаковки;

на бочках и барабанах - на одном из днищ. Допускается наносить маркировку на корпусе;

на мешках - в верхней части у шва;

на тюках - на одной из боковых поверхностей;

на кипах - на торцовой поверхности. Допускается наносить маркировку на боковую поверхность;

на других видах тары и грузах, не упакованных в транспортную тару, - в наиболее удобных хорошо просматриваемых местах.

При нанесении маркировки непосредственно на тару (5.2), если размеры и конструкция тары не позволяют разместить необходимую маркировку на боковой стенке, допускается располагать маркировку на боковой, торцовой стенках и (или) на крышке.

Примеры расположения маркировки приведены в приложении Б. (в ред. Изменения N 1, утв. Постановлением Госстандарта России от 14.09.2000 N 223-ст)

5.4 Допускается на неупакованные изделия наносить маркировку непосредственно на изделие.

5.5 Манипуляционные знаки (предупредительные надписи) наносят на каждое грузовое место в левом верхнем углу на двух соседних стенках тары (см. приложения Б и Д ).

На бочках и барабанах знаки располагают на одном из днищ или на корпусах; на мешках - на одной из сторон.

5.5.1 Знак N 9 наносят непосредственно на тару с двух противоположных сторон. Допускается на неупакованные грузы наносить знак N 9 на ярлыки или непосредственно на груз.

5.5.2 Знак N 12 наносят на соседние боковую и торцовую поверхности упаковки на месте проекции фактического центра тяжести груза на эти поверхности.

На грузы, транспортируемые на открытом подвижном составе, знак N 12 дополнительно наносят на верхней и нижней сторонах упаковки. (в ред. Изменения N 1, утв. Постановлением Госстандарта России от 14.09.2000 N 223-ст)

5.6 На пакеты, сформированные без поддонов или на четырехзаходных поддонах, маркировку наносят на соседние боковую и торцовую поверхности.

На пакеты, сформированные на двухзаходных поддонах, маркировку наносят на двух захватных сторонах.

5.7 Маркировку наносят типографским, литографским, электролитическим способами, окраской по трафарету, штемпелеванием, штампованием, выжиганием, продавливанием, печатанием на машинке, маркировочными машинами.

Допускается на ярлыках четко и разборчиво наносить наименование грузополучателя и пункта назначения, а также на ярлыках и непосредственно на таре - количество грузовых мест и порядковый номер места в партии от руки при условии обеспечения сохранности надписей до получателя.

5.8 Ярлыки прикрепляют к упаковке (грузу) клеем, болтами, шурупами, проволокой, шпагатом и другими материалами, обеспечивающими сохранность груза и маркировки.

5.9 Краска, применяемая для маркировки, не должна быть липкой и стираемой, при необходимости краска должна быть водостойкой, светостойкой, солестойкой и стойкой к воздействию тропического климата, высоких и низких температур.

5.10 Манипуляционные знаки и надписи должны быть темного цвета на светлых поверхностях и светлого на темных.

Знак N 1 допускается выполнять красного цвета на светлом фоне при транспортировании груза по железной дороге.

Знак N 6 выполняют голубым цветом на светлом фоне.

Знак N 13 выполняют красным цветом.

Допускается на знаке N 3 не указывать символ дождевых капель.

Допускается наносить манипуляционные знаки с просветами.

5.11 Необходимость нанесения манипуляционных знаков должна быть установлена в стандартах или другой нормативном документе на продукцию.

5.12 Транспортная маркировка (основные, дополнительные и информационные надписи и манипуляционные знаки) должна быть нанесена на каждое грузовое место.

Допускается наносить основные, дополнительные и информационные надписи (кроме массы брутто и нетто) не на всех грузовых местах, но не менее чем на четырех при перевозке однородных грузов в прямом железнодорожном сообщении повагонными отправками.

Допускается не наносить основные, дополнительные и информационные надписи (кроме массы брутто и нетто) при перевозке грузов автомобильным транспортом и в универсальных контейнерах, кроме автомобилей и контейнеров, загружаемых мелкими отправками. (в ред. Изменения N 1, утв. Постановлением Госстандарта России от 14.09.2000 N 223-ст)

6. РАЗМЕРЫ МАРКИРОВОЧНЫХ ЯРЛЫКОВ, МАНИПУЛЯЦИОННЫХ ЗНАКОВ И НАДПИСЕЙ

6.1 Площадь маркировочного ярлыка для нанесения основных, дополнительных и информационных надписей должна быть не менее 60 см . Рекомендуемое соотношение сторон 2:3.

6.2 Рекомендуемые размеры ярлыков для нанесения манипуляционных знаков указаны в таблице 2.

Таблица 2

В миллиметрах

Номер ярлыка Размеры ярлыка (пред.откл. + 10 мм) Размер грузового места (груза)
Длина или ширина Высота
1 52 х 74 До 1000 включ. До 190 включ.
2 74 х 105 1000 Св.190
3 105 х 148 Св.1000 -
4 148 х 210 1500 -

Примечание - Рекомендуется применять ярлыки размерами 37х52 мм, 26х37 мм, если размеры грузового места не позволяют применять размеры ярлыков, указанные в таблице 2, при этом размеры манипуляционных знаков выбирают произвольно при условии соблюдения изображения знака

6.3 Допускается увеличивать размеры ярлыка при совмещении на одном ярлыке нескольких манипуляционных знаков или надписей транспортной маркировки и манипуляционных знаков.

6.4 На ярлыках, изготовленных типографским способом, знак должен быть на расстоянии не менее 5 мм от края ярлыка.

6.5 Рекомендуемые размеры манипуляционных знаков и их деталей, наносимых на ярлыки, непосредственно на тару или изделие, приведены в приложении В.

6.6 Рекомендуемые высоты шрифта для нанесения маркировочных надписей: 3, 6, 8, 10, 15, 30, 50 и 100 мм.

Шрифты высотой 3 и 6 мм не допускается применять при нанесении надписей непосредственно на тару.

6.7 Рекомендуемая высота шрифта для основных надписей, а также надписей транспортных организаций, наносимых непосредственно на тару:

30 мм - при длине или ширине грузового места до 0,5 м включ.;

50 мм - при длине или ширине грузового места свыше 0,5 до 1,5 м включ.;

100 мм - при длине или ширине грузового места свыше 1,5 м.

6.8 Рекомендуемая высота шрифта для дополнительных и информационных надписей, наносимых непосредственно на тару:

10 мм - при длине или ширине грузового места до 0,5 м включ.;

15 мм - при длине или ширине грузового места свыше 0,5 до 1,5 м включ.;

30 мм - при длине или ширине грузового места свыше 1,5 м.

6.9 При невозможности размещения транспортной маркировки непосредственно на упаковке допускается уменьшать высоту надписей и размеры знака на 1-2 градации.

6.10 Шрифт для нанесения маркировки указан в приложении Г. (в ред. Изменения N 1, утв. Постановлением Госстандарта России от 14.09.2000 N 223-ст)

7. ДОПОЛНИТЕЛЬНЫЕ ТРЕБОВАНИЯ К МАРКИРОВКЕ ГРУЗОВ, ПОСТАВЛЯЕМЫХ НА ЭКСПОРТ

7.1 Транспортная маркировка грузов, поставляемых на экспорт, должна соответствовать указанной в 7.2-7.4 с дополнениями или изменениями, установленными в заказе-наряде внешнеторгового объединения. (в ред. Изменения N 1, утв. Постановлением Госстандарта России от 14.09.2000 N 223-ст)

7.2 Основные надписи:

номер контракта и (или) номер заказа иностранного покупателя;

номер заказа-наряда;

номер грузового места - указывается дробью, в числителе - порядковый номер места в партии; в знаменателе - количество мест в партии;

полное наименование или условное обозначение иностранного грузополучателя;

наименование пункта назначения с указанием станции или порта перегрузки;

страна назначения груза*;

станция и дорога назначения груза*;

товарные знаки и марки грузоотправителя*.

* Необходимость нанесения этих надписей предусматривается в заказе-наряде или других нормативных актах внешнеторгового объединения.

7.3 Дополнительные надписи:

наименование экспортирующей организации - полное или условное;

пункт отправления груза;

станция и дорога отправления.

7.4 Информационные надписи:

габаритные размеры грузового места в сантиметрах;

массы нетто и брутто в килограммах;

объем грузового места в кубических метрах;

надписи "Экспорт", "Страна-изготовитель и (или) поставщик". Не указывают габаритные размеры и объем грузового места при длине, ширине или диаметре до 1 м.

7.5 При транспортировании грузов на открытом подвижном составе, в смешанном железнодорожно-водном сообщении или водным транспортом, а также при мелких отправках грузов маркировку наносят непосредственно на упаковку (тару), изделие или ярлыки, которые должны быть прочно прикреплены и защищены или изготовлены из материалов, обеспечивающих сохранность надписей при транспортировании и хранении. (в ред. Изменения N 1, утв. Постановлением Госстандарта России от 14.09.2000 N 223-ст)

7.6 Транспортную маркировку наносят на каждое грузовое место.

При транспортировании грузов в прямом железнодорожном сообщении повагонными отправками основные и дополнительные надписи наносят не на каждое грузовое место, но не менее чем на десять мест.

При транспортировании грузов автомобильным транспортом и в универсальных контейнерах, кроме автомобилей и контейнеров, загружаемых мелкими отправками, основные и дополнительные надписи не наносят.

7.7 При транспортировании водным транспортом грузов массой свыше 1000 кг дополнительно наносят массу брутто груза в верхнем правом углу на всех четырех сторонах ящика на расстоянии не более 10 см от верхней кромки.

7.8 Знаки N 1 и 11 наносят в левом верхнем углу с четырех сторон.

7.9 Знак N 12 наносят на шесть сторон упаковки на месте проекции фактического центра тяжести груза.

Если форма и размеры упаковки не позволяют нанести знак N 12 на шесть сторон упаковки, допускается наносить знак на меньшее количество сторон, но не менее двух.

7.10 Транспортную маркировку наносят на русском языке и иностранном, указанном в заказе-наряде внешнеторгового объединения (см. пример в приложении Д). При длине или ширине тары до 1 м допускается маркировку наносить на одной из сторон на языке, указанном в заказе-наряде.

7.11 На ящиках или другой таре, имеющей форму параллелепипеда, маркировку наносят на торцовую и боковую стенки.

На грузовых местах, имеющих форму цилиндра, маркировку наносят на основаниях.

Если размеры и конструкция тары не позволяют разместить необходимую маркировку на боковой и торцовой стенках, то маркировку располагают на торцовой и боковой стенках и на крышке.

8. МАРКИРОВКА, ХАРАКТЕРИЗУЮЩАЯ ТРАНСПОРТНУЮ ТАРУ

8.1 Содержание маркировки, характеризующей тару:

товарный знак и (или) наименование предприятия-изготовителя;

номер тары по нормативному документу;

обозначение нормативного документа;

товарный знак или наименование предприятия-изготовителя;

обозначение нормативно-технической документации;

номер тары по нормативно-технической документации.

На многооборотную тару должна быть нанесена надпись "Многооборотная".

Пример - 42 ГОСТ 9481-76

(в ред. Изменения N 1, утв. Постановлением Госстандарта России от 14.09.2000 N 223-ст)

8.2 Маркировка, характеризующая тару, кроме мешков, наносится на тару ее изготовителем. Маркировку, характеризующую мешки, указывают на кипах или пачках, в которые упакованы мешки.

Допускается наносить маркировку, характеризующую тару, на ярлыки.

8.3 Маркировку, характеризующую тару, наносят:

на ящики - в левом верхнем углу торцовой стенки, свободной от маркировки, характеризующей груз;

на ящиках с обечайкой - на боковой стенке ящика;

на бочках и барабанах - на одном из днищ, свободном от маркировки, характеризующей груз; допускается наносить маркировку на корпусе;

на баллонах - на дне.

Место нанесения на канистрах, флягах и других видах транспортной тары устанавливают в нормативном документе на эти виды тары.

8.4 Способы нанесения маркировки тары:

деревянной - окраской по трафарету, штемпелеванием, выжиганием;

картонной - типографским способом, штемпелеванием;

металлической - окраской по трафарету, выдавливанием;

пластмассовой - маркировка выполняется на пресс-форме.

Маркировка, характеризующая тару, может наноситься специальными маркировочными машинами.

8.5 Высоту шрифта для нанесения маркировки, характеризующей тару, выбирают по 6.6. (в ред. Изменения N 1, утв. Постановлением Госстандарта России от 14.09.2000 N 223-ст)

8.6 На транспортную тару, предназначенную для упаковывания, транспортирования и хранения опасных грузов, должна быть нанесена маркировка по ГОСТ 26319. (в ред. Изменения N 1, утв. Постановлением Госстандарта России от 14.09.2000 N 223-ст)

ПРИЛОЖЕНИЕ А
(Обязательное)

ПОРЯДОК РАСПОЛОЖЕНИЯ ТРАНСПОРТНОЙ МАРКИРОВКИ

- обязательные надписи;
- допускаемые надписи

1 - манипуляционные знаки (предупредительные надписи);

2 - допускаемые предупредительные надписи (см. 4.2);

3 - количество мест в партии, порядковый номер внутри партии;

4 - наименование грузополучателя и пункта назначения;

5 - наименование пункта перегрузки;

6 - надписи транспортных организаций;

7 - объем грузового места *;

8 - габаритные размеры грузового места;

9 - масса брутто;

10 - масса нетто;

11 - страна-изготовитель и (или) поставщик;

12 - наименование пункта отправления;

13 - наименование грузоотправителя

* Для грузов, предназначенных для экспорта. (в ред. Изменения N 1, утв. Постановлением Госстандарта России от 14.09.2000 N 223-ст)

ПРИЛОЖЕНИЕ Б
(справочное)

РАСПОЛОЖЕНИЕ МАРКИРОВОЧНЫХ ЯРЛЫКОВ

Рисунок Б.1

Рисунок Б.2

РАСПОЛОЖЕНИЕ МАРКИРОВКИ НА ТРАНСПОРТНОМ ПАКЕТЕ

Рисунок Б.3

ПРИЛОЖЕНИЕ В
(рекомендуемое)

РАЗМЕРЫ МАНИПУЛЯЦИОННЫХ ЗНАКОВ И ИХ ДЕТАЛЕЙ

(в ред. Изменения N 1, утв. Постановлением Госстандарта России от 14.09.2000 N 223-ст)

Размеры знаков и их деталей, приведенные в таблицах В.1-В.23 и рисунках В.1-В.23, установлены в соответствии с размерами ярлыков, указанными в таблице 2 настоящего стандарта.

Хрупкое. Осторожно

Рисунок В.1

Таблица В.1

В миллиметрах

Размеры знака и его деталей
B b H h r S
24 10 64 38 12 3
36 15 95 54 18 5
52 20 138 80 26 7
76 25 200 115 38 10

Беречь от солнечных лучей

Рисунок В.2

Таблица В.2

В миллиметрах

Размеры знака и его деталей
B H h h1 h2 b b1 d S b2
40 56 42 16 11 16 16 8 2 8
60 80 60 20 15 20 20 12 3 10
92 115 85 28 21 28 28 16 4 14
135 165 120 40 30 40 40 24 6 20

Беречь от влаги

Рисунок В.3

Таблица В.3

В миллиметрах

Размеры знака и его деталей
B H h1 h2 h3 R r S
33 64 32 42 44 21 4 2
50 95 40 50 53 28 6 3
80 138 58 73 77 45 9 4
113 200 84 110 115 66 13 5

Ограничение температуры

Рисунок В.4

Таблица В.4

В миллиметрах

Размеры знака и его деталей
C H C1 b b1 b2 b3 b4 b5 b6 S
10 64 2,0 18 3,0 24 10 2,0 4,0 8,0 2,0
14 95 3,0 27 4,0 34 14 2,0 6,0 10,0 3,0
20 136 4,0 38 6,0 48 20 3,0 8,0 14,0 4,0

Беречь от излучения

Рисунок В.5

Таблица В.5

В миллиметрах

Размеры знака и его деталей
B H h h1 S
31 64 15 8 3
43 95 21 11 4
59 138 29 15 5
82 200 40 21 7

Скоропортящийся груз

Рисунок В.6

Таблица В.6

В миллиметрах

Размеры знака и его деталей
B b b1 H h a
42 18 3 64 19 3
64 28 4 95 29 4
95 42 5 138 43 5
138 63 8 200 64 6

Герметичная упаковка

Рисунок В.7

Таблица В.7

В миллиметрах

Размеры знака и его деталей
D b b1 h S S1
42 10 2 12 3 1,0
64 20 2 28 4 1,5
94 28 3 40 5 2,0
138 38 4 54 8 2,0

Крюками не брать

Рисунок В.8

Таблица В.8

В миллиметрах

Размеры знака и его деталей
B H A r r1 S
40 64 16 6 5 3
59 95 26 8 9 4
88 138 40 13 14 6
138 200 56 20 18 10

Место строповки

Рисунок В.9

Таблица В.9

В миллиметрах

Размеры знака и его деталей
H A A1 D R b b1 b2 R1 B
60 12 12 21 3,0 2,0 2,0 3,0 4,0 18
95 18 16 30 4,0 2,0 3,0 4,0 6,0 26
125 26 24 44 6,0 2,0 5,0 6,0 9,0 36
200 38 36 62 9,0 3,0 7,0 8,0 13,0 50

Здесь поднимать тележкой запрещается

Рисунок В.10

Таблица В.10

В миллиметрах

Размеры знака и его деталей Длина или ширина груза
B b b1 b2 H h d S S1 A
74 60 21 17 125 5 8 2 6 31 До 1000,0
105 84 28 24 175 7 16 3 7 43 Св. 1000,0

Верх

Рисунок В.11

Таблица В.11

В миллиметрах

Размеры знака и его деталей
B b H h h1 h2 S
38 19 64 13 7 4 5
56 27 95 19 9 5 7
80 38 138 28 12 6 10
112 55 200 40 17 7 15

Центр тяжести

Рисунок В.12

Таблица В.12

В миллиметрах

Размеры знака и его деталей
B D d S
42 20 12 4
64 28 16 6
94 36 20 8
138 54 30 12

Тропическая упаковка

Рисунок В.13

Таблица В.13

В миллиметрах

Размеры знака и его деталей
D D1 S b b1 h
42 38 2 9 3 9
64 56 3 13 4 13
94 82 4 23 5 23
138 122 6 33 8 33

Штабелирование запрещается

Рисунок В.14

Таблица В.14

В миллиметрах

Размеры знака и его деталей
B b H S S1
42 30 64 2 4
64 43 95 3 6
95 63 138 4 8
138 92 200 6 10

Поднимать непосредственно за груз

Рисунок В.15

Таблица В.15

В миллиметрах

Размеры знака и его деталей
H B h h1 h2 h3 b b1 b2 a a1 a2 a3 S S1 c c1
33 60 25 21 17 4 42 8 13 10 3 9 7 2 1 5 1
51 92 39 33 26 6 64 12 20 15 5 14 11 3 11 8 2
77 134 57 48 39 9 94 18 29 22 7 20 16 5 2 11 3
112 198 88 73 56 14 138 25 42 33 12 30 24 6 2 17 4

Открывать здесь

Рисунок В.16

Таблица В.16

В миллиметрах

Размеры знака и его деталей
H B h
64 42 14
95 64 21
138 95 30
200 138 43

Защищать от радиоактивных источников

Рисунок В.17

Таблица В.17

В миллиметрах

Размеры знака и его деталей
B H h D b b1 d S
42 64 49 21 14 14 8 3
64 95 75 33 20 21 10 5
95 138 108 47 35 30 15 7
138 200 155 69 50 44 22 10

Не катить

Рисунок В.18

Таблица В.18

В миллиметрах

Размеры знака и его деталей
B b b1 H h S R
42 20 10 64 5 3 18
64 30 15 85 10 5 27
95 40 20 125 15 8 40
138 70 30 170 20 10 60

Штабелирование ограничено

Рисунок В.19

Таблица В.19

В миллиметрах

Размеры знака и его деталей
B b b1 b2 H h h1 S
32 24 12 6 64 10 10 4
47 40 20 10 95 18 15 5
68 52 26 13 138 26 20 8
100 80 40 20 200 40 30 10

Зажимать здесь

Рисунок В.20

Таблица В.20

В миллиметрах

Размеры знака и его деталей
B b b1 H h h1 S
64 32 10 42 25 14 2
95 39 16 57 35 20 4
140 60 22 95 50 25 6
200 90 31 138 70 40 8

Не зажимать

Рисунок В.21

Таблица В.21

В миллиметрах

Размеры знака и его деталей
B b b1 H h h1 S S1
64 26 10 42 25 14 3 4
95 39 16 64 35 20 4 5
138 50 23 95 50 25 7 9
200 68 33 138 70 40 11 11

Предел по количеству ярусов в штабеле

Рисунок В.22

Таблица В.22

В миллиметрах

Размеры знака и его деталей
B b H S S1
35 19 64 2 4
50 28 96 3 5
60 36 138 6 9
100 55 200 10 11

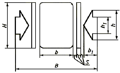
Вилочные погрузчики не использовать

Рисунок В.23

Таблица В.23

В миллиметрах

Размеры знака и его деталей
B b b1 b2 H h S S1 d d1 C
100 15 15 45 75 40 7 4 15 20 4
130 20 20 60 100 50 10 5 20 30 5

ПРИЛОЖЕНИЕ Г
(рекомендуемое)

РЕКОМЕНДУЕМЫЕ ОЧЕРТАНИЯ ШРИФТА ДЛЯ НАНЕСЕНИЯ МАРКИРОВКИ

Рисунок Г.1

Рисунок Г.2

Рисунок Г.3

ПРИЛОЖЕНИЕ Д
(справочное)

ПРИМЕРЫ РАСПОЛОЖЕНИЯ МАРКИРОВКИ НА ГРУЗАХ, ПОСТАВЛЯЕМЫХ НА ЭКСПОРТ