Кабели оптические. Общие технические требования. Государственный стандарт Российской Федерации. ГОСТ р МЭК 794-1-93

(утв. Постановлением Госстандарта РФ от 10.11.93 N 237)
Редакция от 10.11.1993 — Документ не действует

ГОСУДАРСТВЕННЫЙ СТАНДАРТ РОССИЙСКОЙ ФЕДЕРАЦИИ

КАБЕЛИ ОПТИЧЕСКИЕ
ОБЩИЕ ТЕХНИЧЕСКИЕ ТРЕБОВАНИЯ

Optical fibre cables. Generic specification

ГОСТ Р МЭК 794-1-93

Дата введения 1995-01-01

Издание официальное

Настоящий стандарт не может быть полностью или частично воспроизведен, тиражирован и распространен без разрешения Госстандарта России

ИНФОРМАЦИОННЫЕ ДАННЫЕ

1. ПОДГОТОВЛЕН И ВНЕСЕН ТК 46 "Кабельные изделия"

2. УТВЕРЖДЕН И ВВЕДЕН В ДЕЙСТВИЕ Постановлением Госстандарта России от 10.11.93 N 237

Настоящий стандарт содержит полный аутентичный текст международного стандарта МЭК 794-1-87 "Оптические кабели. Часть 1. Общие технические требования"

3. ВВЕДЕН ВПЕРВЫЕ

4. ССЫЛОЧНЫЕ НОРМАТИВНО-ТЕХНИЧЕСКИЕ ДОКУМЕНТЫ

Обозначение НТД, на который дана ссылка Обозначение соответствующего международного стандарта Номер пункта, подпункта, приложения
ГОСТ 2990-78 МЭК 189-1-86 22
ГОСТ 3345-76 МЭК 189-1-86 22
ГОСТ 7229-76 МЭК 189-1-86 22
ГОСТ 12176-89 МЭК 332-3-82 23
ГОСТ 12177-79 МЭК 189-1-86 7
ГОСТ 17491-80 МЭК 189-1-86 23
ГОСТ 28198-89 МЭК 68-1-88 12.3; 13.3; 15.4; 16.4; 17.4; 18.4; 20.4; 25.3
ГОСТ 28206-89 МЭК 68-2-10-88 23
ГОСТ 28209-89 МЭК 68-2-14-84 25.3
МЭК 227-2-79 <*> 17.3
ГОСТ Р МЭК 793-1-93 МЭК 793-1-89 5.1; 7; 10,3; 21; 25.3; А. 1.2; А.2; А.2.2; А.4.1; А.4.3; А.4.4
- МЭК 811-1 - 1- 85 <**> 7; 13.3; 13,6; 20.7
- МЭК 874-1-87 <***> А.1.2; А.3; А.3.2; А.5.1; А.5.3

<*> До введения в действие ГОСТ Р, подготовленного на основе МЭК 227-2-79, с 1 января 1995 г., испытания выполняются в соответствии с МЭК 227-2-79, который можно получить во ВНИИКИ.

<**> До введения в действие ГОСТ Р, подготовленного на основе МЭК 811-1-1-85, с января 1995 г., испытания выполняются в соответствии с МЭК 811-1-1-85, который можно получить во ВНИИКИ.

<***> Разработка государственного стандарта России не предусматривается. Данный документ можно получить во ВНИИКИ.

I. ОБЩИЕ СВЕДЕНИЯ

1. ОБЛАСТЬ РАСПРОСТРАНЕНИЯ

Настоящий стандарт распространяется на оптические кабели, используемые в оборудовании связи и устройствах с применением аналогичной техники, а также на кабели, в состав которых входят как оптические волокна, так и электрические токопроводящие жилы.

Требования настоящего стандарта являются обязательными.

2. НАЗНАЧЕНИЕ

Настоящий стандарт устанавливает единые требования к геометрическим размерам, параметрам передачи, механическим и климатическим характеристикам оптических кабелей, а также электрическим характеристикам, при необходимости.

3. ОПРЕДЕЛЕНИЯ

В стадии рассмотрения.

4. ТИПЫ ОПТИЧЕСКИХ КАБЕЛЕЙ

Оптические кабели, в состав которых входят оптические волокна и могут входить электрические токопроводящие жилы, делятся на следующие типы.

4.1. Кабели для прокладки в грунте.

4.2. Кабели для прокладки в коллекторах или трубах.

4.3. Кабели для воздушной прокладки.

4.4. Подводные кабели (для сравнительно коротких подводных линий связи).

4.5. Внутриобъектовые кабели.

4.6. Полевые кабели.

4.7. Монтажные кабели.

4.8. Кабели специального назначения.

4.9. Кабели для подводных лодок.

5. МАТЕРИАЛЫ

5.1. Материал для оптических волокон Материалы для оптических волокон должны быть однородного качества и их характеристики должны соответствовать требованиям ГОСТ Р МЭК 793-1.

5.2. Электрические токопроводящие жилы Токопроводящие жилы должны быть однородного качества и без дефектов. Их характеристики должны соответствовать нормативно-технической документации (НТД) на кабели конкретных марок.

5.3. Другие материалы

Материал, используемый в конструкции оптических кабелей, должен быть совместим по физическим и оптическим свойствам с оптическими волокнами и соответствовать НТД на кабели конкретных марок.

6. КОНСТРУКЦИЯ КАБЕЛЯ

Конструкция, размеры, масса, механические, оптические, электрические и климатические свойства оптического кабеля каждого типа должны соответствовать НТД на кабели конкретных марок.

II. МЕТОДЫ ОПРЕДЕЛЕНИЯ ГЕОМЕТРИЧЕСКИХ РАЗМЕРОВ

7. НАЗНАЧЕНИЕ

Размеры оптических волокон, электрических токопроводящих жил и кабелей определяют испытаниями образцов, выбираемыми по табл. 1. Конкретные виды испытаний, критерии оценки и число образцов указывают в НТД на кабели конкретных марок.

Таблица 1

Методы определения геометрических размеров

Номер метода испытания Наименование метода испытания Характеристики, определяемые указанным методом испытания
А1 (ГОСТ Р МЭК 793-1) Метод отраженного ближнего поля Диаметр сердцевины
Диаметр по оптической оболочке
Некруглость
Неконцентричность
А2 (ГОСТ Р МЭК 793-1) Распределение интенсивности излучения по торцу волокна (воспроизведение изображения, метод ближнего поля) Диаметр сердцевины
Диаметр по оптической оболочке
Диаметр по первичному покрытию
Диаметр по буферному слою
Некруглость
Неконцентричность
A3 (ГОСТ Р МЭК 793-1) Метод четырех концентрических окружностей Диаметр сердцевины
Диаметр по оптической оболочке
Некруглость
Неконцентричность
А4 (ГОСТ Р МЭК 793-1) Механический способ Диаметр по оптической оболочке
Диаметр по первичному покрытию
Диаметр по буферному слою
Некруглость
A5 (ГОСТ Р МЭК 793-1) Механический способ (в стадии рассмотрения) Длина кабеля
А6 (ГОСТ Р МЭК 793-1) Задержка передаваемого (проходящего) импульса Длина волокна
ГОСТ 12177 Механический способ Диаметр электрической жилы
МЭК 811-1-1 <*> Механический способ Толщина изоляции
Толщина оболочек
Наружные размеры

<*> До введения в действие ГОСТ Р, подготовленного на основе МЭК 8-11-1-1-85, с 1 января 1995 г., испытания выполняются в соответствии с МЭК 811-1-1-85, который можно получить во ВНИИКИ.

III. МЕТОДЫ ОПРЕДЕЛЕНИЯ МЕХАНИЧЕСКИХ ХАРАКТЕРИСТИК

8. НАЗНАЧЕНИЕ

В настоящем разделе установлены методы измерений механических характеристик оптических кабелей. Методы применяют для проверки оптических кабелей при их поставке.

Механические характеристики оптических кабелей проверяют проведением выбранных из табл. 2 испытаний на образцах. Применяемые испытания, критерии оценки и число образцов должны соответствовать указанным в НТД на кабели конкретных марок.

Примечание. Не все испытания могут быть применены для конкретных кабелей.

Таблица 2

Методы определения механических характеристик

Номер метода испытания Наименование метода испытания Характеристики, определяемые указанным методом испытания
Е1 Стойкость к растяжению Механическая прочность
Е2 Стойкость к истиранию (в стадии рассмотрения) Механическая прочность
ЕЗ Стойкость к раздавливанию
Е4 Стойкость к удару
Е5 Стойкость к изостатическому (радиальному) давлению (в стадии рассмотрения)
Е6 Стойкость к изгибу Эксплуатационные свойства
Е7 Стойкость к осевому кручению  
Е8 Стойкость к перегибу через систему роликов
Е9 Стойкость к рывку
Е10 Стойкость к образованию петли
Е11 Стойкость к статическому изгибу

9. РАБОЧИЕ ОПРЕДЕЛЕНИЯ

В стадии рассмотрения.

10. МЕТОД Е1. СТОЙКОСТЬ К РАСТЯЖЕНИЮ

10.1. Назначение

Метод предназначен для испытания оптических кабелей на прочность при растяжении с целью определения зависимости затухания от нагрузки на кабель, возникающей при прокладке, например при растяжении кабеля, проходящего через углы. Метод не предусматривает разрушение образца (приложенная растягивающая нагрузка не должна превышать предельных значений).

10.2. Подготовка образца

Кабель испытуемой длины, необходимой для получения требуемой точности измерений, отматывается от катушки или бухты, но не отрезается.

10.3. Аппаратура

а) Прибор для измерения затухания при определении изменения затухания (см. ГОСТ Р МЭК 793-1, разд. 4).

б)

1) Устройство для измерения прочности при растяжении, обеспечивающее испытание минимальной длины (см. черт. 1).

2) Устройство, обеспечивающее необходимую растягивающую нагрузку с погрешностью ±3 %.

3) Барабаны соответствующего диаметра или аналогичная система.

Растягивающие ролики соответствующего диаметра применяются для уменьшения размеров испытательного устройства.

в) Пример испытательного устройства показан на черт. 1.

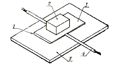
Оборудование для проведения испытания на растяжение

1 - привод; 2 - растягивающие ролики; 3 - барабан (для крепления кабеля); 4 - барабан с кабелем; 5 - прибор для измерения затухания

Черт. 1

Необходимо, чтобы расстояние между растягивающими роликами, а также диаметры растягивающих роликов не оказывали отрицательного влияния на условия испытаний.

10.4. Проведение испытания

а) Испытание проводят при температуре окружающей среды.

б) Растягивающее усилие плавно увеличивают до значения, указанного в НТД на кабели конкретных марок.

в) Изменение затухания регистрируют как непрерывную функцию нагрузки.

г) Для кабелей с большим числом волокон может быть использован прибор для измерения затухания по большому количеству каналов.

д) Число волокон; на которых проводится измерение, и (или) число циклов испытаний согласуется изготовителем и заказчиком.

10.5. Результаты

а) Результаты испытаний

Затухание в образце не должно превышать значений, указанных в НТД на кабели конкретных марок.

б) В результате испытаний должны быть представлены следующие данные:

1) длина кабеля и длина растягиваемого участка;

2) подготовка концов;

3) растягивающая нагрузка;

4) значения затухания до начала и во время испытаний;

5) степень воздействия;

6) изменение затухания на определенной длине волны в зависимости от нагрузки.

11. МЕТОД Е2. СТОЙКОСТЬ К ИСТИРАНИЮ

В стадии рассмотрения.

12. МЕТОД ЕЗ. СТОЙКОСТЬ К РАЗДАВЛИВАНИЮ

12.1. Назначение

Метод предназначен для определения стойкости оптического кабеля к раздавливающим нагрузкам.

12.2. Устройство

Устройство позволяет испытывать образец кабеля на стойкость к раздавливающим нагрузкам между стальными плоскими опорными и подвижными пластинами, обеспечивающими равномерное приложение раздавливающего усилия на длине образца 100 мм. Края подвижной пластины имеют определенный радиус закругления. Устройство такого типа показано на черт. 2.

Испытание на воздействие раздавливающей нагрузки

1 - радиус закругления; 2 - груз; 3 - подвижная пластина; 4 - образец, кабеля; 5 - опорная пластина

Черт. 2

12.3. Условия проведения испытания Испытание проводят в нормальных климатических условиях в соответствии с ГОСТ 28198.

12.4. Проведение испытания

Образец кабеля устанавливают между пластинами таким образом, чтобы не допустить перемещения образца в горизонтальном направлении, а нагрузка должна возрастать постепенно, без резких изменений. Если нагрузку прикладывают ступенчато, то соотношение между последовательно прикладываемыми нагрузками должно быть 1,5:1.

Значение нагрузки и продолжительность ее воздействия устанавливают в НТД на кабели конкретных марок.

12.5. Оценка результатов

Параметры - критерии оценки годности устанавливают в НТД на кабели конкретных марок.

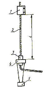
13. МЕТОД Е4. СТОЙКОСТЬ К УДАРУ

13.1. Назначение

Метод предназначен для определения стойкости оптического кабеля к ударной нагрузке.

13.2. Устройство

Устройство обеспечивает возможность вертикального падения груза на промежуточную стальную пластину, которая, в свою очередь, передает удар на образец кабеля, прикрепленный к прочному плоскому стальному основанию.

Примерная схема устройства показана на черт. 3, но могут быть использованы и другие аналогичные устройства. Поверхность промежуточной пластины, контактирующая с образцом кабеля, закруглена. Радиус закругления R устанавливают в НТД на кабели конкретных марок.

Испытание на стойкость к удару

Размеры в миллиметрах
1 - груз; 2 - промежуточная стальная пластина (100 г); 3 - образец; 4 - стальное основание (10 кг); 5 - слегка закругленные края; 6 - сечение А-В.

Черт. 3

13.3. Условия проведения испытания Испытание проводят в нормальных климатических условиях в соответствии с ГОСТ 28198 и МЭК 811-1-1.

13.4. Проведение испытания

Массу груза и высоту падения груза подбирают таким образом, чтобы получить начальную энергию, указанную в НТД на кабели конкретных марок. Число ударов устанавливают в НТД на кабели конкретных марок.

13.5. Критерии оценки

Параметры - критерии оценки годности устанавливают в НТД на кабели конкретных марок.

13.6. Испытание на стойкость к удару Испытание проводят в соответствии с МЭК 811-1-1 при температуре, указанной в НТД на кабели конкретных марок.

В дополнение к требованиям МЭК 811-1-1 волокна не должны разрушаться в процессе испытания.

14. МЕТОД Е5. СТОЙКОСТЬ К ИЗОСТАТИЧЕСКОМУ (РАДИАЛЬНОМУ) ДАВЛЕНИЮ

В стадии рассмотрения.

15. МЕТОД Е6. СТОЙКОСТЬ К ИЗГИБУ

15.1. Назначение

Метод предназначен для определения стойкости оптического кабеля к воздействию многократных изгибов.

15.2. Подготовка образца

На концах образца устанавливают зажимные соединительные муфты; или волокна, оболочки и упрочняющие элементы соединяют вместе другим способом.

15.3. Устройство

Устройство обеспечивает двухсторонние изгибы образца на 180° (±90°), причем угол между двумя крайними положениями по обе стороны вертикали должен составлять 90° при одновременном воздействии растягивающего усилия. На черт. 4 показана схема устройства для испытания кабеля. На черт. 5 показано устройство для испытания кабелей, армированных зажимными муфтами. Могут быть использованы другие аналогичные устройства.

15.4. Условия проведения испытаний Испытание проводят в нормальных климатических условиях в соответствии с ГОСТ 28198.

Испытание кабеля Испытание армированной муфты кабеля
   
   
1 - узел крепления образца; 2 - ось изгиба; 3 - образец; 4 - груз 1 - зажимная муфта; 2 - образец; 3 - груз
   
Черт. 4 Черт. 5

15.5 Проведение испытания

Образец закрепляют в устройстве так, как это показано на черт. 4 и 5, и на нем должен быть закреплен груз. Массу груза, радиус изгиба R и размер L указывают в НТД на кабели конкретных марок. Образец подвергают двухсторонним изгибам, причем угол между двумя крайними положениями по обе стороны вертикали должен составлять 90°. Перевод образца из вертикального положения в крайнее правое положение с последующим переводом его в крайнее левое положение с возвратом в исходное вертикальное положение считается одним циклом. Изгибы производят с периодичностью приблизительно один цикл за 2 с. Число циклов и значения а, b, c устанавливают в НТД на кабели конкретных марок.

15.6. Оценка результатов

В процессе испытаний волокно не должно разрушаться, параметры - критерии оценки годности устанавливают в НТД на кабели конкретных марок.

16. МЕТОД Е7. СТОЙКОСТЬ К ОСЕВОМУ КРУЧЕНИЮ

16.1. Назначение

Метод предназначен для определения стойкости оптического кабеля к воздействию осевого кручения.

16.2. Подготовка образца

На конце образца устанавливают зажимную муфту; или волокна, оболочки и упрочняющие элементы соединяют вместе другим способом.

16.3. Устройство

Испытание проводят с помощью устройства, имеющего неподвижный и вращающийся зажимы. Соответствующее устройство показано на черт. 6 и 7, но могут быть использованы и другие аналогичные приспособления.

Испытание на воздействие осевого кручения

1 - груз; 2 - неподвижный зажим для кабеля; 3 - образец; 4 - вращающийся зажим для кабеля

Черт. 6

16.4. Условия проведения испытаний Испытание проводят в нормальных климатических условиях в соответствии с ГОСТ 28198.

16.5. Проведение испытания

Образец устанавливают в устройстве для проведения испытаний таким образом, чтобы кабель был зажат в неподвижном зажиме и оболочка кабеля не перемещалась в процессе испытания. Зажимную или концевую муфту прикрепляют к вращающемуся зажиму, который вращают по часовой стрелке, число оборотов указано в НТД на кабели конкретных марок. Затем образец возвращают в исходное положение и вращают зажим против часовой стрелки на то же число оборотов, после чего возвращают в исходное положение. Указанные операции составляют один цикл. Длину испытуемого образца, массу груза и число циклов указывают в НТД на кабели конкретных марок.

Испытание на воздействие осевого кручения

1 - неподвижный зажим; 2 - образец;. 3 - концевая или зажимная муфта; 4 - вращающийся зажим; 5 - груз

Черт. 7

16.6. Требования

Параметры - критерии оценки годности устанавливают в НТД на кабели конкретных марок.

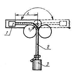
17. МЕТОД Е8. ИСПЫТАНИЕ НА СТОЙКОСТЬ К ПЕРЕГИБУ ЧЕРЕЗ СИСТЕМУ РОЛИКОВ

17.1. Назначение

Метод предназначен для определения гибкости оптических кабелей при многократных перегибах.

17.2. Подготовка образца

На концах образца устанавливают зажимные муфты; или волокна, оболочки и упрочняющие элементы соединяют вместе другим способом.

17.3. Устройство

Испытание выполняют в соответствии с МЭК 227-2 <*>, если другое не указано в НТД на кабели конкретных марок.

<*> До введения в действие ГОСТ Р, подготовленного на основе МЭК 227-2-79, с 1 января 1995 г., испытания выполняются в соответствии с МЭК 227-2-79, который можно получить во ВНИИКИ.

Шкивы имеют полукруглые желобки для круглых кабелей и плоские желобки для плоских кабелей. Ограничительные зажимы D устанавливают таким образом, чтобы грузы обеспечивали натяжение образца при движении каретки. Может быть использовано другое аналогичное устройство.

17.4. Условия проведения испытаний Испытание проводят в нормальных климатических условиях в соответствии с ГОСТ 28198.

Устройство для проведения испытания на стойкость к многократному перегибу через систему роликов

1 - груз; А и B - шкивы; C - каретка; D - ограничительные зажимы

Черт. 8

17.5. Проведение испытания

Образец с грузами на концах пропускают через шкивы. Массу груза и диаметр шкивов А и B (черт. 8) указывают в НТД на кабели конкретных марок.

Образец подвергают перегибам. Число циклов указано в НТД на кабели конкретных марок.

17.6. Оценка результатов

Параметры - критерии оценки годности устанавливают в НТД на кабели конкретных марок.

18. МЕТОД Е9. СТОЙКОСТЬ К РЫВКУ

18.1. Назначение

Метод предназначен для определения способности оптического кабеля выдерживать нагрузку, возникающую при рывке.

18.2. Подготовка образца

На концах образца устанавливают зажимные муфты; или волокна, оболочку и упрочняющие элементы соединяют вместе другим способом.

18.3. Устройство

Крюк, размеры которого показаны на черт. 9, имеет ось, на которой крепят различные грузы. Радиус той части крюка, которая контактирует с кабелем, должен быть больше радиуса кабеля. Конструкция крюка не должна допускать его деформации в процессе испытаний.

Испытание на стойкость к рывку

1 - крюк; 2 - кабель; 3 - длина 4,5 м; стрела провиса 300 мм; 4 - груз; 5 - вид сбоку; 6 - вид спереди

Черт. 9

8.4. Условия проведения испытаний Испытание проводят в нормальных климатических условиях в соответствии с ГОСТ 28198.

18.5. Проведение испытания

Кабель зажимают между двумя жесткими опорами так, чтобы он образовал кривую длиной 4,5 м в горизонтальном направлении со стрелой прогиба 300 мм.

После этого измеряют затухания.

Крюк с прикрепленным грузом помещают над кабелем таким образом, чтобы выпуклость крюка находилась над точкой максимального прогиба кабеля на высоте 100 мм.

Масса груза должна соответствовать указанной в НТД на кабели конкретных марок. Затем крюк освобождается и падает, цепляясь за кабель, после чего вновь измеряют затухание. Груз снимают с кабеля, и, если это установлено в НТД на кабели конкретных марок, вновь измеряют затухание. Это составляет один цикл. Число циклов указывают в НТД на кабели конкретных марок.

18.6. Оценка результатов

В процессе испытания не должно быть обрыва волокна и токопроводящих жил. Допускается в процессе испытания контролировать затухание. После испытания, при необходимости, можно определить увеличение затухания.

19. МЕТОД Е10. СТОЙКОСТЬ К ОБРАЗОВАНИЮ ПЕТЛИ

19.1. Назначение

Назначение метода заключается в том, чтобы проверить, вызывает ли образование петли разрушение оптического волокна в кабеле. В зависимости от жесткости оболочки кабеля разрушение волокна может иметь место, если размеры петли настолько малы, что вызывают кручение оболочки.

19.2. Образец

Длина образца должна быть приблизительно в 10 раз больше минимального радиуса изгиба кабеля.

19.3. Проведение испытания

Образец держат двумя руками. Образуется петля (поз. 1, черт. 10). Образец медленно тянут за оба конца (поз. 2). Диаметр петли уменьшают до минимального значения, указанного в НТД на кабели конкретных марок. Векторы сил, приложенных в нижней части петли, должны быть расположены в одной плоскости.

Температуру образца указывают в НТД на кабели конкретных марок.

19.4. Требование

Закручивание в точке 3, как показано на черт. 10, не должно происходить.

Испытание на стойкость к образованию петли

Черт. 10

20. МЕТОД Е11. СТОЙКОСТЬ К СТАТИЧЕСКОМУ ИЗГИБУ

20.1. Назначение

Метод заключается в определении стойкости оптического кабеля небольшого диаметра к воздействию статического изгиба при навивании на оправку.

20.2. Подготовка образца

На концах образца устанавливают зажимные муфты; или волокна, оболочки и упрочняющие элементы соединяют вместе другим способом.

20.3. Устройство

Устройство представляет собой оправку, на которую образец навивают плотной спиралью.

20.4. Условия проведения испытания. Испытание проводят в нормальных климатических условиях в соответствии с ГОСТ 28198,

20.5. Проведение испытания

В зависимости от конструкции и диаметра кабеля и от требований к кабелям конкретных марок используют один из следующих двух методов.

Метод 1.

Образец навивают плотной спиралью на оправку со скоростью один оборот за 5 с. Для того чтобы образец повторил контур оправки, намотку проводят с некоторым натяжением. Затем образец сматывают с оправки.

Цикл состоит из навивания на оправку и сматывания с оправки.

Диаметр оправки, число витков спирали и число циклов указывают в НТД на кабели конкретных марок.

Метод 2.

Образец изгибают вокруг оправки на 180° (V-изгиб), туго натягивая при изгибе.

Цикл состоит из V-изгиба и последующего V-изгиба в противоположном направлении.

Диаметр оправки и число циклов указывают в НТД на кабели конкретных марок.

20.6. Оценка результатов

В процессе испытания волокно не должно разрушаться. На оболочке не должно быть трещин, видимых невооруженным глазом при осмотре образца на оправке. Увеличение затухания после испытания не должно превышать значения, указанного в НТД на кабели конкретных марок.

20.7. Испытание кабеля на изгиб при низких температурах

Испытание должно выполняться в соответствии с МЭК 811-1-1 при температуре, указанной в НТД на кабели конкретных марок.

В дополнение к требованиям МЭК 811-1-1 волокно не должно разрушаться в процессе испытания.

IV. МЕТОДЫ ОПРЕДЕЛЕНИЯ ПЕРЕДАТОЧНЫХ И ОПТИЧЕСКИХ ХАРАКТЕРИСТИК

21. НАЗНАЧЕНИЕ

Передаточные и оптические характеристики оптических волокон в кабелях проверяют проведением испытаний, выбранных из табл. 3. Конкретные виды испытаний и критерии оценки указывают в НТД на кабели конкретных марок.

Таблица 3

Методы определения передаточных и оптических характеристик

Номер метода испытания по ГОСТ Р МЭК 793-1 Наименование метода испытания Характеристики, определяемые указанным методом испытания
C1А Метод обрыва Затухание
С1В Метод вносимых потерь
С1С Метод обратного рассеяния
С2А Импульсная характеристика Полоса пропускания
С2В Частотная характеристика
А1 Ближнее поле Профиль показателя преломления
А2 Распределение света в ближнем поле Максимальная теоретическая числовая апертура
С1С Метод обратного рассеяния Обратное рассеяние
С3 (В стадии рассмотрения) Чувствительность к микроизгибам
С4 Передаваемая или излучаемая мощность Оптическая непрерывность
С1С Метод обратного рассеяния
С5 Зависимость запаздывания импульса и фазового сдвига от длины волны Хроматическая дисперсия
С6 Распределение света в дальнем поле Числовая апертура Угол возбуждения волокна
С7 Длина волны отсечки Длина волны отсечки мод высшего порядка
С8 (Для рассмотрения в будущем) Модовая дисперсия

V. МЕТОДЫ ОПРЕДЕЛЕНИЯ ЭЛЕКТРИЧЕСКИХ ХАРАКТЕРИСТИК

22. НАЗНАЧЕНИЕ

Если электрические токопроводящие жилы входят в состав оптического кабеля, может возникнуть необходимость определения различных электрических характеристик. Типичные виды испытаний указаны в табл. 4. Конкретные виды испытаний и критерии оценки указывают в НТД на кабели конкретных марок.

Таблица 4

Методы определения электрических характеристик

Номер метода испытания Наименование метода испытания Характеристики, определяемые указанным методом испытания
ГОСТ 7229 Измерение электрического сопротивления токопроводящей жилы Определение электрической прочности изоляции Характеристики изолированных электрических токопроводящих жил
ГОСТ 2990
 
ГОСТ 3345 Измерение электрического сопротивления изоляции

VI. МЕТОДЫ ОПРЕДЕЛЕНИЯ ХАРАКТЕРИСТИК ПРИ ВОЗДЕЙСТВИИ ВНЕШНИХ ФАКТОРОВ

23. НАЗНАЧЕНИЕ

В настоящем разделе рассматриваются методы, применяемые при испытаниях оптических кабелей в условиях воздействия внешних факторов.

Методы используют при контроле оптических кабелей.

Способность оптических кабелей работать в условиях внешней среды с сохранением установленных механических или оптических свойств проверяют испытанием образцов в соответствии с табл. 5. Конкретные виды испытаний, температуру и условия, число образцов и критерии оценки указывают в НТД на кабели конкретных марок.

Таблица 5

Методы определения характеристик при воздействии внешних факторов

Номер метода испытания Наименование метода испытания Характеристики, определяемые указанным методом испытания
F1 (ГОСТ Р МЭК 794-1) Циклическая смена температур Климатические характеристики
F2 (ГОСТ Р МЭК 794-1) Химическая стойкость (в стадии рассмотрения) Химическая стойкость
Испытание J (ГОСТ 28206) Плесневые грибы Биологическая стойкость
ГОСТ 12176 Нераспространение горения Поведение кабеля в условиях горения
F3 (ГОСТ Р МЭК 794-1) Целостность оболочки Дефекты оболочки
F4 (ГОСТ Р МЭК 794-l) Внешнее статическое давление (в стадии рассмотрения)
F5 (ГОСТ Р МЭК 794-1) Водонепроницаемость Стойкость к прониканию воды
ГОСТ 17491 Стойкость к изгибу при пониженной температуре Гибкость в условиях низких температур
F6 (ГОСТ Р МЭК 794-1) Воздействие пониженной температуры (в стадии рассмотрения) Стойкость к пониженной температуре
F7 (ГОСТ Р МЭК 794-1) Ядерное излучение (в стадии рассмотрения) Устойчивость к воздействию ядерного излучения

24. РАБОЧИЕ ОПРЕДЕЛЕНИЯ

В стадии рассмотрения.

25. МЕТОД Fl. ТЕМПЕРАТУРНЫЕ ЦИКЛЫ

25.1. Назначение

Настоящий метод применяется для оптических кабелей, которые подвергаются воздействию температурных циклов с целью определения стабильности затухания кабеля, работающего в условиях изменения температуры.

Изменение затухания оптических кабелей, которое может возникнуть при изменении температуры, обычно является результатом, деформаций или натяжения волокон вследствие разницы между коэффициентом теплового расширения волокон и коэффициентами элементов кабеля и оболочки. Условия испытаний при измерении температурных зависимостей должны моделировать самые тяжелые условия эксплуатации.

Это испытание может применяться либо с целью контроля поведения кабеля в диапазоне температур, которые могут иметь место при хранении, транспортировании и эксплуатации, либо с целью проверки в выбранном диапазоне температур (обычно более широком, чем для предыдущего случая) стабильности затухания, обусловленной отсутствием микроизгибов волокна в конструкции кабеля.

25.2. Подготовка образца

Образец представляет собой строительную длину или отрезок длины, указанной в НТД на кабели конкретных марок, при этом длина должна быть достаточной для получения требуемой точности (см. примечание).

Для получения воспроизводимых результатов образец, помещаемый в климатическую камеру, должен быть в виде нестянутой бухты или на катушке.

Примечание. Например, рекомендуется, чтобы минимальная длина испытуемого волокна была не менее 1000 м для волокна А1 и 2000 м для волокна В.

Способность волокна или волокон перераспределяться при тепловом расширении и сжатии кабеля (например за счет перемещения внутри кабеля) зависит от радиуса изгиба кабеля, поэтому образец должен помещаться в условия, наиболее близкие к условиям нормальной эксплуатации.

При испытании на катушке кабель должен быть намотан таким образом, чтобы вариации его характеристик (затухание, длина волны и т. д.) находились в пределах, которые имеют место в условиях нормальной эксплуатации.

Потенциально существует проблема, обусловленная различием коэффициентов расширения испытуемого образца и носителя, на котором закреплен образец (катушка, короб, плита и т. д.), что может при температурных циклах оказывать существенное воздействие на результат испытания, если не полностью выполнены условия "нулевого воздействия".

Основными влияющими параметрами являются: условия подготовки образца, тип и материал(ы) носителя образца, диаметр бухты или катушки и т. д.

Общие рекомендации

Диаметр намотки должен быть достаточно большим, чтобы у волокна была возможность перераспределяться при тепловом расширении и сжатии. Диаметр намотки должен быть значительно больше значения, нормированного для поставки кабеля.

Должна быть исключена любая возможность ограничения расширения (или сжатия) кабеля при испытании. В частности, следует принять специальные меры предосторожности во избежание любого остаточного натяжения кабеля в процессе испытания. Например, не рекомендуется плотная намотка на барабан, поскольку она может ограничить сжатие кабеля при низкой температуре. С другой стороны, многослойная плотная намотка может ограничить расширение при высокой температуре.

Рекомендуется слабая намотка, что обеспечивается бухтами большого диаметра, катушками с амортизирующими подушками с мягким подслоем или применением приспособлений для ослабления напряжений и т. д.

Для ограничения длины испытуемого кабеля можно соединить несколько волокон кабеля и провести измерения на соединенных волокнах. Число соединений должно быть ограниченным, и желательно, чтобы они располагались за пределами климатической камеры. В этом случае следует обратить внимание на обработку результатов. Для этих целей может быть применена методика обратного рассеяния, даже если она не рассматривается как метод, рекомендуемый для, измерения затухания.

25.3. Аппаратура

а) Система измерения затухания, применяемая для определения изменения затухания.

См. методы испытаний разд. 4 ГОСТ Р МЭК 793-1.

б) Климатическая камера.

Климатическая камера должна иметь такие размеры, чтобы в нее можно было поместить образец (п. 25.2) и обеспечивать поддержание температуры в пределах ±3 °C (±3 К) от нормированной температуры испытаний. Пример такой камеры приведен в ГОСТ 28209.

25.4 Порядок проведения испытаний

а) Начальное измерение

Следует провести визуальный осмотр образца и определить начальное значение затухания при исходной температуре.

Условия предварительной подготовки образца должны быть оговорены между заказчиком и поставщиком.

б) Условия проведения испытания

1) Образец, имеющий температуру окружающей среды, помещают в климатическую камеру, также имеющую температуру окружающей среды.

2) Температуру в камере понижают до установленной низкой температуры Т_а с установленной скоростью охлаждения.

3) Когда в камере достигнута стабильная температура, образец выдерживают при низкой температуре в течение установленного периода t_1.

4) Затем; температуру в камере повышают до установленной высокой температуры T_B с установленной скоростью нагрева.

5) Когда в камере достигнута стабильная температура, образец выдерживают при высокой температуре в течение установленного периода t_1.

6) Затем температуру в камере снижают до температуры окружающей среды с установленной скоростью охлаждения.

7) Эти операции составляют один цикл (см. черт. 11).

Порядок проведения одного цикла испытания

1 - температура в камере; 2 - время; 3 - 1 цикл; 4 - точка A - начало первого цикла

Черт. 11

8) Образец должен быть подвергнут двум циклам испытаний, если в НТД на кабели конкретных марок не установлены другие требования.

9) в НТД на кабели конкретных марок должны быть указаны:

а) изменение затухания и контрольные проверки во время испытания;

б) период или периоды, после которых должны проводиться контрольные проверки.

10) До изъятия из камеры испытуемый образец должен достигнуть термической стабильности при температуре окружающей среды.

11) Если в НТД на кабели конкретных марок указывается различный диапазон температур для хранения и эксплуатации, допускается в соответствии с черт. 12 проведение комбинированного испытания вместо двух различных испытаний.

Порядок проведения комбинированного испытания

1 - температура в камере; 2 - время; 3 - 1 цикл

Черт. 12

12) Значения T_A, T_B и t_1, скорость охлаждения (или нагрева) должны быть указаны в НТД на кабели конкретных марок.

Следует принять меры, чтобы температура центральной части кабеля в конце фаз охлаждения (или нагрева) незначительно отличалась от температуры, устанавливаемой в климатической камере.

в) Восстановление

1) Если температура окружающей среды не соответствует нормальным атмосферным условиям, в которых должны проводиться измерения после изъятия из камеры, то следует обеспечить достижение термической стабильности образца при этих условиях.

2) В НТД на кабели конкретных марок может быть специально указан период восстановления для определенного типа образца.

25.5. Результаты

а) Конечные измерения

Должны быть проведены: визуальный осмотр образца, механические и оптические испытания, как указано в НТД на кабели конкретных марок.

б) В результатах испытания должны быть зафиксированы следующие данные:

диаметр бухты или катушки;

детали условий намотки:

бухта, катушка, прочее (уточнить тип амортизирующей подушки при применении барабана с амортизирующей подушкой),

намотка однослойная или многослойная,

намотка рядовая или с перекрещиванием витков,

натяжение намотки и приспособление для ослабления напряжений, если оно применялось,

тип и материал носителя образца,

положение образца (вертикальное/горизонтальное);

длины испытуемых кабеля и волокна, тип соединения волокон (если оно применялось);

подготовка концов;

характеристика измерительного оборудования, включая тип измерительной аппаратуры и условия ввода;

условия испытания (число циклов, диаграмма температурных циклов). Температура и время должны быть зарегистрированы;

контролируется или нет влажность. Если влажность контролируется, следует фиксировать влажность для каждой граничной температуры;

изменение затухания на установленной длине волны в зависимости от температурных циклов с указанием точности измерений,

26. МЕТОД F2. ХИМИЧЕСКАЯ СТОЙКОСТЬ

Для рассмотрения в будущем..

27. МЕТОД F3. ЦЕЛОСТНОСТЬ ОБОЛОЧКИ

27.1. Назначение

Метод может применяться для кабелей без герметизации для наружной прокладки с целью определения целостности оболочки. Это может быть выполнено или подачей внутрь, кабеля газа под давлением, или, если оболочка влагонепроницаемая, путем испытания повышенным напряжением.

27.2. Испытание внутренним повышенным давлением

Для негерметизированных кабелей оболочка должна выдержать без утечки внутреннее давление газа от 50 до 100 кПа в течение 2 ч после выравнивания давления по всей длине кабеля.

Примечание. Если оболочка испытана в соответствии с п. 27.3, настоящее испытание проводить необязательно.

27.3. Испытание повышенным напряжением (если применяется)

Оболочка должна выдержать испытательное напряжение не менее 8 кВ (среднее квадратическое значение) переменного тока или 12 кВ постоянного тока.

Примечание. Для негерметизированных кабелей, оболочка которых испытана в соответствии с п. 27.2, настоящее испытание проводить необязательно.

28. МЕТОД F4. ВНЕШНЕЕ СТАТИЧЕСКОЕ ДАВЛЕНИЕ

Для рассмотрения в будущем.

29. МЕТОД F5. ВОДОНЕПРОНИЦАЕМОСТЬ

29.1. Назначение

Испытание проводят на герметизированных кабелях для наружной прокладки с целью определения степени заполнения герметизирующим компаундом всех промежутков для предотвращения проникания воды внутрь кабеля.

29.2. Проведение испытания

Испытание проводят на образцах герметизированного кабеля следующим образом (черт. 13).

Оболочку и обмотку на цилиндрическом участке длиной 25 мм удаляют на расстоянии 3 м от одного конца образца кабеля, и влагонепроницаемую Т-образную муфту надевают на подготовленный участок так, чтобы закрыть образовавшееся отверстие в оболочке.

Кабель устанавливают горизонтально, и столб воды высотой 1 м, содержащей достаточное количество растворимого в воде флуоресцентного красителя для установления просачивания, должен давить на сердечник кабеля в течение 24 ч при температуре (20±5) °С. При осмотре конца образца длиной 3 м с помощью подсветки краситель не должен быть обнаружен.

Примечания: Приведенный метод является основной рекомендацией, и при контрольных испытаниях образцов меньшей длины продолжительность испытаний может быть уменьшена.

2. Кабель не считают не выдержавшим испытание, если вне сердечника кабеля и его изоляции обнаружено случайное просачивание (несколько капель) красителя.

Испытание на водонепроницаемость

1 - высота столба воды 1 м; 2 - колпачок; 3 - кабель

Черт. 13

30. МЕТОД F6. ВОЗДЕЙСТВИЕ ПОНИЖЕННОЙ ТЕМПЕРАТУРЫ

В стадии рассмотрения.

31. МЕТОД F7. ЯДЕРНОЕ ИЗЛУЧЕНИЕ

В стадии рассмотрения.

ПРИЛОЖЕНИЕ А
(Справочное)

А.1. Общие положения

Справочные данные для оптических кабелей для коротких линий связи.

А.1.1. Назначение

Это приложение содержит дополнительную информацию по оптическим кабелям, используемым в коротких линиях связи. Оно позволяет определить общие требования в части размеров, оптических, передаточных, механических характеристик оптических кабелей и их устойчивости к воздействию окружающей среды.

А.1.2. Документы, на которые имеются ссылки

ГОСТ Р МЭК 793-1 "Оптические волокна. Общие технические требования".

МЭК 793-2, 1989* "Оптические волокна. Часть 2. Технические условия на изделия".

ГОСТ Р МЭК 794-1 "Оптические кабели. Общие технические условия".

МЭК 794-2, 1989* "Оптические кабели. Часть 2. Технические условия на изделия".

МЭК 874-1, 1987* "Соединители для оптических волокон и кабелей. Часть 1. Общие технические требования".

А.1.3. Категории оптических волокон

Оптические кабели, используемые для коротких линий связи, должны иметь следующие оптические волокна:

категория А2: для расстояний от нескольких сот метров до 2 км;

категория A3: для расстояний от нескольких сот метров до 1 км;

категория А4: для расстояний до 100 м.

Характеристики используемых оптических волокон должны быть установлены, как это было указано в соответствующих технических условиях на изделия.

А.2. Методы определения размеров

Примечание. Размеры оптических волокон определяют методами, указанными в ГОСТ Р МЭК 793-1.

А.2.1. Метод измерения диаметра

Методы определения размеров, применяемые для оптических кабелей для коротких линий связи, приведены в табл. 1 настоящего стандарта.

А.2.2. Измерение длины

В настоящем стандарте приведены два способа измерения длины: механический способ и с помощью задержки передаваемого и (или) отраженного импульса, как указано в ГОСТ Р МЭК 793-1. При измерении кабеля в бухте или на катушке можно использовать второй метод (ГОСТ Р МЭК 793-1, метод А6). Например, тщательно калиброванный импульсный измеритель с высокой разрешающей способностью позволяет получить точность в несколько сантиметров на длине 100 м.

А.3. Методы определения механических характеристик

Если кабель предназначается для использования без концевых соединителей, применяются испытания, приведенные в настоящем стандарте.

Если кабель предназначается для использования с концевыми соединителями, а испытания должны быть проведены только на кабеле, проводят комбинированные испытания на сборке кабель-соединитель в соответствии с МЭК 874-1.

<*> Разработка государственного стандарта России не предусматривается. Данный документ можно получить во ВНИИКИ.

А.3.1. Методы определения механических характеристик кабелей

Снятие покрытий (в стадии рассмотрения).

Стойкость к растяжению (метод Е1).

Стойкость к истиранию (метод Е2, в стадии рассмотрения).

Стойкость к раздавливанию (метод ЕЗ).

Стойкость к удару (метод Е4).

Стойкость к многократным изгибам (метод Е6).

Стойкость к осевому скручиванию (метод Е7).

Стойкость к перегибу через систему роликов, (метод Е8).

Стойкость к рывку (метод Е9).

Стойкость к образованию петли (метод E10).

Стойкость кабеля к статическому изгибу (метод Е11).

А.3.2. Методы определения механических характеристик соединителя Размеры (МЭК 874-1, п. 26).

Испытание на удар при падении оптического кабеля-соединителя (МЭК 874-1, п. 28.17).

Усилия соединения и разъединения (МЭК 874-1, п. 28.6).

Механическая прочность (в стадии рассмотрения).

Стойкость к вибрации (МЭК 874-1, п. 28.2).

Прочность соединительного механизма (МЭК 874-1, п. 28.8).

Механическое испытание на удерживание и ввод кабеля (МЭК 874-1, п. 28.7).

Скручивание кабеля (МЭК 874-1, в стадии рассмотрения).

Эффективность удерживания волокна или наконечника (МЭК 874-1, п. 28.4).

А.4. Метод измерения оптических характеристик и характеристик передачи

А.4.1. Затухание

Метод обрыва волокна с изменением условий возбуждения, описанный в приведенном ниже примечании, дает точные результаты для волокон небольшой длины.

Однако при измерении на коротком волокне или кабеле не следует пренебрегать погрешностью измерения, поскольку затухание на короткой длине волокна или кабеля становится соизмеримым с погрешностью измерения.

Метод вносимых потерь может применяться, если требования к точности не являются определяющими.

Метод обратного рассеяния высокой разрешающей способности и импульсный метод, описанные в пп. 34.1 и 34.5 метода измерения С1С (ГОСТ Р МЭК 793-1), могут применяться для волокон категорий А2, A3 и А4.

Примечание. Условия ввода при неравновесном состоянии мод. Если длина волокна такова, что условия равновесного распределения мод недостижимы, требуются условия ввода, отличные от условий равновесного распределения мод. Во всех случаях, когда условия ввода значительно отличаются от условий равновесного состояния мод на измеряемой длине волокна, измерение коэффициента затухания невозможно, так как распределение мощности зависит от длины волокна. В этих особых условиях измерение затухания может быть особо оговорено. В этом случае должны быть регламентированы условия, например:

а) длина волны источника;

б) спектральная ширина;

в) диаграмма излучения;

г) длина измеряемого волокна;

д) связь между источником и измеряемым волокном;

е) особые условия ввода могут быть необходимы и для других измерений, кроме затухания, например условия ввода до насыщения, приведенные в ГОСТ Р МЭК 793-1.

Рекомендуется использовать:

числовую апертуру ввода, равную или немного большую числовой апертуры измеряемого волокна;

пятно ввода, равное или немного более диаметра сердечника измеряемого волокна.

Вопрос испытательного стенда, обеспечивающего условия ввода в волокна для линий связи небольшой длины, будет исследоваться дополнительно.

А.4.2. Измерение полосы пропускания

Для ширины полосы пропускания при коротких длинах волокон категории А4 используются импульсные методы. Соответствующие измерения для волокон А2 и A3 будут исследоваться дополнительно.

А.4.3. Оптическая целостность

Из двух методов, указанных в табл. 4, рекомендуется для коротких отрезков волокон использовать метод передаваемой или излучаемой мощности (ГОСТ Р МЭК 793-1, метод С4).

А.4.4. Числовая апертура

Рекомендуется использовать метод распределения света в дальнем поле (ГОСТ Р МЭК 793-1, метод С6) при модифицированных условиях ввода, таких как рекомендованные при измерении затухания.

А.5. Методы измерения параметров стойкости к воздействию окружающей среды

А.5.1. Общие положения

Если кабель предназначен для использования без соединителей на концах, применяются испытания, приведенные в настоящем стандарте.

Если кабель предназначен для использования с соединителями на концах, испытания проводят только на кабелях, а комбинированные испытания на сборке кабель-соединитель проводят в соответствии с МЭК 874-1.

А.5.2. Методы измерений на кабелях

Испытание на огнестойкость (в стадии рассмотрения).

Изгиб кабеля при низкой температуре (в стадии рассмотрения).

Циклическая смена температур (метод F1).

Химическая стойкость (метод F2, в стадии рассмотрения).

Целостность оболочки (метод F3).

Внешнее статическое давление (метод F4..B стадии рассмотрения).

Водонепроницаемость (метод F5).

Воздействие пониженной температуры (метод F6, в стадии рассмотрения).

Ядерное излучение (метод F7, в стадии рассмотрения),

А.5.3. Методы измерений для соединителей

Климатическая последовательность (МЭК 874-1, п. 29.5).

Коррозионная атмосфера (соляной туман) (МЭК 874-1, п. 29.9. Только для соединителей с металлическими деталями).