Швы монтажные узлов примыкания оконных блоков к стеновым проемам. Общие технические условия. ГОСТ 30971-2002

(утв. Постановлением Госстроя РФ от 02.09.2002 N 115)
Редакция от 02.09.2002 — Документ не действует

МЕЖГОСУДАРСТВЕННЫЙ СТАНДАРТ

ШВЫ МОНТАЖНЫЕ УЗЛОВ ПРИМЫКАНИЯ ОКОННЫХ БЛОКОВ К СТЕНОВЫМ ПРОЕМАМ. ОБЩИЕ ТЕХНИЧЕСКИЕ УСЛОВИЯ

ГОСТ 30971-2002

Предисловие

1. РАЗРАБОТАН НИУПЦ "Межрегиональный институт окна", Научно-исследовательский институт строительной физики РААСН с участием компании "ill-bruck", СибАДА, ООО "Концепция СПК" и фирмы "fischer".

ВНЕСЕН Госстроем России

2. ПРИНЯТ Межгосударственной научно-технической комиссией по стандартизации, техническому нормированию и сертификации в строительстве (МНТКС) 24 апреля 2002 г.

За принятие проголосовали:

Наименование государства Наименование органа государственного управления строительством
Азербайджанская Республика Госстрой Азербайджанской Республики
Республика Армения Министерство градостроительства Республики Армения
Республика Казахстан Комитет по делам строительства Министерства энергетики, индустрии и торговли Республики Казахстан
Кыргызская Республика Государственная инспекция по архитектуре и строительству при Правительстве Кыргызской Республики
Республика Молдова Министерство развития территорий, строительства и коммунального хозяйства Республики Молдова
Российская Федерация Госстрой России
Республика Узбекистан Государственный комитет строительства, архитектуры и жилищной политики Узбекистана

3. ВВЕДЕН ВПЕРВЫЕ

4. ВВЕДЕН В ДЕЙСТВИЕ с 1 марта 2003 г. в качестве государственного стандарта Российской Федерации постановлением Госстроя России от 2 сентября 2002 г. N 115.

1. Область применения

Настоящий стандарт распространяется на монтажные швы узлов примыканий оконных и наружных дверных блоков (далее - "оконных блоков") к стеновым проемам.

Стандарт применяют при проектировании, разработке конструкторской и технологической документации, а также производстве работ при строительстве, реконструкции и ремонте зданий и сооружений различного назначения, с учетом требований действующих строительных норм и правил. Требования стандарта также применяют при замене оконных блоков в эксплуатируемых помещениях.

Требования настоящего стандарта могут быть применены при проектировании монтажных швов узлов примыканий витражных и других фасадных конструкций, а также монтажных швов сопряжений конструкций между собой.

Стандарт не распространяется на монтажные швы узлов примыканий оконных блоков специального назначения (например, противопожарных, взрывозащитных и др.), а также изделий, предназначенных для применения в неотапливаемых помещениях.

Стандарт может быть использован для целей сертификации.

2. Нормативные ссылки

В настоящем стандарте приведены ссылки на следующие стандарты:

ГОСТ 166-89 Штангенциркули. Технические условия

ГОСТ 427-75 Линейки измерительные металлические. Технические условия

ГОСТ 2678-94 Материалы рулонные кровельные и гидроизоляционные. Методы испытаний

ГОСТ 7076-99 Материалы и изделия строительные. Метод определения теплопроводности и термического сопротивления при стационарном тепловом режиме

ГОСТ 7502-98 Рулетки измерительные металлические. Технические условия

ГОСТ 7912-74 Резина. Метод определения температурного предела хрупкости

ГОСТ 10174-90 Прокладки уплотняющие пенополиуретановые для окон и дверей. Технические условия

ГОСТ 17177-87 Материалы и изделия строительные теплоизоляционные. Методы контроля

ГОСТ 21519-84 Окна и двери балконные, витрины и витражи из алюминиевых сплавов. Общие технические условия

ГОСТ 23166-99 Блоки оконные. Общие технические условия

ГОСТ 24699-2002 Блоки оконные деревянные со стеклами и стеклопакетами. Технические условия

ГОСТ 24700-99 Блоки оконные деревянные со стеклопакетами. Технические условия

ГОСТ 25898-83 Материалы и изделия строительные. Методы определения сопротивления паропроницанию

ГОСТ 26433.0-85 Система обеспечения точности геометрических параметров в строительстве. Правила выполнения измерений. Общие положения

ГОСТ 26433.1-89 Система обеспечения точности геометрических параметров в строительстве. Правила выполнения измерений. Элементы заводского изготовления

ГОСТ 26433.2-94 Система обеспечения точности геометрических параметров в строительстве. Правила выполнения измерений параметров зданий и сооружений

ГОСТ 26602.1-99 Блоки оконные и дверные. Методы определения сопротивления теплопередаче

ГОСТ 26602.2-99 Блоки оконные и дверные. Методы определения воздухо- и водопроницаемости

ГОСТ 26602.3-99 Блоки оконные и дверные. Метод определения звукоизоляции

ГОСТ 2678-94 Материалы рулонные кровельные и гидроизоляционные. Методы испытаний

ГОСТ 30673-99 Профили поливинилхлоридные для оконных и дверных блоков. Технические условия

ГОСТ 30674-99 Блоки оконные из поливинилхлоридных профилей. Технические условия

3. Термины и определения

В настоящем стандарте использованы следующие термины и определения:

Узел примыкания оконного блока к стеновому проему - конструктивная система, обеспечивающая сопряжение стенового оконного проема (в том числе элементов наружного и внутреннего откосов) с коробкой оконного блока, включающая в себя монтажный шов, подоконную доску, слив, а также облицовочные и крепежные детали.

Монтажный зазор - пространство между поверхностью стенового проема и коробкой оконного (дверного) блока.

Монтажный шов - элемент узла примыкания, представляющий из себя комбинацию из различных изоляционных материалов, используемых для заполнения монтажного зазора и обладающих заданными характеристиками.

Монтажный шов, в общем случае, состоит из трех изоляционных слоев, которые определяют по основному функциональному назначению:

- наружный водоизоляционный паропроницаемый слой;

- центральный тепло-, звукоизоляционный слой;

- внутренний пароизоляционный слой.

Силовое эксплуатационное воздействие на монтажный шов - воздействие, возникающее от взаимных перемещений оконной коробки (рамы) и стенового проема при изменении линейных размеров от температурно-влажностных и других воздействий, а также при усадке зданий.

Деформационная устойчивость монтажного шва - способность монтажного шва сохранять заданные характеристики при изменении линейных размеров монтажного зазора в результате различных эксплуатационных воздействий.

4. Классификация

4.1 Конструкции монтажных швов узлов примыкания оконных блоков к стеновым проемам классифицируют по следующим эксплуатационным характеристикам:

сопротивлению теплопередаче;

стойкости к силовым эксплуатационным воздействиям;

воздухопроницаемости;

водопроницаемости;

звукоизоляции;

паропроницаемости.

4.2 Показатели основных эксплуатационных характеристик монтажных швов подразделяются на классы согласно таблице 1.

4.3 Класс монтажного шва по показателям сопротивления теплопередаче, воздухо и водопроницаемости, паропроницаемости, деформационной устойчивости, звукоизоляции устанавливают в рабочей документации на узлы примыканий оконных блоков к стеновым проемам.

4.4 Стойкость монтажных швов к силовым эксплуатационным воздействиям классифицируют по показателю деформационной устойчивости. За показатель деформационной устойчивости принимают величину отношения значения наибольшего изменения заданного размера монтажного шва (без разрушения или критического снижения заданных характеристик) к значению заданного размера шва, выраженную в процентах.

4.5 Классификационными признаками паропроницаемости монтажных швов являются:

величина и соотношение значений сопротивления паропроницанию слоев (материалов) монтажного шва;

величина приращения расчетного массового отношения влаги в материале центрального слоя шва за период влагопоглощения.

Кроме этого паропроницаемость шва характеризуется конструктивными решениями. Например, наличием или отсутствием пароизоляционной прокладки между пенным утеплителем и поверхностью стенового проема.

Критерии пароизоляции монтажных швов и их значения устанавливают в проектной и конструкторской документации на конкретные строительные объекты.

Таблица 1

Наименование характеристик Размерность Класс Значение показателя
Сопротивление теплопередаче м2 °С/Вт I 3,0 и более
II от 2,1 до 2,9
III от 1,2 до 2,0
Воздухопроницаемость при Р=100 Па м3 /ч-м I менее 0,1
II от 0,1 до 0,5
III от 0,6 до 1,0
Водопроницаемость (предел водонепроницаемости) Па I 600 и более
II от 450 до 599
III от 300 до 449
Деформационная устойчиво % I свыше 17
II от 14,0 до 17,0
III от 10,0 до 13,0
Звукоизоляция дБА I свыше 40
II от 34 до 40
III от 28 до 33

Примечания:

1) Водопроницаемость классифицируют по пределу водонепроницаемости наружного гидроизоляционного слоя монтажного шва;

2) Показатель деформационной устойчивости монтажного шва принимают по слою, имеющему худшее значение этого показателя.

4.6 Условное обозначение монтажного шва должно включать в себя буквенный индекс "ШМ" - шов монтажный, цифровые обозначения классов по показателям сопротивления теплопередаче и деформационной устойчивости.

Пример условного обозначения монтажного шва:

ШМ III-I ГОСТ 30971-2002 - шов монтажный с классами по приведенному сопротивлению теплопередаче - III, деформационной устойчивости -1, по ГОСТ 30971.

В договоре, паспорте и другой документации на монтажные швы рекомендуется дополнительно указывать классификацию швов по другим классифицируемым параметрам, а также другую техническую информацию по согласованию изготовителя с потребителем. При необходимости допускается приводить конкретные значения (диапазоны значений) технических характеристик монтажных швов и материалов, применяемых для их устройства, подтвержденные результатами испытаний

5. Технические требования

5.1 Общие положения

5.1.1 Монтажный шов состоит из трех слоев, которые подразделяют по основному функциональному назначению:

наружный - водоизоляционный, паропроницаемый;

средний - тепло, -звукоизоляционный;

внутренний - пароизоляционный.

Каждый из слоев монтажного шва может кроме основных выполнять и дополнительные функции (например, наружный слой может иметь существенное сопротивление теплопередаче), что необходимо учитывать при определении расчетных характеристик конструкции. Принципиальная схема монтажного шва показана на рисунке 1.

5.1.2 Конструкции монтажных швов устанавливают в рабочей документации на монтажные узлы примыкания конкретных видов оконных блоков к стеновым проемам, с учетом действующих строительных норм и правил и требований настоящего стандарта. Примеры конструктивных решений монтажных швов приведены в приложении А.

5.1.3 Конструкции монтажных швов должны быть устойчивы к различным эксплуатационным воздействиям: атмосферным факторам, температурно-влажностным воздействиям со стороны помещения, силовым (температурным, усадочным и др.) деформациям.

I - наружный водоизоляционный паропроницаемый слой;
II- центральный тепло, -звукоизоляционный слой;
III - внутренний пароизоляционный слой;

Рисунок 1

5.1.4 Выбор материалов для устройства монтажных швов и определение размеров монтажных зазоров следует производить с учетом возможных эксплуатационных (температурных, осадочных) изменений линейных размеров оконных блоков и стеновых проемов по показателю деформационной устойчивости. При этом эластичные изоляционные материалы, предназначенные для эксплуатации в сжатом состоянии, должны быть подобраны с учетом их расчетной (рабочей) степени сжатия.

5.1.5 Величина сопротивления теплопередаче монтажного шва должна обеспечивать температуру внутренней поверхности оконного проема и конструкции, не ниже требуемой строительными нормами и правилами.

Значения показателей воздухо, - водопроницаемости, звукоизоляции монтажных швов не должны быть ниже значений этих показателей для применяемых оконных блоков.

5.1.6 В зависимости от конфигурации поверхностей стеновых проемов монтажные швы могут быть прямыми (оконный проем без четверти) или угловыми (оконный проем с четвертью).

5.1.7 С наружной стороны монтажные швы могут быть защищены специальными профильными деталями: дождезащитными нащельниками, звукоизоляционными накладками и др.

С внутренней стороны монтажные швы могут быть закрыты штукатурным слоем или деталями облицовки оконных откосов.

5.2 Требования к наружному слою

5.2.1 Наружный слой монтажного шва должен быть водонепроницаем при дождевом воздействии при заданном (расчетном) перепаде давления между наружной и внутренней поверхностями монтажного шва.

5.2.2 Для устройства наружного слоя рекомендуется применение материалов, обладающих адгезией к поверхности оконных проемов и коробок оконных блоков. Сопротивление отслаиванию (адгезионная прочность) должно быть не менее 0,4 кгс/см.

5.2.3 Материалы наружного слоя должны быть устойчивы к воздействию эксплуатационных температур:

для швов обычного исполнения - от 70 °С до минус 35 °С;

для швов морозостойкого исполнения - от 70 °С до минус 36 °С и ниже.

Примечание. Нижний предел отрицательных эксплуатационных температур, подтвержденный результатами испытаний, указывают в сопроводительной документации (паспорте) на материал наружного слоя.

5.2.4 Изоляционные материалы наружного слоя (не защищенные при эксплуатации от воздействия солнечных лучей) должны быть устойчивы к УФ облучению (суммарная доза облучения лицевых поверхностей не менее 5 ГДж/м ).

5.2.5 Материалы наружного слоя не должны препятствовать удалению парообразной влаги из центрального слоя шва. Рекомендуемое значение коэффициента паропроницаемости материала наружного слоя - не менее 0,15 мг/(м·ч·Па). Применение пароизоляционных материалов в качестве материалов наружного слоя не допускается.

5.3 Требования к центральному слою

5.3.1 Центральный изоляционный слой должен обеспечивать требуемые сопротивление теплопередаче и звукоизоляцию монтажного шва. Величины сопротивления теплопередаче и снижение воздушного шума городского транспорта должны находиться в диапазоне значений этих показателей для стены и оконной конструкции.

5.3.2 Заполнение монтажного шва теплоизоляционными материалами должно быть сплошным по сечению, без пустот, разрывов, щелей и переливов. Наличие расслоений, сквозных зазоров и щелей не допускается.

5.3.3 Сопротивление паропроницанию центрального слоя монтажного шва должно находиться в диапазоне значений этого показателя для наружного и внутреннего слоев.

5.3.4 Адгезионная прочность сцепления монтажных пенных утеплителей с поверхностями оконных проемов и коробок оконных блоков должна быть не менее 1,0 кгс/см".

5.3.5 Водопоглощение материалов центрального слоя по массе при полном погружении за 24 ч не должно превышать 1%.

5.3.6 В необходимых случаях для предотвращения воздействия влаги со стороны стенового проема на центральный изоляционный слой (в плоскости возможного конденсатообразования) допускается установка пароизоляционной ленты между внутренней поверхностью стенового проема и монтажным швом.

5.4 Требования к внутреннему слою

5.4.1 Пароизоляционные материалы внутреннего слоя монтажного шва должны иметь коэффициент паропроницаемости не более 0,01 мг/(м·ч·Па).

5.4.2 Пароизоляционные материалы внутреннего слоя должны иметь сопротивление отслаиванию (адгезионная прочность) от поверхностей, образующих монтажный зазор, не ниже 0,4 кгс/см.

5.4.3 Пароизоляционные материалы по внутреннему контуру монтажного зазора должны быть уложены непрерывно, без пропусков, разрывов и непроклеенных участков.

5.5 Общие требования к материалам

5.5.1 Материалы, применяемые в конструкциях монтажных швов, должны соответствовать требованиям стандартов, условиям договоров на поставку и технической документации, утвержденной в установленном порядке.

5.5.2 Материалы, применяемые для устройства монтажных швов, подразделяют по диапазону рабочих температур, при которых допускается производство монтажных работ, на материалы:

летнего исполнения (от плюс 35 °С до плюс 5 °С);

зимнего исполнения (с рабочими температурами ниже плюс 5 °С).

5.5.3 Материалы наружного слоя должны быть стойкими к длительному атмосферному воздействию.

Материалы, применяемые для устройства различных слоев монтажного шва, должны быть совместимы между собой, а также с материалами стенового проема, оконной коробки и крепежных деталей.

Долговечность материалов (срок службы), применяемых для устройства монтажного шва должна быть не менее 20 условных лет эксплуатации (показатель долговечности вводится в действие с 01.01.2005 года),

5.5.4 Материалы, применяемые в конструкциях монтажных швов должны иметь санитарно-эпидемиологическое заключение органов санэпиднадзора.

5.5.5 Материалы для устройства монтажных швов должны хранится в сухих отапливаемых вентилируемых помещениях с соблюдением условий хранения, указанных в нормативной документации на эти материалы.

5.6 Требования к размерам

5.6.1 Номинальные размеры монтажных зазоров для устройства швов устанавливают в рабочих чертежах узлов примыканий оконных блоков к стеновым проемам.

5.6.2 При установлении размеров монтажных швов учитывают:

конфигурацию и размеры оконного проема, коробки оконного блока и подоконной доски включая их допустимые предельные отклонения;

предполагаемые изменения линейных размеров оконных проемов и блоков в процессе их эксплуатации от температурно-влажностных деформаций и усадок;

технические характеристики материалов монтажного шва, исходя из обеспечения необходимого сопротивления эксплуатационным нагрузкам (например, размер наружной изоляционной ленты подбирают исходя из расчетной степени сжатия, позволяющей обеспечить получение заданных значений водо- и паропроницаемости);

температурный режим производства монтажных работ.

5.6.3 Номинальные размеры и конфигурация оконных проемов должны соответствовать установленным в рабочей проектной документации. Рекомендуемые предельные отклонения от номинальных размеров высоты и ширины проема: плюс 15 мм. Отклонение от вертикали и горизонтали не должно превышать 3,0 мм на 1 м, но не более 8 мм на всю высоту или ширину проема. Отклонения от вертикали и горизонтали должны находиться в поле допусков отклонений по высоте и ширине.

Размеры монтажных зазоров (с учетом допустимых предельных отклонений) при монтаже оконных блоков по ГОСТ 23166 приведены на рисунке 2.

5.6.4 Предельные отклонения от габаритных размеров коробок оконных блоков устанавливают в нормативной документации на изделия.

1. При монтаже деревянных оконных блоков

2. При монтаже оконных блоков из алюминиевых и ПБХ профилей

а) оконные блоки из алюминиевых сплавов при размере стороны до 2000 мм

б) оконные блоки из ПБХ профилей белого цвета при размере стороны до 2000 мм, а также алюминиевые оконные блоки при размере стороны от 2000 мм до 3500 мм

в) оконные блоки из ПБХ профилей белого цвета при размере стороны от 2000 мм до 3500 мм, а также из профилей других гнетов при размере стороны до 2000 мм

Рисунок 2 - Размеры монтажных зазоров (швов) при установке оконных блоков из различных материалов по ГОСТ 23166

Отклонения от вертикали и горизонтали деталей коробок смонтированных оконных блоков не должны превышать 3,5 мм на 1 м длины, но не более 3 мм на высоту изделия.

5.7 Требования к подготовке поверхностей монтажного зазора

5.7.1 При подготовке оконной конструкции и проема к монтажу должны соблюдаться требования пунктов 5.6.3, 5.6.4.

5.7.2 Кромки и поверхности проемов не должны иметь выколов, раковин, наплывов раствора и других повреждений высотой (глубиной) более 5 мм. Дефектные места должны быть зашпаклеваны водостойкими составами.

Поверхности, имеющие масляные загрязнения; следует обезжиривать. Рыхлые, осыпающиеся участки поверхностей должны быть упрочнены (обработаны связующими составами или специальными пленочными материалами).

5.7.3 Перед установкой в монтажном шве изоляционных материалов поверхности оконных проемов и конструкций должны быть очищены от пыли и грязи, а в зимних условиях - от снега, льда, инея с последующим прогревом поверхности.

6. Правила приемки

6.1 Приемку готовых монтажных швов осуществляют на строительных объектах партиями. За партию принимают число оконных проемов с установленными оконными блоками и законченными монтажными швами, выполненными по одной технологии и оформленными одним актом сдачи-приемки (документом о качестве).

6.2 Приемку монтажных швов производят путем проведения:

- входного контроля качества применяемых материалов;

- контроля качества подготовки оконных проемов и оконных блоков;

- контроля соблюдения требований к установке оконных блоков;

- производственного операционного контроля;

- приемосдаточных испытаний при производстве работ;

- классификационных и периодических лабораторных испытаний материалов и монтажных швов, проводимых испытательными центрами (лабораториями).

Входной контроль качества материалов и изделий, контроль качества подготовки оконных проемов и установки оконных блоков, а также периодические испытания при производстве работ по устройству монтажных швов проводит строительная лаборатория или служба контроля качества строительной (монтажной) организации.

Результаты всех видов контроля фиксируют в соответствующих журналах учета качества.

Завершение работ по устройству монтажных швов оформляют актом на скрытые работы и актом их сдачи-приемки.

6.3 Входной контроль качества материалов и изделий при их поступлении и хранении производят в соответствии с требованиями НД и проектной документации. При этом проверяют сертификаты соответствия, санитарно-эпидемиологические заключения, сроки годности, маркировку изделий (тары), а также выполнение условий, установленных в договорах на поставку.

6.4 Контроль качества подготовки оконных проемов и установки оконных блоков производят согласно технологической документации на производство монтажных работ, с учетом требований действующей нормативной документации и настоящего стандарта. При этом проверяют:

- подготовку поверхностей оконных проемов и оконных блоков; размеры (предельные отклонения) оконных проемов и блоков; отклонения от размеров при установке оконных блоков; отклонения от размеров монтажных зазоров;

- другие требования, установленные в рабочей проектной и технологической документации.

Качество подготовки оконных проемов оформляют актом сдачи-приемки оконных проемов.

6.5 Производственный операционный контроль качества производится ответственным исполнителем работ последовательно по каждой операции технологического процесса согласно требованиям документации изготовителя.

6.6 Приемосдаточные испытания при производстве работ по устройству монтажных швов проводит служба контроля качества (строительная лаборатория) строительной организации не реже 1 раза в смену. При этом проверяют:

- качество установки монтажных лент, (в том числе их прочность сцепления с поверхностями стыка), утеплителей и других материалов (по завершению работ по каждому слою шва);

- температурно-влажностные параметры условий производства работ.

В случае, если технология установки оконных блоков предусматривает 2-3 дневной срок монтажа (например, 1 день - установка оконных блоков на монтажных клиньях и укладка материалов наружного слоя; 2 день - нанесение монтажных материалов центрального и внутреннего слоев), то контроль качества монтажного шва производят на одних и тех же оконных блоках.

6.7 Классификационные и периодические лабораторные испытания проводят по требованию проектных, строительных и других организаций для подтверждения классификационных характеристик и эксплуатационных показателей монтажных швов. Испытания проводят в испытательных центрах (лабораториях), аккредитованных на право проведения таких испытаний.

Допускается определение характеристик монтажных швов расчетными методами по нормативной документации, утвержденной в установленном порядке.

6.8 Производитель подтверждает приемку монтажных швов оформлением документа о качестве (паспортом), который должен содержать:

- наименование и адрес монтажной организации;

- наименование и адрес места производства работ;

- условное обозначение и (или) описание конструкции с перечнем использованных изоляционных материалов, чертежи, технические характеристики монтажного шва (включая крепежные элементы);

- число предъявленных к приемке монтажных швов;

- дату оформления паспорта;

- штамп службы качества и подпись ответственного лица;

- гарантийные обязательства;

- другую информацию, исходя из конкретных условий работ.

6.9 Приемку работ по устройству монтажных швов оформляют актом сдачи приемки, подписанным исполнителем и заказчиком, к которому прилагают документ о качестве (паспорт), копии протоколов согласования и замеров и, по требованию заказчика, санитарно-эпидемиологические заключения на изоляционные материалы.

6.10 В случае возникновения спорных (арбитражных) вопросов по качеству монтажных швов в течение гарантийного срока заказчик вправе потребовать контрольного вскрытия монтажных швов. При этом рекомендуется использовать план контроля, приведенный в таблице 2.

Партию монтажных швов принимают, если количество дефектных швов в первой выборке меньше или равно приемочному числу и бракуют без назначения второй выборки, если количество дефектных швов больше или превышает браковочное число. Если количество дефектных швов в первой выборке больше приемочного числа, но меньше браковочного, переходят ко второй ступени контроля и производят вторую выборку.

Партию монтажных швов принимают, если количество дефектных швов во второй выборке меньше или равно приемочному числу.

В случае превышения количества дефектных швов приемочного числа при проведении второй ступени, все монтажные швы должны быть вскрыты и проверены поштучно. Дефектные монтажные швы должны быть исправлены и повторно проверены.

Таблица 2

Число проемов Объем выборки Приемочное число Браковочное число Объем выборки Приемочное число Браковочное число
1 ступень 2 ступень
до 15 вкл. 2 0 1 - - -
свыше 15 до 100 3 0 2 3 0 1
свыше 100 4 0 3 4 0 1

7. Методы испытаний

7.1 Методы испытаний материалов при входном контроле качества устанавливают в технологической документации с учетом требований НД на эти материалы. Методы испытаний при производственном операционном контроле качества устанавливают в технологической документации с учетом требований настоящего стандарта.

7.2 Подготовку поверхностей оконных проемов (5.7) оценивают визуально. Геометрические размеры монтажных зазоров и размеры дефектов измеряют при помощи металлической измерительной рулетки по ГОСТ 7502, металлической линейки по ГОСТ 427, штангенциркуля по ГОСТ 166 с использованием методов по ГОСТ 26433.0 и ГОСТ 26433.1,

7.3 При измерении отклонений от отвесной линии (вертикали) и горизонтального уровня соответствующих поверхностей оконных проемов и конструкций следует пользоваться правилами измерений по ГОСТ 26433.2.

7.4 Внешний вид и качество установки элементов и устройство слоев монтажного шва оценивают визуально с расстояния 400-600 мм при освещенности не менее 300 лк.

7.5 Определение прочности сцепления (адгезии) герметизирующих лент и прокладок к элементам конструкций при периодических испытаниях при производстве работ осуществляют в следующей последовательности;

с помощью специального режущего инструмента (например, резака) подрезают край ленты, установленной на поверхность монтажного стыка;

край ленты зажимают в специальном захвате и через динамометр отрывают по нормали к поверхности сцепления, фиксируя при этом силу отрыва;

Отслоение ленты должно происходить при усилии не менее 0,4 кг/см.

7.6 Методы приемосдаточных и периодических лабораторных испытаний.

7.6.1 Сопротивление теплопередаче монтажных швов определяют расчетным методом как сумму термических сопротивлений отдельных слоев с учетом коэффициентов теплопередачи внутренней и наружной поверхностей стены. При этом коэффициент теплопроводности применяемых материалов принимают по результатам испытаний в соответствии с ГОСТ 7076. Оценку температурного режима узлов примыкания оконного блока к стеновому проему проводят путем проведения лабораторных испытаний или расчетным методом по методикам, утвержденным в установленном порядке, с учетом положений приложения Г.

7.6.2 Воздухо, -водопроницаемость монтажных швов определяют по ГОСТ 26602.2.

Испытания проводят с использованием специального устройства, конструкция которого представлена на рисунке 3. Устройство представляет из себя кассету (например, деревянную) с установленной в нее глухой панелью. Внутренний профиль брусков кассеты имитирует размеры и конфигурацию откосов оконного проема.

Панель представляет из себя коробку оконного блока, обшитую с двух сторон листовым материалом (например, водостойкой фанерой по НД).

Поверхности кассеты и панели должны иметь водостойкое покрытие.

Зазор между кассетой и образцом оконного блока, а также конструкцию и технологию устройства монтажного шва принимают согласно конструктивному решению узла примыкания, принятому в проектной документации.

Устройство устанавливают в проем испытательной камеры на герметизирующих прокладках.

Условия проведения испытаний уточняют в программе испытаний.

7.6.3 Звукоизоляцию определяют по ГОСТ 26602.3. Для проведения испытания используют устройство по 7.6.2. Внутренний объем панели обшивают листовым звукогасящим материалом и заполняют сухим песком. Устройство устанавливают в проем испытательной камеры на звукоизоляционной замазке. Конструктивное решение панели должно обеспечивать звукоизоляцию не менее 40 дБ.

7.6.4 Устойчивость наружного изоляционного слоя к воздействию ультрафиолетового облучения определяют, используя режим испытаний, приведенный ГОСТ 30673 (облучение в аппарате "Ксенотест"). Испытания проводят на трех образцах материалов изоляционного слоя длиной не менее 200 мм. Результат испытания признают удовлетворительным, если после испытаний на поверхности каждого образца отсутствуют разрывы, трещины, раковины, расслоения и потеки.

A, B, H - размеры панели
s, h - размеры зазоров под монтажный шов.
1 - кассета с накладными брусками
(2 - накладные бруски);
3 - паронепроницаемая лента;
4 - пенный утеплитель;
5 - водоизоляционная прокладка;
6 -коробка панели;
7 - заполнение панели (например, звукоизоляционный материал);
8 - обшивка панели;
9 - звукогасящая прокладка.

Рисунок 3 - Устройство для испытаний монтажных швов на воздухо, -водопроницаемость и звукоизоляцию

7.6.5 Сопротивление паропроницанию и паропроницаемость материалов монтажного шва определяют по ГОСТ 25898.

7.6.6 Водопоглощение утеплителей определяют по ГОСТ 17177.

7.6.7 Сопротивление отслаиванию (адгезионную прочность) материалов наружного и внутреннего изоляционных слоев определяют по ГОСТ 10174.

7.6.8 Для определения адгезионной прочности пенных утеплителей устанавливают величину усилия, требуемого для разрушения связи между утеплителем и конструкционным материалом при действии растягивающих сил, направленных перпендикулярно плоскости контакта.

Количество образцов для испытаний - не менее 5.

Аппаратура и приспособления:

- машина разрывная, обеспечивающая разрушение образца со скоростью движения активного захвата (10 ± 1) мм/мин и позволяющая измерить значение разрушающего усилия с погрешностью не более 1%;

- специальное приспособление, установленное в зажимах испытательной машины. Приспособление должно обеспечивать совпадение продольной оси образца с направлением прилагаемого усилия.

Образцы для испытаний

Образцы изготавливают путем заливки и вспенивания утеплителя в металлической форме с внутренним диаметром (51 ± 0,5) мм и высотой не мене 30 мм, в днище которой укреплен диск из конструкционного материала (например, из поливинилхлорида или алюминиевого сплава). Внутренние цилиндрические поверхности формы смазывают консистентной смазкой. Поверхность диска должна быть обезжирена.

После вспенивания и отвердевания утеплитель путем механической обработки доводится по диаметру до размеров диска (50 ± 0,5 мм), а по высоте до (30 ± 1) мм. Допускается использовать прямоугольные образцы размером (50 х 50 х 30) ± 0,5 мм. Полученные таким образом два образца попарно склеиваются эпоксидным клеем.

Порядок проведения и обработка результатов испытания

Склеенный образец с помощью приспособлений устанавливают в зажимах машины. Испытания проводят при температуре (20 ± 2) °С и при скорости движения захватов машины (10 ± 1) мм/мин.

Растяжение проводят до разрушения или отслоения образца от подложки, при этом фиксируют наибольшую нагрузку, достигнутую при испытаниях.

Обе части испытанного образца подвергают визуальному осмотру для определения характера разрушения (по утеплителю, адгезионному шву или смешанного характера).

Прочность сцепления утеплителя с конструкционным материалом, а, МПа (кгс/см ), вычисляют по формуле:

= Pmax ,
S

где: Рmах - максимальное усилие при отрыве или разрушении образца, кгс.

S - площадь поперечного сечения образца, см2.

За результат испытаний принимают среднее арифметическое результатов испытаний образцов.

7.6.9 Деформационную устойчивость монтажного шва определяют по максимальной величине его деформации под воздействием силы, направленной перпендикулярно к плоскости монтажного шва, при которой сохраняется его целостность. Допускается проводить этот вид испытаний монтажного шва на пенном утеплителе.

Количество образцов для испытаний - не менее 3.

Аппаратура и приспособления:

- машина разрывная, обеспечивающая разрушение образца со скоростью движения активного захвата (10 ± 1) мм/мин и позволяющая устанавливать значение разрушающего усилия с погрешностью не более 1%;

- специальное приспособление с обоймой для размещения образцов монтажного шва. Приспособление при проведении испытаний должно обеспечивать совпадение поперечной оси образца с направлением прилагаемого усилия (рисунок 4);

- специальное устройство для подготовки образцов пенного утеплителя и их установки в испытательной машине (схема устройства представлена на рисунке 4а).

1 - обойма из алюминия или нержавеющей стали толщиной 3 мм;
2 - образец испытываемого монтажного шва;
в - толщина шва

Рисунок 4 - Схема приспособления для испытания монтажных швов на деформационную устойчивость.

1 - корпус устройства;
2 - образец материала:
3 - алюминиевые пластины толщиной не менее 2,0 мм;
4 - смазка

I - положение пластин при заданной (начальной) толщине образца (h1);
II - положение пластин при наибольшем сжатии образца (h2);
III - положение пластин при наибольшем растяжении образца (h3).

Рисунок 4а Схема устройства для подготовки образцов и испытания пенного утеплителя на деформационную устойчивость.

Образцы для испытаний

Образцы монтажного шва для проведения испытаний получают путем послойного заполнения обоймы специального приспособления изоляционными материалами в соответствии с проектным решением и технологией производства монтажных работ (рисунок 4).

Образцы пенного утеплителя для проведения испытаний получают путем заполнения им корпуса устройства, представленного на рисунке 4а. Внутренний диаметр корпуса, определяющий размер образца - (60 + 0,2) мм, высота внутренней полости корпуса - 30 мм (без учета толщины ограничительных пластин). Внутренняя поверхность корпуса должна быть смазана консистентной смазкой. На дно корпуса устройства до заливки пены устанавливается алюминиевая пластина диаметром (60 - 0,2) мм. Вторую пластину диаметром (65 - 0,5) мм устанавливают в верхней части корпуса в виде крышки и жестко фиксируют любым способом. Заливку пены производят в отверстие диаметром 8 мм в боковой стенки корпуса. Для удаления излишек пены предусматривается такое же отверстие с другой стороны корпуса. После заливки пены образец выдерживают не менее суток, после чего образец вынимают из корпуса.

Порядок проведения испытания

Обойму с образцом монтажного шва (или образец пенного утеплителя) устанавливают в захватах машины. Образец, представляющий собой цилиндр отвердевшей пены, зажатый между двумя алюминиевыми пластинами устанавливают в захватах машины. Испытание проводят при температуре (20 ± 2) °С путем последовательных растяжений и сжатий образца. Величину растяжения и сжатия, мм, устанавливают исходя из назначения монтажного шва. Производят не менее 20 циклов растяжения-сжатия образца. Между каждым циклом производят выдержку образца без нагрузки не менее 30 минут.

Оценка результатов испытания

После завершения испытания образцы подвергают визуальному осмотру поверхностей образца. Результат испытания признают удовлетворительным, если каждый образец не имеет сквозных расслоений и разрушений.

Деформационную устойчивость определяют по формуле:

= ( Аh ) 100, %
h1

где,

h - размер перемещения пуансона (разница между толщиной образца при растяжении и сжатии), мм;

h1 - заданная (начальная) толщина образца, мм.

7.6.10 Устойчивость монтажного шва к воздействию эксплуатационных температур определяют по материалам наружного изоляционного слоя. Оценку морозостойкости производят по температуре хрупкости по ГОСТ 7912 (диаметр изгиба 400 мм) и теплостойкости по ГОСТ 2678.

7.6.11 Долговечность (срок службы) монтажного шва определяют по НД и методикам, утвержденным в установленном порядке. Совместимость материалов подтверждают испытаниями на долговечность монтажного шва.

8. Гарантии производителя работ

Производитель работ гарантирует соответствие монтажных швов требованиям настоящего стандарта при условии, что эксплуатационные нагрузки на монтажные швы не превышают расчетные (заданные в проектной документации). Гарантийный срок монтажного шва устанавливают в договоре между производителем работ и заказчиком, но не менее 5 лет со дня подписания акта сдачи-приемки.

ПРИЛОЖЕНИЕ А
(рекомендуемое)

ПРИМЕРЫ КОНСТРУКТИВНЫХ РЕШЕНИЙ

1 - пенный утеплитель; 2 - изоляционная саморасширяющаяся паропроницаемая лента; 3 - рамный дюбель; 4 - герметик: 5 - пароизоляционная лента; 6 - компенсатор монтажного зазора (может применяться для утепления откоса и изоляции пенного утеплителя от плоскости возможной конденсации); 7 - штукатурный слой внутреннего откоса (с фаской для слоя герметика).

Рисунок A.1 - Узел бокового примыкания оконного блока к проему с четвертью в стене из кирпича, с отделкой внутреннего откоса штукатурным раствором.

1 - штукатурный слой наружного откоса (с фаской для слоя герметика); 2 -строительный шуруп; 3 - герметик; 4 - фальшчетверть из уголка; 5 - изоляционная саморасширяющаяся паропроницаемая лента; 6 - рамный дюбель; 7 - пенный утеплитель; 8 - герметик; 9 - пароизоляционная лента; 10 - элемент отделки внутреннего откоса; 11 - рейка.

Рисунок А.2 - Узел бокового примыкания оконного блока к проему без четверти в стене из кирпича и отделкой внутреннего откоса облицовочной панелью.

1 - изоляционная саморасширяющаяся паропроницаемая лента; 2 - пенный утеплитель; 3 - гибкая анкерная пластина; 4 - герметик; 5 - пароизоляционная лента; 6 -дюбель со стопорным шурупом; 7 - штукатурный слой внутреннего откоса (с фаской для слоя герметика).

Рисунок А.З - Узел бокового примыкания оконного блока к проему с четвертью слоистой стены из кирпича с эффективным утеплителем и отделкой внутреннего откоса штукатурным раствором

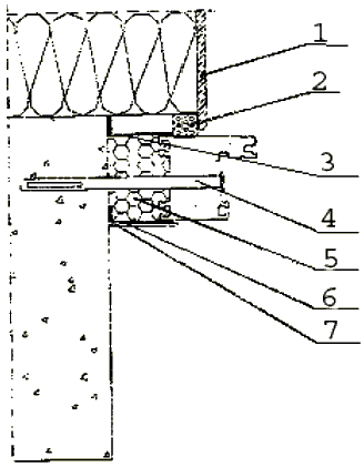
1 - подоконная доска; 2 - пенный утеплитель; 3 - пароизоляционная лента; 4 -гибкая анкерная пластина; 5 - опорная колодка под подоконную доску; 6 - штукатурный раствор; 7 - дюбель со стопорным шурупом; 8 - изоляционная саморасширяющаяся паропроницаемая лента; 9 - слив; 10 - шумопоглощающая прокладкой; 11 - водоизоляционная паропроницаемая лента; 12 - вкладыш из пиломатериала

Рисунок А.4 - Узел нижнего примыкания оконного блока, подоконника и слива к проему слоистой стены с эффективным утеплителем

1 - вкладыш из пиломатериала; 2 - дюбель со стопорным шурупом; 3 - штукатурный слой внутреннего откоса (с фаской для слоя герметика); 4 - гибкая анкерная пластина; 5 - пароизоляционная лента; 6 - герметик; 7 - пенный утеплитель; 8 - стальная перемычка с антикоррозионным покрытием: 9 - изоляционная саморасширяющаяся паропроницаемая лента

Рисунок А.5 - Узел верхнего примыкания оконного блока к перемычке из стального уголка в проеме многослойной стены с облицовкой кирпичом

1 - пенный утеплитель; 2 - изоляционная саморасширяющаяся паропроницаемая лента; 3 ~ рамный дюбель; 4 - герметик; 5 - пароизоляционная лента; 6 - панель отделки внутреннего откоса; 7 - рейка; 5 - штукатурный выравнивающий слой внутреннего откоса

Рисунок А.6 - Узел бокового примыкания оконного блока к проему с четвертью в стене из ячеистобетонных блоков (плотностью 400 - 450 кг/м ) с облицовкой кирпичом и отделкой внутреннего откоса панелью

1 - штукатурный слой наружного откоса (с фаской для слоя герметика): 2 - герметик; 3 - нащельник; 4 - дистанционная прокладка (шайба); 5 - изоляционная саморасширяющаяся паропроницаемая лента; б - пенный утеплитель; 7 - рамный дюбель; 8 - герметик; 9 - пароизоляционная лента; 10 - штукатурный слой внутреннего откоса (с фаской для слоя герметика)

Рисунок А.7 - Узел бокового примыкания оконного блока к проему без четверти в стене из ячеистобетонных блоков с отделкой фасада, наружных и внутренних откосов штукатурным раствором

1 - элемент отделки наружного оконного откоса; 2 -изоляционная саморасширяющаяся паропроницаемая лента; 3 - водоизоляционная паропроницаемая лента; 4 - рамный дюбель; 5 - пенный утеплитель; 6 - пароизоляционная лента; 7 - декоративный нащельник

Рисунок А.8 - Узел бокового примыкания оконного блока к проему стены из бетона с наружным утеплением фасада, и установкой внутреннего декоративного нащельника

1 - пароизоляционная лента; 2 - подоконная доска; 3 - пенный утеплитель; 4 - штукатурный раствор; 5 - опорная колодка подоконной доски; 6 - изоляционная саморасширяющаяся паропроницаемая лента; 7 - водоизоляционная паропроницаемая лента; 8 - слив; 9 - шумогасящая прокладка

Рисунок А.10 - Узел нижнего примыкания оконного блока, подоконника и слива к проему стеновой панели

1 - пенный утеплитель; 2 - изоляционная саморасширяющаяся паропроницаемая лента; 3 - гибкая анкерная пластина; 4 - декоративный нащельник; 5 - пароизоляционная лента; 6 - элемент отделки внутреннего откоса; 7 - дюбель со стопорным шурупом

Рисунок А.9 - Узел бокового примыкания оконного блока к проему стеновой панели, с отделкой внутреннего откоса панелью

1 - изоляционная саморасширяющаяся паропроницаемая лента; 2 - соединитель

Рисунок А.11 - Узел соединения оконных коробок

1 - изоляционная саморасширяющаяся паропроницаемая лента; 2 - угловой соединитель

Рисунок А.12 - Узел углового соединения оконных коробок

1 - канал подачи теплого воздуха от нагревательного прибора к оконному блоку (штроба в стяжке из штукатурного раствора); 2 - подоконная доска; 3 - декоративная решетка выходного отверстия

Рисунок А.13 - Схема нижнего узла примыкания с каналом подачи теплого воздуха от нагревательного прибора к оконному блоку

ПРИЛОЖЕНИЕ Б
(рекомендуемое)

ТРЕБОВАНИЯ
К КРЕПЕЖНЫМ ЭЛЕМЕНТАМ И МОНТАЖУ ОКОННЫХ БЛОКОВ

Б.1 Крепежные элементы предназначены для жесткой фиксации оконных блоков к стеновым проемам и для передачи ветровых и других эксплуатационных нагрузок на стеновые конструкции.

Б.2 Для крепления оконных коробок к стеновым проемам, в зависимости от конструкции стены и прочности стеновых материалов, применяют различные универсальные и специальные крепежные элементы (детали и системы), рисунок Б.1:

- распорные рамные (анкерные) дюбели металлические или пластмассовые, в комплекте с винтами. Винты могут иметь потайную или цилиндрическую головку;

- универсальные пластмассовые дюбели со стопорными шурупами;

- строительные шурупы;

- гибкие анкерные пластины.

Винты, шурупы и пластины изготавливают из нержавеющей стали или стали с антикоррозионным цинковым хроматированным покрытием толщиной не менее 9 мкм.

Крепление оконных коробок и анкерных пластин к стеновым проемам на гвоздях не допускается. При необходимости крепления оконного блока к стенам из материалов низкой прочности допускается использование специальных полимерных анкерных систем.

Б.З Распорные металлические рамные анкерные дюбели применяют для обеспечения сопротивления высоким срезающим усилиям при креплении оконных блоков к стенам из бетона, кирпича полнотелого и с вертикальными пустотами, керамзитобетона, газобетона, природного камня и других подобных материалов.

Рисунок Б.1 - Примеры крепежных элементов

Распорные пластмассовые рамные дюбели применяют в агрессивных средах с целью предотвращения контактной коррозии, а также с целью термоизоляции соединяемых элементов.

Длину дюбелей определяют расчетом в зависимости от эксплуатационных нагрузок, размера профиля коробки оконного блока, ширины монтажного зазора и материала стены (глубина заделки дюбеля в стену должна быть не менее 40 мм в зависимости от прочности стенового материала). Диаметр дюбеля определяют расчетом в зависимости от эксплуатационных нагрузок; в общем случае, рекомендуется применять дюбели диаметром не менее 8 мм. Материал дюбели - конструкционный полиамид по НД. Для изготовления шурупов и винтов применяют стали с временным сопротивлением разрыву не менее 500 Н/ кв.м.

Б.4 Несущая способность рамных дюбелей (допустимые нагрузки на вырыв) принимают по технической документации изготовителя. Справочные значения несущей способности (допускаемых нагрузок на вырыв и, срез) рамных распорных дюбелей диаметром 10 мм приведены в таблице Б.1.

Б5 Пластмассовые дюбели со стопорными шурупами применяют для крепления оконных блоков к стенам из кирпича с вертикальными пустотами, пустотелых блоков, легких бетонов, дерева и других строительных материалов с невысокой прочностью на сжатие. Длину и диаметр пластмассовых дюбелей со стопорными шурупами принимают аналогично Б.4. Для крепления оконных блоков к монтажным деревянным закладным элементам и черновым коробкам допускается применение строительных шурупов.

Б.6 Гибкие анкерные пластины применяют для крепления оконных блоков к многослойным стенам с эффективным утеплителем. Крепление на гибкие анкерные пластины возможно при установке оконных блоков в других конструкциях стен. Анкерные пластины изготавливают из оцинкованной листовой стали толщиной не менее 1,5 мм. Угол изгиба пластины выбирается по месту и зависит от величины монтажного зазора. Пластины крепят к оконным блокам до их установки в проемы с помощью строительных шурупов диаметром не менее 5 мм и длиной не менее 40 мм. К многослойной стене гибкие анкерные пластины крепят к внутреннему слою стены пластмассовыми дюбелями со стопорными шурупами (не менее 2 точек крепления на каждую пластину) диаметром не менее 6 мм и длиной не менее 50 мм.

Таблица Б.1

Справочные значения несущей способности рамных распорных дюбелей диаметром 10 мм.

Наименование стеновых материалов Несущая способность (kN)
Тип дюбеля Тип дюбеля Тип дюбеля Тип дюбеля
"а" "б" "в" "г"
При заглублении
70 мм 50 мм 40 мм 70 мм
Бетон 1.1 1.1 1.35 2.1
Кирпич полнотелый 1.0 1.0 1.3 1.4
Кирпич щелевидный - 0.5 - 0.3
Легкие бетоны - 0.3 0.5 0.4

Б.7 Допускается применение других крепежных элементов и систем, конструкцию и условия применения которых устанавливают в технической документации.

Б.8 Для заделки дюбелей в стеновом проеме выполняют сверление отверстий. Режим сверления выбирают в зависимости от прочности материала стены. Различают следующие режимы сверления:

- режим чистого сверления (без удара) рекомендуется при подготовке отверстий в пустотелом кирпиче, легких бетонных блоках, полимербетонах;

- режим сверления с легкими ударами рекомендуется при сверлении отверстий в полнотелом кирпиче;

- режим перфорирования рекомендуется для стен из бетона с плотностью более 700 кг/куб.м. и конструкций из натуральных камней.

Б.9 Глубина сверления отверстий должна быть более анкеруемой части дюбеля, как минимум на один диаметр шурупа. Для обеспечивания расчетного тягового усилия, диаметр рассверливаемого отверстия не должен превышать диаметра самого дюбеля, при этом отверстие должно быть прочищено от отходов сверления. Расстояние от края строительной конструкции при установке дюбелей не должно быть менее 2-х кратной глубины анкеровки.

Б.10 Расположение и конфигурация крепежных элементов не должны приводить к образованию тепловых мостиков, снижающих теплотехнические параметры монтажного шва.

Варианты схем крепления оконных блоков к стенам приведены на рисунке Б.2. Рекомендуемые минимальные заглубления (глубина ввинчивания) строительных шурупов и посадки дюбелей приведены в таблице Б.2

Б.11 Головки дюбелей и стопорных шурупов следует заглублять во внутреннем фальце профиля коробки, посадочные отверстия должны быть закрыты декоративными колпачками (заглушками).

Таблица Б.2

Рекомендуемые минимальные заглубления (глубина ввинчивания) и посадки дюбелей

Наименование стенового материала Минимальное заглубление, мм
Бетон 40
Кирпич полнотелый 40
Кирпич щелевидный 60
Блоки из пористого природного камня 50
Легкие бетоны 60

а - крепление распорными равными дюбелями;
б - крепление строительными шурупами;
в - крепление при помощи гибких анкерных пластин,

Рисунок Б.2 - Схемы крепления оконных блоков к стенам

ПРИЛОЖЕНИЕ В
(обязательное)

ОБЩИЕ ТРЕБОВАНИЯ
ПО ПРОИЗВОДСТВУ РАБОТ ПО УСТРОЙСТВУ МОНТАЖНЫХ ШВОВ

В.1 Общие требования

В. 1.1 Устройство монтажных швов выполняется одновременно с монтажом оконных блоков. Монтаж должен выполняться специализированными организациями по технологической документации, разработанной на основании типовой инструкции по монтажу.

В. 1.2 Типовая инструкция по монтажу оконных блоков и устройству монтажных швов (включая альбомы проектно-конструкторских решений узлов примыканий) разрабатывается компетентными организациями. Типовую инструкцию согласовывают с региональными органами строительного управления. На ее основе специализированные монтажные организации, с учетом местных климатических условий и требований территориальных строительных норм, разрабатывают технологическую документацию на производство монтажных работ.

В. 1.3 При строительстве и реконструкции строительных объектов работы по монтажу оконных блоков и устройству монтажных швов производят после сдачи здания или его части под монтаж по акту сдачи-приемки оконных проемов,

В. 1.4 При ремонте или замене оконных блоков в эксплуатируемых помещениях монтажные работы выполняют в порядке, обеспечивающем соблюдение требований настоящего стандарта, с учетом конкретных условий объекта, по согласованию с заказчиком.

В.2 Порядок обследования объектов, проведения конструкторских замеров и согласования условий производства работ

В.2.1 Перед разработкой проектно-конструкторских решений узлов примыканий при реконструкции и капитальном ремонте зданий, а также при замене оконных блоков в эксплуатируемых помещениях проводят обследование условий строительной ситуации, особенности эксплуатации помещений и выполняют необходимые конструкторские замеры.

В.2.2 При обследовании строительного объекта кратко описывают его назначение, этажность, ориентацию, техническое состояние здания (включая состояние и конструкцию стенового ограждения), состояние вентиляционной и отопительной систем, При необходимости составляют поэтажные планы здания, оконные проемы нумеруют и определяют увязку базовых линий относительно фасада. Замеры фактических геометрических размеров стеновых проемов выполняют с использованием методов по ГОСТ 26433.0, ГОСТ 26433.1 и ГОСТ 26433.2 (при этом фиксируются отклонения в горизонтальной и вертикальной плоскостях), одновременно производят оценку технического состояния проемов, их подготовки к монтажу в соответствии с требованиями настоящего стандарта и условиями заказа.

В.2.3 Для разработки оптимальных проектно-конструкторских решений и технологии монтажных работ следует проводить согласование с заказчиком: чертежей (эскизов) конструкций оконных блоков, подлежащих монтажу, варианта установки оконных блоков по глубине проема, размеров подоконной доски; предполагаемой конструкции монтажного шва, включая выбор изоляционных материалов и крепежных элементов; конструкции элементов отделки (деталей облицовки) стенового проема; последовательность работ по демонтажу заменяемых конструкций, восстановлению откосов, монтажу оконных блоков, устройству монтажных швов, установке отливов, подоконников и других элементов; условия организации монтажной зоны для производства работ, а также меры, обеспечивающие их безопасное ведение.

Кроме этого следует оговаривать с заказчиком особенности строительной ситуации во время проведения работ: предполагаемые температурные и влажностные условия, порядок проветривания и отопления помещения и др.

В.2.4 Конструкторские замеры, данные обследования и согласованные с заказчиком условия оформляют соответствующими документами: листом (картой) замеров и протоколом согласования.

В.3 Подготовка проема

В.3.1 Подготовке проемов может предшествовать выноска базовых линий, увязанных по фасаду здания, относительно которых будут размещаться оконные блоки по вертикали и горизонтали.

В.3.2 Перед устройством монтажных швов примыкающие поверхности коробки оконного блока и стенового проема должны быть очищены от пыли, грязи, масляных пятен, наледей и изморози.

В.3.3 При ремонте объектов и замене оконных блоков в эксплуатируемых помещениях разрушенные при извлечении старых окон поверхности внутренних и наружных откосов следует выравнивать штукатурным раствором без образования тепловых мостиков (мостиков холода).

В.3.4 В наружных ограждающих конструкциях стен с низким сопротивлением теплопередачи и при необходимости размещения коробки оконного блока снаружи от плоскости возможной конденсации, требуется выполнять утепление поверхностей внутренних откосов по всему контуру проема материалами с низким коэффициентом теплопроводности.

В.3.5 При отсутствии в оконном проеме четверти (упора для коробки оконного блока) допускается устройство фальшчетверти (например использование уголка из атмосферостойких полимерных материалов или металлических сплавов). Для этих же целей допускается применение нащельников без герметизации мест их примыкания к коробке оконного блока или поверхности стенового проема. (Приложение А, рисунки 2 и 7).

В.4 Установка и крепление оконных блоков

В.4.1 Выбор места установки оконного блока по глубине стенового проема определяется в соответствии с проектным решением.

При замене оконных блоков в эксплуатируемых помещениях или при отсутствии проектного решения коробку оконного блока в однородной (однослойной) ограждающей конструкции следует размещать на расстоянии не более 2/3 ее толщины, от внутренней поверхности стены, а в слоистых стенах с эффективным утеплителем - в зоне утеплительного слоя.

При этом следует обеспечивать величину монтажных зазоров в пределах, рекомендованных настоящим стандартом,

В.4.2 Оконные блоки устанавливают по уровню в пределах допускаемых отклонений и временно фиксируют установочными клиньями или иным способом в местах угловых соединений коробок и импостов (установочные клинья удаляются после устройства утеплительного слоя, места их установки заполняются утеплительным материалом). После установки и временной фиксации коробку оконного блока крепят к стеновому проему при помощи крепежных элементов (Приложение Б).

В.4.3 Выбор крепежных элементов и расстояние между ними по контуру проема, а также глубину заделки в толще стены устанавливают в рабочей документации на основании расчета в зависимости от площади и веса оконного изделия, конструкции стенового проема, прочности стенового материала, величины ветровых и других эксплуатационных нагрузок.

Минимальные расстояния между крепежными элементами не должны превышать:

- для оконных коробок из древесины - 800 мм;

- для коробок из алюминиевых сплавов и профилей ПВХ белого цвета - 700 мм;

- для коробок из цветных профилей ПВХ - 600 мм.

Расстояния от внутреннего угла коробки оконного блока до крепежного элемента - (150-И 80) мм. а расстояние от импостного соединения до крепежного элемента - (120-180) мм.

В.4.4 Передача силовых нагрузок на монтажный шов не допускается. Для передачи нагрузок, действующих в плоскости оконного блока, на несущую строительную конструкцию применяют опорные (несущие) колодки из полимерных материалов или, пропитанной защитными средствами древесины твердых пород, с твердостью не менее 80 ед. по Шору А. Количество и расположение опорных колодок определяют в рабочей или технологической документации. Рекомендуемая длина колодки 100-120 мм, Опорные колодки устанавливают после крепления оконного блока к стеновому проему крепежными элементами. Примеры расположение опорных (несущих) колодок и крепежных деталей приведены на рисунке В.1

Рисунок В.1 - Примеры расположения опорных (несущих) колодок и крепежных деталей

В.5 Устройство монтажного шва

В.5.1 Устройство монтажного шва выполняют в соответствии с проектно-конструкторским решением, согласно технологической документации и требованиям настоящего стандарта. Заполнение монтажного зазора производят послойно с учетом температурных и влажностных условий окружающей среды, а также рекомендаций производителя изоляционных материалов. Порядок устройства монтажных оконных швов в условиях температур, ниже рекомендованных производителями изоляционных материалов (например, с использованием обогрева материалов и поверхностей строительных конструкций), должен быть предусмотрен в технологической документации.

В.5.2 При использовании в наружном слое саморасширяющихся изоляционных лент учитываются следующие требования:

- для обеспечивания плотного примыкания в горизонтальном и вертикальном направлениях шва ленты раскраивают по длине с припуском 1.0 -1.5 см на каждую сторону;

- ленты крепятся посредством монтажного самоклеющегося слоя на расстоянии 3-5 мм от грани четверти по внутренней поверхности оконного проема;

- если четверть, выполненная из кирпича, имеет расшивку или углубления в швах, то ленту крепят непосредственно к коробке оконного блока до установки ее в проем;

- перелом лент под углом не допускается;

- возможен изгиб ленты при изоляции шва оконного блока арочной или круглой конфигурации;

- нанесение штукатурного слоя, шпатлевки или красящих составов на паропроницаемый материал наружного слоя не допускается.

В.5.3 Для устройства центрального тепло-, звукоизоляционного слоя рекомендуется применение пенного утеплителя. Заполнение монтажного зазора пенным утеплителем следует выполнять при полностью собранном и окончательно закрепленном оконном блоке, при этом следует контролировать полноту и степень заполнения монтажного зазора.

Перед началом работ следует провести пробный тест на первичное расширение пенного материала в условиях окружающей среды монтажной зоны и при работе не допускать выхода излишков пены за внутреннюю плоскость профиля коробки оконного блока. Срезка излишков пенного утеплителя допускается только с внутренней стороны монтажного шва при условии устройства сплошного пароизоляционного слоя пароизоляционной лентой.

В случае применения профилей коробок шириной более 80 мм и, если ширина монтажного зазора превышает размеры, предусмотренные настоящим стандартом более чем в 1,5 раза, заполнение зазора следует выполнять послойно, с интервалами между слоями по технологии, рекомендованной производителем пенного утеплителя.

В.5.4 Внутренний пароизоляционный слой устанавливают непрерывно по всему контуру стенового проема.

При использовании для изоляции внутреннего слоя пароизоляционных ленточных материалов, следует руководствоваться следующими требованиями:

- раскрой лент по длине следует выполнять с припуском для нахлеста в местах угловых соединений;

- соединение лент с поверхностями оконного блока и стенового проема по всему периметру должно быть плотным, без складок и вздутий;

- при установке пароизоляционной ленты под штукатурный слой следует применять ленты с наружным покрытием, которое обеспечивает необходимую адгезию с штукатурным раствором;

- допускается стыковка лент по длине на прямолинейных участках, с нахлестом не менее 1/2 номинальной ширины ленты.

В.6 Устройство узлов примыкания элементов отделки (деталей облицовки) стеновых проемов к оконным блокам.

В.6.1 Места примыкания внутренних откосов (не зависимо от их конструкции) к коробке оконного блока и монтажному шву должны быть герметизированы, при этом должны выполняться мероприятия, исключающие в период эксплуатации проявление трещин и щелей. Например, уплотнение примыканий герметиками или другими материалами, обладающими достаточной деформационной устойчивостью.

В.6.2 При установке оконного слива в узлах примыкания к стеновому проему и коробке оконного блока следует выполнять мероприятия, исключающие попадание влаги в монтажный шов, а под сливами устанавливать прокладки (гасители), снижающие шумовое воздействие дождевых капель.

В.6.3 Примыкание подоконника к коробке оконного блока выполняют плотным, герметичным и устойчивым к деформациям. Рекомендуется установка подоконника на опорные несущие колодки и пенный утеплитель.

В.6.4 В узлах соединения отдельных коробок оконных блоков между собой или их примыкания к подставочным, проставочным, поворотным или расширительным профилям следует выполнять мероприятия, предотвращающие образование тепловых мостиков. Допускается установка в таких узлах по всему контуру примыкания саморасширяющихся лент или других изоляционных материалов, обеспечивающих необходимое сопротивление теплопередачи и деформационную устойчивость.

В.6.5 Защитные пленки с профилей створок и коробок удаляются в соответствии с рекомендациями производителей профиля с учетом условий безопасного производства работ.

В.7 Требования безопасности

При производстве работ по устройству монтажных швов, а также при хранении изоляционных и других материалов должны соблюдаться требования строительных норм и правил по технике безопасности в строительстве, правил пожарной безопасности при производстве строительно-монтажных работ и стандартов ССБТ (система стандартов безопасности труда). На все технологические операции и производственные процессы должны быть разработаны инструкции по технике безопасности (включая операции, связанные с эксплуатацией электрооборудования и работами на высоте).

ПРИЛОЖЕНИЕ Г
(рекомендуемое)

РАСЧЕТНЫЙ МЕТОД ОЦЕНКИ ТЕМПЕРАТУРНОГО РЕЖИМА УЗЛОВ ПРИМЫКАНИЙ ОКОННЫХ БЛОКОВ К СТЕНОВЫМ ПРОЕМАМ

Метод предназначен для оценки температурного режима узлов примыкания оконных блоков к стеновым проемам и выбора наиболее рационального конструктивного решения монтажных швов с учетом геометрической формы, места расположения и теплопроводности герметизирующих материалов, оконных блоков и стеновых конструкций.

Сущность метода заключается в моделировании стационарного процесса теплопередачи через узлы примыканий оконного блока к стеновому проему с использованием соответствующего программного обеспечения.

Г1. Требования к программному обеспечению

Г1.1. Программное средство, с помощью которого производится расчет, должно иметь сопровождающую техническую документацию и обеспечивать возможность расчета двухмерного (плоского) или трехмерного (пространственного) температурного поля и тепловых потоков в заданной области ограждающих конструкций при стационарных условиях теплопередачи.

Г.2. Ввод исходных данных должен производиться либо в графическом виде (с экрана монитора) либо в виде табличных данных и обеспечивать возможность задания требуемых характеристик материалов и граничных условий рассчитываемой конструкции в заданной области; при этом возможно использование как библиотеки данных, так и задание исходных данных в виде расчетных значений.

Г1.3. Представление результатов расчета должно обеспечивать возможность визуализации температурного поля, определение температуры в любой точке рассчитываемой области, определение суммарных входящих и выходящих тепловых потоков через заданные поверхности.

Г.4. Окончательные результаты расчета должны представляться в документированном виде и включать: расчетные температуры наружного и внутреннего воздуха, коэффициенты теплообмена поверхностей, распределение температур по заданному сечению рассчитанного узла, информацию по входящим и выходящим тепловым потокам.

Г2. Общие указания

Г2.1. Оценка температурного режима узлов примыканий оконного блока к стеновым проемам должна производиться для следующих характерных сечений (рис.Г1):

- узла сопряжения оконного блока с простенком (горизонтальное сечение);

- узла сопряжения с подоконником (вертикальное сечение);

- узла сопряжения с перемычками оконного проема (вертикальное сечение).

- узла сопряжения порога балконной двери с плитой перекрытия (для балконных дверей).

При использовании программы расчета трехмерных температурных полей оценка температурного режима указанных сечений может проводиться на основе расчета одного пространственного блока, включающего фрагмент наружной стены с заполнением оконного проема.

Г2.2. Размеры расчетной области рекомендуется принимать:

- для поверхностей, граничащих с наружным и внутренним воздухом - в соответствии с очертаниями конструктивных элементов ограждений;

- для поверхностей (сечений), ограничивающих расчетную область (адиабатических поверхностей) - по осям симметрии ограждающих конструкций или на расстоянии не менее 4-х толщин конструктивного элемента, попадающего в сечение.

Г2.3. Граничные условия следует принимать:

- для поверхностей, граничащих с наружным и внутренним воздухом - в соответствии с нормами проектирования соответствующих зданий и сооружений и климатическим районом строительства;

- для адиабатических поверхностей (сечений), ограничивающих расчетную область, температуру и коэффициенты теплоотдачи следует принимать равными нулю.

Г2.4. Расчет температурного режима узлов примыкания рекомендуется проводить в следующем порядке:

- определяются размеры расчетной области и выбираются характерные сечения;

- составляются расчетные схемы узлов примыкания; при этом сложные конфигурации участков, например криволинейные, заменяются более простыми, если эта конфигурация имеет незначительное влияние в теплотехническом отношении;

- проводится подготовка и ввод в программу исходных данных: геометрических размеров, расчетных коэффициентов теплопроводности, расчетных температур наружного и внутреннего воздуха, расчетных коэффициентов теплоотдачи отдельных поверхностей;

- осуществляется расчет температурного поля;

- проводится визуализация результатов расчета; анализируется характер распределения температур в рассматриваемой области, определяются температуры внутренней и наружной поверхностей в отдельных точках; устанавливается минимальная температура внутренней поверхности; результаты расчета сопоставляются с требованиями настоящего стандарта и других нормативных документов; определяется суммарный тепловой поток, входящий в расчетную область; при необходимости, конструктивное решение узла примыкания изменяется и проводятся повторные расчеты;

- составляется документированный отчет по результатам расчетов.

ГЗ. Основные требования к сопровождающей технической документации

Сопровождающая техническая документация должна содержать:

- область применения программного средства;

- подробное описание назначения программы и ее функций;

- описание процедуры установки программы на персональном компьютере;

- описание математических моделей, используемых в программе;

- детальное руководство пользователя с примерами реализации;

- координаты службы технической поддержки.

Г4. Пример расчета

Необходимо провести расчет температурного поля и оценить возможность выпадения конденсата на поверхности узла примыкания оконного блока из клееной древесины по ГОСТ 2470 к простенку однослойной кирпичной стены из полнотелого кирпича на цементно-песчаном растворе (горизонтальное сечение). Наружный гидроизоляционный слой - предварительно сжатая уплотнительная лента, теплоизоляционный слой - пенный утеплитель, внутренний пароизоляционный слой - пароизоляционная лента. Поверхность оконного откоса утеплена термовкладышем из экструдированного пенополистирола толщиной 25 мм. Основные размеры и характеристика материалов оконного блока и наружной стены представлены на рис, Г2.

Исходные данные: расчетная температура внутреннего воздуха tвр = +20°С; расчетная температура наружного воздуха tнр = -28°С; температура "точки росы" tр = 10,7°С; расчетный коэффициент теплоотдачи внутренней поверхности стены - авст = 8,7 Вт/(м2°С); расчетный коэффициент теплоотдачи внутренней поверхности оконного блока - авок = 8,0 Вт/(м2°С), коэффициент теплоотдачи наружной поверхности стены и оконного блока - аи - 23,0 Вт/(м2°С).

Расчетная область узла примыкания принята по осям симметрии оконного блока и простенка наружной стены. Расчетная схема представлена на рис.Г.2а, схема задания граничных условий - на рис.Г.2 б.

Результаты расчета представлены на рис. Г3 в виде распределения температур (изотерм) по сечению рассчитываемой области и значений температур внутренней и наружной поверхности в отдельных, наиболее характерных точках.

Анализ результатов расчетов показывает, что минимальная температура внутренней поверхности наблюдается в зоне сопряжения оконной коробки с откосом оконного проема и составляет -tвmin - 12,6 °С. Сопоставление минимальной температуры внутренней поверхности с температурой "точки росы" свидетельствует об отсутствии условий выпадения конденсата на поверхности данного узла примыкания.

Рис.Г1. Схема расположения сечений для проверки температурного режима узлов примыканий оконных блоков к наружным стенам: а - оконного блока; б - балконной двери

Рис.Г2. Расчетная схема (а) и схема задания граничных условий (б) узла примыкания оконного блока к оконному проему: 1 - кирпичная кладка - _Б=0,8 Вт/(м-°С); 2 - цементно-песчаный раствор - _Б= 0,93 Вт/(м-°С); 3 - древесина поперек волокон - _Б= 0,22 Вт/(м-°С); 4 - монтажная пена - _Б= 0,05Вт/(м°С); 6 - экструдированный пенополистирол - _Б = 0,05 Вт/(м-°С); 7- стекло - _Б = 0,76 Вт/(м-°С); 8 - воздушная прослойка 22 мм - _экв = 0,08 Вт/(м-°С); 9 - алюминий - = 220 Вт/(м-°С); 10 - герметик- _б = 0,34 Bm/(м-°С); 11 - пароизоляционная лента - _б= 0,56Вт/(м-°С);

Рис.Г3. Результаты расчета распределения температур по узлу примыкания оконного блока из клееной древесины к стене из полнотелого кирпича