Блоки оконные. Общие технические условия. ГОСТ 23166-99

(утв. Постановлением Госстроя РФ от 06.05.2000 N 41)
Редакция от 06.05.2000 — Документ не действует

МЕЖГОСУДАРСТВЕННЫЙ СТАНДАРТ

БЛОКИ ОКОННЫЕ
ОБЩИЕ ТЕХНИЧЕСКИЕ УСЛОВИЯ

Windows. General specifications

ГОСТ 23166-99

Предисловие

РАЗРАБОТАН Управлением стандартизации, технического нормирования и сертификации Госстроя России при участии фирмы ЗАО "КВЕ Оконные технологии", ОАО "Полимерстройматериалы", НИУПЦ "Межрегиональный институт окна".

ВНЕСЕН Госстроем России

ПРИНЯТ Межгосударственной научно-технической комиссией по стандартизации, техническому нормированию и сертификации в строительстве (МНТКС) 2 декабря 1999 г.

За принятие проголосовали:

Наименование государства Наименование органа государственного управления строительством
Республика Армения Министерство градостроительства Республики Армения
Республика Казахстан Комитет по делам строительства Министерства энергетики, индустрии и торговли Республики Казахстан
Кыргызская Республика Государственная инспекция по архитектуре и строительству при Правительстве Кыргызской Республики
Республика Молдова Министерство развития территорий, строительства и коммунального хозяйства Республики Молдова
Российская Федерация Госстрой России
Республика Таджикистан Комитет по делам архитектуры и строительства Республики Таджикистан
Республика Узбекистан Государственный комитет строительства, архитектуры и жилищной политики Узбекистана

ВВЕДЕН ВПЕРВЫЕ

ВВЕДЕН В ДЕЙСТВИЕ с 1 января 2001 г. в качестве государственного стандарта Российской Федерации постановлением Госстроя России от 06.05.2000 г. N 41.

1. Область применения

Настоящий стандарт распространяется на оконные и балконные дверные блоки (далее - оконные блоки или изделия) из древесины, пластмасс и металлических сплавов для зданий и сооружений различного назначения.

Стандарт не распространяется на светопрозрачные фасадные системы, зенитные фонари, а также на изделия специального назначения (противовзломные, пуленепробиваемые, противопожарные и др.).

Стандарт является основополагающим для комплекса стандартов на конкретные виды и конструкции оконных блоков, а также их комплектующие детали.

Требования настоящего стандарта являются обязательными (кроме оговоренных в тексте стандарта как рекомендуемые или справочные).

Стандарт может быть применен для сертификации изделий.

2. Нормативные ссылки

В настоящем стандарте приведены ссылки на следующие стандарты:

ГОСТ 9.303-84 ЕСЗКС. Покрытия металлические и неметаллические неорганические. Общие требования к выбору

ГОСТ 111-90 Стекло листовое. Технические условия

ГОСТ 538-88 Изделия замочные и скобяные. Общие технические условия

ГОСТ 3749-77 Угольники поверочные 90°. Технические условия

ГОСТ 5089-97 Замки и защелки для дверей. Технические условия.

ГОСТ 7502-98 Рулетки измерительные металлические. Технические условия

ГОСТ 10354-82 Пленка полиэтиленовая. Технические условия

ГОСТ 15140-78 Материалы лакокрасочные. Методы определения адгезии

ГОСТ 24700-99 Блоки оконные деревянные со стеклопакетами. Технические условия

ГОСТ 24033-80 Окна и балконные двери деревянные. Методы механических испытаний

ГОСТ 24866-99 Стеклопакеты клееные строительного назначения. Технические условия

ГОСТ 26602.1-99 Блоки оконные и дверные. Метод определения сопротивления теплопередаче

ГОСТ 26602.2-99 Блоки оконные и дверные. Методы определения воздухо- и водопроницаемости

ГОСТ 26602.3-99 Блоки оконные и дверные. Метод определения звукоизоляции

ГОСТ 26602.4-99 Блоки оконные и дверные. Метод определения общего коэффициента пропускания света

ГОСТ 30698-2000 Стекло закаленное строительное. Технические условия

3. Термины и определения

Термины и определения, применяемые в настоящем стандарте, приведены в приложении А.

4. Классификация и условное обозначение

4.1 Оконные блоки классифицируют по следующим признакам:

материалам рамочных элементов;

вариантам заполнения светопрозрачной части;

назначению;

вариантам конструктивного исполнения;

архитектурному рисунку;

основным эксплуатационным характеристикам.

Первые два признака относят к признакам вида изделий.

4.2 По материалам рамочных элементов изделия подразделяют на:

деревянные;

поливинилхлоридные;

из алюминиевых сплавов;

стальные;

стеклопластиковые;

комбинированные (деревоалюминиевые, деревополивинилхлоридные и т.п.)

4.3 По вариантам заполнения светопрозрачной части изделия подразделяют:

с листовым стеклом;

со стеклопакетами;

с листовым стеклом и стеклопакетами.

Основные варианты заполнения светопрозрачной части оконных блоков приведены на рисунке 1.

а - одинарный оконный блок с одним стеклом; б - одинарный оконный блок с однокамерным стеклопакетом; в - одинарный оконный блок с двухкамерным стеклопакетом; г - спаренный оконный блок с двойным остеклением; д - спаренный оконный блок со стеклом и стеклопакетом; е - раздельный оконный блок с двойным остеклением; ж - раздельно-спаренный оконный блок с тройным остеклением; з - раздельный оконный блок со стеклом и однокамерным стеклопакетом; и - раздельный оконный блок со стеклом и двухкамерным стеклопакетом; к - раздельный оконный блок с двумя стеклопакетами

Рисунок 1 - Основные типы конструкций и варианты заполнения светопрозрачной части оконных блоков

4.4 По назначению изделия подразделяют на предназначенные для применения в жилых, общественных, производственных и других видах зданий и сооружений.

4.5 По вариантам конструктивного исполнения изделия классифицируют:

по типам конструкции: одинарные, спаренные, раздельные, раздельно-спаренные;

по числу рядов остекления:

с одинарным остеклением (для неотапливаемых помещений);

с двойным остеклением;

с тройным остеклением;

с четверным остеклением;

по числу створок в одном ряду остекления:

одностворчатые;

двухстворчатые;

многостворчатые;

по направлению открывания створок:

внутрь помещения;

наружу;

двухстороннего открытия;

левого открывания;

симметричного открывания;

по способам открывания створок:

с распашным открыванием - с поворотом створки вокруг вертикальной крайней оси;

подвесным - с поворотом створки вокруг верхней крайней оси;

откидным - с поворотом створки вокруг нижней крайней оси;

поворотно-откидным - с поворотом створки вокруг вертикальной и нижней крайних осей;

средне-поворотным - с поворотом створки вокруг горизонтальной или вертикальной оси, смещенной от края створки;

раздвижным - с горизонтальным перемещением створок;

подъемным - с перемещением створки в вертикальной плоскости;

комбинированным - с совмещением в одной конструкции разных видов открывания створок;

неоткрывающиеся;

в зависимости от остекляемых элементов:

с остекленными створчатыми элементами;

с остекленными коробками;

с совмещенным остеклением;

по конструкциям устройств для проветривания и регулирования температурно-влажностного режима помещения:

с форточками;

со створками с откидным (поворотно-откидным) регулируемым открыванием;

с фрамугами;

с клапанными створками;

с вентиляционными клапанами;

с климатическими клапанами;

с системами самовентиляции;

по конструктивным решениям притворов створок:

с импостным притвором;

с безимпостным (штульповым) притвором;

по числу и расположению контуров уплотнения в притворах:

с одним контуром уплотнения (для неотапливаемых помещений);

со средним и внутренним уплотнением;

с наружным и внутренним уплотнением;

наружным, внутренним и средним уплотнением;

по видам угловых соединений:

неразборные (клеевые, сварные, спрессованные и др.);

сборно-разборные (на механических связях).

4.6 По архитектурным рисункам изделия подразделяют на:

прямоугольные;

фигурные (треугольные, многоугольные, арочные, круглые, овальные и др.);

с декоративными переплетами;

со сложным рисунком (например, арочные с горбыльковым переплетом).

Основные типы конструкций оконных блоков приведены на рисунке 1.

Примеры узлов притворов с различным числом и расположением уплотнений приведены на рисунке 2.

а - конструкция с двумя средними уплотнениями; б - конструкция со средним и внутренним уплотнениями; в - конструкция с двумя средними и внутренним уплотнениями; г - конструкция с наружным и внутренним уплотнениями; д - конструкция со средним и внутренним уплотнениями; е - конструкция с наружным, средним и внутренним уплотнениями

Рисунок 2 - Примеры узлов притворов с различным числом и расположением уплотнений

Примеры узлов средних (импостных и безимпостных) притворов с двойным уплотнением приведены на рисунке 3.

а - вертикальные безимпостный (штульповой) и импостный притворы деревянного оконного блока; б - горизонтальный импостный притвор деревянного оконного блока; в - импостный притвор оконного блока из ПВХ профилей; г - узел импостного соединения открывающейся створки и остекленной коробки; д - импостный притвор оконного блока из алюминиевого сплава

Рисунок 3 - Примеры узлов средних (импостных и безимпостных) притворов с двойным уплотнением

Примеры архитектурных рисунков оконных и балконных дверных блоков приведены на рисунках 4, 5.

а, б, в, г, д, е, ж - примеры конструкций оконных блоков 15М по высоте; з, и - конструкция однопольных балконных дверных блоков размером 22-7; к - то же, по индивидуальному заказу: с горбыльковым переплетом и глухой филенкой; л - примеры конструкции двупольного балконного дверного блока с двойной фрамугой для общественных зданий размером 28-18

Рисунок 4 - Примеры архитектурных рисунков прямоугольных оконных и балконных дверных блоков

а - круглый неоткрывающийся оконный блок; б - полуовальный оконный блок с откидным открыванием; в - полукруглый оконный блок с откидным открыванием; г - треугольный оконный блок с откидным открыванием; д - трапециевидный распашной одностворчатый оконный блок; е - полуарочный одностворчатый оконный блок с поворотно-откидным открыванием; ж - арочный двустворчатый оконный блок с откидным и распашным открыванием створок и неоткрывающейся фрамугой; з - трехстворчатый оконный блок с комбинированным открыванием, форточкой, неоткрывающейся подфорточной створкой и неоткрывающейся полуовальной фрамугой; и - арочный одностворчатый оконный блок с поворотно-откидным открыванием створки с горбыльковым переплетом и открывающейся фрамугой

Рисунок 5 - Примеры архитектурных рисунков фигурных оконных блоков и оконных блоков со сложным рисунком

4.7 Изделия классифицируют по основным эксплуатационным характеристикам: приведенному сопротивлению теплопередаче, воздухо- и водопроницаемости, звукоизоляции, общему коэффициенту пропускания света, сопротивлению ветровой нагрузке, стойкости к климатическим воздействиям.

4.7.1 По показателю приведенного сопротивления теплопередаче изделия подразделяют на классы:

А1 - с сопротивлением теплопередаче 0,80 м2 х °С/Вт и более;
А2 - -"- -"- 0,75 - 0,79 м2 х °С/Вт
Б1 - -"- -"- 0,70 - 0,74 -"-
Б2 - -"- -"- 0,65 - 0,69 -"-
В1 - -"- -"- 0,60 - 0,64 -"-
В2 - -"- -"- 0,55 - 0,59 -"-
Г1 - -"- -"- 0,50 - 0,54 -"-
Г2 - -"- -"- 0,45 - 0,49 -"-
Д1 - -"- -"- 0,40 - 0,44 -"-
Д2 - -"- -"- 0,35 - 0,39 -"-

Примечание. Изделиям с сопротивлением теплопередаче ниже 0,35 м2 х °С/Вт; класс не присваивают. Аналогичный подход к классификации изделий с показателями ниже наименьших значений, установленных в классификационных шкалах, следует применять в 4.7.2 - 4.7.5.

4.7.2 По показателям воздухо- и водопроницаемости изделия подразделяют на классы, приведенные в таблице 1.

Таблица 1

Класс Объемная воздухопроницаемость при дельта Р = 100 Па, м3 (ч·м2 ) для построения нормативных границ классов Предел водонепроницаемости, Па, не менее
А 3 600
Б 9 500
В 17 400
Г 27 300
Д 50 150

Порядок определения классов воздухо- и водопроницаемости приведен в приложении Б.

4.7.3 По показателю звукоизоляции изделия подразделяют на классы со снижением воздушного шума потока городского транспорта:

А - изделия со снижением воздушного шума свыше 36 дБа;
Б - -"-   -"- -"- -"-   34-36 дБа
В - -"-   -"- -"- -"-   31-33 -"-
Г - -"-   -"- -"- -"-   28-30 -"-
Д - -"-   -"- -"- -"-   25-27 -"-.

Примечание. В случае если снижение уровня воздушного шума потока городского транспорта достигается в режиме проветривания, к обозначению класса звукоизоляции добавляют букву "П". Например, обозначение класса звукоизоляции изделия "ДП" означает, что снижение уровня воздушного шума потока городского транспорта от 25 до 27 дБА для данного изделия достигается в режиме проветривания.

4.7.4 По показателю общего коэффициента пропускания света изделия подразделяют на классы:

А - общий коэффициент пропускания света 0,50 и более;
Б - -"- -"- -"- -"- 0,45-0,49;
В - -"- -"- -"- -"- 0,40-0,44;
Г - -"- -"- -"- -"- 0,35-0,39;
Д - -"- -"- -"- -"- 0,30-0,34.

4.7.5 По сопротивлению ветровой нагрузке изделия подразделяют на классы:

А - сопротивление ветровой нагрузке 1000 Па и более;
Б - -"- -"- -"- 800-999 Па;
В - -"- -"- -"- 600-799 -"-
Г - -"- -"- -"- 400-599 -"-
Д - -"- -"- -"- 200-399 -"-.

Указанные перепады давления применяют при оценке эксплуатационных характеристик изделий.

Прогибы деталей изделий определяют при перепадах давления, вдвое превышающих верхние пределы для классов, указанных в классификации.

4.7.6 В зависимости от стойкости к климатическим воздействиям изделия подразделяют по видам исполнения:

нормального исполнения - для районов со средней месячной температурой воздуха в январе минус 20°С и выше (контрольная нагрузка при испытаниях изделий или комплектующих материалов и деталей - не выше минус 45°С) в соответствии с действующими строительными нормами;

морозостойкого исполнения (М) - для районов со средней месячной температурой воздуха в январе ниже минус 20°С (контрольная нагрузка при испытаниях изделий или комплектующих материалов и деталей - не выше минус 55°С) в соответствии с действующими строительными нормами.

4.8 Классификацию изделий по виду отделочного покрытия, а также по специфическим признакам устанавливают в стандартах на конкретные виды изделий.

4.9 Основные размеры (классификация по модульным размерам)

За основу модульных габаритных размеров изделий принимают строительный модуль, равный 100 мм и обозначаемый буквой М.

Рекомендуемые (основные) модульные размеры изделий:

по ширине - 6М; 7М; 9М; 11М; 12М; 13М; 15М; 18М; 21М; 24М; 27М;

по высоте - 6М; 9М; 12М; 13М; 15М; 18М; 21М; 22М; 24М; 28М.

Габаритные размеры оконных и балконных дверных блоков и стеновых проемов для их монтажа устанавливают в проектной документации на строительство в зависимости от принятых конструкций узлов примыкания и материалов заполнения монтажных зазоров. Рекомендуемые габаритные размеры, мм, оконных блоков, а также их обозначения приведены в таблице 2.

Таблица 2

Высота Ширина
570 720 870 1170 1320 1470 1770 2070 2370 2670
580 6-6 6-7 6-9 6-12 6-13 6-15 - - - -
860 9-6 9-7 9-9 9-12 9-13 9-15 - - - -
1160 12-6 12-7 12-9 12-12 12-13 12-15 12-18 12-21 12-24 12-27
1320 13-6 13-7 13-9 13-12 13-13 13-15 13-18 13-21 13-24 13-27
1460 15-6 15-7 15-9 15-12 15-13 15-15 15-18 15-21 15-24 15-27
1760 - 18-7 18-9 18-12 18-13 18-15 18-18 18-21 18-24 18-27
2060 - 21-7 21-9 21-12 21-13 21-15 21-18 21-21 21-24 21-27
2175 - 22-7 22-9 22-12 22-13 22-15 22-18 - - -
2375 - 24-7 24-9 24-12 24-13 24-15 24-18 - - -
2755 - - 28-9 28-12 28-13 28-15 28-18 - - -

4.10 Структура условного обозначения изделий

                          Вид изделия
                           
                            Материал
                           
                            Тип конструкции и вариант остекления
                           
                            Высота, дм
                            Ширина, дм
                            Буквенное обозначение вариантов конструкции
                           
                             
Х Х Х   Х Х   Х   Х Обозначение стандарта
Х Х Х Х Х Х  
                             
                            Класс по показателю сопротивления теплопередаче
                           
                            Класс по показателю воздухо- и водопроницаемости
                           
                            Класс по показателю звукоизоляции
                           
                            Класс по показателю общего коэффициента пропускания света
                           
                            Класс по показателю сопротивления ветровой нагрузке
                           
                            Буквенное обозначение "М" для изделий морозостойкого исполнения
                           

Буквенное обозначение:

вида изделия:

О - оконный блок

Б - балконный дверной блок

материала изделия:

Д - древесина

А - алюминиевый сплав

ДА - деревоалюминиевые

П - поливинилхлорид

Ст - сталь

Спл - стеклопластиковые

типов конструкций и вариантов остекления:

О - одинарной конструкции с листовым стеклом

ОСП - одинарной конструкции со стеклопакетом

С - спаренной конструкции с листовыми стеклами

ССП - спаренной конструкции с листовым стеклом и стеклопакетом

Р - раздельной конструкции с листовыми стеклами

РСП - раздельной конструкции с листовым стеклом и стеклопакетом

Р2СП - раздельной конструкции с двумя стеклопакетами;

РС3 - раздельно-спаренной конструкции с тремя листовыми стеклами;

вариантов конструкции изделия:

по конструкции устройств проветривания:

Ф - с форточками

Фр - с фрамугами

ВК - с вентиляционными клапанами

ПО - с поворотно-откидным открыванием

КК - с климатическими клапанами

СВ - с системами самовентиляции

Если конструктивное решение изделий предусматривает две системы проветривания, их обозначают через дефис, например, ПО-СВ.

По направлению открывания створок:

Л - левого исполнения; П - правого исполнения;

по конструкциям притворов:

Ш - безимпостный (штульповой) притвор.

Обозначения классов окон по эксплуатационным характеристикам принимают по буквенно-цифровым обозначениям, приведенным в 4.7.

Пример условного обозначения - ОД ОСП 15-18 ФЛ ГОСТ 24700-99
В2 - Б - Д - Б - Г - М

оконный блок деревянный одинарной конструкции со стеклопакетом, модульные размеры: по высоте - 15М, ширине - 18М, с форточкой, левого исполнения. Классы по эксплуатационным показателям: сопротивлению теплопередаче - В2, воздухо- и водопроницанию - Б, звукоизоляции - Д, общему коэффициенту пропускания света - Б, сопротивлению ветровым нагрузкам - Г, морозостойкого исполнения - М, по ГОСТ 24700.

Допускается не указывать в условных обозначениях изделий классы эксплуатационных характеристик.

В этом случае класс эксплуатационных характеристик изделий (приведенные в знаменателе примера), а также, при необходимости, обозначения других классификационных признаков, допускается приводить в проектной документации, паспорте и договоре на поставку в виде текстовой записи, например, "сборно-разборные, морозостойкого исполнения".

Отсутствие обозначения классов означает, что изделия имеют минимальные значения эксплуатационных показателей, установленные в стандарте на конкретный вид изделий (в приведенном примере условного обозначения - в ГОСТ 24700).

Условные обозначения изделий, выпускаемых по индивидуальным заказам, допускается устанавливать в проектной документации или в нормативной документации на конкретные виды изделий.

5. Технические требования

5.1 Общие требования к конструкции

5.1.1 Оконные блоки должны соответствовать требованиям настоящего стандарта, стандартов на конкретные виды изделий и изготавливаться по конструкторской и технологической документации, утвержденной в установленном порядке.

5.1.2 Изделия состоят из рамочных элементов (коробок, створок, полотен, форточек, фрамуг). Угловые соединения рамочных элементов соединяют на шипах и клее, сварке, механических связях или другим способом. Конструктивные решения угловых соединений приводят в стандартах на конкретные виды изделий.

Функциональные части и детали конструкций оконных блоков приведены на рисунке 6.

1 - паз под уплотняющую прокладку; 2 - водоотводная канавка; 3 - притворная часть; 4 - наплав створки; 5 - отлив; 6 - наплав коробки; 7 - водоотводной желоб; 8 - дождезащитный профиль; 9 - водоотводная камера; 10 - уклон для отвода воды; 11 - пазы под соединительные шпонки; 12 - четверть под слив; 13 - четверть под подоконную доску;

Рисунок 6 - Функциональные части и детали конструкций оконных блоков

Конструктивное решение оконных блоков должно предусматривать возможность проветривания помещений при помощи форточек, фрамуг, створок с поворотно-откидным (откидным) регулируемым открыванием, клапанных створок или вентиляционных клапанов. Рекомендуется применение в конструкции изделий устройств для регулирования температурно-влажностного режима: климатических клапанов и систем самовентиляции.

5.1.3 В качестве светопрозрачной части изделий применяют листовое стекло по ГОСТ 111, стеклопакеты по ГОСТ 24866 или нормативной документации, утвержденной в установленном порядке (далее - НД).

Конструкция изделий должна предусматривать возможность установки не менее двух контуров уплотняющих прокладок в притворах (для изделий, предназначенных для эксплуатации в неотапливаемых помещениях, допускается применение конструкций с одним рядом уплотняющих прокладок).

Конструкция оконных блоков должна обеспечивать возможность замены стекол, стеклопакетов, оконных приборов, уплотняющих прокладок без нарушения целостности деталей изделия.

5.1.4. Требования настоящего стандарта предусматривают изготовление оконных блоков с площадью, не превышающей 6,0 м2, при этом площадь открывающихся элементов не должна превышать 2,5 м2.

Расчетная масса открывающихся створок (полотен) не должна превышать, как правило, 80 кг.

Максимальные размеры открывающихся створчатых элементов и расчетный прогиб (жесткость) брусков элементов изделий устанавливают в нормативной и технической документации на конкретные виды изделий с учетом момента сопротивления поперечного сечения деталей, схем открывания, массы открывающихся элементов и расчетных эксплуатационных (в том числе ветровых) нагрузок.

Рекомендуемое наибольшее значение расчетного прогиба (жесткости брусковых деталей изделий) от ветрового воздействия - 1/300 длины пролета (но не более 6 мм), прогиба брусковых деталей изделий от веса остекления - 2 мм.

5.1.5 Архитектурные рисунки оконных блоков устанавливают в проектной документации или в заказе на изготовление конкретных изделий.

5.1.6 Применение неоткрывающихся створок в оконных блоках помещений жилых зданий выше первого этажа не допускается, кроме створок с размерами, не превышающими 400 х 800 мм, а также в изделиях, выходящих на балконы (лоджии) при наличии в таких конструкциях устройств для проветривания помещений. Возможность применения неоткрывающихся створчатых элементов оконных блоков в других видах помещений устанавливают в проектной документации на строительство.

5.1.7 Распашные открывающиеся элементы изделий для жилых зданий должны открываться внутрь помещения. Открывание наружу допускается в изделиях, выходящих на балконы (лоджии) или установленных в помещениях первого этажа.

В зданиях другого назначения возможность открывания створок наружу должна быть установлена в проектной документации, при этом в створчатых элементах, рекомендуется применение закаленного стекла по ГОСТ 30698.

5.1.8 Изделия должны быть безопасными в эксплуатации и обслуживании.

Требования безопасности применения изделий устанавливают в проектной документации (например, закаленных стекол по ГОСТ 30698 и др.).

Полимерные материалы (комплектующие детали), применяемые для изготовления изделий, должны иметь документы о санитарной безопасности, предусмотренные действующим законодательством и оформленные в установленном порядке.

5.1.9 С целью повышения сопротивления изделий несанкционированным воздействиям конструкция изделий может включать в себя ручки-завертки, оснащенные замками класса 1-2 по ГОСТ 5089, усиленные запирающие приборы, дополнительные крепежные детали в угловых соединениях, закаленное стекло толщиной от 4 до 8 мм по ГОСТ 30698.

5.1.10 Изделия должны быть оснащены оконными приборами и петлями, обеспечивающими их надежную эксплуатацию. Наибольшие допустимые расстояния между точками запирания приборов и петлями устанавливают в НД на конкретные виды изделий.

В конструкциях оконных блоков рекомендуется применение петель, обеспечивающих регулирование зазоров в притворах, фиксаторов открывания, позволяющих регулировать угол открывания створчатых элементов (в том числе в положении щелевого проветривания), подкладок для выравнивания зазоров в притворе.

При поворотно-откидном способе открывания в конструкции приборов открывания следует предусматривать защиту от ошибочных действий при переводе изделия из режима открывания створок в режим проветривания и обратно, а также установку ограничителя угла открывания створки.

5.2 Размеры и предельные отклонения

5.2.1 Номинальные размеры изделий, рамочных элементов, узлов, деталей, расположения оконных приборов, функциональных отверстий и предельные отклонения от них устанавливают в нормативной и технической документации, а также в рабочих чертежах на изготовление конкретных видов изделий, при этом рекомендуется соблюдать требования, приведенные в 5.2.2-5.2.8.

5.2.2 Предельные отклонения от габаритных размеров изделий не должны превышать + 2,0 - 1,0 мм.

5.2.3 Рамочные элементы оконных блоков и их детали должны иметь правильную геометрическую форму.

Отклонение от прямолинейности кромок деталей рамочных элементов не должно превышать 1,0 мм на 1 м длины на любом участке элемента окна.

Предельные отклонения номинальных размеров коробок и створок (полотен) по длине и ширине, размеров расположения оконных приборов, а также разность длин диагоналей прямоугольных элементов изделий не должны превышать значений, установленных в таблице 3.

Таблица 3

В миллиметрах

Размерный интервал Предельные отклонения номинальных размеров
Внутренний размер коробок Наружный размер створок Разность длин диагоналей Размеры расположения приборов
До 1000 ±1,0 -1,0 2,0 ±1,5
От 1000 до 2000 +2,0 -1,0 ±1,0 3,0
Св. 2000 +2,0 -1,0 +1,0 -2,0 4,0

Примечания

1 Значения предельных отклонений устанавливают для температурного интервала проведения измерения (20±4) °С.

2 Предельные отклонения от номинальных размеров зазоров в притворе и под наплавом устанавливают в НД на конкретные виды изделий.

5.2.4. Отклонения номинальных размеров расположения водосливных и других отверстий: (± 3,0) мм - по длине брусков, (± 1,0) мм - по высоте сечения.

5.2.5 Отклонение размера расстояния между наплавами смежных закрытых створок - не более 1 мм на 1 м.

5.2.6 Провисание (завышение) закрытых открывающихся элементов (створок, полотен, форточек) в изделии не должно превышать 1,5 мм на 1 м ширины.

5.2.7 Перепад лицевых поверхностей (провес) в угловых и Т-образных соединениях смежных деталей коробок и створок, установка которых предусмотрена в одной плоскости, не должен превышать 1 мм.

5.2.8 Зазоры в угловых и Т-образных соединениях размером более 0,5 мм не допускаются.

5.3 Характеристики

5.3.1 Основные нормируемые эксплуатационные характеристики оконных блоков приведены в таблице 4.

Таблица 4

Наименование показателя Значение
Приведенное сопротивление теплопередаче, м2·°С/Вт Согласно требованиям НД на конкретные виды изделий
Класс приведенного сопротивления теплопередаче
Воздухопроницаемость при дельта Р = 100 Па, м3 /(ч·м2)
Класс воздухо- и водонепроницаемости
Звукоизоляция, дБА
Класс звукоизоляции
Класс сопротивления ветровой нагрузке
Класс общего коэффициента светопропускания
Долговечность, условных лет эксплуатации, не менее:  
стеклопакетов 10(20)<*>
уплотняющих прокладок 5(10)<*>
поливинилхлоридных профилей 20(40)<*>
клеевых соединений деревянных деталей По НД (40)<*>
непрозрачных лакокрасочных покрытий по древесине По НД (5)<*>
защитно-декоративных покрытий по профилям из алюминиевых сплавов По НД (20)<*>
Безотказность оконных приборов и петель, цикл 20000
"открывание - закрывание" 1000<**>
Сопротивление статическим нагрузкам, Н, не менее:
перпендикулярно плоскости створки/полотна 250/400
в плоскости форточки/створки (наружной спаренной створки)/полотна 250/1000(500)/1200

<*> Срок ввода в действие значений показателей долговечности, приведенных в скобках, устанавливают в НД на конкретные виды изделий.

<**> Значение циклов "открывания-закрывания" приведено для створчатых элементов, не предназначенных для проветривания помещений и открываемых для промывки стекол.

5.3.2 Требования к внешнему виду, шероховатости и качеству отделки изделий устанавливают в зависимости от вида поверхностей деталей в НД на конкретные виды изделий.

Пример определения видов поверхностей приведен на рисунке 7.

А - лицевая поверхность
В - наружная поверхность и поверхность, видимая при открывании
С - нелицевая поверхность

Рисунок 7 - Примеры определения видов поверхностей

5.3.3 Угловые соединения должны выдерживать действие нагрузки, приложенной по одной из схем, приведенных на рисунке 8. Значения контрольных нагрузок (прочность угловых соединений) устанавливают в нормативной и конструкторской документации на конкретные виды изделий.

а, б, в - схемы приложения контрольной нагрузки; 1 - съемные хомуты крепления; 2 - точка приложения нагрузки; 3 - образец; 4 - упор (для схемы б - каретки); 5 - опора

Рисунок 8 - Определение прочности угловых соединений

5.3.4 Толщину и адгезию лакокрасочных и других покрытий устанавливают в НД и технической документации на изготовление изделий.

5.4 Требования к материалам и комплектующим деталям

5.4.1 Материалы и комплектующие детали, применяемые для изготовления изделий, должны соответствовать требованиям стандартов, технических условий, технических свидетельств, утвержденных в установленном порядке, а также удовлетворять требованиям контрактов (договоров) на изготовление и поставку.

5.4.2 Материалы и комплектующие детали, применяемые для изготовления оконных блоков, должны быть стойкими к климатическим воздействиям.

Основные комплектующие детали изделий: стеклопакеты, уплотняющие прокладки, оконные приборы для запирания, а также отделочные материалы (покрытия) и клеи (клеевые соединения) должны быть испытаны на долговечность (надежность) в испытательных центрах, аккредитованных на право проведения таких испытаний.

5.4.3 Светопрозрачные детали должны выдерживать ветровую нагрузку по действующим строительным нормам. Минимально допустимые значения толщины стекол определяют в зависимости от габаритных размеров створок, вида остекления, марки стекла и класса сопротивления ветровой нагрузке изделия.

При отсутствии прочностных расчетов допускается принимать минимальные значения толщины стекол согласно требованиям таблицы 5.

Таблица 5

Размер поля остекления по высоте, мм Класс изделий по сопротивлению ветровой нагрузке Размер поля остекления по ширине, мм
до 700 св. 700 до 1000
До 1000 А 4 5
Б 4 4
В 3 4
Г 3 3
Д 3 3
Св. 1000 до 1300 А 5 5
Б 4 5
В 4 4
Г 3 4
Д 3 3
Св. 1300 до 1600 А 5 6
Б 5 5
В 4 5
Г 4 4
Д 3 4
Св. 1600 до 1800 А 6 6
Б 5 6
В 5 5
Г 4 5
Д 4 4

5.4.4 Оконные приборы и крепежные детали должны отвечать требованиям ГОСТ 538, НД на конкретные виды приборов и иметь защитное или защитно-декоративное покрытие по ГОСТ 9.303.

Оконные приборы должны отвечать следующим требованиям:

сопротивление статической нагрузке, действующей на запорные приборы и ручки, - не менее 500 Н;

сопротивление крутящему моменту сил, приложенных к ручке, - не менее 25 Н·м;

сопротивление нагрузке, приложенной к ограничителю угла открывания в режиме проветривания, - не менее 500 Н;

усилие, прикладываемое к створкам при их закрывании до требуемого сжатия уплотняющих прокладок, - не более 120 Н.

Усилие, прикладываемое к створкам (полотнам) изделий для их открывания, не должно превышать 50 (75) Н.

5.5 Уровень заводской готовности и комплектность

5.5.1 Оконные блоки должны иметь полную заводскую готовность: установленные запирающие приборы, стекла, стеклопакеты, уплотняющие прокладки и законченную отделку поверхности.

Допускается поставка оконных блоков неполной заводской готовности, при этом уровень готовности изделий устанавливают в договоре на их изготовление (поставку) по согласованию изготовителя с потребителем.

Примечание. За наименьший уровень готовности принимают изделия, поставляемые в собранном виде с различной степенью отделки, при этом комплектация изделий может не включать в себя детали остекления, уплотняющие прокладки и накладные оконные приборы. Оконные блоки сборно-разборной конструкции могут поставляться в брусках, комплектно.

5.5.2 В случае поставки изделий неполной заводской готовности ответственность за качество готовых изделий устанавливают в договорах на поставку.

5.5.3 Комплектация изделий при их поставке потребителю должна соответствовать требованиям, установленным в договоре.

В комплект поставки должны входить документ о качестве (паспорт) и инструкция по эксплуатации изделий.

Поставку сборно-разборных изделий сопровождают инструкцией по их сборке.

5.5.4 По согласованию изготовителя с потребителем в комплект поставки изделий могут входить противомоскитные сетки, жалюзи, ставни, наличники, подоконные доски и другие детали.

5.5.5 Выступающие за плоскость изделия части запирающих приборов допускается поставлять не смонтированными, а в комплекте с изделиями.

5.5.6 По требованию потребителя изготовитель представляет типовую инструкцию по монтажу изделий.

5.6 Маркировка

5.6.1. Каждое изделие маркируют водостойкой краской или этикеткой с указанием предприятия-изготовителя (товарного знака), марки изделий, даты его изготовления и (или) номера заказа, знака (штампа), подтверждающего приемку изделий техническим контролем. Изделия маркируют, как правило, на нелицевой стороне верхней части вертикального профиля коробки изделия.

5.6.2 Входящие в состав изделия запирающие приборы и стеклопакеты должны быть маркированы в соответствии с технической документацией на эту продукцию.

5.6.3 При поставке сборно-разборных изделий в разобранном виде требования к маркировке изделий устанавливают в НД на эти изделия.

6. Правила приемки

6.1. Оконные блоки должны быть приняты техническим контролем предприятия-изготовителя на соответствие требованиям настоящего стандарта, стандартов на конкретные виды изделий, а также требованиям, определенным в договоре на изготовление (поставку) изделий.

Изделия принимают партиями. При приемке изделий на предприятии-изготовителе за партию принимают число изделий, изготовленных в пределах одной смены. Объем партии может быть установлен в рабочей документации предприятия-изготовителя, например, число изделий, изготавливаемых по одному заказу, число изделий одной марки и т.д.

6.2 Качество продукции, установленное в настоящем стандарте, подтверждают:

входным контролем материалов и комплектующих деталей;

операционным производственным контролем;

приемочным контролем готовых изделий;

контрольными приемосдаточными испытаниями партии изделий, проводимыми службой качества предприятия-изготовителя;

периодическими испытаниями изделий в независимых испытательных центрах;

квалификационными и сертификационными испытаниями.

6.3 Порядок проведения входного и операционного производственного контроля на рабочих местах устанавливают в технологической документации.

В случае, если предприятие-изготовитель комплектует оконные блоки стеклопакетами, оконными приборами и другими изделиями собственного изготовления, они должны быть приняты и испытаны в соответствии с требованиями нормативной документации на эти изделия.

6.4 Приемочный контроль качества готовой продукции проводят поштучно, методом сплошного контроля, при этом проверяют:

внешний вид (отсутствие дефектов, видимых невооруженным глазом);

работу оконных приборов;

провисание открывающихся элементов и отклонение размера расстояния между наплавами створок;

наличие водосливных и других отверстий;

наличие и правильность установки уплотняющих прокладок;

другие требования, установленные в стандартах на конкретные виды изделий.

Изделия, прошедшие приемочный контроль, маркируют. Изделия, не прошедшие приемочный контроль хотя бы по одному показателю, бракуют.

6.5 Каждая партия изделий проходит контрольные приемосдаточные испытания, проводимые службой качества, как правило, не реже одного раза в смену. Порядок проведения этого вида испытаний устанавливают в НД на конкретные виды изделий.

В случае отрицательного результата испытаний хотя бы по одному показателю, проводят повторную проверку качества изделий на удвоенном числе образцов по показателю, имевшему отрицательный результат испытаний. При повторном обнаружении несоответствия показателя установленным требованиям контролируемую и последующую партии изделий подвергают сплошному контролю. При положительном результате сплошного контроля возвращаются к установленному порядку контрольных приемосдаточных испытаний.

6.6 Периодические испытания по эксплуатационным показателям, указанным в 5.3.1, проводят при внесении изменений в конструкцию изделий или технологию их изготовления, но не реже одного раза в пять лет, а также при сертификации изделий (в части показателей предусмотренных методиками сертификации).

При постановке оконных блоков на производство проводят их квалификационные испытания на соответствие требованиям настоящего стандарта, а также стандартов или технических условий на конкретные виды изделий. В обоснованных случаях допускается совмещать квалификационные и сертификационные испытания.

Испытания проводят в независимых испытательных центрах, аккредитованных на право их проведения.

6.7 Потребитель имеет право проводить контрольную проверку качества изделий, соблюдая при этом приведенный порядок отбора образцов и методы испытаний, установленные в настоящем стандарте, а также в НД на конкретные виды изделий.

6.8 При приемке изделий потребителем партией считают число изделий, отгружаемое по конкретному договору (заказу), но не более 500 шт, оформленное одним документом о качестве.

При приемке изделий потребителем рекомендуется использовать план одноступенчатого контроля качества изделий, установленный в таблице 6.

6.9 Каждая партия изделий должна сопровождаться документом о качестве (паспортом), в котором указывают:

наименование и адрес предприятия-изготовителя или его товарный знак;

условное обозначение изделия;

данные о сертификации изделий;

номер партии (заказа);

количество изделий в партии (шт. и м2);

спецификацию комплектующих деталей;

дату отгрузки.

Документ о качестве должен иметь знак (штамп), подтверждающий приемку партии изделий техническим контролем предприятия-изготовителя. Рекомендуется в документе о качестве указывать основные технические характеристики изделий и гарантийные обязательства.

Таблица 6

Объем партии, шт. Объем выборки, шт. Приемочное число
малозначительные дефекты критические и значительные дефекты
От 1 до 12 Сплошной контроль 3 0
13-25 5 3 0
26-50 8 4 0
51-90 12 5 0
91-150 18 7 1
151-280 26 10 2
281-500 38 14 2

Примечание - К значительным и критическим дефектам относят дефекты, ведущие к потере эксплуатационных характеристик, неустранимые без замены части изделия (поломка профиля или оконных приборов, треснувший стеклопакет и др.), превышение предельных отклонений размеров более чем в 1,5 раза от установленных в НД, разукомплектованность изделий.

К малозначительным дефектам относят устранимые дефекты: незначительные повреждения поверхности, неотрегулированные оконные приборы и петли, превышение предельных отклонений размеров менее чем в 1,5 от установленных в НД.

При реализации изделий через предприятия розничной торговли паспортом сопровождают каждое изделие. Пример заполнения паспорта оконного блока приведен в приложении В.

При экспортно-импортных операциях содержание сопроводительного документа о качестве уточняется в договоре на поставку изделий.

6.10 По договоренности сторон приемка изделий потребителем может производиться у изготовителя, на складе потребителя или в ином, оговоренном в договоре на поставку, месте.

6.11 Приемка изделий потребителем не освобождает изготовителя от ответственности при обнаружении скрытых дефектов, приведших к нарушению эксплуатационных характеристик изделий в течение гарантийного срока службы.

7. Методы контроля

7.1 Методы испытаний при входном контроле качества материалов и комплектующих деталей устанавливают в технической документации, исходя из требований нормативной документации на эти материалы и детали.

7.2 Методы испытаний при проведении производственного операционного контроля устанавливают в технологической документации (регламенте контроля качества).

7.3 Методы контроля качества изделий при приемочном контроле и контрольных приемосдаточных испытаниях устанавливают в стандартах на конкретные виды изделий.

7.4 Методы контроля при проведении периодических испытаний.

7.4.1 Методы определения прочности угловых соединений устанавливают в НД на конкретные виды изделий с учетом схем приложения нагрузок, приведенных на рисунке 8.

7.4.2 Приведенное сопротивление теплопередаче определяют по ГОСТ 26602.1.

7.4.3 Воздухопроницаемость определяют по ГОСТ 26602.2.

7.4.4. Предел водонепроницаемости определяют по ГОСТ 26602.2.

7.4.5 Звукоизоляционные характеристики определяют по ГОСТ 26602.3.

7.4.6 Общий коэффициент пропускания света определяют по ГОСТ 26602.4.

7.4.7 Сопротивление статическим нагрузкам определяют по ГОСТ 24033.

7.4.8 Прочность сцепления лакокрасочных покрытий с отделываемой поверхностью (адгезию) определяют методом решетчатых надрезов по ГОСТ 15140 с дополнениями, устанавливаемыми в стандартах на конкретные виды изделий.

7.4.9 Показатели долговечности (включая стойкость к климатическим воздействиям и воздействию агрессивных сред), сопротивление ветровым нагрузкам, безотказность оконных приборов, нормируемые нагрузки, прилагаемые к оконным приборам, толщину лакокрасочных покрытий определяют по НД, утвержденной в установленном порядке.

8. Упаковка, транспортирование и хранение

8.1 Упаковка изделий должна обеспечивать их сохранность при хранении, погрузочно-разгрузочных работах и транспортировании.

Рекомендуется упаковывать изделия в полиэтиленовую пленку по ГОСТ 10354.

8.2 Неустановленные на изделия приборы или части приборов должны быть завернуты в полиэтиленовую пленку по ГОСТ 10354 или в другой упаковочный материал, обеспечивающий их сохранность, прочно перевязаны и поставлены комплектно с изделиями.

8.3 Открывающиеся створки изделий перед упаковкой и транспортировкой должны быть закрыты на все запорные приборы.

8.4 Требования к хранению и транспортированию комплектующих деталей, а также правила транспортирования сборно-разборных оконных блоков устанавливают в НД на конкретные виды изделий.

8.5 Изделия транспортируют всеми видами транспорта в соответствии с правилами перевозки грузов, действующими на данном виде транспорта. Для перевозки изделий рекомендуется применение контейнеров. В случае безконтейнерного транспортирования изделия раскрепляют в пачки согласно схемам, установленным в технической документации.

8.6 При хранении и транспортировании изделий должна быть обеспечена их защита от механических повреждений, воздействия атмосферных осадков и прямых солнечных лучей.

8.7 При хранении и транспортировании изделий не допускается ставить их друг на друга, между изделиями рекомендуется устанавливать прокладки из эластичных материалов.

8.8 Изделия хранят в специальных контейнерах или в вертикальном положении под углом 10-15° к вертикали на деревянных подкладках, поддонах в крытых помещениях без непосредственного контакта с нагревательными приборами.

8.9 В случае отдельного транспортирования стеклопакетов требования к их упаковке и транспортировке устанавливают по ГОСТ 24866.

9. Общие требования к монтажу и эксплуатации

9.1 Требования к монтажу изделий, включая конструкцию и размеры монтажных узлов примыкания оконных блоков к стенам, устанавливают в проектной документации на строительство с учетом принятых в проекте вариантов исполнения узлов примыкания в стеновых конструкциях, рассчитанных на заданные климатические и другие нагрузки.

9.2 Монтаж оконных блоков должен осуществляться специализированными строительными фирмами. Окончание монтажных работ должно подтверждаться актом сдачи-приемки, оформленным в установленном порядке.

9.3 По требованию потребителя изготовитель изделий должен предоставлять Типовую инструкцию по монтажу оконных и балконных дверных блоков, содержащую:

чертежи (схемы) типовых монтажных узлов примыкания;

перечень применяемых при монтаже изделий материалов (с приведением сведений об их совместимости) и температурных режимов их применения;

последовательность технологических операций по монтажу оконных блоков.

9.4 При проектировании и исполнении узлов примыкания должны выполняться следующие условия:

заделка монтажных зазоров между изделиями и откосами проемов стеновых конструкций должна быть плотной, герметичной, рассчитанной на выдерживание климатических нагрузок снаружи и условий эксплуатации внутри помещений;

конструкции узлов примыкания (включая расположение оконного блока по глубине проема) должны препятствовать образованию мостиков холода, приводящих к образованию конденсата на внутренних поверхностях оконных проемов;

эксплуатационные характеристики конструкций узлов примыкания и применяемых материалов должны отвечать требованиям, установленным в действующих нормативных документах;

герметизация швов со стороны помещений должна быть более плотной, чем снаружи;

при выборе заполнения монтажных зазоров следует учитывать эксплуатационные температурные изменения габаритных размеров изделий;

полимерные материалы, применяемые при монтажных работах, должны иметь гигиеническое заключение здравоохранительных органов о возможности их применения в строительстве.

9.5 Крупногабаритные стеновые проемы допускается заполнять сблокированными оконными блоками (по ширине и высоте). Узлы соединений блоков и прочностные расчеты должны быть приведены в технической документации.

9.6. Конструкция узлов примыкания и технология монтажа изделий должны соответствовать требованиям проекта.

9.7 Правила эксплуатации изделий устанавливают в Инструкции по эксплуатации изделий, утверждаемой руководителем предприятия-изготовителя.

9.8 Инструкция по эксплуатации изделий должна включать в себя правила ухода за изделиями, устанавливать требования к области их применения и безопасной эксплуатации.

10. Гарантии изготовителя

10.1 Гарантии изготовителя устанавливают в стандартах на конкретные виды изделий. Изготовитель гарантирует соответствие изделий требованиям нормативной документации при условии соблюдения потребителем правил хранения, монтажа и эксплуатации, а также области применения изделий.

10.2 Гарантийный срок хранения изделий - не менее одного года со дня отгрузки изделия изготовителем.

10.3 Гарантийный срок службы оконных и дверных блоков устанавливают в договоре на поставку, но не менее трех лет со дня отгрузки изделий изготовителем.

10.4 Потребитель вправе потребовать заключение договора с изготовителем на гарантийное обслуживание изделий.

Приложение А
(рекомендуемое)

ТЕРМИНЫ И ОПРЕДЕЛЕНИЯ

В настоящем стандарте применяют следующие термины с соответствующими определениями.

Окно - элемент стеновой или кровельной конструкции, предназначенный для сообщения внутренних помещений с окружающим пространством, естественного освещения помещений, их вентиляции, защиты от атмосферных, шумовых воздействий и состоящий из оконного проема с откосами, оконного блока, системы уплотнения монтажных швов, подоконной доски, деталей слива и облицовок.

Оконный проем - проем в стене (кровле) для монтажа одного или нескольких оконных блоков, конструкция которого предусматривает также установку монтажного уплотнения, откосов, сливов, подоконной доски.

Оконный блок - светопрозрачная конструкция, предназначенная для естественного освещения помещения, его вентиляции и защиты от атмосферных и шумовых воздействий.

Оконный блок состоит из сборочных единиц: коробки и створчатых элементов, встроенных систем проветривания и может включать в себя ряд дополнительных элементов: жалюзи, ставни и др.

Балконный дверной блок - светопрозрачная конструкция, предназначенная для обеспечения сообщения внутреннего помещения с балконом (лоджией), естественного освещения помещения и защиты от атмосферных и шумовых воздействий.

Балконный дверной блок состоит из сборочных единиц: коробки, дверного полотна и, в отдельных случаях, фрамуги.

Рамочная конструкция (элемент) оконного блока - сборочная единица оконного блока, состоящая из брусков (профилей), соединенных между собой посредством жестких угловых связей: на шипах и клее, сварке, механических связях (винтовых, на зубчатых пластинах, путем опрессовки) и др.

Коробка - сборочная единица оконного или дверного блока рамочной конструкции, предназначенная для навески створок или полотен, неподвижно закрепляемая к стенкам оконного или дверного проема.

Створка, створчатый элемент - сборочная единица оконного блока рамочной конструкции со светопрозрачным заполнением и соединенная с коробкой, как правило, посредством шарнирной или скользящей связи. Неоткрывающаяся створка закрепляется в коробке неподвижно.

Узкая створка - створка шириной, как правило, до 450 мм, используемая для проветривания помещения.

Клапанная створка - узкая створка (шириной, как правило, до 250 мм) без светопрозрачного заполнения, предназначенная для проветривания помещения.

Разрезная узкая створка - узкая створка, состоящая из двух полустворок, соединенных через штульповой притвор. В том случае, если верхняя полустворка имеет высоту до 400 мм, ее допускается относить к форточным элементам.

Форточка - створчатый элемент с размерами, как правило, не превышающими 350х450 мм, соединенный посредством шарнирной связи с брусками створки или коробки, предназначенный для проветривания помещения.

Фрамуга - створчатый элемент, имеющий откидное открывание, ограниченный горизонтальным импостом и брусками коробки и предназначенный для проветривания помещения.

Полотно - сборочная единица балконного дверного блока рамочной конструкции, включающая светопрозрачное заполнение и, как правило, нижнюю глухую часть, выполненную в виде щитовой или филенчатой конструкции.

Светопрозрачное заполнение - заполнение из прозрачного листового стекла или стеклопакета. Определение размеров светопрозрачного заполнения приведено на рисунке A.1.

Рисунок А.1 - Определение размеров светопрозрачного заполнения

Оконный блок правого (левого) открывания - оконный блок с расположением петель с правой (левой) стороны при виде со стороны открывания створок.

Примечание - В двух-, трехстворчатом оконном блоке правое или левое открывание определяют по расположению узкой створки (рисунок А.2).

а - оконные блоки левого открывания; б - оконные блоки правого открывания; в - неоткрывающийся оконный блок; г - оконные блоки симметричного открывания

Рисунок А.2 - Определение изделий по направлению открывания створок

Оконная рама:

1) светопрозрачная конструкция со сложным переплетом, применяемая, как правило, для остекления веранд (рисунок А.3);

2) многоярусная оконная конструкция, состоящая из стоек, ригелей, перекладин и др., в ячейке которой устанавливают стеклопакеты, створки, коробки, оконные блоки (рисунок А.3).

а - пример деревянной оконной рамы для остекления веранды; б - пример металлической рамы с различными видами заполнения конструкции: 1 - стеклопакетами; 2 - неоткрываюшейся створкой (или остекленной коробкой); 3 - открывающейся (распашной) створкой; 4 - оконными блоками; 5 - рама

Рисунок А.3 - Определения оконной рамы

Архитектурный рисунок оконного блока - фронтальный вид оконного блока, определяющий конфигурацию и пропорции его габаритных размеров и полей остекления.

Деревоалюминиевый оконный блок - конструкция, включающая в себя рамочные элементы из древесины и алюминиевых сплавов, прочностные характеристики которых учитывают в расчетах на сопротивление эксплуатационным нагрузкам.

Деревянный оконный блок с алюминиевой облицовкой - конструкция, состоящая из деревянных рамочных элементов, наружные поверхности которых предохранены от атмосферного воздействия накладными деталями из алюминиевых сплавов.

Мансардный оконный блок - оконный блок, устанавливаемый в конструкцию кровли под заданным углом к горизонтальной плоскости.

Раскладка (штапик) - деталь, закрепляющая светопрозрачное (или глухое) заполнение в створках и дверных полотнах.

Отлив, дождезащитный профиль - деталь, предназначенная для отвода дождевой воды и защищающая оконную конструкцию от ее проникновения.

Брусок - профильная деталь створки, коробки, обвязки полотна из любого материала или комбинации материалов (профилированная деревянная деталь, поливинилхлоридный профиль, металлический профиль (в том числе и комбинированный, с термовкладышем).

Импост - средний брусок коробки, служащий для притвора створок и навески створок в трехстворчатых (и более) окнах.

Оконный переплет - конструкция, состоящая из брусков створки, предназначенная для членения поля остекления с целью ее упрочнения или декоративного оформления.

Горбылек (средник) - средний брусок оконного переплета.

Декоративные накладки (ложные горбыльки) - накладные декоративные профили, наклеиваемые на стекло или стеклопакет с внутренней и наружной стороны и образующие ложный переплет (фальшпереплет).

Притвор - место примыкания (узел подвижного соединения) створки с брусками коробки. Основной притвор - узел соединения вертикальных и верхнего горизонтального брусков створки и коробки. Нижний притвор - узел соединения нижних горизонтальных брусков створки и коробки. Импостный притвор - узел соединения брусков створки с импостом коробки. Безимпостный (штульповой) притвор - узел соединения брусков створок между собой.

Наплав - выступ профиля створки (коробки), предназначенный для установки уплотняющей прокладки и перекрывающий зазор в притворе.

Варианты открывания створок:

распашное - створки (полотна) поворачиваются вокруг вертикальной оси;

подвесное - створки поворачиваются вокруг верхней горизонтальной оси;

откидное - створки поворачиваются вокруг нижней горизонтальной оси;

поворотно-откидное - створки (полотна) поворачиваются вокруг вертикальной и горизонтальной нижней оси;

среднеповоротное - створки поворачиваются вокруг средней вертикальной или средней горизонтальной оси;

раздвижное - створки (полотна) перемещаются в горизонтальном направлении;

подъемное - створки перемещаются в вертикальном положении;

комбинированное - сочетание различных видов открывания в одном изделии.

Регулируемое проветривание - обеспечение вентиляции помещений с различной кратностью воздухообмена путем конструктивных решений открывающихся элементов изделий (створка с регулируемым ограничителем открывания, клапан, форточка).

Щелевое проветривание - ограниченное проветривание помещения через фиксированный зазор в притворе слегка приоткрытого створчатого элемента (площадь открывания не более 0,02 м2).

Примечание - Щелевое проветривание при откидном способе открывания обеспечивает проникновение воздуха через верхнюю половину створки и может быть приравнено к проветриванию при помощи форточки.

Самовентиляция - саморегулирующаяся вентиляция, система ограниченного воздухообмена через каналы камер профилей или через встроенные в оконные блоки саморегулирующиеся климатические клапаны с целью регулирования влажности воздуха в помещении и предотвращения выпадения конденсата на внутренних поверхностях окон.

Долговечность - характеристика (параметр) изделий, определяющая их способность сохранять эксплуатационные качества в течение заданного срока, подтвержденная результатами лабораторных испытаний и выражаемая в условных годах эксплуатации (срока службы).

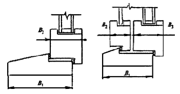
Толщина непрозрачной части оконного блока - средняя толщина комбинации (системы) брусков створок и коробок по сечению оконного блока. Пример ее определения приведен на рисунке А.4.

      Вср = B1+B2 ;   Вср = B1+B2+B3 ,      
      2   2      

где B1 - толщина брусков и коробок;

B2, B3 - толщина брусков и створок.

Рисунок А.4 - Определение толщины комбинации (системы) брусков (профилей) оконного блока

Приложение Б
(обязательное)

ПОРЯДОК ОПРЕДЕЛЕНИЯ КЛАССОВ ВОЗДУХО- И ВОДОПРОНИЦАЕМОСТИ

Класс воздухопроницаемости оконного блока определяют по показателю объемной воздухопроницаемости Q, м3 /(ч·м2). В логарифмическом масштабе координат строят нормативные прямые графиков зависимости воздухопроницаемости Q от перепада давления дельта Р, Па, определяющие границы классов воздухопроницаемости. Тангенс угла наклона прямых, соответствующий режиму фильтрации, принимают равным 2/3, базовые точки построения прямых соответствуют значениям воздухопроницаемости Q, равным 3, 9, 17, 27 и 50 м3 /(ч·м2) при значении перепада давления 100 Па. По результатам испытаний оконных блоков, которые проводят по ГОСТ 26602.2, строят линию фактических замеров и по ее расположению определяют класс воздухопроницаемости. Пример определения класса воздухопроницаемости приведен на рисунке Б.1.

Рисунок Б.1 - Пример определения класса воздухопроницаемости

В случаях, когда линия фактических замеров, расположенная в поле какого-либо класса, (например, класса В), на локальном участке заходит в поле низшего класса (например, класса Г), испытываемому образцу присваивают низший класс воздухопроницаемости.

Оконные блоки класса А должны проходить испытания до контрольного перепада давления дельта Р = 600 Па, класса Б - 500 Па, класса В - 400 Па, класса Г - 300 Па, класса Д - 150 Па. Этим же значениям перепадов давления соответствуют предельные перепады давления для определения класса оконных блоков по водопроницаемости. Класс водопроницаемости определяют по величине перепада давления, при котором происходит сквозное проникновение воды через оконный блок (предел водонепроницаемости).

Общий класс оконного блока по воздухо- и водопроницаемости принимают по наименьшему из классов воздухопроницаемости и водопроницаемости.

Приложение В
(рекомендуемое)

ПРИМЕР ЗАПОЛНЕНИЯ ПАСПОРТА ОКОННОГО БЛОКА

                 
                   
  (наименование предприятия-изготовителя)  
                   
  (адрес, телефон, факс предприятия-изготовителя)  

                   
  Паспорт
(документ о качестве)
 
                   
    ОДССП15-18ФЛ              
  Оконный блок В2-Б-Г-Г-В ГОСТ 24699-81        
  Сертификат соответствия              
      (N сертификата)        
                   
  Класс изделия (подтвержденное значение показателя):          
  а) приведенное сопротивление теплопередаче (0,57 м2·°С/Бт)     В2    
  б) воздухо- и водопроницаемость         Б    
  в) звукоизоляция Ra транспортного потока (30 дБА)       Г    
  г) общий коэффициент пропускания света         Г    
  д) сопротивление ветровым нагрузкам         В    
                   
  Техническая характеристика:              
  а) влажность древесины, %       10 ± 2      
  б) вид лакокрасочного покрытия     прозрачное      
  (номер образца-эталона)       (3)      
                   
  Степень заводской готовности     полная      
                   
  Комплектность:                
  а) остекление       4М(1)+(4М(1)-1б-К4)      
  б) оконные приборы, петли     ввертные петли      
  в) число контуров уплотняющих прокладок, шт     2      
  г) дополнительные сведения Б комплект поставки изделия входят оконные ручки (4 шт)  
  и инструкция по эксплуатации              
                   
  Гарантийный срок службы (лет)       3      
                   
  Номер партии         -      
                   
  Номер заказа/позиция в заказе       17/3      
                   
  Приемщик ОТК     "___" _______________ 2000 г.      
    (подпись)              
                   

Приложение Г
(справочное)

СВЕДЕНИЯ О РАЗРАБОТЧИКАХ СТАНДАРТА

Настоящий стандарт разработан рабочей группой специалистов в составе:

Ю.П.Александров, ЦНИИпромзданий;

Т.В.Власова, ЦС оконной и дверной техники;

В.А.Лобанов, НИИСФ РААСН;

В.С.Савич, ГП ЦНС;

И.Ф.Савченко, ГУДГНП предприятие "Лигнатекс";

В.А.Тарасов, ЗАО "КБЕ Оконные технологии";

А.В.Ткаченко, ООО "ДОК N 1", Москва;

С.А.Трунцев, ЗАО "Стеклостройкомплект";

Н.В.Шведов, Госстрой России (руководитель).