Посуда и изделия хозяйственного назначения из пластмасс. Общие технические условия. ГОСТ р 50962-96

(утв. Постановлением Госстандарта РФ от 25.09.96 N 598)
Редакция от 01.07.2002 — Документ утратил силу, см. «Приказ Росстандарта от 27.12.2024 N 2029-СТ»
Показать изменения

ГОСУДАРСТВЕННЫЙ СТАНДАРТ РОССИЙСКОЙ ФЕДЕРАЦИИ

ПОСУДА И ИЗДЕЛИЯ ХОЗЯЙСТВЕННОГО НАЗНАЧЕНИЯ ИЗ ПЛАСТМАСС
ОБЩИЕ ТЕХНИЧЕСКИЕ УСЛОВИЯ

Plastics vessels and articles for economic purposes. General specifications

ГОСТ Р 50962-96

Дата введения 1998-01-01

(в ред. Изменения N 1, Поправки)

Настоящий стандарт не может быть полностью или частично воспроизведен, тиражирован и распространен в качестве официального издания без разрешения Госстандарта России

ПРЕДИСЛОВИЕ

1 РАЗРАБОТАН Техническим комитетом по стандартизации ТК 230 "Пластмассы, полимерные материалы, методы их испытаний" и Всероссийским научно-исследовательским центром стандартизации, информации и сертификации сырья, материалов и веществ (ВНИЦСМВ)

ВНЕСЕН Управлением по стандартизации и сертификации сырья, материалов и веществ Госстандарта Российской Федерации

2 ПРИНЯТ И ВВЕДЕН В ДЕЙСТВИЕ Постановлением Госстандарта России от 25 сентября 1996 г. N 598

3 ВВЕДЕН ВПЕРВЫЕ

4 ИЗДАНИЕ (июль 2002 г.) с Изменением N 1, принятым в декабре 2000 г. (ИУС 3-2001), с Поправкой (ИУС 4-2002)

1. ОБЛАСТЬ ПРИМЕНЕНИЯ

Настоящий стандарт распространяется на посуду, изделия культурно-бытового и хозяйственного назначения (в том числе детского ассортимента) из пластмасс и пленочных полимерных материалов, изготовляемых любым методом переработки пластмасс, и устанавливает общие требования к продукции, а также обязательные требования, направленные на обеспечение ее безопасности для жизни, здоровья, имущества населения и охраны окружающей среды.

Ассортимент изделий приведен в приложении А.

Обязательные требования изложены в 3.6 (кроме 3.6.2 и 3.6.3), 3.8 (таблица 1, показатели 1-4, 7, 11, 15-20, 22-26), 3.9, 5.5-5.8, 5.11, 5.15, 5.18-5.23, 5.25-5.28).

Настоящий стандарт не распространяется на гигиеническую оценку изделий Минздравом России. (в ред. Изменения N 1).

2. НОРМАТИВНЫЕ ССЫЛКИ (в ред. Изменения N 1).

В настоящем стандарте использованы ссылки на следующие стандарты:

ГОСТ 12.1.005-88 Система стандартов безопасности труда. Общие санитарно-гигиенические требования к воздуху рабочей зоны

ГОСТ 12.3.030-83 Система стандартов безопасности труда. Переработка пластических масс. Требования безопасности

ГОСТ 12.4.021-75 Система стандартов безопасности труда. Системы вентиляционные. Общие требования

ГОСТ 12.4.028-76 Система стандартов безопасности труда. Респираторы ШБ-1 "Лепесток". Технические условия

ГОСТ 12.4.068-79 Система стандартов безопасности труда. Средства индивидуальной защиты дерматологические. Классификация и общие требования

ГОСТ 12.4.121-83 Система стандартов безопасности труда. Противогазы промышленные фильтрующие. Технические условия

ГОСТ 15.009-91 Система разработки и постановки продукции на производство. Непродовольственные товары народного потребления

ГОСТ 17.2.3.01-86 Охрана природы. Атмосфера. Правила контроля качества воздуха населенных пунктов

ГОСТ 17.2.3.02-78 Охрана природы. Атмосфера. Правила установления допустимых выбросов вредных веществ промышленными предприятиями

ГОСТ 61-75 Кислота уксусная. Технические условия

ГОСТ 166-89 (ИСО 3599-76) Штангенциркули. Технические условия

ГОСТ 427-75 Линейки измерительные металлические. Технические условия

ГОСТ 577-68 Индикаторы часового типа с ценой деления 0,01 мм. Технические условия

ГОСТ 1770-74 Посуда мерная лабораторная стеклянная. Цилиндры, мензурки, колбы, пробирки. Общие технические условия

ГОСТ 2156-76 Натрий двууглекислый. Технические условия

ГОСТ 2226-88 (ИСО 6590-1-83, ИСО 7023-83) Мешки бумажные. Технические условия

ГОСТ 2789-73 Шероховатость поверхности. Параметры и характеристики

ГОСТ 2991-85 Ящики дощатые неразборные для грузов массой до 500 кг. Общие технические условия

ГОСТ 3282-74 Проволока стальная низкоуглеродистая общего назначения. Технические условия

ГОСТ 3560-73 Лента стальная упаковочная. Технические условия

ГОСТ 4644-75 Отходы производства текстильные хлопчатобумажные сортированные. Технические условия

ГОСТ 5100-85 Сода кальцинированная техническая. Технические условия

ГОСТ 5679-91 Вата хлопчатобумажная одежная и мебельная. Технические условия

ГОСТ 5717-91 Банки стеклянные для консервов. Технические условия

ГОСТ 5884-86 Ящики из гофрированного картона для ламп накаливания. Технические условия

ГОСТ 5959-80 Ящики из листовых древесных материалов неразборные для грузов массой до 200 кг. Общие технические условия

ГОСТ 6309-93 Нитки швейные хлопчатобумажные и синтетические. Технические условия

ГОСТ 7661-67 Глубиномеры индикаторные. Технические условия

ГОСТ 7933-89 Картон для потребительской тары. Общие технические условия

ГОСТ 8273-75 Бумага оберточная. Технические условия

ГОСТ 9078-84 Поддоны плоские. Общие технические условия

ГОСТ 9142-90 Ящики из гофрированного картона. Общие технические условия

ГОСТ 9396-88 Ящики деревянные многооборотные. Общие технические условия

ГОСТ 10131-93 Ящики из древесины и древесных материалов для продукции пищевых отраслей промышленности, сельского хозяйства и спичек. Технические условия

ГОСТ 10350-81 Ящики деревянные для продукции легкой промышленности. Технические условия

ГОСТ 10905-86 Плиты поверочные и разметочные. Технические условия

ГОСТ 12026-76 Бумага фильтровальная лабораторная. Технические условия ГОСТ 12303-80 Пачки из картона, бумаги и комбинированных материалов. Общие технические условия

ГОСТ 13511-91 Ящики из гофрированного картона для пищевых продуктов, спичек, табака и моющих средств. Технические условия

ГОСТ 13512-91 Ящики из гофрированного картона для кондитерских изделий. Технические условия

ГОСТ 13513-86 Ящики из гофрированного картона для продукции мясной и молочной промышленности. Технические условия

ГОСТ 13514-93 Ящики из гофрированного картона для продукции легкой промышленности. Технические условия

ГОСТ 13841-95 Ящики из гофрированного картона для химической продукции. Технические условия

ГОСТ 14192-96 Маркировка грузов

ГОСТ 14236-81 Пленки полимерные. Метод испытания на растяжение

ГОСТ 15140-78 Материалы лакокрасочные. Методы определения адгезии

ГОСТ 15846-79 Продукция, отправляемая в районы Крайнего Севера и труднодоступные районы. Упаковка, маркировка, транспортирование и хранение

ГОСТ 16511-86 Ящики деревянные для продукции электротехнической промышленности. Технические условия

ГОСТ 17308-88 Шпагаты. Технические условия

ГОСТ 17811-78 Мешки полиэтиленовые для химической продукции. Технические условия

ГОСТ 18251-87 Лента клеевая на бумажной основе. Технические условия

ГОСТ 18573-86 Ящики деревянные для продукции химической промышленности. Технические условия

ГОСТ 20435-75 Контейнер универсальный металлический закрытый номинальной массой брутто 3,0 т. Технические условия

ГОСТ 22225-76 Контейнеры универсальные массой брутто 0,625 и 1,25 т. Технические условия

ГОСТ 24104-88 <*> Весы лабораторные общего назначения и образцовые. Общие технические условия

<*> С 1 июля 2002 г. введен в действие ГОСТ 24104-2001.

ГОСТ 24105-80 Изделия из пластмасс. Термины и определения дефектов

ГОСТ 24597-81 Пакеты тарно-штучных грузов. Основные параметры и размеры

ГОСТ 24888-81 Пластмассы, полимеры и синтетические смолы. Химические наименования, термины и определения

ГОСТ 25336-82 Посуда и оборудование лабораторные стеклянные. Типы, основные параметры и размеры

ГОСТ 25951-83 Пленка полиэтиленовая термоусадочная. Технические условия

ГОСТ 28546-90 Мыло туалетное. Общие технические условия

ГОСТ 29298-92 Ткани хлопчатобумажные и смешанные бытовые. Общие технические условия

ГОСТ Р 12.4.013-97 Система стандартов безопасности труда. Очки защитные. Общие технические условия

ГОСТ Р 51121-97 Товары непродовольственные. Информация для потребителя. Общие требования

3. ОБЩИЕ ТЕХНИЧЕСКИЕ ТРЕБОВАНИЯ

3.1 Изделия изготовляют из пластмасс в соответствии с требованиями настоящего стандарта и по нормативному документу (НД) или техническому документу (ТД), или чертежу на соответствующее изделие или группу изделий, а также образцу-эталону по ГОСТ 15.009. Внешний вид образца-эталона должен соответствовать требованиям 3.6.1, 3.6.2, 3.6.4, 3.6.5 и 3.6.6. (в ред. Изменения N 1)

3.2 Материалы, применяемые для изготовления изделий, указывают в НД, ТД или чертеже на изделие или группу изделий. (в ред. Изменения N 1)

3.2.1 Материалы и красители, применяемые для изготовления изделий из пластмасс, должны быть разрешены к применению Минздравом России, а НД или ТД на такие изделия или группу изделий должны быть согласованы с Минздравом России в установленном порядке. (в ред. Изменения N 1, Поправки)

3.2.2 В случае допущения изготовления изделий из производственных отходов из пластмасс это указывают в НД или ТД на изделие или группу изделий. Применение производственных отходов из пластмасс для изготовления изделий, предназначенных для контакта с пищевыми продуктами, должно быть согласовано с Минздравом России. Применение производственных отходов из пластмасс для изготовления изделий детского ассортимента не допускается. (в ред. Изменения N 1)

3.3 Изделия изготовляют цельными, ажурными, плетеными, окрашенными и неокрашенными, с рисунком и без рисунка, с отделкой и без нее, с применением и без применения деталей из других материалов.

3.4 Комплектующие детали должны соответствовать требованиям НД, ТД или чертежа на конкретную деталь или группу деталей.

3.4.1 Полки и дверки шкафов могут быть изготовлены из стекла и других неполимерных материалов.

Для крепления дверок, полок, зеркал применяют пластмассовую или металлическую фурнитуру по НД, ТД или чертежу на конкретную деталь.

Фурнитура должна прочно прикрепляться к изделию без перекосов и смещений. (в ред. Изменения N 1)

3.5 Размеры, форма, цвет, вместимость (при необходимости) изделия, эстетические и функциональные показатели назначения изделия должны быть указаны в НД или ТД, или чертеже на конкретное изделие или группу изделий. (в ред. Изменения N 1)

3.5.1. Пункт исключен. (в ред. Изменения N 1)

3.6 Требования к внешнему виду

3.6.1 Изделия не должны иметь острых (режущих, колющих) кромок, если это не определено функциональным назначением изделия. Следы от формирующего инструмента не должны иметь острых (режущих, колющих) краев. Не допускается выступание литника над опорной поверхностью. (в ред. Изменения N 1)

3.6.2 Внешний вид наружной поверхности изделия в зависимости от метода его изготовления должен удовлетворять следующим требованиям:

- при изготовлении изделий методом литья под давлением не допускаются: дефекты по ГОСТ 24105, портящие внешний вид (раковины, вздутия, трещины, грат, следы течения, линии холодного стыка, царапины, сколы); инородные включения в количествах, более допустимых по нормативному или техническому документу на материал, из которого изготовлено изделие, и их локальные скопления; высота или глубина следов от формующего инструмента не должна быть более 0,5 мм и более 2,0 мм для крупногабаритных изделий (например канистра, ведро, таз);

- при изготовлении изделий методом формования из листа не допускаются царапины, следы от выталкивателей глубиной более 0,3 мм, сколы;

- при изготовлении изделий методом выдувного формования не допускаются риски, царапины, следы по месту смыкания формы высотой более 0,3 мм, грат высотой более 1 мм;

- при изготовлении изделий методом экструзии не допускаются подтеки, наличие нерасправляющихся (запрессованных) складок, проколов, трещин.

Внешний вид внутренней поверхности изделия в зависимости от метода изготовления должен удовлетворять следующим требованиям:

- при изготовлении изделий методом литья под давлением высота или глубина следов от формующего инструмента должна быть не более 0,5 мм;

- при изготовлении изделий методом формования из листа и методом выдувного формования не допускается фат высотой более 1 мм и более 1,5 мм для крупногабаритных изделий.

На поверхности мешков допускается наличие до 5 проколов включительно на расстоянии не более 30 мм от места открывания при изготовлении их на высокопроизводительных сварочных автоматах; следы перфорации на краях мешков при изготовлении их в рулонах. (в ред. Изменения N 1)

3.6.3 Элементы формующего инструмента, оформляющие внутреннюю и внешнюю поверхности изделий, должны иметь шероховатость поверхности не менее 9-10 классов чистоты по ГОСТ 2789.

3.6.4 Сварной шов для изделий из пленки должен быть равномерным по всему контуру, без пробоин. Ширину шва и расстояние от края среза до шва указывают в НД или ТД, или чертеже на конкретное изделие или группу изделий. При отсутствии указаний ширина шва не должна быть более 5 мм, расстояние от края среза до шва должно быть не более 10 мм. (в ред. Изменения N 1).

3.6.5 Клеевой шов должен быть ровным, чистым, без пропусков. Ширина шва - не более 5 мм.

3.6.6 Ниточный шов должен быть ровным, хорошо утянутым в тон материала, без пропуска, стежков, петлистости, пробоин и обрыва нити. Строчение производят хлопчатобумажными нитками по ГОСТ 6309 или другими нитками, сочетающимися по цвету с основным материалом. Частота строчки: 10-18 стежков на 50 мм шва, расстояние шва от края изделия должно быть 3-5 мм.

3.7 Покрытие, нанесенное на изделие, должно быть ровным, без вздутий, пузырей и отслаивания.

Рельеф должен быть четким, без смещений. Рисунок, нанесенный различными методами (печатью, тиснением и деколем и др.), должен быть четким, без искажений и пропусков. При декорировании изделий цветной пленкой допускается наличие следа пленки, не ухудшающего внешний вид изделия. Не допускается смещение составных частей рисунка относительно друг друга более чем на 1 мм.

3.8 По показателям качества изделия должны соответствовать требованиям, указанным в таблице 1.

Таблица 1

Наименование показателяНормаМетод испытания
1 Стойкость к горячей водеИзделие должно сохранять внешний вид и окраску, не деформироваться и не растрескиваться при температуре (70±5)°СПо 5.5 настоящего стандарта
2 Миграция красителя (стойкость красителя к протиранию)Не допускаетсяПо 5.6 настоящего стандарта
Наименование показателяНормаМетод испытания
3 Химическая стойкостьИзделие должно быть стойким к растворам кислот и действию мыльных щелочных растворовПо 5.7 настоящего стандарта
4 Сопряжение деталейДетали должны сопрягаться в соответствии с требованиями сборочного чертежаПо 5.8 настоящего стандарта
5 Коробление, %, не более: По 5.9 настоящего стандарта
для изделий из реактопластов0,5
термопластов1,0
6 Стойкость к загрязнениюИзделие должно хорошо отмываться от загрязненийПо 5.10 настоящего стандарта
7 Прочность крепления ручек (для изделий, в которых ручка является отдельно присоединяемой деталью)Крепления должны выдерживать испытаниеПо 5.11 настоящего стандарта
8 Стойкость рисунка (кроме нанесенного методом флексографической печати, вакуумной и химической металлизации) к истиранию: По 5.12 настоящего стандарта
для изделий из пленочных материалов, балл2-3
для остальных изделий, количество циклов, не менее30
9 Стойкость рисунка, нанесенного методом вакуумной или химической металлизации, балл, не ниже3По 5.13 настоящего стандарта и ГОСТ 15140
10 Стойкость рисунка (кроме нанесенного методом флексографической печати, вакуумной и химической металлизации) к моющим средствам, количество циклов, не менее50По 5.14 настоящего стандарта
11 Гигиенические показатели: По 5.15 настоящего стандарта
11.1 Запах водной вытяжки, балл, не более1 
11.2 Привкус водной вытяжкиНе допускается 
11.3 Изменение цвета и прозрачности водной вытяжкиТо же 
11.4 Количества миграции вредных веществ, мигрирующих в модельные средыДолжны быть не более норм, указанных в таблице 1а 
12 Перемещение дверок, ящиков, полок и направляющих планокДолжно быть плавное без перекосов и заеданийПо 5.16 настоящего стандарта
13 Надежность запирания замковДолжно обеспечиваться надежное запирание и открываниеПо 5.17 настоящего стандарта
14 Толщина стенок тазов в углах дна, мм, не менее0,9По 5.3 настоящего стандарта
15 Стойкость рисунка флексографической печати к липкой ленте, балл2-3По 5.18 настоящего стандарта
Наименование показателяНормаМетод испытания
16 Стойкость мешков (пакетов) с ручками к нагрузке, кг, не менее3По 5.19 настоящего стандарта
17 Прочность зажима мешка без ручек, кг, не менее0,5По 5.20 настоящего стандарта
18 Прочность сварного шва при разрыве, % от нормы прочности пленки, из которой изготовлено изделие, не менее: По 5.21 настоящего стандарта
для сумок и мешков (пакетов)65
для других изделий50
19 Герметичность сварного шва мешков (пакетов) из пленочных материалов, кроме мешков для мусораШов не должен пропускать водуПо 5.22 настоящего стандарта
20 Разрывное усилие сварного шва для ручек из пленки (кроме вырубных), Н, не менее10По 5.23 настоящего стандарта
21 Деформация крючка вешалки по размеру М, мм, не более: По 5.24 настоящего стандарта
для вешалок, применяемых на воздушном транспорте5
для остальных15
22 Жесткость подносовПрогиб под нагрузкой должен быть не более 5 % длины большей стороныПо 5.25 настоящего стандарта
23 Герметичность: крышек для консервирования канистр, бутылей, бутылочекКрышка должна плотно надеваться на банку и не пропускать воду Крышка должна обеспечивать плотное запирание канистры, бутыли, бутылочки и не пропускать водуПо 5.26 настоящего стандарта
24 Плотность закрывания крышек (кроме крышек для консервирования)Крышка должна плотно надеваться на банку (бутылку)То же
25 Прочность канистр, бутылей, бутылочекПри падении канистра, бутыль, бутылочка не должны деформироваться и терять герметичностьПо 5.27 настоящего стандарта
26 Деформация детской ванночки по ширине, %, не более1,5По 5.28 настоящего стандарта

(в ред. Изменения N 1, Поправки)

3.8.1 По показателю "количества миграции вредных веществ, мигрирующих в модельные среды", изделия должны соответствовать гигиеническим нормативам, указанным в таблице 1а.

Таблица 1а

Наименование полимерного материалаНаименование определяемого вредного веществаГигиенический норматив
1 Полиолефины (полиэтилен, полипропилен), фенолформальдегидные и аминоформальдегидные смолыФормальдегид0,1 мг/л
2 Полистирол и сополимеры стиролаСтирол0,01 мг/л
Наименование полимерного материалаНаименование определяемого вредного веществаГигиенический норматив
3 ПоливинилхлоридВинилхлорид0,01 мг/л или 1,0 мг/кг готового изделия
4 Поликарбонат, фенолформальдегидные смолыФенол0,05 мг/л
5 АБС пластики (сополимеры акрилонитрила с бутадиеном и стиролом)Стирол0,01 мг/л
Акрилонитрил0,02 мг/л
6 ПолиметилметакрилатМетилметакрилат0,25 мг/л
7 Полиамид 66Гексаметилендиамин0,01 мг/л
8 Полиамид 6Е-капролактам0,5 мг/л
9 ПолиэтилентерефталатАцетальдегид0,2 мг/л

Примечание - Нормы и методы испытания - в соответствии с [1]. (в ред. Изменения N 1, Поправки)

3.8.2 Дополнительные требования и показатели, не влияющие на безопасность изделий, не предусмотренные настоящим стандартом, указывают в НД или ТД на конкретное изделие или группу изделий. (в ред. Изменения N 1)

3.9 Маркировка

3.9.1 На каждое изделие наносят товарный знак предприятия-изготовителя или его наименование, обозначение полимерного материала, из которого изготовлено изделие, и возможности его вторичной переработки (приложение Д, рисунок Д.1 или Д.2). Допускается не применять маркировку по приложению Д для изделий, изготовленных на формах, выпущенных до 2002 г.

На изделия, контактирующие с пищевыми продуктами, наносят маркировку, указывающую для каких видов пищевых продуктов они применяются (холодных, горячих, сыпучих или указывают конкретное назначение, например "для холодной питьевой воды"), или маркируют изделия в соответствии с приложением Е, рисунок Е.1.

Допускается нанесение дополнительной маркировки, не ухудшающей товарный вид изделий, например номера формы изделия, гнезда.

Для наборов изделий допускается данные маркировки указывать на ярлыке, вложенном в групповую тару. (в ред. Изменения N 1)

3.9.2 На изделиях, не контактирующих с пищевыми продуктами, но форма и размеры которых допускают возможность использования их для пищевых продуктов (например ведра, тазы, глухие кашпо, стаканы для карандашей, мешки), указывают: "Для непищевых продуктов" или конкретное назначение изделия, например "Для садово-огородных работ", или маркируют изделия в соответствии с приложением Е, рисунок Е.2. (в ред. Изменения N 1)

3.9.3 Маркировку наносят методами формования, декалькомании, тиснения, печати, штампа, гравировкой в форме.

В случае технологической невозможности нанесения маркировки на изделие в процессе его изготовления и для мешков (пакетов) без рисунка допускается маркировку указывать на ярлыке, прикрепляемом к изделию или вкладываемом в групповую тару, или на аппликации. Для мешков (пакетов) с рисунком, содержащим рекламную информацию, выпускаемых по конкретным заказам, допускается по согласованию с потребителем товарный знак предприятия-изготовителя или его наименование указывать на ярлыке, вкладываемом в групповую тару. Маркировка должна быть четкой, ясной и легко читаемой. (в ред. Изменения N 1, Поправки)

3.9.4 На потребительскую тару наносят маркировку, содержащую:

- наименование предприятия-изготовителя и (или) его товарный знак, его юридический адрес;

- наименование изделия (комплекта);

- номер партии;

- количество изделий (комплектов);

- дату изготовления (месяц, год);

- номер или фамилию упаковщика;

- штамп отдела технического контроля;

- правила эксплуатации (при необходимости);

- обозначение настоящего стандарта. (в ред. Изменения N 1)

3.9.5 Маркировка транспортной тары - по ГОСТ 14192 с указанием реквизитов по 3.9.4 и манипуляционных знаков: "Хрупкое. Осторожно", "Верх" или др., указанных в НД или ТД на конкретное изделие или группу изделий. (в ред. Изменения N 1)

3.9.6 Информация для потребителя - по ГОСТ Р 51121 с учетом 3.9.1-3.9.4. 3.10 Упаковка

Изделия одного вида упаковывают в пачки из оберточной бумаги по ГОСТ 8273 или из термоусадочной пленки по ГОСТ 25951; в картонные коробки по ГОСТ 12303 (I-III); в полиэтиленовые мешки по ГОСТ 17811 или бумажные мешки по ГОСТ 2226 марок НМ, БМ, ПМ, ВМБ с количеством слоев 3-6; в коробки из коробочного картона по ГОСТ 7933; в ящики из гофрированного картона по ГОСТ 13514 (1-16), ГОСТ 13511, ГОСТ 13512, ГОСТ 13513, ГОСТ 5884, ГОСТ 9142, ГОСТ 13841 (1-60); в деревянные ящики по ГОСТ 16511 (1, II-1, Ш-1), ГОСТ 10131 (I-IV), ГОСТ 18573, ГОСТ 2991, ГОСТ 10350 (1-10); в фанерные ящики по ГОСТ 9396, ГОСТ 5959. Допускается по согласованию с потребителем поставка крупногабаритных изделий (например бочек) без упаковки.

Пачки, коробки, ящики из картона оклеивают лентой по ГОСТ 18251 и обвязывают шпагатом по ГОСТ 17308.

Количество изделий, упакованных в пачки, способ крепления изделий, дополнительные упаковочные материалы указывают в НД или ТД на конкретное изделие или группу изделий.

Допускаются другие виды упаковки изделий, обеспечивающие их сохранность при транспортировании и хранении. Способы упаковывания, упаковочные материалы и применяемые вспомогательные средства должны быть указаны в НД или ТД на конкретное изделие или группу изделий.

В транспортную тару изделия могут быть упакованы без предварительной упаковки в потребительскую тару. При этом транспортная тара должна быть выстелена внутри оберточной бумагой, а ряды изделий обернуты или проложены бумагой, стружкой или другим материалом, обеспечивающим сохранность изделий. Допускается упаковка изделий в тару, бывшую в употреблении и обеспечивающую сохранность изделий.

Прочность транспортной тары должна обеспечивать сохранность продукции в условиях многоярусной загрузки (3,3 м).

Масса брутто должна быть не более 25 кг для посуды и не более 33 кг для других видов изделий. (в ред. Изменения N 1)

3.10.1 Изделия, упакованные в транспортную тару, формируют в транспортные пакеты по ГОСТ 24597 на поддонах по ГОСТ 9078, на пакетах-поддонах по НД или ТД.

Транспортные пакеты скрепляют двумя полосами стальной упаковочной ленты по ГОСТ 3560, полипропиленовой лентой или тканой синтетической лентой по НД или ТД, стальной проволокой по ГОСТ 3282.

Масса пакета - не более 1 т.

Полиэтиленовые мешки заваривают, бумажные - прошивают машинным или ручным способом.

По согласованию с потребителем допускается поставка изделий без формирования транспортных пакетов. (в ред. Изменения N 1)

3а. ТРЕБОВАНИЯ БЕЗОПАСНОСТИ И ОХРАНЫ ОКРУЖАЮЩЕЙ СРЕДЫ (в ред. Изменения N 1)

3а.1 Изделия, изготовленные в соответствии с требованиями настоящего стандарта, не токсичны.

3а.2 При изготовлении изделий должны соблюдаться правила безопасности в соответствии с ГОСТ 12.3.030.

При нарушении режима переработки в воздух рабочей зоны происходит выделение продуктов термоокислительной деструкции полимерного материала.

3а.3 Определение продуктов деструкции полимерного материала - по нормативному или техническому документу на материал, их предельно допустимые концентрации (ПДК) в воздухе

рабочей зоны производственных помещений, класс опасности и действие на организм человека - по ГОСТ 12.1.005 и [2].

3а.4 Концентрацию вредных веществ в воздухе рабочей зоны производственных помещений контролируют методами, утвержденными Минздравом Российской Федерации.

Параметры микроклимата производственных помещений должны соответствовать [3].

3а.5 Производственные помещения должны быть оборудованы общеобменной приточно-вытяжной вентиляцией, а рабочие места местной вентиляцией, обеспечивающими концентрацию вредных веществ в воздухе рабочей зоны, не превышающую предельно допустимую. Система вентиляции производственных, складских и вспомогательных помещений - по ГОСТ 12.4.021.

3а.6 Персонал, занятый в производстве изделий, должен быть обеспечен спецодеждой из хлопчатобумажной ткани и индивидуальными защитными средствами: очками по ГОСТ Р 12.4.013, перчатками по ГОСТ 12.4.068, респираторами типа "Лепесток" по ГОСТ 12.4.028, а также противогазом марки А, БКФ или М по ГОСТ 12.4.121 для использования в аварийных ситуациях.

3а.7 По степени пожарной опасности производство изделий относится к категории В.

Средства пожаротушения - химическая пена, песок, тонкораспыленная вода.

3а.8 Утилизацию отходов осуществляют в соответствии с [4] или направляют отходы на повторную переработку.

3а.9 Охрана окружающей среды - по ГОСТ 17.2.3.01. Выбросы вредных веществ в атмосферу - по ГОСТ 17.2.3.02.

4. ПРАВИЛА ПРИЕМКИ

4.1 Изделия принимают партиями. Партией считают количество изделий одного наименования и размера, изготовленных из одного материала по одному технологическому регламенту или иному технологическому документу и чертежам.

Количество изделий в каждой партии не должно превышать суточную выработку.

При малой производительности оборудования допускается комплектовать партии из выработки за несколько суток.

Изготовленные изделия одновременно предъявляют к сдаче и оформляют одним документом о качестве.

В документе о качестве указывают:

- наименование предприятия-изготовителя и (или) его товарный знак;

- наименование изделия;

- номер партии;

- количество изделий в партии;

- дату изготовления;

- обозначение настоящего стандарта и НД или ТД на изделие или группу изделий;

- подтверждение о соответствии изделий требованиям настоящего стандарта и НД или ТД на изделие или группу изделий;

- штамп отдела технического контроля. (в ред. Изменения N 1).

4.2 Изделия подвергают приемосдаточным, периодическим и типовым испытаниям.

Для проведения испытаний случайным образом отбирают 1 % единиц упаковки от партии, но не менее 1 единицы упаковки, а для ввозимой продукции - 1 единицу упаковки.

4.3 Приемосдаточные испытания на соответствие изделий требованиям настоящего стандарта проводят по 3.4.1, 3.5 (цвет, форма), 3.6, 3.7 (для изделий с покрытием и рисунком) и следующим показателям таблицы 1: 1 - для посуды, в том числе одноразовой, предназначенной для горячих пищевых продуктов, и изделий с предполагаемым применением для пищевых целей, кроме изделий из пленочных материалов и ведер для холодной питьевой воды; 2 - для окрашенных изделий; 4 - для сборных изделий, кроме вешалок и мыльниц; 5 - для изделий, имеющих соответствующее требование в НД, ТД или чертеже; 6 - для канистр; 7 - для изделий, в которых ручка является отдельно присоединяемой деталью, кроме мешков с ручками из пленки; 8-10 - для посуды, изделий с предполагаемым применением для пищевых целей, изделий детского ассортимента, кроме изделий из пленочных материалов; 13 - для изделий хозяйственного назначения; 15, 18 - для изделий из пленочных материалов; 19 - для мешков, кроме мешков для мусора; 20 - для изделий из пленочных материалов; 22-25. (в ред. Изменения N 1, Поправки)

4.4 При получении неудовлетворительных результатов приемосдаточных испытаний хотя бы по одному показателю проводят повторную проверку по этому показателю на удвоенной выборке, взятой из той же партии.

4.5 На партии, прошедшей приемосдаточные испытания, не реже 1 раза в 6 мес проводят периодические испытания изделий на соответствие требованиям настоящего стандарта по следующим показателям таблицы 1:1- для ведер для холодной питьевой воды и изделий хозяйственного назначения, кроме изделий из пленочных материалов; 3 - кроме одноразовой посуды, изделий из пленочных материалов, вешалок, прищепок; 4 - для вешалок и мыльниц; 6 - для посуды, изделий детского ассортимента и хозяйственного назначения, кроме канистр, одноразовой посуды, мешков из пленочных материалов; 11 - для посуды и изделий с предполагаемым применением для пищевых целей, изделий детского ассортимента; 8-10 - для хозяйственных изделий, кроме изделий из пленочных материалов; 12, 14, 16, 17 - для изделий из пленочных материалов; 21; 26.

При пуске формы после ее ремонта или изготовления проводят испытания по 3.5 (размеры, вместимость) на двух изделиях с каждого гнезда формы (для всех изделий). (в ред. Изменения N 1, Поправки).

4.6 При получении неудовлетворительных результатов периодических испытаний хотя бы по одному показателю периодические испытания переводят в категорию приемосдаточных до получения положительных результатов не менее чем на 3 партиях изделий.

4.7 Типовые испытания изделия проводят на соответствие всем требованиям, установленным НД или ТД на конкретное изделие или группу изделий при изменении конструкции изделия, метода переработки, материала, из которого оно изготовлено. (в ред. Изменения N 1)

4.8 При неудовлетворительных результатах типовых испытаний приемку изделий прекращают до устранения причин образования дефектов.

4.9 Метод отбора изделий из партии, схему отбора изделий в выборку указывают в НД или ТД на конкретное изделие или группу изделий. (в ред. Изменения N 1)

5. МЕТОДЫ ИСПЫТАНИЙ

5.1 От единиц упаковки, отобранных по 4.2, случайным образом отбирают изделия в количестве 1 % от каждой упаковки, но не менее 5 шт. (для прищепок не менее 30 шт.).

Изделия, отобранные в выборку, помещают в любую закрывающуюся тару с прикрепленным ярлыком, на котором указывают: наименование изделий, номер партии, дату отбора, вид испытаний.

5.2 Внешний вид, цвет, форму изделий, количество включений проверяют визуально без применения увеличительных приборов путем сравнения с контрольным образцом, утвержденным в установленном порядке, и требованиями настоящего стандарта.

5.3 Контроль размеров изделия проводят штангенциркулем по ГОСТ 166 или другим измерительным инструментом, обеспечивающим точность измерения в соответствии с НД, ТД или чертежом на конкретное изделие или группу изделий.

Контроль размеров, смещения рисунка покрытия, углублений, следов от оформляющих деталей, вздутий, глубины царапин, раковин проводят индикаторным глубиномером по ГОСТ 7661, штангенциркулем по ГОСТ 166 или универсальным инструментом, обеспечивающим точность измерения в соответствии с НД, ТД или чертежом на конкретное изделие или группу изделий. (в ред. Изменения N 1)

5.4 Вместимость изделий проверяют, наливая воду комнатной температуры из мерной посуды до перелива через края или сливное устройство.

За вместимость принимают объем воды, израсходованной на наполнение изделия.

5.5 Стойкость к горячей воде проверяют путем погружения в нее изделия или, если позволяют размеры, заполнения его водой температурой (70±5) "С для изделий, контактирующих с горячими пищевыми продуктами, и изделий, применяемых в процессе приготовления пищи, и (60+5) °С для остальных изделий. Крупногабаритные изделия (например ванночка, канистра, ведро, таз) заполняют горячей водой на (50±5) % их вместимости.

На поверхности не должно быть никаких изменений.

После выдержки в течение 10-15 мин изделие вынимают (удаляют воду), охлаждают и насухо протирают. После испытания изделие должно оставаться без видимых изменений по сравнению с контрольным образцом, а вода вне или внутри его не должна окрашиваться. (в ред. Изменения N 1)

5.6 Миграцию красителя проверяют пятикратной протиркой изделия белой хлопчатобумажной тканью по ГОСТ 4644 или ватным тампоном по ГОСТ 5679, предварительно смоченными водой температурой 30-40 °С.

Для контроля изделий, окрашенных в белый цвет, применяют хлопчатобумажную ткань черного цвета.

По окончании протирки на ткани или тампоне не должно оставаться следов красителя. (в ред. Изменения N 1)

5.7 Химическую стойкость проверяют погружением изделий в 1 %-ный раствор уксусной кислоты по ГОСТ 61, предварительно нагретый до температуры (60±5) °С, на 10 мин.

При этом не должна изменяться окраска изделий, а раствор должен оставаться бесцветным, прозрачным, без осадка.

Стойкость посуды к мыльно-щелочным растворам (сода питьевая по ГОСТ 2156 1 %-ная, мыло туалетное по ГОСТ 28546 1 %-ное) определяют путем ее погружения в предварительно нагретый до температуры (60±5) °С мыльно-щелочной раствор на 20 мин.

Определение стойкости других изделий из пластмасс проводят в 2 %-ном мыльно-щелочном растворе (сода кальцинированная по ГОСТ 5100, мыло туалетное по ГОСТ 28546). Определение стойкости мыльниц проводят при температуре (50±5) °С.

Затем изделия вынимают из раствора, промывают холодной водой и протирают насухо.

По окончании выдержки изделие при сравнении с контрольным образцом не должно набухать и деформироваться, а раствор - окрашиваться.

При больших габаритах изделия (например ванночка, канистра, ведро, таз) испытание проводят на образце размером не менее 70 х 70 мм, вырезанном из изделия. По окончании выдержки образец при сравнении с аналогичным контрольным не должен набухать и деформироваться, а раствор - окрашиваться.

Приготовление растворов - в соответствии с приложением Ж. (в ред. Изменения N 1)

5.8 Сопряжение деталей проверяют, собирая изделие и сравнивая его с чертежом и контрольным образцом.

5.9 Коробление изделий проверяют щупом по НД или ТД. Изделие помещают на поверочную плиту по ГОСТ 10905 стороной, не имеющей декоративных элементов и выпуклой маркировки. К центру изделия прикладывают груз массой (2,0+0,1) кг. Для подносов масса грузов установлена в зависимости от площади (таблица 2).

Таблица 2

Площадь подноса, см2Масса груза, кг
До 5001,5
-"- 8001,8
-"- 12002,0
-"- 1700 и выше2,5

Щупом проверяют зазор между изделием и плитой.

Коробление изделий цилиндрической и конической формы проверяют путем измерения диаметров не менее чем в двух взаимно перпендикулярных направлениях штангенциркулем по ГОСТ 166 и сравнением их с заданными в чертеже размерами.

Коробление В, %, рассчитывают по формуле

В =А100%,    (1)
Е   

где

А - максимальный зазор между изделием и поверхностью, на которую помещено изделие, или разность диаметров (для изделий цилиндрической или конической формы), мм;

Е - линейный размер соответствующей стороны изделия или номинальное значение диаметра (для изделий цилиндрической или конической формы), мм. (в ред. Изменения N 1)

5.10 Определение стойкости к загрязнению проводят на изделии, а при его больших габаритах (например ванночка, канистра, ведро, таз) - на выделенном на поверхности изделия участке или образце размером не менее 50 х 50 мм.

Поверхность обрабатывают горячим мыльным раствором и вытирают насухо. Затем на обработанную поверхность наносят около 5 г вещества-загрязнителя (для изделий, контактирующих с пищевыми продуктами, - молочные продукты или жиры; для изделий, не контактирующих с пищевыми продуктами, - земля с водой; для изделий детского ассортимента - детский крем, чернила).

После выдержки в течение 2-3 ч испытуемую поверхность моют горячим мыльным раствором, насухо протирают и осматривают при дневном освещении.

На поверхности не должно быть никаких изменений. (в ред. Изменения N 1)

5.11 Прочность крепления ручек проверяют следующим образом:

- изделие с одной ручкой закрепляют в подвешенном состоянии, а затем прикладывают к нему статическую нагрузку, в 2 раза превышающую массу воды, соответствующую вместимости изделия, время выдержки - 5 мин;

- изделие с двумя ручками наполняют водой до номинальной вместимости или прикладывают к нему статическую нагрузку, равную массе воды, соответствующей вместимости, и последовательно подвешивают за каждую ручку, время выдержки - 15 мин.

По истечении указанного времени не должно быть нарушения целостности изделия и ручек (наличия трещин и разрушений). (в ред. Изменения N 1)

5.12 Определение стойкости рисунка (кроме нанесенного вакуумной и химической металлизацией) к истиранию

5.12.1 Приборы, материалы, реактивы

Прибор типа ДИТ-М по НД или ТД или другой, обеспечивающий номинальное усилие 14,7 Н и частоту вращения бегунка (100±10) 1/мин - для пленочных изделий.

Прибор для определения стойкости рисунка к истиранию (приложение В) - для остальных изделий.

Ткань миткаль отбеленная по НД.

Ткань фланелевая по ГОСТ 29298.

Пенополиуретановая прокладка.

Сода кальцинированная по ГОСТ 5100.

Резинка чернильная по НД. (в ред. Изменения N 1)

5.12.2 Определение стойкости к сухому трению

5.12.2.1 Подготовка к испытанию

Для испытания пленочных изделий миткаль кипятят в течение 1 ч в 2 %-ном растворе кальцинированной соды. Затем ее ополаскивают и проглаживают горячим утюгом.

Испытуемое изделие из пленки закрепляют в пяльцы рисунком наружу.

Другие изделия с рисунком закрепляют на плоскости ползуна прибора.

Истирающую ткань для пленок закрепляют на бегунке прибора, а для остальных изделий применяемую чернильную резинку закрепляют на пуансоне прибора.

5.12.2.2 Проведение испытания

Включают прибор. Изделие из пленки истирают по кругу при приложении усилия в 14,7 Н (1,5 кг) и частоте вращения бегунка (100±10) 1/мин, количество циклов - 300.

Остальные изделия подвергают истиранию возвратно-поступательным движением ползуна до его основы. Допускается проводить истирание вручную при помощи чернильной резинки.

5.12.2.3 Обработка результатов испытания

За результат испытания изделий из пленки принимают среднее арифметическое значение не менее 3 определений, исходя из оценки по трехбалльной системе:

3 балла - истирание рисунка отсутствует;

2 балла -"- -"- до 50 %;

1 балл -"- -"- более 50 %.

За результат испытания других изделий принимают среднее арифметическое значение циклов истирания до основы не менее 5 определений.

5.12.3 Определение стойкости рисунка к мокрому трению

5.12.3.1 Приборы, материалы, реактивы - по 5.12.1 настоящего стандарта.

5.12.3.2 Подготовка к испытанию

Подготовка к испытанию - по 5.12.2.1 настоящего стандарта. При этом истирающую ткань, прошедшую предварительную обработку, смачивают 2 %-ным раствором кальцинированной соды.

5.12.3.3 Проведение испытания - по 5.12.2.2.

5.12.3.4 Обработка результатов испытания - по 5.12.2.3.

5.13 Стойкость рисунка, нанесенного методом вакуумной или химической металлизации,

прочность адгезии рисунка с поверхностью изделия определяют методом решетчатых надрезов по ГОСТ 15140.

Изделие считается выдержавшим испытание, если отслаивание покрытия вдоль линии надрезов - не более 35 % поверхности с каждой решетки, т. е. не ниже 3-го балла.

5.14 Стойкость рисунка к моющим средствам определяют по 5.12, закрепив на пуансоне фланелевую ткань по ГОСТ 29298 с прокладкой из пенополиуретана толщиной 3-5 мм, обильно смоченные 2 %-ным мыльным раствором.

Определяют количество циклов возвратно-поступательного движения ползуна, необходимое для удаления рисунка.

5.15 Определение гигиенических показателей (в ред. Изменения N 1)

5.15.1 Подготовка вытяжек

Выбор модельных сред и подготовка вытяжек - по [5]. (в ред. Изменения N 1)

5.15.2 Проведение испытания

Запах и привкус водной вытяжки - по [5].

Изменение цвета и прозрачности водной вытяжки определяют визуально, сравнивая на белом фоне 50 мл вытяжки с 50 мл дистиллированной воды, помещенных в цилиндры из бесцветного стекла.

Определение показателя 11.4 таблицы 1 - в соответствии с [1]. (в ред. Изменения N 1)

5.16 Перемещение дверок, ящиков, полок и направляющих планок проверяют 10-кратным открыванием дверок, выдвижением ящиков и полок. Выдвижение должно быть без заеданий и перекосов.

5.17 Надежность запирания замков проверяют 10-кратным их открыванием. Открытие и закрытие замка должно осуществляться при легком нажиме. Замок должен удерживать дверки в закрытом состоянии.

5.18 Определения стойкости рисунка флексографической печати к липкой ленте

На изделие с рисунком или образец, вырезанный из него, накладывают полосу из липкой ленты длиной 100 мм, шириной не менее 10 мм, оставляя конец длиной 10 мм неприклеенным. Приглаживают ленту вручную для удаления из-под нее пузырьков воздуха.

Затем ленту оттягивают назад под углом менее 180°. Первые 50-60 мм ленты оттягивают медленным движением в несколько приемов, а затем сильным рывком.

За стойкость рисунка к липкой ленте принимают среднее арифметическое значение 3 определений в соответствии с трехбалльной системой:

3 балла - на липкой ленте нет следов окраски;

2 балла - незначительное отслаивание краски;

1 балл - полное отслаивание краски.

5.19 Стойкость мешка с ручками к нагрузке определяют, заполняя мешок водой или любым сыпучим материалом массой, равной предусмотренной максимальной нагрузке плюс 1 кг, и выдерживая его в подвешенном за ручки состоянии в течение 1 ч.

Мешок с ручками считают выдержавшим испытание, если он не имеет повреждений. (в ред. Изменения N 1).

5.20 Прочность зажима определяют на разрывной машине любого типа, обеспечивающей скорость раздвижения захватов (500+50) мм/мин.

Пять образцов вырезают из различных участков мешка с зажимом так, чтобы зажим был расположен в середине образца перпендикулярно к направлению движения подвижного захвата машины.

Определение проводят на образцах шириной (30±0,5) мм, длиной не менее 150 мм. Длина рабочей части образца - (50±0,5) мм. Перед испытанием образцы выдерживают в течение 3 ч в комнатных условиях.

За результат испытания принимают среднее арифметическое 5 значений разрушающего усилия, фиксируемого шкалой машины.

5.21 Прочность сварного шва при разрыве определяют по ГОСТ 14236 на разрывной машине любого типа. Образцы для испытания шириной (15,0±0,2) мм или (18,0±0,2) мм и длиной не менее 150 мм вырезают из различных участков швов так, чтобы сварной шов был посередине образца и был перпендикулярен к направлению движения подвижного захвата испытательной машины. Края образцов должны быть ровными, без зазубрин и видимых дефектов.

Длина рабочей части образца - (50+0,5) мм.

Скорость движения зажимов испытательной машины - в соответствии с НД или ТД на конкретный материал. Перед испытанием образцы выдерживают в течение 3 ч в комнатных условиях.

При определении прочности сварного шва, соединяющего несколько слоев пленки, за толщину материала принимают суммарную толщину слоев пленки в образце.

За результат испытания принимают среднее арифметическое пяти определений, допускаемое расхождение между которыми не должно превышать 20 %.

5.22 Герметичность сварного шва мешков (пакетов), кроме мешков для мусора, из пленочных материалов определяют, заполняя около 1/2 объема изделия, но не более 2,0 л, водой температурой (20±5) °С.

Затем изделие с водой выдерживают в подвешенном состоянии в течение 30 мин. 5.21, 5.22 (в ред. Изменения N 1).

5.23 Разрывное усилие сварного шва для ручек из пленки определяют по методике, изложенной в 5.21.

5.24 Деформацию крючка вешалки определяют, выдерживая вешалку под статической нагрузкой: для вешалок-плечиков для сорочек, юбок, брюк размеров 26-42 - (1,00±0,03) кг, размеров 44-58 - (1,50±0,03) кг; для вешалок-плечиков для одежды размеров 26-42 - (2,00±0,05) кг, размеров 44-58 - (4,00±0,05) кг; для верхней одежды размеров 26-42 - (6,00±0,10) кг, размеров 44-58 - (10,0±0,1) кг и (20,0±0,1) кг - только для воздушного транспорта.

Вешалку с грузом подвешивают на скалку диаметром 32 мм (для воздушного транспорта - 30 мм) так, чтобы направление действия силы было вдоль оси симметрии. Нагруженное изделие выдерживают не менее 3 ч при комнатной температуре.

После выдержки, не разгружая вешалку, измеряют размер М (приложение Г) любым измерительным инструментом с погрешностью не более 0,5 мм.

5.25 Определение жесткости подносов проводят следующим образом:

- при помощи металлической линейки по ГОСТ 427 измеряют длину большей стороны подноса;

- отмечают центр подноса с обеих сторон;

- два металлических бруска устанавливают на поверочную плиту по ГОСТ 10905, длина брусков - 100 мм, ширина - (26,0±0,5) мм, высота должна соответствовать высоте применяемого измерительного прибора;

- поднос устанавливают на бруски так, чтобы бруски находились по краям подноса перпендикулярно к его большей стороне и симметрично относительно оси подноса, параллельной его большей стороне;

- между подносом и поверхностью, на которую установлены бруски, помещают индикатор часового типа по ГОСТ 577 или другой аналогичный измерительный прибор таким образом, чтобы измерительная головка индикатора находилась в центре подноса (с нижней стороны) и устанавливают индикаторную головку на "0";

- в центр подноса, установленного на бруски, помещают гирю, массу которой выбирают по 5.9, и через 1 мин записывают показание измерительной головки индикатора (мм), округляя его до первого десятичного знака.

Прогиб под нагрузкой В1, %, рассчитывают по формуле

В1 =l100,  (2)
L  

где

1 - показание измерительной головки индикатора, мм;

L - длина большей стороны подноса, мм. (в ред. Изменения N 1)

5.26 Для определения герметичности крышек для консервирования берут стеклянную банку по ГОСТ 5717 (или банку "Глобус"), заполняют ее водой температурой (95±5) °С объемом, равным 3/4 вместимости банки.

Затем закрывают крышкой, предварительно подержав ее в кипящей воде не более 15 с. Банку, закрытую крышкой, выдерживают 1,5-2 ч, а затем опрокидывают вверх дном на фильтровальную бумагу по ГОСТ 12026. Выдерживают банку на фильтровальной бумаге 5 мин. По истечении 5 мин проверяют наличие пятен воды на фильтровальной бумаге.

Изделие считают выдержавшим испытание, если пятна воды отсутствуют.

Для проверки герметичности канистру, бутыль, бутылочку заполняют водой до места перехода корпуса к горловине и навинчивают крышку. Убедившись в отсутствии течи на поверхности канистры, бутыли, бутылочки и в швах, ее опрокидывают вверх дном и выдерживают в этом положении в течение 30 мин.

Канистру, бутыль и бутылочку считают выдержавшими испытание, если вода не просачивается через крышку.

Плотность закрывания крышек, кроме крышек для консервирования, определяют путем закрывания ими банки или бутылки. Крышка должна плотно надеваться на горловину тары. (в ред. Изменения N 1)

5.27 Прочность канистр, бутылей и бутылочек определяют, сбрасывая заполненные водой, выдержавшие испытание на герметичность изделия на металлическую или бетонную поверхность. Канистры вместимостью до 5 л, бутыли и бутылочки любой вместимости сбрасывают 5 раз с высоты 120 см, канистры вместимостью более 5 л сбрасывают 3 раза с высоты 60 см. При сбрасывании должно быть обеспечено свободное падение (без вращения) изделия на дно.

Канистру, бутыль и бутылочку считают выдержавшими испытание, если на них не наблюдается остаточных деформаций, трещин, сколов. (в ред. Изменения N 1)

5.28 Определение деформации ванночек проводят при температуре (20±5) °С. Испытуемый образец подвешивают за четыре точки крюками, укрепленными на вертикальных шнурах.

Крюки располагают так, чтобы достигался максимальный прогиб. Измеряют ширину ванночки по верхнему краю буртика на равноудаленном от крюков расстоянии штангенциркулем по ГОСТ 166.

Затем ванночку заполняют на 3/4 высоты водой температурой (60±5) 'С и выдерживают 5 мин. После выдержки измеряют ширину ванночки в середине и вычисляют деформацию D, %, по формуле

D =l_0 - l_1100%,  (3)
l_0  

где

l_0 - ширина образца до заполнения водой, мм;

l_1 - ширина образца после выдержки с водой, мм.

6. ТРАНСПОРТИРОВАНИЕ И ХРАНЕНИЕ

6.1 Изделия транспортируют всеми видами транспорта в крытых транспортных средствах в соответствии с правилами перевозок грузов, действующими на данном виде транспорта.

6.2 Изделия, упакованные в пачки и коробки, транспортируют железнодорожным транспортом в контейнерах по ГОСТ 20435 или ГОСТ 22225 или пакетированными в термоусадочную пленку. В контейнерах тара должна быть уложена рядами с заполнением пустот прокладочным материалом.

Изделия, упакованные в ящики из картона или мешки, транспортируют по железной дороге повагонными отправками или в контейнерах.

Изделия, упакованные в плотные деревянные или фанерные ящики, транспортируют по железной дороге мелкими отправками.

6.3 Транспортирование речным транспортом проводится в контейнерах по ГОСТ 20435 или пакетами.

6.4 Транспортирование автомобильным транспортом проводится в картонных коробках и ящиках, в бумажных пачках и мешках без упаковки их в деревянные ящики.

6.5 Изделия из пластмасс хранят в крытых сухих складских помещениях на расстоянии не менее 1 м от нагревательных приборов в условиях, исключающих воздействие агрессивных сред (кислотной, щелочной и др.), а также легковоспламеняющихся и горючих жидкостей. Изделия должны быть защищены от прямого воздействия солнечного света.

6.6 Упакованные изделия укладывают в штабеля на обрешетках, поддонах или стеллажах. Расстояние от пола должно быть не менее 0,1 м. (в ред. Изменения N 1)

6.7 Упаковка, маркировка, транспортирование и хранение изделий, отправляемых в районы Крайнего Севера и приравненные к ним районы - по ГОСТ 15846.

7. ГАРАНТИИ ИЗГОТОВИТЕЛЯ

7.1 Изготовитель гарантирует соответствие изделий требованиям настоящего стандарта при соблюдении условий упаковки, транспортирования и хранения.

7.2 Гарантийный срок - 12 мес со дня реализации через торговую сеть, но не более 15 мес со дня отгрузки с предприятия-изготовителя.

ПРИЛОЖЕНИЕ А
(справочное)

АССОРТИМЕНТ ИЗДЕЛИЙ, НА КОТОРЫЕ РАСПРОСТРАНЯЕТСЯ СТАНДАРТ

А.1 Посуда (в том числе одноразового применения)

А.1.1 Тарелка

А.1.2 Миска

А.1.3 Стакан

А.1.4 Чашка, кружка

А.1.5 Блюдце

А.1.6 Блюдо

А.1.7 Ваза (для фруктов, печенья, варенья и т. п.)

А.1.8 Хлебница

А.1.9 Менажница

А.1.10 Сухарница

А.1.11 Сахарница

А.1.12 Солонка, перечница

А.1.13 Соусница

А.1.14 Салатница

А.1.15 Супница

А.1.16 Селедочница

А.1.17 Подставка для яйца

А.1.18 Рюмка, стопка, бокал, фужер

А.1.19 Графин, кувшин

А.1.20 Конфетница

А.1.21 Масленка

А.1.22 Чайник для заварки

А.2 Столовые приборы (в том числе одноразового применения)

А.2.1 Ложка (столовая, десертная, чайная, для салата, горчицы, мороженого и т. п.)

А.2.2 Вилка (столовая, для рыбы, для лимона, для фруктов и т. п.)

А.2.3 Нож (столовый, для фруктов и т. п.)

А.2.4 Соломка (для коктейля, сока и т. п.)

А.2.5 Щипцы (для льда, конфет и т. п.)

А.2.6 Лопатка (для торта, рыбы и т. п.)

А.3 Предметы сервировки стола (в том числе одноразового применения)

А.3.1 Скатерть

А.3.2 Салфетка

А.3.3 Подставка (под горячую посуду, столовые приборы и т. п.)

А.3.4 Подстаканник

А.3.5 Поднос

А.3.6 Салфетница

А.3.7 Ведерко (для льда, шампанского и т. п.)

А.3.8 Полоскательница

А.4 Кухонные принадлежности

А.4.1 Дуршлаг

А.4.2 Стакан, ложка мерные

А.4.3 Доска разделочная

А.4.4 Скалка

А.4.5 Воронка

А.4.6 Терка

А.4.7 Сито

А.4.8 Яйцерезка

А.4.9 Шейкер, ручной миксер

А.4.10 Соковыжималка

А.4.11 Формы (для пельменей, печенья, вареников и т. п.)

А.4.12 Шприц кондитерский

А.4.13 Совок для сыпучих продуктов

А.4.14 Лоток для столовых приборов

А.4.15 Щетка и совок для сметания крошек со стола

А.4.16 Приспособления для мытья посуды (щетка, ерш, губка и т. п.)

А.4.17 Сушилка для посуды

А.5 Емкости и вспомогательные изделия для хранения и переноски продуктов

А.5.1 Канистра

А.5.2 Фляга

А.5.3 Бидон

А.5.4 Бочка

А.5.5 Бочонок

А.5.6 Бутыль

А.5.7 Ведро (для холодной питьевой воды)

А.5.8 Банка

А.5.9 Контейнер

А.5.10 Судок

А.5.11 Емкости для хранения продуктов в морозильниках и холодильниках

А.5.12 Емкости для хранения овощей и фруктов

А.5.13 Корзина (для ягод, овощей, фруктов и т. п.)

А.5.14 Коробка для бутербродов и т. п.

А.5.15 Крышки для банок, бутылок и др. емкостей из стекла, металла и др. материалов

А.5.16 Пробки для стеклянных бутылок

А.5.17 Мешки (пакеты) из полимерной пленки хозяйственные (в ред. Изменения N 1)

А.6 Изделия санитарно-гигиенического назначения

А.6.1 Занавес для ванной комнаты

А.6.2 Коврик (для ванной комнаты, туалета, прихожей и т. п.)

А.6.3 Решетка (для ванной, мойки и т. п.)

А.6.4 Рукомойник

А.6.5 Щетка (для мытья ванной, унитаза и т. п.)

А.6.6 Таз

А.6.7 Ведро для мусора

А.6.8 Вантуз

А.6.9 Корзина для бумаг

А.6.10 Перчатки из полимерной пленки

А.7 Предметы личной гигиены и изделия для их хранения

А.7.1 Мыльница

А.7.2 Мочалка, губка банная

А.7.3 Щетка для рук

А.7.4 Зубочистка

А.7.5 Футляры из пластмассы для зубной щетки, очков, зубочисток и т. п.

А.7.6 Расческа, массажная щетка для волос и т. п.

А.7.7 Шапочка из полимерной пленки

А.7.8 Бигуди

А.8 Изделия детского ассортимента

А.8.1 Ванночка

А.8.2 Горшок туалетный детский

А.8.3 Стул детский туалетный

А.8.4 Стульчик и стол детские

А.8.5 Манеж детский

А.8.6 Нагрудник детский

А.8.7 Трусы гигиенические детские

А.8.8 Мини-лыжи

А.8.9 Санки-ледянки

А.8.10 Мяч

А.8.11 Бутылочка для детского питания

А.9 Предметы интерьера

А.9.1 Полка, шкафчик (для ванной комнаты, для кухни, для прихожей и т. п.)

А.9.2 Табурет

А.9.3 Ваза (для цветов и т. п.)

А.9.4 Кашпо

А.9.5 Столик, стойка для комнатных растений

А.9.6 Горшок, поддонник для комнатных растений

А.9.7 Рама (для зеркала, эстампа и т. п.)

А.9.8 Набор для ванной комнаты

А.10 Галантерейные изделия

А.10.1 Сумка из полимерной пленки

А.10.2 Накидка из полимерной пленки от дождя

А.10.3 Фартук из полимерной пленки

А.10.4 Предметы ухода за волосами (заколка, зажим, ободок и т. п.)

А.10.5 Бижутерия (браслет, бусы, запонки и т. п.)

А.10.6 Мундштук

А.10.7 Пепельница

А.11 Приспособления для развешивания одежды, белья и т. п.

А.11.1 Вешалка

А.11.2 Крючок

А.11.3 Петелька-клипса для полотенец

А.11.4 Сушилка (для белья, трикотажа и т. п.)

А.11.5 Прищепки

А.12 Изделия для садово-огородных работ (в ред. Изменения N 1)

А.12.1 Грабли

А.12.2 Плодосъемник

А.12.3 Держатель для растений

А.12.4 Лейка садовая

А.12.5 Ограждение для клумб

А.12.6 Ведро для садово-огородных работ.

Примечание - Кроме того, стандарт распространяется на все изделия, аналогичные перечисленным по своему функциональному назначению.

ПРИЛОЖЕНИЕ Б
(справочное)

БИБЛИОГРАФИЯ

(в ред. Изменения N 1, Поправки)

[1] ГН 2.3.3.972-00 Предельно допустимые количества химических веществ, выделяющихся из материалов, контактирующих с пищевыми продуктами

[2] ГН 2.2.5.686-98 Предельно допустимые концентрации (ПДК) вредных веществ в воздухе рабочей зоны

[3] СанПиН 2.2.4.548-96 Гигиенические требования к микроклимату производственных помещений

[4] СП N 3183 Санитарные правила. Порядок накопления, транспортировки, обезвреживания и захоронения токсичных промотходов

[5] Инструкция N 880-71 Инструкция по санитарно-химическому исследованию изделий, изготовленных из полимерных и других синтетических материалов, предназначенных для контакта с пищевыми продуктами

ПРИЛОЖЕНИЕ В
(рекомендуемое)

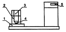
СХЕМА ПРИБОРА ДЛЯ ОПРЕДЕЛЕНИЯ СТОЙКОСТИ РИСУНКА (КРОМЕ НАНЕСЕННОГО ВАКУУМНОЙ И ХИМИЧЕСКОЙ МЕТАЛЛИЗАЦИЕЙ) К ИСТИРАНИЮ

1 - ползун с кривошипно-шатунным механизмом; 2 - направляющий патрон; 3 - пуансон; 4 - чернильная резинка; 5 - счетчик

Рисунок В.1

ПРИЛОЖЕНИЕ Г
(рекомендуемое)

СХЕМЫ КРЮЧКА ВЕШАЛКИ

1 - размер М

Рисунок Г.1

ПРИЛОЖЕНИЕ Д
(обязательное)

ЗНАК ВТОРИЧНОЙ ПЕРЕРАБОТКИ ИЗДЕЛИЙ

(в ред. Изменения N 1).

Рисунок Д.1Рисунок Д.2

Примечание к рисункам Д.1, Д.2 - Допускается обозначение полимерного материала по ГОСТ 24888 наносить рядом со знаком вторичной переработки изделий, а не внутри него.

ПРИЛОЖЕНИЕ Е
(обязательное)

СИМВОЛЫ, НАНОСИМЫЕ НА ИЗДЕЛИЯ

(в ред. Изменения N 1).

Е.1 Символ для изделий, контактирующих с пищевыми продуктами

Рисунок Е.1

Е.2 Символ для изделий, не контактирующих с пищевыми продуктами

Рисунок Е.2

ПРИЛОЖЕНИЕ Ж
(рекомендуемое)

ПРИГОТОВЛЕНИЕ РАСТВОРОВ ДЛЯ ОПРЕДЕЛЕНИЯ ХИМИЧЕСКОЙ СТОЙКОСТИ

(в ред. Изменения N 1).

Ж.1 Средства измерений, посуда, реактивы

Весы лабораторные общего назначения по ГОСТ 24104, 4-го класса точности с наибольшим пределом взвешивания 200 г или другие, имеющие аналогичные метрологические характеристики.

Цилиндры мерные вместимостью 100 мл по ГОСТ 1770.

Стаканы вместимостью 250 мл по ГОСТ 25336.

Натрий двууглекислый (сода питьевая) по ГОСТ 2156.

Уксусная кислота по ГОСТ 61.

Мыло туалетное по ГОСТ 28546.

Сода кальцинированная по ГОСТ 5100.

Ж.2 Приготовление 1 %-ного раствора уксусной кислоты

Ж.2.1 Взвешивают 1,00 г уксусной кислоты, записывая результат взвешивания до второго десятичного знака, навеску помещают в стакан, затем в стакан приливают 99 мл дистиллированной воды и растворяют навеску.

Ж.3 Приготовление 1 %-ного мыльно-щелочного раствора

Ж.3.1 Взвешивают 1,00 г питьевой соды, записывая результат взвешивания до второго десятичного знака, навеску помещают в стакан, затем в стакан приливают 99 мл дистиллированной воды и растворяют навеску.

Взвешивают 1,00 г предварительно измельченного туалетного мыла, записывая результат взвешивания до второго десятичного знака, навеску помещают в стакан, затем в стакан приливают 99 мл дистиллированной воды и растворяют навеску.

Смешивают приготовленные растворы.

Ж.4 Приготовление 2 %-ного мыльно-щелочного раствора

Ж.4.1 Взвешивают 1,00 г кальцинированной соды и 1,00 г предварительно измельченного туалетного мыла, результат взвешивания записывают до второго десятичного знака. Навески помещают в стакан, затем в стакан приливают 98 мл дистиллированной воды, подогретой до температуры около 40 °С, и растворяют навеску.