Опоры железобетонные дорожных знаков. Технические условия. ГОСТ 25459-82

(утв. Постановлением Госстроя СССР 14.09.82 N 215) (в ред. поправки)
Редакция от 01.01.1983 — Действует

ГОСУДАРСТВЕННЫЙ СТАНДАРТ СОЮЗА ССР

ОПОРЫ ЖЕЛЕЗОБЕТОННЫЕ ДОРОЖНЫХ ЗНАКОВ
ТЕХНИЧЕСКИЕ УСЛОВИЯ

Reinforced concrete posts for road signs.
Specifications

ГОСТ 25459-82

(в ред. Поправки)

Дата введения 1984-01-01

УТВЕРЖДЕН И ВВЕДЕН В ДЕЙСТВИЕ постановлением Государственного комитета СССР по делам строительства от 14 сентября 1982 г. N 215

ПЕРЕИЗДАНИЕ. Сентябрь 1987 г. Внесена Поправка (ИУС N 4 1983 г.)

Настоящий стандарт распространяется на железобетонные предварительно напряженные опоры, изготавливаемые из тяжелого бетона и легкого бетона на пористых заполнителях и предназначаемые для установки дорожных знаков по ГОСТ 10807-78.

При соответствующем технико-экономическом обосновании допускается изготавливать опоры из мелкозернистого бетона по роликовой технологии.

1. ТИПЫ, ОСНОВНЫЕ ПАРАМЕТРЫ И РАЗМЕРЫ

1.1. Опоры для установки дорожных знаков подразделяют на три типа:

1 - переменного поперечного сечения по длине опоры;

2 - постоянного поперечного сечения по длине опоры;

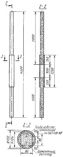
3 - составные (безопасные) постоянного поперечного сечения с использованием в качестве соединительного элемента муфты из асбестоцементной трубы.

1.2. Опоры типа 1 изготавливают длиной 3500, 4000, 4500, 5000, 5500 и 6000 мм, типа 2 - длиной 3500 мм, типа 3 - длиной 4000 мм.

1.3. Параметры опоры в зависимости от типоразмера, числа знаков, устанавливаемых на опоре, и изгибающего момента в расчетном сечении следует выбирать согласно рекомендуемому приложению.

1.4. Форма и основные размеры опор должны соответствовать указанным на черт. 1, 2 и в табл. 1.

Примечание. Допускается изготавливать опоры поперечным сечением с технологическим уклоном до 15% при условии сохранения размеров расчетного поперечного сечения.

Опоры типа 1

Черт. 1

Опора типа 2 Опора типа 3

Черт. 2

Таблица 1

Левая часть

Класс напрягаемой арматуры Марка опоры Основные размеры опоры, мм Изгибающий момент в расчетном сечении, Н·м, кгс·см Класс бетона по прочности на сжатие Напрягаемая арматура (на опору)
L b t_1 t_2
  1ОЖ35-8.1 3500 160 800 (81,6)
  1ОЖ40-8.1 80
  1ОЖ40-12.1 4000 220 1200 (122,3)
  1ОЖ40-16.1 100 240 1600 (163,1)
  1ОЖ40-21.1 60 280 2100 (214,1) 24ВрI
  1ОЖ45-8.1 80 160 800 (81,6)
  1ОЖ45-10.1 170 1000 (101,9)
  1ОЖ45-15.1 4500 210 1500 (152,9) В30
Вр-II 1ОЖ45-20.1 240 2000 (203,9)
1ОЖ45-25.1 230 2500 (254,9)
1ОЖ45-35.1 100 290 3500 (356,8)
1ОЖ50-15.1 80 200 1500 (152,9) 44ВрII
1ОЖ50-25.1 230 2500 (254,9)
1ОЖ50-30.1 5000 250 3000 (305,9)
1ОЖ50-45.1 120 320 4500 (458,8)
1ОЖ50-50.1 400 5500 (560,8)
1ОЖ55-25.1 100 220 2500 (254,9)
1ОЖ55-50.1 5500 120 360 5000 (509,8)
1ОЖ55-75.1 140 7500 (764,7)
1ОЖ60-90.1 6000 400 9000 (917,7)
2ОЖ35-8.1 3500 80 80 800 (81,6) 24BpI
3ОЖ40-14.1 4000 1400 (142,7)
1ОЖ35-8.2 3500 160 800 (81,6)
1ОЖ40-8.2 80
1ОЖ40-12.2 4000 220 1200 (122,3)
1ОЖ40-16.2 100 240 1600 (163,1)
Врп-I 1ОЖ40-21.2 60 280 2100 (214,1) 25BpI
1ОЖ45-8.2 80 160 800 (81,6)
1ОЖ45-10.2 170 1000 (101,9)
1ОЖ45-15.2 4500 100 210 1500 (152,9) В30
1ОЖ45-20.2 240 2000 (203,9)
1ОЖ45-25.2 230 2500 (254,9)
1ОЖ45-35.2 100 290 3500 (356,8)
1ОЖ50-15.2 80 200 1500 (152,9) 45BpI
1ОЖ50-25.2 230 2500 (254,9)
1ОЖ50-30.2 5000 250 3000 (305,8)
1ОЖ50-45.2 120 320 4500 (458,8)
1ОЖ50-50.2 400 5500 (560,8)
1ОЖ55-25.2 100 220 2500 (254,9)
1ОЖ55-50.2 5500 120 360 5000 (509,8)
1ОЖ55-75.2 140 7500 (713,6)
1ОЖ60-90.2 6000 400 9000 (917,7)
2ОЖ35-8.2 3500 80 80 800 (81,6) 25BpI
3ОЖ40-14.2 4000 1400 (142,7)

Таблица 1

Правая часть

Класс напрягаемой арматуры Марка опоры Расход материалов на опору Справочная масса опоры, кг, изготавливаемой из бетона
Бетон, куб.м Сталь, кг тяжелого легкого на пористых заполнителях
1ОЖ35-8.1 0,031 0,7 73,9 64,7 (55,4)
1ОЖ40-8.1 0,035 84,4 74,0 (63,4)
1ОЖ40-12.1 0,045 107,5 94,1 (80,6)
1ОЖ40-16.1 0,060 144,0 126,0 (108,0)
1ОЖ40-21.1 0,068 163,2 142,8 (122,4)
1ОЖ45-8.1 0,040 95,1 83,1 (71,3)
1ОЖ45-10.1 0,041 0,9 99,4 86,9 (74,5)
1ОЖ45-15.1 0,061 145,8 127,6 (109,4)
ВрII 1ОЖ45-20.1 0,068 162,0 141,8 (121,5)
1ОЖ45-25.1 0,070 1,8 167,4 146,5 (125,5)
1ОЖ45-35.1 0,083 199,8 174,8 (149,8)
1ОЖ50-15.1 0,070 168,0 147,0 (126,0)
1ОЖ50-25.1 0,078 186,0 162,8 (139,5)
1ОЖ50-30.1 0,083 2,0 198,0 173,3 (148,5)
1ОЖ50-45.1 0,120 288,0 252,0 (216,0)
1ОЖ50-50.1 0,144 345,6 302,4 (259,2)
1ОЖ55-25.1 0,083 198,0 173,3 (148,5)
1ОЖ55-50.1 0,145 2,2 348,5 304,9 (261,4)
1ОЖ55-75.1 0,169 406,6 355,7 (304,9)
1ОЖ60-90.1 0,202 2,4 483,9 423,4 (362,9)
2ОЖ35-8.1 0,022 0,7 53,8 47,0 (40,3)
3ОЖ40-14.1 0,022 0,7 63,2 56,4 (49,7)
1ОЖ35-8.2 0,031 1,1 73,9 64,7 (55,4)
1ОЖ40-8.2 0,035 84,4 74,0 (63,4)
1ОЖ40-12.2 0,045 1,25 107,5 94,1 (80,6)
1ОЖ40-16.2 0,060 144,0 126,0 (108,0)
Врп-I 1ОЖ40-21.2 0,068 163,2 142,8 (122,4)
1ОЖ45-8.2 0,040 95,1 83,1 (71,3)
1ОЖ45-10.2 0,041 1,4 99,4 86,9 (74,5)
1ОЖ45-15.2 0,061 145,8 127,6 (109,4)
1ОЖ45-20.2 0,068 162,0 141,8 (121,5)
1ОЖ45-25.2 0,070 2,8 167,4 146,5 (125,5)
1ОЖ45-35.2 0,083 199,8 174,8 (149,8)
1ОЖ50-15.2 0,070 168,0 147,0 (126,0)
1ОЖ50-25.2 0,078 186,0 162,8 (139,5)
1ОЖ50-30.2 0,083 3,1 198,0 173,3 (148,5)
1ОЖ50-45.2 0,120 288,0 252,0 (216,0)
1ОЖ50-50.2 0,144 345,6 302,4 (459,2)
1ОЖ55-25.2 0,083 198,0 173,3 (148,5)
1ОЖ55-50.2 0,145 3,4 348,5 304,9 (261,4)
1ОЖ55-75.2 0,169 406,6 355,7 (304,9)
1ОЖ60-90.2 0,202 3,7 483,9 423,4 (362,9)
2ОЖ35-8.2 0,022 1,1 53,8 47,0 (40,3)
3ОЖ40-14.2 0,022 1,25 63,2 56,4 (49,7)

Примечания:

1. Марка указана для опоры, изготавливаемой из тяжелого бетона.

2. Длина напрягаемой арматуры принята равной длине опоры.

3. Справочная масса опоры приведена для тяжелого бетона со средней плотностью (в высушенном до постоянной массы состоянии) 2400 кг/куб.м, для легкого бетона на пористых заполнителях - 2100 кг/куб.м, в скобках - 1800 кг/куб.м.

4. Справочная масса опоры (безопасной) марок 3ОЖ40-14.1 и 3ОЖ40-14.2 приведена с учетом массы асбестоцементной трубы, равной 9,4 кг.

1.5. В качестве напрягаемой арматуры опор следует применять высокопрочную проволоку класса Вр-II или проволоку повышенной прочности класса Врп-I.

1.6. Марка опоры обозначается в соответствии с ГОСТ 23009-78 и состоит из буквенно-цифровых групп, разделенных тире.

Первая группа содержит:

цифровое обозначение типа опоры (см. п. 1.1);

буквенное обозначение наименования опоры - ОЖ;

длину опоры в дециметрах.

Во второй группе указаны:

величина изгибающего момента в гектоньютон-метрах в расчетном сечении;

обозначение вида армирования:

1 - высокопрочной проволокой класса Вр-II диаметром 4 мм;

2 - проволокой повышенной прочности класса Врп-I диаметром 5 мм.

В марке опор, изготавливаемых из легкого бетона на пористых заполнителях или мелкозернистого бетона, приводят обозначение вида бетона - соответственно буквы П или М.

Пример условного обозначения опоры типа 1, длиной 4000 мм, рассчитанной на действие изгибающего момента 1200 Н·м, армированной проволоками повышенной прочности класса Врп-II диаметром 5 мм, изготовленной из легкого бетона на пористых заполнителях:

1ОЖ40-12.2П

То же, типа 2, длинной 3500 мм, рассчитанной на действие изгибающего момента 800 Н·м, армированной высокопрочными проволоками класса Вр-II диаметром 4 мм, изготовленной из тяжелого бетона:

2ОЖ35-8.1

То же, типа 3 (безопасная опора), длинной 4000 мм, рассчитанной на действие изгибающего момента 1400 Н·м, армированной высокопрочной проволокой класса Вр-II диаметром 4 мм, изготовленной из мелкозернистого бетона:

3ОЖ40-14.1М

2. ТЕХНИЧЕСКИЕ ТРЕБОВАНИЯ

2.1. Опоры должны изготавливаться в соответствии с требованиями настоящего стандарта по технологической документации, утвержденной в установленном порядке.

2.2. Опоры подлежат изготовлению в формах, обеспечивающих соблюдение требований к качеству и точности изготовления опор, установленных настоящим стандартом.

2.3. Бетон

2.3.1. Фактическая прочность бетона опор должна соответствовать требуемой, назначаемой по ГОСТ 18105-86 в зависимости от класса бетона по прочности на сжатие (табл. 1) и от показателя однородности прочности бетона.

2.3.2. Коэффициент вариации прочности бетона в партии опор высшей категории качества должен быть не более 9%.

2.3.3. Бетон должен иметь морозостойкость Мрз 100.

2.3.4. Опоры подлежат изготовлению из бетона нормальной степени плотности согласно главе СНиП II-28-73.

Водонепроницаемость бетона должна быть W4.

2.3.5. Качество материалов, применяемых для приготовления бетона, должно обеспечивать выполнение технических требований, установленных настоящим стандартом, и соответствовать:

цемент - ГОСТ 10178-85;

заполнители для тяжелого и мелкозернистого бетона - ГОСТ 10268-80;

заполнители для легкого бетона на пористых заполнителях - ГОСТ 9757-83;

вода - ГОСТ 23732-79.

Заполнитель должен иметь наибольшую крупность зерен до 20 мм.

Химические добавки, применяемые при приготовлении бетона, должны удовлетворять требованиям документов по технологии изготовления железобетонных конструкций.

2.4. В качестве соединительных муфт для составных (безопасных) опор типа 3 следует использовать асбестоцементные трубы по ГОСТ 539-80.

2.5. Арматура

2.5.1. Напрягаемая арматура должна удовлетворять требованиям:

проволока класса Вр-II - ГОСТ 7348-81;

проволока класса Врп-I - ТУ 14-170-119-80.

2.5.2. Натяжение арматуры следует осуществлять механическим или электротермомеханическим способами.

2.5.3. Температура нагрева напрягаемой арматуры при электротермомеханическом способе натяжения не должна превышать значений, установленных документами по технологии изготовления предварительно напряженных железобетонных конструкций.

2.5.4. При применении электротермомеханического способа натяжения арматуры должны проводиться контрольные испытания проволоки на растяжение после электронагрева.

2.5.5. Значения усилий в напрягаемой арматуре, контролируемых по окончании натяжения на упоры, должны соответствовать установленным в табл. 2.

Таблица 2

Напрягаемая арматура Усилие в напрягаемой арматуре, кН (кгс)
4Вр-II 14,32 (1460)
5Врп-I 10,98 (1120)

2.5.6. Отклонения значений усилий в напрягаемой арматуре от установленных в табл. 2 не должны превышать -5 и +10%.

2.6. Передача усилий обжатия на бетон (отпуск натяжения арматуры) должна производиться после достижения бетоном требуемой прочности, назначаемой по ГОСТ 18105-86 в зависимости от нормируемой передаточной прочности и от показателя однородности прочности бетона.

Нормируемая передаточная прочность бетона составляет 60% класса бетона по прочности на сжатие.

Фактическая передаточная прочность бетона должна быть не менее 19,6 МПа (200 кгс/кв.см).

2.7. Поставку опор потребителю производят с прочностью бетона не ниже требуемой передаточной прочности согласно п. 2.6.

Поставка опор с отпускной прочностью бетона менее прочности, соответствующей классу бетона по прочности на сжатие (п. 2.3.1), может производиться при условии, что изготовитель гарантирует достижение бетоном прочности, соответствующей его классу (определяемой по результатам испытаний контрольных образцов), в возрасте 28 сут.

2.8. Точность изготовления опор

2.8.1. Отклонения размеров опор от номинальных, указанных на черт. 1 и 2, не должны превышать, мм:

по длине опоры .......................................... ±20

по размерам поперечного сечения .............. ±3

2.8.2. Непрямолинейность профиля боковых граней, измеряемая на участке длиной 2 м, не должна превышать 10 мм, а для опор высшей категории качества - 5 мм.

2.8.3. Отклонения положения напрягаемой арматуры от указанного на черт. 1 и 2 не должны превышать 2 мм.

2.8.4. Концы напрягаемой арматуры не должны выступать за торцевые поверхности опор более чем на 20 мм и должны быть защищены слоем плотного цементно-песчаного раствора или битумным лаком.

2.8.5. На поверхности опор не допускаются:

раковины диаметром более 10 мм и глубиной более 5 мм, а для опор высшей категории качества - диаметром более 6 мм и глубиной более 3 мм;

местные наплывы бетона высотой более 5 мм и впадины глубиной более 3 мм;

сколы бетона ребер глубиной более 10 мм и общей длиной более 50 мм на участке ребра длиной 1 м;

трещины в бетоне, за исключением местных поверхностных усадочных.

3. ПРАВИЛА ПРИЕМКИ

3.1. Приемку опор следует производить в соответствии с требованиями ГОСТ 13015.1-81.

4. МЕТОДЫ КОНТРОЛЯ И ИСПЫТАНИЙ

4.1. Прочность бетона на сжатие следует определять по ГОСТ 10180-78 на серии образцов, изготовленных из бетонной смеси рабочего состава, или неразрушающими методами по ГОСТ 17624-87, ГОСТ 22690.0-77, ГОСТ 22690.1-77 - ГОСТ 22690.4-77.

4.2. Морозостойкость бетона следует определять по ГОСТ 10060-87.

4.3. Водонепроницаемость бетона следует определять на образцах, изготовленных из бетонной смеси рабочего состава, по ГОСТ 12730.0-78 и ГОСТ 12730.5-84.

4.4. Средняя плотность бетона должна определяться по ГОСТ 12730.0-78 и ГОСТ 12730.1-78.

4.5. Методы контроля и испытаний исходных сырьевых материалов для изготовления опор должны соответствовать установленным государственными стандартами и техническими условиями на эти материалы.

4.6. Измерение контролируемого натяжения напрягаемой арматуры производят в соответствии с ГОСТ 22362-77.

4.7. Размеры, непрямолинейность профиля опор, расположение напрягаемой арматуры, качество бетонных поверхностей опор следует проверять методами, установленными ГОСТ 13015-75.

4.8. Опоры, предназначенные для испытания нагружением, должны иметь возраст бетона не менее 3 и не более 28 сут и удовлетворять всем другим требованиям настоящего стандарта.

Допускается использовать для испытаний нагружением опоры, имеющие ржавые пятна на лицевой поверхности; опоры, имеющие раковины, местные наплывы и околы, размеры которых превышают допускаемые настоящим стандартом не более чем в два раза, и другие дефекты, не влияющие на прочность опор.

4.9. Испытание опор по трещиностойкости следует производить в соответствии с ГОСТ 8829-85 по схеме, приведенной на черт. 3.

Черт. 3

Загружение опор производят ступенями. Доля нагрузки каждой ступени должна составлять не более 10% контрольной.

Контрольную нагрузку F_к по проверке трещиностойкости (с учетом собственного веса G консольной части опоры, приложенного в центре ее тяжести), при которой образование трещин не допускается, принимают по табл. 3.

Таблица 3

Марка опоры Контрольная нагрузка F_к, Н (кгс), по трещиностойкости при плотности бетона, кг/куб.м
2400 2300 2200 2100 2000 1900 1800
1ОЖ35-8.1 600 609 617 625 634 641 650
1ОЖ35-8.2 (61,2) (62,1) (62,9) (63,7) (64,6) (65,4) (66,3)
1ОЖ40-8.1 489 502 515 528 541 554 567
1ОЖ40-8.2 (49,9) (51,2) (52,5) (53,8) (55,2) (56,5) (57,8)
1ОЖ40-12.1 776 793 810 829 846 864 882
1ОЖ40-12.2 (79,1) (80,9) (82,6) (84,5) (86,3) (88,1) (89,9)
1ОЖ40-16.1 1024 1048 1072 1095 1120 1143 1168
1ОЖ40-16.2 (104,4) (106,9) (109,3) (111,7) (114,2) (116,6) (119,1)
1ОЖ40-21.1 1434 1461 1489 1517 1545 1573 1599
1ОЖ40-21.2 (146,2) (149,0) (151,8) (154,7) (157,5) (160,4) (163,1)
1ОЖ45-8.1 485 505 511 524 537 550 568
1ОЖ45-8.2 (49,4) (51,5) (52,1) (53,4) (54,8) (56,1) (57,4)
1ОЖ45-10.1 665 679 693 707 721 735 748
1ОЖ45-10.2 (67,8) (69,2) (70,7) (72,1) (73,5) (74,9) (76,3)
1ОЖ45-15.1 990 1011 1033 1053 1075 1096 1117
1ОЖ45-15.2 (101,0) (103,1) (105,3) (107,4) (109,6) (111,8) (113,9)
1ОЖ45-20.1 1421 1446 1469 1494 1518 1542 1566
1ОЖ45-20.2 (144,9) (147,4) (149,8) (152,3) (154,8) (157,2) (159,7)
1ОЖ45-25.1 1935 1959 1982 2006 2029 2053 2076
1ОЖ45-25.2 (197,3) (199,8) (202,1) (204,5) (206,9) (209,3) (211,7)
1ОЖ45-35.1 2797 2826 2856 2885 2914 2943 2972
1ОЖ45-35.2 (285,2) (288,2) (291,2) (294,2) (297,1) (300,1) (303,1)
1ОЖ50-15.1 998 1019 1040 1061 1082 1102 1124
1ОЖ50-15.2 (101,8) (103,9) (106,0) (108,2) (110,3) (112,4) (114,6)
1ОЖ50-25.1 1928 1953 1976 2000 2023 2048 2071
1ОЖ50-25.2 (196,6) (199,1) (201,5) (203,9) (206,3) (208,8) (211,2)
1ОЖ50-30.1 2382 2407 2433 2460 2484 2511 2536
1ОЖ50-30.2 (242,9) (245,4) (248,1) (250,8) (253,3) (256,0) (258,6)
1ОЖ50-45.1 3561 3600 3638 3078 3718 3757 3795
1ОЖ50-45.2 (363,1) (367,1) (371,0) (375,0) (379,1) (383,1) (387,0)
1ОЖ50-50.1 4337 4386 4434 4482 4531 4579 4628
1ОЖ50-50.2 (442,2) (447,2) (452,1) (457,0) (462,0) (466,9) (471,9)
1ОЖ55-25.1 1947 1969 1993 2015 2039 2061 2085
1ОЖ55-25.2 (198,5) (200,8) (203,2) (205,5) (207,9) (210,2) (212,6)
1ОЖ55-50.1 3937 3981 4025 4070 4114 4157 4201
1ОЖ55-50.2 (401,4) (405,9) (410,4) (415,0) (419,5) (423,9) (428,4)
1ОЖ55-75.1 6259 6311 6362 6414 6465 6517 6570
1ОЖ55-75.2 (638,2) (643,5) (648,7) (654,0) (659,2) (664,5) (669,9)
1ОЖ60-90.1 7612 7670 7728 7785 7844 7901 7958
1ОЖ60-90.2 (776,2) (782,8) (788,0) (793,8) (799,8) (805,7) (811,5)
2ОЖ35-8.1 665 670 676 682 686 692 698
2ОЖ35-8.2 (67,8) (68,3) (68,9) (69,5) (70,0) (70,6) (71,2)
3ОЖ40-14.1 665 670 676 682 686 692 698
3ОЖ40-14.2 (67,8) (68,3) (68,9) (69,5) (70,0) (70,6) (71,2)

Примечания:

1. Контрольная нагрузка F_к приведена с учетом массы консольной части опоры, к которой приложена контрольная нагрузка.

2. Массу загрузочного устройства следует учитывать как составную часть контрольной нагрузки.

5. МАРКИРОВКА, ХРАНЕНИЕ И ТРАНСПОРТИРОВАНИЕ

5.1. Маркировка опор должна производиться по ГОСТ 13015.2-81.

5.2. Требования к документу о качестве опор, поставляемых потребителю, - по ГОСТ 13015.3-81.

5.3. Опоры следует хранить на складе готовой продукции в контейнерах, штабелях или пакетах рассортированными по маркам.

Высота штабеля или пакета должна быть не более 2 м.

5.4. Нижний ряд опор в штабеле или пакете следует укладывать на плотное выровненное основание по деревянным прокладкам.

5.5. Поставка опор потребителю должна осуществляться в контейнерах или пакетах любым видом транспорта.

5.6. Погрузку, транспортирование и разгрузку опор следует производить, соблюдая правила техники безопасности и принимая меры, исключающие возможность повреждения опор.

Разгрузка опор сбрасыванием не допускается.

5.7. Погрузку, крепление и транспортирование опор на открытом железнодорожном подвижном составе (полувагоны или платформы) следует осуществлять в соответствии с требованиями Правил перевозок грузов и Технических условий погрузки и крепления грузов, утвержденных Министерством путей сообщения.

При транспортировании опор пакетами должны соблюдаться требования ГОСТ 21929-76.

Транспортная маркировка - по ГОСТ 14192-77.

ПРИЛОЖЕНИЕ
Рекомендуемое

УКАЗАНИЯ ПО ВЫБОРУ ПАРАМЕТРОВ ОПОРЫ ДОРОЖНЫХ ЗНАКОВ

1. Необходимая длина опоры L, м, при различных схемах установки дорожных знаков, приведенных на чертеже, должна удовлетворять условию

L = h1 + h2 + h3 + d,

где h1 - высота части опоры, закрытой знаком (знаками). При этом верхний край знака должен возвышаться над верхом опоры не более чем на 0,15 м; расстояние между краями смежных знаков, размещаемых по вертикали, принимают равным 0,05 м;

h2 - высота части опоры от низа дорожного знака до верха кромки проезжей части автомобильной дороги, принимаемая не менее 1,5 - 2,0 м;

h3 - разница высот между поверхностью кромки проезжей части и места установки опоры, принимаемая равной 0,2 м для одностоечных опор, 0,3 - для двухстоечных и 0,35 м - для трехстоечных;

d - заглубление опоры в грунт, равное 1,5 м (кроме опор длиной 3,5 м, для которых d = 1,2 м).

Расчетные схемы опор для установки дорожных знаков

Схема 1 Схема 2 Схема 3
     
Схема 4 Схема 5 Схема 6
     
Схема 7 Схема 8 Схема 9

1 - 1 - дорожный знак; 2 - опора; 3 - покрытие автомобильной дороги; 4 - обочина (присыпная берма)

2. Размеры поперечного сечения и вид армирования опоры должны приниматься в зависимости от расчетного изгибающего момента М, Н·м (кгс·м), возникающего от ветровой нагрузки на щиты знаков, на опоры и определяемого по формуле

M = 1,1 Wh,

где 1,1 - коэффициент, учитывающий дополнительный изгибающий момент от ветровой нагрузки, действующей собственно на опору (без знака);

W - расчетная ветровая нагрузка на знак (знаки), Н (кгс),

A - расчетная площадь знака (знаков), кв.м;

- нормативное значение статической составляющей ветровой нагрузки Па (кгс/кв.м),

0,75 - коэффициент снижения ветровой нагрузки из-за небольшой высоты опоры;

q_0 - скоростной напор ветра, принимаемый равным 539,4 Па (55 кгс/кв.м);

k - коэффициент, учитывающий изменение скоростного напора ветра по высоте, равный 1;

C - аэродинамический коэффициент, равный 1,4;

h - высота приложения ветровой нагрузки, м.

При указанных значениях изгибающий момент допускается определять по формуле

M = 623,01Ah, H·м (M = 63,525Ah, кгс·м)

3. Для двух- и трехстоечных опор (см. схемы 8 и 9), предназначенных для установки дорожных знаков индивидуального проектирования, вычисленный общий изгибающий момент следует уменьшить соответственно в два и три раза.

4. По установленной высоте опоры и расчетному изгибающему моменту выбирается типоразмер опоры по табл. 1 настоящего стандарта.

5. Потребная длина опоры и значения расчетных изгибающих моментов для основных схем установки дорожных знаков приведены в табл. 1 и 2 настоящего приложения.

Таблица 1

Расчетные показатели опоры для основных схем установки дорожных знаков

Номер схемы Типоразмер знака по ГОСТ 10807-78 Длина опоры L, м Изгибающий момент М в расчетном сечении опоры, Н·м (кгс·м) Номер схемы Типоразмер знака по ГОСТ 10807-78 Длина опоры L, м Изгибающий момент М в расчетном сечении опоры, Н·м (кгс·м)
I 3,50 352,6 (35,36) I 4,00 1446,6 (147,51)
4,50 440,7 (44,95) 4,50 1783,1 (181,82)
1 II 4,00 491,7 (50,14) 4 II 4,00 2042,3 (208,26)
4,50 611,6 (62,36) 4,50 2500,2 (254,96)
III 4,00 851,9 (86,86) III 4,50 3603,1 (367,40)
4,50 1050,0 (107,07) 5,00 4360,0 (444,58)
IV 4,50 1619,2 (165,11) I 4,50 821,6 (83,78)
5,00 1971,2 (201,00) 5,00 997,9 (101,76)
I 4,00 723,3 (73,76) 5 II 5,00 1165,7 (118,86)
4,50 891,6 (90,91) 5,50 1405,6 (143,33)
2 II 4,00 1021,1 (104,13) III 5,50 2084,2 (212,55)
4,50 1250,1 (127,47) 6,00 2480,4 (252,91)
III 4,50 1801,6 (183,70) IV 5,50 4125,4 (420,66)
5,00 2180,0 (222,29) 6,00 4829,4 (492,45)
I 4,00 705,3 (71,91) I 4,50 1137,2 (115,96)
4,50 881,5 (89,89) 5,00 1401,6 (142,93)
3 II 4,00 983,5 (100,27) 6 II 5,00 1583,0 (161,43)
4,50 1223,3 (124,73) 5,50 1942,8 (198,10)
III 4,00 1703,8 (173,73) III 5,00 2793,4 (284,85)
4,50 2100,0 (214,15) 5,50 3387,7 (345,46)
IV 4,50 3238,4 (330,22) IV 5,50 4510,6 (459,94)
5,00 3942,4 (402,00) 6,00 5503,6 (551,93)

Таблица 2

Расчетные показатели опоры для дорожных знаков индивидуального проектирования

Номер схемы Размер знака BxH, м Длина опоры L, м Изгибающий момент М в расчетном сечении опоры, Н·м (кгс·м)
1,00х0,34 3,50 396,1 (40,39)
4,00 502,0 (51,19)
1,50х0,34 3,50 594,2 (60,58)
4,00 753,3 (76,78)
7 1,00х0,51 3,50 622,7 (63,50)
4,00 781,6 (79,70)
1,50х0,51 4,00 928,0 (94,63)
4,50 1165,0 (118,79)
1,00х4,50 4,00 864,1 (88,11)
4,50 1075,9 (109,71)
1,50х0,68 4,00 1296,5 (133,11)
4,50 1614,2 (164,60)
2,00х0,51 4,00 654,5 (66,74)
4,50 813,3 (82,00)
2,50х0,51 4,00 818,2 (83,43)
4,50 1016,7 (103,31)
2,00х0,68 4,00 906,5 (92,43)
4,50 1118,3 (114,03)
2,50х0,68 4,00 1133,3 (115,56)
4,50 1398,0 (142,56)
3,00х0,68 4,00 1360,0 (138,67)
4,50 1677,7 (171,07)
3,50х0,68 4,00 1586,5 (161,76)
4,50 1957,2 (199,56)
4,00х0,68 4,00 1813,3 (184,89)
4,50 2236,9 (228,09)
4,50х0,68 4,00 2039,7 (207,99)
4,50 2516,3 (256,58)
8 2,00х1,02 4,50 1467,8 (149,67)
5,00 1785,6 (182,02)
2,50х1,02 4,50 1834,9 (187,10)
5,00 2232,1 (227,60)
3,00х1,02 4,50 2202,0 (224,54)
5,00 2678,6 (273,14)
3,50х1,02 4,50 2568,9 (261,95)
5,00 3125,0 (318,66)
4,00х1,02 4,50 2935,9 (299,37)
5,00 3571,4 (364,17)
4,50х1,02 4,50 3301,9 (336,69)
5,00 4018,3 (409,76)
2,00х1,50 5,00 2383,0 (242,99)
5,50 2850,2 (290,64)
2,50х1,50 5,00 2978,7 (303,74)
5,50 3563,6 (363,37)
3,00х1,50 5,00 3574,5 (364,49)
5,50 4275,4 (435,96)
3,50х1,50 5,00 4171,0 (425,32)
5,50 4987,1 (508,53)
4,00х1,50 5,00 4765,9 (485,98)
5,50 5700,5 (581,27)
4,50х1,50 5,00 5360,9 (546,65)
5,50 6413,8 (654,01)
3,00х2,00 5,50 5233,2 (533,63)
6,00 6167,7 (628,92)
3,50х2,00 5,50 6105,4 (622,56)
6,00 7195,6 (733,74)
4,00х2,00 5,50 6977,6 (711,51)
6,00 8223,6 (838,56)
5,00х1,02 4,50 2500,3 (254,96)
5,00 3029,8 (308,96)
5,50х1,02 4,50 3239,6 (330,34)
5,00 3924,9 (400,22)
9 5,00х1,50 5,00 4049,5 (412,93)
5,50 4828,3 (492,34)
6,50х1,50 5,00 5264,4 (536,81)
5,50 6277,6 (640,04)
5,00х2,00 5,50 5918,6 (603,51)
6,00 6956,8 (709,39)