Опоры деревянные дорожных знаков. Технические условия. ГОСТ 25458-82

(утв. Постановлением Госстроя СССР от 14.09.82 N 214)
Редакция от 14.09.1982 — Действует

ГОСУДАРСТВЕННЫЙ СТАНДАРТ СОЮЗА ССР

ОПОРЫ ДЕРЕВЯННЫЕ ДОРОЖНЫХ ЗНАКОВ
ТЕХНИЧЕСКИЕ УСЛОВИЯ

WOODEN (TIMBER) POSTS FOR ROAD SIGNS.
SPECIFICATIONS

ГОСТ 25458-82

Постановлением Государственного комитета СССР по делам строительства от 14 сентября 1982 г. N 214 срок введения установлен с 01.01.84

Настоящий стандарт распространяется на деревянные опоры, предназначаемые для установки дорожных знаков по ГОСТ 10807-78.

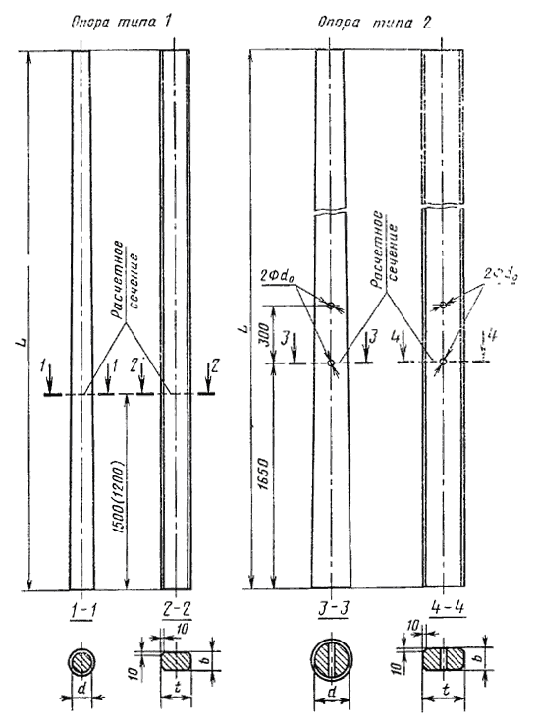
1. ТИПЫ, ОСНОВНЫЕ ПАРАМЕТРЫ И РАЗМЕРЫ

1.1. Опоры для установки дорожных знаков подразделяют на два типа:

1 - со сплошным поперечным сечением;

2 - с ослабленным поперечным сечением (безопасные).

1.2. Опоры типа 1 изготавливают длиной 3500, 4000, 4500, 5000 и 5500 мм, типа 2 - длиной 5500, 6000, 6500, 7000, 7500, 8000 и 8500 мм.

1.3. Параметры опоры в зависимости от типоразмера, числа знаков, устанавливаемых на опоре, и изгибающего момента в расчетном сечении следует выбирать согласно рекомендуемому приложению.

1.4. Форма и основные размеры опор должны соответствовать указанным на чертеже и в таблице.

1.5. Марка опоры состоит из буквенно-цифровых групп, разделенных тире.

Первая группа содержит:

цифровое обозначение типа опоры (см. п. 1.1);

Марка опоры Основные размеры опоры, м Диаметр отверстия ослабленного поперечного сечения d_о, мм Изгибающий момент в расчетном поперечном сечении М, Н·м (кгс·м) Справочная масса, кг, опоры с поперечным сечением
L b t d круглым прямоугольным
10Д35-8 3500 70 75 90 - 800 (81,6) 13,4 11,0
10Д40-8             15,3 12,6
10Д40-11 4000 55 95 95   1100 (112,2) 16,9 12,5
10Д40-18   95   110   1800 (183,5) 22,8 21,7
10Д40-24   70 125 125   2400 (244,7) 29,4 21,0
10Д45-8     75 90   800 (81,6) 17,2 14,2
10Д45-11   55   105   1100 (112,2) 23,4 14,1
10Д45-14   70 95 110   1400 (142,7) 25,6 18,0
10Д45-18 4500 95   120   1800 (183,5) 30,5 24,4
10Д45-24   70   125 - 2400 (244,7) 33,1 23,6
10Д45-32   95 125 135   3200 (326,3) 38,6 32,1
10Д45-42   125   150   4200 (428,3) 47,7 41,9
10Д50-18   95 95 120   1800 (183,5) 33,9 27,1
10Д50-24   70   125   2400 (244,7) 36,8 25,3
10Д50-32 5000 95 125 135   3200 (326,3) 42,9 35,6
10Д50-42   125   150   4200 (428,3) 53,0 46,9
10Д50-57     145 165   5700 (581,2) 64,1 54,4
10Д55-18   95 95 120   1800 (183,5) 37,3 29,8
10Д55-24   70 125 125   2400 (244,7) 40,5 28,9
10Д55-43   95 145 150   4300 (438,5) 58,3 45,5
10Д55-57 5500 125   165   5700 (581,2) 70,5 59,8
10Д55-78   95 195 180   7800 (795,4) 83,9 61,1
20Д55-66   145 145 165 40 6600 (673,0) 70,5 69,4
20Д60-78   95 195 190   7800 (795,4) 101,9 66,6
20Д60-83 6000 125     50 8300 (846,4) 101,9 78,8
20Д60-96   145   95   9600 (978,9) 107,5 91,3
20Д60-116   175 175 210 65 11600 (1182,9) 124,6 110,2
20Д65-96   145   195 50 9600 (978,9) 116,4 99,0
20Д65-116 6500 175   210   11600 (1182,9) 135,0 119,4
20Д65-119   145 195 215 65 11900 (1213,5) 141,5 110,3
20Д70-160 7000 195   230   16000 (1641,7) 174,4 159,6
20Д70-175   175 215 240 75 17500 (1784,5) 189,9 157,9
20Д75-150 7500 195 195 230 65 15000 (1529,0) 186,9 171,0
20Д75-215   215 215 260 75 21500 (2192,5) 238,8 208,0
20Д80-250 8000 195 245 270 90 25000 (2549,3) 274,7 2 29,3
20Д85-280 8500 215   280   28000 (2855,2) 313,9 268,6

Примечание. Справочная масса опоры приведена для древесины со средней плотностью 600 кг/м3.

буквенное обозначение наименования опоры - ОД;

длину опоры в дециметрах.

Во второй группе указана величина изгибающего момента в гекто-ньютон-метрах в расчетном сечении.

В марке опор, изготовленных из круглых лесоматериалов или пиломатериалов прямоугольного поперечного сечения, приводят обозначение формы поперечного сечения - соответственно буквы К или П.

Пример условного обозначения опоры типа 1, длиной 4000 мм, рассчитанной на действие изгибающего момента 1800 Н м, изготовленной из пиломатериала прямоугольного поперечного сечения:

10Д40-18П

То же, типа 2, с ослабленным поперечным сечением (безопасная), длиной 5500 мм, рассчитанной на действие изгибающего момента 6600 Н м, изготовленной из круглого лесоматериала:

20Д55-66К

2. ТЕХНИЧЕСКИЕ ТРЕБОВАНИЯ

2.1. Опоры должны изготавливаться в соответствии с требованиями настоящего стандарта по технологической документации, утвержденной в установленном порядке.

2.2. Для изготовления опор следует применять лесоматериалы круглые хвойных пород по ГОСТ 9463-88 или пиломатериалы хвойных пород по ГОСТ 8486-86 2-го и 3-го сортов.

Допускается изготавливать опоры из древесины других пород - в пределах районов их произрастания - при условии, что ее стойкость против загнивания, твердость и прочность на изгиб не ниже соответствующих показателей для хвойных пород.

2.3. Поверхность круглых лесоматериалов должна быть очищена от коры и сучьев и ровно обтесана.

Грани опор, изготовленных из пиломатериалов, должны быть оструганы.

2.4. Точность изготовления опор

2.4.1. Отклонения размеров опор от номинальных, указанных на чертеже, с учетом припусков на обработку по ГОСТ 7307-75 не должны превышать, мм:

по длине опоры...................................................±20;

по размерам расчетного поперечного сечения.....±2.

2.4.2. Непрямолинейность опор не должна превышать величин, установленных ГОСТ 8486-86 и ГОСТ 9463-88.

2.5. Защиту опор от биологического разрушения следует выполнять по ГОСТ 20022.9-76.

Часть опоры, закапываемую в грунт, следует дополнительно покрывать горячим битумом по ГОСТ 22245-90 на длину 1,7 м от нижнего торца опоры, кроме опор длиной 3,5 м, для которых этот размер должен быть равен 1,4 м.

2.6. Верхнюю (надземную) часть опор следует покрывать стойкими к воздействию климатических факторов лакокрасочными материалами белого цвета. Качество исполнения должно отвечать требованиям ГОСТ 24404-88 для класса покрытия V.

3. ПРАВИЛА ПРИЕМКИ

3.1. Приемку готовых опор следует производить: партиями.

В состав партии входят опоры одной марки, изготовленные в течение одной смены и сопровождающиеся документом установленной формы об их качестве, в котором указывают: номер и дату выдачи документа, наименование и адрес предприятия-изготовителя, номер партии и дату ее изготовления, марку, опоры, число опор в партии, обозначение настоящего стандарта.

При наличии дополнительных требований, оговоренных в заказах на изготовление опор, в документе приводят данные по этим требованиям.

3.2. Приемка партии заключается в проверке соответствия требованиям настоящего стандарта размеров и внешнего вида не менее чем трех опор данной партии.

Если в результате проверки будет установлено несоответствие опоры требованию настоящего стандарта хотя бы по одному показателю, то проводят повторную проверку удвоенного числа опор. Если при повторной проверке хотя бы одна опора не будет соответствовать требованиям настоящего стандарта, то данная партия подлежит приемке поштучно.

4. МЕТОДЫ КОНТРОЛЯ

4.1. Измерение длины опор следует выполнять металлической мерной лентой, соответствующей требованиям ГОСТ 7502-89; измерение ширины граней опор прямоугольного сечения - металлической линейкой, соответствующей требованиям ГОСТ 427-75; измерение диаметра опор круглого поперечного сечения - штангенциркулем, соответствующим требованиям ГОСТ 166-89.

4.2. Прямолинейность профиля опор следует определять посредством поверочной плиты и металлической линейки, предусмотренной в п. 4.1.

4.3. Глубину проникновения антисептиков в древесину определяют по ГОСТ 20022.9-76.

4.4. Внешний вид опор проверяют визуально.

5. МАРКИРОВКА, ХРАНЕНИЕ И ТРАНСПОРТИРОВАНИЕ

5.1. Каждая опора должна иметь маркировку, содержащую марку опоры, номер партии и дату ее изготовления.

5.2. Опоры следует хранить на складе готовой продукции в контейнерах, штабелях или пакетах рассортированными по маркам.

Высота штабеля или пакета должна быть не более 2 м.

5.3. Нижний ряд опор в штабеле или пакете следует укладывать на плотное выровненное основание по деревянным прокладкам.

5.4. Поставка опор потребителю должна осуществляться в контейнерах или пакетах любым видом транспорта.

5.5. Погрузку, транспортирование и разгрузку опор следует производить, соблюдая правила техники безопасности и принимая меры, исключающие возможность их повреждения.

Разгрузка опор сбрасыванием не допускается.

5.6. Погрузку, крепление и транспортирование опор на открытом подвижном составе (полувагоны или платформы) следует осуществлять в соответствии с требованиями Правил перевозок грузов и Технических условий погрузки и крепления грузов, утвержденных Министерством путей сообщения.

При транспортировании опор пакетами должны соблюдаться требования ГОСТ 26663-85.

Транспортная маркировка - по ГОСТ 14192-77.

ПРИЛОЖЕНИЕ
Рекомендуемое

УКАЗАНИЯ
ПО ВЫБОРУ ПАРАМЕТРОВ ОПОРЫ ДОРОЖНЫХ ЗНАКОВ

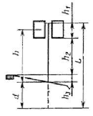
1. Необходимая длина опоры L, м, при различных схемах установки дорожных знаков, приведенных на чертеже, должна удовлетворять условию

L = h1 + h2 + h3 + d,

где h1 - высота части опоры, закрытой знаком (знаками). При этом верхний край знака должен возвышаться над верхом опоры не более чем на 0,15 м; расстояние между краями смежных знаков, размещаемых по вертикали, принимают равным 0,05 м;

h2 - высота части опоры от низа дорожного знака до верха кромки проезжей части автомобильной дороги, принимаемая не менее 1,5-2,0 м;

h3 - разница высот между поверхностью кромки проезжей части и местом установки опоры, принимаемая равной 0,2 м для одностоечных опор, 0,3 м - для двухстоечных и 0,35 м - для трехстоечных;

d - заглубление опоры в грунт, равное 1,5 м (кроме опор длиной 3,5 м, для которых d = 1,2 м).

2. Размеры поперечного сечения опоры должны приниматься в зависимости от расчетного сгибающего момента М, Н·м (кгс·м), возникающего от ветровой нагрузки на щиты знаков, на опоры и определяемого по формуле

N = 1,1 W h,

где 1,1 - коэффициент, учитывающий дополнительный изгибающий момент от ветровой нагрузки, действующей собственно на опору (без знака);

W - расчетная ветровая нагрузка на знак (знаки), Н (кгс),

А - расчетная площадь знака (знаков), м2;

- нормативное значение статической составляющей ветровой нагрузки, Па (кгс/м2), = 0,75 q_0 k c;

0,75 - коэффициент снижения ветровой нагрузки из-за небольшой высоты опоры;

q_0 - скоростной напор ветра; принимаемый равным 539,4 Па (55 кгс/см2);

k - коэффициент, учитывающий изменение скоростного напора ветра по высоте, равный 1;

с - аэродинамический коэффициент, равный 1,4;

h - высота приложения ветровой нагрузки, м.

При указанных значениях изгибающий момент допускается определять по формуле

М = 623,01 A h, Н·м (М = 63,525 A h, кгс·м)

3. Для двух- и трехстоечных опор (см. схемы 8 и 9), предназначенных для установки дорожных знаков индивидуального проектирования, вычисленный общий изгибающий момент следует уменьшить соответственно в два и три раза.

4. По установленной высоте опоры и расчетному изгибающему моменту выбирается типоразмер опоры по табл. 1 настоящего стандарта.

5. Потребная длина опор и значения расчетных изгибающих моментов для основных схем установки дорожных знаков приведены в табл. 1 п. 2 настоящего приложения.

Расчетные схемы опор для установки дорожных знаков

Схема 1

Схема 2

Схема 3

Схема 4

Схема 5

Схема 6

Схема 7

Схема 8

Схема 9

1 дорожный знак; 2 - опора; 3 - покрытие автомобильной дороги; 4 - обочина (присыпная берма)

Таблица 1

Расчетные показатели опоры для основных схем установки дорожных знаков

Номер схемы Типоразмер знака по ГОСТ 10807-78 Длина опоры L, мм Изгибающий момент М в расчетном сечении опоры, Н·м (кгс·м)
  I 3,50 352,6 (35,36)
4,50 440,7 (44,95)
1 II 4,00 491,7 (50,14)
4,50 611,6 (62,36)
  III 4,00 851,9 (86,86)
4,50 1050,0 (107,07)
  IV 4,50 1619,2 (165,11)
5,00 1971,2 (201,00)
  I 4,00 723,3 (73,76)
4,50 891,6 (90,91)
2 II 4,00 1021,1 (104,13)
4,50 1250,1 (127,47)
  III 4,50 1801,6 (183,70)
5,00 2180,0 (222,29)
  I 4,00 705,3 (71,91)
4,50 881,5 (89,89)
3 II 4,00 983,5 (100,27)
4,50 1223,3 (124,73)
  III 4,00 1703,8 (173,73)
4,50 2100,0 (214,15)
  IV 4,50 3238,4 (330,22)
5,00 3942,4 (402,00)
  I 4,00 1446,6 (147,51)
4,50 1783,1 (181,82)
4 II 4,00 2042,3 (208,26)
4,50 2500,2 (254,96)
  III 4,50 3603,1 (367,40)
5,00 4360,0 (444,58)
  I 4,50 821,6 (83,78)
5,00 997,9 (101,76),
  II 5,00 1165,7 (118,86)
5,50 1405,6 (143,33)
5 III 5,50 2084,2 (212,55)
6,00 2480,4 (252,91)
  IV 5,50 4125,4 (420,66)
6,00 4829,4 (492,45)
  I 4,50 1137,2 (115,96)
5,00 1401,6 (142,93)
6 II 5,00 1583,0 (161,43)
5,50 1942,8 (198,10)
  III 5,00 2793,4 (284,85)
5,50 3387,7 (345,46)
  IV 5,50 4510,6 (459,94)
6,00 5503,6 (551,93)

Таблица 2

Расчетные показатели опоры для дорожных знаков индивидуального проектирования

Номер схемы Размер знака В х Н, м Длина опоры L, мм Изгибающий момент М в расчетном сечении опоры, Н·м (кгс·м)
  1,00 х 0,34 3,50 396,1 (40,39)
4,00 502,0 (51,19)
  1,50 х 0,34 3,50 594,2 (60,58)
4,00 753,3 (76,78)
7 1,00 х 0,51 3,50 622,7 (63,50)
4,00 781,6 (79,70)
  1,50 х 0,51 4,00 928,0 (94,63)
4,50 1165,0 (118,79)
  1,00 х 4,50 4,00 864,1 (88,11)
4,50 1075,9 (109,71)
  1,50 х 0,68 4,00 1296,5 (133,11)
4,50 1614,2 (164,60)
  2,00 х 0,51 4,00 654,5 (66,74)
4,50 813,3 (82,00)
  2,50 х 0,51 4,00 818,2 (83,43)
4,50 1016,7 (103,31)
  2,00 х 0,68 4,00 906,5 (92,43)
4,50 1118,3 (114,03)
8 2,50 х 0,68 4,00 1133,3 (115,56)
4,50 1398,0 (142,56)
  3,00 х 0,68 4,00 1360,0 (138,67)
4,50 1677,7 (171,07)
  3,50 х 0,68 4,00 1586,5 (161,76)
4,50 1957,2 (199,56)
  4,00 х 0,68 4,00 1813,3 (184,89)
4,50 2236,9 (228,09)
  4,50 х 0,68 4,00 2039,7 (207,99)
4,50 2516,3 (256,58)
  2,00 х 1,02 4,50 1467,8 (149,67)
5,00 1785,6 (182,02)
  2,50 х 1,02 4,50 1834,9 (l87,10)
5,00 2232,1 (227,60)
  3,00 х 1,02 4,50 2202,0 (224,54)
5,00 2678,6 (273,14)
  3,50 х 1,02 4,50 2568,9 (261,95)
5,00 3125,0 (318,66)
  4,00 х 1,02 4,50 2935,9 (299,37)
5,00 3571,4 (364,17)
  4,50 х 1,02 4,50 3301,9 (336,69)
5,00 4018,3 (409,76)
  2,00 х 1,50 5,00 2383,0 (242,99)
5,50 2850,2 (290,64)
8 2,50 х 1,50 5,00 2978,7 (303,74)
5,50 3563,6 (363,37)
  3,00 х 1,50 5,00 3574,5 (364,49)
5,50 4275,4 (435,96)
  3,50 х 1,50 5,00 4171,0 (425,32)
5,50 4987,1 (508,53)
  4,00 х 1,50 5,00 4765,9 (485,98)
5,50 5700,5 (581,27)
  4,50 х 1,50 5,00 5360,9 (546,65)
5,50 6413,8 (654,01)
  3,00 х 2,00 5,50 5233,2 (533,63)
6,00 6167,7 (628,92)
  3,50 х 2,00 5,50 6105,4 (622,56)
6,00 7195,6 (733,74)
  4,00 х 2,00 5,50 6977,6 (711,51)
6,00 8223,6 (838,56)
  4,50 х 2,00 5,50 7849,8 (800,45)
6,00 9251,6 (943,38)
  4,00 х 2,50 6,00 9500,7 (968,79)
6,50 11058,3 (1118,52)
  4,50 х 2,50 6,00 10687,6 (1089,81)
6,50 12441,1 (1131,01)
  5,00 х 1,02 4,50 2500,3 (254,96)
5,00 3029,8 (308,96)
  5,50 х 1,02 4,50 3239,6 (330,34)
5,00 3924,9 (400,22)
  5,00 х 1,50 5,00 4049,5 (412,93)
5,50 4828,3 (492,34)
  6,50 х 1,50 5,00 5264,4 (536,81)
5,50 6277,6 (640,04)
9 5,00 х 2,00 5,50 5918,6 (603,51)
6,00 6956,8 (709,39)
  6,50 х 2,00 6,00 8285,9 (844,91)
6,50 9739,6 (993,15)
  5,00 х 2,50 6,00 8047,1 (820,56)
6,50 9345,0 (952,91)
  6,50 х 2,50 6,00 10461,1 (1066,73)
6,50 12148,6 (1238,78)
  5,00 х 3,50 7,00 13083,0 (1334,07)
7,50 14900,1 (151936)
  6,50 х 3,50 7,00 17007,9 (1733,93)
7,50 19370,1 (1975,17)
  6,50 х 4,50 8,00 24899,3 (2538,97)
8,50 27941,6 (2849,20)