Приказ Мининформсвязи РФ от 22.08.2006 N 107

"Об утверждении Правил применения абонентских радиостанций сетей подвижной радиосвязи стандарта TETRA"
Редакция от 22.08.2006 — Действует

Зарегистрировано в Минюсте РФ 4 сентября 2006 г. N 8195


МИНИСТЕРСТВО ИНФОРМАЦИОННЫХ ТЕХНОЛОГИЙ И СВЯЗИ РОССИЙСКОЙ ФЕДЕРАЦИИ

ПРИКАЗ
от 22 августа 2006 г. N 107

ОБ УТВЕРЖДЕНИИ ПРАВИЛ ПРИМЕНЕНИЯ АБОНЕНТСКИХ РАДИОСТАНЦИЙ СЕТЕЙ ПОДВИЖНОЙ РАДИОСВЯЗИ СТАНДАРТА TETRA

В соответствии со статьей 41 Федерального закона от 07.07.2003 N 126-ФЗ "О связи" (Собрание законодательства Российской Федерации, 2003, N 28, ст. 2895) и пунктом 4 Правил организации и проведения работ по обязательному подтверждению соответствия средств связи, утвержденных Постановлением Правительства Российской Федерации от 13.04.2005 N 214 (Собрание законодательства Российской Федерации, 2005, N 16, ст. 1463), приказываю:

1. Утвердить прилагаемые правила применения абонентских радиостанций сетей подвижной радиосвязи стандарта TETRA.

2. Направить настоящий Приказ на государственную регистрацию в Министерство юстиции Российской Федерации.

3. Контроль за исполнением настоящего Приказа возложить на заместителя Министра информационных технологий и связи Российской Федерации Б.Д. Антонюка.

Министр
Л.Д.РЕЙМАН

УТВЕРЖДЕНЫ
Приказом Министерства
информационных технологий и связи
Российской Федерации
от 22 августа 2006 г. N 107

ПРАВИЛА
ПРИМЕНЕНИЯ АБОНЕНТСКИХ РАДИОСТАНЦИЙ СЕТЕЙ ПОДВИЖНОЙ РАДИОСВЯЗИ СТАНДАРТА TETRA

I. Общие положения

1. Правила применения абонентских радиостанций сетей подвижной радиосвязи стандарта TETRA (далее - Правила) разработаны в соответствии со статьей 41 Федерального закона от 07.07.2003 N 126-ФЗ "О связи" (Собрание законодательства Российской Федерации, 2003, N 28, ст. 2895, N 51 (ч. I), ст. 5038; 2004, N 35, ст. 3607, N 45, ст. 4377; 2005, N 19, ст. 1752) в целях обеспечения целостности, устойчивости функционирования и безопасности единой сети электросвязи Российской Федерации.

2. Правила устанавливают обязательные требования к абонентским радиостанциям сетей подвижной радиосвязи стандарта TETRA (далее - абонентские радиостанции сетей стандарта TETRA), применяемым в сети связи общего пользования и технологических сетях связи в случае их присоединения к сети связи общего пользования.

3. Абонентские радиостанции, применяемые в сетях подвижной радиосвязи стандарта TETRA (далее - сеть стандарта TETRA), подлежат обязательному подтверждению соответствия в форме декларирования.

4. Абонентские станции применяются в полосах радиочастот, разрешенных для использования государственной комиссией по радиочастотам.

II. Требования к применению абонентских радиостанций сетей стандарта TETRA

5. Абонентские радиостанции сетей стандарта TETRA поддерживают основной режим транкинговой связи (TMO) - радиоинтерфейс U_m.

6. Абонентские радиостанции сетей стандарта TETRA, кроме режима связи TMO, поддерживают следующие режимы связи:

1) режим прямой связи (DMO) - радиоинтерфейс U_d. В режиме DMO абонентские радиостанции (DM-MS) применяются при условии выделения полос радиочастот Государственной комиссией по радиочастотам и присвоении (назначении) радиочастот или радиочастотных каналов Федеральным агентством связи, отличных от присвоенных частот в режиме связи TMO;

2) режим двойного наблюдения (DW-MS);

3) режим DMO-шлюза (DM-GATE);

4) режим DMO-ретранслятора (DM-REP). DMO-ретранслятор может быть трех типов: DMO-ретранслятор типа 1A (DM-REP1A); DMO-ретранслятор типа 1B (DM-REP1B); DMO-ретранслятор типа 2 (DM-REP2).

7. Абонентская радиостанция сети стандарта TETRA в режиме TMO поддерживает дуплексный и двухчастотный симплексный режимы работы радиостанции.

8. Абонентская радиостанция сети стандарта TETRA в режиме DMO поддерживает симплексный и двухчастотный симплексный режимы работы радиостанции.

9. Разнос частот между соседними радиочастотными каналами приведен в Приложении 2.

10. Каждая несущая частота обеспечивает передачу и прием 4 каналов передачи речи, данных или служебных сигналов управления.

11. Абонентская радиостанция сети стандарта TETRA в режимах связи TMO и DMO обеспечивает следующие типы вызовов: индивидуальный, групповой, экстренный, широковещательный.

12. Абонентская радиостанция сети стандарта TETRA в режиме связи TMO обеспечивает, кроме перечисленных в пункте 11 типов вызовов, телефонный вызов.

13. Абонентская радиостанция сети стандарта TETRA обеспечивает индивидуальный и экстренный вызовы в дуплексном либо двухчастотном симплексном режимах работы.

14. Абонентская радиостанция сети стандарта TETRA обеспечивает групповой и широковещательный вызовы в двухчастотном симплексном режиме работы.

15. Абонентская радиостанция сети стандарта TETRA обеспечивает телефонный вызов в дуплексном режиме работы.

16. Абонентская радиостанция сети стандарта TETRA обеспечивает передачу данных следующих типов: статусные и короткие сообщения (SDS); текстовые сообщения. Статусные и короткие сообщения передаются в основном канале управления (МССН) сети стандарта TETRA. Текстовые сообщения передаются в канальном или пакетном режимах передачи.

17. В сети стандарта TETRA в режимах канальной и пакетной передачи применяется многослотовый режим, для передачи одного потока данных в кадре задействуются несколько (до 4) слотов <*>.

<*> Под слотом понимается временной интервал внутри кадра, определенный стандартом TETRA.

18. В канальном режиме передачи в сети стандарта TETRA (SwMI) в одном слоте передается:

речевой сигнал в виде цифрового потока со скоростью 7,2 кбит/с (TCH/S);

данные с пользовательскими скоростями 2,4 кбит/с (TCH/2,4), 4,8 кбит/с (TCH/4,8) или 7,2 кбит/с (TCH/7,2).

19. Значения возможных пользовательских скоростей передачи данных в зависимости от количества используемых слотов в канальном режиме при многослотовом режиме передачи данных приведены в Приложении 1 к Правилам.

20. Требования к параметрам радиоинтерфейсов U_m и U_d сети стандарта TETRA приведены в Приложении 2 к Правилам.

21. Абонентские радиостанции сети стандарта TETRA по разным критериям делятся на типы и классы. При этом тип или класс абонентской радиостанции по одному критерию не связан с типом или классом абонентской радиостанции по другому критерию.

22. По рабочему диапазону частот абонентские радиостанции сетей стандарта TETRA подразделяются на следующие типы:

однодиапазонные, работающие в одном диапазоне частот;

многодиапазонные, работающие в двух и более диапазонах частот.

23. По режиму работы абонентские радиостанции сетей стандарта TETRA подразделяются на следующие типы:

а) однорежимные, поддерживающие только режим связи TMO;

б) многорежимные, поддерживающие, кроме режима связи TMO, один и более из режимов связи, указанных в пункте 6;

в) комбинированные, работающие как в сетях стандарта TETRA, так и в сетях других стандартов.

Требования к параметрам для комбинированных абонентских радиостанций сетей стандарта TETRA, приводимые в Правилах, относятся только к работе абонентских радиостанций сетей стандарта TETRA.

24. Классы абонентских радиостанций сетей стандарта TETRA по мощности передатчика приведены в Приложении 3 к Правилам.

25. По поддержке пакетного режима передачи данных абонентские радиостанции сети стандарта TETRA подразделяются на два типа: поддерживающие пакетный режим передачи данных, не поддерживающие пакетный режим передачи данных.

26. Абонентские радиостанции сетей стандарта TETRA подразделяются на два типа: носимые, возимые.

27. По устойчивости к воздействиям климатических факторов внешней среды абонентские радиостанции классифицируются по группам, приведенным в таблице 1 Приложения 10 к Правилам.

27.1. Абонентские радиостанции сетей стандарта TETRA сохраняют работоспособность в нормальных условиях (НУ).

Нормальные условия - условия, определенные как: температура внешней среды от 15 град. С до 35 град. С; относительная влажность от 45% до 75%; атмосферное давление от 650 до 800 мм рт. ст.; напряжение электропитания - номинальное.

27.2. Абонентские радиостанции сетей стандарта TETRA сохраняют работоспособность при экстремальных условиях (ЭУ).

Экстремальные условия - условия одновременного воздействия рабочей повышенной (пониженной) температуры, приведенной в таблице 1, и повышенного (пониженного) напряжения электропитания.

28. По структуре радиоканала абонентские радиостанции сетей стандарта TETRA подразделяются на абонентские радиостанции, поддерживающие только однослотовый режим работы, и абонентские радиостанции, поддерживающие однослотовый и многослотовый режимы работы.

29. Классы абонентских радиостанций сетей стандарта TETRA по характеристикам приема приведены в Приложении 12 к Правилам.

30. Абонентская радиостанция сети стандарта TETRA подключается к оконечному оборудованию пользователей через интерфейс (интерфейсы) периферийного оборудования (PEI).

III. Требования к абонентским радиостанциям

31. Абонентская радиостанция сети стандарта TETRA имеет серийный номер.

32. Абонентские радиостанции сетей стандарта TETRA обеспечивают выполнение через сеть стандарта TETRA всех процедур посылки и приема вызова, установления, поддержания и окончания соединения с абонентскими радиостанциями других абонентов сети и с абонентами телефонной сети общего пользования.

33. Абонентские радиостанции сетей стандарта TETRA обеспечивают устойчивость установленного соединения без перерывов в передаче и приеме сообщений при перемещениях абонентской радиостанции в пределах зоны обслуживания сети.

34. Требования к уровню побочных излучений (дискретных составляющих и широкополосных шумов) абонентских радиостанций приведены в Приложении 4 к Правилам.

35. Требования к электрическим параметрам абонентских радиостанций сетей стандарта TETRA.

35.1. Требования к параметрам модуляции:

1) среднеквадратичное значение вектора ошибки составляет не более 0,1 в любом пакете;

2) пиковое значение вектора ошибки составляет не более 0,3 на любом символе;

3) амплитуда остаточной несущей С_0 составляет не более 5% от амплитуды сигнала на выходе идеального модуляционного фильтра S(k) в любом пакете.

35.2. Значения параметра "Ошибка по частоте" (допустимое отклонение частоты) устанавливаются:

1) в пределах +/- 100 Гц для абонентских радиостанций, поддерживающих режим связи TMO;

2) в пределах +/- 1000 Гц при нормальных и экстремальных условиях для абонентских радиостанций, поддерживающих режимы работы, указанные в пункте 6;

3) в пределах +/- 100 Гц для абонентских радиостанций, поддерживающих режимы работы, указанные в пункте 6, и являющихся "ведомыми" (режим "slave" <*>), относительно частоты сигнала, принимаемого от "ведущей" (режим "master" <**>) абонентской радиостанции.

<*> В международной практике используется обозначение данного режима работы абонентской радиостанции slave-ведомый.

<**> В международной практике используется обозначение данного режима работы абонентской радиостанции master-ведущий.

35.3. Требования к параметрам мощности передатчика абонентской радиостанции сети стандарта TETRA:

1) отклонению мощности передатчика на интервале полезной части 200 пакетов относительно номинального значения приведены в Приложении 3 к Правилам.

2) уровню регулировки мощности абонентских радиостанций и допустимые отклонения мощности от номинального значения абонентских радиостанций в режиме TMO при нормальных и экстремальных условиях приведены в Приложении 5 к Правилам.

3) огибающей мощности передатчика абонентских радиостанций при нормальных и экстремальных условиях приведены в Приложении 6 к Правилам.

4) мощности, излучаемой в неактивном состоянии передатчика абонентских радиостанций, приведены в Приложении 6 к Правилам.

35.4. Требования к уровням излучений абонентских радиостанций сетей стандарта TETRA в соседних каналах, обусловленные модуляцией, при нормальных и экстремальных условиях приведены в Приложении 7 к Правилам.

35.5. Требования к уровням излучений в соседних каналах, обусловленные переходными процессами в передатчике, приведены в Приложении 8 к Правилам.

35.6. Требования к уровням излучений в соседних каналах во время передачи в канале линеаризации, при нормальных и экстремальных условиях приведены в Приложении 9 к Правилам.

35.7. Требования к ослаблению любой интермодуляционной компоненты сигнала абонентской радиостанции сети стандарта TETRA, работающей с номинальным уровнем мощности согласно ее классу мощности передатчика, измеренное в полосе 30 кГц, составляет не менее 60 дБ.

35.8. Требования к передатчику абонентской радиостанции сети стандарта TETRA, приводимые в пунктах 35.3 - 35.7, относятся к однослотовому и к многослотовому режимам работы при канальной и пакетной передачах.

36. Требования к параметрам устойчивости абонентских радиостанций сетей стандарта TETRA к климатическим воздействиям приведены в таблице 1 Приложения 10 к Правилам.

37. Требования к параметрам устойчивости абонентских радиостанций сетей стандарта TETRA к механическим воздействиям приведены в Приложении 11 к Правилам.

38. При воздействии на абонентские радиостанции сетей стандарта TETRA климатических и механических факторов контролируются следующие параметры:

1) отклонение мощности передатчика от номинального значения;

2) уровни излучения абонентских радиостанций в соседних каналах, обусловленные модуляцией;

3) огибающая мощности;

4) ошибка по частоте.

39. Требования пунктов 32, 33, 34, 35.1, 35.2, 35.3, 35.4 подтверждаются аккредитованной лабораторией (центром).

Приложение 1
к Правилам применения абонентских
радиостанций сетей подвижной
радиосвязи стандарта TETRA

ПОЛЬЗОВАТЕЛЬСКАЯ СКОРОСТЬ ПЕРЕДАЧИ ДАННЫХ В КАНАЛЬНОМ РЕЖИМЕ

1. Пользовательские скорости передачи данных в канальном режиме в зависимости от количества используемых временных слотов (от 1 до 4) приведены в таблице 1.

Таблица 1

Пользовательская скорость передачи данных, кбит/с
1 2 3 4
7,2 14,4 21,6 28,8
4,8 9,6 14,4 19,2
2,4 4,8 7,2 9,6

Приложение 2
к Правилам применения абонентских
радиостанций сетей подвижной
радиосвязи стандарта TETRA

ТРЕБОВАНИЯ
К ПАРАМЕТРАМ РАДИОИНТЕРФЕЙСОВ U_m И U_d СЕТИ СТАНДАРТА TETRA

В режиме связи TMO сети стандарта TETRA используется радиоинтерфейс U_m.

В режиме связи DMO сети стандарта TETRA используется радиоинтерфейс U_d.

Полосы частот: 380 - 400 МГц; 410 - 430 МГц; 450 - 470 МГц.

Дуплексный разнос частот: 10 МГц.

Разнос частот между соседними радиоканалами - 25 кГц.

Передача информации в радиоканале - цифровая.

Тип модуляции несущей - дифференциальная квадратурная фазовая манипуляция с приращением фазы на интервале модуляционного символа, кратным пи/4 (пи/4-DQPSK).

Скорость модуляции - 36 кбит/с.

Информационная скорость в одном канале - 7,2 кбит/с.

Информационная скорость кадра - 28,8 кбит/с.

Скорость передачи цифрового потока в одном радиоканале - 36 кбит/с.

Способ разделения каналов - частотно-временной.

Метод уплотнения каналов на одной несущей - многостанционный доступ с временным разделением каналов (TDMA).

Число временных каналов на одной несущей - 4.

Помехоустойчивое кодирование - реализовано в виде 4 процедур: блочное кодирование, сверточное кодирование, перемежение, скремблирование.

Приложение 3
к Правилам применения абонентских
радиостанций сетей подвижной
радиосвязи стандарта TETRA

ТРЕБОВАНИЯ
К ПАРАМЕТРАМ МОЩНОСТИ ПЕРЕДАТЧИКА АБОНЕНТСКОЙ РАДИОСТАНЦИИ СЕТИ СТАНДАРТА TETRA

1. Классификация мощности передатчика абонентской радиостанции сети стандарта TETRA в режимах TMO и DMO-шлюза (радиоинтерфейс U_m) и номинальные значения мощности приведены в таблице 1.

Таблица 1

Класс мощности передатчика Номинальное значение мощности, дБм (Вт)
1 45,0 (30,0)
1L 42,5 (17,5)
2 40,0 (10,0)
2L 37,5 (5,6)
3 35,0 (3,0)
3L 32,5 (1,8)
4 30,0 (1,0)
4L 27,5 (0,56)

2. Классификация мощности передатчика абонентской радиостанции сети стандарта TETRA в режиме DMO и номинальные значения мощности приведены в таблице 2.

Таблица 2

Класс мощности передатчика Номинальное значение мощности, дБм (Вт)
2 40,0 (10,0)
2L 37,5 (5,6)
3 35,0 (3,0)
3L 32,5 (1,8)
4 30,0 (1,0)
4L 27,5 (0,56)
5 25,0 (0,3)
5L 22,5 (0,18)

3. Классификация мощности передатчика абонентской радиостанции сети стандарта TETRA в режимах DMO-ретранслятора и DMO-шлюза (радиоинтерфейс U_d) и номинальные значения мощности приведены в таблице 3.

Таблица 3

Класс мощности передатчика Номинальное значение мощности, дБм (Вт)
1 45,0 (30,0)
2 40,0 (10,0)
3 35,0 (3,0)
4 30,0 (1,0)

4. Отклонение мощности передатчика на интервале полезной части 200 пакетов относительно номинального значения находится в пределах +/- 2 дБ при нормальных условиях и от +3,0 до минус 4,0 дБ при экстремальных условиях, установленного для данного класса мощности передатчика.

Приложение 4
к Правилам применения абонентских
радиостанций сетей подвижной
радиосвязи стандарта TETRA

ТРЕБОВАНИЯ
К ПАРАМЕТРАМ ПОБОЧНЫХ ИЗЛУЧЕНИЙ АБОНЕНТСКОЙ РАДИОСТАНЦИИ СЕТИ СТАНДАРТА TETRA

1. Уровень дискретных составляющих побочных излучений на антенном разъеме абонентской радиостанции на частотах, отстоящих от частоты несущей на 100 кГц и более, в активном режиме не превышает значений, указанных в таблице 1.

Таблица 1

Диапазон частот Уровень дискретных составляющих побочных излучений, не более, дБм
От 9 кГц до 1 ГГц включительно -36
Свыше 1 до 4 ГГц включительно -30

2. Уровень широкополосных шумов на антенном разъеме или от корпуса абонентской радиостанции в режимах TMO и DMO-шлюза (радиоинтерфейс U_m) в активном режиме на частотах, отстоящих от частоты несущей на 100 кГц и более, не превышает максимально допустимых значений, указанных в таблице 2.

Таблица 2

Расстройка относительно частоты несущей, кГц Максимально допустимый уровень широкополосных шумов относительно уровня несущей, дБн
Мощность до 1 Вт включительно (класс 4) Мощность 1,8 или 3 Вт (класс 3L или 3) Мощность более 5,6 Вт (класс 2L)
От 100 до 250 включительно -75 -78 -80
Свыше 250 до 500 включительно -80 -83 -85
Свыше 500 до f_rb включительно -80 -85 -90
Свыше f_rb -100 -100 -100

Примечания:

1. f_rb - расстройка относительно частоты несущей, соответствующая ближайшей границе диапазона частот приема, но не более 5 МГц.

2. Допускаются абсолютные значения широкополосных шумов ниже минус 55 дБм для частот расстройки до f_rb и минус 70 дБм - свыше f_rb.

3. Уровень широкополосных шумов на антенном разъеме или от корпуса абонентской радиостанции сети стандарта TETRA в режиме DMO в активном режиме на частотах, отстоящих от частоты несущей на 100 кГц и более, не превышает максимально допустимых значений, указанных в таблице 3.

Таблица 3

Расстройка относительно частоты несущей, кГц Максимально допустимый уровень широкополосных шумов относительно уровня несущей, дБн
Мощность до 1 Вт включительно (класс 4) Мощность 1,8 или 3 Вт (класс 3L или 3) Мощность более 5,6 Вт (класс 2L)
От 100 до 250 включительно -75 -78 -80
Свыше 250 до 500 включительно -80 -83 -85
Свыше 500 -80 -85 -90

Примечания:

1. В случае, если абонентская радиостанция передает на частоте, предназначенной для DMO, находящейся внутри диапазона передачи TMO, предел минус 100 дБн для расстройки относительно частоты несущей свыше f_rb применяется симметрично по обе стороны диапазона передачи TMO.

2. Для других случаев предел минус 100 дБн применяется за пределами диапазона f_x, включающего частоты передачи, плюс защитный интервал 5 МГц по обе стороны полосы передачи.

3. f_rb - расстройка относительно частоты несущей, соответствующая ближайшей границе диапазона частот приема TMO, но не более 5 МГц.

4. Допускаются абсолютные значения широкополосных шумов ниже минус 55 дБм для частот расстройки до f_rb и минус 70 дБм - свыше f_rb.

4. Уровень широкополосных шумов на антенном разъеме или от корпуса абонентской радиостанции в режимах DM-REP и DM-GATE (радиоинтерфейс U_d) в активном режиме на частотах, отстоящих от частоты несущей на 100 кГц и более, не превышает максимально допустимых значений, указанных в таблице 4.

Таблица 4

Расстройка относительно частоты несущей, кГц Максимально допустимый уровень широкополосных шумов относительно уровня несущей, дБн
Мощность 1 Вт (класс 4) Мощность 3 Вт (класс 3) Мощность 10 и 30 Вт (классы 2 и 1)
От 100 до 250 включительно -75 -78 -80
Свыше 250 до 500 включительно -80 -83 -85
Свыше 500 -80 -85 -90

Примечания:

1. В случае, если абонентская радиостанция передает на частоте, предназначенной для DMO, находящейся внутри диапазона передачи TMO, предел минус 100 дБн для расстройки относительно частоты несущей свыше f_rb применяется симметрично по обе стороны диапазона передачи TMO.

2. Для других случаев предел минус 100 дБн применяется за пределами диапазона f_x, включающего частоты передачи, плюс защитный интервал 5 МГц по обе стороны полосы передачи.

3. f_rb - расстройка относительно частоты несущей, соответствующая ближайшей границе диапазона частот приема TMO, но не более 5 МГц.

4. Допускаются абсолютные значения широкополосных шумов ниже минус 55 дБм для частот расстройки до f_rb и минус 70 дБм - свыше f_rb.

5. Уровень дискретных составляющих побочных излучений от корпуса абонентской радиостанции сети стандарта TETRA в активном режиме на частотах, отстоящих от частоты несущей на 100 кГц и более, не превышает значений, указанных в таблице 5.

Таблица 5

Диапазон частот Уровень дискретных составляющих побочных излучений, не более, дБм
От 30 МГц до 1 ГГц включительно -36
Свыше 1 до 4 ГГц включительно -30

6. Уровень дискретных составляющих побочных излучений на антенном разъеме абонентской радиостанции сети стандарта TETRA в режиме приема (при отсутствии передачи) не превышает значений, указанных в таблице 6.

Таблица 6

Диапазон частот Уровень дискретных составляющих побочных излучений, не более, дБм
От 9 кГц до 1 ГГц включительно -57
Свыше 1 до 4 ГГц включительно -47

7. Уровень дискретных составляющих побочных излучений от корпуса абонентской радиостанции сети стандарта TETRA в режиме приема (при отсутствии передачи) не превышает значений, указанных в таблице 7.

Таблица 7

Диапазон частот Уровень дискретных составляющих побочных излучений, не более, дБм
От 30 МГц до 1 ГГц включительно -57
Свыше 1 до 4 ГГц включительно -47

Приложение 5
к Правилам применения абонентских
радиостанций сетей подвижной
радиосвязи стандарта TETRA

ТРЕБОВАНИЯ
К ПАРАМЕТРАМ РЕГУЛИРОВКИ МОЩНОСТИ АБОНЕНТСКОЙ РАДИОСТАНЦИИ СЕТИ СТАНДАРТА TETRA В РЕЖИМЕ TMO

1. Параметры регулировки мощности абонентской радиостанции сети стандарта TETRA в режиме TMO и соответствующие им номинальные уровни мощности приведены в таблице 1.

Таблица 1

Уровень регулировки мощности Номинальный уровень мощности, дБм
1 45
2 40
3 35
4 30
5 25
6 20
7 15

2. Возможные уровни регулировки мощности абонентской радиостанции сети стандарта TETRA начинаются с уровня 7 с наименьшим уровнем мощности 15 дБм и заканчиваются уровнем регулировки мощности с номинальным уровнем мощности, соответствующим классу мощности передатчика абонентской радиостанции, указанным в Приложении 3 к Правилам.

3. Отклонение мощности передатчика абонентской радиостанции сети стандарта TETRA от номинального значения, соответствующего любому возможному уровню регулировки мощности ниже номинального значения для данного класса мощности передатчика, находится в пределах +/- 2,5 дБ при нормальных условиях.

4. При нормальных условиях разность между уровнями мощности, соответствующими соседним уровням регулировки, находится в пределах (5,0 +/- 2,5) дБ и (2,5 +/- 2,5) дБ для первого шага регулировки мощности абонентской радиостанции, имеющих номинальный уровень мощности с индексом L.

5. При экстремальных условиях отклонение уровня мощности передатчика от номинального уровня, соответствующего минимальному уровню регулировки мощности, находится в пределах +/- 4,0 дБ.

Приложение 6
к Правилам применения абонентских
радиостанций сетей подвижной
радиосвязи стандарта TETRA

ТРЕБОВАНИЯ
К ПАРАМЕТРАМ МОЩНОСТИ, ИЗЛУЧАЕМОЙ В НЕАКТИВНОМ СОСТОЯНИИ ПЕРЕДАТЧИКА

1. Мощность, излучаемая в неактивном состоянии передатчика.

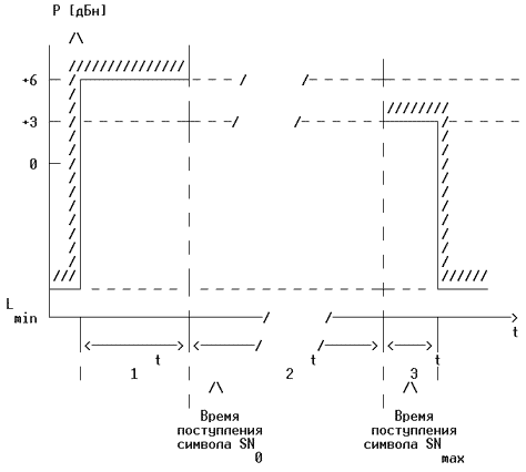
1.1. Огибающая мощности передатчика абонентской радиостанции сети стандарта TETRA должна находиться в пределах временной маски, приведенной на рисунке 1.

Рисунок 1. Временная маска огибающей мощности передатчика

Примечания:

1. Интервал t_1 начинается с момента включения передатчика в начале первого пакета и заканчивается моментом поступления символа SN_0.

2. Интервал t_2 начинается с момента поступления символа SN_0 и заканчивается моментом поступления символа SN_max.

3. Интервал t_3 начинается с момента поступления символа SN_max последнего пакета и заканчивается моментом завершения переходных процессов при выключении передатчика.

1.2. Для абонентской радиостанции сети стандарта TETRA в режимах TMO и DMO-шлюза (радиоинтерфейс U_m):

уровень мощности, излучаемой в неактивном состоянии передатчика (L_min), не превышает минус 70 дБн (или минус 36 дБм);

значения временных параметров t_1, t_2 и t_3 приведены в таблице 1.

Таблица 1

Тип пакета Количество интервалов длительности символа
t_1 t_2 t_3
Control uplink 16 103 15
Normal uplink 16 231 <*> 15

<*> Для однослотового режима работы.

1.3. Для абонентской радиостанции сети стандарта TETRA в режимах DMO и DMO-ретранслятора (радиоинтерфейс U_d):

уровень мощности, излучаемой в неактивном состоянии передатчика (L_min), не превышает минус 70 дБн (или минус 36 дБм);

значения временных параметров t_1, t_2 и t_3 приведены в таблице 2.

1.4. Для абонентской радиостанции в режиме DMO-шлюза (радиоинтерфейс U_d):

уровень мощности, излучаемой в неактивном состоянии передатчика (L_min), не должен превышать минус 40 дБн (или минус 36 дБм);

значения временных параметров t_1, t_2 и t_3приведены в таблице 2.

Таблица 2.

Значения временных параметров t_1, t_2 и t_3 для АС в режимах DMO, DMO-ретранслятора и DMO-шлюза

Тип пакета Количество интервалов длительности символа
t_1 t_2 t_3
Normal 16 235 15

Приложение 7
к Правилам применения абонентских
радиостанций сетей подвижной
радиосвязи стандарта TETRA

ТРЕБОВАНИЯ
К ПАРАМЕТРАМ УРОВНЕЙ ИЗЛУЧЕНИЯ АБОНЕНТСКОЙ РАДИОСТАНЦИИ СЕТИ СТАНДАРТА TETRA В СОСЕДНИХ КАНАЛАХ, ОБУСЛОВЛЕННЫМ МОДУЛЯЦИЕЙ

1. Уровни излучения абонентской радиостанции сети стандарта TETRA в соседних каналах, обусловленные модуляцией, не превышают максимальных значений, приведенных в таблицах 1 (для абонентских радиостанций классов мощности передатчика 4, 4L, 5 и 5L) и 2 (для абонентских радиостанций всех остальных классов мощности передатчика).

2. Уровни излучения абонентской радиостанции в соседних каналах, обусловленные модуляцией, характеризуются средним уровнем мощности, измеренным на интервале полезной части пакета на частотах +/- 25; +/- 50; +/- 75 кГц относительно частоты несущей передатчика.

Таблица 1

Расстройка относительно частоты несущей, кГц Максимально допустимый уровень излучения в соседних каналах, дБн
Нормальные условия Экстремальные условия
+/-25 -55 -45
+/-50 -70 -60
+/-75 -70 -60

Таблица 2

Расстройка относительно частоты несущей, кГц Максимально допустимый уровень излучения в соседних каналах, дБн
Нормальные условия Экстремальные условия
+/-25 -60 -50
+/-50 -70 -60
+/-75 -70 -60

3. Абсолютные значения уровней излучения абонентской радиостанции сети стандарта TETRA в соседних каналах, обусловленные модуляцией, не превышают значения минус 36 дБм.

Приложение 8
к Правилам применения абонентских
радиостанций сетей подвижной
радиосвязи стандарта TETRA

ТРЕБОВАНИЯ
К ПАРАМЕТРАМ УРОВНЕЙ ИЗЛУЧЕНИЯ АБОНЕНТСКОЙ РАДИОСТАНЦИИ СЕТИ СТАНДАРТА TETRA В СОСЕДНИХ КАНАЛАХ, ОБУСЛОВЛЕННЫМ ПЕРЕХОДНЫМИ ПРОЦЕССАМИ В ПЕРЕДАТЧИКЕ

1. Уровни излучения в соседних каналах, обусловленные переходными процессами в передатчике, не должны превышать минус 45 дБн для абонентских радиостанций сетей стандарта TETRA классов мощности 4, 4L, 5 и 5L и минус 50 дБн для абонентских радиостанций сетей стандарта TETRA всех остальных классов мощности.

2. Уровни излучения в соседних каналах, обусловленные переходными процессами в передатчике, характеризуются средним уровнем мощности, измеренным в пределах интервалов t_1 и t_3, согласно рисунку 1 Приложения 6 к Правилам, на частотах +/- 25 кГц относительно частоты несущей.

3. Абсолютные значения уровней излучения абонентских радиостанций сетей стандарта TETRA в соседних каналах, обусловленные модуляцией, не должны превышать значения минус 36 дБм.

4. Данное требование не распространяется на передачу в каналах линеаризации, указанных в Приложении 9 к Правилам.

Приложение 9
к Правилам применения абонентских
радиостанций сетей подвижной
радиосвязи стандарта TETRA

ТРЕБОВАНИЯ
К ПАРАМЕТРАМ УРОВНЕЙ ИЗЛУЧЕНИЯ В СОСЕДНИХ КАНАЛАХ ВО ВРЕМЯ ПЕРЕДАЧИ В КАНАЛЕ ЛИНЕАРИЗАЦИИ

1. Сумма временных периодов на интервале передачи пакета линеаризации в канале CLCH (для абонентских радиостанций сетей стандарта TETRA в режимах TMO и DMO-шлюза (радиоинтерфейс U_m)) либо в канале LCH (для абонентских радиостанций сетей стандарта TETRA в режимах DMO, DMO-ретранслятора и DMO-шлюза (радиоинтерфейс U_d)), в пределах которых уровень излучения абонентской радиостанции сети стандарта TETRA в соседних каналах на частотах +/- 25 кГц относительно частоты несущей передатчика превышает минус 45 дБн, не превышает 1 мс при нормальных и экстремальных условиях.

2. Максимальный уровень излучения в соседних каналах не превышает минус 30 дБн при нормальных и экстремальных условиях.

Приложение 10
к Правилам применения абонентских
радиостанций сетей подвижной
радиосвязи стандарта TETRA

ТРЕБОВАНИЯ
К ПАРАМЕТРАМ УСТОЙЧИВОСТИ АБОНЕНТСКИХ РАДИОСТАНЦИЙ СЕТЕЙ СТАНДАРТА TETRA К КЛИМАТИЧЕСКИМ ВОЗДЕЙСТВИЯМ

1. Абонентские радиостанции сети стандарта TETRA сохраняют работоспособность при климатических воздействиях (пониженных и повышенных рабочих температур), приведенных в таблице 1.

Таблица 1

Группа абонентских радиостанций Рабочая температура, град. С
Пониженная Повышенная
Первая степень жесткости Вторая степень жесткости
Группа В3 -10 -10 +55
Группы В4, В5 -25 -40 +55
Группа Н6 +5 -10 +40
Группа Н7 -10 -25 +50

Примечание: Обозначения групп абонентских радиостанций:

1. В3 - возимая, устанавливаемая во внутренних помещениях речных судов;

2. В4 - возимая, устанавливаемая в автомобилях, на мотоциклах, в сельскохозяйственной, дорожной и строительной технике;

3. В5 - возимая, устанавливаемая в подвижных железнодорожных объектах;

4. Н6 - носимая, размещаемая при эксплуатации в одежде или под одеждой абонента, или в отапливаемых наземных и подземных сооружениях;

5. Н7 - носимая, эксплуатируемая на открытом воздухе или в неотапливаемых наземных и подземных сооружениях.

Приложение 11
к Правилам применения абонентских
радиостанций сетей подвижной
радиосвязи стандарта TETRA

ТРЕБОВАНИЯ
К ПАРАМЕТРАМ УСТОЙЧИВОСТИ АБОНЕНТСКИХ РАДИОСТАНЦИЙ СЕТЕЙ СТАНДАРТА TETRA К МЕХАНИЧЕСКИМ ВОЗДЕЙСТВИЯМ

1. Абонентские радиостанции сети стандарта TETRA работоспособны после транспортирования в упакованном виде при механических воздействиях в виде ударов, длительностью ударного импульса 6 мс при пиковом ударном ускорении 250 м/с2 (25g) и числе ударов в каждом направлении - 4000.

2. Абонентские радиостанции сети стандарта TETRA носимые групп Н6 и Н7 работоспособны после удара вследствие свободного падения с высоты:

1 м для абонентских радиостанций массой до 2 кг;

0,5 м для абонентских радиостанций массой до 5 кг.

3. Абонентские радиостанции сети стандарта TETRA сохраняют работоспособность при воздействии синусоидальной вибрации с характеристиками воздействующего фактора, приведенными в таблице 1.

Таблица 1

Характеристика Значение воздействующего фактора для абонентских радиостанций группы
В3 В4 В5 Н6 Н7
Диапазон частот, Гц 10 - 70 10 - 100 10 - 70
Амплитуда ускорения, м/с2 (g) 19,6 (2) 39,2 (4) 19,6 (2)
Длительность воздействия, мин. 90

Приложение 12
к Правилам применения абонентских
радиостанций сетей подвижной
радиосвязи стандарта TETRA

КЛАССЫ АБОНЕНТСКИХ РАДИОСТАНЦИЙ СЕТЕЙ СТАНДАРТА TETRA ПО ХАРАКТЕРИСТИКАМ ПРИЕМА

1. Абонентские радиостанции сети стандарта TETRA подразделяются на классы по характеристикам приема:

1) абонентская радиостанция класса A обеспечивает заданные значения характеристик приема в статических условиях распространения (STAT) для моделей радиоканала HT200 и TU50;

2) абонентская радиостанция класса B обеспечивает заданные значения характеристик приема в статических условиях распространения для модели радиоканала TU50;

3) абонентская радиостанция класса E содержит эквалайзер и обеспечивает заданные значения характеристик приема в статических условиях распространения для моделей радиоканала TU50, HT200 и EQ200.

Справочно

СПИСОК ИСПОЛЬЗУЕМЫХ СОКРАЩЕНИЙ

1. CLCH - Common Linearization Channel - общий канал линеаризации
2. DMO - Direct Mode Operation - режим прямой связи
3. DM-MS - Direct Mode Mobile Station - абонентская радиостанция, поддерживающая режим DMO
4. DW-MS - Dual Watch Mobile Station - абонентская радиостанция в режиме двойного наблюдения
5. DM-GATE - Direct Mode GATEway - абонентская радиостанция в режиме DMO-шлюза
6. DM-REP - Direct Mode REPeater - абонентская радиостанция в режиме DMO-ретранслятора
7. DM-REP1A - Type 1A Direct Mode REPeater - абонентская радиостанция в режиме DMO-ретранслятора типа 1A
8. DM-REP1B - Type 1B Direct Mode REPeater - абонентская радиостанция в режиме DMO-ретранслятора типа 1B
9. DM-REP2 - Type 2 Direct Mode REPeater - абонентская радиостанция в режиме DMO-ретранслятора типа 2
10. EQ200 - Equalizer test - модель радиоканала для тестирования эквалайзера
11. HT200 - Hilly Terrain - модель радиоканала, имитирующая холмистую местность и скорость перемещения абонентской радиостанции 200 км/ч
12. LCH - Linearization Channel - канал линеаризации
13. MCCH - Main Control Channel - основной канал управления
14. PEI - Peripheral Equipment Interface - интерфейс периферийного оборудования
15. SDS - Short Data Service - служба передачи статусных и коротких сообщений
16. SwMI - Switching and Management Infrastructure - оборудование подсистемы управления и коммутации
17. STAT - STATic - статическая модель радиоканала
18. TETRA - Terrestrial Trunked Radio - наземная система транкинговой радиосвязи
19. TMO - Trunked Mode Operation - транкинговый режим работы
20. TCH/S - Traffic Channel/Speech - трафик-канал передачи речи
21. TCH/2,4 - Traffic Channel/2,4 kbps - трафик-канал передачи данных/ 2,4 кбит/с
22. TCH/4,8 - Traffic Channel/4,8 kbps - трафик-канал передачи данных/ 4,8 кбит/с
23. TCH/7,2 - Traffic Channel/7,2 kbps - трафик-канал передачи данных/ 7,2 кбит/с
24. TDMA - Time Division Multiple Access - многостанционный доступ с временным разделением каналов
25. TU50 - Typical Urban area - модель радиоканала, имитирующая городскую застройку и скорость перемещения абонентской радиостанции 50 км/ч
26. U_m - Радиоинтерфейс, используемый в режиме транкинговой связи
27. U_d - Радиоинтерфейс, используемый в режиме прямой связи
28. пи/4-DQPSK - пи/4-shifted Differential Quaternary Phase Shift Keying - дифференциальная квадратурная фазовая манипуляция с приращением фазы на интервале модуляционного символа, кратным пи/4.